//
ТехЛит.ру
- крупнейшая бесплатная электронная интернет библиотека для "технически умных" людей.
WWW.TEHLIT.RU - ТЕХНИЧЕСКАЯ ЛИТЕРАТУРА

:: Алготрейдинг::


АЛГОТРЕЙДИНГ
шаг за шагом
с нуля по урокам!

Торговые роботы на PYTHON, BackTrader,
Pandas, Pine Script для TradingView. Связка с брокерами, телеграм и легкими приложениями.


ПРАВИТЕЛЬСТВО МОСКВЫ

МОСКОМАРХИТЕКТУРА

ПОСОБИЕ
К МГСН 2.07-01

Основания, фундаменты
и подземные сооружения

ОбследованиЕ и мониторинг
при строительстве
и реконструкции зданий
и подземных сооружений

2004

Предисловие

Настоящее Пособие «Обследование и мониторинг при строительстве и реконструкции зданий и подземных сооружений» к Московским городским строительным нормам (МГСН 2.07-01) «Основания, фундаменты и подземные сооружения» разработано Научно-исследовательским, проектно-изыскательским и конструкторско-технологическим институтом оснований и подземных сооружений (НИИОСП) им. Н.М. Герсеванова.

Авторский коллектив:

НИИОСП им. Н.М. Герсеванова - доктор техн. наук, проф. Ильичев В.А. (руководитель), доктор техн. наук, профессор Коновалов П.А., доктор техн. наук, профессор Петрухин В.П., доктор техн. наук, профессор Шейнин В.И., кандидат техн. наук Буданов В.Г. кандидат техн. наук Лавров И.В., кандидат техн. наук Мариупольский Л.Г., кандидат техн. наук Михеев В.В., кандидат техн. наук Никифорова Н.С., кандидат техн. наук Скачко А.Н., кандидат техн. наук Трофименков Ю.Г.; СК КРЕАЛ - инж. Алмазова Н.М.; Ассоциация «Стройнормирование» - инж. Дубиняк В.В.; ГУП «Мосгоргеотрест» - инж. Майоров С.Г., доктор геол.-мин. наук Зиангиров Р.С.

Подготовлено к утверждению и изданию Управлением перспективного проектирования, нормативов и координации проектно-изыскательских работ Москомархитектуры.

Принято и введено в действие приказом Москомархитектуры от 01.12.2004 № 180.

СОДЕРЖАНИЕ

Предисловие. 1

Введение. 1

1. Область применения и основные положения по обследованию зданий и сооружений и организации и проведению мониторинга. 2

2. Обследование технического состояния зданий и их оснований, фундаментов и подземных сооружений. 3

3. Геотехнический мониторинг. 4

4. Особенности инженерно-геологических изысканий при обследовании зданий и проведении мониторинга. 4

5. Обследование оснований и фундаментов зданий. 5

6. Мониторинг нового строительства и реконструкции зданий и окружающей застройки. 9

Приложение 1. Перечень используемых нормативно-методических документов. 16

Приложение 2. Геофизические методы исследования оснований, фундаментов зданий и подземных сооружений. 18

Приложение 3. Геотехнические категории объектов строительства. 21

Приложение 4. Методы защиты существующих зданий от влияния нового строительства (реконструкции) 23

Введение

Настоящее Пособие разработано в развитие Московских городских строительных норм МГСН 2.07-01 «Основания, фундаменты и подземные сооружения».

Целью пособия является детализация положений по организации и осуществлению мониторинга и обследованию зданий и сооружений, регламентированных в МГСН 2.07-01, а также в действующих нормативных и нормативно-методических документах по инженерным изысканиям, проектированию и устройству оснований, фундаментов и подземных сооружений, приведенных в приложении 1.

Возведение новых и реконструкция существующих зданий и сооружений в пределах мегаполиса, каким является Москва, требует учета многих факторов, определяющих строительную деятельность.

Инженерные изыскания в г. Москве имеют ряд особенностей, связанных с: затесненностью существующей застройки; наличием действующих и заброшенных коммуникаций, подвалов и подземных сооружений, а также фундаментов разобранных зданий; нарушением природного сложения грунтовых слоев и природных строительных свойств грунтов; сложностью гидрогеологического режима подземных вод и верховодки в пределах городской черты; изменением геоэкологической обстановки в силу техногенных воздействий и других факторов.

В связи с этим новое строительство и реконструкция существующих зданий, как правило, с увеличением нагрузок на фундаменты, интенсивное использование подземного пространства с устройством подземных сооружений, новых магистральных коммуникаций оказывает негативное воздействие на существующую застройку и окружающую среду и требует принятия соответствующих мер, особенно при возведении зданий и сооружений, расположенных вблизи или вплотную к уже существующим.

Опыт показывает, что пренебрежение особыми условиями такого строительства может приводить к появлению в стенах ранее построенных зданий трещин, перекосов проемов и лестничных маршей, к сдвигу плит перекрытий, разрушению строительных конструкций, т.е. к нарушению нормальной эксплуатации зданий, а иногда даже к авариям.

Опасность возникновения подобных явлений увеличивается при сочетании плотной окружающей застройки с наличием сложных инженерно-геологических условий в местах нового строительства или реконструкции зданий и сооружений вследствие возможного развития целого ряда негативных природных и техногенных процессов, среди которых можно выделить эрозии, оползни, карстово-суффозионные явления, оседания земной поверхности, изменение гидрогеологических условий и связанное с ним подтопление застроенных территорий.

Существенные проблемы возникают также в связи с увеличением в последние годы глубины заложения подземных и заглубленных сооружений, с ростом нагрузки на подземные части зданий и сооружений при их реконструкции, устройством подвалов и заглубленных частей зданий без перерывов в их эксплуатации и др.

При намечаемом новом строительстве или реконструкции на застроенной территории заказчиком и генеральным проектировщиком, с привлечением заинтересованных организаций, эксплуатирующих окружающие здания, должен быть решен вопрос об обследовании этих зданий в зоне влияния нового строительства, организации наблюдений за поведением строящегося или реконструируемого здания и окружающей его существующей застройки.

1. Область применения и основные положения по обследованию зданий и сооружений и организации и проведению мониторинга.

Область применения положений настоящего Пособия распространяется на основания и фундаменты строящихся и реконструируемых зданий и сооружений (жилые, общественные и коммунальные здания с высотой надземной части не более 75 м), существующие здания и сооружения, расположенные вблизи строящихся и реконструируемых объектов, а также на заглубленные и подземные сооружения, устраиваемые открытым способом.

Положения Пособия в соответствии с МГСН 2.07-01 (пункт 1.2) не распространяется на транспортные, гидротехнические и мелиоративные сооружения, магистральные трубопроводы и фундаменты машин с динамическими нагрузками, а также на подземные сооружения, устраиваемые закрытым способом.

Принятие решения об объемах и характере обследования технического состояния зданий и сооружений, включая заглубленные и подземные, их оснований, фундаментов и других частей, проведении последующего мониторинга и его назначения, объема и продолжительности следует осуществлять применительно:

к строящимся зданиям и сооружениям;

к реконструируемым объектам;

к существующим зданиям и сооружениям, расположенным вблизи строящихся и реконструируемых объектов.

В каждом конкретном случае по результатам первичного обследования следует устанавливать объекты и объемы детального обследования (основания, фундаменты, ростверки, стены, колонны (столбы), перекрытия и покрытия, узлы соединения несущих элементов, площадки опирания и т.п.) с выявлением характерных геометрических отклонений и деформаций, фактических размеров опирания, кренов, физико-механических характеристик конструкционных материалов, элементов, узлов и грунтов оснований, а также мест расположения приборов при последующем мониторинге.

2. Обследование технического состояния зданий и их оснований, фундаментов и подземных сооружений.

Обследование технического состояния зданий и сооружений производится с целью установления категории их состояния и степени износа, определения возможности восприятия ими дополнительных нагрузок, деформаций или других воздействий на существующие здания и сооружения от влияния вблизи них нового строительства или реконструкции, а также для последующего мониторинга и разработки, в случае необходимости, мероприятий по усилению их конструкций, укреплению грунтов оснований и усиления фундаментов.

Проведение обследований включает следующие виды работ:

- ознакомление с проектно-технической документацией;

- изучение архивных материалов по планировке застройки, предшествующих обследований о состоянии грунтов и конструкций здания, составление программы обследования оснований и фундаментов, частей и элементов заглубленных и подземных сооружений;

- визуальное (общее) обследование конструкций здания;

- детальное (техническое) обследование фундаментов зданий, конструкций подземных сооружений и изучение грунтов основания;

- определение прочности и трещиностойкости конструкций фундаментов с проведением соответствующих испытаний и расчетов;

- оценка технического состояния конструкций фундаментов по результатам обследования.

Состав и объемы работ по обследованию в каждом конкретном случае определяются программой работ на основе технического задания заказчика с учетом требований действующих нормативных документов и ознакомления с проектно-технической документацией строящегося или реконструируемого здания, а также зданий, находящихся в зоне влияния нового строительства.

Техническое задание должно содержать следующие данные: обоснование для выполнения работ, цели и задачи работы, состав и объем работ, краткое содержание отчетных материалов.

Ознакомление с проектно-технической документацией производится с целью учета инженерно-геологических условий площадки, конструктивных особенностей и особенностей работы конструкций, а также выявления причин и характера возможных дефектов.

Прежде всего, надо установить фактически действующие нагрузки на фундаменты с учетом собственного веса конструкций, технологического оборудования и временных нагрузок, а также их сочетаний.

В необходимых случаях следует также установить: проектную и фактическую марку и класс бетона, диаметр, класс и количество рабочей и конструктивной арматуры, конструкцию арматурных изделий (каркасы, сетки и т.п.), марку кирпича и раствора, геометрические размеры конструкций и другие данные.

При отсутствии указанных выше данных они уточняются в процессе проведения обследования, а при их наличии - выборочно проверяются.

Визуальное обследование конструкций здания должно производиться с целью определения состояния конструкций, наличия трещин в стенах и перекрытиях и их фиксации (установления их направления, протяженности, величины раскрытия), наличие мест увлажнения и коррозии элементов, или разрушения конструкций, а также выявления осадок фундаментов.

Результаты визуального обследования конструкций здания фиксируются в виде карты дефектов, нанесенных на схематические фасады, планы и разрезы зданий, фотографии, или в виде таблиц с условными обозначениями основных дефектов.

По результатам анализа имеющегося материала и визуального обследования в зависимости от типа здания и его состояния, сложности инженерно-геологических условий, а также в зависимости от целей реконструкции (увеличения нагрузок на фундаменты и пр.) назначают состав, объем и методы обследования грунтов и фундаментов. В случае обнаружения при визуальном осмотре деформаций или повреждений конструкций следует незамедлительно составить соответствующий акт, уведомить заказчика и проектную организацию.

3. Геотехнический мониторинг.

Геотехнический мониторинг - комплекс работ, который должен проводиться в период строительства или реконструкции зданий и сооружений и не менее чем в течение года после его завершения и ввода их в эксплуатацию.

Цель мониторинга - проведение наблюдений за состоянием, своевременным выявлением и развитием имеющихся отклонений в поведении вновь строящихся или реконструируемых зданий и сооружений, их оснований и окружающего массива грунта от проектных данных, разработка мероприятий по предупреждению и устранению возможных негативных последствий, обеспечение сохранности существующей застройки, находящейся в зоне влияния нового строительства, а также сохранение окружающей природной среды; разработка прогноза состояния строящегося или реконструируемого объекта, воздействия его на окружающие здания и сооружения, на атмосферную, геологическую, гидрогеологическую и гидрологическую среду в период строительства или реконструкции и последующие годы эксплуатации для оценки изменений их состояния, своевременного выявления дефектов, предупреждения и устранения негативных процессов, а также оценки правильности принятых методов расчета, проектных решений и результатов прогноза.

В задачи мониторинга входит обеспечение надежности системы «основание - сооружение» строящегося или реконструируемого объекта, близ расположенных зданий и сооружений, недопущение негативных изменений окружающей среды, разработка технических решений предупреждения и устранения отклонений, превышающих предусмотренные в проекте, а также осуществление контроля за выполнением принятых решений.

Вопрос о необходимости организации мониторинга должен рассматриваться уже на стадиях предпроектного и проектного обеспечения строительства (реконструкции) зданий и предусматривать его распространение на расположенные вблизи здания. На этой стадии составляется программа наблюдений и разрабатывается проект системы наблюдений, которые включаются в раздел «Система мониторинга на площадке», входящий в состав проекта.

При строительстве или реконструкция объектов, особенно в центральной части Москвы, с плотной застройкой и наличием исторических и архитектурных памятников, мониторинг рекомендуется осуществлять под руководством координационного совета, который создается из представителей заказчика, генерального проектировщика, генерального подрядчика и специализированной геотехнической организации. В этих случаях мониторинг является составной частью работ научно-технического сопровождения нового строительства или реконструкции объекта, которые должна осуществлять по содержащему перечень требующихся процедур техническому заданию заказчика специализированная организация, занимающаяся вопросами геотехнических исследований, разработки проектных решений и технологии выполнения работ.

Геотехнический мониторинг должен быть увязан с системами мониторинга подземных вод, сетью геодезических и геодинамических наблюдений и в целом с системой мониторинга геологической среды.

4. Особенности инженерно-геологических изысканий при обследовании зданий и проведении мониторинга.

Инженерные изыскания для проектирования новых или реконструируемых зданий рядом с существующими должны обеспечить получение данных об инженерно-геологических условиях площадки строительства и прогнозируемых изменениях условий, в т.ч. гидрогеологических, влияющих на осадки существующих зданий. Они должны являться базой для разработки мероприятий по уменьшению этого негативного влияния с целью учета при проектировании, в случае необходимости, усиления оснований, фундаментов и конструкций существующих зданий, а также для обеспечения полноты обследования зданий и проведения мониторинга.

Техническое задание на изыскания необходимо составлять после осмотра представителем проектной организации существующих зданий, расположенных рядом с новым (реконструируемым), с целью визуальной оценки состояния несущих конструкций зданий (как снаружи, так и внутри) и уточнения требований к изысканиям.

Сбор и анализ архивных материалов изысканий Мосгоргеотреста и других специализированных организаций должен выполняться не только для площадки строительства (реконструкции) здания, но и для находящихся рядом существующих. Необходимы также сведения по планировке, инженерной подготовке и благоустройству площадки, документы по производству земляных работ. В условиях существующей застройки особое внимание должно быть обращено на выявление подземных сооружений и инженерных сетей (коллекторов, коммуникаций и т.п.), наличие погребенных фундаментов и др.

На основе сопоставления новых материалов изысканий с архивными данными необходимо установить произошедшие за период эксплуатации существующих зданий изменения инженерно-геологических и гидрогеологических условий.

Глубина бурения и зондирования должна назначаться не только исходя из вида и глубины заложения фундаментов нового здания, но также с учетом вида и глубины заложения фундаментов, а также состояния существующих зданий. При выборе метода зондирования в условиях плотной жилой застройки предпочтение следует отдавать статическому зондированию и геофизическим методам (георадар).

В программе инженерно-геологических гидрогеологических и геоэкологических изысканий на участках с эрозией, оползнями, карстово-суффозионными явлениями и др. и возможностью их развития рекомендуется предусмотреть выполнение специализированными организациями стационарных наблюдений с целью изучения динамики их развития, а также установление площадей их проявления и глубин интенсивного развития, приуроченности к геоморфологическим элементам, формам рельефа и литологическим видам грунтов, а также условий и причин возникновения.

Должны быть выполнены дополнительные исследования грунтов для оценки возможных изменений их состава и свойств вследствие развития неблагоприятных процессов.

5. Обследование оснований и фундаментов зданий.

Проведению обследования оснований и фундаментов зданий должен предшествовать анализ:

- результатов визуальной оценки состояния надземных конструкций здания;

- проектной документации здания, материалов, типа фундаментов, их размеров и глубин заложения, нагрузок (постоянных и временных) на фундаменты;

- материалов предшествующих обследований оснований и фундаментов;

- результатов инженерно-геодезических наблюдений за перемещениями фундаментов;

- материалов инженерно-геологических изысканий, выполненных в предшествующие годы;

- инженерных мероприятий, проводившихся в пределах площадки или вблизи нее.

Обследование оснований и фундаментов производится специализированной организацией, имеющей лицензию на проведение данных работ, в соответствии со специальным разделом общей программы обследования здания, составляемой на основании технического задания заказчика или проектной организации.

До начала работ по обследованию грунтов оснований и фундаментов от соответствующих организаций в установленном порядке должно быть получено разрешение (ордер) на проходку шурфов, бурение скважин, зондирование и геофизические работы. При этом в местах исторической застройки названные работы необходимо согласовывать с органами охраны исторических памятников.

Обследование оснований и фундаментов зданий, как правило, осложняется из-за затрудненного доступа к основанию, недопустимости нарушения и ослабления основания при проходке выработок, ограничения в применении в стесненных условиях стандартного изыскательского оборудования.

При обследовании, особенно в районах исторической застройки, необходимо также выявить или подтвердить архивные данные о наличии и местоположении существующих и ранее существовавших подземных сооружений, подвалов, фундаментов снесенных зданий, тоннелей, инженерных коммуникаций, колодцев, подземных выработок, буровых скважин и др. в зоне влияния нового строительства.

Состав, объем и методы обследования грунтов оснований и фундаментов существующего здания намечают в зависимости от целей и методов нового строительства или реконструкции (типа здания или подземного сооружения и его глубины), геотехнической категории существующего объекта, уровня его ответственности и категории сложности инженерно-геологических условий (Приложение 3, табл. А, Б и В).

Допускается не проводить обследование грунтов оснований и фундаментов существующих зданий и сооружений геотехнических категорий 1 и 2 (Приложение 3, табл. В), у которых при обследовании не обнаружено видимых деформаций и для которых имеются все необходимые архивные материалы, в том числе инженерно-геологические условия площадки, а величины дополнительных нагрузок на фундаменты от реконструкции и величины дополнительных осадок не вызовут недопустимые деформации конструкций, и если в зоне взаимодействия сооружения с геологической средой отсутствуют специфические грунты и опасные инженерно-геологические процессы.

Обследование грунтов оснований в общем случае включает следующий комплекс работ:

- проходку шурфов, преимущественно вблизи фундаментов;

- бурение скважин с отбором образцов грунта и воды, с определением уровня подземных вод;

- зондирование грунтов;

- испытание грунтов штампами или прессиометрами (статическими нагрузками);

- исследования грунтов геофизическими методами;

- лабораторные исследования физико-механических свойств грунтов и химический анализ подземных вод;

- камеральную обработку материалов;

- составление технического отчета, включающего заключение об изменении инженерно-геологических условий с момента предыдущих изысканий.

Расположение и общее число выработок, точек зондирования, применение геофизических методов, объем и состав определений физико-механических характеристик грунтов зависят от размеров здания или сооружения, сложности инженерно-геологического строения площадки и, кроме того, определяются необходимостью обследования фундаментов и их оснований на наиболее и наименее нагруженных участках в зонах влияния нового строительства или реконструкции. При этом необходимо также учитывать выявленные деформации зданий с целью детализации исследования грунтовых условий в местах деформирования зданий.

В результате проведенных обследований грунтов должно быть установлено соответствие полученных фактических данных архивным, если они имеются. Выявленные различия в инженерно-геологической и гидрогеологической обстановке и свойствах грунтов используют для объяснения причин деформаций и повреждений зданий, разработки дальнейших прогнозов и учитывают при выборе способов усиления фундаментов или упрочнения основания здания.

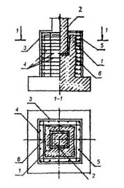
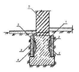
При осмотре фундаментов фиксируются:

- размеры, глубина заложения фундаментов;

- материалы фундаментов и его прочностные характеристики;

- трещины в конструкциях (поперечные, продольные, наклонные и др.);

- оголения арматуры;

- дефекты бетона и каменной кладки, каверны, раковины, повреждения защитного слоя, выявленные участки бетона с изменением его цвета;

- повреждения арматуры, закладных деталей, сварных швов (в том числе в результате коррозии);

- схемы опирания конструкций, несоответствие площадок опирания сборных конструкций проектным требованиям и отклонения фактических геометрических размеров от проектных;

- наиболее поврежденные и аварийные участки конструкций фундаментов;

- наличие контакта фундамент-грунт;

- результаты определения влажности материала фундамента и наличие гидроизоляции.

Определение плотности и влажностного состояния конструкций фундаментов производится в соответствии с СП 13-102 (ГОСТ 12730.0 - ГОСТ 12730.5 - для бетонных конструкций):

- извлечения проб из материала фундаментов (плит, свай, ростверков, рондбалок и других элементов) и последующего исследования их в лаборатории (ГОСТ 28570);

- электрометрическим, по оценке удельного сопротивления материала кладки и др.

При определении влажностного состояния конструкций фундаментов следует установить причины их увлажнения.

При обследовании фундаментов с плоской подошвой на естественном основании производится сопоставление давления, действующего по подошве фундамента, с расчетным и фактическим сопротивлением грунтов основания.

Детальному обследованию подлежат все конструкции фундаментов, в которых при визуальном осмотре обнаружены серьезные дефекты. Если по результатам предварительного обследования сделана достаточная в соответствии с поставленными задачами оценка состояния конструкции, то детальное обследование может не производиться.

Детальные обследования производятся с целью уточнения исходных данных, необходимых для выполнения полного комплекса расчетов конструкций реконструируемых или защищаемых объектов.

В зависимости от состояния конструкций и стоящих задач обследование может быть сплошным и выборочным. При сплошном обследовании проверяются все конструкции фундаментов под каждой стеной и всеми колоннами. При выборочном обследовании проверяются отдельные конструкции, составляющие выборку, объем которой назначается в зависимости от состояния конструкций и задач обследований, но не менее трех.

При детальном обследовании состояния фундаментов в необходимых случаях должны определяться:

- прочность и проницаемость бетона;

- количество арматуры, ее площадь и профиль;

- толщина защитного слоя бетона (ГОСТ 17625, ГОСТ 22904);

- степень и глубина коррозии бетона (карбонизация, сульфатизация, проникание хлоридов и т.д.);

- прочность материалов каменной кладки (СНиП II-22);

- наклоны, перекосы и сдвиги элементов конструкций;

- степень коррозии стальных элементов и сварных швов;

- деформации основания;

- осадки, крены, прогибы фундаментов (ГОСТ 24846);

- необходимые характеристики грунтов, уровень подземных вод и их химический состав, если эти данные отсутствуют в инженерно-геологическом отчете.

При неразрушающем методе контроля в железобетонных конструкциях положение и диаметр арматуры определяют магнитным методом по ГОСТ 22904 (приборы типа ИЗС), радиационным методом по ГОСТ 17625 и др. Толщину защитного слоя бетона и арматуры также определяют методом вскрытия арматуры.

Участки для контроля армирования (диаметр, размещение арматуры, толщина защитного слоя) рекомендуется располагать:

- в местах повышенного раскрытия трещин;

- для внецентренно сжатых фундаментов с малым эксцентриситетом - в произвольном, удобном для доступа сечении по длине конструкции;

- для внецентренно сжатых фундаментов с большим эксцентриситетом, а также для изгибаемых конструкций - в предполагаемых расчетных сечениях.

Важным показателем состояния железобетонной конструкции фундамента является фактическая величина прочности бетона, ее соответствие проектной прочности.

При детальном обследовании прочность бетона должна определяться методами:

- испытания образцов (кернов), выпиленных или выбуренных из конструкции фундамента (ГОСТ 28570);

- механическими методами неразрушающего контроля (ГОСТ 22690);

- ультразвуковым методом или методом радиационной дефектоскопии (ГОСТ 17624 и ГОСТ 17625).

Допускается использование и других методов, предусмотренных государственными и отраслевыми стандартами.

Испытание образцов арматуры следует производить по ГОСТ 12004 на растяжение с определением условного предела текучести, временного сопротивления и относительного удлинения при разрыве. До проведения испытания каждого из образцов определяется его фактическая площадь сечения.

При обследовании каменной кладки фундаментов необходимо фиксировать прочность камней, прочность раствора и ее напряженное состояние.

Методы испытаний кирпичей, камней бетонных и из горных пород для определения пределов прочности при сжатии и изгибе следует принимать по ГОСТ 8462.

При применении неразрушающих методов испытаний, определение прочности на сжатие раствора и камня в конструкции может быть выполнено методом пластического деформирования, склерометрией и др.

Прочность камней может быть определена неразрушающим способом с помощью ультразвуковых приборов.

Оценка пределов прочности кладки по результатам определения прочности камня и раствора производится по таблицам СНиП II-22.

При обследовании зданий вблизи источников динамических нагрузок, вызывающих колебания прилегающих к ним участков основания, необходимо проводить вибрационное обследование (мониторинг).

Вибрационное обследование производится в целях получения фактических данных об уровнях колебаний грунта и конструкций фундаментов эксплуатируемых зданий и сооружений при наличии динамических воздействий:

- от оборудования, устанавливаемого или планируемого к установке вблизи здания;

- от проходящего наземного или подземного колесного и рельсового транспорта вблизи от здания;

- от строительных работ, в том числе применения забивных свай при реконструкции и новом строительстве (МГСН 2.07 п. 8.35);

- от других источников вибрации, расположенных вблизи здания.

Для вибрационных обследований зданий, фундаментов и их оснований, а также подземных сооружений рекомендуется применение комплексов аппаратуры, обеспечивающих запись колебаний в диапазоне частот от 1 до 100 Гц.

Результаты вибрационного обследования представляются в виде таблиц среднеквадратичных значений виброперемещений (виброскоростей, виброускорений) в обследованных точках в октавных полосах со среднегеометрическими частотами 2; 4; 8; 16; 31,5; 63 Гц. В случае, когда колебания могут быть оценены, как близкие к гармоническим, результаты вибрационного обследования могут представляться в виде таблиц значений амплитуд виброперемещений (виброскоростей, виброускорений) и соответствующих значений частот колебаний.

В итоге вибрационного обследования фундаментов или конструкций подземных сооружений составляется заключение, в котором делается вывод о допустимости имеющихся видов и уровней вибраций для нормальной эксплуатации существующих вблизи строящихся или реконструируемых зданий и сооружений; в противном случае даются рекомендации по уменьшению динамического воздействия на несущие конструкции сооружения или их усиления с целью уменьшения уровня колебаний до допустимого.

По результатам обследования оснований и фундаментов составляется:

- технический отчет или техническое заключение (при небольшом объеме обследования) содержащий результаты обследования, которые могут быть представлены в виде дефектных ведомостей состояния конструкций фундаментов, наличия их деформации, осадок, дефектов материалов и др. повреждений, планы и разрезы здания с инженерно-геологическими профилями; конструктивные особенности здания, фундаментов, их геометрия; схемы расположения реперов, марок; описания примененной системы измерений; фотографии; графики и эпюры горизонтальных и вертикальных перемещений, кренов, развития трещин; перечень факторов, способствующих возникновению деформаций; оценку прочностных и деформационных характеристик материала конструкций фундаментов;

- техническое заключение о возможности использования конструкций фундаментов при реконструкции.

Техническое заключение о возможности реконструкции здания при увеличении нагрузок на его основание, устройстве подземного сооружения вблизи него или в пределах его пятна застройки, а также при углублении подвалов должно включать в себя:

- техническую характеристику предполагаемой конструкции;

- описание существующего состояния здания;

- планы несущих конструкций, в том числе фундаменты с указанием их размеров и глубины их заложения;

- данные о нагрузках, действовавших на фундаменты здания до реконструкции;

- данные о дополнительных нагрузках на здание или сооружение и их распределение на отдельные фундаменты после реконструкции;

- сведения о деформациях здания и данные нивелировки цоколя или окон первого этажа;

- сведения о материале фундаментов;

- данные инженерно-геологических и гидрогеологических изысканий (обобщение архивных материалов, описание шурфов и скважин, геологические разрезы по основным направлениям расположения несущих конструкций, физико-механические характеристики грунтов оснований, необходимые для расчета деформаций здания после его реконструкции, сведения о глубине залегания подземных вод и изменении уровня их залегания в осенне-весенний периоды, составе и характере и агрессивности вод);

- поверочные расчеты существующих и ожидаемых после реконструкции давлений на грунты оснований;

- прогноз дополнительных средних осадок здания и их неравномерности после реконструкции;

- выводы и рекомендации по реконструкции здания, включающие в себя тип реконструируемых фундаментов и технологию их устройства.

6. Мониторинг нового строительства и реконструкции зданий и окружающей застройки.

Геотехнический мониторинг проводится в соответствии с ранее разработанным проектом и включает в себя:

- систему наблюдений за надземными и подземными конструкциями строящегося или реконструируемого здания или сооружения, существующих зданий и сооружений, попадающих в зону его влияния, а также за массивом грунта, прилегающего к подземной части объекта, включая подземные воды;

- оценку результатов наблюдений и сравнение их с проектными данными;

- прогноз на основе результатов наблюдений изменения состояния строящегося или реконструируемого сооружения, существующих объектов в зоне его влияния, а также массива грунта, включая подземные воды;

- разработку в необходимых случаях мероприятий по ликвидации недопустимых отклонений и негативных последствий;

- контроль за выполнением принятых решений.

По результатам мониторинга проектная организация может произвести корректировку проектного решения.

Как правило, мониторинг следует организовывать:

- при строительстве или реконструкции сооружений уникальных и объектов 3 геотехнической категории, а также новых или недостаточно изученных конструкций сооружений и их фундаментов;

- при строительстве или реконструкции объектов в сложных инженерно-геологических условиях;

- для существующих объектов 2 и 3 геотехнических категорий, попадающих в зону влияния нового строительства в условиях тесной городской застройки, а также в других случаях, предусмотренных техническим заданием.

Методы и технические средства мониторинга нового строительства или реконструкции и окружающей застройки должны назначаться в зависимости от уровня ответственности сооружений, их конструктивных особенностей и состояния, инженерно-геологических и гидрогеологических условий площадки, протекающих геологических и инженерно-геологических процессов, способа возведения нового здания, плотности окружающей застройки, требований эксплуатации и в соответствии с результатами геотехнического прогноза.

Техническое задание на проект мониторинга, выдаваемое заказчиком, должно содержать: обоснование необходимости выполнения работ; цели и задачи работы; краткую характеристику нового строительства (реконструкции) и существующих зданий и сооружений в зоне влияния нового строительства; инженерно-геологическую характеристику площадки, включая наличие опасных геологических процессов; технические требования на выполнение работ по мониторингу.

Геотехнический мониторинг состоит из следующих подразделов:

а) объектного, включающего все виды наблюдений за состоянием оснований, фундаментов и несущих конструкций самого объекта нового строительства или реконструкции, окружающих его зданий и подземных сооружений, а также объектов инфраструктуры;

б) геолого-гидрологического, включающего системы режимных наблюдений за изменением состояния грунтов, уровней и состава подземных вод, за развитием деструктивных процессов: эрозии, оползней, карстово-суффозионных явлений, оседания земной поверхности и др., а также за состоянием температурного, электрического и других полей;

в) геоэкологического, включающего системы наблюдений за изменением состояния окружающей геологической среды и ее загрязнения;

г) аналитического, включающего анализ и оценку результатов наблюдений, выполнение расчетных прогнозов, сравнение прогнозируемых величин параметров с результатами измерений, разработку мероприятий по предупреждению или устранению негативных последствий вредных воздействий и недопущению увеличения интенсивности этих воздействий.

Геологический блок мониторинга предусматривает систему режимных и инструментальных наблюдений за изменением состояния геологической среды площадки строящегося (реконструируемого) объекта и близрасположенных окружающих зданий и сооружений. Состав программы геологического мониторинга при обосновании может быть расширен.

Система режимных наблюдений за гидрогеологической средой включает в себя пробуренные и оборудованные на все горизонты гидрогеологические скважины.

При режимных наблюдениях следует определять:

- изменение уровней подземных вод;

- пьезометрические напоры воды в грунтовом массиве;

- расходы воды, связанные с фильтрацией;

- коэффициент фильтрации грунтов;

- температуру грунтов в массиве;

- химический состав подземных вод;

- химический состав, температуру и мутность профильтровавшей воды в дренажах и коллекторах;

- эффективность работы дренажных, водопонизительных и противофильтрационных систем.

Частота наблюдений за режимом уровней подземных вод должна устанавливаться программой и корректироваться в процессе работ, но быть не реже 1 раз в квартал. Отбор проб из скважины производится для химического анализа с определением ее химического и радиационного загрязнения и агрессивности по отношению к строительным материалам. Кроме того, раз в квартал проводятся наблюдения за температурным режимом.

При инструментальных наблюдениях следует определять:

- послойные деформации грунтов основания и оседания земной поверхности;

- характер развития деструктивных процессов: эрозии, оползней, карстово-суффозионных и др. процессов;

- наличие аномалий температурных, электрических и др. физических полей.

Система геодезических наблюдений за окружающим реконструируемое здание грунтом должна быть устроена в случае возведения под реконструируемым объектом подземного сооружения.

Системы наблюдений за состоянием окружающего грунта включает в себя сеть грунтовых марок, которые представляют собой:

- точки, накерненные на обечайках колодцев подземных коммуникаций, глубиной заложения от 2 до 4 м;

- грунтовые стальные трубчатые марки, глубиной заложения от 2 до 12 м;

- кусты грунтовых реперов для наблюдений за послойными вертикальными перемещениями грунта на различных глубинах (глубина реперов от 10 до 30 м);

- поверхностные марки.

Дополнительно мониторинг включает:

- разработку требований к объему и составу дополнительных инженерно-геологических изысканий, необходимых для выполнения расчетных прогнозов;

- разработку требований к техническому состоянию зданий и сооружений;

- разработку требований по величинам допустимых предельных и неравномерных деформаций зданий и сооружений;

- расчет действующих величин нагрузок на фундаменты, в том числе на свайные, расчет фактического давления на грунт по подошве фундамента и прогнозируемых нагрузок на фундаменты при реконструкции;

- сбор и анализ технических данных по конструкциям подземной и надземной частей зданий и сооружений;

- анализ проекта или технической документации по усилению оснований и фундаментов существующей застройки.

Геоэкологический мониторинг изменения состояния окружающей среды должен проводиться в случаях расположения вблизи строительства (реконструкции) зданий и сооружений промышленных объектов с вредными процессами, при расположении их в районах с повышенным уровнем загрязнений атмосферы, почвы и грунтов вредными веществами, при повышенной агрессивности грунтов и вод по отношению к строительным материалам, а также на основании результатов изысканий и государственной экологической экспертизы проектной документации на строительство (реконструкцию) конкретного объекта. Наблюдения проводятся в соответствии с «Временными методическими указаниями по оценке на стадии ТЭО ОВОС подземных сооружений» (для строительства в г. Москве, 1995 г.) и СП 11-102.

Геоэкологический мониторинг следует осуществлять с учетом СП 11-102.

Состав и объем геоэкологического мониторинга должен быть отражены в программе работ и технических заданий на конкретные объекты и в соответствии с действующими нормативными документами (СНиП 2.01.15, Инструкции по инженерно-геологическим и геоэкологическим изысканиям в г. Москве).

Геоэкологический мониторинг проводится по программе, составленной в соответствии с техническим заданием заказчика. Состав и объем мониторинга должны назначаться с учетом инженерно-геологических и гидрогеологических изысканий и обеспечить получение необходимой информации для характеристики загрязнения грунтов и подземных вод, а также аномальных локальных природных и техногенных полей и геологических и инженерно-геологических процессов.

При строительстве на территории Москвы следует учитывать следующие природные и техногенные факторы, способствующие ухудшению геоэкологической обстановки:

- изменение уровня подземных вод;

- загрязнение почв, грунтов и подземных вод;

- инженерно-геологические процессы (оползни, карстово-суффозионные явления, подвижки грунта и др.);

- газовыделение;

- радиационное излучение;

- техногенные тепловые поля;

- вибрационные и ударные воздействия.

Подъем уровня подземных вод приводит к таким неблагоприятным явлениям, как увлажение и затопление подвалов зданий, что может вызвать ухудшение здоровья людей, появление комаров и др. В связи с этим следует прогнозировать возможный подъем уровня подземных вод и разрабатывать мероприятия по защите подвалов от подземных вод.

Следует учитывать возможное снижение уровня подземных вод, например при дренаже, что может привести к дополнительным деформациям основания.

При оценке загрязнения почв, грунтов и подземных вод необходимо выявлять источники загрязнения, участки наибольшего загрязнения и состав и содержание загрязняющих веществ.

Оценку загрязнения грунтовых вод на участках жилой застройки, а также в зонах влияния хозяйственных объектов выполняют в соответствии с СП 11-102 и Инструкцией по инженерно-геологическим и геоэкологическим изысканиям в г. Москве.

Газовыделение может наблюдаться на участках распространения техногенных (насыпных) грунтов. Газогеохимический мониторинг выполняют для оценки концентрации метана и двуокиси углерода. Потенциально опасными считаются концентрации СН4 > 0,1 % и СО > 0,5 % по объему.

Осуществление мониторинга включает несколько этапов:

- теоретические расчеты возможных деформаций грунтов оснований и фундаментов вновь строящегося (реконструируемого) объекта;

- разработку системы наблюдений для проверки в натуре действительного воздействия нового строительства на существующие здания и сооружения;

- установку приборов в натуре;

- осуществление мониторинга в ходе строительства, в первый и последующие, при необходимости, годы эксплуатации до стабилизации деформационных процессов в основании;

- геодезический мониторинг зданий 1-ой геотехнической категории (в т.ч. уникальных зданий) должен выполняться не менее 10 лет после окончания строительства.

Мониторинг целесообразно осуществлять с использованием комплексной автоматизированной программы, позволяющей оперативно выявлять все возникающие отклонения и устанавливать необходимые взаимосвязи.

В процессе мониторинга должен рассматриваться весь комплекс статических, динамических и техногенных нагрузок, приводящих к качественному и количественному изменению характеристик состояния объекта и окружающих его зданий и сооружений, их пригодность к эксплуатации и степень воздействия на окружающую среду.

При проведении мониторинга должны быть определены осадки, крены и горизонтальные смещения конструкций строящегося или реконструируемого здания и окружающих зданий и сооружений, расположенных в зоне влияния строительства, состояние конструкций, оценена работа измерительных систем.

При выборе системы наблюдений необходимо учитывать величины расчетных прогнозов скорости протекания процессов и их изменение во времени, продолжительность измерений, ошибки измерений за счет изменения погодных условий, а также влияния аномалий геофизических, температурных, электрических и других полей (Приложение 2).

Точность систем наблюдений и методов контроля должны обеспечивать достоверность получаемой информации, результатов измерений и согласованность их с расчетными прогнозами, а также соответствовать требованиям к увязке между собой данных отдельных систем наблюдений в пространстве и во времени.

При проведении длительных мониторинговых наблюдений необходимо обеспечивать при изменении внешних условий стабильность параметров измерительных устройств. При необходимости следует проводить тарировку измерительных устройств и вносить поправки в результаты измерений в зависимости от изменения температуры, влажности воздуха и других факторов.

Используемые для наблюдений приборы и оборудование должны быть сертифицированы или поверены и аттестованы.

Выбор точек измерений необходимо производить по рекомендациям ГОСТ 24846. На участках с наибольшей интенсивностью изменения наблюдаемых величин количество точек измерения должно быть увеличено. При этом частота наблюдений должна быть согласована со скоростью наблюдаемых процессов.

В результате проведения мониторинга должны быть определены условия, обеспечивающие выполнение основных эксплуатационных требований к объекту и окружающей среде.

На стадии проектирования должны быть разработаны:

- прогноз деформаций, усилий и других факторов, характерных для площадки;

- программа и состав наблюдений.

На стадии строительства (реконструкции) должны быть предусмотрены:

- установка системы наблюдений;

- производство наблюдений и их регистрация;

- обработка информации;

- корректировка, в случае необходимости, проектов строительства и разработка дополнительных мероприятий.

На стадии эксплуатации осуществляется сравнение расчетных и наблюдаемых величин деформаций и усилий. В необходимых случаях производится корректировка критериев выполнения эксплуатационных требований, а также разработка дополнительных мероприятий по обеспечению эксплуатационной надежности расположенных вблизи строящегося или реконструируемого объекта зданий и сооружений.

После выполнения дополнительных мероприятий производится проверка выполнения эксплуатационных требований за период наблюдений.

При наличии динамических воздействий на грунты оснований близ расположенных объектов (зданий, подземных сооружений, коммуникаций и др.) прогноз деформаций осуществляется по результатам опытных работ.

В процессе мониторинга осуществляются:

а) наблюдения за поведением строящихся и существующих сооружений - измерение деформаций сооружений (осадки, крены, горизонтальные смещения и др.); фиксация и наблюдение за образованием и раскрытием трещин; измерение усилий в распорных и анкерных конструкциях глубоких котлованов; измерение уровня колебаний сооружений при наличии динамических воздействий и др.;

б) наблюдения за напряженным состоянием основания и массива грунта и гидрогеологической обстановкой (особенно при устройстве ограждений глубоких котлованов, в том числе из буронабивных или бурозавинчивающихся свай); наблюдения за развитием неблагоприятных инженерно-геологических процессов (карст, суффозия, оползни, оседание поверхности и др.); наблюдения за состоянием температурного, электрического и других физических полей.

в) наблюдения за изменением окружающей природной среды при опасности загрязнения грунтов и подземных вод, газовыделении, радиационном излучении и т.п.

Особое внимание должно быть обращено на анализ допустимости колебаний при сваебойных работах или вибропогружении свай вблизи существующих зданий и сооружений.

На основе полученных результатов натурных наблюдений уточняются расчетные прогнозы, в частности изменения напряженно-деформированного состояния грунтового массива и гидрогеологического режима, вносятся коррективы в проектные решения, а также разрабатываются в необходимых случаях противоаварийные и защитные мероприятия.

Методически мониторинг представляет собой сочетание визуальных наблюдений с инструментальными измерениями.

Визуальные наблюдения включают в себя:

- визуальный осмотр подземной части объектов;

- визуальный осмотр состояния несущих конструкций надземной части;

- фиксацию состояния трещин в конструкциях (установление направления, протяженности и величины раскрытия трещин, установку маяков на трещинах и систематическое ведение журнала наблюдений за ними).

Систематическое наблюдение за развитием трещин следует проводить при появлении их в несущих конструкциях зданий и сооружений с тем, чтобы выяснить характер деформации и степень опасности их для дальнейшей эксплуатации объекта. При наблюдениях за развитием трещины по длине концы ее следует периодически фиксировать поперечными штрихами, нанесенными краской, рядом с которыми проставляется дата осмотра.

Инструментальные измерения включают:

- маяки, установленные на трещинах;

- системы геодезического контроля, включающей деформационные марки, расположенные на здании, репера и измерительную аппаратуру;

- системы деформационного контроля для фиксации наклонов стен здания и ограждения котлована.

При наблюдениях за раскрытием трещин по ширине следует использовать измерительные или фиксирующие устройства, прикрепляемые к обеим сторонам трещины: маяки, щелемеры, рядом с которыми проставляются их номера и дата установки.

При ширине трещины более 1 мм необходимо измерять ее глубину.

В процессе деформаций оснований фундаментов должны быть определены величины:

- вертикальных перемещений (осадок, просадок, подъемов);

- горизонтальных перемещений (сдвигов), при наличии специального обоснования;

- кренов;

- углы наклона фундаментов.

Наблюдения за деформациями зданий, оснований и фундаментов следует производить в следующей последовательности:

- разработка программы измерений;

- выбор конструкции, места расположения и установка исходных геодезических знаков высотной и плановой основы;

- осуществление высотной и плановой привязки установленных исходных геодезических знаков;

- установка деформационных марок на зданиях и сооружениях;

- инструментальные измерения величин вертикальных и горизонтальных перемещений, кренов и углов наклона фундаментов.

Геодезические знаки высотной и плановой основы, а также деформационные марки должны устанавливаться в свободных местах и иметь защитные устройства от их случайного повреждения.

Методы измерений вертикальных и горизонтальных перемещений и определение крена и углов наклона фундамента следует устанавливать программой измерения деформаций в зависимости от требуемой точности измерения, конструктивных особенностей фундамента, инженерно-геологической и гидрогеологической характеристик основания, возможности применения и экономической целесообразности метода в данных условиях.

Вертикальные перемещения зданий и сооружений должны определяться относительно существующих, не находящихся в зоне влияния нового строительства, или закладываемых дополнительно реперов опорной геодезической сети (глубинных и грунтовых).

Для условий г. Москвы в связи с трудностями установки дополнительных глубинных реперов при измерениях осадок гражданских зданий и подземных сооружений при нивелировании II и III классов допускается использование только грунтовых реперов или реперов, заложенных в стенах зданий и сооружений.

Количество грунтовых реперов должно быть не менее трех, а стенных - не менее четырех.

При закладке в зданиях стенных реперов необходимо соблюдать следующие условия:

- здания должны быть построены за несколько лет до закладки знаков в местах, не подверженных воздействиям опасных геологических процессов;

- не рекомендуется закладывать стенные реперы в сооружениях, расположенных вблизи железнодорожных путей, автомобильных дорог и шоссе с интенсивным движением, линий метрополитена, а также размещать в действующих цехах и т.п.;

- не допускается проводить закладку стенных реперов на временных сооружениях, а также предназначенных к сносу или капитальному ремонту.

Деформационные марки для измерения вертикальных перемещений следует закладывать в цокольной части здания, находящегося в зоне предполагаемого влияния нового строительства. Расстояния между марками зависят от конструкции здания и фундаментов, ожидаемой величины деформаций и их неравномерности, инженерно-геологических условий, местных факторов и др.

Для жилых, общественных и коммунальных зданий в зависимости от их конструктивных систем марки следует размещать по периметру здания на расстояниях:

- 10 - 15 м - для зданий с кирпичными стенами и ленточными фундаментами;

- 6 - 8 м - для бескаркасных крупнопанельных зданий со сборными фундаментами (приблизительно через двойной шаг панели).

При ширине здания более 15 м марки устанавливаются на внутренних поперечных стенах в местах пересечения их с продольной осью.

В каркасных зданиях марки следует устанавливать на несущих колоннах по периметру и внутри здания.

В случае пристройки вновь возводимого здания к существующему место примыкания рассматривается как осадочный шов. По обе стороны от шва следует закладывать по одной марке или одну марку и щелемер.

Методы измерений деформаций оснований зданий и сооружений следует устанавливать в соответствии с ГОСТ 24846.

Точность системы наблюдений должна устанавливаться программой измерений.

Радиус зоны влияния rзв на окружающую застройку вновь строящегося сооружения или реконструируемого здания, в пределах которой следует проводить геотехнический мониторинг, определяется расчетом по действующим нормам, с учетом метода крепления стен котлована для заглубленного сооружения и глубины Нк котлована.

Ориентировочные значения rзв в зависимости от метода крепления котлована и его глубины Нк составляют:

- к при использовании для ограждения «стены в грунте» с креплением анкерными конструкциями;

- к при ограждении завинчивающимися сваями с распорками;

- к при использовании «стены в грунте» с креплением распорками;

- 2Нк при использовании «стены в грунте» под защитой верхнего перекрытия.

При строительстве или реконструкции в условиях тесной городской застройки в исторических районах Москвы для существующих зданий (как правило, это многоэтажные здания с несущими стенами из кирпичной кладки без армирования, в том числе - историческая застройка, памятники истории, культуры или архитектуры) их дополнительные деформации от влияния строящегося заглубленного сооружения не должны превышать предельных величин дополнительных деформаций, приведенных в табл. 1 и 2. Статус здания определяется в зависимости от его возраста и назначения: памятники истории, культуры и архитектуры; историческая застройка - здания, имеющие возраст более 100 лет; старые здания - здания, имеющие возраст 50 - 100 лет; современные здания - здания, имеющие возраст менее 50 лет.

Кривизна подошвы фундаментов ρ в табл. 2 определяется по результатам специальных измерений наклонов фундаментов существующих зданий прибором - измерителем кривизны (микронивелиром), либо вычисляется по результатам геодезических измерений осадок марок, установленных по контуру здания в его цоколе в точках с координатами х, (х + Δх), (х + 2Δх) по формуле:

где S(х) - осадка здания в точке с координатой x;

S(х + Δх) - осадка здания в точке с координатой х + Δх;

S(х + 2Δх) - осадка здания в точке с координатой х + 2Δx;

Таблица 1

Наименование и конструктивные особенности здания или сооружения

Категория состояния конструкций

Предельные дополнительные деформации

Максимальная Осадка Sмах, см

Относительная разность осадок ΔS/L

Крен

i

Многоэтажные бескаркасные здания с несущими стенами из крупных блоков или кирпичной кладки без армирования.

I

4,0

2 · 10-3

2 · 10-3

II

3,0

1 · 10-3

1 · 10-3

III

1,0

7 · 10-4

7 · 10-4

IV

0,4

4 · 10-4

4 · 10-4

IV*

0

0

0

Многоэтажные и одноэтажные здания исторической застройки или памятники истории, культуры и архитектуры с несущими стенами из кирпичной кладки без армирования.

I

-

-

-

II

1,0

6 · 10-4

6 · 10-4

III

0,4

4 · 10-4

4 · 10-4

IV

0,2

1 · 10-4

1 · 10-4

IV*

0

0

0

Примечания к таблицам 1 и 2.

1. Категория состояния конструкций здания определяется по указаниям «Рекомендаций по обследованию и мониторингу технического состояния эксплуатируемых зданий, расположенных вблизи нового строительства или реконструкции», 1998.

2. Здания исторической застройки или памятники истории, культуры и архитектуры, как правило, не имеют I категорию состояния конструкций. Категорию IV имеют здания, находящиеся в предаварийном состоянии, категория IV* присваивается зданиям, находящимся в аварийном состоянии.

3. Значения кривизны подошвы фундамента здания в таблице 2 приведены для случая его расположения в зоне влияния отрывки котлована строящегося здания.

Кривизна подошвы фундаментов вычисляется по результатам измерения углов наклона фундаментов микронивелиром в местах установки микронивелирных марок по формуле:

где αi, αj - углы наклона фундаментов в точках i и j с координатами х и х + Δх.

В таблице 2 приведены предельные значения разности углов наклона фундаментов при микронивелирных измерениях кривизны подошвы фундаментов.

Таблица 2

Наименование

Конструктивные особенности здания или сооружения

Категория состояния конструкций

Предельные дополнительные деформации

Кривизна подошвы фундамента ρ, 1/м

Разность углов наклона подошвы фундамента, αi - αj

Многоэтажные бескаркасные здания с несущими стенами из крупных блоков или кирпичной кладки без армирования

I

4 · 10-4

4 · 10-4

II

1 · 10-4

1 · 10-4

III

8 · 10-5

8 · 10-5

IV

5 · 10-6

5 · 10-6

IV*

0

0

Многоэтажные и одноэтажные здания исторической застройки или памятники архитектуры с несущими стенами из кирпичной кладки без армирования

I

-

-

II

2 · 10-4

2 · 10-4

III

4 · 10-5

4 · 10-5

IV

2 · 10-6

2 · 10-6

IV*

0

0

Организация, ведущая работы по мониторингу при возведении зданий вблизи существующей плотной застройки, отчитывается перед заказчиком и генеральным проектировщиком, а также перед координационным советом, создаваемым на особо ответственных объектах.

Форма отчетности - научно-технический отчет, содержащий:

- результаты мониторинга, которые могут быть представлены в виде дефектных ведомостей, графиков развития осадок и наклонов здания, деформаций поверхности земли, актов освидетельствования состояния надземных и подземных конструкций здания, актов, подтверждающих соблюдение технологической последовательности работ по мониторингу, документов, отражающих контроль качества работ и т.д.;

- заключение о надежности вновь построенного здания и эксплуатируемых зданий, расположенных в зоне влияния нового строительства, и соответствии расчетных прогнозов фактическому состоянию и проектному режиму;

- технические предложения и мероприятия по ликвидации отрицательных последствий строительства, если такие имеются.

В случае возникновения при строительстве деформаций и других явлений, отличающихся от прогнозируемых и представляющих опасность для окружающей застройки или нового строительства, необходимо без задержки поставить в известность заказчика, генподрядчика и проектную организацию для совместной выработки экстренных мер.

Приложение 1

Перечень используемых нормативно-методических документов

СНиП 2.01.07-85*                     Нагрузки и воздействия

СНиП 2.01.15-90 (1)

СНиП 22-02-2003 (2)                Инженерная защита территорий, зданий и сооружений от опасных геологических процессов. Основные положения проектирования

СНиП 2.02.01-83*                     Основания зданий и сооружений

СНиП 2.02.03-85                       Свайные фундаменты

СНиП 52-01-2003                      Бетонные и железобетонные конструкции

СНиП 3.01.01-85*                     Организация строительного производства

СНиП 3.02.01-87                       Земляные сооружения, основания и фундаменты

СНиП 11-02-96                          Инженерные изыскания для строительства. Основные Положения

СНиП 22-01-95                          Геофизика опасных природных воздействий

СП 11-102-97                             Инженерно-экологические изыскания для строительства

СП 11-105-97                             Инженерно-геологические изыскания для строительства (ч. I, II, III)

СП 13-102-2003                         Правила обследования несущих строительных конструкций зданий и сооружений

ГОСТ 12248-96                         Грунты. Методы лабораторного определения характеристик прочности и деформируемости

ГОСТ 20276-99                         Грунты. Методы полевого определения характеристик прочности и деформируемости

ГОСТ 23061-90                         Грунты. Методы радиоизотопных измерений плотности и влажности

ГОСТ 24846-81                         Грунты. Методы измерения деформаций оснований зданий и сооружений

ГОСТ 25100-95                         Грунты. Классификация

ГОСТ 27751-88                         Надежность строительных конструкций и оснований. Основные положения по расчету. Изменение № 1. БСТ № 3. 1994

ГОСТ 12730.0-78                      Бетоны. Общие требования к методам определения плотности, влажности, водопоглощения, пористости и водонепроницаемости

ГОСТ 12730.1-78                      Бетоны. Метод определения плотности

ГОСТ 12730.2-78                      Бетоны. Метод определения влажности

ГОСТ 12730.3-78                      Бетоны. Метод определения водопоглощения

ГОСТ 12730.4-78                      Бетоны. Метод определения показателей пористости

ГОСТ 12730.5-84*                     Бетоны. Метод определения водонепроницаемости

ГОСТ 17623-87                         Бетоны. Радиоизотопный метод определения средней плотности

ГОСТ 17624-87                         Бетоны. Ультразвуковой метод определения прочности

ГОСТ 17625-83                         Конструкции и изделия железобетонные. Радиоизотопный метод определения толщины защитного слоя бетона, размеров и расположения арматуры

ГОСТ 22690-88                         Бетоны. Определения прочности механическими методами неразрушающего контроля

ГОСТ 22904-93                         Конструкции железобетонные. Магнитный метод определения толщины защитного слоя бетона и расположения арматуры

ГОСТ 28570-90                         Бетоны. Методы определения прочности по образцам, отобранным из конструкций

ГОСТ 12004-81*                        Сталь арматурная. Методы испытаний на растяжение

ГОСТ 23858-79                         Соединения сварные стыковые и тавровые арматуры железобетонных конструкций. Ультразвуковые методы контроля качества. Правила приемки

ГОСТ 14098-91                         Соединения сварные арматуры и закладных изделий железобетонных конструкций. Типы, конструкция и размеры.

ГОСТ 10922-90                         Арматурные и закладные изделия сварные, соединения сварные арматуры и закладных изделий железобетонных конструкций. Общие технические требования

ГОСТ 8462-85                           Материалы стеновые. Методы определения пределов прочности при сжатии и изгибе.

ГОСТ 5802-86                           Растворы строительные. Методы испытаний

МГСН 2.04-97

(ТСН 23-315-2000)                    Допустимые уровни шума, вибрации и требования к звукоизоляции в жилых и общественных зданиях

МНСН 2.07-01                           Основания, фундаменты и подземные сооружения

(ТСН 50-3004-2000)

Рекомендации по обследованию и мониторингу технического состояния эксплуатируемых зданий, расположенных вблизи нового строительства или реконструкции. Москомархитектура, 1998.

Рекомендации по проектированию и устройству оснований и фундаментов при возведении зданий вблизи существующих в условиях плотной застройки в г. Москве. Москомархитектура, 1999.

Рекомендации по расчету, проектированию и устройству свайных фундаментов нового типа в г. Москве. Москомархитектура, 1997.

Рекомендации по проектированию и устройству оснований, фундаментов и подземных сооружений при реконструкции гражданских зданий и исторической застройки. Москомархитектура, 1998.

Временные методические рекомендации по оценке на стадии ТЭО воздействия на окружающую среду (ОВОС) подземных сооружений для строительства в г. Москве. Москомархитектура, 1995.

Методика инженерно-геологических изысканий в центре и серединной части г. Москвы. Москомархитектура, 2000.

Инструкция по проектированию и устройству свайных фундаментов зданий и сооружений в г. Москве. Москомархитектура, 2001.

Инструкция по инженерно-геологическим и геоэкологическим изысканиям в г. Москве. Москомархитектура, 2004.

Примечания:

1) Действуют до вступления в силу соответствующих технических регламентов

2) Носят рекомендательный характер до регистрации Минюстом России

Приложение 2

Геофизические методы исследования оснований, фундаментов зданий и подземных сооружений

В последнее десятилетие работы по реконструкции зданий и сооружений получили весьма большие масштабы. Причем особо сложными и ответственными являются работы по реконструкции и строительству объектов в историческом центре Москвы. Обусловлено это не только наличием многочисленных и особо ценных памятников истории и архитектуры, каждый из которых имеет свое уникальное конструктивное решение, но и весьма сложными и специфичными инженерно-геологическими условиями, а также исключительно высокой плотностью существующей застройки территории, значительным развитием разнообразных подземных сооружений и коммуникаций, и тем фактом, что обследуемые сооружения продолжают эксплуатироваться. Последнее обстоятельство существенно ограничивает возможности применения способов, традиционно использующихся при выполнении обследований и изысканий, а именно, таких работ как производство вскрытий, бурение скважин и т.п.

В этой связи перспективным представляется использование геофизических методов, которые могут применяться для решения широкого круга задач, начиная от изучения инженерно-геологических условий на участках строительства и реконструкции сооружения, оценки свойств грунтов под фундаментом сооружения и кончая изучением самого фундамента и стен здания.

Применение геофизических методов на участке нового строительства (реконструкции здания) или вблизи него, может дать полезную информацию о составе и свойствах грунтов, существенно уточняющую данные обследования шурфов и скважин, носящих дискретный характер.

Геофизическими методами могут быть решены следующие задачи:

1) измерение плотности и влажности грунтов в массиве и на поверхности грунта и материала;

2) определение вида насыпных грунтов и нижележащих слоев, и их толщины;

3) определение скорости и направления движения потока подземных вод;

4) обнаружение в грунте действующих и заброшенных коммуникаций и протечек из них;

5) выявление пустот в грунте, а также под асфальтовым, бетонным и другими видами покрытий, оценка возможной закарстованности участка, обнаружение заброшенных колодцев, подземных ходов;

6) обнаружение погребенных фундаментов;

7) выявление локальных участков разрыва гидроизоляции в подвальных помещениях;

8) оценка коррозионной активности грунтов;

9) оценка качества фундаментных конструкций (в сочетании с неразрушающими методами контроля и визуальным обследованием материала фундамента в шурфах и траншеях);

10) оценка потенциально опасных в геоэкологическом отношении зон и локальных участков.

К числу геофизических методов, которые могут применяться при обследовании грунтов оснований и конструкций реконструируемых зданий, относятся:

1) инженерная сейсморазведка;

2) инженерная электроразведка в различных вариантах и модификациях;

3) георадиолокационный метод («Радар»);

4) радиоизотопные методы измерения плотности и влажности;

5) радиометрический метод измерения природной радиоактивности;

6) сейсмоакустический метод оценки состояния подземных сооружений;

7) электроконтактное динамическое зондирование;

8) скважинная резистивиметрия;

9) вертикальное сейсмическое профилирование (ВСП);

10) межскважинное прозвучивание;

11) акустический эмиссионный метод (в пешеходном варианте);

12) эманационная и другие виды газовых съемок;

13) метод измерения вариаций электромагнитного поля (в пешеходном варианте);

14) вибросейсмометрия;

15) биолокационные методы.

Наиболее часто используемыми являются первые семь геофизических методов (сейсморазведка, электроразведка, радиолокация, радиоизотопные методы, радиометрический метод измерения природной радиоактивности, сейсмо-акустические методы, электроконтактное динамическое зондирование). Остальные методы применяются значительно реже и, в основном, на участках с особо сложными геотехническими и инженерно-геологическими условиями, а также для решения специальных задач.

К геофизическим методам примыкает группа методов неразрушающего контроля (МНК), основанных на тех же физических принципах (за исключением механических МНК), граница между которыми довольно условна и определяется, главным образом, возможностью для МНК непосредственного доступа к контролируемому материалу и уменьшенным объемом, с которого снимается информация.

Выбор геофизических методов или их комплекса предусматривается проектом работ, в зависимости от характера решаемых задач и предварительной информации о геотехнических условиях участка.

Сейсморазведка. В настоящее время инженерная сейсморазведка является одним из основных методов изучения упругих и прочностных параметров грунтовых толщ и материалов конструкций зданий и сооружений.

Традиционно в инженерной сейсморазведке используется метод преломленных волн МПВ, который позволяет в условиях плотной городской застройки решать широкий круг задач, от определения геометрии верхних слоев геологического разреза и глубины уровня подземных вод до выявления пустот, зон трещиноватости в коренных скальных и полускальных грунтах под мощной толщей четвертичных отложений, и выполнения быстрой оценки динамических модулей упругости и других физико-механических характеристик грунтов и материалов строительных конструкций. Новым и эффективным направлением в этих исследованиях является использование при этом сейсмопрофилирования с определением перечисленных характеристик сквозь бетон (фундаментные плиты, обделки, полы подвалов).

Для оценки карстово-суффозионной опасности на территории г. Москвы используется сейсмический метод отраженных волн МОВ в модификации общей глубинной точки по системе многократных перекрытий. Достоинством этого метода является возможность изучения строения геологического разреза до значительных глубин, используя для этого небольшие по площади участки на поверхности земли. Кроме того, в отличие от МПВ, условием применения которого является увеличение скорости упругих волн с глубиной МОВ позволяет получать отражение от геологических границ при любом законе изменения скорости с глубиной. Для проведения этих работ применяется отечественная компьютеризованная сейсмостанция ЭХО-2, а интерпретация осуществляется с использованием пакета программ «VISTA».

Сейсмоакустика. Группа сейсмоакустических методов представляет собой комплексирование разно-частотных методов от сейсмических - 0,01 - 1 Кгц до акустических - 10 - 20 Кгц и ультразвуковых - 20 - 2000 Кгц. Эти методы используются для изучения строений и прочности кладки стен и фундаментов, однородности и прочности монолитных конструкций из бетона и железобетона, определение длины и сплошности свай, стен в грунте и фундаментов с использованием проходящих и отраженных волн для определения их длины, прочности бетона, наличия и мест дефектов.

Наиболее часто эти методы применяются при использовании портативных сейсмостанций «Диоген 3-12», «Диоген 12-24» и др. Обработка результатов измерений выполняется по каждой полученной сейсмограмме в отдельности с применением в необходимых случаях программ спектрального и волнового анализов (получение спектров колебаний, спектрограмм, волновых картин.

Вибросейсмометрия. Вибросейсмометрические наблюдения при инженерных изысканиях в условиях г. Москвы используются:

а) Для контроля за проведением строительных работ, связанных с забивкой свай и шпунтов в районах плотной городской застройки. С этой целью измеряются амплитудно-частотные характеристики, возникающие в грунтах на различных расстояниях от источника вибрации. Основной характеристикой при этом является скорость колебания грунтов, которая сопоставляется с 12-ти бальной шкалой ИФЗ, что позволяет подобрать такие параметры вибрационных нагрузок, при которых не происходит сверхнормативных воздействий от сваебойных работ на здания и сооружения, расположенных на контролируемой территории. Используются также нормативные значения вибропараметров (виброперемещения, виброскорости, виброускорения).

б) Для оценки допустимого уровня вибраций в жилых и общественных зданиях на основании закона РФ «О санитарно-эпидемиологическом благополучии населения».

в) Для оценки акустического контакта «фундамент-грунт» используются наблюдения за микросейсмическими и искусственными колебаниями на конструкциях фундамента и окружающих сооружения грунтах. Места, где амплитудно-частотные характеристики, зафиксированные на конструкциях и грунтах, резко отличаются друг от друга, соответствуют нарушению контакта «фундамент-грунт», что устанавливается прямым вскрытием фундаментов в этих местах шурфами.

Георадиолокация. Георадиолокационные исследования верхней части геологического разреза до глубины 10 - 20 м.

Эти исследования позволяют детально изучать неоднородности в толще грунтов по периферии и внутри контура обследуемых сооружений, что дает возможность вести поиск зон обводнения и суффозионного выноса грунтов (определять наличие труб коллекторов), а в ряде случаев использовать георадиолокационную съемку для определения толщины и армирования конструкций межэтажных перекрытий, плитных фундаментов и т.п.

Электроразведка. Из многочисленных методов электроразведки могут применяться в строительных целях такие, на результаты которых наименьшее влияние оказывают промышленные и другие электрические помехи. К этим методам относятся прежде всего электромагнитные методы зондирования и профилирования, в которых используются высокие частоты (в диапазонах от единиц килогерц до мегагерц).

К этим методам относятся:

1) Метод дипольной высокочастотной электроразведки, в котором производятся измерения напряженности электрической составляющей электромагнитного поля по двум направлениям - по линии профиля и вкрест него. Метод позволяет обнаружить наличие нелинейных и других анизотропных структур в грунте (линз и других неоднородностей), оценить их глубину залегания, дать приближенную оценку плотности и деформативных характеристик грунта (при сопоставлении с имеющимися на исследуемом объекте результатами определения этих характеристик по скважинам).

2) Методы электроразведки, позволяющие оценить наличие карста на глубине до 50 - 60 м и т.д.

Другие известные методы электроразведки, основанные на измерении постоянных и низкочастотных электрических полей (например, в варианте вертикального электрического зондирования - ВЭЗ могут быть применены на участках, свободных от различного рода электрических полей, т.е. на вновь осваиваемых территориях города). При этом достаточно надежные результаты могут быть получены при помощи аппаратуры «Эра».

Электромагнитная дефектоскопия. Данный вид дефектоскопии верхней части геологического разреза проводится на площадках и трассах проектируемого строительства при отсутствии геоподосновы с целью поиска геофизических аномалий, вызванных токонесущими металлическими и неметаллическими коммуникациями. Эти работы проводятся с использованием комплекса методов, состоящих из высокочастотной электроразведки, магниторазведки и биолокации. Все наблюдения ведутся по методике непрерывного геофизического профилирования.

Биолокация осуществляется специальными медно-никелевыми рамками, что позволяет определить наличие любых техногенных неоднородностей в геологическом разрезе до глубины около 10 м.

Электроконтактное динамическое зондирование. Этот метод, объединяющий в себе динамическое зондирование и электрокаротаж, позволяет по лобовому сопротивлению внедрения зонда рассчитывать физико-механические характеристики грунта, а по значениям удельного электрического сопротивления - определять литологическую разновидность грунта. Совместно с буровыми работами этот метод позволяет эффективно изучать толщи песчаных, рыхлых и обводненных грунтов.

Сейсмический метод отраженных волн в модификации общей глубинной точки (МОВ ОРТ) с использованием поперечных волн SH поляризации.

Применяется для изучения структурных особенностей разреза на большую глубину (до 50 м) с целью оценки карстово-суффозионной опасности территории. Может выполняться при наличии асфальтово-бетонного покрытия и мерзлоты.

Достоинством метода отраженных волн (МОВ) является возможность изучения значительных глубин на относительно малых площадках, а также выделения литологических границ при любом законе изменения скорости с глубиной. Последнее позволяет выделять не только кровлю, но и подошву любого слоя.

Сейсмоакустический метод томографического прозвучивания стен и перекрытий.

Применяется для изучения внутреннего строения кладки стен и фундаментов с построением детальных карт с изолиниями показателей свойств материала в исследованном сечении.

Выполняется измерениями по периметру (или его части) выбранного сечения стены без нарушения сплошности материала.

Метод электроконтактного динамического зондирования грунтов (ЭДЗ), сочетающий в себе методы динамического зондирования и токового каротажа.

Он применяется для детального изучения разреза в точке до глубины 10 - 11 метров и определения физико-механических свойств грунтов. Метод удобен при работе из подвалов, котлованов, на откосах насыпей и в других сложных условиях. Требует для своей работы проходку твердого асфальтово-бетонного покрытия бурением шпуров и лидерным шурфованием.

Этот метод позволяет исследовать физико-механические свойства грунтов в их естественном залегании.

Радиоизотопные методы определения плотности и влажности применяются для оценки величин этих характеристик при изучении геологического разреза, контроля степени уплотнения грунтов засыпок, увлажнения стен подвалов и других конструкций и т.д.

Приложение 3

Геотехнические категории объектов строительства

Использование при устройстве оснований, фундаментов и подземных сооружений различных конструкций и способов производства работ требует соответствующего учета в системе регламентации ГКОС.

Сложность устройства оснований, фундаментов и подземных сооружений может учитываться тремя категориями, приведенными в табл. А.

Категории сложности инженерно-геологических условий (табл. Б) применительно к требованиям проектировщиков и строителей представляются усовершенствованной таблицей СП 11-105.

Геотехническая категория объекта строительства устанавливается по табл. В по совокупности двух факторов:

- категории сложности устройства оснований, фундаментов и подземных сооружений городского назначения (табл. А);

- категории сложности инженерно-геологических условий (табл. Б).

Учет уровня ответственности зданий и сооружений при расчете несущих конструкций и оснований осуществляется путем введения коэффициента надежности по ответственности, согласно ГОСТ 27751.

Уровни ответственности зданий и сооружений следует учитывать также при определении требований к их долговечности, номенклатуры и объема инженерных изысканий для строительства, установлении правил приемки, испытаний, эксплуатации и технической диагностики строительных объектов. Отнесение объекта к конкретному уровню ответственности и выбор значения γп осуществляется генеральным проектировщиком по согласованию с заказчиком.

Таблица А.

Категории сложности устройства оснований, фундаментов и подземных сооружений городского назначения

1 - простая

2 - средней сложности

3 - сложная

Глубина котлована не превышает 5 м

Глубина котлована в пределах 5 - 12 м

Глубина котлована более 12 м

Простейшие крепления бортов котлована

Консольная, распорная и другие ограждающие конструкции бортов котлована

Ограждающие конструкции: с анкерами, многоярусные; ограждающие конструкции являющиеся несущими для верхнего строения; строительство «вверх - вниз»

Осуществляется поверхностный отвод подземных вод (верховодки)

Осуществляется водопонижение иглофильтровыми установками; применяются противофильтрационные конструкции, построечный дренаж

Уровень подземных вод выше отметки дна котлована; осуществляется сложная система откачки подземных вод, снятие напора в подземных водах и сложная система постоянного дренажа

Используются фундаменты на естественном основании (плоские), свайные фундаменты длиной до 8 м

Используются плоские фундаменты на преобразованном основании (уплотнение, закрепление и др.), свайные фундаменты длиной до 15 м, плитные железобетонные фундаменты

Используются свайные фундаменты длиной более 15 м, свайно-плитные железобетонные фундаменты

В пределах контура здания (сооружения) коэффициент изменчивости нагрузок не превышает 1,2

Коэффициент изменчивости нагрузок в пределах контура здания (сооружения) 1,2 - 1,4

Коэффициент изменчивости нагрузок в пределах контура здания (сооружения) более 1,4

В зоне влияния строящегося здания (реконструкции) отсутствуют существующие здания или сооружения и магистральные коммуникации

В зоне влияния строящегося здания (реконструкции) присутствуют существующие здания или сооружения и магистральные коммуникации на расстоянии более 5 м

Близкое, менее 5 м, расположение существующих зданий или сооружений и магистральных коммуникаций

Таблица Б.

Категории сложности инженерно-геологических условий

Факторы

1 - простая

2 - средней сложности

3 - сложная

Геоморфологические

Площадка (участок) в пределах одного геоморфологического элемента, поверхность горизонтальная, нерасчлененная

Площадка (участок) в пределах нескольких геоморфологических элементов одного генезиса, поверхность наклонная, слабо расчлененная

Площадка (участок) в пределах нескольких геоморфологических элементов различного генезиса, поверхность сильно расчлененная

Геологические

Не более двух различных по литологии слоев, практически горизонтальных (уклон < 0,05); скальные грунты залегают с поверхности или перекрыты нескальными грунтами небольшой толщины (10 - 15 м)

Не более четырех по литологии слоев, уклон слоев < 0,1; толщина слоев изменяется закономерно; скальные грунты имеют неровную кровлю и перекрыты нескальными грунтами

Многослойное (более 4 слоев) напластование грунтов с резко изменяющейся толщиной и линзовидным залеганием; скальные грунты имеют сильно расчлененную кровлю и перекрыты нескальными грунтами; имеются разломы разного порядка

Геотехнические

В пределах каждого слоя грунты однородны по свойствам, ЕСР ≥ 20 МПа; α = Емахmin < 2.

Сопротивление конуса при статическом зондировании для слоев песчаных грунтов - q ≥ 10; глинистых - q ≤ 4

В пределах слоев грунты неоднородны по свойствам 5 ≤ ЕСР < 20 МПа; 2α ≤ 4.

Сопротивление конуса при статическом зондировании для слоев песчаных грунтов 5 ≤ q < 10; глинистых - 1 < q < 4

Значительная неоднородность показателей свойств в плане и по глубине, ЕСР < 5 МПа; α > 4.

Сопротивление конуса при статическом зондировании для слоев песчаных грунтов q < 5; глинистых - q < 1

Гидрогеологические

Подземные воды отсутствуют или имеется один выдержанный горизонт, подземные воды имеют однородный химический состав

Два и более выдержанных горизонтов подземных вод, подземные воды имеют неоднородный химический состав и напор

Сложное чередование водоносных и водоупорных слоев грунтов, горизонты и напоры подземных вод и их гидравлическая связь меняются по простиранию, химический состав и загрязненность вод различны

Природные и техногенные процессы

Отсутствуют

Локальные очаги неблагоприятных природных и техногенных процессов, потенциальная опасность проявления карстовых и карстово-суффозионных процессов

Широкое распространение неблагоприятных природных и техногенных процессов, оказывающих решающее влияние на выбор проектных решений, строительство и эксплуатацию

Специфические и структурно-неустойчивые грунты

Специфические грунты отсутствуют. Отсутствуют прослои и линзы с ЕСР ≤ 5 МПа

Отдельные слои сложены специфическими или структурно-неустойчивыми грунтами

Преобладают слои специфических или структурно-неустойчивых грунтов, оказывающих решающее влияние на выбор проектных решений, строительство и эксплуатацию

Таблица В.

Геотехнические категории объектов строительства

Категория сложности инженерно-геологических условий

Категория сложности устройства оснований, фундаментов и подземных сооружений

1

2

3

1

1

1

2

2

1

2

3

3

2

3

3

Приложение 4

Методы защиты существующих зданий от влияния нового строительства (реконструкции)

Защита существующих зданий и сооружений и их оснований и фундаментов при строительстве новых и реконструируемых выполняется в случаях:

- расположения существующего здания в зоне влияния нового (реконструируемого) здания;

- устройство заглубленных помещений в существующем здании, влияющих на его деформации;

- при устройстве фундаментов с применением специальных видов работ (замораживание, инъекции и др.) и динамических воздействий.

При необходимости разработки проекта защиты существующих зданий, вблизи которых намечается новое строительство, он разрабатывается одновременно с проектом нового строительства и, как правило, выполняется в две стадии:

- на стадии ТЭО;

- на стадии рабочих чертежей.

Для обеспечения эксплуатационной пригодности существующих зданий и сооружений, вблизи которых планируется новое строительство, целесообразно применение следующих основных методов их защиты и производства работ, в том числе:

- фундаменты на естественном основании: усиление оснований, увеличение опорной площади фундаментов, устройство перекрестных лент или фундаментной плиты, усиление фундаментной плиты, усиление сваями различных видов (буроинъекционными, буронабивными, составными вдавливаемыми, забивными и другими).

- свайные фундаменты: усиление свай, устройство дополнительных свай с уширением ростверков, изменение конструкции свайного фундамента за счет пересадки несущих конструкций на дополнительные сваи со значительно большей несущей способностью, устройство перекрестных лент или сплошной железобетонной плиты на свайных фундаментах, уширение ростверков, усиление тела ростверков;

- ограждающие конструкции (шпунт, стены в грунте различных конструкций и способов их изготовления);

- закрепление грунтов различными способами (цементация, смолизация, буросмесительный метод и т.п.) в зонах сопряжения существующего и реконструируемого или нового сооружения;

- использование в новом строительстве конструктивных решений, не создающих дополнительных воздействий на существующие конструкции (решения консольного типа со сваями, применение вдавливаемых и завинчиваемых конструкций свай и т.п.).

Основными причинами деформаций существующих зданий и сооружений при строительстве вблизи них могут являться:

- изменение гидрогеологических условий, в том числе подтопление, связанное с барражным эффектом при подземном строительстве, или понижение уровня подземных вод;

- увеличение вертикальных напряжений в основании под фундаментами существующих зданий, вызванное строительством вблизи них;

- устройство котлованов или изменение планировочных отметок;

- технологические факторы, такие как динамические воздействия, влияние устройства всех видов свай, фундаментов глубокого заложения и ограждающих конструкций котлованов, влияние устройства инъекционных анкеров, влияние специальных видов работ (замораживание, инъекция и пр.);

- негативные процессы в грунтовом массиве, связанные с выполнением геотехнических работ (суффозионные процессы, образование плывунов и пр.).

Степень влияния строительства новых зданий на расположенные вблизи здания и сооружения, как правило, в большой мере обусловливается технологией производства работ и последовательностью их возведения. Следует учитывать изменения физико-механических свойств грунтов и гидрогеологических условий в процессе соседнего строительства, в том числе с учетом сезонного промерзания и оттаивания грунтового массива.

Расчет оснований и фундаментов существующих зданий по I группе предельных состояний при строительстве вблизи них новых зданий следует выполнять в следующих случаях:

- устройства выработок и траншей (в том числе под защитой тиксотропных растворов) вблизи зданий;

- снижения планировочных отметок вблизи наружных стен зданий;

- изменения поровых давлений в грунтовом массиве при незавершенном процессе консолидации;

- передачи на существующие фундаменты дополнительных нагрузок и воздействий.

В случае применения при строительстве забивки и вибропогружения свай или шпунта следует выполнять проверку на динамическую прочность несущих конструкций существующих зданий, ближайших к погружаемым элементам.

Расчет оснований существующих зданий или сооружений по II группе предельных состояний должен выполняться во всех случаях, если они находятся в зоне влиянии нового строительства.

 

ПРАВИТЕЛЬСТВО МОСКВЫ
МОСКОМАРХИТЕКТУРА

Дополнение

ПОСОБИЯ

к МГСН 2.07-01

Основания, фундаменты и подземные сооружения

Обследования и мониторинг при строительстве и реконструкции зданий и подземных сооружений

2005

Предисловие

Настоящее Дополнение ПОСОБИЯ «Обследование и мониторинг при строительстве и реконструкции зданий и подземных сооружений» к Московским городским строительным нормам (МГСН 2.07-01) «Основания, фундаменты и подземные сооружения» разработано Научно-исследовательским, проектно-изыскательским и конструкторско-технологическим институтом оснований и подземных сооружений (НИИОСП) им. Н.М. Герсеванова (первая часть Дополнения) и ГУП «Мосгоргеотрест» (вторая часть Дополнения).

Авторский коллектив по первой части Дополнения:

НИИОСП им. Н.М. Герсеванова - доктор техн. наук, профессор Ильичев В.А. (руководитель), доктор техн. наук, профессор Коновалов П.А., доктор техн. наук, профессор Петрухин В.П., кандидат техн. наук Мариупольский Л.Г., кандидат техн. наук Михеев В.В., инж. Внуков Д.А; Томский государственный архитектурно-строительный университет - доктор техн. наук, профессор Полищук А.П.

Авторский коллектив по второй части Дополнения:

ГУП «Мосгоргеотрест» - кандидат техн. наук Гаврилов С.Г. (руководитель), инж. Никулин М.А; Московский государственный университет геодезии и картографии - кандидат техн. наук, профессор Федосеев Ю.Е.

Подготовлено к утверждению и изданию Управлением перспективного проектирования, нормативов и координации проектно-изыскательских работ Москомархитектуры.

Принято и введено в действие приказом Москомархитетуры от 14 декабря 2005 года № 162.

Содержание

Введение

1. УСИЛЕНИЕ И РЕКОНСТРУКЦИЯ ОСНОВАНИЙ И ФУНДАМЕНТОВ

1.1. Общие положения

1.2. Инженерно-геологические изыскания

1.3. Обследование фундаментов

1.4. Проектирование и устройство оснований и фундаментов реконструируемых здании

1.5. Реконструкция и усиление фундаментов на естественном основании

1.6. Реконструкция и усиление свайных фундаментов

1.7. Закрепление грунтов и усиление грунта основания

1.8. Устройство подземных помещений реконструируемых зданий

2. МОНИТОРИНГ ДЕФОРМАЦИОННЫХ ПРОЦЕССОВ ГЕОДЕЗИЧЕСКИМИ МЕТОДАМИ

2.1. Общие сведения и область применения

2.2. Деформационные характеристики, требования к точности их определения и оценке значимости

2.3. Основные этапы проведения геодезического мониторинга

2.4. Обследование технического состояния объектов мониторинга

2.5. Программа производства геодезических наблюдений

2.6 Рекомендуемый состав отчетных документов

Приложение 1 Перечень используемых нормативно-методических документов

Приложение 2 Примеры конструктивных решений по усилению и реконструкции оснований и фундаментов

Приложение 3 Формулы для вычисления деформационных характеристик и предельных погрешностей их определения

Приложение 4 Таблица оценки категорий состояния зданий по внешним признакам по результатам натурного обследования технического состояния

Приложение 5 Таблица предельных дополнительных деформаций существующих зданий

Приложение 6 Пример оформления списка объектов мониторинга

Приложение 7 Методика выполнения наблюдений за осадками методом геометрического нивелирования с контролем стабильности высотной основы

Приложение 8 Пример оформления материалов краткого технического заключения (экспресс-отчета) при наблюдениях за осадками

Введение

Настоящее Дополнение Пособия «Обследование и мониторинг при строительстве и реконструкции зданий и подземных сооружений» разработанного в развитие Московских городских строительных норм МГСН 2.07-01 «Основания, фундаменты и подземные сооружения»

Целью Дополнения Пособия является детализация ряда положений по организации и осуществлению мониторинга и обследованию зданий и сооружений, регламентированных в МГСН 2.07-01, а также действующих нормативных и нормативно-методических документов по инженерным изысканиям, проектированию и устройству оснований, фундаментов и подземных сооружений, приведенных в приложении 1.

Дополнение Пособия состоит из двух частей. В первой части рассматриваются методы усиления оснований и фундаментов реконструируемых зданий, а также зданий, по результату обследования которых выявлена необходимость реконструкции фундаментов для обеспечения нормальной эксплуатации зданий при осуществлении вблизи них нового строительства, либо ввиду их аварийного состояния.

Во второй части документа детально рассмотрены вопросы мониторинга геодезическими методами деформационных процессов при строительстве, реконструкции и эксплуатации зданий и сооружений.

1. УСИЛЕНИЕ И РЕКОНСТРУКЦИЯ ОСНОВАНИЙ И ФУНДАМЕНТОВ

1.1. Общие положения

Усиление оснований и фундаментов осуществляется при реконструкции здании и сооружении или предотвращении осадок ниже допустимых.

Под реконструкцией фундаментов зданий и сооружений понимается выполнение работ, проводимых в связи с изменением геометрических размеров зданий, возрастанием постоянных или временных нагрузок, устройством подземных сооружений в пределах габаритов здания, а также восстановлением (усилением) несущей способности оснований и фундаментов, утраченной вследствие суффозии, колебания уровня подземных вод и др., а также возникшими деформациями конструкций и их износом.

Надежность работы реконструируемых зданий обеспечивается совместной работой системы «основание, фундамент - подземные конструкции». Дефекты в работе сооружений - следствие полного или частичного нарушения надежного взаимодействия элементов этой системы:

- суффозионные процессы, а также колебания УПВ (уровня подземных вод), вызванные изменением гидрогеологических условий в районе расположения здания, атмосферными водами, аварийными и систематическими утечками из коммуникаций;

- проявление карстовых деформаций;

Повреждения оснований и фундаментов возникают за счет природных и техногенных процессов, за счет нарушений требований нормативных документов, допускаемых при изысканиях, проектировании, строительстве и эксплуатации. Основными причинами повреждений являются:

снижение прочностных и деформационных свойств грунтов при увлажнении, а также проявление процесса набухания и пучения грунтов;

проведение земляных работ в пределах здания или вблизи него;

прокладка коммуникаций;

увеличение нагрузок на основание, сопровождаемое появлением эксцентриситета их приложения;

вибрационные или динамические воздействия как внутренние, так и внешние.

При реконструкции фундаментов отсутствует возможность применения типовых схем усиления. Схемы усиления должны применяться в каждом конкретном случае в зависимости от нагрузок на фундаменты, конструктивных особенностей здания (наличие подвала и других подземных сооружений), инженерно-геологических и гидрогеологических условий и др.

При этом применяемые методы усиления оснований и фундаментов должны обеспечивать их совместную работу с существующими фундаментами.

Следует учитывать, что работы по усилению оснований и изменению конструкций фундаментов могут вызвать при их осуществлении деформации оснований и осадки фундаментов.

Повышение несущей способности оснований и фундаментов при реконструкции может быть обеспечено за счет:

- изменения конструкции или размера фундамента;

- усилением физико-механических характеристик грунтов основания

1.2. Инженерно-геологические изыскания

Инженерно-геологические изыскания при реконструкции оснований и фундаментов должны обеспечивать комплексное изучение инженерно-геологических условий площадки реконструируемого здания или подземного сооружения и получения исходных данных для проектирования и устройства усиления фундаментов или укрепления основания.

Состав, объем и методы изысканий зависят от целей реконструкции, типа здания или подземного сооружения, их состояния и степени сложности инженерно-геологических условий.

1.3. Обследование фундаментов

Программа обследования составляется на основании технического задания заказчика и ознакомления с проектно-технической документацией реконструируемого здания.

Обследование конструкций фундаментов производится методом их вскрытия при проходке шурфов и других выработок.

По результатам обследования составляется технический отчет, содержащий результаты обследования и техническое заключение о возможности использования конструкций фундаментов и подземных сооружений при их реконструкции и рекомендации по типу рекомендуемых конструкций и технологии их устройства.

1.4. Проектирование и устройство оснований и фундаментов реконструируемых здании

Проектирование и устройство оснований и фундаментов реконструируемых зданий и подземных сооружений следует выполнять в соответствии с действующими нормативными документами (см. приложение 1).

Допускается одностадийное проектирование, т.е. разработка непосредственно рабочих чертежей.

Проектирование и устройство оснований и фундаментов должно производиться с использованием расчетных значений физико-механических характеристик грунтов оснований и характеристик материала существующих и возводимых (реконструируемых) фундаментов. При этом должно учитываться состояние конструкций подземной и надземной частей, а также особенности производства работ по усилению оснований, фундаментов, подземной и надземной частей сооружения.

В проектах должны приниматься такие решения по устройству оснований и фундаментов, при которых максимально используются существующие конструкции фундаментов и возможности несущей способности оснований, определенные но данным инженерных изысканий.

Производство работ при реконструкции (усилении) не должно приводить к возникновению недопустимых осадок здания (сооружения).

1.5. Реконструкция и усиление фундаментов на естественном основании

1.5.1. Укрепление фундаментов

В результате механических повреждений, осадочных трещин, растрескивания и расслоения тела фундамента вследствие промораживания, воздействия грунтовых вод, агрессивности среды, температурных перепадов материал фундаментов с течением времени теряет свою прочность и становится легко разрушимым.

Для восстановления кладки фундаментов из бутового камня, керамического кирпича, а также бетонных и железобетонных конструкций фундаментов используется метод инъектирования цементным раствором, синтетическими смолами и т.п. Для цементации в теле фундамента бурятся шурфы или пробиваются отверстия для установки инъекторов. Диаметр отверстий должен быть на 2-3 мм больше диаметра инъектора, диаметр иньектора обычно принимается равным 25 мм. Расстояние между инъекторами обычно принимают равным 50-100 см. Глубина погружения инъектора в тело фундамента принимается равной 0,4-0,6 толщины (ширины) фундамента. При давлении нагнетания закрепляющего раствора 0,2-0,6 МПа диаметр закрепления может составить 0,6-1,2 м (рис. 1 - 4) .

Обычно при цементации тела фундамента проводят цементацию контакта «фундамент-грунт». Эта операция целесообразна в случае основания сложенного насыпными, песчаными, гравийно-галечниковыми грунтами. В случае залегания в уровне подошвы фундамента глинистых грунтов цементация контакта «фундамент-грунт» может привести к неконтролируемому распространению цементирующего раствора.

При неэффективности усиления дефектных фундаментов путем цементации, фундаменты могут быть усилены бетонными или железобетонными обоймами на всю высоту фундамента или его части. В фундаментах противоположные стенки обоймы соединяют арматурными стержнями, которые крепятся к арматуре обойм.

При устройстве обойм главным является обеспечение совместной работы нового бетона со старым или старой кладкой, после устройства обойм для дополнительного упрочнения фундамента можно провести инъекцию цементного раствора или синтетических смол во внутреннюю часть растрескавшегося или расслоенного фундамента (рис. 5 - 7).

Усиление фундамента обоймами, без углубления фундаментов, производят как без увеличения подошвы, так и с ее увеличением в случае недостаточной несущей способности основания, частичного разрушения фундамента или существенного возрастания нагрузки при реконструкции.

При большом увеличении нагрузки элементы укрепления фундаментов должны быть введены в работу путем предварительной передачи давления на основание (обжатия).

1.5.2. Усиление фундаментов

Усиление фундаментов мелкого заложения может быть осуществлено путем их уширения и углубления подведением дополнительных конструктивных элементов. Такими элементами могут быть плиты, столбы или сплошные стены (рис. 8 - 9).

На участках длиной 1-2 м грунт под фундаментом удаляют и на месте изготавливают железобетонную монолитную плиту или монтируют заранее заготовленные железобетонные элементы. После обжатия грунта в основании гидравлическими домкратами и подклинки плиты, промежуток между плитой и подошвой старого фундамента заполняют пластичным бетоном с тщательным уплотнением (рис. 10).

В ряде случаев ленточный фундамент усиливают отдельными столбами. В этих случаях старый фундамент может быть усилен рандбалками.

Для переустройства столбчатого фундамента в ленточный между существующими фундаментами устраивается железобетонная стенка в виде перемычки. При необходимости устройства подвала перемычка делается на всю высоту столбчатых фундаментов.

Переустройство ленточных или столбчатых фундаментов в плитные производится путем подведения концов плит под существующие фундаменты (рис. 11, 12) произведя расчет на скалывание зоны опирания ленточного или столбчатого фундамента и конца плиты.

В практике реконструкции возможно переустройство столбчатых фундаментов в перекрестно-ленточные и плитные, а также перекрестно-ленточных в плитные.

Необходимость устройства подвала, подземного сооружения, переноса подошвы фундамента на менее сжимаемые слои грунта и пр. становится причиной проведения работ по заглублению фундаментов реконструируемого здания (рис. 14 - 21).

1.5.3. Применения свай для усиления фундаментов мелкого залегания

Для усиления фундаментов мелкого залегания могут быть использованы сваи различных конструкций: буронабивные, буровые, буроинъекционные, завинчиваемые, а также конструкции «стена в грунте» (рис. 22 - 27).

Буронабивные и буровые сваи используются при увеличении нагрузок и большой толщине слабых грунтов в основании; в сложных условиях реконструкции.

Буроинъекционные сваи используются в тех же условиях, а также при невозможности частичной разборки существующих фундаментов и в стесненных условиях строительства.

Могут быть применены сваи из завинчиваемых стальных труб диаметром 200-400 мм с приваренной арматурной спиралью, а также вдавливаемые сваи. Эти два вида свай позволяют избежать вибрационных воздействий на фундаменты и грунты основания при проведении работ по усилению.

Иногда вместо монтажа тяжелых загрузочных устройств оказывается удобнее использовать стены самого реконструируемого сооружения. На этом принципе основано вдавливание составных железобетонных свай типа «Мега» отдельными элементами (рис. 28 - 31).

С помощью буроинъекционных свай можно проводить усиление фундаментов, не разрабатывая котлованы и не нарушая естественной структуры фунтов основания. Наличие малогабаритного оборудования позволяет вести работы изнутри здания.

При реконструкции действующих сооружений в стесненных условиях и особенно в условиях противопоказания динамических воздействий целесообразно применение щелевых фундаментов (барретов), устраиваемых методом «стена в грунте» в узких траншеях шириной 0,4-1,0 м под защитой раствора из бентонитовой глины.

1.6. Реконструкция и усиление свайных фундаментов

Усиление ствола свай при отсутствии ростверка или при высоком ростверке производится с помощью железобетонной обоймы с толщиной стенок не менее 100 мм и площадью вертикальной арматуры не менее 1% площади сечения обоймы. Обойма устраивается на свободной части сваи и заглубляется в фунт не менее чем на 1 м.

Усиление верхних концов свай и мест их сопряжения с ростверком устраивается с помощью железобетонной обоймы, устраиваемой по всем ростверкам с отрывкой мелкого котлована.

Усиление ростверков, разделка трещин и других повреждений производятся аналогично усилению фундаментов мелкою заложения.

Для усиления свайных фундаментов, имеющих недостаточную несущую способность, используются те же сваи, которые используются для усиления фундаментов мелкого заложения.

Разбивка осей новых свайных фундаментов должна производиться с надежным закреплением относительно осей существующих свай здания.

1.7. Закрепление грунтов и усиление грунта основания

Закрепление грунтов и усиление грунта основания способом инъекции химических растворов и цементных суспензий применяется при реконструкции гражданских зданий и исторической застройки.

Цементация контакта фундамент-грунт выполняется при наличии пустот под подошвой фундамента.

Химическое закрепление грунтов применяется для создания пристенной наружной гидроизоляции подземных конструкций реконструируемых зданий, а также для ликвидации очагов водопритока в ограждающих стенках котлованов.

Инъекционное закрепление распространяется на грунты, обладающие достаточной водопроницаемостью, включая песчаные, крупнообломочные, трещиноватые скальные и полускальные грунты.

Химические материалы, применяемые для закрепления грунтов способами силикатизации, смолизации и цементации, должны удовлетворять требованиям и техническим условиям действующих стандартов на силикат натрия (жидкое стекло), хлористый кальций, ортофосфорную, кремнефтористоводородную кислоты, алюминат натрия, этилацетат и другие реагенты.

Возможны две разновидности технологии нагнетания закрепляющих реагентов в фунты:

- вертикальная технология, при которой нагнетание реагентов осуществляется через вертикально или наклонно заглубляемые инъекторы сверху вниз, с открытой поверхности земли, с мостков или с полов помещений.

- горизонтальная технология, когда нагнетание реагентов осуществляется через горизонтально или несколько наклонно заглубленные инъекторы из специально оборудованных для этой цели технологических выработок (траншей, штолен, колодцев).

При силикатизации и смолизации грунтов, если это предусмотрено проектом, должна быть обеспечена возможность оставлять в закрепленном массиве забивные инъекторы или трубы манжетно-тампонных инъекторов в качестве материала армирования закрепленных массивов.

Для бурения инъекционных скважин применяются буровые станки, обеспечивающие бурение скважин диаметром до 190 мм.

Для работ по нагнетанию растворов в фунты применяются забивные, гидравлические и пневматические инъекторы диаметром перфорированной части 32-38 мм длиной 500 мм, бетононасосы с давлением воздуха 0,5-0,7 МПа, перфораторы ручные и пневматические на давление 0,6 Мпа, плунжерные и поршневые насосы, обеспечивающие расход до 1 м3/ч и давление 1 МПа.

Для закрепления водонасыщенных глинистых фунтов и пылеватых песков наиболее приемлемы методы электросиликатизации и электрохимический.

Электросиликатизация грунтов основана на сочетании закрепления грунтов способом силикатизации и обработки их постоянным током. Способ применяется в грунтах с коэффициентом фильтрации 0,5-0,005 м/сут. Для электросиликатизации используют растворы жидкого стекла и хлористого кальция. Инъекторы-электроды погружают в грунт основания с обеих сторон фундамента под углом 10-15° через каждые 0,6-0,8 м но его длине. Закрепление ведется захватками вдоль фундамента снизу вверх, расход энергии (100-120 В) составляет для закрепления 1 м грунта 10-15 кВт·ч.

Электрохимический способ применяется для водонасыщенных фунтов с коэффициентом фильтрации 1·10-2-1·10-6 м/сут. В инъекторы-аноды подают раствор, потом СаСl2, потом Аl2(SO4) или Fe2(SO4), а из инъекторов-катодов откачивают поступающую в них воду. Расход энергии здесь составляет 60-100 кВт·ч/м3.

1.8. Устройство подземных помещений реконструируемых зданий

Для устройства подземных помещений в реконструируемом здании необходимы детальные сведения о существующих фундаментах, действующих нaгрузках на фундаменты и характеристики грунтового основания, в том числе режим подземных вод.

Выбор конструкции подземного сооружения зависит от типа фундаментов здания - фундаменты на естественном основании или свайные. Решение должно приниматься с учетом недопущения возникновения в конструкциях реконструируемого здания нерасчетных воздействий.

Устройство стен сооружаемого подземного сооружения может выполняться по двум схемам:

- стены подземного сооружения изготавливаются вокруг реконструируемого здания одним из методов «стена в грунте» с передачей на «стену в грунте» нагрузок от существующего здания;

- стены подземного сооружения изготавливаются изнутри здания, без передачи нагрузок от здания на стену. Стена может изготавливаться методом вдавливания составных свай, а также с помощью буроинъекционных свай. В обоих случаях необходимо устройство анкерных креплений или распорок, которые устраиваются по мере отрывки котлована.

2. МОНИТОРИНГ ДЕФОРМАЦИОННЫХ ПРОЦЕССОВ ГЕОДЕЗИЧЕСКИМИ МЕТОДАМИ

2.1. Общие сведения и область применения

2.1.1 Настоящий раздел Дополнения Пособия разработан с учетом требований действующих нормативно-технических федеральных документов и документов Правительства Москвы, определяющих порядок производства работ по наблюдению за деформациями при производстве строительных работ и при эксплуатации существующих зданий и сооружений на территории города Москвы.

2.1.2 Мониторинг деформационных процессов геодезическими методами (далее по тексту - геодезический мониторинг) представляет собой комплекс инженерно-геодезических работ, являющихся составной частью геотехнического мониторинга, выполняемых с целью определения количественных характеристик деформаций зданий, сооружений и земной поверхности (деформационных характеристик) в зоне влияния строящегося или реконструируемого объекта.

2.1.3 В разделе сформулированы общие принципы организации геодезического мониторинга состояния существующих зданий и сооружений, находящихся в зоне влияния строящегося или реконструируемого объекта. Программы работ на конкретных объектах, разрабатываемые на основании рекомендаций настоящего Пособия, должны учитывать особенности этих объектов (габариты, инженерно-геологические условия, характер и состояние окружающей застройки и т.д.).

Рекомендации раздела могут быть также использованы при организации наблюдений за деформациями надземных и подземных частей строящихся или реконструируемых зданий и сооружений любых типов, устраиваемых в открытых котлованах.

2.1.4 Дополнение уточняет и дополняет «Рекомендации по обследованию и мониторингу технического состояния эксплуатируемых зданий, расположенных вблизи нового строительства или реконструкции» (Москомархитектура. 1998) и МГСН 2.07-01, раздел «Геотехнический мониторинг» в части производства инженерно-геодезических работ. С его выходом положения упомянутых документов, противоречащие настоящему Дополнению, утрачивают силу.

2.1.5 В настоящем разделе содержатся:

Список деформационных характеристик, позволяющих наиболее полно описать процесс деформаций;

Общие правила назначения требований к точности определения деформационных характеристик и их предельных значений для разных типов зданий и сооружений;

Состав работ по организации комплексного геодезического мониторинга;

Основные подходы к выбору методик производства геодезических измерений и обработки их результатов с целью вычисления деформационных характеристик, оценки их точности и значимости;

1) Состав отчетных документов и образцы их оформления.

2.2. Деформационные характеристики, требования к точности их определения и оценке значимости

2.2.1 Процесс деформаций может быть описан с помощью характеристик (далее по тексту - деформационные характеристики), определение которых приведено в таблице 1.

Формулы для вычисления деформационных характеристик и предельных погрешностей их определения и необходимые комментарии приведены в приложении 3.

Таблица 1

№№ п.п.

Название

Обозначение

Определение

1

Осадка

S

Изменение высоты контролируемой точки, определенной в двух циклах наблюдений

2

Разность осадок

ds

Разность осадок контролируемых точек (характеризует неравномерность осадки)

3

Относительная разность осадок

i

Разность осадок контролируемых точек, отнесенная к расстоянию между ними (характеризует неравномерность осадки)

4

Смещения по осям координат

dx dy

Изменение плановых координат контролируемой точки, определенных в двух циклах наблюдений

5

Сдвиг

D

Изменение положения контролируемой точки в плане

6

Невертикальность

г

Изменение одной из плановых координат контролируемых точек (в частной системе координат), закрепленных на разных уровнях в одной вертикальной плоскости (обозначения см. приложение 3 рис.1).

7

Наклон

dи

Изменение невертикальности

8

Крен

i

Тангенс угла наклона объекта

9

Раскрытие трещины

dt

Изменение расстояния между контрольными точками, закрепленными по разным сторонам трещины

10

Углубление трещины

dv

Изменение глубины трещины

11

Кривизна подошвы фундаментов

ρ*)

 

*) в соответствии с п. 14.5 МГСН 2.07-01 вычисляется по результатам геодезических измерений осадок по формуле

, где

S(x) - осадка в точке с координатой х;

S(x+Δx) – осадка в точке с координатой x+Δx;

S(x+2Δx) – осадка в точке с координатой x+2Δx.

2.2.2 требования к точности определения деформационных характеристик (класс точности по ГОСТ 24846-81) окружающей существующей застройки устанавливают на основании таблицы 2.

Таблица 2

Класс точности определения деформационных характеристик Типы зданий и сооружений Ср. кв. погрешность определения деформационных характеристик (мм)
вертикальных горизонтальных
I Уникальные;Находящиеся в эксплуатации более 50-ти лет;Возведенные на скальных и полускальных грунтах 1 2
II Возведенные на песчаных, глинистых и других сжимаемых грунтах 2 5
III Возведенные на насыпных, просадочных, заторфованных и других сильно сжимаемых грунтах 5 10
IV Земляные сооружения 10 15
Примечание. Таблица представляет собой копию таблицы 2 ГОСТ 24846-81.2.2.3 Для строящихся объектов класс точности определения деформационных характеристик устанавливают на основании ожидаемых величин деформаций основания строящегося объекта. Класс точности или ожидаемые величины деформаций должны быть указаны в проектной документации.2.2.4 Для оценки значимости выявленных деформаций полученное значение деформационной характеристики сравнивают с предельной погрешностью ее определения. Если абсолютное значение деформационной характеристики не превышает предельной погрешности ее определения. Считается, что контролируемая точка не изменила своего положения (деформации отсутствуют). Формулы для вычисления деформационных характеристик и предельных погрешностей их определения приведены в приложении 3. Все деформационные характеристики, кроме раскрытия и углубления трещины, вычисляют с использованием уравненных координат или высот контрольных точек.

2.3. Основные этапы проведения геодезического мониторинга

2.3.1 В настоящем разделе приведен состав работ, проведение которых позволит наиболее полно описать картину возможных деформаций контролируемых зданий и сооружений. В полном объеме указанные работы рекомендуется выполнять при проведении геодезического мониторинга объектов, расположенных, как правило, в центральной части города или в условиях плотной застройки. Состав работ определяется условиями конкретного объекта на этапе разработки технического задания.

2.3.2 Геодезический мониторинг включает в себя следующие основные этапы:

1) Разработка и согласование технического задания;

2) Обследование технического состояния объектов мониторинга;

3) Разработка программы проведения мониторинга;

4) Выполнение наблюдений, обработка результатов, подготовка промежуточных отчетных материалов;

5) Завершение наблюдений, подготовка заключительного отчета.

2.3.3 Для разработки технического задания заказчиком должны быть представлены следующие материалы и данные:

1) Ситуационный план в масштабе 1:500 или 1:2000, на котором должны быть отображены запроектированные (строящиеся) объекты и элементы существующей окружающей застройки;

2) Метод крепления стен котлована для заглубленного сооружения и его глубина;

3) Мощность сжимаемой толщи грунтов под новым объектом;

4) График производства строительных работ с целью разработки графика производства наблюдений.

Техническое задание разрабатывается заказчиком совместно с исполнителем и утверждается заказчиком. Порядок согласования технического задания определяется для каждого объекта индивидуально.

2.3.4 Обследование технического состояния объектов мониторинга выполняется в соответствии с п. 2.1.4 «Рекомендаций по обследованию и мониторингу технического состояния эксплуатируемых зданий, расположенных вблизи нового строительства или реконструкции» (Москомархитектура, 1998) с целью сбора и систематизации информации о состоянии окружающей застройки до начала строительных работ. Как правило, выполняют следующие работы:

1) Определение зоны влияния возводимого объекта на существующую застройку и формирование списка объектов мониторинга;

2) Определение координат углов и обмеры натурных габаритов объектов мониторинга;

3) Определение невертикальности объектов мониторинга, а также абсолютных или относительных высотных отметок их элементов (подошва фундаментов, цоколь, этажи, крыши и т.д.);

4) Натурные обследования технического (физического) состояния несущих конструкций частей зданий с определением прочностных характеристик конструктивных материалов, а также наличия и степени проявления деформаций и повреждений (трещин, сдвигов, выпучивания, разрушений кирпичной кладки и т.д.). Проверочные расчеты для оценки напряженно-деформированного состояния несущих конструкций обследуемого здания и определения предельных значений деформационных характеристик. При отсутствии расчетов допускается пользоваться значениями дополнительных предельных деформаций, приведенных в приложении 5.

В результате обследований должны быть определены категории состояния объектов в соответствии с приложением 4, предельные дополнительные деформации объектов мониторинга в соответствии с приложением 3, составлены схемы расположения выявленных повреждений.

Состав материалов и данных, которые должны быть получены в результате обследования технического состояния объектов мониторинга, приведены в п. 2.4.5.

2.3.5 В программе производства мониторинга определяют схемы расположения контролируемых и исходных пунктов, методики и периодичность выполнения измерений. Согласно СНиП 11-02-96, п. 4.14, программа представляет собой внутренний документ исполнителя. Программа деформационного мониторинга подлежит геотехнической экспертизе в соответствии с п. 2.4.12 постановления Правительства Москвы от 7 декабря 2004 года № 857-ПП в случае проведения геодезического мониторинга строящихся сложных и уникальных объектов. Необходимость геотехнической экспертизы программы мониторинга состояния существующих зданий и сооружений, находящихся в зоне влияния строящегося или реконструируемого объекта, определяется в техническом задании на производство работ.

2.3.6 Наблюдения производят в соответствии с программой производства мониторинга. После выполнения каждого цикла наблюдений с целью оперативного информирования заказчика о выявленных деформациях в максимально короткие сроки выпускается краткое техническое заключение (экспресс-отчет). После выполнения последнего цикла наблюдений выпускается итоговый технический отчет. Рекомендуемый состав отчетных документов приведен в разделе 2.6.

2.4. Обследование технического состояния объектов мониторинга

2.4.1 До начала наблюдений должен быть сформирован список объектов мониторинга. Для формирования такого списка требуется определить зону, внутри которой возможны проявления деформационных процессов, вызванных проведением строительных работ (зону влияния возводимого объекта). Размер зоны влияния rзв на окружающую застройку вновь строящегося или реконструируемого объекта, а также прогнозируемые деформации зданий, в нее попадающих, в соответствии с п. 14.3 МГСН 2.07-01 «Основания, фундаменты и подземные сооружения» и п. 9.3 «Рекомендаций по обследованию и мониторингу технического состояния эксплуатируемых зданий, расположенных вблизи нового строительства или реконструкции» (Москомархитектура, 1998) определяются расчетом по действующим нормам с учетом метода крепления стен котлована для заглубленного сооружения и глубины Нк котлована. Ориентировочные значения rзв в зависимости от метода крепления котлована и его глубины Нк определяются по таблице 3 или исходя из положения, что rзв равен мощности сжимаемой толщи грунтов под новым объектом.

Таблица 3

 

№№ п.п. Метод крепления котлована Радиус зоны влияния rзв
1 «Стена в грунте» с креплением анкерными конструкциями 5Нк
2 Завинчивающиеся сваи с распорками 4Нк
3 «Стена в грунте» с креплением распорками 3Нк
4 «Стена в грунте» под защитой верхнего перекрытия 2Нк
Радиус зоны влияния определяют двумя способами. Если полученные результаты не совпадают, в качестве окончательного значения rзв выбирают большее. Границу зоны влияния наносят на ситуационный план. На основании анализа зданий и сооружений, попадающих в зону влияния возводимого объекта, формируют список объектов мониторинга. Пример оформления списка см. в приложении 6.

Натурные обследования технического (физического) состояния объектов мониторинга выполняют с целью:

1) Определения предельных дополнительных деформаций объектов мониторинга. Если в ходе наблюдений будут обнаружены деформации, превышающие предельные значения (приложение 5), информация об этом передается заказчику для принятия неотложных мер. Для определения предельных значений деформаций для каждого объекта мониторинга должна быть определена категория его состояния (приложение 4);

2) Сбора информации о наличии, расположении и количественных характеристиках повреждений объектов мониторинга (трещин, сдвигов, выпучивания, разрушений кирпичной кладки и т.д.), существовавших до начала производства строительных работ.

Объем работ по натурным обследованиям определяется в программе работ указанными выше целями и состоянием объектов мониторинга.

2.4.2 Определение координат углов и обмеры натурных габаритов объектов мониторинга выполняют, как правило, в условиях плотной застройки с целью фиксации планового положения объектов до начала производства строительных работ и создания топографической основы для отображения существующих повреждений (трещин, сдвигов, выпучивания, разрушений кирпичной кладки и т.д.). Объем работ по координированию и обмерам зависит от расположения возводимого объекта и характера окружающей застройки. Состав объектов, для которых необходимо выполнить координирование и обмеры, определяется на основании анализа списка объектов мониторинга (п. 2.4.1). В первую очередь координирование и обмеры выполняются для объектов, находящихся в непосредственной близости к возводимому объекту. Координирование и обмеры выполняют в системе координат города Москвы с точностью и подробностью топографического плана масштаба 1:500 или 1:200.

2.4.3 Определение невертикальности объектов мониторинга, а также абсолютных или относительных высотных отметок их элементов выполняют, как правило, в условиях плотной застройки с целью фиксации высотного положения объектов до начала производства строительных работ и создания графической основы для отображения повреждений (трещин, сдвигов, выпучивания, разрушений кирпичной кладки и т.д.). Объем работ зависит от расположения возводимого объекта и характера окружающей застройки. Состав объектов, для которых необходимо определить невертикальность и высотные отметки, определяют на основании анализа списка объектов мониторинга (п. 2.4.1). В первую очередь определение невертикальности и высотных отметок выполняют для ветхих объектов и объектов, представляющих историческую ценность, находящихся в непосредственной близости к возводимому объекту.

2.4.4 В результате проведения обследования технического состояния должны быть получены следующие материалы и данные:

1) Список объектов мониторинга с категориями их технического состояния (пример списка приведен в приложении 6);

2) Разреженный топографический план зоны влияния возводимого объекта на существующую застройку масштаба 1:500 или 1:200. На плане в системе координат города Москвы должны быть отображены:

- Границы зон влияния возводимого объекта;

- Номера объектов мониторинга, категории их состояния, предельные дополнительные деформации;

- Объекты, для которых выполнены определения координат углов и обмеры натурных габаритов с указанием координат и результатов обмеров;

3) Результаты определения невертикальности объектов и их высотных отметок в виде сводных ведомостей и графических материалов (планов или схем фасадов, фотографий фасадов с отображением контрольных точек, их номеров, высот, координат и т.д.).

4) Результаты обследования технического состояния объектов мониторинга в виде сводных ведомостей и графических материалов (планы, схемы, фотографии объектов и их фасадов). В материалах должны быть приведены выявленные повреждения, их количественные характеристики, указаны места расположения контрольных точек (маяков).

Объем составляемых материалов и данных, полученных в результате проведения обследования технического состояния объектов мониторинга, зависит от состояния обследованных объектов.

2.5. Программа производства геодезических наблюдений

2.5.1 В связи многообразием объектов мониторинга и постоянным совершенствованием геодезических приборов разработка детальных инструкций по выполнению измерений с целью определения деформационных характеристик в рамках настоящего пособия не представляется целесообразной. Поэтому в настоящем разделе приведены общие принципы разработки программ геодезических измерений, которые учитывают особенности производства работ в Москве и возможности современных геодезических приборов.

2.5.2 Разработку программ наблюдений выполняют на основании технического задания с учетом результатов обследования технического состояния объектов мониторинга. В программе должны быть проработаны следующие вопросы:

1) Состав контролируемых деформационных характеристик;

2) Разработка схем расположения контролируемых точек и реперов геодезической основы;

3) Периодичность наблюдений;

4) Выбор методик производства измерений;

5) Контроль стабильности реперов геодезической основы;

6) Оценка качества выполненных измерений.

2.5.3 Схемы размещения контрольных точек разрабатывают исходя из следующих положений:

1) Деформационные марки для определения осадок в соответствии с п. 2.1.9 ГОСТ 24846-81 устанавливаются в нижней части несущих конструкций по всему периметру здания (сооружения), внутри его, в том числе на углах, на стыках строительных блоков, по обе стороны осадочного или температурного шва, в местах примыкания продольных и поперечных стен, на поперечных стенах в местах пересечения их с продольной осью, на несущих колоннах, вокруг зон с большими динамическими нагрузками, на участках с неблагоприятными геологическими условиями.

Конкретное расположение деформационных марок на зданиях и сооружениях, а также конструкции марок определяет организация, выполняющая наблюдения, по согласованию с проектной, строительной или эксплуатирующей организацией;

2) Контрольные точки (деформационные реперы) для определения смещений земной поверхности (плановых и высотных) закладываются с учетом ситуации, обеспечения их длительной сохранности и возможности производства измерений с целью определения их планового и высотного положения;3) Контрольные точки для определения невертикальности и наклона должны закладываться парами в одной вертикальной плоскости. Желательно, чтобы точки верхнего яруса были закреплены с помощью катафотов, позволяющих измерять расстояния до них с помощью светодальномеров. В случае применения безотражательных светодальномеров закреплять точки верхнего яруса необязательно. В этом случае они должны быть выбраны в местах, пригодных для измерения расстояний в безотражательном режиме так, чтобы была гарантирована возможность однозначной идентификации точки во всех циклах наблюдений.

2.5.4 Схемы размещения реперов геодезической основы разрабатываются с учетом следующих положений.

1) В качестве геодезической основы при наблюдениях за деформациями используется группа реперов. Число реперов группы должно быть не менее трех;

2) Реперы геодезической основы должны располагаться в местах, удобных для выполнения измерений и обеспечивающих их сохранность на весь период производства работ;

3) В качестве исходных допускается использовать стенные реперы, устанавливаемые на несущих конструкциях зданий и сооружений, осадка фундаментов которых практически стабилизировалась;

4) Реперы геодезической основы должны размещаться:

- в стороне от проездов, подземных коммуникаций, складских и других территорий, где возможно разрушение или изменение положения репера;

- вне зоны распространения давления от контролируемого здания или сооружения;

- вне пределов влияния осадочных явлений, оползневых склонов, нестабилизированных насыпей, торфяных болот, подземных выработок, карстовых образований и других неблагоприятных инженерно-геологических и гидрологических условий;

- на расстоянии, исключающем влияние вибрации от транспортных средств, машин и механизмов;

- в местах, где в течение всего периода наблюдений возможен беспрепятственный и удобный подход к реперам для установки геодезических приборов;

Конкретное расположение и конструкция реперов должны определяться с учетом условий наблюдений на объекте.

5) Допускается использовать существующие реперы опорной геодезической сети (ОГС) Москвы, если они отвечают приведенным выше требованиям;

2.5.5 Координаты реперов геодезической основы, как правило, должны быть определены в системе координат и высот города Москвы. В исключительных случаях, когда нет возможности совместить реперы группы с существующими пунктами ОГС Москвы или при значительном удалении пунктов ОГС Москвы от реперов геодезической основы объекта, допускается применять условную систему координат или высот.

2.5.6 Периодичность наблюдений зависит и первую очередь от ожидаемых деформаций и должна быть определена на этапе разработки и согласования технического задания на производство работ. Программой должна быть предусмотрена необходимость анализа получаемых деформационных характеристик и возможность изменения периодичности в случае появления деформаций, превышающих предельные дополнительные деформации объектов мониторинга.

2.5.7 Учитывая возможности современных геодезических приборов и условия производства геодезических измерений в Москве рекомендуется применение следующих методов определения деформационных характеристик.

1) Осадки - геометрическое нивелирование. При выборе приборов следует отдавать предпочтение нивелирам с самоустанавливающейся линией визирования, позволяющим производить измерения по штриховым нивелирным рейкам, либо цифровым нивелирам соответствующей точности. В исключительных случаях (как правило, для III и IV классов точности определения осадок) при условии использования электронных тахеометров допускается применять тригонометрическое нивелирование;

2) Плановые смещения - линейно-угловые построения (полигонометрия как частный случай). Измерения рекомендуется выполнять электронными тахеометрами, обеспечивающими ср. кв. погрешность измерения угловых величин 2-5 секунд, расстояния 2-5 мм;

3) Невертикальность и наклон - линейно-угловые построения. Измерения рекомендуется выполнять электронными тахеометрами, обеспечивающими ср. кв. погрешность измерения угловых величин 2-5 секунд, расстояния 2-5 мм. Допускается использование приборов с безотражательными светодальномерами;

4) Раскрытие трещин - линейки, микрометры, штангенциркули. Для определения раскрытия трещин рекомендуется но обеим сторонам от нее закреплять контрольные марки, конструкция которых позволяет измерять расстояние между ними с погрешностью не более 1 мм.

2.5.8 Методики выполнения измерений должны выбираться таким образом, чтобы ср. кв. погрешность определения координат или высот в слабом месте деформационной сети была не менее чем в 1,4 раза меньше заданной погрешности определения деформационных характеристик. С целью контроля выполнения этого требования после разработки схем наблюдений, выбора приборов и определения методик измерений рекомендуется выполнять предрасчет точности определения координат или высот контрольных точек.

2.5.9 В каждом цикле наблюдений должны выполняться измерения с целью контроля стабильности исходной основы. Средняя квадратическая погрешности определения деформаций реперов геодезической основы не должны превышать величин, установленных ГОСТ 24846-81 для I класса точности (таблица 2 настоящею Дополнения). Пример методики выполнения наблюдений за осадками методом геометрического нивелирования с контролем стабильности реперов геодезической основы приведен в приложении 7.

2.5.10 Оценку качества выполненных измерений производят с целью контроля соблюдения требований к точности определения деформационных характеристик, полученных по результатам геодезических измерений, в каждом цикле наблюдений. Контроль должен выполняться на этане уравнивания и оценки точности геодезических построений, которые при геодезическом мониторинге обязательны.

2.6 Рекомендуемый состав отчетных документов

2.6.1 Состав отчетных документов должен быть определен в техническом задании на производство работ. Результаты деформационного мониторинга рекомендуется представлять в виде следующих документов:

1) Краткое техническое заключение (экспресс-отчет). Составляется после каждого цикла наблюдений с целью оперативного информирования заказчика о состоянии объектов мониторинга;

2) Итоговый технический отчет.

2.6.2 В состав краткого технического заключения (экспресс-отчета) включаются:

1) Информация о номере цикла и сроках выполнения наблюдений;

2) Сводные ведомости деформационных характеристик, определение которых предусмотрено техническим заданием. В них указывают вычисленные значения деформационных характеристик и предельные погрешности их определения. Для каждой контрольной точки вычисляют:

- Текущее значение деформационной характеристики но результатам наблюдений в текущем и предыдущем циклах;

- Суммарное значение деформационной характеристики по результатам наблюдений в текущем и начальном циклах наблюдений.

Пример оформления сводной ведомости осадок приведен в приложении 8;

3) План объектов мониторинга в произвольном масштабе. На плане должны быть указаны:

- Места расположения и номера наблюдавшихся контрольных точек;

- Текущие и суммарные значения деформационных характеристик для каждой контрольной точки.

4) Если предусмотрено техническим заданием - графики деформаций.

5) Если предусмотрено техническим заданием - план объектов мониторинга с линиями равных деформаций.

2.6.3 Значения деформационных характеристик, величины которых оказались меньше предельных погрешностей их определения (незначимые), при составлении планов и графиков принимают равными нулю. Примеры оформления планов и графиков для случая наблюдения за осадками приведены в приложении 6.

2.6.4. Экспресс-отчет помимо упомянутых выше документов может содержать краткую информацию, объясняющую, например, причины изменения схемы наблюдений, комментарии относительно выявленных деформаций и др. Как правило, экспресс отчет должен быть направлен заказчику в течение 1-3 рабочих дней после выполнения цикла наблюдений. Если выявлены деформации, превышающие предельные значения, информация об этом должна быть направлена заказчику незамедлительно.

2.6.5 В состав итогового техническою отчета включаются:

1) Краткая пояснительная записка, в которой приведены общие сведения об объекте, основаниях для выполнения работ, методиках измерений и обработки результатов;

2) Итоговые ведомости деформационных характеристик, в которых указывают вычисленные значения деформационных характеристик и предельные погрешности их определения. Для каждой контрольной точки вычисляют итоговое значение деформационной характеристики по результатам наблюдений в последнем и начальном циклами наблюдений;

План объектов мониторинга в произвольном масштабе с отображением на нем мест расположения и номеров контрольных точек, текущих и итоговых значений деформационных характеристик для каждой контрольной точки.

3) Если предусмотрено техническим заданием - графики деформаций.

4) Если предусмотрено техническим заданием - план объектов мониторинга с линиями равных деформаций;

5) Если предусмотрено техническим заданием - эпюры распределения осадок по периметру здания.

2.6.6 В случае выявления деформаций, превосходящих предельные значения, необходима организация углубленного анализа результатов наблюдений. Выполнение такого анализа является самостоятельной научно-технической задачей. Решение о проведении такого анализа должно приниматься заказчиком или выполняться по предписанию контролирующих органов.

Приложение 1

Перечень используемых нормативно-методических документов

СНиП 2.01.07-85*

Нагрузки и воздействия

СНиП 2.01.15-90 (1)

СНиП 22-02-2003 (2)

Инженерная зашита территорий, зданий и сооружений от опасных геологических процессов. Основные положения проектирования

СНиП 2.02.01-83*

Основания зданий и сооружений

СНиП 2.02.03-85

Свайные фундаменты

СНиП 52-01-2003

Бетонные и железобетонные конструкции

СНиП 3.01.01-85*

Организация строительного производства

СНиП 11-02-96

Инженерные изыскания для строительства. Основные положения

СП 13-102-2003

Правила обследования несущих строительных конструкций зданий и сооружений

СП 11-104-97

Инженерно-геодезические изыскания для строительства

ГОСТ 23061-90

Грунты. Методы радиоизотопных измерений плотности и влажности

ГОСТ 24846-81

Грунты. Методы измерений деформаций оснований зданий и сооружений

ГОСТ 25100-95

Грунты. Классификация

ГОСТ 12730.0-78

Бетоны. Общие требования к методам определения плотности, влажности, водопоглощения, пористости и водонепроницаемости

MГCH 2.07-01

(ТСН 50-3004-2000)

Основания, фундаменты и подземные сооружения

Пособие к МГСН 2.07-01

Обследование и мониторинг при строительстве и реконструкции зданий и подземных сооружений

Рекомендации по обследованию и мониторингу технического состояния эксплуатируемых зданий, расположенных вблизи нового строительства или реконструкции. Москомархитектура, 1998.

Рекомендации по проектированию и устройству оснований и фундаментов при возведении зданий вблизи существующих в условиях плотной застройки в г. Москве. Москомархитектура, 1999.

Рекомендации по расчету, проектированию и устройству свайных фундаментов нового типа в г. Москве. Москомархитектура, 1997.

Рекомендации по проектированию и устройству оснований, фундаментов и подземных сооружений при реконструкции гражданских зданий и исторической застройки. Москомархитектура, 1995.

Методика инженерно-геологических изысканий в центре и серединной части г. Москвы. Москомархитектура, 2000.

Инструкция по проектированию и устройству свайных фундаментов зданий и сооружений в г. Москве. Москомархитектура, 2001.

Инструкция по инженерно-геологическим и геоэкологическим изысканиям в г. Москве. Москомархитектура, 2004.

Инструкция по нивелированию I, II, III и IV классов, ГКИНП (ГНТА) - 03-010-03, М., ЦНИИГАиК, 2004.

Инструкция по проведению технологической поверки геодезических приборов, ГКИНП (ГНТА) 17-195-99, М., 1999.

Руководство по наблюдениям за деформациями оснований и фундаментов зданий и сооружений, М., Стойиздат, 1975.

Постановление Правительства Москвы от 7 декабря 2004 г. N 857-ПП "Об утверждении Правил подготовки и производства земляных работ, обустройства и содержания строительных площадок в городе Москве".

Приложение 2

Примеры конструктивных решений по усилению и реконструкции оснований и фундаментов

УСТРОЙСТВО ПЕСЧАНЫХ СВАЙ ДЛЯ ГЛУБИННОГО УПЛОТНЕНИЯ ОСНОВАНИЯ

1- существующие фундаменты;

2- песчаные сваи;

3- зоны уплотнения;

4- насыпной грунт;

5- торф;

6- кирпичные стены.

Рис. 1.

ЗАКРЕПЛЕНИЕ КИРПИЧНОЙ И БУТОВОЙ КЛАДКИ ТОРКРЕТ-БЕтОНОМ

1 - существующий фундамент, имеющий расслоение кладки;

2 - кирпичная стена с разрушенным поверхностным слоем;

3 - набрызг бетонной смеси под высоким давлением;

4 - цемент-пушка (или бетон-шприц-машина);

5 - торкретируемая поверхность;

6 - шурф.

Рис. 2.

ЗАКРЕПЛЕНИЕ БУТОВОЙ КЛАДКИ ФУНДАМЕНТА ЦЕМЕНТАЦИЕЙ

1 - усиливаемый фундамент;

2 - инъекторы для нагнетания подвижного (жидкого) цементного раствора;

3 - наплывы раствора;

4 - кирпичная стена.

Рис. 3.

ЗАКРЕПЛЕИЕ БЕТОННЫХ (ЖЕЛЕЗОБЕТОННЫХ) ФУНДАМЕНТОВ ИМЕЮЩИХ ТРЕЩИНЫ, СИНТЕТИЧЕСКИМИ СМОЛАМИ

1 - существующий фундамент, имеющий вертикальные и горизонтальные трещины;

2 - трещины;

3 - кирпичная стена;

4 - инъектор для нагнетания компаунда из синтетических смол под давлением 0,6-1,2 МПа;

5 - борозда шириной 35-40 мм, выполненная дисковой пилой или отбойным молотком;

6 - отверстие, пробуренное перфоратором на глубину 100-150 мм.

Рис. 4.

УСТРОЙСТВО ЖЕЛЕЗОБЕТОННОЙ ОБОЙМЫ ДЛЯ ЛЕНТОЧНОГО БУТОВОГО ИЛИ КИРПИЧНОГО ФУНДАМЕНТА

1 - усиливаемый бутовый фундамент;

2 - усиливаемая кирпичная стена;

3 - железобетонная обойма;

4 - анкеры;

5 - надподвальное перекрытие;

6 - отметка пола подвала;

7 - зона обжатого грунта основания.

Рис. 5.

УСТРОЙСТВО ЖЕЛЕЗОБЕТОННОЙ ОБОЙМЫ ВОКРУГ ПОДКОЛОННИКА

1 - подколенная часть фундамента;

2 - колонна;

3 - железобетонная обойма усиления подколонной части фундамента;

4 - поперечные арматурные сетки обоймы;

5 - вертикальные арматурные стержни обоймы;

6 - поверхность подколонника, подготовленная к бетонированию (зачистка и насечка).

Рис. 6.

УСТРОЙСТВО ЗАЩИТНЫХ СТЕНОК

1 - усиливаемый фундамент;

2 - участки разрушения в результате действия агрессивной среды в грунте (поднятие уровня грунтовых вод, поступление химических продуктов и др.);

3 - защитная стенка из кирпича, устанавливаемая после восстановления участков разрушения;

4 - обмазочная или оклеечная гидроизоляция;

5 - кирпичная стена.

Рис. 7.

УСТАНОВКА ПОДКОСОВ С ЗАТЯЖКАМИ

1 - усиливаемый фундамент;

2 - элементы усиления фундамента;

3 - металлическая или железобетонная обойма вокруг колонны;

4 - подкос из прокатного металла;

5 - опора подкосов из уголка;

6 - затяжка;

7 - пластина-подкладка;

8 - муфта натяжения;

9 - зона обжатого грунта основания.

Рис. 8.

УСТАНОВКА ГИДРОДОМКРАТОВ

1 - усиливаемый фундамент;

2 - проемы в стене фундамента для установки балок;

3 - поперечные балки;

4 - железобетонные разгружающие пояса;

5 - закладные детали, установленные при бетонировании поясов;

6 - гидродомкраты для включения разгружающих поясов в работу (после установки распорок убираются);

7 - распорки из прокатного металла, привариваемые к закладным деталям и балкам;

8 - обетонирование балок и распорок;

9 - зона обжатого грунта основания.

Рис. 9.

ОТЖАТИЕ РАЗГРУЖАЮЩИХ ЭЛЕМНТОВ

1 - усиливаемый фундамент;

2 - разгружающие элементы;

3 - затяжки из арматурной стали, установленные в отверстиях, устроенных в фундаментах и разгружающих элементах;

4 - устройство для отжатия разгружающих элементов (домкраты, клинья и др.);

5 - заполнение мелкозернистым бетоном после обжатия грунта;

6 - зона обжатого грунта основания.

Рис. 10.

ПЕРЕУСТРОЙСТВО СТОЛБЧАТЫХ ФУНДАМЕНТОВ В ЛЕНТОЧНЫЕ

1 - усиливаемые столбчатые фундаменты;

2 - монолитные железобетонные плиты;

3 - поверхность пола;

4 - арматурные каркасы.

Рис.11.

ПЕРЕУСТРОЙСТВО ЛЕНТОЧНЫХ ФУНДАМЕНТОВ В ПЛИТНЫЕ (УСТРОЙСТВО МОНОЛИТНЫХ ЖЕЛЕЗОБЕТОННЫХ ПЛИТ)

1 - усиливаемый ленточный фундамент;

2 - сплошная (прерывистая) плита;

3 - отметка поверхности пола подвала;

4 - уплотненный крупный песок;

5 - кирпичная стена;

6 - рабочая арматура плиты усиления;

7 - поверхность фундамента, подготовленная к бетонированию.

Рис. 12.

УСТАНОВКА РАСКОСОВ ДЛЯ ПЕРЕДАЧИ ЧАСТИ НАГРУЗКИ ОТ КОЛОННЫ НА ОБРЕЗ ФУНДАМЕНТА

1 - усиливаемый фундамент;

2 - железобетонная колонна;

3 - подкладки, устанавливаемые на обрез фундамента;

4 - металлические раскосы;

5 - металлические балки, монтируемые по периметру фундамента;

6 - металлическая обойма, приваренная к арматуре колонны.

Рис. 13.

УСТАНОВКА ПОПЕРЕЧНЫХ РАЗГРУЖАЮЩИХ БАЛОК ДЛЯ ЗАМЕНЫ БУТОВЫХ ФУНДАМЕНТОВ ПОД СТЕНЫ

1 - кирпичная стена;

2 - фундамент, подлежащий замене;

3 - подкладки;

4 - металлические поперечные балки;

5 - гидравлические домкраты или подкладки;

6 - временные опоры;

7 - отверстие в стене.

Рис. 14.

УШИРЕНИЕ ПОДОШВЫ ЛЕНТОЧНОГО БУТОВОГО ФУНДАМЕНТА (УСТЮЙСТВО ПРИЛИВОВ ИЗ БЕТОНА)

1 - усиливаемый фундамент;

2 - кирпичная стена;

3 - приливы из бетона;

4 - металлические балки, устанавливаемые в пробитые отверстия;

5 - металлические штыри из арматурной стали;

6 - металлические балки, закрепляемые на сварке к поперечным балкам;

7 - зоны уплотненного грунта.

Рис. 15.

УШИРЕНИЕ ПОДОШВЫ ДЛЯ ЛЕНТОЧНОГО СБОРНОГО ФУНДАМЕНТА (УСТРОЙСТВО ЖЕЛЕЮБЕТОННОЙ ОБОЙМЫ)

1 - усиливаемый фундамент;

2 - железобетонная обойма;

3 - отверстия в швах между блоками для установки рабочей арматуры;

4 - основная рабочая арматура усиления;

5 - отметка пола подвала;

6 - сколотая поверхность бетона;

7 - выпуски арматуры в подушке;

8 - сварка;

9 - зоны уплотненного грунта.

Рис. 16.

УСТРОЙСТВО ЖЕЛЕЗОБЕТОННЫХ ПРИЛИВОВ

1 - усиливаемый фундамент;

2 - монолитные приливы из железобетона;

3 - уплотненный грунт (втрамбованный щебень);

4 - арматура усиления;

5 - кирпичная стена;

6 - затяжка из арматурной стали.

Рис. 17.

УСТРОЙСТВО ОДНОСТОРОННЕГО БЕТОННОГО БАНКЕТА

1 - усиливаемый фундамент;

2 - монолитный бетонный банкет

3 - несущая балка;

4 - подкос;

5 - анкер;

6 - упорный уголок;

7 - распределительная балка;

8 - кирпичная стена;

9 - зона уплотненного грунта.

Рис. 18.

УШИРЕНИЕ ПОДОШВЫ ДЛЯ ОТДЕЛЬНОГО ФУНДАМЕНТА (УСТРОЙСТВО ЖЕЛЕЗОБЕТОННОЙ РУБАШКИ)

1 - усиливаемый фундамент;

2 - поверхность, подготовленная к бетонированию (насечка);

3 - подготовка из тощего бетона;

4 - железобетонная рубашка с уширением;

5 - колонна;

6 - арматура усиления;

7 - зоны уплотненного грунта.

Рис. 19.

УСТАНОВКА РАМНЫХ КОНСТРУКЦИЙ

1 - усиливаемые фундаменты;

2 - плита перекрытия;

3 - опорная рамная конструкция из железобетона или металла;

4 - дополнительный фундамент из сборных плит;

5 - зона уплотненного грунта.

Рис. 20.

ПОДВЕДЕНИЕ РАЗГРУЖАЮЩИХ ЭЛЕМЕНТОВ ДЛЯ ПЕРЕДАЧИ ЧАСТИ НАГРУЗКИ ОТ СТЕНЫ НА ПРОЧНЫЙ СЛОЙ ОСНОВАНИЯ

1 - сборный ленточный фундамент;

2 - дополнительные опоры-фундаменты;

3 - монолитные железобетонные балки усиления;

4 - рабочая арматура балок;

5 - подкладки;

6 - отметка пола подвала;

7 - слой грунта с наибольшей несущей способностью;

8 - отверстие между фундаментными блоками для пропуска рабочей арматуры балок;

9 - слой слабого грунта;

10 - зоны уплотненного грунта.

Рис.21.

ПЕРЕДАЧА НАГРУЗКИ ОТ ФУНДАМЕНТА НА БУРОИНЪЕКЦИОННЫЕ СВАИ

1 - усиливаемый столбчатый фундамент;

2 - буроинъекционные (корневидные) сваи диаметром 100-250 мм, устраиваемые через плитную часть усиливаемого фундамента;

3 - арматурные каркасы;

4 - конусные отверстия в плитной части фундамента;

5 - железобетонная колонна.

Рис. 22.

ПЕРЕДАЧА НАГРУЗКИ ОТ СТЕНЫ НА БУРОИНЪЕКЦИОННЫЕ СВАИ

1 - усиливаемый ленточный фундамент;

2 - буроинъекционные (корневидные) сваи, устраиваемые через плитную часть усиливаемого фундамента;

3 - конусные отверстия в плитной части фундамента;

4 - кирпичная стена;

5 - пазух, заполняемый фунтом после устройства стыка свай с плитной частью фундамента.

Рис. 23.

ПЕРЕДАЧА НАГРУЗКИ ОТ ФУНДАМЕНТА НА БУРОНАБИВНЫЕ СВАИ

1 - усиливаемый фундамент;

2 - буронабивные сваи;

3 - железобетонная обойма;

4 - поверхность фундамента, подготовленная к бетонированию (насечка, сколы, зачистка);

5 - оголенная рабочая арматура существующего фундамента;

6 - арматура усиливаемого фундамента;

7 - железобетонная колонна.

Рис. 24.

УСТРОЙСТВО АНКЕРОВ ИЗ БУРОНАБИВНЫХ СВАЙ

1 - усиливаемый столбчатый фундамент;

2 - анкеры из буронабивных армированных свай, работающих на выдергивание (диаметр сваи 150-200 мм, длина 2-3 м);

3 - конусные отверстия в плитной части фундамента, заполняемые в последующем бетоном;

4 - металлические пластины, к которым приваривается арматура анкеров.

Рис. 25.

ПЕРЕДАЧА НАГРУЗКИ ОТ СТЕНЫ НА НАБИВНЫЕ СВАИ

1 - усиливаемый фундамент;

2 - продольные металлические балки, устанавливаемые в пробитые борозды (штрабы);

3 - поперечные металлические балки;

4 - цементно-песчаный раствор;

5 - набивные сваи;

6 - железобетонная обвязка по сваям;

7 - кирпичная стена.

Рис. 26.

ПЕРЕДАЧА НАГРУЗКИ ОТ ФУНДАМЕНТА НА ЖЕЛЕЗОБЕТОННЫЕ СВАИ, ПОГРУЖАЕМЫЕ ВДАВЛИВАНИЕМ

1 - усиливаемый фундамент;

2 - железобетонная обойма, устраиваемая по периметру фундамента;

3 - сваи, погружаемые вдавливанием с поверхности основания;

4 - арматура усиления;

5 - колонна;

6-7 - соответственно слабый и прочный грунт;

8 - поверхность пола.

Рис. 27.

ВДАВЛИВАНИЕ СОСТАВНЫХ СВАЙ ЧЕРЕЗ ОТВЕРСТИЯ В ЖЕЛЕЗОБЕТОННОЙ ПЛИТЕ

1 - усиливаемый ленточный фундамент;

2 - монолитная железобетонная плита;

3 - отверстие в плите, устраиваемое при ее бетонировании;

4 - звенья составной железобетонной сваи;

5 - длинношточный гидравлический домкрат;

6 - металлический упор;

7 - анкерные болты;

8 - кирпичная стена.

Рис. 28,

ПЕРЕДАЧА НАГРУЗКИ ОТ ФУНДАМЕНТА НА СОСТАВНЫЕ ЖЕЛЕЗОБЕТОННЫЕ СВАИ, ПОГРУЖАЕМЫЕ ВДАВЛИВАНИЕМ

1 - усиливаемый столбчатый фундамент;

2 - звенья составных железобетонных свай:

3 - стыки свай;

4 - гидравлический домкрат;

5 - металлическая подкладка;

6 - шурф;

7 - монолитная железобетонная плита (устраиваемая участками после вдавливания сваи);

8 - железобетонная колонна.

Рис. 29.

ВДАВЛИВАНИЕ СВАЙ ИЗ МЕТАЛЛИЧЕСКИХ ТРУБ ОТДЕЛЬНЫМИ ЗВЕНЬЯМИ

1 - подкладка;

2 - звенья из металлических труб длиной 50 см;

3 - сварка;

4 - гидравлический домкрат;

5 - отметка пола подвала;

6 - кирпичная стена;

7 - пазух, заполняемый фунтом с уплотнением после вдавливания свай.

Рис. 30.

ПЕРЕДАЧА НАГРУЗКИ ОТ СТЕНЫ НА СОСТАВНЫЕ ЖЕЛЕЗОБЕТОННЫЕ СВАИ, ПОГРУЖАЕМЫЕ ВДАВЛИВАНИЕМ

1 - усиливаемый фундамент;

2 - звенья составных железобетонных свай;

3 - железобетонные балки, устраиваемые вдоль стены здания;

4 - железобетонные монолитные перемычки, устраиваемые с шагом 1-1,5 м;

5 - стыки свай;

6 - сколотая поверхность фундаментной плиты.

Рис.31.

Приложение 3

Формулы для вычисления деформационных характеристик и предельных погрешностей их определения

В таблице используются следующие обозначения погрешностей:

т - средняя квадратическая погрешность определения деформационной характеристики;

Δ - предельная погрешность определения деформационной характеристики.

№ № п. п.

Название

Обозначение

Формулы для вычисления

Комментарий

Деформационных характеристик

Погрешностей

1

Осадка

S

S=НТ-Н0

ms=1,4mH

Δs=2,8mH

H - высота точки;

Т и 0 - номера циклов наблюдений1)

2

Разность осадок

ds

ds=Sn-Sk

n и k - номера точек, для которых вычисляется разность осадок

3

Относительная разность осадок

i

L - расстояние между точками; Выбор контролируемых точек, для которых вычисляются относительная разность осадок, определяется конструктивными особенностями объекта мониторинга

4

Смещения по осям координат

dx, dy

dх=ХТ-Х0,

dх=YТ-Y0

Х и Y - плановые координаты точек;

T и 0 - номера циклов наблюдений

5

Сдвиг

D

Δd=2md

 

6

Невертикальность2)

и

u=Un-Uk

mи=1,4mU

Δи=2,8mU

n и k - номера точек верхнего и нижнего ярусов

7

Наклон

du

du=uТ-u0

Т и 0 - номера циклов наблюдений

8

Крен

i

Δi=2mi

h - превышение между точками;

9

Раскрытие трещины

dt

dt=tT-t0

Предельные погрешности определяются на основании метрологической аттестации применяющихся средств измерений

Т и 0 - номера циклов наблюдений

10

Углубление трещины

dv

dv=vT-v0

11

Кривизна подошвы фундамента

ρ

S(x) - осадка в точке с координатой х;

S(x + Δх) - осадка в точке с координатой x + Δх;

S(x + 2Δх) - осадка в точке с координатой х + х.

Δх = 5-10м

Примечания.

1) Деформационные характеристики, как правило, вычисляют относительно начального и предыдущего цикла наблюдений.

2) Схема определения невертикальности, наклона и крена приведена на рис.1.

Рис. 1. Условные обозначения для определения невертикальности

Приложение 4

Таблица оценки категорий состояния зданий по внешним признакам по результатам натурного обследования технического состояния

Категория

Состояние

Описание

I

Нормальное

Выполняются требования норм и проектной документации но условиям эксплуатации. Необходимость ремонтных работ отсутствует.

II

Удовлетворительное

С учетом фактических свойств материалов удовлетворяются требования действующих норм, относящиеся к предельным состояниям I группы; требования норм II группы могут быть нарушены, но обеспечиваются нормальные условия эксплуатации. Требуется текущий ремонт с устранением локальных повреждений без усиления конструкций.

III

Неудовлетворительное

Нарушены требования действующих норм, но отсутствует опасность обрушения и угроза безопасности людей. Требуется усиление и восстановление несущей способности поврежденных конструкций.

IV

Предаварийное

Существующие повреждения свидетельствуют о непригодности конструкций к эксплуатации, об опасности их обрушения и опасности пребывания людей в зоне расположения конструкций.

IV*

Аварийное

 

Таблица содержит фрагменты таблицы «Оценка категории состояния зданий по внешним признакам по результатам предварительного обследования» (приложение 4 к «Рекомендациям по обследованию и мониторингу технического состояния эксплуатируемых зданий, расположенных вблизи нового строительства или реконструкции», Москомархитектура, 1998).

Приложение 5

Таблица предельных дополнительных деформаций существующих зданий

Таблица составлена на основании следующих документов:1) МГСН 2.07-01 «Основания, фундаменты и подземные сооружения», Москва, 2003, Таблица 14.1.2) «Рекомендации по обследованию и мониторингу технического состояния эксплуатируемых зданий, расположенных вблизи нового строительства или реконструкции»+, Москомархитектура, 1998, приложение 5;

Наименование, конструктивные особенности здания или сооружения

Категория состояния конструкций

Предельные дополнительные деформации

Максимальная осадка, см

Относительная разность осадок, крен

Кривизна подошвы фундамента

Гражданские и производственные одноэтажные и многоэтажные здания с полным железобетонным каркасом

I

II

III

5.0

3.0

2.0

0.0020

0.0010

0.0007

 

Многоэтажные бескаркасные здания с несущими стенами из крупных панелей

I

II

III

4.0

3.0

2.0

0.0016

0.0008

0.0005

 

Многоэтажные бескаркасные здания с несущими стенами из крупных блоков или кирпичной кладки без армирования

I

II

III

4.0

3.0

1.0

0.0020

0.0010

0.0007

0.0004

0.0001

0.00008

Многоэтажные бескаркасные здания с несущими стенами из кирпича или бетонных блоков с арматурными или железобетонными поясами

I

II

III

5.0

3.0

2.0

0.0024

0.0015

0.0010

 

Многоэтажные и одноэтажные здания исторической застройки или памятники архитектуры с несущими стенами из кирпичной кладки без армирования*)

I

II

III

1.0

0.4

0.2

0.0006

0.0004

0.0001

-

0.0002

0.00004

Высокие жесткие сооружения и трубы

I

II

III

5.0

3.0

2.0

0.004**)

0.002

0.001

 

Примечания к таблице*) Приведены требования МГСН 2.07-01.**) Приведены предельные значения кренов.

Приложение 6

Пример оформления списка объектов мониторинга

№ № п.п.

Наименование, конструктивные особенности здания или сооружения

Категория состояния конструкций

Предельные дополнительные деформации

Максимальная осадка, см

Относительная разность осадок

1

Гражданское здание, 5 этажей, с полным железобетонным каркасом

11

3.0

0.0010

2

Здание жилое бескаркасное, 17 этажей, с несущими стенами из крупных панелей

I

4.0

0.0016

3

Здание исторической застройки, 2 этажа,

11

0.5

0.0003

Список оформляется после проведения обследования технического состояния объектов мониторинга.

Приложение 7

Методика выполнения наблюдений за осадками методом геометрического нивелирования с контролем стабильности высотной основы

1. На один из реперов геодезической основы должна быть передача высотная отметка от ближайших пунктов ОГС Москвы. Этот репер называется «Исходный». Остальные реперы геодезической основы называются «Контрольные».2. В процессе наблюдения за осадками контроль стабильности реперов высотной основы выполняется в каждом цикле наблюдений. Для этого все они включаются в замкнутый полигон. Такие построения составляют деформационную сеть первого порядка. Измерения деформаций в ней производятся по I классу точности.3. Для определения высот деформационных марок они включаются в нивелирные ходы, опирающиеся на реперы деформационной сети первого порядка. Эти построения составляют деформационную сеть второго порядка. Измерения деформаций в ней производятся по II классу точности. При наблюдениях деформационной сети второго порядка рекомендуется по возможности использовать одинаковую схему измерений.4. Перед началом работ в каждом цикле наблюдений выполняется технологическая поверка нивелира. Результаты определения угла i должны быть зафиксированы в полевом журнале.5. Нивелирование производится по следующим программам:- I класс точности определения осадок - способ совмещения, в направлении прямо и обратно, один горизонт инструмента;- II класс точности определения осадок - способ совмещения, в направлении прямо, один горизонт инструмента, отсчеты по дальномерным нитям не берутся.6. Основные технические характеристики и допуски приведены в таблице.

Условия нивелирования

Класс точности определения осадок

 

I

II

Применяемые нивелиры

Н-05 и равноточные ему

Применяемые рейки

Штриховые, с инварной полосой

Визирный луч

Длина, не более (м)

25

40

Высота над препятствием, не менее (м)

1.0

0.8

Допустимое расхождение превышений, полученных по основной и дополнительной шкале, мм

0.15

0.30

Неравенство плеч на станции, не более (м)

0.2

-

Допустимое расхождение превышений, измеренных в направлении прямо и обратно, n - число станций (мм)

-

Накопление неравенств плеч в секции, не более (м)

1.0

-

Допустимая невязка в замкнутом ходе, n - число станций (мм)

Примечание. Таблица составлена на основании ГОСТ 24846-81, таблица 3.7. В ходе камеральной обработки результатов измерений для каждого цикла выполняются следующие операции:- Проверка полевых журналов и контроль выполнения установленных допусков;- Уравнивание деформационной сети первою порядка;- Контроль стабильности репера «Исходный»;- Вычисление новой отметки репера «Исходный» (если требуется);- Уравнивание деформационной сети второго порядка;- Вычисление осадок деформационных марок;- Подготовка отчетных материалов.8. Уравнивание деформационной сети первого порядка выполняется по методу наименьших квадратов. В качестве исходного используется один репер - «Исходный».9. Контроль стабильности репера «Исходный». Выполняется для всех циклов, кроме первого, в следующей последовательности:- Вычисляются осадки контрольных реперов;- Если как минимум для одного из контрольных реперов выполняется неравенство |S| ≤ 1мм, где S=НiНl - осадка контрольного репера, то репер «Исходный» не изменил своего положения и можно переходить к уравниванию деформационной сети второго порядка. В противном случае следует вычислить его новую отметку.10. Вычисление новой отметки репера «Исходный». Эта операция выполняется в том случае, если критерий п. 9 не выполняется для всех контрольных реперов, и при этом их осадки примерно равны (расхождения не превышают нескольких десятых миллиметра) по абсолютной величине и знаку. Вычисления выполняются в следующей последовательности:- В качестве исходного назначается один из контрольных реперов (любой). Его отметка выбирается из предыдущего цикла наблюдений;- Относительно этого репера (одного) выполняется повторное уравнивание деформационной сети первого порядка и вновь вычисляются осадки ее реперов;- Если гипотеза о наличии осадок репера «Исходный» верна, то для этого репера будет обнаружена значимая осадка, т.е. |SИсходный| > 1 мм, а у второго контрольного репера осадка обнаружена не будет, т.е. |SКонтрольный 2| ≤ 1 мм.11. Уравнивание деформационной сети второго порядка. Выполняется по методу наименьших квадратов. В качестве исходных используются все реперы деформационной сети первого порядка.

Пример схемы измерений

12. Вычисление осадок деформационных марок. Для каждой деформационной марки выполняются вычисления по формулам:S=НiНl,,где S - осадка марки,ms и mн - ср. кв. погрешности определения осадки и высоты марки соответственно.13. Подготовка отчетных материалов. После завершения обработки результатов наблюдений по каждому циклу выполняется подготовка следующих материалов:- Ведомость контроля стабильности реперов высотной основы.- Сводная ведомость осадок.Пример ведомости контроля стабильности реперов высотной основы

№№ реперов

Н1 (м)

12.10.2000

14.11.2000

Нi (и)

S(мм)

Нi (м)

S(мм)

Нi (м)

S(мм)

1

2

3

4

5

6

7

8

Исходный

123.3450

123.3450

0

123.3450

0

123.3423

-2.7

Контрольный 1

125.3552

125.3554

+0.2

125.3582

+3.0

125.3554

0

Контрольный 2

124.5673

124.5623

-5.0

124.5701

+2.8

124.5701

-0.2

Пример заключений о стабильности реперов высотной основы1. 12.10.2001. Осадка репера Контрольный 2 превышает 1 мм, поэтому этот репер в текущем цикле признан сместившимся. Осадка репера Контрольный 1 меньше 1 мм. Поскольку для ее вычисления использовалась высота репера Исходный, то можно утверждать, что взаимное положение этой пары реперов не изменилось.Вывод. Высота репера Исходный не изменилась, для уравнивания сети второго порядка используются высоты, приведенные в столбце 3.2. 14.11.2000. Осадки обоих контрольных реперов превышают 1 мм и примерно равны по абсолютной величине и знаку. Это может объясняться осадкой исходного репера примерно на -3.0 мм. Для проверки этой гипотезы в качестве исходного был выбран репер "Контрольный 1" и его отметка из предыдущего цикла (столбец 3). Полученные отметки приведены в столбце 7, а осадки - в столбце 8.Вывод. Осадка репера Контрольный 2 меньше 1 мм, следовательно реперы Контрольный 1 и 2 не изменили своего взаимного расположения и могут считаться стабильными. Осадка репера Исходный превышает 1 мм и он действительно изменил свое положение. Для уравнивания сети второго порядка используются высоты, приведенные в столбце 7.Пример оформления сводной ведомости осадок

 

№№ марок

Н1 (м)

12.10.2000

12.11.2000

S (мм)

2ms (ММ)

S (мм)

2ms (MM)

1

123.3451

0.4

0.8

-0.4

0.8

2

124.4563

-2.1

1.2

-4.0

1.2

3

124.2242

-5.7

1.0

-8.3

1.0

4

125.5565

-0.3

0.9

-0.3

0.9

5

125.6783

-0.5

0.8

-0.2

0.8

6

125.8908

-5.4

0.9

-5.8

0.9

Приложение 8

Пример оформления материалов краткого технического заключения (экспресс-отчета) при наблюдениях за осадками

Пример оформления графика осадокГрафики осадок

Дата наблюденийПример оформления плана с линиями равных осадок

 

 




Яндекс цитирования



   Copyright © 2007-2026,  www.tehlit.ru.

[ ѓосты, стандарты, нормативы, инструкции, правила, строительные нормы ]