//
ТехЛит.ру
- крупнейшая бесплатная электронная интернет библиотека для "технически умных" людей.
WWW.TEHLIT.RU - ТЕХНИЧЕСКАЯ ЛИТЕРАТУРА

:: Алготрейдинг::


АЛГОТРЕЙДИНГ
шаг за шагом
с нуля по урокам!

Торговые роботы на PYTHON, BackTrader,
Pandas, Pine Script для TradingView. Связка с брокерами, телеграм и легкими приложениями.


МИНИСТЕРСТВО ТРАНСПОРТНОГО СТРОИТЕЛЬСТВА
ГОСУДАРСТВЕННЫЙ
ВСЕСОЮЗНЫЙ ДОРОЖНЫЙ
НАУЧНО
-ИССЛЕДОВАТЕЛЬСКИЙ ИНСТИТУТ

СОЮЗДОРНИИ

МЕТОДИЧЕСКИЕ РЕКОМЕНДАЦИИ
ПО ПРИМЕНЕНИЮ
ГЕОТЕКСТИЛЬНЫХ
МАТЕРИАЛОВ
ДЛЯ
УКРЕПЛЕНИЯ ОБОЧИН И ОТКОСОВ
АВТОМОБИЛЬНЫХ
ДОРОГ

Утверждены замдиректора Союздорнии
канд
. техн. наук Б.С. Марышевым

Одобрены Главным Техническим управлением
(письмо 377-11/4 от 28.05.85 г.)

МОСКВА 1988

Предложены различные варианты конструкций земляного полотна автомобильных дорог с использованием геотекстиля для укрепления откосов и обочин. Рассмотрены конструкции укрепления подтопляемых откосов насыпей, неподтопляемых откосов насыпей и выемок, откосов водоотводных сооружений, предусматривающие применение геотекстильного материала в комбинации с различными видами укреплений - травосеянием, монолитным и сборным бетоном, каменной наброской. Рассмотрены также варианты использования геотекстиля для повышения устойчивости откосов насыпей, а также для укрепления обочин автомобильных дорог. Изложены методы расчета указанных конструкций, принципы, цели и условия их применения; указаны основные технологические особенности применения геотекстильного материала.

Приведены требования к геотекстильным материалам для укрепления откосов, методы испытаний геотекстиля и показатели его физико-механических свойств.

Табл. 10, рис. 13.

Предисловие

Инженерная практика укрепления откосов насыпей и выемок автомобильных дорог постоянно ощущает неудовлетворенность имеющимися конструктивно-технологическими решениями в этой области. Это вызвано двумя причинами. Одна из них заключается в отсутствии облегченных типов укрепления, занимающих промежуточное положение между травосеянием и мощным укреплением плитами или каменной наброской. Другая причина вызвана необходимостью индустриализации конструкций укрепления, уменьшения объемов работ, выполняемых на откосе. Дело в том, что работа людей и механизмов на откосе крайне осложнена, грунт часто не уплотнен. В результате качество укрепительных работ оказывается невысоким, а сооружение целого ряда конструкций на откосах с заложением 1:1,5 - 1:2 часто бывает вообще затруднительным. Все это вызывает появление дефектов, особенно в жестких конструкциях, совместную работу которых с грунтом бывает трудно обеспечить. В подобных условиях гибкая конструкция могла бы оказаться более устойчивой благодаря своей способности приспосабливаться к деформациям поверхности откоса.

Одним из реальных и перспективных путей расширения номенклатуры и видов конструкций укрепления откосов и обочин является использование геотекстильных материалов, которые получили широкое распространение в последние годы. Выполняя функцию арматуры, дрены, фильтра или покрытия, геотекстильные полотна улучшают условия работы грунта и зернистых слоев на обочинах, в откосных частях насыпей и выемок, повышая их устойчивость, защищая от эрозии предотвращая суффозионный процесс. Применение геотекстиля дает возможность разработать новые, более эффективные в технико-экономическом отношении конструктивные решения.

Союздорнии совместно с Казахским филиалом, Гипродорнии, ТюмИСИ, ВНИИводгео, Союздорпроектом и строительными организациями провели исследования по применению геотекстильных материалов для укрепления откосов и обочин. В работе использованы материалы теоретических и лабораторных исследований, строительства опытных и экспериментальных участков, опыт внедрения ряда конструкций в инженерную практику. Предлагаемые конструктивные решения могут быть применены во многих регионах нашей страны, в том числе при строительстве нефте- и газопромысловых дорог в Западной Сибири, дорог специального назначения и общей сети. Ряд положений настоящих Методических рекомендаций уже вошли в нормативные документы.

Методические рекомендации составлены канд. техн. наук А.Г. Полуновским при участии кандидатов технических наук А.М. Каменева, Ю.Р. Перкова, Ю.В. Пудова, С.И. Матейковича, инженеров Ю.М. Львовича и А.П. Фомина. В разработке и подготовке Методических рекомендаций принимали участие канд. техн. наук Б.П. Брантман, инженеры Ю.В. Чернов, М.А. Аллаберганов, В.В. Богашов, А.Г. Селиверстов, Б.С. Кленов и Б.М. Абрамкин.

Замечания и пожелания по настоящей работе, а также материалы производственной проверки предложенных конструкций просьба направлять по адресу: 143900, п. Ба-лашиха-6 Московской обл., Союздорнии.

1. Общие положения

1.1. Настоящие Методические рекомендации разработаны в развитие основных положений СНиП 2.05.02-85 и СНиП 3.06.03-85, касающихся применения геотекстильных материалов для обеспечения устойчивости откосов, и предназначены для применения при проектировании и строительстве конструкций укрепления откосов подтопляемых и неподтопляемых насыпей и откосов выемок автомобильных дорог. Кроме того, в Методических рекомендациях рассмотрены некоторые варианты использования геотекстильных материалов для укрепления обочин.

1.2. Термином «геотекстиль» обозначают рулонные водопроницаемые преимущественно синтетические текстильные материалы, предназначенные для использования в конструкциях земляных сооружений. Кроме того, к классу геотекстильных материалов можно условно отнести текстильные материалы, изготовленные из несинтетических химических и натуральных волокон, штампованные рулонные сетки - решетчатые материалы. Водонепроницаемые рулонные материалы, вырабатываемые для укладки в земляные сооружения в качестве гидроизоляционных слоев, также могут выполнять некоторые функции геотекстиля (армирующую, разделяющую покрытия), однако эти материалы относятся к другому классу материалов - геомембранам и в настоящих Методических рекомендациях не рассматриваются. В случае применения геомембранных прослоек необходимо иметь полное представление о последствиях вносимых ими изменений в водно-тепловой режим конструкции, особенно при использовании грунтов и материалов, чувствительных к изменению влажности.

1.3. Геотекстильные полотна в откосных частях выполняют роль: покрытия, обеспечивающего эрозионную устойчивость откоса; обратного фильтра под креплением откосов плитами или каменной наброской; армирующего элемента, повышающего общую устойчивость откоса насыпи; ограждения, определяющего очертание насыпи, в конструкциях типа армогрунт или в виде обоймы. При проектировании конструкций с геотекстильной прослойкой следует иметь в виду, что она может одновременно выполнять различные функции, например дренирования и армирования, ограждения и фильтра, а также сочетаться с другими типами укрепления: травосеянием, сборным железобетоном и др.

1.4. Для укрепления откосов наиболее часто употребляют рулонные геотекстильные материалы, вырабатываемые из синтетического волокна и обладающие прочностью при растяжении, водопроницаемостью, устойчивостью к погодным воздействиям. В практике дорожного строительства наибольшее распространение получили нетканые материалы, отличающиеся несколько меньшей стоимостью и обладающие некоторыми преимуществами (при использовании в качестве покрытия и фильтра) по сравнению с ткаными геотекстильными материалами, область применения которых в основном ограничивается задачами армирования.

При выборе текстильных материалов для устройства прослоек следует учитывать возможность использования в конструкциях откосов не только геотекстильных полотен, вырабатываемых специально для цепей дорожного строительства, но и любых других рулонных фильтровальных материалов, отвечающих предъявляемым требованиям по физико-механическим свойствам и устойчивости.

1.5. В настоящие Методические рекомендации включены конструктивные решения, прошедшие широкую производственную проверку в сложных условиях. Кроме них, рассмотрены и менее известные решения с небольшими объемами практической реализации, рекомендуемые для ограниченного внедрения в целях накопления опыта службы таких конструкций, уточнения их технико-эксплуатационных показателей с последующей корректировкой и массовым внедрением в практику дорожного строительства. За подобными конструкциями целесообразно установить наблюдение, предусмотрев соответствующие средства в сметах на проектные или строительные работы.

1.6. Предложенные в Методических рекомендациях варианты конструктивных решений ориентированы прежде всего на укрепление насыпей из песчаных грунтов и использование для этих целей геотекстильных полотен с механическим упрочнением холста - иглопробивных материалов, выпускаемых отечественной промышленностью специально для дорожного строительства. Исключение составляют лишь те случаи, когда в основу конструкции должно быть положено использование геотекстиля в качестве армирующей прослойки с повышенными требованиями к механическим свойствам применяемых полотен.

1.7. Устройство геотекстильных прослоек в большинстве случаев относится к скрытым работам и на их выполнение следует оформлять акты в установленном порядке. Наряду со сведениями о конструкции в акте должны быть приведены показатели качества геотекстильного полотна по визуальной оценке (сплошность, отсутствие дыр, однородность, соединение соседних полотен), а также вид геотекстильного материала, его паспортные данные и результаты контрольных испытаний производителем работ или заказчиком.

1.8. Устройство прослоек из геотекстильных материалов позволяет повысить общую или местную устойчивость откосов, индустриальность строительства за счет использования готового элемента заводского изготовления; уменьшить расход привозных дорожно-строительных материалов, заменив их местными грунтами; снизить объем перевозок и транспортных расходов; сократить затраты ручного труда и сроки строительства; повысить эксплуатационную надежность конструкций земляного полотна.

2. Конструкции укрепления неподтопляемых откосов

2.1. Для укрепления неподтопляемых откосов геотекстильные материалы используются в виде постоянных или временных покрытий, служащих для защиты откоса от водной или ветровой эрозии. При выборе геотекстильного материала для этих целей при прочих равных условиях преимущество следует отдавать иглопробивным полотнам.

2.2. Временные геотекстильные укрепления устраивают на срок до трех лет с целью обеспечить эрозионную устойчивость откоса в период зарастания его травой и формирования дернового слоя или во время строительства дороги до устройства постоянной конструкции укрепления. В качестве временного покрытия могут быть использованы геотекстильные полотна с ограниченным сроком службы и включением в состав смеси того или иного количества натуральных волокон, содержание которых зависит от заданного срока службы конструкции, требуемых показателей физико-механических свойств полотен и их изменений во времени.

2.3. Постоянные конструкции укрепления неподтопляемых откосов в виде покрытий из геотекстильных материалов подразделяют на полосовое, сплошное и решетчатое (комбинированное). Полосовое укрепление может быть прибровочным, в клетку и лотковым. Сплошное укрепление бывает закрытым и сетчатым. Виды решетчатого укрепления зависят от материала, из которого изготовлена решетка, и материала для ее заполнения. Область применения каждого типа укрепления для насыпей определенного очертания при отсутствии прикромочных лотков приведена в табл. 1. Если посев трав затруднен, то следует применять геотекстильный материал, в состав которого введены семена трав и необходимые для роста травы органические и минеральные составляющие.

Таблица 1

Тип укрепления

Вид укрепления

Высота насыпи, м

Минимальный продольный уклон дороги, , для ливневых районов

1 - 4

5 - 10

Полосовое

Прибровочное

1 - 2

20 - 30

10 - 20

В клетку

3 - 12

20 - 30

10 - 20

 

Лотковое

5 - 12

30 - 40

20 - 30

Сплошное

Закрытое

Выше 1,5

25 - 40

10 - 25

 

Сетчатое

В горных районах

Решетчатое (комбинированное)

В зависимости от вида решетки и заполнителя

В наиболее ответственных местах

Примечания: 1. Большие значения уклона принимают для грунтов с числом пластичности более 1,2, меньшие - для песчаных грунтов, промежуточные - для промежуточных разновидностей.

2. Ливневые районы устанавливают по карте ливневого районирования СССР.

В конструкциях постоянного укрепления, рассчитанных на срок службы свыше двух лет, части геотекстильных полотен, выходящие на поверхность откоса, должны быть обязательно защищены от дневного света и особенно от прямых солнечных лучей. Для этих целей можно использовать дополнительный слой грунта, например растительный грунт, отсыпанный поверх геотекстильного покрытия, или обработку поверхности геотекстильного полотна органическим вяжущим с созданием битумно-песчаной защитной пленки. Степень водопроницаемости геотекстильного покрытия регулируется расходом вяжущего и толщиной битумно-песчаной пленки.

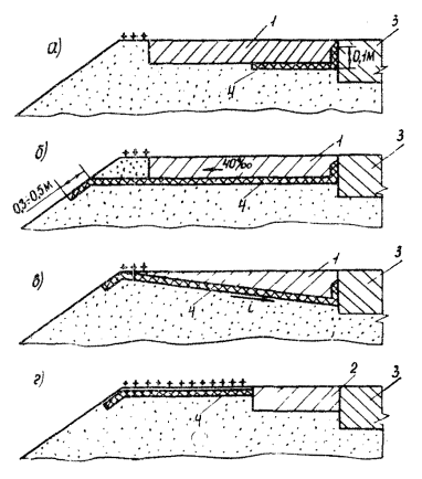
2.4. Отличительным признаком полосового укрепления является укладка геотекстильных полос по откосу не сплошь, а с промежутками, параллельными бровке. Простейшим видом полосового укрепления является прибровочное укрепление, когда полотно укладывают вдоль бровки насыпи, захватывая бровку с прилегающими зонами откоса и, если требуется, обочин (рис. 1). Минимальная ширина перекрываемой части откоса - 1,5 м, обочины - 0,8 м. Верхнюю кромку полотна заглубляют в грунт обочины на 0,2 м и присыпают гравелистым материалом, нижнюю кромку фиксируют на поверхности откоса штырями или скобками, забиваемыми через 1,5 м.

Рис. 1. Полосовое укрепление откоса:

1 - растительный грунт; 2 - штырь; 3 - обработка органическим вяжущим; 4 - геотекстиль; 5 - обочина; 6 - проезжая часть; 7 - насыпь

Геотекстильная прослойка прибровочного укрепления может быть заведена в грунт обочины (рис. 2). Прибровочное укрепление устраивают при небольших расходах воды и малых уклонах для защиты бровки насыпи - наиболее неустойчивого против размыва элемента неуплотненного откоса насыпи. Прибровочное укрепление обязательно должно применяться в комплексе с посевом трав поверх прослойки или под нее (см. табл. 1). При наличии водоотвода с проезжей части прибровочное укрепление применяют на участках с близкими к предельным продольными уклонами в районах с большой интенсивностью ливней, на легкоразмываемых грунтах и при необходимости дополнительного укрепления обочин, т.е. в случаях повышенной опасности размыва.

Рис. 2. Полосовое укрепление с усилением обочины:

1 - растительный грунт; 2 - штырь; 3 - обработка органическим вяжущим; 4 - геотекстиль; 5 - обочина; 6 - проезжая часть; 7 - насыпь; 8 - укрепленная часть обочины

2.5. Для защиты от развеивания в период строительства насыпей, возведенных из мелких одноразмерных песков (гидронамывных, барханных, дюнных), целесообразно прибровочное укрепление откоса устраивать на 1/3 высоты насыпи (рис. 3). В этом случае его можно совместить с технологической прослойкой, образуемой путем укладки геотекстильного полотна с уклоном в сторону откоса по всей ширине насыпи поверху и засыпки полотна слоем крупнообломочного материала (щебня, гравия) минимальной толщины. Технологическую прослойку можно комбинировать с устройством гравийного или щебеночного основания дорожной одежды в пределах проезжей части и обочины, Технологическая прослойка поверх насыпи из мелкозернистого одноразмерного песка обеспечивает уплотнение верхних слоев песчаной насыпи и временный проезд автомобильного транспорта.

Рис. 3. полосовое укрепление обочины в комбинации с технологической прослойкой:

1 - растительный грунт; 2 - штырь; 3 - обработка органическим вяжущим; 4 - геотекстиль; 5 - обочина; 6 - проезжая часть; 7 - насыпь; 8 - укрепленная часть обочины

Расчет минимальной толщины гравийного или щебеночного основания как проезжей части постоянных дорог, так и обочин может быть выполнен в соответствии с общими принципами расчета конструкции укрепления обочин с использованием геотекстиля, указанными в разд. 4.

2.6. Укрепление в клетку выполняют в виде прямоугольных или диагональных клеток на поверхности откоса (рис. 4) аналогично одерновке в клетку в комплексе с прибровочным укреплением и травосеянием под геотекстиль. Назначение этого вида укрепления - создать на части поверхности откоса дерновое покрытие, используя благоприятное влияние геотекстильного покрытия на сроки формирования и качество дернового покрова. При отсутствии опыта укрепление в клетку рекомендуется применять в ограниченном объеме на участках с небольшим ливневым стоком (см. табл. 1) налегкоразмываемых грунтах в районах с суровым климатом и затрудненным развитием травяного покрова. Ширина геотекстильных полос, образующих клетку, не менее 0,5 м, расстояние между параллельными полосами не менее 1 м. Геотекстильные полосы закрепляют на откосе с помощью штырей или деревянных колышков, забиваемых в перекрестиях полос и на их концах.

Рис. 4. Фрагмент укрепления в клетку:

1 - прибровочная полоса; 2 - штырь; 3 - наклонная полоса; 4 - горизонтальная полоса; 5 - ячейка клетки

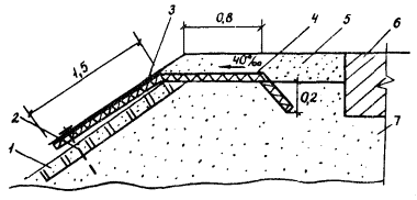
2.7. На участках с большими продольными уклонами, при высоте насыпей свыше 2 - 3 м и неорганизованном отводе воды с проезжей части дорог IV - V категорий, т.е. в тех случаях, когда возможно возникновение мощных сосредоточенных размывов, целесообразно организовать сток с прибровочной полосы с помощью продольных и поперечных лотков (рис. 5). Геотекстильные полотна при лотковой защите укладывают на всю ширину обочины с поперечным уклоном 20 - 50 в сторону откоса. Обочину укрепляют гравием, щебнем или битумоминеральными смесями, укладывая слой укрепления непосредственно, на геотекстильную прослойку. Прослойку выпускают на откос на 0,5 м и укладывают на стенки предварительно нарезанного автогрейдером продольного лотка. Продольному лотку придают треугольное сечение и продольный уклон на 20 - 30 больше, чем проезжей части. Глубина лотка 0,2 - 0,25 м, заложение откосов 1:1,5 или 1:2. Полотно обязательно должно заходить за бровку низового откоса лотка не менее чем на 20 см.

Рис. 5. Лотковая конструкция защиты откосов:

1 - дорожная одежда; 2 - слой укрепленной обочины; 3 - прослойка геотекстиля; 4 - растительный грунт; 5 - продольный лоток; 6 - поперечный лоток; 7 - укрепленная геотекстилем площадка

Воду из продольных лотков перехватывают поперечными лотками и сбрасывают по ним к подошве насыпи. Наибольшую длину продольного лотка (расстояние между поперечными лотками) принимают в зависимости от продольного уклона лотка: до 30 - 50 м; 30 - 60 - 50 - 75 м; более 60 - 75 - 100 м.

2.8. Дно и стенки лотков для сброса по поверхности откоса воды из прикромочных лотков (рис. 6), а также поперечных лотков для сброса воды из продольных согласно п. 2.7 укрепляют покрытием из геотекстильного материала. Ширину сбросных лотков определяют расчетом по методике, приведенной в прил. 1 настоящих Методических рекомендаций, а поперечное сечение принимают или трапецеидальным с уклоном откосов 1:2 , шириной понизу по расчету и высотой 20 см, или в виде гидравлически эффективного округлого сечения, повторяющего трапецеидальное очертание, но со скругленными углами. Геотекстильное полотнище во всех случаях заводится за бровки откосов лотка с заглублением в грунт на 10 см и присыпкой гравийным материалом.

Сбросные лотки на откосах можно формировать путем вдавливания в грунт откоса полосы из геотекстильного материала с последующей ее обработкой вяжущим. Входное отверстие поперечных лотков лоткового укрепления откоса образуется плавным переходом из прибровочного покрытия и устьев соседних продольных лотков. Входное отверстие для сброса воды из прикромочных лотков устраивают по типовому проекту для бетонных телескопических лотков или из монолитного бетона с сохранением проектного очертания, подкладывая край текстильного покрытия лотка под бетонную подготовку. На выходе из сбросного лотка у подошвы насыпи устраивается монолитная бетонная отмостка в соответствии с типовым проектом для телескопических лотков. Возможно устройство отмостки в виде щебеночной подготовки толщиной не менее 10 см в обойме из геотекстиля. Геотекстильное полотно лотка укладывают на отмостку и приклеивают к ней битумом.

2.9. Для снижения водопроницаемости, повышения жесткости и устойчивости к световому воздействию геотекстильные покрытия целесообразно обрабатывать жидким органическим вяжущим с расходом не менее 0,5 кг/м2 в пересчете на массу битума и сразу же посыпать песком.

Рис. 6. Конструкция водосбросного лотка из геотекстиля на откосе:

1 - кромка проезжей части; 2 - лоток из геотекстиля; 3 - бетонные плиты; 4 - скоба

Сбросные лотки обрабатывают битумом 2-3 раза, увеличивая его общий расход до 1 кг/м2 и каждый раз присыпая покрытие песком.

Для обработки геотекстильных полотен применяют следующие вяжущие материалы:

битум жидкий медленно- и среднегустеющий по ГОСТ 11955-82 с условной вязкостью 40 - 70 с;

битумную эмульсию анионную по ГОСТ 18659-81, приготовленную на битуме марок БНД 130/200 и БНД 200/300;

нефть высокосмолистую с условной вязкостью по стандартному вискозиметру при температуре 60 °С не менее 8 с.

2.10. Для укрепления откосов кюветов, нагорных канав (с продольным уклоном до 60 на прямолинейных участках) и других водоотводных устройств, применяемых в ограниченном объеме, устраивают покрытия из геотекстильного материала, обработанного битумом, аналогичные конструкциям укрепления сбросных лотков на откосах. Нахлест соседних полотен должен быть обязательно сделан сверху вниз по ходу движения воды со склеиванием кромок горячим битумом. Продольные края полотен выводят за бровку кювета и заводят в грунт, присыпая устойчивым против размыва крупнозернистым материалом (щебнем, гравием).

Повышение жесткости геотекстильного укрепления может быть также достигнуто путем нанесения на поверхность геотекстильного полотна покрытия из набрызг-бетона с помощью торкрет-установки. Толщину цементобетонного покрытия из набрызг-бетона принимают в пределах от 2 до 20 см в зависимости от условий работы защищаемой поверхности и гидравлического режима потока. Набрызг-бетон по геотекстилю может применяться взамен покрытий из монолитного бетона или мелкоштучных сборных бетонных элементов.

2.11. При сплошном укреплении вся поверхность откоса защищена геотекстильным покрытием. Верхний край полотна заводится на обочину и заглубляется в нее так же, как и в конструкции прикромочного укрепления. Сплошное укрепление устраивают в комплексе с посевом трав и обработкой поверхности покрытия органическим вяжущим для защиты от водной или ветров о и эрозии насыпей из мелких одноразмерных песков и других легкоразмываемых грунтов. Сплошное укрепление применяют при значительных продольных уклонах (см. табл. 1) в районах с неблагоприятными для развития травяного покрова природно-климатическими условиями. Назначение сплошного покрытия заключается: в защите поверхности откоса от размыва в период образования дернового слоя; армировании дернины с образованием покрытия с повышенной устойчивостью к развитию местных деформаций в поверхностной зоне откоса; защите семян трав от выдувания и выклевывания птицами; создании в поверхностной зоне откоса температурно-влажностного режима, более благоприятного для развития растительности (повышение влажности, смягчение температурных перепадов, защита от ветровых воздействий). Сплошное укрепление применяют для защиты откосов как насыпей, так и выемок, используя для этой цели нетканые геотекстильные материалы (рис. 7).

2.12. Покрытия из сетчатых или решетчатых рулонных материалов относятся к особым случаям сплошного геотекстильного покрытия. Сетчатое покрытие может выполнять роль или основы, армирующей дернину, или защитной сетки. Гибкая сетка с ячейками 5 - 30 мм, уложенная на откосе и прикрепленная к грунту по всей поверхности откоса, предназначена для армирования будущего дернового покрова, повышения местной устойчивости откоса и предотвращения местных сплывов. Сетку применяют для усиления поверхностных слоев откосов насыпей и особенно выемок, сложенных глинистыми грунтами и подверженных сплывам в местах выходов грунтовых вод. Взамен сетки могут быть использованы рулонные маты из разреженного грубоволокнистого нетканого материала, вырабатываемого фильерным способом в виде бесконечного волокна толщиной до 1 - 2 мм. Поры материала заполняются грунтом как специально в процессе строительства, так и самопроизвольно в период эксплуатации дороги. Попадающие с грунтом семена трав прорастают, образуя армированный дерновый покров.

Рис. 7. Конструкции укрепления откосов выемок геотекстилем с гидропосевом (а) и геотекстилем, обработанным битумом (б):

1 - бетонные плиты; 2 - растительный грунт; 3 - геотекстиль; 4 - скоба; 5 - геотекстиль, обработанный битумом

При устройстве защитного сетчатого покрытия прочную и жесткую рулонную сетку с размером ячейки 25 - 100 мм укладывают на поверхность откоса и прикрепляют к ней в отдельных точках. Сетка служит для защиты проезжей части и обочин дороги от скатывающихся на нее отдельных крупных обломков грунта, камней и т.п. Сетка применяется на участках осыпей, на откосах, сложенных легковыветривающимися неводостойкими и делювиальными породами с включениями валунов и крупной гальки.

В мокрых выемках с выходами грунтовых вод на откосах и возможным развитием солифлюкционных процессов геотекстильные материалы целесообразно использовать в конструкциях откосного дренажа - присыпного и врезного, траншейного. В траншейном дренаже геотекстильное полотно укладывают на дно и стенки траншеи, заполняют дренирующим материалом. В присыпном дренаже геотекстиль укладывают на спланированную поверхность откоса и присыпают слоем дренирующего материала. В обоих случаях геотекстиль выполняет роль разделяющей мембраны и фильтра, а в траншейном откосном дренаже геотекстильная оболочка армирует конструкцию и позволяет сохранить сплошность дрены и ее работоспособность при локальных подвижках грунта.

2.13. Для образования сплошных или полосовых укреплений откоса в виде геотекстильного покрытия в комбинации с травосеянием могут применяться армированные рулонные дерновые маты, изготовленные предварительно на базах или полигонах. Такие маты состоят из дернины, армированной геотекстилем. Маты приготавливают на площадках с покрытием путем укладки по жесткому (например, цементобетонному или асфальтобетонному) основанию слоя растительного грунта с размещением внутри него гибкой рулонной сетки или полотна. Создавая тепличный температурно-влажностный режим, способствующий ускоренному развитию травы, подготавливают дерн, затем мат снимают с основания, скатывая его в рулон, и перевозят к месту укладки. Рулонные дерновые маты могут быть использованы в тех же условиях, что и плоские (лотковые) геотекстильные укрепления: на участках с повышенной опасностью эрозионных деформаций (на конусах мостов и т.п.), при «лечении» откосов, для укрепления откосов в городских условиях и во многих других случаях, когда необходимо в короткий срок создать надежный дерновый покров или газон.

2.14. Для учета армирующего эффекта геотекстильных прослоек различного назначения, размещенных в основании или теле насыпи, проводят корректировочный расчет устойчивости откоса по методу круглоцилиндрической поверхности скольжения. В процессе расчета определяют положение поверхности скольжения без учета прослоек и в выражение коэффициента запаса вводят дополнительное удерживающее усилие от действия прослоек по следующему выражению (на 1 м насыпи):

,

где i и n - соответственно порядковый номер и количество блоков;

Р - вес блока, кН;

α - средний угол наклона кривой скольжения в пределах блока, град.;

φ - угол внутреннего трения грунта, град.;

С - сцепление грунта, кН/м2;

- длина дуги кривой скольжения, м;

m - число прослоек;

ε - фактическое относительное растяжение прослоек, %;

εР - расчетное разрывное удлинение геотекстиля, %;

РТ - расчетная прочность геотекстиля на растяжение, Н/м.

Остальные обозначения соответствуют общепринятым при расчетах устойчивости по круглоцилиндрическим поверхностям скольжения.

Коэффициент запаса должен удовлетворять условию КЗ1,3.

Условием реализации армирующего действия геотекстильной прослойки является защемление ее в грунт. Минимальная длина защемленного участка З определяется из условия

,

где ρГ - плотность грунта, кН/м3;

hГ - глубина заложения прослойки от поверхности насыпи, м.

Расчет длины защемленного участка следует проводить для частей прослойки, расположенных по обеим сторонам от расчетной поверхности скольжения.

При назначении нескольких прослоек по условию армирования насыпи их целесообразно располагать, начиная с нижней части насыпи, с интервалом по высоте 1 - 2 м.

При устройстве армирующих прослоек должны быть обеспечены сплошность и равнопрочность полотна в пределах защемленной полосы. Укладка внахлест и наличие ослабленных стыков недопустимы.

3. Геотекстильные полотна в укреплениях подтопляемых откосов

3.1. В укреплениях подтопляемых откосов геотекстильные полотна укладывают в комплексе с обычно применяемыми конструктивными элементами, воспринимающими гидродинамические воздействия на поверхностную зону откоса и одновременно фиксирующими текстильное полотно на поверхности откоса. Геотекстильная прослойка устраивается в дополнение к обычной конструкции укрепления с целью повысить ее надежность или взамен какого-либо из слагающих укрепление элементов для снижения материалоемкости конструкции. В большинстве случаев геотекстильное полотно в укреплении подтопляемой насыпи выполняет функцию обратного фильтра, препятствующего выносу водным потоком грунтовых частиц из тела насыпи, или служит ограждением, обеспечивающим устойчивое положение грунтового откоса при силовом воздействии воды или при снижении прочности грунта в процессе подтопления и увлажнения. Одновременно с этими основными функциями геотекстильная прослойка в отдельных случаях играет роль армирующего элемента и противоэрозионного покрытия.

Использование геотекстильных полотен в качестве внешних элементов укрепления (покрытия, ограждения) допускается только на участках сезонного подтопления, при отсутствии ледяного покрова на акватории в период подтопления и при необходимости защиты поверхности геотекстильного полотна от светового облучения.

3.2. Укрепление подтопляемого откоса может быть выполнено в виде сплошного геотекстильного покрытия, аналогичного указанному в п. 2.3, в комбинации с плакировкой растительным грунтом и посевом трав под покрытие, обработкой поверхности полотна органическим вяжущим и закреплением полотна на поверхности откоса ивовыми кольями с их последующим прорастанием. Это наиболее легкий вид укрепления, устраивается на участках временного подтопления взамен сплошной одерновки или фашинной выстилки.

Геотекстильное полотно на незаросшем откосе в период строительства и в первые годы эксплуатации дороги выполняет роль ограждения и защитного покрытия, а в дальнейшем (после сформирования травяного покрова) армирует дернину, обеспечивая местную устойчивость откоса.

Уклон откоса принимается в зависимости от вида слагающего насыпь грунта в тех же пределах, что и для неподтопляемого откоса, при условии, что общая устойчивость откоса для условий подтопления независимо от применения геотекстильного покрытия обеспечена.

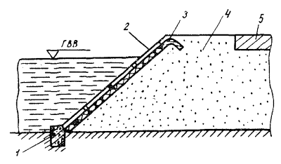
3.3. Для укрепления подтопляемых откосов насыпей из песчаных грунтов на участках как временного, так и постоянного подтопления геотекстильная прослойка может быть использована в качестве обратного фильтра (рис. 8). Назначение геотекстильного фильтра - упростить конструкцию зернистого обратного фильтра из песка и щебня, уменьшить толщину или полностью заменить зернистый фильтр текстильным с соответствующим сокращением потребности в зернистых материалах и высвобождением необходимого для их перевозки транспорта. При этом следует принимать во внимание, что геотекстильное полотно не обладает собственной несущей способностью и в расчете толщины плиты не следует учитывать работу обратного фильтра.

Рис. 8. Укрепление откоса бетонными плитами с обратным фильтром из геотекстиля:

1 - упор; 2 - бетонные плиты; 3 - геотекстиль; 4 - песчаная насыпь; 5 - дорожная одежда

Обратный фильтр из геотекстиля устраивают независимо от вида укрепления: фашинная выстилка, габионы, гибкие покрытия ЦНИИС, каменные наброски (рис. 9), сборные и монолитные железобетонные плиты.

Применяемый для устройства обратного фильтра в укреплении подтопляемых насыпей геотекстильный материал должен удовлетворять следующим требованиям:

О90 < α50 при α500,05 мм,

О90 ≤ 10α50 и О900,1 мм при α500,05 мм;

КФ.Т. < 10КФ.Г. - для всех грунтов,

где О90 - диаметр пор геотекстильного фильтра, мельче которого 90 % пор;

α50 - диаметр частиц, мельче которых в грунте 50 % частиц;

КФ.Т., КФ.Г. - коэффициент фильтрации соответственно геотекстиля и грунта насыпи.

3.4. Для сокращения объемов работ, выполняемых на откосе, в сборных конструкциях укрепления (фашинная выстилка, железобетонные плиты, габионы) их элементы могут быть заранее (до укладки на откос) соединены с подстилающим их фильтром.

Рис. 9. Укрепление откоса в виде каменной наброски с обратным фильтром из геотекстиля:

1 - каменная наброска; 2 - геотекстиль; 3 - насыпь; 4 - дорожная одежда

Фашины, уложенные сплошным слоем или в клетку, с помощью геотекстильного полотна объединяются в крупные маты, которые укладывают на откос и фиксируют на его поверхности с помощью закрепляющих штырей или пригрузки камнем. В укреплениях из сборных плит геотекстильное полотно наклеивают на опорную поверхность плиты с выпусками по двум смежным сторонам, перекрывающими стык плит и заходящими под соседнюю плиту на ширину с α, определяемую по формуле

,

где К1 - безразмерный коэффициент; К1 = 15 - для иглопробивных, К1 = 20 - для остальных геотекстильных материалов;

t - ширина шва между плитами.

3.5. Геотекстильную прослойку, уложенную на контакте с крупнообломочным грунтом или сходным с ним по зерновому составу материалом, следует защищать от повреждения гранями крупных частиц путем укладки между крупнозернистым слоем и геотекстилем слоя песка толщиной 10 - 15 см. Если необходим непосредственный контакт геотекстильного полотна с крупнообломочным материалом, например обратный фильтр под каменной наброской, то следует использовать иглопробивной геотекстильный материал, обладающий достаточным сопротивлением проколу. В остальных случаях для устройства обратного фильтра могут применяться различные нетканые геотекстильные материалы, удовлетворяющие требованиям п. 3.3.

В районах с дефицитом каменных материалов в качестве укрепления откоса, аналогичного габионам, в ограниченном объеме допускается применять гибкие формы - тубы из геотекстиля, заполненные песком или гравием. Для этой цели можно использовать любой геотекстиль, обладающий достаточной прочностью и способностью без потерь удерживать материал внутри формы. Такие формы можно заполнять заранее и привозить упакованными или заполнять прямо на месте, используя в качестве транспортирующего песок агента воздух или воду. Чтобы предотвратить вынос грунта откоса через промежутки между формами, под ними устраивают обратный фильтр из геотекстиля. С помощью такого укрепления, выполняющего одновременно функцию ограждения, увеличивают крутизну откоса. В этом случае формы целесообразно заанкерить тяжами, размещенными в теле насыпи, переходя к конструкции типа армогрунт.

3.6. На участках временного подтопления при отсутствии ледяного покрова рекомендуется использовать комбинированную конструкцию с покрытием из геотекстиля, зафиксированным на поверхности откоса жесткой массивной решеткой и плоской (стальной или синтетической) сеткой (рис. 10). Комбинация сетки с геотекстильным полотном может быть выполнена в виде единого элемента при производстве армированного геотекстильного материала. Конструкция применима для высоты волны до 30 см на откосах с уклоном до 1:2, сложенных песчаными грунтами, при размере ячейки решетки 1×1 м, сечении элемента 10×10 см и размере ячейки сетки 20×20 см. В качестве покрытия целесообразно использовать иглопробивной геотекстильный материал с разрывным удлинением не выше 100 %.

Рис.10. Укрепление откоса в виде решетки с сеткой и геотекстилем:

1 - основание насыпи; 2 - упор; 3 - растительный грунт с семенами трав; 4 - геотекстиль с битумным покрытием; 5 - сетка; 6 - бетонная решетка; 7 - песчаная насыпь

Пригрузочную решетку выполняют массивной, обеспечивая прилегание геотекстильного полотна к откосу за счет собственного веса. Массивная решетка может быть выполнена из сборных бетонных элементов, монолитного бетона или торкрет-бетона. При высоте волны до 20 см возможно применение деревянной решетки, закрепленной на откосе насыпи с помощью штырей длиной 1 м.

Геотекстильное покрытие можно комбинировать не только с решеткой и сеткой, но и с высевом трав под полотно, посадкой кустарников сквозь него, причем закрепляющие колья решетки в случае их прорастания могут рассматриваться как саженцы кустарника. Для защиты от солнечных лучей геотекстильное покрытие в клетках решетки покрывают органическим вяжущим. Исключение составляет вариант с торкрет-решеткой, при котором полотно внутри клеток покрывается слоем отскочившего при торкретировании раствора.

При оценке эксплуатационной надежности конструкции следует иметь в виду, что она склонна к деформациям в ходе двух-четырех расчетных штормов, после чего положение откоса стабилизируется. Деформации заключаются в переформировании откоса с подъемом его поверхности ниже расчетного горизонта воды на 5 - 10 см и опускании поверхности выше горизонта воды на ту же величину, выпучивании геотекстильного покрытия внутри ячейки сетки с заполнением зоны выпучивания песком.

3.7. Периодически подтопляемые откосы песчаных насыпей высотой до 2 м допускается укреплять обоймами из геотекстильного полотна (рис. 11). При высоте волны 30 см устойчивое положение откоса обеспечивается средним уклоном 1:1,5 и высотой обойм до 0,5 м. Полотна геотекстиля должны заходить в откосную часть насыпи минимум на 1 м для обеспечения устойчивости обоймы к волновому воздействию. Для обеспечения общей устойчивости откоса полотна заводят в тело насыпи согласно расчету (см. п. 2.14).

В процессе эксплуатации профиль откоса под действием волны изменяется, грунт в обоймах переформировывается, сами они несколько вытягиваются и плотно заполняются грунтом. Высота обойм и откоса уменьшается на 15 - 20 см на 1 м. Переформирование протекает в течение двух-четырех расчетных штормов, после чего откос приобретает стабильное очертание, а его профиль восстанавливают подсыпкой обочин. Укрепление с помощью обойм служит для временного (на два-три года) укрепления откосов насыпи.

Рис. 11. Укрепление откоса в виде обойм из геотекстиля:

1 - обойма из геотекстиля; 2 - песчаная насыпь

После обработки поверхности геотекстиля битумным вяжущим с посыпкой песком срок службы его удлиняется до 5 - 7 лет. В конструкции постоянных сооружений укрепление обоймами должно быть дополнено защитной стенкой, например из торкрет-бетона.

3.8. В укреплениях вертикального откоса в виде шпунтового ряда геотекстиль используют как фильтр для предотвращения выноса грунта через щели (шириной до 30 мм) шпунтового ограждения. Фильтрующее полотно из дорнита укладывают в один слой при ширине стыка до 20 см и в два слоя - при большей ширине, навешивают по тыльной стороне шпунтового ограждения и заглубляют ниже уровня дна водоема на 0,3 - 0,5 м (рис. 12). При наличии воды в застенном пространстве концы полотен погружают в воду с помощью пригрузов.

Нахлест полотен составляет 0,2 м. Для обратной засыпки пазухи за шпунтовым ограждением применяют песок согласно требованиям к обратному фильтру.

Рис. 12. Обратный фильтр из геотекстиля в шпунтовом ограждении:

1 - откос; 2 - упорная свая; 3 - поперечная связь; 4 - монолитный ростверк; 5 - шпунтовый ряд; 6 - фильтр из геотекстиля

4. Геотекстильные прослойки для укрепления обочин

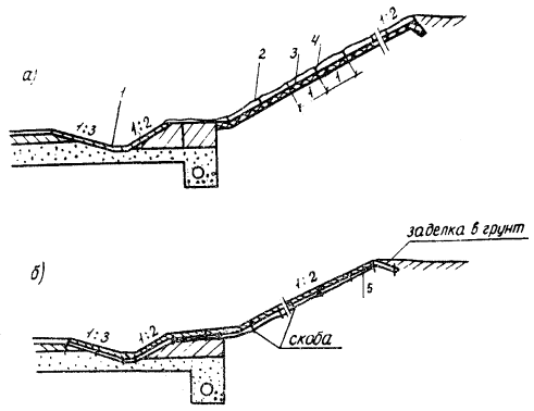
4.1. Уровень заложения геотекстильной прослойки и размещение ее по ширине определяются видом материала, необходимостью выполнения заданных функций (армирующей, дренирующей, разделяющей и защитной) и конструктивно-технологическими требованиями. При выборе конструктивного решения необходимо принимать во внимание целесообразность комплексного решения конструкции укрепления обочин и откосов.

4.2. При применении геотекстиля в качестве армирующей или разделяющей прослойки под крупнозернистым материалом слоя укрепления достаточно размещать его лишь в пределах наиболее часто подвергаемой наездам части обочин - краевой укрепительной полосы с запасом по ширине на 0,2 м (рис. 3). В расчете укрепления действие прослойки учитывается увеличением модуля упругости грунта на 20 %.

Рис. 13. Основные конструктивные решения по укреплению обочин:

1 - прибровочная полоса; 2 - укрепленная часть обочины; 3 - проезжая часть; 4 - геотекстиль

При применении геотекстиля в качестве дренирующей прослойки его укладывают непосредственно на земляное полотно по всей ширине обочины с выводом на откос (см. рис. 13, б). Для предотвращения водной эрозии и для армирования обочины геотекстиль может быть уложен с уклоном в сторону проезжей части (см. рис. 13, в) При проведении ремонтных работ в дренирующем грунте обочины нарезают корыто и устраивают прослойки из материала, не обладающего водопроницаемостью в плоскости полотна. Для защиты обочины от размыва прослойку укладывают в пределах неукрепленной части обочины (см. рис. 13, г) с уклоном в сторону откоса в комплексе с травосеянием.

4.3. Для уточнения толщины и количества слоев укрепления обочины с учетом армирующего действия прослойки по результатам расчета согласно ВСН 39-79 производится корректировочный расчет с предварительной проверкой геотекстиля на работоспособность при длительной эксплуатации в соответствии с условием δa < RP:

,

где δa - напряжение в геотекстиле от действия колесной нагрузки, МПа;

RP - расчетное значение сопротивления геотекстиля растяжению, МПа;

ЕТ и Ео - модуль упругости соответственно геотекстиля и подстилающего грунта, МПа;

εТР - расчетное удлинение геотекстиля;

n и К - коэффициенты, устанавливаемые по табл. 2;

РТР - прочность геотекстиля на растяжение, Н/см;

m - коэффициент, учитывающий разделяющую функцию прослойки на контакте с крупнозернистым материалом, m = 1,2.

Таблица 2

Материал

Значение n для срока службы, годы

К

2

5

10

20

Полиамид

0,56

0,29

0,20

0,11

0,7

Полипропилен

0,89

0,82

0,78

0,71

0,7

Полиэфир

0,89

0,82

0,78

0,71

0,4

Если указанное условие не выполняется, то необходимо увеличить толщину слоев укрепления, применить геотекстиль большей прочности или с большими значениями n и К .

Значения характеристик геотекстиля, используемого для армирования обочин, должны быть не меньше указанных в табл. 3.

Таблица 3

Наименование показателя

Значение показателя при выполнении прослойкой функции

армирования

разделения слоев

Разрывное усилие РР, Н/см

55

65

Условный модуль упругости ЕТ, Н/см

350

150

Условный модуль деформации ЕД, Н/см

250

100

Расчетом определяем новое значение модуля упругости на поверхности покрытия , имеющего большее по сравнению с рассчитанным по ВСН 39-79 () значение в результате армирования:

.

Значения коэффициента α приведены в табл. 2 прил. 2 настоящих Методических рекомендаций. После вычисления нового значения  проводится корректировка (уменьшение) толщин слоев укрепления, чтобы соблюдалось условие .

5. Технология устройства геотекстильных прослоек

5.1. Технологический процесс устройства геотекстильных прослоек в общем случае включает следующие операции:

планировку грунтового основания с разбивкой проектного положения;

раскатку рулонов с закреплением полотен на основании;

соединение полотен между собой;

приемочный контроль качества устройства прослойки;

возведение конструкции укрепления, включая посев семян трав;

обработку поверхности прослойки.

В зависимости от особенностей конструктивного решения технологическая последовательность может несколько изменяться вследствие дополнения или исключения отдельных специфических операций. Технологический процесс устройства конструкций выше и ниже геотекстильной прослойки осуществляется по традиционным схемам.

5.2. Рулоны геотекстильного материала целесообразно раскатывать вдоль оси дороги, если нет специальных требований по раскатке в поперечном направлении. Раскатку ведут вручную три-пять человек в зависимости от условий раскатки и массы рулона. При раскатке необходимо строго следить за совпадением края полотна с проектным положением. Для этого перед раскаткой на основании выставляют маячные вешки, соответствующие краям раскатанных полотен. Обязательным условием использования геотекстиля в любой конструкции является перекрытие раскатанного полотна в ту же смену вышележащим конструктивным элементом укрепления или обработка поверхности геотекстиля органическим вяжущим.

При сменном темпе работы по устройству прослойки и вышележащего слоя укрепления свыше 2 - 3 тыс. м2 целесообразно использовать серийные дорожные машины со вспомогательными приспособлениями. Например, для сплошного покрытия может быть использован кран с подвешенной к стреле осью, на которую надет рулон материала.

5.3. Укладку полотен на откосы при ширине укрепляемой зоны откоса, превышающей ширину рулона геотекстиля, и соединении полотен внахлест производят ярусами, начиная с низа откоса. Рулон геотекстиля раскатывают на обочине на всю его длину (50 - 100 м) или отрезают от него часть полотна и сдвигают по откосу вниз. Укладку полотен производят по шнуру, натянутому между разбивочными кольями, указывающими границу укрепляемой полосы. Верхний край полотнища временно прикрепляют к грунту откоса штырями длиной 0,4 - 0,5 м. После укладки вышележащего полотнища по продольному стыку устанавливают постоянные П-образные штыри, а временные крепежные убирают.

При укреплении обочин раскатку рулонов по дну корыта и укладку полотен в проектное положение выполняют вручную трое рабочих. После раскатки первых метров у начала участка полотно прижимают к грунту по ширине двумя-тремя штырями или присыпают материалом укрепления. В дальнейшем следует произвести периодическое разравнивание полотна с небольшим продольным его натяжением и перемещением в проектное положение - к кромке дорожной одежды проезжей части с отгибом 0,1 - 0,15 м края полотна. Полотно в проектном положении закрепляют прижатием к грунту через 10 - 12 м штырями, присыпкой грунтом, отдельными щебенками во избежание его изменения под действием ветра, при укладке вышележащих слоев укрепления, а также для сохранения небольшого предварительного натяжения полотна.

Производительность выполнения работ рассчитывается исходя из следующих данных: скорость раскатки рулона при ширине 1,5 - 2 м составляет 0,5 - 1 км/ч; потеря времени на разравнивание полотен, их перемещение в проектное положение и закрепление без соединения - в среднем 0,5 ч на одно полотно длиной 100 м.

5.4. При устройстве прослоек из геотекстиля необходимо предусматривать соединение отдельных полотен между собой в продольных и поперечных стыках, а также крепление полотен к грунту насыпи. Соединение полотен производят путем сшивки, склейки сварки и внахлест с перекрытием краев соседних полотнищ на ширину 0,2 - 0,25 м. К грунту полотно нетканого материала крепят путем постановки П-образных скоб из арматурной стали диаметром 6 - 8 мм. Длина скоб при креплении к песчаному грунту должна быть 0,5 - 0,6 м, к глинистому - 0,3 - 0,4 м. Скобы следует устанавливать перпендикулярно поверхности грунта в зависимости от соединения соседних полотен: сшивка - только по верхнему (на обочине) и нижнему (на откосе) краям покрытия; склейка - по краям покрытия и в стыках на откосе; внахлест - по краям покрытия и в стыках на откосе и обочине. Расстояние между скобами принимают по табл. 4.

Таблица 4

Способ соединения полотен

Расстояние между скобами, м

на откосе

на обочине

на поперечных лотках

по краю полотна

в стыках

по краю полотна

в стыках

по краю полотна

в стыках

Сшивка

1,5 - 2

-

3 - 4

-

1,5 - 2

-

Склейка, сварка

1,5 - 2

3 - 4

3 - 4

-

1,5 - 2

3 - 4

Внахлест

1,5 - 2

1,5 - 2

3 - 4

3 - 4

1,5 - 2

1,5 - 2

5.5. До начала укладки геотекстиля должны быть выполнены работы по планировке откосов и обочин, нарезке продольных и поперечных лотков (при устройстве лотковых конструкций), укладке и планировке растительного слоя на откосах с последующим посевом трав.

Перечисленные операции (за исключением нарезки лотков) выполняются согласно Руководству по сооружению земляного полотна автомобильных дорог (М.: Транспорт, 1982).

Нарезка продольных лотков на откосах насыпи осуществляется одновременно с планировкой откосов с помощью тяжелого автогрейдера или бульдозера, оборудованных откосниками. Для устройства поперечных лотков можно использовать экскаватор-драглайн типа Э-652Б или откосопланировщик типа ЭО-3332 со сменным оборудованием в виде прикрепленного к ковшу скребка, выполненного по форме и размерам поперечного лотка. На откосах крутизной 1:1,75 и положе поперечные лотки можно нарезать бульдозером с гидравлическим управлением и установленным на его отвале таким же скребком при движении бульдозера сверху вниз.

При устройстве сбросных лотков на откосе в опытном порядке может быть использован способх), заключающийся в укладке геотекстильного полотна на поверхности откоса в месте предполагаемого лотка, вдавливании полотна в грунт с помощью профилирующего приспособления, подвешенного на стреле экскаватора или крана, с последующей заделкой краев полотна в грунт вручную. Перед вдавливанием полотно должно быть надежно закреплено на откосе с помощью скоб, устанавливаемых через 0,5 - 1 м по обоим краям полотна.

х) Авт. свид. 950858.

При устройстве лотковых конструкций полотна геотекстиля вначале укладывают и крепят к грунту на поперечных лотках, затем - на продольных лотках и обочинах.

Во избежание излишнего деформирования поверхности откосов (особенно при укреплении насыпей из песка) при укладке геотекстиля рабочие должны передвигаться по временно уложенным поперек откоса полотна (мягким трапам) из нетканого материала.

5.6. Равнопрочное соединение полотен постигается с помощью сшивки, сварки или склейки. Сварку и склейку осуществляют после раскладки материала непосредственно на месте с помощью ручных устройств. При соединении сшивкой рулоны раскатывают на обочине и укладывают друг на друга, сшивая их продольные края портативной электрической швейной машинкой с таким расчетом, чтобы при раскладке полотен на откосе в стыковых соединениях нижние края вышележащих полотнищ перекрывали верхние края нижележащих.

Сшитое таким образом на всю ширину укрепляемой полосы полотнище передвигают вниз по откосу и прикрепляют нижний край к грунту стальными штырями у подошвы насыпи.

Узкие полотна целесообразно соединять иглопробивкой или сшивкой на предприятии-изготовителе или сшивать (по два-три полотна) в условиях производственной базы строительной организации. Такие объединенные полотна можно укладывать сразу на всю ширину укрепляемой полосы на откосе и обочине.

Сварка осуществляется с помощью специальных установокх) или паяльных ламп (при небольших объемах работ). В последнем случае полотна укладываются с перекрытием 0,2 м, их поверхности разогревают на ширину перекрытия до плавления, после чего обжимают ручным катком с вальцом массой 25 - 30 кг. Производительность звена из двух-трех человек при сварке вручную составляет 40 - 50 м шва в 1 ч.

х) Авт. свид. № 927524 и № 998633.

5.7. Дерновый покров на откосах создается согласно Указаниям по проектированию земляного полотна железных и автомобильных дорог СН 449-72 (М., 1973) посредством посева семян многолетних трав по слою растительного грунта, уложенного на откосы, или применением гидропосева (в благоприятных условиях) без растительного грунта. При полосовой и сплошной укладке полотен посев трав должен производиться по всей высоте откоса, при проектировании лотковой конструкции семена высевают на площади, не защищенной полотнами геотекстиля.

Выбор видов многолетних трав и нормы высева семян принимают по Руководству по сооружению земляного полотна автомобильных дорог.

5.8. Розлив вяжущих материалов по поверхности геотекстильных полотен производят с помощью автогудронаторов. Вяжущий материал разбрызгивают через шланги с наконечниками в один-два приема, не допуская стекания его вниз по откосу.

Перед обработкой поверхности полотен следует произвести розлив вяжущего по продольным стыкам для их склеивания.

5.9. Отсыпку на геотекстильное полотно материала вышележащего слоя укрепления следует вести по способу «от себя», не допуская заезда строительных машин на открытые полотна. При устройстве обочин материал укрепления выгружают непосредственно в корыто на уложенные полотна, надвигают, разравнивают и профилируют бульдозером и автогрейдером, после чего уплотняют. При строительстве следует избегать резких поворотов гусеничных машин на одной гусенице, так как это может привести к повреждению полотен геотекстиля.

6. Геотекстильные материалы для укрепления обочин и откосов

6.1. Классификация геотекстильных материалов по структурному признаку и способу производства приведена в табл. 5.

Таблица 5

Тип

Вид

Индекс

Волокнообразующий полимер

Стекловолокно

Химическое волокно

Натуральное волокно

полипропилен

попиэфилен

полиамид

полиэтилен (полиолефин)

Нетканый

Иглопробивной

НИ

НИП

НИЭ

НИА

НИО

НИС

НИХ

НИН

Термоупрочненный

НТ

НТП

НТЭ

НТА

НТО

НТС

НТУ

НТН

Химический упрочненный

НХ

НХП

НХЭ

НХА

НХО

ихс

НХХ

НХН

Холостопрошивной

НП

НПП

НПЭ

НПА

НПО

НПС

НПХ

НПН

Армированный

НА

НАП

НАЭ

НАА

НАО

НАС

НАХ

НАН

Двух(трех)-слойный комбинированный

НК

НКП

нкэ

НКА

НКО

ИКС

нкх

НКН

С включением семян

НС

нсп

нсэ

НСА

НСО

нес

нсх

нсн

Особые виды

НО

ноп

ноэ

НОА

НОО

НОС

нох

нон

Тканый

Плотный

ТП

тпп

тпэ

ТПА

тпо

тпс

ТПХ

тпн

Сетчатый

ТС

тСп

тсэ

ТСА

тсо

тсс

ТСУ

тсн

Пленочно-волокнистый

ТВ

твп

твэ

ТВА

тво

твс

ТВУ

твн

Дублированный нетканым

ТН

тнп

тнэ

ТНА

тно

тнс

тнх

тнн

Особые виды

ТО

топ

тоэ

ТОА

ТОО

тос

тох

тон

Штампованный

Решетчатый

ШР

ШРП

ШРЭ

ШРА

ШРО

 

 

 

Дырчатый

ШД

шдп

шдэ

ШДА

шдо

 

 

 

Особые виды

ШО

шоп

шоэ

ШОА

шоо

 

 

 

Специальный

Дрена

ид

идп

идэ

ИДА

идо

 

 

 

Объемная решетка

ИР

ИРП

ИРЭ

ИДА

ИРА

 

 

 

Выделено два основных типа геотекстиля: нетканый и тканый, характеризующиеся соответственно беспорядочным и упорядоченным переплетением волокон в холсте. Кроме того, имеется третий тип - штампованные геотекстильные материалы, образованные из листового полотна путем выштамповки прямоугольников.

Для сокращенного обозначения используется система индексации: первая буква - тип полотна, вторая - его вид, третья - волокнообразующий полимер.

К классу геотекстиля относятся такие изделия специального назначения (И): дрены в виде нетканого полотна с образующими внутреннюю полость продольными пружинками или перфорированными трубочками (ИД) и в виде решеток (ИР) типа кессонов с высотой ребер около 10 см (см. табл. 5).

6.2. Исходным сырьем (волокнообразующим полимером) для геотекстиля служат четыре основных вида полимера: полипропилен, полиэфир, полиамид и полиэтилен, свойства которых приведены в табл. 6. В отдельных случаях, когда обеспечиваются требуемые характеристики и долговечность прослоек в реальных условиях эксплуатации, геотекстильные полотна вырабатывают из стекловолокна, химического волокна (ПВХ, полиацетатного) или натурального волокна (шерсти, хлопка).

Выбор вида геотекстильного материала и сырья для его изготовления зависит от физико-механических свойств геотекстиля, срока службы конструкции, сырьевых ресурсов и требований защиты окружающей среды (прежде всего для стеклохолстов и других неполимерных материалов) и обосновывается технико-экономическими соображениями.

6.3. Геотекстиль для укрепления откосов должен удовлетворять требованиям табл. 7. В случае применения полотен, не обеспечивающих указанные характеристики, следует внести коррективы в конструктивные решения, видоизменяя (усиливая) соседние слои.

Таблица 6

Показатель

Значение показателя для полимеров

Полиэфир

Полипропилен

Полиамид

Полиэтилен

Плотность, т/м

1,36 - 1,38

0,90 - 0,92

1,14

0,95

Температура плавления, °С

258

165

218 - 256

130

Водопоглощение при 24 °С и относительной влажности 0,95, %

0,8 - 1

0

6 - 9

0

Разрывная прочность волокна:

 

 

 

 

при нормальных условиях, МПа

35 - 90

22 - 55

45 - 70

32 - 65

при увлажнении, % нормальной

85 - 100

100

80 - 90

100

Разрывное удлинение волокна, %:

 

 

 

 

при нормальных условиях

15 - 40

15 - 30

30 - 80

15 - 30

при увлажнении, % нормального

100 - 105

100

105 - 125

100

Устойчивость против воздействия:

 

 

 

 

слабых кислот

Хорошая

Очень хорошая

Хорошая

Очень хорошая

слабых щелочей

То же

То же

То же

Хорошая

микроорганизмов

Очень хорошая

«

«

Очень хорошая

Таблица 7

Вид конструктивного элемента

Рекомендуемые характеристики геотекстиля

Поверхностная плотность, г/м2

Ширина полотна, см

Толщина, мм

Разрывное усилие, Н/см

Разрывное удлинение, %

Модуль деформации, Н/см

Сопротивление проколу, см

Водопроницаемость, м/сут

Фильтровальная способность, мм

Истираемость, циклы

Коэффициент трения по грунту, %

Дренирующая прослойка на обочине или в откосе

350

160

5

30

150

-

-

100

0,10

-

-

Разделяющая прослойка в мелкозернистых грунтах

-

260

-

70

100

100

60

30

0,05

500

0,8

Разделяющая прослойка в крупнозернистых грунтах

-

250

-

120

70

150

30

30

0,10

1000

0,5

Защитное покрытие в комбинации с травосеянием

-

400

-

30

150

-

-

30

-

-

-

Обратный фильтр

-

250

-

70

100

70

-

100

0,05

1000

0,8

Решетчатое крепление подтопляемого откоса

-

250

-

70

100

70

30

30

-

-

 

Обойма

-

400

-

120

70

150

-

50

-

1000

-

Армирование тела насыпи

-

400

-

500

20

2000

-

30

-

-

0,8

Соответствие геотекстильного полотна предъявленным требованиям проверяется разработчиком (изготовителем) и потребителем материала.

6.4. Поверхностную плотность m геотекстильного материала определяют по ГОСТ 15902.1-70 взвешиванием образца 500×500 мм с увеличением полученного результата в 4 раза.

6.5. Толщину геотекстильного материала определяют на образце 50×200 мм, пригруженном жесткой пластинкой весом 1 Н, используя толщиномер по ГОСТ 11358-74 или штангенциркуль и рассчитывая среднее из замеров каждой стороны образца.

6.6. Ширину геотекстильного полотна (расстояние между продольными кромками) определяют с точностью до 1 см с помощью, линейки.

6.7. Разрывное усилие РТ и удлинение εТ определяют по ГОСТ 15902.3-79 испытанием на разрывной машине образцов шириной 50 мм и длиной 200 мм. Образцы испытывают на растяжение вдоль и поперек полотна. Относительную деформацию, соответствующую разрывному усилию, принимают за разрывное удлинение. Расчетные значения разрывного усилия РТР и удлинения εТР для прослоек внутри грунтового слоя вычисляют по формулам:

РТР = 1,2К1РТ;

εТР = 0,8К2εТ,

где К1 и К2 коэффициенты перехода на двухосное напряженное состояние, ориентировочно принимаемые при отсутствии испытаний на двухосное растяжение по табл. 8.

6.8. Модуль деформации геотекстильного полотна определяют как частное от деления растягивающего усилия, составляющего 50 % разрывного, к соответствующей относительной деформации растяжения.

Таблица 8

Вид геотекстиля

К1

К2

НИ

1,3

0,7

НТ, НХ

1,1

1,0

тп

1,2

0,8

тс

1,2

1,0

Для получения расчетного значения модуля деформации принимают отношение расчетных значений растягивающего усилия к деформации растяжения, вводя в них те же коэффициенты, что и для определения расчетных значений разрывных характеристик. Сопротивление проколу конусом характеризуют диаметром пробиваемого отверстия, полученного путем сбрасывания на геотекстильную мембрану конуса массой 1 кг с высоты 500 мм.

6.9. Водопроницаемость геотекстильного полотна оценивают испытанием в плоскости полотна на приборе радиальной фильтрации и поперек полотна на приборе ПКФ-Союздорнии при нормальной нагрузке, соответствующей расчетной. Коэффициент фильтрации КФ (м/сут) определяют по формуле

,

где Q - расход воды, см3;

t - время истечения, с;

J - градиент фильтрации;

F - площадь, сечения образца с учетом уплотнения, см2;

Т - температурная поправка, принимаемая в соответствии с методикой испытания грунтов.

Истираемость определяется количеством циклов движения сетки с песчаным абразивом до образования дыры.

Коэффициент трения по грунту оценивается в процентах по отношению к тангенсу угла внутреннего трения грунта и определяется в приборах плоского среза путем вытягивания через зазор прибора образца полотна при расчетных нормальных нагрузках.

Приложение 1

Методика гидравлического расчета лотковой конструкции защиты откосов

Методика расчета предусматривает: установление исходных данных, назначение расстояния между поперечными лотками , определение максимального дождевого расхода QР расчетной вероятности превышения при заданном , подбор под величину QР ширины в трапецеидального поперечного лотка.

К исходным данным относятся: ливневой район, категория дороги, продольный уклон участка дороги, поперечный профиль дороги.

Расстояние между поперечными лотками назначают по п. 2.8.

Максимальный дождевой расход QР расчетной вероятности превышения определяют по формуле

QР = 16,7αРFφКу,                                                           (1)

где αР, φ, Ку - параметры, устанавливаемые по «Методическим рекомендациям по расчету максимального дождевого стока и его регулированию» (Союздорпроект. М., 1980);

F - водосборная площадь, км2.

Расчетная вероятность превышения для дорог I - II категорий - 1 %, III - 2 %, IV - V - 3 %.

Площадь водосбора F находят по формуле

F = ВР,                                                                   (2)

где ВР - ширина водосбора (расстояние от водораздельной точки на поперечном профиле дороги до оси продольного лотка), км;

- расстояние между поперечными лотками, км.

При указанных в п. 2.8 расстояниях водопропускная способность продольных лотков достаточна для беспрепятственного отвода воды в поперечные лотки во всех случаях проектирования. Поэтому дальнейший расчет заключается в определении по величине QР при заданном значении минимальной ширины в по дну поперечного водосбросного лотка:

,                                                                (3)

где hK - критическая глубина потока в поперечном лотке; принимается по аналогии с типовым телескопическим откосным лотком равной 0,12 м;

q - ускорение свободного падения; q = 9,81 м/с2;

α - коэффициент кинетической энергии; α = 1,1.

Полученное по формуле (3) значение в округляют в большую сторону до величины, кратной 0,1 м.

Пример расчета.

Автомобильная дорога III категории проектируется в 6-м ливневом районе. Продольный уклон участка дороги J = 40 . Поперечный профиль с двухсторонним уклоном проезжей части, заложение откосов насыпи и про дольного лотка 1:2, превышение бровки насыпи над бровкой продольного лотка 0,5 м, глубина лотка 0,25 м. По этим данным ВР = 3,5 + 2,5 + 0,75 - 2 = 7,5 м.

Расстояние между поперечными лотками назначаем по п. 2.8. = 0,75 м.

Используя «Методические рекомендации по расчету максимального дождевого стока и его регулированию» (Союздорпроект. М., 1980), находим для 6-го ливневого района при вероятности превышения 2 %, J = 40 и F = ВР = 0,000625 км2 значения коэффициентов: αР = 2,92 мм/мин; φ = 0,935; Ку = 1,65.

Рассчитываем QР = 16,7·2,82·0,000625·0,935·1,65 = 0,047 м3/с;

 м.

Округляя в большую сторону, получаем в = 0,4 м.

Приложение 2

Таблицы для расчета укрепления обочин

Таблица 1

hЭ/D

0,25

0,50

0,75

1,00

1,25

0,195

0,160

0,118

0,077

0,053

hЭ/D

1,50

1,75

2,00

2,25

2,50

0,040

0,031

0,024

0,019

0,013

Примечание. , где Σhi - суммарная толщина лежащих над геотекстилем слоев укрепления, см; ЕСР - средний модуль упругости этих слоев, МПа; ЕСР = (h1E1 + …. + hnEn) / Σhi. При проверке в период строительства Σhi и ЕСР - соответственно толщина слоя и модуль упругости слоя, отсыпаемого непосредственно на геотекстиль.

Таблица 2

Примечание. Верхнее значение α принимается при ЕТ > 600 Н/см, нижнее - при 350 < ЕТ < 600 Н/см.

СОДЕРЖАНИЕ

Предисловие. 1

1. Общие положения. 2

2. Конструкции укрепления неподтопляемых откосов. 3

3. Геотекстильные полотна в укреплениях подтопляемых откосов. 11

4. Геотекстильные прослойки для укрепления обочин. 16

5. Технология устройства геотекстильных прослоек. 18

6. Геотекстильные материалы для укрепления обочин и откосов. 21

Приложение 1 Методика гидравлического расчета лотковой конструкции защиты откосов. 24

Приложение 2 Таблицы для расчета укрепления обочин. 25

 




Яндекс цитирования



   Copyright © 2007-2026,  www.tehlit.ru.

[ ѓосты, стандарты, нормативы, инструкции, правила, строительные нормы ]