//
ТехЛит.ру
- крупнейшая бесплатная электронная интернет библиотека для "технически умных" людей.
WWW.TEHLIT.RU - ТЕХНИЧЕСКАЯ ЛИТЕРАТУРА

:: Алготрейдинг::


АЛГОТРЕЙДИНГ
шаг за шагом
с нуля по урокам!

Торговые роботы на PYTHON, BackTrader,
Pandas, Pine Script для TradingView. Связка с брокерами, телеграм и легкими приложениями.


МИНИСТЕРСТВО ТРАНСПОРТНОГО СТРОИТЕЛЬСТВА

ГЛАВНОЕ ТЕХНИЧЕСКОЕ УПРАВЛЕНИЕ

ВСЕСОЮЗНЫЙ ПРОЕКТНО-ТЕХНОЛОГИЧЕСКИЙ ИНСТИТУТ
ТРАНСПОРТНОГО СТРОИТЕЛЬСТВА «ВПТИТРАНССТРОЙ»

ТЕХНОЛОГИЧЕСКАЯ КАРТА

УСТРОЙСТВО СБОРНОГО ПОКРЫТИЯ
ИЗ ЖЕЛЕЗОБЕТОННЫХ ПЛИТ
С УКЛАДКОЙ ГЕОТЕКСТИЛЯ
ПОД ШВАМИ И КРОМКАМИ ПОКРЫТИЯ

МОСКВА 1986

Типовая технологическая карта разработана отделом проектирования и внедрения технологии строительства автомобильных дорог и аэродромов на основании технического задания, утвержденного главным инженером Главзапсибдорстроя от 6 февраля 1984 г., и предназначена для применения при разработке проектов производства работ, а также для организации труда на объектах строительства.

Технологическая карта рекомендована к применению техническим советом ВПТИтрансстроя 26 марта 1986 г., протокол № 7.

Главный инженер института В.И. ШТЕЙН

Зав. отделом автодорог и аэродромов Э.М. АСТРАХАН

Инженер отдела автодорог и аэродромов С.Ю. ПИГАЛЕВА

1. ОБЛАСТЬ ПРИМЕНЕНИЯ

1.1. Технологическая карта разработана на устройство сборного покрытия шириной 8 м из железобетонных плит ПАГ-14 размером 6,0´2,0´0,14 м с укладкой геотекстильного материала под швами и кромками плит при двухстадийном методе строительства дорожной одежды для дорог III и IV категории в районах Западной Сибири.

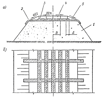
1.2. Схема конструкции покрытия (рис. 1) принята в соответствии с экспериментальным альбомом «Дорожные одежды и земляное полотно автомобильных дорог с примененном нетканых синтетических материалов», Минтрансстрой, 1985.

Рис. 1. Схема конструкции сборного покрытия из плит ПАГ-14 с применением геотекстиля:

а - поперечный разрез; б - вид сверху; 1 - насыпь; 2 - прослойки из геотекстиля под поперечными швами покрытия; 3 - прослойки из геотекстиля под продольными швами покрытия; 4 - плиты ПАГ-14; 5 - присыпная обочина; А - ширина полос геотекстиля (не менее 0,75 м); В - ширина плиты

Железобетонные плиты должны отвечать требованиям сборника стандартов «Плиты железобетонные предварительно-напряженные для аэродромных покрытий», ГОСТ 25912.0-83, ГОСТ 25912.3-83.

Типовые проектные решения серии 503-0-42 «Дорожные одежды с покрытиями из сборных железобетонных плит», М., Госстрой, 1980.

1.3. Прослойки из геотекстиля следует применять при устройстве сборных покрытий на неукрепленном песчаном основании с укладкой геотекстиля на второй стадии строительства. В этом случае прослойки обеспечивают динамическую устойчивость переувлажненного песка в зоне шва и у кромок покрытия при воздействии транспортных нагрузок (исключаются выплески песка из-под плит в швы и в сторону кромок проезжей части), а также предотвращают размывы поверхностной водой песчаного основания в зоне швов и кромок покрытия.

При устройстве прослойки из геотекстиля допускается не устраивать монтажный слой из пескоцементной смеси и основание из песчано-гравийной смеси.

1.4. Работы по устройству покрытия выполняют в две стадии. На первой стадии на полностью отсыпанное земляное полотно укладывают плиты ПАГ-14 без омоноличивания швов и открывают движение транспорта (см. технологическую карту «Строительство нефтепромысловых автодорог из железобетонных плит ПАГ-14 по двухстадийному методу», М.. ВПТИтрансстрой, 1981).

На второй стадии строительства дорожной одежды рассматриваемой технологической карты предусматриваются следующие работы: демонтаж плит, планировка верха земляного полотна, укладка геотекстильного материала под швы, укладка плит, сварка стыковых скоб, заполнение швов пескоцементным раствором, заливка швов битумно-полимерной мастикой, досыпка обочин.

1.5. Ко второй стадии строительства приступают через год после завершения большей части просадок (консолидации) земляного полотна, и период когда земляное полотно оттаяло.

При производстве работ используют автокран КС-4561А, автогрейдер ДЗ-98А, виброкатки, самоходный заливщик конструкции треста «Тюмендорстрой» для заполнения швов пескоцементным раствором, заливщик швов ДС-67А для заполнения швов битумной мастикой.

Работы по устройству покрытия производят в две смены. Укладку полос геотекстиля и плит покрытия ведут способом «от себя», при этом укладка геотекстиля ведется с опережением укладки плит не более чем на 30 м.

1.6. При привязке технологической карты к местным условиям необходимо уточнить категорию дорог, наличие и потребность строительных материалов и механизмов, объемы работ, калькуляцию затрат труда.

В зависимости от условий производства работ и особенностей конструкции технологическая последовательность производства работ может быть изменена.

2. ТЕХНОЛОГИЯ И ОРГАНИЗАЦИЯ СТРОИТЕЛЬНОГО ПРОЦЕССА

2.1. Указания по подготовке объекта и требования к готовности предшествующих работ

2.1.1. До начала работ по устройству покрытия на второй стадии земляное полотно должно быть отсыпано полностью до проектных отметок.

2.1.2. На приобъектном складе плиты сортируют и укладывают по сортам в штабеля по 8 - 10 плит. Перед отправкой недостающих плит на место укладки боковые грани грунтуют 30-процентным раствором битума в бензине. Поверхности плит, имеющих пылевидное шелушение, также грунтуют раствором битума в бензине. Перед нанесением грунтовочного раствора пистолетом-распылителем типа С-592 поверхность плит, боковые грани и монтажные скобы очищают от наплывов раствора, грязи.

2.2. Схема организации работ в рабочей зоне в период производства работ приведена на рис. 2

2.3. Указания по технологии работ

2.3.1. Работы по устройству сборного покрытия из железобетонных плит с укладкой геотекстиля под швами на второй стадии ведут в такой последовательности: демонтируют плиты; досыпают, планируют и укладывают верх земляного полотна; укладывают геотекстильный материал под швы плит; укладывают плиты покрытия; сваривают стыковые скобы; омоноличивают швы (заполняют швы пескоцементным раствором и заливают битумной мастикой); досыпают обочины.

2.3.2. Демонтаж плит. Автогрейдером ДЗ-98А очищают обочины, зарезают грунт, освобождая боковые грани плит. Автокран КС-4561А устанавливают на аутригеры. Кран должен быть оснащен траверсами, снабженными монтажными петлями с четырьмя крюками. Стрелу автокрана устанавливают над плитой, продевая крюки захвата в монтажные петли, осторожно поднимая плиту сначала за две петли, а затем за четыре. Складируют плиты на обочине или притрассовой площадке на расстоянии 1,5 - 2,0 м от бровки земляного полотна вдоль фронта работ, укладывая по четыре штуки в штабеля на деревянные подкладки. Расстояние между штабелями должно быть не менее 0,8 м для свободного прохода рабочих при огрунтовке боковых граней плит. Отбракованные, негодные плиты вывозят с участка до начала производства работ по устройству покрытия. Недостающие плиты привозят с приобъектного склада на автомобилях и укладывают на обочине в штабеля или складируют на притрассовых площадках.


Рис. 2. Технологическая схема устройства сборного покрытия из плит ПАГ-14 с укладкой геотекстиля под швы и кромки покрытия:

1 - плиты ПАГ-14; 2 - отбракованные плиты; 3 - автокран КС-4561А; 4 - автогрейдер ДЗ-98; 5 - виброкаток; 6 - трубчатый шаблон; 7 - груженный плитами автомобиль; 8 - геотекстиль под продольными швами; 9 - геотекстиль под поперечными швами; 10 - электросварочный агрегат АСД-300МУ1; 11 - самоходный заливщик швов легкоцементным раствором; 12 - заливщик швов ДС-67А


2.3.3. Планировка и укатка верха земляного полотна. По окончании работ по демонтажу производят выравнивание и планировку верха земляного полотна. При необходимости (наличии больших просадок) производят досыпку земляного полотна до проектных отметок. Перед началом планировки восстанавливают положение оси, бровок земляного полотна в плане и в продольном профиле.

Планировку верха земляного полотна производят автогрейдером ДЗ-98А, оборудованным системой «Профиль-20» за три цикла.

За первый цикл производят грубую планировку и выравнивание поверхности. Работу выполняют на второй передаче. За второй цикл производят окончательное выравнивание верха земляного полотна и образование вчерне поперечного профиля. Работу выполняют также на второй передаче. За третий цикл производят окончательную планировку земляного полотна под отметки с удалением лишнего грунта на откосы насыпи. Работу выполняют на третьей передаче. Поперечный уклон контролируют шаблоном. Спланированную поверхность земляного полотна укатывают виброкатком за 2 - 3 прохода по одному следу. Укатку начинают от краев с постепенным перемещением проходов к середине земляного полотна с перекрытием следов на 1/3 вальца катка. После уплотнения верха земляного полотна виброкатками окончательную планировку по всей ширине земляного полотна осуществляют при помощи специального прицепного шаблона, изготовляемого в мастерских, который протаскивают автогрейдером по спланированной поверхности земляного полотна. Ровность поверхности проверяют трехметровой рейкой.

2.3.4. Укладка геотекстильного материала под швы и кромки плит. Перед укладкой полос геотекстиля делают разбивку земляного полотна, фиксируя положение одной из кромок покрытия, то есть положение крайней полосы геотекстиля, остальные полосы укладывают по шаблону. Намечают место положения поперечных швов под плитами. На второй стадии строительства дорожной одежды плиты укладывают со смещением в продольном направлении на 2 - 3 м от поперечных швов плит, уложенных на первой стадии.

На производственной базе или на месте работ рулоны геотекстильного материала шириной 2,5 или 1,6 м разрезают на рулоны шириной не менее 0,75 м для укладки под швы и кромки плит с помощью электропилы или двуручной пилой с предварительно отточенными зубьями, заправленной как гильотина.

Перед началом работ рулоны геотекстиля раскладывают на земляное полотно в соответствии с местоположением продольных швов и кромок покрытия и ведут раскатку рулонов в продольном направлении способом «от себя», не допуская при этом отклонений, постоянно наблюдая за положением рулона, поправляя рулон на перекосах. При этом раскатка рулонов геотекстиля ведется с опережением укладки плит не более чем на 30 м.

В соответствии с разбивкой раскладывают полосы геотекстиля под поперечными швами покрытия через каждые 6 м. Полосы материала выводят под обочинами и выпускают на откос по 0,5 м с каждой стороны.

2.3.5. Укладка плит покрытия. После раскладки геотекстильного материала под швами покрытия приступают к укладке плит.

Перед укладкой плит в покрытие производят разбивку полосы покрытия в плане. Разбивку по высоте не делают, но в ходе укладки проверяют нивелиром вертикальные отметки и поперечные уклоны.

При односкатном профиле покрытия укладку плит начинают от верхнего края покрытия. При двускатном профиле укладку плит ведут от середины покрытия в обе стороны длинной стороной параллельно оси покрытия.

Плиты укладывают краном КС-4561А с установкой его на аутригеры. Кран должен быть оснащен траверсами, снабженными монтажными тросами или цепями с четырьмя крюками. С одной стороны крана укладывают четыре плиты. Автокран устанавливают в начале участка на ранее уложенные плиты. Поворотом крана устанавливают стрелу над плитой, находящейся в штабеле на обочине, стропуют ее, продевая крюки захвата в монтажные петли, и переносят плиту на место укладки, ориентируя ее длинной стороной параллельно оси покрытия.

Первую плиту устанавливают в середине покрытия, удерживая ее на высоте 0,5 м над поверхностью основания, наводят плиту на место установки, удерживая ее от раскачивания баграми длиной 1,5 - 2 м. Наведенную плиту опускают над основанием на 7 - 10 см, проверяют ломиками-шаблонами ширину продольных и поперечных швов, которые должны составлять 8 - 12 мм. Затем плиту опускают на основание. Смещение плиты относительно середины полос геотекстиля не должно превышать 5 см. Плиту опускают таким образом, чтобы она коснулась поверхности одновременно всей подошвой.

В том случае если плиты, поступающие на объект, имеют отклонения от параметров по толщине плиты, то тогда целесообразно плиты укладывать следующим образом. Плиты с превышением толщины укладывают по одну сторону от оси проезжей части покрытия, а плиты, имеющие меньшую толщину или нормативную, укладывают по другую сторону от оси и таким образом добиваются требуемой ровности покрытия в поперечном направлении.

После укладки четырех плит кран перемещают на новую стоянку, наезжая на уже уложенные плиты.

Передвигать плиту после ее укладки горизонтально нельзя, чтобы не нарушить ровность полос геотекстиля.

После укладки плит на всей захватке их обкатывают груженым автомобилем за 2 - 3 прохода и проверяют ровность покрытия рейкой, отмечая плиты, подлежащие перекладке. Зазор под рейкой между уступами смежных плит не должен превышать 5 мм. Перекладку неправильно положенных плит осуществляют единым потоком.

2.3.6. Сварка стыковых скоб. После обкатки и выравнивания покрытия плиты скрепляют сваркой восьми стыковых скоб, которые предварительно очищают стальными щетками и скребками с продувкой сжатым воздухом.

Сварку производят сварочным агрегатом АСД-300МУ1 с применением электродов диаметром 4 - 5 мм типа Э-42А или Э-34. При зазоре между скобами до 4 мм (рис. 3, а) сварку производят одним непрерывным швом шириной 0,5 диаметра (но не более 10 мм), высотой 0,25 диаметра (но не менее 6 мм). При зазоре больше 4 мм на скобы накладывают дополнительный стальной стержень (отрезок арматуры) диаметром на 2 - 3 мм больше ширины зазора, сварку производят двумя параллельными швами по обеим сторонам стержня (рис. 3, б).

Рис. 3. Схема сварки стыковых скоб:

а - при зазоре до 4 мм; б - при зазоре между скобами более 4 мм; 1 - стыковая скоба; 2 - сварной шов; 3 - дополнительный стержень

Для образования швов расширения через три-четыре плиты по длине ряда (18 - 24 м) торцевые скобы не сваривают.

После сварки стыковых соединений участков покрытия прикатывают двумя-тремя проходами груженых автомобилей. Если в результате прикатки обнаружатся повреждения сварки и другие дефекты, то дополнительно производят сварочные работы и исправляют дефектные места.

2.3.7. Омоноличивание швов. После окончания сварочных работ приступают к омоноличиванию швов. Все швы, за исключением швов расширения, заполняют на две трети высоты паза пескоцементным раствором состава 1 : 4 (по массе). Швы расширения заполняют битумно-полимерной мастикой или мелкозернистым асфальтобетоном на всю высоту шва. Для того чтобы пескоцементный раствор и битумно-полимерная мастика не вытекали из поперечных швов, в торцах плит забивают колышки (нащельники).

Швы между плитами заполняют пескоцементным раствором при помощи самоходного заливщика швов, смонтированного на шасси автомобиля КрАЗ-219.

В комплект оборудования заливщика входят: емкость для воды, растворомешалка, растворонасос производительностью 3 м3/ч, насос для подачи воды в дозировочный бачок растворомешалки, емкость для хранения цемента; кроме того, необходимо предусмотреть площадку для песка и цемента.

Ходовая часть заливщика оснащена автономными электродвигателями, питаемыми от генератора мощностью 30 кВт, который приводится в движение дизельным двигателем Д-60Р.

Скорость движения машины в рабочем положении 360 м/ч. Прямолинейность движения обеспечивается направляющим диском, смонтированным на дышле машины и перемещающимся по шву между плитами.

В начале смены заливщик заправляют водой для приготовления раствора и загружают площадку цементом и песком.

При наличии всех материалов и фронта работ запускают двигатель, устанавливают машину на шов, приготавливают пескоцементный раствор.

Приготовленный в растворомешалке пескоцементный раствор поступает в расходный бункер через сито, откуда растворонасосом через шланги с соплами раствор попадает в пазы продольных и поперечных швов. Для обеспечения равномерного заполнения раствор по шву разравнивают лопаточкой.

После заполнения швов пескоцементным раствором верхнюю часть шва заполняют битумно-полимерной мастикой при помощи заливщика ДС-67А.

Заливщик швов ДС-67А состоит из базовой машины УАЗ-452Д и оборудования, смонтированного в кузове автомобиля.

В комплект оборудования входят: емкость для мастики, рабочий орган и промывочная емкость, компрессор, оборудование для подготовки швов (бак для разжиженного битума и удочки с наконечниками и распылителями).

Пазы швов прочищают стальным крючком и ершом, а затем при помощи удочки и специального наконечника прочищают и одновременно продувают стенки шва сжатым воздухом. При продувке используют компрессор производительностью 0,5 м3 воздуха, в минуту. Управляют продувкой при помощи воздушного крана на удочке. Сначала продувают продольные швы, а затем поперечные.

Подгрунтовку стенок швов выполняют холодным разжиженным битумом при помощи удочки с надетым специальным наконечником. Грунтуют сначала продольные, а затем поперечные швы.

Мастики, как правило, готовят на заводе или строительной базе и разогревают на месте производства работ. Для этого применяют битумный котел, оборудованный мешалкой.

Разогретую на базе до рабочей температуры мастику от 162° до 180 °С загружают в емкость для мастики заливщика и доставляют к месту работ.

Швы заполняют мастикой через 2 - 3 часа после подгрунтовки стенок швов при помощи рабочего органа. Сопло рабочего органа вводят в паз шва, нажимом рукоятки на клапан открывают выходное отверстие сопла и, перемещая рабочий орган, заполняют шов мастикой.

В момент заполнения швов температура резинобитумной мастики должна быть в пределах от 160 до 180 °С, битумно-полимерной мастики - от 130 до 160 °С. После остывания мастики в швах ее наплывы срезают металлической лопаточкой.

2.3.8. Досыпка обочин. После устройства покрытия приступают к досыпке обочин грунтом на ширину 2,5 м, толщиной в плотном теле 0,14 м. Грунт на обочины вывозят автомобилями-самосвалами. Завезенный грунт разравнивают и планируют автогрейдером. Перед засыпкой обочин грунтом необходимо осуществить контроль за размещением геотекстиля на обочинах: геотекстиль должен быть расправлен и точно выведен на вешки. Разравнивание и планировку грунта на обочине производят автогрейдером за четыре прохода по одному следу. Первыми двумя проходами по одному следу выполняют грубое разравнивание, срезая верхушки валиков и заполняя впадины. Отвал поднимают на высоту разравниваемого слоя. За третий проход производят окончательное разравнивание и предварительную планировку грунта с приданием проектного поперечного уклона. Эту работу выполняют автогрейдером в автоматическом режиме. Толщину срезаемого слоя регулируют левым неавтоматизированным гидроцилиндром подъема и опускания отвала. За четвертый проход выполняют окончательную планировку обочин. Излишек грунта транспортируют от покрытия к краю обочин. После планировки контролируют поперечный уклон обочины.

Сразу после планировки грунта приступают к уплотнению его катком. Грунт уплотняют за 7 - 8 проходов по одному следу. Первые проходы начинают от кромки проезжей части, затем последующими проходами, смещаясь за каждый проход на одну треть ширины катка, уплотняют обочины до бровки насыпи. После этого уплотнение грунта продолжают с перемещением от бровки земляного полотна к проезжей части.

Степень уплотнения грунта проверяет лабораторно-контрольный пост. Уплотнение заканчивают, когда достигают заданного коэффициента уплотнения 0,98 - 1,00 от максимальной стандартной плотности. Обочины, должны иметь ровную поверхность, поперечный уклон должен обеспечивать сток воды от покрытия.

2.3.9. Перечень нормативно-технической литературы. При производстве работ следует руководствоваться следующей нормативно-технической литературой:

СНиП 3.06.03-85, «Автомобильные дороги», М., Стройиздат, 1986.

Руководство по сооружению земляного полотна автомобильных дорог. М., Транспорт, 1982.

ВСН 26-80, «Инструкция по проектированию автомобильных дорог нефтяных промыслов Западной Сибири», Миннефтепром, Тюмень, 1981.

ВСН 84-75, «Инструкция по изысканию, проектированию и строительству автомобильных дорог в районе вечной мерзлоты», М., Минтрансстрой, 1976.

ВСН 201-85, «Проектирование и строительство автомобильных дорог для обустройства нефтяных и газовых месторождений на севере Тюменской области и в других районах тундры с аналогичными условиями», М., Минтрансстрой, 1985.

ВСН 84-75, «Дополнение № 1 к Инструкции по изысканию, проектированию и строительству автомобильных дорог в районе вечной мерзлоты», М., Минтрансстрой, 1985.

Методические рекомендации по применению нетканых синтетических материалов при строительстве автомобильных дорог на слабых грунтах, М., Союздорнии, 1981.

При производстве работ следует руководствоваться картой операционного контроля качества работ (раздел 5).

2.4. Указания по организации труда

2.4.1. Работы по устройству сборного покрытия из железобетонных плит с укладкой геотекстиля под швы и кромки покрытия выполняют в две смены единым потоком. Сменная производительность 150 м покрытия. Работы выполняет по методу бригадного подряда сквозная бригада рабочих из 6 звеньев (28 человек в каждую смену):

 

Машинисты крана. 6 разр.                                    2

Машинист автогрейдера 6 разр.                           1

Машинист катка 5 разр.                                         1

Машинист заливщика 5 разр.                                1

Машинист компрессора 4 разр.                            1

Монтажники конструкций 4 разр.                        1

То же 3 разр.                                                           1

» 2 разр.                                                             2

Такелажники 2 разр.                                              4

Электросварщики 4 разр.                                      2

Дорожные рабочие 3 разр.                                    6

То же 2 разр.                                                           6

 

В состав бригады не входит водитель автомобиля, занятый на обкатке плит.

2.4.2. Работа звеньев организована при вводе потока в следующей технологической последовательности:

звено 2 следующего состава: машинист крана 6 разр. - 1, такелажники 2 разр. - 4, дорожные рабочие 3 разр. - 1, 2 разр. - 1 - ведет работу по демонтажу плит со сменной производительностью 150 м.

Перед началом работ машинист автогрейдера из звена 1, привлекаемый для кратковременной работы, планирует обочины и зарезает грунт, обнажая грани плит со стороны обочины на глубину 15 см.

Машинист автокрана и такелажники стропуют плиту, поднимают ее и переносят на обочину, укладывая в штабеля. Закончив работы по демонтажу плит, они занимаются погрузкой отбракованных плит на автомобиль и разгрузкой вновь поступивших плит.

Дорожные рабочие очищают грани плит, монтажные петли от грязи скребками или щетками, при необходимости продувают сжатым воздухом, отбраковывают негодные плиты, а потом грунтуют грани плит разжиженным битумом, выполняя функции изолировщика.

Звено 1 следующего состава: машинист автогрейдера 6 разр. - 1, машинист катка 5 разр. - 1, дорожные рабочие 3 разр. - 1, 2 разр. - 1 - выполняет работы по планировке верха земляного полотна со сменной производительностью 150 м. Работы по планировке земляного полотна выполняют в следующую смену после демонтажа плит.

Машинист автогрейдера планирует верх земляного полотна, затем совместно с дорожными рабочими окончательно планирует земляное полотно специальным шаблоном. После этого автогрейдер привлекается для выполнения других работ в течение данной смены.

Машинист катка уплотняет земляное полотно после планировки. Затем каток привлекается для выполнения других работ в течение данной смены.

Дорожные рабочие производят разбивочные работы перед раскаткой геотекстиля и укладкой плит, работают совместно с автогрейдером на окончательной планировке земляного полотна, осуществляют контроль за ровностью поперечного уклона, приемку грунта на обочинах, исправляют дефектные места.

После окончания работ по планировке земляного полотна звено 1 переводится на работу по досыпке обочин по мере накопления достаточного фронта работ. К этой работе звено приступает после полного завершения работ по устройству покрытия.

Звено 3 следующего состава: машинист автокрана 6 разр. - 1, монтажники конструкций 4 разр. - 1, 3 разр. - 1, 2 разр. - 2 и дорожные рабочие 3 разр. - 1, 2 разр. - 2 - ведет работы по укладке плит со сменной производительностью 150 м. Работу звено начинает в следующую смену после начала работ по планировке земляного полотна.

Дорожные рабочие раскатывают рулоны геотекстиля в продольном и поперечном направлениях под каждым швом и кромками покрытия.

Машинист автокрана проверяет кран, стропы, крючья, устанавливает кран в рабочее положение, поднимает, переносит и опускает плиты на поверхность земляного полотна.

Монтажники конструкций проверяют качество основания, стропуют плиты, сопровождают их к месту укладки, наводят на место наводки, контролируют ширину продольных и поперечных швов, проверяют ровность покрытия.

Звено 4 следующего состава: электросварщик 4 разр. - 2, дорожный рабочий 2 разр. - 1 - ведет работы по электросварке с производительностью 150 м в смену. Работу звено начинает на следующую смену после начала работ по укладке плит.

Электросварщики подготавливают электросварочный агрегат и сваривают стыковые скобы.

Дорожный рабочий очищает скобы щеткой и скребком, помогает сварщикам (подносит дополнительные стержни для сварки), забивает в торцах плит колышки (нащельники) для удержания от вытекания пескоцементного раствора и битумно-полимерной мастики.

Звено 5 следующего состава: машинист заливщика 5 разр. - 1, дорожные рабочие 3 разр. - 1, 2 разр. - 1 по заполнению швов пескоцементным раствором - ведет работы с производительностью 300 м в смену. Работы выполняют через смену (по мере накопления фронта работ).

Машинист заливщика следит за включением и отключением агрегата, за правильной дозировкой компонентов и временем перемешивания их в мешалке, обеспечивает своевременный пуск пескоцементной смеси в приемный бункер и выход смеси по шлангам в шов, обеспечивает бесперебойную работу агрегата.

Первоначальная загрузка мешалки компонентами производится всеми членами звена.

Дорожные рабочие обслуживают два шланга, установленные над швами покрытия, производят догрузку компонентов в бетономешалку и следят за равномерным распределением смеси по шву.

Звено 6 следующего состава: машинист заливщика швов ДС-67А 4 разр. - 1, дорожные рабочие 3 разр. - 2 по заполнению швов битумно-полимерной мастикой - ведет работы со сменной производительностью 150 м. Работу звено начинает через час после начала работ по заполнению швов пескоцементным раствором.

Машинист заливщика швов выполняет обязанности водителя машины, следит за работой системы подогрева, смонтированной на базе автомобиля УАЗ-452Д, обеспечивает подачу сжатого воздуха.

Один дорожный рабочий заливает швы мастикой при помощи рабочего органа заливщика, другой рабочий следит за подогревом масла в масляной рубашке, заполняет рабочий орган горячей мастикой.

Введение всего потока в работу завершается на пятую смену.

На участке работ должны быть установлены передвижные вагончики для отдыха рабочих и приема пищи, умывальники, бачки с питьевой водой, аптечка, лари для хранения инструмента.


Таблица 1

2.5. График выполнения производственного процесса на устройство 1200 м2 покрытия из плит ПАГ-14 с применением геотекстильного материала на второй стадии

 

Итого: на захватку длиной 150 м:

(1200 м2)                                                                                  219

на 1000 м2                                                                               183

Примечания. 1. Цифрой над линией указано число рабочих, занятых в операции, под линией - продолжительность операции в минутах.

2. В трудоемкость работ включено время на отдых рабочих в течение смены в размере 10 % от продолжительности смены.

3. Работы по отсыпке обочин выполняют на участке длиной 450 м (по мере накопления фронта работ).

4. Работы по заполнению швов пескоцементным раствором выполняют на участке длиной 300 м (по мере накопления фронта работ).

5. График составлен при условии, что есть необходимый фронт работ для развертывания всего потока.

Таблица 2

2.6. Калькуляция затрат труда на устройство сборного покрытия из плит ПАГ-14 с применением геотекстильного материала под швами покрытия на сменной захватке длиной 150 м (1200 м2)

Шифр норм и числовые значения поправочных коэффициентов

Наименование работы

Состав звена

Измеритель

На измеритель

Объем работ

На конечную продукцию

норма затрат труда, чел.-ч

Расценка, руб.-коп.

норма времени использования машин, маш.-ч

нормативная трудоемкость, чел.-ч

сумма заработной платы, руб.-коп.

нормативное время использования машин, маш.-ч

ЕНиР, § 20-2-13, табл. 2, № 1а, применит.

Планировка обочин автогрейдером с зарезанием грунта у боковых граней плит со стороны обочины на глубину 0,15 м

Машинист автогрейдера

5 разр. - 1

100 м3

1,9

1-50

1,9

0,27

0,51

0-41

0,51

ВНиР, § В4-33, № 4, применит.

Демонтаж плит, строповка, укладка плит в штабель на обочине, расстроповка

Машинист крана

6 разр. - 1

Такелажники

2 разр. - 4

100 плит

23,0

12-71

4,6

1,0

23,0

12-71

4,6

ВНиР, § В4-33, № 3

Погрузка отбракованных плит на автомобиль. Строповка, укладка плит на автомобиль, расстроповка

Машинист крана

6 разр. - 1

Такелажники

2 разр. - 4

100 плит

28,0

15-47

5,6

0,25

7,0

3-87

1,4

ВНиР, § В4-33, № 4

Разгрузка плит с автомобиля, строповка, укладка плит в штабель, расстроповка

Машинист крана

6 разр. - 1

Такелажники

2 разр. - 4

100 плит

23,0

12-71

4,6

0,25

5,75

3-18

1,15

ЕНиР, Общ. ч., п. 4

Очистка граней плит и монтажных петель от грязи, отбраковка негодных плит

Дорожный рабочий

3 разр. - 1

чел.-ч

1

0-52,4

-

8,0

8,0

4-19

-

ВНиР, § В4-34

Огрунтовка граней плит разжиженным битумом

Изолировщик

2 разр. - 1

100. плит

10,5

5-18

-

1,0

10,5

5-18

-

ТНиР, § Т1-1, № 1, применит.

Планировка верха земляного полотна автогрейдером за 3 прохода по одному следу

Машинист автогрейдера

6 разр. - 1

100 м2

0,06-2

0-04,9

0,062

19,5

1,21

0-96

1,21

ТНиР, § Т79-9, № 1а, применит.

Укатка спланированной поверхности земляного полотна виброкатком за 3 прохода

Машинист катка

5 разр. - 1

100 м3

0,51

0-36

0,51

5,85

2,98

2-11

2,98

Местная норма

СУ-924

тр. «Пермдорстрой»

Окончательная планировка трубчатым шаблоном

Дорожные рабочие:

3 разр. - 3

2 »        - 2

100 м2

0,79

0-43

-

13,5

10,67

5-81

-

ЕНиР, Общ. ч., п. 4

Работа автогрейдера в сцепе с трубчатым шаблоном

Машинист автогрейдера

6 разр. - 1

чел.-ч

1

0-79

1

2,1

2,1

1-66

2,1

Местная норма

СУ-924

тр. «Пермдорстрой»

Раскатка рулонов геотекстиля и укладка на готовое полотно, закрепление

Дорожные рабочие:

3 разр. - 1

2 »        - 3

100 м шва

5,1

2-51

-

11,14

56,31

27-96

-

ЕНиР, Общ. ч., п. 4

Разбивочные работы перед укладкой плит, перед раскаткой геотекстиля, контроль ровности поперечного уклона. Прием грунта

Дорожные рабочие:

3 разр. - 1

2 »        - 1

чел.-ч

1

0-55,5

-

8,0

8,0

4-44

-

ВНиР, § В4-10, № 3

Укладка плит, строповка, расстроповка, перемещение крана с одной стоянки на другую

Машинист крана

6 разр. - 1

Монтажники конструкций:

4 разр. - 1

3 »        - 1

2 »        - 2

100 плит

52,5

31-04

10,5

1

52,5

31-04

10,5

ВНиР, § В4-10, № 5

Подготовка плит к сварке, очистка стыковых скоб, забивка колышков у торцов плит, подноска дополнительных стержней для сварки

Дорожный рабочий

2 разр. - 1

100 плит

4,5

2-22

-

1

4,5

2-22

-

ВНиР, § В4-10, № 6

Подготовка электросварочного агрегата, сварка стыковых скоб плит

Электросварщик ручной сварки

4 разр. - 1

100 плит

16

10-00

-

1

16

10-00

-

Местная норма

СУ-909 треста «Тюмендорстрой»

Заполнение швов пескоцементным раствором самоходным заливщиком швов конструкции СУ-909

Машинист заливщика

5 разр. - 1

Дорожные рабочие:

3 разр. - 2

2 »       - 2

100м шва

2,3

1-28

0,46

6,02

13,85

7-71

2,77

ТНиР, § Т92-3-6, № 2а

Заполнение поперечных швов битумно-полимерной мастикой заливщиком ДС-67А

Машинист компрессора

4 разр. - 1

Дорожные рабочие

3 разр. - 2

100м шва

4,9

2-83

1,63

2,08

10,19

5-89

3,39

ТНиР, § Т92-3-6, № 26

Заполнение продольных швов битумно-полимерной мастикой заливщиком ДС-67А

Машинист компрессора

4 разр. - 1

Дорожные рабочие

3 разр. - 2

100 м шва

4,1

2-37

1,37

4,5

18,45

10-67

6,17

ЕНиР, § 20-2-6, № 1, применит.

Разравнивание и планировка грунта на обочинах при досыпке обочин грунтом за 4 прохода по одному следу

Машинист автогрейдера

6 разр. - 1

1000 м2

0,7

0-55

0,7

0,75

0,53

0-41

0,53

ТНиР, § Т92-2-1, применит.

Уплотнение грунта на обочине катком за 6 проходов по одному следу

Машинист катка

6 разр. - 1

1000 м2

1,56

1-23

1,56

:0,75

1,17

0-92

1,17

Итого: на захватку длиной 150 м (1200 м2)

 

 

 

 

 

 

 

253,24

31,66

141-34

38,48

4,82

 

на 1000 м2

 

 

 

 

 

 

211,03

26,38

117-78

32,07

4,01

Примечание. В числителе нормативная трудоемкость и нормативное время использования машин указаны соответственно в чел.-ч и маш.-ч, в знаменателе - в чел.-днях и маш.-сменах.


2.7. Требования безопасности

2.7.1. При выполнении комплекса работ по устройству сборного покрытия в две стадии необходимо строго соблюдать требования СНиП III-4-80 «Техника безопасности в строительстве», М., Стройиздат, 1981; Правил техники безопасности при строительстве, ремонте и содержании автомобильных дорог, М., Транспорт, 1979; Типовой инструкции по охране труда для дорожных рабочих, М., ВПТИтрансстрой, 1984; Типовой инструкции по охране труда для машинистов грейдеров, автогрейдеров, грейдер-элеваторов, М., ВПТИтрансстрой, 1985; Типовой инструкции по охране труда для машинистов грунтоуплотняющих машин, М., ВПТИтрансстрой, 1985.

2.7.2. Для обеспечения безопасности труда перед началом работ рабочие должны быть проинструктированы мастером или прорабом о требованиях безопасности труда.

2.7.3. К работе на машинах допускаются лица, достигшие 18 лет, имеющие удостоверение на право управления машинами, прошедшие медицинское освидетельствование и обучение по технике безопасности, сдавшие экзамены и получившие удостоверение на право производства работ.

2.7.4. Все рабочие должны пользоваться спецодеждой и другими средствами индивидуальной защиты в соответствии с типовыми отраслевыми нормами, хранить спецобувь и спецодежду в специально отведенном месте.

2.7.5. К такелажным работам допускаются лица, имеющие удостоверение на право производства строительных работ.

2.7.6. Погрузочно-разгрузочные работы, укладка плит в покрытие производится под наблюдением мастера или бригадира.

2.7.7. При укладке плит запрещается:

поднимать плиту, вес которой превышает допустимый для данного крана, или плиту с поврежденными монтажными петлями и стыковыми скобами;

допускать раскачивание плиты и оставлять ее на весу во время перерыва;

поднимать плиты без строп и траверс, обеспечивающих безопасный подъем этих плит;

находиться при подъеме, опускании и перемещении плиты в зоне действия крана;

перемещать стрелу крана с плитой над кабиной, автомобиля, подвозящего плиты;

направлять движение перемещаемой краном плиты непосредственно руками. Для этой цели применяют такелажные багры, длина которых позволяет находиться на безопасном расстоянии.

2.7.8. При работе с кранами необходимо соблюдать следующие требования:

устанавливать кран на аутригеры;

перед снятием с автомобиля плиту поднимать на высоту не более 10 см для проверки надежности действия тормоза и устойчивости крана.

2.7.9. Штабеля плит следует располагать на обочине, беспорядочная укладка запрещена.

2.7.10. Дорожные рабочие, занятые очисткой стыков, должны работать в защитных очках.

2.7.11. При производстве работ по заливке швов битумно-полимерной мастикой производить сварочные работы следует не ближе чем на 5 м.

2.7.12. Моторные катки должны быть исправны и иметь навесы над рабочим местом машиниста. Работу выполняют при исправном звуковом сигнале. При совместной работе нескольких самоходных машин, идущих друг за другом, дистанция между ними должна быть не менее 10 м.

2.7.13. При работе автогрейдера с системой «Профиль-20» необходимо соблюдать следующие требования:

включать систему автоматического регулирования (САР) только при включенном аккумуляторе;

не разрешается использовать в качестве источника электропитания тракторный генератор;

при включении САР необходимо принимать меры предосторожности и удалять посторонних лиц от машины;

при отключении САР тумблер питания следует держать выключенным, а тумблер настройки включенным.

2.7.14. При обрезке рулонов геотекстиля ручным режущим инструментом необходимо соблюдать соответствующие требования техники безопасности: отрезать геотекстиль способом «от себя», убирать режущий инструмент в футляр.

2.7.15. Погрузочно-разгрузочные площадки и склады для хранения рулонов геотекстиля согласно ГОСТ 12.3.009-76* необходимо оборудовать специальным инвентарем, обеспечивающим безопасность работ по погрузке и разгрузке рулонов. При транспортировке на место укладки и при раскатке рулонов геотекстиля необходимо использовать средства малой механизации.

3. ТЕХНИКО-ЭКОНОМИЧЕСКИЕ ПОКАЗАТЕЛИ

Затраты труда на 1000 м2 покрытия, чел.-дн.                                                    26,43

Затраты машинного времени на 1000 м2 покрытия, маш.-смен                      4,01

в том числе:

автокран                                                                                                       1,84

автогрейдер                                                                                                  0,45

каток                                                                                                             0,43

заливщик швов пескоцементным раствором                                           0,29

заливщик швов ДС-67А                                                                              1,0

Выработка одного рабочего в смену, м2                                                             37,8

Дли расчета экономической эффективности внедрения технологической карты сравнение произведено с устройством покрытия из сборных железобетонных плит на второй стадии строительства с устройством основания из песчано-гравийной смеси и монтажного слоя из пескоцементной смеси.

Экономическая эффективность на 1 км покрытия составляет 29,55 тыс. руб., снижение затрат труда на 1 км - 9,0 чел.-дн, экономия пескоцементной смеси - 62,5 м3, в том числе цемента - 73,6 т.

4. МАТЕРИАЛЬНО-ТЕХНИЧЕСКИЕ РЕСУРСЫ

Таблица 3

4.1. Потребность в материалах

Наименование материала

Марка, стандарт

Количество

на 10002

на 1200 м (на 150 м покрытия)

Плита, шт.

ПАГ-14, ГОСТ 25912.1-83

83,3

100

Геотекстиль, м2

«Дорнит Ф-2»,

«Дорнит Ф-1»

 ТУ 21.29-81-81

743

891

Электрод, кг

Э-42, ГОСТ 9467-75

32,6

39,1

П-образная скоба, кг

Изготавливается в мастерских

1,75

2,1

Пескоцементный раствор, м3

ГОСТ 5802-78

0,66

0,79

Грунтовка, кг

ГОСТ 11955-82

1,15

1,38

Битумно-полимерная мастика, т

ГОСТ 15836-79

0,812

0,974

Примечания. 1. Плотность мастики в карте принята 1,3 т/м3.

2. Расход мастики принят с учетом заполнения окон для монтажных петель, швов и трудноустранимых потерь в размере до 8 %.

3. При расчете не учтен дополнительный расход при устройстве покрытий на кривых.

Таблица 4

4.2. Потребность в машинах, оборудовании, инструменте, инвентаре, приспособлениях

№ пп

Наименование

Тип, марка, стандарт

Количество

1

Автокран

КС-4561А

1

2

Автогрейдер

ДЗ-98А

1

3

Виброкаток

А-8ТГЛ, А-12ТГЛ

1

4

Автомобиль

КрАЗ-256Б1, КрАЗ-257Б МАЗ-5549

По расчету

5

Электросварочные агрегаты

АСД-300МУ1

2

6

Самоходный заливщик швов пескоцементным раствором

Конструкции СУ-909 треста «Тюмендорстрой»

1

7

Заливщик швов битумно-полимерной мастикой

ДС-67А

1

8

Пистолет-распылитель

С-592

1

9

Компрессор

ЗИФ-55

1

10

Нивелир

ГОСТ 10528-76*

1

11

Рейки нивелирные

ГОСТ 11158-83

2

12

Лопаты стальные строительные

ГОСТ 3620-76

4

13

Ломы стальные строительные

ГОСТ 1405-83

4

14

Рулетка измерительная металлическая длиной 20 м

ГОСТ 7502-80*

1

15

Уровень строительный длиной 1 м

ГОСТ 9416-83

1

16

Ломики-шаблоны монтажные

-

2

17

Багры укороченные

-

4

18

Рейка трехметровая

-

1

19

Машинка для закрепления геотекстиля

Изготавливается в мастерских

1

20

Вагон для мастера с кладовой

-

1

21

Вагон-столовая

-

1

22

Вагон-душевая

-

1

23

Аптечка медицинская

-

1

5. КАРТА ОПЕРАЦИОННОГО КОНТРОЛЯ КАЧЕСТВА УСТРОЙСТВА СБОРНОГО ПОКРЫТИЯ ИЗ ПЛИТ ПАГ-14 С ПРИМЕНЕНИЕМ ГЕОТЕКСТИЛЯ ПОД ШВАМИ ПОКРЫТИЯ

Таблица 5

Предельные отклонения контролируемых параметров

Контролируемый параметр

Предельное отклонение

Ширина земляного полотна, см

D1 = ±10

Поперечный уклон

D2 = ±0,01

Отметки по оси земляного полотна, см

D3 = ±5

Ровность поверхности земляного полотна (просвет под трехметровой рейкой), см

D4 = ±1,0

Отметки бровки земляного полотна, см

D5 = ±5

Поперечный уклон обочины

D6 = ±0,01

Ширина покрытия, см

D7 = ±5

Отметки по оси покрытия, см

D8 = ±5

Ровность граней смежных плит сборных покрытий, см

D9 = ±0,5

Положение плит в плане относительно середины полос геотекстиля, см

D10 = ±5

Ширина шва, мм

D = -6

Высота шва, мм

D = +6

Примечания 1. Прилегание плиты к геотекстилю должно быть полным.

2. Швы сжатия должны быть заполнены ни 2/3 глубины шва пескоцементным раствором.

3. Все швы должны быть очищены, прогрунтованы, заполнены мастикой и не должны иметь пропусков и наплывов по длине плиты.

4. Ширина полосы геотекстиля под швами и кромками покрытия должна быть не менее 0,75 м.

5. Стыковку полос геотекстиля в продольном направлении выполняют с нахлестом не менее 0,5 м.

6. Ось полосы геотекстиля должна совпадать с осью шва.

7. Выпуск полос геотекстиля на обочину должен быть не менее 0,5 м.

8. Коэффициент уплотнения грунта обочин должен быть 0,98.

Рис. 4. Схема конструкции сборного покрытия из плит ПАГ-14 с применением геотекстиля с указанием предельных отклонений:

а - поперечный разрез; б - вид сверху; 1 - плита ПАГ-14; 2 - геотекстиль под продольными швами покрытия; 3 - геотекстиль под поперечными швами покрытия

 

Таблица 6

СНиП 3.06.03; Дополнение №1 ВСН 84-75; ВСН 201-85

Основные операции, подлежащие контролю

Демонтаж плит

Планировка и укатка ? земляного полотна (основание)

Раскатка геотекстиля

Укладка плит ПАГ-14 в покрытие

Электросварка стыковых скоб

Заполнение швов пескоцементным раствором и битумно-полимерной мастикой

Досыпка обочин

Сроки контроля

Отбраковка плит

1. Ширина основания. 2. Ровность поверхности. 3. Поперечный профиль. 4. Отметки по оси

1. Ширина полотен. 2. Соосность геотекстиля со швами покрытия

1. Отметки по оси покрытия. 2. Поперечный уклон. 3. Ровность. 4. Прилегание плиты с геотекстилем. 5. Ровность граней плит

Длина, ширина, высота, глубина сварного шва

Чистота паза шва, объем заполнения швов пескоцементным раствором, наличие грунтовки, объем заполнения швов мастикой

1. Отметки бровки земляного полотна.

2. Уклон обочин.

3. Коэффициент уплотнения грунта

Методы и средства

Визуальный

Измерительный.

1. Лента мерная. 2. Рейка трехметровая. 3. Шаблон. 4. Нивелир

Измерительный, визуальный. Лента мерная

Измерительный.

1. Нивелир. 2. Уровень с шаблоном. 3, 5. Рейка трехметровая. 4. Визуальный.

Измерительный. Визуальный. Метр, шаблон

Визуальный

Измерительный.

1. Нивелир.

2. Шаблон.

3. Метод режущего кольца

Сроки контроля

В течение смены (каждая плита)

1. Через каждые 100 м. 2. В трех поперечниках на 1 км. 3. Через 100 м. 4. Через 50 м

1. В начале работы. 2. В течение смены каждые 30 м

1. В начале работы. 2. Через каждые 50 ч. 3. В трех поперечниках на 1 км. 4. Одна плита на 100 плит (не менее 1 раза в смену)

Выборочно 3 шва в смену

 

1. Нивелирование. 2. Промеры шаблоном в трех точках на 1 км.

3. Один образец на 200 м

Должность лица, контролирующего операцию

Мастер

Мастер, лаборант

Наименование привлекаемой для контроля службы

 

Лаборатория

Должность лица, ответственного за организацию и обеспечение контроля

Прораб

-

Документ, в котором регламентируются результаты контроля

Общий журнал работ

Общий журнал работ, журнал лабораторных работ

Перечень скрытых работ, на которые составляются акты: 1. Подготовка поверхности земляного полотна перед раскаткой геотекстиля. 2. Раскатка геотекстильного материала.

СОДЕРЖАНИЕ

 




Яндекс цитирования



   Copyright © 2007-2026,  www.tehlit.ru.

[ ѓосты, стандарты, нормативы, инструкции, правила, строительные нормы ]