//
ТехЛит.ру
- крупнейшая бесплатная электронная интернет библиотека для "технически умных" людей.
WWW.TEHLIT.RU - ТЕХНИЧЕСКАЯ ЛИТЕРАТУРА

:: Алготрейдинг::


АЛГОТРЕЙДИНГ
шаг за шагом
с нуля по урокам!

Торговые роботы на PYTHON, BackTrader,
Pandas, Pine Script для TradingView. Связка с брокерами, телеграм и легкими приложениями.


открытое акционерное общество

Проектно-конструкторский и технологический институт промышленного строительства

ОАО ПКТИпромстрой

УТВЕРЖДАЮ

Генеральный директор, к.т.н.

____________ С.Ю. Едличка

«___» _____________ 2005 г.

ТЕХНОЛОГИЧЕСКАЯ КАРТА
НА УСТРОЙСТВО ПОЛОВ ИЗ МРАМОРНЫХ ПЛИТ
ПО
ГОТОВОМУ ОСНОВАНИЮ

105-05 ТК

Главный инженер

__________ А.В. Колобов

Начальник отдела

__________ Б.И. Бычковский

2005

В технологической карте представлена технология устройства полов из мраморных плит по современной технологии производства с применением механизации. Эти полы применяют при строительстве общественных зданий и сооружений с интенсивными людскими потоками, где наряду с высокими декоративными качествами должны обеспечиваться долговечность и износостойкость полов. Технологическая карта разработана в соответствии с действующими нормативными документами.

В карте приведена технология производства работ по устройству полов из мраморных плит; представлены разделы по организации и технологии строительного процесса, по безопасности и охране труда, качеству работ; приведена потребность в машинах, механизмах и приспособлениях с целью снижения затрат труда, совершенствования организации и повышения качества работ.

Карта предназначена для производителей работ, мастеров и бригадиров, занимающихся устройством полов из мраморных плиток, а также работников технического надзора заказчика и инженерно-технических работников строительных и проектно-технологических организаций.

В разработке карты принимали участие сотрудники ОАО ПКТИпромстрой:

- Рязанова И.С. - разработка технологической карты, компьютерная обработка и графика;

- Черных В. - технологическое сопровождение разработки;

- Савина О.А. - проверка работы;

- Бычковский Б.И. - техническое руководство, нормоконтроль, корректура разработки;

- к.т.н. Едличка С.Ю. - общее техническое руководство разработкой технологической документации.

Авторы будут признательны за предложения и возможные замечания по составу и содержанию данной карты.

Контактный телефон (095) 214-14-72.

Факс (095) 214-95-53.

E-mail:pkti@со.ru

http://www.pkti.co.ru

СОДЕРЖАНИЕ

1 ОБЩИЕ ДАННЫЕ

1.1 Технологическая карта разработана на устройство полов из мраморных плит по готовому основанию, укладываемых на прослойку из цементно-песчаного раствора толщиной 20 ... 30 мм. Марка раствора с прочностью на сжатие должна быть указана в проекте, но не менее 20 МПа (200 кгс/см2).

1.2 Полы из мраморных плит гигиеничны, долговечны, имеют красивый внешний вид, поэтому их устраивают в помещениях общественных зданий, эксплуатация которых не связана с постоянным пребыванием в них людей:

- в торговых залах магазинов;

- в фойе зрелищных предприятий (театров и кинотеатров, расположенных на первом этаже);

- в вестибюлях и на лестничных площадках;

- в музеях, выставочных залах.

1.3 Не допускается устройство полов из мраморных плит в помещениях, где:

- возможно попадание на пол кислот и щелочей;

- обрабатываются на полу ломами и кувалдами различные предметы.

1.4 Полы из мраморных плит на прослойке из цементно-песчаного раствора выполняются по готовому основанию, принятому по акту.

1.5 Технологическая карта предназначена для инженерно-технического персонала (прорабов, мастеров) и рабочих строительных организаций, занятых на устройстве полов из мраморных плит, сотрудников технадзора Заказчика, осуществляющих надзорные функции за технологией и качеством выполнения работ, а также инженерно-технических работников строительных и проектно-технологических организаций.

1.6 Привязка технологической карты к конкретным объектам и условиям производства работ состоит в уточнении объемов работ, данных потребности в трудовых и материально-технических ресурсах.

1.7 Карта предусматривает обращение ее в сфере информационных технологий с включением в базу данных по технологии и организации строительных процессов автоматизированного рабочего места технолога строительного производства (АРМ ТСП), Подрядчика и Заказчика.

2 ОРГАНИЗАЦИЯ И ТЕХНОЛОГИЯ СТРОИТЕЛЬНОГО ПРОЦЕССА

а) Материалы.

2.1 Для покрытия полов из мрамора применяют квадратные, прямоугольные плиты и плиты с неправильными кромками одинаковой толщины. Размеры плит для полов зависят от размеров помещения и характера рисунка. Цвет и рисунок покрытия пола устанавливаются проектом.

Согласно ГОСТ 9480-89 «Плиты облицовочные пиленые из природного камня. Технические условия» плиты выпускают следующих размеров, мм:

длиной - от 150 до 1500;

шириной - от 150 до 1200;

толщиной - от 8 до 30.

Размеры плит устанавливают по согласованию изготовителя с потребителем.

Допускается по согласованию изготовителя с потребителем изготовление облицовочных плит больших размеров по длине и ширине, а также плит толщиной 40 мм из мраморизованного известняка.

Предельные отклонения от номинальных размеров плит не должны превышать, мм:

- по длине и ширине: для плит размером до 600 мм ± 1; свыше 600 мм ± 2

- по толщине: для плит размером от 8 до 15 мм ± 1; свыше 15 до 30 мм ± 2.

Плиты должны изготовляться прямоугольной или квадратной формы с обрезными гранями. По согласованию с потребителем допускается изготовление плит с необрезными гранями.

Отклонение от прямого угла облицовочных плит на 1 м длины граней не должно превышать ±1 мм.

2.2 Характер обработки лицевой поверхности плит определяется проектом. Тыльная сторона плит должна быть шероховатой, обеспечивающей достаточное сцепление с цементно-песчаным раствором.

Фактура лицевой поверхности облицовочных плит должна соответствовать указанной ниже:

полированная - с зеркальным блеском, четким отражением предметов, без следов обработки предыдущей операции;

гладкая матовая (лощеная) - без следов обработки предыдущей операции и с полным выявлением рисунка камня;

шлифованная - равномерно-шероховатая со следами обработки, получаемыми при шлифовании, с неровностями рельефа высотой до 0,5 мм;

пиленая - неравномерно-шероховатая - с неровностями рельефа высотой до 2 мм;

обработанная ультразвуком - с выявленным цветом и рисунком камня;

термообработанная - шероховатая поверхность со следами шелушения;

точечная (бучардованная) - равномерно-шероховатая с неровностями рельефа высотой до 5 мм.

По согласованию изготовителя с потребителем допускаются другие виды фактуры лицевой поверхности.

2.3 Плиты с полированной и гладкой матовой фактурой в зависимости от качества лицевой поверхности подразделяют на два класса. Плиты 1-го класса не должны иметь на лицевой поверхности видимых повреждений. Плиты 2-го класса могут иметь повреждения:

- повреждения углов длиной по ребру не более 5 мм - не более 2 шт.;

- сколы длиной не более 5 мм по ребрам периметра плит из мрамора - не более 2 шт.

Каверны и раковины не допускаются.

Отклонение от плоскостности на 1 м длины по периметру и диагоналям не должно превышать, мм, для плит с фактурой:

полированной и гладкой матовой 1-го класса ±1, 2-го класса ±2;

шлифованной ±3;

остальных видов ±5.

Плиты не должны иметь трещин.

На плитах из цветного мрамора и мраморизованного известняка допускается одна несквозная трещина тектонического происхождения с нарушением сплошности шириной не более 0,05 мм и длиной 1/3 ширины плит. Плиты с указанными трещинами применяют только для внутренней облицовки зданий.

На лицевой поверхности плит допускаются прожилки и полосы, не ухудшающие декоративные свойства плит.

2.4 Плиты перед укладкой должны быть рассортированы по цветам и оттенкам. Плиты с трещинами, отколотыми углами и дефектами на лицевой поверхности применять не допускается. Плиты упаковывают в ящики или ящичные поддоны в вертикальном положении не более двух рядов по высоте лицевыми поверхностями друг к другу. Между лицевыми поверхностями полированных плит укладывают бумажные или деревянные прокладки. На ящике ставят штамп отдела технического контроля и товарный знак предприятия-изготовителя, на поддон или пакет прикрепляют бирку со штампом отдела технического контроля или товарным знаком предприятия-изготовителя. На упаковке должен быть обозначен сорт и размер плиток.

Завод-изготовитель должен гарантировать соответствие выпускаемых материалов и изделий требованиям действующих стандартов и технических условий и сопровождать каждую партию поставляемых материалов и изделий паспортом или свидетельством установленной формы.

В паспорте и свидетельстве указывается:

- наименование и адрес месторождения, карьера или завода-изготовителя;

- номер и размер партии (объем) отгруженного камня или количество изделий по размерам, типам и породам;

- номер ГОСТ или ТУ, в соответствии с которыми изготовлены материалы и изделия;

- данные испытаний на морозостойкость.

Потребитель имеет право производить поштучную проверку изделий.

Маркировка готовых изделий из природного камня должна выполняться следующим образом: на тыльной стороне каждой облицовочной плиты или торцевой части камня, или на двух смежных боковых гранях крупных блоков наносят несмываемой краской тип камня, плиты или блока; основные размеры (длина, ширина); штамп ОТК.

2.5 Плиты транспортируют автомобильным, железнодорожным и водным транспортом в соответствии с действующими на этих видах транспорта правилами погрузки, крепления и перевозки грузов, утвержденными в установленном порядке.

Плиты транспортируют в ящиках, ящичных поддонах или пакетах, приспособленных для механизированной погрузки и выгрузки. При погрузке, выгрузке и транспортировании плит должны быть приняты меры, предохраняющие их от загрязнения и повреждения.

Транспортировка упакованной в пачки плитки осуществляется в контейнерах. При погрузке, транспортировании и выгрузке плиток должны быть приняты меры, обеспечивающие их сохранность от механических повреждений.

2.6 Не допускается переброска пачек с плиткой при погрузке, разгрузке и складировании. Плиты хранят под навесом или на открытых спланированных площадках, обеспечивающих отвод воды и предохранение плиты от повреждений и загрязнений. При хранении на складах без тары плиты должны быть установлены на деревянных прокладках в вертикальном положении лицевыми поверхностями друг к другу. Между полированными плитами укладывают бумажные или деревянные прокладки.

Плиты из пород с низкой морозостойкостью следует хранить в условиях, предохраняющих их от резкого перепада температур и атмосферных осадков. Плиты хранятся раздельно по сортам, цветам.

2.7 В одном помещении полы следует устраивать из камня одной или нескольких пород, имеющих близкие показатели по истираемости.

2.8 Размеры плит, указанные в заказе, должны соответствовать проекту.

2.9 Растворы для полов из мраморных плит.

При устройстве полов из мраморных плит применяется раствор марки с прочностью на сжатие не менее 20 МПа (200 кгс/см2) при подвижности раствора 5 - 6 см по стандартному конусу. Каждую партию растворов предприятие-изготовитель обязано сопровождать паспортом, в котором должны быть указаны:

- наименование и адрес завода-изготовителя;

- номер и дата выдачи паспорта;

- номер партии, ее масса или объем и дата изготовления;

- наименование и адрес получателя;

- марка и состав раствора в %, а также цвет для декоративных растворов;

- лабораторные данные о подвижности и водоудерживающей способности.

Растворы необходимо укладывать до начала изменения подвижности смеси. Применение загустевших растворов, добавка в них воды и цемента запрещается.

Готовые растворы и сухие растворные смеси при транспортировании должны быть защищены от увлажнения, загрязнения, распыления и утечки.

Готовые растворы надлежит перевозить в автомашинах со специальными кузовами, в том числе и в автомашинах, имеющих установку для перемешивания во время перевозки.

б) Технология устройства полов из мраморных плит.

2.10 До устройства полов из мраморных плит должны быть выполнены все общестроительные, санитарно-технические и электромонтажные работы, выполнены штукатурные работы и основание под мраморные полы, доставлены на рабочее место все инструменты и материалы, проведен инструктаж плиточников о правилах производства работ.

2.11 Основанием для покрытий полов из мраморных плит служит бетонная подготовка или стяжка из цементного раствора марки не ниже 200. Конструкция пола из мраморных плит представлена на рисунке 1.

I - без гидроизоляции; II - с гидроизоляцией; а - на грунте; б - на перекрытии по стяжке; в - на перекрытии по стяжке, уложенной по тепло- или звукоизоляции; 1 - покрытие; 2 - соединительная прослойка; 3 - стяжка; 4 - тепло- или звукоизоляционный слой; 5 - плита перекрытия; 6 - грунт основания; 7 - бетонный подстилающий слой; 8 - гидроизоляция

Рисунок 1 - Конструкции полов из мраморных плит

2.12 Основание под полы очищают от грязи и обильно увлажняют водой. Впадины, выбоины и выпуклости основания должны быть ликвидированы. Устройство покрытий полов разрешается выполнять только после освидетельствования правильности выполнения основания с составлением акта освидетельствования скрытых работ.

2.13 Доставка раствора на объект производится автосамосвалами (централизованно) согласно графику поставки, с выгрузкой его в емкости 0,5 м3 для последующего подъема на этажи подъемником (в случае подачи на этажи растворонасосом - раствор подается в приемные бункера на этажи). К рабочему месту раствор доставляется тележками или «рикшами».

2.14 Подача мраморных плит со склада в рабочую зону по горизонтали производится мотороллером или «рикшами» (в зависимости от объема работ), а по вертикали - грузовым или грузопассажирским подъемником.

2.15 До подачи готовых к укладке плит, бригада производит заготовку плит, выделив отдельное звено. Здесь проверяется комплектность, качество плит, сортировка, проверка геометрической формы. Выполняется распиловка, шлифовка кромок плит (в случае поставки плит нестандартных размеров и форм).

2.16 Далее выносят на стены отметки чистого пола.

2.17 Проверяют поверхность основания нивелиром или контрольной рейкой с уровнем.

2.18 Разбивают пол на квадраты со сторонами 2 - 2,5 м (по длине контрольной рейки), выставляют маяки цементного раствора и покрывают сверху мраморными плитами (из боя), лицевая поверхность которых точно соответствует уровню чистого пола (в процессе настилки маяки снимаются).

2.19 Плиты из природного камня предварительно подбирают насухо, чтобы правильно сочетать смежные плиты и выдерживать заданный рисунок. Рисунок пола должен быть задан в проекте здания или сооружения. Сложные рисунки выполняют по разбивочным планам.

2.20 Плиты укладывают на прослойку из цементно-песчаного раствора толщиной 20 ... 30 мм вплотную друг к другу с максимально возможным плотным швом на участок 0,2 - 0,3 м2 (или немного большей площади, чем укладываемая плита), устанавливают их в проектное положение, непрерывно контролируя их линейкой, уровнем и шнуром. Тыльную сторону плит перед укладкой увлажняют.

2.21 Уложенное покрытие пола из мраморных плит выдерживают до затвердения, но не менее суток.

2.22 Готовое покрытие шлифуют (полируют).

Технологическая схема производства при устройстве полов из мраморных плит по готовому основанию показана на рисунке 2.

I - электрощит; 2 - установка УПТЖР-2,5 для подачи жестких растворов; 3 - растворный стояк; 4 - раздаточный кран; 5 - станок для резки мрамора; 6 - ящик для раствора; 7 - шлифовальная машинка; 8 - подъемник С-953 для подачи материала в проем.

Рисунок 2 - Технологическая схема

Устройство полов из мраморных плит по технологической карте производится бригадой облицовщиков-плиточников из 10 человек, состоящей из 5 звеньев по 2 человека.

Работа внутри бригады распределена следующим образом:

Звено № 1. Два человека обслуживают всю бригаду, заготавливая мраморные плиты для последующей укладки их всеми остальными звеньями.

Звенья № 2, 3, 4, 5. Каждое звено по 2 человека выполняют все технологические операции на своей захватке, начиная с очистки основания до шлифовки полов.

Разряды внутри звеньев распределены:

Звено № 1 П1 - 4-го разряда; П2 - 5-го разряда.

Звено № 2 П3 - 4-го разряда; П4 - 3-го разряда.

Звено № 3 П5 - 4-го разряда; П6 - 3-го разряда.

Звено № 4 П7 - 4-го разряда; П8 - 3-го разряда.

Звено № 5 П9 - 4-го разряда; П10 - 3-го разряда.

(П - плиточник-облицовщик)

При подготовке плит к укладке обязанности между членами звена распределяются следующим образом:

Плиточник-облицовщик П1 обрезает мраморные плиты на камнерезных станках, представленных на рисунке 3, а также могут использоваться настольные и напольные станки модели Norton.

Плиточник-облицовщик П2 - шлифует кромки обрезанных мраморных плит шлифовальной машиной, показанной на рисунке 4 и складывает в пирамиду как показано на рисунке 5.

Затем П1 и П2 подают плиты к подъемнику для подачи на этажи к рабочим местам. Предварительно плиты на верстаке сортируют, проверяют по геометрической форме и по рисунку, текстуре, как показано на рисунке 6. Тележка для перевозки плит показана на рисунке 7.

а) Diamatic А-60 К; б) DS-250/DS-250-L; в) серии СОМРАСТ

Рисунок 3 - Станки для резки мраморных плиток

Рисунок 4 - Составные части шлифовальной машинки для шлифовки кромок мраморных плит

Рисунок 5 - Шлифовка кромок обрезанных на станке мраморных плит

Рисунок 6 - Сортировка мраморных плит и проверка их геометрической формы

Рисунок 7 - Тележка на пневмоходу для перевозки мраморных плит

Очистка и выверка основания происходит следующим образом:

П3 и П4 производят очистку основания скребком как видно по рис. 8, убирают мусор лопатой или промышленным пылесосом (в зависимости от объема работ). Затем производят разметку и выверку основания под устройство полов согласно проекту. См. рисунок 9.

Рисунок 8 - Очистка основания

Рисунок 9 - Выверка основания

Установка маяков.

П3 и П4 разбивают помещения на квадраты при помощи правила и угольника, забивают штыри и натягивают шнур. Затем по вынесенным на стены отметкам чистого пола, в квадраты на расстоянии 2 - 2,5 м друг от друга на цементный раствор ставят маяки из боя плит как показано на рисунке 10.

Рисунок 10 - Установка маяков

Укладка раствора на основание.

П3 и П4 на тележке подвозят к рабочему месту раствор от подъемника, поднимают предварительно уложенные в ряду насухо мраморные плиты и на их место лопатами укладывают раствор. Выравнивают, уплотняют раствор плиточной кельмой, создавая ровный слой толщиной 2 - 3 см как показано на рисунке 11.

Рисунок 11 - Укладка раствора под мраморные плиты

Укладка плит на раствор и выверка их положения.

П3 и П4 окомелками смачивают водой тыльную сторону снятых плит и укладывают их на раствор. Легкими ударами киянок облицовщики осаживают плиты, и, плотно подгоняя их друг к другу в стыках, выравнивают по горизонтали. Горизонтальность уложенных плит рабочие периодически проверяют правилом и уровнем по маячным плитам согласно рисунку 12. Выдавленный на поверхность плит раствор собирают кельмой в ведро. По окончании настилки плит в помещении полы засыпают древесными опилками слоем 1,5 см.

Рисунок 12 - Укладка плит на растворе

Схема организации рабочего места звена представлена на рисунке 13.

П3 и П4 - плиточники; I - маяки; 2 - раствор под плитку; 3 - тележка для раствора; 4 - пирамида с подготовленными плитами; 5 - ящик с инструментом; 6 - приемный ящик с раствором; 7 - цемент; 8 - ведро под раствор для швов

Рисунок 13 - Схема организации рабочего места звена на захватке при устройстве полов из мраморных плит (на звено из 2-х человек)

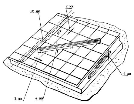
Допустимые отклонения при устройстве полов из мраморных плит представлены на рисунке 14.

Рисунок 14 - Схема операционного контроля при устройстве полов из мраморных плит. Допускаемые отклонения

Шлифовка плит.

В помещении, где раствор уже схватился, плиточник-облицовщик сметает опилки. Один плиточник приступает к шлифовке полов, как показано на рисунке 15, а второй убирает опилки и мусор и снова засыпает опилки на отшлифованный пол. Для шлифовки полов могут быть использованы мозаично-шлифовальные машины СО-101М, СО-199, СО-279, Лань и машины для затирки поверхности серии DFG20Е.

Так каждое звено из двух человек выполняет все перечисленные выше операции, кроме заготовки плит.

Рисунок 15 - Шлифовка стыков плит

ОСОБЕННОСТИ УСТРОЙСТВА ПОЛОВ ИЗ МРАМОРНЫХ ПЛИТ В ЗИМНЕЕ ВРЕМЯ

2.23 К началу устройства полов из мраморных плит в зимнее время в помещениях должны быть закончены строительно-монтажные работы, а системы отопления и вентиляции подключены к источникам тепла. В случае необходимости пользуются дополнительной системой временного отопления, а также временной системой вентиляции. Применять нагревательные приборы открытого типа и печи-времянки запрещается.

2.24 Постоянная и временная системы вентиляции рассчитаны на двух-, трехкратный обмен воздуха в час при его относительной влажности не более 70 %.

2.25 Работы по устройству полов разрешается вести при температуре воздуха зданий около наружных стен на высоте 0,5 м от пола не ниже 8 °С. Указанную температуру нужно поддерживать не менее 2 суток до начала работ, в течение всего времени производства работ, а также в течение 15 суток после окончания настилки полов в помещениях.

2.26 Устройство полов по основаниям, подверженным быстрому охлаждению, выполняют до наступления морозов. После наступления холодов устройство полов можно выполнять только с применением дополнительного утепления или обогрева помещения.

2.27 Для обогрева помещения применяют подогреватели, теплогенераторы и электрокалориферы.

2.28 Для обогрева отдельных мест используют установки с газовыми горелками инфракрасного излучения и электротермоизлучатели.

2.29 Для контроля за влажностью в помещениях, процессом прогрева и работой отопительно-вентиляционных агрегатов служит гигрометр с термометром или психрометр. Эти приборы устанавливают у внутренних стен помещений на высоте 1,6 м от пола. Замеры производят не менее 6 раз в сутки, температуру наружного воздуха замеряют 4 раза в сутки или используют данные ближайшей метеостанции. На основании замеров с помощью графиков определяют продолжительность сушки помещений.

2.30 Для устройства полов из мраморных плит в зимнее время необходимо применять растворы с температурой не ниже 15 °С и соблюдать тепловой режим в помещении.

3 ТРЕБОВАНИЯ К КАЧЕСТВУ И ПРИЕМКЕ РАБОТ

3.1 Работы по устройству полов из мраморных плит необходимо выполнять в соответствии с настоящей технологической картой или проектами производства работ при соблюдении требований охраны труда и безопасности работ.

3.2 Контроль качества работ осуществляют на всех стадиях технологической цепи, начиная от разработки проекта и кончая его реализацией на объекте на основе ППР и технологической карты.

3.3 Производственный контроль осуществляют ИТР, работники строительных лабораторий, а также представители технадзора заказчика, проектного института, оснащенные техническими средствами, обеспечивающими необходимую достоверность и полноту контроля.

Производственный контроль качества работ по устройству полов из мраморных плит должен включать входной контроль проектной документации, предоставленной заказчиком, а также применяемых материалов и изделий; операционный контроль в процессе выполнения и по завершении операций; оценку соответствия выполненных работ, результаты которых становятся недоступными для контроля после начала выполнения последующих работ.

3.4 При входном контроле проектной документации, следует проанализировать всю представленную документацию, проверив при этом ее комплектность; наличие согласований и утверждений; наличие ссылок на материалы и изделия; наличие предельных значений контролируемых по указанному перечню параметров, допускаемых уровней несоответствия по каждому из них; наличие указаний о методах контроля и измерений, в том числе в виде ссылок на соответствующие нормативные документы. При обнаружении недостатков соответствующая документация возвращается на доработку.

Входным контролем в соответствии с Гражданским кодексом Российской федерации проверяют соответствие показателей качества покупаемых (получаемых) материалов, изделий и оборудования требованиям стандартов, технических условий или технических свидетельств на них, указанных в проектной документации и (или) договоре подряда. При этом проверяется наличие и содержание сопроводительных документов поставщика (производителя), подтверждающих качество указанных материалов, изделий и оборудования. При необходимости могут выполняться контрольные измерения и испытания указанных выше показателей. Методы и средства этих измерений и испытаний должны соответствовать требованиям стандартов, технических условий и (или) технических свидетельств на материалы, изделия и оборудование.

Результаты входного контроля должны быть документированы.

3.5 Операционный контроль осуществляют непосредственно в процессе выполнения операций по устройству пола, а также сразу после завершения работ. Операционным контролем исполнитель работ проверяет:

- соответствие последовательности и состава выполняемых технологических операций технологической и нормативной документации, распространяющейся на данные технологические операции;

- соблюдение технологических режимов, установленных технологическими картами и регламентами;

- соответствие показателей качества выполнения операций и их результатов требованиям проектной и технологической документации, а также распространяющейся на данные технологические операции нормативной документации.

Места выполнения контрольных операций, их частота, исполнители, методы и средства измерений, формы записи результатов, порядок принятия решений при выявлении несоответствий установленным требованиям должны соответствовать требованиям проектной, технологической и нормативной документации.

Результаты операционного контроля должны быть документированы.

3.6 К процедуре оценки соответствия выполненных работ исполнитель работ должен представить акты освидетельствования всех скрытых работ, входящих в состав этих конструкций. При процедуре соответствия необходимо производить проверку качества выполненных работ по устройству полов из мраморных плит.

3.7 К приемке полов из мраморных плит предъявляется полностью законченная и отделанная облицовка без следов раствора и других загрязнений.

3.8 До сдачи здания в эксплуатацию выполненная поверхность полов должна быть защищена во избежание ее повреждения и загрязнения в период производства последующих отделочных и других работ. Выполненные полы должны соответствовать рабочим чертежам и особым условиям проекта.

3.9 До начала устройства полов из мраморных плит необходимо составить акт на освидетельствование скрытых работ. До настилки полов из мраморных плит строительная лаборатория обязана по заявке производителя работ проверить доставленные на объект материалы на соответствие стандартам и условиям проекта, проверить влажностный режим.

3.10 Допускаемые отклонения при устройстве полов из мраморных плит:

- уступы между двумя смежными элементами покрытия из плиток не должны превышать - 2 мм;

- толщина швов между плитами размером более 200 мм - 3 мм;

- поверхности стяжки от плоскости при настилке плит - 4 мм;

- поверхности покрытия от плоскости - 4 мм;

- поверхности покрытия от горизонтальной плоскости или заданного уклона не более 0,2 % соответствующего размера помещения, но не более 50 мм;

- при ширине или длине помещения 25 м и более эти отклонения не должны превышать 50 мм;

- отклонение швов покрытия между рядами от прямого направления не должно превышать 10 мм на 10 м длины ряда;

- покрытия полов должны быть ровными и горизонтальными (или соответствовать заданному уклону). Отклонения поверхности покрытия от плоскости при проверке контрольной двухметровой рейкой не должны превышать 4 мм.

- трещины, выбоины и незаполненные швы не допускаются;

- отслоение покрытия от прослойки, определяемое простукиванием всей площади пола, не допускается.

3.11 Показатель истираемости породы камня при испытании на стандартном круге должен быть в зданиях и сооружениях с интенсивным движением людских потоков не более 0,4 г/см2 и при слабом движении не более 2 г/см2.

3.12 Особое внимание при производстве работ уделяют контролю качества скрытых работ. Их выполнение оформляют специальными актами. Окончательная оценка качества отделочных работ выносится рабочей комиссией при приемке здания или сооружения в эксплуатацию.

4 ТРЕБОВАНИЯ БЕЗОПАСНОСТИ И ОХРАНЫ ТРУДА, ЭКОЛОГИЧЕСКОЙ И ПОЖАРНОЙ БЕЗОПАСНОСТИ

4.1 Все вновь поступающие на стройку рабочие должны пройти вводный инструктаж по технике безопасности, а также первичный инструктаж по технике безопасности на рабочем месте при работе с механизмами и материалами.

4.2 Руководство охраной труда, ее обеспечение и ответственность за ее состояние возлагается на главных инженеров и начальников строительно-монтажных организаций.

4.3 Рабочие места, проходы и проезды необходимо хорошо освещать. Не следует загромождать их лишними материалами, особенно досками с торчащими гвоздями.

4.4 Для освещения рабочего места разрешается пользоваться переносной электрической лампочкой с защитной сеткой и исправным шнуром в резиновой трубке (шланговый провод). Напряжение для переносных светильников не должно превышать 42 В, а при работе в сырых помещениях - 12 В.

4.5 Провод должен быть снабжен такой вилкой, которую нельзя включить в розетку, присоединенную к сети с напряжением выше 42 В.

4.6 Рабочее место должно быть оборудовано необходимыми ограждениями, защитными и предохранительными устройствами и приспособлениями.

4.7 Рабочее место должно быть защищено от сквозняков, а также от действия высоких температур. Посторонним лицам находиться на рабочем месте запрещается.

4.8 Включать в сеть электроинструменты и приборы электрического освещения следует только с помощью специально предназначенных для этой цели аппаратов и приборов. Подключать токоприемники к электросети путем скручивания проводов, соединения и разъединения их концов запрещается.

4.9 К работе с электроинструментом допускаются лица, прошедшие специальный инструктаж по технике безопасности, практическое обучение работе с электроинструментом и имеющие III разряд по электробезопасности.

4.10 Перед началом работы с электроинструментом необходимо убедиться в его исправности и надежном закреплении рабочего инструмента - сверла, насадки. Исправность включателя проверяют несколькими включениями и выключениями.

4.11 Инструмент, работающий от сети с напряжением более 42 В, должен быть заземлен заземляющей жилой кабеля (для трехфазного тока кабель имеет четыре жилы, для однофазного - три). Один конец кабеля соединяют с корпусом инструмента, другой с заземляющим устройством.

4.12 Перед включением электроинструмента проверяют соответствие напряжения электросети, к которой он присоединяется, к тому напряжению, на которое рассчитан инструмент; наличие и исправность заземления, а также качество заземляющих контактов; исправность включения электродвигателя.

4.13 Для осмотра и ремонта инструмента электродвигатель выключают. Оставлять без надзора электроинструмент, включенный в электросеть, запрещается.

4.14 Не разрешается переходить с одного участка работы на другой с включенным электродвигателем.

4.15 Запрещается работать электроинструментом с поврежденной изоляцией кабеля, а также допускать натяжение или перекручивание кабеля.

4.16 Провода, подводящие ток к электроинструменту, должны быть защищены от механических повреждений. Если подвесить провода невозможно, их прокладывают по земле или полу, но обязательно прикрывают досками или защищают щитом, резиновым ковриком.

4.17 Применяемую для очистки поверхностей от жировых пятен соляную кислоту должны доставлять к рабочему месту в разведенном виде (крепость не выше 3 %).

4.18 Во время очистки полов кислотными растворами помещения нужно проветривать.

4.19 Работы по приготовлению кислотостойких составов с применением кремнефтористого натрия рабочие выполняют в респираторах и резиновых перчатках. Необходимо помнить, что при приготовлении кислотных растворов кислоту вливают в воду, а не наоборот. Работать с кислотами необходимо в комбинезоне, резиновых сапогах, рукавицах и защитных очках.

4.20 При обработке поверхностей мраморных полов предохранительными составами на основе воска и парафина необходимо принимать защитные меры против их воспламенения и разбрызгивания при разогреве. В помещении нельзя курить и необходимо иметь противопожарные средства.

4.21 Для защиты кожного покрова рук от воздействия химических вредных соединений (растворов кислот, цементных и известковых растворов и др.) служат защитные пасты и мази (ХИОТ-6, ЯЛОТ, ИЭР-2). Длительное пребывание рабочих (более 3 часов) в просушиваемых помещениях запрещается.

4.22 Инструменты рабочих должны быть в полной исправности.

4.23 Перед включением и после каждого перемещения оборудования необходимо проверить исправность изоляции проводов, защитных средств ограждений и заземления. Все электрические установки по окончании работ необходимо выключать, а кабели и провода обесточивать.

4.24 Места производства работ должны быть обеспечены средствами пожаротушения: огнетушителями, бочками с водой, ящиками с песком, топорами, лопатами, баграми, ведрами.

4.25 Рабочие места следует обеспечить питьевой кипяченой водой.

4.26 Рабочих необходимо обеспечить спецодеждой: комбинезонами, рукавицами, наколенниками, респираторами, резиновой обувью и перчатками (при работе с электрифицированными инструментами).

4.27 Обработку камня ведут в отдельных огражденных местах, доступ в которые лицам, не участвующим в работе, не разрешается. При обработке камня рабочие места с расстоянием между ними менее 3 м должны быть защищены. При сухой обработке облицовочных элементов внутри помещений у рабочих мест необходимо устанавливать пылеотсасывающие устройства.

4.28 При механизированном шлифовании мраморных покрытий полов следует проверять исправность электрокабеля и заземление корпуса шлифовальной машины. Шлифуют поверхность влажным способом с применением электрифицированного инструмента только в резиновой обуви и резиновых перчатках.

4.29 При работе с электрооборудованием (растворосмесители, подъемники, шлифовальные машины и др.) рабочие должны строго соблюдать требования безопасности и охраны труда.

5 ПОТРЕБНОСТЬ В МАТЕРИАЛЬНО-ТЕХНИЧЕСКИХ РЕСУРСАХ

5.1 Нормокомплект средств механизации, механизированного и ручного инструмента, технологической оснастки для бригады рабочих численностью 10 человек приведен в таблице 1.

Таблица 1 - Ведомость потребности машин, механизмов, оборудования, инструмента, инвентаря и приспособлений

Наименование

Тип, марка, ГОСТ

Единица измерения

Количество

Срок службы в мес.

1

2

4

5

6

Механизированные инструменты

Электросверлилка

ИЭ-1003

шт

2

24

Машина ручная шлифовальная

ИЭ-6163

шт

4

24

Шлифовальная машинка для стыков плит

 

шт

4

 

Ручные инструменты

Зубило слесарное (10´60; 20´60)

ГОСТ 7211-86*

шт

4

12

Кельма для каменных и бетонных работ

Тип КШ ГОСТ 9533-81

шт

8

9

Острогубцы (кусачки)

ГОСТ 7262-78*

шт

5

24

Лопата растворная

Тип ЛР ГОСТ 19596-87*

шт

4

9

Лопата для плиточных работ

Тип ЛП ГОСТ 9533-81

шт

4

9

Бучарда

чертеж 15100000

шт

4

18

Молоток-кирочка

Тип МКИ ГОСТ 11042-90

шт

4

18

Молоток-киянка деревянный

 

шт

4

4

Молоток слесарный

ГОСТ 2310-77*

шт

5

24

Правило

 

шт

4

6

Скарпель диаметром 8 и 10 мм

чертеж 19200000

шт

4

12

Шпатель стальной

 

шт

10

19

Маячные рейки

Мосоргстрой

шт

5

6

Штырь для крепления причалки

чертеж Мосоргстроя № 1240

шт

20

6

Приемный ящик с раствором

 

шт

4

 

Ведро

 

шт

4

 

Измерительные инструменты

Нивелир с треногой

ГОСТ 10528-90

шт

1

36

Уровень строительный УС2-700

УС2-700 ГОСТ 9416-83

шт

4

24

Уровень водяной

ГОСТ 9416-83

шт

4

 

Шнур разметочный в корпусе Л-15 м

Л-15 м

чертеж 14600000

шт

4

18

Оборудование

Растворосмеситель

СО-46

шт

1

72

Установка для подачи жестких растворов

С-862

шт

1

72

Станок для резки плит мрамора и травертина

чертеж УМОР ГМС 5110000

шт

1

24

Тележка для раствора

чертеж 6420000

шт

5

12

Тележка на пневмоходу

СКБ-Мосстрой, проект № 2751

шт

2

 

Устройство защитно-отключающее

ИЭ-8913 ТУ 22-4677-80

шт

2

 

5.2 Расход материалов на 100 м2 мраморного пола приведен в таблице 2.

Таблица 2 - Ведомость расхода материалов на устройство 100 м2 мраморного пола по готовому основанию

№ п/п

Наименование материала

Ед. изм.

Количество

Примечание

1

2

3

4

5

1

Мраморная плитка

м2

103

 

2

Раствор цементно-песчаный

м3

2,00

 

3

Опилки

м3

1,5

 

4

Ветошь

кг

0,5

 

Примечание - количество раствора дано для настилки полов и заполнения швов.

Таблица 3 - Перечень средств индивидуальной защиты

№ п/п

Наименование машин, механизмов и оборудования

Тип, марка, ГОСТ, ТУ, организация-изготовитель

Ед. изм.

Количество на звено

Примечание

1

2

3

4

5

6

1

Комбинезон

ГОСТ 12.4.100-80*

шт.

10

 

2

Каска строительная

ГОСТ 12.4.087-84

шт.

10

 

3

Очки защитные

 

шт.

10

 

4

Респиратор

ГОСТ 17269-71*

шт.

5

 

5

Сапоги резиновые

ГОСТ 12.4.072-79*

пар

5

 

6

Рукавицы

Тип Г ГОСТ 12.4.010-75*

пар

10

 

7

Перчатки резиновые технические

Тип 1 ГОСТ 20010-93

пар

5

 

6 ТЕХНИКО-ЭКОНОМИЧЕСКИЕ ПОКАЗАТЕЛИ

6.1 Работы по настилке полов из мраморных плит выполняет бригада из пяти звеньев общей численностью 10 человек. Первое звено комплектуется из плиточников 4-го и 5-го разряда, а остальные звенья - из плиточников 4-го и 3-го разряда.

6.2 Трудоемкость выполнения работ по устройству полов из мраморных плит, характеризующая использование материально-технических и трудовых ресурсов, определена в калькуляции трудовых затрат и машинного времени по Единым нормам и расценкам «Устройство полов», сборник 19, § 19-18, § 19-21, § 19-22 и представлена в таблице 4.

Таблица 4 - Калькуляция затрат труда при устройстве мраморных полов

Измеритель конечной продукции - 100 м2 пола

Обоснование (ЕНиР)

Наименование технологических процессов

Ед. изм.

Объем работ

Нормы времени

Затраты труда

рабочих, чел.-ч.

машиниста, чел.-ч., (работа машин, маш.-ч.)

рабочих, чел.-ч.

машиниста, чел.-ч., (работа машин, маш.-ч.)

1

2

3

4

5

6

7

8

Е19-18 (применительно)

Перерубка с оправкой кромок плиток

100 шт

4 (10 %)

0,31

-

0,1

-

Е19-18 (применительно)

Подточка кромок перерубленных плиток

100 шт

4 (10 %)

0,38

-

0,2

-

Е19-21

Устройство полов из плиток природного камня

1 м2

100

0,94

-

94

-

Е19-22 № 1

Промывка полов с помощью щеток и резиновых губок

100 м2

1

13

-

13

-

Е19-22 № 2

Шлифование мраморных полов

1 м2

100

0,57

-

57

-

ИТОГО:

164,3

 

6.3 Календарный план производства работ устройства полов из мраморных плит представлен в таблице 5.

Таблица 5 - График производства работ при устройстве полов из мраморных плит

Измеритель конечной продукции 100 м2 пола

6.4 Основные технико-экономические показатели при устройстве полов из мраморных плит:

Продолжительность работ на 100 м2, ч..................................... 82,3

Затраты труда, чел.-ч

- на измеритель конечной продукции (на 100 м2)............... 164,3

- на 1 м2 покрытия пола.......................................................... 1,6

Затраты машинного времени, маш.-ч........................................ -

Выработка на 1 рабочего в смену, м2 покрытия пола.............. 5,0

7 ПЕРЕЧЕНЬ ИСПОЛЬЗОВАННОЙ НОРМАТИВНО-ТЕХНИЧЕСКОЙ ЛИТЕРАТУРЫ

1 СНиП 2.03.13-88 «Полы».

2 СНиП 3.03.01-87 «Несущие и ограждающие конструкции».

3 СНиП 3.04.01-87 «Изоляционные и отделочные покрытия».

4 СНиП 12-03-2001 «Безопасность труда в строительстве. Часть 1. Общие требования».

5 СНиП 12-04-2002 «Безопасность труда в строительстве. Часть 2. Строительное производство».

6 СНиП 12-01-2004 «Организация строительства».

7 ГОСТ 12.0.004-90 «Организация обучения безопасности труда. Общие положения».

8 ГОСТ 9480-89 «Плиты облицовочные пиленые из природного камня. Технические условия».

9 ВСН 9-94 «Инструкция по устройству полов в жилых и общественных зданиях». Департамент строительства, Научно-техническое управление, 1995 г.

10 ПОТ РМ-016-2001 «Межотраслевые правила по охране труда (правила безопасности) при эксплуатации электроустановок», М., 2001 г.

11 ППБ 01-03 «Правила пожарной безопасности в Российской Федерации», МЧС России, М., 2003 г.

12 СП 12-135-2003 «Безопасность труда в строительстве. Отраслевые типовые инструкции по охране труда», Госстрой России, М., 2003 г.

13 «Рекомендации по устройству полов». АО «ЦНИИпромзданий», 1998 г.

14 МДС 31-1.98 «Рекомендации по проектированию полов», 1998 г.




Яндекс цитирования



   Copyright © 2007-2026,  www.tehlit.ru.

[ ѓосты, стандарты, нормативы, инструкции, правила, строительные нормы ]