//
ТехЛит.ру
- крупнейшая бесплатная электронная интернет библиотека для "технически умных" людей.
WWW.TEHLIT.RU - ТЕХНИЧЕСКАЯ ЛИТЕРАТУРА

:: Алготрейдинг::


АЛГОТРЕЙДИНГ
шаг за шагом
с нуля по урокам!

Торговые роботы на PYTHON, BackTrader,
Pandas, Pine Script для TradingView. Связка с брокерами, телеграм и легкими приложениями.


МИНИСТЕРСТВО ТРАНСПОРТНОГО СТРОИТЕЛЬСТВА

ВСЕСОЮЗНЫЙ НАУЧНО-ИССЛЕДОВАТЕЛЬСКИЙ ИНСТИТУТ
ТРАНСПОРТНОГО
СТРОИТЕЛЬСТВА

УТВЕРЖДАЮ

Зам. директора института

Г.Д. ХАСХАЧИХ

«28» октября 1984 г.

МЕТОДИЧЕСКИЕ РЕКОМЕНДАЦИИ
ПО
ПРОЕКТИРОВАНИЮ И СТРОИТЕЛЬСТВУ
ГИБКИХ
ЖЕЛЕЗОБЕТОННЫХ ПОКРЫТИЙ ОТКОСОВ
ТРАНСПОРТНЫХ
СООРУЖЕНИЙ

Одобрены Главморречстроем и Главтранспроектом

Москва 1984

ПРЕДИСЛОВИЕ

Настоящие Методические рекомендации разработаны в развитие положений «Рекомендаций по проектированию и сооружению земляного полотна на прижимных участках рек», введенных в действие приказом Минтрансстроя Л-1738, о гибких железобетонных покрытиях для защиты откосов транспортных сооружений и склонов берегов рек от действия водного потока.

В данной работе приведены технические характеристики гибких железобетонных покрытий различных типов, условия и области их применения, рассмотрены вопросы проектирования покрытий с указанием необходимых расчетных формул, даны рекомендации по изготовлению элементов покрытий и производству монтажных работ на объекте строительства.

Методические рекомендации разработаны на основании теоретических, лабораторных и технологических исследований, а также опыта проектирования защитных конструкций институтами ЦНИИС, Гипротрансмост, Сибгипротранс, Сибгипроречтранс Минречфлота РСФСР, ЧерноморНИИпроект Минморфлота СССР, Гидропроект Минэнерго СССР и строительства объектов трестами Тюменьстройпуть, Дондорстрой, Куйбышевдорстрой, Запсибгидрострой, Тындатрансстрой, Мостострой 8, Черноморгидрострой, Запорождорстрой Миндорстроя УССР и Мостострой КазССР.

Работа выполнена в соответствии с программой решения научно-технических проблем 0.85.01.Н4а и 0.54.01.Н13, утвержденных постановлением ГКНТ при Совете Министров СССР.

Методические рекомендации разработаны в лаборатории постройки речных сооружений ЦНИИСа инж. Юдиным Л., кандидатами техн. наук Высоцким А., Плакидой М.Э. и инж. Лагутиной Т.

Замечания и предложения просьба направлять по адресу: 129320, Москва, ул. Кольская, д. 1. Всесоюзный ордена Октябрьской Революции научно-исследовательский институт транспортного строительства.

Зав. отделением транспортных гидротехнических сооружений               Кузнецов А.И.

1. ОБЩИЕ ПОЛОЖЕНИЯ

1.1. Гибкие покрытия откосов состоят из отдельных жестких железобетонных элементов, соединенных между собой пластическими связями, вследствие чего в одних и тех же условиях эксплуатации требуется меньшая масса покрытий по сравнению с отдельно лежащими несвязанными элементами и допустимы ограниченные деформации грунта откосов.

Гибкие плиты и блоки решеток, из которых монтируется покрытие, практически не испытывают изгибающих моментов. Их можно делать крупногабаритными и тонкими, что имеет большое экономическое значение при индустриальном изготовлении сборных элементов и механизированном монтаже покрытия на объекте строительства.

1.2. В Методических рекомендациях рассматриваются вопросы проектирования и строительства гибких железобетонных покрытий при защите от размыва течением или от повреждений волнами грунтовых откосов и подошв насыпей подходов к мостам на железных и автомобильных дорогах всех категорий, конусов у мостов, надводных и подводных склонов и подошв склонов берегов в случае расположения земляного полотна дорог вдоль рек, при защите от размыва течением оснований регуляционных сооружений на мостовых переходах, а также при защите от размыва дна у причалов потоком, создаваемым движителями судов. Методические рекомендации могут быть использованы также при проектировании и строительстве защитных одежд берегов небольших внутренних водоемов или водохранилищ в их выклинивающихся частях.

1.3. Методические рекомендации не касаются вопросов проектирования и строительства покрытий при защите откосов судоходных, водопроводных, ирригационных каналов и водоотводных канав.

1.4. Вопросы воздействия на гибкие покрытия судовых волн в настоящей работе не рассматриваются.

1.5. Методические рекомендации применимы при обычно выполняемых двух стадиях проектирования (технический проект, рабочие чертежи), а также, в случае необходимости, при составлении технико-экономического обоснования.

1.6. Предусматривается, что при проектировании и строительстве гибких покрытий должны учитываться также указания действующих нормативов и рекомендаций, приведенных в списке литературы.

2. УСЛОВИЯ ПРИМЕНЕНИЯ ГИБКИХ ЖЕЛЕЗОБЕТОННЫХ ПОКРЫТИЙ

2.1. Для установления возможности применения гибких железобетонных покрытий должны быть использованы материалы изысканий и предварительные проектные соображения.

2.2. Возможность применения гибких покрытий определяется следующими условиями:

средина расчетная скорость течения потока не должна превосходить 6 м/с;

высота ветровых волн, воздействующих на защищаемый откос, не должна превышать 0,80 - 1,00 м зависимости от крутизны откоса);

грунт тела насыпи, откосы которой защищаются, а также его плотность отвечают требованиям, предъявляемым СН 449-72 [1];

защищаемый откос не подвержен воздействиям льда толщиной более 1 м;

крутизна защищаемого откоса не превосходит 1:2;

температура воздуха в районе расположения защищаемых объектов не ниже минус 60 °С;

глубина воронок, образующихся при размыве оснований земляных сооружений, не превышает 4 м;

выбор покрытия обоснован технико-экономическими расчетами.

3. ИСХОДНЫЕ ДАННЫЕ ПРИ ПРОЕКТИРОВАНИИ

Топографические данные

3.1. Для определения расчетных элементов ветровых волн, воздействующих как на верховую, так и низовую стороны пойменных подтопляемых насыпей подходов к мостам, необходимо знать возможные длины разгона волн при различных направлениях ветра, а также глубины воды во время паводков по волноопасным направлениям. Исходными материалами для этого могут служить карты в масштабе 1:10000 - 1:100000 района расположения мостового перехода, а также планы в горизонталях, нанесенных не реже чем через 1 м для равнинных и 2 м для предгорных и горных условий.

3.2. Значения скоростей течения паводковых вод вдоль пойменных насыпей, воздействующих на их откосы и подошвы, могут быть установлены при наличии детального плана в горизонталях в масштабах 1:1000 при площади съемки до 50 га и 1:2000 при площади съемки свыше 50 га района расположения мостового перехода. При этом по длине должно быть полностью охвачено расположение пойменных насыпей подходов к мостам и регуляционных сооружений, не менее чем по 200 м в каждую сторону от паводочного уреза воды на берегах реки в створе мостового перехода, а по ширине - расстояние между границами разлива наибольшего паводка. На плане должно быть показано расположение всех сооружений мостового перехода и русла реки с направлением течения.

3.3. При проектировании покрытий для защиты от размыва течением откосов насыпей на прижимных участках и в излучинах рек, вдоль которых расположено полотно дороги, необходимо иметь план в горизонталях в масштабе 1:500 - 1:1000, на котором должны быть показаны русло реки на протяжении всего защищаемого участка и всей излучины, а также полотно дороги.

Помимо этого необходимо иметь профили поперечного сечения земляного полотна дороги, склонов берега и русла реки на всем протяжении защищаемого участка не реже чем через 50 м.

3.4. Для проектирования расположения в плане одежды, защищающей от размыва основания отдельных регуляционных сооружений или их частей на мостовых переходах, требуется дополнительный план в горизонталях в зависимости от размеров защищаемых объектов, охватывающий со всех омываемых потоком сторон сооружения полосу шириной, равной (считая от бровки сооружения) десяти глубинам воды в подошве откосов при расчетном паводке.

3.5. При проектировании у причалов карт покрытия, защищающих грунт от размыва движителями судов, необходим план подводного склона реки в масштабе 1:200 - 1:500 в горизонталях через 1 м с охватом полосы шириной (считая от кордона причала), равной 30 м, а для проектирования расположения штабелей конструкций - такой же план берега реки. По длине планом должна быть охвачена вся причальная линия, и на нем показаны причалы.

Инженерно-геологические данные

3.6. Для проектирования защитных одежд откосов насыпей сооружений и склонов берегов рек, а также для определения глубины воронок размыва должны быть известны инженерно-геологическая характеристика и гранулометрический состав грунтов в защищаемых от размыва сооружениях, берегах, основаниях и подошвах сооружений, а в случаях связных грунтов - расчетное сцепление, устанавливаемое испытаниями. Анализ грунтов производится согласно ГОСТ 12536-79 [2].

3.7. При проектировании защитных одежд берегов рек требуется, кроме данных, указанных в п. 3.8, гидрогеологическая характеристика берегов.

Гидрологические и гидравлические данные

3.8. Во всех случаях применения гибких железобетонных покрытий требуются данные о характере (дождевые, от таяния снегов), о времени наступления и продолжительности паводков в течение года, а также сведения об отметках наибольшего, расчетного, среднего и низкого меженного уровней воды в месте строительства объекта.

3.9. Для определения скорости потока вдоль пойменных насыпей подходов к мосту, воздействующего на откосы, и глубины возможного размыва поймы у подошвы откосов обходимо знать: длину отверстия моста; расчетный и наибольший расход всего потока, проходящего через отверстие моста; расходы воды, проходящей в русловой части отверстия моста, при отсутствии стеснения через часть живого сечения, перекрываемую отверстием моста, и в нестесненных условиях по каждой из пойм; расчетную ширину разлива паводочной воды; продольный уклон нестесненного потока.

3.10. При проектировании защиты откосов насыпей на прижимных участках и склонов берегов рек в излучинах, а также при проектировании защиты от размыва их подошв должна быть известна средняя скорость на вертикали в подошве склона вогнутого берега при заполнении русла в бровках излучины.

3.11. Для расчета местного размыва у головы односторонней струенаправляющей дамбы требуются следующие данные: полный расчетный расход потока; расход воды, проходящей по ширине отверстия моста в бытовых условиях; глубина воды до размыва у головной части дамбы; наибольшее значение средней скорости под мостом, определяемое при расчете общего размыва; значение средней скорости нестесненного потока в бытовых условиях.

3.12. Для расчета местного размыва при двухсторонних струенаправляющих дамбах нужны такие данные: глубина воды до размыва у головной части дамбы; расход на нестесненной части потока, состоящей из прилегающих к данной дамбе поймы и части русла до линии наибольших глубин; расход на части отверстия, прилегающей к данной дамбе; наибольшее значение средней скорости на части отверстия моста, прилегающей к данной дамбе, считая от вертикали на наибольшей глубине; средняя скорость в бытовых условиях на нестесненной части потока, состоящей из прилегающих к данной дамбе поймы и части русла до вертикали на наибольшей глубине.

3.13. Для расчета глубины размыва у головной части траверса необходимо знать глубину воды в голове траверса до размыва и среднюю скорость течения набегающего потока на вертикали у головной части траверса.

3.14. При проектировании защиты дна у причалов от размыва движителями судов должен быть известен наиболее низкий уровень воды у причалов в течение периода судоходства.

Метеорологические данные

3.15. Во всех случаях применения гибких покрытий, за исключением тех, когда покрытия находятся всегда под водой, требуются следующие сведения: характеристика температурного режима воздуха; максимальная и минимальная годовые температуры; продолжительность жаркого и холодного периодов года.

3.16. При проектировании защитных одежд откосов и их подошв от воздействия ветровых волн и для определения расчетных элементов последних необходимо иметь данные береговых или материковых метеостанций о наблюденных максимальных скоростях ветра по всем восьми румбам (С, СВ, В, ЮВ, Ю, ЮЗ, З, СЗ) по годам за многолетний (не менее 25 лет [3]) период наблюдений и по месяцам, в течение которых возможны паводки с глубинами на поймах, обеспечивающими волнообразование.

Конструктивные данные

3.17. Для проектирования защитных покрытий откосов грунтовых сооружений мостовых переходов необходимо знать поперечные сечения этих сооружений и крутизну откосов, а для проектирования траверсов, кроме того, их длину и угол косины их продольной оси к направлению течения.

3.18. При проектировании защитных покрытий дна у причалов требуются следующие данные: поперечные сечения причалов, типы судов, которые будут пришвартовываться к причалам, количество и диаметр винтов, мощность движителей, наименьшая возможная глубина воды, считая от оси винта до дна, наибольшее возможное число оборотов винта при швартовке и отчаливании судов, ширина судов.

4. РЕКОМЕНДУЕМЫЕ КОНСТРУКЦИИ ПОКРЫТИЙ, ИХ НАЗНАЧЕНИЕ И КОМПОНОВКА

Гибкие покрытия

4.1. Гибкие покрытия рассматриваются как волногасящие и противоразмывные элементы сооружений, которые по своей значимости могут быть приравнены к гидротехническим речным сооружениям IV класса.

4.2. Гибкие покрытия подразделяются на сплошные плиты и решетчатые с ячейками, образованными взаимно пересекающимися гирляндами. Конструкция состоит из отдельных жестких железобетонных элементов, объединенных посредством пластических связей из арматурной стали в полимерной оболочке*. Между отдельными элементами образуются линейные шарниры, благодаря чему конструкция способна вписываться в криволинейные поверхности, которые могут образовываться на технологических операциях и в период эксплуатации покрытий [4].

* Изобретение. Свидетельство № 251463. Авторы: Юдин Л.Н., Петрашень И., Элексон Г.З.

4.3. В пластических связях сталь связи на участке длиной 115 мм (рис. 1) находится в эластичной оболочке толщиной 2 мм из термо- и фотостабилизированного полиэтилена высокой плотности, наносимого термопрессованием. Эта оболочка позволяет стали расширять зону пластических деформаций и предохраняет арматуру от коррозии. У полиэтиленовой оболочки на концах выполнены специальные запорные шайбы, исключающие возможность прохода влаги по контуру полиэтилен - бетон внутрь бетона при изменении температуры в период эксплуатации.

Рис. 1. Полиэтиленовая оболочка стержня арматуры

4.4. Гибкие покрытия набираются из отдельных сборных элементовибких плит и блоков) заводского изготовления. Типоразмеры плит и блоков, их масса, расход основных материалов на 1 м2 покрытия и допустимые значения воздействующих на них факторов приведены в табл. 1.


Таблица 1

№ п/п

Показатели

Единицы измерения

Плитные покрытия при размерах плит в плане, м

Решетчатые покрытия при размерах блоков в плане, м

2,4×2,4

2,4×2,4

4,5×2,7

4,5×2,5

4,5×2,5

4,5×2,5

4,5×2,5

3,08×3,08

3,08×3,08

4,5×4,5

4,5×4,5

3,0×4,5

при размерах элементов в плане, м

при размерах ячеек решетки (по осям)

0,3×0,3

0,3×0,3

0,3×0,75

0,5×0,5

0,5×0,5

0,5×0,5

0,5×0,5

0,30×0,60

0,60×0,60

0,75×0,75

0,75×0,75

0,75×0,75

толщина плиты, см

сечение гирлянды, см

5

7,5

5

7,5

10

12

15

5×6

5×6

7,5×20

120

12×20

1

Расход бетона

м32

0,045

0,0674

0,046

0,070

0,092

0,11

0,13

0,014

0,009

0,035

0,052

0,051

2

Расход стали

кг/м2

3,47

3,47

2,75

2,47

2,47

2,47

2,59

1,49

0,99

1,30

1,42

1,57

3

Расход полиэтилена

кг/м2

0,075

0,075

0,062

0,060

0,060

0,060

0,060

0,069

0,039

0,054

0,054

0,054

4

Масса плиты (блока)

т

0,60

0,91

1,32

1,80

2,40

2,90

3,45

0,279

0,186

1,60

2,29

1,52

5

Высота волны

м

0,30-0,35

0,50-0,55

0,40-0,45

0,50-0,55

0,60-0,70

0,70-0,80

0,80-0,90

До 0,20

До 0,2

До 0,8

До 1,0

До 1,0

6

Средняя скорость течения

м/с

2,5

2,75

2,5

2,75

3,0

3,5

4,0

2,5

2,5

4,5

До 6

До 6

7

Толщина льда риентировочно)

м

0,20

0,40

0,20

0,40

0,50

0,60

0,80

До 0,20

До 0,2

До 0,6

До 1,0

До 1,0

Примечания: 1. В расход материалов включены материалы на стыкование плит или блоков.

2. Высота волны для плит приведена при откосах заложением 2 - 3, для решеток - заложением 3 - 4.

3. Для решетчатого покрытия область применения определяется по расчету в зависимости от материала заполнителя ячеек.


4.5. На сухих откосах плитные покрытия набираются из сборных элементов с устройством температурных швов не чаще чем через 200 м, а решетчатые - без температурных швов.

Покрытия, опускаемые в размыв, выполняются в виде карт, состоящих из сборных элементов. Карты сопрягаются между собой впритык или внахлест, но не соединяются. Также из карт выполняются покрытия на подводном откосе или склоне берега, когда укладка карт ведется с помощью стапеля или барабана в направление снизу вверх, т.е. против течения воды в реке. Карты укладываются длинными сторонами в направлении ската склона берега или откоса без подготовки, непосредственно на грунт, с перекрытием друг друга на 1 м.

Край последней (верховой) карты во избежание завертывания ее течением должен быть пригружен камнем, мешками с песком и др.

4.6. На подводном склоне берега у причалов при защите грунта от размыва движителями карты должны отвечать следующим требованиям:

карта покрытия как единое конструктивное целое должна быть возможно больших по площади размеров с тем, чтобы знакопеременная гидродинамическая нагрузка, интегрированная по всей площади карты, на каком-то отрезке времени не имела составляющей, направленной вверх, превышающей по своему значению массу карты;

конструкция покрытия должна обладать достаточной деформативностью, обеспечивающей плотное прилегание его к грунту, что сводит к минимуму объемы воды под покрытием, которая может мигрировать из областей с повышенным давлением на соседние участки;

при соблюдении полной грунтонепроницаемости под покрытие не должна поступать вода, когда от струи движителя образуются зоны с повышенным давлением, а в зонах с пониженным давлением необходимо обеспечивать с наименьшим сопротивлением выход воды из-под покрытия, предотвращая его всплытие;

необходимо сообщить повышенную устойчивость частям карты покрытия по ее периметру с целью исключения их возможного поднятия, увеличения парусности на лобовой стороне карты, развития в связи с этим противодавления и поступления под покрытие добавочной массы воды, создающей условия для всплытия конструкции.

Гибкие плитные покрытия

4.7. Гибкие плитные покрытия применяют для защиты от воздействия течения и волн периодически подтопляемых откосов земляных сооружений и их оснований, а также берегов рек и водохранилищ (рис. 2).

Рис. 2. Плита гибкого железобетонного покрытия толщиной 15 см:

1 - петля для стыкования диаметром 14 мм, длиной 880 мм; 2 - полиэтиленовая оболочка; 3 - пакеты арматурных стержней

4.8. Плиты изготавливаются из бетона марки 300-400 и армируются стальной сеткой из пакетов проволоки, укладываемой по середине толщины плиты.

4.9. Гибкость железобетонного покрытия обеспечивается системой ортогонально-направленных линейных шарниров. Они выполняются путем разрезки бетона плиты в двух направлениях с разделением плиты на прямоугольные или квадратные элементы, при этом арматура в местах разреза выполняет роль пластической связи. Связи должны располагаться ближе к середине сторон элементов, обеспечивая взаимный поворот смежных ребер элементов в пространстве.

4.10. Разрезка бетона на элементы выполняется с обеих сторон плиты на глубину, равную половине толщины плиты, согласно размерам, приведенным в табл. 1.

При съеме плиты с формы между элементами плиты образуются зазоры шириной 0,5 - 2,0 мм, которые предназначены, с одной стороны, для пропуска фильтрационного потока из тела грунтового массива наружу, а с другой, - для создания безмоментной конструкции вследствие образования линейных шарниров в заранее подготовленных местах плиты.

4.11. Пакеты из стержней проволоки диаметром 5 мм, проходящие через всю плиту параллельно ее обеим сторонам, являются связями между отдельными элементами в плите. В пакете число стержней определяется усилиями, возникающими при транспортировке плит и в условиях эксплуатации покрытий.

4.12. Стыковка плит толщиной 10 и 15 см между собой осуществляется с помощью заложенных в бетон и выпущенных наружу петель, а также сварных замкнутых колец, выполненных из стали диаметром 14 мм. Стыковка же плит толщиной 5 см по длинной стороне осуществляется с помощью заложенных в бетон и выпущенных наружу петель из стержней диаметром 10 мм, причем выпуски плит привариваются к стальной пластине толщиной 5 мм.

Для стыковки по короткой стороне в бетон каждой плиты закладываются короткие стержни диаметром 10 мм с выпуском концов наружу, которые при монтаже свариваются между собою. В тех пределах откоса, где это возможно, швы между плитами заполняются бетоном.

4.13. При защите надводных (сухих) откосов земляных сооружений плиты укладываются на предварительно уложенную на откос подготовку и объединяются в единое покрытие.

4.14. При защите оснований регуляционных сооружений на мостовых переходах необходимая длина карт гибкого покрытия, толщина плит, а также анкерные усилия, возникающие в картах покрытия, определяются расчетом. Свободные стороны карты (речная и нижняя по течению) выполняются из плит полной массы, толщина которых рассчитывается по формуле (26), а остальная часть карты и фиксированные стороны (береговая, закрепленная к ранд-балке или пригруженная призмой из каменной наброски, и верхняя по течению, заходящая под нахлест соседней карты) составляются из плит меньшей массы, равной 0,5 расчетной (рис. 3).

Рис. 3. Схема раскладки плит покрытия:

1 - береговая сторона; 2 - карты покрытия; 3 - железобетонные плиты массой, равной 0,5 расчетной; 4 - железобетонные плиты расчетной массы

4.15. В гибких плитных покрытиях при защите откосов земляных сооружений и склонов берегов рек, если вероятность воздействия на них волн не исключена, а также при защите подводных склонов берегов в случаях, когда укладка подготовки нежелательна, для полного исключения суффозии грунта через щели линейных шарниров и стыки между соседними плитами и картами следует применять грунтонепроницаемые, водопроницаемые экраны в виде полос шириной 10 см или шпонки из синтетических полотен. В линейных шарнирах экраны и шпонки устанавливаются при изготовлении плит на заводе железобетонных изделий, в стыках между плитами - при их монтаже в карту покрытия, если работа производится насухо.

4.16. На конусы у мостов рекомендуется укладывать плиты плановыми размерами 2,4×2,4 м при толщине их 5 или 7,5 см и элементах 0,30×0,30 м.

4.17. Карты плитных покрытий, укладываемые для защиты от размыва течением на подводные склоны берегов с помощью стапеля или барабана, монтируются из плит плановыми размерами 2,7×4,5 м из элементов 0,30×0,75 м, толщиной 5 см, при этом плиты и элементы должны располагаться своими длинными сторонами параллельно урезу воды в реке.

Гибкие решетчатые покрытия

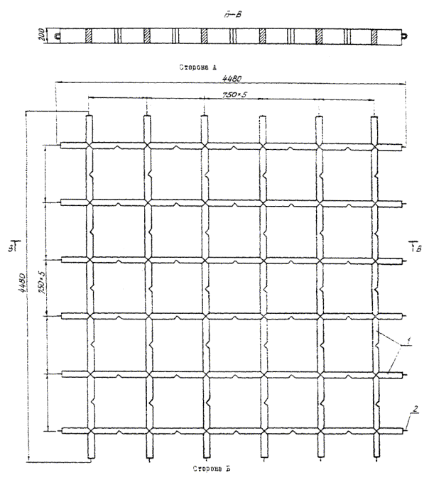
4.18. Гибкое решетчатое покрытие, применяемое для защиты от воздействия течения и волн, состоит из соединенных между собой гибкими связями или свободно лежащих отдельных блоков (рис. 4), выполненных в виде гибкой решетки из железобетонных гирлянд, пересекающихся по взаимно перпендикулярным осям, причем каждая гирлянда защемлена другими, пересекающими ее попеременно сверху и снизу.

Рис. 4. Блок решетчатого покрытия:

1 - гибкая железобетонная гирлянда сечением 20,0×7,5 см; 2 - петли для стыкования диаметром 12 мм, длиной 464 мм

4.19. Гибкость гирлянды, а следовательно, и решетки в целом достигается членением бетона гирлянд на мелкие элементы длиной 30 или 37,5 см, при этом в местах разрезки бетона стержни армирования диаметром 5 мм в оболочке из полиэтилена выполняют роль пластических связей (рис. 5).


Рис. 5. Гирлянда железобетонного решетчатого покрытия:

1 - петли для стыкования диаметром 12 мм, длиной 464 мм; 2 - полиэтиленовая оболочка толщиной 2 мм, длиной 115 мм; 3 - пазы линейных шарниров


4.20. Для подъема гирлянд или блоков решетки, а также для соединения блоков между собой при монтаже их в карту покрытия на концах гирлянд должны делаться петли из круглой стали диаметром 8 - 12 мм.

4.21. Гибкие решетчатые покрытия отличаются различными размерами блоков, ячеек решетки, а также поперечных сечений гирлянд (см. табл. 1) и могут в зависимости от их назначения применяться с заполнителями ячеек из камня, щебня, гальки, средний диаметр которых определяется расчетом, или грунта, или же совсем без заполнителя. Для получения сплошной конструкции блоки решетки могут укладываться на экран из синтетической ткани дорнит.

4.22. При заполнении ячеек крупным материалом (камнем диаметром 15 - 25 см) используют гирлянды сечением 12×20 см и соответственно блоки размерами 3,0×4,5 и 4,5×4,5 м. При заполнении ячеек более мелким камнем, а также щебнем или галькой используют гирлянды сечением 7,5×20 см и блоки размерами 4,5×4,5 м.

В легких гидрологических условиях применяются гирлянды сечением 5×6 см и блоки размерами 3,08×3,08 м, ячейки которых заполняются щебнем, галькой или грунтом с посевом трав.

4.23. Решетчатые покрытия могут защищать от воздействия волн откосы крутизной не более 1:2,5.

4.24. При защите дна у причалов от размыва движителями судов следует применять блоки решеток размерами 4,5×4,5 м с гирляндами сечением 7,5×20,0 см.

Ячейки решетки могут заполняться щебнем или галькой или же камнями, размеры которых определяются расчетом, однако диаметр камней не должен превышать 15 см. В отдельных случаях ячейки могут остаться незаполненными, если речной поток имеет большой расход донных наносов.

Сплошность блока достигается путем укладки его на мат из синтетического материала, при этом мат в отдельных узлах крепится к блоку проволокой.

Если ячейки заполняются камнем, щебнем или галькой, мат должен быть водопроницаемым, а при ячейках без заполнителя - водонепроницаемым.

4.25. В случае укладки решетки на водонепроницаемый мат необходимо предусматривать устройство выпусков воды из-под мата с клапаном одностороннего действия (рис. 6), при этом количество выпусков должно быть не меньше одного на 5 м2 покрытия.

Рис. 6. Обратный клапан:

1 - гирлянда гибкой железобетонной решетки; 2 - водонепроницаемый экран; 3 - фильтрующий пакет; 4 - рукав клапана

4.26. Для защиты от размыва течением, донная скорость которого не превышает 1,5 м/с, подводных склонов берега картами, укладываемыми со стапеля или с помощью барабана, перемещающихся против течения реки, могут применяться для монтажа карт блоки решетчатого покрытия размерами в плане 3,08×3,08 м с ячейками 0,30×0,60 м и гирляндами сечением 5×6 см, при этом длинные стороны ячеек решеток должны быть параллельны урезу воды.

Все ячейки решетки на карте с открытой боковой стороны, не попадающей внахлест, а также с нижней стороны должны быть пригружены при подготовке к укладке бетоном.

4.27. В случае опускания в воронку размыва, вызванного течением или донными волновыми скоростями, в подошве откоса или склоне берега вопрос о возможности применения гибких решетчатых покрытий требует индивидуального решения.

Требования к материалам и их характеристики

4.28. Качество бетона должно отвечать требованием ГОСТ 4708-68 [5] и действующим техническим условиям.

Рекомендуется применять для гибких конструкций бетон марки 300-400. Требуемая морозостойкость устанавливается проектом. При проектировании подводных покрытий требование в отношении морозостойкости отпадает.

4.29. Прочность и морозостойкость бетона следует проверять испытаниями образцов в соответствии с требованиями ГОСТ 10180-78 [6] и ГОСТ 10060-76 [7].

4.30. Бетон, укладываемый в форму, должен иметь водоцементный фактор В / Ц = 0,4 и пластичность, определяемую осадкой конуса, не больше 3 - 5 см.

4.31. Заполнители для бетона должны удовлетворять требованиям ГОСТ 10268-80, ГОСТ 8267-75, ГОСТ 8268-74 и ГОСТ 8736-77 [8 - 11]. В качестве мелкого заполнителя следует применять крупно- и среднезернистые пески, а в качестве крупного - щебень диаметром от 10 до 40 мм.

4.32. В качестве вяжущего должен применяться пластифицированный портландцемент марки не ниже 500, удовлетворяющий требованиям ГОСТ 22236-76 [12].

Пуццолановый цемент и шлакопортландцемент применять не следует.

4.33. Для повышения пластичности бетонной смеси, экономии цемента и повышения прочности и морозостойкости бетона необходимо вводить ПАВ, пластификаторы - концентрат сульфатно-спиртовой барды и воздухововлекающую добавку СНВ, руководствуясь указаниями ГОСТ 24211-80 [13] и ВСН 6/118-74 [14].

4.34. Применять цемент можно только при положительных результатах контрольных испытаний согласно ГОСТ 310.1-76, ГОСТ 310.2-76, ГОСТ 310.3-76 и ГОСТ 310.4-76 [15 - 18].

4.35. Для изготовления и поливки бетона можно применять обычную питьевую воду.

4.36. Армирование конструкций выполняется стальной проволокой диаметром 5 мм В-1 для плит и В-1 и Вр-1 для гирлянд из Ст3 - низкоуглеродистой холоднотянутой для армирования железобетонных конструкций по ГОСТ 6727-80 [19], обладающей следующими осредненными механическими свойствами: предел прочности 550 - 850 МПа, число перегибов не менее четырех.

При заказе следует указывать: проволока 5, Ст3, ГОСТ 6727-80.

4.37. На петли и кольца для стыкования плит должна применяться арматура диаметром 14 мм, а для стыкования блоков решетчатого покрытия - диаметром 8 - 12 мм, Ст3, ГОСТ 5781-82 [20].

4.38. Для оболочек пластической связи рекомендуется использовать полиэтилен только высокой плотности (низкого давления - НД) по ГОСТ 16338-77 [21]. Из числа композиций полиэтилена высокой плотности (низкого давления) следует использовать композиции на основе полиэтилена базовых марок 20706-016 или 20806-024 с термо- и фотостабилизирующими добавками в соответствии с рецептурой 11, 12, 20, первого сорта, черного цвета.

Для конструкций, которые сразу после монтажа будут эксплуатироваться в условиях, защищенных от прямых солнечных лучей, в том числе под слоем воды толщиной не менее 0,5 м, допустимо также применение рецептур 03, 13, 17, 22, 23, 58.

При заказе следует указывать: полиэтилен 207-а или 208-а, черный, сорт 1 ГОСТ 16338-77, где а - номер упомянутых рецептур (207-11 и т.д.).

Характеристика рекомендуемых композиций полиэтилена

Плотность, гм3................................................................................................... 0,95 - 0,96

Текучесть расплава, г/10 мин.............................................................................. 1,2 - 2,0

Относительное удлинение при разрыве, %...................................................... 250 - 700

Температура хрупкости, °С, не свыше............................................................... -130

Насыпная плотность гранул, г/см3, не менее.................................................... 0,5

Температура переработки на оборудовании ЦНИИСа, °С.............................. 125 - 135

Модуль упругости при изгибе, МПа.................................................................. 600 - 850

Предел прочности при статическом изгибе, МПа............................................ 20 - 28

Предел прочности на срез, МПа........................................................................ 20 - 36

Коэффициент линейного расширения в интервале от 0 до 50° на 1 °С......... 0,0001

4.39. Камень для заполнения ячеек решетчатых покрытий должен отвечать требованиям ГОСТ 228-2-76 [22]. Используемые с той же целью, а также идущие на подготовку каменные, гравийные, гравийно-галечные грунты, щебень, щебеночные отходы камнедробильных заводов должны быть твердых, плотных, морозостойких каменных пород, не содержащих водорастворимых солей, а также не поддающихся выветриванию и выщелачиванию. Используемые гранулированные шлаки должны обладать такими же свойствами, но они подлежат предварительному исследованию в лаборатории.

4.40. Предел сопротивления каменных пород при сжатии должен быть не менее 30 МПа (300 кгс/см2). При испытании на морозостойкость они должны выдерживать не менее 50 циклов замораживания и оттаивания при температуре -17 °С, при этом потеря в массе не должна превышать 5 % [23].

5. ВОЗДЕЙСТВИЯ И НАГРУЗКИ НА ПОКРЫТИЯ

Расчетные скорости движения воды

5.1. Расчетные скорости потока вдоль пойменной насыпи определяются согласно Рекомендациям [24].

5.2. Размывающая скорость для грунтов поймы у подошвы откоса насыпи vp, м/с, определяется по формуле [25].

                                                 (1)

где g - ускорение силы тяжести, м/с2;

hп - глубина воды у подошвы откоса, м;

d50 - средний диаметр частиц грунта, слагающего пойму, м; находится для несвязного грунта по гранулометрическому составу, для связного по формуле

                                                 (2)

Здесь cp - расчетное сцепление связных грунтов, Н/м2.

5.3. Расчетные скорости течения при проектировании защиты откосов насыпей на прямых участках рек, склонов берегов в излучинах и на прямых участках рек определяются согласно Рекомендациям [26].

5.4. Скорость потока в плоскости судового винта vo, м/с, вычисляется по формуле

                                                      (3)

где Dв - диаметр винта, м;

N - мощность машины, Вт;

m - расчетный коэффициент, принимаемый в пределах от 7,3 · 103 до 11,0 · 103 на 1 Вт машины;

ρ = 102 кг · с24.                                                        (4)

5.5. Скорость потока vg, м, действующая на дно от судового винта, определяется по формуле

                                                (5)

где hg - расстояние от оси винта до дна, м.

5.6. Максимальная донная волновая скорость у подошвы откоса vlmax, м/с, согласно указаниям п. 3.2 СНиП 2.06.04-82 [3] определяется, как перед берегоукреплением при разбивающихся волнах, по формуле

                                                     (6)

где h5% - расчетная высота волны обеспеченностью 5 % в системе;

 - средняя длина волны.

Расчетные элементы ветровых волн

5.7. Для определения параметров волн обеспеченность уровня воды при защите насыпей железных и автомобильных дорог или берегов, вдоль которых они проходят, принимается по указаниям соответствующих СНиП (табл. 2).

Таблица 2

Защищаемые объекты

При назначении верхней границы покрытия

При расчете мощности защитного покрытия откосов

основание

%

основание

%

Пойменные насыпи железных дорог категорий:

 

 

 

 

I и II

СНиП [27] пп. 3.8, 3.21

0,33

СНиП [27] пп. 3.21, 6.9

1

III

То же

0,33

То же

2

IV

-«-

1

-«-

2

На подъездных путях IV и V категорий

-«-

2*

-«-

2

Пойменные насыпи автомобильных дорог категорий I - III и городских дорог

СНиП [28], пп. 1.20, 1.85, табл. 3

1

СНиП [28], пп. 1.85, табл. 3

1

То же ниже III категории и всех промышленных предприятий

То же

2

То же

2

* В обоснованных случаях 1 %.

Обеспеченность расчетного уровня воды при защите берегов назначается в зависимости от класса сооружений, расположенных на близлежащих к берегу территориях в соответствии с приложением 1 СНиП 2.06.04-82 [3].

5.8. Расчетные элементы волн определяются согласно приложению 1 СНиП 2.06.04-82 [3]. Обеспеченность скорости ветра принимается равной 50 % при определении отметки верха покрытия и 4 % [3] при определении его мощности.

5.9. Обеспеченность волн в их системе при расчете мощности покрытий принимается 5 % [20].

При определении высоты наката волн на откос следует принимать накат и высоту волн в их системе обеспеченностью 1 % [3].

6. ГРАНИЦЫ УКЛАДКИ ГИБКИХ ПОКРЫТИЙ

Верхняя граница

6.1. Возвышение верхней границы покрытий hв, м, на откосах насыпей подходов к мостам, регуляционных сооружений или на склонах берегов над уровнем воды расчетной обеспеченностим. табл. 2) определяется по формуле

hв = Δhподх + hнн% + hнаг + a,                                              (7)

где Δhподх - подпор у насыпи подходов к мосту, м; определяется согласно указаниям НИМП-72 [30];

hнн% - высота наката ветровых волн, м; определяется согласно указаниям раздела 1 СНиП 2.06.04-82 [3] и п. 5.9 настоящих Методических рекомендаций;

hнаг - высота ветрового нагона, м; определяется согласно приложению 1 СНиП 2.06.04-82 [3];

a - постоянный запас в возвышении границы укладки покрытия, принимаемый равным [27, 28, 31] при защите откосов земляного полотна дорог ≥ 0,50 м, при защите откосов земляного полотна у мостов через малые водотоки, склонов берегов и откосов регуляционных сооружений ≥ 0,25 м.

6.2. Верхняя граница покрытия на подводном склоне берега должна находиться ниже самого низкого меженного уровня воды, причем проходить всегда ниже подводной кромки ледяного покрова на величину не меньше 1/2 расчетной толщины льда [32].

Нижняя граница

6.3. Нижняя граница покрытий на откосах насыпей береговых склонах, как привило, располагается в зоне пересечения плоскости откосов или склона с их подошвой.

6.4. При затруднении в выполнении упора у нижней границы защитного покрытия, например, в случаях заболоченности поймы, когда не ожидается появления воронки размыва, делается фартук на покрытия, закрывающий подошву откоса.

6.5. Для защиты подошвы откоса насыпи или основания регуляционных сооружений от размыва течением или донными волновыми скоростями фартук выполняют из плитного покрытия; ширина его b, м, зависит от глубины воронки размыва (рис. 7) и определяется по формуле

b = 3,2hp,                                                               (8)

где hp - глубина размыва (см. пп. 8.5 - 8.9).

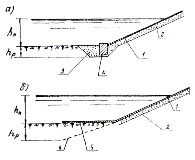
Рис. 7. Защита подошвы откоса:

а - основание откоса защищено зубом; б - то же фартуком; 1 - железобетонное покрытие; 2 - щебеночно-гравийная подготовка; 3 - щебень; 4 - упорный брус; 5 - фартук; 6 - положение фартука при размыве

Границы в продольном направлении

6.6. Гибкие покрытия должны укладываться на откосы насыпей или склоны берегов, как правило, в пределах воздействия расчетных нагрузок (скоростей, течения потока и ветровых волн расчетных размеров).

6.7. В местах сопряжения гибкого покрытия с незащищаемым откосом или склоном берега оно укладывается с запасом в продольном направлении в каждую сторону, равным 15 м.

6.8. При сопряжении гибкого покрытия в продольном направлении с более слабой по мощности защитной одеждой оно укладывается с запасом по протяженности, равным 5 м.

6.9. При сопряжении в продольном направлении гибкого покрытия с более мощной защитной одеждой оно сокращается по протяженности на 5 м за счет последней.

Конструктивное оформление границ

6.10. Если верхней границей покрытия является бровка насыпи или бермы, то сопряжение между ними делается так, как показано на рис. 8. Защитный слой на бровке может быть выполнен из монолитного бетона, асфальтобетона и путем плотной укладки мелких фракций (щебня, асбестового балласта).

Рис. 8. Сопряжение покрытия с бровкой откоса:

1 - отметка бровки полотна или бермы; 2 - защитный слой; 3 - щебеночно-гравийная подготовка (размеры в сантиметрах)

6.11. Если верх гибкого покрытия располагается на откосе насыпи или склоне берега, то при плитном покрытии он обрамляется бетоном с уклоном в сторону подошвы откоса, а при решетчатом покрытии горизонтально сверху укладывается гирлянда, к которой привариваются выступающие элементы гирлянд решетки.

6.12. Для сопряжения гибкого покрытия, уложенного на подводный склон, с защитной одеждой, расположенной выше уровня воды, в подошве надводного откоса укладывается упорная железобетонная рандбалка, к которой прикрепляется с помощью петель или сварных колец гибкое железобетонное покрытие.

В случаях, если надводный откос защищен каменной наброской, сопряжение производится путем устройства каменной призмы, которая пригружает на берме верхний край гибкого покрытия.

6.13. Внизу откоса гибкое покрытие, защищающее надводный откос, сопрягается с бетонным упором сечением 40×50 см или каменной упорной призмой.

6.14. Сопряжение гибкого покрытия по его продольным границам с соседними защитными одеждами другого типа производится по индивидуальным проектным решениям.

7. ПОДГОТОВКИ

Назначение и виды подготовок

7.1. Подготовки, укладываемые под покрытия на береговые склоны и откосы насыпей, предназначены для предупреждения суффозии грунта через сквозные отверстия и просветы в покрытиях, или для равномерного распределения нагрузки на грунт от ударов волн, или же одновременно для того и другого.

7.2. Суффозия грунта возможна при выходе на береговые склоны подземных вод, при выходе воды из тела насыпи на откосы во время резкого спада уровня воды в реке, а также при отводе из-под покрытий воды, профильтровывающейся во время воздействия волн на откос.

7.3. Противосуффозионные подготовки могут быть выполнены в виде слоя щебеночного или гравийного разнозернистого материала (обратного фильтра) или же в виде слоя нетканого водопроницаемого материала.

7.4. Для равномерного распределения волновой нагрузки на грунт укладывается слой щебеночного или крупно-гравийного материала.

7.5. Если береговой склон или откос насыпи сложен связными или пылеватыми грунтами, перед укладкой подготовки следует уложить слой песка толщиной 16 - 20 см любого состава.

7.6. Не допускается применять для подготовки материалы, в которых содержится пылеватых частиц (d ≤ 0,1 мм) более 5 % по массе.

Щебеночно-гравийные подготовки

7.7. Подбор фракционного состава щебеночно-гравийных фильтровых подготовок производится по Рекомендациям [23], в которых D85иаметр частиц, меньше которого диаметры частиц, находящиеся в слое в количестве 85 % по массе) является основным критерием пригодности подготовки для условий несуффозионного грунта защищаемого откоса насыпи или склона берега.

7.8. Расчетный размер фракций фильтровой подготовки определяется по формуле

                                                  (9)

где пф - пористость фильтровой подготовки;

пф = п0 - 0,1lgηф.                                                        (10)

Здесь п0 = 0,40 для песчано-гравийно-галечных грунтов и п0 = 0,45 для щебеночных грунтов; ηф коэффициент разнозернистости грунта подготовки, равный

                                                             (11)

B′ - коэффициент, определяющий несуффозионность грунта фильтровой подготовки в зависимости от ηф: при ηф = 25 B′ = 40, при ηф = 9, B′ = 15; при промежуточных значениях ηф значения B′ находятся по интерполяции;

dсг - расчетный размер сводообразующих фракций защищаемого несуффозионного грунта; находится по кривой гранулометрического состава грунта путем установления сначала Pсг - процентного содержания сводообразующих частиц, зависящего от значения ηф: при ηф = 25 Рсг = 34; при ηф = 9 Рсг = 45.

7.9. Из условия непроникания состава фильтровой подготовки в поры заполнителя ячеек решетчатого покрытия (камня, щебня, гальки) или в щели плитного покрытия:

а) при решетчатом покрытии

Dрасч85 ≥ 0,55Dкн0,                                                       (12)

где средний расчетный диаметр фильтрационных пор в заполнителе

                                                    (13)

а                                                          (14)

пкн и ηкн определяются соответственно по формулам (10) и (11) для слоя заполнителя;

б) при плотном покрытии

Dрасч85 ≥ 0,55bш,                                                         (15)

где bш - ширина щели между элементами плит, равная 2 мм.

7.10. Фильтровая подготовке должна быть несуффозионной и удовлетворять условию

                                                               (16)

где                                           (17)

а коэффициент разнозернистости ее не должен превышать

                                                     (18)

7.11. Фильтровая подготовка, как привило, должна выполняться однослойно, но может быть двухслойной при отсутствии необходимых для однослойной подготовки фракций грунтов в карьерах.

При выполнении фильтровых подготовок должно выполняться условие

ηм ≤ ηдопм,                                                           (19)

где ηм - междуслойный коэффициент, равный:

для первого слоя фильтра

                                                           (20)

для второго слоя фильтра

                                                           (21)

Здесь dсг и DIсг - размеры сводообразующих частиц соответственно защищаемого грунта и грунта первого слоя фильтра, определяемые согласно п. 7.8;

ηдопм - допустимый междуслойный коэффициент;

                                                   (22)

где                                                     (23)

7.12. Толщина слоя фильтровой подготовки должна быть

Tмин ≥ (5 + 7)D85,                                                      (24)

но не менее 0,20 м.

7.13. В случаях, когда отношение dci: Dфо, в котором dcid3 - 5 % - фракции грунта откоса, а Dфо - средний диаметр фильтрационных пор подготовки, определяемый по формуле (13), меньше 0,7, состав фильтровой подготовки должен быть проверен на условие неразмываемости контактной зоны откоса.

Фильтровая прочность грунта в зоне контакта с фильтровой подготовкой может считаться обеспеченной, если удовлетворяется условие

                                       (25)

где φ1 - коэффициент, учитывающий форму и шероховатость частиц грунта: φ1 = 1 - для песчано-гравийно-галечных грунтов; φ1 = 0,36 - для щебеночных грунтов;

Jрп - расчетный градиент напора при пульсации воды в слое фильтровой подготовки;

Jрп = 1,3sinβ (β - угол откоса).

Если условие (25) не удовлетворяется, то следует назначить более разнозернистый состав материала грунта фильтровой подготовки или предусмотреть дополнительный промежуточный слой подготовки, причем гранулометрический состав этого слоя должен быть таким, чтобы средний размер пор его Dкно, определенный по формуле (13), удовлетворял условию (12), или же таким, чтобы соблюдалось условие (15).

7.14. В случае укладки противосуффозионного слоя дополнительной укладки слоя подготовки для равномерного распределения нагрузки на грунт не требуется.

Подготовки из нетканых материалов и комбинированные

7.15. В качестве подстилающего противосуффозионного мата в защитных одеждах могут быть использованы синтетические нетканые материалы следующих типов: иглопробивное полотно из непрерывных волокон, выпускаемое в опытном порядке ВНИИМСВ. Чернигов) согласно ТУ 6-06-028-77; иглопробивное нетканое полотно курского производственного объединения Химволокно из коротких лавсановых волокон согласно ТУ 6-06-18-39-76; материал нетканый волокнистый (МНВ) синтетический на основе полиэтилена, выпускаемый Калининским комбинатом строительных материалов № 1 согласно ТУ РСФСР 684-76, дорнит, импортные материалы.

7.16. Иглопробивное капроновое полотно из непрерывных волокон, производимое в г. Чернигове, имеет следующие физико-механические свойства:

Масса 1 м2, кг.............................................. 0,2 - 0,8

Толщина, мм................................................ 2 - 6

Наименьшая толщина, мм.......................... 1,5

Прочность на разрыв, Н/5 см:

по длине................................................. 300 - 1250

по ширине.............................................. 150 - 800

Удлинение при разрыве, %:

по длине.................................................. 50 - 125

по ширине............................................... 90 - 165

Скорость поперечной фильтрации, см/с.. 10-2

Грунтопроницаемость................................ Пропуск частиц диаметром менее 50 - 60 мк

Длина полотна в рулоне, м........................ 150

Исходное сырье........................................... Полиамид (капрон)

7.17. Нетканое иглопробивное полотно производства курского производственного объединения «Химволокно» имеет следующие основные физико-химические характеристики:

Масса 1 м2, кг........................................................................... 0,565

Объемная масса, гм3............................................................. 0,105

Пористость, %......................................................................... 90,3

Количество проколов на 1 см2............................................... 245

Толщина полотна, мм............................................................. 6,5

Прочность на разрыв, Н/5 см:

вдоль волокна..................................................................... 550

поперек волокна................................................................. 480

Удлинение при разрыве, %:

вдоль волокна..................................................................... 80

поперек волокна................................................................. 35

Коэффициент фильтрации, см/с:

перпендикулярно плоскости полотна.............................. 2×10-2 - 1×10-2

в плоскости полотна.......................................................... (1 - 2)×10-1

Ширина рулона, м................................................................... 1,7

Длина полотна в рулоне, м.................................................... 40

Масса рулона, кг...................................................................... 35 - 40

7.18. Материал нетканый волокнистый (МНВ) на основе полиэтилена, выпускаемый Калининским комбинатом строительных материалов, № 1, состоит из волокон диаметром 70 - 85 мк. Толщина слоя укладки волокон до 8 мм. МНВ из полиэтилена имеет следующие основные физикоеханические характеристики:

Объемная масса материала, г/см3.......................................... 0,220 - 0,225

Прочность на разрыв, Н/см.................................................... 180 - 225

Прочность на продавливание, МПа...................................... 0,4

Сжатие под нагрузкой 0,05 МПа, %...................................... 15 - 25

Коэффициент фильтрации, см/с:

без нагрузки......................................................................... 0,6 - 0,9

при нагрузке 0,05 МПа....................................................... 0,35 - 0,60

7.19. Полотно иглопробивное для дорожного строительства дорнит, производимое Ростокинской фабрикой нетканых материалов (г. Москва) и другими предприятиями согласно ТУ-21-29-81-81, обладает следующими физико-механическими свойствами:

Прочность на разрыв, Н/5 см:

в продольном направлении.............................................. 350

в поперечном направлении.............................................. 200

Удлинение при разрыве, %, не более:

в продольном направлении.............................................. 80

в поперечном направлении.............................................. 140

Фактическая поверхностная плотность, г/м2, не более....... 600

Толщина полотна, мм............................................................. 4

7.20. Укладку подготовки из рулонных материалов на откосы земляных сооружений или на склоны берегов следует начинать, считая по течению, с низовой стороны, укладывая материал от верха откоса или склона к его подошве и продолжая укладку в направлении против течения. Каждый последующий кусок материала должен перекрывать предыдущий на 0,10 - 0,50 м.

7.21. Комбинированные подготовки состоят из нетканого рулонного материала и уложенного поверх его щебеночно-гравийного слоя.

8. РАСЧЕТЫ ЭЛЕМЕНТОВ КОНСТРУКЦИЙ ПОКРЫТИЙ

Расчеты на воздействие скоростей течения воды

8.1. Расчет толщины δп, м, гибкого покрытия плитной конструкции при воздействии скоростей течения производится по формуле [33]

                                       (26)

где к - коэффициент запаса, принимаемый равным 1,0 из-за наличия связей между плитами и отдельными элементами плит;

μ - коэффициент избыточного давления, равный 0,2;

vп - средняя скорость течения на вертикали на нижней границе покрытия, в подошве откоса, м/с;

γδ и γ - объемные массы соответственно бетона и воды, т3.

8.2. Допустимая невымывающая скорость vg, м/с, для заполнителя клеток решетчатого покрытия, уложенного на откосе или на дне, определяется по формулам [34]:

а) для заполнителя из камня

                                                  (27)

б) для заполнителя из щебня или гальки

vg = кvvсв,                                                                (28)

где vсв - допускаемая скорость для заполнителя в свободном состоянии, м/с;

                                           (29)

Здесь A - коэффициент, учитывающий устойчивость заполнителя на откосе; A = 1 на участках крутых поворотов русла реки (R < 300 м) и A = 1,15 во всех остальных случаях;

dp - средний диаметр заполнителя, м;

γк - объемная масса заполнителя, т/м3;

γ - объемная масса воды, т3;

β - угол откоса;

t - шаг решетки (размер ячейки решетки, считая параллельно урезу воды), м;

кv - коэффициент, определяемый по графику (рис. 9) в зависимости от значения t/δ (δ - высота ребра решетки, м).

Рис. 9. График определения коэффициента кv

Расчеты на воздействие ветровых волн

8.3. Необходимая толщина элементов гибкого плитного покрытия откосов при воздействии на них нерегулярных ветровых волн подбирается по табл. 4.

Таблица 4

Толщина гибкого плитного покрытия, см

Допускаемая высота волн, м, при крутизне защищаемого откоса (склона)

1:2

1:2,5

1:3

5

0,40

0,43

0,46

10

0,60

0,65

0,68

15

0,80

0,85

0,90

8.4. Необходимый средний диаметр щебня или гальки, заполняющих клетки решетчатого покрытия, dp, м, подвергающегося воздействию волн, определяется по формуле (33) СНиП 2.06.04-82 [3], преобразованной относительно диаметра заполнителя [35]:

dp = кркγкмкλh,                                                            (30)

где кр - коэффициент решетки;

кр = 0,39 - 0,92δр / t;                                                       (31)

δр - высота ребра решетки, м;

                                                              (32)

 m = ctgβ;                                                  (33)

                                                              (34)

Расчеты при возможных размывах оснований сооружений

8.5. Глубине размыва подошвы откосов пойменных насыпей течением hp, м, определяется по [26] по формуле

                                                 (35)

где qп = vпhп - удельный расход воды у подошвы насыпи, м2/с;

d50 - средний диаметр частиц грунта, мм.

8.6. Глубина воронок размыва потоком подошв откосов насыпей на прижимах и подошв склонов берегов в излучинах рассчитывается согласно Рекомендациям [26].

8.7. Глубине возможного размыва донными волновыми скоростями грунта поймы в подошве откоса определяется путем нахождения наименьшей отметки грунта, соответствующей глубине воды, hпх, м, на которой скорость vв волнового движения, определяемая по формуле (6), равна неразмывающей скорости vв,adm при различных сочетаниях отметок уровня воды и соответствующих им элементов волн. Отметка эта принимается [26] по формуле

                                                       (36)

где  - отметка уровня воды, м;

1,1 - коэффициент запаса.

Неразмывающая скорость частиц грунта поймы vв,adm, м/с, находится по графику СНиП 2.06.04-82 [3].

Разница между отметкой поймы и Δн равна глубине возможного размыва.

8.8. Если грунт поймы в подошва откоса насыпи подвергается одновременному воздействию течения вдоль насыпи и донных волновых скоростей, то при проектировании защитного покрытия следует учитывать наибольшую из двух возможных глубин размыва, определенных при учете воздействия каждого из указанных факторов.

8.9. Расчет глубины размыва потоком поймы у регуляционных сооружений мостовых переходов (струенаправляющих дамб, траверсов) производится согласно [30, 36], при этом за расчетную скорость у подошвы откоса траверса принимают [26] в зависимости от угла α примыкания его к защищаемой насыпи:

при 90 ≥ α ≥ 45°

                                                   (37)

при α < 45°

                                           (38)

где vп(δ) - скорость потока в бытовых условиях до устройства траверса на вертикали у подошвы пойменной насыпи, определенная согласно Рекомендациям [24];

Lp - расчетная длина траверса;

Lp = Lsinα.                                                              (39)

Здесь L - средняя длина подводной части траверса (рис. 10) в створе продольной оси

                                                      (40)

(Lп - длина траверса по низу вдоль его продольной оси).

Рис. 10. Траверс у пойменной насыпи

8.10. При опускании карты покрытия в воронку размыва на 1 м фронта защиты усилие T, т. в карте в направлении линии наибольшего ската откоса определяется по формуле [37]

                                                  (41)

где hг - высота той части откоса, которая подвергается переформированию в результате развития воронки размыва, м;

qm - единичная масса покрытия, т/м2.

8.11. При расположении гибкого плитного покрытия на криволинейной поверхности радиуса R (поверхность конуса моста, воронки размыва и т.д.), когда ее образующая с осями линейных шарниров одной системы имеет угол α, между ребрами смежных элементов плит в этих линейных шарнирах происходит раскрытие щели максимального размера τ, м [38]:

                                                           (42)

                                 (43)

где a - длина ребра элемента плиты в рассматриваемом линейном шарнире, м;

ψ - угол поворота смежных ребер относительно друг друга, град.;

t - шаг линейных шарниров (размер другого, перпендикулярного рассматриваемому, ребра элемента плиты), м.

9. ИЗГОТОВЛЕНИЕ ЭЛЕМЕНТОВ ПОКРЫТИЙ

9.1. Элементы гибкого железобетонного покрытия (плиты и гирлянды) могут изготавливаться на заводе ЖБИ стройиндустрии, а также на полигоне, имеющем крытый арматурный цех. Гирлянды изготавливаются по ТУ 218 УССР 297-83.

9.2. При изготовлении элементов покрытия необходимо применять нестандартное, разработанное в ЦНИИСе оборудование, в состав которого входят установка для нанесения полиэтилена на арматурные стержни, металлические формы для изготовления бетонных элементов и траверсы для грузоподъемных и монтажных работ.

9.3. Установка для нанесения полиэтилена на арматурные стержни имеет массу 1,7 т. Установленная электрическая мощность оборудования 10 кВт. Рабочее давление гидропривода 125 · 102 кПа.

На установке выполняются следующие операции:

изготовление брикетов массой 115 г из гранул полиэтилена;

разогрев брикетов и формование из них оболочек на армостержнях в матрицах пресса;

разделение армопакета на отдельные пакеты с меньшим содержанием стержней.

9.4. В комплект установки для нанесения полиэтилена на арматурные стержни (проект ЦНИИСа) входят: монтажный металлический стол; пресс с прессформами; устройство для разрезки пакета с полиэтиленовым покрытием на более мелкие пакеты; термостат для брикетирования гранул полиэтилена и насосная станция НСП-400.

9.5. На монтажном металлическом столе шириной 0, 6 м и длиной 14 м расположено технологическое оборудование для нанесения полиэтилена на арматуру. На нем собираются в пакет армостержни диаметром 5 мм по 50 шт. и далее выполняются все технологические операции процесса нанесения оболочек полиэтилена. Пакет по столу перемещается с помощью электропривода со скоростью 10 см.

9.6. Гидравлический пресс с прессформами имеет массу 350 кг. В камере формования развивается давление 50 · 102 кПа. Усилия в прессе 25 · 104 Н создаются гидродомкратом с рабочим давленном 125 · 102 кПа. Процесс формования полиэтиленовых оболочек производится одновременно на 50 стержнях при температуре переработки полиэтилена 120-130 °С в зависимости от его марки. Каждый цикл формования длится в течение 2,5 - 3 мин.

9.7. Устройство для разрезки обеспечивает разделение пакета с полиэтиленовым покрытием из 50 стержней на мелкие пакеты, состоящие из 2, 3, 4 стержней, или на отдельные стержни. Привод в механизме разрезки гидравлический давлением 125 · 102 кПа. Продолжительность цикла разрезки 30 с.

9.8. Переработка гранул полиэтилена, поступающего с заводов Министерства химической промышленности, в брикеты массой по 115 г (промежуточные изделия процесса) осуществляется в термостате электрической мощностью 1,8 кВт. Одновременно в термостате перерабатывается полиэтилен (8 брикетов), продолжительность цикла 20 мин. Производительность термостата 20 кг гранул в смену.

9.9. Производительность установки для нанесения полиэтилена на арматуру около 400 стержней в смену, что позволяет выпускать 300 м2 сборных элементов гибкого покрытия.

9.10. Технологический процесс нанесения полиэтилена на арматуру регламентирован «Временной инструкцией по эксплуатации устройств для нанесения полиэтилена на арматурные стержни», разработанной ЦНИИСом.

9.11. Гибкие плиты бетонируются в металлоформах размером 2,6×4,6 м (проект ЦНИИСа), состоящих из поддона и съемных решеток двух типоразмеров, благодаря чему обеспечивается формование на поддоне плит толщиной 10 и 15 см. Масса формы 1500 кг.

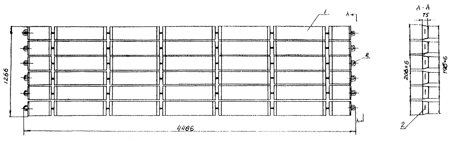
9.12. Гибкие гирлянды бетонируются в металлоформах размером 1,4×4,5 м (проект ЦНИИСа) по шесть штук в каждой, образуя пакет (рис. 11), разбираемый на отдельные гирлянды только на объекте строительства. Масса формы 780 кг.


Рис. 11. Пакет из шести гибких железобетонных гирлянд:

1 - гирлянда; 2 - строповочные петли


9.13. В металлоформы арматурные стержни в виде пакетов, состоящих из 1 - 6 стержней, укладываются без предварительной сборки их в армосетку и соединяются между собой в местах пересечения (для плит) на контуре формы.

9.14. При раскладке армостержней отклонение от проектного положения полиэтиленовой оболочки относительно пустотообразователей формы не должно превышать ±1 см. Заготовку и монтаж арматуры необходимо производить в соответствии с пп. 12.23 - 12.34 СНиП. III-А-11-70 [39].

9.15. Проработка бетонной смеси подвижностью не менее 30 с (осадка конуса 3 - 5 см) производится на вибростоле грузоподъемностью не более 5 т. В процессе проработки поверхность бетона выравнивается и заглаживается. Возможна проработка смеси виброрейкой с вибратором возмущающей силы 2000 Н.

9.16. Формующие решетки с поддона снимаются сразу после окончания вибропроработки смеси. Необходимо следить, чтобы решетка в начальный момент съема перемещалась без перекоса. При подаче, укладке и уплотнении бетонной смеси следует руководствоваться пп. 12.76 - 12.79 СНиП III-А-11-70 [39].

9.17. Тепловлажностная обработка бетона выполняется в пропарочных стационарных камерах или под съемными теплопароизолированными покрытиями на каркасах. Режим обработки: выдержка 2 ч, обработка не менее 7 ч при температуре не более 80 °С, сброс температуры до 30 °С с интенсивностью не более 20 °С в час.

Паропрогрев должен производиться с соблюдением требований СНиП III-А-11-70 [39] пп. 12.76 - 12.79. Прочность бетона в момент съема не должна быть меньше 23 МПа.

9.18. Съем плит с поддона формы производится траверсой (проект ЦНИИСа, масса 268 кг), а пакетов гирлянд - траверсой (проект ЦНИИСа, масса 140 кг) путем зацепа их крюков за монтажные петли, расположенные на противоположных сторонах изделий. В случае чрезмерных усилий при отрыве крайних элементов изделий следует дополнительно подрывать их ломом. Недопустимо образование угла между смежными элементами менее 162°. Предотвратить его уменьшение в гибких плитах можно, выкладывая в крайние линейные шарниры (пазы) на период съема деревянные рейки сечением 2×3 см.

9.19. Недопустимо продолжать съем изделий, если хотя бы один крюк подвески траверсы вышел из зацепления с монтажной петлей.

9.20. Складирование гибких плит и пакетов гирлянд производится штабелями высотой до 1,5 - 2,0 м без деревянных прокладок. Основание под штабелем должно быть ровным, без ям и выступов.

9.21. Штабели из пакетов гирлянд рекомендуется укладывать вплотную друг к другу длинными сторонами для исключения развала штабеля. В противном случае на каждом штабеле следует устанавливать по две стойки с каждой стороны и связывать их между собой проволокой.

Складирование изготовленных гибких плит и пакетов гирлянд должно производиться в соответствии с требованиями «Правил техники безопасности и производственной санитарии» [40].

9.22. Транспортирование гибких плит и пакетов гирлянд производят на железнодорожных платформах и автотранспортом штабелями в соответствии с грузоподъемностью транспортных средств. Для перевозки штабелей гибких плит и пакетов гирлянд разработаны схемы погрузки (утверждены ЦНИИСом).

9.23. При выполнении работ по изготовлению элементов гибких покрытий на заводе ЖБИ стройиндустрии или строительной базе, включая внутризаводской транспорт и отгрузку изделий, выработка на 1 чел.-дн. защитной конструкции ориентировочно составляет: для гибких плит 0,83 м3 на заводе ЖБИ, для пакетов гирлянд 0,47 м3 на полигоне и до 0,7 м3 на заводе ЖБИ.

10. МОНТАЖНЫЕ РАБОТЫ НА ОБЪЕКТЕ СТРОИТЕЛЬСТВА

10.1. Основание под конструкции, если они укладываются на отметках выше горизонта воды без подготовки, выравнивается с допуском ±0,1 м на длине 3 м. Основание под покрытие на подводном склоне выполняется с допуском ±0,3 м на длине 5 м.

При планировочных работах следует соблюдать требования СНиП III-А-11-70 [39].

10.2. Блоки решетки собирают из гирлянд на посту укрупнительной сборки (проект ЦНИИСа), раскладывая гирлянды автокраном грузоподъемностью 3,5 т по соответствующим осям и в определенной последовательности. Например, для укрепления подтопляемых откосов гирлянды раскладывают за два приема (рис. 12), ориентируя их относительно сторон блока (см. рис. 4). На откосе при монтаже и соединении гирлянд соседних блоков получают в покрытии структуру с шагом плетения, равным стороне блока. В этом случае монтаж ведут двумя системами, в которых положение блоков отличается поворотом на 90°. Внутри блоков отсутствуют какие-либо связи между гирляндами.

Рис. 12. Порядок сборки блоков решетки и укладки их на откос:

а - сборка блока; б - монтаж на откосе; 1, 2 - гирлянды соответственно нижнего и верхнего рядов; 3, 4 - блоки соответственно первой и второй систем

Возможны иные способы сборки блоков и соответственно шаги плетеной структуры. Блоки для крепления дна у причалов не соединяют между собой. Их укрупнительную сборку ведут в четыре приема (рис. 13), в результате создается плетеная структура в самом блоке с шагом 75 см. Неизменяемость структуры блока обеспечивается установкой шести скрепок из проволоки в точках пересечения гирлянд, по контуру блока концы гирлянд подвязывают к пруту из проволоки диаметром 6 - 8 мм.

Рис. 13. Приемы раскладки гирлянд в блоке решетки плетением с шагом 75 см:

а - г - соответственно I, II, III, IV приемы; X - места установки пяти скрепок

10.3. С приобъектного склада плиты и блоки решеток гибкого покрытия доставляются на место монтажа, где раскладываются штабелями по створам (пикетам) в объемах, соответствующих погонному расходу конструкций в сооружении.

10.4. Грузоподъемные операции при сборке блока решетки и ее монтаже выполняют с помощью траверсы (проект ЦНИИСа) массой 430 кг.

10.5. Подстилающий мат в блоках решетчатого покрытия, укладываемого на дно у причала, выполняется из отдельных полотнищ нетканого материала, пропитанного битумом, внахлест с перекрытием в швах на 5 см.

10.6. К блоку решетки по контуру за монтажные петли мат крепится вязальной проволокой. Крепление необходимо только на период монтажных работ.

10.7. Для монтажа покрытия из блоков решетки на дне у причала используют плавучие краны или сухопутные, перемещающиеся по причалу вдоль его кордона (рис. 14). Покрытие делается шириной, равной полуторной ширине судна [41].

Рис. 14. Последовательность укладки блоков на дно у причала:

а - береговым краном; б - плавкраном

10.8. Вертикали, на которых укладывают блоки на дно, выставляют на ортогональных створах с точностью ±0,1 м с помощью двух теодолитов или на одном створе с измерением расстояния от принятой базы.

10.9. Работы по укладке блоков на подводный склон можно проводить при скорости течения воды в реке не выше 0,6 м/с и волне высотой не более 0,3 м.

10.10. Для укладки на дно блоков решетки следует использовать траверсу (проект ЦНИИСа), производящую отцеп строп от блока автоматически без участия водолазов.

10.11. Отклонение блоков от проектного положения, т.е. расстояние между сторонами, допускается не более 0,5 м. Увеличенный зазор между блоками должен быть перекрыт фартуком подстилающего мата.

10.12. Монтаж карт из гибких плит на подготовленном основании выполняется краном с помощью траверсы (проект ЦНИИСа) с расположением плит в карте длинными осями перпендикулярно урезу воды в реке. Монтаж карт ведется снизу вверх по течению реки.

10.13. При необходимости защиты от размыва течением подводного склона берега на значительном протяжении укладку карт покрытия следует производить или со стапеля, помещенного на судне, которое передвигается против течения вдоль берега реки, или с помощью барабана с намотанной на него картой покрытия. Барабан может поддерживаться в рабочем состоянии и перемещаться плавучим краном или же обладать плавучестью, т.е. быть плавучим*.

* Изобретение. Свидетельство № 176202. Автор Юдин Л.

10.14. Длина карты покрытия, укладываемой со стапеля или с помощью барабана, должна быть равна длине подводного склона берега, определяемой по направлению, нормальному к урезу воды в реке с запасом на покрытие подошвы склона, а ширина карты при укладке должна составлять: со стапеля до 40 м, с барабана при помощи плавучего крана до 10 м, с плавучего барабана до 20 м.

10.15. Последовательность работ, указания по производству работ, требования к оборудованию при укладке покрытия с помощью барабана, а также метод определения гидродинамических сил, действующих при этом на плавсредства, изложены в ВСН 34/XIX-70 [42].

10.16. При монтаже карт зазор между плитами не должен превышать 1 - 2 см. Для выполнения такой упорядоченной укладки необходимо на основании делать разметку осей плит.

10.17. Соединение плит в карте между собой выполняют серьгами, замыкаемыми накладками на сварке. При их установке необходимо принимать меры, исключающие возможность появления «слабины» в соединениях. Они должны устанавливаться без зазоров, «в натяг».

10.18. Все работы по изготовлению сборных элементов гибких покрытий, транспортным операциям, складированию и монтажу их в карту покрытия следует производить в соответствии с Правилами техники безопасности и санитарии [40] и Рекомендациями [43].

СПИСОК ЛИТЕРАТУРЫ

1. СН 449-72. «Указания по проектированию земляного полотна железных и автомобильных дорог». М., Стройиздат. 1973.

2. ГОСТ 12536-79. «Грунты. Методы лабораторного определения гранулометрического (зернового) и микроагрегатного состава».

3. СНиП 2.06.04-82. «Нагрузки и воздействия на гидротехнические сооружения (волновые, ледовые и от судов)».

4. Юдин Л.Н. «Гибкие железобетонные покрытия ЦНИИСа на БАМе». - «Транспортное строительство», 1980, № 7.

5. ГОСТ 4798-68. «Бетон гидротехнический. Технические требования».

6. ГОСТ 10180-78. «Бетоны. Методы определения прочности на сжатие и растяжение».

7. ГОСТ 10060-76. «Бетоны. Метод определения морозостойкости».

8. ГОСТ 10268-80. «Бетон тяжелый. Технические требования к заполнителям».

9. ГОСТ 8267-75. «Щебень из естественного камня для строительных работ».

10. ГОСТ 8268-74. «Гравий для строительных работ».

11. ГОСТ 8736-77. «Песок для строительных работ».

12. ГОСТ 22236-76. «Цементы. Правила приемки».

13. ГОСТ 24211-80. «Добавки для бетона. Классификация».

14. ВСН 6/118-74. Минморфлот, Минтрансстрой. «Указания по обеспечению долговечности бетона и железобетонных конструкций морских гидротехнических сооружений».

15. ГОСТ 310.1-76. «Цемент. Методы испытаний. Общие положения».

16. ГОСТ 310.2-76. «Цементы. Метод определения тонкости помола».

17. ГОСТ 310.3-76. «Цементы. Метод определения нормальной густоты, сроков схватывания и равнопрочности изменения объема».

18. ГОСТ 310.4-76. «Методы определения предела прочности при изгибе и сжатии».

19. ГОСТ 6727-80. «Проволока из низкоуглеродистой стали холоднотянутая для армирования железобетонных конструкций. Технические условия».

20. ГОСТ 5781-82. «Сталь горячекатаная для армирования железобетонных конструкций».

21. ГОСТ 16338-77. «Полиэтилен низкого давления. Технические условия».

22. ГОСТ 228-2-76. «Камень из горных пород».

23. Рекомендации по проектированию обратных фильтров гидротехнических сооружений. , Л., 1981.

24. «Рекомендации по регулированию потока на мостовых переходах через реки с меандрирующими руслами». М., ЦНИИС, 1978.

25. Студеничников Б.И. «Размывающая способность потока и методы русловых расчетов». М., Издо литературы по строительству, 1964.

26. «Рекомендации по укреплению откосов сооружений мостовых переходов и насыпей на прижимных участках рек наброской каменных материалов». М., ЦНИИС, 1979.

27. СНиП II-39-76. «Железные дороги колеи 1524 мм. Нормы проектирования».

28. СНиП II-Д-7-62. «Мосты и трубы. Нормы проектирования».

29. ВСН 183-74. «Технические указания по проектированию морских берегозащитных сооружений». М., Оргтрансстрой, 1975.

30. «Наставления по изысканиям и проектированию железнодорожных и автодорожных мостовых переходов черев водотоки» (НИМП-72). М., Транспорт, 1972.

31. СН 200-62. «Технические условия и нормы проектирования железнодорожных, автодорожных и городских мостов и труб».

32. «Рекомендации по проектированию железобетонных и каменно-набросных креплений откосов земляных сооружений и берегов внутренних водохранилищ». М., ВНИИ ВОДГЕО, 1979.

33. «Альбом конструкций креплений откосов земляного полотна железных и автомобильных дорог общей сети Союза ССР». Инв. 750. М., Главтранспроект, 1970.

34. «Рекомендации по проектированию и сооружению земляного полотна на прижимных участках рек». М., ЦНИИС. 1982.

35. Юдин Л.Н., Орлова К.М. «Устойчивость наброски в решетчатом покрытии откосов при волнении». - Транспортное строительство. 1983, № 1.

36. ВСН 62-69. «Технические указания по расчету местного размыва у опор мостов, струенаправляющих дамб и траверсов». М., Оргтрансстрой, 1970.

37. «Рекомендации по защите подводных откосов». М., ЦНИИС, 1970.

38. Юдин Л.Н., Лагутина Т.А. «Деформативность гибкого железобетонного покрытия откосов». В сб. трудов «Сооружение земляного полотна». М., ЦНИИС, 1983.

39. СНиП III-11-70. «Техника безопасности в строительстве».

40. «Правила техники безопасности и производственной санитарии при производстве строительно-монтажных работ по постройке портовых гидротехнических сооружений». М., Оргтрансстрой, 1987.

41. Юдин Л.Н. «Защита дна от размыва решеткой ЦНИИСа». - «Транспортное строительство», 1981, 5.

42. ВСН 34/XIX-70. «Технические указания по производству и приемке работ при возведении морских и речных портовых сооружений». Глава XIX «Укрепление берегов, пляжей и откосов земляных гидротехнических сооружений». М., Оргтрансстрой, 1970.

43. «Рекомендации по применению гибкого железобетонного покрытия толщиной 5 см для укрепления откосов пойменных насыпей». М., ЦНИИС, 1975.

СОДЕРЖАНИЕ

Предисловие. 1

1. Общие положения. 1

2. Условия применения гибких железобетонных покрытий. 2

3. Исходные данные при проектировании. 2

4. Рекомендуемые конструкции покрытий, их назначение и компоновка. 5

5. Воздействия и нагрузки на покрытия. 15

6. Границы укладки гибких покрытий. 17

7. Подготовки. 19

8. Расчеты элементов конструкций покрытий. 22

9. Изготовление элементов покрытий. 26

10. Монтажные работы на объекте строительства. 30

Список литературы.. 33

 




Яндекс цитирования



   Copyright © 2007-2026,  www.tehlit.ru.

[ ѓосты, стандарты, нормативы, инструкции, правила, строительные нормы ]