//
ТехЛит.ру
- крупнейшая бесплатная электронная интернет библиотека для "технически умных" людей.
WWW.TEHLIT.RU - ТЕХНИЧЕСКАЯ ЛИТЕРАТУРА

:: Алготрейдинг::


АЛГОТРЕЙДИНГ
шаг за шагом
с нуля по урокам!

Торговые роботы на PYTHON, BackTrader,
Pandas, Pine Script для TradingView. Связка с брокерами, телеграм и легкими приложениями.


Государственный комитет
по архитектуре и градостроительству при Госстрое СССР
ЦНИИП реконструкции городов

РЕКОМЕНДАЦИИ
ПО ПРОВЕРКЕ ПРОЧНОСТИ
СБОРНЫХ ДИСКОВ ПЕРЕКРЫТИЙ
С ПРИМЕНЕНИЕМ
МНОГОПУСТОТНЫХ ПЛИТ
С НЕПРЕРЫВНЫМИ ШПОНКАМИ
НА БОКОВЫХ ГРАНЯХ
НА ДЕЙСТВИЕ ВЕТРОВЫХ НАГРУЗОК

Москва 1990 г.

Рекомендации рассмотрены и одобрены на заседании инженерной секции НТС ЦНИИП реконструкции городов, протокол № 9 от 16 ноября 1989 г.

Рекомендации предназначены для проектирования дисков перекрытий в зданиях серии 1.020-1/83 с применением многопустотных плит.

Составители Рекомендаций:

к.т.н. А.С. Семченков и инж. С.М. Смычкович (ЦНИИП реконструкции городов);

докт. техн. н. С.Б. Смирнов (МИСИ);

докт. техн. н. В.А. Клевцов (разд. 6, 7), к.т.н. В.Г. Крамарь (НИИЖБ);

инж. С.К. Макаренко (КиевЗНИИЭП);

инж. Г.С. Укялис (ПКИ Госстройкомитета Лит. ССР).

ВВЕДЕНИЕ

В современном строительстве индустриальных общественных и промышленных зданий широкое распространение получили каркасно-панельные конструктивные системы, при использовании которых обеспечивается свободная планировка помещений. К ним относятся всесоюзный типовой связевый каркас серии ИИ-04 и заменивший его связевый каркас серии 1.020-1/83 межвидового применения.

Пространственная жесткость зданий со связевым каркасом обеспечивается системой вертикальных стен жесткости, состоящих из диафрагм и колонн и дисков перекрытий, собираемых из плит и ригелей. В связи с этим диски перекрытия должны рассчитываться на восприятие не только вертикальных, но и горизонтальных нагрузок. Усилия, возникающие в диске перекрытия от изгиба его плоскости, зависят от расстояния между вертикальными диафрагмами жесткости и величины ветрового напора, который определяется ветровым районом и возрастает в верхних этажах зданий. Кроме того, в зданиях большой этажности возникают дополнительные горизонтальные усилия в диске от погрешностей монтажа колонн. В результате деформации диска в своей плоскости в его элементах и сопряжениях возникают растягивающие, а также сжимающие и сдвигающие усилия. Эти усилия воспринимаются благодаря сварке закладных деталей, силам трения от вертикального пригруза и омоноличиванию сопряжений мелкозернистым бетоном.

Для лучшего восприятия сдвигающих усилий в сопряжениях между плитами (сопряжения 1-го типа), а также между плитами и ригелями (сопряжения 2-го типа) устраивают прерывистые шпонки.

В последние годы появились эффективные пустотные плиты, изготавливаемые на длинных стендах методом безопалубочного формования и на формовочных установках СМЖ-227, где, с целью упростить технологию изготовления, на боковых гранях вместо прерывистых шпонок устраиваются непрерывные продольные шпонки трапециевидного сечения.

Установки СМЖ-227 широко применяются для изготовления многопустотных плит на предприятиях стройиндустрии. По данным заводов, цикл формования плит на этих установках сокращается на 12 минут, что дает экономический эффект 2,29 руб. на 1 м3 изделий. Эти плиты широко применяют при строительстве кирпичных, блочных и крупнопанельных зданий различного назначения. Однако применению этих плит в перекрытиях каркасно-панельных зданий связевой системы препятствует отсутствие метода расчета прочности дисков перекрытий, учитывающего влияние снижения прочности и жесткости межплитных сопряжений на сдвиг в связи с устройством непрерывных шпонок вместо прерывистых.

При подготовке Рекомендаций использованы результаты экспериментальных и теоретических исследований, проведенных ЦНИИП реконструкции городов, НИИЖБ, МИСИ, МНИИТЭП, Уральским ПромстройНИИпроектом, ПКИ Госстройкомитета Лит. ССР и Киевским ЗНИИЭП.

1. ОБЩИЕ ПОЛОЖЕНИЯ

1.1. Настоящие Рекомендации разработаны в дополнение к альбомам [1] и [2] и Рекомендациям [3].

1.2. Рекомендации включают проверочные расчеты и конструктивные требования для проектирования дисков связевых каркасов из многопустотных плит с продольными непрерывными шпонками, изготавливаемых на установках СМЖ-227.

1.3. Рекомендации предназначены для проектирования дисков перекрытий каркасных зданий (рис. 1) в серии ИИ-04 и 1.020-1/83, строящихся с применением многопустотных плит (рис. 2), изготавливаемых на установках СМЖ-227. Использование рекомендаций при проектировании зданий для конкретных регионов страны требует их соответствующей корректировки и без согласования с авторами не допускается.

1.4. Использование многопустотных плит с непрерывными шпонками в составе дисков перекрытий связевых каркасов возможно только при обеспечении качественного замоноличивания сопряжений с учетом требований, содержащихся в п.п. 6 и 7 настоящих Рекомендаций, и в [4].

1.5. Диски перекрытий можно не рассчитывать по прочности, если размеры проемов в них не превышают 6´6 м, вылет консоли - 18 м, балочный пролет - 48 м, опорная реакция в 6-метровых диафрагмах - 50 кН при ширине диска не менее 12 м.

2. КОНСТРУКЦИЯ ДИСКА ПЕРЕКРЫТИЯ

2.1. Сборный диск перекрытий состоит из однополочных и двухполочных ригелей и уложенных на их полки через слой подстилающего мелкозернистого бетона класса В15 толщиной 10 мм сборных настилов (рис. 1).

Настилом служит сборная пластина из объединенных между собой плит, расположенная между ригелями. Настил с ригелями, на которые он опирается, образует поперечную полосу диска.

Стык ригелей с колоннами выполняется скрытым, для чего в колоннах устроены консоли, а в ригелях подрезки.

Рис. 1. Конструкция диска перекрытия:

а - фрагмент перекрытия; б - непрерывная шпонка; в - прерывистая шпонка. Условные обозначения: 1 непрерывная шпонка; 2 - прерывистая шпонка; 3 - закладная деталь; 4 - накладка.

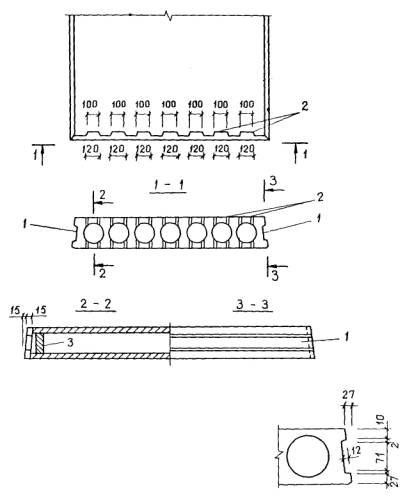
Рис. 2. Рекомендуемая конструкция многопустотной плиты для изготовления на формовочной машине СМЖ-227.

Условные обозначения: 1 - непрерывная шпонка трапециевидного сечения; 2 - торцевые прерывистые шпонки; 3 - бетонные пробки

2.2. Конструкция дисков перекрытий, монтажные планы перекрытий, а также все конструктивные и технологические требования по соблюдению пространственной жесткости дисков перекрытий выполняются в соответствии с альбомами указаний серий ИИ-04 и 1.020-1/83.

2.3. Пространственная жесткость диска перекрытия при деформировании в своей плоскости и из плоскости достигается благодаря сварке закладных изделий между ригелями, межколонными плитами-распорками, колоннами и диафрагмами, а также омоноличиванию мелкозернистым бетоном класса В15 всех сопряжений (швов, стыков) между плитами, настилом и ригелями, колоннами, диафрагмами (рис. 1).

Сопряжения между плитами называются далее сопряжениями 1-го типа, между настилом и ригелями - 2-го типа, а ригеля с колоннами - 3-го типа.

2.4. Облегчить омоноличивание сопряжений между настилом и ригелями на торцевых вертикальных гранях плит на участках между ребрами можно с помощью вытянутых прерывистых шпонок (1 на рис. 1, 2), а пустоты на торцах, где отсутствует сужение диаметров пустот, заглушать бетонными вкладышами (3 на рис. 2).

2.5. Отличительная особенность дисков из многопустотных плит, изготавливаемых на установках СМЖ-227, заключается в наличии между плитами сопряжений с непрерывной продольной шпонкой трапециевидного сечения (рис. 1, 2) вместо сопряжений с прерывистыми цилиндрическими шпонками в дисках из типовых многопустотных плит.

Такие сопряжения значительно менее прочны и более податливы при действии сдвигающих усилий, а это снижает несущую способность и жесткость дисков при деформации со своей плоскости. Поэтому при устройстве дисков из плит с непрерывной шпонкой необходим их проверочный расчет в соответствии с приведенными ниже указаниями.

3. НАГРУЗКИ И УСИЛИЯ В ДИСКЕ

3.1. Внешние усилия в диске определяются как в многопролетной балке, у которой опорами служат вертикальные стены жесткости (рис. 3а, б). Опорные реакции в диске рассчитываются в соответствии с альбомами «Указаний серий ИИ-04, 1.020-1/83» и Рекомендациями [1], [2], [3], исходя из предположения об абсолютной жесткости в своей плоскости.

3.2. Горизонтальная ветровая нагрузка определяется по СНиП 2.01.07-85 и передается со стен на колонны, а с них на диск перекрытия в виде сосредоточенных сил:

P = Pн + Pз,                                                                 (1)

где Pн, Pз - ветровые сосредоточенные нагрузки, прикладываемые соответственно с наветренной и заветренной сторон здания (рис. 3а).

В результате в диске от ветровой нагрузки возникают внешние изгибающие моменты М и поперечные силы Q. В пределах одной ячейки моменты изменяются линейно, а поперечные силы - постоянны (рис. 3в, г).

Рис. 3. К определению усилий в диске перекрытия:

а - конструктивная схема диска перекрытия; б - балочная расчетная схема диска перекрытия, в - эпюра поперечных сил, г - эпюра моментов.

Горизонтальная ветровая нагрузка вызывает образование сил трения, действующих по вертикальным плоскостям сопряжений в результате их обжатия.

3.3. Для нижних этажей зданий большой этажности следует также учитывать дополнительные горизонтальные нагрузки, суммируемые с ветровыми и возникающие в диске от погрешности монтажа колонн, по методике, приведенной в книге [5] и в Рекомендациях [3].

3.4. В ригелях и плитах диска необходимо также учитывать дополнительные местные усилия от погрешности монтажа колонн (п. 3.18), особенно в дисках нижних этажей многоэтажных зданий, а также за счет конструктивных особенностей дисков в случае (п. 3.19), когда ширина вертикальных стен жесткости меньше ширины диска (рис. 3а) и имеются отверстия для пропуска лестничных клеток.

3.5. Вертикальную нагрузку при расчете прочности диска в своей плоскости принимают равномерно-распределенной по площади и равной минимальному значению, то есть собственному весу плит q = 3 кПа при коэффициенте надежности gf = 0,9.

Вертикальная нагрузка q создает силы трения в сопряжениях 2-го типа, которые действуют по контакту плит и полок ригелей, силы трения по контакту плит и стенок ригеля и силы трения в сопряжении 1-го типа в результате его сжатия при изгибе ригеля.

3.6. Деформирование поперечных полос диска перекрытия из плит с непрерывными шпонками в процессе нагружения проходит две стадии.

На 1-й стадии силы трения и зацепления в сопряжениях достаточны для восприятия сил Q. Поэтому взаимные сдвиги элементов диска несущественны, и он работает как балка-стенка с продольными и поперечными трещинами, которые возникли от поперечного изгиба диска, усадки, расшатывания и обмятия бетона омоноличивания сопряжений.

Вторая стадия деформирования наступает на участках, где поперечные силы преодолевают силы трения и зацепления в сопряжениях, и происходит перекос поперечных полос диска, характеризующийся:

сдвигом плит между собой и по полкам ригелей (рис. 4а);

появлением диагональных распоров в широких плитах (рис. 4а), уравновешиваемых дополнительными растягивающими усилиями в плитах-затяжках в пределах поперечной полосы;

изгибом крайних ригелей торцевых ячеек и ригелей лестничных клеток в горизонтальной плоскости распорами (рис. 4б).

Рис. 4. К расчету диска перекрытия на действие ветровых нагрузок:

а - напряженно-деформированное состояние средней полосы; б - схема излома крайнего ригеля; в - сдвиг настила; г - изгиб средней полосы; д - перекос полосы.

При этом статистическая расчетная схема диска скачкообразно превращается в новую специфическую систему - менее жесткую, названную дискорамой.

3.7. За разрушение диска принимается превышение допустимых величин:

сдвигающего усилия вдоль ригеля (рис. 4в);

растягивающего усилия в наиболее нагруженной арматурной связи межколонных плит (рис. 4г, д);

изгибающего горизонтального момента в крайнем ригеле (рис. 4б);

растягивающего усилия в ригеле (п. 3.19).

Принимается, что взаимный продольный сдвиг плит, сопровождающийся поворотом плит на полке ригеля, не разрушает гладкие бетонные сопряжения между плитами, а также между настилом и полкой ригеля. Поэтому они воспринимают сдвиг только за счет сил трения и зацепления (адгезионные связи оказываются нарушенными).

3.8. Ветровой напор с наветренной стороны здания Pн вызывает обжатие диска в поперечном направлении, а с заветренной - растяжение ригелей, а следовательно и межплитных швов.

Негативное влияние ветровой нагрузки с заветренной стороны погашается положительным влиянием вертикальной нагрузки, под действием которой ригели прогибаются, а межплитные швы зажимаются усилием, значительно большим Pз. Это позволяет с осторожностью для практических расчетов принять, что диски перекрытий в поперечном направлении обжаты постоянным по ширине диска усилием (рис. 5а), равным Pн

Pо = Pн.                                                                    (2)

Сила Pн, обжимающая плиты, передается по диагонали поперечной полосы.

3.9. Сдвигающие усилия в продольных сечениях диска принимаются постоянными по ширине диска (рис. 5б, в) и определяются по формуле

                                                                  (3)

где l и В - соответственно пролет и ширина рассчитываемой поперечной полосы диска.

Рис. 5. Усилия в межплитных сопряжениях:

а - эпюра поперечного обжатия диска; б - определение сдвигающей силы; в - эпюра сдвигающих сил; г - схема сил в 1-й широкой полосе

3.10. Сдвигающие усилия в поперечных сопряжениях диска, действующие по контакту ригель - настил вдоль оси у, равны

Ту = Q,                                                                    (4)

где Q - поперечная сила, действующая в рассматриваемом сечении диска.

3.11. Растягивающие усилия в связях от минимальной вертикальной нагрузки в результате частичного защемления плит на опорах незначительны и не учитываются. Возникавшие от этой нагрузки силы трения учитываются при расчете прочности сопряжений на продольный и поперечный сдвиг, а также при назначении величины допустимого горизонтального момента в крайних ригелях, принятой на основании испытаний натурных фрагментов равной 40 кН·м.

3.12. Поперечная сила Qп в полосе, воспринимаемая за счет распоров в состоянии перекоса, равна

Qп = Q(1 - Ф),                                                             (5)

где Ф - коэффициент, показывающий, какая часть поперечной силы передается за счет прочности сопряжений (рис. 4)

                                                 (6)

Коэффициент Ф принимается не более 1.

В формуле (6) приняты следующие обозначения:

Qи - поперечная сила, воспринимаемая за счет прочности сопряжений;

Bн - ширина сплошного настила без отверстий;

Sx - несущая способность межплитных сопряжений (22);

l - пролет плит в осях колонн;

 - суммарный момент в поперечной полосе, воспринимаемый при повороте всеми широкими плитами

                                                    (7)

где mш - количество широких плит в настиле; b - ширина широких плит, принимаемая равной 1,5 м; f - коэффициент трения движения, равный 0,5;

 - суммарный момент в поперечной полосе, воспринимаемый узкими плитами при их повороте на полках ригелей

                                                       (8)

где mу - количество узких плит в полосе; bi - ширина i-й узкой плиты.

3.13. При расчете ячейки-дискорамы, находящейся в состоянии перекоса, предложена стержневая подкосная модель (рис. 4г), в которой связевые плиты служат затяжками, а широкие плиты - сжатыми подкосами. Суммарный распор, возникающий в поперечной полосе диска при перекосе, определяется по формуле (9) и целиком определяется усилиями в затяжках

,                                                    (9)

где D - равнодействующее усилие в подкосах;

a - угол наклона подкоса.

3.14. С целью упростить расчет дисков и в запас прочности принято, что:

при определении усилий в связях крайних плит-распорок от действия изгибающего момента средние плиты-распорки не учитываются;

при проверке прочности связей средних плит-распорок в них учитывать усилия от действия изгибающего момента и поперечных сил;

растягивающие усилия от действия поперечной силы воспринимаются всеми затяжками;

подкосы воспринимают только сжимающие усилия;

при определении усилий в затяжках распор по ширине диска равномерно распределенный (рис. 6);

закон изменения усилий в затяжках в состоянии перекоса, учитывая близкие значения их осевых жесткостей и высокую жесткость диска в своей плоскости, принят линейным по ширине диска.

3.15. Растягивающее усилие в крайней затяжке от действия изгибающего момента (рис. 4г) равно

                                                             (10)

а в средней

                                                      (11)

где В1 - ширина ячейки в растянутой от момента зоне полосы (рис. 4г); М - большее значение момента в полосе.

3.16. В состоянии перекоса (рис. 6) усилия от действия поперечной силы Qп в затяжках определяются по формуле

                                                            (12)

где b - коэффициент, показывающий, какую часть распора воспринимает затяжка, зависит от положения затяжки по ширине поперечной полосы диска и конструкции полосы (ширины плит, наличия отверстий) (см. п. 5.7).

3.17. Горизонтальный изгибающий момент в однополочном ригеле торцевой ячейки (рис. 6б) или возле лестничной клетки (рис. 6г) равен

                                                 (13)

где z - расстояние от точки пересечения подкоса с ригелем до арматурной связи в плите-затяжке, равное 2/3 b для крайних широких плит;

g - эмпирический понижающий коэффициент, принимаемый 0,5; ,  - количество широких связевых крайних и средних плит-затяжек в полосе.

Рис. 6. Определение усилий в поперечной полосе дискорамы:

а - средняя полоса дискорамы; б - крайняя полоса дискорамы; в - полоса дискорамы с отверстием; г - полоса дискорамы возле лестничной клетки

3.18. При проверке прочности затяжек (плит, ригелей) торцевых ячеек необходимо учитывать дополнительное растягивающее усилие от неточности монтажа крайнего ряда колонн (рис. 7а, б)

Nм = jоNк,                                                              (14)

где Nк - продольное усилие в колонне;

jо - угол перелома осей колонн, равный

                                                (15)

Dн, Dв - отклонения на монтаже стыков верхней и нижней колонны;

hн, hв - высота колонн, лежащих ниже и выше рассматриваемого перекрытия.

Минимальное значение Nm следует принимать не менее 5 кН для крайних затяжек и не менее 10 кН для средних.

3.19. В поперечных ригелях, находящихся в створе с вертикальными диафрагмами (рис. 8), действуют дополнительные растягивающие усилия, равные

N = NМ + NQ,                                                          (16)

где NQ - растягивающее усилие в ригеле от ветровой нагрузки, зависящее от конструкции диска (рис. 8а, б, в, г).

Рис. 7. Определение усилий от неточности монтажа колонн:

а - схема образования усилий от перекоса осей колонн; б - усилия в плитах-распорках торцевых ячеек

Рис. 8. Определение усилий в ригелях, находящихся в створе с диафрагмами:

а - при отсутствии лестничных клеток; б - при наличии клетки с одной стороны; в - то же с двух сторон; г - у крайней диафрагмы.

При отсутствии в диске возле средней диафрагмы лестничных клеток (рис. 8а)

NQ = (Qл + Qп)Bд/В + Pз = (R - Pн)(1 - Bд/В),                                   (17)

где Qл и Qп - поперечные силы в диске слева и справа от диафрагмы; R - опорная реакция в диске, передаваемая на вертикальную диафрагму жесткости; Bд - расстояние от заветренной стороны диска до диафрагмы.

Если лестничная клетка расположена с одной стороны средней диафрагмы (рис. 8б), то

NQ = Qп + QлBд/B + Pз;                                                   (18)

если с двух сторон (рис. 8в), то

NQ = Qп + Qл + Pз = R - Pз.                                               (19)

Возле крайней диафрагмы с отверстием (рис. 8г) усилие в ригеле равняется

NQ = Qл + Pз/2 = R - Pн/2                                                 (20)

Ветровые нагрузки Pн и Pз в (20) при расчете ригелей торцевых рам получаются меньшими, чем при расчете ригелей средних рам, так как в первом случае собираются с половины пролета настила.

3.20. В поперечных полосах диска, где имеются лестничные клетки, в восприятии изгибающих моментов участвуют ригели. Причем крайний ригель в зависимости от знака момента может воспринимать как растягивающие, так и сжимающие усилия, а средний ригель только растягивающие по аналогии со средней плитой-затяжкой (рис. 4а, в) (11).

4. ПРОВЕРКА ПРОЧНОСТИ СОПРЯЖЕНИЙ 1-ГО И 2-ГО ТИПОВ В ДИСКЕ НА СДВИГ

4.1. Отсутствие сдвига межплитного сопряжения записывается в виде условия

Tx £ Sx,                                                              (21)

где Sx - несущая способность межплитных сопряжений

Sx = f · Pн + Sзц · l,                                                       (22)

где Sзц - погонная сила зацепления, принимаемая по результатам испытаний, равной 1 кН/м.

4.2. Сопротивление сопряжения сдвигу зависит от конструкции пола. Если под полы по всей площади поперечной полосы диска укладывается монолитная подготовка из бетона (класса не менее В10 и толщиной не менее 40 мм), значения Sx, полученные по формуле (22), можно увеличить в 2 раза, а при устройстве армированной подготовки допускается принимать Sx ³ Tx, если количество арматуры, уложенной поперек шва не менее

                                                         (23)

Если участков, где требуется усиление диска, много, то возможно, что более эффективно перепланировать здание, уменьшив расстояния между вертикальными диафрагмами.

4.3. Отсутствие сдвига настила вдоль ригеля при изгибе с перекосом записывается в виде условия

Q £ Sy,                                                             (24)

где Sy - несущая способность сопряжения 2-го типа при сдвиге

Sy = Sf + Sh + Sc.                                                     (25)

В формуле (25) приняты следующие обозначения:

Sf - сила трения от горизонтальных распоров между плитами и стенкой ригелей, возникающих от перекоса и изгиба дискорамы

                                     (26)

Sh - прочность прерывистых шпонок смятия в сопряжении, равная

Sh = g1,5Rb · Aef · nh,                                                       (27)

где g - коэффициент, равный 0,7 в сопряжении по контакту ригель-настил;

nh - количество шпонок в сопряжении по всей ширине диска;

Rb - призменная прочность бетона омоноличивания;

Aef - минимальная площадь смятия шпонки (рис. 1в) в сопряжении, равная

Aef = ah · hh;                                                         (28)

где ah, hh - минимальная глубина и высота шпонки (рис. 1в);

Sc - отпор со стороны колонны, равный

Sc = (n - 1)(bk - bp - 2ah)hпRb/2,                                             (29)

где bk, bp - ширина колонны и ребра ригеля;

ah - толщина шва, принимаемая 3 см;

n - количество колонн в сечении поперек диска;

hп - высота плиты.

4.4. Для исключения хрупкого разрушения сопряжения от среза высота шпонки должна определяться из условия

                                                      (30)

где Rbt - прочность на растяжение бетона омоноличивания сопряжения.

Прочность омоноличенных бетонных шпонок должна быть не больше прочности выступов бетона плит и ригелей, чтобы исключить преждевременное разрушение бетона конструкций у шпонок.

Если на поверхности сопряжения элементов неодинаковое число или размеры прерывистых шпонок, то следует проверять прочность сопряжений для сечений вдоль каждой грани, принимая меньшее из них.

При наличии вертикальных стояков возле крайней колонны слагаемое Sc (29) в формуле (25) определяется при уменьшенном числе шпонок n.

Минимальное значение формула (26) дает в полосе у крайней опоры, где действует большая поперечная сила, а M - Q · l = 0.

5. ПРОВЕРКА ПРОЧНОСТИ ПЛИТ-ЗАТЯЖЕК И РИГЕЛЕЙ

5.1. Условие прочности крайней растянутой от действия изгибающего момента затяжки (плиты, ригеля) имеет вид

                                                             (31)

где  - допустимое усилие в крайней плите-затяжке или однополочном ригеле, равное 80 кН в серии 1.020-1/83 и 100 кН в серии ИИ-04;

Nкр - усилие в крайней затяжке в общем случае от действия изгибающего момента (10) и поперечной силы (12);

                         (32)

здесь aQ, aМ - коэффициенты, определяемые для рассчитываемой полосы по эпюрам М и Q, равные

aQ = Q/P;          aM = M/(Q1);                                         (33)

bкр - коэффициент (39) для крайней затяжки, растянутой от момента.

5.2. Условие прочности средней затяжки (плиты, ригеля) имеет вид

                                                            (34)

где  - допустимое усилие в средней плите-затяжке, равное 60 кН в серии 1.020-1/83 и 100 кН в серии ИИ-04;

Nc - усилие в средней затяжке от действия изгибающего момента (11) и поперечной силы (12)

               (35)

где ω - коэффициент (см. п. 5.7);

bс - коэффициент (41) для средней затяжки.

5.3. При проверке прочности затяжек в торцевых ячейках из величин  (5.1, 5.4) следует вычитать усилие NM (14).

5.4. Условие прочности однополочных ригелей от изгиба распорами в горизонтальной плоскости проверяется только во 2-й стадии и записывается в виде:

                                                                (36)

где  - допустимый изгибающий момент, воспринимаемый ригелем в горизонтальной плоскости, равный 40 кН·м;

 - изгибающий момент (13), который после подстановки (5), (9) и значений z и g (см. п. 3.17) принимает вид

                                                   (37)

Если условия (31), (34), (36) не выполнены, следует использовать рекомендации п. 4.2.

5.5. Прочность растянутых ригелей, находящихся в створе с вертикальными диафрагмами (рис. 8), необходимо проверять на действующие в них растягивающие усилия:

                                                                 (38)

где  - допустимое растягивающее усилие в ригелях, равное 50 кН для двухполочных и 80 кН для однополочных ригелей серии 1.020-1/83 и соответственно 50 и 100 кН для ригелей серии ИИ-04; N - определяется по формуле (16).

5.6. Если не выполнено условие (38), необходимо перепланировать здание, уменьшив расстояние между вертикальными диафрагмами, или установить ригель под более тяжелую вертикальную нагрузку из условия обеспечения прочности подрезки ригеля при одновременном действии вертикальной и горизонтальной нагрузок.

5.7. Коэффициенты b определяются по формулам:

а) для растянутой от действия изгибающего момента затяжки:

                                              (39)

б) для сжатой от действия изгибающего момента затяжки:

                                        (40)

в) для средней затяжки:

bс = bкр (1 - ω) + bкс,                                                     (41)

где

А = 1 + r[1 - 2ω(1 - ω)];                                                     (42)

r - число затяжек;

                                                                   (43)

y - расстояние от затяжки, растянутой от действия изгибающего момента, до равнодействующего усилия в подкосах при прямоугольной эпюре распределения усилий в подкосах (рис. 6).

6. ОСНОВНЫЕ ТРЕБОВАНИЯ К КАЧЕСТВУ РАБОТ

6.1. В дисках связевых каркасов серий ИИ-04 и 1.020-1/83 с применением плит, изготовленных на установках СМЖ-227, должно быть обеспечено высокое качество изготовления и монтажа конструкций, включая сварку и замоноличивание узлов. Требования к качеству должны указываться в рабочих чертежах конструкций и зданий.

6.2. При возведении здания особое внимание следует уделять контролю прочности бетона, используемого для заполнения швов и стыков, и контролю качества замоноличивания.

6.3. Прочность бетона замоноличивания определяется в проектном возрасте путем испытания контрольных кубов, изготовленных на стройплощадке, одновременно с бетонированием швов и твердеющих в тех же условиях, что швы замоноличивания, или неразрушающими методами непосредственно в швах.

6.4. Прочность путем испытания кубов контролируется по ГОСТ 10180-78.

Контроль прочности бетона ведется неразрушающими методами: ультразвуковым (ГОСТ 17624-87), методом упругого отскока пластической деформации ударного импульса (ГОСТ 22690-88), по методикам, согласованным с институтами-разработчиками этих стандартов.

6.5. Количество отбираемых образцов принимается не менее удвоенного минимального установленного ГОСТ 18105-86.

Количество и размещение участков определения прочности бетона неразрушающими методами устанавливается проектной организацией таким образом, чтобы общее количество участков составляло не менее требуемых по ГОСТ 18105-80.

6.6. Прочность бетона оценивается по ГОСТ 18105-86.

6.7. Качество замоноличивания оценивается зрительно при вскрытии швов, а также радиационными методами по ГОСТ 17625-83.

6.8. Размещение и количество участков для контроля качества замоноличивания устанавливается в рабочих чертежах здания или авторами надзора, но не менее трех участков на этаже.

После омоноличивания сопряжений по каждому этажу перекрытия составляется акт на скрытые работы с результатами испытаний кубов и выборочно вскрытий сопряжений.

7. ОСНОВНЫЕ ТРЕБОВАНИЯ К ПРОИЗВОДСТВУ РАБОТ ПРИ ЗАМОНОЛИЧИВАНИИ

7.1. В проекте зданий, в которых используются плиты с продольными непрерывными шпонками, изготовленные на установках СМЖ-227, и при замоноличивании должны быть оговорены правила производства работ.

7.2. Поверхность ригеля и плит в швах, подлежащих замоноличиванию бетоном, следует промыть и увлажнить, чтобы очистить от загрязнения и уменьшить отсос воды из уложенной в швах бетонной смеси.

7.3. Для бетонирования швов рекомендуется использовать бетонную смесь с добавкой суперпластификатора.

8. ПРИМЕР РАСЧЕТА ДИСКОВ ПЕРЕКРЫТИЯ НА ДЕЙСТВИЕ ГОРИЗОНТАЛЬНЫХ НАГРУЗОК

Горизонтальная ветровая нагрузка рассчитывается по (1): P = 5 + 5 = 10 кН.

1. Расчет балочного диска, имеющего размеры L = 60 м, В = 12 м, В1 = 6 м, l = 6 м, b = 1,5 м по сечениям 1-1 и 2-2.

1.1. Сечение 1-1 (лестничная клетка расположена у сжатой от момента связи) (см. рис. 3).

Проверка прочности сопряжений 1-го и 2-го типа:

определение величины сдвигающего усилия:

в сопряжении 1-го типа (3)

 кН,

в сопряжениях 2-го типа (4)

Ty = 45 кН;

определение несущей способности сопряжений 1-го типа (22)

Sx = 0,5 ´ 5 + 1 ´ 6 = 8,5 кН < 22,5 кН.

Поскольку Sx < Tx, ячейка работает во 2-й стадии.

Проверка условия отсутствия сдвига настила вдоль ригеля при изгибе с перекосом (24):

Sy = 45 кН

Определение несущей способности сопряжения 2-го типа при сдвиге (25)

Sy = Sf + Sh + Sc

Определение силы трения Sf от горизонтальных распоров между плитами и стенкой ригелей. По (26) Sf зависит от  (7) и Ф (6):

Мш = 4 ´ 0,55 ´ 0,3 ´ 6 ´ 1,52 ´ 10 = 89,1 кН ´ м.

По (6) коэффициент .

Тогда  кН > 45 кН

Таким образом, прочность сопряжения обеспечена за счет силы трения от горизонтальных распоров в стенку ригелей (шпонки в запас не учтены).

Проверка прочности плит-затяжек.

Коэффициенты для данного сечения aQ = 4,5; aМ = 1.

Определение усилия в крайней затяжке Nкр. По (39) и (42)

где А = 1 + [1 - 2 ´ 0,5 (1 - 0,5)] = 1,5.

Тогда  по (32).

Из п.п. 5.3 и 3.18 следует, что

N = 80 - 5 = 75 кН.

 следовательно, условие (31) выполнено.

Определение усилия в средней затяжке (35):

Коэффициент bс для средней затяжки (40), (41):

bс = 0,583 (1 - 0,5) + 0,5 ´ 0,08 = 0,331.

Из п.п. 5.3 и 3.18 следует, что N = 60 - 10 = 50 кН.

N > Nc, следовательно, условие (34) выполнено.

Проверка условия прочности ригеля, находящегося в створе с диафрагмой.

По (20) NQ = 50 кН,

по (16) N = 50 + 5 = 55 кН.

Допустимое усилие в ригеле , следовательно, условие (38) выполнено.

Проверка условия прочности ригеля при изгибе в своей плоскости (37):

Допустимый момент (п. 5.4)  = 40 кН ´ м > 10,8 кН ´ м, значит условие выполнено.

Таким образом, сечение 1-1 удовлетворяет всем условиям прочности.

1.2. Сечение 2-2 (рис. 3).

Определение сдвигающих усилий в сопряжениях 1-го типа:

Поскольку Sx > Tx, ячейка работает в 1-й стадии Ф = 1.

Определение сдвигающих усилий в сопряжениях 2-го типа:

Ty = 5 кН.

По (25) и (27) прочность сопряжений Sh за счет смятия шпонок равна (27): Sh = 0,7 ´ 1,5 ´ 6,5 ´ 0,015 ´ 0,06 ´ 16 ´ 10 = 171 кН < 5 кН, следовательно, несущая способность сопряжения 2-го типа обеспечена.

Проверка прочности плит-затяжек.

Коэффициенты для данного сечения aQ = 0,5; aМ = 25.

Определение усилия в крайней затяжке (32):

Допустимое усилие в плите-затяжке  = 80 кН > Nкр = 62,5 кН, т.е. условие (31) выполнено.

Определение усилия в средней затяжке (34):

Допустимое усилие (по п. 5.2)  = 60 кН > Nс = 41,9 кН, следовательно, условие (34) выполнено.

Таким образом, сечение 2-2 удовлетворяет по всем условиям прочности. При коэффициенте Ф = 1 проверка условия (36) не производится.

2. Расчет консольного диска (рис. 3), имеющего размеры L = 60 м; Lконс = 18 м; В1 = 6 м; l = 6 м; b = 1,5 м.

2.1. Сечение 3-3 (лестничная клетка расположена у сжатой от действия момента связи).

Определение сдвигающего усилия в сопряжениях 1-го типа (3):

 ,

следовательно, ячейка работает во 2-й стадии. Определение сдвигающего усилия в сопряжениях 2-го типа;

Ty = 25 кН < 171 кН = Sh

Прочность сопряжения обеспечивается за счет шпонок. Проверка прочности плит-затяжек.

Коэффициент Ф для данного сечения =

Определение усилия в крайней плите-затяжке.

По (39) коэффициент bкр = 0,563; по (33) aQ = 2,5; aМ = 1,8.

По (32)

Допустимое усилие в затяжке (по 5.1) -  = 80 кН > 26,7 кН, следовательно, условие (31) выполнено.

Определение усилия в средней плите-затяжке. Коэффициент bс = 0,331 (41)

По (35)

Допустимое усилие в средней затяжке

 = 60 кН > Nc = 17,9 кН, следовательно, условие (34) выполнено.

Проверка условия прочности ригеля, находящегося в створе с диафрагмой:

лестничная клетка расположена с одной стороны (18)

 по (16)

N = 37,5 + 10 = 47,5;

лестничная клетка расположена с двух сторон (19):

NQ = 50 кН, по (16) N = 50 + 10 = 60 кН.

Допустимое усилие  = 80 > N, следовательно, условие выполнено.

Проверка условия прочности крайнего ригеля при изгибе в своей плоскости (37):

 <  = 40 кН ´ м, следовательно, условие выполнено.

Следовательно, сечение 3-3 удовлетворяет по всем условиям прочности.

ИСПОЛЬЗОВАННЫЕ ИСТОЧНИКИ

1. Указания по расчету прочности, устойчивости и деформативности зданий с диафрагмами жесткости. Серия 1.020-1/83. Конструкции каркаса межвидового применения для многоэтажных общественных и производственных зданий. Выпуск 0-2 1, М.: ЦИТП, 1984.

2. Указания по применению изделий связевого каркаса: Серия ИИ-04-0. Сборные элементы зданий каркасной конструкции. - Выпуск 6. М., ЦИТП, 1972.

3. Рекомендации по расчету каркасно-панельных общественных зданий с применением ЭВМ. / М.: Стройиздат, 1986.

4. Рекомендации по расчету ригелей связевого каркаса с учетом совместной работы со сборным настилом / ЦНИИП реконструкции городов. М., 1989.

5. Ханджи В.В. Расчет многоэтажных зданий со связевым каркасом. - М., Стройиздат, 1977. - С. 187.

РЕКОМЕНДУЕМАЯ ЛИТЕРАТУРА

1. ВСН 32-87. «Инструкция по проектированию конструкций панельных жилых зданий». - М., 1977.

2. Додонов М.И. Развитие и применение метода сосредоточенных деформаций к расчету проемных диафрагм многоэтажных зданий. // СМиРС. - 1984. - № 6. - С. 65 - 69.

3. Дроздов П.Ф. Конструирование и расчет несущих систем многоэтажных зданий и их элементов / М.: Стройиздат, 1977. - 223 с.

4. Дыховичный Ю.А., Максименко В.А. Сборный железобетонный унифицированный каркас. - М.: Стройиздат, 1985. - С. 296.

5. Испытание и внедрение перекрытий из многопустотных панелей с продольными шпонками: Отчет о НИР / ЦНИИЭП торгово-бытовых зданий и туристских комплексов, НИИЖБ; № 80-1156-Н; № ГР12345678 М., 1981. - С. 88.

6. Исследование работы дисков перекрытий каркасных зданий: Отчет о НИР / МНИИТЭП; Рук. Ю.М. Стругацкий, № ГР73015011. - М., 1972.

7. Каландарбеков И. Железобетонные диски перекрытий многоэтажных каркасных зданий из плит безопалубочного формования: Дисс. на соиск. уч. степ. канд. техн. наук. - М., МИСИ им. Куйбышева, 1985.

8. Лепский В.И., Волынский Б.Н., Паньшин Л.Л. и др. Полносборные каркасные конструкции общественных зданий. - М.: Стройиздат, 1974. - 90 с.

9. Лишак В.И. Прочность и жесткость стеновых соединений панельных конструкций. - М.: Стройиздат, 1980, С. 192.

10. Мамин А.Н. Сопротивление перекрытий из плит безопалубочного формования кручению и деформированию в плоскости / Дисс. на соиск. уч. степ. канд. техн. наук. М.: МИСИ им. Куйбышева, 1985.

11. Паньшин Л.Л., Савранский В.Э., Волынский Б.Н. и др. Рекомендации по расчету каркасно-панельных общественных зданий с применением ЭВМ. - М.: Стройиздат, 1986.

12. Пособие по расчету статических неопределимых конструкций (проект). - М.: НИИЖБ, 1987.

13. Применение многопустотных панелей с продольной шпонкой в диске связевого каркаса серии 1.020: Отчет о НИР / № 84-1594-Н, ЦНИИЭП торгово-бытовых зданий и туристских комплексов, НИИЖБ; № ГР12345678. М., 1987.

14. Провести комплексные исследования, разработать конструкции предварительно напряженных железобетонных плит стендового безопалубочного формования для междуэтажных перекрытий и покрытий промышленных, жилых и общественных зданий и осуществить их внедрение в массовом строительстве. Научно-технический отчет. Целевая программа 2-0.Ц.031.055.16Ц.01.09, 1982. С. 305.

15. Ржаницын А.Р. Составные стержни и пластины. - М.: Стройиздат, 1986. - 315 с.

16. Семченков А.С., Третьяков Б.И. и др. Работы дисков перекрытий из настилов с продольными японками. - Бетон и железобетон. - 1983. - № 1, С. 35 - 36.

17. Семченков А.С., Третьяков Б.И., Крамарь В.Г. и др. Экспериментальное исследование фрагментов настилов из панелей с продольной трапециевидной шпонкой. - М., 1982. - 32 с. Деп. во ВНИИС 10.02.82. № 15406, - С. 32.

18. Семченков А.С. Исследование дисков перекрытий с применением пустотных настилов с продольной межплитной шпонкой трапециевидного сечения / (Экспресс-информация (отечественный опыт)). - М.: ВНИИИС. - 1984. Сер. 12. - Вып. 12. С. 1 - 6.

19. Семченков А.С., Третьяков Б.И., Макаренко С.К. Расчет прочности сборных дисков перекрытий связевого каркаса. // Бетон и железобетон. - 1987. - № 10. - С. 21 - 23.

20. Семченков А.С., Десятник Е.И. и др. Испытание дисков перекрытий из панелей типа 2Т. - Бетон и железобетон, 1985. - № 2. - С. 7 - 9.

21. Смирнов С.Б., Сеитов Б.М. Исследование несущей способности моделей железобетонных дисков перекрытий многоэтажных зданий. Экспресс-информация. Инженерно-теоретические основы строительства. ВНИИИС Госстроя СССР, 1986, вып. 2, С. 6 - 9.

22. Смирнов С.Б., Сеитов Б.М. Метод расчета сборных перекрытий в стадии предельного равновесия с учетом сил трения // СМиРС, 1986. - № 5. - С. 16 - 19.

23. Смирнов С.Б., Сеитов Б.М. Об условии прочности контактных слоев и швов из строительных материалов // СМиРС. - 1985. - № 6. - С. 31 - 34.

24. Смирнов С.Б. Методы предельного равновесия и условия прочности плоских конструкций, дисс. на соиск. уч. степ, д.т.н. М., 1987. - С. 258 - 344.

25. Сунгатулин Я.Г. Особенности расчета сборно-монолитных железобетонных конструкций по первой группе предельных состояний / Конспект лекций // - Казань: НИСМ, 1983.

26. СНиП 2.03.01-84. Бетонные и железобетонные конструкции. - М., 1985, - 79 с.

27. Темикеев К. Исследование деформативности сборных железобетонных перекрытий в своей плоскости, как горизонтальных диафрагм многоэтажных каркасных зданий: Дисс. на соиск. уч. степ. канд. техн. наук. М.; МИСИ им. Куйбышева. 1974. - С. 209.

28. Тимошенко С.П., Дж. Гудвер. Теория упругости, М., «Наука», 1975. - С. 575.

29. Улицкий И.И., Сытник В.И. Прочность и деформативность сборных бетонных элементов с сухими стыками // Бетон и железобетон, 1965, № 2. - С. 1 - 5.

30. Экспериментальное исследование работы дисков перекрытий каркасных зданий унифицированной конструкции. Отчет о НИР // МНИИТЭП; Рук. Ю.М. Стругацкий, № ГР74017327, М., - С. 154.

СОДЕРЖАНИЕ

Введение. 1

1. Общие положения. 2

2. Конструкция диска перекрытия. 2

3. Нагрузки и усилия в диске. 4

4. Проверка прочности сопряжений 1-го и 2-го типов в диске на сдвиг. 14

5. Проверка прочности плит-затяжек и ригелей. 15

6. Основные требования к качеству работ. 17

7. Основные требования к производству работ при замоноличивании. 17

8. Пример расчета дисков перекрытия на действие горизонтальных нагрузок. 17

Использованные источники. 20

Рекомендуемая литература. 21

 




Яндекс цитирования



   Copyright © 2007-2026,  www.tehlit.ru.

[ ѓосты, стандарты, нормативы, инструкции, правила, строительные нормы ]