//
ТехЛит.ру
- крупнейшая бесплатная электронная интернет библиотека для "технически умных" людей.
WWW.TEHLIT.RU - ТЕХНИЧЕСКАЯ ЛИТЕРАТУРА

:: Алготрейдинг::


АЛГОТРЕЙДИНГ
шаг за шагом
с нуля по урокам!

Торговые роботы на PYTHON, BackTrader,
Pandas, Pine Script для TradingView. Связка с брокерами, телеграм и легкими приложениями.


 

 

ПРАВИТЕЛЬСТВО МОСКВЫ

 

КОМПЛЕКС АРХИТЕКТУРЫ, СТРОИТЕЛЬСТВА,

РАЗВИТИЯ И РЕКОНСТРУКЦИИ ГОРОДА МОСКВЫ

 

ГУП «НИИМОССТРОЙ»

 

 

 

ТЕХНИЧЕСКИЕ РЕКОМЕНДАЦИИ

 

ПО ПРОЕКТИРОВАНИЮ И МОНТАЖУ

КАНАЛОВ СВЯЗИ ИЗ ПОЛИЭТИЛЕНОВЫХ ТРУБ

С ДВУХСЛОЙНОЙ СТЕНКОЙ

 

ТР 169-05

 

 

 

Москва - 2005 г.

 

.

 

 

Настоящие технические рекомендации разработаны ГУП «НИИ Мосстрой» по заданию Департамента градостроительной политики развития и реконструкции города и ОАО «Московский комитет по науке и технологиям». Работа выполнена в рамках городского заказа по теме «Разработка технологий применения полиэтиленовых труб с двухслойной гофрированной стенкой в подземных инженерных сетях нового поколения с проведением экспериментальных работ на опытных участках».

Настоящие ТР разработаны взамен «Технических рекомендаций по проектированию и монтажу каналов связи из пластмассовых труб» (ТР 75-98).

Технические рекомендации подготовлены на основе результатов проведенных исследований, отечественного и зарубежного опыта по устройству каналов связи из различных пластмассовых труб, в том числе из полимерных гофрированных труб с двойными стенками (ПГТ). При разработке ТР использованы Технические условия «Трубы гофрированные из полиэтилена для строительства систем кабельной канализации ТУ 2248-023-41989945» и руководящие материалы Минсвязи России, а также РД 45-2003 «Трубы гофрированные пластмассовые» и аксессуары к ним, предназначенные для применения на единой сети связи Российской Федерации», «Руководство по строительству линейных сооружений местных сетей связи» (М., 1995).

Технические рекомендации согласованы: ГУП «Моспроект-3», АО ХК «Главмосстрой», ОАО «МГТС», ЗАО НПО «Стройполимер» и ОАО «ССКТБ ТОМАСС» Минсвязи РФ.

Технические рекомендации разработаны лабораторией инженерного оборудования ГУП «НИИМосстрой» (к.т.н. Сладковым А.В., к.т.н. Отставновым А.А.).

Разработке ТР предшествовали выпуск в 2004 г. опытно-промышленной партии труб ПГТ диаметром 100 мм длиной б и 8 м (ЗАО НПО «Стройполимер») и также опытное строительство, осуществленное в 2004 г. в г. Дно, Псковская обл. (Лентелефонстроей).

СОДЕРЖАНИЕ

1. Общая часть

2. Особенности проектирование каналов связи из ПГТ

3. Погрузка, транспортировка, разгрузка и хранение ПГТ

4. Монтаж каналов связи из ПГТ

5. Сдача и приемка каналов связи из ПГТ

6. Требования безопасности при прокладке каналов связи из ПГТ

7. Охрана окружающей среды при прокладке каналов связи из ПГТ

8. Ремонтные работы

Приложение А (справочное) Основные характеристики ПГТ

Приложение Б (справочное) Перечень материалов, соединительных деталей, конструктивных и технологических элементов

 

 

Правительство Москвы

Комплекс архитектуры, строительства, развития и реконструкции города

Технические Рекомендации

по проектированию и монтажу каналов связи из полиэтиленовых труб с двухслойной стенкой

ТР169-05

взамен

ТР75-98

 

1. 0БЩАЯ ЧАСТЬ

1.1. Настоящие технические рекомендации распространяются на траншейную однорядную и многорядную прокладку каналов связи из полиэтиленовых труб с двухслойной стенкой - гофрированной наружной и гладкой внутренней (далее ПГТ) условным диаметром 100 мм.

1.2. Каналы связи из ПГТ, законченные строительством, следует принимать в эксплуатацию в соответствии с требованиями СНиП 3.01.04-87 и действующими отраслевыми и территориальными московскими строительными нормами.

1.3. При строительстве каналов связи из ПГТ должны учитываться требования «Руководство по строительству линейных сооружений местных сетей связи» (М., 1995), РД 45-2003 ОАО «ССКТБ ТОМАСС» Минсвязи РФ, СНиП 3.01.01-85* «Организация строительного производства», соответствующих технических регламентов по санитарной, экологической и пожарной безопасности.

 

 

УТВЕРЖДЕНЫ:

 

РАЗРАБОТАНЫ:

ГУП «НИИ Мосстрой»

Начальник Управления

научно-технической политики в строительной отрасли

                               А.Н. Дмитриев

Дата введения в действие

1 августа 2005г.

 

19 июля 2005 г.

 

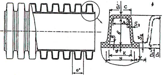
1.4. Для каналов связи должны применяться ПГТ условным (внутренним) диаметром 100 мм (ТУ 2248-024-1989945 «Трубы гофрированные из полиэтилена двухслойные для систем кабельной канализации» ЗЛО НПО «Стройполимер») (рис.1). Основные размеры ПГТ приведены (табл. 1); основные характеристики ПГТ - в приложении А.

 

Рис.1. Схема полиэтиленовой трубы с двухслойной стенкой(гофрированной наружной и гладкой внутренней) диаметром 100 м

 

Таблица 1 Размеры (минимальные), мм, полиэтиленовых труб с двухслойными стенками (гофрированной наружной к гладкой внутренней) диаметром 100 мм (выборка из ТУ 2248-024-41989945)

Размеры в мм

DN

D1

D2

S1

S2

S3

e

b

h

k

y

c

100

100

120

0.6

1,3

0,7

13,0

7,8

0,5

6,7

10,4

6.8

Примечание: допускается использовать трубы ПГТ, изготовленные по другой нормативно- технической документации, если их свойства не ниже норм, приведенных в ТУ 2248-024-41989945.

1.5. Для соединения ПГТ между собой должны использоваться полиэтиленовые муфты и резиновые кольца (рис.2, табл.2).

Примечание: Для соединения ПГТ диаметром 100 мм с трубами из других материалов, из которых могут быть выполнены смежные участки каналов связи, должны использоваться специальные переходные муфты из полиэтилена (рис. 3).

Рис. 2. Схема соединения ПГТ между собой

1-полиэтиленовая муфта, 2- резиновое уплотнительное кольцо, 3 -труба (поставляются в комплекте)

 

Таблица 2. Основные размеры соединений ПГТ

D1

D2

dm

Dm

Lm

ном.

пред. откл.()

ном

пред. откл.()

123

138

193

100

2

120

1,5

 

 

 

б)

 

Рис.3. Соединение (а) полиэтиленовых труб с двухслойными стенками с каналами

связи условным диаметром 100 мм из других материалов на полиэтиленовых муфтах (б) с уплотнением резиновыми кольцами 1 - ПГТ, 2 - полиэтиленовая муфта, 3, 5 - резиновые кольца, 4 -присоединяемая труба

Примечание: размеры муфт должны соответствовать указанным в таблице (ТУ 2248-030-41989945-2005 «Детали соединительные из полиэтилена для гофрированных труб»)

Обозначение муфты

DN* соединяемой трубы

 

L

 

d2

 

d1

 

D

 

D1

 

I

 

S*min

DN*1

DN*2

Мп ПЭ 110x100

110

100

156

138

122,0±1,5

120,6+1,8

110,4+0,9

9,1+2,0

2,5

Примечание: *Размеры для справок

Срок службы каналов связи из ПГТ должен составлять не менее 50 лет.

2. ОСОБЕННОСТИ ПРОЕКТИРОВАНИЯ КАНАЛОВ СВЯЗИ ИЗ ПГТ

2.1. При проектировании каналов связи из ПГТ диаметром 100 мм следует соблюдать требования «Руководство по строительству линейных сооружений местных сетей связи» (М. 1995)». Необходимо также руководствоваться нормативами Минсвязи РФ, а также «Рекомендациями «Моспроект-1» по определению объемов работ и расхода материалов на устройство телефонных и радиотрансляционных вводов» (НМ-80-86) и ведомственными строительными нормами ВСН 116-93 и ОСТН 600-93 Министерства связи и РД 45.120-2000 «Нормы технологического проектирования городских и сельских телефонных сетей».

2.2. Из ПГТ диаметром 100 мм следует проектировать каналы, преимущественно с разветвленными сетями подземных трубопроводов с колодцами.

2.3. Проходные трассы каналов связи из ПГТ диаметром 100 мм необходимо предусматривать преимущественно под пешеходной частью улиц.

2.4. Минимально допустимое заглубление каналов из ПГТ диаметром 100 мм от поверхности покрова до верхней трубы (верха блока труб) должно быть не менее 0,4 м - под пешеходной частью улицы и 0,6 м - под проезжей. На пересечениях с водосточными кюветами, канавами и т.п. верхняя труба блока должна быть на 0,5 м ниже дна указанных сооружений.

2.5. Трасса каналов связи из труб диаметром 100 мм между телефонными колодцами должна быть по возможности прямолинейной как в горизонтальной, так и в вертикальной плоскостях.

Примечание: Допускается трассу каналов связи из ПГТ между колодцами проектировать с поворотом на угол не более 10 град, с радиусом изгиба ПГТ не менее 6 м.

2.6. Каналы связи из ПГТ диаметром 100 мм в каждом пролете должны иметь уклон 0,003 - 0,004 от середины в сторону обоих колодцев, для стока попавшей воды в колодцы. На местности с приемлемым естественным уклоном каналы могут проходить на одинаковом заглублении по всему пролету, за исключением участков длиной 10 м, примыкающих к колодцам. На них участках каналы должны иметь уклон, выводящий их на заданную отметку, учитывающую ввод каналов в проемы в стенках колодцев.

2.7. Колодцы на сети каналов связи из ПГТ диаметром 100 мм следует сооружать в местах пересечения улиц, поворотов и разветвлений, а также при изменениях числа или профиля (по глубине либо в плане) каналов. На прямолинейных участках колодцы располагаются на расстояниях (максимально) до 300 м друг от друга (по согласованию с заказчиком - до 500 м).

Примечание: Допускается также на крайних в ряду каналах связи из ПГТ между колодцами применять тройники условным проходом 100х100 мм (под углом 30 град.) для устройства ответвлений каналов связи в здания.

2.8. Экономичные решения при проектировании каналов связи из ПГТ диаметром 100 мм могут быть достигнуты за счет использования соответствующей трассировки. При этом во избежание механического повреждения кабелей и минимизации объемов земляных работ необходимо учитывать допустимое сближение их с другими подземными коммуникациями (табл. 3) .

Таблица 3. Минимально допустимые расстояния между каналами связи и другими подземными коммуникациями и сооружениями, (м)

Коммуникации и сооружения

Минимальное расстояние по

горизонтали

вертикали при пересечении

Водопровод диаметром

< 300 мм

0,5

0,15

> 300 мм

1,0

0,15

Канализация, дренажи и водостоки

0,5

0,15

Кабели силовые

0,5

ниже каналов связи на

0,25-0,15

Теплопровод

1,0

0,15

Газопровод давления, кПа

Низкого

4,9

1,0

0,15

Среднего

4,9-294,3

1,5

0,15

Высокого

294,3- 558,6

2,0

0,15

558,6-1177,2

3,0

0,15

Трамвайные пути, ось ближнего рельса

2,0

1,0

Мачты и опоры сети наружного освещения, контактные сети и сети связи стены и опоры тоннелей и путепроводов (на уровне или ниже основания), общие подземные коллекторы

0,5

-

Подошвы насыпей или наружных бровок канала

1.0

-

Стволы деревьев, бортовые камни

1,5

 

Фундаменты зданий

0,6

-

2.9. Расстояние от поверхности уличного покрытия до верха верхней ПГТ на вводе в колодец должно быть не менее 0,75 м - под пешеходной частью улиц и 0,85 м - под проезжей.

2.10. Ввод ПГТ в колодцы следует делать по возможности на одном уровне со стороны входа и выхода, расстояние от верха перекрытия колодцев до поверхности уличного дорожного покрытия должно быть 0,2 - 0,3 м.

2.11. При наличии на трассе каких-либо других сооружений глубину заложения ПГТ допускается уменьшать. При этом необходимо предусмотреть дополнительную их защиту, например, железобетонными плитами или бетонной подушкой, уложив их поверх каналов связи.

2.12. Минимальная глубина заложения нижнего ряда блока каналов связи из ПГТ должна приниматься с учетом числа рядов в блоке и расстояний между рядами по вертикали.

2.13. Максимальная глубина заложения нижнего ряда блока каналов связи из ПГТ диаметром 100 мм должна устанавливаться из условия сохранения трубами круговой формы поперечного сечения с учетом конкретных условий прокладки. Уменьшение вертикального диаметра под действием грунтовых, транспортных и других поверхностных нагрузок в период эксплуатации не должно превышать 5 %.

2.14. Каналы связи из ПГТ в здание вводятся путем подвода труб в подвалы через проемы в фундаментах на глубине 0,4 - 0,5 м от поверхности уличного покрытия с уклоном от здания в сторону колодца. Размеры проема зависят от размера вводимого блока труб и толщины стены здания.

3. ПОГРУЗКА, ТРАНСПОРТИРОВКА, РАЗГРУЗКА И ХРАНЕНИЕ ПГТ

3.1. Каждая партия поставляемых на объект ПГТ диаметром 100 мм, полиэтиленовых муфт и резиновых уплотнительных колец, предназначенных для монтажа каналов связи, должна быть снабжена паспортом (сертификатом) завода-изготовителя или соответствующим сертификату документом.

3.2. ПГТ, полиэтиленовые муфты и резиновые уплотнительные кольца можно перевозить любым видом транспорта - железнодорожным, автомобильным, водным и др.

3.3. При перевозке ПГТ необходимо укладывать на ровную поверхность транспортных средств с тем, чтобы предохранить их от повреждения.

3.4. ПГТ и полиэтиленовые муфты необходимо оберегать от механических нагрузок и ударов, а также от нанесения царапин. Не допускается перемещение труб волоком. Погрузка и разгрузка труб должна производиться при температуре наружного воздуха не ниже минус 20°С.

Примечание: запрещается сбрасывать трубы с транспортных средств или скатывать; не следует допускать удары труб друг о друга и другие твердые предметы.

3.5. ПГТ и полиэтиленовые муфты следует хранить у изготовителя (потребителя) раздельно с соблюдением требований ГОСТ 15150.

3.6. Допускается хранить ПГТ в штабелях высотой не более 2м.

3.7. При хранении в закрытых помещениях ПГТ и полиэтиленовые муфты должны располагаться на расстоянии не ближе 1 м к нагревательным приборам.

3.8. Запрещается ведение газо-электросварочных и других огневых работ на участке хранения, а также за его пределами на расстоянии менее 5 м .

3.9. Резиновые уплотнительные кольца, связанные в пачки, упаковывают в мягкую тару, ящики или картонные коробки массой брутто не более 50 кг. По согласованию с заказчиком допускается упаковка колец в другую тару или поставка колец, связанных в

пачки, без упаковки. Конструкция тары и способ укладки в ней резиновых колец должны исключать возможность их повреждения при транспортировке.

3.10. Резиновые кольца должны храниться в закрытых помещениях с температурой от 0 до 25°С. При хранении они должны находиться на расстоянии не ближе 1 м к отопительным приборам и предохраняться от контактов со смазочными веществами, керосином, бензином, кислотами, щелочами. При долговременном хранении резиновые кольца должны находиться в недеформированном состоянии и храниться при положительной температуре (не выше 30°С) в закрытом помещении (в закрытой таре).

4. МОНТАЖ КАНАЛОВ СВЯЗИ ИЗ ПГТ

4.1. Монтаж каналов связи из ПГТ следует выполнять в соответствии с проектом, нормативными документами, утвержденными Госстроем РФ и Министерством связи РФ, СНиП по разделам и видам работ, а также с учетом требований Руководства по строительству линейных сооружений местных сетей связи.

4.2. Работы по монтажу каналов связи из ПГТ диаметром 100 мм должны выполняться рабочим и инженерно-техническим персоналом, прошедшем специальную подготовку по монтажу каналов связи из пластмассовых труб, а также по технике безопасности и охране окружающей среды.

4.3. На прокладку каналов связи из ПГТ следует разрабатывать, как правило, проект производства работ либо технологические карты.

4.4. До начала работ по прокладке каналов связи из ПГТ следует изучить и сверить с натурой рабочие чертежи. Решения по преодолению встретившихся на трассе препятствий в виде коммуникаций, которые не отмечены в проекте, следует обосновать и согласовать с эксплуатационными и проектными организациями.

4.5. При укладке каналов связи из ПГТ следует максимально использовать механизацию каждого технологического процесса.

4.6. Для качественной и производительной траншейной прокладки каналов связи из ПГТ (рис. 4 и 5) следует использовать комплекс технологических процессов.

 

Рис. 4. Пример траншейной прокладки восьмитрубных (два ряда по четыре трубы в каждом ряду) каналов связи со смещением продольных осей ПГТ по ширине траншеи с наклонными стенками 1 - траншея, 2 - засыпка, 3 - ПГТ

 

Рис. 5. Пример траншейной прокладки шестнадцатитрубных (четыре ряда по четыре трубы в каждом) каналов связи с расположением продольных осей ПГТ друг над другом в траншее с вертикальными стенками с использованием восьмипозиционных опор: ТУ 2248 - 001 - 04000633 - 2005 «Блоки однорядные и многорядные из полиэтиленовых труб с двухслойной стенкой гофрированной наружной и гладкой внутренней диаметром 100 мм для каналов связи» 1 - траншея, 2 - засыпка, 3 - ПГТ, 4 - полимерные опоры

В комплекс следует, как правило, включать:

- расчистку и планировку территории по направлению трассы прокладки каналов связи;

- разработку траншеи;

- подготовку дна траншеи к укладке ПГТ;

- укладку труб (трубных блоков из ПГТ) в траншею (с фиксацией ПГТ в рядах с помощью полимерных опор);

- выравнивание и засыпку труб поштучно или блоков из них;

- установку элементов железобетонных колодцев и их сборку;

- сопряжение труб со стенками колодцев (фундаментов зданий);

- контроль проходного сечения каналов связи;

- окончательную засыпку каналов связи;

- выполнение заготовки каналов связи.

4.7. В общих случаях последовательность выполнения технологических процессов при монтаже каналов связи из ПГТ следует связывать со способом их прокладки.

4.7.1. При монтаже как однорядных, так и многорядных каналов связи из отдельных ПГТ рекомендуется придерживаться последовательности выполнения технологических процессов, указанной в табл. 4.

Таблица 4. Технологическая последовательность однорядной и многорядной прокладки каналов связи из ПГТ

№№ п/п

Наименование технологического процесса

Состав процесса (технологические операции)

1

2

3

1.

Разбивка трассы каналов связи в натуре

Разметка оси траншеи и местоположения смотровых колодцев; измерение углов поворота; отметок ;

2.

Отрывка траншеи

Разметка и рытье траншеи по проектным размерам и профилю; выброс грунта на бровку или вывоз грунта ,

3.

Отрывка котлованов под смотровые колодцы

Разметка и рытье котлованов с выбросом на бровку или вывозом грунта в отвал

4.

Доведение дна траншеи

Добор грунта

5.

Устройство песчаного основания на дне траншеи

Привоз, насыпка, разравнивание и уплотнение песка

6.

Доведение дна котлована

Добор грунта до проектной отметки

7.

Раскладка труб на бровке траншеи

Строповка, разгрузка труб с транспортных средств и раскладка вдоль трассы

8.

Раскладка элементов колодцев по трассе

Строповка, разгрузка элементов колодцев с транспортных средств и раскладка по месту установки

9.

Доставка и приемка строительных материалов

Разгрузка, размещение на хранение, использование в дело

10.

Монтаж телефонных колодцев по трассе

Строповка, подъем, перемещение, опускание и установка элементов колодцев

11.

Подготовка дна траншеи для укладки труб

Срезка и подсыпка песка в основании траншеи

Прокладка однорядных каналов связи

12.

Укладка первой трубы на дно траншеи

Опускание, введение в проем колодца и размещение трубы на песчаном основании, закрепление грунтом

13.

Укладка второй, трубы на дно траншеи

Опускание, размещение трубы на песчаном основании, закрепление грунтом

14.

Сборка труб между собой

Смазка резинового уплотнителя муфты снаружи и изнутри, сопряжение труб

15.

Укладка третьей и четвертой труб на дно вдоль траншеи

Опускание, размещение трубы на песчаном основании, закрепление грунтом

16.

Сборка труб между собой

Смазка снаружи резинового уплотнителя и изнутри муфты, сопряжение труб

17.

Укладка в траншею последней на участке трубы*)

Опускание, введение в проем колодца, размещение трубы на песчаном основании, закрепление грунтом

18.

Соединение последней трубы с трубопроводом

Смазка снаружи резинового уплотнителя и изнутри муфты, сопряжение труб

19.

Засыпка пазух траншеи

Привоз, насыпка, разравнивание и уплотнение песка

20.

Насыпка защитного слоя

Привоз, насыпка и разравнивание грунта

21.

Засыпка траншеи

Насыпка, разравнивание и уплотнение грунта

22.

Обустройство узлов прохода труб через стенки колодцев

Надевание резиновых колец, закладка проема кирпичом, монтаж опалубки, бетонирование

23.

Засыпка котлованов с телефонными колодцами

Насыпка грунта в котлован с разравниванием и уплотнением

24.

Засыпка транши с трубопроводами и колодцами

Насыпка грунта в траншею с разравниванием и уплотнением

25.

Обустройство телефонных колодцев изнутри и снаружи

Установка кронштейнов и крепежа, монтаж горловин и люков

26.

Устройство по трассе газонов либо пешеходных тротуаров

Разравнивание площадок и обустройство поверхности над каналами связи

Прокладка многорядных каналов связи

27.

Укладка первых труб нижнего ряда многорядных каналов связи на дно траншеи

Опускание, введение в проем телефонного колодца и размещение труб на песчаном основании, закрепление грунтом

28.

Укладка вторых, по длине, труб нижнего ряда многорядных каналов связи на дно траншеи

Опускание, размещение труб на песчаном основании, закрепление грунтом

29.

Сборка труб между собой

Смазка снаружи резинового уплотнителя и изнутри муфты, сопряжение труб

30.

Укладка третьих, четвертых и т.д. труб нижнего ряда многорядных каналов связи на дно траншеи

Опускание, размещение труб на песчаном основании, закрепление грунтом

31.

Сборка труб нижнего ряда между собой во многорядных каналах связи

Смазка снаружи резинового уплотнителя и изнутри муфты, сопряжение труб

32.

Укладка последних на участке труб нижнего ряда многорядных каналов связи на дно траншеи

Опускание, введение в проем колодца, размещение трубы на песчаном основании, закрепление грунтом

33.

Присоединение последних на участке труб нижнего ряда к трубопроводам

Смазка снаружи резинового уплотнителя и изнутри муфты, сопряжение труб

34.

Засыпка пазух траншеи

Привоз, насыпка, разравнивание и уплотнение песка

35.

Насыпка защитного грунтового слоя

Привоз, насыпка и разравнивание грунта

36.

Укладка первых труб второго (третьего) ряда многорядных каналов связи на дно траншеи

Опускание, введение в проем телефонного колодца и размещение труб над нижележащим рядом, закрепление грунтом

37.

Укладка вторых, по длине, труб второго (третьего) ряда многорядных каналов связи на дно траншеи

Опускание, размещение труб над нижележащим рядом, закрепление грунтом

38.

Сборка труб между собой

Смазка снаружи резинового уплотнителя и изнутри муфты, сопряжение труб

39.

Укладка третьих, четвертых и т.д. по длине траншеи, труб второго (третьего) ряда многорядных каналов связи на дно

Опускание, размещение труб над нижним рядом, закрепление грунтом

40.

Сборка труб второго (третьего) ряда между собой во многорядных каналах связи

Смазка снаружи резинового уплотнителя и изнутри муфты, сопряжение труб

41.

Укладка последних на участке труб второго (третьего) ряда многорядных каналов связи на дно траншеи

Опускание, введение в проем колодца, размещение труб над нижним рядом, закрепление грунтом

42.

Присоединение последних на участке труб второго (третьего) ряда к частям трубопроводов

Смазка снаружи резинового уплотнителя и изнутри муфты, сопряжение труб

43.

Засыпка пазух траншеи

Привоз, насыпка, и уплотнение грунта

44.

Насыпка защитного грунтового слоя

Привоз, насыпка и разравнивание

45.

Укладка первых труб верхнего рада многорядных каналов связи в траншею

Опускание, введение в проем телефонного колодца и размещение труб над нижележащим рядом, закрепление грунтом

46.

Укладка вторых, по длине, труб верхнего ряда многорядных каналов связи в траншею

Опускание, размещение труб над нижележащим радом, закрепление грунтом

47.

Сборка труб между собой

Смазка снаружи резинового уплотнителя и изнутри муфты, сопряжение труб

48.

Укладка третьих, четвертых и т.д. по длине траншеи, труб верхнего рада многорядных каналов связи в траншею

Опускание, размещение труб над нижним рядом, закрепление грунтом

49.

Сборка труб верхнего ряда между собой в многорядных каналах связи

Смазка снаружи резинового уплотнителя и изнутри муфты, сопряжение труб

50.

Укладка последних на участке труб верхнего ряда многорядных каналов связи в траншею

Опускание, введение в проем колодца, размещение труб над нижним радом, закрепление грунтом

51.

Присоединение последних на участке труб к концевым частям трубопроводов верхнего ряда

Смазка снаружи резинового уплотнителя и изнутри муфты, сопряжение труб

52.

Засыпка пазух траншеи

Привоз, насыпка, и уплотнение грунта

53.

Насыпка защитного грунтового слоя

Привоз, насыпка и разравнивание грунта

54.

Засыпка траншеи грунтом

Насыпка, разравнивание и уплотнение грунта

55.

Обустройство проходов труб через стенки телефонных колодцев

Надевание резиновых колец, закладка проема, монтаж опалубки, бетонирование

56.

Засыпка котлованов с телефонными колодцами

Насыпка, разравнивание и уплотнение грунта вокруг

колодцев

57.

Засыпка траншей с трубопроводами, примыкающими к колодцам

Насыпка, разравнивание и уплотнение грунта в

траншее

58.

Обустройство телефонных колодцев изнутри и снаружи

Установка кронштейнов и крепежа, монтаж горловин и

люков

59.

Устройство по трассе газонов либо пешеходных тротуаров

Разравнивание площадок и обустройство поверхности над каналами связи

*) с фиксацией в радах полимерными опорами через 2 м друг от друга.

4.7.2. При монтаже каналов связи из блоков из ПГТ рекомендуется придерживаться последовательности выполнения технологических процессов, указанной в табл. 5.

Таблица 5. Технологическая последовательность выполнения и основные параметры укладки многорядных каналов связи блоками из ПГТ

Наименование технологического процесса.

Параметры

наименование

размерность

величина

1

2

3

4

5

1

Транспортировка труб от завода-изготовителя

диаметр

мм

100

количество

шт.

до1000

2.

Входной контроль качества труб

в соответствии с техническими условиями

3.

Разбраковка труб

 

4.

Транспортировка труб на строительный объект

количество

шт

до 200

5.

Складирование труб на строительном объекте

высота штабеля

м

1-1,5

6.

Транспортирование труб к месту монтажа

количество

м

100

7.

Расчистка поверхности земли по направлению трассы прокладки

уклон

%

По проекту

8.

Разработка траншеи для укладки каналов связи

отклонения размеров

%

5

9.

Разработка котлованов для установки телефонных колодцев

отклонения размеров

%

10-15

10.

Установка телефонных колодцев

Отклонение от проекта

%

5

11.

Подготовка дна траншеи для укладки блоков

Отклонение от проекта

%

5-10

12.

Сборка блоков из отдельных труб с использованием опор*)

продольные смешения труб

м

<0,01

13.

Установка на трубы элементов соединений

точность

%

5

14.

Укладка 1-ого блока с введением его одного конца в проем в стенке 1-ого телефонного колодца

отклонение от проектного положения

м

<0,01**)

15.

Укладка 2го блока труб на дно траншеи

отклонение от проекта

м

<0,01

16.

Установка на блоки натяжного устройства

прочность фиксации

н

600

17.

Сопряжение блоков между собой

точность

м

0,01

18.

Контроль качества сборки соединений труб

Точность

м

0,01

19.

Съем с блоков натяжного устройства

сохранение целостности элементов

20.

Засыпка труб до верха блоков

крупность грунта

мм

10

21.

Съем с блоков опор

сохранение целостности элементов

22.

Уплотнение грунта засыпки в пазухах траншеи

отклонение от проекта

%

10-15

23.

Выравнивание грунта над верхом блока труб

отклонение от проекта

%

20-25

укладка 3, 4 и последующих блоков вдоль траншеи от i -ого к i + 1-ому телефонному колодцу производится с использованием технологических процессов под № №11- 22

24.

Насыпка защитного слоя грунта над блоком труб

Толщина слоя

м

0,2-0,3

25.

Уплотнение грунта защитного слоя в пазухах траншей с боков от блока

Отклонение от проекта

%

10-15

26.

Выравнивание поверхности защитного слоя грунта

Отклонение от проекта

%

20-25

27.

Сопряжение труб со стенками телефонных колодцев

точность

%

5-10

28.

Обустройство мест сопряжения блоков труб с телефонными колодцами

герметичность при давлении воды

МПа

0,02

29.

Контроль качества прокладки телефонной канализации из полиэтиленовых труб с двойными стенками в соответствии с ТР на прокладку

30.

Устранение возможного брака в монтаже блоков

время

час

2-3

31.

Окончательная засыпка траншей

крупность грунта

мм

20

32.

Уплотнение грунта засыпки траншей

Отклонение от проекта

%

5-10

33.

Планировка поверхности земли над траншеей

Отклонение от проекта

%

10-15

34.

Обустройство территории над траншеей по проекту

Отклонение от проекта

%

10-15

35.

Заготовка каналов связи затягивание в трубы кондукторов

в соответствии с Общей инструкцией

36.

Сдача-приемка каналов связи под калибрование

Отклонение от срока

сутки

1-2

37

Устранение возможного брака

Время

Сутки

I

*) - согласно техническим условиям ТУ2248-001-04000633-2005 «Блоки однорядные и многорядные из полиэтиленовых труб с двухслойной стенкой (гофрированной наружной и гладкой внутренней) диаметром 100 мм для каналов связи»,

**) - линейные размеры контролируются путем измерений рулеткой либо шаблонами

4.8. Траншеи для укладки каналов связи из ПГТ следует разрабатывать с выбросом грунта на одну сторону с тем, чтобы обеспечить раскладку и сборку трубопроводов на другой стороне.

4.9.1. Перед укладкой ПГТ размера траншей и котлованов под железобетонные колодцы должны быть выверены с ППР (технологической картой, проектом). В случае необходимости следует произвести подсыпку или дополнительную выборку из них грунта.

4.9.2. Глубина траншеи для укладки ПГТ должна учитывать минимально допустимое заглубление верхнего рада каналов в блоке, число рядов по вертикали, наружный диаметр труб и расстояние между рядами по вертикали.

4.9.3. Ширина траншеи также должна учитывать число рядов в блоке по горизонтали, наружный диаметр прокладываемых труб и технологические площадки шириной 100 - 120 мм (см. рис. рис. 4 и 5) В ППР, технологической карте должно быть предусмотрено устройство ограждения вокруг места производства работ.

410. При разработке траншеи роторным (цепным) экскаватором прокладка каналов из ПГТ диаметром 100 мм должна производиться сразу по мере готовности траншеи, чтобы исключить возможные обвалы стенок, заполнение ее дождевой (талой) водой. В слабых грунтах, а также при продолжительном введении работ на отдельном участке вслед за разработкой траншеи необходимо крепить стенки.

4.11. Нижние ряды каналов связи из ПГТ (трубные блоки) рекомендуется укладывать на насыпной слой песка толщиной 90 - 110 мм (см. рис. 4 и 5).

4.12. Целесообразно выполнять прокладку ПГТ на длине пролета каналов связи между двумя смежными колодцами рядами снизу вверх во всем блоке. При интенсивном уличном движении целесообразно прокладывать трубы на отдельных участках пролета.

4.13. Перед началом работ ПГТ (трубные блоки) развозят и раскладывают вдоль траншеи в объеме, рассчитанном на пролет и сменную выработку

4.14. Трубы, соединенные на бровке траншеи малыми стропами на расстоянии 5 - 10 м одна от другой, плавно опускают в траншею. Собранные на поверхности блоки из ПГТ опускают аналогично вручную либо с использованием подъемных механизмов.

4.15. При отсутствии поперечных пересечений траншеи другими коммуникациями выше намечаемого уровня прокладки каналов связи можно применять технологию прокладки со сборкой ПГТ на бровке траншеи сразу на весь пролет с последующим опусканием в траншею.

4.16. При наличии пересечений каждый пролет траншеи разбивают на участки. Плети из ПГТ диаметром 100 мм протаскивают под пересекающими траншею коммуникациями, после чего соединяют уже в траншее.

4.17. При укладке необходимо следить за тем, чтобы не произошло засорение каналов труб.

4.18. Для предохранения от засорения концы труб необходимо плотно закрывать заглушками, входящими в комплект поставки. При перерывах в работе трубы должны быть также заглушены. При перерыве в работе более 1 суток траншеи следует защищать от затопления водой.

4.19. При укладке ПГТ несколькими рядами по высоте их продольные оси следует располагать или друг над другом (см. рис. 4), или допускается их равномерное смещение поочередно вправо и влево от оси каждого предыдущего ряда на половину расстояния между осями труб (см. рис. 3). При этом расстояние между трубами должно составлять 30 - 40 мм.

4.20. Для обеспечения прямолинейности и требуемого уклона укладки ПГТ отметки дна траншеи и поверхности засыпки грунта над каждым рядом следует контролировать геодезическими приборами.

Примечание: Деревянные прокладки сечением 50x50 мм, используемые для выравнивания нижних рядов каналов связи, должны удаляться из траншеи.

4.21. Трубы в каждом ряду и промежутки между ними и стенками траншеи следует засыпать песком, гранулометрический состав которого должен отвечать требованиям «Руководства по строительству линейных сооружений местных сетей связи». Песок утрамбовывается деревянной лопаткой толщиной 10 - 15 мм. Трубы верхнего ряда засыпаются слоем песка высотой 100 - 300 мм. Грунт засыпки уплотняется только в пазухах траншеи.

4.23. Сквозь стенки телефонных колодцев фундаментов зданий рекомендуется пропускать трубы, надев резиновое кольцо на впадину между гофрами. В дальнейшем кольцо располагается в стенке колодца (фундамента), и полость изнутри заделывается цементно-песчаным раствором до кольца (рис.6).

 

Рис.6. Схема ввода ПГТ в железобетонные телефонные колодцы конструкции ЗАО «Связьстройдеталь» 1 - внугренняя полость колодца, 2 - фиксатор трубы, 3 - стенка колодца, 4 - внешнее пространство, 5 - конусное отверстие в стене, 6 - ПГТ, 7 - цементно-песчаная заделка, 8 - резиновое уплотнение

4.24. Допускается вводить каналы связи из ПГТ с использованием отрезков (длиной 1000 - 1500 мм) из асбестоцементных труб и традиционной заделкой в стенках колодцев (фундаментов).

4.25. Окончательную засыпку каналов связи грунтом, вынутым при разработке траншеи, следует только при наличии над ними песчаного слоя толщиной 200 - 250 мм

4.26. Подготовку к затягиванию кабелей связи в каналы следует выполнять в соответствии с п. 4.15 «Руководства по строительству линейных сооружений местных сетей связи».

5. СДАЧА И ПРИЕМКА КАНАЛОВ СВЯЗИ ИЗ ПГТ

5.1. Каналы связи передаются под дальнейший монтаж кабельных сетей при условии качественного выполнения всех технологических процессов, что должно быть отражено в соответствующих журналах по производству работ, а также в актах на скрытые работы.

5.2. Контроль качества прокладки каналов связи из ПГТ осуществляют протаскиванием по ним пробного цилиндра диаметром 92 мм.

5.3. Допускается контролировать качество принимаемых в эксплуатацию каналов связи из ПГТ с использованием телевизионных установок. При этом следует устанавливать степень овализации поперечного сечения труб, возникшей в период от завершения строительства до момента проведения контроля. Она не должна превышать 3 мм, то есть разность горизонтального и вертикального диаметров поперечного сечения труб не должна быть более 6 мм.

6. ТРЕБОВАНИЯ БЕЗОПАСНОСТИ ПРИ ПРОКЛАДКЕ КАНАЛОВ СВЯЗИ ИЗ ПГТ

6.1. При монтаже каналов связи из ПГТ следует соблюдать требования безопасности, предусмотренные СНиП 12.1.004 - 91 «Система стандартов безопасности труда. Пожарная безопасность. Общие требования».

6.2. Складские помещения, где могут храниться ПГТ и полиэтиленовые муфты, должны быть оснащены огнетушителями и ящиками с песком.

6.3. При разработке траншей и котлованов для укладки каналов связи из ПГТ и смотровых железобетонных телефонных колодцев земляные работы необходимо выполнять, руководствуясь «Правилами подготовки и производства земляных работ, обустройства и содержания строительных площадок в городе Москве».

6.4. К монтажным работам при прокладке каналов связи из полиэтиленовых труб допускаются лица не моложе 18 лет, предварительно прошедшие медицинское освидетельствование, специальное обучение, вводный инструктаж по технике безопасности и инструктаж на рабочем месте.

6.6. При работе с ПГТ следует учитывать, что переносимый по ровной горизонтальной поверхности груз не должен превышать 500 Н (для мужчин) и 200 Н (для женщин).

6.7. Допускается пользоваться только исправными строительно-дорожными машинами, средствами малой механизации и инструментом.

7 .ОХРАНА ОКРУЖАЮЩЕЙ СРЕДЫ ПРИ ПРОКЛАДКЕ КАНАЛОВ СВЯЗИ ИЗ ПГТ

7.1. Меры по охране окружающей среды должны соответствовать требованиям СНиП 3.05.03 -85 и настоящего раздела.

7.2. Полиэтиленовые материалы относятся к группе сильногорючих материалов (Г4) по ГОСТ 12.1.004-91. При работе с полиэтиленовыми трубами и муфтами следует соблюдать правила пожарной безопасности. Для гашения огня используются все имеющиеся средства пожаротушения. В закрытых складских помещениях при тушении горящих труб и муфт следует применять противогазы с фильтром марки В или фильтрующие противогазы.

7.3. Не допускается складирование ПГТ на расстоянии менее 2,0 м до стволов деревьев без временных ограждающих или защитных устройств вокруг них.

7.4. Не допускается производить рытье траншей и котлованов для укладки каналов связи и телефонных колодцев без согласования с соответствующей организацией на расстоянии менее 2 м до стволов деревьев и менее 1 м до кустарников. Не допускается перемещать трубы и железобетонные элементы колодцев кранами на расстоянии менее 0,5 м до крон или стволов деревьев.

7.5. Не допускается закапывать мусор в траншею с каналами связи и на прилегающих территориях. После окончания работ по устройству каналов связи территория должна быть очищена от строительного мусора и восстановлена в соответствии с проектом.

7.6. Отходы пластмассовых труб после монтажа каналов связи следует собрать для последующего вывоза и захоронения в местах, согласованных с Мосгорэпиднадзором или для дальнейшей промышленной переработки.

8. РЕМОНТНЫЕ РАБОТЫ

Ремонтные работы на каналах связи из ПГТ рекомендуется проводить по следующей технологии (рис. 7):

- на концы ПГТ (1) нанести герметизирующую мастику типа 2900 R (или аналогичного типа) с заполнением двух впадин между гофрами ПГТ и с выступом за диаметр трубы на ~3 мм,

- отрезать полуцилиндры (7) исходной длины 4 м из полиэтиленовых гладких труб наружным диаметром 125 мм с толщиной стенки 2,5 мм таким образом, чтобы край полуцилиндров заходил за крайний слой мастики не менее 10-15 см,

-установить полуцилиндры (7) на ПГТ в соответствии с рис. 7. Если длина вставки более 50 см, то необходимо вставить полувкладыши (8) при максимальном расстоянии между ними 50 см,

- закрыть по всей длине стыки между полуцилиндрами (п. 7) герметизирующей мастикой типа МГ 14 или аналогичного типа (5) в 3 слоя, (7),

- отрезать полуцилиндры (6) длиной, равной длине полуцилиндров (7) так, чтобы стыки полуцилиндров (7) были закрыты,

- надеть по краям цилиндров хомуты (3) и стянуть их. Если длина вставки более 50 см, то следует установить дополнительные хомуты в пролете с шагом 50 см,

Примечание: Хомуты должны быть изготовлены из материалов, не подверженных коррозии. В случае применения стальных хомутов их следует покрыть мастикой МГ 14 или аналогичной.

 

Рис.7 Схема ремонта каналов связи из ПГТ

1 – труба гофрированная полиэтиленовая, 2 – хомут (червячный), 3,5 – мастика, герметизирующая МГ 14 или аналог, 4 – мастика, герметизирующая 2900 или аналог, 7 – полуцилиндр внутренний (полиэтиленовый), 8 - полувкладыш

Приложение А

Основные характеристики ПГТ

Наименование показателя

Ед.изм.

Норма

Примечание

Кольцевая жесткость,

кПа

>4

Серия SN по ISO, класс жесткости G0 2500 - 5000 Па (полужесткая) по

СП 40-102-2000

Стойкость к удару падающим грузом массой 5 кг при температуре 20°С

количество ударов

>10

-

Стойкость к воздействию горячей воды в течении 1 ч с температурой 80°С, относительная деформация площади внутреннего сечения трубы

%

<5

-

Стойкость к растрескиванию в водных 10 % растворах поверхностно-активных веществ с температурой 50°С

-

Отсутствие трещин

После экспозиции 1 час

Герметичность в сборе с соединительными муфтами и резиновыми кольцами при температуре 20°С и внутреннем гидростатическом давлении 0,05 МПа

мин

>10

(отсутствие течи)

-

 

Приложение Б

Перечень материалов, соединительных деталей, конструктивных и технологических элементов

Наименование

Марка

Нормативный документ

1

Трубы полиэтиленовые гофрированные с двухслойной стенкой (гофрированной наружной и гладкой внутренней)

ПГТ

ТУ 22-024-419899945-2004

2

Муфты полиэтиленовые соединительные в комплекте с резиновыми кольцами

М ПЭ 100

ТУ 22-030-41989945-2005

3

Муфты полиэтиленовые переходные в комплекте с резиновыми кольцами

МпПЭ 110x100

ТУ 22-030-41989945-2005

4

Тройник полиэтиленовый 100x100x30°

Т ПЭ 30° 100

ТУ 22-30-419899945-2005

5

Полимерные опоры (одно, двух, четырех и восьмипозиционные)

ПО-1, ПО-2, ПО-4, ПО-8

ТУ 2248-001-04000633-2005

6

Натяжное приспособление

НП

рабочие чертежи ЗАО НПО «Стройполимер» № П628.00.00

 




Яндекс цитирования



   Copyright © 2007-2026,  www.tehlit.ru.

[ ѓосты, стандарты, нормативы, инструкции, правила, строительные нормы ]