//
ТехЛит.ру
- крупнейшая бесплатная электронная интернет библиотека для "технически умных" людей.
WWW.TEHLIT.RU - ТЕХНИЧЕСКАЯ ЛИТЕРАТУРА

:: Алготрейдинг::


АЛГОТРЕЙДИНГ
шаг за шагом
с нуля по урокам!

Торговые роботы на PYTHON, BackTrader,
Pandas, Pine Script для TradingView. Связка с брокерами, телеграм и легкими приложениями.


РОССИЙСКОЕ ДОРОЖНОЕ АГЕНТСТВО РОСАВТОДОР

 

СПРАВОЧНОЕ ПОСОБИЕ

ДОРОЖНОМУ (МОСТОВОМУ)

МАСТЕРУ

 

по содержанию мостовых сооружений

на автомобильных дорогах

 

Москва 1999 г.

СОДЕРЖАНИЕ

АННОТАЦИЯ

ВВЕДЕНИЕ

РАЗДЕЛ 1. СЛУЖБА ДОРОЖНОГО (МОСТОВОГО) МАСТЕРА

ОБЯЗАННОСТИ ДОРОЖНОГО (МОСТОВОГО) МАСТЕРА

СОСТАВ ПРОИЗВОДСТВЕННОГО ПОДРАЗДЕЛЕНИЯ, ВОЗГЛАВЛЯЕМОГО ДОРОЖНЫМ (МОСТОВЫМ) МАСТЕРОМ.

ПРИМЕР РАСЧЕТА ЧИСЛЕННОСТИ РАБОЧИХ

ОСНАЩЕННОСТЬ ПРОИЗВОДСТВЕННОГО ПОДРАЗДЕЛЕНИЯ

РАЗДЕЛ II. СОДЕРЖАНИЕ МОСТОВЫХ СООРУЖЕНИЙ

ОБЩИЕ ПОЛОЖЕНИЯ.

НАДЗОР ЗА СООРУЖЕНИЯМИ.

ТЕХНИЧЕСКИЙ УЧЕТ

ОСМОТРЫ СООРУЖЕНИЙ

СПЕЦИАЛЬНЫЕ СМОТРОВЫЕ ПРИСПОСОБЛЕНИЯ И УСТРОЙСТВА

ОРГАНИЗАЦИЯ ТЕКУЩИХ И ПЕРИОДИЧЕСКИХ ОСМОТРОВ МОСТОВ

КОНТРОЛЬНО-ИНСТРУМЕНТАЛЬНЫЕ ИЗМЕРЕНИЯ

ПОРЯДОК ПРОВЕДЕНИЯ ОСМОТРОВ

ОЦЕНКА ТЕХНИЧЕСКОГО СОСТОЯНИЯ

ДЕФЕКТЫ, ПОВРЕЖДЕНИЯ, ПРИЧИНЫ ИХ ВОЗНИКНОВЕНИЯ, ПОСЛЕДСТВИЯ И МЕТОДЫ УСТРАНЕНИЯ

СОДЕРЖАНИЕ КАПИТАЛЬНЫХ МОСТОВ

ОБЩИЕ ПОЛОЖЕНИЯ

УХОД ЗА СООРУЖЕНИЯМИ

ПРОПУСК ПАВОДКА И ЛЕДОХОДА

СОДЕРЖАНИЕ ЗНАКОВ

ПРОИЗВОДСТВО РАБОТ ПО УХОДУ ЗА МОСТАМИ

ПОДМОСТОВАЯ ЗОНА

МОСТОВОЕ ПОЛОТНО.

ПРОЛЕТНЫЕ СТРОЕНИЯ МЕТАЛЛИЧЕСКИХ МОСТОВ

ЖЕЛЕЗОБЕТОННЫЕ КОНСТРУКЦИИ ПРОЛЕТНЫХ СТРОЕНИЙ И ОПОР.

ПРОФИЛАКТИКА

СОСТАВ РАБОТ ПО ПРОФИЛАКТИКЕ, СЕЗОННОСТЬ ВЫПОЛНЕНИЯ

ПРОИЗВОДСТВО РАБОТ ПО ПРОФИЛАКТИКЕ

ПРОФИЛАКТИЧЕСКИЕ СОСЛАНЫ, СПОСОБЫ ИХ ПРИГОТОВЛЕНИЯ И НАНЕСЕНИЯ

РАЗДЕЛ III. ПЛАНОВО - ПРЕДУПРЕДИТЕЛЬНЫЙ РЕМОНТ

СОСТАВ РАБОТ, СЕЗОННОСТЬ ВЫПОЛНЕНИЯ

ТРУДОЗАТРАТЫ НА ОТДЕЛЬНЫЕ ВИДЫ РАБОТ

РАЗДЕЛ IV. УСТРАНЕНИЕ ДЕФЕКТОВ

МОСТОВОЕ ПОЛОТНО

ЖЕЛЕЗОБЕТОННЫЕ ПРОЛЕТНЫЕ СТРОЕНИЯ И ОПОРЫ

ПОДМОСТОВАЯ ЗОНА

РАЗДЕЛ V. БЕЗОПАСНОСТЬ ДВИЖЕНИЯ

РАЗДЕЛ VI. ОРГАНИЗАЦИЯ ДВИЖЕНИЯ ПО МОСТАМ

РАЗДЕЛ VII. СПРАВОЧНЫЕ ДАННЫЕ

ГАБАРИТЫ, НАГРУЗКИ

ОСНОВНЫЕ СИСТЕМЫ МОСТОВ

ЭЛЕМЕНТЫ МОСТА

МАТЕРИАЛЫ ДЛЯ БЕТОННЫХ И ЖЕЛЕЗОБЕТОННЫХ МОСТОВЫХ КОНСТРУКЦИЙ

ПЕРЕЧЕНЬ ТЕХНОЛОГИЧЕСКИХ КАРТ ПО РЕМОНТУ МОСТОВ

ПЕРЕЧЕНЬ НОРМАТИВНЫХ И МЕТОДИЧЕСКИХ ДОКУМЕНТОВ, ИСПОЛЬЗОВАННЫХ В «ПОСОБИИ» И СОСТАВЛЯЮЩИХ НОРМАТИВНО-ТЕХНИЧЕСКУЮ БАЗУ СЛУЖБЫ ЭКСПЛУАТАЦИИ ИСКУССТВЕННЫХ СООРУЖЕНИИ

АННОТАЦИЯ

Для обеспечения беспрепятственного и безаварийного пропуска транспорта по мостам и путепроводам в условиях дефицита денежных средств приоритетным направлением в общей структуре мостостроительных работ в ближайшие годы будет не только строительство новых, но и ремонт, и содержание старых искусственных сооружений.

В этих условиях от специалистов дорожного хозяйства, запятых ремонтом и содержанием сооружений, особо требуется грамотное решение возникающих перед ними вопросов.

Настоящее пособие составлено на основании накопленного опыта в дорожных организациях России по ремонту и содержанию автодорожных мостов и предназначено для работников линейной службы эксплуатации - ДОРОЖНОГО (МОСТОВОГО) МАСТЕРА - как руководство по организации работ по содержанию мостов.

В пособии изложены обязанности дорожного (мостового) мастера; способы формирования производственного подразделения, им возглавляемого для выполнения работ; рассмотрен порядок ведения технического учета сооружений, их осмотра; методы оценки технического состояния сооружений; приведены характерные дефекты элементов сооружений, конструкций, причины их появления, последствия и способы их устранения; изложены требования к материалам, используемым при ремонте и содержании, а также включены материалы справочного характера, которые могут быть использованы при принятии конкретных решений в повседневной практике.

В основу пособия положены ГОСТы, СНиПы и другие действующие нормативные документы, а также научные разработки в области эксплуатации мостов.

Пособие составлено специалистами ГП «Росдорнии» и Федеральной дорожной службы России под руководством инженера Горобец Л.И.

Авторы выражают благодарность специалистам ЦНИИСа Польевко В.П. и Васильеву А.И.

ВВЕДЕНИЕ

Ремонт и содержание мостов представляет совокупность организационных и технических мероприятий, обеспечивающих сохранность (долговечность) и безопасную работу сооружения в исправном состоянии в течение его расчетного срока службы. Хотя срок службы в Российской нормативной практике еще не регламентирован его следует оценивать не менее 70-80 лет, в то время, как в Европе его нормативная величина определена в 100 лет.

Основными задачами ремонта и содержания мостовых сооружений являются:

- обеспечение круглогодичного, непрерывного, безопасного и комфортного движения транспортных средств с установленными расчетными для дороги скоростями и расчетными осевыми нагрузками, а также движения пешеходов;

- обеспечение технически исправного состояния сооружений и расчетного срока их службы при минимальных затратах труда и материально-технических ресурсов;

- систематическое улучшение транспортно-эксплуатационного состояния сооружений с учетом роста интенсивности движения и массы транспортных средств на автомобильных дорогах;

- поддержание в надежном состоянии внешнего вида сооружений.

Первичным звеном эксплуатационной службы мостов является производственное подразделение, возглавляемое дорожным (мостовым) мастером.

РАЗДЕЛ 1. СЛУЖБА ДОРОЖНОГО (МОСТОВОГО) МАСТЕРА

Обязанности дорожного (мостового) мастера

Дорожный (мостовой) мастер является ответственным лицом, обеспечивающим надежную работу мостовых сооружений на вверенном ему участке автомобильной дороги. На должность дорожного (мостового) мастера назначаются лица, имеющие специальное образование.

В своей работе дорожный (мостовой) мастер руководствуется действующими нормативами, документами по содержанию автодорожных мостов.

На дорожного (мостового) мастера возлагаются следующие обязанности:

- осуществление контроля и анализа технического состояния сооружений;

- ведение и хранение всей технической документации, связанной с осмотром, обследованием, ремонтом и содержанием сооружений;

- проведение текущих осмотров в сроки, установленные нормативными документами;

- выявление строительных и эксплуатационных дефектов, фиксирование их в натуре и в технической документации;

- организация и ведение наблюдения за изменением дефектов во времени:

- проведение контрольно-инструментальных измерений для выявления общих деформаций элементов сооружений (отдельных измерений);

- проведение подготовительных работ для проведения специального осмотра (устройство подмостей, регулирование движения на мосту, очистка от грязи и т.д.);

- определение объемов ремонтных работ по сооружению и средств на их выполнение;

- организация, обеспечение и контроль выполнения работ по надзору и содержанию;

- организация пропуска ледохода и паводковых вод;

- осуществление контроля за пропуском тяжеловесных негабаритных грузов по сооружениям;

- постоянное повышение своей квалификации, изучение поступающих нормативных документов по ремонту и содержанию искусственных сооружений.

Изложенные обязанности являются основой для разработки должностной инструкции дорожного (мостового) мастера.

Состав производственного подразделения, возглавляемого дорожным (мостовым) мастером.

Дорожный (мостовой) мастер является непосредственным руководителем специализированных звеньев, бригад по ремонту и содержанию искусственных сооружений.

Протяженность искусственных сооружений для создания специализированного звена (бригады) по их ремонту и содержанию, возглавляемого мастером назначается в зависимости от наличия искусственных сооружении и местных условий.

Численность звена

- 3-4 человека

бригада

- 6-8 человек

Количество звеньев определяется объемом трудозатрат на ремонт и содержание сооружений.

Общее выражение для определения численности рабочих под работы имеет вид:

где:

N-

численность рабочих в структурном подразделении;

Tkj, Tgj--

суммарные годовые трудозатраты на виды работ для выделенной группы искусственных сооружений (соответственно для капитальных мостов, деревянных мостов)

j-

виды работ; j=1,2,3,4.........-надзор, уход, профилактика, ППР, ремонт и реконструкция (усиление и уширение);

250-

расчетное число рабочих дней в году.

Общие трудозатраты, необходимые для расчета численности структуры службы определяются для капитальных мостов по нижеуказанной формуле, как сумма трудозатрат по всем сооружениям выделенной группы на все виды работ (без реконструкции).

Сумма в круглых скобках отражает численность рабочих для выполнения всего комплекса работ по содержанию сооружения, остальные слагаемые - численность соответственно при планово-предупредительном ремонте (ППР) и ремонте моста (путепровода).

Где:

-

фактическая длина io. Моста

n-

число мостов в выделенной группе

K1i-

коэффициент, учитывающий ширину моста и принимаемый как отношение фактической (В) ширины моста (суммарная величина габарита И ширина двух тротуаров с учетом разделительной полосы) к базовой ширине 10 м, т.е.

K1i=Bi/10

K2i-

коэффициент условия расположения сооружения

1,1 - на федеральных дорогах

1,2 - в населенных пунктах

1,0 - в прочих случаях

K3i-

коэффициент трудоемкости работ, равный:

2,6 - для мостов с металлическими и сталежелезобетонными пролетными строениями

1,0 - для железобетонных мостов

1,5 - для железобетонных путепроводов через железную или автомобильную дорогу

2,0 - для железобетонных путепроводов через электрифицированную железную дорогу

0,93 - для каменных и бетонных мостов

1,6 - для деревянных мостов.

K4i-

коэффициент, учитывающий возраст сооружения при ППР

0,05 - для сооружений в возрасте до 20 лет

0,1 - для сооружений в возрасте 21-40 лет

0,2 - для сооружений в возрасте более 40 лет

K5i-

коэффициент сложности сооружения, применяемый:

1,2 - для рамных и арочных конструкций, а также балочных коробчатого сочетания

1,1 - для неразрезных, балочно-консольных и балочно-подвесных систем

1,0 - для разрезных балочных систем

K6i-

коэффициент, учитывающий возраст сооружения при ремонте

0,03 - при возрасте до 20 лет

0,05 - при возрасте 21-30 лет

0,07 - при возрасте более 30 лет

 

0,24; 1,0; 1,2 - эмпирические коэффициенты.

Пример расчета численности рабочих

В качество примера рассмотрен участок автомобильной дороги, эксплуатируемый одним подразделением, на котором имеется 10 сооружений, общей протяженностью 1200 п.м.

Исходные данные по мостам и расчеты трудозатрат представлены в таблице.

В результате расчета получено:

подразделение только по содержанию мостов:

подразделение: содержание +ППР:

Разбивка общей численности рабочих по звеньям и бригадам проводится в зависимости от объемов и местоположения ремонтных работ.

Могут быть созданы специализированные звенья по содержанию крупных сооружений.:

металлических и сталежелезобетонных мостов длиной свыше 100 м

железобетонных длиной свыше 300 м

деревянных длиной свыше 150 м

или территориально обособленные группы сооружений.

Для большого объема работ создаются комплексные бригады по 9-12 человек.

№ пп

Вид сооружения

Материал

Габарит

(м)

Срок эксплуатации

(лет)

Длина моста (м)

Место расположения

Вид конструкций

1

2

3

4

5

6

7

8

1

Мост.....

ж/б

7+2×1,0

15

120

на федеральной дороге

разрезная балочная

2

Путепровод через ж/д

ж/б

12+2×1,5

10

80

-«-

-«-

3

Мост

метал.

8+2×1,0

45

240

-«-

-«-

4

Мост

каменный.

8+2×1,0

48

40

в нас. пунктах

арочная

5

Мост

ж/б

12+2×1,0

25

120

на проч. дороге

рамная

6

Путепровод через ж/д (электофиц.)

метал.

8+2×1,0

18

60

-«-

балочно-консольная

7

Мост

ж/5

10+2×1,5

36

180,0

-«-

коробч. сечен

8

Мост

стале-ж/б

10+2×1,0

28

230

-«-

неразрезная

9

Путепровод через а/дорогу

ж/б

10+2×1,0

3

100

-«-

-«-

10

Путепровод через ж/д (электофиц.)

ж/б

8+2×1,0

8

3

0

-«-

разрезная балочная

 

K1

K2

K3

K4

K5

K6

A=L3×Kl×K2

Содерж. А×(0,24+1,2×K3)

ППР А×10×K3×K4

Содерж. + ППР

9

10

11

12

13

14

15

16

17

18

0,9

1,1

1,0

0,05

1,0

0,03

118,0

171,07

59,4

230,47

1,5

1,1

1,5

0,05

1,0

0,03

132,0

269,3

99,0

368,3

1,0

1,1

2,6

0,2

1,0

0,07

264,0

887,0

1373,0

2260,0

1,0

1,2

0,9

0,2

1,2

0,07

48,0

65,3

89,0

154,3

1,4

1,0

1,0

0,1

1,2

0,05

168,0

241,9

168,0

409,9

1,1

1,0

2,6

0,05

1,1

0,03

66,0

221,7

85,8

307,5

1,3

1,0

1,0

0,1

1,2

0,07

234,0

336,9

234,0

570,9

1,2

1,0

2,6

0,1

1,1

0,05

276,0

927,4

718,0

1645,4

1,2

1,0

1,5

0,05

1,1

0,03

120,0

244,8

90,0

334,8

1,0

1,0

2,0

0,05

1,0

0,03

30,0

79,2

30,9

109,2

 

 

 

 

 

 

 

3444,6

2946,2

6390,8

ПРИМЕРНЫЙ СОСТАВ ЗВЕНА ПО СОДЕРЖАНИЮ

Железобетонных мостов

- дорожный рабочий

 

- бетонщик

 

- изолировщик

 

 

Металлических мостов

- дорожный рабочий

 

- слесарь

 

- маляр

 

- бетонщик

 

 

Деревянных мостов

- дорожный рабочий

 

- плотник

 

В состав звена также входит машинист компрессора, силового агрегата, а также водитель спецавтомобиля «Дорожная служба».

Состав комплексных бригад

- дорожный рабочий

 

- бетонщик

 

- штукатур

 

- изолировщик

 

- слесарь

 

- маляр

 

- машинист (моторист)

 

- сварщик

 

- электрик

 

- плотник

 

- водитель спецавтомобиля

Рабочие звеньев и бригад должны пройти курс обучения по выполнению работ по содержанию и ремонту искусственных сооружений, а также руководствоваться указаниями по охране труда, технике безопасности и производственной санитарии при производстве работ. Ответственность за выполнение норм и правил техники безопасности по всем видам работ несут руководители соответствующих работ.

Оснащенность производственного подразделения

Рекомендуется примерный перечень машин, оборудования и инструмента, необходимых для выполнения всего комплекса работ по содержанию сооружений.

Наименование машин, оборудования, инструмента

Количество

1

2

Машина дорожного мастера на базе автомобиля

1

«Газель», «Бычок»

1

Автомобиль «Дорожная служба» (ЭД-314А)

по числу бригад

Микроавтобус (типа РАФ)

для обслуживания звеньев

Грузовой автомобиль (грузоподъемность 2,5-4,0т)

1

Автосамосвал

1

Машина дорожная, комбинированная

1

Компрессор производительностью 5-10 м3/мин

1

Компрессор производительностью 1,0-2,5 м3/мин

по числу бригад

Растворомешалка

2

Автомобильный кран грузоподъемностью 5-7 тн

1

Котел для подогрева битума

2

Погрузчик с емкостью ковша до 1 м3

1

Экскаватор на базе трактора «Беларусь»

1

Вагон-бытовка или вагончик для жилья

2

Машина для осмотра мостов, РД-803

1

Машина-вышка (автогидроподъемник)

1

Электротрамбовка

2

Окрасочное оборудование

по числу бригад, звеньев

Электросварочный агрегат

1

Газосварочный агрегат

1

Передвижная электростанция, 6-10 квт

1

Переносные электростанции, 2-4 квт

2

Нарезчик швов (электрический)

1

Установка набрызг-раствора

1

Люлька фасадная

по числу бригад

Подвесные перемещаемые подмости

1 комплект

Сверлильная установка с набором кольцевых алмазных сверл диаметром 20-25 мм

2

Комплект насадок для электроинструмента (щетки, шарошки, наждачные круги)

10 комплектов

Электроинструмент (пила, ножницы, перфоратор, молоток, дрель, гайковерт, шуруповерт, резьбонарезка и др.)

комплекты по количеству бригад

Оснащение звена (бригады) зависит от конкретного вида выполняемых работ (см. разделы «Содержание», «Профилактика», «Планово-предупредительный ремонт»).

Примерный перечень оборудования для специализированных самостоятельных бригад (ССБ)

А. Профилактика и восстановление гидроизоляции и водоотвода.

1.

Машина дорожного мастера на базе автомобиля «Газель», «Бычок»

1

2.

Автомобиль «Дорожная служба» (ЭД-314А)

1

3

Автосамосвал

1

4

Бетоносмеситель 100-150 л

1

5.

Виброрейка, вибраторы площадочный и глубинный

по 1 шт.

6

Электроинструмент

1 комплект

7.

Пневмоинструмент

1 комплект

8

Котел для подогрева битума

1

9.

Передвижной битуморазогреватель (РД-104)

1

10.

Краскораспылитель

1

11

Машина сверлильная пневматическая

1

12.

Нарезчик швов

1

13.

Оборудование для нанесения защитных слоев типа РД-601

1

14.

Погрузчик одноковшовый емкостью до 1м3

1

15.

Передвижная компрессорная станция производительностью до 10 м3/мин

1

16.

Передвижная электростанция мощи. 6-10 квт

1

17.

Эмульсатор кавитационный гидродинамический, роторный

1

18.

Вагон-бытовка

1

19.

Молотки электрические и пневматические (отбойные)

по 1 шт.

Б. Ремонт и замена деформационных швов (перил, ограждений)

1.

Машина дорожного мастера на базе автомобиля «Газель», «Бычок»

1

2.

Автомобиль «Дорожная служба» (ЭД-314А)

1

3.

Грузовой автомобиль грузоподъемностью 2,5-4,0 тн

1

4.

Машина дорожная комбинированная

1

5.

Компрессор производительностью до 5 м3/мин

1

6.

Бетономешалка на 100-150 л

1

7.

Электроинструмент

1 комплект

8.

Пневмоинструмент

1 комплект

9.

Передвижной битуморазогреватель (РД-104, Д-506 Б)

1

10.

Погрузчик с емкостью ковша 1 м3

1

11.

Вагончик-бытовка

1

12.

Машина для ремонта поверхностных дефектов РД-802 А

1

13.

Окрасочное оборудование

1 комплект

14.

Автокран грузоподъемностью 5-7 тн

1

15.

Электросварочный агрегат

 

16.

Газосварочный агрегат

1

17.

Передвижная электростанция мощностью 30-60 квт

1

18.

Вибраторы глубинный и площадочный

по 1 шт.

19.

Сверлильная установка (пневматическая)

1

20.

Пневматическая реверсивная щетка

1

В. Профилактика и ремонт сопряжений моста с насыпью

1.

Машина дорожного мастера на базе автомобиля «Газель», «Бычок»

1

2.

Автомобиль «Дорожная служба» (ЭД-314А)

1

3.

Автосамосвал

1

4.

Компрессор производительностью 5-10 м3/мин

1

5.

Бетономешалка на 100-150 л

1

6.

Котел для подогрева битума

1

7.

Экскаватор на базе трактора «Беларусь»

1

8.

Вагончик-бытовка

1

9.

Элетротрамбовка (пневмотрамбовка)

1

10.

Автокран грузоподъемностью 10-16 тн

1

11.

Передвижная электростанция мощностью 30-60 квт

1

12.

Вибраторы глубинный и площадочный

по l шт

13.

Виброрейка с шириной захвата 1,5-3,0 м

1

14.

Электросварочный агрегат

1

15.

Молотки электрические и пневматические (отбойные)

по 1 шт.

16.

Электроинструмент и пневмоинструмент

по 1 комплекту

РАЗДЕЛ II. СОДЕРЖАНИЕ МОСТОВЫХ СООРУЖЕНИЙ

Общие положения.

Содержание мостов - это комплекс работ и мероприятий, направленных на:

обеспечение безопасного круглогодичного непрерывного и комфортного движения транспортных средств с установленными расчетными для моста и дороги скоростями и осевыми нагрузками, а также движение пешеходов;

обеспечение технически исправного состояния сооружений и расчетного срока их службы при минимальных затратах труда и материально-технических ресурсов;

систематическое улучшение транспортно-эксплуатационного состояния сооружений с учетом роста интенсивности движения и массы транспортных средств на автомобильных дорогах;

поддержание в надлежащем состоянии внешнего вида сооружений.

В состав работ по содержанию мостовых сооружений включаются:

надзор - состоящий из определенной системы наблюдения с целью своевременного обнаружения повреждений и дефектов, снижающих транспортно-эксплуатационные качества сооружения, или предупреждения возможности возникновения этого явления;

уход - комплекс работ, обеспечивающий чистоту элементов и их опрятность, что снижает вероятность скорого зарождения дефектов и обеспечивает эстетические качества сооружения;

профилактика - обеспечивает устранение небольших дефектов на стадии, когда они не являются опасными для сооружения по грузоподъемности, безопасности движения и долговечности и требуют для их устранения минимальных затрат (износ элементов сооружения не превышает 10%);

планово-предупредительный ремонт (ППР) - обеспечивает устранение дефектов на ранней стадии износа элементов сооружения (до 25%) при относительно малых денежных затратах.

Надзор включает: постоянный надзор, текущие, периодические и специальные осмотры (обследования) и, при необходимости, испытание сооружения. Все эти работы проводят согласно «Инструкции по проведению осмотров мостов и труб на автомобильных дорогах» (ВСН 4-90), или других документов, ее заменяющих.

Перечень основных работ по содержанию сооружений представлен в «Классификации работ по содержанию мостовых сооружений».

Эта классификация базируется на делении мостового сооружения на четыре его основные части (мостовое полотно, пролетное строение, опоры и подмостовое пространство, включая регуляционные сооружения), каждая из которых, также подразделяется на отдельные элементы увязанные с существующим «Банком данных по мостовым сооружениям» («МОНСТР»).

Работы по уходу за сооружениями отнесены к группе, так называемых, нормативных (обязательных) работ, т.е. работ, которые выполняют на всех сооружениях постоянно в течение года (сезона). Работы нормативного (обязательного) содержания направлены, прежде всего, на поддержание сооружения в чистоте, обеспечение безопасности движения и являются обязательными независимо от типа и состояния сооружения и выполняются регулярно в соответствии с установленной периодичностью.

Нормативные (обязательные) работы оплачиваются по соответствующим установленным нормативам. Определенный уровень требований позволяет в любое время оценить качество выполнения нормативных работ по содержанию мостовых сооружений.

Периодичность работ по уходу за мостовыми сооружениями определяется действительными условиями эксплуатации и состоянием элементов конструкций и может колебаться от ежедневных работ до еженедельных и реже. Средние значения периодичности этих работ учитываются при определении денежных нормативов.

Работы выходящие за рамки нормативного (обязательного) содержания, и выполняемые при возникновении необходимости в них являются дополнительными (сверхнормативными) работами по содержанию мостового сооружения. Условно, эти работы делятся на профилактические работы и работы ППР.

Работы, отнесенные к профилактике, выполняются в течение всего срока службы сооружения с периодичностью 1-5 лет.

Планово-предупредительный ремонт (ППР), в зависимости от степени износа элементов осуществляют с периодичностью 5-10 лет.

В среднем, удельные денежные затраты на работы но содержанию для соответствующих уровней видов работ составляют:

при уходе - 1,2-1,5%;

при профилактике - 5-12%;

при ППР - 25-45%.

При этом наименьшие значения затрат на уход, профилактику и ППР относятся к молодым сооружениям (срок эксплуатации не превышает 10 лет), общий износ которых составляет не более 10%. Наибольшие затраты на профилактику и ППР приходятся на сооружения, эксплуатируемые более 25 лет, и имеющие общий износ 25% и более.

При необходимости, по отдельным сооружениям в составе «нормативных» работ, по согласованию с заказчиком, может быть отнесена часть работ по профилактике, на которые должны быть установлены соответствующие нормативы денежных затрат.

Ремонт - восстановление первоначальных транспортно-эксплуатационных качеств сооружения, восстановление несущих конструкций (на основе изысканий и проектно-сметной документации) (15-30 лет).

Реконструкция - улучшение первоначальных транспортно-эксплуатационных качеств сооружения (на основе изысканий и проектно-сметной документации) (при необходимости).

Перестройка- строительство нового сооружения взамен старого (при необходимости).

НАЗНАЧЕНИЕ И СОСТАВ РАБОТ ПО СОДЕРЖАНИЮ МОСТОВ

Вид работ

Назначение

Состав работ

Периодичность

1

2

3

4

НАДЗОР:

Оценка состояний сооружения

 

 

1. Технический учет

Необходим для определения состояния и степени износа каждого сооружения

Ведение технической документации, в состав которой входят: книга искусственного сооружения, карточка моста, акты обследований, а также проектная и исполнительная документация

Регулярно, незамедлительно после каждого осмотра или ремонта

2. Осмотр и диагностика

Выявление состояния сооружения, изучение его работы, планирование ремонтов.

Визуальные, инструментальные осмотры, исследования прочностных и деформативных качеств конструкций и материалов

По нормативам

УХОД

Поддержание сооружений в надлежащем состоянии

Оперативное устранение небольших повреждений, влияющих на безопасность движения. Очистка всех элементов конструкций и подходов от снега, грязи, мусора и т.д.

Работы по организации пропуска ледохода, паводковых вод.

Постоянно в течение года.

ПРОФИЛАКТИКА

Предупреждение появления повреждений и дефектов

Профилактика бетонных поверхностей (герметизация трещин, гидрофобизация, окраска).

Профилактика металлических и сталежелезобетонных пролетных строений (подтяжка болтов, нейтрализация трещин в балках, локальная подкраска металлических поверхностей).

Устройство сливов на подферменных площадках.

Заливка мастикой деформационных, швов и др. профилактические работы на проезжей части.

Профилактика фасадов.

1-5 лет

ПЛАНОВО-ПРЕДУПРЕДИТЕЛЬНЫЙ РЕМОНТ (ППР)

Предупреждение повреждения несущих конструкций (устранение появившегося износа элементов) по ведомости дефектов

Ремонт отдельных элементов мостового полотна (покрытия, тротуаров, ограждений и деформационных швов).

Восстановление поверхности опор, пролетных строений, ремонт узлов сопряжения мостов с насыпью и регуляционных сооружений.

Ремонт смотровых обустройств.

Локальный ремонт гидроизоляции.

Сплошная окраска пролетных строений.

5-10 лет

РЕМОНТ

Восстановление первоначальных транспортно-эксплуатационных качеств сооружения, восстановление несущих конструкций (на основе проектно-сметной документации)

Ремонт и восстановление несущих конструкций, усиление и замена элементов, перекладка переходных плит, ремонт (замена) гидроизоляции по всей площади моста.

10-15 лет

РЕКОНСТРУКЦИЯ

Улучшение первоначальных транспортно-эксплуатационных качеств сооружения (на основе изысканий и проектно-сметной документации)

Усиление элементов, уширение, изменение статической схемы увеличения подмостового габарита

При необходимости

Росдорнии проведены исследования по сравнению различных схем содержания. Сопоставлялись варианты:

- содержание без ухода за сооружением (до предельного износа с последующей заменой моста);

- в процессе содержания проводятся только ремонтные работы (мост эксплуатируется без ухода до предела работоспособности элементов и сооружения в целом);

- проводится только планово-предупредительный ремонт;

- проводится только уход или только профилактика;

- организован постоянный уход с периодическим выполнением ремонта;

- в процессе содержания выполняются все необходимые работы по содержанию;

- проводятся работы по содержанию с периодическим ремонтом или НПР.

Сопоставление вариантов проводилось по удельным показателям затрат (годовых), полученных как сумма всех затрат за период содержания до полной замены, деленная на предельный срок службы. Сопоставление удельных затрат показало, что наиболее экономичными схемами эксплуатации являются схемы, предусматривающие выполнение работ по содержанию (уход, профилактика) или по содержанию с планово-предупредительными эпизодическими работами. Отсутствие ухода и профилактики требует более капитальных вложений на реновацию или более частых работ по ремонту (планово-предупредительный ремонт и ремонт). Проведение всех работ по содержанию моста с момента постройки приводит к увеличению долговечности (срока службы) на 10 - 40 лет. В частности постоянный уход увеличивает предельные сроки эксплуатации с 30 до 40 лет, а уход с профилактикой до 70 лет. При этом затраты на содержание минимальные. В то же время отсутствие ухода заставляет вкладывать большие средства в восстановительные работы при значительно меньшем выигрыше в сроке службы.

Надзор за сооружениями.

Технический учет

техническому учету подлежат все искусственные сооружения на автомобильной дороге. Работы по техническому учету ведутся мастером. По договорам к техническому учету могут привлекаться специализированные организации. В документы технического учета ежегодно вносят, изменения по состоянию на 1 января.

Состав документации по техническому учету

Документация .

Область

применения

Содержание

1

2

3

Карточка на Мост (путепровод)

На все сооружения

Общие сведения:

- о мосте

- о пролетных строениях

Паспорт моста

Мосты на федеральных дорогах

- об опорах

- о регуляционных сооружениях

- о подходах

- об охране

Ведомость наличия и технического состояния мостов и путепроводов

-«-

- местоположение сооружения;

- сроки и виды ремонтных работ, выполненных на сооружении;

- техническая характеристика сооружения;

- оценка состояния сооружения

Отдельная книга моста

Для мостов длиной более 100 м железобетонных и сталежелезобетонных

Местоположение моста;

данные о грузоподъемности;

длительные ограничения движения;

происшествия на мосту;

осмотры и ремонты:

- мостового полотна

- пролетных строений

- опор

- регуляционных сооружений наблюдения за дефектами моста (по элементам);

ремонты элементов;

профили промеров русла и планы их расположения;

замечания и распоряжения по содержанию и ремонту.

Общая книга

Для малых и средних мостов

На каждый мост выделяется несколько страниц и заполняются они аналогично разделам отдельной книги моста.

Дискета для автоматизированной  работы на компьютере

На все сооружения

Общие сведения о сооружениях (банк данных) и программы по работе с банком данных

Документы оформляются в 2-х экземплярах, а карточки в 5 экземплярах. Заполнение документации производится мостовым мастером. Первый экземпляр документации вместе с 4-мя экземплярами карточек на мосты пересылаются в дорожное управление.

Книги должны ежегодно просматриваться руководителем дорожного подразделения с отметкой о просмотре.

В учетной документации должна содержаться исчерпывающая информация о сооружении с соблюдением строгой последовательности изложения данных о его состоянии, всех изменениях и осмотрах, а также ремонтах.

Начиная с 1991 года, введена на федеральных дорогах диагностика технического состояния сооружений, проводимая мостоиспытательными станциями по маршрутам. Оформление результатов диагностики производится в виде паспорта сооружения, который хранится в органе управления дорожным хозяйством. Документацию следует хранить даже в том случае, если сооружение реконструировано или заменено.

Образцы документов технического учета прилагаются.


Образцы документации технического учета

КАРТОЧКА №____

на мост (путепровод)

(соответствующее подчеркнуть)

Дорожное управление

 

 

(наименование)

Дорожная организация

 

 

(наименование и местоположение)

 

 

Наименование дороги

 

Категория дороги

 

Местоположение, км

 

+

 

Ближайший к мосту (путепроводу) населенный пункт (по учитываемой дороге)

 

 

 

Расстояние от него до моста (путепровода), км

 

Наименование водотока

 

Категория реки (судоходная, несудоходная, сплавная)

 

Отверстие моста, м

 

Полная длина моста (путепровода), м

 

Габарит:

 

высота, м

 

ширина ездового полотна, м

 

ширина тротуара, м

 

Подмостовой габарит (габарит проезда под путепроводом):

 

высота, м

 

ширина, м

 

Уклоны ездового полотна:

 

продольный %

 

поперечный %

 

Нормативная нагрузка

 

Средние даты:

 

ледохода

 

начала ледостава

 

Толщина льда, м

 

Ширина зеркала реки по УМВ, м

 

Наибольшая глубина реки по УМВ, м

 

Скорость течения при УМВ, м/сек

 

Материалы и конструкции ездового полотна

 

 

 

Год постройки (реконструкции)

 

последнего испытания

 

капитального ремонта

 

Год антисептирования (для деревянных мостов)

 

Состав антисептика

 

Обеспеченность инвентарными приспособлениями и устройствами для осмотра и ремонта (да, нет)

 

Наименование пересекаемого железнодорожного пути, автомобильной дороги и километр пересечения

 

 

 

Количество железнодорожных колей на пересекаемом нуги или категория пересекаемой дороги

 

 

(соответствующее подчеркнуть)

Железная дорога электрофицирована (да, нет)

 


СВЕДЕНИЯ О ПРОЛЕТНЫХ СТРОЕНИЯХ

Перечень сведений

Пролетные строения №

1

2

3

4

5

и т.д.

Типовой проект

 

Материал (железобетон, металл и др.)

Тип пролетных строений (ребристое, плитное и т.д.)

Расстояние между осями ферм, балок и т.д., (м)

Высота ферм, балок и

т.д. (м)

посередине

на опоре

Езда (поверху, понизу)

СВЕДЕНИЯ ОБ ОПОРАХ И ЛЕДОРЕЗАХ

Перечень сведений

Опора №

1

2

3

4

5

и т.д.

Материал и конструкция основания и тела опор:

 

Глубина забивки свай, м

Глубина заложения фундамента от УМВ, м

Длина (а)

и ширина (б) опор, м

Материал и конструкция ледорезов (для свайных опор с указанием количества свай):

предопорных

аванпостных

СВЕДЕНИЯ О РЕГУЛЯЦИОННЫХ СООРУЖЕНИЯХ

Перечень сведений

Сооружения

правобережные

левобережные

Тип регуляционных сооружений дамба, продольная, грушевидная и т.д.)

 

Материал

Укрепление (железобетонные плиты, монолитный бетон, мощение камнем и т.д.)

Высота над расчетным УВВ, м

Суммарная длина регуляционных сооружений, м

СВЕДЕНИЯ О ПОДХОДАХ

Перечень сведений

Мост

правобережные

левобережные

Путепровод

первый

второй

Длина (по линии расчетного ВИУ), м

 

Ширина земляного полотна, м

Ширина проезжей части, м

Тип покрытия

Укрепление откосов

Укрепление конусов

Высота насыпи для моста над расчетным УВВ, м

ДАННЫЕ ОБ ОХРАНЕ МОСТА

Охрана моста

 

 

(военизированная, сторожевая и т.д.)

Вид связи сигнализации

 

Техническое состояние моста (путепровода)

 

 

(хорошее, удовлетворительное и т.д.)

 

Примечание: 1

К карточке прилагается чертеж моста (путепровода) (общий вид). На чертеже должны быть указаны конструктивные основные размеры пролетных строений, ездового полотна, проезжей части, тротуаров, опор а также отметки ездового полотна, низа пролетных строений, подферменников, бортовых камней, УМВ, УВВ, УВЛ, ВИУ.

2.

При нумерации опор за опору № 1 принимают первую по ходу километража

3.

Подходы к мосту обозначают словами «в начале» ми «в конце моста». Длину подхода к мосту следует принимать при наличии насыпи - по крайним точкам ширины разлива паводковых вод; при отсутствии насыпи или на путепроводах - длиной 6 м от концов мостового сооружения.

 

Составил

 

Начальник

 

 

 

(должность, фамилия, подпись)

 

(Наименование организации, фамилия, подпись)

 

 

 

 

 

(наименование дорожного управления или дорожкой организации)

ВЕДОМОСТЬ

наличия и технического состояния мостов (путепроводов)

на автомобильной дороге

 

 

(наименование дороги)

_________значение по состоянию на «___»__________19__г.

 

Местоположение сооружения, км +

Наименование сооружения

Наименование перекрываемого препятствия (река, ручей, лог, а/д, ж/д)

Длина сооружения, м

длина подходов, м

Год постройки (реконструкции)

1

2

3

4

5

6

 

 

 

 

 

 

 

 

 

 

 

 

Продолжение ведомости

Год последнего капитального ремонта

Техническая характеристика сооружения

Техническое состояние (хорошее, удовлетворительное, неудовлетворительное)

материал пролетных строений

тип пролетных строений

габарит

нормативная нагрузка

7

8

9

10

11

12

 

 

 

 

 

 

 

 

 

 

 

 

 

Составил

 

 

Начальник

 

 

 

 

(должность, фамилия, подпись)

 

(организация, фамилия, должность)

 

«___»__________19__г.

 

 

«___»__________19__г.

 

ПАСПОРТ МОСТА

через реку Велеса на км 361+477 автодороги Москва-Рига

(адрес моста)

 

Наименование подразделов

число листов

Общие сведения (форма 1)

1

Пролетные строения (форма 2)

2

Опоры (форма 3)

3

Список имеющейся технической документации (форма 4)

1

Ведомость дефектов (форма 5)

2

Состояние сооружения

1

Фотографии основных дефектов

2

Чертежи (схемы) моста с поперечниками

1

Дополнительные материалы

 

Паспорт составлен

 

 

(организация)

 

(должность, Ф.И.О. и подпись руководителя бригады)

«___»__________19__г.

Форма 1

ОБЩИЕ СВЕДЕНИЯ

1

Вид сооружения: мост

2

Пересекаемое препятствие (код): р. Велеса (101)

3

Код дороги: 1200189  Название дороги: Москва-Рига (Балтия)

4

Километр 6 361+477

5

Категория дороги П, Количество полос: 2, Наличие разметки: 0 - нет

б

Ближайший населенный пункт: с. Абакомово, расстояние до него: 2,5 км

7

Характеристика пересекаемого препятствия: ширина по зеркалу - 15 м, глубина - 0,7 м, скорость течения - 1,3 м/сек, течение справа налево

8

Подмостовой габарит: 6,0 м

9

Годы: постройки 1969, реконструкции или ремонта_________

10

Проектные нагрузки (код): Н-3-, НК-80 (201)

11

Длина моста: 53,4 м

12

Отверстие моста: 42,0 м

13

Габарит по высоте:

14

Габарит по ширине: 8+тротуар слева 0,8 м , справа 0,8 м

15

Продольная схема: 13,7+21,6+13,7

16

Особенности расположения сооружения и подходов, угол косины: на прямой в плане и профиле

17

Уклоны проезжей части; продольный - 0, поперечный - 2%

18

Покрытие проезжей части: асфальтобетон

19

Водоотвод (код): через водоотводные трубки под мост (4+8+4) (1501)

20

Деформационные швы (код): зазор закрыт а/б покрытием (1701)

21

Ограждение на мосту (код): парапетное (1301), высота П 60,

Ограждения на подходах (код): тросовое (1304) высота К 30

 

22

Перила (код): металлические (1601) высота 1.0 м.

Тротуары (код): повышенного типа из сборных типовых блоков (1801)

 

23

Ширина проезжей части на подходах: перед мостом 7,5 м, за мостом -7,5 м, продольный уклон на подходах: перед мостом 0, за мостом 0 Высота насыпей: перед мостом 5,0 м, за мостом 5,0 м

 

24

Тип регуляционных сооружений (код): конуса (1004)

 

25

Укрепление конусов, дамб: монолитный бетон

Типы сопряжения (переходные плиты есть. Нет): есть

 

26

Проектная организация: Союздорпроект

 

27

Строительная организация: МСУ-16 НПСО «Автомост»

 

28

Эксплуатирующая организация: ДРСУ-10 а/д Москва Санкт-Петербург

 

29

Даты обследований: текущего - июнь 1992г. предшествующих - нет

 

30

Тип реконструкции (код): не проводилась (14000)

 

31

Сведения о ремонтах:

 

32

Тип сейсмических устройств (код): нет (1200)

 

33

Тип коммуникаций:

 

34

Примечания:

 

Форма 2

Код сооружения: 0189/362

ПРОЛЕТНОЕ СТРОЕНИЕ 1,3

1

Статическая система (код): балочное разрезное (301)

Тип конструкции (код): ребристая балка без диафрагм (503)

Конструкция проезжей части (код): ж/б плита с а/б покрытием (601)

2

Материал (код): железобетон (402)

3

Продольная схема: 13,7 м

4

Номера пролетов, перекрытых пролетными строениями данного типа 1,3

5

Год изготовления: 1968 г. Проектные нагрузки (код): Н-30, НК-80 (201)

6

Номер типового проекта: Союздорпроект 56Д

7

Типы опорных частей:

подвижных (код): тангенциальные металлические оп. 1,3 (1103)

неподвижных (код): тангенциальные металлические оп. 2,4 (1113)

8

Типы деформационных швов:

1 - (код) - зазор закрыт а/б покрытием (1701) оп.1,4

2 - (код)

9

Способ поперечного объединения конструкций (код): по плите (1903)

10

Поперечная схема: К0,85+1,66×5+К0,85

11

толщина плиты проезжей части: 0,15 м

12

Толщина одежды ездового полотна: 0,35 м

13

Число главных балок (ферм): 6

14

Высота главной балки (фермы): в пролете 0,85 м, у опоры 0,85 м.

15

Число поперечных балок (диафрагм) в пролете: нет

16

Число продольных балок в панели:

17

Дополнительная постоянная нагрузка: 3,8 т/м от лишнего слоя а/бетона толщиной 0,2 м

18

Примечания:

Форма 2

Код сооружения: 0189/362

ПРОЛЕТНОЕ СТРОЕНИЕ 2

1

Статическая система (код): балочное разрезное (301)

Тип конструкции (код): ребристая балка без диафрагм (503)

Конструкция проезжей части (код): ж/б плита с а/б покрытием (601)

2

Материал (код): предварительно-напряженный железобетон (412)

3

Продольная схема: 21,6 м

4

Номера пролетов, перекрытых пролетными строениями данного типа: 2

5

Год изготовления: 1968 г. Проектные нагрузки (код): Н-30, НК-80 (201)

6

Номер типового проекта: Союздорпроект инв. № 8156-М (опытный)

7

Типы опорных частей:

Подвижных (код): валковые железобетонные (1107) оп.2

неподвижных (код): тангенциальные металлические оп. 3 (1113)

8

Типы деформационных швов:

1 - (код) - зазор закрыт а/б покрытием (1702) оп. 2,3

2 - (код) -

9

Способ поперечного объединения конструкций (код): по плите (1903)

10

Поперечная схема: К0,85+1,66×5+К0,85

11

толщина плиты проезжей части: 0,15 м

12

Толщина одежды ездового полотна: 0,35 м

13

Число главных балок (ферм): 6

14

Высота главной балки (фермы): в пролете 1,2 м, у опоры 1,2 м.

15

Число поперечных балок (диафрагм) в пролете: нет

16

Число продольных балок в панели:

17

Дополнительная постоянная нагрузка: 3,8 т/м от лишнего слоя а/бетона толщиной 0,2 м

18

Примечания:

Форма 3

Код сооружения: 0189/362

ОПОРЫ № 1,4

1

Тип конструкции опоры (код): сборный устой стоечного типа (702)

Тип фундаментов (код): свайное основание (901)

2

Материал (код): железобетон (402)

3

Высота опор: 3,5 м; 3,5 м (от подошвы фундамента) /Д/

4

Глубина заложения фундаментов: 0,4 м; 0,4 м /Д/

5

Номер типового проекта: Союздорпроект инв. № 486/1

6

Размеры массивной части опоры: 3,2×10,8 м (фундамент) /Д/

7

Число стоек: 2×5

8

Схема опоры: 1,4(К0,8+2,1×4+К0,8) м

9

Сечение стойки: 0,35×0,35 м

Сечение ригеля: 2,8×0,4 м/Д/

Длина ригеля: 10,0 м

10

Примечания

Форма 3

Код сооружения: 0189/362

ОПОРЫ №2,3

1

Тип конструкции опоры (код): массивная (801)

Тип фундаментов (код): свайное основание (901)

2

Материал (код): железобетон (402)

3

Высота опор: 6,0 м; 6,0 м (от подошвы фундамента) /Д/

4

Глубина заложения фундаментов: 2,5 м; 2,5 м /Д/

5

Номер типового проекта: индивидуальной проектировки

6

Размеры массивной части опоры: 1,5×6,3 м

7

Число стоек: нет

8

Схема опоры:

9

Сечение стойки: Сечение ригеля: 0,5×1,0 м /Д/ на конце консоли;

Длина ригеля: 10,0 м 1,0×1,0 м /Д/ в корне

10

Примечания

Форма 4

Код сооружения: 0189/362

СПИСОК ИМЕЮЩЕЙСЯ ТЕХНИЧЕСКОЙ ДОКУМЕНТАЦИИ

№ пп

Наименование документа

Исполнитель

Место хранения

1

Карточка на мост

а/д Москва Санкт-Петербург

ДРСУ-10

2

Проектная документация (рабочие чертежи)

Союздорпроект

ДРСУ-110

3

 

 

 

4

 

 

 

Форма 6

Код сооружения: 0189/362

СОСТОЯНИЕ СООРУЖЕНИЯ

по результатам обследования «15» июня 1992 г.

1

Оценка состояния: (3) удовлетворительно

по долговечности (3); по безопасности (3)

 

2

Грузоподъемность (в т):

 

 

для автомобильной нагрузки в колонне

- 30

 

для одиночной нагрузки

- 30

 

допускаемая осевая нагрузка от автомобиля.

- 12

3

Примечание:

 

 

Ответственный за составление паспорта: Петров А.Г. нач. группы

 

 

 

(Ф.И.О., должность, подпись)

ВЕДОМОСТЬ ДЕФЕКТОВ

№ пп

Место расположения дефектов (объект, элемент, положение на элементе)

Тип и описание дефекта (код)

Оценка дефекта по ВСН 4-81(90)

Примечание (ссылки на рис.)

параметр и численное его значение

категория неисправности

1

2

3

4

5

6

1. Мостовое полотно

1.1

Ездовое полотно. Покрытие пролетных строений 1.2,3

одиночные поперечные трещины

б - 2-3 мм

m - 12 шт.

1 долг.

 

1.2.

Деформационный шов. Заполнение компенсатор тротуара над оп. 3 с низовой стороны

открытый сквозной зазор (на ригеле грязь)

L - 1,0 м

П долг.,

безоп.

 

1.3.

Тротуарные блоки. Фасадная поверхность над оп. 3 с низовой стороны

разрушение бетона с обнажением арматуры

F - 0,8 м2

h - 0,04 м

1 безоп.,

долг.

 

1.4

Ограждение. Секция парапета с верховой стороны над оп. 1

одна секция парапетного ограждения сдвинута на тротуар

L - 3 м

п безоп.

 

1.5

Водоотвод на тротуарах балки 6 пролетов 1,3

вода попадает на нижние элементы пролетных строений

L - 28 м

1 долг.

 

2. Железобетонные пролетные строения

2.1

Фасадная поверхность плиты. Консольные свесы плиты балки 6 пролетов 1,3 по всей длине

повреждение защитного слоя бетона с обнажением конструктивной арматуры

L - 28 м

h - 0,03 м

П долг.

 

2.2

Низ ребра балки 6 пролета 3 в

средней части

продольная трещина вдоль рабочей арматуры

L - 5 м

б - 0,6 м

П долг.

 

3. Опоры

3.1.

Ригельная часть. Левобережная верхняя оп. 3 между балками 4-6

продольные трещины вдоль рабочей арматуры

L - 4 м

h - 0,4 м

1 долг.

 

4. регуляционные сооружения

4.1

Конус левобережный. Укрепление монолитным бетоном в верхней части

разрушение конструкции укрепления

F - 7 м2

1 долг.

 

5. Подмостовое пространство

5.1

Русло. У опоры №3

сосредоточенный размыв

hр - 2,0 м

П долг.

 

 

УТВЕРЖДЕНА

приказом ФДС России

от "___"_________1999 г. №____

 

 

 

ФЕДЕРАЛЬНОЕ ДОРОЖНОЕ АГЕНТСТВО

«РОСАВТОДОР»

 

 

 

 

_____________________________________

орган управления дорожным хозяйством

 

 

 

КНИГА №

моста (путепровода)

код___________

 

 

 

ДРСУ______________

 

КНИГА №

моста (путепровода)

код________

Дорога

 

Километр

 

Пикет

 

Наименование сооружений: левый

 

Наименование сооружений: правый

 

Наименование водотока

 

Ближайший к мосту:

Населенный пункт

 

Расстояние от него

 

Станция жел. дороги

 

Расстояние до нее

 

Сооружение охраняется

 

 

Начало_________________

Окончание______________

1. СВЕДЕНИЯ ОБ УПРАВЛЕНИИ

Наименование органа управления дорожным хозяйством

 

 

 

 

Наименование подрядной организации, обслуживающей сооружение

 

 

 

 

ФИО руководителя подрядной организации

 

 

 

ФИО мостового мастера

 

 

 

Отделение (батальона) ГИБДД (закрепленного за участком дороги, на котором находится искусственное сооружение)

 

 

 

 

ФИО инспектора ГИБДД осуществляющего надзор за обслуживаемым участком дороги

 

 

2. КРАТКИЕ СВЕДЕНИЯ О СООРУЖЕНИИ ОБЩИЙ ВИД СООРУЖЕНИЯ

 

Фото №1. Общий вид сооружения

Схема сооружения

 

КРАТКИЕ СВЕДЕНИЯ О СООРУЖЕНИИ

1. Год постройки

 

2. Год реконструкции или ремонта

 

 

 

3. Нормативные нагрузки по проекту

 

4. Общая длина моста

 

5. Расчетная величина пролетов

 

6. Габарит

 

7. Высота и ширина проходов

 

8. Тип укрепления конусов и площадь

 

9. Тип перильного ограждения, материал и длина секции

 

10. Материал пролетных строений

 

 

11. Материал опор

 

12. Тип пролетных строений

 

 

13. Тип опор

 

14. Тип опорных строений

 

 

15. Количество балок или ферм в поперечном сечении (по пролетно)

 

 

16. Количество стоек (свай) в промежуточных опорах

 

 

17. Наличие освещения

 

18. Наличие судовой сигнализации

 

19. Наличие коммуникаций, уложенных на мосту и их владельцы

 

 

 

20. Покрытие проезжей части

 

21. Тип тротуаров и высота бордюрного камня

 

22. Гидролизация

 

23. Класс водного пути

 

Подмостовой габарит

 

24. Горизонт высокой воды

 

Ширина зеркала

 

25. Горизонт межения воды

 

Ширина зеркала

 

26. Тип водоотвода

 

27. Наличие и тип смотровых приспособлений

 

28. Проектная организация

 

29. Строительная организация

 

30. Наличие технической документации

 

• Акты приемки объекта в эксплуатацию

 

 

 

• Проектная документация

 

 

 

• Исполнительные чертежи

 

 

• Сводная смета

 

 

• Лабораторная документация

 

 

 

• Акты скрытых работ

 

 

 

• Технические отчеты по обследованию и испытанию

 

 

 

 

 

 

 

 

 

 

 

 

 

3. ДАННЫЕ О ГРУЗОПОДЪЕМНОСТИ СООРУЖЕНИЙ

Дата введения информации

Источник информации (паспорт, отчет по обследованию и др.)

Грузоподъемность, тн. (допустимая общая и осевая масса автомобиля)

Причины ограничений

в потоке

В одиночном порядке

общая

осевая

общая

осевая

1

2

3

4

5

6

7

 

 

 

 

 

 

 

4. ОГРАНИЧЕНИЯ ДВИЖЕНИЯ (длительные)

Дата введения ограничения

Характер ограничения

Причины ограничения

Дата снятия ограничения

Мероприятия, послужившие к отмене ограничения

1

2

3

4

5

 

 

 

 

 

5. ПРОИСШЕСТВИЯ НА МОСТУ

Дата происшествия

Описание происшествия и повреждений

Дата и время ликвидации повреждений, кем произведены работы

1

2

3

 

 

 

6. ОСМОТРЫ И РЕМОНТЫ МОСТОВОГО ПОЛОТНА

Дата осмотра, Ф.И.О. проводившего осмотр

Описание дефектов и повреждений, обнаруженных при осмотрах

Дата исполнения, исполнитель работ

Метод ремонта

1

2

3

4

 

 

 

 

7. ОСМОТРЫ И РЕМОНТЫ ПРОЛЕТНЫХ СТРОЕНИЙ

Дата осмотра, Ф.И.О. проводившего осмотр

Описание дефектов и повреждений, обнаруженных при осмотрах

Дата исполнения, исполнитель работ

Метод ремонта

1

2

3

4

 

 

 

 

8. ОСМОТРЫ И РЕМОНТЫ ОПОР

Дата осмотра, Ф.И.О. проводившего осмотр

Описание дефектов и повреждений, обнаруженных при осмотрах

Дата исполнения, исполнитель работ

Метод ремонта

1

2

3

4

 

 

 

 

9. ОСМОТРЫ И РЕМОНТЫ РЕГУЛЯЦИОННЫХ СООРУЖЕНИЙ

Дата осмотра, Ф.И.О. проводившего осмотр

Описание дефектов и повреждений, обнаруженных при осмотрах

Дата исполнения, исполнитель работ

Метод ремонта

1

2

3

4

 

 

 

 

10. НАБЛЮДЕНИЯ ЗА ДЕФЕКТАМИ ПРОЛЕТНЫХ СТРОЕНИЙ, ОПОР И РЕГУЛЯЦИОННЫХ СООРУЖЕНИЙ

Дата

Объекты наблюдения

В чем состоят наблюдения

Результат наблюдения

1

2

3

4

 

 

 

 

11. ПРОФИЛИ ПРОМЕРОВ РУСЛА РЕКИ, ПЛАНЫ ИХ РАСПОЛОЖЕНИЯ

 

 

 

 

 

 

 

12. ОКРАСКА ИЛИ АНТИСЕПТИРОВАНИЕ ПРОЛЕТНЫХ СТРОЕНИЙ

Дата нанесения каждого слоя

Наименование пролетных строений, опор, ограждений или отдельных частей

Материал слоя

Объем работ м2

Качество окраски

Примечание

1

2

3

4

5

б

 

 

 

 

 

 

13. МЕРОПРИЯТИЯ. ПО ОБЕСПЕЧЕНИЮ БЕЗОПАСНОГО ПРОЕЗДА ПО ИСКУССТВЕННЫМ СООРУЖЕНИЯМ, НАХОДЯЩИМСЯ В НЕУДОВЛЕТВОРИТЕЛЬНОМ СОСТОЯНИИ

п/п

Наименование дороги, адрес сооружения

Основные дефекты Г2, Д2, Б3

Принимаемые меры (работы по содержанию, знаки, закрытие движения)

 

 

 

 

 

 

 

 

 

 

 

 

 

 

 

 

 

 

 

 

 

 

 

 

 

 

 

 

 

 

 

 

 

 

 

 

 

 

 

 

 

 

 

 

 

 

 

 

 

 

 

 

 

 

 

 

 

 

 

 

 

 

 

 

 

 

 

 

 

 

 

 

 

 

 

 

 

 

 

 

 

 

 

 

 

 

 

 

 

 

 

 

 

 

 

 

 

 

 

 

 

 

 

 

 

 

 

 

 

 

 

 

 

 

 

 

 

 

 

 

 

 

 

 

Осмотры сооружений

Для оценки, контроля и анализа технического состояния и условий эксплуатации мостов проводятся текущие, периодические, специальные осмотры (обследования) и диагностика.

Состав, характер работ, периодичность осмотров регламентируются нормативно-техническими документами (ВСН 4-90, ВСН 24-88, «Временные нормативы объемов работ и периодичности диагностики и обследования автомобильных дорог и мостов»). Назначение каждого вида осмотров приведено ниже:

Вид осмотра

Назначение, осмотра

Исполнитель, оформление результатов

Периодичность осмотра

1

2

3

4

Текущий осмотр

Наблюдение за общим состоянием мостов с выявлением дефектов, требующих устранения определение объемов ремонтных работ, являющихся основанием для планирования ремонтных работ. Контроль выполненных работ по содержанию и ремонту, установление порядка дальнейшего надзора за сооружением

мостовой (дорожный) мастер

 

железобетонных, бетонных, каменных

запись в книгу моста

1 раз в полугодие

деревянных мостов

 

1 раз в квартал

металлических, мостов и мостовых конструкций (цельносварные, клепано-сварные сварные с монтажными соединениями на высокопрочных болтах, усиленные сваркой, и сталежелезобетонные) при:

 

- положительных температурах

 

1 раз в полугодие

- отрицательных температурах

 

1 раз в месяц

Периодический осмотр

-«-

начальник, зам. начальника или гл. инженер совместно с мостовым (дорожным) мастером

после прохода паводка, после выполнения значительных по объему ремонтных работ

Диагностика

Оперативное управление эксплуатацией мостов, регулярное обновление информации, содержащейся в автоматизированном банке данных, оценка состояния сооружения, определение режима эксплуатации (нагрузки, скорости, интервалы движения и др.), составление паспорта моста

мостостанции и другие специализированные организации, привлекаемые дорожным подразделением, составление паспорта, запись в паспорте и на дискетах

1 раз в 10 лет

Специальные осмотры (обследования)

Проверка соответствия вновь построенного моста проекту: выявление в эксплуатируемых мостах особо опасных дефектов и причин их появления, испытание сооружения и отдельных элементов на статистические и динамические нагрузки с целью определения грузоподъемности, исследование напряженного состояния конструкций, прочностных и деформативных свойств материалов, выработка предложений по усилению, реконструкции моста и устранению дефектов

специальные комиссии при органах управления дорожным хозяйством с привлечением мостоиспытательных станций; оформляется в виде акта или технического отчета

 

деревянные мосты

 

 

1 раз в 5 лет

капитальные мосты

 

 

1 раз в 10 лет

все мосты после капитального ремонта и реконструкции

 

 

внеплановые обследования

мосты, по которым пропущена сверхнормативная нагрузка (СНН)

 

 

до и после пропуска нагрузки

мосты, состояние которых при других осмотрах и диагностике признаны:

 

 

 

- аварийными

 

 

в кратчайший срок

- неудовлетворительными (или состояние не установлено)

 

 

в течение года после диагностики

Для проведения осмотров мастером рекомендуется следующий набор инструментов:

Фотоаппарат

Бинокль БЩ 12×40

Рулетка метровая

Рулетка 10-20 метровая

Линейка металлическая 0,5 и 1,0 метр

Набор щупов

Молотки массой 0,2 кг деревянные и металлические

Монокулярная телескопическая лупа (полевой вариант) СПШ-474

Нивелир

Теодолит

Нивелирная рейка

отвес регулируемый ОР-2

Приборы неразрушающего контроля прочности бетона (молоток Кащкарова, склерометр ПМ-2, ПМ и др.)

Спецодежда - костюмы хлопчатобумажные (комбинезоны), сапоги резиновые, сапоги кирзовые

Специальные смотровые приспособления и устройства

Для детального осмотра конструкций пролетных строений, опор и проведения ремонтных работ на мостах необходимо применять специальные смотровые приспособления временного или постоянного типа.

Смотровые приспособления необходимо содержать в чистоте и регулярно их осматривать. В зимнее время настил люлек и смотровых тележек очищают от снега и льда, посыпают песком.

Приспособления временного типа обычно используют для осмотра мостов, высота которых от поверхности земли или уровня меженних вод до низа пролетных строений не превышает 5 метров. К ним относятся лестницы, легкие переносные подмостки, подмости, оборудованные в кузове грузового автомобиля.

На мостах, имеющих большую строительную высоту ферм или расстояние от низа пролетного строения до поверхности земли (или меженних вод) более 5 метров, следует применять постоянные смотровые приспособления. К ним относятся: подвесные люльки, специальные проходы вдоль продольных, поперечных балок, арок, поясов и раскосов ферм, смотровые площадки и лестничные спуски на них, а также лестничные сходы по откосам насыпей подходов.

Смотровые приспособления должны обеспечивать свободный доступ ко всем элементам моста и безопасность проведения работ на них.

Для осмотра мостов могут применяться автомобили, оборудованные гидравлическими или телескопическими подъемниками.

Деревянные лестницы изготавливают шириной 50-60 см из сухих пиломатериалов с обязательной врезкой поперечин в тетивы. Нижние концы тетив оформляют металлическими башмаками. Переносные подмости устраивают длиной 3-3,5 м и шириной 1,2 м. Для облегчения подмостей доски настила укладывают с зазором до 3 см.

Подмости в кузове автомобиля должны обустраиваться перилами.

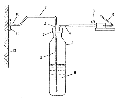
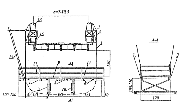
ВИДЫ СМОТРОВЫХ ПРИСПОСОБЛЕНИЙ И ИХ НАЗНАЧЕНИЕ

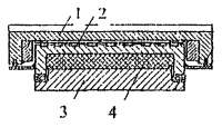
Неразборная деревянная люлька применяется для осмотра пролетных строений при ширине моста до 8,5-10 м. Полезная нагрузка на люльку 450 кг. Этот вид люльки изготавливают из расчета по одной люльки на каждый мост.

1 - пояс несущей рамы из досок 20×4 мм;

2 - стык пояса на гвоздях;

3 - стойка из досок 20×4 мм;

4 - шпренгель из проволоки диаметром 5 мм;

5 - подвески из троса диаметром 5 мм;

6 - расчалки из веревки;

7 - накидной крюк;

8 - поперечины несущей рамы из досок 20×4 мм

9 - диагональные схватки несущей рамы;

10 - поперечные связи стоек;

11 - настил из досок толщиной 2 см;

12 - перила из досок 15×2,5;

13 - поперечины из кругляка диаметром 12-14 см

14 - лестница для спуска в люльку;

15 - двухосная тележка;

16 - ручная лебедка грузоподъемностью 0,5 тн

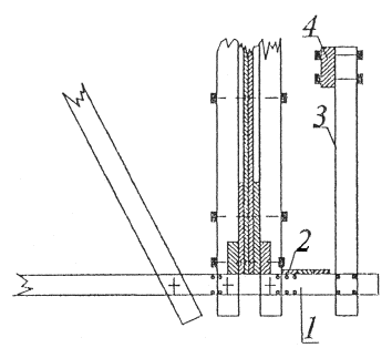
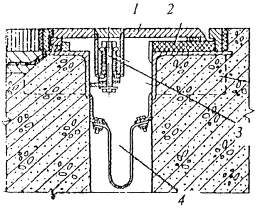
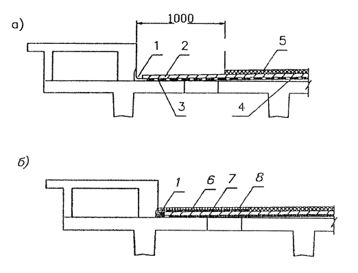
Сборно-разборная алюминиевая люлька применяется для осмотра мостов габаритом 8,5-10 см. Ширина люльки должна быть на 1-1,2 м больше полной ширины моста. Полезная нагрузка на люльку 450 кг. Может быть изготовлена из расчета: 1 люлька на несколько мостов с перевозкой в разобранном виде.

А) в рабочем положении

Б) в разобранном виде

1 - пояс несущей рамы 2 [70×25×3

2 - стык пояса

3 - стойки из [70×25×3

5 - настил из листового дюралюминия толщиной 3 мм

6 - перила из [40×40×3

10,11,13 - элементы несущей рамы

12-элсмеит поперечной рамы

Смотровые мостики для осмотра ферм пролетного строения

1 - коротыши из досок 5×20 см; 2 - дощатый настил; 3 - перильная стойка; 4 - перильный поручень

Люлька для осмотра узлов и стыков нижних поясов ферм

1,2,6 - доски 5×15 см; 5 - бруски 8×15×42 см; 4 - болты Ø 12-16 мм

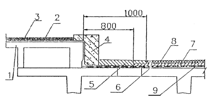
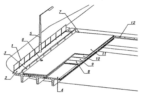
Устройство для осмотра и ремонта мостов

Устройство для осмотра и ремонта мостов (А.С. № 1006567 МКл Е 01 Д 19/10) представляет собой рабочую площадку (а), укрепленную на металлической подвеске (б), выполняющей также роль лестницы. Подвеску крепят в поворотном узле (в) на конце выносной стрелы (г). Другой конец выносной стрелы шарнирно соединяют с ригелем (д), укрепленным с помощью хомутов (с) на раме (ж) автомобиля Средней частью выносная стрела опирается на подвижную опору (з), которая в процессе работ перемещается по тротуару. Общий вес подмостей около 130 кг. Вес каждой монтажной единицы - не более 40 кг. Время сборки и разборки подмостей составляет 30-40 минут.

Выносная стрела (в сборе)

Подвеска (пять отверстий Ø17 мм - сквозные, семь отверстий Ø15 мм - только с внутренней стороны

Спецификация деталей на одни комплект

(крепление к автомобилю ЗИЛ-130)

№ поз

Наименование

Размер мм

Кол-во штук

Вес 1 шт.

Общий вес, кг

1

Подвеска dН=30,dВН=25

3100

2

5,27

10,54

2

Подмости [40×40

760

2

1,406

2,812

3

Распорка [40×40

815

1

1,508

3,016

4

Поворотный узел стрелы

-

2

1,5

3,0

5

Стрела [№ 8

2600

2

18,33

36,66

6

Распорка [20×20

930

3

0,828

2,483

7

Распорка [№ 5,6

850

1

5,015

5,015

8

Лист ригеля δ=10

130×480

2

3,931

7,862

9

Ригель № 8

2100

2

14,805

29,61

10

Хомуты d=16

1000

4

1,568

6,274

11

Колесо

135,14

1

19,0

19,0

12

Вертикальная стойка [40×40

1200

2

2,22

4,44

13

Наклонная стойка [40×40

1260

1

2,331

2,331

14

Ступени dН=14, dВН=10

780

7

0,462

3,232

15

Перила dН=14, dВН=10

3600

1

2,131

2,131

16

Растяжка dН=14, dВН=10

1135

2

0,673

1,346

17

Болты М16

-

15

-

-

18

Гайки М16

-

23

-

-

19

Гайки М20

-

2

-

-

20

Поворотный узел подвижной опоры

-

1

-

-

21

Болты М 12 (с гайками)

-

4

-

-

Организация текущих и периодических осмотров мостов

Текущие и периодические осмотры проводятся в соответствии с указаниями по надзору за сооружениями, содержащимися в последних отчетах или актах обследований (специальных осмотрах), а при их отсутствии, данными паспортов. Кроме того, на дефектных или особо сложных сооружениях осмотры должны вестись в соответствии со специальными инструкциями, согласованными при проектировании или проведении обследований.

Результаты осмотров должны незамедлительно учитываться при проведении текущих ремонтов, а также при: планировании капитальных видов работ.

При текущих осмотрах дорожный (мостовой) мастер должен детально осматривать элементы мостового перехода, проверять подмостовой габарит (на путепроводах). В зимний период при низкой температуре особое внимание следует обращать на стальные конструкции сварных и клепано-сварных пролетных строений в отношении образования трещин и проверять положение катков опорных частей этих сооружений.

При осмотре элементов моста мастер обязан выявлять повреждения, строительные и эксплуатационные дефекты с выделением требующих немедленного устранения, фиксировать дефекты в натуре (пометкой на конструкциях) а также в технической документации, при необходимости организовывать и вести наблюдение за изменением повреждений во времени; проводить контрольно-инструментальные; измерения для выявления общих и местных деформаций элементов и определять объем ремонтных работ, а также работ по уходу за сооружением.

Для наблюдения за изменениями во времени наиболее опасных трещин в бетоне пользуются контрольными маяками в виде полоски из гипса, которой перекрывают трещину в месте наибольшего ее раскрытия. Время и место установки маяка должно быть зафиксировано в книге искусственного сооружения. Появление разрыва маяка в месте трещины свидетельствует, об ее развитии. Развитие трещин в металле определяют путем фиксации их окончания и развития по длине.

Все дефекты необходимо фиксировать на конструкции мелом или краской в момент обнаружения, отмечая трещины линией вдоль трещины. Границы трещины - поперечным штрихом по ее концам; наибольшее раскрытие трещины - цифрой на конструкции в мм. Раковины, сколы, зону слабого бетона, выпучивание элемента, его деформирование или смятие - линией по периметру дефекта.

Контрольно-инструментальные измерения для выявления общих деформаций сооружения необходимы в случаях обнаружения отклонений элементов пролетных строений от нормального положения в плане или профиле, а также при наклоне или осадке опор и смещениях опорных частей. Для выявления этих работ используются геодезические инструменты.

Система обозначения при осмотрах. При осмотрах мостов необходимо, как правило, применять систему обозначения и счета элементов, принятую в исполнительной документации и материалах обследований. В случае отсутствия такой информации следует обозначать:

опоры - цифрами, начиная с единицы (1,2,3…) по направлению возрастания километража дороги, а концы крайних консолей (при лежневых опорах) соответственно через ноль и числом после номера последней опоры.

Схема обозначения элементов искусственного сооружения

а)-опор пролетных строений; б)-диафрагм, панелей и блоков (неразрезных и разрезных балок; в)-элементов сквозных ферм.

пролеты

-

минимальными номерами соответствующих опор;

подвесные пролеты

-

номерами примыкающих опор с индексом (1' - 2');

главные балки

-

(фермы, арки и т.д.) пролетных строений - цифрами, начиная с единицы с левой стороны относительно счета опор, диафрагмы, ребра жесткости;

поперечные балки и связи

-

по длине пролета цифрами, начиная с единицы по направлению возрастания номера опоры;

панели пролета

-

номерами соответствующих диафрагм и т.д.;

тротуары

-

словами соответственно «верховой», и «низовой» или «левый» и «правый»

элементы сквозных ферм

-

номерами (см. схему «в»)

подходы к мосту

-

словами «в начале» и «в конце»

регуляционные сооружения

-

словами «верховае», «низовае»

В разрезных системах для каждого пролета нумерацию элементов и узлов принимают отдельно, для неразрезных - непрерывная па всю длину пролетного строения.

На схемах и чертежах ориентацию моста и его частей следует располагать с отсчета нумерации его элементов слева на право по ходу километража автомобильной дороги.

Контрольно-инструментальные измерения

Для наблюдения за характером развития деформаций и искусственных сооружений выполняют контрольно-инструментальные измерения.

К ним относят проверку пространственного положения опор и опорных частей, съемку продольного и поперечного профиля проезжей части моста, плана балок (ферм) пролетных строений.

Инструментальную съемку опор производят периодически в случае отклонения их от проектного положения. Для этой цели используют теодолит, устанавливаемый вдоль граней опор таким образом, чтобы плоскость визирования была вертикальной. При помощи горизонтальных реек (по теодолиту) определяют наклон граней опор.

Осадку опор определяют нивелировкой по фиксированным точкам подферменников и обреза фундамента.

Нивелирование проезжей части моста и подходов производят для выявления профилей сооружения и подходов в продельном и поперечном направлениях. Точки для нивелирования выбирают таким образом, чтобы получить все характерные изменения профиля (например, в середине пролета, в местах просадок и т.п.).

С помощью продольного профиля пролетных строений выявляют их общие деформации (прогибы), просадки опор. Съемку выполняют периодически по твердо закрепленным точкам. В сквозных фермах точки съемки должны соответствовать узлам главных ферм, в арочных мостах - надарочным стойкам, в висячих мостах - подвескам, в балочных мостах со сплошной стенкой точки следует брать в местах прикрепления поперечных балок или поперечных связей, а также в опорных сечениях и на середине пролета.

Точки установки реек закрепляют на поясах деревянных ферм штырями, а на железобетонных или металлических фермах - красной несмываемой краской.

Места установки рейки должны быть расположены на участках без местных повреждений, очищенных от мусора, ржавчины и старой краски.

В журналах наблюдений записывают условия, при которых производилась съемка: температуру воздуха, освещенность солнцем, состояние погоды, наличие ветра и т.д.

Все точки нивелирования вычисляют (в абсолютных или относительных отметках) от отметок реперов.

Если вблизи моста долговечный репер отсутствует, его следует установить.

На новый репер составляют ведомость с указанием его номера, отметки, местоположения, а также дают схематический чертеж, поясняющий его конструкцию.

Величину строительного подъема или провисания в любом узле фермы определяют по формуле:

где А и С-

отметки опорных точек балки (фермы),

В-

отметка промежуточной точки, для которой вычисляется строительный подъем

b-

расстояние по горизонтали от опорной точки с минимальной отметкой А до промежуточной точки с отметкой В,

F1-

строительный подъем или провисание точки с отметкой В,

l-

расчетный пролет балки (фермы)

Порядок проведения осмотров

Содержание работы

На что обращается внимание при осмотре выявляемые нарушения

Применяемое оборудование

Период осмотра, сезонность

1

2

3

4

ПОДХОДЫ

покрытия обочин

ровность, повреждения, просадки, наличие ямочности

рулетка

при отсутствии снежного покрова

откосов

планировка

 

 

укрепления

целостность, сдвиги, просадка

молоток для обстукивания

 

ограждения

повреждения

визуально

 

водосборные сооружения

размыв, загрязненность

визуально

 

дорожные знаки

наличие их на месте, чистота

визуально

 

ПОДМОСТОВАЯ ЗОНА

лестничные сходы

наличие, целостность

визуально

 

стренаправляющие дамбы

разрушение голов дамбы

визуально

 

состояние дна реки

наличие размывов, оголение опор

эхолот или отвес

 

подпорные стенки, водоотводные лотки

разрушение, подмыв берегов, укрепления

водомерные рейки, эхолот

 

состояние береговых откосов

наличие оползневых признаков (трещины в земле)

визуально

 

пойменная часть

сужение, стеснение русла

водомерные

 

отверстия моста

подмывы опор, конусов, наносы в русле, изменение отметок дна

рейки, эхолот

 

габаритные подмостовые знаки, проверка исправности судовой сигнализации

наличие знаков, их окраска

визуально

 

МОСТОВОЕ ПОЛОТНО

покрытие

разрушения, трещины, неровности, по перечный и продольный уклоны

визуально, нивелировкой, рейкой 3 м

при отсутствии снежного покрова

состояние сопряжения моста с подходами

просадки

визуально, нивелировкой

при отсутствии снежного покрова

барьерное и перильное ограждения

наличие, надежность прикрепления, прямолинейность

визуально

 

парапетное ограждение

наличие, состояние бетона

визуально

 

тротуарные блоки

трещины, щели в швах, разрушения бетона, состояние покрытия

визуально

 

система водоотвода коммуникации, проложенные на мосту

наличие, чистота трубок и отверстия в парапетах надежность крепления, отрицательное воздействие на мост

визуально

 

мачты освещения

исправность

визуально

 

деформационные швы

общее состояние, герметичность

визуально

 

ПРОЛЕТНЫЕ СТРОЕНИЯ

(железобетонные, каменные)

балки, арки, диафрагмы, связи

повреждения бетона, его прочность, состояние арматуры, объединение балок, выявление мест увлажнения и загрязнения, заметных на глаз провисаний и деформаций

склерометр, молоток, щупы, линейки

в течение года

ПРОЛЕТНЫЕ СТРОЕНИЯ

(металлические, сталежелезобетонные)

балки, связи

прямолинейность конструкций, коробление, вмятины, трещины, окраска

склерометр, молоток, щупы, линейки

в течение года

заклепочные и сварные швы

состояние швов, качество заклепок, болтов, коррозия

 

 

плита

повреждения бетона, выколы, протечки

 

 

ОПОРЫ

оголовки и подферменники

водоотвод, застой воды, разрушения

визуально

в течение года

насадка (ригель)

то же

 

 

тело опоры

повреждения и состояние облицовки, осадки

теодолит, нивелир, уровень, отвес

 

фундамент (видимая часть)

наличие трещин, отслоений, морозных разрушений бетона

визуально, склерометр

 

дно реки у опор

наличие размывов

визуально

 

ОПОРНЫЕ ЧАСТИ

оценка состояния и положения опорных частей

угон и наклон катков, загрязненность, ровность, коррозия металла, разрушение бетона валков, растрескивание, вспучивание резины в РОЧ

визуально

в течение года

Результаты осмотра заносятся в книгу моста. На основании осмотра составляется дефектная ведомость, которая служит основанием для определения и планирования работ, дается оценка технического состояния сооружения.

Если на сооружении обнаружены дефекты, снижающие его грузоподъемность и безопасность движения, или обнаружен прогрессирующий рост какого-либо дефекта или группы однородных дефектов, мастер должен немедленно сообщить письменно об этом начальнику дорожного подразделения и поставить вопрос о проведении обследований сооружения мостоиспытательной организацией для оценки состояния и грузоподъемности моста.

В случае проведения обследований моста мостостанциями в обязанность мастера входит выполнение подготовительных работ (очистка от грязи, устройство смотровых приспособлений, выделение рабочей силы и материалов, необходимых для проведения осмотра), регулирование движения во время осмотра.

Результаты обследований оформляются в виде отчета, заключения или акта по установленной форме.

При обследовании и испытании больших и сложных мостов мостоиспытательная станция обязана до отъезда с объекта выдать Заключение с предложениями о режиме эксплуатации сооружения, а затем представить заказчику подробный Отчет с описанием результатов обследования и испытания с рекомендациями по дальнейшей эксплуатации.

ОЦЕНКА ТЕХНИЧЕСКОГО СОСТОЯНИЯ

С целью правильного назначения режима эксплуатации сооружения, выявления необходимости его ремонта или усиления производится оценка технического состояния сооружения. Состояние оценивают по критериям грузоподъемности, состоянию (долговечности) и безопасности движения по сооружению.

При этом оценки даются в отношении неисправностей (повреждений) элементов, обеспечивающих критерии технического состояния. Эти неисправности подлежат устранению в процессе содержания. Что касается недостатков старых мостов (недостаточная проектная грузоподъемность, малые габариты, отсутствие или недостаточные размеры ограждений проезжей части и др.), то они учитываются при установке дорожных знаков ПДД и принятии решений в отношении ремонта и реконструкции.

При оценке грузоподъемности рассматривают его дефицит в отношении современных расчетных нагрузок (АК и НК).

При оценке долговечности сооружения следует рассматривать три категории неисправностей:

1-я категория (1Д) - сооружения не имеют повреждений или имеют отдельные мелкие неисправности, устранение или предупреждение которых осуществляется, как правило, при текущем уходе за сооружением.

В железобетонных конструкциях к неисправностям 1-ой категории относятся трещины в растянутой зоне бетона с раскрытием до 0,3 мм, одиночные сколы бетона без обнажения арматуры, небольшие потеки и выколы на наружных поверхностях пролетных строений; в предварительно напряженных конструкциях - одиночные волосяные трещины в верхней части сечения. В металлических конструкциях к таким неисправностям относятся повреждения окрасочного слоя на отдельных участках элемента с небольшой коррозией металла, мелкие погнутости элементов связей, а в бетонных и каменных конструкциях - одиночные разрушения раствора в швах или кладки на глубину, одиночные усадочные и температурные трещины раскрытием до 0,5 мм в массивной части конструкций.

2-ая категория (2Д) - сооружения имеющие неисправности, устранение которых требует выполнение ремонта.

В железобетонных конструкциях к этим неисправностям относятся одиночные поперечные, сквозные наклонные и другие трещины (в растянутой зоне с раскрытием не более 0,5 мм), повреждение защитного слоя с коррозией арматуры, повреждение плиты проезжей части от разрушения гидроизоляции (выколы со сталактитами и морозные разрушения бетона) в предварительно напряженных конструкциях трещины в низших поясах с раскрытием до 0,1 мм. В металлических конструкциях к таким неисправностям относятся коррозия металла несущих элементов, ослабление заклепок в соединениях главных элементов, разрывы отдельных элементов связей. В каменных и бетонных конструкциях - разрушение бетона (раствора) в швах кладки на всей или части поверхности опоры и в отдельных местах на глубину до 20 см; сдвиг отдельных камней; коррозия арматуры до 10% ее площади; выколы раствора из кладки, многочисленные трещины раскрытием от 0,4 до 2 мм и отдельные до 5 мм.

3-я категория (3Д) - сооружения, имеющие неисправности, нарушающие нормальную эксплуатацию и требующие неотложной замены элементов или переустройства сооружения в целом.

В железобетонных конструкциях к таким неисправностям относятся трещины в арматуре; многочисленные трещины с раскрытием более 0,3 мм и сколы бетона; интенсивная коррозия арматуры с ослаблением сечения более 100%, повреждение бетона от выколов и морозных разрушений на большой части крайних балок и в плите проезжей части. В металлических конструкциях - ослабление коррозии металла более 10% его площади; в несущих элементах, узловых фасонках и связях массовое расстройство заклепочных соединений, усталостные и другие трещины в главных несущих элементах. В бетонных и каменных конструкциях - разрушение кладки на глубину более 20 см со сдвигом групп камней, сквозные трещины, расчленяющие конструкцию на части; интенсивная коррозия и деформация арматуры и металлических деталей; многочисленные трещины более 2 мм.

При оценке безопасности движения следует учитывать состояние покрытия проезжей части; ограждающих устройств и тротуаров с перилами. Все неисправности этих элементов можно разделить на три категории:

1-я категория (1БД) - неровности в покрытии проезжей части, не вызывающие существенных динамических колебаний транспортных средств; повреждения в ограждениях, бордюрных камнях, тротуарах и перилах, не влияющие на безопасность движения (мелкие сколы бетона, искривления о металлических элементах и пр.).

2-я категория (2БД) - неровности, повреждения в покрытии и деформационных швах, в покрытии тротуаров; в перилах отдельные разрывы я нарушения крепления стоек; повреждения в ограждающих устройствах и др.

3-я категория (3БД) - разрушение деформационных швов и около шовной зоны с образованием провалов между пролетными строениями и образованием порожка более 10 см, состояние перил, тротуаров вызывающее опасность движения пешеходов (разрушение тротуарных плит, обрушение перил на части или по всей длине сооружения), разрушение покрытия с обнажением арматуры на большей части защитного слоя, образование сквозных отверстий в плите проезжей части в результате разрушения бетона плиты, разрушение ограждающих устройств на большой длине моста.

В зависимости от характера дефектов состояние моста может быть оценено как хорошее, удовлетворительное, неудовлетворительное, аварийное.

Оценка проводится с учетом категорий неисправностей и недостатков проектов, не удовлетворяющих современным требованиям.

Оценка сооружения

Состояние сооружения по критериям:

грузоподъемности

долговечности

безопасности движения

хорошее

грузоподъемность обеспечена в соответствии с проектом и с современными нормами (АК и НК)

наличие повреждений 1 категории устраняемых при текущем содержании

соответствует Правилам безопасности движения, ограничения движения

нет

удовлетворительное

наличие дефицита грузоподъемности до 10% из-за повреждений и недостатков проекта

наличие повреждений 2-й категории, устраняемых при ремонте

повреждения покрытия, ограждений, недостаточность габаритов, малая высота ограждений. Ограничение скорости нет.

неудовлетворительное

снижение грузоподъемности более 10 %, погашаемое знаками - ограничение массы нагрузки

наличие повреждений 3-й категории, требующих неотложных ремонтов

сильное повреждение покрытия, отсутствие ограждений, малый габарит, существенное снижение скорости движения

аварийное

снижение грузоподъемности, не покрываемое ограничениями массы нагрузки

полная потеря грузоподъемности, проезд транспорта невозможен из-за опасности обрушения конструкции

Значительные повреждения конструкций, вносящие неопределенность в их работу. Наличие дефектов, не допускающих эксплуатацию моста.

Движение транспорта ведется с риском, требующих принятия мер безопасности движения. Движение транспорта закрыто

АКТ ОБСЛЕДОВАНИЯ ИСКУССТВЕННОГО СООРУЖЕНИЯ

(образец)

№ пп

Наименование

Заполнение

1.

Дата проведения работ

1999 г. июнь 12-15

(дата)

2.

Наименование организации выполняющей работы

Управление дороги Москва-Бобруйск

 

3.

Состав комиссии при руководстве этой организации

Руководитель ст. инж. Иванов И.П.

(должность, фио)

члены комиссии: инж. Петров А.П.

геодезист Сидоров М.И.

4.

Наименование объекта

мост ч/р Ужа

5.

Место расположении (км, пикет, наименование дороги ближайший нас. пункт, категория дороги)

км 43 автодороги Щукино-Сосновка

дер. Хрюпино, Ш

 

6.

Принятый порядок обозначения

 

(ссылка на инструкцию или др.)

7.

Год постройки и предшествующего обследования

1959/1984 г.

(указать год)

8.

Результаты ознакомления с технической документацией:

 

а) представлена и рассмотрена следующая техническая документация

акт спецосмотра за 1984 год, книга моста,

(перечень основных документов)

паспорт моста

б) качество ведения документации по эксплуатации сооружения

не ведется

(указать недостатки)

 

в) выполнение мероприятий, изложенных в предшествующих отчетах, актах осмотра

 

не выполнено

(указать, что выполнено)

 

 

9.

Конструкция проезжей части

Г-7+2×0,75; асфальтобетон, тротуары

повышенные, сборные Н-30см; ограждений

нет, перила стальные

(габарит, тип покрылся, тротуары, высота бордюра, тип ограждения, перила)

Недостатки и повреждения

(с указанием объема):

 

покрытие

волны, выкол, мусор, толщина 12 см

тротуары и ограждения

перила не закреплены, сколы бетона,

 

водоотвод

трубки забиты мусором, вода стоит на

проезжей части, по краям нет слезников

гидроизоляция, защита конструкций от увлажнения

следы выщелачивания по фасаду и между

1-й и 2-й балками; гидроизоляция над

тротуарами отсутствует

 

деформационные швы и сопряжение с насыпью

над опорой № 2 - разрушение швов;

протекание воды

10.

Пролетные строения

Схема моста

2×11,2+1×43,5+1×11,2

(указывают расчетные длины пролетов)

Полная длина

78,2 м

 

(по технической документации)

Поперечное сечение

7 балок с диафрагмами

(число балок, ферм в поперечном сечении, расстояние между ними в осях)

Тип конструкции

Балки длиной 11,2 м - разрезные балочные

железобетонные с каркасной арматурой

по выпуску 56, длиной 43,5 м - разрезные

сталежелезобетонные со сплошной

стенкой с расстоянием 1,4 м; 2 балки

 

длиной 43,5 м с расстоянием 5 м

Недостатки и повреждения

(с указанием объемов)

 

главные несущие элементы

Пролет 1-2 - вертикальные трещины в

растянутой зоне с раскрытием до 0,2

(отдельно по каждому пролетному строению)

связи и диафрагмы

пролет 1 -2 отсутствуют накладки объединяющие

полудиафрагмы между балками

1 и 2 в панели 3

11

Опорные части

 

Тип конструкций

РОЧ, катковые, стальные

Недостатки и повреждения

мусор, коррозия, смещение выше нормы

12

Опоры

 

Конструкция тела опор

массивная, бетонная, устои - свайные

облегченные, фундамент - высокий свайный

ростверк

(промежуточные и береговые)

Недостатки и повреждения

нет

(по каждой опоре отдельно)

13

Русло, регуляционные сооружения, подходы

 

Режим реки

без изменений

(изменение русла, образование наносов)

Тип регуляционных сооружений

конуса, укрепленными сборными плитами

(дамбы, траверсы, конуса)

Недостатки и повреждения

смещение укрепительных плит, подмыв

 

грунта со стороны опоры № 1

14.

Контрольно-инструментальные измерения

 

(перечень графиков, схем, рисунков прикладываемых к акту)

15.

Выводы по специальному осмотру

 

Общая оценка технического состояния в целом сооружения

3

(о бальной системе согласно ВСН 4-81)

 

По сооружению может пропускаться нагрузка

Н-13, НГ-60 по проекту

 

Ограничение в движении

нет

(если есть ограждения, то указать скорость, дистанцию, массу, тип транспортных средств)

Необходимость в испытании сооружения

испытать

(указать необходимость и срок)

16.

Рекомендации о целесообразности ремонта

заделка трещин, сколов, профилактика

(вид ремонта, перечень работ)

 

17

Программа наблюдений за дефектами

нет

(указать дефект и порядок наблюдения за ним)

 

 

ПОДПИСИ:

 

 

 

(всех членов комиссии)

ПРИЛОЖЕНИЯ К АКТУ:

1. Продольный и поперечный профили проезжей части

2. Поперечный профиль русла (для средних и больших мостов)

3. План и профиль главных балок (при необходимости)

4. Схемы конструкций с результатами обмеров (при необходимости)

5. Ведомость дефектов (при малом их числе - описать в акте)

ДЕФЕКТЫ, ПОВРЕЖДЕНИЯ, ПРИЧИНЫ ИХ ВОЗНИКНОВЕНИЯ, ПОСЛЕДСТВИЯ И МЕТОДЫ УСТРАНЕНИЯ

При эксплуатации мостов сталкиваются со следующими их недостатками:

- дефектами, являющимися следствием низкого качества возведения сооружения, а точнее брака;

- повреждениями, возникающими в элементах в результате развития коррозионных процессов, а также механических ударов и воздействий (результаты физического старения).

Дефекты и повреждения могут быть связаны между собой. Так низкое качество бетона, его малая плотность, являющаяся скрытым браком при изготовлении, со временем могут проявить себя в виде морозных разрушений или коррозии. Однако, принятие мер при эксплуатации по защите дефектных конструкций от увлажнения можно исключить эти негативные последствия.

Значительную группу недостатков, которые не могут быть отнесены к дефектам и повреждениям, составляют результаты морального старения - то есть неудовлетворение некоторых заложенных в проекте показателей современным нормативным документам (величина габаритов, проектная грузоподъемность, требования к ограждениям, многие расчетные критерии, требования и др.).

Ниже приводится краткий перечень наиболее часто отмечаемых недостатков мостовых сооружений, причины их возникновения и возможные последствия развития.


 

Вид дефекта, повреждения, категория дефекта

Причина возникновения

Последствия

Способ определения

Метод устранения

1

2

3

4

5

МОСТОВОЕ ПОЛОТНО

Неровности, выбоины, трещины в асфальтобетонном (цементобетонном) покрытии

Категория 1 БД

Разрушение движущимся транспортом, строительный дефект

Износ покрытия, разрушение изоляции, снижение безопасности движения

Визуально

ППР

Нарушение водоотвода

Категория 1Д

Малые продольно-поперечные уклоны, отсутствие проезжей части, тротуаров, карнизов и слезников, засорение трубок, механические повреждения

Вода попадает на несущие конструкции и способствует их разрушению

Визуально. Лужи, пятка, подтеки на поверхности бетона

Содержание, ППР

Отсутствие или разрушение гидроизоляции тротуаров и проезжей части.

Категория 2Д

Низкое качество строительства, старение материалов, отсутствие гидроизоляции тротуаров

Коррозиционные разрушение конструкций

Визуально по следам выщелачивания и потеков на бетонной поверхности

ППР

Разрушение деформационных 1 швов; образование бугров; трещины в покрытии; протекание воды через швы.

Категория 1 и 3БД

Низкое качество швов, механические его повреждения, нарушение гидроизоляции шва, применение некачественной мастики для заполнения шва.

Разрушение несущих конструкций; торцов балок и зон опирания

Визуально

ППР

Разрушение тротуарных блоков; их соединений; перил, бордюров, бортовых камней, карнизов; барьерного ограждения и парапетов.

Категория 2 БД

Наезды транспорта, применение химических добавок при борьбе с гололедом, строительный брак

Нарушение безопасности движения, коррозия крайних балок под тротуарами

Визуально ППР

 

ОПОРНЫЕ ЧАСТИ

Раздавливание резины опорных частей, бетонных валков, щели по контакту резиновых опорных частей с поверхностью бетона подферменника.

Категория 3Д

Неправильная установка балок пролетных строений на опорные части, загрязнение опорных частей, неправильная работа пролетного строения.

Разрушение насадок. Ригелей, опор, торцов балок

Визуально, спец. осмотр.

Ремонт, замена опорных частей

Неправильное положение опорных частей.

Категория 3Д

неправильная установка при монтаже балок пролетных строений, недостаточный зазор между торцами балок, смещение опор.

Разрушение торца балок, обрушение пролетного строения

Визуально инструментально

Ремонт

Разрушение подферменников

Неправильное размещение опорных частей; неправильная работа пролетного строения на температурные воздействия, низкое качество бетона

Разрушение ригелей опор, обрушение пролетного строения

Визуально, спец. осмотр

Ремонт

Неправильное положение опорных частей

Разрушение подферменников

ЖЕЛЕЗОБЕТОННЫЕ ПРОЛЕТНЫЕ СТРОЕНИЯ

1. Морозные разрушения бетона поверхностных слоев.

Категория 1Д

Применение бетона недостаточной морозостойкости, использование солевых растворов.

Разрушение защитного слоя.

Визуально, отстукивание бетонной поверхности молотком.

Профилактика

2. Разрушение защитного слоя бетона, обнаженная арматуры. Категория 1Д

Несвоевременное устранение дефекта 1, коррозия арматуры вызывающая откол защитного слоя.

Коррозия и разрушение арматуры, снижение грузоподъемности

Визуально

ППР

3. Локальные дефекты и повреждения: раковины и сколы бетона и др.

Категория 1Д

Заводские дефекты, повреждения движущимся транспортом, несвоевременное устранение дефекта 2.

Разрушение конструкций, снижение несущей способности балок.

Визуально

Профилактика

4. Короткие усадочные трещины до 1-3 мм

Категория 1Д

Возникают во время твердения бетона при плохом уходе

Не опасны

Визуально

Профилактика

То же волосного раскрытия

Категория 1Д

От усадки и температуры в затвердевшем бетоне

Не опасны

Визуально

Профилактика

5. Трещины в бетоне силовые, вертикальные в середине балок и наклонные у опор, свыше 0,3-0,5 мм

Категория 2Д

Возникают з процессе эксплуатации под нагрузкой.

Опасны при раскрытии более 0,5- мм, снижают несущую способность

Визуально с использованием измерительных инструментов

ППР

В предварительно-напряженных конструкциях трещины вдоль пучков.

Категория 3Д

Технические, возникают при обжатии бетона и замерзания мокрого или инъекционного раствора

Возможна коррозия напряженной арматуры

Визуально

ППР

6. Сколы торцов балок у опираний.

Категория 2Д

Температурные воздействия при отсутствии или неправильной установке опорных частей

При глубоких сколах возможно обрушение балок

Визуально

Ремонт

7 .Расстройство объединения балок пролетного строения в поперечном направлении. Разрушение швов омоноличивания диафрагм.

Категория 3Д

Некачественная сварка верхних и нижних планок (накладок)

Снижается грузоподъемность моста

Визуально

ППР

Короткие усадочные трещины до 1-3 мм

Категория 1Д

Возникают во время твердения бетона при плохом уходе

Не опасны

Визуально

Профилактика

8. Трещины, сдвиги и дефекты клееных поперечных стыков сборных преднапряженных конструкций. Аварийное состояние

Категория 3Д

Нарушение технологии изготовления и нанесения клея, дефекты проекта, недостаточное обжатие стыков

Снижение несущей способности по сдвигу, обрушение пролетного строения

Специальные осмотры, обследования

Ремонт

СТАЛЬНЫЕ И СТАЛЕЖЕЛЕЗОБЕТОННЫЕ ПРОЛЕТНЫЕ СТРОЕНИЯ

Главная балка

1 - железобетонная плита

2 - главная балка

3 - нижний пояс балки

4 - верхний пояс балки

5 - поперечная балка при деревянной проезжай части

6 - ребро жесткости

7 - поперечные связи

1 - вертикальная стенка

2 - поясной уголок

3 - горизонтальный лист

4 - сварной шов

5 - продольный стык вертикальной стенки

 

Дефектные заклепки или болты соединений, разрушение заклепки или болта.

Категория 2Д - при одиночных случаях,

Категория 3Д - при нескольких случаях

Некачественное исполнение, коррозия заклепок, недостаточное или излишнее затягивание болтов

Ослабление элементов

Визуальный осмотр, простукивание крепления

Профилактика

Дефекты заклепочных и сварных соединений

1 - неплотная головка;

2 - трещиноватая головка;

3 - не прижатая головка;

4 - венчик;

5 - маломерная головка;

6 - сбитая головка;

7 - косая головка;

8 - зарубленная головка;

9 - зарубленный металл;

10 - побитая головка;

11 - неплотная заклепка;

12 - косая дыра;

13 - чернота;

14 - овальная дыра;

15 - не проваренный шов:

16 - внутренняя трещина шва;

17 - наружная трещина шва;

18 - надрез металла;

19 - трещины в основном металле

 

Трещины в швах (16) и около шовной зоне поясов (17). Наиболее вероятными являются места примыкания поясов к ребрам жесткости, неплавное изменение сечения (15), подрезы металла (18), дефекты сварных швов и коррозия металла.

Категория 2Д - при мелких трещинах в шве у каря листа при l=1 см

Категория 3Д - при необжатой трещине, выходящей на основной металл пояса, аварийное состояние при больших трещинах

Технологические дефекты

Ослабление шва несущих элементов

Визуальный осмотр, гаммаграфирование при спец. осмотрах

Профилактика, ремонт

Трещины в металле элементов или аварийное состояние

Категория 3Д

Воздействие низких температур при хладноломкости металла, выносливость, качество раствора

Снижение несущей способности элемента, обрушение

Специальное обследование

Ремонт

Провисы глазных балок, их наклон в вертикальной плоскости (пропеллерность)

Категория 2-3Д

Ослабление монтажных креплений, нарушение объединения плиты с балкой.

Дальнейшее развитие дефекта может привести к обрушению.

Визуальный осмотр, замеры стрелы прогиба.

Профилактика, надзор, ремонт

Прогибы (начальные искривления) стенки балки; разрыв швов ребер; их искривление.

Образование линий Людерса

Категория 1Д при f/1<1/250

Аварийное состояние

Категория 2-3Д при f/1>1/250

Потеря местной устойчивости при проходе тяжелых нагрузок, когда в материале стенки и шве допущены отклонения от норм.

При отсутствии надзора за развитием дефекта может быть ослаблено сечение

Визуальный осмотр, измерение стрелы; специальное обследование

Надзор, ремонт

1 - коробление поясных листов; 2 - выпучивание вертикального ласта (стенки)

 

 

 

 

 

Коррозия элементов в местах фильтраций воды через плату; концов балок под деформационными швами: загрязненные участки балок под водоотводными трубками и т.п.

Категория 1-3Д

Неудовлетворительный уход за конструкциями. Блата задерживается на поверхности металла.

Ослабление сечения элементов

Визуальный осмотр

Профилактика ППР

Нарушение объединения плиты проезжей части с верхним поясом главных балок. Трещины и разрушение бетона швов

Категория 2Д - при нарушении на отдельных участках

Категория 3Д - при нарушении по всей длине пролета.

Некачественное устройство объединения

Снижение несущей способности пролетного строения

Визуальный осмотр, замеры прогибов и провисаний пролетных строений

ППР, ремонт

Дефекты железобетонной плиты: трещины, раковины, сколы, обнажение арматуры, потеки ржавчины, трещины в швах, фильтрация воды, выщелачивание.

Категория 1-2Д

Низкое качество бетона плит; омоноличивание стыков, повреждение гидроизоляции

Провалы, обрушение

плит.

Визуальный осмотр

ПИР

Шелушение и отслоение краски; коррозия металла.

Категория 1Д

Некачественная краска, увлажнение и коррозия металла.

Коррозия металла, ослабление сечения

Визуальный осмотр

Профилактика

ОПОРЫ

Повреждение бетонной поверхности, обнажение арматуры, раковины, выбоины в теле опор и сваях.

Категория 1-2Д

Недостаточная толщина защитного слоя, дефекты строительства, истирание наносами, льдом повреждение карчеходом

Коррозия арматуры, разрушение кладки

Визуальный осмотр

Профилактика

Расстройство швов, сдвиг блоков сборных и монолитных опор.

Категория 1-3Д

Низкое качество бетона заполнения и раствора швов, навал судов; ледовых полей; несовпадение блоков при сооружении опор

Разрушение блоков и опор-стенок

Визуальный осмотр.

ПИР

Вертикально расположенные трещины с раскрытием до 3 мм в массивных опорах

Категория 1Д

Усадочные и температурные трещины

Опасны при отсутствии противоусадочных сеток, разделение опоры на 2 части

Визуальный осмотр

Профилактика

Сколы, выколы насадок, силовые трещины до 2 мм.

Категория 2Д

Неравномерное опирание балок, заклинивание подвижных опорных частей, дефект армирования, строительный дефект.

Разрушение насадок.

Визуальный осмотр, замер раскрытия трещин склерометром

ПИР

Продольные трещины в оболочках с раскрытием 0,5-10 мм.

Категория 2, 3Д

Попадание воды в бетон заполнения в зоне переменного увлажнения капиллярного подсосаведет и замерзание оболочек.

Полное разрушение оболочек

Обследование, визуальный осмотр,

Ремонт

Различное отклонение свай от вертикали в свайных опорах

Категория 1Д

Забивка свай без кондуктора и направляющих устройств

Опасности не представляет

Осмотр, теодолитная и нивелирная съемки

Ремонт

Крен опоры вдоль или поперек моста.

Категория 2, 3Д

Строительный дефект, неравномерные осадки опоры.

Нарастание деформаций, смещение опорных частей

Осмотр, теодолитная и нивелирная съемки

Ремонт

Силовые трещины от горизонтальных сил.

Категория 2, 3Д

Навал судов, ледовых полей.

Разрушение кладки опоры.

Визуальный осмотр

ПИР

Отрыв и разрушение облицовки

Категория 1Д

Механическое воздействие, коррозия закладных деталей.

Разрушение кладки опоры.

Визуальный осмотр

Уход

Отрыв шкафной стенки устоя и открылков

Категория 2, 3Д

Раскрытие трещин (0,4-2 см) в основании шкафной стенки, заклинивание опорных частей, выпирание грунта, некачественная установка переходных плит и соединение открылков.

Нарушение сопряжения с насыпью и работы пролетного строения.

Визуальный осмотр

ПИР

Деформация устоев.

Категория 3Д, 3БД

Осадка насыпи, оползни, разрушения от подмыва конусов насыпи и оснований устоев

Расстройство опорных частей, деформации автопроезда

Визуальный осмотр

Ремонт

ПОДМОСТОВАЯ ЗОНА

Размывы конусов и берегов

Отсутствие регуляционных сооружений или неправильное их расположение и конфигурация при несимметричном положении моста относительно русла и водного потока.

Уменьшение отверстия моста, возрастание динамического напора воды на опоры и вероятности их подмыва.

Визуальный осмотр

Уход, профилактика, ППР

 

 

 

 

 

Размыв русла (равномерное понижение отметок дна и постепенная канализация русла)

Характерно для чередующихся более и менее устойчивых к размыву грунтов, зависит от геологических и гидрологических условий.

Увеличение скорости течения, подмывы опор.

Визуальный осмотр, промеры глубин

Уход, профилактика, ППР

Боковое смещение русла (частичное заиливание старого русла и размыв нового)

Встречается у большинства мостов. Косое пересечение речной долины, а также причины, вызывающие косоструйность.

Размывы у опор, конусов и понижение их отметок,

Визуальный осмотр, промеры глубин

Уход, профилактика, ППР

Общее заиливание

Характерно для предгорных районов и малых рек в бассейне зарегулированных крупных водотоков.

Уменьшение площади живого сечения.

Визуальный осмотр, промеры глубин

Уход

Затор русла

Карчеход, древесная растительность

Уменьшение площади сечения, образование размывов, разрушение опор от навала.

Визуальный осмотр, промеры глубин

Уход (расчистка русла)

 

 

 

 

 

Размыв у опор при паводке

Увеличение скорости течения. Не опасны в пределах, предусмотренных в проекте

При величине размыва (общего и местного) более предусмотренного проектом, может нарушиться устойчивость опор

Промер глубин у опор

Уход, профилактика

Изменение режима протекания воды и работы отверстия моста вследствие устройства в русле реки карьеров гравийно-галечниковых и песчаных материалов.

Выбор грунта в большом количестве, изменение баланса наносов, косоструйность.

Образование размывов и заиливания, перемещение русла

 

Надзор, запрет на устройство карьера.


СОДЕРЖАНИЕ КАПИТАЛЬНЫХ МОСТОВ

ОБЩИЕ ПОЛОЖЕНИЯ

Задачей содержания является поддержание безопасности и удобства движения по сооружениям и под ними и обеспечение длительного срока их эксплуатации.

УХОД ЗА СООРУЖЕНИЯМИ

Состав работ по уходу, сезонность выполнения

Элементы сооружения

Состав работ

Сезонность выполнения

I кв

II кв

III кв

IV кв

1

2

3

4

5

6

ПОДХОДЫ

- планировка обочин

-

+

+

+

- очистка лотков, отвод воды с земляного полотна

-

+

+

+

- ремонт указательных знаков, проверка их соответствия условиям движения транспорта

+

+

+

+

- очистка и промывка покрытия

-

+

+

 

- заливка трещин покрытия

-

+

+

-

- выправка поврежденных волнистых профилей барьерного ограждения

+

+

+

+

- заделка пустот и щелей под переходными плитами

-

+

+

+

ПОДМОСТОВАЯ ЗОНА

- очистка конусов, откосов, укреплений регуляционных сооружений от грязи, наносов грунта, растительности, топляка

-

+

+

+

- засыпка промоин в конусах и откосах

-

+

+

+

- укрепление мощения конусов

-

+

+

+

- устройство лотков по конусу

-

+

+

+

- пропуск паводка, ледохода

+

+

+

+

ПРОЕЗЖАЯ ЧАСТЬ

- очистка от грязи, снега, мусора

+

+

+

+

- очистка и ремонт водоотводных устройств

-

+

+

+

- посыпка при гололеде пес ком, топливным шлаком или дробленым щебнем

+

-

-

+

- ремонт ограждений

+

+

+

+

- очистка от ржавчины и окраска металлических элементов перил и ограждений

-

+

+

+

- очистка деформационных швов от мусора и грязи

+

+

+

+

ПРОЛЕТНЫЕ СТРОЕНИЯ

 

 

 

 

железобетонные, бетонные

- наблюдение за развитием дефектов, установка контрольных маяков

+

+

+

+

- заделка небольших сколов, раковин, трещин

-

+

+

+

- ремонт водоотводных элементов (сливов, карнизов и т.д.)

 

 

 

 

металлические

- очистка металлоконструкций от грязи, птичьего помета, жировых пятен, устранение застоя воды

-

+

+

+

- промывка металлоконструкций водой под давлением в зонах под деформационными швами

-

+

+

+

ОПОРЫ

- наблюдение за развитием дефектов

+

+

+

+

- заделка небольших сколов, раковин, трещин, ремонт сливов

-

+

+

+

- промеры глубин около опор после паводка

-

+

+

-

- расчистка от навалов растительности и карчей

-

+

+

+

ОПОРНЫЕ ЧАСТИ

- наблюдение за смещениями

+

+

+

+

- очистка подферменных площадок и опорных частей от грязи, ремонт сливов

+

+

+

+

- смазка и окраска опорных частей

-

+

+

+

- подтяжка болтов

+

+

+

+

ПРОПУСК ПАВОДКА И ЛЕДОХОДА

Организации подготовительных работ

Успешный пропуск паводка и ледохода обеспечиваются хорошей предшествующей подготовкой сооружения и наличием необходимых материалов и инвентаря.

Подготовка к пропуску паводка и ледохода проводят заблаговременно в осенне-зимний период.

Для определения времени начала паводка и ледохода и их интенсивности дорожный (мостовой) мастер должен использовать прогнозы гидрометеорологической службы. В зависимости от мощности ожидаемого ледохода, уровня паводковых вод, конструкции опор объем работ по защите сооружении может быть различным. Значительные затраты, как правило, требуются при пропуске льда и паводка на северных реках и под мостами с мелким заложением опор в размываемых грунтах.

По мостовым переходам, подверженным воздействию весеннего ледохода и паводка, должны быть своевременно подготовлены и составлены календарные планы практических мероприятий с отражением в этих планах комплекса и объема подготовительных работ, потребности инструментов, материалов, рабочей силы, транспортных средств с указанием сроков и ответственных исполнителей.

Для защиты сооружений от повреждений льдом и паводком необходимы систематические наблюдения за режимом потока, особенно в период паводков и ледоходов, современная подготовка сооружения и средств водо и ледоборьбы, энергичная и действенная охрана сооружения с начала возникновения угрозы до полной ее ликвидации.

Подготовка сооружений к паводку состоит в заблаговременном ремонте самих сооружений и укреплений, расчистке отверстий, сколке льда, заготовлении и складировании необходимых материалов и конструкций, обследовании реки выше и ниже моста.

К паводку заготовляют противоразмывные материалы (фашины, кули рогожные, колья, камень, веревку, проволоку, гвозди, круглый и пиленый лес), взрывчатые вещества и средства взрывания для дробления льда па больших реках с тяжелым ледоходом, инструмент и оборудование (лопаты, ломы, багры, кирки, пилы, топоры, фонари, прожекторы с электропитанием, лодки и т.д.), спецодежду (рукавицы, сапоги и т.д.). Объем этих заготовок зависит от конкретных условий. Все это должно быть своевременно доставлено на мостовой переход.

Охраняемые сооружения к началу ледохода и паводка должны быть обеспечены средствами связи (радио, телефоном), автомобилями, спасательными средствами, а большие мосты - также спасательными лодками.

При ожидаемом интенсивном ледоходе или высоком паводке заблаговременно согласовывают с местными органами власти вопрос о привлечении в случае необходимости команд местных воинских частей или местного населения для защиты сооружения.

Планируемые строительные, ледокольные, взрывные работы должны быть согласованы с органами рыбоохраны.

Во всех случаях следует стремиться к замене взрывных работ использованием ледокольных судов речного флота на судоходных реках, механизированных или других способов на несудоходных реках.

Для проведения взрывных работ организацией, производящей эти работы комплектуются команды взрывников, обслуживающие один или несколько мостов.

На каждый большой и средний мост назначают лицо, ответственное за подготовку и защиту сооружения от паводка и ледохода. Для выполнения работ организуют бригады.

До начала паводка приводят в порядок водомерные рейки и обследуют участок реки на 5-15 км вверх по течению или до ближайшего моста, и на 2-5 км вниз по течению. При этом отмечают прочность ледяного покрова, наличие плотин и других препятствий, излучин и изгибов, где возможны заторы льда. До начала ледохода спускают подпорные воды перед временными плотинами.

При расчистке отверстий выполняют следующие работы: на мостах через суходолы, овраги и малые водотоки расчищают от снега подошвы конусов, устраивая канавы с выходом к отверстию моста и прокапывают канаву в снегу по главному руслу. Работы по устройству канав ведут от сооружения во избежании образования подпора воды в верхней части его, затопления или размыва.

Низководные мосты (в основном деревянные), которые могут быть снесены ледоходом, разбирают, материалы сохраняют и после спада высоких вод мосты восстанавливают.

Околка льда производится по периметру опор, ледорезов, вдоль укреплений откосов в виде прорубей - борозд шириной 0,3-0,5 м, располагаемых как можно ближе к конструкциям, но не менее чём на 0,2-0,3 с от них.

Перед ледоходом для ослабления его воздействия проводят следующие ледокольные работы:

перед каждой опорой прорубают борозду шириной несколько больше ширины опор и ледорезов и длиной 10-100 м в зависимости от режима реки;

на реках со средней интенсивностью ледохода производят дробление ледяных полей на отдельные карты на протяжении 200-1000 м выше моста, а также в местах мощных скоплений льда;

на реках с интенсивным ледоходом разрабатывают майны шириной не менее наибольшего пролета на фарватере на больших реках и на всю ширину русла - на малых реках, длиной на больших реках не менее двух ширин реки с верховой и не менее ширины с низовой стороны, на малых реках - пяти ширин с верховой и двух ширин с низовой стороны, непосредственно под мостом - на всю ширину реки, начиная очистку реки ото льда с низовой стороны.

Организация пропуска паводка и ледохода

При спокойном ледоходе следят за правильным проходом льдин под мостом, не допуская их навала на сваи или задержки у моста. Большие льдины, застрявшие в пролете моста немедленно раскалывают. Необходимо следить за проходом льда выше или ниже моста, не допуская образования заторов. В случае образования заторов на реках шириной до 200 м проделывают канал, а на больших реках два канала для пропуска воды и льда, а затем разбирают весь затор. Работы проводят с применением ледокольных судов и в исключительных случаях с выполнением взрывных работ;

Сорванные ледоходом и плывущие по реке суда, баржи и другие предметы пропускают беспрепятственно в пролетах моста. Если обеспечить проход этих предметов в пролеты невозможно, их зачаливают или, в крайнем случае, затопляют.

Развивающиеся в ходе паводка размывы определяют путем промеров русла по контуру опор и устоев моста, струе направляющих дамб и траверсов и сравнения с допустимыми значениями.

При опасности подмыва опор, струенаправляющих дамб, конусов и откосов места размыва немедленно засыпают камнем, забрасывают мешками с песком или грунтом, обкладывают хворостом и фашинами, не допуская при этом стеснения отверстия, так как это может привести к новым размывам.

В период прохода высоких вод на больших и средних мостах следят за режимом водотока , работой сооружения на пропуск высокой воды (достаточностью отверстия, равномерностью пропуска воды под мостом).

При спокойном характере водотока следят за наивысшими и меженными уровнями, профилем русла после прохода паводковых вод.

СОДЕРЖАНИЕ ЗНАКОВ

Необходимо следить за исправностью и назначением знаков дорожного движения перед мостами.

В обязанности дорожного (мостового) мастера, эксплуатирующего мосты на судоходных реках, входит также контроль за сохранностью знаков судоходной сигнализации, установленных на пролетных строениях, габаритных огней. Знаки должны быть окрашены в соответствующий цвет (см. таблицу), а навигационные огни на сооружениях должны действовать в течение «сего темного периода суток.

Вид, цвет и взаимное расположение сигнальных щитов и навигационных огней

Наименование и назначение знака (огня)

Вид знака

Цвет и взаимное расположение

для светлого фона

для темного фона

на левобережной части пролета

на правобережной части пролета

1

2

3

4

5

Указатель оси судоходного хода в судоходных пролетах мостов:

- для судов и составов,

идущих снизу

красный

- для судов и составов,

идущих сверху

- для плотовых составов

зеленый

- для маломерных судов

щиты красные

щиты белые

-

Указатель высоты подмостового габарита и кромок судового хода в судоходных пролетах мостов

- для обозначения кромок судового хода и высоты судоходного пролета до 10 м мостов

то же - свыше 10 до 13 м

то же - свыше 13 до 16 м

то же - свыше 16

 

щиты зеленые

щиты белые

все огни зеленые

Огонь - указатель разводного пролета наплавного моста

- для обозначения судоходного пролета при разводной части, отведенной в сторону левого берега

-

-

огонь на разводной части

 

- то же в сторону правого берега

-

-

все огни зеленые

все огни красные

огонь на разводной части

направление течения

Сигнальные навигационные знаки и огни принимаются по ГОСТ 26600-85.

ПРОИЗВОДСТВО РАБОТ ПО УХОДУ ЗА МОСТАМИ

Подмостовая зона

Основные задачи содержания подмостового русла и регуляционных сооружений - организация нормального пропуска под мостом водного потока, судов, паводковых вод и ледохода; предупреждение и своевременное устранение заторов в русле, опасных размывов у опор, регуляционных сооружений и насыпи подходов; предупреждение повреждений откосов, их укреплений и рисберм.

Подмостовое русло на длину 100 м выше и ниже по течению должно расчищаться от посторонних предметов, а конуса и регуляционные сооружения также и от наносов. Откосы подходов содержат согласно требованиям, предъявляемым к содержанию земляного полотна.

Если кустарниковая и древесная растительность в русле не является средством борьбы с размывом и регулированием потоков, ее следует вырубить: при наличии струенаправляющих дамб - в пределах длины дамбы плюс 30-40 м выше и ниже по течению от крайних точек дамб.

На мостах с малым отверстием в зимний период необходимо производить защиту отверстия щитами от заносов снегом, а в случае образования заносов - своевременно его очищать.

На все большие и средние мосты составляют график (горизонтальный масштаб 1:500, вертикальный 1:100), на котором указывают отметки уровней воды, низа ферм, заложения фундаментов опор, положение осей опор, расчетную линию общего размыва, отметки местного размыва у опор, профиль дна в створе у опор с верховой стороны.

При наличии опасности размыва составляют сводный график, на котором уровень воды и профиль дна наносят для каждого года своим цветом или условным обозначением. Графики подлежат постоянному хранению вместе с книгой искусственного сооружения.

При интенсивном русловом процессе в зоне моста составляют также план русла в изобатах (линиях рапных глубин), что помогает обнаружить зоны размыва, косоструйность.

Створы для измерений поперек реки назначаются по оси моста на расстоянии 25 м от нее с измерениями в плане через 2-10 м. При этом подробно обследуют зоны вероятных размывов вокруг опор.

ПОРЯДОК ПРОВЕДЕНИЯ ИЗМЕРЕНИЙ

Наименование измерения

Инструмент измерения

Периодичность измерения

Точка отсчета

Оформление результатов

Уровень воды

водомерная рейка

на больших мостах 4 раза в месяц

условная отметка, привязанная к реперу

Составление графика уровень, запись в книгу искусственных сооружений

при проходе ледохода и высоких вод

 

ежедневно

 

 

Профиль русла

 

 

 

 

при малых глубинах

рейка (шест) с поддоном, эхолот

2 раза в год (зимой и после паводка, спада высоких вод)

условная отметка, привязанная к реперу

График промеров русла (поперечный профиль русла), запись в книгу искусственного сооружения

при больших глубинах

эхолот, леска с грузилом

-«-

 

 

Содержание, подмостовой зоны на путепроводах заключается в обеспечении безопасности движения под ними и предохранения конструкций - сооружения от повреждения негабаритными грузами.

Мостовое полотно автодорог под путепроводами не должно иметь повреждений, значительных неровностей. Последние при проходе высоких нагрузок, например кранов на автомобильном ходу, могут привести к колебаниям стрелы и повреждению пролетных строений.

Стойки опор у проезжей части должны быть защищены ограждениями.

На старых мостах, где наблюдается коррозия и повреждения бетона, скопившиеся куски должны вовремя убираться, чтобы не допустить падения, на проходящий под путепроводом транспорт, особенно рельсовый.

Мостовое полотно.

Основной задачей содержания мостового полотна является поддержание безопасности и удобства движения по сооружению, а также выполнение мероприятий по предупреждению повреждений элементов сооружения.

Мостовое полотно проезжей части в летний период необходимо регулярно очищать от мусора, грязи и посторонних предметов. Особое внимание уделяют поддержанию в чистоте водоотводных устройств, деформационных швов, а также ограждений. Сбрасывать мусор через водоотводные трубы не разрешается. Весь мусор с проезжей части и тротуаров необходимо вывозить за пределы моста и водо-охранной зоны.

Водоотводные устройства (трубки, лотки) чистят специальными, тетками (ежами) или продувают сжатым воздухом, Проезжую часть убирают вручную или механизированным способом, используя поливомоечные и мусороуборочные машины, компрессоры для продувки труб и щелей и другие механизмы.

В зимнее время проезжую часть и тротуары очищают от снега и льда, при гололеде посыпают песком, топливным шлаком или дробленым щебнем. Применение хлористых солей и других химических соединений, агрессивных к бетону, не разрешается. При оттепелях талый снег и материалы борьбы с. гололедом убирают с моста. Уборку снега производят роторными очистителями, бульдозерами и другими механизмами.

Места скопления на дорожной одежде воды (лужи) следует устранять укладкой слоев асфальтобетона. До этого при резких похолоданиях и образовании льда его следует покрывать антиобледенительными составами. В противном случае возможен занос транспорта.

Периодичность работ по уборке проезжей части определяется местными условиями и должна быть аналогичной, как на примыкающих участках дороги, но не реже, чем 1 раз в 10 дней, а зимой в снежные периоды - ежедневно.

При уходе за сооружениями производят очистку от мусора и посторонних предметов подферменных площадок и опорных частей, а также мест конструкций, расположенных под водоотводными устройствами и деформационными швами. Для отвода воды с конструкций горизонтальным поверхностям придают уклоны, устраивают сливы.

Резиновые опорные части необходимо защищать от смачивания их водой и загрязнения веществами, содержащими жир, масло и другие вредные примеси, а также от воздействия прямых солнечных лучей.

Уборку главных несущих конструкций следует проводить не менее 2 раз в год (весной и осенью).

При уходе за бордюрным и парапетным ограждением их очищают от повреждений и грязи, места поврежденного бетона покрывают полимерной краской для предотвращения дальнейшего разрушения.

Очистку стоек амортизаторов и планок барьерных металлических ограждений выполняют промывкой с использованием щеток.

Для предупреждения разрушения деформационных швов и течение года проводят промывку водоотводных лотков; устранение наплывов и трещин, отдельных выбоин и просадок в зоне шва; заливку швов наполненного тина мастикой; подтягивание пружин в швах со скользящими листами.

Волны и наплывы, образующиеся в асфальтобетонном покрытии в зоне шва, устраняют вырубкой или срезкой асфальтобетона с предварительным его разогревом и последующим удалением лишних материалов.

Для заделки выбоин используют горячие и теплые асфальтобетонные смеси, отвечающие требованиям ГОСТ 9128-84.

Мастику швов заменяют при ее выкрашивании или отслаивании от кромок. Для этого зазор освобождают от старой мастики, очищают поверхность кромок, промывают стенки и дно шва водой с последующей продувкой сжатым воздухом, грунтуют стенки битумным лаком и заполняют зазор мастикой.

Заделку трещин в асфальтобетонном покрытии и заливку швов мастикой осуществляют в теплую и сухую погоду, когда трещины имеют наибольшее раскрытие. Для заполнения шва в зависимости от климатических условий можно применять резинобитумные вяжущие или тиоколовые герметики.

Для устранения отдельных сколов и трещин бетонного покрытия около шва вырубают поврежденный бетон, очищают поверхность от пыли, мастик и осколков бетона. На очищенную поверхность наносят грунтовочный слой из полимерных составов и затем раковины заполняют полимерцементным пли эпоксидно-минеральными смесями.

При повреждении бетона у швов на больших участках для ремонта применяют цементобетонные смеси на быстротвердеющем цементе (БТ1Д) марки 400-500 или портландцементе марки 500-600.

Подтягивание пружин в металлических деформационных швах осуществляют летом или осенью. Предварительно очищают от грязи и мусора скользящий лист и пазы, в которых перемещаются листы, продувают щели между скользящим листом и стальным окаймлением, кромка шва; откручивают крышку обоймы и затягивают обжимной болт пружины до момента появления контакта скользящего листа с окаймлением; восстанавливают смазку; укладывают герметизирующую уплотнительную резиновую шайбу и завинчивают крышку.

Если вода при сбросе с проезжей части трубки попадает на нижерасположенные элементы, то водоотводные трубки необходимо наращивать так, чтобы исключить указанные недостатки. Внутренний диаметр трубок назначают не менее 150 мм, изготавливают их из прочного материала (чугун, асбоцемент, пластмасса, металл).

На концах консолей плит тротуаров и проезжей части и случае отсутствия на них карнизов, слезников и возникновения морозных разрушений бетона, ухудшающих защиту пролетных строений и опор от увлажнения водой с тротуаров, следует устраивать карнизы из оцинкованного железа, закрепленного сверху асфальтобетонным покрытием тротуаров.

Поврежденные направляющие планки барьерного ограждения при искривлениях до 20 см и длине деформированного участка до 4 см выправляют на месте. Поврежденные амортизаторы, стойки и сильно деформированные планки снимают, выправляют, а затем устанавливают на место. При прогибах стоек более 1/10 высоты и смятия амортизаторов более 15 см, их заменяют.

Пролетные строения металлических мостов

Основными задачами содержания металлических и сталежелезобетонных пролетных строений являются: очистка проезжей части и тротуаров, а также несущих элементов конструкций от мусора, грязи, снега и льда, других посторонних предметов; отвод воды с элементов конструкций; подтяжка болтов и смазка деталей опорных частей и металлических деформационных швов; предупреждение появления и развития коррозии металла; локальная его подкраска.

Все места, где возможно скопление грязи, воды и снега, а также непроветриваемые или подверженные увлажнению участки конструкций необходимо не реже 2 раз в год очищать. В первую очередь очищают узловые соединения балок и ферм, корытообразные и коробчатые пояса ферм, участки под деформационными швами и водоотводными трубками, опорные части. Работы следует проводить аккуратно, чтобы не повредить краску. Поверхность металла очищают деревянными лопатами.

Для устранения застоя воды на элементах клепаных конструкций в местах ее скопления допускается срубка связующих (нерасчетных) заклепок или просверливание отверстий диаметром 20-23 мм с раззенкованными сверху краями. Возможность ослабления от этого элемента должна быть проверена расчетом. Все щели и неплотности должны быть зашпаклеваны и окрашены.

Катки и плоскости скольжения опорных частей регулярно натирают графитом, а боковые грани окрашивают. Для предохранения опорных частей от загрязнения вокруг них рекомендуется устраивать футляры из листовой стали с открывающимися стенками или герметичные «мешки» из эластичного долговечного материала.

Железобетонные конструкции пролетных строений и опор.

Уход за железобетонными конструкциями заключается в наблюдении за выявленными трещинами и другими дефектами, установке маяков, заделке небольших сколов, раковин и трещин.

Производство работ приведено в главе V.

ПРОФИЛАКТИКА

Состав работ по профилактике, сезонность выполнения

Элементы сооружения

Состав работ

Сезонность выполнения

I кв

II кв

III кв

IV кв

1

2

3

4

5

6

ПОДХОДЫ

- выравнивание покрытия

-

+

+

+

- устранение наплывов, выбоин, трещин и других повреждений

-

+

 

+

- организация водоотвода

-

+

+

+

ПОДМОСТОВАЯ ЗОНА

- расчистка русла от наносов

-

+

+

+

- укрепление берегов

-

+

+

+

МОСТОВОЕ ПОЛОТНО

- ремонт покрытия в зоне деформационных швов

-

+

+

+

- запивка швов (заполненного типа) мастикой взамен старой, профилактика гидроизоляции

-

+

+

+

- восстановление бетонных поверхностей бордюров и парапетов полимерцементными составами

-

+

+

+

ОПОРНЫЕ ЧАСТИ

- смазка, очистка, окраска

-

+

+

+

- подклинка, закрепление катков

+

+

+

+

ПРОЛЕТНЫЕ СТРОЕНИЯ

- защита фасадов от увлажнения, гидрофобизация бетонных, поверхностей, герметизация трещин

-

+

+

+

- окраска

-

+

+

+

ОПОРЫ

- гидрофобизация бетонных поверхностей, герметизация трещин

-

+

+

+

Производство работ по профилактике

Гидрофобизация поверхности

- удаление слабого бетона лопаткой или щеткой, промывка поверхности водой под давлением, после высыхания бетонной поверхности нанесение гидрофобизирующего состава.

Окраска бетонной поверхности

- удаление слабого бетона, промывка поверхности водой под давлением, после высыхания заделка мелких сколов, выбоин, раковин раствором (полимерцементным раствором), нанесение гидрофобизирующего состава, нанесение покрытий

Окраска металлической поверхности

- очистка металлической поверхности от ржавчины, старой краски механическим способом, промывка поверхности специальным раствором, нанесение грунтовки, нанесение лакокрасочного покрытия.

Материалы, применяемые при профилактике

Импрегнирование (пропитка, гидрофобизация)

- кремнийорганическая жидкость ГКЖ-94 (или другое название - полиэтилгидроксилоксановая) гидрофобизирующая жидкость 136-41 (ГОСТ 10834-86 100% концентрация)

- эмульсия кремний органической жидкости КЭ-30-04 по МХП-6-815-73 (является готовой концентрированной эмульсией жидкости 136-41 заводского приготовления 50% концентрации)

Лакокрасочные покрытия

- перхлорвиниловые эмали ХВ-124, ХВ-125 ГОСТ 10144-74. До рабочей вязкости эмали доводят на месте работ разбавлением растворителями Р-4, Р-5 (ГОСТ 7827-74)

- полимерцементные растворы (краски)

Профилактические сосланы, способы их приготовления и нанесения

Вид работ

Рекомендуемый объем приготовления ремонтного состава для разового использования

Расход раствора за один проход

Количество проходов

Способ нанесения

Гидрофобизация

1. всего 20 л:

вода - 18 л

жидкость 136-41 (ГКЖ-94) - 2 л

2. всего 20 л:

вода - 18 л

эмульсия КЭ-30-04 - 2 л

200 г/м2

Для профилактики - 1 проход;

Для обработки поверхности, подвергшейся шелушению - 2 прохода

Распылением

Окраска

Краска хлорвиниловая ХВ-124, XD-125 (перед употреблением размешать)

120-150 г/м2

2 - 3 слоя

Распылением

РАЗДЕЛ III. ПЛАНОВО - ПРЕДУПРЕДИТЕЛЬНЫЙ РЕМОНТ

Планово-предупредительный ремонт - комплекс работ по поддержанию элементов конструкций мостов в работоспособном состоянии, уменьшению их износа.

Состав работ, сезонность выполнения

Элементы сооружения

Состав работ

Сезонность выполнения

I кв

II кв

III кв

IV кв

1

2

3

4

5

6

ПОДХОДЫ

- восстановление покрытия

-

+

+

-

- ремонт направляющих, ограждающих средств

+

+

+

+

- ремонт узла сопряжения мостов с насыпью

-

+

+

+

- выравнивание профиля проезда за счет досыпки на насыпи (без перекладки переходных плит) или укладки слоев одежды

-

+

+

+

- правка водоотводных лотков по откосам насыпи и их ремонт

-

+

+

+

ПОДМОСТОВАЯ ЗОНА

- восстановление размытых участков откосов и конусов

-

+

+

+

- укрепление откосов и конусов

-

+

+

+

- восстановление укрепления регуляционных сооружений

-

+

+

+

МОСТОВОЕ ПОЛОТНО

- ремонт или организация водоотвода с добавлением при необходимости водоотводных устройств

-

+

+

+

- локальный ремонт гидроизоляции вдоль тротуаров и в мостах примыкания к деформационным швам, водоотводным трубкам, лоткам, к элементам ограждений, столбам освещения

-

+

+

-

- прочистка водоотводных трубок

 

 

 

 

- ремонт деформационных швов, заполненных мастикой с устранением дефектов

-

+

+

-

- ремонт деформационных швов с резиновыми компенсаторами (замена резинового компенсатора), усиление анкеровки окаймления

-

+

+

+

- ремонт тротуаров

-

+

+

+

-зачеканка щелей в тротуарных блоках

-

+

+

+

- укладка покрытия на тротуарах

-

+

+

-

- ремонт перил, бордюров, ограждений с их частичной заменой

+

+

+

+

ПРОЛЕТНОЕ СТРОЕНИЕ

- восстановление защитного слоя бетона с очисткой и защитой от коррозии ого ленной арматуры

-

+

+

+

- сплошная окраска пролетных строений

-

+

+

+

- проверка и восстановление объединения балок между собой

+

+

+

+

- усиление отдельных элементов в металлических пролетных строениях (узлы, решетка)

+

+

+

+

- выправка элементов решетки

+

+

+

+

- замена дефектных заклепок

+

+

+

+

- ремонт и восстановление смотровых обустройств в пролетных строениях

+

+

+

+

- восстановление защитного слоя бетона

 

 

 

 

ОПОРЫ

- заделка сколов, раковин, трещин

-

+

+

+

- ремонт и восстановление сливов.

-

+

+

+

- расшивка швов облицовки опор

-

+

+

+

- инъектирование растворов в трещины между блоками

-

+

+

+

- ремонт опор торкретированием железобетонной поверхности

-

+

+

+

- ремонт подферменников

+

+

+

+

Трудозатраты на отдельные виды работ

№ пп

Вид работ

Единица измерения

Трудозатраты, чел/дн

1

2

3

4

1

Восстановление покрытия на подходах

10 квм

2,0

т

Правка водоотводных лотков и их ремонт

10 квм

2,7-3,05

3

Укрепление откосов, конусов

10 квм

2,5

4

Восстановление укрепления регуляционных сооружений

10 квм

2,5

5

Прочистка водоотводных трубок

10 трубок

9,1

6

Ремонт перил, бордюров, ограждений с их частичной заменой

100 м

33

7

Зачеканка щелей в тротуарных блоках

100 квм шва

4,75

8

Восстановление защитного слоя бетона

пог. м (10 куб м)

0,6 (5,2)

9

Сплошная окраска пролетных строений

10 квм

0,55

10

Усиление отдельных элементов металлических конструкций

10 накладок

9,2

11

Выправка металлических элементов

1 элемент

16,8

12

Замена дефектных заклепок

10 заклепок

1,1-1,5

13

Заделка раковин, трещин

1 место (10 пм)

0,15 (2,4-3,6)

РАЗДЕЛ IV. УСТРАНЕНИЕ ДЕФЕКТОВ

Устранение дефектов производится специализированной бригадой.

Мостовое полотно

Ремонт водоотвода под тротуарами при исправных тротуарных блоках

Схема изоляции тротуарного блока

1 - тиоколовая (битумная) мастика

2 - литой асфальт

3 - штраба

4 - мастика

5 - раствор М 300

6 - пробитое отверстие d=40мм через 135 см

Производство работ

Вскрывают вкладные тротуарные плиты (2). Верху балок придают поперечный уклон цементным раствором (5). Поверхность их покрывают битумным лаком за 2-3 раза ими тиоколовой битумной мастикой.

При отсутствии возможности выхода воды из-под тротуара в ребре тротуарного блока пробивают отверстие (6) d=40мм для удаления воды.

Нижнюю часть тротуарных блоков. Поверхность плиты и упоров и стенки тротуарных блоков покрывают битумным лаком.

После укладки плит устраивают покрытие из литого асфальта. Зазоры заполняют битумной мастикой.

Ремонт гидроизоляции в местах примыкания к тротуару

Возможны следующие варианты ремонта:

I. Улучшение гидроизоляционных свойств одежды в месте примыкания к тротуару без снятия защитного слоя

а) - вырубка слоя

б) - выполнение ремонтных работ

1 - штраба 3×4 см, залитая мастикой

2 - защитный слой

3 - гидроизоляция

4 - выравнивающий слой

5 - асфальтобетонное покрытие

6 - слой гидрофобизации 10%-ой ПОК-94

7 - слой битумлака

8 - новое асфальтобетонное покрытие

Производство работ

1. Вырубают пневмоинструментом покрытие шириной 1 м вдоль тротуаров.

2. В защитном слое нарезают штрабу сечением 3×4 см (1), очищают паз от бетона и пыли, запивают горячей мастикой.

3. Поверхность защитного слоя очищают от пыли щетками вручную, сушат продувкой сжатым воздухом. На поверхность наносят 10%-ный водный раствор ГКЖ-94 в два слоя и битумный лак

4. Восстанавливают асфальтобетонное покрытие

II. Ремонт изоляции в местах примыкания к тротуару с удалением защитного слоя

а) - вырубка слоя

б) - выполнение ремонтных работ

1 - тротуарный блок

2 - плита проезжей части

3 - выравнивающий слой

4 - старая гидроизоляция

5 - старый защитный слой

6 - старое покрытие

7 - новая оклеенная изоляция

8 - новый защитный слой

9 - новое асфальтобетонное покрытие

Производство работ

1. Вырубают пневмоинструментом покрытие шириной 1 м вдоль тротуаров.

2. Вырубают цементобетонный защитный слой шириной 0,8 м.

3. По очищенной поверхности гидроизоляции укладывают новую двухслойную гидроизоляцию с заводкой ее на поверхность блока.

4. Восстанавливают защитный слой из цементного раствора М 300 с армированием металлической сеткой.

5. Восстанавливают покрытие из мелкозернистого асфальтобетона

III. Ремонт гидроизоляции в местах примыкания к тротуару с увеличением высоты бордюра

1 - тротуарный блок

2 - новая гидроизоляция тротуара и проезжей, части

3 - покрытие на тротуаре

4 - приставной бетонный бордюр

5 - бетонный прилив

6 - старая гидроизоляция

7 - старый защитный слой

8 - старое покрытие

9 - выравнивающий слой

Производство работ

1. выполняют пневмоинструментом ступенчатую вырубку асфальтобетонного покрытия шириной 1 м и защитного слоя шириной 0,8 м.

2. Удаляют приставной бордюр, укладывают слой гидроизоляции с заводкой ее на блок, устанавливают новый бордюрный камень высотой 0,5 м либо устраивают монолитный бордюр из бетона М 400 с каркасным армированием.

3. Бетонирование бордюра осуществляют одновременно с устройством цементобетонного защитного слоя толщиной 4 см.

4. Устраивают бетонный прилив или восстанавливают асфальтобетонное покрытие

Ремонт гидроизоляции по всей площади моста

I. Устройство нового слоя

Производство работ

1. Снимают асфальтобетонное покрытие

2. Устраивают двухслойную оклеечную гидроизоляцию по защитному слою.

3. Наращивают бордюр.

4. Укладывают защитный слой из асфальтобетона.

5. Восстанавливают асфальтобетонное покрытие

II. Замена существующего слоя (желательно с заменой тротуарных блоков на новые в низком уровне)

Производство работ

1. Вырубают асфальтобетонное покрытие и защитный слой.

2. Снимают полностью изоляцию.

3. Очищают поверхность выравнивающего слоя.

4. Устраивают трехслойную битумную изоляцию с армированием двумя слоями стеклоткани или с применением гидростеклоизола.

5. Наращивают бордюр.

6. Улучшают гидроизоляцию тротуаров и бордюров.

7. Восстанавливают защитный слой из цементного раствора М 300.

8. Восстанавливают покрытие из мелкозернистого асфальтобетона.

9. При замене тротуарных блоков-то же с укладкой гидроизоляции по всей ширине моста

РЕКОМЕНДУЕМЫЕ СОСТАВЫ БИТУМНЫХ МАСТИК ДЛЯ ГИДРОИЗОЛЯЦИЙ

Наименование мастик, компоненты мастик

Нормативный документ

Состав мастик в частях по массе

Климатическая зона

I

II

III

Средняя температура наиболее холодных суток С°

ниже -20°С

от -20°С

до -40°С

ниже -40°С

1

2

3

4

5

Битумная - 1

 

 

 

 

Битум нефтяной строительный марки БН-1У

ГОСТ 6617-76

90-100

75-80

-

Индустриальное масло марки И-50А

ГОСТ 20799-75*

10-0

25-50

 

Асбест хризолитовый 7-го сорта

ГОСТ 12871-67*

0

25-0

 

Битумная - 2

 

 

 

 

Битум нефтяной платбит для изоляции нефтегазопроводов (или мастика МБР)

ГОСТ 9812-74

(155836-79)

95-100

85-90

75-80

Индустриальное масло марки И-50А

ГОСТ 20799-75*

5-0

15-10

25-20

Асбест хризолитовый 7-го сорта

ГОСТ 12871-67*

0

0

25-20

РЕМОНТ ТРОТУАРНЫХ БЛОКОВ

Очистить поверхность тротуарных блоков от отслоившегося и слабого бетона. Закрепить металлическую формообразующую опалубку. Уложить пескобетон на цементно-полимерное связующее (цемент+ПВА+полимерсульфатная эмульсия). Снять опалубку после твердения пескобетона и установить ограждение из оцинкованной стали (отливы) на края тротуаров.

Демонтировать перильное ограждение и тротуарные блоки. Уложить (смонтировать) металлические балки вместе с установленными на них стойками колесоотбойного ограждения. Установить деревянную опалубку закрепив ее жестко и уложить арматуру тротуарных блоков. Уложить бетон и после его отвердения снять опалубку и установить ограждение из оцинкованной стали (отливы) на края тротуаров.

Реконструкция

Снять тротуарные блоки с перильным ограждением и колесоотбойными элементами (пришедшими в негодность). Снять асфальтобетонное покрытие и бетон сточного треугольника до верха полок балок пролетных строений. Установить опалубку. Уложить арматуру и закладные детали. Уложить бетон монолитной железобетонной плиты пролетного строения

РЕКОМЕНДУЕМЫЕ МАТЕРИАЛЫ ДЛЯ РЕМОНТА И ИХ РАСХОД НА 1 м2

Стеклоткань марки Э-3_200

ГОСТ 8481-75

2 м2

Полиэтиленовая пленка марки «С»

ГОСТ 10354-73

1 м2

Индустриальное масло

ГОСТ 20799-75

2,5 кг

Гидрофобизирующая жидкость ГКЖ-94

ГОСТ 10834-76

0,05 кг

Портландцемент

ГОСТ 10178-76

18 кг

Песок строительный

ГОСТ 8736-77

30 кг

Щебень

ГОСТ 8267-75

40 кг

Сталь горячекатаная для армирования бетона

ГОСТ 5781-75

3,5 кг

Бетон дорожный М 300, 400 -

ГОСТ 8424-72

0,04 м3

Битумный лак

 

0,2 кг

Гидростеклоизол

ТУ 400-1-51-75

2 м2

Битумно-бутилкаучуковая мастика МББГ-70

ТУ 21-27-40-78 -

10 кг

Битум нефтяной строительный

ГОСТ 6617-76

7,5 кг

Асбест хризолитовый 7-го сорта

ГОСТ 12871-67

100 кг

Состав битумного лака:

битум горячий                 - 1 весовая часть

бензин А-72 - 1,5                        - 2,0 весовых части

Ремонт деформационных швов

I. Ремонт швов закрытого типа (применяется при пролетах до 20 метров)

а) - с вырубкой покрытия и очисткой зазора

б) - с заполнением зазора, заклиниванием уплотнителя и укладкой покрытия

1 - асфальтобетонное покрытие

2 - защитный слой

3 - гидроизоляция

4 - выравнивающий слой

5 - компенсатор

6 - вырубленное покрытие

7 - очищенный зазор

8 - мастика

9 - пористый вкладыш

10 - уплотнитель

11 - гидростеклоизол

12 - новое покрытие

Производство работ

1. вырубка покрытия (картами или на всю длину шва) и защитного слоя, подливка цементного раствора под компенсатор, закреш1ение его, восстановление слоев проезжей части (гидроизоляции, защитного слоя, покрытия).

2. устранение бугров над швом с трещинами: переделка деформационного шва закрытого типа па шов заполненного типа, замена покрытия у шва.

3. Ликвидация протекания воды через шов: снятие покрытия и защитного слоя, усиление гидроизоляции, восстановление слоев дорожной одежды, замена заполнения петли компенсатора.

II. Ремонт швов заполненного типа (применяется при пролетах 20-35 метров)

а) - со ступенчатой вырубкой слоев одежды

б) - с реконструкцией шва заполненного типа с асфальтобетонными кромками

1 - асфальтобетонное покрытие

2 - защитный слой

3 -гидроизоляция

4 - выравнивающий слой

5 - очищенная поверхность балок

6 - зазор

7 -новый выравнивающий слой

8 - неметаллический компенсатор (слой гидростеклоизола)

9 - новая гидростеклоизоляция (2 слоя стеклоткани)

10 - полиэтиленовая пленка

11 - пористый заполнитель (жгут)

12 - закладная доска (брус)

13 - мастика заполнения

14 - новый защитный слой

15 - новое асфальтобетонное покрытие

Производство работ

1. Устранение разрушенных кромок швов и выкрошенной мастики: ремонт кромок покрытия, замена мастики (заливка шва мастикой).

2. Ликвидация трещин в покрытии, покрытие защитного слоя и изоляции в зоне шва, заливка цементного раствора под компенсатор и его закрепление, восстановление слоев дорожной одежды, заливка шва мастикой.

3. Ликвидация бугров в зоне шва: переделка шва на шов с бетонными кромками.

Более сложные виды ремонтных работ, связанные с заменой или усилением компенсатора, а также полное восстановление всех элементов конструкции шва, замена на другую конструкцию, допускающую большие перемещения производятся в соответствии с Рекомендациями по ремонту железобетонных мостов или по отдельному проекту.

Общие указания по производству работ

К ремонтным работам готовят сразу несколько швов, чтобы асфальтобетонное покрытие можно было укладывать и уплотнять на большей площади. Начинают ремонт па одной стороне моста с ограждением места работ приспособлениями и дорожными знаками.

Движение транспортных средств осуществляют по свободной полосе шириной не менее 3,0 м. Ремонт производят в теплое (температура воздуха выше +5°С) и. сухое время года в следующей последовательности:

1. Очищают покрытие от пыли и грязи вручную метлами.

2. Вырубают пневмоинструментом асфальтобетон на поврежденном покрытии, но не менее .0,5 м в каждую сторону от шва, куски асфальтобетона с места, работ удаляют.

3. Очищают оголенную поверхность и паз шва от старой мастики к. пыли вручную щетками и продувают сжатым воздухом.

4. Наклеивают слой изоляционного рулонного материала (гидростеклоизола) без разрыва и с опусканием его в петлю компенсатор. Поверх рулонного материала разливают слой горячей мастики, вдоль шва раскатывают полиэтиленовую пленку и заводят ее в петлю, прижимая к стенкам и горизонтальным поверхностям.

5. Заливают мастику в петлю компенсатора (1,5 - 2,0 л/м) и втапливают пористый вкладыш (канат или поролон). В уровне защитного слоя в паз шва закладывают влажную рейку (доску) и в зазоры между стенками шва и доской заливают мастику.

6. Обрабатывают (грунтуют) стенки и основание вырубки горячей мастикой вручную кистями или валиком. Материал готовят на месте работ смешением горячего обезвоженного битума БН×IV и бензина А-72, взятых в соотношении 1:2.

7. Укладывают свежую асфальтобетонную смесь вручную или асфальтоукладчиком ЭД-1МБ.

8.Уплотняют асфальтобетонное покрытие моторным катком массой 6-10 тн за 6-8 проходов по одному слою.

РЕКОМЕНДУЕМЫЕ СОСТАВЫ МАСТИК ДЛЯ ЗАПОЛНЕНИЯ ДЕФОРМАЦИОННЫХ ШВОВ В ЧАСТЯХ ПО МАССЕ

Наименование мастик, компоненты мастик

Нормативный документ

Соста» мастик в частях по массе

Мистика битумно-изопреновая (МБИ-8)

 

расход 5 кг/м длины шва

Битум марки БНД 40/60, БНД 60/90

ГОСТ 22245-76

90-100

Изопреновый каучук СКИ-3

ГОСТ 14924-79

6-8

Бензин автомобильный А-72

ГОСТ 2084-77

следы

Смола каменноугольная

ГОСТ 4492-69

ТУ МНХП

1-3

Гудрон нефтяной

38-101-582 75

10-0

Мастика битумно-полимерная (МПБВ)

 

расход 5 кг/м шва

Битум марки БНД 60/90

ГОСТ 22245-76

95

Летнее дизельное топливо

ГОСТ 305-73*

5

Дивинил строительный термоэластопласт (ДСТ-30)

ТУ МНХП

38-40365-76

4

ЖЕЛЕЗОБЕТОННЫЕ ПРОЛЕТНЫЕ СТРОЕНИЯ И ОПОРЫ

Ремонт поверхностей железобетонных конструкций

Работы по ремонту поверхностей железобетонных конструкций включают пять групп:

1. Предотвращение повреждений (профилактика).

2. Ремонт поверхностей, поврежденных на глубину до 10 мм.

3. Восстановление защитного слоя, поврежденного на глубину до 30 мм.

4. Восстановление бетона конструкции, поврежденной на глубину свыше 30 мм с оголением арматуры.

5. Ремонт локальных повреждений - раковин, сколов.

МАТЕРИАЛЫ И ИХ ПРИМЕНЕНИЕ ПРИ РЕМОНТЕ

№ пп

Материал

Нормативный документ

Изготовитель

Примечание

1

2

3

4

5

1

Эмульсия дивинил стирольного латекса СКС-65-ГП

ГОСТ 10564-75

Ярославский завод синтетического каучука

Хранится в металлических бочках Срок хранения 1 год. Необратимо распадается при температуре ниже 5°С

2*

Эпоксидные диановые смолы ЭД-20, ЭД-22

ГОСТ 10564-75

Охтинский химкомбинат г. Санкт-Петербург

Хранится в герметически закрытых оцинкованных или алюминиевых бочках. Срок хранения - 6 месяцев

3*

Эпоксидная грунтовка ЭП-00-10

ГОСТ 10277-76

 

 

4*

Эпоксидная эмаль ЭП-773

ГОСТ 23343-78

 

 

5

Кремнийорганическая жидкость ГКЖ-94

ГОСТ 10834-76

Жидкость гидофобизирующая 136-41

Химкомбинат г. Данков Липецкой области

Хранится в оцинкованных бочках. Срок хранения - 0 1 год.

6

Перхлорвиниловая эмаль ХВ-124, ХВ-125

ГОСТ 10144-74

 

 

7

Портландцемент**

ГОСТ 10178-76

 

Для полимерцементных составов - М 300.Для бетона по грунтовке - КЦК и торкретбетона - М 400. Для коллоидно-цементного клея -М600

8

Песок кварцевый **

ГОСТ 8736-77

 

 

9

Щебень гранитный

ГОСТ 8267-75

 

Марка щебня не менее 600

10

Алкилрезорциновая эпоксидная смола ЭИС-1

ТУ МНХП

38-109-1-71

Сланцеперерабатывающий комбинат

Хранится в герметически закрытых оцинкованных или алюминиевых бочках. Срок хранения - 6 месяцев

11*

Отвердитель полиэтиленполиамин ПЭ11А

ТУ МНХП

6-02-594-70

 

Хранится в стеклянных бутылках. Срок хранения 1 год

*Эпоксидные смолы и отвердитель токсичны. Отвержденные эпоксидные смолы и материалы на их основе не токсичны.

**Для приготовления коллоидно-цементного клея допускается совместный домол цементно-песчаной смеси до удельной поверхности 5000 см2/г. Срок хранения тонкоизмельченной цементно-песчаной смеси (комплексного вяжущего КЦК) зависит от герметичности тары и колеблется от 5 суток до 1 месяца. Если смесь хранится на открытых площадках, то при влажности воздуха менее 60% срок хранения составляет 3 суток, при влажности воздуха более 60% - 1 сутки.

Предотвращение повреждений, устранение шелушения

1. Полимерцементная краска на основе синтетического латекса СКС-65 ГП.

Состав в весовых частях:

44%-ая латексная эмульсия СКС-65ГП                       - 100

цемент                                                                             - 700

вода                                                                                  - 175

Готовую краску в 2-3 слоя наносят на поверхность краскораспылителем. Давление - 0,3-0,4 МПа. Расход краски - 2-3 кг/м2. Предпочтительная область применения - поверхности средних балок, опоры.

2. Гидрофобизация поверхности кремнийорганической жидкостью ГКЖ-94.

Жидкость ГКЖ-94 разбавляют водой до 10-15%-ой концентрации и наносят на бетонную поверхность краскораспылителем в два слоя. Расход -200-300 г/м2. Возможно использование дублированных покрытий, наносимых краскораспылителем в следующем порядке:

- на бетонную поверхность наносят слой 15%-иой эмульсии ГКЖ-94 (расход 100-120 г/м2);

- затем наносят два слоя перхлорвиниловой эмали ХВ-124, ХВ-125 (расход 200-300 г/м2) или на бетонную поверхность наносят дна слоя 10%-ом эмульсии ГКЖ-94. Зятем наносят эпоксидную эмаль ЭП-773. При локальных ремонтах (малые поверхности) вместо эпоксидной эмали можно применять полимерные краски на основе эпоксидных смол.

Предпочтительная область применения:

- гидрофобизация - любые поверхности;

- гидрофобизация и лакокрасочные материалы - фасадные поверхности, опоры;

- гидрофобизация и эпоксидная эмаль - фасадные поверхности.

3. Полимерная краска (грунтовка.) на основе эпоксидных смол.

Состав в весовых частях:

эпоксидная смола ЭД-20, ЭД-22, ЭИС-1                    - 100

деготь                                                                               - 70

отвердитель-полиэтиленполиамин                             - 8-12

В эпоксидную смолу вводят деготь, смесь перемешивают, затем добавляют отвердитель и снова перемешивают в течение 4-5 минут. Количество отвердителя зависит от окружающей температуры, уточняют его на основании пробных замесов с таким расчетом, чтобы получить жизнеспособность смеси 1,5-2 часа. Составы на бетонную поверхность наносят кистью. Расход -450 г/м2. Используют при небольших площадях ремонтируемых поверхностей. Может быть использована грунтовка заводского изготовления ЭП-00-10 или эпоксидная эмаль ЭП-773, наносимая распылением.

Ремонт поверхности, поврежденной на глубину до 10 мм.

1. Полимерцементное тесто на основе синтетического латекса.

Состав в весовых частях:

44%-ая латексная эмульсия СКС-65ГП            - 100

цемент                                                                 - 650

вода                                                                      - 70

Готовое тесто укладывают мастерком. Перед укладкой поверхность конструкции смачивают при помощи кисти или краскораспылителя 10%-ой латексной эмульсией. Используется при ремонте поверхности средних балок.

2. Полимер цементобетонная краска на основе эпоксидных смол.

Состав в весовых частях тот же, что и в разделе «Шелушение». Используется самостоятельно или совместно с гидрофобизацией.

3. Гидрофобизация поверхности кремнийорганической жидкостью с последующим нанесением лакокрасочных покрытий (ХВ-124, ХВ-125). Используется только при защите средних балок.

4. Торкрет раствор. В качестве состава для торкретирования используют сухую цементно-песчаную смесь в соотношении цемент: песок=1:3 или 1:4. Марка цемента должна быть не менее М 400. Влажность песка 2-6% по отношению к абсолютно сухой смеси. Сухие составляющие перемешивают в бетономешалке и загружают в бетоншприцмашину. Необходимое количество воды (В/Ц=0,3-0,4) подают в процессе укладки смеси.

Восстановление защитного слоя, поврежденного на глубину до 30 мм

Предварительные работы: поверхность бетона и обнаженной арматуры очищают от грязи, пыли, продуктов коррозии металлическими щетками или пескоструйным аппаратом. Жировые пятна удаляют ветошью смоченной ацетоном, бензином или другим растворителем

1. Полимерный раствор на основе синтетического латекса.

Состав в весовых частях:

44% латексная эмульсия СКС-65 ГП                  - 100

цемент                                                                   - 550

песок                                                                      - 700

вода                                                                        - 70

Раствор укладывают мастерком на поверхность, очищенную и увлажненную 10% латексной эмульсией. Предпочтительная область применения поверхность средних балок. На вертикальных поверхностях раствор удерживают опалубкой. Начало схватывания состава через 45-55 мин. с момента его приготовления.

2. Коллоидно-цементный клей (КЦК).

Состав в весовых частях:

тонкомолотый цемент М 600 с удельной поверхностью 5000 см2  - 100

песок кварцевый домолотый до той же поверхности                          - 45

ускоритель твердения СаС12                                                                  - 3

вода                                                                                                           - 30

пластификатор - сульфитно-спиртовая барда (бражка) - 1

Комплексное вяжущее получают в результате смешения тонкомолотых цемента и песка. Оно может храниться (в зависимости от герметичности тары) а течение 5-30 суток. Для приготовления КЦК комплексное вяжущее смешивают с водой, пластификатором, ускорителем твердения и подвергают виброактивации с помощью вибробулавы от вибратора с частотой 10-14 тыс. колебаний в минуту в течение 7-10 минут. Жизнеспособность КЦК при температуре 18-19°С 3-4 часа. Если приготовленный клей после виброактивации хранится более 30 мин., то перед использованием ее следует повторить в течение 3 мин. Клей наносят кистью на предварительно смоченную водой поверхность. Толщина слоя - 2-3 мм, расход клея - 3-5 кг/м2. При укладке на гидрофобизированную поверхность КЦК может быть применен и при ремонте фасадов.

3. Торкрет раствор (см. п.4 «Повреждения до 10 мм»).

Восстановление бетона конструкции, поврежденной на глубину свыше 30 ми с оголением арматуры.

Предварительные работы: поверхность бетона и обнаженной арматуры очищают от пыли, грязи, продуктов коррозии металлическими щетками или пескоструйным аппаратом. Слабый бетон удаляют. При необходимости устанавливают дополнительные арматурные сетки, которые тщательно крепят к имеющейся арматуре.

1. Полимерный бетон на основе синтетического латекса.

Состав в весовых частях:

44% эмульсия СКС-65 ГП            - 100

цемент                                            - 400

песок                                               - 600

щебень                                            - 1200

вода                                                 - 119

Состав укладывают на поверхность, увлажненную 10% латексной эмульсией. Опалубку можно снять через 5-7 суток. Уход за бетоном не нужен. Предпочтительная область применения - средние балки.

2. Обычный бетон по грунтовке КЦК. Состав и приготовление КЦК см. выше.

состав бетона в весовых частях:

цемент марки М 400                     - 400

песок                                               - 135

щебень                                            - 270

вода                                                 - 40-50

Приготовленный КЦК кистью наносят на очищенную бетонную поверхность. Затем по обычной технологии укладывают бетон.

3. Торкретбетон.

Сухую смесь перемешивают в бетономешалке в соотношении цемент: песок: щебень=1:3:2. Максимальная крупность щебня - 15 мм. Влажность заполнителей - 2-6% по отношению к абсолютно сухой смеси. Водоцементное отношение - 0,35-0,45. При нанесении надо следить, чтобы за арматурными стержнями не оставалось пустот. Толщина слоя - 30-50 мм. Последующие слои наносятся после схватывания предыдущих.

Ремонт локальных повреждений (раковин, сколов)

Ремонт сквозного отверстия

1 - железобетонная балка

2 - подкладки

3 - стяжные болты

4 - закладная опалубка

5 - брусья

Ремонт нижнего откола

1 - железобетонная балка

2 - ремонтируемая поверхность

3 -вертикальная опалубка

4 - горизонтальная опалубка

5 - струбцина

1. Полимерраствор (бетон) на основе эпоксидных смол

Состав в весовых частях

раствор

бетон

эпоксидная смола ЭД-20, ЭД-22, ЭИС-1

100

100

деготь

70

50-70

отвердитель ПЭПА

8-12

8-12

песок

400

350

щебень

-

500

Составы приготавливают в следующем порядке: в эпоксидную смолу вводят деготь и перемешивают, вводят отвердитель ПЭПА и снова перемешивают и течение 4-5 мин. Затем небольшими порциями добавляют песок, перемешивают. В последнюю очередь вводят щебень. Если дефект находится в сжатой зоне, деготь вводят в количестве 30 весовых частей. Составы укладывают по эпоксидной грунтовке. Опалубка может быть снята через 10-15 часов после затворения смеси отвердителем. Выбор применения бетона или раствора зависит от глубины дефекта. Максимальная крупность заполнителя должна быть не более 1/4 глубины дефекта и не более 15 мм. Предпочтительная область применения - крайние балки, поверхности опор.

2. Бетон на комплексном вяжущем КЦК.

Состав в весовых частях:

коллоидно-цементный клей                    - 100

песок                                                           - 135

щебень                                                        - 270

вода                                                            - 40

Бетон на вяжущем КЦК приготавливают и укладывают по обычной технологии бетонирования с той лишь разницей, что он должен быть подвергнут в течении 10 мин. Выброактивации при помощи вибробулавы вибратора с частотой 10-14 тыс. колебаний в минуту. Предпочтительная область применения - средние балки.

ТЕХНОЛОГИЯ ТОРКРЕТИРОВАНИЯ

Дня торкретирования используют сухую минеральную смесь с соответствующим соотношением цемента, песка и щебня 1:3(3,5):2. Максимальная крупность зерен щебня - 15 мм. Марка цемента не ниже М 400. Для ускорения схватывания торкретбетона в его состав можно вводить добавку NaF в количестве 1-2% от массы цемента. Просеянные и отдозированные цемент, песок и щебень загружают в бетономешалку. После перемешивания смесь перегружают в бетоншприцмашину. Необходимое количество поды (В/Ц=0,35-0,45) под давлением, превышающим давление на минеральную смесь на 2-1,5 атм. подают при нанесении торкретбетона непосредственно к соплу и регулируют вентилем па сопле.

Количество воды контролируют визуально и подбирают пробным нанесением торкретной смеси на специальный щит. Правильно уложенная торкретная масса имеет факел из смеси одинакового цвета, а поверхность торкрета - жирный блеск. При недостатке воды в смеси на поверхности появляются сухие пятна и полосы, образуется значительное количество пыли. Избыток воды приводит к оплыванию смеси, образованию мешков на поверхности. Перед нанесением торкретбетона ремонтируемую поверхность следует очистить, от слабого бетона, продуктов коррозии и обработать воздушно-водяной струей из сопла бетоншприцмашины. При торкретировании сопло должно находиться на расстоянии 80-100 см от обрабатываемой поверхности. Ствол сопла следует перемещать по спирали и держать его перпендикулярно к ремонтируемой поверхности. Средняя толщина слоя, наносимого за один раз не должна превышать 3-8 см, причем каждый последующий слой следует наносить примерно через 2-4 часа.

Поверхность торкретбетона в процессе твердения следует укрывать песком, мешковиной и поливать водой в течение 7 суток. Допускается вместо смачивания водой на свежеуложенную поверхность наносить паронепроницаемые пленочные покрытия для предотвращения поверхности от преждевременного высыхания. Для этой цели могут быть использованы кремнийорганическая жидкость ГКЖ-94,пленкообразующая жидкость типа помароль ПМ-86, ПМ-100А.

При ремонте поверхностей эксплуатируемых мостов целесообразно использовать передвижную торкретную установку, включающую в себя автомобильный прицеп, на котором смонтировано следующее оборудование:

- дизельная электростанция ДЭСМ-30

- бетоншприцмашина СБ-67

- система водоснабжения (емкость для воды, водяной насос и необходимая трубная обвязка)

- скиповой подъемник

- инвентарные передвижные подмости для осмотра и ремонта фасадов

- ящик для шлангов - воздушного, водяного, материального.

Этот комплект оборудования входит в РД-802, На месте производства работ комплект оборудования дополняют передвижной компрессорной станцией с производительностью не менее 5 м3/мин (ЗИФ-55, ЗИФ-55 В, ДК-9М, ПР-10). Комплект оборудования обслуживает бригада из четырех человек: моторист компрессора и электростанции, электрик, сопловщик, помощник сопловщика.

Схема установки для торкретирования РД-802

1 - компрессор с воздухосборщиком;

2 - воздушный шланг;

3 - влагоотделитель;

4 - бетоношприцмашина;

5 - Материальный шланг;

6 - сопло;

7 - регулировочный вентель;

8 - водяной шланг;

9 - водяной насос;

10 - емкость для воды;

11 - источник электроэнергии.

Устранение трещин в железобетонных конструкциях.

Все работы по заделке трещин ведут в теплое и сухое время года при температуре не ниже 10°С. В жаркую погоду работы вести не следует из-за сокращения жизнеспособности составов. На работы по инъецированию трещин с применением механизмов высокого давления свыше 5 атм. составляют проект с расчетом элементов на прочность.

Герметизация трещин без восстановления целостности сечения арматуры. Назначение - защита арматуры от коррозии.

Поверхностная герметизация - покрытие сетки мелких трещин с раскрытием до 0,5 мм защитными пленкообразующими материалами (выполняется аналогично устранению шелушения бетона).

Глубинная герметизация - нагнетание в трещины на глубину 2-3 см специальных атмосферостойких и эластичных материалов - герметиков, эпоксидных компаундов, составов на основе синтетического латекса, тиокола и др. Глубинную герметизацию обычно выполняют ручным шприцем с резиновым наконечником, развивающим давление до 4 атм. Резиновый наконечник шприца охватывает участок трещины длиной 5 см. После нагнетания материалов в участок трещины шприц (без отрыва от бетона) передвигают на 4-5 см и продолжают нагнетание. Для герметизации рекомендуют тиоколовые герметики (например У-30 МЭС-10 по ТУ МНХП 38-105462-72) как наиболее эластичные даже при низких температурах. Время набора прочности герметика 7-10 суток. Вязкость применяемого состава зависит от величины раскрытия трещин и соответствует;

при

б = 0,2-1 мм          30-60 сек

б = 1-2 мм             45-70 сек

б = 2-3 мм             60-90 сек

Прочностная заделка трещин с восстановлением целостности сечения элементов:

Наклейка на трещины металлических и стеклопластиковых полос с целью передачи части растягивающих усилий на элементы усиления. Для наклейки используют полосы из стеклопластика толщиной 4 мм (кроме ребер балок пролетных строений) или металла толщиной 1-5 мм. Наклеивание осуществляют с помощью эпоксидного клея следующего состава

эпоксидная смола ЭД-20, ЭД-22/ЗИС-1     - 100

отвердитель ПЭПА.                                       - 10-15

цемент                                                             - 200-300

Участки трещин между полосами герметизируют. Ширину полос принимают равной 150-200 толщинам.

Инъецирование под давлением в трещины эпоксидных компаундов (клеев). Инъецирование трещин в зависимости от их ширины и размеров элементов проводится под давлением 4-5 атм. или при давлениях порядка 10-30 атм. Использовать более высокие величины давления следует лишь в особых случаях. Применение подвижных легкопроникающих компонентов позволяет также при низких давлениях эффективно проводить заделку малых трещин.

При малых давлениях 4-5 атм. можно использовать простое устройство, изображенное на схеме. В качестве емкости применяют полиэтиленовые бутылки емкостью 1,5-2,0 л с завинчивающимися пробками. В пробки вставляют (или специально изготавливают) патрубки для воздуха и эпоксидного компаунда. Штуцеры изготавливают из фанеры толщиной 10 мм с размером в плане 8×10 см с запрессованной металлической трубкой для резинового шланга. Герметизация тещин и приклейка штуцеров проводят после промывки борта ацетоном тем же составом, что и для инъецирования, с добавлением в него наполнителя (цемента, мела или каолина) в количестве 100-200. Могут быть использованы и полосы из стеклоткани, наклеиваемые на трещину.

Для инъецирования применяют составы на основе эпоксидных смол (ЭД-20), и которые для повышения вязкости добавляют пластификаторы, (см. таблицу). Использовать в качестве раствора метилметакрила, обладающий повышенной подвижностью, не рекомендуется из-за нестабильных результатов.

При низком давлении и небольшой глубине трещин (до 20-30 мм) можно получить удовлетворительные результаты при ширине трещин свыше 0,15-0,20 мм.

Мелкие трещины и при большой их глубине можно использовать высокое давление порядка 20-30 атм. Составы и способы герметизации трещин те же, что и при низком давлении. Штуцера закрепляют в бетоне более надежно путем сверления отверстий на глубину 10-15 мм и вклеивания туда специальных трубок. Давление может создаваться различными методами и в частности с помощью шестеренчатого насоса.

1 - стандартная емкость 1,5-2,0 л

2 - навинчивающаяся крышка

3 - патрубок для полимерного раствора

4 - патрубок для воздуха

 

№ состава

Состав раствора, масс, частей (на смоле ЭД-20)

Температура бетона, °С

Количество отвердителя, масс, частей

Технологическая жизнеспособность, час

1

2

3

4

5

1

Смола - 100

Лапроксид 603-50

Полиэтиленполиамин - 3… 12

10…25

15…20

5…15

0…5

8…9

9…10

10…11

10…12

2,0

 

 

 

 

 

2

Смола - 100

Фуриловый спирт - 20

Триэтанолавмин- 5 или

Полиэтиленполиамин - 6

25…30

20…25

ТЭА-5

ПЭПА-6

1,0

1,0

 

 

 

 

 

3

Смола - 100

Фуриловый спирт - 20

Полиэтиленполиамин - 8…25

15…20

10…10

0…5

0…минус 5

8

11

15

20

25

1,0

1,0

1,0

1,0

1,0

 

 

-----

 

 

4

Смола- 100

Фуриловый спирт - 25

Полиэтиленполиамин - 25…30

Ускоритель твердения (солянокислый аналаин) - 3,6

0…минус 5

минус 5…10

минус 10…15

минус 15…20

25

25

30

30

1,5

1,5

1,5

1,5

 

 

 

 

 

5

Смола- 100

Дибутилфталат - 25

Полиэтиленполиамин - 7…15

25…30

20…25

15…20

10…15

7

7

9

15

1,0

1,0

1,0

1,0

Цементация трещин и пустот в кладке опор

Этот вид работ применяется при ликвидации глубоких трещин с раскрытием более 1 мм и сквозных, пустот в бетонной кладке, образовавшихся при производстве работ, а также выщелачивания и протечек воды.

1 - грунт или подмости; 2 - последовательность заполнения скважин

Производство работ

1.Определение участка дефектной кладки и разметка мест расположения скважин.

2. Забуривание скважин и установка в них инъекционных труб.

3. Промывка скважин водой под давлением 2-4 атм. (ведется сверху вниз). Продувка скважин воздухом (в том же порядке). Обработанные скважины закрывают пробками. Наружные трещины, через которые вытекает вода, заделывают раствором.

4. Инъектирование цементным тестом (М 300) (порядок заполнения сверху вниз): подготовка и проверка оборудования, удаление пробок в скважинах, подача цементного теста под давлением 1 атм., повышение давления ступенями по 0,5 атм. перекрытие заполненных скважин пробками с доведением давлении до максимального.

Максимальное давление при слабой бетонной кладке 4-6 атм., в прочной бетонной кладке 6-12 атм.

Цементирование считается законченным при отсутствии поглощения теста при максимальном давлении 6-12 атм.

Для нагнетания цементного теста применяют растворонасосы давлением 10-15 атм. Раствор нагнетают через заранее забуренные скважины диаметром 36-65 мм. Глубину скважин определяют по месту в зависимости от глубины пораженной дефектом кладки. Расстояние между скважинами 0,8-1,2 м. Бурение проводят перфоратором. Перед инъекцированием в скважины заделывают инъекционные трубки из газовых труб.

При интенсивных протечках вода и выколах для заполнения трещин применяют составы или на основе цементного раствора или современных синтетических материалов вступающих в соединении с водой  типа САЙПЕКС

Рекомендуемые материалы и состав

Эпоксидный клей

- смола ЭД-5, ЭД-6, ЭИС-1                              100

- пластификатор (дибутилфтолат)                     20

- отвердитель (полиэтиленполиамин)             8-12

Цементное тесто

- цемент М 300

- вода

Устройство железобетонной рубашки

Применяется при дефектах железобетонных элементов уменьшающих прочность и долговечность (истирание опор, коррозия в агрессивной среде, разрушение из-за низкой морозостойкости бетона свай)

1 - режущий уголок 100×100×10 мм

2 - железобетонная свая

3,4 - арматурный каркас

5 - бетон омоноличивания

 

Производство работ

Вокруг свайной опоры устраивают железобетонную рубашку, объединяющую сваи опор (омоноличивание).

Рубашку располагают на 0,5 м ниже уровня низкого ледохода в русле, на 0,5 м ниже уровня фунта на пойме. Верх рубашки выше на 1 м уровня высокого ледохода.

Ремонтные работы производят при низком уровне воды и в теплое время года. Поврежденные места сваи обрабатывают: удаляют слабый бетой, очищают арматуру, насекают поверхность спай в пределах рубашки. Устанавливают опалубку и арматурный каркас из горизонтальных стержней d=10-12 мм класса АП и вертикальных стержней d=6-8 мм класса А1, приваривают уголок 100×100×10 длиной по месту производят бетонирование.

При агрессивной водной среде защитную рубашку бетонируют с применением стойкого к агрессии цемента (сульфатостойкого).

1 - свая-оболочка

2 - бетонированная рубашка

 

Устраивают бандаж вокруг оболочек из стали толщиной 2-3 мм. Бандаж покрывают антикоррозийным составом. Устанавливают опалубку и заполняют бетоном

ВЫБОР СПОСОБОВ РЕМОНТА

Описанные выше способы устранения повреждений бетона весьма разнообразны и при их применении в различных условиях могут дать различный эффект, в том числе и негативный. Поэтому, при достаточно серьезных по величине и значению повреждениях работы следует вести по специальному проекту, в соответствии с рекомендациями отчетов по обследованию или с учетом осмотра причин их появления и особенно при работе отремонтированного моста после ремонта.

Необходимо исходить из следующих правил ремонта железобетонных конструкций:

- устранить повреждения в зоне протечек и увлажнения следует только после устранения их причин (ремонт водоотводных устройств, гидроизоляции и пр.)

- при протечках через тело конструкций недопустима заделка трещин и неровностей в местах выхода воды и проявления выколов.

- инъецирование или другие виды заделки трещин могут проводиться после изучения величины их раскрытия от временной нагрузки или температурных воздействий. Выбор способа ремонта должен учитывать эти деформации.

- применение эпоксидных (воздухонепроницаемых) красок на поверхности бетона должны быть обоснованы с учетом изменений поведения бетона в условиях его герметизации.

ПОДМОСТОВАЯ ЗОНА

Ликвидация размывов

Локальные размывы после прохождения паводков (берега, у опор) в небольшом размере

Засыпка грунтом или каменными материалами промоин (1).

Размыв берегов, конусов из-за изменения направления течения, косоструйности

1. Устройство траверсов с верховой стороны, укрепление места размыва камнем, габионами, плитами (2).

2. Устройство струенаправляющих дамб (3) по специальным проектам

РАЗДЕЛ V. БЕЗОПАСНОСТЬ ДВИЖЕНИЯ

Мосты с точки зрения безопасности движения автотранспорта требуют к себе повышенного внимания. На безопасность движения на мостах оказывает влияние ряд факторов, в том числе: ширина и состояние проезжей части, высота и соотношение бортовых камней и ограждений, освещение. Конструкция сопряжения с насыпью и другие факторы.

Если состояние и внешний вид элементов проезжей части моста исправны и соответствуют качеству прилегающих участков дороги, безопасность движения на мосту повышается. Поэтому профиль и ровность покрытия проезжей части моста должны соответствовать профилю и ровности дороги.

Разметка проезжей части и окраска ограждений должны быть одинаковыми.

Поскольку конструкция и жесткость проезжей части моста и дороги не одинаковы, то даже при идеальной ровности на участке сопряжения моста с насыпью условия движения автомобилей меняются при въезде на мост. Конструкция сопряжения моста с насыпью должна обеспечивать нормальное движение автомобилей без снижения скорости и способствовать повышению комфортности их проезда и снижению динамического воздействия подвижной нагрузки на сооружение.

В период эксплуатации мостов особое внимание следует обращать на деформационные швы, в которых образуется перелом продольного профиля. Лучшим решением является снижение до минимума количества деформационных швов. Поэтому на мостах старой постройки во время ремонта следует устраивать непрерывную проезжую часть за счет объединения балок по стыкам плит и другим методом. Этим путем улучшается и защита конструкций от протечки воды с автопроезда.

Для обеспечения движения автотранспорта и пешеходов на мостах устраивают ограждения. На новых мостах высота ограждения должна быть рапной 1,1 м для дорог I-III категории и в городах, и 0,75 м на дорогах IV-V категорий. Ограждения на подходах устраивают на протяжении не менее 18 м от начала и конца моста, причем на первых 6 м оно должно быть в створе с ограждениями на мосту. Отгон в плане ограждений, установленных на мосту к ограждениям на дороге должен быть с тангенсом не более 1:20.

При недостаточных по отношению к требуемому современными нормами габариту, высоте ограждения, а также при наличии неисправностей элементов автопроезда безопасность движения, обеспечивается путем установки дорожных знаков, контролирующих движение (скорость и т.д.)

РАЗДЕЛ VI. ОРГАНИЗАЦИЯ ДВИЖЕНИЯ ПО МОСТАМ

Согласно существующим правилам, проезд по мостам разрешается только по проезжей части, на ширине, отведенной для каждого направления движения. На мостах не разрешается разворот автомобилей, их стоянка, перегрузка или выгрузка грузов, ремонт транспортных средств.

Скорость движения, вес автомобилей и их габариты должны соответствовать режиму, установленному дня каждого сооружения. При ограничении движения у мостов устанавливают указатели наибольшего допускаемого веса автомобиля, скорости движении и др. У мостов с ездой понизу указывают высоту габарита проезда.

Все легковые автомобили, грузовые автомобили грузоподъемностью не более 4 т, автобусы вместимостью до 50 человек и любые машины общим весом не более 10 т могут свободно без ограничений проходить по всем мостам и трубам, если они не находятся в аварийном состоянии, когда пропуск любых нагрузок не допускается или ограничен.

По мостам, рассчитанным под нагрузку Н-8 и НГ-30, возможно движение машин общим весом до 10 тн в колонне, а одиночной машины - весом не более 30 тн.

Мосты построенные под нагрузки Н-10 и НГ-60 могут пропускать в составе колонны автомобили весом до 13 тн, а свыше 13 тн и до 60 тн - только как одиночные.

Мосты построенные под нагрузки Н-18, П-30 и НК-80 допускают проход по ним в составе колонны любых автомобилей и автобусов массового серийного производства весом до 30 тонн. В таблице приведен режим движения отдельных видов автомобилей по мостам различной грузоподъемности (табл.3).

Перед мостами рассчитанными на пропуск нагрузок менее 30 тн должны быть установлены знаки «Ограничение веса».

№ пп

Нормативная

нагрузка

Длина пролетного строения, м

Неконтролируемые нагрузки

Установка знаков по

ГОСТ 1080

максим. масса, тн

максим. нагрузка на ось (тс)

1

2

3

4

5

6

1

Н-30, НК-80

для всех пролетов

30

12

не устанавливают

2

Н-18,

до 45

30

12

 

 

НК-80

более 45

23

12

знак 3.11с надписью 23т

3

Н-13

до 6

30

12

знак 3.12 с надписью 12тс

 

НГ-60

6-20

23

12

знак 3.11с надписью 23т

 

 

21-30

20

12

знак 3.11 с надписью 20т

 

 

более 30

17

12

знак 3.11 с надписью 17т

4

Н-10

до 6

30

10

знак 3.12 с надписью 10тс

 

НГ-60

6-12

23

10

знак 3.11с надписью 23т

 

 

12-16

20

10

знак 3.11с надписью 20т

 

 

16-20

15

10

знак 3.11 с надписью 15т

 

 

более 20

13

10

знак 3.11 с надписью 13т

5

Н-8

до 6

30

8

знак 3.12 с надписью 8тс

 

НГ-30

более 6

10

8

знак 3.11с надписью 10т

Возможность пропуска машин или автопоездов, имеющих вес, близкий к предельному или больше для конкретного моста решается владельцем дороги с учетом состояния моста.

Тяжелые машины, превышающие весовые параметры утяжеленных автомобилей, принятых в расчетных схемах (10Ю5 т при Н-8, 13т при Н-10, 18 т при Н-13, 30 т при Н18 и Н-30), но меньше, чем вес одиночных расчетных нагрузок (30 т при НГ-30, 60 т при НГ-60 и 80 т при НК-80) могут пропускаться как одиночные с соблюдением следующих правил:

- на мосту не должны находиться другие транспортные средства;

- движение должно осуществляться по оси проезжей части;

- скорость движения не должна превышать 10 км/час.

Если габаритные и весовые параметры транспортного средства превышают нормативные или допустимые для сооружения по его техническому состоянию показатели, то эти транспортные средства относятся к сверхнормативным нагрузкам.

Нормативная нагрузка на мост

Сверхнормативные нагрузки

База менее (м)

общая факт, масса (т) более

осевой вес (тс) более

Н-8 и НГ-30

30

7,6*

4,0

М-10 и НГ-60

60

9,6*, 12

5,0

Н-13 и НГ-60

60

16

5,0

Н-18 и НК-30

80

20

3,6

Н-30 и НК-80

80

20

3,6

* - для деревянных мостов


 

Тип автомобиля

Режим

движения по мостам, рассчитанным под нагрузки:

Марка автомобиля

Собственный вес, кг

Грузопо-дъемность, кг

Вес груж. автомо-биля, кг

Предельн. нагрузка на ось.кг

Н-8 и НГ-30

Н-10 и НГ-60

Н-13 и НГ-60

Н-18 и НК-80

Н-30, А11, НК-80

длина пролета в м

длина пролета в м

длина пролета в м

длина пролета в м

для всех пролетов

до 6

более 6

до 20

более 20

до 20

более 20

до 45

более45

1

2

3

4

5

6

7

8

9

10

11

12

13

14

БОРТОВЫЕ АВТОМОБИЛИ БОРТОВЫЕ АВТОМОБИЛИ

ГАЗ-53А

3250

4000

7250

5590

+

+

+

+

+

+

+

+

+

ЗИЛ-130

4300

6000

10300

7900

+

+

+

+

+

+

+

+

+

ЗИЛ-133Г2

6875

10000

16875

13505/2

+

одиночно

+

одиночно

+

+

+

+

+

ЗИЛ-133ГЯ

7610

10000

17610

13375/2

+

одиночно

+

одиночно

+

+

+

+

+

УРАЛ-377

7225

7500

14725

11000/2

+

одиночно

+

одиночно

+

+

+

+

+

КАМАЗ-5320

7080

8000

15080

10930/2

+

одиночно

+

одиночно

+

+

+

+

+

КАМАЗ-53212

8200

10000

18200

14000/2

+

одиночно

+до 15 м

одиночно

+

одиночно

+

+

+

МАЗ-500

6600

8000

14600

 

+

одиночно

+

одиночно

+

 

+

+

+

МАЗ-516Б

9050

14500

23550

 

+

одиночно

+до 12м

одиночно

+

одиночно

+

+

+

МАЗ-5335

6725

8000

14725

10000

-

-

+

одиночно

+

+

+

+

+

МАЗ-53352

7450

8400

15850

10000

-

-

+

одиночно

+

+

+

+

+

КРАЗ-257Б1

10285

12000

22285

18000/2

-

-

+до 12м

одиночно

+

одиночно

+

+

+

ГАЗ-66

3640

2000

5640

3040

+

+

+

+

+

+

+

+

+

ЗИЛ-131

6700

5000

11700

8485/2

+

одиночно

+

+

+

+

+

+

+

УРАЛ-375Д

8200

5000

14200

9225/2

+

одиночно

+

одиночно

+

+

+

+

+

УРАЛ-375Н

7700

7000

14700

10755/2

+

одиночно

+

одиночно

+

 

+

+

+

КРАЗ-255Б1

11650

7500

19100

13975/2

+

одиночно

+

одиночно

+

одиночно

+

+

+

КРАЗ-260.

12775

9000

21775

15380/2

+

одиночно

+до 12м

одиночно

+

одиночно

+

+

+

ТЯГАЧИ

ЗИЛ-130В1

3860

6400*

10485

8000**

+

+

+

+

+

+

+

+

+

ЗИЛ-131В

6470

5000

11695

8136/2

+

одиночно

+

+

+

+

+

+

+

КРАЗ-608В

4000

4500

8725

5925

+

+

+

+

+

+

+

+

+

УРАЛ-375С-К1

7450

5500

13175

9100/2

+

одиночно

+

+

+

+

+

+

+

УРЛЛ-377СН

6830

7500

14556

11000/2

+

одиночно

+

одиночно

+

+

+

+

+

УРАЛ-375CH

7260

7400

14885

10975/2

+

одиночно

+

одиночно

+

+

+

+

+

КАМАЗ-5410

6800

8100

15125

11400/2

+

одиночно

+

одиночно

+

 

+

+

+

КАМАЗ-54112

7100

11000

18325

14530/2

+

одиночно

+до 15 м

одиночно

+

одиночно

+

+

+

МАЗ-504А (5429)

6400

7750

14515

1000

-

-

+

одиночно

+

+

+

+

+

МАЗ-504В

6650

7700

14500

10000

-

-

+

одиночно

+

+

+

+

+

КРАЗ-255В1

10380

8000

18655

13245/2

+

одиночно

+до 15 м

одиночно

+

одиночно

+

+

+

КРАЗ-258Б1

9680

12000

21430

17120/2

-

-

+до 15 м

одиночно

+

одиночно

+

+

+

МАЗ-6422

9050

14700

23900

18000/2

-

-

+до 12 м

одиночно

+

одиночно

+

одиночно

+

КРАЗ-260В

10900

9500

2090

14800/2

+

одиночно

+до 15 м

одиночно

+

одиночно

+

+

+

МАЗ-7310

23000

 

 

12000/2

-

 

 

 

 

 

 

 

 

ПРИЦЕПЫ

ГКБ-817

2540

5500

8040

4020

+

+

+

+

+

+

+

+

+

ГКБ-8350

3500

8000

11500

5750

+

одиночно

+

+

+

+

+

+

+

ГКБ-8352

3700

10000

13700

6850

+

одиночно

+

+

+

+

+

+

+

МАЗ-3926

3810

8000

12000

6000

+

одиночно

+

+

+

+

+

+

+

ЧМЗАП-5208

10240

40000

50900

18370

-

-

-

-

-

-

один

 

один

ЧМЗАП-5212А

13900

60000

73900

18490

-

-

-

-

-

-

один

 

один

ЧМЗАП-5530

46350

120000

166350

27600

 

-

-

-

-

-

-

-

-(СНН)

ЧМЗАП-8386

13170

40000

53170

18000

-

 

-

-

-

-

один

 

один

ПОЛУПРИЦЕПЫ

ОдАЗ-885

2850

7500

10950

6000

+

+

+

+

+

+

+

+

+

У-59

3500

7500

11000

7000

+

+

+

+

+

+

+

+

+

КАЗ-717

4000

11500

15500

11000/2

+

одиночно

+

одиночно

+

+

+

+

+

ОДАЗ-9370

4900

14200

19100

11000/2

+

одиночно

+до 15 м

одиночно

+

одиночно

+

+

+

МАЗ-5205А

5700

20000

25700

18000/2

-

-

одиночно

 

одиночно

одиночно

+

одиночно

+

МАЗ-9398

6500

26200

32700

18000/2

-

-

одиночно

одиночно

одиночно

одиночно

одиночно

одиночно

одиночно

МАЗ-9389

6300

32400

38700

24000/3

-

-

одиночно

одиночно

одиночно

одиночно

одиночно

одиночно

одиночно

МАЗ-93801

4100

13500

17600

10000

-

-

+до 15 м

одиночно

+

+

+

+

+

1651

2

3

4

5

6

7

8

9

10

11

12

13

14

МАЗ-93971

6800

20000

26800

18000/2

-

-

одиночно

одиночно

одиночно

одиночно

+

одиночно

+

ЧМЗАП-5523А

6750

25000

31750

19850/2

-

-

одиночно

одиночно

одиночно

одиночно

одиночно

одиночно

одиночно

ЧМЗАП-9399

8800

25000

33800

21800/2

-

-

-

-

одиночно

одиночно

одиночно

одиночно

одиночно

МЗАП-9990

18800

52000

70800

51000/3

-

-

-

-

-

-

одиночно

одиночно

одиночно

САМОСВАЛЫ

САЗ-3504

2900

2250

5300

3770

+

+

+

+

+

+

+

+

+

САЗ-3503

2750

2400

5300

3700

+

+

+

+

+

+

+

+

+

САЗ-3502

4030

3200

7380

5500

+

+

+

+

+

+

+

+

+

ГАЗ-САЗ-53Б

3700

3550

7400

5550

+

+

+

+

+

+

+

+

+

ЗИЛ-ММЗ-555

4570

5250

10045

7130

+

+

+

+

+

+

+

+

+

ЗИЛ-ММЗ-554М

5125

5500

10850

7900

+

+

+

+

+

+

+

+

+

ЗИЛ-ММЗ-4502

4800

5800

10825

7975

+

+

+

+

+

+

+

+

+

КАМАЗ-5511

9000

10000

19150

14680/2

+

одиночно

до 15м

одиночно

+

одиночно

+

+

+

КАМАЗ-55102

8480

7000

15630

11130/2

+

одиночно

+

одиночно

+

+

+

+

+

МАЗ-5549

7225

8000

15375

10000

-

-

+

одиночно

+

одиночно

+

+

+

КрАЗ-256Б1

10850

12000

23015

18465/2

-

-

+до 12 м

одиночно

+

одиночно

+

+

+

ПРОЧИЕ

Трактор К-701

13100

 

 

8500

+

+

+

+

+

+

+

+

+

ТАТРА-815П

22000

2000

24000

7500

+

одиночно

+до 12 м

одиночно

+

одиночно

+

+

+

ТАТРА-815НТП

9200

18000

27200

20000/2

-

-

одиночно

одиночно

одиночно

одиночно

одиночно

одиночно

+

+неконтролируемое движение потока

«одиночно» - допускается движение нагрузки только в единственном числе,

* нагрузка на седельно-сцепное устройство

В графе 5 в знаменателе указано количество осей задней тележки (автомобиля)

- проход нагрузок не разрешается движение других автомобилей в этот момент не допускается

** осевая нагрузка предельная на заднюю ось


РАЗДЕЛ VII. СПРАВОЧНЫЕ ДАННЫЕ

Искусственные сооружения - сооружения, устраиваемые при пересечении автомобильной дорогой рек, оврагов, ущелий, автомобильных И железных дорог и других препятствий.

Наиболее распространенные на автомобильных дорогах искусственные сооружения - это мосты, путепроводы и эстакады.

Путепровод - искусственное сооружение через транспортный путь (железную или автомобильную дороги).

Мост - искусственное сооружение через водоток.

Эстакада - искусственное сооружение, устраиваемое взамен насыпи.

Основные элементы моста (путепровода)

1 - пролетные строения;

2 - береговые опоры;

3 - промежуточные опоры;

L - длина моста - расстояние в метрах между гранями шкафных стенок береговых опор (устоев);

1 - пролет - расстояние между опорными частями в метрах;

Lo - отверстие моста - расстояние между конусами по линии РГВ за вычетом суммарной ширины опор;

РГВ (РУВ) - расчетный горизонт (уровень) воды (в метрах);

ГМВ (УМВ) - горизонт (уровень) меженних вод, т.е. самый низкий уровень воды;

h - подмостовой габарит - высота от оголовка рельса или РГВ до низа балок пролетного строения;

3100 см - линия габарита приближения строений - расстояние от оси пути, за которое не должны заходить видимые части сооружения.

ГАБАРИТЫ, НАГРУЗКИ

Главным показателем моста является его габарит проезжей части и расчетная (нормативная) нагрузка (грузоподъемность). Эти показатели регламентированы нормами. Габарит приближения конструкций - это предельное перпендикулярное продольной оси проезжей части очертание, внутрь которого не должны заходить элементы конструкций моста или расположенных на нем устройств. Габарит по ширине обозначается буквой «Г» с числом, соответствующим расстоянию между ограждающими устройствами (ограждениями, бордюрами) в метрах

Рис. 1. Схемы габаритов приближения конструкции на автодорожных и городских мостах

а) при отсутствии разделительной полосы;

б) с разделительной полосой

Обозначения:

nb - общая ширина проезжей части или ширина проезжей части для движения одного направления;

n - число полос движения ;

b - ширина каждой полосы движения принимается по таблице;

П - полосы безопасности (предохранительные полосы);

С - разделительная полоса (при многополосном движении в каждом направлении), ширина которых равна расстоянию между кромками проезжих частей разного направления движения;

зп - защитные полосы, ширину которых, как правило, следует принимать равной 0,5 м, для деревянных мостов с ездой по-низу-0,25м;

Г - расстояние между ограждениями проезда, в которое входит и ширина разделительной полосы, не имеющей ограждений;

Т - ширина тротуаров;

h - габарит по высоте (расстояние от поверхности проезда до верхней линии очертания габарита), принимаемый на автомобильных дорогах общего пользования, на улицах и дорогах городов, поселков и сельских населенных пунктов, на внутрихозяйственных автомобильных а дорогах - не менее 5,0м;

а - высота ограждений проездов;

hт - габарит по высоте на тротуарах, принимаемый не менее 2,5 м

Примечание к таблице:

1. В графе «Габарит» над чертой указаны габариты мостов при отсутствии ограждений на разделительной полосе, под чертой - при наличии ограждений или при разделительных пролетных строениях под каждое направление движения.

2. В непредусмотренных таблицей случаях (в частности для мостов на дорогах промышленных предприятий с обращением автомобилей особо большой грузоподъемности) габарит мостов по ширине следует устанавливать по формуле:

Г=П+nb+с+nb+П;                  Г=П+nb

3. Ширину полос безопасности (П) следует принимать в зависимости от установленных для дороги расчетных скоростей движения. Для мостов на дорогах промышленных предприятий (в том числе и с обращением автомобилей особо большой грузоподъемности) размер полосы безопасности следует принимать П=1,5 м.

При расположении мостов на кривых в плане проезжая часть должна быть уширена в зависимости от категории дороги в соответствии с требованиями СНиП 2.05.02-85.

Проезжую часть автодорожных мостов допускается уширять за счет уменьшения полос безопасности или увеличения габаритов приближения конструкций.

Полосы безопасности шириной меньше, чем указано в таблице, допускается назначать: при переустройстве мостов; в случае расположения мостов на участках дорог с уменьшенной шириной обочины; на путепроводах - при наличии переходно-скоростных полос (со стороны этих полос). При этом ширина полос безопасности должна быть не менее 1 м на мостах дорог I-III категории. В этих случаях следует предусматривать установку дорожных знаков, регулирующих режим движения транспорта.

Ширина разделительной полосы должна быть такой же, как на дороге или улице.

Таблица

Расположение мостов

Категория дорог или улиц

Общее число полос движения

Ширина расчетного автомобиля «а» м

Габарит

Ширина, м

полос безопасности, П

проезжей части, nb

1

2

3

4

5

6

7

Автомобильные дороги общего пользования, подъездные и внутренние автомобильные дороги промышленных предприятий (без обращения автомобилей особо большой грузоподъемности)

 

6

 

Г‑(13,25+С+13.25)

2(Г‑15.25)

 

11,25×2

I

4

 

Г‑(9,5+С+9,5)

2(Г‑11,5)

2,0

7,5×2

II

2

Г‑11,5

2,0

7,5

III

Г‑10

1,5

7,0

IV

Г‑8*

1,0

6,0

V

I

Г‑6,5**

1,0

4,5

 

Г‑4,5

0,5

3,5

Автомобильные внутрихозяйственные дороги в колхозах, совхозах и других сельскохозяйственных предприятиях и организациях

I-c

2

2,5

Г‑8*

1,0

6,0

II

I

Г‑6,5**

1,0

4,5

 

 

Г‑4,5

0,5

3,5

III-c

I

Г‑4,5

0,5

3,5

Улицы и дороги в городах, поселках и сельских населенных пунктах

Магистральные дороги скоростного движения и улицы общегородского значения непрерывного движения

8

2,5

Г‑(16,5+С+16,5)

2(Г‑18)

1,5

15×2

6

Г‑(12,75+С+12,75)

2(Г‑14,25)

11,25×2

4

Г‑(9+С+9)

2(Г10,5)

7,5×2

 

Магистральные дороги и улицы общегородского значения регулируемого движения

8

2,5

Г‑(15,0+С+15,0)

2(Г‑16)

1,0

14×2

6

Г‑(11,5+С+11,5)

2(Г‑12,5)

10,5×2

4

Г‑(8,0+С+8,0)

2(Г‑9)

7×2

2

Г‑9

7

 

Магистральные транспортно-пешеходные улицы районного значения, улицы и дороги научно-производственных, промышленных и коммунально-складских районов. Поселковые дороги и главные улицы

4

2,5

Г‑16

Г‑(8,0+С+8,0)

2(Г‑9)

1,0

14

7×2

2

Г‑9

7

Магистральные пешеходно-транспортные улицы районного значения

2

 

Г‑10

1,0

8

Улицы и дороги в жилой застройке местного значения, парковые дороги

2

Г‑8

6

*Для деревянных мостов (кроме мостов из клееной древесины) допускается применять габарит Г-7.

**То же, габарит Г-6

Подмостовым габаритом называется предельное поперечное очертание (перпендикулярное оси судового хода) подмостового пространства, предназначенного для пропуска судов, судовых и плотовых составов, внутрь которого не должны заходить никакие элементы моста (в том числе элементы фундаментов) и расположенные на них устройства, включая навигационные знаки.

Рис. 2. Схема подмостового габарита для мостов с неразводным пролетным строением

Очертания и размеры подмостового габарита принимаются в зависимости от класса реки по ГОСТ 26775-85 «Габариты подмостовые судоходных пролетов мостов на внутренних водных путях».

Класс внутреннего водного пути

Глубина судового хода водного пути (м)

Высота подмостового габарита h (м)

Ширина подмостового габарита b, (м)

гарантированная

средненавигационная

для неразводного пролета

для разводного пролета

основного

смежного

1

2

3

4

5

6

7

I

Св. 3,2

Св. 3,4

16,0

140

120

60

II

Св. 2,5 до3,2

Св. 2,9 до 3,4

14,5

140

100

60

III

Св. 1,9 до 2,5

Св.2,3 до 2,9

13,0

120

80

50

IV

Св. 1,5 до 1,9

Св. 1,7 до 2,3

11,5

120

80

40

V

Св. 1,1 до 1,5

Св. 1,3 до 1,7

10,0

100

60

30

VI

Св. 0,7 до 1,1

Св. 0,9 до 1,3

7,5

60

40

-

VII

Св. 0,5 до 0,7

Св. 0,6 до 0,9

5,0

30

-

-

ТЕРМИНЫ, ПРИМЕНЯЕМЫЕ ГОСТ 26775-85

Судоходный пролет

- пролет моста, предназначенный для пропуска судов, судовых и плотовых составов

Расчетный судоходный уровень (горизонт) воды (РСУ)

- судоходный уровень (горизонт) воды, определяемый расчетом, от которого отсчитывается подводная высота подмостового габарита

Гарантированная глубина

- наименьшая глубина подмостового хода, установленная в пределах судоходного пролета при наинизшем судоходном уровне воды

Средненавигацнонная глубина

- глубина судового хода средневзвешенная в пределах ширины судового хода, используемая транспортным флотом в навигационный период

Высота подмостового габарита

- высота, отсчитываемая от расчетного (высокого) судоходного уровня (РСУ) до низа пролетного строения

Безопасный пропуск автотранспортных средств в зависимости их весовых параметров.

По всем мостам, не находящимся в аварийном состоянии могут беспрепятственно пропускаться все автотранспортные средства полной массой не более 10 тонн и давлением на ось не более 8 тс. К таковым, в частности, относятся легковые автомобили, грузовые автомобили грузоподъемностью не более 4 тн, автобусы вместительностью до 50 человек. По мостам, состояние которых признано аварийным, пропуск любых транспортных средств запрещается.

Грузоподъемность моста определяется как наибольшая масса (класс) транспортного средства определенного вида, которое может быть пропущено по сооружению с учетом его состояния и в установленном режиме.

Существует два основных режима пропуска автотранспортных средств по мостам:

- неконтролируемый, когда автотранспортное средство следует в общем потоке в соответствии с правилами дорожного движения и с учетом знаков, установленных перед мостом;

- контролируемый, когда автотранспортное средство пропускается по мосту в одиночном порядке по фиксированной колее (как правило, по оси моста) в отсутствии других автомашин, (единичная колесная или гусеничная нагрузка).

Для мостов, построенных в разные годы, по различным нормам проектирования учитываемые в расчетах нагрузки от автотранспорта и пешеходов, которые называются нормативными временными вертикальными (подвижными) нагрузками, различаются между собой.

Ниже приводится перечень Нормативных нагрузок на мосты и их схемы.

НОРМАТИВНЫЕ НАГРУЗКИ

Категория дороги

Стальные и железобетонные мосты

Деревянные мосты

Нагрузка от толпы на тротуарах кг/м2

автомобильная нагрузка

единичная нагрузка

автомобильная нагрузка

единичная нагрузка

1

2

3

4

5

6

Нормы 1953 года (Н 106-53)

I, II

Н-18

НК-80

-

-

300

III, IV

Н-13

НГ-60

Н-10

НГ-60

IV и, V

Н-10

НГ-30

Н-8

НГ-30

Нормы 1962 года (СH 200-62)

I-V

Н-30

НК-80

Н-10

НГ-60

400

Нормы 1984 года (СНиП 2.05.03-84)

I-III

А-11

НК-80

-

-

400

IV-V

А-8

НГ-60

А-8

НГ-60

Нормы 1991 года (СНиП 2.05.03-84*)

I-IV

А-11

НК-80

-

-

400

V, IIс, IIIс

А-11

НГ-80

А-8

НГ-60

В общем случае, особенно когда элементы моста имеют дефекты или повреждения, грузоподъемность моста и режим движения по нему устанавливает специализированная обладающая соответствующей лицензией организация, на основе обследования, а при необходимости и испытаний моста и его расчета.

Ориентировочные наибольшие массы и осевые давления автотранспортных средств, пропускаемых в неконтролируемом движении в зависимости от проектных нормативных нагрузок и длины пролетов, для мостов не имеющих повреждений, приведены ниже.

Нормативная нагрузка

Длина пролетного строения, м

Неконтролируемые нагрузки

Максимальная нагрузка на ось

Наименьшая масса (т)

2-3 оси

4-5 осей

6 осей

7 и более осей

 

база более 10 м

база более 13 м

база более 18 м

1

2

3

4

5

6

7

A-11, HK-80

для всех пролетов

12

30

44

50

60

 

А-8, одиночная ось 11 т, НГ-60

менее 6

12

30

44

50

60

6 и более

-

23

30

36

44

 

Н-18, НК-80

менее 6

12

30

44

50

60

 

Н-3-, НК-80

6-15

-

30

40

44

50

15-45

-

30

36

40

44

45-65

-

30

40

44

50

более 65

-

30

44

50

60

 

Н-13, НГ-60

менее 6

12

30

44

50

60

6 и более

-

23

30

36

40

 

Н-13, НГ-60

менее 6

10

30

44

50

60

6 и более

-

17

25

30

36

 

Н-13, НГ-60

менее 6

8

17

30

36

40

6 и более

-

14

20

26

20

Нормативные автомобильные нагрузки:

а-Н-30; б-Н-18; в-Н-10

Схемы одиночных тяжелых машин НК-80(а) и НГ-60(б)

Схема нагрузки А-11

Схема нагрузки А-8

Нагрузки, на которые рассчитываются конструкции мостов принимаются по специальным Нормам или Техническим условиям и поэтому называются нормативными.

Нормативная постоянная нагрузка

- это нагрузка ох собственного веса конструкций, веса грунта, коммуникаций, расположенных на мосту, гидростатического давления воды

Нормативная временная вертикальная (подвижная) нагрузка

- это нагрузка от движущегося транспорта и толпы пешеходов

Н - нагрузка автомобильная

- состоит из колонны автомобилей, движущейся в определенном порядке (см. схему нагрузок)

АК - нагрузка от подвижного состава на автомобильных дорогах (А), где К -класс нагрузки

- принимается в виде полос АК, каждая из которых включает одну двухосную тележку с осевой нагрузкой Р, равной 9.81К кН (или 1К тс) и равномерно распределенную нагрузку интенсивностью v (на обе колеи) -0,98кН/м (0,10 Ктс/м).

НГ - нагрузка гусеничная.

НК - нагрузка колесная

- эти нагрузки состоят из одиночных машин (см. схему)

Класс нагрузки К надлежит принимать равным 11 для всех мостов и труб, кроме деревянных мостов на дорогах V категории и внутрихозяйственных дорогах II-с и III-с, для которых он может приниматься равным 8

Мосты рассчитанные под нагрузку А11 проверяются на одиночную нагрузку НК-80, а рассчитанные под нагрузку А8 проверяются на НГ-60. Элементы проезжей части мостов, проектируемых под нагрузку А8, проверяются на давление одиночной оси, равное 108 кН (11 тс)

Прочие нагрузки

ветровая, ледовая, нагрузки от навала судов, температурные воздействия, сейсмические воздействия, строительные нагрузки.

Мосты, запроектированные под нагрузки Н-30, НК-80, А11 и построенные в соответствии с проектом, могут быть беспрепятственно пропускать обращающиеся на автомобильных дорогах транспортные средства (за исключением тяжеловесных машин) т.к. по грузоподъемности отвечают требованиям норм.

Грузоподъемность

- наибольшая масса (класс) транспортного средства определенного вида, которая может быть безопасно пропущена в транспортном потоке или одиночно в контролируемом режиме по сооружению с учетом его состояния

При ухудшении состояния моста, его повреждении движущимся транспортом, появлении повреждений в конструкциях необходимо проводить обследование, испытание и осмотры моста с целью определения его грузоподъемности и установления режима движения и при необходимости с ограничениями грузоподъемности, т.е. массы или класса транспортного средства, а также скорости движения, рядности движения и т.д.

Установить грузоподъемность моста может только специализированная мостоиспытательная организация на основании расчета грузоподъемности, уточняемой при испытаниях.

ОСНОВНЫЕ ПОКАЗАТЕЛИ РАСЧЕТНЫХ КОЛЕСНОЙ И ГУСЕНИЧНОЙ НАГРУЗКИ

Основные показатели

Нагрузки

НК-80

НГ-60

НГ-30

1

2

3

4

Вес машины, тс

80

60

30

Давление на 1 пог.м гусеницы, т

-

6

3,75

Давление на ось, т

20

-

-

Длина опирания гусеницы, м

-

5

4

Длина соприкасания ската с покрытием проезжей части, м

0,2

-

-

Ширина гусеницы или ската, м

0,8

0,7

0,5

Расстояние между серединами гусениц или скатов в поперечном направлении , м

2,7

2,6

2,5

Расстояние между осями скатов в продольном направлении, м

1,2

-

-

ОСНОВНЫЕ ПОКАЗАТЕЛИ РАСЧЕТНЫХ МАШИН АВТОМОБИЛЬНОЙ НАГРУЗКИ

Основные показатели

Нагрузки

Н-30

Н-18

Н-13

Н-10

Н-8

утяжеленный

простой

утяжеленный

простой

утяжеленный

простой

1

2

3

4

5

6

7

8

9

Вес нагруженного автомобиля, т

30

18

16,9

13

13

10

10,4

8

Давление на заднюю ось, т

2×12

12

12,35

9,1

9,5

7,0

7,6

5,6

То же на переднюю ось, т

6

6

4,55

3,9

3,5

3,0

2,8

2,4

Ширина заднего ската, м

0,7

0,7

0,6

0,4

0,4

0,3

0,3

0,3

Ширина переднего колеса, м

0,3

0,3

0,25

0,2

0,2

0,15

0,15

0,15

Длина соприкасания ската с покрытием проезжей части (по направлению движения), м

0,2

0,2

0,2

0,2

0,2

0,2

0,2

0,2

Ширина кузова, м

2,9

2,9

2,7

2,7

2,7

2,7

2,7

2,7

Газа автомобиля, м

6,8

6

4

4

4

4

4

4

Расстояние между серединами скатов в поперечном направлении, м

1,9

1,9

1,7

1,7

1,7

1,7

1,7

1,7

В графе 4,6,8 указаны характеристики утяжеленного автомобиля, входящего в состав колонны по расчетной схеме. В колонне, состоящей из простых грузовиков весом 13 тн (10 или 8 тн в зависимости от нагрузки) входит один утяжеленный.

ОСНОВНЫЕ СИСТЕМЫ МОСТОВ

По виду работы под нагрузкой и способу опирания пролетных строений на опоры различают четыре основных системы мостов - балочная, арочная, рамная, комбинированная.

Балочная система

- в которой главные балки пролетного строения под действием вертикальных сил работают на изгиб и передают на опоры вертикальные опорные реакции.

балочная разрезная

балочная неразрезная с постоянной высотой пролетного строения

балочная неразрезная с повышенной высотой над опорами (переменной высотой)

Балочно-консольная с подвесными пролетами

балочно-консольная

Арочная система

- в которой главные несущие элементы пролетного строения - арки (криволинейные брусья) - под действием вертикальных сил работают на сжатие и изгиб и передают на опоры давление, вызывающее опорные реакции (вертикальное давление).

арочная однопролетная

арочная сводчатая многопролетная

Рамная система

- в которой пролетное строение объединено со станками и образует жесткую paмную систему

рамная

рамно-консольная

рамно-подвесная

Комбинированная система

- образуется из основных систем

арочно-балочная распорная с балкой жесткости

висячая с балкой жесткости

Байтовая с балкой жесткости

арочно-консольная

подкосная, ригельно-подкосная

КЛАССИФИКАЦИЯ СООРУЖЕНИЙ ПО ЭКСПЛУАТАЦИОННОЙ ХАРАКТЕРИСТИКЕ

Помимо видов, систем и типов искусственные сооружения неравноценны по материалам, состоянию и другим эксплуатационным данным. В частности различают следующие искусственные сооружения:

по капитальности конструкции

- капитальные

рассчитанные на длительный срок службы до 100 лет

 

- временные

облегченные, в т.ч. еще новые, предназначенные для непродолжительной эксплуатации на период нескольких, лет, например до постройки нового моста на период восстановления

по материалам

- металлические,

- железобетонные,

- бетонные,

- каменные,

- деревянные

в капитальных мостах определяющим принято считать материал пролетных строений (например при пролетных строениях из стали мост относят к металлическому, хотя его опоры обычно выполнены из каменной кладки, бетона и железобетона)

по виду дорог

- автодорожные,

- железнодорожные,

- совмещенные

с расположением железной и автомобильной дороги на одном пролетном строении в одном или разных уровнях

по длине

- малые мосты

с полной длиной до 25 м

- средние мосты

с длиной от 25 м до 100 м

- большие

с длиной более 100 м

по числу пролетов

- однопролетные

- многопролетные

 

по габаритам

- габаритные

удовлетворяющие действующим нормативам

- негабаритные

ограничивающие в той или иной степени пропуск транспорта

по состоянию

- исправные

к ним относятся мосты в хорошем и удовлетворительном состоянии не требующие проведения ремонтных работ и ограничения движения;

- дефектные

к ним относятся мосты, находящиеся и неудовлетворительном состоянии, т.е. ветхие, слабые сооружения, состояние которых вызывает те или иные ограничения в эксплуатации.

- аварийные

сооружения, у которых в результате осмотра, испытаний или осмотра выявлены неисправности, не допускающие дальнейшую эксплуатацию, такие как опасность потери несущей способности, устойчивости; угроза обрушения тротуаров, подмыв опор, снижение расчетной грузоподъемности до критического уровня. Аварийные мосты, которые имеют возможность в кратчайшие сроки привести в рабочее состояние, должны немедленно подвергаться усилению. До этого такие мосты в предаварийном состоянии должны находиться под тщательном наблюдении с устройством, по возможности страховочных опор.

ЭЛЕМЕНТЫ МОСТА

 

Каждый мост состоит из трех основных элементов: опор, пролетных строений, мостового полотна.

 

Мостовое полотно (см. рис.)

совокупность всех элементов, расположенных на пролетном строении, предназначенных для обеспечения нормальных условий безопасности движения транспортных средств и пешеходов, а также для отвода воды с поверхности покрытия моста и в сопряжениях с подходами. Мостовое полотно состоит из одежды ездового полотна, тротуаров, ограждающих устройств, деформационных швов, освещения, водоотвода, сопряжений моста с подходами.

Рис. 3. Мостовое полотно:

1 - перильное ограждение; 2 - тротуарный блок; 3 - ограждение безопасности (бортовой камень, барьер); 4 - плита проезжей части; 5 - мачта освещения; 6 - элементы водоотвода; 7 - деформационный шов; 8 - выравнивающий слой (сточный треугольник); 9 - гидроизоляция; 10 - защитный слой гидроизоляции; 11 - покрытие; 12 - переходные плиты

 

 

Одежда ездового полотна:

- многослойная включающая, как правило, выравнивающий слой бетона, гидроизоляцию, защитный слой, асфальтобетонное покрытие;

 

- двух или однослойная включает выравнивающий слой из бетона, особо низкой проницаемости (по СНиП 2.03.11-85), выполняющего гидроизолирующие функции, и асфальтобетонное покрытие или только выравнивающий слой, совмещенный с покрытием.

 

Однослойную или двухслойную одежду ездового полотна допускается устраивать на пролетных строениях, не имеющих в железобетонной плите проезжей части при условии ее высокой трещиностойкости.

асфальтобетонное покрытие;

защитный слой;

гидроизоляция;

выравнивающий слой (сточный треугольник)

 

Покрытие моста:

асфальтобетонное

цементобетонное

 

- конструктивный верхний слой одежды мостового полотна или тротуара.

Покрытие на проезжей части следует предусматривать в виде двух слоев асфальтобетона общей толщиной не менее 70 мм из мелкозернистой смеси в соответствии с категорией дороги - типа Б, В, Г не ниже II марки или армированного гидрофобного цементобетона толщиной не менее 80 мм (но не более предусмотренного расчетом).

 

 

Покрытие тротуаров:

литой асфальт

цементобетон

 

При устройстве покрытия ездового полотна на металлической плите проезжей части следует предусматривать меры по обеспечению надежного сцепления покрытия с поверхностью металла и защите его от коррозии.

 

 

 

 

Защитный слой

- элемент одежды ездового полотна, укладываемый на гидроизоляцию для предохранения ее от повреждения. Защитный слой следует выполнять из армированного бетона пониженной проницаемости (с маркой 6) толщиной не менее 40 мм. При устройстве цементобетонного покрытия допускается совмещать функции покрытия и защитного слоя.

 

 

 

 

Гидроизоляция

 

- конструктивный элемент, защищающий несущие конструкции от воздействия поверхностных вод.

Гидроизоляция может быть обмазочная, оклеечная, мастичная.

 

 

 

 

Выравнивающий слой

(сточный треугольник, стяжка)

 

- нижний слой одежды ездового полотна, укладываемый на поверхность железобетонной плиты проезжей части для ее выравнивания под гидроизоляцию и придания ей проектного профиля (поперечного уклона 2%). Выполняется из цемонтопесчанного раствора толщиной не менее 10 мм.

 

 

Тротуары

 

- часть мостового полотна, предназначенная для движения пешеходов. На мостах следует предусматривать па каждой стороне тротуары или служебные проходы, ограждаемые с наружной стороны перилами высотой не менее 1,10 метра. На мостах с раздельными пролетными строениями тротуары и служебные проходы могут предусматриваться только с внешней стороны (по отношению к оси дороги) каждого пролетного строения. На городских эстакадах, путепроводах и мостах грузовых дорог, изолированных от пешеходного движения, а также на мостах с интенсивностью пешеходного движения 200 человек в сутки и менее допускается предусматривать только служебные проходы. Вне населенных пунктах при отсутствии пешеходного движения на мостах длиной до 50 м служебные проходы допускается не устраивать. Ширина служебных проходов принимается равной 0,75 м. Ширину тротуаров следует назначать по расчету в зависимости от перспективной интенсивности движения пешеходов в час «пик». Расчетную пропускную способность пешеходной полосы шириной 0,75 м следует принимать равной 1500 чел/час. Ширину многополосных тротуаров следует назначать кратной 0,75 м, а ширину однополосных тротуаров - не менее 1,0 м. На мостах, расположенных в городах, поселках и сельских населенных пунктах, ширину тротуаров следует принимать не менее 1,5 м. Устройство тротуаров с шириной не кратной 0,75 м, обусловленное конструктивными особенностями, допускается при соответствующем технико-экономическом обосновании.

 

 

Водоотвод

1 - водоотводная трубка

2 - одежда проезжен части

Расстояние между водоотводными трубками вдоль пролета не более 6,0 м при продольном уклоне до 5%о и 12,0 м при уклоне 5-10%о

- комплекс конструктивных мероприятий для быстрого удаления воды с моста.

Для стока воды поперечный уклон ездового полотна должен быть не менее 20%о, продольный уклон не менее 5%о.

При продольном уклоне свыше 10 %о допускается уменьшение поперечного уклона при условии, что геометрическая сумма уклонов будет не менее 20%о.

Воду с ездового полотна следует отводить через водоотводные трубки либо через поперечные или продольные лотки.

При наличии в конструкции одежды ездового полотна гидроизоляции (кроме гидроизоляции из бетона особо низкой проницаемости) установка водоотводных трубок обязательна.

Неорганизованный сброс воды через тротуары (по всей длине пролетного строения) не допускается.

Верх водоотводных трубок и дно лотков следует устраивать ниже поверхности, с которой отводится вода, не менее чем на 1 см.

Вода из водоотводных трубок не должна попадать, на нижележащие конструкции, а также на железнодорожные пути и проезжую часть автомобильных дорог. Расположенных под путепроводом.

Для предотвращения периодического увлажнения нижних поверхностей железобетонных и бетонных конструкций следует устраивать защитные выступы, слезники, карнизы.

В местах сброса воды с пролетного строения на конус насыпи устраиваются водоотводные лотки.

Для отвода воды из-за устоев предусматривают дренажную систему.

В случае притока воды с поверхности подходов, необходимо предусматривать ее отвод за пределы земляного полотна. Традиционная конструкция высоких тротуаров старых мостов без устройства под ними гидроизоляции, работа водоотвода с консолей неудовлетворительная. Заделка гидроизоляции у бордюров оказались неудовлетворительными и привели к протечкам и коррозии конструкций.

В настоящее время имеется тенденция устройства низких тротуарных блоков, укладки гидроизоляции по всей ширине моста, устройство карнизов или качественных слезников на конусах насыпей.

У бордюров или перед блоками устраивают открытые дренажные ходы с установкой водоотводных трубок - капельниц, что позволяет отводить воду из зон тротуаров.

 

 

Деформационные швы

Закрытый шов

Открытый шов (перекрытый)

1 - скользящий лист;

2 - резиновая прокладка;

3 - пружина;

4 - водоотводный лоток

- это зазор между торцами балок пролетных строений, либо торцом пролетного строения и шкафной стенкой устоя.

Закрытый шов - шов, в котором зазор закрыт покрытием, уложенным без разрыва.

Заполненный шов - шов, в котором зазор заполнен герметизирующим материалом (например вкладышем компенсатором), деформирующимся при перемещениях (покрытие выполнено с разрывом.

Открытый шов - шов, в котором зазор открыт и покрытие имеет разрыв.

Перекрытый шов - шов, в котором зазор между сопрягаемыми элементами в уровне верха проезжей части перекрыт скользящим листом.

Конструкции деформационных швов должны не нарушать плавности движения транспортных средств и исключать попадание воды и грязи на нижерасположенные части моста.

При применении водопроницаемых швов следует предусматривать:

- возможность осмотра и ремонта конструкций швов сверху;

- отвод воды, проникающей через шов с помощью лотков, имеющих уклон не менее 50%;

- удобный осмотр и очистку лотков от грязи.

Конструкции швов должны быть надежно закреплены, скользящие элементы плотно прилегать за счет прижатия пружин.

Цементобетонное покрытие над деформационным швом должно иметь разрывы. Применяемая конструкция шва зависит от расчетных деформируемых его деформаций.

 

 

Ограждение

 

 

 

 

 

 

Барьерное ограждение

Парапетное

- конструктивный элемент мостового полотна, устанавливаемый на границах ездового полотна, предназначенный дня предотвращения съезда транспортных средств за его пределы и исправления траектории движения автомобиля при наезде на ограждение.

Ограждение может быть бетонное, железобетонное, металлическое и деревянное.

По конструкции различают барьерное ограждение и парапетное.

Барьерное - ограждение, состоящее из стоек и горизонтального бруса или стальной профильной ленты либо трубы, укрепленных на стойках на некотором уровне над верхом покрытия.

Парапетное - ограждение, выполненное в виде железобетонной стенки различной конфигурации.

Высота ограждения - расстояние от поверхности покрытия до верхней грани ограждения должна быть равной:

0,75 м - металлического барьерного или железобетонного парапетного на мостах, расположенных на автомобильных дорогах I-III категорий и в городах;

0,6 м - то же на автомобильных дорогах IV, V, Iс, IIc категорий, в поселках, и сельских населенных пунктах;

0,25 м - колесоотбойного бруса на деревянных мостах.

При отсутствии на мосту тротуаров и служебных проходов ограждения устанавливаются не ближе 0,5 м от края пиита пролетного строения и могут быть совмещены с перильным ограждением.

На разделительной полосе следует устраивать ограждения в случае, если:

ограждения имеются на разделительной полосе подходов;

на разделительной полосе расположены элементы конструкций моста, опоры контактной сети освещения и т.п.

ПРОЛЕТНЫЕ СТРОЕНИЯ

Пролетные строения

-конструкции перекрывающие пространство между опорами, воспринимающие нагрузку от движущегося транспорта.

Несущие элементы пролетного строения - балки, плиты, фермы. Наибольшее распространение имеют балочные пролетные строения, состоящие из поперечно и продольно-члененных балок различной конфигурации: ребристых, плитных, коробчатых.

Характеристика наиболее распространенных пролетных строений, применявшихся при строительстве автодорожных мостов на автомобильных дорогах России. Приводится ниже:

Тип пролетного строения

Вид армирования

Тип объединения

Длина, м

№ типового проекта

1

2

3

4

5

1 - стенка (ребро) балки, 2 - плита балки, 3 - диафрагма с закладной деталью

БАЛОЧНЫЕ ЖЕЛЕЗОБЕТОННЫЕ ПРОЛЕТНЫЕ СТРОЕНИЯ

Ребристые

с каркасной арматурой объединения

по диафрагмам

8,60

выпуск 56 Союздор-проекта

11,36

14,06

16,76

22,16

 

 

 

 

 

 

по плите (без диафрагменные)

8,60

вып. 56д, №710 серии 3.503-14 Союздор-проекта

11,36

14,06

12,00

15,00

18,00

 

 

 

 

 

 

по плите

18,00

№384 серии 3.503-12 Союзлор-проекта

21,00

33,00

42,00

 

 

 

 

 

 

по диафрагмам

22,16

выпуск 1011 Гипроавтотранса № 123 Союздор-проекта

22,16

32,96

43,00

Ребристые балки Т-образного сечения имеют наибольшее распространение. Они состоят из вертикальной стенки (ребра) и горизонтальной плиты, армированной каркасной арматурой (круглой или периодического профиля). Поперечное объединение балок осуществлялось с помощью диафрагм, полудиафрагм, изготавливаемых в одной опалубке с балкой и имеющих закладные детали для объединения. Во время монтажа балок закладные детали объединялись при помощи металлических накладок, привариваемых на месте. Однако закладные детали соседних балок часто не совпадали, в результате чего объединение балок не отличалось высоким качеством. Под воздействием движущегося транспорта швы объединения расстраивались. Во избежание этого недостатка были разработаны конструкции бездиафрагменных балок. Объединение которых производится по плите за счет омоноличивания арматурных выпусков.

Для перекрытия пролетов 18 метров применяют предварительно-напряженные балки, т.е. балки, армированные высокопрочной арматурой в виде проволочных пучков, прядей, струн, стержней. Высокопрочная арматура располагается в нижнем уширенном поясе балки. По внешнему виду предварительно-напряженные балки отличаются от каркасных тем, что имеют стенку (ребро) переменной толщины, уширенную книзу. Предварительно-напряженные балки могут быть цельно перевозимые, изготавливаемые на заводе на полную длину или члененными по длине на отдельные балки, которые собираются на месте строительства на специально оборудованных стендах.

 

 

 

 

 

Плитные:

сплошного сечения

каркасные

по проезжей части (арматурная сетка)

6,0

серия 3.503.29 Белгипродора

9,0

 

преднапряженные

-«-

6,0

-«-

9,0

 

 

 

 

 

пустотные

преднапряженные

шпоночное

6,0

серия 3.503.12

№№

384/43

384/48

384/49

384/50

29100-М

Союздорпроекта

9,0

 

 

 

 

 

-«-

-«-

12,0

-«-

15,0

18,0

Сборные плитные пролетные строения могут компоноваться из плит сплошного сечения или пустотных, в которых с целью экономии бетона в нейтральной части сечения устраиваются продольные пустотные отверстия. По типу армирования плиты могут быть с каркасном арматурой и предварительно напряженной арматурой в виде одиночных проволок (струн), стержней или пучков.

Объединения плит производится путем заполнения продольных зазоров но швам с образованием шпонок, работа которых обеспечивается обычными упорами крайних балок.

Монолитные плитные пролетные строения бетонируются на месте на всю ширину моста.

 

 

 

 

 

Плитно-ребристые

предварительно-напряженные

-

42,0

индивидуальные проекты

63,0

84,0

Плитно-ребристые конструкции (ПРК) начали применяться в восьмидесятых годах для перекрытия больших пролетов. Они состоят из члененных по длине моста блоков, имеющих ширину, равную ширине проезжей части моста и обязательно в продольном направлении. Изготавливаются блоки в заводских условиях

 

 

 

 

 

Коробчатые

предварительно-напряженные

арматурные выпуски

63,0

индивидуальные проекты Союздорпроекта, Гипротрансмоста

84,0

105,0

110,0

126,0

150,0

Железобетонные балки коробчатого сечения применяются для перекрытия пролетов более 60 метров на мостах через судоходные реки. По длине пролетного строения балки могут иметь постоянную или переменную высоту, увеличивающуюся к опорам. По ширине моста пролетное строение может состоять из одной, двух и более коробок. Стыки поперечные обжатые арматурой. Клеевое заполнение нерабочей арматуры в расчетах не учитываются.

Dee перечисленные железобетонные конструкции являются сборными, т.к. собираются на месте из привозных элементов (блоков) заводского изготовления.

Монолитные пролетные строения бетонируются на месте в специальной передвижной опалубке или на берегу с продольной надвижкой.

МЕТАЛЛИЧЕСКИЕ ПРОЛЕТНЫЕ СТРОЕНИЯ

Металлические пролетные строения состоят из:

- главных балок (1), изготовленных из прокатного металла. Листовой стали;

- поперечных связей (2);

- продольных связей (3);

- железобетонной или металлической (иногда деревянной) плиты (4).

Главные балки и плита воспринимают нагрузку; плита, продольные и поперечные связи обеспечивают пространственную жесткость и неизменяемость пролетного строения.

В автодорожных мостах применяются следующие виды металлических пролетных строений:

Схема пролетного строения

Конструкция главной балки

Длина

№ типового проекта

1

2

3

4

Сталежелезобетонные

-в которых железобетонная плита проезжей части включена в совместную работу с металлическими главными балками путем жесткого объединения.

 

 

 

 

Прокатной металл (двутавры, широкополочные двутавры)

9,0

серия 3.503-56

И-П-82 ЦНИИ

Проектстальконструкция серия 3.503.2-52

И-4-81

12,0

18,0

21,0

24,0

 

 

 

 

сплошная стенка из листовой стали

33,0

№ 4801, 43282 и др. ЦНИИ

Проектстальконструкция серии 33.503-15, 18,50 Ленги- протрансмоста

42,0

63,0

84,0

 

 

 

 

сварные коробки

63,0

индивидуальные проекты Гипротрансмоста, Ленги-протрансмоста

84,0

110,0

126,0 и более

 

 

 

 

решетчатые балки

от 21 до 155 м

старые проекты Киевского филиала Союздорпроекта и индивидуальные

 

 

 

 

Цельнометаллические

- пролетные строения с металлической плитой проезжей части (ортотропной плитой (1)).

 

 

Сварные коробки из листовой стали с вертикальными или наклонными стенками, укрепленными поперечными и продольными ребрами жесткости

60,0

индивидуальные проекты Гипротрансмоста и Ленги- протрансмоста

80,0

110,0

126,0

147,0

155,0 и более

 

 

 

 

Для соединения элементов металлических конструкций пролетных строений применяют сварку, заклепки и высокопрочные болты.

Заводские соединения и монтажные в старых конструкциях были выполнены на заклепках, а в современных конструкциях (начиная с шестидесятых годов) - на сварке или высокопрочных болтах.

Высокопрочные болты из термоукрепленной стали, ставят в заранее просверленные на заводе отверстия (несколько большего диаметра, чем стержень болта). Натягивая гайки и сильно сжимают соединяемые элементы.

Усилия, действующие на соединения передаются трением возникающим между элементами. Гайки болтов натягивают механическим ключом (гайковертом), имеющим устройство для контроля величины крутящего момента. В процессе эксплуатации необходимо следить за болтовыми соединениями (целостностью болтов, их натяжением).

ОПОРЫ

Опоры, являясь основной частью моста, по затрате труда, материалоемкости и стоимости работ составляют 60-70% от общих затрат на все сооружение.

Назначение опор - воспринимать нагрузки от пролетных строений и вместе с собственным весом передать их основанию.

Кроме этого на опоры можно воздействовать ряд внешних факторов -давление от льда, ветра, грунта, навала судов и др.

Опоры мостов должны отвечать ряду эксплуатационных требований; обеспечить безопасный пропуск вод; надежную работу при ледоходах; требования по обеспечению видимости и беспрепятственного проезда под путепроводами, эстакадами: устойчивость против выветривания, истирания поверхности опор.

1 - береговая опора;

2 - промежуточная опора;

А1, А2, А3 - вертикальные силы от пролетного строения;

Е, Т - горизонтальные силы оглавления фунта и торможения

ТИПЫ ОПОР

Схема опор

Область применения

№ типового проекта

пролет, м

толщина льда, м

высота, м

1

2

3

4

5

Промежуточные опоры:

 

1 - подфермениик

2 - насадка (на свайных опорах), ригель (на массивных опорах)

3 - тело опоры

4 - фундамент

СБОРНЫЕ ОПОРЫ

Свайная

а) однорядная

б) двухрядная

8-21

при отсутствии ледохода

от 4,0

до 7,0

выпуск 143-144 Киевского фил. СДП

серия 3.503.1-79 Воронежского фил. Гипродорнии

Опора стенка

12-18

до 0,5

6,0

8,0

выпуск 143-144 Киевского фил.СДП

 

 

 

 

12-42

 

6,0

8,0

№ 791 СДП

Массивная со столбчатой надстройкой

24-42

до 1,0

10,0

выпуск 143-144 Киевского фил. СДП

№443 Союздорпроекта

СБОРНО-МОНОЛИТНЫЕ ОПОРЫ
(сборные блоки заполнены монолитным бетоном)

Телескопическая

24-42

1,0

от 6,0

до 10,0

выпуск 143-144

№ 443 Союздорпроекта

Одно-столбчатая

12-24

до 0,7

4,0

6,0

выпуск 143-144

№ 443 Союздорпроекта

Безростверковая из оболочек

(столбчатая с бесплитным фундаментом)

12-42

до 0,7

до 1,0

4,0

6,0

8,0

Серия 3.503.1-60 Воронежского фил. Гипродорнии

МОНОЛИТНЫЕ

15-42

по расчету

4,0 6,0

индивидуальные

(старая постройка)

Береговые опоры

1 - обратная стенка;

2 - шкафная стенка;

3 - подферменная плита;

4 - передняя стенка (устоя);

5 - фундамент

СБОРНЫЕ УСТОИ

На столбах (оболочках)

12,0

21,0

33,0

-

2,5

4,0

4,0

выпуск 143-144

№ 443, 791

Союздорпроекта

Устой козлового типа

12-42

-

от 2,5

до 6,0

-«-

Устой спайный одно (двух) - рядный

12-21

-

3,0

4,0

-«-

Устой, козлового типа у путепроводов

12-24

-

4,5

-«-

выпуск 143-144

№ 443, 791

Союздорпроекта

МОНОЛИТНЫЙ УСТОЙ

Устой с обратной стенкой

12-42

-

от 2,5

до 4,4

на мостах старой постройки

ОСНОВНЫЕ ВИДЫ ФУНДАМЕНТОВ

Вид фундамента

Глубина заложения, м

Конструкция

Область применения

1

2

3

4

до 4-5

мелкого заложения

массивный на естественном основании

Сплошной массив кладки, опирающийся нижней поверхностью на грунт.

Для увеличения площади опирания на грунт уширяют фундамент уступами.

Применяется при отсутствии размыва и нескальных грунтах (галечниках, глинистых, песчаных)

2-3

мелкого заложения

ленточный

Имеет значительное развитие в одном направлении в плане.

Применяется в проточных грунтах для распределения сосредоточенных давлений от столбов (путепроводы)

6-12

голубого заложения

свайный

Состоит из свай или отдельных столбов - оболочек, поддерживающих опору и передающих ее давление на глубоко залегающие слои грунта. Давление может передаваться не только нижними концами свай, или оболочек, но и трением их боковой поверхности об окружающий грунт, применяется в песчаных. Суглинистых, гравелистых грунтах

12-50

глубокого заложения

столбы, оболочки, буровые сваи

-«-

в плотных и скальных грунтах

до 50 глубоко заложения

отпускные колодцы (кессоны)

Массивные фундаменты, сооружаемые на большую глубину специальными методами.

Из-за большой трудо- и материалоемкости в настоящее время не применяются.

ВИДЫ СВАЙНОГО ФУНДАМЕНТА

подошва фундамента ниже поверхности грунта или лежит на грунте

низкий

свайный ростверк

Сваей называется полностью или частично погруженный в грунт стержень. Служащий для передачи давлений от сооружения на нижележащие слои грунта.

Ростверк - плита, объединяющая головы свай или оболочек и распределяющая па них давление от вышестоящей части сооружения

подошва фундамента выше поверхности грунта

высокий свайный ростверк

 

ОПОРНЫЕ ЧАСТИ БАЛОЧНЫХ МОСТОВ

Балочные железобетонные пролетные строения опираются на опоры при помощи опорных частей.

Опорная часть - элемент моста, передающий опорные давления пролетного строения на опоры и обеспечивающий угловые и линейные либо только угловые перемещения пролетного строения.

Опорная часть устанавливается на подферменную площадку, устраиваемую на насадке (ригеле) или оголовке массивной опоры.

 

Вид опорной части

Наименование

Область применения

 

1

2

3

 

Плоская опорная часть

 

1 - стальные листы; 2 - арматурные стержни

из металлических листов

 

Для плитных, ребристых пролетных строений с пролетом до 12 м

 

Валковая опорная часть.

 

подвижная опорная часть, передающая опорное давлений через один или несколько валков, расположенных между верхней и нижней опорными плитами

При пролетах 9 - 18 м. При установке балок на опорные часта необходимо следить за тем, чтобы положение валков (катков) (наклон их относительно вертикальной оси) соответствовал температуре наружного воздуха на момент установки

Тангенциальная опорная часть

состоит из двух стальных подушек, верхняя из которых имеет плоскую поверхность, а нижняя - цилиндрическая

при пролетах 9-10 м

Резиновая опорная часть (РОЧ)

1 - стальной лист; 2 - резина

подвижная опорная часть из скрепленных между собой чередующихся слоев резины и стальных листов, обеспечивает линейные перемещения пролетного строения за счет упругого сдвига резины, а угловые за счет внецентренного обмятия

при пролетах до 30 м

Комбинированная опорная часть

1 - крышка; 2 - обойма; 3 - опорная плита; 4 - резиновая прокладка

 

при пролетах более 33 м

Полиуретановые опорные части

 

при пролетах до 33 м

СОПРЯЖЕНИЕ МОСТА С НАСЫПЬЮ ПОДХОДОВ

Типовая конструкция сопряжения представляет собой железобетонную плиту, опирающуюся одним концом на шкафную стенку устоя, а другим - на поперечный железобетонный лежень на щебеночной подушке.

Широкое распространение получили плоские железобетонные переходные плиты, длина которых соответствует высоте насыпи и кратна 2 м, но выше 8 м. Так при высоте насыпи от 2 до 8 метров длина плиты составляет 4, 6, 8 метров.

Переходные плиты должны укладываться одновременно с устройством покрытия.

ТИПЫ СОПРЯЖЕНИЙ

Виц сопряжения

Конструкция

Примечание

1

2

3

Щебеночно-песчаный клин

Применяется в старых баночных мостах малых пролетов с опиранием балок без опорных частей. Перемещение пролетного строения относительно опоры исключается

 

Переходная плита поверхностного тина

 

Плита укладывается параллельно отметкам проезжей части непосредственно на поверхность земляного полотна

Переходная плита полузаглубленная

 

Устраивается при асфальтобетонном покрытии на жестком основании или полужестком с наклоном 1:8 и заглублением концов до 50 см

Переходная плита заглубленная

 

Устраивается при асфальтобетонном покрытии на жестком основании с наклоном 1:12 и заглублением концов до 70 см

ПОДХОДЫ К МОСТАМ

Подходы к мосту - участок земляного полотна дороги, примыкаю щей к мосту и служащий для въезда и съезда с моста транспортных средств. Как правило к подходам относят участок дороги, расположенный в границах разлива реки. Подходы к мосту состоят из земляных насыпей или выемок на спусках к реке при крутых берегах. Конструкция земляного полотна в основном та же, что и на дороге, за исключением подтапливаемых участков, где соблюдаются повышенные требования к грунту.

СОПРЯЖЕНИЕ МОСТА С ПОДХОДАМИ

Схема сопряжения

Условия применения

1

2

переход от дороги к мосту с уклоном сопрягающей прямой не менее 1:20

Ширина проезжей части на мосту больше ширины проезжей части па дороге

скос внешней или внутренней кромок проезжен части дороги

На проезжей части моста ширина разделительной полосы равна ширине разделительной полосы на дороге

обеспечение плавного перехода за счет скоса внешней или внутренних кромок проезжей части дороги

Разделительная полоса на мосту меньше разделительной полосы на дороге

разделительную полосу дороги уменьшают со скосом 1:15-1:20 чтобы образовался участок перед мостом длиной 20-30 метров без разделительной полосы.

Разделительная полоса на мосту отсутствует

ПОПЕРЕЧНЫЕ ПРОФИЛИ НАСЫПЕЙ ПОДХОДОВ

Профиль насыпи

Условия применения

1

2

при высоте насыпи до 6 м крутизна откосов принимается 1:15

На незатапливаемых участках

крутизна верхней части откоса на высоту 6-8 м принимают 1:2, а затем через каждые 6-8 м крутизну откосов уменьшают па 1 /4

Откосы насыпи подтапливаются почти на всю высоту, в т.ч. из-за набега воды

 

крутизна надводной части верха откосов на высоту 6-8 м принимается 1:1,5, а затем через каждые 6-8 м уменьшается на 1/4. Подтапливаемая часть - крутизна откосов 1:2 и менее.

На участке частично подтапливаемой насыпи

При устройстве берм их ширину назначают, как правило. 4 м

При пересечении проток, стариц, озер

 

При высоких насыпях, для обеспечения их устойчивости и создания условий для содержания

ОГРАЖДЕНИЯ НА ПОДХОДАХ

Ограждения на подходах устраиваются барьерного или парапетного типа при высоте насыпи более 3 метров. В пределах переходных плит принимается тот же тип ограждения, что и на мосту и в одном уровне.

Отгон в плане ограждений, устанавливаемых на мосту, к ограждениям на дороге должен быть с тангенсом не более 1:20.

РЕГУЛЯЦИОННЫЕ СООРУЖЕНИЯ

Регуляционные сооружения устраивают для обеспечения более плавного протекания воды под мостом, а также отвода пойменных течений от насыпей подходов и конусов.

ТИПЫ РЕГУЛЯЦИОННЫХ СООРУЖЕНИЙ

Струенаправляющие дамбы

а) - криволинейная;

б) - криволинейная с прямой вставкой;

в) - прямолинейная;

г) - грушевидная;

1 - струенаправляющая дамба низовая;

2 - то же верховая;

3 - береговое укрепление,

4 - запруда;

5 - траверсы

Служат для плавного ввода верхового потока и отвода его вниз по течению. Их устраивают в том случае, когда на участке поймы, перекрытом насыпью, проходит не менее 15% всего расчетного расхода воды. По своему очертанию и форме в плане они могут быть криволинейными, криволинейными с прямой вставкой и прямолинейными.

Если пойменная часть подходов пересекает разлив реки мод углом, то устраивают грушевидные дамбы.

При двусторонних поймах устраивают дамбы на обоих берегах, а при наличии только одной поймы - односторонние.

Дамбы представляют собой насыпи из песчаного и супесчаного грунта трапециевидного очертания шириной поверху не менее 2 метров. Конец дамбы, называемый головой, шире в 2 -2,5 раза основной части (тела) дамбы. Отметка бровки дамбы должна быть на 0,5 м выше расчетного уровня поды с учетом подпора и набега волны.

Крутизна откосов с речной стороны 1:2, с пойменной 1:1,5. Речной откос укрепляется каменной наброской или бетонными плитами, с пойменной - более легкий тип укрепления. Особое внимание уделяется укреплению головы дамбы, более всего подверженной размыву. Крутизну отсосов головы дамбы принимают 1:3.

Траверсы

Короткие дамбы, устраиваемые в поперечном направлении к оси насыпи подходов, чаще всего под углом 70-90* с верховой стороны насыпи, для отклонения потока воды от насыпи и защиты земляного полотна от размыва текущей водой.

Укрепляются так же, как и струенаправляющие дамбы.

Запруды

Устраивают при наличии на пойме рукавов или протоков, к которым может перемещаться русло, создавая угрозу размыва насыпи подходов.

Запруды устраиваются в виде насыпи с укрепленными откосами и наиболее узком месте рукавов.

Заилители

Представляют собой решетчатые щиты, перепады, водобойные колодцы и др.

Применяются для уменьшения скорости течения воды, предотвращения размыва берегов и дна русла и образования искусственных отложений грунта (заиливания).

УКРЕПЛЕНИЕ РЕГУЛЯЦИОННЫХ СООРУЖЕНИЙ

Конструкция укрепления регуляционных сооружений зависит от гидрологических условий

Тип укрепления

Допускаемые

Скорость течения при глубине 1-5 м (м/сек)

Ветровая волна, м

Толщина льда, м

Крутизна откоса (заложение)

1

2

3

4

5

Каменная наброска из булыжного или рваного камня крупностью

 

 

 

 

15-20 см

3,0-4,0

0,3

0,2

1:2

25 - 30 см

3,8-5,0

0,5

0,6

1:2

Покрытие из железобетонных плит размером 2,5×3,0 при толщине

 

 

 

 

15 см

3,5

1,3

0,6

1:2

20 см

4,0

1,7

1,2

1:2

Покрытие из бетонных плит размером 1,0×1,0

при толщине

 

 

 

 

16 см

3,5

1,0

0,6

1:2

20 см

4,0-6,0

-

0,8-1,0

1:1,5

Посадка кустарника сплошная

до 2,5

0,5

0,2

1:2

Одерновка «плашмя»

до 1,5

0,25

-

1:1,5

УКРЕПЛЕНИЕ НАСЫПИ ПОДХОДОВ И КОНУСОВ

Необходимым и эффективным мероприятием, обеспечивающим устойчивость земляного полотна подходов, регуляционных сооружений, является укрепление их откосов и конусов и во многом аналогична укреплению регуляционных сооружений.

Существуют различные виды и типы укреплений, защищающих откосы от разрушения атмосферными осадками, ледоходом, карчеходом, потоком пойменных вод и периодическим подтапливанием.

Конструкцию укрепления назначают по расчету в зависимости от местных гидрологических и геологических условий, а также экономических соображений, трудоемкости и индустриальности.

Тип укрепления

Область применения

1

2

Посев многолетних трав по слою растительного грунта

Неподтапливаемые откосы. Защищает земляное полотно от воздействия дождевых, талых вод, выдувания (при песчаных грунтах)

 

 

Одерновка

Сплошная и в клетку для неподтапливаемых и слабо подтапливаемых (до 0,2 м) откосов. Размер дернин 0,25×0,4 м; 0,3×0,5 м; 0,7×0,7 м. Толщина 0,06-0,12 м. Дернины укладывают горизонтальными слоями от подошвы вверх и закрепляют деревянными кольями.

 

1 - дернина

2 - спица (деревянный кол)

3 - подсыпка

 

 

Каменная наброска

Защита откосов и конусов от подмыва и размыва текущей водой и волнобоем.

Используется рваный или колотый камень изверженных метаморфических пород, не имеющий признаков выветривания, горная масса при содержании камня не менее 50%. Толщина слоя назначается по расчету.

 

 

Бетонные плиты

1 - плита

2 - щебеночная подготовка (обратный фильтр)

3 - бетонный упор

4 - тюфяк

Укрепление конусов путепроводов и мостов за пределами подтопления. Размер плит 0,7×0,7×0,08 м или 0,5×0,5×0,08 м

Укрепление подтапливаемых конусов и откосов при высоте волны до 1,2 м и слабом ледоходе. Укладывают их на щебеночную подготовку.

Размер плит 1,0×1,0 м и толщиной 16 см и 20 см.

Укрепление откосов постоянно или периодически подтапливаемых насыпей и конусов, а также регуляционных сооружений, подверженных воздействию ветровых волн высотой до 1,7 м.

Укладываются на обратный фильтр, состоящий из слоя песка 10 см и крупного гравия или щебня слоем 15 см.

 

 

Тюфяк из бетонных или железобетонных плит

Защита от размывов подошвы насыпи, дна русла.

 

 

Решетчатые

Откосы, конуса у путепроводов и мостов, откосы выемок (вместо одерновки).

Клетки собираются из элементов заводского изготовления и заполняются растительным грунтом, гравием, щебнем, грунтоцементом.

 

1 - элемент клетки (решетки)

2 - соединительные штыри

3 - заполнитель клетки

 

 

Габионы

(сетки из гибкой проволоки, заполненные камнем твердых пород)

Защита откосов при бурных потоках, несущих большое количество наносов в основном на горных реках.

МАТЕРИАЛЫ ДЛЯ БЕТОННЫХ И ЖЕЛЕЗОБЕТОННЫХ МОСТОВЫХ КОНСТРУКЦИЙ

Капитальные искусственные сооружения - железобетонные, бетонные наиболее долговечны и для их содержания требуются небольшие затраты.

Опоры капитальных мостов возводят обычно из бетонной или бутобетонной кладки, пролетные строения - из железобетона.

Железобетон представляет собой материал, состоящий из бетона и стали, работающих совместно. Бетон хорошо работает на сжатие и плохо на растяжение, поэтому сталь (арматуру) размещают в бетоне так, чтобы она воспринимала растягивающие усилия. Благодаря хорошему сцеплению между бетоном и арматурой, а также почти одинаковым коэффициентом их температурного расширения железобетонные элементы хорошо работают в строительных конструкциях.

Дня ремонта железобетонных и бетонных конструкций мостов необходимо применять строительные материалы, качество которых не ниже материала, из которого изготовлены конструкции.

Бетонная смесь и арматура должны отвечать требованиям СНиП 2.05.03-84 «Мосты и трубы» и изменений к нему.

Основные характеристики и требования приводятся ниже:

Материал

Характеристика и требования

1

2

БЕТОН - должен отвечать требованиям по прочности

Прочность бетона - способность бетона сопротивляться силовым воздействиям - растяжению, сжатию и т.д.

Главным показателем является прочность по сжатию;

В ранее действовавших нормах этот показатель называется маркой (М) бетона.

Качество бетона определяется его маркой: М200, М250, М300, М 400, и т.д., что означало прочность бетона 200 кг/см2, 300 кг/см2, 400 кг/см2.

В соответствии с международными стандартами произведен переход от марок к классам по прочности на сжатие и растяжение.

Соотношение между прочностью, закладываемой в классы и марки бетона В=M(1 - 1,64v), где v - коэффициент изменчивости прочности бетона. В нормах для тяжелого и легкого бетона он принят равным 0,135.

В конструкциях мостов и труб следует предусматривать применение конструкционного тяжелого бетона со средней плотностью от 2200 до 2500 кг/м3

По прочности бетон конструкций характеризуется проектным классом, передаточной и отпускной прочностью.

Класс бетона по прочности на сжатие «В» определяется значением гарантированной, с обеспеченностью 9,95 прочностью на сжатие, контролируемой на кубах 150×150×150 мм в установленные сроки.

Проектный класс бетона «II» - это прочность бетона конструкции, назначаемой в проекте.

Передаточная прочность бетона - прочность бетона в момент передачи на него усилия в процессе изготовления и монтажа.

Отпускная; прочность бетона - прочность изделия в момент отгрузки его со склада завода-изготовителя.

Для конструкций мостов и труб следует приме пять тяжелый бетон класса по прочности на сжатие В20; В22,5; В25; В27,5; В30; В35; В40; В45; В50; В55; В60.

В зависимости от вида конструкций, их армирования и условий работы применяемый бетон должен соответствовать требованиям, указанным в таблице:

Вид конструкций

  Класс В  

(марка М)

1. Бетонные

  В 20  

(M200)

2. Железобетонные с напрягаемой арматурой при расположении:

 

а) в зоне переменного уровня воды

  В 25  

(М35О)

б) в надземных частях сооружения

  В 22,5  

(M300)

в) в подземных частях сооружения, а также во внутренних полостях сборно-монолитных опор

  В 20  

(М200)

3. Предварительно напряженные железобетонные:

 

а) без анкеров:

 

при стержневой арматуре класса А-IV, AT-IV

  В 25  

(М350)

А-V, АТ-V

  В30  

(М400)

А-VI

  В 35  

(М450)

при проволочной арматуре

  В35  

(М450)

6) с анкерами:

 

при проволочной арматуре

  В  25  

(М35О)

лучки и канаты

  В35  

(М45О)

4. Блоки облицовки опор на реках с доходом при расположении мостов в районах со средней температурой наружного воздуха наиболее холодной пятидневки:

 

минус 40 С и выше

  В 35  

(М450)

ниже минус 40 С

  В 35  

(М450)

По морозостойкости

Морозостойкость бетона (F) - способность бетона не терять прочность и не разрушаться после заданного многократного числа циклов попеременного замораживания и оттаивания при стандартном режиме.

Марка бетона и раствора по морозостойкости в зависимости от климатических условий зоны строительства, расположения и вида конструкций следует принимать по таблице (стр.  ).

Марка по морозостойкости бетона тела опор и блоков облицовки для мостов, расположенных вблизи плотин гидростанций и водохранилищ, должна устанавливаться в каждом отдельном случае на основе анализа конкретных условий и эксплуатации и требований, предъявляемых в этих случаях к бетону речных гидротехнических сооружений.

По водонепроницаемости

Водонепроницаемость бетона (W) - свойство бетона не пропускать воду под действием силы тяжести при заданных условиях.

Элементы и части конструкций железобетонных мостов и труб, перечисленные ниже, должны проектироваться из бетона, имеющего марку по водонепроницаемости не ниже:

W4 - в подводных и подземных конструкциях;

W6 - в водопропускных трубах, в элементах крепления русел и конусом насыпей, в берегоукрепительных и регуляционных сооружениях, в элементах одежды проезжей части и переходных плитах, в блоках облицовки опор, эксплуатируемых в районах со средней температурой наружного воздуха наиболее холодной пятидневки минус 40 С и выше;

W8 - в блоках облицовки опор, эксплуатируемых в районах со средней температурой наружного воздуха наиболее холодной пятидневки ниже минус 40 С.

В элементах конструкций, предназначенных для эксплуатации в агрессивных средах, должны приниматься бетон и защитные покрытия, обладающие стойкостью к такому воздействию, в соответствии с требованиями СНиП П-28-73*.

Арматура

Арматура служит в железобетоне для восприятия растягивающих усилий от собственной массы конструкций и нагрузок

В зависимости от условий работы и расчетных характеристик в железобетонных конструкциях применяются различные марки стали как каркасной (ненапрягаемой) так и высокопрочной предварительно-напряженной.

Марки бетона по морозостойкости (F)

Климатические условия, характеризуемые среднемесячной температурой наиболее холодного месяца согласно СНиП 2.01.01-82

Расположение конструкций и их частей

в надводной, подземной и надземной незатопляемой зонах*

в зоне переменного уровня воды**

Вид конструкций

железобетонные и тонкостенные бетонные (толщииной менее 0,5 м)

бетонные массивные

железобетонные и тонкостенные бетонные

бетонные массивные

блоки облицовки

кладка тела опор (бетон наружной зоны)

кладка заполнения при блоках облицовки (бетон внутренней зоны)

1

2

3

4

5

6

7

Умеренные:

минус 10 С и выше

200

100

200

100

100

Суровые:

ниже минус 10 С до минус 20 С

200

100

300

200

100

300

Особо суровые:

ниже минус 20 С

300

200

300***

300

300

400****

* К наземным незатопляемым зонам в опорах следует относить части, расположенные на 1 м выше поверхности

грунта. Для бетона участков опор, расположенных ниже и достигающих половины глубины промерзания грунта, следует предусматривать требования, указанные для конструкций, находящихся в зоне переменного уровня воды.

** За верхнюю границу зоны переменного уровня воды следует принимать условный уровень, который на 1 м

выше наивысшего уровня ледохода, за нижнюю - уровень на 0,5 м ниже нижней поверхности слоя льда наинизшего ледостава.

*** Железобетонные элементы промежуточных опор совмещенных мостов на постоянных водотоках в районах с особо суровыми климатическими условиями должны иметь марку бетона по морозостойкости F 400

**** Бетон блоков облицовки опор больших железнодорожных и совмещенных мостов через реки с ледоходом при толщине льда больше 1.5 м и расположении мостов в районе с особо суровыми климатическими условиями должен иметь марку по морозостойкости F 500.

Примечания: 1. К бетону частей конструкций подводных (на 0,5 м ниже поверхности слоя льда наинизшего ледостава), подземных (ниже половины глубины промерзания), а также находящихся в вечно мерзлых грунтах требования по морозостойкости не нормируются. В обсыпных устоях к подземным частям конструкции относятся части тела устоя, расположенные ниже половины глубины промерзания грунта конуса насыпи.

2.Бетон всех элементов водопропускных труб, укрепления русел рек и конусов насыпей, берегсукрепи тельных и регуляционных сооружений, бетон, находящийся в сезоноотталкивающем слое грунта в районах вечной мерзлоты, а также бетон всех элементов мостового полотна, включая плиты проезжей части автодорожных мостов без гидроизоляции к плиты мостового полотка в железнодорожных пролетных строениях безбаластной ездой, должен отвечать требованиям по морозостойкости, предъявляемым к бетону, находящемуся в зоне переменного уровня золы.

Расчетные сопротивления бетона по прочности на сжатие

 

Условное обозн.

Расчетное сопротивление, МПа (кгс/см2) бетона классов

  В20  

(105)

  В22,5  

(120)

  В25  

(130)

  В27,5  

(145)

  В30  

(160)

  В35  

(180)

  В40  

(205)

  В45  

(225)

  В50  

(255)

  В55  

(280)

  В60  

(305)

Сжатие осевое

Rв

10,5

11,75

13,0

14,3

15,5

17,5

20,0

22,0

25,0

27,5

30,0

Примечание: Для бетонных конструкций расчетные сопротивления необходимо принимать на 10% ниже значений, указанных в таблице.

Расчетные сопротивления монолитного бетона класса В20 во внутренних полостях (в ядре) круглых оболочек опор допускается в расчетах повышать на 25%

Арматурная сталь

Класс стали

ГОСТ

Марка стали

Диаметр мм

Применимость в конструкциях в районах с температурой наружного воздуха наиболее холодной пятидневки

-30 С и выше

от -30 С до -40С

ниже -40 С

1

2

3

4

5

6

7

8

Стержневая горячекатанная гладкая

 

 

ВСт3пс2

6-10

+

+

+

ВСт3пс2

12-40

+

+

+

ВСт3пс2

6-10

+

-1

+1,2

ВСт3пс2

12-16

+

-1

-

ВСт3пс2

18-40

+

-1

-

ВСт3Гпс2

6-10

+

+

+1

ВСт3Гпс2

12-16

+

+1

-

ВСт3Гпс2

18

+

+1

-

Ст3сп3

6-10

+

+

-

Ст3пс3

6-10

+

+

-

Ст3кп3

6-10

+

-

-

ВСт3кп2

6-10

+

-

-

Стержневая горячекатанная периодического профиля

A-II

5781-82

ВСт5сп2

10-40

+

+

+1,2,3

ВСт5пс2

10-16

+

+1

-

ВСт5пс2

18-40

+

-

-

18Г2С

40-80

+

+

+

Ас-II

1001Т

10-32

+

+

+

A-III

2512С

6-40

+

+

+1

35ГС

6-40

+

+4

-

А-IV

20ХГ2Ц

10-22

+

+

+5

Стержневая термически упрочненная периодического профиля

Ат-IV6

10884-81

25Г2С

10-28

+5

+5

+5,7

10ГС2

10-18

+5

+5

+5,7

20ХГС2

10-18

+5

+5

+5,7

Ат-V6

20ХГС2

10-28

+5

+5

+5,7

Ат-VI6

20ХГС2

10-16

+5

+5

+5,7

Высокопрочная проволока гладкая

Bp-II

7348-81

-

3-8

+

+

+8

Высокопрочная проволока периодического профиля

Вр-II

7348-81

-

3-8

+

+

+9

Арматурные канаты

К-7

13840-68

-

9-15

+

+

+

Стальные канаты

Спиральные

-

с диаметром проволоки 3 мм и более

+

+

-

Двойной свивки

3067-74

3068-74

+

+

-

Закрытые

3090-73

7675-73

7676-73

Предусмотренные ГОСТ

+

+

-

1 - допускается к применению в вязаных каркасах и сетках

2 - не допускается к применению для хомутов пролетных строений

3 - не допускается к применению, если динамический коэффициент свыше 1,1

4 - если динамический коэффициент свыше 1,1, то допускается к применению только в вязаных каркасах и сетках

5 - только в виде целых стержней мерной длины

6 - допускается к применению термически упрочненная стань только марок С (свариваемая) и К (стойкая к коррозионному растрескиванию)

7 - допускается к применению при гарантируемой величине равномерного удлинения не менее 2%

8 - допускается к применению при диаметре проволок 5-8 мм

9 - допускается к применению при диаметре проволок 5 мм

+ допускается к применению

- не допускается к применению

Закладные детали

Средняя температура наружного воздуха наиболее колодной пятидневки

Сталь закладных деталей

Марка

ГОСТ_

толщина прокатаMV

1

2

3

 

5

Для закладных деталей сборных железобетонных конструкций применяются марки стали, указанные в таблице

минус 40 С включительно

16ГС-12

19281-73

4-60

17ГС-12

19282-73

4-60

16Д

6713-75

4-60

16ГС-6*

19281-73

4-60

17ГС-6*

19282-73

4-60

ВСт3сп5

380-71

12-30

ВСт3Гпс5

 

12-30

Ст3сп5-1

380-88

12-30

Ст3пс5-1

380-88

4-10

ВСт3пс6**

380-71

4-10

ниже минус 40 С

10ХСНД-2

6713-75

8-40

15ХСНД-2

 

5-50

09Г2СД-14

19281-73

4-60

09Г2С-14

19282-73

4-60

10Г2С1-14

 

4-60

1666ГС-14

 

4-60

09Г2СД-8*

 

4-60

09Г2С-8*

 

4-60

10Г2С1-8*

 

4-60

16ГС-8*

 

4-60

* только для не свариваемых изделий

** только дня деталей, воздействие на которые вертикальных нагрузок учитывается с динамическим коэффициентом не более 1,1.

При средней температуре наружного воздуха наиболее холодной пятидневки в районе строительства минус 30 С и динамическом коэффициенте не более 1,Г допускается применение проката толщииой4-24 мы го стали марки Ст3пс по ГОСТ 535-88. При температуре наружного воздуха выше минус 40 С возможно применение проката из стали Ст3сп (при толщине 10-30 мм) и Ст3пс (при толщине 4-30мм).

Нормативные и расчетные сопротивления арматурной стали, применяемой в мостах

 

Клacc арматурной стали

Диаметр мм

Нормативное сопротивление растяжению МПа (кгс/см2)

Расчетное сопротивление растяжению МПа (кгс/см2)

1

2

3

4

Ненапрягаемая арматура

1. Стержневая

 

 

 

а) гладкая А-I

6-40

235 (2400)

210(2150)

6) периодического профиля

 

 

 

A-II, Ас-II

10-40

295 (3000)

165 (2700)

A-III

6 и 8

390 (4000)

340 (3450)

 

10 и 40

390 (4000)

350 (3550)

Напрягаемая арматура

2. Стержневая

а) горячекатанная

 

 

 

A-IV*

10-32

590(6000)

465 (4750)

A-V

10-32

785 (8000)

600 (6100)

б) термически упрочненная

 

 

 

Ат-IV

10-28

590 (6000)

465 (4750)

Ат-V

10-14

785 (8000)

645 (6600)

 

16-28

785 (8000)

600 (6100)

Ат-VI

10-14

980 (10000)

775 (7900)

 

16

980 (10000)

745 (7600)

3 Высокопрочная проволока:

 

 

 

а) гладкая B-II

3

1490 (15200)

1180 (12050)

 

4

1410 (14400)

1120 (11400)

 

5

1335 (13600)

1055 (10750)

 

6

1255 (12800)

995 (10150)

 

7

1175 (12000)

930 (9500)

 

8

1100 (11200)

865 (8850)

б) периодического профиля Вр-II

3

1460 (14900)

1155(11800)

 

4

1375 (14000)

1090 (11100)

 

5

1255 (12800)

995 (10150)

 

6

1175 (12000)

930 (9500)

 

7

1100 (11200)

870 (8850)

 

8

1020 (10400)

810 (8250)

4. Арматурные канаты

9

1375 (14000)

1090 (11100)

 

12

1335 (13600)

1055 (10750)

 

15

1295 (13200)

1025 (10450)

* При смешенном армировании стержневую горячекатаную арматуру класса -IV допускается применять и качестве ненапрягаемой арматуры.

УПРОЩЕННЫЙ ОБМЕР РАБОТ

Формула подсчета

Геометрическое изображение

1

2

Круговое кольцо (труба)

Бревно, окантованное сверху и снизу

S=0,740D2

V=Sl

где l - длина бревна

Бревно, окантованное сверху

S=0,763D2

V=Sl

где l - длина бревна

Бревно, окантованное с четырех сторон

S=0,763D2

V=Sl

Призма (штабель)

Клип (крыша)

Полный цилиндр (труба)

Бочка

Конус (отсыпка штабельная)

Штабель неопределенной формы

Практический способ обмера штабелей (призм) сыпучих строительных материалов при приемке

V=abh, где a, b, h - средние значения измеренных величин

Длины боковых сторон измеряются с точностью до 5 см, высоты призмы - до 1 см.

S - площадь сечения;

V - объем;

F - поверхность

ПЕРЕЧЕНЬ ТЕХНОЛОГИЧЕСКИХ КАРТ ПО РЕМОНТУ МОСТОВ

пп

Наименование технологических карт

Дата разработки

1

2

3

1.

Ремонт деформационных швов заполненного типа в пролетных строениях автодорожных мостов

июль 1990 г.

2.

Ремонт гидроизоляции моста с использованием литой асфальтовой мастики

февраль 1991 г.

3.

Ремонт укреплений конусов с организацией поверхностного водотока в зоне сопряжения моста с насыпями подходок

февраль 1991 г.

4.

Реконструкция мостового полотна с устройством тротуаров из монолитного бетона

март 1991 г.

5.

Локальный ремонт гидроизоляции моста с одновременным устройством повышенного бордюра

январь 1991 г.

6.

Ремонт (восстановление) деформационных швов закрытого типа в пролетных строениях автодорожных мостов

сентябрь 1991 г.

7.

Профилактика железобетонных пролетных строений автодорожных мостов путем гидрофобизации поверхности бетона

октябрь 1991 г.

8.

Замена конструкций деформационного шва на шов с резиновым компенсатором К8-55 в железобетонных пролетных строениях мостов

декабрь 1991 г.

9.

Организация водоотвода на эксплуатируемых автодорожных мостах длиной до 100 м.

Февраль 1992 г.

10.

Объединение в температурно-неразрезную систему пролетных строений эксплуатируемых автодорожных мостов

апрель 1992 г.

11.

Ремонт гидроизоляции мостов с помощью передвижного оборудования РД-601 для нанесения защитных слоев.

1988 г.

ПЕРЕЧЕНЬ нормативных и методических документов, использованных в «Пособии» и составляющих нормативно-техническую базу службы эксплуатации искусственных сооружении

1. СНиП 2.06.04-82 «Нагрузки и воздействия на гидротехнические сооружения (волновые, ледовые и от судов)»

2. СНиП 2.05.03-84 «Мосты и трубы (нормы проектирования)».

3. СНиП 3.06.07-86 «Мосты и трубы. Правила обследований и испытаний».

4. СНиП 3.06.07-86 «Мосты и трубы. Правила обследования и испытания». Госстрой СССР. М., ЦНИИТП Госстроя СССР, 1988 г.

5. СНиП 3.06.04-91 «Мосты и трубы»

6. ВСН 4-81. Инструкция по проведению осмотров мостов и труб на автомобильных дорогах.

7. ВСН 9-72. Временные указания по антисептированию элементов деревянных мостов методом глубокой местной пропитки под давлением. Минавтодор РСФСР. 1992г.

8. ВСН 12-73. Указания по определению грузоподъемности деревянных мостов с учетом их технического состояния. Минавтодор РСФСР. 1973г.

9. ВСН 13-89. Указания по составлению и утверждению ПСД на ремонт автомобильных дорог и сооружений на них. Минавтодор РСФСР. 1990г.

10. ВСН 32-89. Инструкция по определению грузоподъемности железобетонных балочных пролетных строений эксплуатируемых автодорожных мостов. Минавтодор РСФСР. 1990 г.

11. ВСН 32-81. Инструкция по устройству гидроизоляции конструкций мостов и труб на железных, автомобильных и городских дорогах. Минтрансстрой, МПС. 19982г.

12. ВСН 42-91. Нормы расхода строительных материалов на строительство и ремонт автомобильных дорог и мостов. Концерн «Росавтодор». 1991 г.

13. ВСН 50-87. Инструкция по ремонту, содержанию и эксплуатации паромных переправ и наплавных мостов. Минавтодор РСФСР. 1989г.

14 ВСН 51-88. Инструкция по уширению автодорожных мостов. Минавтодор РСФСР. 1989г.

15. ВСН 165-85. Устройство спайных фундаментов мостов (из буровых свай). Минтрансстрой.

16. ВСН 36-84. Инструкция по определению грузоподъемности сталежелезобетонных балочных пролетных строений автодорожных мостов. Миндорстрой БССР, Минск 1984 г.

17. ГОСТ 10807-78. Знаки дорожные. Общие технические условия.

18. ГОСТ 26600-85. Знаки и огни навигационные внутренних водных путей. Общие технические условия.

19. ГОСТ 26775-85. Габариты подмостовых судоходных пролетов мостов на внутренних водных путях.

20. ГОСТ 26804-86. Ограждения дорожные металлические барьерного типа. Технические условия.

21 Инструкция по перевозке крупногабаритных и тяжеловесных грузов автомобильным транспортом по дорогам российской Федерации, Минтранс РСФСР. 1996г.

22. Временная инструкция по ограничению веса и скорости движения транспортных средств, пропускаемых в зимний период по мостам со сварными металлическими пролетными строениями. М., Гипродорнии, ЦБНТИ Минавтодора РСФСР, 1979 г.

23. Инструкция по защите металлических конструкций эксплуатируемых на автомобильных дорогах РСФСР мостов, путепроводов, ограждений и дорожных знаков. Минавтодор РСФСР. 1980г.

24. Временные нормативы объемов работ и периодичности диагностики и обследования автомобильных дорог и мостов. Федеральный дорожный департамент. 1993г.

25 Инструкция по проектированию и установке полимерных опорных частей мостов. ВСН 86-83, Минтрансстрой, М., ВПТИтрансстроя 1983 г.

26. Руководство по ремонту элементов мостового полотна автодорожных мостов. НПО Росдорнии. М., 1989 г.

27. Руководство по проектированию, строительству и эксплуатации искусственных сооружений автомобильных дорог на водотоках с наледями. Минавтодор РСФСР. 1989г.

28. Руководство по устройству температурно-неразрезных пролетных строений мостов. Гипродорнии, Союздорнии. 19987г.

29. Руководство по структуре и организации службы эксплуатации искусственных сооружений на автомобильных дорогах. Росдорнии, Федеральный дорожный департамент. 1994 г.

30. Альбом № 1 технических решений по усилению железобетонных автодорожных мостов. Федеральный дорожный департамент, Союздорнии. Г993г.

31. Рекомендации по уширению эксплуатируемых железобетонных автодорожных мостов. Минавтодор РСФСР, Гипродорнии. 1987г.

32. Руководство по усилению мостов методом наклейки поверхностной арматуры. Минавтодор РСФСР. 1987г.

33. Руководство по ремонту элементов мостового полотна автодорожных мостов. НПО Росдорнии. 1989г.

34. Рекомендации по улучшению гидроизоляционных свойств одежды мостового полотна эксплуатируемых автодорожных мосток. Минавтодор РСФСР, Гипродорнии. 1987г.

35. Рекомендации по ремонту и уходу за деформационными швами в малых и средних мостах. НПО Росдорнии. 1939г.

36. Рекомендации по применению конструкций деформационных швов с резиновыми компенсаторами при строительстве и ремонте пролетных строений автодорожных мостов и путепроводов. Гипродорнии. 1986г.

37. Рекомендации по ремонту поверхностей бетонных и железобетонных элементов мостов с использованием средств механизации. Гипродорнии. 1986г.

38. Рекомендации по ремонту железобетонных мостов (Альбом конструктивных и технологических решений). Гипродорнии. 1985г.

39. Рекомендации по содержанию и ремонту металлических пролетных строений автодорожных мостов. Гипродорнии. 1983г.

40. Временное положение о межремонтных сроках службы капитальных автодорожных мостов и путепроводов. Минавтодор РСФСР. 1988г.

41. Рекомендации по устройству бутилкаучуковой гидроизоляции конструкций мостов. Федеральный дорожный департамент. 1993 г.

42. Инструкция по диагностике мостовых сооружений на автомобильных дорогах. Федеральный дорожный департамент. 1996 г.

43. ОДН. Типовые нормы времени и расценки на содержание и ремонт малых мостов и искусственных сооружений. Минавтодор РСФСР, ЦК профсоюза рабочих AT и ШД. 1989г.

44. ОДН. Типовые сметные нормы времени и расценки на содержание и планово-предупредительный ремонт искусственных сооружений. Минавтодор РСФСР, ЦК профсоюза рабочих AT и ШД. 1990г.

45. ОДН. Сборник типовых инструкций по охране труда дня рабочие дорожного хозяйства. Выпуск I, II, III. ФДД Минтранса РФ, ЦК профсоюза рабочих AT и ШД. 1993г., 1994г., 1995г.

46. Единые и ведомственные нормы времени и расценки на работы, наиболее часто встречающиеся при строительстве и ремонте автомобильных дорог и искусственных сооружений (действуют с учетом поправочных коэффициентов):

Часть I. Строительство, ремонт автомобильных дорог и линейных сооружений;

Часть II. Мосты и трубы;

Часть III. Внутрипостроечные транспортные, такелажные, кузнечно-слесарные, выправительные берегоукрепительные работы. Госстрой, Госкомтруд и ВЦСПС 1986г.

47. ТУ 218-46.629-90. Шов деформационный ШК-8-55 для автодорожных мостов с железобетонными пролетными строениями. Росдорнии. 1991 г.

48. Порядок заключения договоров и приемки работ по ремонту капитальных автодорожных мостов (письмо концерна «Росавтодор» от 13.11.90 г. № НГ-18/244).




Яндекс цитирования



   Copyright © 2007-2026,  www.tehlit.ru.

[ ѓосты, стандарты, нормативы, инструкции, правила, строительные нормы ]