ТехЛит.ру
- крупнейшая бесплатная электронная интернет библиотека для "технически умных" людей.
WWW.TEHLIT.RU - ТЕХНИЧЕСКАЯ ЛИТЕРАТУРА

:: Алготрейдинг::


АЛГОТРЕЙДИНГ
шаг за шагом
с нуля по урокам!

Торговые роботы на PYTHON, BackTrader,
Pandas, Pine Script для TradingView. Связка с брокерами, телеграм и легкими приложениями.


Руководящий документ

по защите от коррозии

механического оборудования

и специальных стальных конструкций

гидротехнических сооружений

РД ГМ-01-02

Москва 2002

 

«Руководящий документ по защите от коррозии механического оборудования и специальных стальных конструкций гидротехнических сооружений»

РД ГМ-01-02, Москва, 2002 г.

Авторский коллектив: Редреев С.Е., Бойко И.А., Андреев Э.М., Бабкина З.Ф.

Под общей редакцией Билева Е.А.

Коллектив авторов выражает благодарность специалистам ОАО "Трест Гидромонтаж", СПКТБ "Ленгидросталъ", СПКТБ "Мос-гидросталъ", ОАО "Чеховский завод Гидросталь" и других организаций за помощь в подготовке РД ГМ 01-02, а также лично И.О. Рыбаку, В.А. Дмитриеву, С.В. Леенсону и A.M. Орловскому за просмотр рукописи и ценные замечания.

Все замечания и предложения по содержанию руководящего документа просим направлять по адресу:

123423, Москва, Карамышевская наб., д. 37, ОАО "Трест Гидромонтаж", УПТК; тел./факс (095) 946-2839, тел. 191-6575, 191-8172; E-mail: info@uptk.ru.

Министерство энергетики Российской федерации

Акционерное общество открытого типа

«Трест Гидромонтаж»

Утверждаю

Генеральный директор

«Трест Гидромонтаж»

21.03.____Е.А. Белиев

21 марта 2002г.

 

РУКОВОДЯЩИЙ ДОКУМЕНТ

по защите гидромеханического оборудования и металлоконструкций гидротехнических сооружений от коррозии

РД ГМ-01-02

Согласовано

Начальник управления научно-

Течнического прогресса.

Министерство энергетики

Российской Федерации

___________П.П. Безрук

21 декабря 2001г.

Москва 2002 г

РД ГМ-01-02 "Руководящий документ по защите от коррозии механического оборудования и специальных стальных конструкций гидротехнических сооружений" разработан ОАО "Трест Гидромонтаж" взамен РД ГМ-065-94 с учетом основных положений СНиП 2.03.11-85 "Защита строительных конструкций от коррозии" (с изменениями 1996 г.), СНиП 3.04.03-85 "Защита строительных конструкций и сооружений от коррозии" и ГОСТ 15150-69 "Машины, приборы и другие технические изделия. Исполнения для различных климатических районов. Категории, условия эксплуатации, хранения и транспортирования в части воздействия климатических факторов внешней среды".

В РД ГМ-01-02 изложены основные требования и рекомендации по защите механического оборудования и специальных стальных конструкций гидротехнических сооружений от коррозии на стадиях проектирования, изготовления и монтажа, а также восстановления противокоррозионной защиты при ремонтах.

Рекомендации РД ГМ-01-02 базируются на использовании новейших лакокрасочных материалов, технологий и оборудования, появившихся в последние годы. Старые материалы, по которым имеется положительный опыт применения, также рассматриваются в Документе.

РД ГМ-01-02 дает рекомендации по временной защите элементов механического оборудования и специальных стальных конструкций, подлежащих заделке в бетон.

РД ГМ-01-02 предназначен для организаций и предприятий, занимающихся проектированием, изготовлением, монтажом и ремонтом (в период эксплуатации) механического оборудования и специальных стальных конструкций гидротехнических сооружений, а также для специализированных организаций, занимающихся разработкой технологических процессов и проектов противокоррозионной защиты гидротехнических сооружений.

РД ГМ-01-02 может быть также использован любыми другими организациями и предприятиями, которые нуждаются в надежной и долговременной защите от коррозии металлических конструкций и оборудования.

1. Введение

1.1. Определения. Термины. Сокращения

В тексте РД приняты следующие сокращения наиболее часто встречающихся терминов:

МО - механическое оборудование

СК - специальные стальные конструкции

ГТС - гидротехнические сооружения

ЛКМ - лакокрасочные материалы

ПКЗ - противокоррозионная защита.

Механическое оборудование гидротехнических сооружений - совокупность устройств, необходимых для пропуска воды при эксплуатации ГТС.

Состав МО:

- затворы всех типов, штанги затворов, сороудерживающие решетки, шлюзовые ворота и другие подвижные конструкции;

- закладные части (пазовые конструкции затворов и решеток), другие металлические конструкции и детали, заделываемые в бетон;

- подъемно-транспортные механизмы, предназначенные для маневрирования подвижными конструкциями (подъемные краны, стационарные подъемники, в том числе гидроподъемники).

- захватные балки;

- решеткоочистные машины;

- компенсаторы трубопроводов.

Основные СК:

- трубопроводы, облицовки и уравнительные резервуары;

- эстакады;

- подкрановые балки;

- мосты шоссейные, железнодорожные и служебные;

-         металлические каркасы здания ГЭС, других зданий и сооружений.

Указанные МО и СК ГТС эксплуатируются, как правило, в условиях повышенной влажности, при постоянном либо периодическом погружении в воду. Вода может иметь различную степень агрессивности и иметь различную скорость потока. Эти условия предъявляют определенные требования к противокоррозионной защите, защите от абразивного износа и обрастания.

Термин противокоррозионная защита (в дальнейшем ПКЗ) подразумевает комплекс мероприятий, направленных на повышение долговечности и надежности МО и СК ГТС при длительной эксплуатации в средах различной агрессивности.

1.2. Понятие об агрессивности среды

Для ГТС основными факторами, определяющими агрессивность среды, являются:

- параметры климата в месте расположения объекта: холодный, умеренный, тропический (ГОСТ 16350-80, ГОСТ 9.039-74 и ГОСТ 24482-80);

- зоны влажности: сухая, нормальная, влажная или мокрая (СНиП II-3-79);.

- условия эксплуатации конструкции или оборудования: на воздухе, в воде, в воде и на воздухе попеременно;

- для воздушных сред: агрессивность газов в зависимости от их вида и концентрации, наличие солей, аэрозолей и пыли, степень их гигроскопичности;

- для водных сред: показатель рН, концентрация кислорода, суммарная концентрация сульфатов и хлоридов, жесткость (см. ниже), наличие биологических факторов, скорость потока и наличие в нем абразивных частиц.

На основе анализа перечисленных факторов и их комбинаций можно определить степень агрессивности среды: неагрессивная, слабоагрессивная, среднеагрессивная и сильноагрессивная.

Часть из приведенных факторов относятся к понятию "климатические условия эксплуатации" и обозначаются следующим образом:

- умеренный климат (У);

- умеренный и холодный (УХЛ);

- холодный (ХЛ);

- тропический влажный (ТВ);

- тропический сухой (ТС);

- тропический (Т);

- любой, кроме очень холодного (О);

- умеренный морской (М);

- тропический морской (ТМ);

- тропический морской и умеренно холодный (ОМ);

- любой (В)1.

В РД ГМ-01-02 указанные выше климатические условия усреднены и сведены:

по климату - к трем основным районам (ГОСТ 9.104-79):

- районы с умеренным климатом "У"

(колебания температуры от -45 до +45°С)

- районы с холодным климатом "ХЛ"

(колебания температуры от -64 до +38°С)

- районы с тропическим климатом "Т"

(колебания температуры от -9 до +50°С)

 и по условиям эксплуатации (ГОСТ 9.032-74*), из которых для гидросооружений имеют практическое значение следующие группы:

- группа 1 "Воздействие открытой атмосферы (солнечная радиация, атмосферные осадки)";

- группа 4/1 "Постоянное воздействие пресной (речной) воды или ее периодическое воздействие (вода-воздух)";

- группа 4/2 "Воздействие морской воды длительное или периодическое (вода-воздух)".

1 В скобках приводятся условные обозначения.

Для МО и СК ГТС первостепенное значение имеют условия эксплуатации в пресной воде, имеющей различные параметры, в разной степени активно влияющие на коррозионные процессы стали:

жесткость (содержание карбонатов), которая зависит от самых разных причин: дебита притоков промышленных и бытовых загрязнений, характера стока, природы подстилающих пород; показатели жесткости могут изменяться в пределах 250-500 мг/л;

солесодержание пресных вод, которое обычно колеблется в широких пределах (100-1000 мг/л). Значения рН этих вод близки к нейтральному значению;

содержание кислорода повышается летом (5-10 мг/л) и снижается зимой (1,5-5 мг/л). Это связано с уменьшением конвективного перемешивания в зимний период и зависит от солесодержания, а именно: больше хлоридов в воде - меньше кислорода;

концентрация ионов С1 и SO -2∕4 может изменяется от десятков до сотен мг/л;

удельное сопротивление; для пресных вод - в пределах 18-125 Ом/м;

временная жесткость - важнейший коррозионный показатель для естественных вод. Это связано с тем, что при высоком содержании в воде ионов кальция и магния на поверхности металла образуются сплошные плотные и прочные пленки карбоната кальция и гидрата окиси магния, препятствующие доступу кислорода (деполяризатора) к металлу и тормозящие коррозионные процессы. Пониженные концентрации кальция и магния смягчают воду и способствует ускорению коррозии.

1.3. Виды коррозионного разрушения

На МО и СК ГТС наблюдаются практически все основные виды коррозии: атмосферная коррозия в условиях влажной воздушной среды различной агрессивности, подводная коррозия при полном, неполном или переменном погружении, подземная коррозия или разрушение в грунтах.

В особую группу выделяют виды коррозии при воздействии механических нагрузок: коррозию под напряжением при одновременном воздействии коррозионной среды и постоянных или переменных нагрузок и коррозионное растрескивание.

Различают и такие специфические виды коррозии:

- коррозия при трении, развивающаяся при одновременном воздействии среды и трения;

- фреттинг -коррозия при колебательном перемещении двух металлических поверхностей относительно друг друга в условиях коррозионной среды;

- коррозионная кавитация или разрушение при ударном воздействии жидкой среды;

- коррозионная эрозия;

- контактная коррозия металлов, имеющих различные потенциалы в данной среде;

- коррозия блуждающими токами за счет посторонних источников постоянного тока.

Как самостоятельный вид коррозии может рассматриваться биокоррозия, инициаторами или стимуляторами которой являются микроорганизмы, грибковые образования, бактерии и пр.

По ГОСТ 5272-80 коррозия подразделяется на ряд видов с характерными особенностями локализации развития.

Местная (неравномерная) коррозия характеризуется разрушением отдельных участков поверхности металла, в т.ч. с образованием питтингов и язв, а сквозная - образованием перфораций.

Подповерхностная (расслаивающая) коррозия начинается с поверхности, но развивается преимущественно в направлении пластической деформации металла (например, вдоль текстуры прокатки).

Ножевая коррозия - локализованное разрушение металла в зоне сплавления и термического влияния сварных соединений, имеющее вид порезов.

Избирательная коррозия характеризуется разрушением одной структурной составляющей или неметаллических включений в стали.

Щелевая коррозия - усиление процесса разрушения стали в зазорах двух металлов или при неплотном контакте стали с коррозионно-инертным материалом.

На скорость и характер протекания коррозионных процессов на стали, кроме среды, оказывают влияние и некоторые металлургические факторы.

Влияние толщины проката на скорость коррозии стали. Тонколистовая сталь (меньше 12 мм) корродирует с относительно большей скоростью, чем толстолистовая, что подтверждается многочисленными наблюдениями за скоростями коррозии конструкционных сталей на гидросооружениях.

При равных других условиях,  данное явление,  можно объяснить относительно большей концентрацией дефектов структуры стали: скопления дислокаций (несовершенств структуры металла), содержание вредных примесей по границам зерен в удельном объеме стального фрагмента, прокатанного до относительно малых толщин, чем в удельном объеме толстого проката.

Присутствие окалины усиливает язвенный характер коррозии. Средняя скорость коррозии стали в воде без окалины не превышает 0,5-0,7 мм/год. С окалиной скорость коррозии Ст. 3 увеличивается во времени несколько медленнее, чем без окалины, но образовавшиеся язвы могут достигать глубины до 3-4 мм уже через 2-3 года.

2. Учет требований ПКЗ при проектировании МО и СК ГТС. Планирование работ

2.1. Общие положения

При проектировании МО и СК для гидросооружений необходимо обеспечить заданную их прочность и максимальную продолжительность безремонтной эксплуатации.

Общий ресурс МО и СК во многом зависит от комплекса противокоррозионных мероприятий, реализованных на стадиях проектирования, изготовления, монтажа и эксплуатации.

К таким мероприятиям относятся:

- правильный выбор проектных и конструкторских решений, позволяющих максимально снизить коррозионную нагрузку на МО и СК, что достигается совместной работой конструкторов и специалистов по коррозии;

- разработка технологии ПКЗ с привлечением специализированной организации; соблюдение технологических требований при строгом контроле со стороны заказчика и авторского надзора при выполнении ПКЗ.

Примечание. Основным конструкционным материалом для изготовления МО и СК ГТС являются углеродистая и низколегированные стали. При проектировании в расчет принимаются только прочностные характеристики сталей и не учитывается их противокоррозионная стойкость.

Практика показывает, что почти все марки применяемых сталей корродируют примерно с одинаковой скоростью, поэтому в РД ГМ-01-02 при выборе схемы ПКЗ МО и СК марки сталей с точки зрения их сравнительной коррозионной стойкости не рассматриваются.

2.2. Основы рационального проектирования

Рациональное проектирование (на стадиях рабочих чертежей КМ и КМД) с целью повышения долговечности МО и СК заключается в том, чтобы изначально в проекте конструкции не было заложено причин, способствующих возникновению коррозии и ее развитию, а именно:

- элементы конструкции должны быть спроектированы так, чтобы их формы не создавали потенциально опасных для коррозии участков;

- конструкции должны быть легко обтекаемыми водой (для погруженных в воду постоянно) и хорошо продуваемыми воздухом (для находящихся в атмосфере);

- поверхности МО и СК должны быть доступными для нанесения защитных покрытий;

- поверхности МО и СК, подвергающиеся воздействию агрессивной среды, не должны иметь резких искривлений или острых ребер, на которых трудно сформировать качественные защитные покрытия;

- острые кромки, образующиеся в процессе обработки металла, должны быть закруглены, вокруг отверстий и вдоль обрубленных краев заусенцы удаляются (рис. 2.1);

Рис. 2.1. Обработка острых кромок. 1 - Металл; 2 - покрытие

- в конструкциях, перемещающихся относительно друг друга, места контактов должны проектироваться с учетом исключения механических повреждений защитных покрытий;

- при создании конструктивных форм необходимо учитывать, что на элементах конструкций не должны скапливаться гигроскопичная пыль, конденсат, вода, т.е. следует избегать застойных зон, пазух, карманов, щелей и т.д. (рис. 2.2,  2.3)

В элементах конструкций для предотвращения накапливания воды, загрязнений и продуктов коррозии должны применяться дренажные отверстия, желоба и разрывы для стока и максимально возможные зазоры (рис. 2.2 В, рис. 2.3 и 2.4);

Рис. 2.2. Уменьшение коррозионных нагрузок на узлы конструкции: А - за счет пространственного расположения элементов конструкций; Б - выборка в ребре для стока воды; В - отверстие для стока

Рис. 2.3. Предотвращение задерживания воды в соединении "фасонка"-уголки

Рис. 2.5. а - плохо, б - лучше, в - хорошо

- сварные соединения более предпочтительны, чем болтовые (рис. 2.5)

- прерывистая и точечная сварка, а также сварка внахлест не должны применяться за исключением тех мест, где риск коррозии незначителен (рис. 2.6);

Рис. 2.6. Конструкции сварных соединений: а - плохо, б - хорошо

- следует избегать использования составных сечений из уголков (т.н. спаренные уголки) и швеллеров, в которых образуются щели, недоступные для возобновления защитных покрытий и где возможно возникновение нарастающего давления, вызванного образованием продуктов коррозии, которые могут разрушать фрагмент конструкции (см. рис. 2.4, 2.7, 2.8);

Рис. 2.7. Некоторые виды коррозионных разрушений

- элементы, где есть риск развития коррозии и которые после монтажа будут недоступны для осмотра и ремонта, должны быть запроектированы с использованием материалов, устойчивых к коррозии, или при изготовлении должна быть нанесена защитная система покрытий, сохраняющая свою эффективность на все время службы конструкции. Иногда в таких случаях могут применяться и допуски на коррозию;

- узкие промежутки, щели и стыки внахлест - потенциальные места усиленной коррозии, возникающей от скопления влаги и грязи, включая остатки абразивов, которые использовались при подготовке поверхности. Коррозии такого вида можно избежать способом герметизации, например, накладками (рис. 2.8);

Рис. 2.8. Герметизация щели в узле со спаренными уголками

- конструкции сварных швов должны способствовать получению качественной сварки: полный провар, отсутствие пористости, отсутствие зазоров и гладкая поверхность шва (рис. 2.9);

Рис. 2.9. Влияние вида поверхности сварного соединения на развитие коррозии

- выбирая и рассчитывая конструктивную форму, необходимо принимать во внимание не только коррозионную активность

эксплуатационной среды, но также и другие ее особенности, например, скорость потока воды и наличие абразивных частиц;

- выбирая толщину проката (особенно листового), следует учитывать относительно повышенную скорость коррозии стали толщиной менее 12 мм (см. п. 1.6);

- избегать усиления конструкций с применением накладок.

2.3. Разработка проекта (технологического регламента) противокоррозионной защиты

Основой для разработки проекта ПКЗ является указание автора проекта МО и СК в виде записи на сборочных чертежах, содержащее основные условия эксплуатации, влияющие на развитие коррозионных процессов, а именно:

- климатический район, в котором находится ГТС;

- характер и интенсивность коррозионного воздействия сред на МО и СК.

Эти условия регламентируются настоящим РД ГМ-01-02 и СНиП 2.03.11-85 "Защита строительных конструкций от коррозии".

Кроме того, необходимо указывать площадь поверхности защищаемой конструкции.

Пример записи на чертежах:

Данные для разработки проекта ПКЗ в соответствии с РД ГМ-01-02 и СНиП 2.03.11-85

Условия эксплуатации:

Климатический район: тропический район ("Т")

Воздействие среды:

- пресная вода при больших скоростях потока (IV)

Площадь поверхности окраски одного изделия............................……………………………кв.м

Всех изделий по данному заказу.........................................……………………………………кв.м

Площадь поверхностей, подлежащих обетонированию, одного изделия .....……………….кв.м

Всех изделий...........................................................……………………………………………...кв.м

В соответствии с указанной записью выбирается схема противокоррозионной защиты (см. раздел 5) и разрабатывается проект ПКЗ.

Поскольку каждой записи могут соответствовать несколько схем защитных покрытий, а требования к покрытию не ограничиваются только соответствием его той или иной климатической зоне и воздействию среды, Исполнитель работ с привлечением специализированной организации разрабатывает проект ПКЗ и согласовывает его с Заказчиком.

В проекте ПКЗ учитываются следующие факторы:

- заданная Заказчиком долговечность покрытия;

- сроки выполнения, время года и погодные условия в период производства работ;

- агрессивность эксплуатационной среды (вода или воздух);

- совместимость выбранного покрывного материала с заводской грунтовкой или краской, состояние грунта и краски, наличие коррозии и окалины;

- особенности производственного процесса: работа на высоте с подвесных люлек, стесненность, работа вблизи действующего оборудования и т.п.;

- общий объем и фронт работ;

- наличие на объекте магистрали сжатого воздуха, компрессоров и специального оборудования и абразивного материала;

- особые требования заказчика: защита МО от обрастания, мероприятия по защите окружающей среды, колер покрытия;

- экономическая целесообразность выбираемой схемы ПКЗ и финансовые возможности Заказчика.

2.4. Планирование работ по противокоррозионной защите МО и СК

А. Планирование противокоррозионных работ на заводе-изготовителе

Б. Планирование противокоррозионных работ на строящемся гидротехническом сооружении

В. Планирование противокоррозионных работ на эксплуатируемом гидротехническом сооружении

3. Подготовка поверхности металла перед нанесением противокоррозионных покрытий

3.1. Подготовка поверхности металла

Для большей устойчивости металла к воздействию агрессивной среды на его поверхность наносят защитные покрытия (лакокрасочные, металлические и т.д.).

В то же время покрытие на основе самого качественного материала не обеспечит надежной защиты, если нет прочного сцепления между покрытием и металлической поверхностью, которое напрямую зависит от качества подготовки поверхности. Горячекатаная сталь имеет слой окалины (FeO, Fe2O3, Fe3O4), который достаточно прочно сцеплен с поверхностью металла, но не является надежной подложкой для защитных покрытий, поэтому полное удаление окалины необходимо, несмотря на значительную трудоемкость.

Подготовка поверхности перед нанесением покрытий состоит из следующих основных операций:

- устранение дефектов поверхности;

- удаление масляных и жировых загрязнений;

- удаление прокатной окалины и продуктов коррозии;

- удаление прочих загрязнений (солей, пыли, остатков абразива и т.п.).

Для этих целей применяют механический, термический и химический способы очистки.

Выбор способа зависит от требуемого уровня чистоты и шероховатости (рельефа) поверхности (ГОСТ 2789-73), исходного состояния поверхности и планируемой долговечности покрытия.

Исходное состояние поверхности металла оценивается в соответствии с ГОСТ 9.402-80 и в последнее время со стандартом ИСО 8501-1.

По ГОСТ 9.402-80 существуют четыре степени исходного состояния металла:

А - поверхность покрыта плотно сцепленной с металлом не осыпающейся ржавчиной;

Б - поверхность покрыта осыпающейся ржавчиной; после очистки от ржавчины обнаруживается изъязвление основного металла;

В - поверхность покрыта прокатной окалиной; ржавчина занимает от 30 до 70% поверхности;

Г - поверхность покрыта прокатной окалиной; ржавчина отсутствует или занимает до 30% поверхности.

В соответствии с ИСО 8501-1 исходное состояние металла подразделяется на:

А - поверхность, полностью покрытая плотно прилегающей прокатной окалиной, без ржавчины;

В - поверхность с начинающейся ржавчиной;

С - поверхность, окалина которой, проржавев, уже отпала или может быть легко удалена, но на которой видимых невооруженным глазом язв и питтингов в значительной мере не образовалось;

D - поверхность, окалина которой, проржавев, уже отвалилась и на которой в значительной мере образовались видимые невооруженным глазом питтинги и язвы.

После оценки состояния поверхности металла проводят очистку металлической поверхности в соответствии с ГОСТ 9.402-85 и ИСО 8501-1.

По ГОСТ 9.402-85 установлены четыре степени очистки поверхности для стали (см. табл. 3.1).

По ИСО 8501-1 степень очистки поверхности зависит от методов очистки и подразделяется следующим образом:

Степени очистки при ручной обработке

St 2

Очистка стальной щеткой, механической стальной щеткой, механической шлифовкой и т.д. Путем этой обработки неплотно сидящие куски окалины, ржавчина и посторонние частицы должны быть удалены. Затем поверхность чистится пылесосом или чистым сухим воздухом под давлением или же чистой щеткой. Поверхность должна иметь слабый металлический блеск.

St 3

Тщательная очистка стальной щеткой, механической стальной щеткой, механической шлифовкой. Поверхность обрабатывается так же, как и при степени очистки St 2, но значительно тщательнее. После очистки от пыли поверхность должна иметь явный металлический блеск.

Степени очистки при дробеструйной обработке

Sа 1

Легкая дробеструйная очистка. Неплотно сидящие куски окалины, ржавчины и легко отделимые посторонние частицы должны быть удалены.

Sa 2

Тщательная дробеструйная очистка. Почти вся окалина и ржавчина и почти все посторонние частицы должны быть удалены. Затем поверхность очищается пылесосом или чистым сухим воздухом под давлением или же чистой щеткой. Поверхность должна иметь сероватый цвет.

Sa 21/2 (2,5)

Весьма тщательная дробеструйная очистка. Окалина, ржавчина и посторонние частицы должны быть удалены так, чтобы остатки были лишь в виде слабых затенений или полос на поверхности. Затем поверхность очищается пылесосом или чистым сухим воздухом под давлением или же чистой щеткой.

Sa 3

Дробеструйная очистка вплоть до получения чистой металлической поверхности. Окалина, ржавчина и все посторонние частицы должны быть удалены. Затем поверхность прочищается пылесосом или чистым сухим воздухом под давлением или же чистой щеткой. Поверхность должна иметь однородно металлический цвет.

Окончательный выбор уровня подготовки поверхности производит специализированная организация - разработчик проекта ПКЗ с учетом технических характеристик выбранных ЛКМ.

Таблица 3.1

Степени очистки металлической поверхности от окислов перед нанесением покрытия (ГОСТ 9.402-85)

Степень очистки

Характеристика очищенной поверхности

Первая

При осмотре с 6-кратным увеличением окалина и ржавчина не обнаруживаются.

Вторая

При осмотре невооруженным глазом окалина и ржавчина не обнаруживаются.

Третья

Не более чем на 5% поверхности имеются пятна и полосы плотно сцепленной с металлом окалины, точки ржавчины, видимые невооруженным глазом; при перемещении по поверхности прозрачного квадрата размером 25 х 25 мм на каком-либо участке окалиной и ржавчиной (плотно сцепленной с металлом) занято не более 10% поверхности.

Четвертая

С поверхности удалены рыхлая ржавчина и отслаивающаяся окалина; до 20% поверхности покрыто окалиной и ржавчиной, прочно сцепленными с металлом. При перемещении по поверхности прозрачного квадрата размером 25 х 25 мм на каком-либо одном участке окалиной и ржавчиной занято до 30% поверхности.

3.2. Оборудование для механической очистки

Для механической очистки поверхности металлов применяют:

1) аппараты струйной абразивной обработки;

2) ручной и механизированный инструмент.

Выбор того или иного оборудования определяется объемом работ, габаритами очищаемых изделий, характером загрязнений и требованиями к подготовке поверхности.

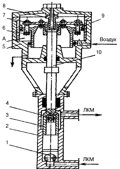
Аппараты струйной абразивной очистки

Принцип действия аппаратов струйной обработки основан на сообщении кинетической энергии частицами абразивного материала и их направленной подаче на очищаемое изделие. Это достигается за счет струи сжатого воздуха, воды или действия центробежной силы. При ударе о преграду (изделие) частицы, благодаря кинетической энергии, вызывают поверхностное разрушение и деформацию поверхностного слоя металла, следствием чего является удаление окислов и других загрязнений с поверхности.

Поверхность, очищенная струйной абразивной обработкой, обладает шероховатостью и повышенной поверхностной энергией, что способствует улучшенной адгезии и получению качественного покрытия.

В качестве абразивного материала применяют кварцевый песок, корунд, металлический песок и металлическую дробь разных видов (чугунную литую и колотую, стальную литую, колотую, рубленую). В зависимости от абразива и способа его подачи на поверхность различают аппараты для дробеструйной и пескоструйной обработки, аппараты для гидроабразивной обработки, дробеметные аппараты и термореактивные пескоструйные аппараты.

Аппараты для дробеструйной очистки

Аппараты для дробеструйной обработки наиболее широко распространены в промышленности. Их достоинства: относительно высокая производительность, отсутствие пыления (в отличие от пескоструйных аппаратов), многократное использование дроби. В зависимости от способа подачи абразивного материала к соплу струйной головки эти аппараты делятся на три типа: нагнетательного, всасывающего и гравитационного действия.

В аппаратах нагнетательного действия (рис. 3.1.а) абразивный материал или дробь под давлением подаются в камеру для смешения с воздухом, а затем по шлангу через сопло - на обрабатываемую поверхность.

Этот способ наиболее производителен, но требует применения сложных аппаратов и сопровождается быстрым износом сопла и шлангов.

В аппаратах всасывающего действия (рис. 3.1.6) абразивный материал из бункера засасывается струей сжатого воздуха и по шлангу направляется через сопло на обрабатываемую поверхность. Аппараты просты по устройству и безотказны в работе, у них меньше изнашиваются сопла и шланги, но производительность их мала (менее 2-4 кв.м/час).

В аппаратах гравитационного (смешанного) действия (рис. 3.1.в) абразивный материал из бункера попадает к соплу под действием собственного веса и лишь перед самым выходом из сопла смешивается с воздухом.

Рис. 3.1. Дробеструйные аппараты нагнетательного (а), всасывающего (б) и гравитационного (в) действия

Гравитационные дробеструйные аппараты просты по устройству, бесперебойны в работе, потребляют мало сжатого воздуха. Наиболее целесообразно их использовать с неподвижно закрепленными струйными головками.

В аппаратах дробеструйной очистки, как и в аппаратах пескоструйной очистки, применяются струйные головки с соплами соответственно нагнетательного или всасывающего действия. Сопло является одной из наиболее ответственных деталей аппаратов струйной очистки. От его конструкции, диаметра проточной части и материала, из которого оно изготавливается, во многом зависят производительность и экономичность аппаратов струйного действия.

Диаметры проточной части сопел колеблются от 6 до 16 мм. Сопла меньших размеров применяются для очистки мелких и средних изделий сложной конфигурации, а сопла больших размеров - для обработки крупных изделий. Отношение длины сопла к его диаметру обычно в пределах от 10 до 15.

Стойкость рабочей части сопла, выполненной из стали или чугуна, составляет 3-7 ч, из минералокерамического сплава - 30-40 ч, из карбида вольфрама - 800-1000 ч. Стойкость усовершенствованного сопла с минералокерамической вставкой, в котором внутренняя поверхность подводящего канала в корпусе плавно без зазора переходит в рабочую часть сопла, составляет 100-200 ч.

Аппараты для дробеструйной обработки, а также аппараты очистки поверхности металлическим песком наиболее отвечают санитарно-гигиеническим нормам. При применении такой обработки  поверхность становится равномерно шероховатой и выступы имеют величину 40-60 мкм, что достаточно для получения качественного покрытия (чистота поверхности от Sa 2,5 до 3 по ИСО 8501-1 или степень от "1" до "2" по ГОСТ 9.402-85).

Аппараты для пескоструйной очистки

Аппараты для пескоструйной обработки применяют при наличии возможности снижения или полного исключения запыленности рабочего места и отсутствия воздействия пыли на обслуживающий персонал и действующие механизмы. Это достигается применением беспыльных пескоструйных аппаратов, аппаратов и установок дистанционного управления, работающих в автоматическом режиме, а также использованием хорошо вентилируемых камер или местных отсосов.

Беспыльные пескоструйные аппараты по конструкции аналогичны аппаратам для дробеструйной обработки. Они снабжены устройством для отсасывания отработанного абразивного материала и образовавшейся пыли и имеют автоматическую систему регенерации абразива с целью его многократного использования. Струйная головка таких аппаратов имеет на конце концентрично расположенные сопла - раструб и мягкую металлическую торцевую полую головку-щетку, прилегающую к обрабатываемой поверхности.

Установки и аппараты дистанционного управления применяют при конвейерных способах очистки однотипных изделий небольших размеров. Установка в этом случае, как правило, размещается в отдельном хорошо вентилируемом помещении.

Влажная пескоструйная очистка - еще один путь повышения производительности труда. Вода под давлением подается в специальную инжекторную насадку, смонтированную перед пескоструйным соплом, и смешивается с сухим абразивным материалом.

Производительность влажной очистки достигает, в зависимости от рабочего давления, 30-55 м2/час.

Игольчатый вентиль позволяет плавно регулировать содержание воды в абразивной струе и быстро переходить с влажного режима работы на сухой, а также очищать поверхность струей воды с воздухом или сушить поверхность воздухом под давлением. Вода на 95% подавляет облако пыли, образующееся при работе.

Инжекторная насадка (рис. 3.2) монтируется на стандартный соплодержатель перед пескоструйным соплом, что позволяет оборудовать ею любой пескоструйный аппарат сухой очистки. Насадка имеет внутреннюю износостойкую вставку, обеспечивающую длительный срок службы.

Рис. 3.2. Инжекторная водяная насадка

Аппараты гидроабразивной очистки

Аппараты гидроабразивной очистки поверхности изделий, применяемые в промышленности, весьма разнообразны и различаются системой приготовления водной суспензии абразивных материалов, способом подачи ее к соплу струйной головки и устройством ускорения движения струи.

Они имеют невысокую производительность и применяются при небольших объемах работ. Недостатком их является быстрый износ вращающихся частей и непостоянство состава рабочей водной суспензии абразивного материала.

Аппарат относится к двухкамерным аппаратам непрерывного действия и состоит из двух емкостей, предназначенных соответственно для абразивного материала и воды, шлангов и струйных головок. Абразив и вода раздельно подаются по шлангам к соплу струйной головки, причем абразив подается обычным способом, применяемым в пескоструйных аппаратах, а вода - под давлением сжатого воздуха.

Достоинствами аппаратов гидроабразивной очистки являются повышенная в 2-3 раза производительность по сравнению с механизированным инструментом для очистки, отсутствие пыления и лучшие условия труда. Однако применение этих аппаратов связано с повышенным расходом абразивных материалов; кроме того, возникает быстрая коррозия очищенных влажных поверхностей, вследствие чего требуется дополнительная промывка изделий с пассивацией их поверхности и последующей сушкой либо добавка в воду ингибиторов коррозии. В результате стоимость очистки повышается.

Дробеметные аппараты

Дробеметные аппараты (рис. 3.3) применяются в заводских условиях для очистки отливок, поковок, штампованных изделий и листового материала с толщиной стенок более 5 мм от окалины, ржавчины, формовочной земли, заусениц.

Они могут быть периодического и непрерывного действия.

Несмотря на отличие конструкций, и габаритов дробеметных установок, они имеют общее устройство и состоят из следующих основных элементов: приспособления для подачи изделий под струю дроби (столы, тележки, конвейеры), дробеметного аппарата, системы циркуляции отработанной дроби и системы сепарации дроби (сита, магнитные, воздушные или электронные сепараторы).

Рис. 3.3. Дробеметный аппарат: 1 - загрузочная воронка; 2 - распределительное колесо (импеллер); 3 - ротор; 4 - диски ротора; 5 - лопатки ротора; 6 - электродвигатель

В дробеметном аппарате дробь из бункера попадает в импеллер (турбинку), лопасти которого, вращаясь вокруг оси, передвигают дробь к окну, через которое она попадает на лопатки ротора и оттуда с большой скоростью на очищаемое изделие. В отличие от дробеструйных аппаратов в дробеметных аппаратах дробь выбрасывается с большой скоростью (70-80 м/с), в результате чего она оказывает не только скалывающее, но и частично абразивное воздействие на поверхностный слой очищаемого металла.

Основным узлом дробеметного аппарата является ротор, имеющий восемь или реже четыре лопатки. Ротор закрепляется между двумя крышками и получает вращение от электродвигателя.

Дробь загружается в приемную воронку, откуда через распределительную камеру она подается на лопатки ротора. По способу подачи дроби на лопатки аппараты подразделяются на импеллерные, гравитационные и всасывающие.

Дробеметные аппараты по сравнению с пескоструйными, характеризуются более высокой производительностью при меньшем расходе энергии. Они создают меньшую запыленность и позволяют механизировать и автоматизировать процессы очистки. Основным недостатком их является невозможность обработки тонкостенных изделий и изделий сложной конфигурации.

Термореактивные пескоструйные аппараты

Термореактивный пескоструйный аппарат для абразивной очистки предназначен для скоростной и высококачественной очистки металлических и неметаллических поверхностей от окалины, нагара, затвердевших и не затвердевших нефтепродуктов (в том числе битумных, эпоксидных и др.), старых лакокрасочных покрытий и других загрязнений, а также обработки поверхностей для различных металлизационных покрытий.

Степень очистки до степени 1-2 по ГОСТ 9.402-80 (Sa3-Sa2,5 по ISO 8501-1) подразумевает очистку металлической поверхности не только до "металлического блеска", но и устранение шероховатостей обработанной поверхности (разница между микровпадинами и микровыступами) не более 30 мкм.

Скоростные возможности и высокий уровень качества очистки достигаются за счет процессов, происходящих в горелке реактивного аппарата. Поступающий в камеру сгорания сжатый воздух вместе с воздушно-абразивной массой, а также энергия сгорания топлива позволяют производить разгон абразивных частиц на выходе из сопла до скорости 150-300 м/с (разгон абразивных частиц аппаратами пескоструйной обработки - 30-50 м/с).

Проходя тракт реактивной горелки, абразив разогревается до 60°С, что позволяет обрабатывать металлические поверхности при отрицательной температуре, покрытые слоем снега, льда, измороси, росы и т.д.

Термореактивные пескоструйные аппараты безопасны в работе, тепловой режим горелки работающими практически не ощущается, эксплуатируются в любых условиях. При необходимости аппараты могут использоваться как обычные пескоструйные аппараты. Для этого закрывается вентиль подачи топлива или отсоединяется емкость с топливом.

Устройство термореактивного пескоструйного аппарата для абразивной очистки показано на рисунке 3.4.

Аппарат состоит из узлов, соединенных между собой резинотканевыми рукавами: горелка реактивная, емкость для абразива (питатель), емкость для топлива (дизельное топливо или авиационный керосин).

Термореактивные пескоструйные аппараты по сравнению с пескоструйными характеризуются более высокой производительностью обработки и качеством получаемой поверхности, а также значительно меньшим расходом абразива. К недостаткам следует отнести высокий уровень шума.

Рис. 3.4. Термореактивный пескоструйный аппарат: 1 - горелка; 2 - емкость для абразива; 3 - емкость для топлива; 5,10 - крышки; 6 - штуцера; 4, 7, 8 и 9 - вентили; 11, 12, 13 и 14 - рукава

Таблица 3.2

Основные характеристики аппаратов струйной обработки

№ п/п

Наименование оборудования

Производитель

Тип действия

Давление воздуха, МПа

Расход воздуха,

м'3/мин

Расход абразива,

кг/м2

Производительность,

М2

1

"Сенатор"

Украина

нагнетательный

0,5-0,7

3,5

20-40

20-30

2

"Вихрь"

Россия

нагнетательный

0,2-0,6

-

-

15

3

ТПА-1

Россия

термореактивный

0,2-0,6

2-6

5-10

15-25

4

Clemco SCW

США

нагнетательный

1,3-5

2-6

20-30

20

5

DSG-25

Россия

нагнетательный

0,35-0,6

2,9

27,5

5-10

6

АСО-150У

Россия

нагнетательный

0,35-0,7

4,0

20

20

7

И-30

Россия

инжекторный

0,4-0,8

5,0

20-30

3

8

ABSC 1028

Голландия

нагнетательный

0,6-0,8

1,5-10

25

10

9

ABDC 2452

Голландия

нагнетательный

0,6-0,8

1,5-10

25

12

Абразивы для дробеструйной и пескоструйной очистки поверхности

Абразивы для работы в заводских условиях:

- на поточных линиях (дробеметным способом) используется металлическая дробь или металлический песок размером фракции не более 0,6-1,0 мм (ГОСТ 11964-66); применение более крупной дроби ускоряет очистку, но при этом степень шероховатости резко возрастает, отдельные пики имеют высоту 100-125 мкм; при окраске такие пики остаются неокрашенными или на них удается нанести слой краски небольшой толщины;

- в камерах (пескоструйным способом) очистка проводится с помощью металлического песка размером фракции не более 0,6-1,0 мм.

В условиях монтажной открытой площадки (пескоструйным способом) используется сухой кварцевый песок с размером фракций 0,8-1,5 мм

Ручной и механизированный инструмент

Ручной и механизированный инструмент наиболее часто используют при очистке участков поверхности крупногабаритных изделий, изделий сложного профиля, а также объектов, окрашиваемых и ремонтируемых в условиях эксплуатации. Рабочими органами инструмента служат металлические щетки, шлифовальные круги, шайбы и ленты с нанесенными на них абразивными материалами, бойки отбойных молотков и другие, приводящиеся в действие сжатым воздухом или электроэнергией.

3.3. Технология подготовки поверхности

В заводских условиях (в цеху) при применении дробеметного или пескоструйного способа очистки одновременно с удалением грязи удаляют окалину.

Указанные способы очистки дают хорошие результаты при обязательном соблюдении следующих технологических требований:

- очистку металлической поверхности нужно производить при расстоянии сопла от очищаемой поверхности в пределах 200-400 мм, при этом сопло держат под углом 60-80°;

- должно быть установлено и поддерживаться оптимальное соотношение между количеством поступающего абразива и подаваемого воздуха - лучшие результаты получаются при использовании дроби размером фракции 0,6-1,0 мм, подаваемой при давлении 0,7-0,75 кг/см2;

- дробь (металлический песок) необходимо своевременно очищать от загрязнений;

- дробеструйная очистка стальной дробью может применяться для подготовки любых конструкций, изделий или проката из стали при толщине стенки не менее 5 мм;

- сжатый воздух, используемый при дробеструйной очистке и обеспыливании (обдувка) поверхностей, необходимо предварительно пропускать через масловодоотделитель;

-  контроль чистоты сжатого воздуха производить по ГОСТ 9010-73.

Очистку поверхностей на открытых монтажных площадках не рекомендуется проводить в неблагоприятных погодных условиях, к которым относят: высокую влажность воздуха (более 75%), туман, моросящие осадки, дождь, резкие перепады температуры, при которых на поверхности могут появляться конденсат, иней.

Длительность перерыва между очисткой поверхности и нанесением грунтовочного слоя не должна превышать: в цехах - закрытых помещениях - 6 ч, на открытых площадках и под навесами при нормальной влажности воздуха (до 75%) - 3 ч, а при повышенной влажности воздуха (выше 75%) - 0,5 ч.

Расход дроби (металлического песка) составляет около 35 кг на очистку 1 м2. Дробь после очистки в сепараторе от пылевидных частиц и загрязнений можно использовать повторно 60-80 раз.

Расход сухого кварцевого песка фракции 0,8-1,5 мм составляет около 50 кг/м2. Кварцевый песок повторно не используется.

3.4. Химическая очистка

Обезжиривание и промывка

В процессе обезжиривания с поверхности металла удаляют различного рода загрязнения. После механической обработки, сварки и транспортировки на поверхности остаются флюсы, эмульсии и масла.

Классификация загрязнений в зависимости от их химического состава, характера воздействия и методов удаления носит условный характер, так как чаще всего загрязнения представляют собой смесь веществ, различных по составу и свойствам, поэтому выбор наиболее эффективного метода очистки зависит от природы загрязнений, воздействия химических компонентов моющего раствора на металлы, требуемой степени очистки, условий обеспечения безопасности при работе и его стоимости.

Широко распространены химические методы удаления загрязнений, к которым относят очистку органическими растворителями, щелочными, кислыми и нейтральными составами и специальными эмульсиями.

Обезжиривание органическими растворителями

При обезжиривании металлических поверхностей МО и СК органическими растворителями следует применять уайт-спирит, бензин марки Б-70, в крайних случаях ацетон. При обезжиривании изделия из металла поверхность протирают ветошью, смоченной растворителем, либо обрабатывают распылением. Ветошь для обезжиривания и растворитель нужно менять после протирания 25 м2 поверхности. Недопустимо производить обезжиривание в течение длительного времени, используя при этом одну и ту же ветошь на одну и ту же порцию растворителя.

Обезжиривание водными моющими растворами

Водные моющие средства экологически безопасны и не ухудшают адгезию и защитные свойства лакокрасочных покрытий. Вода обладает слабым моющим действием по отношению к масляным загрязнениям, и повысить ее моющую способность позволяют небольшие добавки поверхностно-активных веществ (ПАВ).

В качестве добавок можно использовать каустическую и кальцинированную соду, силикаты натрия, соли фосфорной кислоты и сульфат натрия. Из фосфорных солей в качестве компонентов моющих средств применяют: тринатрийфосфат, тетрапирофосфат натрия, триполифосфат натрия и гексаметофосфат натрия.

Контроль степени обезжиривания (по ГОСТ 9.402-80)

Выбранный участок обработанной поверхности тщательно протирают салфеткой или ветошью, смоченной растворителем, и выдерживают до его полного высыхания. Затем другой чистой салфеткой или ветошью протирают 2-3 раза чистым растворителем участок и любой другой такой же по площади участок. При дневном свете или искусственном освещении сравнивают внешний вид обеих салфеток или ветоши.

Фосфатирование

Фосфатирование - процесс получения на металлах пленки нерастворимых фосфатов, которая увеличивает срок службы лакокрасочных покрытий, улучшает сцепление с металлом и замедляет развитие коррозии в местах нарушения лакокрасочной пленки.

Фосфатирование как метод подготовки поверхности перед грунтовкой широко применяется для изделий, которые эксплуатируются в жестких и особо жестких условиях.

Перед фосфатированием поверхность должна быть очищена от окалины, ржавчины, механических и жировых загрязнений. Качество фосфатного покрытия определяется как характером подготовки поверхности (применение механических методов, сильнощелочных или кислых растворов), так и технологией получения фосфатных покрытий (составом раствора, способом его нанесения, продолжительностью и температурным режимом).

Фосфатирование производят в растворах на основе солей цинка (цинк-фосфатные) или солей железа (железо-фосфатные). Для изделий, не подвергающихся деформирующим или ударным нагрузкам, допускается применение покрытий на основе солей марганца (марганцово-железо-фосфатные покрытия).

Фосфатирование производят методами окунания и распыления: цинк-фосфатные покрытия наносят методами окунания и распыления, железо-фосфатные - методом распыления, марганцово-железо-фосфатные - методом окунания.

Травление

Травление представляет собой операцию очистки металлических изделий от окалины и продуктов коррозии в растворах кислот, кислых солей или щелочей.

Травление производят методами окунания, аппликациями или распылением травильных растворов. Последний способ является наиболее прогрессивным и производительным, он обеспечивает лучшие условия труда, но предъявляет повышенные требования к оборудованию. Травление проводят растворами серной, соляной и ортофосфорной кислот.

Травление растворами ортофосфорной кислоты является наиболее рекомендуемым процессом. Образующаяся в процессе обработки на поверхности металла пленка фосфата железа способствует лучшей адгезии и коррозионной стойкости лакокрасочного покрытия.

Подготовка поверхности преобразователями (модификаторами) ржавчины

Грунтовки-преобразователи (модификаторы) ржавчины наносят на конструкции, с поверхности которых не удалены полностью продукты коррозии, а также окалина.

Большинство грунт-преобразователей ржавчины содержат ортофосфорную кислоту, которая превращает продукты коррозии в нерастворимые фосфаты железа. Ряд грунтовок одновременно с преобразованием ржавчины создают на поверхности металла полимерную пленку, обладающую коррозионной стойкостью длительное время.

Грунтовки-преобразователи наносятся на ржавую поверхность металла по плотно сцепленным с поверхностью продуктам коррозии при толщине последней не более 100 мкм.

Предварительно с поверхности удаляют рыхлую и пластовую ржавчину, а также отслаивающиеся старые лакокрасочные покрытия. Грунтовки-преобразователи эмалевого типа можно наносить как по частично опескоструенной поверхности металла, так и по поверхности, полностью покрытой ржавчиной

Срок службы лакокрасочных покрытий на основе грунтовок-преобразователей равен 60% от срока службы того же покрытия, но нанесенного по опескоструенной поверхности до степени "2" или "1" (ГОСТ 9.402-85).

4. Лакокрасочные материалы

4.1. Экономические аспекты защиты конструкций и оборудования ЛКМ

Основным средством противокоррозионной защиты являются лакокрасочные покрытия, поэтому вопросы выбора и квалифицированного применения лакокрасочных материалов и качественного их нанесения важны и актуальны.

Экономический анализ тех или иных вариантов систем защитных покрытий (см. ниже) строится на основе сопоставления затрат и конечной эффективности полученного покрытия, т.е. оценки комплекса функциональных свойств и долговечности.

Наиболее показательно сопоставлять затраты по стоимости окрашивания 1 м2 защищаемой поверхности с прогнозируемой долговечностью.

Следует иметь в виду, что окончательная стоимость покрытия - это сумма прямых, косвенных и непредвиденных расходов.

Прямые затраты включают:

- стоимость лакокрасочных материалов, растворителей, расходных материалов;

- стоимость использованного оборудования и технологической оснастки;

- амортизационные отчисления на восстановление оборудования и основных производственных фондов;

- полные затраты на выполнение подготовительных, очистных и окрасочных работ;

- полные затраты на выполнение мероприятий по технике безопасности и охране окружающей среды;

- затраты на осуществление контроля всех операций технологического процесса.

Косвенные затраты включают:

- затраты на обеспечение условий для проведения очистных и окрасочных работ (вентиляция, сушка, отопление, освещение и т.п.);

- затраты на возведение лесов, подмостей, транспортные расходы и т.п.

Непредвиденные расходы возникают в результате:

- прерывания работ по подготовке поверхности и окрасочных работ из-за погодных условий;

- вынужденных простоев по различным обстоятельствам: ремонт оборудования, необходимость проведения других неотложных работ в непосредственной близости от места окраски и т.п.;

- необходимости повторного выполнения подготовки поверхности и окрасочных работ вследствие низкого качества их первичного выполнения.

Как сказано выше, эффективность покрытия оценивается как комплекс функциональных свойств (защитных, противообрастающих, износостойких, декоративных и пр.), не меняющихся на протяжении заданного срока службы покрытия.

Таким образом, решающим фактором выбора системы покрытий должна быть ее долговечность. При этом надо учитывать, что затраты на восстановление покрытий часто превышают затраты на их первичное нанесение, а качество восстановленных покрытий, как правило, ниже первоначальных.

Из этого следует, что экономически целесообразно наносить долговечные покрытия на основе высококачественных лакокрасочных материалов, используя современные методы подготовки поверхности и нанесения материалов. Естественно, что первоначальные затраты при этом могут увеличиться. Эксплуатационные расходы будут уменьшаться за счет длительности срока службы защитного покрытия.

Гарантией высокого качества покрытий является и квалифицированный пооперационный контроль при нанесении покрытий: от контроля поступающих на предприятие материалов, приемки очищенной поверхности, контроля во время нанесения покрытия до приемки готового покрытия.

4.2. Критерии выбора лакокрасочных материалов (ЛКМ)

Основными критериями выбора ЛКМ для защиты МО и СК от коррозии являются следующие:

- соответствие материала конкретным эксплуатационным условиям (ГОСТ 9.104-79 и ГОСТ 9.401-91);

- прогнозируемый срок службы до первого ремонта;

- простота нанесения (минимальное число слоев);

- требования к подготовке поверхности под окраску;

- число компонентов для смешивания;

- допустимый уровень влажности, температуры воздуха и поверхности при нанесении;

- адгезионные свойства (ГОСТ 15140-78);

- достаточная эластичность покрытия при тепловом расширении металла;

- стойкость к воздействию речной и морской воды;

- стойкость к УФ-облучению;

- стойкость к воздействию химических веществ;

- сопротивление истиранию и удару;

- токсичность краски, растворителей и отвердителей;

- время твердения или полного высыхания при производстве работ;

- стойкость к воздействию бактерий (биокоррозии);

- простота текущих ремонтов покрытия;

- требования к цвету и внешнему виду покрытия;

- срок годности при хранении;

- стоимость системы защиты в целом с учетом затрат на подготовку поверхности.

4.3. Компоненты лакокрасочных материалов

Лакокрасочные материалы представляют собой многокомпонентные композиции, содержащие пленкообразующие пигменты, наполнители, пластификаторы, отвердители, растворители, разбавители, сиккативы, влаговытесняющие добавки и др.

Иногда рецептура лакокрасочного материала включает в себя до 20 и более компонентов.

Пленкообразующие

Основным компонентом любой лакокрасочной композиции является пленкообразующее, которое при нанесении на твердую поверхность образует пленку (покрытие) и в значительной мере определяет ее основные свойства: адгезию, механическую прочность, стойкость к химическим и физическим воздействиям внешней среды, таким, как перепады температур, пресная и морская вода, растворители, химические реагенты и др.

Пленкообразующие бывают на основе природных растительных масел (олифы) и на основе синтетических смол. В результате пленкообразования на поверхности металла происходит переход материала из жидкого или вязкотекучего состояния в твердое. Это происходит за счет физического испарения растворителей (хлоркаучукуковые, виниловые, сополимерно-винилхлоридные материалы), химической реакции отверждения с использованием сшивающих низкомолекулярных агентов (эпоксидные, полиуретановые) или химической реакции окисления кислородом воздуха (алкидные, масляные материалы).

Химические реакции обычно протекают одновременно с физическим процессом испарения растворителей. Внешним проявлением пленкообразования служит постепенное или скачкообразное увеличение вязкости нанесенного лакокрасочного материала.

Пигменты

Сухие красящие вещества минерального происхождения. Пигменты вводят в состав грунтовок, шпатлевок, красок, эмалей, чтобы придать им нужный цвет. Вместе с тем пигменты влияют и на защитные свойства покрытий. Они повышают твердость и прочность пленки, уменьшает ее водо-, кислородо- и солепроницаемость, оказывают влияние на высыхание пленкообразующей основы. Некоторые пигменты придают покрытию дополнительные противокоррозионные свойства.

Наполнители

Инертные вещества, вводимые в лакокрасочный материал для снижения расхода пигментов, а также для улучшения механических и защитных свойств.

Ингибиторы

Органические или неорганические вещества, введение которых в небольших количествах в лакокрасочный материал позволяет улучшить его защитные свойства.

Пластификаторы

Вещества, которые повышают эластичность пленки покрытия. В качестве пластификаторов применяют растительные масла невысыхающего типа и различные смолообразные вещества. Пластификаторы должны хорошо совмещаться с пленкообразующей основой и не изменять цвет покрытия под влиянием солнечных лучей.

Отвердители

Вещества, используемые для отверждения термореактивных лакокрасочных материалов (эпоксидных, полиэфирных, полиуретановых и др.). В результате взаимодействия реакционноспособных групп пленкообразующей основы и отвердителя образуется твердая нерастворимая пленка с трехмерной молекулярной структурой.

Растворители

Органические летучие жидкости, способные растворить пленкообразующую основу. Вводят в состав лакокрасочных материалов для придания им такой консистенции, при которой их можно наносить на окрашиваемую поверхность тонким равномерным слоем. После нанесения покрытия растворитель улетучивается из пленки.

Разбавители

Органические, летучие жидкости, не растворяющие пленкообразующую основу, но способные разводить лакокрасочный материал до рабочей вязкости. Одно и то же вещество, например, ацетон или скипидар, может быть растворителем для одних пленкообразовате-лей и разбавителем для других.

Сиккативы

Вещества, ускоряющие высыхание растительных масел и лакокрасочных материалов, содержащих эти масла. Сиккатив поглощает кислород воздуха и быстро передает его маслу, благодаря чему сокращается время, необходимое для образования твердой пленки покрытия. Сиккативы представляют собой соли различных металлов: кобальта, марганца, кальция, свинца и др. В некоторых случаях сами пигменты являются ускорителями высыхания красок (например, свинцовый сурик, свинцовые белила и др.).

4.4. Классификация лакокрасочных материалов

Лакокрасочные материалы классифицируют по следующим признакам:

- назначению;

- областям применения (см. п. 4.5);

- типу пленкообразующего вещества (см. п. 4.6);

- консистенции.

По назначению лакокрасочные материалы разделяются на грунтовки, шпатлевки, эмали, краски и лаки.

Грунтовки

Чтобы обеспечить эффективную защиту металлических изделий от коррозии и увеличить срок службы покрытия, необходимо учитывать не только природу защищаемой поверхности и способ ее подготовки под окраску, но также и вид лакокрасочных материалов, которые будут наноситься на подготовленную поверхность.

Первый слой лакокрасочной системы называется грунтовочным, а применяемый для этой цели материал - грунтовкой.

Грунтовка - это суспензия пигментов или их смесей с наполнителями в связующем, образующая после отверждения твердую однородную пленку.

Основное назначение грунтовки - обеспечение высокой адгезии покрытий к защищаемой поверхности и связь с верхним слоем. На металлических поверхностях грунтовка выполняет также защитные функции, оказывая существенное влияние на электрохимические и диффузионные процессы, протекающие на границе металл-покрытия.

Свойства грунтовки определяются ее химическим составом: природой пленкообразующего, видом пигментов и наполнителей, характером применяемых специальных добавок. С другой стороны, свойства грунтовок во многом зависят от природы поверхностей, подлежащих окраске, и качества подготовки этих поверхностей перед нанесением покрытий.

Для придания грунтовкам коррозионной стойкости в них вводят специальные добавки, ингибиторы, поверхностно-активные вещества и др.

Существуют пять типов грунтовок: изолирующие, пассивирующие, протекторные, фосфатирующие и грунтовки - преобразователи ржавчины.

Изолирующие грунтовки содержат пленкообразователи, обеспечивающие низкую проницаемость пленки, препятствующую проникновению влаги и других агрессивных сред к поверхности металла. Обычно в такие грунтовки добавляют желтый сурик, мумию, оксид цинка и др.

Пассивирующие грунтовки содержат в своем составе пигменты, способные пассивировать металл. К таким пигментам относятся в первую очередь хроматы и фосфаты, при введении которых в грунтовку даже в небольших количествах на поверхности металла образуется защитная оксидная пленка.

Протекторные грунтовки содержат в своем составе до 90% (по массе) металлических пигментов (порошок цинка, алюминия и сплавов цинка с магнием). Их защитные свойства проявляются благодаря катодной поляризации покрываемого металла.

Фосфатирующие грунтовки применяются для фосфатирования поверхности изделий из черных и цветных металлов. Обычно такие грунтовки состоят из двух компонентов: основы и кислотного разбавителя. Основа представляет собой суспензию пероксохроматов цинка в спиртовом растворе поливинилбутираля. Кислотный разбавитель представляет собой спиртовой раствор ортофосфорной кислоты с добавкой воды.

Фосфатирующие грунтовки облегчают пассивацию металла, фосфатируют его и значительно повышают адгезию пленки как к черным, так и к цветным металлам. Применение фосфатирующих грунтовок может исключить трудоемкую операцию фосфатирования изделий, что особенно важно для крупногабаритных изделий.

Грунтовки-преобразователи (модификаторы) ржавчины одновременно с преобразованием ржавчины создают на поверхности металла полимерную пленку, придающую коррозионную стойкость всему покрытию. Грунтовки-преобразователи могут наноситься на ржавую поверхность металла при толщине продуктов коррозии, плотно сцепленных с поверхностью, не более 100 мкм.

Однако срок службы лакокрасочных покрытий на основе грунтовок-преобразователей равен примерно 60% от срока службы того же покрытия, нанесенного по опескоструенной поверхности.

Из наиболее известных грунтовок-преобразователей можно отметить ГРЕМИРУСТ, ЭП-0199, КОРНИКА и т.д. (см. таблицы 5.1-5.3).

На заводах грунтовка наносится тонкой пленкой (до 20-30 мкм) на подготовленную абразивным способом сталь, что обеспечивает временную защиту от коррозии на время механической обработки, транспортировки, монтажа и хранения стальных конструкций. На заводскую грунтовку затем наносится окончательная система покрытий, которая, как правило, включает еще один дополнительный грунтовочный слой.

Таблица 4.1

Совместимость заводской грунтовки с системами лакокрасочных покрытий

Заводская грунтовка

Совместимость заводской грунтовки различных химических классов с грунтовкой системы ЛКМ

Тип пленкообра-зующего

Противокор-розийный пигмент

Алкид-ные

Хлор-каучу-ковая

Винило-вые/ПВХ

Акри-ловые

Эпоксид-ные

Полиуре-тановые

Цинксили-катные

Битум-ные

1. Алкидное

Смешанные

+

*

*

*

-

-

-

+

2. Поливинилбутиральное

Смешанные

+

+

+

+

*

*

-

+

3. Эпоксидное

Смешанные

*

+

+

+

+

+

-

+

4. Эпоксидное

Порошок цинка

-

+

+

+

+

+

-

+

5. Силикатное

Порошок цинка

-

+

+

+

+

+

+

+

Примечания:«+» - совместима; «-» - несовместима; «*» - надо проверять

Материалы для заводской грунтовки должны обладать следующими свойствами:

- быстротой высыхания;

- высокими механическими свойствами, позволяющими осуществление обычных погрузочно-разгрузочных работ;

- обеспечивать защиту в течение регламентированного промежутка времени (до нанесения финишного покрытия);

- обеспечивать высокую адгезию с финишными покрывными слоями;

- не влиять на качество сварочных работ.

Шпатлевки

Шпатлевки - это густая, вязкая масса, состоящая из смеси пигментов с наполнителями, диспергированных в пленкообразующем веществе; предназначена для заполнения неровностей и сглаживания поверхности. Шпатлевку, как правило, наносят на предварительно загрунтованную поверхность (реже - на очищенный металл) для устранения неровностей и исправления таких дефектов, как вмятины, раковины или царапины.

Лаки

Лаки представляют собой раствор пленкообразующих веществ в органических растворителях или в воде, образующий после отверждения твердую прозрачную однородную пленку.

Лаки имеют различные функциональные свойства: химстойкие, для защиты консервной тары, термостойкие, электроизоляционные, декоративные и т.д.

Эмали

Эмаль - суспензия пигментов или их смесей с наполнителями в растворе синтетического пленкообразующего, формирующая после высыхания твердую непрозрачную однородную пленку с различными блеском и фактурой поверхности. Эмали предназначены для нанесения последних (верхних) слоев системы покрытия. Эмали придают покрытию необходимый цвет, обеспечивают декоративные и защитные свойства.

Краски

Краски представляют собой суспензию пигментов в натуральных пленкообразующих типа масел, олиф и дисперсий. Масляные краски - в качестве пленкообразующего используются масла или олифы. Если в качестве растворителя или разбавителя используется

вода, то получаются соответственно водорастворимые и водно-дисперсионные (водоэмульсионные) краски. Существуют также порошковые краски - сухие мелкодисперсные композиции, состоящие из смеси твердых пленкообразователей, пигментов, наполнителей и т.д. В отличие от обычных красок они не содержат растворителей.

4.5. Области применения лакокрасочных материалов (ЛКМ)

В зависимости от области применения ЛКМ в соответствии с ГОСТ 9.032-74* подразделяются на:

- атмосферостойкие (1);

- ограниченно атмосферостойкие (2);

- консервационные (3);

- водостойкие (4);

- специальные (5);

- масло- и бензостойкие (6);

- химически стойкие (7);

- термостойкие (8);

- электроизоляционнные и электропроводные (9).

Атмосферостойкие - образуют покрытия, стойкие к атмосферным воздействиям в различных климатических условиях и эксплуатируемые на открытых площадках, стойкие к ультрафиолетовым из-лученияим.

Ограниченно атмосферостойкие - образуют покрытия, эксплуатируемые под навесом и внутри неотапливаемых и отапливаемых помещений.

Водостойкие - формируют покрытия, стойкие к действию пресной воды и ее паров, морской воды.

Химически стойкие - образуют покрытия, стойкие к действию минеральных и органических кислот, щелочей и др. жидких агрессивных реагентов и их паров.

Масло - и бензостойкие - образуют покрытия, стойкие к действию минеральных масел и консистентных смазок, бензина, керосина и др. нефтяных продуктов.

Термостойкие - стойкие к действию высоких и знакопеременных температур.

Электроизоляционные - устойчивы к действию электрического напряжения, дуговому и поверхностному, разрядам при эксплуатации в широком интервале температур и при воздействии влаги.

Специальные - образуют покрытия, стойкие к рентгеновским и другим излучениям, светящиеся, противообрастающие при эксплуатации в морской и речной воде.

Консервационные - используются для временной защиты окрашенных изделий в процессе их транспортировки и хранения.

4.6. Пленкообразующие лакокрасочных материалов

В зависимости от химического состава пленкообразующего лакокрасочные материалы подразделяют на:

- акриловые (АК);

- алкидные (пентафталевые ПФ и глифталевые ГФ);

- битумные (БТ);

- канифольные (КФ);

- каучуковые (КЧ);

- кремнийорганические (КО);

- перхлорвиниловые и поливинилхлоридные (ХВ);

- поливинилацетальные (ВЛ);

- полиуретановые (УР);

- сополимерно-винилхлоридные (ХС);

- эпоксидные (ЭП);

- эпоксиэфирные (ЭФ).

Ниже приведены краткие характеристики основных типов лакокрасочных материалов, отличающиеся химсоставом пленкообразующей основы.

Эпоксидные лакокрасочные материалы представляют собой двухкомпонентные системы, состоящие из эпоксидного связующего (смолы) и аминосодержащего органического соединения (отвердителя) с добавлением пигментов, наполнителей, пластификаторов.

Преимуществами эпоксидных лакокрасочных материалов являются низкое содержание растворителей, хорошая адгезия к металлу, высокая твердость, стойкость к химическим средам, воде (речной и морской), нефти и нефтепродуктам и многим растворителям.

-7577

К недостаткам эпоксидных лакокрасочных материалов можно отнести повышенные требования к подготовке металлической поверхности (до степени "2" по ГОСТ 9.402-80)1, двухкомпонентность, ограниченную жизнеспособность после смешения основы и отвердителя, нанесение при температуре не ниже 10°С, а также определенную токсичность отвердителей.

1 За исключением материалов, в рецептуру которых входят специальные добавки для улучшения адгезии к плохо подготовленной поверхности.)

Полиуретановые лакокрасочные материалы получаются на основе полиуретановых смол с добавлением пигментов, наполнителей и др. добавок. Полиуретановые смолы - это продукты взаимодействия полиэфирных, феноло-формальдегидных, эпоксидных и других гидроксилсодержащих соединений с полиизоцианатами.

Полиуретановые лакокрасочные материалы бывают двухкомпонентными и однокомпонентными (отверждаемые влагой воздуха).

Покрытия на основе полиуретановых материалов стойки к воздействию кислот, щелочей, растворителей, воды (речной, морской), обладают высокой устойчивостью к воздействию ультрафиолетового излучения, атмосферостойкостью, наносятся при низких температурах.

Однокомпонентные составы более технологичны по сравнению с двухкомпонентными эпоксидными и полиуретановыми составами. Отверждаясь за счет влаги, однокомпонентные полиуретаны более эффективно решают проблему защиты от коррозии, устраняя саму причину возникновения коррозии под пленкой покрытия, используя влагу, адсорбированную на окрашиваемой поверхности, на свою полимеризацию.

Однако полиуретановые покрытия токсичны при нанесении и имеют высокую стоимость.

Алкидные лакокрасочные материалы на основе алкидных смол представляют собой полиэфиры разветвленного строения, получаемые взаимодействием многоосновных спиртов, многоосновных кислот и жирных масел. В зависимости от спирта, используемого при изготовлении, различают глифталевые, пентафталевые и другие смолы.

Алкидные лакокрасочные материалы чаще всего однокомпонентные, для ускорения сушки и отверждения в них перед применением рекомендуется вводить сиккативы. Алкидные лакокрасочные материалы не требуют тщательной подготовки поверхности перед нанесением.

Алкидные покрытия обладают достаточно высокой атмосферостойкостью, эластичностью, хорошей адгезией к металлу, дереву, бетону и высокой межслойной адгезией. Недостатками алкидных покрытий являются низкая водостойкость и химстойкость, сравнительно большой срок высыхания (до 24 ч. при 20°С), необходимость сушки при температуре воздуха не ниже 5˚С.

Акриловые лакокрасочные материалы на основе акриловых смол, получают в результате полимеризации акриловой и метакриловой кислот или их производных. Покрытия на основе данных материалов обладают высокой атмосферо- и светостойкостью, эластичны, стойки к удару, имеют хорошую адгезию. К недостаткам акриловых лакокрасочных материалов относятся низкая стойкость к растворителям, небольшая толщина лакокрасочного покрытия (20-30 мкм), получаемая за один "проход".

Кремнийорганические лакокрасочные материалы представляют собой соединения, состоящие из чередующихся атомов кремния и кислорода и называемые силоксанами. Исходным продуктом для получения кремнийорганических соединений служит четырех-хлористый кремний, из которого синтезируют кремнийорганические хлориды. Гидролиз последних приводит в конечном счете к образованию линейных полимеров - полиорганосилоксанов.

Отечественной промышленностью освоено производство кремнийорганических лакокрасочных материалов с использованием полиорганосилоксанов. Последние представляют собой полимеры или олигомеры линейного или циклического строения, в цепях которых чередуются атомы кремния и азота.

Основными преимуществами кремнийорганических покрытий являются способность высыхать в естественных условиях, сохранение твердости и защитных свойств при длительном воздействии повышенных температур (до 300°С и выше), а также высокие физико-механические показатели.

Недостатком кремнийорганических материалов является низкая адгезия покрытий на их основе к недостаточно хорошо подготовленной поверхности.

Лакокрасочные материалы, получаемые на основе сополимеров винилхлорида (85% по массе) и винилацетата. Винилацетат позволяет увеличить растворимость сополимера. В сополимере на каждые девять молекул винилхлорида приходится одна молекула винилацетата.

Лакокрасочные материалы на основе сополимеров винилхлорида обладают высокой водостойкостью, атмосферостойкостью, механической прочностью. Эти материалы физического отверждения, следовательно, их можно наносить при отрицательных температурах (до-10оС).

Недостатком данных лакокрасочных материалов является низкий сухой остаток (30-45% по массе), следствием этого является небольшая толщина однослойного покрытия (40-50 мкм); необходимо тщательно подготавливать поверхности.

Лакокрасочные материалы на основе хлоркаучуков, которые получают путем хлорирования натурального и синтетического каучуков газообразным хлором. Они однокомпонентны и являются материалами физического отверждения, их можно наносить при отрицательных температурах (до -15°С), и у них относительно непродолжительное время междуслойной сушки.

Покрытия на основе хлоркаучуковых материалов обладают хорошей водо-кислото- и щелочестойкостью, пониженной горючестью.

Недостатками хлоркаучуковых материалов являются ухудшение физико-механических свойств под воздействием солнечного света, низкая стойкость к воздействию растворителей и нефтепродуктов, необходимость тщательной подготовки поверхности.

По консистенции лакокрасочные материалы разделяют на жидкотекучие, тиксотропные, безрастворителъные и порошковые.

Маркировка ЛКМ

Наименование (маркировка) лакокрасочного материала включает его название, буквенное обозначение в зависимости от природы пленкообразующего (БТ, ХВ и т.д.) и несколько цифр, из которых первая указывает назначение материала (атмосферостойкие "1", консервационные "3", водостойкие "4" и т.д.), а остальные - порядковый номер, присваиваемый материалу при его регистрации, а последней указывается цвет материала.

В наименование грунтовок и шпатлевок вместо цифры, указывающей назначение, ставятся соответственно 0 и 00. Это связано с тем, что покрытия из грунтовок и шпатлевок самостоятельно не эксплуатируются и для них не проставляется среда эксплуатации.

4.7. Совместимость Л КМ

Современные лакокрасочные покрытия представляют собой систему лакокрасочных материалов, наносимых на защищаемую поверхность в определенной последовательности.

Лакокрасочные покрытия представляют собой системы лакокрасочных материалов, которые состоят из грунтовок и покрывных ЛКМ. При этом лакокрасочные материалы могут быть разнообразными не только по пигментной части, но и по пленкообразующей основе.

При составлении защитных систем лакокрасочных лучше всего использовать материалы с одним типом связующего. Особенно это касается материалов химического отверждения (эпоксидных и полиуретановых)

(Для обеспечения междуслойной адгезии при нанесении ЛКМ необходимо всегда точно выполнять рекомендации по времени межслойной сушки).

В состав эпоксидов и полиуретанов входят активные растворители (ксилол, ацетон, циклогексанон), поэтому эти материалы нельзя наносить по покрытиям физического отверждения (хлоркаучуковым, виниловым, сополимерно-винилхлоридным, нитроцеллюлозным и т.п.), так как может произойти растворение покрытий и образование дефектов. При нанесении эпоксидных или полиуретановых покрытий на материалы, отверждающиеся кислородом воздуха (алкидные и масляные), может произойти набухание и подрастворение этих покрытий и отслоение всего покрытия от металла.

Полиуретановые эмали наносятся по полиуретановым, поливинилбутиральным или эпоксидным грунтовкам и эмалям, соблюдая требования по условиям межслойной сушки для обеспечения межслойной адгезии.

Эпоксидные эмали можно наносить только по эпоксидным, поливинилбутиральным, цинксиликатным и этилсиликатным грунтовкам и эмалям.

Кремнийорганические и силикатные лакокрасочные материалы не рекомендуется наносить по другим видам лакокрасочных материалов, так как большинство из них являются материалами термического отверждения.

Алкидные и масляные эмали можно наносить практически по всем лакокрасочным материалам физического отверждения, кроме битумных и пековых. В случае применения алкидных и масляных эмалей по покрытиям, содержащим битумы и пеки, возможны миграция последних в верхние слои и изменение их цвета.

Виниловые, сополимерно-винилхлоридные и хлоркаучуковые материалы наносятся по поливинилбутиральным, акриловым, эпоксиэфирным, цинксиликатным и эпоксидным материалам.

При выборе лакокрасочных материалов для ремонта покрытий в период эксплуатации в первую очередь необходимо уточнить тип лакокрасочных материалов, использовавшихся при предыдущим окрашивании, и использовать лакокрасочные материалы на том же пленкообразующем.

Для исключения ошибок следует провести экспериментальную проверку совместимости.

Далее приведена таблица совместимости ряда лакокрасочных материалов.

4.8. Специальные покрытия

Протекторные лакокрасочные материалы

Основная роль противокоррозионных покрытий состоит в создании барьера, уменьшающего проникновение воды, кислорода и агрессивных газов к поверхности металла.

Применяемые для окраски лакокрасочные материалы обычно состоят из тонко размолотых твердых частиц, называемых пигментами, рассеянных в жидкой связующей среде. Пигменты добавляют в лакокрасочные материалы для получения цвета, непрозрачности, увеличения срока эксплуатации и выполнения специальных функций.

Перспективными пигментами, используемыми в лакокрасочных материалах, являются цинковая и алюминиевая пудра (шаровидная, рисовидная или чешуйчатая), которая дополнительно обеспечивает и электрохимическую защиту стали, т.е. значительно повышает долговечность покрытия.

 

Таблица 4.2

Совместимость лакокрасочных материалов

Предыдущее покрытие

 

Обозначение последующего слоя

МА

АЛК

БТ

ХВ

+пек

ХВ

ВЛ

КЧ

ЭФ

ЭП

ЭП

+пек

УР

КО

же

Масляное и масляносмоленое

МА

+

+

+

-

-

-

6

1

 

 

 

 

 

Алкидное

АЛК

+

+

+

-

-

-

6

1

 

 

-

-

-

Битумное и пековое

БТ

-

-

+

+

-

-

-

-

-

 

-

-

-

Виниловопековое и хлоркаучуковое

ХВ

+ пек

2

2

+

+

2;3

-

2;3

-

-

-

-

 

 

Виниловое

ХВ

+

+

-

+

+

-

+

+

-

-

-

-

-

Поливинилбутиральное

ВЛ

+

+

+

+

+

+

+

+

+

+

+

-

-

Хлоркаучуковое

КЧ

+

+

-

+

4

-

+

1

-

-

-

-

-

Эпоксиэфирное

ЭФ

+

+

-

-

+

-

6

+

-

-

-

-

-

Эпоксидное

ЭП

-

-

-

-

5

-

5

5

5

 

+

-

-

Эпоксидно-пековое

ЭП

+пек

-

-

-

-

5

-

5

5

5

+

-

-

-

Полиуретановое

УР

+

+

-

-

+

+

+

+

-

-

+

-

-

Кремнийорганическое

КО

 

-

-

-

-

-

-

-

-

-

-

+

 

Цинксиликатное

ЖС

-

-

-

+

+

+

+

+

+

+

-

-

+

Примечания: «+» - наносить можно; «-» - наносить нельзя; Можно, но при определенных условиях:

1 - если эпоксиэфирное пленкообразующее разбавлено уайт-спиритом;

2 - если не пробиваются битумы и пеки к поверхности;

3 - при нанесении противообрастающей эмали целесообразно использовать промежуточный слой для

предотвращения диффузии токсинов в битумные (пековые) нижележащие слои;

4 - после проверки межслойной адгезии из-за разнообразия входящих пленкообразующих;

5 - после придания шероховатости или по отлипу;

6 - после эксплуатации не менее 3-х месяцев.

Алюминиевую пудру применяют в покрывных материалах с целью повышения их водо- и влагостойкости. Частицы алюминиевой пудры легкие и имеют форму чешуек, при отверждении покрытия они имеют склонность "всплывать" к поверхности, за счет чего в приповерхностном слое покрытия формируется дополнительный барьерный слой.

Цинк (порошок) применяют в качестве пигмента в грунтовочных материалах для придания грунтовке протекторных свойств. Поскольку стационарный потенциал цинка более отрицателен по сравнению со сталью, при электрическом контакте со стальной подложкой цинк в водной среде становится анодом, растворяется в воде, предупреждая, таким образом, коррозию стали.

Протекторные грунтовки наносят исключительно по качественно подготовленной поверхности, т.е. по чистому металлу.

Использование ингибиторов для защиты закрытых полостей МО

Перспективным следует считать комбинированный метод защиты закрытых полостей, включающий использование различных осушителей и ингибиторов комплексного действия. Сущность метода заключается в том, что в замкнутом пространстве наряду с силикагелем помещают носитель летучего ингибитора. Наличие последнего позволяет осуществлять длительное (в зависимости от природы ингибитора) хранение изделий при высокой относительной влажности.

Ингибирование осуществляют нанесением водных или органических растворов ингибиторов на поверхности конструкций, насыщением воздуха парами ингибитора, внесением в замкнутое пространство пористого носителя ингибитора коррозии или полным заполнением этого пространства носителем ингибитора.

Химические составы, применяемые для защиты черных металлов в описанных условиях, содержат нитрит натрия или нитрит-ион, входящий в состав других соединений. Например, летучие ингибиторы: нитрит натрия + уротропин, нитрит натрия + карбамид, нитрит натрия + бензонат натрия или аммония, нитрит дициклогек-силамина (НДА) или контактные ингибиторы, водные растворы нитрита натрия и вязкие (глицериновые) растворы нитрита натрия.

56При нанесении ингибиторов из водных или спиртовых растворов стальные емкости омывают ингибированными растворами и просушивают горячим воздухом с температурой 70-90°С. На внутренней поверхности создаются тончайшие пленки ингибиторов, которые длительно (более 10 лет) защищают изделия от коррозии. Ввиду летучести ингибитора нет необходимости в контроле сплошности такого покрытия.

Эффективны ингибиторы на основе производных молекулярных аминов: ИФХАН (1, 2, 3, 5, 7, 8, 10, 20 и 40), разработанные Институтом физической химии АН РФ. Их следует считать весьма перспективными для защиты крупногабаритных сложных конструкций с разветвленной системой застойных полостей, щелей и зазоров.

Противообрастающие лакокрасочные материалы

Биоповреждения (биокоррозия) - это особый вид разрушения материалов конструкций, связанный с воздействием на них микроорганизмов (бактерий, грибков и др.). Один из видов биокоррозии - обрастание.

Основную массу обрастателей составляют водоросли (зеленые, бурые, красные) и зоообрастатели (балянусы, мидии, гидроиды, лешанки, трубчатые черви).

Для эксплуатируемых под водой стальных сооружений характерен наиболее опасный вид поражения - язвенная коррозия, связанная с микробиологическими процессами. В местах скопления микроорганизмов происходит локальное изменение коррозионной агрессивности среды продуктами их жизнедеятельности за счет подкисления. Это приводит к увеличению энергетической неоднородности поверхности металла и вследствие этого - к усилению его язвенного поражения.

Способы защиты от обрастания подразделяют на механические, химические, физические, физико-химические и другие.

Механические способы: применение специальных микрофильтров; увеличение вблизи обрастающих поверхностей скоростей потока до 2 м/с и более, при которых обрастание не происходит при любой ориентации поверхности в пространстве.

Анаэробный способ, основанный на уничтожении обрастателей путем создания дефицита кислорода в водоводах; очищение конструкций от обрастателей скребками и обработка струей воды под давлением.

Химические способы широко применяются для защиты от обрастания систем водоснабжения: хлорирование и купоросование, насыщение воды азотом или озоном.

Защита металлов от биокоррозии лакокрасочными материалами со специальными биоцидными добавками относится к химическому способу защиты.

Применяемые в настоящее время противообрастающие лакокрасочные материалы можно разделить на материалы контактного типа, растворимые материалы и самополирующиеся лакокрасочные материалы (ХВ-750, ХВ-5153, КФ-5225 и др.).

Следует считать перспективной и катодную защиту, которая ингибирует рост микроорганизмов.

Металлические покрытия

Основными металлическими покрытиями, используемыми в гидростроении, являются цинковые, кадмиевые и, реже, алюминиевые.

Цинковые покрытия обладают высокой стойкостью в атмосферных условиях и водной среде. Цинк является анодом по отношению к стали, он растворяется на поверхности стали, защищая ее. В настоящее время практически все метизы строительной номенклатуры цинкуются либо горячим (в расплаве), либо термодиффузионным способом.

Кадмий также образует анодное покрытие более стойкое в морской воде, чем цинковые.

Алюминиевые покрытия обладают некоторым анодным эффектом по отношению к стали. Наиболее распространенным и относительно недорогим методом нанесения покрытий является электродуговое и газопламенное распыление.

Алюминиевые покрытия предпочтительнее цинковых в нейтральных и слабокислых средах, но уступают им по стойкости в щелочных средах (см. раздел 6).

Неорганические покрытия

Неорганические покрытия получаются в результате химической реакции непосредственно на поверхности металла. К основным неорганическим покрытиям, применяемым для защиты металла, относятся фосфатные, хроматные и др.

Фосфатные покрытия применяют для улучшения физико-механических и антикоррозионных свойств лакокрасочных покрытий на углеродистых и низколегированных сталях. Несмотря на усложнение технологии подготовки поверхности за счет введения еще одной операции и удорожания подготовки поверхности, применение фосфатирования является экономически целесообразным, так как позволяет увеличить срок службы лакокрасочного покрытия на 30-50%.

Фосфатирующие составы представляют собой смесь фосфорной и азотной кислот, оксида цинка и целевых добавок. В последнее время появились универсальные обезжиривающе-фосфатирующие составы, которые позволяют сократить процесс обезжиривания и удешевить процесс подготовки поверхности.

Наряду с фосфатированием для создания на поверхности металлов неметаллического неорганического покрытия используется хроматирование.

Хроматные покрытия обладают более высокой коррозионной стойкостью и физико-механическими свойствами в сочетании с ЛКМ, чем фосфатные покрытия.

4.9. Средства временной защиты

Консервация - это специальная защита МО и СК от коррозии на период их хранения или транспортировки, т.е. на период их нахождения в нерабочем состоянии. Консервацию часто называют "временной защитой", имея в виду не краткость времени хранения или транспортировки, а возможность достаточно легкого удаления защиты в момент, когда изделие следует перевести из законсервированного состояния в рабочее.

Требование простоты и быстроты расконсервации имеет большое практическое значение. Именно этим средства и методы консервации отличаются от постоянных мер защиты.

Консервируют изделия на различные сроки, от нескольких дней до нескольких лет.

При выборе способа консервации учитывают особенности хранения и транспортировки изделий. В зависимости от этого установлены четыре категории условий хранения и транспортировки МО и СК (см. табл. 4.3).

Таблица 4.3

Условия хранения и транспортировки МО и СК

Категории условий

Практические примеры

Обозначение

Наименование

Хранение

Транспортировка

Л

Легкие

В помещении с регулируемыми параметрами атмосферы

-

С

Средние

В атмосфере, в закрытом неотапливаемом помещении

В вагоне или в закрытой автомашине

ж

Жесткие

В атмосфере, под навесом или транспортной таре

На железнодорожной платформе, в открытой автомашине или трюме судна

ож

Очень жесткие

В атмосфере, под навесом или в транспортной таре

На палубе судна в условиях, исключающих попадание морской воды

Особый вид временной защиты - защита элементов МО и СК ГТС, подлежащих заделке в бетон (обетонированию).

Поверхности МО и СК после изготовления очищаются пескоструйным способом от окалины и ржавчины, обезжириваются и на период транспортировки консервируются. Используемые в таких случаях материалы не должны ухудшать адгезии бетона к стальной поверхности.

Наиболее целесообразно использовать для этих целей "цементное молочко", в которое для увеличения сроков консервации могут добавляться ингибиторы коррозии стали, используемые в железобетонных конструкциях, например, нитрит натрия.

4.10. Технология и оборудование для подготовки лакокрасочных материалов

По консистенции и реологическим свойствам лакокрасочные материалы разделяют на жидкотекучие, тиксотропные, безрастворительные и порошковые.

Поступающие от поставщика и какое-то время хранящиеся на складе лакокрасочные материалы в большинстве случаев (все, кроме порошковых) нуждаются в подготовке перед их нанесением, т.е. в доведении их до рабочего состояния. Комплекс краскоподготовительных работ включает в себя ряд технологических операций, причем в каждом конкретном случае используется не обязательно весь комплекс, а только операции, которые необходимы.

Перемешивание в транспортной таре. В процессе хранения лакокрасочных материалов может происходить осаждение и коагулирование пигментов и наполнителей, в результате чего на дне тары образуется осадок различной плотности. Материал перемешивается сначала в транспортной таре до однородной консистенции и полного исчезновения осадка. Для этого используются различные стационарные и передвижные перемешивающие установки, кантователи, ручные и механизированные мешалки и т.п.

Перекачивание в раздаточные емкости с фильтрованием. Для этого используются стационарные и передвижные насосные установки, оборудованные устройствами для фильтрования и измерения расхода материалов. Эта операция также может быть выполнена вручную.

Приготовление многокомпонентных материалов. В том случае, если материал поставляется в виде нескольких компонентов (например, основа и отвердитель при поставке эпоксидных материалов), то смесь приготавливается непосредственно перед нанесением. Приготовление производится в раздаточных емкостях, где смешиваются все компоненты, и готовая композиция доводится до рабочей вязкости.

В случае применения однокомпонентного материала производится только доведение его до рабочей вязкости. Тип и количество вводимого разбавителя должны строго соответствовать рекомендациям изготовителя лакокрасочного материала, т.к. чрезмерное количество растворителя может изменить структуру пленкообразующей основы и свойства сформированного покрытия. После введения всех необходимых компонентов и разбавителя смесь тщательно перемешивается в раздаточной емкости и разливается в технологические емкости.

Время для приготовления лакокрасочных материалов устанавливается обязательно с учетом жизнеспособности композиции. Это особенно важно для материалов химического отверждения, у которых период жизнеспособности может составить менее одного часа.

4.11. Контроль качества лакокрасочных материалов

Входной контроль. При применении лакокрасочных материалов необходимо проверять пригодность материалов к употреблению, т.е. осуществлять входной контроль.

Входной контроль производится в следующих случаях:

- если у потребителя возникли сомнения в качестве Л КМ;

- истек гарантийный срок хранения;

- по требованию заказчика.

Входной контроль лакокрасочных материалов, поступивших от поставщика или со склада, производится обычно исполнителем окрасочных работ либо контролером ОТК, и прежде чем дать разрешение на использование материала, необходимо окончательно убедиться в его качестве.

Входной контроль лакокрасочных материалов включает в себя проверку сопроводительной документации, осмотр транспортной тары и установление соответствия свойств материала требованиям, указанным в технической документации на материал.

Сопроводительная документация, подтверждающая соответствие полученного материала заказанному и его качество (сертификат, паспорт, информация на транспортной таре), должна содержать следующие сведения:

- марку материала;

- наименование фирмы-поставщика;

- цвет материала и номер колера по каталогу;

- дату изготовления и срок годности;

- количество материала в каждой тарной упаковке;

- основные технические характеристики материала;

- особые свойства материала (токсичность, пожаро- и взрывоопасность);

- условия хранения.

При осмотре транспортной тары необходимо убедиться в ее целостности, наличии необходимой маркировки, полной комплектности поставки.

Наиболее информативными показателями, объективно характеризующими качество и технологические свойства лакокрасочных материалов и не требующими длительных и трудоемких испытаний, являются:

- вязкость (ГОСТ 8420-74);

- содержание нелетучих веществ (ГОСТ 17537-72);

- степень перетира (ГОСТ 6589-74);

- цвет и внешний вид пленки покрытия (ГОСТ 19266-79);

- укрывистость (ГОСТ 8774-75);

- время высыхания (ГОСТ 19007-73);

- прочность пленки при ударе (ГОСТ 4765-73);

- прочность пленки при изгибе (ГОСТ 6806-73);

- толщина нестекающего слоя (для тиксотропных материалов);

- твердость пленки (ГОСТ 5233-89);

- адгезия покрытия (ГОСТ 15140-78);

- жизнеспособность композиции (для многокомпонентных материалов).

Указанные в скобках ГОСТы рекомендуют проведение испытаний.

Обязательному контролю подвергаются также используемые в процессе подготовки лакокрасочных материалов растворители, разбавители, сиккативы и другие компоненты.

Пробы материалов для испытаний отбирают согласно требованиям ГОСТ 9980-80. Пробы анализируют непосредственно после взятия во избежание изменения свойств материалов (особенно содержащих воду или после хранения при повышенной температуре).

При этом отмечают:

- наличие поверхностной пленки и ее особенности (сплошная, твердая, мягкая, тонкая, толстая и т.д.);

- наличие желатинизации (гелеобразование);

- разделение на слои;

- тип осадка (мягкий, твердый, твердо-сухой);

- наличие и вид примесей.

ЛКМ, в образцах, которых наблюдаются же латинизация, выпадение твердо-сухого осадка или присутствие недопустимых примесей, бракуют и не допускают до испытаний.

Образцы красок наносят на стандартные пластины, которые изготавливают из различных материалов в соответствии с ГОСТ 8832-76. Особое внимание должно уделяться подготовке поверхности пластин перед нанесением испытуемых материалов.

Вязкость лакокрасочных материалов определяется по методике ГОСТ 8420-74, основанной на определении времени истечения определенного объема материала, через сопло заданного размера.

Этот метод применим для оценки реологических свойств большинства лакокрасочных материалов.

Основная аппаратура для проведения испытаний: вискозиметр ВЗ-246 (ГОСТ 9070-75) с диаметром сопла 2,4 или 6 мм, термометр, секундомер и термостат, в котором воронка и образец материала могут быть выдержаны при рекомендуемой постоянной температуре.

Вискозиметром ВЗ-246 с соплом диаметром 4,0 мм определяют вязкость материалов в пределах 15-100 с; вискозиметр ВЗ-246 с соплом диаметром 2,0 мм предназначен для материалов вязкостью ниже 10 с; вискозиметр ВЗ-246 с диаметром сопла 6,0 мм - для материалов вязкостью выше 100 с.

Воронку выбирают с таким расчетом, чтобы время истечения материала находилось в пределах от 30 до 100 с. За время истечения материала при стандартной температуре принимается промежуток времени в секундах от момента начала истечения материала из сопла до момента первого прерывания струи.

Имеется ряд лакокрасочных материалов, представляющих собой тиксотропные коллоидные системы, время истечения которых из воронок получается неопределенным и различным. В таких случаях вязкость материала определяется с помощью вискозиметров, работающих при высокой скорости сдвига.

Толщина нестекающего мокрого слоя тиксотропных лакокрасочных материалов также характеризует их особые свойства. Максимальное (предельное) ее значение является величиной, нормируемой для тиксотропного материала.

Для определения предельной толщины нестекающего слоя используется аппликатор длиной 50 мм со щелями 0,3-0,8 мм. Лакокрасочный материал наносят на пластинки с помощью аппликатора, начиная с большей высоты щели. Затем пластину ставят в вертикальное положение, и после выдержки в течение 1 ч осматривают состояние пленки. За предельную толщину нестекающего мокрого слоя принимают максимальную высоту щели аппликатора, при которой не наблюдается стекание, т.е. перемещение слоя материала относительно подложки.

Содержание нелетучих веществ в лакокрасочном материале - это отношение массы веществ, остающихся в пленке после испарения летучих веществ, к общей массе испытуемого материала,

выраженное в процентах. Определение данного показателя производится в соответствии с ГОСТ 17537-72. Методика основана на испарении летучих веществ (растворителей, разбавителей) при нагревании навески этого материала при заданной температуре в течение определенного периода времени (2-3 часа).

Степень перетира, характеризующая степень измельчения содержащихся в лакокрасочном материале пигментов и наполнителей, оценивается по ГОСТ 6589-74. Для этого используется специальный прибор с клинообразной откалиброванной по глубине канавкой, имеющей шкалу с делениями.

Обычно степень перетира наиболее часто применяемых лакокрасочных материалов составляет от 30 до 70 мкм.

Цвет и внешний вид пленки покрытия определяется по ГОСТ 19266-79 путем визуального сравнения его с цветом соответствующих образцов (эталонов) цвета при естественном или искусственном рассеянном свете.

Сравниваемые образцы должны находиться в одной плоскости на расстоянии 300-500 мм от глаз наблюдателя под углом зрения, исключающим блеск поверхности.

Укрывистость лакокрасочных материалов, обусловливающая их расход при нанесении, определяется в соответствии с ГОСТ 8774-75. Метод основан на определении степени (коэффициента) контрастности, т.е. соотношения количества света, диффузно отраженного от черной и белой поверхностей, на которые нанесен лакокрасочный материал. Поверхность считается укрытой, когда коэффициент контрастности достигнет величины, близкой к единице.

Коэффициент контрастности определяется при помощи фотометра. Расход материала (в г/м2), соответствующий значению контрастности К=0,98, и является показателем укрывистости данного материала.

Адгезию покрытий наиболее просто контролировать методом решетчатого надреза по ГОСТ 15140-78. На испытываемом покрытии бритвенным лезвием или скальпелем делают не менее пяти параллельных надрезов до подложки и столько же перпендикулярных к первым.

Ширина надрезов зависит от толщины проверяемого покрытия: на покрытия толщиной менее 60 мкм наносят решетку с единичным квадратом 1x1 мм, на покрытия толщиной от 60 до 120 мкм - 2×2 мм, на покрытия толщиной от 120 до 200 мкм - 3×3 мм.

После нанесения надрезов для удаления отслоившихся кусочков покрытия проводят мягкой кисточкой по поверхности решетки в диагональном направлении по пять раз в прямом и обратном направлении.

Адгезию оценивают в соответствии с нижеприведенной таблицей, используя при необходимости лупу.

Таблица 4.4

Оценка адгезионной прочности покрытий методом решетчатого надреза

Балл

Описание поверхности лакокрасочного покрытия после нанесения надрезов в виде решетки

Внешний вид покрытия

1

Края надрезов полностью гладкие, нет признаков отслаивания ни в одном квадрате решетки.

.

2

Незначительное отслаивание покрытия в виде мелких чешуек в местах пересечения линий решетки. Нарушение наблюдается не более чем на 5% поверхности решетки.

3

Частичное или полное отслаивание покрытия вдоль линий надрезов решетки или в местах их пересечений. Нарушение наблюдается не менее чем на 5% и не более чем на 35% поверхности решетки (покрытие бракуется)

4

Полное отслаивание покрытий или частичное, превышающее 35% поверхности решетки (покрытие бракуется)

 

Совместимость с растворителем определяют визуально следующим образом. В пробу лакокрасочного материала массой 50 г, помещенного в стакан, при непрерывном размешивании вливают 2,5; 5 и 10 г растворителя, отмечая, при каком количестве в краске появляются хлопьевидные сгустки или образуются комки. Отсутствие их указывает на совместимость материала с растворителем.

Прочность пленки при ударе (ГОСТ 4765-73) характеризует стойкость покрытия к растрескиванию или отслаиванию от подложки при мгновенной деформации под воздействием ударной нагрузки.

Прочность пленки при изгибе (ГОСТ 6806-73) устанавливает эмпирический метод оцени стойкости лакокрасочного покрытия к растрескиванию или отслаиванию от металлической поверхности при изгибе окрашенного образца вокруг цилиндрического стержня в стандартных условиях.

Твердость (ГОСТ 5233-89) лакокрасочной пленки характеризует механическую прочность покрытия после высыхания лакокрасочного материала, поэтому часто данный показатель используется для определения степени высыхания покрытий.

Жизнеспособность многокомпонентных лакокрасочных материалов определяется после смешения компонентов.

Стандартный метод определения жизнеспособности заключается в измерении условной вязкости материала по воронке (ГОСТ 8420-74) сразу после смешения компонентов, затем после выдержки испытуемой пробы при заданной температуре в течение времени, указанного в технической документации на материал.

Материал считается пригодным к использованию, если вязкость пробы, измеренная по истечении заданного времени, не превышает исходную или превышает в допустимых пределах.

Выполнение контрольных операций и результаты контроля оформляются документально на всех стадиях подготовки лакокрасочных материалов.

Контроль, проводимый перед нанесением и в процессе нанесения лакокрасочных материалов

До начала окрасочных работ необходимо проконтролировать состояние поверхности.

Перед нанесением лакокрасочных материалов и в процессе работы проводится тщательный пооперационный контроль всего технологического процесса, включая:

- качество используемых материалов (см. выше);

- работоспособность оборудования, технологической оснастки, приборов контроля;

- квалификацию персонала;

- соответствие климатических условий требованиям технологической документации на проведение окрасочных работ;

- параметры технологического процесса;

- качество выполнения отдельных технологических операций;

- соблюдение правил техники безопасности и охраны окружающей среды.

Контроль в процессе нанесения лакокрасочных материалов

обычно проводится по следующим показателям:

- сплошность покрытия по всей площади поверхности;

- толщина сырого слоя;

- толщина сухого слоя;

- количество слоев покрытия;

- адгезия;

- степень высыхания каждого слоя покрытия перед нанесением последующего слоя.

Сплошность покрытия т.е. равномерное, без пропусков распределение лакокрасочного материала по поверхности оценивается визуально (по укрывистости) при хорошем рассеянном дневном свете или искусственном освещении.

Однако при формировании лакокрасочных покрытий на ответственных конструкциях сплошность контролируется инструментальными способами. Для определения сплошности применяются дефектоскопы ("КОНСТАНТА ЭД2" и др.). В основу работы приборов положен принцип определения электропроводности покрытия при определенном напряжении. Покрытие предварительно увлажняется водой, затем с помощью губки, перемещаемой по поверхности со скоростью приблизительно 30 см/с, по звуковому сигналу отмечаются те места, где сплошность покрытия неудовлетворительна.

Толщина покрытия. В процессе нанесения лакокрасочных материалов обязательно должна контролироваться толщина пленки каждого слоя и общая толщина покрытия. Это делается путем измерения толщины мокрого слоя, затем (перед нанесением последующего слоя) сухой пленки. Контроль мокрого слоя осуществляется непосредственно после нанесения лакокрасочного материала с помощью двух простейших устройств: колесного толщиномера или калиброванной гребенки.

Методика определения толщины мокрого слоя с помощью колесного толщиномера заключается в прокатывании колеса толщиномера по свеженанесенному слою лакокрасочного материала. При этом определяется точка первого соприкосновения эксцентрически расположенного на колесе обода с краской. По шкале диска определяют толщину мокрой пленки. Используя комплект толщиномеров, можно измерять толщины мокрого слоя в разных диапазонах (от единиц до сотен микрометров).

При использовании калиброванной гребенки толщина слоя определяется по зазору между измерительным зубом, касающимся краски, и крайним (базисным) зубом гребенки. Над каждым зубом на гребенке отмечена величина зазора, по которой и определяется толщина слоя. Гребенку необходимо устанавливать перпендикулярно к плоскости поверхности.

Следует отметить, что указанные методы весьма приблизительны и используются не столько инспекторами, сколько самими рабочими для уточнения режимов нанесения лакокрасочного материала. Инспектор использует эти методы для эпизодического предварительного контроля толщины наносимого покрытия.

Для измерения толщины сухой пленки покрытий на магнитной подложке (сталь) используются приборы, работающие на принципе измерения магнитного потока между магнитом (постоянным или электромагнитом) и магнитной подложкой или силы отрыва постоянного магнита от магнитной подложки.

На рабочих местах чаще всего используются электромагнитные приборы для магнитных металлов ("КОНСТАНТА К5", "КОН-СТАНТА-МК1", магнитный толщиномер-карандаш и др.). При использовании этих приборов следует иметь в виду, что их показания могут быть искажены на краях исследуемого образца, поэтому измерения следует производить на расстоянии не менее 25 мм от края.

При проведении измерений на шероховатых поверхностях необходимо делать большее количество измерений на одном и том же участке подготовленной поверхности (как минимум 10).

Все приборы перед применением, а также через каждый час во время применения должны быть откалиброваны на "0", верхний предел и те значения толщин, которые предпочтительно будут контролироваться. Для этого используют набор эталонных образцов.

При контроле толщины покрытия в производственных условиях количество и местоположение участков для измерений должны быть такими, чтобы получить убедительные данные о реальной толщине лакокрасочного покрытия. Это должно быть предметом соглашения между заинтересованными сторонами и отмечено в технологической документации (рабочем журнале).

Количество слоев наносимого покрытия контролируется визуально; оно не должно быть меньше, чем указано в технологической документации.

Адгезия покрытия определяется в соответствии с ГОСТ 15140-78 (раздел 4.11, стр.65). Методы определения адгезии по указанному стандарту являются разрушающими и требуют восстановления покрытия на разрушенных участках. Поэтому количество измерений (минимум 3) согласовывается и отмечается в документации.

Степень высыхания (ГОСТ 19007-73) каждого слоя покрытия контролируется для определения возможности нанесения последующего слоя. Ориентировочно о степени высыхания можно судить по значениям времени сушки одного слоя данного материала определенной толщины при определенной температуре, которые рекомендуются поставщиком краски или технологической документацией.

Различают следующие степени высыхания: 1-ю степень, при которой к пленке пыль не пристает, но пленка еще недостаточно окрепла; 2-ю - промежуточную; 3-ю, когда пленка допускает нанесение на нее последующих слоев покрытия; 4-ю и 5-ю степени, когда покрытие полностью высохло и конструкция может быть сдана в эксплуатацию.

Степень высыхания покрытия может контролироваться тактильными методами (прикосновением пальцев рук). Как правило, на практике пользуются такими показателями, как "высыхание до отлипа" и "высыхание на ощупь". Под этими выражениями понимают:

- высыхание до отлипа - легкое нажатие на покрытие пальцем не оставляет следа и не дает ощущения липкости;

- высыхание на ощупь - тщательное ощупывание покрытия руками не вызывает его повреждения.

Контроль сформированного лакокрасочного покрытия производится в том же объеме, что и контроль в процессе нанесения лакокрасочных материалов.

Однако в данном случае за срок высыхания покрытия принимается срок выдержки до ввода в эксплуатацию, т.е. до достижения покрытием оптимальных физико-механических и защитных свойств.

Кроме того, у декоративных лакокрасочных покрытий контролируется цвет, который определяется визуально сравнением с эталоном по стандарту (сертификату на данный материал).

После полного формирования покрытия оно подлежит 100%-ному визуальному контролю внешнего вида (ГОСТ 9.407-84) и выявлению дефектов.

Перечень наиболее распространенных дефектов, их причины и методы устранения приведены ниже в таблице 4.5.

Таблица 4.5

Дефекты лакокрасочных покрытий, причины их возникновения и рекомендации по их устранению

Дефекты

Причины

Предупреждение. Исправление

Потеки и наплывы

Вязкость ниже нормы

Применять материалы с вязкостью, соответствующей норме

Слишком толстый слой лакокрасочного материала

Уменьшить расход материала

Расстояние от распылителя до окрашиваемой поверхности меньше нормы, распылитель неправильно ориентирован относительно окрашиваемой поверхности

Распылитель держать перпендикулярно к окрашиваемой поверхности на расстоянии 200-400 мм

Замедленное перемещение распылителя по отношению к окрашиваемой поверхности

Ускорить перемещение распылителя

Слишком высокая температура лакокрасочного материала (в случае применения двух-компонентных материалов)

Уменьшить температуру лакокрасочного материала

Устранить потеки и наплывы можно, убрав их кистью, пока материал не начал подсыхать. После высыхания пленки дефектные участки необходимо очистить и нанести покрытие заново

Апельсиновая корка

Плохое диспергирование частиц, вызванное низким давлением на выходе из сопла

Отрегулировать давление

Низкая температура воздуха во время нанесения лакокрасочного материала

Прекратить окраску до установления допустимой температуры

Повышенная вязкость лакокрасочного материала

Применять лакокрасочный материал с вязкостью, соответствующей норме

Слишком   быстрое   испарение растворителя (неправильно подобран растворитель)

Применять растворитель в соответствии с нормативной документацией

Удалить покрытие и нанести заново

Шелушение, отслаивание

Неудовлетворительная подготовка поверхности (масло или лед)

Тщательно контролировать подготовку поверхности и нанесения каждого слоя покрытия

Несовместимость с нижележащим покрытием

Поверхность прошкурить. Соблюдать сроки сушки слоев

Загрязнение промежуточного слоя покрытия

Нанесение лакокрасочного материала на пересушенные нижележащие слои

Нанесение при низкой температуре и высокой влажности

Прекратить окраску до установления допустимых температуры и влажности

Удалить покрытие и нанести заново

Сухая струя (шероховатость покрытия)

расстояние от распылителя до поверхности слишком большое

Держать распылитель на правильном расстоянии от окрашиваемой поверхности

Слишком большой угол распыления

Держать распылитель под нужным углом

Растворитель испаряется слишком быстро

Использовать подходящий растворитель

Слишком высокая температура воздуха

Прекратить окраску до снижения температуры до допустимых значений

Удалить покрытие и нанести заново

Межслойная проницаемость

Проникновение красящих пигментов из предыдущего слоя в последующий

Изменить систему покрытия

Вздутие пленки

Нанесение материала с активным растворителем на несовместимый с ними материал

Изменить систему покрытия

Нанесение Л КМ на недостаточно высохший предыдущий слой покрытия

Выдерживать необходимое время межслойной сушки

Слишком высокая или слишком низкая температура воздуха

Прекратить окраску до установления допустимой температуры

Кратеры, поры

Пористость окрашиваемой поверхности    или предыдущего слоя покрытия

Контролировать подготовку поверхности и нанесение каждого слоя покрытия

Краска нанесена при повышенной температуре воздуха или на грязную поверхность

Выполнять требования технологической документации

Вязкость материала выше нормы

Разбавить материал до нормы

Присутствие в краске воды, масел, пузырьков воздуха

Заменить материал. Проверить наличие масловодоотделителя

Удалить покрытие и нанести заново

Пузыри

Применение разбавителей, не предусмотренных документацией

Использовать разбавитель, предусмотренный документацией

Недостаточная очистка поверхности от растворимой соли, влаги, масел и др. загрязнителей

Тщательная промывка или обезжиривание поверхности

Загрязнение лакокрасочного материала водой, минеральными маслами

Заменить материал

Присутствие пузырьков воздуха в лакокрасочном материале

Заменить материал. Проверить масловодоотделитель

Удалить покрытие, промыть поверхность и заново окрасить

"Рыбьи глаза"

Нанесение лакокрасочного материала на поверхность, загрязненную маслами, влагой и др.

Контроль подготовки поверхности

Загрязнение лакокрасочного материала маслами или водой

Заменить лакокрасочный материал

Удалить покрытие, очистить, обезжирить поверхность и заново окрасить

Растрескивание

Нанесение лакокрасочного материала неравномерным по толщине слоем

Наносить материал равномерно по толщине

Нанесение лакокрасочного материала по пересушенному предыдущему слою

Соблюдать сроки сушки слоев

Удалить покрытие и нанести заново

Морщинистость

Повышенная температура окрашиваемой поверхности

Прекратить окраску до установления допустимой температуры

Нанесение слишком толстого слоя лакокрасочного материала

Наносить слой краски требуемой толщины

Нанесение лакокрасочного материала по непросушенному предыдущему слою

Соблюдать сроки сушки слоев

Удалить покрытие и нанести заново

Неравномерный блеск, различные оттенки цвета

Нанесение краски при низкой температуре и высокой влажности

Окраску прекратить до установления требуемых температуры и влажности

Присутствие влаги в краске

Заменить краску

Плохое перемешивание краски перед нанесением

Тщательно перемешивать краску

Зачистить покрытие и нанести дополнительный слой краски

Сорность пленки

Загрязнение краски механическими примесями, плохая фильтрация

Профильтровать краску

Зачистить покрытие и нанести дополнительный слой краски

4.12. Удаление старых лакокрасочных покрытий

При проведении ремонтных работ или устранении брака ПКЗ возникает необходимость удаления старых лакокрасочных покрытий.

В производственных условиях удаление лакокрасочных покрытий может осуществляться механическим, термическим или химическим методами.

Механический метод удаления лакокрасочных покрытий аналогичен очистке поверхности от окислов (см. раздел 3.2, стр. 25).

Термический метод заключается в обработке окрашенной поверхности пламенем газовых горелок.

Химическим методом является метод удаления лакокрасочных покрытий с помощью специальных составов - смывок. Для удаления лакокрасочных покрытий применяют смывки двух типов:

- на основе щелочей;

- на основе органических растворителей.

В качестве смывок на основе щелочей применяются растворы каустической соды с концентрацией 60-300 г/л при температуре 70-100°С.

Удаление покрытия производится за счет деструкции лакокрасочной пленки, поэтому процесс протекает медленно. В состав смывок на основе растворителей входят активные растворители, загустители, замедлители испарения, разрыхлители, эмульгаторы и ингибиторы коррозии.

Смывки на основе органических растворителей делятся на три группы: взрыво- и пожароопасные, относительно пожароопасные, взрыво- и пожаробезопасные.

К первой группе относятся смывки АФТ-1, СД, СД (СП); ко второй - СП-6, СП-7, СНБ-9; к третьей - смывки СЭУ-1 и СЭУ-2.

Смывка АФТ-1 используется для удаления масляных, фенольно-масляных, виниловых и поливинилбутиральных покрытий.

Смывки СД и СД (СП) применяются для удаления масляных, фенольно-масляных, виниловых покрытий.

Смывки СП-7, СНБ-9, СЭУ-1, СЭУ-2 и СП-6 используются для удаления эпоксидных, масляных, алкидных, хлорвиниловых, акриловых, меламино-формальдегидных и полиуретановых покрытий.

Смывки АФТ-1, СП-6, СП-7, СНБ-9, СЭУ-2 наносятся на поверхность кистью. После разрыхления или вспучивания лакокрасочное покрытие удаляется шпателем или щеткой. После удаления лакокрасочного покрытия смывками АФТ-1, СНБ-9 поверхность необходимо промыть растворителем № 645 или смывкой СД.

После удаления лакокрасочного покрытия смывками СП-6, СП-7, СЭУ-2 поверхность изделий промывают водой, затем сушат или протирают насухо.

Смывки СД, СД (СП), СЭУ-1 применяются при обработке методом окунания. После удаления лакокрасочного покрытия смывкой СЭУ-1 требуется промывка водой с последующей сушкой или протиркой насухо.

Удаление лакокрасочного покрытия с деталей и узлов, изготовленных из стали, возможно любой из названных выше смывок, в том числе и на щелочной основе.

Концентрированные растворы щелочей хорошо удаляют лаковые покрытия, масляные краски, эмали на основе алкидных и фенольных смол, особенно фенольные лаки естественной сушки.

Смывки, содержащие органические растворители, применяются для удаления алкидных, масляных, виниловых покрытий.

Продолжительность операции удаления лакокрасочного покрытия и расход смывок определяются качеством металлической подложки, предварительной подготовкой поверхности, системой покрытия, ее толщиной, условиями эксплуатации и длительностью срока службы покрытия перед ремонтом.

Проверка эффективности смывок должна проводиться в лабораторных условиях или на несложном промышленном оборудовании; по результатам проведения опытных работ устанавливается продолжительность обработки и температурные условия процесса.

5. Выбор систем защитных лакокрасочных покрытий

МО и СК гидротехнических сооружений в основном эксплуатируются в трех микроклиматических районах: умеренном, холодном и тропическом.

В каждом из этих районов МО и СК могут подвергаться воздействию жидких (пресная и морская вода) и газообразных сред (открытая атмосфера и неотапливаемые помещения).

Часть конструкций и оборудования может подвергаться одновременному воздействию различных коррозионных сред, а также абразивным и ударным нагрузкам.

В таблицах 5.1, 5.2 и 5.3 приведены системы лакокрасочных покрытий, рекомендуемые для защиты от коррозии металлоконструкций и оборудования гидротехнических сооружений в районах с умеренным, холодным и тропическим климатом, эксплуатируемых в различных условиях.

В таблицы включены наиболее распространенные в РФ и за рубежом материалы, используемые для защиты промышленных металлоконструкций, МО и СК ГТС.

При выборе систем лакокрасочных покрытий необходимо учитывать критерии и факторы выбора системы ЛКМ, см. п. 1.1. и п. 4.2, а также приложения 1 и 2 (технические характеристики ЛКМ).

Выбор систем лакокрасочных покрытий для конкретных условий эксплуатации МО и СК Заказчику целесообразно согласовывать со специализированной организацией по ПКЗ.

Примечание

В отдельных случаях материалы по техническим характеристикам могут дублировать друг друга.

Так, например, в таблицы включено несколько влагоотверждаемых цинкнаполненных полиуретанов, потребительские свойства которых, казалось бы, мало отличаются друг от друга.

В то же время они могут иметь отличия в некоторых технологических приемах при нанесении, в количестве и качестве цинкового наполнителя и многом другом.

В этом и других случаях потребителю, после соответствующих консультаций со специалистами, и при всех равных других условиях делать окончательный выбор следует с учетом своих финансовых возможностей, реальных сроков поставки материалов (большинство материалов изготавливается под предварительно оплаченный заказ), транспортных схем доставки, гарантийных обязательств подрядчика или поставщика ЛКМ и пр.

Вышеупомянутые факторы могут иметь решающее значение.


Таблица 5.1

Системы покрытий для защиты от коррозии ГМО и МК в районах с умеренным климатом (У) с колебаниями температуры от -45 до +45°С

Среда

Группа условий эксплуатации (ГОСТ 9.032-74*)

СИСТЕМЫ ПОКРЫТИЙ

Общая толщина покрытия, мкм, не менее

Срок службы покрытия (заявленный поставщиком), годы, не менее

Покрывной материал

Грунтовочный материал

Наименование

Пленкообразующее

Наименование

Пленкообразующее

1

2

3

4

5

6

7

8

Воздействие открытой атмосферы (солнечная радиация, атмосферные осадки), а также в условиях неотапливаемых помещений с относительной влажностью более 75%

1

ЦИНОТАН*

Уретановое

ЦИНОТАН

Уретановое

110

20

АЛЮМОТАН

Уретановое

ЦИНОТАН

Уретановое

НО

17

ЦВЭС №1,2*

Кремнийорганическое

ЦВЭС №1, 2

Кремнийорганическое

ПО

20

ЦИНОЛ*

Уретановое

ЦИНОЛ

Уретановое

ПО

20

АЛПОЛ

Уретановое

ЦИНОЛ

Уретановое

110

17

ЦИНЭП*

Эпоксидное

ЦИНЭП

Эпоксидное

110

20

ПАЭС

Кремнийорганическое

ЦВЭС №1,2

Кремнийорганическое

ПО

17

АЛЮМОТАН

Полиуретановое

ЦИНЭП

Эпоксидное

НО

17

Винифтор

Фторуретановое

Эпокур

Эпоксидно-уретановое

80

30

УТК-М*

Полиуретановое

УТК-М

Полиуретановое

200

25

ЭФ-1217

Эпоксиэфирное

ЭФ-070

Эпоксиэфирное

140

20

Виниколор

Полиуретановое

ЭП-0263С

Эпоксидное

115

15

Влагокор*

Эпоксидное

Влагокор

Эпоксидное

160

13

Виниколор

Уретановое

Влагокор

Эпоксидное

120

11

ЭП-5116

Эпоксидное

ЭП-057

Эпоксидное

210

12

ЭП-5116

Эпоксидное

ЭП-0010

Эпоксидное

240

12

ХС-436С

Эпоксисополимерное

ЭП-0263С

Эпоксидное

120

12

ЭП-439С

Эпоксидное

ЭП-0263С

Эпоксидное

115

12

Виниколор

Полиуретановое

ЭП-0199

Эпоксидное

115

10

Винеп СЛ-2

Винилово-эпоксидное

Винеп СЛ-1

Винилово-эпоксидное

170

10

В-ЭП-012 ПГ*

Эпоксидное

В-ЭП-012 ПГ

Эпоксидное

120

8

Виниколор

Полиуретановое

ЭП-0199 (по ржавой поверхн.)

Эпоксидное

115

6

Гермокрон*

Каучуко-смольное

Гермокрон

Каучуко-смоляное

ПО

12

Воздействие открытой атмосферы (солнечная радиация, атмосферные осадки), а также в условиях неотапливаемых помещений с относительной влажностью более 75%

1

КОРНИКА(Гремируст)* КОРН ИКА(Гремируст) *

Эпоксидное

КОРНИКА(Гремируст) КОРНИКА(Гремируст) (по ржавой поверхн.)

Эпоксидное

120

15/10 8/6

ЭП-1236*

Эпоксидное

ЭП-1236

Эпоксидное

160

12

ЭП-773*

Эпоксидное

ЭП-773

Эпоксидное

120

12

ХС-500*

Эпоксивинилхлорид

ХС-500

Эпоксивинилхлоридное

110

12

ХВ-124

Поливинилхлоридное

Силцинк-1

Этилсиликатное

140

10

ХВ-124/ХВ-785/ ХВ-784 с AI

Поливинилхлоридное

АК-070

Акриловое

ПО

10

ХВ-124/ХВ-785/ ХВ-784 с AI

Поливинилхлоридное

ВЛ-02/ВЛ-023

Поливинилбутиральное

110

10

ХВ-124/ХВ-785/ ХВ-784 с AI

Поливинилхлоридное

ХС-068/ ХС-059

Винилхлорид с винилацетатом

100

8

ХВ-124/ХВ-785/ ХВ-784 с AI

Поливинилхлоридное

ФЛ-ОЗК

Фенолоформальдегидное

100

8

Ceram-Kote 54*

Керамоэпоксидное

Ceram-Kote 54

Керамоэпоксидное

200

20

Permacor 2315/EG-Rapid Permacor 2330

Эпоксидное Акрилполиуретановое

Permacor 231 I/Rapid

Эпоксидное

220

20

Permacor 2315/EG-Rapid Permacor 2330/EG

Эпоксидное Акрилполиуретановое

Permacor 231 I/Rapid

Эпоксидное

220

20

Permacor 2315/EG-Rapid Permacor 2330/EG

Эпоксидное Акрилполиуретановое

Permacor2004

Эпоксидное

220

17

Permacor 2315/EG-Rapid Permacor 2330

Эпоксидное Акрилполиуретановое

Permacor2004

Эпоксидное

220

15

Stelpant PU-Mica Stelpant PU-Cover

Полиуретановое

Stelpant PU-Zink

Полиуретановое

220

17

Max Coat A

Полиуретановое

XyGuard

Полиуретановое

140

15

Max Coat A

Полиуретановое

MonoZinc ME III

Полиуретановое

120

17

ТЕКНОДУР 50/90

Полиуретановое

ИНЕРТА МАСТИК

Эпоксидное

200

20

ТЕКНОДУР 50/90

Полиуретановое

ТЕКНОПЛАСТ ПРАЙМЕР 7

Эпоксидное

200

20

TEKHOTAP 200*

Полиуретановое

TEKHOTAP 200

Полиуретановое

200

15

Amercoat 450 S RAL

Полиуретановое

Amerlock 2 White

Эпоксидное

200

15

Amercoat 450 S RAL

Эпоксидное

Amercoat 182 ZP HB

Полиамидноэпоксидное

150

10

Icosit EG 1 Icosit EG 4

Эпоксидное Полиуретановое

Icosit EG

Эпоксидное

200

20

Zinga*

Винилбутиральное

Zinga

Винилбутиральное

60

20

MC-Ferrox В MC-Ferrox A

Полиуретановое

MC-Miozinc

Полиуретановое

225

20

MC-Aluminum

Полиуретановое

MC-Prepbond

Полиуретановое

100

15

Хардтоп AC

Полиуретановое

Примастик

Эпоксидное

175

20

Консил ТС

Алкидное

Консил Праймер

Акриловое

150

20

Пилот

Алкидное

Алкидпраймер

Алкидное

160

20

Алюмоэласт П

Полиуретановое

Алюмоэласт Ф

Полиуретановое

350

15

Воздействие пресной воды (речная), длительное или периодическое (вода-воздух)

4/1

ЭМАКОР*

Винилово-эпоксидное

ЭМАКОР

Винилово-эпоксидное

150

18

ЦВЭС №2*

Кремнийорганическое

ЦВЭС №2

Кремнийорганическое

160

15

ЦИНОЛ*

Уретановое

ЦИНОЛ

Уретановое

160

15

ЦИНОТАН*

Уретановое

ЦИНОТАН

Уретановое

160

15

цинэп*

Эпоксидное

ЦИНЭП

Эпоксидное

160

15

АЛПОЛ

Уретановое

ЦИНОЛ

Уретановое

160

13

АЛЮМОТАН

Уретановое

ЦИНОТАН

Уретановое

160

13

УТК-М*

Полиуретановое

УТК-М

Полиуретановое

250

15

ЭП-773*

Эпоксидное

ЭП-773

Эпоксидное

200

10

ЭП-1236*

Эпоксидное

ЭП -1236

Эпоксидное

200

10

ХС-436С

Эпоксидное

ЭП-0263С

Эпоксидное

200

10

ЭП-439С

Эпоксидное

ЭП-0263С

Эпоксидное

200

10

Виниколор

Уретановое

ЭП-0263С

Эпоксидное

200

10

Виниколор

Уретановое

ЭП-0199

Эпоксидное

150

10

Виниколор

Уретановое

ЭП-0199 (по рж. поверхн.)

Эпоксидное

150

5

ЭП-5116

Эпоксидное

ЭП-057

Эпоксидное

220

10

Воздействие пресной воды (речная), длительное или периодическое (вода-воздух)

4/1

ЭП-5116

Эпоксидное

ЭП-0010

Эпоксидное

240

10

ХВ-124/ХВ-785/ ХВ-784 с AI

Поливинилхлоридное

ХС-068/ ХС-059

Винилхлорид с винилацетатом

150

10

ХВ-124/ХВ-785/ ХВ-784 с AI

Поливинилхлоридное

ФЛ-ОЗК

Фенолоформальдегидная

150

10

ХВ-124/ХВ-785/ ХВ-784 сА1

Поливинилхлоридное

АК-070 ВЛ-02/ВЛ-023

Акриловое Поливинилбутиральное

150

10

Субкор (Окраска под водой) *

Эпоксидное

Субкор (окраска под водой)

Эпоксидное

300

7

Влагокор*

Эпоксидное

Влагокор

Эпоксидное

200

12

Виниколор

Уретановое

Влагокор

Эпоксидное

200

10

ГРЕМИРУСТ *

Эпоксидное

ГРЕМИРУСТ

Эпоксидное

160

10

ГРЕМИРУСТ *

Эпоксидное

ГРЕМИРУСТ (по рж. новерхн.)

Эпоксидное

160

5

КОРНИКА*

Эпоксидное

КОРНИКА

Эпоксидное

160

11

КОРНИКА*

Эпоксидное

КОРНИКА (по рж. поверхн.)

Эпоксидное

160

6

Гермакрон-гидро*

Каучуко-смольное

Гермакрон-гидро

Каучуко-смольное

200

10

Винеп СЛ-2

Винилово-эпоксидное

Винеп СЛ-1

Винилово-эпоксидное

250

10

Icosit EG 1 Icosit EG 5

Эпоксидное Полиуретановое

Icosit EG

Эпоксидное

250

20

Amercoat 78 HB В Black

Эпоксикаменноугольное

Amercoat 78 HB B Black

Эпоксикаменноугольное

400

15

Amercoat 385 RAL 7036

Эпоксиполиамидное

Amercoat 385 RAL 7036

Эпоксиполиамидное

400

15

MC-Ferroguard

Полиуретановое

MC-Miozinc

Полиуретановое

375

15

Zinga*

Винилбутиральное

Zinga

Винилбутиральное

120

15

Epiter TF 130*

Эпоксидное

Epiter TF 130

Эпоксидное

500

15

Stelpant-PU-Combination 100

Полиуретановое

Stelpant-PU-Zink

Полиуретановое

350

15

XyGuard с AI

Полиуретановое

MonoZinc ME III

Полиуретановое

200

15

XyGuard с AI*

Полиуретановое

XyGuard

Полиуретановое

200

15

 

 

Ceram-Kote 54*

Керамоэпоксидное

Ceram-Kote 54

Керамоэпоксидное

200

15

ИНЕРТА 160*

Эпоксидное

ИНЕРТА 160

Эпоксидное

400

25

ИНЕРТА 165*

Эпоксидное

ИНЕРТА 165

Эпоксидное

400

20

ТЕКНОТАР 200*

Уретановое

ТЕКНОТАР 200

Уретановое

300

15

Йотамастик*

Эпоксидное

Йотамастик

Эпоксидное

500

25

Примастик*

Эпоксидное

Примастик

Эпоксидное

250

15

Пенгард ТС

Эпоксидное

Пенгард ХБ

Эпоксидное

250

15

Воздействие морской воды длительное или периодическое (вода-воздух)

4/2

УТК-М*

Полиуретановое

УТК-М

Полиуретановое

250

15

ЭМАКОР*

Винилово-эпоксидное

ЭМАКОР

Винилово-эпоксидное

150

15

ЦВЭС №2*

Кремнийорганическое

ЦВЭС №2

Кремнийорганическое

160

15

ЦИНОЛ*

Уретановое

ЦИНОЛ

Уретановое

160

15

ЦИНОТАН*

Уретановое

ЦИНОТАН

Уретановое

160

15

ЦИНЭП*

Эпоксидное

ЦИНЭП

Эпоксидное

160

15

АЛПОЛ

Уретановое

ЦИНОЛ

Уретановое

160

13

АЛЮМОТАН

Уретановое

ЦИНОТАН

Уретановое

160

13

ЭП-773*

Эпоксидное

ЭП-773

Эпоксидное

200

10

ЭП-1236*

Эпоксидное

ЭП-1236

Эпоксидное

200

10

ХС-436С

Эпоксидное

ЭП-0263С

Эпоксидное

200

10

ЭП-439С

Эпоксидное

ЭП-0263С

Эпоксидное

200

10

Виниколор

Уретановое

ЭП-0263С

Эпоксидное

200

10

Виниколор

Уретановое

ЭП-0199

Эпоксидное

150

10

Виниколор

Уретановое

ЭП-0199 (по ржавой поверхн.)

Эпоксидное

150

5

ЭП-5116

Эпоксидное

ЭП-057

Эпоксидное

220

10

ЭП-5116

Эпоксидное

ЭП-0010

Эпоксидное

240

10

ХВ-124/ХВ-785/ ХВ-784 с AI

Поливинилхлоридное

ХС-068/ ХС-059

Винилхлорид с винилацетатом

150

10

ХВ-124/ХВ-785/ ХВ-784 с AI

Поливинилхлоридное

ФЛ-ОЗК

Фенолоформальдегидное

150

10

ХВ-124/ХВ-785/ ХВ-784 с AI

Поливинилхлоридное

АК-070 ВЛ-02/ВЛ-023

Акриловое Поливинилбутиральное

150

10

Воздействие морской воды длительное или периодическое (вода-воздух)

4/2

Субкор (окраска под водой)*

Эпоксидное

Субкор (окраска под водой)

Эпоксидное

300

7

Влагокор*

Эпоксидное

Влагокор

Эпоксидное

200

12

Виниколор

Уретановое

Влагокор

Эпоксидное

200

10

ГРЕМИРУСТ*

Эпоксидное

ГРЕМИРУСТ

Эпоксидное

160

10

ГРЕМИРУСТ *

Эпоксидное

ГРЕМИРУСТ (по ржавой поверхн.)

Эпоксидное

160

5

КОРНИКА*

Эпоксидное

КОРНИКА

Эпоксидное

160

11

КОРНИКА *

Эпоксидное

КОРНИКА (по ржавой поверхн.)

Эпоксидное

160

6

Гермакрон-гидро*

Каучуко-сиольное

Гермакрон-гидро

Каучуко-сиольное

200

12

Винеп СЛ-2

Винилово-эпоксидное

Винеп СЛ-1

Винилово-эпоксидное

250

10

Icosit EG 1 Icosit EG 5

Эпоксидное Полиуретановое

Icosit EG

Эпоксидное

250

20

Amercoat 78 HB В Black*

Эпоксикаменноугольное

Amercoat 78 HB B Black*

Эпоксикаменноугольное

400

15

Amercoat 385 RAL 7036*

Эпоксиполиамидное

Amercoat 385 RAL 7036

Эпоксиполиамидное

400

10

MC-Ferroguard

Полиуретановое

MC-Miozinc

Полиуретановое

375

15

Zinga*

Винилбутиральное

Zinga

Винилбутиральное

120

15

Epiter TF 130*

Эпоксидное

Epiter TF 130

Эпоксидное

500

15

Stelpant-PU-Combination 100

Полиуретановое

Stelpant-PU-Zink

Полиуретановое

350

15

XyGuard с Al

Полиуретановое

MonoZinc ME III

Полиуретановое

200

15

XyGuard с Al*

Полиуретановое

XyGuard

Полиуретановое

200

15

Ceram-Kote 54*

Керамоэпоксидное

Ceram-Kote 54

Керамоэпоксидное

200

15

ИНЕРТА 160*

Эпоксидное

ИНЕРТА 160

Эпоксидное

400

25

ИНЕРТА 165*

Эпоксидное

ИНЕРТА 165

Эпоксидное

500

20

TEKHOTAP 200*

Уретановое

TEKHOTAP 200

Уретановое

500

15

Йотамастик*

Эпоксидное

Йотамастик

Эпоксидное

500

25

Примастик*

Эпоксидное

Примастик

Эпоксидное

250

15

Пенгард ТС

Эпоксидное

Пенгард ХБ

Эпоксидное

250

15

Примечание. Критерии и факторы выбора системы ЛКМ см. п.1.1 и п.4.2, а также приложения 1 и 2 (технические характеристики ЛКМ).

* Самогрунтующийся материал

Таблица 5.2

Система защитных покрытий для защиты от коррозии металлоконструкций и оборудования в районах с холодным климатом (ХЛ) с колебаниями температуры от -64 до +38°С

Среда

Группа условий эксплуатации (ГОСТ 9.032-74*)

СИСТЕМЫ ПОКРЫТИЙ

Общая толщина покрытия, мкм, не менее

Срок службы покрытия (заявленный поставщиком), годы, не менее

Покрывной материал

Грунтовочный материал

Наименование

Пленкообразующее

Наименование

Пленкообразующее

1

2

3

4

5

6

7

8

Воздействие открытой атмосферы (солнечная радиация, атмосферные осадки), а также в условиях неотапливаемых помещений с относительной влажностью более 75%

1

ЦИНОТАН*

Уретановое

ЦИНОТАН

Уретановое

110

15

АЛЮМОТАН

Уретановое

ЦИНОТАН

Уретановое

110

13

ЦВЭС№1,2*

Кремнийорганическое

ЦВЭС№1,2

Кремнийорганическое

110

15

ЦИНОЛ*

Уретановое

ЦИНОЛ

Уретановое

110

15

АЛПОЛ

Уретановое

ЦИНОЛ

Уретановое

110

13

ЦИНЭП*

Эпоксидное

ЦИНЭП

Эпоксидное

110

15

ПАЭС

Кремнийорганическое

ЦВЭС № 1, 2

Кремнийорганическое

ПО

13

АЛЮМОТАН

Полиуретановое

ЦИНЭП

Эпоксидное

ПО

13

Винифтор

Фторуретановое

Эпокур

Эпоксидно-уретановое

80

30

УТК-М*

Полиуретановое

УТК-М

Полиуретановое

200

15

ЭФ-1217

Эпоксиэфирнос

ЭФ-070

Эпоксиэфирное

140

20

Виниколор

Полиуретановое

ЭП-0263С

Эпоксидное

115

10

Влагокор*

Эпоксидное

Влагокор

Эпоксидное

160

10

Виниколор

Уретановое

Влагокор

Эпоксидное

140

10

ЭП-5116

Эпоксидное

ЭП-057

Эпоксидное

220

10

ЭП-5116

Эпоксидное

ЭП-0010

Эпоксидное

240

10

ХС-436С

Эпоксисополимерное

ЭП-0263С

Эпоксидное

120

10

ЭП-439С

Эпоксидное

ЭП-0263С

Эпоксидное

115

10

Виниколор

Полиуретановое

ЭП-0199

Эпоксидное

115

10

Винеп СЛ-2

Винилово-эпоксидное

Винеп СЛ-1

Винилово-эпоксидное

170

10

В-ЭП-012 ПГ*

Эпоксидное

В-ЭП-012 ПГ

Эпоксидное

120

8

Виниколор

Полиуретановое

ЭП-0199 (по ржавой поверхн.)

Эпоксидное

115

6

Гермокрон*

Каучуко-смоляное

Гермокрон

Каучуко-смоляное

120

10

Воздействие открытой атмосферы (солнечная радиация, атмосферные осадки), а также в условиях неотапливаемых помещений с относительной влажностью более 75%

1

КОРНИКА(Гремируст)* КОРНИКА(Гремируст)*

Эпоксидное

КОРНИКА(Гремируст) КОРНИКА(Гремируст) (по ржавой поверхн.)

Эпоксидное

120

10 5

ЭП-1236*

Эпоксидное

ЭП-1236

Эпоксидное

160

10

ЭП-773*

Эпоксидное

ЭП-773

Эпоксидное

120

10

ХС-500*

Эпоксивинилхлорид

ХС-500

Эпоксивинилхлорид

ПО

10

ХВ-124

Поливинилхлоридное

Силцинк-1

Этилсиликатное

140

10

ХВ-124/ХВ-785/ ХВ-784 с AI

Поливинилхлоридное

АК-070

Акриловое

ПО

8

ХВ-124/ХВ-785/ ХВ-784 с А1

Поливинилхлоридное

ВЛ-02/ВЛ-023

Поливинилбутиральное

110

8

ХВ-Ш/ХВ-785/ ХВ-784 с AI

Поливинилхлоридное

ХС-068/ ХС-059

Винилхлорид с винилацетатом

ПО

8

ХВ-124/ХВ-785/ ХВ-784 с AI

Поливинилхлоридное

ФЛ-ОЗК

Фенолоформальдегидное.

110

8

Ceram-Kote 54*

Керамоэпоксидное

Ceram-Kote 54

Керамоэпоксидное

200

20

Permacor 2315/EG-Rapid Permacor 2330

Эпоксидное Акрилнолиуретановое

Permacor 231 I/Rapid

Эпоксидное

220

15

Permacor 2315/EG-Rapid Permacor 2330/EG

Эпоксидное Акрилполиуретановое

Permacor 231 I/Rapid

Эпоксидное

220

15

Permacor 2315/EG-Rapid Permacor 2330/EG

Эпоксидное Акрилполиуретановое

Permacor 2004

Эпоксидное

220

12

Permacor 2315/EG-Rapid Permacor 2330

Эпоксидное Акрилполиуретановое

Permacor 2004

Эпоксидное

220

12

StelpantPU-Mica StelpantPU-Cover

Полиуретановое

StelpantPU-Zink

Полиуретановое

220

15

Max Coat A

Полиуретановое

XvGuard

Полиуретановое

140

13

Max Coat A

Полиуретановое

MonoZinc ME III

Полиуретановое

120

15

TEKHOTAP 200*

Полиуретановое

TEKHOTAP 200

Полиуретановое

200

20

ТЕКНОДУР 50/90

Полиуретановое

ИНЕРТА МАСТИК

Эпоксидное

200

20

ТЕКНОДУР 50/90

Полиуретановое

ТЕХНОПЛАСТ-ПРАЙМЕР 7

Эпоксидное

200

20

Amercoat 450 S RAL

Эпоксидное

Amercoat 182 ZP НВ

Полиамидноэпоксидное

150

10

Amercoat 450 S RAL

Эпоксидное

Amerlock 2 White

Эпоксидное

200

15

Icosit EG 1 Icosit EG 4

Полиуретановое

Icosit EG

Эпоксидное

250

20

Zinga*

Винилбутиральное

Zinga

Винилбутиральное

100

15

MC-Ferrox В MC-Ferrox A

Эпоксидное

MC-Miozinc

Полиуретановое

225

15

MC-Aluminum

Полиуретановое

MC-Prepbond

Полиуретановое

100

13

Хардтоп AC

Полиуретановое

Примастик

Эпоксидное

175

20

Консил ТС

Алкидное

Консил Праймер

Акриловое

150

20

Пилот

Алкидное

Алкидпраймер

Алкидное

160

20

Алюмоэласт П

Полиуретановое

Алюмоэласт Ф

Полиуретановое

350

15

Воздействие пресной воды (речная) длительное или периодическое (вода-воздух)

4/1

ЭМАКОР*

Винилово-эпоксидное

ЭМАКОР

Винилово-эпоксидное

150

18

ЦВЭС № 2*

Кремнийорганическое

ЦВЭС № 2

Кремнийорганическое

160

12

ЦИНОЛ*

Уретановое

ЦИНОЛ

Уретановое

160

12

ЦИНОТАН*

Уретановое

ЦИНОТАН

Уретановое

160

12

ЦИНЭП*

Эпоксидное

ЦИНЭП

Эпоксидное

160

12

АЛПОЛ

Уретановое

ЦИНОЛ

Уретановое

160

12

АЛЮМОТАН

Уретановое

ЦИНОТАН

Уретановое

160

12

УТК-М*

Полиуретановое

УТК-М

Полиуретановое

250

15

ЭП-773*

Эпоксидное

ЭП-773

Эпоксидное

200

8

ЭП -1236*

Эпоксидное

ЭП-1236

Эпоксидное

250

10

ХС-436С

Эпоксидное

ЭП-0263С

Эпоксидное

200

8

ЭП-439С

Эпоксидное

ЭП-0263С

Эпоксидное

200

8

Виниколор

Уретановое

ЭП-0263С

Эпоксидное

250

10

Виниколор

Уретановое

ЭП-0199

Эпоксидное

200

10

Виниколор

Уретановое

ЭП-0199 (по ржавой поверхн.)

Эпоксидное

200

5

ЭП-5116

Эпоксидное

ЭП-057

Эпоксидное

220

10

Воздействие пресной воды (речная) длительное или периодическое (вода-воздух)

4/1

ЭП-5116

Эпоксидное

ЭП-0010

Эпоксидное

240

10

ХВ-124/ХВ-785/ ХВ-784 с AI

Поливинилхлоридное

ХС-068/ХС-059

Винилхлорид с винилацетатом

150

8

XB-124/XB-78S/ ХВ-784 с AI

Поливинилхлоридное

ФЛ-ОЗК

Фенолоформальдегидное

150

8

ХВ-124/ХВ-785/ ХВ-784 с AI

Поливинилхлоридное

АК-070 ВЛ-02/ВЛ-023   __,

Акриловое Поливинилбутиральное

150

8

Субкор* (окраска под водой)

Эпоксидное

 

 

300

7

Влагокор*

Эпоксидное

Влагокор

Эпоксидное

250

10

Виниколор

Уретановое

Влагокор

Эпоксидное

250

10

ГРЕМИРУСТ*

Эпоксидное

ГРЕМИРУСТ

Эпоксидное

200

10

ГРЕМИРУСТ*

Эпоксидное

ГРЕМИРУСТ (по ржавой поверхн.)

Эпоксидное

200

5

КОРНИКА*

Эпоксидное

КОРНИКА

Эпоксидное

200

10

КОРНИКА*

Эпоксидное

КОРНИКА (по ржавой поверхн.)

Эпоксидное

200

5

Гермакрон-гидро*

Каучуко-смольное

Гермакрон-гидро

Каучуко-смольное

200

10

Винеп СЛ-2

Винилово-эпоксидное

Винеп СЛ-1

Винилово-эпоксидное

250

10

Icosit EG 1 Icosit EG 5

Эпоксидное Полиуретановое

Icosit EG

Эпоксидное

250

20

Amercoat 78 HB В Black

Эпоксикаменноугольное

Amercoat 78 HB B Black

Эпоксикаменноугольное

400

15

Amercoat 385 RAL 7036

Эпоксиполиамидное

Amercoat 385 RAL 7036

Эпоксиполиамидное

400

15

MC-Ferroguard

Полиуретановое

MC-Miozinc

Полиуретановое

375

15

Zinga*

Винилбутиральное

Zinga

Винилбутиральное

120

15

Epiter TF 130*

Эпоксидное

Epiter TF 130

Эпоксидное

500

15

Stelpant-PU-Combination 100

Полиуретановое

Stelpant-PU-Zink

Полиуретановое

350

12

XyGuard с А]

Полиуретановое

MonoZinc ME III

Полиуретановое

200

13

XyGuard с AI*

Полиуретановое

XyGuard

Полиуретановое

200

13

Ceram-Kote 54*

Керамоэпоксидное

Ceram-Kote 54

Керамоэпоксидное

200

15

ИНЕРТА 160*

Эпоксидное

ИНЕРТА 160

Эпоксидное

400

25

ИНЕРТА 165*

Эпоксидное

ИНЕРТА 165

Эпоксидное

400

20

ТЕКНОТАР 200*

Уретановое

ТЕКНОТАР 200

Уретановое

500

15

Иотамастик*

Эпоксидное

Иотамастик

Эпоксидное

500

25

Примастик*

Эпоксидное

Примастик

Эпоксидное

250

15

Пенгард ТС

Эпоксидное

Пенгард ХБ

Эпоксидное

250

15

Воздействие морской воды длительное или периодическое (вода-воздух)

4/2

УТК-М*

Полиуретановое

УТК-М

Полиуретановое

250

15

ЭМАКОР*

Винилово-эпоксидное

ЭМАКОР

Винилово-эпоксидное

150

15

ЦВЭС № 2*

Кремнийорганическое

ЦВЭС № 2

Кремнийорганическое

160

12

ЦИНОЛ*

Уретановое

ЦИНОЛ

Уретановое

160

12

ЦИНОТАН*

Уретановое

ЦИНОТАН

Уретановое

160

12

ЦИНЭП*

Эпоксидное

ЦИНЭП

Эпоксидное

160

12

АЛПОЛ

Уретановое

ЦИНОЛ

Уретановое

160

12

АЛЮМОТАН

Уретановое

ЦИНОТАН

Уретановое

160

12

ЭП-773*

Эпоксидное

ЭП-773

Эпоксидное

250

8

ЭП-1236*

Эпоксидное

ЭП-1236

Эпоксидное

250

8

ХС-436С

Эпоксидное

ЭП-0263С

Эпоксидное

250

8

ЭП-439С

Эпоксидное

ЭП-0263С

Эпоксидное

250

8

Виниколор

Уретановое

ЭП-0263С

Эпоксидное

250

10

Виниколор

Уретановое

ЭП-0199

Эпоксидное

200

10

Виниколор

Уретановое

ЭП-0199 (по ржавой поверхн.)

Эпоксидное

200

5

ЭП-5116

Эпоксидное

ЭП-057

Эпоксидное

220

10

ЭП-5116

Эпоксидное

ЭП-0010

Эпоксидное

240

10

ХВ-124/ХВ-785/ ХВ-784 с AI

Поливинилхлоридное

ХС-068/ХС-059

Винилхлорид с винилацетатом

150

8

ХВ-124/ХВ-785/ ХВ-784 с AI

Поливинилхлоридное

ФЛ-ОЗК

Фенолоформальдегидное

150

8

ХВ-124/ХВ-785/ ХВ-784 с AI

Поливинилхлоридное

АК-070 ВЛ-02/ВЛ-023

Акриловое Поливинилбутиральное

150

8

Воздействие морской воды длительное или периодическое (вода-воздух)

4/2

Субкор (окраска под водой)*

Эпоксидное

Субкор

Эпоксидное

300

7

Влагокор*

Эпоксидное

Влагокор

Эпоксидное

250

10

Виниколор

Уретановое

Влагокор

Эпоксидное

250

10

ГРЕМИРУСТ*

Эпоксидное

ГРЕМИРУСТ

Эпоксидное

200

10

ГРЕМИРУСТ*

Эпоксидное

ГРЕМИРУСТ (по ржавой поверхн.)

Эпоксидное

200

5

КОРНИКА*

Эпоксидное

КОРНИКА

Эпоксидное

200

10

КОРНИКА *

Эпоксидное

КОРНИКА (по ржавой поверхн.)

Эпоксидное

200

6

Гермакрон-тидро*

Каучуко-смоляное

Гермакрон-гидро

Каучуко-смоляное

250

10

Винеп СЛ-2

Винилово-эпоксидное

Винеп СЛ-1

Винилово-эпоксидное

250

10

Icosit EG 1 Icosit EG 5

Эпоксидное Полиуретановое

Icosit EG

Эпоксидное

250

20

Amercoat 78 HB В Black*

Эпоксикаменноугольное

Amercoat 78 HB B Black

Эпоксикаменноугольное

400

15

Amercoat 385 RAL 7036*

Эпоксиполиамидное

Amercoat 385 RAL 7036

Эпоксиполиамидное

400

10

MC-Ferroguard

Полиуретановое

MC-Miozinc

Полиуретановое

375

15

Zinga*

Винилбутиральное

Zinga

Винилбутиральное

120

15

Epiter TF 130*

Эпоксидное

Epiter TF 130

Эпоксидное

500

15

Stelpant-PU-CombinationlOO

Полиуретановое

Stelpant-PU-Zink

Полиуретановое

350

12

XvGuard с Al

Полиуретановое

MonoZinc ME III

Полиуретановое

200

12

XyGuard с Al*

Полиуретановое

XyGuard

Полиуретановое

200

13

Ceram-Kote 54*

Керамоэпоксидное

Ceram-Kote 54

Керамоэпоксидное

200

15

ИНЕРТА 160*

Эпоксидное

ИНЕРТА 160

Эпоксидное

500

25

ИНЕРТА 165*

Эпоксидное

ИНЕРТА 165

Эпоксидное

500

20

TEKHOTAP 200*

Уретановое

TEKHOTAP 200

Уретановое

500

15

Йотамастик*

Эпоксидное

Йотамастик

Эпоксидное

500

25

Примастик*

Эпоксидное

Примастик

Эпоксидное

250

15

Пенгард ТС

Эпоксидное

Пенгард ХБ

Эпоксидное

250

15

Примечание. Критерии и факторы выбора системы ЛКМ см. п. 1.1 и п.4.2, а также приложения 1 и 2 (технические характеристики Л КМ).

* Самогрунтующийся материал

Таблица 5.3

Система защитных покрытий для защиты от коррозии металлоконструкций и оборудования в районах с тропическим климатом (Т) с колебаниями температуры от -9 до +50°С

Среда

Группа условий эксплуатации (ГОСТ 9.032-74*)

СИСТЕМЫ ПОКРЫТИЙ

Общая толщина покрытия, мкм, не менее

Срок службы покрытия (заявленный поставщиком), годы, не менее

Покрывной материал

Грунтовочный материал

Наименование

Пленкообразующее

Наименование

Пленкообразующее

1

2

3

4

5

6

7

8

Воздействие открытой атмосферы (солнечная радиация, атмосферные осадки), а также в условиях неотапливаемых помещений с относительной влажностью более 75%

1

ЦИНОТАН*

Уретановое

ЦИНОТАН

Уретановое

110

12

АЛЮМОТАН

Уретановое

ЦИНОТАН

Уретановое

НО

12

ЦВЭС№1,2*

Кремний органическое

ЦВЭС № 1, 2

Кремнийорганическое

НО

12

ЦИНОЛ*

Уретановое

ЦИНОЛ

Уретановое

ПО

12

АЛПОЛ

Уретановое

ЦИНОЛ

Уретановое

110

12

ЦИНЭП*

Эпоксидное

ЦИНЭП

Эпоксидное

НО

12

ПАЭС

Кремний органическое

ЦВЭС№ 1,2

Кремнийорганическое

НО

12

АЛЮМОТАН

Полиуретановое

ЦИНЭП

Эпоксидное

110

12

Винифтор

Фторуретановое

Эпокур

Эпоксидно-уретановое

80

20

УТК-М*

Полиуретановое

УТК-М

Полиуретановое

200

15

ЭФ-1217

Эпоксиэфирное

ЭФ-070

Эпоксиэфирное

140

20

Виниколор

Полиуретановое

ЭП-0263С

Эпоксидное

140

10

Влагокор*

Эпоксидное

Влагокор

Эпоксидное

200

10

Виниколор

Уретановое

Влагокор

Эпоксидное

200

10

ЭП-5116

Эпоксидное

ЭП-057

Эпоксидное

220

10

ЭП-5116

Эпоксидное

ЭП-0010

Эпоксидное

240

10

ХС-436С

Эноксисонолимерное

ЭП-0263С

Эпоксидное

140

8

ЭП-439С

Эпоксидное

ЭП-0263С

Эпоксидное

140

8

Виниколор

Полиуретановое

ЭП-0199

Эпоксидное

140

10

Винен СЛ-2

Винилово-эпоксидное

Винеп СЛ-1

Винилово-эпоксидное

170

10

В-ЭП-012 ПГ*

Эпоксидное

В-ЭП-012 ПГ

Эпоксидное

150

8

Виниколор

Полиуретановое

ЭП-0199 (по ржавой поверхн.)

Эпоксидное

140

5

Гермокрон*

Каучуко-смоляное

Гермокрон

Каучуко-смоляное

160

8

Воздействие открытой атмосферы (солнечная радиация, атмосферные осадки), а также в условиях неотапливаемых помещений с относительной влажностью более 75%

1

КОРНИКА(Гремируст)* КОРНИКА(Гремируст)*

Эпоксидное

КОРНИКА(Гремируст) КОРНИКА(Гремируст) (по ржавой поверхн.)

Эпоксидное

160

10 5

ЭП-1236*

Эпоксидное

ЭП-1236

Эпоксидное

160

8

ЭП-773*

Эпоксидное

ЭП-773

Эпоксидное

160

8

ХС-500*

Эпоксивинилхлорид

ХС-500

Эпоксивинилхлорид

160

8

ХВ-124

Поливинилхлоридное

Силцинк-1

Акриловое

140

10

ХВ-124/ХВ-785/ ХВ -784 с AI

Поливинилхлоридное

АК-070

Поливинилбутиральное

120

6

ХВ-124/ХВ-785/ ХВ-784 с А1

Поливинилхлоридное

ВЛ-02/ВЛ-023

Винилхлорид с винилацетатом

НО

8

ХВ-124/ХВ-785/ ХВ-784 с AI

Поливинилхлоридное

ХС-068/ ХС-059

Винилхлоридное с винилацетатом

120

6

ХВ-124/ХВ-785/ ХВ-784 с AI

Поливинилхлоридное

ФЛ-ОЗК

Фенолоформальдегидное

120

6

Ceram-Kote 54*

Керамоэпоксидное

Ceram-Kote 54

Керамоэпоксидное

200

20

Permacor 2315/EG-Rapid Permacor 2330

Эпоксидное Акрилполиуретановое

Permacor 231 I/Rapid

Эпоксидное

220

15

Permacor 2315/EG-Rapid Permacor 2330/EG

Эпоксидное Акрилполиуретановое

Permacor 231 I/Rapid

Эпоксидное

220

15

Permacor 2315/EG-Rapid Permacor 2330/EG

Эпоксидное Акрилполиуретановое

Permacor2004

Эпоксидное

220

13

Permacor 2315/EG-Rapid Permacor 2330

Эпоксидное Акрилполиуретановое

Permacor2004

Эпоксидное

220

13

StelpantPU-Mica StelpantPU-Cover

Полиуретановое

StelpantPU-Zink

Полиуретановое

220

12

Max Coat A

Полиуретановое

Xv Guard

Полиуретановое

140

12

Max Coat A

Полиуретановое

MonoZinc ME HI

Полиуретановое

120

15

ТЕКНОДУР 50/90

Полиуретановое

ИНЕРТА МАСТИК

Эпоксидное

200

15

ТЕКНОДУР 50/90

Полиуретановое

ТЕХНОПЛАСТ-ПРАЙМЕР 7

Эпоксидное

200

15

Amercoat 450 S RAL

Полиуретановое

Amerlock 2 White

Эпоксидное

200

15

Amercoat 450 S RAL

Эпоксидное

Amercoat 182 ZP HB

Полиамидноэпоксидное

150

10

Icosit EG 1 Icosit EG 4

Полиуретановое

Icosit EG

Эпоксидное

250

15

Zinga*

Винилбутиральное

Zinga

Винилбутиральное

120

15

MC-Ferrox В MC-Ferrox A

Эпоксидное

MC-Miozinc

Полиуретановое

225

15

MC-Aluminum

Полиуретановое

MC-Prepbond

Полиуретановое

100

10

Хардтоп AC

Полиуретановое

Примастик

Эпоксидное

175

20

Консил ТС

Акриловое

Консил Праймер

Акриловое

150

20

Пилот

Алкидное

Алкидпраймер

Алкидное

160

20

Алюмоэласт П

Полиуретановое

Алюмоэласт Ф

Полиуретановое

350

15

Воздействие пресной воды (речная), длительное или периодическое (вода-воздух)

4/1

ЭМАКОР*

Винилово-эпоксидное

ЭМАКОР

Винилово-эпоксидное

150

18

ЦВЭС № 2*

Кремнийорганическое

ЦВЭС № 2

Кремнийорганическое

160

10

ЦИНОЛ*

Уретановое

ЦИНОЛ

Уретановое

160

10

ЦИНОТАН*

Уретановое

ЦИНОТАН

Уретановое

160

10

ЦИНЭП*

Эпоксидное

ЦИНЭП

Эпоксидное

160

10

АЛПОЛ

Уретановое

ЦИНОЛ

Уретановое

160

10

АЛЮМОТАН

Уретановое

ЦИНОТАН

Уретановое

160

10

УТК-М*

Полиуретановое

УТК-М

Полиуретановое

250

12

ЭП-773*

Эпоксидное

ЭП-773

Эпоксидное

200

8

ЭП-1236*

Эпоксидное

ЭП-1236

Эпоксидное

250

10

ХС-436С

Эпоксидное

ЭП-0263С

Эпоксидное

,_    200

8

ЭП-439С

Эпоксидное

ЭП-0263С

Эпоксидное

200

8

Виниколор

Уретановое

ЭП-0263С

Эпоксидное

250

10

Виниколор

Уретановое

ЭП-0199

Эпоксидное

250

8

Виниколор

Уретановое

ЭП-0199 (по ржавой поверхн.)

Эпоксидное

250

5

ЭП-5116

Эпоксидное

ЭП-057

Эпоксидное

220

10

Воздействие пресной воды (речная), длительное или периодическое (вода-воздух)

4/1

ЭП-5116

Эпоксидное

ЭП-0010

Эпоксидное

240

10

ХВ-124/ХВ-785/ ХВ-784 с AI

Поливинилхлоридное

ХС-068/ ХС-059

Винилхлорид с винилацетатом

150

6

ХВ-124/ХВ-785/ ХВ-784 с AI

Поливинилхлоридное

ФЛ-ОЗК

Фенолоформальдегидное

150

6

ХВ-124/ХВ-785/ ХВ-784 с AI

Поливинилхлоридное

АК-070 ВЛ-02/ВЛ-023

Акриловое Поливинилбутиралыгое

150

6

Субкор (окраска под водой)*

Эпоксидное

Субкор

Эпоксидное

300

7

Влагокор*

Эпоксидное

Влагокор

Эпоксидное

300

10

Виниколор

Уретановое

Влагокор

Эпоксидное

300

10

ГРЕМИРУСТ*

Эпоксидное

ГРЕМИРУСТ

Эпоксидное

200

8

ГРЕМИРУСТ*

Эпоксидное

ГРЕМИРУСТ (по ржавой поверхн.)

Эпоксидное

200

5

КОРНИКА*

Эпоксидное

КОРНИКА

Эпоксидное

200

8

КОРНИКА*

Эпоксидное

КОРНИКА (по ржавой поверхн.)

Эпоксидное

200

5

Гермакрон-гидро*

Каучуко-смолыюе

Гермакрон-гидро

Каучуко-смольное

250

8

Винен СЛ-2

Винилово-эпоксидное

ВинепСЛ-1

Винилово-эпоксидное

250

10

Icosit EG 1 Icosit EG 5

Эпоксидное Полиуретановое

Icosit EG

Эпоксидное

250

15

Amercoat 78 HB В Black*

Эпоксикаменноугольное

Amercoat 78 HB B Black

Эпоксикаменноугольное

400

15

Amercoat 385 RAL 7036*

Эпоксиполиамидное

Amercoat 385 RAL 7036

Эпоксиполиамидное

400

15

MC-Ferroguard

Полиуретановое

MC-Miozinc

Полиуретановое

375

15

Zinga*

Винилбутиральное

Zinga

Вииилбутиральное

120

12

Epiter TF 130*

Эпоксидное

Epiter TF 130

Эпоксидное

500

15

Stelpant-PU-Combination 100

Полиуретановое

Stelpant-PU-Zink

Полиуретановое

350

12

XyGuard с AI

Полиуретановое

MonoZinc ME III

Полиуретановое

200

12

XyGuard с AI*

Полиуретановое

XyGuard

Полиуретановое

200

12

Ceram-Kote 54*

Керамоэпоксидное

Ceram-Kote 54

Керамоэпоксидное

200

12

ТЕКНОТАР 200*

Уретановое

ТЕКНОТАР 200

Уретановое

400

15

ИНЕРТА 165*

Эпоксидное

ИНЕРТА 165

Эпоксидное

400

20

ИНЕРТА 160*

Эпоксидное

ИНЕРТА 160

Эпоксидное

500

25

ИНЕРТА 250*

Эпоксидное

ИНЕРТА 250

Эпоксидное

400

25

Йотамастик*

Эпоксидное

Йотамастик

Эпоксидное

500

25

Примастик*

Эпоксидное

Примастик

Эпоксидное

250

15

Пенгард ТС

Эпоксидное

Пенгард ХБ

Эпоксидное

250

15

Воздействие морской воды длительное или периодическое (вода-воздух)

4/2

УТК-М*

Полиуретановое

УТК-М

Полиуретановое

250

12

ЭМАКОР*

Винилово-эноксидное

ЭМАКОР

Винилово-эпоксидное

150

15

ЦВЭС № 2*

Кремнийорганическое

ЦВЭС № 2

Кремнийорганическое

160

10

ЦИНОЛ*

Уретановое

ЦИНОЛ

Уретановое

160

10

ЦИНОТАН*

Уретановое

ЦИНОТАН

Уретановое

160

10

ЦИНЭП*

Эпоксидное

ЦИНЭП

Эпоксидное

160

10

АЛПОЛ

Уретановое

ЦИНОЛ

Уретановое

160

10

АЛЮМОТАН

Уретановое

ЦИНОТАН

Уретановое

160

10

ЭП-773*

Эпоксидное

ЭП-773

Эпоксидное

250

8

ЭП-1236*

Эпоксидное

ЭП-1236

Эпоксидное

250

8

ХС-436С

Эпоксидное

ЭП-0263С

Эпоксидное

250

8

ЭП-439С

Эпоксидное

ЭП-0263С

Эпоксидное

250

8

Виниколор

Уретановое

ЭП-0263С

Эпоксидное

250

9

Виниколор

Уретановое

ЭП-0199

Эпоксидное

300

8

Виниколор

Уретановое

ЭП-0199 (по ржавой поверхн.)

Эпоксидное

300

5

ЭП-5116

Эпоксидное

ЭП-057

Эпоксидное

220

8

ЭП-5116

Эпоксидное

ЭП-0010

Эпоксидное

240

8

ХВ-124/ХВ-785/ ХВ-784 с AI

Поливинилхлоридное

ХС-068/ ХС-059

Винилхлоридное с винилацетатом

150

6

ХВ-124/ХВ-785/ ХВ-784 с AI

Поливинилхлоридное

ФЛ-ОЗК

Фенолоформальдегидное

150

6

ХВ-124/ХВ-785/ ХВ-784 с AI

Поливинилхлоридное

АК-070 ВЛ-02/ВЛ-023

Акриловое Поливинилбутиральное

150

6

Воздействие морской воды длительное или периодическое (вода-воздух)

4/2

Субкор (окраска под водой)*

Эпоксидное

Субкор (окраска под водой)

Эпоксидное

300

7

Влагокор*

Эпоксидное

Влагокор

Эпоксидное

300

8

Виниколор

Уретановое

Влагокор

Эпоксидное

300

8

ГРЕМИРУСТ*

Эпоксидное

ГРЕМИРУСТ

Эпоксидное

300

10

ГРЕМИРУСТ*

Эпоксидное

ГРЕМИРУСТ (по ржавой поверхн.)

Эпоксидное

300

5

КОРНИКА»

Эпоксидное

КОРНИКА

Эпоксидное

300

10

КОРНИКА*

Эпоксидное

КОРНИКА (по ржавой поверхн.)

Эпоксидное

300

6

Гермакрон-гидро*

Каучуко-смольное

Гермакрон-гидро

Каучуко-смольное

250

8

Винеп СЛ-2

Винилово-эпоксидное

Винеп СЛ-1

Винилово-эпоксидное

250

8

Icosit EG 1 Icosit EG 5

Эпоксидное Полиуретановое

Icosit EG

Эпоксидное

250

15

Amercoat 78 HB В Black*

Эпоксикаменноугольное

Amercoat 78 НВ В Black

Эпоксикаменноугольное

400

15

Amercoat 385 RAL 7036*

Эпоксиполиамидное

Amercoat 385 RAL 7036

Эпоксиполиамидное

400

10

MC-Ferroguard

Полиуретановое

MC-Miozinc

Полиуретановое

375

12

Zinga*

Винилбутиральное

Zinga

Винилбутиральное

120

12

Epiter TF 130*

Эпоксидное

Epiter TF 130

Эпоксидное

500

15

Stelpant-PU-Combination 100

Полиуретановое

Stelpant-PU-Zink

Полиуретановое

350

10

XyGuard с Al

Полиуретановое

MonoZinc ME III

Полиуретановое

200

10

XyGuard с Al*

Полиуретановое

XyGuard

Полиуретановое

200

10

Ceram-Kote 54*

Керамоэпоксидное

Ceram-Kote 54

Керамоэпоксидное

200

12

ИНЕРТА 160*

Эпоксидное

ИНЕРТА 160

Эпоксидное

500

20

ИНЕРТА 165*

Эпоксидное

ИНЕРТА 165

Эпоксидное

500

25

ИНЕРТА 250*

Эпоксидное

ИНЕРТА 250

Эпоксидное

500

25

TEKHOTAP 200*

Уретановое

TEKHOTAP 200

Уретановое

500

15

Йотамастик*

Эпоксидное

Йотамастик

Эпоксидное

500

25

Примастик*

Эпоксидное

Примастик

Эпоксидное

250

15

Пенгард ТС

Эпоксидное

Пенгард ХБ

Эпоксидное

250

15

Примечание. Критерии и факторы выбора системы Л КМ см. п. 1.1 и п.4.2, а также приложения 1 и 2 (технические характеристики Л КМ).

* Самогрунтующийся материал


5.1. Расчет потребности лакокрасочных материалов при защите специальных стальных конструкций и механического оборудования гидротехнических сооружений

Расход потребности Л КМ определяют с учетом необходимого количества ЛКМ для получения покрытия заданной толщины.

Общий расход материала Нр на один слой определяется из теоретического расхода материала Т и его потерь - технологических Пт и организационных По.

Нр = Т + Пт + По

Наибольшая доля потерь приходится на технологические потери, которые в основном зависят от способа нанесения и категории сложности конструкций (изделий).

Организационные потери лакокрасочных материалов обусловлены неправильным техническим применением, а также нарушением правил их хранения; эти потери в целом могут составлять 3 % и более от теоретического расхода ЛКМ (Т).

Теоретический расход лакокрасочного материала, исходя из толщины сухой пленки, определяется по формуле:

, где:

- ТСП - толщина сухого слоя покрытия, мкм;

- S - площадь окрашиваемой поверхности, м2;

- КПК - коэффициент потерь краски (при расчете теоретического расхода ЛКМ равен 1);

- ДН - объемная доля нелетучих веществ (сухой остаток), %.

Теоретический расход лакокрасочного материала, исходя из толщины мокрой пленки, определяется по формуле:

, где

- ТМП - толщина мокрого слоя покрытия, мкм;

- S - площадь окрашиваемой поверхности, м2;

- КПК - коэффициент потерь краски (при расчете теоретического расхода ЛКМ равен 1).

Для перевода теоретического расхода ЛКМ из объемных единиц (л) в массовые (кг) следует умножить количество полученных в результате расчета литров ЛКМ на его плотность.

Технологические потери при нанесении в зависимости от способа нанесения ЛКМ имеют следующие значения:

Пт1 = (КПК1 - КПК) × Т, где:

KПK1 - коэффициент потерь, зависящий от способа нанесения;

КПК - коэффициент потерь, при теоретическом расходе равный 1.

Коэффициент потерь краски КПК1 при нанесении, принимается при: ручном способе 1,1, при безвоздушном 1,25 и при пневматическом 1,4.

Технологические потери при нанесении зависят также и от категории сложности конструкции (коэффициент КПК2):

I категория сложности - конструкции плоской и объемной обтекаемой формы с гладкими поверхностями, без углублений и неровностей, задерживающих стекание ЛКМ;

II категория сложности - конструкции с элементами, задерживающими стекание ЛКМ (карманы и отверстия, ступицы, проушины, траверсы и т.д.);

III категория сложности - конструкции с большим количеством пересечений, многочисленными отверстиями, карманами и ребрами, с установленными внутри них деталями, узлами и т.п. (см. табл.).

Расчет потерь ЛКМ в зависимости от категории сложности производят по формуле:

Пт2 = (КПК2 - КПК) × Т, где:

КПК2 в зависимости от способа нанесения имеет следующие значения:

Способ нанесения

Группа сложности

I

II

III

КПК2

Ручной

1.0

-

-

Безвоздушный

1.0

1,15

-

Пневматический

1.0

1,23

1.7

Суммарные технологические потери равны:

Пт = Пт1 + Пт2

При окончательном расчете потребности в ЛКМ следует также учитывать:

- погодные условия (например, сильный ветер в период производства работ);

- отсутствие рекомендуемого окрасочного оборудования;

- квалификацию исполнителей работ;

- организационные потери (см. выше);

- стандарт тары при поставке.

Расход растворителей и разбавителей определяют, исходя из технических условий на ЛКМ, причем их количество не должно превышать 10% от объема используемого материала. Излишки разбавителей и растворителей могут привести к изменению эксплуатационных и защитных свойств покрытия. На промывку оборудования, шлангов, ручного инструмента и пр. расход этих материалов определяется на основании практического опыта.

Категории сложности МО и СК при выполнении противокоррозионных работ

Наименование МО и СК

Категория сложности

Балки забральные

Балки подкрановые одностенчатые

Закладные части простейшей конструкции из двух профилей проката Колонны из балок, швеллеров и листа

Металлоконструкции уплотняющих устройств

Облицовки прямолинейные и фасонные

Полозья опорные

Прогоны, связи и ригели из балок и швеллеров

Пути подкрановые

Фермы распорные и связевые

Царги трубопроводов

Штанги одностенчатые

I

Балки подкрановые двустенчатые

Закладные части: - плоских затворов

- сегментных затворов

- сороудерживающих решеток

Затворы: - плоские габаритные

- сегментные поверхностные

Колонны решетчатые и двустенчатые

Крышки герметические

Обечайки и звенья трубопроводов

Облицовки двустенчатые и фасонные

Площадки переходные, лестницы и ограждения

Пролетные строения мостов

Решетки сороудерживающие габаритные с одностенчатым каркасом и ригелями

Траверсы Фермы стропильные и подстропильные

Штанги затворов сложной конструкции

Пролетные строения эстакад

II

Балки захватные

Грейферы и ковши

Двустворчатые ворота

Затворы плоские с двухсторонней обшивкой

Затворы сегментные глубинные

Компенсаторы сальниковые

Краны мостовые и козловые

Машины решеткоочистные

Механизмы: канатные, винтовые, цепные

Опоры трубопроводов

Решетки побудительные

Решетки сороудерживающие с каркасом и ригелями обтекаемой формы Рымы плавучие

Сетки водоочистные вращающиеся

III

6. Погодные условия и их влияние на проведение противокоррозионных работ

6.1. Погодные условия и способы измерения их параметров

Погодные условия включают в себя:

- отсутствие или наличие осадков (снега, дождя) или их последствий (лед, иней, мокрая поверхность);

- соответствие (несоответствие) температуры воздуха и окрашиваемой поверхности, а также соответствие относительной влажности воздуха требованиям, изложенным в технической документации на используемый материал;

- вероятность конденсации влаги или образования инея во время окрасочных работ.

Эти условия необходимо регулярно контролировать дважды в смену либо в особых случаях каждый час.

Температуру воздуха измеряют ртутными или электронными термометрами с точностью до ±0,5 °С. Измерения необходимо выполнять в непосредственной близости от окрашиваемой поверхности. При выполнении окрасочных работ на открытом воздухе измерения необходимо выполнять как с солнечной, так и с теневой стороны окрашиваемого объекта. Полученные значения температуры воздуха необходимо сравнить с допустимыми значениями температуры нанесения используемого лакокрасочного материала и сделать заключение о возможности выполнения окрасочных работ.

Относительную влажность можно измерять:

-- аспирационными психрометрами или вихревыми психрометрами;

- цифровыми электронными гигрометрами, работающими в интервале температур от -40 до +80 °С;

- цифровыми электронными гигрометрами (в интервале температур от 0 до 70 °С).

Полученные значения относительной влажности необходимо сравнить со значениями, допустимыми для используемого лакокрасочного материала и сделать заключение о возможности выполнения окрасочных работ.

Температуру окрашиваемой поверхности измеряют магнитными контактными термометрами или цифровыми электронными термометрами с точностью ±0,5 °С. Рекомендуется выполнить не менее одного измерения на 10 м2 поверхности. Затем следует выбрать самое низкое и самое высокое значения для каждого участка, сравнить их с допустимыми значениями температуры окрашиваемой поверхности для используемого лакокрасочного материала и сделать заключение о допустимости выполнения работ.

Для исключения конденсации влаги температура окрашиваемой поверхности должна быть по крайней мере на 3°С выше точки росы во время выполнения окрасочных работ.

В случае необходимости допускается выборочное окрашивание тех участков, которые на данный момент удовлетворяют требованиям по климатическим условиям.

Вероятность конденсации влаги на окрашиваемой поверхности определяется:

- по значениям относительной влажности;

- по разности значений температуры воздуха и точки росы;

- по разности значений температуры окрашиваемой поверхности и точки росы.

Если относительная влажность 85% или выше, условия для окрашивания считаются критическими, так как температура при этом выше точки росы менее чем на 3°С.

При относительной влажности 92% температура воздуха выше точки росы не более чем на 1,5 °С; в этом случае окрасочные работы можно проводить только при снижении влажности воздуха искусственными способами.

Если относительная влажность воздуха составляет 80% или температура воздуха на 3,4 °С выше точки росы, то условия для окрашивания можно считать благоприятными в течение примерно шести последующих часов.

Для лакокрасочных материалов, которые допускают наличие влаги на поверхности, разница значений температуры воздуха и точки росы может быть меньше, однако это должно быть отражено в технологической документации на окрасочные работы или в рекомендациях поставщика лакокрасочных материалов.

6.2. Нанесение лакокрасочных покрытий при неблагоприятных погодных условиях

К неблагоприятным метеорологическим условиям относятся: температура воздуха ниже 0°С, моросящие осадки, туман, влажность воздуха выше 75% (на металле конденсируется влага).

Наносить лакокрасочные покрытия при низких температурах и на влажные поверхности следует лишь в исключительных случаях.

Проведение окрасочных работ при отрицательных температурах

Нанесение лакокрасочных материалов при отрицательных температурах требует строгого соблюдения специальной технологии, то есть:

- разрыв между пескоструйными и окрасочными работами не должен превышать 1 ч;

- грунтование и окрашивание необходимо выполнять только при сухой (до 75% влажности) и установившейся погоде;

- все работы следует проводить под навесами, во избежание попадания атмосферных осадков на металлоконструкции, как во время проведения окрасочных работ, так и до введения окрашенных металлоконструкций в эксплуатацию;

- необходимо исключить воздействие на окрашиваемые и свежевыкрашенные поверхности потоков теплого воздуха из вентиляционных и близко расположенных паропроводов во избежание конденсации влаги на охлажденной стальной поверхности (особенно это касается закладных деталей в железобетоне);

- определение вязкости рабочего состава и разбавление до рабочей вязкости следует производить при тех же температурах, что и окраску;

- время промежуточной сушки каждого слоя должно быть увеличено по сравнению с сушкой при положительных температурах.

Проведение окрасочных работ при повышенной влажности воздуха

При повышенной влажности воздуха на поверхности металлоконструкций конденсируется влага, поэтому возникают сложности с нанесением лакокрасочных материалов противокоррозионной защиты.

Нанесение лакокрасочных материалов на влажную поверхность возможно при соблюдении следующих положений:

- на влажную поверхность могут наноситься ЛКМ на основе влагоотверждаемых полиуретанов (или модифицированных уретаном) и материалы с влаговытесняющими добавками; данные ЛКМ могут отверждаться в условиях повышенной влажности (до 98%) и при температурах до -5°С (некоторые и ниже), что позволяет использовать их при неблагоприятных атмосферных условиях; часть из них, обладающая высокой проникающей способностью, представляет собой универсальные ЛКМ, одновременно выполняющие функции модификатора ржачины, грунтовочного и покрывного ЛКМ;

- добавление к ЛКМ на основе эпоксидных, винилхлоридных поверхностно-активных веществ (ПАВ) также делает возможным их нанесение на влажные поверхности металла.

7. Технология нанесения лакокрасочных покрытий

В зависимости от технических характеристик Л КМ в соответствии с ГОСТ 9.105-80 методы окрашивания изделий разделяются на 5 групп.

К наиболее распространенным группам относятся: пневматическое распыление, безвоздушное распыление, распыление в электростатическом поле, различные комбинации этих методов, а также окрашивание кистью и валиком.

Выбор метода окрашивания зависит от вида применяемого ЛКМ, класса покрытия, габаритов и конфигурации (группы сложности) МО и СК.

Для окраски МО и СК гидротехнических сооружений применяются в основном пневматическое и безвоздушное распыление, а также окраска кистью.

7.1. Оборудование для нанесения ЛКМ пневматическим распылением

Пневматическое распыление ЛКМ осуществляется в результате воздействия сжатого воздуха, поступающего из воздушной головки, на струю распыляемого материала, вытекающего из отверстия, соосно размещенного внутри головки сопла.

При распылении сжатый воздух вытекает из кольцевого зазора головки с большой скоростью (до 450 м/с), в то время как скорость истечения струи ЛКМ ничтожно мала. При высокой относительной скорости возникает трение между струями воздуха и распыляемого материала, вследствие чего струя материала, как бы закрепленная с одной стороны, вытягивается в тонкие отдельные струи, распадающиеся в результате возникновения колебаний на множество полидисперсных капель (красочный аэрозоль ЛКМ).

В процессе распыления образуется движущаяся масса полидисперсных капель диаметром 6-100 мкм (так называемый факел). Достигая окрашиваемой поверхности, факел настилается на нее и распространяется по ней во все стороны (рис 7.1). Основная масса полидисперсных капель, имея достаточную скорость, осаждается на поверхности. Часть их (наиболее мелкая фаза), потеряв скорость, не достигает поверхности и уносится уходящим потоком воздуха, образуя красочный туман (потери ЛКМ на туманообразование).

Для пневматического распыления ЛКМ используется давление сжатого воздуха 0,2-0,6 МПа при вязкости ЛКМ 14-60 секунд по вискозиметру ВЗ-246.

Дисперсность аэрозоля ЛКМ зависит от давления сжатого воздуха, отношения расхода воздуха к расходу ЛКМ и физических свойств ЛКМ.

В большинстве случаев применяют стационарные установки, однако при проведении работ в монтажных условиях пользуются переносными или передвижными установками.

Рис. 7.1. Схема дробления ЛКМ методом пневматического распыления:

1 - воздушная головка; 2 - материальное сопло; 3 - запорная игла

Стационарное оборудование для пневматического нанесения ЛКМ

Это оборудование включает следующие основные элементы: краскораспылитель, красконагнетательный бак, масловодоотделитель. Последовательность их соединения указана на рис. 7.2.

Необходимый для распыления сжатый воздух поступает из общей сети или от индивидуального компрессора. Подача Л КМ может осуществляться не только из красконагнетательного бака, как показано на рис. 7.2, но и централизованно, а также самотеком из бачка, расположенного на корпусе краскораспылителя. В этом случае красконагнетательный бак в комплект не входит.

Рис. 7.2. Схема соединения краскораспылительной аппаратуры:

1 - масловлагоотделитель; 2 - красконагнетательный бак;

3 - редуктор; 4, 5, 6 - шланги (рукава); 7 - краскораспылитель

При нанесении высоковязких ЛКМ в нагретом состоянии аппаратура для распыления включает дополнительно краско- и воздухоподогреватели, которые устанавливаются непосредственно перед краскораспылителем или являются элементами его конструкции.

Пневматические краскораспылители

Пневматические краскораспылители предназначены для мелкодисперсного распыления подаваемого лакокрасочного материала и образования направленного факела требуемой формы.

Основной и наиболее важной частью краскораспылителя является распылительная головка, состоящая из двух соосно расположенных сопел: по одному из них подается распыляемый лакокрасочный материал, по другому - воздух. В зависимости от места смешения струи лакокрасочного материала со сжатым воздухом (на выходе из головки или внутри ее) различают головки внешнего и внутреннего смешения.

В распылительных головках внешнего смешения сжатый воздух поступает в кольцевой зазор, образованный отверстием воздушного сопла (головки) и наконечником материального сопла.

В распылительных головках внутреннего смешения лакокрасочный материал и воздух смешиваются внутри головки. В этом случае лакокрасочный материал под давлением, равным давлению сжатого воздуха, попадает в камеру смешения с довольно значительным поперечным сечением. В краскораспылителях этого типа из-за большого сечения выходного отверстия в головке расходуется много сжатого воздуха. Такие краскораспылители применяют в случаях, когда не требуется высокое качество окраски, но необходима высокая производительность.

В зависимости от конструкции головки отпечаток факела распыленного Л КМ на окрашиваемой поверхности может иметь форму круга или плоского, сильно вытянутого овала (рис. 7.3).

Рис. 7.3. Распылительные головки краскораспылителей и образуемые ими отпечатки факелов: а - без дополнительных отверстий; б - с двумя дополнительными боковыми отверстиями; в - с четырьмя дополнительными отверстиями; г - с восемью дополнительными отверстиями

Плоский факел образует головка, имеющая, кроме центрального отверстия для распыления ЛКМ, два дополнительных боковых отверстия. Струи сжатого воздуха, выходя из боковых отверстий, сжимают факел распыляемого ЛКМ и придают ему плоскую форму.

Для увеличения ширины отпечатка и получения более равномерного покрытия в головке делают дополнительные отверстия для подачи воздуха на сжатие факела. Отверстия сверлят под разными углами и на различном расстоянии от центрального отверстия.

Обычно сжатый воздух к центральному и боковым отверстиям подается по раздельным каналам, благодаря чему количество воздуха, подаваемого на сжатие факела, можно регулировать, получая как круглый, так и плоский факел от минимального до максимального размера.

В зависимости от способа подачи ЛКМ к распылительной головке краскораспылители делятся на три типа (рис.7.4).

Рис. 7.4. Краскораспылители с различной подачей лакокрасочного материала:

тип 1 - с подачей ЛКМ из верхнего красконаливного стакана;

тип II - с подачей ЛКМ из нижнего красконаливного стакана;

тип III - с подачей ЛКМ под давлением из системы подачи ЛКМ (красконагнетательный бак, насос, централизованная краскоподача)

При этом можно выделить два вида (рис. 7.3) распылительных головок, которыми оснащаются все конструкции краскораспылителей:

Вид I - ЛКМ поступает на выход из сопла за счет разряжения, возникающего перед соплом вследствие скоростного истечения воздушного потока из кольцевого зазора воздушной головки или сочетания разряжения и свободного слива (подача ЛКМ самотеком);

Вид II - ЛКМ подается в материальное сопло с заданным расходом от систем с принудительной подачей, где вся энергия воздуха, истекающего из кольцевого зазора, идет только на турбулизацию и дробление струи краски, выходящей из материального сопла.

Для I вида распылительных головок характерно выступание носика сопла относительно торцевой поверхности воздушной головки на 0,3-0,5 мм, что способствует лучшей эжекции.

На эжекцию, равно как и на расход ЛКМ через сопло, влияют величина кольцевого зазора и давление сжатого воздуха. Подача воздуха в боковые отверстия для сжатия факела на эжекцию не влияет.

В головках II вида носик сопла несколько утоплен в отверстии воздушной головки (на 0,1-0,3 мм), что обеспечивает создание зоны подпора ЛКМ и, соответственно, постоянство расхода ЛКМ через сопло при заданных параметрах давления ЛКМ и сжатого воздуха на распыление. Подобные головки могут устанавливаться как на краскораспылителе III типа, так и I, II. В последних случаях через крышку верхнего или нижнего красконаливного стакана подается сжатый воздух из корпуса краскораспылителя с возможностью регулирования его давления.

Таблица 7.1

Основные характеристики оборудования для нанесения ЛКМ пневматическим распылением

Марка КРП

Тип

Производительность (м2/ч)

Рабочее давление (МПа)

Объем бачка (л)

Страна

СО-71В

I

18

0,5

0,35

Литва

СО-19В

I

2,4

0,2

0,7

Литва

UR/S PLUS

II

12,0-21,0

0,3-0,45

0,5; 0,68; 1,0

Италия

ОМ

II

12,0-21,0

0,3-0,45

0,5; 0,68; 1,0

Италия

ОМ GREEN

III

12,0-16,2

0,2-0,25

0,5; 0,68; 1,0

Италия

9011 HVLP

III

12,0-16,2

0,2-0,25

0,75; 0,25

Италия

ES/RV

I

1,8-3,6

0,1-0,35

0,68; 0,75

Италия

FXHA

III

16,8-22,8

0,3

0,68; 0,75

Италия

FX HVLP

II

12,0-21,0

0,15-0,25

0,68; 0,75

Италия

FXGEO

I

12,0-14,4

0,15-0,25

0,68; 0,75

Италия

DELTA SPRAY

II

21,0

0,28-0,3

0,24; 0,48

США

КРП-11

II

12,5

0,4

0,5

Россия

Краскораспылители III типа с головкой II вида, как правило, отличаются высокой производительностью и используются в условиях конвейерной окраски, при выполнении окрасочных работ большого объема, не требующих частой смены цвета и типа ЛКМ.

Подобным образом устроены и работают различные модели краскораспылителей. В краскораспылитель может быть встроен дополнительный регулятор расхода воздуха, узел регулировки формы факела может быть размещен на боковой поверхности корпуса.

7.2. Метод безвоздушного распыления

Нанесение ЛКМ методом безвоздушного распыления происходит за счет высокого гидравлического давления, оказываемого на ЛКМ, и вытеснения последнего с большой скоростью через эллиптическое отверстие специального сопла. При этом потенциальная энергия ЛКМ при выходе его в атмосферу переходит в кинетическую, возникают завихрения, приводящие к пульсации струи, развитию колебаний и деформации поверхности струи. Деформация усиливается благодаря гидродинамическому воздействию окружающего воздуха и приводит к образованию облака аэрозоля, размер капель которого колеблется в широком диапазоне. За счет полученной кинетической энергии капли ЛКМ движутся к окрашиваемой поверхности и, преодолевая сопротивление воздуха, тормозятся и мягко настилаются на поверхность.

Размер капель распыляемого материала зависит от давления, геометрических размеров и формы отверстия сопла, расхода материала и его физических свойств.

По сравнению с пневматическим распылением метод безвоздушного распыления позволяет:

- резко снизить потери ЛКМ на туманообразование;

- уменьшить расход растворителей в связи с возможностью распыления более вязких ЛКМ;

- снизить мощность вентиляции, так как необходимо удалять в основном только пары растворителей;

- увеличить производительность труда (особенно при окрашивании больших площадей);

- уменьшить в ряде случаев трудоемкость окрасочных работ благодаря возможности нанесения покрытий большей толщины;

- значительно снизить загазованность помещении и улучшить санитарно-гигиенические условия работы в цехе, особенно при недостаточной вытяжной вентиляции.

В отличие от факела, образующегося при работе пневматического краскораспылителя, при безвоздушном распылении факел распыляемого ЛКМ резко очерчен и почти не образует красочного тумана.

Области применения метода безвоздушного распыления - грунтование и окраска изделий среднего и крупного размера плоской или обтекаемой формы.

7.3. Краскораспылители безвоздушного распыления высокого давления

Краскораспылители безвоздушного распыления имеют ряд сходных с пневмокраскораспылителями узлов и механизмов: корпус с рукояткой, головку, штуцер подачи краски и механизм включения подачи краски, выполненный в виде запорной иглы (клапана), которая связана с возвратной пружиной и пусковым крючком.

Однако к краскораспылителям безвоздушного распыления наряду с общими требованиями, которым должен удовлетворять ручной окрасочный инструмент (масса, форма, расположение центра тяжести и др.), предъявляют также дополнительные требования:

- герметичность уплотнений, каналов и полостей, подводящих ЛКМ к распыляющему устройству под давлением 25-30 МПа (250-300 кг/см2) и более;

- соединение краскораспылителя со шлангом высокого давления через поворотный механизм, обеспечивающий возможность свободного поворота краскораспылителя относительно оси шланга без изменения его положения;

- наличие предохранительного устройства, необходимого для предотвращения открывания запорного клапана при случайном нажатии на пусковой крючок;

- наличие встроенного в корпус или головку сменного фильтра тонкой очистки, защищающего отверстие сопла от засорения.

Целесообразно устанавливать на головку пластмассовую насадку, предохраняющую руки от случайного повреждения струей ЛКМ, а сопло - от случайного внешнего засорения и механического повреждения.

При окрашивании крупногабаритных изделий с помощью стандартных безвоздушных краскораспылителей трудно выдерживать оптимальное расстояние между краскораспылителем и окрашиваемой поверхностью. В этом случае используются либо специальные краскораспылители с удлиненными насадками, либо удлиненные насадки подсоединяются к стандартным краскораспылителям.

Для удобства работы краскораспылитель может комплектоваться насадками различной длины (0,3; 0,6; 0,9; 1,2; 1,8 и 2,4 м) с распределительной головкой. Положение головки относительно насадки может изменяться в пределах 180°.

Удлинители с распыляющими головками на конце могут быть использованы и со стандартными безвоздушными краскораспылителями.

Распыляющие сопла

Распыляющее сопло (рис. 7.5) является важнейшим элементом оборудования безвоздушного распыления. Эффективность применения безвоздушного распыления определяется геометрическими размерами сопла, его формой и материалом. Эти параметры позволяют также устанавливать оптимальный технологический режим нанесения ЛКМ в зависимости от формы и размеров окрашиваемого изделия.

Рис. 7.5. Принципиальное устройство сопла безвоздушного распыления

Сопло представляет собой цилиндрическую насадку из металлокерамического сплава (карбида, вольфрама и других износостойких материалов). Передняя торцевая часть сопла имеет сферическую форму. С внутренней стороны к торцевой стенке сопла подходит конический или цилиндрический канал, заканчивающийся полусферой радиусом 0,25-0,5 мм. С наружной стороны торцевая стенка рассечена клиновидной щелью на глубину h, благодаря чему выходное отверстие приобретает форму эллипса.

Угол клиновидной щели а, радиус внутренней полусферы и глубина щели в полусфере h определяют размеры и форму выходного отверстия, а следовательно, расход ЛКМ и ширину (угол раскрытия) факела. Варьированием этих величин получают сопла, обеспечивающие заданные параметры распыления при различной ширине факела и определенном расходе ЛКМ.

Для предохранения от механических повреждений и удобства маркировки сопло встраивают в металлический корпус, называемый стандартным распыляющим устройством в сборе.

Таблица 7.2

Рекомендация по применению распылительных сопел для распыления окрасочных составов

№ п/п

Условный диаметр отверстия

Вязкость материала, сек

Тонкость перетира, мкм

дюйм

мм

1

0,011

0,28

Маловязкий (до 50)

Без пигмента или очень тонкий (30)

2

0,013

0,33

Маловязкий (до 50)

Тонкий (80)

3

0,015

0,38

Средневязкий (50-120)

 

4

0,018

0,45

Средневязкий (50-120)

Более грубый (100)

5

0,021

0,53

Высоковязкий (более 120)

Грубый (120)

6

0,026

0,66

 

 

7

0,031

0,79

Высоковязкий (более 120)

Очень грубый (140)

Установки безвоздушного распыления (УБР)

Для нанесения ЛКМ методом безвоздушного распыления применяют установки, в которых краскораспылитель безвоздушного распыления со встроенным в его головку соплом и насос с приводом, создающий высокое давление на ЛКМ, объединены в один агрегат.

Установки безвоздушного распыления могут работать от пневмопривода, электропривода либо бензопривода.

Установки безвоздушного распыления с пневмоприводом

УБР с пневмоприводом наиболее распространены в промышленности и строительстве.

Преимущество пневмопривода заключается в полном отсутствии проводов и других электрических элементов, что позволяет работать в закрытых помещениях, соблюдая все нормы пожаро - и взрывобезопасности.

В комплект установки входят: агрегат высокого давления, устанавливаемый на тележке, пристенном кронштейне или баке; всасывающий шланг (патрубок) с фильтром грубой очистки, краскораспылитель безвоздушного распыления с устройством для быстрой прочистки сопла, сопло и шланг высокого давления, соединяющий краскораспылитель с агрегатом высокого давления.

Основным узлом установки является агрегат высокого давления - плунжерный насос с пневмоприводом поршневого типа, снабженный воздухораспределительным механизмом, системой клапанов, фильтром тонкой очистки, регулирующей и контрольно-измерительной аппаратурой (рис. 7.6).

Рис. 7.6. Агрегат высокого давления: 1 - всасывающий клапан; 2 - корпус; 3 - плунжер; 4 - перепускной клапан; 5 - пневмоцилиндр; 6 - перепускной клапан; 7 - выходной клапан; 8 - воздухоразде-лительный механизм; 9 - поршень; 10 - направляющий шток

При подаче сжатого воздуха в пневмопривод через пусковой кран и регулятор давления воздухораспределительный механизм попеременно подает воздух то в верхнюю, то в нижнюю полости пневмопривода. При этом поршень и связанный с ним плунжер насоса совершают возвратно-поступательные перемещения; соответственно всасывающий и перепускной клапаны насоса открываются и закрываются, пропуская ЛКМ в полость насоса и нагнетая его через шланг высокого давления в краскораспылитель.

В зависимости от конструкции и назначения установки полезная площадь пневмопривода значительно (в 18-75 раз) больше полезной площади плунжера насоса, что позволяет, соответственно, в 18-75 раз увеличить давление на ЛКМ по сравнению с давлением подводимого в пневмопривод сжатого воздуха - 0,3-0,6 МПа (3-6 атм.). Давление на ЛКМ регулируют редукционным клапаном, изменяя давление сжатого воздуха, поступающего в пневмопривод.

УБР с пневмоприводом относятся к механизмам автоматического действия: при подаче сжатого воздуха в пневмопривод возвратно-поступательные движения поршня и связанного с ним плунжерного насоса происходят только при включенном краскораспылителе. При выключении краскораспылителя поршень пневмопривода, а следовательно, и плунжер, немедленно останавливаются, так как действующие на них силы давления становятся равными.

Установки безвоздушного распыления с электроприводом

Установки безвоздушного распыления с электроприводом предназначены для нанесения на поверхность строительных и металлических конструкций ЛКМ как обычной вязкости, так и повышенной, или содержащие грубодисперсные наполнители.

Различают два типа насосов высокого давления, используемых в установках безвоздушного распыления с электроприводом: диафрагменные и плунжерные.

В любом случае вращение вала электропривода преобразуется диском-маховиком (или эксцентриком) в возвратно-поступательное движение поршня в диафрагменном насосе или возвратно-поступательное перемещение плунжера.

В процессе работы УБР с диафрагменным насосом во время отключения краскораспылителя насос продолжает работать, перепуская масло внутри гидросистемы. Как показала практика, диафрагма при длительной работе, больших нагрузках и т.п. может выходить из строя.

Применение плунжерного насоса с электронной системой в УБР с электроприводом позволяет автоматически прекращать работу насоса при выключении краскораспылителя, тем самым, продлевая срок службы насоса.

Таблица 7.3

Основные характеристики аппаратов безвоздушного распыления

п/п

Марка аппарата

Производительность не менее, л/мин

Рабочее давление ЛКМ, (МПа)

Тип привода

Фирма-изготовитель

1

"Спрут-М"

18,0

25,0

пневматический

СЗ "Пелла"

2

"Луч-2"

3,6

25,0

пневматический

СЗ "Пелла"

3

"Радуга-0,63"

1,2

20,0

пневматический

НИИЛКП

4

President 15:1

8,5

12,0

пневматический

"Graco" (USA)

5

"Premier 45:1"

26,0

31,0

пневматический

"Graco" (USA)

6

"King 68:1"

11,0

42,0

пневматический

"Graco" (USA)

7

"Monark" (23:1)

2,7

19,0

пневматический

"Graco" (USA)

8

"Buldog" (41:1)

11,7

24,0

пневматический

"Graco" (USA)

9

Модель 18066

18,0

40,0

пневматический

"Wiwa" (Германия)

10

"Виза-3"

1,0

16,0

пневматический

"Ково-Финиш" (Чехия)

11

"Финиш-221"

6,8

25,0

электрический

Литва

12

"Джокер-18"

3,5

16,0

пневматический

"Dete" (Германия)

13

Модель 0825

1,0

6,0

пневматический

"Кремлин" (Франция)

14

Модель 10000

9,0

24,0

электро/ бензиновый

Taiver (Италия)

15

Taiver gold 20000

18,0

22,0

электрический

Taiver (Италия)

16

Taiver P 7000P

6,0

-

пневматический

Taiver (Италия)

17

GM 3000

2,35

21,0

бензиновый

"Graco" (USA)

18

Gmax 10000

9,0

21,0

бензиновый

"Graco" (USA)

19

395 st

1,25

21,0

электрический

"Graco" (USA)

20

495 st

1,9

21,0

электрический

"Graco" (USA)

21

Ultra Max 695

2,3

21,0

электрический

"Graco" (USA)

22

Pro-281

4

21,0

пневматический

 

23

Pro-101G

10

24,0

электро/ бензиновый

 

24

EP 2800

4,8

21,0

электрический

Wagner (Германия)

25

66-115S

7,5

52,8

пневматический

Wagner (Германия)

26

Wildcat 18-40

2,0

ил

пневматический

Wagner (Германия)

27

7000 H-I

5,6

24,0

пневматический

Wagner (Германия)

28

GP 3000

7,6

21,0

бензиновый

Wagner (Германия)

29

Хозяин 600x15

15

60,0

пневматический

Украина

30

Агент 400x2

2

40,0

пневматический

Украина

Установки безвоздушного распыления с бензоприводом

УБР с бензоприводом предназначены для проведения окрасочных работ большого объема в полевых условиях, при отсутствии сжатого воздуха и электроэнергии. Их преимущество - полная автономность от внешних источников энергии.

Установки безвоздушного распыления

двухкомпонентных составов

При нанесении методом безвоздушного распыления двухкомпонентных составов важна точность настройки установки (агрегата высокого давления) на расход компонентов в заданном соотношении, а также поддержание его в процессе работы.

7.4. Вспомогательное оборудование для установок пневматического и безвоздушного распыления ЛКМ

Установка вакуумного сбора абразива

Установка вакуумного сбора абразива осуществляет забор сухого абразива из емкости с абразивом или непосредственно с рабочей площадки. Абразив, двигаясь по вакуумному шлангу, попадает в каскадный очиститель контейнера для абразива, и рабочая фракция ссыпается в контейнер. Пыль и крупные частицы оседают на патронных фильтрах всасывающего устройства. Загрузка пескоструйных аппаратов, расположенных под контейнером для абразива, осуществляется пескоструйщиком путем открывания заслонки на выходном патрубке контейнера. Время непрерывной работы полностью заправленного аппарата составляет 30-60 мин в зависимости от рабочего давления и диаметра сопла.

Удлинительные насадки

Для удобства работы краскораспылитель может комплектоваться насадками различной длины (от 0,6 до 2,4 м) с распылительной головкой, снабженной устройством для быстрой прочистки сопла. Положение головки относительно насадки может изменяться в пределах 180°.

Регуляторы давления (редукторы)

Эти устройства предназначены для регулирования и поддержания постоянного давления сжатого воздуха, подаваемого в краскораспылители и красконагнетательные баки. Для регулирования давления воздуха могут быть использованы как редукторы, установленные на масловодоотделителе или красконагнетательном баке, так и самостоятельные редукторы давления, обеспечивающие регулировку давления воздуха с точностью до 104 мПа и исключающие изменение давления во времени при работе краскораспылителей.

Масловодоотделители

Сжатый воздух, используемый для нанесения лакокрасочных материалов методом пневматического распыления и поступающий от компрессора по воздушным магистралям к краскораспылителям, содержит ряд примесей: влагу, минеральные масла, твердые включения (пыль).

Для очистки сжатого воздуха применяют различные методы улавливания избыточной влаги, масла и твердых частиц, не изменяющих других параметров воздуха:

- инерционное (центробежное) разделение воздуха и капель влаги;

- разделение масла и твердых частиц при мгновенном изменении скорости или направлении потока;

- контактное разделение воздуха и капель влаги при прохождении потока через фильтрующий слой, без химического взаимодействия с ним.

Красконагнетателъные баки

Эти устройства предназначены для дозированной подачи лакокрасочных материалов в краскораспылители при повышенном расходе материалов или нанесении их на большие поверхности. Красконагнетательные баки представляют собой переносные, герметически закрываемые сосуды; они заполняются лакокрасочным материалом, который под определенным давлением (при подаче в бак сжатого воздуха) передается по шлангам в краскораспылители.

8. Защита комбинированными покрытиями

8.1. Металлические покрытия

Основными металлическими покрытиями, применяющимися в гидротехническом строительстве в основном для защиты метизов, являются цинковые, кадмиевые и алюминиевые.

Цинковые, наиболее распространенные, покрытия обладают высокой стойкостью в атмосферных условиях и в водной среде. Цинк является анодом по отношению к стали, он растворяется на поверхности стали, защищая ее.

Кадмий  является анодным покрытием по отношению к стали, но имеет потенциал более близкий к потенциалу стали, чем цинк. Установлено, что кадмий более стоек в морской атмосфере, чем цинк.

Алюминиевые покрытия обладают анодным эффектом по отношению к стали. Наиболее распространенными методами нанесения алюминиевых покрытий являются электродуговое и газопламенное распыления (см. п. 8.2).

Алюминиевые покрытия предпочтительнее цинковых в нейтральных и слабокислых средах, уступают им в щелочных средах, но их использование ограничено технологическими трудностями.

Металлические покрытия можно классифицировать:

по назначению:

- противокоррозионные;

- защитно-декоративные;

- специальные (для придания физических, механических, химических свойств);

по методу нанесения:

- гальванические (электроосаждение из растворов солей);

- химические (химическое восстановление из растворов солей);

- горячие (из расплава металла);

- газотермические (металлизация);

- термодиффузионные (диффузия осаждаемого металла в поверхностный слой основного металла из газовой, жидкой или твердой фаз);

по механизму защитного действия:

- анодные (имеющие более отрицательный потенциал электрода по отношению к защищаемому металлу);

- катодные (имеющие более положительный электродный потенциал по отношению к защищаемой поверхности);

- электрохимически нейтральные.

Для увеличения срока службы вышеперечисленных покрытий их окрашивают, и в данном случае такие покрытия называют комбинированными.

8.2. Газопламенная и электродуговая металлизация цинком, алюминием, нержавеющими сплавами и медью

Металлизация распылением является технологической операцией, принцип которой состоит в нанесении на соответственно подготовленную поверхность распыляемого при расплавлении металла. Частицы металла, попадая на обрабатываемую поверхность, образуют пористое покрытие, заполняют все неровности поверхности и прочно сцепляются с ней.

Рис. 8.1. Принципиальная схема металлизации газопламенным проволочным аппаратом: 1 - кислород-ацетилен; 2 - сжатый воздух; 3 - кислородно-ацетиленовое пламя; 4 - плавление проволоки; 5 - напыленный металл; 6 - горючий газ; 7 - воздушные отверстия; 8 - газовые отверстия; 9 - проволока; 10 - распыленный металл

На рис. 8.1 показана принципиальная схема газового металлизационного аппарата, где металл подается в аппарат в виде проволоки, которая плавится кислородно-ацетиленовым пламенем, а распыляется и наносится на предмет сжатым воздухом.

На рис. 8.2. также показан проволочный аппарат, однако в данном случае плавление проволоки производится при помощи электрической дуги, а распыление ведется сжатым воздухом.

Существующие металлизационные аппараты по состоянию применяемого для распыления исходного металла разделены на две основные группы:

- металлизационные аппараты, работающие на металлических порошках;

- металлизационные аппараты, работающие на металлической проволоке.

Преимущества первых состоят в отсутствии подвижных деталей и возможности распыления при их помощи не только металлов, но также и неметаллических порошков, например, порошков пластмасс и керамических веществ. Кроме того, эти аппараты дают возможность использовать в качестве исходного материала такие металлы, которые нельзя получить в виде проволоки, например, твердые металлы, хром и т. д.

Рис. 8.2 Принципиальная схема металлизации электродуговым проволочным аппаратом: 1 - проволока; 2 - направляющие; 3 – сжатый воздух

Недостаток этих аппаратов состоит в том, что такие покрытия содержат большое количество окислов. Хранение порошков затрудняется большей по сравнению с проволокой подверженностью к действию коррозии.

В процессе металлизации неоднородность порошка может проявиться в том, что мелкие частицы перегреются и сгорят, а крупные частицы не будут плавиться.

Преимущество проволочных аппаратов - простота обслуживания. Процент содержания окислов в покрытии невелик и снижается с увеличением диаметра проволоки, используемой в качестве исходного материала.

Материалы для металлизации

Металлы для покрытий следует подбирать, исходя из теории защиты от коррозии. Покрытия из электроотрицательных, активных металлов (цинк, кадмий, алюминий) нужно всегда использовать там, где они будут увеличивать катодную поляризацию стали (коррозия с катодным контролем). Подобные покрытия будут хорошо защищать от коррозии во всех средах, содержащих хлориды (морская и речная вода, почва).

Покрытия из более благородных или легко пассивирующихся металлов (медь, никель, хром, олово) относятся к барьерным и должны быть непроницаемыми, так как в порах покрытия может начаться язвенная коррозия основы.

Цинк является активным металлом и почти всегда обладает протекторным действием, поэтому эффективность цинковых покрытий прямо пропорциональна их толщине. Цинковые покрытия на стали (без дополнительного окрашивания) широко применяются при защите конструкций, подвергаемых воздействию слабо- и среднеагрессивной атмосферы и пресной воды. В сильно агрессивной атмосфере и морской воде применяется нанесение дополнительных слоев ЛКМ.

Алюминий обладает двояким защитным действием. Помимо протекторного действия, этот металл, благодаря способности к образованию плотного защитного слоя А12О3, хорошо защищает сталь, особенно в кислых средах. Алюминиевые покрытия характеризуются стойкостью во многих химических средах, в воздухе и при высокой температуре. Алюминиевые покрытия используются и для защиты стальных конструкций, работающих при повышенных температурах и в агрессивных химических средах.

При необходимости получения металлизационных покрытий, эксплуатирующихся в особо сложных условиях и повышенной долговечности, используют цинковый подслой толщиной до 150 мкм, перекрытый 200-300 мкм алюминия.

8.3. Металлизационно-лакокрасочные покрытия (комбинированные покрытия)

Сочетание металлизационных и лакокрасочных покрытий позволяет получить системы, обеспечивающие максимально длительную противокоррозионную защиту ГМО и МК к воздействию агрессивных сред, а также долговечные системы с повышенными декоративными свойствами.

В комбинированных покрытиях сочетаются достоинства металлических и лакокрасочных покрытий, причем последние выбираются с учетом конкретных условий эксплуатации, чем в итоге и обеспечивается их повышенная долговечность (см. табл.8.1).

Таблица 8.1

Долговечность цинковых, алюминиевых и комбинированных покрытий

Коррозионная среда

Долговечность покрытия (годы) при толщине покрытия, мкм

Цинком

Алюминием

100

200

300

100

200

300

Неагрессивная атмосфера

25

50

75

30

Более 50

Агрессивная атмосфера

10-12

12-15

до 15

15

25

50

Речная вода (постоянно)

5-6

6-8

до 10

6-8

12-15

20-25

Морская вода (постоянно)

Более 15 лет в сочетании с ЛКП

Более 30 лет в сочетании с ЛКП

Переменное смачивание

До 15 лет в сочетании с ЛКП

До 30 лет в сочетании с ЛКП

При комбинации цинка (100 мкм) и алюминия (250 мкм) долговечность защиты увеличивается в среднем в 1,5 раза

Высокие защитные свойства комбинированных покрытий позволяют значительно уменьшить толщину металлизационного покрытия без изменения сроков их службы.

Металлический слой, особенно алюминия, в комбинированном покрытии, вследствие пористости и шероховатости, обеспечивает максимальную адгезию лакокрасочных материалов (т.н. пропитка), значительно повышая тем самым их долговечность.

Нанесение поверх металлического слоя химически стойких полимерных покрытий позволяет получать защитные системы, стойкие в атмосфере промышленных предприятий с повышенным содержанием агрессивных веществ.

Лакокрасочные материалы наносят непосредственно на металлизационный слой без дополнительной подготовки поверхности.

Таблица 8.2

Основные характеристики отечественных металлизационных аппаратов

Способы распыления

Марка аппарата

Производительность, кг/ч

Сила тока, А

Горючий агент

Диаметр распыляемой проволоки, мм

Zn

A1

Электродуговой 

ЭМ-14М ручной

32

12,5

До 400

-

1,5-2,0

ЭМ-12М стационарный

38

14

До 400

-

1,5-2,5

ЭМ-14 ручной

30

8

До 360

-

1,5-2,5

ЭМ-15 стационарный

65

25

До 700

-

2,0-3,0

Газопламенный

МГИ-4А ручной

23

5,7

-

Ацетилен

2,0-4,0

МГИ-4П ручной

23

7,0

-

Пропан-бутановая смесь

2,0-4,0

9. Электрохимическая защита

Электрохимическая защита позволяет предотвратить коррозионные и коррозионно-механические разрушения в водной среде (морская, речная, озерная вода) практически всех конструкционных металлических материалов, применяемых в гидротехнических сооружениях, судостроении, мелиорации и других отраслях, в том числе после различных технологических операций их обработки (сварки, гибки, правки и пр.). Различают две разновидности электрохимической защиты:

- при питании анодных заземлителей от внешнего источника тока (выпрямителя, генератора) защита называется катодной;

- при подключении к защищаемой конструкции анода из металла с более электроотрицательным электродным потенциалом (например, цинка) защита называется протекторной.

Защищаемая от коррозии конструкция подвергается поляризации с помощью протектора, что приводит к смещению потенциала конструкции в отрицательную сторону и подщелачиванию слоя электролита, непосредственно прилегающего к металлу. Благодаря подщелачиванию на поверхности металла образуется осадок гидроокиси и карбонатов кальция и магния, похожий на накипь. Эти гидроокиси (карбонатные осадки) создают особые условия на поверхности металла: с одной стороны, они экранируют поверхность, а с другой - затрудняют диффузию кислорода, так как увеличивают толщину защитного слоя.

Широкое распространение протекторной защиты объясняется ее высокой технико-экономической эффективностью, доступностью, простотой и надежностью в процессе эксплуатации. За весь период срока службы протектора защита не требует обслуживания.

Материалы для протекторной защиты

Для изготовления МО и СК гидротехнических сооружений применяют углеродистую сталь или низколегированную сталь, для защиты которой рекомендуется применять протекторы, изготовленные на основе цинка, алюминия и магния. Эти сплавы имеют высокие физико-химические характеристики, обеспечивающие возможность создания эффективных и долговечных систем защиты от коррозии без применения лакокрасочных покрытий.

Совмещение протекторной защиты с использованием лакокрасочных покрытий позволяет значительно снижать расход протекторов и значительно увеличивать срок службы защиты.

Проектирование протекторной защиты для МО и СК

Исходные данные для разработки проекта: химический состав воды, ее электропроводность; масса защищаемой конструкции; наличие либо отсутствие лакокрасочного покрытия; регламентированная долговечность защиты.

Более подробно тема протекторной защиты в настоящем РД не рассматривается.

Специализированная организация ОАО "Трест Гидромонтаж" выполняет работы по проектированию протекторной защиты, монтажу протекторов, авторский надзор за состоянием защищаемых конструкций в процессе эксплуатации (ежегодные проверки), а также осуществляет поставку протекторов.

10. Климатические параметры, контролируемые при противокоррозионных работах

Для получения качественного покрытия в процессе подготовки поверхности и нанесения ЛКМ необходимо тщательно следить за многими климатическими параметрами, наиболее важные из которых приведены ниже.

Влажность воздуха и точка росы. В воздухе всегда присутствует водяной пар, который,  конденсируясь, превращается в жидкость. На чистой металлической поверхности это происходит, когда относительная влажность воздуха достигает более 90%, например, при снижении температуры металла до точки росы.

На загрязненной поверхности конденсация может происходить значительно раньше. На практике струйно-очищенная  стальная поверхность начинает подвергаться коррозии уже при относительной влажности воздуха 60-70%.

Точка росы - температура, при которой воздух охлаждается до образования 100% относительной влажности и при этом на поверхности металла образуется конденсат.

Температура металла - при любой температуре воздуха следует контролировать и температуру металлической поверхности; при температуре ниже 0°С на поверхности может образоваться корка льда. Не рекомендуются также и повышенные (более +50°С) температуры, так как быстрое испарение растворителя вызывает пористость пленки и плохую адгезию к основе.

Температура окружающей среды - температура оказывает существенное влияние на высыхание краски и на образование пленки. Чем выше температура, тем быстрее высыхание краски - это непреложное правило. Высыхание химически высыхающих и высыхающих на воздухе красок значительно ускоряется при повышении температуры.

В описаниях ЛКМ указываются необходимое время высыхания и минимальная температура во время окраски.

Эпоксидные и другие краски, полимеризующиеся с использованием отвердителей (двухкомпонентные), очень медленно твердеют при температуре ниже +10°С.

При температуре ниже +10°С следует использовать специальные эпоксидные краски, которые подходят для применения при низких температурах.

Специальные эпоксидные краски, используемые при низких температурах, отверждаются даже при температуре -5°С.

11. Техника безопасности и противопожарные мероприятия

Технологические процессы нанесения противокоррозионных покрытий должны соответствовать основным требованиям техники безопасности по ГОСТ 12.3.002-75, ГОСТ 12.1.005-88, ГОСТ 12.3.005-75, ГОСТ 12.4.011-89 и ГОСТ 12.4.021-75, а также требованиям экологической безопасности по ИСО 14000.

Техника безопасности при подготовке поверхности

Персонал для производства работ по абразивоструйной очистке поверхности и нанесению Л КМ должен пройти соответствующее обучение, быть проинструктирован инженером по технике безопасности, иметь необходимую квалификацию, справку о состоянии здоровья, допуск к верхолазным работам и быть ознакомлен с правилами работы с химическими материалами.

В процессе подготовки поверхности металла перед нанесением Л КМ, включающей в себя абразивоструйную очистку поверхности, обезжиривание, фосфатирование и т.д. на работающих воздействуют шум, пыль, ударное воздействие частиц абразива, растворители и кислоты.

В качестве защиты от шума используются ушные вкладыши, наушники, шлемы и шумоизолирующие костюмы.

Для очистки рабочей зоны от пыли используются различные фильтры и вентиляция в рабочей зоне, при необходимости применяют индивидуальные средства защиты органов дыхания (респираторы, тканевые повязки, противогазы и т.д.).

При абразивной очистке поверхности работникам необходимо использовать защитную одежду (шлем с принудительной подачей чистого воздуха, комбинезон из пыленепроницаемой ткани либо скафандр, специальная обувь, перчатки и т.д.).

Подавать сжатый воздух в пескоструйный аппарат разрешается только после того, как пескоструйщик взял в руки наконечник пескоструйного шланга. Выпускать шланг из рук и прекращать работу пескоструйщик должен только после перекрытия воздушного вентиля и полного отсутствия в шланге сжатого воздуха. При прочистке сопла в процессе работы в случае его засорения запрещается смотреть в торец сопла.

Во время пескоструйных работ запрещается подходить к пескоструйщику со стороны направления струи песка. Эти места должны быть ограждены, и иметь предупреждающие надписи.

При обезжиривании и фосфатировании  поверхности металла  работающие должны быть снабжены средствами защиты: органов дыхания (см. защита от пыли), кожного покрова (специальные костюмы, головные уборы, перчатки) и глаз (очки).

На рабочих местах, связанных с обезжириванием, должны находиться средства пожаротушения (огнетушители, асбестовое одеяло, песок, лопаты, ведра).

Любые работы по подготовке поверхности металла разрешаются только после проведения инструктажа.

Техника безопасности и пожарной безопасности при нанесении ЛКМ методами распыления

ЛКМ представляют собой многокомпонентные смеси, включающие различные ингредиенты: пленкообразующие вещества, пигменты и различные добавки (пластификаторы, наполнители, отвердители и др.), а также растворители (летучие вещества), большинство из которых токсичны.

При окрашивании изделий методами распыления факел ЛКМ, образуемый краскораспылителем, состоит из мелкодисперсных капель наносимого ЛКМ и паров растворителей. Часть из них, не попадая на окрашиваемую поверхность, остается в атмосфере. При неосторожном обращении с окрасочным оборудованием ЛКМ может также попадать на незащищенные участки тела маляра. При этом вредные вещества, входящие в состав ЛКМ, могут воздействовать на организм человека через дыхательные пути, кожу и пищеварительный тракт.

Кроме того, большинство ЛКМ, растворителей и разбавителей пожароопасные, а пары многих растворителей могут образовывать с воздухом взрывоопасные смеси.

Поэтому при окрашивании изделий методами распыления следует соблюдать все установленные правила по технике безопасности, охране труда и противопожарной защите, регламентируемые требованиями ГОСТ 12.3.002-75, типовые правила пожарной безопасности для промышленных предприятий, утвержденные ГУПО МВД, санитарные правила при окрасочных работах с применением ручных распылителей, утвержденные Минздравом, а также инструкции, приложенные к используемому окрасочному оборудованию.

Безопасность окрасочных работ обеспечивается выполнением определенных требований к помещениям окрасочных цехов и участков, размещению производственного оборудования и организации рабочих мест, работе окрасочного оборудования и уходу за ним, технологическому режиму его работы, хранению исходных ЛКМ и их отходов, применению средств индивидуальной защиты работающих, выполнению требований техники безопасности. Основные требования, обеспечивающие безопасность и пожаробезопасность при нанесении ЛКМ методами распыления, приводятся ниже.

Требования к помещениям окрасочных цехов и участков

В зависимости от воспламеняемости различных материалов производства по степени пожарной безопасности делят на категории А, Б, В, Г и Д. Производства, связанные с применением жидкостей с температурой вспышки паров 28°С и ниже, относят к категории А. Производства, связанные с применением жидкостей с температурой вспышки паров 28-120°С, относят к категории Б.

Все конструкционные элементы для помещений окрасочных цехов и участков должны быть выполнены в соответствии с категорией производства.

Окрасочные отделения площадью 500 м2 и более должны быть оборудованы автоматическими установками пожаротушения.

Окрасочные отделения производственной площадью менее 500 м2, если они не оборудованы автоматическими установками пожаротушения, следует оборудовать автоматической пожарной сигнализацией.

Окрасочные камеры, а также участки для бескамерной окраски на решетках в полу должны быть снабжены средствами автоматического пожаротушения.

В окрасочных цехах должно быть не менее двух выходов. Расстояние от наиболее удаленного рабочего места до наружного выхода или выхода на лестничную клетку должно быть не более 30 м в одноэтажных и не более 25 м в многоэтажных зданиях. Все двери цехов и участков должны открываться в сторону ближайших выходов из здания.

Окрасочные цеха должны быть оснащены приточно-вытяжной вентиляцией.

В окрасочных цехах должно быть установлено отопление (водяное, паровое низкого давления, воздушное), обеспечивающее температуру воздуха в помещении 17-25°С в зависимости от времени года. Температура на поверхности отопительных приборов центрального отопления не должна превышать 60°С. Отопительные приборы должны быть гладкими и легкодоступными для очистки.

Помещения окрасочных цехов следует обеспечивать средствами пожаротушения по согласованию с органами пожарного надзора.

В помещении окрасочных цехов должно быть предусмотрено рабочее и аварийное освещение. Светильники, применяемые в окрасочных цехах, должны удовлетворять "Правилам устройств электроустановок", а освещенность рабочих поверхностей в помещении окрасочного участка при общем освещении и наличии ламп накаливания должна составлять 150 лк, а при использовании люминесцентных ламп - 300 лк.

Для исключения возникновения источников воспламенения запрещается:

- применять в окрасочных цехах открытый огонь, выполнять электрогазосварочные работы и курить;

- использовать огонь для выжигания отложений ЛКМ в распылительных камерах и воздуховодах;

- применять стальные инструменты, образующие искры, например, скребки для очистки металлических поверхностей от ЛКМ.

Все металлические конструкции корпусов окрасочных камер, краскопроводов, оборудования и воздуховодов должны быть заземлены.

Из окрасочного цеха необходимо регулярно убирать и уничтожать (утилизировать) промасленные обтирочные и самовозгорающиеся материалы, отходы и другие легковоспламеняющиеся вещества.

Требования к лакокрасочным материалам

Каждая партия ЛКМ, растворителей, разбавителей, отвердителей, должна быть снабжена сопроводительными документами с данными о содержании чрезвычайно опасных веществ по отдельным составляющим.

Для окрасочных работ, следует применять ЛКМ с известными параметрами взрывоопасности (температура вспышки, температурные пределы воспламенения, температура самовоспламенения, склонность к самовозгоранию, массовая или объемная область воспламенения) и иметь сведения об их токсичности. Эти параметры, а также меры предосторожности при работе должны быть указаны в нормативно-технической документации.

В случае использования импортных ЛКМ, необходимо, прежде всего, обратить внимание на этикетку емкостей с ЛКМ. В соответствии с международными требованиями на ней должны быть следующие предупреждающие знаки:

- "череп и кости" - означает, что в емкостях содержатся ядовитые лаки, краски, эмали и отдельные компоненты, отвердители, катализаторы, растворители и т.п. Работать с этими материалами следует очень осторожно, при хорошей вентиляции, используя, индивидуальные средства зашиты и защитные кремы (предохранительные пасты);

- "пламя" - означает, что содержимое является горючим и взрывоопасным. Крышки на таре с таким знаком необходимо открывать взрывобезопасным инструментом, соблюдая все необходимые меры предосторожности;

- "резиновая перчатка" - свидетельствует о том, что содержимое вредно действует на кожные покровы и слизистые оболочки. Работать с такими материалами нужно при хорошей вентиляции, в резиновых перчатках и очках.

В состав импортных ЛКМ (грунтовки, лаки, краски, эмали) входят растворители и разбавители, аналогичные по своим свойствам отечественным. Поэтому при работе с ними необходимо строго соблюдать те же правила по технике безопасности, что и при работе с отечественными материалами.

Требования к технике и технологии нанесения ЛКМ методами распыления

При окрашивании изделий методом пневматического распыления во избежание излишнего туманообразования необходимо настраивать краскораспылители на оптимальный режим работы при минимально допустимом давлении сжатого воздуха на распыление. При работе в помещении изделие следует окрашивать в специальных установках или распылительных камерах, оборудованных системой местной вытяжной вентиляции.

Мелкие и средние по размерам изделия при окрашивании должны находиться внутри окрасочной камеры, а рабочий - снаружи. Допускается расположение рабочего места в открытом проеме. Крупногабаритные изделия должны окрашиваться на открытых участках, оборудованных вытяжкой через решетки в полу с равномерным отсосом воздуха через решетки в количестве 0,55-0,70 м3 на 1 м2 площади решетки. При этом изделия высотой более 2 м следует ограждать несгораемыми перегородками облегченного типа высотой на 0,5 м больше высоты изделия.

Объем отсасываемого воздуха рассчитывают, исходя из условия обеспечения скорости движения воздуха, на рабочем месте не менее 1 м/с.

При работе с полиуретановыми, эпоксидными, поливинилхлоридными, кремнийорганическими материалами предъявляются повышенные требования к обеспечению безопасности работ (эффективность вентиляции, индивидуальные средства защиты, допустимая концентрация паров разбавителей и ЛКМ в воздухе).

Окрасочная аппаратура (красконагнетательные баки, маслово-доотделители и др.) должна соответствовать "Правилам устройства и безопасной эксплуатации сосудов, работающих под давлением". Она должна быть снабжена редукционными пневмоклаианами, манометрами, предохранительными клапанами. Манометры должны быть проверены и опломбированы. Предохранительные клапаны должны быть отрегулированы на предельно допустимое давление.

Шланги для подачи воздуха и шланги для подачи ЛКМ в местах соединений следует прочно закреплять хомутами во избежание срыва под давлением сжатого воздуха или ЛКМ.

При работе установок безвоздушного распыления необходимо соблюдать общие правила техники безопасности, пожарной безопасности и промышленной санитарии для окрасочных цехов.

Установки безвоздушного распыления должны быть заземлены во избежание накапливания при работе статического электричества.

К работе с установками допускаются специально обученные и аттестованные маляры. Маляры должны быть обеспечены спецодеждой, средствами индивидуальной защиты и личной гигиены.

Следует помнить, что безвоздушный краскораспылитель со снятым соплом при работающей установке очень опасен. При случайном нажатии на пусковой крючок из головки вырывается под высоким давлением нераспыленная струя ЛКМ, обладающая большой пробивной силой. При высоком давлении она может нанести серьезные травмы: оторвать пальцы, насквозь пробить руку.

Во избежание возможных травм необходимо строго выполнять следующие правила:

- рассматривая краскораспылитель или проверяя его работоспособность, никогда не направлять сопло ни на себя, ни на окружающих, так как это может привести к серьезным травмам;

 

 

- окрашивая изделия, следить за тем, чтобы струя ЛКМ не попала на работающих вблизи этого места людей;

- не оставлять установку без надзора под давлением, особенно когда у краскораспылителя снято сопло;

- замену сопла, снятие головки производить только после фиксации пускового крючка предохранителем, исключающим случайное нажатие на крючок и подачу ЛКМ;

- во время перерывов в работе (включая короткие) пусковой крючок краскораспылителя необходимо фиксировать предохранителем.

При появлении каких-либо неисправностей и при аварии (нарушение работы насоса, внезапное повышение давления в системе, разрыв шланга высокого давления, появившаяся течь ЛКМ в соединениях системы и др.), необходимо быстро перекрыть подачу сжатого воздуха в установку (если установка с пневмоприводом), отключить подачу электроэнергии (если установка с электроприводом) и заглушить двигатель (если установка имеет бензопривод) и сбросить давление в системе. Только после этого допускается устранение неисправностей.

При наличии давления в системе категорически запрещается разбирать какие-либо детали или узлы установки, подтягивать сальники, уплотнения.

Запрещается поднимать давление ЛКМ в установке выше максимально допустимой величины, указанной в паспорте установки.

При эксплуатации установок запрещается наступать на шланги высокого давления, ронять на них тяжелые предметы, перекручивать их и изгибать радиусом менее 150 мм.

При перемещении шланга высокого давления с краскораспылителем не допускать соприкосновения шланга с острыми углами, подвижными частями, горячими поверхностями. Не тянуть оборудование за шланги.

При первых признаках износа шланги необходимо заменить. Разрыв шланга при высоком давлении может причинить серьезные повреждения. Категорически запрещается ремонтировать шланги наложением на дефектный участок бандажа, ленты и других приспособлений. При нанесении ЛКМ методом безвоздушного распыления следует строго соблюдать технологический режим. По окончании работы следует выключить установку и сбросить давление на ЛКМ в системе насос-шланг-краскораспылитель.

При работе установок комбинированного распыления (нанесение базового компонента и отвердителя одновременно) необходимо наряду с общими правилами техники безопасности, пожарной безопасности и промышленной санитарии для окрасочных цехов соблюдать все требования, которые предъявляются к оборудованию, работающему по принципу безвоздушного распыления под высоким давлением.

Для предотвращения возможного поражения током при эксплуатации стационарных электроокрасочных установок со стационарным источником высокого напряжения распылитель и система подачи ЛКМ, находящиеся под высоким напряжением, должны быть заземлены. Вместе с этим двери для входа в камеру должны иметь блокировку высокого напряжения при открывании дверей. На дверях камеры устанавливают световые таблички: "Включено высокое напряжение" и "Не входить", загорающиеся при включении высокого напряжения.

Техника безопасности при металлизации

В данном подразделе рассматривается техника безопасности при газопламенной металлизации, а безопасность работ при электродуговой металлизации полностью аналогична технике безопасности электросварочных работ по ГОСТ 12.3.003-76.

При работе с кислородно-ацетиленовым оборудованием основная опасность состоит во взрывоопаснти баллонов, и при работе с ними надо соблюдать требования ГОСТ 12.3.036-84 ССБТ "Газопламенная обработка металлов. Требования техники безопасности", а также ПБ 10-115-96 "Правила устройства и безопасной эксплуатации сосудов, работающих под давлением".

Кислород сам по себе является негорючим газом, однако он обладает свойством поддерживать горение.

Ацетилен является горючим газом и обладает характерным запахом. Он лишь немного легче воздуха. Ацетилен отличается тем, что, смешиваясь с воздухом, образует взрывчатую смесь.

При наличии в воздухе более трех процентов ацетилена он становится взрывоопасным. Наличие в воздухе столь незначительного количества ацетилена невозможно заметить по запаху, а поэтому трудно вовремя предупредить работников об опасности взрыва.

Самым надежным средством предотвращения взрыва является надлежащее содержание оборудования. Негерметичные соединения выявляются мыльным раствором или водой, а не горелкой или спичками.

Газы, которые применяются при металлизации, отбираются из стальных баллонов, в которых они находятся под давлением (кислород под давлением 150 атм, а ацетилен под давлением 15 атм). Чтобы не перепутать баллоны со сжатыми газами, головки баллонов обозначаются цветными кругами, так что всегда можно безошибочно определить, в каком баллоне находится кислород, а в каком ацетилен. Так, кислород обозначается голубым цветом, ацетилен белым, а пропан-бутан красным. Цвет надписи на баллонах: "кислород" - черным, "ацетилен" - красным и "пропан-бутан" - белым.

При металлизации можно также пользоваться сжатым воздухом из баллонов, что при большом объеме работ, однако, является неэкономичным. Баллоны со сжатым воздухом окрашиваются серебристо-алюминиевым цветом.

Баллоны непосредственно запираются баллонными вентилями. Перед началом работы на баллонный вентиль навинчивается понижающий клапан. К баллонам с ацетиленом понижающий клапан прикрепляется хомутами. Каждому газу соответствует определенная резьба, что также исключает возможность установки клапана не на тот баллон. Если на баллон навинчивается понижающий клапан, следует коротким открытием баллонного вентиля продуть пыль, которая может скопиться в горловине баллона.

Одновременно проверяется герметичность понижающего клапана. Баллонные вентили следует открывать постепенно, только вручную, без помощи инструментов. После выпуска газа вентиль следует тщательно запереть.

Запрещается смазывать баллонный вентиль, каким бы то ни было маслом. Защитные колпачки баллонов часто используются как сосуды для масла или красок. Использование защитных колпачков, для каких бы то ни было других целей, запрещается. Наоборот, при свинчивании колпачков с баллона нужно тщательно оберегать их внутренние поверхности от загрязнений. Под колпачки пустых баллонов вкладываются записки с указанием неполадок вентиля или неисправностей баллона, обнаруженных в процессе их эксплуатации.

Баллоны должны защищаться от нагрева, в том числе и от действия солнечных лучей. Баллоны с газом должны храниться за пределами цеха, в сухом помещении, чтобы они не ржавели.

Баллоны с ацетиленом должны в процессе металлизации находиться в вертикальном положении, так как при установке их в горизонтальном положении возможна утечка ацетилена. После перевозки баллоны должны находиться в спокойном состоянии, не менее часа.

Если в непосредственной близости от баллонов возникнет пожар, необходимо, прежде всего, вынести в безопасное место баллоны, в том числе и пустые (особенно из-под ацетилена). Если баллоны нагрелись, их рекомендуется поливать водой. Как с полными, так и с пустыми баллонами следует обращаться осторожно, складывать их на деревянную или другую мягкую подкладку, оберегая от ударов. Транспортировка баллонов вагоном запрещена.

Требования безопасности при эксплуатации средств механизации, средств подмащивания, оснастки, ручных машин и инструмента

При проведении противокоррозионных работ используются различные средства подмащивания: леса, подмости неподвижные и подмости подъемные и др.

Организация безопасности труда с использованием вышеуказанных средств должна соответствовать требованиям СНиП 12-03-99 "Безопасность труда в строительстве. Ч. 1. Общие требования".

Конструкция подъемных подмостей (люлек), применяемых при выполнении противокоррозионных работ, должна соответствовать требованиям ГОСТ 27372-87 "Люльки для строительно-монтажных работ. Технические условия".

При проведении работ на высоте мероприятия по технике безопасности должны разрабатываться в строгом соответствии с приложением "К" (пункт К7) СНиП 12-03-99.

Выполнение окрасочных работ на площадках, где имеется или может возникнуть пожаро-взрывоопасность, при производстве смежных работ (например, сварка, резка и т.п.), должно проводиться в соответствии со специально разработанным для этого случая планом производства работ (ППР), и на эти работы должен выдаваться "Наряд-допуск на производство работ в местах действия вредных или опасных факторов".

Работники, производящие работы на высоте, должны иметь допуск, выданный медицинским учреждением.

Приложения

 

Приложение 1

Технические характеристики лакокрасочных материалов (ЛКМ) отечественного производства

ЭМАЛЬ "ЭМАКОР"

ТУ 2312-006-31953544-2002 Винилово-эпоксидная эмаль.

ОБЛАСТЬ ПРИМЕНЕНИЯ

Предназначена для защиты от коррозии металлоконструкций гидротехнических сооружений.

СВОЙСТВА

Обладает водостойкостью и высокой стойкостью в промышленной атмосфере.

ТЕХНИЧЕСКИЕ ХАРАКТЕРИСТИКИ

Цвет

зеленый, красно-коричневый, черный, серый и др.

Количество упаковок

двухупаковочная

Массовая доля нелетучих веществ, %

38-45

Условная вязкость по вискозиметру ВЗ-246

 

с диаметром сопла 4 мм при 20°С, с

40-70

Время высыхания до степени 3, при 20°С, ч, не более

3

Жизнеспособность при 20°С, ч, не менее

24

Эластичность пленки при изгибе, мм, не более

2

Прочность пленки при ударе по прибору У-1, см, не менее

50

Адгезия, баллы

1

Толщина одного слоя, мкм

50-70

Расход на один слой, г/м2 при нанесении:

 

кистью

160

распылением

150-200

Разбавитель

ксилол, толуол, Р-4

Температура нанесения, °С

от -10 до +35, при относительной влажности воздуха не ниже 80%

Цвет

зеленый, красно-коричневый, черный, серый и др.

Количество упаковок

двухупаковочная

Массовая доля нелетучих веществ, %

38-45

Условная вязкость по вискозиметру ВЗ-246

 

с диаметром сопла 4 мм при 20°С, с

40-70

Время высыхания до степени 3, при 20°С, ч, не более

3

Жизнеспособность при 20°С, ч, не менее

24

Эластичность пленки при изгибе, мм, не более

2

Прочность пленки при ударе по прибору У-1, см, не менее

50

Адгезия, баллы

1

Толщина одного слоя, мкм

50-70

Расход на один слой, г/м2 при нанесении:

 

кистью

160

распылением

150-200

Разбавитель

ксилол, толуол, Р-4

Температура нанесения, °С

от -10 до +35, при относительной влажности воздуха не ниже 80%

РЕКОМЕНДАЦИИ ПО ПРИМЕНЕНИЮ

Подготовка поверхности

При применении в качестве самостоятельного покрытия металлические поверхности очищают от продуктов коррозии до степени очистки поверхности 2 по ГОСТ 9.402-80 (степень Sa 21/2 по ISO 8501-1) и обезжиривают. Поверхность должна быть чистой и сухой.

Подготовка ЛКМ

Перед применением смешать основу с отвердителем (на 1 кг основы 20 г отвердителя) и тщательно перемешать. Выдержать перед применением 20-30 мин. При необходимости разбавить растворителем в количестве не более 10 % от массы эмали.

Способ нанесения Кистью, валиком, воздушным и безвоздушным распылением.

ГАРАНТИЙНЫЙ СРОК ХРАНЕНИЯ

12 месяцев при складировании в прохладном сухом помещении в закрытой заводской упаковке.

 

СИЛЦИНК-1

ТУ 2312-005-31953544-2002 Этилсиликатная цинкнаполненная композиция.

ОБЛАСТЬ ПРИМЕНЕНИЯ

Предназначена для грунтования в системе защиты от коррозии металлоконструкций, эксплуатируемых в обычных атмосферных и промышленных условиях, тропическом климате, при воздействии грунтовых вод, нефтепродуктов.

СВОЙСТВА

Обладает хорошей стойкостью в промышленной атмосфере, водостойкостью и стойкостью к нефтепродуктам.

ТЕХНИЧЕСКИЕ ХАРАКТЕРИСТИКИ

Цвет

серый

Количество упаковок

двухупаковочная

Массовая доля нелетучих веществ, % основы

10,0-12,0

Условная вязкость по вискозиметру ВЗ-246

 

с диаметром сопла 4 мм при 20°С, с

23±3

Время высыхания до степени 3, при 20°С, мин, не более

15

Жизнеспособность при 20°С, ч, не менее

8

Эластичность пленки при изгибе, мм, не более

3

Прочность пленки при ударе по прибору У-1, см, не менее

50

Адгезия, баллы

1

Толщина одного слоя, мкм

40-50

Расход на один слой, г/м2:

 

при нанесении кистью

180-200

при пневматическом распылении

200-250

Разбавитель

спирт этиловый технический

Температура нанесения, °С

от -10 до +30 при относительной влажности воздуха не ниже 80%

РЕКОМЕНДАЦИИ ПО ПРИМЕНЕНИЮ

Подготовка поверхности

Металлические поверхности очищают от продуктов коррозии до степени очистки поверхности 2 по ГОСТ 9.402-80 (степень Sa 21/2 no ISO 8501-1) и обезжиривают.

Подготовка ЛКМ

Перед применением тщательно смешать компоненты - основу и цинковый порошок в соотношении 1: 2 по массе, при необходимости разбавить разбавителем, но не более 5% от массы ЛКМ.

Способ нанесения Кистью, валиком, воздушным распылением.

ГАРАНТИЙНЫЙ СРОК ХРАНЕНИЯ

6 месяцев при прохладном сухом складировании в закрытой заводской упаковке.

 

ЭФ-1217

ТУ 2312-004-31953544-01

Эмаль тиксотропная на основе эпоксиэфирной смолы.

ОБЛАСТЬ ПРИМЕНЕНИЯ

Предназначена для защиты от коррозии крупногабаритных металлоконструкций, эксплуатирующихся в атмосферных условиях с повышенной влажностью, а также для защиты наружной поверхности металлоконструкций, подвергающихся воздействию нефтепродуктов.

СВОЙСТВА

Обладает высокой атмосферостойкостью во всех климатических районах.

ТЕХНИЧЕСКИЕ ХАРАКТЕРИСТИКИ

Цвет

серый, оттенок не нормируется

Количество упаковок

одноупаковочная

Массовая доля нелетучих веществ, %

58-64

Время высыхания до степени 3 при (20±2)°С, ч, не более

8

Эластичность при изгибе, мм, не более

2

Прочность пленки при ударе, по прибору У-1, см, не менее

40

Адгезия, баллы, не более

1

Толщина нестекающего мокрого слоя, мм, не менее

0,3

Расход на один слой, г/м2

100-240 (в зависимости от способа нанесения)

Растворитель

ксилол, толуол

Температура нанесения, °С

от -5 до +35

 

РЕКОМЕНДАЦИИ ПО ПРИМЕНЕНИЮ

Подготовка поверхности

Перед окрашиванием поверхность тщательно очистить от пыли, грязи, жира. Поверхность должна быть чистой и сухой.

Подготовка эмали

Тщательно перемешать, в случае загустевания разбавить растворителем.

Способ нанесения Безвоздушным, пневматическим распылением, кистью, валиком.

 

ГАРАНТИЙНЫЙ СРОК И УСЛОВИЯ ХРАНЕНИЯ

6 месяцев со дня изготовления, при хранении в сухом прохладном месте.

 

ЭФ-070

ТУ 2312-003-31953544-2001

Грунтовка протекторная на основе эпоксиэфирной смолы и цинка.

 

ОБЛАСТЬ ПРИМЕНЕНИЯ

Предназначена для защиты от коррозии (в комплексном многослойном покрытии с эмалями) металлоконструкций, в том числе мостовых, эксплуатируемых в атмосферных условиях и в условиях с повышенной влажностью, а также для временной защиты от коррозии крупногабаритных металлоконструкций на период монтажа и хранения (не более 1 месяца).

 

СВОЙСТВА

При межоперационном хранении металлоконструкций устойчива к изменению температур от -50 до +60°С. В комплексе с эмалью ЭФ-1217 обладает высокой атмосферо-стойкостью в любых климатических районах.

 

ТЕХНИЧЕСКИЕ ХАРАКТЕРИСТИКИ

Цвет

серо-розовый, оттенок не нормируется

Количество упаковок

одноупаковочная

Массовая доля нелетучих веществ, %

73-79

Время высыхания до степени 3 при (20±2)°С, ч, не более

6

Прочность пленки при ударе, по прибору У-1, см, не менее

50

Адгезия пленки, баллы, не более

1

Толщина одного слоя, мкм

35-45

Расход на один слой, г/м2

90-120 (в зависимости

 

от способа нанесения)

Растворитель

ксилол, толуол

Температура нанесения, °С

от -5 до +35

 

РЕКОМЕНДАЦИИ ПО ПРИМЕНЕНИЮ

Подготовка поверхности

Перед окрашиванием поверхность тщательно очистить от пыли, грязи, ржавчины, непрочно держащегося старого покрытия пескоструйной или дробеструйной обработкой до степени 2 по ГОСТ 9.402-80 и обезжирить.

Подготовка ЛКМ

Тщательно перемешать, разбавить ксилолом, толуолом до рабочей вязкости 30-40 с по ВЗ-246 при (20±0,5)°С и профильтровать через 2-3 слоя марли.

Способ нанесения

Краскораспылителем, безвоздушным распылением не менее чем в 2 слоя, кистью и валиком.

 

ГАРАНТИЙНЫЙ СРОК И УСЛОВИЯ ХРАНЕНИЯ

6 месяцев со дня изготовления, в сухом прохладном темном месте.

 

ВЛ-023

(ГОСТ 12707-77)

Фосфатирующая двухкомпонентная грунтовка на основе поливинилбутиралевого связующего.

 

ОБЛАСТЬ ПРИМЕНЕНИЯ

Предназначена для грунтования металлических поверхностей (в т.ч. из нержавеющей стали и цветных металлов) перед нанесением лакокрасочных материалов, для защиты металла при межоперационном хранении до 6 месяцев, а также вместо фосфатирова-ния и оксидирования.

 

СВОЙСТВА

Обладает в комплексе с эмалями на эпоксидной, перхлорвиниловой основе высокой водостойкостью как в пресной, так и в морской воде, атмосферостойкостью в любых климатических районах.

 

ТЕХНИЧЕСКИЕ ХАРАКТЕРИСТИКИ

Цвет и внешний вид пленки

матовая пленка зеленого цвета

Количество упаковок

двухупаковочная

Массовая доля нелетучих веществ, %

25-27

Условная вязкость по вискозиметру ВЗ-246

 

с диаметром сопла 4 мм, при 20°С, с

20-40

Время высыхания до степени 5, при 20°С, мин

15

Жизнеспособность при 20°С, ч

8

Эластичность пленки при изгибе, мм, не более

1

Прочность пленки при ударе, по прибору У-1, см

50

Адгезия, баллы

1

Толщина одного слоя, мкм

15-18

Расход на один слой, г/м2:

 

при нанесении распылением

200-220

при нанесении кистью

115-120

Растворитель

РФГ, Р-6, 648

Температура нанесения, °С

от-10 до+30

 

РЕКОМЕНДАЦИИ ПО ПРИМЕНЕНИЮ Подготовка поверхности

Поверхность должна быть очищена от остатков непрочно держащегося старого покрытия, ржавчины, жира и грязи. Степень очистки поверхности 2 по ГОСТ 9.402-80 (степень Sa 21/2 по ISO 8501-1).

Подготовка ЛКМ

В основу добавить кислотный разбавитель в соотношении 5:1 по массе, тщательно перемешать, выдержать 30 минут, при необходимости добавить растворитель.

Способ нанесения

Наносят методом безвоздушного, пневматического распыления, кистью, валиком.

 

ГАРАНТИЙНЫЙ СРОК ХРАНЕНИЯ

12 месяцев со дня изготовления, в темном сухом и прохладном месте.

НПП «Высокодисперсные Металлические Порошки»

Научно-производственное предприятие» Высокодисперсные Металлические Порошки»- разработчик и производитель уникальных металлических порошков, материалов для цинкования металлопродукции, противоизносных и антифрикционных препаратов. 

НПП «Высокодисперсные Металлические Порошки» ведет работу по созданию новых противокоррозионных составов для долговременной защиты защиты металлических поверхностей. Существует специальная программа по созданию противообрастающих композиций.

Вся продукция и технологии НПП «Высокодисперсные Металлические Порошки» защищены патентами и сертифицированы (реквизиты производителя и поставщика - см. Приложение: 7).

 

ПАЭС

(ТУ 0165-13-96)

Алюминиевая краска на основе алюминиевой пудры и кремнийорганического связующего.

 

ОБЛАСТЬ ПРИМЕНЕНИЯ

ПАЭС используется в качестве покрывного лакокрасочного материала по покрытию ЦВЭС для повышения его защитных и декоративных свойств.

 

СВОЙСТВА

Покрытие обладает высокой атмосферостойкостью во всех климатических районах.

 

ТЕХНИЧЕСКИЕ ХАРАКТЕРИСТИКИ

Цвет и внешний вид пленки

серый

Количество упаковок

одноупаковочная

Массовая доля нелетучих веществ, %

15-30

Условная вязкость по ВЗ-246-4 при (20±2)°С, с

20-40

Время высыхания до степени 3 при 20°С, ч, не более

0,5

Эластичность пленки при изгибе, мм, не более

3

Прочность пленки при ударе, см, не менее

50

Адгезия пленки, баллы, не более

1

Толщина одного слоя, мкм

5-15

Расход на один слой, г/м2

70-140

Растворитель

646, 648

Температура нанесения

от -25 до +40° С при относительной влажности 30-90%

 

РЕКОМЕНДАЦИИ ПО ПРИМЕНЕНИЮ

Подготовка поверхности

Поверхность должна быть очищена от пыли и грязи, обезжирена до степени 1 по ГОСТ 9.402-80. Композиция ПАЭС наносится на покрытие ЦВЭС после его высыхания, но не ранее чем через 2 часа.

Подготовка JIKM

Перед применением тщательно перемешать

Способ нанесения

Пневматическое и безвоздушное распыление, кисть, валик.

 

ГАРАНТИЙНЫЙ СРОК И УСЛОВИЯ ХРАНЕНИЯ

Срок хранения в таре изготовителя 6 месяцев, в сухом прохладном месте.

"ВМП" Екатеринбург

 

АЛПОЛ

(ТУ 2313-014-12288779-99)

Защитно-декоративная краска на полимерном связующем пигментированная алюминиевой пудрой.

 

ОБЛАСТЬ ПРИМЕНЕНИЯ

Используется в качестве покрывного лакокрасочного материала по покрытию ЦИ-НОЛ для повышения его защитных и декоративных свойств.

 

СВОЙСТВА

Покрытие обладает высокой атмосферостойкостью во всех климатических районах, стойкое в воде (не питьевого назначения).

 

ТЕХНИЧЕСКИЕ ХАРАКТЕРИСТИКИ

Цвет и внешний вид пленки

серебристо-серый

Количество упаковок

одноупаковочная

Массовая доля нелетучих веществ, %

15-23

Условная вязкость по ВЗ-246-4 при (20±2)°С, с

15-30

Время высыхания до степени 3 при 20°С, ч, не более

0,5

Эластичность пленки при изгибе, мм, не более

2

Прочность пленки при ударе, см, не менее

50

Адгезия пленки, баллы, не более

2

Толщина одного слоя, мкм

5-20

Расход на один слой, г/м2

70-140

Растворитель

Р-5, Р-4, Р-10, ксилол, сольвент, 646, 647, 649

Температура нанесения, °С

от -25 до +40 при относительной влажности не более 90%

 

РЕКОМЕНДАЦИИ ПО ПРИМЕНЕНИЮ

Подготовка поверхности

Поверхность должна быть очищена от пыли и грязи, обезжирена до степени 1 по ГОСТ 9.402-80. Наносится на покрытие ЦИНОЛ после его высыхания, но не ранее чем через 2 часа.

Подготовка ЛКМ

Перед применением тщательно перемешать.

Способ нанесения

Пневматическое и безвоздушное распыление, кисть, валик.

 

ГАРАНТИЙНЫЙ СРОК И УСЛОВИЯ ХРАНЕНИЯ

12 месяцев в таре изготовителя, в сухом прохладном месте.

"ВМП" Екатеринбург

 

АЛЮМОТАН

(ТУ 2313-018-12288779-99)

Защитно-декоративная краска на основе алюминиевой пудры и уретанового связующего.

 

ОБЛАСТЬ ПРИМЕНЕНИЯ

Используется в качестве покрывного лакокрасочного материала по покрытию ЦИНО-ТАН и ЦИНЭП с целью увеличения срока службы покрытия, в атмосферных условиях, а также в качестве самостоятельного декоративного покрытия.

 

СВОЙСТВА

Покрытие обладает высокой атмосферостойкостью во всех климатических районах, стойкое в морской и пресной воде, водных растворах солей, кислот, щелочей, нефти.

 

ТЕХНИЧЕСКИЕ ХАРАКТЕРИСТИКИ

Цвет и внешний вид пленки

серебристо-серый

Количество упаковок

одноупаковочная

Массовая доля нелетучих веществ, %

39-40

Условная вязкость по ВЗ-246-4 при (20±2) °С, с

15-30

Время высыхания до степени 3 при 20 "С, ч, не более

1

Эластичность пленки при изгибе, мм, не более

2

Прочность пленки при ударе, см, не менее

50

Адгезия пленки, баллы, не более

1

Толщина одного слоя, мкм

15-30

Расход на один слой, г/м2

100-150

Растворитель

сольвент, бутилацетат, ксилол, допускается 646, 647, 649

Температура нанесения

от -25 до +40°С при относительной влажности от 30 до 98 %

 

РЕКОМЕНДАЦИИ ПО ПРИМЕНЕНИЮ

Подготовка поверхности

В качестве покрывного слоя композиция наносится на очищенную от пыли, грязи и обезжиренную поверхность покрытий ЦИНОТАН и ЦИНЭП после их высыхания. Перед нанесением в качестве самостоятельного покрытия стальную поверхность необходимо обезжирить, очистить от окислов - до степени 2 по ГОСТ 9.402-80 (Sa 21/2 по ISO 8501-1) с приданием шероховатости. Допускается очистка от ржавчины и окалины (окислов) до степени 3 по ГОСТ 9.402-80 (Sa 2 по ISO 8501-1), при этом срок

службы покрытия уменьшается.

Подготовка ЛКМ

Перед применением тщательно перемещать

Способ нанесения

Пневматическое и безвоздушное распыление, кисть, валик.

 

ГАРАНТИЙНЫЙ СРОК И УСЛОВИЯ ХРАНЕНИЯ

Срок хранения в таре изготовителя 6 месяцев, в сухом прохладном месте.

"ВМП" Екатеринбург

 

ЦВЭС

(ТУ 2312-004-12288779-99)

Двухкомпонентная цинкнаполненная композиция на кремнийорганическом связующем.

 

ОБЛАСТЬ ПРИМЕНЕНИЯ

Используется в качестве самостоятельного лакокрасочного материала для защиты металлических поверхностей, а также в качестве грунта для эмалей. Композиция ЦВЭС выпускается в двух вариантах: ЦВЭС № 1 и ЦВЭС № 2, отличающихся массовым соотношением кремнийорганического связующего и цинкового порошка.

 

СВОЙСТВА

Покрытие атмосферостойкое в промышленной атмосфере, водостойкое, пригодно для воды питьевого назначения, проведение сварочных работ не приводит к ухудшению качества сварного шва. ЦВЭС представляет собой смесь высокодисперсного порошка цинка и кремнийорганического связующего.

ТЕХНИЧЕСКИЕ ХАРАКТЕРИСТИКИ

ЦВЭС № 1

ЦВЭС № 2

Цвет и внешний вид пленки

серый

Количество упаковок

двухупаковочная

Массовая доля нелетучих веществ, %

55-57

64-65

Условная вязкость по ВЗ-246-4 при (20+2)°С, с

17-30

18-32

Время высыхания до степени 3 при 20°С, ч, не более

0,5

0,5

Эластичность пленки при изгибе, мм, не более

3

5

Прочность пленки при ударе, см, менее

50

50

Адгезия пленки, баллы, не более

1

1

Толщина одного слоя, мкм

20-30

30-40

Расход на один слой, г/м2

130-200

170-230

Растворитель

Р-5, сольвент, ксилол, Р-4, Р-5, Р-10, 647, 646, 649

Температура нанесения

от -15 до +40°С при относительной влажности от 30 до 90%

 

РЕКОМЕНДАЦИИ ПО ПРИМЕНЕНИЮ

Подготовка поверхности

Поверхность должна быть очищена от старого покрытия, ржавчины, окалины и грязи. Степень очистки 2 по ГОСТ 9.402-80 (степень Sa 21/2 по ISO8501-1).

Подготовка грунтовки

Компоненты смешиваются перед применением. Соотношение компонента А к компоненту Б для ЦВЭС № 1 составляет 1:1, для ЦВЭС № 2 - 1:1,5 (по массе).

Способ нанесения

Пневматическое и безвоздушное распыление, кисть, валик.

 

ГАРАНТИЙНЫЙ СРОК И УСЛОВИЯ ХРАНЕНИЯ

Срок хранения в таре изготовителя 6 месяцев, в сухом прохладном месте.

"ВМП" Екатеринбург

 

ЦИНОЛ

(ТУ 2313-012-12288779-99)

Содержит высокодисперсный порошок цинка и полимерное связующее.

 

ОБЛАСТЬ ПРИМЕНЕНИЯ

Используется в качестве самостоятельного лакокрасочного материала для защиты металлических поверхностей, грунта для эмалей, а также для ремонта цинковых покрытий.

 

СВОЙСТВА

Покрытие атмосферостойкое в промышленной атмосфере, водостойкое, пригодно для питьевой воды. Покрытие не устойчиво в бензине и ряде органических растворителей.

 

ТЕХНИЧЕСКИЕ ХАРАКТЕРИСТИКИ

Цвет и внешний вид пленки

серый

Количество упаковок

одноупаковочный

Массовая доля нелетучих веществ, %

65-80

Условная вязкость по ВЗ-246-4 при (20±2)°С, с

15-30

Время высыхания до степени 3 при 20°С, ч, не более

0,5

Эластичность пленки при изгибе, мм, не более

5

Прочность пленки при ударе, см, не менее

50

Адгезия пленки, баллы, не более

1

Толщина одного слоя, мкм

30-50

Расход на один слой, г/м2

200-320

Растворитель

Р-5, сольвент, ксилол, Р-4,

 

Р-5, Р-10, 647, 646, 649

Температура нанесения, °С

от -25 до +40 при относитель-

 

ной влажности не более 90%

 

РЕКОМЕНДАЦИИ ПО ПРИМЕНЕНИЮ

Подготовка поверхности

Поверхность должна быть очищена от старого покрытия, ржавчины, жира и грязи. Степень очистки поверхности 2 по ГОСТ 9.402-80 (степень Sa 21/2 по ISO 8501-1). Допускается степень очистки поверхности 3-4 по ГОСТ 9.402-80 (Sa 2, St 3-St 2 по ISO 8501-1). Допускается нанесение краски на поверхность с остатками прочно сцепленной окалины и легкой ржавчины. Возможно нанесение на поверхность с остатками состаренных межоперационных грунтовок типа ВЛ-02 или ВЛ-023, однако срок службы комплексного покрытия уменьшается.

Подготовка ЛКМ

Перед применением тщательно перемешать.

Способ нанесения

Пневматическое и безвоздушное распыление, кисть, валик.

 

ГАРАНТИЙНЫЙ СРОК И УСЛОВИЯ ХРАНЕНИЯ

Срок хранения в таре изготовителя 12 месяцев.

"ВМП" Екатеринбург

 

ЦИНОТАН

(ТУ 2313-017-12288779-99)

Содержит высокодисперсный порошок цинка и уретановое связующее.

 

ОБЛАСТЬ ПРИМЕНЕНИЯ

Грунтовка ЦИНОТАН предназначена для защиты металлических поверхностей, используется как грунтовочное покрытие и как самостоятельное покрытие.

 

СВОЙСТВА

Покрытие атмосферостойкое в промышленной атмосфере, водостойкое в морской и пресной воде, в нефти и нефтепродуктах. Покрытие относится к материалам, не распространяющим пламя по поверхности.

 

ТЕХНИЧЕСКИЕ ХАРАКТЕРИСТИКИ

Цвет и внешний вид пленки

темно-серый

Количество упаковок

одноупаковочная

Массовая доля нелетучих веществ, %

82-88

Условная вязкость по ВЗ-246-4 при (20±2)°С,

20-60

Время высыхания до степени 3 при 20°С, ч, не более

1

Эластичность пленки при изгибе, мм, не более

2

Прочность пленки при ударе, см, не менее

50

Адгезия пленки, баллы, не более

1

Толщина одного слоя, мкм

40-60

Расход на один слой, г/м2

200-290

Растворитель 

сольвент, ксилол, бутилацетат или их смеси

Температура нанесения, °С

от -25 до +50 при относительной влажности от 30 до 98%

РЕКОМЕНДАЦИИ ПО ПРИМЕНЕНИЮ Подготовка поверхности

Поверхности должны быть очищены от остатков старого покрытия, ржавчины, жира и грязи. Степень очистки поверхности 2 по ГОСТ 9.402-80 (степень Sa 21/2 по ISO 8501-1). Допускается нанесение грунтовки на увлажненные, но не мокрые поверхности, а также в условиях ниже точки росы. Допускается степень очистки поверхности 3-4 по ГОСТ 9.402-80 (St 2, St 3-St 2 по ISO 8501-1). При этом срок службы покрытия уменьшается по сравнению с опескоструенной поверхностью.

Подготовка ЛКМ

Перед применением тщательно перемешать.

Способ нанесения

Пневматическое и безвоздушное распыление, кисть, валик.

ГАРАНТИЙНЫЙ СРОКИ УСЛОВИЯ ХРАНЕНИЯ

Срок хранения в таре изготовителя 6 месяцев.

"ВМП" Екатеринбург

ЦИНЭП

(ТУ 2312-022-12288779-00)

В состав входит высокодисперсный порошок цинка, связующим является эпоксидная

смола.

ОБЛАСТЬ ПРИМЕНЕНИЯ

Грунтовка ЦИНЭП предназначена для защиты металлических поверхностей, используется как грунтовочное покрытие и как самостоятельное покрытие.

 

СВОЙСТВА

Покрытие атмосферостойкое в промышленной атмосфере, водостойкое в морской и пресной воде, в нефти и нефтепродуктах.

 

ТЕХНИЧЕСКИЕ ХАРАКТЕРИСТИКИ

Цвет и внешний вид пленки

серый

Количество упаковок

двухупаковочная

Массовая доля нелетучих веществ, %

85+5

Условная вязкость по ВЗ-246-4 при (20+2)°С, с

25-55

Время высыхания до степени 3 при 20°С, мин, не более

90

Жизнеспособность грунтовки, ч

12

Эластичность пленки при изгибе, мм, не более

3

Прочность пленки при ударе, см, не менее

50

Адгезия пленки не более, баллы

1

Толщина одного слоя, мкм

40-60

Расход на 1 слой, г/м2

200-300

Растворитель

646, 649, 650

Температура нанесения, °С

от +10 до +40 при относительной влажности не более 90%

РЕКОМЕНДАЦИИ ПО ПРИМЕНЕНИЮ

Подготовка поверхности

Поверхность должна быть очищена от остатков непрочно держащегося старого покрытия, ржавчины, жира и грязи. Степень очистки поверхности 2 по ГОСТ 9.402-85 (степень Sa 21/2 по ISO 8501-1). Допускается нанесение грунтовки на увлажненные, но не мокрые поверхности, а также в условиях ниже точки росы. Допускается нанесение грунтовки на поверхность с начинающейся легкой ржавчиной. При этом срок службы покрытия уменьшается по сравнению с опескоструенной поверхностью.

Подготовка ЛКМ

Смешать на 100 массовых частей основы, 8 массовых частей отвердителя.

Способ нанесения

Пневматическое и безвоздушное распыление, кисть, валик.

 

ГАРАНТИЙНЫЙ СРОК И УСЛОВИЯ ХРАНЕНИЯ

Срок хранения в таре изготовителя 12 месяцев.

"ВМП" Екатеринбург

 

НПФ ПИГМЕНТ ООО "НИПРОИНС"

ОАО "Научно-производственная фирма ПИГМЕНТ" является ведущим предприятием России в области разработки и производства лакокрасочных материалов для защиты гидротехнических сооружений, судостроения и судоремонта. Лакокрасочные материалы, выпускаемые фирмой "Пигмент", обеспечивают долговременную противокоррозионную защиту (реквизиты производителя и поставщика см. Приложение 7).

 

ЭПОКУР

ТУ 2313-501-0^05034239-99 Эпоксидно-уретановая грунтовка.

 

ОБЛАСТЬ ПРИМЕНЕНИЯ

Предназначена для окраски металлических поверхностей под эпоксидные, уретановые эмали.

 

СВОЙСТВА

Обладает высокой адгезией к различным поверхностям, хорошими физико-механическими свойствами, высокой износостойкостью и химстойкостью в различных средах.

ТЕХНИЧЕСКИЕ ХАРАКТЕРИСТИКИ

Цвет

красно-коричневый, белый, черный и др.

Количество упаковок

двухупаковочная

Массовая доля нелетучих веществ, %

 

белая, красно-коричневая,

50-56

черная

37-43

Условная вязкость по ВЗ-246 с диаметром

 

сопла 4 мм при 20 "С, с:

 

белая, красно-коричневая

70-120

черная

30-50

Время высыхания до степени 3 при 20 °С, ч, не более

6

Жизнеспособность при 20 °С, ч

6

Эластичность пленки при изгибе, мм, не более

2

Прочность пленки при ударе, см, не менее

50

Адгезия пленки не более, баллы

1

Толщина одного слоя, мкм

30

Расход на один слой, г/м2:

 

кистью и валиком

150-170

распылением

170-200

Растворитель

бутилацетат или смесь бутилацетата с ксилолом в соотношении 5:1

Температура нанесения, °С

от +5 до +30 при относительной влажности воздуха не выше 75%

 

РЕКОМЕНДАЦИИ ПО ПРИМЕНЕНИЮ Подготовка поверхности

Металлические поверхности очищают от продуктов коррозии до степени 2 по ГОСТ 9.104-80 и обезжиривают.

Подготовка ЛКМ

Перед применением основу тщательно перемешивают, затем смешивают с отвердителем (на 10 кг основы необходимо 2 кг отвердителя).

Способ нанесения

Кисть, валик, пневматическое распыление, безвоздушное распыление.

 

ГАРАНТИЙНЫЙ СРОК И УСЛОВИЯ ХРАНЕНИЯ

Основа грунтовки 12 месяцев, отвердитель 6 месяцев при температуре от -25 до +25 °С.

НФП ПИГМЕНТ ООО "НИПРОИНС"

 

"ВИНИКОЛОР" У (уретановая)

ТУ 2313-451-0-05034239-95 Двухкомпонентная эмаль на уретановой основе.

 

ОБЛАСТЬ ПРИМЕНЕНИЯ

Предназначена для защиты от коррозии наружной поверхности емкостей для хранения нефти и нефтепродуктов, металлических конструкций мостов и гидротехнических сооружений, изделий машиностроения и металлоконструкций различного назначения.

 

СВОЙСТВА

Покрытие стойкое к влажной атмосфере, пресной и морской воде, масло-бензостойкое, устойчиво к изменению температуры от +60 до -60°С и кратковременному воздействию горячей воды и пара.

 

ТЕХНИЧЕСКИЕ ХАРАКТЕРИСТИКИ

Цвет пленки

белый, серый, желтый, оранжевый, зеленый, защитный, другие цвета по согласованию с потребителем

Количество упаковок

двухупаковочная

Время высыхания до степени 3 при 20 °С, ч, не более

3

Жизнеспособность готовой эмали

 

при температуре от -10 до +35 °С, ч

24

Эластичность пленки при изгибе мм, не более

2

Прочность пленки при ударе, см, не менее

50

Адгезия пленки, баллы, не более

1

Толщина одного слоя, мкм

25-70 (в зависимости от способа нанесения)

Расход на один слой, г/м2

120-270 (в зависимости от способа нанесения)

Растворитель

ацетон, Р-4

Температура нанесения, °С

от -10 до +35 при относительной влажности воздуха до 95%

 

РЕКОМЕНДАЦИИ ПО ПРИМЕНЕНИЮ

Подготовка поверхности

Допускается нанесение эмали по старым предварительно обезжиренным, прочно держащимся покрытиям.

Подготовка эмали

Смешать основу эмали с отвердителем и выдержать в течение 20-30 мин., при необходимости разбавить растворителем в количестве не более 10% от массы эмали. Способы нанесения

Кистью, валиком, пневматическим или безвоздушным распылением в зависимости от марки эмали.

 

ГАРАНТИЙНЫЙ СРОК И УСЛОВИЯ ХРАНЕНИЯ

12 месяцев - основа эмали, 6 месяцев - отвердитель при температуре от -10 до +35°С.

 

ВИНИФТОР

ТУ 2313-480-0-05034239-98

Фторуретановая эмаль.

 

ОБЛАСТЬ ПРИМЕНЕНИЯ

Эмаль ВИНИФТОР предназначена для защиты металлических поверхностей.

 

СВОЙСТВА

Покрытие атмосферостойкое, водостойкое, обладает высокими диэлектрическими, грязеотталкивающими, биостойкими и противообледенительными свойствами, легко дезактивируется, износоустойчиво.

 

ТЕХНИЧЕСКИЕ ХАРАКТЕРИСТИКИ

Цвет и внешний вид пленки

белый, черный, красный, зеленый, желтый и др.

Количество упаковок

двухупаковочная

Массовая доля нелетучих веществ, %)

42-59 (в зависимости от цвета)

Условная вязкость по ВЗ-246

 

с диаметром сопла 4 мм при 20 °С, с

60-110

Время высыхания до степени 3 при 20°С, ч, более

8

Жизнеспособность готовой эмали при 20°С, ч

6

Эластичность пленки при изгибе, мм, не более

1

Прочность пленки при ударе, см, не менее

50

Адгезия пленки, баллы, не более

1

Толщина одного слоя, мкм

18-24

Расход на один слой, г/м2:

 

кистью, валиком

150-170

распылением

170-200

Растворитель

ксилол

Температура нанесения, °С

от + 5 до +30 при относительной влажности не более 75%

 

РЕКОМЕНДАЦИИ ПО ПРИМЕНЕНИЮ

Подготовка поверхности

Поверхности должны быть очищены от остатков жира и грязи.

Подготовка эмали

Смешать основу эмали с отвердителем в соотношении, указанном в паспорте продукции.

Способ нанесения

Кисть, валик, пневматическое и безвоздушное распыление.

 

ГАРАНТИЙНЫЙ СРОК И УСЛОВИЯ ХРАНЕНИЯ

Основа - 12 месяцев, отвердитель - 6 месяцев при температуре от -25 до +25°С.

НФП ПИГМЕНТ ООО "НИПРОИНС"

 

"ВИНЭП"

ТУ 2313-140-05034239-2000

Двухкомпонентная грунт-эмаль на винилово-эпоксидной основе.

 

ОБЛАСТЬ ПРИМЕНЕНИЯ

Грунт-эмаль предназначена для защиты от коррозии района переменной ватерлинии, подводной и надводной частей металлоконструкций, противокоррозионной защиты стальных поверхностей, эксплуатирующихся в атмосферных условиях. Грунт-эмаль "ВИНЭП" выпускается двух марок: СЛ-1 и СЛ-2. "ВИНЭП" марки СЛ-1 является грунтовочным (первым) слоем. "ВИНЭП" марки СЛ-2 является финишным слоем в комплексном покрытии.

 

СВОЙСТВА

Покрытие стойкое к морской и пресной воде, атмосферостойкое, масло-бензостойкое, износостойкое.

 

ТЕХНИЧЕСКИЕ ХАРАКТЕРИСТИКИ

Цвет:

 

"ВИНЭП" марки СЛ-1

зеленый

"ВИНЭП" марки СЛ-2

красно-коричневый, зеленый, черный

Количество упаковок

двухупаковочная

Массовая доля нелетучих веществ основы, %

40-45

Условная вязкость по ВЗ-246, с

 

"ВИНЭП" марки СЛ-1, сопло 4 мм

25

"ВИНЭП" марки СЛ-2, сопло 6 мм

30

Время высыхания до степени 3 при 20°С, ч, не более

 

"ВИНЭП" марки СЛ-1и СЛ-2

3

Жизнеспособность готовой эмали

 

при температуре от -15 до +35°С, ч, не менее

24

Эластичность пленки при изгибе, мм, не более

 

"ВИНЭП" марки СЛ-1, СЛ-2

1

Прочность пленки при ударе, см, не менее

 

"ВИНЭП" марки СЛ-1, СЛ-2

50

Адгезия пленки, баллы, не более

1

Толщина одного слоя, мкм:

 

"ВИНЭП" марки СЛ-1

20-40

"ВИНЭП" марки СЛ-2

50-70

Расход на один слой, г/м2

250-300

Растворитель

ацетон, Р-4.

Температура нанесения, °С

от -15 до +35

 

РЕКОМЕНДАЦИИ ПО ПРИМЕНЕНИЮ

Подготовка поверхности

Металлические поверхности очищают от продуктов коррозии абразивоструйным или механическим способом и обезжиривают.

Подготовка грунт -эмали

Смешать основу эмали с отвердителем, тщательно перемешать и выдержать в течение

20-30 мин.

Способ нанесения

Безвоздушным распылением, допускается нанесение кистью или валиком при ремонте небольших участков поверхности.

 

ГАРАНТИЙНЫЙ СРОК И УСЛОВИЯ ХРАНЕНИЯ

12 месяцев при температуре не ниже -25°С.

НФП ПИГМЕНТ ООО "НИПРОИНС"

 

ВЛАГОКОР (ПИГМА ЭП-0103)

ТУ 2312-150-46953478-01

Грунт-эмаль тиксотропная на эпоксидной основе.

 

ОБЛАСТЬ ПРИМЕНЕНИЯ

Грунт-эмаль предназначена для применения в качестве самостоятельного лакокрасочного материала или в комплексе с другими лакокрасочными материалами для грунтования влажных металлических поверхностей.

 

СВОЙСТВА

Покрытие атмосферостойкое в умеренном морском климате и в промышленной атмосфере, водостойкое, стойкое к солевому туману и бензину.

 

ТЕХНИЧЕСКИЕ ХАРАКТЕРИСТИКИ

Цвет

коричневый

Количество упаковок

двухупаковочная

Массовая доля нелетучих веществ, %

72-80

Жизнеспособность готовой грунтовки

 

при температуре от +5 до +35°С, ч

12-6

Время высыхания до степени 3 при 20°С, ч

24

Эластичность пленки при изгибе, мм, не более

1

Прочность пленки при ударе, см, не менее

50

Адгезия пленки, баллы, не более

1

Толщина одного слоя, мкм

80-100

Расход грунт-эмали, г/м2

300-350

Разбавитель

Р-4, ацетон, ксилол, толуол (не более 15% от массы )

Температура нанесения, °С

от -5 до +35 при относительной влажности до 100%

 

РЕКОМЕНДАЦИИ ПО ПРИМЕНЕНИЮ

Подготовка поверхности

Поверхность должна быть очищена от остатков старого покрытия, ржавчины, грязи до степени 2 по ГОСТ 9.402-80 и обезжирена. Поверхность может быть влажной или с постоянной конденсацией влаги.

Подготовка грунтовки

Основу смешать с отвердителем, тщательно перемешать и выдержать 15-20 минут.

Способ нанесения

Безвоздушное распыление, пневматическое распыление, валик, кисть.

 

ГАРАНТИЙНЫЙ СРОК И УСЛОВИЯ ХРАНЕНИЯ

Основа - 12 месяцев, отвердитель - 6 месяцев, в сухом прохладном месте.

НФП ПИГМЕНТ ООО "НИПРОИНС"

 

В-ЭП-012 ПГ

ТУ2316-083-05034239-95

Краска водоразбавляемая двухкомпонентная на эпоксидной основе.

 

ОБЛАСТЬ ПРИМЕНЕНИЯ

Предназначена для защиты металлических поверхностей, эксплуатирующихся в атмосферных условиях, а также в условиях воздействия нефтепродуктов и моющих средств.

 

СВОЙСТВА

Покрытие атмосферостойкое, ударопрочное, стойкое к статическому воздействию масел и нефтепродуктов.

 

ТЕХНИЧЕСКИЕ ХАРАКТЕРИСТИКИ

Цвет

белый, светло-серый, светло-зеленый.

Количество упаковок

двухупаковочная

Массовая доля нелетучих веществ, %, не более:

 

основы

98

отвердителя

94

Время высыхания до степени 3 при 20 °С, ч, не более

24

Жизнеспособность готовой эмали

 

при температуре 20 °С, ч, не менее

3

Эластичность пленки при изгибе, мм, не более

3

Прочность пленки при ударе, см, не менее

40

Адгезия, баллы

1

Толщина одного слоя, мкм

40-60

Расход на один слой, г/м2

110-130

Температура нанесения, °С

не ниже +10 при относительной влажности не выше 90%

 

РЕКОМЕНДАЦИИ ПО ПРИМЕНЕНИЮ

Подготовка поверхности

Металлические поверхности очищают от продуктов коррозии, обезжиривают 1%-ным раствором любого моющего средства, промывают водой и сушат.

Подготовка эмали

Смешать основу эмали с отвердителем в соотношении, указанном в паспорте продукции.

Способ нанесения

Пневматическим или безвоздушным распылением, кистью, валиком.

 

ГАРАНТИЙНЫЙ СРОК И УСЛОВИЯ ХРАНЕНИЯ

12 месяцев при температуре от -30 до +30 °С.

НФП ПИГМЕНТ ООО "НИПРОИНС"

 

ЭП-0199

(ТУ 6-10-2084-86)

Двухкомпонентная композиция на эпоксидной основе.

 

ОБЛАСТЬ ПРИМЕНЕНИЯ

Грунтовка ЭП-0199 предназначена для грунтования прокорродировавших и чистых металлических поверхностей, а также может служить в качестве самостоятельного покрытия.

 

СВОЙСТВА

Покрытие водостойкое, атмосферостойкое в промышленной атмосфере, обладает стойкостью к минеральным маслам, бензину, моющим средствам.

 

ТЕХНИЧЕСКИЕ ХАРАКТЕРИСТИКИ

Цвет и внешний вид пленки

коричневый, оттенок не нормируется

Количество упаковок

двухупаковочная

Массовая доля нелетучих веществ, %

75±3

Условная вязкость по ВЗ-246-4, с

40-150

Время высыхания до степени 3 при 20°С, ч, не более

24

Жизнеспособность готовой грунтовки при 23°С, ч, не менее

8

Эластичность пленки при изгибе, мм, не более

1

Прочность пленки при ударе, см, не менее

50

Адгезия пленки, баллы, не более

1

Толщина одного слоя, мкм

30-60

Расход на один слой, г/м2

120-150

Разбавитель

Р-2, 649, 650

Температура нанесения

от +5 до +30°С при относительной влажности не выше 90%

 

РЕКОМЕНДАЦИИ ПО ПРИМЕНЕНИЮ

Подготовка поверхности

Поверхность должна быть очищена от остатков старого покрытия, ржавчины, жира и грязи. Степень очистки поверхности 2 по ГОСТ 9.402-80 (степень Sa 21/2 по ISO 8501-1). При нанесении на прокорродировавшие поверхности удаляется рыхлая и отслаивающаяся ржавчина, затем поверхность обеспыливается и обезжиривается. Толщина плотно сцепленной ржавчины не должна превышать 100 мкм.

Подготовка грунтовки

Основу смешать с отвердителем.

Способ нанесения

Безвоздушное распыление, кисть, валик, пневматическое распыление

 

ГАРАНТИЙНЫЙ СРОК И УСЛОВИЯ ХРАНЕНИЯ

Основа - 6 месяцев, отвердитель - 6 месяцев. При хранении в темном сухом прохладном месте.

НФП ПИГМЕНТ ООО "НИПРОИНС", ООО "СМТТрейд", ЗАО "ЭМЛАК"

 

ЭП-0263С

ТУ2312-052-05034239-93

Двухкомпонентная фосфатирующая композиция на эпоксидной основе.

 

ОБЛАСТЬ ПРИМЕНЕНИЯ

Грунтовка фосфатирующая предназначена для грунтования стальных поверхностей, а также в качестве самостоятельного покрытия для межоперационной защиты

 

СВОЙСТВА

Покрытие на основе ЭП-0263 и эмалей: ХС-436, ЭП439 и др. атмосферостойкое в морском климате и в промышленной атмосфере, водостойкое. Допускается проведение сварочных работ без удаления грунтовочного покрытия.

 

ТЕХНИЧЕСКИЕ ХАРАКТЕРИСТИКИ

Цвет

красно-коричневый

Количество упаковок

двухупаковочная

Массовая доля нелетучих веществ основы, %

43-53

Условная вязкость по ВЗ-246-4, с

30-55

Время высыхания до степени 3, мин, не более:

 

при 20 °С

15

при 50 °С

5-8

Жизнеспособность готовой грунтовки

 

при -10 до +40°С, ч, не менее

72-12

Эластичность пленки при изгибе, мм, не более

1

Прочность пленки при ударе, см, не менее

50

Адгезия пленки, баллы, не более

1

Толщина одного слоя, мкм

20-26

Расход на один слой, г/м2:

 

нанесение кистью

90-110

пневматическим распылением

120-170

безвоздушным распылением

120-135

Растворитель

Р-4, ацетон, ксилол, толуол

Температура нанесения, °С

от-10 до+40

 

РЕКОМЕНДАЦИИ ПО ПРИМЕНЕНИЮ

Подготовка поверхности

Металлические поверхности очищают от продуктов коррозии и обезжиривают.

Подготовка ЛКМ

Смешать основу с кислотным разбавителем, тщательно перемешать, в случае загустевания разбавить растворителем в количестве не более 20% от массы грунтовки.

Способ нанесения

Пневматическим или безвоздушным распылением, кистью, валиком.

 

ГАРАНТИЙНЫЙ СРОК И УСЛОВИЯ ХРАНЕНИЯ

12 месяцев при температуре от -30 до +30 °С.

НФП ПИГМЕНТ ООО "НИПРОИНС"

 

СУБКОР

ТУ 2312-149-46953478-2001

Двухкомпонентная композиция на эпоксидной основе.

 

ОБЛАСТЬ ПРИМЕНЕНИЯ

Эмаль предназначена для проведения окрасочных работ под водой по металлическим и бетонным поверхностям.

 

СВОЙСТВА

Эмаль обеспечивает вытеснение воды с поверхности и ее хорошее смачивание; краевой угол смачивания в воде составляет не более 40°.

Эмаль способна отверждаться в воде при температуре не ниже 5°С с образованием твердого покрытия, которое по своим свойствам не уступает покрытиям, полученным на воздухе.

 

ТЕХНИЧЕСКИЕ ХАРАКТЕРИСТИКИ

Цвет пленки

зеленый

Количество упаковок

двухупаковочная

Массовая доля летучих веществ, %, не более

3

Время высыхания до степени 3 при 20 "С, ч, не более:

 

на воздухе

24

в воде

16

Жизнеспособность готового материала при 23°С, ч, не менее

2

Эластичность пленки при изгибе, мм не более:

 

на воздухе

10

в воде

3

Прочность покрытия при ударе

 

после высыхания, см, не менее:

 

на воздухе

40

в воде

50

Адгезия пленки, баллы, не более

1

Толщина одного слоя, мкм:

 

на воздухе

300-500

в воде

300-600

Расход на один слой, г/м2

500-600

Температура нанесения, °С;

от +5 до +30

 

РЕКОМЕНДАЦИИ ПО ПРИМЕНЕНИЮ

Подготовка поверхности

Поверхность очищают от старой краски и других загрязнений с помощью металлических щеток или пескоструйным способом.

Подготовка эмали к нанесению

Основу тщательно перемешать, смешать с отвердителем и выдержать 10-15 мин.

Способ нанесения

Шпателем, кистью.

 

ГАРАНТИЙНЫЙ СРОК И УСЛОВИЯ ХРАНЕНИЯ

12 месяцев, при температуре от -40 до +35 "С.

НФП ПИГМЕНТ ООО "НИПРОИНС"

 

ЭМАЛЬ ХС-436

(ТУ 301-10-2142-92)

Двухкомпонентная на основе модифицированного сополимера А-15-0 и эпоксидных смол ЭД-20, ЭД-40.

 

ОБЛАСТЬ ПРИМЕНЕНИЯ

Предназначена для защиты металлоконструкций и механического оборудования от коррозии, эксплуатирующихся в воде, в атмосферных условиях.

 

СВОЙСТВА

Покрытие стойкое к морской и пресной воде, атмосферостойкое, износостойкое, маслобензостойкое.

 

ТЕХНИЧЕСКИЕ ХАРАКТЕРИСТИКИ

Цвет

красный, зеленый, черный, красно-коричневый

Количество упаковок

двухупаковочная

Массовая доля нелетучих веществ, %

40-45

Условная вязкость по ВЗ-246

 

с диаметром сопла 6 мм при 20°С, с

30

Время высыхания до степени 3 при 20°С, ч, не более

1

Жизнеспособность готовой эмали

 

от -15 до 35° С, ч, не менее

24

Эластичность пленки при изгибе, мм

1

Прочность пленки при ударе, см, не менее

50

Адгезия пленки, баллы, не более

1

Толщина одного слоя, мкм

50-80

Расход на один слой, г/м2:

 

кистью

220-250

распылением

250-270

Растворитель

ацетон, Р-4

Температура нанесения, °С

от-15 до+35

 

РЕКОМЕНДАЦИИ ПО ПРИМЕНЕНИЮ

Подготовка поверхности

Поверхность металла очищают от продуктов коррозии, пыли, обезжиривают. При нанесении на загрунтованную поверхность она должна быть сухой и чистой.

Подготовка ЛКМ

Смешать основу эмали с отвердителем (на 10 кг основы добавляется 250 г отвердителя ДТБ-2), тщательно перемешать и выдержать 20-30 минут, при необходимости разбавить растворителем в количестве не более 10% от массы эмали.

Способ нанесения

Пневматическим или безвоздушным распылением, кистью, валиком.

 

ГАРАНТИЙНЫЙ СРОК И УСЛОВИЯ ХРАНЕНИЯ

12 месяцев со дня изготовления, в темном сухом прохладном месте.

НФП ПИГМЕНТ ООО "НИПРОИНС"

 

ЭП-439

(ТУ 2312-042-05034239-94)

Эмаль двухкомпонентная на эпоксидной основе.

 

ОБЛАСТЬ ПРИМЕНЕНИЯ

Предназначена для защиты от коррозии металлоконструкций, эксплуатирующихся в атмосферных условиях, морских буровых установок и плавсредств, подвергающихся периодическому воздействию воды.

 

СВОЙСТВА

Покрытие атмосферостойкое, стойкое к влажной атмосфере, пресной, морской воде, масло-бензостойкое, обладает пониженной горючестью. Эмаль тиксотропная. Диапазон предельных температур эксплуатации покрытия - от -60 до +40 °С.

 

ТЕХНИЧЕСКИЕ ХАРАКТЕРИСТИКИ

Цвет

белый, светло-серый, зеленый, желтый, коричневый,

красно-коричневый, черный, другие цвета по согласованию с потребителем

Количество упаковок

двухупаковочная

Массовая доля нелетучих веществ основы, %, не более

71-77

Условная вязкость по ВЗ-246-6, с

55

Время высыхания до степени 3 при 20 °С, ч

24

Жизнеспособность готовой эмали от 10 до 30°С, ч, не менее

2

Эластичность пленки при изгибе, мм, не более

1

Прочность пленки при ударе, см, не менее

50

Адгезия, баллы

1

Толщина одного слоя, мкм

80-100

Расход на один слой, г/м2:

 

кистью, валиком

340-350

распылением

350-360

Растворитель

ксилол, толуол, Р-4

Температура нанесения, °С

от +5 до +35 при относительной влажности не более 90%

 

РЕКОМЕНДАЦИИ ПО ПРИМЕНЕНИЮ

Подготовка поверхности

Поверхность металла очищают от продуктов коррозии, обезжиривают и грунтуют.

Подготовка эмали

Смешать основу с отвердителем (соотношение 100:14 по массе или 9:1 по объему), при необходимости разбавить растворителем.

Способ нанесения

Наносят методом пневматического и безвоздушного распыления, кистью, валиком.

 

ГАРАНТИЙНЫЙ СРОК И УСЛОВИЯ ХРАНЕНИЯ

Основа - 12 месяцев при температуре от -40 до +40 °С. Отвердитель - 6 месяцев при температуре от -10 до +35° С.

НФП ПИГМЕНТ ООО "НИПРОИНС"

 

"ГЕРМОКРОН-ГИДРО"

(ТУ 2513-001-20504464-99)

Однокомпонентная композиция на каучуково-смоляной основе.

 

ОБЛАСТЬ ПРИМЕНЕНИЯ

Предназначен для защиты металлических, бетонных и железобетонных конструкций.

 

СВОЙСТВА

"ГЕРМОКРОН-ГИДРО" представляет собой пастообразный вязкий материал, в состав которого входит водовытесняющая добавка, позволяющая наносить герметик на влажные, но не мокрые поверхности.

 

ТЕХНИЧЕСКИЕ ХАРАКТЕРИСТИКИ

Цвет

серый, черный, зеленый

Количество упаковок

одноупаковочный

Эластичность при изгибе, мм, не более

1

Прочность покрытия при ударе, см, не менее

100

Адгезия, баллы

1

Толщина одного слоя, мкм

100-120

Расход на один слой, г/м2

200-250

Растворитель

уайт-спирит, нефрас, скипидар

Температура нанесения, °С

от +10 при относительной влажности воздуха 65-75%

 

РЕКОМЕНДАЦИИ ПО ПРИМЕНЕНИЮ

Подготовка поверхности

Обрабатываемую поверхность очистить от продуктов коррозии, старого отслоившегося покрытия, жира и других загрязнений.

Подготовка герметика

Герметик тщательно перемешать, при необходимости разбавить уайт-спиритом, неф-расом или скипидаром до вязкости, удобной для нанесения.

Способ нанесения

Шпателем, кистью, валиком или краскораспылителем (после разбавления до соответствующей вязкости) с подсушкой каждого слоя не менее 30 минут. Перед нанесением защитного слоя герметика на железобетонную поверхность рекомендуется нанести один слой грунта (раствор этого же герметика в растворителе в соотношении 1:2).

 

ГАРАНТИЙНЫЙ СРОК И УСЛОВИЯ ХРАНЕНИЯ

12 месяцев в темном сухом прохладном месте (до +25°С)

НФП ПИГМЕНТ ООО "НИПРОИНС"

 

"ГЕРМОКРОН-ГИДРО"

(ТУ 2513-001-20504464-99)

Однокомпонентная композиция на каучуково-смоляной основе.

 

ОБЛАСТЬ ПРИМЕНЕНИЯ

Предназначен для защиты металлических, бетонных и железобетонных конструкций.

 

СВОЙСТВА

"ГЕРМОКРОН-ГИДРО" представляет собой пастообразный вязкий материал, в состав которого входит водовытесняющая добавка, позволяющая наносить герметик на влажные, но не мокрые поверхности.

 

ТЕХНИЧЕСКИЕ ХАРАКТЕРИСТИКИ

Цвет

серый, черный, зеленый

Количество упаковок

одноупаковочный

Эластичность при изгибе, мм, не более

1

Прочность покрытия при ударе, см, не менее

100

Адгезия, баллы

1

Толщина одного слоя, мкм

100-120

Расход на один слой, г/м2

200-250

Растворитель

уайт-спирит, нефрас, скипидар

Температура нанесения, °С

от +10 при относительной влажности воздуха 65-75%

 

РЕКОМЕНДАЦИИ ПО ПРИМЕНЕНИЮ

Подготовка поверхности

Обрабатываемую поверхность очистить от продуктов коррозии, старого отслоившегося покрытия, жира и других загрязнений.

Подготовка герметика

Герметик тщательно перемешать, при необходимости разбавить уайт-спиритом, нефрасом или скипидаром до вязкости, удобной для нанесения.

Способ нанесения

Шпателем, кистью, валиком или краскораспылителем (после разбавления до соответствующей вязкости) с подсушкой каждого слоя не менее 30 минут. Перед нанесением защитного слоя герметика на железобетонную поверхность рекомендуется нанести один слой грунта (раствор этого же герметика в растворителе в соотношении 1:2).

 

ГАРАНТИЙНЫЙ СРОК И УСЛОВИЯ ХРАНЕНИЯ

12 месяцев в темном сухом прохладном месте (до +25°С)

ОАО "Кронос-СПб"

"ГРЕМИРУСТ"

(ТУ 2312-088-00209711-98)

Представляет собой суспензию пигментов и наполнителей в растворе низкомолекулярной эпоксидной диановой смолы, модифицирующих и специальных компонентов в органических растворителях.

 

ОБЛАСТЬ ПРИМЕНЕНИЯ

Грунт-эмалевая композиция "ГРЕМИРУСТ" предназначена для грунтования и самостоятельной защиты прокорродированных и чистых металлических поверхностей.

 

СВОЙСТВА

Покрытие атмосферостойкое, водостойкое, химстойкое.

 

ТЕХНИЧЕСКИЕ ХАРАКТЕРИСТИКИ

Цвет и внешний вид пленки

коричневый, защитный, серый и др.

Количество упаковок

двухупаковочная

Массовая доля нелетучих веществ, %

60±5

Условная вязкость по ВЗ 246-4 при 20°С, с

30-100

Время высыхания до степени 3 при 20°С, ч, не более

10

Жизнеспособность готовой грунтовки при 23°С, ч не менее

8

Эластичность пленки при изгибе, мм, не более

1

Прочность пленки при ударе, см, не менее

50

Адгезия пленки, баллы, не более

1

Толщина одного слоя, мкм

70-120

Расход на один слой, г/м2

120-200

Разбавитель

Р-4, 646

Температура нанесения, °С

от +5 до +30 при относительной влажности 90%

 

РЕКОМЕНДАЦИИ ПО ПРИМЕНЕНИЮ

Подготовка поверхности

При нанесении на чистую металлическую поверхность, она должна быть очищена от остатков непрочно держащегося старого покрытия, ржавчины, жира и грязи. Степень очистки поверхности 2, по ГОСТ 9.402-80 (степень Sa 21/2 по ISO 8501-1). При нанесении на прокорродированные поверхности, удаляется рыхлая и отслаивающаяся ржавчина, затем обеспыливается и обезжиривается (толщина прокорродировавшего плотно сцепленного слоя не должна превышать 100 мкм).

Подготовка ЛКМ

Смешать основу эмали с отвердителем, при необходимости разбавить растворителем до нужной вязкости.

Способ нанесения

Пневматическим или безвоздушным распылением, кистью, валиком.

 

ГАРАНТИЙНЫЙ СРОК И УСЛОВИЯ ХРАНЕНИЯ

Основа - 12 месяцев, отвердитель - 12 месяцев, в сухом прохладном месте.

ОАО НИИ ЛКП с ОМЗ «Виктория»

 

"КОРНИКА"

(ТУ 2312-100-00209711-2000)

Композиция пигментов и наполнителей в растворе низкомолекулярной эпоксидной диановой смолы и модифицирующих ингредиентов в органических растворителях.

 

ОБЛАСТЬ ПРИМЕНЕНИЯ

Грунт-эмалевая композиция "КОРНИКА" предназначена для грунтования и самостоятельной защиты прокорродированных и чистых металлических поверхностей.

 

СВОЙСТВА

Покрытие атмосферостойкое, водостойкое, химстойкое, обладает высокими диэлектрическими свойствами, получение нестекающего слоя с вертикальной поверхности толщиной до 100 мкм.

 

ТЕХНИЧЕСКИЕ ХАРАКТЕРИСТИКИ

Цвет и внешний вид пленки

коричневый, защитный, серый

Количество упаковок

двухупаковочпая

Массовая доля нелетучих веществ, %:

 

коричневый

66±3 защитный,

серый

68±3

Условная вязкость по ВЗ-246-4 при 20°С, с

30-70

Время высыхания до степени 3 при 20°С, ч, не более

10

Жизнеспособность готовой грунтовки при 23°С, ч, не менее

8

Эластичность пленки при изгибе, мм, не более

2

Прочность пленки при ударе, см, не менее

50

Адгезия пленки, баллы, не более

1

Толщина одного слоя, мкм

60-100

Расход на один слой, г/м2

120-200

Разбавитель

Р-5, Р-4, 646

Температура нанесения, °С

от 0 до +30 при относительной влажности 90- 95%

 

РЕКОМЕНДАЦИИ ПО ПРИМЕНЕНИЮ

Подготовка поверхности

При нанесении на чистую металлическую поверхность, она должна быть очищена от остатков старого покрытия, ржавчины, жира и грязи. Степень очистки поверхности 2 по ГОСТ 9.402-80 (степень Sa 21/2 по ISO 8501-1). При нанесении на прокорродированные поверхности удаляется рыхлая и отслаивающаяся ржавчина, затем обеспыливается и обезжиривается (толщина прокорродировавшего плотно сцепленного слоя не должна превышать 100 мкм).

Подготовка ЛКМ

Смешать основу эмали с отвердителем, при необходимости разбавить растворителем до нужной вязкости.

Способ нанесения

УБР, кисть, валик, пневматическое распыление.

 

ГАРАНТИЙНЫЙ СРОК И УСЛОВИЯ ХРАНЕНИЯ

Основа - 12 месяцев, отвердитель - 12 месяцев, в сухом прохладном месте.

ОАО НИИ ЛКП с ОМЗ "Виктория"

 

ООО «СТРОЙАРСЕНАЛ МТК»

Компания ООО "СТРОЙАРСЕНАЛ МТК" с февраля 2000 года представляет на строительном рынке России полимерные композиции, разработанные в "Научно- инженерном центре Адгезив", г. Киев, под руководством лауреата Государственных премий СССР и УССР профессора Веселовского Г'. А. Одним из направлений деятельности ООО "СТРОЙ АРСЕНАЛ МТК" является производство полимерных композиций. Эти композиции применяются уже более 15 лет и различных отраслях народного хозяйствам промышленности и зарекомендовали себя как качественный продукт с наилучшей стороны, (реквизиты производителя и поставщика см. Приложение 7).

 

УТК-М

ТУ 2252-002-29363290-97

Однокомпонентная полиуретановая композиция.

 

ОБЛАСТЬ ПРИМЕНЕНИЯ

Защитная композиция УТК-М предназначена для применения в качестве самостоятельного лакокрасочного материала для защиты металлических поверхностей.

 

СВОЙСТВА

Покрытие стойкое в промышленной атмосфере, водостойкое, антиабразивное. От-верждается влагой воздуха.

 

ТЕХНИЧЕСКИЕ ХАРАКТЕРИСТИКИ

Цвет

бесцветный, цвет определяется введением пигментов

Количество упаковок

одноупаковочная

Время высыхания до степени 3 при 20°С, ч, не более

24

Жизнеспособность готовой грунтовки при 20±5°С, минут

20

Эластичность пленки при изгибе, мм, не более

1

Прочность пленки при ударе, см, не менее

50

Адгезия пленки, баллы, не более

1

Толщина одного слоя, мкм

80-100

Расход на один слой, г/м2

120-150

Разбавитель

толуол, ацетон

Температура нанесения, °С

от -30 до +60 при относительной влажности не выше 90%

 

РЕКОМЕНДАЦИИ ПО ПРИМЕНЕНИЮ

Подготовка поверхности

Поверхность должна быть очищена от остатков старого покрытия, ржавчины, жира и грязи. Степень очистки поверхности 2 по ГОСТ 9.402-80 (степень Sa 21/2 по ISO 8501-1).

Подготовка ЛКМ

Готов к применению.

Способ нанесения

Кисть, валик, безвоздушное распыление.

 

ГАРАНТИЙНЫЙ СРОК И УСЛОВИЯ ХРАНЕНИЯ

12 месяцев в темном сухом прохладном месте.

ООО "СТРОЙАРСЕНАЛ МТК"

 

ОАО "Лакокраска"

ОАО "Лакокраска" является единственным лакокрасочным предприятием в Республике Беларусь, производящим современные лакокрасочные материалы в больших объемах.

Первая очередь завода была сдана в эксплуатацию в 1965 году, в начале 70-х годов в строй вступили вторая и третья очереди завода.

ОАО "Лакокраска" выпускает в больших объемах широкий спектр современных лакокрасочных материалов: эмали и лаки на конденсационных смолах, эпоксидные лакокрасочные материалы, лаки и эмали на полимеризационных смолах, ненасыщенные полиэфирные смолы, деревозащитный состав, многие виды сырьевых материалов для производства ЛКП и других видов продукции (реквизиты производителя и поставщика см. Приложение 7).

 

ХВ-124

ГОСТ 10144-89

Эмаль на основе поливипилхлоридиой хлорированной смолы и алкидной смолы с добавлением пластификатора.

 

ОБЛАСТЬ ПРИМЕНЕНИЯ

Для окраски загрунтованных металлических поверхностей, эксплуатируемых в атмосферных условиях.

 

СВОЙСТВА

Покрытие атмосферостойкое и водостойкое в пресной и морской воде.

 

ТЕХНИЧЕСКИЕ ХАРАКТЕРИСТИКИ

Цвет

серый, защитный

Количество упаковок

одноупаковочная

Массовая доля нелетучих веществ, %

27-33

Условная вязкость по ВЗ-246-4, с

35-60

Время высхания до степени 3 при 20°С, ч

2

Эластичность пленки при изгибе, мм, не более

2

Прочность пленки при ударе, см, не менее

50

Адгезия пленки, баллы, не более

30

Толщина одного слоя, мкм

18-23

Расход на один слой, г/м2

200-220

Растворитель

Р-4А

Температура нанесения, °С

от -10 до +30 при относительной влажности воздуха не выше 80%

 

РЕКОМЕНДАЦИИ ПО ПРИМЕНЕНИЮ

Подготовка поверхности

Поверхность перед нанесением должна быть чистой и сухой.

Подготовка ЛКМ

Перед применением эмаль тщательно перемешивается, при необходимости разбавляется до рабочей вязкости растворителем.

Способ нанесения

Эмаль наносится методами пневматического и безвоздушного распыления. Допускается наносить эмали методом электростатического распыления.

 

ГАРАНТИЙНЫЙ СРОК ХРАНЕНИЯ

12 месяцев в плотно закрытой таре.

ООО Торговый дом "Лида ЛК", ЗАО "ЭМЛАК"

 

ХС-500

(ТУ 6-10-2002-85)

Однокомпонентный состав на основе сополимера винилхлорида с добавлением эпоксидной смолы, пластификатора и ингибитора коррозии.

 

ОБЛАСТЬ ПРИМЕНЕНИЯ

Предназначен для защиты от коррозии металлических конструкций и механического оборудования.

 

СВОЙСТВА

Покрытие атмосферостойкое в промышленной атмосфере и во всех климатических зонах.

 

ТЕХНИЧЕСКИЕ ХАРАКТЕРИСТИКИ

Цвет

красно-коричневый

Количество упаковок

двухупаковочный

Массовая доля нелетучих веществ, %

38+2

Условная вязкость по вискозиметру типа ВЗ-246

 

с диаметром сопла 4 мм при температуре (20+0,5)°С, с

30-80

Время высыхания до степени 3 при 20°С, ч

1,5

Жизнеспособность готовой эмали при 20±5°С, ч

8

Эластичность покрытия при изгибе, мм, не более

3

Адгезия, баллы, не более

2

Толщина одного слоя, мкм

20-25

Расход на один слой, г/м2

130-150

Растворитель

Р-4А

Температура нанесения, °С

от 0 до +35 при относительной влажности воздуха не выше 80%

 

РЕКОМЕНДАЦИИ ПО ПРИМЕНЕНИЮ

Подготовка поверхности

Окрашиваемая поверхность перед нанесением должна быть чистой и сухой.

Подготовка состава

Основу смешать с отвердителем, тщательно перемешать, при необходимости разбавить растворителем.

Способ нанесения

Пневматическое, безвоздушное распыление или кисть.

 

ГАРАНТИЙНЫЙ СРОК ХРАНЕНИЯ

6 месяцев со дня изготовления.

ООО Торговый дом "Лида ЛК"

 

ЭП-773

(ГОСТ 23143-83)

Двухкомпонентная эмаль на основе эпоксидной смолы Э-41.

 

ОБЛАСТЬ ПРИМЕНЕНИЯ

Для окрашивания не загрунтованных или загрунтованных грунт-шпатлевками ЭП-010 или ЭП-0020 металлических поверхностей, подвергающихся воздействию атмосферы и воды.

 

СВОЙСТВА

Эмаль обладает атмосферостойкими, водостойкими, химстойкими свойствами. Приготовленная эмаль должна использоваться в течение 24 часов.

 

ТЕХНИЧЕСКИЕ ХАРАКТЕРИСТИКИ

Цвет

кремовый, зеленый

Количество упаковок

двухупаковочная

Массовая доля нелетучих веществ в полуфабрикате, %

60-65

Условная вязкость полуфабриката, с

25-60

Время высыхания эмали до степени 5, ч, при 20°С, не более

24

Жизнеспособность готовой эмали при 20+2°С, ч

24

Эластичность пленки при изгибе, мм, не более

5

Прочность пленки при ударе, кгс-см, не менее

50

Адгезия пленки, баллы, не более

1

Толщина одного слоя, мкм

20-25

Расход на один слой, г/м2

75-90

Растворитель

646

Температура нанесения, °С

от +5 до +35 при относительной влажности воздуха не выше 80%

 

РЕКОМЕНДАЦИИ ПО ПРИМЕНЕНИЮ Подготовка поверхности

Поверхность должна быть очищена от остатков старого покрытия, ржавчины, жира и грязи. Степень очистки 2 по ГОСТ 9.402-80 (степень Sa 21/2 по ISO 8501-1).

Подготовка ЛКМ

Основу смешать с отвердителем, на 100 весовых частей основы 3,5 части отвердителя.

Способ нанесения

Перед применением эмаль тщательно перемешивают. Эмаль наносят пневмораспылителем и УБР, для окрашивания труднодоступных мест допускается использовать кисть.

 

ГАРАНТИЙНЫЙ СРОК И УСЛОВИЯ ХРАНЕНИЯ

6 месяцев в сухом прохладном месте.

ООО СМТ "Трейд", ООО Торговый дом "Лида ЛК"

 

ЭП-1236

(ТУ 6-10-2095-87)

Двухкомпонентная система на основе эпоксидной и перхлорвиниловой смол.

 

ОБЛАСТЬ ПРИМЕНЕНИЯ

Для защиты от коррозии изделий из стали, алюминия и его сплавов.

 

СВОЙСТВА

Покрытие эмалью ЭП-1236 обладает водостойкостью и атмосферостойкостью во всех климатических зонах.

 

ТЕХНИЧЕСКИЕ ХАРАКТЕРИСТИКИ

Цвет

черный, серый, голубой, красно-коричневый и др.

Количество упаковок

двухупаковочиая

Массовая доля нелетучих веществ в полуфабрикате, %

38-43

Условная вязкость полуфабриката, с

60-110

Время высыхания эмали до степени 3 при 20°С, ч, не более

3

Жизнеспособность готовой эмали, ч

8

Эластичность пленки при изгибе, мм, не более

2

Прочность пленки при ударе, по прибору У-1, см, не менее

50

Адгезия пленки, баллы, не более

1

Толщина одного слоя, мкм

80-100

Растворители

Р-5, Р-5А

Расход на один слой, г/м2

250-300

Температура нанесения, °С

от +5 до +35 при относительной влажности воздуха не выше 80%

 

РЕКОМЕНДАЦИИ ПО ПРИМЕНЕНИЮ

Подготовка поверхности

Поверхность должна быть очищена от остатков непрочно держащегося старого покрытия, ржавчины, жира и грязи. Степень очистки поверхности 2 по ГОСТ 9.402-80 (степень Sa 21/2 по ISO 8501-1).

Подготовка ЛКМ

Перед применением тщательно перемешать основу с отвердителем (на 10 кг основы 130 г отвердителя), при необходимости разбавить растворителем до рабочей вязкости.

Способ нанесения

Наносят методом пневматического и безвоздушного распыления, кистью, валиком.

 

ГАРАНТИЙНЫЙ СРОК И УСЛОВИЯ ХРАНЕНИЯ

6 месяцев в сухом прохладном месте.

ООО Торговый дом "Лида ЛК", ЗАО "ЭМЛАК"

 

ХС-75У

(ТУ 6-10-2136-88)

Однокомпонентная эмаль на основе продукта сополимеризации винилхлорида с винилденхлоридом.

 

ОБЛАСТЬ ПРИМЕНЕНИЯ

Для получения комплексного химического покрытия для защиты поверхности от воздействия агрессивных сред щелочного и кислотного характера (серого цвета) по грунтам ХС-010, ХС-059, ХС-068.

 

СВОЙСТВА

Образует химстойкое покрытие в агрессивных средах, быстро сохнущее на воздухе.

 

ТЕХНИЧЕСКИЕ ХАРАКТЕРИСТИКИ

Цвет

черный, серый

Количество упаковок

однаупаковочная

Массовая доля нелетучих веществ, %:

 

черная М

23±2

черная ГМ, серая

30±2

Условная вязкость по вискозиметру типа ВЗ-246

 

с диаметром сопла 4 мм, с

25-60

Время высыхания эмали до степени 3 при 20°С, не более, ч

 

серой

1

черной М и ГМ

2

Эластичность пленки при изгибе, мм, не более

2

Прочность пленки при ударе, по прибору У-1, см, не менее

50

Адгезия пленки, баллы, не более

2

Толщина одного слоя, мкм

25-30

Растворители

Р-4,

Расход на один слой, г/м2

200-250

Температура нанесения, °С

от 0 до +30 при относительной влажности воздуха не выше 80%

 

РЕКОМЕНДАЦИИ ПО ПРИМЕНЕНИЮ Подготовка поверхности

Поверхность должна быть очищена от остатков жира и грязи.

Подготовка ЛКМ

Перед применением тщательно перемешать, при необходимости разбавить растворителем.

Способ нанесения

Наносят методом пневматического и безвоздушного распыления, кистью, валиком.

 

ГАРАНТИЙНЫЙ СРОК И УСЛОВИЯ ХРАНЕНИЯ

Черной 10 месяцев, серой - 12 месяцев, в сухом, прохладном месте.

ООО Торговый дом "Лида ЛК"

 

ХС-059

(ГОСТ 23494-79)

Грунтовка на основе раствора сополимера винилхлорида с винилацетатом с добавлением эпоксидной смолы и пластификатора с введением отвердителя.

 

ОБЛАСТЬ ПРИМЕНЕНИЯ

В комплексе с эмалями применяется для защиты металлоконструкций, подвергающихся воздействию воды и промышленной атмосферы.

 

СВОЙСТВА

Грунтовка применяется под эмали ХВ и ХС. Данные покрытия обладают водостойкостью, атмосферостойкостью и химстойкостью.

 

ТЕХНИЧЕСКИЕ ХАРАКТЕРИСТИКИ

Цвет

красно-коричневый

Количество упаковок

двухупаковочная

Массовая доля нелетучих веществ, %

38±2

Условная вязкость по вискозиметру типа ВЗ-246

 

с диаметром сопла 4 мм при температуре 20°С, с

30-65

Время высыхания пленки до степени 3

 

при температуре 20°С, ч, не более

1

Жизнеспособность при 20°С, ч, не менее

8

Эластичность пленки при изгибе, мм, не более

3

Прочность пленки при ударе,

 

по прибору У-1, кгс-см, не менее

50

Адгезия, баллы

2

Толщина одного слоя, мкм

20-25

Расход на один слой, г/м2

140-160

Растворитель

Р-4

Температура нанесения, °С

от -10 до +30 при относительной влажности воздуха не выше 80%

 

РЕКОМЕНДАЦИИ ПО ПРИМЕНЕНИЮ

Подготовка поверхности

Поверхность должна быть очищена от остатков старого покрытия, ржавчины, жира и грязи. Степень очистки поверхности 2 по ГОСТ 9.402-80 (степень Sa 21/2 по ISO8501-1).

Подготовка ЛКМ

Перед применением смешать основу с отвердителем (на 1 кг основы 26 г отвердителя № 5 или 28 г отвердителя № 3), тщательно перемешать, при необходимости разбавить растворителем.

Способ нанесения

Наносят методом пневматического и безвоздушного распыления, кистью, валиком.

 

ГАРАНТИЙНЫЙ СРОК И УСЛОВИЯ ХРАНЕНИЯ

6 месяцев в сухом прохладном месте, в закрытой таре.

ООО Торговый дом "Лида ЛК", ЗАО "ЭМЛАК"

 

ХС-068

(ТУ 6-10-820-75)

Однокомпонентная фунтовка на основе сополимера винилхлорида с винилацетатом.

 

ОБЛАСТЬ ПРИМЕНЕНИЯ

Для защиты в комплексном многослойном покрытии с эмалями ХВ, ХС.

 

СВОЙСТВА

Покрытие обладает водостойкостью, химстойкостью и атмосферостойкостью в промышленной атмосфере.

 

ТЕХНИЧЕСКИЕ ХАРАКТЕРИСТИКИ

Цвет

красно-коричневый

Количество упаковок

одноупаковочная

Массовая доля нелетучих веществ, %

34

Условная вязкость по вискозиметру типа ВЗ-246

с диаметром сопла 4 мм при температуре 20°С, с

30-70

Время высыхания до степени 3

при температуре 20°С, ч, не более

1

Эластичность пленки при изгибе, мм, не более

2

Прочность пленки при ударе,

но прибору У-1, кгс-см, не менее

50

Адгезия, баллы, не более

3

Толщина одного слоя, мкм

20-25

Расход на один слой, г/м2

200-220

Разбавитель

Р-4

Температура нанесения, °С

от -10 до +30 при относительной влажности воздуха не выше 80%

 

РЕКОМЕНДАЦИИ ПО ПРИМЕНЕНИЮ

Подготовка поверхности

Поверхности должны быть очищены от остатков старого покрытия, ржавчины, жира и

грязи. Степень очистки 2 по ГОСТ 9.402-80 (степень Sa 21/2 по ISO 8501-1).

Подготовка ЛКМ

Перед применением тщательно перемешать, при необходимости разбавить до рабочей

вязкости растворителем.

Способ нанесения

Наносят методом пневматического и безвоздушного распыления, кистью, валиком.

 

ГАРАНТИЙНЫЙ СРОК И УСЛОВИЯ ХРАНЕНИЯ

6 месяцев в сухом прохладном месте.

ООО Торговый дом "Лида ЛК", ЗАО "ЭМЛАК"

 

ХВ-785

(ГОСТ 7313-75)

Однокомпонентная эмаль на основе хлорированной поливинилхлоридной и алкидной смолы с добавлением пластификатора.

 

ОБЛАСТЬ ПРИМЕНЕНИЯ

Для защиты в комплексном многослойном покрытии предварительно загрунтованных поверхностей металлоконструкций.

 

СВОЙСТВА

Покрытие водостойкое, химстойкое, стойкое в промышленной атмосфере.

 

ТЕХНИЧЕСКИЕ ХАРАКТЕРИСТИКИ

Цвет

белый, серый, черный, красно-коричневый

Количество упаковок

одноупаковочная

Массовая доля нелетучих веществ, %

 

для красно-коричневой

26-30

для черной

23-29

Условная вязкость по вискозиметру типа ВЗ-246

 

с диаметром сопла 4 мм при температуре 20°С, с

 

для черной

40-100

для остальных цветов

30-60

Время высыхания до степени 3, при 20°С, ч, не более

1

Эластичность пленки при изгибе, мм, не более

2

Прочность пленки при ударе, кгс-см, не менее

50

Адгезия пленки, баллы, не более

2

Толщина одного слоя, мкм

18-23

Расход на один слой эмали, г/м2

135-150

Растворитель

Р-4, Р-4А

Температура нанесения, °С

от -10 до +30 при относительной влажности воздуха не выше 80%

 

РЕКОМЕНДАЦИИ ПО ПРИМЕНЕНИЮ

Подготовка поверхности

Поверхность должна быть очищена от жира и грязи.

Подготовка ЛКМ

Перед применением тщательно перемешать, при необходимости разбавить растворителем.

Способ нанесения

Наносят методом безвоздушного, пневматического распыления, кистью, валиком.

 

ГАРАНТИЙНЫЙ СРОК И УСЛОВИЯ ХРАНЕНИЯ

6 месяцев со дня изготовления, в темном сухом прохладном месте.

ООО Торговый дом "Лида ЛК", ЗАО "ЭМЛАК"

 

ХВ-784

(ГОСТ 7313-75)

Однокомпонентный лак на основе хлорированной поливинилхлоридной и алкидной смол с добавлением пластификатора.

 

ОБЛАСТЬ ПРИМЕНЕНИЯ

Для защиты в комплексном многослойном покрытии предварительно загрунтованных поверхностей металлоконструкций.

 

СВОЙСТВА

Покрытие водостойкое, атмосферостойкое, химстойкое.

 

ТЕХНИЧЕСКИЕ ХАРАКТЕРИСТИКИ

Цвет

бесцветный

Количество упаковок

одноупаковочный

Массовая доля нелетучих веществ, %

14-17

Условная вязкость по вискозиметру типа ВЗ-246

 

с диаметром сопла 4 мм при температуре 20°С, с

20-35

Время высыхания при 20°С, ч, не более:

 

до степени 3

1

до степени 5

24

Эластичность пленки при изгибе, мм, не более

1

Прочность пленки при ударе, кгс-см, не менее

50

Адгезия пленки, баллы, не более

2

Толщина однослойного покрытия, мкм

18-23

Расход на один слой эмали, г/м2

175-200

Растворитель

Р-4, Р-4А

Температура нанесения, °С

от -10 до +30 при относительной влажности воздуха не выше 80%

 

РЕКОМЕНДАЦИИ ПО ПРИМЕНЕНИЮ

Подготовка поверхности

Поверхность должна быть очищена от остатков жира и грязи.

Подготовка ЛКМ

Перед применением тщательно перемешать, при необходимости разбавить растворителем.

Способ нанесения

Наносят методом безвоздушного, пневматического распыления, кистью, валиком.

 

ГАРАНТИЙНЫЙ СРОК И УСЛОВИЯ ХРАНЕНИЯ

6 месяцев со дня изготовления, в темном сухом прохладном месте.

ООО Торговый дом "Лида ЛК", ЗАО "ЭМЛАК"

 

АК-070

(ГОСТ 25718-83)

Грунтовка представляет собой суспензию пигментов в растворах акриловых смол и смеси органических растворителей с введением добавок и пластификаторов.

 

ОБЛАСТЬ ПРИМЕНЕНИЯ

Для грунтования металлоконструкций из алюминиевых, магниевых, титановых сплавов и стали углеродистой, нержавеющей и оцинкованной.

 

СВОЙСТВА

В комплексных покрытиях с эмалями обладает высокими адгезионными свойствами, обеспечивает высокую атмосферостойкость, водостойкость, термостойкость и механическую прочность пленки.

 

ТЕХНИЧЕСКИЕ ХАРАКТЕРИСТИКИ

Цвет пленки

желтый

Количество упаковок

одноупаковочная

Массовая доля нелетучих веществ, %

13,5-16,0

Условная вязкость по вискозиметру ВЗ-246

 

с диаметром сопла 4 мм, при температуре 20°С, с

13-20

Время высыхания до степени 3

 

при температуре 20° С, ч, не более

0,5

Эластичность пленки при изгибе, мм, не более

2

Прочность пленки при ударе,

 

по прибору типа У-1, кгссм, не менее

50

Адгезия баллы, не более

1

Толщина одного слоя, мкм

8-15

Расход на один слой, г/м2

115-153

Растворители

648, Р-5

Температура нанесения, °С

от +5 до +30 при относительной влажности воздуха не выше 80%

 

РЕКОМЕНДАЦИИ ПО ПРИМЕНЕНИЮ

Подготовка поверхности

Поверхность должна быть очищена от остатков старого покрытия, ржавчины, жира и грязи. Степень очистки поверхности 2 по ГОСТ 9.402-80 (степень Sa 21/2 по ISO 8501-1).

Подготовка ЛКМ

Перед применением тщательно перемешать, разбавить до рабочей вязкости растворителем.

Способ нанесения

Наносят методом пневматического распыления, кистью, валиком.

 

ГАРАНТИЙНЫЙ СРОК И УСЛОВИЯ ХРАНЕНИЯ

6 месяцев в сухом прохладном месте.

Загорский ЛКЗ

 

ВЛ-02

ГОСТ 12707-77

Двухкомпонентный поливинилбутиралевый материал.

 

ОБЛАСТЬ ПРИМЕНЕНИЯ

Грунтование металлических поверхностей из алюминиевых, магниевых, титановых сплавов, а также из углеродистой и нержавеющей стали перед нанесением лакокрасочных материалов; и защита металла при межоперационном хранении.

 

СВОЙСТВА

В комплексе с покрывными эмалями обладает водостойкостью, высокой атмосферо-стойкостью в любых климатических зонах.

 

ТЕХНИЧЕСКИЕ ХАРАКТЕРИСТИКИ

Цвет

зеленовато-желтый

Количество упаковок

двухупаковочный

Массовая доля нелетучих веществ, %

20-22

Условная вязкость по вискозиметру ВЗ-246 при 20±0,5°С,

с 20-35

Время высыхания до степени 5

 

при температуре 20°С, мин, не более

15

Жизнеспособность при 20°С, ч

8

Эластичность пленки при изгибе, мм, не более

2

Прочность пленки при ударе, кгссм, не менее

50

Адгезия, баллы, не более

1

Толщина одного слоя, мкм

8-10

Расход на один слой, г/м2:

 

при нанесении распылением

200-220

при нанесении кистью

115-120

Растворитель

РФГ, 648, Р-6

Температура нанесения, °С

от-10 до+30

 

РЕКОМЕНДАЦИИ ПО ПРИМЕНЕНИЮ

Подготовка поверхности

Поверхность должна быть очищена от остатков старого покрытия, ржавчины, жира и грязи. Степень очистки 2 по ГОСТ 9.402-80 (степень Sa 21/2 по ISO 8501-1)

Подготовка ЛКМ

Смешать основу с отвердителем, при необходимости разбавить растворителем до рабочей вязкости.

Способ нанесения

Пневматическим или безвоздушным распылением, кистью, валиком.

 

ГАРАНТИЙНЫЙ СРОК И УСЛОВИЯ ХРАНЕНИЯ

12 месяцев со дня изготовления. В темном сухом прохладном месте.

Загорский ЛКЗ

 

ФЛ-03 К

(ГОСТ 9109-81)

Однокомпонентная грунтовка на фенолформальдегидной основе.

 

ОБЛАСТЬ ПРИМЕНЕНИЯ

Для грунтования поверхностей из черных металлов, медных и титановых сплавов, а также деревянных поверхностей.

 

СВОЙСТВА

В комплексе с эмалями обладает водостойкостью, атмосферостойкостью, устойчива к изменению температуры от -60 до +60°С.

 

ТЕХНИЧЕСКИЕ ХАРАКТЕРИСТИКИ

Цвет

коричневый

Количество упаковок

одноупаковочная

Массовая доля нелетучих веществ, %

61

Условная вязкость но ВЗ-246

 

с диаметром сопла 4 мм при 20°С, с

40

Время высыхания до степени 3 при 20°С, ч

8

Эластичность при изгибе, мм

2

Прочность пленки при ударе,

 

по прибору У-1, кгс-см, не менее

50

Адгезия пленки, баллы

1

Толщина одного слоя, мкм

15-20

Расход на один слой, г/м2:

 

распылителем

140-160

кистью

100-110

Растворитель

ксилол, сольвент, уайт-спирит

Температура нанесения, °С

от +5 до +30 при относительной влажности воздуха не выше 80%

 

РЕКОМЕНДАЦИИ ПО ПРИМЕНЕНИЮ

Подготовка поверхности

Поверхности должны быть очищены от остатков старого покрытия, ржавчины, жира и грязи. Степень очистки поверхности 2 по ГОСТ 9.402-80 (степень  Sa 21/2 по ISO 8501-1).

Подготовка грунтовки

Тщательно перемешать, перед применением ввести сиккатив НФ-1 в количестве не

более 4% от массы грунтовки.

Способ нанесения

Кистью, окунанием, распылением в электрополе, струйным обливом.

 

ГАРАНТИЙНЫЙ СРОК ХРАНЕНИЯ

6 месяцев в закрытой таре, в сухом прохладном месте.

"ЛКЗ России", ЗАО "ЭМЛАК"

 

ООО "СМТ Трейд"

ООО "СМТ Трейд" с 1998 года разрабатывает и производит современные материалы для противокоррозионной защиты металлических конструкций и бетона, в т.ч. широкий спектр эпоксидных ЛКМ: ЭП-0010, ЭП-0199, ЭП-057, ЭП-1236, ЭП-773, ЭП-140, ЭП-5116, а также производство полимерных материалов для химстойких наливных полов различных отраслей промышленности.

 

ШПАТЛЕВКА ЭП-0010

ГОСТ 28379-89

Двухкомпонентный материал на основе эпоксидной смолы с добавлением пигментов, наполнителей и пластификаторов.

 

ОБЛАСТЬ ПРИМЕНЕНИЯ

Защита металлоконструкций в энергетике, химической и нефтехимической промышленности.

 

СВОЙСТВА

Материал обладает атмосферостойкостью, водостойкостью.

 

ТЕХНИЧЕСКИЕ ХАРАКТЕРИСТИКИ

Цвет

красно-коричневый

Количество упаковок

двухупаковочный

Массовая доля нелетучих веществ

 

компонента А, % не менее

90

Условная вязкость компонента А, разбавленного

 

растворителем при температуре 20 ± 0,5 °С,

 

по вискозиметру ВЗ-246 с диаметром сопла 4 мм, с

30-45

Время высыхания до степени 4,

 

при температуре 20 ± 2 "С, ч, не более

24

Жизнеспособность при температуре 20 °С, ч, не менее

6

Эластичность шпатлевочного покрытия

 

при изгибе, мм, не более

50

Прочность шпатлевочного покрытия при ударе, по прибору У-1, кгс-см, не менее

40

Адгезия, балл

1

Толщина одного слоя, мкм, до

350

Расход на один слой, г/м2

150-250

Растворитель

Р-4, Р-5, Р-5А

Температура нанесения, °С

не ниже +5

 

РЕКОМЕНДАЦИИ ПО ПРИМЕНЕНИЮ

Подготовка поверхности

Очистить металл до степени 2 по ГОСТ 9.402-80 (степень Sa 21/2 по ISO 8501-1)

Подготовка шпатлевки

Основу смешать с отвердителем (на 100 г основы 8,5 г отвердителя) и тщательно перемешать, за 20 мин до нанесения.

Способ нанесения

Валиком, кистью, шпателем, методом пневматического и безвоздушного распыления. Минимальная температура окружающего воздуха и окрашиваемой поверхности не менее +5 "С.

 

ГАРАНТИЙНЫЙ СРОК И УСЛОВИЯ ХРАНЕНИЯ

12 месяцев при условии хранения в сухом помещении при температуре не выше +30 °С. Не допускать прямого воздействия солнечных лучей.

ООО "СМТ Трейд"

 

ГРУНТОВКА ЭП-057

ТУ 6-10-1117-75

Двухкомпонентный высоковязкий материал на эпоксидной основе с высоким содержанием цинка, специальных добавок и отвердителя.

 

ОБЛАСТЬ ПРИМЕНЕНИЯ

В комплексе с покрывными материалами защищает металлоконструкции в агрессивной атмосфере, а также в контакте с пресной и морской водой.

 

СВОЙСТВА

Высокая водостойкость, атмосферостойкость, стойкость к минеральным маслам, бензину и моющим средствам. Поддается сварке (при толщине слоя до 20 мкм).

 

ТЕХНИЧЕСКИЕ ХАРАКТЕРИСТИКИ

Цвет

серый

Количество упаковок

двухупаковочный

Массовая доля нелетучих веществ, %, не менее Время высыхания до степени 3

87,5±1

при температуре 20 ± 2 "С, ч, не более

24

Жизнеспособность, ч

12

Прочность пленки при ударе, кгссм, не менее

50

Адгезия, баллы, не более

1

Толщина одного слоя, мкм

50-60

Расход на один слой, г/м2

150-200

Растворитель

РП, 646, Р-5, Р-4, 647

Температура нанесения, °С, не ниже

+5°

 

РЕКОМЕНДАЦИИ ПО ПРИМЕНЕНИЮ

Подготовка поверхности

Очистить металл до степени 2 по ГОСТ 9.402-80 (степень Sa 21/2 по ISO 8501-1). Обработанную поверхность покрыть в течение двух часов после очистки.

Подготовка грунтовки

Основу смешать с отвердителем и тщательно перемешать за 20 мин до нанесения, при необходимости разбавить до рабочей вязкости растворителем

Способ нанесения

Грунтовка наносится кистью или валиком, методом безвоздушного распыления, методом пневматического распыления.

 

ГАРАНТИЙНЫЙ СРОК И УСЛОВИЯ ХРАНЕНИЯ

6 месяцев с момента выпуска при условии хранения в заводской упаковке в сухом помещении. Не допускать прямого воздействия солнечных лучей. Допускается наличие перемешиваемого осадка.

ООО "СМТ Трейд"

 

ЭМАЛЬ ЭП-5116

ГОСТ 25366-82

Двухкомпонентная эмаль на основе эпоксидных смол, неактивных разбавителей, пластификаторов и отвердителя.

 

ОБЛАСТЬ ПРИМЕНЕНИЯ

Для антикоррозионной защиты в водной среде и грунте стальных и железобетонных конструкций, градирен, трубопроводов, промысловых нефтепроводов и нефтерезерву-аров, опор мостов.

 

СВОЙСТВА

Большая толщина покрытия за один слой, универсальна, водостойка и химостойка.

 

ТЕХНИЧЕСКИЕ ХАРАКТЕРИСТИКИ

цвет

черный

Количество упаковок

двухупаковочная

Массовая доля нелетучих веществ, %, не менее

94

Время высыхания до степени 3 при 80 °С, ч, не более

1,5

Жизнеспособность при температуре 20 ± 2 °С, ч

5

Эластичность пленки при изгибе, мм, не более

10

Прочность пленки при ударе, кгс-см, не менее

40

Адгезия, баллы

1

Толщина одного слоя, мкм

40-50

Растворитель

ксилол, этилцеллозоль

Температура нанесения, °С

не менее +10

 

РЕКОМЕНДАЦИИ ПО ПРИМЕНЕНИЮ

Подготовка поверхности

Поверхность металла желательно загрунтовать ЭП-057, ЭП-0199, ЭП-0010 (возможно нанесение без грунтования).

Подготовка ЛКМ

Компонент 1 (смесь эпоксидной смолы и пластификаторов) соединить с компонентом 2 (суспензии) пигментов в смеси пластификатора и полиамидного отвердителя, в соотношении 1:2 по весу и тщательно перемешать.

Способ нанесения

Валиком, кистью, методом пневматического или безвоздушного распыления.

 

ГАРАНТИЙНЫЙ СРОК И УСЛОВИЯ ХРАНЕНИЯ

6 месяцев с момента выпуска при условии хранения в заводской упаковке, в сухом помещении при температуре не выше +30 °С. Не допускать прямого воздействия солнечных лучей.

ООО "СМТ Трейд"

Приложение 2

Технические характеристики ЛКМ иностранного производства

"JOTUN-Paints (Europe)Ltd."

Норвежская фирма JOTUN производит лакокрасочные материалы с 1927 года, однако ассортимент постоянно меняется, разрабатываются новые материалы, отвечающие требованиям времени и конкретным задачам заказчиков. Имея в своем арсенале более 300 типов лакокрасочных материалов, JOTUN обладает специализированными средствами защиты металла с ориентацией как на жаркий, тропический климат, так и на Отрицательные температуры. Материалы фирмы JOTUN могут наноситься в широком диапазоне температур, включая отрицательные до -5 °С (реквизиты производителя и поставщика см. Приложение 7).

ALKYDPRIMER

АЛКИДПРАЙМЕР

Грунт на алкидной основе.

 

ОБЛАСТЬ ПРИМЕНЕНИЯ

Рекомендуется в качестве грунта для стальных конструкций, как составная часть соответствующих алкидных систем.

 

СВОЙСТВА

Материал имеет хорошую адгезию с тщательно подготовленной алюминиевой поверхностью. Быстро сохнет и имеет хорошую стойкость к сухому нагреву до 120°С.

 

ТЕХНИЧЕСКИЕ ХАРАКТЕРИСТИКИ

Цвет

красный и серый

Количество упаковок

одноупаковочная

Сухой остаток (% от объема)

52±2

Время высыхания "до отлипа" при 23 "С, ч

2,5

Адгезия, баллы

1

Толщина пленки покрытия, мкм:

 

сухой

30-50

мокрой

60-95

Теоретический расход краски при 40 мкм, г/м2

100-120

Разбавитель

Йотун № 2

Рекомендуемая температура нанесения, °С

от +5 до +35

 

РЕКОМЕНДАЦИИ ПО ПРИМЕНЕНИЮ

Подготовка поверхности

Сухой, чистый и неповрежденный цеховой грунт или струйная очистка до степени 2 по ГОСТ 9.402-80 (Sa 21/2 по ISO 8501-1). Для незначительной подкраски объектов на открытом воздухе допускается механическая очистка до степени минимум 3 по ГОСТ 9.402-80 (St 2 ISO 8501-1)

Подготовка ЛКМ

Перед применением тщательно перемешать.

Способ нанесения

Безвоздушное, пневматическое распыление, кисть или валик. Нанесение первого слоя валиком не рекомендуется.

 

ГАРАНТИЙНЫЙ СРОК И УСЛОВИЯ ХРАНЕНИЯ

4 года в темном сухом прохладном месте.

 Jotun

 

JOTAMASTIC 87 ALUMINIUM

ЙОТАМАСТИК 87 АЛЮМИНИЕВЫЙ

Грунт-эмаль на эпоксидной основе с алюминиевым пигментом.

 

ОБЛАСТЬ ПРИМЕНЕНИЯ

Применяется для защиты стальных конструкций, обеспечивая антикоррозионную защиту как в морской, так и в пресной воде.

 

СВОЙСТВА

Материал с высоким сухим остатком на эпоксидной основе для любой поверхности. Применяется самостоятельно и в сочетании с различными верхними покрытиями. Обладает повышенной водоустойчивостью.

 

ТЕХНИЧЕСКИЕ ХАРАКТЕРИСТИКИ

Цвет

алюминиевый, с красным оттенком

Количество упаковок

двухупаковочная

Сухой остаток (% от объема)

87±2

Время высыхания до отлипа, ч, при 23°С

4

Жизнеспособность после смешивания, ч, при 20°С

1,5

Адгезия, баллы

1

Толщина пленки покрытия, мкм

 

сухой

150- 300

мокрой

170-345

Теоретический расход краски при 200 мкм, г/м2

270-320

Разбавитель

Йотун № 17

Температура нанесения, °С

от -5

 

РЕКОМЕНДАЦИИ ПО ПРИМЕНЕНИЮ

Подготовка поверхности

Механическая очистка до степени минимум 3 по ГОСТ 9.402-80 (St2 ISO 8501-1), очистить от плохо пристающих частиц. Улучшение обработки поверхности обеспечит повышение эксплуатационных качеств. В случае применения поверх старых покрытий поверхность должна быть сухой и чистой.

Подготовка ЛКМ

Основу смешать с отвердителем в соотношении 5,5:1 по объему и тщательно перемешать, при необходимости разбавить растворителем.

Способ нанесения

Рекомендуемый - безвоздушное распыление, кистью или валиком. Нанесение первого слоя валиком не рекомендуется.

 

ГАРАНТИЙНЫЙ СРОК И УСЛОВИЯ ХРАНЕНИЯ

4 года в темном сухом прохладном месте.

Jotun

JOTAMASTIC 87

ЙОТАМАСТИК 87

Грунт-эмаль на эпоксидной основе.

 

ОБЛАСТЬ ПРИМЕНЕНИЯ

Рекомендуется для защиты стальных конструкций.

 

СВОЙСТВА

Применяется самостоятельно и в сочетании с различными верхними покрытиями. Обеспечивает антикоррозионную защиту, как в морской, так и в пресной воде, имеет противопожарный сертификат, абразивостойкая.

 

ТЕХНИЧЕСКИЕ ХАРАКТЕРИСТИКИ

Цвет

ограниченный набор

Количество упаковок

двухупаковочная

Сухой остаток (% от объема)

82±2

Время высыхания "до отлипа" при 23°С, ч

4

Жизнеспособность после смешивания, ч, при 23°С

1,5

Адгезия, баллы

1

Толщина пленки покрытия, мкм

 

сухой

150- 300

мокрой

180-365

Теоретический расход краски при 200 мкм, г/м2

315-317

Разбавитель

Йотун № 17

Температура нанесения, °С

от -5

 

РЕКОМЕНДАЦИИ ПО ПРИМЕНЕНИЮ

Подготовка поверхности

Механическая очистка до степени минимум 3 по ГОСТ 9.402-80 (St2 ISO 8501-1), очистить от плохо пристающих частиц. Улучшение обработки поверхности обеспечит повышение эксплуатационных качеств. В случае применения поверх старых покрытий поверхность должна быть сухой и чистой.

Подготовка ЛКМ

Основу смешать с отвердителем в соотношении 6:1 по объему и тщательно перемешать, при необходимости разбавить растворителем до рабочей вязкости.

Способ нанесения

Рекомендуемый - безвоздушное распыление или любой другой (кисть, валик). Нанесение первого слоя валиком не рекомендуется.

 

ГАРАНТИЙНЫЙ СРОК И УСЛОВИЯ ХРАНЕНИЯ

4 года в темном сухом прохладном месте.

Jotun

 

CONSEAL PRIMER

КОНСИЛ грунт

Быстросохнущий грунт на алкидной основе.

 

ОБЛАСТЬ ПРИМЕНЕНИЯ

Специально разработан для конструкций из стали или алюминия, где требуется быстросохнущий грунт.

 

СВОЙСТВА

Материал с активными антикоррозионными пигментами. Не содержит хроматов. Жаростоек до 120°С.

 

ТЕХНИЧЕСКИЕ ХАРАКТЕРИСТИКИ

Цвет

красный, серый, желтый и белый

Количество упаковок

одноупаковочный

Сухой остаток (% от объема)

44±2

Время высыхания "до отлипа" при 23 °С, мин

15

Адгезия, баллы

1

Толщина пленки покрытия, мкм

 

сухой

40-60

мокрой

90-135

Теоретический расход краски при 50 мкм, г/м2

140-160

Разбавитель

Йотун № 7

Температура нанесения, °С

от +5 до +35

 

РЕКОМЕНДАЦИИ ПО ПРИМЕНЕНИЮ

Подготовка поверхности

Сухой, чистый и неповрежденный цеховой грунт или струйная очистка до степени 2 по ГОСТ 9.402-80 (Sa 21/2 ISO 8501-1). Для незначительной подкраски объектов на открытом воздухе допускается механическая очистка до степени минимум 3 (St 2 ISO 8501-1).

Подготовка ЛКМ

Перед применением тщательно перемешать.

Способ нанесения

Безвоздушное или пневматическое распыление, кисть.

 

ГАРАНТИЙНЫЙ СРОК И УСЛОВИЯ ХРАНЕНИЯ

4 года в темном сухом прохладном месте.

Jotun

 

CONSEAL TOPCOAT

КОНСИЛ ТОПКОУТ

Полублестящее быстросохнущее верхнее покрытие на акриловой основе.

 

ОБЛАСТЬ ПРИМЕНЕНИЯ

Водостойкое верхнее покрытие для стальных конструкций.

 

СВОЙСТВА

Покрытие в сочетании с соответствующим грунтом дает хорошую химическую стойкость и защиту от коррозии. Можно наносить даже при низких температурах.

 

ТЕХНИЧЕСКИЕ ХАРАКТЕРИСТИКИ

Цвет

в соответствии с картой цветов и МСI

Количество упаковок

одноупаковочная

Сухой остаток (% от объема)

40±2

Время высыхания "до отлипа" при 23 °С, мин

20

Адгезия, баллы

1

Толщина пленки покрытия, мкм

 

сухой

60- 100

мокрой

150-250

Теоретический расход краски при 80 мкм, г/м2

200-250

Разбавитель

Йотун № 7

Температура нанесения, °С

от +5 до +35

 

РЕКОМЕНДАЦИИ ПО ПРИМЕНЕНИЮ

Подготовка поверхности

Подложка должна быть сухой и чистой. Поверхностное загрязнение необходимо удалять моющими средствами и промывкой пресной водой.

Подготовка ЛКМ

Перед применением тщательно перемешать.

Способ нанесения

Безвоздушное или пневматическое распыление, кисть можно использовать на небольших площадях.

 

ГАРАНТИЙНЫЙ СРОК И УСЛОВИЯ ХРАНЕНИЯ

4 года в темном сухом прохладном месте.

Jotun

 

PENGUARD TOPCOAT

ПЕНГАРД ТОПКОУТ

Двухкомпонентное эпоксидное верхнее покрытие.

 

ОБЛАСТЬ ПРИМЕНЕНИЯ

Рекомендуется в качестве окончательного покрытия в эпоксидных системах для защиты металлоконструкций. Также используется для бетонных покрытий, допускающих применение эпоксидных красок. Может использоваться в цистернах с питьевой водой.

 

СВОЙСТВА

Покрытие стойкое в пресной и морской воде, в атмосферных условиях, рекомендуется для питьевой воды.

 

ТЕХНИЧЕСКИЕ ХАРАКТЕРИСТИКИ

Цвет

в соответствии с картой цветов

Количество упаковок

двухупаковочная

Сухой остаток (% от объема)

50+2

Время высыхания "до отлипа" при 23 °С, ч

1,5

Жизнеспособность после смешивания, ч, при 20 °С

8

Адгезия, баллы

1

Толщина пленки покрытия, мкм:

 

сухой

40-60

мокрой

80-120

Теоретический расход при 50 мкм, г/м2

100-130

Разбавитель

Йотун № 17

Температура нанесения, °С

не ниже +10

 

РЕКОМЕНДАЦИИ ПО ПРИМЕНЕНИЮ

Подготовка поверхности

Подложка должна быть сухой и чистой. Загрязненную поверхность следует очистить моющими средствами и пресной водой.

Подготовка ЛКМ

Основу смешать с отвердителем в соотношении 4:1 по объему за полчаса до использования и тщательно перемешать, при необходимости разбавить разбавителем до рабочей вязкости.

Способ нанесения Безвоздушное распыление. Можно применять кисть на небольших площадях.

 

ГАРАНТИЙНЫЙ СРОК И УСЛОВИЯ ХРАНЕНИЯ

2 года в темном сухом прохладном месте.

Jotun

 

PENGUARD HB

ПЕНГАРД ХБ

Двухкомпонентное эпоксидное покрытие на основе высокомолекулярных эпоксидных смол.

 

ОБЛАСТЬ ПРИМЕНЕНИЯ

Применяется для защиты металлоконструкций от коррозии. Может применяться для емкостей с питьевой водой как самогрунтующееся окончательное покрытие.

 

СВОЙСТВА

Покрытие обладает хорошей водостойкостью, химстойкостью, износостойкостью.

 

ТЕХНИЧЕСКИЕ ХАРАКТЕРИСТИКИ

Цвет

красный, серый, белый

Количество упаковок

двухупаковочная

Сухой остаток (% от объема)

54±2

Время высыхания до отлипа при 23 °С, ч

2,5

Жизнеспособность, ч, при 23 "С

8

Адгезия, баллы

1

Толщина пленки покрытия, мкм:

 

сухой

80-150

мокрой

150-280

Теоретический расход краски, 100 мкм г/м2

220-260

Разбавитель

Йотун № 17

Температура нанесения, °С

не ниже +10

 

РЕКОМЕНДАЦИИ ПО ПРИМЕНЕНИЮ

Подготовка поверхности

Чистый, сухой и неповрежденный цеховой грунт или абразивоструйная обработка до степени 2 по ГОСТ 9.402-80 (Sa 21/2 по ISO 8501-1).

Подготовка ЛКМ

Основу смешать с отвердителем в соотношении 4:1, тщательно перемешать, при необходимости разбавить разбавителем до рабочей вязкости.

Способ нанесения

Безвоздушное распыление. Можно применять кисть и валик на небольших площадях.

 

ГАРАНТИЙНЫЙ СРОК И УСЛОВИЯ ХРАНЕНИЯ

2 года в темном сухом прохладном месте.

Jotun

 

PILOT II

ПИЛОТ II

Эмаль на алкидном связующем.

 

ОБЛАСТЬ ПРИМЕНЕНИЯ

Покрытие в системах, применяемых для защиты стали от коррозии в атмосферных условиях.

 

СВОЙСТВА

Материал обладает высокой цветоустойчивостью и стойкостью к погодным изменениям.

 

ТЕХНИЧЕСКИЕ ХАРАКТЕРИСТИКИ

Цвет

в соответствии с картой цветов

Количество упаковок

одноупаковочная

Сухой остаток (% от объема)

48±2

Время высыхания "до отлипа" при 23 °С, ч

3

Адгезия, баллы

1

Толщина пленки покрытия, мкм:

 

сухой

30-50

мокрой

60-105

Разбавитель

Йотун № 2

Теоретический расход краски при 40 мкм, г/м2

75-115

Температура нанесения, °С

от +5 до +35

 

РЕКОМЕНДАЦИИ ПО ПРИМЕНЕНИЮ

Подготовка поверхности

Подложка должна быть сухой и чистой. Загрязненную поверхность следует очистить моющими средствами на водной основе, промыть пресной водой и просушить.

Подготовка ЛКМ

Перед применением тщательно перемешать.

Способ нанесения

Безвоздушное распыление, кисть или валик.

 

ГАРАНТИЙНЫЙ СРОК И УСЛОВИЯ ХРАНЕНИЯ

4 года в темном сухом прохладном месте.

Jotun

 

PRIMASTIC UNIVERSAL

ПРИМАСТИК УНИВЕРСАЛЬНЫЙ

Лакокрасочный материал на эпоксидном связующем.

 

ОБЛАСТЬ ПРИМЕНЕНИЯ

Рекомендуется в качестве антикоррозионного грунта для стальных конструкций, работающих над и под водой, а также в случае, когда струйная очистка невозможна.

 

СВОЙСТВА

Покрытие обладает атмосферостойкостью, водостойкостью в пресной и морской воде.

 

ТЕХНИЧЕСКИЕ ХАРАКТЕРИСТИКИ

Цвет

алюминиевый/алюминиевый с красным оттенком

Количество упаковок

двухупаковочная

Сухой остаток (% от объема)

75±2

Время высыхания "до отлипа" при 23 °С, ч

4

Адгезия, баллы

1

Жизнеспособность после смешивания, ч, при 23 °С

2

Толщина пленки покрытия, мкм:

 

сухой

100-250

мокрой

135-335

Теоретический расход краски при 125 мкм, г/м2

240-250

Разбавител/очиститель

Йотун № 17

Температура нанесения, °С

от -5

 

РЕКОМЕНДАЦИИ ПО ПРИМЕНЕНИЮ

Подготовка поверхности

Механическая очистка до степени 3 по ГОСТ 9.402-80 (St 2 ISO 8501-1). Улучшение обработки поверхности повышает эксплуатационные свойства. При применении краски поверх старых покрасочных систем поверхность должна быть чистой и сухой.

Подготовка ЛКМ

Основу смешать с отвердителем в соотношении 5:1 по объему, тщательно перемешать, при необходимости разбавить разбавителем до рабочей вязкости.

Способ нанесения

Рекомендуемый - безвоздушное распыление или любой другой (кисть, валик). Нанесение первого слоя валиком не рекомендуется.

 

ГАРАНТИЙНЫЙ СРОК И УСЛОВИЯ ХРАНЕНИЯ

4 года в темном сухом прохладном месте.

Jotun

 

HARDTOP AS

ХАРДТОП AC

Лакокрасочный материал на полиуретановом связующем.

 

ОБЛАСТЬ ПРИМЕНЕНИЯ

Рекомендуется в качестве верхнего покрытия для эпоксидных/эпоксидно-мастиковых систем, в которых требуется прочное высококачественное блестящее окончательное покрытие, работающее в агрессивной среде.

 

СВОЙСТВА

Покрытие обладает превосходным блеском и цветоустойчивостью. Полимеризация может происходить при низких температурах.

 

ТЕХНИЧЕСКИЕ ХАРАКТЕРИСТИКИ

Цвет

в соответствии с картой цветов

Количество упаковок

двухупаковочная

Сухой остаток (% от объема)

50+2

Время высыхания "до отлипа" при 23 °С, ч

1

Жизнеспособность после смешивания, ч, при 23 °С

4

Адгезия, баллы

1

Толщина пленки покрытия, мкм:

 

сухой

30-50

мокрой

60-100

Теоретический расход краски при 40 мкм, г/м2

80-110

Разбавитель

Йотун № 10

Температура нанесения, °С

не ниже 0

 

РЕКОМЕНДАЦИИ ПО ПРИМЕНЕНИЮ

Подготовка поверхности

Подложка должна быть сухой и чистой. Поверхностное загрязнение необходимо удалять моющими средствами и промывкой пресной водой.

Подготовка ЛКМ

Основу смешать с отвердителем в соотношении 4:1 по объему и тщательно перемешать.

Способ нанесения

Безвоздушное или обычное распыление, кисть можно использовать на небольших площадях.

 

ГАРАНТИЙНЫЙ СРОК И УСЛОВИЯ ХРАНЕНИЯ

4 года в темном сухом прохладном месте.

Jotun

 

"UCP Paint, Inc"

Лакокрасочная продукция канадского концерна "UCP Paint, Inc.", торговая марка в России "Pro Elegant", хорошо известна в мире и широко используется в промышленности и строительной индустрии. Материалы изготовляются по самым современным технологиям, с использованием высококачественного сырья, что позволяет получить долговечные защитные покрытия для металлических конструкций (реквизиты производителя и поставщика см. Приложение 7).

 

MaxCoat A

МАКСКОАТ А

Эмаль однокомпонентная полиуретановая.

 

ОБЛАСТЬ ПРИМЕНЕНИЯ

Предназначена для защиты стали по огрунтованным поверхностям.

 

СВОЙСТВА

Покрытие прочное с высокими физико-механическими свойствами, стойкое к атмосферному влиянию и действию абразивных частиц, прекрасно сохраняет цвет и блеск.

 

ТЕХНИЧЕСКИЕ ХАРАКТЕРИСТИКИ

Цвет и внешний вид пленки

серый, красно-коричневый, коричневый и др.

Количество упаковок

одноупаковочная

Массовая доля нелетучих веществ, %

73+2

Время высыхания до степени 3 при 20°С, ч, не более

4

Адгезия пленки, баллы, не более

1

Толщина одного слоя, мкм

40-50

Теоретический расход, г/м2

 

Разбавитель

Х-60

Температура нанесения, °С

от -7 до +38 при относитель-

 

ной влажности не ниже 95%

 

РЕКОМЕНДАЦИИ ПО ПРИМЕНЕНИЮ

Подготовка поверхности

Поверхность должна быть очищена от жира и грязи.

Подготовка ЛКМ

Перед нанесением тщательно перемешать.

Способ нанесения

УБР, кисть, валик, пневматическое распыление.

 

ГАРАНТИЙНЫЙ СРОК ХРАНЕНИЯ

12 месяцев в сухом прохладном месте.

ООО "КОЛОРЕКС М"

 

MonoZinc ME HI

Грунт полиуретановый однокомпонентный, пигментированный высокодисперсным порошком цинка.

 

ОБЛАСТЬ ПРИМЕНЕНИЯ

Предназначен для грунтования металлических поверхностей.

 

СВОЙСТВА

Комплексное покрытие с эмалями обладает высокой водостойкостью и атмосферо-стойкостью.

 

ТЕХНИЧЕСКИЕ ХАРАКТЕРИСТИКИ

Цвет и внешний вид пленки

матовый, красный

Количество упаковок

одноупаковочный

Массовая доля нелетучих веществ, %

61,0±2

Время высыхания до степени 3 при 20°С, ч, не более

4

Адгезия пленки, баллы, не более

1

Толщина одного слоя, мкм

75-100

Теоретический расход, г/м2

116

Разбавитель

Х-34

Температура нанесения, °С

от -7 при относительной влажности воздуха 99%

 

РЕКОМЕНДАЦИИ ПО ПРИМЕНЕНИЮ

Подготовка поверхности

Поверхность должна быть очищена от остатков непрочно держащегося старого покрытия, ржавчины, жира и грязи. Степень очистки поверхности 2-3 по ГОСТ 9.402-80 (Sa 21/2 или 2 по ISO 8501-1).

Подготовка ЛКМ

Перед применением тщательно перемешать.

Способ нанесения

УБР, кисть, валик, пневматическое распыление, перемешивать через каждые 15-30 минут.

 

ГАРАНТИЙНЫЙ СРОК И УСЛОВИЯ ХРАНЕНИЯ

12 месяцев в сухом прохладном месте.

ООО "КОЛОРЕКС М"

 

XyGuard

Однокомпонентная грунт-эмаль на основе полиуретана.

 

ОБЛАСТЬ ПРИМЕНЕНИЯ

Предназначена для применения в качестве самостоятельного, а также промежуточного и покрывного лакокрасочного материала для защиты металлических поверхностей от коррозии.

 

СВОЙСТВА

Покрытие атмосферостойкое в промышленной атмосфере, водостойкое.

 

ТЕХНИЧЕСКИЕ ХАРАКТЕРИСТИКИ

Цвет и внешний вид пленки

черный, светло-коричневый, красно-коричневый, белый, алюминиевый, дымчато-серый

Количество упаковок

двухупаковочная

Массовая доля нелетучих веществ, %

62,0±2

Время высыхания до степени 3 при 20°С, ч, не более

4

Адгезия пленки, баллы, не более

1

Толщина одного слоя, мкм

100-150

Расход, г⁄м2

24

Температура нанесения, °С

от -7 при относительной влажности воздуха 99%

 

РЕКОМЕНДАЦИИ ПО ПРИМЕНЕНИЮ

Подготовка поверхности

При применении XyGuard в качестве грунтовочного покрытия поверхность должна быть очищена от остатков непрочно держащегося покрытия, ржавчины, жира и грязи. Степень очистки поверхности 2-3 по ГОСТ 9.402-80 (Sa 21/2 или 2 по ISO 8501-1). При применении XyGuard в качестве покрывного материала поверхность должна быть очищена от жира и грязи.

Подготовка ЛКМ

Перед применением тщательно перемешать.

Способ нанесения

Безвоздушное распыление, кисть, валик, пневматическое распыление.

 

ГАРАНТИЙНЫЙ СРОК ХРАНЕНИЯ

12 месяцев в сухом и прохладном месте.

ООО "КОЛОРЕКС М"

 

Icosit EG Phosphat

Грунтовка на основе эпоксидной смолы.

 

ОБЛАСТЬ ПРИМЕНЕНИЯ

Для защиты от коррозии металлических конструкций, эксплуатируемых в пресной и морской воде и в промышленной атмосфере.

 

СВОЙСТВА

Покрытие атмосферостойкое в промышленной атмосфере, водостойкое, может наноситься на оцинкованную поверхность.

 

ТЕХНИЧЕСКИЕ ХАРАКТЕРИСТИКИ

Цвет

светло-желтый

Количество упаковок

двухупаковочны й

Массовая доля нелетучих веществ, %, не менее

80

Жизнеспособность при 20°С, ч, не менее

8

Адгезия, баллы

1

Толщина одного слоя, мкм

80

Расход (теоретический), г/м2

270

Растворитель

646, 647, 648, 649, 650

Температура нанесения, °С

от 0 до +20

 

РЕКОМЕНДАЦИИ ПО ПРИМЕНЕНИЮ

Подготовка поверхности

Поверхность отчистить от масел и продуктов коррозии.

Подготовка ЛКМ

Перед нанесением основу смешать с отвердителем в соотношении 90:10 по массе и

тщательно перемешать.

Способ нанесения

Безвоздушное распыление, пневматическое распыление, кисть, валик.

 

ГАРАНТИЙНЫЙ СРОК И УСЛОВИЯ ХРАНЕНИЯ

12 месяцев в темном сухом прохладном месте при температуре от +5 до +35°С.

Sika GmbH

 

Icosit EG 1

Промежуточный слой на основе эпоксидной смолы с железистой слюдкой.

 

ОБЛАСТЬ ПРИМЕНЕНИЯ

Для защиты металлических конструкций от коррозии, кратковременного действия истирания и растворителей.

 

СВОЙСТВА

Покрытие атмосферостойкое в промышленной атмосфере, водостойкое, может наноситься на оцинкованную поверхность.

 

ТЕХНИЧЕСКИЕ ХАРАКТЕРИСТИКИ

Цвет

серый

Количество упаковок

двухупаковочный

Массовая доля нелетучих веществ, %, не менее

82,0

Жизнеспособность при 20°С, ч, не менее

8

Адгезия, баллы

1

Толщина одного слоя, мкм

80

Расход (теоретический), г/м2

270

Растворитель

646, 647, 648, 649, 650

Температура нанесения, °С

не ниже +5

 

РЕКОМЕНДАЦИИ ПО ПРИМЕНЕНИЮ

Подготовка поверхности

Поверхность обеспылить и очистить от масел.

Подготовка ЛКМ

Перед нанесением основу смешать с отвердителем в соотношении 90:10 по массе, тщательно перемешать.

Способ нанесения

Безвоздушное распыление, пневматическое распыление, кисть, валик.

 

ГАРАНТИЙНЫЙ СРОК И УСЛОВИЯ ХРАНЕНИЯ

12 месяцев в темном сухом прохладном месте при температуре от +5 до +35°С.

Sika Gmb

 

Icosit EG 4 (EG)

Полиуретановая композиция с железистой слюдкой для финишного покрытия.

 

ОБЛАСТЬ ПРИМЕНЕНИЯ

Для защиты металлических конструкций от коррозии, кратковременного действия истирания и растворителей.

 

СВОЙСТВА

Покрытие атмосферостойкое, водостойкое, может наноситься на оцинкованную поверхность.

 

ТЕХНИЧЕСКИЕ ХАРАКТЕРИСТИКИ

Цвет

серый

Количество упаковок

двухупаковочный

Массовая доля нелетучих веществ, %, не менее

71

Жизнеспособность при 20°С, ч, не менее

5

Адгезия, баллы

1

Толщина одного слоя, мкм

80

Расход (теоретический), г/м2

270

Растворитель

646, 647, 648, 649, 650

Температура нанесения, °С

не ниже +5

 

РЕКОМЕНДАЦИИ ПО ПРИМЕНЕНИЮ

Подготовка поверхности

Поверхность обеспылить и обезжирить.

Подготовка ЛКМ

Перед нанесением основу смешать с отвердителем в соотношении 98:8 по массе тщательно перемешать.

Способ нанесения

Безвоздушное распыление, пневматическое распыление, кисть, валик.

 

ГАРАНТИЙНЫЙ СРОК И УСЛОВИЯ ХРАНЕНИЯ

12 месяцев в темном сухом прохладном месте при температуре от +5 до +35°С.

Sika GmbH

 

STEELPAINT GmbH (Германия)

Материалы STEELPAINT GmbH предназначены для защиты конструкций гидротехнических сооружений, в том числе эксплуатирующихся в пресной и морской воде, мостов, эстакад, промышленных металлоконструкций. Материалы могут наноситься в неблагоприятных погодных условиях, при высокой влажности, при низких температурах, на влажные (но не мокрые) стальные поверхности и любым способом.

 

STELPANT-PU-ZINK

Однокомпонентный полиуретановый материал.

 

ОБЛАСТЬ ПРИМЕНЕНИЯ

Гидротехнические сооружения и промышленные металлоконструкции. Надежная коррозионная защита при однослойном покрытии.

 

СВОЙСТВА

Содержит цинковую пудру, отверждается влагой воздуха и может применяться при влажности воздуха до 98%. Допускается нанесение на увлажненные, но не мокрые стальные поверхности, а также в условиях ниже "точки росы". Быстро высыхает, в том числе при температуре воздуха близкой к 0°С. В результате может использоваться круглый год, почти независимо от погодных условий. Обладает высокой механической прочностью, атмосферостойкостью, устойчивостью в пресной и морской воде, а также к нефтепродуктам.

 

ТЕХНИЧЕСКИЕ ХАРАКТЕРИСТИКИ

Цвет

серый, серо-зеленый

Количество упаковок

одноупаковочный

Содержание сухого остатка по объему, %

71

Вязкость при поставке,

 

по ВЗ- 246 сопло 4 мм, с, при 20°С

60

Время высыхания "на ощупь" при-20 °С, ч

1

Адгезия, баллы

1

Толщина одного слоя, мкм

80

Расход (теоретический), г/м2

350

Растворитель

Stelpant-PU-Растворитель, Р-4

Температура нанесения, °С

от 0 до +50 при влажности воздуха до 98%

 

РЕКОМЕНДАЦИИ ПО ПРИМЕНЕНИЮ

Подготовка поверхности

Поверхности должны быть очищены от остатков старого покрытия, ржавчины, жира и грязи. Степень очистки поверхности 2 по ГОСТ 9.402-80 (Sa 21/2 ISO 8501-1) Цинк: отсутствие ухудшающих адгезию посторонних веществ, таких как белая коррозия, жир, загрязнения и т. д. Допускается нанесение на увлажненные, но не мокрые поверхности, а также в условиях ниже "точки росы".

Подготовка ЛКМ

Перед применением тщательно перемешать.

Способ нанесения Безвоздушное распыление, пневматическое распыление, кистью и валиком.

 

ГАРАНТИЙНЫЙ СРОК И УСЛОВИЯ ХРАНЕНИЯ

12 месяцев в нераспечатанной заводской упаковке при температуре от +5 до +30°С.

STEELPAINT GmbH» (Германия)

 

STELPANT-PU-COMBINATION 100

Однокомпонентный тиксотропный влагоотверждаемый полиуретановый материал.

 

ОБЛАСТЬ ПРИМЕНЕНИЯ

Применяется в качестве финишного покрытия для защиты металлоконструкций гидротехнических и морских сооружений, а также для защиты при строительстве нефтяных резервуаров и трубопроводов. Технологичен при нанесении на вертикальные поверхности.

 

СВОЙСТВА

Устойчив к морской и речной воде, к жирам и маслам, а также к кратковременному воздействию кислот, щелочей, растворителей и солей. Экологически безопасен.

 

ТЕХНИЧЕСКИЕ ХАРАКТЕРИСТИКИ

Цвет

черный, красно-коричневый или по запросу

Количество упаковок

одноупаковочный

Содержание сухого остатка, % от объема

70

Время сушки "от пыли" при 20°С, ч

1

Адгезия, баллы

1

Толщина одного слоя, мкм

100-150

Теоретический расход при толщине слоя 150 мкм, г/м2

300

Растворитель

Stelpant-PU-Растворитель, Р-

Температура нанесения, °С

от 0 до +50 при относительной влажности от 30 до 98 %

 

РЕКОМЕНДАЦИИ ПО ПРИМЕНЕНИЮ

Подготовка поверхности

Поверхность должна быть очищена от жира, масел, грязи и солей.

Подготовка ЛКМ

Тщательно перемещать.

Способ нанесения

Безвоздушное распыление, кисть, валик.

 

ГАРАНТИЙНЫЙ СРОК И УСЛОВИЯ ХРАНЕНИЯ

12 месяцев в нераспечатанной заводской упаковке при температуре от +5 до +30°С.

STEELPAINT GmbH* (Германия)

 

STELPANT-PU-MICA

Однокомпонентный полиуретановый материал с содержанием "железной слюдки", от-верждающийся при воздействии влаги воздуха.

 

ОБЛАСТЬ ПРИМЕНЕНИЯ

Промежуточное покрытие в системах для защиты от коррозии гидротехнических и портовых сооружений. Используется также в качестве финишного покрытия для внутренних помещений.

 

СВОЙСТВА

В комплексе с другими лакокрасочными покрытиями обеспечивает защиту от интенсивного атмосферного воздействия, агрессивных промышленных газов, а также воздействия пресной и морской воды, щелочных и кислых сред и масел.

 

ТЕХНИЧЕСКИЕ ХАРАКТЕРИСТИКИ

Цвет

по карте эталонов, для материалов, содержащих "железную слюдку"

Количество упаковок

одноупаковочный

Содержание сухого остатка по объему, %

64 (в зависимости от цветового тона)

 

 

Время высыхания "на ощупь" при 20 °С, ч

2

Адгезия, баллы

1

Толщина одного слоя, мкм

80-100

Расход на один слой, г/м2

200-220

Растворитель

STELPANT-PU-Растворитель

Температура при нанесении, °С

от 0 до +50 при влажности воздуха от 30 до 98%

 

РЕКОМЕНДАЦИИ ПО ПРИМЕНЕНИЮ

Подготовка поверхности

Покрываемые поверхности (грунтовки и промежуточные слои на полиуретановой, эпоксидной или силикатной основе, остальные надо проверять) должны быть свободны от ухудшающих адгезию посторонних веществ, жира, масел, пыли, грязи, солей и пр. Допускается нанесение на увлажненные, но не мокрые поверхности, а также в условиях ниже "точки росы". Обеспечивается быстрота сушки, в том числе около точки замерзания.

Подготовка ЛКМ Тщательно перемешать

Способ нанесения

Безвоздушное распыление, пневматическое распыление, кисть и валик.

 

ГАРАНТИЙНЫЙ СРОК И УСЛОВИЯ ХРАНЕНИЯ

12 месяцев в нераспечатанной заводской упаковке при температуре от +5 до +30°С.

STEELPAINT GmbH* (Германия)

 

STELPANT-PU-MICA, UV

Однокомпонентный полиуретановый влагоотверждаемый лакокрасочный материал с содержанием "железной слюдки".

 

ОБЛАСТЬ ПРИМЕНЕНИЯ

Используется в качестве финишного покрытия высокой износостойкости при высокой интенсивности УФ-излучения, при защите металлоконструкций от коррозии.

 

СВОЙСТВА

Обеспечивает защиту от интенсивного атмосферного воздействия, газообразных промышленных выбросов, а также воздействия морской воды, щелочных и кислых сред и жировых веществ.

 

ТЕХНИЧЕСКИЕ ХАРАКТЕРИСТИКИ

Цвет

по карте эталонных цветов

Количество упаковок

одноупаковочный

Содержание сухого остатка по объему, %

52 (в зависимости

 

от цветового тона)

Время сушки "от пыли" при 20 °С, ч

1

Адгезия, баллы

1

Толщина одного слоя, мкм

80

Расход на один слой, г/м2

220

Растворитель

STELPANT-PU-Растворитель

Температура при нанесении, °С

от 0 до +50 при относительной влажности воздуха от 30 до 98%

 

РЕКОМЕНДАЦИИ ПО ПРИМЕНЕНИЮ

Подготовка поверхности

Покрываемые поверхности (грунтовки и промежуточные слои на полиуретановой, эпоксидной или силикатной основе, остальные надо проверять) должны быть свободны от ухудшающих адгезию посторонних веществ, жира, масел, пыли, грязи, солей и пр. Допускается нанесение на влажные, но не мокрые поверхности, а также в условиях ниже "точки росы". Быстро высыхает, в том числе около точки замерзания воды.

Подготовка ЛКМ

Тщательно перемешать.

Способ нанесения

Безвоздушное распыление, пневматическое распыление, кисть и валик.

 

ГАРАНТИЙНЫЙ СРОК И УСЛОВИЯ ХРАНЕНИЯ

12 месяцев в нераспечатанной заводской упаковке при температуре от +5 до +30°С.

STEELPAINT GmbH* (Германия)

 

STELPANT-PU-COVER

Однокомпонентный полиуретановый влагоотверждаемый материал.

 

ОБЛАСТЬ ПРИМЕНЕНИЯ

Используется в качестве заключительного покрытия для защиты стальных конструкций при строительстве гидротехнических сооружений, портовых сооружений, морской техники и т.д.

 

СВОЙСТВА

Атмосферостойкость во всех климатических зонах. Высокая устойчивость к воздействию морской и пресной воды.

 

ТЕХНИЧЕСКИЕ ХАРАКТЕРИСТИКИ

Цвет

по карте эталонных оттенков материалов

Количество упаковок

одноупаковочный

Содержание сухого остатка по объему, %

52 (в зависимости от цветового тона)

 

 

Время сушки "на ощупь" при 20°С, ч

5

Адгезия, баллы

1

Толщина одного слоя, мкм

80

Расход на один слой, г/м2

185-200

Растворитель

Stelpant-PU-Растворитель, Р-4

Температура при нанесении, °С

от 0 до + 50 при относительной влажности воздуха от 30 до 98 %

 

РЕКОМЕНДАЦИИ ПО ПРИМЕНЕНИЮ

Подготовка поверхности

Покрываемые поверхности (грунтовки и промежуточные слои на полиуретановой, эпоксидной или силикатной основе, остальные надо проверять) должны быть свободны от ухудшающих адгезию посторонних веществ, жира, масел, пыли, грязи, солей и пр. Допускается нанесение на влажные, но не мокрые поверхности, а также в условиях ниже "точки росы". Быстро высыхает, в том числе около точки замерзания воды.

Подготовка ЛКМ

Тщательно перемешать.

Способ нанесения

Безвоздушное распыление, пневматическое распыление, кисть и валик.

 

ГАРАНТИЙНЫЙ СРОК И УСЛОВИЯ ХРАНЕНИЯ

12 месяцев в нераспечатанной заводской упаковке при температуре от +5 до +30 °С.

STEELPAINT GmbH* (Германия)

 

ZINGA

Однокомпонентная влагоотверждаемая цинкнаполненная грунтовка и покрытие.

 

ОБЛАСТЬ ПРИМЕНЕНИЯ

ZINGA предназначена для применения в качестве самостоятельного лакокрасочного материала или в комплексе с другими лакокрасочными материалами для грунтования влажных металлических поверхностей. Предотвращает коррозию железа за счет сочетания активного (катодного) и пассивного (барьерного) методов защиты.

 

СВОЙСТВА

Покрытие атмосферостойкое, водостойкое в пресной и морской воде во всех климатических районах.

 

ТЕХНИЧЕСКИЕ ХАРАКТЕРИСТИКИ

Цвет и внешний вид пленки

серая, матовая

Количество упаковок

одноупаковочная

Массовая доля нелетучих веществ, %

79,6

Время высыхания до степени 3 при 20°С, ч, не более

0,4

Эластичность пленки при изгибе, мм, не более

1

Прочность пленки при ударе, см, не менее

50

Адгезия пленки, баллы, не более

1

Толщина одного слоя, мкм

30-40

Расход на один слой, г/м2

250

Растворитель

Zinga-solve

Температура нанесения, °С

от -20 до +60 при относительной влажности воздуха от 30 до 98%

 

РЕКОМЕНДАЦИИ ПО ПРИМЕНЕНИЮ

Подготовка поверхности

Поверхность должна быть очищена от окалины, ржавчины и старых покрытий до степени 2 по ГОСТ 9.402-80 (Sa 21/2 ISO 8501-1). Поверхность может быть влажной (но не мокрой)

Подготовка ЛКМ

Перемешивать через каждые 10 минут.

Способ нанесения

Безвоздушное и пневматическое распыление, кисть и валик.

 

ГАРАНТИЙНЫЙ СРОК И УСЛОВИЯ ХРАНЕНИЯ

Срок службы грунтовочного покрытия составляет 20 и более лет в зависимости от условий эксплуатации и толщины покрытия. Условия хранения: 12 месяцев при температуре не выше +30°С.

Zinga.Metall (Бельгия)

 

"ТЕКНОС"

Концерн "ТЕКНОС" является скандинавским производителем лакокрасочной продукции. Концерн "ТЕКНОС" основан в 1948 году и является одним из наиболее крупных предприятий в Финляндии, которое предлагает высококачественные и экологически чистые лакокрасочные материалы. Ассортимент продукции концерна "ТЕКНОС" охватывает как промышленные лакокрасочные материалы, так и строительные и бытовые (реквизиты производителя и поставщика см. Приложение 7).

 

ТЕКНОТАР 200

Двухкомпонентная композиция на основе уретановой смолы.

 

ОБЛАСТЬ ПРИМЕНЕНИЯ

ТЕКНОТАР 200 предназначена для применения в качестве грунтовки или самостоятельного лакокрасочного материала для защиты металлических поверхностей.

 

СВОЙСТВА

Покрытие атмосферостойкое в промышленной атмосфере, водостойкое, устойчивое к механическим нагрузкам.

 

ТЕХНИЧЕСКИЕ ХАРАКТЕРИСТИКИ

Цвет и внешний вид пленки

коричневый, черный

Количество упаковок

двухупаковочная

Массовая доля нелетучих веществ, %

60,0

Время высыхания до степени 3 при 20°С, ч, не более

6

Жизнеспособность при температуре 23°С, ч

4

Адгезия пленки, баллы, не более

1

Толщина одного слоя, мкм

100-125

Теоретический расход на один слой, г/м2

220-250

Разбавитель

ТЕНОСОЛВ 9521, Р-4

Температура нанесения, °С

от - 10 при относительной влажности ниже 95%

 

РЕКОМЕНДАЦИИ ПО ПРИМЕНЕНИЮ

Подготовка поверхности

Поверхности должны быть очищены от остатков непрочно держащегося покрытия, ржавчины, жира и грязи. Степень очистки поверхности 2 по ГОСТ 9.402-80 (Sa 21/2 ISO 8501-1). Возможно нанесение при низких (до -10 °С) температурах.

Подготовка ЛКМ

Основу смешать с отвердителем в соотношении 2:1 по объему.

Способ нанесения

Безвоздушное распыление или любой другой (кисть, валик).

 

ГАРАНТИЙНЫЙ СРОК И УСЛОВИЯ ХРАНЕНИЯ

12 месяцев в темном сухом прохладном месте (до 25°С).

TEKNOS

 

ИНЕРТА 160

Эпоксидный лакокрасочный материал.

 

ОБЛАСТЬ ПРИМЕНЕНИЯ

ИНЕРТА 160 предназначена для применения в качестве самостоятельного лакокрасочного материала для защиты металлических поверхностей.

 

СВОЙСТВА

Покрытие атмосферостойкое в промышленной атмосфере, водостойкое, износостойкое, стойкое к радиации, хорошо поддается дезактивации.

 

ТЕХНИЧЕСКИЕ ХАРАКТЕРИСТИКИ

Цвет и внешний вид пленки

белый, черный, красный

Количество упаковок

двухупаковочная

Массовая доля нелетучих веществ, %

96,0

Время высыхания до степени 3 при 20°С, ч, не более

12

Жизнеспособность готовой грунтовки

 

при температуре 23°С, мин

20

Адгезия пленки, баллы, не более

1

Толщина одного слоя, мкм

200-250

Расход на один слой, г/м2

300-350

Разбавитель

ТЕНОСОЛВ 9530

Температура нанесения, °С

от +10 до +35 при относительной влажности не ниже 80%

 

РЕКОМЕНДАЦИИ ПО ПРИМЕНЕНИЮ

Подготовка поверхности

Поверхности должны быть очищены от остатков непрочно держащегося покрытия, ржавчины, жира и грязи. Степень очистки поверхности 2 по ГОСТ 9.402-80 (Sa 21/2 ISO 8501-1).

Подготовка ЛКМ

Основу смешать с отвердителем в соотношении 2:1 по объему.

Способ нанесения

Безвоздушное распыление.

 

ГАРАНТИЙНЫЙ СРОК И УСЛОВИЯ ХРАНЕНИЯ

Основа - 12 месяцев, отвердитель - 12 месяцев, в сухом прохладном месте.

TEKNOS

 

ТЕКНОПЛАСТ ПРАЙМЕР 7

Двухкомпонентная эпоксидная грунтовка.

 

ОБЛАСТЬ ПРИМЕНЕНИЯ

Применяется в качестве грунтовки для защиты от коррозии стальных поверхностей, обработанных струйной очисткой.

 

СВОЙСТВА

Обладает стойкостью в промышленной атмосфере, водных растворах химикатов, а также в маслах, жирах и растворителях. Износостойко. Быстро сохнет, что допускает быстрый темп проведения покрасочных работ.

 

ТЕХНИЧЕСКИЕ ХАРАКТЕРИСТИКИ

Цвет

серый, красный

Количество упаковок

двухупаковочная

Содержание сухих веществ по объему, %

70

Время высыхания "на ощупь" при 23°С, ч

4

Адгезия, баллы

1

Толщина одного слоя, мкм

80-160

Теоретический расход на один слой, м2

4,4-8,8

Разбавитель

ТЕКНОПЛАСТ СОЛВ, Р-4

Температура нанесения, °С

от +10 при относительной влажности воздуха ниже 80%

 

РЕКОМЕНДАЦИИ ПО ПРИМЕНЕНИЮ

Подготовка поверхности

Поверхности должны быть очищены от остатков непрочно держащегося покрытия, ржавчины, жира и грязи. Степень очистки поверхности 2 по ГОСТ 9.402-80 (Sa 21/2 ISO 3501-1).

Подготовка ЛКМ

Перед применением тщательно смешать пластмассовый компонент с отвердителем в соотношении 4:1 (по объему).

Способ нанесения

Кисть, валик, безвоздушное распыление.

 

ГАРАНТИЙНЫЙ СРОК ХРАНЕНИЯ

6 месяцев при прохладном сухом складировании в закрытой заводской упаковке.

TEKNOS

 

ИНЕРТА 165

Эпоксидный лакокрасочный материал на основе жидкой эпоксидной смолы с небольшим содержанием растворителей.

 

ОБЛАСТЬ ПРИМЕНЕНИЯ

Покрытие на основе ИНЕРТА 165 предназначено для применения в качестве самостоятельного лакокрасочного материала для защиты металлических поверхностей.

 

СВОЙСТВА

Покрытие атмосферостойкое в промышленной атмосфере, водостойкое и износостойкое.

 

ТЕХНИЧЕСКИЕ ХАРАКТЕРИСТИКИ

Цвет и внешний вид пленки

белый, черный

Количество упаковок

двухупаковочная

Массовая доля нелетучих веществ по объему, %

92,0

Время высыхания до степени 3 при 20°С, ч, не более

12

Жизнеспособность готовой грунтовки

 

при температуре 23°С, мин

30

Адгезия пленки, баллы, не более

1

Толщина одного слоя, мкм

200-250

Теоретический расход на один слой, г/м2

300-350

Разбавитель

ТЕНОСОЛВ 9506, Р-4

Температура нанесения, °С

от + 10 до +35 при относительной влажности не ниже 80%

 

РЕКОМЕНДАЦИИ ПО ПРИМЕНЕНИЮ

Подготовка поверхности

Поверхности должны быть очищены от остатков непрочно держащегося покрытия, ржавчины, жира и грязи. Степень очистки поверхности 2 по ГОСТ 9.402-80 (Sa 21/2 ISO 8501-1).

Подготовка ЛКМ

Основу смешать с отвердителем в соотношении 2:1 по объему.

Способ нанесения

Безвоздушное распыление, пневматическое распыление, кисть и валик.

 

ГАРАНТИЙНЫЙ СРОК И УСЛОВИЯ ХРАНЕНИЯ

Основа - 12 месяцев, отвердитель - 12 месяцев, в сухом прохладном месте.

TEKNOS

 

ИНЕРТА 250

Эпоксидная краска на основе жидкой эпоксидной смолы.

 

ОБЛАСТЬ ПРИМЕНЕНИЯ

ИНЕРТА 250 предназначена для применения в качестве самостоятельного лакокрасочного материала для защиты металлических поверхностей.

 

СВОЙСТВА

Покрытие атмосферостойкое в промышленной атмосфере, водостойкое в пресной и морской воде, масло- и бензостойкое.

 

ТЕХНИЧЕСКИЕ ХАРАКТЕРИСТИКИ

Цвет и внешний вид пленки

белый, зеленый, красный

Количество упаковок

двухупаковочная

Массовая доля нелетучих веществ, %

96,0

Время высыхания до степени 3 при 20°С, ч, не более

16

Жизнеспособность готовой грунтовки

 

при температуре 23°С, ч

1

Адгезия пленки, баллы, не более

1

Толщина одного слоя, мкм

300-800

Расход на один слой

 

(в зависимости от толщины покрытия), г/м2

450-1150

Разбавитель

ТЕНОСОЛВ 9530, Р-4

Температура нанесения, °С

от + 10 при относительной влажности воздуха не ниже 80%

 

РЕКОМЕНДАЦИИ ПО ПРИМЕНЕНИЮ

Подготовка поверхности

Поверхность должна быть очищена от остатков непрочно держащегося покрытия, ржавчины, жира и грязи. Степень очистки поверхности 2 по ГОСТ 9.402-80 (Sa 21/2 ISO 8501-1).

Подготовка ЛКМ

Основу смешать с отвердителем в соотношении 2:1 по объему.

Способ нанесения

Безвоздушное распыление или любой другой (кисть, валик).

 

ГАРАНТИЙНЫЙ СРОК И УСЛОВИЯ ХРАНЕНИЯ

Основа - 12 месяцев, отвердитель - 12 месяцев, в сухом прохладном месте.

TEKNOS

 

ИНЕРТА МАСТИК

Эпоксидный лакокрасочный материал.

 

ОБЛАСТЬ ПРИМЕНЕНИЯ

Применяется в качестве грунтовочного покрытия для защиты металлоконструкций от коррозии.

 

СВОЙСТВА

В комплексе с другими лакокрасочными материалами обладает высокой атмосферо-стойкостью, а также хорошей адгезией к стальной поверхности, обработанной стальной щеткой, и поверхности, обработанной ИНЕРТА МАСТИК. Для изделий имеется отвердитель ВИНТЕР, который применяется при нанесении в температуре ниже +10 °С.

 

ТЕХНИЧЕСКИЕ ХАРАКТЕРИСТИКИ

Цвет

серый, красный

Количество упаковок

двухупаковочная

Содержание сухих веществ, %

75-80 (в зависимости от применяемого отвердителя)

Время высыхания до степени 3 при 23 °С, ч

6

Жизнеспособность, ч

2

Адгезия, баллы

1

Толщина одного слоя, мкм

120

Теоретический расход на один слой, г/м2

220-250

Растворитель

ТЕНОСОЛВ 9506, Р-4

Температура нанесения, °С

от -5 до +35 при относительной влажности воздуха ниже 80%

 

РЕКОМЕНДАЦИИ ПО ПРИМЕНЕНИЮ

Подготовка поверхности

Поверхность очистить от ржавчины и окалины, от прокатки до степени предварительной обработки 2 по ГОСТ 9.402-80 (Sa 21/2 ISO 8501-1). Окрашиваемая поверхность должна быть сухой и чистой.

Подготовка ЛКМ

Перед применением тщательно смешать пластмассовый компонент с отвердителем в соотношении 2:1 по объему.

Способ нанесения

Безвоздушное распыление, кисть, валик.

 

ГАРАНТИЙНЫЙ СРОК ХРАНЕНИЯ

6 месяцев при прохладном сухом складировании в закрытой заводской упаковке.

TEKNOS

 

ТЕКНОДУР 50

Двухкомпонентная полиуретановая поверхностная краска, в качестве отвердителя которой используется алифатическая изоцианатная смола.

 

ОБЛАСТЬ ПРИМЕНЕНИЯ

Применяется в качестве поверхностной краски для защиты от коррозии стальных и металлических поверхностей.

 

СВОЙСТВА

Хорошо выдерживает механическую нагрузку и атмосферное воздействие.

 

ТЕХНИЧЕСКИЕ ХАРАКТЕРИСТИКИ

Цвет

согласно карте

Количество упаковок

двухупаковочная

Содержание сухих веществ по объему, %

50

Время высыхания до степени 3 при 23°С, ч

6

Жизнеспособность при 23° С, ч

4

Адгезия, баллы

1

Толщина одного слоя, мкм

40-60

Теоретический расход на один слой, г/м2

110-160

Разбавитель

ТЕКНОДУР СОЛВ,

 

ТЕНОСОЛВ 9526, Р-4

Температура применения, °С

от +5 при относительной влажности воздуха ниже 80%

 

РЕКОМЕНДАЦИИ ПО ПРИМЕНЕНИЮ

Подготовка поверхности

Поверхность тщательно очистить от водорастворимых солей, жира и грязи. Поверхность должна быть сухой и чистой.

Подготовка ЛКМ

Перед применением тщательно смешать пластмассовый компонент с отвердителем в соотношении 9:1.

Способ нанесения Воздушное или безвоздушное распыление, кисть, валик.

 

ГАРАНТИЙНЫЙ СРОК ХРАНЕНИЯ

6 месяцев при прохладном сухом складировании в закрытой заводской упаковке.

TEKNOS

 

ТЕКНОДУР 90

Двухкомпонентная полиуретаыовая поверхностная краска.

 

ОБЛАСТЬ ПРИМЕНЕНИЯ

Применяется в качестве поверхностной краски для защиты от коррозии стальных и металлических поверхностей.

 

СВОЙСТВА

Хорошо выдерживает механическую нагрузку и атмосферное воздействие.

 

ТЕХНИЧЕСКИЕ ХАРАКТЕРИСТИКИ

Цвет

согласно карте колеров

Количество упаковок

двухупаковочная

Содержание сухих веществ по объему, %

50

Время высыхания до степени 3 при 23°С, ч

6

Адгезия, баллы

1

Толщина одного слоя, мкм

40

Теоретический расход на один слой, г/м2

120-140

Разбавитель

ТЕКНОДУР СОЛВ,

 

ТЕНОСОЛВ 9526, Р-4

Температура применения, °С

от +5 при относительной влажности воздуха ниже 80%

 

РЕКОМЕНДАЦИИ ПО ПРИМЕНЕНИЮ

Подготовка поверхности

Поверхность тщательно очистить от водорастворимых солей, жира и грязи. Поверхность должна быть сухой и чистой.

Подготовка ЛКМ

Перед применением тщательно смешать пластмассовый компонент с отвердителем в соотношении 9:1 по объему.

Способ нанесения

Воздушное или безвоздушное распыление, кисть, валик.

 

ГАРАНТИЙНЫЙ СРОК ХРАНЕНИЯ

6 месяцев при прохладном сухом складировании в закрытой заводской упаковке.

TEKNOS

 

Permatex GmbH

Permatex GmbH основана в 1947 году. Специализируется в области разработки и изготовления материалов промышленного назначения для огнезащиты, антикоррозионной защиты, наливных полов, специальной химической защиты. Продукция фирмы широко известна в Европе и в мире. Покрытия широко используются для защиты гидротехнических сооружений (причалы, шлюзы, затворы и т.д.); внутренних поверхностей резервуаров: для нефти, нефтепродуктов, пищевых продуктов; внутренних и наружных поверхностей труб; полов для широкого спектра условий эксплуатации.

 

EPITER TF 130

Двухкомпонентный эпоксидный покрывной материал с высоким содержанием сухого остатка.

 

ОБЛАСТЬ ПРИМЕНЕНИЯ

Для надежной противокоррозионной защиты стальных гидротехнических сооружений.

 

СВОЙСТВА

Образует долговечные покрытия с высокой механической и химической устойчивостью и очень хорошей износоустойчивостью. Обладает высокой устойчивостью к пресной и морской воде, к агрессивным сточным водам, а также может применяться в агрессивных средах как покрытие для стальных резервуаров.

 

ТЕХНИЧЕСКИЕ ХАРАКТЕРИСТИКИ

Цвет

черный

Количество упаковок

двухупаковочный

Сухой остаток по объему, %

97

Время высыхания до степени 3, ч

5

Жизнеспособность смеси при 20°С, мин

50

Адгезия, баллы

1

Толщина одного слоя, мкм

500

Расход на один слой, г/м2

700-750

Растворитель

646, 648 (для промывки окрасочного оборудования)

Температура нанесения, °С

не ниже +10, при относительной влажности воздуха ниже 80 %

 

РЕКОМЕНДАЦИИ ПО ПРИМЕНЕНИЮ

Подготовка поверхности

Провести пескоструйную обработку до степени 1-2 по ГОСТ 9.402-80 (Sa 21/2 или Sa 3 по ISO 8501-1).

Подготовка ЛКМ

Перед применением основу смешать с отвердителем (на 10 кг основы 2,5 кг отвердителя) и тщательно перемешать.

Способ нанесения

Безвоздушное распыление, шпатель, кисть и валик.

 

ГАРАНТИЙНЫЙ СРОК ХРАНЕНИЯ

12 месяцев при прохладном сухом складировании в закрытой заводской упаковке.

EPITER

 

Permacor 2330

Двухкомпонентный акрил полиуретановый верхний покрывной материал.

 

ОБЛАСТЬ ПРИМЕНЕНИЯ

Используется совместно с эпоксидными грунтовками для защиты металлоконструкций от коррозии.

 

СВОЙСТВА

Комплексное покрытие, устойчивое к механическим, химическим и атмосферным воздействиям, сохраняет блеск и цвет. Легок в применении при низких температурах.

 

ТЕХНИЧЕСКИЕ ХАРАКТЕРИСТИКИ

Цвет

по каталогам RAL и NCS

Количество упаковок

двухупаковочная

Сухой остаток смеси:

 

по объему, %

55

по весу, %

67

Время высыхания "подсохший", ч

3

Жизнеспособность при 20° С, ч

4-6

Адгезия, баллы

1

Теоретическая толщина одного слоя, мкм

60-80

Расход на один слой, г/м2

150-210

Разбавитель

Verduenugsmittel P, Р-4

Растворитель

Р-4, Р-5 (для промывки окрасочного оборудования)

Температура нанесения, °С

от +3 при относительной влажности воздуха 80%

 

РЕКОМЕНДАЦИИ ПО ПРИМЕНЕНИЮ

Подготовка поверхности

Должны быть использованы совместимые грунтовки. Поверхность должна быть сухой, чистой, свободной от грязи, жира, масла и солей.

Подготовка ЛКМ

Основной компонент смешать с отвердителем в соотношении 100 : 15 по весу и тщательно перемешать. Процент добавления растворителя зависит от способа нанесения материала.

Способ нанесения

Безвоздушное распыление, пневматическое распыление, кисть, валик.

 

ГАРАНТИЙНЫЙ СРОК ХРАНЕНИЯ

24 месяца - основа и 6 месяцев - отвердитель в заводской упаковке, в сухом прохладном месте.

EPITER

 

Permacor 2330/EG

Двухкомпонентный акрил-полиуретановый верхний покрывной материал, усиленный "железной слюдкой".

 

ОБЛАСТЬ ПРИМЕНЕНИЯ

Универсальный толстослойный верхний покрывной материал с содержанием "железной слюдки", используемый для защиты от коррозии стальных поверхностей.

 

СВОЙСТВА

Устойчив к механическим, химическим и атмосферным воздействиям.

 

ТЕХНИЧЕСКИЕ ХАРАКТЕРИСТИКИ

Цвет

по каталогу EG

Количество упаковок

двухупаковочная

Сухой остаток смеси:

 

по объему, %

50, эквивалентно 332 мл/кг

по весу, %

69

Время высыхания при +20 °С, ч

3

Жизнеспособность при 20°С, ч

4-6

Адгезия, баллы

1

Толщина одного слоя, мкм

60-80

Теоретический расход на один слой, г/м2

180-240

Разбавитель

Verduenugsmittel P, P-4

Растворитель

Р-4, Р-5 (для промывки окрасочного оборудования)

Температура нанесения, °С

от +3 при относительной влажности воздуха 80%

 

РЕКОМЕНДАЦИИ ПО ПРИМЕНЕНИЮ

Подготовка поверхности

Должны быть использованы подходящие грунтовки. Поверхность должна быть сухой, чистой, свободной от грязи, жира, масла и солей.

Подготовка ЛКМ

Основной компонент смешать с отвердителем в соотношении 100:10(10:1)по весу и тщательно перемешать. Процент добавления растворителя зависит от способа нанесения материала

Способ нанесения Безвоздушное распыление, пневматическое распыление, кисть, валик.

 

ГАРАНТИЙНЫЙ СРОК ХРАНЕНИЯ

24 месяца - основа и 6 месяцев - отвердитель в заводской упаковке, в сухом прохладном месте.

EPITER

 

PERMACOR 231 I/Rapid

Двухкомпонентный грунтовочный материал на основе эпоксидной смолы с цинковой пылью.

 

ОБЛАСТЬ ПРИМЕНЕНИЯ

Пригоден в качестве грунтовочного покрытия для защиты от коррозии стальных поверхностей.

 

СВОЙСТВА

Создает механически прочное грунтовочное покрытие, обладающее высокой атмосферостойкостью (промышленная и морская) во всех климатических зонах и устойчивостью к механическим воздействиям.

 

ТЕХНИЧЕСКИЕ ХАРАКТЕРИСТИКИ

Цвет

серый и серо-красный

Количество упаковок

двухупаковочный

Процентное содержание сухого остатка, %

 

по весу

54

по объему

85

Время высыхания до степени 3 при 20°С, ч

1

Жизнеспособность при 20°С, ч

3

Адгезия, баллы

1

Толщина одного слоя, мкм

60-80

Теоретический расход на один слой, г/м2

270-350

Разбавитель

Verduenugsmittel В, Р-4

Растворитель

646, 648 (для промывки окрасочного оборудования)

Температура нанесения, °С

от +3 при относительной влажности воздуха 85%

 

РЕКОМЕНДАЦИИ ПО ПРИМЕНЕНИЮ

Подготовка поверхности

Провести струйную обработку до степени 2 по ГОСТ 9.402-80 (Sa 21/2 по ISO 8501-1).

Подготовка ЛКМ

Перед употреблением основу тщательно перемешать, затем основу смешать с отвердителем в соотношении 100:10 (10:1) по весу, при необходимости разбавить растворителем в зависимости от способа нанесения.

Способ нанесения Безвоздушное и пневматическое распыление, кисть, валик.

 

ГАРАНТИЙНЫЙ СРОК ХРАНЕНИЯ

24 месяца при прохладном сухом складировании в закрытой заводской упаковке.

EPITER

 

Permacor 2004

Эпоксидная грунтовка с высоким содержанием сухого остатка, с алюминиевым пигментом.

 

ОБЛАСТЬ ПРИМЕНЕНИЯ

Идеально подходит для использования в качестве грунтовки для вручную подготовленных стальных поверхностей, эксплуатирующихся при атмосферных воздействиях в любых климатических зонах.

 

СВОЙСТВА

Устойчива к механическим, химическим и атмосферным воздействиям, имеет высокую эластичность.

 

ТЕХНИЧЕСКИЕ ХАРАКТЕРИСТИКИ

Цвет

алюминий

Количество упаковок

двухупаковочная

Сухой остаток смеси:

 

по объему, %

83, эквивалентно 488 мл/кг

по весу, %

91

Время высыхания до степени 3, при 20 °С, ч

8

Жизнеспособность при 20 °С, ч

1,5

Адгезия, баллы

1

Толщина одного слоя, мкм

60-80

Теоретический расход на один слой, г/м2

170-200

Разбавитель

Verduenugsmittel С, Р-4

Растворитель

646, 648(для промывки окрасочного оборудования)

Температура нанесения, °С

от +10 при относительной влажности воздуха ниже 80%

 

РЕКОМЕНДАЦИИ ПО ПРИМЕНЕНИЮ

Подготовка поверхности

Очистка вручную или с помощью абразивных средств до степени 3 по ГОСТ 9.402-80 (St 2 по ISO 8501-1). В местах частого выпадения конденсата и тяжелой точечной коррозии поверхности должны быть очищены до степени 1-2 по ГОСТ 9.402-80 (St 3 по ISO 8501-1) с последующей очисткой водой под высоким давлением или струей пара до полного удаления коррозионных отложений.

Подготовка ЛКМ

Тщательно смешивается электромиксером основной компонент с отвердителем 100:10 (10:1) по весу. Процент добавления растворителя зависит от способа нанесения материала.

Способ нанесения Безвоздушное распыление, кисть, валик.

 

ГАРАНТИЙНЫЙ СРОК ХРАНЕНИЯ

Основа - 24 месяца при температуре ниже 0°С, отвердитель в заводской упаковке - 6 месяцев в отапливаемом помещении.

EPITER

 

Permacor 2315/EG-Rapid

Эпоксидный лакокрасочный материал с "железной слюдкой".

 

ОБЛАСТЬ ПРИМЕНЕНИЯ

В комплексе с грунтовкой и финишной эмалью создает механически прочное, водо- и химически стойкое покрытие, обладающее высокой атмосферостойкостью в промышленной и морской атмосфере.

 

СВОЙСТВА

Быстро твердеющий, толстослойный лакокрасочный материал, может наноситься в качестве грунтовки на оцинкованную сталь.

 

ТЕХНИЧЕСКИЕ ХАРАКТЕРИСТИКИ

Цвет

серый, кремниево-серый, по запросу

Количество упаковок

двухупаковочная

Сухой остаток смеси:

 

по объему, %

55

по весу, %

76

Время высыхания "на ощупь" при 23 °С, ч

3

Жизнеспособность при 20 °С, ч

3

Адгезия, баллы

1

Толщина одного слоя, мкм

120-150

Расход на один слой, г/м2

400-450

Разбавитель

Verduenugsmittel В/Е, Р-

Растворитель

646, 648 (для промывки оборудования)

Температура нанесения, °С

от +3 при относительной влажности воздуха 85%

 

РЕКОМЕНДАЦИИ ПО ПРИМЕНЕНИЮ

Подготовка поверхности

В качестве предварительного покрытия должны использоваться материалы, соответствующие системе покрытия. Поверхность должна быть чистой, сухой и свободной от грязи, жира, масла и солей

Подготовка ЛКМ

Основной компонент тщательно перемешать и только после этого влить отвердитель в пропорции 100 : 20 (5 : 1) по весу. Тщательно перемешать, используя мощный миксер.

Способ нанесения Безвоздушное или воздушное распыление, кисть, валик.

 

ГАРАНТИЙНЫЙ СРОК ХРАНЕНИЯ

24 месяца в сухом прохладном отапливаемом помещении в заводской упаковке.

EPITER

 

"Ameron International"

Основанная в 1907 году компания Ameron специализировалась на производстве бетонных труб для водоснабжения, дренажных систем и сточных вод. Для обеспечения защиты своей продукции Ameron приступил к разработке защитных покрытий. В настоящее время высокоэксплуатационные покрытия Ameron используются во всем мире в таких индустриальных секторах, как нефте-(газо-) переработка, нефтехимическое производство, судостроение и морские буровые платформы, энергетика, мостостроение, железнодорожный транспорт, ремонтные и восстановительные работы, промышленное производство, водоснабжение и водоочистка (реквизиты производителя и поставщика см. Приложение 7).

 

Amercoat 182ZP НВ

Двухкомпонентная, полиамидно отверждаемая фосфатно-цинковая эпоксидная грунтовка, содержащая пигменты для ингибирования ржавчины.

 

ОБЛАСТЬ ПРИМЕНЕНИЯ

Применяется в качестве грунтовки с соответствующими верхними покрытиями для защиты металлоконструкций от коррозии.

 

СВОЙСТВА

В комплексе с финишными покрытиями обладает высокой атмосферостойкостью в промышленной атмосфере во всех климатических зонах.

 

ТЕХНИЧЕСКИЕ ХАРАКТЕРИСТИКИ

Цвет

красный оксид, бежевый

Количество упаковок

двухупаковочная

Объем твердых веществ, %

60

Продолжительность сушки при 20°С, ч

5

Жизнеспособность при 20°С, ч

8

Адгезия, баллы

1

Толщина одного слоя, мкм

100

Расход на один слой, м2

6

Разбавитель/очиститель

Amercoat 9HF/Amercoat 12, Р-4

Температура нанесения, °С

от +5 до +50

 

РЕКОМЕНДАЦИИ ПО ПРИМЕНЕНИЮ

Подготовка поверхности

Удалить воду, соль, грязь, масло, рыхлую ржавую окалину. Выполнить струйную обработку до степени 2 по ГОСТ 9.402-80 (Sa 21/2 по ISO 8501-1).

Подготовка ЛКМ

Основной компонент смешать с отвердителем в соотношении 4:1 по объему и тщательно перемешать

Способ нанесения Безвоздушное или, пневматическое распыление, кисть, валик.

 

ГАРАНТИЙНЫЙ СРОК ХРАНЕНИЯ

24 месяца в сухом отапливаемом помещении в заводской упаковке при температуре от +5 до +40°С.

AMERON International

 

Amerlok 2

Двухкомпонентный, быстросохнущий эпоксидный лакокрасочный материал, толерантный к поверхности.

 

ОБЛАСТЬ ПРИМЕНЕНИЯ

Применяется в качестве вспомогательного покрытия для защиты от коррозии металлоконструкций.

 

СВОЙСТВА

В комплексе с другими лакокрасочными материалами устойчив в промышленной атмосфере, в морской и пресной воде. Содержит низкий уровень растворителя.

 

ТЕХНИЧЕСКИЕ ХАРАКТЕРИСТИКИ

Цвет

цвета RAL и BS*

Количество упаковок

двухупаковочный

Массовая доля нелетучих веществ, %

88

Продолжительность сушки при 20°С, ч

3

Жизнеспособность при 20°С, ч

1

Адгезия, баллы

1

Толщина одного слоя, мкм

100-150

Расход на один слой, м2

8,8

Разбавитель/очиститель

Amercoat 65/Amercoat 12, Р-4

Температура нанесения, °С

от-18 до+50

 

РЕКОМЕНДАЦИИ ПО ПРИМЕНЕНИЮ

Подготовка поверхности

Выполнить очистку стали сухой или влажной струйной абразивной обработкой до степени 2 по ГОСТ 9.402-80 (Sa 21/2 по ISO 8501-1).

Подготовка ЛКМ

Основной компонент смешать с отвердителем в пропорции 1:1 по объему и тщательно перемешать.

Способ нанесения

Безвоздушное или воздушное распыление, кисть, валик.

 

ГАРАНТИЙНЫЙ СРОК ХРАНЕНИЯ

24 месяца в сухом отапливаемом помещении в заводской упаковке при температуре от +5 до +40 "С.

AMERON International

 

Amercoat 450S

Двухкомпонентный лакокрасочный материал на основе алифатического полиуретана.

 

ОБЛАСТЬ ПРИМЕНЕНИЯ

Применяется в качестве верхнего слоя, в комплексных покрытиях для защиты металлоконструкций от коррозии.

 

СВОЙСТВА

Верхнее покрытие с глянцевой поверхностью, устойчивое к истиранию и удару. Устойчиво к ультрафиолетовому излучению, а также к химическим, промышленным и морским средам.

 

ТЕХНИЧЕСКИЕ ХАРАКТЕРИСТИКИ

Цвет

стандартный перечень цветов Ameron

Количество упаковок

двухупаковочная

Объем твердых веществ, %

58

Продолжительность сушки при 20°С, ч

1

Жизнеспособность при 20°С, ч

6

Адгезия, баллы

1

Толщина одного слоя, мкм

30-50

Расход на один слой, м2

11,6

Разбавител ь/очиститель

Amercoat 920/Amercoat 12

Температура нанесения, °С

от 0 до +50

 

РЕКОМЕНДАЦИИ ПО ПРИМЕНЕНИЮ

Подготовка поверхности

С поверхности удалить жир, грязь, пыль и солевые отложения. Поверхность перед нанесением должна быть чистой и сухой.

Подготовка ЛКМ

Основной компонент смешать с отвердителем в соотношении 4:1 и тщательно перемешать.

Способ нанесения

Безвоздушное или пневматическое распыление, кисть, валик.

 

ГАРАНТИЙНЫЙ СРОК ХРАНЕНИЯ

24 месяца в сухом отапливаемом помещении в заводской упаковке при температуре от +5 до +40°С.

AMERON International

 

Amercoat 460B

Однокомпонентная отверждаемая влагой полиуретановая цинковая грунтовка.

 

ОБЛАСТЬ ПРИМЕНЕНИЯ

Применяется для грунтования металлической поверхности с целью дальнейшей защиты от коррозии.

 

СВОЙСТВА

Обеспечивает в комплексе с покрывными лакокрасочными материалами отличную защиту от коррозии в морских и промышленных средах, а также защиту нефтерезервуаров.

 

ТЕХНИЧЕСКИЕ ХАРАКТЕРИСТИКИ

Цвет

серый

Количество упаковок

одпокоуиаковочная

Объем твердых веществ, %

45

Время сушки "на ощупь" при 20°С, ч

0,5

Толщина одного слоя, мкм

75

Расход на один слой, м2

6

Разбавитель/очиститель

Amercoat 10/Amercoat 12, Р-4

Температура нанесения, °С

от 0 до +50

 

РЕКОМЕНДАЦИИ ПО ПРИМЕНЕНИЮ

Подготовка поверхности

Выполнить очистку стали, сухой или влажной струйной абразивной обработкой до степени 2 по ГОСТ 9.402-80 (Sa 21/2 по ISO 8501-1).

Подготовка ЛКМ

Перед применением тщательно перемешать.

Способ нанесения

Безвоздушное или пневматическое распыление, кисть, валик.

 

ГАРАНТИЙНЫЙ СРОК ХРАНЕНИЯ

6 месяцев в сухом отапливаемом помещении в заводской упаковке при температуре от +5 до +30°С.

AMERON International

 

Amercoat 385

Двухкомпонентная полиамидная эпоксидная смола с пигментами и наполнителями.

 

ОБЛАСТЬ ПРИМЕНЕНИЯ

Применяется в качестве самостоятельного покрытия для защиты от коррозии металлоконструкций.

 

СВОЙСТВА

Обладает хорошей стойкостью в промышленной атмосфере, водостойкостью в пресной и морской воде, а также химически устойчива. Добавки против обрастания могут вноситься в Amercoat 385, пока пленка еще мягкая.

 

ТЕХНИЧЕСКИЕ ХАРАКТЕРИСТИКИ

Цвет

см. список цветов Ameron

Количество упаковок

двухупаковочная

Массовая доля нелетучих веществ, %

71

Время сушки при 20°С, ч

2

Жизнеспособность при 20°С, ч

3

Адгезия, баллы

1

Толщина одного слоя, мкм

100-120

Расход на один слой, м2/л, при толщине слоя 100 мкм

7,1

Разбавитель/очиститель

Amercoat 65 или Amercoat

 

9HF/Amercoat 12, Р-4

Температура нанесения, °С

от +5 до +60

 

РЕКОМЕНДАЦИИ ПО ПРИМЕНЕНИЮ

Подготовка поверхности

Очистить поверхность металла от соли, грязи, масла, рыхлой ржавой окалины до степени 2 по ГОСТ 9.401-80 (Sa 21/2 по ISO 8501-1).

Подготовка ЛКМ

Основной компонент смешать с отвердителем в соотношении 1:1 по объему и тщательно перемешать.

Способ нанесения

Безвоздушное или пневматическое распыление, кисть, валик.

 

ГАРАНТИЙНЫЙ СРОК ХРАНЕНИЯ

24 месяца в сухом отапливаемом помещении в заводской упаковке при температуре от +5 до +40°С.

AMERON International

 

Amercoat 78HB В

Двухкомпонентный эпоксидный лакокрасочный материал с каменноугольным дегтем.

 

ОБЛАСТЬ ПРИМЕНЕНИЯ

Применяется в качестве самостоятельного покрытия для защиты металлоконструкций от коррозии.

 

СВОЙСТВА

Отверждается при низких температурах, устойчив к промышленной атмосфере, к пресной и соленой воде.

 

ТЕХНИЧЕСКИЕ ХАРАКТЕРИСТИКИ

Цвет

черный, темно-коричневый

Количество упаковок

двухупаковочный

Объем твердых веществ, %

77

Продолжительность высыхания при 2ГС, ч

8

Жизнеспособность при 2ГС, ч

4

Адгезия, баллы

1

Толщина одного слоя, мкм

400

Расход на один слой, м2

1,93

Разбавитель/очиститель

Amercoat 65/Amercoat 65, Р-4

Температура нанесения, ºС

от 0 до +50

 

РЕКОМЕНДАЦИИ ПО ПРИМЕНЕНИЮ

Подготовка поверхности

Поверхность очистить от соли, грязи, масла, рыхлой ржавчины и окалины до степени 2 по ГОСТ 9.402-80 (Sa 21/2 по ISO 8501-1).

Подготовка ЛКМ

Основной компонент смешать с отвердителем в пропорции 4:1 по объему и тщательно перемешать.

Способ нанесения Безвоздушное или пневматическое распыление, кисть, валик.

 

ГАРАНТИЙНЫЙ СРОК ХРАНЕНИЯ

24 месяца в сухом, отапливаемом помещении в заводской упаковке при температуре от +5 до +40°С.

AMERON International

 

WASSER HIGH-TECH COATINGS GmbH

Совместная германо-голландская компания WASSER HIGH-TECH COATINGs GmbH, являющаяся членом транснациональной промышленной группы WATTYL Industrial Group, уже более 30 лет занимается производством однокомпонентных влагоотверждаемых полиуретановых композиций для длительного срока службы в морской, речной и прибрежной атмосфере (реквизиты производителя и поставщика см. Приложение 7).

 

MC-FERROX А

Влагоотверждаемый однокомпонентный гюлиуретановый материал, содержащий "железную слюдку".

 

ОБЛАСТЬ ПРИМЕНЕНИЯ

В комплексном покрытии защищает стальные металлоконструкции, эксплуатируемые в морской и химической агрессивной атмосфере.

 

СВОЙСТВА

Химстойкий с высокой термостойкостью (до +140°С), стоек к воздействию УФ-лучей.

 

ТЕХНИЧЕСКИЕ ХАРАКТЕРИСТИКИ

Цвет

согласно RAL

Количество упаковок

одноупаковочный

Сухой остаток по объему, %

62 ±2

Время высыхания при 20 °С "до отлипа", ч

0,5

Адгезия, баллы

1

Толщина одного слоя, мкм

50-100

Расход на один слой, г/м2

250-300

Растворитель

МС Thinner, P-4

Температура нанесения, °С

от -12 до +35 при относительной влажности воздуха 99%

 

РЕКОМЕНДАЦИИ ПО ПРИМЕНЕНИЮ

Подготовка поверхности

Поверхность очистить от пыли, грязи и солевых отложений.

Подготовка ЛКМ

Перед употреблением тщательно перемешать.

Способ нанесения

Безвоздушное и пневматическое распыление, кисть, валик.

 

ГАРАНТИЙНЫЙ СРОК ХРАНЕНИЯ

12 месяцев внутри помещения при температуре от +5 до +25 "С, с влажностью 0...80%.

WASSER HIGH-TECH COATINGS GmbH

 

MC-FERROX В

Однокомпонентный полиуретановый влагоотверждаемый материал, слюдо- и ферроксидсодержащий.

 

ОБЛАСТЬ ПРИМЕНЕНИЯ

Является промежуточным покрытием для защиты металла, окраски гидротехнических сооружений, очистных сооружений, оборудования для морской нефтегазодобычи, теплоэнергетики и пр. Применяется для защиты мостовых конструкций, тоннелей, резервуаров и трубопроводов.

 

СВОЙСТВА

Высокая термостойкость до +150°С, отверждение в зимних условиях ниже "точки росы" -12°С и при влажности воздуха до 99 % . Паропроницаемость в 15 раз ниже, чем у традиционных эпоксидных композиций. Прекрасная адгезия к углеродистой стали. Высокие износо - и коррозионная стойкость. Рекомендуется в качестве подслоя для MC-Ferrox A.

 

ТЕХНИЧЕСКИЕ ХАРАКТЕРИСТИКИ

Цвет

бежевый, коричневато-серый

Количество упаковок

одноупаковочный

Сухой остаток по объему, %

62±2

Время высыхания "до отлипа" при 20°С

 

и относительной влажности воздуха 70 %, ч

0,5

Адгезия, баллы

1

Толщина одного слоя, мкм

75-125

Расход на один слой, г/м2

250-300

Растворитель

МС Thinner, P-4

Температура нанесения, °С

от-12 до+ 35 (лед и иней не допускаются)

 

РЕКОМЕНДАЦИИ ПО ПРИМЕНЕНИЮ

Подготовка поверхности

Поверхность должна быть очищена от пыли, жира, грязи и солевых отложений.

Подготовка ЛКМ

Перед употреблением тщательно перемешать.

Способ нанесения

Безвоздушное и пневматическое распыление, кисть, валик.

 

ГАРАНТИЙНЫЙ СРОК ХРАНЕНИЯ

12 месяцев внутри помещения при температуре от +5 до +25 °С и влажности 0...80 %.

WASSER HIGH-TECH COATINGS GmbH

 

MC-Miozinc

Однокомпонентная цинкослюдонаполненная полиуретановая грунтовка.

 

ОБЛАСТЬ ПРИМЕНЕНИЯ

Применяется для защиты от коррозии металлоконструкций, в том числе подводных конструкций. Рекомендуется для эксплуатации в жестких коррозионно-активных средах, а также в качестве цинкового праймера для композитных систем и как самостоятельное покрытие.

 

СВОЙСТВА

Придает стойкость к атмосферной, подводной и подземной коррозии. Прекрасная адгезия к углеродистой стали. Высокие износо- и коррозионная стойкость. Срок службы не менее 15 лет в умеренно-холодном и континентальном климате. Содержит цинковую пудру и "железную слюдку".

 

ТЕХНИЧЕСКИЕ ХАРАКТЕРИСТИКИ

Цвет

серо-зеленый

Количество упаковок

одноупаковочная

Сухой остаток по объему, %

62±2

Время высыхания при 20°С

 

при относительной влажности воздуха 70 %, ч

0,5

Адгезия, баллы

1

Толщина одного слоя, мкм

75-100

Расход на один слой, г/м2

250-300

Растворитель

МС Thinner, P-4

Температура нанесения, °С

от -12 до +35 (не допускаются лед и иней) при относительной влажности воздуха до 99%

 

РЕКОМЕНДАЦИИ ПО ПРИМЕНЕНИЮ

Подготовка поверхности

Поверхность должна быть подготовлена в соответствии со степенью 2 по ГОСТ 9.402-80 (Sa21/2 по ISO 8501-1).

Подготовка ЛКМ

Перед употреблением тщательно перемешать.

Способ нанесения

Безвоздушное и пневматическое распыление, кисть, валик.

 

ГАРАНТИЙНЫЙ СРОК ХРАНЕНИЯ

12 месяцев внутри помещения при температуре от +5 до +25 °С и влажности 0...80 %.

WASSER HIGH-TECH COATINGS GmbH

 

MC-Prepbond

Однокомпонентная алюмонаполненная полиуретановая грунтовка-герметик.

 

ОБЛАСТЬ ПРИМЕНЕНИЯ

Предназначается для защиты от коррозии металлоконструкций. Рекомендуется в качестве проникающего в слой ржавчины грунта.

 

СВОЙСТВА

В комплексе с покрывными лакокрасочными материалами обладает стойкостью к атмосферной, подводной и подземной коррозии, а также высокой износо- и коррозионной стойкостью. Проникает в слой прочной ржавчины, увеличивая адгезию оксидов железа со стальной поверхностью.

 

ТЕХНИЧЕСКИЕ ХАРАКТЕРИСТИКИ

Цвет

алюминии

Количество упаковок

одноупаковочный

Сухой остаток по объему, %

62±2

Время высыхания при температуре 20°С

 

при влажности воздуха 70% "до отлипа", ч

0,5

Адгезия, баллы

1

Толщина одного слоя, мкм

40-50

Расход на один слой, г/м2

100

Растворитель

МС Thinner, Р-4

Температура нанесения, °С

от -12 до +35 при относительной влажности воздуха 99%

 

РЕКОМЕНДАЦИИ ПО ПРИМЕНЕНИЮ

Подготовка поверхности

Механическая очистка до степени 3 по ГОСТ 9.402-80 (Sa2, St2 и St3 по ISO 8501-1).

Подготовка ЛКМ

Перед употреблением тщательно перемешать.

Способ нанесения

Безвоздушное и пневматическое распыление, кисть, валик.

 

ГАРАНТИЙНЫЙ СРОК ХРАНЕНИЯ

12 месяцев внутри помещения при температуре от +5 до +25 °С и влажности 0...80 %.

WASSER HIGH-TECH COATINGS GmbH

 

MC-Aluminum

Однокомпонентный влагоотверждаемый полиуретановый материал для покрытий многоцелевого назначения.

 

ОБЛАСТЬ ПРИМЕНЕНИЯ

Рекомендуется в качестве коррозионно-стойкого финишного покрытия по MC-Zinc, MC-Ferrox В, MC-Prepbond.

 

СВОЙСТВА

Придает стойкость к атмосферной, подводной и подземной коррозии. Обладает высокой абразивостойкостью, высокой адгезией к поверхностям. Обладает хорошей стойкостью к ударам,проколам.

 

ТЕХНИЧЕСКИЕ ХАРАКТЕРИСТИКИ

Цвет

алюминий

Количество упаковок

одноупаковочный

Сухой остаток по объему, %

62±2

Время высыхания при 25°С "до отлипа", ч

0,5

Адгезия, баллы

1

Толщина одного слоя, мкм

50

Расход на один слой, г/м2

100

Растворитель

MC Thinner, P-4

Температура нанесения, °С

от -5 до +35 при относительной влажности воздуха 90%

 

РЕКОМЕНДАЦИИ ПО ПРИМЕНЕНИЮ

Подготовка поверхности

Очистить поверхность от пыли, жира, грязи и солевых отложений. Поверхность должна быть чистой и сухой.

Подготовка ЛКМ

Перед употреблением тщательно перемешать.

Способ нанесения Безвоздушное и пневматическое распыление, кисть, валик.

 

ГАРАНТИЙНЫЙ СРОК ХРАНЕНИЯ

12 месяцев внутри помещения при температуре от +5 до +25 "С и влажности 0...80 %.

WASSER HIGH-TECH COATINGS GmbH

 

MC-FERROGUARD

Влагоотверждаемый однокомпонентный полиуретановый материал с "железной слюдкой".

 

ОБЛАСТЬ ПРИМЕНЕНИЯ

Применяется для защиты от коррозии стальных и бетонных конструкций, эксплуатируемых под водой и в пограничной зоне "вода-воздух", в морских и речных условиях.

 

СВОЙСТВА

Придает стойкость к атмосферной, подводной и подземной коррозии.

 

ТЕХНИЧЕСКИЕ ХАРАКТЕРИСТИКИ

Цвет

черный, коричнево-красный

Количество упаковок

одноунаковочный

Сухой остаток, %

62±2

Время высыхания при 25 °С и влажности 70% "до отлипа",

ч0,5

Адгезия, баллы

1

Толщина одного слоя, мкм

125-175

Расход на один слой, г/м2

330-460

Растворитель

МС Thinner, P-4

Температура нанесения, °С

от -12 до + 35 (не допускаются лед и иней)

 

при относительной влажности до 99 %

 

РЕКОМЕНДАЦИИ ПО ПРИМЕНЕНИЮ

Подготовка поверхности

При применении в качестве покрывного материала поверхность должна быть очищена от грязи, пыли, жиров и солевых отложений. При применении в качестве грунтовочного материала поверхность должна быть очищена до степени 2 по ГОСТ 9.402-80 (Sa 21/2 по ISO 8501-1)

Подготовка ЛКМ

Перед употреблением тщательно перемешать.

Способ нанесения

Безвоздушное и пневматическое распыление, кисть, валик.

 

ГАРАНТИЙНЫЙ СРОК ХРАНЕНИЯ

12 месяцев внутри помещения при температуре от +5 до +25 °С и влажности 0...80 %.

WASSER HIGH-TECH COATINGS GmbH

 

CERAM-KOTE EUROPE GmbH

Германская фирма CERAM-KOTE EUROPE GmbH известна в Европе с конца 1980-х годов как патентодержатель на специализированные керамонаполненные эпоксидные покрытия по металлу (реквизиты производителя и поставщика см. Приложение 7).

 

CERAM-KOTE 54

Двухкомгюнентный керамонаполненный материал, на основе специального состава из эпоксидных смол.

 

ОБЛАСТЬ ПРИМЕНЕНИЯ

Для защиты от коррозии металлоконструкций гидротехнических, портовых, очистных сооружений и оборудования для морской нефте- и газодобычи.

 

СВОЙСТВА

Обладает хорошей адгезией к углеродистой и нержавеющей стали, алюминию, титану, стекловолокну, композиционным материалам, пластикам и бетону. Высокие износо- и коррозионная стойкость (стойкость в атмосфере и воде), а также абразивная и термостойкость.

 

ТЕХНИЧЕСКИЕ ХАРАКТЕРИСТИКИ

Цвет

согласно KAL

Количество упаковок

двухупаковочный

Сухой остаток, %

75±2

Время высыхания до отлипа при 23 "С, ч

3

Жизнеспособность смеси при 23°С, ч

4-6

Адгезия, баллы

1

Толщина одного слоя, мкм

200

Расход на один слой, мл/м2

425

Температура нанесения, °С

не ниже +5 при относительной влажности ниже 85%

 

РЕКОМЕНДАЦИИ ПО ПРИМЕНЕНИЮ

Подготовка поверхности

Дробеструйная обработка поверхности до степени 2 по ГОСТ 9.402-80 (Sa 21/2 по ISO 8501-1), шероховатость 30-80 мкм.

Подготовка ЛКМ

Смешать основу с отвердителем в соотношении 4:1 по объему и тщательно перемешать.

Способ нанесения

Безвоздушное и пневматическое распыление, кисть, валик.

 

ГАРАНТИЙНЫЙ СРОК ХРАНЕНИЯ

12 месяцев внутри помещения при температуре от +5 до +25 °С и влажности 0...80 %.

CERAM-KOTE EUROPE GmbH

 

ТемпСтройСистема

Производитель - ООО "Химсинтез", входящий в корпорацию "Темп СтройСистема". ООО "Химсинтез" производит полиуретановые антикоррозионные материалы, герметики, промышленные клеи (реквизиты производителя и поставщика см. Приложенние 7).

 

АЛЮМОЭЛАСТ-Ф

Влагоотверждаемый однокомпонентный алюмонаполненный полиуретановый материал.

 

ОБЛАСТЬ ПРИМЕНЕНИЯ

Защита металлоконструкций, эксплуатирующихся в агрессивной атмосфере. Применяется в качестве промежуточного и финишного слоя в антикоррозионной системе "Алюмоэласт".

 

СВОЙСТВА

Стойкость к температурам от -40 до +100°С. Отличная адгезия к различным строительным поверхностям, в том числе к металлу, покрытому компактной ржавчиной. Высокая механическая прочность, стойкость к истиранию. Ремонтопригодность.

 

ТЕХНИЧЕСКИЕ ХАРАКТЕРИСТИКИ

Цвет

алюминий

Количество упаковок

одноупаковочиый

Сухой остаток по объему, %

65 ±2

Время высыхания при 20 "С "до отлипа", ч

0,5

Адгезия, баллы

1

Толщина одного слоя, мкм

75-100

Расход на один слой, г/м2

150-200

Растворитель

ксилол

Температура нанесения, °С

от 0 до +40

 

РЕКОМЕНДАЦИИ ПО ПРИМЕНЕНИЮ

Подготовка поверхности

Сталь, оцинкованная сталь, окрашенные поверхности, бетон: пескоструйная обработка. Ржавая сталь: механическая зачистка (металлическими щетками) осыпающейся ржавчины.

Подготовка ЛКМ

Перед употреблением тщательно перемешать.

Способ нанесения Безвоздушное распыление, кисть, коротковорсовый валик.

 

ГАРАНТИЙНЫЙ СРОК ХРАНЕНИЯ

При температуре от +5 до +25°С, и влажности 0...80% - 6 месяцев внутри помещения.

ТемпСтройСистема

 

КОРОПУР Цинк М

Грунтовка полиуретановая, влагоотверждаемая. Содержание цинка составляет 92%.

 

ОБЛАСТЬ ПРИМЕНЕНИЯ

Защита металлоконструкций от коррозии.

Морские объекты: береговые, прибрежные объекты, судостроение. Строительные металлоконструкции: водопроводы, напорные трубопроводы, хранилища нефти и нефтепродуктов, газопроводы, промышленные здания, ограждения. Промышленные агрегаты: очистные сооружения, объекты переработки отходов.

 

СВОЙСТВА

Грунтовка имеет хорошие адгезионные свойства. В комплексе с покрывными материалами обладает высокой атмосферостойкостью и водостойкостью во всех климатических зонах.

 

ТЕХНИЧЕСКИЕ ХАРАКТЕРИСТИКИ

Цвет

серый

Количество упаковок

одноупаковочная

Массовая доля нелетучих веществ по весу, %

90

Время высыхания до степени 3 при 20 °С, ч

4

Эластичность пленки при изгибе, мм

1

Прочность пленки при ударе, см, не менее

50

Адгезия, баллы

1

Толщина одного слоя, мкм

60

Расход на один слой, г/м2

560

Разбавитель

А-851, Т 1900, Р-4

Температура нанесения, °С

от -5 до +50 при относительной влажности воздуха от 30 до 98%

 

РЕКОМЕНДАЦИИ ПО ПРИМЕНЕНИЮ

Подготовка поверхности

Поверхность должна быть очищена от загрязнений. После данной предварительной очистки поверхность должна быть подвергнута пескоструйной обработке в зависимости от условий до степени 2 по ГОСТ 9.402-80 (степень Sa 21/2 по ISO 8501).

Подготовка ЛКМ

Перед применением тщательно перемешать, при необходимости разбавить разбавителем до рабочей вязкости.

Способ нанесения Безвоздушное и пневматическое распыление, кисть, валик.

 

ГАРАНТИЙНЫЙ СРОК ХРАНЕНИЯ

12 месяцев в закрытой заводской упаковке при температуре от -40 до +50°С.

TIP TOP STAHLGRUBER OTTO GRUBER GmbH & Со.

 

КОРОПУР Ферро

Полиуретановое покрытие с "железной слюдкой", влагоотверждаемое.

 

ОБЛАСТЬ ПРИМЕНЕНИЯ

Для защиты от коррозии стальных конструкций, гидротехнических сооружений, химического оборудования, мостов и др.

 

СВОЙСТВА

Благодаря особой сегментной структуре пигмента, сочетаемой с полиуретаном в качестве связующего, образуется покрытие, обладающее великолепной коррозионной стойкостью в промышленной атмосфере и воде.

 

ТЕХНИЧЕСКИЕ ХАРАКТЕРИСТИКИ

Цвет

железной слюды

Количество упаковок

одноупаковочный

Массовая доля нелетучих веществ по весу, %

75

Время высыхания до степени 3 при 20 °С, ч

6

Эластичность пленки при изгибе, мм

1

Прочность пленки при ударе, см не менее

50

Адгезия, баллы

1

Толщина одного слоя, мкм

120

Расход на один слой, г/м2

600

Разбавитель

А-851, Т 1900

Температура нанесения, °С

от -5 до +50 и относительной влажности воздуха от 30 до 98 %

 

РЕКОМЕНДАЦИИ ПО ПРИМЕНЕНИЮ

Подготовка поверхности

Поверхность должна быть очищена от загрязнений.

Подготовка ЛКМ

Перед применением тщательно перемешать, при необходимости разбавить разбавителем до рабочей вязкости.

Способ нанесения Безвоздушное и пневматическое распыление, кисть, валик.

ГАРАНТИЙНЫЙ СРОК ХРАНЕНИЯ

12 месяцев в закрытой заводской упаковке при температуре от -5 до +50°С.

TIP TOP STAHLGRUBER OTTO GRUBER GmbH & Со.

 

КОРОПУР Ковер РАЛ

Влагоотверждаемый полиуретановый покрывной лак.

 

ОБЛАСТЬ ПРИМЕНЕНИЯ

Для защиты от коррозии мостов, вышек, портовых сооружений, кранов, стальных конструкций, трубопроводов, морских платформ.

 

СВОЙСТВА

Покрытие с хорошей атмосферной стойкостью, устойчивостью к ультрафиолетовому излучению, а также стойкостью по отношению к целому ряду химических веществ.

 

ТЕХНИЧЕСКИЕ ХАРАКТЕРИСТИКИ

Цвет

глянцевый, с шелковистым блеском, матовый

Количество упаковок

одноупаковочный

Массовая доля нелетучих веществ но весу, %

65

Время высыхания до степени 3, при 20 °С, ч

5

Эластичность пленки при изгибе, мм

1

Прочность пленки при ударе, см, не менее

50

Адгезия, баллы

1

Толщина одного слоя, мкм

100

Расход на один слой, г/м2

300

Разбавитель

А-851, Т 1900, Р-4

Температура нанесения, °С

от -5 до +50 при относительной влажности воздуха от 30 до 98%

 

РЕКОМЕНДАЦИИ ПО ПРИМЕНЕНИЮ

Подготовка поверхности

Поверхность должна быть очищена от загрязнений.

Подготовка ЛКМ

Перед применением тщательно перемешать, при необходимости разбавить разбавителем до рабочей вязкости.

Способ нанесения Безвоздушное и пневматическое распыление, кисть, валик.

 

ГАРАНТИЙНЫЙ СРОК ХРАНЕНИЯ

12 месяцев в закрытой заводской упаковке при температуре от -5 до +50°С.

TIP TOP STAHLGRUBER OTTO GRUBER GmbH & Со.

 

КОРОПУР Абразивостойкий

Полиуретановое покрытие, влагоотверждаемое.

 

ОБЛАСТЬ ПРИМЕНЕНИЯ

Для защиты от коррозии трубопроводов, очистных сооружений, электростанций, шлюзов и подводных гидротехнических объектов.

 

СВОЙСТВА

Этот продукт особенно подходит для постоянной антикоррозионной защиты всех стальных поверхностей.

 

ТЕХНИЧЕСКИЕ ХАРАКТЕРИСТИКИ

Цвет

серый, черный

Количество упаковок

одноупаковочный

Массовая доля нелетучих веществ по весу, %

86

Время высыхания до степени 3 при 20 °С, ч

5

Эластичность пленки при изгибе, мм

1

Прочность пленки при ударе, см не менее

50

Адгезия, баллы

1

Толщина одного слоя, мкм

400

Расход на один слой, г/м2

720

Разбавитель

А-851, Т 1900, Р-4

Температура нанесения, °С

от -5 до +50 при относительной влажности воздуха от 30 до 98%

 

РЕКОМЕНДАЦИИ ПО ПРИМЕНЕНИЮ

Подготовка поверхности

Поверхность очистить от загрязнений и обезжирить.

Подготовка ЛКМ

Перед применением тщательно перемешать, при необходимости разбавить разбавителем до рабочей вязкости.

Способ нанесения Безвоздушное и пневматическое распыление, кисть, валик.

 

ГАРАНТИЙНЫЙ СРОК ХРАНЕНИЯ

Не менее 3 месяцев в закрытой заводской упаковке при температуре от -5 до +50 °С.

TIP TOP STAHLGRUBER OTTO GRUBER GmbH & Со.

Приложение 3

Растворители и разбавители

Совместимость с различными ЛКМ

Лакокрасочный материал

Растворители, разбавители

Перхлорвиниловые и сополимеровинилхлоридные грунтовки, эмали, лаки

Р-4, Р-5, Р-12, Р-24, сольвент

Меламинные грунтовки, эмали и лаки

Ксилол, сольвент, РКБ-1

Мочевинные грунтовки, эмали, лаки

Ксилол, сольвент, РКБ-1

Полиэфирные эмали

646

Алкидно- и масляно-стирольные грунтовки и эмали

Ксилол, сольвент

Полиакриловые грунтовки, эмали и лаки

646, 647, Р-5, Р-12 для эмали АК-154, бутилацетат и сольвент (1:4) для эмали АК-171

Алкидно-акриловые эмали и лаки

Ксилол, сольвент, Р-5, бутилацетат и сольвент (1:4) для эмалей АС127; Р 1101, Р-1101М, АС-1101иАС-1101М

Алкидно-уретановые грунтовки и эмали

Ксилол, сольвент, уайт-спирит

Глифталевые грунтовки, эмали и лаки

Смесь уайт-спирита с ксилолом или сольвентом или скипидаром (1:1), сольвент, скипидар, ксилол

Пентафталевые грунтовки, эмали и лаки

Смесь уайт-спирита с ксилолом или сольвентом (1(1), сольвент,  ксилол; аммиачная  вода для ПФ-033, ПФ-099; уайт-спирит, скипидар.

Нитроцеллюлозные эмали и лаки

646, 647, 648, 645

Эпоксидные грунтовки, шпатлевки, эмали

Смесь этилцеллозольва и ацетона (8:2); смесь ксилола (40%), ацетона (30%), этилцеллозольва (30%); РП для грунтовки ЭП-057 646, 648, Р-40

Эпоксиэфирные грунтовки и эмали

Ксилол

Каучуковые эмали

Ксилол, РКЧ для эмали КЧ-749

Поливинилацетатные грунтовки, эмали и лаки

РФГ-1, Р-60, 648, толуол, ксилол, Р-60 и Р-7

Кремнийорганические эмали и лаки

Толуол для эмали КО-81; ксилол; Р-5

Полиуретановые эмали и лаки

Р-189, циклогексанон

Масляные эмали

Смесь сольвента с уайт-спиритом (1:3)

Канифольные грунтовки, эмали и лаки

Уайт-спирит, ксилол, смесь ксилола с уайт-спиритом (1:1)

Битумные эмали и лаки

Уайт-спирит, сольвент, скипидар, ксилол

Приложение 4

Оборудование для производства ПКЗ

Основные характеристики аппаратов пескоструйной обработки

№ п/п

Наименование оборудования

Производитель

Тип действия

Давление воздуха, МПа

Расход воздуха, м'/мин

Расход абразива,

кг/мг

Производительность очистки,

м!/ч

1

"Сенатор"

Украина

нагнетательный

0,5-0,7

3,5

20-40

20-30

2

"Вихрь"

Россия

нагнетательный

0,2-0,6

2-6

5-10

15

3

ТПА-1

Россия

реактивный

0,2-0,6

2-6

5-10

15 25

4

Clemco SCW*

США

нагнетательный

1,3-5атм.

2-6

20-30

20

5

DSG-25

Россия

нагнетательный

0,35-0,6

2,9

27,5

5-10

6

АСО-150У

Россия

нагнетательный

0,35-0,7

4,0

20

20

7

И-30

Россия

инжекторный

0,4-0,8

5,0

20-30

3

8

ABSC 1028

Airblast (Дания)

нагнетательный

0,6-0,8

1,5-10

25

10

9

ABDC 2452

Airblast (Дания)

нагнетательный

0,6-0,8

1,5-10

25

12

10

DBS 100-300

Uniblast (Германия)

нагнетательный

0,35-1.2

3,5-6,7

25-30

20-30

Основные характеристики оборудования нанесения ЛКМ пневматическим распылением

№ п/п

Марка КРП

Производительность (м2/ч)

Рабочее давление (МПа)

Объем бачка (л)

1

СО-71В

18

0,5

0,35

2

СО-19В

2,4

0,2

0,7

3

UR/S PLUS

12,0-21,0

0,3-0,45

0,5; 0,68; 1,0

4

ОМ

12,0-21,0

0,3-0,45

0,5; 0,68; 1,0

5

9011 HVLP

12,0-16,2

0,2-0,25

0,75; 0,25

6

ES/RV

1,8-3,6

0,1-0,35

0,68; 0,75

7

FXHA

16,8-22,8

0,3

0,68; 0,75

8

FX HVLP

12,0-21,0

0,15-0,25

0,68; 0,75

9

FXGEO

12,0-14,4

0,15-0,25

0,68; 0,75

10

DELTA

21,0

0,28-0,30

0,24; 0,48

11

КРП-11

12,5

0,40

0,5

Основные характеристики аппаратов безвоздушного распыления

№ п/п

Марка аппарата

Производительность, л/мин

Рабочее давление ЛКМ, Мпа

Тип привода

Фирма изготовитель

1

"Спрут-М"

18,0

25,0

пневматический

СЗ "Пелла"

2

"Луч-2"

3,6

25,0

пневматический

СЗ "Пелла"

3

"Радуга-0,63""

1,2

20,0

пневматический

ниилкп

4

President 15:1

8,5

12,0

пневматический

"Graco" (USA)

5

"Premier 45:1"

26,0

31,0

пневматический

"Graco" (USA)

6

"King 68:1"

11,0

42,0

пневматический

"Graco" (USA)

7

"Monark" (23:1)

2,7

19,0

пневматический

"Graco" (USA)

8

"Buldog" (41:1)

11,7

24,0

пневматический

"Graco" (USA)

9

Модель 18066

18,0

40,0

пневматический

"Wiwa" (Германия)

10

"Виза-Варио"

1,0

16,0

пневматический

"EST" (Чехия)

11

"Финиш-221"

6,8

25,0

электрический

Литва

12

"Джокер-18"

3,5

16,0

пневматический

"Dete" (Германия)

13

Модель 0825

1,0

6,0

пневматический

"Кремлин" (Франция)

14

Модель 10000

9,0

24,0

электро/ бензиновый

Taiver (Италия)

15

Taiver gold 20000

18,0

22,0

электрический

Taiver (Италия)

16

Taiver P 7000P

6,0

-

пневматический

Taiver (Италия)

17

GM 3000

2,35

21,0

бензиновый

"Graco" (USA)

18

Gmax 10000

9,0

21,0

бензиновый

"Graco" (USA)

19

395 st

1,25

21,0

электрический

"Graco" (USA)

20

495 st

1,9

21,0

электрический

"Graco" (USA)

21

Ultra Max 695

2,3

21,0

электрический

"Graco" (USA)

22

Pro-281

4

21,0

пневматический

 

23

Pro-101G

10

24,0

электро/ бензиновый

 

24

EP 2800

4,8

21,0

электрический

Wagner (Германия)

25

66-115S

7,5

52,8

пневматический

Wagner (Германия)

26

Wildcat 18-40

2,0

14,4

пневматический

Wagner (Германия)

27

7000 H-I

5,6

24,0

пневматический

Wagner (Германия)

28

GP 3000

7,6

21,0

бензиновый

Wagner (Германия)

29

Хозяин 600x15

15

60,0

пневматический

Украина

30

Агент 400x2

2

40,0

пневматический

Украина

Установки для окраски GRACO (США)

В 1926 году инженером фирмы GRACO был изобретен метод безвоздушного нанесения ЛКМ на окрашиваемые поверхности. Фирма GRACO первая в мире внедрила метод безвоздушного распыления в промышленности. В течение многих десятилетий вплоть до сегодняшних дней фирма GRACO лидирует на рынке производителей окрасочного оборудования.

Существует несколько типов исполнения установок безвоздушного распыления: с пневмоприводом, электроприводом и бензоприводом (для работы в полевых условиях).

Установки безвоздушного распыления с пневмоприводом Bulldog 33:1, Bulldog 41:1, President 30:1, President 46:1

Установки в данном исполнении получили наибольшее распространение в мире. Универсальность установок позволяет использовать их для выполнения широчайшего вида окрасочных работ в практически любой отрасли народного хозяйства, (машиностроение, вагоностроение, окраска с/х техники и др.).

Предназначены для нанесения материалов средней и высокой вязкости (алкидных, пентафталевых, нитроцеллюлозных, эпоксидных, полиуретановых, кремний-органических, материалов на водной основе и других).

Практически все установки могут одновременно обслуживать от одного до трех окрасочных постов каждая.

В зависимости от требований заказчику могут быть поставлены сопла с различным расходом Л КМ и углом раскрытия факела, а также шланги высокого давления длиной от 7,6 м до 30 м и более, а также краскораспылителями с удлинительными насадками, окрасочными валиками, что значительно расширяет области и сферы применения данных установок.

Технические данные

Показатели

Bulldog 33:1

Bulldog 41:1

President 30:1

President 46:1

Макс, давление сжатого воздуха (атм)

7,0

7,0

8,0

7,0

Макс, давление на лкм (атм)

224,0

283,0

250,0

317,0

Производительность насоса (л/мин)

2,9

2,3

3,8

2,1

Масса установки (кг)

113,0

118,0

39,0

39,0

Высокомощные и высокопроизводительные установки безвоздушного распыления с пневмоприводом King 56:1, King 68:1, Premier 45:1, Premier 74:1

В начале 80-х годов была выпущена первая установка серии King. С тех пор в мире существует единый неофициальный стандарт мощных установок безвоздушного распыления, эталоном которого являются установки GRACO King. С момента выпуска первого King прошло более двадцати лет, но за этот период King не только не сдал позиции, но и упрочил их.

Логическим продолжением серии King является серия Premier. Данная серия принципиально отлична от серии King и предназначена для эксплуатации в самых жестоких условиях. Установки Premier позволяют наносить материалы практически без ограничений по вязкости.

Установки устанавливаются на колесных тележках и предназначены для нанесения высоковязких эпоксидных, полиуретановых грунтовок, антикоррозийных составов, промышленных и строительных мастик и составов на крупногабаритные изделия и металлоконструкции в условиях вагоностроения, судостроения, машиностроительной, химической, нефтеперерабатывающей промышленности, при окраске крупных строительных сооружений и т.п. Установки могут одновременно обслуживать от одного до трех окрасочных постов каждая.

Технические данные

Показатели

King 56:1

King 68:1

Premier 45:1

Premier 74:1

Макс, давление сжатого воздуха (кг/см2)

7,0

7,0

7,0

7,0

Макс, давление на лкм (кг/см2)

345,0

422,0

315,0

510,0

Производительность насоса (л/мин)

12,9

11,0

26,1

15,9

Масса установки (кг)

113,0

118,0

171,0

171,0

Установки безвоздушного распыления с электроприводом Ultra Max: 695, 795,1095, 1595

Специально для выполнения высококачественных защитных работ в строительной и других отраслях промышленности фирма GRACO разработала линию профессиональных установок безвоздушного распыления Ultra Max. В данных установках применен новейший тип насоса, который позволяет повысить надежность агрегатов и производительность установки в целом более чем на 20%. Благодаря совершенной конструкции и применению самых последних инженерно-научных разработок на отдельные узлы установок данной линии дается гарантия 2 года.

Особенностью установок является наличие запатентованного GRACO процессора Smart Control, вмонтированного в установки. Наличие данного процессора позволяет поддерживать постоянное давление краски в системе, уменьшая пульсацию и изменения размеров факела. Выполненный в виде отдельного блока, он легко обслуживается и при необходимости заменяется.

Установки для нанесения защитных материалов БВР средней и высокой вязкости

Показатели

695

795

1095

1595

Макс, давление на ЛКМ (атм)

210,0

210,0

210,0

210,0

Производительность насоса (л/мин)

2,3

3,0

3,8

4,75

Максимальная длина шланга (м)

92,0

92,0

92,0

92,0

Кол-во подключаемых распылителей

1

2

2

3

Вес установки (на ножках/тележке) (кг)

33,0

46,0

49,0

64,0

Установки комплектуются краскораспылителем безвоздушного распыления с головкой для быстрой прочистки сопла, шлангом высокого давления длиной 15 м и специальным гибким переходником для краскораспылителя.

В зависимости от условий работы установки могут быть укомплектованы как стандартным пистолетом, так и специальными пистолетами с удлиненными насадками длиной от 0,3 до 2,4 м, а также окрасочными валиками.

Установки безвоздушного распыления с бензоприводом

Установки безвоздушного распыления с бензиновым приводом GRACO предназначены для проведения окрасочных работ большого объема в полевых условиях. Их преимущества в полной автономности от внешних источников энергии. Установки рассчитаны на одновременное использование от одного до шести краскораспылителей (в зависимости от производительности установки).

Установки с бензоприводом фирмы "GRACO" отличаются высоким КПД - 90% полезной мощности расходуется на распыление. Их применение не ограничено ни условиями работы, ни наносимыми материалами.

Технические данные

Тип установки

GMax 3900

GMax 5900

GMax 7900

GMax 10000

Макс. раб. давление (кг/см2)

227,0

227,0

210,0

210,0

Производительность (л/мин)

4,4

5,7

7,9

9,0

Количество подключаемых пистолетов

3

4

4

6

Мощность двигателя (Honda) (л.с.)

4,0

5,5

5,5

8,0

Емкость бензобака (л)

2,5

3,6

3,6

6,0

Максимальная длина шлангов (м)

90,0

90,0

90,0

90,0

Вес установки (кг)

55,0

77,0

80,0

100

Дополнительное оборудование безвоздушного распыления

Удлинительные насадки и окрасочные валики к установкам безвоздушного распыления

При окрашивании крупногабаритных изделий с помощью стандартных безвоздушных краскораспылителей трудно выдерживать оптимальное расстояние между краскораспылителем и окрашиваемой поверхностью. Особое неудобство представляет окраска труднодоступных мест с узкими проемами и углублениями, а также конструкций, стен и потолков, достигающих в высоту трех и более метров. В этих случаях часто приходится прибегать к помощи лестниц, козел, лесов и т.п., что доставляет лишние неудобства и потери времени, а в результате вызывает общее снижение производительности окрасочных работ.

Для оптимизации этих работ используются специальные краскораспылители с удлиненными насадками, либо удлинительные насадки подсоединяются к стандартным краскораспылителям.

Также возможно оснащение установок окрасочными валиками, которые дополняют и расширяют области и возможности применения установок безвоздушного распыления, механизируя и ускоряя тем самым процесс окраски данным методом. Валики могут комплектоваться как простыми удлинительными насадками, так и телескопическими.

Краскораспылители к установкам безвоздушного распыления

Silver Plus Gun - краскораспылитель безвоздушного распыления. Эргономичный дизайн, легкий вес и нержавеющее исполнение материальной части позволяют наносить практические любые материалы давлением до 350 атм. На пистолете-установке возможна оснастка курком как на 2 пальца, так и на 4.

510 Gun - краскораспылитель для нанесения высоковязких и высоконаполненных материалов. Оснащен специальной износостойкой распылительной головкой и соплом.

Технические характеристики

Краскораспылитель

Max. раб. давление

Вес (кг)

Соединит, резьба

Silver Plus Gun

345,0

0,540

%

510 Gun

510,0

0,730

%

Также фирмой GRACO выпускается широкий ассортимент шлангов высокого давления и сопла различной конфигурации.

Контрольно-измерительные приборы (производитель ЗАО "КОНСТАНТА®")

Приложение 5

№ п/п

Наименование прибора

Назначение прибора

Внешний вид прибора

1

2

3

4

1

"КОНСТАНТА К5"

Многофункциональный электромагнитный толщиномер покрытий и материалов предназначен для измерения толщины покрытий, материалов, температуры поверхности, воздуха, влажности воздуха, точки росы, шероховатости поверхности, а также толщины покрытий и материалов.

2

"КОНСАНТАИВ-1"

Измеритель влажности пращевого типа предназначен для определения температуры, относительной влажности воздуха и точки росы.

 

3

"ДОПУСК-2"

Механический глубиномер предназначен для оперативного контроля глубины очаговой коррозии и криволинейности поверхности.

 

4

"КОНСТАНТА-МГ

Магнитный "толщиномер-карандаш" предназначен для измерения толщины немагнитных покрытий (пленок), нанесенных на изделия из ферромагнитных материалов.

 

5

"БУЛАТ-1"

Ультразвуковой микропроцессорный толщиномер используется для измерения толщины изделий из металлических и неметаллических материалов (листов, емкостей труб, трубопроводов, мостовых, корпусных, транспортных и других конструкций, в том числе, сильно корродированных, изъеденных, с накипью и т.д.).

6

"ГРИНДОМЕТР"

Прибор предназначен для определения степени перетира ЛКМ

7

"ВИЗКОЗИМЕТР ВЗ-246 ГОСТ9070-75"

Прибор предназначен для определения условной вязкости лакокрасочных материалов.

8

"КОНСТАНТА-Г"

Толщиномер мокрого слоя краски (гребенка) предназначен для толщинометрии мокрого слоя покрытий на плоских и цилиндрических изделиях; изготовлена из нержавеющей стали.

 

9

"КОНСТАНТА-МС1"

Толщиномер мокрого слоя краски (колесо) предназначен для толщинометрии влажных неотвердевших ЛКП на плоских цилиндрических изделиях с целью оценки окончательной толщины покрытия после его отвердения. Заменяет традиционную "гребенку".

10

"КОНСТАНТА-А"

Механический датчик-адгезиметр предназначен для контроля величины адгезии лакокрасочных и других покрытий с основанием.

11

"КОНСТАНТА-СА-1"

Сдвиговый адгезиметр предназначен для измерения адгезии изоляционного покрытия

12

"КОРОНА"

Дефектоскоп электроискровой предназначен для контроля изоляционных покрытий (в том числе битумных) металлических конструкций и других изделий приложением к покрытию высоковольтного импульсного напряжения. Толщина контролируемых покрытий до 10 мм.

 

13

"КОНСТАНТА ЭД2"

Дефектоскоп электролитический предназначен для контроля пористости и нарушений сплошности защитных диэлектрических покрытий приложением к покрытию низковольтного напряжения через губку, смоченную жидким электролитом с высокими проникающими свойствами.

 

14

"БУЛАТ-Т1"

Измеритель твердости покрытий предназначен для измерения твердости лакокрасочных, мастичных и других покрытий по отпечатку шарового наконечника, прикладываемого с регулированным усилием, величена которого фиксируется по шкале. Прикладываемое усилие задается оператором с использованием пружины, вмонтированной в прибор.

 

 

15

"КОНСТАНТА У-1А"

Прибор предназначен для определения прочности пленок при ударе

 

 

Приложение 6

Российские производители лакокрасочных материалов1

- ОАО "Научно-исследовательский институт лакокрасочных покрытий с опытным машиностроительным заводом "Виктория"

- АО "СКиМ" (ОАО "Завод строительных красок и мастик")

- АОЗТ "Оливеста" (Московский завод "Лакокраска")

- АО "Бутовский химический завод

- ОАО "Лакокраска" (г. Ярославль)

- Компания "Невские Краски" (торговая марка "Невские Краски").

- ЗАО "Загорский лакокрасочный завод" ОАО "Кировкраска" (торговая марка ДОМ АКРИЛ®)

- ОАО "Торжокский завод полиграфических красок" Шелангерский химзавод "Сайвер"

- ОАО "Семилукский завод бытовой химии"

- ОАО "Одинцовский лакокрасочный завод" (ОАО "Одилак")

- ООО "Химпром" (г. Воронеж)

- ОАО "Мелстром"

- Фирма "Стройкомплекс" (торговая марка СВЯТОЗАР™)

- ООО "Тяга" (торговая марка ОПТИМИСТ81)

- Торгово-производственное объединение "Палитра Руси" (торговые марки ДИВА, Три медведя™)

- ЗАО "Научно-производственная компания "СОФЭКС" ОАО "Химпром" (г. Новочебоксарск)

- Научно-производственное предприятие "Спектр"

- ЗАО "МАВИКС"

- ООО "СтройПолимер"

- Фабрика "Краски ХЕМИ" (торговые марки "Живые краски ХЕМИ", ПЕНЕТРЕКС®)

- ООО "Базис пром"

- ООО "Корк-С"

- ООО "ДИА"

- ООО "Торговый дом "Фанагория"

- ООО "Аква-Колор"

- ООО "Антарак" (торговая марка МАСТЕР")

- Объединение "Стройкомплект"

- ООО "Трестспецстрой № 40" (торговая марка "ОКТАВА")

- Научно-производственная коммерческая фирма "Колорит"

- Холдинг "Акрилика ЛК" ООО "Интерпульс"

- Фирма "Оникс" (торговая марка ЭКОЛАН®)

1 По данным "Лакокрасочные материалы 2001", ежегодный профессиональный справочник (приложение к изданию "Снабженец", М., 2002).

Приложение 7

Производители и поставщики Л КМ и оборудования

№ п/п

Производитель

Страна

Поставщики

Реквизиты (по состоянию на 01.01.02)

1

2

3

4

5

1

ЗАО "ЭмЛак"

Россия

ЗАО "ЭмЛак"

ЗАО "Высокачественные покрытия по металлу"

г. С. Петербург, ул. Караваевская, 57 тел.(812) 186-0520,

147-1166115054,

Москва, ул. Дубинская, 68тел.: (095) 970-7762, 235-3150

2

Концерн "UCP Paint"

Канада

ООО "Колорекс М"

113191, Москва, ул. Малая Тульская, 25 тел/факс: 231-1088, 232-1812

3

PERMATEX GmbH,

подразделения DuPont

Германия

ЗАО "АМВИТ" Антикоррозионные покрытия, огнезащита, наливные полы

119331, Москва, пр. Вернадского, 29, офис 404 тел.(095) 138-3080факс: (095) 138-3090 Почтовый адрес: 119331, Москва, п/я 145 Email: mail@amvit.ru

4

АМЕРОН

International Performance Coating& Finishes Group

США

Представительство РФ АМЕРОН International

123610, Москва, Краснопресненская наб., 12, офис 1646

тел.: (095) 258-1851, 258-1852 факс. 258-1853 E-mail: Moscow@ameron-by.com

5

Высокодисперсные металлические порошки (ВМП)

Россия

Высокодисперсные металлические порошки (ВМП)

620016, Екатеринбург, ул. Амудсена, 101

тел/факс (3432) 28-7340, 43-9255, 43-9241 fmp@dialup.mplik.ru

6

JOTUN PAINTS (Europe) Ltd.

Норвегия

Представительство JOTUN PAINTS в РФ и его отделения

121069, Москва, ул. Поварская, д. 8/1, стр. 1, офис 22 тел/факс (095) 742-7501, 742-7502, 742-7503 198096, Санкт-Петербург,

пр. Стачек, 57, офис 30 тел.: (812) 185-0946, факс: (812) 183-0525

7

TEKHOC

Финляндия

ЗАО "НПФ "Мир Красок"

195513, Санкт-Петербург, Новочеркасский пр., 48 тел. (812) 445-0579, 445-0690, 963-2132 факс: (812) 325-5827 115054, Москва,

ул. Дубининская, 68 тел. (095)235-3150, 970-7762

8

"Научно-производственная фирма "ПИГМЕНТ" НИПРОИНС

Россия

"Научно-производственная фирма "ПИГМЕНТ" НИПРОИНС

197342, Санткт-Петербург, ул. Лисичанская, 6 тел.: (812) 242-2796, факс: 242-2495 E-mail: niproins@online.ru

9

Лидский лакокрасочный завод

Беларусь

ООО "Торговый Дом "ЛидаЛК" НПГ-Поликом

Москва, ул. Широкая, д, 31/5 тел/факс (095) 785-9616

10

"Кронос СПБ" (Лакокрасочный завод)

Россия

Кронос СПБ" (Лакокрасочный завод)

197183, Санкт-Петербург, ул. Полевая Сабировская, 42

тел/факс (812) 430-1050, 430-2990 E-mail: prominv@spb.cityline.ru

11

Sika Chemie GmbH

Германия

ООО

"Термал-Спрей-Тек"

129336, Москва, Анадырский пр-д, 77-66а, тел.: (095) 475-8978,

факс: 474-6905

12

STEELPAINT GmbH

Германия

Представительство STELLPAINT GmbH в РФ и СНГ

121069, Москва, Мерзляковский пер., д. 15

тел. (095) 203-1566, 933-2846 факс (095) 967-9253

1

2

3

4

5

13

ООО "Серебряный мыс"

Россия

СтройАрсенал МТК

119146, Москва, 2-я Фрунзенская ул., 10/1

 тел/факс (095) 242-4701, 242-8606 E-mail: stroyarsenal@mail/ru

14

WASSER Ceram-Kote

Германия

ТемпСтройСистема

119333, Москва, ул. Вавилова, 46 тел.: (095) 135-7504,135-8500,

факс: 125-2734

15

"ГРАКО"

США

Фирма "Уссури"

117949, Москва, Центр, ул. Якиманка, 38а

тел.: (095) 238-1654,2 38-1643, факс: (095) 238-2241

16

ШтальГрубер Отто Грубер ГмбХ

Германия

Представительство Шталь Грубер в РФ и СНГ; ЗАО "Ремма Интернэшнл"

113054, Москва, Озерковская наб., 50, офис 350

тел.: (095) 959-2329, 9592388,959-2866 E-mail: tip-top@orc.ru

17

"Zinga-Mettall"

Бельгия

ООО "Эльвина-Мастер"

105187, Москва, Измайловское ш., д. 71, корп. 26, офис 133, тел./факс: (095) 792-99-16 Отделения: 123103, Москва, Внуково, ул. Центральная, вл.Ю, оф.1; тел/факс 095-436-78-20, 436-70-99 тел. 436-75-69 193148, Санкт-Петербург, Железнодорожный пр., д.36, тел.7-812-560-40-33, тел/факс: 812-560-18-30 210038, Витебск, Московский пр., 120, тел. 10-375-(0)-212-24-94-43, 237-237, факс: 10-375-(0)-212-23-05-75 129323, Москва, Лазоревый проезд, 1;

тел. 095-105-31-01, 189-36-33, тел/факс: 095-189-36-33, 180-12-02

18

OOO "CMT Трейд"

Россия

OOO "CMT Трейд"

129085, Москва, Звездный б-р, 19 тел/факс: (095)-232-31-00, 234-88-68. Региональные отделения: Новосибирск, тел./факс: (3832) 49-67-91; Екатеринбург, тел./факс: (34-32) 43-99-15, 28-85-31; Нижний Новгород, тел./факс: (83-12) 10-77-78; Ростов-на-Дону, тел./факс: (86-32) 51-34-56; Санкт-Петербург, тел./факс: (812) 322-93-06,

322-93-05; Самара, тел./факс: (84-62) 38-78-38.

19

ЗАО "Константа"

Россия

ЗАО "Константа"

ОАО

"Трест Гидромонтаж"

198096, Санкт-Петербург, а/я 89, тел/факс (812) 147-11-67, 252-94-78, Email: office@constanta.ru

123423, Москва, Карамышевская наб., д.37, тел/факс: 946-28-39,

191-65-75


Приложение 8

ЖУРНАЛ

производства работ по противокоррозионной защитестроительных конструкций, сооружений,технологического оборудованиясогласно СНиП 111-23-76

Лист 1 заглавный

Наименование объекта___________________________________________

Основание для выполнения работ (договор, наряд)____________________

Производитель работ____________________________________________

Начата________________________

Окончена______________________

В журнале пронумеровано ____ страниц

Место печати                                                                                Подпись администрации

организации, выдавшей журнал

Дата (число, месяц, год, смена)

Наименование работ и применяемых материалов

Объем работ

Температура, "С, во время выполнения работ

Применяемые материалы

Количество нанесенных слоев и их толщина, мм

Температура, "С, и продолжительность сушки каждого слоя, ч

Фамилия бригадира - исполнителя работ

Дата и номер акта приемки и сдачи работ

Примечание

на поверхности

окружающего воздуха на расстоянии не более 1 м от поверхности

ГОСТ и ТУ

Номер паспорта

Номер анализа


Приложение 9

Акт на скрытые работы по противокоррозионной защите

Приложение 10

Нормативная документация, использованная в РД ГМ-01-02

СНиП 2.03.11-85.

Защита строительных конструкций от коррозии.

ГОСТ 9.032-74*.

Единая система защиты от коррозии и старения. Покрытия лакокрасочные. Классификация и обозначения.

ГОСТ 9.104-79.

Покрытия лакокрасочные. Группы условий эксплуатации.

ГОСТ 9.402-80.

Покрытия лакокрасочные. Подготовка металлических поверхностей перед окрашиванием.

СНиП 3.04.03-85

Защита строительных конструкций и сооружений от коррозии.

ГОСТ 9.407-84.

Покрытия лакокрасочные. Методы определения внешнего вида.

ГОСТ 8420-74.

Материалы лакокрасочные. Методы определения условной вязкости.

ГОСТ 9980-80.

Материалы лакокрасочные. Правила приемки. Отбор проб для испытаний. Упаковка, маркировка. Транспортирование и хранение.

ГОСТ 15140-78.

Материалы лакокрасочные. Методы определения адгезии.

ГОСТ 9.401-91.

Покрытия лакокрасочные. Общие требования и методы ускоренных испытаний на стойкость к воздействию климатических факторов.

ГОСТ 15150-69.

Машины, приборы и другие технические изделия. Исполнения для различных климатических районов. Категории, условия эксплуатации, хранения и транспортирования в части воздействия климатических факторов внешней среды.

ГОСТ 19007-73.

Материалы лакокрасочные. Методы определения времени и степени высыхания.

ГОСТ 2789-73.

Шероховатость поверхности. Параметры, характеристики и обозначения.

ISO 8501-1.

 

 

Подготовка стальной основы перед нанесением красок и подобных покрытий. Визуальная оценка чистоты поверхности. Часть 1. Степени ржавости и степени подготовки непокрытой стальной основы истальной основы после полного удаления прежних покрытий.

ГОСТ 12.3.005-75.

ССБТ. Работы окрасочные. Общие требования безопасности.

ГОСТ 12.4.021-75.

ССБТ. Системы вентиляционные. Общие требования.

ГОСТ 9.010-80.

Воздух сжатый для распыления лакокрасочных материалов. Технические требования, правила и методы контроля.

ГОСТ 12.1.005-88.

ССБТ. Общие санитарно-гигиенические требования к воздуху рабочей зоны.

ГОСТ 12.3.002-75.

ССБТ. Процессы производственные. Общие требования безопасности.

ГОСТ 12.3.009-76.

ССБТ. Работы погрузочно-разгрузочные. Общие требования безопасности.

ГОСТ 12.4.011-89.

ССБТ. Средства защиты работающих.

 

ОГЛАВЛЕНИЕ

Руководящий документ

ОГЛАВЛЕНИЕ

1. Введение

1.1. Определения. Термины. Сокращения

1.2. Понятие об агрессивности среды

1.3. Виды коррозионного разрушения

2. Учет требований ПКЗ при проектировании МО и СК ГТС. Планирование работ

2.1. Общие положения

2.2. Основы рационального проектирования

2.3. Разработка проекта (технологического регламента) противокоррозионной защиты

2.4. Планирование работ по противокоррозионной защите МО и СК

А. Планирование противокоррозионных работ на заводе-изготовителе

3. Подготовка поверхности металла перед нанесением противокоррозионных покрытий

3.1. Подготовка поверхности металла

Таблица 3.1

3.2. Оборудование для механической очистки

Таблица 3.2

3.3. Технология подготовки поверхности

3.4. Химическая очистка

4. Лакокрасочные материалы

4.1. Экономические аспекты защиты конструкций и оборудования ЛКМ

4.2. Критерии выбора лакокрасочных материалов (ЛКМ)

4.3. Компоненты лакокрасочных материалов

4.4. Классификация лакокрасочных материалов

Таблица 4.1

4.5. Области применения лакокрасочных материалов (ЛКМ)

4.6. Пленкообразующие лакокрасочных материалов

4.7. Совместимость Л КМ

4.8. Специальные покрытия

Таблица 4.2

4.9. Средства временной защиты

Таблица 4.3

4.10. Технология и оборудование для подготовки лакокрасочных материалов

4.11. Контроль качества лакокрасочных материалов

Таблица 4.4

Таблица 4.5

4.12. Удаление старых лакокрасочных покрытий

5. Выбор систем защитных лакокрасочных покрытий

Таблица 5.1

Примечание. Критерии и факторы выбора системы ЛКМ см. п.1.1 и п.4.2, а также приложения 1 и 2 (технические характеристики ЛКМ).

* Самогрунтующийся материал

Таблица 5.2

Таблица 5.3

5.1. Расчет потребности лакокрасочных материалов при защите специальных стальных конструкций и механического оборудования гидротехнических сооружений

Нр = Т + Пт + По

6. Погодные условия и их влияние на проведение противокоррозионных работ

6.1. Погодные условия и способы измерения их параметров

6.2. Нанесение лакокрасочных покрытий при неблагоприятных погодных условиях

7. Технология нанесения лакокрасочных покрытий

7.1. Оборудование для нанесения ЛКМ пневматическим распылением

Таблица 7.1

7.2. Метод безвоздушного распыления

7.3. Краскораспылители безвоздушного распыления высокого давления

Таблица 7.2

Таблица 7.3

7.4. Вспомогательное оборудование для установок пневматического и безвоздушного распыления ЛКМ

8. Защита комбинированными покрытиями

8.1. Металлические покрытия

8.2. Газопламенная и электродуговая металлизация цинком, алюминием, нержавеющими сплавами и медью

8.3. Металлизационно-лакокрасочные покрытия (комбинированные покрытия)

Таблица 8.1

Таблица 8.2

Основные характеристики отечественных металлизационных аппаратов

9. Электрохимическая защита

10. Климатические параметры, контролируемые при противокоррозионных работах

11. Техника безопасности и противопожарные мероприятия

Приложения

Приложение 1

Технические характеристики лакокрасочных материалов (ЛКМ) отечественного производства

Приложение 2

Технические характеристики ЛКМ иностранного производства

Приложение 3

Растворители и разбавители

Совместимость с различными ЛКМ

Приложение 4

Оборудование для производства ПКЗ

Основные характеристики аппаратов пескоструйной обработки

Основные характеристики оборудования нанесения ЛКМ пневматическим распылением

Основные характеристики аппаратов безвоздушного распыления

Установки для окраски GRACO (США)

Дополнительное оборудование безвоздушного распыления

Контрольно-измерительные приборы (производитель ЗАО "КОНСТАНТА®")

Приложение 5

Приложение 6

Российские производители лакокрасочных материалов1

Приложение 7

Производители и поставщики Л КМ и оборудования

Приложение 8

ЖУРНАЛ

производства работ по противокоррозионной защитестроительных конструкций, сооружений,технологического оборудованиясогласно СНиП 111-23-76

Приложение 9

Акт на скрытые работы по противокоррозионной защите

Приложение 10

Нормативная документация, использованная в РД ГМ-01-02

 




Профессиональный клининг после пожара https://globalcleaning.ru/uborka-posle-pozhara/ недорого.
Яндекс цитирования



   Copyright © 2007-2026,  www.tehlit.ru.

[ ѓосты, стандарты, нормативы, инструкции, правила, строительные нормы ]