//
|
|
ХАРЬКОВСКИЙ ПРОЕКТНЫЙ И НАУЧНО-ИССЛЕДОВАТЕЛЬСКИЙ ИНСТИТУТ (ПРОМСТРОЙНИИПРОЕКТ) ГОССТРОЯ СССРРЕКОМЕНДАЦИИ
| ||||||||||||||||||||||||||||||||||||||||||||||||||||||||||||||||||||||||||||||||||||||||||||||||||||||||||||||||||||||||||||||||||||||||||||||||||||||||||||||||||||||||||||||||||||||||||||||||||||||||||||||||||||||||||||||||||||||||||||||||||||||||||||||||||||||||||||||||||||||||||||||||||||||||||||||||||||||||||||||||||||||||||||||||||||||||||||||||||||||||||||||||||||||||||||||||||||||||||||||||||||||||||||||||||||||||||||||||||||||||||||||||||||||||||||||||||||||||||||||||||||||||||||||||||||||||||||||||||||||||||||||||||||||||||||||||||||||||||||||||||||||||||||||||||||||||||||||||||||||||||||||||||||||||||||||||||||||||||||||||||||||||||||||||||||||||||||||||||||||||||||||||||||||||||||||||||||||||||||||||||||||||||||||||||||||||||||||||||||||||||||||||||||||||||||||||||||||||||||||||||||||||||||||||||||||||||||||||||||||||||||||||||||||||||||||||||||||||||||||||||||||||||||||||||||||||||||||||||||||||||||||||||||||||||||||||||||||||||||||||||||||||||||||||||||||||||||||||||||||
|
|
|
γh |
γi |
γa |
kcal |
|
1/8 |
0 |
0,389 |
2,34 |
0,708 |
0,73 |
|
0,25 |
0,377 |
2,32 |
0,698 |
0,724 |
|
|
0,5 |
0,324 |
2,18 |
0,634 |
0,709 |
|
|
0,75 |
0,259 |
1,93 |
0,556 |
0,67 |
|
|
1 |
0,106 |
0,97 |
0,265 |
0,614 |
|
|
1/4 |
0 |
0,47 |
1,59 |
0,677 |
0,774 |
|
0,25 |
0,455 |
1.57 |
0,664 |
0,766 |
|
|
0,5 |
0,389 |
1,45 |
0,593 |
0,752 |
|
|
0,75 |
0,31 |
1,27 |
0,507 |
0,741 |
|
|
1 |
0,132 |
0,645 |
0,241 |
0,694 |
|
|
1/2 |
0 |
0,502 |
1,07 |
0,619 |
0,826 |
|
0,25 |
0,485 |
1,05 |
0,604 |
0,82 |
|
|
0,5 |
0,413 |
0,957 |
0,533 |
0,81 |
|
|
0,75 |
0,33 |
0,82 |
0,442 |
0,791 |
|
|
1 |
0,152 |
0,431 |
0,218 |
0,776 |
|
|
1 |
0 |
0,527 |
0,817 |
0,59 |
0,89 |
|
0,25 |
0,509 |
0,798 |
0,572 |
0,885 |
|
|
0,5 |
0,431 |
0,707 |
0,496 |
0,878 |
|
|
0,75 |
0,345 |
0,595 |
.0,408 |
0,854 |
|
|
1 |
0,173 |
0,326 |
0,214 |
0,837 |
|
|
2 |
0 |
0,537 |
0,682 |
0,571 |
0,943 |
|
0,25 |
0,518 |
0,662 |
0,552 |
0,94 |
|
|
0,5 |
0,457 |
0,597 |
0,492 |
0,93 |
|
|
0,75 |
0,35 |
0,475 |
0,383 |
0,913 |
|
|
1 |
0,187 |
0,268 |
0,209 |
0,883 |
|
|
4 |
0 |
0,547 |
0,62 |
0,563 |
0,978 |
|
0,25 |
0,526 |
0,599 |
0,542 |
0,976 |
|
|
0,5 |
0,462 |
0,533 |
0,48 |
0,972 |
|
|
0,75 |
0,353 |
0,3362 |
0,37 |
0,965 |
|
|
1 |
0,191 |
0,232 |
0,203 |
0,954 |
|
|
8 |
0 |
0,553 |
0,59 |
0,561 |
1,04 |
|
0,25 |
0,532 |
0,568 |
0,54 |
1,04 |
|
|
0,5 |
0,466 |
0,501 |
0,475 |
1,04 |
|
|
0,75 |
0,355 |
0,267 |
0,367 |
1,04 |
|
|
1 |
0,196 |
0,217 |
0,202 |
1,03 |
Определение усилий и перемещений в расчетных сечениях ограждения (шпунт, сваи) производится в соответствии с «Руководством по проектированию и устройству заглубленных инженерных сооружений» (М.: Стройиздат, 1986). Определение величин смещения можно не производить при ограничении конструктивными решениями горизонтальных смещений ограждающих конструкций до 2 см для фундаментов и сооружений, в конструкциях которых не возникают дополнительные усилия от неравномерных осадок, и до 1 см для конструкций, в которых такие усилия возникают.
3.13. Фундаменты под оборудование, возводимые методом опускного колодца, должны располагаться таким образом, чтобы основания фундаментов размещенных рядом зданий, сооружений и оборудования находились вне зоны обрушения грунта.
3.14. Фундаменты, располагаемые рядом с опускным колодцем, следует размещать на расстоянии b, определяемом по формуле
(9)
где z-расстояние по вертикали от верха ножа колодца до подошвы фундамента;
(10)
где
- угол внутреннего
трения грунта.
При положении фундаментов на расстоянии от опускного колодца, меньшем b, площадь опирания фундаментов необходимо принимать без учета подошвы, находящейся в зоне нарушаемого грунта, ограниченной размером b.
В этом случае допускается компенсировать уменьшение площади опирания фундамента уширением или углублением его. Допускается также подошву фундамента, находящуюся в зоне нарушенного грунта, опирать на свайное основание. Минимальное расстояние от крайнего ряда свай bpit до опускного колодца следует назначать из условия
(11)
где
- расстояние по
вертикали от верха ножа колодца до уровня острия свай.
3.15. При реконструкции фундаментов и возведении новых фундаментов вблизи от существующего опускного колодца производится проверка прочности элементов колодца на действие дополнительных нагрузок в соответствии с указаниями «Руководства по проектированию спускных колодцев, погружаемых в тиксотропной рубашке» (М.: Стройиздат, 1979).
3.16. При определении амплитуды колебаний фундаментов и отдельных их элементов следует использовать жесткостные характеристики элементов, определенные экспериментально.
3.17. Определение температур в элементах фундаментов производится для следующих стадий:
- длительный нагрев до реконструкции;
- остывание в период реконструкции;
- нагрев после реконструкции.
Распределение температур устанавливается в соответствии со СНиП 2.03.04-84. Характер распределения температур в элементах конструкций фундаментов прокатного производства в зависимости от расположения температурного источника приведен в «Руководстве по проектированию фундаментов оборудования и сооружений подземного хозяйства прокатных и трубных цехов» (М.: Стройиздат, 1985).
3.18. Для фундаментов, состоящих из старого и нового бетонов, расчет распределения температур в новом бетоне допускается проводить по формуле
(12)
где
и
- температура
влажного (нового) и сухого (старого) бетона; γ - коэффициент определяется
по формуле
(13)
но не более 1; t-толщина слоя нового бетона; ti - время нагрева.
Расчет распределения температуры
в старом бетоне
проводится по физико-механическим характеристикам старого бетона.
Пересчет значений температур t,ei к температурам I °С производится по формуле
(14)
где
- температура
наиболее нагретой поверхности, tmin
- начальная температура нагрева. Допускается принимать
= 10 °С.
3.19. Расчет распределения температуры и влажности в сечениях железобетонных элементов фундаментов в стационарном периоде нагрева допускается производить раздельно. При этом распределение температуры рассчитывается по СНиП II-3-79** с использованием характеристик сухого грунта и бетона.
3.20. Для фундаментов прокатного оборудования изгибающие моменты от неравномерного нагрева по высоте сечения в стержневых элементах определяются по «Руководству по проектированию фундаментов оборудования и сооружений подземного хозяйства прокатных и трубных цехов» (М.: Стройиздат, 1985).
3.21. Температурная кривизна оси элемента при первом после реконструкции нагреве определяется с учетом усадки нового бетона, расположенного в более нагретой зоне, по формуле
(15)
При расположении нового бетона в менее нагретой зоне температурная кривизна оси элемента определяется по формуле
(16)
где
,
,
,
- коэффициенты температурной деформации и температурной
усадки нового бетона, принимаемые по СНиП
2.03.04-84 в зависимости от температуры менее и более нагретой грани
сечения;
,
- температура менее и
более нагретой грани сечения; h-
высота сечения элемента.
3.22. Температурная кривизна оси элемента при повторном
нагреве определяется по формуле (15), коэффициент температурной деформации
нового и старого бетона принимают в виде суммы значений
.
Использование существующих фундаментов при реконструкции
4.1. Использование существующих массивных фундаментов при реконструкции сводится: к пристройке новой части к существующему, фундаменту; в надстройке существующего фундамента; к комбинации этих вариантов, что предусматривает следующие конструктивные решения:
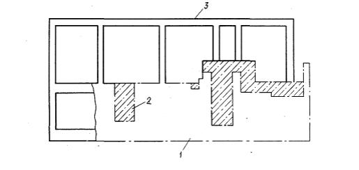
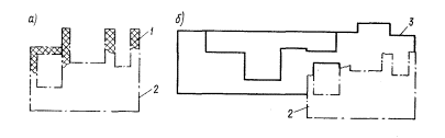
- разборка верхней изменяемой части существующего фундамента и выполнение фундамента новой конфигурации в монолитном железобетоне (рис. 2);
- пристройка к существующему фундаменту (с его частичным разрушением) новых частей (рис. 3);
- изменение конфигурации существующего фундамента за счет монолитной набетонки, укладываемой поверх фундамента (рис. 4);
- подводка тоннеля под существующий фундамент методом шахтной проходки (рис. 5);
- возведение на части существующего фундамента облегченных стенчатых или рамных конструкций из сборного или монолитного железобетона (рис. 6);
- разборка изменяемой части фундамента и установка на оставшейся
- части жестких металлических блоков, способных принять нагрузку от оборудования (рис. 7).
Возможна полная разборка существующего фундамента, приспособление которого по техническим или экономическим причинам признано нецелесообразным, и размещение на его месте нового фундамента под оборудование.
Блоки собираются на специальных стендах в стороне от фундаментов, полностью оснащаются металлической опалубкой, закладными частями и анкерными болтами. Готовый блок устанавливается в проектное положение мостовыми или строительными кранами, выпуски из существующего фундамента привариваются к элементам каркаса блока. После установки, выверки и закрепления блоков производится установка оборудования с одновременным заполнением полостей блоков монолитным бетоном.
Сохранение габаритов существующих фундаментов с установкой анкерных болтов под вновь устанавливаемое оборудование методом виброзачеканки цементным раствором или на эпоксидном клее.
4.2. Приспособление облегченных существующих фундаментов производится путем замены верхней плиты фундамента (рис. 8,б), пристройки новой части фундамента (рис. 8,в), пристройки новой части фундамента с одновременной заменой верхней плиты (рис. 8,г).
Маркировочные схемы узлов сопряжения новых частей фундаментов с существующими и конструктивные решения этих узлов приведены в прил. 2.
Использование существующих заглубленных помещений при реконструкции
4.3. При расширении заглубленного помещения в районе примыкания к существующим фундаментам мелкого заложения рекомендуются следующие конструктивные решения:
возведение конструкций расширяемой части в котловане с временным шпунтовым ограждением (рис. 9,б);
расширение помещения с применением стенового ограждения из свай.
При расширении помещения с применением свай (рис. 9,в) в проекте должны быть предусмотрены следующие этапы работ:
- открытие пионерного котлована;
- выполнение скважин по контуру сооружения;
- забивка готовых свай или бетонирование буронабивных свай;
- изготовление железобетонного пояса по верху свай;
- разработка котлована с установкой временных распорок после набора бетоном требуемой прочности;
- бетонирование днища помещения;
- демонтаж распорок;
- приварка к закладным частям свай выпусков арматуры и бетонирование стен помещения;
- монтаж перекрытия.
4.4. Заглубление существующего подвального помещения следует выполнять с применением свай или методом подращивания. При этом в проекте с применением свай (рис. 10) должны быть отражены следующие основные этапы работ:
- по контуру проектируемого заглубления в днище котлована бурятся шпуры, в которых закрепляются выпуски арматуры, после чего по контуру углубления бетонируется обвязочный пояс (воротник);
Рис. 2. Фундамент с измененной
верхней частью
а, б - фундамент до и после реконструкции соответственно; 1 - разрушаемая часть
существующего фундамента; 2 - используемая часть существующего фундамента; 3 -
новая часть фундамента
Рис. 3. Фундамент с
пристроенными новыми частями
а, б - фундамент до и после реконструкции соответственно; 1 - разрушаемая часть
существующего фундамента; 2 - используемая часть существующего фундамента; 3 -
новая часть фундамента
Рис. 4. Фундамент с
набетонкой поверх существующего фундамента.
1 - существующий фундамент; 2 - монолитная набетонка

Рис. 5. Подводка тоннеля под
существующий фундамент методом шахтной проходки
1, 2 - существующий фундамент под оборудование и колонну здания соответственно;
3 - вертикальная шахтная проходка; 4 - горизонтальная шахтная проходка
Рис. 6. Возведение на
существующем фундаменте облегченных конструкций рамного типа
1 - существующий фундамент; 2 - монолитный бетон; 3 - конструкции рамного
(стенчатого) типа
- после набора бетоном воротника требуемой прочности внутри воротника разбирается днище подвала;
- по контуру заглубления бурятся лидерные скважины, в которые забиваются сваи;
- головы свай объединяются с ранее выполненным обвязочным поясом;
- производится поэтапная разборка котлована с установкой временных распорок;
- при достижении проектной отметки выполняется днище углубленной части;
- к закладным частям привариваются выпуски арматуры, демонтируются временные распорки и бетонируются стены заглубленной части подвала.
Рис.7. Существующий
фундамент с применением жестких металлических блоков
а, б, в - фундамент до, во время и после реконструкции соответственно; 1 -
разбираемая часть фундамента; 2 - используемая часть фундамента; 3 -
укрупненный металлический блок; 4 - новая часть фундамента
Рис. 8. Облегченный
фундамент
а - фундамент до реконструкции; б - реконструкция с заменой верхнего
перекрытия; в - реконструкция с пристройкой новой части; г - реконструкция с
заменой верхнего перекрытия и пристройкой новой части; 1 - используемая часть
существующего фундамента; 2 - новая часть фундамента
При разработке проекта заглубления существующего подвального помещения методом подращивания к нему должны быть предусмотрены следующие этапы работ (рис.11):
- в существующем днище по наружному контуру проектируемого заглубления сверлятся шпуры, в которые забиваются выпуски арматуры;
- по наружному периметру проектируемого заглубления бетонируется обвязочный пояс (воротник);
- после набора бетоном воротника проектной прочности в пределах проектируемого заглубления разбирается днище помещения;
- производится поярусная разработка котлована методом подращивания с одновременным креплением ограждающих конструкций и инъектированием пазух цементным раствором;
- при достижении проектной отметки бетонируется днище.
Рис. 9. Расширение подвала в
районе примыкания к существующим фундаментам
а - задание на проектирование; б - расширение подвала под защитой шпунтового
ограждения; в - расширение подвала с применением стенового ограждения из свай;
г - деталь стены; 1 - существующий подвал; 2 - контур проектируемого
расширения; 3 - существующие фундаменты; 4 - шпунт; 5 - днище; 6 - перекрытие;
7 - сборные стены подвала; 8 - свая; 9 - обвязочный железобетонный пояс; 10 - распорки;
11 - монолитный бетон; 12 - закладные части
Рис. 10. Углубление подвала
с применением сван
а - строительное задание на проектирование; б, в - этапы реконструкции; 1 -
существующий подвал; 2 - контур проектируемого заглубления; 3 - днище; 4 - разрушаемый
бетон; 5 - железобетонный пояс; 6 - буронабивные (бурозабивные) сваи; 7 -
распорки; 8 - обетонировка стен
Рис. 11. Углубление
существующего подвала методом подращивания
а - строительное задание на проектирование; б, в - этапы реконструкции; 1 - существующий
подвал; 2 - контур проектируемого заглубления; 3 - существующий фундамент; 4 -
железобетонный пояс; 5 - разрушаемый бетон; 6 - обделка; 7 - днище
Проектирование новых фундаментов под оборудование в условиях реконструкции
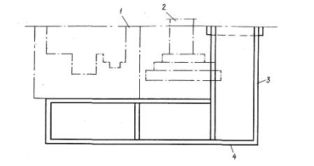
4.5. При возведении новых фундаментов под оборудование на свободных площадях действующего цеха возводятся массивные фундаменты неглубокого заложения (рис. 12,а); фундаменты-приямки (рис. 12,б), фундаменты траншейного типа (рис. 12,в), фундаменты эстакадного типа (рис. 12,г, д) и фундаменты подвального типа (рис. 12,е).
Рис. 12. Проектирование
фундаментов под оборудование на свободных площадях действующего цеха
а - массивный фундамент неглубокого заложения из сборных блоков; б -
фундаменты-приямки; в - фундаменты траншейного типа; г, д - фундаменты
эстакадного типа; е - фундамент подвального типа

Рис. 13. Установка сборных
опорных конструкций со смонтированным на них оборудованием
а - конструктивное решение комбинированного железобетонного фундамента
укрупненного оборудования; б - конструктивное решение узла крепления станины
оборудования к опорной конструкции (узел А); 1 - опорная конструкция; 2 -
подливка из бетона; 3 - жесткий подстилающий слой пола; 4 - основание; 5 -
анкерный болт для крепления опорной конструкции к жесткому подстилающему слою
пола; 6 - закладная деталь из арматуры периодического профиля; 7 - гнездо под
крепежный болт
Возможна установка сборных железобетонных опорных конструкций со смонтированным на них оборудованием.
На заводе-изготовителе осуществляется укрупненная сборка элементов оборудования на опорные конструкции, которые подаются в виде законченного технологического блока на объект реконструкции (рис. 13).
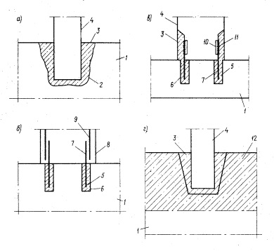
4.6. При проектировании на слабых грунтах фундаментов мелкого заложения (по требованиям технологии) в районе существующих свайных фундаментов рекомендуются следующие конструктивные решения:
- фундамент в виде опускного колодца (рис. 14,б);
- свайный фундамент под оборудование (рис. 14,в);
- опирание фундамента на рамную облегченную конструкцию, возводимую со шпунтовым ограждением (рис. 14,г).
4.7. При проектировании фундаментов мелкого заложения в районе размещения существующих фундаментов глубокого заложения, опирающихся на несущий грунт, применяются следующие конструктивные решения:
- свайные фундаменты (рис. 15,б);
- облегченные фундаменты подвального типа с опиранием на несущий грунт (рис. 15,в);
4.8. При необходимости размещения новых фундаментов над существующими тоннелями, каналами и другими коммуникациями применяются фундаменты рамного типа с опиранием стоек на несущий грунт (рис. 16).
4.9. При необходимости размещения фундаментов глубокого заложения в непосредственной близости от существующих фундаментов мелкого заложения рекомендуется применять следующие конструктивные решения:
- фундамент в виде опускного колодца (рис. 17,б);
- фундамент подвального типа стенчатой или рамной конструкции в котловане под защитой шпунтового ограждения (рис. 17,в);
- фундаменты эстакадного типа на буронабивных сваях (рис. 17,г).
4.10. Фундаменты эстакадного типа на буронабивных сваях рекомендуется выполнять в следующем порядке:
- открытие пионерной траншеи;
- бурение скважин;
- бетонирование буронабивных свай;
- возведение монолитной (сборно-монолитной) части фундамента в виде продольных балок;
- разработка грунта до проектной отметки пола подвала;
- бетонирование пола подвала.
4.11. При проектировании фундаментов глубокого заложения в районе существующих свайных фундаментов следует использовать способы опускного колодца «стена в грунте» или шпунтовое ограждение (рис. 17,б, в).
4.12. При проектировании фундаментов, требующих глубокого заложения, в районе размещения инженерных сетей, технологических коммуникаций и т.п. следует предусматривать предварительный перенос коммуникаций и полную разработку существующих конструкций (каналов, тоннелей, кабельных блоков и т.п.).
Рис. 14. Конструктивные решения
фундаментов мелкого заложения в районе существующих свайных фундаментов
а - задание на проектирование; б - фундамент в виде опускного колодца; в -
свайный фундамент; г - облегченный фундамент подвального типа; 1 - контур
проектируемого фундамента; 2 - существующий фундамент; 3 - существующие сваи; 4
- проектируемые сваи; 5 - проектируемый фундамент; 6 - опускной колодец,; 7 -
засыпка с уплотнением; 8 - проектируемый фундамент подвального типа; 9 -
шпунтовое ограждение
4.13. При проектировании фундаментов, у которых верхняя поверхность должна быть ниже подошвы стоящих существующих фундаментов под оборудование, рекомендуется усиливать основание существующих фундаментов сваями (рис. 18).
При этом проектом должны быть предусмотрены следующие этапы возведения сооружения:
- разработка пионерного котлована;
- временная разборка части существующего фундамента, непосредственно примыкающего к вновь проектируемому;
- бурение скважин под сваи;
- устройство свайного основания;
- отрытие котлована до отметки верха проектируемого фундамента;
- возведение подбудки до уровня подошвы существующего фундамента;
- восстановление разрушенной части существующего фундамента;
- возведение проектируемого фундамента.
Рис. 15. Конструктивные
решения фундаментов мелкого заложения при размещении их вблизи существующих
фундаментов глубокого заложения
а - задание на проектирование; б - свайные фундаменты; в - облегченные
фундаменты подвального типа с опиранием на несущий грунт; 1 - контур проектируемого
фундамента; 2 - существующие фундаменты под здание; 3 - существующие фундаменты
под оборудование; 4 - проектируемый фундамент; 5 - буронабивные сваи; 6 -
проектируемый облегченный фундамент подвального типа
Рис. 16. Размещение
фундаментов над существующими тоннелями
а - задание на проектирование; б - фундамент рамного типа; 1 - контур
проектируемого фундамента; 2 - существующий тоннель; 3 - проектируемый
фундамент рамного типа
Рис. 17. Конструктивные
решения при размещении фундаментов глубокого заложения вблизи существующих
фундаментов мелкого заложений
а - задание на проектирование; б - опускной колодец; в - стенчатый фундамент; г
- эстакадный фундамент; 1 - существующий фундамент под колонну здания; 2 -
контур проектируемого фундамента; 3 - опускной колодец; 4 - шпунт; 5 -
стенчатый фундамент; 6 - стена из свай; 7 - свая-стойка; 8 - железобетонная
балка; 9 - пол
При невозможности по производственным причинам временного разрушения существующего фундамента перед возведением вновь проектируемого фундамента предварительно укрепляют основание существующего фундамента методом проходки.
Рис. 18. Конструктивное
решение при размещении фундамента с отметкой верхней поверхности ниже подошвы
существующего фундамента
а - строительное задание; б, в, г - этапы возведения фундамента; 1 -
существующий фундамент под оборудование; 2 - контур проектируемого фундамента;
3 - скважина; 4 - свая; 5 - восстановленная часть фундамента; 6 - подбудка; 7 -
проектируемый фундамент; 8 - разрушаемый бетон
Проектирование новых заглубленных помещений в условиях реконструкции.
4.14. При необходимости размещения нового заглубленного помещения вблизи объектов подземного хозяйства, отметки подошв которых выше отметок днища вновь проектируемого сооружения, заглубленное помещение рекомендуется выполнять в котловане со шпунтовым ограждением (рис. 19) либо применять сваи в качестве стен ограждения подвала (рис. 20).
4.15. При возведении заглубленного помещения в котловане со шпунтовым ограждением в проекте должны найти отражение следующие этапы его возведения:
- устройство шпунтового ограждения;
- поэтапная разработка котлована с установкой временных распорок; бетонирование днища подвала в распор со шпунтовыми стенками;
- монтаж сборных стеновых панелей и бетонирование, монолитных участков стен в местах распорок;
- обратная засыпка грунтом пазух между шпунтом и стенами подвала;
- монтаж перекрытия, демонтаж распорок и извлечение шпунта.

Рис. 19. Возведение подвала
в существующем цеху с применением шпунтового ограждения
а, б, в - последовательность этапов возведения; 1 - существующий фундамент под
оборудование; 2 - существующий фундамент колонны здания; 3 - шпунт; 4 -
распорки; 5 - днище; 6-панели стен; 7 - перекрытие.
Рис.
20. Возведение подвала в существующем цеху с применением свайного ограждения
а; б, в- последовательность этапов возведения; 1 - существующий фундамент под
оборудование; 2-существующий фундамент под колонну; 3-свая; 4-обвязочный пояс;
5-распорка; 6-днище; 7-бетонная стена
4.16. При применении свай в качестве стенового ограждения
- в проекте должны быть предусмотрены следующие этапы возведения сооружения:
- разработка пионерного котлована;
- бурение скважин;
- устройство свайного стенового ограждения;
- бетонирование обвязочной балки по верху голов свай;
- поэтапная разработка котлована с установкой временных распорок;
- бетонирование днища;
- зачистка закладных частей свай и приварка к ним выпусков арматуры;
- монтаж перекрытия, демонтаж распорок, бетонирование стен.
5.1. На основе исходных материалов и технических условий на проектирование производится разработка возможных вариантов реконструкции фундаментов.
Варианты разрабатываются с одинаковой степенью подробности, чтобы можно было с равной достоверностью определить объемы, работ и порядок их производства. При этом количество людей и механизмов из каждом этапе реконструкции должно определяться максимально возможным исходя из наличия фронта работ и требований техники безопасности.
При определении объема работ должна быть дана краткая характеристика каждого конструктивного, элемента, позволяющая произвести достоверный расчет стоимости материалов и работ по возведению фундаментов.
5.2. Технико-экономическая оценка вариантов реконструкции, определение приведенных затрат, трудоемкости и других показателей для каждого варианта производится в соответствии с СН 423-71 при сравнении традиционных решений.
При оценке варианта с технически новым решением следует использовать СН 509-78.
Наиболее рациональным решением считается то, которое обеспечивает минимум приведенных затрат.
5.3. В случае, когда реконструкция фундаментов требует, частичной или полной остановки производства, для каждого варианта следует разработать проект производства работ с определением длительности остановки производства.
5.4. На основе объемов работ, размера среднегодовой прибыли и времени остановки реконструируемого производства определяется уровень приведенных затрат и потери текущего производства.
5.5. Наиболее рациональным решением следует считать вариант, при котором сумма приведенных затрат и потерь текущего производства за время реконструкции будет минимальной.
1. Расчет оснований фундаментов, реконструируемых без расширения подошвы или расширяемых при реконструкции с одной или нескольких сторон, производится по методу интегральных дискретных элементов.:
2. Основание реконструируемого фундамента моделируется слоем конечной толщины.
3. Слой конечной толщины условно расчленяется вертикальными плоскостями на дискретные элементы. В плоскостях раздела основания на элементы вводятся неизвестные вертикальные сдвиговые силы взаимодействия, определяемые из решения систем уравнений совместимости деформаций дискретных элементов.
4. Дискретные
элементы основания описываются интегральными параметрами сопротивления
расчетного слоя основания сжатию С1 и сдвигу С2.
В расчетах используется параметр распределительной способности расчетного слоя
основания ![]()
Интегральные параметры С1 и S, в общем случае различные для дискретных элементов системы, имеют постоянные значения в пределах каждого элемента.
5. Расчет оснований реконструируемых фундаментов производится по нескольким стадиям, отвечающим различным состояниям системы «фундамент - основание».
6. Усилия в фундаментной конструкции определяются решением контактной задачи расчета системы «фундамент - основание», где основание представлено переменными коэффициентами жесткости, в численных величинах которых учитывается сопротивление расчетного слоя основания сжатию, влияние распределительной способности основания, влияние соседних фундаментов, нагрузок на полях, наличие подвалов и т. п.
Определение расчетной глубины зоны деформирования основания
7. Расчетная глубина Н зоны деформирования основания определяется для каждой стадии расчета:
для фундаментов площадью до 40 м2 - по п. 6 прил. 2 СНиП 2.02.01-83; для фундаментов площадью 40 - 100 м - по формуле
где А1 = 40 м2; А2 - 100 м2; А - площадь подошвы фундамента, для которого определяется Н;
для фундаментов площадью более 100 м2 - по п. 8 прил. 2 СНиП 2.02.01-83.
8. Для случаев, когда основание сложено обычными (модуль деформации Е≥10 МПа) и слабыми грунтами, расчетная глубина Н зоны деформирования основания определяется отдельно при вычислениях параметров С1 и S с учетом данных, приведенных в табл. 1.
|
Модули деформации грунтов Е, МПа, и толщины слоев h, м |
Расчетная глубина зоны деформирования основания Н, м |
||||
|
Слагающие слои |
Подстилающие слои |
||||
|
основные |
слабые |
весьма слабые |
для определения С1 |
для определения S |
|
|
Е≥10 h1 |
5≤ E≤10 h2≤0,25H |
- h3 |
Е≥10 h4 |
H |
Н - 0,5h2 |
|
Е≥10 h1 |
- h2 |
E<5 h3 |
Е≥10 h4 |
H |
H-h3 |
|
Е≥10 h1 |
5≤ E≤10 h2≤0,25H |
E<5 h3 |
Е≥10 h4 |
H |
Н - (0,5h2+ h3) |
|
Е≥10 h1 |
5≤ E≤10 h2≤0,25H |
- h3 |
5<E≤ 10 h4 |
H + h4 |
Н + 0,5 h4 |
|
Е≥10 h1 |
5≤ E≤10 h2≤0,25H |
- h3 |
E<5 h4 |
H + h4 |
Н - 0,5 h4 |
|
Е≥10 h1 |
- h2 |
E<5 h3 |
E<5 h4 |
H + h4 |
H-h3 |
Определение деформационных характеристик природного грунта и упрочненных зон оснований и интегральных параметров Определение деформационных характеристик природного грунта и упрочненных зон оснований и интегральных параметров
9. Деформации основания при первичном нагружении нагрузками от сооружения определяются с использованием модуля деформации грунта Е:
в лабораторных условиях компрессионными испытаниями (ГОСТ 23908-79*);
в полевых условиях - штамповыми испытаниями;
по табл. 1 прил. 1 СНиП 2.02.01-83 для песчаных грунтов и по табл. 3 того же приложения для пылевато-глинистых не лессовых грунтов.
Среднее в пределах расчетного слоя основания значение модуля деформации грунтов основания Е определяется по формуле (11) прил. 2 СНиП 2.02.01-83.
10. Деформации основания от выемки грунта из котлована, частичной разгрузки фундамента и от вторичного нагружения определяются с использованием модуля вторичной деформации Е.
Модуль вторичной деформации Е определяется в компрессионных приборах по результатам лабораторных испытаний образцов грунта, выделенных послойно из монолитов в режиме разгрузки и вторичного нагружения, рис. 1 по формуле
(2)
где pi -
среднее давление в i-м
слое;
- то же, после
разгрузки;
- вторичная
деформация образца грунта в приборе; h -
высота образца грунта;
- коэффициент,
определяемый по табл. 3.1. Руководства по проектированию оснований зданий и
сооружений (М.: Стройиздат, 1977).
Среднее в пределах расчетного слоя основания значение модуля вторичной деформации грунтов основания E определяется в соответствии со СНиП 2.02.01-83.
11. Деформации основания при первичном загружении упрочненной зоны основания существующего фундамента определяются с использованием модуля деформации упрочненного грунта E1 по формуле

Рис. 1. График s=f(p) испытаний грунта в режиме нагрузка - разгрузка - вторичное нагружение
где 1,2 - коэффициент, учитывающий уплотнение грунтового ядра в основании фундамента, восстановление сдвиговых связей и условий работы реконструируемого фундамента; Q - коэффициент, учитывающий упрочнение грунта в процессе длительного пребывания в напряженном состоянии, принимаемый: для песчаных грунтов по табл. 2; .для глинистых грунтов - по табл. 3.
12. Деформации упрочненной зоны основания при вторичном нагружении определяются с использованием модуля вторичной деформации упрочненного грунта Efs, по результатам лабораторных испытаний в компрессионных приборах или стабилометрах в режиме разгрузки и вторичного нагружения образцов грунту, извлеченных из зоны упрочнения существующего фундамента.
13. Коэффициент Пуассона v принимается равным для грунтов: крупно оболочных - 0,27; песков и супесей - 0,3; суглинков - 0,35; глин - 0,42.
Среднее в пределах расчетного слоя основания значение коэффициента Пуассона υ определяется в соответствии с указанием СНиП 2.02.01-83.
14. Интегральный параметр сжатия С1 определяется по формуле
|
Давление под подошвой фундамента, МПа |
Длительность эксплуатации существующего фундамента, годы |
||||
|
20 |
40 |
60 |
80 |
100 |
|
|
0,1 |
1,01/1,03 |
1,02/1,075 |
1,03/1,125 |
1,05/1,175 |
1,125 |
|
0,2 |
1,05/1,065 |
1,075/1,125 |
1,09/1,17.5 |
1,125/1,24 |
1,25 |
|
0,3 |
1,09/1,125 |
1,160/1,175 |
1.2/1,275 |
1,25/1,35 |
1,3 |
Примечание. В числителе приведены значения, относящиеся к пескам крупным и средней крупности, в знаменателе - к пескам мелким и пылеватым.
|
Вид грунта и показатель текучести |
Коэффициент природной пористости |
|||||
|
0,55 |
0,65 |
0,75 |
0.85 |
0,95 |
1,05 |
|
|
Супеси 0≤ IL ≤ 0,15 |
1,13 |
1,21 |
1,26 |
1,3 |
- |
- |
|
Суглинок 0≤ IL ≤ 0,15 0,25≤ IL< 0,5 0,5≤ IL ≤ 0,75 |
1,09 1,095 - |
1,1 1,135 - |
1,125 1,175 1,21 |
1,15 1,2 1,23 |
1,17 1,235 1,25 |
- - - |
|
Глины 0≤ IL< 0,25 0,25≤ IL< 0,5 0,5≤ IL < 0,75 |
- - - |
1,07 - - |
1,07 1,085 - |
1,093 1,11 - |
1,12 1,15 1,2 |
1,175 1,2 1,22 |

Рис. 2. I
схема членения основания
1 - фундамент; 2 - нагрузка на примыкающих площадках

Рис. 3. II схема членения основания
15. Интегральный параметр распределительной способности 5 определяется по формуле
где b - ширина фундамента.
Расчет основания фундамента, реконструируемого без расширения подошвы
16. Производится членение основания на дискретные элементы. Плоскости раздела проходят по границам фундамента, границам примыкающих участков нагружения, подвалов и т.п. Возможны следующие схемы членения основания.
I схема. Основание расчленяется сквозными плоскостями в направлении главных осей фундамента. Все дискретные элементы в плане имеют прямоугольную форму, рис. 2.
II схема. Основание расчленяется плоскостями на прямоугольный элемент, нагруженный фундаментом, и трапециевидные ненагруженные элементы, рис. 3. Схему II применяем в том случае, когда нагрузки, на примыкающие к фундаменту зоны, отсутствуют.
17. Определяются длина L и ширина В нагруженной зоны основания, включающей рассчитываемый фундамент, примыкающие к нему нагруженные участки основания, подвалы, котлованы.
18. Принимается ширина ненагруженной зоны основания, вовлекаемой в расчет, равная 3S.
19. Для каждого дискретного элемента определяется глубина зоны деформирования основания. При соотношениях интенсивности нагрузки на отдельные элементы более 0,5 глубина зоны деформирования определяется с учетом средней для системы интенсивности нагрузки и общей площади нагружения. При соотношениях менее 0,5 расчетная глубина определяется раздельно для каждого нагруженного элемента. В расчет, принимается наибольшее значение H.
20. Для каждого дискретного элемента определяются деформационные характеристики основания, интегральные параметры сжатия и распределительной способности в соответствии с нагрузками и характеристиками, отвечающими данной стадии расчета.
21. Дискретные элементы в плане обозначаются двойными индексами: первый указывает на номер строки, второй - столбца. Начало нумерации принимается в левом верхнем углу системы. Примеры системы индексации элементов приведены на рис. 2, 3.
22. Во всех плоскостях членения основания на дискретные элементы вводятся неизвестные вертикальные сдвиговые силы взаимодействия X и Y.
Силы взаимодействия между элементами в плоскостях, параллельных короткой и длинной сторонами фундамента, обозначаются соответственно X и Y с присвоенными им индексами.
Силы взаимодействия в вертикальной плоскости у левой грани участка направляются вверх, у правой - вниз. В соответствии с этим на границах элемента в плане силы взаимодействия в нижней и левой грани направляются вверх и обозначаются на плане условным знаком х, у верхней и правой грани - вниз и обозначаются на плане знаком
Индекс силы, расположенной у правой и нижней граней участка, в плане имеет индекс элемента.
23. Составляется система канонических уравнений совместности деформаций дискретных элементов. Каждое уравнение выражает условие непрерывности деформаций основания - равенство нулю относительных смещений дискретных элементов в плоскостях их взаимодействия.
Для примера, по I схеме членения основания для
составления уравнения совместности деформаций дискретных элементов в плоскости
действия сдвиговой силы
необходимо
вовлечь в уравнение два дискретных элемента u + 1, τ + 1 и u + 1, τ + 2, на
границах которых действуют следующие неизвестные силы:
элемент u + 1, τ + 1,
,
,
,
;
элемент u + 1, τ + 2,
,
,
,
;
элемент u + 1, τ + 1 находится под давлением р.
Уравнение имеет вид

По II схеме членения основания система неизвестных включает силы по граням примыкания трапециевидных элементов к прямоугольному. Уравнение имеет вид

Коэффициенты
представляют собой
перемещения на границах дискретного элемента от действия единичных сил Х=
1 и Y = 1,
приложенных к элементу, коэффициент ∆ - то же, от действия внешних
нагрузок.
В коэффициентах
первый индекс
означает место перемещения, второй - силу, вызвавшую данное перемещение. В тех
случаях, когда индексы сил X
и Y одинаковы,
для их различения над индексом места действия силы X ставится сверху черта. В тех
случаях, когда силы X
и Y ввиду
симметрии одинаковы, над индексом места действия силы ставится сверху знак V.
24. Перемещения дискретных элементов прямоугольной, треугольной и трапециевидной формы в плане от действия сосредоточенных, равномерно распределенных нагрузок и штампа определяются по формулам, приведенным в табл. 4. Ширина элемента принята равной b.
Принимаем следующее правило знаков. Перемещение в точке i, вызванное силой Xi, положительно, если оно по направлению совпадает с направлением силы Xi. Перемещение в точке k, вызванное силой Xi, положительно, если оно по направлению совпадает с направлением силы Хк, и отрицательно, если наоборот.
25. Значения сдвиговых сил X и К, действующих по всем плоскостям членения основания, определяются из решения системы уравнений.
26. Перемещения Si(Xi) и Si(Yi) на границах нагруженного фундаментом дискретного элемента основания от внешних нагрузок, действующих на дискретный элемент, и сдвиговых сил Xi и Yi, на его границах определяются по формулам, приведенным в табл. 4. Перемещение положительно, если оно направлено вверх.
27. Сдвиговые силы на границах нагруженного элемента при его
единичном поступательном перемещении
, и
, определяются по формулам:
по I схеме членения основания
по II схеме членения основания
(29)
(30)
|
Cxeмa нагрузок и осадок |
Формулы осадок |
№ формулы |
|
|
|
(6) |
|
|
|
(7)
(8) |
|
|
|
(9)
(10) |
|
|
|
(11)
(12)
(13)
(14)
|
|
|
|
(15) |
|
|
|
(16)
(17)
(18)
(19) |
|
|
Sii - no формуле (16) Сik - по формуле (17) В формулах (16) и (17)
|
|
|
|
|
(20)
|
|
|
(21) |
|
|
|
|
(22)
(23)
(24)
(25)
(26)
|

Рис. 4. Схема для определения крена фундамента
28. Осадка фундамента определяется по формуле
где ΣС - суммарная жесткость основания,
определяемая по формуле
; l
и b - соответственно длина и ширина фундамента;
и
- сдвиговые силы на
границах фундамента при его единичном перемещении. Силы положительны, если
направлены вверх.
29. Крен фундамента i в данной плоскости по I схеме членения основания определяется по формуле
где M - момент внешних сил в данной плоскости; е1 - расстояние от начала координат до равнодействующей эпюры переменных коэффициентов жесткости основания в данной плоскости, рис. 4. определяемое по формуле

ео - определяется по формуле 18, табл. 4;
-реактивный момент сопротивления основания крену в данной
плоскости при единичном вертикальном перемещении более удаленной крайней кромки
фундамента при крене, определяемый по формуле

Где

Крен фундамента в данной плоскости по II схеме членения основания определяется по формуле
где Si - осадки примыкающих к фундаменту дискретных элементов основания, определяемые по формуле
(34)
- перемещение от единичной сдвиговой силы кромки
примыкающего дискретного элемента, определяемое по формулам табл. 4.
30. Коэффициенты жесткости основания фундамента определяются по формуле
В формуле (35) значения l, b, C1f и а= 1/S соответствуют нагруженному
фундаментом дискретному элементу. Начало координат принимаем в верхнем левом углу фундамента.
Для условий плоской задачи в тех случаях, когда интегральные параметры нагруженного фундамента и примыкающих элементов не одинаковы и на поверхности примыкающих элементов нагрузки отсутствуют, коэффициенты жесткости основания определяются по упрощенной формуле
где
,
, l -
соответствуют нагруженному фундаментом дискретному элементу; С1| и S -
то же, примыкающему элементу.
31. Реакции основания определяются по формуле
(37)
где
- дополнительная
осадка фундамента от кренов в обеих плоскостях.
Расчет основания фундамента, реконструируемого с расширением подошвы
32. Производится членение основания на дискретные элементы по I схеме. При этом дискретный элемент, нагруженный реконструируемым фундаментом, включает габариты фундамента до его расширения и расширяемую часть рис. 5.
Выполняется расчет основания, реконструируемого фундамента в соответствии с указаниями пп. 16-25. При этом деформационные характеристики и интегральные параметры нагруженной зоны основания определяются раздельно для упрочненной зоны в основании существующей части фундамента и неупрочненной зоны на участке расширения фундамента.
33. Рассматривается дискретный элемент основания реконструируемого фундамента. Поверхность элемента принимается свободной от фундамента.
К границам элемента по его внешним кромкам прикладываются по всему периметру сдвиговые силы Xi и Yi полученные из решения системы уравнений.
В плоскости раздела основания между существующим фундаментом и расширяемой частью вводится неизвестная сдвиговая сила Хо.
34. Составляется уравнение совместности деформаций элементов основания в плоскости сопряжения существующей и расширяемой частей фундамента и определяется сила Хо.
35. Производится разделение сдвиговых сил Y на силы, приходящиеся отдельно на элемент (i + 1) и (i + 1)', по формулам :
(38)
(39)
Аналогично определяются ![]()
36. Перемещения s (x, у) определяются раздельно от каждой силы на границах участка по формуле (11), а затем суммируются. Начало координат принимается в левом верхнем углу реконструируемого фундамента.

Рис. 5. Схема
для расчета фундамента, реконструируемого с расширением подошвы
а - расчетная схема основания; б - расчетная схема основания для определения
сдвиговой силы Хо; в - эпюра переменных коэффициентов жесткости; г -
разбивочная сетка контактной поверхности; д - схема для определения крена; 1 -
существующий фундамент; 2 - расширяемая часть фундамента
37. Коэффициенты жесткости основания существующей части фундамента определяются по формуле
(40)
Коэффициенты жесткости основания расширяемой части фундамента определяются по формуле
(41)
38. Осадка фундамента определяется по формуле (31), где ΣC - суммарная жесткость основания
реконструируемого фундамента, определяемая по формуле
;
- параметр сопротивления основания расширяемой части
фундамента сжатию; le и bе
- длина и ширина расширяемой части фундамента.
39. Крен фундамента определяется по формулам (32, 33).
Расстояние е1 и реактивный момент
определяются приближенно на основе расчленения площади
фундамента на прямоугольные участки по формулам:
(42)
где li и bi - соответственно длина и ширина участков, на которые разбивается площадь фундамента; Кi - среднее для участков значение переменных коэффициентов жесткости; Xi - расстояние от крайней кромки фундамента до середины участка;
(43)
40. Реакции основания определяем по формуле (37);
Номерами 1-6 показаны рекомендуемые сопряжения элементов фундаментов, позволяющие производить строительно-монтажные работы индустриальными методами.
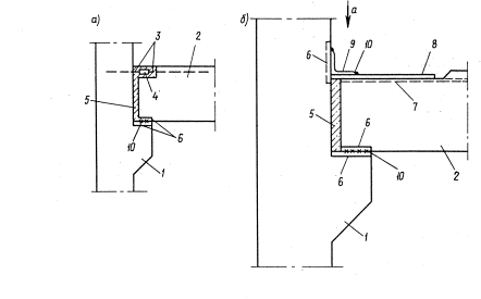
Рис. I. Расчетная схему узла сопряжении рамы

Рис. 2. Узлы сопряжения
стены (колонны) с нижней фундаментной плитой
а, в, г - соединение нижней плиты со сборным элементом; б - то же с монолитным;
1 - фундаментная плита; 2 - вырубленное гнездо; 3 - цементный раствор; 4 -
спорная колонна (панель); 5 - виброзачекаика цементным раствором; 6 - скважина;
7 - выпуски арматуры: 8 - монолитная стена (колонна); 9 - арматуpa монолитной
стены; 10 - закладная часть; 11 - сварка на монтаже; 12 - монолитная набегонка

Рис. 3. Опирайие ригеля на
стену или колонну
а - соединение с помощью стяжных муфт; б - с помощью уголковых накладок; 1 -
консоль; 2 - ригель; 3 - выпуски арматуры: 4 - стяжная муфта; 5 - цементный
раствор; 6 - закладная часть; 7 - арматура ригеля; 8 - накладка; 9 - уголок; 10
- сварка на монтаже

Рис. 4. Соединение элементов
стены в плане
а - новое строительство; б - реконструкция; 1 - сборная железобетонная панель;
2 - накладная часть; 3 - арматурные стержни; 4 - сварка на монтаже; 5 - элемент
существующей стены; 6 - болт; 7 - отверстие; 8 - цементный раствор; 9 -
швеллеры

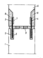
Рис. 5. Наращивание
существующей стены по высоте
1 - существующая стена; 2 - скважина; 3 - виброзачеканка цементным раствором; 4
- выпуски арматуры; 5-сварка на монтаже; 6 - сборная панель; 7 - закладная
часть; 8 - цементный раствор; 9 - прокладки

Рис. 6. Узел опнрания
верхней плиты фундамента на стену или колонну:
а, 6, в - при новом строительстве; г - при реконструкции; 1 - стена (колонна);
2 - выпуски арматуры; 3 - монолитный железобетон; 4 - сборные плиты; 5 -
металлические косынки; 6 - закладная часть; 7 - арматурные накладки; 8 - ванная
сварка (стяжная муфта); 9 - сварка на монтаже; 10 - отверстие в стене; 11 -
швеллер; 12 - стяжной болт; 13 - цементный раствор; 14 - существующая стена
(колонна)
Требуется реконструировать фундамент под две рабочих клети среднесортного прокатного стана при полной замене оборудования.
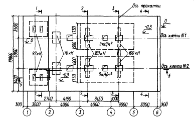
Ситуационный план участка цеха с реконструируемым фундаментом приведён ни рис.1. Чертежи существующего фундамента, данные о нагрузках (пунктиром указана зона действия нагрузки) приведены на рис. 2-4.


Рис. 2. План верхней плиты существующего фундамента с нагрузками от технологического оборудования

Рис. 3. Существующий
фундамент. План на отметке - 5,8 м
1 - разбираемая часть; 2 - сохраняющаяся часть

Рис. 4. Существующий
фундамент. Разрезы
1 - разбираемая часть; 2 - сохраняющаяся часть
Строительное задание, на проектирование реконструируемого фундамента с данными о нагрузках, приведено на рис. 5-7.
Длительность эксплуатации существующего фундамента 20 лет. Ремонтов, усилений и изменений первоначальной схемы фундамента за время эксплуатации не производилось. Результаты обследования состояния существующего фундамента: класс бетона - В20, класс продольной арматуры - AIII, класс поперечной арматуры - AI. Коррозии бетона и арматуры не наблюдается.

Рис. 5. План верхней плиты реконструируемого фундамента с нагрузками от технологического оборудования

Рис. 6. Реконструируемый фундамент. План на отметку - 5,8 м
Условия производства работ на площадке: продолжительность остановки производства в период демонтажа оборудования, реконструкции фундамента и установки нового оборудования должна, быть не более 14 суток. На период строительно-монтажных работ может быть использован один 30-тонный мостовой кран, действующий в стеновом пролете. При выполнении строительно-монтажных работ во время остановки производства организуется трехсменная работа, в доостановочный период работа производится в одну смену. Вдоль существующего фундамента есть возможность расположения складских площадок для материалов и прохода для механизмов. Применение взрывных работ исключено из-за большого количества инженерных сооружений, расположенных вблизи реконструируемого фундамента.

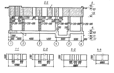
Рис. 7. Реконструируемый
фундамент. Разрезы
1 - надстроенная часть
Основание - суглинки со следующими характеристиками: γ = 18,5 кН/м3; Il = 0,3; е == 0,95; v = 0,3; Е = 17 МПа; Еs = 40,2 МПа.
На основе анализа данных для проектирования рассматриваются следующие пять вариантов реконструкции фундаментов:
1 стенчатый фундамент с монолитными стенами и верхней плитой;
2 стенчатый фундамент со стенами из блоков УДБ и сборно-монолитной верхней плитой;
3 стенчатый фундамент со стенами из блоков УДБ и монолитной верхней плитой;
4 стенчатый фундамент со стенами из сборных железобетонных панелей и сборно-монолитной верхней плитой;
5 стенчатый фундамент со стенами из сборных железобетонных панелей и монолитной верхней плитой.
Для всех вариантов реконструкции крепление стен к нижней существующей плите предусматривается с помощью арматурных стержней, устанавливаемых в просверленные в плите скважины на эпоксидном клее. Нагружение конструкции производят после достижения материалами 70% прочности (бетон - 3 суток, клей - 1 сутки).
Разборка существующих конструкций предполагается отбойными молотками и бетоноломами.
Для всех вариантов разработаны проекты производства работ, в которых установлено время, необходимое для реконструкции фундамента, и определены технико-экономические показатели рассматриваемых вариантов реконструкции фундамента.
В результате анализа технико-экономических показателей к рабочему проектированию принят вариант 5 - стенчатый фундамент из сборных железобетонных панелей и монолитной верхней плитой как эффективный и удовлетворяющий заказчика по срокам реконструкции и строительно-монтажную организацию по возможности его использования.
Расчет фундамента выполняем для трех стадий его реконструкции.
1. Напряженное состояние фундамента перед реконструкцией. Демонтаж оборудования.
Для решения этой задачи определяются коэффициенты жесткости основания фундамента, расположенного в ряду однотипных фундаментов. Основание принимается упрочненным в зоне нагружения и обычное природное - вне зоны нагружения (I стадия).
При этом рассматриваются следующие фазы расчета:
фундамент до реконструкции (в период эксплуатации);
фундамент перед реконструкцией, испытывающий боковое давление грунта (откопка грунта в осях 1-6) в процессе эксплуатации;
то же, с учетом демонтажа оборудования.
2. Напряженное состояние части фундамента, остающейся после разборки (в соответствии с проектом реконструкции фундамента).
Расчет ведется по измененной статической схеме и с учетом зоны упрочнения основания.
В остающейся части фундамента в результате частичной его разборки происходит перераспределение усилий, вызванное снятием нагрузок вследствие удаления значительной части фундамента, и изменением статической схемы фундамента.
С другой стороны, в остающейся части, как составной части реконструируемого фундамента, возникают дополнительные усилия от новых (дополнительных) нагрузок на реконструируемый фундамент.
Поэтому необходимо знать суммарные усилия в фундаменте, в остающейся его части, работающей совместно с новыми частями в единой системе. Это позволит решить вопрос о необходимости усиления элементов старого фундамента или оставить его в прежнем виде - без усиления.
Следует выполнить расчет остающейся части фундамента на приходящиеся на нее нагрузки.
Непосредственно выполнить такой расчет не представляется возможным. Усилия в остающейся части фундамента могут быть определены как разности усилий в существующем фундаменте до его реконструкции (I стадия) и усилий, возникающих в фундаменте от снятия нагрузки с учетом деформаций подъема основания (II стадия).
3. Напряженное состояние реконструируемого фундамента.
Для определения напряженного состояния реконструируемого фундамента производится его расчет по новой схеме на дополнительные нагрузки сверх тех, которые были приложены ранее к оставшейся части существующего фундамента (III стадия).
|
Показатели |
Стадии расчета |
||
|
I |
II |
III |
|
|
Длина фундамента l, м |
18 |
16 |
16 |
|
Ширина фундамента b, м |
10,8 |
10,8 |
10,8 |
|
Равнодействующая нагрузка N, кН |
15 490 |
-9650 |
11 330 |
|
Момент сил М, кН • м |
-3650 |
9730 |
-9260 |
|
Среднее давление на грунт р, кПа |
80 |
56 |
65,4 |
|
Ширина площади загружения из трех фундаментов В, м |
18 |
18 |
18 |
|
Толщину линейно-деформируемого слоя Н в зоне нагружения определяем по формуле (8) прил. 2 СНиП 2.02.01-83. |
9,4 |
6,8 |
8 |
|
Принимаем толщину линейно-деформируемого слоя H |
9,4 |
9,4 |
9,4 |
|
Толщину линейно-деформируемого слоя Н1 в ненагруженной зоне основания определяем по формуле H1 = H + d, где d = 6,45 м - глубина заложения фундамента |
15,85 |
15,85 |
15,85 |
|
Модуль деформации упрочненного грунта Ef, МПа, в ненагруженной зоне основания определяем по формуле (3) прил. 1. |
- |
- |
- |
|
r= 1,235 определен по табл. 3 прил. 1 |
25,3 |
- |
- |
|
Модуль вторичной деформации Efs, МПа, в нагруженной зоне основания определяем по формуле (3) прил. 1 |
- |
60 |
60 |
|
Интегральный параметр сжатия определяем по |
|
|
|
|
формуле (4) прил. 1: |
|
|
|
|
в зоне нагружения C1f, кН/м3 |
2960 |
7020 |
7020 |
|
в ненагруженной зоне С1, кН/м3 |
1180 |
2790 |
2790 |
|
Интегральный параметр распределительной способности определяем по формуле (5) прил. 1: |
|
|
|
|
в зоне нагружения Sf, м |
1,5 |
1,5 |
1,5 |
|
в ненагруженной зоне S, м |
2,6 |
2,6 |
2,6 |
|
Коэффициент αf = l/Sf |
0,667 |
0,667 |
0,667 |
|
Коэффициент α= 1/S |
0,385 |
0,385 |
0,385 |
Результаты расчета по - стадиям I, II, III суммируются. Производится проверка сечений существующей части по суммарным расчетным усилиям.
При расчете коэффициентов жесткости основания реконструируемого фундамента учитываем влияние только двух ближайших к нему соседних фундаментов (по одному с каждой стороны). Влияние более удаленных фундаментов не учитываем.
Расчет глубины зоны деформирования основания, деформационных характеристик и интегральных параметров для трех стадий расчета приведен в табл. 1.
Реконструируемый фундамент располагается в протяженном ряду фундаментов. Ввиду этого расчет переменных коэффициентов жесткости основания производим для условий плоской задачи - выделяем полосу основания единичной ширины. В плоскостях примыкания фундаментов в ряду вертикальные силы взаимодействия равны нулю. Схема членения основания на дискретные элементы приведена на рис. 8.

Рис. 8. Схема членения основания на дискретные элементы. I стадия расчета
По формуле (36) прил. 1 определяем коэффициенты жесткости основания фундамента
![]()
Опуская малые величины, получаем
В направлении оси Y коэффициенты жесткости имеют постоянные значения.
Разборке подлежит верхняя часть фундаментов, частично фундаментная плита на ширину 2 м и полностью торцевая стена фундамента, примыкающая к удаляемой части плиты.
Прямой расчет с целью определения коэффициентов жесткости основания остающейся части подошвы путем расчета при единичном поступательном направленном вверх перемещении, как и на I стадии, не представляется возможным, так как фундаментная плита частично удаляется и оценить влияние нагрузок снимаемой части плиты на остающуюся этим способом не представляется возможным. Поэтому производим расчет на действие снимаемых нагрузок с учетом изменения контактной площади. Значения сдвиговых сил взаимодействия между дискретными элементами основания определяем при единичном перемещении остающейся части плиты, направленном вверх, а затем определяем переменные коэффициенты жесткости остающейся части плиты.
Членение основания на дискретные элементы, обозначение элементов, направление и обозначение сдвиговых сил взаимодействия, нагрузки на элементы приведены на рис. 9. Расчетная схема приведена на рис. 10.

Рис. 9. Расчетная схема. План. II стадия расчета

Рис. 10. Расчетная схема. Разрез I -I. II стадия расчета

Рис. 11. Схема фундамента с приложенными внешними нагрузками и сдвиговыми силами.II стадия расчета
Составляем систему уравнений совместности деформаций дискретных элементов системы. В системе уравнений нагрузки на соседние фундаменты не учитываем, поскольку деформации основания от их воздействия давно стабилизировались.

Вычисления коэффициентов δiiδik и
приведены соответственно в табл. 2, 3, 4. Значения δik и
определены при С1f = 7020 кН/м3 и S = Sf= 1,5 м.
Подставив в систему уравнений величины коэффициентов при неизвестных и разрешив ее, получаем следующие значения сдвиговых сил: Y12 = -188,4 кН; X21 = - 83,9 кН; Х22 = -144,6 кН; Y22 = 2007,3 кН; Х31 = 532,3 кН; X32 = -126,3 кН; Х33 = 95,5 кН.
Перемещения кромок фундамента от действия сил, приложенных к нагруженному элементу основания, рис. 11, определяем по формулам, приведенным в табл. 4 прил. 1:
в плоскости действия сдвиговых сил Y22
![]()
в плоскости действия сдвиговых сил Х32;
![]()
в плоскости действия сдвиговых сил Х33
![]()
Сдвиговые силы при единичном перемещении фундамента определяем по формулам (27, 28) прил. 1

Переменные коэффициенты жесткости основания определяем по формуле (35) прил. 1
|
Плоскость действия силы и сила, вызывающая перемещение |
№ элемента |
Длина элемента, М |
Ширина элемента b, м |
Параметр S, м |
Параметр С1, кН/м3 |
№ формулы |
δii(i)x103,м |
δii x103,м |
|
Y12 |
12 22 |
∞ 10,8 |
18 18 |
2,6 1,5 |
2790 7020 |
(10) (16) |
0,0766 0,0232 |
0,0998 |
|
X21 |
21 22 |
∞ 18 |
10,8 10,8 |
2,6 1,5 |
2790 7020 |
(10) (16) |
0,1276 0,0257 |
0,1533 |
|
Х22 |
22 23 |
18 ∞ |
10,8 10,8 |
1,5 2,6 |
7020 2790 |
(16) (10) |
0,0257 0,1276 |
0,1533 |
|
Y22 |
22 33 |
18 10,8 |
10,8 16 |
1,5 1,5 |
7020 7020 |
(16) (16) |
0,0232 0,0261 |
0,0493 |
|
X31 |
31 32 |
∞ 2 |
10,8 10,8 |
2,6 1,5 |
2790 7020 |
(10) (12) |
0,1276 0,1010 |
0,2286 |
|
X32 |
32 33 |
2 16 |
10,8 10,8 |
1,5 1,5 |
7020 7020 |
(12) (16) |
0,1010 0,0283 |
0,1294 |
|
X33 |
33 34 |
16 ∞ |
10,8 10,8 |
1,5 2,6 |
7020 2790 |
(16) (10) |
0,0283 0,1276 |
0,1559 |
|
Плоскость действия силы |
Сила, вызывающая перемещение |
№ элемента |
Длина элемента l, м |
Ширина элемента b, м |
№ формулы |
δik x103,м |
|
Y12 |
X21 X22 Y22 |
22 22 22 |
18 18 10,8 |
10,8 10,8 18 |
(21) (21) (17) |
- 0,0073 - 0,0073 0,0086 |
|
X21 |
Y12 X22 Y22 |
22 22 22 |
18 18 18 |
10,8 10,8 10,8 |
(21) (17) (21) |
- 0,0073 - 0,0110 0,0073 |
|
Х22 |
Y12 X21 Y22 |
22 22 22 |
18 18 18 |
10,8 10,8 10,8 |
(21) (17) (21) |
-0,0073 - 0,0110 0,0073 |
|
Y22 |
Y12 X21 X22 X32 X33 Y22 |
22 22 22 23 23 23 |
10,8 18 18 16 16 16 |
18 10,8 10,8 10,8 10,8 10,8 |
(17) (21) (21) (21) (21) (17) |
0,0086 0,0073 0,0073 0,0082 0,0082 - 0,0097 |
|
X31 |
X32 |
32 |
2 |
10,8 |
(13) |
-0,0500 |
|
X32 |
Y22 X31 X33 Y22 |
33 32 33 33 |
16 2 16 16 |
10,8 10,8 10,8 10,8 |
(21) (13) (17) (21) |
0,0082 - 0,0500 - 0,0119 0,0082 |
|
X33 |
Y22 X32 Y22 |
33 33 33 |
16 16 16 |
10,8 10,8 10,8 |
(21) (17) (21) |
0,0082 - 0,0119 0,0082 |
|
Плоскость действия силы |
№ загруженного элемента |
Длина элемента l, м |
Ширина элемента b, м |
Нагрузка, вызывающая перемещение |
№ формулы |
∆ip·103,м |
Σ∆ip·103,м |
||
|
N, кН |
M, кН·м |
q, кН·м |
|||||||
|
Y12 |
12 22 |
∞ 18 |
18 10,8 |
- - |
- - |
- - |
(10) (12) |
0 0 |
0 |
|
X21 |
21 22 |
∞ 18 |
10,8 10,8 |
- - |
- - |
- - |
(10) (12) |
0 0 |
0 |
|
Х22 |
22 23 |
18 ∞ |
10,8 10,8 |
- - |
- - |
- - |
(12) (10) |
0 0 |
0 |
|
Y22 |
22 33 |
18 16 |
10,8 10,8 |
- 9650 |
- - |
- - |
(12) (17) |
0 -7,955 |
-7,955 |
|
X31 |
31 32 |
∞ 10,8 |
10, 8 2 |
- - |
- - |
- 80 |
(10) (1) |
0 -11,396 |
- 11,396 |
|
X32 |
32 33 33 |
10,8 16 16 |
2 10,8 10,8 |
- 9650 - |
- - 9730 |
80 - - |
(1) (14) (15) |
11,396 -7,955 -3,008 |
0,433 |
|
X33 |
33 33 34 |
16 16 ∞ |
10,8 10,8 10,8 |
9650 - - |
- 9730 - |
- - - |
(14) (15) (10) |
- 7,955 - 3,008 0 |
- 4,947 |

Для приближенного расчета в условиях плоской задачи значения К (х, у) в направлении у усредняем, пренебрежимо малые величины опускаем. Получаем
Реконструируемый фундамент возводится на оставшейся части фундаментной плиты размером 16×10,8 м. Объем в зоне изъятия части фундамента на удаленном участке плиты размером 2×10,8 м заполняется грунтом.
Расчетная схема аналогична принятой для II стадии расчета, так как размеры подошвы реконструируемого фундамента те же, что и оставшейся части, интегральные параметры основания те же (нагрузки одного порядка изменений расчетной глубины зоны деформирования не вызывают, модуль вторичной деформации и модуль вторичной деформации упрочненного грунта принимаются практически равными). В расчетной схеме изменяются нагрузки:

Рис. 12. Расчетная схема. Разрез I - I. III стадия расчета

Рис. 13. Схема
фундамента с приложенными внешними нагрузками и сдвиговыми силами.
III стадия расчета
нормальные силы (11 330 кН) направлены вниз, момент силы (9260 кН/м) направлен против часовой стрелки, нагрузка от грунта на площадке удаленного участка фундаментной плиты (120 кПа) направлена вниз.
Членение основания на дискретные элементы, обозначение элементов, направление и обозначение сдвиговых сил взаимодействия, приведены на рис. 12.
Система уравнений совместности деформаций дискретных элементов остается такой же, как и на II стадии расчета. Сохраняются и величины коэффициентов при неизвестных. Изменяются перемещения от внешних нагрузок, вычисление которых приведено в табл. 6. Значения Δip определены при С1 = 7020 кН/м3.
Подставив в систему уравнений значения вычисленных коэффициентов и разрешив ее, получаем следующие значения сдвиговых сил: Y12 = 227,8 кН; X21 = 101,7 кН; Х22 = -175,3 кН; Y22 = -2434,8 кН; Х31 = -725,5 кН; Х32 = 537,6 кН; Х33 = -116,5 кН.
Перемещения кромок фундамента от действия сил, приложенных к нагруженному элементу основания, рис. 13, определяем по формулам, денным в табл. 4 прил. 1.
В плоскости действия сдвиговых сил Y22
![]()
В плоскости действия сдвиговых сил Х32
![]()
В плоскости действия сдвиговых сил X33
Таблица 5
|
Плоскость действия силы |
№ загруженного элемента |
Длина элемента l, м |
Ширина элемента b, м |
Нагрузка, вызывающая перемещение |
№ формулы |
∆ip*103,м |
Σ∆ip*103,м |
Плоскость действия силы |
№ загруженного элемента |
|
N, кН |
M, кН*м |
q, кН*м |
|||||||
|
Y12 |
12 22 |
∞ 18 |
18 10,8 |
- - |
- - |
- - |
(10) (12) |
0 0 |
О |
|
X21 |
21 22 |
∞ 18 |
10,8 10,8 |
- - |
- - |
- - |
(10) (12) |
0 0 |
0 |
|
Х22 |
22 23 |
18 ∞ |
10,8 10,8 |
- - |
- - |
- - |
(12) (10) |
0 0 |
0 |
|
Y22 |
22 33 |
18 16 |
10,8 10,8 |
- 11330 |
- - |
- - |
(12) (17) |
0 93,4 |
93,4 |
|
X31 |
31 32 |
∞ 10,8 |
10,8 2 |
- - |
- - |
- 120 |
(10) (1) |
0 171 |
171 |
|
X32 |
32 33 33 |
10,8 16 16 |
2 10,8 10,8 |
- 11330 - |
- - 9260 |
120 - - |
(1) (14) (15) |
-171 93,4 28,7 |
- 48,9 |
|
X33 |
33 33 34 |
16 16 ∞ |
10,8 10,8 10,8 |
11330 - - |
- 9260 - |
- - - |
(14) (15) (10) |
93,4 -28,7 0 |
64,7 |
.
Определяем сдвиговые силы при единичном перемещении фундамента по формулам (27), (28) прил. 1.

Определяем переменные коэффициенты жесткости основания по формуле (35) прил. 1.

Для приближенного расчета в условиях плоской задачи значения K (х, у) в направлении Y усредняем, пренебрежимо малые величины опускаем и получаем
(3)
Расчетные схемы фундаментов для I, II, III стадий расчета представлены на рис. 14-16.

Рис. 14. Расчетная схема и переменные коэффициенты жесткости основания; I стадия расчета

Рис. 15. Расчетная Схема и переменные коэффициенты жесткости основания; II стадия расчета

Рис. 16. Расчетная схема и переменные коэффициенты жесткости основания, III стадия расчета
|
№ элемента на расчетной схеме |
№ разреза |
Площадь поперечного сечения, м2 |
Высота стен, м |
Объем стен, м'* |
Нагрузка от собственного веса элементов фундамента |
|||
|
нормативная |
расчётная |
|||||||
|
qn кН/м |
Gn, кН |
qcal, кН/м |
Gcal, кН |
|||||
|
1 |
1-1 5-5 |
23,92 28,08 |
- |
- |
598 702 |
- |
657,8 772,2 |
- |
|
2 |
4-4 2-2 |
24,84 21,16 |
- |
- |
621 529 |
- |
683,1 581,9 |
- |
|
3 |
4-4 3-3 |
24,84 18,86 |
- |
- |
621 471 |
- |
683,1 518,7 |
- |
|
4 |
4-4 |
24,84 |
- |
- |
621 |
- |
682,1 |
- |
|
6 |
5-5 |
5,4 |
3,4 |
18,4 |
|
459 |
- |
504,9 |
|
7 |
5-5 |
8,64 |
1,1 |
9,5 |
- |
238 |
- |
261,3 |
|
94 |
7-7 6-6 |
17,6 21,6 |
- |
- |
440 540 |
- |
484 . 594 |
- |
|
95 |
8-8 9-9 |
14.08 17,28 |
- |
- |
352 432 |
- |
387,2 475,2 |
- |
|
96 |
11-11 |
23,76 |
- |
- |
594 |
- |
653,4 |
- |
|
97 |
11-11 10-10 |
23,76 17,6 |
- |
- |
594 440 |
- |
653,4 484 |
- |
|
б1 |
12-12 |
5,4 |
4 |
21,6 |
- |
540 |
- |
594 |
|
№ элемента на рас- четной схеме |
Жесткостные характеристики соответствующих основных элементов |
Коэффициенты |
Расчетная длина lcal, м |
Расчетные жесткостные характеристики узловых элементов |
|||||
|
EA·10-4, MH |
EI·10-4, MH·М2 |
γh |
γI |
γа |
EAcal·10-4, MH |
EIcal·10-4, MH·М2 |
|||
|
8 |
77,22 |
43,5 |
0,56 |
0,62 |
0,59 |
0,14 |
43,31 |
26,77 |
|
|
9 |
68,31 |
30,11 |
0,56 |
0,62 |
0,58 |
0,14 |
39,8 |
14,07 |
|
|
10 |
14,85 |
0,3 |
0,43 |
1,94 |
0,36 |
0,66 |
5,33 |
0,58 |
|
|
11 |
14,85 |
0,3 |
0,211 |
0,77 |
0,27 |
0,27 |
3,97 |
0,23 |
|
|
12 |
14,85 |
0,3 |
0,13 |
0,68 |
0,23 |
0,15 |
3,36 |
0,2 |
|
|
13 |
14,85 |
0,3 |
0,46 |
1,77 |
0,4 |
0,53 |
5,9 |
0,53 |
|
|
14 |
14,85 |
0,3 |
1,17 |
0,4 |
0,22 |
0,05 |
3,25 |
0,12 |
|
|
15 |
14,85 |
0,3 |
0,52 |
0,922 |
0,51 |
0,15 |
7,51 |
0,28 |
|
|
16 |
23,76 |
1,27 |
0,53 |
0,74 |
0,53 |
0,16 |
12,43 |
0,94 |
|
|
17 |
23,76 |
1,27 |
0,51 |
1,05 |
0,51 |
0,15 |
12,01 |
1,33 |
|
|
18 |
17,82 |
0,52 |
0,51 |
0,99 |
0,5 |
0,2 |
8,89 |
0,51 |
|
|
19 |
17,82 |
0,52 |
0,53 |
0,76 |
0,52 |
0,13 |
9,29 |
0,4 |
|
|
20 |
17,82 |
0,52 |
0,39 |
0,73 |
0,36 |
0,16 |
6,46 |
0,38 |
|
На I стадии расчета рассматриваются 3 комбинации нагрузок:
1 - постоянные нагрузки от собственного веса конструкций фундамента и временные длительные нагрузки от веса оборудования и бокового давления грунта, что соответствует фазе эксплуатации существующего фундамента;
2 - постоянные нагрузки от собственного веса элементов фундамента и временные длительные от веса оборудований, что соответствует фазе эксплуатации фундамента после выемки грунта в осях 1,6;
3 - постоянные нагрузки от собственного веса конструкций фундамента и кратковременные нагрузки от веса оборудования; боковое давление грунта не учитывается, что соответствует фазе работы фундаментов в процессе выемки грунта в осях 1,6 и демонтажа оборудования.
На II стадии расчета рассматриваем одну комбинацию нагрузок - места расчленения конструкции фундамента загружаются усилиями, определенными для этих сечений из расчета по комбинации 2.
Из результатов по схеме 2 вычитаются значения, полученные при расчете. Полученный результат соответствует напряженно-деформированному состоянию не разбираемой части фундамента.
На III стадии расчета фундамент загружается постоянными нагрузками от собственного веса новых элементов фундамента, нагрузками от бокового давления грунта и кратковременными нагрузками от оборудования, что соответствует напряженно-деформированному состоянию новых частей фундамента в процессе монтажа оборудования и эксплуатации. Для определения усилий в сохраненной части фундамента, усилия, полученные в ней при расчете по II стадии, складываются с усилиями, полученными при расчете по III стадии.
Расчетные нагрузки от веса оборудования определяются умножением значений нагрузок, выданных заводом-изготовителем на коэффициент надежности по нагрузке 1,2. Расчетные нагрузки от бокового давления грунта определены с учетом коэффициента надежности по нагрузке 1,3. Результаты расчета нагрузок от собственного веса элементов фундаментов даны в табл. 6, а жесткостные характеристики основных элементов рамы (в свету) - в табл. 7.
Определение геометрических и жесткостных характеристик элементов конечной жесткости в узлах сопряжения выполнено в соответствии с указаниями п. 3.8. Результаты расчета даны в табл. 8.
|
№ элемента расчетной схемы |
№ разреза |
Геометрические характеристики основных элементов рам |
|||
|
поперечное сечение |
площадь, м2 |
момент инерции, м2 |
|||
|
ширина, м |
высота, м |
||||
|
1 |
1-1 |
9,2 |
2,6 |
23,92 |
13,47 |
|
2 |
2-2 |
9,2 |
2,3 |
21,16 |
9,33 |
|
3 |
3-3 |
8,2 |
2,3 |
18,86 |
8,31 |
|
4 |
4-4 |
10,8 |
2,3 |
24,84 |
10,95 |
|
5 |
5-5 |
10,8 |
0,6 |
6,48 |
0,19 |
|
6; 6' |
5-5; 12-12 |
10,8 |
0,5 |
5,4 |
0,11 |
|
7 |
5-5 |
10,8 |
0,8 |
8,64 |
0,46 |
|
94 |
7-7 |
8,8 |
2 |
17,6 |
5,87 |
|
95 |
8-8 |
8,8 |
1,6 |
14,08 |
3 |
|
96 |
11 - 11 |
10,8 |
2,2 |
23,76 |
9,58 |
|
97 |
10-10 |
8 |
2,2 |
17,6 |
7,01 |
|
I стадия |
II стадия |
III стадия |
|||||||||
|
№ элемента на расчетной схеме |
Ордината эпюры, K (x, y). МН/м3 |
Шаг стержней, м |
Жесткость элемента ЕА, МН |
№ элемента на расчетной схеме |
Ордината эпюры K (x, y). МH/м3 |
Шаг стержней, м |
Жесткость элемента ЕА, МН |
№ элемента на расчетной схеме |
Ордината эпюры K (x, y). МН/м3 |
Шаг стержней, м |
Жесткость элемента ЕА, МН |
|
21 |
5 |
0,25 |
13,6 |
41 |
11,3 |
0,375 |
45,7 |
71 |
8,9 |
0,25 |
24 |
|
22 |
4,4 |
0,625 |
29,9 |
42 |
11,7 |
0,75 |
97,8 |
72 |
9,9 |
0,75 |
80 |
|
23 |
3,85 |
0,75 |
31,2 |
43 |
11,9 |
0,775 |
99,8 |
73 |
11 |
0,9 |
106,9 |
|
24 |
3,5 |
0,75 |
28,4 |
44 |
12,1 |
0,8 |
104,3 |
74 |
11,6 |
0,8 |
100,7 |
|
25 |
3,29 |
0,75 |
26,6 |
45 |
12,1 |
0,8 |
104,9 |
75 |
12,9 |
0,6 |
775,7 |
|
26 |
3,16 |
0,775 |
26,4 |
46 |
12,2 |
0,8 |
105,6 |
76 |
12,2 |
0,4 |
521,4 |
|
27 |
3,08 |
0,8 |
26,6 |
47 |
12,2 |
0,8 |
105,8 |
77 |
12,2 |
0,6 |
78,8 |
|
28 |
3,03 |
0,8 |
26,2 |
48 |
12,3 |
0,8 |
106 |
78 |
12,3 |
0,8 |
105,9 |
|
29 |
3 |
0,8 |
25,9 |
49 |
12,3 |
0,8 |
106,2 |
79 |
12,3 |
0,9 |
119,8 |
|
30 |
2,99 |
0,8 |
25,8 |
50 |
12,3 |
0,8 |
106,3 |
80 |
12,4 |
0,8 |
107 |
|
31 |
2,98 |
0,8 |
25,7 |
51 |
12,3 |
0,8 |
106,4 |
81 |
12,4 |
0,7 |
93,7 |
|
32 |
2,97 |
0,8 |
25,7 |
52 |
12,4 |
0,8 |
106,6 |
82 |
12,4' |
0,8 |
107,3 |
|
33 |
2,97 |
0,8 |
25,7 |
53 |
12,4 |
0,775 |
103,5 |
83 |
12,4 |
0,8 |
107,6 |
|
34 |
2,97 |
0,8 |
25,7 |
54 |
12,4 |
0,75 |
100,7 |
84 |
12,5 |
0,775 |
104,6 |
|
35 |
2,98 |
0,8 |
25,7 |
55 |
12,5 |
0,75 |
101,4 |
85 |
12,6 |
0,75 |
101,7 |
|
36 |
2,99 |
0,775 |
25 |
56 |
12,7 |
0,75 |
102,6 |
86 |
12,6 |
0,75 |
102,5 |
|
37 |
3 |
0,75 |
24,3 |
57 |
12,9 |
0,75 |
104,5 |
87 |
12,8 |
0,75 |
103,8 |
|
38 |
3,03 |
0,75 |
24,6 |
58 |
13,3 |
0,75 |
107,7 |
88 |
13,1 |
0,75 |
105,9 |
|
39 |
3,08 |
0,75 |
25 |
59 |
13,9 |
0,75 |
113 |
89 |
13,5 |
0,75 |
109,4 |
|
40 |
3,16 |
0,75 |
25,6 |
60 |
15 |
0,75 |
121,7 |
90 |
14,2 |
0,75 |
115,3 |
|
|
|
|
|
61 |
16,8 |
0,625 |
113,3 |
91 |
15,4 |
0,75 |
124,7 |
|
|
|
|
|
62 |
18,6 |
0,25 |
50,2 |
92 |
17,3 |
0,625 |
117,1 |
|
|
|
|
|
|
|
|
|
93 |
19,3 |
0,25 |
52,1 |
Определение жесткостных характеристик, моделирующих грунтовое основание, производится по формуле
![]()
где K - ордината переменного коэффициента жесткости основания в рассматриваемой точке определяемая по формулам (1), (2), (3) настоящего приложения для I, II, III стадий расчета соответственно; b - ширина фундаментной плиты в рассматриваемой зоне; t - шаг стержней, имитирующих грунтовое основание в рассматриваемой зоне; lh - высота стержня, принимается равной 1 м.
Ширина фундаментной плиты составляет 10,8 м. Результаты расчета приведены в табл. 9.
|
|
|
|