//
ТехЛит.ру
- крупнейшая бесплатная электронная интернет библиотека для "технически умных" людей.
WWW.TEHLIT.RU - ТЕХНИЧЕСКАЯ ЛИТЕРАТУРА

:: Алготрейдинг::


АЛГОТРЕЙДИНГ
шаг за шагом
с нуля по урокам!

Торговые роботы на PYTHON, BackTrader,
Pandas, Pine Script для TradingView. Связка с брокерами, телеграм и легкими приложениями.


Система нормативных документов в строительстве

Расчет и проектирование ограждающих

конструкций энергоэффективных зданий

Пособие к ТСН 23-349-2003 Самарской области

«Энергетическая эффективность жилых и общественных зданий»

ГЛАВНОЕ УПРАВЛЕНИЕ АРХИТЕКТУРЫ И ГРАДОСТРОИТЕЛЬСТВА

САМАРСКОЙ ОБЛАСТИ

Самара 2004

Содержание

ПРЕДИСЛОВИЕ

ВВЕДЕНИЕ

1 НОРМАТИВНЫЕ ССЫЛКИ

2 ТЕРМИНЫ И ОПРЕДЕЛЕНИЯ

3 КОНСТРУКТИВНО-ПЛАНИРОВОЧНЫЕ РЕШЕНИЯ ЭНЕРГОЭФФЕКТИВНЫХ ЗДАНИЙ И ОГРАЖДАЮЩИХ КОНСТРУКЦИЙ

4 ТЕПЛОЗАЩИТА ЗДАНИЙ

4.1 Исходные данные для проектирования

4.2 Поэлементные требования к теплозащите ограждающих конструкций (предписывающий подход)

4.3 Требования по теплозащите здания в целом (потребительский подход)

4.4 Методика теплотехнического расчета строительных ограждающих конструкций

4.4.1 Теплотехнический расчет наружных стен

4.4.2 Теплотехнический расчет теплых чердаков

4.4.3 Теплотехнический расчет перекрытий над неотапливаемыми подвалами

4.4.4 Теплотехнический расчет лоджий

4.5 Выбор уровня теплозащиты здания

4.6 Энергетический паспорт здания

5 РАСЧЕТ ОГРАЖДАЮЩИХ КОНСТРУКЦИЙ НА ПАРОПРОНИЦАНИЕ

Приложение А

ТЕРМИНЫ И ОПРЕДЕЛЕНИЯ

Приложение Б

КАТАЛОГ СТРОИТЕЛЬНЫХ ОГРАЖДАЮЩИХ КОНСТРУКЦИЙ С ПРИМЕНЕНИЕМ ПЕНОПОЛИУРЕТАНА В КАЧЕСТВЕ УТЕПЛИТЕЛЯ (2 редакция)

Приложение В

КАТАЛОГ СТРОИТЕЛЬНЫХ ОГРАЖДАЮЩИХ КОНСТРУКЦИЙ С ПРИМЕНЕНИЕМ ПЕНОИЗОЛА В КАЧЕСТВЕ УТЕПЛИТЕЛЯ (2 редакция)

Приложение Г

КАТАЛОГ СТРОИТЕЛЬНЫХ ОГРАЖДАЮЩИХ КОНСТРУКЦИЙ С ПРИМЕНЕНИЕМ ПЕНОПОЛИСТИРОЛА В КАЧЕСТВЕ УТЕПЛИТЕЛЯ

Приложение Д

КАТАЛОГ СТРОИТЕЛЬНЫХ ОГРАЖДАЮЩИХ КОНСТРУКЦИЙ С ПРИМЕНЕНИЕМ БАЗАЛЬТОВОЙ МИНЕРАЛЬНОЙ ВАТЫ В КАЧЕСТВЕ УТЕПЛИТЕЛЯ

Приложение Е

СТРОИТЕЛЬНЫЕ УЗЛЫ ЭНЕРГОЭФФЕКТИВНЫХ ЗДАНИЙ

ПРЕДИСЛОВИЕ

1. РАЗРАБОТАНО Государственным образовательным учреждением высшего профессионального образования «Самарским государственным архитектурно-строительным университетом» (Вытчиков Ю.С., Бакрунов Г.А., Вытчиков А.Ю., Беляков И.Г., Тихонов М.А.); Самарским региональным отделением Российского общества строительства (Евсеев Л.Д.).

2. ПОДГОТОВЛЕНО И ПРЕДСТАВЛЕНО Главным управлением архитектуры и градостроительства Самарской области.

3. ПРИНЯТЫ И ВВЕДЕНЫ В ДЕЙСТВИЕ с 1.11.2004 г. приказом Главного управления архитектуры и градостроительства Самарской области от 20.10.2004 № 3/НП;

4. ВВОДЯТСЯ ВПЕРВЫЕ

5. СОГЛАСОВАНЫ: Главным управлением архитектуры и градостроительства, Главным управлением по капитальному строительству департамента по строительству, архитектуре, жилищно-коммунальному и дорожному хозяйству Администрации Самарской области; ГУП «Центр государственной вневедомственной экспертизы»

ВВЕДЕНИЕ

Пособие к ТСН 23-349-2003 Самарской области "Энергетическая эффективность жилых и общественных зданий" разработано по заданию Департамента по строительству, архитектуре, жилищно-коммунальному и дорожному хозяйству Администрации Самарской области с целью более детальной проработки ТСН. Пособие знакомит с современными методами теплофизического расчета строительных ограждающих конструкций энергоэффективных зданий, а также с основными техническими решениями элементов ограждающих конструкций с применением эффективных теплоизоляционных материалов.

В пособии на примере проектирования двенадцатиэтажного жилого дома в г. Самаре подробно рассматривается методика теплотехнического расчета наружных стен, ограждающих конструкций теплых чердаков, неотапливаемых подвалов и остекленных лоджий. На основе метода безразмерных характеристик, предложенного авторами настоящего пособия, излагается методика расчета влажностного режима многослойных ограждающих конструкций.

В пособии изложена процедура выбора уровня теплозащиты проектируемого здания на базе двух методов, рекомендованные ТСН 23-349 - предписывающего и потребительского. По полученному значению удельного расхода тепловой энергии на отопление здания произведена оценка энергетической эффективности проектируемого здания.

На приведенном в пособии примере рассматривается методика составления энергетического паспорта здания.

В приложениях к пособию приводятся каталоги строительных ограждающих конструкций с применением энергоэффективных теплоизоляционных материалов - пенополиуретана, пеноизола, пенополистирола и базальтовой минваты, производимых на территории Самарской области.

1 НОРМАТИВНЫЕ ССЫЛКИ

В настоящих нормах использованы ссылки на нормативные следующие документы:

1. СНиП 23-02-2003 "Тепловая защита зданий".

2. СНиП 23-01-99 "Строительная климатология".

3. СНиП 41-03-2003 "Тепловая изоляция оборудования и трубопроводов".

4. СНиП 41-01-2003 "Отопление, вентиляция и кондиционирование".

5. СНиП 31-01-2003 "Здания жилые многоквартирные".

6. СНиП 2.08.02-89* "Общественные здания и сооружения".

7. ТСН 23-349-2003 Самарской области "Энергетическая эффективность жилых и общественных зданий".

8. ТСН 23-346-2003 Самарской области "Строительная климатология Самарской области".

9. ГОСТ 30494-96 "Здания жилые и общественные. Параметры микроклимата в помещениях".

10. ГОСТ 15588-86 "Плиты пенополистирольные. Технические условия".

11. СП 23-101-2000 "Проектирование тепловой защиты зданий".

2 ТЕРМИНЫ И ОПРЕДЕЛЕНИЯ

В настоящем пособии применены термины с соответствующими определениями, приведенные в приложении А.

3 КОНСТРУКТИВНО-ПЛАНИРОВОЧНЫЕ РЕШЕНИЯ ЭНЕРГОЭФФЕКТИВНЫХ ЗДАНИЙ И ОГРАЖДАЮЩИХ КОНСТРУКЦИЙ

Цель проектирования и строительства энергоэффективных зданий состоит в более эффективном использовании энергоресурсов, затрачиваемых на энергопотребление здания.

Методология проектирования энергоэффективного здания должна основываться на системном анализе здания как единой энергетической системы.

ТСН 23-349 обеспечивает большую гибкость при проектировании, возможность учета дополнительных факторов и возможность использования компьютерных технологий при проектировании. Объемно-планировочные решения имеют существенное влияние на энергопотребление здания. Геометрическим параметром, отражающим качество этого решения, с энергетической точки зрения является отношение общей площади поверхности наружных ограждающих конструкций здания к заключенному в них отапливаемому объему.

Показатель компактности здания , 1/м, согласно 4.5 ТСН 23-349 следует определять по формуле:

                                                                                              (3.1)

где  - общая площадь внутренней поверхности всех наружных ограждающих конструкций, включая покрытие (перекрытие) верхнего этажа и перекрытие пола нижних отапливаемых помещений, м2;

Vh - отапливаемый объем здания, м3.

Расчетный показатель компактности для жилых зданий  не должен превышать рекомендуемых значений:

0,25 -для зданий 16-ти этажей и выше;

0,29-для зданий от 10 до 15-ти этажей включительно;

0,32 - для зданий от 6 до 9-ти этажей включительно;

0,36 - для 5-этажных зданий;

0,43 - для 4-этажных зданий;

0,61; 0,54; 0,46 - для двух-, трех- и четырехэтажных блокированных и секционных домов, соответственно;

0,9 - для двух- и одноэтажных домов с мансардой;

1,1 -для одноэтажных домов.

Конструктивные решения наружных стен энергоэффективных зданий, применяемые при строительстве жилых и общественных зданий можно разделить на 3 группы:

1) однослойные;

2) двухслойные;

3) трехслойные.

Однослойные наружные стены выполняются из ячеистобетонных блоков. Как правило, стены из ячеистобетонных блоков проектируют самонесущими с поэтажным опиранием на элементы перекрытия с обязательной защитой от внешних атмосферных воздействий путем нанесения штукатурки, облицовки и т.д. Передача механических усилий в таких конструкциях осуществляется через железобетонные колонны.

Двухслойные наружные стены содержат несущий и теплоизоляционный слои. При этом утеплитель может быть расположен как снаружи, так и изнутри.

В начале реализации программы энергосбережения в Самарской области в основном применялось внутреннее утепление. В качестве теплоизоляционного материала использовались пенополистирол, пенополиуретан и плиты из штапельного стекловолокна "URSA". При использовании пенополистирола и плит "URSA" со стороны помещения утеплители защищались гипсокартоном или штукатуркой. Для защиты утеплителей от увлажнения и накопления влаги со стороны помещений устанавливалась пароизоляция в виде полиэтиленовой пленки. Однако, при дальнейшей эксплуатации зданий выявилось много дефектов, связанных с нарушением воздухообмена в помещениях, появлением темных пятен, плесени и грибков на внутренних поверхностях наружных стен. Одна из причин такого явления - наличие воздушной прослойки между утеплителем и несущей конструкцией от чего невозможно избавиться при существующей технологии производства работ.

При применении в качестве теплоизоляционного материала напыляемого пенополиуретана определённой марки в соответствии с ТСН 12-305 одновременно решались четыре задачи: обеспечение адгезии, незначительного слоя утеплителя, пароизоляции и однородности теплоизоляционного слоя. Непрерывность пароизоляционного слоя обеспечивалась природой материала и технологией в полном соответствии с п. 5.10 СП 23-101 «Проектирование тепловой защиты зданий». Такой метод теплоизоляции показал положительный результат, что подтвердили инструментальные исследования, проведённые через 7 лет эксплуатации зданий. В практике строительства нашли применение два варианта фасадных систем:

1) система с наружным штукатурным слоем;

2) система с вентилируемым воздушным зазором.

При первом варианте исполнения фасадных систем в качестве утеплителей в основном используются плиты из пенополистирола. Утеплитель от внешних атмосферных воздействий защищается базовым клеевым слоем, армированной стеклосеткой и декоративным слоем.

При этом в качестве крепёжных элементов рекомендуется применять дюбели, выполненные из полиамида с оксидированным или нержавеющим сердечником. Учитывая, что расположение утеплителя снаружи несущей части стены вызывает снижение её долговечности за счёт скапливания у наружного отделочного слоя влаги, образующейся в процессе эксплуатации в холодный и переходные периоды года, следует применять теплоизоляционные материалы с высокой степенью долговечности.

В вентилируемых фасадах используется лишь негорючий утеплитель в виде плит из базальтового волокна. Утеплитель защищается от воздействия атмосферной влаги фасадными плитами, которые крепятся к стене с помощью кронштейнов. Между плитами и утеплителем предусматривается воздушный зазор.

Трехслойные стены, возводимые ранее, применялись в основном в виде колодцевой кладки. Они выполнялись из мелкоштучных изделий с утеплителем расположенным между наружным и внутренними слоями кладки. Коэффициент теплотехнической однородности конструкций относительно невелик (r < 0,5) из-за наличия кирпичных перемычек. При реализации второго этапа условий энергосбережения (СНиП 23-02) достижение требуемых значений приведенного сопротивления теплопередаче при использовании колодцевой кладки удаётся обеспечить с применением высокоэффективных теплоизоляционных материалов.

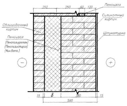
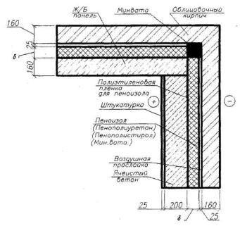
В практике строительства широкое применение нашли трехслойные стены с использованием гибких связей, для изготовления которых используется арматура, выполненная из коррозионностойкой стали. В качестве внутреннего слоя в Самарской области при строительстве используется ячеистый бетон, а теплоизоляционных материалов - пенополистирол, минеральные плиты, пеноизол, заливочный пенополиуретан. Облицовочный слой выполняется из керамического кирпича.

В настоящее время широко используются трехслойные сэндвич панели для строительства торговых центров и промышленных объектов.

В качестве среднего слоя в таких конструкциях используются эффективные теплоизоляционные материалы - минвата, пенополистирол, пенополиуретан и пеноизол. Трехслойные ограждающие конструкции отличаются неоднородностью материалов в сечении, сложной геометрией и стыками. По конструктивным причинам для образования связей между оболочками необходимо, чтобы более прочные материалы проходили через теплоизоляцию, или заходили в нее, нарушая тем самым однородность теплоизоляции. В этом случае образуются так называемые мостики холода. Типичными примерами таких мостиков холода могут служить обрамляющие ребра в трехслойных панелях с эффективным утеплением жилых зданий, угловое крепление деревянным брусом трехслойных панелей с облицовками из древесностружечной плиты и утеплителями и т.д.

Существенные изменения произошли в последнее время в конструктивных решениях по покрытиям. В качестве гидроизоляционных материалов находят широкое применение долговечные гидроизоляционные материалы - унифлэкс, изопласт, мостопласт, кинепласт и т.д.

В приложениях Б, В, Г, Д, Е данного пособия представлены современные двухслойные и трехслойные конструкции наружных стен, а также перекрытий и покрытий с применением эффективных теплоизоляционных материалов - пенополиуретана, пеноизола, пенополистирола и базальтовой минваты, производимых на предприятиях Самарской области.

В табличной форме представлены результаты теплофизического расчета многослойных ограждающих конструкций при различных толщинах теплоизоляционного слоя. Наряду с этим, приведены физико-механические характеристики теплоизоляционных и конструкционных материалов, применяемых в приведенных строительных ограждающих конструкциях.

В процессе реализации программы энергосбережения в Самарской области за короткий промежуток времени создана современная индустрия по производству энергоэффективных оконных конструкций. Для жилых зданий следует использовать оконные блоки, имеющие значение приведенного сопротивления теплопередаче не ниже 0,53 (м2.°С)/Вт. Этому требованию отвечают оконные блоки ОРС с тройным остеклением, а также «евроокна» с двухкамерными стеклопакетами, имеющие воздушный зазор между стеклами не менее 10 мм. Площадь оконных блоков по отношению к суммарной площади ограждающих конструкций должна составлять не более 18%.

4 ТЕПЛОЗАЩИТА ЗДАНИЙ

Согласно п. 4.1. ТСН 23-349 при выборе уровня теплозащиты здания следует руководствоваться одним из двух предложенных альтернативных подходов оценки энергетической эффективности здания. При использовании предписывающего подхода нормативные требования традиционно предъявляются к отдельным ограждающим конструкциям.

При реализации потребительского подхода энергетическая эффективность здания оценивается по величине удельного расхода тепловой энергии на отопление здания в целом или его отдельных замкнутых объемов - блок секций, пристроек и прочего.

Выбор подхода разрешается осуществлять заказчику и проектной организации.

4.1 Исходные данные для проектирования

При выполнении теплотехнического расчета строительных ограждающих конструкций исходными данными являются:

1. район строительства;

2. температура наиболее холодной пятидневки - text, °С;

3. средняя температура за отопительный период - , °C;

4. температура воздуха внутри здания - tint, °С;

5. относительная влажность внутри здания – φint, %.

Значения text и  определяются по таблице 1 ТСН 23-349 для рассматриваемой климатической зоны, a tint и φint по таблице 2 ТСН 23-349 в зависимости от назначения здания.

Для расчета влажностного режима ограждающих конструкций значения среднемесячных и годовых температур наружного воздуха, а также среднемесячного и годового парционального давлений следует принимать по таблице 5 ТСН 23-349.

Теплофизические характеристики строительных и теплоизоляционных материалов следует принимать по приложению Е СП 23-101 «Тепловая защита зданий», а также по (приложению Д) ТСН 23-349.

Геометрические характеристики ограждающих конструкций, отапливаемую площадь и отапливаемые объемы здания следует определять, руководствуясь указаниям, приведенным в п. 4.27 ТСН 23-349.

4.2 Поэлементные требования к теплозащите ограждающих конструкций (предписывающий подход)

Согласно п. 4.4. строительные ограждающие конструкции здания при использовании предписывающего подхода должны удовлетворять нижеследующим требованиям.

1. Санитарно-гигиеническим и комфортным условиям, определяемым значением приведенного сопротивления теплопередаче, определяемого по формуле:

                                                           (4.1)

где n - коэффициент, принимаемый по таблице 4 СНиП 23-02;

tint - расчетная температура внутреннего воздуха, °С;

text- расчетная температура наружного воздуха в холодный период года, °С;

- нормативный температурный перепад, °С, принимаемый по таблице 5 СНиП 23-02 в зависимости от вида здания и ограждающей конструкции;

aint - коэффициент теплоотдачи внутренней поверхности ограждающей конструкции, Вт/(м2·°С), принимаемый по таблице 7 СНиП 23-02.

2. Требованиям энергосбережения, согласно которым приведенное сопротивление теплопередаче должно быть не ниже минимального значения сопротивления теплопередаче, определенного по второму этапу повышения теплозащиты. Нормативные значения приведенного сопротивления теплопередаче приведены в приложении Д ТСН 23-349.

3. Требованиям к минимально-допустимым температурам внутренней поверхности ограждающих конструкций, определяемым, исходя из условия отсутствия выпадения конденсата, а для оконных конструкций - обеспечения минимальной температуры профиля и стеклопакета не ниже +3 °С при расчетных условиях.

4. Требованиям минимально допустимой воздухопроницаемости отдельных конструкций ограждения.

В том случае, если фактическое сопротивление теплопередаче наружной стены ниже нормативного не более чем на 5%, допускается её применение при условии увеличения сопротивления теплопередаче перекрытий или покрытия. При этом трансмиссионный приведенный коэффициент теплопередачи должен быть не выше значения, определяемого на основании нормативных требований по энергосбережению.

4.3 Требования по теплозащите здания в целом (потребительский подход)

При реализации потребительского подхода за критерий энергетической эффективности следует принимать величину удельного расхода тепловой энергии на отопление проектируемого здания qhreq, кДж/(м2·°С·сут.) [кДж/(м3·°С·сут.)].

Выбор величин приведенного сопротивления теплопередаче отдельных ограждающих конструкций следует принимать равными не ниже значений, определенных по формуле (4.2) для стен жилых и общественных зданий, либо по формуле (4.3) - для остальных ограждающих конструкций.

                                                                                     (4.2)

                                                                                       (4.3)

где - нормируемые значения сопротивлений теплопередаче, соответствующие требованиям второго этапа энергосбережения, (м2·°С)/Вт.

Величина требуемого удельного расхода тепла на отопление жилых и общественных зданий определяется по таблицам 5 и 6 ТСН 23-349.

При подключении здания к системам децентрализованного теплоснабжения значение qhreq увеличивается.

Остальные требования, предъявляемые к ограждающим конструкциям, остаются такими же, как и при реализации предписывающего подхода.

4.4 Методика теплотехнического расчета строительных ограждающих конструкций

Теплотехническое совершенство строительных ограждающих конструкций следует оценивать по величине приведенного сопротивления теплопередаче , а также по значению коэффициента теплотехнической однородности r, учитывающего влияние мостиков холода и теплопроводных включений на потери тепла через строительные ограждающие конструкции.

Для оценки приведенного сопротивления теплопередаче используют следующие методы расчета, рекомендуемые СП 23-101:

1 метод. Ограждающая конструкция плоскостями, параллельными направлению теплового потока условно разрезается на участки, имеющие различные термические сопротивления. Термическое сопротивление ограждающей конструкции Ra определяется по формуле

                                                    (4.4)

где: F1 F2, .... Fn - площади отдельных участков конструкции, м2;

R1,R2,...,Rn - термические сопротивления отдельных участков конструкции, (м2·°С)/Вт.

Далее ограждающая конструкция плоскостями, перпендикулярными направлению теплового потока, разделяется на слои, имеющие различные термические сопротивления. Величина Rб вычисляется при этом по формуле (4.4).

Приведенное сопротивление теплопередаче ограждающей конструкции находится по формуле:

                                                               (4.5)

Следует отметить, что данный метод является весьма приближенным и имеет ограничения в применении. Им можно пользоваться лишь в том случае, если величина Ra превышает величину Rб не более чем на 25% и ограждающая конструкция является плоской.

2 метод. Приведенное сопротивление теплопередаче наружных стен допускается рассчитывать по следующей формуле:

                                                                         (4.6)

где -  сопротивление теплопередаче наружных стен без учета теплопроводных включений.

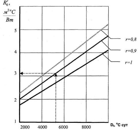
Рекомендации по выбору величины коэффициента теплотехнической однородности r приведены в методических указаниях по расчету теплозащитных показателей ограждающих конструкций (Авдеев Г.К., Василюк B.C., Копылов К.П.).

Данный метод следует использовать на начальной стадии проектирования строительных ограждающих конструкций.

3 метод. Приведенное сопротивление теплопередаче определяется по результатам расчета температурных полей в ограждающих конструкциях. При этом используется следующая формула:

                                                                     (4.7)

где qрасч = aint ·(tint - τmit) - удельный тепловой поток, Вт/м2;

aint - коэффициент теплопередачи со стороны внутренней поверхности стены, Вт/(м2·°С);

τmit  - средняя температура внутренней поверхности стены, °С;

tint, text температура внутреннего и наружного воздуха соответственно, °С.

Данный метод является наиболее точным. Для расчета двухмерных или трехмерных температурных полей используются различные приближенные методы. В последнее время наибольшее распространение получил метод конечных элементов, реализованный в различных программных комплексах.

Наибольшее распространение для моделирования двухмерных задач теплопроводности и диффузии в строительных узлах и оконных конструкциях нашла специализированная программа THERM 5.O.

THERM 5.0. - это современная, функционирующая под управлением операционной системы Microsoft Windows, компьютерная программа, разработанная в Лоурене Берилл Лаборатории (LBNL) Калифорнийского университета (США), доработанная и адаптированная ООО «Апрок-тест» (г. Москва). Она рекомендована Госстроем РФ для расчета строительных ограждающих конструкций.

4.4.1 Теплотехнический расчет наружных стен

Методику теплотехнического расчета наружных стен по температурным полям рассмотрим на следующем примере.

Пример 1

Выполнить теплотехнический расчет фрагмента наружной стены 2-х секционного 12-ти этажного жилого дома, план которого приведен на рис. 4.1.

Наружная стена выполнена из керамического кирпича толщиной 510 мм, утепленная пенополистиролом марки ПСБС-35 с применением фасадной системы. В соответствии с противопожарными требованиями выполнены горизонтальные противопожарные рассечки из минераловатных плит ФАСАД БАТТС шириной 150 мм через промежутки равные высоте этажа, а также все оконные проемы по периметру обрамляются полосами из минераловатных плит.

Исходные данные:

1. Район строительства - г. Самара.

2. Температура наиболее холодной пятидневки, text = -28°C.

3. Средняя температура за отопительный период, .

4. Продолжительность отопительного периода, Zht = 201 сут.

5. Температура воздуха внутри здания, tint = +20°С.

6. Относительная влажность воздуха, φint = 55%.

7. Значение среднемесячной температуры воздуха и парциального давления водяного пара приведены в таблице 4.1.

8. Фрагмент глади стены приведен на рис.4.2.

Рис. 4.1. План фрагмента наружной стены угловой комнаты 2-х секционного 12-ти этажного жилого дома в г. Самаре

Таблица 4.1

Параметры наружного воздуха для г. Самары

Месяц

I

II

III

IV

V

VI

VII

VIII

IX

X

XI

XII

Температура, °С

-12,2

-11,4

-5,2

6,0

14,5

19,1

26,8

18,8

12,7

-4,7

-3,4

-9,2

Парциальное давление, ГПа

2,6

2,6

3,7

6,4

8,4

13,3

15,3

13,5

9,9

6,8

4,6

3,2

 

Рис. 4.2. Фрагмент глади стены.

1 слой - внутренний отделочный слой

δ1 = 0,02 м; γ1 = 1 600 кг/м3;

λ1 = 0,7Вт/(м·°С); μ1 = 0,12мг/(м·ч·Па).

2 слой - керамический полнотелый кирпич

δ 2 = 0,51 м; γ 2= 1 800 кг/м3;

λ2 = 0,7 Вт/(м·°С); μ2 = 0,11 мг/(м·ч·Па).

3 слой - утеплитель (пенополистирол ПСБС-35)

δ3 = 0,11 м; γ3 = 35 кг/м3;

λ3 = 0,04 Вт/(м·°С); μ3 = 0,0147 мг/(м·ч·Па).

4 слой - фасадная система ЛАЭС

δ4 = 0,008 м; γ4 = 1 800 кг/м3;

λ4 = 0,76 Вт/(м·°С); μ4 = 0,05 мг/(м·ч·Па).

Порядок расчета:

1. Требуемое сопротивление теплопередаче наружной стены, исходя из санитарно-гигиенических и комфортных условий, определяем по формуле (4.1):

2. Требуемое сопротивление теплопередаче наружной стены, исходя из условия энергосбережения, находим по табл. 4 СНиП 23-02 по величине градусо-суток отопительного периода.

                                                                (4.8)

где tint - то же, что и в формуле (4.1);

 и Zht - средняя температура,°С, и продолжительность отопительного периода, сут.

Dd = (20 + 5,5)·201 =5 125 (°С·сут).

3. Из двух значений  и  принимаем наибольшее значение .

4. Определяем требуемую толщину утеплителя из условия :

                                                 (4.9)

Принимаем r = 0,92.

Принимаем (δ3)ф = 0,11 м.

5. Определяем фактическое сопротивление теплопередаче наружной стены.

6. Для фрагмента наружной стены в угловой комнате, представленного на рис. 4.1. были разработаны следующие строительные узлы:

- наружного угла здания (рис. 4.3);

- стыка наружной стены с внутренней перегородкой (рис. 4.4);

- междуэтажного перекрытия (сечения 1-1 и 2-2) (рис. 4.5, 4.6). Теплотехнические характеристики материалов приведены в таблице 4.2.

Таблица 4.2

Теплотехнические характеристики материалов

№ п/п

Наименование материала

Плотность, кг/м3

Коэффициент теплопроводности λ, Вт/(м·°С)

1

известково-песчаный раствор

1600

0,7

2

керамический кирпич

1800

0,7

3

пенополистирол ПСБС-35

35

0,04

4

фасадная система ЛАЭС

1800

0,76

5

минплита ФАСАД-БАТТС

175

0,042

6

цементно-песчаныи раствор

1800

0,76

7

макрофлэкс

20

0,035

8

сосна

500

0,14

9

пенополиуретан

60

0,032

10

керамзитобетон

800

0,24

11

железобетонная плита

2500

1,92

12

железобетонные блоки

2500

1,92

13

воздушный зазор

-

0,07

6. С помощью программы THERM 5.0 находим распределение температурных полей в данных строительных узлах. В качестве примера на рис. 4.7 представлено температурное поле наружного угла здания.

Результаты теплотехнического расчета строительных узлов сведены в таблицу 4.3.

Рис. 4.3 Наружный угол здания ( узел I)

Рис. 4.4 Стык наружной стены с перегородкой ( узел II).

Рис. 4.5 Сечение по наружной стене 1-1.

Рис. 4.6 Сечение по наружной стене 2-2.

Рис. 4.7. Наружный угол здания (узел I).

Значения температур на внутренней поверхности наружной стены, °С: 1 - 13 °С; 2 - 17,1 °С; 3 - 18,5 °С; 4 - 19,5 °С; 5 - 19,1 °С; 6 - 18,6 °С; 7- 17,7 °С; 8 - 15,9 °С.

Рис. 4.8. Расчетная схема фрагмента наружной стены угловой комнаты.

Таблица 4.3

Результаты теплотехнического расчета строительных узлов

Номер строительного узла

Номер точки

Текущая температура поверхностей

Средняя температура i-ой зоны

Площадь, м2

Сопротивление теплопередаче i-ой зоны Ri, (м 2·°С)/Вт

 

I

1

13,2

 

17,4

 

1,545

 

2,12

2

17,2

3

18,6

4

19,6

5

18,8

6

18,1

7

17,7

8

16,0

 

II

9

13,4

 

18,35

 

3,0

 

3,35

10

18,3

11

19,0

12

19,7

13

19,6

14

19,0

15

18,7

16

18,6

17

18,6

18

18,5

19

18,5

20

18,4

21

18,2

 

III

22

18,5

 

18,5

 

3,585

 

3,68

23

18,5

24

18,5

25

18,5

26

18,5

27

18,5

28

18,5

29

18,5

30

18,1

31

18,7

32

18,5

33

18,6

34

18,6

35

18,5

36

18,5

37

18,5

38

18,5

 

IV а

39

12,0

 

18,6

 

2,052

 

3,94

40

18,0

41

19,2

42

19,5

43

19,8

44

19,9

45

19,5

46

19,2

47

18,9

48

18,8

49

18,7

50

18,6

51

18,6

52

18,7

53

18,7

54

18,7

55

18,8

56

18,8

57

19,0

 

IV б

57

19,0

 

18,07

 

1,041

 

2,86

58

19,0

59

18,8

60

19,2

61

19,3

62

18,8

63

18,4

64

16,7

65

13,4

Анализ приведенных результатов расчетов показал, что температура внутренней поверхности наружных стен и перекрытий превышает значение температуры точки росы при расчетных параметрах внутреннего воздуха (td = 10,7 °С при tint= 20 °С и φint = 55%).

Следовательно, конденсация водяных паров на стенах и перекрытиях невозможна.

8. Определяем приведенное сопротивление теплопередаче фрагмента наружной стены, расчетная схема которого приведена на рис. 4.8.

                                                (4.10)

где Fi- площадь i-ой зоны фрагмента наружной стены, м2;

Roi - сопротивление i-ой зоны фрагмента наружной стены, (м 2·°С)/Вт.

Как показал расчет ; 3,22 > 3,19 (м2·°С)/Вт. Следовательно, принятая конструкция наружной стены удовлетворяет требованиям ТСН 23-349 и СНиП 23-02.

4.4.2 Теплотехнический расчет теплых чердаков

Крыша с теплым чердаком состоит из внутреннего помещения и ограждающих конструкций: чердачного покрытия, наружных стен и чердачного перекрытия. Чердачное пространство крыши с теплым чердаком используется в качестве сборной вентиляционной камеры, обогреваемой воздухом вытяжной вентиляции. Поэтому к его ограждающим конструкциям предъявляются требования по теплозащите и герметизации. Помещение теплого чердака следует использовать для размещения и технического обслуживания элементов инженерного оборудования здания, а также для проведения ремонта крыши.

При проектировании теплых чердаков следует руководствоваться "Рекомендациями по проектированию железобетонных крыш с теплым чердаком для многоэтажных зданий" (Авторы: Авдеев Г.К. и др.), а также СП 23-101.

Пример 2

Выполнить расчет ограждающих конструкций теплового чердака жилого дома.

Исходные данные:

1. Место строительства - г. Самара, text = -28° С; Dd = 5125 °С·сут.

2. Тип здания - 2-х секционный 12-ти этажный жилой дом.

3. Кухни в квартирах с газовыми плитами.

4. Площадь покрытия над теплым чердаком 1 секции (12 этажей) Аqс = 422 м2; площадь перекрытия теплового чердака Aqf = 422 м2; площадь наружных стен теплого чердака Aqw = 206,7 м2; площадь оконных проемов на теплом чердаке af =6,4 м2.

5. Сопротивление теплопередаче наружных стен

6. Сопротивление теплопередаче двух рядов пустотных стеклянных блоков

7. Температура воздуха в помещениях верхнего этажа tint = 20°C

8. Температура воздуха, поступающего в теплый чердак из вентиляционных каналов tven = 21,5°C

Порядок расчета

1. Согласно табл. 4 СНиП 23-02 определяем требуемое сопротивление теплопередаче покрытия жилого здания  для Dd=5125 °C сут, равное 4,76 (м 2 ·С)/Вт.

Находим согласно СП 23-101 величину требуемого сопротивления теплопередаче перекрытия теплого чердака .

                                                                      (4.11)

где  - температура воздуха в теплом чердаке, принимаемая равной 14 °С.

2. Определяем фактическое сопротивление теплопередаче перекрытия теплого чердака.

Со стороны теплого чердака утепляем перекрытие керамзитобетоном толщиной 0,06 м объемным весом γ = 800 кг/м3.

Термическое сопротивление пустотной железобетонной плиты перекрытия равно R1 = 0,17 (м2 °С)/Вт.

Рис. 4.9. Расчетная схема чердачного перекрытия.

1 слой - железобетонная плита перекрытия

R1 = 0,17 (м2·°С)/Вт;

2 слой – керамзитобетон

δ2 = 0,06м; γ2 = 800 кг/м3;

λ2 = 0,24 Вт/(м·°С); μ2 = 0,19 мг/(м·ч·Па).

 

Фактическое сопротивление теплопередаче перекрытия находим по формуле

3. Проверяем согласно СП 23-101 выполнение условия Δt Δtn для потолков помещений последнего этажа при Δtn = 3°C.

4. Определяем величину требуемого сопротивления теплопередаче покрытия чердака.

                                                                                                                   (4.12)

где Gven - приведенный расход воздуха в системе вентиляции, определяемый по табл. 6 СП 23-101;

Gven = 25,2 кг/(м2·ч) - для 12-ти этажного дома с газовыми плитами;

qp - удельные тепловыделения от трубопроводов, расположенных на теплом чердаке, в расчете на 1 м2 площади чердака, Вт/м2. В рассматриваемом примере принята нижняя разводка. Поэтому, qp = 0.

 - приведенная площадь наружных стен;

 - приведенная площадь наружных оконных блоков;

aqv = 0,49; aF = 0,0152;

5. Определяем фактическое сопротивление теплопередаче покрытия чердака.

Рис. 4.10. Расчетная схема покрытия над чердаком.

1слой - плита перекрытия

R1 = 0,17 (м2·°С)/Вт;

2слой - керамзит

δ2 = 0,05 м; γ2 = 400 кг/м3; λ2 = 0,13 Вт/(м·°С); μ2 = 0,24мг/(м·ч·Па)

3слой - цементно-песчаный раствор

δ3 = 0,03 м; γ3 = 1800 кг/м3; λ3 = 0,76 Вт/(м·оС); μ3 = 0,09 мг/(м·ч·Па)

4слой – унифлэкс

δ4 = 0,008 м; γ4 = 1000 кг/м3; λ4 = 0,17 Вт/(м·°C); μ4 = 0,008 мг/(м·ч·Па)

5слой - пароизоляция - полиэтиленовая пленка

δ5 = 0,0005 м

 

6 Проверяем наружные ограждающие конструкции чердака на условие невыпадения конденсата на их внутренней поверхности. С этой целью определяем значения температуры на внутренней поверхности покрытия  и стен  чердака.

Определяем температуру точки росы td воздуха в чердаке.

Средняя упругость водяного пара за январь для г. Самары равна eext =2,6 гПа.

Определяем влагосодержание наружного воздуха по формуле.

Находим влагосодержание воздуха теплового чердака

fq = fext + Δf, г/м3,

где Δf - приращение влагосодержания за счет поступления влаги с воздухом из вентиляционных каналов, г/м3, принимается для домов с газовыми плитами - 4,0 г/м3

fq = 2,3 + 4,0 = 6,3 г/м3.

Находим упругость водяного пара воздуха в теплом чердаке

Температура точки росы td = 4,4°С, что значительно меньше минимальной температуры поверхности покрытия 9,4 °С. Следовательно, конденсат на покрытии и стенах чердака выпадать не будет.

4.4.3 Теплотехнический расчет перекрытий над неотапливаемыми подвалами

Теплотехнический расчет "теплых" подвалов следует выполнять по методике, рассмотренной в п. 6.3 СП 23-101. Под "теплыми" подвалами понимают подвалы при наличии в них нижней разводки труб систем отопления, горячего водоснабжения и канализации. Температура внутреннего воздуха в подвале должна быть не менее плюс 2 °С при расчетных условиях. Точное ее значение следует определять из уравнения теплового баланса подвала.

Требуемое сопротивление теплопередаче цокольного перекрытия над неотапливаемым подвалом  определяется по формуле:

                                                                      (4.13)

где  - требуемое сопротивление теплопередаче перекрытий над подвалами, определяемое по таблице 4 СНиП 23-02 в зависимости от градусо-суток отопительного периода района строительства, (м 2·°С)/Вт;

п - коэффициент, определяемый по формуле:

                                                                                           (4.14)

где  - температура воздуха в подвале, °С, определяемая по формуле:

где qpi - линейная плотность теплового потока через поверхность теплоизоляции, приходящаяся на 1 м длины трубопроводов io диаметра, Вт/м;

lpi - длина трубопровода io диаметра, принимаемая по проекту, м;

VB - объем воздуха, заполняющего пространство подвала, м3;

nа - кратность воздухообмена в подвале, ч-1;

ρ - плотность воздуха в подвале, принимаемая равной ρ = 1,2 кг/м3;

 - сопротивление теплопередаче части цокольной стены, расположенной выше уровня грунта, (м 2·°С)/Вт;

 - приведенное сопротивление теплопередаче ограждающих конструкций заглубленной части подвала, расположенных ниже уровня земли, (м 2·°С)/Вт;

As - площадь пола и стен подвала, контактирующих с грунтом, м2;

Aвw - площадь наружных стен подвала над уровнем земли, м2.

Значения  следует определять по таблице 8 СП 23-101.

Пример 3

Выполнить теплотехнический расчет перекрытия над неотапливаемым подвалом.

Исходные данные:

1. Место строительства - г. Самара, text = -28 °С; Dd = 5125 °С·сут.

2. Тип здания - 2-х секционный 12-ти этажный жилой дом.

3. Площадь перекрытия над подвалом Ав = 422 м2.

4. Ширина подвала - 20,9 м; площадь пола подвала - 422 м2.

5. Высота наружной стены подвала, заглубленной в грунт-1,2 м. Площадь наружных стен подвала, заглубленных в грунт - 74,64 м2.

6. Суммарная длина l поперечного сечения ограждений подвала, заглубленных в грунт.

1 = 20,9 + 2·1,2 = 23,3 м.

7. Высота наружной стены подвала над уровнем земли - 1,5 м.

8. Площадь наружных стен над уровнем земли Aвw = 93,3 м2.

9. Объем подвала VB = 1139 м3.

10. Расчетные температуры системы отопления с нижней разводкой 105 - 70°С, горячего водоснабжения - 60°С.

11. Длина трубопроводов системы отопления с нижней разводкой составила lpi = 60 м, наружный диаметр dpi = 40 мм.

12. Длина трубопроводов горячего водоснабжения составила lpi = 60 м.

13. Кратность воздухообмена в подвале nа = 0,5 ч-1.

14. Температура воздуха в помещениях первого этажа tint = 20 °С.

Порядок расчета

1. Сопротивление теплопередаче наружных стен подвала над уровнем земли принимаем согласно СНиП 23-02 и равными сопротивлению теплопередаче наружных стен

2. Определяем приведенное сопротивление теплопередаче заглубленной части подвала  согласно п.6.3.3 СП 23-101.

Сопротивление теплопередаче заглубленной части стены принимаем равным 2,1 (м2·°С)/Вт.

Сопротивление теплопередаче участков пола подвала (начиная от стены до середины подвала) принимает следующие значения R0:

1 зона шириной 0,8 м - 2,1 (м2·°С)/Вт;

2 зона шириной 2,0 м - 4,3 (м2·°С)/Вт;

3 зона шириной 2,0 м - 8,6 (м2·°С)/Вт;

4 зона шириной 4,5 м - 14,2 (м2·°С)/Вт.

Площадь приведенных выше участков длиной 1 м составляет:

1 зона - 0,8 м2; 2 зона - 2,0 м2; 3 зона - 2,0 м2; 4 зона - 4,5 м2;

стена, контактирующая с грунтом - 1,2 м2.

Сопротивление теплопередаче заглубленной части стен подвала равно:

3. Определяем значение требуемого сопротивления теплопередаче перекрытия над подвалом по формуле:

                                                                      (4.15)

где

при Dd = 5125 °С·сут.

4. Температуру в подвале уточняем, используя уравнение теплового баланса. Предварительно определяем теплопотери от трубопроводов систем отопления и горячего водоснабжения.

5. Определяем фактическое сопротивление теплопередаче перекрытия над подвалом представленного на рис. 4.11.

Рис. 4.11. Расчетная схема перекрытия над подвалом.

1слой - линолеум на мастике

δ1 = 0,003 м; γ1 = 1800 кг/м3;

λ1 = 0,38 Вт/(м·°С); Rn1 = 2,1 (м2·ч·Па)/мг.

2слой - цементно-песчаная стяжка

δ2 = 0,03 м; γ2 =1800 кг/м3;

λ2 = 0,76 Вт/(м·°С); μ2 = 0,09 мг/(м·ч·Па).

3слой - РУФ БАТТС Н

δ3 = 0,05 м; γ3 = 110 кг/м3;

λ3 = 0,044 Вт/(м·°С); μ3 = 0,54 мг/( м·ч·Па).

4слой - железобетонная плита

δ4 = 0,22 м; γ4 = 2500 кг/м3;

λ4 = 1,294 Вт/(м·°С); μ4 = 0,03 мг/(м·ч·Па)

5слой - 1 слой рубероида Rn5 = 1,1 (м2·ч·Па)/мг.

Теплотехнический расчет перекрытия над подвалом выполняем, руководствуясь рекомендациями, приведенными в СП 23-101.

Требуемое сопротивление теплопередаче находим по формуле:

                                                                      (4.15)

где

, согласно СНиП 23-02.

Определяем требуемую толщину утеплителя из условия

Принимаем (δ3)f = 0,05 м.

Определяем фактическое сопротивление теплопередаче.

6. Определяем значение требуемого сопротивления теплопередаче перекрытия над подвалом по формуле (4.1) ТСН 23-349, исходя из санитарно-гигиенических и комфортных условий.

Следовательно, перекрытие над подвалом удовлетворяет как условию энергосбережения, так и санитарно-гигиеническим и комфортным условиям.

4.4.4 Теплотехнический расчет лоджий

Теплотехнический расчет лоджий заключается в определении температуры воздуха на лоджии, а также приведенного сопротивления теплопередаче ограждающих конструкций остекленных лоджий.

Температуру воздуха внутри остекленной лоджии следует определять из уравнения теплового баланса по формуле:

                                     (4.17)

где tbal - температура воздуха пространства остекленной лоджии, °С;

 - соответственно площадь, м2, и приведенное сопротивление теплопередаче, (м2·°С)/Вт, io участка ограждения между помещением здания и лоджией;

 - соответственно площадь, м2, и приведенное сопротивление теплопередаче, (м2· °С)/Вт, jo участка ограждения между лоджией и наружным воздухом;

m - число участков ограждений между лоджией и наружным воздухом.

Приведенное сопротивление теплопередаче системы ограждающих конструкций остекленной лоджии, разделяющих внутреннюю и наружную среды: стен  и окон  следует определять по формулам:

                                              (4.18)

где  - приведенное сопротивление теплопередаче наружных стен в пределах остекленной лоджии, (м2·°С)/Вт;

 - приведенное сопротивление теплопередаче заполнений оконных проемов и проемов лоджии, расположенных в наружной стене в пределах остекленной лоджии, (м2·°С)/Вт;

n - коэффициент, зависящий от положения наружной поверхности ограждающих конструкций здания по отношению к наружному воздуху, для наружных стен и окон остекленной лоджии следует определять по формуле:

                                                                                           (4.19)

Пример 4

Выполнить теплотехнический расчет ограждающих конструкций остекленной лоджии.

Исходные данные:

Теплотехнический расчет наружной стены 12-ти этажного жилого дома приведен в примере 1. По результатам расчета приведенное сопротивление теплопередаче составило . Лоджии остеклены однослойным остеклением  нижняя часть выполнена из керамического кирпича толщиной 120 мм. Ее сопротивление теплопередаче составляет RoW = 0,4 (м2·°С)/Вт. В наружных стенах в зоне остекленных лоджий светопроемы заполнены оконными и дверными блоками с двухслойным остеклением в раздельных переплетах (). Температура внутреннего воздуха tint= 20 °С.

Порядок расчета

1. Определяем площади ограждений остекленной лоджии Ai, м2. Наружная стена из керамического кирпича – A1 = 12,95 м2.

Заполнение оконных проемов деревянными блоками с двухслойным остеклением в раздельных переплетах – А2 = 4,14 м2.

Однослойное остекление лоджии – А3 = 10,1 м2. Непрозрачная часть ограждения лоджии – А4 = 4,68 м2.

2. Находим температуру воздуха на лоджии tbal при расчетных параметрах внутреннего и наружного воздуха.

3. Определяем коэффициент n.

4. Уточненные значения приведенного сопротивления теплопередаче наружных стен  и заполнений светопроемов  находим по формулам:

4.5 Выбор уровня теплозащиты здания

Выбор уровня теплозащиты здания в целом выполняется при теплотехнических расчетах ограждающих конструкциях по потребительскому подходу. При расчетах по предписывающему подходу условия для выбора отпадают и уровень теплозащиты здания определяют при принятых значениях приведенных сопротивлений теплопередаче ().

Выбор уровня теплозащиты здания выполняют в нижеприведенной последовательности.

а) Выбирают требуемые климатические параметры согласно ТСН 23-346 и в соответствии с таблицей 1 ТСН 23-349:

- расчетную температуру наружного воздуха в холодный период text, °C, принимают равной значению средней температуры наиболее холодной пятидневки, обеспеченностью 0,92;

- среднюю температуру наружного воздуха за отопительный период , °С.

б) Выбирают параметры воздуха внутри здания в соответствии с ГОСТ 30494 или по таблице 2 ТСН 23-349:

- расчетную температуру воздуха внутри здания, tint, °C;

- относительную влажность воздуха внутри здания, φint, %;

- температуру точки росы td, °C.

в) Разрабатывают объемно-планировочные и компоновочные решения здания и по расчетам определяют и рассчитывают его геометрические размеры:

- высоту отапливаемого объема здания ;

- число этажей N;

- высоту этажа h, м;

- длину периметра внутренней поверхности наружных стен этажа Pst, м;

- длину периметра внутренних откосов дверных и оконных проемов на этаже l, м;

- среднюю ширину внутренних откосов дверных и оконных проемов b, м.

- площадь заполнений светопроемов (окон, балконных дверей, фонарей) Af, м2.

- площадь наружных дверей и ворот Aed, м2.

Площадь наружных стен, включающих окна, балконные и входные двери в здание Aw+F+ed, м2, определяется по формуле:

Aw+F+ed = Pst·Hh .

Площадь внутренних откосов окон и дверей в здании Al, м2, определяется по формуле:

Площадь наружных стен Aw, м2, определяется по формуле:

Aw = Aw+F+ed - AF - Aed.

Площадь покрытий (чердачных перекрытий) Аc, м2.

Площадь цокольных перекрытий Af, м2.

Общая площадь внутренней поверхности всех наружных ограждающих конструкций, включая покрытие (перекрытие) верхнего этажа и перекрытие пола (нижних отапливаемых помещений), м2.

Отапливаемая площадь Ah, м2.

Отапливаемый объем здания Vf, м3, равный объему, ограниченному внутренними поверхностями наружных ограждений здания, вычисляют как произведение площади этажа на внутреннюю высоту, измеряемую от поверхности нижнего отапливаемого этажа до поверхности потолка верхнего этажа.

Vh = Ast · Hh.

Показатели объемно-планировочного решения здания определяются по формулам:

- коэффициент остекления фасадов здания р:

- показатель компактности здания , 1/м:

Расчетный показатель компактности здания  не должен превышать рекомендуемых значений, приведенных в 3 разделе.

г) Определяют согласно подразделу 4.3 по таблице 5 или 6 ТСН 23-349 значение удельного расхода тепловой энергии на отопление здания  в зависимости от типа здания, его этажности и системы теплоснабжения.

При подключении здания к системам децентрализованного теплоснабжения значения  корректируют умножением величины, определяемой по вышеназванным таблицам на коэффициент η, рассчитываемый по формуле:

                                                                                                    (4.20)

где ηdec - расчетный коэффициент энергетической эффективности систем отопления и децентрализованного теплоснабжения;

 - расчетный коэффициент энергетической эффективности систем отопления и централизованного теплоснабжения.

Оба коэффициента определяются согласно подразделу 8.3 ТСН 23-349 и учитывают особенности системы теплоснабжения проектируемого здания, теплопотери при транспортировке теплоносителя от источника до абонента, эффективность регулирования отпуска тепла.

При отсутствии необходимых данных о системах теплоснабжения эти коэффициенты принимаются равными:

 = 0,5 - при подключении здания к существующей системе центрального теплоснабжения;

ηdec = 0,8 - при подключении здания к автономной крышной или модульной котельной на газе;

ηdec = 0,85 - при квартирных системах отопления с местными теплогенераторами на газе;

ηdec  = 0,35 - при стационарном электроотоплении;

ηdec = 0,5 - при подключении здания к прочим системам теплоснабжения.

д) Определяют требуемые сопротивления теплопередаче  ограждающих конструкций (стен, покрытий, чердачных и цокольных перекрытий, окон и фонарей, наружных дверей и ворот) согласно подразделу 4.3 ТСН 23-349 и рассчитывают значения приведенных сопротивлений теплопередаче  этих ограждающих конструкций, добиваясь выполнения условия .

е) Назначают требуемый воздухообмен согласно СНиП 2.08.01, СНиП 2.08.02 или других нормативных документов.

ж) Проверяют принятые конструктивные решения наружных ограждений на удовлетворение требований приложения В ТСН 23-349.

з) Рассчитывают удельный расход тепловой энергии на отопление здания , кДж/(м2·0С·сут) [кДж/(м3·°С·сут)], и сравнивают его с требуемым значением .

Расчет проводится в нижеприведенной последовательности.

1. Определяют приведенный трансмиссионный коэффициент теплопередачи здания.

        (4.21)

где β - коэффициент, учитывающий дополнительные теплопотери, связанные с ориентацией ограждений по сторонам горизонта, с ограждениями угловых помещений, с поступлением холодного воздуха через входы в здание: для жилых зданий β = 1,13, для прочих зданий β = 1,1 ;

Aw, AF, Aed, Ac, Af - площадь соответственно стен с учетом площади откосов оконных и дверных проемов, заполнений светопроемов (окон, фонарей), наружных дверей и ворот, покрытий (чердачных перекрытий), цокольных перекрытий, м2;

 - приведенное сопротивлением теплопередаче соответственно стен, заполнений светопроемов (окон, фонарей), наружных дверей и ворот, покрытий (чердачных перекрытий), цокольных перекрытий, полов по грунту, исходя из разделения их на зоны, (м2·°С)/Вт;

n - то же, что и в формуле (4.1);

 - то же, что и в формуле (3.1).

2. Определяют приведенный инфильтрационный (условный) коэффициент теплопередачи здания.

                                (4 22)

где с - удельная теплоемкость воздуха, равная 1 кДж/(кг°С);

nа - средняя кратность воздухообмена здания за отопительный период, ч-1, принимаемая по нормам проектирования соответствующих зданий;

βv - коэффициент снижения объема воздуха в здании, учитывающий наличие - внутренних ограждающих конструкций. При отсутствии данных принимать βv = 0,85;

Vh - то же, что и формуле (3.1), м3;

 - средняя плотность наружного воздуха за отопительный период, т.е. при , кг/м3;

к - коэффициент учета влияния встречного теплового потока в конструкциях, равный 0,7 для стыков панелей стен и окон с тройными переплетами, 0,8 - для окон и балконных дверей со спаренными переплетами и 1,0 - для одинарных окон, окон и балконных дверей со спаренными переплетами, со стеклопакетами, при устройстве приточных каналов и открытых проемов.

Для жилых помещений произведение  принимают равным 3·Аr, где Аr -площадь жилых помещений, м2, для общеобразовательных учреждений - 16¸20 м3/ч на 1 чел; в дошкольных учреждений - 1,5 ч-1, в больницах -1,5 ч-1.

В общественных зданиях, функционирующих не круглосуточно, среднесуточная кратность воздухообмена определяется по формуле:

                                                 (4.23)

где Zw - продолжительность рабочего времени в учреждении, ч-1;

 - кратность воздухообмена в рабочее время, ч-1, согласно СНиП 2.08.02 для учебных заведений, поликлиник и других учреждений, функционирующих в рабочее время неполные сутки, принимается равной 0,5 ч-1 в нерабочее время.

3. Определяют коэффициент теплопередачи здания, Вт (м2·°С) по формуле:

                                                                                         (4.24)

4. Общие теплопотери здания через наружные ограждающие конструкции, МДж, определяются по формуле:

                                                                    (4.25)

5. Бытовые теплопоступления в течение отопительного периода определяют по формуле:

                                                                     (4.26)

где qint - величина бытовых тепловыделений на 1 м2 полезной площади (площади жилых помещений) здания, Вт/м2, принимаемая по расчету, но не менее 10 Вт/м2 для жилых зданий, для общественных и административных зданий бытовые тепловыделения учитываются по проектному числу людей (90 Вт/чел), от освещения (по установочной мощности) и оргтехники (10 Вт/м2) с учетом рабочих часов в сутках;

Zht - средняя продолжительность отопительного периода, сут;

Аl - для жилых зданий - площадь жилых помещений и кухонь; для общественных и административных зданий - полезная площадь здания, м2, определяемая согласно СНиП 2.08.02 как сумма площадей всех помещений, а также балконов и антресолей в залах, фойе и т.п., за исключением лестничных клеток, лифтовых шахт, внутренних лестниц и пандусов.

6. Теплопоступления через окна от солнечной радиации в течение отопительного периода, МДж, для четырех фасадов зданий, ориентированных по четырем направлениям, определяют по формуле:

         (4.27)

где τf, τscy - коэффициенты, учитывающие затемнение светового проема соответственно окон и зенитных фонарей непрозрачными элементами заполнения, принимаемые по проектным данным; при отсутствии данных принимают по таблице 7 ТСН 23-349;

kF, kscy - коэффициенты относительного проникания солнечной радиации соответственно для светопрозрачных заполнений окон и зенитных фонарей, принимаемые по паспортным данным соответствующих светопропускающих изделий; при отсутствии данных следует принимать по таблице 8 ТСН 23-349;

Af1, Af2, Af3, Af4 - площадь светопрозрачных фасадов здания, соответственно ориентированных по четырем направлениям, м2;

Ascy - площадь светопроемов зенитных фонарей здания, м2;

I1, I2, I3, I4 - средняя за отопительный период величина солнечной радиации на вертикальные поверхности при действительных условиях облачности, соответственно ориентированные по четырем фасадам здания, МДж/м2, принимается по таблице 4 ТСН 23-349. Для промежуточных направлений величину солнечной радиации следует определять интерполяцией;

Ihor - средняя за отопительный период величина солнечной радиации на горизонтальную поверхность при действительных условиях облачности, МДж/м2, принимается по таблице 4 ТСН 23-349.

7. Потребность в тепловой энергии на отопление здания в течение отопительного периода , МДж, следует определять по формуле:

где v - коэффициент, учитывающий способность ограждающих конструкций помещений зданий аккумулировать или отдавать тепло; рекомендуемое значение v = 0,8;

ζ - коэффициент эффективности авторегулирования подачи тепла в системах отопления; рекомендуемые значения даны в разделе 4.5 ТСН 23-349;

βh - коэффициент, учитывающий дополнительное теплопотребление системы отопления, связанное с дискретностью номинального теплового потока номенклатурного ряда отопительных приборов и дополнительными теплопотерями через зарадиаторные участки ограждений, теплопотерями трубопроводов, проходящих через неотапливаемые помещения: для многосекционных и протяженных зданий βh = 1,13, для зданий башенного типа βh = 1,11.

8. Расчетный удельный расход тепловой энергии системой отопления здания за сутки отопительного периода , кДж/(м2·°С.сут) [кДж/(м3·оС·осут.)], следует определять по формуле:

и сравнивают его с требуемым значением .

При потребительском подходе определения теплозащиты здания расчет заканчивается в случае, если расчетное значение меньше требуемого на 5% или равно требуемому.

Если расчетное значение  больше требуемого  или меньше более чем на 5%, то осуществляют перебор вариантов до достижения предыдущего условия. При этом используют следующие возможности:

- изменение объемно-планировочного решения здания (размеров и формы);

- понижение (или повышение) уровня теплозащиты отдельных ограждений здания;

- выбор более эффективных систем теплоснабжения.

При выборе уровня теплозащиты на основе поэлементных требований проверку условия  производить не следует.

Пример 5

Выбрать уровень теплозащиты для двухсекционного 12-х этажного жилого дома, план которого представлен на рис. 4.12. Район строительства - г. Самара.

Исходные данные:

1. Климатические параметры.

Расчетная температура наружного воздуха text = -28 °С.

Средняя температура наружного воздуха за отопительный период

Продолжительность отопительного периода Zht = 201 сут.

Градусо-сутки отопительного периода Dd = 5125 °С·сут.

2. Параметры внутреннего воздуха.

Температура воздуха внутреннего воздуха tint = 20°С.

Относительная влажность воздуха внутри здания φint = 55%.

Температура точки росы td = 10,7°С.

3. В соответствии с разработанными объемно-планировочными и компоновочными решениями здания по чертежам определяют или рассчитывают его геометрические размеры:

- высота этажа h = 3 м;

- число этажей N = 12;

- высота отапливаемого объема здания Н = 3·12 = 36 м;

- длина периметра внутренней поверхности наружных стен этажа Pst = 192,3 м;

- длина периметра внутренних откосов дверных и оконных проемов на этаже l = 254,7 м;

- средняя ширина внутренних откосов дверных и оконных проемов b = 0,38 м.

Площадь заполнений светопроемов (окон, балконных дверей, фонарей) AF = 931,9 м2.

Площадь наружных дверей и ворот Aed = 127,2 м2.

Площадь наружных стен, включающих окна, балконные и входные двери в здание

Aw+F+ed = Pst·Hh = 192,32·36 = 6924 м2.

Площадь внутренних откосов окон и дверей в здании:

Аl = l·b·N = 245,7·0,38·12 = 1162 м2.

Площадь наружных стен Aw = Aw+F+ed -AF -Aed = 6924 - 931,9 - 127,2 = 5865 м2.

Площадь наружных стен с откосами Aw+l = Aw + Аl = 5865 + 1162 = 7027 м2.

Площадь покрытий (чердачных перекрытий) Ас = 944 м2.

Площадь цокольных перекрытий Af = 944 м2.

Общая площадь внутренней поверхности всех наружных ограждающих конструкций

Площадь жилых комнат Аq = 312,7·12 = 3752,4 м2.

Площадь жилых комнат и кухонь Аr = 466,3·12 = 5595,6 м2.

Отапливаемая площадь Аh = 944·12 = 3752,4 м2.

Отапливаемый объем здания Vh = Ast·Hh = 944·36 = 33984 м3.

Показатели объемно-планировочного решения здания:

- коэффициент остекления фасадов здания Р:

- показатель компактности здания , 1/м:


Рис. 4.12. План типового этажа жилого здания


4. Требуемое значение удельного расхода тепловой энергии на отопление:

- при централизованном теплоснабжении

 или 25 кДж/(м3·°С·сут);

- при децентрализованном теплоснабжении

или 25·1,6 = 40 кДж/(м3·°С·сут),

где

5. Требуемые сопротивления теплопередаче  ограждающих конструкций определяют по приложению D ТСН 23-349:

- для наружных стен

- для перекрытий чердачных

- для пола

- для окон и балконных дверей

В скобках указаны минимально допустимые значения требуемых сопротивлений теплопередаче при потребительском подходе к требованиям по теплозащите здания в целом.

Приведенные сопротивления теплопередаче ограждающих конструкций:

- для наружных стен (для глади) Rw = 3,68 (м2·°С)/Вт;

- для оконных откосов Rl = 1,85 (м2·°С)/Вт;

- для перекрытий чердачных Rc = 0,618 (м2·°С)/Вт;

- для пола Rf = 1,635 (м2·°С)/Вт;

- для окон и балконных дверей RF = 0,58 (м2·°С)/Вт.

6. Требуемый воздухообмен согласно СНиП 2.04.05 в жилых комнатах должен быть 3 м3/ч на 1 м2 жилых помещений в кухнях не менее 90 м3/ч при четырех конфорочных плитах.

Площадь жилых комнат в квартирах проектируемого здания - 43¸82,5 м2. Следовательно, воздухообмен в квартирах -129¸247,5 м2.

7. Принятые конструктивно-планировочные решения в основном удовлетворяют требованиям ТСН 23-349-2003.

8. Приведенный трансмиссионный коэффициент теплопередачи здания:

Приведенный инфильтрационный (условный) коэффициент теплопередачи здания:

Общий коэффициент теплопередачи здания:

Общие теплопотери здания через наружные ограждающие конструкции, за отопительный период:

Бытовые теплопоступления в здание за отопительный период:

Qint = 0,0864·qint ·Zht ·Ar = 0,0864·12·201·5595,6 = 1 166 105 МДж.

Теплопоступления через окна от солнечной радиации в течение отопительного периода для четырех фасадов зданий, ориентированных по четырем направлениям:

Потребность в тепловой энергии на отопление здания за отопительный период:

Расчетный удельный расход тепловой энергии системой отопления здания за сутки отопительного периода:

 меньше  на 3,43 %, т.е. меньше 5%.

Поэтому выбранный уровень теплозащиты здания удовлетворяет требованиям ТСН 23-349-2003.

4.6 Энергетический паспорт здания

Энергетический паспорт следует заполнять при разработке проектов новых, реконструируемых, капитально ремонтируемых жилых и общественных зданий, при приемке зданий в эксплуатацию, а также в процессе эксплуатации построенных зданий.

Рассмотрим пример составления энергетического паспорта здания, план типового этажа которого приведен на рисунке 4.12.

Объект строительства: двенадцатиэтажное 2-х секционное жилое здание. Стены здания - кирпичные с утеплителем из пенополистирола, окна - с трехслойным остеклением в раздельно-спаренных деревянных переплетах. Чердак - теплый, покрытие - железобетонные плиты, утепленные керамзитом, в качестве гидроизоляции применен унифлэкс (Рис. 4.10). Подвал - с нижней разводкой трубопроводов. Здание подключено к централизованной системе теплоснабжения. Место строительства: г. Самара.

Общая информация о проекте

 

Дата заполнения (число, м-ц, год)

Адрес здания

-

Разработчик проекта

-

Адрес и телефон разработчика

-

Шифр проекта

-

Расчетные условия

 

Наименование расчетных параметров

Обозначения

Единица измерения

Величина

1.

Расчетная температура внутреннего воздуха

tin

°C

20

2.

Расчетная температура наружного воздуха

text

°C

-30

3.

Расчетная температура теплого чердака

tcint

°C

14

4.

Расчетная температура "теплого" подвала

tfint

°C

2,1

5.

Продолжительность отопительного периода

Zht

сут.

201

6.

Средняя температура наружного воздуха за отопительный период

°C

-5,5

7.

Градусо-сутки отопительного периода

Dd

°C·сут.

5125

Функциональное назначение, тип и конструктивное решение здания

8.

Назначение

жилое здание

9.

Размещение в застройке

отдельно стоящее

10.

Тип

12-этажное, двухсекционное

11.

Конструктивное решение

кирпичное

 

Показатель

Обозначение показателя

Размерность показателя

Нормативное значение показателя

Расчетное (проектное) значение показателя

Фактическое значение показателя

Объемно-планировочные параметры здания

12.

Общая площадь наружных ограждающих конструкций здания

м2

-

9974

 

в том числе: стен

Aw

м2

-

5865

 

оконных откосов

Аl

м2

-

1162

 

окон

AF

м2

-

931,9

 

входных дверей

Aed

м2

-

127,2

 

покрытия (конструкции теплого чердака)

Ас

м2

-

944

 

перекрытия 1-го этажа (над "теплым" подвалом)

Af

м2

-

944

 

13.

Отапливаемая площадь здания

Ah

м2

-

3752,4

 

14.

Площадь жилых помещений

Аl

м2

-

5595,6

 

15.

Отапливаемый объем

Vh

м3

-

33984

 

16.

Коэффициент остекленности фасада здания

p

 

0,18

0,135

 

17.

Показатель компактности здания

Kedes

м-1

0,32

0,26

 

Энергетические показатели

Теплотехнические показатели

18.

Приведенное сопротивление теплопередаче наружных ограждений:

 

 

 

 

стен

м2·°С/Вт

3,19

3,2

 

окон

м2·°С/Вт

0,534

0,58

 

входных дверей

м2·°С/Вт

1,2

1,93

 

покрытия (конструкции теплого чердака)

м2·°С/Вт

1,35

1,39

 

перекрытия 1-го этажа (над "теплым" подвалом)

м2·°С/Вт

1,58

1,64

 

19.

Приведенный трансмиссионный коэффициент теплопередачи здания

Вт/(м2·°С)

-

0,93

 

20.

Кратность воздухообмена

nа

ч-1

0,39

0,39

 

21.

Приведенный (условный) инфильтрационный коэффициент теплопередачи здания

Вт/(м2·°С)

-

0,455

 

22.

Общий коэффициент теплопередачи здания

km

Вт/(м2·°С)

-

0,93

 

Теплоэнергетические показатели

23.

Общие теплопотери через ограждающую оболочку здания за отопительный период

Qh

МДж

-

4461523

 

24.

Удельные бытовые тепловыделения

qint

Вт/м2

не менее 10

12

 

25.

Бытовые теплопоступления i здание за отопительный период

Qint

МДж

-

1166105

 

26.

Теплопоступления в здание от солнечной радиации за отопительный период

Qs

МДж

-

485731

 

27.

Потребность в тепловой энергии на отопление здания за отопительный период

МДж

-

3925510

 

28.

Удельный расход тепловой энергии на отопление здания

кДж/(м2·оС·сут)

-

67,6

 

Сопоставление с нормативными требованиями

30.

Расчетный коэффициент энергетической эффективности системы централизованного теплоснабжения здания от источника теплоты

 

-

0,5

31.

Расчетный коэффициент энергетической эффективности системы децентрализованного теплоснабжения здания от источника теплоты

 

-

0,5

32.

Требуемый удельный расход тепловой энергии системой теплоснабжения на отопление здания

 

кДж/

2·оС·сут)

70

33.

Соответствует ли здание нормативному требованию

 

-

-

Да

34.

Категория энергетической эффективности

 

-

-

"нормальная"

Рекомендации по повышению энергетической эффективности

35.

Рекомендуем:

36. Паспорт заполнен

 

Организация

 

Адрес и телефон

 

Ответственный исполнитель

 

5 РАСЧЕТ ОГРАЖДАЮЩИХ КОНСТРУКЦИЙ НА ПАРОПРОНИЦАНИЕ

Процесс передачи тепла через многослойные строительные ограждающие конструкции сопровождается процессом диффузии водяного пара.

Диффундирующий через ограждение водяной пар понижает свою упругость. При прохождении через холодные слои ограждающей конструкции возможно выпадение конденсата, приводящее к повышению влажности строительных и теплоизоляционных материалов и как следствие к ухудшению их теплозащитных характеристик.

Накопление влаги как за годовой период эксплуатации здания, так и период с отрицательными температурами приводит к появлению плесени и грибка на внутренних поверхностях ограждающих конструкций.

Сопротивление паропроницанию ограждающих конструкций следует определять по методике, изложенной в СНиП 23-02. Для расчета влажностного режима строительных ограждающих конструкций рекомендуется использовать метод безразмерных характеристик, удобный для численной реализации на ЭВМ.

Рассмотрим методику расчета многослойных ограждающих конструкций, основанную на использовании метода безразмерных характеристик.

Условие отсутствия накопления влаги в ограждающей конструкции математически сформулируем в виде неравенства:

е < Е, Па                                                                                                   (5.1)

где е - упругость водяного пара, содержащегося во влажном воздухе, Па;

Е - упругость насыщенного водяного пара, Па, определяется выражением:

                                                                             (5.2)

Запишем неравенство (5.1) в безразмерном виде, вводя новые безразмерные переменные:

                                                                         (5.3)

где X - безразмерное термическое сопротивление; Y - безразмерное сопротивление паропроницанию;

 - сопротивление теплопередаче ограждения до рассматриваемого сечения X, (м2·°С)/Вт;

 - фактическое сопротивление теплопередаче ограждающей конструкции, (м2·°С)/Вт;

где п - общее число слоев в строительной конструкции; m - число слоев до рассматриваемого сечения х (m £ n); аint , аext - значения коэффициентов теплоотдачи со стороны внутренней и внешней поверхностей ограждения, Вт/(м2·°С); Ri - термическое сопротивление отдельного слоя, (м2·°С)/Вт; Rni - сопротивление паропроницанию отдельного слоя, (м2·Па·ч)/мг;  - полное сопротивление паропроницанию ограждающей конструкции, (м2·Па·ч)/мг.

Условие отсутствия выпадения конденсата, записанное в безразмерных координатах, примет следующий вид:

Y > Yн; Y > 0,                                                                                            (5.4)

где Yн - значение безразмерного сопротивления паропроницанию для состояния полного насыщения влажного воздуха водяным паром.

                                                                                       (5.5)

где   - упругость внутреннего и наружного воздуха соответственно, Па; tint, text - температура внутреннего и наружного воздуха соответственно, °С.

Коэффициент N в формуле (5.5) учитывает зависимость давления насыщенного водяного пара от температуры.

На рис. 5.1. представлена зависимость Yн = f(X) для определенных значений величин , tint, text и область решения рассматриваемой задачи.

Рис.5.1. Зависимость YH = f(X).

Укажем последовательность выполнения расчета влажностного режима ограждающих конструкций с помощью метода безразмерных характеристик.

1) Определяются значения сопротивлений паропроницанию Rni и термических сопротивлений отдельных слоев Ri, входящих в строительную конструкцию.

2) По формулам (5.3) вычисляются значения безразмерных переменных Xi, Yi на границах слоев.

3)Для найденных значений Xi (i=1,2...n) определяются значения YHi по формуле (5.5).

4) Проверяется выполнение неравенства (5.4) на границах слоев ограждения

Yi >YHi; i=1,2...n,                                                                                       (5.6)

5) Если неравенство (5.6) выполняется, то накопление влаги в зимний период в ограждении происходить не будет, и расчет на этом заканчивается.

6) Если неравенство (5.6) не выполняется, то требуется определить положение плоскости конденсации водяного пара. Поэтому функцию φ = YH - Yi исследуем на экстремум, положив:

                                                                                                     (5.7)

После дифференцирования получим трансцендентное уравнение следующего вида:

                                (5.8)

Корнем данного трансцендентного уравнения является безразмерная координата, соответствующая плоскости возможной конденсации водяного пара в строительной конструкции. Уравнение (5.8) решается численным методом с помощью ЭВМ.

Величина требуемого сопротивления пароизоляции, определяемая из условия отсутствия выпадения конденсата, определяется выражением:

                                                (5.9)

В большинстве случаев плоскостью возможной конденсации водяного пара является наружная поверхность утеплителя. Поэтому значения Yнi и , используемые в формуле (5.9), следует определять для наружной поверхности теплоизоляции.

7. Определив положение плоскости возможной конденсации, следует определить сопротивление паропроницанию ограждающей конструкции до плоскости возможной конденсации и выполнить расчет по проверке накопления влаги как за годовой период эксплуатации здания, так и за период с отрицательными температурами.

Пример 6

Выполнить расчет влажностного режима наружной стены, представленной на рис. 4.2. Теплотехнический расчет рассмотрен в примере 1.

Определяем сопротивление паропроницанию наружной стены.

                                                            (5.10)

Согласно метода расчета влажностного режима ограждающих конструкций, приведенного в ТСН 23-349, определяем значения безразмерных переменных Xi и Yi на границах слоев стены по следующим формулам:

                                                                     (5.11)

Результаты расчета влажностного режима наружной стены приведены на рис. 5.2.

Рис. 5.2. Результаты расчета влажностного режима наружной стены.

Пересечение графиков Yi и YH не наблюдается, что указывает на отсутствие конденсации водяного пара в конструкции.

Пример 7

Выполнить расчет влажностного режима перекрытия над неотапливаемым подвалом, приведенного на рис.4.11. Теплотехнический расчет рассмотрен в примере 3.

Порядок расчета Определяем сопротивление паропроницанию перекрытия согласно СНиП 23-02.

 

Определяем коэффициент теплопередачи перекрытия

kc = 1/Rc = 1/1,635 = 0,612 Вт/(м2·оС)

Находим значения безразмерных переменных Xi и Yi на границах слоев перекрытия.

 

Рис. 5.3. Результаты расчета влажностного режима перекрытия.

Наблюдается пересечение графиков Yi и YH (рис.5.3), что указывает на наличие конденсации влаги в конструкции. Проведем расчет по накоплению влаги согласно СНиП 23-02.

Определяем требуемое сопротивление паропроницанию из условия ограничения накопления влаги за период с отрицательными температурами:

                                                                    (5.12)

где Z0 - продолжительность периода влагонакопления, т. е. периода с отрицательными температурами, сут.;

А = 1000 - переводной коэффициент;

γω - плотность материала изоляции;

δω - толщина изоляции;

Δωр - предельно допустимое приращение расчетного массового отношения влаги в материале, %;

Rnн - сопротивление паропроницанию части ограждающей конструкции, расположенной между наружной поверхностью и плоскостью возможной конденсации, (м2·ч·Па)/мг;

Rn - сопротивление паропроницанию части ограждающей конструкции в пределах от внутренней поверхности до плоскости возможной конденсации, (м2·ч·Па)/мг.

Для определения Е0 находим температуру наружной изоляции при температуре наружного воздуха в подвале.

 

τх =20 - 10,95·(0,1149 + 0,0079 + 0,0395 + 1,1364) = 5,78 °С;

Е0 = 923 Па.

Rnн = 7,33 2·ч·Па)/мг;

Rn = 2,1 + 0,333 + 1,1 + 0,093 = 3,626 2·ч·Па)/мг;

η = (0,0024·(923 - 423)·151 )/7,33 = 24,7;

Накопление влаги в наружной стене отсутствует. Установка пароизоляции не требуется.

Приложение А

ТЕРМИНЫ И ОПРЕДЕЛЕНИЯ

Таблица А. 1

Термин

Обозначение

Характеристика термина

Размерность единицы величины

1

2

3

4

А.1 Общие понятия

1.1 Здание с эффективным использованием энергии

 

Здание и оборудование, использующие тепловую энергию для поддержания в здании нормируемых параметров; должны быть спроектированы и возведены таким образом, чтобы было обеспечено заданное энергосбережение, и чтобы здание и названное оборудование использовалось так, что бы было обеспечено это энергосбережение

 

1.2 Тепловой режим здания

-

Совокупность всех факторов и процессов, определяющих микроклимат помещений здания

-

1.3 Теплозащита зданий

-

Свойство оболочки здания сопротивляться переносу теплоты между помещениями и наружной средой, а также между помещениями с различной температурой воздуха

-

1.4 Энергетический паспорт здания

-

Документ, содержащий геометрические, энергетические и теплотехнические характеристики проектируемых и эксплуатируемых зданий и их ограждающих конструкций и устанавливающий соответствие их требованиям нормативных документов

-

1.5 Капитальный ремонт здания

-

Ремонт здания с целью приведения его эксплуатационных показателей в соответствии с действующими нормами на проектирование с заменой при необходимости его отдельных элементов, а также систем инженерного оборудования

-

1.6 Реконструкция (модернизация) здания

-

Комплекс строительных работ и организационно-технических мероприятий, связанных с изменением основных объемно-планировочных и технических показателей (строительного объема и общей площади здания, планировки помещений, назначения, вместимости, пропускной способности) в целях увеличения отапливаемой или полезной площади, улучшения условий пребывания и расширения эксплуатационных возможностей

 

1.7 Градусо-сутки

Dd

Показатель, представляющий собой температурно-временную характеристику района строительства здания и используемый для расчетов потребления топлива и отопительной нагрузки здания в течение отопительного периода

oС·сут

1.8 Коэффициент остекленное™ фасада здания

p

Отношение площади вертикального остекления к общей площади наружных стен

-

1.9 Показатель компактности здания

Отношение общей площади поверхности наружных ограждающих конструкций здания к заключенному в них отапливаемому объему

1/м

1.10 Отапливаемая площадь здания

Ah

Суммарная площадь этажей (в т. ч. и мансардного, цокольного и подвального) здания, измеряемая в пределах внутренних поверхностей наружных стен, включая площадь лестничных клеток и лифтовых шахт; для общественных зданий включается площадь антресолей, галерей и балконов зрительных залов

м2

1.11 Площадь жилых помещений и кухонь

Аl

Сумма площадей всех жилых комнат и кухонь

м2

1.12 Расчетная площадь (для общественных зданий)

Аl

Сумма площадей всех помещений здания, за исключением коридоров, лестничных клеток, помещений для размещения инженерного оборудования

м2

1.13 Отапливаемый объем

Vh

Объем, ограниченный внутренними поверхностями наружных ограждений здания (стен, покрытий, чердачных перекрытий), перекрытий пола первого этажа)

м3

1.14 Теплый чердак

-

Чердак, в пространство которого поступает воздух, удаляемый из помещений здания

-

1.15 Теплый подвал

-

Подвал, в котором размещаются трубопроводы отопления, водопровода и водоотведения, и в котором надо поддерживать положительную температуру воздуха

. -

1.16 Холодный подвал

-

Подвал, в котором отсутствуют источники тепловыделения и пространство которого сообщается с наружным

-

1.17 Отапливаемый подвал

-

Подвал, в котором предусматриваются отопительные приборы для поддержания заданной температуры

-

А.2 Показатели энергоэффективности

2.1 Потребность в тепловой энергии на отопление здания

Количество теплоты за отопительный период, необходимое для поддержания в здании нормируемых параметров теплового комфорта

МДж

2.2 Расчетный удельный расход тепловой энергии на отопление здания

Количество теплоты, необходимое для поддержания в здании нормируемых параметров теплового комфорта, отнесенное к единице отапливаемой площади здания или его объему и градусо-суткам отопительного периода

кДж/(м2·°С·сут), кДж/ (м3·°С·сут)

2.3 Требуемый удельный расход тепловой энергии на отопление здания

Нормируемое значение удельного расхода тепловой энергии на отопление здания

кДж/(м2·°С·сут), кДж/ (м3·С·сут)

2.4 Расчетный коэффициент энергетической эффективности систем отопления и централизованного теплоснабжения здания

Коэффициент, учитывающий потери в системах отопления и централизованного теплоснабжения здания и степень автоматизации регулирования их оборудования

-

2.5. Расчетный коэффициент энергетической эффективности систем отопления и децентрализованного теплоснабжения здания

hdec

Коэффициент, учитывающий потери в системах отопления и децентрализованного теплоснабжения здания и степень автоматизации регулирования их оборудования

-

2.6 Категория энергоэффективности

-

Классификация энергоэффективности здания, показатели которой устанавливаются по степени отклонения расчетного или действительного значения удельного энергопотребления на отопление здания от нормативного значения

-

Приложение Б

КАТАЛОГ СТРОИТЕЛЬНЫХ ОГРАЖДАЮЩИХ КОНСТРУКЦИЙ С ПРИМЕНЕНИЕМ ПЕНОПОЛИУРЕТАНА В КАЧЕСТВЕ УТЕПЛИТЕЛЯ (2 редакция)

(ЭКСПЕРТНОЕ ЗАКЛЮЧЕНИЕ № 893.00-04 КУ ГУП «ЦЕНТРА ГОСУДАРСТВЕННОЙ ВНЕВЕДОМСТВЕННОЙ ЭКСПЕРТИЗЫ» ОТ 12.08.04)

Пенополиуретаны относятся к числу наиболее эффективных теплоизоляционных материалов. Они имеют коэффициент теплопроводности от 0,019 до 0,035 Вт/м·°С при плотностях от 40 до 150 кг/м3. Водопоглощение пенополиуретанов не превышает 1¸3% по объему за 24 часа. Объем образцов из пенополиуретана после месячного испытания увеличивается до 4%, а затем после выдержки приближается к исходному.

Слой пенополиуретана выполняет функции антикоррозионного покрытия при величине адгезии к бетону, дереву, стеклу, металлу 2¸3 кг/см2. Таким образом можно сделать вывод, что при теплоизоляции пенополиуретаном отпадает необходимость в крепежных материалах.

Пенополиуретаны относятся к классам самозатухающих и трудновоспламеняемых материалов. В процессе эксплуатации пенополиуретаны не меняют своих теплоизоляционных и прочностных свойств при температуре от минус 60 °С до плюс 100 °С.

Теплотехнические характеристики пенополиуретана - коэффициенты теплопроводности, теплоусвоения и паропроницаемости были определены в лаборатории теплотехнических испытаний Испытательного центра "Самарастройиспытания" при Самарской Государственной архитектурно-строительной академии. Результаты теплотехнических испытаний приведены в таблице Б.1.

Таблица Б.1

Теплофизические характеристики однослойного, многослойного пенополиуретана марки ППУ-110

Плотность материала γ, кг/м3

Коэффициент теплопроводности λ, Вт/м·°С

Расчетный коэффициент теплоусвоения S, Вт/м2 °С

Удельная теплоемкость Ср, кДж/кг*гр

Коэффициент паропроницаемости μ, мг/(м·ч·Па)

в сухом состоянии

при условии эксплуатац. А

60-75 многослойный

0,027

0,032

0,504

1,50

0,0147

40-50 однослойный

0,025

0,030

 

 

0,0474

Из приведенных выше данных можно сделать вывод, что наличие тонких пленок, образующихся на поверхности каждого слоя пенополиуретана при его напылении, приводит к существенному снижению коэффициента паропроницаемости. Поэтому при внутреннем утеплении наружных стен, как показали результаты расчетов, не требуется установка дополнительной пароизоляции.

По изложенной в разделе 4 методике был выполнен теплофизический расчет строительных ограждающих конструкций в соответствии с техническим заданием, составленным Департаментом по строительству, архитектуре, жилищно-коммунальному и дорожному хозяйству Администрации Самарской области.

В данном приложении представлены проектные решения наружных стен и перекрытий с использованием пенополиуретана в качестве утеплителя. Расчет выполнен с использованием программы «Диффузия» разработанной авторами. В табличной форме приведены значения толщин теплоизоляции и пароизоляции, а также сопротивление теплопередаче и паропроницанию при коэффициенте теплотехнической однородности r = 1, т.е. для глади стены.

При выполнении теплотехнического расчета необходимо предварительно задать значение коэффициента теплотехнической однородности, руководствуясь рекомендациями, приведенными в СНиП 23-02, а также рекомендациями которые изложены в методических указаниях по расчету теплозащитных показателей ограждающих конструкций (Авдеев Г.К., Василюк B.C., Копылов К.П.).

Требуемое сопротивление теплопередаче для глади стены можно определить графическим способом, с помощью рис. Б1 и рис. Б2.

На рис. Б1 представлена зависимость требуемого сопротивления теплопередаче глади стены от градусо-суток отопительного периода (ГСОП) для различных значений коэффициентов теплотехнической однородности r для жилых зданий, лечебно-профилактических и детских учреждений, школ и интернатов, на рис. Б2 - для общественных и административных зданий.

Далее по величине сопротивления теплопередаче, с помощью таблиц для принятой ограждающей конструкции, определяется требуемая толщина пенополиуретана.

Пример теплофизического расчета наружной стены утепленной изнутри пенополиуретаном приведен в данном приложении.

Сведения об организациях - производителях приведены в приложении Г ТСН 23-349

Рис. Б1 Номограмма для определения требуемого сопротивления теплопередаче для глади стены (жилых здания, лечебно-профилактических и детских учреждений, школ и интернатов).

Рис. Б2 Номограмма для определения требуемого сопротивления теплопередаче для глади стены (общественные и административные здания).

Исходные данные

Для жилых зданий (г. Самара): tint = 20 °С;  Zht = 201 сут

Таблица Б.2

Теплофизические характеристики материалов


п/п

Наименование материала

Характеристика

γ, кг/м3

λ ,Вт/(м·°С)

μ, мг/(м·ч·Па)

1

Пенополиуретан ППУ-110

60

0,032

0,0147

2

Пеноизол

18

0,033

0,237

3

Пенополистирол ПСБС-25

16

0,041

0,05

4

Базальтовая минвата

90

0,042

0,54

5

Ячеистый бетон

600

0,16

0,17

6

Сосна

500

0,14

0,06

7

Керамзитобетон (панели)

1200

0,44

0,11

8

Железобетон (плиты перекрытия, покрытия)

2500

1,92

0,03

9

Цементно-песчаный раствор

1800

0,76

0,09

10

Известково-песчаный раствор

1600

0,7

0,12

11

Силикатный кирпич

1800

0,76

0,11

12

Керамический кирпич

1800

0,7

0,11

13

Бессер

1800

0.9

0.03

14

Гравий

800

0,21

0,21

15

Линолеум

1800

0,38

0,002

16

Рубероид

600

0,17

0,00136

17

Полиэтиленовая пленка

1600

0,38

0,00002192

18

Битумная мастика

1200

0,22

0,008

19

Изопласт

1200

0,22

0,008

20

Изопласт с крупнозернистой насыпкой

1400

0,27

0,008

21

Воздушная прослойка

СНиП II-3 приложение 4

Теплофизический расчет ограждения

(Регион строительства: г. Самара)

Тип ограждения: Стена

Тип здания: Жилое, лечебно-профилактическое, детское учреждение, школа, интернат

Таблица Б3

Состав ограждения

№ п/п

Наименование

Толщина δ, м

Плотность γ, кг/м3

Коэффициент теплопроводности λ ,Вт/(м·°С)

Коэффициент паропроницаемости μ, мг/(м·ч·Па)

1

Известково-песчаный раствор

0.02

1600

0.7

0.12

2

Пенополиуретан ППУ-110 напыляемый

0.092

110

0.032

0.0147

3

Кладка из кирпича силикатного (ГОСТ 379-79) на цементно-песчаном растворе

0.38

1800

0.76

0.11

Теплотехнический расчет ограждения

Рис. Б3

На рис. Б3 показан порядок расположения слоев в конструкции.

Находим градусо-сутки отопительного периода (Dd) по формуле

где tint - средняя температура воздуха в помещении, °С;

 и Zht - средняя температура, °С и продолжительность, отопительного периода, сут. (ТСН 23-346). Для рассматриваемого типа здания:

tint = 20 °С ;  = -5.50 °С ; Zht = 201 сут. Dd = 5125.5

Определяем  для рассматриваемого типа здания,

Далее находим , исходя из санитарно-гигиенических и комфортных условий

Принимаем наибольшее значение

Определяем приведенное сопротивление конструкции:

Коэффициент теплопередачи для глади ограждения

k = l/Ro = l/3,562 = 0,281 Вт/(м2·оС)

Для проверки условий конденсации влаги на внутренней поверхности наружного угла ограждения определяем температуру этой поверхности τy по формуле

τy = τint - (0.18 - 0.042Ro)(tint tн5)

где τint - температура внутренней поверхности стены, °С.

Вычислим удельный тепловой поток, проходящий через ограждение при температуре наружного воздуха, равной средней температуре наиболее холодной пятидневки.

q = k(tint tн5) = 0.281· (20+28) = 13.5 Вт/м2

τint = tint q/ aint = 20 -13,5/8,7 = 18.5 °C

τy = 18,5 - (0,18 – 0,042*3,56)* (20 + 28) =17 °C

Точка росы при tint = 20 °C и φint = 83 %; tp = 10,5 °C;

τy > τр; 17 > 10.5

Так как температура точки росы при заданных параметрах внутреннего воздуха меньше температуры в углу конструкции, то конденсация влаги на конструкции не будет.

Расчет влажностного режима ограждения

Определяем сопротивление паропроницанию конструкции согласно ТСН 23-349

где п - число слоев ограждения: n = 3;

Согласно метода расчета влажностного режима ограждающих конструкций, приведенного в ТСН 23-349, определяем значения безразмерных переменных Xi и Yi на границах слоев стены по следующим формулам:

где Xi - безразмерное термическое сопротивление строительной конструкции до рассматриваемого сечения;

Yi - безразмерное сопротивление паропроницанию строительной конструкции до рассматриваемого сечения.

Сопротивления и безразмерные переменные заносим в таблицу Б4.

Таблица Б4

№ п/п

1

0.03

0.17

0.0403

0.0169

2

2.88

6.26

0.8474

0.6503

3

0.50

3.45

0.9878

1.0000

Результаты расчета влажностного режима ограждения приведены на рис. Б4.

Рис. Б4. Влажностный режим ограждения.

На рис. Б4 представлена зависимость безразмерного сопротивления паропроницанию Y от безразмерного термического сопротивления X для рассматриваемой конструкции. Кривая YH характеризует значения безразмерного сопротивления паропроницанию для состояния полного насыщения влажного воздуха водяным паром.

Кривая YH построена для значений: температуры внутреннего воздуха tint = 20 °C и относительной влажности φ = 83 %. Параметры наружного воздуха приняты средними для наиболее холодного месяца (t1ext = -12.2 °С ; φ = 83 %).

где

Пересечение линий Y и YH определяет область возможной конденсации водяного пара в толще ограждения. Плоскость возможной конденсации соответствует максимальному значению разности величин Y - YH внутри этой области.

Так как линии Y и YH пересекаются, то имеет место конденсация водяного пара в толще рассматриваемой конструкции, поэтому необходимо выполнить расчет на влагонакопление.

Защита от переувлажнения ограждающих конструкций

Определяем температуру в зоне конденсации для трех периодов года;

а) зимний период.

τ1 = tint - k(tint - textl)Rvp = 20 - 0.281*(20 + 9.5)*(3.02) = -5 Вт/м2

б) переходный период.

τ2 = tint - k(tint - text2)Rvp = 20 - 0.28*(20 - 0.65)*(3.02) = 3.6 Вт/м2

в) летний период.

τ3 = tint - k(tint - text3)Rvp = 20 - 0.281*(20 - 15.32)*(3.02) = 16.03 Вт/м2

Определяем значение упругости насыщенного водяного пара Е для трех периодов года по формуле:

а) зимний период

E1 = 421,3 Па

б)переходный период

Е2 = 791 Па

в) летний период

Е3 = 1821,7 Па

Определяем упругость водяного пара в плоскости возможной конденсации за годовой период эксплуатации.

где Z1, Z2, Z3 - продолжительность, мес., зимнего, весенне-осеннего и летнего периодов, соответственно

Е = (421,3*4 + 791*2 + 1821,7*6)/12 = 1183,1 Па

Определяем фактическое сопротивление паропроницанию () части ограждения между наружной поверхностью ограждения и плоскостью возможной конденсации.

Далее находим требуемое сопротивление паропроницанию из условия недопустимости накопления влаги в ограждении за годовой период эксплуатации:

где ев - упругость водяного пара внутреннего воздуха, Па, при расчетной температуре и влажности этого воздуха;

eext - средняя упругость водяного пара наружного воздуха, Па, за годовой период, определяемая согласно [3].

Определяем фактическое сопротивление паропроницанию (Rvp) части ограждения между внутренней поверхностью ограждения и плоскостью возможной конденсации.

Rvp = 6б43 (м2·ч·Па)/мг

 6,43 > 0,76

Определяем также требуемое сопротивление паропроницанию из условия ограничения накопления влаги за период с отрицательными температурами

где Z0 - продолжительность периода влагонакопления, сут., т.е. периода с отрицательными температурами;

А = 1000 - переводной коэффициент;

γω - плотность материала изоляции;

δω - толщина изоляции;

Δωav - предельно допустимое приращение расчетного массового отношения влаги в материале, %;

Для определения Е0 находим температуру наружной изоляции при средней температуре наружного воздуха

τsr = tint - k(tint - tsr)Rvp = 20 - 0.281* (20+8,28)*(3,02) = -3,97 °С

Е0 = 455.6 Па

η = 0.0024* (455,6 - 334) *152/3,45 = 12,84

 6,43 > 1,14

Результаты расчетов влажностного режима ограждения показали, что фактическое сопротивление паропроницанию превышает требуемые значения. Следовательно, можно сделать вывод о нецелесообразности нанесения пароизоляции, так как накопление влаги в период с отрицательными температурами наружного воздуха не происходит.

Стена из силикатного кирпича, утепленная изнутри, с защитным слоем из известково-песчаного раствора

1 - известково-песчаный раствор;

2 - пенополиуретан;

3 - кирпичная кладка.

 

 

Толщина слоя теплоизоляции δ, мм

Сопротивление теплопередаче/паропроницанию стены,
2·°С)/Вт / (м·ч·Па)/мг

при толщине кирпичной стенки

 

380 мм

510 мм

640 мм

35

1,78/6,00

1,95/7,18

2,12/8,37

45

2,09/6,68

2,26/7,86

2,43/9,05

55

2,41/7,36

2,58/8,54

2,75/9,73

65

2,72/8,04

2,89/9,22

3,06/10,41

75

3,03/8,72

3,20/9,91

3,37/11,09

85

3,34/9,40

3,51/10,59

3,68/11,77

95

3,66/10,08

3,83/11,27

4,00/12,45

105

3,97/10,76

4,14/11,95

4,31/13,13

Стена из силикатного кирпича, утепленная изнутри, с защитным слоем из гипсокартона

1 - гипсокартон;

2 - пенополиуретан;

3 - кирпичная кладка.

 

 

Толщина слоя теплоизоляции δ, мм

Сопротивление теплопередаче/паропроницанию стены,
2·°С)/Вт / (м·ч·Па)/мг

при толщине кирпичной стенки

380 мм

510 мм

640 мм

35

1,82/6,01

1,99/7,19

2,16/8,37

45

2,13/6,69

2,30/7,87

2,47/9,05

55

2,45/7,37

2,62/8,55

2,79/9,73

65

2,76/8,05

2,93/9,23

3,10/10,41

75

3,07/8,73

3,24/9,91

3,41/11,09

85

3,38/9,41

3,55/10,59

3,72/11,77

95

3,70/10,09

3,87/11,27

4,04/12,45

105

4,01/10,77

4,18/11,95

4,35/13,13

Стена из силикатного кирпича, утепленная снаружи

1 - известково-песчаный раствор;

2 - кирпичная кладка;

3 - пенополиуретан;

4 - цементно-песчаный раствор.

 

 

Толщина слоя теплоизоляции δ, мм

Сопротивление теплопередаче/паропроницанию стены,
2·°С)/Вт / (м·ч·Па)/мг

при толщине кирпичной стенки

380 мм

510 мм

640 мм

35

1,8/6,22

1,97/7,41

2,14/8,59

45

2,11/6,90

2,28/8,09

2,45/9,27

55

2,42/7,58

2,60/8,77

2,77/9,95

65

2,74/8,27

2,91/9,45

3,08/10,63

75

3,05/8,95

2,91/10,13

3,39/11,31

85

3,36/9,63

3,22/10,81

3,70/11,99

95

3,67/10,31

3,85/11,49

4,02/12,67

105

3,99/10,99

4,16/12,17

4,33/13,35

Стена из керамического кирпича, утепленная изнутри, с защитным слоем из известково-песчаного раствора

1 - известково-песчаный раствор;

2 - пенополиуретан;

3 - кирпичная кладка.

 

 

Толщина слоя теплоизоляции δ, мм

Сопротивление теплопередаче/паропроницанию стены,
2·°С)/Вт / (м·ч·Па)/мг

при толщине кирпичной стенки

380 мм

510 мм

640 мм

25

1,62/4,58

1,85/5,51

2,07/6,44

35

1,94/5,26

2,16/6,19

2,38/7,12

45

2,25/5,94

2,47/6,87

2,70/7,80

55

2,56/6,62

2,78/7,55

3,01/8,48

65

2,87/7,30

3,10/8,23

3,22/9,16

75

3,19/7,98

3,41/8,91

3,63/9,84

85

3,50/8,66

3,72/9,59

3,95/10,52

95

3,81/9,34

4,03/10,27

4,26/11,20

Стена из керамического кирпича, утепленная изнутри, с защитным слоем из гипсокартона

1 - гипсокартон;

2 - пенополиуретан;

3 - кирпичная кладка.

 

 

Толщина слоя теплоизоляции δ, мм

Сопротивление теплопередаче/паропроницанию стены,
2·°С)/Вт / (м·ч·Па)/мг

при толщине кирпичной стенки

380 мм

510 мм

640 мм

25

1,66/4,59

1,89/5,52

2,11/6,45

35

1,98/5,27

2,20/6,20

2,42/7,13

45

2,29/5,95

2,51/6,88

2,74/7,81

55

2,60/6,63

2,82/7,56

3,05/8,49

65

2,91/7,31

3,14/8,24

3,36/9,17

75

3,23/7,99

3,45/8,92

3,67/9,85

85

3,54/8,67

3,76/9,60

3,99/10,53

95

3,85/9,35

4,07/10,28

4,30/11,21

Стена из керамического кирпича, утепленная снаружи

1 - известково-песчаный раствор;

2 - кирпичная кладка;

3 - пенополиуретан;

4 - цементно-песчаный раствор.

 

 

Толщина слоя теплоизоляции δ, мм

Сопротивление теплопередаче/паропроницанию стены,
2·°С)/Вт / (м·ч·Па)/мг

при толщине кирпичной стенки

 

380 мм

510 мм

640 мм

25

1,64/4,80

1,87/5,73

2,09/6,66

35

1,95/5,48

2,18/6,41

2,40/7,34

45

2,27/6,16

2,49/7,09

2,72/8,02

55

2,58/6,84

2,80/7,77

3,03/8,70

65

2,89/7,52

3,12/8,45

3,34/9,38

75

3,20/8,21

3,43/9,13

3,65/10,06

85

3,52/8,89

3,74/9,81

3,97/10,74

95

3,83/9,57

4,05/10,49

4,28/11,42

Стена из силикатного и керамического кирпича, утепленная изнутри, с защитным слоем из известково-песчаного раствора

1 - известково-песчаный раствор;

2 - пенополиуретан;

3 - силикатный кирпич;

4 - керамический кирпич.

 

Толщина слоя теплоизоляции δ, мм

Сопротивление теплопередаче/паропроницанию стены,
2·°С)/Вт / (м·ч·Па)/мг

при толщине кирпичной стенки

380 мм

510 мм

30

1,84/6,61

2,02/7,79

40

2,16/7,29

2,33/8,47

50

2,47/7,97

2,64/9,15

60

2,78/8,65

2,95/9,83

70

3,09/9,33

3,27/10,51

80

3,41/10,01

3,58/11,19

90

3,72/10,69

3,89/11,87

100

4,03/11,37

4,20/12,55

Стена из силикатного и керамического кирпича, утепленная изнутри, с защитным слоем из гипсокартона

1 - гипсокартон;

2 - пенополиуретан;

3 - силикатный кирпич;

4 - керамический кирпич.

 

 

Толщина слоя теплоизоляции δ, мм

Сопротивление теплопередаче/паропроницанию стены,
2·°С)/Вт / (м·ч·Па)/мг

при толщине кирпичной стенки

380 мм

510 мм

30

1,88/6,62

2,05/7,80

40

2,20/7,30

2,37/8,48

50

2,51/7,98

2,68/9,16

60

2,82/8,66

2,99/9,84

70

3,13/9,34

3,30/10,52

80

3,45/10,02

3,62/11,20

90

3,76/10,70

3,93/11,88

100

4,07/11,38

4,24/12,56

Слоистая кладка из силикатного и керамического кирпича

1 - известково-песчаный раствор;

2 - силикатный кирпич;

3 - пенополиуретан;

4 - керамический кирпич.

 

 

Толщина слоя теплоизоляции δ, мм

Сопротивление теплопередаче/паропроницанию стены,
2·°С)/Вт / (м·ч·Па)/мг

при толщине кирпичной стенки

380 мм

510 мм

45

2,29/7,50

2,46/8,68

55

2,60/8,18

2,78/9,36

65

2,92/8,86

3,09/10,04

75

3,23/9,54

3,40/10,72

85

3,54/10,22

3,71/11,40

95

3,85/10,90

4,03/12,08

105

4,17/11,58

4,34/12,76

115

4,48/12,26

4,65/13,44

125

4,79/12,94

4,96/14,12

Слоистая кладка из силикатного кирпича

1 - известково-песчаный раствор;

2 - силикатный кирпич;

3 -пенополиуретан;

4 - силикатный кирпич.

 

Толщина слоя теплоизоляции δ, мм

Сопротивление теплопередаче/паропроницанию стены,
2·°С)/Вт / (м·ч·Па)/мг

при толщине кирпичной стенки

380 мм

510 мм

45

2,24/7,73

2,42/8,91

55

2,56/8,41

2,73/9,59

65

2,87/9,09

3,04/10,27

75

3,18/9,77

3,55/10,95

85

3,49/10,45

3,66/11,63

95

3,81/11,13

3,98/12,31

105

4,12/11,81

4,29/13,00

115

4,43/12,49

4,60/13,68

125

4,74/13,17

4,91/14,36

Стена из керамзитобетона, утепленная изнутри, с защитным слоем из известково-песчаного раствора

1 - известково-песчаный раствор;

2 - пенополиуретан;

3 - панель из керамзитобетона.

 

Толщина слоя теплоизоляции δ, мм

Сопротивление теплопередаче/паропроницанию стены,
2·°С)/Вт / (м·ч·Па)/мг

при толщине керамзитобетонной панели

 

350 мм

400 мм

25

1,88/4,67

2,01/5,07

35

2,19/5,35

2,32/5,75

45

2,50/6,03

2,63/6,43

55

2,81/6,71

2,94/7,11

65

3,13/7,39

3,26/7,79

75

3,44/8,07

3,57/8,47

85

3,75/8,75

3,88/9,15

95

4,06/9,43

4,19/9,83

Стена из керамзитобетона, утепленная изнутри, с защитным слоем из гипсокартона

1 - гипсокартон;

2 - пенополиуретан;

3 - панель из керамзитобетона.

 

 

Толщина слоя теплоизоляции δ, мм

Сопротивление теплопередаче/паропроницанию стены,
2·°С)/Вт / (м·ч·Па)/мг

при толщине керамзитобетонной панели

350 мм

400 мм

25

1,92/4,67

2,05/5,07

35

2,23/5,35

2,36/5,75

45

2,54/6,03

2,67/6,43

55

2,85/6,71

2,98/7,11

65

3,17/7,40

3,30/7,80

75

3,48/8,08

3,61/8,48

85

3,79/8,76

3,92/9,16

95

4,10/9,44

4,23/9,84

Стена из керамзитобетона, утепленная снаружи

1 - панель из керамзитобетона;

2 - пенополиуретан;

3 - известково-песчаный раствор.

 

 

Толщина слоя теплоизоляции δ, мм

Сопротивление теплопередаче/паропроницанию стены,
2·°С)/Вт / (м·ч·Па)/мг

при толщине керамзитобетонной панели

350 мм

400 мм

25

1,88/4,67

2,01/5,07

35

2,19/5,35

2,32/5,75

45

2,50/6,03

2,63/6,43

55

2,81/6,71

2,94/7,11

65

3,13/7,39

3,26/7,79

75

3,44/8,07

3,57/8,47

85

3,75/8,75

3,88/9,15

95

4,06/9,43

4,19/9,83

Стена из ячеистого бетона, утепленная снаружи

1 - цементно-песчаная штукатурка;

2 - ячеистый бетон;

3 - пенополиуретан;

4 - воздушная прослойка;

5 - облицовочный слой.

 

Толщина слоя теплоизоляции δ, мм

Сопротивление теплопередаче/паропроницанию стены,
2·°С)/Вт / (м·ч·Па)/мг

при облицовочном слое

 

керамический кирпич 120 мм

бессер 90 мм

20

2,84/3,34

2,68/5,48

30

3,15/4,02

3,00/6,16

40

3,47/4,70

3,31/6,84

50

3,78/5,38

3,62/7,52

60

4,09/6,06

3,93/8,20

70

4,40/6,74

4,25/8,88

80

4,72/7,42

4,56/9,56

Деревянные стены из бревен или бруса

1 - внутренняя часть стены из бруса;

2 - пенополиуретан;

3 - наружная часть стены из бруса.

 

Толщина слоя теплоизоляции δ, мм

Сопротивление теплопередаче/паропроницанию стены,
2·°С)/Вт / (м·ч·Па)/мг

при толщине бруса

 

75+75=150 мм

100+100=200 мм

20

1,85/3,86

2,21/4,69

30

2,17/4,54

2,52/5,37

40

2,48/5,22

2,84/6,05

50

2,79/5,90

3,15/6,73

60

3,10/6,58

3,46/7,41

70

3,42/7,26

3,77/8,10

80

3,73/7,94

4,09/8,78

Деревянные каркасные и каркасно-щитовые стены

1 - гипсокартон;

2 - пенополиуретан;

3 - наружная обшивка из досок.

 

 

Толщина слоя теплоизоляции δ, мм

Сопротивление теплопередаче/паропроницанию стены,
2·°С)/Вт / (м·ч·Па)/мг

50

2,01/4,08

60

2,32/4,76

70

2,63/5,44

80

2,94/6,12

90

3,26/6,80

100

3,57/7,48

110

3,88/8,16

Перекрытие над подвалом

1 - линолеум;

2 - цементная стяжка;

3 - пенополиуретан;

4 -железобетонная плита сплошная / пустотная.

 

 

Толщина слоя теплоизоляции δ, мм

Сопротивление теплопередаче/паропроницанию стены,
2·°С)/Вт / (м·ч·Па)/мг

при толщине железобетонной плиты

 

160 мм

220 мм

40

1,55/9,89

1,58/11,89

50

1,86/10,57

1,89/12,57

60

2,17/11,25

2,21/13,25

70

2,48/11,93

2,52/13,93

80

2,80/12,61

2,83/14,61

90

3,11/13,29

3,14/15,29

100

3,42/13,97

3,46/15,97

110

3,73/14,65

3,77/16,65

Чердачное перекрытие (исполнение 1)

1 - железобетонная плита сплошная / пустотная;

2 - пенополиуретан;

3 - настил из досок.

 

 

Толщина слоя теплоизоляции δ, мм

Сопротивление теплопередаче/паропроницанию стены,
2·°С)/Вт / (м·ч·Па)/мг

при толщине железобетонной плиты

 

160 мм

220 мм

30

1,45/7,99

1,49/9,99

40

1,76/8,67

1,80/10,67

50

2,08/9,35

2,11/11,35

60

2,39/10,03

2,42/12,03

70

2,70/10,71

2,74/12,71

80

3,01/11,39

3,05/13,39

90

3,33/12,07

3,36/14,07

100

3,64/12,75

3,67/14,75

Чердачное перекрытие (исполнение 2)

1 - железобетонная плита сплошная / пустотная

2 - пенополиуретан;

3 - известково-песчаная стяжка.

 

 

Толщина слоя теплоизоляции δ, мм

Сопротивление теплопередаче/паропроницанию стены,
2·°С)/Вт / (м·ч·Па)/мг

при толщине железобетонной плиты

160 мм

220 мм

60

2,17/9,67

2,20/11,66

70

2,48/10,35

2,51/12,35

80

2,79/11,03

2,83/13,03

90

3,11/11,71

3,14/13,71

100

3,42/12,39

3,45/14,39

110

3,73/13,07

3,76/15,07

120

4,04/13,75

4,08/15,75

130

4,36/14,43

4,39/16,43

140

4,67/15,11

4,70/17,11

Покрытие

1 -железобетонная плита сплошная / пустотная;

2 - пенополиуретан;

3 - цементно-песчаная стяжка;

4 - 4 слоя рубероида толщиной 6 мм;

5 - 1 слой гравия.

 

 

Толщина слоя теплоизоляции δ, мм

Сопротивление теплопередаче/паропроницанию стены,
2·°С)/Вт / (м·ч·Па)/мг

при толщине железобетонной плиты

160 мм

220 мм

70

2,53/10,48

2,56/12,48

80

2,84/11,16

2,87/13,16

90

3,15/11,84

3,19/13,84

100

3,46/12,52

3,50/14,52

110

3,78/13,20

3,81/15,20

120

4,09/13,88

4,12/15,88

130

4,40/14,56

4,44/16,56

140

4,71/15,24

4,75/17,24

150

5,03/15,92

5,06/17,92

Приложение В

КАТАЛОГ СТРОИТЕЛЬНЫХ ОГРАЖДАЮЩИХ КОНСТРУКЦИЙ С ПРИМЕНЕНИЕМ ПЕНОИЗОЛА В КАЧЕСТВЕ УТЕПЛИТЕЛЯ (2 редакция)

(издано отдельно)

Пеноизол представляет собой новый вид утеплителя из семейства карбамидоформальдегидных пенопластов, разработан научно - техническим центром МЕТТЭМ и впервые был использован в Москве при строительстве 14-этажных зданий.

Пеноизол обладает высокими теплоизоляционными свойствами, низкой плотностью (15¸20 кг/м3), простотой его получения, большой сопротивляемостью огню, дешевизной изготовления, улучшенными экологическими и эксплуатационными характеристиками.

Производится в виде плит размером 50x60 см. Толщина плиты определяется на основании теплотехнического расчета строительных ограждающих конструкций. По согласованию с потребителем допускается заливка пеноизола в пустотелые полости и профили.

Долговечность пеноизола в строительстве по результатам климатических испытаний, произведенных институтом химической физики РАН, должна составлять не менее 30-35 лет для вертикальных конструкций сооружений. Время надежной работы пеноизола в качестве ненесущего среднего слоя трехслойной конструкций зданий и сооружений в широком диапазоне изменения температуры и относительной влажности неограниченно.

Пеноизол не способен к самостоятельному горению после отключении источника огня, к образованию расплавов, к развитию стабильного процесса горения и выделению под воздействием пламени высокотоксичных веществ.

Пеноизол относится к группе горючести не ниже Г2 - группе воспламеняемых не ниже В2, с умеренной дымообразующей способностью не ниже Д1, группе токсичности Т2 (умеренно опасные). Имеется гигиенический сертификат на пеноизол. Технические условия на пеноизол 15 ноября 1999г. согласованы Главным государственным санитарным врачом по Московской области.

Теплотехнические характеристики пеноизола - коэффициенты теплопроводности, теплоусвоения и паропроницаемости были определены в лаборатории теплотехнических испытаний Испытательного центра "Самарастройиспытания" при Самарской Государственной архитектурно-строительной академии.

Результаты теплотехнических испытаний приведены в таблице В.1.

Таблица В.1

Теплофизические характеристики пеноизола

Плотность материала Y, кг/м3

Коэффициент теплопроводности λ, Вт/м·°С

Расчетный коэффициент

теплоусвоения S, Вт/м2·°С

Удельная теплоемкость Cp

кДж/кг*гр

Коэффициент паропроницаемости μ , мг/мчПа

в сухом состоянии

при условиях эксплуатац. А

18

0,03

0,033

0,225

1,42

0,237

Из приведенных выше данных следует, что пеноизол по значению коэффициента теплопроводности превосходит лишь дорогостоящие эффективные теплоизоляционные материалы - пенополиуретан и пеноплэкс.

Ниже представлены прочие важнейшие физические характеристики пеноизола.

Таблица В.2

Физические характеристики пеноизола

Наименование показателя

Фактическое значение показателей

Плотность, кг/м3

15¸20

Прочность на сжатие при 10%-ной деформации, МПа, не менее

0,05¸0,02 (зависит от плотности)

Водопоглощение за 24 часа, % по объему, в среднем

10

Сорбционное увлажнение, % по массе, не более

20

Пеноизол в настоящее время является одним из самых дешевых утеплителей. Он широко применяется в многослойных ограждающих конструкциях - в колодцевой и слоистой кладках из силикатного или керамического кирпича, в самонесущих наружных стенах из ячеистого бетона в качестве теплоизоляционного слоя, а также в сэндвич - панелях.

Сведения об организациях - производителях приведены в приложении Г ТСН 23-349

Исходные данные и теплофизические характеристики для расчета конструкций с использованием пеноизола приведены в таблице Б1 приложения Б.

Стена из силикатного кирпича, утепленная изнутри, с защитным слоем из известково-песчаного раствора

1 - известково-песчаный раствор;

2 - полиэтиленовая пленка;

3 - пеноизол;

4 -кирпичная кладка.

 

Толщина слоя теплоизоляции δ, мм

Толщина слоя пароизоляции, мм

Сопротивление теплопередаче/паропроницанию стены,
2·°С)/Вт / (м·ч·Па)/мг

при толщине кирпичной стенки

380

510

640

380 мм

510 мм

640 мм

35

0,15

0,1

0,1

1,75/10,32

1,92/9,51

2,09/10,69

45

0,15

0,15

0,1

2,05/10,65

2,22/11,83

2,39/10,73

55

0,15

0,15

0,15

2,35/10,69

2,53/11,88

2,70/13,06

65

0,15

0,15

0,15

2,66/10,74

2,83/11,92

3,00/13,10

75

0,15

0,15

0,15

2,96/10,78

3,13/11,96

3,30/13,14

85

0,15

0,15

0,15

3,26/10,82

3,43/12,00

3,60/13,18

95

0,15

0,15

0,1

3,57/10,86

3,74/12,04

3,91/10,95

105

0,15

0,1

0,1

3,87/10,90

4,04/9,58

4,21/10,99

Стена из силикатного кирпича, утепленная изнутри, с защитным слоем из гипсокартона

1 - гипсокартон;

2 - полиэтиленовая пленка;

3 - пеноизол;

4 - кирпичная кладка.

 

 

Толщина слоя теплоизоляции δ, мм

Толщина слоя пароизоляции, мм

Сопротивление теплопередаче/паропроницанию стены,
2·°С)/Вт / (м·ч·Па)/мг

при толщине кирпичной стенки

380

510

640

380 мм

510 мм

640 мм

35

0,15

0,1

0,1

1,79/10,62

1,96/9,52

2,13/10,70

45

0,15

0,15

0,15

2,09/10,66

2,26/11,84

2,43/13,02

55

0,15

0,15

0,15

2,39/10,70

2,56/11,88

2,73/13,06

65

0,15

0,15

0,15

2,70/10,74

2,87/11,92

3,04/13,11

75

0,15

0,15

0,15

3,00/10,78

3,17/11,97

3,34/13,15

85

0,15

0,15

0,15

3,30/10,83

3,47/12,01

3,64/13,19

95

0,15

0,15

0,1

3,61/10,87

3,78/12,05

3,95/10,95

105

0,15

0,1

0,1

3,91/10,91

4,08/9,81

4,25/10,99

Стена из силикатного кирпича, утепленная снаружи

1 - известково-песчаный раствор;

2 - кирпичная кладка;

3 - пеноизол;

4 - цементно-песчаный раствор.

 

Толщина слоя теплоизоляции δ, мм

Сопротивление теплопередаче/паропроницанию стены,
2·°С)/Вт / (м·ч·Па)/мг

при толщине кирпичной стенки

380 мм

510 мм

640 мм

35

1,77/3,95

1,94/5,13

2,11/6,31

45

2,07/3,99

2,24/5,17

2,41/6,36

55

2,37/4,03

2,54/5,22

2,71/6,40

65

2,68/4,08

2,85/5,26

3,02/6,44

75

2,98/4,12

3,15/5,30

3,32/6,48

85

3,28/4,16

3,45/5,34

3,62/6,52

95

3,58/4,20

3,76/5,38

3,93/6,57

105

3,89/4,24

4,06/5,43

4,23/6,61

Стена из керамического кирпича, утепленная изнутри, с защитным слоем из известково-песчаного раствора

1 - известково-песчаный раствор;

2 - полиэтиленовая пленка

3 - пеноизол;

4 - кирпичная кладка.

 

 

Толщина слоя теплоизоляции δ, мм

Толщина слоя пароизоляции, мм

Сопротивление теплопередаче/паропроницанию стены,
2·°С)/Вт / (м·ч·Па)/мг

при толщине кирпичной стенки

 

380

510

640

380 мм

510 мм

640 мм

30

0,1

0,05

0,05

1,75/7,57

1,97/6,22

2,20/7,14

40

0,1

0,1

0,1

2,05/7,61

2,28/8,54

2,50/9,47

50

0,1

0,1

0,1

2,36/7,65

2,58/8,58

2,81/9,51

60

0,1

0,1

0,1

2,66/7,69

2,88/8,62

3,11/9,55

70

0,1

0,1,

0,1

2,96/7,74

3,19/8,66

3,41/9,59

80

0,1

0,1 :

0,1

3,27/7,78

3,49/8,71

3,72/9,64

90

0,1

0,1

0,1

3,57/7,82

3,79/8,75

4,02/9,68

100

0,1

0,1

0,1

3,87/7,86

4,10/8,79

4,32/9,72

Стена из керамического кирпича, утепленная изнутри, с защитным слоем из гипсокартона

1 - гипсокартон;

2 - полиэтиленовая пленка

3 - пеноизол;

4 - кирпичная кладка.

 

Толщина слоя теплоизоляции δ, мм

Толщина слоя пароизоляции, мм

Сопротивление теплопередаче/паропроницанию стены,
2·°С)/Вт / (м·ч·Па)/мг

при толщине кирпичной стенки

380

510

640

380 мм

510 мм

640 мм

25

0,05

0,05

0,05

1,64/5,27

1,86/6,20

2,09/7,13

35

0,1

0,1

0,05

1,94/7,60

2,17/8,52

2,39/7,17

45

0,1

0,1

0,1

2,25/7,64

2,47/8,57

2,69/9,49

55

0,1

0,1

0,1

2,55/7,68

2,77/8,61

3,00/9,54

65

0,1

0,1

0,1

2,85/7,72

3,08/8,65

3,30/9,58

75

0,1

0,1

0,1

3,15/7,76

3,38/8,69

3,60/9,62

85

0,1

0,1

0,1

3,46/7,81

3,68/8,73

3,91/9,66

95

0,1

0,1

0,1

3,76/7,85

3,98/8,78

4,21/9,71

105

0,1

0,1

0,1

4,06/7,89

4,29/8,82

4,51/9,75

Стена из керамического кирпича, утепленная снаружи

1 - известково-песчаный раствор;

2 - кирпичная кладка;

3 - пеноизол;

4 - цементно-песчаный раствор.

 

Толщина слоя теплоизоляции δ, мм

Сопротивление теплопередаче/паропроницанию стены,
2·°С)/Вт / (м·ч·Па)/мг

при толщине кирпичной стенки

 

380 мм

510 мм

640 мм

30

1,77/3,19

1,99/4,12

2,22/5,05

40

2,07/3,23

2,30/4,16

2,52/5,09

50

2,38/3,27

2,60/4,20

2,82/5,13

60

2,68/3,31

2,90/4,24

3,12/5,17

70

2,98/3,36

3,21/4,29

3,42/5,21

80

3,29/3,40

3,51/4,33

3,73/5,26

90

3,59/3,44

3,81/4,37

4,03/5,30

100

3,89/3,48

4,12/4,41

4,34/5,34

Стена из силикатного и керамического кирпича, утепленная изнутри, с защитным слоем из известково-песчаного раствора

1 - известково-песчаный раствор;

2 - полиэтиленовая пленка;

3 - пеноизол;

4 - силикатный кирпич;

5 - керамический кирпич;

 

 

Толщина слоя теплоизоляции δ, мм

Толщина слоя пароизоляции, мм

Сопротивление теплопередаче/паропроницанию стены,
2·°С)/Вт / (м·ч·Па)/мг

при толщине кирпичной стенки

380мм

510мм

380 мм

510,мм

30

0,1

0,1

1,82/9,26

1,99/10,44

40

0,1

0,1

2,12/9,30

2,29/10,48

50

0,15

0,1

2,42/11,62

2,59/10,52

60

0,15

0,15

2,72/11,66

2,90/12,84

70

0,15

0,15

3,03/11,70

3,20/12,89

80

0,15

0,15

3,33/11,75

3,50/12,93

90

0,15

0,1

3,63/11,79

3,80/10,69

100

0,1

0,1

3,94/9,55

4,11/10,73

Стена из силикатного и керамического кирпича, утепленная изнутри, с защитным слоем из гипсокартона

1 - гипсокартон;

2 - полиэтиленовая пленка

3 - пеноизол;

4 - силикатный кирпич;

5 - керамический кирпич.

 

Толщина слоя теплоизоляции δ, мм

Толщина слоя пароизоляции, мм

Сопротивление теплопередаче/паропроницанию стены,
2·°С)/Вт / (м·ч·Па)/мг

при толщине кирпичной стенки

 

380 мм

510 мм

380 мм

510 мм

30

0,1

0,1

1,86/9,26

2,03/10,44

40

0,1

0,1

2,16/9,30

2,33/10,49

50

0,15

0,1

2,46/11,63

2,63/10,53

60

0,15

0,15

2,76/11,67

2,94/12,85

70

0,15

0,15

3,07/11,71

3,24/12,89

80

0,15

0,15

3,37/11,75

3,54/12,94

90

0,15

0,1

3,67/11,80

3,84/10,70

100

0,1

0,1

3,98/11,84

4,15/10,74

Слоистая кладка из силикатного и керамического кирпича

1 - известково-песчаный раствор;

2 - силикатный кирпич;

3 - пеноизол;

4 - керамический кирпич.

 

 

Толщина слоя теплоизоляции δ, мм

Сопротивление теплопередаче/паропроницанию стены,
2·°С)/Вт / (м·ч·Па)/мг

при толщине кирпичной стенки

380 мм

510 мм

50

2,40/4,65

2,57/5,83

60

2,70/4,69

2,88/5,87

70

3,01/4,73

3,08/5,91

80

3,31/4,77

3,38/5,96

90

3,61/4,82

3,78/6,00

100

3,92/4,86

4,09/6,04

110

4,22/4,90

4,39/6,08

120

4,52/4,94

4,69/6,12

Слоистая кладка из силикатного кирпича

1 - известково-песчаный раствор;

2 - силикатный кирпич;

3 - пеноизол;

4 - силикатный кирпич.

 

Толщина слоя теплоизоляции δ, мм

Сопротивление теплопередаче/паропроницанию стены,
2·°С)/Вт / (м·ч·Па)/мг

при толщине кирпичной стенки

 

380 мм

510 мм

50

2,35/4,88

2,52/6,06

60

2,66/4,92

2,83/6,11

70

2,96/4,97

3,13/6,15

80

3,26/5,01

3,43/6,19

90

3,56/5,05

3,74/6,23

100

3,87/5,09

4,04/6,27

110

4,07/5,13

4,34/6,32

120

4,37/5,18

4,64/6,36

Стена из керамзитобетона, утепленная изнутри, с защитным слоем из известково-песчаного раствора

1 - известково-песчаный раствор;

2 - полиэтиленовая пленка;

3 - пеноизол;

4 - панель из керамзитобетона.

 

Толщина слоя теплоизоляции δ, мм

Толщина слоя пароизоляции, мм

Сопротивление теплопередаче/паропроницанию стены,
2·°С)/Вт / (м·ч·Па)/мг

при толщине керамзитобетонной панели

 

350 мм

400 мм

350 мм

400 мм

30

0,05

0,05

2,00/5,37

2,13/5,77

40

0,05

0,05

2,31/5,42

2,43/5,82

50

0,1

0,1

2,61/7,74

2,73/8,14

60

0,1

0,1

2,91/7,78

3,04/8,18

70

0,1

0,1

3,22/7,82

3,35/8,22

80

0,1

0,1

3,52/7,86

3,65/8,26

90

0,1

0,1

3,82/7,91

3,95/8,31

100

0,1

0,1

4,12/7,95

4,26/8,35

Стена из керамзитобетона, утепленная изнутри, с защитным слоем из гипсокартона

1 - гипсокартон;

2 - полиэтиленовая пленка;

3 - пеноизол;

4 - панель из керамзитобетона.

 

 

Толщина слоя теплоизоляции δ, мм

Толщина слоя пароизоляции, мм

Сопротивление теплопередаче/паропроницанию стены,
2·°С)/Вт / (м·ч·Па)/мг

при толщине керамзитобетонной панели

350 мм

400 мм

350 мм

400 мм

30

0,05

0,05

2,04/5,38

2,17/5,78

40

0,05

0,05

2,35/5,42

2,48/5,82

50

0,1

0,1

2,65/7,74

2,78/8,14

60

0,1

0,1

2,95/7,79

3,08/8,19

70

0,1

0,1

3,26/7,83

3,39/8,23

80

0,1

0,1

3,56/7,87

3,69/8,27

90

0,1

0,1

3,86/7,91

3,99/8,31

100

0,1

0,1

4,17/7,96

4,30/8,36

Стена из керамзитобетона, утепленная снаружи

1 - панель из керамзитобетона;

2 - пеноизол;

3 - известково-песчаный раствор.

 

 

Толщина слоя теплоизоляции δ, мм

Сопротивление теплопередаче/паропроницанию стены,
2·°С)/Вт / (м·ч·Па)/мг

при толщине железобетонной плиты

 

160 мм

220 мм

30

2,00/3,15

2,13/3,55

40

2,31/3,19

2,44/3,59

50

2,61/3,23

2,74/3,63

60

2,91/3,28

3,04/3,68

70

3,21/3,32

3,34/3,72

80

3,52/3,36

3,65/3,76

90

3,82/3,40

3,95/3,80

100

4,12/3,44

4,25/3,84

Стена из ячеистого бетона, утепленная снаружи

1 - цементно-песчаная штукатурка;

2 - ячеистый бетон;

3 - пароизоляция - полиэтиленовая пленка;

4 - пеноизол;

5 - воздушная прослойка;

6 - облицовочный слой.

 

 

Толщина слоя теплоизоляции δ, мм

Толщина слоя пароизоляции, мм

Сопротивление теплопередаче/паропроницанию стены,
2·°С)/Вт / (м·ч·Па)/мг

при облицовочном слое

120 мм

90 мм

керамический кирпич 120 мм

бессер 90 мм

20

0,05

0,05

2,82/4,34

2,66/6,49

30

0,05

0,05

3,13/4,39

2,97/6,53

40

0,05

0,05

3,43/4,43

3,27/6,57

50

0,05

0,05

3,74/4,47

3,57/6,61

60

0,05

0,05

4,04/4,51

3,88/6,65

70

0,05

0,05

4,34/4,55

4,18/6,70

80

0,05

0,05

4,64/4,60

4,48/6,74

Деревянные стены из бревен или бруса

1 - внутренняя часть стены из бруса;

2 - пароизоляция - полиэтиленовая пленка;

3 - пеноизол;

4 - наружная часть стены из бруса.

 

 

Толщина слоя теплоизоляции δ, мм

Толщина слоя пароизоляции, мм

Сопротивление теплопередаче/паропроницанию стены,
2·°С)/Вт / (м·ч·Па)/мг

при толщине бруса

 

75/75

100/100

75+75=150 мм

100+100=200 мм

20

0,05

0,05

1,84/4,86

2,19/5,70

30

0,05

0,05

2,14/4,91

2,50/5,74

40

0,05

0,05

2,44/4,95

2,80/5,78

50

0,1

0,05

2,74/7,27

3,10/5,82

60

0,1

0,05

3,05/7,31

3,40/5,87

70

0,1

0,05

3,35/7,36

3,71/5,91

80

0,05

0,05

3,73/5,12

4,01/5,95

Деревянные каркасные и каркасно-щитовые стены

1 - гипсокартон;

2 - пароизоляция - полиэтиленовая пленка;

3 - пеноизол;

4 - наружная обшивка из досок.

 

 

Толщина слоя теплоизоляции δ, мм

Толщина слоя пароизоляции, мм

Сопротивление теплопередаче/паропроницанию стены,
2·°С)/Вт / (м·ч·Па)/мг

50

0,1

1,96/5,45

60

0,1

2,26/5,49

70

0,1

2,56/5,54

80

0,1

2,87/5,58

90

0,1

3,17/5,62

100

0,1

3,47/5,66

110

0,1

3,78/5,70

Чердачное перекрытие (исполнение 1)

1 - железобетонная плита пустотная;

2 - пеноизол;

3 - настил из досок.

 

Толщина слоя теплоизоляции δ, мм

Сопротивление теплопередаче/паропроницанию стены,
2·°С)/Вт / (м·ч·Па)/мг

при толщине железобетонной плиты

160 мм

220 мм

60

2,28/6,09

2,32/8,09

70

2,59/6,13

2,62/8,13

80

2,89/6,17

2,92/8,17

90

3,19/6,21

3,23/8,21

100

3,49/6,26

3,53/8,26

110

3,80/6,30

3,83/8,30

120

4,10/6,34

4,14/8,34

130

4,40/6,38

4,44/8,38

140

4,71/6,42

4,74/8,42

Чердачное перекрытие (исполнение 2)

1 - железобетонная плита пустотная;

2 - пеноизол;

3 - цементно-стружечная плита.

 

 

Толщина слоя теплоизоляции δ, мм

Сопротивление теплопередаче/паропроницанию стены,
2·°С)/Вт / (м·ч·Па)/мг

при толщине железобетонной плиты

160 мм

220 мм

60

2,18/5,84

2,22/7,84

70

2,49/5,88

2,52/7,88

80

2,79/5,92

2,82/7,92

90

3,09/5,96

3,13/7,96

100

3,40/6,01

3,43/8,01

110

3,70/6,05

3,73/8,05

120

4,00/6,09

4,04/8,09

130

4,30/6,13

4,34/8,13

140

4,61/6,17

4,64/8,17

Приложение Г

КАТАЛОГ СТРОИТЕЛЬНЫХ ОГРАЖДАЮЩИХ КОНСТРУКЦИЙ С ПРИМЕНЕНИЕМ ПЕНОПОЛИСТИРОЛА В КАЧЕСТВЕ УТЕПЛИТЕЛЯ

Пенополистирол относится к числу наиболее распространенных теплоизоляционных материалов. Выпускается в соответствии с ГОСТ 15588-86 в виде плит длинной до 5 м и шириной до 1,3 м при максимальной толщине изделия 0,5 м. Плотность материала варьируется в пределах от 15 кг/м3 до 50 кг/м3. Плиты предназначены для тепловой изоляции в качестве среднего слоя строительных ограждающих конструкций и промышленного оборудования при отсутствии контакта с внутренними помещениями. Температура изолируемых поверхностей не должна быть выше 80 °С.

Плиты относятся к группе сгораемых материалов.

Физико-механические характеристики материала представлены в следующей таблице:

Таблица Г.1

Физико-механические характеристики пенополистирола

Наименование показателя

Фактическое значение показателей

ПСБ-С по ГОСТ 15588-86

15

25

35

50

Плотность, кг/м3

До 15

15,1-25,0

25,1-35,0

35,1-50,0

Прочность на сжатие при 10%-ной деформации, МПа, не менее

0,05

0,1

0,16

0,20

Предел прочности при изгибе, МПа

0,07

0,18

0,25

0,35

Теплопроводность в сухом состоянии при (298±5)К, Вт/(МхК)

0,037

0,035

0,033

0,038

Водопоглощение за 24 часа, % не более

2,5

0,5

0,5

0,5

Время самостоятельного горения, сек не более

2

Влажность плит, % не более

1

Пенополистирол широко используется в качестве утеплителя в фасадных системах. Так как он является горючим материалом, предусматриваются противопожарные рассечки из минваты шириной не мене 150 мм. Примеры строительных узлов представленные в приложении Е.

Сведения об организациях - производителях приведены в приложении Г ТСН 23-349.

Исходные данные и теплофизические характеристики для расчета конструкций с использованием пенополистирола приведены в таблице Б.1 приложения Б.

Стена из силикатного кирпича, утепленная снаружи

1 - известково-песчаный раствор;

2 - кирпичная кладка из силикатного кирпича;

3 - пенополистирол ПСБС-25;

4 - цементно-песчаный раствор.

 

Толщина слоя теплоизоляции δ, мм

Сопротивление теплопередаче/паропроницанию стены,
2·°С)/Вт / (м·ч·Па)/мг

при толщине кирпичной стенки

380 мм

510 мм

640 мм

35

1.56

4.50

1.73

5.68

1.90

6.87

45

1.80

4.70

1.98

5.88

2.15

7.07

55

2.05

4.90

2.22

6.08

2.39

7.27

65

2.29

5.10

2.46

6.28

2.63

7.47

75

2.54

5.30

2.71

6.48

2.88

7.67

85

2.78

5.50

2.95

6.68

3.12

7.87

95

3.02

5.70

3.19

6.88

3.37

8.07

105

3.27

5.90

3.44

7.08

3.61

8.27

115

3.51

6.10

3.68

7.28

3.85

8.47

125

3.76

6.30

3.93

7.48

4.10

8.67

Стена из керамического кирпича, утепленная снаружи

1 - известково-песчаный раствор;

2 - кирпичная кладка из керамического кирпича;

3 - пенополистирол ПСБС-25;

4 - цементно-песчаный раствор.

 

Толщина слоя теплоизоляции δ, мм

Сопротивление теплопередаче/паропроницанию стены,
2·°С)/Вт / (м·ч·Па)/мг

при толщине кирпичной стенки

380 мм

510 мм

640 мм

25

1.36

4.30

1.54

5.48

1.73

6.67

35

1.60

4.50

1.78

5.68

1.97

6.87

45

1.85

4.7

2.03

5.88

2.22

7.07

55

2.09

4.9

2.28

6.08

2.46

7.27

65

2.33

5.1

2.52

6.28

2.71

7.47

75

2.58

5.3

2.76

6.48

2.95

7.67

85

2.82

5.5

3.00

6.68

3.19

7.87

95

3.07

5.7

3.25

6.88

3.44

8.07

105

3.31

5.9

3.50

7.08

3.68

8.27

115

3.55

6.1

3.74

7.28

3.93

8.47

Слоистая кладка из силикатного и керамического кирпича

1 - известково-песчаный раствор;

2 - кирпичная кладка из силикатного кирпича;

3 - пароизоляция (полиэтиленовая пленка);

4 - пенополистирол ПСБС-25;

5 - облицовка из керамического кирпича.

 

 

Толщина слоя теплоизоляции δ, мм

Толщина слоя пароизоляции в мм, при толщине кирпичной стенки

Сопротивление теплопередаче/паропроницанию стены,
2·°С)/Вт / (м·ч·Па)/мг

при толщине кирпичной стенки

380 мм

510 мм

640 мм

380 мм

510 мм

640 мм

45

0,10

0,10

0,10

1.95

10.13

2.12

11.31

2.29

12.50

55

0.1-5

0,10

0,10

2.19

12.61

2.36

11.51

2.54

12.70

65

0,15

0,15

0,10

2.44

12.81

2.61

13.99

2.78

12.90

75

0,15

0,15

0,15

2.68

13.01

2.85

14.20

3.02

15.38

85

0,15

0,15

-

2.92

13.21

3.10

14.40

3.27

8.73

95

0,20

-

-

3.17

15.69

3.34

7.75

3.51

8.93

105

0,20

-

-

3.41

15.89

3.58

7.95

3.75

9.13

115

-

-

-

3.66

6.97

3.83

8.15

4.00

9.33

125

-

-

-

3.90

7.17

4.07

8.35

4.24

9.53

Слоистая кладка из силикатного кирпича

1 - известково-песчаный раствор;

2 - кирпичная кладка из силикатного кирпича;

3 - пароизоляция (полиэтиленовая пленка);

4 - пенополистирол ПСБС-25;

5 - кирпичная кладка из силикатного кирпича.

 

 

Толщина слоя теплоизоляции δ, мм

Толщина слоя пароизоляции в мм, при толщине кирпичной стенки

Сопротивление теплопередаче/паропроницанию стены,
2·°С)/Вт / (м·ч·Па)/мг

при толщине кирпичной стенки

380 мм

510 мм

640 мм

38&мм

510 мм

640 мм

45

0,15

0,10

0.10

1.94

12.41

2.11

11.31

2.28

12.50

55

0,15

0,15

0,10

2.18

12.61

2.35

13.80

2.52

12.70

65

0,15

0,15

0,15

2.42

12.81

2.59

14.00

2.77

15.18

75

0,15

0,15

0,15

2.67

13.01

2.84

14.20

3.01

15.38

85

0,20

0,15

-

2.91

15.50

3.08

14.40

3.25

8.73

95

0,20

-

-

3.16

15.70

3.33

7.75

3.5

8.93

105

0,20

-

-

3.40

15.90

3.57

7.95

3.74

9.13

115

-

-

-

3.64

6.97

3.81

8.15

3.99

9.33

125

-

-

-

3.89

7.17

4.06

8.35

4.22

9.53

Стена из керамзитобетона, утепленная снаружи

1 - панель из керамзитобетона;

2 - пенополистирол ПСБС-25;

3 - известково-песчаный раствор.

 

 

Толщина слоя теплоизоляции δ, мм

Сопротивление теплопередаче/паропроницанию стены,
2·°С)/Вт / (м·ч·Па)/мг

при толщине керамзитобетонной панели

 

350 мм

400 мм

35

1.84

4.05

1.95

4.5

45

2.08

4.25

2.19

4.7

55

2.32

4.45

2.44

4.9

65

2.57

4.65

2.68

5.1

75

2.81

4.85

2.93

5.3

85

3.06

5.05

3.17

5.5

95

3.30

5.23

3.41

5.7

105

3.54

5.45

3.66

5.9

115

3.79

5.65

3.90

6.1

Стена из ячеистого бетона, утепленная снаружи

1 - цементно-песчаный раствор;

2 - ячеистый бетон;

3 - пенополистирол ПСБС-25;

4 - воздушная прослойка;

5 - облицовочный слой.

 

Толщина слоя теплоизоляции δ, мм

Сопротивление теплопередаче/паропроницанию стены,
2·°С)/Вт / (м·ч·Па)/мг

при облицовочном слое

керамический кирпич 120 мм

бессер 90 мм

20

2.25

2.92

2.18

4.83

30

2.50

3.12

2.43

5.03

40

2.74

3.32

2.67

5.23

50

2.99

3.52

2.91

5.43

60

3.23

3.72

3.16

5.63

70

3.47

3.92

3.40

5.83

80

3.72

4.12

3.65

6.03

90

3.96

4.32

3.89

6.23

100

4.21

4.52

4.13

6.43

Перекрытие над подвалом

1 - железобетонная плита сплошная / пустотная;

2 - пенополистирол ПСБС-25;

3 - цементная стяжка;

4 - линолеум толщиной.

 

Толщина слоя теплоизоляции δ, мм

Сопротивление теплопередаче/паропроницанию стены,
2·°С)/Вт / (м·ч·Па)/мг

при толщине железобетонной плиты

 

160 мм

220 мм

70

2.00

8.57

2.03

10.57

80

2.24

8.77

2.27

10.77

90

2.48

8.97

2.52

10.97

100

2.73

9.17

2.76

11.17

110

2.97

9.37

3.00

11.37

120

3.22

9.57

3.25

11.57

130

3.46

9.77

3.49

11.77

140

3.70

9.97

3.74

11.97

150

3.95

10.17

3.98

12.17

160

4.19

10.37

4.22

12.37

170

4.44

10.57

4.47

12.57

Чердачное перекрытие (исполнение 1)

1 - железобетонная плита сплошная / пустотная;

2 - пенополистирол ПСБС-25;

3 - настил из досок.

 

Толщина слоя теплоизоляции δ, мм

Сопротивление теплопередаче/паропроницанию стены,
2·°С)/Вт / (м·ч·Па)/мг

при толщине железобетонной плиты

160 мм

220 мм

70

2.21

7.35

2.25

9.35

80

2.46

7.55

2.49

9.55

90

2.70

7.75

2.73

9.75

100

2.95

7.95

2.98

9.95

110

3.19

8.15

3.22

10.15

120

3.43

8.35

3.46

10.35

130

3.68

8.55

3.71

10.55

140

3.92

8.75

3.95

10.75

150

4.17

8.95

4.20

11.15

160

4.41

9.15

4.44

11.35

170

4.65

9.35

4.68

11.55

Чердачное перекрытие (исполнение 2)

1 - железобетонная плита сплошная / пустотная;

2 - пенополистирол ПСБС-25;

3 - известково-песчанная стяжка.

 

Толщина слоя теплоизоляции δ, мм

Сопротивление теплопередаче/паропроницанию стены,
2·°С)/Вт / (м·ч·Па)/мг

при толщине железобетонной плиты

160 мм

220 мм

70

1.99

6.98

2.02

8.98

80

2.24

7.18

2.27

9.18

90

2.48

7.38

2.51

9.38

100

2.72

7.58

2.76

9.58

110

2.97

7.78

3.00

9.78

120

3.21

7.98

3.24

9.98

130

3.46

8.18

3.49

10.18

140

3.70

8.38

3.73

10.38

150

3.94

8.58

3.97

10.58

160

4.19

8.78

4.22

10.78

170

4.43

8.98

4.46

10.98

Покрытие

1 - железобетонная плита сплошная / пустотная ;

2 - пароизоляция (полиэтиленовая пленка);

3 - пенополистирол ПСБС-25;

4 - цементно-песчанная стяжка;

5 - 1 слой гравия.

 

Толщина слоя теплоизоляции δ, мм

Толщина слоя пароизоляции в мм, при толщине железобетонной плиты

Сопротивление теплопередаче/паропроницанию стены,
2·°С)/Вт / (м·ч·Па)/мг

при толщине железобетонной плиты

160 мм

220 мм

160 мм

220 мм

70

0,05

0,05

2.07

9.40

2.11

11.40

80

0,05

0,05

2.32

9.60

2.35

11.60

90

0,05

0,05

2.56

9.80

2.59

11.80

100

0,05

0,05

2.81

10.00

2.84

12.00

110

0,05

0,05

3.05

10.20

3.08

12.20

120

0,05

0,05

3.29

10.40

3.33

12.40

130

0,05

0,05

3.54

10.60

3.57

12.60

140

0,05

0,05

3.78

10.80

3.81

12.80

150

0,05

0,05

4.03

11.00

4.06

13.00

160

0,05

0,05

4.27

11.20

4.30

13.20

170

0,05

0,05

4.51

11.40

4.54

13.40

Приложение Д

КАТАЛОГ СТРОИТЕЛЬНЫХ ОГРАЖДАЮЩИХ КОНСТРУКЦИЙ С ПРИМЕНЕНИЕМ БАЗАЛЬТОВОЙ МИНЕРАЛЬНОЙ ВАТЫ В КАЧЕСТВЕ УТЕПЛИТЕЛЯ

Минеральная вата на базальтовой основе получила широкое распространение благодаря ряду свойств присущих материалу данного класса:

· Высокие теплоизолирующие качества

· Высокая огнестойкость изолированных конструкций и негорючесть материала

· Высокая звукоизолирующая способность

· Малая деформативность и стабильность формы материала в конструкции

· Малая гигроскопичность

· Хорошая паропроницаемость

· Легкая обрабатываемость.

Плотность материала варьируется в пределах от 35 кг/м3 до 200 кг/м3. Выпускается в виде плит длинной 1 м и шириной 0,6 м при максимальной толщине изделия 0,8 м.

Плиты предназначены для тепловой изоляции в качестве среднего слоя строительных ограждающих конструкций и промышленного оборудования при отсутствии контакта с внутренними помещениями. Плиты относятся к группе негорючих материалов.

Физико-механические характеристики материала представлены в следующей таблице:

Таблица Д.1

Физико-механические характеристики минеральной ваты

Наименование показателя

Значение

Плотность, кг/м3

35 - 200

Прочность на сжатие при 10%-ной деформации, МПа, не менее

45

Прочность на сжатие при 10%-ной деформации после сорбционного увлажнения, МПа, не менее

40

Прочность на отрыв слоев, кПа, не менее

15

Теплопроводность в сухом состоянии при (298±5)К, Вт/(м.К), не более

0.038

Теплопроводность при условиях эксплуатации А по СНиП II-3-79*. Вт/(м·К), не более

0.041 - 0.045

Теплопроводность при условиях эксплуатации Б по СНиП II-3-79*, Вт/(м·К), не более

0.044 - 0.048

Паропроницаемость, мг/м·ч·Па, не менее

0.49 - 0.60

Базальтовая минвата в качестве утеплителя широко используется в вентилируемых и невентилируемых фасадных системах, в покрытиях, перекрытиях и в сэндвич -панелях. Так как базальтовая минвата относится к классу негорючих материалов она не имеет ограничений по ее применению.

Сведения об организациях - производителях приведены в приложении Г ТСН 23-349.

Исходные данные и теплофизические характеристики для расчета конструкций с использованием минеральной ваты на базальтовой основе приведены в таблице Б.1 приложения Б.

Слоистая кладка из силикатного и керамического кирпича

1 - известково-песчаный раствор;

2 - кирпичная кладка из силикатного кирпича;

3 - пароизоляция (полиэтиленовая пленка);

4 - базальтовая минвата;

5 - облицовка из керамического кирпича.

 

 

Толщина слоя теплоизоляции δ, мм

Толщина слоя пароизоляции в мм, при толщине кирпичной стенки

Сопротивление теплопередаче/паропроницанию стены,
2·°С)/Вт / (м·ч·Па)/мг

при толщине кирпичной стенки

380 мм

510 мм

640 мм

380 мм

510 мм

640 мм

50

0.15

0.15

0.15

2.07

11.61

2.24

12.78

2.41

13.97

75

0.20

0.20

0.20

2.68

13.93

2.85

15.12

3.02

14.02

100

0.20

0.20

0.2

3.29

13.98

3.46

15.16

3.63

16.34

125

0.25

0.25

-

3.90

16.31

4.07

17.49

4.24

7.28

150

0.25

0.25

-

4.15

16.35

4.68

17.54

4.85

7.33

175

0.30

-

-

5.12

16.68

5.29

6.20

5.46

7.38

200

-

-

-

5.73

5,07

5.90

6.25

6.07

7.42

Слоистая кладка из керамического кирпича

1 - известково-песчаный раствор;

2 - керамический кирпич;

3 - пароизоляция (полиэтиленовая пленка);

4 - базальтовая минвата;

5 - керамический кирпич.

 

Толщина слоя теплоизоляции δ, мм

Толщина слоя пароизоляции в мм, при толщине кирпичной стенки

Сопротивление теплопередаче/паропроницанию стены,
2·°С)/Вт / (м·ч·Па)/мг

при толщине кирпичной стенки

380 мм

510 мм

640 мм

380 мм

510 мм

640 мм

50

0.15

0.15

0.15

2.1.1

11.61

2.3

12.78

2.49

13.97

75

0.20

0.20

0.20

2.72

13.93

2.91

15.12

3.10

14.02

100

0.20

0.20

0.2

3.33

13.98

3.52

15.16

3.71

16.34

125

0.25

0.25

-

3.94

16.31

4.13

17.49

4.32

7.28

150

0.25

-

-

4.55

16.35

4.74

6.15

4.92

7.33

175

0.30

-

-

5.16

16.68

5.35

6.20

5.53

7.38

200

-

-

-

5.77

5.06

5.96

6.26

6.14

7.42

Слоистая кладка из керамзитобетона и керамического кирпича

1 - известково-песчаный раствор;

2 - стена из керамзито-бетонных блоков;

3 - пароизоляция (полиэтиленовая пленка);

4 - базальтовая минвата;

5 - кирпичная кладка из керамического кирпича.

 

Толщина слоя теплоизоляции δ, мм

Сопротивление теплопередаче/паропроницанию стены,
2·°С)/Вт / (м·ч·Па)/мг

при толщине керамзитобетонной панели

 

250 мм

50

2.14

26.40

75

2.75

26.45

100

3.36

26.50

125

3.97

26.55

150

4.58

26.60

175

5.19

26.65

200

5.80

26.70

Стена из керамзитобетона, утепленная снаружи

1 - панель из керамзитобетона;

2 - базальтовая минвата;

3 - извеcтково-песчаный раствор.

 

Толщина слоя теплоизоляции δ, мм

Сопротивление теплопередаче/паропроницанию стены,
2·°С)/Вт / (м·ч·Па)/мг

при толщине керамзитобетонной панели

350 мм

400 мм

50

2.20

3.45

2.32

3.90

75

2.81

3.50

2.93

3.95

100

3.42

3.55

3.54

4.00

125

4.03

3.60

4.15

4.05

150

4.64

3.65

4.76

4.10

175

5.25

3.70

5.36

4.15

200

5.86

3.75

5.97

4.20

Стена из ячеистого бетона, утепленная снаружи

1 - панель из керамзитобетона;

2 - базальтовая минвата;

3 - известково-песчаный раствор.

 

Толщина слоя теплоизоляции δ, мм

Сопротивление теплопередаче/паропроницанию стены,
2·°С)/Вт / (м·ч·Па)/мг

при толщине керамзитобетонной панели

 

300 мм

50

3.26

2.15

75

3.86

2.20

100

4.55

2.26

125

5.05

2.30

150

5.65

2.35

175

6.24

2.40

200

6.84

2.45

Стена из ячеистого бетона, утепленная снаружи

1 - цементно-песчаный раствор;

2 - ячеистый бетон;

3 - базальтовая минвата;

4 - воздушная прослойка;

5 - облицовочный слой.

 

Толщина слоя теплоизоляции δ, мм

Сопротивление теплопередаче/паропроницанию стены,
2·°С)/Вт / (м·ч·Па)/мг

при облицовочном слое

 

керамический кирпич 120 мм

бессер 90 мм

50

2.96

2.62

2.89

4.52

75

3.55

2.67

3.48

4.57

100

4,14

2.72

4.08

4.62

125

4.74

2.77

4.67

4.67

150

5.33

2.81

5.27

4.72

175

5.93

2.86

5.86

4.77

200

6.53

2.91

6.45

4.82

Перекрытие над подвалом

1 - железобетонная плита сплошная / пустотная;

2 - базальтовая минвата;

3 - цементная стяжка;

4 - линолеум толщиной.

 

Толщина слоя теплоизоляции δ, мм

Сопротивление теплопередаче/паропроницанию стены,
2·°С)/Вт / (м·ч·Па)/мг

при толщине железобетонной плиты

160 мм

220 мм

50

1.48

7.26

1.51

9.27

75

2.08

7.31

2.11

9.31

100

2.67

7.36

2.70

9.36

125

3.27

7.41

3.30

9.41

150

3.86

7.46

3.89

9.46

175

4.46

7.51

4.49

9.51

200

5.05

7.56

5.08

9.56

Чердачное перекрытие (исполнение 1)

1 - железобетонная плита;

2 - базальтовая минвата;

2 - один слой рубероида;

3 - настил из досок.

 

Толщина слоя теплоизоляции δ, мм

Сопротивление теплопередаче/паропроницанию стены,
2·°С)/Вт / (м·ч·Па)/мг

при толщине железобетонной плиты

160 мм

220 мм

50

1.45

7,77

1.48

9.77

75

2.05

7.81

2.08

9.81

100

2.64

7.86

2.67

9.86

125

3.24

7.91

3.27

9.91

150

3.83

7.96

3.86

9.96

175

4.43

8.01

4.46

10.01

200

5.02

8.05

5.05

10.06

Покрытие (Исполнение 1)

1 - железобетонная плита сплошная / пустотная;

2 - пароизоляция (полиэтиленовая пленка) 0,001 м;

3 - базальтовая минвата;

4 - керамзит;

5 - цементно-песчаная стяжка;

6 - грунтовка битумной мастикой 0,001 м;

7 - 2 слоя изопласта 0,004 м;

8 - изопласт с крупнозернистой насыпкой 0,0045 м.

 

Толщина слоя теплоизоляции δ, мм

Сопротивление теплопередаче/паропроницанию стены,
2·°С)/Вт / (м·ч·Па)/мг

при толщине железобетонной плиты

160 мм

220 мм

40

2.89

54.05

2.92

56.05

50

3.13

54.07

3.16

56.07

75

3.72

54.11

3.76

56.11

100

4.32

54.16

4.35

56.16

125

4.92

54.21

4.95

56.21

150

5.51

54.25

5.54

56.25

175

6.11

54.30

6.14

56.30

Покрытие (исполнение 2)

1 - железобетонная плита сплошная / пустотная;

2 - пароизоляция (один слой рубероида);

3 - базальтовая минвата;

4 - керамзит;

5 - цементно-песчаная стяжка;

6 - грунтовка битумной мастикой 0,001 м;

7 - 2 слоя изопласта 0,004 м;

8 - изопласт с крупнозернистой насыпкой 0,0045 м.

 

Толщина слоя теплоизоляции δ, мм

Сопротивление теплопередаче/паропроницанию стены,
2·°С)/Вт / (м·ч·Па)/мг

при толщине железобетонной плиты

160 мм

220 мм

40

2.89

9.53

2.92

11.53

50

3.13

9.55

3.16

11.55

75

3.72

9.60

3.76

11.60

100

4.32

9.64

4.35

11.64

125

4.92

9.69

4.95

11.69

150

5.51

9.74

5.54

11.74

175

6.11

9.78

6.14

11.78

Приложение Е

СТРОИТЕЛЬНЫЕ УЗЛЫ ЭНЕРГОЭФФЕКТИВНЫХ ЗДАНИЙ

Согласно СНиП 23-02 приведенное сопротивление теплопередаче , для наружных стен следует рассчитывать для фасада здания либо для одного промежуточного этажа с учетом откосов проемов без учета их заполнений с проверкой условия отсутствие выпадения конденсата на участках в зонах теплопроводных включений.

Для определения приведенного сопротивления теплопередаче фасад здания разбивается на отдельные строительные узлы. С помощью специализированной программы THERM 5.0, в которой реализован метод конечных элементов, выполняется расчет двумерного температурного поля в строительном узле. Определяется доля каждого строительного узла в площади фасада здания. Приведенное сопротивление теплопередаче строительного узла находится по формуле (4.5), а для фрагмента здания по формуле (4.8) данного пособия.

По изложенной выше в пособии к ТСН 23-349 методике выполнен теплотехнический расчет следующих неоднородных строительных ограждающих конструкций:

· колодцевой кладки, выполненной из силикатного и керамического кирпича;

· строительных узлов несущих стен с применением ячеисто бетонных блоков и облицовкой керамическим кирпичом для монолитного домостроения;

·строительных узлов самонесущих стен монолитных железобетонных каркасов с применением ячеисто бетонных блоков и облицовкой керамическим кирпичом;

·строительных узлов наружных стен, выполненных из силикатного кирпича с наружным утеплением;

·строительных узлов наружных стен, выполненных из силикатного и керамического кирпича с внутренним утеплением.

Выбор материалов для устройства монтажных швов при заполнении оконных проемов необходимо принимать в соответствии с ГОСТ 30971.

При изготовлении подоконных досок рекомендуется применение «клапанов», обеспечивающих подачу теплового воздуха к оконному блоку согласно ГОСТ 30971 (рис.А.17).

Оконные блоки могут быть укомплектованы различными видами жалюзи, ставнями, защитными сетками от насекомых, встроенными элементами вентиляционных систем согласно МДС 56-1.2000 (п. 1.1.13).

Расположение оконного блока в толще стены выполнять согласно МДС 56-1.2000 (п.4.3-4.7).

Характеристики материалов используемых при разработке узлов приведены в таблице Б.1 приложения Б и СНиП II-3-79*.

Рис. Е.1 Колодцевая кладка (исполнение 1).

Рис. Е.2 Колодцевая кладка (исполнение 2).

Рис. Е.З Узел примыкания наружного угла здания к подоконному откосу (исполнение 1).

Рис. Е.4 Узел примыкания наружного угла здания к подоконному откосу (исполнение 2).

Рис. Е.5 Узел стыка наружной стены с внутренней перегородкой из ячеистого бетона (исполнение 1).

Рис. Е.6 Узел стыка наружной стены с внутренней перегородкой из ячеистого бетона (исполнение 2).

Рис. Е.7 Сечение по оконному проему (исполнение 1).

Рис. Е.8 Сечение по оконному проему (исполнение 2).

Рис. Е.9 Узел примыкания наружной стены к подоконным откосам (простенок).

Рис. Е.10 Узел примыкания наружного угла к подоконному откосу

Рис. Е.11 Сечение по глухой стене.

Рис. Е.12 Сечение по глухой стене ( исполнение 1 ).

Рис. Е.13 Сечение по глухой стене ( исполнение 2 ).

Рис. Е.14 Наружный угол здания (исполнение 1).

Рис. Е.15 Наружный угол здания ( исполнение 2 ).

Рис. Е.16 Сечение по оконному проему.

1 - монтажная пена (полиуретановая); 2 - уплотнительная саморасширяющаяся лента ПСУЛ; 3 - рамный дюбель;

4 - герметик; 5 - пароизоляционная бутил каучуковая уплотнительная лента; 6 - штукатурный слой; 7 - фасадная система; 8 - минплита;

9 - пенополистирол/пеноизол/пенополиуретан/мин.вата; 10 - керамический кирпич; 11- профиль.

Рис. Е.17 Узел бокового примыкания оконного блока к проему в стене, с отделкой внутреннего откоса штукатурным раствором.

1 - подоконная доска; 2 - макрофлэкс; 3 - пароизоляционная бутилкаучуковая уплотнительная лента; 4 - гибкая анкерная пластина; 5 - опорная колодка;

6 - штукатурный раствор; 7 - дюбель со стопорным шурупом; 8 - рамный дюбель; 9 - уплотнительная саморасширяющаяся лента ПСУЛ; 10 - фасадная система;

11 -минплита; 12 -пенополистирол/пеноизол/пенополиуретан/мин.вата; 13 - керамический кирпич, 14 - профиль.

Рис. Е.18. Узел нижнего примыкания оконного блока к проему в стене, с отделкой внутреннего откоса штукатурным раствором.

Рис. Е.19 Наружный угол здания.

Рис. Е.20 Сечение по глухой стене.

Ключевые слова: теплоснабжение зданий




Яндекс цитирования



   Copyright © 2007-2026,  www.tehlit.ru.

[ ѓосты, стандарты, нормативы, инструкции, правила, строительные нормы ]