//
|
|
Центральный
научно-исследовательский РЕКОМЕНДАЦИИ МДС 56-1.2000 Москва 2000 Рекомендованы к изданию решением секции строительных конструкций зданий Научно-технического Совета АО «ЦНИИПромзданий» 9 марта 2000 г. Содержат сведения о современных конструкциях окон из дерева, алюминия, пластмассы и стали. Изложены основные требования к окнам - по сопротивлению теплопередаче, воздухопроницанию, светопропусканию, звукоизоляции, солнцезащите, несущей способности, атмосферостойкости и др. Приведена методика выбора конструкций оконных блоков в соответствии с требованиями действующих нормативных документов. Рассмотрены вопросы монтажа и эксплуатации окон, а также повышения теплотехнических характеристик существующих конструкций. Для архитекторов, инженерно-технических работников проектных и строительных организаций, индивидуальных застройщиков, работников служб эксплуатации зданий и студентов строительных высших и средних учебных заведений. Разработаны АО «ЦНИИПромзданий». Авторский коллектив: канд. техн. наук Ю.П. Александров, канд. арх. Б.Л. Валкин, канд. техн. наук Ф.Л. Шехтер. Оформление иллюстраций - арх. А.Е. Иванов. СОДЕРЖАНИЕ
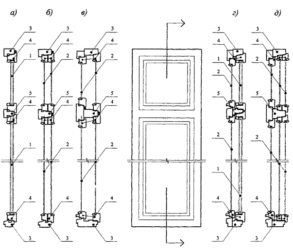
ПРЕДИСЛОВИЕВ последнее время в России выполнены значительные работы по улучшению архитектурно-конструктивных и эксплуатационных качеств окон в части повышения их теплотехнических и эстетических качеств, снижения воздухопроницаемости, обеспечения защиты помещений от воздушного шума. Внесенные в 1995 г. Госстроем России в СНиП II-3-79* изменения значительно повысили нормируемые значения сопротивления теплопередаче окон, ограничили площади светопрозрачных конструкций по отношению к площади стен, расширили номенклатуру окон с применением энергосберегающих стекол. Существенные изменения произошли в промышленной сфере отечественного производства окон. В значительной степени это обусловлено широким использованием предприятиями при изготовлении окон зарубежного рынка полуфабрикатов - профилей, фурнитуры и др., выполняемых на основе новых эффективных материалов. Для изготовления окон отечественные предприятия широко используют профили из поливинилхлорида, алюминия с терморазрывными вставками и других материалов, получаемых с помощью высоких технологий. Сложившаяся в последнее время широкая конъюнктура отечественного рынка окон и конкурентная борьба на рынке способствуют получению потребителями светопрозрачных конструкций с высокими техническими и эстетическими качествами. В настоящих Рекомендациях рассмотрены основные виды современных конструкций окон из дерева, алюминия, стали и пластмасс. Приведены сведения о светопрозрачных материалах и изделиях, герметиках, комплектующих деталях, применяемых при изготовлении окон. Рассмотрены некоторые вопросы монтажа и эксплуатации окон. Авторы надеются, что Рекомендации помогут архитекторам и инженерно-техническим работникам проектных и строительных организаций, сотрудникам предприятий - производителей окон, индивидуальным застройщикам в решении вопросов рационального выбора конструктивного решения окон во вновь строящихся и реконструируемых зданиях. 1. ОБЩИЕ ПОЛОЖЕНИЯ1.1. В Рекомендациях изложены основные правила выполнения работ по выбору, проектированию и устройству современных конструкций окон и балконных дверей (далее - «окон») во вновь строящихся и реконструируемых зданиях различного назначения. 1.2. Рекомендации составлены с учетом требований, предъявляемых к окнам, содержащихся в следующих нормативных документах: СНиП 2.01.07-85* «Нагрузки и воздействия» СНиП 2.04.05-91* «Отопление, вентиляция и кондиционирование» СНиП 2.03.06-85 «Алюминиевые конструкции» СНиП 2.03.11-85 «Защита строительных конструкций от коррозии» СНиП 2.07.01-89* «Градостроительство. Планировка и застройка городских и сельских поселений» СНиП 2.08.01-89* «Жилые здания» СНиП 2.08.02-89* «Общественные здания и сооружения» СниП 2.09.02-85* «Производственные здания» СниП II-3-79* (изд. 1998 г.) «Строительная теплотехника» СНиП II-12-77 «Защита от шума» СНиП II-23-81* «Стальные конструкции» СНиП II-25-80 «Деревянные конструкции» СНиП 23-01-99 «Строительная климатология» СНиП 23-05-95 «Естественное и искусственное освещение» ГОСТ 111-90 «Стекло листовое. Технические условия» ГОСТ 538-88 «Изделия замочные и скобяные. Общие технические условия» ГОСТ 11214-86 «Окна и балконные двери деревянные с двойным остеклением для жилых и общественных зданий. Типы, конструкция и размеры» ГОСТ 12506-81 «Окна деревянные для производственных зданий. Типы, конструкция и размеры» ГОСТ 16289-86 «Окна и балконные двери деревянные с тройным остеклением для жилых и общественных зданий. Типы, конструкция и размеры» ГОСТ 21519-84 «Окна и двери балконные, витрины и витражи из алюминиевых сплавов. Общие технические условия» ГОСТ 23166-99 «Блоки оконные. Общие технические условия» ГОСТ 23344-78 «Окна стальные. Общие технические условия» ГОСТ 24699-81 «Окна и балконные двери деревянные со стеклопакетами и стеклами для жилых и общественных зданий. Типы, конструкция и размеры» ГОСТ 24700-99 «Блоки оконные деревянные со стеклопакетами. Технические условия» ГОСТ 24866-99 «Стеклопакеты клееные строительного назначения. Технические условия» ГОСТ 25097-82 «Окна и балконные двери деревоалюминиевые. Общие технические условия» ГОСТ 26601-85 «Окна и балконные двери деревянные для малоэтажных жилых домов. Типы, конструкция и размеры» ГОСТ 24033-80 «Окна и балконные двери деревянные. Методы механических испытаний» ГОСТ 27936-88 «Окна и двери балконные деревоалюминиевые для общественных зданий. Типы и конструкции» ГОСТ 30673-99 «Профили поливинилхлоридные для оконных и дверных блоков. Технические условия» ГОСТ 30674-99 «Блоки оконные из поливинилхлоридных профилей. Технические условия» ГОСТ Р 51136-98 «Стекло защитное многослойное. Общие технические условия» Московские городские строительные нормы (МГСН): МГСН 2.01-99 «Энергосбережение в зданиях» МГСН 2.04-97 «Допустимые уровни шума, вибрации и требования к звукоизоляции в жилых и общественных зданиях» МГСН 2.05-97 «Инсоляция и солнцезащита» МГСН 2.06-99 «Естественное, искусственное и совмещенное освещение». 2. КОНСТРУКЦИИ ОКОН2.1. Виды окон, материалы и комплектующие изделия2.1.1. Окна изготавливают по рабочим чертежам на конкретные виды конструкций с учетом требований соответствующих ГОСТ или ТУ. 2.1.2. Основными элементами окон являются: - оконный блок с остеклением, фурнитурой (скобяными изделиями) и уплотнителями; - детали крепления к несущим конструкциям (стенам или каркасу); - детали и материалы заделки стыков между оконным блоком и стеной; - сливы, нащельники и др. 2.1.3. Оконный блок состоит из рамочных элементов (переплетов), включающих обрамляющую коробку, в которой могут быть установлены импосты и ригели, с остекленными створками и фрамугами. Возможность устройства глухих (неоткрывающихся) оконных блоков или отдельных их элементов устанавливается в проектной документации на конкретные виды изделий. 2.1.4. Оконные блоки классифицируют по: - конструктивному решению, определяющему устройство створных элементов, способу их открывания и количеству притворов; - материалу изделий; - виду остекления. 2.1.5. Оконные блоки могут быть выполнены со створными элементами (рис. 2.1): - одинарными; - спаренными; - раздельными; - раздельно-спаренными. Рис. 2.1. Типы оконных блоков со створками а - одинарными; б
- спаренными; в, г - раздельными; д - раздельно-спаренными. 2.1.6. Конструктивное решение оконных блоков должно обеспечивать: - надежность и долговечность их эксплуатации; - гарантированное количество циклов открывания - закрывания створных элементов; - ремонтопригодность и возможность замены остекления, фурнитуры, уплотнителей, а также очистки остекления без демонтажа коробки и створных элементов; - отвод случайной влаги из пространства между элементами остекления; - смазку трущихся деталей. 2.1.7. По способам открывания створных элементов (рис. 2.2) оконные блоки подразделяются на: - поворотные или распашные - с поворотом вокруг вертикальной крайней оси; - подвесные - с поворотом вокруг верхней горизонтальной оси; - откидные - с поворотом вокруг нижней горизонтальной оси; - поворотные - с поворотом вокруг средней горизонтальной или вертикальной оси; - поворотно-откидные - с поворотом вокруг вертикальной и нижней горизонтальной оси; - раздвижные; - неоткрывающиеся (глухие). 2.1.8. Для изготовления оконных блоков используют древесину, алюминий, сталь, полимерные материалы, а также различные комбинации из этих материалов. Оконные блоки должны отвечать требованиям ГОСТ - общих технических условий соответственно: деревянных - ГОСТ 23166-78; алюминиевых - ГОСТ 21519-84; стальных - ГОСТ 23344-78; деревоалюминиевых - ГОСТ 25097-82. Кроме того, оконные блоки должны отвечать требованиям ГОСТ 11214-86, ГОСТ 12506-81, ГОСТ 16289--86, ГОСТ 24699-81, ГОСТ 24700-81, ГОСТ 26601-85, ГОСТ 27936-88 или ТУ предприятий-производителей на конкретный вид изделия, утвержденных в установленном порядке. Древесина, алюминий и пластмасса в равной степени пригодны для изготовления окон. Эти материалы, как правило, удовлетворяют основным требованиям, предъявляемым к оконным блокам. Каждый из указанных материалов характеризуется специфическими свойствами, которые необходимо учитывать при проектировании, изготовлении, монтаже и эксплуатации окон (СНиП II-25-80, СНиП 2.03.06-85, СНиП II-23-81*). Для обеспечения эксплуатационной надежности физико-технические характеристики материалов, применяемых для изготовления оконных блоков, должны быть не ниже указанных в табл. 2.1. 2.1.9. Для остекления оконных блоков применяют листовое стекло толщиной от 3 до 6 мм по ГОСТ 111-90 или одно- и двухкамерные стеклопакеты по ГОСТ 24866-89 (рис. 2.3). С целью повышения теплозащитных свойств стеклопакетов для их изготовления возможно применение специальных стекол с теплоотражающим низкоэмиссионным покрытием. Для остекления окон, которые в процессе эксплуатации могут подвергаться механическим воздействиям, рекомендуется использовать многослойное стекло - ГОСТ Р 51136-98, а также стекло закаленное и стекло листовое с наклеенной на него защитной пленкой, выпускаемое по ТУ, утвержденным в установленном порядке. Способы крепления остекления в оконных блоках должны исключать возможность их демонтажа с наружной стороны. 2.1.10. Конструктивное решение оконных блоков должно предусматривать устройство не менее одного притвора. 2.1.11. Для уплотнения притворов должны применяться профильные прокладки (рис. 2.4) из эластичных светоозоно- и морозостойких материалов со следующими физико-техническими характеристиками: - долговечность - не менее 10 лет; - температурный интервал эксплуатации - от минус 50 до плюс 65 °С; - остаточная деформация сжатия - не более 25 %; - твердость по Шору - 0,04-0,08 МПа. 2.1.12. Фурнитура и крепежные детали, применяемые при изготовлении оконных блоков, должны соответствовать требованиям действующих ГОСТ или ТУ. Таблица 2.1
Рис. 2.2. Схемы открывания створок оконных блоков а, б - на вертикальной крайней оси (поворотные, распашные); в, г - на средней горизонтальной и вертикальной оси (поворотные); д - на нижней горизонтальной оси (откидные); е - на верхней горизонтальной оси (подвесные); ж - на вертикальной и нижней горизонтальной оси (поворотно-откидные); з - сдвигающиеся в горизонтальной плоскости (раздвижные). Рис. 2.3. Схемы двухкамерного (а) и однокамерного (б) стеклопакетов 1 - стекло; 2 - дистанционная рамка; 3 - герметик; 4 - влагопоглотитель; 5 - воздушная прослойка Рис. 2.4. Примеры уплотнительных прокладок, предназначенных
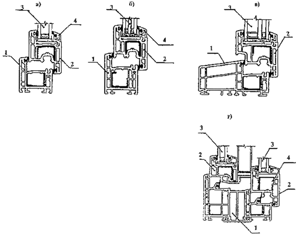
для: Запорные приборы должны отвечать требованиям ГОСТ 538-88 и обеспечивать надежное закрывание створных элементов и легкое и плавное их открывание при усилии, прикладываемом к ручке, не превышающем 50 Н. Ручки запорных приборов должны обеспечивать сопротивление прилагаемому к ним к ним крутящему моменту не менее 250 кгс×см. Конструктивное решение запорных приборов должно исключать возможность открывания створных элементов и их демонтаж с наружной стороны. 2.1.13. Оконные блоки могут быть укомплектованы различными видами жалюзи, ставнями, защитными сетками от насекомых (рис.2.5), встроенными элементами вентиляционных систем (рис. 2.6). Рис. 2.5. Оконный блок, снабженный кассетой со ставней из полых пластмассовых реек и кассетой с сеткой для защиты от насекомых 1 - оконный блок; 2 - кассета со ставней; 3 - кассета с сеткой Рис. 2.6. Оконный блок, остекленный стеклопакетом, 1 - коробка; 2 - створка; 3 - стеклопакет; 4 - задвижка для регулирования интенсивности вентиляции 2.2. Оконные блоки из дерева2.2.1. Для изготовления оконных блоков используют антисептированную древесину преимущественно хвойных (сосна, ель, лиственница), а также лиственных (дуб, бук, береза и др.) пород. Влажность древесины оконных коробок не должна превышать (12 ± 3) %, а створных элементов - (9 ± 3) %. 2.2.2. Для изготовления оконных блоков применяют специально подобранную и обработанную антисептированными составами древесину, способную противостоять отрицательным влияниям климатических и эксплуатационных факторов. Поверхности оконных блоков из древесины покрывают защитными эмалями или лаками. Примеры решения конструкций оконных блоков из древесины представлены на рис. 2.7. 2.3. Оконные блоки из алюминия2.3.1. Для производства оконных блоков используют прессованные профили, имеющие, как правило, сложную форму поперечного сечения, позволяющую обеспечить удобство сборки конструкций, надежность закрепления и герметизацию остекления, необходимое уплотнение притворов. 2.3.2. Для изготовления оконных блоков могут быть использованы два вида алюминиевых профилей: цельноформованные (рис. 2.8) и комбинированные, состоящие из двух цельноформованных профилей, соединенных между собой терморазрывными вставками из нетеплопроводных материалов (рис. 2.9). Терморазрывные вставки изготавливают из полиамида, армированного стекловолокном, или другого подобного полимерного материала. Вставки устанавливаются и запрессовываются в специальных пазах алюминиевых профилей. Терморазрывные вставки шириной от 15 до 40 мм обеспечивают возможность получения комбинированных профилей с различными теплотехническими характеристиками. Теплотехнические качества комбинированных профилей могут быть дополнительно повышены с помощью терморазрывных вставок сложного сечения, образующих воздушные полости, а также путем заполнения полости между терморазрывными вставками вспененным полимерным материалом (рис. 2.10). 2.3.3. Оконные блоки из алюминиевых профилей могут иметь любую форму и размеры. Для их изготовления используют алюминиевые профили, подвергнутые специальной электрохимической обработке - анодированию, с целью повышения их атмосферостойкости и эстетических качеств окон. Алюминиевые профили могут быть окрашены эмалями, изготовляемыми на основе акриловых или полиуретановых смол. 2.4. Оконные блоки из поливинилхлорида (ПВХ)2.4.1. Для изготовления оконных блоков из ПВХ используют многокамерные профили (рис. 2.11), получаемые способом экструзии из гранулята. Форма поперечного сечения ПВХ профилей, их размеры и количество воздушных камер определяются в основном теплотехническими и прочностными требованиями в зависимости от назначения и области применения оконных блоков. Наибольшее распространение получили оконные блоки из трехкамерных профилей (рис. 2.12). 2.4.2. С целью обеспечения необходимой несущей способности и жесткости ПВХ профили армируют стальными оцинкованными вкладышами, изготовляемыми из листовой стали толщиной 1,5-2 мм и располагаемыми в воздушной полости профилей. Вкладыши крепят к ПВХ профилям самонарезающими винтами. 2.4.3. Для изготовления оконных блоков, как правило, применяют ПВХ профили белого цвета. В отдельных случаях, по требованию заказчика, могут быть использованы профили, окрашенные в различные цвета, или профили, покрытые декоративной пленкой (ламинированные). 2.4.4. При изготовлении оконных блоков сложной геометрической формы (арочные, стрельчатые и др.) применяют гнутые ПВХ профили с радиусом кривизны не менее 350 мм. 2.4.5. Соединение деталей рамочных элементов оконных блоков из ПВХ профилей в углах производят способом контактной сварки. Импосты крепят к рамочным элементам с помощью стальных деталей на шурупах или на сварке. 2.4.6. Для отвода воды, случайно попавшей в полости ПВХ профилей, в горизонтально расположенных деталях рамочных элементов и импостах устраивают дренажные отверстия. Фрагменты конструктивных решений оконных блоков из ПВХ профилей показаны на рис. 2.12, 2.13. 2.5. Оконные блоки из стеклопластика2.5.1. Оконные блоки из стеклопластика выполняют из профилей, изготовляемых из композиционного высокопрочного термореактивного анизотропного материала. Основными компонентами стеклопластиковых профилей являются стеклянное волокно и синтетическая смола. Стеклопластиковые профили изготавливают способом пултрузии (формования профилей путем протягивания стеклянных волокон, пропитанных полиэфирной смолой, через нагретую фильеру). Для изготовления стеклопластиковых профилей, как правило, используют стеклоровинг и полиэфирную смолу в соотношении: стекловолокно - 62-80 %, связующее - 38-20 %. 2.5.2. Оконные блоки из стеклопластика могут быть выполнены с раздвижными и распашными створками (рис. 2.14). 2.6. Оконные блоки из стали2.6.1. Для изготовления оконных блоков используют гнутосварные профили, получаемые способом прокатки и последующей формовки в изделие стальной ленты толщиной 1,2 или 1,8 мм на специальном стане. Рис. 2.7. Схемы деревянных оконных блоков жилых и общественных зданий со створками а - одинарными; б - спаренными; в, г- раздельными; д - раздельно-спаренными; 1 - стеклопакет; 2 - стекло; 3 - коробка; 4 - импост; 5 - створка; 6 - штапик; 7 - уплотнитель Рис. 2.8. Оконные блоки с раздельными створками из цельноформованных алюминиевых профилей с двухслойным (а) и трехслойным (б) остеклением. Одинарный оконный блок из комбинированных профилей (в) 1 - коробка; 2 - створка; 3 - штапик; 4 - терморазрывная вставка; 5 - стекло; 6 - стеклопакет; 7-уплотнитель стеклопакета (стекла); 8- уплотнитель притвора Рис. 2.9. Оконные блоки из комбинированных алюминиевых профилей с терморазрывными вставками. 1 - коробка; 2 - створка; 3 - терморазрывная вставка; 4 - стеклопакет; 5 - уплотнитель притвора; 6 - уплотнитель стеклопакета; 7 - штапик Рис. 2.10. Оконные блоки из алюминиевых комбинированных профилей с повышенными теплотехническими характеристиками: с терморазрывными вставками сложного сечения, образующими дополнительные воздушные полости (а); с заполнением воздушной полости между терморазрывными вставками вспененным полимерным материалом (б); с терморазрывными вставками сложного поперечного сечения в створке и заполнением полости между терморазрывными вставками вспененным полимерным материалом в коробке (в) 1 - коробка; 2 - створка; 3 - штапик; 4 - стеклопакет; 5 - терморазрывная вставка; 6 - вспененный утеплитель; 7 - уплотнитель притвора; 8 -уплотнитель стеклопакета Рис. 2.11. Оконный блок с одинарной створкой и коробкой из трехкамерных ПВХ профилей (а); с одинарной створкой и коробкой из четырехкамерных ПВХ профилей (б), с одинарной створкой из четырехкамерных и уширенной коробкой из пятикамерных ПВХ профилей (в); с раздельными створками из трехкамерных и составной коробкой из ПВХ профилей (г) 1 - коробка; 2 - створка; 3 - стеклопакет; 4 - штапик. Рис. 2.12. Примеры узлов примыкания створки к коробке оконного блока из ПВХ профилей различного конструктивного решения 1 - коробка; 2- створка; 3 - штапик; 4 - стальной усиливающий вкладыш; 5 -уплотнитель; 6 - паз для фурнитуры; 7 - пазы для соединительных элементов; 8 - опорная подкладка; 9 - стеклопакет; 10 - дренажные отверстия,
Рис. 2.13. Фрагменты оконных блоков из ПВХ профилей с распашными створками а - примыкание створок к импосту; б - стык створок с помощью дополнительного соединительного элемента (штульпа); в - стык коробки со створкой (наружные грани элементов расположены в одной плоскости); 1 - коробка; 2 - створка; 3 - штульп; 4 - штапик; 5 - импост; 6 - стеклопакет; 7 - уплотнитель Рис. 2.14. Оконный блок из стеклопластиковых профилей с распашными (А) и раздвижными (Б) створками 1 - коробка; 2 - створка; 3 - штапик; 4 - импост; 5 - стеклопакет; 6 - стекло; 7 - уплотнитель притвора; 8 - уплотнительная щетка; 9 - ролик 2.6.2 Стальные элементы оконных блоков соединяют между собой на сварке. Крепления петель, запорных устройств и других деталей к рамочным элементам производят оцинкованными болтами и винтами. 2.6.3. Крепление стекол или стеклопакетов в оконных стальных блоках выполняют с помощью специальных резиновых профилей или металлических съемных штапиков (рис. 2.15). Рис. 2.15. Стальные оконные блоки с одинарными (а) и раздельными (б) створками 1 - коробка; 2 - створка; 3 - стеклопакет; 4 - стекло; 5 - резиновый профиль для крепления остекления; 6 - петля; 7 - слив; 8 - резиновый уплотнитель притвора; 9 - герметизирующая мастика; 10 - теплоизоляционная прокладка; 11 - соединительная планка Рис. 2.16. Примеры комбинированных оконных блоков а, б, в, г - с внутренними створками из дерева и наружными из алюминия; д, е - с деревянными створками, облицованными снаружи алюминиевыми профилями; ж - с алюминиевыми створками, облицованными изнутри деревянными накладками; з - с пластмассовыми коробками и створками, облицованными снаружи алюминиевыми профилями; 1 - стекло; 2 - стеклопакет; 3 - деревянная створка; 4 - алюминиевая створка; 5 - пластмассовая створка; 6 - деревянная облицовка; 7 - алюминиевая облицовка; 8 - деревянный импост; 9 - деревянная коробка; 10 - алюминиевая коробка; 11 - пластмассовая коробка; 12 - уплотнитель 2.7. Комбинированные оконные блоки2.7.1. В целях рационального использования в одном изделии положительных качеств различных материалов, оконные блоки могут быть выполнены комбинированными с совместным применением и различным сочетанием дерева, алюминия, пластмассы, стали. Наибольшее распространение в практике строительства новых и реконструкции эксплуатируемых общественных и производственных зданий получили комбинированные деревоалюминиевые оконные блоки, обладающие одновременно достоинствами деревянных и алюминиевых оконных блоков. Алюминиевые профили, как правило, располагают с наружной стороны оконного блока. Они защищают деревянные элементы от атмосферных воздействий и позволяют при этом снизить расходы на эксплуатацию окон и одновременно повысить их архитектурно-эстетические качества. 2.7.2. Широко известны два вида деревоалюминиевых оконных блоков. Блок раздельной (спаренной) конструкции, состоящий из двух створных частей, изготовленных соответственно из алюминиевых и деревянных профилей. Остекление блока может быть выполнено двух- или трехслойным. При устройстве трехслойного остекления в деревянной части блока устанавливаются однокамерные стеклопакеты (рис. 2.16, а, б, в, г). Блок одинарной конструкции, в котором алюминиевые профили являются только элементами облицовки, прикрепляемыми с наружной стороны к элементам из дерева (рис. 2.16, д, е). 2.7.3. Для повышения эстетических качеств алюминиевых оконных блоков с терморазрывными вставками они могут быть облицованы со стороны помещения деревянными накладками (рис. 2.16, ж) из ценных пород дерева. Комбинированные оконные блоки могут быть выполнены также из алюминия, пластмасс и стали. 3. ТРЕБОВАНИЯ, ПРЕДЪЯВЛЯЕМЫЕ К ОКОННЫМ БЛОКАМ,
| ||||||||||||||||||||||||||||||||||||||||||||||||||||||||||||||||||||||||||||||||||||||||||||||||||||||||||||||||||||||||||||||||||||||||||||||||||||||||||||||||||||||||||||||||||||||||||||||||||||||||||||||||||||||||||||||||||||||||||||||||||||||||||||||||||||||||||||||||||||||||||||||||||||||||||||||||||||||||||||||||||||||||||||||||||||||||||||||||||||||||||||||||||||||||||||||||||||||||||||||||||||||||||||||||||||||||||||||||||||||||||||||||||||||||||||||||||||||||||||||||||||||||||||||||||||||||||||||||||||||||||||||||||||||||||||||||||||||||||||||||||||||||||||||||||||||||||||||||||||||||||||||||||||||||||||||||||||||||||||||||||||||||||||||||||||||||||||||||||||||||||||||||||||||||||||||||||||||||||||||||||||||||||||||||||||||||||||||||||||||||||||||||||||||||||||||||||||||||||||||||||||||||||||||||||||||||||||||||||||||||||||||||||||||||||||||||||||||||||||||||||||||||||||||||||||||||||||||||||||||||||||||||||||||||||||||||||||||||||||||||||||||||||||||||||||||||||||||||||||||
|
ГСОП, |
|
|
|
1. Жилые, лечебно-профилактические и детские учреждения, школы, интернаты |
2000 |
0,30 |
|
4000 |
0,45 |
|
|
6000 |
0,60 |
|
|
8000 |
0,70 |
|
|
10000 |
0,75 |
|
|
12000 |
0,80 |
|
|
2. Общественные, кроме указанных в п.1, административные и бытовые, за исключением помещений с влажным и мокрым режимами |
2000 |
0,30 |
|
4000 |
0,40 |
|
|
6000 |
0,50 |
|
|
8000 |
0,60 |
|
|
10000 |
0,70 |
|
|
12000 |
0,80 |
|
|
3. Производственные помещения (в том числе с влажным и мокрым режимами, с избытком явного тепла от 23 Вт/м3), а также помещения общественных, административных и бытовых зданий с влажным или мокрым режимом |
2000 |
0,25 |
|
4000 |
0,30 |
|
|
6000 |
0,35 |
|
|
8000 |
0,40 |
|
|
10000 |
0,45 |
|
|
12000 |
0,50 |
|
|
Примечания. 1.
Промежуточные значения 2. Приведенное сопротивление теплопередаче глухой части балконных дверей должно быть не менее чем в 1,5 раза выше сопротивления теплопередаче светопрозрачной части этих изделий. 3. Значение |
||
Справочные величины
для оконных блоков
различных конструкций даны в приложении 2.
3.3.1. Фактическое сопротивление воздухопроницанию
оконных блоков Rи должно быть не менее
требуемого сопротивления воздухопроницанию ![]()
Ru > ![]()
Требуемое сопротивление воздухопроницанию оконного блока определяется по формуле
где Gн - нормативная воздухопроницаемость оконного блока, кг/(м2×ч), принимаемая в зависимости от его назначения по табл. 3.2;
К - коэффициент, равный 10 Па;
DР - разность давлений воздуха на наружной и внутренней поверхностях оконного блока, Па, определяемая по формуле
DР = 0,55Н(gн - gв) + 0,03gн×n2, (3.3)
где Н - высота от поверхности земли до середины окна, м,
gн и gв - удельный вес наружного и внутреннего воздуха, Н/м3, определяемый по формулам:
![]()
![]()
где tн - средняя температура наиболее холодной пятидневки, принимаемая по приложению 4;
tв - расчетная температура внутреннего воздуха в помещении, принимаемая по приложению 3;
n - максимальная из скоростей ветра по румбам за январь, повторяемость которых составляет 16 % и более, принимаемая по приложению 4.
3.3.2. Действительные значения воздухопроницаемости оконных блоков Gu принимаются по результатам испытаний конкретных видов изделий.
Таблица 3.2
|
Воздухопроницаемость Gн, не более, кг/(м2×ч) |
|
|
1. Жилых, общественных и бытовых зданий и помещений из профилей: |
|
|
пластмассовых или алюминиевых |
5,0 |
|
деревянных |
6,0 |
|
2. Производственных зданий |
8,0 |
|
3. Производственных зданий с кондиционированием воздуха |
6,0 |
Конструкция оконного блока по показателю сопротивления воздухопроницанию должна удовлетворять условию
(3.6)
3.4.1. Критерием оценки звукоизоляционных качеств оконных блоков является показатель звукоизоляции от транспортного шума (СНиП II-12-77), который в основном зависит от количества слоев остекления, толщины стекол, ширины воздушных прослоек между ними, количества и качества уплотнения притворов.
3.4.2. Значения показателей звукоизоляции конкретных видов оконных блоков установлены по результатам испытаний, которые приводятся в действующих нормативных документах (ГОСТ или ТУ) на конкретные виды изделий.
3.4.3. Уровень шума от движения транспорта рекомендуется определять по методике, изложенной в Пособии к МГСН 2.04-97 «Проектирование защиты от транспортного шума».
3.4.4. Величина уровня транспортного шума, проникающего через окна в помещения, не должна превышать допустимых значений уровней звука, указанных в табл. 3.3.
3.4.5. Для снижения уровня шума в помещении окна зданий, ориентированные на расположенные в непосредственной близости от них автомагистрали или трамвайные и железнодорожные пути, рекомендуется оборудовать регулируемыми вентиляционными шумозащитными устройствами, которые устанавливаются в оконные блоки.
Таблица 3.3
|
Назначение помещений |
Допустимые уровни звука в помещениях от транспортного шума LA, дБА |
|
|
1 |
Палаты больниц и санаториев, операционные больниц |
25 |
|
2 |
Жилые комнаты квартир, жилые помещения домов отдыха и пансионатов, спальные помещения в детских дошкольных учреждениях и школах-интернатах |
30 |
|
3 |
Кабинеты врачей больниц, санаториев, поликлиник, зрительные залы концертных залов, номера гостиниц, жилые комнаты в общежитиях |
35 |
|
4 |
Классные помещения, учебные кабинеты, аудитории школ и других учебных заведений, конференц-залы, зрительные залы театров, клубов, залы судебных заседаний и совещаний |
40 |
|
5 |
Рабочие помещения управлений, рабочие помещения конструкторских, проектных организаций и научно-исследовательских институтов |
50 |
|
6 |
Залы кафе, ресторанов, столовых, фойе театров и кинотеатров |
55 |
|
7 |
Торговые залы магазинов, спортивные залы, пассажирские залы аэропортов и вокзалов, приемные пункты предприятий бытового обслуживания |
60 |
|
Примечания 1. В жилых комнатах квартир, спальных помещениях домов отдыха и пансионатов, спальных помещениях детских дошкольных учреждений и школ-интернатов, палатах больниц и спальных комнатах санаториев, номерах гостиниц на время суток с 7 до 23 ч допускается повышение уровня звука на 10 дБА. 2. При определении допустимых уровней звука в помещениях зданий, строящихся или эксплуатируемых в Москве, следует также руководствоваться указаниями МГСН 2.04-97 «Допустимые уровни шума, вибрации и требования к звукоизоляции в жилых и общественных зданиях». |
||
3.5.1. Количество, ориентировочные размеры и расположение окон назначаются на ранних стадиях проектирования здания. По этим параметрам с учетом светотехнических характеристик выбранной конструкции оконного блока определяется уровень естественного освещения.
3.5.2. Основной светотехнической характеристикой оконных блоков является величина общего коэффициента светопропускания, которая определяется как отношение светового потока, прошедшего через изделие, к световому потоку, упавшему на него.
Уровень естественного освещения в помещении характеризуется коэффициентом естественной освещенности КЕО* в расчетной точке помещения.
*КЕО - коэффициент естественной освещенности, представляющий собой отношение естественной освещенности, создаваемой в расчетной точке внутри помещения светом неба, к одновременному значению наружной горизонтальной освещенности, создаваемой светом полностью открытого небосвода, выраженный в процентах (СНиП 23-05-95).
3.5.3. Расчетная точка при определении КЕО в помещениях жилых и общественных зданий при одностороннем расположении окон принимается на расстоянии 1 м от стены, находящейся против окон, а при двухстороннем освещении - посредине помещения (СНиП 23-05-95).
В крупногабаритных производственных зданиях расположение расчетной точки следует принимать на расстоянии от наружной стены, равном:
1,5 высоты помещения с производствами I - IV разрядов зрительных работ;
2 высоты помещения с производствами V - VII разрядов зрительных работ;
3 высоты помещения с производствами VIII разряда зрительных работ.
Требуемое значение КЕО в расчетной точке помещения определяют по формуле
е = ен×тN, (3.7)
где ен - нормируемое значение КЕО, определяемое в зависимости от разряда выполняемых зрительных работ по табл. 3.4;
тN - коэффициент светового климата, определяемый в зависимости от ориентации окон и группы административного района по ресурсам светового климата по приложениям 5 и 6.
3.5.4. Разряды зрительных работ в зависимости от их характеристик и зрительных работ, выполняемых в помещениях жилых и общественных зданий, следует принимать по приложению 7.
Разряды зрительных работ, выполняемых в помещениях производственных зданий, следует принимать по отраслевым нормативным документам по строительному проектированию зданий и сооружений, утвержденным в установленном порядке.
3.5.5. Оконные блоки, устанавливаемые в стенах, должны обеспечивать нормируемый уровень КЕО в помещениях. В тех случаях, когда уровень КЕО является недостаточным, допускается применять совмещенное освещение, при проектировании которого значение КЕО следует принимать по табл. 3.4 в зависимости от разрядов зрительных работ, выполняемых в помещениях (приложение 7).
Таблица 3.4
|
Характеристика зрительной работы |
Наименьший размер объекта различения, мм |
Разряд зрительной работы* |
Подразряд зрительной работы** |
Нормируемое значение КЕО, ен, % |
||
|
при естественном освещении |
при совмещенном освещении*** |
|||||
|
1 |
2 |
3 |
4 |
5 |
6 |
7 |
|
Жилые, общественные и административно-бытовые |
Различение объектов при фиксированной и нефиксированной линии зрения: |
|
|
|
|
|
|
очень высокой точности |
От 0,15 до 0,30 |
А |
1(70) 2(<70) |
1,5 1,2 |
0,9 0,7 |
|
|
высокой точности |
От 0,30 до 0,50 |
Б |
1(70) 2(<70) |
1,0 0,7 |
0,6 0,4 |
|
|
средней точности |
Более 0,50 |
В |
1(70) 2(<70) |
0,5 0,5 |
0,3 0,3 |
|
|
Обзор окружающего пространства при очень кратковременном, эпизодическом различении объектов: |
|
|
|
|
|
|
|
при высокой насыщенности помещений светом |
Независимо от размера объекта |
Г |
- |
1,0 |
0,6 |
|
|
при нормальной насыщенности помещений светом |
|
Д |
- |
0,7 |
0,4 |
|
|
при низкой насыщенности помещений светом |
|
Е |
- |
0,5 |
0,3 |
|
|
Общая ориентировка в пространстве интерьера и зонах передвижения при большом и малом скоплении людей |
То же |
Ж 3 |
- - |
Не регламентируется |
||
|
Производственные |
Наивысшей точности |
Менее 0,15 |
I |
- |
- |
2,0 |
|
Очень высокой точности |
От 0,15 до 0,30 |
II |
- |
- |
1,5 |
|
|
Высокой точности |
От 0,30 до 0,50 |
III |
- |
- |
1,2 |
|
|
Средней точности |
Свыше 0,5 до 1,0 |
IV |
- |
1,5 |
0,9 |
|
|
Малой точности и грубая (очень малой точности), работа со светящимися изделиями в горячих цехах |
Свыше 1,0 |
V, VI, VII |
- |
1,0 |
0,6 |
|
|
Общее наблюдение за ходом производственного процесса: |
|
|
|
|
|
|
|
постоянное |
|
|
|
1,0 |
0,6 |
|
|
периодическое при постоянном пребывании людей в помещении |
|
VIII |
|
0,3 |
0,2 |
|
|
периодическое при непостоянном пребывании людей в помещении |
|
|
|
0,2 |
0,2 |
|
|
общее наблюдение за инженерными коммуникациями |
|
|
|
0,1 |
0,1 |
|
|
*В графе 4 согласно СНиП 23-05-95 «Естественное и искусственное освещение» разряды зрительных работ в жилых, общественных и административно-бытовых помещениях указаны в буквенном обозначении, а для производственных помещений - в цифровом. **В графе 5 «Подразряд зрительной работы» в скобках указаны величины относительной продолжительности работы при направлении зрения на рабочую поверхность, %. ***В графе 7 даны минимальные значения КЕО, при которых должно устраиваться совмещенное освещение. |
||||||
3.5.6. Совмещенное освещение не допускается применять в жилых комнатах и кухнях жилых домов, помещениях для пребывания детей, учебных и учебно-производственных помещениях школ и учебных заведений, кабинетах врачей и палатах лечебно-профилактических учреждений, спальных помещениях санаториев и домов отдыха.
При проектировании окон в помещениях торговых залов магазинов, залов и буфетов предприятий общественного питания нормируемые значения КЕО для совмещенного освещения (табл. 3.4) могут быть уменьшены на 50 %.
3.5.7. Нормируемые значения КЕО при совмещенном освещении производственных помещений допускается принимать по табл. 3.5 в случае:
а) расположения зданий в районах с температурой наиболее холодной пятидневки минус 27 °С и ниже;
б) устройства бокового естественного освещения помещений, глубина которых по условиям технологии или рациональных объемно-планировочных решений не позволяет обеспечить нормированное значение КЕО, указанное в табл. 3.4;
в) устройства освещения помещений, в которых выполняются зрительные работы I, II и III разрядов.
Таблица 3.5
|
Наименьшее нормированное значение КЕО, ен, %, при совмещенном освещении |
|
|
I |
1,2 |
|
II |
1,0 |
|
III |
0,7 |
|
IV |
0,5 |
|
V и VI |
0,3 |
|
VII |
0,2 |
3.5.8. Значение КЕО в помещениях жилых, общественных и производственных зданий может быть определено с помощью графиков, приведенных на рис. 3.1. Величина КЕО при этом определяется в следующей последовательности:
1. Находят отношение суммарной площади окон Ао к освещаемой площади помещения (Ао/Ап).
2. Определяют отношение глубины освещаемой площади помещения Dп к высоте от верха окна Ho до уровня условной рабочей поверхности (УРП) - (Dп/Ho).
3. В зависимости от назначения помещения выбирают соответствующий график (рис. 3.1) для определения КЕО.
4. Из точки, определенной по отношению Ао/Ап, на оси ординат проводят горизонталь; из точки, определенной по отношению Dп/Ho, на оси абсцисс проводят вертикаль. На пересечении этих прямых находится точка, определяющая значение КЕО. Если точка пересечения координат не попадает на кривую, указывающую величину КЕО, искомое значение КЕО определяют интерполяцией.
Для получения расчетного значения КЕО необходимо найденное значение разделить на величину коэффициента запаса Кз (приложение 8), учитывающего влияние загрязнения стекол при эксплуатации на светопропускание.
Графики для определения КЕО разработаны для помещений, освещаемых окнами с одинарными створками или фрамугами и светопропускающим заполнением из однокамерных стеклопакетов из листового стекла.
В случае применения для остекления оконных блоков двухкамерных стеклопакетов значения КЕО, определяемые по графикам, необходимо умножить на коэффициент п1 = 0,85.
При устройстве окон с раздельными створками полученные по графикам значения КЕО должны быть умножены на коэффициент п2 = 0,85.
При использовании для остекления оконных блоков
специальных видов стекол (теплозащитных и др.) полученное по графикам значение
КЕО необходимо умножать на коэффициент n3 =
,
где Т1 - коэффициент светопропускания листового стекла;
Т2 - то же, специального стекла.
Полученные по графикам значения КЕО должны отличаться от требуемых значений, определенных по формуле (3.7), не более чем на ± 10 %.
В противном случае количество окон, размеры, расположение или особенности конструкции, определяющие коэффициент светопропускания, должны быть скорректированы.
Рис. 3.1. Графики для определения КЕО
a - в жилых
помещениях; б - в рабочих и проектных
кабинетах, офисах, комнатах совещаний и т.п.; в - в помещениях общественных и производственных зданий
Ао - площадь окон; Ап - площадь пола; Dп - расстояние от окна до расчетной точки; Hо - высота от верха окна до уровня рабочей поверхности (УРП)
3.5.9. Размеры, расположение окон и их ориентация должны приниматься с учетом требований к инсоляции помещений, указанных в СНиП 2.07.01-89* и МГСН 2.05-97.
3.6.1. Область применения оконных блоков с солнцезащитными устройствами регламентируется требованиями СНиП 2.07.01-89* и МГСН 2.05-97.
3.6.2. В качестве средств защиты помещений от солнечной инсоляции рекомендуется применять оконные блоки с регулируемыми жалюзи, располагаемыми снаружи, а также солнцезащитные стекла или стеклопакеты с их применением.
Наибольший эффект солнцезащиты может быть достигнут сочетанием жалюзи с солнцезащитными стеклами,
3.6.3. В связи с тем, что солнцезащитные стекла изменяют спектральные характеристики естественного освещения в помещении, их применение в окнах жилых помещений, детских, учебных и лечебных учреждений должно быть согласовано с органами госсанинспекции.
3.6.4. В окнах, ориентированных на юг, юго-запад и юго-восток, рекомендуется использовать горизонтальные жалюзи; в окнах, ориентированных на северо-запад, могут быть использованы как горизонтальные, так и вертикальные жалюзи.
3.7.1. Несущие элементы оконных блоков (коробки, створки, импосты) должны быть рассчитаны на прочность и по прогибам на нагрузки согласно СНиП 2.01.07-85*.
3.7.2. Расчетную нагрузку на несущие элементы оконных блоков определяют в зависимости от расчетной ветровой нагрузки на поверхность окна и на основании расчетной схемы, устанавливаемой для каждого конкретного элемента. Расчетные схемы сбора и приложения нагрузок для несущих элементов наиболее распространенных оконных блоков даны на рис.3.2.
Величину расчетной ветровой нагрузки определяют по формуле
где Wo - нормативное значение ветрового давления (принимается по п. 6.4 СНиП 2.01.07-85*), кПа;
к - коэффициент, учитывающий изменение ветрового давления по высоте (п.6.5 СНиП 2.01.07-85*);
с - аэродинамический коэффициент (п. 6.6 СНиП 2.01.07-85*);
gf - коэффициент надежности по ветровой нагрузке, принимается равным 1,4.
3.7.3. Относительный прогиб несущих элементов оконных
блоков из плоскости остекления не должен превышать
длины элемента при
остеклении блоков листовым стеклом и
при остеклении блоков
стеклопакетами.
3.7.4. Площадь одного оконного блока, как правило, не должна превышать 6,0 м2, а одного створного элемента - 2,0 м2.
Масса створок (полотен балконных дверей) должна составлять не более 80 кг.
Техническая документация на оконные блоки должна содержать данные о геометрических характеристиках (площадь, центр тяжести, момент инерции) профилей, из которых изготавливаются элементы блоков (коробки, створки и др.).
3.7.5. Створные элементы оконных блоков по надежности и сопротивлению статической нагрузке, действующей в плоскости и перпендикулярно плоскости створки (полотна), должны удовлетворять требованиям ГОСТ 24033-80.
3.7.6. Несущая способность ПВХ профилей, усиленных стальными вкладышами, должны определяться по несущей способности вкладышей. Работа непосредственно ПВХ профилей в расчетах на прочность и по прогибам не учитывается.
3.7.7. Расчетные сопротивления при изгибе и модули упругости материалов профилей и листового стекла, используемых для изготовления оконных блоков, указаны табл. 3.6.
Таблица 3.6
|
Модуль упругости, МПа |
Расчетные сопротивления при изгибе, МПа |
||
|
Древесина |
Сосна, ель |
1×104 |
13,0 |
|
Лиственница |
15,5 |
||
|
Пихта, ольха, липа, осина |
10,5 |
||
|
Дуб, ясень, клен, граб |
17,0 |
||
|
Береза, бук |
14,5 |
||
|
Алюминиевый сплав |
7×104 |
55 |
|
|
Сталь |
21×104 |
235 |
|
|
Стеклопластик |
2×104 |
70 |
|
|
Листовое стекло |
7,1×104 |
21,5 |
|
3.7.8. При расчете стекол на прочность от воздействия ветровых нагрузок совместная работа их в стеклопакетах не учитывается.
Расчет стеклопакетов следует производить по прочности одного стекла.
3.7.9. Необходимая толщина стекла в оконных блоках, в том числе в стеклопакетах, в зависимости от его площади, соотношения сторон, расчетных ветровых нагрузок может быть определена по графикам рис. 3.3. При этом расчетную нагрузку на стекло qп, кПа, определяют по формуле (3.8).
Рис. 3.2. Схемы сбора (А) и приложения (Б) нагрузок при расчете несущих элементов оконного блока
1,2 - несущие элементы; F - грузовая площадь; qп - расчетная ветровая нагрузка, МПа
Рис. 3.3. Графики для определения толщины стекла в
зависимости от площади
стекла (S, м2) и значения ветровой нагрузки (qп, кПа) при соотношении
сторон: А - l. < 2 и Б - l ³ 2
В зависимости от соотношения размеров сторон стекол l = а/b на рис. 3.3 выбирают соответствующий график {А или Б). Через точку на оси ординат, указывающей площадь стекла S, м2, проводят горизонталь; из точки, определяющей величину расчетной нагрузки , кПа, на оси абсцисс проводят вертикаль. Точка пересечения этих прямых указывает искомую толщину стекла. Если точка пересечения располагается между кривыми, указывающими толщину стекла, то принимается стекло большей толщины.
3.7.10. Толщина и вид стекол в окнах, к которым предъявляются специальные требования по защите от ударных воздействий, взлома, высоких температур и др., должны определяться по соответствующим документам и методикам, утвержденным в установленном порядке.
4.1. Теплотехнические характеристики существующих конструкций окон в эксплуатируемых зданиях могут быть повышены без их демонтажа путем выполнения следующих мероприятий:
а) замены в окнах со спаренными или раздельными створками одного слоя стекла на однокамерные стеклопакеты с обычным или низкоэмиссионным стеклом;
б) замены в окнах с одинарными створками однокамерных стеклопакетов на двухкамерные или на однокамерные стеклопакеты с низкоэмиссионным стеклом;
в) установки в окнах со спаренными створками дополнительного третьего слоя остекления;
г) установки и блокирования с существующей конструкцией окна с двухслойным остеклением дополнительного блока с одинарным остеклением.
4.2. Узлы сопряжения оконных блоков с наружными стенами должны исключать возможность образования конденсата на поверхностях откосов в холодный период года. Теплотехнические качества узлов сопряжения оконных блоков со стенами могут быть повышены усилением теплоизоляционных качеств участков стен, примыкающих к окнам, путем:
- утепления откосов стен с наружной стороны;
- утепления откосов стен с внутренней стороны;
- устройства термовкладышей в толще стены;
- применения оконных блоков с коробкой шириной более 100 мм.
4.3. В однослойных стенах из кирпича и легкого бетона
оконные блоки следует располагать ближе к центральной части, но не менее чем на
расстоянии
толщины стены от ее
наружной грани.
4.4. В многослойных (трехслойных) железобетонных стенах со средним слоем из эффективного утеплителя коробка оконного блока должна примыкать к утеплителю.
4.5. В стенах с дополнительной наружной теплоизоляцией, устраиваемой при реконструкции существующих зданий с целью повышения их теплозащитных качеств, оконные блоки должны примыкать к слою дополнительной теплоизоляции.
4.6. Примыкание оконных блоков к несущему каркасу здания, колоннам, балкам и т.п. должно выполняться с наружной стороны.
4.7. Способы повышения теплотехнических качеств узлов примыкания оконных блоков к стенам для конкретных решений должны указываться в проектной рабочей документации.
5.1. Оконные блоки должны иметь полную заводскую готовность и поставляться потребителю с установленными элементами светопропускающего заполнения, запорными приборами, уплотняющими прокладками, нанесенным декоративно-защитным покрытием. Выступающие за плоскость изделий части приборов, нащельники и другие элементы оконных блоков могут поставляться отдельно в комплекте с изделиями. Изделия должны укомплектовываться крепежными деталями в необходимом ассортименте и количестве.
5.2. По согласованию с заказчиком оконные блоки могут поставляться неполной заводской готовности (без остекления, отделки, уплотняющих прокладок, запорных устройств).
5.3. В случае поставки заказчику изделий неполной заводской готовности (поэлементная поставка) ответственность за качество полностью собранных и укомплектованных конструкций оконных блоков несет заказчик.
5.4. Материалы и комплектующие изделия, применяемые для изготовления оконных блоков, должны соответствовать требованиям действующих стандартов или технических условий на эту продукцию.
5.5. На оконные блоки должно быть получено гигиеническое заключение органов Госсанэпиднадзора и другие предусмотренные законодательством документы, подтверждающие возможность применения изделий в строительстве и безопасность их эксплуатации.
5.6. Поставляемые потребителю оконные блоки должны иметь сертификаты соответствия в Системе сертификации ГОСТ Р.
5.7. Каждый оконный блок должен иметь маркировку водостойкой краской или этикетку с указанием марки изделия, номера заказа, даты его изготовления и знака (штампа), подтверждающего приемку изделия техническим контролем предприятия. Маркировка производится на нелицевой стороне верхней вертикальной части коробки изделия.
5.8. Неустановленные на изделия приборы или их части должны быть упакованы в специальную бумагу и полиэтиленовую пленку и поставляться в комплекте с изделиями.
5.9. Перед упаковкой и транспортировкой открывающиеся элементы изделий должны быть закрыты и заперты приборами.
5.10. При хранении и транспортировке не допускается ставить изделия друг на друга, между изделиями должны быть установлены прокладки из эластичных материалов.
5.11. Изделия должны храниться на специальных стендах и располагаться под углом 10 - 15° к вертикали под навесами или в помещениях, исключая непосредственный контакт с нагревательными приборами.
5.12. Гарантии изготовителя на поставляемые изделия должны соответствовать требованиям, установленным в ГОСТ или ТУ на конкретные виды конструкций. Гарантийный срок службы оконных блоков устанавливается изготовителем.
6.1. Работы по монтажу оконных блоков должны выполняться специализированной организацией, имеющей право на производство таких работ. Выполненные работы должны оформляться актом сдачи-приемки, в котором указываются гарантийные обязательства производителя работ.
Рис. 6.1. Схема размещения несущих подкладок и дистанционных прокладок при монтаже оконных блоков со створкой
а - поворотной на вертикальной оси; б - поворотно-откидной; в - глухой; г - откидной; д - верхнеподвесной; е - поворотной на горизонтальной средней оси; ж - передвижной
Рис. 6.2. Схема размещения элементов крепления коробки оконного блока к стене Способы крепления:
а - шурупами; б - дюбелями; в - анкерной пластиной
6.2. Оконные блоки в проемах стен должны устанавливаться с применением несущих подкладок и дистанционных прокладок. Размещение подкладок и прокладок должно обеспечивать возможность передачи нагрузки от оконного блока на стену и компенсацию температурных деформаций (рис. 6.1).
6.3. Ширина зазоров между оконной коробкой и стеной должна устанавливаться с учетом возможности компенсации температурных деформаций и заполнения швов герметизирующими материалами. Значения ширины монтажного зазора в зависимости от длины (ширины) оконного блока должны быть не менее указанных в табл. 6.1.
Таблица 6.1
|
1,5 |
2,5 |
3,5 |
|
|
Минимальная ширина монтажного зазора, мм |
10 |
15 |
20 |
6.4. Крепление оконных блоков в проемах стен следует производить с помощью дюбелей, шурупов или монтажных анкеров (рис.6.2.). Крепежные элементы должны располагаться от углов изделий не менее чем на 100 мм. Расстояние между элементами крепления должно составлять не более 700 мм (см. рис. 6.2).
6.5. В многослойных наружных стенах крепление оконных блоков необходимо производить к внутреннему несущему слою.
6.6. Крепежные детали должны иметь антикоррозийное покрытие.
6.7. Глубина заделки дюбелей и шурупов в стену должна составлять не менее 30 мм.
6.8. Заделку зазора между оконным блоком и стеной следует производить с помощью монтажной пены.
Для уплотнения зазоров могут использоваться и другие теплоизоляционные материалы - минеральная вата, пенополиуретановые шнуры и др., разрешенные к применению органами госсанэпиднадзора.
6.9. Зазоры между оконными блоками и стеной следует
заполнять теплоизоляционным материалом на
их глубины. С
наружной стороны теплоизоляционный материал должен быть защищен от атмосферных
влияний путем заполнения шва герметиком на глубину 5-10 мм или установки
нащельников. Со стороны помещения стык герметизируется с помощью
уплотнительного шнура и силиконового герметика или путем оштукатуривания
оконного откоса.
7.1. Контроль за состоянием окон в процессе эксплуатации и проведение работ по их ремонту осуществляются службами эксплуатации зданий.
7.2. На персонал службы эксплуатации зданий, ответственный за состояние и ремонт окон, должны возлагаться следующие обязанности:
- систематическое наблюдение за состоянием конструкций;
- выявление возможных отклонений в конструкциях от проектных решений, требующих устранения;
- выполнение работ по регулярной очистке элементов остекления;
- проведение работ по текущему и капитальному ремонту конструкций;
- ведение технического журнала эксплуатации окон и внесение в него отметок о выявленных отклонениях в конструкциях от проектных решений и принятых мерах по их устранению.
7.3. Работы по ремонту или реконструкции окон должны выполняться специализированной организацией, имеющей соответствующие лицензии.
7.4. Контроль за состоянием окон должен проводиться путем их осмотров не реже 3 раз в год - в зимний, весенний и осенний периоды, а также в случае возникновения чрезвычайных обстоятельств.
7.5. Осмотры конструкций окон ставят своей целью выявление:
- состояния элементов остекления и наличия в них дефектов (трещин, сколов, пробоин и др.);
- мест образования конденсата и наледей;
- мест наиболее интенсивного загрязнения;
- состояния уплотнителей и герметизации стыков;
- состояния коробок и створок;
-состояния крепежных элементов, приборов и механизмов открывания;
- состояния сливов, нащельников.
7.6. Во время проведения зимних осмотров окон основное внимание должно быть уделено выявлению состояния стыков, мест образования конденсата и наледей на поверхности конструкций, проверке надежности работы механизмов открывания при отрицательных температурах наружного воздуха.
При весенних осмотрах должны быть выявлены дефекты конструкций, требующие их устранения, и определены объемы работ по текущему и капитальному ремонту.
При осенних осмотрах должно быть проверено состояние и готовность конструкций к эксплуатации в зимний период с учетом результатов выполненных работ по ремонту и реконструкции.
7.7. Для очистки окон должны применяться моющие средства, не оказывающие агрессивного воздействия на несущие элементы окон, остекление, уплотнители и герметики.
7.8. Работы по окраске окон, замене остекления, ремонту стыков, замене уплотнительных прокладок и т.п. следует, как правило, производить в теплый период года.
1. Исходные данные
Необходимо выбрать конструкцию оконного блока для естественного освещения жилого помещения размером 4 ´ 5 м, расположенного в районе, застроенном зданиями высотой более 25 м в Москве. Высота от поверхности земли до середины окна составляет 7,0 м. Помещение освещается двумя окнами размером 1,5 ´ 1,5 м, ориентированными на восточную сторону горизонта.
Для естественного освещения помещения возможно применение деревянных, деревоалюминиевых или пластмассовых оконных блоков.
2. Выбор конструктивного решения
В приложении 9 приведены реквизиты ряда предприятий, изготавливающих и поставляющих окна (оконные профили) из ПВХ, алюминия и дерева с характеристикой этих конструкций.
Принимая во внимание экономические возможности и эстетические требования к интерьеру и архитектурному решению фасада здания, выбираем оконные блоки из ПВХ профилей с одинарными створками, с двойными притворами и светопропускающим заполнением из стеклопакетов.
3. Определение требуемого
сопротивления теплопередаче ![]()
Находим значение градусо-суток (ГСОП) для Москвы по формуле (3.1)*
ГСОП = (tв - tот.пер)Zот.пер.
* Все расчеты выполняются на основе положений настоящих Рекомендаций.
По приложению 3 принимаем расчетную температуру внутреннего воздуха в жилом помещении tв = +18 °С.
По приложению 4 находим tот.пер = -3,6 °С и Zот.пер = 230 сут.
Тогда ГСОП = (18+3,6)×230=4968 град.-сут » 5000 град.-сут.
По табл.3.1 интерполированием находим требуемое
сопротивление теплопередаче
= 0,52 м2×°С/Вт.
Согласно МГСН 2.01-99 приведенное сопротивление теплопередаче окон жилых зданий, строящихся в Москве, должно составлять не менее 0,54 м2×°С/Вт.
По приложению 2 выбираем оконный блок из ПВХ профилей с двухкамерными стеклопакетами из листового стекла с межстекольным расстоянием 12мм. Приведенное сопротивление теплопередаче такого блока составляет Ro = 0,54 м2×°С/Вт.
4. Определение требуемого сопротивления
воздухопроницанию ![]()
По формуле (3.2) определяем
. По табл.3.1 находим нормативное значение
воздухопроницаемости Gн. Для оконных блоков из ПВХ профилей, применяемых в жилых зданиях, Gн = 5,0 кг/(м2×ч).
По формуле (3.3) находим DР = 0,55Н(gн - gв) + 0,03gн×n2. Для этого по приложению 4 находим расчетную температуру наиболее холодной пятидневки в Москве - tн, удельный вес соответственно наружного gн и внутреннего gв воздуха и максимальную из средних скоростей ветра по румбам за январь - n, повторяемость которых составляет 16 % и более.
tн = -26 °С; gв =
= 11,9 Н/м3;
gн =
= 14,02 Н/м3;
n = 4,9 м/с.
Тогда DР = 0,55×7×(14,02 - 11,9) + 0,03 ´ 14,02×4,92 = 18,26 Па.
Находим
= 0,3 м2×ч/кг.
Воздухопроницаемость выбранной конструкции оконного блока должна составлять не более

5. Проверка значения КЕО в расчетной точке помещения
Требуемое значение КЕО в расчетной точке помещения определяем по формуле (3.7)
е = ен×тN.
Коэффициент светового климата тN принимаем по приложению 5. С учетом ориентации окон на восточную сторону горизонта и расположения здания в Московском административном районе тN = 1. Жилые комнаты имеют разряд зрительных работ «В» (приложение 7).
Нормируемое значение КЕО для этого разряда зрительной работы (табл. 3.4) составляет ен = 0,5.
Требуемое значение КЕО составляет е = 0,5×1 = 0,5.
Находим площадь световых проемов окон Аo = 1,5×1,5×2 = 4,5 м2 и площадь помещения Ап = 4,0×5,0 = 20,0 м2.
Определяем
![]()
Расстояние от окна до расчетной точки в помещении (1м от противоположной стены)
Dп = 5-1 = 4,0 м.
Уровень рабочей поверхности (УРП) принимаем на высоте 0,8 м от пола. Высота от уровня рабочей поверхности до верха окна Но =2,0 м.
Определяем
Dп/Но = 4/1,8 = 2,25.
По графику а на рис. 3.1 находим КЕО » 0,63. По приложению 8 определяем значение коэффициента запаса Кз = 1,2.
С учетом коэффициента запаса
КЕО =
= 0,53.
Применение двухкамерных стеклопакетов снижает КЕО в помещении и должно учитываться умножением его на коэффициент 0,85.
Тогда расчетное значение КЕО в помещении составит
ер = 0,53×0,85 » 0,45 » 0,5.
Расчетный уровень освещенности в жилом помещении соответствует нормативным требованиям.
6. Определение требуемой толщины стекла в стеклопакете
В соответствии с п. 3.7.9 расчет стеклопакета производим по одному стеклу.
Согласно СНиП 2.01.07-85* нормативная ветровая нагрузка на вертикальное остекление в 1 - м ветровом районе (Москва) составляет Wo = 0,23 кПа (п. 6.4 СНиП 2.01.07-85*).
Расчетную ветровую нагрузку определяем по формуле (3.8)
qp = Wо×k×c×gf = 0,23×0,55×0,8×1,4 = 0,14 кПа,
где к - коэффициент, учитывающий изменение ветрового давления по высоте, который для городского района с застройкой зданиями высотой более 25 м составляет 0,55 (п. 6.5 СНиП 2.01.07-85*);
с = 0,8 - аэродинамический коэффициент (п. 6.6 СНиП 2.01.07-85*);
gf =1,4 - коэффициент надежности (п. 6.11 СНиП 2.01.07-85*).
Площадь стекла створки оконного блока составляет S = 0,7×1,4 = 1 м2.
Соотношение сторон стекла створки l = 2,0. В рассматриваемом примере площадь стекол в стеклопакете, устанавливаемом в створке, относительно небольшая (1,0 м2) и ветровая нагрузка на оконный блок является незначительной (0,14 кПа). Представленные на рис. 3.3 графики для определения толщины стекла не охватывают диапазон таких низких значений. Ввиду этого по конструктивным соображениям с учетом обеспечения надежности транспортирования, монтажа и эксплуатации оконного блока принимаем толщину стекол в стеклопакете d =4 мм.
|
Заполнение светового проема |
Приведенное сопротивление теплопередаче оконных и дверных балконных блоков Ro, м2×°С/Вт |
|
|
из деревянных, деревоалюминиевых или ПВХ профилей |
из алюминиевых (стальных) профилей |
|
|
1. Двойное остекление в спаренных створках |
0,4 |
- |
|
2. Двойное остекление в раздельных створках |
0,44 |
0,37 (0,34)* |
|
3. Тройное остекление в раздельно-спаренных створках |
0,55 |
0,46- |
|
4. Однокамерный стеклопакет из стекла: |
|
|
|
листового |
0,38 |
0,34 (0,31) |
|
с твердым селективным покрытием |
0,51 |
0,43- |
|
с мягким селективным покрытием |
0,56 |
0,47- |
|
5. Двухкамерный стеклопакет из стекла: |
|
|
|
листового (с межстекольным расстоянием 6 мм) |
0,51 |
0,43- |
|
листового (с межстекольным расстоянием 12 мм) |
0,54 |
0,45- |
|
с твердым селективным покрытием |
0,58 |
0,48- |
|
с мягким селективным покрытием |
0,68 |
0,52- |
|
с твердым селективным покрытием и заполнением аргоном |
0,65 |
0,53- |
|
6. Листовое стекло и однокамерный стеклопакет в раздельных створках из стекла: |
|
|
|
листового |
0,56 |
- - |
|
с твердым селективным покрытием |
0,65 |
- - |
|
с мягким селективным покрытием |
0,72 |
- - |
|
с твердым селективным покрытием и заполнением аргоном |
0,69 |
- - |
|
7. Листовое стекло и двухкамерный стеклопакет в раздельных створках из стекла: |
|
|
|
листового |
0,68 |
- - |
|
с твердым селективным покрытием |
0,74 |
- - |
|
с мягким селективным покрытием |
0,81 |
- - |
|
с твердым селективным покрытием и заполнением аргоном |
0,82 |
- - |
|
8. Два однокамерных стеклопакета в спаренных створках |
0,70 |
- - |
|
9. Два однокамерных стеклопакета в раздельных створках |
0,74 |
- - |
|
10. Четырехслойное остекление в двух спаренных створках |
0,80 |
- - |
|
* В стальных переплетах. Примечания 1. К мягким селективным покрытиям стекла относят покрытия с тепловой эмиссией менее 0,15, к твердым - более 0,15. Значения приведенных сопротивлений теплопередаче даны для оконных блоков с отношением площади остекления к общей площади конструкции, равным 0,75. 2. Значения приведенных сопротивлений теплопередаче, указанные в таблице, допускается применять в качестве расчетных при отсутствии этих значений в стандартах или технических условиях на конструкции или не подтвержденных результатами испытаний. |
||
|
№ п.п. |
Помещения |
Расчетная температура воздуха в холодный период года, °С |
|
1 |
Жилые комнаты квартир и общежитий в районах с температурой наиболее холодной пятидневки выше минус 31 °С |
18 (20) |
|
2 |
То же, в районах с температурой наиболее холодной пятидневки минус 31 °С и ниже |
20 (22) |
|
3 |
Кухни |
18 |
|
4 |
Вестибюли, общие коридоры, лестничные клетки в жилых домах |
16 |
|
5 |
То же, в общежитиях |
18 |
|
6 |
Помещения для культурно-массовых мероприятий, отдыха, учебных и спортивных занятий, для администрации и персонала |
18 |
|
7 |
Зрительные залы в клубах и театрах |
20 |
|
8 |
Помещения библиотек |
18 |
|
9 |
Спортивные залы, крытые катки |
18 |
|
10 |
Торговые залы магазинов: |
|
|
|
продовольственных |
12 |
|
|
универсальных и непродовольственных |
15 |
|
11 |
Помещения больниц, палаты: |
|
|
|
наркозные, родовые, послеоперационные, для грудных детей |
25 |
|
|
для взрослых больных |
20 |
|
|
послеоперационные, реанимационные |
22 |
|
|
предродовые, фильтры, приемно-смотровые, перевязочные, предоперационные |
22 |
|
|
стерилизационные |
18 |
|
12 |
Помещения детских садов: |
|
|
|
групповых, раздевальных - младших групп |
22 (23) |
|
|
- старших групп |
20 (21) |
|
|
спальни - младших групп (ясельных) |
21 (22) |
|
|
- дошкольных |
19 (20) |
|
|
буфетные |
16 |
|
|
для музыкальных и гимнастических занятий |
19 (20) |
|
|
бассейнов |
30 |
|
13 |
Школьные помещения: |
|
|
|
классные, учебные кабинеты, лаборатории |
18 (21) |
|
|
учебные мастерские |
15 (17) |
|
|
актовый зал, лекционные аудитории, клубные комнаты |
18 (20) |
|
|
кружковые |
18 (21) |
|
|
спальные комнаты школьных интернатов |
16 (18) |
|
14 |
Производственные помещения с категориями работ: |
|
|
|
легкой 1а |
21 (18) |
|
|
1б |
20 (17) |
|
|
средней тяжести IIa |
17 (15) |
|
|
IIб |
15 (13) |
|
|
тяжелой III |
13 (12) |
|
Примечания 1. В п.1, 2 в скобках даны значения расчетной температуры воздуха в помещениях для престарелых и семей инвалидов. 2. В п. 12, 13 в скобках даны значения расчетной температуры воздуха в помещениях общественных зданий, расположенных в северной строительно-климатической зоне и северной части о. Сахалин. 3. В п. 14 в скобках даны значения расчетной температуры воздуха в производственных помещениях с непостоянными рабочими местами. 4. Характеристики категорий работ (п. 14) указываются в отраслевых нормативных документах. |
||
|
Республика, край, область, пункт |
Средняя температура наиболее холодной пятидневки, °С |
Период со
среднесуточной температурой |
Среднемесячная температура за июль, °С |
Максимальная из средних скоростей ветра по румбам за январь, м/с
|
|
|
продолжительность, сут |
средняя температура, °С |
||||
|
1 |
2 |
3 |
4 |
5 |
6 |
|
Республика Адыгея |
|
|
|
|
|
|
Майкоп |
-19 |
148 |
2,3 |
29 |
5,7 |
|
Республика Алтай |
|
|
|
|
|
|
Алейск |
-38 |
216 |
-7,8 |
26,9 |
6,8 |
|
Барнаул |
-39 |
221 |
-7,7 |
26 |
5,9 |
|
Беля |
-23 |
223 |
-2,7 |
22,3 |
7 |
|
Бийск |
-38 |
222 |
-7,8 |
25,9 |
4,7 |
|
Змеиногорск |
-38 |
217 |
-6,6 |
26 |
6,9 |
|
Катанда |
-40 |
237 |
-9,2 |
23,8 |
1,8 |
|
Кош-Агач |
-46 |
262 |
-12,8 |
21,3 |
4,1 |
|
Онгудай |
-38 |
231 |
-8,3 |
24,6 |
2,3 |
|
Родино |
-38 |
215 |
-8,1 |
27,5 |
6 |
|
Рубцовск |
-38 |
213 |
-7,4 |
27,4 |
7,9 |
|
Славгород |
-37 |
215 |
-8,7 |
27,3 |
6,2 |
|
Тогул |
-37 |
225 |
-7,3 |
25,1 |
- |
|
Амурская область |
|
|
|
|
|
|
Архара |
-36 |
219 |
-11,8 |
26,3 |
3,4 |
|
Белогорск |
-37 |
223 |
-11,9 |
26,6 |
2,7 |
|
Благовещенск |
-34 |
218 |
-10,6 |
27 |
3,4 |
|
Бомнак |
-42 |
242 |
-14,7 |
24,6 |
1,9 |
|
Братолюбовка |
-37 |
229 |
-12,4 |
25,6 |
- |
|
Бысса |
-41 |
236 |
-13,6 |
25,9 |
1,3 |
|
Гош |
-42 |
233 |
-14 |
25,7 |
1,5 |
|
Дамбуки |
-43 |
244 |
-14,3 |
24,8 |
5,2 |
|
Ерофей Павлович |
-38 |
245 |
-12,7 |
25,5 |
-- |
|
Завитинск |
-36 |
226 |
-11,8 |
25,7 |
3,3 |
|
Зея |
-42 |
238 |
-13,8 |
25,5 |
3,5 |
|
Норский Склад |
-43 |
232 |
-14,3 |
25,9 |
2,1 |
|
Огорон |
-40 |
247 |
-13,3 |
24,1 |
3,2 |
|
Поярково |
-37 |
222 |
-11,9 |
26,6 |
3,4 |
|
Свободный |
-39 |
229 |
-12,4 |
26,6 |
- |
|
Сковородино |
-40 |
247 |
-13,4 |
25,4 |
4,7 |
|
Средняя Нюкжа |
-45 |
262 |
-16,1 |
25 |
- |
|
Тыган-Уркан |
-37 |
245 |
-12,4 |
25,4 |
5,2 |
|
Тында |
-42 |
258 |
-14,7 |
24,9 |
5,3 |
|
Унаха |
-42 |
255 |
-14 |
24,9 |
- |
|
Усть-Нюкжа |
-44 |
253 |
-14,9 |
25,3 |
4,3 |
|
Черняево |
-41 |
235 |
-12,7 |
25,9 |
1,9 |
|
Шимановск |
-38 |
233 |
-12,5 |
25,9 |
2,3 |
|
Экимчан |
-44 |
253 |
-14,4 |
24,5 |
2,2 |
|
Архангельская область |
|
|
|
|
|
|
Архангельск |
-31 |
253 |
-4,4 |
20,9 |
5,9 |
|
Борковская |
-42 |
277 |
-6,6 |
20,3 |
- |
|
Емецк |
-33 |
249 |
-4,7 |
21,8 |
- |
|
Койнас |
-40 |
264 |
-5,9 |
21,4 |
3,7 |
|
Мезень |
-35 |
272 |
-5,2 |
19,2 |
5,8 |
|
Онега |
-31 |
248 |
-3,9 |
21,2 |
4,6 |
|
Астраханская область |
|
|
|
|
|
|
Астрахань |
-23 |
167 |
-1,2 |
31 |
4,8 |
|
Верхний Бас- |
-26 |
179 |
-3 |
31,4 |
5,9 |
|
Кунчак |
|
|
|
|
|
|
Республика Башкортостан |
|
|
|
|
|
|
Белорецк |
-34 |
231 |
-6,5 |
22,4 |
5,6 |
|
Дуван |
-36 |
228 |
-6,3 |
22,8 |
- |
|
Мелеуз |
-35 |
210 |
-6,4 |
26,2 |
5 |
|
Уфа |
-35 |
213 |
-5,9 |
24,2 |
5,5 |
|
Янаул |
-37 |
226 |
-6 |
24,9 |
7,6 |
|
Белгородская область |
|
|
|
|
|
|
Белогород |
-23 |
191 |
-1,9 |
25,7 |
5,9 |
|
Брянская область |
|
|
|
|
|
|
Брянск |
-26 |
205 |
-2,3 |
22,8 |
6,3 |
|
Республика Бурятия |
|
|
|
|
|
|
Бабушкин |
-28 |
254 |
-5,6 |
19,3 |
- |
|
Баргузин |
-42 |
241 |
-11,5 |
25 |
- |
|
Багдарин |
-42 |
267 |
-13 |
23,3 |
- |
|
Кяхта |
-35 |
232 |
-9 |
24,8 |
4 |
|
Монды |
-33 |
266 |
-8,1 |
21,7 |
5,2 |
|
Нижнеангарск |
-33 |
258 |
9,6 |
21 |
- |
|
Сосново-Озерское |
-38 |
261 |
-10,6 |
22,8 |
- |
|
Уакит |
-40 |
274 |
-12,7 |
21,2 |
- |
|
Улан-Удэ |
-37 |
237 |
-10,4 |
25,9 |
2,8 |
|
Хоринск |
-39 |
241 |
-10,8 |
25,9 |
- |
|
Владимирская область |
|
|
|
|
|
|
Владимир |
-28 |
213 |
-3,5 |
23,3 |
4,5 |
|
Муром |
-30 |
214 |
-4 |
23,3 |
- |
|
Волгоградская область |
|
|
|
|
|
|
Волгоград |
-25 |
178 |
-2,2 |
30 |
8,1 |
|
Котельниково |
-24 |
176 |
-1,6 |
30,8 |
4,2 |
|
Эльтон |
-26 |
181 |
-3,6 |
31,3 |
4,6 |
|
Вологодская область |
|
|
|
|
|
|
Вологда |
-32 |
231 |
-4,1 |
22,3 |
6 |
|
Вытегра |
-32 |
235 |
-3,4 |
21,9 |
5,3 |
|
Никольск |
-34 |
236 |
-4,9 |
22,7 |
- |
|
Тотьма |
-32 |
235 |
-4,5 |
22,4 |
4,5 |
|
Воронежская область |
|
|
|
|
|
|
Воронеж |
-26 |
196 |
-3,1 |
25,9 |
5,1 |
|
Республика Дагестан |
|
|
|
|
|
|
Дербент |
-9 |
138 |
3,7 |
28,2 |
5,2 |
|
Махачкала |
-14 |
148 |
2,7 |
28,6 |
8,5 |
|
Ивановская область |
|
|
|
|
|
|
Иваново |
-30 |
219 |
-3,9 |
23,3 |
4,9 |
|
Кинешма |
-31 |
221 |
-4,1 |
23,8 |
- |
|
Иркутская область |
|
|
|
|
|
|
Алыгджер |
-36 |
264 |
-6,4 |
22,3 |
3,8 |
|
Бодайбо |
-47 |
254 |
-13,9 |
26,1 |
- |
|
Братск |
-43 |
249 |
-8,6 |
23,5 |
3,4 |
|
Верхняя Гутара |
-37 |
273 |
-7,7 |
21,9 |
- |
|
Дубровское |
-50 |
257 |
-12,3 |
25,5 |
- |
|
Ербогачен |
-51 |
264 |
-14,8 |
24,3 |
3,1 |
|
Жигалово |
-47 |
252 |
-13,3 |
25,6 |
- |
|
Зима |
-42 |
239 |
-9,7 |
24,8 |
4,8 |
|
Ика |
-50 |
262 |
-13 |
24,1 |
- |
|
Илимск |
-45 |
255 |
-11 |
25,5 |
- |
|
Иркутск |
-36 |
240 |
-8,5 |
24,7 |
2,9 |
|
Ичера |
-50 |
254 |
-12,9 |
25,1 |
- |
|
Киренск |
-49 |
251 |
-12,3 |
25,1 |
4,4 |
|
Мама |
-46 |
255 |
-12,6 |
25,8 |
- |
|
Маркове |
-49 |
250 |
-12,3 |
25,6 |
4,2 |
|
Наканно |
-54 |
268 |
-16,5 |
23,9 |
- |
|
Невон |
-48 |
253 |
-11,1 |
25 |
- |
|
Непа |
-50 |
261 |
-12,9 |
24,2 |
- |
|
Орлинга |
-46 |
253 |
-11,6 |
25,1 |
- |
|
Перевоз |
-46 |
262 |
-12,4 |
24,9 |
- |
|
Преображенка |
-50 |
259 |
-13,3 |
24,5 |
- |
|
Слюдянка |
-28 |
254 |
-6,4 |
19,8 |
1,5 |
|
Тайшет |
-40 |
240 |
-8,3 |
24,8 |
6,4 |
|
Тулун |
-40 |
247 |
-9 |
24,0 |
4,4 |
|
Усть-Ордынский - Бурятский АО |
-41 |
243 |
-10,9 |
25,2 |
|
|
Кабардино-Балкарская Республика |
|
|
|
|
|
|
Нальчик |
-18 |
168 |
0,6 |
27 |
2,5 |
|
Калининградская область |
|
|
|
|
|
|
Калининград |
-19 |
193 |
1,1 |
22,4 |
5,9 |
|
Республика Калмыкия - Хальмг Тангч |
|
|
|
|
|
|
Элиста |
-23 |
173 |
-1,2 |
31 |
7,6 |
|
Калужская область |
|
|
|
|
|
|
Калуга |
-27 |
210 |
-2,9 |
23,4 |
4,9 |
|
Камчатская область |
|
|
|
|
|
|
Апука - Корякский АО |
-29 |
300 |
-5,1 |
13,2 |
- |
|
Ича - Корякский АО |
-25 |
282 |
-3,8 |
14,1 |
- |
|
Ключи |
-35 |
257 |
-6,3 |
19,5 |
7,2 |
|
Козыревск |
-37 |
256 |
-7,3 |
21,1 |
- |
|
Корф - Корякский АО |
-30 |
281 |
-6,9 |
15,5 |
- |
|
Лопатка, мыс |
-13 |
306 |
0 |
11,4 |
- |
|
Мильково |
-38 |
256 |
-8,3 |
21,3 |
- |
|
Начики |
-36 |
280 |
-7,0 |
18 |
5,4 |
|
о. Беринга |
-11 |
292 |
0,4 |
12,5 |
10,1 |
|
Оссора - Корякский АО |
-31 |
281 |
-6 |
15,7 |
- |
|
Петропавловск-Камчатский |
-20 |
259 |
1,6 |
16,8 |
9 |
|
Семлячики |
-16 |
267 |
1,2 |
16 |
12,2 |
|
Соболеве |
-30 |
275 |
-4,8 |
16,3 |
3,8 |
|
Кроноки |
-20 |
280 |
-2,2 |
15,4 |
- |
|
Ука |
-34 |
281 |
-6,7 |
17 |
9,2 |
|
Октябрьская |
-25 |
281 |
-3,5 |
13,9 |
6,4 |
|
Усть-Воямполка - Корякский АО |
-35 |
295 |
-6,2 |
13,7 |
9,1 |
|
Усть-Камчатск |
-28 |
277 |
-4 |
15,6 |
7,1 |
|
Усть-Хайрюзово |
-31 |
278 |
-5,2 |
15,5 |
8,1 |
|
Карачаево-Черкесская Республика |
|
|
|
|
|
|
Черкесск |
-18 |
169 |
0,6 |
27,2 |
- |
|
Республика Карелия |
|
|
|
|
|
|
Кемь |
-27 |
258 |
-3,2 |
17,8 |
5,7 |
|
Лоухи |
-31 |
261 |
-4,2 |
19,8 |
- |
|
Олонец |
-29 |
233 |
-3,2 |
29,1 |
6,5 |
|
Паданы |
-29 |
251 |
-3,5 |
20 |
4,6 |
|
Петрозаводск |
-29 |
240 |
-3,1 |
20,3 |
5,9 |
|
Реболы |
-32 |
251 |
-4 |
20,6 |
- |
|
Кемеровская область |
|
|
|
|
|
|
Кемерово |
-39 |
231 |
-8,3 |
25,1 |
6,8 |
|
Киселевск |
-39 |
227 |
-7,3 |
24,9 |
5,5 |
|
Кондома |
-40 |
236 |
-7,8 |
24,7 |
3,6 |
|
Мариинск |
-40 |
235 |
-7,7 |
24,5 |
5,7 |
|
Тайга |
-39 |
240 |
-8,3 |
23,6 |
6,6 |
|
Тисуль |
-40 |
236 |
-7,3 |
24,3 |
- |
|
Топки |
-39 |
235 |
-8,2 |
23,8 |
- |
|
Усть-Кабырза |
-41 |
241 |
-9 |
24,6 |
- |
|
Кировская область |
|
|
|
|
|
|
Вятка |
-33 |
231 |
-5,4 |
23,1 |
5,3 |
|
Нагорское |
-34 |
239 |
-5,8 |
22,2 |
- |
|
Савали |
-33 |
220 |
-5,7 |
24,4 |
- |
|
Республика Коми |
|
|
|
|
|
|
Вендинга |
-39 |
257 |
-5,9 |
22 |
3,8 |
|
Воркута |
-41 |
306 |
-9,1 |
18 |
10,1 |
|
Объячево |
-34 |
239 |
-5,3 |
22,3 |
- |
|
Петрунь |
-43 |
286 |
-8,6 |
19,2 |
- |
|
Печора |
-43 |
270 |
-7,9 |
21,7 |
5,6 |
|
Сыктывкар |
-36 |
245 |
-5,8 |
22,2 |
5,5 |
|
Троицко-Печорск |
-41 |
258 |
-6,9 |
21,6 |
4,8 |
|
Усть-Уса |
-41 |
279 |
-7,6 |
19,5 |
- |
|
Усть-Цильма |
-39 |
272 |
-6,6 |
19,7 |
- |
|
Усть-Щугор |
-45 |
268 |
-7,9 |
21 |
5 |
|
Ухта |
-39 |
261 |
-6,4 |
21,3 |
4,8 |
|
Костромская область |
|
|
|
|
|
|
Кострома |
-31 |
222 |
-3,9 |
23,1 |
5,8 |
|
Чухлома |
-32 |
230 |
-4,3 |
22,5 |
- |
|
Шарья |
-32 |
228 |
-4,7 |
23,1 |
4,5 |
|
Краснодарский край |
|
|
|
|
|
|
Краснодар |
-19 |
149 |
2 |
29,8 |
3,2 |
|
Сочи |
-3 |
72 |
6,4 |
26,6 |
6,5 |
|
Тихорецк |
-22 |
158 |
1,1 |
30 |
6,8 |
|
Красноярский край |
|
|
|
|
|
|
Агата |
-53 |
293 |
-16,3 |
20,4 |
- |
|
Ачинск |
-41 |
237 |
-7,6 |
24,2 |
5,7 |
|
Байкит-Эвенкийский АО |
-50 |
267 |
-13,9 |
24,5 |
19 |
|
Боготол |
-39 |
239 |
-7,6 |
23,8 |
- |
|
Богучаны |
-46 |
245 |
-10,8 |
25,7 |
5,3 |
|
Ванавара |
-51 |
262 |
-13,7 |
24,7 |
3,3 |
|
Эвенкийский АО |
|
|
|
|
|
|
Вельмо |
-49 |
264 |
-12,5 |
24,3 |
- |
|
Верхнеимбатск |
-48 |
266 |
-11,5 |
22,7 |
4,3 |
|
Волочанка |
-50 |
306 |
-16,1 |
18 |
6,1 |
|
Диксон - Таймырский АО |
-41 |
365 |
-11,4 |
7,5 |
12,2 |
|
Дудинка - Таймырский АО |
-47 |
303 |
-14,3 |
18,1 |
7,7 |
|
Енисейск |
-46 |
245 |
-9,6 |
24,5 |
3,7 |
|
Ессей - Эвенкийский АО |
-55 |
298 |
-17,7 |
18,8 |
2,5 |
|
Игарка |
-49 |
285 |
-13,9 |
20,3 |
7,8 |
|
Канск |
-42 |
237 |
-8,8 |
25,5 |
7,3 |
|
Кежма |
-48 |
252 |
-12,3 |
24,9 |
4,5 |
|
Ключи |
-39 |
240 |
-7,4 |
24,5 |
- |
|
Красноярск |
-40 |
234 |
-7,1 |
24,3 |
6,2 |
|
Минусинск |
-40 |
225 |
-8,8 |
26,6 |
4,8 |
|
Таимба |
-51 |
264 |
-13,6 |
24,9 |
- |
|
Троицкое |
-47 |
251 |
-9,8 |
25,4 |
- |
|
Тура - Эвенкийский АО |
-55 |
271 |
-16,9 |
23,5 |
2,7 |
|
Туруханск |
-50 |
279 |
-12,9 |
21,4 |
5,7 |
|
Хатанга - Таймырский АО |
-49 |
311 |
-17,1 |
17,6 |
5,8 |
|
Челюскин, мыс - Таймырский АО |
-41 |
365 |
-14,7 |
3,9 |
9,3 |
|
Ярцево |
-47 |
254 |
-10,8 |
24,1 |
4,7 |
|
Курганская область |
|
|
|
|
|
|
Курган |
-37 |
216 |
-7,7 |
25,2 |
- |
|
Курская область |
|
|
|
|
|
|
Курск |
-26 |
198 |
-2,4 |
24 |
5,3 |
|
Липецкая область |
|
|
|
|
|
|
Липецк |
-27 |
202 |
-3,4 |
25,9 |
5,9 |
|
Ленинградская область |
|
|
|
|
|
|
Свирица |
-29 |
228 |
-2,9 |
21,8 |
5,5 |
|
Тихвин |
-29 |
227 |
-2,8 |
22,5 |
5,5 |
|
Санкт-Петербург |
-26 |
220 |
-1,8 |
22 |
4,2 |
|
Магаданская область |
|
|
|
|
|
|
Аркагала |
-51 |
289 |
-19 |
20,7 |
6,4 |
|
Брохово |
-36 |
285 |
-8,7 |
15,7 |
11,7 |
|
Магадан (Нагаева бухта) |
-29 |
288 |
-7,1 |
14,9 |
7,3 |
|
Омсукчан |
-50 |
286 |
-17,2 |
19,5 |
6,9 |
|
Палатка |
-38 |
280 |
-10,7 |
19,4 |
7,6 |
|
Среднекан |
-52 |
274 |
-19,3 |
22,2 |
2 |
|
Сусуман |
-55 |
286 |
-19,9 |
20,6 |
4,4 |
|
Республика Марий Эл |
|
|
|
|
|
|
Йошкар-Ола |
-34 |
220 |
-5,1 |
24 |
6,2 |
|
Республика Мордовия |
|
|
|
|
|
|
Саранск |
-30 |
209 |
-4,5 |
24,9 |
6,9 |
|
Московская область |
|
|
|
|
|
|
Дмитров |
-28 |
216 |
-3,1 |
22,7 |
5,2 |
|
Кашира |
-27 |
212 |
-3,4 |
23,1 |
- |
|
Москва |
-28 |
214 |
-3,1 |
23,6 |
4,9 |
|
Мурманская область |
|
|
|
|
|
|
Вайда-Губа |
-17 |
294 |
-0,7 |
14 |
- |
|
Кандалакша |
-30 |
266 |
-3,9 |
19,1 |
5,7 |
|
Ковдор |
-34 |
276 |
-5,2 |
18,7 |
3,5 |
|
Краснощелье |
-32 |
279 |
-5 |
18,8 |
3 |
|
Ловозеро |
-31 |
281 |
-5 |
18,2 |
3,9 |
|
Мончегорск |
-30 |
271 |
-4,5 |
18,7 |
5,7 |
|
Мурманск |
-27 |
275 |
-3,2 |
17,5 |
7,5 |
|
Ниванкюль |
-36 |
271 |
-4,6 |
18,7 |
- |
|
Пулозеро |
-35 |
277 |
-4,8 |
18,5 |
2,5 |
|
Пялица |
-25 |
298 |
-2,8 |
14,2 |
- |
|
Териберка |
-21 |
286 |
-2 |
13,5 |
- |
|
Терско-Орловский |
-22 |
312 |
-2,5 |
13,5 |
- |
|
Умба |
-29 |
265 |
-3,7 |
18,7 |
- |
|
Юкспор |
-24 |
340 |
-4,5 |
12,5 |
- |
|
Нижегородская область |
|
|
|
|
|
|
Арзамас |
-32 |
216 |
-4,7 |
24,6 |
7,5 |
|
Выкса |
-30 |
212 |
-4 |
24,7 |
- |
|
Нижний Новгород |
-31 |
215 |
-4,1 |
23,5 |
5,1 |
|
Новгородская область |
|
|
|
|
|
|
Новгород |
-27 |
221 |
-2,3 |
22,7 |
6,6 |
|
Новосибирская область |
|
|
|
|
|
|
Барабинск |
-39 |
230 |
-9 |
24,8 |
6,5 |
|
Болотное |
-39 |
231 |
-8,2 |
24,8 |
5,6 |
|
Карасук |
-37 |
218 |
-8,9 |
26,3 |
- |
|
Кочки |
-39 |
228 |
-8,9 |
25,3 |
- |
|
Купино |
-38 |
224 |
-9 |
25,8 |
6,7 |
|
Кыштовка |
-40 |
231 |
-8,9 |
24,3 |
- |
|
Новосибирск |
-39 |
230 |
-8,7 |
24,6 |
5,7 |
|
Татарск |
-39 |
229 |
-8,9 |
24,8 |
4,8 |
|
Чулым |
-39 |
230 |
-8,8 |
24,7 |
6,2 |
|
Омская область |
|
|
|
|
|
|
Исиль-Куль |
-36 |
225 |
-8,6 |
24,4 |
5,2 |
|
Омск |
-37 |
221 |
-8,4 |
25 |
5,1 |
|
Тара |
-40 |
234 |
-8,8 |
23,5 |
4,5 |
|
Черлак |
-37 |
217 |
-8,7 |
26,1 |
5,4 |
|
Оренбургская область |
|
|
|
|
|
|
Оренбург |
-31 |
202 |
-6,3 |
28,5 |
5,5 |
|
Орловская область |
|
|
|
|
|
|
Орел |
-26 |
205 |
-2,7 |
24,1 |
6,5 |
|
Пензенская область |
|
|
|
|
|
|
Земетчино |
-29 |
208 |
-4,2 |
25,6 |
6,2 |
|
Пенза |
-29 |
207 |
-4,5 |
25,3 |
5,6 |
|
Пермская область |
|
|
|
|
|
|
Бисер |
-36 |
254 |
-6,8 |
20,9 |
3,5 |
|
Пермь |
-35 |
229 |
-5,9 |
23,4 |
5,2 |
|
Приморский край |
|
|
|
|
|
|
Анучино |
-31 |
203 |
-8,1 |
27,5 |
- |
|
Астраханка |
-26 |
202 |
-6,6 |
25,5 |
- |
|
Богополь |
-21 |
208 |
-4,2 |
25,1 |
- |
|
Владивосток |
-24 |
196 |
-3,9 |
24,8 |
9 |
|
Дальнереченск |
-31 |
205 |
-8,5 |
26,6 |
4,1 |
|
Мельничное |
-32 |
225 |
-9,3 |
26,5 |
- |
|
Партизанск |
-22 |
198 |
-4,5 |
25,4 |
8,4 |
|
Посьет |
-19 |
192 |
-2,9 |
24,7 |
- |
|
Преображение |
-17 |
205 |
-1,6 |
22,8 |
- |
|
Рудная Пристань |
-20 |
219 |
-3,1 |
22,4 |
9,1 |
|
Чугуевка |
-32 |
211 |
-8,6 |
27,5 |
- |
|
Псковская область |
|
|
|
|
|
|
Великие Луки |
-27 |
212 |
-1,9 |
23,2 |
6,1 |
|
Псков |
-26 |
212 |
-1,6 |
22,9 |
4,8 |
|
Ростовская область |
|
|
|
|
|
|
Миллерово |
-25 |
184 |
-2,1 |
28,4 |
7,9 |
|
Ростов-на-Дону |
-22 |
171 |
-0,6 |
29,1 |
6,5 |
|
Таганрог |
-22 |
167 |
-0,4 |
28,2 |
- |
|
Рязанская область |
|
|
|
|
|
|
Рязань |
-27 |
208 |
-3,5 |
24,1 |
7,3 |
|
Самарская область |
|
|
|
|
|
|
Самара |
-30 |
203 |
-5,2 |
25,9 |
5,4 |
|
Свердловская область |
|
|
|
|
|
|
Верхотурье |
-37 |
236 |
-6,8 |
23,4 |
- |
|
Екатеринбург |
-35 |
230 |
-6 |
23,1 |
5 |
|
Ивдель |
-39 |
245 |
-7,4 |
22,7 |
- |
|
Саратовская область |
|
|
|
|
|
|
Саратов |
-27 |
196 |
-4,3 |
27,5 |
5,6 |
|
Сахалинская область |
|
|
|
|
|
|
Александровск-Сахалинский |
-27 |
240 |
-6,2 |
20,5 |
7,8 |
|
Долинск |
-24 |
231 |
-4 |
22,2 |
5,6 |
|
Кировское |
-36 |
246 |
-9,2 |
21,5 |
5,7 |
|
Корсаков |
-20 |
232 |
-2,7 |
20,8 |
5,6 |
|
Курильск |
-15 |
227 |
-0,2 |
19,3 |
11,9 |
|
Макаров |
-23 |
241 |
-4,2 |
19,2 |
- |
|
Невельск |
-16 |
218 |
-1,8 |
20,9 |
7 |
|
Ноглики |
-32 |
260 |
-7,2 |
19,4 |
- |
|
Оха |
-29 |
266 |
-7,3 |
18,3 |
11,2 |
|
Погиби |
-30 |
255 |
-8,2 |
18,5 |
- |
|
Поронайск |
-28 |
249 |
-5,5 |
19,4 |
4,8 |
|
Рыбновск |
-33 |
255 |
-8,9 |
18,8 |
- |
|
Холмск |
-18 |
220 |
-2,3 |
21 |
10,7 |
|
Южно-Курильск |
-12 |
228 |
0,1 |
18,7 |
8,5 |
|
Южно-Сахалинск |
-24 |
230 |
-4,3 |
22,1 |
4,8 |
|
Республика Северная Осетия |
|
|
|
|
|
|
Владикавказ |
-18 |
174 |
0,4 |
25,4 |
3 |
|
Смоленская область |
|
|
|
|
|
|
Вязьма |
-27 |
217 |
-2,8 |
21,8 |
- |
|
Смоленск |
-26 |
215 |
-2,4 |
22,3 |
6,8 |
|
Ставропольский край |
|
|
|
|
|
|
Арзгир |
-22 |
163 |
0,1 |
31,5 |
4,6 |
|
Ставрополь |
-19 |
168 |
0,9 |
27,4 |
7,4 |
|
Тамбовская область |
|
|
|
|
|
|
Тамбов |
-28 |
201 |
-3,7 |
25,6 |
4,7 |
|
Республика Татарстан |
|
|
|
|
|
|
Бугульма |
-33 |
221 |
-5,8 |
23,9 |
7,5 |
|
Елабуга |
-34 |
215 |
-5,5 |
25,3 |
4,7 |
|
Казань |
-32 |
215 |
-5,2 |
24,7 |
5,7 |
|
Тверская область |
|
|
|
|
|
|
Бежецк |
-31 |
222 |
-3,4 |
22,2 |
5 |
|
Тверь |
-29 |
218 |
-3 |
23 |
6,2 |
|
Ржев |
-28 |
217 |
-2,7 |
22,5 |
- |
|
Томская область |
|
|
|
|
|
|
Александровское |
-42 |
252 |
-9,6 |
22,7 |
4,3 |
|
Колпашево |
-42 |
243 |
-9,1 |
23,6 |
4,8 |
|
Средний Васюган |
-41 |
244 |
-8,8 |
23,7 |
3,8 |
|
Томск |
-40 |
236 |
-8,4 |
23,7 |
5,6 |
|
Усть-Озерное |
-43 |
248 |
-9,5 |
24,4 |
3,6 |
|
Республика Тыва |
|
|
|
|
|
|
Кызыл |
-47 |
225 |
-15 |
26,9 |
1,7 |
|
Тульская область |
|
|
|
|
|
|
Тула |
-27 |
207 |
-3 |
24,3 |
4,9 |
|
Тюменская область |
|
|
|
|
|
|
Березово - Ханты-мансийский АО |
-43 |
267 |
-9,7 |
20,4 |
4,1 |
|
Демьянское |
-40 |
241 |
-8 |
22,6 |
4,6 |
|
Кондинское - Ханты-Мансийский АО |
-40 |
238 |
-8,6 |
24 |
4,7 |
|
Леуши |
-39 |
238 |
-7,4 |
22,8 |
- |
|
Марресаля |
-39 |
365 |
-8,1 |
11,2 |
- |
|
Надым |
-44 |
283 |
-11,6 |
20,9- |
|
|
Октябрьское |
-41 |
261 |
-9 |
22,3 |
5,2 |
|
Салехард |
-42 |
292 |
-11,4 |
18,7 |
4,6 |
|
Сосьва |
-44 |
261 |
-9,5 |
22,3 |
- |
|
Сургут - Ханты-Мансийский АО |
-43 |
257 |
-9,9 |
21,7 |
5,3 |
|
Тарко-Сале - Ямало-Ненецкий АО |
-46 |
278 |
-12,2 |
21,2 |
5 |
|
Тобольск |
-39 |
232 |
-8,1 |
23,6 |
6,3 |
|
Тюмень |
-38 |
225 |
-7,2 |
24 |
3,9 |
|
Угут |
-42 |
251 |
-9,1 |
23,3 |
4,4 |
|
Уренгой - Ямало-Ненецкий АО |
-46 |
286 |
-13,1 |
20,7 |
- |
|
Ханты-Мансийск - Ханты-Мансийский АО |
-41 |
250 |
-8,8 |
22,6 |
6,9 |
|
Удмуртская Республика |
|
|
|
|
|
|
Глазов |
-35 |
231 |
-6 |
23,6 |
4,9 |
|
Ижевск |
-34 |
222 |
-5,6 |
24,1 |
4,8 |
|
Сарапул |
-34 |
220 |
-5,9 |
24,6 |
- |
|
Ульяновская область |
|
|
|
|
|
|
Сурское |
-31 |
211 |
-4,8 |
25,1 |
- |
|
Ульяновск |
-31 |
212 |
-5,4 |
25,7 |
- |
|
Хабаровский край |
|
|
|
|
|
|
Аян |
-28 |
278 |
-7,4 |
16,5 |
- |
|
Байдуков |
-31 |
255 |
-9 |
18,7 |
- |
|
Бикин |
-32 |
208 |
-9,1 |
27,2 |
3,2 |
|
Бира |
-31 |
220 |
-9,1 |
26,1 |
- |
|
Биробиджан |
-32 |
219 |
-10,4 |
26 |
- |
|
Вяземский |
-31 |
213 |
-9,3 |
26,4 |
4,1 |
|
Гвасюги |
-35 |
228 |
-10,4 |
26,7 |
- |
|
Гроссевичи |
-22 |
248 |
-4,3 |
19,2 |
- |
|
Де-Кастри |
-27 |
256 |
-6,9 |
19,5 |
- |
|
Джаорэ |
-30 |
252 |
-7,9 |
19,2 |
- |
|
Екатерино-Никольское |
-30 |
213 |
-8,8 |
26,5 |
7,9 |
|
Комсомольск-на-Амуре |
-35 |
223 |
-10,8 |
25,2 |
5,7 |
|
Нижнетамбовское |
-36 |
229 |
-10,9 |
25,2 |
- |
|
Николаевск-на-Амуре |
-35 |
249 |
-9,6 |
21,5 |
4,5 |
|
Облучье |
-36 |
227 |
-11,5 |
25,8 |
- |
|
Охотск |
-33 |
280 |
-9,5 |
16,4 |
- |
|
Им. Полины Осипенко |
-41 |
240 |
-12,2 |
24,6 |
- |
|
Сизиман |
-26 |
263 |
-6,2 |
19,4 |
- |
|
Советская Гавань |
-27 |
243 |
-6 |
21,66 |
- |
|
Софийский Прииск |
-43 |
268 |
-14,3 |
22,6 |
2,3 |
|
Средний Ургал |
-40 |
238 |
-13,3 |
26 |
- |
|
Троицкое |
-31 |
217 |
-9,7 |
25,3 |
- |
|
Хабаровск |
-31 |
211 |
-9,3 |
25,7 |
5,9 |
|
Чумикан |
-32 |
274 |
-8,8 |
18,3 |
10,3 |
|
Энкэн |
-28 |
281 |
-7,7 |
17,3 |
- |
|
Республика Хакассия |
|
|
|
|
|
|
Абакан |
-40 |
225 |
-9,7 |
26,2 |
- |
|
Шира |
-38 |
236 |
-7,7 |
24,1 |
4,1 |
|
Челябинская область |
|
|
|
|
|
|
Челябинск |
-34 |
218 |
-6,5 |
24,1 |
4,5 |
|
Чеченская Республика |
|
|
|
|
|
|
Грозный |
-18 |
160 |
0,9 |
30,7 |
3,5 |
|
Читинская область |
|
|
|
|
|
|
Агинское |
-36 |
238 |
-10,4 |
25,3 |
- |
|
Акша |
-34 |
237 |
-9,6 |
25,6 |
5,2 |
|
Александровский Завод |
-38 |
250 |
-12 |
23,9 |
- |
|
Борзя |
-40 |
236 |
-12 |
26 |
- |
|
Дарасун |
-34 |
247 |
-9,5 |
24,4 |
- |
|
Калакан |
-47 |
260 |
-16 |
25,3 |
- |
|
Красный Чикой |
-39 |
244 |
-10,9 |
24,8 |
- |
|
Могоча |
-41 |
254 |
-13,4 |
24,1 |
5,2 |
|
Нерчинск |
-44 |
233 |
-14,1 |
26,7 |
4,4 |
|
Нерчинский Завод |
-41 |
237 |
-12,7 |
25,2 |
2,7 |
|
Средний Калар |
-46 |
271 |
-16,4 |
24 |
- |
|
Тунгокочен |
-45 |
262 |
-13,8 |
23,9 |
- |
|
Тупик |
-44 |
260 |
-14,8 |
24,4 |
- |
|
Чара |
-46 |
267 |
-15,5 |
23,6 |
- |
|
Чита |
-38 |
242 |
-11,4 |
25,2 |
3,2 |
|
Чувашская Республика - Чаваш республики |
|
|
|
|
|
|
Порецкое |
-31 |
212 |
-4,6 |
24,7 |
6,4 |
|
Чебоксары |
-32 |
217 |
-4,9 |
24,1 |
- |
|
Чукотский АО (Магаданская область) |
|
|
|
|
|
|
Анадырь |
-40 |
311 |
-10,5 |
14,7 |
11,4 |
|
Маркове |
-48 |
286 |
-14,3 |
19,2 |
6 |
|
Островное |
-51 |
288 |
-17,8 |
19,2 |
4,5 |
|
Усть-Олой |
-51 |
286 |
-18,4 |
19,4 |
|
|
Эньмувеем |
-48 |
294 |
-14,5 |
18,4 |
- |
|
Республика Саха (Якутия) |
|
|
|
|
|
|
Алдан |
-42 |
267 |
-13,3 |
22,6 |
4,1 |
|
Аллах-Юнь |
-54 |
280 |
-21,4 |
22,2 |
3,2 |
|
Амга |
-55 |
259 |
-21,3 |
25,4 |
2,5 |
|
Батамай |
-52 |
265 |
-20,8 |
23,3 |
- |
|
Бердигястях |
-54 |
268 |
-19,6 |
23,9 |
- |
|
Буяга |
-52 |
266 |
-18,2 |
25,1 |
- |
|
Верхоянск |
-59 |
279 |
-24,1 |
22,1 |
2,1 |
|
Вилюйск |
-52 |
262 |
-18,2 |
24,5 |
3 |
|
Витим |
-51 |
257 |
-13,7 |
25,1 |
4,9 |
|
Воронцово |
-51 |
297 |
-19,6 |
17,3 |
- |
|
Джалинда |
-56 |
296 |
-19,5 |
19,7 |
- |
|
Джарджан |
-52 |
284 |
-19 |
20,3 |
6,1 |
|
Джикимда |
-51 |
259 |
-16,5 |
26,4 |
- |
|
Дружина |
-52 |
284 |
-20,2 |
18,9 |
2,8 |
|
Екючю |
-58 |
281 |
-23 |
22,3 |
- |
|
Жиганск |
-51 |
278 |
-19,3 |
21,4 |
5,1 |
|
Зырянка |
-51 |
274 |
-19,2 |
20,8 |
5,3 |
|
Исить |
-50 |
256 |
-17,4 |
24,7 |
5,4 |
|
Иэма |
-57 |
292 |
-22,9 |
19,6 |
- |
|
Крест-Хальджай |
-55 |
256 |
-22,1 |
24,6 |
- |
|
Кюсюр |
-54 |
298 |
-18,7 |
17,6 |
7,7 |
|
Ленек |
-49 |
259 |
-14,2 |
24,7 |
- |
|
Нагорный |
-41 |
275 |
-14,2 |
22,1 |
6,6 |
|
Нера |
-58 |
272 |
-23,8 |
22,5 |
- |
|
Нюрба |
-52 |
263 |
-17,7 |
24,1 |
3,3 |
|
Нюя |
-50 |
253 |
-14,2 |
24,9 |
5,3 |
|
Оймякон |
-60 |
286 |
-24,3 |
21,6 |
1 |
|
Олекминск |
-50 |
256 |
-15,3 |
25,1 |
3,5 |
|
Оленек |
-57 |
290 |
-20 |
21,1 |
2,4 |
|
Охотский Перевоз |
-55 |
260 |
-21,7 |
24,2 |
1,8 |
|
Сангар |
-50 |
261 |
-19,6 |
23,4 |
7,6 |
|
Саскылах |
-53 |
314 |
-17,8 |
17,3 |
- |
|
Среднеколымск |
-51 |
287 |
-18,9 |
19 |
2,9 |
|
Сунтар |
-51 |
260 |
-16,5 |
24,7 |
3,3 |
|
Сухана |
-57 |
286 |
-20,6 |
21,1 |
4 |
|
Сюльдюкар |
-53 |
270 |
-18 |
24,2 |
- |
|
Сюрен-Кюель |
-46 |
292 |
-17,4 |
19,2 |
8,7 |
|
Токо |
-51 |
279 |
-18,4 |
22,4 |
- |
|
Томмот |
-51 |
262 |
-17,1 |
25,5 |
- |
|
Томпо |
-55 |
276 |
-22,2 |
23,2 |
3,1 |
|
Туой-Хая |
-52 |
266 |
-15,8 |
23,5 |
3 |
|
Тяня |
-50 |
262 |
-15,7 |
26,2 |
- |
|
Усть-Мая |
-54 |
256 |
-20,1 |
24,6 |
2,2 |
|
Усть-Миль |
-51 |
259 |
-18,9 |
25 |
- |
|
Усть-Мома |
-58 |
277 |
-23,1 |
21,8 |
3,8 |
|
Чульман |
-49 |
270 |
-17,1 |
23,7 |
2,3 |
|
Чурапча |
-56 |
239 |
-21,8 |
24,9 |
- |
|
Шелагонцы |
-57 |
285 |
-20,1 |
21,9 |
2,3 |
|
Эйик |
-52 |
284 |
-18,5 |
20,8 |
- |
|
Якутск |
-54 |
256 |
-20,6 |
25,2 |
2,6 |
|
Ненецкий АО (Архангельская область) |
|
|
|
|
|
|
Варандей |
-36 |
323 |
-7,3 |
13 |
- |
|
Индига |
-33 |
305 |
-5,1 |
14,2 |
10,6 |
|
Канин Нос |
-23 |
325 |
-2 |
11,4 |
10,1 |
|
Коткино |
-41 |
285 |
-7,1 |
18,8 |
- |
|
Нарьян-Мар |
-37 |
290 |
-7,2 |
17,6 |
6,3 |
|
Ходовариха |
-32 |
330 |
-6,2 |
11,1 |
- |
|
Хоседа-Хард |
-42 |
296 |
-8,6 |
18,8 |
7,2 |
|
Ярославская область |
|
|
|
|
|
|
Ярославль |
-31 |
221 |
-4 |
23,2 |
5,5 |
|
Ориентация световых проемов по сторонам горизонта |
Коэффициент светового климата mN |
||||
|
Номер группы административных районов |
|||||
|
1 |
2 |
3 |
4 |
5 |
|
|
С |
1 |
0,9 |
1,1 |
1,2 |
0,8 |
|
св, сз |
1 |
0,9 |
1,1 |
1,2 |
0,8 |
|
з, в |
1 |
0,9 |
1,1 |
1,1 |
0,8 |
|
юв, юз |
1 |
0,85 |
1 |
1,1 |
0,8 |
|
ю |
1 |
0,85 |
1 |
1,1 |
0,75 |
|
Примечание. В таблице принято следующее условное обозначение ориентации световых проемов относительно сторон горизонта: С - северное; СВ - северо-восточное; СЗ - северо-западное; 3 - западное; В - восточное; ЮВ - юго-восточное; ЮЗ - юго-западное; Ю - южное. |
|||||
|
Номер группы |
Административный район |
|
|
1 |
Московская, Смоленская, Владимирская, Калужская, Тульская, Рязанская, Нижегородская, Свердловская, Пермская, Челябинская, Курганская, Новосибирская, Кемеровская области, Мордовия, Чувашия, Удмуртия, Башкортостан, Татарстан, Красноярский край (севернее 63° с.ш.), Республика Саха (Якутия) (севернее 63° с.ш.), Чукотский авт. округ, Хабаровский край (южнее 55° с.ш.), Республика Марий Эл |
|
|
2 |
Брянская, Курская, Орловская, Белгородская, Воронежская, Липецкая, Тамбовская, Пензенская, Самарская, Ульяновская, Оренбургская, Саратовская, Волгоградская области, Республика Коми, Кабардино-Балкарская Республика, Северо-Осетинская Республика, Чеченская Республика, Ингушская Республика, Ханты-Мансийский авт. округ, Алтайский край, Красноярский край (южнее 63° с.ш.), Республика Саха (Якутия) (южнее 63° с.ш.), Республика Тува, Бурятская Республика, Читинская область, Хабаровский край (южнее 55° с.ш.), Магаданская обл. |
|
|
3 |
Калининградская, Псковская, Новгородская, Тверская, Ярославская, Ивановская, Ленинградская, Вологодская, Костромская, Кировская области, Карельская Республика, Ямало-Ненецкий авт. округ, Ненецкий авт. округ |
|
|
4 |
Архангельская, Мурманская области |
|
|
5 |
Калмыцкая Республика, Ростовская, Астраханская области, Ставропольский край, Республика Дагестан, Амурская область, Приморский край |
|
|
№ п.п. |
Помещения |
Разряд и подразряд зрительной работы |
||||||||
|
1. ПОМЕЩЕНИЯ ЖИЛЫХ ЗДАНИЙ |
||||||||||
|
1 |
Общие комнаты, гостиные, спальни |
В |
||||||||
|
2 |
Жилые комнаты общежитий, игровые |
Б-2 |
||||||||
|
3 |
Кабинеты, библиотеки |
Б-1 |
||||||||
|
4 |
Кухни, кухни-столовые, раздевалки, бассейны, тренажерные залы, привратницкие |
В |
||||||||
|
5 |
Лестничные клетки |
З |
||||||||
|
2. ПОМЕЩЕНИЯ ОБЩЕСТВЕННЫХ, АДМИНИСТРАТИВНО-БЫТОВЫХ И ВСПОМОГАТЕЛЬНЫХ ЗДАНИЙ А. Органы
управления, общественные, конструкторские, |
||||||||||
|
1 |
Кабинеты, рабочие комнаты, представительства, проектные кабинеты, комнаты совещаний, общественных организаций, экспертизы, помещения для посетителей, обслуживающего персонала, нотариальные конторы, читальные залы |
Б-1 |
||||||||
|
2 |
Проектные залы и комнаты, конструкторские бюро, архитектурные мастерские |
А-1 |
||||||||
|
3 |
Машинописные бюро |
А-2 |
||||||||
|
4 |
Читательские каталоги, лингафонные кабинеты, помещения тематических выставок, переплетные |
Б-2 |
||||||||
|
5 |
Редакционно-оформительские |
А-1 |
||||||||
|
6 |
Подготовки изготовления печатных форм, печатные |
А-2 |
||||||||
|
7 |
Макетные, столярные и ремонтные мастерские |
III |
||||||||
|
8 |
Помещения для работы с видеоматериалами |
А-2 |
||||||||
|
9 |
Рекреационные помещения, фойе |
Е |
||||||||
|
10 |
Химические лаборатории, препараторские |
А-2 |
||||||||
|
11 |
Аналитические лаборатории |
А-1 |
||||||||
|
12 |
Лаборатории научно-технические (кроме медицинских учреждений), термические, физические, механические, электронных устройств и др. |
А-2 |
||||||||
|
13 |
Операционные залы, кассовые залы, помещения для пересчета денег |
А-2 |
||||||||
|
Б. Учебные организации (школы, специальные и высшие учебные заведения) |
||||||||||
|
14 |
Классные комнаты, аудитории, учебные кабинеты, лаборатории |
Б-1 |
||||||||
|
15 |
Кабинеты вычислительной техники, информатики |
А-2 |
||||||||
|
16 |
Кабинеты технического черчения, рисования |
А-1 |
||||||||
|
17 |
Инструментальные комнаты мастера, инструктора, кабинеты преподавателей |
Б-1 |
||||||||
|
18 |
Кабинеты обслуживающих видов труда |
А-2, Б-1 |
||||||||
|
19 |
Спортивные залы |
Б-1 |
||||||||
|
20 |
Актовые залы, киноаудитории, рекреации |
Д, Е |
||||||||
|
В. Детские дошкольные учреждения |
||||||||||
|
21 |
Приемные, раздевальные |
Б-2 |
||||||||
|
22 |
Групповые, игральные, столовые, комнаты для музыкальных и гимнастических занятий |
А-2 |
||||||||
|
23 |
Спальные, изоляторы |
Б-2 |
||||||||
|
Г. Физкультурно-оздоровительные учреждения |
||||||||||
|
24 |
Залы спортивных игр, аэробики, гимнастики, борьбы |
Б-2 |
||||||||
|
25 |
Палаты и спальные комнаты санаториев, домов отдыха, бассейны |
В |
||||||||
|
Д. Предприятия общественного питания |
||||||||||
|
26 |
Обеденные залы столовых, закусочных, ресторанов, кафе, баров, буфеты |
Б-2 |
||||||||
|
27 |
Горячие и холодные заготовочные цехи, моечные, помещения для резки продуктов |
Б-2 |
||||||||
|
28 |
Кондитерские цехи, мучных изделий, шоколада и конфет |
А-2 |
||||||||
|
29 |
Цехи производства мороженого, приготовления напитков, подготовки продуктов, упаковки готовой продукции |
Б-3 |
||||||||
|
Е. Магазины |
||||||||||
|
30 |
Торговые залы супермаркетов |
А-1 |
||||||||
|
31 |
Торговые залы магазинов: книжных, готового платья, белья, обуви, тканей, меховых изделий, головных уборов, парфюмерных, галантерейных, ювелирных, электро- и радиотоваров, продовольственных без самообслуживания |
Б-1 |
||||||||
|
32 |
Торговые залы продовольственных магазинов с самообслуживанием |
А-2 |
||||||||
|
33 |
Торговые залы магазинов: посудных, мебельных, спортивных товаров, стройматериалов, электробытовых, машин, игрушек и канцелярских товаров, помещения отделов заказов, бюро обслуживания, помещения для подготовки товаров к продаже |
Б-2 |
||||||||
|
34 |
Рекламно-декорационные мастерские, мастерские ремонта оборудования и инвентаря, помещения бракеров, помещения для нарезки тканей, гладильные мастерские, мастерские в магазинах радио- и электротоваров |
Б-1 |
||||||||
|
35 |
Мастерские подгонки готового платья |
А-2 |
||||||||
|
Ж. Предприятия бытового обслуживания, досуга населения |
||||||||||
|
36 |
Парикмахерские |
А-1,2 |
||||||||
|
37 |
Фотографии |
Б-2 |
||||||||
|
38 |
Прачечные |
Б-1,2 |
||||||||
|
39 |
Ателье пошива и ремонта одежды и трикотажных изделий |
II |
||||||||
|
40 |
Ремонтные мастерские |
II, III |
||||||||
|
41 |
Пункты проката, помещения для посетителей |
Б-2 |
||||||||
|
42 |
Помещения для игровых автоматов, настольных игр, компьютерных игр, бильярдные, комнаты кружков |
Б-1 |
||||||||
|
43 |
Выставочные залы, фойе кинотеатров, клубов |
Д, Е |
||||||||
|
44 |
Гостиницы |
Б-2, В |
||||||||
|
45 |
Экспозиционные залы |
Б-2, В |
||||||||
|
З. Учреждения здравоохранения, больницы |
||||||||||
|
46 |
Операционная, помещения гипотемии |
А-2 |
||||||||
|
47 |
Родовая, диализационная, реанимационные залы, наркозная, перевязочная |
А-1 |
||||||||
|
48 |
Предоперационная |
Б-1 |
||||||||
|
49 |
Монтажные аппаратов искусственного кровообращения, искусственной почки и т.д. |
II |
||||||||
|
50 |
Кабинеты хирургов, акушеров, гинекологов, травматологов, педиатров, инфекционистов, дерматологов, аллергологов, стоматологов, смотровые, приемно-смотровые боксы |
А-1 |
||||||||
|
51 |
Кабинеты врачей (в амбулаторно-поликлинических учреждениях, не приведенных выше), кабинеты врачей без приема больных |
Б-1 |
||||||||
|
52 |
Кабинеты функциональной диагностики, эндоскопические кабинеты |
Б-1 |
||||||||
|
53 |
Фотарии, помещения электросветолечения, аэроионолечения, теплолечения, лечебной физкультуры, массажа, механотерапии |
Б-2 |
||||||||
|
54 |
Кабинеты: рентгенобронхоскопии и лапароскопии, гидротерапии, лечебные ванны, душевые залы, флюорографии, рентгеновских снимков зубов, приготовления бария |
Б-2 |
||||||||
|
55 |
Кабинеты для терапии излучениями высоких энергий, сканерная |
Б-1 |
||||||||
|
56 |
Кабина внутриполостной гамма-терапии |
А-2 |
||||||||
|
57 |
Палаты детских отделений для новорожденных, послеоперационные палаты, палаты интенсивной терапии, спальни матерей |
Б-1 |
||||||||
|
58 |
Палаты психиатрических отделений, прочие палаты и спальни, приемные фильтры и боксы |
Б-2 |
||||||||
|
Лаборатории медицинских учреждений |
||||||||||
|
59 |
Помещения приема, выдачи и регистрации анализов |
Б-2 |
||||||||
|
60 |
Комната срочных анализов, боксы, кабинеты серологических исследований, колориметрические |
А-2 |
||||||||
|
61 |
Препараторские и лаборантские общеклинических, гематологических и биохимических, бактериологических, гистологических и цитологических лабораторий, кабинеты врача-лаборанта, взятия проб крови, цитологических исследований, коагулографии, фотометрии, освоения методик, весовая, термостатная, средоварная с боксом для розлива сред, помещения для окраски проб, центрифужная |
Б-1 |
||||||||
|
Аптеки |
||||||||||
|
62 |
Зал обслуживания посетителей |
Б-2 |
||||||||
|
63 |
Рецептурный отдел, отделы готовых лекарственных средств, ручной продажи, оптики |
Б-1 |
||||||||
|
64 |
Ассистентская, асептическая, аналитическая, фасовочная, заготовочная концентратов и полуфабрикатов, контрольно-маркировочная |
А-1 |
||||||||
|
65 |
Стерилизационная посуды и лекарственных форм и дезинфекционное отделение |
VI |
||||||||
|
Патологоанатомическое отделение |
||||||||||
|
66 |
Секционная |
А-2 |
||||||||
|
67 |
Предсекционная, фиксационная, помещение для одевания трупов, траурный зал |
Б-2 |
||||||||
|
Санитарно-эпидемиологические станции |
||||||||||
|
68 |
Диспетчерские, помещения для хранения готовых приманок и выдачи, фасовочные, выдачи дезинфекционных средств и бактерийных препаратов |
Б-2 |
||||||||
|
69 |
Комнаты энтомологов, гельминтологов, вирусологов, бактериологов, лаборантские, химические, биохимические лаборатории, серологические боксы, препараторские |
А-2 |
||||||||
|
70 |
Радиологические, радиохимические, помещения спектроскопии и полярографии, лаборатории акустики, вибрации, электромагнитных полей, физиологии труда, средневарочные с боксами, термитные |
Б-1 |
||||||||
|
71 |
Моечные |
VI |
||||||||
|
72 |
Помещения для взятия проб |
Б-1 |
||||||||
|
73 |
Комнаты эпидемиологов, бактериологов, боксы серологических исследований особо опасных инфекций |
А-1 |
||||||||
|
74 |
Комнаты зоопаразитолога для приема и разбора материала, зараженного опасными инфекциями |
Б-1 |
||||||||
|
75 |
Биопробная, помещения для хранения питательных сред, предбоксы |
Б-2 |
||||||||
|
76 |
Помещения дезкамер, стиральные цехи |
VI |
||||||||
|
77 |
Виварий. Помещения для содержания животных |
А-2 |
||||||||
|
Станции скорой и неотложной медицинской помощи |
||||||||||
|
78 |
Диспетчерская, приема вызовов и направления бригад |
Б-1 |
||||||||
|
79 |
Помещение радиопоста, комната выездных бригад |
Б-2 |
||||||||
|
Молочные кухни, раздаточные пункты |
||||||||||
|
80 |
Помещения фильтрации и разлива молока, приготовления кисломолочных продуктов и молочно-кислых смесей, приготовления и фасовки творога, подготовки фруктов, овощей и приготовления фруктовых и овощных смесей, подготовки рыбы, мяса и приготовления рыбных и мясных блюд |
Б-1 |
||||||||
|
81 |
Раздаточная |
Б-2 |
||||||||
|
Прочие помещения лечебных учреждений |
||||||||||
|
82 |
Процедурная, манипуляционная, кабинеты медицинских сестер, сестер-хозяек, посты дежурных медицинских сестер |
Б-1 |
||||||||
|
83 |
Комнаты дневного пребывания для бесед с врачом, кормления детей до 1 года, сцеживания грудного молока и его стерилизации |
Б-2 |
||||||||
|
84 |
Кабинеты главного врача, заместителя главного врача, заведующего отделением |
А-2 |
||||||||
|
И. Вокзалы |
||||||||||
|
85 |
Залы ожидания |
Г |
||||||||
|
86 |
Операционные, кассовые залы билетные, багажные кассы, помещения отделения связи, операторская, диспетчерская |
Б-1 |
||||||||
|
87 |
Вычислительный центр |
А-2 |
||||||||
|
88 |
Распределительные залы, вестибюли |
Е |
||||||||
|
89 |
Комнаты матери и ребенка, длительного пребывания пассажиров |
В |
||||||||
|
К. Прочие помещения вспомогательных и общественных зданий |
||||||||||
|
90 |
Вестибюли и гардеробные |
Е |
||||||||
|
91 |
Лестницы: а) главные лестничные клетки |
В |
||||||||
|
92 |
б) остальные лестничные клетки, главные коридоры и проходы |
Ж |
||||||||
|
3. ПРОИЗВОДСТВЕННЫЕ ПОМЕЩЕНИЯ ПРЕДПРИЯТИЙ БЫТОВОГО ОБСЛУЖИВАНИЯ |
||||||||||
|
А. Станции
технического обслуживания автотранспорта, |
||||||||||
|
1 |
Участки мойки и уборки подвижного состава |
VI |
||||||||
|
2 |
Участки диагностирования |
III-IV |
||||||||
|
3 |
Участки технического обслуживания и текущего ремонта |
IV-V |
||||||||
|
4 |
Агрегатные участки |
III-IV |
||||||||
|
5 |
Участки монтажа и ремонта автомобильных шин, кузнечный, сварочно-жестяночный, кузовной участки |
IV |
||||||||
|
6 |
Окрасочный участок |
III |
||||||||
|
7 |
Слесарно-механический участок |
II |
||||||||
|
Б. Электропомещения |
||||||||||
|
8 |
Помещения распределительных устройств, диспетчерские, операторные, электрощитовые, электромашинные с постоянным дежурством персонала |
IV |
||||||||
|
В. Помещения инженерных сетей и прочие технические помещения |
||||||||||
|
9 |
Машинные залы насосных, генераторные с постоянным дежурством персонала |
VIII |
||||||||
|
10 |
Компрессорные (блоки, станции, помещения, залы) с постоянным дежурством персонала |
IV |
||||||||
|
11 |
Помещения приготовления реагентов, углевальная, фтораторная, хлордозаторная, аммонизаторная, озонаторная, фильтровальные |
VIII |
||||||||
|
12 |
Помещения вакуум-фильтров, центрифуг, фильтр-прессов, помещения сушки осадка |
VI |
||||||||
|
13 |
Электролизерная |
VIII |
||||||||
|
Г. Склады |
||||||||||
|
14 |
Экспедиция приема и выдачи груза |
IV |
||||||||
|
Д. Пожарные депо |
||||||||||
|
15 |
Зона стоянки технического состава |
VIII |
||||||||
|
16 |
Пост технического обслуживания |
V |
||||||||
|
17 |
Аппаратная, пункт связи |
III |
||||||||
|
Примечание. Нормирование значений КЕО принимается, как правило, в горизонтальной плоскости, расположенной на уровне рабочей поверхности (УРП) - 0,8 м от пола; для основных помещений жилых домов, детских дошкольных учреждений, помещений для спортивных соревнований, мойки транспорта УРП принимается на отметке 0,0, в первой группе административных районов для жилых комнат и кухонь - на отм. +0,5, для групповых, игральных, столовых и спален - на отм. +1,5, для бассейнов в качестве УРП принимается поверхность воды, в экспозиционных залах - экспонаты. |
||||||||||
|
№ п.п. |
Виды помещений, особенности воздушной среды |
Назначение помещений |
Коэффициент запаса, Кз |
Рекомендуемое количество чисток остекления в течение года |
|
1 |
2 |
3 |
4 |
5 |
|
1 |
Помещения жилых и общественных зданий: |
|
|
|
|
|
а) с нормальной средой |
Кабинеты и рабочие помещения, жилые комнаты, учебные помещения, лаборатории, читальные залы, залы совещаний, торговые залы и т.д. |
1,2 |
1 |
|
|
б) запыленные, с высокой эксплуатационной температурой, с повышенной влажностью |
Горячие цехи предприятий общественного питания, охлаждаемые камеры, помещения для приготовления растворов в прачечных, душевые и т.д. |
1,6 |
3 |
|
2 |
Помещения производственных зданий с воздушной средой, содержащей в рабочей зоне: |
|
|
|
|
|
а) св. 5 мг/м3 пыли, дыма и копоти |
Агломерационные фабрики, цементные заводы и обрубные отделения литейных цехов |
1,5 |
4 |
|
|
б) от 1 до 5 мг/м3 пыли, дыма и копоти |
Цехи кузнечные, литейные, мартеновские, сборного железобетона |
1,4 |
3 |
|
|
в) менее 1 мг/м3 пыли, дыма и копоти |
Цехи инструментальные, сборочные, механические, механосборочные, пошивочные |
1,3 |
2 |
|
|
г) значительные концентрации паров, кислот, щелочей, газов, способных при соприкосновении с влагой образовывать слабые растворы кислот, щелочей, а также обладающих большой коррелирующей способностью |
Цехи химических заводов по выработке кислот, щелочей, едких химических реактивов, ядохимикатов, удобрений, цехи гальванических покрытий и различных отраслей промышленности с применением электролиза |
1,5 |
3 |
|
Примечание. При применении узорчатого стекла значения коэффициента запаса следует умножить на 1,1. |
||||
|
Фирма |
ОАО «Азимут» |
|
Адрес, телефоны |
460005, г. Оренбург, ул. Шевченко, 26 тел. (3532) 35-74-00 факс (3532) 35-54-92 |
|
Работы, выполняемые предприятием |
Изготовление, поставка и монтаж окон, балконных дверей, витражей и перегородок из стеклопластиковых профилей в жилых, общественных и производственных зданиях |
|
Основные характеристики конструкций |
Предприятие выпускает оконные дверные балконные блоки с одинарными поворотными и раздвижными створками, остекленными одно- или двухкамерными стеклопакетами. Стеклопластик удачно сочетает в себе лучшие свойства традиционных материалов - обладает высокой механической прочностью, низкой теплопроводностью, долговечностью, эстетичностью. Окна и балконные двери из стеклопластиковых профилей являются энергосберегающими конструкциями и по показателям сопротивления теплопередаче не уступают аналогичным изделиям из ПВХ профилей. Положительный четырехгодичный опыт применения светопрозрачных конструкций из стеклопластика при строительстве зданий разного назначения позволяет рекомендовать их для внедрения и в других регионах России. Изделия, выпускаемые ОАО «Азимут», сертифицированы в Системе сертификации ГОСТ Р |

|
Фирма |
000 «Взлет Строй» |
|
Адрес, телефоны |
119619, Москва, ул. Производственная, д. 6 тел. (095) 435-17-64, 435-10-68,факс (095) 435-10-68 |
|
Работы, выполняемые предприятием |
Производство, поставка и монтаж окон и балконных дверей по индивидуальным проектам из дерева различных пород, подоконных досок из дуба и сосны |
|
Основные характеристики конструкций |
Оконные и дверные блоки выполняются разнообразной формы и цвета с одинарными и раздельными створками, остекленными одно- или двухкамерными стеклопакетами, и двойным или тройным уплотнением. Для изготовления оконных блоков используется трехслойный клееный брус из древесины хвойных, твердолиственных и ценных пород. Оконные блоки оснащены фурнитурой германской фирмы SIGЕNIА, для отделки поверхности древесины используются окрасочные материалы фирмы ZOВЕL. Изделия предприятия сертифицированы в Системе сертификации ГОСТ Р |

|
Фирма |
АООТ «Деревообрабатывающий комбинат № 1» |
|
Адрес, телефоны |
115404, Москва, ул. 6-я Радиальная, д. 17 тел. (095) 327-92-05, факс (095) 327-35-15 |
|
Работы, выполняемые предприятием |
Предприятие производит и поставляет деревянные оконные и балконные дверные блоки с одинарными и раздельными створками |
|
Основные характеристики конструкций |
Оконные и дверные блоки с одинарными створками, двойным уплотнением, остекленные одинарными стеклопакетами с обычным листовым стеклом или стеклом с низкоэмиссионным покрытием. Блоки комплектуются импортной фурнитурой, которая обеспечивает поворотное или поворотно-откидное открывание створок. Оконные блоки выполняются любых форм и размеров, в том числе сложного очертания - арочного, стрельчатого, треугольного. В оконных блоках с раздельными створками устраивается трехслойное остекление (стекло+стеклопакет во внутренней створке). Оконные блоки могут выполняться с встроенным вентиляционным шумозащитным клапаном, обеспечивающим в режиме вентиляции снижение шума в помещении в несколько раз по сравнению с окнами стандартной конструкции |

|
Фирма |
АООТ «Деревообрабатывающий комбинат № 5» |
|
Адрес, телефоны |
121351, Москва, ул. Молодогвардейцев, д. 61 тел/факс (095) 417-24-05, 149-35-75 |
|
Работы, выполняемые предприятием |
Изготовление и поставка строительным организациям и индивидуальным застройщикам высококачественных оконных и дверных блоков из древесины хвойных пород прямоугольной и косоугольной форм. Блоки изготавливаются с помощью автоматизированного высокопроизводительного оборудования и выпускаются полностью готовыми к монтажу и эксплуатации: остекленными, окрашенными, оборудованными необходимой фурнитурой и механизмами открывания, уплотнителями |
|
Основные характеристики конструкций |
Остекление блоков выполняется стеклопакетами и может быть двух- или трехслойным. Предприятие гарантирует длительную эксплуатацию конструкций при нормальных температурно-влажностных условиях. Результаты физико-технических испытаний выпускаемых оконных и дверных блоков позволяют отнести их по уровню теплозащиты и воздухопроницаемости к высокоэффективным и энергоэкономичным ограждающим конструкциям, которые могут быть рекомендованы для применения в большинстве строительно-климатических зон России. Оконные и дверные блоки сертифицированы в Системе Мосстройсертификации |

|
Фирма |
ТОО «ДИВВ» |
|
Адрес, телефоны |
125040, Москва, ул. Скаковая, д. 32. к. 70 тел/факс (095) 945-61-30, (095) 945-28-37 http:/www.okna.com.ru е-mail: divv @ okna.com.ru |
|
Работы, выполняемые предприятием |
Проектирование, изготовление, поставка и монтаж окон, дверей, витражей, остекленных павильонов и зимних садов из ПВХ профилей производства фирм RЕНАU (ФРГ), ВЕСКЕR SУSТЕМ (ФРГ), алюминиевых прессованных профилей системы «ТАТПРОФ» производства фирмы «Профиль-Холдинг» (РФ) и др. Производственная мощность ТОО «ДИВВ» составляет 5000 м2 в месяц для изделий из ПВХ и 3000 м2 для изделий из алюминия. В комплекте с изготовленными изделиями могут поставляться подоконники, отливы, противомоскитные сетки. Предприятием смонтированы окна, витражи, зимние сады и зенитные фонари на ряде объектов Москвы и Московской области, а также изготовлены окна для объектов в ряде городов России |
|
Основные характеристики конструкций |
Конструкции окон и балконных дверей выполняются с применением одинарных створок. Широкий выбор применяемых профилей и элементов остекления позволяет изготавливать конструкции, удовлетворяющие как эстетическим требованиям заказчика, так и всем требованиям действующих нормативных документов. Используются профили широкой цветной гаммы, в том числе с покрытием пленкой, имитирующей дерево. Алюминиевые профили окрашиваются в любой цвет по желанию заказчика. Остекление производится стеклопакетами от 24 до 32 мм из борского полированного и энергосберегающего стекла «ЭКО+». Применяются также триплекс, тонированное и другое стекло производства фирмы Saint Gobain (Франция) и Pilkington (Великобритания). Для защиты стеклопакетов по классам А1, А2, А3 (по ГОСТ Р 51136-98) применяется пленка производства Transatlantic Bisnes Group Inc (США). Применяемая фурнитура - фирмы RОТО FRANK (ФРГ). Конструкции сертифицированы в Системе сертификации ГОСТ Р |

|
Фирма |
000 «Евро-Окно» |
|
Адрес, телефоны |
115598, Москва, ул. Липецкая, д. 13, к.2 тел/факс (095) 329-24-22, (095) 329-41-62, (095) 329-26-22 |
|
Работы, выполняемые предприятием |
Изготовление, поставка и производство алюминиевых окон, дверей, витражей и зимних садов различных видов. Цехи предприятия (производительность 20000 м3 в год) оснащены оборудованием фирм Schuco INT и Urban. Предприятием изготовлены конструкции окон и витражей и смонтированы фасады на множестве объектов в Москве, Подмосковье и других регионах России |
|
Основные характеристики конструкций |
Для изготовления конструкций используются алюминиевые профили оконных систем: «Виднал» (г. Видное), «Татпроф» (г. Набережные Челны), Jndinvest (Италия), Kawneer, Schuco (ФРГ). Особенности конструктивных решений зависят от используемой системы профилей и требований заказчика. Конструкции могут быть с одинарными и раздельными створками, бронированными с различными степенями защиты, со сложными криволинейными поверхностями и т.д. Продукция фирмы сертифицирована в Системе сертификации ГОСТ Р и ряда европейских стран |

|
Фирма |
АОЗТ «Кров» |
|
Адрес, телефоны |
121059, Москва, Бережковская наб., д. 20 тел.(095)240-58-10, 240-25-54 |
|
Работы, выполняемые предприятием |
Проектирование, изготовление, поставка и монтаж окон, дверей, фасадных систем, встроенных помещений, павильонов, зимних садов, соляриев, остекление балконов и лоджий, зенитных фонарей из ПВХ и алюминиевых профилей для вновь строящихся и реконструируемых зданий. По желанию заказчика изделия могут быть укомплектованы декоративными ручками, подоконниками, наружными отливами, солнцезащитными жалюзи, защитными сетками от насекомых и др. Фирма имеет большой опыт устройства окон и дверей на объектах различного назначения в Москве и Московской области. |
|
Основные характеристики конструкций |
Фирма использует широкую номенклатуру профилей из ПВХ производства фирм ARTEC и VEKA (ФРГ) и алюминиевых профилей с термовставками фирм SCHUCO (ФРГ), NEW TEC (Италия), PROVEDAL - (Испания), позволяющих изготавливать энергосберегающие окна и двери, в том числе криволинейного очертания. Остекление изделий производится одно- или двухкамерными стеклопакетами толщиной до 32 мм, изготовляемыми с применением листового, теплоотражающего или ударостойкого стекла. Створки окон оборудованы механизмами, обеспечивающими их поворотно-откидное открывание. Изделия фирмы сертифицированы в Системе сертификации ГОСТ Р |

|
Фирма |
Государственное унитарное предприятие-завод «Стройпласт» |
|
Адрес, телефоны |
420051, Республика Татарстан, г. Казань, ул. Беломорская, а/я 37, завод «Стройпласт» тел. (8432) 436-301 факс. (8432) 436-331 |
|
Работы, выполняемые предприятием |
Изготовление и поставка строительным организациям и частным лицам ПВХ профилей для оконных блоков, комплектующих к ним, в том числе различных стыковочных профилей, а также остекленных оконных и дверных балконных блоков полной заводской готовности. Производственная мощность предприятия позволяет выпускать до 250 тыс. м2 изделий в год. Изготовление ПВХ профилей и сборка изделий из них производятся на современном высокомеханизированном оборудовании с применением многоступенчатой системы технического контроля, что гарантирует получение конструкций высокого качества |
|
Основные характеристики конструкций |
Конструкции оконных и дверных блоков остеклены одно- и двухкамерными стеклопакетами и оснащены фурнитурой, обеспечивающей поворотное и поворотно-откидное открывание створок внутрь помещения. Высокие прочностные и теплотехнические качества конструкций из ПВХ профилей и надежность эксплуатации являются основой для широкого их применения. Профили из ПВХ имеют сертификаты гигиенической и пожарной безопасности. Изделия, выпускаемые заводом «Стройпласт», сертифицированы в Системе сертификации ГОСТ Р |

|
Фирма |
«Строй Сервис-МС» |
|
Адрес, телефоны |
127238, Москва, Дмитровское шоссе, д. 46, к. 2 тел. (095) 488-79-66, 488-74-58. 488-76-35 |
|
Работы, выполняемые предприятием |
Изготовление, поставка и монтаж окон и балконных дверей, витражей из ПВХ профилей фирмы КБЕ (ФРГ) и из алюминиевых профилей - фирмы SIPAR (Италия) для жилых, общественных и производственных зданий |
|
Основные характеристики конструкций |
Оконные и дверные блоки из ПВХ профилей изготавливаются с одинарными и спаренными створками и остеклением из одно- и двухкамерных стеклопакетов. Для стеклопакетов используются стекло листовое, низкоэмиссионное, триплекс, тонированные пленки. Оконные блоки со спаренными створками с двумя стеклопакетами могут применяться в суровых климатических условиях. Уширенная коробка позволяет избежать возникновения конденсата на внутренних откосах окна при низких зимних температурах. Специальная фурнитура позволяет кроме обычного открывания обеспечивать щелевое проветривание. Оконные и дверные блоки из алюминиевых одинарных и комбинированных профилей с термовставками изготавливаются с одинарными поворотно-откидными или раздвижными створками с заполнением стеклопакетами из обычного или низкоэмиссионного стекла |

|
Фирма |
000 «Техтрансстрой» |
|
Адрес, телефоны |
446432, Самарская обл., Ставропольский р-он, с. Русская Борковка (г. Тольятти), ул. Северная, 10 тел.(8469) 33-72-90 факс (8469) 33-79-55 |
|
Работы, выполняемые предприятием |
Производство и поставка оконных и дверных блоков из древесины хвойных и ценных лиственичных пород. Предприятие оснащено автоматизированным оборудованием, изготовленным итальянскими фирмами |
|
Основные характеристики конструкций |
Нормированные характеристики и стабильность качества изготавливаемых на предприятии изделий обеспечиваются применением высококачественного исходного сырья, импортных комплектующих деталей и внедрением передовых контролируемых технологических процессов производства продукции. На предприятии, кроме оконных и дверных блоков массового применения, возможно изготовление нестандартных изделий по эскизам заказчика. Оконные дверные блоки имеют физико-технические характеристики, соответствующие требованиям нормативно-технической документации. Выпускаемые 000 «Техтрансстрой» изделия отвечают требованиям Евростандарта и сертифицированы в Системе сертификации ГОСТ Р |

|
Фирма |
000 «Эко-Профиль» официальный представитель фирмы Plus Plan GmbH (ФРГ) в России |
|
Адрес, телефоны |
109052, Москва, ул. Нижегородская, д. 29-33 тел. (095) 232-02-48 факс (095) 278-83-25 |
|
Работы, выполняемые предприятием |
Поставка ПВХ профилей системы Plus Tek фирмы Plus Plan для производства оконных и дверных конструкций. Оказание технического содействия в подборе оборудования, подготовке и сопровождении производства. Обучение технического персонала |
|
Основные характеристики конструкций |
Для изготовления профилей используются экологически чистые стабилизаторы на основе кальция и цинка. ПВХ профили коробок, створок и импостов усиливаются стальными элементами одинакового сечения. Для герметизации остекления и притворов используется один тип уплотнителя. Фиксация стеклопакетов осуществляется с помощью клиновидных зубчатых прокладок. Возможно применение фурнитуры любого типа и остекления от 6 до 56 мм. Гладкий наклонный фальц в коробках и створках способствует лучшему отеканию воды и не препятствует мытью окон. Система позволяет создавать оконные блоки с сопротивлением теплопередачи до 1,1 м×°С/Вт. Продукция сертифицирована в Системе сертификации ГОСТ Р |

1. Пособие по расчету и проектированию естественного, искусственного и совмещенного освещения, НИИСФ Госстроя СССР. - М.; Стройиздат, 1985.
2. Применение стекла в строительстве: Справочник/Под ред. д-ра техн. наук В.А. Дроздова. - М.: Стройиздат, 1983.
3. Пособие к МГСН 2.04.-97* «Проектирование защиты от транспортного шума»/ ГИП«НИАЦ».-М., 1999.
4. Каталог алюминиевых конструкций. Унифицированная система «ТАТПРОФ». Издание третье /Управление Моспроект-2, АО "Профиль-Холдинг". - М., 1998.
5. Окна и двери: Информационные бюллетени за 1998-99 гг.
6. Серия 1.436.3-21, 1.436.3-24 "Окна с переплетами из гнутосварных профилей, изготовленных из оцинкованной стали толщиной 1,8-1,2 мм" /АО ЦНИИПромзданий.
7. Рекламные проспекты фирм - производителей профилей и оконных блоков (1997-1999 гг.), "REHAU AG + К°", "КВЕ fur Kunstoffproducte GmbH", "VEKA AG", "SCHUCO Jnternationale KG", "RC System Aluminium pofessionals", "Hermann Gutmann Werke GmbH", "THYSSEN POLYMER GmbH", "JNLINE FIBERGLASS", "Bruqmann Fenster-Systeme GmbH ", "ROPLASTO", ЗАО "МОСМЕК", АО "Профиль-Холдинг", ОАО "КУМЗ", ОАО "ВСМПО".ф
|
|
|
|