//
ТехЛит.ру
- крупнейшая бесплатная электронная интернет библиотека для "технически умных" людей.
WWW.TEHLIT.RU - ТЕХНИЧЕСКАЯ ЛИТЕРАТУРА

:: Алготрейдинг::


АЛГОТРЕЙДИНГ
шаг за шагом
с нуля по урокам!

Торговые роботы на PYTHON, BackTrader,
Pandas, Pine Script для TradingView. Связка с брокерами, телеграм и легкими приложениями.


ОРДЕНА ТРУДОВОГО КРАСНОГО ЗНАМЕНИ ЦЕНТРАЛЬНЫЙ НАУЧНО-ИССЛЕДОВАТЕЛЬСКИЙ ИНСТИТУТ СТРОИТЕЛЬНЫХ КОНСТРУКЦИЙ им. В.А. КУЧЕРЕНКО (ЦНИИСК им. В.А. КУЧЕРЕНКО) ГОССТРОЯ СССР

РУКОВОДСТВО
по изготовлению и контролю качества деревянных клееных конструкций

Москва Стройиздат 1982

Содержание

ПРЕДИСЛОВИЕ

1. ОБЩИЕ ТРЕБОВАНИЯ

2. МАТЕРИАЛЫ

Древесина и древесные плиты

Клеи.

Материалы для защитной обработки конструкций

3. ИЗГОТОВЛЕНИЕ КЛЕЕНЫХ КОНСТРУКЦИЙ

Общие указания

Сушка пиломатериалов

Механическая обработка пиломатериалов

Приготовление и нанесение клея

Сборка и запрессовка

Режимы склеивания

Механическая обработка конструкций

Защитная обработка

4. КОНТРОЛЬ КАЧЕСТВА КОНСТРУКЦИИ И ИХ ПРИЕМКА

Общие положения

Контроль материалов

Пооперационный контроль

Контроль качества конструкций и их приемка

5. ХРАНЕНИЕ И ТРАНСПОРТИРОВАНИЕ КОНСТРУКЦИЙ

6. ТЕХНИКА БЕЗОПАСНОСТИ

ПРИЛОЖЕНИЕ 1

ТЕХНИЧЕСКИЕ ХАРАКТЕРИСТИКИ ОБОРУДОВАНИЯ, ВЫПУСКАЕМОГО СТАНКОСТРОИТЕЛЬНОЙ ПРОМЫШЛЕННОСТЬЮ

ПРИЛОЖЕНИЕ 2

ПРИМЕРНЫЙ ПЕРЕЧЕНЬ ЛАБОРАТОРНОГО ОБОРУДОВАНИЯ И ПРИБОРОВ

ПРИЛОЖЕНИЕ 3

ЖУРНАЛ КОНТРОЛЯ ПРОЦЕССА ИЗГОТОВЛЕНИЯ КЛЕЕНЫХ КОНСТРУКЦИИ

ПРИЛОЖЕНИЕ 4

РЕЖУЩИЙ ИНСТРУМЕНТ ДЛЯ ФРЕЗЕРОВАНИЯ ЗУБЧАТЫХ ШИПОВ

ПРИЛОЖЕНИЕ 5

КОНТРОЛЬ КАЧЕСТВА КЛЕЕВ И ИХ КОМПОНЕНТОВ

ПРИЛОЖЕНИЕ 6

КОНТРОЛЬ КАЧЕСТВА ЗАЩИТНОЙ ОБРАБОТКИ

ПРИЛОЖЕНИЕ 7

МЕТОДИКА ИСПЫТАНИИ ПЛАСТЕВЫХ КЛЕЕВЫХ СОЕДИНЕНИИ НА ПОСЛОЙНОЕ СКАЛЫВАНИЕ И РАССЛАИВАНИЕ

ПРИЛОЖЕНИЕ 8

РЕКОМЕНДУЕМАЯ ФОРМА ПАСПОРТА НА ДЕРЕВЯННЫЕ КЛЕЕНЫЕ КОНСТРУКЦИИ

ПРИЛОЖЕНИЕ 9

УДЕЛЬНОЕ КОЛИЧЕСТВО ТОКСИЧНЫХ ВЕЩЕСТВ, ВЫДЕЛЯЮЩИХСЯ ИЗ КЛЕЕВ

Даны требования к технологическому процессу изготовления деревянных клееных конструкций, приведены требования к пиломатериалам и слоям конструкций, введены новые рецептуры клеев для изготовления деревянных клееных конструкций и обосновано их деление по категориям качества. Приведены требования к сушке пиломатериалов, результаты специальных исследований по повышению прочности зубчатых клеевых соединений.

Даны сведения по режимам нанесения, сборки и запрессовки элементов конструкций, введены новые методики контроля прочности клеевых соединений без испытаний до разрушения элементов конструкций, включены рекомендации по защите деревянных клееных конструкций в зависимости от условий их эксплуатации и составы защитных материалов. Приведены сведения по технике безопасности при изготовлении клееных конструкций и работе с технологическим оборудованием. Даны краткие рекомендации по хранению и транспортированию готовой продукции.

Для инженерно-технических работников исследовательских, проектных и производственных организаций.

ПРЕДИСЛОВИЕ

В соответствии с «Основными направлениями экономического и социального развития СССР на 1981-1985 годы и на период до 1990 года» деревянные клееные конструкции * находят широкое применение в строительстве. Их изготовление освоено на предприятиях Минсельстроя СССР, Минлесбумпрома СССР, Минпромстроя СССР, Главмособлстройматериалов и других ведомств.

Производство клееных конструкций является довольно сложным технологическим процессом, строгое выполнение всех требований которого служит непременным условием выпуска прочных и долговечных конструкций. Эти требования изложены в настоящем Руководстве.

Руководство составлено на основе обобщения отечественного и зарубежного опыта производства клееных конструкций, а также научно-исследовательских работ, выполненных ЦНИИСК им. B. А. Кучеренко, Ленинградской лесотехнической академией им. C. М. Кирова, ЦНИИМОД, ЦНИИЭПсельстроем, НИСИ им. В. В. Куйбышева и другими организациями.

Руководство разработано отделением деревянных конструкций ЦНИИСК им. В. А. Кучеренко под руководством заведующего отделением д-ра техн. наук, проф. Я. Ф. Хлебного.

Руководство составлено д-ром техн. наук, проф. Л.М. Ковальчуком, инж. Р.В. Никулихиной, докторами техн. наук А.С. Фрейдиным, Ю.М. Ивановым, кандидатами техн. наук Е.М. Знаменским, И.П. Преображенской, С.Б. Турковским, Г.Р. Барановым, К.Т. Вуба, Л.В. Касабьяном, инженерами Е. Н. Баскакиным, А.С. Жуковой, Р.Н. Верещагиной, Ю.А. Варфоломеевым, Л.Е. Степановой, Т.Н. Сычевой, Г.И. Дьячковой, В.С. Зайцевой, М.М. Белоусовой, В.Г. Курганским.

Раздел Руководства по защитной обработке составлен кандидатами техн. наук Ю.Ю. Славиком, Г.Н. Мышеловой, А.Д. Ломакиным, А.Б. Шолоховой.

В разработке Руководства принимали участие ЦНИИЭПсельстрой (инженеры Е.А. Прилепский, Н.А. Макаров, Г.Н. Приходкина), ЦНИИМОД (инженеры С.Н. Пластинин, С.Г. Делков), ЛЛТА им. С.М. Кирова (д-р техн. наук, проф. В.А. Куликов, кандидаты техн. наук Л.М. Сосна, М.М. Леонтьева, Н.А. Гончаров), НИСИ им. В.В. Куйбышева (д-р техн. наук, проф. В.М. Хрулев, канд. техн. наук В.А. Забурунов, инж. В.Т. Дудник).

Дирекция ЦНИИ строительных конструкций

* В дальнейшем для сокращения называются клееные конструкции, к которым относятся несущие и ограждающие конструкции и их клееные элементы.

1. ОБЩИЕ ТРЕБОВАНИЯ

1.1. Настоящее Руководство содержит рекомендации по технологическому процессу изготовления, контролю качества и приемке элементов несущих и ограждающих деревянных клееных конструкций, используемых в промышленном, гражданском и сельском строительстве.

Изготовление металлических элементов, которыми комплектуются клееные конструкции, следует производить в соответствии с требованиями нормативных документов в части производства и приемки металлических конструкций.

Руководство рекомендуется использовать при изготовлении клееных конструкций, а также при проектировании предприятий по их производству.

1.2. Изготовление клееных конструкций следует производить лишь при наличии:

пиломатериалов, прошедших предварительную атмосферную сушку до влажности 20-25% и камерную сушку до технологической влажности 8-12%;

пригодных для применения клеев;

производственных помещений, в которых поддерживаются заданные температурно-влажностные параметры воздуха;

оборудования, обеспечивающего качественное выполнение технологических операций;

квалифицированных кадров;

нормативной документации на конструкции и процесс их изготовления. Если не может быть выполнено хотя бы одно из перечисленных требований, производство конструкций должно быть категорически запрещено, так как не будет обеспечено требуемое качество.

1.3. Клееные конструкции для массового строительства следует изготавливать в специализированных цехах, входящих, как правило, в состав лесопильно-деревообрабатывающих предприятий. Допускается изготовление большеразмерных конструкций, транспортирование которых к местам потребления затруднено, в сборочных цехах, находящихся вблизи строительства. В таких случаях клееные конструкции изготавливают из предварительно обработанных заготовок, получаемых со специализированных предприятий.

1.4. При изготовлении клееных конструкций следует выполнять требования, изложенные в:

а) ГОСТах и рабочих чертежах, а также технических условиях на подлежащие изготовлению конструкции;

б) настоящем Руководстве.

На основе этих документов должны быть разработаны технологические карты и другая документация, регламентирующие изготовление конструкций в условиях каждого конкретного производства.

1.5. При составлении технической документации следует использовать стандартную терминологию, изложенную в ГОСТ 17747-72, 17743-72, 15024-79 и 17161-79.

2. МАТЕРИАЛЫ

Древесина и древесные плиты

2.1. Для изготовления клееных конструкций необходимо использовать пиломатериалы хвойных пород (ель, сосну), требования к которым установлены ГОСТ 8486-66.

Допускается использование древесины и других пород при строгом соблюдении рекомендаций, учитывающих специфику их применения в производстве клееных конструкций (например, специальных режимов механической обработки, сушки и склеивания лиственницы).

2.2. Следует применять пиломатериалы длиной от 2 до 6,5 м, шириной 100, 125, 150, 175, 200 мм, толщиной 25, 32, 40, 44, 50, 60 мм; толщина пиломатериалов из лиственницы не должна превышать 30 мм. Для изготовления многослойных несущих конструкций необходимо применять, как правило, пиломатериалы толщиной 40 мм, однако для криволинейных конструкций толщина пиломатериалов не должна превышать 1/250 среднего радиуса клееного элемента. Если для изготовления несущих клееных конструкций необходимо использовать пиломатериалы большей толщины и ширины, в них рекомендуется предусматривать продольные компенсационные прорези, расположенные друг от друга на расстоянии 40 мм, но не менее чем на 10-15 мм от кромки доски. Глубина прорезей должна быть 1/2 толщины слоя, ширина - 2-3 мм.

Для лиственницы компенсационные прорези следует устраивать при толщине слоев более 25 мм и их ширине более 125 мм.

2.3. Для изготовления обшивок ограждающих клееных конструкций следует применять фанеру марок ФСФ и ФК по ГОСТ 3916-69.

2.4. Допускается применение древесностружечных плит по ГОСТ 10632-77 и древесноволокнистых плит по ГОСТ 4598-74, если это указано в рабочих чертежах и технических условиях.

Клеи.

2.5. Для изготовления клееных конструкций необходимо применять клеи на основе синтетических смол. Марки клеев выбирают в соответствии с их свойствами, назначением и рекомендуемыми областями применения конструкций (табл. 1) по суммарной оценке их технико-экономических показателей, включая прочность и долговечность соединений, обеспеченность сырьевой базой и стоимость. Группу клея указывают в ГОСТах, рабочих чертежах или технических условиях на конструкции.

2.6. Для повышения зазорозаполняющей способности и загущения в клеи (кроме эпоксидных) можно вводить древесную муку в количестве до 8 мас. ч. от массы смолы. Эпоксидные клеи применяют с наполнителем-портландцементом марки М 400 по ГОСТ 10178-76 или вибромолотым кварцевым песком в количестве 100-400 мас. ч. на 100 мас. ч. смолы.

Количество отвердителя применяют в пределах, указанных в табл. 1, в зависимости от жизнеспособности клея и температуры. В случае необходимости регулирования жизнеспособности клеев ФР-12, ФР-100, ДФК-1АМ, ДФК-14Р и ФРФ-50 в клеи вводят 1-4 мас. ч. 50%-ного раствора едкого натра на 100 мас. ч. смолы.

Таблица 1

Тип клея

Марка клея

Состав клея

группа

Рекомендуемые области применения

Отличительные особенности

смола

отвердитель

к-во мас. ч. на 100 мас. ч. смолы

Резорциновый

ФР-12

ФР-12 (ТУ 6-05-1748-75)

Параформальдегид в смеси с древесной мукой (поставляется в готовом виде в комплекте со смолой)

10-13

I

Преимущественно для гражданского строительства, для большепролетных конструкций и при эксплуатации в наиболее жестких условиях

Срок хранения смолы не менее 9 мес. Неагрессивный отвердитель. Отсутствие свободного фенола. Ограниченная сырьевая база, высокая стоимость. Содержит горючие растворители. Рабочая жизнеспособность не менее 2 ч

Фенольно-резорциновый

ФРФ‑50

ФРФ-50 (ТУ-6-05-1880-79)

То же

10-13

I

Преимущественно для промышленного, сельскохозяйственного строительства, для большепролетных конструкций и эксплуатации в наиболее жестких условиях

Срок хранения смолы не менее 6 мес. Неагрессивный отвердитель. Стоимость - около 50% стоимости ФР-12. Не содержит горючих растворителей. Рабочая жизнеспособность более 3 ч. Содержит до 5,3% свободного фенола

Алкилрезорциновые

ФР-100

ФР-100 (ТУ 6-05-1638-78)

»

10-13

II

Преимущественно для массового выпуска конструкций для сельхозстроительства и эксплуатируемых в жестких условиях

Срок хранения смолы не менее 6 мес. Широкая сырьевая база. Отсутствие свободного фенола. Стоимость - около 50% стоимости ФР-12. Содержат горючие растворители. Рабочая жизнеспособность - более 1 ч. Неагрессивный отвердитель

ДФК‑1АМ

ДФК‑1АМ (ТУ 6-05-281-7-75)

Фенольно-алкилрезорциновый

ДФК-14Р

ДФК-14 (ТУ ЭССР 223 41-80)

Параформальдегид в смеси с древесной мукой (поставляется в готовом виде в комплекте со смолой)

10-13

II

Преимущественно для массового выпуска конструкций для сельхозстроительства, эксплуатируемых в жестких условиях

Срок хранения смолы не менее 6 мес. Широкая сырьевая база. Содержит горючие растворители и до 4% свободного фенола. Неагрессивный отвердитель. Рабочая жизнеспособность - не менее 2 ч

Фенольные

КБ-3

СФЖ-3016 (ГОСТ 20907-75)

Керосиновый контакт Петрова (ОСТ 38.01116- 76)

18-25

II

То же

Широкая сырьевая база, малая стоимость. Агрессивный отвердитель. Срок хранения смолы 2 мес. Выделяет свободный фенол. Содержит горючие растворители. Чувствителен к нарушению техпроцесса склеивания. Трудность очистки оборудования. Рабочая жизнеспособность 1,5-2 ч

СФХ

СФХ (ТУ 6-05-281-12-76)

Карбамидно-меламиновые

КС-В-СК

КС-В-СК (ТУ 6-05-211-1006-79)

Щавелевая кислота (10%-ный водный раствор) (ГОСТ 22180-76*) при склеивании без нагрева и хлористый аммоний (ГОСТ 2210-73*) при склеивании с нагревом

10-15 0,5-1

III

То же, для эксплуатации при относительной влажности воздуха до 85%

Водостойкость выше карбамидных клеев. Не содержит фенола и горючих растворителей. Малая стоимость. Срок хранения смолы 3 мес. Рабочая жизнеспособность более 2ч

Карбамидные

КФ-Ж

КФ-Ж (ГОСТ 14231-78)

То же

10-15

IV

То же, для эксплуатации при относительной влажности воздуха до 70%

Ограниченная водостойкость, не содержит фенола и горючих растворителей. Наименьшая стоимость. Срок хранения смолы 2 мес.

КФ-БЖ (ГОСТ 14231-78)

»

0,5-1

Эпоксидные

ЭПЦ-1 К-153

К-153 (ТУ 6-05-1584-77) К-115 (ТУ 6-05-1251-75) или смола ЭД-20 (ГОСТ 10587-76), тиокол МВБ-2 (ГОСТ 12812- 80*), полиэфир МГФ-9 (ТУ 6-01-450-70)

Полиэтиленполиамин (ТУ 6-02-594-70) или сложные амины (ТУ 6-01-92-66)

15

18-20

V

Для изготовления деревянных конструкций с вклеенными стальными деталями

Высокая долговечность при вклеивании металлических деталей внутри древесины. Срок хранения компонентов более 1 года. Высокая вязкость и токсичность. Очистка оборудования горючими растворителями

Таблица 2

Защитный материал

Марка

ГОСТ, ТУ и другие нормативные документы

Компоненты материала*

Количество компонента, мас. ч.

Группа защитных свойств

Лакокрасочные материалы

а) Для прозрачных покрытий

Масляно-смоляные лаки

ПФ-283

ГОСТ 5470-75

Ксилол (ГОСТ 9949-75), сольвент (ГОСТ 1928-79)

-

II

ГФ-166

ГОСТ 5470-75

Ксилол (ГОСТ 9949-75)

-

I-II

Пентафталевый лак

ПФ-170

ГОСТ 15907-70

Ксилол (ГОСТ 9949-75), сольвент (ГОСТ 1928-79)

-

I-II

Перхлорвиниловый лак

ХВ-784

ГОСТ 7313-75

Р-4 (ГОСТ 7827-74)

-

I-II-VI

Сополимерные лаки

ХС-724

ТУ 6-10-1115-75

Р-4 (ГОСТ 7827-74)

-

I-II-VI

ХС-76

ГОСТ 9355-60

Р-4 (ГОСТ 7827-74)

-

I-II-VI

Уретановый лак

УР-293

ТУ 6-10-1462-74

Р-189 (ТУ 6-10-1508-75)

-

I-II-V-VI

б) Для укрывистых покрытий

Пентафталевая эмаль

ПФ-115

ГОСТ 6465-76

Сольвент (ГОСТ 1928-79)

-

II-V

Перхлорвиниловые эмали

ХВ-1100

ГОСТ 6993-79

Р-4, Р-5 (ГОСТ 7827-74)

-

II-V

ХВ-785

ГОСТ 7313-75

Р-4, Р-5 (ГОСТ 7827-74)

-

II-VI

ХВ-110

ГОСТ 18374-79

Р-4 (ГОСТ 7827-74)

-

II-V

ХВ-124

ГОСТ 10144-74

Р-4, Р-5 (ГОСТ 7827-74)

-

II-V

ХВ-5169

ТУ 6-10-745-75

Р-4, Р-5 (ГОСТ 7827-74)

-

II-III-V

Сополимерные эмали

ХС-759

ГОСТ 23494-79

Р-4 (ГОСТ 7827-74)

-

II-VI

ХС-710

ГОСТ 9355-60

Р-4 (ГОСТ 7827-74)

-

II-VI

ХС-781

ТУ 6-10-951-75

Р-4 (ГОСТ 7827-74)

-

II-VI

Уретановая эмаль

УР-49

ТУ 6-10-1579-76

Р-189 (ТУ 6-10-1508-75)

-

II-III-V

Уретаново-алкидная эмаль

УРФ-1128

ТУ 6-10-1421-76

Р-189 (ТУ 6-10-1508-75)

-

II-VI

Органосиликатная композиция

ОС-12-01

ТУ 84-725-78

Толуол (ГОСТ 9880-76)

-

II-IV

ОС-12-03

Эмульсионная водоразбавляемая краска

АК-111Р

ТУ 6-10-1260-72

Вода

-

V

Алкидно-карбамидная эмаль

МЧ-181

ТУ 7-10-720-74

Ксилол (ГОСТ 9949-76), сольвент (ГОСТ 1928-67)

-

II

Эмаль на основе хлорсульфированного полиэтилена

ХП

ТУ 6-10-715-75

Ксилол (ГОСТ 9949-76), толуол (ГОСТ 9880-76)

-

II, VI

Пропиточные составы

а) Биозащитные

Аммоний кремнефтористый технический

КФА

ОСТ 6-08-2-75

Аммоний кремнефтористый технический (ОСТ 6-08-2-75)

10(15)

III

Вода

90(85)

Препарат

ХМБ-444**

ТУ 65-14-23-75

Бихромат натрия технический (ГОСТ 2651-78) или бихромат калия технический (ГОСТ 2652-78)

5

III

Купорос медный (ГОСТ 19347-74)

5

Кислота борная (ГОСТ 18704-78)

5

Вода

85

Тетрафторборат аммония технический

ТФБА

ТУ 6-08-297-74

Тетрафторборат аммония технический (ТУ 6-08-297-74)

10(15)

III

Вода

90(85)

Препарат

ББ-32

ГОСТ 14647-79

Бура техническая (ГОСТ 8429-77)

12

III

Кислота борная (ГОСТ 18704-78)

8

Вода

80

Препарат

ХМББ-3324**

ГОСТ 23787.2-79

Бихромат натрия (ГОСТ 2651-78) или бихромат калия (ГОСТ 2652-78)

2,5

III

Купорос медный (ГОСТ 19347-74)

2,5

Кислота борная (ГОСТ 18704-78)

3,3

Бура техническая (ГОСТ 8429-77)

1,7

Вода

90

б) Огнезащитные

Поверхностно-пропиточный состав

ПП

Инструкция ВНИИПО

Углекислый калий (поташ) (ГОСТ 10690-73)

25

IV

Керосиновый контакт (ОСТ 38.01116-76

3

Вода

72

Пропиточный состав***

МС

То же

Диаммонийфосфат технический (ГОСТ 8515- 75)

20

IV

Керосиновый контакт (ОСТ 38.01116-76)

3

Сульфат аммония (ГОСТ 9097-74)

5

Вода

72

в) Биоогнезащитные

Препарат

Б-11

ГОСТ 23787.6-79

Бура техническая (ГОСТ 8429-77)

10

III-IV

Кислота борная (ГОСТ 18704-78)

10

Вода

80

Состав на основе трихлорэтилфосфата

ТХЭФ

ТУ 6-05-1611-78

Трихлорэтилфосфат (ТУ 6-05-1611-78)

40

III-IV

Четыреххлористый углерод (ГОСТ 4-75)

60

Фенолоспирты

 

ТУ 6-05-1164-75

-

 

II-III- IV-V-VI

Мастичные составы *****

Состав на основе эпоксидной модифицированной смолы К-153 или К-115

-

Смола модифицированная К-153 (ТУ 6-05-1584-77) или К-115 (ТУ 6-05-1251-75)

100

II-V

Полиэтиленполиамин (ТУ 6-02-594-75)

15

или сложные амины (ТУ 6-01-915-74)

18-20

Ксилол (ГОСТ 9949-76) или толуол (ГОСТ 9880-76)

10

Состав на основе эпоксидной шпатлевки ЭП-0010

-

Шпатлевочная паста ЭП-0010 (ГОСТ 10277-76)

100

II-V

Отвердитель № 1 (ТУ 6-10-1263-77)

8,5

Растворитель Р-4, Р-5 (ГОСТ 7827-74) или 646 (ГОСТ 18188-72)

20

Тиоколовый герметик

У-30м

ГОСТ 13489-79

Паста У-30м

100

II-V

Вулканизирующая паста № 9

5-9

Дифенилгуанидин (ДФГ)

0,2-0,5

Тиоколовый герметик

УТ-32

ТУ 38-105462-72

Паста У-32

100

II-V

Вулканизирующая паста № 9

9-12

Дифенилгуанидин (ДФГ)

0,4-0,8

* Для лакокрасочных материалов в качестве компонентов указаны только растворители, необходимые для доведения материала до рабочей вязкости. Ориентировочная потребность растворителей-10-20% объема лакокрасочных материалов.

** При приготовлении препарата ХМБ-444 для предотвращения выпадения осадка в раствор добавляют 0,05 мас. ч. уксусной кислоты (ГОСТ 19814-74), а при приготовлении ХМББ-3324- 1 мас. ч.

*** Для придания древесине биостойкости на каждые 97 кг готового раствора МС добавляют 3 кг фтористого натрия (ГОСТ 2871-75).

**** Взамен диаммонийфосфата можно применять аммофос (ГОСТ 18918-79), представляющий собой смесь аммонийных солей фосфорной кислоты (моно- и диаммонийфосфата) или кормовой диаммонийфосфат.

***** Для снижения вязкости и улучшения наносимости герметиков используют растворители Р-4, Р-5 (ГОСТ 7827-74), этилацетат (ГОСТ 8981-78). Герметики У-30м и УТ-32 поставляют в комплекте с пастой № 9 и ДФГ, точное соотношение которых указывается в заводском паспорте.

Допускается по согласованию с ЦНИИСК им. Кучеренко применение других марок клеев, если их технологические характеристики не отличаются от указанных, а клеевые соединения с их использованием обеспечивают необходимую прочность и долговечность клееных конструкций.

2.7. Вязкость и рабочую жизнеспособность клеев следует выбирать в зависимости от назначения и применяемого оборудования и заданной технологии склеивания.

Наибольшую рабочую жизнеспособность (2-4 ч) должны иметь клеи, используемые для склеивания большепролетных (24 м и более) многослойных конструкций, наименьшую (0,5-1 ч) -для склеивания заготовок по длине на зубчатых соединениях и по кромке.

Наименьшую вязкость (60-150 с по вискозиметру ВЗ-4) должны иметь клеи, наносимые на склеиваемые поверхности при наливе, наибольшую (300-400 с и более) - при осуществлении зубчатых и кромочных соединений.

2.8. Клеи должны обеспечивать прочность клеевых соединений при скалывании вдоль волокон древесины по ГОСТ 15613.1-77 через 3 сут после склеивания не менее 6,5 МПа.

Материалы для защитной обработки конструкций

2.9. Для защиты деревянных конструкций используют лакокрасочные, пропиточные и мастичные материалы, марки и составы которых приведены в табл. 2.

2.10. По защитным свойствам материалы подразделяются на следующие группы: I-декоративно-отделочные; II - влагостойкие; III - биозащитные; IV - огнезащитные; V - атмосферостойкие; VI - химстойкие.

Если материалы обладают несколькими защитными свойствами, то их относят к комплексной группе (например, материалы, защищающие конструкцию от увлажнения и обладающие одновременно атмосферо- и химстойкостью, относят к комплексной группе II-V-VI).

2.11. Наименование защитных материалов с указанием их марки и группы защитных свойств должны быть указаны в технической документации на конструкции с учетом условий их эксплуатации.

Для защиты несущих многослойных клееных конструкций преимущественно следует применять материалы, не скрывающие текстуру древесины.

3. ИЗГОТОВЛЕНИЕ КЛЕЕНЫХ КОНСТРУКЦИЙ

Общие указания

3.1. Технологический процесс изготовления конструкций должен предусматривать выполнение следующих основных операций:

формирование штабелей, атмосферную и камерную сушку и кондиционирование пиломатериалов;

раскрой, сортировку и механическую обработку пиломатериалов;

приготовление клеев;

склеивание заготовок по длине и ширине;

нанесение клея на склеиваемые заготовки;

сборку подлежащих склеиванию элементов конструкций;

запрессовку и выдержку под давлением при отверждении клея;

механическую обработку;

защитную обработку;

контрольную сборку клееных конструкций и оснащение их закладными деталями;

контроль качества как в процессе изготовления, так и при приемке конструкций.

Примечание. В случае применения в одном сечении клееных элементов древесины сосны (ели) и лиственницы обработку и склеивание следует производить по режимам, рекомендованным для лиственницы.

Для изготовления клееных конструкций рекомендуется использовать специализированное оборудование. Техническая характеристика выпускаемого в настоящее время специализированного оборудования дана в табл. 1 прил. 1. Допускается также комплектование линий из серийно выпускаемых станков.

3.2. В цехах изготовления клееных конструкций необходимо поддерживать температуру 18-20°С и влажность воздуха 50-60%. Допускается склеивание конструкций при температуре 16-25° С и влажности 60-70% с соответствующей корректировкой режимов склеивания. При проектировании цехов следует предусматривать инженерное оборудование для автоматического регулирования температуры и влажности.

Помещения должны быть оснащены приборами для непрерывного замера температуры и влажности воздуха. Эти приборы следует располагать в рабочих зонах на видных местах. Данные замеров необходимо ежедневно заносить в контрольный журнал.

3.3. Кроме основных участков производства следует предусматривать складские помещения для хранения переходящего запаса пиломатериалов, складские помещения для хранения клеевых и защитных материалов (с температурой в помещении 8-12°С), участки приготовления клеевых и защитных составов, находящиеся в непосредственной близости от основных мест потребления этих материалов.

3.4. Примерный перечень приборов и оборудования для оснащения лаборатории завода или цеха, изготавливающих клееные конструкции, приведен в прил. 2.

3.5. В процессе изготовления клееных конструкций следует обращать внимание на строгое выполнение и контроль тех параметров процесса, которые в наибольшей степени влияют на прочность клееных конструкций. К ним относятся: прочность и влажность древесины, рабочая жизнеспособность, вязкость и время отверждения клея, размеры и качество обработки склеиваемых заготовок, количество и равномерность нанесения клея, продолжительность сборочно-запрессовочных операций, величина и равномерность приложения давления, режимы склеивания. Необходимо контролировать температуру и влажность воздуха в цехе, где производится склеивание, а также прочность зубчатых и пластевых клеевых соединений.

3.6. Результаты контроля основных параметров изготовления клееных конструкций следует заносить в контрольный журнал, который должен храниться на предприятии в течение 5 лет (рекомендуемая форма журнала представлена в прил. 3).

Сушка пиломатериалов

3.7. Древесина и древесные материалы перед склеиванием должны иметь влажность 8-12%.

Для конструкций, предназначенных для эксплуатации при пониженной влажности (менее 40%) и повышенной температуре воздуха (более 30°С), влажность древесины может быть снижена до 7%, а при эксплуатации конструкций в условиях постоянной повышенной влажности воздуха - увеличена до 15%. Температурно-влажностные условия эксплуатации указываются в ГОСТах, рабочих чертежах или технических условиях на конструкции.

3.8. Пиломатериалы, как правило, следует сушить в две стадии: на первой - до влажности 20-25%, на второй-до 8-12%, осуществляя для этой цели на первой стадии преимущественно атмосферную сушку по ГОСТ 3808.1-80, а на второй - камерную. В последнем случае следует использовать камеры периодического действия (например, СПМ-2К производства Ижевского экспериментального механического завода, СПВ-62 производства Петрозаводского завода бумагоделательного оборудования и др.), осуществляя в них сушку пиломатериалов нормальными или мягкими режимами по ГОСТ 19773-74.

3.9. Процесс сушки следует осуществлять в соответствии с требованиями «Руководящих материалов по камерной сушке пиломатериалов», утвержденных Минлеспромом СССР и введенных в действие с 1 января 1972 г. (ЦНИИМОД, Архангельск).

Особое внимание при сушке следует уделять правильному формированию штабелей и соблюдению требуемых режимов сушки. В штабель необходимо укладывать доски только одной толщины. Прокладки следует укладывать строго по вертикали. Как правило, должен быть обеспечен дистанционный контроль за режимами сушки.

3.10. После окончания процесса сушки необходимо производить в течение 3-5 сут кондиционирование пиломатериалов в помещении с температурой 18-25° С и относительной влажностью воздуха 60-70%.

3.11. Относительные отклонения зубцов секций (в вершине) пиломатериалов для многослойных конструкций, характеризующие остаточные напряжения в них, после сушки не должны превышать 2 и 1,5% соответственно для досок толщиной 40 и 25 мм.

Механическая обработка пиломатериалов

3.12. Предназначенные для изготовления клееных конструкций пиломатериалы и фанеру подвергают механической обработке для получения заготовок необходимого размера и качества. При недостаточной длине или ширине заготовок производят склеивание их по длине и ширине. Продольный раскрой пиломатериалов производят на оборудовании, техническая характеристика которого приведена в табл. 2 прил. 1.

Если качество исходных материалов ниже качества требуемых заготовок, допускается вырезка из этих материалов недопустимых пороков с последующим склеиванием оставшихся отрезков по длине. При вырезке сучков рез следует выполнять на расстоянии от сучка, не меньшем его диаметра.

3.13. Качество древесины слоев несущих конструкций и элементов каркаса ограждающих клееных конструкций должно соответствовать требованиям, указанным в табл. 1 ГОСТ 20850-75. Расположение слоев требуемого качества по высоте сечения несущих конструкций и качество древесины каркаса ограждающих конструкций указываются в ГОСТах или рабочих чертежах на конструкции.

Рекомендуется преимущественно согласованное расположение смежных слоев при наборе пакетов для несущих многослойных клееных конструкций.

3.14. Сортировку заготовок по качеству, как правило, совмещают с поперечным раскроем пиломатериалов, который осуществляют на специальных линиях или универсальных торцовочных станках, краткая характеристика которых приведена в табл. 3 прил. 1. Там же дана характеристика станков для раскроя фанеры и других древесных плитных материалов.

Допускается предварительное фрезерование одной или двух пластей досок для лучшего выявления пороков древесины и уменьшения разнотолщинности досок.

Изменения толщины по ширине и длине любого слоя не должны превышать ±0,2 мм.

3.15. Припуски на торцовку заготовок с двух сторон согласно ГОСТ 7307-75 устанавливают по табл. 3.

Таблица 3

Ширина заготовок, мм

Припуск при минимальной длине заготовок, мм

св. 1500 до 3000

св. 3000

До 150

20

25

Св. 150

25

30

3.16. Для соединения по длине заготовок из древесины следует, как правило, использовать зубчатые клеевые соединения, а из фанеры - клеевые соединения на ус.

Допускаются другие виды соединений, например для заготовок из древесины - впритык, из фанеры - на зубчатом соединении, специально оговариваемые в ГОСТах, рабочих чертежах или технических условиях на конструкции.

3.17. Зубчатые клеевые соединения следует осуществлять в соответствии с требованиями ГОСТ 19414-79.

Соединения типа I-50 следует использовать для склеивания по длине или под углом клееных и цельных элементов большого сечения; соединения I-32 и II-20 - для склеивания по длине заготовок несущих и ограждающих конструкций; соединения II-10 и II-5 - для склеивания по длине заготовок из фанеры.

Предел прочности зубчатых соединений должен быть не менее 30 МПа.

Уклон клеевого соединения на ус должен составлять 1/10, т. е. длина скоса должна равняться десяти толщинам склеиваемых заготовок.

3.18. Зубчатые клеевые соединения для заготовок из древесины, как правило, следует выполнять вертикальными, а из фанеры - горизонтальными.

Фрезерование зубчатых шипов выполняют режущим инструментом (прил. 4) на оборудовании, входящем в состав автоматических или полуавтоматических линий. При отсутствии таких линий для фрезерования шипов следует использовать шипорезные или фрезерные станки, характеристика которых дана в табл. 4 прил. 1.

Точность формирования зубчатых шипов должна соответствовать 2-му классу для плотной посадки по ГОСТ 6449-76.

В зоне фрезерования зубчатых шипов не должно быть сучков диаметром более 5 мм. Допускаемые в заготовках сучки (табл. 1 ГОСТ 20850-75) должны быть удалены от основания шипов на расстояние не менее трех их диаметров. Фрезерование шипов можно производить на концах каждой заготовки или пакета заготовок.

3.19. Перед склеиванием поверхности слоев следует подвергать обработке (фрезерованию) на продольно-фрезерных станках, характеристика которых приведена в табл. 5 прил. 1. Максимальная высота неровностей на поверхности Rz max, определяемая по ГОСТ 7016-75, не должна превышать 200 мкм.

3.20. Фрезерование поверхностей слоев следует производить в пределах припусков на механическую обработку по ГОСТ 7307-75.

Слои пакета многослойных конструкций перед склеиванием по пласти следует фрезеровать с двух пластей (без предварительного фугования) по 1-й группе припусков, величина которых указана в табл. 4.

Таблица 4

Толщина заготовок, мм

Припуск при номинальной ширине заготовок, мм

90-95

95-195

св. 195

25

4

4,5

5

40

5

5,5

6

Перед склеиванием по ширине на гладкую фугу у слоев фрезеруют обе кромки в пределах припусков, величина которых указана в табл. 5.

Таблица 5

Ширина заготовок, мм

Припуск при толщине заготовок, мм

25

св. 40

До 95

4,5

5

От 95 до 195

5

5,5

Св. 195

5

6

Допускается обработка кромок слоев, склеиваемых по ширине на гладкую фугу, с предварительным фугованием. В этом случае припуски на фрезерование поверхностей с двух сторон принимают по табл. 6.

Таблица 6

Размеры заготовок, мм

Припуск при толщине заготовок, мм

длина

ширина

25

40

До 2400

До 95

6

6,5

От 95 до 195

6,5

7

Св. 195

7

7,5

Св. 2400

До 95

7

7,5

От 95 до 195

7,5

8

Св. 195

8

8,5

В процессе механической обработки склеенных по длине заготовок для многослойных конструкций (слоев) их кромки, как правило, не обрабатывают. Последние подлежат обработке одновременно с фрезерованием боковых поверхностей элементов конструкции.

Особое внимание следует обращать на качество фрезерования заготовок из лиственницы, учитывая более быстрое затупление режущего инструмента и необходимость уменьшения скорости подачи обрабатываемого материала.

3.21. Механическую обработку подлежащих склеиванию поверхностей следует производить непосредственно перед склеиванием. Допускается хранение заготовок с обработанными поверхностями до склеивания при параметрах воздуха, указанных в п. 3.2, в течение 24 ч (не более) при условии тщательного предохранения их от загрязнения, увлажнения или пересушивания.

При хранении заготовок из лиственницы после обработки более 15 ч требуется повторное фрезерование поверхностей для снятия инактивированного слоя толщиной 0,8-1 мм.

Приготовление и нанесение клея

3.22. Процесс приготовления клея включает подготовку компонентов клея: перемешивание жидких компонентов клея для устранения осадка, подсушивание и просеивание порошкообразных отвердителей, отвешивание их в количествах и последовательности, указанных в рецептурной таблице, тщательное перемешивание смолы с отвердителем и наполнителем. Для приготовления клея могут быть использованы только те компоненты, пригодность которых подтверждена письменным заключением лаборатории.

3.23. Необходимое количество компонентов клеев в соответствии с указаниями табл. 1 отбирается весовым методом. Допускается использование объемного метода дозирования при условии подтверждения его соответствия весовому методу.

3.24. Перемешивание компонентов клея следует производить в механических стационарных или переносных клеемешалках с центральным валом и расположенными на нем лопастями (например, в клеемешалке КМ-40-10 емкостью 35 л, изготавливаемой Рыбинским заводом деревообрабатывающих станков, или краскомешалке СО-11, изготавливаемой Вильнюсским производственным объединением строительно-отделочных машин).

С целью обеспечения равномерного и быстрого перемешивания компонентов для приготовления клеев с порошкообразным отвердителем (ФР-12, ФРФ-50, ФР-100, ДФК-1АМ, ДФК-14) рекомендуется использование мешалок с планетарным вращением вала. Во избежание осаждения отвердителя его вначале можно перемешать с небольшим количеством смолы, а затем в клеемешалку добавить оставшуюся часть смолы.

При относительно небольших количествах приготовление клеев можно производить с использованием съемных портативных клеемешалок, в качестве которых используют ручной электрифицированный инструмент (гайковерты, шуруповерты т. п.).

Вал с лопастями соединяют с инструментом, подвешивают на блоке с противовесом. Во время приготовления в емкость с клеем опускают лопасти инструмента и при их вращении делают круговые движения инструментом, чем и обеспечивается планетарное перемешивание клея.

3.25. Перемешивание компонентов клея следует производить в течение 3-5 мин при скорости вращения лопастей не более 40-60 об/мин; температура клея не должна превышать 18-20° С.

Клеи, содержащие наполнители, перед нанесением должны быть дополнительно перемешаны.

3.26. Операции по подаче компонентов клея в клееприготовительное отделение, отвешиванию и загрузке компонентов клея в клеемешалки, по выгрузке клея и подаче его к рабочим местам должны быть максимально механизированы. Части оборудования, соприкасающиеся с клеем, должны быть легкодоступными для очистки, а места очистки должны быть снабжены горячей и холодной водой, специальными сливами и отстойниками. Приготовление больших количеств клея следует производить в изолированном, хорошо вентилируемом помещении.

3.27. Клей необходимо наносить на обе склеиваемые поверхности. Одностороннее нанесение клея допускается лишь на участках с небольшим периодом сборочно-запрессовочных операций или большой рабочей жизнеспособностью клея.

В зависимости от способа нанесения и состава клея суммарный расход клея должен быть в пределах 0,35-0,6 кг/м3.

3.28. Нанесение клея на подлежащие склеиванию поверхности следует производить механизированным способом при помощи клеенаносителей, обеспечивающих равномерное распределение на поверхности требуемого количества клея. При небольшом объеме производства допускается ручное нанесение клея при помощи валиков, кистей, шпателей.

Клеенаносящее оборудование должно обеспечивать:

возможность точного дозирования наносимого количества клея;

равномерность нанесения на поверхности заданного количества клея;

незначительную затрату времени на нанесение;

возможность быстрой и легкой очистки и замены частей оборудования, соприкасающихся с клеем.

3.29. Для нанесения клеев на пласти слоев следует использовать клеенаносящие станки с дозирующими валками, характеристика которых дана в табл. 6 прил. 1.

Применение клееналивных станков допускается при условии соблюдения требований, изложенных в п. 3.27.

3.30. Нанесение клея на зубчатые шипы производят при помощи щеток, валиков, дисков и тому подобных приспособлений, встроенных в линии склеивания заготовок по длине. Допускается ручное нанесение клея при небольшом объеме производства.

3.31. При использовании клеев, температура которых повышается после введения отвердителя из-за происходящей в клее экзотермической реакции (например, резорциновых), оборудование для приготовления и нанесения клея должно иметь двойные стенки с циркулирующей между ними охлаждающей жидкостью.

3.32. Оборудование для приготовления и нанесения клея следует систематически очищать от клея (до потери клеем полной жизнеспособности - гелеобразования), так как клеи, перешедшие в гелеобразное состояние, полностью теряют растворимость и могут очищаться только механическим путем или едкими жидкостями.

Если оборудование работает непрерывно, и загрузка свежеприготовленных партий клея происходит до наступления гелеобразования ранее загруженного клея, очистку можно не производить. Очистку клеев ФР-12, ФРФ-50, ФР-100, ДФК-IAM, КС-В-СК и КФ-Ж производят водой. Клей КБ-3, СФХ, ДФК-14 очищают 10-50%-ным водным раствором кальцинированной соды с последующей промывкой водой или ацетоном. Для ускорения и облегчения очистки температура воды или раствора кальцинированной соды может быть повышена до 60-80° С.

Сборка и запрессовка

3.33. Технологическую схему и оборудование для осуществления операций по сборке и запрессовке следует выбирать исходя из назначения операции (склеивание заготовок по длине или ширине, склеивание заготовок по толщине, приклеивание обшивок к каркасу панелей), объема производства, конструкции изделия.

3.34. Сборку и склеивание заготовок по длине с помощью зубчатых клеевых соединений следует производить в прессах периодического или непрерывного действия, одновременно запрессовывая один или группу стыков. Для этой цели применяют одно из следующих запрессовочных устройств:

а) с прижимом одной из заготовок на неподвижной каретке, а другой на подвижной и с последующим передвижением в продольном направлении;

б) с непрерывной подачей заготовок двумя парами гусеничных или вальцовых механизмов подачи, осуществляющих запрессовку соединений за счет разности скоростей подачи заготовок (скорость подачи первой подающей пары по направлению движения заготовок больше, чем второй);

в) с использованием торцовой опоры для одного конца склеиваемых заготовок и приложением усилия запрессовки к другому концу заготовки. Для увеличения производительности следует использовать кассеты, в которые укладывают по высоте несколько рядов заготовок одинаковой длины, а запрессовку осуществляют на стационарном стенде, позволяющем фиксировать кассету между опорой и перемещаемым по вертикали на противоположной опоре пневмо- или гидродомкратом.

Для достижения наибольшей прочности зубчатых соединений отверждение клея должно происходить при неподвижном положении заготовок.

Величина торцового давления при запрессовке зубчатых соединений должна быть в пределах 1-1,5 МПа для соединений 1-50 по ГОСТ 19414-79; 2-2,5 - для I-32; 3-3,5 - для II-20; 5-6 - для II-20 и 8-10 -для II-5.

3.35. Склеивание заготовок по длине при помощи клеевого соединения на ус следует производить в прессах, обеспечивающих неподвижность соединения во время отверждения клея.

Для этой цели может использоваться, например, линия типа ЛУСФ, изготавливаемая по заказам ярославским заводом деревообрабатывающего оборудования «Пролетарская свобода».

Давление при запрессовке соединений на ус должно быть 1 МПа.

3.36. Склеивание заготовок по ширине на гладкую фугу следует производить в прессах периодического или непрерывного действия при величине давления 0,5-0,7 МПа.

3.37. При изготовлении многослойных конструкций их сборку, т. е. набор лент в пакеты необходимых размеров, производят непосредственно в запрессовочных устройствах или же вне их на специальных подъемных устройствах. В последнем случае место формирования пакетов должно быть по возможности приближено к запрессовочным устройствам.

3.38. Запрессовку многослойных конструкций следует производить, как правило, в прессовых установках периодического действия, а при массовом выпуске однотипных элементов - в установках непрерывного действия проходного типа. Прямолинейные конструкции запрессовывают в вертикальных или горизонтальных прессах (клеевые прослойки расположены соответственно горизонтально или вертикально). Криволинейные конструкции следует запрессовывать, как правило, в горизонтальных прессах.

Независимо от способа запрессовки и применяемого оборудования должно быть обеспечено приложение и поддержание равномерного по всей площади склеивания и высоте пакета давления величиной 0,5-1 МПа. Верхний предел давления относится к склеиванию криволинейных конструкций, нижний - для прямолинейных конструкций.

3.39. При массовом выпуске многослойных конструкций следует в первую очередь применять гидравлические прессы, имеющие большую производительность и обеспечивающие точное приложение и поддержание величины запрессовочного давления.

3.40. Учитывая большую стоимость такого оборудования, допускается при склеивании криволинейных конструкций применение винтовых прессов при наличии в них компенсационных пружин, позволяющих поддерживать требуемое давление.

Для завинчивания винтов следует применять электрические или пневматические гайковерты, снабженные динамометрическим устройством для создания заданной величины давления. Гайковерты должны быть ударно-вращательного действия с уравновешенным моментом, позволяющим регулировать величину прикладываемого усилия. Техническая характеристика выпускаемых промышленностью гайковертов, которые могут быть применены для механизации процесса винтовой запрессовки, приведена в табл. 7 прил. 1.

Для облегчения работы гайковерты следует подвешивать или закреплять на передвижной тележке на уровне завинчиваемых винтов и при переходе от завинчивания нижнего ряда конструкций к верхнему перемещать их по вертикали.

3.41. Для склеивания криволинейных конструкций необходимо, как правило, использовать горизонтальные секционные гидравлические или винтовые прессы, позволяющие производить запрессовку нескольких (до 4) рядов конструкций и осуществлять быструю переналадку оборудования при изменении размеров и конфигурации конструкций. Эти прессы состоят из отдельных секций, прикрепляемых при помощи болтов к рельсам силового пола таким образом, чтобы их опорные части соответствовали профилю склеиваемого изделия. В тех случаях, когда профиль изделия не изменяется, т. е. при склеивании однотипных изделий, силовые секции могут быть жестко соединены между собой и приварены к основанию пресса. Силовой пол в этом случае не требуется. На вертикальных стойках секций в нужных по высоте местах закрепляются расположенные горизонтально гидродомкраты или винты с захватами или упорами для тяг, посредством которых с помощью прижимных башмаков охватывают и запрессовывают конструкции.

При расстановке секций необходимо учитывать, что после распрессовки криволинейных конструкций происходит некоторое их распрямление. Поэтому радиус установки базовых поверхностей секций с учетом распрямления конструкций после их распрессовки должен быть меньше требуемого радиуса прилегающей к ним поверхности конструкции. Определяется он по формуле

                                                                                (1)

где Rэ - радиус внутренней поверхности конструкции, см;

       n- количество слоев в конструкции, шт.

3.42. В гидравлических и винтовых прессах расстояние между точками приложения давления не должно превышать 50 см, а свободные промежутки между прижимными башмаками не должны быть более 20-25 см. Между опорными поверхностями стоек и запрессовываемой конструкцией и башмаком должны быть компенсационные прокладки.

3.43. При запрессовке конструкций с малым радиусом изгиба вначале следует запрессовать более длинную прямолинейную часть, потом после изгиба - короткую, часть. Через 10-15 мин после достижения необходимого давления все винты должны быть поджаты повторно и проверены динамометрическим ключом.

3.44. В тех случаях, когда по техническим или экономическим причинам нецелесообразно использование стационарных гидравлических, винтовых и тому подобных прессов, допускается склеивание многослойных конструкций с гвоздевой запрессовкой. В первую очередь это относится к изготовлению небольшого количества большепролетных конструкций непосредственно на местах их использования или же в случае малой жизнеспособности клея, не позволяющей в этот период собрать и запрессовать конструкцию.

Для запрессовки следует использовать гвозди, длина которых не меньше двух толщин слоев (2δ), а диаметр - 2,5-3 мм. При ширине слоев 80-100 мм гвозди располагают двумя параллельными рядами в шахматном порядке с расстояниями между гвоздями в одном ряду не более 12 толщин слоя; при ширине слоев более 100 мм гвозди располагают двумя параллельными рядами с расстоянием, равным 8 толщинам слоя между гвоздями в одном ряду.

Склеивание многослойных конструкций с гвоздевой запрессовкой следует производить на специальных вертикальных или горизонтальных стендах, рабочая поверхность которых должна соответствовать очертанию склеиваемой поверхности с учетом возможного распрямления конструкции после снятия ее со стенда. Забивку гвоздей начинают в середине длины слоев.

3.45. Сборку и запрессовку панелей, т. е. приклеивание обшивки к каркасу, следует производить в плитных гидравлических или пневматических прессах. Допускается применение гвоздевой запрессовки; при этом для прижима обшивок к каркасу следует использовать гвозди диаметром 2-2,5 мм, длиной 40-50 мм при толщине фанеры 6 мм и 45-60 мм при толщине 10 мм. Расстояние между гвоздями в первом случае должно соответствовать 100-175 мм, во втором-125-200 мм.

При сборке асбестоцементных панелей листы укладывают шероховатой стороной внутрь панелей. Отверстия в листах должны иметь диаметр на 1-2 мм больше диаметра шурупа с раззенковкой под головку шурупа +0,5 мм. Расстояние между шурупами указывается в рабочих чертежах на панели.

При склеивании в плитных прессах следует обеспечивать приложение давления на площадь склеивания величиной 0,5-0,8 МПа.

3.46. Продолжительность сборочно-запрессовочных операций при запрессовке несущих и ограждающих конструкций обязательно должна быть увязана с рабочей жизнеспособностью используемого на данной операции клея и быть в 1,5 раза меньше ее. Жизнеспособность следует определять при температуре воздуха в рабочей зоне, т. е. около сборочно-запрессовочного оборудования.

Режимы склеивания

3.47. Время выдержки при склеивании элементов конструкций в запрессованном состоянии при определенной температуре и влажности воздуха зависит от технологических свойств применяемого клея, размеров и жесткости склеиваемых заготовок и других факторов. Так как значения указанных факторов могут существенно изменяться, приведенные ниже температурно-временные режимы склеивания являются ориентировочными, и их необходимо уточнять применительно к конкретным условиям данного производства.

3.48. Заготовки с зубчатым соединением после запрессовки необходимо выдерживать в неподвижном состоянии в течение периода времени, в 2 раза превышающем полную жизнеспособность используемого в данных условиях клея.

3.49. Запрессовку и склеивание многослойных несущих конструкций следует производить, как правило, при температуре и влажности воздуха в цехе, где производится склеивание. Режимы склеивания приведены в табл. 7.

Таблица 7

Конструкции

Выдержка, ч, в запрессованном состоянии при температуре, °С

18-20

22-25

Прямолинейные

14-12

10-8

Криволинейные

24-20

18-16

3.50. При необходимости увеличения производительности прессового оборудования для ускорения отверждения клея следует использовать конвекционный нагрев.

Режимы склеивания многослойных конструкций при использовании этого вида нагрева приведены в табл. 8 при влажности воздуха 50-60%.

Охлаждение конструкций следует производить в запрессованном состоянии при температуре цеха в течение 3 ч.

Таблица 8

Ширина клеевой прослойки, мм

Время выдержки, мин, под давлением при температуре, °С

30-40

50-60

80-90

До 100

240-180

120-90

70-60

101-200

300-240

210-170

90-80

Св. 200

360

240

120

Конвекционный нагрев осуществляется, как правило, путем подачи доведенного до необходимой температуры и влажности воздуха под накидку из прорезиненной и тому подобной ткани, которой после окончания запрессовки конструкций покрывают оборудование,

3.51. При склеивании большого количества однотипных изделий и ширине клеевой прослойки до 100-150 мм допускается применение высокочастотного нагрева. Учитывая специфику применения этого вида нагрева, режимы склеивания должны устанавливаться согласно требованиям специальных указаний.

Следует учитывать, что применение нагрева усложняет и удорожает процесс склеивания, поэтому его следует применять только в тех случаях, когда по сравнению с другими операциями технологического процесса выдержка конструкций в запрессованном состоянии является «узким» местом, т. е. тормозит все производство.

При использовании лиственницы выдержку следует увеличивать на 20%.

3.52. Приклеивание обшивок к каркасу панелей необходимо производить с контактным нагревом, режимы которого приведены в табл. 9.

Таблица 9

Температура плит пресса, °С

Выдержка в прессе, мин, на 1 мм толщины обшивки

60-70

3-2,5

90-100

2-1,5

130-150

1,2-1

Механическая обработка конструкций

3.53. После склеивания конструкции и их элементы подвергают механической обработке для доведения их до проектных размеров и придания поверхностям необходимого качества.

Механическая обработка включает фрезерование боковых поверхностей несущих многослойных конструкций, опиловку по необходимому профилю их торцов, сверление отверстий под болты, штыри и т. п.

3.54. Фрезерование боковых поверхностей конструкций необходимо производить на стационарных деревообрабатывающих станках, техническая характеристика которых приведена в табл. 8 прил. 1. В тех случаях, когда из-за больших размеров конструкций их невозможно обрабатывать на этом оборудовании, допускается для фрезерования поверхностей применение ручного механизированного инструмента, например машины для фрезерования деревянных полов (табл. 9 прил. 1).

Припуски на фрезерование боковых поверхностей многослойных конструкций должны составлять при длине конструкций до 12 м - 15 мм, свыше 12 м - 20 мм.

После обработки максимальная высота неровностей Rz max поверхностей, предназначенных для прозрачной отделки, должна быть не более 320 мкм, а непрозрачной - 800 мкм. Допустимая величина уступов смежных слоев определяется назначением конструкций и должна указываться в ГОСТах или ТУ на конструкции.

3.55. Для торцовки и продольной распиловки многослойных конструкций можно использовать стационарные ленточно-пильные станки (например, ЛБД190Д-1, выпускаемые по заказам Новозыбковским станкостроительным заводом) или ручной механизированный инструмент, указанный в табл. 9 прил. 1, а также используемые при лесозаготовках цепные электропилы.

Для сверления отверстий следует использовать, как правило, оборудование, характеристика которого дана в табл. 9 прил. 1.

Защитная обработка

3.56. По технологическим особенностям защитную обработку разделяют на следующие виды:

нанесение поверхностных покрытий в виде прозрачных или укрывистых защитных пленок; поверхностная пропитка; комбинированная защитная обработка.

Нанесение покрытий

а) Лакокрасочных

3.57. Приготовление рабочих лакокрасочных составов необходимо выполнять в следующей последовательности:

разбавление состава;

фильтрование состава;

определение рабочей вязкости.

Рабочие составы следует приготовлять только из материалов, имеющих паспорта завода-изготовителя, а также анализ и заключение лаборатории об их пригодности.

3.58. Нанесение лакокрасочных материалов на поверхность конструкций осуществляют следующими методами:

безвоздушным распылением (за исключением водорастворимых красок и уретановых материалов);

пневматическим распылением;

с помощью ручных инструментов (кисть, валик).

Перечень и технические характеристики оборудования, необходимого для нанесения лакокрасочных материалов методами безвоздушного и пневматического распыления, приведены в табл. 10, 11 прил. 1.

3.59. При нанесении лакокрасочного материала способом пневматического распыления расстояние от головки краскораспылителя до обрабатываемой поверхности должно быть 250-350 мм; при использовании способа безвоздушного распыления - 350-450 мм.

Ручное нанесение лакокрасочных материалов (кистью или валиком) применяется при малых объемах работ, невозможности применения механизированных способов нанесения и окраске дефектных мест после механизированного нанесения.

3.60. Технологические свойства (рабочая вязкость и толщина однослойного покрытия) лакокрасочных материалов в зависимости от метода их нанесения должны соответствовать требованиям табл. 10.

Общая толщина покрытия должна соответствовать требованиям технической документации на конструкции и обеспечивается необходимой кратностью слоев с учетом данных табл. 10. В среднем толщина покрытия, обеспечивающая оптимальный влагозащитный эффект, должна быть для прозрачных покрытий 90 мкм, для укрывистых 120 мкм.

3.61. Сушку лакокрасочных покрытий, нанесенных на поверхность элементов конструкций, осуществляют при нормальной (16-22 °С) или повышенной (40-95 °С) температуре.

При небольших объемах производства используют сушильные тупиковые камеры периодического действия, при массовом производстве проходные камеры периодического и непрерывного действия.

Режимы сушки лакокрасочных покрытий приведены в табл. 11.

Таблица 10

Лакокрасочные материалы

Метод нанесения

кистью, валиком

пневмораспылением

безвоздушных распылением

вязкость*, с

толщина,** мкм

без подогрева

с подогревом

без подогрева

с подогревом

вязкость, с

толщина, мкм

вязкость, c

толщина, мкм

вязкость, с

толщина, мкм

вязкость, с

толщина, мкм

Перхлорвиниловые и сополимерные:

 

 

 

 

 

 

 

 

 

 

эмали

38-40

25-30

17-23

15-25

30-35

35-40

18-22

20-25

40-45

35-40

лаки

20-40

10-20

16-22

10-15

-

-

18-22

18-22

-

-

Пентафталевые:

 

 

 

 

 

 

 

 

 

 

эмали

40-60

30-50

25-35

20-30

35-50

40-45

30-45

25-35

70-80

45-50

лаки

30-60

25-40

20-25

15-25

35-50

40-45

40-45

20-30

45-60

40-45

Уретановые:

 

 

 

 

 

 

 

 

 

 

эмали

35-40

20-30

18-20

18-20

-

-

-

-

-

-

лаки

20

10-15

10-22

10-15

-

-

-

-

-

-

Органосиликатные композиции

20-60

20-35

20-25

30-40

-

-

25-30

35

40-45

45-50

Эмульсионные водоразбавляемые краски

40-50

-

30-35

-

-

-

-

-

-

-

Масляно-смоляные лаки

-

-

20-25

15-25

-

-

-

-

-

-

Эмали на хлорсульфированном полиэтилене

180-200

30-45

50-60

20-25

-

-

150-180

35-45

-

-

Алкидно-карбамидные эмали

40-60

-

30-35

-

-

-

40-60

-

-

-

* По вискозиметру ВЗ-4 при температуре 18-20 °С.

** Толщина покрытия при одноразовом нанесении.

Таблица 11

Лакокрасочное покрытие

Продолжительность практического высыхания при t = 18-22°С, ч

Продолжительность межслойной сушки, ч, при температуре, °С

18-22

50-60

60-65

90-95

ХВ-110

3

1

-

0,5

-

ХВ-1100

1

0,5

0,3

-

-

ХВ-124

2

1

-

0,3

-

ХВ-5169

3

1

-

0,5

-

ХВ-785

6

2

-

1

-

ХС-759

1

1

-

-

-

ХС-710

2

2

-

-

-

ХС-781

2

2

-

-

-

ХВ-784

1

1

-

0,5

-

ХС-724

2

1

-

-

-

ХС-76

3

1

-

-

3

ПФ-115

48

24

-

-

1

ПФ-170

72

48

-

-

-

УР-49

24

 

-

-

-

УР-293

20

20

-

-

-

УРФ-1128

6

6

1,5

-

-

ОС-12-01

ОС-12-03

72

3

-

-

-

АК-111Р

2

 

0,5

-

-

ГФ-166

48

10

-

-

-

ПФ-283

36

8

-

-

-

МЧ-181

24

-

0,5

-

-

ХП

3

1,5

-

-

-

Примечание. До начала транспортировки конструкции должны быть выдержаны в помещении с t =18-22 °С не менее 3- 4 сут.

б) Мастичных

3.62. Составы на основе смол К-153, К-115 и шпатлевки ЭП-0010, а также герметики У-30м и УТ-32 используют для грунтования и последующего нанесения покровных слоев на торцы или отдельные локальные боковые участки несущих конструкций.

В отдельных случаях покрытия на основе смол К-153, К-115 и шпатлевки ЭП-0010 могут быть армированы стеклосетками или стеклотканями.

3.63. Рабочие составы для получения грунтовочного покрытия на основе смол К-153, К-115 и шпатлевки ЭП-0010 приготовляют путем последовательного введения в смолу (шпатлевочную пасту) растворителя и отвердителя.

Для покровного слоя используют те же составы с наполнителями (портландцемент марки М 400 по ГОСТ 10178-76, маршалит или молотый пылевидный кварц по ГОСТ 9077-59) в количестве 50 мас. ч.

3.64. При нанесении покрытий на основе шпатлевки ЭП-0010 (смолы К-153 и К-115 используют для нанесения только армированных покрытий) сначала кистью наносят грунтовочный слой, а после выдержки в течение 4-5 ч при температуре 18-22° С - покровный. Толщина покрытия должна быть не менее 700 мкм.

При нанесении грунтовочного слоя расходуется 300 г/м2 состава и ~ 1200 г/м2 состава для покровного слоя.

3.65. При устройстве армированных покрытий с применением составов на основе шпатлевки ЭП-0010 и смол К-153 и К-115 предварительно на торцы конструкции наносят грунтовочный слой (при устройстве покрытий на боковых поверхностях конструкции грунтование поверхности не требуется) и выдерживают его в течение 4-5 ч (ЭП-0010) или 1,5-2 ч (К-153 и К-115). Затем наносят приклеивающий слой и сразу же обрезиненным валиком через полиэтиленовую пленку прикатывают к поверхности стеклосетку или стеклоткань. Необходимо, чтобы армирующий материал полностью пропитался составом.

Через 2-3 ч наносят покровный слой, который подлежит сушке в течение 24 ч при температуре 18-22° С.

Для грунтования, приклеивания и пропитки армирующего материала расходуется 1000 г/м2 состава, для покровного слоя ~ 500 г/м2.

3.66. Рабочие составы на основе тиоколовых герметиков для грунтования приготовляют разбавлением герметиков У-30м и УТ-32 растворителем в количестве 15-20 мас. ч. и в количестве 5-10 мас. ч. для покровного слоя.

3.67. Нанесение грунтовочного слоя производят кистью, а покровного- шпателем. Покровный слой наносят за 1 раз через 18-20 ч после нанесения грунтовочного слоя. Продолжительность выдержки покровного слоя не менее 24 ч при t°=18-22° С. Толщина Покрытия должна быть не менее 700 мкм.

На 1 м2 обрабатываемой поверхности расходуется 500 г грунтовочного и 1400 г покровного состава.

Пропитка защитными составами

а) Приготовление рабочих растворов

3.68. Приготовление водных растворов пропиточных биоогнезащитных составов необходимо выполнять в следующей последовательности:

размельчение сухих компонентов;

просеивание компонентов через сито с размером ячейки не менее 1 мм;

растворение компонентов в воде.

Температура воды для приготовления растворов должна быть, °С, для:

ТФБА ТФБА, ББ-32, ББ-11..........….

80-90

КФА

20-30

ХМБ-44

40-50

ХМББ-3324

50-60

МС

65-75

ПП

50-60

Компоненты препаратов ББ-32 и ББ-11 можно вводить в раствор в любой последовательности. Последовательность загружения и растворения компонентов препарата, ХМБ-444 должна соответствовать порядку их расположения в табл. 2.

Препарат ХМББ-3324. Отвешенное количество бихромата натрия (калия), медного купороса и борной кислоты растворяют последовательно в половинном количестве подогретой воды. Буру растворяют отдельно в оставшемся количестве воды. Затем оба раствора смешивают и добавляют к смеси ледяную уксусную кислоту до полного растворения осадка и создания pH = 4,5-5.

Состав МС. В теплой воде с температурой 65-75° С (75% общего количества по рецепту) растворяют технический диаммонийфосфат или аммофос. По получении плотности раствора не ниже 1,170 при температуре 20° С к нему приливают керосиновый контакт или другие поверхностно-активные вещества по рецепту согласно табл. 2. После этого загружается при постоянном перемешивании до растворения сернокислый аммоний, а затем фтористый натрий.

Состав ПП. В теплой ванне (50-60° С) растворяют при хорошем перемешивании технический поташ. По получении плотности раствора не ниже 1,240 при температуре 20° С к нему приливают керосиновый контакт или другие поверхностно-активные вещества, согласно рецепту, приведенному в табл. 2.

Контроль концентрации рабочих растворов производят при помощи ареометра со шкалой от 1 до 1,4 (ГОСТ 1300-74). Плотность растворов при температуре 20° С Должна быть в зависимости от концентрации для: 10%-ного ТФБА-1,042; 15%-ного ТФБА-1,066; 20%-ных ББК-3 и ББ-11 -1,076; 10%-ного КФА-1,058; 15%-ных КФА и ХМБ-444 - 1,090 и 1,094; 10%-ного ХМББ-3324 - 1,049.

Для того чтобы отличить пропитанные составами заготовки от непропитанных, к бесцветным растворам рекомендуется добавлять анилиновые красители из расчета 50 г сухой краски на 100 л раствора.

3.69. Приготовление пропиточного состава ТХЭФ требует дозирования компонентов по массовой доле (согласно табл. 2) и их перемешивания.

Рабочие составы фенолоспиртов применяются в готовом виде, обеспеченном заводом-изготовителем.

б) Пропитка древесины и фанеры

3.70. При защитной обработке водными растворами биоогнезащитных составов технологические режимы пропитки должны обеспечить удержание сухой соли состава на 1 м2 обрабатываемой поверхности, г, не менее, для: КФА, ХМБ-444, ХМББ-3324 и ТФБА-40, ББ-32-60 (при биозащитной обработке); ПП-100, МС-125 (при огнезащитной обработке); ББ-11-100 (при биоогнезащитной обработке) .

3.71. Пропитку деревянных элементов каркаса ограждающих конструкций производят после их полной механической обработки (фрезерования, вырезки пазов, четвертей, сверления отверстий и т. п.) способом нанесения на поверхность (погружение, опрыскивание, нанесение кистью) по ГОСТ 20022.9-76.

Кратность обработки К вычисляют по формуле

                                                                                        (2)

где P - заданное удержание сухой соли состава, г/м2;

G - удержание пропиточной жидкости при однократной обработке, г/м2;

C - концентрация пропиточной жидкости, %.

Удержание пропиточной жидкости G при однократной обработке элементов должно соответствовать требованиям табл. 12.

Таблица 12

Способ пропитки

Удержание G, г/м2, не менее, для

нестроганой поверхности

строганой поверхности

фанеры

Погружение

200

120

100

Нанесение кистью

200

120

80

Опрыскивание

140

80

50

Каждую последующую обработку проводят не ранее чем через 1,5-2 ч после предыдущей при t = 18-20° С или через 0,5 ч при t = 60-70° С.

Примечание. При использовании КФА, ХМБ-444, ХМББ-3324, ТФБА, ББ-32, ББ-11 допускается пропитка элементов каркаса способом прогрев - холодная ванна по ГОСТ 20022.6-76, вакуум - атмосферное давление - вакуум по ГОСТ 20022.8-76, способом вымачивания по ГОСТ 19017-73.

При пропитке препаратами ХМБ-444 и ХМББ-3324 по ГОСТ 20022.6-76 прогрев заготовок следует осуществлять паром (допускается прогрев воздухом). Во всех случаях температура пропиточного раствора препаратов ХМБ-444 и ХМББ-3324 не должна быть выше 40-50° С, при пропитке другими составами - не выше 90° С.

3.72. Элементы каркасов перед погружением в пропиточную емкость должны быть уложены в контейнеры или сформированы в пакеты. Пропитку фанерных обшивок осуществляют в контейнерах, куда их устанавливают в вертикальном положении с зазором 10 см. Контейнеры должны быть снабжены зажимными устройствами, обеспечивающими формонеизменяемость обшивок при пропитке и последующей сушке, а также пригрузом против всплытия. Уровень пропиточной жидкости в ванне должен быть на 20 см выше верхнего слоя пропитываемых элементов каркаса или верхних кромок фанерных обшивок.

После пропитки элементов каркаса способом погружения водными растворами МС и ПП поверхности, на которые наносят клей, следует фрезеровать для снятия пропитанных слоев древесины.

3.73. Обработку фанерных обшивок ограждающих конструкций водными растворами КФА, ХМБ-444, ХМББ-3324, ТФБА, ББ-32 и ББ-11 необходимо проводить способом вакуум - атмосферное давление - вакуум по ГОСТ 20022.8-76 или способом прогрев - холодная ванна по ГОСТ 20022.6-76. В последнем случае прогрев рекомендуется осуществлять паром или сухим воздухом.

Режимы обработки при прогреве сухим воздухом выбирают по табл. 13 в зависимости от требуемого удержания сухой соли и концентрации раствора.

Допускается обрабатывать фанерные обшивки способом нанесения составов на поверхность (опрыскивание, нанесение кистью). При обработке составами МС и ПП должны использоваться специальные защитные шаблоны на участках, на которые в последующем наносят клей.

3.74. При нанесении состава ТХЭФ влажность древесины защищаемых элементов конструкции должна быть не более 15%, температура воздуха в помещении -не ниже 20° С, относительная влажность - не выше 65 %.

Нанесение осуществляют кистью, валиком, окунанием или пневматическом распылением.

Расход состава должен быть не менее 450 г/м2.

3.75. Пропитку фанерных обшивок и элементов каркаса фенолоспиртами необходимо осуществлять в автоклавах под давлением 0,2-0,4 МПа в течение 30-40 мин или в ваннах при t = 18-25°С в течение 15-20 ч. После пропитки необходима технологическая выдержка при t = 18-22° С в течение 2-5 сут.

Сушку и полимеризацию фенолоспиртов целесообразно проводить с применением гидрофобной жидкости или в сушильных камерах по следующему режиму:

Таблица 13

Состав

Концентрация раствора, %

Требуемое удержание сухой соли, г/м2

Номер режима обработки

Продолжительность обработки, мин

прогрев сухим воздухом

выдержка в ванне с холодным раствором при t = 20-30°С

КФА

15

40

I

10

10

ТФБА

15

40

ХМБ-444

15

40

ББ-32

20

60

КФА

10

40

II

20

20

ТФБА

10

40

ХМББ-3324

10

40

ББ-11

20

100

Примечания: 1. Перенос прогретых обшивок в ванну с раствором (при прогреве обшивок в отдельной камере) должен производиться без соприкосновения их с холодным воздухом,

2. Сушка пропитанных заготовок должна производиться при температуре не выше 70º С до исходной влажности.

3. При сушке пропитанных обшивок в камере следует не допускать соприкосновения их с сильно нагретым металлом камеры во избежание разложения солей.

сушка при t = 40° С - 20 ч;

полимеризация при t = 105-120° С - 2-4 ч.

Все операции по обработке элементов конструкции фенолоспиртами необходимо осуществлять в контейнерах с регулируемыми зажимными устройствами.

Комбинированная защитная обработка

3.76. Комбинированная защитная обработка предусматривает раздельное осуществление пропитки с последующим нанесением поверхностных покрытий и применяется преимущественно для обработки обшивок ограждающих и торцов несущих конструкций.

3.77. При обработке дощатых или фанерных обшивок пропитку осуществляют согласно требованиям пп. 3.70 - 3.75. После сушки поверхностей наносят покрытия с применением лакокрасочных материалов согласно пп. 3.56 - 3.61.

3.78. Торцы несущих конструкций пропитывают однократным нанесением кистью водных растворов антисептиков (КФА, ТФБА, ХМБ-444) при концентрации 15% (в случаях, предусмотренных техническими условиями).

После сушки пропитанных поверхностей до начальной влажности производят нанесение мастичных покрытий согласно пп.- 3.62 - 3.67.

4. КОНТРОЛЬ КАЧЕСТВА КОНСТРУКЦИИ И ИХ ПРИЕМКА

Общие положения

4.1. Для обеспечения требуемого качества выпускаемой продукции на предприятиях должен быть обеспечен тщательный контроль материалов, используемых для изготовления клееных конструкций, пооперационный контроль и контроль готовой продукции.

Кроме внутреннего производственного контроля должен периодически осуществляться внешний контроль головной организацией по клееным конструкциям или, по согласованию с ней, ведомственным НИИ. Ежегодные планы внешнего контроля должны составляться предприятием - изготовителем конструкций и утверждаться вышестоящей организацией. Заявки на осуществление контроля предприятие должно подавать институтам за 2-3 мес.

4.2. Учитывая специфику производства клееных конструкции и возможность появления скрытых дефектов, которые могут резко снизить прочность конструкций при их изготовлении, следует особенно тщательно контролировать следующие параметры:

температуру и влажность воздуха в зонах механической обработки и склеивания;

влажность и внутренние напряжения пиломатериалов после сушки;

прочность, пороки и дефекты склеивания заготовок;

качество фрезерования поверхностей склеивания;

вязкость, рабочую жизнеспособность и время отверждения клея;

удельный расход и равномерность нанесения клея;

время с момента приготовления клея до окончания запрессовки;

величину и равномерность приложения давления;

продолжительность выдержки под давлением;

прочность зубчатых и пластевых клеевых соединений;

качество защитных покрытий;

размеры и форму конструкций.

Контроль материалов

4.3. Качество древесины в части пороков, контролируемых по ГОСТ 2140-71, должно соответствовать требованиям табл. 1 ГОСТ 20850-75.

4.4. Контроль клеев следует производить по методике, изложенной в прил. 5.

4.5. Контроль материалов, используемых для защитной обработки, необходимо производить согласно требованиям прил. 6.

4.6. Контроль качества фанеры и других материалов следует производить согласно требованиям ГОСТов и ТУ на эти материалы.

Пооперационный контроль

4.7. Влажность и внутренние напряжения пиломатериалов после сушки контролируют в соответствии с рекомендациями «Руководящих материалов по камерной сушке пиломатериалов», утвержденных Минлеспромом СССР с введением в действие с 1 января 1972 г. (ЦНИИМОД, Архангельск).

После сушки в процессе изготовления клееных конструкций влажность древесины определяют по ГОСТ 16588-79 (основной метод).

4.8. Качество древесины и дефекты формы заготовок (слоев) в части соответствия их требованиям табл. 1 ГОСТ 20850-75 контролируют по ГОСТ 2140-71.

4.9. Качество слоев проверяют путем испытаний на изгиб образцов древесины по ГОСТ 21554.2-76 и образцов с зубчатыми соединениями по ГОСТ 15613.4-78, причем наиболее крупные сортообразующие пороки и зубчатые соединения должны находиться в средней части по длине образца.

В течение смены (в начале, середине и конце смены) из слоев следует вырезать по одному образцу с зубчатым соединением с максимально допустимым пороком. Испытания проводят непосредственно после окончания технологической выдержки зубчатых соединении. Если показатели прочности ниже 30 МПа, проверку производят на удвоенном количестве образцов. При отрицательных результатах выпущенная в течение смены партия слоев в дальнейшее производство несущих конструкций не допускается и может использоваться для изготовления других, менее ответственных изделий.

4.10. Качество механической обработки поверхностей склеивания следует контролировать в соответствии с ГОСТ 7016-75. Контроль осуществляют выборочно, но не менее чем 5% общей длины подготовленных к склеиванию заготовок.

4.11. Время с момента приготовления клея до окончания запрессовки следует контролировать постоянно для всех склеиваемых конструкций.

4.12. Величину давления при запрессовке конструкций необходимо контролировать постоянно по показаниям манометров гидравлических прессов и с помощью динамометрических ключей при использовании винтовых прессов. Вспомогательный контроль осуществляют по равномерности выдавливания клея.

4.13. Прочность пластевых клеевых соединений следует контролировать в соответствии с методикой, изложенной в прил. 7, а кромочных - по ГОСТ 15613.1-77.

4.14. Качество защитных покрытий следует контролировать согласно требованиям прил. 6.

4.15. Температуру и влажность воздуха в рабочих зонах механической обработки и склеивания следует контролировать постоянно при помощи автоматических приборов, оснащенных самопишущими устройствами, или других приборов (например, метеорологическими термографами по ГОСТ 6416-75 и психрометрами по ГОСТ 6353-52).

Контроль качества конструкций и их приемка

4.16. Приемку готовых клееных конструкций и их элементов производит отдел технического контроля предприятия с целью установления соответствия прочности, размеров, формы и внешнего вида выпускаемой продукции требованиям ГОСТ 20850-75, рабочих чертежей и технических условий. При согласовании с ЦНИИСК им. Кучеренко* контроль качества конструкций и их приемка могут производиться по описанной ниже методике. При этом каждые клееный элемент или конструкция независимо от размера и объема партии должны приниматься в отдельности.

4.17. Приемку несущих многослойных конструкций следует производить после внешнего осмотра и обмера с учетом данных пооперационного контроля и испытаний прочности образцов клеевых соединений.

Внешнему осмотру и обмеру следует подвергать все конструкции до нанесения на них защитных составов.

При обмере конструкций определяют величины их отклонений от проектных размеров. Обмер конструкций следует производить с точностью до 1 мм при измерении сечения и до 5 мм при измерении длины и радиуса изгиба. При этом размеры сечения необходимо контролировать не менее чем в трех местах по длине элемента.

Допускаемые отклонения от проектных размеров конструкций указывают в рабочих чертежах конструкций.

4.18. К внешнему виду и качеству поверхностей конструкций должны предъявляться следующие требования:

боковые поверхности клееных многослойных конструкций должны быть обработаны фрезерованием; неровности поверхности не должны превышать значений, указанных в п. 3.54;

пороки древесины на видимых частях конструкций должны соответствовать требованиям, устанавливаемым по табл. 1 ГОСТ 20850-75;

толщина клеевых прослоек должна быть не более 0,5 мм.

Допускаются участки с более толстыми клеевыми прослойками (до 1 мм), если их длина не превышает 100 мм, а расстояние между ними - не менее десятикратной длины этих прослоек. Толщина клеевой прослойки определяется при помощи измерительных луп с точностью измерения 0,1 мм.

Непроклеенные места не допускаются.

4.19. Оценку прочности конструкций необходимо производить по результатам контрольных механических испытаний вырезанных из торцов клееных элементов образцов на послойное скалывание (прил. 7). Образцы выпиливают до нанесения защитных покрытий из каждого 10-го элемента, имеющего объем до 2 м3, из каждого 3-го элемента, имеющего объем более 2 м3, и из каждого элемента объемом более 10 м3 по окончании технологической выдержки после распрессовки, совмещая вырезку образцов с торцовкой клееных элементов. Скалыванию подвергают не менее 10% всех клеевых прослоек образцов, но не менее 5.

Показатели прочности при испытании образцов на послойное скалывание (при влажности древесины 8-12%) должны быть не менее: средний - 8 МПа, минимальный - 6 МПа.

Величину прочности кромочных соединений и объем контроля, определяемые по ГОСТ 15613.1-77, указывают в нормативной документации на конструкции.

* В соответствии с письмом Госстроя СССР № 2/3-205 от 06.04.1977 г.

4.20. Для оценки прочности конструкций, предназначенных для эксплуатации в условиях с резкими колебаниями влажности воздуха (например, 30-90%), или особо ответственных конструкций индивидуального применения, кроме контроля на послойное скалывание следует производить испытание клеевых соединений на расслаивание (прил. 7). Необходимость проверки указывают в ТУ на конструкции.

Для испытаний образцы выпиливают с торцов каждого клееного элемента. После 2-го цикла испытания расслоение клеевых прослоек не должно превышать 5%. При большем проценте расслоения проводят три цикла испытаний, после которых расслоение не должно превышать 10%. Испытания на расслаивание можно производить на предприятиях или направлять образцы в НИИ или другие организации, где имеется оборудование для испытаний.

4.21. Для проверки прочности соединений обшивок ограждающих конструкций с каркасом отбирают не менее 1 % из общего числа представленных к проверке панелей (но не менее одной панели) и вырезают из них образцы по ГОСТ 15613.1-77 для испытаний на скалывание или по ГОСТ 862.3-77 (пп. 4.10 - 4.13) для испытаний на отрыв. Ширина отрываемой фанеры 20 мм, длина 150 мм. Приспособление для испытаний изготовляется по черт. 5 указанного ГОСТа, а размеры приспособления уточняются в зависимости от толщины продольных ребер каркаса панелей. Из каждого метра длины каркаса по его периметру вырезают для испытаний не менее двух образцов.

Средняя величина предела прочности при этом должна быть не менее 6,5 МПа, минимальная - 4,5 МПа при испытании на скалывание, средняя прочность при испытании на отрыв - не менее 0,6 МПа.

4.22. Если показатели прочности будут ниже указанных в пп. 4.19. - 4.21, то проводят испытания образцов, выпиленных из удвоенного количества клееных элементов или панелей. При отрицательных результатах вся партия бракуется.

4.23. Проверку прочности несущих конструкций с асбестоцементной обшивкой марки АКД следует, производить испытанием на изгиб равномерно распределенной нагрузкой с помощью мерных грузов.

Загружение производится ступенями по 0,1 контрольной нагрузки. После каждой ступени нагружения конструкции выдерживаются в течение 3 мин, а под контрольной нагрузкой - в течение 10 мин. Величина контрольной нагрузки указывается в рабочих чертежах.

4.24. К каждому изделию, принятому ОТК предприятия-изготовителя, на расстоянии не более 300 мм от его конца должен быть прикреплен или нанесен несмываемой краской хорошо видимый во время эксплуатации конструкции -фирменный знак с указанием завода-изготовителя и номера конструкции.

К конструкциям, предназначенным для эксплуатации при влажности воздуха до 75%, должен быть приклеен ярлык с надписью «Беречь от увлажнения».

К каждому комплекту конструкций должны быть приложены паспорт и отгрузочная спецификация. Форма паспорта дана в прил. 8. На обратной стороне паспорта должны быть указаны краткие рекомендации по транспортированию и хранению конструкций.

5. ХРАНЕНИЕ И ТРАНСПОРТИРОВАНИЕ КОНСТРУКЦИЙ

5.1. При хранении и транспортировании конструкции следует защищать от увлажнения и воздействия солнечных лучей.

Конструкции необходимо хранить на закрытых складах или под навесом. Допускается хранение конструкций на открытых площадках с обязательным укрытием их световлагозащитными материалами (толем, рубероидом, пергамином и т. п.).

5.2. Конструкции необходимо хранить (в кассетах, штабелях или пакетах) рассортированными по типам и размерам на прокладках, уложенных по плотному, тщательно выровненному основанию.

При хранении клееных несущих конструкций в штабелях и пакетах необходимо использовать прокладки, толщина которых должна обеспечивать возможность свободного захвата конструкции грузозахватными приспособлениями. Все прокладки по высоте рядов конструкций должны быть расположены строго по вертикали. Количество прокладок по длине штабеля и расстояние между ними должны исключать провисание и деформацию складируемых конструкций. В одном штабеле междурядные прокладки должны иметь одинаковую толщину.

При укладке конструкций на хранение их следует располагать, как правило, таким образом, чтобы клеевые прослойки были горизонтальными.

5.3. Металлические элементы клееных конструкций следует хранить в ящиках или связанными пачками, укладывать в отдельные устойчивые штабеля на прокладки; соприкосновение их с грунтом не допускается.

На период хранения и транспортирования резьба, поверхности шарнирных и опорных частей металлических элементов должны быть смазаны техническим вазелином, тавотом или солидолом.

5.4. Укладку конструкций или их элементов в транспортные средства следует производить правильными устойчивыми рядами.

Для защиты конструкций от ударов, толчков и опрокидывания при перевозке они должны быть жестко закреплены на опорах с помощью прижимов через эластичные прокладки.

Прогоны, связи, распорки и другие подобные элементы транспортируют с предварительной укладкой их в пакеты.

5.5. Не допускается сбрасывание клееных конструкций при их выгрузке.

5.6. К конструкциям должны быть приклеены краткие рекомендации по их транспортированию и хранению.

6. ТЕХНИКА БЕЗОПАСНОСТИ

6.1. Изготовление клееных конструкций следует производить с учетом требований главы СНиП по технике безопасности в строительстве и строительных норм проектирования промышленных предприятий, правил техники безопасности Госгортехнадзора СССР, Госгорэнергонадзора СССР, санитарно-гигиенических норм и правил Минздрава СССР, а также других нормативных документов, которые утверждены в установленном порядке органами Государственного надзора и соответствующими министерствами и ведомствами СССР.

6.2. Предельно допустимые концентрации токсичных веществ и пыли в рабочей зоне (рабочей зоной считается объем воздуха у рабочего места на высоте 2 м) не должны превышать допустимых норм в соответствии с ГОСТ 12.1.005-76. Удельные количества токсичных продуктов, выделяющихся из клеев, и их предельно допустимые концентрации приведены в прил. 9.

Состояние воздушной среды в производственных помещениях проверяют в сроки, согласованные с санитарной инспекцией.

6.3. При устройстве вентиляции следует учитывать требования ГОСТ 12.1.005-76. В местах приготовления и использования клеев и лакокрасочных материалов помимо общей обменной вентиляционной системы необходимо предусматривать местные отсосы; при использовании фенольных клеев следует учитывать, что выделяющийся из клея свободный фенол тяжелее воздуха, поэтому требуются нижние отсосы.

6.4. Местные отсосы на установках, где выделяются токсичные вещества или могут образовываться взрывоопасные смеси, должны иметь блокировку с рабочими узлами машин. Блокировка должна обеспечивать прекращение подачи клея, лака или другого материала в момент отключения вытяжной системы.

6.5. Рабочие места и проходы внутри цехов не следует загромождать заготовками, деталями, материалами, инструментом и отходами производства. Для хранения инструментов и обтирочного материала устанавливают специальные шкафы, а для хранения заготовок, деталей и временного складирования материалов в цехах отводят специальные площадки, оборудованные стеллажами, стойками, или места, ясно обозначенные красками на полу.

При складировании и передаче пиломатериалов, особенно из лиственницы, рекомендуется работать в рукавицах во избежание ранения рук острыми занозами.

6.6. При работе в сушильном отделении опасным является участок формирования штабелей. Работа по формированию штабелей должна быть механизирована.

Траверсная тележка для перемещения штабелей должна иметь специальное приспособление (тормозные башмаки, крючки или задвижки), предотвращающее ее смещение во время передвижения на ней штабелей.

Контроль за режимом сушки должен осуществляться дистанционно без входа в действующую камеру.

6.7. Используемые компоненты клеев и лакокрасочные материалы необходимо хранить в специально отведенном для этой цели помещении согласно требованиям главы СНиП по технике безопасности в строительстве.

Применяемые в процессе производства клеи и лакокрасочные материалы должны приготавливаться в специально изолированном помещении, оборудованном эффективно действующей приточно-вытяжной вентиляцией.

При антисептировании изделий из древесины на рабочей площадке у ванны с раствором и у смесительного бака при засыпке в него препарата должны находиться только рабочие, обслуживающие этот участок.

Препараты, применяемые для антисептирования, необходимо хранить в отдельном сухом помещении в закрытой таре.

6.8. На всех рабочих местах должны быть вывешены инструкции и плакаты по безопасной эксплуатации оборудования и мерам, предохраняющим работающих от действия токсичных веществ.

6.9. Для соблюдения правил личной гигиены с целью предохранения от токсичных веществ персонал цеха, работающий непосредственно с продуктами, выделяющими такие вещества, должен обеспечиваться спецодеждой и головными уборами из плотной (не накапливающей статическое электричество) ткани, резиновыми перчатками, защитными очками, респираторами, проходить медицинское освидетельствование не реже 1 раза в 6 мес.

Запрещается хранить личную одежду в рабочем помещении, а также выносить рабочую одежду за пределы предприятия; ее следует хранить на производстве.

6.10. Для защиты кожи от действия растворителей, кислот, щелочей, от раздражения клеями, лакокрасочными материалами и антисептиками открытые участки кожи смазывают профилактическими защитными мазями и пастами в соответствии с правилами и нормами техники безопасности, пожарной безопасности и промышленной санитарии для окрасочных цехов и главы СНиП по технике безопасности в строительстве. .

При попадании токсичных веществ на кожу следует немедленно удалить их с помощью салфетки или другого обтирочного материала. Затем это место смазывают вазелином или мазью от ожогов. В случае попадания токсичных веществ в глаза их надо промыть под сильной струей воды, после чего срочно обратиться к врачу.

6.11. Все поступающие на работу в цеха клееных конструкций рабочие должны пройти медицинское освидетельствование, получить соответствующую профессиональную подготовку и пройти инструктаж по правилам техники безопасности.

ПРИЛОЖЕНИЕ 1

ТЕХНИЧЕСКИЕ ХАРАКТЕРИСТИКИ ОБОРУДОВАНИЯ, ВЫПУСКАЕМОГО СТАНКОСТРОИТЕЛЬНОЙ ПРОМЫШЛЕННОСТЬЮ

Таблица 1

Линии для изготовления клееных деревянных конструкций

Оборудование

Модель

Главный параметр

Основные параметры

Проектная организация, завод-изготовитель

скорость главного движения

мощность, кВт

масса, т

Для несущих конструкций

Линия первичной обработки

КДК-11

Размеры пиломатериалов, мм:

длина 800-6500

ширина 100-200

толщина 16-60

Скорость подачи, м/мин:

27,5

43

13

ВНИИДМаш Минстанкопрома СССР. Ставропольский станкозавод «Красный металлист»

Линия вырезки дефектов

КДК-12

Размеры пиломатериалов, мм:

длина 800-6500

ширина 80-200

толщина 16-50

25

12

3

ВНИИДМаш, Даниловский ЗДС

Линия сращивания по длине

.КДК-13

Размеры пиломатериалов, мм:

длина 800-6500

ширина 80-200

толщина 16-50

10-15

31

11

ВНИИДМаш, Московский завод деревообрабатывающих станков и автоматических линий (МЗДСиАЛ)

Линия выдержки лент

КДК-14

Размеры лент, мм:

наиб. длина 18000

ширина 120-200

толщина 16-50

10-30

20,5

24-

ВНИИДМаш, Даниловский ЗДС

Участок зачистки и проклеивания лент

-

Размеры лент, мм:

длина 4700- 16 500

ширина 120-200

толщина 16-50

8-24

33,3

21

То же

Секционный пресс для склеивания пакетов

КДК-10

Размеры пакетов, мм:

макс. длина 16 -500

ширина 80-200

высота 300-865

Выдержка, ч: прямолинейных конструкций 8-10 криволинейных 20-24

-

14,8

»

Для ограждающих конструкций

Линия сборки панелей и плит

КДК-15

Размеры панелей, мм:

длина 1180-2980

ширина 1500

толщина 140-230

Время сборки и выдержки 15 мин

21

32

»

Линия сращивания пиломатериалов по ширине

КДК-17

Размеры заготовок, мм:

длина 300

ширина 80-130

толщина 16-80

Скорость подачи 0,25 м/мин

25

18

ВНИИДМаш, МЗДС и АЛ, Новозыбковский станкозавод

Таблица 2

Круглопильные станки для продольного раскроя

Станки

Модель

Размеры обрабатываемого материала, мм

Наибольшая скорость подачи, м/мин

Мощность, кВт

Масса, т

Завод-изготовитель

Круглопильный с механической подачей

ЦА-2А

Наибольшая ширина B и наименьшая длина l распиливаемой доски:

B = 315, l = 350

80

11,4

1

Тюменский станкозавод

Прирезной однопильный

ЦДК4-3

B = 315, l = 350

60

15

2

То же

Прирезной пятипильный

ЦДК5-1

B = 250, l = 600

60

15

2,5

»

Таблица 3

Круглопильные станки для поперечного раскроя

Станки

Модель

Наибольший размер обрабатываемого материала

Скорость главного движения

Мощность, кВт

Масса, т

Завод-изготовитель

Торцовочный с нижним расположением пилы

ТС-3

Ширина, мм:

250

Наибольшее число ходов в минуту:

60

4

0,4

Тюменский станкозавод

Торцовочный с прямолинейным перемещением пилы

ЦПА-40

400

40

5,4

0,55

Уссурийский машиностроительный

Круглопильный для смешанной распиловки

Ц6-2

400

Число оборотов пильного вала в минуту:

3000

4

0,7

То же

Форматно-обрезной трех пильный

ЦТЭФ-1

Длина и ширина обрезаемых материалов, мм:

1850×3500

Наибольшая скорость подачи, м/мин:

25

11,8

3,2

Вологодский станкозавод

Для раскроя плит с программным управлением

ЦТМФ

1850×3700

27

9,8

18

То же

Таблица 4

Шипорезные и фрезерные станки для фрезерования зубчатых шипов

Станки

Модель

Наибольшая длина шипа l, ширина B, длина заготовки L, толщина b, мм

Наибольшая скорость подачи, м/мин

Мощность, кВт

Масса, т

Завод-изготовитель

Шипорезный рамный односторонний

ШО15Г-5

l = 160, b = 150

12

12,6

1,8

Московский з-д деревообрабатывающих станков и автоматических линий

То же

ШО10-4

l = 100, b = 75

15

10,8

1,3

Шипорезный рамный двусторонний

ШД10-3

l = 100, L = 2000, b = 75

10

21,1

3,5

Московский з-д деревообрабатывающих станков и автоматических линий

Шипорезный для ящичного прямого шипа

ШПА-40

B = 400, b = 120

Частота вращения шпинделя

3000 об/мин

11

0,9

Фрезерный одношпиндельный легкий с механической подачей для прямолинейной обработки

ФЛА

Наибольшая толщина обрабатываемой заготовки, мм:

80

6000

12000

2,9

0,8

То же

То же, средний

ФСА

100

4500

9000

4,7

0,85

»

То же, тяжелый

ФТА

125

4000

8000

6,1

1,06

»

Фрезерный одношпиндельный легкий с шипорезной кареткой

ФЛШ

80

3500

6000

10000

12000

2,8

0,7

»

Таблица 5

Станки для фрезерования поверхностей заготовок

Станки

Модель

Наибольшая ширина обрабатываемого материала, мм

Скорость главного движения

Масса, т

Мощность, кВт

Завод-изготовитель

Фуговальный

СФ4-1

400

Частота вращения ножевого вала, об/мин:

5100

0,8

2,8

Курганский завод деревообрабатывающих станков

»

СФ6-1

630

5100

0,9

4,5

То же

Фуговальный со встроенным конвейером

СФК-6

630

6000

1,6

9,2

»

Фуговальный двусторонний с механической подачей

2СФ4-1

400

5100

0,9

4,5

»

Рейсмусовый односторонний

СР3-2

315

Наибольшая скорость подачи, м/мин:

24

1,1

6,25

Ставропольский станкозавод «Красный металлист»

То же

CP6-9

630

24

1,8

9

То же

Рейсмусовый односторонний

СР6-1

800

24

2,3

12,9

Ставропольский станкозавод «Красный металлист»

Рейсмусовый двусторонний

С2Р8-2

800

25

3,5

22

»

Четырехсторонний строгальный

C25-1

250

40

5

38

Боровичский з-д деревообрабатывающих станков

Четырехсторонний фуговально-строгальный

С16Ф-1

160

40

4,8

28

То же

Четырехсторонний строгальный с дополнительной калевочной головкой

С25-2

250

40

5,7

48

»

Таблица 6

Клеенаносящие валковые станки

Показатели

Единица измерения

Модель станка

КВ-9

КВ-14

КВ-18

KB-28

Рабочая длина клеенамазывающих валков

мм

900

1400

1800

2800

Диаметр клеенамазывающих валков

»

180

180

180

250

Диаметр дозирующих валков

»

120

120

120

160

Толщина пропускаемых через станок заготовок

»

0,3-60

0,3-60

0,3-60

0,3-60

Скорость подачи

м/с

0,25;

0,5

0,25;

0,5

0,25;

0,5

0,25;

0,5

Мощность

кВт

3,3

3,3

3,3

1,5

Примечание. Клеенаносящие валковые станки выпускает Рыбинский завод деревообрабатывающих станков. Станки подлежат модернизации по проектам ВНИИДМаш и ЦНИИМОД.

Таблица 7

Гайковерты для завинчивания винтов

пневматические

Тип

Наибольший диаметр резьбы, мм

Наибольший момент затяжки, Н м

Рабочее давление воздуха, МПа

Масса (без сменной головки), кг

Завод-изготовитель

ИП-3113

18

250

0,5

3

Московский з-д «Пневмостроймашина»

ИП-3106

42

Регулируемый момент затяжки 800, 1250, 1500

0,5

9

Свердловский з-д «Пневмостроймашнна»

ИП-3205

42

То же

0,5

9,5

То же

электрические

Тип

Наибольший Диаметр резьбы, мм

Момент затяжки Нм

Ток

Напряжение, В

Частота тока, Гц

Масса (без кабеля), кг

Завод-изготовитель

ИЭ-3111

20

250

Переменный однофазный

220

50

5,5

Ростовский з-д «Электроинструмент»

ИЭ-3109

22

250

Переменный трехфазный

36

200

5,6

Выборгский з-д «Электроинструмент»

ИЭ-3112

Высокопрочных болтов 20-30

Предельный 2100

То же

220

50

12,4

То же

Таблица 8

Станки для механической обработки поверхностей клееных конструкций

Станки

Модель

Наибольшая ширина B и толщина b обрабатываемого материала, мм

Наибольшая скорость подачи, м/мин

Мощность, кВт

Масса, т

Завод-изготовитель

Рейсмусовый односторонний

СРВ-1

B = 800, b = 200

24

12

2,3

Ставропольский станкозавод «Красный металлист»

СР12-3

B = 1250, b = 125

24

24,6

3,3

Рейсмусовый двусторонний

С2Р8-2

B = 800, b = 160

25

22,0

3,5

То же

С2Р12‑2

B = 1250, b = 125

25

43

16


Таблица 9

Ручной механизированный инструмент

Наименование

Марка

Наибольший диаметр, мм

Наибольшая глубина, мм

Частота вращения шпинделя, об/мин

Ток

Напряжение, В

Частота тока, Гц

Масса, кг

Завод-изготовитель

Пила ручная электрическая дисковая

ИЭ-5106

Пильного диска:

160

Пропила:

45

Под нагрузкой:

2900±12%

Переменный однофазный

220

50

5

Резекненский з-д «Электростройинструмент»

ИЭ-5102Б

200

70

2260

Переменный трехфазный

220

50

10,5

То же

Рубанок ручной электрический

ИЭ-5701А

Наибольшая ширина строгания на

75

Строгания:

2

Барабана:

10 000

Переменный однофазный

220

50

6,9

»

ИЭ-5707А

100

до 3*

5230

Переменный трехфазный

220

50

17

»

Машина для фрезерования деревянных полов

СО-40А

Производительность, м2/ч:

до 26

Ширина фрезерования 275- 310

Глубина фрезерования , мм: 3*

То же

220

50

95

Одесский з-д строительно-отделочных машин

* Частота вращения ножевого барабана 2850 об/мин.

Машину для фрезерования деревянных полов

СО-97

40

Ширина фрезерования 275- 310

до 3*

Переменный трехфазный

220

50

110

Одесский з-д строительно-отделочных машин

Машина ручная сверлильная электрическая

ИЭ-1003

Сверла:

6

-

3000

Переменный однофазный

220

50

1,4

Назрановский з-д «Электроинструмент»

ИЭ-1025А

6

-

1230

Переменный трехфазный

36

200

1.6

Конаковский з-д механизированного инструмента

Машина ручная сверлильная электрическая

ИЭ-1108"

9

-

1380

Переменный однофазный

220

50

1.7

Назрановский з-д «Электроинструмент»

* Частота вращения ножевого барабана 3450 об/мин.

Машина ручная сверлильная электрическая

ИЭ-1032

9

-

830

Переменный однофазный

220

50

1,54

Конаковский з-д механизированного инструмента

ИЭ-1023

23

-

250±12%

То же ?

220

50

6,5

Резекненский з-д «Электроинструмент»

ИЭ-1029

25

-

3800

Переменный трехфазный

36

200

6,7

Выборгский з-д «Электроинструмент»

Долбежник ручной электрический

ИЭ-5601А

Размеры выбираемых пазов: 8´40´100,

12´60´160,

15´60´160,

20´60´160

Скорость резания 6,1 м/с

Скорость подачи 0,5 м/мин

То же

220

50

4,6

Даугавпилский з-д «Электроинструмент»


Таблица 10

Оборудование для нанесения лакокрасочных материалов

Пневматические распылители

Тип

Диаметр сопла, мм

Давление воздуха, МПа

Ширина отпечатка факела мм

Расход краски, л/ч

Расход воздуха при нормальном рабочем давлении, м3

Условная производительность, м2

Завод-изготовитель

Примечание

на распыление

на краску

ЗИЛ

1,5

0,5-0,6

0,2-0,25

500-520

31

20

420-480

Московский автомобильный з-д им. Лихачева

-

СО-71

2

0,3-0,4

-

300-380

21-39

15,5-19,5

400

Вильнюсский з-д строительно-отделочных машин

От красконагнетательного бака

КА-1

2,5

0,4

0,05

270

25'

12,5

170-220

Опытный з-д НИИТЛП, ст. Хотьково, Моск. обл.

Для автоматической окраски

КРУ-1

2,2

0,3-0,35

0,15

300-400

25

14

400

То же

От красконагнетательного бака

КР-10

1,8

0,30

0,05

190

18

8,9

140-160

»

-

Таблица 11

Оборудование для нанесения лакокрасочных материалов способом безвоздушного гидравлического распыления

Техническая характеристика

Тип

УРБХ-1М

«Факел-3»

«Радуга 0,63-П»

Давление сжатого воздуха, МПа

0,3-0,6

0,3-0,4

0,5

Расход воздуха, м3/ч

4-12

8

12,5

Давление краски (на выходе из сопла пистолета), МПа

19-22

16

19

Производительность установки, л/мин

0,4-0,8

0,3-0,6

0,5

Габариты, мм:

 

 

 

длина

400

280

400

ширина

350

490

420

высота

900

490

780

Масса установки, кг

52

15

22,5

Завод-изготовитель

Московский локомотиво-ремонтный

Опытный монтажных приспособлений, Ногинск, Моск. обл.

Опытный НИИТЛП ст. Хотьково, Моск. обл.

ПРИЛОЖЕНИЕ 2

ПРИМЕРНЫЙ ПЕРЕЧЕНЬ ЛАБОРАТОРНОГО ОБОРУДОВАНИЯ И ПРИБОРОВ

1. Шкаф вытяжной.

2. Лабораторный стол.

3. Универсальная испытательная машина типа Р-5 (завод испытательных машин - ЗИМ, Армавир).

4. Лабораторный пресс для склеивания образцов.

5. рН-метр (рН-342, рН-262, универсальный ионометр ЭВ-74 или др., завод измерительных приборов, Гомель).

6. Шкаф сушильный лабораторный.

7. Приспособления для испытания образцов на скалывание вдоль волокон, статический изгиб и послойное скалывание.

8. Вискозиметры ВЗ-1 и ВЗ-4 (ГОСТ 9070-75).

9. Секундомер (ГОСТ 5072-79).

10. Электроплитка бытовая (ГОСТ 306-76).

11. Влагомер электронный типа ЭВ-2К (завод «Камоприбор» Союз-промприбор, Камо АрмССР).

12. Весы лабораторные образцовые (ГОСТ 16474-70).

13. Весы квадрантные 4-го класса модели ВЛКТ-500-г-М, ВЛК-500-г-М (завод «Госметр» Союзточмашприбор, Ленинград).

14. Весы циферблатные (ГОСТ 13882-68).

15. Психрометр аспирационный (ГОСТ 6353-52).

16. Щуп (ГОСТ 882-75), линейка металлическая (ГОСТ 427-75), штангенциркуль (ГОСТ 166 -80).

17. Пробирки стеклянные (ГОСТ 10515-75).

18. Пробки резиновые (ГОСТ 7852-76).

19. Посуда мерная лабораторная стеклянная. Цилиндры, мензурки, колбы (ГОСТ 1770-74).

20. Стаканы и колбы стеклянные лабораторные (ГОСТ 10394-72).

21. Стаканчики для взвешивания (бюксы) (ГОСТ 7148-70).

22. Эксикаторы (ГОСТ 6371-73).

23. Термометры ртутные стеклянные лабораторные.

24. Термографы метеорологические недельные с биметаллическим чувствительным элементом тип М-16Н (ГОСТ 6416-75).

25. Гигрографы метеорологические недельные тип М-21 (ГОСТ 6416-75).


ПРИЛОЖЕНИЕ 3

ЖУРНАЛ КОНТРОЛЯ ПРОЦЕССА ИЗГОТОВЛЕНИЯ КЛЕЕНЫХ КОНСТРУКЦИИ

Изделие

Номер конструкции или партии

Дата изготовления

Древесина после сушки

Клей

Качество заготовок (пороки, дефекты)

Обработка поверх (размеры, чистота обработки), мм

Разнотолщинность, мм

Прочность зубчатых соединений, МПа

Защитная обработка элементов каркаса ограждающих конструкций

влажность, %

внутренние напряжения, МПа

марка

рабочая жизнеспособность в период склеивания, ч

вид защитной обработки

содержание защитных веществ в материале, %

1

2

3

4

5

6

7

8

9

10

И

12

13

 

 

 

 

 

 

 

 

 

 

 

 

 

Продолжение

Нанесение клея

Время с момента приготовления клея до окончания запрессовки, ч

Запрессовка

Режимы склеивания

Выдержка до механической обработки, ч

Дефекты, выявленные при внешнем осмотре

Прочность клеевых соединений МПа

Защитная обработка

равномерность на одну или обе поверхности

расход, кг/м2

равномерность распределения давления

величина давления, МПа

время выдержки под давлением, ч

температура воздуха, ºС; влажность, %

14

15

16

17

18

19

20

21

22

23

24

Контроль провел:__________________________________(Ф. И. О., должность)

Примечание. Если контроль осуществляли несколько человек, следует указать, за какие пункты каждый из них отвечал.


ПРИЛОЖЕНИЕ 4

РЕЖУЩИЙ ИНСТРУМЕНТ ДЛЯ ФРЕЗЕРОВАНИЯ ЗУБЧАТЫХ ШИПОВ

Технические требования

1. Материал - сталь марок Х6ВФ, Р18, 9ХС, Х12Ф, 85ХФ, ХВГ.

2. Термическая обработка - НРС 56-60.

3. Радиальное биение вершин, зубьев - 0,06 мм.

4. Испытать на разрыв при n = 8000 об/мин в течение 3 мин.

5. Для соединений типов I-50 и I-32 посадочное отверстие фрезы d выполнять со шпоночным пазом.

Рис. 1. Режущий инструмент для фрезерования зубчатых шипов

1 Выпускается по ТУ 2-035-629-78 с параметрами по ГОСТ 19414-79.

Величины габаритных и угловых размеров (мм, град)

Тип соединения

D

В

L

а

b

с

d

e

f

g

k

l

m

n

t

φ°

ψ°

I-50

250

12

50

45

1,5

110

60

100

1

100

55

50

25

58

12

6°15'

I-32

180

8

32

35

1

80

40

70

0,5

70

40

35

18

42

8

6°35'

II-20

145

6

20

30

1

70

40

70

0,5

70

35

35

13

38

6

7°05'

II-10

120

3,5

10

25

0,5

70

40

70

0,2

70

35

35

10

-

3,5

8°55'

-

II-5

80

1,75

5

20

0,2

50

32

50

0,2

50

25

25

6

-

1,75

11°30'

-

ПРИЛОЖЕНИЕ 5

КОНТРОЛЬ КАЧЕСТВА КЛЕЕВ И ИХ КОМПОНЕНТОВ

Порядок контроля

1. Контролю подлежат:

а) компоненты и клеи при поступлении компонентов на предприятие;

б) клеи за один-два дня до их использования;

в) клеи в процессе приготовления и нанесения - ежедневно.

2. Поступающие на производство компоненты клеев должны иметь паспорта, удостоверяющие их соответствие требованиям ТУ или ГОСТов. Запрещается применять компоненты, не имеющие паспортов.

3. При поступлении на предприятия компонентов клеев необходимо проверять следующие показатели:

а) отсутствие расслоения смолы (для фенольных смол);

б) рабочую жизнеспособность клея;

в) условное время отверждения клея;

г) прочность клеевого соединения.

4. Для проверки качества поступивших партий компонентов клеев пробы отбирают по ГОСТ 2517-80 от 10% мест партии, но не менее чем из трех мест общим количеством около 1 кг. Пробу смол отбирают с помощью металлической трубки или пробоотборника в равных количествах от каждого места, тщательно перемешивая друг с другом. Перед отбором пробы смолу в бочке следует перемешать. Приготовленную среднюю пробу проверяют на соответствие перечисленным выше показателям.

При получении неудовлетворительных результатов хотя бы по одному из указанных выше показателей следует проверить компоненты клеев на соответствие их всем показателям ТУ или ГОСТов. Если клеи и их компоненты не удовлетворяют требованиям ТУ или ГОСТа, они бракуются и в производство не допускаются.

Данные входного контроля заносят в прилагаемый журнал.

5. За два-три дня до использования из каждой бочки смолы необходимо взять пробу и определить отсутствие расслоения смолы, рабочую жизнеспособность, время отверждения клеевой отливки при той же температуре, при которой будет использоваться клей. При положительных результатах проверки лаборатория передает в клееприготовительное и сборочное отделения справку о рекомендуемых условиях приготовления и использования данной партии смолы.

6. Выборочно, один раз в смену, необходимо контролировать рабочую жизнеспособность приготовленного клея при температуре рабочей зоны, где используется клей. В случае неудовлетворительных результатов проверки выясняют причину и вносят поправки в процесс приготовления и применения клея.

Методика определения технологических характеристик клеев

7. Для определения технологических характеристик согласно ГОСТ 20501-75 приготавливают клей массой 0,2 кг. После введения отвердителя композицию тщательно перемешивают в течение не менее 5 мин при температуре 20±1°С.

Определение расслоения

8. В стеклянный цилиндр наливают смолу и через 3-5 мин отмечают, произошло ли отслаивание водной фазы от смолы.

Определение жизнеспособности

9. В стеклянный или фарфоровый стакан помещают 0,2 кг свежеприготовленного клея, включают секундомер-часы и выдерживают его при температуре 20±0,5°С. Рабочую жизнеспособность клея определяют временем, прошедшим с момента приготовления клея до приобретения им максимально допустимой вязкости в соответствии с п. 2.7 настоящего Руководства.

Полная жизнеспособность выражается временем, прошедшим с момента введения отвердителя до начала гелеобразования.

10. Вязкость клеев определяют по ГОСТ 8420-74 вискозиметрами типа ВЗ-4 или ВЗ-1 (ГОСТ 9070-75).

Измерение вязкости производят следующим образом. Тщательно перемешанный клей доводят до температуры 20±0,5° С. Перед замером вязкости вискозиметр при помощи регулирующих винтов устанавливают в горизонтальном положении. Особое внимание следует обратить на чистоту сопла. При работе на вискозиметре ВЗ-4 в качестве приемника под сопло вискозиметра ставят стеклянный сосуд емкостью 50 мл, а при работе на вискозиметре ВЗ-1 - мерную мензурку на 100 мл. Отверстие сопла вискозиметра снизу закрывают и в воронку наливают до краев клей. Избыток клея в вискозиметре ВЗ-4 снимают стеклянной пластинкой.

Для замера вязкости открывают отверстие сопла вискозиметра. В момент появления капли клея из сопла вискозиметра включают секундомер. Секундомер выключают при работе на вискозиметре ВЗ-4 после первого прерывания струи, а на вискозиметре ВЗ-1 - после наполнения мензурки клеем на 50 мл. Определение вязкости проводят три раза. Среднее время в секундах является показателем условной вязкости.

Перевод значений вязкости, измеренной различными вискозиметрами, прилагается.

Определение условного времени отверждения клея

11. Для клеев, предназначенных для склеивания с нагревом, условное время отверждения определяют следующим образом (ГОСТ 20501-75).

В пробирку диаметром 16±1 мм (по ГОСТ 10515-75) помещают 2 г клея, зажимают ее между губками лапкодержателя и погружают в кипящую воду так, чтобы уровень клея в пробирке был на 10-20 мм ниже уровня воды. Одновременно с погружением пробирки в кипящую воду включают секундомер. Клей непрерывно перемешивают стеклянной палочкой до начала его гелеобразования. Результатом является среднее из трех измерении.

12. Для оценки времени отверждения клеев, предназначенных для склеивания без нагрева, на полиэтиленовую, целлофановую или другую пленку наливают клей слоем 0,5-1 мм и выдерживают его при тех же температурно-влажностных условиях, при которых склеивается конструкция. Среднее время, через которое происходит хрупкий излом трех отливок при изгибе их на 90 °С, характеризует условное время отверждения клея.

Определение прочности клеевого соединения

13. Испытаниям подвергают клееные образцы на скалывание вдоль волокон (ГОСТ 15613.1-77), изготовленные из древесины той же породы и при тех же условиях, которые приняты при изготовлении клееной продукции.

ЖУРНАЛ

входного контроля технологических характеристик клеев

Марка смолы

№ партии

Дата изготовления смолы

Дата поступления на завод

Дата проверки

Показатели

смола

клей

внешний вид

рабочая жизнеспособность

время отверждения

прочность

 

 

 

 

 

 

 

 

 

Заключение:

________________________________________________________________________________

________________________________________________________________________________

________________________________________________________________________________

Подпись_______________________

Перевод значений вязкости клея в секундах по вискозиметрам ВЗ-1 и ВЗ-4 в сантипуазы по вискозиметру ВПЖ

ВЗ-1, сопло 5,4 мм

ВЗ-4

Сантип-узлы

ВЗ-1, сопло 5,4 мм

ВЗ-4

Сантип-узлы

10

41

160

70

282

1215

20

81

335

80

322

1391

30

122

511

90

362

1567

40

162

687

100

402

1743

50

202

863

ПО

442

1919

60

242

1039

120

482

2095

ПРИЛОЖЕНИЕ 6

КОНТРОЛЬ КАЧЕСТВА ЗАЩИТНОЙ ОБРАБОТКИ

Контроль качества лакокрасочных материалов

1. Лакокрасочные материалы перед употреблением контролируют партиями* по следующим показателям:

* За партию принимают количество лакокрасочного материала, сопровождаемого удостоверением о его качестве.

условная вязкость по ГОСТ 8420-74;

время и степень высыхания покрытий по ГОСТ 19007-73;

содержание летучих и нелетучих, твердых и пленкообразующих веществ по ГОСТ 17537-72.

Все показатели необходимо контролировать не менее трех раз на протяжении периода полного использования каждой партии лакокрасочных материалов (в начальный, средний и конечный периоды).

Количественные значения показателей должны соответствовать требованиям стандартов и технических условий на материалы.

Контроль качества лакокрасочных покрытий

2. Лакокрасочные покрытия необходимо контролировать по следующим показателям:

соответствие декоративного вида покрытия требованиям ГОСТ 9.032-74;

толщина покрытия: прозрачного по ГОСТ 13639-75, непрозрачного по ГОСТ 14644-75;

адгезия пленки покрытия к поверхности древесины и фанеры - методом нормального отрыва металлического штампа, приклеенного к защищенной подложке.

Декоративный вид покрытий контролируют у каждой защищенной конструкции. Показатель декоративности должен быть не ниже III класса для прозрачных и IV класса для непрозрачных покрытий.

Толщину покрытий определяют на одной конструкции из партии, защищенной одним видом лакокрасочного материала в данной смене.

Измерение толщины осуществляют на конструкции или на контрольном образце, защищенном в общем потоке с конструкциями.

Адгезию покрытий определяют с помощью устройства, схема которого показана на рис. 2.

 

Рис. 2. Схема устройства для определения адгезии лакокрасочного покрытия

1 - штамп; 2 - образец; 3-верхний захват; 4- шпилька; 5 - корпус; 6 - направляющая втулка; 7- нижний захват; 8 - лакокрасочное покрытие

Испытания проводят на образцах древесины (фанеры) с нанесенным на них покрытием.

Покрытие сначала шлифуют шкуркой № 5, а затем протирают ацетоном. Для приклеивания штампа, который имеет цилиндрическую форму с диаметром основания 15 мм, используют состав на основе эпоксидной смолы К-153 с наполнителем (см. табл. 2). Штамп с нанесенным клеевым слоем прижимают к поверхности образца рукой. Излишки выдавившегося клея осторожно удаляют.

Испытания проводят после выдержки образца в течение двух-трех дней при температуре 18-22° С. Перед установкой образца в устройство покрытие вокруг штампа подрезают лезвием безопасной бритвы или острым ножом. Образец вставляют в устройство и отрывают штамп с покрытием от подложки в разрывной машине со скоростью нагружения 35-50 мм/мин.

Величину адгезии А (она должна быть не менее 1,5 МПа) определяют по формуле

,                                                                                                (3)

где Р - усилие отрыва, Н;

      F - площадь штампа, см2.

При показателе точности 5% необходимое количество образцов составляет 8-10 шт.

При повторном использовании штампы должны быть очищены от остатков клея (клей легко удаляется после прогрева штампа), зачищены шкуркой № 5 и обезжирены ацетоном.

Адгезию лакокрасочных покрытий определяют для каждой партии лакокрасочного материала (при поступлении на завод, в середине и в конце срока хранения).

Контроль качества обработки древесины и фанеры водными растворами антисептиков и био-огнезащитных препаратов

3. Качество бнозащитной и био-огнезащитной обработки древесины и фанеры контролируют путем определения удержания раствора или сухой соли на 1 м2 обрабатываемой поверхности. Контроль производится один раз в смену.

4. Оценку производят на образцах или на всей партии обрабатываемых заготовок (элементов каркаса или обшивок).

Контрольные образцы выпиливают из элементов каркаса и фанеры, подлежащих пропитке. Длина образцов древесины должна быть 100 см, а размеры образцов фанеры - 50´50 см. Количество образцов должно составлять 1 % партии, но не менее 5 шт. Перед пропиткой в ваннах образцы взвешивают и помещают между заготовками в центр пакета или контейнера.

5. Удержание пропиточной жидкости определяют по разности массы образцов до и после пропитки. Взвешивание образцов после пропитки производят после прекращения стекания с них излишков пропиточной жидкости.

Удержание сухой соли по каждому образцу вычисляют по формуле

,                                                                                        (4)

где К - количество удержанной сухой соли, г/м2;

      G - количество удержанной пропиточной жидкости, г;

      С - концентрация пропиточной жидкости, %;

      F - площадь поверхности образца, м2.

Полученные величины удержания по всем образцам усредняют и сопоставляют с требуемым удержанием.

6. Удержание пропиточной жидкости всей партией обрабатываемых элементов каркаса или фанерных обшивок определяют по разности массы контейнера (пакета) до и после пропитки.

7. При обработке фанерных обшивок требуемое удержание пропиточной жидкости (сухой соли) всей партией определяют путем умножения нормируемого удержания на площадь поверхностей всех обрабатываемых обшивок.

Качество защитной обработки необходимо контролировать один раз в смену.

Контроль качества мастичных покрытий на основе эпоксидных смол и тиоколовых герметикой

8. Контроль качества покрытий на основе эпоксидных смол и тиоколовых герметиков осуществляют по результатам визуальной оценки состояния поверхности и замера толщины покрытия. На защищенных поверхностях не должно быть отслоений и вздутий покрытия. У армированных покрытий не должно быть участков с непропитанной защитным составом стеклотканью (стеклосеткой). Покрытие должно иметь ровную гладкую поверхность и через 24 ч не давать отлип.

Контроль качества пропитки фанеры фенолоспиртами

9. Для контроля качества пропитки в каждую загружаемую партию укладывают не менее трех предварительно взвешенных образцов размером 20´150 см, выпиленных из той же партии фанеры. Контрольные образцы необходимо укладывать в верхние, средние и нижние части пакета.

Общее поглощение фенолоспиртов определяют по весу контрольных образцов. Привес в зависимости от толщины фанеры составляет 20-50%. Пропитка должна быть сквозной по наружным слоям и не менее 2 мм по торцам. Глубину пропитки определяют визуально по контрольным образцам.

ПРИЛОЖЕНИЕ 7

МЕТОДИКА ИСПЫТАНИИ ПЛАСТЕВЫХ КЛЕЕВЫХ СОЕДИНЕНИИ НА ПОСЛОЙНОЕ СКАЛЫВАНИЕ И РАССЛАИВАНИЕ

1. Образцы для испытаний на послойное скалывание и расслаивание вырезают из торцовой части конструкции или элемента во время их торцовки и доведения до проектных размеров.

Образец для испытаний на расслаивание представляет собой пластину толщиной (вдоль волокон древесины) 75 мм, а шириной и высотой, соответствующими размерам торцового сечения клееного элемента или его части.

Для испытания на послойное скалывание аналогичная пластина должна иметь толщину 50 мм. Последнюю разрезают на прямоугольные призмы с основанием размерами 50´50 мм и высотой, равной высоте пластины, которые и служат образцами. Испытание на послойное скалывание

2. Для проведения испытаний необходимо применять следующее оборудование и инструменты:

испытательную машину с пределом нагружения до 50000 Н и точностью измерения нагрузки до 1 %;

приспособление для послойного скалывания образцов;

штангенциркуль с точностью измерения до 0,1 мм;

электровлагомер типа ЭВ-2К.

3. Усредненные данные о сечении образца по результатам трех его измерений (соответственно в середине и на концах) с точностью до 0,1 мм заносят в журнал.

В местах измерений сечения образца определяют его влажность, усредненный показатель которой должен быть отражен в журнале.

4. Образцы испытывают на скалывание по клеевым прослойкам или древесине в специальном приспособлении (рис. 3).

Рис. 3. Схема приспособления для испытаний на послойное скалывание

1- основание приспособления; 2 - пуансон; 3 - опора; 4- прижимной винт; 5 - образец; 6 - плоскость скалывания

5. Испытания проводят следующим образом. Приспособление устанавливают на нижнюю опорную плиту пресса. Образец помещают в проем приспособления таким образом, чтобы направление волокон древесины совпадало с направлением приложения нагрузки. При помощи прижима образец закрепляют в таком положении, чтобы испытуемое сечение образца было расположено в одной плоскости с задней по ходу подачи образца гранью пуансона. Затем при вертикальном перемещении пуансона образец доводят до разрушения.

Цикл испытаний повторяют для каждого следующего сечения после соответствующего перемещения и закрепления образца.

6. Испытания проводят при скорости перемещения нагружающей головки пресса 10 мм/мин; величину разрушающей нагрузки Рmax и характер разрушения клеевого соединения заносят в журнал (см. форму 1).

7. Предел прочности т при скалывании вычисляют с точностью до 0,1 МПа по формуле

,                                                                                             (5)

где Рmax - разрушающая нагрузка, Н;

      l - длина площади скалывания образца, м;

      b - ширина, м.

Испытание на расслаивание

8. Для проведения испытаний необходимо применять следующее оборудование и инструменты:

автоклав с герметической крышкой, манометром, вакуумметром;

штангенциркуль с точностью измерения до 0,1 мм и щуп (ГОСТ 882-75).

линейку (ГОСТ 427-75) с точностью измерения до 1 мм;

электровлагомер типа ЭВ-2К;

сушильную камеру с проточным воздухом с температурой до 60° С;

лупу для наблюдения за расслаиванием прослоек.

9. Данные о сечении и влажности образцов, определенные в соответствии с п. 3, заносят в журнал (см. форму 2).

10. Для обеспечения свободного доступа воды к торцам образцов их помещают в автоклав на подвижной тележке, оборудованной кассетами.

11. Обработку образцов осуществляют при циклическом действии вакуума - давления и высушивания.

Один цикл включает:

выдержку образцов под вакуумом (0,07-0,09 МПа) в течение 40-60 мин при температуре 18-22° С;

подачу воды в автоклав и выдержку образцов под давлением 0,5-0,6 МПа в течение 2 ч;

цикл вакуум - давление повторяют два раза;

высушивание образцов до начальной влажности в сушильной камере при температуре 50-60° С, относительной влажности воздуха 25-30% и скорости движения воздуха 2-3 м/с.

12. Оценку качества склеивания образцов производят после завершения каждого цикла испытаний. Все замеры записывают в журнал.

13. После высушивания образцов замеряют суммарную длину раскрытия клеевых прослоек на обеих торцовых поверхностях.

В качестве показателя расслаивания принимают процентное отношение суммарной длины расслоения по клеевым прослойкам к общему периметру клеевых прослоек, выходящих на торец образца по формуле

,                                                                                 (6)

где l - суммарная длина расслоений, мм;

      b - ширина образца, мм;

      n - количество клеевых прослоек в образце.

Форма 1

ЖУРНАЛ

испытаний на прочность клеевых соединений из древесины при послойном скалывании

1.     Марка, номер, размеры элемента, из которого выпилены образцы

___________________________________________________________

2. Дата и время запрессовки элемента___________________________

3. Порода древисины_________________________________________

4. Клей_____________________________________________________

5. Нанесение клея (одно- или двустороннее)______________________

6. Средняя влажность древесины (по замерам на образце) ,_________

___________________________________________________________

7. Размер сечения образца_____________________________________

8. Толщина и качество слоев древесины в образце _________________

9. Дата и время проведения испытаний_______________________

 

Номер слоя в образца

Максимальная нагрузка Рmax, МПа (кгс/см2),

для

Предел прочности, МПа (кгс/см2), для

Характер разрушения (только для клеевого соединения)

клеевого соединения

древесины

клеевого соединения

древесины

1

2

3

4

5

6

 

 

 

 

 

 

Среднее значение предела прочности:

     τ клеевых соединений _________________ МПа (кгс/см2)

     τ древесины _________________________ МПа (кгс/см2)

Минимальное значение предела прочности:

     τ клеевых соединений _________________ МПа (кгс/см2)

     τ древесины _________________________ МПа (кгс/см2)

Дата _________________ Подпись___________________

Примечание. В графы 2, 4, 6 заносят максимальную нагрузку и прочность всех сечений, испытываемых для определения прочности клеевых соединений, даже при 100%-ном разрушении по древесине.

Форма 2

ЖУРНАЛ

испытаний клеевых соединений на расслаивание

1.     Марка, номер и размеры элемента, из которого выпилен образец

___________________________________________________________

2. Дата и время запрессовки элемента __________________________

3. Порода древесины

4. Клей ___________._________________________________________

5. Нанесение клея (одно- или двустороннее) _____________________

6. Средняя влажность древесины (по замерам на образце) __________

7. Размеры образца ___________________________________________

8. Толщина слоев ____________________________________________

9. Дата и время проведения испытаний,__________________________

Номер клеевой прослойки

Ширина образца

Количество клеевых прослоек

Расслоение клеевых прослоек, %, после

одного цикла

трех циклов

1

2

3

4

Б

 

 

 

 

 

Дата______________________ Подпись_________________

ПРИЛОЖЕНИЕ 8

РЕКОМЕНДУЕМАЯ ФОРМА ПАСПОРТА НА ДЕРЕВЯННЫЕ КЛЕЕНЫЕ КОНСТРУКЦИИ

оформление первой страницы паспорта

МИНИСТЕРСТВО ИЛИ ВЕДОМСТВО, УПРАВЛЕНИЕ, ТРЕСТ

предприятие (наименование, адрес, телефон)

ПАСПОРТ №

на деревянные клееные конструкции

Наименование конструкции и ее марка____________________________________________

Конструкция отвечает требованиям ГОСТ________, ТУ______________________________

№ альбома чертежей ,___________________________________________________________

Номер партии_________________________________________________________________

Количество конструкций в партии _____________________________________________шт.

Номера конструкций ,___________________________________________________________

Изготовление _________________ год ____________________, месяц

Порода древесины______________________________________________________________

Клей марки ______________ ГОСТ _________________, ТУ __________________________

отвечает требованиям, __________________________________________________________

Вид защитной обработки поверхности ____________________________________________

Дата отгрузки с завода-изготовителя ______________________________________________

Наименование и адрес организации-получателя ____________________________________

М. П.                                                                              Начальник цеха ____________________

                                                                                                                                (подпись)

                                                                                       Начальник ОТК ____________________

                                                                                                                                (подпись)

                                                                                       Дата _____________________________

Оформление второй страницы паспорта

(оборотная сторона)

КРАТКАЯ ИНСТРУКЦИЯ

по хранению и транспортированию деревянных клееных конструкций

1. Клееные элементы следует хранить уложенными в штабеля на прокладки в условиях, не допускающих их увлажнение.

Под нижний ряд конструкций следует укладывать прокладки по плотному, тщательно выровненному основанию. Прокладки между конструкциями по высоте штабеля должны располагаться строго но вертикали одна над другой.

При укладке конструкций должна быть обеспечена возможность свободного захвата и подъема каждой конструкции для ее погрузки или монтажа.

2. При транспортировании и хранении конструкции должны быть защищены от увлажнения, загрязнения и механических повреждений.

3. Сбрасывание конструкций при погрузке, транспортировании и разгрузке запрещается.

4. Укладку конструкций в транспортные средства следует производить правильными устойчивыми рядами по направлению движения транспорта с надежным закреплением, предохраняющим их от смещения во время перевозки.

5. Производить монтаж конструкции без наличия рабочих чертежей запрещается.

ПРИЛОЖЕНИЕ 9

УДЕЛЬНОЕ КОЛИЧЕСТВО ТОКСИЧНЫХ ВЕЩЕСТВ, ВЫДЕЛЯЮЩИХСЯ ИЗ КЛЕЕВ

Таблица 1

Клей

Количество выделяющихся продуктов, г/кг клея

фенола

формальдегида

спирта этилового

ацетона

Фенольный КБ-3

1

0,8

-

45

Фенольный СФХ

0,6

0,6

-

-

Резорциновый ФР-12

-

1,5

50

-

Фенольно-резорциновый ФРФ-50

1,2

1

-

-

Алкилрезорциновый ФР-100 и ДФК-1АМ

-

1

50

-

Карбамидно-меламиновый КС-В-СК

-

1,2

-

-

Таблица 2

Предельно допустимые концентрации токсичных веществ в воздухе рабочей зоны (по ГОСТ 12.1.005-76)

Вещество

Предельно допустимая концентрация, мг/м3

Фенол

0,3

Формальдегид

0,5

Ацетон

200

Спирт этиловый

1000

 




Взять срочный займ ноль процентов онлайн без переплат.
Яндекс цитирования



   Copyright © 2007-2026,  www.tehlit.ru.

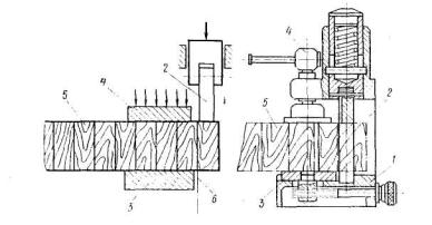
[ ѓосты, стандарты, нормативы, инструкции, правила, строительные нормы ]