//
ТехЛит.ру
- крупнейшая бесплатная электронная интернет библиотека для "технически умных" людей.
WWW.TEHLIT.RU - ТЕХНИЧЕСКАЯ ЛИТЕРАТУРА

:: Алготрейдинг::


АЛГОТРЕЙДИНГ
шаг за шагом
с нуля по урокам!

Торговые роботы на PYTHON, BackTrader,
Pandas, Pine Script для TradingView. Связка с брокерами, телеграм и легкими приложениями.


МЕЖГОСУДАРСТВЕННЫЙ СОВЕТ ПО СТАНДАРТИЗАЦИИ, МЕТРОЛОГИИ И СЕРТИФИКАЦИИ
(МГС)

INTERSTATE COUNCIL FOR STANDARDIZATION, METROLOGY AND CERTIFICATION
(ISC)

МЕЖГОСУДАРСТВЕННЫЙ
СТАНДАРТ

ГОСТ
2.052-
2006

Единая система конструкторской документации

ЭЛЕКТРОННАЯ МОДЕЛЬ ИЗДЕЛИЯ

Общие положения

Москва

Стандартинформ

2006

Предисловие

Цели, основные принципы и основной порядок проведения работ по межгосударственной стандартизации установлены ГОСТ 1.0-92 «Межгосударственная система стандартизации. Основные положения» и ГОСТ 1.2-97 «Межгосударственная система стандартизации. Стандарты межгосударственные, правила и рекомендации по межгосударственной стандартизации. Порядок разработки, принятия, применения, обновления, отмены»

Сведения о стандарте

1 РАЗРАБОТАН Федеральным государственным унитарным предприятием «Научно-исследовательский институт санитарной техники» и Федеральным государственным унитарным предприятием «Центр методологии нормирования и стандартизации в строительстве» (ФГУП ЦНС)

2 ВНЕСЕН Техническим комитетом по стандартизации ТК465 «Строительство»

3 ПРИНЯТ Межгосударственной научно-технической комиссией по стандартизации, техническому нормированию и сертификации в строительстве (МНТКС) (протокол № 28 от 13 октября 2005 г.)

За принятие проголосовали:

Краткое наименование страны по МК (ИСО 3166) 004-97

Код страны по МК (ИСО 3166) 004-97

Сокращенное наименование органа государственного управления строительством

Азербайджан

AZ

Азстандарт

Армения

AM

Минторгэкономразвития

Беларусь

BY

Госстандарт Республики Беларусь

Казахстан

KZ

Госстандарт Республики Казахстан

Кыргызстан

KG

Кыргызстандарт

Молдова

MD

Молдова-Стандарт

Российская Федерация

RU

Федеральное агентство по техническому регулированию и метрологии

Таджикистан

TJ

Таджикстандарт

Туркменистан

TM

Главгосслужба «Туркменстандартлары»

Узбекистан

UZ

Узстандарт

Украина

UA

Гостпотребстандарт Украины

4 Приказом Федерального агентства по техническому регулированию и метрологии от 22 июня 2006 г. № 119-ст межгосударственный стандарт ГОСТ 2.052-2006 введен в действие в качестве национального стандарта Российской Федерации с 1 сентября 2006 г.

5 ВВЕДЕН ВПЕРВЫЕ

Информация о введении в действие (прекращении действия) настоящего стандарта публикуется в указателе «Национальные стандарты».

Информация об изменениях к настоящему стандарту публикуется в указателе (каталоге) «Национальные стандарты», а текст изменений - в информационных указателях «Национальные стандарты». В случае пересмотра или отмены настоящего стандарта соответствующая информация будет опубликована в информационном указателе «Национальные стандарты»

Содержание

Общие положения

1 Область применения

2 Нормативные ссылки

3 Термины, определения и сокращения

3.1 Термины и определения

3.2 Сокращения

4 Общие положения

5 Общие требования к выполнению электронной модели изделия

6 Требования к видам электронных моделей изделия

6.1 Электронная модель детали

6.2 Электронная модель сборочной единицы

6.3 Электронный макет

Приложение А (справочное) Комментарии к пунктам стандарта

Приложение Б (справочное) Схематический состав модели

Приложение В (справочное) Пример визуализации модели на электронном устройстве отображения

Библиография

ГОСТ 2.052-2006

МЕЖГОСУДАРСТВЕННЫЙ СТАНДАРТ

Единая система конструкторской документации

ЭЛЕКТРОННАЯ МОДЕЛЬ ИЗДЕЛИЯ

Общие положения

Unified system for design documentation. Electronic model of product. General principles

Дата введения - 2006-09-01

1 Область применения

Настоящий стандарт устанавливает общие требования к выполнению электронных моделей изделий (деталей, сборочных единиц) машиностроения и приборостроения.

На основе настоящего стандарта допускается, при необходимости, разрабатывать стандарты, учитывающие особенности выполнения электронных моделей на изделия конкретных видов техники в зависимости от их специфики.

2 Нормативные ссылки

В настоящем стандарте использованы ссылки на следующие межгосударственные стандарты:

ГОСТ 2.051-2006 Единая система конструкторской документации. Электронные документы. Общие положения

ГОСТ 2.101-68 Единая система конструкторской документации. Виды изделий

ГОСТ 2.102-68 Единая система конструкторской документации. Виды и комплектность конструкторских документов

ГОСТ 2.104-2006 Единая система конструкторской документации. Основные надписи

ГОСТ 2.109-73 Единая система конструкторской документации. Основные требования к чертежам

ГОСТ 2.305-68 Единая система конструкторской документации. Изображения - виды, разрезы, сечения

ГОСТ 2.307-68 Единая система конструкторской документации. Нанесение размеров и предельных отклонений

ГОСТ 2.317-69 Единая система конструкторской документации. Аксонометрические проекции

Примечание - При пользовании настоящим стандартом целесообразно проверить действие ссылочных стандартов по указателю «Национальные стандарты», составленному по состоянию на 1 января текущего года, и по соответствующим информационным указателям, опубликованным в текущем году. Если ссылочный стандарт заменен (изменен), то при пользовании настоящим стандартом следует руководствоваться замененным (измененным) стандартом. Если ссылочный стандарт отменен без замены, то положение, в котором дана ссылка на него, применяется в части, не затрагивающей эту ссылку.

3 Термины, определения и сокращения

3.1 Термины и определения

В настоящем стандарте применены следующие термины с соответствующими определениями:

3.1.1 электронная модель изделия (модель): Электронная модель детали или сборочной единицы по ГОСТ 2.102.

3.1.2 электронная геометрическая модель (геометрическая модель): Электронная модель изделия, описывающая геометрическую форму, размеры и иные свойства изделия, зависящие от его формы и размеров.

3.1.3 геометрический элемент: Идентифицированный (именованный) геометрический объект, используемый в наборе данных.

Примечание - Геометрическим объектом может быть точка, линия, плоскость, поверхность, геометрическая фигура, геометрическое тело.

3.1.4 геометрия модели: Совокупность геометрических элементов, которые являются элементами геометрической модели изделия.

3.1.5 вспомогательная геометрия: Совокупность геометрических элементов, которые используются в процессе создания геометрической модели изделия, но не являются элементами этой модели.

Примечание - Геометрическими элементами могут быть осевая линия, опорные точки сплайна, направляющие и образующие линии поверхности и др.

3.1.6 атрибут модели: Размер, допуск, текст или символ, требуемый для определения геометрии изделия или его характеристики*.

____________________

Здесь и далее знаком «*» отмечены пункты, к которым даны комментарии в приложении А.

3.1.7 модельное пространство: Пространство в координатной системе модели, в котором выполняется геометрическая модель изделия.

3.1.8 плоскость обозначений и указаний: Плоскость в модельном пространстве, на которую выводится визуально воспринимаемая информация, содержащая значения атрибутов модели, технические требования, обозначения и указания.

3.1.9 данные расположения: Данные, определяющие размещение и ориентацию изделия и его составных частей в модельном пространстве в указанной системе координат.

3.1.10 твердотельная модель: Трехмерная электронная геометрическая модель, представляющая форму изделия как результат композиции заданного множества геометрических элементов с применением операций булевой алгебры к этим геометрическим элементам.

3.1.11 поверхностная модель: Трехмерная электронная геометрическая модель, представленная множеством ограниченных поверхностей, определяющих в пространстве форму изделия.

3.1.12 каркасная модель: Трехмерная электронная геометрическая модель, представленная пространственной композицией точек, отрезков и кривых, определяющих в пространстве форму изделия.

3.1.13 составная часть изделия: Изделие любого вида по ГОСТ 2.101, входящее в состав изделия и рассматриваемое как единое целое.

3.1.14 файл модели: Файл, содержащий информацию о геометрических элементах, атрибутах, обозначениях и указаниях, которые рассматриваются как единое целое*.

3.1.15 электронный макет: Электронная модель изделия, описывающая его внешнюю форму и размеры, позволяющая полностью или частично оценить его взаимодействие с элементами производственного и/или эксплуатационного окружения, служащая для принятия решений при разработке изделия и процессов его изготовления и использования.

3.2 Сокращения

В настоящем стандарте приняты следующие сокращения:

ПОУ - плоскость обозначений и указаний;

ПЗ - пояснительная записка;

КД - конструкторский документ;

ЭМИ - электронная модель изделия;

ЭМД - электронная модель детали;

ЭМСЕ - электронная модель сборочной единицы;

ЭМК - электронный макет;

САПР - система автоматизированного проектирования;

ЭГМ - электронная геометрическая модель.

4 Общие положения

4.1 В компьютерной среде ЭМИ представляется в виде набора данных, которые вместе определяют геометрию изделия и иные свойства, необходимые для изготовления, контроля, приемки, сборки, эксплуатации, ремонта и утилизации изделия.

4.2 ЭМИ, как правило, используется:

- для интерпретации всего составляющего модель набора данных (или его части) в автоматизированных системах;

- для визуального отображения конструкции изделия в процессе выполнения проектных работ, производственных и иных операций;

- для изготовления чертежной конструкторской документации в электронной и/или бумажной форме.

4.3 Общие требования к выполнению КД в форме электронной модели изделия - по ГОСТ 2.051. ЭМИ составляет содержательную часть соответствующего КД по ГОСТ 2.102 (ЭМД или ЭМСЕ). Требования по составу и представлению информации согласно ИСО 10303-1 [1], ИСО 10303-11 [2], ИСО 10303-42[3], ИСО 10303-201 [4]. Реквизитную часть выполняют по ГОСТ 2.104*.

4.4 ЭМИ, как правило, состоит из геометрической модели изделия, произвольного количества атрибутов модели и может включать технические требования. Схематический состав модели приведен на рисунке Б.1 (приложение Б).

4.5 Модель должна содержать полный набор конструкторских, технологических и физических параметров согласно ГОСТ 2.109, необходимых для выполнения расчетов, математического моделирования, разработки технологических процессов и др.

4.6 Полнота и подробность модели на различных стадиях разработки должны соответствовать требованиям стандартов Единой системы конструкторской документации.

4.7 Электронный конструкторский документ, выполненный в виде модели, должен соответствовать следующим основным требованиям:

а) атрибуты (модели), обозначения и указания, приведенные в модели, должны быть необходимыми и достаточными для указанной цели выпуска (например, изготовления изделия или построения чертежа в бумажной и/или электронной форме);

б) все значения размеров должны получаться из модели;

в) определенные в модели связанные геометрические элементы, атрибуты, обозначения и указания должны быть согласованы;

г) атрибуты, обозначения и указания, определенные и/или заданные в модели и изображенные на чертеже, должны быть согласованы*;

д) если в модели не содержатся все конструкторские данные изделия, то это должно быть указано*;

е) не допускается давать ссылки на нормативные документы, определяющие форму и размеры конструктивных элементов (отверстия, фаски, канавки и т.п.), если в них нет геометрического описания этих элементов. Все данные для их изготовления должны быть приведены в модели;

ж) разрядность при округлении значений линейных и угловых размеров должна задаваться разработчиком;

4.8 При визуализации (отображении) модели на электронном устройстве (например, экране дисплея) выполняют следующие правила:

а) размеры, предельные отклонения и указания (в т.ч. технические требования) следует показывать в основных плоскостях проекций по ГОСТ 2.305, аксонометрических проекциях - по ГОСТ 2.317 или иных удобных для визуального восприятия отображаемой информации плоскостях проекций*;

б) весь текст (требования, обозначения и указания) должен быть определен в одной или более ПОУ;

в) отображение информации в любой ПОУ не должно накладываться на отображение любой другой информации в той же самой ПОУ;

г) текст требований, обозначений и указаний в пределах любой ПОУ не должен помещаться поверх геометрии модели, когда он расположен перпендикулярно к плоскости отображения модели;

д) для аксонометрических проекций ориентация ПОУ должна быть параллельна, перпендикулярна или совпадать с поверхностью, к которой она применяется;

е) при повороте модели должно быть обеспечено необходимое направление чтения в каждой ПОУ*.

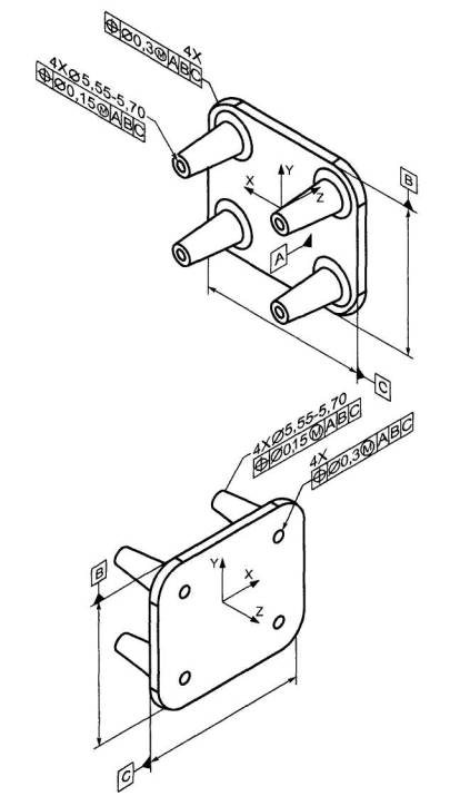
Пример отображения ПОУ при различной ориентации модели в модельном пространстве при визуализации модели на электронном устройстве отображения приведен в приложении В.

4.9 При визуализации модели допускается:

а) не представлять модель на чертежном формате;

б) не показывать отображение центральных (осевых) линий или центральных плоскостей для указания размеров;

в) не показывать штриховку в разрезах и сечениях;

г) не представлять реквизиты основной надписи и дополнительных граф к ней на чертежном формате. В этом случае просмотр реквизитов основной надписи и дополнительных граф к ней следует обеспечивать по запросу. Состав реквизитов - по ГОСТ 2.104;

д) показывать дополнительные конструктивные параметры с помощью вспомогательной геометрии, например координаты центра масс;

е) показывать размеры и предельные отклонения без использования сечений;

ж) включать ссылки на документы другого вида при условии, что ссылочный документ выполнен в электронной форме. При передаче конструкторской документации другому предприятию эти документы должны быть включены в комплект КД на изделие*.

4.10 При задании атрибутов применяют условные обозначения (знаки, линии, буквенные и буквенно-цифровые обозначения и др.), установленные в стандартах Единой системы конструкторской документации. Размеры условных знаков определяют с учетом наглядности и ясности и выдерживают одинаковыми при многократном применении в пределах одной модели.*

4.11 При разработке модели предусматривают применение электронных библиотек (электронных каталогов) стандартных и покупных изделий. Применение, способы и правила использования электронных библиотек устанавливает разработчик, если это не указано в техническом задании или протоколе рассмотрения технического предложения (эскизного проекта)*.

Для документации на изделия, разрабатываемые по заказу Министерства обороны, номенклатура и техническое содержание применяемых электронных библиотек изделий, а также нормативные доку­менты организации должны быть согласованы с заказчиком (представительством заказчика).

4.12 В модель допускается включать ссылки на стандарты и технические условия, если они полностью и однозначно определяют соответствующие требования. Допускается давать ссылки на технологические инструкции, когда требования, установленные этими инструкциями, являются единственными, гарантирующими требуемое качество изделия.

Для документации на изделия, разрабатываемые по заказу Министерства обороны, стандарты и технологические инструкции организаций должны быть согласованы с заказчиком (представительством заказчика).

4.13 В модель не включают технологические указания. В виде исключения допускается включать технологические указания в случаях, предусмотренных ГОСТ 2.109.

5 Общие требования к выполнению электронной модели изделия

5.1 ЭМИ должна содержать, как минимум, одну координатную систему. Координатную систему модели изображают тремя взаимно перпендикулярными линиями с началом координат, расположенным в пересечении трех осей, при этом:

- должно быть показано положительное направление и обозначение каждой оси;

- следует использовать правостороннюю координатную систему модели (рисунок 1), если не оговорена другая координатная система.

При необходимости допускается использовать неортогональную координатную систему модели.

Рисунок 1 - Координатная система электронной модели изделия

5.2 При разработке ЭМИ используют следующие типы представления формы изделия согласно ИСО 10303-42, ИСО 10303-41 [5], ИСО 10303-43 [6]:

- каркасное представление;

- поверхностное представление;

- твердотельное представление.

Состав и взаимосвязь типов представления формы изделия приведены на рисунке Б.2 (приложение Б)*.

5.3 При разработке ЭМИ обеспечивают представление файла модели согласно ИСО 10303-21 [7], ИСО 10303-22 [8].

5.4 В ЭМИ допускается выполнять упрощенное представление частей модели типа отверстий, резьб, лент, пружин и др., используя частичное определение геометрии модели, атрибуты модели или их комбинацию.

5.5 Начальная ориентация ЭМИ в модельном пространстве не оговаривается.

6 Требования к видам электронных моделей изделия

6.1 Электронная модель детали

6.1.1 ЭМД разрабатывают, как правило, на все детали, входящие в состав изделия, если техническим заданием предусмотрено выполнение документации только в виде ЭМИ.

6.1.2 ЭМД, как правило, следует выполнять в размерах, которым изделие должно соответствовать перед сборкой. Исключения составляют случаи, указанные в ГОСТ 2.109. Значения предельных отклонений, шероховатости поверхностей и другие необходимые значения атрибутов изделия или его элементов должны соответствовать значениям перед сборкой.

Предельные отклонения и шероховатость поверхностей элементов изделия, получающиеся в результате обработки в процессе сборки или после нее, указывают в ЭМСЕ.

6.1.3 Условные обозначения материала записывают в ЭМД в соответствии с ГОСТ 2.109.

6.1.4 Если для изготовления детали предусматривается использование заменителей материала, то их приводят в технических требованиях. Если ЭМИ выполняют с учетом текстуры материала, то следует задавать текстуру основного материала.

6.1.5 Если деталь должна быть изготовлена из материала, имеющего определенное направление волокон, основы и т.п. (металлическая лента, ткань, бумага, дерево) или расположение слоев материала детали (текстолита, фибры, гетинакса), то при необходимости допускается указывать направление волокон или расположение слоев материала детали.

6.2 Электронная модель сборочной единицы

6.2.1 ЭМСЕ должна давать представление о расположении и взаимной связи составных частей, соединяемых в сборочную единицу, и содержать необходимую и достаточную информацию для осуществления сборки и контроля сборочной единицы.

6.2.2 ЭМД, входящие в состав ЭМСЕ, рекомендуется включать в модель как самостоятельные модели, размещая их в координатной системе ЭМСЕ и задавая данные расположения.

6.2.3 ЭМСЕ, входящие в состав изделия более высокого уровня иерархии, рекомендуется включать в состав модели этого изделия как самостоятельные модели, размещая их в координатной системе ЭМСЕ более высокого уровня иерархии и задавая данные расположения.

6.2.4 Организация уровней входимости составных частей, входящих в ЭМСЕ конечного изделия, должна быть необходимой и достаточной для рациональной организации производства (сборки и контроля) изделий.

6.2.5 ЭМСЕ должна содержать параметры и требования, которые необходимо по ней выполнять или контролировать*:

а) номера позиций составных частей, входящих в изделие;

б) установочные, присоединительные и другие необходимые справочные размеры;

в) техническую характеристику изделия (при необходимости);

г) указания о характере сопряжения элементов ЭМСЕ и методах его осуществления, если точность сопряжения обеспечивается не заданными предельными отклонениями размеров, а подбором, пригонкой и т.п.;

д) указания о выполнении неразъемных соединений (сварных, паяных и др.). В ЭМСЕ изделий единичного производства допускается указывать данные о подготовке кромок под неразъемные соединения (сварку, пайку и т.д.).

6.2.6 В ЭМСЕ допускается включать модели пограничных (соседних) изделий («обстановки»), соблюдая размеры, определяющие их взаимное расположение.

Установочные и присоединительные размеры, необходимые для увязки с другими изделиями, должны быть указаны с предельными отклонениями*.

6.2.7 Все составные части сборочной единицы нумеруют. Номера позиций должны соответствовать указанным в спецификации и/или электронной структуре изделия этой сборочной единицы*.

6.2.8 Допускается выполнение документации на сборочную единицу только в виде ЭМСЕ. В этом случае в ЭМСЕ приводят дополнительные данные, необходимые для изготовления деталей (шероховатость поверхностей, отклонения формы и т.д.).

6.2.9 Если при сборке изделия для его регулировки, настройки, компенсации составные части подбирают, то в ЭМСЕ их включают в одном (основном) из возможных вариантов применения, обеспечивающим номинальные параметры.

В технических требованиях помещают необходимые указания по установке таких «подборных» частей. Формулировка указаний - по ГОСТ 2.109.

6.2.10 Если после сборки изделия на время его хранения и (или) транспортирования требуется установить защитные временные детали (крышку, заглушку и т.п.), в ЭМСЕ эти детали включают так, как они должны быть установлены при хранении и транспортировании. Если защитные временные детали на время хранения и транспортирования должны устанавливаться вместо снимаемых с изделия каких-либо приборов, механизмов, то их ЭМД включают в ЭМСЕ, а в технических требованиях помещают соответствующие указания*.

6.3 Электронный макет

6.3.1 ЭМК является разновидностью ЭМИ (ЭМСЕ) и предназначен для оценки взаимодействия составных частей макетируемого изделия или изделия в целом с элементами производственного и/или эксплуатационного окружения.

6.3.2 ЭМК разрабатывается на проектных стадиях, не предназначается для изготовления по ним изделий и, как правило, не содержит данных для изготовления и сборки.

6.3.3 Как правило, ЭМК выполняется на основании ЭМСЕ с использованием мультимедийных технологий, показывающих динамику перемещения и крайние положения перемещающихся, выдвигаемых или откидываемых частей, рычагов, кареток, крышек на петлях и т.п.

6.3.4 ЭМК следует выполнять, как правило, с упрощениями, соответствующими целям его разработки. Подробность ЭМК должна быть достаточной для того, чтобы дать исчерпывающее представление о внешних очертаниях изделия, положениях его выступающих частей (рычагов, маховиков, ручек, кнопок и т.п.), об элементах, которые должны быть постоянно в поле зрения (например, шкалах), о расположении элементов связи изделия с другими изделиями.

6.3.5 При необходимости допускается приводить данные о работе изделия и взаимодействии его частей. Эти данные заносят в аннотационную часть ЭМК. Допускается также помещать ссылку на (электронный) текстовый документ (как правило, ПЗ).

6.3.6 Допускается не показывать элементы, выступающие за основной контур на незначительную величину по сравнению с размерами изделия.

6.3.7 В ЭМК допускается включать детали и сборочные единицы, не входящие в состав изделия («обстановки»), соблюдая их взаимное расположение.

6.3.8 Точность построения ЭМК должна быть необходимой и достаточной для того, чтобы определить габаритные размеры изделия, установочные и присоединительные размеры и, при необходимости, размеры, определяющие положение выступающих частей.

Приложение А

(справочное)

Комментарии к пунктам стандарта

3.1.3 Атрибут модели может быть выполнен как доступный визуально без запроса и/или преобразования, так и скрытый, когда визуализация выполняется по запросу к электронной модели изделия, например:

- доступный визуально - указанное в виде размера значение межцентрового расстояния;

- недоступный визуально (скрытый) - вычисляемое значение размера между двумя точками, образуемыми касательной к двум окружностям.

3.14 Файл модели в некоторых случаях является логическим понятием, т.к. в некоторых САПР файл модели физически выполняется в виде нескольких взаимозависимых файлов, в каждом из которых хранится часть набора данных.

4.3 Содержательную часть ЭМИ следует выполнять в соответствии с требованиями по составу информационных объектов моделей данных согласно ИСО 10303 [1-8].

4.7 перечисление ж) На конструкторские данные изделия, которые явно не содержатся в ЭМИ, обязательно должна быть дана ссылка (например, «места клеймения - по ГОСТ ... пункт 23.6»).

4.8 перечисление а) Правила нанесения размеров и предельных отклонений - по ГОСТ 2.307.

4.8 перечисление е) Чтобы гарантировать правильную интерпретацию текста, например, когда его ориентация может быть изменена при вращении модели.

4.9 перечисление ж) Документы должны быть связаны ссылками в электронной структуре изделия или в системе управления данными об изделии.

4.10 Условные обозначения применяют без их разъяснения и без указания номера стандарта.

4.11 Электронные библиотеки могут быть выполнены:

- в нейтральном формате согласно требованиям ИСО 13584-1 [9], регламентирующем представление как технических требований и атрибутов, так и геометрии ЭМИ конкретного изделия с требуемой степенью детализации;

- в формате конкретной применяемой для проектирования САПР. В этом случае представление как технических требований и атрибутов, так и геометрии ЭМИ определяется только возможностями САПР и может изменяться в зависимости от версии системы.

5.2 Твердотельное представление формы изделия выполняют на основе операций булевой алгебры над геометрическими элементами.

6.2.5 Данные, указанные в перечислениях б) и в), обязательны в ЭМСЕ изделий, являющихся предметом самостоятельной поставки. Эти данные допускается не включать в ЭМСЕ, если они приведены в другом конструкторском документе на данное изделие.

6.2.6 ЭГМ предметов «обстановки», непосредственно не входящих в состав изделия, выполняют по возможности упрощенно, и приводят необходимые данные для определения методов крепления и присоединения изделия.

Следует стремиться к тому, чтобы ЭГМ деталей и сборочных единиц «обстановки» отличались от деталей и сборочных единиц, входящих в состав изделия, на визуальном уровне (например, прозрачностью, цветом и т.п.).

Примечания

1 Информационный уровень - свойство САПР, позволяющее группировать геометрическую и символьно-цифровую информацию. Может управляться и/или визуализироваться независимо один от другого и/или в требуемой комбинации.

2 Если применяемая САПР не позволяет исключить из расчетов (например, инерционных характеристик) элементы набора данных модели, связанные с конкретным информационным уровнем, то ЭГМ предметов обстановки в модель включать не следует.

6.2.7 Если КД, выполненная в электронной форме, представлена совместно в модели и чертеже, при этом чертежи выполнены по ИСО 10303-201 (без ассоциативных связей с моделью), то при выполнении ЭГМ соответствующих составных частей ЭМСЕ допускается не показывать:

- фаски, скругления, проточки, углубления, выступы, накатки, насечки, оплетки и другие мелкие элементы, не влияющие на прочностные характеристики изделия;

- зазоры между стержнем и отверстием;

- надписи на табличках, фирменных планках, шкалах и других подобных деталях, изображая только их контур.

6.2.10 ЭМД защитных временных деталей, как правило, включают в ЭМСЕ на отдельном информационном уровне.

Приложение Б

(справочное)

Схематический состав модели

Рисунок Б.1 – Схема состава электронной модели изделия

Рисунок Б.2 - Состав и взаимосвязь типов представления формы изделия

Приложение В

(справочное)

Пример визуализации модели на электронном устройстве отображения

Рисунок В.1 - Примеры отображения ПОУ при различной ориентации модели в модельном пространстве

Библиография

[1] ИСО 10303-1-99 Системы автоматизации производства и их интеграция. Представление данных об изделии и обмен этими данными. Часть 1. Общие представления и основополагающие принципы

[2] ИСО 10303-11-2004 Системы автоматизации производства и их интеграция. Представление данных об изделии и обмен этими данными. Часть 11. Методы описания. Справочное руководство по языку EXPRESS

[3] ИСО 10303-42-2003 Системы автоматизации производства и их интеграции. Представление данных об изделии и обмен этими данными. Часть 42. Интегрированные обобщенные ресурсы. Представление геометрии и топологии

[4] ИСО 10303-201-1994 Системы автоматизации производства и их интеграция. Представление данных об изделии и обмен этими данными. Часть 201. Протокол применения. Прямое черчение

[5] ИСО 10303-41-2000 Системы автоматизации производства и их интеграции. Представление данных об изделии и обмен этими данными. Часть 41. Интегрированные обобщенные ресурсы. Основы описания и поддержки изделий

[6] ИСО 10303-43-2000 Системы автоматизации производства и их интеграция. Представление данных об изделии и обмен этими данными. Часть 43. Интегрированные обобщенные ресурсы. Представление структур

[7] ИСО 10303-21-2002 Системы автоматизации производства и их интеграция. Представление данных об изделии и обмен этими данными. Часть 21. Методы реализации. Кодирование открытым текстом структуры обмена

[8] ИСО 10303-22-1998 Системы автоматизации производства и их интеграция. Представление данных об изделии и обмен этими данными. Часть 22. Методы реализации. Стандартный интерфейс доступа к данным

[9] ИСО 13584-1-2001 Системы автоматизации производства и их интеграция. Библиотека деталей. Часть 1. Обзор и основные положения

Ключевые слова: конструкторская документация, электронная модель изделия, электронная модель детали, электронная модель сборочной единицы, электронный макет

 




Яндекс цитирования



   Copyright © 2007-2026,  www.tehlit.ru.

[ ѓосты, стандарты, нормативы, инструкции, правила, строительные нормы ]