//
|
|
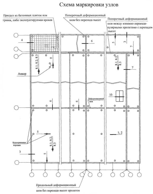
ОАО "ЦНИИПРОМЗДАНИЙ" ГЕРМЕТИЗАЦИЯ КОНСТРУКЦИЙ ЗДАНИЙ И СООРУЖЕНИЙ МАТЕРИАЛАМИ «АБРИС® С» И «АБРИС® Р» Материалы для проектирования и рабочие чертежи узлов Шифр М24.39/05 Москва, 2005 г. Содержание
1. ОБЩИЕ ПОЛОЖЕНИЯ1.1. Альбом содержит материалы для проектирования и рабочие чертежи стыков одно- и трехслойных железобетонных панелей, металлических трехслойных панелей, в т. ч. каркасных и послойной сборки, а также сопряжений стен и кровель к конструкциям зданий, узлов и деталей подземной гидроизоляции и светопрозрачных ограждений с применением неотверждаемых самоклеящихся герметиков «Абрис® С» (ТУ 5772-003-43008408-99) и «Абрис® Р» (ТУ 5775-004-52471462-2003). 1.2. Точность монтажа конструкций должна соответствовать требованиям ГОСТ 21779, а ширина зазора (стыка) - ГОСТ 26607 и быть не менее 10 мм. 1.3. Все сопутствующие материалы (теплоизоляционные вкладыши, защитные краски, уплотнительные прокладки, раствор и др.) должны соответствовать указанным в проекте стандартам или техническим условиям и применяться в соответствии с их рекомендациями. 1.4. Проектирование следует вести с учетом указаний следующих действующих нормативных документов: СНиП 31-01-2003 «Здания жилые многоквартирные»; СНиП 31-05-2003 «Общественные здания административного назначения»; СНиП 31-03-2001 «Производственные здания»; СНиП 2.09.04-87* «Административные и бытовые здания» (изд. 2001); СНиП 2.10.03-84 «Животноводческие, птицеводческие и звероводческие здания и помещения»; СНиП 31-02-2001 «Дома жилые одноквартирные»; СНиП 3.03.01-87 «Несущие и ограждающие конструкции»; СНиП II-26-76 «Кровли. Нормы проектирования». 2. СВОЙСТВА ГЕРМЕТИКОВ И ОБЛАСТИ ИХ ОПРЕДЕЛЕНИЯ2.1. Свойства герметиков, соответствующие требованиям ТУ 5772-003-43008408-99 и ТУ 5775-004-52471462-2003, приведены в табл. 1, а эксплуатационные характеристики герметизирующих лент, полученные по результатам испытаний, в табл. 2,3. Таблица 1
Таблица 2
2.2. Герметики «Абрис®-С» и «Абрис® Р», обладают теплостойкостью, соответственно до плюс 140 °С и 160 °С, могут эксплуатироваться во всех климатических районах России (при температурах до минус 60 °С) и в большинстве своем устойчивы к воздействию ультрафиолетовых лучей. 2.3. Марки герметика отличаются друг от друга отдельными элементами и поэтому имеют разную область применения, характеристика которой приведена в табл. 4. Таблица 4.
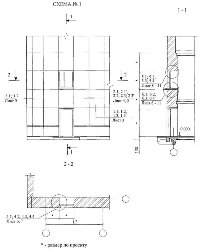
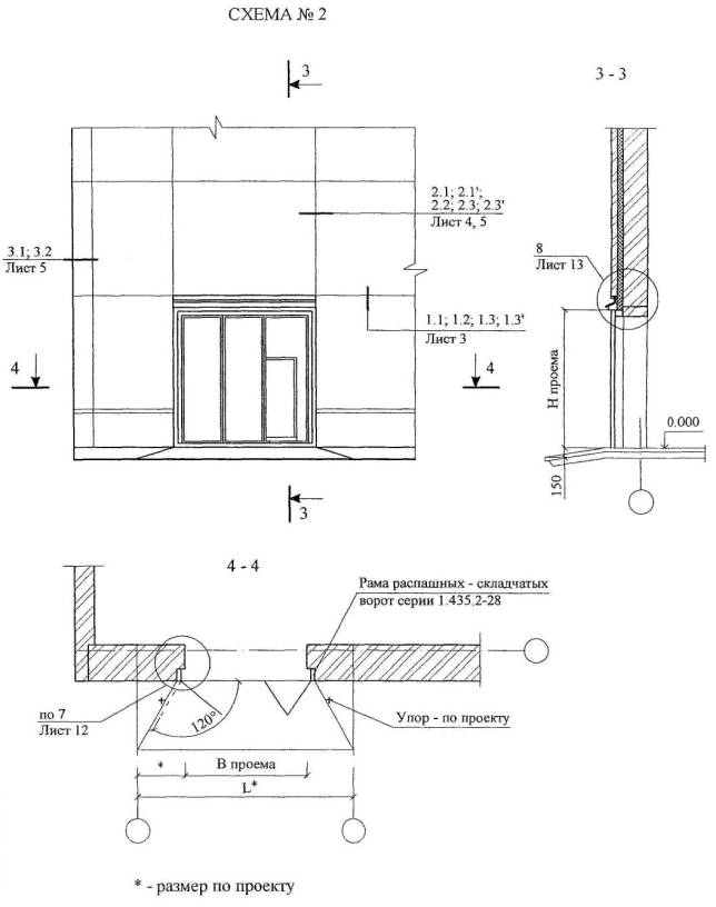
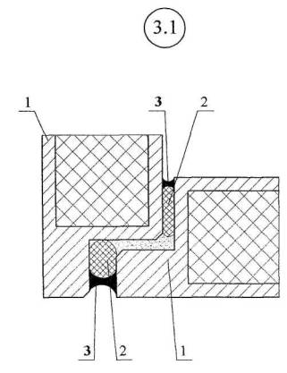
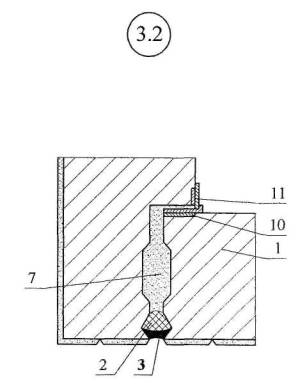
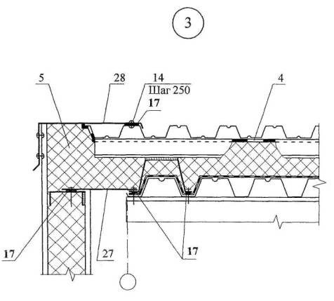
ГЕРМЕТИЗАЦИЯ СТЫКОВ И УЗЛОВ СТЕН 3. СТЕНЫ ИЗ ОДНО- И ТРЕХСЛОЙНЫХ ЖЕЛЕЗОБЕТОННЫХ ПАНЕЛЕЙ3.1. Изоляция стыка между стеновыми панелями должна обеспечивать водо-, тепло-, воздухо- и парозащиту. Элементы стыка показаны на рис. I.
Рис. 1. Элементы стыка 3.2. Защиту от атмосферных осадков обеспечивают герметизацией стыков мастикой и самоклеящейся защитной лентой (см. табл. 3). Вместо защитной ленты могут быть применены окрасочные составы на основе перхлорвиниловой смолы, сополимеров винилхлорида, кремнийорганических соединений или масляные краски с расходом 150 ... 300 г/м2. Необходимые теплозащитные свойства стены в зоне стыков обеспечивают установкой уплотнителей или теплоизоляционных вкладышей. В качестве уплотнителей применяют прокладки резиновые пористые (ПРП) по ГОСТ 19177-81, прокладки пенополиэтиленовые марки «Вилатерм-СМ» по ТУ 2291-002-05794463-97 либо базальтовый теплоизоляционный шнур по ТУ 5769-031-05328981-02. В качестве теплоизоляционных вкладышей применяют плиты теплоизоляционные из минеральной ваты плотностью 125 ... 175 кг/м3 по ГОСТ 9573-82. Воздухозащиту стыка обеспечивают герметизацией мастикой и уплотнительными прокладками. От парообразной влаги, поступающей из помещения, стыки предохраняют герметизирующей мастикой и самоклеящейся лентой (см. табл. 3 позиция 7... 11). 3.3. Изоляция стыка однослойных железобетонных панелей состоит из уплотняющих прокладок с наружной и внутренней поверхности стены из мастики-герметика с наружной и уплотнителя с внутренней стороны. 3.4. Изоляция стыка между трехслойными железобетонными панелями состоит из мастики с наружной стороны, теплоизоляционного вкладыша в средней зоне и уплотняющих прокладок с внутренней стороны по горизонтальному стыку и по сопряжению панелей с колонной. 3.5. При влажном и мокром температурно-влажностном режимах помещений стыки следует дополнительно герметизировать со стороны помещения. 3.6. В горизонтальных стыках трехслойных панелей уплотнительная прокладка располагается в двух уровнях. Снаружи стыки герметизируют мастикой «Абрис® С-Б» или «Абрис® Рс», или лентой «Абрис® С-ЛТ» с окрасочным слоем. 3.7. С наружной стороны зазор между дверной или оконной коробкой и стеной герметизируют мастикой - герметиком, а зазор между наличником, коробкой и стеной - герметизирующей лентой. 3.8. Сопряжение железобетонных панелей с перекрытием и их угловое сопряжение изолируют уплотнительной уплотнительной прокладкой и герметизирующей мастикой. 4. СТЕНЫ ИЗ МЕТАЛЛИЧЕСКИХ ТРЕХСЛОЙНЫХ ПАНЕЛЕЙ4.1. Изоляция вертикального стыка панелей при вертикальной разрезке фасада включает уплотнительную прокладку, пароизоляционную полосу с внутренней стороны стыка и мастику-герметик с наружной стороны. 4.2. При вертикальной разрезке фасада горизонтальный стык панелей включает те же элементы, что и вертикальный при горизонтальной разрезке, но с нащельником в виде капельника с дополнительной герметизацией в верхней его части. Изоляция другого варианта гидроизоляционного стыка обеспечивается герметизирующими мастикой и шнуром. 4.3. Сопряжение металлических панелей с цоколем здания зависит от разрезки фасада: при горизонтальной разрезке стык усиливают герметиком-шнуром прокладкой, а при вертикальной разрезке - шнуром или диффузионной лентой. 4.4. Изоляцию углового сопряжения стены обеспечивают герметизирующим шнуром и доборным металлическим элементом, а сопряжение стены с дверной коробкой (оконным блоком) изолируют теплоизоляционным вкладышем, герметизирующей и диффузионной лентой. 5. СТЕНЫ ИЗ КАРКАСНЫХ ПАНЕЛЕЙ5.1. Стыки металлических каркасных панелей решаются также с применением герметизирующих шнуров, мастики и доборных металлических элементов. 5.2. Стыки металлических панелей послойной сборки аналогичны стыкам стен из каркасных панелей, так как панели послойной сборки включают такие же элементы, как и каркасные; отличие состоит лишь в монтаже панелей: каркасные панели в готовом виде поставляются на строительную площадку, а при послойной сборке - монтируют на месте из отдельных элементов либо после предварительной укрупнительной сборки. 5.3. Панели с применением асбестоцементных листов в настоящее время применяются редко. Изоляция существующих панелей при их ремонте включают уплотняющую прокладку в средней части, мастику - герметик с наружной стороны, металлический слив в поперечных (горизонтальных) и нащельник в продольных стыках. 6. КРОВЛИ ИЗ БИТУМИНОЗНЫХ И ПОЛИМЕРНЫХ МАТЕРИАЛОВ6.1. Для обеспечения водонепроницаемости кровель в местах стыков (нахлесток) и сопряжения с различными конструкциями здания применяют в основном герметики-мастики и самоклеящиеся ленты. При устройстве воронки внутреннего водостока герметизируют сопряжение прижимного фланца воронки с кровельным ковром, а на монопанели -дополнительного ковра с основным. 6.2. Водонепроницаемость кровли на примыкании к стене или трубе обеспечивают герметиком - мастикой и герметизирующей лентой. Примыкание кровли к трубе может быть изолировано герметиком - мастикой, заполняющей пространство между трубой и металлической рамкой. 7. КРОВЛИ ИЗ ШТУЧНЫХ МАТЕРИАЛОВ И ЛОТКОВЫХ ПАНЕЛЕЙ7.1. Водонепроницаемость кровель из штучных материалов (черепицы, в т.ч. металлической и битумной, волнистых асбестоцементных и битумных листов) обеспечивается большими (не менее 20 %) уклонами, а также минимальным количеством выступающих над кровлей конструкций. Примыкание кровли, например из металлочерепицы, к таким конструкциям выполняют с применением битуминозных рулонных материалов, защитного металлического фартука и герметика. 7.2. При устройстве кровель, например из волокнистых асбестоцементных или металлических профилированных листов, на уклонах от 20 до 30 % их продольные и поперечные стыки (нахлестки) герметизируют мастикой «Абрис® Ру», лентой «Абрис® С-ЛБ» или «Абрис® С-ЛБ из.» толщиной 2 ... 3 мм. 7.3. На примыканиях кровель, например, из металлических профилированных листов или ему подобных материалов, к выступающим над нею конструкциям, необходима герметизация сопряжений и нахлесток. 7.4. Водонепроницаемость фланцевых соединений кровли из оцинкованной стали или меди усиливают наклейкой герметизирующей ленты к внутренней поверхности фланца при его устройстве; при ремонте фальцев, которые в процессе эксплуатации могут «ослабнуть» и пропускать воду, их герметизируют также наклейкой ленты на наружную поверхность, а примыкание к стенам усиливают герметиком - мастикой. 7.5. Водонепроницаемость узлов сопряжения кровельных лотковых панелей между собой и с водосборным лотком выполняют герметизирующим шнуром или лентой. 8. ГЕРМЕТИЗАЦИЯ ДЕТАЛЕЙ И УЗЛОВ ПОДЗЕМНОЙ ГИДРОИЗОЛЯЦИИ8.1. При проектировании и устройстве подземной гидроизоляции особое внимание уделяют узлам и деталям прохода через нее элементов технологического оборудования, деформационных швов и т.п. 8.2. Для обеспечения водонепроницаемости деталей гидроизоляции применяют герметизирующую мастику и липкую ленту. 9. ВЫПОЛНЕНИЕ ГЕРМЕТИЗАЦИИ, КОНРОЛЬ КАЧЕСТВА И ПРИЕМКА РАБОТ9.1. Применяемые материалы должны храниться в соответствии с требованиями стандартов или технических условий и с соблюдением правил пожарной безопасности, в закрытом помещении, предохраняющем их от атмосферных осадков, воздействия солнечных лучей и механических повреждений, в заводской упаковке при температуре от 0 до + 30 °С и относительной влажности воздуха от 50 до 85 % на расстоянии не менее 1 м от отопительных приборов. 9.2. Работы по герметизации должны выполняться специально обученными рабочими, имеющими удостоверения, устанавливающие их квалификацию. Герметизация должна систематически контролироваться и фиксироваться в актах на скрытые работы. 9.3. Технологический процесс уплотнения и герметизации стыков включает следующие основные операции: - грунтовка поверхностей стыка праймером «Абрис® Рп»; - подготовка поверхности стыка или проема к монтируемой конструкции (оконной или дверной рамы); - заготовка уплотнительных прокладок (лент) или теплоизоляционных вкладышей по размерам; - уплотнение стыков прокладками, теплоизоляцию их вкладышами, нанесение герметизирующей мастики или самоклеящейся ленты; - закрепление сливов и нащельников. 9.4. Внутренние поверхности стыка или проема и внешние поверхности монтируемой конструкции (рамы, коробки) следует очистить от наплывов раствора, пыли или грязи, используя металлическую щетку, ветошь, губку или любой обтирочный материал. Масляные поверхности обезжиривают, в зимний период поверхности очищают от снега, льда или инея и просушивают. Места поврежденных кромок панелей следует исправлять полимерцементным раствором. 9.5. При повышенной влажности и запыленности для обеспечения надежного сцепления уплотнителя или герметика с кромками смежных панелей кромки грунтуют составом марки «Абрис® Рп» вручную кистью. 9.6. Уплотняющие прокладки типа ПРП и «Вилатерм-СМ» вводят в стык, как правило, насухо специальным приспособлением или закругленной деревянной лопаткой; прокладка должна быть обжата на 25 - 50 %. Прокладки соединяют «на ус» на расстоянии не менее 40 см от места пересечения вертикального и горизонтального стыков. В месте пересечения стыков прокладку в вертикальном стыке располагают ближе к фасадной поверхности. Прокладки из эластичного пенополиуретана или пенорезины приклеивают; на строительную площадку могут поступать панели с приклеенными прокладками. 9.7. Теплоизоляционные вкладыши из минераловатной плиты устанавливают до или после монтажа очередной панели в специальной полости. 9.8. Мастику-герметик «Абрис® С-Б» вводят в стык электро- или пневмогерметизатором, не допуская разрывов и наплывов в шве, «Абрис® Рс» - вручную шпателем, «Абрис® Ру» - кистью, шпателем или пневматическим распылителем. Мастики при необходимости разбавляют бензином. 9.9. При отделке откосов проема (оконного или дверного) штукатурным раствором в качестве пароизоляционной ленты используют самоклеящуюся ленту, дублированную нетканым полотном (Абрис® С-ЛТ н.п.); ленту крепят монтажной полоской (расположенной на поверхности с нетканым полотном и защищенной антиадгезионной ленточкой) к наружной поверхности рамы (коробки) с внутренней стороны по вертикали и потолочной горизонтали так, чтобы внутренний край клеящего слоя совпал с внутренней гранью рамы; антиадгезионная лента, защищающая бутилкаучуковый клей не снимается для удобства последующих операций. При «сухой» отделке откосов используют пароизоляционную ленту «Абрис® С-ЛТ дуб.», «Абрис® С-ЛТ баз.д.» или «Абрис® С-Лт м.». 9.10. При температуре окружающей среды ниже 0 °С ленты следует выдержать при температуре не ниже 20 °С не менее суток. 9.11. Диффузионную (паропроницаемую) ленту под слив приклеивают к нижнему профилю рамы после закрепления конструкции в проеме. При наклеивании герметизирующих лент на стыки нельзя вытягивать их. Наклеивать и прикатывать ленту следует так, чтобы поверхность ленты была ровной, без складок, вздутий и воздушных пузырей. 9.12. В технологии монтажа светопрозрачных конструкций этап заполнения полости стыка пеной является наиболее ответственным, т.к. от него зависят теплоизоляционные качества стыка. При положительных температурах внутреннюю поверхность стыка следует увлажнить, затем наносят пену по всему периметру проема слоем толщиной 35 ... 40 мм; при значительной глубине и ширине стыков пену следует вносить послойно с временным интервалом не менее 10 мин и с повторным увлажнением. Затем с пароизоляционных лент снимают защитные полосы и приклеивают их. Важным является плотное крепление ленты к поверхности откоса, что достигается применением специального прижимного ролика или шпателя. Уплотнение лент по углам проема выполняют внахлест горизонтальных лент на вертикальные. 9.13. Металлические сливы и нащельники крепят к закладным элементам самонарезающими винтами, между собой - комбинированными заклепками, а к деревянным рамам (блокам) шурупами. 9.14. Все работы, связанные с устройством изоляции стыков, допускается производить при температуре наружного воздуха не ниже минус 20 °С и не выше 40 °С. Не допускается производить работы во время дождя, снегопада, а также при мокрых кромках панелей. 9.15. При производстве работ внутри помещения должна использоваться вентиляция, обеспечивающая предельно допустимую концентрацию вредных веществ на удалении до 1 м от места непосредственного выполнения работ, а также относительную влажность воздуха не более 70 %. 9.16. Качество работ систематически пооперационно контролируется инженерно-техническим персоналом и строительной лабораторией. 9.17. При контроле качества работ проверяют: - качество подготовки поверхности кромок в стыках; - качество приклеивания ленты (см. п. 9.9); - качество укладки уплотнительных прокладок и нанесения монтажной пены. Выявленные дефекты устраняются до приемки работ. 9.18. Контроль адгезии (сцепления) с кромками стыков выполняется с помощью металлического шпателя или ножа, которым край ленты подрезается и отделяется от кромок: при удовлетворительном сцеплении происходит разрыв по ленте без отслоения от кромок. 9.19. Приемку выполненных работ следует сопровождать осмотром всех уплотненных и загерметизированных стыков с выборочным контрольным замером. 9.20. По завершении приемки стыков составляется акт, который должен быть подписан представителями строительной и эксплуатирующей организациями. 10. ТЕХНИКА БЕЗОПАСНОСТИ ПРИ ПРОИЗВОДСТВЕ РАБОТ10.1. При производстве работ по изоляции стыков должны соблюдать требования СНиП III-4-80* «Техника безопасности в строительстве», ГОСТ 12.3.040-86 «ССБТ. Строительство. Работы кровельные и гидроизоляционные. Требования безопасности». «Правил пожарной безопасности при производстве строительно-монтажных работ», утвержденных МВД СССР от 26.02.86 г.). 10.2. Рабочие, выполняющие изоляционные работы, должны: - быть обучены безопасным приемам выполнения технологических операций; - быть проинструктированы о свойствах материалов и мерах пожарной безопасности; - иметь наряд-допуск на производство этих работ, а до их начала быть проинструктированы по технике безопасности на рабочем месте. 10.3. До начала работ должны быть проверены заземление корпуса электрошкафа, исправность его терморегулятора и изоляции проводов. 10.4. Электрооборудование будки изолировщиков должно быть заземлено, включать и выключать его разрешение только дежурному электрику. 10.5. Хранение материалов и тары из-под них допускается в помещениях, безопасных в пожарном отношении и имеющих вентиляцию. Тара, в которой транспортируются и хранятся материалы, должна плотно закрываться. 10.6. Изолировщики должны быть обеспечены спецодеждой из брезента, рукавицами, резиновыми перчатками, профилактическими мазями. РАЗДЕЛ 1
| ||||||||||||||||||||||||||||||||||||||||||||||||||||||||||||||||||||||||||||||||||||||||||||||||||||||||||||||||||||||||||||||||||||||||||||||||||||||||||||||||||||||||||||||||||||||||||||||||||||||||||||||||||||||||||||||||||||||||||||||||||||||||||||||||||||||||||||||||||||||||||||||||||||||||||||||||||||||||||||||||||||||||||||||||||||||||||||||||||||||||||||||||||||||||||||||||||||||||||||||||||||||||||||||||||||||||||||||||||||||||||||||||||||||||||||||||||||||||||||||||||||||||||||||||||||||||||||||||||||||||||||||||||||||||||||||||||||||||||||||||||||||||||||||||||||||||||||||||||||||||||||||||||||||||||||||||||||||||||||||||||||||||||||||||||||||||||||||||||||||||||||||||||||||||||||||||||||||||||||||||||||||||||||||||||||||||||||||||
|
№ поз. |
Наименование |
№ поз. |
Наименование |
|
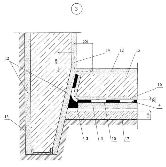
1 |
Наружные стеновые панели |
25 |
Слив |
|
2 |
Уплотнитель «Велатерм СМ» |
26 |
Шуруп ГОСТ 1144-80 |
|
3 |
Мастика Абрис® С-Б, Абрис® Рс, шнур Абрис® C-Ш или лента Абрис® С-ЛТнп с окрасочным слоем |
27 |
Гвоздь Æ 6 мм через 600 мм, но не менее 2 шт на проем |
|
4 |
Раствор |
28 |
Доска, пропитанная антипиреном |
|
5 |
Теплоизоляционный вкладыш |
29 |
Стеклопакет |
|
6 |
Панель перекрытия |
30 |
Переплет |
|
7 |
Бетон |
31 |
Опорная прокладка |
|
8 |
Герметизирующая лента Абрис® С-ЛТнп |
32 |
Фиксирующая боковая прокладка |
|
9 |
Лента Абрис® С-ЛТнп или Абрис® С-ЛТ баз. |
33 |
Герметизирующая лента Абрис® С-ЛТм, Абрис® ЛТф или Абрис® ЛТнп |
|
10 |
Закладные детали |
34 |
Резиновый профиль |
|
11 |
Накладки монтажные |
35 |
Резиновый уплотнитель |
|
12 |
Пена строительная |
36 |
Подоконник по проекту |
|
13 |
Лента Абрис С-ЛТнп |
37 |
Дюбель из полиамида ТУ 36-941-79 |
|
14 |
Дюбель HPS-1, «Хилти», Æ 6 или 8 |
38 |
Костыль |
|
15 |
Пластина 6´40, скрепленная с окном |
39 |
Профильное стекло |
|
16 |
Штукатурный слой внутреннего откоса |
40 |
Штапик |
|
16а |
Армирующая сетка |
41 |
Герметизирующая лента Абрис® С-ЛТм |
|
17 |
Лента Абрис® С-ЛТнп или Абрис® С-ЛТдуб. |
42 |
Обвязка |
|
18 |
Лента Абрис® С-ЛТдиф или шнур Абрис® С-Ш |
43 |
Резиновая накладка |
|
19 |
Нащельник |
44 |
Мастика Абрис® С-Б, Абрис® Рс или Абрис® Ру |
|
20 |
Штукатурный слой наружного откоса с фаской |
45 |
Стальные уголки |
|
21 |
Профильное стекло |
46 |
Рама и полотно распашных складчатых ворот серии 1.435-28 |
|
22 |
Штапик |
47 |
Наличник деревянный |
|
23 |
Теплоизоляция панели |
48 |
Стальная планка для крепления ворот, см. серию 1.435-28 |
|
24 |
Анкер |
49 |
Прокладка уплотнительная из пенорезины 8´8 мм по ТУ 38-406316-87 |
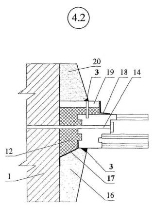
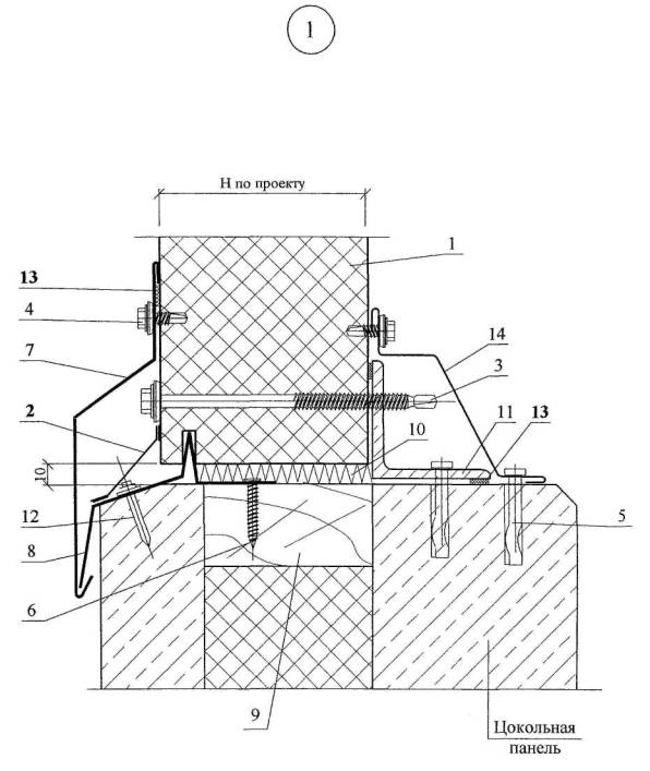
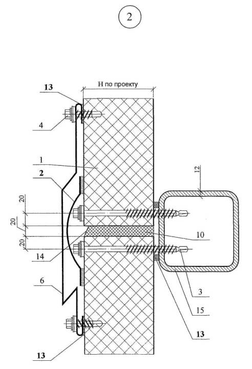
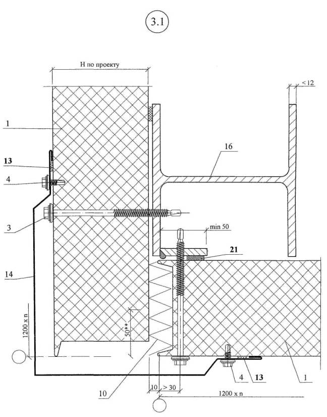
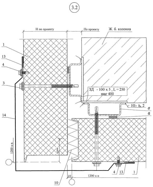
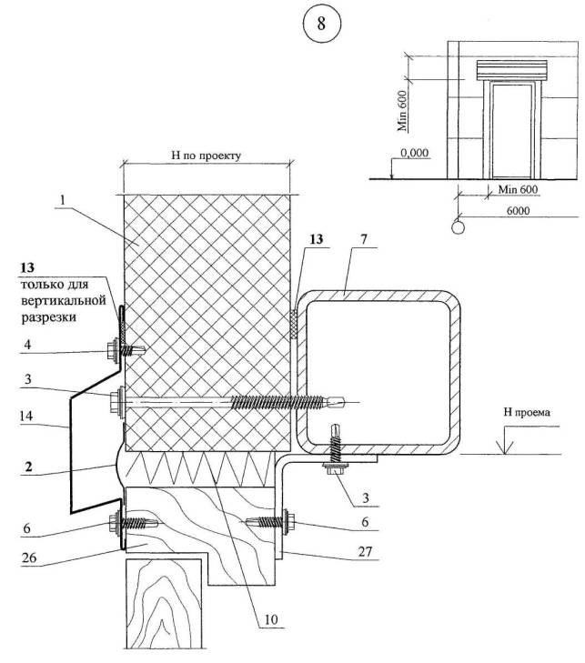
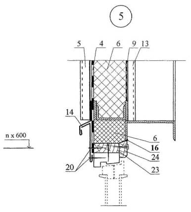
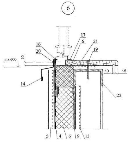
Стены из одно- и трехслойных железобетонных панелей
Схема 1-2
Узел 1-8

























Экспликация материалов и деталей к узлам стен из металлических трехслойных панелей
|
№ поз. |
Наименование |
№ поз. |
Наименование |
|
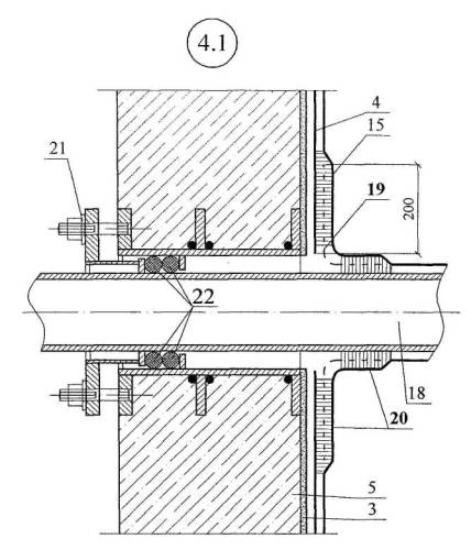
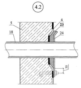
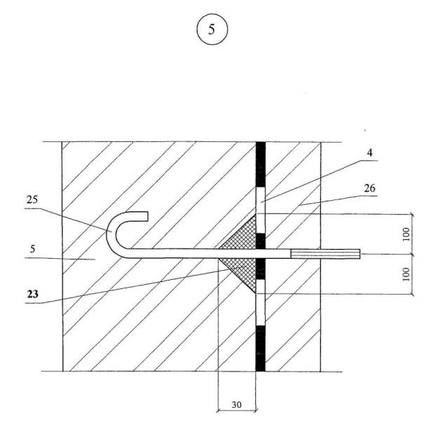
1 |
Панель |
17 |
Фанера толщиной 14 мм |
|
2 |
Диффузионная пленка Абрис® С-ЛТдиф. или Абрис® С-ЛТнп |
18 |
Слив из оцинкованной стали |
|
3 |
Самосверлящий винт SDT |
19 |
Скоба из оцинкованной полосы |
|
4 |
Самосверлящий винт SL |
20 |
Фартук из оцинкованной стали |
|
5 |
Анкер пружинный |
21 |
Уплотнительная прокладка Абрис® С-ЛТиз |
|
6 |
Шуруп |
22 |
Мастика-герметик Абрис® С-Б, Абрис® Рс, лента Абрис® С-ЛТнп с окрасочным слоем |
|
7 |
Доборный элемент |
23 |
Лента Абрис® С-ЛТнп |
|
8 |
Полоса из оцинкованной стали |
24 |
Доска |
|
9 |
Пробка деревянная |
25 |
Костыль через 600 мм |
|
10 |
Теплоизоляция |
26 |
Дверной блок |
|
11 |
Стальной уголок |
27 |
Гнутый уголок |
|
12 |
Дюбель |
28 |
Стальной элемент несущей конструкции |
|
13 |
Шнур Абрис® С-Ш, лента Абрис® С-ЛБ или Абрис® С-ЛБиз |
29 |
Скоба оцинкованная |
|
14 |
Оцинкованный доборный элемент с полимерным покрытием |
30 |
Оконный блок |
|
15 |
Ригель фахверка |
31 |
Набор прокладок по месту |
|
16 |
Стальная колонка |
|
|
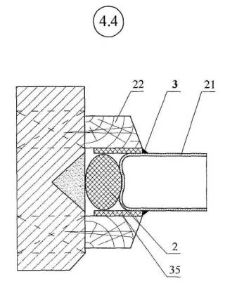
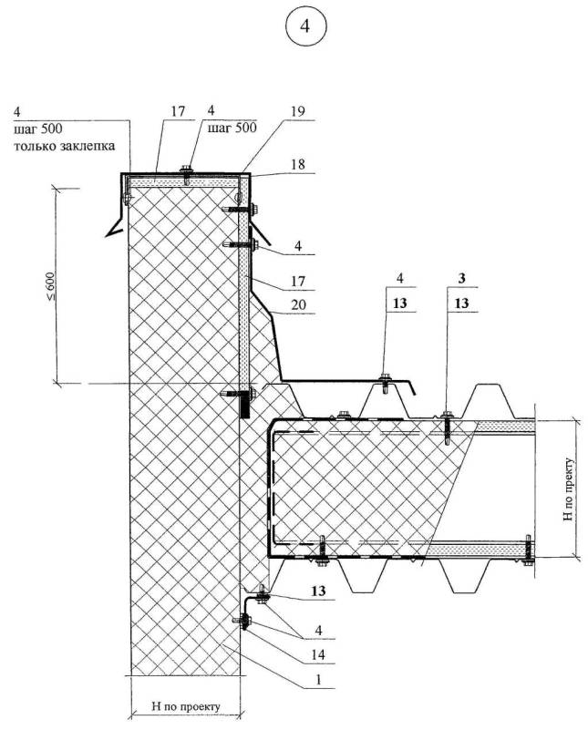
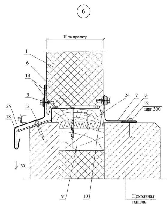
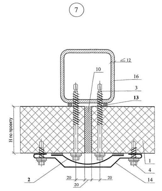
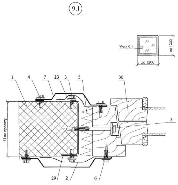
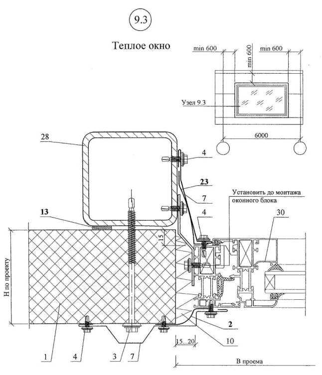
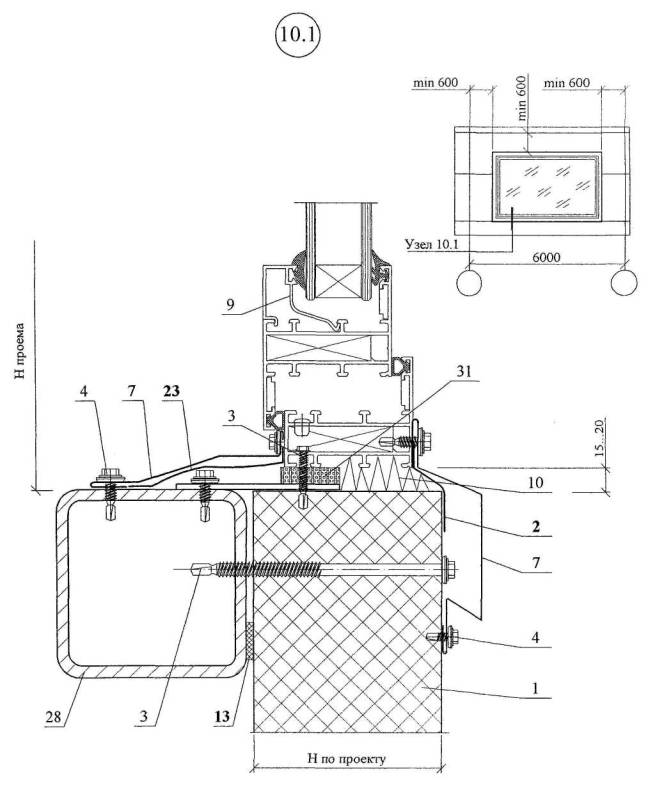
Стены из металлических трехслойных панелей
Схема 1 – 4
Узел 1 - 10



















Экспликация материалов и деталей к узлам стен из каркасных панелей
|
№ поз. |
Наименование |
№ поз. |
Наименование |
|
1 |
Панель стеновая |
16 |
Мастика-герметик Абрис® С-Б, Абрис® Рс с защитным слоем, шнур Абрис® С-ЛТнп |
|
2 |
Цоколь |
17 |
Лента Абрис® С-ЛТнп, Абрис® С-ЛТм |
|
3 |
Рама и полотно ворот по серии 1.435-28 |
18 |
Элемент крепления окна |
|
4 |
Пленка «Тайвек» |
19 |
Болт М16´50 с шагом 600 мм |
|
5 |
Наружная обшивка из оцинкованного стального профлиста |
20 |
Шуруп |
|
6 |
Утеплитель |
21 |
Подоконник |
|
7 |
Каркас панели |
22 |
Ригель |
|
8 |
Угловой нащельник |
23 |
Антисептированный брусок 40´130 |
|
9 |
Пароизоляция |
24 |
Антисептированный брусок 40´120 |
|
10 |
Лента Абрис® С-ЛТнп |
25 |
Термовкладыш из бакелизированной фанеры |
|
11 |
Заклепка |
26 |
Асбестоцементный лист |
|
12 |
Шнур Абрис® С-Ш или Лента Абрис® С-ЛБ, Абрис® С-ЛБиз |
27 |
Каркасная панель с обшивками из асбестоцементных листов |
|
13 |
Внутренняя обшивка |
28 |
Самонарезающий винт |
|
14 |
Слив из оцинкованной стали |
29 |
Уплотнитель «Велатерм СМ» |
|
15 |
Костыль |
30 |
Нащельник |
Стены из каркасных панелей
Схема 1 – 2
Узел 1 - 11












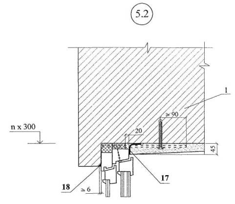
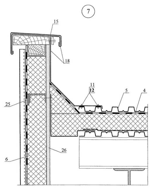
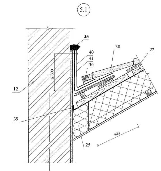
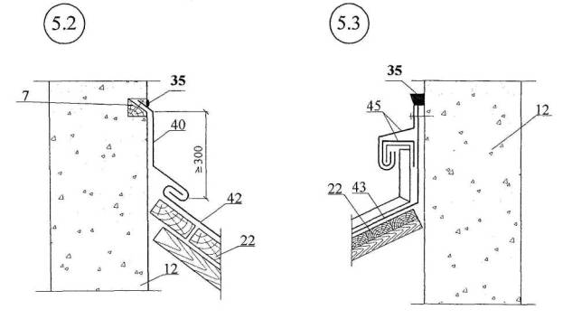
Экспликация материалов и деталей к узлам кровель из битуминозных и полимерных материалов
|
№ поз. |
Наименование |
№ поз. |
Наименование |
|
1 |
Неармированная пленка |
25 |
Прижимной фланец |
|
2 |
Самоклеющаяся лента Абрис® С-ЛБ, мастика Абрис® Ру |
26 |
Колпак воронки |
|
3 |
Мастика Абрис® Ру |
27 |
Компенсатор |
|
4 |
Основание под кровлю |
28 |
Стенка шва |
|
5 |
Геотекстиль |
29 |
Дополнительная пароизоляция |
|
6 |
Пригруз |
30 |
Стальной стакан с фланцем |
|
7 |
Армированная пленка |
31 |
Труба |
|
8 |
Герметик-мастика Абрис® Рс, Абрис® С-Б или Абрис® Ру |
32 |
Рамка из уголка 30´30 мм |
|
9 |
Парапет (стена) |
33 |
Гибкая (битумная) черепица |
|
10 |
Уплотнитель 2ПРП-40К |
34 |
Деревянный настил |
|
11 |
Легкий бетон |
35 |
Кирпичная труба |
|
12 |
Бортик |
36 |
Крепление ветрозащитной пленки лентой Абрис С-ЛБ |
|
13 |
Мастика Абрис® С-Б, Абрис® Ру, Абрис® Рс |
37 |
Разжелобок |
|
14 |
Защитный фартук |
38 |
Металлическая планка примыкания |
|
15 |
Полоса стальная 4´40 мм |
38а |
Ендовный ковер |
|
16 |
Дюбель ДГ3,7´70Ц6 |
39 |
Анкер |
|
17 |
Сварка в кровле из полимерной (термопластичной) пленки |
40 |
Стеклопакет |
|
18 |
Дополнительный слой ковра |
41 |
Защитная стенка |
|
19 |
Пригруз из бетонных плиток на растворе или эксплуатируемая кровля |
42 |
Нащельник |
|
20 |
Патрубок с фланцем |
43 |
Резиновая прокладка |
|
21 |
Хомут |
44 |
Упорный элемент |
|
22 |
Минеральная вата |
45 |
Лента Абрис® С-ЛТм |
|
23 |
Опора из легкого бетона |
46 |
Опорный контур |
|
24 |
Местное понижение воронки |
47 |
Фасонная резиновая деталь |
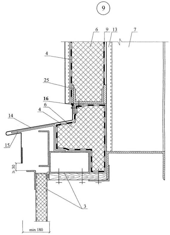
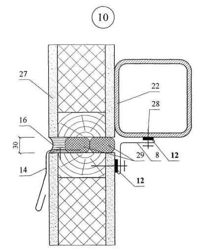
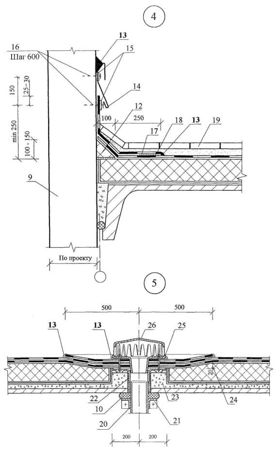
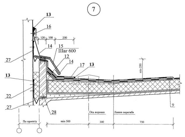
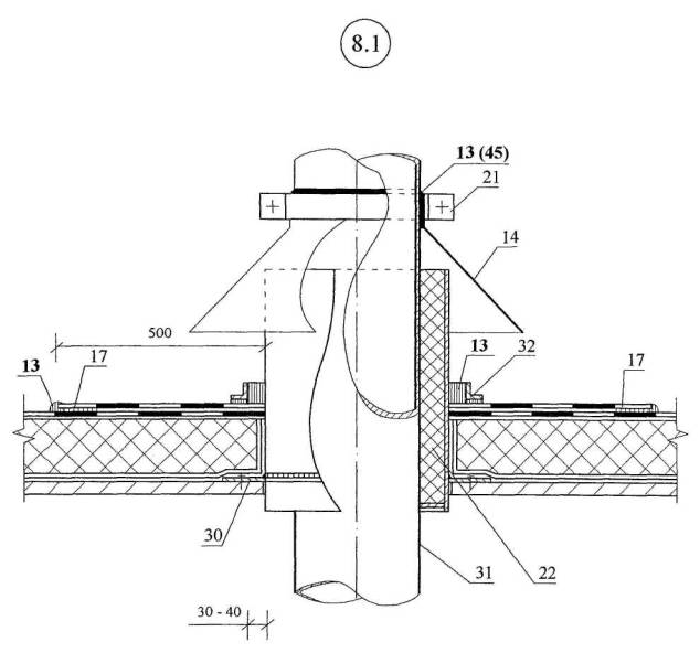
Кровли из битуминозных - и полимерных рулонных материалов
Узел 1...10












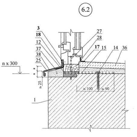
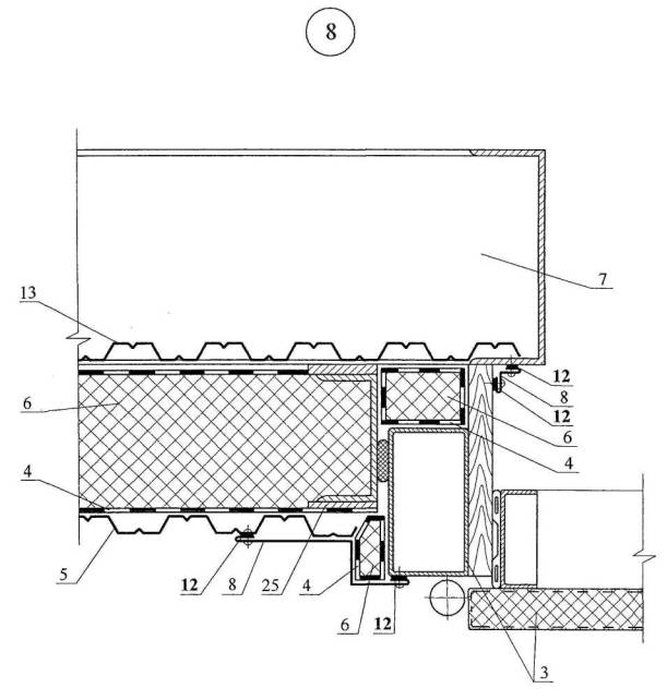
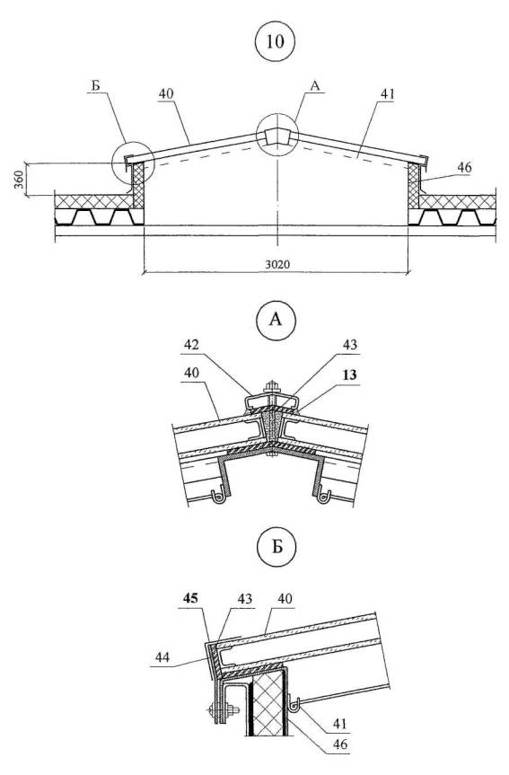
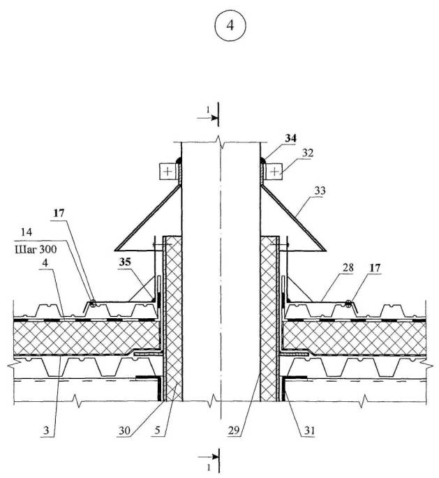
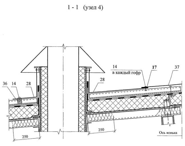
Экспликация материалов и деталей к узлам кровли из штучных материалов
|
№ поз. |
Наименование |
№ поз. |
Наименование |
|
1 |
Несущий стальной профилированный настил |
24 |
Лента Абрис® С-ЛТнп, Абрис® С-ЛТм |
|
2 |
Стальной профилированный настил |
25 |
Заглушка из минераловатного мата |
|
3 |
Пароизоляция |
26 |
Стальная гребенка по форме профлиста |
|
4 |
Ветрозащита из пленки «Тайвек» |
27 |
Оцинкованная сталь d = 0,8 мм |
|
5 |
Теплоизоляция |
28 |
Защитный фартук из оцинкованной стали d = 0,8 мм |
|
6 |
Термовкладыш из бакелизированной фанеры |
29 |
Труба |
|
7 |
Опорный элемент из стали d = 3 мм |
30 |
Стальной квадратный стакан с фланцем |
|
8 |
Элемент жесткости d = 2 мм |
31 |
Дополнительные прогоны |
|
9 |
Дистанционный прогон |
32 |
Хомут |
|
10 |
Шайба стальная |
33 |
Зонт из оцинкованной стали |
|
11 |
Герметизирующая лента Абрис® С-ЛБ, Абрис® С-ЛБиз. или шнур Абрис® С-Ш |
34 |
Лента Абрис® С-ЛТф или Абрис® С-ЛТм, Абрис® Рс |
|
12 |
Парапет (стена) |
35 |
Мастика Абрис® С-Б, Абрис® Рс или шнур Абрис® С-Ш с окрасочным слоем |
|
13 |
Винт самонарезающий |
36 |
Гребенчатый уплотнитель из пористой резины |
|
14 |
Заклепка комбинированная |
37 |
Коньковый защитный фартук |
|
15 |
Винт самонарезающий |
38 |
Металлочерепица |
|
16 |
Шайба неопреновая |
39 |
Крепление ветрозащитной пленки двухсторонней лентой Абрис® С-ЛБ |
|
17 |
Лента Абрис® С-ЛБ, Абрис® С-ЛБиз |
40 |
Металлическая деталь (фартук) |
|
18 |
Кровельная панель |
41 |
Битуминозный самоклеящийся материал |
|
19 |
П-образный нащельник |
42 |
Кровля из оцинкованной стали |
|
20 |
Шнур Абрис® С-Ш, Абрис® С-ЛБиз |
43 |
Подкладочный слой |
|
21 |
Водосборный лоток |
44 |
Стоячий фальц медной кровли |
|
22 |
Обрешетка (настил) |
45 |
Фартук из медного листа |
|
23 |
Кровля из оцинкованной стали или меди |
|
|
Кровля из штучных материалов.
Схема маркировки узлов.










Экспликация материалов и деталей к узлам подземной гидроизоляции
|
№ поз. |
Наименование |
№ поз. |
Наименование |
|
1 |
Подготовка из бетона |
15 |
Днище опускного колодца |
|
2 |
Мастика Абрис® С-Б, Абрис® Рс |
16 |
Защитная стяжка из раствора |
|
3 |
Цементно-песчаная стяжка |
17 |
Бетонная подготовка |
|
4 |
Битумная гидроизоляция |
18 |
Трубопровод |
|
5 |
Изолируемая конструкция |
19 |
Лента Абрис® С-ЛТнп |
|
6 |
Армированный слой битумно-полимерной мастики |
20 |
Гидроизоляция трубопровода Абрис С-ЛТПВХ |
|
7 |
Уплотнитель - жгут «Велатерм СМ» |
21 |
Нажимной сальник |
|
8 |
Зачеканка раствором |
22 |
Уплотняющая набивка |
|
9 |
Пенопласт или пенополиуретан |
23 |
Мастика Абрис® С-Б, Абрис® Рс |
|
10 |
Грунтовка |
24 |
Металлическая шайба |
|
11 |
Защитный слой из пленки «Тефонд HP» |
25 |
Анкер |
|
12 |
Компенсатор из стали |
26 |
Защитная стенка |
|
12 |
Торкрет |
|
|
|
13 |
Нож опускного колодца |
|
|
|
14 |
Армированный слой |
|
|
Подземная гидроизоляция
Узел 1...5






|
|
|
|