//
ТехЛит.ру
- крупнейшая бесплатная электронная интернет библиотека для "технически умных" людей.
WWW.TEHLIT.RU - ТЕХНИЧЕСКАЯ ЛИТЕРАТУРА

:: Алготрейдинг::


АЛГОТРЕЙДИНГ
шаг за шагом
с нуля по урокам!

Торговые роботы на PYTHON, BackTrader,
Pandas, Pine Script для TradingView. Связка с брокерами, телеграм и легкими приложениями.


МИНИСТЕРСТВО ВНУТРЕННИХ ДЕЛ РОССИЙСКОЙ ФЕДЕРАЦИИ

ГОСУДАРСТВЕННАЯ ПРОТИВОПОЖАРНАЯ СЛУЖБА

 

НОРМЫ ПОЖАРНОЙ БЕЗОПАСНОСТИ

 

Кабели и провода электрические.
Показатели пожарной опасности.
Методы испытаний

 

НПБ 248-97

 

 

МОСКВА 1998

 

Разработаны Всероссийским научно-исследовательским институтом противопожарной обороны (ВНИИПО) МВД России.

Внесены ВНИИПО МВД России.

Подготовлены к утверждению отделом организации государственного пожарного надзора и нормативно-техническим отделом Главного управления Государственной противопожарной службы (ГУГПС) МВД России.

Согласованы письмом Министерства топлива и энергетики Российской Федерации от 11 сентября 1997 г. № 05-07-07/29-505.

Введены в действие приказом ГУГПС МВД России от 25 ноября 1997 г. № 74.

Дата введения в действие 1 января 1998 г.

 

 

МИНИСТЕРСТВО ВНУТРЕННИХ ДЕЛ РОССИЙСКОЙ ФЕДЕРАЦИИ

ГОСУДАРСТВЕННАЯ ПРОТИВОПОЖАРНАЯ СЛУЖБА

 

НОРМЫ ПОЖАРНОЙ БЕЗОПАСНОСТИ

 

КАБЕЛИ И ПРОВОДА ЭЛЕКТРИЧЕСКИЕ.
ПОКАЗАТЕЛИ ПОЖАРНОЙ ОПАСНОСТИ.
Методы
испытаний

Сables and wires electrical. Indexces of fire hazard.
Test procedures

НПБ 248-97

 

Дата введения 01.01.98 г.

1. ОБЛАСТЬ ПРИМЕНЕНИЯ

1.1. Настоящие нормы устанавливают общие требования пожарной безопасности и методы испытаний электрических кабелей и проводов.

1.2. Настоящие нормы распространяются на кабели и провода напряжением до 35 кВ, предназначенные для прокладки в кабельных сооружениях и помещениях.

1.3. Требования настоящих норм являются обязательными для всех юридических и физических лиц, осуществляющих свою деятельность на территории Российской Федерации, независимо от их форм собственности и ведомственной подчиненности.

1.4. Настоящие нормы должны применяться: при постановке кабелей и проводов на производство (определение токовременных характеристик пожарной опасности проводят при квалификационных испытаниях); при разработке международных, межгосударственных стандартов и государственных стандартов Российской Федерации, стандартов научно-технических и инженерных обществ, отраслевых стандартов, стандартов предприятий, технических условий, технологической документации, норм, правил и других нормативных документов; при проведении сертификационных испытаний.

1.5. Настоящие нормы не распространяются на кабели и провода, предназначенные для прокладки под водой, а также на маслонаполненные, газонаполненные, обмоточные и неизолированные кабели и провода.

2. НОРМАТИВНЫЕ ССЫЛКИ

ГОСТ 12.1.004-91 ССБТ. Пожарная безопасность. Общие требования.

ГОСТ 12.1.005-88 ССБТ. Общие санитарно-гигиенические требования к воздуху рабочей зоны.

ГОСТ 12.1.019-79 ССБТ. Электробезопасность. Общие требования и номенклатура видов защиты.

ГОСТ 12.1.044-89 Пожаровзрывобезопасность веществ и материалов. Номенклатура показателей и методы их определения.

ГОСТ 464-79 Заземления для стационарных установок проводной связи, радиорелейных станций, радиотрансляционных узлов проводного вещания и антенн систем коллективного приема телевидения. Нормы сопротивления.

ГОСТ 10345.1-78 (ASTMD 495-73) Материалы электроизоляционные твердые. Методы определения дугостойкости.

ГОСТ 12176-89 (МЭК 332) Кабели, провода и шнуры. Методы проверки на нераспространение горения.

ГОСТ 12423-66 Пластмассы. Условия кондиционирования и испытаний образцов (проб).

ГОСТ 18321-73 Статистический контроль качества. Методы случайного отбора выборок штучной продукции.

ППБ-01-93 Правила пожарной безопасности в Pоссийской Федеpации.

МЭК 60695-2-4/1-91. Испытание на пожарную опасность. Методы испытаний. Испытание 1 кВт пламенем предварительно подготовленной горючей смеси.

(Измененная редакция. Изм. № 1).

3. ТРЕБОВАНИЯ К НОРМАТИВНЫМ ДОКУМЕНТАМ НА КАБЕЛИ И ПРОВОДА

3.1. Содержание стандартов, технических условий (ТУ), технических регламентов, договоров, контрактов, норм, правил и других нормативно-технических документов (НТД) должно соответствовать требованиям настоящих норм.

3.2. Стандарты, ТУ и другие НТД должны содержать раздел "Требования пожарной безопасности", который размещают после раздела "Технические требования".

3.3. В нормативных документах должны быть указаны классы пожарной опасности кабелей и проводов, определяемые в соответствии с табл. 1.

3.4. В нормативных документах должны быть приведены токовременные характеристики пожарной опасности, определяемые в соответствии с разд. 5.

3.5. Требования пп. 3.1 - 3.4 настоящих норм распространяются на стандарты, ТУ и другие НТД на вновь разрабатываемые кабельные изделия, а также на указанные нормативные документы на уже изготавливаемые кабельные изделия, которые вводятся в действие в связи с истечением срока действия предыдущей редакции этих документов.

4. КЛАССИФИКАЦИЯ КАБЕЛЕЙ И ПРОВОДОВ ПО ПОКАЗАТЕЛЯМ ПОЖАРНОЙ ОПАСНОСТИ

4.1. Классы пожарной опасности кабелей и проводов должны соответствовать указанным в табл. 1.

4.2. По результатам испытаний и определения соответствующего показателя пожарной опасности с помощью табл. 1 кабелю (проводу) присваивается код показателя пожарной опасности, который состоит из буквенно-цифрового обозначения. Буквенное обозначение представляет собой аббревиатуру от наименования соответствующего показателя пожарной опасности кабеля (провода). Цифровое обозначение соответствует величине (диапазону) показателя пожарной опасности.

Показатель пожарной опасности

Метод определения

Обозначение (код) показателя пожарной опасности

Критерий оценки

Величина критерия оценки показателя пожарной опасности

Предел распространения горения одиночным кабелем (проводом)

П. 5.1

ПРГО 1

Расстояние от нижнего края верхнего зажима до верхней границы поврежденной части образца, мм

³ 50,0

ПРГО 2

< 50,0

Предел распространения горения пучком кабелей (проводов)

П. 5.2

ПРГП 1

Длина сгоревшей (обуглившейся) части образца пучка кабелей (проводов), м

< 2,5 по категории А

ПРГП 2

> 2,5 по категории А,
но < 2,5 по категории В

ПРГП 3

> 2,5 по категории В,
но < 2,5 по категории С

ПРГП 4

> 2,5 по категории С

Предел пожаростойкости кабеля (провода)

П. 5.3

ППСТ 1

Время до пробоя изоляции образца кабеля (провода) в условиях пожара, ч

> 3,0

ППСТ 2

> 2,5

ППСТ 3

> 2,0

ППСТ 4

> 1,5

ППСТ 5

> 1,0

ППСТ 6

> 0,5

ППСТ 7

< 0,5

Показатель коррозионной активности продуктов горения кабеля (провода)

П. 5.4

ПКА 1

Кислотность водного раствора газообразных продуктов горения образца материала кабеля (провода), рН

³ 4,0

Удельная проводимость водного раствора, См/м

< 5,0 × 10-3

ПКА 2

То же

< 4,0
³ 5,0 × 10-3

Показатель токсичности продуктов горения полимерных материалов кабеля (провода)

П. 5.5

ПТПМ 1

Отношение количества полимерного материала оболочки кабеля (провода) к единице объема замкнутого пространства, в котором образующиеся при горении материала газообразные продукты вызывают гибель 50 % подопытных животных (при времени экспозиции 0,5 ч), г/м3

> 120,0

ПТПМ 2

£ 120,0

ПТПМ 3

£ 40,0

ПТПМ 4

£ 13,0

Примечание. Категории горючей загрузки А, В и С - по ГОСТ 12176-89

В обозначении класса пожарной опасности первым показателем ставится предел распространения горения (О1 или О2 для кабельного изделия, испытанного одиночно, или П1 - П4 для кабельного изделия, испытанного пучком), вторым - предел пожаростойкости, третьим - показатель коррозионной активности, четвертым - показатель токсичности.

Пример классификационного обозначения:

О1.5.2.3; П2.7.1.4.

4.3. В обозначении марки кабеля индекс "нг" присваивается при условии, что данная марка кабеля соответствует классу ПРГП1 по пределу распространения горения.

(Введен дополнительно. Изм. № 1).

5. МЕТОДЫ ИСПЫТАНИЙ

5.1. Метод испытания по определению предела распространения горения одиночным кабелем (проводом)

Данные испытания проводят в соответствии с ГОСТ 12176, ч. 2 со следующими изменениями:

допускается применять весы с погрешностью измерения не хуже, чем у весов 4-го класса точности;

допускается применять в качестве источника воспламенения горелку, соответствующую требованиям международного стандарта МЭК 60695-2-4/1.

Кабель (провод) считают выдержавшим испытание, если расстояние от нижнего края верхнего зажима до поврежденной части более 50 мм.

Подраздел 5.1 (Измененная редакция. Изм. № 1).

5.2. Метод испытания по определению предела распространения горения пучком кабелей (проводов)

Данные испытания проводят в соответствии с ч. 3 ГОСТ 12176-89 со следующими изменениями.

Кабели (провода) суммарным сечением токопроводящих жил 35 мм2 и менее закрепляют без зазора на передней стороне лестницы, то есть со стороны воздействия горелки, в несколько слоев, при этом кабели (провода) должны соприкасаться друг с другом.

Кабели (провода) суммарным сечением токопроводящих жил более 35 мм2 прикрепляют к лестнице с зазором между ними в свету, равным половине наружного диаметра кабеля, но не более 20 мм. Если общая ширина образца превысит 300 мм, то кабели закрепляют, используя обе стороны лестницы: сначала заполняют переднюю сторону, затем - центр задней стороны.

Горелка имеет 242 круглых отверстия диаметром (1,5 0,5) мм.

5.3. Метод испытания по определению предела пожаростойкости кабелей и проводов

5.3.1. Отбор и подготовка образцов для проведения испытаний

5.3.1.1. Образцы кабелей (проводов) не должны иметь повреждений (разрывы, вздутия) изоляционных и защитных оболочек.

5.3.1.2. Для испытаний подготавливают 5 образцов кабеля (провода). Длина образца должна составлять (1200 ± 5) мм. С обоих концов образцов на участках длиной (100 ± 5) мм удаляют оболочку. На одном из концов токопроводящих жил снимают изоляцию, токопроводящие жилы объединяют параллельно в две равные группы и подготавливают для подключения к источнику питания. Если кабель имеет нечетное количество токопроводящих жил, то одна из групп содержит на одну жилу больше. На другом конце образца токопроводящие жилы должны быть разведены в стороны для предотвращения короткого замыкания между ними.

5.3.1.3. Подготовленные в соответствии с п. 5.3.1.2 образцы выдерживаются перед испытанием при температуре (23 ± 5) °С в течение 3 ч.

5.3.2. Испытательное оборудование и средства измерений

5.3.2.1. Установка для проведения испытаний должна состоять из газовой горелки, устройства, поддерживающего образец в процессе испытания, и высоковольтного источника питания переменного напряжения, частотой (50 ± 5) Гц.

5.3.2.2. Допускается проводить испытания с помощью источника постоянного напряжения при напряжении, равном амплитудному значению переменного напряжения.

Источник питания присоединяют к испытываемому образцу через защитное устройство с током срабатывания не более 0,1 А.

5.3.2.3. Источником теплоты служит пламя трубчатой газовой горелки, имеющей на участке длиной (610 ± 2) мм 61 отверстие диаметром (1,8 ± 0,1) мм и обеспечивающей одновременный и равномерный прогрев всей рабочей поверхности кабельного изделия. Для контроля температуры хромель-алюмелевый термоэлектрический преобразователь помещают в пламя газовой горелки на расстоянии (75 ± 2) мм от нее. Класс точности вторичного прибора для регистрации температуры должен быть не ниже 0,5.

Расход газа и воздуха должен быть отрегулирован так, чтобы температура пламени на высоте (75 ± 2) мм составляла от 750 до 800 °С. Рекомендуется применять пропан. Вместо пропана можно использовать также природный газ.

5.3.2.4. Поддерживающее устройство состоит из четырех зажимов, расположенных друг от друга на расстоянии (300 ± 5) мм и позволяющих горизонтально закрепить образец. Все металлические части поддерживающего устройства должны быть заземлены.

5.3.2.5. Испытания должны проводиться в камере с системой вентиляции, обеспечивающей удаление продуктов горения.

5.3.3. Порядок проведения испытаний

5.3.3.1. Испытания проводят в замкнутом объеме при температуре от 10 до 35 °С, относительной влажности воздуха от 40 до 80 %.

5.3.3.2. Образец кабеля (провода), подготовленный к испытаниям по пп. 5.3.1.2 и 5.3.1.3, закрепляют в поддерживающем устройстве горизонтально, параллельно газовой горелке. Нижняя поверхность образца должна находиться над горелкой на расстоянии (75 ±5) мм.

5.3.3.3. Испытываемый образец должен располагаться так, чтобы как можно больше жил с разными потенциалами находилось в горизонтальной плоскости с минимальным удалением от пламени горелки.

5.3.3.4. Образец подключают к источнику питания и подают номинальное напряжение. Зажигают газовую смесь горелки и фиксируют время до срабатывания устройства защитного отключения. Пламя газовой горелки и испытательное напряжение должны быть приложены к образцу непрерывно до срабатывания устройства защитного отключения.

В процессе испытания напряжение на образце кабельного изделия должно поддерживаться равным номинальному значению.

5.3.3.5. Испытания по пп. 5.3.3.1 - 5.3.3.4 проводятся с каждым из пяти подготовленных образцов.

5.3.4. Оценка результатов

Предел пожаростойкости кабеля (провода) определяют как среднее арифметическое значений времени, полученных при проведении пяти испытаний по пп. 5.3.3.1 - 5.3.3.5.

5.4. Метод испытания по определению показателя коррозионной активности газообразных продуктов горения материалов кабелей и проводов

5.4.1. Отбор и подготовка образцов для испытаний

5.4.1.1. Для проведения испытания подготавливают три пробы по (1000 ± 10) мг, состоящие из смеси фрагментов материала изоляции и горючих защитных покровов кабельного изделия, для которого производят определение коррозионной активности газов, выделяющихся при горении.

5.4.1.2. Весовое соотношение материала оболочки, изоляции и защитных покровов в пробе должно быть равно весовому соотношению этих материалов в единице длины кабеля (провода).

5.4.1.3. Размеры фрагментов материалов для испытаний должны быть равны (2,5 ± 0,5) мм.

5.4.1.4. Материалы подготовленных проб перед проведением испытаний должны быть выдержаны в течение 16 ч при температуре (23 ± 2) °С и относительной влажности (50 ± 5) %.

5.4.2. Испытательное оборудование и средства измерений

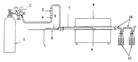
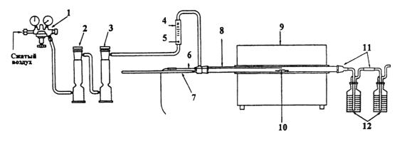
5.4.2.1. Испытательная установка состоит из трубчатой печи, гибких соединительных трубок, стеклянной трубки, лодочек, устройства для введения лодочки в зону нагрева, устройства для барботирования газов, устройства для подачи воздуха и средств измерений (СИ). Схемы установки и ее составные части приведены на рис. 1 - 5.

5.4.2.2. Трубчатая печь (см. рис. 3, поз. 8) должна иметь зону нагрева длиной от 400 до 600 мм, внутренний диаметр которой должен быть равен от 40 до 60 мм. Трубчатая печь должна иметь регулируемую систему электронагрева, позволяющую создавать в зоне нагрева температуру не менее 1000 °С*.

_________

* Требования к составным частям установки относятся ко всем ее трем вариантам (рис. 3 - 5).

Рис. 1. Устройство для введения лодочки в зону нагрева трубчатой печи:
1 - постоянные магниты; 2 - стеклянная колба; 3 - платиновая проволока; 4 - термопара; 5 - уплотняющая прокладка; 6 - проба; 7 - лодочка; 8 - стеклянная трубка; 9 - трубчатая печь

 

Рис. 2. Сосуд-смеситель

Рис. 3. Первый вариант установки для определения коррозионной активности газов - с подачей очищенного и обезвоженного сжатого воздуха из баллона через редуктор:

1 - баллон со сжатым воздухом; 2 - редуктор; 3 - расходомер; 4 - игольчатый клапан; 5 - термопара; 6 - устройство для введения лодочки в зону нагрева трубчатой печи; 7 - стеклянная трубка; 8 - трубчатая печь; 9 - лодочка с пробой; 10 - гибкие трубки; 11 - сосуды-смесители

 

Рис. 4. Второй вариант установки для определения коррозионной активности газов - с подачей сжатого воздуха через редуктор с пропусканием его через фильтр очистки и влагопоглотитель

1 - редуктор; 2 - фильтр очистки на основе активированного угля; 3 - влагопоглотитель на основе силикагеля; 4 - расходомер; 5 - игольчатый клапан; 6 - термопара; 7 - устройство для введения лодочки в зону нагрева трубчатой печи; 8 - стеклянная трубка; 9 - трубчатая печь; 10 - лодочка с пробой; 11 - гибкие трубки; 12 - сосуды-смесители

 

Рис. 5. Третий вариант установки для определения коррозионной активности газов - с нагнетанием из помещения лаборатории с помощью компрессора воздуха, пропущенного предварительно через фильтр очистки и влагопоглотитель:

1 - фильтр очистки на основе активированного угля; 2 - влагопоглотитель на основе силикагеля; 3 - расходомер; 4 - игольчатый клапан; 5 - термопара; 6 - устройство для введения лодочки в зону нагрева трубчатой печи; 7 - стеклянная трубка; 8 - трубчатая печь; 9 - лодочка с пробой; 10 - гибкие трубки; 11 - сосуды-смесители; 12 - компрессор

5.4.2.3. Гибкие соединительные трубки должны обеспечивать герметичное соединение всех составных частей установки. Гибкие трубки (см. рис. 3, поз.10), применяемые для соединения стеклянной трубки 7 с сосудами для барботирования газов 11, а также трубки для соединения этих сосудов, должны быть как можно короче.

5.4.2.4. Стеклянная трубка 7 должна быть огнеупорной. Ее внутренний диаметр должен составлять 32 - 45 мм. Внешний диаметр стеклянной трубки должен быть меньше внутреннего диаметра зоны нагрева трубчатой печи на 2 - 5 мм. Стеклянная трубка должна выходить за пределы каждой из сторон зоны нагрева трубчатой печи на величину L:

- у входного отверстия 60 мм  L  200 мм;

- у выходного отверстия 60 мм  L  100 мм.

5.4.2.5. Лодочки для помещения проб должны быть выполнены из кварцевого стекла, фарфора или другого керамического материала, выдерживающего без разрушения температуры, создаваемые в зоне нагрева трубчатой печи по п. 5.4.3.3. Размеры лодочки должны быть следующими:

- длина от 45 до 100 мм;

- ширина от 12 до 30 мм;

- глубина от 5 до 10 мм.

5.4.2.6. В состав устройства для введения лодочки в зону нагрева трубчатой печи должны входить стеклянная колба 2, два постоянных магнита 1, платиновая проволока 3, уплотняющая прокладка (см. рис. 1, поз. 5).

Стеклянная колба должна иметь три ввода: для подачи воздуха, для введения термоэлектрического преобразователя, для соединения со стеклянной трубкой, помещаемой в зону нагрева трубчатой печи (см. рис. 1). Стеклянная колба должна при помощи уплотняющей прокладки плотно надеваться на стеклянную трубку.

Устройство должно позволять вводить лодочку с пробой в зону нагрева трубчатой печи.

Платиновую проволоку устройства допускается заменять на проволоку из нержавеющей стали.

5.4.2.7. Устройство для барботирования газов должно состоять из двух стеклянных сосудов-смесителей, в каждый из которых должно быть влито по 450 мл воды (см. рис. 2) с показателем рН в пределах от 5 до 7 и удельной проводимостью менее 1,0 × 10-3 См/м.

Высота смешивания в каждой пробирке должна составлять от 100 до 120 мм (см. рис. 2).

5.4.2.8. Устройство для подачи воздуха должно обеспечивать его нагнетание в стеклянную трубку, установленную в трубчатой печи. Расход воздуха в стеклянной трубке должен составлять от 15 до 30 л/ч в зависимости от внутреннего диаметра этой трубки, с тем чтобы объемная скорость воздушного потока в ней была равна (20 ± 0,1) мл/мм2 × ч.

Расход воздуха Р, измеренный в л/ч, необходимо вычислять по уравнению Р = 0,0155 D2, где D - внутренний диаметр стеклянной трубки, мм.

Расход воздуха в устройстве должен регулироваться при помощи ротаметра. Воздух, используемый при проведении испытаний, должен быть очищен и обезвожен при помощи специальных фильтров и влагопоглотителей. Для очистки воздуха может быть использован фильтр на основе активированного угля. Для влагопоглощения можно использовать емкость с силикагелем. Для проведения испытаний допускается использовать заранее отфильтрованный воздух, содержащийся в баллонах (см. рис. 3), сжатый воздух в баллонах, который должен подаваться в установку через редуктор, фильтр очистки и влагопоглотитель (см. рис. 4), воздух из лаборатории, который должен нагнетаться в установку компрессором, также через фильтр очистки и влагопоглотитель (см. рис. 5).

5.4.2.9. В комплект измерительных приборов должны входить:

- аналитические весы с ценой деления не более 10 мг;

- мерник жидкости с ценой деления не более 10 мл;

- иономер, допустимая погрешность измерений которого должна быть не более 0,02 единиц рН;

- кондуктомер, относительная погрешность измерений которого должна быть не более 0,5 %;

- секундомер с ценой деления 0,1 с;

- измеритель термопарный, допустимая погрешность измерений которого должна быть не более 5 °С при измерениях в диапазоне температур от 700 до 1000 °С. Измеритель должен комплектоваться термоэлектрическим преобразователем (термопарой) в варианте, защищенном от воздействия коррозионно-активных газов.

5.4.3. Порядок проведения испытаний

5.4.3.1. Испытание по определению коррозионной активности газов заключается в том, что в трубчатой печи сжигается указанное в п. 5.4.1.1 количество испытываемых материалов. Образовавшиеся при этом газы в процессе барботирования растворяются в дистиллированной воде в сосудах-смесителях, кислотность полученного раствора определяется путем измерения его рН и удельной проводимости.

5.4.3.2. В помещении, где проводятся испытания, должна поддерживаться температура (23 ± 10) °С. Это помещение должно быть оборудовано системой удаления токсичных газов. Во время проведения испытаний должна быть включена система удаления токсичных газов.

5.4.3.3. Пробу, взвешенную с погрешностью до 10 мг, необходимо равномерно распределить по дну лодочки.

Расход воздуха необходимо отрегулировать игольчатым клапаном ротаметра до значения 0,0155 D2 (л/ч) с десятипроцентным допуском и поддерживать на постоянном уровне в течение всего эксперимента. При помощи термоэлектрического преобразователя необходимо установить и поддерживать во время испытания в центре зоны нагрева стеклянной трубки, (см. рис.1, поз. 8) температуру, равную (910 ±10) °С.

5.4.3.4. Лодочку с пробой необходимо постепенно ввести в стеклянную трубку в центр зоны ее нагрева при помощи платиновой проволоки и двух постоянных магнитов (см. рис.1).

Момент, когда лодочка будет размещена в этой зоне, необходимо считать началом испытания. Время проведения испытания с работой печи и продувкой воздуха должно составлять 0,5 ч.

5.4.3.5. По окончании испытания содержимое двух сосудов-смесителей необходимо слить в одну стеклянную емкость и дополнить дистиллированной водой до объема 1000 мл. Стеклянную трубку после удаления из нее лодочки необходимо обжечь по всей длине при температуре (950 ± 5) °С в трубчатой печи в течение 5 мин.

5.4.3.6. Для измерения рН и удельной проводимости необходимо брать пробы из сосуда с полученными 1000 мл раствора коррозионно-активных газов.

5.4.3.7. Измерение рН и удельной проводимости раствора коррозионно-активных газов следует проводить при температуре (23 ± 10) °С иономером и кондуктомером в соответствии с инструкциями, прилагаемыми к этим приборам заводами-изготовителями.

5.4.3.8. Испытания по пп. 5.4.3.2 - 5.4.3.7 необходимо проводить последовательно с тремя пробами, подготовленными по п. 5.4.1.

5.4.4. Оценка результатов испытаний

5.4.4.1. После проведения трех испытаний необходимо определить среднее значение показателя рН и удельной проводимости по результатам этих испытаний. В случае если результаты измерений в каждом из опытов отличаются от вычисленных средних значений соответствующих величин более чем  на 5 %, необходимо провести серию из трех опытов по пп. 5.4.3.2 - 5.4.3.7 с подготовленными пробами и вновь определить средние значения рН и удельной проводимости. Эти значения должны считаться окончательными результатами испытаний.

5.4.4.2. В случае если полученные средние значения рН  4,0, а удельная проводимость Q < 5,0 × 10-3 См/м, следует считать, что продукты горения материалов оболочек и изоляции испытываемых кабелей (проводов) являются некоррозионно-активными. При получении иных средних значений показателя рН и удельной проводимости материалы оболочек и изоляции относят к классу коррозионно-активных.

5.5. Метод испытания по определению показателя токсичности продуктов горения полимерных материалов кабелей и проводов

Испытания по определению показателя токсичности продуктов горения полимерных материалов оболочек кабелей и проводов проводят в соответствии с ГОСТ 12.1.044-89.

5.6. Метод испытания по определению токовременных характеристик пожарной опасности кабелей и проводов

5.6.1. Отбор и подготовка образцов для испытаний

5.6.1.1. Образцы кабелей (проводов), отобранные для испытаний, не должны иметь обрывов и замыканий токопроводящих жил, а также видимых повреждений (разрывы, вздутия) изоляционных и защитных оболочек. Срок хранения кабелей в условиях, указанных в стандартах или ТУ, не должен превышать трех месяцев.

5.6.1.2. Для испытаний подготавливают не менее четырех образцов кабеля (провода) одной и той же марки каждого, длиной (20 ± 0,05) м.

5.6.1.3. На одном конце образцов устанавливают и закрепляют в рабочем положении концевые соединения на каждую группу жил, которые предназначены для подключения к соответствующей фазе источника тока. На другом конце кабелей все группы жил соединяют накоротко.

5.6.1.4. Для контроля температуры нагрева токопроводящих жил в центре образца кабеля (провода) устанавливают методом зачеканки три термоэлектрических преобразователя на расстоянии (1,0 ± 0,05) м друг от друга.

5.6.1.5. Перед испытаниями образцы должны быть выдержаны при температуре (23 ± 5) °С в течение 48 ч.

5.6.2. Испытательное оборудование и средства измерений

5.6.2.1. В состав комплекта аппаратуры для проведения испытаний должны входить следующие приборы и оборудование:

1) Источники одно- и трехфазного тока частотой Гц, обеспечивающие прохождение тока через образец кабеля (провода), значения которого лежат в интервале от Iном до 7 Iном, где Iном - номинальное значение тока, указанное в паспорте, ТУ или стандарте на кабель.

В состав источника питания могут входить понижающие трансформаторы, трансформаторы тока.

2) Включающие и отключающие устройства, позволяющие производить коммутацию испытательных значений токов и напряжений.

3) Амперметр, позволяющий производить измерения в диапазоне значений токов.

4) Запоминающий осциллограф, позволяющий регистрировать зависимость температуры нагрева жил испытываемого кабельного изделия от времени протекания сверхтока.

5) Усилитель постоянного тока, предназначенный для усиления термо-ЭДС.

6) Комплект из трех хромель-копелевых (или хромель-алюмелевых) термоэлектрических преобразователей (ТХК или ТХА).

7) Измеритель термопарный многоканальный.

8) Секундомер.

В состав комплекта аппаратуры могут также входить приборы автоматического управления опытами.

5.6.3.Проведение испытаний

5.6.3.1. Испытания должны проводиться в помещении при температуре окружающей среды (25 ± 10) °С, относительной влажности воздуха от 45 до 80 %, атмосферном давлении от 84,0 до 106,7 кПа (от 630 до 800 мм.рт.ст.).

5.6.3.2. Испытания должны проводиться трехфазным или однофазным током частотой от 40 до 55 Гц в зависимости от того, для какого вида тока предназначен кабель (провод).

5.6.3.3. Испытания могут проводиться при различных значениях напряжения источника тока, но не более номинального напряжения испытываемого кабеля (провода).

5.6.3.4. Для снятия токовременных характеристик испытываемый образец кабеля (провода) располагают горизонтально на негорючем диэлектрическом основании и подключают его к переключающему аппарату.

5.6.3.5. Перед началом испытаний источник питания необходимо отрегулировать на эквивалентной нагрузке на начальное значение тока, равное 1,2 Iном.

5.6.3.6. Затем необходимо переключить фазные контакты источника тока на контакты соответствующих групп жил испытываемого образца кабеля (провода). Отсчет времени (tм.н. и tп.д.) достижения максимально допустимой температуры невозгораемости Тм.н. и предельно допустимой температуры нагрева Тп.д. начинают с момента переключения источника тока с помощью запоминающего осциллографа, отградуированного для измерения временных интервалов, либо секундомера*.

_________

* Значения температур Тм..н.  и Тп..д. для кабелей (проводов), имеющих оболочку (изоляцию) из различных материалов, приведены в прил. 2.

5.6.3.7. По окончании первого опыта по измерению tм.н. и tп.д., необходимо заменить испытываемый образец кабеля (провода) на новый, заранее подготовленный по пп. 5.6.1.1 - 5.6.1.5 для проведения второго опыта. Для этого необходимо отрегулировать источник питания на новое значение тока, большее по сравнению с током в предыдущем опыте на 30 %. Далее следует повторить опыт по пп. 5.6.3.1 - 5.6.3.6 с новым образцом испытываемого кабеля (провода) по определению новых значений tм.н. и tп.д..

5.6.3.8. Необходимо измерить значения tм.н и tп.д. по пп. 5.6.3.1 - 5.6.3.8, увеличивая значения сверхтока на 30 % до значения 4,0 Iд.д.. В каждом последующем опыте необходимо применять для испытаний либо новый, подготовленный по пп. 5.6.1.1 - 5.6.1.5 образец кабеля (провода), либо уже использованный, если он удовлетворяет п. 5.6.1.1 и уже остыл до температуры (25 ± 10) °С.

5.6.4. Обработка результатов

По результатам испытаний необходимо построить график зависимостей

t м.н. = f1(Ic),                                                     (1)

t п.д. = f2(Ic),                                                     (2)

где tм.н. и tп.д. - время достижения испытываемым образцом кабеля (провода) Тм.н. и Тп.д.; Iс - сверхток, протекающий через образец кабеля (провода).

5.7. Метод испытания по определению токовременных характеристик пожарной опасности кабелей и проводов после проведения ускоренного теплового старения

5.7.1. Отбор и подготовка образцов для испытаний

5.7.1.1. Для испытаний необходимо подготовить не менее четырех образцов кабеля (провода) по пп. 5.6.1.1 - 5.6.1.5.

5.7.1.2. Испытания новых образцов кабелей (проводов) следует проводить не ранее чем через 16 ч после завершения технологического производственного цикла изготовления.

5.7.2. Испытательное оборудование и средства измерений

Для испытаний применяют приборы и оборудование, указанные в п. 5.6.2 настоящих норм.

5.7.3. Проведение испытаний

5.7.3.1. Испытания должны проводиться в помещении при температуре окружающей среды (25 ± 5) °С, относительной влажности воздуха от 45 до 80 %, атмосферном давлении от 84,0 до 106,7 кПа (от 630 до 800 мм.рт.ст).

5.7.3.2. Испытания должны проводиться трехфазным или однофазным током частотой от 40 до 55 Гц в зависимости от того, для какого вида тока предназначен кабель (провод).

5.7.3.3. Испытания могут проводиться при различных значениях напряжения источника тока, но не более номинального напряжения, на которое рассчитан испытываемый образец кабеля (провода).

5.7.3.4. Испытываемый образец кабеля (провода) необходимо поместить горизонтально на негорючем диэлектрическом основании и подключить его жилы к соответствующим фазам источника тока.

5.7.3.5. Температура нагрева жил испытываемого образца кабеля (провода) должна контролироваться при помощи трех термоэлектрических преобразователей и термопарного измерителя. Измеритель в комплекте с термопарами должен быть оттарирован так, чтобы показания каждой из термопар отличались друг от друга не более чем на 2,5 % при нагреве термопар до температуры ускоренного теплового старения испытываемого образца кабеля (провода). Термопары должны быть установлены на токопроводящих жилах методом зачеканки в центре по длине образца кабеля (провода). В случае выхода из строя одной из термопар во время испытания контроль температуры должен производиться по показаниям двух оставшихся термоэлектрических преобразователей.

5.7.3.6. При помощи регулятора источника тока устанавливают такое значение тока, протекающего через испытываемый образец, чтобы токопроводящие жилы этого образца нагрелись до температуры ускоренного теплового старения, указанной в соответствующем стандарте или ТУ на кабель (провод). Температуру ускоренного теплового старения на токопроводящих жилах поддерживают, пропуская ток через образец кабеля (провода), в течение времени, указанного в стандарте или ТУ.

5.7.3.7. По истечении указанного в п. 5.7.3.6 времени источник тока следует выключить, а образец кабеля (провода) необходимо выдержать при температуре (23 ± 5) °С не менее 16 ч, избегая воздействия прямых солнечных лучей.

5.7.3.8. Испытания по пп. 5.7.3.1 - 5.7.3.7 должны быть проведены на всех четырех подготовленных по п. 5.7.1.1 образцах кабелей (проводов).

5.7.3.9. После проведения испытаний по пп. 5.7.3.1 - 5.7.3.8 необходимо провести испытания по методу 5.6 со всеми ускоренно состаренными образцами кабелей (и проводов) и построить графики зависимостей:

= f3 (Iс),                                                                (3)

 = f4 (Iс),                                                               (4)

где  и  - время достижения образцом кабеля (провода) температуры Тм.н. и Тп.д.; Iс - сверхток, протекающий через образец кабеля (провода).

5.7.4. Обработка результатов испытаний

Оценка результатов ускоренного теплового старения должна проводиться методом сравнения величин tм.н. и tп.д. на графиках зависимостей (1), (2) и соответственно (3), (4) при одних и тех же значениях Ic. Результаты испытаний должны считаться удовлетворительными, а образцы кабелей прошедшими испытания на нагрев при протекании сверхтоков после проведенного ускоренного теплового старения, если соответствующие значения tм.н. и tп.д. на графиках зависимостей (1), (2) в диапазоне от 1,2 Iном до 4 Iном уменьшаются не более чем на 5 % по сравнению со значением  и  на графиках зависимостей (3), (4).

 

ПРИЛОЖЕНИЕ 1

(обязательное)

Применяемые в настоящих нормах термины и их определения

Термин

Определение

1. Предел распространения горения

Длина сгоревшей (обуглившейся) части кабеля (пучка кабелей) в условиях испытаний, определенных ГОСТ 12176-89

2. Предел пожаростойкости

Время, в течение которого в кабеле или проводе не происходит короткого замыкания между отдельными токопроводящими жилами, подключенными к различным фазам источника напряжения при воздействии на кабельное изделие стандартного очага пожара в испытаниях по методике, изложенной в настоящих НПБ, раздел 5.3

3. Коррозионная активность газов, выделяющихся при горении изоляционных материалов кабелей и проводов

Способность газов образовывать с влагой, содержащейся в воздухе, кислотный туман, который может оказывать коррозионное воздействие на приборы, оборудование, конструкции и материалы

4. Показатель токсичности газов

Отношение количества материала, при сгорании которого выделяющиеся газы вызывают гибель 50 % подопытных животных, к единице объема замкнутого пространства

5. Предельно допустимая температура нагрева кабеля или провода

Температура нагрева токопроводящих жил кабельного изделия, при которой кабель или провод полностью сохраняет свои эксплуатационные характеристики по ТУ или стандарту на кабель или провод

6. Максимально допустимая температура невозгораемости кабеля или провода

Максимально допустимая температура нагрева токопроводящих жил кабельного изделия, при повышении которой на 20 % оболочка или изоляция кабеля или провода начинает плавиться, выделяя дым, или загорается

7. Ускоренное тепловое старение кабеля или провода

Создание специального режима нагрева токоведущих жил кабеля или провода в течение сравнительно небольшого времени, имитирующего значительно большее время либо весь срок эксплуатации кабеля или провода в условиях по ТУ или стандарту на кабель или провод

8. Температура ускоренного теплового старения кабеля или провода

Температура нагрева токопроводящих жил кабеля или провода, при которой проводится ускоренное старение кабеля или провода

9. Дугостойкость

Термин по ГОСТ 10345.1-78

10. Сверхток

Ток, значение которого превосходит наибольшее рабочее значение тока в электротехническом изделии

11. Минимальное значение сверхтока

Наименьшее значение тока, при котором в серии из десяти экспериментов происходит хотя бы одно воспламенение изоляции или оболочки изделия

12. Максимальное значение сверхтока

Наибольшее значение тока, при котором в серии из десяти экспериментов происходит хотя бы одно воспламенение изоляции или оболочки изделия

13. Кратность тока

Отношение тока, протекающего по проводнику, к длительно допустимому току

 

ПРИЛОЖЕНИЕ 2

(справочное)

Значения предельно допустимой температуры и максимально допустимой температуры невозгораемости для кабелей и проводов с изоляцией из различных материалов

Вид кабеля или провода

Предельно допустимая температура при сверхтоках Тп.д., °С

Максимально допустимая температура невозгораемости Тм.н., °С

Кабели с бумажной пропитанной изоляцией на напряжение, кВ:

 

 

до 10

200

350

20-220

125

350

Кабели и изолированные провода с медными и алюминиевыми жилами и изоляцией:

 

 

поливинилхлоридной и резиновой;

150

 

полиэтиленовой

120

 

Примечание. Для кабелей с пропитанной бумажной изоляцией на напряжение 1,6 и 10 кВ, имеющих бронепокров, максимально допустимая температура невозгораемости равна 400 °C.

 

СОДЕРЖАНИЕ

1. Область применения

2. Нормативные ссылки

3. Требования к нормативным документам на кабели и провода

4. Классификация кабелей и проводов по показателям пожарной опасности

5. Методы испытаний

5.1. Метод испытания по определению предела распространения горения одиночным кабелем (проводом)

5.2. Метод испытания по определению предела распространения горения пучком кабелей (проводов)

5.3. Метод испытания по определению предела пожаростойкости кабелей и проводов

5.4. Метод испытания по определению показателя коррозионной активности газообразных продуктов горения материалов кабелей и проводов

5.5. Метод испытания по определению показателя токсичности продуктов горения полимерных материалов кабелей и проводов

5.6. Метод испытания по определению токовременных характеристик пожарной опасности кабелей и проводов

5.7. Метод испытания по определению токовременных характеристик пожарной опасности кабелей и проводов после проведения ускоренного теплового старения

Приложение 1. Применяемые в настоящих нормах термины и их определения

Приложение 2. Значения предельно допустимой температуры и максимально допустимой температуры невозгораемости для кабелей и проводов с изоляцией из различных материалов

 

 




Яндекс цитирования



   Copyright © 2007-2026,  www.tehlit.ru.

[ ѓосты, стандарты, нормативы, инструкции, правила, строительные нормы ]