//
ТехЛит.ру
- крупнейшая бесплатная электронная интернет библиотека для "технически умных" людей.
WWW.TEHLIT.RU - ТЕХНИЧЕСКАЯ ЛИТЕРАТУРА

:: Алготрейдинг::


АЛГОТРЕЙДИНГ
шаг за шагом
с нуля по урокам!

Торговые роботы на PYTHON, BackTrader,
Pandas, Pine Script для TradingView. Связка с брокерами, телеграм и легкими приложениями.


ГОСУДАРСТВЕННЫЙ СТАНДАРТ СОЮЗА ССР

КАБЕЛИ, ПРОВОДА И ШНУРЫ

МЕТОДЫ ПРОВЕРКИ НА НЕРАСПРОСТРАНЕНИЕ ГОРЕНИЯ

ГОСТ 12176-89

(СТ СЭВ 2781-80, СТ СЭВ 6456-88)

ГОСУДАРСТВЕННЫЙ КОМИТЕТ СССР ПО УПРАВЛЕНИЮ
КАЧЕСТВОМ ПРОДУКЦИИ И СТАНДАРТАМ

Москва

ГОСУДАРСТВЕННЫЙ СТАНДАРТ СОЮЗА ССР

КАБЕЛИ, ПРОВОДА И ШНУРЫ

Методы проверки на нераспространение горения

Cables, conductors and cords.
Check methods for flame propagation

ГОСТ
12176-89

(СТ СЭВ 2781-80,
СТ СЭВ 6456-88)

Срок действия с 01.07.1990

до 01.07.2000

Настоящий стандарт устанавливает методы проверки на нераспространение горения кабелей, проводов и шнуров.

Термины, применяемые в настоящем стандарте, и их определение приведены в приложении.

1. ОБЩИЕ ПОЛОЖЕНИЯ

1.1. Испытания, установленные в настоящем стандарте, проводят с целью проверки соответствия кабелей, проводов и шнуров требованиям к нераспространению горения, установленным в стандартах или технических условиях на конкретные кабельные изделия.

1.2. В зависимости от требований к нераспространению горения испытания проводят одним из двух методов:

испытание на нераспространение горения одиночного кабеля, провода, шнура;

испытание на нераспространение горения кабелей и проводов, проложенных в пучках.

1.3. Метод испытания на нераспространение горения кабелей и проводов, проложенных в пучках, применяют для проверки соответствия их указанным требованиям с учетом количества горючей массы.

1.4. Если в стандартах или технических условиях на конкретные кабельные изделия не установлены требования по испытанию на нераспространение горения в пучках, то испытания следует проводить по методу испытания на нераспространение горения одиночного кабеля, провода и шнура.

2. ИСПЫТАНИЕ ОДИНОЧНОГО КАБЕЛЯ, ПРОВОДА, ШНУРА

2.1. Отбор и подготовка образцов

2.1.1. От конца кабеля, провода или шнура отбирают пять образцов длиной (600 ± 25) мм.

2.1.2. Если кабель, провод или шнур покрыт краской или лаком, то образец перед испытанием следует выдерживать в течение 4 ч при температуре (60 ± 2) °С.

2.2. Аппаратура

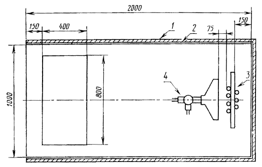
Испытательная камера длиной (450 ± 25) мм, шириной (300 ± 25) и высотой (1200 ± 25) мм без передней стенки. Все стенки камеры должны быть изготовлены из металла, а дно защищено слоем асбеста или другого теплозащитного материала (черт. 1).

1 - образец кабеля; 2 - испытательная камера; 3 - ось горелки

Черт. 1

Черт. 2

Горелки (одна или две) типа Бунзена (внутренний диаметр отверстия сопла должен быть (9 ± 1) мм) или горелка для пропана, представленная на черт. 2.

Секундомер типа С-1-2а или С-1-2б.

Технические весы типа ВЛТ 1-го класса.

2.3. Подготовка к испытанию

2.3.1. Перед испытанием проверяют пригодность горелки (горелок). Горелки ставят на горизонтальную поверхность камеры так, чтобы сопло было направлено вертикально вверх. Затем регулируют пламя горелки.

В случае применения натурального газа (городского или нефтяного) пламя горелки следует регулировать так, чтобы получить длину пламени около 125 мм, а длину внутренней синеватой части - около 40 мм.

В случае применения пропана длина пламени должна быть около 175 мм, а длина внутренней синеватой части пламени - около 55 мм.

Работу горелки проверяют в вертикальном положении. Медную проволоку диаметром (0,71 ± 0,025) мм длиной не менее 100 мм в горизонтальном направлении перпендикулярно к пламени вводят в пламя на расстоянии приблизительно 10 мм выше конца внутренней синеватой части пламени, так чтобы конец проволоки находился над краем сопла. Время плавления проволоки должно быть 4 - 6 с.

2.4. Проведение испытания

2.4.1. Испытание проводят в помещении при температуре 15 - 35 °С, относительной влажности 45 - 75 %, при отсутствии сквозняков. Испытания образцов проводят последовательно.

2.4.2. Образец следует укрепить вертикально внутри камеры так, чтобы его нижний конец находился на расстоянии около 50 мм от дна камеры. Ширина зажимов должна быть около 25 мм, а расстояние между внутренними краями зажимов должно составлять (550 ± 25) мм.

При испытании кабельных изделий с внешним диаметром до 50 мм включительно применяют одну горелку, диаметром св. 50 мм - две горелки.

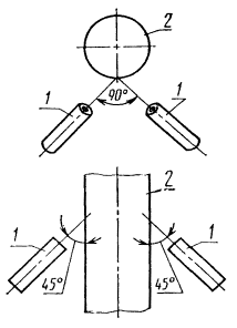
Пламя горелки следует подвести к образцу на расстояние около 75 мм выше нижнего зажима так, чтобы ось сопла горящей горелки составляла с осью образца угол 45°, как указано на черт. 3. Внутренняя синеватая часть пламени должна находиться на расстоянии около 10 мм от образца.

Если в стандартах или технических условиях на конкретные кабельные изделия нет других указаний, то пламя должно действовать на образец в течение времени (Т) в секундах, вычисляемого по формуле

Т = 60 + ,                                                             (1)

где М - масса образца длиной 600 мм, г.

2.5. Оценка результатов

2.5.1. Образец кабеля, провода или шнура считают выдержавшим испытание, если после удаления горелки пламя потухает, а после удаления с поверхности образца копоти не будут обнаружены обугленные или поврежденные части на расстоянии не более 50 мм от нижнего края верхнего зажима не менее чем на трех из пяти испытанных образцов. Время затухания образца не регламентируется.

Расположение горелок при испытании

1 - горелка; 2 - образец

Черт. 3

2.5.2. В случае возникновения разногласий по оценке результатов испытание следует повторить на новом образце с применением пропановой горелки.

3. ИСПЫТАНИЕ КАБЕЛЕЙ И ПРОВОДОВ, ПРОЛОЖЕННЫХ В ПУЧКАХ

3.1. Отбор и подготовка образцов

3.1.1. Образец должен состоять из нескольких отрезков кабеля или провода (в дальнейшем - кабеля) длиной (3500 ± 50) мм каждый, закрепленных на металлической лестнице.

Общее число отрезков кабеля в испытуемом образце должно соответствовать одной из трех категорий:

А - число отрезков кабеля в образце должно быть таким, при котором объем горючего материала на одном метре образца составляет 7 л;

В - число отрезков кабеля в образце должно быть таким, при котором объем горючего материала на одном метре образца составляет 3,5 л;

С - число отрезков кабеля в образце должно быть таким, при котором объем горючего материала на одном метре образца составляет 1,5 л.

3.1.2. Объем горючего материала определяют на отрезке испытуемого кабеля длиной не менее 300 мм. Отрезок кабеля отрезают таким образом, чтобы поверхность его торцов была перпендикулярна к оси кабеля для обеспечения возможности точного измерения его длины. Затем отдельно взвешивают горючие материалы всех видов, находящиеся в отрезке. Электропроводящие полимерные экраны, которые невозможно отделить от изоляции, рассматривают в отношении плотности и массы как один материал вместе с изоляцией.

Объем неметаллических лент рассчитывают по геометрическим размерам. Для расчета объема волокнистых заполнений кабелей значение плотности принимают равным 1.

3.1.3. Число отрезков кабеля (п) в образце вычисляют по формуле

                                                           (2)

где V - нормированный объем горючего и трудногорючего материала для одного метра образца соответствующей категории, л;

N - число элементов конструкции, выполненных из материалов, за исключением негорючих;

Мi - масса одного метра i-го элемента конструкции кабеля, кг;

ri - плотность материала i-го элемента конструкции кабеля, кг/м3.

Рассчитанное число отрезков кабеля в образце округляют до ближайшего целого числа.

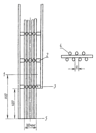
3.1.4. Каждый отрезок кабеля прикрепляют с помощью проволоки к перекладинам приставной стальной лестницы с числом перекладин, равным девяти (черт. 4). Общая ширина прикрепленных образцов кабеля должна быть не более 300 мм. Испытуемый образец должен располагаться по центру лестницы.

Черт. 4

Кабели сечением токопроводящих жил 35 мм2 и менее закрепляют без зазора на передней стороне лестницы, т.е. со стороны воздействия горелки, в несколько слоев, при этом кабели должны соприкасаться друг с другом.

Кабели сечением токопроводящих жил более 35 мм2 прикрепляют к лестнице с зазором между ними в свету, равным половине наружного диаметра кабеля, но не более 20 мм. Если общая ширина образца превысит 300 мм, то кабели закрепляют, используя обе стороны лестницы: сначала заполняют переднюю сторону, затем - центр задней стороны (черт. 5).

Лестницу с образцом устанавливают в испытательной камере таким образом, чтобы расстояние между лестницей и задней стенкой испытательной камеры было около 150 мм.

Расположение испытуемого образца на лестнице

1 - центральная линия горелки; 2 - круглые стальные перекладины; 3 - стальные проволочные крепления; 4 - способ расположения кабелей на обеих сторонах лестницы; 5 - пол; a - расстояние между закрепленными образцами

Черт. 5

3.2. Аппаратура

3.2.1. Испытательная установка должна состоять из вертикальной испытательной камеры (черт. 6), пол которой должен отстоять на 150 мм от уровня земли.

Испытательная камера должна иметь в полу на расстоянии 150 мм от передней стенки впускное отверстие для воздуха размером 800´400 мм, а в заднем верхнем углу выпускное отверстие для дыма размером 300´1000 мм.

1 - выпускное отверстие для дыма; 2 - впускное отверстие для воздуха

Черт. 6

Стенки камеры должны быть выполнены из стальных листов толщиной 1,5 - 2,0 мм и иметь термоизоляцию толщиной не менее 65 мм с коэффициентом теплопередачи (0,7 ± 0,1) Вт/м2×°С (черт. 7).

3.2.2. Испытательная камера может иметь приспособление для сбора и очистки дыма. Это приспособление должно быть таким, чтобы сбор дыма, выходящего из камеры, не влиял на скорость прохождения потока воздуха через испытательную камеру.

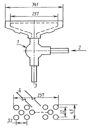
3.2.3. Источником пламени должна быть газовая горелка ленточного типа, имеющая длину рабочей зоны (257 ± 5) мм, ширину (4,5 ± 0,5) мм. Горелка должна обеспечивать интенсивность тепловыделения (73,70 ± 1,68) × 106 Дж/ч; подача воздуха (4,60 ± 0,28) м3/ч. Указанный параметр должен контролироваться ротаметром по расходу газа и воздуха. В качестве топлива должен быть использован пропан или другой газ при условии обеспечения требуемой интенсивности тепловыделения, которая должна быть рассчитана в зависимости от теплоты сгорания газа и расхода его в единицу времени. Общий вид горелки представлен на черт. 8.

Термоизоляция стенок испытательной камеры

1 - термоизоляция; 2 - стальная плита; 3 - испытуемый образец на лестнице; 4 - испытательная горелка

Черт. 7

Горелка должна быть установлена горизонтально на расстоянии (75 ± 10) мм от передней поверхности образца и около 600 мм над полом испытательной камеры. Точка приложения пламени должна находиться между перекладинами на расстоянии не менее 500 мм от нижнего конца образца.

3.3. Проведение испытания

3.3.1. Испытание проводят при скорости ветра, измеренной анемометром, установленным на верху испытательной камеры, не более 5 м/с и при температуре окружающей среды от плюс 5 °С до плюс 40 °С, измеренной в точке, находящейся на расстоянии 1,5 м выше уровня пола, 5 см от боковой стенки и 1 м от двери. Дверь испытательной камеры в течение всего испытания должна быть закрытой.

3.3.2. Образец, закрепленный на лестнице, выдерживают перед испытанием при температуре (23 ± 5) °С в течение 3 ч. Испытательная камера должна быть сухой.

1 - смеситель типа Вентури для воздуха и газа; 2 - вход газа; 3 - вход сжатого воздуха; 4 - элементы горелки

Черт. 8

Примечание. Элементами горелки являются 242 круглых отверстая диаметром 1,32 мм на расстоянии 3,2 мм относительно центров друг друга, расположенные ступенчато в 3 ряда по 81,80 и 81 в каждом по центру поверхности горелки. Значения приближенные.

3.3.3. Время действия пламени на образец должно быть 40 мин для категорий А и В, и 20 мин - для категории С.

3.4. Оценка результатов

После прекращения горения или через 1 ч после удаления пламени кабели следует потушить, вытереть и измерить длину поврежденной пламенем части.

Кабели считают выдержавшими испытания по соответствующей категории, если обугленная или поврежденная пламенем часть образца, измеренная над нижним концом горелки с обеих сторон лестницы, не превышает 2,5 м.

ПРИЛОЖЕНИЕ

Справочное

Термины, применяемые в стандарте, и их определения

Термин

Определение

Нераспространение горения

Невоспламенение или прекращение горения кабельного изделия в условиях, определенных настоящим стандартом, и сгорание не более установленной длины кабеля, провода или шнура

Внутренний конус пламени

Внутренняя часть (ядро) пламени, имеющая голубоватый цвет

ИНФОРМАЦИОННЫЕ ДАННЫЕ

1. РАЗРАБОТАН И ВНЕСЕН Министерством электротехнической промышленности СССР

РАЗРАБОТЧИКИ

Г.Г. Свалов, д-р техн. наук (руководитель темы); Ю.В. Образцов, канд. техн. наук (руководитель темы); М.К. Каменский, канд. техн. наук (руководитель темы); Т.В. Белкина

2. УТВЕРЖДЕН И ВВЕДЕН В ДЕЙСТВИЕ Постановлением государственного комитета СССР по управлению качеством продукции и стандартам от 16.10.89 № 3096

3. Срок проверки 1994 г.

4. Стандарт полностью соответствует СТ СЭВ 2781-80, СТ СЭВ 6456-88

5. В стандарт введены международные стандарты МЭК 332, часть 1 (1979 г.) и МЭК 332, часть 3 (1982 г.)

6. ВЗАМЕН ГОСТ 12176-76

СОДЕРЖАНИЕ

 




Яндекс цитирования



   Copyright © 2007-2026,  www.tehlit.ru.

[ ѓосты, стандарты, нормативы, инструкции, правила, строительные нормы ]