//
|
|
МИНИСТЕРСТВО АВТОМОБИЛЬНЫХ ДОРОГ РСФСР Согласовано
Утверждены
Министерством УКАЗАНИЯ ВСН 25-86 МИНАВТОДОР РСФСР СОДЕРЖАНИЕ
В Указаниях приведены принципы обеспечения безопасности движения на вновь проектируемых и существующих автомобильных дорогах. Описаны мероприятия по повышению безопасности движения в различных дорожных условиях с учетом состава транспортного потока и методы определения их экономической эффективности. Большое внимание уделено охране окружающей среды. Указания предназначены для инженерно-технических работников. Указания подготовлены под руководством и при участии проф. В.Ф. Бабкова. В их разработке приняли участие: д-ра техн. наук А.П. Васильев, Е.М. Лобанов, В.В. Сильянов, кандидаты техн. наук О.А. Дивочкин, В.П. Залуга, Ю.В. Кузнецов, Н.М. Кульмурадов, М.В. Немчинов, В.С. Порожняков, П.И. Поспелов, В.И. Пуркин, Ю. М. Ситников, А.П. Шевяков. Б.А. Щит, инженеры С.Н. Артемов, С.М. Булак, В.Ю. Голубин, М.М. Девятов, А.Н. Должиков, Р.X. Измайлов, В.Н. Кузнецов, Н.А. Лушников, В.Н. Покидько, Ю.К. Смирнов, М.С. Талаев, А.Р. Цыганов (МАДИ); кандидаты техн. наук Б.Б. Анохин, В.Д. Белов, Е.М. Окороков, В.П. Расников, В.В. Чванов, инженеры А.В. Бабков, Л.Г. Марьяхин, О.В. Машкин (Гипродорнии); кандидаты техн. наук М.Б. Афанасьев, Б.Н. Баваров, С.Г. Бородина, инж. В.Я. Буйленко (б. ВНИИБД МВД СССР), инж. В.Г. Сорокин (ГУ ГАИ МВД СССР). В Указаниях учтены также разработки, выполненные и Союздорнии.
ЧАСТЬ 1
| ||||||||||||||||||||||||||||||||||||||||||||||||||||||||||||||||||||||||||||||||||||||||||||||||||||||||||||||||||||||||||||||||||||||||||||||||||||||||||||||||||||||||||||||||||||||||||||||||||||||||||||||||||||||||||||||||||||||||||||||||||||||||||||||||||||||||||||||||||||||||||||||||||||||||||||||||||||||||||||||||||||||||||||||||||||||||||||||||||||||||||||||||||||||||||||||||||||||||||||||||||||||||||||||||||||||||||||||||||||||||||||||||||||||||||||||||||||||||||||||||||||||||||||||||||||||||||||||||||||||||||||||||||||||||||||||||||||||||||||||||||||||||||||||||||||||||||||||||||||||||||||||||||||||||||||||||||||||||||||||||||||||||||||||||||||||||||||||||||||||||||||||||||||||||||||||||||||||||||||||||||||||||||||||||||||||||||||||||||||||||||||||||||||||||||||||||||||||||||||||||||||||||||||||||||||||||||||||||||||||||||||||||||||||||||||||||||||||||||||||||||||||||||||||||||||||||||||||||||||||||||||||||||||||||||||||||||||||||||||||||||||||||||||||||||||||||||||||||||||||
|
Внесены Дорожно--исследовательской |
Утверждены
Министерством автомобильных |
Срок введения 1 мая 1987 г. |
Расчет скорости движения одиночных автомобилей
1.2.2. При расчете скорости движения одиночного автомобиля за расчетный автомобиль принимают: легковой ГАЗ-24, грузовой ЗИЛ-130. На промышленных дорогах выбор расчетного автомобиля должен быть обоснован анализом состава движения или парка применяемых автомобилей.
1.2.3. Расчет скорости движения одиночного автомобиля выполняют на основе его динамических характеристик с учетом следующих рекомендаций:
а) использование передач учитывают в соответствии с данными, приведенными в табл. 1.1.
б) степень открытия дроссельной заслонки в зависимости от характеристик подъема дороги и двигателя автомобиля принимают по табл. 1.2 или определяют по формуле
,
где i - продольный уклон, тысячные; L - длина участка подъема, м; Nуд - удельная мощность двигателя автомобиля, кВт/т.
Таблица 1.1
|
Расчетный автомобиль |
Передача |
Предельная скорость, км/ч |
|
|
минимальная |
максимальная |
||
|
Легковой (ГАЗ-24) |
I |
- |
41,0 |
|
|
II |
13,0 |
63,0 |
|
|
III |
20,0 |
98,0 |
|
|
IV |
28,0 |
142,0 |
|
Грузовой (ЗИЛ-130) |
I |
7,0 |
22,0 |
|
|
II |
12,0 |
38,0 |
|
|
III |
18,5 |
60,0 |
|
|
IV |
28,0 |
90,0 |
Таблица 1.2
|
Продольный уклон, %о |
Степень открытия дроссельной заслонки, %о |
Передача, используемая грузовыми автомобилями |
|
0-40 |
50-60 |
V, IV |
|
40-70 |
80-85 |
III, II |
|
70 |
100 |
I |
Таблица 1.3
|
Учитываемый фактор |
Коэффициент t3 |
|
Дорожные условия в конце спуска (уклон более 30 %о) |
|
|
последующий подъем |
1,2 |
|
кривая в плане R = 1000 м |
0,8 |
|
малый мост |
0,85 |
|
большой (средний) мост |
0,7 |
|
Дорожные условия перед подъемом (уклон не более 30 %о): |
|
|
горизонтальный участок |
1,1 |
|
спуск |
1,2 |
|
малый мост |
0,9 |
|
сужение проезжей части на 2 м |
0,8 |
|
Участки с ограниченной видимостью, м: |
|
|
в плане 600-700 |
1,0 |
|
300-400 |
0,95 |
|
200-250 |
0,9 |
|
100-150 |
0,8 |
|
менее 100 |
0,75 |
|
в профиле |
|
|
более 150 |
1,0 |
|
100 |
0,95 |
|
50 |
0,75 |
|
менее 50 |
0,6 |
|
Кривые в плане радиусом, м: |
|
|
более 600 |
1,0 |
|
400 |
0,92 |
|
200 |
0,8 |
|
100 |
0,75 |
|
50 |
0,7 |
|
менее 50 |
0,6 |
|
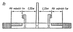
Малые и средние мосты (длина до 100 м) с шириной проезжей части: |
|
|
менее ширины проезжей части дороги на 1 м |
0,5 |
|
равной ширине проезжей части дороги |
0,7 |
|
больше ширины проезжей части дороги на 1 м |
0,85 |
|
то же, на 2 м |
1,0 |
|
Большие мосты (длина более 100 м) |
0,7 |
|
Пересечение в одном уровне: |
|
|
простые |
0,75 |
|
канализированные |
0,9 |
|
Ширина обочины, м: |
|
|
3,75 и более |
1,0 |
|
2,5 |
0,9 |
|
1,5 |
0,85 |
|
1,0 |
0,75 |
|
0,0 |
0,60 |
|
Препятствия на обочине при расстоянии от кромки проезжей части, м: |
|
|
0,0 |
0,7 |
|
0,5 |
0,8 |
|
1,5 |
0,9 |
|
2,0 и более |
1,0 |
|
Населенные пункты при расстоянии до застройки: |
|
|
15-20 м |
0,9 |
|
6-10 м |
0,8 |
|
5 м (имеются тротуары) |
0,7 |
|
5 м (тротуары отсутствуют) |
0,6 |
Таблица 1.4
|
Тип разметки |
Коэффициент t3 при ширине проезжей части, м |
||||
|
6 |
7 |
7,5 |
9 |
10,5 |
|
|
Вез разметки |
0,70 |
0,90 |
1,0 |
1,05 |
1,10 |
|
Краевая |
0,64 |
0,87 |
0,98 |
1,08 |
1,15 |
|
Осевая прерывистая |
0,68 |
0,89 |
1,00 |
1,05 |
1,10 |
|
То же, в сочетании с краевой |
0,55 |
0,74 |
0,92 |
1,08 |
1,15 |
|
Сплошная разделительная линия |
0,59 |
0,75 |
0,78 |
1,04 |
1,10 |
Примечание. Значение t3 дано для горизонтальных участков н подъемов с уклоном менее 20 %о.
в) скорость движения на спусках рассчитывают по динамической характеристике с учетом движения автомобиля с работающим двигателем и развивающим тяговое усилие. Предельно допустимая скорость на спуске принимается из условия управляемости автомобиля на данном типе дорожного покрытия:
на асфальто - и цементобетонном покрытии 90 км/час;
на щебеночном покрытии, обработанном битумом, 70 км/ч, не обработанном битумом, 60 км/ч.
г) влияние элементов плана дороги на скорость движения одиночного автомобиля учитывают путем умножения рассчитанной скорости на коэффициент t3, приведенный в табл. 1.3, 1.4;
д) эпюры скоростей по каждому участку дороги строят для обоих направлений движения.
1.2.4. Для более детальной оценки скоростей в свободных условиях движения на отдельных элементах и участках дорог можно пользоваться следующими формулами:
на больших мостах при габаритах от 6 до 13 м и длиной от 100 до 300 м:
![]()
;
где v85 % - скорость движения легкового автомобиля (типа ГАЗ-24) 85 %-ной обеспеченности, км/ч; v50 % - средняя скорость движения легкового автомобиля, км/ч; Г - габарит моста, м; L - длина моста, м;
на двухполосных дорогах с продольными уклонами, совмещенными с кривыми в плане:
,
где vo - средняя скорость автомобилей в свободных условиях, км/ч; R - радиус кривой в плане, м; i - продольный уклон, %о; В - ширина проезжей части, м; nл - количество легковых автомобилей в составе транспортного потока, доли единицы (при nл = 1 формула дает значение скорости движения легкового автомобиля); nавт - количество автопоездов в составе транспортного потока, доли единицы.
Оценка скоростей движения потоков автомобилей
1.2.5. Средняя скорость смешанного потока автомобилей для сухого покрытия в летнее время года при коэффициенте загрузки от 0,1 до 0.85 с учетом влияния дорожных условий и интенсивности движения на двухполосных дорогах:
![]()
где vo - средняя скорость свободного движения легковых автомобилей при малом значении коэффициента загрузки на прямолинейном горизонтальном участке с шириной проезжей части 7,5 м, краевыми полосами и укрепленными обочинами шириной 3,5 м (принимается равной 90 км/ч); q - итоговый коэффициент, учитывающий влияние геометрических элементов дороги, состава потока и средств организации движения на скорость свободного движения. Он является произведением отдельных коэффициентов:
;
t1 - коэффициент, учитывающий влияние продольного уклона:
|
Уклон, %о |
0 |
20 |
30 |
40 |
50 |
60 |
70 |
80 |
|
t1 |
1,0 |
0,92 |
0,84 |
0,76 |
0,68 |
0,56 |
0,45 |
0,34 |
t2 - коэффициент, учитывающий влияние состава потока:
|
Количество легковых автомобилей в потоке, % |
100 |
70 |
50 |
40 |
20 |
10 |
0 |
|
t2 |
1,0 |
0,9 |
0,8 |
0,78 |
0,75 |
0,67 |
0,62 |
t3 - коэффициент, учитывающий влияние дорожных условий и средств организации движения, принимается по табл. 1.3, 1.4; a - коэффициент, зависящий от состава движения:
|
Количество легковых автомобилей в составе движения, % |
0 |
10 |
20 |
40 |
50 |
70 |
100 |
|
a |
0,020 |
0,018 |
0,016 |
0,013 |
0,012 |
0,010 |
0,07 |
Кa - поправочный коэффициент, учитывающий влияние разметки проезжей части на скорости при высоких интенсивностях движения (табл. 1.5), кривых в плане (табл. 1.6), характеристик продольных уклонов (табл. 1.7); N - интенсивность движения1, авт/ч.
-----------------
Таблица 1.5
|
Тип разметки |
Коэффициент Кa |
Тип разметки |
Коэффициент Кa |
|
Без разметки |
1 |
То же в сочетании с |
0,70 |
|
Краевая |
0,82 |
краевой |
|
|
Осевая прерывистая |
0,76 |
Сплошная разделительная линия |
0,62 |
Таблица 1.6
|
Радиус кривой в плане, м |
Коэффициент Кa |
Радиус кривой в плане, м |
Коэффициент Кa |
|
Менее 150 |
1,92 |
400 |
1,10 |
|
200 |
1,15 |
500 |
1,02 |
|
300 |
1,11 |
Более 600 |
1,00 |
Таблица 1.7
|
Длина подъема, м |
Коэффициент Кa при уклонах, %о |
|||
|
30 |
40 |
50 |
60 |
|
|
Менее 200 |
1,10 |
1,15 |
1,21 |
1,30 |
|
350 |
1,11 |
1,20 |
1,25 |
1,32 |
|
500 |
1,19 |
1,25 |
1,30 |
1,36 |
|
Более 800 |
1,22 |
1,32 |
1,38 |
1,45 |
1.2.6. Для оценки вариантов трассы дороги, схем организации движения и транспортных потерь среднегодовую скорость движения определяют в соответствии с указаниями п. 1.9.14. По рассчитанным средним скоростям движения потока автомобилей строят эпюры скорости для обоих направлений движения.
1.3.1. Определение пропускной способности необходимо для выявления участков возможных заторов, оценки экономичности и удобства движения и выбора методов и средств по улучшению условий движения.
1.3.2. Пропускная способность не остается постоянной по длине дороги в течение года. Максимальные ее значения наблюдаются при благоприятных условиях движения потока легковых автомобилей, минимальные - на сложных участках дорог с несовершенными параметрами плана и профиля при разнотипном составе потока движения - большом количестве тяжелых грузовых автомобилей, автопоездов, автобусов пригородных сообщений, а также при сложных погодных условиях (гололед, снегопад, туман и т. п.).
1.3.3. Согласно «Руководству по оценке пропускной способности автомобильных дорог» Минавтодора РСФСР различные дороги имеют следующую максимальную пропускную способность (легковых авт/ч):
|
Двухполосные дороги |
2000 в оба направления |
Трехполосные дороги |
4000 в оба направления |
|
Автомобильные магистрали с 4 полосами движения |
2000 по одной полосе |
|
То же, с 6 полосами |
2200 по одной полосе |
|
То же, с 8 полосами |
2300 по одной полосе |
1.3.4. Пропускную способность дороги с учетом влияния различных дорожных условий оценивают введением в расчет коэффициентов снижения ее максимального значения согласно рекомендациям, изложенным в Руководстве (см. п. 1.3.3).
1.3.5. Пропускная способность дорог может быть повышена:
а) перестройкой неудачных сочетаний элементов плана и продольного профиля, не вызывающих резкого изменения скоростей;
б) устранением при реконструкции дорог минимальных значений технических параметров плана и профиля, проложением дорог вне населенных пунктов на достаточном от них удалении для исключения влияния пешеходного движения,
в) уширением проезжей части для разделения потока автомобилей по составу (дополнительные полосы на подъемах, на пересечениях, полосы для местного движения, для автобусов) и обеспечения оптимальной загрузки, при которой движение происходит с достаточно высокими скоростями;
г) устройством пересечений с другими дорогами (автомобильными и железными), отвечающих требованиям пропуска интенсивных потоков автомобилей (канализированные пересечения, транспортные развязки в разных уровнях);
д) повышением сцепных качеств и ровности покрытия;
е) обустройством дороги автобусными остановками, подъездами к АЗС, мотелям, площадкам отдыха, освещением, связью и другими элементами инженерного оборудования, обеспечивающими эффективное использование ширины проезжей части и придорожных сооружений без помех для основного движения.
1.4.1. Повышенным количеством дорожно-транспортных происшествий и высокой вероятностью появления заторов (см. п. 1.3) чаще всего характеризуются участки:
а) на которых резко уменьшается скорость движения, преимущественно в связи с недостаточной видимостью и устойчивостью движения. В этом случае при высокой интенсивности и большой скорости движения возможны наезды на впереди идущие транспортные средства и съезды с дороги. Такие участки, как правило, имеют пониженную пропускную способность;
б) у которых какой-либо элемент дороги не соответствует скоростям движения, обеспечиваемым другими элементами (скользкое покрытие на кривой большого радиуса, узкий мост на длинном прямом горизонтальном участке, кривая малого радиуса в конце затяжного спуска, сужение дороги, скользкие обочины и т. д.). В таких местах чаще всего происходит опрокидывание транспортных средств или их съезд с дороги;
в) где из-за погодных условий создается несоответствие между скоростями движения на этих участках и на остальной дороге (заниженное земляное полотно там, где часты туманы, гололед; участки дороги, проходящие по северным склонам гор и холмов или около промышленных предприятий, и т. д.);
г) где возможны скорости, которые могут превысить безопасные пределы (длинные затяжные спуски на прямых, одиночные кривые малого радиуса на дороге, протрассированной кривыми больших радиусов);
д) где у водителя исчезает ориентировка в дальнейшем направлении дороги или возникает неправильное представление о нем (поворот в плане непосредственно за выпуклой кривой, неожиданный поворот в сторону с примыканием второстепенной дороги по прямому направлению);
е) слияния или перекрещивания транспортных потоков на пересечениях дорог, съездах, примыканиях, переходно-скоростных полосах;
ж) проходящие через малые населенные пункты или расположенные против пунктов обслуживания, автобусных остановок, площадок отдыха и т. д., где имеется возможность неожиданного появления пешеходов и транспортных средств с придорожной полосы;
з) где однообразный придорожный ландшафт, план и профиль способствуют потере водителем контроля за скоростью движения или вызывают быстрое утомление и сонливость (длинные прямые участки в степи).
1.4.2. Мероприятия по обеспечению безопасности движения, как правило, улучшают условия движения, снижают задержки и повышают средние скорости потока автомобилей.
Методы оценки аварийности
1.4.3. Для получения сопоставимых данных при анализе дорожных условий пользуются системой показателей - коэффициентами относительной аварийности или коэффициентами происшествий.
Для длинных и однородных по геометрическим элементам участков коэффициент происшествий, измеряемый количеством ДТП на 1 млн. автомобиле километров (ДТП/1 млн. авт-км):
,
где z - количество происшествий в год; N - среднегодовая суточная интенсивность движения в обоих направлениях, принимаемая по данным учета движения, авт/сут; L - длина участка дороги, км.
Для коротких участков, резко отличающихся от смежных (мосты, перекрестки), коэффициент происшествий измеряют количеством ДТП на 1 млн. автомобилей (ДТП/1 млн. авт.):
![]()
Коэффициенты, определяемые по этим формулам, могут быть использованы для первичной обработки статистических данных об аварийности отдельных участков. При анализе относительной опасности движения для получения надежной оценки необходимо располагать данными по аварийности не менее чем за 3-5 лет.
1.4.4. Для оценки относительной опасности движения по дорогам следует применять методы коэффициентов безопасности, конфликтных ситуаций, основанные на анализе графика изменения скоростей движения по дороге, и метод коэффициентов аварийности, основанный на анализе данных статистики ДТП.
Метод коэффициентов безопасности
1.4.5. Коэффициентами безопасности называют отношение максимальной скорости движения на участке к максимальной скорости въезда автомобилей на этот участок (начальная скорость движения).

1.4.6. Для определения коэффициентов безопасности при построении теоретического графика скоростей движения по дороге в обычную методику расчета скоростей (см. п. 1.2.1) вносят изменения, направленные на учет опасных ситуаций:
а) для реконструируемых дорог не принимают во внимание общие ограничения скорости движения Правилами дорожного движения и местные ограничения скорости (в населенных пунктах, на переездах железных дорог, на пересечениях с другими дорогами, на кривых малых радиусов, в зонах действия дорожных знаков и др.);
б) в случае резкого различия условий движения по дороге в разных направлениях (например, на затяжных подъемах горных дорог) график коэффициентов безопасности можно строить только для того направления, в котором может быть развита наибольшая скорость',
в) не учитывают участки постепенного снижения скорости, необходимые для безопасного въезда на кривые малых радиусов, на пересечения, узкие мосты, т. е. берут соотношение скорости, обеспечиваемой данным участком, и максимально возможной скорости в конце предшествующего участка.
1.4.7. Для построения графика коэффициентов безопасности (рис. 1.1) в конце каждого участка определяют максимальную скорость, которую можно развить без учета условий движения на последующих участках.
1.4.8. Участки по опасности для движения оценивают исходя из значений коэффициента безопасности. В проектах новых дорог недопустимы участки с коэффициентами безопасности, меньшими 0,8. В проектах реконструкции и капитального ремонта коэффициенты безопасности принимаются по табл. 1.8. Начальные скорости и ускорения определяются наблюдениями или с помощью ходовых лабораторий.
Таблица 1.8
|
Степень опасности участка дороги |
Коэффициент безопасности при отрицательных ускорениях, м/с2 |
|
|
0,5-1,5 |
1,5-2,5 |
|
|
Начальная скорость движения 60-80 км/ч |
||
|
Неопасный |
Более 0,6 |
Более 0,65 |
|
Опасный |
0,45-0,6 |
0,5-0,65 |
|
Очень опасный |
Менее 0,45 |
Менее 0,5 |
|
Начальная скорость движения 85- 00 км/ч |
||
|
Неопасный |
Более 0,7 |
Более 0,75 |
|
Опасный |
0,55-0,7 |
0,6-0,75 |
|
Очень опасный |
Менее 0,55 |
Менее 0,6 |
|
Начальная скорость движения 105-120 км/ч |
||
|
Неопасный |
Более 0,8 |
Более 0,85 |
|
Опасный |
0,65-0,8 |
0,7-0,85 |
|
Очень опасный |
Менее 0,65 |
Менее 0,7 |
1.4.9. Метод коэффициентов безопасности учитывает движения одиночного автомобиля, что характерно для условий движения на дорогах с малой интенсивностью или часов спада движения на более загруженных дорогах. Это не препятствует его использованию для дорог всех типов, поскольку при высокой интенсивности движения обгоны практически исключаются, а расчет на одиночный автомобиль направлен в сторону запаса безопасности.
Метод конфликтных ситуаций
1.4.10. Метод конфликтных ситуаций используется при разработке проектов реконструкции сложных участков дорог. Под конфликтной понимается дорожно-транспортная ситуация, возникающая между участниками дорожного движения или движущимся автомобилем и обстановкой дороги, при которой возникает опасность дорожно-транспортного происшествия, если в действиях участников движения не произойдет изменения и они будут продолжать движение. Для использования метода конфликтных ситуаций необходимы данные о режимах движения, получаемые при помощи автомобилей-лабораторий.
Показателем наличия конфликтной ситуации является изменение скорости или траектории движения автомобиля. Степень опасности этой ситуации характеризуется отрицательными продольными и поперечными ускорениями, возникающими при маневрах автомобилей.
1.4.11. Конфликтные ситуации по степени опасности делятся на три типа: легкие, средние, критические (табл. 1.9).
Таблица 1.9
|
Критерии конфликтных ситуаций |
Начальная скорость движения, км/ч |
Отрицательные продольные и поперечные ускорения, м/с2, для конфликтной ситуации |
||
|
легкой К1 |
средней К2 |
критической К3 |
||
|
Отрицательные |
Более 100 |
0,5-0,9 |
0,9-1,9 |
1,9 |
|
продольные |
100-80 |
0,5-1,9 |
1,9-2,6 |
2,6 |
|
ускорения |
80-60 |
0,5-2,3 |
2,3-3,2 |
3,2 |
|
|
Менее 60 |
0,5-2,9 |
2,9-3,7 |
3,7 |
|
Поперечные |
Более 100 |
0-0,3 |
0,3-0,7 |
0,7 |
|
ускорения |
100-60 |
0,4-0,6 |
0,6-1,1 |
1,1 |
|
|
Менее 60 |
0,8-1,2 |
1,2-1,5 |
1,5 |
Число конфликтных ситуаций каждого типа определяется при реконструкции дорог методом наблюдений, а при новом строительстве методами математического моделирования. Количество конфликтных ситуаций, приведенных к критической К':
![]()
![]()
![]()
1.4.12. Коэффициент относительной аварийности
![]()
где К - количество конфликтных ситуаций на 1 млн. авт-км; К = K' 106/(NL), N - интенсивность движения, авт/ч; L - длина участка дороги, км.
1.4.13. Участки по опасности движения оценивают исходя из следующих значений числа конфликтных ситуаций
|
Число конфликтных ситуаций на 1 млн. авт-км |
Менее 210 |
210-310 |
310-460 |
Более 460 |
|
Характеристика участка |
Неопасный |
Мало опасный |
Опасный |
Очень опасный |
В проектах новых дорог недопустимы участки с количеством конфликтных ситуаций более 210. При разработке проектов реконструкции и капитального ремонта следует проектировать участки с числом конфликтных ситуаций более 310.
Метод коэффициентов аварийности
1.4.14. Коэффициент аварийности представляет собой произведение частных коэффициентов, учитывающих влияние отдельных элементов плана и профиля,
,
где Ki - отношение количества ДТП на участке дорог с различными элементами плана и профиля к количеству ДТП на эталонном горизонтальном прямом участке дороги с проезжей частью шириной 7,5 м, шероховатым покрытием и укрепленными обочинами шириной 3,5 м.
1.4.15. Дорожные организации, осуществляя учет и анализ ДТП, могут устанавливать дополнительные коэффициенты, учитывающие местные условия, например частоту расположения кривых, наличие вблизи дороги аллейных насаждений, ирригационных каналов, неогражденных крутых склонов и т. д.
1.4.16. Приведенные ниже значения частных коэффициентов аварийности, основаны на анализе статистики ДТП и применимы для дорог в равнинной и холмистой местностях.
|
Интенсивность движения, тыс. авт./сут, |
3 |
5 |
7 |
9 |
11 |
13 |
15 |
20 |
|
К1 (двухполосные дороги) |
0,75 |
1,0 |
1,30 |
1,70 |
1,80 |
1,5 |
1,0 |
0,6 |
|
К1 (трехполосные дороги)1 |
0,65 |
0,75 |
0,9 |
0,96 |
1,25 |
1,5 |
1,3 |
1,0 |
|
К1 (трехполосные дороги)2 |
0,94 |
1,18 |
1,28 |
1,37 |
1,51 |
1,63 |
1,45 |
1,25 |
|
Интенсивность движения, тыс. авт./сут |
10 |
15 |
18 |
20 |
25 |
28 |
30 |
|
К1 (четыре полосы движения и более) |
1,0 |
1,1 |
1,3 |
1,7 |
2,2 |
2,8 |
3,4 |
|
Ширина проезжей части, м |
6 |
7 |
7,5 |
9 |
10,5 |
14-153 |
144 |
|
К2 при укрепленных обочинах |
1,35 |
1,05 |
1,00 |
0,8 |
0,7 |
0,6 |
0,5 |
|
К2 при неукрепленных обочинах |
2,5 |
1,75 |
1,5 |
1,0 |
0,9 |
0,8 |
0,7 |
|
Ширина обочин, м |
0,5 |
1,5 |
2,0 |
3,0 |
4,0 |
|
К3 (двухполосные дороги) |
2,2 |
1,4 |
1,2 |
1,0 |
0,8 |
|
К3 (трехполосные дороги) |
1,37 |
0,73 |
0,65 |
0,49 |
0,35 |
---------------------------------------
1 При разметке проезжей части на три полосы движения.
|
Продольный уклон, % |
20 |
30 |
50 |
70 |
80 |
|
К4 |
1,0 |
1,25 |
2,5 |
2,8 |
3,0 |
|
Радиус кривых в плане, м |
100 |
150 |
200-300 |
400-600 |
1000-2000 |
> 2000 |
|
К5 |
5,4 |
4,0 |
2,25 |
1,6 |
1,25 |
1,0 |
|
Видимость, м |
50 |
100 |
150 |
200 |
250 |
350 |
400 |
500 |
|
К6 в плане |
3,6 |
3,0 |
2,7 |
2,25 |
2,0 |
1,45 |
1,2 |
1,0 |
|
К6 в профиле |
5,0 |
4,0 |
3,4 |
2,5 |
2,4 |
2,0 |
1,4 |
1,0 |
|
Ширина проезжей части мостов по отношению к проезжей части дороги |
Меньше на 1 м |
Равна |
Шире на 1м |
Шире на 2 м |
Равна ширине земляного полотна |
|
К7 |
6,0 |
3,0 |
2,0 |
1,5 |
1,0 |
|
Длина прямых участков, км |
3,0 |
5 |
10 |
15 |
20 |
|
К8 |
1,0 |
1,1 |
1,4 |
1,6 |
1,9 |
|
Тип пересечения |
В разных уровнях |
Кольцевые пересечения |
В одном уровне при интенсивности движения на пересекаемой дороге, % от суммарной на двух дорогах: |
||
|
|
|
|
1,0 |
10-20 |
³ 20 |
|
К9 |
0,35 |
0,70 |
1,5 |
3,0 |
4,0 |
|
Пересечение в одном уровне. Интенсивность движения по основной дороге, авт./сут |
1600-3500 |
3500-5000 |
5000-7000 |
и более |
|
К10 |
2,0 |
3,0 |
4,0 |
|
|
Видимость пересечения в одном уровне с примыкающей дороги, м |
60 |
60-40 |
40-30 |
30-20 |
20 |
|
К11 |
1,0 |
1,1 |
1,65 |
2,5 |
5,0 |
|
Число основных полос на проезжей части для прямых направлений движения |
2 |
3 без разметки |
3 с разметкой полос движения |
4 без разделительной полосы |
4 с разделительной полосой |
|
К12 |
1,0 |
1,5 |
0,9 |
0,8 |
0,65 |
|
Расстояние проезжей части от застройки, м, и ее характеристика |
501) |
50-202) |
50-203) |
20-103) |
104) |
105) |
|
К6)13… |
1,0 |
1,25 |
2,5 |
5,0 |
7,5 |
10,0 |
|
Длина населенного пункта, км |
0,5 |
1 |
2 |
3 |
5 |
6 |
|
К14….. |
1 |
1,2 |
1,7 |
2,2 |
2,7 |
3,0 |
---------------------
1 Населенный пункт с одной стороны дороги.
2 То же, имеются тротуары или пешеходные дорожки.
3 Населенный пункт с двух сторон дороги, имеются тротуары и полосы местного движения.
4 Для местного движения полосы отсутствуют, имеются тротуары.
5 Полосы для местного движения и тротуары отсутствуют.
6 Цели при характеристиках застройки, указанных в сносках 3, 4 и 5, населенный пункт находится с одной стороны дороги, значения К13 берутся вдвое меньшими.
|
Длина участков на подходах к населенным пунктам, м |
0-100 |
100-200 |
200-400 |
|
К15 |
2,5 |
1,9 |
1,5 |
|
Характеристика покрытий |
Скользкое, покрытое грязью |
Скользкое |
Чистое, сухое |
Шероховатое старое |
Шероховатое новое |
|
Коэффициент сцепления при скорости 60 км/ч |
0,2-0,3 |
0,4 |
0,6 |
0,7 |
0,75 |
|
К16 |
2,5 |
2,0 |
1,3 |
1,0 |
0,75 |
|
Ширина разделительной полосы, м |
1 |
2 |
3 |
5 |
10 |
15 |
|
К17 |
2,5 |
2,0 |
1,5 |
1 |
0,5 |
0,4 |
|
Расстояние от кромки проезжей части до обрыва глубиной более 5 м*, м |
0,5 |
1,0 |
1,5 |
2 |
3 |
5 |
|
К18 без ограждений |
4,3 |
3,7 |
3,2 |
2,75 |
2,0 |
1,0 |
|
К18 с ограждениями |
2,2 |
2,0 |
1,85 |
1,75 |
1,4 |
1,0 |
-------------------------
* При глубине оврага 5 м и менее коэффициент К18 принимают равным 1,0.
При построении графиков коэффициентов аварийности вручную значения частных коэффициентов аварийности для разных участков не интерполируют, а принимают ближайшее из приведенных.
При разработке программ для расчетов на ЭВМ можно пользоваться зависимостями частных коэффициентов аварийности от определяющих их факторов.
1.4.17. Для автомобильных дорог в горной местности значения частных коэффициентов аварийности К1, К5, К6, К10 следует принимать следующими:
|
Интенсивность движения, авт./сут |
0,5 |
1 |
2 |
3 |
5 |
7 |
9 |
10 |
|
К1 |
0,1 |
0,3 |
0,6 |
0,75 |
1,0 |
1,4 |
1,8 |
1,9 |
|
Радиус кривых в плане, м |
20 и менее |
40 |
50 |
100 |
150 |
|
К5 |
2,7 |
2,2 |
2,0 |
1,3 |
1,0 |
|
Видимость, м |
30 и менее |
50 |
100 |
150 |
|
К6 |
2,0 |
1,5 |
1,2 |
1,0 |
|
Пересечения в одном уровне, интенсивность движения по основной дороге, авт./сут |
20 и менее |
200-1000 |
1000-3000 |
3000-7000 |
7000 |
|
К10 |
1,0 |
1,5 |
2,0 |
3,0 |
4,5 |
Для дорог и горной местности вводятся дополнительные частные коэффициенты аварийности К19 и К20, характеризующие особенности движения по горным дорогам:
|
Расстояние между кромками проезжей части и боковым препятствием, м |
0,5 |
1,0 |
1,5 |
2,0 |
2,5 |
|
К19 |
2,0 |
1,75 |
1,4 |
1,2 |
1,0 |
|
Извилистость (количество кривых в плане на 1 км дороги) |
Нет |
1 |
2-3 |
4 |
5 |
6 |
7-8 |
9-10 |
|
К20 для радиусов кривых 20-80 м |
0,5 |
2,5 |
2,0 |
3,0 |
3,5 |
3 |
2,0 |
1,0 |
|
K20 для радиусов кривых более 80 м |
0,5 |
1,0 |
1,2 |
2,0 |
3,5 |
4,4 |
- |
- |
1.4.18. При определении коэффициента, учитывающего влияние радиуса кривых в плане, необходимо вводить поправку на наличие виражей. Оценивая безопасность движения, следует исходить из значений эквивалентных радиусов кривых, допускающих проезд с той же скоростью, что и рассматриваемые кривые, но имеющих уклон виража, равный уклону проезжей части на прямых участках. Значение эквивалентного радиуса
,
где R -радиус, м; j - коэффициент поперечной силы, при расчетах на устойчивость принимаемым равным коэффициенту поперечного сцепления; i -поперечный уклон в десятичных дробях. Индекс «кр» относится к рассматриваемой кривой, а индекс «пр» - к характеристике проезжей части на прилегающем участке.
1.4.19. Итоговые коэффициенты аварийности устанавливают на основе анализа плана и профиля или линейного графика исследуемого участка дороги путем перемножения частных коэффициентов1.
------------------------
Таблица 1.10
|
Элементы дороги |
Зона влияния |
|
Подъемы и спуски |
100 м за вершиной подъема, 150 м после подошвы спуска |
|
Пересечения в одном уровне |
В каждую сторону по 50 м |
|
Кривые в плане с обеспеченной видимостью при R > 400 м |
То же 50 м |
|
Кривые в плане с необеспеченной видимостью при R < 400 м |
» 100 м |
|
Мосты и путепроводы |
» 75 м |
|
Участки в местах влияния боковых препятствий и с глубокими обрывами у дороги |
» 50 м |
|
Участки подходов к тоннелям |
» 150 м |

Рис. 1.2. Пример графика итоговых коэффициентов аварийности
По значениям итоговых коэффициентов аварийности строят линейный график (рис. 1.2). На него наносят план и профиль дороги, выделив все элементы, от которых зависит безопасность движения (продольные yклоны, вертикальные кривые, кривые в плане, мосты, населенные пункты, пересекающие дороги и др.). На графике фиксируют по отдельным участкам среднюю интенсивность движения по данным учета дорожных организаций или специальных изыскательских партий, а для проектируемых дорог - перспективную интенсивность движения. Условными знаками обозначают места зарегистрированных в последние годы ДТП. Дорожно-эксплуатационные организации должны пополнять графики данными о ДТП. Под планом и профилем выделяют графы для каждого из учитываемых показателей, для которых выше приведены коэффициенты аварийности.
1.4.20. При построении графика коэффициентов аварийности дорогу анализируют по каждому показателю, выделяя однородные по условиям участки. При этом необходимо учитывать, что влияние опасного места распространяется на прилегающие участки, где возникают ощутимые помехи для движения (табл. 1.10).
1.4.21. В проектах реконструкции дорог и нового строительства рекомендуется перепроектировать участки, для которых итоговый коэффициент аварийности превышает 15 - 20.
В проектах улучшения дорог при капитальном ремонте в условиях холмистого рельефа следует предусматривать перестройку участков с коэффициентами аварийности более 25 - 40.
На горных дорогах с позиций безопасности движения допустимыми можно считать участки со значениями итогового коэффициента аварийности менее 35 и более 350. Однако следует иметь в виду, что при его значениях более 350 скорости движения и пропускная способность дороги значительно снижаются.
При значениях итоговых коэффициентов аварийности, близких к предельно допустимым, рекомендуется: производить разметку проезжей части, запрещающую обгон с выездом на полосу встречного движения при коэффициентах аварийности более 10 - 20; устанавливать знаки запрещения обгона и ограничения скорости при коэффициентах аварийности более 20-40. На горных дорогах предусматривается также устройство трясущих полос на подходах к опасным участкам, устройство на кривых малых радиусов по оси дороги разделительных полос.
1.4.22. При обосновании обходов городов оценивают безопасность движения на улицах, являющихся продолжением автомобильной дороги (обычно это магистральные улицы). Степень безопасности движения при анализе дорожных условий в городе характеризуется коэффициентом аварийности, выражающим отношение количества дорожно-транспортных происшествий на 1 млн. авт-км пробега на участке при существующих параметрах плана и профиля улицы к количеству дорожно-транспортных происшествий на эталонном прямом горизонтальном участке магистральной улицы с двумя полосами движения в каждом направлении, шириной проезжей части 15,5 м, резервной зоной 3,5 м, шероховатым покрытием протяженностью 150 м и освещением 8 люкс.
1.4.23. Итоговый коэффициент аварийности определяется как произведение частых коэффициентов
.
Значения частных коэффициентов аварийности для городских условий основаны на статистике дорожно-транспортных происшествий на магистральных улицах городов:
|
Интенсивность, тыс. авт./сут |
3 |
5 |
10 |
15 |
20 |
25 |
30 |
35 |
40 |
|
К1 |
0,57 |
0,62 |
0,74 |
0,90 |
1,10 |
1,35 |
1,69 |
2,18 |
2,7 |
|
Количество легковых автомобилей в потоке, % |
100 |
75 |
60 |
40 |
20 |
|
К2 |
0,8 |
1,0 |
1,21 |
1,57 |
2,05 |
|
Ширина проезжей части, м |
8 |
10 |
12 |
16 |
21,5 |
|
К3 |
2,94 |
2,46 |
2,09 |
1,53 |
1,0 |
|
Безопасная скорость потока, км/ч |
30 |
40 |
50 |
55 |
60 |
|
К4 |
1,38 |
1,18 |
1,04 |
1,0 |
1,04 |
|
Движение |
Одностороннее |
Двустороннее |
||||||
|
Количество полос |
1 |
2 |
3 |
4 |
2 |
3 |
4 |
6 |
|
К5 при интенсивности до 15 тыс. авт./сут |
1,52 |
1,15 |
0,6 |
- |
1,51 |
1,12 |
0,8 |
0,6 |
|
К5 при эффективности более 15 тыс. авт./сут |
1,85 |
1,5 |
0,95 |
0,5 |
1,95 |
1,47 |
1,0 |
0,8 |
|
Освещение тротуаров и проезжей части, лк |
Не освещены |
2-3 |
4-5 |
7-8 |
|
К6 |
1,7 |
1,3 |
1,0 |
0,8 |
|
Тип пересечения |
В разных уровнях |
Кольцевое |
Перекресток |
В одном уровне |
||
|
перекресток со светофорным регулированием |
примыкание |
примыкание со светофорным регулированием |
||||
|
К7 |
0,6 |
1,0 |
2,5 |
1,9 |
2,0 |
1,4 |
|
Суммарная интенсивность движения на перекрестках, тыс. авт./сут |
5 |
10 |
20 |
30 |
40 |
50 |
|
К8 необорудованного пересечения |
1,5 |
1,86 |
2,22 |
2,71 |
3,37 |
4,18 |
|
К8 пересечения со светофорным регулированием |
1 |
1,29 |
1,65 |
2,05 |
2,52 |
3,11 |
|
К8 необорудованного примыкания |
1,2 |
1,56 |
1,90 |
2,31 |
2,84 |
- |
|
К8 примыкания со светофорным регулированием |
0,8 |
1,16 |
1,46 |
1,87 |
2,36 |
- |
|
Суммарная интенсивность движения пешеходов на наземных переходах на перекрестках, тыс. чел./сут |
5 |
15 |
25 |
35 |
45 |
|
К9 |
1,17 |
1,84 |
2,47 |
3,19 |
4,089 |
|
К9 пересечения со светофорным регулированием |
0,90 |
1,30 |
1,75 |
2,31 |
3,05 |
|
К9 необорудованного примыкания |
1,04 |
1,56 |
2,16 |
2,80 |
- |
|
К9 примыкания со светофорным регулированием |
0,8 |
1,04 |
1,30 |
1,77 |
- |
|
Видимость пересечения с пересекающей улицы, м |
20 |
30 |
40 |
50 |
60 |
|
К10 |
3,17 |
2,27 |
1,66 |
1,18 |
1,0 |
|
Видимость примыкания с примыкающей улицы, м |
20 |
30 |
40 |
50 |
60 |
|
К10 |
2,68 |
1,98 |
1,37 |
1,03 |
1,0 |
|
Количество полос |
1 |
2 |
3 |
4 |
|
Расположение остановочного пункта: |
|
|
|
|
|
в кармане |
|
|
|
|
|
К11 при двустороннем движении |
- |
1,56 |
1,12 |
0,8 |
|
К11 при одностороннем движении |
1,68 |
1,64 |
1,30 |
- |
|
у бордюрного камня |
|
|
|
|
|
К11 при двустороннем движении |
- |
2,24 |
1,94 |
1,60 |
|
К11 при одностороннем движении |
2,3 |
2,16 |
1,52 |
1,04 |
|
Количество полос движения |
1 |
2 |
3 |
4 |
|
Расположение переходов: |
|
|
|
|
|
в местах скопления пешеходов (1000 чел/ч и более) |
|
|
|
|
|
К12 |
- |
3,84 |
3,16 |
1,60 |
|
К12 для улиц с односторонним движением |
4,18 |
3,62 |
3,0 |
1,4 |
|
на спусках с уклоном 30 %о |
|
|
|
|
|
К12 |
- |
2,05 |
1,64 |
1,05 |
|
К12 для улиц с односторонним движением |
2,44 |
2,0 |
1,60 |
1,02 |
|
на горизонтальных участках |
|
|
|
|
|
К12 |
- |
1,76 |
1,40 |
1,0 |
|
К12 для улиц с односторонним движением |
1,95 |
1,66 |
1,34 |
1,0 |
|
Интенсивность движения переходов на переходах вне перекрестков, тыс. чел./сут |
0,5 |
1,0 |
2,5 |
5 |
7,5 |
10 |
15 |
|
К13 |
0,75 |
0,85 |
1,05 |
1,45 |
1,85 |
2,25 |
3,0 |
|
Расположение тротуаров |
У проезжей части |
5 м от дороги |
10 м от дороги |
15 м и более от дороги |
|
К14 |
2,23 |
1,45 |
1,05 |
0,9 |
|
К14 для участков улиц со скоплением пешеходов |
3,20 |
1,67 |
1,28 |
1,05 |
|
Продольный уклон, %о |
10 |
20 |
30 |
40 |
50 |
60 |
80 |
|||||
|
К15 |
1,0 |
1,3 |
1,7 |
2,2 |
2,5 |
2,7 |
3,0 |
|||||
|
Радиус кривой в плане, м |
50 |
100 |
150 |
200 |
250 |
и более |
||||||
|
К16 |
4,26 |
2,96 |
2,08 |
1,37 |
1,0 |
|
||||||
|
Расположение трамвайного пути |
Отсутствуют |
На обособленном полотне |
На общем полотне: |
|
|
у края улицы |
в середине улицы |
|||
|
К17 |
1,0 |
1,5 |
2,5 |
3,5 |
|
Характеристика покрытия |
Скользкое (грязное, гололед) |
Скользкое (мокрое) |
Сухое |
Чистое |
Шероховатое |
|
Коэффициент сцепления |
0,1-0,3 |
0,4 |
0,6 |
0,7 |
|
К18 |
1,8 |
1,4 |
1,0 |
0,8 |
1.4.24. Улицу анализируют по каждому показателю, выделяя однородные по условиям участки. При этом следует учитывать, что влияние опасного места распространяется на прилегающие участки, где возникают ощутимые помехи для движения. Зоны влияния опасных участков приведены в табл. 1.11.
Таблица 1.11
|
Участки улиц с повышенной опасностью |
Зоны влияния |
|
Остановочные пункты пассажирских транспортных средств: |
|
|
одностороннее движение |
40 м до остановочного пункта и 20 м за остановочным пунктом |
|
двустороннее движение |
50 м в каждую сторону от остановочного пункта |
|
Места скопления пешеходов вблизи от дороги более 1000 чел/ч |
40 м в каждую сторону от опасного участка |
|
Обозначенные пешеходные переходы: |
|
|
переход вне зоны пересечений и примыканий |
50 м в каждую сторону от перехода |
|
переход в зоне пересечения или примыкания |
Соответствует зоне перекрестка |
|
Пересечения и примыкания магистральных улиц1 |
40 м в каждую сторону от пересечения, 25 м в каждую сторону от примыкания |
|
Кривые участки в плане с радиусом, м: |
|
|
|
50 м в каждую сторону |
|
100 |
25 м » » » |
|
150 |
10 м » » » |
|
Участки подъемов и спусков |
20 м за вершиной подъема |
|
|
50 м после подошвы спуска |
_____________
1 Для улиц с односторонним движением соответственно 25 м.
1.4.25. В проектах реконструкции улиц и нового строительства рекомендуется перепроектировать участки, для которых итоговый коэффициент аварийности превышает 25. При значениях итогового коэффициента аварийности более 65 рекомендуется обход города или перестройка участков уличной сети.
Рекомендуется предусматривать разметку проезжей части, светофорное регулирование, устройство подземных пешеходных переходов при коэффициентах аварийности 25-65.
Влияние наиболее опасных участков и установление очередности их перестройки
1.4.26. Если возможность быстрого улучшения всей дороги ограничена, особенно при стадийной реконструкции, для установления очередности перестройки опасных участков необходимо дополнительно учитывать тяжесть ДТП. При построении графиков итоговые коэффициенты аварийности следует умножить на дополнительные коэффициенты тяжести (стоимостные коэффициенты, учитывающие возможные потери народного хозяйства от ДТП):
'
,
где mi - дополнительные стоимостные коэффициенты (табл. 1.12).
Поправку к итоговым коэффициентам аварийности вводят только при значениях Kитог > 15.
1.4.27. За единицу дополнительных стоимостных коэффициентов приняты средние потери народного хозяйства от одного ДТП на эталонном участке дороги или улицы. Остальные коэффициенты вычислены на основании данных о средних потерях от одного ДТП при различных дорожных условиях. Значения коэффициентов тяжести приведены в табл. 1.12.
Для городских улиц и дорог значения коэффициентов тяжести mi принимают:
mi,
Ширина проезжей части улиц, м;
4,5 ...........................……............ 1,0
6,0 ...................................…….... 1,02
7,75 ..........................…….......... 0,98
8-9,0 .........................………...... 1,02
10-14,0 .....................………....... 1,01
15,0 .................................……... 1,08
Продольный уклон, %o:
менее 20 ..................…….…...... 1,0
более 20 ....................…….….... 1,17
Радиусы кривых в плане, м:
менее 200 ..........……......…...... 1,36
более 200 ..................……........ 1,0
Мосты и путепроводы ............................…...... 1,4
Нерегулируемые перекрестки ............…......... 0,81
Регулируемые перекрестки ...............….......... 0,80
Пешеходные переходы .......................…......... 1,25
Остановки общественного транспорта ..……. 1,34
Значения дополнительных коэффициентов тяжести в ряде случаев увеличиваются при улучшении дорожных условий, так как возрастание скоростей движения приводит к авариям с более тяжелыми последствиями (рис. 1.3)
Таблица 1.12
|
№ п/п |
Учитываемые факторы |
Средние значения коэффициентов тяжести mi |
|
|
для дорог в равнинной местности |
для горных дорог |
||
|
1 |
Ширина проезжей части дорог, м: |
|
|
|
|
4,5 |
0,7 |
0,7 |
|
|
6 |
1,2 |
1,2 |
|
|
7-7,5 |
1,0 |
1,0 |
|
|
9 |
1,4 |
1,4 |
|
|
10,5 |
1,2 |
1,2 |
|
|
14 |
1,0 |
- |
|
|
15 и более с разделительной полосой |
0,9 |
- |
|
2 |
Ширина обочин, м: |
|
|
|
|
менее 2,5 |
0,85 |
0,85 |
|
|
более 2,5 |
1,0 |
1,0 |
|
3 |
Продольный уклон дорог, %о: |
|
|
|
|
менее 30 |
1,0 |
1,0 |
|
|
более 30 |
1,25 |
1,4 |
|
4 |
Радиусы кривых в плане, м: |
|
|
|
|
менее 350 |
0,9 |
0,8 |
|
|
более 350 |
1,0 |
1,0 |
|
5 |
Сочетание кривых п плане и профиле |
- |
1,05 |
|
6 |
Видимость в плане и профиле, м: |
|
|
|
|
менее 250 |
0,7 |
0,7 |
|
|
более 250 |
1,0 |
1,0 |
|
7 |
Мосты и путепроводы |
2,1 |
1,3 |
|
8 |
Нерегулируемые пересечения в одном уровне |
0,8 |
0,6 |
|
9 |
Пересечения в разных уровнях |
0,95 |
- |
|
10 |
Населенные пункты |
1,6 |
1,0 |
|
11 |
Число полос движения: |
|
|
|
|
1 |
0,9 |
0,9 |
|
|
2 |
1,0 |
1.0 |
|
|
3 |
1,3 |
1,3 |
|
|
4 и более |
1,0 |
1,0 |
|
12 |
Наличие, деревьев, опор путепроводов и т. д. на обочинах и разделительной полосе |
1,5 |
0,9 |
|
13 |
Отсутствие ограждений в необходимых местах |
1,4 |
1,8 |
|
14 |
Железнодорожные переезды |
0,6 |
0,0 |

1.5.1. На пересечениях в одном уровне безопасность движения зависит от направления и интенсивности пересекающихся потоков, числа точек пересечения, разветвлений и слияния потоков движения - конфликтных точек, а также от расстояния между этими точками (рис. 1.4). Чем больше автомобилей проходит через конфликтную точку, тем больше вероятность возникновения в ней дорожно-транспортного происшествия.

Рис. 1.4. Схема конфликтных точек на примыканиях автомобильных дорог в одном уровне:
1, 4, 9 - точки разделения потоков; 2, 7, 8 - точки слияния потоков; 3, 5, 6 - точки пересечения потоков
Таблица 1.13
|
Условия движения |
Направление движения автомобилей |
Характеристика пересечения |
Значения коэффициентов относительной аварийности |
|
|
необорудованное пересечение |
канализированное пересечение |
|||
|
Слияние потоков |
Правый поворот
|
Радиус поворота: R < 15 м R = 15 м R = 15 м, переходные кривые R = 15 м, переходно-скоростные полосы, переходные кривые |
0,0250 0,0040 0,0008 0,0003 |
0,0200 0,0020 0,0008 0,0003 |
|
|
Левый поворот
|
R = 10 м 10,0 < R < 25 м 10,0 < R < 25 м, переходно-скоростные полосы |
0,0320* 0,0025* 0,0005 |
0,0022 0,0017* 0,0005 |
|
Пересечение потоков |
|
Угол пересечения: 0 < a £ 30 30 < a £ 50 50 < a £ 75 75 < a £ 90 90 < a £ 120 120 < a £ 150 150 < a £ 180 |
0,0080 0,0050 0,0036 0,0056 0,0120 0,0210 0,0350 |
0,0040 0,0025 0,0018 0,0018 0,0060 0,0105 0,0175 |
|
Разделение потоков |
На правом повороте
|
Радиус поворота: R < 15 м R = 15 м R ³ 15 м, переходные кривые R > 15 м, переходные кривые с переходной полосой |
0,0200 0,0060 0,0005 0,0001 |
0,0200 0,0060 0,0005 0,0001 |
|
|
На левом повороте
|
R < 10 м 10 £ R < 25 м 10 < R £ 25 м, переходно-скоростные полосы |
0,0300 0,0040 0,0010 |
0,0300 0,0025 0,0010 |
|
Два поворачивающих потока |
|
Разделение двух потоков Пересечение двух левоповоротных потоков Слияние двух поворачивающих потоков |
0,0015 0,0020 0,0025 |
0,0010 0,0005 0,0012 |
* Для определения Кi в этом случае данные таблицы нужно умножить на коэффициент Кa
|
Угол пересечения дорог, град |
до 30 |
40 |
50-75 |
90 |
120 |
150 |
180 |
|
Кa |
1,8 |
1,2 |
1,0 |
1,2 |
1,9 |
2,1 |
3,4 |
Таблица 1.14
|
Схема маневра |
Характеристика маневра |
Радиус внутренней кромки кольца, м |
||||||||
|
15 |
20 |
25 |
30 |
40 |
50 |
60 |
80 |
100 |
||
|
Коэффициент относительной аварийности |
||||||||||
|
|
Слияние потоков: на многополосном кольце при радиусе съезда более 15 м на однополосном кольце при радиусе съезда менее 15 м то же, более 15 м |
0,0040 0,0040 0,0040 |
0,0030 0,0030 0,0025 |
0,0022 0,0022 0,0013 |
0,0018 0,0015 0,0010 |
0,0013 0,0010 0,0007 |
0,0010 0,0007 0,0005 |
0,0008 0,0005 0,0004 |
0,0005 0,0004 0,0003 |
0,0003 0,0004 0,0003 |
|
|
Разделение потоков: на многополосном кольце при радиусе съезда более 15 м на однополосном кольце при радиусе съезда менее 15 м то же, более 15 м |
0,0028 0,0028 0,0016 |
0,0020 0,0020 0,0012 |
0,0014 0,0014 0,0010 |
0,0012 0,0010 0,0007 |
0,0009 0,0007 0,0005 |
0,0007 0,0006 0,0004 |
0,0005 0,0005 0,0003 |
0,0035 0,0004 0,0002 |
0,0002 0,0003 0,0002 |
|
|
Переплетение потоков на многополосном кольце |
- |
- |
- |
0,0016 |
0,0013 |
0,0010 |
0,0008 |
0,0007 |
0,0006 |
1.5.2. Опасность конфликтной точки можно оценить по возможной аварийности в ней (количество ДТП за 1 год):
,
где Ki - относительная аварийность конфликтной точки (принимается согласно табл. 1.13, 1.14); Mi, Ni - интенсивности движения пересекающихся в данной конфликтной точке потоков, авт./сут; Kr - коэффициент годовой неравномерности движения (для европейской части РСФСР может быть принят согласно табл. 1.15, для других областей - по данным изысканий и обследований дорог).
Коэффициент 25 введен в формулу для учета среднего количества рабочих дней в месяц, в течение которых загрузка дорог резко превышает загрузку в нерабочие дни.
При расчетах, проводимых для существующих дорог, коэффициент Кr принимают для месяца, в который проводился учет интенсивности движения. Для вновь проектируемых дорог отношение 25/Kr принимают равным 365.
1.5.3. Степень опасности пересечения оценивается показателем безопасности движения, характеризующим количество ДТП на 10 млн. автомобилей, прошедших через пересечение,
,
где
- теоретически
вероятное количество ДТП на пересечении за 1 год; n - число конфликтных точек на
пересечении; М - интенсивность на
главной дороге, авт./сут; N - то же, для второстепенной
дороги; Кr - коэффициент годовой
неравномерности движения (см. табл. 1.15).
Таблица 1.15
|
Месяцы |
Коэффициент Кr при среднегодовой суточной интенсивности движения, авт./сут |
|||
|
до 1000 |
1000-2000 |
2000-6000 |
> 6000 |
|
|
I |
0,0885 |
0,0800 |
0,0510 |
0,0510 |
|
II |
0,0860 |
0,0660 |
0,0550 |
0,0585 |
|
III |
0,0860 |
0,0714 |
0,0550 |
0,0670 |
|
IV |
0,0800 |
0,0750 |
0,0690 |
0,0790 |
|
V |
0,0800 |
0,0850 |
0,0750 |
0,0850 |
|
VI |
0,0860 |
0,0714 |
0,0860 |
0,0855 |
|
VII |
0,0816 |
0,0784 |
0,1160 |
0,1000 |
|
VIII |
0,0875 |
0,0850 |
0,1230 |
0,1320 |
|
IX |
0,0900 |
0,1100 |
0,1130 |
0,1080 |
|
X |
0,0840 |
0,0960 |
0,0870 |
0,0890 |
|
XI |
0,0715 |
0,0850 |
0,0834 |
0,0800 |
|
XII |
0,0775 |
0,0790 |
0,0760 |
0,0780 |
Показатель Ка характеризует степень обеспечения безопасности движения на пересечении:
|
Ка |
< 3 |
3,0-8,0 |
8,1-12 |
> 12 |
|
Опасность пересечения |
Неопасное |
Мало опасное |
Опасное |
Очень опасное |
При проектировании новых дорог или реконструкции существующих для каждого варианта пересечения определяют показатель Ка. Чем он меньше, тем удачнее схема пересечения. На вновь проектируемых дорогах показатель безопасности на пересечениях в одном уровне не должен превышать 8, в противном случае должны быть разработаны более безопасные схемы пересечения.
1.5.4. При высокой интенсивности поворачивающих налево потоков автомобилей наиболее целесообразно устраивать кольцевые пересечения, опасность движения по которым в 2-2,5 раза меньше, чем по крестообразным, благодаря тому, что маневры пересечения транспортных потоков заменяются менее опасными маневрами слияния и разделения потоков.
Значения коэффициентов относительной аварийности для кольцевых пересечений приведены в табл. 1.14.
1.6.1. Безопасность движения на железнодорожных переездах оценивается по значению итогового коэффициента аварийности.
1.6.2. При построении графика коэффициента аварийности для железнодорожных переездов необходимо учитывать частные коэффициенты Кi(п):
|
Фактическая интенсивность движения поездов, % от общей суммарной приведенной интенсивности |
< 2 |
2-5 |
5-10 |
10-15 |
15-20 |
> 20 |
|
К1(п) |
0,35 |
0,40 |
0,62 |
1,15 |
1,75 |
2,15 |
|
Интенсивность движения по автомобильной дороге, авт./сут |
< 500 |
500-1000 |
1000-3000 |
3000-5000 |
5000-7000 |
> 7000 |
|
К2(п) |
0,42 |
0,55 |
0,80 |
1,14 |
1,50 |
2,05 |
|
Расстояние видимости переезда и поезда, м |
³ 400 |
300-400 |
200-300 |
100-200 |
50-100 |
< 50 |
|
К3(п) |
1,00 |
1,42 |
2,50 |
4,00 |
5,15 |
6,5 |
|
Оборудование переезда |
Коэффициент К4(п) |
|
Автоматический шлагбаум с автоматической световой сигнализацией |
1,00 |
|
Автоматическая светофорная сигнализация |
1,10 |
|
Механизированные шлагбаумы с оповестительной сигнализацией |
1,95 |
|
Механизированные шлагбаумы без сигнализации |
3,24 |
|
Искусственное освещение |
4,82 |
|
Дорожные знаки |
7,45 |
|
Радиус кривой в плане на подходе к переезду, м |
< 50 |
50-75 |
75-100 |
100-150 |
150-200 |
> 200 |
|
К5(п) |
8,91 |
5,80 |
4,40 |
3,21 |
1,45 |
1,00 |
|
Уклон автомобильной дороги на спуске, %о |
20 |
30 |
40 |
50 |
60 |
> 60 |
|
К6(п) |
1,00 |
1,38 |
2,45 |
2,72 |
2,81 |
3,64 |
1.6.3. При построении графика коэффициентов аварийности зону влияния железнодорожного переезда и элементов дорог, на подходе к нему рекомендуется принимать по табл. 1.16.
Таблица 1.16
|
Элемент дороги |
Зона влияния, м |
|
Железнодорожный переезд на прямом горизонтальном участке |
75 |
|
Железнодорожный переезд в конце спуска с уклоном более 30 %о при длине спуска, м: |
|
|
100 |
100 |
|
200 |
200 |
|
300 |
200 |
|
400 и более |
250 |
|
Кривые в плане менее 200 м на подходе к переездам |
150 |
1.6.4. Для повышения безопасности движения проектные решения для новых переездов и подходов к ним должны обеспечивать Китог не более 15-20. На существующих переездах и подходах к ним рекомендуется выполнять следующие мероприятия в зависимости от значения итогового коэффициента аварийности:
а) при Китог = 10 ¸ 20 обеспечивать видимость переезда и поезда, устанавливать знаки и наносить разметку проезжей части;
б) при Китог более 20 ¸ 40 оборудовать переезды средствами защиты, ограничить скорость движения на подходах к переезду, увеличить радиус кривой в плане, на участках спусков с уклоном более 30 %о, устраивать шероховатую поверхностную обработку;
в) ограничивать скорость движения автомобилей на подходах к переездам, если невозможно обеспечить требования видимости:
|
Lп, м |
75 |
100 |
125 |
150 |
200 |
300 |
|
vдоп, км/ч |
20 |
30 |
35 |
40 |
45 |
50 |
Примечание. Lп - расстояние от поезда до переезда, когда поезд виден водителю, находящемуся от переезда на расстоянии видимости дороги; vдоп - допускаемая скорость движения на подходах к переезду.
При расстоянии видимости менее 75 м требуется установка знака «Движение без остановки запрещено».
1.7.1. Безопасность движения на пересечениях в разных уровнях зависит от интенсивности потоков автомобилей, проходящих через конфликтные точки, количество и степень опасности которых определяются схемой развязки (рис. 1.5). На полных развязках в разных уровнях пересечения потоков движения исключаются, и в конфликтных точках происходят только маневры слияния и разделения. Схемы развязок неполного типа допускают пересечения потоков автомобилей и развороты на второстепенной дороге.


Рис. 1.5. Схема конфликтных точек на транспортных развязках:
а - полная транспортная развязка (2, 3, 5, 7, 10, 14, 12, 15 - точки разделения потоков; 1, 8, 9, 16, 4, 6,11, 13 - точки слияния потоков); б - неполная транспортная развязка (А и Б - узлы, оцениваемые как пересечения в одном уровне по табл. 1.13; 1, 2, 3, 8, 23, 24, 25, 26 - точки, оцениваемые по табл. 1.18)
Таблица 1.17
|
Интенсивность движения в одном направлении на шестиполосной автомагистрали, авт/ч |
Интенсивность движения, авт/ч, по полосам |
|
|
правой |
левой |
|
|
1000 |
450 |
150 |
|
1500 |
600 |
400 |
|
2000 |
700 |
700 |
|
3000 |
900 |
1100 |
Таблица 1.18
|
Тип съезда |
Вид взаимодействия потоков в конфликтной точке |
Параметры съездов на характер движения |
Относительная аварийность (количество ЛТП на 10 млн. автомобилей) |
|
|
Переходно-скоростные полосы отсутствуют |
Переходно-скоростные полосы имеются |
|||
|
Левоповоротные съезды |
Слияние |
R < 50 м R > 50 м |
0,00065 0,00030 |
0,00035 0,00020 |
|
Пересечения «клеверный лист» 1 |
Разделение |
R < 50 м R > 50 м |
0,00190 0,00090 |
0,0001 0,00070 |
|
Правоповоротные и полупрямые левоповоротные съезды |
»
Слияние |
R = 45 ¸ 60 м R > 60 м R = 45 ¸ 60 м R > 60 м |
0,00050 0,00035 0,00025 0,00020 |
0,00030 0,00020 0,00015 0,00010 |
|
Полупрямые левоповоротные съезды |
Разделение |
Разделение двух поворачивающих потоков в процессе движения по съезду |
0,00020 |
0,00015 |
|
|
Слияние |
Слияние двух поворачивающих потоков в процессе движения по съезду |
0,00015 |
0,00010 |
|
Прямые левоповоротные съезды |
Слияние Разделение |
R > 60 м R > 60 м |
0,00040 0,00070 |
0,00020 0,00040 |
1 При отсутствии переходной кривой относительная аварийность принимается в 1,5 раза большей.
1.7.2. Опасность развязки в разных уровнях оценивают по методике, принятой для оценки безопасности движения на пересечениях в одном уровне. При этом Mi и Ni - интенсивности движения в конфликтных точках. Величина М представляет собой интенсивность движения по основным полосам. Ocновной считается полоса, где происходит слияние или разделение потоков автомобилей. На многополосных дорогах ею является правая полоса проезжей части (при правостороннем расположении съездов) или левая полоса (при левостороннем расположении съездов). Величина N - интенсивность движения по съездам. Для определения интенсивности движения по основной полосе на четырехполосных автомобильных магистралях следует пользоваться графиком (рис. 1.6), на шестиполосных - табл. 1.17.

Рис. 1.6. Распределение интенсивности движения на автомагистрали с 4 полосами движения
Значения коэффициентов относительной аварийности конфликтных точек на развязках и разных уровнях полного типа приведены в табл. 1.18. Используя данные таблицы, необходимо учитывать, что при устройстве распределительной полосы (см. гл. 7) значение коэффициента относительной аварийности составляет при въезде на нее с главной дороги 0,000065, при выезде на главную дорогу 0,00003.
1.7.3. При оценке безопасности движения развязок неполного типа (см. рис. 1.5, б, неполный «клеверный лист», ромб и др.), а также полных развязок кольцевого типа коэффициенты относительной аварийности принимаются для конфликтных точек в местах пересечения или переплетения потоков автомобилей по табл. 1.13, 1.14, для конфликтных точек слияние и разделение потоков на съездах развязок - по табл. 1.18.
1.8.1. Перечень мероприятий, необходимых для повышения безопасности движения и пропускной способности дороги и четкой организации движения, разрабатывают на основе сопоставления линейных графиков коэффициентов аварийности, коэффициентов загрузки, коэффициентов безопасности и эпюры скоростей. Каждая дорожно-эксплуатационная организация должна иметь указанные графики, систематически уточняемые по мере проведения строительных и ремонтных работ, и фиксировать на них места ДТП и заторов.
1.8.2. Следует стремиться к проведению капитальных мероприятий, направленных на устранение мест сосредоточения ДТП и участков, вызывающих снижение пропускной способности.
1.8.3. В первую очередь необходимо установить возможность стадийного увеличения числа полос движения и устройства дополнительных полос проезжей части различного назначения. Для повышения пропускной способности отдельных участков рекомендуются мероприятия, указанные в табл. 1.19. В этой таблице, а также в пп. 1.8.6-1.8.11 последующие мероприятия включают и предыдущие.
Таблица 1.19
|
Отношение пропускной способности данного участка к типичной для дороги |
Мероприятия для улучшения условий движения на дороге с двумя полосами движения |
|
0,9-1,0 |
Выборочное улучшение видимости. Устройство на кривых виражей, уширение проезжей части |
|
0,75-0,9 |
Уширение узких мостов, укрепление обочин и удаление предметов, зрительно сужающих дорогу. Устройство срезок видимости, увеличение радиусов кривых в плане и профиле. Устройство переходно-скоростных полос на пересечениях в одном уровне |
|
0,5-0,75 |
Дополнительно к перечисленным мероприятиям устройство канализированных пересечений и дополнительных полос на подъемах. Устройство пересечений в разных уровнях на наиболее напряженных пересечениях |
|
0,3-0,5 |
Перетрассировка участка со спрямлением трассы и увеличением радиусов. На остальных участках -перечисленные мероприятия |
1.8.4. Для увеличения пропускной способности дороги в целом, имеющей примерно одинаковую пропускную способность на отдельных участках, можно рекомендовать мероприятия, указанные в табл. 1.20, с учетом ожидаемого коэффициента загрузки движением.
|
Коэффициент загрузки |
Возможные мероприятия на дорогах с двумя полосами движения |
|
|
строительные |
организационные |
|
|
Менее 0,2 |
Укрепление обочин |
Нанесение разметки и устройство краевых и шумовых полос |
|
0,2-0,45 |
Укрепление обочин. Выборочное увеличение видимости для обеспечения обгона на участках не менее 1,5-2 км |
Разметка проезжей части |
|
0,45-0,70 |
Перестройка наиболее загруженных пересечений в одном уровне с заменой на кольцевые или канализированные. Устройство обгонных участков и дополнительных полос на подъемах, уширение узких мостов |
Регулирование скоростей движения на отдельных участках |
|
0,70-1,0 |
Перечисленные выше мероприятия. При узкой проезжей части - уширение полосы движения до 3,75 м |
Установка дистанционно управляемых знаков, регулирование скоростей |
|
> 1,0 |
Перестройка под более высокую категорию. Устройство одежды на обочинах для создания третьей полосы движения |
Перевод части движения на параллельные маршруты |
1.8.5. Наиболее подробный анализ условий движения, разработку вариантов улучшения дорожных условий и выбор средств организации движения следует выполнять для участков (или элементов дорог), реконструкция которых стадийными методами затруднена: большие мосты и подходы к ним, участки в пределах населенных пунктов с плотной застройкой, затяжные подъемы с высокими насыпями и т. п.
|
Коэффициент загрузки |
Характер мероприятий |
|
Менее 0,2 |
Устройство осевой разметки и шумовых полос, установка знаков, ограждений и направляющих столбиков |
|
0,2-0,45 |
Уширение проезжей части в верхней и нижней частях подъема на 2 м с нанесением разметки и укреплением обочин в этих местах На затяжных подъемах устройство дополнительной полосы, начиная с середины подъема в пределах вертикальной выпуклой кривой и за подъемом на расстоянии не менее 100 м |
|
0,45-0,7 |
На подъемах короче 300 м устройство дополнительной полосы на всю длину подъема |
|
0,7- |
На затяжных подъемах устройство дополнительной полосы на всю длину подъема |
1.8.7. На кривых в плане могут осуществляться следующие стадийные мероприятия
|
Коэффициент загрузки |
Характер мероприятий |
|
Менее 0,2 |
Устройство разметки проезжей части и шумовых полос, установка знаков, ограждений и направляющих столбиков |
|
0,2-,45 |
Уширение проезжей части с разметкой, обеспечение фактической видимости 600-00 м |
|
0,45-,7 |
Устройство разделительного островка |
|
0,7- |
Увеличение радиуса кривой |
При назначении указанных мероприятий предусмотрено, что все кривые имеют виражи.
1.8.8. На пересечениях в одном уровне основным мероприятием являются канализированные движения с помощью островков или устройство кольцевых пересечений. Последовательность улучшения условий движения выбирается с учетом коэффициента загрузки основной дороги:
|
Коэффициент загрузки |
Характер мероприятий |
|
Менее 0,2 |
Осевая разметка |
|
0,2-,45 |
Островки на второстепенной дороге |
|
0,45-,7 |
Полностью канализированное или кольцевое пересечение |
|
0,7-,0 |
Устройство пересечения в разных уровнях |
1.8.9. Для увеличения пропускной способности пересечений в разных уровнях основным мероприятием является устройство переходно-скоростных полос и увеличение числа полос движения на основной дороге в зависимости от коэффициента ее загрузки
|
Коэффициент загрузки |
Характер мероприятий |
|
Менее 0,2 |
Устройство разметки и установка знаков |
|
0,3-,45 |
Установка знака «Проезд без остановки запрещен» или светофора, регулирующего въезд на автомобильную магистраль |
|
0,45-,7 |
Устройство переходно-скоростной полосы |
|
0,7-,0 |
Увеличение числа полос транзитного движения |
1.8.10. Участки с ограниченной видимостью в продольном профиле характерны не только низкими скоростями движения, но и высокой аварийностью. Для улучшения условий движения на них рекомендуются следующие стадийные мероприятия:
|
Коэффициент загрузки |
Характер мероприятий |
|
Менее 0,2 |
Осевая разметка с уширением каждой полосы на 1 м |
|
0,2-,45 |
Устройство островка в пределах вертикальной кривой и укрепление обочин |
|
0,45-,7 |
Увеличение радиуса вертикальной выпуклой кривой |
|
Коэффициент загрузки |
Оборудование автобусной остановки |
|
Менее 0,2 |
Простой карман без отгонов ширины с площадкой для пассажиров |
|
0,2-0,15 |
Устройство отгонов ширины с учетом плавного торможения |
|
0,45-0,7 |
Устройство разделительного островка |
|
1,7-1,0 |
Установка ограждений для пешеходов, увеличение длины отгона с учетом входа в поток и увеличение протяжения участка разгона автобуса, устройство дополнительной полосы движения |
Общие положения
1.9.1. Соответствие проектных решений и состояния дорог требованиям обеспечения безопасного и удобного движения в неблагоприятных климатических условиях оценивают путем определения коэффициентов обеспеченности расчетной скорости, пропускной способности, коэффициента загрузки движением, коэффициентов безопасности и аварийности для летнего, осенне-весеннего (переходных) и зимнего периодов года в соответствии с табл. 1.21 для трех зон (рис. 1.7)
Таблица 1.21
|
Оцениваемые показатели |
Рекомендуемая область оценки |
Рекомендуемые методы оценки |
|
Обеспеченность расчетной скорости по периодам года |
Дороги всех категорий |
Метод коэффициентов обеспеченности расчетной скорости |
|
Пропускная способность и уровень загрузки в расчетные периоды года |
Дороги I и II категорий, а также участки дорог III категории на подходах к крупным городам |
Метод и программа определения пропускной способности с учетом влияния климата и погоды |
|
Оценка безопасности движения |
Дороги всех категорий |
Метод сезонных коэффициентов безопасности и аварийности |

Рис. 1.7. Районирование территории СССР по условиям движения автомобилей:
I, II, III - расчетные зоны
1.9.2. Расчетным является период года, в который под влиянием погодно-климатических факторов формируются наиболее трудные условия движения.
Оценка обеспеченности расчетной скорости
1.9.3. Степень соответствия запроектированной или существующей дороги требованиям движения автомобилей в неблагоприятные периоды года оценивается коэффициентом обеспеченности расчетной скорости, за который принимают отношение максимальной скорости одиночного легкового автомобиля на каждом участке дороги при характерных для данного периода года метеорологических условиях и состоянии дороги к расчетной скорости в эталонных условиях:
![]()
В целях упрощения расчетов для дорог всех категорий условно принята базовая расчетная скорость, равная 120 км/ч.
1.9.4. Значения максимально возможных или допустимых скоростей движения vфmax на каждом участке дороги для каждого периода года вычисляется теми же методами, что при определении коэффициента безопасности (см. п. 1.4) исходя из параметров и состояния дорог и метеорологических условий, без учета общих и местных ограничений, вводимых правилами дорожного движения.
Для существующих дорог максимальная скорость может быть определена на основе наблюдений за режимами движения как скорость свободного движения легковых автомобилей 85 %-ной обеспеченности или как скорость транспортного потока 95 %-ной обеспеченности в характерных условиях движения.
1.9.5. Каждому периоду года соответствует характерное состояние поверхности дороги, принимаемое за расчетное.
А. В зимний период:
1) слой рыхлого снега на поверхности покрытия и обочин имеется только во время снегопада и метелей в перерывах между проходами снегоочистительных машин;
2) проезжая часть чистая от снега, уплотненный снег и лед на прикромочных полосах, рыхлый снег на обочинах;
3) слой плотного снежного наката на проезжей части, слой рыхлого снега на обочинах;
4) гололед на покрытии;
5) покрытие влажное, тонкий слой рыхлого мокрого снега или слой снега и льда, растворенного хлоридами.
Состояния 1, 2, 4 и 5 принимают расчетными для дорог I, II и III категорий, состояния 2 и 3 - для дорог III и IV категории.
Расчетная толщина слоя рыхлого снега на покрытии принимается по многолетним данным дорожно-эксплуатационной службы в зависимости от защищенности дороги от снежных заносов и оснащенности дорожной службы машинами для зимнего содержания, но не менее 10 мм.
Б. В осенне-весенние переходные периоды:
1) вся поверхность дороги мокрая, чистая;
2) проезжая часть мокрая, чистая; прикромочные полосы загрязнены;
3) проезжая часть мокрая, загрязненная.
Состояние 1 принимают расчетным для дорог I и II категории с обочинами, укрепленными на всю ширину каменными материалами с применением минеральных или органических вяжущих, состояние 2 - для дорог, имеющих укрепленные краевые полосы или обочины, укрепленные щебеночными и гравийными материалами без вяжущих, состояние 3 - для дорог без укрепленных краевых полос и обочин.
В. В летний период:
сухое чистое покрытие, сухие твердые обочины.
1.9.6. Каждому расчетному состоянию покрытия соответствуют определенный коэффициент сопротивления качению и коэффициент сцепления (табл. 1.22 и 1.23), изменяющиеся в зависимости от скорости:
;
![]()
где
и
- коэффициент
сопротивления качению и коэффициент сцепления при скорости 20 км/ч;
и
- коэффициенты
изменения сопротивления качению и сцепления в зависимости от скорости. При
скорости до 60 км/ч значение Kf =
0; при больших скоростях
для легкового
автомобиля; v - скорость, для которой
определяются значения
или
, км/ч.
Таблица 1.22
|
Тип покрытия |
Значения коэффициента сопротивления качению f при различных состояниях покрытия |
||||||||
|
Эталонное (сухое) |
Влажное чистое |
Мокрое загрязненное |
На покрытии ровный слой снега |
Гололед |
Рыхлый снег толщиной, мм |
||||
|
до 10 |
10-20 |
20-40 |
40-60 |
||||||
|
Цементо- и асфальтобетонное |
0,01-0,02 |
0,02-0,03 |
0,03-0,035 |
0,04-0,10 |
0,015-0,03 |
0,03-0,04 |
0,04-0,09 |
0,08-0,12 |
0,09-0,15 |
|
То же, с поверхностной обработкой |
0,02 |
0,02-0,03 |
0,03-0,035 |
0,04-0,10 |
0,02-0,4 |
0,03-0,04 |
0,04-0,09 |
0,08-0,12 |
0,09-0,15 |
|
Из холодного асфальтобетона, черное щебеночное (гравийное) |
0,02-0,025 |
0,025-0,035 |
0,03-0,045 |
0,04-0,10 |
0,02-0,04 |
0,03-0,05 |
0,04-0,09 |
0,08-0,12 |
0,09-0,15 |
|
Гравийное и щебеночное |
0,035 |
0,035-0,05 |
0,04-0,06 |
0,04-0,10 |
0,03-0,04 |
0,04-0,06 |
0,04-0,10 |
0,03-0,12 |
0,09-0,15 |
|
Грунтовая дорога |
0,03 |
0,04-0,05 |
0,05-0,15 |
0,06-0,010 |
0,03-0,05 |
0,06-0,08 |
0,06-0,12 |
0,08-0,12 |
0,09-0,15 |
Примечание. Меньшие значения принимают для равных гладких покрытий, большие для покрытий, имеющих неровности.
Таблица 1.23
|
Тип покрытия |
Значения коэффициента сцепления j20 и коэффициента снижения bj в зависимости от типа покрытия и его состояния |
|||||||||||
|
Эталонное (сухое) |
Мокрое (чистое) |
Мокрое (грязное) |
Рыхлый снег |
Уплоненный снег |
Гололед |
|||||||
|
j20 |
bj |
j20 |
bj |
j20 |
bj |
j20 |
bj |
j20 |
bj |
j20 |
bj |
|
|
Цементобетонное |
0,80-0,85 |
0,002 |
0,65-0,70 |
0,0035 |
0,40-0,45 |
0,0025 |
0,15-0,35 |
0,001-0,004 |
0,20-0,50 |
0,0025 |
0,08-0,15 |
0,002 |
|
Асфальтобетонное с шероховатой обработкой |
0,80-0,85 |
0,0035 |
0,60-0,65 |
0,0035 |
0,45-0,55 |
0,0035 |
0,15-0,35 |
0,001-0,004 |
0,20-0,50 |
0,0025 |
0,10-0,20 |
0,002 |
|
To же, без шероховатой обработки |
0,80-0,85 |
0,002 |
0,50-0,60 |
0,0035 |
0,35-0,40 |
0,0025 |
0,15-0,35 |
0,001-0,004 |
0,20-0,50 |
0,0025 |
0,08-0,15 |
0,002 |
|
Из холодного асфальтобетона |
0,60-0,70 |
0,005 |
0,40-0,50 |
0,004 |
0,30-0,35 |
0,0025 |
0,12-0,30 |
0,001-0,004 |
0,20-0,50 |
0,0025 |
0,08-0,15 |
0,002 |
|
Черное щебеночное (гравийное) с шероховатой обработкой |
0,60-0,70 |
0,004 |
0,50-0,60 |
0,004 |
0,30-0,35 |
0,0025 |
0,15-0,35 |
0,0015-0,004 |
0,20-0,50 |
0,0025 |
0,10-0,20 |
0,002 |
|
То же, без обработки |
0,50-0,60 |
0,004 |
0,40-0,50 |
0,005 |
0,25-0,30 |
0,003 |
0,12-0,30 |
0,001-0,004 |
0,20-0,50 |
0,0025 |
0,08-0,15 |
0,002 |
|
Щебеночное и гравийное |
0,60-0,70 |
0,004 |
0,55-0,60 |
0,0045 |
0,25-0,30 |
0,003 |
0,15-0,35 |
0,001-0,004 |
0,20-0,50 |
0,0025 |
0,10-0,15 |
0,002 |
|
Грунтовое улучшенное |
0,40-0,50 |
0,005 |
0,25-0,40 |
0,005 |
0,20 |
0,003 |
0,12-0,30 |
0,001-0,004 |
0,20-0,50 |
0,0025 |
0,08-0,18 |
0,002 |
Примечания. 1. Для сухого и мокрого состояний покрытия большие значения коэффициента сцепления принимают для ровных покрытий, меньшие - для покрытий, имеющих неровности.
2. Для гололеда, снежного наката и рыхлого снега большие значения коэффициента сцепления принимают при температуре воздуха -20 °С и ниже, меньшие - при температуре выше -10 °С.
3. Значения коэффициента сцепления приведены для шин с протектором.
1.9.7. Максимальную скорость на прямых участках дороги определяют по динамическим характеристикам автомобиля и проверяют возможность ее достижения по соотношению сил сцепления и сопротивления качению.
Максимально возможная скорость движения на подъеме по сцеплению колеса с дорогой с учетом сопротивления качению при расчетном состоянии покрытия составляет:
,
где m - коэффициент сцепного веса для легкового автомобиля, принимаемый равным 0,5-0,55; i - продольный уклон в долях единицы.
1.9.8. Максимально допустимую скорость на спуске и на участках с ограниченной видимостью в плане и профиле определяют из условия торможения перед внезапно возникшим препятствием на поверхности дороги исходя из расстояния видимости и коэффициента сцепления, соответствующего расчетному состоянию покрытия.
1.9.9. Максимальную скорость при различной ширине проезжей части, краевых укрепительных полос и укрепленных обочин в зависимости от их состояния можно определить из схемы расчета требуемой ширины укрепленной поверхности дороги. При этом на дорогах, не имеющих укрепленных обочин, фактически ширина укрепленной поверхности в неблагоприятные периоды года определяется с учетом ее уменьшения за счет загрязнения прикромочных полос, образования на них снежного наката, льда и т. д.:
![]()
где
и
- проектная ширина
проезжей части и краевых укрепительных полос, м;
- ширина полосы загрязнения в зимний и
осенне-весенний периоды принимается в зависимости от типа укрепления обочин по
табл. 1.24.
Таблица 1.24
|
Тип укрепления обочины |
Сокращение ширины укрепленной поверхности дороги, |
|||||
|
в зимний период |
в осенне-весенние периоды |
|||||
|
на прямых участках |
на кривых в плане радиусом менее 600 м |
на участках, где установлены ограждения, направляющие столбики, тумбы, парапеты |
на прямых участках |
на кривых в плане радиусом менее 600 м |
на участках, где установлены ограждения, направляющие столбики, тумбы, парапеты |
|
|
Слой щебня или гравия |
0,2-0,4 0,4-0,6 |
0,3-0,50 1,2-1,8 |
0,3-0,5 0,5-1,0 |
0,10-0,3 0,2-0,4 |
0,1-0,3 0,2-0,4 |
0,1-0,3 0,3-0, 8 |
|
Засев трав |
0,2-0,75 0,4-1,0 |
0,3-0,50 1,2-1,8 |
0,3-0,5 1,2-1,8 |
0,1-0,3 0,4-0,6 |
0,1-0,3 0,4-0,6 |
0,1-0,3 0,5-1,0 |
|
Обочины не укреплены |
0,2-0,75 0,4-1,0 |
0,4-0,6 1,2-2,0 |
0,4-0,6 1,2-1,8 |
0,1-0,5 0,6-0,8 |
0,1-0,5 0,6-0,8 |
0,1-0,5 1,0-1,5 |
|
|
3¸8h 6¸12h |
3¸8h 6¸12h |
3¸8h 6¸12h |
3h 6h |
3h 6h |
3h 6h |
Примечания. 1. В числителе приведены значения для дорог I-II категорий, в знаменателе для дорог III-IV категорий.
2. Ширину полосы загрязнения принимают в зависимости от оснащения дорожных организаций машинами и оборудованием для содержания дорог. При оснащении, равном 100 % нормативной потребности, ширина полосы загрязнения принимается минимальной, при 60-70 % оснащенности принимают средние значения, а при оснащении менее 50) - максимальные.
3. При устройстве покрытия на всю ширину обочин из асфальтобетона, цементобетона или из материалов, обработанных вяжущими, ширина полосы загрязнения принимается равной 0.
1.9.10. В отдельных случаях при систематически действующих сильных сезонных ветрах проверяют обеспеченность расчетной скорости на ветроопасных участках дорог (не защищенные лесом насыпи, в нулевых отметках, полунасыпи - полувыемки и выемки глубиной до 1,5 м, участки, проходящие по водоразделам и открытым возвышенностям, высокие насыпи и подходы к мостам). Воздействие ветра не учитывается на участках дороги, расположенных в лесу и выемках глубиной более 1,5 м.
Расчетную скорость ветра определяют по данным ближайшей метеостанции с учетом положения дороги на местности и ее защищенности, а также порывистости ветра. Значения коэффициента обеспеченности расчетной скорости в зависимости от расчетной скорости ветра приведены на рис. 1.8.

Рис. 1.8. Зависимости коэффициента обеспеченности расчетных скоростей от скорости ветра:
1, 3 -для легковых автомобилей с передним расположением двигателя и времени реакции водителя 1,0 и 1,5 с соответственно; 2, 4 - то же, для автомобилей с задним расположением двигателя
,
где j2 = (0,6 + 0,8)j - поперечное сцепление; iв - поперечный уклон виража; q - коэффициент бокового давления, назначаемый в зависимости от скорости ветра:
|
Скорость ветра, м/с |
20 |
30 |
40 |
50 |
|
Коэффициент q для автомобилей: |
|
|
|
|
|
ГАЗ-24 «Волга», ВАЗ-2103 «Жигули», «Москвич-412» |
0,010 |
0,022 |
0,040 |
0,063 |
|
ЗАЗ-968 «Запорожец», РАФ-977Д |
0,013 |
0,029 |
0,053 |
0,081 |
1.9.12. Вычисленные в соответствии с указаниями пп. 1.9.1 - 1.9.11 значения коэффициента обеспеченности расчетной скорости в прямом и обратном направлениях движения наносят на линейный график. При этом на участках, где на ограничение скорости влияет несколько параметров дорог, коэффициент расчетной скорости принимают по меньшему значению.
1.9.13. Анализ линейного графика заключается в выявлении участков дороги, на которых в расчетный период года значения Крс меньше допустимых значений, и установлении причин, обусловливающих это снижение.
Допускается снижение максимальной скорости при неблагоприятных условиях погоды, не превышающее 25 % значений расчетной скорости. Участки дорог, на которых это требование не удовлетворяется, должны быть перепроектированы. Как исключение, при технико-экономическом обосновании может быть допущено снижение максимальной скорости больше указанного во время метелей, гололеда и сильных снегопадов, но не более чем на 50 % от расчетной скорости.
На существующих дорогах, на всех участках, где наблюдается снижение максимальных скоростей против расчетных, должны быть приняты меры по повышению транспортно-эксплуатационных характеристик.
а) вычисляют среднюю скорость транспортного потока для каждого характерного участка дороги, состояния покрытия и периода года в каждом направлении:
,
где t - функция доверительной вероятности.

Рис. 1.9. Зависимость среднего квадратического отклонения svф от максимальной скорости:
а - для двухполосных дорог; б - для автомобильных магистралей;
1 - при наличии в составе транспортного потока более 70 % грузовых автомобилей, автобусов и автомобилей с прицепами; 2 - то же, менее 40 %; 3 - для правой крайней полосы; 4 - для левой крайней полосы
Значения t принимают в зависимости от доверительной вероятности при одностороннем ограничении:
|
Доверительная вероятность, % |
85 |
95 |
99,85 |
|
Расчетное значение t |
1,04 |
1,64 |
3,0 |
svф - среднее квадратическое отклонение скорости (рис. 1.9); Dv - снижение средней скорости движения в зависимости от интенсивности и состава потока (рис. 1.10).

Рис. 1.10. Влияние интенсивности и состава движения на снижение средней скорости:
а - на двухполосных дорогах; б - на четырехполосных автомобильных магистралях с разделительной полосой; в - доля грузовых автомобилей, автобусов и автопоездов, движущихся по полосе в транспортном потоке
Затем определяют среднюю в обоих направлениях скорость движения на данном участке;
б) определяют среднегодовую скорость транспортного потока (км/ч) на каждом характерном участке
,
где
и т.д. - средняя
скорость транспортного потока в обоих
направлениях на данном участке при различных состояниях поверхности
дороги, км/ч (сухое, мокрое, рыхлый снег, снежный накат, гололед); tсух, tмокр и т.д. - продолжительность
каждого характерного состояния поверхности дороги, дни:
,
lл, lо.п, lз - коэффициенты длительности различных состояний покрытий принимаются по табл. 1.25; Dл, Dо.n, Dз - продолжительность летнего, осенне-весеннего и зимнего периодов года, дней. Принимают по климатическим справочникам. При этом за продолжительность летнего периода принимают число дней со среднесуточной температурой воздуха ниже +15 °С, на продолжительность зимнего периода - число дней со среднесуточной температурой воздуха ниже 0 °С. Остальные дни года относят к переходным осенне-весенним периодам;
в) определяют среднегодовую средневзвешенную скорость транспортного потока на дороге (км/ч):
,'
где li - длина каждого характерного участка, км; L - общая длина дороги, км.
Таблица 1.25
|
Категория дороги |
Значения коэффициента l для различных состояний поверхности дороги и сезонов года |
|||||||||
|
Летний период lл |
Осенне-весенние (переходные периоды) lо.в |
Зимний период lз |
||||||||
|
сухое |
мокрое |
сухое |
мокрое |
сухое чистое |
мокрое |
рыхлый снег на покрытии |
снежный накат |
искусственный гололед |
естественный гололед |
|
|
I |
0,8-0,85 |
0,15-0,20 |
0,6-0,7 |
0,3-0,4 |
0,55-0,65 |
0,08-0,15 |
0,04-0,05 |
0,1 |
0,1 |
0,02 |
|
II |
0,8-0,85 |
0,15-0,20 |
0,6-0,7 |
0,3-0,4 |
0,50-0,60 |
0,09-0,13 |
0,04-0,06 |
0,12-0,16 |
0,12 |
0,03 |
|
III |
0,8-0,85 |
0,15-0,20 |
0,5-0,6 |
0,4-0,5 |
0,25-0,48 |
0,10-0,15 |
0,06-0,12 |
0,20-0,25 |
0,12-0,14 |
0,04 |
|
IV |
0,8-0,85 |
0,15-0,20 |
0,5-0,6 |
0,4-0,5 |
0,20-0,40 |
0,06-0,10 |
0,15-0,20 |
0,25-0,35 |
0,09-0,10 |
0,05 |
Примечания. 1. Большие значения коэффициента l для сухого покрытия (соответственно меньшие значения для мокрого) в летний и переходные периоды года принимают при наличии краевых укрепительных полос или укрепленных обочин.
2. Для зимнего периода года значения коэффициента назначают с учетом уровня оснащения службы эксплуатации машинами и оборудованием для зимнего содержания, принятого в проекте. Минимальное значение l для мокрого покрытия, рыхлого снега, снежного наката и гололеда на покрытии принимают при 100 % оснащенности по сравнению с нормативной, соответственно максимальные значения l принимают при оснащенности 50 % и менее.
Пропускную способность проверяют для состояния дороги и условий погоды в зимний и осенне-весенний периоды в соответствии с «Руководством по оценке пропускной способности автомобильных дорог» Минавтодора РСФСР.
Оценка безопасности движения по сезонным графикам коэффициентов аварийности
1.9.15. Для учета влияния погодно-климатических факторов на безопасность движения и оценки изменения условий движения в различные сезоны года для дорог в I и II зонах строят сезонные графики коэффициентов аварийности применительно к летнему, зимнему и переходным периодам года. В III зоне (за исключением дорог с регулярным автобусным движением) графики строят только для летнего и переходных периодов.
1.9.16. Для проектируемых дорог частные коэффициенты аварийности принимают исходя из ожидаемого изменения параметров геометрических элементов дорог в разные сезоны года. Для этого проектные значения параметров умножают на поправочные коэффициенты (табл. 1.26). По полученным значениям геометрических параметров дорог в разные периоды года определяют частные коэффициентов аварийности (см. п. 1.4).
Таблица 1.26
|
Учитываемый фактор |
Значения поправочных коэффициентов для разных сезонов года |
|||
|
Лето |
Осень |
Зима |
Весна |
|
|
Сезонные колебания интенсивности и состава движения |
1,0 |
1,2-1,41) |
0,7-1,02) |
0,8-0,9 |
|
Эффективная используемая ширина проезжей части в связи с образованием снежных отложений или наличием грязных обочин |
|
|
|
|
|
при неукрепленных обочинах |
1,0 |
0,96-1,00 |
0,8-0,981) |
0,95-1,0 |
|
при укрепленных обочинах и наличии краевых полос |
1,0 |
1,0 |
0,95-1,0 |
1,0 |
|
Уменьшение ширины обочин за счет образования снежных отложений на обочинах: |
|
|
|
|
|
неукрепленных |
1,0 |
0,5-1,033) |
0,5-1,03) |
0,5-1,03) |
|
укрепленных |
1,0 |
1,0 |
0,5-1,03) |
1,0 |
|
Ограничение видимости на кривых в плане снежными валами, образующимися на обочинах при очистке дороги от снега |
1,0 |
1,0 |
0,7-1,0 |
1,0 |
|
Ограничение видимости на прямых участках из-за снегопадов, туманов и метелей |
1,04) |
0,8-0,9 |
0,7-0,9 |
0,9-1,0 |
|
Уменьшение ширины проезжей части мостов по сравнению с проезжей частью дороги из-за снежных отложений и насосов грязи у бордюра или тротуара |
1,0 |
0,9-1,0 |
0,8-1,0 |
1,0 |
|
Изменение соотношения интенсивности движения по дорогам, пересекающимся в одном уровне: |
|
|
|
|
|
в связи с использованием съездов на полевые дороги |
1,0 |
1,0-1,4 |
0,9-1,0 |
1,0-1,4 |
|
в связи с колебаниями интенсивности движения по основной дороге |
1,0 |
1,2-1,4 |
0,7-1,0 |
0,8-0,9 |
|
Изменение видимости на пересечениях в одном уровне из-за снеговых валов на обочинах и у снегозащитных насаждений |
1,0 |
1,0 |
0,2-1,05) |
|
|
Изменение используемого числа полос движения на проезжей части из-за снежных отложений и грязных обочин на дорогах: |
|
|
|
|
|
с двумя и четырьмя полосами движения |
1,0 |
1,0 |
1,0 |
1,0 |
|
с тремя полосами движения |
1,0 |
0,67 |
0,67 |
1,0 |
|
Расстояние от застройки до проезжей части |
Учитываются фактические условия движения пешеходов в населенном пункте в разные периоды года |
|||
|
Скользкость покрытия |
1,0 |
0,7-1,0 |
0,5-0,8 |
0,8-1,0 |
1 Верхний предел принимается для дорог I и II категории, нижний - для III и IV категорий.
2 Верхний предел - для дорог III и IV категорий, нижний - для I и II категорий.
3 Большие значения принимают при очистке обочин на всю ширину.
4 Расстояние видимости летом по метеорологическим условиям принимают равным 500 м.
5 Меньшее значение относится к пересечениям, на которых снежные валы из пределов треугольника видимости не убираются.
Для существующих дорог следует исходить из установленных наблюдениями параметров дорог в различных погодно-климатических условиях.
1.9.17. Графики коэффициентов аварийности для разных сезонов следует совмещать на одном бланке, что дает возможность выявить опасные участки и оценить изменение степени их опасности по сезонам года. На графиках должны отмечаться места ДТП в разные сезоны года с указанием их вида.
1.9.18. При построении сезонных графиков коэффициентов аварийности необходимо учитывать зоны влияния дорожных элементов (табл. 1.27).
Таблица 1.27
|
Элемент дороги |
Зона влияния |
|||
|
зимой |
осенью |
весной |
летом |
|
|
Подъемы и спуски |
За вершиной подъема 100 м, у подошвы спуска 150 м |
|||
|
Пересечения в одном уровне: |
|
|
|
|
|
при наличии твердого покрытия на пересекаемой дороге |
По 100 м в каждую сторону |
По 50 в каждую сторону |
||
|
при отсутствии твердого покрытия на пересекаемой дороге |
То же |
По 100- 150 м в каждую сторону в зависимости от типа грунта |
||
|
Кривые в плане с обеспеченной видимостью при 400 м |
По 50 м от начала и конца кривой |
|||
|
Кривые с обеспеченной видимостью при любом радиусе |
По 100 м от начала и конца кривой |
|||
|
Мосты, трубы и другие сужения |
По 100 м в каждую сторону от начала и конца сужения |
По 75 м в каждую сторону от начала и конца сужения |
||
|
Пересечения в разных уровнях |
В пределах между примыканиями к основной дороге переходно-скоростных полос или правоповоротных съездов |
|||
|
Автобусные остановки и населенные пункты |
По 100 м от границ |
|||
1.9.19. График сезонных коэффициентов аварийности является основным рабочим документом для оценки условий безопасности движения по дороге в различные периоды года, на основании которого разрабатываются конкретные мероприятия по повышению безопасности движения и сроки их проведения на разных участках.
2.1.1. Для обеспечения транспортно-эксплуатационных показателей дорог устанавливают характеристики движения и размеры элементов дорог, на основании чего составляют:
графики пропускной способности, фактической и перспективной интенсивности и состава движения
эпюры скоростей движения легковых и грузовых автомобилей по длине дороги в двух направлениях;
график расстояний видимости;
линейные графики ровности и скользкости дорожного покрытия;
графики коэффициентов аварийности и безопасности движения;
ведомости пересечений, обустройства дороги, инженерного оборудования.
2.1.2. Сведения о дороге, об ее конструктивных и геометрических элементах, изменении интенсивности движения за предыдущие годы, искусственных сооружениях, о местах и времени проведения ремонтных работ, и другие данные получают из паспорта дороги, архивных проектных материалов, а также из отчетной документации дорожно-эксплуатационных подразделений о текущих, средних и капитальных ремонтах.
Из паспорта выписывают сведения об элементах плана и продольного профиля дороги, ширине проезжей части и обочин, которые обобщают в виде линейного графика (рис. 2.1) и затем уточняют на дороге. Рекомендуемый масштаб расстояний на графике 1:25000.

Рис. 2.1. Линейный график дороги
Сведения о многолетних средних климатических характеристиках района проложения дороги получают на метеостанциях, находящихся в районе расположения дороги. При этом регистрируют: продолжительность холодного и теплого сезонов года, высоту снежного покрова 5 %-ной вероятности, периоды частых гололедов и туманов, распределение по времени количества, интенсивности и продолжительности осадков, господствующие ветры в течение года и в зимний период, изменение в течение года продолжительности темного времени суток. Все эти сведения представляют в виде дорожно-климатического графика, розы ветров, графика продолжительности темного времени суток.
2.1.3. Сведения о ДТП выписывают в ГАИ и наносят в виде условных знаков, отражающих их вид, на линейный график, а также на графики коэффициентов аварийности и безопасности, дублируя их в ведомостях. Кроме учетных, выписывают сведения и о неучитываемых ДТП за период 3-5 лет.
2.2.1. Для изучения режима движения на всем протяжении дороги используют ходовые лаборатории, позволяющие регистрировать время, путь, скорость, ускорения и траектории движения, или при отсутствии лаборатории применяют обычный автомобиль, во время движения которого регистрируют скорость по спидометру через каждые 200 м, а на сложных для движения участках через 100 м. Спидометр такого автомобиля должен быть предварительно выверен.
По результатам измерений строят линейный график изменения режима движения (рис. 2.2), данные которого используют при построении графика коэффициентов безопасности и для выявления сложных участков дорог.
Результаты измерения скоростей движения используют для определения: средней скорости транспортного потока (50 %-ной обеспеченности); скорости, необходимой для разработки мероприятий по повышению безопасности и организации движения (85 %-ной обеспеченности), предельно допустимой скорости движения на изучаемом участке (95 %-ной обеспеченности) и минимальной скорости движения (15 %-ной обеспеченности).

Рис. 2.2. График изменения режима движения по длине дороги
1 - легковые автомобили; 2 - грузовые автомобили; в скобках указана доля тяжелых грузовых автомобилей в потоке

Рис. 2.3. Изменение интенсивности движения по годам

Рис. 2.4. Зависимость темпов прироста интенсивности движения Рн от коэффициента загрузки z.
2.2.2. Измерение фактической интенсивности и состава движения осуществляется в соответствии с «Инструкцией по учету движения транспортных средств на автомобильных дорогах» ВСН 45-68 Минавтошосодра РСФСР.
2.2.3. Интенсивность движения на перспективу 5-10 лет на дорогах, находящихся в эксплуатации длительное время и имеющих сформировавшийся транспортный поток определяют на основании данных об изменениях интенсивности и состава движения и из сложившихся тенденций его роста.
График роста интенсивности движения (рис. 2.3) за 5-10 лет составляют по каждому учетному пункту и вычисляют средний прирост и темп его изменения с учетом загрузки дороги движением. При коэффициенте загрузки мене 0,6 темп прироста можно принимать постоянным, а при больших значениях - переменным и тем меньшим, чем выше коэффициент загрузки. Прирост интенсивности практически прекращается при коэффициенте загрузки 0,8. При высоких коэффициентах загрузки темпы прироста интенсивности движения рекомендуется экстраполировать уменьшающимися значениями по мере увеличения коэффициента загрузки (рис. 2.4).
Можно использовать несколько закономерностей изменения интенсивности движения:
по закону прямой с постоянным коэффициентом прироста
(2.1)
по геометрической прогрессии с постоянными темпами роста в течение расчетного периода
, (2.2)
по геометрической прогрессии с убывающими темпами роста интенсивности
. (2.3)
Здесь Nt - интенсивность движения t-го года; N1 - интенсивность движения в начальном году; pN - средний ежегодный прирост интенсивности движения, %; t - число лет до конца перспективы; q - коэффициент ежегодного роста интенсивности; DN - ежегодный прирост интенсивности движения, авт./сут; Тс - расчетный срок перспективы, лет; а' и b' - эмпирические коэффициенты, зависящие от начального темпа относительного прироста интенсивности движения:
|
Первоначальный темп прироста, % |
10 |
12 |
14 |
16 |
18 |
20 |
|
а' |
3,7 |
3,1 |
2,5 |
1,9 |
1,3 |
0,7 |
|
b' |
6,3 |
3,9 |
11,5 |
14,1 |
16,7 |
19,3 |
2.3.1. Для определения основных размеров элементов трассы в плане восстанавливают положение оси дороги, выставляя вехи по бровкам земляного полотна и выравнивая их затем по теодолиту в прямые линии. На пересечении продолжений линий бровок смежных прямых участков находят положение вершин углов поворота. Теодолитом измеряют угол поворота. Радиусы кривых в плане вычисляют по замеренным углам поворота, биссектрисам или хордам и стрелкам (рис. 2.5):

Рис. 2.5. Схема закругления в плане и элементы для определения радиуса
;
;
.
2.3.2. Начало и конец переходных кривых, определяют по размеру стрелок при равных хордах, которые в пределах круговой кривой сохраняются одинаковыми, а на участках переходных кривых, уменьшаются по мере приближения к прямому участку дороги.
2.3.3. Промер линии и разбивку пикетажа ведут по правой бровке земляного полотна по ходу километража, указывая на сторожках расстояния до оси дороги. Нивелирование ведут в два нивелира или в один, но с двусторонней рейки. Первый нивелировщик нивелирует связующие точки и пикеты, a второй снимает поперечники и привязывает их к пикетам и к высотным отметкам.
Радиусы вертикальных кривых определяют по результатам нивелирования с одинаковым шагом, используя уравнение вертикальных кривых или зависимости, связывающие элементы вертикальных кривых с их радиусом и уклонами:
;
;
,
где х - шаг нивелирования; у - превышение при заложении х; Di - приращение уклона; К - длина кривой; Т - тангенс.
2.3.4. Контрольные промеры ширины проезжей части и земляного полотна делают выборочно в местах видимых сужений или уширений, регистрируя при этом тип и ширину укрепления обочин, состояние кромок проезжей части и обочин. Результаты промеров заносят в линейный график дороги. Расстояние видимости измеряют дальномером.
2.3.5. Ровность поверхности дорожных покрытий измеряют толчкомером, прибором ПКРС или трехметровой рейкой (на отдельных коротких участках дороги). Обработку результатов измерений ведут в табличной форме (табл. 2.1).
Таблица 2.1
|
Км/м |
Показания толчкомера |
Примечания |
|||
|
1-е |
2-е |
3-е |
среднее |
||
|
|
|
|
|
|
|
Итоговым документом должен быть линейный график ровности дорожного покрытия, в который систематически вносятся коррективы по мере проведения мероприятий, улучшающих ровность покрытия, и изменения ровности под воздействием движения и природных факторов (рис. 2.6).

Рис. 2.6. Линейный график ровности
2.3.6. Скользкость дорожных покрытий допускается измерять динамометрическим прицепом ПКРС-2, а также нормативным прибором ППК-МАДИ, имеющим надежную корреляцию с показаниями динамометрического прицепа. Применяемые приборы должны предварительно пройти тарировку с базовыми приборами, имеющимися в МАДИ и Союздорнии.
Результаты измерений используют для составления линейного графика коэффициентов сцепления (рис. 2.7).

Рис. 2.7. Линейный график коэффициентов сцепления
2.4.1. Степень опасности пересечений определяют, используя статистические данные о дорожно-транспортных происшествиях (ДТП). Если на пересечении за 10 лет зарегистрировано более трех ДТП, то это, как правило, означает, что планировка и расположение пересечения на дороге неудачны. Точную причину устанавливают на основе анализа ДТП, расстояний видимости, траекторий и интенсивностей движения автомобилей.
Относительную опасность пересечений оценивают коэффициентом по формуле:
,
где G - среднее количество ДТП в год за период не менее 5 лет, N1 и N2 - суточные среднегодовые интенсивности движения на пересекающихся дорогах.
При Ка < 8 пересечение считается малоопасным, при Ка > 8 необходимы мероприятия по повышению безопасности движения. Такие пересечения подлежат детальной оценке со сбором и анализом данных о ДТП, интенсивностях и составе движения, характеристиках планировки, состоянии проезжей части обеих сторон, всех съездов и расстояний видимости.
2.4.2. Расстояния боковой видимости на пересечении сравнивают с расчетными, которые определяют с учетом скоростей движения на пересекающихся дорогах, продолжительности ориентирования водителя и времени его реакции
,
где v - скорость движения, рассчитанная по данным наблюдений для обеспеченности 95 %; tор - продолжительность ориентирования водителя; tр ¾ время реакции водителя, равное 1,5 с; Кэ - характеристика эксплуатационного состояния тормозной системы автомобиля (принимается не менее 1,4); j - коэффициент продольного сцепления; i - продольный уклон (при спуске - с минусом); D - расстояние от остановившегося автомобиля до кромки проезжей части пересекаемой дороги: D = 5 м.
Продолжительность ориентирования рассчитывают с учетом местных условий движения:
![]()
где to - наименьшая продолжительность ориентирования в оптимальных условиях (для автомобильных дорог to = 1,4 с, для населенных пунктов 1,8 с); К1 - коэффициент, учитывающий наличие стоящих на обочинах пересекаемой дороги автомобилей (если остановка или стоянка автомобилей в пределах пересечений разрешена, К1 = 0,32; при запрещении остановки К1 = 0); К2 - коэффициент, учитывающий плотность движения на пересекаемой дороге:
|
Интенсивность движения по пересекаемой дороге, авт/ч |
до 50 |
75 |
200 |
500 |
|
К2 |
0,15 |
0,22 |
0,35 |
0,53 |
К3 - коэффициент, учитывающий интенсивность движения на дороге, с которой определяется расстояние боковой видимости:
|
Интенсивность движения, авт/ч |
до 30 |
50 |
100 |
300 |
|
К3 |
0 |
0,12 |
0,20 |
0,22 |
2.4.3. На пересечениях в одном уровне большое влияние на безопасность движения оказывает угол пересечения дорог, который измеряют в точке пересечения осей или кромок проезжей части дорог. При углах, больших 110° и меньших 45°, необходимо за счет канализирования движения обеспечить оптимальный угол пересечения транспортных потоков.
2.4.4. При оценке планировки пересечения измеряют радиусы съездов, определяют состояние покрытия, кромки проезжей части и обочин, наличие переходно-скоростных полос, а в случае их отсутствия возможность устройства.
Пересечение становится опасным при радиусе съезда менее 10 м. Радиус съезда следует измерять по траектории движения автомобилей на покрытии съезда, поскольку эффективный радиус съезда может уменьшиться из-за разрушения кромки проезжей части, выбоин и ям на покрытии.

Рис. 2.8. Картограмма движения:
а - на примыкании; б - на кольцевой развязке
2.4.5. При измерении интенсивностей и скоростей движения на пересечении, необходимых для выбора методов и средств организации движения, следует, помимо общих данных о составе и интенсивностях движения на пересекающихся дорогах, собрать данные для построения картограммы движения (рис. 2.8). С этой целью на пересечении измеряют интенсивность движения всех транзитных и поворачивающих потоков. Для пересечений с Kn ³ 8 ДТП/10 млн. авт. продолжительность измерений должна быть не менее 1 ч, а при Кп < 8 - не менее 0,5 ч.
2.4.6. Скорость движения транзитных потоков измеряют на протяжении 400-500 м в обе стороны от пересечения в 8-10 створах. По этим данным определяют зону влияния пересечения. Считается, что влияние пересечения, еще сказывается на режим движения транспортного потока, если отношение скорости, измеренной в данном створе, к скорости движения на подходах к пересечению, т. е. коэффициент безопасности, менее 0,75. Зона влияния пересечения ограничивается створом, в пределах которого коэффициент безопасности равен 0,85.
2.4.7. Необходимо определить места расположения съездов и согласовать их с заинтересованными организациями. Все съезды должны иметь твердое покрытие на длине, установленной СНиП 2.05.02-85. Количество съездов на 1 км дороги также не должно превышать норм СНиП 2.05.02-85.
2.4.8. В результате проведенной оценки должны быть собраны материалы, характеризующие состояние пересечений:
ведомость всех пересечений с указанием их схемы, видимости, состояния покрытия, особенностей планировки и показателя относительной опасности (табл. 2.2);
данные о ДТП за период не менее 5 лет;
планы пересечений, для которых Кn ³ 8, а также подлежащих реконструкции и переоборудованию, в масштабе 1:500 или 1:1000 с охватом по главной дороге на 400 м и по второстепенной на 100-150 м в обе стороны;
причины недостаточного расстояния видимости и обзорности и данные для их расчета;
наличие дорожных знаков и разметки проезжей части на пересечении.
Таблица 2.2
|
№ п/п |
Местоположение, км+м |
Схема пересечения |
Угол пересечения, град |
Обеспечение обзорности |
Видимость |
|
|
1 |
2 |
3 |
4 |
5 |
6 |
|
|
|
|
|
|
|
|
|
Продолжение таблицы 2.2
|
Видимость |
Состояние покрытия |
Элементы планировки |
Показатель относительной опасности |
Примечание |
||
|
главной дороги |
второстепенной дороги |
съездов |
||||
|
6 |
7 |
8 |
9 |
10 |
11 |
12 |
|
|
|
|
|
|
|
|
2.4.9. Оборудование и содержание железнодорожных переездов выполняют работники железнодорожной и автодорожной служб. Поэтому результаты оценки переездов через железные дороги должны быть согласованы с этими организациями.
Собирают следующие сведения о переездах:
интенсивность и расписание движения поездов;
интенсивность и распределение интенсивности движения автомобилей по часам суток;
частота и продолжительность открытия переездов (для охраняемых переездов);
скорости проезда зоны переезда поездами и автомобилями;
геометрические элементы автомобильной дороги, количество железнодорожных путей, расстояния видимости;
оборудование переезда шлагбаумами, проблесковой или звуковой сигнализацией, дорожными знаками, ограждениями, линиями разметки, осветительными установками, специальными дорожками для пешеходов;
состояние проезжей части (ровность и скользкость покрытий, конструкции сопряжений проезжей части автомобильной дороги с рельсами); дорожно-транспортные происшествия.
2.4.10. В каждом случае необходимость принятия того или иного решения зависит от конкретных задач. Выбор рационального решения может осуществляться на основе детального анализа характеристик движения транспортных средств и статистики ДТП.
2.4.11. Интенсивность и распределение интервалов движения поездов можно установить, изучив расписание движения у дежурного по переезду или у диспетчера ближайшей станции. Распределение интенсивности движения автомобилей по часам суток, а также скорости движения автомобилей следует определять непосредственно у переезда.
На охраняемых переездах с автоматической переездной сигнализацией частоту и продолжительность открытия переездов можно установить по расписанию движения поездов, учитывая поправку на заблаговременное закрытие переезда до подхода поезда. На охраняемых переездах с ручной сигнализацией эти данные можно получить только путем измерений.
2.4.12. Промеры расстояния видимости выполняют с помощью теодолита или вешек, устанавливаемых через 50 м вдоль дороги, о видимости которых информирует наблюдатель, идущий вдоль другой дороги. Ширину проезжей части автомобильной дороги и переездов измеряют рулеткой.
2.4.13. Ровность покрытий измеряют 3-метровой рейкой или толчкомером, а скользкость покрытий портативным прибором ППК-2.
3.1.1. Правильный выбор трассы и соответствие ее элементов; интенсивности движения являются основным способом обеспечения безопасности и высокой пропускной способности.
3.1.2. При разработке мероприятии по обеспечению безопасности движения необходимо за счет изменения плана и продольного профиля добиваться зрительной ясности и плавности дороги, используя рекомендации «Указаний по архитектурно-ландшафтному проектированию автомобильных дорог» Минавтодора РСФСР (ВСН 18-85). Если изменение плана и продольного профиля дороги не предусматривается, должна быть обеспечена зрительная ясность по длине всей дороги за счет использования методов оптического трассирования и инженерного оборудования.
3.1.3. При выполнении капитальных ремонтов или перестройке опасных участков размеры элементов трассы необходимо доводить до требований СНиП 2.05.02-85 для категории, соответствующей расчетной интенсивности движения. Если по технико-экономическим соображениям этого выполнить нельзя, работы по улучшению условий движения должны быть изменены по эпюре скоростей движения с тем, чтобы на всем протяжении дороги коэффициент безопасности не превышал допустимых значений (см. п. 1.4).
3.1.4. Безопасной и удобной для движения считается дорога, которая обеспечивает движение автомобилей с постоянными высокими скоростями, не утомительна для водителей и пассажиров, способствует сохранению целостности и живописности ландшафта, лучшему раскрытию особенностей местности для едущих по дороге и не вызывает резкого увеличения уровня транспортного шума и загазованности воздуха.
3.1.5. При трассировании автомобильных дорог следует руководствоваться следующими положениями:
прокладывать дорогу по кратчайшему расстоянию с наименьшими объемами работ, соблюдая требования СНиП 2.05.02-85 к элементам плана и профиля;
преимущественно использовать непригодные или малоценные для сельского хозяйства земли:
выбирать такие соотношения смежных элементов трассы, чтобы обеспечить движение с постоянной или мало (не более чем на 20 %) меняющейся скоростью, с ориентацией на движение транспортных потоков;
обеспечивать для водителей ясность направления дороги на участках с ограничениями видимости на расстоянии, проходимом с расчетной скоростью более чем за 10 с;
устранять причины искажений участков дороги в перспективе, неверно ориентирующих водителей о возможном режиме или дальнейшем направлении движения; учитывать требования охраны окружающей среды (см. гл. 16).
3.2.1. Трассу следует прокладывать в виде пространственной плавной линии, руководствуясь указаниями СНиП 2.05.02-85 и ВСН 18-85. Недопустимо проектировать трассу в плане, продольном и поперечном профиле без учета их взаимного влияния на условия движения и зрительное восприятие дороги.
3.2.3. Зрительную плавность дороги обеспечивают благодаря рациональному соотношению элементов трассы, ограничению длин прямых, применению переходных кривых и сплайнов в плане и продольном профиле.
Рекомендуется углы поворота в плане назначать не менее 8°. При углах поворота 8-20° переходные кривые могут использоваться в качестве вспомогательных (при круговых кривых) и самостоятельных элементов. При углах поворота более 20° рекомендуется только клотоидное трассирование или использование непрерывных сплайнов.
Минимальный параметр клотоид, используемых как переходные кривые или как самостоятельный элемент трассирования, выбирают в соответствии с расчетной скоростью движения:
|
Расчетная скорость, км/ч |
80 |
100 |
120 |
140 |
|
Минимальный параметр клотоиды, м |
160 |
260 |
390 |
517 |
Максимальный параметр клотоид ограничивают из условия обеспечения возможности более точной оценки водителем расстояний и скоростей движения автомобилей, а также из условия ограничения длины прямых, принимая Amax = 1200.
3.2.4. В продольном профиле радиусы выпуклых вертикальных кривых назначают из условия обеспечения необходимого расстояния видимости дороги, вогнутых кривых - из условия ограничения вертикальных перегрузок и обеспечения зрительной плавности дороги.
Рекомендуется ограничивать длину прямой вставки в продольном профиле. Допустимая длина такой вставки определяется радиусом вогнутой вертикальной кривой и алгебраической разницей уклонов вогнутого перелома.
Для двухполосных дорог II-IV категории максимальная длина прямой вставки в продольном профиле принимается согласно данным табл. 3.1, для дорог I категории - табл. 3.2.
Таблица 3.1
|
Радиус вогнутой вертикальной |
Наибольшая длина прямой вставки, м, при алгебраической разности продольных уклонов |
||||||
|
кривой, м |
20 |
30 |
40 |
50 |
60 |
80 |
100 |
|
2000 |
120 |
100 |
50 |
0 |
0 |
0 |
0 |
|
6000 |
560 |
440 |
320 |
220 |
140 |
60 |
0 |
|
10000 |
1400 |
1000 |
680 |
600 |
420 |
300 |
200 |
|
15000 |
Не ограничена |
2100 |
1700 |
1300 |
1000 |
800 |
600 |
|
20000 |
Не ограничена |
|
3200 |
2300 |
1900 |
1500 |
1200 |
Таблица 3.2
|
Радиус вогнутой вертикальной кривой, м |
Наибольшая длина прямой вставки, м, при алгебраической разности продольных уклонов |
|||||
|
20 |
30 |
40 |
50 |
60 |
80 |
|
|
4000 |
150 |
100 |
50 |
0 |
0 |
0 |
|
8000 |
360 |
260 |
210 |
170 |
140 |
110 |
|
12000 |
680 |
500 |
400 |
320 |
250 |
200 |
|
20000 |
2000 |
1100 |
850 |
700 |
600 |
550 |
|
25000 |
3000 |
1700 |
1200 |
1000 |
900 |
800 |
Радиус вогнутой вертикальной кривой рекомендуется выбирать из соотношения
Rвып/Rвог = 2 ¸ 2,5.
3.2.5. Нерационально наносить проектную линию по обертывающей, точно следуя очертаниям поверхности земли, так как при этом создается волнистый продольный профиль с частыми ограничениями видимости (рис. 3.1).


Рис. 3.1. Типичный вид
дороги при проектировании трассы по обертывающей
а - прямая в плане; б - кривая в плане
3.2.6. Длинные прямые в плане трассы являются основной причиной монотонности движения, вызывающей высокую аварийность. Длину прямой в плане рекомендуется ограничивать из условия движения по ней в потоке малой интенсивности в течение не более 1,5-3,0 мин (табл. 3.3).
Таблица 3.3
|
Категория дороги |
Предельная продолжительность движения по прямой, мин |
Предельная длина прямой в плане, м, при рельефе |
|
|
равнинном |
пересеченном |
||
|
I |
3,0 |
3,5-,0 |
2,0-,0 |
|
II, III |
2,0 |
2,0-,5 |
1,5-,0 |
|
IV, V |
1,5 |
1,5-,0 |
1,5 |
Примечание. Большие значения длины прямых допустимы при преимущественно легковом движении, меньшие - при грузовом.
3.2.7. Следует ограничивать не только длины прямых, но и их количество. две прямые, разделенные одной кривой в плане, воспринимаются как один монотонный участок дороги. Исключить ощущение монотонности можно лишь разделением длинных прямых участков с криволинейной трассой. Длина его должна быть достаточной для отвыкания водителя (в течение 2,5 - 3 мин) от предыдущего монотонного участка: на дорогах I категории не менее 5 км, на двухполосных дорогах - не менее 3 км.
3.2.8. Сочетания элементов плана и профиля должны обеспечивать видимость дороги на протяжении, достаточном для осуществления обгонов.
3.2.9. Следует избегать резкого перехода от кривых в плане большого радиуса к кривым малого радиуса. Радиусы сопрягающихся или расположенных невдалеке друг от друга кривых не должны различаться более чем в 1,3 раза. Это необходимо для плавного изменения расчетных скоростей на смежных участках не более чем на 10 - 15 %. Недопустимы сочетания элементов, требующих резкого снижения скорости, к которому водитель не подготовлен предшествующими участками дороги (устройство кривых малого радиуса на затяжных спусках или расположение кривой очень малого радиуса среди кривых, допускающих движение с высокими скоростями).
3.2.10. Наилучшая плавность трассы достигается, если все кривые в плане совмещены с вертикальными кривыми, причем длина кривой в плане на выпуклых переломах больше длины вертикальной кривой. На вогнутых переломах длины вертикальных и горизонтальных кривых должны быть одинаковыми. Смещение вершин кривых в плане и профиле допустимо не более чем на 1/4 длины меньшей из кривых.
На вогнутых переломах профиля радиус вертикальной кривой принимают не менее чем. 4,5 значения радиуса кривой в плане, радиус выпуклой кривой - е менее чем 8 значений радиуса кривой в плане. При нарушении этих соотношений необходимо во внешней бровке закругления в плане устанавливать средства зрительного ориентирования, оборудованные светоотражающими материалами.
3.2.11. Вогнутые кривые на прямых участках нежелательны. Как правило, они вызывают появление зрительных провалов (рис. 3.2, а).
Вогнутая кривая на таких участках допустима, если отношения длины образуемого ею прогиба L и стрелки прогиба f обеспечивают соотношение (рис. 3.2, б)
f/L £ 0,003.


Рис. 3.2. Образование зрительных провалов на участках прямых с вертикальными кривыми
Если прогиб трассы в продольном профиле необходим, лучше совмещать его с кривой в плане.
3.2.12. Зрительную плавность закругления оценивают расчетом:
для закруглений без переходных кривых:
;
,
для клотоидной трассы и закруглений с переходными кривыми:
;
,
где Ra - видимый радиус кривизны ведущей линии, угл. мин; Rпл - радиус кривой в плане, м; Н - высота глаз водителя над экстремальной точкой, м; назначается в зависимости от параметров продольного профиля: для прямых участков 1,2 м, для криволинейных участков рассчитывается согласно рекомендациям ВСН 18-85; А - параметр клотоиды, м; Вa -видимая ширина проезжей части, град; В - расстояние до экстремальной точки на кривой, м; Sэ - эффективная ширина проезжей части дороги, м:
для круговой кривой
.
для клотоиды
Sэ = 0,12А + 75 (поворот направо);
Sэ = 0,19А + 90 (поворот налево);
Sо - расстояние до начала кривой, принимается равным 50 м, с -удаление от кромки проезжей части: 1,5 м - поворот направо; 5,5 м - поворот налево.
Зрительную плавность кривой
в плане оценивают по графику (риc. 3.3) или из условия: плавность
обеспечена, если Вa менее
.

Рис. 3.3. График для
определения зрительной плавности дороги:
1 - зрительная плавность не
обеспечена; 2 - зрительная плавность обеспечена
3.2.13. Следует избегать сопряжений концов кривых в плане с началом выпуклых или вогнутых вертикальных кривых, расположенных на прямых последующих участках. В первом случае для водителей, едущих со стороны вертикальной кривой, неясно дальнейшее направление дороги, во втором - создаются участки недостаточной видимости ночью при счете фар.
3.2.14. Не допускаются такие сочетания элементов трассы, при которых становится неясным дальнейшее направление дороги:
а) короткие вогнутые участки, расположенные в пределах прямых или кривых в плане большого радиуса, создающих впечатление провалов или просадок (рис. 3.4, I);
б) крутые выпуклости продольного профиля на кривых больших радиусов и на прямых участках, а также на пересечениях дорог в разных уровнях (рис. 3.4, II).
3.2.15. Количество поворотов в плане и переломов в продольном профиле должно быть по возможности одинаковым. Нарушение этого правила приводит в ряде случаев к повышенной опасности ДТП:
а) частые переломы продольного профиля на длинных прямых в плане создают волнистую поверхность дороги. Такая волнистость часто возникает из-за стремления проектировщиков к точному уравновешиванию объемов смежных насыпей и выемок или проектирования обертывающей проектной линии (рис. 3.4, III);
б) при количестве поворотов в плане большем, чем переломов в продольном профиле, получаются S-образные вертикальные кривые или извилистые участки с постоянным уклоном (рис. 3.4 IV). при неизбежности такого трассирования вид дороги может быть улучшен применением кривых большого радиуса в плане. Исключением из данного правила являются кривые в плане большого радиуса, на которых могут быть допущены переломы продольного профиля с большим шагом проектирования при малой разнице высот. Это допустимо, поскольку на таких участках водитель не видит дорогу на большом протяжении, поэтому на условиях движения не сказываются искажения ее вида в перспективе.
3.2.16. В условиях пересеченного рельефа и извилистой трассы следует руководствоваться следующими рекомендациями:
a) короткие кривые в плане, расположенные между длинными прямыми, воспринимаемые водителем издалека как резкий перелом, и повороты дороги на малые углы должны смягчаться вписыванием кривых больших радиусов (рис. 3.4, V);
б) короткие прямые вставки между направленными в одну сторону кривыми воспринимаются как неприятный для взгляда излом, нарушающий плавность дороги (рис. 3.4, VI). Такое сочетание особенно опасно при его совпадении с вертикальными кривыми. Поэтому между односторонними кривыми не следует допускать прямые вставки короче 300 - 450 м, устраивая кривые больших радиусов, проектируя подобные участки как трехзвенные коробовые кривые или сопряженные клотоиды;
Рис. 3.4. Типичные примеры нарушения плавности трассы и порядок их устранения:
I - короткие вогнутые участки; II - крутые выпуклости продольного профиля; III - частые переломы в продольном профиле; IV -излишняя извилистость трассы; V -короткие горизонтальные кривые; VI -короткие прямые вставки между горизонтальными кривыми:
а -продольный профиль; б -план трассы; в -перспективный вид до улучшения плавности трассы; г -то же, но после улучшения (пунктиром показано рекомендуемое положение трассы)
в) короткие прямые вставки между обратными кривыми также создают впечатление излома трассы. Вместо устройства вставок целесообразно увеличивать радиусы кривых, добиваясь их непосредственного сопряжения друг с другом. Прямые вставки между обратными кривыми могут быть оставлены, если их длина между концами переходных кривых более 300 м для дорог II, III, IV категории; более 700 м для дорог I категории.
3.2.17. Для создания зрительной плавности в плане дорог I-III категорий на участках с радиусами менее 3000 м рекомендуется вводить длинные переходные кривые, описанные по клотоиде с параметром А = (0,4-1,4)R, но не более 1200 м. При этом угол поворота трассы должен быть не менее 8°.
3.2.18. Для обеспечения зрительной плавности дороги в малые углы поворота в открытой степной местности должны вписываться кривые больших радиусов или клотоиды больших параметров:
|
Угол поворота, град |
до 2 |
2 |
3 |
4 |
5 |
6 |
7 |
8 |
|
Радиус кривой, м |
13000 |
8000 |
6000 |
3500 |
2500 |
2200 |
2000 |
2000 |
|
Параметр клотоиды, м |
12000 |
1200 |
1200 |
1000 |
800 |
700 |
600 |
500 |
3.2.19. При сопряжении обратных кривых переходными кривыми желательно, чтобы обе кривые имели одинаковый параметр А. В этом случае между радиусами сопрягаемых кривых должно выдерживаться соотношение R1/R2 £ 3. При сопряжении переходными кривыми круговых кривых, направленных в одну сторону, необходимо соблюдать соотношение 0,5R1 < A < R2.
3.3.1. Дорога должна быть зрительно ясной на достаточно большом расстоянии, позволяющем водителю оценивать и прогнозировать дорожные условия. Видимые участки дороги и придорожной полосы должны своевременно сигнализировать об изменении направления дороги. Расстояние, на котором необходимо обеспечивать зрительную ясность дороги, должно быть больше расстояния видимости при обгоне.
3.3.2. Взгляд водителя последовательно задерживается на привлекающих его внимание опорных точках. Благодаря их расположению у водителя складывается впечатление о дальнейшем направлении дороги, в том числе и за пределами непосредственной видимости. Резкое изменение направления является причиной неправильных действий водителей, граничащих с возможностью ДТП (рис. 3.5).


Рис. 3.5. Пример появления ложного хода (а) и его исправление (б)
Продуманное расположение опорных точек для заблаговременного оповещения водителей о дальнейшем направлении дороги в местах поворотов и ограничение видимости существенно способствуют повышению безопасности и организованности движения.
3.3.3. Наиболее опасными являются участки, неверно ориентирующие водителя о дальнейшем направлении дороги, и участки, на которых в течение даже короткого времени (5 с и менее) дальнейшее направление дороги определить невозможно.
Частая ошибка, вызывающая создание так называемого ложного хода и неверно ориентирующая водителя, связана с расположением примыканий дорог и проектированием обходов населенных пунктов. Для устранения ложного хода следует примыкание переносить на кривую (см. рис. 3.5).
3.3.4. Средствами зрительного ориентирования водителей являются:
а) полотно дороги в целом, границы проезжей части, линии разметки на покрытии, осевой шов на дорогах с бетонным покрытием, укрепленные обочины, краевые полосы, установленные на обочинах, направляющие столбики и боковые ограждения барьерного типа;
б) растительность, особенно высокие деревья, вершины которых возвышаются за переломом продольного профиля, хорошо видны издалека и делают попятным дальнейшее направление дороги. Ряды деревьев с внешней стороны кривой подчеркивают поворот дороги (рис. 3.6, а). На примыканиях второстепенных дорог к дорогам более высокой категории посадка группы деревьев по направлению оси второстепенной дороги против примыкания (рис. 3.6, б) указывает на место примыкания и, зрительно создавая впечатление препятствия на дороге, способствует непроизвольному снижению скоростей движения водителями автомобилей, приближающихся к пересечению.



Рис. 3.6. Использование деревьев для подчеркивания направления дороги:
а - вершины деревьев указывают направление дороги, за переломом продольного профиля; б -выделение главной дороги на примыкании
3.3.5. Отдаленные возвышающиеся элементы рельефа в однообразной местности, строения, растительные группы, специально создаваемые близ дороги, или обелиски (рис. 3.7) служат средством повышения внимания водителя.

Рис. 3.7. Ориентирование длинных прямых участков дороги на возвышающиеся предметы
Появляющийся на горизонте контур ориентира, вначале трудно различимый, заинтересовывает водителя и, сосредоточивая его внимание, устраняет усыпляющее влияние однообразия придорожной обстановки.
3.4.1. Обеспеченная на дороге видимость является важнейшим показателем ее транспортно-эксплуатационных качеств и безопасности движения. Фактическое расстояние видимости на кривых в плане и в продольном профиле определяет скорости движения, которые при недостаточной видимости существенно снижаются по сравнению со скоростями, обеспечиваемыми радиусами кривых и коэффициентами сцепления дорожных покрытий. При равных значениях видимости количество ДТП на участках вертикальных кривых примерно в 2 раза выше, чем на кривых в плане, что указывает на необходимость повышенного внимания к обеспечению видимости при проектировании продольного профиля.
3.4.2. СНиП 2.02.05-85 рекомендует, учитывая условия местности, принимать расстояния видимости поверхности дороги не менее 450 м. Отход от этого требования возможен лишь при наличии экономического обоснования.
3.4.3. Минимальное расстояние видимости поверхности дороги в исключительных случаях (сложный рельеф, препятствия для трассирования дороги в плане, близость жилой застройки) нормируется СНиП 2.05.02-85. Это расстояние видимости рассчитано на время реакции водителя 1,0 с. Повсеместно применение этого норматива приводит к образованию сложных дорожных условий: затрудняется или становится невозможным обгон, увеличивается напряженность работы водителя, возрастает вероятность ДТП.
При реконструкции, капитальном ремонте и особенно при проектировании новых дорог рекомендуется везде, где это возможно, не нарушая требований СНиП, обеспечивать расстояние видимости поверхности дороги из условия времени реакции водителя для дорог I категории 2,5 с, для дорог II и III категории 2,0 с и для дорог IV и V категории 1,5 с. Рекомендуемые расстояния видимости при расчете вертикальных кривых и срезок видимости на кривых в плане приведены в табл. 3.4.
Таблица 3.4
|
Условия применения |
Расстояние видимости, м, при скорости движения, км/ч |
|||
|
80 |
100 |
120 |
150 |
|
|
О исключительных условиях (минимальное расстояние видимости) |
100 |
140 |
175 |
225 |
|
В сложных условиях рельефа |
110 |
170 |
200 |
300 |
|
Допустимое ограничение видимости (не чаще 1 раза на 2 км) из условия обеспечения зрительной ясности дороги |
250 |
280 |
340 |
430 |
Расстояние видимости в продольном профиле обеспечивается благодаря вписыванию вертикальных выпуклых кривых. Рекомендуемые радиусы их приведены в табл. 3.5.
Таблица 3.5
|
Условия применения |
Минимальные радиусы выпуклых вертикальных кривых, м, при расчетной скорости движения, км/ч |
|||
|
80 |
100 |
120 |
150 |
|
|
В сложных условиях (расчетное время реакции водителя 1,0 с) |
5000 |
10000 |
15000 |
27000 |
|
В нормальных условиях (расчетное время реакции водителя 2,0 с) |
10000 |
20000 |
30000 |
45000* |
* Из условия расчетного времени реакции водителя 2,5 с.
3.4.4. Построение линейного графика видимости на дороге является обязательным при разработке мероприятий по повышению безопасности движения и пропускной способности дороги. Участки с недостаточной видимостью дороги необходимо перестраивать в первую очередь. До перестройки на них предусматривают мероприятия по четкой организации движения и обеспечению его безопасности.
3.4.5. На участках дорог III-V категорий с недостаточной видимостью в продольном профиле для улучшения условий разъезда и предотвращения столкновений встречных автомобилей могут применяться следующие мероприятия:
а) при интенсивности движения менее 500 авт./сут в пределах всей вертикальной выпуклой кривой малого радиуса уширение полосы движения в каждом направлении на 1 м за счет обочин, укрепление остающейся части обочин, нанесение разметки проезжей части;
б) при интенсивности более 500 авт./сут в пределах вертикальной кривой устройство разделительного островка шириной не менее 1 м;
в) увеличение радиуса вертикальной кривой.
Указанные мероприятия можно выполнять поэтапно, по мере возрастания интенсивности движения.
3.4.6. В трудных условиях холмистого рельефа, когда невозможно осуществить рекомендации пп. 3.4.3 и 3.4.4 на всем протяжении дороги, для осуществления обгонов необходимо не реже чем через 3 - 4 км устраивать на прямых и кривых больших радиусов специальные обгонные участки с обеспеченной видимостью. Минимальную длину обгонного участка принимают в зависимости от расчетной скорости движения на подходах к этому участку, обеспечиваемой геометрическими элементами:
|
Расчетная скорость, км/ч |
120 |
100 |
80 |
60 |
50 |
40 |
30 |
|
Длина обгонного участка, км |
2,0-2,5 |
1,5-1,7 |
1,0-,1 |
0,75 |
0,60 |
0,50 |
0,40 |
3.5.1. Исправление трассы в плане может вызываться необходимостью: устранения необоснованной извилистости дороги, приводящей к перепробегу автомобилей и создающей опасности ДТП; перестройки мест, где водителю неясно направление дальнейшего движения; обхода населенных пунктов; улучшения пересечений с автомобильными и железными дорогами, а также с малыми водотоками; увеличения радиусов кривых в плане.
3.5.2. При исправлении трассы дорог III-V категорий, выполненном для улучшения условий движения, можно допускать несколько большую извилистость, чем при новом строительстве. Извилистость трассы устраняют по возможности без выхода за пределы существующей полосы отвода. Дорогу спрямляют сравнительно короткими участками, чтобы в наибольшей степени использовать существующее земляное полотно и дорожную одежду, если они удовлетворяют техническим требованиям и не подвержены пучинообразованию.
Для устранения извилистости трассы можно не только спрямлять отдельные участки, но и устраивать кривые больших радиусов, объединяющие несколько коротких прямых и кривых. При этом необходимо избегать введения кривых малых радиусов на участках перехода от старой трассы к спрямлению.
3.5.3. Исправление продольного профиля дорог может потребоваться:
а) на заниженных участках, с которых не обеспечен отвод воды;
б) на участках обертывающего профиля с необеспеченной видимостью в пересеченной местности;
в) для смягчения крутых подъемов и спусков или улучшения условий движения на таких участках;
г) для обеспечения плавности дороги при частых пилообразных переломах продольного профиля из-за малого шага проектирования. Такие переломы неудобны для современного автомобильного движения с высокими скоростями даже при обеспеченной видимости и допустимых продольных уклонах.
3.5.4. При небольших продольных уклонах местности наиболее оптимальным способом исправления продольного профиля является изменение радиусов вертикальных кривых со срезкой выпуклых кривых и подъемом вогнутых или общее выравнивание продольного профиля с устройством постоянного уклона.
3.5.5. Увеличение радиусов вогнутых кривых на старых дорогах обычно ограничено из-за невозможности подъема мостов, расположенных на пониженных участках продольного профиля. Малые мосты целесообразно заменять многоочковыми трубами. К исправлению вогнутых вертикальных кривых следует прибегать в случаях, когда их радиусы очень малы. В таких местах проезжую часть уширяют из расчета 1 м на каждую полосу движения.
3.5.6. При пересечении относительно узких долин с крутыми склонами наиболее радикальный способ исправления опасных и неудобных спусков в долину состоит в постройке виадука на высоких опорах, пересекающего долину на одном уровне с ее краями. Этому способу необходимо отдавать предпочтение в населенных пунктах. Технико-экономический анализ показывает, что сокращение пути пробега и увеличение скорости автомобилей в подобных случаях окупают постройку виадука в очень короткие сроки.
3.5.7. Короткие участки крутых подъемов, на которых возникают заторы движения из-за невозможности для тяжелых грузовых автомобилей и автомобильных поездов преодолевать их с высокой скоростью, желательно перестраивать с уменьшением уклона до 30-40 %о. Имеющиеся на некоторых дорогах длинные затяжные подъемы и спуски протяжением до нескольких километров не поддаются столь легкому исправлению. Условия движения могут быть улучшены только путем перестройки с развитием линии по склонам долины, что требует отказа от большого участка дороги. Единственным, реальным способом улучшения условий движения в этом случае является устройство дополнительных полос проезжей части.
4.1.1. В соответствии с рекомендациями СНиП 2.05.02-85 следует принимать при проектировании дорог радиусы кривых в плане не менее 3000 м. Увеличение радиусов кривых в плане, если позволяют условия трассирования, всегда экономически целесообразно, так как сокращается длина трассы. Объем земляных работ, за исключением дорог в горной местности, при увеличении радиусов кривых в плане практически не изменяется.
Кривые в плане с минимальными радиусами согласно СНиП 2.05.02-85 разрешается применять лишь в исключительных случаях, когда увеличение радиусов кривых в плане невозможно из-за сложности рельефа или может вызвать снос большого количества строений, или занятие дорогой ценных сельскохозяйственных земель.
4.1.2. При выборе радиусов кривых в плане следует стремиться обеспечивать не только устойчивость автомобиля против заноса, но и зрительную плавность дороги (табл. 4.1).
Таблица 4.1
|
Категория дороги |
Радиусы кривых в плане, м |
||
|
минимальные в исключительных случаях |
однозначно воспринимаемых кривых |
минимальные из условия обеспечения зрительной плавности |
|
|
I |
1000 |
800-1200 |
1200 |
|
II |
600 |
600-800 |
800 |
|
III |
400 |
400-600 |
600 |
|
IV |
250 |
200-300 |
300 |
4.1.3. Если необходимо оставить кривые малых радиусов в проектах реконструкции и капитального ремонта, предусматривают дополнительные меры, повышающие удобство и безопасность движения:
а) кривые радиусами менее 50 м проектируют без круговой вставки в виде двух сопряжений тормозных кривых или коробовых клотоид;
б) закругления радиусами от 50 до 250 м проектируют по типу сплошных переходных кривых, разбиваемых по клотоиде;
в) на закруглениях с необеспеченной видимостью (горные условия, застроенная территория, участки под путепроводами и т.п.) устраивают разделительные островки шириной не менее 0,5 м с бордюром высотой 40-50 см (или с установкой двусторонних ограждений из металлических планок).
4.1.4. В целях наилучшего приспособления трассы дороги к рельефу местности можно применять следующие кривые:
а) с круговой вставкой и симметричными переходными кривыми одинаковой длины;
б) с круговой вставкой и несимметричными переходными кривыми разной длины;
в) из сплошных симметричных или несимметричных переходных кривых;
г) описанные сплайнами, проходящими через намеченные на плане точки, наилучшим образом сочетающиеся с рельефом и ситуацией.
4.1.5. При углах поворота трассы, превышающих 30°, в частности на долинных участках горных дорог, в целях снижения их неблагоприятного воздействия на восприятие водителем условий движения закругление назначают с учетом угла поворота. Рекомендуемые сочетания радиусов и углов поворота кривых, в плане представлены в табл. 4.2.
Таблица 4.2
|
Категория дороги |
Минимальный радиус кривой в плане, м, при угле поворота трассы, град |
||||||
|
30 |
40 |
50 |
60 |
70 |
80 |
90 |
|
|
II |
260 |
300 |
325 |
350 |
370 |
385 |
400 |
|
III |
180 |
210 |
240 |
260 |
275 |
290 |
300 |
|
IV |
140 |
160 |
175 |
190 |
210 |
215 |
225 |
4.2.1. Вираж является эффективным средством повышения удобства и безопасности движения на кривых малых радиусов.
При назначении уклонов виражей следует исходить из условия, что при движении с расчетной скоростью 1/3 поперечной силы уравновешивается за счет виража, а 2/3 - за счет поперечного сцепления шин покрытием. Наличие виража облегчает управление автомобилем, способствует увеличению скорости движения по кривой. При устройстве виража необходимо одновременно обеспечивать видимость, соответствующую расчетной скорости для виража.
4.2.2. В соответствии с рекомендациями СНиП 2.05.02-85 в районах с незначительной продолжительностью снежного покрова и редкими случаями гололеда уклон виража может быть увеличен до 100 %о (для кривых с радиусом менее 250 м).
4.2.3. Для того чтобы уменьшить дополнительный продольный уклон на участке отгона виража и улучшить зрительную плавность внешней кромки кривой, переход от двускатного профиля к односкатному лучше осуществлять путем вращения проезжей части вокруг ее оси.
4.2.4. Для повышения безопасности обгонов и удобства движения на кривых радиусами до 5000 м на дорогах I категории и до 3000 м на дорогах остальных категорий необходимо устраивать односкатный поперечный профиль с уклоном, равным уклону проезжей части на прямолинейных участках при данном виде покрытия. На кривых радиусом более 5000 м проезжая часть должна иметь двускатный профиль, так как такие кривые по условиям движения не отличаются от прямых.
4.2.5. На участках горных дорог с серпантинами рекомендуется устраивать ступенчатый вираж (рис. 4.1), позволяющий повысить скорость и безопасность движения. При этом средняя часть проезжей части выполняется с поперечным уклоном, соответствующим радиусу кривой, а внутренним и внешним полосам на ширину не менее 2 м придают уклон больше на 10-20 ‰ для внутренней и 10 - 40 ‰ для внешней полос (в зависимости от радиуса кривой и состава движения). В этих случаях с учетом местных условий рекомендуется увеличивать общую ширину проезжей части в пределах кривой.

Рис. 4.1. Схема устройства ступенчатого виража на кривых малого радиуса
4.3.1. Для комфортабельности езды переходные кривые применяют на закруглениях радиусом менее 2000 м. В качестве переходной кривой рекомендуется использовать клотоиду
А2 = RL,
где А - параметр клотоиды; R - радиус круговой кривой; L - длина переходной кривой.
4.3.2. Наименьшая длина переходной кривой
L = v3/(47RI),
где v - расчетная скорость движения, км/ч; I - нарастание центробежного ускорения, м/с3; R - радиус, м.
Расчетную скорость нарастания центробежного ускорения определяют по графику (рис. 4.2) в зависимости от отношения v2(gR) (где v - расчетная скорость для кривой данного радиуса, м/с; g - ускорение свободного падения, равное 9,81 м/с2; R - радиус, м).

Рис. 4.2. График для определения расчетного нарастания центробежного ускорения
Значения 1, лежащие ниже кривой 2, удовлетворяют режимам движения основной массы водителей (85 %), поэтому рекомендуются в качестве расчетных (кривая 1 - средние наблюдаемые значения 1). При значениях 1 в зоне между кривыми 2 и 3 ощутимо снижаются удобства езды. Они могут быть допущены лишь в сложных топографических условиях, в некоторых случаях реконструкции дорог в застроенной или горной местности. Значения 1 выше кривой 3 удовлетворяют лишь 50 % водителей и на строящихся или реконструируемых дорогах допускаться не должны. Область рабочих значений 1 лежит между кривыми 2 и 1.
4.3.3. Если получаемое расчетом смещение круговой кривой от введения переходной кривой меньше 0,2 м, переходную кривую можно не устраивать, считая, что удобство проезда достигается за счет смещения траектории автомобиля в пределах полосы движения.
4.3.4. Из условия обеспечения зрительной плавности дороги параметр переходной кривой должен удовлетворять требованиям пп. 3.2.2, 3.2.16, 3.2.17. При этом угол поворота трассы в конце переходной кривой должен быть не менее 3°.
4.3.5. Изложенные рекомендации по назначению параметров переходных кривых не распространяются на длинные переходные кривые, используемые при ландшафтном проектировании и клотоидном трассировании как самостоятельный элемент трассы в плане.
4.3.6 Проезжую часть уширяют в соответствии с рекомендациями СНиП 2.05.02-85 на всех кривых радиусом меньше 1000 м. Уширение
,
где l - расстояние от центра заднего моста до переднего бампера автомобиля без прицепа, м; v - скорость движения, км/ч; R - радиус кривой, м.
Требуемое уширение должно определяться специальным расчетом в случаях, когда в составе движения более 5 - 10 % автомобильных поездов.
4.3.7. При реконструкции дорог для уменьшения уширения обычно проектируемое смещение всей круговой кривой внутрь угла (рис. 4.3, а) целесообразно заменить сдвижкой переходной кривой к вершине угла (рис. 4.3, б). При этом длина круговой кривой уменьшается, а при малой длине ее можно заменять сопряженными переходными кривыми.

Рис. 4.3. Особенности расположения переходной кривой:
а - обычный способ; б -
со смещением центра круговой кривой;
1 -первоначальная ось полосы
движения; 2 -ось после введения
переходной кривой; 3 -уширение
4.4.1. На всех кривых радиусом менее 250 м устраивают шероховатые покрытия (или поверхностную обработку).
4.4.2. Если кривая радиусом 500 - 600 м и менее расположена в конце прямой длиной более 500 м, то на расстоянии 150 - 200 м от начала кривой целесообразно устраивать полосы поверхностной обработки из щебня крупностью 20 - 30 мм («шумовые» и «трясущие» полосы). Тряска и шум, возникающие при проезде такого участка, вынуждают водителя снизить скорость. В табл. 4.3 приведены параметры шумовых полос, которые применяют, помимо указанного случая, и в других опасных местах (пересечения в одном уровне, участки с ограниченной видимостью, узкие мосты и т. д.). Ширину полос принимают равной 1 м, высоту шероховатостей на первых трех полосах 1,5-2 см, на следующих до 3 см. Помимо полос из щебня, возможно применение поперечных линий разметки.
Таблица 4.3
|
Требуемое снижение скорости, % |
Необходимое количество поперечных полос |
Расстояние от начала опасного участка до первой полосы, м |
Расстояние между полосами, м |
|||||||
|
20 |
4 |
10 |
10 |
15 |
20 |
- |
- |
- |
- |
- |
|
25 |
5 |
6 |
6 |
10 |
15 |
20 |
- |
- |
- |
- |
|
30 |
6 |
6 |
6 |
6 |
10 |
15 |
20 |
- |
- |
- |
|
40 |
8 |
3 |
3 |
3 |
6 |
6 |
10 |
15 |
20 |
- |
|
50 |
9 |
3 |
3 |
3 |
3 |
3 |
6 |
10 |
15 |
20 |
При выборе типа шумовой полосы для конкретных дорожных условий безопасную скорость автомобилей на этом участке определяют расчетом, фактическую скорость проезда участка автомобилями устанавливают на основании натурных наблюдений, принимая ее по кумулятивной кривой как скорость, соответствующую 85 %-ной обеспеченности. Разница между фактической и безопасной скоростями на участке дает представление о необходимой величине ее снижения.
4.4.2. На кривых радиусом меньше 250 м (независимо от категории дороги) рекомендуется с внешней стороны устанавливать ограждения из металлических полос, которые препятствуют выезду автомобилей за пределы земляного полотна и выполняют роль зрительно направляющих элементов. Для улучшения ориентации водителей в соответствии с ГОСТ 13508-74 «Разметка дорожная» на ограждениях рекомендуется устанавливать световозвращающие элементы: красного цвета справа по направлению движения, слева -белого или желтого, что предпочтительнее. Плоскость элементов должна быть перпендикулярной направлению взгляда водителя.
4.4.4. Установка дорожных знаков, ограждений, направляющих столбиков и устройств разметки производятся в соответствии с действующими государственными стандартами.
На кривых радиусом более 250 м, а также на внутренней стороне кривых радиусом меньше 250 м устанавливают направляющие столбики.
4.4.5. На кривых радиусом менее 250 м при необеспеченной видимости устанавливают с внешней стороны один или несколько (при (большом угле поворота) знаков 1.31 «Направление поворота» (ГОСТ 10807-78 Знаки дорожные»).
4.4.6. Знаки 1.11.1, 1.11.2 «Опасный поворот» или знак 1.12.1, 1.12.2 «Опасные повороты» (при нескольких следующих друг за другом опасными поворотами) следует устанавливать перед закруглениями небольших радиусов лишь в тех случаях, когда коэффициент безопасности для данного участка равен или меньше 0,8. Кроме того, знаки 1.11 или 1.12 могут быть установлены перед закруглениями с ограниченной видимостью. При коэффициенте безопасности, не превышающем 0,6, одновременно со знаком 1.11 или 1.12 рекомендуется устанавливать знак ограничения скорости. Величину ограничения следует определять на основе данных непосредственных наблюдений с обеспеченностью не менее 85 %.
4.4.7. Разметку проезжей части на кривых в плане наносят в соответствии с ГОСТ 13508-74 «Разметка дорожная» с учетом траекторий скоростей движения, когда обеспечивается устойчивое движение автомобиля при скоростях, соответствующих 85 %-ной обеспеченности.
4.4.8. На кривых радиусом меньше 50 м сплошную осевую разметку смещают к внешней кромке проезжей части, чтобы обеспечить полное вписывание крупногабаритных автомобилей во внутреннюю полосу движения, ширину внешней и внутренней полос принимают в соответствии со следующими рекомендациями:
|
Радиус по внутренней кромке проезжей части, м |
10-15 |
15-0 |
20-30 |
30-50 |
50 |
|
Отношение ширины внутренней полосы движения к ширине внешней полосы |
1,4 |
1,3 |
1,2 |
1,1 |
1,0 |
4.4.9. На закруглениях радиусом больше 250 м сплошную осевую разметку 1.1 (ГОСТ 13508-74) наносят с учетом условий видимости в соответствии с требованиями ГОСТ 13508-74 «Разметка дорожная».
|
Продольный уклон, %о |
30 |
40 |
50 |
60 |
70 |
80 |
90 |
|
Предельная длина, м: |
|
|
|
|
|
|
|
|
для равнинного и слабо холмистого рельефа местности |
1200 |
600 |
400 |
300 |
250 |
200 |
150 |
|
для сильно пересеченного рельефа |
- |
1500 |
1200 |
700 |
500 |
400 |
350 |
5.1.2. В особо тяжелых условиях гористой и горной местностях для улучшения условий движения на подъем и спуск в продольном профиле рекомендуется предусматривать участки с уклоном не более 2000. Расстояние между ними должно приниматься в соответствии с рекомендациями п. 5.1.1, а длина - не менее 70 м.
5.1.3. С целью предупреждения дорожно-транспортных происшествий при движении на спуск нельзя располагать в конце затяжных спусков кривые в плане малых радиусов, пересечения в одном уровне, искусственные сооружения с узкой проезжей частью.
5.1.4. Кривые в плане, расположенные на участках с большим уклоном в продольном профиле, должны иметь достаточно большие радиусы, обеспечивающие безопасность движения на спуске. Значение радиусов следует назначать с учетом реально достижимых на этом участке скоростей движения.
5.2.1. На вертикальных вогнутых кривых, расположенных в конце крутых спусков, необходимо предусматривать уширение проезжей части и укрепление обочин на 1,5 м. При движении по дороге автопоездов необходимая величина уширения определяется расчетом.
5.2.2. При недостаточном расстоянии видимости в пределах вертикальных выпуклых кривых следует предусматривать уширение проезжей части и укрепление обочин на 1,5 м для улучшения условий разъезда встречных потоков автомобилей.
5.2.3. В районах с жарким климатом на затяжных подъемах дорог необходимо предусматривать не реже чем через 0,5 км уширения до 2,5 м за счет обочин длиной 10 м для кратковременной остановки грузовых автомобилей, у которых перегрелся двигатель.
5.3.1. При высокой интенсивности движения и наличии в составе транспортного потока большой доли медленно движущихся автомобилей (автопоезда и грузовые автомобили большой грузоподъемности, скорость которых в верхней части подъема становится менее 50 км/ч) необходимо предусматривать устройство с правой стороны проезжей части дополнительных полос для движения в сторону подъема автомобилей с низкими динамическими качествами.
5.3.2. Дополнительные полосы проектируют с учетом длины подъема и интенсивности движения в соответствии со СНиП 2.05.02-85.
5.3.3. При наличии на подъемах с уклоном более 30 %о кривых в плане с радиусами менее 200 м дополнительную полосу не устраивают, так как она, как показывает опыт, не используется водителями.
5.3.4. При интенсивности движения в сторону подъема более 200 авт./ч и на подъемах длиной менее 600 м при уклонах более 30 %о дополнительные полосы строят сразу по всей длине подъема.
I очередь (интенсивность движения в сторону подъема Nп £ 0,5N, где N берется из табл. 5.1) - полосу строят только в верхней части подъема (в пределах вертикальной кривой на расстоянии 100 м до нее);
Таблица 5.1
|
Уклон, ‰ |
N, авт./сут. при доле тяжелых грузовых автомобилей |
|
|
< 10 |
> 10 |
|
|
40 |
2300 |
2000 |
|
50 |
2150 |
1900 |
|
60 |
2000 |
1700 |
II очередь (Nп=0,8N) - полосу продолжают вниз до середины подъема;
III очередь (Nп=N) - полосу строят на всю длину подъема.
Поочередное строительство полосы целесообразно предусматривать на подъемах протяженностью более 1000 м.
5.3.6. При составлении проекта I очереди строительства новой дороги, кроме указанных в п. 5.3.5 мероприятий, необходимо предусматривать постройку уширенного земляного полотна для обеспечения последующего строительства дополнительной полосы.
5.3.7. В целях обеспечения высокой пропускной способности и удобного и безопасного слияния потоков автомобилей, движущихся по дополнительной и основной полосам проезжей части, длину участка дополнительной полосы за подъемом на двухполосных дорогах принимают с учетом интенсивности движения:
|
Интенсивность движения в сторону подъема, авт/ч |
200 |
300 |
400 |
500 |
|
Общая протяженность полосы за пределами подъемов, м |
70 |
100 |
150 |
200 |
5.3.8. При интенсивности движения на двухполосной дороге более 700 авт/ч необходимо предусматривать устройство дополнительной полосы и на спуске.
5.3.9. Ширину основной и дополнительной полос движения принимают постоянной на всем протяжении подъема и равной 3,75 м. Длину зоны перехода от дополнительной полосы к основной проезжей части и обратно принимают в зависимости от скорости движения по правилам устройства переходно-скоростных полос.
5.3.10. На затяжных крутых спусках дорог в горной и пересеченной местностях устраивают аварийные тормозные съезды для остановки автомобилей, у которых испортилась тормозная система. Аварийные съезды представляют собой идущий на подъем не менее 100 ‰ тупик, продолжающий направление повернувшей дороги или примыкающий к ней под острым углом (рис. 5.1).


Рис. 5.1. Схема аварийного съезда:
а - план; б -
продольный профиль;
1 - основная дорога; 2 - аварийный съезд; 3 - песчаный вал
6.1.1. Планировка пересечений автомобильных дорог в одном уровне должна быть зрительно ясной и простой, направления движения в зоне пересечения должны быть видимы водителями заблаговременно.
Планировка пересечения и средства организации движения должны подчеркивать преимущественные условия проезда по главной дороге (дороге с наиболее высокой интенсивностью движения), допуская некоторое усложнение выполнения маневров с второстепенной дороги.
6.1.2. Для создания удобных условий восприятия дорожной обстановки наиболее целесообразно размещать пересечения на вогнутых участках продольного профиля, на прямых или кривых в плане радиусом не менее 600-800 м. Продольные уклоны на пересекающихся дорогах не должны превышать 40 %о.
Земляное полотно в зоне пересечения располагают в нулевых отметках или насыпях не выше 1 м. Откосы земляного полотна устраивают не круче 1:3.
Нельзя располагать пересечения автомобильных дорог в выемках. В исключительных случаях с целью обеспечения видимости в зоне пересечения производится срезка откосов выемки.
6.1.3. Наиболее безопасны пересечения дорог под углом от 50 до 75°, при которых отсутствуют не просматриваемые зоны, и водитель имеет наиболее удобные условия оценки дорожно-транспортной ситуации.
6.1.4. Все дороги, примыкающие к дорогам I-III категорий, должны иметь твердые покрытия:
при песчаных, супесчаных и легких суглинистых грунтах на протяжении не менее 100 м;
при черноземах, глинах, легких и пылеватых суглинках на протяжении не менее 400 м;
при засоленных грунтах не менее 500 м.
В последних двух случаях в пределах длины 200 м, установленной СНиП 2.05.02-85, съезды должны иметь усовершенствованное покрытие, а на остальном протяжении покрытие может быть и гравийным.
6.1.5. На пересечениях в одном уровне должна быть обеспечена боковая видимость, рассчитываемая из условия видимости с главной дороги автомобиля, ожидающего на второстепенной дороге момента безопасного выезда на главную дорогу. При расчете принимается: ожидающий автомобиль расположен в 1,5 м от кромки проезжей части; по главной дороге автомобиль движется в 1,5 м от кромки проезжей части; уровень глаза водителя расположен на высоте 1,2 м (рис. 6.1, а). Значения расстояний для обеспечения боковой видимости приведены в табл. 6.1.
При пересечении равнозначных по интенсивности движения автомобильных дорог II и III категорий рекомендуется обеспечивать видимость согласно схеме, приведенной на рис. 6.1, б.

Рис. 6.1. Схемы
определения видимости на пересечениях в одном уровне:
а - при пересечении дорог разных категорий, б - при пересечении
равнозначных дорог
Таблица 6.1
|
Интенсивность движения по главной дороге, авт./сут |
Минимальное расстояние видимости автомобиля по главной дороге Lгл, м |
Минимальное расстояние видимости поверхности дороги, м |
|
|
главной lгл |
второстепенной lвтп |
||
|
1000 |
250 |
140 |
75 |
|
2000 |
250 |
140 |
75 |
|
3000 |
300 |
150 |
75 |
|
4000 |
400 |
175 |
100 |
|
5000 |
600 |
175 |
100 |

Рис. 6.2. Номограмма для выбора типа планировочных решений пересечений:
Nвт - перспективная интенсивность движения по второстепенной (менее загруженной) дороге, авт/сут; Nгл - перспективная интенсивность движения по главной (более загруженной ) дороге, авт/сут; 1 - простое необорудованное пересечение (см. рис. 6.3, а), 2 - частично канализированные пересечения с направляющими островкам на второстепенной дороге (см. рис. 6.3, б), 3 - полностью канализированные пересечения и примыкания с направляющими островками на обеих дорогах, переходно-скоростными полосами, разметкой проезжей части (см. рис. 6.3, в, г); 4 - конкурирующие варианты кольцевых пересечений: а) со средними центральными островками; б) с малыми центральными островками; в) с большими центральными островками (при числе пересекающихся полос более 5); 5 - конкурирующие варианты: а) кольцевые пересечения, обеспечивающие лучшие условия движения по главному направлению (эллиптический центральный островок); б) в разных уровнях; в) при стадийном строительстве (I этап - кольцевые пересечения; II этап - пересечение в разных уровнях); 6 - конкурирующие варианты пересечений: а) кольцевые с малыми центральными островками; б) в разных уровнях; 7 - конкурирующие планировочные решения: а) стадийное развитие (I этап - кольцевые пересечения; II этап - пересечения в разных уровнях); б) пересечения в разных уровнях; 8 - пересечения в разных уровнях
6.1.6. При эксплуатации дорог варианты планировочных решений пересечения следует выбирать по номограмме, представленной на рис. 6.2. Окончательное планировочное решение (рис. 6.3) устанавливается технико-экономическим расчетом по размеру суммарных приведенных затрат. При этом следует учитывать строительную стоимость пересечения, затраты на ремонт и содержание, эксплуатационные и автотранспортные расходы по каждому варианту, потери народного хозяйства от дорожно-транспортных происшествий и от изъятия земельных угодий.





Рис. 6.3. Схемы планировочных решений пересечений:
а - простое необорудованное пересечение; б - частично канализированное пересечение с направляющими островками на второстепенной дороге; в, г - полностью канализированное примыкание и пересечение с направляющими островками на обеих дорогах, с переходно-скоростными полосами; д - кольцевые само регулируемые пересечения
6.2.1. Все элементы пересечений в одном уровне должны обеспечивать возможность плавного выполнения маневров поворота, без помех и чрезмерного снижения скорости, в особенности при движению по главному направлению.
6.2.2. Ширину полосы движения для пересечений типа 3 (см. рис. 6.2) из главной дороге II и III категорий рекомендуется принимать равной 3,75 м в обе стороны от пересечения на длине не менее указанной:
|
Интенсивность движения по главной дороге, авт./сут |
< 2000 |
2000-3000 |
3000-0001 |
4000-5000 |
|
Наименьшая длина полосы шириной 3,75 м в обе стороны от пересечения по главной дороге, м |
150 |
200 |
500 |
900 |
Ширину полосы движения на главной дороге IV категории принимают 3,5 м.
Ширину проезжей части второстепенных дорог в пределах пересечения для всех категорий при двухполосном движении назначают не менее 7 м на длине не менее 50 м.
6.2.3. Ширину полосы движения на съездах канализированных пересечений, считая от места примыкания к проезжей части основной дороги, принимают по табл. 6.2.
Таблица 6.2
|
Радиус съезда, м |
Ширина проезжей части съезда, м, при окаймлении ее скошенным бордюром высотой 15-20 см |
Ширина съезда без окаймления бордюром (или с бордюром высотой 6-8 см), м |
|
|
с двух сторон |
с одной стороны |
||
|
10 |
5,8 |
5,5 |
5,0 |
|
15 |
5,4 |
5,0 |
4,75 |
|
20 |
5,2 |
4,8 |
4,3 |
|
25 |
5,2 |
4,8 |
4,3 |
|
30 |
5,2 |
4,7 |
4,2 |
|
40 |
5,0 |
4,5 |
4,0 |
|
50 |
5,0 |
4,5 |
4,0 |
|
60 |
4,7 |
4,2 |
4,0 |
6.2.4. Обочины в пределах пересечения желательно назначать на главной дороге шириной 3,75 м, на второстепенной не менее 2,5 м на длине согласно п. 6.2.2. Обочины должны быть укреплены на всю ширину.
6.2.5. Съезды пересечений в одном уровне проектируют с переходными кривыми, рассчитанными на переменную скорость движения. Длина их должна быть не менее значений, приведенных в табл. 6.3.
Таблица 6.3
|
Радиус с круговой кривой, м |
Наименьшая длина переходной кривой, м |
|
|
входной |
выходной |
|
|
30 |
17,0 |
15,0 |
|
25 |
17,5 |
16,5 |
|
20 |
18,5 |
17,0 |
|
15 |
20,0 |
18,5 |
6.2.6. Из условия удобства разбивки съездов очертание кромок проезжей части проектируют коробовыми кривыми, параметры которых указаны на рис. 6.4 и в табл. 6.4. Начало и конец коробовой кривой:

Рис. 6.4. Схема для расчета коробовой кривой
Таблица 6.4
|
Угол поворота, град |
Входная кривая |
Круговая вставка R2, м |
Выходная кривая |
||
|
R1, м |
а1, град |
R3, м |
а3, град |
||
|
До 44 |
- |
- |
50 |
- |
- |
|
45-74 |
60 |
16 |
30 |
90 |
10 |
|
75-112 |
50 |
20 |
25 |
75 |
12 |
|
113-149 |
40 |
27 |
20 |
60 |
16 |
|
150-180 |
35 |
34 |
15 |
50 |
21 |
;
;
DR1 = (R1 - R2)(1 - cosa1);
DR3 = (R3 - R2)(1 - cosa3).
6.3.1. Следует устранять примыкания дорог под очень острыми углами. Пересечения или сопряжения дорог под углом менее 25° характеризуются, как правило, повышенной аварийностью, а под углом менее 10° - опасны. Исправление таких пересечений возможно двумя путями - перестройка места сопряжения дорог, чтобы оси пересекались под оптимальными углами 50-75°, или устройством дополнительной полосы движения для автомобилей, осуществляющих поворот (рис. 6.5).



Рис. 6.5. Способы реконструкции примыканий дорог:
а - неправильная планировка примыкания; б - улучшение условий движения путей смещения места примыкания; в - устройство дополнительной полосы
В виде исключения на примыкании обходов населенных пунктов допускается уменьшение угла пересечения дорог до 30° при обязательном полном канализировании движения (рис. 6.6).






Рис. 6.6. Рекомендуемые схемы планировки пересечений в одном уровне на обходе городов:
а, б - неправильная схема без разделения дорог на главную и второстепенную; в, г - рекомендуемые схемы при невысокой интенсивности движения на второстепенной дороге; д, е -то же, при высокой интенсивности;
1 - главная дорога; 2 - второстепенная дорога; 3 - распределительная полоса
6.3.2. При пересечениях под острым углом, а также на обычных пересечениях при большой доле автомобилей, поворачивающих на основную дорогу, безопасность движения может быть повышена путем разделения пересечения на два примыкания, смещенных по отношению друг к другу («ступенчатое пересечение»). Раздвижка пересечений уменьшает опасность конфликтных точек (рис. 6.7). Размер смещения должен назначаться из расчета беспрепятственного осуществления переплетения потоков с наименьшими помехами для автомобилей, следующих в прямом направлении.

Рис. 6.7. Перестройка пересечения на два смещенных примыкания:
а - без переходно-скоростных полос; б - с переходно-скоростными полосами; в - схема изменения пересечения
Наименьшие допустимые расстояния между двумя примыканиями на ступенчатых пересечениях приведены в табл. 6.5.
Таблица 6.5
|
Продольный уклон главной дороги, ‰ |
Наименьшее расстояние между двумя примыканиями, м, на дорогах |
|
|
двух- и трехполосных |
четырехполосных |
|
|
0-10 |
400 |
500 |
|
10-20 |
500 |
650 |
|
20-30 |
600 |
750 |
|
30-40 |
750 |
900 |
6.3.3. Для улучшения условий движения на пересечениях с большим количеством автомобилей, поворачивающих направо, целесообразно применять уширенные несимметричные пересечения (рис. 6.8), имеющие в 1,5 раза большую пропускную способность, чем обычные пересечения.

Рис. 6.8. Несимметричная планировка пересечения в одном уровне
6.4.1. В случае высокой интенсивности движения на пересечениях в одном уровне, особенно при значительном количестве поворачивающих автомобилей, большое значение приобретают меры пассивной организации движения с помощью устройства на пересечении направляющих островков, которые часто выделяют полосы движения для автомобилей, следующих в разных направлениях. Происходящее при этом упорядочение движения всегда имеет в своей основе ограничение свободы выбора водителем возможного направления движения и ясное обозначение на проезжей части правильной полосы движения.
6.4.2. Проектирование канализированных пересечений ведут применительно к типовым схемам, учитывая распределение интенсивности движения по направлениям и проезжающие специальные типы автомобилей.
6.4.3. Планировка канализированных пересечений должна удовлетворять следующим требованиям:
а) быть простой и понятной, четко выделять пути движения автомобилей и обеспечивать преимущественные условия движения по дороге более высокой категории или большей народнохозяйственной значимости. На примыкающей или пересекающей дороге планировка должна предупреждать водителей о предстоящем маневре и способствовать снижению скоростей поворачивающих автомобилей;
б) точки пересечения траекторий движения автомобилей по возможности должны быть удалены друг от друга;
в) в каждый момент времени водитель должен иметь выбор не более чем одного из двух возможных направлений движения. В соответствии с принципами зрительного ориентирования нужное направление должно подсказываться расположением разделительных островков и линий разметки на покрытии;
г) островки и разграничительные линии на пересечениях канализированного типа должны разделять скоростные, транзитные и поворачивающие транспортные потоки, выделяя для каждого из них самостоятельные полосы движения, обеспечивающие их плавное разделение и слияние.
Расположение островков в плане должно как бы перекрывать возможность объезда островка слева (рис. 6.9);


Рис. 6.9. Зрительное перекрытие островками неправильного направления движения:
а - водитель видит просвет между островками и может поехать по неправильному пути; б - возможное неверное направление движения перекрыто островком;
1 - зона видимости полосы движения; 2 - траектория движения; 3 - осевая линия
д) ширина полос движения должна обеспечивать беспрепятственный поворот автомобилей с прицепом. Для этого на прямых участках ширина проезжей части съезда без возвышающихся бортов должна быть не уже 3,5 м, у начала островков ширина съезда должна быть не уже 4,5-5,0 м, у выезда на главную дорогу 6,0 м;
е) очертания островков должны обеспечивать пересечение потоков под оптимальными для следующего маневра углами. Слияние и разделение потоков должно происходить под острыми углами, что ускоряет процесс включения автомобиля в поток или выхода его из потока. Пересечения потоков целесообразны под углами, близкими к 90°. Это требование лучше всего выполняется при каплеобразной обтекаемой форме направляющих островков.
6.4.4. Параметры расчетных траекторий движения на канализированных пересечениях и меры по организации движения должны выбираться с учетом скоростей движения на пересекающихся дорогах. Для транзитного движения по главной дороге - это расчетная скорость для данной категории дороги, для второстепенной - для правых поворотов - не менее 30 км/ч, для левых поворотов - 15-20 км/ч.
6.4.5. Для улучшения условий движения на канализированных пересечениях (рис. 6.10) применяют следующие виды островков:
а) центральные каплеобразные островки на второстепенной дороге;
б) направляющие островки на оси главной дороги для обеспечения левых поворотов с основной дороги на второстепенные;
в) треугольные вспомогательные островки на второстепенной дороге для разделения транзитного и поворачивающего направо потоков движения.

Рис. 6.10. Направляющие островки на примыкании в одном уровне
Количество островков должно быть минимальным. Размер сторон треугольных островков принимают не менее 5 м, длину каплеобразных - не менее 20 м.
Наиболее эффективными в отношении организации движения являются островки, возвышающиеся над проезжей частью и огражденные скошенным бордюром. Некоторое осложнение зимнего содержания таких пересечений вполне окупается повышением четкости и организованности движения. В районах с особенно тяжелыми зимними условиями островки можно обозначать краской на покрытиях, а в бесснежный период использовать разборные элементы.
6.4.6. При реконструкции дорог рациональному размещению островков и разработке улучшенной схемы движения может помочь анализ дорожно-транспортных происшествий. Для этого наносят на план пересечения в масштабе 1:500 - 1:250 места дорожно-транспортных происшествий и пути следования столкнувшихся автомобилей и пострадавших пешеходов, устанавливают наиболее опасные конфликтные точки и выявляют преимущественные причины, вызывающие систематические ошибки водителей. На план наносят все элементы ситуации, которые могут влиять на условия движения пешеходов и автомобилей (рис. 6.11).

Рис. 6.11. План пересечения с нанесенными на него схемами дорожно-транспортных происшествий:
1 - столкновение транспортных средств; 2 - наезд на пешеходов
6.4.7. Для большего удобства поворота с главной дороги островки смещают в плане влево относительно оси второстепенной дороги (рис. 6.12).


Рис.
6.12. Расположение островков на второстепенной дороге:
а - схема размещения островка; б - выделение островка разметкой
Зона, в которой на второстепенной дороге размещается островок, ограничена двумя линиями, составляющими угол 8°. Вершина этого угла удалена от кромки проезжей части главной дороги на расстояние не менее 60 м.
Параметры правоповоротных съездов назначают в соответствии с табл. 6.4. Левоповоротные съезда описывают по коробовым кривым с радиусами R1=10; R2= 20 и R3=60 м для скоростей поворота в свободных условиях 20 - 25 км/ч и с радиусами R1=15; R2= 30, R3=15 м в стесненных условиях для скоростей движения 15 км/ч.
Начало и конец переходно-скоростных полос разгона и торможения сопрягают соответственно с началом и концом правоповоротных съездов на второстепенную дорогу.
а) неиспользуемая поверхность пересечения закрывается островками; форма островков определяется пересечением право - и левоповоротных съездов;
б) для предотвращения заездов на островки и для большей четкости организации движения треугольные островки рекомендуется окаймлять бортом высотой не более 6 - 8 см или обозначать разметкой; небольшие треугольные островки со сторонами менее 5 м и площадью менее 10 м2 целесообразнее выделять на общей поверхности пересечения лишь разметкой;
в) углы островков, направленные навстречу движению, округляются кривыми радиусом 1 м. В вершину центрального островка, расположенного на второстепенной дороге, вписывается кривая радиусом 1,5 - 2 м.
6.4.9. Для безопасности выполнения левых поворотов с главной дороги на проезжей части при высокой интенсивности движения устраивают дополнительные полосы, отделяемые от полосы транзитного движения направляющими островками или разметкой.
6.4.10. Планировка островков на дорогах с двумя полосами движения показана на рис. 6.13. Направляющий островок (рис. 6.13, а) с зоной торможения и ожидания отделяет поворачивающие автомобили от транзитного движения. Направляющий островок 2 (рис. 6.13, б) разделяет встречные потоки движения и защищает автомобили, выполняющие левый поворот с главной дороги.

Рис. 6.13. Расположение островков на главной дороге:
а - левоповоротный островок; б - направляющий островок
Интенсивность отгона ширины островка не должна превышать 1:30. Более оптимальные условия движения достигаются при интенсивности отгона 1:50 и более. Островки рекомендуется окаймлять скошенным бортом, возвышающимся на 5 см с наклоном 1:3.
6.4.11. Длина участка Lп (см. рис. 6.13), предназначенная для накопления поворачивающихся автомобилей, определяется по табл. 6.6.
Таблица 6.6
|
Интенсивность движения по главной дороге, авт./сут |
Длина участка Lн, в зависимости от доли левоповоротного движения с главной дороги, % |
|||
|
10 |
20 |
30 |
40 |
|
|
2000 |
40 |
40 |
60 |
90 |
|
3000 |
40 |
50 |
70 |
110 |
|
4000 |
50 |
70 |
90 |
130 |
|
5000 |
70 |
90 |
120 |
160 |
|
6000 |
100 |
120 |
160 |
210 |
6.4.12. При интенсивности левоповоротного движения с второстепенной дороги более 0,2Nвт (Nвт - интенсивность движения на второстепенной дороге) направляющий островок не устраивают, а вместо него с помощью разметки выделяют полосу шириной 3,5 м, которая выполняет роль переходно-скоростной полосы.
6.4.13. На эксплуатирующихся многополосных дорогах дополнительные полосы для левых поворотов могут устраиваться в пределах центральной разделительной полосы при ее ширине не менее 4,5 м. Длина дополнительной полосы складывается из длины участка отгона ширины протяженностью 60- 80 м, длины участка торможения и участка накопления. При определении длины участка торможения следует исходить из условия полной остановки автомобиля, движущегося с начальной скоростью, равной разрешенной максимальной, и с замедлением 1,5 м/с2. Длина участка накопления назначается по табл. 6.7.
Таблица 6.7
|
Интенсивность движения по главной дороге в одном направлении, авт./сут |
Длина участка накопления, м, при интенсивности левоповоротного движения на второстепенную дорогу, авт./сут |
|
|
500-1000 |
1000-2000 |
|
|
4000 |
20 |
50 |
|
6000 |
20 |
50 |
|
8000 |
30 |
70 |
|
10000 |
55 |
130 |
6.4.14. Планировка полностью канализированного пересечения предусматривает островки на второстепенной и основной дорогах.
В зависимости от соотношения интенсивностей и скоростей движения по разным направлениям отдельные островки или переходно-скоростные полосы могут не устраиваться. Оптимальное количество островков на второстепенной дороге - 3. При изменении угла пересечения дорог меняется лишь очертание этих островков (рис. 6.14). Согласно п. 6.4.8 можно:


Рис. 6.14. Изменение планировки в зависимости от угла пересечения дорог:
а - aÐ30°; б - a = 30 - 45°; в - a = 50 - 75°; г - a = 90°; д - a = 115°; е - a = 135°; ж - a = 150°; з - a > 150
а) не устраивать правый островок со стороны второстепенной дороги при углах пересечения дорог менее 45° и радиусе правоповоротного съезда менее 15 м, левый - при углах более 120° и радиусе менее 15 м, поскольку их размеры малы (сторона треугольника менее 5 м) и они будут восприниматься водителем как препятствия, а не направляющие сооружения;
б) при радиусах съездов 10 м и менее устраивать только центральный островок;
в) при интенсивности движения по съезду менее 20 авт/ч островок, отделяющий этот съезд от других направлений движения, выделять на покрытии проезжей части лишь разметкой (рис. 6.15).

Рис. 6.15. Выделение островков на проезжей части разметкой
На главной дороге устраивают не более двух направляющих островков, которые выполняют роль разделительной полосы в пределах пересечения и защитного сооружения для поворачивающих потоков (см. рис. 6.13). Эти островки должны возвышаться над проезжей частью в следующих случаях:
а) при интенсивности движения по главной дороге - более 1000 авт./сут и доле поворачивающих автомобилей более 15 %;
б) при интенсивности движения по главной дороге более 5000 авт./сут и доле левоповоротного движения более 10 %.
При меньшей интенсивности движения эти островки рекомендуется обозначать на покрытии разметкой.
6.5.1. Условия движения на кольцевых пересечениях определяются диаметром центрального островка. Различают четыре типа пересечений с центральными островками: с малым D < 25 м (рис. 6.16, а), с средним D = 30 ¸ 60 м, с большим D > 60 м (рис. 6.16, б) и с эллиптическим центральным островком, вытянутым по направлению более загруженной дороги (рис. 6.16, в). Рекомендуемые области применимости таких пересечений приведены в табл. 6.8.


Рис. 6.16. Планировочные схемы кольцевых пересечений
Таблица 6.8
|
Виды планировок кольцевых пересечений |
Категории пересекающихся дорог |
Условия применимости |
|
Кольцевые пересечения с малыми центральными островками и увеличенным числом полос движения |
Iб ´ Iб Iб ´ II Iб ´ III |
1) При реконструкции и капитальном ремонте автомобильных дорог |
|
|
2) При новом строительстве: |
|
|
|
а) в пригородной зоне; |
|
|
|
б) в пределах малых населенных пунктов; |
|
|
|
в) в районах с высокой стоимостью сельскохозяйственных угодий и в других стесненных условиях на основе технико-экономического сравнения с вариантами пересечения в разных условиях |
|
|
|
III ´ III |
При SN ³ 5000 авт./сут на основе технико-экономического сравнения с вариантом кольцевого пересечения с средним диаметром центрального островка |
|
Кольцевые пересечения с средним диаметром центральных островков |
Iб ´ II II ´ II II ´ III III ´ III |
При 5000 < SN £ 9000 авт./сут на основе технико-экономического сравнения с кольцевыми пересечениями с малыми центральными островками |
|
Кольцевые пересечения с большими центральными островками |
II ´ II II ´ III III ´ III |
При 5000 < SN £ 9000 ¸ 10000 авт./сут и числе пересекающихся дорог n ³ 5 |
|
Кольцевые пересечения, обеспечивающие лучшие условия движения более загруженному направлению (с эллиптическими центральными островками) |
Iб ´ II Iб ´ III Iб ´ IV II ´ III II ´ IV |
При Nгл ³ 3Nвт на основе технико-экономического сравнения с вариантом пересечения в разных уровнях |
Примечание. SN - суммарная интенсивность движения на пересечении; Nгл - то же, на главной дороге; Nвт -то же, на второстепенной.
6.5.2. Пропускная способность кольцевых пересечений определяется пропускной способностью зон переплетения, которая зависит от их длины. Зоны переплетения имеют меньшую пропускную способность, чем полоса движения на перегоне. Пропускная способность зон переплетения приведена в табл. 6.9.
Пропускную способность кольцевых пересечений можно повысить за счет разгрузки зон переплетения, устраивая полосы для правого поворота, отделяемые от кольцевой проезжей части.
Таблица 6.9
|
Состав транспортного потока |
Пропускная способность, авт/ч, при диаметре центрального островка, м |
||||
|
20 |
40 |
60 |
80 |
100 |
|
|
100 % легковых автомобилей |
500 |
550 |
600 |
700 |
1100 |
|
100 % грузовых » |
|
|
|
|
|
|
15 % легковых » |
350 |
400 |
450 |
500 |
650 |
|
85 % грузовых » |
450 |
500 |
580 |
700 |
780 |
6.5.3. На кольцевых пересечениях в стесненных условиях наиболее целесообразны островки диаметром, не превышающим 1/3 окружности, которую можно вписать в контуры пересечения.
Размер островка должен быть таким, чтобы приезд пересечения по прямой линии оказался невозможным, и было бы необходимо искривление траектории движения (рис. 6.17). Островки малого диаметра допустимы лишь в местах с небольшой высотой снежного покрова. Они должны быть хорошо видимы издалека водителем.

Рис. 6.17. Улучшение условий движения на пересечении путем устройства островков небольшого диаметра
6.5.4. Кольцевые пересечения с средним диаметром островков характеризуются прерывистым движением транспортных потоков, так как примыкания к кольцу расположены настолько близко, что маневры переплетения въезжающих на пересечение и выезжающих с него автомобилей не успевают осуществляться. Поэтому автомобили, едущие по кольцу останавливаются, имея помеху справа от въезжающего автомобиля.
Фактические скорости движения по кольцевым пересечениям зависят от размеров островков:
|
Диаметр островков, м |
15 |
30 |
60 |
|
Скорость, км/ч |
18-20 |
25 |
30 |
6.5.5. Для кольцевых пересечений с средним диаметром островков рекомендуются следующие размеры геометрических элементов:
а) ширина проезжей части при двух полосах движения на кольце:
|
Диаметр кольца, м |
15 |
30 |
60 |
|
Ширина проезжей части, м |
8 |
9 |
11 |
б) радиусы кривых на примыканиях дорог и кольцевой проезжей части:
|
Диаметр центрального островка, м |
15 |
301 |
60 |
|
Радиус примыкания, м: |
|
|
|
|
в нормальных условиях |
20 |
30 |
50 |
|
в стесненных условиях |
15 |
20 |
35 |
6.5.6. Кольцевые пересечения с большими центральными островками, необходимые на дорогах I и II категорий с высокой интенсивностью движения, обеспечивают непрерывное движение транспортных потоков. Размеры центрального островка определяются длиной участка, необходимой для маневра переплетения въезжающих и выезжающих автомобилей (Рис. 6.18).

Рис. 6.18. Схема к расчету диаметра центрального островка на кольцевом пересечении:
Вк - ширина проезжей части кольца; b - ширина проезжей части примыкающей дороги; r1, r2 - радиусы сопряжений кромок проезжих частей
6.5.7. Расчетная скорость движения на кольцевом пересечении должна быть не ниже 30 км/ч, составляя не менее 3/4 от средней скорости на подходе к пересечению по дороге наиболее высокой категории (табл. 6.11).
Таблица 6.11
|
Категория дороги |
Расчетная скорость, км/ч |
||
|
из условия наименьших транспортных затрат |
из условия обеспечения безопасности движения |
минимальная для особо стесненных условий |
|
|
I |
56 |
50 |
45 |
|
II |
55 |
45 |
40 |
|
III |
50 |
38 |
30 |
|
IV |
40 |
30 |
25 |
6.5.8. Диаметр центрального кольца, обеспечивающий оптимальные углы слияния транспортных потоков не более 7° (см. рис. 6.18),
,
где к - число пересекающихся дорог; L - расстояние между осями двух соседних дорог (измеряется по внешней кромке кольцевой проезжей части), Вк - ширина проезжей части кольца.
При этом
,
где r1 и r2 - радиусы входа и выхода на кольцо, которые следует принимать не менее 15 м; b1 и b2 - ширина проезжей части вливающихся дорог, м; Lз.n - длина зоны слияния или переплетения (табл. 6.12), n - число полос движения на кольце.
Таблица 6.12
|
Категория дороги |
Длина зоны переплетения, м |
Категория дороги |
Длина зоны переплетения, м |
||
|
рекомендуемая |
минимальная |
рекомендуемая |
минимальная |
||
|
I |
65 |
50 |
III |
55 |
30 |
|
II |
60 |
47 |
IV |
45 |
20 |
Кольцевая проезжая часть должна иметь не менее двух полос движения. При коэффициенте загрузки кольцевой проезжей части более 0,5 следует выделять дополнительную полосу для правоповоротного потока.
Ширину полосы движения на кольцевой части пересечения назначают в зависимости от диаметра центрального островка:
|
Диаметр островка, м |
60 |
80 |
100 и более |
|
Ширина одной полосы движения, м |
5,5 |
5,0 |
4,5 |
6.5.9. При пересечениях двух дорог разных категорий в случае преобладания на дороге высшей категории транзитного движения целесообразно устраивать центральный островок овальной формы, вытянутый вдоль направления главной дороги. Прорезание центрального островка для беспрепятственного прямого пропуска транзитного движения или проложения трамвайных путей допустимо только при введении светофорного регулирования.
Круговые островки рекомендуются на пересечениях равноценных по загрузке дорог с высокой интенсивностью левоповоротного движения.
Въезд автомобилей и выезд их с кольца организуют только по одной полосе. Допускается выделять специальную полосу для правых поворотов высокой интенсивности, но ее необходимо отделять от кольцевой проезжей части разделительной полосой не уже 1 м.
6.5.10. Размеры кольцевых пересечений с малым диаметром центрального островка определяются схемой организации движения на пересечении.
При организации движения с приоритетом движения по кольцу размер островка и планировка пересечения должны вынуждать водителей проезжать пересечение по искривленной траектории. Радиус кривизны траектории при прямом (транзитном) движении должен быть не более 100 м. С учетом этих условий диаметр центрального островка составляет 15-20 м (табл. 6.13).
Таблица 6.13
|
Схема организации движения |
Диаметр центрального островка, м |
|
|
минимальный (естественные условия) |
рекомендуемый |
|
|
Приоритет на кольце |
10 |
15-20 |
|
» на въезде |
25 |
30 |
|
или одна из дорог главная |
|
|
6.5.11. Если на кольцевом пересечении предполагается организовать движение с преимущественным правом проезда по одной из пересекающихся дорог (главная дорога проходит в прямом направлении), диаметр центрального островка Dц.о должен быть не менее длины расчетного крупногабаритного грузового автомобиля lа (обычно 24 м) с тем, чтобы такой автомобиль мог находиться в зоне ожидания на кольцевой проезжей части, не создавая помехи для транзитного движения (рис. 6.19), т. е.
![]()

Рис. 6.19. Схема расположения автопоезда в зоне ожидания на кольцевой проезжей части
6.6.1. Безопасность движения на железнодорожных переездах зависит от интенсивности движения по автомобильной и железной дорогам, условий видимости, технических средств оборудования переезда.
6.6.2. Опасность железнодорожных переездов оценивают показателем
Ка = 2,74 + 0,00038Nа + 0,0068Nп - 0,034Коб - 0,0045S,
где Nа - интенсивность движения по автомобильной дороге, авт./сут; Nп - интенсивность движения по железной дороге, поездов/сут; Коб - коэффициент оборудования переезда; S - расстояние видимости приближающегося к переезду поезда, м.
Области определения переменных для расчета показателя опасности Ка составляют:
|
Наименование переменной |
Область определения |
|
Интенсивность движения по автомобильной дороге, авт/сут |
0-10000 |
|
Интенсивность движения по железной дороге, поездов/сут |
0-150 |
|
Коэффициент оборудования переезда |
по данным п. 6.6.7 |
|
Расстояние видимости приближающегося поезда, м |
0-400 |
6.6.3. Значения коэффициента оборудования Коб для различных технических средств:
|
Оборудование переезда |
Коэффициент Коб |
|
Дорожные знаки |
4,0 |
|
Механический шлагбаум без сигнализации |
11,0 |
|
То же, с оповестительной сигнализацией |
18,0 |
|
» с оповестительной и светофорной сигнализациями |
25,0 |
|
Автоматическая светофорная сигнализация |
45,0 |
|
Автоматический шлагбаум с автоматической светофорной сигнализацией |
61,0 |
6.6.4. Показатель Ка характеризует степень опасности на железнодорожном переезде:
|
Ка |
< 1,0 |
1,0-2,0 |
2,0-3,0 |
> 3,0 |
|
Опасность переезда |
Неопасный |
Мало опасный |
Опасный |
Очень опасный |
В зависимости от значения показателя опасности для железнодорожных переездов могут быть рекомендованы следующие мероприятия по повышению безопасности движения:
Ка<1,0 - нанесение линий разметки, установка оповестительной сигнализации;
Ка=1,0¸2,0 - обеспечение видимости на переезде, нанесение линий разметки, автоматической светофорной сигнализации:
Ка=2,0¸3,0 - установка автоматического шлагбаума с автоматической светофорной сигнализацией, нанесение линий разметки;
Ка>3,0 - строительство пересечения в разных уровнях.
В случае устройства в зоне переезда дополнительных полос необходимо непосредственно перед их началом устанавливать знак 5.8.3 «Начало полосы», а в конце полосы отгона знак 5.8.1 «Направления движения по полосам». За 50 м до конца полосы должен быть установлен знак 5.8.5 «Конец полосы».
6.6.5. При невозможности обеспечить требования видимости на подходах к переездам вводят ограничения скорости движения автомобилей. Значение допустимой скорости vдоп в зоне переезда устанавливают в зависимости от расстояния видимости приближающегося к переезду поезда:
|
S, м |
< 50 |
50-100 |
100-200 |
200-400 |
|
vдоп, км/ч |
Знак 2.5 |
40 |
50 |
60 |
6.6.6. В целях повышения пропускной способности железнодорожных переездов рекомендуется устраивать на автомобильной дороге дополнительные полосы в обоих направлениях движения (до и после переезда).
Длину дополнительных полос рекомендуется назначать в соответствии с табл. 6.14.
Таблица 6.14
|
Интенсивность движения по железной дороге, поездов/сут |
Длина дополнительной полосы перед переездом (в числителе) и после переезда (в знаменателе), м, при интенсивности движения по автомобильной дороге, авт/ч |
|||
|
100 |
101-200 |
200-300 |
300-400 |
|
|
10 |
- |
- |
50-70 100-l20 |
100-120 200-250 |
|
25 |
- |
60-80 150-180 |
100-120 220-250 |
150-170 270-300 |
|
50 |
60-80 120-150 |
80-100 150-200 |
120-150 250-300 |
170-200 300-350 |
|
100 |
70-90 150-180 |
90-110 220-230 |
150-180 280-300 |
- |
6.6.7. Расположение неохраняемых железнодорожных переездов должно обеспечивать видимость приближающегося поезда водителями автомобилей, находящихся на расчетном расстоянии видимости в соответствии со СНиП 2.05.02-85.
6.6.8. Проезжая часть переезда (ширина настила) должна быть шире проезжей части автомобильной дороги на 0,5 м в каждую сторону. Ширину проезжей части автомобильных дорог IV -V категорий на железнодорожных переездах принимают не менее 7,0 м на расстоянии 20 м в обе стороны от переезда.
6.6.9. Подходы автомобильных дорог IV и V категорий к переезду, расположенному в конце спусков на протяжении 50 м, следует проектировать с продольным уклоном не более 30 ‰.
7.1.1. Целесообразность устройства того или иного типа пересечения в разных уровнях определяется на основе сравнения приведенных затрат, степени безопасности и удобства движения, пропускной способности по вариантам. Количество сравниваемых вариантов зависит от размеров движения и сложности рельефа местности.
Для сравнения рекомендуется принимать следующие типы развязок:
при пересечении дорог I категории между собой: полный «клеверный лист», развязки кольцевого и левоповоротного типов;
при пересечении дорог I категории с дорогами II категории: полный «клеверный лист» развязки кольцевого типа, развязки с 1-3 прямыми или полупрямыми лево поворотными съездами;
при пересечении дорог I категории с дорогами III, IV категорий и дорог II, III категорий между собой: развязка типа «ромб», неполный и полный «клеверный лист», развязки кольцевого типа. В случае устройства развязок неполного типа на дороге с большей интенсивностью движения не должно быть конфликтных точек пересечений траекторий движения.
При выборе вариантов необходимо учитывать, что пересечения полный «клеверный лист» целесообразно проектировать до определенных соотношений интенсивностей левоповоротного движения. На этапе предварительных расчетов следует пользоваться диаграммой (рис. 7.1), где показаны области применимости различных типов левоповоротных съездов.

Рис. 7.1. Диаграмма применимости различных типов левоповоротных съездов:
1 - левоповоротный съезд пересечения «клеверный лист»; 2 - полупрямой левоповоротный съезд; N№1, N№2 - интенсивности движения по съездам № 1 и № 2
При ограниченных площадях земли (например, в зонах плотной пригородной застройки) на основе технико-экономических расчетов допускается устройство развязок обжатого типа. Обжатые съезды размещают вдоль направлений с большой интенсивностью движения, что позволяет отнести более короткий участок переплетения левоповоротных потоков на второстепенное направление.
На пересечениях дорог I, II категорий с дорогами V категории систему съездов не устраивают. В этом случае поворачивающие потоки с дороги низкой категории выводятся на ближайшую дорогу более высокой категории, пересекающуюся с данной дорогой I или II категории.
7.1.2. Проектирование развязок неполного типа необходимо выполнять с учетом последующей их реконструкции при возрастании интенсивности движения. Поэтому в проектах следует предусматривать свободные площади земли для размещения дополнительных съездов. При назначении размеров путепроводов учитывают возможность размещения в дальнейшем дополнительных полос движения.
Пересечения в разных уровнях по возможности располагают на прямолинейных горизонтальных участках дорог, а в исключительных случаях - на кривых в плане не менее указанных радиусов:
|
Расчетная скорость, км |
80 |
100 |
120 |
140-150 |
|
Минимальные радиусы кривых, м |
2000 |
3000 |
4000 |
5000 |
7.1.3. Продольный уклон дорог на пересечениях в разных уровнях не должен превышать 20 %о. На развязках неполного типа и полный «клеверный лист» допускаются большие уклоны (до 30 - 40 %о) при условии устройства между основной проезжей частью и переходно-скоростными полосами боковой разделительной полосы шириной 3 - 3,5 м, надежно отделяющей транзитные быстро движущиеся потоки автомобилей от второстепенных, скорости движения которых значительно ниже.
7.1.4. Расстояние между развязками в разных уровнях существенно влияет на безопасность и удобство движения. Его назначают в зависимости от категории дороги согласно СНиП 2.05.02-85.
7.1.5. В целях лучшей ориентации водителя в направлении движения при выезде с дороги совмещают выходные участки лево- и правоповоротного съездов. При этом достигается единообразие планировки выезда с основных полос движения вдоль всей дороги. На пересечениях полный «клеверный лист» это требование выполнимо при устройстве на всем протяжении развязки боковой разделительной полосы (см. п. 7.3.3).
7.1.6. Планировка съездов на участках примыкания к основной проезжей части может иметь три решения. На развязках съезды без переходно-скоростных полос (рис. 7.2, а) допускаются лишь на дорогах IV-V категорий. Съезды с переходно-скоростными полосами (рис. 7.2, б), а также съезды, имеющие своим продолжением самостоятельную дополнительную полосу дороги (рис. 7.2, в), устраивают на дорогах более высоких категорий в зависимости от соотношения интенсивности движения на основных полосах и съездах.



Рис. 7.2. Варианты планировки выходных участков съездов, примыкающих к основной проезжей части
7.1.7. Выезды с дороги и въезды на нее рекомендуется располагать справа по движению, так как при расположении слева слияние и разделение потоков значительно опаснее. Поэтому левостороннее расположение съездов рекомендуется допускать при высокой интенсивности движения поворачивающих потоков, требующей устройства дополнительной полосы на основной проезжей части по схеме на рис. 7.2, в на всем протяжении до следующей развязки.
7.1.8. В зоне пересечений в разных уровнях не должны изменяться условия движения по дороге с наибольшей интенсивностью. На другой уровень следует переводить движение по второстепенной дороге.
7.1.9. Минимальное расстояние видимости элементов пересечения при движении по дороге назначают в зависимости от расчетной скорости:
|
Расчетная скорость, км/ч |
80 |
100 |
120 |
1501 |
|
Расстояние видимости, м |
400 |
500 |
600 |
750 |
7.1.10. При свободных условиях трассирования съездов в плане следует по возможности избегать прямых вставок, а на левоповоротных съездах - и обратных кривых. Смежные кривые постоянного радиуса сопрягают посредством переходных кривых или проектируют съезды из сплошных клотоидных кривых.
7.2.1. В целях снижения потерь времени автомобилями и уменьшения площади земли, необходимой для размещения сооружений, расчет транспортных развязок ведут на скорости меньшие, чем расчетные для пересекающихся дорог.
Круговые участки петель левоповоротных съездов пересечений типа «клеверный лист» целесообразно рассчитывать на скорости не выше 40 - 50 км/ч, которые в наибольшей степени соответствуют режимам движения автомобилей в зоне пересечения этого типа. Правоповоротные, а также прямые или полупрямые левоповоротные съезды рассчитывают на скорости 60 - 90 км/ч, но не ниже 40 - 50 км/ч, кольцевые – 50 - 70 км/ч.
7.2.2. При расчете радиусов закруглений петель левоповоротных съездов пересечений типа «клеверный лист» исходят из значений коэффициента поперечной силы 0,16 для съездов, расположенных на подъеме, и 0,12 на спуске. В стесненных условиях значения коэффициентов поперечной силы могут быть повышены соответственно до 0,23 и 0,18.
Радиусы круговых кривых на правоповоротных, кольцевых и полупрямых левоповоротных съездах рассчитывают на коэффициент поперечной силы, равный 0,15.
7.2.3. Значения поперечного уклона виражей на съездах в районах с редкими случаями образования гололеда принимают равными:
для петель левоповоротных съездов пересечений «клеверный лист» 60 ‰;
для правоповоротных съездов, рассчитанных на скорости 60 - 90 км/ч, 30 ‰, на скорости 40 - 50 км/ч - 60 ‰;
для прямых, полупрямых и кольцевых левоповоротных съездов 30 ‰;
для других видов съездов, рассчитанных на скорости 40 - 50 км/ч, 60 ‰.
Поперечный уклон на обочинах съездов, укрепленных каменными материалами, принимают 50 - 60 ‰, при асфальтобетонных обочинах 30 -40 ‰.
7.2.4. Ширина проезжей части на однополосных съездах транспортных развязок составляет:
для петель левоповоротных съездов развязок типа «клеверный лист» 5,5 м;
для правоповоротных съездов, рассчитанных на скорости 60 - 90 км/ч, 5 м, на скорости 40-50 км/ч - 4,5 м;
для прямых и полупрямых левоповоротных съездов с радиусом более 100 м - 5,0 м.
При устройстве съездов с несколькими полосами движения ширину проезжей части назначают исходя из рекомендаций по определению ширины полос движения на закруглениях автомобильных дорог.
7.2.5. Для более уверенного управления автомобилем и лучшего зрительного восприятия водителем кромок полосы движения на проезжей части съездов целесообразно устраивать краевые полосы, отличающиеся по цвету от основного покрытия, шириной 0,5 м для скоростей 40 - 50 км/ч и 0,75 м для более высоких скоростей движения.
7.3.1. При примерно равных интенсивностях в разных направлениях и преимущественно транзитном характере движения основным типом транспортной развязки для дорог II и III категорий является пересечение «клеверный лист».
При большом количестве левоповоротного движения пропускная способность участков, расположенных между лево поворотными съездами, может оказаться недостаточной и потребуется переход к пересечениям с полупрямыми (см. рис. 7.1) или прямыми лево поворотными съездами.
7.3.2. Схема пересечения «клеверный лист» зависит от интенсивности движения по съездам, так как могут применяться различные планировочные решения, обеспечивающие необходимую пропускную способность и безопасность движения.
7.3.3. Наиболее благоприятные условия создаются в случае устройства боковой разделительной полосы (взамен разметки покрытия), надежно отделяющей переходно-скоростные полосы от основной проезжей части (рис. 7.3, а). При этом на развязке «клеверный лист» соседние полосы разгона и торможения, расположенные на примыканиях лево - и правоповоротных съездов, сливаются в одну непрерывную полосу, носящую название распределительной.
7.3.4. Конструкцию боковой разделительной полосы принимают в зависимости от интенсивности поворачивающих потоков автомобилей на съездах № 1, 2 и 3. в первом случае (см. рис. 7.3, б) правоповоротный поток со съезда № 3 непосредственно вливается в поток автомобилей, вышедших с левоповоротного съезда № 1, во втором (рис. 7.3, б) эти потоки разделены и автомобили, вышедшие со съезда № 3, имеют возможность использовать полосу разгона, что существенно повышает пропускную способность развязки.

Рис. 7.3. Конструкция боковой разделительной полосы на развязке «клеверный лист»
а - без отделения левоповоротного потока (съезд № 1) от правоповоротного (съезд № 3); б - с отделением потока на съезде № 1 от потока на съезде № 3.
1 - боковая разделительная полоса; 2 - разделительная полоса
Область применимости разделительных полос, имеющих конструкцию по схеме рис. 7.3, б, определяется в зависимости от интенсивности движения поворачивающих потоков автомобилей по диаграмме на рис. 7.4.

Рис. 7.4. Области применимости различных видов планировки боковой разделительной полосы:
1 - по схеме на рис. 7.3, а; 2 - по схеме на рис. 7.3, б; N№1, N№2 - интенсивности движения по съездам № 1 и № 3
7.3.5. Начальная скорость при расчете длины участка Р (см. рис. 7.3, б), являющегося полосой разгона1 для автомобилей, выходящих со съезда № 1, принимается равной скорости движения автомобилей, входящих на съезд № 2.
____________
1 Длина участка Р откладывается от начала съезда № 2.
7.3.6. Съезды развязок «клеверный лист» полного и неполного типов следует проектировать однополосными, располагая каждый из них на самостоятельном земляном полотне.
7.3.7. Левоповоротные съезды рекомендуется описывать по тормозной переходной кривой, принимая степень замедления для съездов, расположенных на спуске, не более 1,2 м/с2 на подъеме или горизонтальном участке 1,5 - 1,8 м/с2.
7.3.8. При проектировании правоповоротных съездов, рассчитываемых на постоянную скорость движения, переходные кривые разбивают по клотоиде. На входном участке съезда длины клотоиды назначают исходя из значения нарастания центробежного ускорения не более 0,6 м/с3, на выходных участках не более 0,8 м/с3.
7.3.9. Расстояние видимости начала переходно-скоростных полос должно быть не менее 250 - 300 м. При меньшем расстоянии запоздалое решение водителя автомобиля о необходимости поворота может привести к столкновению или опрокидыванию.
Расчетные параметры треугольника видимости главной дороги при выходе со съезда представлены на рис. 7.5. Для создания наиболее безопасных и удобных условий движения целесообразно увеличивать видимость участка съезда до 80 - 90 м (вместо 60 - 65 м). При этом протяженность обозреваемого участка главной дороги увеличивается до 180-200 м (вместо 100 - 110 м).

Рис. 7.5. Параметры треугольника видимости на выходных участках съездов транспортных развязок
7.3.10. На развязках обжатого типа левоповоротное движение осуществляется по петлеобразному съезду. Обжатый левоповоротный съезд представляет собой сочетание прямой вставки, сопрягающейся с двумя кривыми радиусами R и r, и углами поворота 90 и 180° (рис. 7.6).

Рис. 7.6. Схема планировки развязки обжатый «клеверный лист»
7.3.11. Удобство и безопасность движения на пересечении обжатого типа, занимаемая площадь, планировка съездов и всей развязки в наибольшей степени зависят от параметров криволинейного участка съезда с радиусом r и углом поворота 180°. Наименьшие значения радиусов, при которых еще сохраняются достаточно комфортабельные условия движения, зависит от начальной скорости:
|
Скорость в начале разворота, км/ч |
15 |
20 |
30 |
40 |
50 |
|
Радиус, м |
10 |
12 |
15 |
20 |
30 |
7.3.12. Ширина проезжей части в пределах кривой исходя из обеспечения безопасного проезда автопоездов должна быть не менее 7 м.
7.3.13. Движение по участку съезда радиусом r носит замедленный характер. Отрицательное ускорение, зависящее от начальной скорости движения, составляет 1 м/с2 при скорости 30 км/ч и 2 м/с2 при скорости 50 км/ч. Соотношение между скоростями движения в начале и конце разворота, а также средние скорости, которые следует использовать для технико-экономических расчетов при вариантном проектировании развязок, имеют значения:
|
Скорость перед разворотом, км/ч |
15 |
20 |
30 |
10 |
50 |
|
» в конце разворота, км/ч |
12 |
15 |
19 |
21 |
23 |
|
Средняя скорость движения, км/ч |
13 |
16 |
21 |
25 |
28 |
7.3.14. Поскольку движение по обжатому съезду осуществляется со скоростями, существенно меньшими расчетных для пересекающихся дорог, обязательным для развязок обжатого типа является устройство переходно-скоростных полос или выделение специальных полос для слияния и разделения левоповоротных потоков. Значения скоростей движения для расчета длин переходно-скоростных полос принимают на основании п. 7.3.13 с учетом радиусов разворота (см. п. 7.3.11).
7.3.15. Учитывая, что при широком диапазоне изменения начальных скоростей в конце разворота скорости меняются незначительно, при заданной ширине полосы отвода целесообразно увеличивать радиус r1 съезда при выезде с основной проезжей части за счет уменьшения радиуса r2 левоповоротного съезда перед выездом на основную проезжую часть (см. рис. 7.6).
7.3.16. При планировке левоповоротного съезда с переходными кривыми нарастание центробежного ускорения можно принимать 1,25 м/с2.
7.4.1. Переходно-скоростные полосы используются автомобилями, съезжающими на дорогу или выезжающими на нее. Полосы торможения дают возможность без помех для основного потока снизить скорость движения перед выездом с дороги, полосы разгона - повысить скорость и, не останавливаясь в процессе движения по участку маневрирования (рис. 7.7) выбрать в основном потоке приемлемый интервал для въезда на дорогу.

Рис. 7.7. Элементы полос торможения (а) и разгона (б):
1 - уступ шириной 0,5 м; 2, 6 - участок смены полосы движения (отгон ширины полосы); 3 - участок снижения скорости; 4 -участок ускорения, 5 - участок маневрирования
7.4.2. Переходно-скоростные полосы должны устраиваться:
а) на съездах пересечений в разных уровнях, примыкающих к дорогам I-III категорий, для которых они являются обязательным элементом;
б) на полностью канализированных пересечениях в одном уровне;
в) на частично канализированных пересечениях в одном уровне при интенсивности движения по главной дороге более 1000 авт./сут и более 100 авт./сут поворачивающих автомобилей;
г) на автобусных остановках, площадках отдыха и в других местах согласно СНиП 2.05.02-85.
7.4.3. На съездах с дороги применяют следующие типы переходно-скоростных тормозных полос:
а) клиновидные (рис. 7.8, а) - на дорогах II и III категорий при суммарной интенсивности движения не более 100 авт/ч (1200 авт./сут), на необорудованных и частично канализированных пересечениях в одном уровне и также на автобусных остановках, на дорогах II и III категорий;
б) параллельные (рис. 7.8, б) - на канализированных пересечениях в одном уровне при интенсивности движения по главной дороге более 100 авт/ч (1200 авт./сут), на съездах транспортных развязок в разных уровнях, рассчитанных на скорости менее 60 км/ч, и на автобусных остановках, на дорогах I категории;
в) параллельные с разделительной полосой (рис. 7.8, а) - на пересечениях в разных уровнях по схеме «клеверного листа», а также на неполных развязках, имеющих зоны переплетения, и на развязках, на дорогах I и II категорий при высокой (более 40 %) интенсивности поворачивающего движения;
г) непараллельные или криволинейные (рис. 7.8, г) - на съездах пересечений в разных уровнях, рассчитанных на скорость движения 60 км/ч и более.

Рис. 7.8. Типы переходно-скоростных полос
7.4.4. На участках въезда на дорогу применяют следующие типы переходно-скоростных полос для разгона:
а) клинообразные - на дорогах III и IV категорий при интенсивности движения по главной дороге, менее 100 авт/ч (1200 авт./сут), на частично канализированных пересечениях в одном уровне и на автобусных остановках;
б) параллельные - на канализированных пересечениях в одном уровне, на автобусных остановках и на транспортных развязках всех типов;
в) параллельные с разделительной полосой - на транспортных развязках типа «клеверный лист».
7.4.5. Ширину переходно-скоростных полос назначают равной ширине основных полос проезжей части, но не менее 3,5 м.
7.4.6. Длину переходно-скоростных полос определяют как сумму длин отдельных составляющих их участков (см. рис. 7.6).
Согласно СНиП 2.05.02-85, длина переходно-скоростных полос назначается исходя из категории дороги и значений продольных уклонов без учета интенсивности движения поворачивающих потоков автомобилей и расчетной скорости на съездах. Такой подход как бы осредняет возможные проектные решения пересечений в одном уровне или подъездов к объектам обслуживания, на разных типах которых значения радиусов съездов мало отличаются друг от друга (колеблются от 15 до 25-30 м), и интенсивности движения относительно невелики.
7.4.7. Для транспортных развязок, радиусы съездов которых рассчитываются на скорости от 30-40 до 60-80 км/ч и более и интенсивности движения, на которых значительно выше, чем на пересечениях в одном уровне, проектирование переходно-скоростных полос требует индивидуальных решений с соответствующим технико-экономическим обоснованием. При этом исходят из следующих условий:
а) при проектировании полос торможения;
расчетную начальную скорость принимают равной максимальной разрешенной на данной дороге, конечную - соответствующей расчетной скорости движения на съезде; '
при радиусах съездов менее 100 м, требующих устройства входных тормозных кривых, конечную скорость принимают равной 50 км/ч, если радиус съезда рассчитан на скорость не выше 30 - 35 км/ч, и 70 км/ч, если он рассчитан на скорость 40 - 50 км/ч;
отрицательное ускорение для продольных уклонов от 0 до 40 %о принимают не более 1,5 м/с2 как допустимое для большинства водителей при движении по участку снижения скорости;
при расчете длины участка снижения скорости предусматривают зону маневрирования, располагающуюся перед участком замедления и отделяемую от основных полос прерывистой линией разметки. Наличие этой зоны увеличивает протяженность входа на полосу торможения и способствует более эффективному ее использованию, особенно при высоких интенсивностях движения. Длина зоны маневрирования для полосы торможения назначается по табл. 7.1;
Таблица 7.1
|
Назначение полосы торможения |
Длина зоны маневрирования, м, для дорог категории |
||
|
I |
II |
III, IV |
|
|
Для правого поворота |
75 |
60 |
50 |
|
» левого поворота на канализированных пересечениях |
50 |
40 |
30 |
б) при проектировании полос разгона;
расчетные скорости, по которым определяется длина участка ускорения, принимают: начальную - равной расчетной скорости движения по выходной части съезда, конечную - равной максимальной разрешенной скорости на дороге;
ускорение движения для продольных уклонов до 10-15 %о принимают1 0,6-1 м/с2. Для уклонов 20 - 40 ‰ значения ускорений на спусках увеличиваются на 15-20 % и уменьшаются на 20-25 % на подъемах;
___________________
длину участка маневрирования, при движении по которому водитель принимает решение о въезде на дорогу, назначают в зависимости от интенсивности движения по основной полосе проезжей части и типа въезжающего автомобиля:
|
Интенсивность движения по основной полосе, авт/ч |
200 |
400 |
600 |
800 |
1000 |
|
Длина участка маневрирования автомобилей, м: |
|
|
|
|
|
|
легковых |
115 |
125 |
140 |
175 |
220 |
|
грузовых |
125 |
135 |
160 |
205 |
255 |
7.4.8. Безопасность и режим движения автомобилей на пересечении в значительной степени зависят от условий видимости элементов переходно-скоростных полос.
При движении по дороге следует обеспечить достаточную видимость начала полосы торможения, для более рельефного выделения, которого устраивается уступ в начале отгона ширины (см. рис. 7.6, а).
За 40 - 50 м до выхода со съезда желательно обеспечить видимость всей полосы разгона, если это затруднительно, то не менее 1/3 ее длины.
При выезде со съезда должна быть обеспечена видимость конца полосы разгона. Поэтому полосу разгона не следует располагать на переломах продольного профиля, если ее длина превышает расстояние видимости поверхности в продольном профиле.
7.4.9. При завершении въезда из полос торможения (в конце отгона ширины) необходимо обеспечить видимость начального участка съезда (хотя бы в пределах длины переходной кривой), чтобы водитель мог оценить кривизну съезда и правильно выбрать режим торможения.
8.1.1. Детальные расчеты количества полос движения на дорогах на основе требований СНиП 2.05.02-85 выполняются с учетом рекомендаций, изложенных в «Руководстве по оценке пропускной способности автомобильных дорог» Минавтодора РСФСР.
8.1.2. На этапе первоначальных расчетов число полос движения допускается определять по формуле
п = 0,076 Ne/zP,
где 0,076 - коэффициент перехода от суточной интенсивности движения к часовой; N - приведенная интенсивность движения, легк. авт./сут; e - коэффициент сезонной неравномерности изменения интенсивности движения; z - оптимальный коэффициент загрузки дороги движением, Р - практическая пропускная способность полосы движения, легк. авт/ч.
При равномерном распределении интенсивности движения по направлениям получаемое число полос движения должно быть четным. В случаях, когда число полос оказывается нечетным, оно может быть оставлено таковым при условии явно выраженной неравномерности распределения интенсивности движения по направлениям в отдельные дни или сезоны года (70 % и более в одном направлении). При этом в дальнейших расчетах необходимо рассмотреть возможность организации реверсивного движения.
8.1.3. В проектах автомобильных магистралей следует предусматривать возможность стадийного увеличения числа полос проезжей части с учетом усложнения условий движения на трудных участках (затяжные подъемы, участки, проходящие через населенные пункты, мостовые переходы, эстакады), для которых принцип стадийного строительства может оказаться неэффективным.
В случаях, когда на первоначальном этапе, проезжая часть предусматривается двухполосной, параметры искусственных сооружений и земляного полотна необходимо рассчитывать на размещение перспективного числа полос движения. В проектах новых дорог перспективное расширение проезжей части автомобильных магистралей следует предусматривать за счет разделительной полосы. В целях обеспечения безопасности движения желательно, чтобы после увеличения числа полос ширина разделительной полосы стала не менее 10 - 12 м.
8.1.4. Важнейшим мероприятием, направленным на улучшение условий движения, устранение возможных заторов и повышение безопасности движения, является устройство дополнительных полос на подъемах (см. гл. 5), пересечениях автомобильных и железных дорог (см. гл. 6, 7); полос, предназначенных для совершения обгонов при большом количестве в транспортном потоке автобусов, автопоездов и тракторов (см. п. 13).
8.2.1. Полоса отвода между дорогой и придорожными насаждениями должна иметь ровную хорошо спланированную поверхность.
8.2.2. Опоры и устои путепроводов, мачты дорожного освещения должны располагаться не ближе чем в 4 м от кромки проезжей части.
Опоры линий связи, одиночные сооружения на придорожной полосе и посадки деревьев придорожного озеленения рекомендуется располагать не ближе 9 м, а в исключительных случаях - 5 м от кромки покрытия.
8.2.3. Фруктовые деревья, привлекающие к себе в период созревания плодов проезжающих по дороге и способствующие остановкам водителей на обочинах, не следует высаживать в пределах полосы отвода.
8.2.4. Размещение в полосе отвода каких-либо сооружений или занятии полосы отвода для нужд сельского хозяйства должно согласоваться с дорожными организациями и ГАИ.
8.3.1. Поперечный профиль земляного полотна проектируют с учетом рельефа и ситуации на придорожной полосе, а также высоты насыпи. При ровной поверхности придорожной полосы следует рассматривать технико-экономическую целесообразность уполаживания откосов насыпей вместо установки на них ограждений.
8.3.2. При насыпях с пологими откосами канавы трапецеидального профиля заменяют мелкими широкими лотками.
8.3.3. В целях улучшения условий обтекания выемок снеговетровым потоком, лучшего сочетания дороги с окружающей местностью и уменьшения ширины полосы земли, изымаемой для дорожного строительства, в верхнюю кромку откосов вписывают круговые кривые с тангенсами 4-6 м.
Разделительная полоса
8.4.1. СНиП 2.05.02-85 нормируют минимальную ширину разделительной полосы между разными направлениями движения 5 - 6 м в обычных условиях и 12 - 13,5 м в случаях увеличения числа полос проезжей части при последующем возрастании интенсивности движения. Поскольку при увеличении ширины распределительной полосы возрастает стоимость строительства дороги, и снижаются потери народного хозяйства от дорожно-транспортных происшествий, назначение этого параметра требует технико-экономических обоснований. Так, согласно расчетам при высоте насыпей, типичной для слабо пересеченной местности (1,5 м), рекомендуется принимать следующие значения минимальной ширины разделительной полосы в зависимости от интенсивности движения:
|
Перспективная интенсивность движения, тыс. авт./сут |
20-40 |
40-60 |
60-70 |
|
Минимальная ширина разделительной полосы, м |
8-9 |
9-11 |
11-12 |
Рекомендации о назначении ширины распределительной полосы в случаях перспективного увеличения числа полос проезжей части даны в п. 8.1.
8.4.2. Учитывая, что СНиП 2.05.02-85 допускают зазор безопасности между ограждением и кромкой проезжей части, равный 1 м, на разделительных полосах шириной 2,5 м следует устанавливать ограждения парапетного типа. При ширине 2,5 - 3 м установка металлических барьерных ограждений возможна, если их прогиб при наезде расчетного автомобиля не превышает 1 м.
8.4.3. В целях уменьшения объема стока воды на проезжую часть широким разделительным полосам (более 6 м) придают вогнутое очертание с крутизной заложения откосов 1:8 - 1:10. При этом отвод воды с поверхности разделительной полосы осуществляется в пониженные места рельефа подземными водостоками, закладываемыми ниже средней глубины промерзания.
Таблица 8.1
|
Скорость движения, км/ч |
Длина переходного участка, м, при изменении ширины разделительной полосы |
|||
|
на 3 м |
на 6 м |
на 9 м |
на 12 м |
|
|
80 |
110 |
150 |
185 |
215 |
|
100 |
120 |
170 |
215 |
250 |
|
120 |
130 |
190 |
235 |
270 |
8.4.5. При ширине с разделительной полосы до 3 м рекомендуется на всей ее поверхности устраивать твердое покрытие, при большей ширине - укреплять засевом трав или одерновкой.
8.4.6. Помимо разделительных полос, между разными направлениями движения на автомобильных магистралях устраивают боковые разделительные полосы, шириной 3-3,5 м, отделяющие основную проезжую часть от дополнительных полос (например, в зоне пересечений о разных уровнях). Сопряжение их с проезжей частью осуществляется способом, принятым для разделительных полос между разными направлениями движения.
8.4.7. Торцы боковых разделительных полос устраивают скошенными с отгоном ширины 1:30.
Раздельное трассирование
8.4.8. Раздельное трассирование позволяет уменьшить строительную стоимость дороги, повысить безопасность движения. Наиболее эффективно его применение при проложении дороги на косогорных участках, в зоне транспортных развязок, а также для лучшего вписывания в ландшафт и сохранения элементов рельефа.
8.4.9. Если крутизна косогора не превышает 1:8 - 1:6, планировка пространства между проезжими частями не требуется. При этом имеющиеся предметы и препятствия следует удалить или располагать не ближе 9 - 10 м от кромки проезжей части.
8.4.10. При раздельном трассировании с левой стороны проезжей части требуются та же ширина и конструкция обочины, что и с правой стороны. В противном случае снижается эффективность использования левой полосы движения.
8.4.11. Для того чтобы одна проезжая часть была видна с другой в целях сохранения целостности дороги, пространство между проезжими частями должно быть свободным или плотность его заполнения (например, частота посадок зеленых насаждений) позволяла периодически видеть одну проезжую часть с другой.
8.5.1. Конструкция и расположение элементов, предназначенных для организации поверхностного стока воды с проезжей части и земляного полотна, должны отвечать требованиям безопасности движения.
8.5.2. Устройство вдоль кромок полос движения лотков для перехвата воды, стекающей с покрытия, уменьшает эффективно используемую ширину проезжей части, повышает вероятность опрокидывания, особенно малолитражных легковых автомобилей и мотоциклов. При таком расположении лотка отводные желоба приходится размещать на обочине, что также снижает безопасность движения и удобство использования обочин.
В целях повышения безопасности движения на участках дорог, где требуются специальные сооружения для отвода воды, рекомендуется укреплять часть обочины и вдоль ее укрепленной кромки устраивать валик из асфальтобетона (или бордюра) высотой 5-6 см с разрывами для сброса воды в водоотводные устройства, располагаемые на откосах насыпи.
8.5.3. На участках дорог, проходящих в насыпи без ограждений, укладываемые на откосах водосборные лотки, по которым стекает пода, поступающая с проезжей части и обочины, не должны иметь прямоугольную форму или глубину более 10 - 12 см. В противном случае при аварийном съезде автомобиля с дороги значительно повышается вероятность его опрокидывания при заезде колес в лоток. Наиболее удачным решением является замена поверхностного лотка заглубляемой в откос трубой диаметром не менее 30 см.
8.5.4. Стенкам водоотводных лотков, располагаемых по оси разделительной полосы вогнутого профиля, следует придавать крутизну не более 1:3. В этом случае ограждения можно располагать с одной стороны лотка. Если по гидравлическому расчету крутизна стенок должна быть большей или лоток должен иметь прямоугольную форму, ограждения, устанавливаемые на разделительной полосе, располагают по обеим сторонам лотка.
8.5.5. Поперечный уклон отдельных полос движения на автомобильных магистралях назначают в соответствии с требованиями СНиП 2.05.02-85. Направление поперечного уклона, особенно в зонах избыточного увлажнения, может меняться в целях ускорения, отводя воды с проезжей части. На шести-, восьми полосных автомобильных магистралях крайней левой полосе (или двум левым) может придаваться поперечный уклон в сторону разделительной полосы вогнутого профиля.
8.5.6. При проектировании на автомобильной магистрали кривых в плане, требующих устройства виража, необходимо учитывать изменение условий водоотвода с разделительной полосы и по боковым канавам при разных способах вращения поперечника.
8.5.7. Оголовки водопропускных труб на разделительной полосе закрывают съемными решетками.
8.5.8. Крутизну внешнего откоса боковой канавы трапецеидального профиля глубиной до 1,2 м по возможности назначают в зависимости от крутизны откоса насыпи:
|
Крутизна откоса насыпи |
1:6 |
1:4 |
1:3 |
1:1-1:2 |
|
» » канавы |
1:3 |
1:4 |
1:5 |
1:6 |
8.6.1. По кромке проезжей части, а на дорогах I категории и около разделительной полосы устраивают краевые полосы шириной 0,75 м на дорогах I и II категорий и 0,5 м на дорогах III и IV категорий.
8.6.2. На вновь строящихся н капитально ремонтируемых дорогах краевые полосы создают путем соответствующего уширения проезжей части и нанесения сплошной линии разметки вдоль кромки. Для устройства краевых полос на существующих дорогах можно использовать готовые бетонные плитки.
Прочность краевых полос должна быть равна прочности дорожной одежды. Для предотвращения заноса автомобилей при заезде с высокой скоростью краевые полосы должны иметь такой же коэффициент сцепления, как и проезжая часть. По величине и направлению поперечный уклон краевой полосы, назначают одинаковым с параметрами поперечного профиля примыкающей к ней полосы движения.
8.6.3. Устройство ребристых краевых полос не рекомендуется, поскольку они ухудшают эффективность использования водителями ширины проезжей части, вызывая смещение траектории движения автомобилей к оси дороги, и создают затруднения при очистке дорог от снега и уборке грязи.
8.6.4. Устройство у кромки проезжей части на границе с обочинами или с разделительной полосой возвышающегося бордюра допускается только в пределах населенных пунктов. Высота бордюра без скошенных граней должна быть не более 5 - 6 см. При установке более высокого бордюра его грани должны быть скошены в сторону проезжей части с наклоном 1:5-1:10. Подобные же требования к бордюрам предъявляются при устройстве островков на канализированных и кольцевых пересечениях.
8.6.5. На дорогах I категории при интенсивности движения более 25 тыс. авт./сут в пределах обочины устраивают непрерывные остановочные полосы, предназначаемые для вынужденных остановок автомобилей (из-за технической неисправности, необходимости закрепления груза и т. п.), а также для временного проезда в периоды ограничения движения по основной проезжей части (ДТП, ремонтные работы и т. д.).
8.6.6. Ширина остановочных полос должна быть достаточной для размещения расчетного грузового автомобиля и принимается не менее 2,5 м. Поперечный уклон назначается равным уклону обочины (обычно на 10 - 15 ‰ больше уклона примыкающей полосы движения).
8.6.7. Дорожную одежду остановочной полосы рассчитывают на возможность остановки наиболее тяжелого автомобиля заданного состава движения и на пропуск потока автомобилей в периоды ограничения проезда по основной проезжей части.
Для правильного ориентирования водителей, лучшего уяснения ими назначения остановочных полос желательно, чтобы цвет их покрытия отличался от цвета основной проезжей части.
9.1.1. Сцепные свойства дорожного покрытия в значительной степени определяют длину тормозного пути автомобиля, оказывают большое влияние на его устойчивость и управляемость, в связи, с чем являются важнейшим параметром, влияющим на безопасность движения.
9.1.2. Ровные дорожные покрытия в сухом и чистом состоянии независимо от их шероховатости имеют высокие сцепные свойства. Во время дождя слой воды на проезжей части дороги уменьшает площадь непосредственного контакта шины с поверхностью покрытия, что приводит к снижению его сцепных свойств.
Сцепные свойства покрытия в мокром состоянии зависят от шероховатости его поверхности. Визуально отличить гладкие покрытия, опасные для движения автомобилей, от относительно безопасных мелко шероховатых невозможно. В связи с этим для выявления потенциально опасных участков сцепные свойства усовершенствованных покрытий, построенных с применением вяжущих, следует регулярно оценивать при мокром их состоянии специально разработанными для этой цели приборами.
9.1.3. За показатель сцепных свойств дорожных покрытий принят коэффициент продольного сцепления автомобильной шины с дорожным покрытием, который представляет собой отношение продольной реакции дороги, возникающей при продольном скольжении заблокированного колеса и действующей в плоскости его контакта с покрытием, к нормальной реакции дороги в зоне контакта.
9.1.5. Для увлажнения дорожного покрытия при измерениях коэффициента сцепления используются индивидуальные системы искусственного увлажнения, которые устанавливают на автомобиле-тягаче динамометрического прибора. Система искусственного увлажнения должна обеспечивать возможность подачи в зону контакта скользящего измерительного колеса такого количества воды, при котором на покрытии создается слой жидкости (пленка) толщиной 1 мм ± 0,3 мм.
|
Условия движения |
Легкие |
Затрудненные |
Опасные |
|
Коэффициент сцепления |
0,28 |
0,30 |
0,32 |
Допустимые значения коэффициента сцепления установлены для эталонных условий, изложенных в п. 9.1.4.
9.1.7. В тех случаях, когда в результате измерений будут получены коэффициенты сцепления ниже значений, приведенных в п. 9.1.6, на этих участках следует повысить шероховатость покрытия. На подходах к скользким участкам требуется установить знаки ограничения скорости движения с табличками, указывающими на необходимость снижения скорости только при мокром состоянии дороги.
9.2.1. Для обеспечения безопасного и комфортабельного движения на дороге покрытие должно быть ровным. Неровности на дорожном покрытии вызывают колебания автомобиля, приводящие к быстрому утомлению водителя, увеличению тормозного пути, ухудшению управляемости. Помимо этого, при взаимодействии колес автомобиля с неровностями на проезжей части возникают динамические усилия, вызывающие интенсивное разрушение дорожной одежды.
9.2.2. Понятие «ровность» относится к геометрическим характеристикам поверхности покрытия и определяется размером и формой фактической поверхности проезжей части дороги.
9.2.3. Применяемые для оценки ровности показатели зависят от типа используемого измерительного прибора и принципа его действия.
В СССР для оценки ровности дорожных покрытий используют 3-метровые рейки разных типов, толчкомер и прибор ПКРС-2. Методики измерений каждым из указанных приборов приведены в прилагаемых к ним инструкциям. В качестве базовых приняты показания 3-метровой рейки с клином, к которым приводят показания приборов других типов, используя имеющиеся корреляционные зависимости.
9.2.4. Из-за высокой трудоемкости процесса измерений 3-метровые рейки для оценки ровности применяют редко и в основном при выборочном контроле на участках незначительного протяжения.
Показатели ровности покрытий дорог при измерениях 3-метровой рейкой не должны превышать значений, приведенных в табл. 9.1.
Таблица 9.1
|
Типы покрытий и измеряемые параметры |
Оценка ровности |
||
|
отлично |
хорошо |
удовлетворительно |
|
|
Капитальные покрытия |
|
|
|
|
Количество просветов, %: |
|
|
|
|
до 3 мм |
95 |
90 |
80 |
|
более 5 мм |
1 |
2 |
5 |
|
Допустимый максимальный просвет, мм |
7 |
8 |
10 |
|
Облегченные покрытия |
|
|
|
|
Количество просветов, %: |
|
|
|
|
до 3 мм |
95 |
90 |
80 |
|
более 7 мм |
1 |
2 |
5 |
|
Допустимый максимальный просвет, мм |
9 |
11 |
1'1 |
|
Переходные покрытия |
|
|
|
|
Количество просветов, %: |
|
|
|
|
до 8 мм |
95 |
90 |
80 |
|
более 15 мм |
1 |
2 |
5 |
|
Допустимый максимальный просвет, мм |
20 |
25 |
30 |
В процессе эксплуатации дороги не допускается, чтобы количество максимальных просветов, приведенных в табл. 9.1, превышало значения, указанные в табл. 9.2.
Таблица 9.2
|
Типы покрытий (максимальный просвет) |
Кол-во максимальных просветов под 3-метровой рейкой, % для категорий дорог |
||
|
I, II |
III, IV |
IV, V |
|
|
Капитальные (10 мм) |
6-7 |
7-12 |
12 |
|
Облегченные (14 мм) |
- |
7-10 |
10 |
|
Переходные (30 мм) |
- |
- |
5 |
9.2.5. При оценке ровности на маршрутах значительного протяжения применяют толчкомер или установку ПКРС-2. В этом случае ровность оценивают по суммарному сжатию рессор автомобиля и выражают в см/км. Предельно допустимые показатели ровности при измерениях толчкомером ТХК в см/км приведены в табл. 9.3.
Таблица 9.3
|
Оценка |
Показатели ровности покрытий при измерениях толчкомером, см/км, для покрытий |
||
|
капитальных |
облегченных |
переходных |
|
|
Отлично |
60(70) |
80(90) |
200(300) |
|
Хорошо |
61-80(71-100) |
81-120(91-140) |
201-280(231-320) |
|
Удовлетворительно |
81-120(101-140) |
121-180(141-210) |
281-400(321-460) |
Примечание. Допустимые значения ровности выражены показателем толчкомера, установленного на автомобиле УАЗ-452 (в скобках - на автобусе ПАЗ-672): в салоне и кабине - не более 3 чел.
9.2.6. Показатели ровности при измерениях установкой ПКРС-2 имеют следующие предельно допустимые значения:
|
Оценка |
Отлично |
Хорошо |
Удовлетворительно |
|
Показатели ровности по прибору ПКРС-2, см/км |
390 |
391-480 |
481-650 |
10.1.1. Наиболее эффективной мерой повышения безопасности движения на дорогах, проходящих через населенные пункты, является строительство их обходов (см. приложения 4, 5).
Однако в отдельных случаях эффективным решением становится перенос части сельского населенного пункта от дороги, в других более экономичным является проход магистральной дороги через населенный пункт с соответствующим его оборудованием. Поэтому каждое решение требует технико-экономического обоснования.
10.1.2. Основными мероприятиями, направленными на повышение безопасности движения в населенных пунктах, увеличение допустимых скоростей движения, улучшение благоустроенности населенных пунктов, через которые проходит автомобильная дорога, являются:
а) разделение путей движения пешеходов, медленно движущихся транспортных средств и транзитного транспорта;
б) организация перехода дороги пешеходами в специально оборудованных местах;
в) организация движения автомобилей в пределах населенного пункта - оборудование пересечений знаками, канализирование пересечений, введение светофорного регулирования, выделение улиц грузового и одностороннего движения;
г) устройство мест стоянки для автомобилей в местах их сосредоточения, оборудование автобусных остановок;
д) освещение дороги в пределах всего населенного пункта или на наиболее опасных участках.
10.1.3. Перечень проводимых мероприятий зависит от вида населенного пункта, его планировки, ширины улиц и численности населения в нем, а также от интенсивности движения по пересекающей дороге. Приводимые далее рекомендации относятся преимущественно к населенным пунктам сельского типа и малым городам с численностью до 25 тыс. чел.
10.2.2. При расположении линии застройки от кромки проезжей части дорог I - III категорий на значительном расстоянии должны быть устроены местные проезды, укрепленные пути для конных повозок и сельскохозяйственных машин.
10.2.3. Для повышения безопасности движения пешеходные дорожки или тротуары устраивают на всех участках, проходящих через населенные пункты, независимо от интенсивности движения пешеходов, а на подходах к населенным пунктам и в зонах, расположенных вблизи населенных пунктов, автобусных остановок и зон отдыха - при количестве пешеходов, превышающем 200 чел./сут.
10.2.4. В населенных пунктах городского типа устраивают тротуары согласно требованиям СНиП II-60-75. В открытой местности пешеходные дорожки располагают за пределами обочин не ближе 2,7 м от кромки проезжей части. В условиях сильно пересеченной местности при высоких насыпях или глубоких выемках пешеходные дорожки могут быть размещены на присыпных бермах.
Ширина пешеходных дорожек зависит от интенсивности пешеходного движения в часы пик. При интенсивности движения 100 - 1000 чел/ч ширина дорожки должна составлять 1,5 м с последующим увеличением на одну полосу шириной 0,75 м на каждую тысячу пешеходов в час. Минимальную ширину пешеходной дорожки принимают 1,0 м.
10.2.5. На крутых уклонах (более 80 ‰) пешеходные дорожки выполняют в виде отдельных площадок с уклонами не более 80 %о, соединенных между собой лестницами с маршами не менее чем в три ступени и уклоном не круче 1:2,5.
10.2.6. Для повышения безопасности движения в населенных пунктах протяженностью до 2,5 км устраивают специальные ограждения или высаживают кустарники по краям пешеходных дорожек, отделяющих их от проезжей части. Высота кустарника должна быть не более 0,7 - 0,8 м. Его располагают от кромки проезжей части на расстоянии, обеспечивающем боковую видимость.
10.2.7. В населенных пунктах протяженностью до 0,5 км и при удалении застройки от кромки проезжей части до 5 м предусматривают пешеходные ограждения. Деревья в придорожной полосе сажать не следует, так как они будут стеснять движение пешеходов, и вынуждать их выходить на проезжую часть.
10.2.8. При пересечениях пешеходными дорожками небольших водотоков и оврагов необходимо устраивать мосты, рассчитанные на пропуск перспективного потока пешеходов.
10.3.1. Велосипедные дорожки устраивают, если интенсивность движения автомобилей и велосипедистов больше значений, приведенных в табл. 10.1. При интенсивности движения выше 1000 авт./сут и более 100 велосипедов в сутки необходимо устраивать велосипедные полосы.
Таблица 10.1
|
Интенсивность движения автомобилей |
Интенсивность движения велосипедистов |
||
|
среднегодовая суточная, авт./сут |
часовая, авт./ч |
среднегодовая суточная, вел./сут |
часовая, вел./ч |
|
Менее 1500 |
Менее 400 |
Более 350 |
70 |
|
1500-2250 |
400-700 |
225 |
50 |
|
2250-3000 |
700-800 |
170 |
30 |
|
3000-4250 |
800-1000 |
120 |
20 |
|
4250-7000 |
1000-1200 |
65 |
15 |
|
Более 7000 |
Более 1200 |
- |
- |
10.3.2. Рекомендуемая длина велосипедных дорожек и велосипедных полос на подходах к населенным пунктам:
|
Численность населения, тыс. чел. |
Свыше 500 |
500-250 |
250-100 |
100-50 |
50-25 |
25-10 |
|
Длина велосипедной дорожки, км |
Более 15 |
15-10 |
10-8 |
8-6 |
6-3 |
3-1 |
Ширина разделительной полосы между автомобильной дорогой и параллельной или свободно трассируемой велосипедной дорожкой должна быть не менее 1,5 м. В стесненных условиях допускается разделительная полоса шириной 0,7 м с устройством барьера.
10.3.4. Велосипедные полосы отделяют от проезжей части автомобильной дороги разделительной полосой, выделяют с помощью дорожных знаков, разметки, покрытий другого типа или цвета и нанесения пиктограммы «Велосипедист» с интервалом 100 - 150 м; оборудуют средствами сигнализации и регулирования проезда перекрестков. Велосипедные полосы на проезжей части дорог должны быть особенно четко обозначены в начальных и конечных пунктах, на пересечениях.
10.3.5. Однополосные велосипедные дорожки и полосы, как правило, располагаю с наветренной стороны от дороги (в расчете на господствующие в летний период ветры); двухполосные - при возможности по обеим сторонам дороги.
При пересечении небольших водотоков и оврагов целесообразно для велосипедистов сооружать мосты простейших конструкций. Высота ограждений не менее 1,30 м.
Ширина переходов и путепроводов, расположенных под дорогами и предназначенных для совместного использования пешеходами и велосипедистами, рекомендуется не менее 4,0 м. Минимальная высота составляет 2,5 м. Уклон пандусов не более 80 ‰. Если используются лестницы, то для ведения велосипедов необходимо предусматривать наклонные плоскости. При этом направляющие из бетона или швеллерных профилей должны отстоять от боковых конструкций (перила, стены) не менее чем на 0,30 м.
10.3.6. Технические нормы проектирования велосипедных дорожек приведены в табл. 10.2.
Таблица 10.2
|
Нормируемый показатель |
Рекомендуемые значения |
|
|
при новом строительстве |
минимальные при благоустройстве и в стесненных условиях |
|
|
Расчетная скорость движения, км/ч |
25 |
15 |
|
Ширина проезжей части, м, для движения: |
|
|
|
однополосного одностороннего |
1,0 |
0,75 |
|
двухполосного » |
1,75 |
1,50 |
|
двухполосного разностороннего |
2,50 |
2,00 |
|
вело-пешеходная дорожка с разделением обоих видов движения |
4,001 |
3,251*) |
|
вело-пешеходная дорожка без разделения обоих видов движения |
2,502 |
2,002*) |
|
велосипедная полоса |
1,20 |
0,90 |
|
Ширина обочин, м |
2,503) 0,25-0,303*) |
0,25-0,30 0,50-0,75 |
|
Наименьший радиус кривых в плане, м: |
|
|
|
при отсутствии виража |
75 |
50 |
|
» устройстве » |
20 |
10 |
|
Наименьший радиус вертикальных кривых, м: |
|
|
|
выпуклых |
500 |
400 |
|
вогнутых |
150 |
100 |
|
Наибольший продольный уклон, %о |
60 |
70 |
|
Поперечный уклон проезжей части, %о |
15-20 |
15-20 |
|
Уклон виража, %о, при радиусе: |
|
|
|
10-20 м |
³ 40 |
30 |
|
20-50 м |
30 |
20 |
|
50-100 м |
20 |
15-20 |
|
Габаритный размер по высоте, м |
2,50 |
2,25 |
|
Минимальное расстояние до препятствия, м |
0,50 |
0,50 |
1 Ширина пешеходной дорожки 1,5 м, велосипедной 2,5 м.
1* Ширина пешеходной дорожки 1,5 м, велосипедной 1,75 м.
2 При интенсивности движения не более 30 вел./ч и 15 пеш./ч.
2* При интенсивности движения не более 30 вел./ч и 50 пеш./ч.
3 При Нпас £ 2 м и заложении откосов не круче 1:4.
3* При Нпас > 2 м и заложения откосов не круче 1:3.
Поперечные профили проектируют одно- или двухскатными в зависимости от их ширины и с учетом водоотвода.
10.3.7. Рекомендуемые длины подъемов в зависимости от продольных уклонов:
|
Продольный уклон велосипедной дорожки, %о |
70 |
60 |
50 |
40 |
30 |
|
Рекомендуемая длина подъема, м |
< 30 |
40-60 |
70-130 |
150-250 |
250-500 |
При продольном уклоне £ 20 ‰ длина подъема не нормируется.
Минимальные значения длин соответствуют новому строительству, максимальные - при благоустройстве, в стесненных условиях и для велосипедных полос.
10.3.8. Велосипедные дорожки и велосипедные полосы студенческих городков, санитарно-курортных зон и внутризаводские проектируют при интенсивности движения велосипедистов в часы пик свыше 30 вел./ч, руководствуясь при этом требованиями пп. 10.3.3-10.3.7.
10.3.9. При средней яркости проезжей части 0,15 - 0,25 кд/м2 или средней освещенности 3,4 - 3,9 лк вдоль оси велосипедной дорожки обеспечивается расстояние видимости 10 - 30 м, что позволяет велосипедистам совершать движение в темное время суток.
Велосипедные дорожки в районе перекрестков должны быть освещены на расстоянии не менее 60 м от пересечения с автомобильной дорогой.
10.3.10. У предприятий, мест кратковременного отдыха, магазинов и других общественных центров следует сооружать открытые велосипедные стоянки. Их оборудуют стойками, боксами или другими устройствами для постановки и хранения велосипедов из расчета перспективного использования велосипедов на 100 посетителей.
10.3.11. Покрытие велосипедных дорожек устраивают из цементобетона и обработанных органическими вяжущими материалов. При интенсивности менее 100 вел./сут покрытия выполняют из водоустойчивых местных материалов: каменных материалов низкой прочности, кирпичного боя, топочного шлака.
10.3.12. При новом строительстве и реконструкции дорог велосипедные дорожки следует проектировать в соответствии с требованиями СНиП 2.05.02-85 и настоящих рекомендаций.
10.4.1. Планировка населенных пунктов и мероприятия по их благоустройству должны способствовать устранению числа переходов через дороги и обеспечению их организованности.
В малых населенных пунктах следует устраивать достаточное количество колодцев и водозаборных колонок, размещая их с разных сторон дороги, чтобы предотвратить необходимость перехода через дорогу. Расположение их в шахматном порядке недопустимо.
Пункты питания и торговли, медицинские и зрелищные учреждения располагают на расстоянии не менее 20 м от дороги. Против ведущих к этим зданиям тротуаров оборудуют переходы через дорогу.
10.4.2. В крупных населенных пунктах пешеходные переходы располагают не реже чем через 300 м. В населенных пунктах протяженностью до 0,5 км устраивают не более двух пешеходных переходов с интервалом 150 - 200 м. Места пешеходных переходов должны быть оборудованы и хорошо просматриваться на расстоянии не менее 150 м.
Во избежание неорганизованного движения пешеходов по проезжей части автомобильных дорог в пределах населенных пунктов при высокой интенсивности движения автомобилей устанавливают ограждения по краям тротуаров (на дорогах Iб категории - дополнительно сетку по оси разделительной полосы). Конструкция ограждения не должна стеснять движения автомобилей.
10.4.3. Для повышения безопасности движения в населенных пунктах устраивают оборудованные переходы. На дорогах II, III категории предусматривают оборудованные пешеходные переходы в одном уровне типа «зебра», устраиваемые при интенсивности движения более 200 авт/ч в местах сосредоточения пешеходов, пересекающих дорогу.
Светофорное регулирование и строительство подземного перехода для дорог II, III категорий применяются при соответствующей интенсивности движения пешеходов и автомобилей (рис. 10.1).

Рис. 10.1. Области применения пешеходных переходов различных типов:
I - нерегулируемые переходы; II - светофорное регулирование; III - подземные переходы
На дорогах категории Iб необходимо строить подземные пешеходные переходы и принимать меры для устранения возможности перехода через дорогу в одном уровне.
10.4.4. В случаях устройства наземных пешеходных переходов без светофоров на дороге с четырьмя полосами движения в пригородной зоне при оценке их пропускной способности необходимо учитывать их расположение относительно перекрестка, имеющего светофорное регулирование. В табл. 10.3 приведены значения пропускной способности нерегулируемого пешеходного перехода для средней длительности красного сигнала светофора на перекрестке (40 с).
Таблица 10.3
|
Интенсивность движения по дороге в одном уровне, авт/ч |
Пропускная способность пешеходного перехода, чел/ч, при разной его удаленности от перекрестка, м |
|||
|
200 |
400 |
600 |
800 |
|
|
1000 |
140 |
130 |
110 |
100 |
|
1200 |
100 |
90 |
80 |
70 |
|
1400 |
80 |
70 |
60 |
55 |
10.4.5. На дорогах категории Iб - III в пределах населенных пунктов сельского типа в насыпях высотой более 3,0 м рекомендуется взамен водопропускных труб устраивать скотопрогоны. Специальные скотопрогоны устраивают на окраинах населенных пунктов, вблизи пересечений с местными дорогами.
10.5.1. Около магазинов, столовых, достопримечательных мест и общественных центров, расположенных на дороге в пределах населенных пунктов, оборудуют остановочные площадки. В темное время суток на стоянках необходимо освещение. Расстояние от стоянки до обслуживаемых мест не должно превышать 200 м. Автомобильные стоянки так же, как и выезды с них для автомобилей, не должны затруднять или задерживать, движение автомобилей по дороге.
Необходимую площадь стоянки назначают в зависимости от количества и соотношения легковых и грузовых автомобилей в транспортном потоке (см. гл. 14).
10.5.2. Автобусные остановки в пределах населенных пунктов целесообразно располагать у общественных центров (столовых, отделений связи и т. д.).
При протяженности населенного пункта от 0,1 до 1,2 км оборудуют одну автобусную остановку. В населенных пунктах, имеющих большее протяжение при линейном расположении застройки, автобусные остановки располагают, автобусные остановки располагают примерно через 1,0 км друг от друга. Планировку автобусных остановок предусматривают согласно рис. 10.2.

Рис. 10.2. Оборудование автобусных остановок о населенных пунктах
10.5.3. Для повышения пропускной способности участков дорог, проходящих через населенные пункты сельского типа, на выходах из населенного пункта предусматривают дополнительную полосу движения протяженностью не менее 300 м, для выделений из потока на правую полосу тихоходных автомобилей.
Дополнительную полосу движения устраивают на участках дорог, проходящих через населенные пункты, с интенсивностью движения, превышающей нормативную для данной категории дороги, и наличием в потоке более 10 % тихоходных транспортных средств и автопоездов.
11.1.1. Расположение любого моста или путепровода не должно вносить резких и неожиданных для водителя изменений в направлении трассы. План и продольный профиль мостов и путепроводов на дорогах I и II категорий во всех случаях должен подчиняться общему направлению трассы.
11.1.2. Число полос движения и ширину проезжей части на средних и больших мостах определяют на перспективу не менее 20 лет.
Неблагоприятное влияние узких мостов на режимы и безопасность движения резко уменьшается с увеличением их габаритов и практически перестает проявляться при ширине проезжей части моста, превышающей ширину проезжей части дороги на 3 - 4 м.
Такому условию соответствуют малые и средние мосты на дорогах I-III категорий, запроектированные и построенные с соблюдением требований СНиП 2.05.02-85 в отношении их габаритов.
Около мостов на старых дорогах, не удовлетворяющих этим требованиям, должны быть установлены предупреждающие знаки: «Сужение проезжей части» и «Ограничение скорости».
11.1.3. Необходимо предусматривать реконструкцию существующих мостов с увеличением ширины их проезжей части до размеров, рекомендуемых СНиП 2.05.02-85:
а) при интенсивности движения от 2 до 5 тыс. авт./сут. - для мостов длиной 30 м;
б) при интенсивности движения от 2 до 5 тыс. авт./сут. - для мостов длиной 30-100 м при сравнительно простых условиях реконструкции.
11.1.4. Для всех мостов, не относящихся к числу указанных в п. 11.1.3, целесообразность реконструкции и размер уширения проезжей части устанавливают в каждом конкретном случае путем сопоставления необходимых для реконструкции капиталовложений и экономического эффекта, получаемого в результате возрастания скоростей движения и снижения аварийности (см. ч. IV).
11.1.5. При строительстве новых и реконструкции существующих малых мостов на участках дорог II - V категорий, где отсутствует регулярное движение пешеходов, а интенсивность движения превышает 2000 авт./сут, рекомендуется принимать ширину проезжей части моста равной ширине земляного полотна дороги, отказавшись при этом от устройства тротуаров.
11.1.6. Для улучшения условий въезда на мосты и съезда с них, ширина проезжей части которых превышает ширину проезжей части дороги, необходимо плавно уширять проезжую часть на подходах за 300 м до моста по ходу движения на расстоянии 200 м после моста.
11.1.7. При ширине разделительной полосы на мостах меньшей, чем разделительная полоса дороги, переход от одной ее ширины к другой должен начинаться на расстоянии не менее 20 - 30 м от моста и происходить на участке длиной, назначаемой согласно рекомендациям раздела 8.4.4.
11.1.8. На автомобильных магистралях при ширине разделительной полосы более 6 м, а также при расположении моста или путепровода на кривой, требующей устройства виража, целесообразно рассматривать варианты строительства отдельных пролетов для каждого направления движения.
11.1.9. На мостах и путепроводах высоту ограждений следует назначать с учетом габарита проезжей части, наличия тротуаров, конструктивных особенностей сооружения, а также размеров геометрических элементов плана и продольного профиля дороги, на этом участке в соответствии с ГОСТ 23457-86.
11.1.10. На узких мостах не рекомендуется устанавливать ограждения высотой 0,6 м и более без одновременного уширения проезжей части, так как возникает опасность существенного уменьшения скоростей движения автомобилей и роста аварийности из-за столкновения встречных автомобилей, смещающихся к оси проезжей части.
11.1.11. Для предотвращения наезда автомобилей на тротуары и перила, а также в целях зрительного ориентирования водителей ограждения на подходах должны непосредственно сопрягаться с ограждениями на мостах. Их расположение в плане на участке сопряжения должно иметь вид плавных кривых, расширяющихся по мере удаления от моста (Рис. 11.1). Способ сопряжения разных типов ограждений показан на рис. 11.2.

Рис. 11.1. Схема расположения и пешеходных дорожек на подходах к мостам:
а - на уширенном земляном
полотне; б - на берме;
1 -
проезжая часть; 2 - обочина; 3 - ограждения на подходах; 4 - пешеходная дорожка; 5 - ограждения на мосту;
6 - тротуар; 7 - берма; 8 - лестничный
сход
11.1.12. В зависимости от конкретных условий могут быть использованы следующие схемы расположения пешеходных дорожек на мостовых переходах:
а) на подходах к большим мостам при наличии берм - на бермах с обязательным устройством лестничных сходов у мостов (см. рис. 11.1, б);

Рис. 11.2. Сопряжение барьерного ограждения с парапетным:
а - профиль; б - план; 1 - планки; 2 - парапет; 3 - стойка; 4 - амортизатор; 5 - стойки-упоры
б) с внешней стороны ограждений на уширенном земляном полотне;
в) за пределами земляного полотна с устройством специального пешеходного моста облегченной конструкции, что может быть рекомендовано при пересечении небольших водотоков. В случаях «б» и «в» пешеходные дорожки удобно сочетать с велосипедными.
11.1.13. На мостах, путепроводах и подходах к ним в целях улучшения зрительного ориентирования водителей и снижения затрат на искусственное освещение целесообразно устраивать осветленные покрытия в пределах моста и подходов, расположенных на выпуклых вертикальных кривых.
11.2.1. При выборе мероприятий по повышению безопасности движения в тоннеле необходимо учитывать особенности их конструкции и прилегающих участков дороги.
11.2.2. Расчетная скорость в тоннеле принимается как для трудного участка дорог в горной местности и результате технико-экономического обоснования. При этом следует стремиться, чтобы значение расчетной скорости в тоннеле было не менее 0,8 от расчетной скорости на подходах.
11.2.3. В плане дороги тоннели по возможности располагают на прямолинейных участках. В случаях криволинейной трассы при назначении радиуса закругления следует учитывать ухудшение условий видимости в плане из-за влияния стенок тоннеля.
11.2.4. В целях улучшения условий видимости на криволинейных участках тоннелей тротуары следует располагать в стенках внутренней части закруглений.
11.2.5. Снижение продольного уклона в тоннеле из-за дополнительного сопротивления воздуха, целесообразно в расчете на движение грузового автомобиля для скоростей более 50 км/ч. При меньших скоростях или при расчете на движение легкового автомобиля необходимое смягчение продольного уклона не превышает 2 - 3 ‰ и практически может не учитываться.
11.2.6. В целях повышения безопасности движения на подходах к тоннелю расстояние видимости участка въезда в тоннель желательно назначать не менее 450 - 500 м.
11.2.7. При недостаточной видимости в тоннеле, расположенном на криволинейном участке дороги, скорость движения ограничивают в зависимости от радиуса кривых в плане:
|
Радиус кривой в плане, м, |
500-700 |
400-500 |
300-400 |
200-300 |
150-200 |
|
Предел ограничения скорости км/ч |
80 |
70 |
60 |
50 |
40 |
11.2.8. На подходах к тоннелю изменение ширины обочин следует устраивать с отгоном не менее 1:20 - 1:25.
11.2.9. На дорогах I категории в целях повышения безопасности движения и снижения строительных затрат тоннели проектируют в виде отдельных штолен для разных направлений движения. На первой стадии следует рассматривать целесообразность строительства одной штольни для проезда в обоих направлениях с последующей достройкой второй штольни при возрастании интенсивности движения.
11.2.10. При небольшом расстоянии между штольнями (не более 10 - 15 м) их рекомендуется соединять запасными проездами, используемыми в аварийных ситуациях и для размещения средств пожаротушения и связи.
11.2.11. В соответствии со СНиП II-44-78 и тоннелях длиной более 300 м через каждые 150 м устанавливают телефонные аппараты. На таком же расстоянии друг от друга целесообразно устраивать аварийные площадки для размещения 2-3 автомобилей в случаях дорожно-транспортных происшествий или при образовании заторов из-за поломки автомобилей. На этих же площадках размещают противопожарные средства и другое необходимое оборудование.
11.2.12. Заградительную сигнализацию в тоннеле, включаемую в аварийном случае, проектируют согласно СНиП II-44-78.
12.1.1. Мероприятия, направленные на снижение аварийности с учетом влияния сложных погодно-климатических условий, выбирают на основе анализа графика коэффициентов обеспеченности расчетной скорости, и сезонных графиков коэффициентов аварийности.
12.1.2. Проекты новых дорог должны предусматривать комплекс инженерных решений по обеспечению безопасности движения в неблагоприятные периоды года. Необходимо предусмотреть защиту дороги от отложений снега на ее поверхности во время метели. Это достигается соответствующим проложением трассы, назначением отметки и выбором формы земляного полотна с учетом снегозаносимости, проектированием ограждений, лесонасаждений и т.д.
12.1.3. В районах с зимним расчетным периодом при установке ограждений должно быть обращено особое внимание на предотвращение снегозаносимости дороги. На высоких насыпях и на кривых малых радиусов дорог III-V категории, не защищенных от снежных заносов, следует устанавливать ограждения тросового типа. Просвет между низом ограждения из металлического профиля или бетонного бруса и поверхностью обочин должен быть не менее 0,4 м.
12.1.4. Чтобы устранить помехи для снегоочистки в районах с длительным зимним периодом (I - III дорожно-климатические зоны), направляющие столбики устанавливают на откосах на расстоянии 3 см от бровки земляного полотна в виде наклонных столбиков с отгибами.
12.1.5. В районах с зимним расчетным периодом на пересечениях в одном уровне не следует устраивать островки с высокими бордюрами. Для организации движения делают разметку проезжей части или устанавливают съемные направляющие устройства.
12.1.6. Для предотвращения образования около кромок покрытия ледяных и снежных наростов, а также загрязнения проезжей части рекомендуется устраивать краевые полосы. При капитальном ремонте дорог ширину их в разных зонах принимают согласно табл. 12.1, в остальных случаях - в соответствии со СНиП 2.05.02-85.
Таблица 12.1
|
Категория дороги |
Ширина краевой полосы, м, в дорожно-климатических зонах |
||
|
I |
II |
III |
|
|
I |
0,75 |
0,75 |
0,75 |
|
II |
0,5 |
0,5 |
0,3-0,5 |
|
III |
0,5-0,75 |
0,5 |
0,3-0,5 |
|
IV |
0,5 |
0,5 |
0,3-0,5 |
12.1.7. На участках дорог высших категорий, где предусматривается установка ограждений, в районах с зимним расчетным периодом обочины следует укреплять на всю ширину, поскольку в этих местах во время метелей даже на высоких насыпях образуются снежные отложения на обочинах и проезжей части. Особенно часто это наблюдается на неукрепленных обочинах, где пространство под ограждением легко засоряется и зарастает травой, в результате чего у ограждения происходит интенсивное образование снежных отложений.
12.1.8. Разделительные полосы устраивают без бордюра. Их профиль должен быть плавным, без резких возвышений. Целесообразно устройство погнутого профиля разделительной полосы.
12.1.9. Для предотвращения дорожно-транспортных происшествий из-за заносов автомобилей на ледяных полосах наката в местах интенсивного торможения следует избегать устройства примыканий и пересечений в одном уровне на участках подъемов и спусков с уклоном более 30 ‰.
12.1.10. В целях обеспечения видимости главной дороги с примыкающей для районов с зимним расчетным периодом не рекомендуется проектировать пересечения и примыкания на вершине выпуклых кривых. При необходимости устройств пересечений и примыканий в таких местах следует предусматривать меры для удаления снежных валов из треугольника видимости.
12.2.1. При разработке мероприятий по повышению безопасности движения в периоды года с неблагоприятными погодными условиями основное внимание следует уделять:
поддержанию ровности и высоких сцепных качеств покрытий в периоды их сильного увлажнения и загрязнения грунтом, заносимым с прилегающих дорог и неукрепленных обочин, а также при зимних гололедах;
обеспечению эффективного ориентирования водителей в направлении дороги в период туманов и снегопадов;
обеспечению проезжающими с достаточно высокими скоростями в период снегопадов путем патрульной снегоочистки;
своевременной информации водителей о направлении объездов в период распутицы и закрытия отдельных участков для тяжелых автомобилей при вскрытии пучин;
обеспечению информации о возможности проезда через малые или подтопляемые мосты в период паводка;
обозначению участков, которые могут быть особо опасными в осенне-зимний период года;
установке средств дополнительной информации о безопасных режимах движения по участкам с частыми туманами и сильными ветрами.
12.2.2. Особое внимание дорожная служба должна уделять содержанию дорог и обеспечению безопасности движения в неблагоприятные осенне-весенние и зимние периоды года во время дождей, метелей и гололеда.
12.2.3. В целях обеспечения безопасности движения в сложных погодных условиях и устранения влияния отдельных ошибок, допущенных при проектировании и строительстве дорог, дорожная служба должна проводить анализ ДТП и их тяжести за каждый сезон, выявляя ДТП, связанные с влиянием погодно-климатических факторов, и вызванные ими последствия.
Все мероприятия по текущему содержанию дорог, направленные на обеспечение безопасности движения, должны прежде всего выполняться на опасных участках и в местах с неблагоприятными транспортно-эксплуатационными характеристиками.
12.2.4. Дорожная служба должна систематически измерять коэффициент сцепления покрытий в первую очередь на опасных участках. При резком снижении коэффициента сцепления до значений, опасных для безопасности движения, следует ограничивать скорость движения во время дождя с установкой дополнительных табличек к знаку снижения скорости. Знаки временного ограничения скорости устанавливают также в местах загрязнения покрытий или образования на них снежного наката, гололеда.
12.2.5. Все дорожно-эксплуатационные службы должны регулярно и своевременно получать прогнозы погоды, на основе которых они проводят профилактические и организационные мероприятия, обеспечивающие безопасность и удобство движения. В свою очередь они должны также регулярно передавать информацию в местные радио- и телецентры о проезжаемости и состоянии дорог, расстоянии метеорологической видимости.
13.1.1. Автобусы, движущиеся в составе транспортных потоков, по режиму работы и скоростным качествам разделяются на группы: скоростные междугородные и туристские; пригородные экспрессные и служебные; пригородные маршрутные (табл. 13.1).
13.1.2. При приведении смешанного потока к потоку легковых автомобилей следует пользоваться дифференцированными значениями коэффициентов приведения автобусов различных типов, представленными в табл. 13.1.
Таблица 13.1
|
Тип автобусов |
Средняя скорость свободного движения, км/ч |
Коэффициенты приведения для дорог |
|
|
четырехполосных |
двухполосных |
||
|
Междугородные: |
|
|
|
|
Икарус-250(255) |
70-80 |
1,82 |
1,96 |
|
ЛАЗ-697 (699) |
70-80 |
1,61 |
1,75 |
|
Пригородные маршрутные: |
|
|
|
|
ЛиАЗ-677, ЛАЗ-695 |
60-65 |
3,82 |
3,85 |
|
Служебные: |
|
|
|
|
ПАЗ-672, КАвЗ-685 |
40-50 |
1,48 |
1,54 |
13.1.3. На пропускную способность дорог значительное влияние оказывают параметры автобусных остановок и интенсивность движения автобусов.
В табл. 13.2 приведены значения коэффициентов снижения пропускной способности Кос в зоне автобусной остановки, учитывающие влияние указанных факторов. Зона влияния автобусной остановки составляет 400 м.
Таблица 13.2
|
Типы планировочных решений в зоне автобусных остановок |
Значения Кос при расстояниях между остановками, м |
||||||||
|
> 1200 |
600-1200 |
< 600 |
|||||||
|
Доли маршрутных автобусов в составе потока, % |
|||||||||
|
1-3 |
3-5 |
5-8 |
1-3 |
3-5 |
5-8 |
1-3 |
3-5 |
5-8 |
|
|
Дополнительная полоса |
1,0 |
1,0 |
1,0 |
1,0 |
1,0 |
1,0 |
1,0 |
1,0 |
1,0 |
|
«Карман» с переходно-скоростными полосами и разделительным островком |
1,0 |
1,0 |
0,99 |
0,99 |
0,98 |
0,96 |
0,96 |
0,94 |
0,91 |
|
То же, но без островка |
0,99 |
0,98 |
0,97 |
0,97 |
0,90 |
0,95 |
0,91 |
0,92 |
0,89 |
|
Простое уширение |
0,90 |
0,80 |
0,85 |
0,85 |
0,80 |
0,70 |
0,75 |
0,71 |
0,66 |
13.1.4. Для повышения безопасности движения и устранения взаимного влияния автобусов и автомобилей в зоне остановок и на перегонах между ними необходимо обособление автобусов от потока автомобилей. В зависимости от условий движения возможны различные планировочные решения (рис. 13.1).

Рис. 13.1. Варианты планировочных решений в зоне автобусных остановок для отделения маршрутных автобусов от потоков автомобилей:
а - простой «карман»; б - переходно-скоростные полосы; в - переходно-скоростные полосы с разделительным островком; г - дополнительная полоса для автобусов
13.1.5. Тип планировочного решения по отделению маршрутных автобусов от потоков автомобилей назначают по номограммам рациональных областей применимости различных типов остановок и дополнительной полосы для автобусов, приведенным на рис. 13.2, с учетом интенсивностей движения автобусов и автомобилей, а также частоты расположения автобусных остановок.



Рис. 13.2. Области применимости различных планировочных решений в зоне автобусных остановок:
а - при расстояниях между остановками 400 м; б - 800 м; в - 1200 м:
1 - переходно-скоростные полосы, 2 - переходно-скоростные полосы с разделительным островком; 3 - дополнительная полоса для автобусов; Nав - интенсивность движения автобусов, авт./ч; Nпол - интенсивность движения на полосу, авт./ч
13.1.6. Для снижения единовременных затрат и повышения эффективности капитальных вложении может быть предусмотрено стадийное улучшение условий движения в зоне автобусных остановок по мере роста интенсивности движения автобусов и уровня загрузки дороги.
13.1.7. Длину участков разгона lр и торможения lт переходно-скоростных полос и ширину дополнительной полосы назначают исходя из максимально возможной скорости на каждом конкретном перегоне 85 %-ной обеспеченности в зависимости от расстояния между остановками (табл. 13.3).
Таблица 13.3
|
Расстояние между остановками, м |
Максимальная скорость 80 %-ной обеспеченности, км/ч |
Длина участка торможения, м |
Длина участка разгона, м |
Ширина дополнительной полосы, м |
|
200 |
32 |
32,9 |
65,8 |
3,50 |
|
400 |
43 |
59,4 |
118,9 |
3,60 |
|
600 |
51 |
83,6 |
167,2 |
3,65 |
|
800 |
58 |
108,1 |
216,3 |
3,70 |
|
1000 |
63 |
127,6 |
255,0 |
3,70 |
|
1200 и более |
66 |
140,0 |
280,0 |
3,75 |
13.1.8. В зависимости от частоты расположения примыканий и интенсивности местного движения могут быть предусмотрены два типа полос: только для движения автобусов (рис. 13.3) - при редком расположении примыканий (не более одного на 1 км) и небольшой интенсивности движения правоповоротных автомобилей (не более 50 авт/ч); совмещенная для автобусов и местного движения с устройством «карманов» для заезда автобусов (рис. 13.4) - при частом расположении примыканий и высокой интенсивности поворачивающих автомобилей (более 50-100 авт/ч).

Рис. 13.3. Схема движения при устройстве дополнительной полосы только для автобусов

Рис. 13.4. Схема движения при устройстве дополнительной полосы для автобусов и местного движения
13.1.9. Схема организации движения в зоне примыкания при наличии дополнительной обособленной полосы, предназначенной только для автобусов, показана на рис. 13.5.

Рис. 13.5. Схема движения в зоне примыкания при наличии дополнительной полосы:
I, II - варианты размещения остановок и их оборудования (I - с устройством кармана, II - без устройства кармана)
13.1.10. Места расположения автобусных остановок в зоне пересечений в одном уровне ввиду большого разнообразия влияющих факторов следует определять путем сравнения различных вариантов их размещения (перед пересечением, за пересечением, вне зоны пересечения). В общем случае рекомендуется располагать остановку за пересечением или примыканием с совмещением полос разгона для правоповоротных автомобилей и автобусов и обязательным уширением полосы у автобусной остановки.
13.2.1. Для участков дорог с интенсивными перевозками урожая в течение месяца и более следует предусматривать мероприятия по обеспечению безопасности движения с учетом особенностей движения и состава уборочных транспортных средств. Разработка и осуществление этих мероприятии производятся дорожными службами совместно с органами ГАИ и заинтересованными хозяйственными организациями (РАПО, совхозами, колхозами, государственными заготовительными пунктами).
13.2.2. При разработке мероприятий особое внимание уделяют следующим участкам дорог:
участкам дорог общей сети с интенсивным движением тракторных поездов;
местам пересечений маршрутов перевозок урожая с дорогами общей сети;
подъездам к государственным заготовительным пунктам (хлебоприемным предприятиям, элеваторам, хлебоприемным пунктам, сахарным заводам и т. п.);
грунтовым участкам дорог;
мостам, путепроводам.
13.2.3. При возникновении во время уборочной кампании смешанных автомобильно-тракторных потоков для обеспечения безопасного обгона тракторных поездов рекомендуется устройство дополнительных обгонных полос трех типов (табл. 13.4).
Таблица 13.4
|
Тип полосы |
Длина дополнительной полосы, км |
Расстояние между дополнительными полосами, км |
|
I |
1-2 |
8-10 |
|
II |
1,5-2,5 |
6-8 |
|
III |
2-3 |
4-6 |
13.2.4. Необходимость устройства дополнительных обгонных полос какого-либо типа определяется в зависимости от интенсивности движения и количества тракторов (табл. 13.5).
Таблица 13.5
|
Количество тракторов в потоке, % |
Тип дополнительной обгонной полосы при интенсивности движения, авт/ч |
|||
|
200 |
400 |
600 |
800 |
|
|
0-3 |
- |
- |
- |
I |
|
3-5 |
- |
I |
I |
II |
|
5-10 |
- |
I |
II |
III |
|
10-15 |
I |
II |
III |
III |
13.2.5. Дополнительные обгонные полосы шириной 3,5 м располагают в плане в шахматном порядке (рис. 13.6), устраивая их за счет обочин и частичного уширения земляного полотна.

Рис. 13.6. Расположение дополнительных обгонных полос l в плане на участке дороги с интенсивным движением тракторов
13.2.6. Для организации выезда уборочных транспортных средств с полей на дороги общей сети следует профилировать и пределах полосы отвода временные летние пути, на которые осуществляется выезд с поля и по которым происходит движение вдоль дороги до ближайшего оборудованного пересечения. По летним путям осуществляется также движение крупногабаритной уборочной и другой сельскохозяйственной техники.
13.2.7. При невозможности устройства летних путей на период уборочной кампании допускается оборудование дополнительных пересечений с твердыми покрытиями на дорогах III - V категорий в соответствии с требованиями технологии уборочных работ. В остальное время эти пересечения должны надежно закрываться. Пересечения устраивают не чаще чем через 2 км на дорогах III категории и не чаще чем через 500 м на дорогах IV, V категорий.
13.2.8. Подъезды к придорожным заготовительным пунктам, расположенным в непосредственной близости к дороге, рекомендуется оборудовать по схеме рис. 13.7.

Рис. 13.7. Схема подъезда к придорожному заготовительному пункту:
1 -дополнительная полоса для стоянки в ожидании разгрузки; 2 - дорога; 3 - стоянка для разгрузившихся транспортных средств, 4 - территория заготовительного пункта
13.2.9. Чтобы предотвратить помехи для движения, создаваемые транспортными средствами, ожидающими разгрузки около расположенных вблизи от дороги заготовительных пунктов, предусматривают дополнительные полосы с твердым покрытием (табл. 13.6). На этих участках переходно-скоростные полосы и полосы, отделяющие дополнительные от основной проезжей части, устраивают согласно СНиП 2.05.02-85.
Таблица 13.6
|
Мощность заготовительного пункта, тыс. т/сут |
Параметры дополнительной полосы для транспортных средств, ожидающих разгрузки, при интенсивности движения, авт/ч |
||
|
100 |
100-150 |
150-200 |
|
|
4-10 |
За счет расширения земляного полотна; ширина не менее 3,0 м; длина 250-300 м |
За счет расширения земляного полотна; ширина не менее 3,0 м; длина 350-400 м |
|
|
2-4 |
Не требуется |
За счет расширения земляного полотна; ширина не менее 3 м; длина 150-200 м |
За счет расширения земляного полотна; ширина не менее 3 м; длина 200-250 м |
|
0,5-2 |
Не требуется |
За счет расширения земляного полотна; ширина не менее 3 м; длина - 60-100 м |
|
Длину дополнительных полос для транспортных средств, ожидающих разгрузки, назначают в пределах 60-100 м в зависимости от мощности заготовительного пункта и его пропускной способности.
При интенсивности движения более 250 авт/ч устройство придорожных заготовительных пунктов не рекомендуется.
13.2.10. Размеры площадки для кратковременной стоянки определяют в зависимости от пропускной способности заготовительного пункта, наличия на нем пунктов питания.
13.2.11. Тупиковые заготовительные пункты, расположенные в отдалении от дороги, оборудуют в соответствии со схемой рис. 13.8.

Рис. 13.8. Схема подъезда к тупиковому заготовительному пункту: 1 - дополнительная полоса для стоянки в ожидании разгрузки; 2 - подъезд; 3 - дорога; 4 - стоянка для разгрузившихся транспортных средств; 5 - территория заготовительного пункта
13.2.12. При назначении ширины проезжей части подъездных участков к тупиковым заготовительным пунктам учитывают среднесуточную (на период уборки) интенсивность движения уборочных транспортных средств (определяемую с учетом роста урожайности сельскохозяйственных культур) и состав движения. В табл. 13.7 даны рекомендации по ширине подъездов к зерновым заготовительным пунктам с учетом того, что с увеличением их мощности в составе потока уборочных машин возрастает количество автопоездов.
Таблица 13.7
|
Мощность зерновых заготовительных пунктов, тыс. т/сут |
Перспективная на период уборки среднесуточная интенсивность движения уборочных транспортных средств |
Ширина проезжей части подъездных участков, м |
Ширина обочин, м
|
|
|
всего, авт/сут |
в том числе автопоездов, % |
|||
|
Более 10 |
500-600 |
35-50 |
8,0 |
2,0 |
|
4-10 |
400-500 |
25-35 |
7,5 |
2,0 |
|
2-4 |
200-400 |
10-15 |
7,0 |
2,0 |
|
0,5-2 |
100-200 |
5-10 |
7,0 |
2,0 |
|
Менее 0,5 |
Менее 100 |
До 5 |
7,0 |
2,0 |
13.2.13. На период подготовки и проведения уборочных работ в дорожных эксплуатационных организациях совместно с заинтересованными хозяйствами создают специальные механизированные отряды для содержания грунтовых участков дорог и обеспечения их проезжаемости.
13.2. 14. На грунтовых участках дорог с значительной пылимостью и интенсивностью движения в период уборки более 300 авт./сут следует проводить мероприятия по обеспыливанию. При невозможности обеспыливания рекомендуется организовывать одностороннее движение по кольцевым маршрутам или путем использования лесополос в качестве разделительных.
14.1.1. Для обслуживания транспортных средств и участников движения на автомобильных дорогах устраивают сооружения, которые входят в состав служб: автотранспортной, сервиса и ГАИ (рис. 1.4.1). Непосредственное влияние на безопасность движения оказывают сооружения, вблизи от которых меняются режимы движения - автобусные остановки, диспетчерско-контрольные пункты, пункты питания, пункты торговли, автозаправочные станции, станции технического обслуживания, стационарные посты ГАИ и т. д.

Рис. 14.1. Схема сооружений для обслуживания транспортных средств и участников движения на автомобильных дорогах
14.1.2. Основным принципом организации обслуживания транспортных средств и участников движения является создание на всем протяжении автомобильной дороги единой системы обслуживания - комплекса обслуживания (рис. 14.2). Размещение сооружений обслуживания должно подчиняться технологическому процессу обеспечения перевозок и требованиям удобства движения. При этом вместимость сооружений должна соответствовать общей потребности в обслуживании и распределению этой потребности по длине маршрута.




Рис. 14.2. Виды сооружений в комплексах обслуживания:
I - III - виды комплексов; О - туалет; Э - эстакада; П - пункт питания (торговли); Р - стоянка для автомобилей; М - мотель (кемпинг)
14.1.3. Расстояние между сооружениями обслуживания и их вместимость принимают в соответствии с требованиями СНиП 2.05.02-85.
14.1.4. Для удобства определения вместимости мотелей, кемпингов и пунктов питания следует ориентироваться на отдельные показатели вместимости для участка дороги длиной 100 - 120 км (табл. 14.1).
Таблица 14.1
|
Тип автомобиля |
Кол-во мест на 1000 авт./сут для предприятий обслуживания |
|||
|
ресторана |
кафе, столовой |
мотеля |
кемпинга |
|
|
Легковой |
4/4 |
30/24 |
100 |
200 |
|
Грузовой |
1/1 |
10/8 |
54 |
- |
|
Автобус |
1/50 |
30/20 |
140 |
280 |
Примечание. В числителе указано количество мест для транзитных участков автомобильных дорог, в знаменателе - для пригородных участков у крупнейших (более 1 млн. жителей) городов.
14.1.5. Расчет вместимости предприятий питания, мотелей и кемпингов, располагаемых на участках автомобильных дорог в пригородных зонах крупных городов, протяженность которых составляет 100 - 120 км, имеет свои особенности. При определении вместимости сооружений, располагаемых на этих участках, за расчетные берутся интенсивность и состав движения на транзитном участке, следующим за пригородным. Суммарная для всего пригородного участка автомобильной дороги вместимость предприятий питания распределяется по его длине, считая от границы города, следующим образом: на первой четверти длины участка - 0,15, на второй - 0,20, на третьей - 0,35, на четвертой - 0,30.
14.1.6. При размещении предприятий питания относительно дороги, а также при организации мест стоянки автомобилей необходимо учитывать, что на участках, находящихся в пригородной зоне, соотношение числа съезжающих к предприятиям автомобилей по направлениям движения неодинаково и изменяется по мере удаления от границ города для каждой четверти длины участка в такой последовательности: m1=2,0; m2=l,5; m3,4=1,0. (Здесь mi - отношение количества останавливающихся у предприятий питания автомобилей к количеству автомобилей, двигающихся соответственно по направлениям из города и к городу; i - номер четверти.)
14.1.7. Линейные посты ГАИ размещают на дорогах в соответствии со специальными требованиями. У постов ГАИ необходимо предусматривать стоянки вместимостью не менее чем на 10 грузовых автомобилей. Стоянку располагают по ходу движения за зданием поста.
14.1.8. Систему аварийно-вызывной связи целесообразно устраивать на дорогах I категории и на дорогах, предусмотренных для международного движения. Эта система включает в себя переговорные колонки, установленные на обочине дороги, и диспетчерские пункты, которые имеют возможность быстрого соединения с постами ГАИ, пунктами технической и медицинской помощи. Колонки могут быть связаны с диспетчерским пунктом кабелем или радиосвязью.
14.1.9. Переговорные колонки устанавливают у бровки земляного полотна попеременно с каждой стороны дороги с интервалом 4 км или с одной стороны дороги с интервалом 2 км.
На дорогах с международным движением вместо переговорных колонок с телефонной связью устанавливают колонки с кнопками, нажим которых указывает цель вызова, поскольку в помощи может нуждаться иностранец, не владеющий местным языком.
14.2.1. При выборе местоположения сооружений обслуживания следует учитывать наибольшую эффективность использования территории и сооружений едущими по дороге, а также роль, которую сооружение будет играть в общем архитектурном ансамбле дороги и окружающем ландшафте. Одновременно необходимо предусматривать возможность увеличения вместимости сооружения и стадийного перевода комплекса обслуживания в более высокую категорию.
14.2.2. Не следует располагать сооружения обслуживания на участках дорог с уклоном более 40 %о; на кривых в плане с радиусом менее 1000 м; на внутренней стороне кривых в плане; на участках с насыпями более 2,0 м, в пониженных местах рельефа местности, если там возможны заносы и подтопления, а также в местах, где расчетный коэффициент безопасности меньше 0,8 (или где строительство сооружения приведет к созданию условий, при которых коэффициент безопасности будет меньше 0,7), коэффициент аварийности больше 20.
14.2.3. Сооружения, входящие в комплексы II и III видов, не следует размешать ближе 1000 м от мостовых переходов. Съезды к сооружениям обслуживания должны быть расположены от пересечений и примыканий на расстоянии не менее 1 км на дорогах I категории, 0,5 км - II категории, 0,3 км - III категории.
14.2.4, Сооружения комплексов I вида располагают не ближе 1 м от населенных пунктов. Сооружения комплексов II и III видов целесообразно строить у границы перспективной застройки населенных пунктов.
14.2.5. Сооружения, входящие в комплексы обслуживания службы сервиса, целесообразно располагать на пересекающихся дорогах, на расстояниях не менее 60-200 м от основной дороги. В этих случаях при выборе планировочного решения съезда следует учитывать увеличение интенсивности движения на пересечении за счет числа транспортных средств, следующих на обслуживание.
14.2.6. Комплексы обслуживания, располагаемые вблизи от дороги, желательно отделять от нее полосой зеленых насаждений шириной 6-20 м. При расположении зданий комплексов обслуживания на расстоянии менее 6 м от кромки проезжей части в зоне сооружений устанавливают ограждающие устройства. Минимальное удаление кромки покрытия на стоянке транспортных средств от кромки проезжей части должно быть не менее 2,7 м независимо от категории дороги.
14.2.7. При размещении АЗС в придорожных полосах автомобильных дорог минимально допустимое расстояние от кромки проезжей части должно быть не менее 25 м для дорог I категории и 15 м для остальных дорог. Указанные расстояния следует принимать от бензораздаточных колонок или границ подземных резервуаров для хранения нефтепродуктов.
14.2.8. Въезды на территорию сооружения и выезды из сооружения обслуживания и их комплексов, располагаемых в придорожной полосе, на дорогах I категории и при попеременном размещении однотипных по набору сооружений комплексов справа и слева на дорогах II категории проектируют по схеме, представленной на рис. 14.3, а. В этом случае исключается нежелательное левоповоротное движение. На дорогах III и IV категорий подъезды к сооружениям проектируют по схеме, представленной на рис. 14.3, б.


Рис. 14.3. Схемы подъездов к сооружениям обслуживания, располагаемым в придорожной полосе
Углы примыкания: a1 = 25¸30°; a2 = 60¸70°; a3 = 90°
14.2.9. Наименьший радиус кривых при сопряжениях в местах съездов с дорог и въездов на них следует принимать в зависимости от категории дороги: не менее 25 м на дорогах I, II категории, не менее 20 м на дорогах III категории и 15 м на дорогах IV категории.
14.2.10. При проектировании односторонних подъездов ширину проезжей части принимают 3 - 3,5 м, ширину обочин по 1,5 м (или ширину проезжей части 4 м с бордюрами высотой 6 - 8 см). При устройстве подъездов с двусторонним движением ширина проезжей части должна быть не менее 7,0 м при ширине обочин по 1,5 м. Параметры переходно-скоростных полос в зависимости от категории дороги и интенсивности съезжающего движения принимают по нормам СНиП 2.05.02-85.
14.2.11. При расположении сооружений обслуживания и комплексах следует четко выделять две зоны: для обслуживания автомобилей (АЗС, СТО, эстакады, стоянки), для обслуживания водителей и пассажиров (зоны отдыха, пункт питания, торговля, мотели, кемпинги). В общем случае зона обслуживания транспортных средств должна располагаться как можно ближе к дороге.
На территории комплексов обслуживания II и III видов необходимо предусматривать возможность сквозного проезда с устройством удобных подъездов к автостоянкам у сооружений обслуживания и не допускать, чтобы эти потоки пересекались.
14.2.12. Все сооружения обслуживания и их комплексы должны быть оборудованы местами для стоянок транспортных средств, планировку и вместимость которых назначают исходя из мощности сооружений обслуживания и их комплексов, режима их работы, формы обслуживания проезжающих. В комплексах обслуживании III вида, имеющих в своем составе сооружения продолжительного отдыха (мотель, кемпинг) и пункт питания, должны быть предусмотрены отдельные площадки для длительной и кратковременной стоянок. При определении вместимости стоянок у мотелей, кемпингов и пунктов питания можно ориентироваться на данные табл. 14.2.
Таблица 14.2
|
Тип автомобиля |
Кол-во мест на стоянке на одно посадочное место (спальное) место в сооружении обслуживания |
|||
|
ресторане |
кафе, столовой |
мотеле |
кемпинге |
|
|
Легковой |
0,48 |
0,60 |
0,31 |
0,31 |
|
Грузовой |
1,1 |
1,0 |
0,06 |
- |
|
Автобус |
0,04 |
0,04 |
0,004 |
0,004 |
14.2.13. На стояночных площадках у сооружений обслуживания и их комплексов, рассчитанных на кратковременную остановку, грузовые автомобили следует располагать слева, а легковые автомобили и автобусы справа по ходу движения. При этом рекомендуется: стоянки автобусов располагать, возможно, ближе к мотелям, кемпингам и пунктам питания; стоянки грузовых автомобилей по продольному и прямоточному способу расстановки; стоянки легковых автомобилей устраивать преимущественно по тупиковому способу расстановки, при углах установки 45 - 90° в зависимости от наличия площадей.
Размеры земельных участков под стоянки определяют в зависимости от вместимости стоянок и площади, необходимой для размещения 1 автомобиля: для легкового 25 м2, грузового по расчету.
14.2.14. Освещение территорий сооружений обслуживания и их комплексов назначают по нормам освещения для соответствующих предприятий. Нельзя допускать ослепления проезжающих по основной дороге.
14.2.15. На дорогах в курортной зоне на участках массового скопления автомобилей устраивают места продолжительного отдыха. Планировка их предусматривает размещение легковых автомобилей. При этом обязательными являются устройство пешеходных дорожек и мест для разбивки палаток исходя из расчета 2 палаточных места на 3 автомобиля.
14.2.16. Предельно допустимое количество мест продолжительного отдыха на участке дороги для транспортного потока, состоящего из легковых автомобилей:
n = 138,76 - 0,0000465N2 + 0,0108N - 27,55е + 15,43е2 - 1,60у;
100 £ N £ 900,
где n - предельно допустимое количество мест отдыха; N - интенсивность движения, авт/ч; е - доля транспортного потока, использующая места продолжительного отдыха), доли единицы; v - средняя скорость движения легкового транспортного потока, км/ч.
На эксплуатирующихся дорогах значение е определяется по данным учета движения. В проектах новых дорог значение е в среднем принимают равным 0,4.
Минимальное расстояние между местами отдыха должно быть 500 м.
14.2.17. Места продолжительного отдыха на дорогах в курортной зоне проектируются вместительностью до 50 легковых автомобилей. В исключительных случаях вместимость может быть доведена до 80 легковых автомобилей.
15.1. Для обеспечения безопасности движения транспортных средств и пешеходов, а также повышения пропускной способности дорог в темное время суток предусматривают стационарные осветительные установки. При их проектировании необходимо соблюдать следующие требования:
при выборе типа и способа размещения осветительных установок обеспечивать освещенность дорог в соответствии с нормами на среднюю яркость проезжей части и среднюю горизонтальную освещенность обочин и тротуаров: равномерность распределения яркости (отношение максимальной яркости в отдельных точках проезжей части к минимальной); показатель ослепленности;
выявлять и подчеркивать расположение опасных зон (пересечений и примыканий, сужение дорог, пешеходных переходов, автобусных остановок) за счет изменения цветности источников света, размещения опор и светильников, повышения яркости проезжей части в опасной зоне;
обеспечивать зрительное ориентирование водителей в пути благодаря рациональному размещению опор и светильников, изменению цветности источников света на примыкающих дорогах, ограничению дезориентирующего водителей воздействия огней рекламы, витрин магазинов и охранного освещения объектов, расположенных вблизи от дороги;
не допускать резкого изменения освещенности перед сложными и опасными участками дорог и чередования, освещенных и неосвещенных зон, устраивая непрерывное освещение, при расположении освещенных участков дороги на расстоянии менее 250 м друг от друга;
добиваться плавного снижения яркости проезжей части на выезде с освещенного участка на неосвещенный, устраивая переходную зону длиной 150-250 м;
стремиться использовать такие элементы осветительных установок, которые отвечают требованиям эстетики и не нарушают вид архитектурного ансамбля дороги и расположенных на ней сооружений;
избегать размещения осветительных опор на тех элементах дорог и пересечений, где их установка может явиться причиной дорожно-транспортных происшествий;
применять опоры, не оказывающие большого сопротивления на срез при наезде автомобиля.
15.2. Стационарное освещение на автомобильных дорогах следует предусматривать:
в населенных пунктах (по СНиП II-4-79, ч. II, гл. 4. Нормы проектирования. Естественное и искусственное освещение);
на дорогах I категории с расчетной интенсивностью движения 20 тыс. авт./сут и более, достигаемой впервые 5 лет эксплуатации;
на средних и больших мостах (путепроводах) в соответствии с рекомендациями табл. 15.1;
Таблица 15.1
|
Длина моста (путепровода), м |
Длина кабельной линии от пункта питания электроэнергией до освещаемого объекта, км |
Начальная интенсивность движения, тыс. авт/сут, при которой оправдано устройство освещения для ежегодного прироста интенсивности движения, % |
||
|
5 |
10 |
15 |
||
|
|
1 |
8,0 |
4,0 |
2,0 |
|
50-100 |
5 |
12,5 |
7,5 |
6,0 |
|
|
10 |
18,5 |
13,0 |
9,0 |
|
|
1 |
5,0 |
2,5 |
1,0 |
|
100-200 |
5 |
9,5 |
5,0 |
1,5 |
|
|
10 |
12,5 |
8,0 |
4,5 |
|
|
1 |
4,5 |
2,5 |
1,0 |
|
Более 200 |
5 |
7,5 |
3,5 |
1,5 |
|
|
10 |
10,0 |
5,0 |
2,5 |
Примечания. 1. В таблице приведена начальная интенсивность движения на двух-, трехполосных дорогах. Для четырехполосных дорог с разделительной полосой ее следует увеличивать в 1,5 раза по сравнению с табличными значениями, а для шестиполосных - в 2 раза. 2. Промежуточные значения допускается определять интерполяцией.
на автозаправочных станциях и в зонах расположения комплексов обслуживания движения;
на пересечениях дорог I и II категорий между собой в одном и разных уровнях, а также на всех соединительных ответвлениях пересечений в разных уровнях и на подходах к ним на расстоянии не менее 250 м от начала переходно-скоростных полос;
на железнодорожных переездах (в соответствии с Инструкцией по устройству и обслуживанию переездов);
в транспортных автодорожных тоннелях на дорогах I и II категорий и на подходах к ним на расстоянии не менее 150 м от начала тоннеля;
в пешеходных тоннелях, на лестничных сходах и площадках перед входами в тоннель;
под путепроводами, на дорогах I - III категорий, если длина проезда под ними превышает 30 м;
на автобусных остановках, подземных пешеходных переходах, в зонах возникновения дорожно-транспортных происшествий в темное время суток у расположенных вблизи от дороги клубов, кинотеатров и других мест сосредоточения пешеходов в населенных пунктах, где нет уличного освещения, при расстоянии до источников энергоснабжения не более 2 км с учетом требований Госавтоинспекции.
15.3. Вне населенных пунктов средняя яркость проезжей части дорог и мостов (путепроводов) должна составлять: 0,8 кд/м2 на дорогах I категории; 0,6 кд/м2 на дорогах II категории; 0,4 кд/м2 - на соединительных ответвлениях пересечений в разных уровнях. Средняя горизонтальная освещенность обочин должна быть не ниже: 8 лк на дорогах I категории; 6 лк на дорогах II категории; 4 лк - на соединительных ответвлениях пересечений в разных уровнях. Среднюю горизонтальную освещенность тротуаров мостов (путепроводов) принимают в соответствии с нормами освещения тротуаров в населенных пунктах (по СНиП II-4-79).
Отношение максимальной яркости проезжей части к минимальной должно составлять не более 3:1 на дорогах I категории и 5:1 на остальных дорогах. Отношение максимальной освещенности обочины к средней должно быть при норме средней освещенности 6-8 лк не более 3:1, а при 4 лк не более 5:1.
Нормы освещенности автодорожных тоннелей и проездов под путепроводами (длиной более 60 м) принимают по СНиП II-44-78. Средняя горизонтальная освещенность проездов под путепроводами (мостами) должна быть не менее 15 лк, а отношение максимальной освещенности к средней - не более 3:1. Показатель ослепленности установок наружного освещения не должен превышать 150.
15.4. Опоры светильников устанавливают, как правило, за бровкой земляного полотна на расстоянии от нее не менее 0,5 м. На насыпях высотой до 3 м для установки опор устраивают присыпные бермы с размерами 2 ´ 2 м. При большей высоте насыпи и наличии устойчивых откосов опоры устанавливают на сваях длиной 5 - 6 м с оголовком (рис. 15.1, а). В пучинистых грунтах и в районах вечной мерзлоты опоры устанавливают в котлованы, огражденные деревянными коробами (рис. 15.1, б), засыпая пазухи в верхней части дренирующим грунтом. В исключительных случаях (на насыпях высотой более 3 м при наличии неустойчивых откосов земляного полотна, на участках дорог, где размещению опор препятствуют кабельные или воздушные линии связи и электропередачи) допускается устанавливать опоры на обочине или разделительной полосе (при их ширине не менее 3 м).

Рис. 15.1. Схемы заделки в грунт опор освещения:
а - при благоприятных грунтовых условиях; б - в пучинистых грунтах; 1 - опора; 2 - оголовок; 3 - свая; 4 - деревянный короб
Если ширина разделительной полосы составляет 3-4 м, опоры освещения должны быть встроены в блоки парапетного ограждения или расположены между ними (при надежном закреплении блоков к основанию с помощью штырей, рис. 15.2, а). При ширине разделительной полосы 5-6 м опоры можно установить по ее оси на расстоянии 1,25 м от опоры до направляющей планки ограждения (рис. 15.2, б).
На обочинах автомобильных дорог опоры устанавливают у бровки земляного полотна на расстоянии от нее не более 0,5 м, предусматривая устройство ограждения. Расстояние от направляющей планки ограждения до опоры должно быть не менее 1,25 м, а от планки до кромки проезжей части не менее 1 м (рис. 15.2, в). На узких обочинах у опор следует устанавливать ограждения парапетного типа (рис. 15.2, г).




Рис. 15.2. Схема установки опор освещения и ограждений на разделительной полосе (а, б) и обочине (в, г)
Вне населенных пунктов при высоте насыпи до 2 - 3 м допускается установка опор освещения на обочинах без ограждений, если опора изготовлена из стальных тонкостенных труб, а в нижней ее части (на расстоянии 0,4 - 0,5 м от поверхности обочины) предусмотрено фланцевое соединение, разъединяющееся при ударе автомобиля.
На мостах (путепроводах) опоры устанавливают в створе перил или за ними в стальных стаканах, а также закрепляют с помощью фланцевых соединений к несущим конструкциям сооружения. На мостах с ездою понизу светильники рекомендуется закреплять к элементам конструкции сооружения с помощью кронштейнов или тросов (при осевой схеме размещения светильников).
15.5. Дорожная служба должна уделять особое внимание сохранению высоких светоотражающих свойств дорожных покрытий на освещенных участках дорог, своевременно выполняя очистку проезжей части от грязи и обеспечивая быстрый отвод воды с проезжей части. На особо опасных местах во всех случаях, когда это возможно, рекомендуется устраивать светлые шероховатые покрытия.
16.1.1. При разработке мероприятий по обеспечению безопасности движения вопросы повышения эффективности работы автомобильного транспорта должны решаться с учетом охраны окружающей среды и рационального использования природных ресурсов. Одним из наиболее эффективных путей учета требований защиты окружающей среды следует считать рациональное проложение трассы дороги.
16.1.2. В целях максимального сохранения существующего ландшафта, его украшения и обогащения при разработке проектов автомобильных дорог любых категорий необходимо стремиться наиболее широко использовать принципы ландшафтного проектирования (см. гл. 3).
16.1.3. Для защиты населения от транспортного шума, вибрации, отработавших газов автомобильных двигателей и других вредных веществ, образующихся при эксплуатации автомобильного транспорта и дорог, рекомендуется прокладывать дороги с перспективой интенсивностью движения более 1000 авт./сут в обход населенных пунктов. Между дорогой и жилой застройкой ориентировочно принимают следующие минимально допустимые расстояния:
|
Интенсивность движения, тыс. авт/ч |
0,1 |
0,2 |
0,4 |
0,6 |
0,8 |
1,0 |
1,5 |
2,0 |
5,0 |
|
Минимальное расстояние до застройки, м |
150 |
250 |
375 |
475 |
550 |
630 |
750 |
800 |
1100 |
При невозможности обеспечения достаточно большой буферной зоны между дорогой и населенными пунктами или отдельно стоящими больницами, санаториями, домами отдыха, пионерскими лагерями, детскими садами, школами, базами отдыха должны быть предусмотрены специальные мероприятия по защите от транспортного шума (см. п. 16.2).
16.1.4. Для предотвращения или уменьшения степени загрязнения придорожной полосы и растительности соединениями свинца и других тяжелых металлов могут быть использованы мероприятия, рекомендуемые в п. 16.3.
16.1.5. В целях сохранения существующего растительного и животного мира рекомендуется:
при трассировании дорог избегать пересечения ценных природных комплексов, прежде всего заповедников, нарушения установившихся мест обитания и путей миграции животных;
при разработке мероприятий по повышению безопасности движения не предусматривать использование материалов, веществ, которые могут оказать неблагоприятное воздействие на растительный и животный мир;
разрабатывать мероприятия по предотвращению появления животных на дороге и связанных с этим происшествий: оборудование дорог ограждениями, катафотами, отпугивающими животных, создание специальных путей для перехода дорог животными (см. п. 16.4);
использовать для технического и декоративного озеленения дорог породы растений, характерных для данной ландшафтной зоны, не представляющих особую ценность.
16.1.6. Оптимальные решения, учитывающие одновременно требования повышения безопасности движения и защиты окружающей среды, необходимо находить методами вариантного проектирования путем их сравнения по технико-экономическим показателям.
16.2.1. При проектировании шумозащитных мероприятий сложность достижения требуемого снижения уровней шума можно оценить следующим образом:
|
Требуемое снижение уровня шума, дБА |
10 |
5 |
15 |
20 |
|
Сложность достижения результатов |
Достижимо (возможно) |
Легко |
Сложно |
Очень сложно |
16.2.2. Основной принцип разработки мероприятий по защите от транспортного шума - функциональное зонирование придорожных территорий с учетом допустимых уровней звука для зданий различного назначения.
16.2.3. При проектировании обходов населенных пунктов, развитии сети автомобильных дорог необходимо учитывать, что снижение уровней шума наиболее эффективно в диапазоне интенсивности движения в час пик до 400 авт/ч, когда уменьшение интенсивности, например, на 200 авт/ч приводит к снижению уровня шума на 1,5 дБА. Изменение же интенсивности от 2000 авт/ч до 1500 авт/ч снижает уровень шума транспортного потока всего на 0,5 дБА.
16.2.4. При проложении дорог вблизи от застройки следует использовать элементы рельефа в качестве естественных преград на пути распространения шума, трассировать дорогу в естественных выемках, по дну оврагов, ложбин и т. п.
16.2.5. Поскольку увеличение расстояния от автомобильной дороги до населенного пункта создает дополнительные трудности для использующих данную дорогу, расстояние удаления должно быть минимально необходимым, а вызванный этим перепробег учтен при сравнении различных методов защиты от транспортного шума.
16.2.6. В случаях, когда уровни транспортного шума не превышают допустимые более чем на 15 дБА, а увеличение расстояния до жилой застройки невозможно или нецелесообразно, необходимо предусматривать специальные шумозащитные сооружения и рационально проектировать поперечный профиль земляного полотна. Существенное влияние на снижение транспортного шума оказывают препятствия в виде шумозащитных барьеров, галерей, грунтовых валов, откосов выемок.
16.2.7. Размещение шумозащитных сооружений и их ограждения на поперечном профиле должны обеспечивать безопасность движения, минимум затрат на их содержание, удобную очистку проезжей части и обочин, доступность для производства работ по эксплуатации. Примеры зон, легко и трудно доступных для службы эксплуатации, показаны на рис. 16.1 и 16.2. Расстояние от кромки проезжей части до шумозащитного барьера должно обеспечивать размещение снега при его уборке с проезжей части (табл. 16.1).

Рис. 16.1. Пример образования сложной для службы эксплуатации зоны между двумя шумозащитными сооружениями

Рис. 16.2. Схема размещения барьера на поперечном профиле с образованием минимальной зоны, требующей организации ландшафта:
1 - граница полосы отвода; 2 - зона организации ландшафта; 3 - шумозащитный барьер; 4 - обочина; 5 - проезжая часть
Таблица 16.1
|
Ширина проезжей части, м |
Расстояние до шумозащитного барьера, м, при его расположении |
|
|
с одной стороны дороги |
с двух сторон дороги |
|
|
7 |
2 |
- |
|
9 |
2,5 |
2 |
|
10,5 |
2,5-3,0 |
2 |
|
15 |
3,0-3,5 |
2,5 |
|
20 |
3,5-4,0 |
2,5 |
16.2.8. Шумозащитные барьеры не должны являться элементами повышенной опасности. Для достижения этих целей барьеры могут быть вынесены за границу полосы отвода автомобильной дороги, выполнены комбинированными с ограждениями, защищены ограждениями (рис. 16.3). В последнем случае расстояние между ограждениями и шумозащитным сооружением должно быть больше максимального прогиба ограждения при наезде автомобиля с расчетной скоростью и достаточным для обеспечения возможности механизированной уборки снега. Длину отгона ограждений за шумозащитным сооружением назначают не менее 9 м.



Рис. 16.3. Схема установки ограждений у шумозащитных барьеров:
а - полужесткого планочного типа отдельно от барьера; б - ограждение жесткого парапетного типа, комбинированное с барьером; в - ограждение полужесткого планочного типа, усиленное тросом и комбинированное с барьером
16.2.9. При расположении жилой застройки с обеих сторон от автомобильной дороги отражение шума от поверхности барьера может привести к его увеличению в жилой застройке. В таких случаях применяют шумопоглощающие барьеры, которые в результате поглощения звуковой энергии в отличие от шумоотражающих не вызывают увеличения уровней шума на противоположной стороне и в салонах проезжающих автомобилей (рис. 16.4).


Рис. 16.4. Схема распространения шума при устройстве барьера:
а - шумоотражающего; б - шумопоглощающего
16.2.10. Снижение шума в застройке можно достичь также за счет наклона шумоотражающего барьера и отражения шума в сторону от жилой застройки (рис. 16.5), либо строительством ступенчатого шумоотражающего барьера (рис. 16.6). Угол наклона барьера определяется в соответствии со схемой, приведенной на рис. 16.6.

Рис. 16.5. Отражение звука от барьеров при различном их наклоне:
///// - источник шума

Рис. 16.6. Схема ступенчатого шумоотражающего барьера с основными геометрическими размерами:
а - ступенчатый профиль барьера; б - схема расположения барьера; углы наклона Y > b/2; Y¢ > b¢/2
16.2.11. Шумоотражающие барьеры проектируют достаточно большой массы для обеспечения требуемой звукоизоляции при заданном снижении уровня звука:
|
Снижение уровня звука по расчету, дБА |
5 |
10 |
14 |
16 |
18 |
20 |
22 |
24 |
|
Минимальная удельная масса конструкции, кг/м |
14,5 |
17 |
17 |
19,5 |
22 |
24,5 |
32 |
39 |
16.2.12. При наличии разделительной полосы на автомобильной дороге шумозащитный барьер устанавливают также по ее оси, совмещая при необходимости с ограждением. В этих случаях барьер одновременно препятствует ослеплению водителей светом фар встречных автомобилей. Высота шумопоглощающего барьера для обеспечения высокой эффективности его работы должна быть не менее 2 м.
16.2.13. Минимальная длина шумозащитного барьера за пределами жилой застройки должна составлять не менее 100 - 150 м и может быть уменьшена, если его концы отогнуты в плане в сторону от источника шума (рис. 16.7). Угол a при этом должен быть постоянным.



Рис. 16.7. Схемы сокращения длины шумозащитного барьера:
а - прямолинейный барьер минимальной длины; б - барьер с отогнутыми концами с выходом за пределы полосы отвода; в - барьер уменьшенной длины с размещением в пределах полосы отвода
16.2.14. Для придания шумозащитным барьерам лучшего внешнего вида рекомендуется сажать около них декоративные растения, которые, украшая дорогу и частично устраняя однообразный вид барьера, усиливают шумопоглощающее действие барьера, особенно в летнее время.
16.2.15. Шумозащитные барьеры и их стойки должны рассчитываться на ветровые нагрузки, быть прочными и долговечными, легко монтироваться в полевых условиях, вписываться в ландшафт. Их устройство не должно приводить к снижению безопасности движения из-за ухудшения освещенности проезжей части в дневное время, появления резких теней на покрытии, повышения утомляемости водителя вследствие однообразия окружающей обстановки.
16.2.16. Для зашиты транспортного шума с использованием шумозащитных барьеров и грунтовых валов могут быть рекомендованы типовые поперечные профили земляного полотна с необходимыми уширениями для обеспечения снегоочистки проезжей части в случае расположения шумозащитных сооружений на земляном полотне (рис. 16.8).




Рис. 16.8. Рекомендуемые поперечные профили земляного полотна для размещения шумозащитных сооружений:
а - шумозащитный барьер на поперечном профиле земляного полотна в насыпи до 2 м с продольным трубчатым дренажем; б - то же, в насыпи более 2 м с дренирующим слоем на всю ширину земляного полотна; в - грунтовый вал на поперечном профиле земляного полотна с продольным трубчатым дренажем без бокового кювета; г - шумозащитный барьер на грунтовом валу для большей эффективности защиты; а ³ 3 м - уширение земляного полотна для дорог I категории; а ³ 2 м - то же, для дорог других категорий
16.2.17. Проектирование земляного полотна в выемках в пределах населенных пунктов является одним из эффективных способов защиты от шума. При использовании откосов выемок как способа защиты от шума их рекомендуется выполнять без округления верхней кромки для обеспечения большего снижения шума. Если глубина выемки является недостаточной, ее эффективность может быть увеличена путем установки шумозащитных барьеров или отсыпки грунтовых валов не обтекаемой формы.
16.2.18. В местах расположения остановок общественного транспорта для обеспечения прохода людей предусматривают разрывы в барьере с устройством контр барьеров (рис. 16.9). Минимальное взаимное перекрытие барьеров должно быть не менее двойной ширины прохода. Внутреннюю сторону барьера выполняют шумопоглощающей. Минимальную ширину прохода назначают не менее 2 м.


Рис. 16.9. Схемы расположения контрбарьера (а) и дубль барьера (б) у остановки общественного транспорта в населенном пункте
16.2.19. Разработку рекомендаций по снижению шума средствами организации движения осуществляют, если значения уровней шума превышают допустимые не более чем на 3 дБА. К таким средствам относятся: снижение скоростей движения, уменьшение задержек автомобилей на пересечениях, распределение потоков автомобилей по параллельным маршрутам, обеспечение постоянной скорости движения автомобилей по дороге без переключения передач. Снижение средней скорости движения на 10 и 20 км/ч приводит к уменьшению уровня звука на 1,5 и 3,5 дБА соответственно.
16.2.20. Для снижения уровней звука транспортных потоков в жилой зоне рекомендуется устраивать покрытия из мелкощебенистого асфальтобетона, а при применении шероховатых поверхностных обработок использовать щебень не крупнее 10 мм.
16.2.21. Эффективность снижения шума зелеными насаждениями зависит от конструкции посадки, подбора древесно-кустарниковых пород, плотности и густоты крон, возраста посадок. Конструкция шумозащитных полос зеленых насаждений должна обеспечивать плотное смыкание пространства под кронами до поверхности земли или его заполнение густым кустарником. По периметру полос устраивают живую изгородь из кустарников. Вследствие большей шумозащитной эффективности наиболее целесообразна шахматная посадка. Высота деревьев и шумозащитных посадок должна быть не менее 5 - 8 м, а ширина каждой полосы не менее 8 м. Норму посадки деревьев на 1 м2 и шумозащитных полосах принимают выше, чем при обычном озеленении.
10.2.22. Шумозащитные зеленые насаждения желательно проектировать из одних или нескольких полос с разрывом между ними. Разрывы должны быть не шире высоты деревьев. Шумозащитные зеленые насаждения, состоящие из нескольких полос, обладают более высокой эффективностью снижения шума, чем сплошные, в результате отражения звуковых волн от каждой полосы.
|
Расчетный объем снегопереноса, м на 1 м длины дороги |
Расстояние от бровки земляного полотна до насаждений, м |
|
10 - 25 |
15 - 25 |
|
50 |
30 |
|
75 |
40 |
|
100 |
50 |
|
125 |
60 |
|
150 |
65 |
|
200 |
70 |
16.2.24. Древесные и кустарниковые породы для создания шумозащитных насаждений подбирают с учетом почвенных условий каждого участка, а также биологических, хозяйственных, специфических снегозадерживающих свойств деревьев и кустарников, их устойчивости против воздействия соли, применяемой для борьбы с гололедом. Предпочтение следует отдавать породам с высоким удельным весом «зеленой массы», густым ветвлением, плотностью крон и хорошим порослевым возобновлением, быстрым ростом в первые годы после посадки, не подверженным снеголому.
16.3.1. С целью снижения степени загрязнения придорожной полосы соединениями свинца и уменьшения ширины зоны, в пределах которой содержание свинца в почве и растительности превышает допустимые концентрации, необходимо:
выбирать направление трассы дороги с таким условием, чтобы оно соответствовало направлению господствующих ветров с учетом их скорости;
проектировать план, продольный и поперечный профили дороги с учетом минимума энергетических затрат при движении автомобилей с постоянной скоростью;
при проектировании пересечений обеспечивать условия, исключающие резкие изменения режимов движения транспортных потоков;
назначать высоту насыпей не больше, чем это требуется из условий обеспечения снегозаносимости или возвышения низа дорожной одежды над источниками увлажнения;
предусматривать создание зеленых полос, ограничивающих распространение соединений металлов на придорожной полосе; конструкция зеленых полос должна состоять не менее чем из двух рядов кустарника и нескольких рядов деревьев (2 - 3); ширина зеленых полос - не менее 5 м, высота - не менее 6 м. Расстояние от бровки земляного полотна до границы посадки определяется условиями снегозаносимости дороги, а для неснегозаносимых участков - безопасностью движения (см. п. 16.2.23);
использовать шумозащитные сооружения в качестве препятствий распространению соединений металлов в пределах населенных пунктов.
16.3.2. Ширину зоны, в пределах которой содержание свинца в почве превышает его допустимую концентрацию, определяют в следующей последовательности:
1) по данным Гидрометеослужбы устанавливают значение характеристики ветров и по каждому из 8 румбов для 12 мес.:
,
где vj - скорость ветров данного направления, м/с; pi - повторяемость ветров данной скорости, %;
2) рассчитывают показатель W справа и слева от дороги:
,
где Вi - характеристика ветров i-го румба; 0i - угол между направлением трассы дороги и i-м румбом.
При расчете величины W справа от дороги необходимо учитывать значения В для ветров, дующих слева от дороги, а при определении W слева от дороги необходимо учитывать значения В для ветров, дующих справа от дороги;
3) с помощью номограммы (рис. 16.10) определяют ширину зоны недопустимого загрязнения для различных сроков эксплуатации дороги. Исходными данными для расчета являются: показатель W, начальная интенсивность движения, высота насыпи, средний расход топлива одним автомобилем. Ширину зоны определяют отдельно справа и слева от дороги.

Рис. 16.10. Номограмма для расчета ширины зоны, в пределах которой содержание свинца и почве превышает его предельно допустимую концентрацию
В том случае, если нет точных данных о среднем расходе топлива, в расчет допускается ввести значение, равное 25 л/100 км. Если высота насыпи менее 1 м или дорога проходит в выемке, то расчет следует вести, как для насыпи высотой 1 м.
16.4.1. В целях сохранения животного мира и повышения безопасности движения трассировать дорогу следует на расстоянии не менее 1,5 км от заповедных зон, по опушкам лесов, без пересечения путей миграции животных. Прохождение дорог через заповедники должно решаться с привлечением специалистов по охране окружающей среды.
16.4.2. В случаях, когда при трассировании не удается избежать пересечения путей миграции диких животных или когда эксплуатирующаяся дорога проходит в местах их обитания, для обеспечения свободного передвижения животных следует предусматривать специальные проходы через дорогу. Из-за широкого земляного полотна и ограждений на разделительной полосе, затрудняющих непосредственное пересечение дороги животными, эти проходы особенно необходимы на автомобильных магистралях. Поскольку пути пересечения дорог животными концентрируются, как правило, на отдельных небольших по протяженности участках, их расположение на эксплуатирующихся дорогах может быть точно установлено при анализе линейных графиков дорожно-транспортных происшествий.
16.4.3. В качестве проходов, предназначаемых для пересечения дорог животными, сооружаются специальные тоннели или путепроводы. Возможно также использование обычных искусственных сооружений: скотопрогонов, труб большого диаметра. При этом необходимо учитывать, что наиболее охотно животные используют те подземные сооружения, у которых отношение длины к высоте и ширине находится в пределах не менее 10:1.
16.4.4. В месте прохода обязательна установка ограждений, предназначенных не только для предотвращения выхода животных на дорогу, но и служащих устройствами, направляющими животных к проходу (рис. 16.11).

Рис. 16.11. Схема устройства перехода для диких животных:
1 - растения, привлекающие животных; 2 - декоративный кустарник, скрывающий ограждение; 3 - ограждение
16.4.5. Высоту ограждений назначают в зависимости от вида животных, наиболее часто пересекающих дорогу на выявленных ранее участках (рис. 16.12).

Рис. 16.12. Ограждения, предотвращающие выход на дорогу крупных копытных животных (а), кабанов (б):
1 - колючая проволока; 2 - дополнительный столбик
17.1.1. Основные направления оценки экономической эффективности капиталовложений в различных отраслях народного хозяйства СССР сформулированы в «Типовой методике определения экономической эффективности капитальных вложений», утвержденной постановлением Госплана СССР, Госстроя СССР и президиума АН СССР от 8 сентября 1969 г.
Расчеты эффективности при технико-экономическом обосновании по повышению безопасности движения используют принципиальные положения Типовой методики и учитывают основные положения «Указаний по определению экономической эффективности капитальных вложений в строительство и реконструкцию автомобильных дорог» (ВСН 21-83) Минавтодора РСФСР. Вместе с тем, учтена специфика технико-экономических расчетов по обоснованию мероприятий по повышению безопасности движения в части большей детализации расчетов и более высоких требований к используемым в расчетах показателям капиталоемкости и текущих расходов.
17.1.2. При технико-экономическом проектировании мероприятий определение сравнительной экономической эффективности проектных решений необходимо выполнять с учетом специфики сравниваемых вариантов, которая включает:
назначение вариантов, подлежащих сравнению, в соответствии с заданной интенсивностью, составом и направлением движения, топографическими и гидрогеологическими условиями местности, особенностями режимов движения и другими конкретными условиями;
определение общих для всех вариантов границ, в пределах которых следует сравнивать варианты и выбирать эталонный;
определение технических параметров каждого из вариантов, влияющих на размеры приведенных затрат (скорости движения потоков автомобилей, количество дорожно-транспортных происшествий и их тяжесть, площади занимаемых земель, суммарные потери времени от простоев транспортных средств и пр.);
определение дифференцированных показателей текущих затрат с учетом особенностей вариантов.
Основными техническими вопросами при обоснованиях являются:
прогноз изменения интенсивности и состава движения по экономическим перегонам дороги;
оценка скоростей движения потоков автомобилей;
оценка пропускной способности автомобильных дорог;
определение технического (морального) срока службы элементов дороги с учетом предполагаемых мероприятий по обеспечению безопасности движения;
определение расчетного года, характеризующего средний уровень текущих транспортно-эксплуатационных затрат для всего срока службы элементов дороги.
17.1.3. В качестве показателя сравнительной эффективности для выбора наилучшего варианта проектных решений принимают суммарные приведенные затраты Рпр, или коэффициент сравнительной эффективности Екс, определяемые на основе соизмерения приведенных строительных и эксплуатационных расходов по вариантам:
; (17.2)
; (17.3)
где
i - приведенные к одному
моменту единовременные затраты по каждому из i вариантов капиталовложений;
- нормативный коэффициент
сравнительной эффективности, принимаемый равным 0,12;
- расчетное значение годовых текущих затрат
по каждому из i вариантов, определенных на
расчетный год tp;
- норматив для приведения
разновременных затрат, равный 0,08; Сti -
текущие затраты в год ti; rt - коэффициент
приведения затрат i-го
года к исходному (базовому); tс - срок
времени от года, когда осуществляются затраты, до года приведения: индексы «с»
и «п» - соответственно существующие и проектируемые условия.
17.1.4. Для оценки народнохозяйственной эффективности вариантов проектных решений и целесообразности их осуществления используют расчеты по формуле (17.4). Наиболее эффективным считают вариант с наибольшим значением коэффициента сравнительной эффективности. Варианты, имеющие коэффициенты эффективности меньше нормативного, должны пересматриваться.
Расчетные формулы (17.1) - (17.5) целесообразно применять при сравнении вариантов относительно крупных объектов, таких как обходы населенных пунктов, транспортные развязки, подземные и надземные пешеходные переходы, путепроводы и т. д. В других случаях значения суммарных приведенных затрат по вариантам имеют небольшой диапазон изменения, не выходящий за пределы точности определения указанного показателя. Это является особенно типичным для рассмотрения вариантов мероприятий по повышению безопасности движения, когда проектные решения варьируют на участках незначительного протяжения или в небольшом диапазоне расчетных величин.
17.1.5. Метод, предназначенный для сравнения вариантов проектных решений с различным техническим уровнем, неодинаковыми сроками службы до морального износа и относящимся к участкам сравнительно небольшого протяжения, что характерно для мероприятий по повышению безопасности движения, основан на удельных показателях.
17.1.6. В качестве показателя сравнительной экономической эффективности в указанном методе используют величины «коэффициентов эффективности», расчеты которых основаны на применении удельных значений показателей. Исходя из того, что основным назначением дорог является обеспечение перевозок грузов и пассажиров, в качестве расчетных рекомендуются следующие удельные показатели, основанные на учете транспортной работы:
себестоимость транспортной работы Сi, являющаяся характеристикой текущих затрат (коп/авт-км);
удельная капиталоемкость варианта Ki, являющаяся характеристикой единовременных затрат.
Сравнительная экономическая эффективность вариантов:
(17.6)
при
;
, (17.7)
где
- средневзвешенное за срок сравнения
приращение себестоимости перевозок для сравниваемого варианта по отношению к
себестоимости перевозок по эталонному варианту (в существующих дорожных
условиях);
- показатель себестоимости
для эталонного варианта;
- то же, по i-му варианту; DКi - приращение удельных
приведенных капитальных вложений по каждому из вариантов,
и
- соответственно удельные
приведенные капиталовложения по i-му
варианту и в существующих дорожных условиях.
17.1.7. При технико-экономическом проектировании мероприятий по повышению безопасности движения срок сравнения проектных решений в соответствии с общепринятыми методическими положениями следует принимать для всех вариантов одинаковым и равным сроку службы наиболее долговечного варианта.
Если сроки службы проектных решений по сравниваемым вариантам значительно отличаются от срока службы наименее совершенного в техническом отношении эталонного варианта, необходимо капитальные вложения будущих лет по менее долговечным вариантам, связанные с затратами на их усиление, переоборудование или переустройство в течение срока службы наиболее долговечного варианта, привести к сопоставимому виду.
Сопоставимость достигается расчетом доли затрат, обеспечивающей одинаковый срок функционирования всех сравниваемых вариантов. При этом вводятся поправки к размерам удельных капиталовложений по вариантам, рассчитываемые по формулам:
; (17.8)
![]()
где Кi -
удельные единовременные затраты но каждому из вариантов;
- срок службы наиболее
долговечного варианта; tслi -
срок службы i-го варианта проектных
решений;
-
суммарная транспортная работа за срок службы i-го варианта.
17.1.8. Показатели себестоимости перевозок по вариантам проектных решений рассчитывают как средневзвешенную величину, наиболее полно характеризующую их техническое совершенство. Это достигается путем определения себестоимости единицы продукции расчетом по средневзвешенной скорости транспортного потока, обеспечиваемой на дороге при принятых для каждого варианта мероприятиях.
17.1.9. Для технико-экономических расчетов по обоснованию эффективности мероприятий, направленных на повышение безопасности движения, должны быть определены интенсивность и состав движения на отчетный и перспективный годы, установлена закономерность их изменения, рассчитаны среднее расстояние перевозок грузов и пассажиров, скорости транспортных потоков, количество дорожно-транспортных происшествий по участкам.
17.1.10. Для определения единовременных затрат при обосновании мероприятий по повышению безопасности движения требуются следующие данные по вариантам проектных решений:
капитальные вложения, необходимые для улучшения транспортно-эксплуатационных качеств отдельных конструктивных элементов дороги или ее участков, вкладываемые по единовременной (Коi) схеме или с разбивкой по годам с учетом принятой очередности в течение нескольких лет (Kti);
последующие затраты на капитальные ремонты в течение срока сравнения вариантов (Ккрi);
капитальные дополнительные вложения в автомобильный транспорт, необходимые для освоения ежегодно возрастающего объема перевозок (Ktai);
остаточная стоимость основных фондов с учетом их ликвидации при наличии используемых в дальнейшем участков дороги при реконструкции (Крi);
стоимость оборотных фондов народного хозяйства, соответствующая массе грузов круглогодичного производства и потребления, постоянно находящихся в транспортном процессе (Кобi),
стоимость продуктивных земель, изъятых под дорогу и ее элементы (Каi).
Общая сумма приведенных единовременных затрат по вариантам:
, (17.9)
или
, (17.10)
где tp - период времени при очередности повышения транспортно-эксплуатационных качеств дороги.
17.1.11. В состав текущих затрат рекомендуется включать: дорожно-эксплуатационные затраты Сtдi, включая расходы на текущий ремонт, содержание и средние ремонты (отнесенные к одному году межремонтного срока службы);
автотранспортные затраты, включающие расходы на осуществление перевозок грузов и пассажиров Ctai в пределах границ сравнения вариантов;
народнохозяйственные потери, связанные с затратами времени пассажиров в пути следовании Ctвi;
народнохозяйственные потери, связанные с дорожно-транспортными происшествиями Сiпi;
потери в нетранспортных отраслях народного хозяйства, возникающие в условиях работы на неблагоустроенной дорожной сети Сtнi.
Размер текущих затрат определяется суммированием:
Cti = CtДi + Ctai + Ctвi + Ctпi + Ctнi. (17.11)
При оценке эффективности реконструкции элементов дороги или ее участков порядок расчета каждой из составляющих текущих затрат с учетом закономерности изменения перевозок по дороге во времени определяется действующей отраслевой методикой (ВСН 21-83).
При выборе оптимальных проектных решений на основе использования методов технико-экономического проектирования в основу расчетов размеров текущих затрат по вариантам должны быть положены удельные показатели (себестоимость) Сi, вычисленные с учетом технического совершенства рассматриваемых вариантов. При этом показатели себестоимости могут быть представлены в виде суммы нескольких составляющих, вычисленных как средневзвешенная за срок службы рассматриваемых решений величина:
. (17.12)
17.1.12. Мероприятия по повышению безопасности движения на существующих автомобильных дорогах в зависимости от состояния дороги и наличия средств могут быть разделены на три группы:
планировочные решения с частичным изменением плана и профиля, в том числе обходы населенных пунктов;
инженерное оборудование дороги;
применение технических средств организации движения.
Эти мероприятия могут осуществляться по отдельности или совместно.
17.2.1. В общем случае, когда изменение плана и профиля дороги происходит на значительном протяжении, единовременные и текущие затраты подсчитываются полностью. При обосновании обходов населенных пунктов и реконструкции городских улиц некоторые текущие затраты (Ctвi, Ctai, Ctнi) в расчете не учитываются.
17.2.2. Средние значения автотранспортной составляющей себестоимости перевозок для наиболее распространенных в СССР типов и марок автомобилей представлены в табл. 17.1.
Таблица 17.1
|
Марка (тип) автомобиля |
Расчетные значения автотранспортной составляющей себестоимости перегрузок, коп/авт-км, в зависимости от скорости движения, км/ч |
||||||||
|
20 |
30 |
40 |
50 |
60 |
70 |
80 |
90 |
120 |
|
|
ГАЗ-24 (такси) |
8,84 |
7,19 |
6,27 |
5,79 |
5,44 |
5,33 |
5,44 |
5,56 |
5,89 |
|
ЛАЗ-697Р |
19,83 |
17,00 |
16,07 |
15,76 |
16,15 |
16,56 |
17,32 |
- |
- |
|
ПАЗ-672 |
13,67 |
11,52 |
10,76 |
10,04 |
11,00 |
11,46 |
12,11 |
- |
- |
|
РАФ-2203 |
10,08 |
8,67 |
8,08 |
7,90 |
7,87 |
8,18 |
8,52 |
8,80 |
- |
|
УАЗ-451ДМ |
8,46 |
6,62 |
5,85 |
5,65 |
5,38 |
5,88 |
6,18 |
6,59 |
- |
|
ГАЗ-53А |
12,98 |
11,03 |
9,98 |
10,12 |
5,49 |
11,05 |
11,91 |
- |
- |
|
КамАЗ-5410 |
20,57 |
19,14 |
18,54 |
18,59 |
19,07 |
19,61 |
20,42 |
- |
- |
|
ЗИЛ-130 |
15,34 |
13,50 |
12,10 |
12,19 |
12,53 |
13,21 |
13,95 |
15,17 |
- |
При расчетах автотранспортной составляющей себестоимости перевозок для потока учитывается соответственно количество каждого типа автомобилей в потоке, помимо частных автомобилей, которые в расчет не принимаются. При этом автотранспортные затраты определяют с учетом «расчетного» года (ВСН 21-75).
Средние скорости движения автомобилей после устройства обхода города могут быть приняты (на основе наблюдений за скоростями движения на существующих обходах) следующими: на обходных участках 62 км/ч, на подходах к городам 50, на магистральных улицах городов 32 км/ч. В остальных случаях скорости устанавливают путем наблюдений в существующих условиях и на смежных неопасных участках. Расчеты ведут за срок службы наиболее долговечного варианта. При обходе на наиболее долгий срок рассчитывают магистральную улицу города (30 - 35 лет), поэтому подходы к городу и обходной участок рассчитывают на тот же период.
17.2.3. Народнохозяйственные потери, связанные с затратами времени пассажиров, подсчитываются по методике, приведенной в ВСН 21-83.
17.2.4. Расчет потерь от ДТП осуществляется на основании графиков коэффициентов аварийности.
Методы оценки безопасности движения с помощью коэффициентов аварийности на автомобильных дорогах в горной и равнинной местности, а также на городских улицах приведены в гл. 1. При подсчете потерь от ДТП следует ориентироваться на срок службы наиболее долговечного варианта.
Потери от ДТП по каждому из вариантов (С) рассчитывают на основании зависимостей между значениями итоговых коэффициентов аварийности и количеством ДТП на 1 млн. авт-км (ВСН 3-81).
, (17.13)
где Псрt - средние потери от одного дорожно-транспортного происшествия в t-м году (табл. 17.2 и 17.3), руб.; L - протяженность участка с однородными дорожными условиями, км; аt - количество дорожно-транспортных происшествий на 1 млн. авт-км, mt - итоговый стоимостной коэффициент, учитывающий тяжесть дорожно-транспортных происшествий (см. гл. 1); Nt - среднегодовая суточная интенсивность движения на участке дороги, авт./сут; t - расчетный год; Т - период суммирования (срок службы), лет; i - количество участков с различными дорожными условиями и интенсивностью движения.
Таблица 17.2
|
Год |
Средние потери от одного ДТП, руб., на дорогах |
|
|
в равнинной местности |
горных |
|
|
1985 |
5780 |
12720 |
|
1990 |
6290 |
13880 |
|
1995 |
6790 |
15040 |
|
2000 |
7300 |
16 200 |
|
2005 |
7800 |
17360 |
|
2010 |
8310 |
18520 |
|
2015 |
8820 |
19690 |
|
2020 |
9320 |
20850 |
Примечание. Промежуточные значения находятся интерполяцией.
Таблица 17.3
|
Год |
Средние потери от одного ДТП, руб., в городах |
||||
|
малых |
средних |
больших |
крупных |
крупнейших |
|
|
1985 |
2790 |
2260 |
1010 |
1250 |
1690 |
|
1990 |
3050 |
2370 |
1750 |
1350 |
1830 |
|
1995 |
3300 |
2490 |
1880 |
1450 |
1970 |
|
2000 |
3550 |
2610 |
2020 |
1560 |
2120 |
|
2005 |
3800 |
2730 |
2160 |
1660 |
2200 |
|
2010 |
4050 |
2850 |
2290 |
1760 |
2410 |
|
2015 |
4310 |
2960 |
2430 |
1870 |
2550 |
|
2020 |
4360 |
3080 |
2560 |
1970 |
2700 |
Примечание. Промежуточные значения находятся интерполяцией.
17.3.1. Эффект от оборудования дорог может быть получен в денежном выражении за счет уменьшения себестоимости перевозок, снижения потерь от дорожно-транспортных происшествий, сокращения затрат на реконструкцию дороги или эксплуатационных затрат. При этом во всех случаях, когда это возможно, должны быть рассмотрены конкурирующие мероприятия, которые могут оказать больший эффект, несмотря на значительные единовременные затраты.
17.3.2. В зависимости от местных условий могут быть рассмотрены следующие конкурирующие решения.
Автобусные остановки
совмещение автобусных остановок с переходно-скоростными полосами на пересечениях;
изменение места расположения остановки для улучшения видимости.
Пересечения в одном уровне:
изменение схемы планировки пересечения;
совмещение нескольких пересечений;
изменение размеров геометрических элементов дорог в зоне пересечения.
Площадки для остановок и стоянок автомобилей
устройство нескольких стоянок с небольшой вместимостью вместо одной, рассчитанной на остановку большого количества автомобилей;
совмещение стоянок с пересечениями.
Линии связи:
применение радиорелейной связи;
подключение дорожных организаций к действующим пунктам связи.
Осветительные установки:
увеличение размеров геометрических элементов дороги;
применение световозвращающих знаков и разметки, установка противоослепляющих экранов, раздельное трассирование земляного полотна для каждого направления движения.
Ограждения:
изменение плана и профиля трассы для снижения высоты насыпи;
устройство пологих откосов насыпи;
применение ударобезопасных конструкций дорожных сооружений (стоек знаков, опор освещения);
увеличение размеров разделительной полосы.
17.3.3. Все мероприятия, связанные с обустройством дорог, разделяются на три группы. К первой относятся средства инженерного оборудования, оказывающие влияние на скорость движения; ко второй - мероприятия, эффект от которых проявляется за счет уменьшения частоты и тяжести дорожно-транспортных происшествий; к третьей - мероприятия, способствующие улучшению условий эксплуатации дороги. Эти особенности следует учитывать при технико-экономическом сравнении вариантов инженерных решений.
17.3.4. Для выбора одинаковой исходной базы при сравнении вариантов и обеспечения их сопоставимости по сроку суммирования затрат следует учитывать долговечность разных вариантов (срок службы). Срок службы автобусных остановок, переходно-скоростных полос, площадок для стоянок автомобилей принимают равным 20 годам.
17.3.5. Срок сравнения следует принимать для всех решений одинаковым и равным сроку службы наиболее долговечного варианта. Если сроки службы проектных решений по сравниваемым вариантам отличаются от менее совершенного в техническом отношении базового варианта, необходимо капитальные вложения будущих лет по менее долговечному варианту, связанные с затратами на их замену и модернизацию в течение срока службы наиболее долговечного варианта, привести к сопоставимому виду. Для этого вводят поправки к размерам удельных капитальных вложений по вариантам.
Приведенные затраты по каждому варианту
, (17.14)
где
- расчетный показатель
себестоимости; PТi - транспортная работа;
- срок службы наиболее долговечного варианта;
Kпрi - удельные единовременные затраты по каждому
варианту.
Для оценки эффективности средств оборудования необходимы данные о затратах на их устройство, ремонт и содержание.
17.4.1. Экономическую эффективность внедренных мероприятий по повышению безопасности движения определяют для подтверждения правильности их проведения. Сроки сопоставления показателей составляют 2 - 3 года для дорог I, II категорий и 3 - 5 лет для дорог IV, V категорий.
17.4.2. Особенность метода заключается в том, что им очень просто и удобно оценить эффективность мероприятий по повышению безопасности движения с малым (до 5 лет) сроком службы и очень трудно оценить мероприятия или комплекс мероприятий с значительным сроком службы. При малом сроке службы сравнительную экономическую эффективность мероприятий на основе реальных факторов (дорожно-транспортные происшествия, увеличение скоростей движения) можно оценить по методу, изложенному в п. 17.1.
17.4.3. Для мероприятий с большим сроком службы (обходы городов, реконструкция дороги, устройство надземных или подземных пешеходных переходов и т.п.) расчеты необходимо вести для всех показателей по суммарным приведенным затратам с учетом длительного срока службы.
1.1. Для построения линейного графика коэффициентов аварийности необходимы следующие исходные данные по рассматриваемому участку автомобильной дороги: интенсивность и состав движения; размеры элементов поперечного профиля (ширина проезжей части, обочин, разделительной полосы); размеры элементов плана и продольного профиля дороги; расстояние видимости в плане и профиле; коэффициент сцепления; элементы пересечений в одном и разных уровнях; габариты мостов; наличие пешеходных переходов; характер застройки вдоль дороги и расстояние до нее.
1.2. График строят в следующей последовательности:
1) вычерчивают сетку графика в удобном масштабе и заполняют ее исходными данными; на плане дороги показывают расположение застройки, габариты мостов и путепроводов, расположение пересечений;
2) вписывают значения частных коэффициентов аварийности в соответствующие строки с учетом протяжения зон влияния отдельных элементов;
3) перемножают частные коэффициенты аварийности, определяют итоговые коэффициенты аварийности для каждого характерного участка дороги, и записывают их в отдельную графу. Для упрощения расчетов вначале целесообразно выделить частные коэффициенты, постоянные для всей протяженности дороги, найти их произведение, а затем определять итоговые коэффициенты аварийности для каждого отдельного элемента плана и профиля;
4) строят линейный график изменения коэффициентов аварийности вдоль дороги;
5) проводят границы предельных значений коэффициентов аварийности и выявляют опасные для движения участки;
6) для установления очередности выполнения мероприятий вдоль дороги строят график стоимостных коэффициентов аварийности; для этого умножают значение итогового коэффициента аварийности на стоимостной итоговый коэффициент, полученное произведение записывают в дополнительную строку;
7) строят линейный график коэффициентов аварийности с учетом стоимостных коэффициентов над графиком коэффициентов аварийности;
8) намечают мероприятия по повышению безопасности движения с учетом установленной очередности.
2.1. Программа предназначена для оценки транспортно-эксплуатационных качеств автомобильных дорог как проектируемых, так и существующих, и позволяет определять для различных участков дороги их пропускную способность, коэффициенты загрузки движением, коэффициенты аварийности, ожидаемое количество дорожно-транспортных происшествий и потери народного хозяйства от них. Программа составлена на алгоритмическом языке Фортран - IV применительно и СМ ЭВМ.
Программа составлена в диалоговом режиме общения с машиной. Ввод исходной информации осуществляется с клавиатуры дисплея. В основу алгоритма программы положены используемые в практике проектирования и эксплуатации методы оценки соответствия участков дорог требованиям движения с помощью коэффициентов аварийности, определения пропускной способности, расчета потерь от дорожно-транспортных происшествий.
2.2. Итоговый коэффициент аварийности для однородного по дорожным условиям участка определяют согласно рекомендациям гл. 1.
2.3. Потери народного хозяйства от дорожно-транспортных происшествий для года t для i-го однородного участка.
,
где Сср - средний размер потерь от одного происшествия в t-м году; li - протяженность i-го однородного участка дороги; тti - итоговый стоимостной коэффициент, учитывающий влияние дорожных условий на тяжесть происшествий;
тti = m1m2m3, ..., m10, m11,
m1 - m11 - частные коэффициенты, учитывающие влияние отдельных характеристик дорожных условий на тяжесть происшествий; Fi - количество происшествий в расчете на 100 млн. авт-км пробега на i-м участке в t-м году, определяемое как функция итогового коэффициента аварийности:
Fi = 0,00875 К2итог - Китог - 0,267Китог + 34,5;
Nti - интенсивность движения на i-м участке в t-м году.
2.4. Пропускная способность участка автомобильной дороги с двумя полосами движения определяется в соответствии с требованиями «Руководства по оценке пропускной способности автомобильных дорог» (Минавтодор РСФСР, 1982)
Р = ВРmax,
где В - итоговый коэффициент снижения пропускной способности, равный произведению частных коэффициентов:
В = b1b2b3, ..., b15;
Рmax - максимальная практическая пропускная способность, авт/ч.
2.5. Расчет скорости движения транспортного потока осуществляется согласно рекомендациям гл. 1.
2.6. Алгоритмом программы предусмотрены:
а) ввод исходных данных, включающих параметры уравнений и таблицы для определения частных коэффициентов аварийности, коэффициентов тяжести, коэффициентов уменьшения пропускной способности дороги, потерь от одного происшествия;
массивы, вызывающие изменение отдельных характеристик дорожных условий по длине дороги;
данные об интенсивности и составе движения для различных участков;
б) расчет:
положения границ участков, однородных по дорожным условиям и интенсивности движения;
значений частных коэффициентов аварийности, итогового коэффициента аварийности, частных и итогового коэффициентов тяжести, количества дорожно-транспортных происшествий и потерь от них для каждого однородного участка;
общего размера потерь от дорожно-транспортных происшествий для всей дороги;
пропускной способности и коэффициента загрузки;
скорости движения транспортного потока;
в) выдача результатов расчета на АЦПУ в виде таблиц итоговых коэффициентов аварийности, потерь от дорожно-транспортных происшествий, пропускной способности и коэффициентов загрузки.
2.7. Исходные данные для расчета по программе подготавливаются в табличной форме. Эти данные делятся на три группы:
I. Параметры уравнений и таблицы для определения в зависимости от дорожных условий значений частных коэффициентов аварийности, тяжести, снижения пропускной способности, потерь от дорожно-транспортных происшествий. Эти данные являются постоянными и могут быть использованы при любых расчетах.
II. Средние потери от одного дорожно-транспортного происшествия, определяемые в зависимости от года, для которого производится расчет:
|
Годы |
1985 |
1986 |
1987 |
1988 |
1989 |
1990 |
2000 |
|
Потери от одного ДТП, руб. |
5780 |
5880 |
5980 |
6080 |
6190 |
6290 |
7300 |
III. Дачные об изменении интенсивности движения и характеристик дорожных условий по длине дороги, получаемые изложенными методами (см. гл. 2). Они группируются в виде 17 массивов. Ценная строка каждого массива содержит данные о положении поперечников, где происходит изменение какого-либо рассматриваемого параметра.
Первая цифра этой строки означает положение (в километрах) начала дороги, вторая - положение конца 1-го участка с постоянным параметром, третья - положение конца 2-го участка с постоянным параметром и т. д., а последняя цифра первой строки массива - положение конца дороги.
В последующих строках размещаются показатели, характеризующие дорожные условия соответственно на каждом однородном участке.
2.8. Ниже дается описание массивов и особенностей их составления.
Массив L1. Изменения по длине дороги интенсивности и состава движения
|
Положение, км |
.................................. |
|
|
Интенсивность, авт./сут |
.................................. |
|
|
Состав транспортного потока (в долях единицы) |
Легковые автомобили |
.................................. |
|
|
Автобусы |
.................................. |
|
|
Легкие грузовые автомобили |
.................................. |
|
|
Средние грузовые автомобили |
.................................. |
|
|
Тяжелые грузовые автомобили |
.................................. |
|
|
Автопоезда |
.................................. |
Массив L2. Ширина проезжей части дороги и признак укрепления обочин
|
Положение участка, км |
........................... |
|
Ширина проезжей части, м |
............................ |
|
Признак укрепления обочин П2 |
............................ |
При неукрепленных обочинах П2 = 1, при укрепленных П2 = 0.
Массив L3. Данные о ширине обочин и значения коэффициента b9, определяемые по табл. 2.1
|
Положение участка, км |
................................ |
|
Ширина обочин, м |
................................ |
|
Значение b9 |
................................. |
Таблица 2.1
|
Состояние обочин |
b9 |
|
Обочины укреплены тем же покрытием, что и проезжая часть |
1,0 |
|
Обочины, укрепленные щебнем или гравием |
0,99 |
|
» , укрепленные засевом трав |
0,95 |
|
Неукрепленные обочины в сухом состоянии |
0,9 |
|
Скользкие, покрытые грязью обочины |
0,45 |
Массив L.4. Данные о продольных уклонах дороги
|
Положение участка, км |
.......................... |
|
Уклон, %о |
.......................... |
Массив L.5. Видимость в плане и продольном профиле
|
Положение, км |
.......................... |
|
Расстояние видимости, м |
.......................... |
|
Признак П5 |
.......................... |
Значение П5 принимается равным 0 - в случае ограничения видимости в плане, и 1 - при ограничении видимости в продольном профиле.
Так как расстояния видимости более 500 м не оказывают влияния на значение коэффициентов аварийности и снижение пропускной способности, допускается в целях сокращения объема массива объединять участки с расстояниями видимости более 500 м в один участок, условно принимая для него значение расстояния видимости более 500 м.
Массив L6. Радиусы кривых в плане
|
Положение участка, км |
........................ |
|
Радиус, м |
........................ |
Для прямолинейных участков условно принимают значение радиуса, равное 1000000 м.
Массив L7. Разница в ширине проезжей части моста и дороги, признаки наличия моста и высота ограждения на мосту
|
Положение участка, км |
.................. |
|
Разница в ширине проезжей част моста и дороги, м |
................. |
|
Признак ВР |
................... |
ВР = 1,43 - в случае отсутствия моста;
ВР = 2 - при высоте бордюра 30 см и менее;
ВР = 3 - при высоте бордюра более 30 см.
Массив L8. Длина прямых участков
|
Положение участка, км |
................... |
|
Длина прямых, км |
................... |
В целях сокращения объема массива допускается объединять в один условный участок кривые и прямолинейные участки, протяжением менее 3 км, условно подставляя для него значения длины прямой 1 км.
Массив L9. Характеристики пересечений
|
Положение участка, км |
....................... |
|
Признак пересечения Д, % |
....................... |
|
Видимость на пересечении, м |
....................... |
|
Тип пересечения Т |
....................... |
Д = 1 - для пересечений в разных уровнях;
Д = 0 - в случае отсутствия пересечения.
При пересечении в одном уровне Д принимают равным процентному отношению интенсивности движения на пересекаемой дороге к суммарной интенсивности на двух дорогах.
Т = 0, если пересечение отсутствует или полностью канализировано;
Т = 1 - необорудованное пересечение с шириной проезжей части по основному направлению 7-7,5 м;
Т = 2 - то же, с шириной проезжей части 10,5 м;
Т = 3 - частично канализированное пересечение с шириной проезжей части 7-7,5 м.
Т = 4 - то же, с шириной проезжей части 10,5 м
Массив L10. Число полос движения на участке дороги
|
Положение участка, км |
.......................... |
|
Число полос движения |
........................... |
Массив L11. Населенные пункты
|
Положение участка, км |
............................ |
|
Характеристика населенного пункта Х |
............................ |
Х =0 - дорога вне населенного пункта;
Х = 1 - расстояние от застройки 15-20 м, имеются тротуары или пешеходные дорожки;
Х = 2 - расстояние от застройки 6-10 м, имеются тротуары;
Х = 3 - расстояние от застройки 5 м, имеются тротуары;
Х = 4 - расстояние от застройки 5 м, тротуары отсутствуют.
Массив L12. Коэффициент сцепления и значения коэффициента b10, определяемые по табл. 2.2
|
Положение участка, км |
............................... |
|
Коэффициент сцепления |
............................... |
|
» b10 |
............................... |
Таблица 2.2
|
Состояние покрытие |
b10 |
|
Шероховатое асфальтобетонное, цементобетонное или черное щебеночное покрытие |
1,0 |
|
Сборное цементобетонное покрытие |
0,98 |
|
Скользкое асфальтобетонное покрытие |
0,87 |
|
Булыжная мостовая |
0,42 |
|
Грунтовая дорога, ровная, сухая, без пыли |
0,90 |
|
То же, размокшая |
0,1-0,3 |
Массив L13. Наличие деревьев и опор или других высоких предметов в пределах земляного полотна
|
Положение участка, км |
........................ |
|
Признак наличия деревьев Е |
........................ |
Е = 1 - деревья отсутствуют;
Е = -1 - в пределах земляного полотна находятся деревья, опоры или другие предметы (например, подпорные стенки).
Массив L14. Значения коэффициента b11, определяемые по табл. 2.3
|
Положение участка, км |
............................... |
|
Коэффициент b11 |
............................... |
Таблица 2.3
|
Оборудование дороги |
b11 |
|
Площадки отдыха, бензозаправочные станции или остановочные площадки отсутствуют или полностью отделены от проезжей части основной дороги, имеется специальная полоса для въезда |
1,0 |
|
То же, при наличии отгона ширины |
0,98 |
|
», » отсутствии полосы отгона |
0,80 |
|
», без отделения от основной проезжей части |
0,64 |
Массив L15. Значение коэффициента b12, определяемые по табл. 2.4
|
Положение участка, км |
................ |
|
Коэффициент b12 |
............... |
Таблица 2.4
|
Тип дорожной разметки |
b12 |
|
Разметка отсутствует |
1,0 |
|
Осевая разметка |
1,02 |
|
Краевая и осевая разметка |
1,05 |
|
Разметка полос движения на подъемах с дополнительной полосой |
1,50 |
|
То же, на четырехполосной дороге |
1,23 |
|
», на трехполосной дороге |
1,30 |
|
Двойная осевая разметка |
1,1 |
Массив L16. Значение коэффициента b13
|
Положение участка, км |
..................... |
|
b13 |
..................... |
Если указатели полос, движения отсутствуют, b13 = 1. При оборудовании дороги указателем полос движения b13 = 1,1.
Массив L17. Допустимая скорость движения по участку
|
Положение участка, км |
..................... |
|
Скорость, км/ч |
..................... |
2.9. Пример распечатки расчета представлен в табл. 2.5.
Таблица 2.5
|
Местоположение, км |
Длина участка, км |
Итоговый коэффициент аварийности |
Потери от ДТП, руб. |
Пропускная способность, авт/ч |
Коэффициент загрузки z |
|
0,850 |
0850 |
14,0 |
1447,1 |
916,7 |
0,41 |
|
1,200 |
0,350 |
19,96 |
719,7 |
802,3 |
0,47 |
|
1,400 |
0,200 |
51,79 |
393,2 |
792,7 |
0,48 |
|
1,700 |
0,300 |
19,96 |
616,9 |
802,3 |
0,47 |
|
2,000 |
0,300 |
8,54 |
516,5 |
877,6 |
0,43 |
|
2,100 |
0,100 |
20,67 |
240,2 |
877,6 |
0,43 |
|
2,500 |
0,400 |
10,34 |
684,9 |
877,6 |
0,43 |
|
3,000 |
0,500 |
8,54 |
860,8 |
877,6 |
0,43 |
|
3,500 |
0,500 |
0,93 |
1175,1 |
3646,9 |
0,17 |
|
4,000 |
0,500 |
3,56 |
1443,0 |
3408,9 |
0,18 |
|
4,500 |
0,500 |
26,73 |
2313,0 |
3349,2 |
0,18 |
|
4,700 |
0,200 |
52,64 |
1241,1 |
3403,6 |
0,18 |
|
5,000 |
0,300 |
28,35 |
1402,8 |
3349,2 |
0,18 |
|
5,600 |
0,600 |
6,82 |
2042,4 |
2783,3 |
0,22 |
|
6,000 |
0,400 |
23,77 |
955,7 |
2454,3 |
0,25 |
|
6,100 |
0,100 |
98,18 |
2040,3 |
2397,8 |
0,25 |
|
6,200 |
0,100 |
28,16 |
1047,1 |
2719,3 |
0,22 |
ГОСТ 10807-78. Знаки дорожные (Изменение № 1 1984 г.).
ГОСТ 13508-74. Разметка дорожная (Изменения № 1 1980 г., № 2 1984 г.).
ГОСТ 23457-86. Технические средства организации дорожного движения. Правила применения.
Инструкция по проектированию наружного освещения городов, поселков и сельских населенных пунктов. СН 541-82. Госстрой СССР.
Инструкция по устройству и обслуживанию переездов. 1986. Главное управление пути МПС.
Инструкция по учету потерь народного хозяйства от дорожно-транспортных происшествий при проектировании автомобильных дорог. ВСН 3-81. Минавтодор РСФСР.
Методические рекомендации по проектированию автобусных остановок. Союздорнии, 1975.
Методические рекомендации по проектированию и оборудованию автомагистралей для обеспечения безопасности движения. Минавтодор РСФСР, 1983.
Рекомендации по благоустройству и оборудованию автомобильных дорог Казахской ССР для обеспечения безопасности движения. Минавтодор КазССР, 1977.
Рекомендации по обстановке автомобильных дорог Молдавской ССР. Минавтодор МССР, 1984.
Рекомендации по снижению шума на автомобильных магистралях. Минавтодор РСФСР, Минавтодор КазССР, 1979.
Руководство по оценке пропускной способности автомобильных дорог. Минавтодор РСФСР, 1982.
СНиП 2.05.02-85. Автомобильные дороги. Госстрой СССР.
СНиП 2-4-79. Естественное и искусственное освещение. Нормы проектирования. Госстрой СССР.
СНиП II-60-75. Планировка и застройка городов, поселков и сельских населенных пунктов. Нормы проектирования. Госстрой СССР.
Технические правила ремонта и содержания автомобильных дорог. BCН 24-85. Минавтодор РСФСР.
Технические указания по устройству дорожных покрытий с шероховатой поверхностью. ВСН 38-77. Минавтодор РСФСР.
Технические указания по укреплению обочин автомобильных дорог. ВСН 39-79. Минавтодор РСФСР.
Указания по архитектурно-ландшафтному проектированию автомобильных дорог. ВСН 18-85. Минавтодор РСФСР.
Указания по разметке автомобильных дорог. ВСН 23-75. Минавтодор РСФСР.
Указания по учету требований защиты окружающей среды и землепользования при реконструкции автомобильных дорог в условиях Молдавской ССР. ВСН 9-79. Минавтодор МССР.
Определение эффективности строительства обхода населенного пункта с удалением застройки от проезжей части на 5 ¸ 15 м (Nо - интенсивность движения в исходный год, авт./сут)

Протяженность населенных пунктов, км
- строительство обхода не эффективно
Определение эффективности мероприятий по улучшению условий и безопасности движения на автомобильных дорогах в пределах населенных пунктов (Nо - интенсивность движения в исходный год, авт./сут)

Протяженность населенных пунктов, км
- обустройство
- реконструкция с подземным переходом
- устройство обхода
- снос застройки
|
|
|
|