//
ТехЛит.ру
- крупнейшая бесплатная электронная интернет библиотека для "технически умных" людей.
WWW.TEHLIT.RU - ТЕХНИЧЕСКАЯ ЛИТЕРАТУРА

:: Алготрейдинг::


АЛГОТРЕЙДИНГ
шаг за шагом
с нуля по урокам!

Торговые роботы на PYTHON, BackTrader,
Pandas, Pine Script для TradingView. Связка с брокерами, телеграм и легкими приложениями.


МИНИСТЕРСТВО ТРАНСПОРТНОГО СТРОИТЕЛЬСТВА

ГОСУДАРСТВЕННЫЙ ВСЕСОЮЗНЫЙ ДОРОЖНЫЙ

НАУЧНО-ИССЛЕДОВАТЕЛЬСКИЙ ИНСТИТУТ СОЮЗДОРНИИ

МЕТОДИЧЕСКИЕ РЕКОМЕНДАЦИИ

ПО ОБЕСПЕЧЕНИЮ

ЭКСПЛУАТАЦИОННОЙ НАДЕЖНОСТИ

И ДОЛГОВЕЧНОСТИ ПРОЛЕТНЫХ СТРОЕНИЙ

ИЗ СВОДЧАТЫХ ПЛИТ БЕЗ УСТРОЙСТВА

ПРИ МОНТАЖЕ ОДЕЖДЫ ЕЗДОВОГО ПОЛОТНА

Утверждены зам. директора Союздорнии

канд. техн. наук Б.С. Марышевым

Составлены на основании результатов лабораторных и натурных исследований, опыта изготовления, транспортирования и монтажа пролетных строений из сводчатых плит без устройства при монтаже одежды ездового полотна.

Даны конструкция пролетного строения, оптимальные геометрические параметры сводчатой плиты и пролетных строений из них.

Приведены требования к материалам сводчатых плит.

Содержат сведения об оснастке для сводчатых плит, об изготовлении, о хранении, транспортировании и монтаже пролетных строений; указаны области применения конструкции.

Приведены рекомендации по устройству на пролетных строениях одежды ездового полотна нескольких типов при планируемом переводе дороги, на которой построен мост, в более высокую категорию.

Применение пролетных строений из сводчатых плит без устройства одежды ездового полотна при строительстве автодорожных мостов на дорогах низких категорий взамен типовых пролетных строений по проектам инв. .№ 710/5 и инв. № 384/43 обеспечивает экономию материальных и трудовых затрат.

СОДЕРЖАНИЕ

ПРЕДИСЛОВИЕ. 1

1.ОБЩИЕ ПОЛОЖЕНИЯ.. 2

2. КОНСТРУКЦИЯ ПРОЛЕТНОГО СТРОЕНИЯ И ОПТИМАЛЬНЫЕ ГЕОМЕТРИЧЕСКИЕ ПАРАМЕТРЫ СВОДЧАТОЙ ПЛИТЫ И ПРОЛЕТНОГО СТРОЕНИЯ.. 2

3. ТРЕБОВАНИЯ К МАТЕРИАЛАМ... 6

4. ОСНАСТКА ДЛЯ ИЗГОТОВЛЕНИЯ СВОДЧАТЫХ ПЛИТ. 7

5. ИЗГОТОВЛЕНИЕ ПРОЛЕТНЫХ СТРОЕНИЙ, ПРАВИЛА ПРИЕМКИ, МЕТОДЫ КОНТРОЛЯ И ИСПЫТАНИЙ.. 9

6. ТРАНСПОРТИРОВАНИЕ И ХРАНЕНИЕ СВОДЧАТЫХ ПЛИТ. 11

7. МОНТАЖ ПРОЛЕТНЫХ СТРОЕНИЙ.. 11

8. ТЕХНИКА БЕЗОПАСНОСТИ.. 12

9. ТЕХНИКО-ЭКОНОМИЧЕСКАЯ ЭФФЕКТИВНОСТЬ. 12

10. РЕКОНСТРУКЦИЯ ПРОЛЕТНЫХ СТРОЕНИЙ.. 13

 

ПРЕДИСЛОВИЕ

Сравнительно недавно мосты пролетами 12 м на дорогах всех категорий строили только из типовых железобетонных Т-образных балочных или двух пустотных плитных пролетных строений. Принятой технологией предусматриваются омоноличивание швов между балками или плитами на строительной площадке и устройство многослойной одежды ездового полотна, что при строительстве мостов на дорогах низких категорий приводит к неоправданным материальным и трудовым затратам.

Союздорнии и Союздорпроект предложили взамен типовых конструкций пролетных строений  использовать конструкции из не объединяемых между собой сводчатых плит длиной 12 м без устройства одежды ездового полотнах). Езда осуществляется непосредственно по плитам. Конструкция имеет 100%-ную сборность. При необходимости пролетное строение легко разобрать и смонтировать на новом месте.

Обследования и испытания двух опытных мостов, проведенные Союздорнии, показали, что под воздействием временных нагрузок разрушаются верхние продольные углы сводчатых плит, а превышение граней смежных плит по продольным зазорам между ними (ступеньки) достигает 30-35 мм. Указанные недостатки обусловлены некоторыми недоработками проекта, некачественным изготовлением и монтажом пролетных строений.

_____________

х) Проект инв. № 29100-М разработан Союздорпроектом по техническому заданию Союздорнии.

Небольшой объем внедрения данной конструкции (всего смонтировано около 850 м2) можно объяснить неуверенностью заказчиков в ее эксплуатационной надежности и долговечности.

Союздорнии в результате выполнения большого объема лабораторных исследований определил оптимальные геометрические параметры сводчатой плиты и пролетных строений из них, обеспечивающие высокую эксплуатационную надежность и долговечность пролетных строений без устройства при монтаже одежды ездового полотна, а также требования к материалам  и оснастке.

"Методические рекомендации по обеспечению эксплуатационной надежности и долговечности пролетных строений из сводчатых плит без устройства при монтаже одежды ездового полотна" составлены с целью оказать помощь при проектировании, изготовлении, хранении, транспортировании и монтаже пролетных строений такого типа.

В настоящих Методических рекомендациях приведены варианты устройства на пролетных строениях одежды ездового полотна при переводе дороги в более высокую категорию.

Методические рекомендации разработаны канд. техн. наук Б. П. Беловым и инж. С. В. Семеновым.

1.ОБЩИЕ ПОЛОЖЕНИЯ

1.1. Методическими рекомендациями, следует руководствоваться при проектировании (привязке), изготовлении и монтаже, пролетных строений из не объединяемых сводчатых плит длиной 12 м без устройства при монтаже одежды ездового полотнах) во всех регионах СССР.

1.2. Область применения конструкции - мосты на автомобильных дорогах IV и V категорий, на внутри - и межплощадочных, карьерных, лесовозных дорогах и на внутрихозяйственных дорогах колхозов, совхозов и других сельскохозяйственных предприятий.

Наиболее эффективно применять такую конструкцию в труднодоступных районах, районах с суровыми климатическими условиями и на временных мостах.

1.3. Пролетные строения имеют 100%- ную сборность и полную заводскую готовность.

При необходимости пролетное строение может быть разобрано и смонтировано на новом месте.

1.4. Расчетный срок службы - не менее чем типовых пролетных строений с традиционной одеждой ездового полотна.

1.5. Пролетные строения рекомендуется применять, в разрезных и температурно-неразрезных системах мостов.

При монтаже разрезных пролетных строений опирание сводчатых плит следует осуществлять на резиновые опорные части температурно-неразрезных - на резиновые или резинофторопластовые.

__________________________

х) Проект инв. № 29100-М Союздорпроекта.

В разрезных пролетных строениях при наличии в нижней части ребер (в местах расположения опорных частей стальных закладных деталей допускается опирать сводчатые плиты на стальные опорные части.

1.6. Допускается опирать смежные ребра сводчатых плит на общую опорную часть.

1.7. При переводе дороги, на которой построен мост, в более высокую категорию на пролетных строениях легко может быть устроена одежда ездового полотна.

2. КОНСТРУКЦИЯ ПРОЛЕТНОГО СТРОЕНИЯ И ОПТИМАЛЬНЫЕ ГЕОМЕТРИЧЕСКИЕ ПАРАМЕТРЫ СВОДЧАТОЙ ПЛИТЫ И ПРОЛЕТНОГО СТРОЕНИЯ

2.1. Сводчатые плиты в составе пролетного строения не объединяют между собой.

2.2. Одежду ездового полотна в предлагаемой конструкции пролетного строения не устраивают.

Проезд транспорта осуществляется непосредственно по сводчатым плитам.

2.3. Верх торцов сводчатых плит должен быть окаймлен стальными уголками, заанкеренными в бетоне плиты.

2.4. Сводчатые плиты в пролетном строении допускается устанавливать с двух- или односторонним, поперечным уклоном.

2.5. Отвод воды с поверхности пролетного строения осуществляется через открытые продольные зазоры между сводчатыми плитами.

2.6. Для того чтобы обеспечить эксплуатационную надежность и долговечность пролетных строений из не объединяемых сводчатых плит без устройства при монтаже одежды ездового полотна при движении по ним колесного и гусеничного транспорта, необходимо  использовать сводчатые плиты из бетона класса по прочности на сжатие не ниже В30 и пролетные строения из них, имеющие следующие геометрические параметры:

радиус закругления на верхних продольных углах сводчатой плиты - 13,1-20,0 мм;

толщину дополнительного слоя износа бетона на верхней поверхности сводчатой плиты, бетонируемого одновременно с плитой, - не менее 20 мм;

фаски размером 15´15 мм или 20´20 мм в нижней части ребер сводчатой плиты, которые располагаются на длине не менее 3 м от торцов плит;

сумму поперечных уклонов сводчатых плит в месте изменения поперечного профиля пролетного строения - 4 %;

ширину открытого продольного зазора между сводчатыми плитами - 20-40 мм;

максимально допустимое превышение граней смежных сводчатых плит по продольным зазорам между ними (ступеньки) в месте открытого продольного зазора - не более 20 мм.

Оптимальные геометрические параметры были установлены в результате выполнения большого объема лабораторных и натурных исследований.

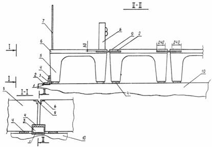
Конструкция пролетного строения показана на рис. 1.

Рис. 1. Схема поперечного сечения пролетного строения из не объединяемых сводчатых плит:

а - с тротуаром; б - без тротуара; 1 - перильное ограждение;

2 - барьерное ограждение; 3 - сводчатая плита; 4 - "ступенька" между сводчатыми плитами (не более 20 мм); 5 - открытый продольный

зазор (20-40 мм); 6 - закладная деталь

2.7. На мостах в населенных пунктах должны быть устроены тротуары шириной 1,5 м по обеим сторонам проезжей части.

По согласованию с органами ГАИ на дорогах не выше III категории в малонаселенных районах на малых и средних автодорожных мостах, расположенных вне населенных пунктов, допускается устраивать односторонние проходы шириной 0,75 м. Если длина моста не превышает 50 м, то разрешается такие проходы не устраивать.

2.8. Под тротуар устанавливается такая же сводчатая плита, как и под проезжую часть, но с закладными деталями на верхней поверхности для приварки при монтаже стоек перильных и барьерных ограждений.

При отсутствии на сводчатых плитах закладных деталей для крепления стоек барьерных ограждений допускается использовать стальные накладки, тяжи и болты (рис. 2).

Рис. 2. Возможный вариант крепления металлических барьерных ограждений на плитах:

1 - стойка перильного ограждения; 2 - закладная деталь;

3 - сводчатая плита; 4 - стойка барьерного ограждения; 5 -  профиль;

6 - гайка; 7 - сварной шов; 8 - стальная. пластина; 9 - эластичная

прокладка; 10 - тяж

2.9. Допускается применять тротуарную сводчатую плиту с железобетонным парапетом высотой 60 см, бетонируемым одновременно со сводчатой плитой или изготавливаемым на отдельном посту и заанкериваемым в бетоне сводчатой плиты при ее изготовлении (рис. 3).

Рис. 3. Схема поперечного сечения пролетного строения с крайними сводчатыми плитами специального профиля:

а - с тротуаром; б - без тротуара; 1 - перильное ограждение на верхней поверхности плиты; 2 - закладная деталь на верхней поверхности бордюра; 3 - сводчатая плита с железобетонным бордюром; 4 - сводчатая плита без бордюра; 5 - закладная деталь на верхней поверхности плиты; 6 - перильное ограждение на верхней поверхности бордюра

Железобетонный парапет на тротуарной сводчатой плите необходимо располагать на расстоянии от одной из его боковых граней, равном ширине прохода (0,75 м).

В пролетном строении без тротуаров (проходов) или с одним тротуаром (проходом) тротуарная плита должна быть развернута на 180° вокруг вертикальной оси по сравнению с ее положением в пролетном строении с тротуарами (проходом).

2.10. Чтобы предотвратить самопроизвольную раздвижку сводчатых плит, к стальным уголкам на их торцах необходимо приварить арматурные стержни из стали класса А-1 (диаметр 20 мм, длина 680 мм), а к закладным деталям на насадках опор - стальные уголки (рис. 4).

Рис. 4. Схема узлов по ограничению самопроизвольной раздвижки сводчатых плит:

1 - закладная деталь на насадке опоры; 2 - сварной шов; 3 - уголок; 4 - резиновая слоистая опорная часть; 5 - сводчатая плита; 6 - стальной уголок; 7 - перила; 8 - барьерное ограждение; 9 - арматурный стержень; 10 - насадка опоры

При этом арматурные стержни следует располагать ниже верхней поверхности плиты минимум на 20-30 мм, а между вертикальной полкой уголка и ребром крайней сводчатой плиты должна быть вставлена резиновая опорная часть таким образом, чтобы обеспечить плотное ее сопряжение с ребром плиты и полкой уголка.

2.11. Для того чтобы исключить попадание грязи на насадки опор и улучшить комфортность проезда при эксплуатации пролетных строений без устройства при монтаже одежды ездового полотна, следует объединить сводчатые плиты между собой в продольном направлении в температурно-неразрезную конструкцию (рис. 5).

 

 

 

Рис. 5. Узел объединения сводчатых плит в температурно-неразрезное пролетное строение:

а - продольный разрез; б - план; в - продольный разрез при заполнении зазора над стержнем герметизирующим материалом;

г - продольный разрез при наличии на стержне Т образного элемента; 1 - сводчатая плита (СП); 2 - поперечный зазор между СП;

3 - закладные детали в верхних частях торцов СП, заанкеренные в бетоне; 4 - стальной стержень, приваренный в разбежку к закладным деталям на торцах СП; 5 - сварные швы; 6 - опорная часть; 7 - герметизирующий материал над стержнем; 8 - Т образный стальной элемент; a - расстояние между сварными швами

Основной элемент узла объединения - соединительный стальной стержень, расположенный в зазоре между сводчатыми плитами и приваренный вразбежку к закладным деталям в верхней части торцов сводчатых плит. Стержень проходит по всей ширине пролетного строения.

Поперечное сечение стержня следует выбирать из условия работоспособности узла объединения при угловых перемещениях концов смежных пролетных строений. Оно может быть прямоугольным, в виде уголка и т.д.

Расстояние a между участками приварки стержня к закладным деталям смежных сводчатых плит необходимо назначать по расчету прочности соединительного стержня на кручение при угле закручивания, равном суммарным угловым перемещениям торцов смежных сводчатых плит.

Наиболее целесообразно соединительный стержень прикреплять ниже верхней поверхности сводчатой плиты и зазор над ним заполнять долговечным герметизирующим материалом. Для обеспечения долговечности герметизирующего материала соединительный стержень можно дополнительно снабжать Т-образным стальным элементом (см. рис. 5, г).

При устройстве узла объединения не требуется применять конструктивные решения по ограничению самопроизвольной раздвижки сводчатых плит (см. п. 2.10).

Допускается применять также конструкции узлов, приведенные на рис. 6.

 

 

 

Рис. 6. Конструкции узлов для предохранения насадок опор от загрязнения и увлажнения:

1 - сводчатая плита; 2 - закладная .деталь; 3 - компенсатор;

4 - герметизирующий материал; 5 - пористый материал; 6 - резиновый компенсатор К-8; 7 - элементы крепления компенсатора К-8

2.12. Для подъема сводчатых плит должны быть предусмотрены монтажные петли, которые после установки плит на опоры следует срезать автогеном.

Вокруг монтажных петель рекомендуется устраивать ниши в бетоне плиты размером (40¸50 мм)´(170¸200 мм) и глубиной 20-30 мм. После срезки монтажных петель их следует заполнять полимерным бетоном или раствором.

2.13. Монтажные петли должны быть наклонены к оси поперечного сечения сводчатой плиты, что облегчит установку плит одна на другую при складировании и транспортировании.

2.14. Вместо монтажных петель допускается устраивать в сводчатых плитах монтажные отверстия диаметром до 20 см для пропуска строповочных приспособлений. Вокруг отверстий следует предусмотреть установку дополнительной арматуры.

2.15. Верх торцов пролетных строений должен быть в одном уровне с верхом покрытия на подходах.

2.16. Закладные детали на сводчатых плитах и на насадках опор, элементы стальных стыков и стальные упоры на насадках опор необходимо защищать от коррозии.

3. ТРЕБОВАНИЯ К МАТЕРИАЛАМ

3.1. Сводчатые плиты надлежит изготавливать из тяжелого бетона, соответствующего требованиям ГОСТ 25192-82, ГОСТ 7473-85, ГОСТ 26633-85.

Класс бетона по прочности на сжатие должен быть не ниже В30.

Марка бетона по водонепроницаемости - W8, по морозостойкости - F300 при испытании по ГОСТ 10060-87 в 5 %-ном растворе хлористого натрия.

При приготовлении бетонной смеси следует в обязательном порядке применять комплексные воздухововлекающие (газообразующие) и пластифицирующие добавки согласно главе СНиП III-43-75 и ГОСТ 24211-80.

Водоцементное отношение бетонной смеси должно быть не более 0,40-0,42.

Максимальная крупность щебня не должна превышать 20 мм.

3.2. Заделывать ниши вокруг монтажных петель рекомендуется при положительной температуре воздуха полимерным раствором или полимербетоном (составы № 1-3), при отрицательной - полимербетоном (составы № 2 и 3).

Рекомендуемые составы (мас. ч.) для заделки ниш:

Состав1 - полимерный раствор:

Поливинилацетатный клей ........................……......     40

Портландцемент марки 400 .........................……....    100

Песок .............................................................……..    150

Вода ............................................................……......    25

Состав № 2 - полимербетон на мелком заполнителе:

Эпоксидная смола (ЭД-20, ЭД-16, ЭД-14,

ЭИС) .............................................................……....  100

Отвердитель (полиэтиленполиамин) ........…….......  6-25

Пластификатор (фуриловый спирт

или дибутилфталат) .................................…….........    20

Растворитель (толуол) ...............................…….......    20

Песок ...........................................................…...  500-650

Цемент .......................................................….....  200-300

Состав № 3 - полимербетон на крупном заполнителе:

Эпоксидная смола (ЭД-20, ЭД-16, ЭД-14,

ЭИС) ............................................................……....   100

Отвердитель (полиэтиленполиамин) ..........……....  6-25

Пластификатор (фуриловый спирт

или дибутилфталат) ................................…….........     20

Растворитель (толуол) .........................…….............    20

Щебень ................................................…...........  300-400

Песок ......................................................…........  350-450

Цемент .....................................................….......  200-300

Количество полиэтиленполиамина в составах 2 и 3 следует принимать в зависимости от температуры их твердения:

Температура твердения состава, °С

20-30

15-20

10-15

5-10

0-5

Ниже 0

Количество полиэтиленполиамина, мас. ч

6-7

8-10

11-16

15-20

20-25

25

При отрицательных температурах твердения составов № 2 и 3 в качестве пластификатора следует применять только фуриловый спирт.

В лаборатории составы должны быть уточнены в соответствии с температурой твердения и требуемыми прочностью, жизнеспособностью и временем твердения,

3.3. Закладные детали на сводчатых плитах и на насадках опор, элементы стальных стыков и стальные упоры на насадках опор необходимо защищать от коррозии путем нанесения эпоксидных покрытий согласно "Инструкции по проектированию малых и средних мостов БАМ" ВСН 187-76 (М., 1976) или других долговечных антикоррозионных составов.

3.4. При устройстве узлов объединения сводчатых плит в продольном направлении следует применять герметизирующие материалы, выпускаемые промышленностью: резинобитумные вяжущие РБВ-35, РБВ-50 по ТУ 21-27-41-75, мастики битумно-бутилкаучуковые пластифицированные МББП-65 (Лило-1) и МББП-80 (Лило-2) по ТУ 21-27-40-83, мастику резинобитумную горячую МРГ-Г по ТУ 218 БССР 41-81 или другие аналогичные по характеристикам долговечные герметизирующие материалы.

3.5. Для конструкций узлов, показанных на рис. 6, следует применять материалы согласно "Методическим рекомендациям по проектированию и устройству конструкций деформационных швов в автодорожных и городских мостах и путепроводах " (Союздорнии. - М., 1982).

4. ОСНАСТКА ДЛЯ ИЗГОТОВЛЕНИЯ СВОДЧАТЫХ ПЛИТ

4.1. В состав оснастки, для изготовления сводчатых плит, должны входить: кондуктор для изготовления пространственного каркаса, оборудование для заготовки арматуры, опалубка, машина для изготовления сварных сеток или машина для механизированного изготовления несварных сеток либо кондуктор для ручной вязки сеток, оборудование для приготовления бетонной смеси и подачи ее к опалубке, распределитель бетонной смеси, оборудование для уплотнения уложенной в опалубку бетонной смеси, оборудование для тепловлажностной обработки бетона, транспортное оборудование.

4.2. Изготавливать сводчатые плиты следует в опалубке, разработанной ПКБ Исетского завода МЖБК.

Опалубка (рис. 7) состоит из сводчатой матрицы, поддона, боковых и торцевых щитов, механизмов открывания - закрывания боковых щитов, виброблока, электрической или ручной лебедки для перемещения виброблока вдоль опалубки.

 

Рис. 7. Схема опалубки, разработанной ПКБ Исетского завода МЖБК:

I - блок с тросом для раздвижки боковых щитов; 2 - петля для сдвижки боковых щитов в проектное положение; 3 - торцевой щит; 4 - боковой щит; 5 - шарнирное сопряжение тяги с боковым щитом; 6 - труба для тепловой обработки забетонированной плиты; 7 - рама; 8 - виброблок с вибратором; 9 - направляющая для перемещения виброблока вдоль опалубки; 10 - тяга; 11 - сводчатая матрица; 12 - монтажная петля на торцевом щите; 13 - монтажная петля опалубки;

14 - гибкий стальной элемент - поддон ребра

Боковые щиты крепят к поддону с помощью гибких стальных элементов, позволяющих щитам отклоняться при распалубливании на небольшой угол (верх каждого щита должен отклоняться наружу на 13,1-20,0 мм). Торцевые щиты извлекаемые. Механизмы открывания-закрывания боковых щитов служат для распалубливания готового изделия и сборки опалубки.

Проектные размеры сводчатой плиты по длине опалубки обеспечиваются за счет жесткости боковых щитов.

Фиксацию виброблока на любом участке опалубки можно осуществлять с помощью электромагнитного, пневматического или пружинного прижима.

4.3. Чтобы обеспечить высокую технологичность изготовления сводчатых плит хорошего качества, эксплуатационную надежность и долговечность пролетных строений без устройства при монтаже одежды ездового полотна, необходимо выполнить следующие усовершенствования опалубки по проекту ПКБ Исетского завода МЖБК (рис. 8).

Рис. 8. Схема поперечного сечения усовершенствованной опалубки:

1 - окно для установки форм с контрольными бетонными образцами; 2 - отверстие

для измерения температуры прогрева плиты; 3 - элемент для образования закругления; 4 - фаскообразователь

Внутренней стороне верхней части боковых щитов должна быть придана форма, позволяющая образовать закругления плиты с радиусом 13,1-20,0 мм.

В нижней части опалубки (где формуются ребра) следует устроить фаскообразователи размером 15´15 или 20´20 мм на длине не менее 3 м от торцов плиты.

Необходимо обеспечить одинаковые отметки и жесткость низа поддона ребер на длине 0,7-0,8 м от торцов плиты.

В боковых щитах опалубки необходимо устроить окна для установки форм с контрольными бетонными образцами и отверстия для измерения температуры внутри боковых щитов.

На поверхность опалубки, соприкасающуюся с уложенным бетоном, надлежит нанести антиадгезионное полимерное покрытие толщиной 150-250 мкм, которое обеспечит 60-70 циклов оборачиваемости опалубки без его восстановления и позволит эксплуатировать опалубку без смазки и практически без очистки.

Полимерный материал допускается наносить на поверхности опалубки кистью или распылением после пескоструйной очистки.

Целесообразно применять следующий состав полимерного материала (мас. ч.)х):

Эпоксидная смола ЭД-16 или ЭД-20 ....................  100

Полиэтиленполиамин ............................................ 12-15

Толуол .................................................................... 15-20

Жидкий полисульфидный каучук-тиокол

марки НВ или НВТ ...............................................    20

Полиметилхлорфенилсилоксановая жидкость

марки ХС-2-1 ........................................................    25

Тонкомолотый кварцевый песок вибропомола

КП-2 или КП-3 .....................................................  25-90

Допускается применять покрытия и других составов, обладающих антиадгезионными свойствами к бетону и долговечных в эксплуатации.

______________________

х) См. Временную инструкцию по применению антиадгезионных полимерных покрытий форм при производстве железобетонных конструкций транспортных сооружений (для опытного применения) - М., 1974.

4.4. Торцевые щиты опалубки рекомендуется делать несъемными. Они должны иметь наклон, наружу от опалубки, равный 1/20. На поверхностях торцевых щитов, соприкасающихся с боковыми щитами необходимы пазы для уплотняющих прокладок (например, из пористой резины, поролона или других подобных материалов).

4.5. Если сводчатая плита будет изготавливаться с монтажными отверстиями, то должны быть предусмотрены их образователи, а при наличии ниш вокруг монтажных петель - образователи ниш.

4.6. Для распалубливания сводчатых плит с монтажными отверстиями следует под ребрами сводчатых плит установить четыре синхронно работающих винтовых домкрата, которые после раздвижки боковых щитов будут поднимать плиту через специальные окна в поддоне на высоту 20-30 см, после чего плиту можно будет извлекать краном.

4.7. Изготовление вязаных сеток целесообразно механизировать, например, используя машину-автомат для изготовления несварных сеток, принцип действия которой основан на закреплении рабочих стержней скруткой парных распределительных стержней /1/.

Технические характеристики машины-автомата:

Максимальный размер сетки ................................ 2800´4500 мм

Диаметр поперечной (рабочей) арматуры ............       8-22 мм

Диаметр продольной (распределительной)

арматуры ...............................................................        6 мм

Шаг продольной (монтажной) арматуры .............    100-250 мм

Время цикла одной скрутки ..................................      12 с

Производительность при шаге 200 мм .................        1 м/мин

Габариты ...............................................................   20´7,3´2,5 м

Масса ....................................................................      10 т

Мощность электродвигателей ..............................      36 кВт

4.8. Сварные сетки рекомендуется изготавливать с помощью сварочной машины.

5. ИЗГОТОВЛЕНИЕ ПРОЛЕТНЫХ СТРОЕНИЙ, ПРАВИЛА ПРИЕМКИ, МЕТОДЫ КОНТРОЛЯ И ИСПЫТАНИЙ

5.1. Изготавливать сводчатые плиты целесообразно по стендовой технологии. При этом следует выполнять требования проектной документации, СНиП III-43-75, Наставлений по технологии изготовления железобетонных балок и плит для сборных пролетных строений (М., 1979).

5.2. Пространственный арматурный каркас рекомендуется собирать в кондукторе из заранее изготовленных каркасов ребер сводчатой плиты, сеток вутов и сеток плиты проезжей части.

Каркасы ребер рекомендуется вязать в кондукторе, сетки вутов и плиты проезжей части - в кондукторах либо с использованием машины-автомата для изготовления несварных сеток (см. п. 4.7) или сварочной машины.

После объединения с помощью вязальной проволоки каркасов ребер и сеток готовый пространственный каркас устанавливается в опалубку.

5.3. Допускается собирать пространственный арматурный каркас непосредственно в опалубке. Для уменьшения трудоемкости этих работ рекомендуется применять заранее изготовленные каркасы ребер, сетки вутов и сетки плиты проезжей части, которые после установки в опалубку объединяют между собой вязальной проволокой.

5.4. Взамен вязки проволокой пересечений стержней в каркасах ребер, сетках аутов и сетках плиты проезжей части и объединения проволокой элементов пространственного каркаса между собой следует применять пружинные фиксаторы, что позволит в 1,5-2 раза повысить производительность труда /1/.

5.5. Бетонная смесь должна быть приготовлена на заводе после предварительного подбора состава и его экспериментальной проверки.

Систематически необходимо контролировать прочность, однородность, морозостойкость и водонепроницаемость бетона.

5.6. При изготовлении крайних сводчатых плит следует обеспечивать горизонтальное положение стальных закладных деталей для приварки стоек перильных и барьерных ограждений.

Верхняя поверхность закладных деталей должна совпадать с верхней поверхностью сводчатых плит.

5.7. В случае применения тротуарной сводчатой плиты с железобетонным парапетом рекомендуется парапет изготовить отдельно, а затем с помощью анкеров заделать его в свежеуложенный бетон сводчатых плит.

Допускается железобетонный парапет бетонировать непосредственно при изготовлении тротуарной сводчатой плиты.

5.8. Следует обеспечивать проектную толщину защитного слоя бетона, особенно над верхней арматурной сеткой в плите проезжей части.

5.9. При изготовлении плит необходимо постоянно контролировать одинаковые отметки и жесткость под -дона ребер на длине не менее 0,7-0,8 м от торцов плиты.

5.10. Укладку бетонной смеси в опалубку рекомендуется осуществлять с помощью распределителя бетонной смеси.

5.11. Для уплотнения уложенной в опалубку бетонной смеси целесообразно использовать виброблок.

Допускается уплотнять бетонную смесь 3-4 вибраторами, жестко закрепленными на направляющей под сводчатой матрицей и расположенными равномерно по длине опалубки.

5.1.2. Равномерного распределения бетонной смеси по поперечному сечению опалубки можно достичь, изменяя направление вращения дебаланса вибратора на виброблоке или дебалансов вибраторов, жестко закрепленных на направляющей.

5.13. Если вибратор или вибраторы соответственно на виброблоке или жестко закрепленные на направляющей по каким-либо причинам не будут работать, то уплотнять бетонную смесь следует глубинными вибраторами. В этом случае плотность и ровность верхнего слоя бетона сводчатых плит следует обеспечивать с помощью виброрейки.

5.14. При бетонировании сводчатой плиты следует тщательно уплотнять бетонную смесь под стальными уголками, заанкеренными в верхней части торцов плит, и под образователями закруглений.

5.15. Излишки бетонной смеси при уплотнении следует обязательно удалять из опалубки.

5.16. Запрещается заглаживать верхнюю поверхность плиты проезжей части лопатами, мастерками, доской и т.д.

5.17. В случае опирания сводчатых плит на стальные опорные части необходимо при изготовлении плит на поддон опалубки устанавливать стальные закладные детали с анкерами.

5.18. Тепловую обработку забетонированных сводчатых плит рекомендуется проводить с помощью пара, проходящего по трубам, размещенным внутри боковых щитов и под сводчатой матрицей.

5.19. В окна боковых щитов необходимо вставлять стальные формы с контрольными бетонными образцами, а через отверстия в боковых щитах периодически измерять температуру прогрева.

5.20. Тепловую обработку забетонированной плиты следует осуществлять пропариванием в мягком режиме, обеспечивая равномерный прогрев сводчатой плиты всеми греющими поверхностями опалубки.

Режим тепловой обработки должна устанавливать заводская лаборатория при подборе состава бетона с учетом указаний проекта, свойств применяемого цемента, наличия добавок, подвижности бетонной смеси и массивности конструкции.

Режим следует уточнять опытным путем с тем, чтобы получать бетон заданного класса: с требуемыми марками по морозостойкости и водонепроницаемости, без температурных и усадочных трещин.

5.21. При тепловой обработке забетонированной плиты ее верхнюю поверхность необходимо укрывать полиэтиленовой пленкой (по ГОСТ 10354-82), толем (по ГОСТ 10999-76), рубероидом (по ГОСТ 10923-82), мешковиной или резиновыми ковриками.

Кроме перечисленных материалов, допускается применять:

светлые пленкообразующие материалы на органической основе типа ПМ: ПМ-86 и ПМ-86Б (Помароль), ПМ-100М, ПМ-100АМ в соответствии с требованиями ТУ 26-02-1019-86;

водные битумные эмульсии, приготавливаемые в соответствии с ГОСТ 18659-81;

пленкообразующие эмульсии ВЭП-1 и ВЭП-2, разработанные и выпускаемые НПО "Дорстройтехника" Миндорстроя БССР, или другие пожаро - и взрывобезопасные эмульсии.

5.22. По аналогии с уходом за дорожными плитами /2/ можно рекомендовать охлаждение водой после тепловой обработки верхней поверхности сводчатых плит, что предотвратит усадку поверхностного слоя бетона, существенно снизит уровень растягивающих напряжений и благодаря повышенной пластической деформативности мокрого бетона позволит избежать появления трещин.

Простейший способ поверхностного орошения плит - устройство форсунок для распыления водопроводной воды. Наиболее приемлемы плоскофакельные форсунки с соплом и отражателем для струй. В месте проведения охлаждения плит необходимо предусмотреть устройства для сбора, отстоя и очистки воды и установить насос для подачи собранной воды в форсунки.

Непродолжительная (15-30 мин) поливка водой после тепловой обработки приводит к охлаждению только поверхностного слоя изделия толщиной несколько сантиметров. За время транспортирования он успевает подсохнуть, и изделие можно безопасно вывозить на открытый склад.

Большой перепад температуры бетона (40-60°С) и воды охлаждения (20°С) не опасен для бетона и не вызывает появления температурных трещин.

Верхнюю поверхность сводчатой плиты следует орошать из шланга с распылителем.

5.23. Распалубливание сводчатых плит разрешается выполнять с помощью крана после раздвижки боковых щитов на небольшой угол (верх боковых щитов должен отклоняться на 13,1-20,0 мм).

5.24. При распалубливании сводчатых плит с монтажными отверстиями рекомендуется после раздвижки боковых щитов и извлечения торцевых щитов из опалубки (в случае, если они запроектированы извлекаемыми) поднимать плиту с помощью четырех синхронно работающих винтовых домкратов на высоту 20-30 см (домкраты располагаются под ребрами в местах со специальными окнами в поддоне). После этого плиту можно извлекать краном со строповкой через монтажные отверстия.

5.25. В связи с применением комплексных воздухововлекающих (газообразующих) и пластифицирующих добавок вывозка сводчатых плит на склад (замораживание) разрешается при прочности бетона плиты не менее 80 % проектной.

5.26. Сводчатые плиты должны быть приняты заводской инспекцией.

На каждую плиту необходимо составить отдельный паспорт.

5.27. При серийном изготовлении сводчатых плит разрешается их не испытывать в заводских условиях на прочность, жесткость и трещиностойкость.

5.28. При приемке и контроле качества сводчатых плит следует руководствоваться требованиями ГОСТ 310-76, ГОСТ 1497-84, ГОСТ 1579-80, ГОСТ 8269-87, ГОСТ 8735-75, ГОСТ 10060-87, ГОСТ 10180-78, ГОСТ 12730.0-78, ГОСТ 12730.5-84, ГОСТ 13015.0-83, ГОСТ 13015.1-81, ГОСТ 13015.3-81, ГОСТ 18105-86, главы СНиП III-43-75 и приведенными ниже положениями.

5.29. Допускается применять неразрушающие методы контроля прочности бетона непосредственно в конструкции приборами механического действия по ГОСТ 22690.0-77 или ультразвуковым методом по ГОСТ 17624-87 в трех точках каждой сводчатой плиты: в середине пролета и у опор.

5.30. Ровность верхней поверхности заформованной сводчатой плиты следует проверять трехметровой рейкой; ровность должна соответствовать требованиям главы СНиП 3.06.03-85 к ровности монолитных цементобетонных покрытий автомобильных дорог, изготавливаемых комплектом машин со следящей системой.

5.31. Допускаемые отклонения от проектных размеров сводчатой плиты для пролетных строений без одежды ездового полотна должны составлять: по высоте +10 мм, по ширине ±10 мм.

5.32. Маркировать сводчатые плиты необходимо в соответствии с требованиями ГОСТ 13015.2-81.

Маркировку следует наносить несмываемой краской на концевом участке внутренней части ребра сводчатой плиты.

С внешней стороны ребер необходимо несмываемой краской делать отметки, указывающие пределы опирания сводчатых плит при транспортировании и хранении.

6. ТРАНСПОРТИРОВАНИЕ И ХРАНЕНИЕ СВОДЧАТЫХ ПЛИТ

6.1. Транспортировать сводчатые плиты рекомендуется на открытых четырехосных железнодорожных платформах, автомобильных трейлерах или прицепах. Возможные схемы транспортирования показаны на рис. 9.

 

 

Рис. 9. Рекомендуемые схемы перевозки сводчатых плит автомобильным (а) и железнодорожным (б) транспортом:

1 - сводчатая плита; 2 - деревянная подкладка сечением 10´10 или 15´15 см; 3 - скрутка из проволоки; lк - длина консоли (не более 55 см)

6.2. Транспортирование и хранение плит должно осуществляться, в соответствии с требованиями ГОСТ 13015.4-84, а также Технических условий по погрузке и креплению грузов" (М.: Транспорт, 1969); "Руководства по перевозке унифицированных сборных железобетонных деталей и конструкций промышленного строительства автомобильным транспортом" (М.,1973); "Руководства по перевозке железнодорожным транспортом сборных крупноразмерных железобетонных конструкций промышленного и гражданского строительства" (М., 1967).

6.3. Транспортировать и хранить сводчатые плиты следует в проектном положении, чтобы места опирания плит строго соответствовали проектным.

6.4. При погрузке, разгрузке и складировании сводчатых плит необходимо соблюдать меры, исключающие их повреждение.

6.5. Хранение сводчатых плит разрешается в цехе или другом закрытом помещении или на открытой площадке.

В штабеле не должно быть более двух сводчатых плит.

6.6. При транспортировании и хранении следует опирать сводчатые плиты на деревянные подкладки и прокладки сечением 10´10 или 15´15 см.

7. МОНТАЖ ПРОЛЕТНЫХ СТРОЕНИЙ

7.1. Монтаж пролетных строений должен осуществляться согласно главе СНиП III-43-75 и положениям настоящего раздела.

7.2. Тип опорных частей необходимо принимать согласно требованиям проекта.

7.3. Следует обеспечивать плотность опирания на опорные части согласно главе СНиП III-43-75 и "Инструкции по проектированию и установке полимерных опорных частей мостов" ВСН 86-83 (М., 1983).

7.4. Допускается опирать смежные ребра сводчатых плит на общую опорную часть.

7.5. В зависимости от проектного решения сводчатые плиты в пролетном строении разрешается устанавливать с двух- или односторонним поперечным уклоном.

7.6. Сводчатые плиты в пролетном строении между собой не объединяют.

Одежда ездового полотна на пролетном строении не устраивается.

7.7. Для обеспечения эксплуатационной надежности и долговечности пролетных строений необходимо, чтобы они имели следующие оптимальные геометрические параметры:

максимально допустимую величину "ступенек" между соседними сводчатыми плитами в месте открытого продольного зазора - не более 20 мм;

сумму поперечных уклонов верхних поверхностей сводчатых плит в месте изменения поперечного профиля пролетного строения - не более 4 %;

ширину открытого продольного зазора между сводчатыми плитами-20-40 мм.

7.8. Стойки перильных и барьерных ограждений следует крепить к закладным деталям на тротуарной плите с помощью сварки.

При применении тротуарной плиты, имеющей железобетонный парапет, устанавливают только перильные ограждения.

При отсутствии на плите соответствующих закладных деталей допускается крепить стойки барьерных ограждений с помощью стальных накладок, тяжей и болтов (см. рис. 2).

7.9. Чтобы предотвратить самопроизвольную раздвижку сводчатых плит, следует применять узлы, описанные в п. 2.10.

7.10. Улучшить эксплуатационные качества пролетных строений можно, используя узлы объединения сводчатых плит между собой в продольном направлении (см. п. 2.11). При применении узлов, показанных на рис. 5, исключается устройство узлов по п. 7.9.

7.11. Монтажные петли на сводчатой плите необходимо срезать на уровне ее верхней поверхности после установки на опоры.

Ниши в бетоне вокруг монтажных петель  должны быть очищены от окалины, грязи, пыли и заделаны полимерным раствором или полимербетоном (см. п. 3.2).

7.12. Закладные детали на сводчатой плите и на насадках опоры, элементы стальных стыков и стальные упоры на насадках опоры следует защищать от коррозии материалами, перечисленными в п. 3.3.

7.13. При устройстве узлов по методу, указанному в п. 2.11, необходимо применять для их герметизации материалы, перечисленные в п. 3.4.

7.14. Конструкции узлов для предотвращения попадания грязи и влаги на насадки опор, приведенные на рис. 6, следует устраивать согласно "Методическим рекомендациям по проектированию и устройству конструкций деформационных швов в автодорожных и городских мостах и путепроводах " (Союздорнии. - М., 1982).

7.15. При монтаже пролетных строений необходимо стремиться к обеспечению оптимальных геометрических параметров, указанных в п. 7.7.

7.16. Величины "ступенек"' между плитами, следует контролировать с помощью трехметровой рейки; они должны соответствовать  приведенным в главе СНиП 3.06.03-85.

Чем меньше будет "ступенька"' между   соседними сводчатыми плитами, тем более надежным и долговечным будет пролетное строение при эксплуатации.

Рекомендуется устранять "ступеньки" между соседними плитами путем укладки под опорные части стальных пластин, необходимую толщину которых выбирают после установки сводчатых плит на опорные части и измерения величины "ступенек" между соседними плитами.

7.17. Верх торцов пролетных строений должен быть в одном уровне с верхней поверхностью покрытия на подходах.

7.18. Движение по пролетному строению разрешается открывать немедленно после установки сводчатых плит на опоры и закрепления с целью исключить их самопроизвольную раздвижку.

8. ТЕХНИКА БЕЗОПАСНОСТИ

При изготовлении, транспортировании, хранении и монтаже сводчатых плит следует соблюдать правила техники безопасности согласно главам СНиП III-43-75 и СНиП III-4-80.

Необходимо также соблюдать правила безопасной эксплуатации оборудования и действующие на заводах МЖБК инструкции по технике безопасности и охране труда.

9. ТЕХНИКО-ЭКОНОМИЧЕСКАЯ ЭФФЕКТИВНОСТЬ

9.1. Экономия материальных и трудовых ресурсов от внедрения пролетных строений из сводчатых плит подсчитана согласно "Инструкции по определению экономической эффективности использования в строительстве новой техники, изобретений и рационализаторских предложений" СН 509-78 (М., 1978).

9.2. Технико-экономический эффект (в расчете на 1000 м2 полезной площади пролетного строения) от внедрения пролетных строений из сводчатых плит вместо типовых балочных и плитных пролетных строений по проектам инв. № 710/5 и инв. 384/43 приведена в таблице.

Показатель технико-экономической эффективности

внедрения пролетных строений

из сводчатых плит

Значение показателя при применении пролетных строений из сводчатых плит вместо

балочных пролетных строений

по проекту инв.

№ 710/5

плитных пролетных строений

по проекту инв.

№ 384/43

Экономический эффект, тыс. руб.

7,85

18,16

14,52

24,83

Снижение себестоимости строительно-монтажных работ, тыс. руб.

5,70

16,00

12,21

22,50

Сокращение сроков строительства, мес.

9,24

9,31

9,90

9,96

Экономия

трудозатрат, чел.-дн.:

на изготовление

 

181,00

262,00

 

338,00

419,00

на монтаж

297,00

308,00

395,00

406,00

суммарные

478,00

570,00

733,00

825,00

бетона, м3

46,30

140,50

162,90

259,30

стали, приведенной по прочности к стали А-1, т

0,04

21,64

4,23

17,36

гидроизоляции, тыс. м2

1,01

1,01

1,04

1,04

асфальтобетона, м3

58,7

-

58,3

-

цементопесчаной смеси, м3

-

33,3

-

33,3

резины, т

-0,16

-0,16

0,30

0,30

Примечание. Над чертой приведены значения показателя при традиционной одежде ездового полотна по типовому проекту инв. № 384/42 с асфальтобетонным покрытием проезжей части, под чертой - при одежде ездового полотна, устроенной на сборных железобетонных плитах ПАГ-14 и состоящей из выравнивающего слоя бетона, оклеечной гидроизоляции и цементопесчаной смеси.

10. РЕКОНСТРУКЦИЯ ПРОЛЕТНЫХ СТРОЕНИЙ

10.1. В случае перевода дороги в более высокую техническую категорию или при истирании бетонного слоя износа толщиной 20 мм (что мало вероятно при оптимальных геометрических параметрах плит и пролетных строений) на пролетных строениях рекомендуется устраивать одежду ездового полотна. Одновременно необходимо реконструировать подходы к мосту на длине, обеспечивающей требуемые нормами продольные уклоны.

10.2. Рекомендуется одежда ездового полотна следующих типов:

слой из монолитного железобетона толщиной не менее 10 см с пониженной водопроницаемостью;

гидроизоляция, устраиваемая на строительной площадке, выравнивающий слой из сухой цементопесчаной смеси или из песчано-битумной смеси и сборные железобетонные плиты.

В порядке эксперимента рекомендуется трехслойное асфальтобетонное покрытие, нижний слой которого выполняет функцию гидроизоляции.

Одежда ездового полотна с покрытием из монолитного железобетона

10.3. Проектировать и устраивать одежду ездового полотна из слоя монолитного железобетона без гидроизоляции (рис. 10) следует согласно "Техническим указаниям по проектированию и сооружению пролетных строений автодорожных и городских мостов с железобетонной плитой проезжей части без оклеенной гидроизоляции" ВСН 85-68 (М., 1969) с учетом требований действующих ГОСТов и положений настоящего раздела.

Рис. 10. Схема конструкции одежды ездового полотна с монолитной железобетонной плитой:

1 - сводчатая плита; 2 - прокладка; 3 - арматурные стержни Æ10 мм из стали класса А-II с шагом вдоль и поперек пролета,

равным соответственно 140 и 200 мм; 4 - слой монолитного бетона

10.4. Слой монолитного железобетона выполняет функции гидроизоляции, объединяющего элемента и покрытия.

10.5. Если сводчатые плиты объединены между собой в продольном направлении с помощью приваренного к уголкам на торцах плит стального соединительного элемента, проходящего по всей ширине пролетного строения (см. рис. 5), то необходимо очистить верх плит от грязи, используя пескоструйный аппарат, тщательно промыть, уложить над продольными зазорами между плитами прокладки, выполняющие функцию опалубки, уложить арматурные сетки, а затем бетон.

Прокладки могут быть выполнены из геотекстильного материала, толя, рубероида и т.д.

До укладки монолитного бетона рекомендуется увлажнять верхнюю поверхность сводчатых плит в течение не менее 48 ч.

10.6. Если сводчатые плиты не объединены между собой в продольном направлении, то вначале следует объединять плиты в температурно-неразрезную систему, а затем устраивать покрытие.

Температурно-неразрезные пролетные строения, следует проектировать согласно "Методическим рекомендациям по проектированию и строительству температурно-неразрезных пролетных строений мостов на автомобильных дорогах" (Союздорнии. - М., 1977).

Для образования температурно-неразрезных пролетных строений рекомендуется использовать стальные уголки, имеющиеся в верхней части торцов сводчатых плит.

Допускается пролетные строения объединять в температурно-неразрезную систему с помощью узлов, представленных на рис. 11.

Продольные и поперечные зазоры между сводчатыми плитами необходимо перекрывать прокладками (см. п. 10.5).

Устройство покрытия следует осуществлять согласно п. 10.3. Укладывать бетонную смесь необходимо на влажную поверхность сводчатой плиты.

 

 

 

Рис. 11. Конструкции узлов объединения сводчатых плит в температурно-неразрезную систему с помощью приварки арматурных стержней (а)

и в соответствии с авт. свид. № 1323630 (б): 1 - сводчатая плита; 2 - закладная деталь; 3 - арматурные стержни, 4 - сварной шов; 5 - компенсатор; 6 - упругая прокладка; 7 - тяга; 8 - шарнир; 9 - горизонтальная ось, проходящая через центр изгиба сводчатых плит

10.7. Допускается укладывать слой монолитного железобетона на тротуарную плиту.

10.8. Перед устройством покрытия следует произвести подбор состава бетонной смеси и провести его экспериментальную проверку.

10.9. Бетон покрытия должен соответствовать требованиям ГОСТ 25192-82, ГОСТ 7473-85, ГОСТ 26633-85, иметь класс по прочности на сжатие не ниже В22,5, на растяжение при изгибе - не ниже Вbtb3,2 и марку по водонепроницаемости - не ниже W8.

В зависимости от климатических условий района строительства марку бетона покрытия по морозостойкости следует принимать F200 или F300 при испытании по ГОСТ 10060-87 в 5 %-ном растворе хлористого натрия.

При приготовлении бетонной смеси необходимо применять комплексные воздухововлекающие (газообразующие) и пластифицирующие добавки согласно требованиям главы СНиП III-43-75 и ГОСТ 24211-80.

Бетон должен приготавливаться в соответствии  с главой СНиП III-43-75 и Техническими указаниями ВСН 85-68 при учете требований действующих ГОСТов.

10.10. Наименьшая допустимая толщина защитного слоя бетона над верхней арматурной сеткой в покрытии проезжей части - 40 мм.

10.11. При укладке бетона следует обеспечивать проектное положение арматурных сеток.

10.12. Уплотнять уложенную бетонную смесь рекомендуется с помощью виброрейки.

10.13. Ровность покрытия следует проверять трехметровой рейкой. Ровность должна соответствовать требованиям главы СНиП 3.06.03-85, нормирующей ровность монолитных цементобетонных покрытий автомобильных дорог, укладываемых, комплектом машин со следящей системой.

10.14. Уход за свежеуложенным бетоном необходимо осуществлять в соответствии с изложенным в п. 5.21. Кроме того, допускается по верху уложенного бетона распределять песок слоем 5 см и периодически его поливать, с целью обеспечить влажное состояние бетона.

10.15. При укладке бетона покрытия следует изготавливать контрольные образцы бетона. Они должны храниться в тех же условиях, в каких твердеет бетон покрытия.

10.16. Движение по покрытию разрешается открывать только после достижения бетоном проектного класса по прочности на сжатие.

10.17. Для улучшения эксплуатационных характеристик рекомендуется укладывать на слой монолитного железобетона двухслойное асфальтобетонное покрытие толщиной 70 мм из горячих или теплых мелкозернистых асфальтобетонных смесей типов Б и В не ниже марки II по ГОСТ 9128-84.

Одежда ездового полотна с покрытием из сборного железобетона

10.18. В продольные и поперечные (при отсутствии объединения сводчатых плит в продольном направлении зазоры между сводчатыми плитами при устройстве одежды ездового полотна с покрытием из сборного железобетона рекомендуется закладывать жгуты пороизола, гернита или другого пористого материала, диаметр которых в 1,5-2 раза превышает ширину зазора (см. рис. 12, а).

Над жгутом следует оставлять паз глубиной 10-15 мм, который необходимо заполнять герметизирующим материалом.

Допускается над продольными и поперечными зазорами укладывать прокладки из геотекстильных материалов, толя, рубероида и т.д. (см. рис. 12, б).

 

Рис. 12. Схемы конструкций одежды ездового полотна со сборным железобетонным покрытием:

1 - сводчатая плита; 2 - сборная железобетонная плита покрытия; 3 - герметизирующий материал; 4 - пористый материал;

5 - гидроизоляция; 6 - выравнивающий слой; 7 - прокладка над зазором

10.19. При устройстве гидроизоляции разрешается применять все материалы, предусмотренные "Инструкцией по устройству гидроизоляции конструкций мостов и труб на железных, автомобильных и городских дорогах ВСН 32-81 (М., 1982) в соответствии .с климатической зоной строительства.

10.20. Для устройства гидроизоляции разрешается применять мастику битумно-бутилкаучуковую «Вента» согласно ТУ 21-27-39-77 Мастика битумно-бутилкаучуковая (холодная) для устройства безрулонной кровли и гидроизоляции «Вента» (М., 1977) и мастику «Вента У» согласно ТУ 21-27-101-83 Мастика битумно-бутилкаучуковая (холодная) для устройства безрулонной кровли и гидроизоляции «Вента У» (М., 1983).

10.21. Допускается применять полиэтиленовую стабилизированную сажей пленку по ГОСТ 10364-82 марки Мс, которую следует укладывать в два слоя.

Полотнища пленки необходимо расстилать поверх слоя рубероида (ГОСТ 10923-82), уложенного без приклейки на верхнюю поверхность сводчатых плит. Над вторым слоем пленки должен быть уложен слой рубероида. Свободные концы пленки опускаются в продольные зазоры между смежными плитами.

Возможен вариант укладки полиэтиленовой пленки без опускания ее свободных концов в продольные зазоры между смежными плитами. В этом случае, укладку пленки необходимо осуществлять, начиная с несущих элементов, имеющих меньшие вертикальные отметки. Кромки соседних полотнищ пленки следует объединять между собой сваркой.

При устройстве пленочной гидроизоляции следует руководствоваться Инструкцией ВСН 32-81 (М., 1982).

10.22. Выравнивающий слой толщиной 3-5 см надлежит устраивать из сухой цементопесчаной смеси или из песка, обработанного битумом.

Поперечные уклоны покрытия могут быть обеспечены устройством выравнивающего слоя переменной толщины.

10.23. Покрытие, рекомендуется устраивать из предварительно напряженных плит ПАГ-14 (по ГОСТ 25912.1-83), или ПДН (по типовым проектным решениям 503-0-42 "Дорожные одежды с покрытиями из сборных железобетонных плит". Союздорпроект. - М., 1980) или ПДГ-2-6с.

Плиты следует укладывать длинной стороной вдоль пролета. Продольные швы между сборными плитами должны быть смещены относительно оси продольных зазоров между сводчатыми плитами минимум на 20 см.

Плиты необходимо объединять между собой электросваркой.

Зазоры между сборными плитами покрытия следует на 2/3 высоты заполнить цементопесчаной смесью или песком, обработанным битумом. Верхнюю часть зазора необходимо заполнить герметизирующим материалом согласно "Инструкции по устройству цементобетонных покрытий автомобильных дорог ВСН 139-80 (М., 1980) или другими долговечными герметизирующими материалами (см. п. 3.4).

10.24. Для предотвращения разрушения плит ПАГ-14, ПДН или ПДГ не рекомендуется укладывать плиты над поперечными зазорами между пролетными строениями.

Не допускается свисание сборных плит на подходы.

10.25. Вместо плит ПАГ-14, ПДН, ПДГ разрешается применять сборную железобетонную дорожную плиту размером 1,75´3,5´0,16 м.

10.26. По продольным кромкам сборного покрытия необходимо укладывать монолитный бетон, соответствующий требованиям ГОСТ 25192-82, ГОСТ 7473-85, ГОСТ 26633-85, либо полимерный раствор или полимербетон согласно п.3.2.

10.27. Особое внимание при устройстве покрытия необходимо обращать на качество гидроизоляции и на обеспечение требуемой толщины выравнивающего слоя.

10.28. Устраивать сборное покрытие рекомендуется в соответствии с "Методическими рекомендациями по устройству сборных дорожных покрытий" (Союздорнии. - М., 1973) или "Инструкцией по проектированию автомобильных дорог нефтепромыслов Западной Сибири" ВСН 26-80 (Миннефтепром. - М., 1980).

10.29. Ровность устраиваемого покрытия, контролируемая согласно главе СНиП 3.06.03-85, должна соответствовать ровности покрытий из сборных железобетонных плит.

10.30. Для улучшения эксплуатационных характеристик рекомендуется поверх сборных плит укладывать двухслойное асфальтобетонное покрытие толщиной 70 мм согласно п. 10.17.

Одежда ездового полотна с асфальтобетонным покрытием

10.31. Конструкцию, приведенную на рис. 13, следует применять в порядке эксперимента.

Рис. 13. Схема конструкций одежды ездового полотна с асфальтобетонным покрытием:

1 - сводчатая плита; 2 - прокладка над зазором шириной 40-50 см; 3 - отделяющая прокладка шириной 60-70 см; 4 - трехслойное асфальтобетонное покрытие толщиной 20-21 см

10.32. Асфальтобетон в такой конструкции выполняет функции гидроизоляции, выравнивающего слоя и покрытия.

10.33. В случае объединения сводчатых плит, между собой в продольном направлении, путем приварки к уголкам на торцах плит стального соединительного элемента, проходящего по всей ширине пролетного строения (см. рис. 5), необходимо очистить верх плиты от грязи и мусора, уложить над продольными зазорами прокладки согласно п. 10.18, выполняющие функцию опалубки, на эти прокладки - отделяющие прокладки, а затем - трехслойное асфальтобетонное покрытие.

Отделяющую прокладку рекомендуется устраивать из 2-3 слоев рубероида, соединенных битумом.

10.34. Если сводчатые плиты не объединены между собой с помощью узлов (см. рис. 5), то над продольными зазорами следует уложить прокладки и отделяющие прокладки, а над поперечными зазорами устроить деформационные швы закрытого типа с армированием покрытия или деформационные швы с мастичным заполнением.

Деформационные швы, следует устраивать согласно Методическим рекомендациям по проектированию и устройству конструкций деформационных швов в автодорожных и городских мостах и путепроводах" (Союздорнии. - М., 1982).

После этого укладывается асфальтобетонное покрытие.

10.35. В случае объединения сводчатых плит в температурно-неразрезную систему согласно п. 10.6 следует перекрыть прокладками продольные и поперечные зазоры между сводчатыми плитами. На прокладки необходимо уложить отделяющие прокладки (см. п. 10.33). Завершает конструкцию асфальтобетонное покрытие.

10.36. Толщина трехслойного асфальтобетонного покрытия должна быть не менее 21-22 см.

10.37. На тротуарной сводчатой плите рекомендуется устраивать асфальтобетонное покрытие толщиной 5-7 см.

10.38. Для асфальтобетонного покрытия следует применять плотный асфальтобетон из горячих и теплых мелкозернистых асфальтобетонных смесей типов Б, В не ниже марки II по ГОСТ 9128-84 для соответствующей зоны строительства.

10.39. Приготовление и укладку асфальтобетона следует осуществлять согласно требованиям главы СНиП 3.06.03-85 и соответствующих ГОСТов.

10.40. Ровность асфальтобетонного покрытия необходимо контролировать в соответствии с главой СНиП 3.06.03-85.

10.41. В процессе эксплуатации возможна замена покрытия.




Яндекс цитирования



   Copyright © 2007-2026,  www.tehlit.ru.

[ ѓосты, стандарты, нормативы, инструкции, правила, строительные нормы ]