//
|
|
ОАО
«АК «ТРАНСНЕФТЬ»
ОСНОВНЫЕ ПРАВИЛА ОПРЕДЕЛЕНИЯ ОСТАТОЧНОГО РЕСУРСА И КОЛИЧЕСТВЕННЫХ ЗНАЧЕНИЙ ПОКАЗАТЕЛЕЙ НАДЕЖНОСТИ АРМАТУРЫ НЕФТЕ И ПРОДУКТОПРОВОДОВ ПОСЛЕ ЕЕ КАПИТАЛЬНОГО РЕМОНТА Руководящий документ РД 153-39.4-054-00 Документ введен в действие с 10.09.2000 Документ разработан: ЗАО НПФ «ЦКБА» Генеральный директор В.А. Айриев Исполнители: Ю.И. Тарасьев, Л.Г. Мочалова, Г.И. Севастьянихин (ЗАО НПФ «ЦКБА») Документ согласован: ОАО «Транссибнефть», ИПТЭР, Госгортехнадзором РФ Содержание ВВОДНАЯ ЧАСТЬНастоящие «Основные правила определения остаточного ресурса* и количественных значений показателей надежности промышленной трубопроводной арматуры для нефте и продуктопроводов после ее капитального ремонта» (далее по тексту - «Правила...») разработаны на основании «Правил безопасности при эксплуатации магистральных нефтепроводов» [1], РД 08-200-98 «Правила безопасности в нефтяной и газовой промышленности» [2], ПБ-170-97 «Общие правила взрывобезопасности для взрывопожароопасных химических, нефтехимических и нефтеперерабатывающих производств» [3], РД 09-102-95 «Методические указания по определению остаточного ресурса потенциально опасных объектов, поднадзорных Госгортехнадзору России» [4]. «Правила...» распространяются на подлежащую ремонту в условиях специализированного ремонтного предприятия отечественную и импортную трубопроводную стальную арматуру всех видов (запорную, регулирующую, предохранительную и др.) и типов (задвижки, клапаны, затворы, краны и др.), используемую на нефте и продуктопроводах, (далее по тексту - арматура), ее составные части и комплектующие. Коды ОКП арматуры в соответствии с «Общероссийским классификатором продукции ОК 005-92» [5], на которую распространяются «Правила...», приведены в Приложении Б. Под капитальным ремонтом применительно к промышленной трубопроводной арматуре понимается комплекс операций по восстановлению исправности или работоспособности изделий и полному или близкому к полному восстановлению среднего ресурса до капитального ремонта изделия с заменой или восстановлением любых его частей, включая базовые. «Правила ...» устанавливают общие требования к организации, содержанию, порядку выполнения и методику выполнения работ, на основании которых может быть определен остаточный ресурс и принято решение о количественных значениях показателей надежности арматуры для включения в сопроводительную документацию арматуры после проведения ее капитального ремонта. На основе настоящих «Правил...», при необходимости, допускается разрабатывать частные «Методики определения остаточного ресурса и количественных значений показателей надежности арматуры нефте и продуктопроводов после ее капитального ремонта» с учетом специфики конструкции и особенностей установления количественных значений показателей надежности для отдельных видов, типов арматуры, ее комплектующих элементов, сборочных единиц. Частные «Методики...» разрабатываются исполнителем* и согласовываются с НПФ «ЦКБА» и Госгортехнадзором России (г. Москва). Настоящие «Правила...» должны быть детализированы с учетом специфики конструкции в общих (ОК) и частных (УК) технических условиях на капитальный ремонт арматуры. Все предприятия, принимающие участие в работах, предусмотренных настоящими «Правилами...», должны иметь соответствующие Лицензии Госгортехнадзора России. Термины и их определения, применяемые в настоящих «Правилах...», соответствуют системе стандартов «Надежность в технике» и «Системе технического обслуживания и ремонта техники»: - ГОСТ 27.002 Надежность в технике. Основные понятия. Термины и определения. [6]; - ГОСТ 27.004 Надежность в технике. Системы технологические. Термины и определения. [7]. - ГОСТ 18322 «Система технического обслуживания и ремонта техники. Термины и определения» [8]. - ГОСТ 21623 «Система технического обслуживания и ремонта техники. Показатели для оценки ремонтопригодности. Термины и определения» [9]. * толкование терминов и определений, выделенных знаком*, приведено в приложении А. 1. ОСНОВНЫЕ ПОЛОЖЕНИЯ1.1. Под определением остаточного ресурса арматуры понимают комплекс работ, в результате которых оценивается величина невыработанного изделием ресурса* в часах и циклах*, в качестве которого (в соответствии с [6]) принимается наработка* каждого конкретного изделия от момента прекращения его эксплуатации и направления на ремонт до момента предполагаемого перехода изделия в неработоспособное* или предельное состояние* при эксплуатации его после проведенного ремонта. 1.2. Для арматуры в соответствии с действующей НТД [1], [2], ГОСТ 27.003 «Надежность в технике. Состав и общие правила задания требований по надежности.» [10], РД 302-07-278-89 «Арматура трубопроводная. Порядок нормирования и контроля показателей надежности.» [11], ГОСТ РВ 15.702 «Порядок установления и продления назначенных ресурса, срока службы, срока хранения. Основные положения.» [12] и с учетом того, что она относится к классу ремонтируемых*, восстанавливаемых изделий* с регламентируемой дисциплиной восстановления, назначенной продолжительностью эксплуатации, в сопроводительной эксплуатационной документации должны быть указаны следующие показатели: 1.2.1. технико-эксплуатационные показатели: - назначенный срок службы* (год); - назначенный ресурс* (час). 1.2.2. показатели надежности: 1.2.2.1. средние показатели долговечности: - средний срок службы до списания* (год); - средний ресурс до списания* (цикл, час); - средний срок службы до капитального ремонта* (год); - средний ресурс до капитального ремонта* (цикл, час). 1.2.2.2. показатели безотказности: - наработка на отказ* за период до капитального ремонта, не менее (цикл, час), либо вероятность безотказной работы* (ВБР) за период до капитального ремонта, не менее; - коэффициент оперативной готовности* (для предохранительных клапанов), не менее. 1.3. Назначенный (средний) ресурс измеряется в часах и циклах для арматуры с четко выраженным циклическим характером работы (запорная арматура: задвижки, клапаны, краны; защитная и предохранительная арматура: клапаны предохранительные, затворы и клапаны обратные и др.). Для арматуры, не имеющей четко выраженного циклического характера работы (регулирующая арматура), назначенный (средний) ресурс приводится в часах. 1.4. В случае если в конструкторской документации (КД) на арматуру отечественного производства либо поставленную по импорту отсутствуют соответствующие показатели, они устанавливаются непосредственным разработчиком* конкретной арматуры, либо разработчиком однотипной отечественной арматуры на основании анализа конструкции, данных эксплуатационной статистики, испытаний и расчета и вносятся в ОК или УК на капитальный ремонт арматуры. 1.5. Работы по ремонту арматуры проводятся: - в плановом порядке в рамках установленного регламента работы системы, в которой эксплуатируется изделие, если оно выработало хотя бы один из установленных в КД средних показателей долговечности - средний срок службы до капитального ремонта, средний ресурс до капитального ремонта в часах или циклах; - если имел место отказ изделия, который невозможно устранить непосредственно на месте эксплуатации; - если в процессе эксплуатации обнаружены оговоренные в КД количественные значения параметров, свидетельствующие о потенциальной возможности отказа, который невозможно устранить на месте эксплуатации; - если в процессе эксплуатации обнаружены оговоренные в КД критерии достижения изделием предельного состояния; - если изделие находилось в аварийной ситуации: находилось под воздействием параметров, превышающих указанные в КД (например, переопрессовки, температура окружающей среды и др.); подвергалось непредусмотренным аварийным воздействиям (например, пожар, затопление, воздействие магистральных трубопроводов, как следствие подвижек грунта, сейсмическое воздействие и др.). 1.6. В результате проведения ремонтных работ должны быть обеспечены значения показателей безотказности на продлеваемый период не менее значений, первоначально установленных в КД. 1.7. При проведении капитального ремонта* должны быть восстановлены значения среднего ресурса до следующего капитального ремонта не менее чем на 90 %. 1.8. Количественные значения назначенных показателей, среднего срока и среднего ресурса до списания не подлежат корректировке по результатам капитального ремонта и сохраняют свои указанные в КД, НТД, ремонтной КД (ОК или УК) величины, исчисляемые от начала эксплуатации изделия. 1.9. Продление назначенных показателей, в случае необходимости, осуществляется в соответствии с «Основными правилами определения остаточного ресурса и продления назначенных показателей трубопроводной арматуры для нефтепроводов». 1.10. В отдельных технически и экономически обоснованных случаях допускается снижение некоторых показателей надежности до уровня, определяемого совместным решением проектанта нефте и продуктопровода, ремонтного предприятия и эксплуатирующей организации. 2. ПОРЯДОК ВЫПОЛНЕНИЯ РАБОТ ПО ОПРЕДЕЛЕНИЮ ОСТАТОЧНОГО РЕСУРСА И КОЛИЧЕСТВЕННЫХ ЗНАЧЕНИЙ ПОКАЗАТЕЛЕЙ НАДЕЖНОСТИ АРМАТУРЫ2.1. Выполнение работ по определению остаточного ресурса и количественных значений показателей надежности арматуры (далее по тексту - оценка ресурса и надежности арматуры) производится в процессе ремонта арматуры, осуществляемого специализированным ремонтным предприятием, в случаях, оговоренных в п. 1.5. 2.2. Взаимоотношения и взаимные обязательства заказчика, исполнителя, разработчика конструкторской, нормативно-технической документации и ремонтной конструкторской документации, изготовителя арматуры и других привлекаемых организаций на период выполнения работ по оценке ресурса и надежности определяются настоящими «Правилами...» и договорами. 2.3. При достижении (наличии) случаев (условий), изложенных в п. 1.5, заказчик направляет исполнителю заявку на проведение работ по ремонту с перечнем арматуры и сопроводительной документацией на арматуру, для которой требуется восстановление работоспособного состояния, с указанием конкретной причины, вызвавшей необходимость проведения работ по ремонту. 2.3.1. В состав сопроводительной документации входят паспорт (формуляр), техническое описание и инструкция по эксплуатации (руководство по эксплуатации). 2.3.2. К заявке должна быть приложена заполненная «Информационная карта» (приложение В), в которой должны быть указаны: - наименование, номер чертежа (таблица фигур*) арматуры (вид, тип), PN, DN, номер технических условий; - привод; - заводской номер изделия по паспорту; - категория взрывоопасности по [1] трубопровода (технологической системы); - рабочая среда, Т, Рp; - год выпуска арматуры; - дата начала эксплуатации; - предприятие (фирма) - изготовитель; - суммарная наработка на момент передачи изделия в ремонт; - причина направления в ремонт (плановый ремонт согласно регламенту, решение комиссии по продлению назначенных показателей, отказ изделия, вид аварийного воздействия, достижение изделием предельного состояния); - сведения об отказах и предыдущих ремонтах (наработка до отказа, вид и причина отказа, объем ранее проводившихся ремонтов и даты их проведения). 2.4. В случае отсутствия учета наработки конкретной арматуры в условиях эксплуатации допускается оценивать наработку экспертным путем на основе анализа регламента работы системы, в которой она установлена. 2.5. Оценка остаточного ресурса и надежности поступающей на ремонт арматуры производится рабочей группой, укомплектованной из числа работников ремонтного предприятия, состоящей из технологов, специалистов по неразрушающим видам контроля и других технических служб, участвующих в подготовке и проведении ремонта. Для оценки остаточного ресурса и определения количественных показателей надежности ремонтируемой арматуры специалисты рабочей группы руководствуются настоящими «Правилами...» и другими нормативными документами и методиками, указанными в «Правилах...». 2.6. Рабочая группа имеет право в установленном на предприятии порядке привлекать к работам по оценке остаточного ресурса и количественных показателей надежности, анализу эксплуатационной документации и результатов эксплуатации ремонтируемой арматуры, оценке технического состояния арматуры специалистов соответствующих служб предприятия, а так же, в случае необходимости, готовить предложения руководству предприятия о привлечении к работам по оценке остаточного ресурса соответствующих специализированных предприятий. 2.7. Рабочая группа несет ответственность за правильность принимаемых решений по оценке остаточного ресурса и количественных показателей надежности, анализу эксплуатационной документации и результатов эксплуатации ремонтируемой арматуры, определению состава и объема работ по оценке технического состояния арматуры, определению состава и объема капитального ремонта. 2.8. Началу работ с каждым конкретным изделием должна предшествовать его идентификация в соответствии с перечнем арматуры по заявке на проведение капитального ремонта и паспортом (формуляром) изделия. 2.9. Работы по оценке остаточного ресурса и количественных значений показателей надежности арматуры после ее капитального ремонта должны содержать: 2.9.1. анализ эксплуатационной документации; 2.9.2. анализ имеющейся информации об эксплуатационных режимах и наработках арматуры за период эксплуатации на момент снятия ее с трубопровода для капитального ремонта; 2.9.3. анализ информации об отказах, неисправностях, ранее проведенных ремонтах и профилактических мероприятиях, связанных с техническим обслуживанием и текущими ремонтами в процессе эксплуатации; 2.9.4. оценку технического состояния арматуры, включающую в себя: - визуальный и измерительный контроль; - разборку и ревизию внутренних полостей арматуры с дефектацией отдельных деталей; - контроль неразрушающими методами (в случае необходимости); - контроль образцов материалов (в случае необходимости); - испытания арматуры или ее отдельных комплектующих элементов, сборочных единиц и деталей (в случае необходимости); 2.9.5. поверочные расчеты (в случае необходимости); 2.9.6 оценку остаточного ресурса конкретных деталей, сборочных единиц, комплектующих элементов изделия с учетом решений о составе их ремонта (восстановления или замены), принятых в результате работ по п.п. 2.9.1 - 2.9.5; 2.9.7 инженерный анализ и математическую обработку данных, приведенных в «Информационной карте», полученных в результате оценки технического состояния изделия и имеющихся данных эксплуатационной статистики (в случае необходимости). 2.10. Капитальный ремонт арматуры должен производиться в соответствии с утвержденной в установленном порядке технической документацией, включающей в себя: - комплект ремонтных чертежей; - руководство по капитальному ремонту; - общие технические условия на капитальный ремонт; - технические условия на капитальный ремонт конкретного типоразмера* изделия (ряда типоразмеров однотипных изделий); - паспорт (формуляр); - техническое описание и инструкция по эксплуатации (руководство по эксплуатации); - программа и методика испытаний. 3. МЕТОДИКА РАБОТ ПО ОПРЕДЕЛЕНИЮ ОСТАТОЧНОГО РЕСУРСА И КОЛИЧЕСТВЕННЫХ ЗНАЧЕНИЙ ПОКАЗАТЕЛЕЙ НАДЕЖНОСТИ АРМАТУРЫ3.1. Анализ эксплуатационной документации. 3.1.1. Анализ эксплуатационной документации ставит целью установление технических параметров эксплуатации изделия, его ресурса, выявление наиболее вероятных отказов и повреждений арматуры, а также ее деталей, сборочных единиц, или комплектующих элементов, рост поврежденности в которых и их дефектность могут привести к отказу изделия. 3.1.2. Анализу должна подлежать эксплуатационная документация: - паспорт (формуляр), - руководство по эксплуатации (техническое описание и инструкция по эксплуатации). 3.1.3. Анализ эксплуатационной документации должен завершаться составлением акта, включающего в себя: - перечень проанализированной документации; - указания по составлению недостающих или не полных документов. 3.2. Анализ имеющейся информации об эксплуатационных режимах и наработках арматуры за период эксплуатации на момент снятия ее с трубопровода для капитального ремонта и анализ информации об отказах, неисправностях, ранее проведенных ремонтах и профилактических мероприятиях, связанных с техническим обслуживанием, выполнением обслуживающим персоналом всех регламентных работ, предусмотренных эксплуатационными документами на арматуру, текущими ремонтами в процессе эксплуатации осуществляется на основе данных, приведенных в «Информационной карте». 3.2.1. В случае недостаточности данных дополнительно анализируется априорная информация по надежности аналогичной арматуры, эксплуатируемой в схожих условиях на других объектах, ремонтировавшейся на предприятии ранее, либо имеющаяся в «Банке данных о надежности арматуры магистральных нефте и продуктопроводов» НПФ «ЦКБА». 3.2.2. При обобщении информационных данных должны уточняться фактические режимы эксплуатации, параметры и количество циклов сверхнормативного изменения нагрузок* (давления, температуры). Особое внимание должно быть обращено на случаи, при которых существовали режимы, выходящие за пределы требований технических условий на арматуру. 3.2.3. По результатам анализа данных о результатах эксплуатации изделия выдаются рекомендации о составе и объеме работ по оценке технического состояния арматуры. 3.2.4. На основании анализа данных, содержащихся в «Информационной карте», объемы работ по ремонту могут быть уточнены рабочей группой в зависимости от: - DN, PN; - фактических условий и параметров эксплуатации, рабочей среды; - имевших место «нештатных» (аварийных) ситуаций; - величины наработок на момент проведения ремонта; - имевших место отказах и ремонтах арматуры; 3.3. Оценка технического состояния арматуры. 3.3.1. Обследование технического состояния производится индивидуально для каждой единицы арматуры по программе работ и включает в себя следующие процедуры: - визуальный и измерительный контроль; - разборка и ревизия внутренних полостей арматуры с дефектацией отдельных сборочных единиц и деталей, в т.ч. замер толщин стенок патрубков и корпусных деталей арматуры; - контроль неразрушающими методами (в случае необходимости); - контроль образцов материалов разрушающими методами (в случае необходимости); - контроль приводных устройств (в случае необходимости). 3.3.2. Процедура визуального и измерительного контроля. 3.3.2.1. При визуальном и измерительном контроле необходимо, согласно требованиям «Правил устройства и безопасной эксплуатации сосудов, работающих под давлением» (ПБ 10-115-96) [13], выявить и оценить видимые поверхностные дефекты, появившиеся или развившиеся в процессе эксплуатации на наружной поверхности корпусных и (или) крепежных деталей. 3.3.2.2. Визуальный и измерительный контроль должен осуществляться в соответствии с РД 34.10.130-96 «Инструкция по визуальному и измерительному контролю» [14] и ГОСТ 14782-86 «Контроль неразрушающий. Соединения сварные. Методы ультразвуковые» [15]. При визуальном и измерительном контроле арматуры DN < 300, PN < 6,4 МПа, Т < 350 град. С по решению рабочей группы допускается руководствоваться требованиями [13]. 3.3.2.3. При проведении визуального и измерительного контроля необходимо обратить внимание на: - места, имеющие повреждения (дефекты); - следы пропусков рабочей среды на основном металле, сварных швах и в уплотнительных соединениях; - наличие трещин, отслоений, видимых нарушений геометрической формы, следов коррозии; - наличие коррозионного растрескивания в местах концентрации напряжений и в околошовных зонах; 3.3.2.4. Особое внимание при визуальном контроле следует уделять местам возможного попадания на поверхность арматуры воды, паров, влажных газов ввиду возможного образования в этих местах коррозионных поражений. 3.3.2.5. В случае необходимости, для повышения достоверности при проведении визуального контроля арматуры производится зачистка отдельных участков ее поверхности инструментом, обеспечивающим сохранность дефекта (разрушения), для последующего его исследования. 3.3.2.6. Оценка выявленных поверхностных дефектов должна осуществляться в соответствии с требованиями ОК и УК на капитальный ремонт. 3.3.3. Процедура разборки и ревизии внутренних полостей арматуры c дефектацией отдельных сборочных единиц и деталей. 3.3.3.1. При разборке арматуры ее внутренние полости и отдельные детали и сборки, по которым в процессе эксплуатации были зафиксированы неисправности (ремонты), осматриваются с целью выявления дефектов. Особое внимание следует обратить на подвижные сопрягаемые детали. 3.3.3.2. Тщательному осмотру подлежат внутренние поверхности корпусных деталей, а также те детали, сборочные единицы и места, где вероятнее всего происходит максимальный износ и возможны механические повреждения или усталостные явления: - застойные зоны; - места скопления влаги и коррозионных продуктов; - места изменения направления потоков; - сварные швы и околошовные зоны (наличие подрезов, непроваров, свищей); - зоны входных и выходных патрубков; - резьбы втулок, шпинделей и маховиков (износ витков, сколы резьбы); - хвостовики шпинделей и проушины дисков (клиньев) у задвижек; - зоны уплотнения штоков (коробки сальников); - уплотнительные поверхности узла затвора (седел, дисков, клиньев, золотников, плунжеров и т.д.) (наличие раковин, трещин, следов эрозии, коррозии, кавитационного износа); - крепежные и соединительные детали арматуры (шпильки, болты, гайки); - прокладки и поверхности уплотнения в местах сочленения сборочных единиц арматуры; - внутренние поверхности корпусных деталей, подверженные кавитации, коррозии или эрозии; - места возможной концентрации механических напряжений. 3.3.3.3. Необходимо проверить размеры изнашиваемых деталей и зазоры между подвижными сопрягаемыми деталями, а также детали, по которым были зафиксированы неисправности. 3.3.3.4. Подлежат замеру также толщины стенок патрубков, корпусов, размеры резьб. Замер должен производиться в местах, где возможно утонение вследствие механического, коррозионного, эрозионного или кавитационного разрушения. В случае невозможности произвести замер механическим измерительным инструментом, замер толщины выполняется с помощью УЗК с использованием [13] (п. 3.6), ПНАЭ Г-7-031-91 «Унифицированные методики контроля основных материалов (полуфабрикатов), сварных соединений и наплавки оборудования и трубопроводов атомных энергетических установок. Ультразвуковой контроль. Часть III. Измерение толщины монометаллов, биметаллов и антикоррозионных покрытий». [16]. 3.3.3.5. Результаты замеров заносятся в карты обмера (форма карты - см. приложение Г). Рекомендуемые места замеров толщины стенок приведены в приложении Д. 3.3.3.6. Процедура разборки и ревизии внутренних полостей, дефектация отдельных сборочных единиц и деталей арматуры конкретизируется в ОК и УК на капитальный ремонт. 3.3.4. Процедура контроля неразрушающими методами. 3.3.4.1. В случае необходимости, с учетом результатов визуального и измерительного контроля и ревизии внутренних полостей по решению рабочей группы проводится дефектоскопия с применением методов неразрушающего контроля. 3.3.4.2. Дефектоскопии должна подвергаться арматура, длительно работавшая в наиболее неблагоприятных условиях (при максимальных рабочих параметрах, в условиях термоциклических нагрузок и т.п.). Дефектоскопия должна проводиться в местах резкого изменения толщин (сочленения: патрубок-корпус, патрубок-фланец, корпус-фланец), подфланцевых зонах, в радиусных переходах, в местах пересечения или стыковки сварных швов, в зонах концентрации напряжений и других подобных местах должна подвергаться арматура, длительно работавшая в наиболее неблагоприятных условиях, при максимальных рабочих параметрах и т.п. 3.3.4.3. Выбор методов контроля, определение объема работ по дефектоскопии осуществляется рабочей группой с привлечением, в случае необходимости, специалистов, имеющих соответствующую лицензию на проведение такого рода работ. 3.3.4.4. Рекомендуемые методы неразрушающего контроля основных деталей и сборочных единиц арматуры при ее техническом освидетельствовании приведены в приложении Е. 3.3.4.5. При контроле сварных швов и наплавок должна контролироваться и зона термического влияния (околошовная зона). Перед проведением контроля поверхность контролируемых изделий в зоне контроля должна быть очищена от грязи, изоляции, краски и обезжирена органическим растворителем. В случае необходимости может быть произведена зачистка. 3.3.4.6. Выбор методов неразрушающего контроля осуществляется рабочей группой по результатам обследования технического состояния арматуры. Нормы оценки дефектов принимаются по действующей нормативно-технической документации - [15], ГОСТ 7512 «Контроль неразрушающий. Соединения сварные. Радиографический метод» [17], ГОСТ 18442 «Контроль неразрушающий. Капиллярные методы» [18], ГОСТ 21105 «Контроль неразрушающий. Магнитопорошковый метод» [19], ОСТ 26-5-88 «Контроль неразрушающий. Цветной метод контроля сварных соединений наплавленного и основного металла» [20], ОСТ 26-11-14-88 «Сосуды и аппараты, работающие под давлением. Газовые и жидкостные методы контроля герметичности» [21], ОСТ 26-2044-83 «Швы стыковых и угловых сварных соединений сосудов и аппаратов, работающих под давлением. Методы ультразвукового контроля» [22], ОСТ 26-01-84-78 «Швы сварных соединений стальных сосудов и аппаратов, работающих под давлением. Методика магнитопорошкового метода контроля» [23], ОСТ 26-11-03-84 «Швы сварных соединений сосудов и аппаратов, работающих под давлением. Радиографический метод контроля» [24], РД 26-11-01-85 «Инструкция по контролю сварных соединений, недоступных для проведения радиографического и ультразвукового контроля» [25], ОСТ 36-75-83 «Контроль неразрушающий. Сварные соединения трубопроводов и конструкций. Ультразвуковой метод» [26]. Допускается осуществлять контроль неразрушающими методами в соответствии с унифицированными методиками контроля - ПНАЭ Г-7-014-89 «Унифицированные методики контроля основных материалов (полуфабрикатов), сварных соединений и наплавки оборудования и трубопроводов. Ультразвуковой контроль. Часть I. Контроль основных материалов (полуфабрикатов).» [27], ПНАЭ Г-7-030-91 «Унифицированные методики контроля основных материалов (полуфабрикатов), сварных соединений и наплавки оборудования и трубопроводов АЭУ. Ультразвуковой контроль. Часть II. Контроль сварных соединений и наплавки». [28], ПНАЭ Г-7-015-89 «Унифицированные методики контроля основных материалов (полуфабрикатов), сварных соединений и наплавки оборудования и трубопроводов АЭУ. Магнитопорошковый контроль» [29], ПНАЭ Г-7-017-89 «Унифицированные методики контроля основных материалов (полуфабрикатов), сварных соединений и наплавки оборудования и трубопроводов АЭУ. Радиографический контроль» [30], ПНАЭ Г-7-018-89 «Унифицированные методики контроля основных материалов (полуфабрикатов), сварных соединений и наплавки оборудования и трубопроводов АЭУ. Капиллярный контроль» [31], ПНАЭ Г-7-019-89 «Унифицированные методики контроля основных материалов (полуфабрикатов), сварных соединений и наплавки оборудования и трубопроводов АЭУ. Контроль герметичности. Газовые и жидкостные методы» [32]. 3.3.4.7. С целью проведения косвенной оценки прочностных характеристик материала арматуры рекомендуется замер твердости металла, наплавки и сварных швов. Замеры твердости производятся в соответствии с ГОСТ 22761 «Металлы и сплавы. Метод измерения твердости по Бринеллю переносными твердомерами статического действия» [33], ГОСТ 22762 «Металлы и сплавы. Метод измерения твердости на пределе текучести вдавливанием шара» [34]. Места замера твердости и их количество устанавливаются специалистами, производящими обследование. При этом в каждом случае должно быть сделано не менее 3-х замеров, а за результат принимается их среднеарифметическое значение. 3.3.4.8. Для оценки состояния металла корпусных деталей арматуры допускается применение неразрушающих методов, не оговоренных в настоящем разделе, при наличии аттестованных в установленном порядке стационарных или переносных измерительных средств и соответствующих методик контроля. 3.3.4.9. Дефектация, устранение дефектов и контроль арматуры, ее сборочных единиц и деталей должны осуществляться в соответствии с требованиями ОК и УК на капитальный ремонт конкретной арматуры. По результатам визуального и измерительного контроля, разборки и ревизии арматуры, осмотра внутренних полостей ее, дефектации отдельных сборочных единиц и деталей, контроля неразрушающими методами составляется дефектовочный акт, в котором отражаются все обнаруженные дефекты с их подробным описанием, приведением схем расположения, геометрических размеров деталей, значений толщины стенки корпусных деталей изделия и схем точек замера толщины. Форма дефектовочного акта приведена в приложении Ж. 3.3.6. Процедура контроля образцов материалов. 3.3.6.1. В случае отсутствия достоверной априорной информации о свойствах материалов основных деталей арматуры, подлежащей капитальному ремонту, применительно к условиям и срокам ее эксплуатации, должна быть предусмотрена вырезка образцов металла деталей для проведения контроля его физико-механических характеристик. Аналогичное решение может быть принято рабочей группой на основании изучения эксплуатационной документации, и при неудовлетворительных результатах визуального контроля, разборки и ревизии изделия, осмотра внутренних полостей, контроля неразрушающими методами. Исследования свойств металла проводятся, как правило, выборочно на образцах, вырезанных из корпусных деталей представителя партии поступившей на ремонт арматуры, работавшей в одинаковых условиях, и могут включать в себя металлографические исследования и определение механических свойств. При испытаниях оценивается также состояние металла по микроструктуре металла, в т.ч. его приповерхностного слоя. 3.3.6.2. Механические свойства определяются на цилиндрических или плоских продольных образцах при температуре помещения, в котором производятся испытания. 3.3.6.3. Для оценки степени старения металла при тепловых эксплуатационных выдержках определяется ударная вязкость для металла корпусных деталей, крепежа, штока. Испытания на ударный изгиб выполняются на образцах, имеющих U-образные или V-образные надрезы и изготовленных в соответствии с требованиями ГОСТ 9454 [35]. 3.3.6.4. Допускается в обоснованных случаях использование данных по исследованию материалов других типов оборудования, работающих в аналогичных условиях. 3.3.7. При контроле неразрушающим и разрушающим методами объем контроля и критерии оценки качества, методики и порядок отбора образцов принимаются в соответствии с технической документацией, указанной в ОСТ 26-07-2065-85 [36]. 3.3.8 Результаты работ по контролю материалов должны быть оформлены актами. К актам должны быть приложены бланки результатов анализа по формам, установленным на предприятии (организации), выполняющем контроль, подписанные соответствующими исполнителями с указанием их должностей и фамилий, а также фотопленки, диаграммы и прочие физические носители информации. 3.3.9 Контроль предохранительных клапанов. 3.3.9.1 Порядок и объем работ при ревизии и ремонте предохранительных клапанов определяется настоящими «Правилами...», с учетом РУПК-78 «Руководящие указания по эксплуатации, ревизии и ремонту пружинных предохранительных клапанов» [43]. 3.3.10. Контроль приводных узлов. 3.3.10.1. Контроль приводных узлов осуществляется в случаях, оговариваемых заказчиком. Объем контроля определяется настоящими «Правилами...» и ремонтной конструкторской документацией на приводные узлы. 3.4.1. Обязательному поверочному расчету (перерасчету) подлежат детали изделия, у которых: - выявлено утонение стенок или изменение размеров деталей, влияющее на их прочность, устойчивость, в случае, если не предусматривается их восстановление в процессе ремонта; - выявлено изменение характеристик металла; - выявлено отличие режимов эксплуатации от предусмотренных КД и расчетами на прочность; - изменились требования нормативно-технических документов. Расчеты производятся разработчиком или другим предприятием, имеющим соответствующую лицензию, по действующей нормативно-технической документации. В результате расчета должно быть подтверждено соблюдение условий прочности на продлеваемый период с запасом прочности не ниже указанных в ГОСТ 14249 «Сосуды и аппараты. Нормы и методы расчета на прочность» [37], РД 24.207.04-90 «Арматура трубопроводная. Корпуса и крышки. Методические указания по расчету допускаемых напряжений и методам оценки прочности» [38], РД 26-07-273-89 «Арматура трубопроводная. Болты и шпильки. Методические указания по определению допускаемых напряжений и допускаемых нагрузок» [39]. Для выполнения поверочного расчета предприятие-заказчик представляет сведения по приложению И. 3.5. По результатам работ по п.п. 3.1-3.4 в соответствии с ремонтной КД рабочей группой принимается решение о составе и объеме капитального ремонта каждого конкретного изделия с оформлением соответствующих документов, определяющих необходимость замены или восстановления его деталей, сборочных единиц, комплектующих элементов. 3.6. Инженерный анализ и математическая обработка данных, приведенных в «Информационной карте», полученных в результате оценки технического состояния изделия, и имеющихся данных эксплуатационной статистики включает в себя: - анализ отказов и предельных состояний изделий, применительно к которым предъявляются требования по надежности; - обобщение данных, необходимых для оценки остаточного ресурса и показателей надежности изделия, в том числе о наработках арматуры в часах и циклах, отказах, дефектах, неисправностях и повреждениях за период эксплуатации, а также данные о количестве, периодичности и составе проводившихся ранее ремонтов; - расчет и оценку количественных значений показателей надежности за период эксплуатации на момент проведения ремонта и на продлеваемый период. 3.7. Определение остаточного ресурса. 3.7.1. Величину остаточного ресурса в общем случае определяют как разность между назначенным (средним) ресурсом, установленным в КД, и наработкой изделия на момент снятия его с трубопровода для проведения капитального ремонта при условии: - отсутствия за предыдущий период эксплуатации отклонений от параметров эксплуатации, установленных в КД; - отсутствия отклонений от заложенной в расчете изделия скорости коррозии и (или) эрозии корпусных деталей; - своевременного проведения профилактических мероприятий, связанных с техническим обслуживанием. В случае если в процессе эксплуатации имели место отклонения от параметров, установленных в КД, или несвоевременно проводились профилактические мероприятия, связанные с техническим обслуживанием, величины назначенного (среднего) ресурса и наработки на момент обследования должны быть пересчитаны с учетом фактических значений рабочих параметров, скорости коррозии и (или) эрозии в процессе эксплуатации, результатов дополнительных испытаний. 3.7.2. Оценка остаточного ресурса арматуры, эксплуатирующейся в условиях статического нагружения, где основным повреждающим фактором являются общая коррозия или эрозия, протекающие с постоянной скоростью, осуществляется по формуле:
где: R(Т) - остаточный ресурс, час (год); Sф - фактическая толщина стенки корпусной детали на момент проведения капитального ремонта, мм; Sотб - минимальная (отбраковочная) толщина стенки корпусной детали, при которой корпусная деталь арматуры должна быть изъята из эксплуатации, мм; V - скорость коррозии (эрозии), мм/час (мм/год). Для сталей, относящихся к классу «весьма стойких» по ГОСТ 13819 «Коррозия металлов» [42]: - (высоколегированные стали) скорость коррозии V Ј 0,001ё0,01 мм/год; - (низколегированные и углеродистые стали) скорость коррозии V Ј 0,01ё0,1 мм/год. В случае если при визуальном осмотре не обнаружено видимых следов коррозионного поражения металла корпусных деталей изделия, скорость коррозии V принимается равной 0,001 мм/год для сталей, относящихся как к классу «весьма стойких», так и к классу «стойких». Отбраковочная толщина определяется по формуле:
где: DN - номинальный (условный) проход, мм; Рраб - рабочее давление в корпусе, МПа (кгс/см2); [σ] - допускаемое номинальное напряжение материала корпуса арматуры, которое выбирают в зависимости от рабочей температуры, МПа (кгс/см2). Численные значения допускаемых напряжений для различных марок сталей по ГОСТ 14249-80 приведены в приложении К. Скорость коррозии и (или) эрозии арматуры определяется по данным, полученным при освидетельствовании ее, и с учетом накопленных в процессе эксплуатации данных. За остаточный ресурс принимается минимальное из полученных расчетных значений R(Т) для нескольких точек замеренных толщин корпусных деталей обследуемого изделия. 3.7.3. В случае если для каких-либо комплектующих элементов, сборочных единиц или деталей изделия (привод, РТД, корпусные детали) установлены индивидуальные показатели надежности, величину остаточного ресурса следует определять раздельно для каждого из них. 3.7.4. В случае если в процессе проведения капитального ремонта и (или) в предыдущий период имели место замена комплектующих, модернизация, устранения отказов, связанные с заменой сборочных единиц и деталей изделия либо с полным восстановлением их технических характеристик, величина остаточного ресурса на момент проведения капитального ремонта определяется как разность между назначенным (средним) ресурсом, установленным в КД, и наработкой изделия (детали, сборочной единицы, комплектующего элемента) с момента осуществления замены (восстановления) до момента проведения капитального ремонта. 3.8. Перечень основных нормативных документов, используемых при проведении работ для определения остаточного ресурса арматуры нефте и продуктопроводов после ее капитального ремонта, приведен в приложении Л. 4. ТРЕБОВАНИЯ БЕЗОПАСНОСТИ.4.1. В процессе выполнения работ по контролю технического состояния арматуры необходимо строго соблюдать нормы, правила, положения и инструкции по технике безопасности, действующие в соответствующей отрасли промышленности и на конкретном предприятии, где проводятся работы. 4.2. Требования безопасности должны быть изложены в ОК и УК и содержать: - порядок допуска специалистов к работам по техническому освидетельствованию и капитальному ремонту арматуры; - порядок подготовки арматуры для ревизии, проведения испытаний, проведения всех видов неразрушающего контроля, проведения работ со всеми видами электрооборудования и др. 5. ПОРЯДОК ВНЕСЕНИЯ ПОКАЗАТЕЛЕЙ НАДЕЖНОСТИ, НАЗНАЧЕННЫХ ПОКАЗАТЕЛЕЙ И ГАРАНТИЙНЫХ ОБЯЗАТЕЛЬСТВ В СОПРОВОДИТЕЛЬНУЮ ДОКУМЕНТАЦИЮ НА ИЗДЕЛИЕ ПОСЛЕ ЕГО КАПИТАЛЬНОГО РЕМОНТА5.1. Для каждого изделия, прошедшего ремонт на специализированном ремонтном предприятии, оформляется формуляр по форме, указанной в ОК и УК. 5.2. В формуляре должно быть указано: - наименование предприятия, проводившего ремонт; - номер чертежа изделия; - заводской номер; - РN, DN; - количественные значения показателей надежности; - гарантийные обязательства (срок гарантии). 5.3. Порядок установления количественных значений назначенных показателей, а также показателей долговечности (среднего срока службы, среднего ресурса до списания; среднего срока службы, среднего ресурса до капитального ремонта) и безотказности (наработки на отказ, ВБР) на период до следующего капитального ремонта оговорен в разделе 1 п.п. 1.4 - 1.10. 5.4. Гарантийные обязательства ремонтного предприятия должны быть установлены в ОК и УК и реализуются им применительно к каждому единичному отремонтированному изделию. 5.5. На отремонтированную арматуру устанавливаются следующие виды гарантийных показателей: - гарантийный срок эксплуатации (в годах, месяцах); - гарантийная наработка в пределах гарантийного срока эксплуатации (в циклах, часах); - гарантийный срок хранения (в годах, месяцах). Приложение А
| |||||||||||||||||||||||||||||||||||||||||||||||||||||||||||||||||||||||||||||||||||||||||||||||||||||||||||||||||||||||||||||||||||||||||||||||||||||||||||||||||||||||||||||||||||||||||||||||||||||||||||||||||||||||||||||||||||||||||||||||||||||||||||||||||||||||||||||||||||||||||||||||||||||||||||||||||||||||||||||||||||||||||||||||||||||||||||||||||||||||||||||||||||||||||||||||||||||||||||||||||||||||||||||||||||||||||||||||||||||||||||||||||||||||||||||||||||||||||||||||||||||||||||||||||||||||||||||||||||||||||||||||||||||||||||||||||||||||||||||||||||||||||||||||||||||||||||||||
|
Код |
КЧ |
Наименование |
|
1 |
2 |
3 |
|
37 4000 |
7 |
Арматура промышленная трубопроводная стальная |
|
37 4100 |
0 |
Задвижки и затворы стальные |
|
37 4120 |
0 |
Задвижки и затворы DN от 50 до 150 |
|
37 4121 |
5 |
Задвижки клиновые с выдвижным шпинделем |
|
37 4123 |
6 |
- клиновые двухдисковые с выдвижным шпинделем |
|
37 4125 |
7 |
- параллельные двухдисковые с выдвижным шпинделем |
|
37 4128 |
3 |
- энергетические на РN 6,4 МПа (64 кгс/см 2) и свыше |
|
37 4130 |
4 |
Задвижки и затворы DN от 200 до 500 |
|
37 4131 |
4 |
Задвижки клиновые с выдвижным шпинделем |
|
37 4133 |
0 |
- клиновые двухдисковые с выдвижным шпинделем |
|
37 4135 |
1 |
- параллельные двухдисковые с выдвижным шпинделем |
|
37 4137 |
2 |
- однодисковые с выдвижным и не выдвижным шпинделем |
|
37 4138 |
8 |
- энергетические на РN 6,4 МПа (64 кгс/см 2) и свыше |
|
37 4140 |
9 |
Задвижки и затворы DN 600 и свыше |
|
37 4141 |
4 |
Задвижки клиновые с выдвижным шпинделем |
|
37 4143 |
5 |
- клиновые двухдисковые с выдвижным шпинделем |
|
37 4145 |
6 |
- параллельные двухдисковые с выдвижным шпинделем |
|
37 4147 |
7 |
- однодисковые с выдвижным и не выдвижным шпинделем |
|
37 4148 |
2 |
- энергетические на РN 6,4 МПа (64 кгс/см 2) и свыше |
|
37 4200 |
4 |
Арматура промышленная трубопроводная стальная без задвижек |
|
37 4210 |
9 |
Клапаны (вентили) |
|
37 4211 |
4 |
- DN до 15 |
|
37 4212 |
4 |
- DN от 20 до 25 |
|
37 4213 |
5 |
- DN от 32 до 40 |
|
37 4214 |
0 |
- DN от 50 до 65 |
|
37 4215 |
6 |
- DN от 80 до 125 |
|
37 4216 |
1 |
- DN от 150 до 200 |
|
37 4217 |
7 |
- DN св. 200 |
|
37 4220 |
3 |
Краны / |
|
37 4221 |
9 |
- DN до 50 |
|
37 4222 |
4 |
- DN от 65 до 150 |
|
37 4223 |
8 |
- DN от 200 до 500 |
|
37 4224 |
5 |
- DN от 600 до 1000 |
|
37 4225 |
0 |
- DN от 1200 до 1800 |
|
37 4226 |
6 |
- DN 2000 и свыше |
|
37 4230 |
8 |
Клапаны обратные подъемные, приемные и запорные |
|
37 4231 |
3 |
- DN до 15 |
|
37 4232 |
9 |
- DN от 20 до 25 |
|
37 4233 |
4 |
- DN от 32 до 40 |
|
37 4234 |
1 |
- DN от 50 до 65 |
|
37 4235 |
5 |
- DN от 80 до 100 |
|
37 4236 |
0 |
- DN от 125 до 200 |
|
37 4237 |
6 |
- DN св. 200 |
|
37 4240 |
2 |
Затворы (клапаны) обратные поворотные |
|
37 4241 |
8 |
- DN до 65 |
|
37 4242 |
3 |
- DN от 80 до 100 |
|
37 4243 |
9 |
- DN от 125 до 150 |
|
37 4244 |
4 |
- DN от 200 до 250 |
|
37 4245 |
5 |
- DN от 300 до 500 |
|
37 4246 |
5 |
- DN от 500 до 800 |
|
37 4247 |
0 |
- DN от 1000 до 1500 |
|
37 4248 |
6 |
- DN св. 1500 |
|
37 4250 |
7 |
Клапаны регулирующие и предохранительные / |
|
37 4251 |
2 |
- DN до 50 |
|
37 4252 |
8 |
- DN от 65 до 80 |
|
37 4253 |
3 |
- DN от 100 до 125 |
|
37 4254 |
9 |
- DN от 150 до 200 |
|
37 4255 |
4 |
- DN от 250 до 300 |
|
37 4256 |
9 |
- DN св. 300 |
|
37 4257 |
5 |
- DN до 50 (кроме входящих в группировку 37 4251) |
|
37 4260 |
1 |
Конденсатоотводчики, указатели уровня, рамки, фонари, клапаны перепускные, отсечные, смесительные, дроссельные, отделители, инжекторы, элеваторы, фильтры, запорные устройства для манометров и распределители / |
|
37 4261 |
7 |
- DN до 50 |
|
37 4262 |
2 |
- DN св. 50 |
|
37 9000 |
0 |
Устройства вспомогательные |
|
37 9100 |
4 |
Приводы, механизмы исполнительные и сигнализаторы к арматуре промышленной трубопроводной |
|
37 9110 |
9 |
Электроприводы / |
|
37 9111 |
4 |
- типа М |
|
37 9112 |
1 |
- типа А |
|
37 9113 |
5 |
- типа Б |
|
37 9114 |
0 |
- типа В |
|
37 9115 |
6 |
- типа Г |
|
37 9116 |
1 |
- типа Д |
|
37 9120 |
3 |
Пневмоприводы / |
|
37 9121 |
9 |
- поступательного действия мембранные |
|
37 9122 |
4 |
- поступательного действия поршневые |
|
37 9123 |
5 |
- поступательного действия сильфонные |
|
37 9124 |
5 |
- вращательного действия неполнооборотные |
|
37 9125 |
0 |
- вращательного действия многооборотные |
|
37 9126 |
6 |
- прочие |
|
37 9130 |
8 |
Гидроприводы / |
|
37 9131 |
3 |
- поступательного действия мембранные |
|
37 9132 |
9 |
- поступательного действия поршневые |
|
37 9133 |
4 |
- поступательного действия сильфонные |
|
37 9134 |
9 |
- вращательного действия неполнооборотные |
|
37 9135 |
5 |
- вращательного действия многооборотные |
|
37 9136 |
0 |
- прочие |
|
37 9140 |
2 |
Механизмы исполнительные / |
|
37 9141 |
8 |
- мембранные |
|
37 9142 |
3 |
- поршневые |
|
37 9150 |
7 |
Приводы пневмогидравлические / |
|
37 9151 |
2 |
- поступательного действия мембранные |
|
37 9152 |
8 |
- поступательного действия поршневые |
|
37 9153 |
3 |
- поступательного действия сильфонные |
|
37 9154 |
9 |
- вращательного действия неполнооборотные |
|
37 9155 |
4 |
- вращательного действия многооборотные |
|
37 9156 |
6 |
- прочие |
|
37 9160 |
1 |
Приводы электромагнитные / |
|
37 9161 |
7 |
- не взрывозащищенные тянущие |
|
37 9162 |
2 |
- не взрывозащищенные толкающие |
|
37 9163 |
8 |
- взрывозащищенные тянущие |
|
37 9164 |
3 |
- взрывозащищенные толкающие |
|
37 9165 |
9 |
- прочие |
|
37 9170 |
6 |
Приводы ручные / |
|
37 9171 |
1 |
- с цилиндрической передачей |
|
37 9172 |
7 |
- с конической передачей |
|
37 9173 |
2 |
- с волновой передачей |
|
37 9174 |
8 |
- с винтовой передачей |
|
37 9175 |
3 |
- с планетарной передачей |
|
37 9176 |
9 |
- с планетарной винтовой передачей |
|
37 9177 |
4 |
- с червячной передачей |
|
37 9178 |
3 |
- с прочей передачей |
|
37 9180 |
0 |
- Сигнализаторы / |
|
37 9181 |
6 |
- давления |
|
37 9184 |
2 |
- конечных положений |
|
37 9900 |
3 |
Запасные части к арматуре промышленной трубопроводной |
«УТВЕРЖДАЮ»
Главный инженер предприятия
_________________
«___» _____ 20 ___г.
Сведения об эксплуатационных режимах,
наработках, повреждениях, отказах арматуры
при эксплуатации на ____________________
|
№ п.п. |
Наименование (вид, тип) номер чертежа арматуры, DN, исполнение, привод, завод (фирма)-изготовитель |
Дата ввода в эксплуатацию |
Суммарная наработка на момент передачи в ремонт (цикл, час) |
Причина направления изделия в ремонт |
Сведения об отказах и ремонтах арматуры |
|||||
|
|
|
|
|
Плановый ремонт согласно регламенту |
Решение комиссии по продлению назначенных показателей |
Отказ изделия |
Аварийное* воздействие |
Наработка до отказа (цикл, час) |
Вид и причина отказа |
Объем ранее проводившихся ремонтов, даты их проведения |
* Аварийное воздействие - превышение расчетных (допустимых по КД) параметров (переопрессовка, сверхнормативные отклонения температуры окружающей среды), пожар, затопление, воздействие магистральных трубопроводов, как следствие подвижек грунта, сейсмические воздействия и др.
Карту заполнил:
_____________ Ф.И.О.
Нач. участка, эксплуатирующего арматуру
_____________ Ф.И.О.
«___» _______ 20 ___г.
Наименование изделия
Номер чертежа изделия
Номер по схеме
Заводской номер
|
№ чертежа детали, сборки |
Наименование детали, сборки |
Размер по чертежу |
Фактический размер по результатам замера |
Заключение |
|
1 |
2 |
3 |
4 |
5 |
|
|
|
|
|
|
Председатель комиссии:
Члены комиссии:

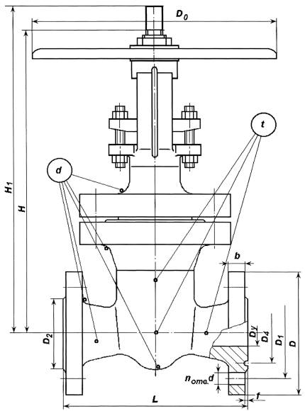
Условные обозначения: t - толщинометрия (места замера), d - дефектоскопия (места замера)
РЕКОМЕНДУЕМАЯ СХЕМА ОБСЛЕДОВАНИЯ ЗАПОРНО-ПРЕДОХРАНИТЕЛЬНОЙ АРМАТУРЫ

Условные обозначения: t - толщинометрия (места замера), d - дефектоскопия (места замера)
|
№№ п/п |
Наименование основных деталей, сборочных единиц |
Категория взрывоопасности технологического блока по [1], в котором установлена арматура |
||
|
1 |
2 |
вся остальная арматура |
||
|
1. |
Корпус, крышка |
|
|
|
|
1.1. |
Наружные стенки корпуса, крышки в местах радиусных переходов к патрубкам и патрубки |
ВК, КК |
ВК, КК |
ВК |
|
1.2. |
Толщины стенок корпусных деталей и патрубков |
ИК, УЗК |
ИК, УЗК |
ИК |
|
1.3. |
Сварные швы |
ВК, РК(УЗК), КК |
ВК, РК(УЗК), КК |
ВК, КК |
|
2. |
Уплотнительные поверхности клиньев золотников, седел корпусов |
ВК, КК |
ВК, КК |
ВК, КИ |
|
3. |
Сильфонные сборки |
ВК, ИК, ГИ, ГК |
ВК, ГИ, ГК |
ВК, ГИ |
|
4. |
Крепежные детали шпильки |
ВК, ИК, КК, УЗК |
ВК, ИК, КК |
ВК, ИК |
|
|
гайки |
ВК, ИК |
ВК, ИК |
ВК, ИК |
|
5. |
Шпиндели, штоки |
|
|
|
|
5.1. |
Цилиндрическая поверхность |
ВК, ИК, КК |
ВК, ИК, КК |
ВК, ИК |
|
5.2. |
Ходовая резьба |
ВК, ИК |
ВК, ИК |
ВК, ИК |
|
6. |
Втулка резьбовая |
ВК, ИК |
ВК, ИК |
ВК, ИК |
Примечания:
1. Условные обозначения
КК - капиллярный контроль или МПД-контроль ([12], [25]);
УЗК - ультразвуковой контроль ([16], [19], [20], [21], [22]);
РК - радиографический контроль ([11], [18], [19], [24]);
ГК - контроль гелиевым течеискателем ([15]);
ВК - визуальный контроль ([34]);
ИК - измерительный контроль ([34]);
ГИ - гидравлические (пневматические) испытания ([35]).
2. Приведенные в таблице методы контроля носят рекомендательный характер и уточняются в процессе проведения работ по продлению.
№_____от «___»__________20_____г.
|
Наименование изделия Номер чертежа Номер по схеме Заводской номер |
Завод-изготовитель: |
|
Наименование узла, детали |
Чертеж узла, детали или поз. по черт. ТО на изделие |
Кол-во отдефектованных узлов, деталей |
Материал детали |
Результаты дефектации |
Способ устранения дефекта |
|
1 |
2 |
3 |
4 |
5 |
6 |
|
|
|
|
|
|
|
Председатель комиссии:
Члены комиссии:
1. Категория взрывоопасности в соответствии с «Правилами устройства и безопасной эксплуатацией сосудов, работающих под давлением» и другими нормативно-техническими документами по Котлонадзору».
2. Категория сейсмостойкости по СНиП 2.05.06-85 «Магистральные трубопроводы».
3. Максимальное рабочее давление и максимальная рабочая температура при нормальных условиях эксплуатации (НУЭ).
4. То же при нарушении нормальных условий эксплуатации (ННУЭ).
5. Давление и температура среды при гидроиспытаниях.
6. Виды среды при эксплуатации и гидроиспытаниях.
7. Акселерограммы. Спектры ответа для максимального расчетного землетрясения (МРЗ) и проектного землетрясения (ПЗ).
8. Нагрузки, передаваемые на арматуру от массы трубопровода, и размахи нагрузок с учетом температурной компенсации трубопровода.
9. Нагрузки, передаваемые на арматуру при сочетании НУЭ+МРЗ, НУЭ+ПЗ.
10. Данные о циклических изменениях параметров среды на каждом режиме эксплуатации (фактические данные за прошлый период и предлагаемые данные на последующий период до демонтажа арматуры):
- начальное давление;
- конечное давление;
- скорость или время изменения давления;
- начальная температура;
- конечная температура;
- скорость или время изменения температуры;
- число циклов изменения нагрузок (желательно - с разбивкой по годам, например, в первый год эксплуатации было ... циклов такого-то режима по давлениям и температурам и т.д.);
11. Данные о значениях параметров среды (давление, температура) и времени эксплуатации при температурах Т, когда необходимо учитывать характеристики сталей Т > 350°С; для аустенитных сталей Т > 450°С (также за прошлый и на последующий периоды).
12. Фактические толщины стенок с учетом коррозии и эррозии и скорости коррозии и эррозии (если они имеют место).
13. Данные о фактических значениях механических характеристик материалов корпусных деталей (если они имеются. При их отсутствии механические характеристики принимаются по Нормам).
14. Сведения о наличии, виде и массе изоляции арматуры.
15. Сведения о наличии и способе крепления арматуры к строительным конструкциям.
Таблица 1. Допускаемые напряжения для углеродистых и низколегированных сталей по ГОСТ 14249-80
|
Расчетная температура стенки сосуда или аппарата, °С |
Допускаемое напряжение [σ], МПа (кгс/см 2) для сталей марок |
|||
|
ВСт3 |
20 и 20к |
09Г2С, 16ГС, 17ГС, 16Г1С, 10Г2С1 |
10Г2 |
|
|
20 |
140 (1400) |
147 (1470) |
183 (1830) |
180 (1800) |
|
100 |
134 (1340) |
142 (1420) |
160 (1600) |
160 (1600) |
Примечания:
1. При расчетной температуре ниже 20°С допускаемое напряжение принимают таким же, как и при температуре 20°С, если допускается применять материал при данной температуре.
2. Для промежуточных значений расчетных температур стенки допускаемое напряжение определяют линейной интерполяцией с округлением результатов до 0,5 МПа (5 кгс/см2) в сторону меньшего значения.
3. Для стальных отливок номинальное допускаемое напряжение принимают равным 80 % от номинального допускаемого напряжения, определенного по данной таблице для одноименной марки катаной или кованой стали, если отливки подвергают 100 % -ному контролю неразрушающими методами, и 75 % от указанных выше значений для остальных отливок.
Таблица 2. Допускаемые напряжения для жаропрочных, жаростойких и коррозионно-стойких аустенитных сталей по ГОСТ 14249-80
|
Расчетная температура стенки сосуда или аппарата, °С |
Допускаемое напряжение [σ], МПа (кгс/см2) для сталей марок |
|
|
08Х18Н10Т, 08Х18Н12Т, 08Х17Н13М2Т, 08Х17Н15М3Т |
12Х18Н10Т, 12Х18Н12Т, 10Х17Н13М2Т, 10Х17Н15М3Т |
|
|
20 |
140 (1400) |
160 (1600) |
|
100 |
130 (1300) |
152 (1520) |
|
150 |
120 (1200) |
146 (1460) |
|
200 |
115 (1150) |
140 (1400) |
Примечания:
1. При значении расчетной температуры ниже 20°С допускаемое напряжение принимают таким же, как и при температуре 20°С при условии, если допустимо применение материала при данной температуре.
2. Для промежуточных значений расчетной температуры стенки допускаемое напряжение определяют интерполяцией двух ближайших значений с округлением результатов до 0,5 МПа (5 кгс/см2) в сторону меньшего значения.
3. Стали марок 10Х17Н13М3Т и 12Х18Н12Т при расчетной температуре свыше 600°С применять не следует.
4. Для стальных отливок номинальное допускаемое напряжение принимают равным 80 % от значения номинального допускаемого напряжения, определенного по данной таблице для одноименной катаной или кованой стали, если отливки подвергают 100 %-ному контролю неразрушающими методами, и 75 % от указанных выше значений для остальных отливок.
Таблица 3. Допускаемое напряжение для теплоустойчивых и коррозионностойких хромистых сталей по ГОСТ 14249-80
|
Расчетная температура стенки сосуда или аппарата, °С |
Допускаемое напряжение [σ], МПа (кгс/см2) для сталей марок |
||||
|
12ХМ |
12МХ |
15ХМ |
15Х5М |
15Х5М-Y |
|
|
20 |
147 (1470) |
147 (1470) |
155 (1550) |
146 (1460) |
240 (2400) |
|
100 |
- |
- |
- |
141 (1410) |
235 (2350) |
|
150 |
- |
- |
- |
138 (1380) |
230 (2300) |
|
200 |
145 (1450) |
145 (1450) |
152 (1520) |
134 (1340) |
225 (2250) |
Примечания:
1. При значении расчетной температуры ниже 20°С допускаемое напряжение принимают таким же, как и при температуре 20°С при условии, если допустимо применение материала при данной температуре.
2. Для промежуточных значений расчетной температуры стенки допускаемое напряжение определяют линейной интерполяцией с округлением результатов до 0,5 МПа (кгс/ см 2) в сторону меньшего значения.
3. При расчетной температуре ниже 200°С сталь марок 12МХ, 12ХМ, 15ХМ применять не рекомендуется.
4. Для стальных отливок номинальное допускаемое напряжение принимают равным 80 % от значения номинального допускаемого напряжения, определенного по данной таблице для одноименной катаной или кованой стали, если отливки подвергаются 100 %-ному контролю неразрушающими методами, и 75 % от указанных выше значений для остальных отливок.
1. «Правила безопасности при эксплуатации магистральных нефтепроводов».
2. РД «Правила безопасности в нефтяной и газовой промышленности».
3. «Общие правила взрывобезопасности для взрывопожароопасных химических, нефтехимических и нефтеперерабатывающих производств» ОПВБ-88.
4. РД 09-102-95 «Методические указания по определению остаточного ресурса потенциально опасных объектов, поднадзорных Госгортехнадзору России».
5.
ОК-005-92 «Общероссийский классификатор продукции ОК-005-92». М., Издательство
Стандарты,
6. ГОСТ 27.002-89 «Надежность в технике. Основные понятия. Термины и определения».
7. ГОСТ 27.004-85 «Надежность в технике. Системы технологические. Термины и определения».
8. ГОСТ 18322 «Система технического обслуживания и ремонта техники. Термины и определения».
9. ГОСТ 21623 «Система технического обслуживания и ремонта техники. Показатели для оценки ремонтопригодности. Термины и определения».
10. ГОСТ 27.003-90 «Надежность в технике. Состав и общие правила задания требований по надежности».
13. ПБ 10-115-96 «Правила устройства и безопасной эксплуатации сосудов, работающих под давлением».
14. РД 34.10.130-96 «Инструкция по визуальному и измерительному контролю».
15. ГОСТ 14782-86 «Контроль неразрушающий. Соединения сварные.
Методы ультразвуковые». М., Издательство стандартов,
17. ГОСТ 7512-82 «Контроль неразрушающий. Соединения сварные.
Радиографический метод». М., Издательство стандартов,
18. ГОСТ 18442-80 «Контроль неразрушающий. Капиллярные
методы». М., Издательство стандартов,
19. ГОСТ 21105-75 «Контроль неразрушающий. Магнитопорошковый
метод». М., Издательство стандартов,
20. ОСТ 26-5-88 «Контроль неразрушающий. Цветной метод
контроля сварных соединений наплавленного и основного металла». М.,
Издательство стандартов,
26. ОСТ 36-75-83 «Контроль неразрушающий. Сварные соединения трубопроводов и конструкций. Ультразвуковой метод».
33. ГОСТ 22761 «Металлы и сплавы. Метод измерения твердости по Бринеллю переносными твердомерами статического действия».
34. ГОСТ 22762 «Металлы и сплавы. Метод измерения твердости на пределе текучести вдавливанием шара».
35. ГОСТ 9454-78 «Металлы. Метод испытания на ударный изгиб
при пониженной комнатной и повышенной температурах». М., Издательство
стандартов,
37. ГОСТ 14249-89 «Сосуды и аппараты. Нормы и методы расчета
на прочность». М., Энергоатомиздат,
40. РД 302-07-279-89 «Арматура
трубопроводная. Методика оценки надежности по результатам испытаний и (или)
эксплуатации». «Центральное конструкторское бюро арматуростроения»,
41. РУПК-78 «Руководящие указания по эксплуатации, ревизии и ремонту пружинных предохранительных клапанов».
42. ГОСТ 13819-68 «Коррозия металлов». М., Издательство стандартов,
43. СНиП 2.05.06-85 «Магистральные трубопроводы».
|
|
|
|