//
|
|
ФЕДЕРАЛЬНОЕ
АГЕНТСТВО НО ОБРАЗОВАНИЮ ГОСУДАРСТВЕННОЕ ОБРАЗОВАТЕЛЬНОЕ УЧРЕЖДЕНИЕ ДОПОЛНИТЕЛЬНОГО ПРОФЕССИОНАЛЬНОГО ОБРАЗОВАНИЯ «ГОСУДАРСТВЕННАЯ АКАДЕМИЯ ПРОФЕССИОНАЛЬНОЙ ПЕРЕПОДГОТОВКИ И ПОВЫШЕНИЯ КВАЛИФИКАЦИИ РУКОВОДЯЩИХ РАБОТНИКОВ И СПЕЦИАЛИСТОВ ИНВЕСТИЦИОННОЙ СФЕРЫ» (гоу ДПО гасис)
ТЕХНИЧЕСКИЕ УКАЗАНИЯ ПО УСТРОЙСТВУ И РЕМОНТУ МЯГКИХ КРОВЕЛЬ ПЛОСКИХ И СКАТНЫХ КРЫШ ЗДАНИЙ ПОЛИМЕРНЫМИ МАТЕРИАЛАМИ
Москва 2006 СодержаниеТЕХНИЧЕСКИЕ УКАЗАНИЯ ПО УСТРОЙСТВУ И РЕМОНТУ МЯГКИХ КРОВЕЛЬ ПЛОСКИХ И СКАТНЫХ КРЫШ ЗДАНИЙ ПОЛИМЕРНЫМИ МАТЕРИАЛАМИ ПредисловиеНастоящие указания распространяются на все виды устройства и ремонта мягких кровель на плоских и скатных крышах жилых, общественных и производственных зданий и сооружений с применением мастик Абрис®Ру и БСКМ, поставляемых ООО "Завод герметизирующих материалов" (ЗГМ) в г. Дзержинске Нижегородской области. В основу указаний положены лабораторно-производственные исследования, проведенные ООО "ЗГМ" совместно с ЦНИИПромзданий, и БСКМ в ГАСИС (бывш. ЦМИПКС) совместно с ВНИИЖТ с учетом многолетнего опыта ремонтно-строительных организаций по устройству и ремонту мягких кровель зданий в различных регионах РФ. При составлении настоящих ТУ использованы "Технические указания по устройству и ремонту кровель плоских крыш битумно-синтетической кровельной мастикой, армированной стеклянными тканями и неткаными материалами", разработанные автором в ГАСИС и утвержденные Госжилинспекцией в 1998 г. Сущность покрытия заключается в том, что впервые в качестве грунтового и подстилающего слоев используют медленно твердеющую мастику Абрис®Ру, которая обеспечивает "самозалечивание" трещин, вызываемых деформациями кровельных панелей и стяжки. В качестве армирующих материалов применяют нетканые, а в отдельных случаях стеклянные, базальтовые и синтетические ткани, сетки и рогожи. Основной концепцией настоящих ТУ является использование мастик, сохраняющих герметичность кровли при деформациях основания (температурных, осадочных, усадочных), соответствующих реальным эксплуатационным деформациям кровельного основания, в отличие от высокопрочных рулонных армированных материалов, практически не имеющих относительного удлинения. Использование мастик позволяет при наличии экономического эффекта, образуемого за счет повышения долговечности кровли в сравнении с традиционными битуминозными материалами, снижения расходов на эксплуатацию крыш, получить и социальный эффект за счет облегчения производства кровельных работ, повышения комфортности проживания в домах, кровли которых надежны с точки зрения водопроницаемости, пониженной пожароопасности за счет уменьшения объема изоляции, ремонтопригодны без необходимости снятия кровельного покрытия, экологически безвредны за счет исключения вредных испарений в процессе эксплуатации. Многолетний производственный опыт убеждает в том, что традиционные битуминозные рулонные материалы на горячих и холодных битумных мастиках неэффективны, особенно при устройстве и ремонте кровель на крышах с многочисленными выступающими конструкциями (шахты, стены, антенны, ограждения, парапеты и т.п.). Рулонные материалы необходимо укладывать только на ровное основание при минимальном количестве примыканий к выступающим конструкциям, но обеспечить ровность и сплошность основания сложно при выполнении ремонтных работ, объем которых многократно превышает объем выполнения новых кровель. Мастика же самопроизвольно заполняет раковины и трещины в стяжке, выравнивая поверхность и образуя тем самым ровный слой. Особенно целесообразны и даже необходимы мастичные покрытия на совмещенных крышах, т.к. кровельное покрытие таких крыш в большей мере подвержено воздействию водяных паров, идущих вверх при нагреве и заставляющих "работать" кровельное покрытие "на отрыв". В этом случае кровельные мастики Абрис®Ру и БСКМ обеспечивают повышенную надежность за счет высокой и стабильной адгезии к цементно-песчаному раствору или асфальтобетону стяжки, или бетону кровельной панели. Исключительно важно и снижение опасности травматизма за счет работы с холодными кровельными мастиками Абрис®Ру и БСКМ. Эффективность мастик Абрис®Ру и БСКМ обусловливается возможностью нанесения их как механизмами, так и вручную с использованием простейших приспособлений, которые легко изготовить в любой механической мастерской. В настоящих указаниях в основном на примере условий строительства и эксплуатации жилых, общественных и производственных зданий разработаны возможные конструктивно-технологические решения по устройству узлов сопряжений и примыканий на кровлях которые характерны для различных регионов РФ. Настоящие указания разработаны в НИСе ГАСИС профессором, членом-корреспондентом ЖК Академии Лукинским О.А. с использованием наработок ООО "ЗГМ". При использовании других гидроизоляционных материалов, отвечающих современным технологическим требованиям (Приложение 1), обязательно наличие нормативных документов, разработанных НИИ и утвержденных соответствующими инстанциями. Для того чтобы правильно вести работы на кровле нужно четко представлять основные причины и возможные формы деформаций и разрушений мастичных кровель, типичных для условий РФ. С этой целью на основе производственного опыта составлена таблица (Приложение 2), в которой представлены типичные дефекты и причины их происхождения, а в таблице 1 приведены сведения по совместимости различных строительных материалов, которые используются при устройстве или ремонте всех видов кровель. Таблица 2 Совместимость крышных строительных материалов с кровельными покрытиями и герметиками
Примечания:
Под совместимостью (С) подразумевается механическое сцепление за счет диффузионного проникания одного материала в другой, в результате которого не происходит отторжения в процессе эксплуатации. Несовместимы (НС) те материалы, которые не прилипают друг к другу из-за химической несовместимости. Адгезионно совместимы (СА) те материалы, у которых совпадают или близки химические составы и у них при соединении происходит не только диффузионное проникание одних в другие, но и срастание на молекулярном уровне. Совместимы с подслоем (СП) те по существу разнородные материалы (например, металлы и герметики), для склейки которых необходимы дополнительные адгезионные присадки (праймеры, подслои), обеспечивающие диффузионную адгезию к пористым субстратам (бетон, кирпич, дерево) или электрическую к плотным (металлы). 1. МАТЕРИАЛЫ ДЛЯ КРОВЕЛЬНЫХ РАБОТ1.1. Основными кровельными материалами являются холодные готовые к потреблению мастику Абрис®Ру и самоклеящиеся ленты Абрис®С (ТУ 5772-003-43008408-99 и ТУ 5775-004-52471462-2003; Сертификат соответствия СК № 12-00345 Госстандарта России; Сертификат соответствия № РОСС RU.СЛ44.Н00041 Госстроя России; Санитарно-эпидемиологическое заключение № 52.20.05.577.П.000242.05.04; Сертификат пожарной безопасности № ССПБ.К11ОГТ019.Н00077) и битумно-каучуковая мастика БСКМ (ТУ 5775-001-27558090-96; Сертификат соответствия № ГОСТ Р RU.90001.1.3.0044; Сертификат гигиенический № 19.МЦ.30.577.Т.34226.Т6; показатель пожарной опасности (Протокол сертификационных испытаний № 22/2-96 от 06.06.1996 г. Испытательного центра "Огнестойкость" ГП "ЦНИИСК им. Кучеренко") - группа горючести ГЗ по ГОСТ 30244-94). Согласно указанному Протоколу при устройству кровель с применением БСКМ пожарная нагрузка на 1 м площади покрытия примерно вдвое меньше, чем при использовании с этой целью рулонных и мастичных кровель по СНиП II-26-76, т.е. пожарная опасность БСКМ ниже, чем кровель по СНиП II-26-76. 1.2. Абрис®Ру и БСКМ легко наносятся на сухую обезжиренную поверхность (бетон, металлы, дерево, кирпич) с использованием щетинных кистей, швабр, шпателей, а также механизмов - распылителей воздушных и безвоздушных (Приложение 3, 4). 1.3. Абрис®Ру и БСКМ - мастики, предназначенные для устройства новой мастичной кровли и выполнения текущего и капитального ремонта различных видов существующих кровель. Они применяются также для гидропароизоляции частей здания и антикоррозионной защиты строительных конструкций. 1.4. После твердения (высыхания) мастика БСКМ представляет собой монолитную резиноподобную эластичную пленку, сохраняющую заданные свойства в диапазоне температур от 90°С до минус 50°С и при различных атмосферных воздействиях. Показатели физико-технических свойств Абрис®Ру приведены Приложение 3, а БСКМ - в Приложении 4. 1.5. При необходимости разжижения указанных мастик используют разбавители (бензин, нефрас, ксилол, уайт-спирит и идентичные растворители) в количестве не более 5 % по массе при ручном нанесении и не более 15 % - при механизированном нанесении. 1.6. При выборе мастики потребителю следует воспользоваться рекомендациями разработчика настоящих указаний. По результатам лабораторных исследований долговечность указанных мастик составляет 15 л. 1.7. Мастики Абрис®Ру и БСКМ упаковывают в герметически закрываемые металлические бочки (фляги) по ГОСТ 13850-91, ГОСТ 17366-80, ГОСТ 6247-79 или другую тару по согласованию с потребителем. На каждое тарное место обязательно наклеивают этикетку с указанием предприятия-изготовителя, наименование мастики, ТУ, номера партии и даты изготовления, массы тарного места (нетто и брутто). На каждой таре указывают "ОГНЕОПАСНО". 1.8. При хранении в не отапливаемых помещениях компоненты мастики в герметичной таре сохраняют свои свойства в течение года. После разгерметизации тары продолжительность хранения уменьшается до одного месяца. При использовании мастик после более длительного хранения необходимо провести лабораторный экспресс-анализ материала на соответствие ТУ (см. Приложение 3, 4). 1.9. При армировании мастик в сопряжениях и примыканиях следует использовать стеклоткани на прямых замасливателях (А-41, № 30, № 83, № 78) типа Т-12-41. При отсутствии стеклоткани на прямых замасливателях, допускается применение стеклотканей на парафиновом замасливателе, но при условии обработки ее растворителем толуольного типа или отжигом. Взамен стеклотканей рационально использовать нетканые лавсано-вискозные материалы поверхностной плотностью от 80 до 90 г/м. Нетканые материалы в отличие от стеклотканей безопасны и удобны в работе (режутся ножницами), хорошо адгезируют к мастикам и принимают любую форму, облегая различные оклеиваемые конструкции и детали. 1.10. ЗАПРЕЩАЕТСЯ использовать армирующие материалы, подвергшиеся воздействию масел, а мокрые следует тщательно просушить перед применением. 1.11. Если предполагается подвергать кровельное покрытие интенсивному механическому воздействию (хождение по кровле), то рационально в этих местах армировать кровельное покрытие из мастик утолщенными стеклотканями типа НШ-750 (ТУ 619-290-85) или рогожами толщиной около 0,6 мм. 1.12. В качестве материала для стяжки можно использовать как цементно-песчаный раствор, так и асфальтобетон, желательно с 5 % содержанием резиновой крошки от массы битума для повышения трещиностойкости. В обычную готовую цементно-песчаную смесь рационально добавлять до 15 % от массы цемента поливинилацетатной дисперсии (ПВАД). Можно добавлять латекс СКС-65ГП или аналогичные водные дисперсии полимеров по конкретным рекомендациям проектной или исследовательской организации. Эффективны стяжки из напрягающих цементов и полимеррастворов на основе уретанов и полиизоцианатов типа Лукар-ОВ. Лукары полиизоцианатные составы, применяемые в качестве пропиточных, покровных и полимеррастворов* (Приложение 5). 1.13. Не допускается применять в качестве основания для мастик стяжки из известковых или известково-цементных растворов, а также стяжки или бетоны на шлаковых цементах. 1.15. Для герметизации деформационных швов, которые должны проходить через все слои кровли, совпадая со швами в стенах и междуэтажных перекрытиях, применяют самоклеящиеся ленты Абрис®С-ЛТбаз (см. Приложение 3). 1.16. В качестве сопутствующих материалов рекомендуется применять: - пенопол и этиленовые уплотняющие прокладки Вилатерм в качестве упругой основы под самоклеящиеся ленты; - самоклеящиеся ленты типа Абрис®С для оклеенной воздухе- и водоизоляции сопряжений и окрытий; вспенивающиеся полиуретановые композиции отечественного производства типа ППУ 6ТЗ, ППУ 6ТН, ППУ 13Н, ППУ 17Н, Вилан 405 и т.п. или импортные типа Макрофлекс для уплотнения примыканий; - стеклоткани типа Т-12-41, АСТТ(б)-С2, СЭ-0,1, СЭ-0,2, ССТЭ-б на прямых замасливателях или лавсано-вискозные нетканые материалы плотностью 80-90 г/м2 в качестве армирующих материалов. 1.17. Применять мастики можно практически круглый год, предварительно выдержав в помещении при температуре около 20°С. Капитальный ремонт кровли с обязательным снятием старого ковра рационально выполнять при положительных температурах, а также используя укрытия от осадков. 2. МЕХАНИЗМЫ И ПРИСПОСОБЛЕНИЯ ДЛЯ КРОВЕЛЬНЫХ РАБОТ2.1. Большую часть приспособлений и инструментов для устройства и ремонта кровли мастиками можно изготавливать в простейших мастерских (Приложение 6). Для приготовления небольших объемов грунтовки при выполнении ремонтных работ можно использовать любые емкости (лучше фляга с герметически закрывающейся крышкой), перемешивая мастику с разжижителем пневмо- или электродрелью с насадкой-крыльчаткой (рис. 2.1, 2.2). Грунтовку поставляют и в готовом виде, и тогда на емкости должно быть соответствующее обозначение, например, буква "Г". Наносят грунтовку щетинными щетками с коротким ворсом, втирая в стяжку с таким расчетом, чтобы на поверхности стяжки было минимальное количество грунтовки (рис. 2.3). Удобно пользоваться распылителями типа СО-21А (рис. 2.4) или эффективными безвоздушными распылителями типа 7000Н (рис. 2.5, 2.6) (табл. 2.1) (Приложение 8). Для нанесения высоковязких мастик рационально применять механизмы типа Grado CH-533, а также станцию СО-145, гребки, швабры и мастерки с обрезиненными (силиконизированными) кромками (рис. 2.7, 2.18) (Приложение 6, 7).
Рис. 2.1. Приспособление для разжижения мастик мешалка (слева), электродрель с крыльчаткой (справа): 1 - станина, 2 - электромотор, 3 - смеситель, 4 - крышка, 5 - пускатель
Технологическая схема приготовления грунтовки
Приспособление для нанесения грунтовки и БСКМ: а) щетка с коротким ворсом, б) гребок-швабра с резиновой вставкой, в) гребенка
Мастерки-шпатели различных форм и конфигураций кромок
Общие виды агрегатов безвоздушного нанесения: а) - модель 7000Н, б) - модель 2600Н, 1 - фильтр высокого давления, 2 - насос, 3 - тележка с рукояткой, 4 - электродвигатель, 5 - выключатель и защитно-отключающее устройство, 6 - электрокабель, 7 - колеса, 8 - пистолет-распылитель, 9 - рукав высокого давления, 10 - всасывающая система
Нарезка стеклоткани ножом (слева), нарезка нетканки ножницами (справа)
Схема механизмов для очистки крышных конструкций: а - реверсивная пневматическая угловая щетка, б - электродрель, 1, 6, 8 - стальная щетка, 2 - крепление для сменного оборудования, 3 - турбинка, 4 - корпус дрели, 5 - выключатель, 7 - фреза для расчистки швов
Шведский механизм для расчистки швов
Конструкция пневмошприца-герметизатора: 1 - корпус, 2 - передняя крышка, 3 - задняя крышка, 4 - шток, 5 - поршень, 6 - сетка с отверстиями диаметром 2,5 мм, 7 - трубчатый уголок диаметром 1/2 дюйма, 8 - паз для воздуха шириной 55 мм, высотой 2,2 мм, 9 - паз для прохода герметика шириной 55 мм, высотой 1,5 мм, 10-смесительная камера, 11-сетчатая перегородка смесительной камеры, 12 - воздушный патрубок с вентилем 1/2 дюйма, 13 - заглушка
Рис. 2.16. Ручной шприц для нанесения мастик: 1 - лента ворсовая, 2 - мундштук, 3 - гайка, 4 - наконечник, 5 - поршень 6 - стержень, 7 - цилиндр, 8 - крышка, 9 - ручка, 10 - пружина
Схемы типовых герметизаторов со сменными насадками
Станция СО-145: 1 - пневмоколесное шасси, 2 - поворотная кран-балка, 3 - компрессор СО-45А, 4, 34 - система трубопроводов с показывающими манометрами, 5, 33 - насосная группа, 6, 32 - электропривод, 7, 31 - сливной кран, 8 - технологическая емкость, 9 - шнековая подпитка* 10, 25 - привод от электродвигателей, 11, 24 - редуктор, 12 - тельферная балка, 13 - электротельфер, 14 - грузозахватное устройство, 15 - заливная горловина, 15а - отверстие бочки для подачи воздуха, 16 - бочка с мастикой, 17 - постель для бочки, 18, 26 - краны, 19, 29 - напорные клапаны, 20 - колонна, 21 - конструктивный элемент поворотной балки, 22 - рабочая емкость, 23 - система перемешивания, 27 - форсунка, 28 - напорный рукав, 30 – барабан 2.2. Для нарезки полотнищ базальтовой и стеклоткани нужно применять остроконечные ножи треугольного сечения (сапожные), а нетканые материалы удобнее нарезать ножницами (рис. 2.8). 2.3. Для перемешивания компонентов вязких мастик применяют электромешалки, которые можно изготовить в строительной мастерской (рис. 2.9, 2.10). 2.4. Для расчистки дефектных швов в сопряжениях плит перекрытия и стен шахт используют электросверлильную машину ИЭ-1013, оборудованную фрезой (рис. 2.11), или шведский эффективный портативный инструмент (рис. 2.12), работать с которым следует по прилагаемой заводом инструкции. 2.5. Для заполнения полости деформационных швов пористыми прокладками применяют специальные ролики (рис. 2.13), которые также просто изготовить в строительной мастерской. 2.6. При необходимости использования в качестве герметиков вулканизующихся герметиков-эластомеров рационально использовать устройство СоюздорНИИ (рис. 2.14), а при незначительных объемах пистолеты (рис. 2.15-2.17). 2.7. Для подачи мастик на высоту применяют машины типа СО-160 и СО-145 (рис. 2.18). 2.8. Для устройства армированных стяжек используют пистолет-напылитель конструкции ЦНИИОМТП, состоящий из электропривода (на базе электрошуруповерта ИЭ-3601), рабочего узла для рубки стекложгута, эжектора и форсунки из дюралюминиевых сменных сопел. Характеристика пистолета:
- производительность -150-200 м3/час однослойной стяжки; - давление в шланге - до 1 МПа; - рабочее давление воздуха - до 0,6 МПа; - расход сжатого воздуха -0,3 м/ мин.; - напряжение электросети - 220 В; - частота электротока - 50 Гц; - длина-350 мм; - ширина -140 мм; - высота-230 мм; - масса-до 4,9 кг. 3. ПОДГОТОВКА ПОВЕРХНОСТИ ОСНОВАНИЯ3.1. Основанием под новую мастичную кровлю из мастик Абрис®Ру и БСКМ является подготовленная поверхность бетонных кровельных плит (при сборных конструкциях) или поверхность цементно-песчаной стяжки (при построечном изготовлении), а также асфальтобетонной стяжки. Поверхности эти должны быть гладкими, без пыли и масляных пятен. 3.2. При выполнении ремонта кровли из рубероида необходимо рулонный ковер удалить полностью, а стяжку отремонтировать или выполнить заново. Старое мастичное покрытие толщиной до 3 мм, как правило, счищать не следует, выравнивая лишь бугры и наплывы на поверхности. 3.3. Для снятия старого кровельного покрытия целесообразно использовать специальные механизмы для резки кровельного "ковра". Такие машины разработаны ЛНИИ АКХ (рис. 3.1). Скорость резки "ковра" толщиной до 50 мм достигает 10,5 м/мин при мощности электродвигателя 4 кВт. Габариты машины 1000×485×880 мм при массе 92 кг (см. Приложение 6). Усовершенствованный нарезчик швов Э-347 рекомендуется при толщине слоя до 75 мм при ширине полосы 300 мм (скорость резания 10 м/мин, габариты 1800×800х 1200 мм при массе 90 кг, мощность электродвигателя 4 кВт). Эффективный и дешевый нарезчик швов упрощенной конструкции разработан и применяется в ООО ПКФ "Сфера" (см. Приложение 6). 3.4. В связи с обязательной необходимостью снятия старого кровельного ковра при выполнении капитального ремонта возникает вопрос рациональной утилизации рубероидно-битуминозной массы. Корпорацией "Авистен" разработана технология вторичного использования рубероида (ВИР). С участка (захватки) ремонтируемой мягкой кровли снимают рубероидных ковер и незамедлительно очищенную поверхность пропитывают праймером (грунтовкой), изготовленным на основе той мастики, которой будут покрывать кровлю. Снятое старое покрытие измельчают, используя передвижное механизированное устройство, и загружают в приемную камеру другого мобильного агрегата, где эта масса разогревается и перемешивается (электробитумоварочный аппарат ЭНВ-04). Контроль процесса разогрева автоматизирован (патент РФ №2076166). Жидкую консистенцию битуминозной массы выгружают на огрунтованную захватку толщиной слоя около 20 мм и после остывания прикатывают ручным катком. Технология "ВИР-пласт" позволяет из бросового материала изготавливать битуминозную (асфальтовую) стяжку под новое покрытие. Технология "ВИР-пласт" эффективна в зимнее время, экономична и решает проблему утилизации старого рубероида, 3.5. Поверхность, служащая основанием под кровельное покрытие из Абрис®Ру и БСКМ должна быть ровной, с плавными переходами (выкружками) в местах сопряжений с выступающими над крышей конструкциями (элементами). Для определения правильности выполнения уклона в стяжке-разуклонке следует в трех местах приложить прямую рейку длиной 3 м как по направлению уклона (просвет под рейкой не более 1 см), так и поперек (просвет не более 5 см). При обнаружении неровностей, превышающих указанные требования, следует отремонтировать стяжку, счистив наплывы (бугры), или наоборот - заполнить углубления цементно-песчаным раствором Ml 50. 3.6. При устройстве стяжек в эксплуатируемых кровлях целесообразно применять цементно-песчаные растворы дисперсно армированные щелочестойким стекловолокном (ровингом).
Машина для резки рулонного битуминозного кровельного ковра на полосы
Очистка основания под новое кровельное покрытие
Рис. 3.2. Машины для отсоса воды с основания под кровельное покрытие: СО-106А (слева), СО-222 (справа)
Конструктивная схема горелки ПКБ ЛНИИ АКХ: 1 - тележка, 2 - планка контрольной горелки, 3 - планка боковой горелки 4 - тяга центральная, 5 - тяга левая, 6 - тяга правая, 7 - газовая горелка ГИНВ-1, 8 - шланг
Схема инжекционной горелки: 1 - сопло, 2 - стабилизатор, 3 - смеситель, 4 - форсунка, 5 - кран, 6 - ниппель
Конструктивная схема герметичного крепления окрытия выступающих фасадных элементов самоклеящейся лентой Абрис®: 1 - зона очистки поверхности, 2 - слой Лукара-ОП или ХСПЭ, укрепляющий скрываемую поверхность, 3 - лента Абрис®С-ЛБ, 4 - - металлическое окрытие с отворотной лентой и слезником, 5 - - антикоррозионное покрытие Лукаром-5 или ХСПЭ лаком, 6 - лента Абрис®С-ЛБ, заблаговременно приклеенная к металлическому открытию
Схема устройства стяжки: 1 - цементно-песчаный раствор, 2 - рейка-ограничитель ширины полосы укладки раствора, 3 - укладываемый (выравниваемый) раствор, 4 - разравнивающая рейка - правило, 5 - емкость с раствором, 6 - зоны последующей укладки
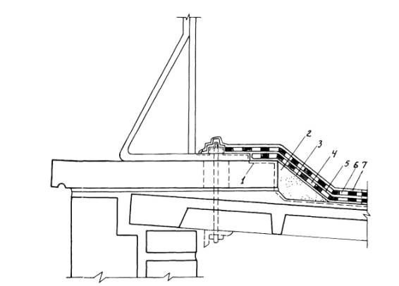
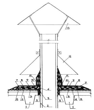
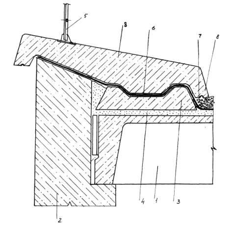
Конструктивное решение кровельного свеса скатной мягкой кровли: 1 - железобетонная карнизная плита, 2 - железобетонное перекрытие, 3 - стяжка, 4 - металлический костыль с антикоррозионным покрытием, например, Лукар-5, 5 - грунтовка разжиженной мастикой Абрис®Ру, 6 - слив-окрытие с отворотной лентой, 7 - слой мастики Абрис®Ру, 8 – дополнительные слои армирующей основы из нетканки или стеклосетки, 9 - армирующая основа из нетканки или стеклосетки, 10 - декоративно-защитное покрытие - мастика БСКМ с алюминиевой пудрой
Основным механизмом, обеспечивающим дисперсное армирование стяжки, является пистолет-напылитель ЦНИИОМТП, нарезающий стекловолокно, поступающее из бобины, на отрезки 20-60 мм, разделяя при распылении на элементарные нити и равномерно распределяя в цементно-песчаном растворе. Цементные растворы в этом случае рационально использовать на основе расширяющихся гипсоглиноземистых или глиноземистых цементов с содержанием окиси кальция от 11 до 16 % по массе. Песок следует использовать кварцевый с модулем крупности не менее 2 и количеством глинистых частиц в песке не более 2 % по массе. В качестве пластифицирующих добавок рационально применять латексы синтетические СКС-65ГП марки "Б" или марки "К". Латексные добавки вводят в цементно-песчаный раствор из расчета 12-15 % от массы цемента. Для получения стяжки повышенной плотности рекомендуется фуриловый спирт, солянокислый анилин для его отверждения и хлористый кальций для ускорения твердения и полимеризации фурилового спирта. Для примера приведен состав раствора (в кг): - глиноземистый или гипсоглиноземистый цемент -1500; - фуриловый спирт - 36; - солянокислый анилин - 9; - хлористый кальций -15; -вода-540. 3.7. В цементно-песчаной стяжке основания допустимы трещины шириной до 0,3 мм, при большей ширине трещины в основании следует ремонтировать. 3.8. В сохранившейся стяжке трещины, выбоины и каверны уплотняют цементным раствором или полимерраствором; им же выполняют и выкружку в примыканиях к выступающим над крышей конструкциям (элементам). Выкружки следует выполнять из цементно-песчаного раствора на напрягающем цементе НЦ-20(40) или из полимерраствора (см. п. 1.15) с таким расчетом, чтобы переход от горизонтали к вертикали имел наклон около 45° шириной около 750 мм. При обнаружении пустот (каверн) в зоне сопряжения вертикальных поверхностей (стены, парапеты, шахты) их обязательно расчистить и уплотнить вышеуказанными растворами. 3.9. Металлические окрытия "фартуки" снимают (при выполнении кровли из мастик Абрис Ру и БСКМ окрытия не требуются), а "выдры" оштукатуривают полимерраствором (см. п. 1.12). 3.10. Скопившуюся на кровле воду удаляют, используя машины типа СО-222 или СО-160А (рис. 3.2), работающие по принципу вакуумного отсоса. 3.11. Для подсушки изолируемой поверхности рационально использовать горелки (рис. 3.3, 3.4). При незначительных объемах работ по подсушке поверхностей (отдельные "блюдца") можно пользоваться инжекционной горелкой (см. рис. 3.4). 3.12. Счистку наплывов мастики и нарезанных на полосы полотнищ рулонного "ковра" выполняют стальным скребком (рис. 3.5). 3.13. Обеспыливание старой стяжки выполняют с помощью струи сжатого воздуха от компрессора, оборудованного маслоотделителем. 3.14. Зачистку выступающих над крышей металлоконструкций и ограждений, а также расчистку старых швов в кровельных панелях рационально выполнять, используя реверсивную пневмощетку со сменными насадками (см. рис. 2.11). 3.15. Зачастую, при снятии старого кровельного покрытия, приходится счищать и стяжку, выполняя ее заново, при этом целесообразно подавать цементно-песчаный раствор растворонасосом, укладывая стяжку полосами шириной 2 м и длиной 6 м, заполняя их раствором через одну (рис. 3.6). После схватывания раствора, заполняют пропущенные полосы, при этом края готовых полос служат маяками, а начальные маяки-рейки (деревянные или металлические) обязательно извлекают и полости заполняют мастикой Абрис®Ру. Ширина швов не более 5 мм (в среднем 3-4 мм). 3.16. При уклоне кровли до 15 % полосы располагают поперек ската, а при уклоне более 15 % - по скату. Раствор укладывают сначала на наиболее удаленные участки, постепенно отступая к месту подачи раствора на крышу. При уклоне до 15 % стяжку сначала делают в узлах-сопряжениях и примыканиях, а затем на плоскостях скатов. 3.17. Для разравнивания и уплотнения раствора используют правила, виброрейки или пневмогладилки. 3.18. Полосы заполняют раствором так, чтобы после извлечения маячных реек образовались температурно-усадочные швы в карте размером не более 6×6 м. Расстояние между швами следует определять расчетом, учитывая величину максимального перепада температур от зимы к лету. 3.19. Асфальтобетонные стяжки эффективны особенно в холодное время года при уклонах до 20 %. Составы асфальтобетонных смесей и технологии их укладки следует выполнять по специально разработанному проекту с учетом возможностей конкретного асфальтобетонного завода. 3.20. При свежей цементно-песчаной стяжке (выдержанной менее 28 суток), поверхность основания следует грунтовать предварительно разжиженной мастикой (грунтовкой) БСКМ в количестве 1 кг/м. Грунтовка высыхает в течение 3-4 часов. 3.21. При ремонте необходимо горловину водоотводящей воронки установить так, чтобы нижний ее конец входил в трубу водостока на 30-50 мм, а верхний край не выступал над поверхностью крыши, чтобы не образовывался обратный уклон. Допускается резкое увеличение уклона стяжки и, соответственно, кровли в зоне воронки, но не более 5 %. Вокруг колпака воронки обязательно уложить крупный морозостойкий гравий для защиты от мусора. Устанавливать мусорозадерживающую сетку следует так, чтобы ее верхний край был выше возможного уровня воды. 3.22. При внешнем водостоке воду следует распределить равномерно между водосливами. При одностороннем уклоне должно быть не менее двух водосливов, а при двухстороннем уклоне, соответственно, не менее четырех. Для равномерного распределения потока воды следует устанавливать направляющие - "ребра" в виде равнобедренного треугольника высотой около 1,5 м, выступающего над крышей на 5-10 см. Заменителями таких направляющих могут быть карнизы по всей длине водослива, а распределение потока воды осуществляется внешними желобами согласно проектному решению. 3.23. Металлические карнизы, фартуки, окрытия следует тщательно закреплять и герметизировать зону примыкания, а на свесе окрытия обязательно устраивать капельник, препятствующий подтеканию воды под окрытие (рис. 3.7). Последовательность технологических операций по герметичному креплению окрытий (авт. свид. СССР 1409616): - заблаговременно, в удобных условиях очистив внутреннюю поверхность окрытия и обезжирив ее по периметру, наклеивают полосу ленты Абрис®С-ЛБ (ширину ленты определяет проектная организация) и в таком виде доставляют к месту использования; - на выровненную скрываемую поверхность по кромкам аналогичным образом наклеивают такую же ленту, но шириной на 20-25 % большей; - сняв антиадгезионную пленку (бумагу) с поверхности обеих лент, укладывают окрытие на скрываемую поверхность с легким нажимом. 3.24. При установке металлических сливов на скатных крышах необходимо обеспечивать беспрепятственный сток воды. Для этого внутренний, обращенный в центр крыши, край слива следует установить по скату на 5-6 см дальше ограждающей конструкции. Для предотвращения протечек в зоне крепления слива следует: - просверлить отверстие под дюбель; - нанести мастику БСКМ слоем около 3 мм; - забить в отверстие дюбель; - установить слив, закрепив его шурупом; - загерметизировать зону головки шурупа той же мастикой. Зону сопряжения слива с ограждающей конструкцией, а также отдельные карты слива следует промазать мастикой БСКМ (рис. 3.8). 4. ТЕХНОЛОГИЯ УСТРОЙСТВА И РЕМОНТА КРОВЛИ4.1. Мастики Абрис®Ру и БСКМ поступают на объект в готовом к употреблению виде. При отрицательных температурах воздуха необходимо предварительно выдерживать эти мастики в помещении при температуре выше 18°С в течение суток. При длительном хранении мастики БСКМ возможно расслоение ингредиентов, поэтому необходимо перед употреблением каждый компонент перемешать в заводской таре ручными мешалками (см. рис. 2.2). 4.2. Для приготовления грунтовки из указанных мастик следует добавить растворители (нефрас, бензин) из расчета от 5 до 15 % по объему. 5 % растворителя добавляют при ручном нанесении (см. рис. 2.3, 2.7), а 15 % растворителя добавляют при пневмо- и безвоздушном нанесении (см. рис. 2.4-2.6). 4.3. Жизнеспособность приготовленных грунтовок составляет не менее 8 часов. После нанесения грунтовки БСКМ твердение в тонком слое заканчивается через 3-5 часов при температуре выше 10°С. Этот слой упрочняется настолько, что не смывается ливневым дождем. 4.4. Нанесение приготовленных грунтовок и мастик на подготовленное основание является сравнительно простой, но ответственной технологической операцией, выполняемой вручную или механизированным способом. Правильное и тщательное нанесение мастики определяет конечное качество кровельного покрытия. 4.5. Для ручного нанесения мастик используют крупные малярные кисти (лучше флейцевые); накаточные валики (кроме поролоновых); резиновые и металлические шпатели, а также гребки, швабры и мастерки с обрезиненными кромками (рис. 4.1 - 4.4). Не рекомендуется применение квачевых кистей, затрудняющих нанесение тонких слоев мастики. 4.6. Приготовленную грунтовку БСКМ следует наносить станцией СО-145 (см. рис. 2.18).
4.7. В качестве переносной тары для мастик используют, как правило, пластмассовые ведра с крышками, которые легко очищаются от остатков мастики. Использование металлических ведер нецелесообразно, так как очистка их затруднительна, а при работе в холодное время года ведра нуждаются в утеплении, для сохранения температуры мастики выше 0°С. 4.8. При нанесении мастик розливом (рис. 4.4) их разравнивают тонким слоем (не более 1,5 мм), используя обрезиненные швабры. Второй слой мастики БСКМ можно наносить только после того, как первый слой отвердел (внешним признаком этого является полный отлип от пальца). На мастику Абрис®Ру после нанесения сразу же необходимо укладывать армирующую основу. 4.9. Перед устройством кровли в зоне водоотводящих воронок полости воронок закрыть мягким материалом (хлопчатобумажные концы, обернутые полиэтиленовой пленкой). По истечении трех суток пробку из воронки извлекают, а скопившуюся вокруг воронки мастику счищают шпателем. 4.10. Наносить мастики целесообразно сначала на все примыкания и сопряжения, как наиболее ответственные части кровли, а затем после освидетельствования на остальную поверхность кровли. Нанесение мастик удобнее выполнять захватками, соответствующими сменной выработке бригады гидроизолировщиков (кровельщиков), чтобы на следующий день на захватке можно было вести последующие работы. 4.11. При устройстве по свежеуложенной мастике БСКМ защитного слоя фольги, алюминиевого порошка и других материалов, работы ведут полосами на ширину, достаточную для укладки материала рабочими, стоящими на слое выдержанной мастики; рецепты декоративно-защитных покрытий определяются проектом или рекомендациями поставщика. 4.12. Для механизированного нанесения вязких мастик практически не пригодны механизмы отечественного производства, так как они не соответствуют технологическим параметрам таких мастик без применения растворителей. 4.13. Для нанесения мастик рационально использовать универсальные передвижные установки типа Грако и Вагнер. Они обеспечивают подачу мастики по шлангам до 150 м в любом направлении, нанесение мастики с помощью сменных насадок (см. рис. 2.5, 2.6). Использование установок Грако и Вагнер способствует не только повышению производительности труда, но и гарантирует высокое качество мастичного покрытия.
Схемы нанесения швабрами мастики розливом с разравниванием обрезиненными и мастерком 4.14. Мастику Абрис®Ру следует использовать только для первого слоя. 4.15. Мастику БСКМ следует наносить механизированным путем за 2-3 прохода толщинами слоев не более 1,0 мм. Каждый последующий слой наносят на следующий день. 5. КОНСТРУКТИВНО-ТЕХНОЛОГИЧЕСКИЕ РЕШЕНИЯ5.1. Мастичные кровли применяют на зданиях с уклонами скатов не более 12 %, как правило, с внутренними водостоками. 5.2. Кровельный мастичный слой следует выполнять толщиной до 3,0 мм. В примыканиях и сопряжениях кровли толщина слоя может достигать 4,0 мм. Общий усредненный расход мастик на кровлю составляет 4,0 кг/м2. Увеличение расхода на 0,5 кг/м возможно при шероховатой поверхности с трещинами. 5.3. В местах примыкания кровельного покрытия к вертикальным конструкциям (элементам) крыши следует выполнять наклонные (45°) бортики размером 150×150 мм или выкружки по радиусу 200 мм (рис. 5.1). Бортик делают до устройства мастичной кровли и покрывают слоем мастики БСКМ за 2-3 прохода. Над бортиком на стену наносят мастику БСКМ на высоту около 150 мм. В отдельных случаях парапеты полностью изолируют мастикой, армируя ее (рис. 5.2, 5.3). 5.4. Верхний край вертикального участка мастичной кровли, как правило, не нуждается в дополнительной защите металлическими фартуками. 5.5. В узлах примыканий и сопряжений кровли, как правило, предусматривается армирование мастичного слоя. Необходимость армирования возникает в случаях, когда возможны значительные деформации в узлах сопряжения конструкций. В таких узлах мастики армируют от 1 до 3 слоев стеклоткани, стеклосетки или нетканых материалов, с дополнительным нанесением 1 -2 поверхностных слоев мастики. 5.6. При наличии в основании кровли стыков конструкций и деформационных швов полости стыков конструкций уплотняют прокладками типа Вилатерм и герметизируют мастикой Абрис® Ру. 5.7. При необходимости защиты покрытия от УФ облучения и перегрева поверхность мастичной кровли покрывают солнцезащитным слоем. Защитный слой укладывают по верхнему слою мастики БСКМ. В качестве декоративно-защитного покрытия используют разжиженную мастику БСКМ, наполненную алюминиевой пудрой (см. п. 1.14). 5.8. При условии повышенной влажности основания (железобетонной плиты, стяжки) возникает необходимость устройства "дышащей" кровли с частичной приклейкой к основанию. В этом случае возникающая под кровлей под давлением паровоздушная смесь выводится через примыкания в наружный воздух, чем полностью исключаются вздутия даже в экстремальных ситуациях.
Схема оклейки примыканий
Схемы нанесения приклеивающих мастик и укладка рулонной ткани или нетканки, в т.ч. в водосборном лотке
Конструктивно-технологическое решение герметизации примыкания кровельного покрытия к стене машинного отделения: 1 - зона очистки (пунктир), 2 - полимеррастворная выкружка с уплотненной "выдрой", 3 - приклеивающий слой мастики Абрис®Ру по грунтовке, 4 - тонкая ткань, 5 -приклеивающий слой мастики БСКМ, 6 - толстая ткань, 7 - защитно-декоративное покрытие БСКМ с алюминиевой пудрой
Рис. 5.3. Конструктивно-технологическое решение герметизации примыкания кровельного покрытия к стене с выдрой: 1 - зона очистки (пунктир), 2 - полимеррастворная выкружка, 3 - приклеивающий слой мастики Абри®Ру по грунтовке, 4 - тонкая ткань, 5 -приклеивающий слой мастики БСКМ, 6 - толстая ткань, 7 - защитно-декоративное покрытие БСКМ с алюминиевой пудрой
Для устройства "дышащей" кровли дополнительно используют рулонные битуминозные материалы в качестве первого нижнего слоя, приклеиваемого к основанию полосами, пятнами или точками из мастики Абрис®Ру, равномерно рассредоточенными по основанию и занимающими около 25 % ее площади. Рулонный материал укладывают встык. Поверх рулонного слоя укладывают обычным образом кровельный слой мастики БСКМ толщиной 1,5 ± 0,5 мм. При этом частичную приклейку к основанию следует доводить до краев кровли на всех наклонных и вертикальных участках. Верхний край кровли в этом случае следует защищать металлическим или пластиковым фартуком, герметично закрепленным к стене. 5.9. Рационально после нанесения первого мастичного слоя выполнить все узлы сопряжений и примыканий, заактировав эту работу. 5.10. Если по проекту принято решение армировать кровельное покрытие, то при нанесении первого слоя сразу же раскатывают по нему ткань или нетканое полотнище (рис. 5.4). На следующий день наносят второй слой мастики БСКМ. Если предусматривается усиленный вариант кровли, то до затвердевания второго слоя по нему раскатывают армировку (ткань или нетканку), а на следующий день наносят декоративно-защитный слой мастики толщиной до 1,5 ± 0,5 мм, наполненной алюминиевой пудрой. 5.11. Особое внимание необходимо уделять герметизации узлов сопряжений и примыканий, т.к. протечки, как правило, появляются именно в них. 5.12. При наклейке армирующей основы (стеклоткань, стеклосетка, базальтовая или аналогичная ткань или нетканый материал) рационально использовать короткие куски полотнищ, наклеивая их не вдоль, а поперек (см. рис. 5.1). 5.13. Последовательность технологических операций по герметизации сопряжения водоотводящей воронки с железобетонным перекрытием (рис. 5.6-5.11): - в очищенной от старого кровельного материала зоне воронки расчищают прижимное кольцо и извлекают его; - щетинной
кистью, тщательно втирая, наносят грунтовку по бетону и внутри раструба, одновременно
окрашивая за два раза прижимное кольцо и -- каверны выравнивают полимерраствором (см. рис. 5.12), тщательно затирая щели и раковины в зоне водоприемной воронки; - поверхность полимерраствора также покрывают мастикой БСКМ сразу же после затвердевания; - после твердения мастики БСКМ по центру воронки насухо укладывают полотнище тонкой стеклоткани от 800×800 до 1200×1200 мм, затем, отвернув одну половину полотнища, наносят приклеивающий слой мастики и наклеивают отогнутую часть полотнища; - то же проделывают со второй половиной, а потом остро заточенным ножом разрезают полотнище крестообразно по диаметру водосточной трубы;
Рис. 5.7. Конструктивное решение герметизации сопряжения водоотводящей воронки с железобетонным перекрытием: 1 - зона очистки (пунктир), 2 - грунтовка разжиженной мастикой Абрис®Ру, 3 - тонкая ткань, 4 - мастика Абрис®Ру, 5 - второй слой ткани, 6 - выравнивающий полимерраствор, 7 - прижимное кольцо, 8 - тонкая ткань или нетканка, 9 - приклеивающая мастика БСКМ, 10 - толстая ткань-рогожа, 11 - декоративно-защитное покрытие - мастика БСКМ с алюминиевой пудрой
Технологическая схема приготовления полимерраствора
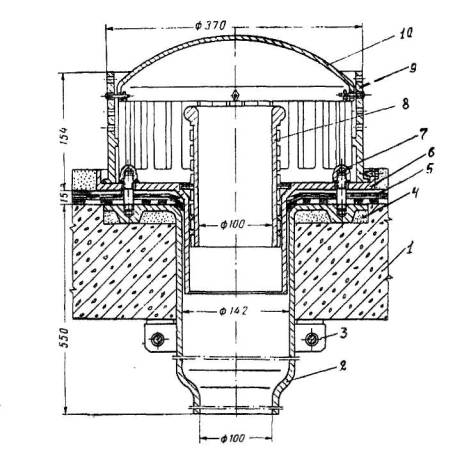
Рис. 5.8. Конструкция водосточной воронки Вр7м условным проходом патрубка 80 мм для жилых зданий: 1 - железобетонная плита, 2 - сливной патрубок, 3 - фланец, 4 - уплотнение, 5 - два слоя стеклоткани на мастике БСКМ, 6 - глухая гайка для крепления решетки, 7 - колпак, 8 - приемная решетка, 9 - патрубок из асбоцементной трубы 0У=15О мм (только для совмещенных покрытий)
Рис. 5.9. Узел сопряжения усиленной гидроизоляции с внутренним водостоком: I - железобетонная балка, 2 - перекрытие, 3 - стяжка, 4 - утеплитель, 5 - металлическая труба, 6 - полимерраствор, 7 - грунтовка и мастика Абрис®Ру, 8 - мастика БСКМ, 9 - тонкая ткань, 10 - утолщенная ткань, II - воронка, 12 - мастика БСКМ с алюминиевой пудрой, 13 - колпак, 14 - гравийная обсыпка, 15 - пакля, пропитанная грунтовкой БСКМ
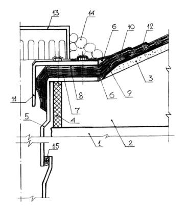
Конструктивно-технологическое решение герметизации сопряжения вентиляционной трубы с кровельными панелями: 1 - железобетонная панель перекрытия, 2 - труба, 3 - зона очистки (пунктир), 4,6 - грунтовка и мастика Абрис®Ру, 5 - пакля, пропитанная грунтовкой БСКМ, 8 - приклеивающий слой мастики БСКМ, 7 - тонкая ткань, 9 - толстая ткань, 10 - защитный слой мастики БСКМ, 11 - слюдяная посыпка (вариант), 12 - фартук, 13 - флюгарка
Схема оклеенной герметизации сопряжения трубы с кровлей: 1 - железобетонное перекрытие, 2 - стяжка, переходящая в выкружку, 3,4- грунтовка и мастика Абрис®Ру, 6, 8 - мастика БСКМ, 5,7- ткань или нетканка, 9 - декоративно-защитное покрытие БСКМ с алюминиевой пудрой (слюдой), 10 - пакля, пропитанная грунтовкой БСКМ, 11 - труба, 12 - скрутка
Рис. 5.15. Схема герметизации сопряжения кровли со старой кирпичной стеной в зоне шва: 1 - железобетонное перекрытие, 2 - стяжка, переходящая в выкружку, 3,4- грунтовка мастика Абрис®Ру, 6, 8 - мастика БСКМ, 5,7 - армирующая основа, 9 - защитный слой мастики БСКМ, 10 - декоративно-защитная слюдяная посыпка, 11 - пакля, пропитанная грунтовкой БСКМ, 12 - полимерраствор, 13 - металлическая стойка
Конструктивное решение ремонта ветхого кирпичного парапета: 1 - парапет, 2 - железобетонное перекрытие, 3 - утеплитель, 4 - полиэтиленовая пленка 300 мкм, 5 - армированная цементно-песчаная стяжка, 6 - полимеррастворное выравнивающее покрытие, 7 - выкружка из полимерраствора, 8 - полимеррастворное уплотнение "выдры", 9 - полимерраствор-разуклонка, 10 - грунтовка и мастика Абрис®Ру, 11 - слои мастики БСКМ, 12 - армирующие слои нетканки, 13 - армирующие слои стеклосетки, 14 -декоративно-защитное покрытие из мастики БСКМ с посыпкой резиновой крошкой (слюдой, алюминиевой пудрой) - обработав мастикой БСКМ наклеенное полотнище, накладывают такой же второй слой стеклоткани с таким расчетом, чтобы крестообразные разрезы не совпадали; - по второму слою стеклоткани наносят слой мастики БСКМ и вдавливают прижимное кольцо так, чтобы оно не выступало над будущим кровельным покрытием; - образовавшиеся впадины уплотняют полимерраствором, а затем выполняют общее кровельное покрытие, армированное или неармированное с защитным покрытием; - одновременно с нанесением декоративно-защитного покрытия (или слюдяной посыпки) устанавливают заблаговременно окрашенный БСКМ колпак, вокруг которого укладывают крупный морозостойкий гравий. 5.13. Герметизацию примыкания к стенам машинного отделения выполняют в следующей последовательности (см. рис. 5.2, 5.3): - счищают старый кровельный "ковер" и расчищают "выдру" (при сохранившейся деревянной закладной детали ее укрепляют и покрывают БСКМ-грунтовкой); - выполняют полимеррастворную выкружку, обеспечивая плавный переход к стене; - по затвердевшему полимерраствору щеткой-шваброй наносят первый приклеивающий слой мастики Абрис®Ру, расстилая по нему армирующую основу; - на армирующую основу наносят приклеивающий слой мастики БСКМ, расстилая по нему второй слой армирующей основы таким образом, чтобы стыки полотнищ не совмещались. 5.14. В такой же последовательности выполняют герметизацию примыканий к парапетным ограждениям и стенам вентиляционных шахт и трубопроводов (рис. 5.13-5.16). Особенностью герметизации сопряжения вентиляционных труб с кровлей (рис. 5.13, 5.14) и кровельного покрытия в зоне швов (рис. 5.17, 5.18), которые рационально выполнять набивкой несмоленой пакли, пропитанной грунтовкой БСКМ. 5.15. При устройстве кровельных покрытий не крышах длиной до 20 м (площадь около 250 м2) и при наличии выступающих над крышей конструкций не требуется разрезка мастичного (армированного или неармированного) покрытия деформационными швами. 5.16. На крышах длиной более 20 м или по предлагаемому проекту обязательно выполнение деформационных швов, компенсирующих возможные деформации кровельных панелей. Очевидно, что деформационный шов кровельного покрытия нужно совмещать со швом разрезки стяжки-разуклонки (рис. 5.19-5.28). 5.17. Если при выполнении капитального ремонта в стыках кровельных панелей обнаруживается цементно-песчаный раствор, то его необходимо вычистить на глубину не менее 5 см, а образовавшуюся полость уплотнить вспененным полиэтиленом типа Вилатерм (в зависимости от ширины полости используют круглые прокладки диаметром от 30 до 80 мм). Затем стык перекрывают самоклеящейся лентой Абрис®С-ЛТбаз шириной полосы 20 см (рис. 5.24, 5.25, 5.28, 5.29). 5.18. Стяжку-разуклонку выполняют из цементно-песчаного раствора или асфальтобетона с расчетной разрезкой на карты (например, 3×3, 4×4 или 6x6 метров). Если же стяжку выполнять из раствора на напрягающем цементе типа НЦ-20(40), то разрезку нужно выполнять только в деформационных швах крыши. 5.19. Особое внимание следует уделять герметизации металлических ограждений плоских и скатных кровель и примыканиям кровли к антеннам (рис. 5.30-5.33) 5.20. Извечной проблемой при ремонте кровель является организация работ при часто выпадающих осадках. Эту объективную реальность необходимо учитывать при выполнении работ небольшими "захватками", ни в коем случае не снимая старый "ковер" полностью во избежание затопления помещений верхнего этажа (рис. 5.34). 5.21. Герметизацию стыковых соединений кровельных панелей перекрытий следует выполнять с особой тщательностью. После расчистки полостей стыков от старого уплотнения и протирки смежных бетонных поверхностей ветошью, смоченной в уайт-спирите, приступают к заполнению полости сухой паклей, обернутой полиэтиленовой пленкой, уплотняя ее деревянной лопаткой. Верхнюю полость стыка герметизируют мастикой Абрис®Ру или оклеивают самоклеящейся лентой Абрис®С-ЛТбаз (см. рис. 5.18, 5.22, 5.26, 5.29). 5.22. При отсутствии "фартуков" на вытяжных трубах при ремонте кровли не обязательно их восстанавливать, а достаточно закрепить оклеечное покрытие медной проволочной скруткой. 5.23. Если парапетные окрытия были выполнены из кровельной стали и утрачены или деформированы в процессе эксплуатации, то их либо восстанавливают, как это показано на рис. 5.15, либо оклеивают по аналогии с устройством кровельного покрытия (что относится и к окрытию из железобетона) (рис. 5.16). 5.24. Необходимо учитывать особенности ремонта совмещенных крыш жилых домов, отрицательной особенностью которых является повышенная предрасположенность к протечкам. Опасность протечек усугубляется тем, что утеплитель набирает влагу, сохраняя ее длительное время из-за недостаточной вентиляции. Этот факт необходимо учитывать при выполнении капитального ремонта кровли, ибо никакой кровельный материал не обеспечит надежности ни при укладке на старый "ковер" и на старую стяжку, т.к. неизбежно появление вздутий на отремонтированной кровле. Это происходит оттого, что оставшаяся в утеплителе влага, под солнечным нагревом превращаясь в пар, стремится вверх, поднимая кровельное покрытие. Учитывая это, целесообразно приступать к ремонту таких крыш только после тщательной просушки утеплителя (поздним летом). При необходимости осуществлять ремонт кровли ранней весной, как правило, приходится устанавливать флюгарки для дополнительной вентиляции или по специальному проекту выполнять вентилируемую кровлю. 5.25. При ремонте совмещенных кровель (бесчердачных) необходимо обеспечить просушку утеплителя, расположенного между железобетонными "скорлупами". Для этого, прежде всего, следует прочистить вентиляционные отверстия по периметру дома. Эту работу выполняют с люльки или используют работу скалолазов, имеющих разрешительные документы. 5.26. Если просушка утеплителя не обеспечивается вентиляционными отверстиями, что имеет место при длительном протекании кровельного покрытия, то необходима дополнительная вентиляция. Например, можно использовать метод установки флюгарок, однако эту работу следует выполнять по специально разработанному проекту. 5.27. При ремонте кровель встречаются такие узлы сопряжений, которые отсутствуют в типовых проектах и не разработаны в конкретном проекте. В таких случаях подрядчик вправе сделать запрос в проектную организацию или принять по согласованию с заказчиком конструктивно-технологическое решение с учетом действующих нормативов. Например, герметизацию сопряжения кровельных панелей, в котором ожидаются значительные деформации в процессе эксплуатации, рекомендуется выполнять, как показано на рис. 5.28. 5.28. Если в процессе снятия старой кровли и стяжки обнаружатся трещины в плите перекрытия, то перед укладкой новой стяжки необходимо трещины расчистить и уплотнить полимерраствором (рис. 5.35). 5.29. Перспективными кровлями являются эксплуатируемые, которые, как правило, дополнительно покрыты облицовкой из плит, определенных конкретным проектом. Конструкции эксплуатируемых кровель, представленные в настоящих указаниях эффективны для зон отдыха. При необходимости использования эксплуатируемых кровель под наземный или воздушный транспорт необходимо разрабатывать специальный проект. На рис. 5.36-5.40 показаны конструктивно-технологические решения эксплуатируемых кровель, гидроизоляция которых выполнена из армированных мастик Абрис ®Ру и БСКМ. 5.30. Последовательность технологических операций по устройству эксплуатируемой кровли (рис. 5.36-5.40): - очистить поверхность железобетонного покрытия; - выполнить стяжку из цементно-песчаного раствора М150 на напрягающем цементе НЦ-20(40) или из полимерраствора, указанного в проекте; - механизировано нанести грунтовку из расчета до 0,5 кг/м2; - тщательно выполнить все примыкания и деформационные швы; - нанести мастику Абрис®Ру толщиной слоя около 1,0 мм безвоздушным распылителем типа Грако или обрезиненной шваброй; - сразу же по свеженанесенной мастике уложить тонкую базальтовую ткань или стеклоткань толщиной до 0,25 мм (в первом слое можно использовать ткани на парафиновом замасливателе);
Конструктивное решение сопряжения крыши и кровли повышенной надежности со стеной: 1 - существующее металлическое перекрытие, 2 - деревянное ограждение, 3 - существующий металлический компенсатор, 4 - стеклорубероидная пароизоляция, 5 - теплоизоляция 5-160 мм, 6 - пористое уплотнение, 7 - существующая стена, 8 - пенополиуретановое уплотнение, 9 - пакля, пропитанная грунтовкой БСКМ, 10 - компенсатор из нержавеющей стали или меди, 11 - грунтовка и мастика Абрис Ру по стяжке, 12 - слои приклеивающей мастики БСКМ, 13 - дополнительные слои ткани, 14 - основная армирующая основа кровли, 15 - защитное покрытие мастики БСКМ с посыпкой (слюда, резиновая крошка, алюминиевая пудра)
Схема герметизации кровли со стеной в зоне деформационного шва: 1 - железобетонное перекрытие, 2, 10 - пакля, пропитанная грунтовкой БСКМ, 3 - мастика Абрис®Ру, 4, 5 - грунтовка и слой мастики Абрис®Ру, 7 - мастика БСКМ, 6, 8 - армирующая основа (нетканка или тонкая стеклоткань), 9 - декоративно-защитное покрытие - мастика БСКМ, наполненная алюминиевой пудрой, 11 - полимеррастворная выкружка
Конструктивное решение кровельного деформационного шва
Рис. 5.20. Конструктивное решение кровельного деформационного шва (вариант)
Рис. 5.23. Вариант конструктивного решения деформационного шва: 1 - железобетонное перекрытие, 2 - пакля, пропитанная грунтовкой БСКМ, 3 - зона очистки старого покрытия, 4 - мастика Абрис®Ру, 5 – толстая стеклоткань, 6 - мастика БСКМ
Вариант конструктивного решения деформационного шва: 1 - пакля, пропитанная грунтовкой БСКМ, 2 - прокладка типа Вилатерм, 3 - зона очистки, 4 - приклеивающая мастика Абрис®Ру, 5 – стеклоткань толщиной до 0,6 мм, 6 - защитное покрытие - мастика БСКМ с алюминиевой пудрой
Вариант конструктивного решения герметизации деформационного шва в кровельном покрытии: 1 - зона очистки, 2 - пакля, пропитанная грунтовкой БСКМ, 3 - приклеивающая мастика Абрис®Ру, 4 - стеклоткань-рогожа, 5 - мастика БСКМ с защитной посыпкой
Конструктивное решение деформационного шва в водосборном лотке: 1 - старое уплотнение между железобетонными конструкциями, 2 - зона очистки, 3 - пакля, пропитанная грунтовкой БСКМ, 4 - приклеивающий слой мастики Абрис®Ру, 5 - мастика Абрис®Ру, 6 - два слоя армирующей ткани, 7 - защитное покрытие - мастика БСКМ с посыпкой
Конструктивное решение деформационного шва: 1 - балка, 2 - пакля, пропитанная грунтовкой БСКМ, 3 - мастика Абрис®Ру
Рис. 5.27. Технологическая схема устройства деформационного шва в кровельном покрытии: 1 - прорезь в стяжке, 2 - грунтовка БСКМ, 3 - пористая прокладка типа Вилатерм, 4 - ткань-рогожа, пропитанная мастикой БСКМ
Варианты герметизации деформационных швов уникальных крыш: 1 - стыкуемые железобетонные конструкции, 2 - железобетонные кровельные панели, 3 - стяжка из напрягающего цементно-песчаного раствора или полиизоцианатный полимерраствор Лукар-ОВ, 4, 9 - грунтовка и мастика Абрис®Ру, 5 - анкер для крепления растяжек, 6 -металлический компенсатор, - прокладка из пористой резины, 8 - опора компенсатора, 10, 11 - армирующа; стекло- или базальтовая ткань, 12 -декоративно-защитное покрытие - мастика БСКМ с алюминиевой пудрой, 13 - пористая прокладка типа Вилатерм
Характерное конструктивно-технологическое решение герметизации сопряжения парапетного ограждения с кровельным покрытием: 1 - зона очистки (пунктир), 2 - полимерраствор, 3 - приклеивающий слой
мастики Абрис®Ру,
Рис. 5.31. Конструктивная схема сопряжения металлического ограждения с кровлей: 1 - железобетонное перекрытие, 2 - упругая резиновая подкладка, 3 - ограждение, 4, 5 - грунтовка и мастика Абрис®Ру, 7 - два слоя мастики БСКМ, 6 - два слоя ткани или нетканки, 7 - мастика БСКМ с алюминиевой пудрой (или посыпка слюдой)
Рис. 5.32. Конструктивное решение примыкания кровли к сборным железобетонным ограждениям: 1 - железобетонная плита, 2 - стяжка, переходящая в выкружку, 3,4- грунтовка и мастика Абрис®Ру, 6, 8 - мастика БСКМ, 5,7- ткань или нетканка, 9 - защитный слой мастики БСКМ, 10 - присыпка слюдяная или резиновая крошка
Схема сопряжения кровли с антенной: 1 - очистка старого покрытия, 2 - грунтовка и мастика Абрис ®Ру, 3 - ткань, 4 - мастика БСКМ, 5 - мастика БСКМ с декоративно-защитной посыпкой
Схема устранения дефектов в кровельных панелях: 1 - расчистка трещины (каверны), 2 - зона очистки, 3 - полимерраствор, 4 - двухслойное кровельное покрытие (1 слой - мастика Абрис ®Ру, покрытый тканью, верхний слой - мастика БСКМ с защитным покрытием)
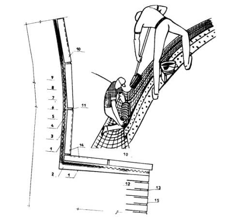
Технологическая схема подготовки и ремонта кровли здания захватками: 1 - очистка поверхности стяжки и отсос влаги, 2 - герметизация стыков между кровельными панелями перекрытий, 3 - нанесение грунтовки и приклеивающего слоя, 4 - наклейка армирующей основы, 5 - нанесение второго приклеивающего слоя с прикаткой толстой ткани, 6 - посыпка декоративно-защитного покрытия
Последовательность (варианты) технологических операций по устройству деформационных швов эксплуатируемой кровли; а) - стыковое соединение кровельных панелей; б) - шов, оклеенный Абрис®С-ЛТбаз с провисом-компенсатором; в) - устройство защитного покрытия (плиты, монолитный бетон): 1,2- смежные панели, 3 - грунтовка Абрис®Ру, 4 -Абрис®С-ЛТбаз, армированная толстой стеклотканью или рогожей, 5 - компенсатор, 6 - бетон, 7 - вариант стыкового соединения с уступом, 8 - вариант стыка-прорези, 13 - мастика Абрис®Ру толщиной до 3,5 мм
Продолжение рис. 5.36. г) - уплотнение полостей стыковых соединений; д) - герметизация стыковых соединений: 9 - Абрис®С-ЛТбаз с компенсатором, 10 - пористая прокладка типа Вилатерм, 11 - мастика Абрис®Ру, 12 - полая резиновая прокладка (шланг)
Рис. 5.37. Конструктивное решение ендовы в эксплуатируемой кровле: 1 - железобетонное перекрытие, 2 - стяжка из полимерраствора или цементно-песчаного раствора на НЦ-20 (40), 3,4- грунтовка и мастика Абрис®Ру, 5,1 - базальтовая или стеклянная ткань, 6, 8 - мастика БСКМ, 9 - полиизоцианатный полимерраствор Лукар-ОХ или утолщенный до 3,5 мм слой мастики БСКМ, 10 - плиты облицовки, 11 - пропитка, например Лукаром-ОП, 12 – штраба
Рис. 5.38. Конструктивное решение скатной эксплуатируемой кровли: 1 - железобетонное перекрытие, 2 - стяжка из полимерного или цементно-песчаного раствора на напрягающем цементе, 3, 4 - грунтовка и мастика Абрис ®Ру, 5, 7 - армирующая стекло- или базальтовая ткань, 6, 8 - мастика БСКМ, 9 - утолщенный слой мастики БСКМ или полиизоцианатный полимерраствор Лукар-ОХ, 10 - облицовка, 11 - пропитка полиизоцианатная Лукар-ОП, 12 - уплотнение швов в кладке Лукаром-ОХ, 13 - гидрофобизация кирпичной кладки крем ни и органическим составом типа Аквастоп
Рис. 5.39. Конструктивные решения эксплуатируемых кровель: 1 - железобетонные конструкции, 2 - стяжка из полимерного или цементно-песчаного раствора на напрягающем цементе, 3,4- грунтовка и мастика Абрис"Ру, 5,7- армирующая основа - стекло- или базальтовая ткань, 6, 8 - мастика БСКМ, 9 - утолщенный слой мастики БСКМ или полиизоцианатный полимерраствор Лукар-ОХ, 10 - облицовка, 11 - пропитка полиизоцианатная Лукар-ОП
Конструктивное решение эксплуатируемой кровли с наружным водоотводом: 1 - железобетонное перекРытие, 2 - стяжка из полимерного или цементно-песчаного раствора на напрягающем цементе, 3,4- грунтовка и мастика Абрис®Ру, 5,7 - армирующая основа, 6, 8 - мастика БСКМ, 9 - утолщенный слой мастики БСКМ или полиизоцианатный полимерраствор Лукар-ОХ, 10 - облицовка, 11 - пропитка полиизоцианатная Лукар-ОП, 12 - железобетонный водомет с капельником
Вариант конструктивного решения ремонта сопряжения кровли с парапетом (слева - по проекту, в центре - характерный дефект в процессе эксплуатации, справа - после ремонта): 1 - железобетонное перекрытие, 2 - стяжка, переходящая в выкружку, 3,4- грунтовка и мастика Абрис®Ру, 5,7 - армирующая основа, 6 - мастика БСКМ, 8 - декоративно-защитное покрытие
Рис. 5.42. Конструктивные решения примыканий кровли к парапету (а - по проекту, 6 - в процессе эксплуатации, в - после ремонта): 1 - железобетонное покрытие, 2 - утеплитель, 3 - стяжка, 4 - грунтовка и мастика Абрис®Ру, 5,7- мастики БСКМ, 6 - армирующая основа - нетканка, 8 - армирующая основа - стекло-базальтовая ткань, 9 - защитный слой мастики БСКМ ,Ш- дополнительная прослойка армирующей основы в зоне выкружки, 11 - декоративно-защитное покрытие
Рис. 5.43. Конструктивное решение ремонта сопряжения
кровли с парапетом (слева - по проекту, в центре - характерный дефект в
процессе эксплуатации, справа - после ремонта) Рис. 5.44. Конструктивное решение ремонта сопряжения кровли с вентиляционной трубой: а) - по проекту, б) - в процессе эксплуатации, в) - после ремонта; 1 - железобетонное покрытие, 2,3 - грунтовка и мастика Абрис ®Ру, 4 - первый слой армирующей основы - нетканка, 5 - мастика БСКМ, 6 - второй слой армирующей основы, 7 - второй слой мастики БСКМ, 8 - защитный слой мастики БСКМ с алюминиевой пудрой
Вариант конструктивного решения ремонта гидрозащиты парапета (слева - по проекту, справа - после ремонта): 1 - железобетонное перекрытие, 2 - полимеррастворная выкружка, 3,4- грунтовка и мастика Абрис®Ру, 5,7,9 - армирующая основа, 6, 8 - мастика БСКМ, 10 - декоративно-защитное покрытие - мастика БСКМ, наполненная алюминиевой пудрой
Рис. 5.46. Конструктивное решение деформационного шва покрытия: 1 - железобетонная плита покрытия; 2 - пароизоляция мастикой Абирс®Ру с покрытием стеклотканью; 3 - компенсатор (медь, латунь, дюраль, оцинкованная сталь - по 4 - армированный элемент-бортик из полистиролбетона; 5 - теплоизоляция - полистиролбетон (пенополиуретан, пенобетон); 6 - стяжка-разуклонка из цементно-песчаным раствора на 7 - компенсатор (оцинкованная сталь, медь, алюминий - согласно 8 - рулонный кровельный материал (по проекту); 9 - мастика БСКМ; 10 - декоративно-защитное покрытие
Рис. 5.47. Конструктивное решение сопряжения кровли с парапетом: 1 - стена; 2 - железобетонная плита покрытия; 3 - пароизоляция мастикой Абирс®Ру с покрытием стеклотканью; 4 - теплоизоляция- полистиролбетон (пенополиуретан, пенобетон); 5 - стяжка-разуклонка из цементно-песчаным раствора на 6 - мастика БСКМ, армированная утолщенной тканью; 7 - грунтовка разжиженной мастикой БСКМ; 8 - мастика БСКМ, армированная тканым материалом с декоративно-защитным покрытием; 9 - Т-образный костыль стальной из полосы 3×40 мм, шаг 600 мм, с антикоррозионным покрытием мастикой БСКМ; 10 - фартук из оцинкованной кровельной стали толщиной 0,8 мм
Рис. 5.48. Конструктивное решение мастичной кровли в зоне водоприемной воронки: 1 - железобетонная плита покрытия; 2 - водоприемная чаша с отверстиями в трубе 0 не более 5 мм для 3 - мастика Абрис*Ру; 4 - стяжка-разуклонка из цементно-песчаным раствора на 5 - пароизлояция мастикой БСКМ; 6 - теплоизоляция полистиролбетон (пенополиуретан, пенобетон); 7 - выравнивающая стяжка-разуклонка из цементно-песчаного раствора на напрягающем цементе НЦ-20 (40); 8 - грунтовка разжиженной мастикой БСКМ; 9 - мастика БСКМ, армированная тканью; 10 - второй слой мастики БСКМ, армированной тканью; 11 - декоративно-защитное покрытие; 12 - колпак водоприемной воронки
Рис. 5.49 Конструктивное решение мастичной кровли в зоне конька: 1 - железобетонная плита покрытия; 2 - пароизлояция мастикой Абрис Ру с покрытием стеклотканью; 3 - теплоизоляция полистиролбетон (пенополиуретан, 4 - выравнивающая стяжка-разуклонка из цементно-песчаного раствора на напрягающем цементе НЦ-20 (40); 5 - грунтовка разжиженной мастикой БСКМ; 6 - поропласт (Вилатерм, Гернит, ПРП и т.п.), приклеенный на мастике БСКМ; 7 - мастика БСКМ; 8 - армирующая основа - базальтовая или стеклоткань шириной около 500 мм толщиной 0,25-0,35 мм; 9 - мастики БСКМ; 10 - декоративно-защитное покрытие
Конструктивной решение сопряжения кровли с вентиляционной трубой: 1 - железобетонная плита покрытия; 2 - пароизоляция мастикой Абрис®Ру с покрытием стеклотканью; 3 - теплоизоляция полистирол бетон (пенополиуретан, 4 - выравнивающая стяжка-разуклонка из цементно-песчаного 5 - грунтовка разжиженной мастикой БСКМ; 6 - дополнительный слой мастики БСКМ, армированный 7 - кровельное покрытие мастикой БСКМ; 8 - декоративно-защитное покрытие; 9 - зонт из оцинкованной кровельной стали толщиной 0,8 мм; 10 - мастика Абрис®Ру; 11 - хомут; 12 - патрубок с фланцем; 13 - пропускаемая труба
Конструктивное решение кровли из сборных железобетонных элементов: 1 - железобетонное перекрытие, 2 - железобетонная стена - парапет, 3 - железобетонный корытообразный элемент, 4 - полимерраствор или цементно-песчаный раствор на напрягающем цементе НЦ-20 (40) 5 - металлическая стойка ограждения, приваренная к закладной детали 6 - мастика Абрис*Ру, 7 - гравийный фильтр-засыпка, 8 - защитный железобетонный элемент - на следующий день нанести слой мастики БСКМ толщиной до 2,0 мм, разложив по нему утолщенную ткань-рогожу толщиной около 0,6 мм; - на следующий день нанести утолщенный слой мастики БСКМ до 3,0 мм или полимерраствор, например, полиизоцианатный Лукар-ОХ (см. Приложение 5), на который наклеить облицовку; - если облицовку выполняют из пористых материалов (бетонная плитка, специальный кирпич и т.п.), то необходимо выполнить пропитку, например, полиизоцианатным составом Лукар-ОП.
5.31. На рис. 5.41-5.45 представлены типовые узлы проектных решений мягких кровель, характерные деформации в процессе эксплуатации и решения по ремонту. 5.32. Эксплуатируемые кровли, в т.ч. с озеленением, выполняют только по индивидуальным проектам. При разработке проекта озеленения кровли необходимо учитывать два типа насаждений: интенсивный и экстенсивный. Первый озеленение низкорастущими растениями (мхи, травы), не требующими ухода. Второй озеленение кустарниками и цветами, требующими постоянного ухода и специальных систем водоснабжения. В любой системе озеленения первый слой выполняют из тканого или нетканого холста плотностью около 500 г/м2 или мата толщиной около 20 мм из каучуковой крошки на уретановом клее. Следующий слой полимерное покрытие с антисептиком. Дренаж выполняют из сыпучих материалов или специальных плит из пенопластов. Эффективным направлением использования крыш является устройство теплиц, т.к. имеющиеся в здании вторичные энергоресурсы используют для отопления теплиц. Обеспечение теплиц водой и электроэнергией осуществляют за счет имеющихся инженерных систем здания. 5.33. Особенностью конструкций кровель производственных и промышленных бесчердачных зданий является наличие утеплителя на железобетонном перекрытии. В качестве утеплителя может быть использован полистиролбетон (ПСБ), пенополиуретан с добавками, повышающими огнестойкость, пенобетоны или идентичные материалы в соответствии с проектом (рис. 5.46-5.50). 5.34. В тех случаях, когда узлы сопряжений выполнены из сборных железобетонных элементов в качестве герметика гидроизоляции рекомендуется мастика Абрис®Ру толщиной около 3 мм, которая сохраняет герметичность при неизбежных деформациях сборных элементов в первый год эксплуатации. В качестве кровельного покрытия применяют тот же "пирог", который используют во всех случаях устройства мягких кровель (рис. 5.51). 6. КОНТРОЛЬ КАЧЕСТВА ПРИ
УСТРОЙСТВЕ И РЕМОНТЕ
| ||||||||||||||||||||||||||||||||||||||||||||||||||||||||||||||||||||||||||||||||||||||||||||||||||||||||||||||||||||||||||||||||||||||||||||||||||||||||||||||||||||||||||||||||||||||||||||||||||||||||||||||||||||||||||||||||||||||||||||||||||||||||||||||||||||||||||||||||||||||||||||||||||||||||||||||||||||||||||||||||||||||||||||||||||||||||||||||||||||||||||||||||||||||||||||||||||||||||||||||||||||||||||||||||||||||||||||||||||||||||||||||||||||||||||||||||||||||||||||||||||||||||||||||||||||||||||||||||||||||||||||||||||||||||||||||||||||||||||||||||||||||||||||||||||||||||||||||||||||||||||||||||||||||||||||||||||||||||||||||||||||||||||||||||||||||||||||||||||||||||||||||||||||||||||||||||||||||||||||||||||||||||||||||||||||||||||||||||||||||||||||||||||||||||||||||||||||||||||||||||||||||||||||||||||||||||||||||||||||||||||||||||||||||||||||||||||||||||||||||||||||||||||||||||||||||||||||||||||||||||||||||||||||||||||||||||||||||||||||||||||||||||||||||||||||||||||||||||||||||
|
Плакат с надписью: "Посторонним вход воспрещен" (фигура черного цвета, штриховка красного, на светлом фоне) |
Рис. 7.2. Плакат с надписью: "Курить и разводить огонь запрещается" (на белом фоне красная штриховка и пламя) |
Плакат с надписью: "Огнетушитель расположен в 5 м" (на белом фоне красная штриховка) |

|
Рис. 7.4. Плакат с надписью: "Здесь можно курить и разводить огонь" (на светло-зеленом фоне красное пламя) |
Плакат с надписью: "Работай в перчатках" на светлом фоне желтая штриховка и зеленые перчатки) |
Плакат с надписью: "Работай в респираторе" (на светлом фоне темные контуры головы, респиратор зеленый) |
7.16. При устройстве электрического освещения следует руководствоваться СНиП II-4-79 и Правилами устройства электроустановок, утвержденными Минэнерго СССР, и ГОСТ 12.1.046-85. После окончания работ все установки, в т.ч. осветительные, кроме дежурного освещения, обязательно отключать.
8.1. При натурном обследовании кровли желательно ознакомиться с проектной документацией (план с отметками высот, размерами и уклонами, расположение оборудования и надстроек), включающей план верхнего этажа, разрезы и узлы сопряжений крышных конструкций и полный перечень использованных материалов.
Эксплуатирующая организация обязана предоставить акты на скрытые работы и документацию на реконструкцию или ремонт кровли; если таковые производились.
При отсутствии перечисленных выше документов необходимо составить схематический план кровли с указанием расположенных на ней выступающих крышных конструкций, оборудования и ограждений.
Проверяющим нужно добиться качественного выполнения ремонта и технического содержания крыш, для этого существуют следующие основные понятия и правила.
8.2. Крыши подразделяют на скатные с кровельными покрытиями из мастик, металлов (оцинкованная сталь, медь, цинк), шифера, черепицы и плоские с мягкими, рулонными, листовыми и мастичными кровлями.
В некоторых случаях на скатах мягкая кровля окаймлена металлическими свесами - окрытиями.
8.3. Характерные дефекты мягких кровельных покрытий плоских крыш описаны в Приложении 2 и "ТУ по устройству и ремонту кровель плоских крыш битумно-синтетической кровельной мастикой, армированной стеклянными тканями и неткаными материалами", утвержденных Госжилинспекцией в 1996 г.
8.4. При капитальном ремонте мягкой кровли обязательно полное снятие старого "ковра" и ремонт стяжки. Наличие на мягкой кровле вздутий - первый признак того, что кровельное покрытие уложено на старый "ковер".
8.5. В качестве армирующих (упрочняющих) материалов используют стеклоткани, стеклосетки, стекловолокно, стеклохолсты, синтетические ткани и нетканые материалы, качество которых должно соответствовать ТУ.
8.6. На кровельные материалы должны быть сертификаты (гигиенический и пожарный), а также и инструкции по применению.
8.7. Мастичные кровельные материалы должны иметь хорошую адгезию (сцепление) со всеми материалами, имеющимися на данной кровле. Наносят мастики вручную швабрами и механизмами (воздушными пневмораспылителями и безвоздушными).
8.8. И рулонные, и мастичные битуминозные материалы необходимо защищать от УФ облучения. Для этой цели эффективно применение лаков, наполненных алюминиевой пудрой. Запрещается присыпать мягкие кровли щебнем и не рекомендуется присыпка гравием, т.к. при этом не исключено повреждение кровельного материала при неизбежном хождении людей, а также исключительно сложна очистка кровли для последующего ремонта.
8.9. На мягких кровлях обязательно устраивать деформационные швы согласно проекту и настоящим указаниям.
8.10. При выполнении натурного обследования мягкой кровли из любых материалов следует обратить особое внимание на герметичность сопряжений кровельного материала со стойками ограждений, с антеннами, в воронках внутреннего водостока.
8.11. На кровельных покрытиях следует обратить внимание на качество поверхности кровли (не обнажена ли армирующая основа). В связи с тем, что стеклянные армирующие материалы интенсивно стареют под атмосферными воздействиями, обнаженные участки кровли необходимо переделать.
8.12. Уклоны кровли проверяют вдоль и поперек уклонов, используя металлическую трехметровую рейку со строительным уровнем. При обнаружении "блюдец", связанных либо с деформациями осадки конструкций крыши, либо с дефектами прослоек (теплоизоляция, пароизоляция).
8.13. Обнаруженные дефекты обязательно фиксируют на плане кровли и разрабатывают рекомендации по их ликвидации.
8.14. Для определения физико-механических показателей свойств мастичных кровель (вырубить) не менее 6 образцов длинной не менее 40 мм и шириной не менее 20 мм, которые анализируют в специализированной лаборатории, проверяя изменение деформативных свойств (относительное удлинение), характеризующее долговечность материала. Сравнивают показатели с показателями ТУ на данный материал и если эти показатели снизились на 50 % и более, то с большой долей уверенности можно констатировать интенсифицирующийся процесс старения, т.е. возникает необходимость ремонта кровли.
8.15. Исключительно важно тщательно обследовать чердачные помещения не только для обнаружения протечек, но и обнаружения трещин, прогибов, коррозионных поражений железобетонных кровельных покрытий.
8.16. Если при натурном обследовании зафиксированы дефекты в кровельных покрытиях, следует удостовериться в наличии протечек на чердаке или в помещениях верхнего этажа (в случае совмещенной крыши). Зачастую состояние утеплителя определяет состав и технологию последующего ремонта кровли.
8.17. Вследствие протечек, как правило, появляются биопоражения (грибы, плесень), поэтому в акте по результатам обследования следует указать на необходимость анализа мицелия и разработки рекомендаций по их ликвидации и предупреждению.
8.18. Если подрядчик предлагает конструкции инверсионных кровель, необходимо согласование с ведущей проектной организацией, а также указание в договоре гарантийного срока службы не менее 10 лет.
8.19. На основании результатов обследования составляют паспорт крыши (Приложение 9).
Измерительные приборы и инструменты, необходимые при обследовании (осмотре) кровель
|
1. Термощуп ЦЛЭП, ТК-5 |
- для измерения температуры поверхности конструкций; |
|
2. Гидрограф М-32 |
- для непрерывного измерения влажности воздуха; |
|
3. Электровлагомер |
- для определения влажности материалов; |
|
4. Термометр |
- для определения температуры; |
|
5. 3-х метровая рейка с уровнем |
- для измерения уклонов и ровности кровельного покрытия; |
|
6. Рулетка |
|
|
7. Нож кровельный |
- для вырезания образцов гидроизоляционного покрытия; |
|
8. Толщиномер |
- для измерения толщины изоляционных материалов |
В зависимости от конкретных условий могут понадобиться приборы для определения качества утеплителя, бетона и других материалов; это устанавливают при первичном обследовании.
На основе многолетних лабораторно-производственных исследований и совместного анализа результатов исследования кровельных материалов и технологий их применения специалистами ведущих институтов страны составлены основные технические требования к кровельным мастикам для ремонта мягких кровель и устройства их при возведении зданий с плоскими и скатными крышами (прилагается таблица).
Все имеющиеся и проектируемые гидроизоляционные мастики условно разделяются на три принципиально отличных по свойствам, технологии производства и применения вида:
- водно-эмульсионные;
- синтетические полимеры (с органическими растворителями и без растворителей);
- битуминозные (битумно-каучуковые с синтетическими добавками).
Существующие типы плоских крыш и методы строительства и ремонта мягких кровель предопределяют необходимость использования всех трех видов мастик.
Преимущества водных составов эмульсий или дисперсий: безопасность в пожарном отношении, низкая токсичность, адгезия к мокрым поверхностям, механизированное приготовление и нанесение при сравнительно низкой стоимости.
Недостатки водных составов: сезонность при устройстве и ремонте кровель {в Москве всего около 100 дней в году), сложность хранения (обеспечение положительной температуры).
Преимущества полимерных мастик (типа хлорсулъфополиэтиленовых, уретановых, пластифицированных эпоксидных): практически круглогодичная работа на высушенной кровле, высокая и стабильная адгезия ко всем крышным строительным материалам и повышенная эксплуатационная надежность, не требуется гравийная или другая защита, низкая материалоемкость (пленка около 2-3 мм), ремонтопригодность.
Недостатки синтетических мастик: повышенная пожароопасность при производстве и применении, повышенная токсичность, загрязнение окружающей среды.
Преимущества битуминозных мастик: наибольшая доступность в изготовлении и применении, привычность работы с мастиками на основе битума, удовлетворительная адгезия ко всем строительным материалам, при низком содержании растворителя незначительное воздействие на окружающую среду.
Недостатки битуминозных мастик: пожароопасность, материалоемкость, необходимость защиты от УФ облучения, повышенная трудоемкость при ремонтных работах.
Требования, которым должны удовлетворять мастики
Водно-эмульсионные:
- адгезия к влажным и теплым поверхностям (бетон, битуминозные материалы типа рубероида и эмульсии типа "ЭГИК");
- обеспечение механизированного приготовления и нанесения в заводских условиях и на крыше;
- использование без подстилающих материалов на любой конфигурации кровель;
- долговечность, превышающая 5 лет без защитных покрытий;
- ремонтопригодность;
- адгезия ко всем поверхностям строительных конструкций и старой гидроизоляции.
Битуминозные:
- адгезия ко всем сухим и обеспыленным поверхностям строительных конструкций и старой идентичной гидроизоляции;
- приготовление и нанесение вручную и с использованием механизмов;
- эксплуатационная надежность более 10 лет;
- ремонтопригодность.
Синтетические:
- повышенная адгезия к строительным конструкциям;
- приготовление и нанесение механизмами и вручную;
- ремонтопригодность без снятия старого покрытия;
- долговечность более 20 лет.
|
№ № |
Показатели механических и технологических свойств |
Един, измер. |
Водно-эмульсионные |
Синтетические |
Битумно-каучуковые |
|||
|
при строительстве |
при ремонте |
при строительстве |
при ремонте |
при строительстве |
при ремонте |
|||
|
1 |
Интервал температуры при эксплуатации кровли |
- ÷ + °С |
15÷70 |
15÷70 |
60÷85 |
60÷85 |
40÷75 |
40÷75 |
|
2 |
Интервал температур при нанесении |
°С |
05÷45 |
05÷45 |
-10÷45 |
-25÷30 |
-05÷45 |
-15÷45 |
|
3 |
Адгезия к бетону, не менее |
кгс/см2 |
0,08 |
0,05 |
5,0 |
5,0 |
0,8 |
0,5 |
|
4 |
Адгезия к металлу (сталь) |
кгс/см2 |
0,07 |
0,05 |
5,0 |
5,0 |
1,0 |
1.0 |
|
4 |
Адгезия к рубероиду (битумным мастикам) |
кгс/см2 |
0,08 |
0,08 |
- |
выше когезии подосновы |
- |
равна когезии подосновы |
|
5 |
Жизнеспособность после перемешивания всех ингредиентов, не менее |
час. |
- |
- |
1,5 |
1,5 |
2 |
2 |
|
6 |
Относительное удлинение в момент разрыва, не менее (ГОСТ 270-75) |
% |
25 |
25 |
250 |
250 |
25 |
25 |
|
7 |
Предел прочности при растяжении, не менее (ГОСТ 270-75) |
кгс/см2 |
0,08 |
0,08 |
5,0 |
5,0 |
1,5 |
1,5 |
|
8 |
Трещиностойкость (изгиб вокруг стержня Ø 10 мм при температуре) |
°С |
-10 |
-10 |
-60 |
-60 |
-45 |
-45 |
|
9 |
Водонепроницаемость (слой мастики толщиной 1 мм сохраняет непроницаемость 1 сут. при избыточном давлении воды), не менее |
кгс/см2 |
0,05 |
0,05 |
0,8 |
0,8 |
0,25 |
0,25 |
|
10 |
Морозостойкость (снижение показателей адгезии, когезии и относительного удлинения после 300 циклов замораживания-оттаивания) |
% |
80 |
80 |
25 |
25 |
30 |
30 |
|
11 |
Стойкость к атмосферным воздействиям (УФ, тепло, увлажнение-высушивание - испытание по кровельной методике) - долговечность, не менее |
лет |
5 |
5 |
20 |
20 |
12 |
12 |
|
Характерные дефекты кровли |
Причины появления дефектов |
|
|
1 |
2 |
|
|
Изменение окраски, волосяные трещины, шелушение поверхностного слоя |
1. Материал гидроизоляционного покрытия не выдерживает растягивающих напряжений при перепадах суточных и годовых температур воздуха. 2. Старение материалов из-за несоответствия техническим требованиям, а также при отсутствии деформационных швов. 3. Неравномерная осадка здания, динамические нагрузки в процессе эксплуатации 4. Некачественное выполнение стяжки-разуклонки. 5. Увеличение влажности утеплителя из-за скопления в нем паров |
|
|
|
Трещины в мастичном в покрытии |
|
|
Трещины в мастичном покрытии и в выравнивающей стяжке |
||
|
Трещины идущие из утеплителя |
||
|
|
Водопроницаемость гидроизоляционного покрытия |
1. Производственный брак (нарушение составов мастик). 2. "Старение" материалов из-за недостаточного количества каучука и отсутствия противостарителя |
|
|
Вздутия и отслоения гидроизоляционного покрытия |
1. Улетучивание скопившихся паров в утеплителе. 2. Нанесение мастики на влажную стяжку. 3. При нанесении мастики, содержащей растворитель, на неочищенную от старого битуминозного слоя кровлю. 4. При использовании мастики с излишним содержанием растворителя |
|
1 |
2 |
|
|
|
Складки гидроизоляционного покрытия |
1. Неравномерное нанесение мастики или армирующего материала. 2. Некачественное приклеивание армирующего материала |
|
|
Механические повреждения мастичного покрытия |
1. Нарушение технологии производства работ (падение острых предметов и т.д.) 2. Повреждение в процессе эксплуатации (механические повреждения). |
|
|
Протечки через трещины в примыканиях к выступающим конструкциям |
1. Нарушение сплошности покрытия из-за отсутствия деформационных швов. 2. Отсутствие "выкружки". 3. Отсутствие армирующего материала. |
|
|
Протечки в зоне водоприемной воронки |
1. Недоброкачественная герметизация. 2. Отсутствие приемной решетки с обоймой и прижимного кольца. |
|
|
Протечки в местах пропуска через кровлю вытяжных труб и опор телеантенн и радиостоек |
1. Отсутствие армирующего материала. 2. Отсутствие "выкружки" в местах пропуска вытяжной трубы. |
|
|
Водопроницаемость гидроизоляционного покрытия |
1. Застой дождевой воды ("блюдца"), ускоряющий старение кровельных материалов. |
|
|
Бугристость |
1. Неровности в стяжке-разуклонке. 2. Нарушение технологии устройства кровли. |
|
1 |
2 |
|
|
|
Вздутия кровельного покрытия |
1. Бугристость кровельного ковра, который при нанесении последующих слоев ведет к защемлению пузырьков воздуха, образования непроклеек. 2. Повышенная влажность стяжки и утеплителя. |
|
|
Загнивание кровельного покрытия, его деструкция |
1. Рыхлость кровельного покрытия из-за утраты адгезии по толщине и остаточной влаги. 2. Накопление большого числа слоев кровли, наклеиваемых при ремонтах. |
|
|
Разрыв кровельного "ковра" над стыками кровельных панелей |
1. Отсутствие компенсатора. 2. Жесткое уплотнение стыкового соединения. |
|
|
Механические повреждения |
1. Нарушение технологии производства работ. 2. Механические повреждения в процессе эксплуатации (металлическими лопатами и ломами при очистке наледей, нагрузки на слои, расположенные над вздутиями). |
|
|
Разрушение защитного слоя |
1. Атмосферные воздействия. 2. Недоброкачественное декоративно-защитное покрытие |
|
|
Нарушение перехлеста отдельных слоев кровельного покрытия |
1. Недоброкачественная укладка покрытия |
|
|
Сползание кровельного покрытия с образованием складок и разрывов |
1. Недостаточная теплостойкость мастик. |
|
1 |
2 |
|
|
|
Заполнение пространства под покрытием водой |
1. Недоброкачественное нанесение мастики. |
|
|
Отслаивание и сползание кровельного покрытия с вертикальных поверхностей и труб |
1. Отсутствие механического закрепления кровельного покрытия. 2. Недостаточная теплостойкость мастики. |
|
|
Протечки в местах перегиба кровельного покрытия (его разрывы и расслаивание)
|
1. Отсутствие "выкружки". 2. Недоброкачественная герметизация. |
|
|
Протечки в зоне водоприемных воронок |
1. Отсутствие приемной решетки с обоймой и прижимного кольца. 2. Отметка верхней кромки воронки выше поверхности кровли. 3. Отверстие воронки залито битумом или забито мусором. 4. Отслоение кровли от металлической воронки. |
|
|
Разрушение кровельного покрытия под нагрузкой |
1. Действие собственного веса бетонных блоков крепления ограждения. |
|
|
Переливание воды через загнутый край гидроизоляционного покрытия |
1. Недостаточная высота подъема края гидроизоляционного покрытия, снеговые мешки. |
Свойства герметиков "ЗГМ", соответствующие требованиям ТУ 5772-003-43008408-99 и ТУ 5775-004-52471462-2003, приведены в таблицах 1-3.
По данным ЦНИИПромзданий герметики Абрис®С и Абрис®Р обладают теплостойкостью соответственно до плюс 140°С и 160°С, могут эксплуатироваться во всех климатических районах России (при температурах до минус 60°С) и в большинстве своем устойчивы к воздействию ультрафиолетовых лучей.
Таблица 1
|
№ п/п |
Наименование показателей |
Абрис®С-ЛТ и С-ЛБ |
|
1 |
Внешний вид |
Пластичная однородная масса без разрывов и сквозных отверстий |
|
2 |
Цвет |
базовый: черный |
|
3 |
Пенетрация, 0,1 мм |
30-170 |
|
4 |
Прочность связи с бетоном, МПа |
≥ 0,1 |
|
5 |
Прочность связи с металлом при отслаивании, Н/м, не менее |
100 |
|
6 |
Сопротивление текучести, мм |
2 |
|
7 |
Коэффициент паропроницаемости (для пароизоляционных герметиков), мг/(м-ч-Па) |
2,2∙10-5 |
|
8 |
Водопоглощение после высыхания, % |
0 ÷ 0,02 |
|
9 |
Относительное удлинение при максимальной нагрузке, %, не менее |
35 |
|
10 |
Предел прочности при растяжении, МПа, не менее |
0,008 |
|
11 |
Характер разрушения |
когезионный |
|
12 |
Условный срок годности, лет |
20 |
|
13 |
Ширина, мм |
2 ÷ 250 |
|
14 |
Толщина, мм |
1 ÷ 5 |
|
15 |
Диаметр, мм |
- |
Таблица 2
|
№ п/п |
Наименование показателей |
Абрис®Ру |
|
1 |
Внешний вид |
Однородная пастообразная масса |
|
2 |
Цвет |
черный |
|
3 |
Пенетрация, 0,1 мм |
250-400 |
|
4 |
Прочность связи с бетоном, МПа |
0,1 |
|
5 |
Прочность связи с металлом при отслаивании, Н/м, не менее |
150 |
|
6 |
Сопротивление текучести: - при толщине 1-2 мм, не более, мм - - при толщине 5 мм, не более, мм |
|
|
2 |
||
|
- |
||
|
7 |
Паропроницаемость, не более, мг/(мч-Па) |
0,01 |
|
8 |
Водопоглощение после высыхания, не более, % |
0,3 |
|
9 |
Относительное удлинение при максимальной нагрузке, %, не менее |
50 |
|
10 |
Массовая доля сухого вещества, %, Не более |
50 |
|
11 |
Время высыхания при температуре 20°С, час |
24 |
|
12 |
Удельная масса, г/см |
0,9-1,1 |
|
13 |
Расход, кг |
1 |
|
14 |
Условный срок годности, лет |
20 |
Таблица 3
|
Наименование характеристики, ед. имерения |
Результаты испытаний |
|
Сопротивление теплопередаче, (м2 К)/Вт |
2,33 |
|
Воздухопроницаемость при давлении 100 Па, м3/(ч∙м) |
≤ 0,1 |
|
Водонепроницаемость при давлении, Па |
1900 |
|
Деформативная устойчивость (относительное удлинение), % |
39,5 |
|
Звукоизоляция, дБА |
36 |
Самоклеящаяся герметизирующая бутилкаучукова» лента Абрис®С-ЛТбаз с одной стороны покрыта антиадгезионной пленкой, а с другой - негорючей базальтовой тканью.
Бутилкаучуковая мастика Абрис гу - пастообразная однородная масса медленно высыхающая. В качестве праймера используют либо эту мастику, разжиженную нефрасом (бензин, уайт-спирит), либо поставляемый "ЗГМ" прайм ер Абрис®Рп.
|
|
|
АКТ
лабораторных испытании битумно-каучуковой кровельной мастики (БСКМ) по ТУ 5775-001-27558090-96
В соответствии с планом работ и действующими нормами проведено изучение основных строительных свойств БСКМ на изопреновом и бутадиенметилстирольном каучуках, разработанной ГАСИС: адгезии к бетону и металлу; эластичности и температуроустойчивости; деформативности;водо- и газопроницаемости, а также ускоренное старение БСКМ.
1. Адгезия к бетону (ц.-п. раствору)
Адгезия к бетонной (растворной) подложке определялась двумя способами: методом отслаивания по ГОСТ 10296-71 и методом установления предела прочности при разрыве.
В первом случае испытания вели на стандартных цементно-песчаных образцах размером 16×40×25 мм, имеющих форму "балочек" (состав Ц/П 1:2 при В/Ц = 0,45), наносили слой грунтовки (разжиженной уайт-спиритом БСКМ), затем - слой БСКМ и поверх ее полоску стеклоткани, по которой наносили второй слой БСКМ. После высыхания БСКМ испытывали образцы на отслаивание, фиксировали разрушающую нагрузку, площадь приклейки и характер разрушения. Результаты испытаний приведены в таблице 1.
Во втором случае определяли предел прочности при разрыве на ц.-п. образцах, имеющих форму "балочек" размером 25×70×25 мм, склеенных БСКМ крестообразно. После высыхания БСКМ образцы разрывали, определяя разрушающую нагрузку, площадь приклеивания и характер разрушения. Результаты испытаний в естественных (комнатных) условиях и в камере "Фейтрон" приведены в таблице 1.
2. Эластичность БСКМ определяли испытанием на изгиб на стержне по ГОСТ 6806-73. Метод основан на определении минимального диаметра стержня, изгибание на котором окрашенной БСКМ металлической пластинки не вызывает трещинообразования - механического разрушения покрытия.
Испытание проводили на приборе "ШГ" (шкала гибкости).
В качестве образцов, на которые наносили покрытие, использовали пластинки из жести толщиной 0,2-0,3 мм и размером 20×100×150 мм по ГОСТ 1127-57. Шкала гибкости представляет собой набор из шести стальных стержней различного диаметра. На пластинке из жести очищенные от продуктов коррозии и окалины, промытые уайт-спиритом, кистью флейц наносили БСКМ слоем 0,3 мм. После высыхания БСКМ пластинку плотно прижимали к стержню и огибали пленкой вверх на 180° вокруг стержня диаметром 20 мм. Изгиб вели плавно, в течение 2-3 сек. Если после изгибания на пленке при рассматривании в лупу не заметны трещины и пленка не отслоилась, то продолжали изгибание пластинки в другом месте вокруг стержня диаметром 15 мм. И так далее до тех пор, пока на пленке БСКМ не будут обнаружены трещины или отслоение от жести. Результаты испытаний также в таблице 1.
3. Прочность пленки БСКМ на разрыв определяли по ГОСТ 10086-87. Сущность метода заключается в следующем. Изготавливали свободные
пленки из БСКМ, специальным фигурным ножом вырубали образцы в форме "лопаточек", замеряли толщины и ширины рабочих частей образцов, которые затем помещали в разрывную машину и разрывали, фиксируя показатели шкалы нагрузки и удлинения. Результаты испытания в таблице 1.
4. Температуроустойчивость изучали, испытывая БСКМ в термошкафу при температурах до 85°С на цементно-песчаных образцах размером 16×40×25 мм. БСКМ наносили толщиной до 1 мм шпателем, и после высыхания помещали в термошкаф в наклонном под углом 45°С положении. Температуру поднимали постепенно от 20°С, фиксируя состояние образца каждые 30 мин. При достижении 100°С образцы выдерживали 2 часа при постоянном наблюдении за его состоянием. Результаты испытаний в таблице 1.
5. Водо- и газопроницаемость испытывали на усовершенствованном приборе ВНИИСТа, заливая отверстие в бетонном образце БСКМ как холодного, так и горячего приготовления. Установлено, что БСКМ холодного нанесения при толщине слоя 1 мм выдерживает до 0,1 МПа давление воды, а при толщине слоя БСКМ до 1 мм при прослойке из нетканого лавсано-вискозного материала толщиной около 0,1 мм - до 0,15 МПа. Аналогично исследовали газопроницаемость при давлении до 0,05 МПа. Установлена полная непроницаемость высушенной БСКМ при давлении 0,05 МПа.
На БСКМ горячей заливки (при отсутствии разжижения компонентов БСКМ) проверяли стойкость заливки БСКМ при толщине слоя 10 мм на вытягивание из полости шва. Для этого поверх уложенной мастики после часа выдерживания накладывали резиновую и металлическую пластинки, которые придавливали к БСКМ, а затем, приподнимая пластинки, пытались вытянуть БСКМ из шва. Установлено, что БСКМ из швов не вытягивается, не смотря на прилепаемость к пластинкам, как из металла, так и из резины.
6. Ускоренное старение БСКМ испытывали при определении специфических (согласно воздействиям в процессе эксплуатации) характеристик при циклических воздействиях минусовых и плюсовых температур под воздействием воды и УФ облучения. Один цикл длился 48 часов и включал:
водопоглощение (в воде при температуре 20±2°С) - 16 час;
промораживание (на воздухе при 20°С) - 3 час;
оттаивание (на воздухе при 20±2°С) - 16 час;
просушивание (на воздухе при 40±2°С) - 8 час;
воздействие повышенных температур до 40°С и УФ облучение - 3 час. Испытание в климатической камере "Фейтрон". БСКМ испытывали на "лопаточках". Контролируемые параметры: предел прочности при разрыве и относительное удлинение (деформативность) после 50 циклов.
|
Контролируемый параметр |
Исходное значение |
После 50 циклов |
|
Разрушающее напряжение при разрыве, МПа |
1,5 |
1,4 |
|
Относительное удлинение, % |
50 |
50 |
Таблица 1
|
Наименование показателей |
Ед. измерения |
Показатели БСКМ |
|
1. Пенетрация по ВЗ-246 |
сек. |
340-360 |
|
2. Время высыхания при 20°С при 5=0,2 мм |
час. |
4 |
|
3. Адгезия к бетону (отслоение) до/после старения в "Фейтроне" |
кгс/см |
0,5/0,5 |
|
4. Предел прочности при разрыве до/после старения в "Фейтроне" |
МПа |
1,5/1,4 |
|
5. Эластичность на стержне диаметром |
мм |
5 |
|
6. Прочность пленки при разрыве до/после старения в "Фейтроне" |
МПа |
2,0/1,9 |
|
7. Относительное удлинение до/после старения в "Фейтроне" |
% |
50/49 |
|
8. Температуроустойчивость при 85°С и наклоне < 45° |
|
не стекает |
|
9. Водонепроницаемость при толщине 1 мм |
МПа |
0,1 |
|
10. Газонепроницаемость при толщине 1 мм |
МПа |
0,05 |
Исследованные составы битумно-каучуковой кровельной мастики - БСКМ - отвечают требованиям международных стандартов, стойки к циклическим воздействиям низких и повышенных температур и после испытания на старение показатели строительных свойств БСКМ практически не изменились.
БСКМ эффективно использовать при устройстве и ремонте кровель плоских и скатных крыш, герметизации трещин в бетонных и асфальтобетонных конструкциях, а также для исключения инфильтрации газов, герметизации трещин в бетонных ограждающих конструкциях при температурах воздействия от-50 до +80°С.

ЗАМАЗКА "ЛУКАР-ОХ" ТУ 5772-002-58275026-02
Замазка "Лукар-ОХ" предназначена для защиты бетонных и других неметаллических поверхностей (емкости, приямки, каналы, колодцы и т.п.) от воздействия агрессивных сред (щелочей, кислот, нефтепродуктов, отходов жизнедеятельности животных).
"Лукар-ОХ" состоит из трех компонентов: А» Б и наполнителя (песка или других инертных сыпучих мелкозернистых материалов). Компоненты А и Б поставляют в отдельных упаковках 13 и 5 масс, частей соответственно. Песок (82 части) делят на две примерно равные части и перемешивают с компонентами сначала раздельно, а затем вместе.
Поверхность, подлежащую покрытию, обеспыливают, обезжиривают и грунтуют "Лукаром-ОП". Замазку наносят на подготовленную поверхность вручную шпателем при минимальной толщине слоя 10 мм.
ГРУНТОВКА "ЛУКАР-ОП"
ТУ 5772-002-58275026-02
"Лукар-ОП" применяют для защиты деревянных, бетонных, шиферных и кирпичных строительных конструкций. При обработке грунтовкой "Лукар-ОП" деревянных конструкций увеличиваются: прочность, антисептические свойства, гидрофобность, огнестойкость. Дерево приобретает желтоватый оттенок и сохраняет его долгие годы. При обработке бетонных и кирпичных конструкций их поверхность приобретает дополнительную прочность на истирание, гидрофобность, стойкость к воздействию бензина, нефтепродуктов, розлива щелочей и кислот. Бетонные полы, покрытые грунтовкой "Лукар-ОП" не пылят.
Грунтовка "Лукар-ОП" поставляется как однокомпонентной, так и двухкомпонентной в зависимости от конкретной области применения.
"Лукар-ОП" наносят на сухую обезжиренную поверхность кистью или распылителем в один или два слоя с промежутком по времени около 12 часов. Окончательная готовность через 24 часа после нанесения последнего слоя.
Расход 150-280 г/м2 в зависимости от пористости покрываемой поверхности.
Покрытие полиизоцианатное
"ЛУКАР–5" ТУ 2312-005-58275026-02
Полиизоцианатный двухкомпонентный состав "Лукар-5" обеспечивает защиту металлических, бетонных, шиферных и кирпичных строительных конструкций от коррозии под воздействием кислот, щелочей, нефтепродуктов и продуктов жизнедеятельности животных.
"Лукар-5" состоит из двух компонентов: А (черный) и Б (белый). Перед началом работ компоненты смешивают в соотношении 1,9:1 по массе и тщательно перемешивают. Жизнеспособность смеси 40-50 минут при температуре 20°С. С повышением температуры жизнеспособность снижается. Цинк добавляют в компонент Б (белый) - 8-10 % по массе только для покрытия металлических поверхностей.
"Лукар-5" наносят на очищенную пескоструем и обезжиренную поверхность по технологии окрасочных работ с использованием жестких кистей или безвоздушных распылителей.
|
№ пп |
Наименование механизма, инструмента, приспособления |
Назначение |
Завод - изготовитель ТУ, ГОСТ |
|
1 |
2 |
3 |
4 |
|
1 |
Машина для нарезки швов в кровельном "ковре" (V=0,55 кВт) типа "Крот-1" (2) |
Резка кровельного покрытия на полосы шириной до 600 мм |
Экспериментальный завод ЛНИИ АКХ |
|
2 |
Передвижная компрессорная установка типа СО-63 или СО-7А |
Очистка поверхности от мусора и пыли, для пневмораспылителей |
Лебедянский завод "Строительно-отделочных машин" |
|
3 |
Машина СО-100 (СО-145) |
Подача мастики |
Чертежи МФ ВНИИСМИ |
|
4 |
Ножницы ножевые электрические с двойной изоляцией ИЭ-5403 |
Для разрезки старых окрытий ("фартуков") |
Ростовское ПО "Электроинструмент" |
|
5 |
Лебедка электрическая ТЛ-1 грузоподъемностью 1 т |
Транспортирование материалов |
Саратовский завод строительных машин |
|
6 |
Контейнер для армирующих материалов |
Хранение стеклянных тканей и нетканых материалов |
УНН Севэнергомеханизация |
|
7 |
Кран переносной для кровельных работ мощностью 1,1 кВт |
Подъем кровельных материалов на крышу |
-«- |
|
8 |
Кран "Пионер" мощностью 28 кВт |
-«- |
-«- |
|
9 |
Смеситель универсальный |
Для приготовления цементно-песчаного раствора |
Московское ГПО "Моспромстроймеханизация" Главмосмонтажспецстроя |
|
10 |
Агрегат для отсоса влаги (СО-106, СО-122, СО-222) |
Для сбора дождевой воды с "блюдец" |
Волковысский з-д кровельных и строительно-отделочных машин |
|
11 |
Подметал ьно-пылесосная машина "Циклон" (модель КУ-405) |
Для очистки основания |
-«- |
|
12 |
Агрегат для сушки основания (СО-107, СО-159) |
Для подсушки под грунтовку |
-«- |
|
13 |
Термос для холодной мастики вместимостью до 1 м3 |
Для хранения и перевозки мастики |
МГПО "Моспромстроймеханизация" |
|
14 |
Тележка ручная или тележка-рикша СО-174 05 |
Для перевозки материалов на кровле |
Управление механизации отделочных работ ПСО Мосстройкомитета Раб. черт. 625-76 ЦНИИОМТП |
|
15 |
Нож кровельный |
Резка и раскрой армирующих материалов |
ТУ 400-28-187-74 |
|
16 |
Шпатель-скребок |
Очистка зон сопряжений и примыканий |
ТУ 22-3059-74 |
|
17 |
Шпатель зубчатый |
-«- |
Трест "Мосоргстрой" Главмосстроя Раб. черт. 4407 |
|
18 |
Ковш для разливки мастики |
Подливка мастики в узлах |
ОСТ 22-686-73 |
|
19 |
Гребок для кровельных работ |
Разравнивание мастики |
ТУ 22-2461-72 |
|
20 |
Щетка кровельная |
Нанесение грунтовки |
Чертежи ЦНИИОМТП |
|
21 |
Кисть-ручник типа КР-65 (КР-26) |
Нанесение мастики в узлах |
ГОСТ 10587-80 |
|
22 |
Ведро, плотно закрывающееся, емкостью 15 л |
Переноска мастики |
ИОМТПС Минстроя СССР |
|
23 |
Перчатки резиновые |
ГОСТ 9502-60 |
|
|
24 |
Щиток защитный |
ТУ 64-1916-72 |
|
|
25 |
Противогаз или респиратор |
|
Орехово-Зуевский завод "Респиратор" |
|
26 |
Нарезчик швов Э-347 (Э-348, Э-411) |
Резка кровельного ковра на полосы шириной 300 мм, толщиной до 75 мм |
Тверской экспериментально-механический завод |
|
27 |
Нарезчик швов |
Резка швов в стяжке |
ПКФ "Сфера" 350051, Краснодар, ул. Лузана, 6 |
|
28 |
Бетоносмеситель БСП-150М "Торнадо" емкостью 150л |
Приготовление мастики |
Фирма "БиК" |
|
29 |
Универсальная передвижная установка ЕР 3000 с бензодвигателем (производительность 6 л/мин, или 1,5 м2/мин.) |
Подача мастики по шлангам на расстояние до 150 м и нанесение с помощью сменных насадок |
Фирма "Вагнер" |
|
30 |
Универсальная передвижная установка GP 3000 с бензодвигателем (производительность 7 л/мин, или 2 м2/мин.) |
Подача мастики по шлангам на расстояние до 150 м и нанесение с помощью сменных насадок |
Фирма "Вагнер" |
|
31 |
Электробитумоварочный аппарат ЭНВ-04 |
Переработка старого кровельного ковра |
Фирма "Авистен" |
Техническая характеристика пистолетов-распылителей
|
Наименование показателей |
Ед. изм. |
Марка пистолета |
|||||
|
О-45 |
С-512 |
С-31А |
О-37 |
С-592 |
С-765 |
||
|
Производительность |
м2/час |
110-400 |
50 |
350 |
до 15 |
75 |
до 600 |
|
Диаметр сопла |
мм |
3,5; 2,5 |
1,1 |
2,5; 1,8 |
1,2 |
- |
6 |
|
Давление воздуха |
кг/см2 |
3-4 |
1,5-2 |
3-4 |
2-3 |
2 |
3-4 |
|
Расход воздуха |
м3 |
26 |
2,2 |
24 |
2 |
26 |
до 25 |
|
Емкость наливного стакана |
л |
0,5 |
0,8 |
0,5 |
0,2 |
- |
- |
|
Габаритные размеры: длина |
мм |
175 |
160 |
175 |
165 |
175 |
220 |
|
ширина |
мм |
45 |
105 |
45 |
68 |
45 |
110 |
|
высота |
мм |
200 |
230 |
200 |
265 |
200 |
280 |
|
Масса |
кг |
0,77 |
0,68 |
0,69 |
0,33 |
0,7 |
1,0 |
При механизированном нанесении грунтовок и мастик-эластомеров рационально использовать станцию СО-145.
Технические характеристики станции СО-145
|
Производительность не менее, м2/час |
800 |
|
Дальность подачи, м: по вертикали |
50 |
|
по горизонтали |
80 |
|
Рабочее избыточное давление при нанесении мастик, МПа |
6-9 |
|
Вязкость мастичных составов при нанесении (по ГОСТ 8420-74), не более |
150 |
|
Объем рабочей емкости, м3 |
0,6 |
|
Объем технологической емкости, м |
0,6 |
|
Цикл работ |
Непрерывный |
|
База |
Шасси прицепа 2- ПТС-4 |
|
Максимальная скорость передвижения, км/час |
30 |
|
Подъемник |
|
|
грузоподъемность, кг |
500 |
|
высота подъема, м |
6 |
|
Исполнение электрооборудования станции |
Взрывозащищенное ВГА, класс В-1 |
|
Метод распыления |
Безвоздушный |
|
Тип рукава распылителя |
РВД |
|
Внутренний диаметр, мм |
25 |
|
Длина, м |
80 |
|
Потребляемая мощность не более, кВт |
20 |
|
Обслуживающий персонал, чел. |
3 |
|
Габаритные размеры в транспортном помещении не более, мм: |
|
|
длина |
5700 |
|
ширина |
2500 |
|
высота |
3800 |
|
Масса не более, кг |
5000 |
Принцип работы станции СО-145
После доставки на строительный объект станцию подключают к электросети (W = 380 В, γ = 50 Гц) и колонну 20 устанавливают в рабочее положение. Напорный рукав 28 с форсункой 27 сматывают с барабана 30 и доставляют к месту производства работ. Бочку с мастикой устанавливают при помощи фузозахватного устройства 14 и электрофильтра 13 в постель 17 технологической емкости 8. Мастика самотеком сливается из бочки 16 через заливную горловину 15 в емкость 8. При значительном повышении вязкости мастики в бочках при хранении для выгрузки мастики из бочек используют компрессор 3. В этом случае к отверстию бочки 15а, предназначенному для подачи воздуха, присоединяют рукав от компрессора 3, и нагнетаемый в бочку сжатый воздух выдавливает из нее мастику.
Технологическая обработка мастики в емкости 8 с целью понижения ее вязкости до 15 сек. и ниже по ГОСТ 8420-74 осуществляется путем механической деструкции мастики (перемешиванием, циркуляцией по замкнутому контуру с помощью насоса 5) с добавлением при необходимости разжижителей и других компонентов (растворителей типа толуола, ксилола, сольвента и ускорителя полимеризации). Доведенную до определенной вязкости мастику перекачивают насосом 5 из емкости 8 в рабочую емкость 22, оттуда насосом 33 по напорному рукаву 28 подают к форсунке 27 и наносят на обработанную поверхность. Давление в напорной магистрали и расход мастики регулируется клапаном 29 и манометром 34.
Станция СО-145 обеспечивает полный технологический цикл работ загрузка мастики, технологическая обработка, подача и нанесение методом безвоздушного распыления. Плотность паров растворителей в воздухе в два-три раза выше, в связи с чем его пары не поднимаются от обрабатываемой поверхности на расстояние более 100 см, что исключает применение защитных устройств.
Агрегаты безвоздушного распыления 2600Н и 7000Н используются специально обученным персоналом в строгом соответствии с прилагаемым паспортом ПС "Агрегаты окрасочные высокого давления 2600Н и 7000Н", 1980.
В таблице приведены характерные неисправности, возникающие при нанесении антисептиков агрегатами безвоздушного распыления.
|
Неисправность |
Возможная причина |
Способ устранения |
|
Электродвигатель не работает |
Отсутствует напряжение в питающей сети |
В месте включения агрегата проверить наличие и значение напряжения во всех фазах питающей сети |
|
Неисправность электрокабеля или несоответствие коммутации в штепсельных разъемах |
Заменить штепсельные разъемы и исправить соединения в кабеле |
|
|
Неисправность в электродвигателе, выключателе или защитно-отключающем устройстве |
Ремонт выполнить в специализированной мастерской |
|
|
При включении двигатель не развивает обороты и гудит |
Наличие в насосе перекачиваемого материала |
Открыть перепускной клапан |
|
|
||
|
Понижение напряжения в сети или кабеле |
Вольтметром проверить напряжение до пуска электродвигателя. Заменить непригодный кабель. Сечение токоведущих жил должно быть 2,5 мм2 при длине до 50 м и 4 мм при большей длине кабеля |
|
|
Самопроизвольное отключение электродвигателя |
Срабатывание защитно-отключающего устройства из-за перегревания электродвигателя в процессе работы |
Повторное включение через 3 мин. Насосный агрегат поставить в тень или под навес. Уменьшить длину шланга высокого давления. Очистить агрегат |
|
Насос не засасывает антисептик, но двигатель работает |
1 Наличие воздуха во всасывающей системе или полоста гидропередачи |
Открыть перепускной клапан и удалить воздух из полости гидропередачи, включив агрегат на холостом ходу на 12-15 мин. или вывернуть регулятор давления из корпуса насоса от двух до четырех оборотов |
|
Подсосы воздуха во всасывающей системе |
Прочистить и плотно затянуть соединения штуцера и фильтра. Заменить дефектный шланг |
|
|
Засорен фильтр всасывающей системы |
Очистить и промыть растворителем систему фильтра и клапана |
|
|
Неисправен всасывающий клапан насоса |
Заменить уплотнение или весь клапан |
|
|
Неисправен нагнетательный клапан |
Промыть растворителем или, при необходимости, заменить уплотнение или весь клапан |


|
|
|
|