//
|
|
РАО «ЕЭС РОССИИ» Открытое акционерное общество "ВСЕРОССИЙСКИЙ НАУЧНО-ИССЛЕДОВАТЕЛЬСКИЙ ИНСТИТУТ ГИДРОТЕХНИКИ имени Б.Е. ВЕДЕНЕЕВА" РЕКОМЕНДАЦИИ ПО ПРОВЕДЕНИЮ НАТУРНЫХ НАБЛЮДЕНИЙ И ИССЛЕДОВАНИЙ КРЕПЛЕНИЙ ОТКОСОВ ГРУНТОВЫХ СООРУЖЕНИЙ И БЕРЕГОВЫХ СКЛОНОВ П 74-2000 ВНИИГ Санкт-Петербург 2000 Срок введения III кв. 2000 г. ВНЕСЕНЫ ОАО «ВНИИГ им. Б.Е. Веденеева» УТВЕРЖДЕНЫ РАО «ЕЭС России» Письмо № 02-1-03-4/621 от 03.07.98 ВВОДЯТСЯ ВПЕРВЫЕ В Рекомендациях рассмотрены виды контроля за состоянием креплений откосов грунтовых сооружений всех классов. Устанавливается организация наблюдения, диагностические признаки состояния креплений, периодичность проведения и состав осмотров, обследований и наблюдений. Приводятся приборы и контрольно-измерительная аппаратура для определения параметров волн и их воздействия на крепление откосов. Даются рекомендации по обработке и обобщению данных измерений в натуре. Рекомендации предназначены для гидротехнических служб электростанций, научных и других организаций, участвующих в работах по контролю за состоянием креплений откосов грунтовых сооружений и береговых склонов. Содержание ПРЕДИСЛОВИЕ Крепления откосов грунтовых гидротехнических сооружений: плотин, дамб обвалования водохранилищ, ограждающих молов на подходных участках шлюзов, береговых склонов и берегозащитных сооружений - являются важным конструктивным элементом, от прочности и устойчивости которого в значительной мере зависит надежность сооружения. В отечественном гидростроительстве проектирование креплений, в том числе расчеты нагрузок от гидродинамического воздействия ветровых волн и льда, осуществляется на основе указаний СНиП 2.06.04-82*. Научное обоснование методов расчетов прочности и устойчивости креплений, рекомендуемых в указанном СНиП, не гарантирует безусловной надежности их работы по следующим причинам: невозможность точного, надежного прогнозирования расчетных параметров ветровых волн, характеристик ледового режима при периодических колебаниях уровня воды в водохранилище, стихийных явлений (землетрясения, катастрофические паводки, выбросы на откосы тяжелых плавающих тел и т.п.) ввиду вероятностного характера изменения указанных факторов и недостаточного объема необходимых гидрологических и иных данных в районе размещения гидроузла; потеря устойчивости грунтового основания под креплениями по истечении длительного периода их эксплуатации вследствие изменения геотехнических характеристик грунтов тела сооружения (вынос мелких фракций из слоя обратного фильтра, кольматаж фильтра, разжижение мелкозернистых песков при динамическом воздействии волн и плавающих предметов на крепление и т.п.); потеря прочности материала крепления (бетона, асфальтобетона, камня) при продолжительной работе сооружения в условиях периодического изменения уровня воды в водохранилище, замораживания и оттаивания воды в порах и трещинах материала, выветривания, выщелачивания, воздействия знакопеременной волновой нагрузки и др. Учет указанных выше факторов при проектировании креплений весьма затруднен, а иногда и вообще невозможен. Это обстоятельство в ряде случаев становится причиной серьезных повреждений, а иногда и разрушения креплений. Для примера на рис. 1 и 2 приведены фотографии, иллюстрирующие разрушение бетонных креплений берегозащитного грунтового сооружения на Кременчугском водохранилище (р. Днепр). Причина разрушений - превышение высоты волн на 10-20 % по сравнению с высотой волны, принятой в проекте в качестве расчетной, недостаточное уплотнение грунта в подплитном слое, отклонение ширины стыков между плитами от ширины, предусмотренной в проекте, а также дефекты в устройстве обратных фильтров. Учитывая сказанное выше, можно утверждать, что для обеспечения надежности креплений необходимо осуществлять профилактические мероприятия по поддержанию их в работоспособном состоянии. Выбор этих мероприятий возможен на основе систематического эксплуатационного контроля креплений (визуальных осмотров, обследований и исследований) и диагностической оценки их состояния. Следует отметить, что действующие в настоящее время официальные руководства, инструкции, указания СНиП 2.06.05-84, ТИ 34-70-016-86, ВСН 35-70, П-648, П 70-78, а также имеющиеся публикации в научно-технической литературе, касающиеся контроля состояния грунтовых сооружений [1-4], практически не содержат рекомендаций по контролю состояния креплений откосов как элементов конструкции сооружения и береговых склонов водохранилищ. Ознакомление с организацией натурных наблюдений на действующих гидроузлах показало: крепления откосов грунтовых сооружений не выделяются в самостоятельный объект контроля; наблюдения в большинстве случаев проводятся не систематически, а начинаются лишь в тех случаях, когда повреждения и разрушения уже появились; ввиду эпизодического (случайного) характера наблюдений часто не представляется возможным проанализировать развитие повреждений во времени и установить вызвавшие их причины; результаты наблюдений не увязаны с волновым и ледовым режимами и с изменениями уровня воды в водохранилище. Настоящие Рекомендации составлены с учетом опыта проектирования, строительства и эксплуатации грунтовых сооружений в отечественной и зарубежной практике. Рекомендации разработаны в ОАО "ВНИИГ им. Б.Е. Веденеева" ст. научн. сотрудником И.Я. Поповым и ОАО "НИИЭС" ст. научн. сотрудником Л.В. Комельковым.
Рис. 1. Сборные плиты с открытыми стыками, размер 2,5´4´0,25 м на сплошном обратном фильтре. Глубина размыва грунта в подплитной области около 80 см. Высота волн 3,2 м, расчетная 3,0 м.
Рис. 2. Монолитные ж/б плиты 25´25´0,15 м с уплотнением стыков опалубкой, фильтр сплошной двухслойный. Высота волн 3,2 м, расчетная 3,0 м, навал груженой баржи. 1. ОБЩИЕ ПОЛОЖЕНИЯНазначение рекомендаций и область их применения1.1. Настоящими Рекомендациями следует пользоваться при организации и проведении контроля состояния креплений откосов грунтовых сооружений и береговых склонов в верхних бьефах гидроузлов, предписываемого СНиП 2.06.05-84, ВСН 35-70 и [8]. Рекомендации являются дополнением, развитием и конкретизацией общих их положений и направлены в основном на внедрение в практику единообразного подхода к проведению контроля на действующих гидроузлах, а также на обеспечение эксплуатационного персонала пособием при проведении наблюдений. 1.2. Настоящие Рекомендации не исключают необходимость использования инструкций и правил, действующих на конкретном гидроузле, разработанных с учетом специфических особенностей его эксплуатации. 1.3. Рекомендации распространяются на крепления откосов грунтовых сооружений всех классов: подпорных плотин, дамб обвалования водохранилищ, берегозащитных сооружений, ограждающих молов судопропускных сооружений, а также береговых склонов водохранилищ. 1.4. Настоящими Рекомендациями надлежит пользоваться при наблюдениях за состоянием следующих видов креплений откосов: монолитные (бетонируемые на откосе) железобетонные плиты, уложенные на сплошном и ленточном обратных фильтрах; сборные железобетонные плиты с открытыми и омоноличенными стыками по периметру, соединенные между собой шарнирными петлевыми связями и свободно лежащие (не соединенные между собой); бесшовные сплошные асфальтобетонные крепления, выполняющие функции защиты грунта тела сооружения от размыва волнами и одновременно являющиеся противофильтрационным экраном; наброска однородного по крупности или разнозернистого камня из карьеров естественных скальных пород, а также упорядоченная укладка сортированного камня (каменная отмостка); бетонные блоки различной геометрической формы; берегозащитные банкеты из горной массы (карьерного несортированного каменного материала с большими значениями коэффициента разнозернистости - более 30). 1.5. Рекомендации следует использовать также при наблюдениях и обследованиях пологих неукрепленных откосов (откосов пляжного типа), а также береговых склонов, сложенных связными и несвязными размываемыми грунтами (глины, суглинки, пески, супеси, лессы и др.). 1.6. Настоящие Рекомендации предусматривают следующие виды контроля: визуальные наблюдения; обследования с проведением простейших инструментальных измерений, позволяющих не только зафиксировать дефекты, но и выяснить вызвавшие их причины; исследование грунтов в зоне сооружения, прилегающей к креплению, колебания кривой депрессии при волновых воздействиях, волнового давления на верхнюю поверхность крепления и противодавления под креплением, вибрации плит и обусловленной ею потери устойчивости водонасыщенных грунтов в теле сооружения, изменения прочностных и деформационных характеристик материала крепления вследствие длительных динамических знакопеременных волновых воздействий, колебаний температуры и др. Исследования проводятся для определения числовых характеристик прочности и устойчивости крепления и сопоставления их с проектными требованиями, с целью установления причин, вызвавших появление повреждений и разрушений. Исследования должны проводиться в тесной увязке с данными о волновом и ледовом режимах в водохранилище за длительный период времени, предшествовавший исследованиям. 1.7. Осмотры крепления являются обязательным систематическим видом контроля. Они должны проводиться на откосах по всему фронту сооружения независимо от сроков его эксплуатации с периодичностью, предусмотренной настоящими Рекомендациями. 1.8. Обследования крепления производятся на тех участках, где визуальными наблюдениями обнаружены признаки появления повреждений (трещины в плитах, смещение камня из слоя крепления, разрушение поверхности бетона, смещение плиты относительно смежной с ней в вертикальной плоскости, повреждения уплотнений стыков между плитами и т.п.). Основной целью обследований является установление причин появления повреждений, прогноз дальнейшего их развития и оценка степени опасности для надежности дальнейшей эксплуатации сооружения. Результаты обследования являются основой для решения вопроса о необходимости (или необязательности) более обстоятельного контроля состояния крепления - натурных исследований. 1.9. Натурные исследования проводятся на участках крепления, состояние которых оценивается в результате предшествовавших обследований как угрожающее для надежности сооружений. Целью исследований является решение вопроса о ремонтно-восстановительных мероприятиях или реконструкции крепления. 1.10. Выводы по результатам всех трех указанных выше видов контроля должны производиться в тесной увязке с данными наблюдений за волновым, ледовым и температурным режимами как основными видами воздействия на крепление с учетом уровенного режима водохранилища, а также с исполнительной документацией строительной организации. 1.11. В исполнительной документации должны быть отражены отклонения от проектных решений в конструкции крепления и в технических характеристиках его элементов (материал плит, прочность камня, гранулометрический состав обратного фильтра, плотность грунта в теле сооружения, армирование плит и т.п.). Исполнительная документация должна содержать также расчетные и экспериментальные обоснования изменений проектных решений. 1.12. Рекомендации предназначены для использования при эксплуатации сооружений гидротехническими службами электростанций, научных, проектных и других организаций, которые участвуют в работах по контролю за состоянием креплений откосов грунтовых сооружений и береговых склонов. Нормативные ссылки1.13. В тексте Рекомендаций приводятся ссылки на следующие нормативные документы: СНиП 2.06.04-82*. Нагрузки и воздействия на гидротехнические сооружения (волновые, ледовые и от судов). М.: ЦИТП Госстроя СССР, 1986; СНиП 2.06.05-84. Плотины из грунтовых материалов. М: ЦИТП Госстроя СССР, 1985; ТИ 34-70-016-86 / Союзтехэнерго. Типовая инструкция по эксплуатации гидротехнических сооружений деривационных гидроэлектростанций. М., 1983; ВСН 35-70 / ВНИИГ им. Б.Е. Веденеева. Временные указания по проведению контрольных наблюдений и исследований на плотинах из местных материалов во время их возведения и эксплуатации. Л., 1971; П-648 / Гидропроект. Руководство по натурным наблюдениям за деформациями гидротехнических сооружений Руководство по натурным наблюдениям за деформациями гидротехнических сооружений и оснований геодезическими методами. М: Энергия, 1980; П 59-94 / ВНИИГ им. Б.Е. Веденеева. Руководство но расчету фильтрационной прочности грунтовых сооружений и их оснований. СПб. 1995; П 52-71 / ВНИИГ им. Б.Е. Веденеева. Методические рекомендации по проектированию креплений земляных гидротехнических сооружений, подверженных действию ветровых волн. Л., 1972; П 70-78 / ВНИИГ им. Б.Е. Веденеева. Рекомендации по организации и проведению натурных наблюдений и исследований воздействия потока на гидротехнические сооружения и русло реки в нижнем бьефе. Л., 1978. Терминология1.14. В тексте применяются следующие термины и их определения. Расчетный режим волнения (расчетный шторм) - волнение, создаваемое на поверхности водохранилища ветром, скорость которого по расчетному направлению разгона волн имеет заданную обеспеченность в ряду годовых максимумов, наблюдаемых в периоды отсутствия на акватории ледового покрова. Расчетная высота волны - высота волны заданной обеспеченности в системе волн расчетного шторма. Обеспеченность расчетной скорости ветра и высоты волны принимается в соответствии с требованиями СНиП 2.06.04-82*. Высота волны определяется как превышение гребня волны над наинизшей точкой смежной ложбины на волновом профиле. Период волны - интервал времени между прохождением двух смежных вершин волн через фиксированную вертикаль (место установки волномерного устройства). Регулярные волны - волны, высота, длина и период которых остаются неизменными в данном, фиксированном створе. Нерегулярные волны - волны, параметры которых изменяются случайным образом. Система волн - ряд последовательных волн, проходящих через фиксированный створ. Волновое давление на поверхности крепления - разность между гидродинамическим давлением при волнении в водоеме и гидростатическим давлением при отсутствии волн. За волновым давлением на нижнюю поверхность крепления закрепился термин "волновое противодавление". Эпюра волнового давления в данный фиксированный момент времени (мгновенная эпюра) - графическое изображение изменения давления в точках поверхности крепления, расположенных на линии, проведенной перпендикулярно урезу воды вниз по откосу. Разгон волн - протяженность охваченной ветром акватории, измеренная по направлению ветра от берега до створа сооружений. Луч волны - линия, перпендикулярная фронту волны. Ветровой нагон - превышение осредненного уровня воды в водохранилище при волнении над уровнем воды при отсутствии волнения (над штилевым уровнем). Критический градиент волнового давления в порах проницаемого крепления и защищаемого грунта тела сооружения - градиент, при котором возникает механическая суффозия (вынос мелких фракций грунта через поры фракций, образующих скелет крепления). Высота наката волны - превышение отметки наивысшей точки вскатывания расчетной волны на откос над отметкой уровня спокойной воды. Неразмывающая скорость - максимальная скорость волнового (колебательного) движения воды у поверхности крепления, соответствующая состоянию предельного равновесия отдельностей крепления. Расчетная крупность (диаметр) каменной наброски и грунта обратного фильтра - крупность фракций, образующих неразрушаемый скелет и обеспечивающих устойчивость крепления. 2. ОРГАНИЗАЦИЯ
РАБОТ ПО КОНТРОЛЮ
| |||||||||||||||||||||||||||||||||||||||||||||||||||||||||||||||||||||||||||||||||||||||||||||||||||||||||||||||||||||||||||||||||||||||||||||||||||||||||||||||||||||||||||||||||||||||||||||||||||||||||||||||||||||||||||||||||||||||||||||||||||
|
№№ пп |
Фиксируемые параметры |
Диагностические признаки |
Примечание |
|
1 |
Параметры волн: направление луча, высота, средняя длина и период |
Высота волны в системе волн расчетного шторма, имеющая нормативную обеспеченность согласно СНиП 2.06.04-82* |
|
|
2 |
Продолжительность волнения и статистические характеристики шторма - средняя высота волн, стандарт отклонений высот в системе нерегулярного волнения |
Уклон дна у основания сооружения и на прибрежном подводном склоне, расход вдольберегового перемещения продуктов размыва |
Используется для оценки состояния берегов, склонов и дамб обвалования при малой глубине воды у их основания |
|
3 |
Колебание уровня воды в водохранилище |
Интенсивность (скорость) понижения и подъема уровня воды в водохранилище |
|
|
4 |
Положение кривой депрессии под креплением при отсутствии волнения |
Градиент давления воды в порах проницаемого крепления и грунта тела сооружения. Суффозия и фильтрационная прочность несвязных грунтов |
|
|
5 |
То же, что и 4, при волнении в водохранилище |
То же, что и 4, и дополнительно размыв грунта на контакте крепления с грунтом тела сооружения |
|
|
6 |
Положение выхода кривой депрессии на низовом откосе сооружения |
Выходной градиент давления фильтрационного потока, подъем кривой депрессии над верхом дренажа, вынос грунта и кольматаж дренажа, размеры зоны обледенения низового откоса |
Размеры зоны обледенения используются при расчетах устойчивости массива смерзшегося грунта |
|
7 |
Импульс силы гидродинамического воздействия волн в точке обрушения на откос |
Предельно допустимая величина импульса по условию прочности крепления и ускорению колебаний, передаваемых на водонасыщенный грунт тела сооружения |
|
|
8 |
Результирующая мгновенная эпюра волнового давления на крепление, соответствующая максимальной нагрузке на нижнюю поверхность крепления |
Коэффициент запаса устойчивости бетонного и асфальтового крепления |
Определяется как разность между давлением на верхнюю и нижнюю поверхности крепления |
|
9 |
Напряжения в материале крепления |
Допускаемые напряжения на сжатие и растяжение, модуль упругости. Ползучесть асфальтобетона |
Определяются с учетом знакопеременной волновой нагрузки |
|
10 |
Долговечность |
Изменение прочностных и деформационных характеристик бетона и асфальтобетона во времени |
Потеря прочности вследствие периодического замораживания и оттаивания, выщелачивания бетона, усталостных явлений и проч. |
|
11 |
Раскрытие стыков между плитами |
Размер фракций обратного фильтра, выносимых через стыки между смежными плитами |
|
|
12 |
Деформация крепления (бетонные и асфальтобетонные плиты) |
Смещение плит в вертикальной плоскости и в плоскости откоса |
Нарушение контакта происходит, как правило, в зоне обрушения (удара) волны |
|
13 |
Сплошность опирания плит на поверхность откоса |
Размер зон отсутствия контакта крепления с поверхностью откоса (пустот под плитами) |
Нарушение контакта происходит, как правило, в зоне обрушения (удара) волны |
|
14 |
Глубина эрозии материала на поверхности крепления (сколы, отслаивание, образование микротрещин и др.) |
Допускаемая глубина эрозии |
Определяется толщиной защитного слоя |
|
15 |
Вибрация плит |
Экстремальное значение ускорения колебаний, возникающих в водонасыщенном грунте тела сооружения |
Необходимо для оценки потери устойчивости водонасыщенного грунта откоса при динамических воздействиях |
|
16 |
Площадь трещинообразования и размер (ширина и глубина) трещин |
Развитие трещин во времени. Допустимые площадь трещинообразования и размеры трещин |
|
|
17 |
Температурные напряжения в материале крепления |
Экстремальные значения температурных напряжений |
|
|
18 |
Гранулометрический состав материала обратного фильтра под креплением и дренажа низового откоса |
Отклонение от гранулометрического состава, обеспечивающего фильтрационную прочность и отсутствие суффозии |
Допустимые отклонения определяются на основании лабораторных исследований грунта |
|
19 |
Гранулометрический состав каменной наброски |
Размер фракций обратного фильтра, вынос которых возможен через поры каменной наброски |
Определяется по скорости движения воды в сторону водоема при скатывании волны с откоса |
|
20 |
Глубина воронки размыва каменного крепления |
Предельно допустимая толщина слоя крепления по условию неразмываемости нижележащего слоя грунта (обратного фильтра или грунта тела сооружения при отсутствии фильтра) |
|
|
21 |
Нагрузки от ледяного припая |
Предельно допустимая нагрузка при изменении уровня воды в водохранилище (подъемная сила и изгибающий момент в полосе припая льда) по условию прочности и устойчивости крепления |
|
|
22 |
Ширина размываемой вдольбереговой полосы размыва прибрежного участка суши |
Стабильность (неизменяемость во времени) прибрежного подводного склона и основания берегового клифа |
Клиф - береговой уступ, основание которого находится на отметке наибольшего наката волн |
|
23 |
Ширина зоны оползня берегового склона |
Размер оползневых трещин (разломов грунта) и их местоположение относительно края берегового уступа |
|
|
24 |
Максимальная скорость волнового(колебательного) движения воды в придонном слое |
Неразмывающая скорость фракций грунта расчетной крупности |
За расчетную крупность принимается d70%¸d80% по кривой гранулометрического состава |
Высота наката определяется визуальными наблюдениями по линиям, нанесенным на поверхности крепления параллельно урезу воды с интервалом 10-20 см. На каждой линии должны быть указаны их геодезические отметки. Для удобства наблюдений линии следует пронумеровать.
При нерегулярных волнах на подходе к сооружению накат их на откос является вероятностным, поэтому для численной оценки высоты наката следует фиксировать положение точки 4 при накатывании не менее 100 последовательных волн. По результатам измерения определяется средняя и максимальная высота наката, а также высота, имеющая обеспеченность, которая регламентируется СНиП 2.06.04-82*.
Разность отметок гребня сооружения и точки наката является нормируемым запасом его высоты, равным 0,1 hрасч (hрасч - высота расчетной волны в системе волн нерегулярного волнения). Уменьшение величины Нзап по сравнению со значениями ее, принятыми в проекте, может быть следствием двух факторов: превышением высоты волны по сравнению с принятой в проекте и осадки сооружения.
3.5. На водохранилищах суточного регулирования должны производиться измерения уровня воды с целью определения скорости сработки в пределах от НПУ до УМО (или иного наинизшего уровня сработки).
Фиксацию уровней воды при суточном регулировании водохранилища следует проводить через интервалы времени DТ = (0,2 - 0,25)Т (Т - продолжительность сработки). При этом одновременно проводятся измерения положения уровня воды в подплитной области. По результатам измерения определяется подъемная сила, действующая на плиты крепления. Схема, иллюстрирующая возможное несовпадение положения уровней воды над креплением и под ним, приведена на рис. 4.
Наличие перепада Z свидетельствует об уменьшении коэффициента фильтрации грунта обратного фильтра вследствие его кольматажа.
Допустимая величина Z определяется двумя требованиями:
1. Должно быть соблюдено условие Z £ 4d (d - толщина плиты).
2. Градиент гидростатического давления в слое I толщиной у = 1 - 1,5 м не должен превышать критический градиент, при котором начинается суффозия в обратном фильтре и грунте тела сооружения (должно соблюдаться условие i < iкр). Критический градиент определяется экспериментально или расчетным путем по рекомендациям П 59-94.
3.6. При значениях Z > 4d должно быть проведено обследование подплитной области - определение гранулометрического состава обратного фильтра и его фильтрационно-суффозионных характеристик.
3.7. При наличии волнения на промежуточных уровнях сработки подъемная сила гидростатического давления Р суммируется с силой волнового противодавления, определяемой по эпюре ogm (рис. 4).

Рис. 4. Сработка водохранилища
1, 2, 3, 4 - промежуточные положения уровня воды в водохранилище; авс - эпюра гидростатического давления на верхнюю поверхность крепления при уровне воды 2; ngk - то же на нижнюю поверхность крепления; degk - разность между давлением под плитой и на ее верхней поверхности; Р - подъемная сила; Z - перепад уровней воды под плитой и в водохранилище; ogm - эпюра волнового противодавления.
3.8. Наличие перепада Z может быть обнаружено визуально по фонтанированию воды из-под крепления в зоне наката-ската волны.
3.9. Плановые (обязательные) осмотры креплений и береговых склонов должны проводиться ежегодно один раз в квартал и в период наибольшей сработки водохранилища, внеплановые - в экстремальных случаях (землетрясения, катастрофические паводки, выбросы на откосы тяжелых плавающих тел и т.п.).
3.10. Визуальные наблюдения являются важной составной частью в общем комплексе работ по контролю состояния креплений откосов сооружений и береговых склонов. Результаты систематических (регулярных) осмотров в сочетании с данными о волновом и ледовом режимах являются основанием для приближенной оценки прочности и устойчивости креплений, ориентировочного прогноза развития зафиксированных повреждений и решения вопроса о необходимости (или необязательности) проведения обследований и исследований.
В состав визуальных наблюдений обязательно должно быть включено проведение осмотра креплений в подводной части откоса водолазами, прошедшими специальную подготовку.
3.11. Возможные виды повреждений креплений и разрушений показаны на рис. 5:
схема а - осадки плит малых размеров (l/d < 25), возникающие в результате выноса материала обратного фильтра и грунта тела сооружения через нарушенные стыки между плитами;
схема б - осадки и изгиб плит больших размеров в плане (l > 10 м) с нарушением сплошности опирания на откос и образованием трещин и размывов бетона;
схема в - локальная осадка плит без нарушения сплошности опирания, возникающая, как правило, вблизи от уреза воды на глубине (0,2-0,3)h (h - высота волны обеспеченностью 1 % в системе);
схема г - деформация асфальтобетонного крепления с образованием трещин на участках наибольших прогибов и расслоения асфальта в плоскости арматурной сетки;
схема д - размыв каменной наброски в результате выноса мелких отдельностей через поры скелета и смещения отдельностей вниз по откосу;
схема е - поворот плит от нагрузки примерзшего массива льда (припая) при сработке водохранилища;
схема ж - размыв берега при уменьшении уклона и ширины прибрежной отмели, а также при повышении уровня грунтовых вод в грунте берегового надводного массива (уступа).
3.12. При проведении визуальных наблюдений следует фиксировать следующие повреждения:
поверхностные и сквозные трещины в бетоне;
разрушение бетона в защитном слое и места обнажения арматуры, ржавление арматуры;
разломы в уплотнениях стыков по контуру плит, ширина открытых стыков, длина участков раскрытия, сколы бетона на боковых гранях плит;
осадка плит, длина участков прогиба и стрела наибольшего прогиба d2 (рис. 5, б);
вертикальное смещение смежных плит относительно друг друга с образованием выступов d1 (рис. 5, в);
смещение плит вниз в плоскости откоса;
размыв каменной наброски (размеры области размыва и отложения);
смещение плит (поворот относительно нижнего ребра) в результате воздействия льда;

Рис. 5. Виды повреждений и разрушений креплений и береговых склонов
1 - уровень воды при ледоставе;
2 - при разломе льда на краю консоли;
1 - исходная поверхность откоса; 2 - размыв грунта под креплением;
3 - расслоение асфальта в плоскости арматурной сетки.
размыв низового откоса ливневыми стоками воды, кольматаж дренажа и обусловленный им выпор грунта в зоне повышения выхода кривой депрессии на поверхность откоса;
размыв берегового склона S (рис. 5, ж).
Кроме того, следует фиксировать толщину и длину консоли ледяного припая, а также размеры зоны припая ав (рис. 5, е).
3.13. Фиксация повреждений.
Трещины на поверхности крепления, разломы, сколы, места обнажения арматуры, каверны выщелачивания бетона, места нарушения герметичности стыков между плитами, разрушение боковых граней плит фиксируются путем зарисовки на заранее заготовленных схемах размещения плит на откосе с привязкой их к геодезической сети. При этом следует пользоваться едиными обозначениями каждого вида повреждений. Зарисовку повреждений при последующих осмотрах следует производить так, чтобы она являлась продолжением предыдущей. Для удобства сопоставления последовательных зарисовок их следует наносить на схемах разными обозначениями. Зафиксированные повреждения крепления должны быть окрашены тем же цветом, что и на схемах и чертежах.
Деформация крепления в вертикальной плоскости определяется путем нивелирования креплений. Смещение плит в плоскости откоса определяется теодолитной съемкой.
Нивелирование производится по маркам, заделанным в плиты по четырем углам и в центре. Нивелирование поверхности каменной наброски производится по маркам, нанесенным красителем на отдельностях, имеющих диаметр d > d70-80, определяемый по исходному гранулометрическому составу каменной наброски.
В дополнение к зарисовкам следует производить фотографирование повреждений. Последующие фотосъемки должны производиться с одних и тех же позиций и ракурса. При этом на объекте фотографирования необходимо обязательно располагать какой-либо масштабный знак (удобна для этой цели обыкновенная нивелировочная рейка).
Размер пустот под креплением при осмотрах может быть определен лишь в доступных для измерения местах - вблизи стыков между плитами. Измерение производится масштабной линейкой или гибким пластинчатым щупом. Данный способ фиксации пустот является весьма приблизительным и имеет целью, главным образом, обнаружение самого факта образования пустоты и лишь ориентировочную оценку ее размеров.
3.14. Достоверная оценка состояния креплений может быть проведена на основании инструментальных обследований и исследований, в состав которых помимо измерений параметров волн и положения кривой депрессии в подплитной области, предусмотренных п.п. 3.2-3.4, должно входить:
измерение волнового давления на верхнюю и нижнюю поверхности плит;
определение интенсивности сработки водохранилища;
измерение частоты и амплитуды колебаний плит при ударном воздействии волн с последующим определением ускорений колебания грунта под креплением с целью оценки его динамической устойчивости;
определение характеристик физико-механических свойств бетона: модуля упругости и коэффициента Пуассона, прочности при растяжении и сжатии, предельной растяжимости, коэффициента линейного температурного расширения;
определение морозостойкости бетона и камня;
накопление данных для построения графиков изменения во времени осадок и деформации плит;
определение гранулометрического состава обратного фильтра, каменной наброски и грунта тела сооружения в подплитной области, пористости, плотности, модуля деформации, коэффициента фильтрации, допустимого градиента давления по условию недопущения суффозии;
определение размеров участков трещинообразования, обнаружение и измерение пустот под плитами;
измерение или определение расчетным путем (на основе данных о параметрах волн) скорости волнового (колебательного) движения воды у поверхности откоса и на прибрежном подводном склоне с целью оценки размываемости каменного крепления и грунта берегового склона;
определение размеров ледяного припая и прочностных характеристик льда с фиксацией средней, максимальной и минимальной температуры воздуха, продолжительности ледостава и уровней воды в водохранилище.
4.1. Комплекс аппаратуры для измерения параметров волн (высоты, длины и периода) включает в себя первичные преобразователи (волнографы) и регистрирующую аппаратуру - систему многоканального сбора, регистрации и накопления измерительной информации с помощью аналогоцифровых преобразователей и магнитной записи.
4.2. В качестве первичных преобразователей рекомендуется использовать электродные и контактные волнографы, работающие на принципе изменения электропроводности или электрической емкости в зависимости от колебания уровня воды при волнении.
4.3. Показания волнографов могут регистрироваться также светолучевым осциллографом.
Волнографы электродного типа просты в исполнении и могут быть изготовлены службой электроцеха ГЭС. Конструкция контактного волнографа показана на рис. 6. Монтажные крепления волнографа должны предусматривать возможность демонтажа перед ледоставом.
Два волнографа следует устанавливать в одном створе непосредственно у сооружения по нормали к урезу воды с расстоянием между ними 4-5 м.
|
|
|
|
Рис. 6. Контактный волнограф 1 - труба стальная; 2 - свеча автомобильная; 3 - центральный электрод; 4 - изолятор; 5 - провода. |
Рис. 7. Трубчатый пьезометр 1 - отстойник; 2 - труба 0-Ц90, ГОСТ 3262-62; 3 - перфорированная часть, диаметр отверстия 1 мм; 4 - труба 0-Ц50, ГОСТ 3262-62; 5- соединительная муфта; 6 - стояк. |
4.4. Для сбора и обработки информации о волнении, волновом давлении, изменении уровня воды в водохранилище и положении кривой депрессии в подплитной области рекомендуется использовать:
а) автоматизированную систему обработки экспериментальных данных - АСОЭД "Пирс". Технические данные и программное обеспечение измерительного комплекса "Пирс" содержатся в [8, 9];
б) метод стереофотограмметрической съемки. Преимущество данного метода перед другими заключается в том, что он позволяет получать характеристики поля волн без установки первичных преобразователей. Методика измерений и обработка снимков описаны в [10, 11].
4.5. Положение кривой депрессии под креплением и на низовом откосе следует определять трубчатыми пьезометрами простейшей конструкции (рис. 7). Пьезометры следует устанавливать в шурфах на участке верхового откоса от гребня сооружения до наинизшего уровня сработки водохранилища, на низовом откосе - в полосе 2-3 м выше дренажа.
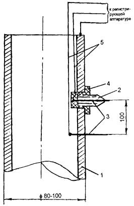
4.6. Для измерения волнового давления могут быть использованы индуктивные или тензометрические преобразователи механического воздействия на приемную мембрану в электрический сигнал (датчики давления). Датчики должны удовлетворять следующим основным требованиям:
герметичность;
собственная частота колебаний мембраны (в воздухе) - не менее 100 Гц;
диаметр мембраны - не более 30 мм;
максимальное измеряемое давление - 100 КПа.
|
|
|
Рис. 8. Передвижная кассета с датчиками давления
1 - направляющая обойма; 2 - корпус кассеты; 3 - датчик давления; 4 - вывод проводов к регистрирующей аппаратуре; 5 - колесо.
4.7. Для измерения волнового давления в зоне обрушения волны датчики давления следует монтировать с интервалом 10-15 см в передвижной кассете, перемещаемой на откосе соответственно изменению уровня воды в водохранилище (рис. 8). Вне зоны обрушения волны расстояние между датчиками должно быть Dх < 0,1l (l - средняя длина волны).
4.8. Съемка участков размыва береговых склонов осуществляется обычными геодезическими приборами (нивелир, теодолит, тахеометр, мензула), а в труднодоступных местах на крутых береговых обрывах - фототеодолитом. Размеры оползневых массивов определяются по удалению оползневых трещин от края берегового уступа. Наблюдения за состоянием береговых склонов следует производить в соответствии с рекомендациями, содержащимися в [12].
5.1. Обработка информации, полученной при осмотрах и инструментальном контроле, должна производиться в объеме, необходимом для получения сведений о масштабах повреждений и разрушений и о развитии их во времени. Результаты обработки следует представлять в виде соответствующих графических зависимостей в координатах "измеренная величина - время".
5.2. Обработка данных о волновом режиме сводится к построению кривой обеспеченности высот волн при нерегулярном волнении, определению средней и максимальной высоты волны, средней длины и среднеквадратического отклонения.
5.3. По волнограмме, записанной одиночным волнографом, могут быть получены два параметра: высота волн и период. Для определения длины волны необходимо иметь на одной ленте две волнограммы, записанные разными волнографами, расположенными на расстоянии l один от другого по направлению распространения волн. Пример такой записи приведен на рис. 9. Длина волны определяется по зависимости
|
|
(1) |
5.4. Обработка данных измерения волнового давления на плиты проводится в следующем порядке:
1. По
осциллограммам давления, записанным в нескольких точках откоса, расположенных
на расстоянии х от уреза воды, строятся мгновенные эпюры давления на
верхнюю и нижнюю поверхности плит через интервалы времени Dt = 0,1t (t - период волны). В результате
суммирования указанных эпюр строятся результирующие эпюры в относительных
координатах для данного момента времени
, где р - волновое давление в точке; х -
расстояние от уреза до точки измерения; g - ускорение свободного падения;
r - плотность воды; h -
высота волны;
- средняя длина
волны.
5.5. По мгновенной эпюре давления, соответствующей моменту обрушения волны (рис. 10), определяется ударный импульс, используемый при определении максимального ускорения колебаний грунта под креплением по методике, приведенной в П 52-71.
Величина импульса, действующего на полосу единичной ширины, определяется по формуле:
|
Y = Faбвty, |
(2) |
где Fабв - площадь динамической части эпюры; tу - продолжительность удара.
|
|
(3) |
где
, h - средняя длина и расчетная
высота волны (принимается hрасч = h1% в
системе волн); t - период волны.

Рис. 9. Схема волнограммы.
5.6. Приближенное значение критического ускорения колебаний акр, при котором начинается разжижение водонасыщенных песков и потеря устойчивости откоса (оплывание), определяется по графику, представленному на рис. 11 [13], или путем экспериментальных исследований в лабораторных условиях.
5.7. Оценка устойчивости откоса производится из условия а > акр (а - ускорение колебаний грунта; акр - то же, критическое).
5.8. Устойчивость каменного крепления и грунта берегового склона оцениваются на основании неравенства nмакс < n0, в котором nмакс - максимальная скорость колебательного движения воды; n0 - скорость трогания частиц грунта.
Скорость vмакс определяется по измеренным параметрам волн по следующей формуле:
|
|
(4) |
где n - коэффициент, учитывающий влияние пологости откоса (табл. 2); h - расчетная высота волны; H - глубина воды у основания откоса или на краю прибрежного подводного склона; g - ускорение свободного падения; а0, ак - коэффициенты, определяемые по рис. 12.

Рис. 10. Результирующая эпюра волнового давления в момент обрушения (удара) волны
абв - зона ударного воздействия; 0 -урез воды.
5.9. По совокупности диагностических признаков (табл. 1) и количественной оценке их на основе данных измерений делается вывод о состоянии крепления и берегового склона по критериям надежности, приводимым в табл. 3.

Рис. 11. Критическое значение ускорения (акр, см/с2) при различной пористости водонасыщенных мелкозернистых песков
А - зона отсутствия разжижения; Б - зона полного разжижения;
В - зона частичной потери устойчивости.
Таблица 2
|
ctgj |
х/ |
||||||
|
0,0 |
0,5 |
1,0 |
1,5 |
2,0 |
2,5 |
3,0 |
|
|
3 |
1,25 |
0,60 |
0,35 |
0,28 |
- |
- |
- |
|
5 |
1,15 |
0,65 |
0,42 |
0,35 |
- |
- |
- |
|
8 |
1,05 |
0,90 |
0,82 |
0,75 |
0,70 |
0,65 |
- |
|
10 |
1,00 |
1,00 |
1,00 |
1,00 |
1,00 |
1,00 |
1,00 |
|
12 |
0,90 |
1,08 |
1,15 |
1,20 |
1,24 |
1,27 |
1,30 |
Таблица 3
|
Условия надежности работы |
Диагностируемое состояние |
Диагностические признаки, параметры |
Критерии надежности |
|
Запас высоты сооружения над отметкой НПУ |
Накат волны на откос |
Максимальная высота наката волн расчетной высоты в системе |
Превышение гребня сооружения над отметкой НПУ не менее 0,1hрасч (hрасч принимается по СНиП 2.06.04-82*) |
|
Допустимое повышение кривой депрессии при волнении |
Положение кривой депрессии в подплитной области |
Превышение кривой депрессии при волнении над кривой депрессии при отсутствии волн |
Сила противодавления под креплением |
|
Допустимая скорость сработки водохранилища |
Положение кривой депрессии в подплитной области |
Перепад Z, рис. 4 |
Z < 4d (d - толщина плиты) |
|
Допустимый подъем кривой депрессии на низовом откосе |
Превышение выхода кривой депрессии над верхом дренажа низового откоса |
Средний выходной градиент давления |
Критический градиент по условию недопущения суффозии для данного вида грунта |
|
Устойчивость бетонного крепления |
Деформация крепления |
Осадки, прогибы, смещение плит в плоскости откоса. Экстремальное значение силы волнового противодавления |
Осадка плит d1 < 0,2d (рис. 3.3, в); прогиб d2 < d (рис. 3.3, б) |
|
Устойчивость каменно-набросного крепления |
Размыв откоса: нарушение скелета наброски |
Смещение камня вниз по откосу, максимальная скорость колебательного движения воды у поверхности откоса vмакс |
Глубина области размыва < dрасч (dрасч - расчетный диаметр камня, принимаемый равным d70%, по кривой гранулометрического состава. vмакс < v0 (v0 - неразмывающая скорость) |
|
Прочность бетона |
Напряженное состояние |
Экстремальная сила волнового давления на верхнюю поверхность крепления |
Предельно допустимое значение напряжений сжатия и растяжения |
|
Динамическая устойчивость грунта тела сооружения |
Ускорение а колебаний грунта |
Критическое значение ускорения колебаний водонасыщенного грунта акр |
а < акр |
|
Гашение энергии волн на прибрежном подводном склоне |
Уклон и ширина подводного склона |
Максимальная скорость колебательного движения воды у поверхности подводного склона vмакс |
vмакс < v0 (v0 - неразмывающая скорость) |
|
Устойчивость берегового склона и прибрежной подводной отмели |
Начало оползня, обвала и размыва прибрежной отмели |
Оползневые трещины, уклон и ширина прибрежной отмели |
Стабильность профиля прибрежного подводного склона (отмели) и условие: накат расчетной волны Ñнак £ Ñуст (Ñнак - наивысшая отметка наката волны; Ñуст - отметка основания берегового уступа) |
Рис. 12.
Графики (a0,
aК) = f (
) для определения скорости у поверхности откоса.
6.1. Первичные материалы, сгруппированные по видам контроля, и результаты их обработки должны быть зарегистрированы в журнале учета и храниться в техническом отделе ГЭС, а на гидроузлах неэнергетического назначения - в подразделениях в соответствии со структурой их технического руководства.
6.2. Схемы размещения КИА следует нанести на соответствующие чертежи сооружения с высотной и плановой привязкой к геодезической сети.
6.3. Ежегодно результаты контрольных наблюдений и измерений необходимо представлять в виде технического отчета с приложением к нему заключения о состоянии креплений и выводов о необходимых ремонтно-восстановительных мероприятиях.
2. Обеспечение прочности подземных гидротехнических сооружений при землетрясениях и взрывах. - М., 1978.
3. Малаханов В.В. Техническая диагностика грунтовых плотин - М.: Энергоиздат, 1990.
4. Розанов Н.Н. Плотины из грунтовых материалов - М.: Стройиздат, 1983.
7. Обследование и испытание сооружений. - М.: Стройиздат, 1987.
8. Корниенко Г.И. Цифровой вычислительный комплекс многоканальной обработки экспериментальных данных в реальном времени (ЦВК "Пирс"). Управляющие системы и машины, вып. 6. - М.: Судостроение, 1979.
9. Гальчук В.Я., Соловьев А.П. Техника научного эксперимента. - Л.: Судостроение, 1982.
11. Бобир Н.Я., Лобанов А.Н., Федорчук Г.Д. Фотограмметрия. - М.: Недра, 1974.
12. Методические рекомендации по изучению и прогнозированию подпора подземных вод и переработки берегов водохранилищ / СибНИИЭ. Новосибирск, 1972.
13. Маслов Н.Н. Условия устойчивости водонасыщенных песков. - Л.: Госэнергоиздат, 1959.
|
|
|
|