//
|
|
РАЗЪЕДИНИТЕЛИ И ЗАЗЕМЛИТЕЛИ Общие технические условия
Предисловие Цели и принципы стандартизации в Российской Федерации установлены Федеральным законом от 27 декабря 2002 г. № 184-ФЗ «О техническом регулировании», а правила применения национальных стандартов Российской Федерации - ГОСТ Р 1.0-2004 «Стандартизация в Российской Федерации. Основные положения» Сведения о стандарте 1 РАЗРАБОТАН Закрытым акционерным обществом «Завод электротехнического оборудования» г. Великие Луки 2 ВНЕСЕН Техническим комитетом по стандартизации ТК 37 «Электрооборудование для передачи, преобразования и перераспределения электроэнергии» 3 УТВЕРЖДЕН И ВВЕДЕН В ДЕЙСТВИЕ Приказом Федерального агентства по техническому регулированию и метрологии от 8 июня 2007 г. № 129-ст 4 Настоящий стандарт разработан с учетом основных нормативных положений международного стандарта МЭК 62271-102-2001 «Высоковольтные распределительные устройства и аппаратура управления. Часть 102. Высоковольтные разъединители переменного тока и заземляющие разъединители» (IEC 62271-102:2001 «High-voltage schwitchgear and controlgear - Part 102: High-voltage alternating current disconnectors and earthing switches» с изменениями 1:2002,2:2003, NEQ) 5 ВВЕДЕН ВПЕРВЫЕ Информация об изменениях к настоящему стандарту публикуется в ежегодно издаваемом информационном указателе «Национальные стандарты», а тексты изменений и поправок - в ежемесячно издаваемых информационных указателях «Национальные стандарты». В случае пересмотра (замены) или отмены настоящего стандарта соответствующее уведомление будет опубликовано в ежемесячно издаваемом информационном указателе «Национальные стандарты». Соответствующая информация, уведомление и тексты размещаются также в информационной системе общего пользования - на официальном сайте Федерального агентства по техническому регулированию и метрологии в сети Интернет Содержание
НАЦИОНАЛЬНЫЙ СТАНДАРТ РОССИЙСКОЙ ФЕДЕРАЦИИ РАЗЪЕДИНИТЕЛИ И ЗАЗЕМЛИТЕЛИ ПЕРЕМЕННОГО ТОКА НА НАПРЯЖЕНИЕ СВЫШЕ 1 кВ И ПРИВОДЫ К НИМ Общие технические условия Alternating current disconnectors and earthing switches for voltage above 1 kV and operating mechanisms for them. General specifications Дата введения - 2008-01-011) 1 Область примененияНастоящий стандарт распространяется на разъединители и заземлители переменного тока на напряжение свыше 1 кВ промышленной частоты 50 Гц, а также на приводы к ним. Требования настоящего стандарта не распространяются на разъединители и заземлители: - специальных исполнений (например разъединители с ограничителями перенапряжения, а также штепсельные, со встроенными предохранителями, для комплектных распределительных устройств с элегазовой изоляцией)2); - для работы в пожаро-, взрывоопасных помещениях (например в газовых шахтах)2); - для частых коммутационных операций 2); - для работы при сильной тряске, вибрациях или ударах (например на экскаваторах, драгах)2). 1) Для разъединителей и заземлителей переменного тока на напряжение свыше 1 кВ, разработанных до 01.01.2008, действует ГОСТ 689-90. 2) Дополнительные требования на специальные типы изделий должны быть установлены в технических документах. (Поправка, ИУС 6-2008 г.). 2 Нормативные ссылкиВ настоящем стандарте использованы нормативные ссылки на следующие стандарты: ГОСТ 9.005-72 Единая система защиты от коррозии и старения. Металлы, сплавы, металлические и неметаллические неорганические покрытия. Допустимые и недопустимые контакты с металлами и неметаллами ГОСТ 9.303-84 Единая система защиты от коррозии и старения. Покрытия металлические и неметаллические неорганические. Общие требования к выбору ГОСТ 12.2.007.0-75 Система стандартов безопасности труда. Изделия электротехнические. Общие требования безопасности ГОСТ 12.2.007.3-75 Система стандартов безопасности труда. Электротехнические устройства на напряжение свыше 1000 В. Требования безопасности ГОСТ 403-73 Аппараты электрические на напряжение до 1000 В. Допустимые температуры нагрева частей аппаратов ГОСТ 1516.2-97 Электрооборудование и электроустановки переменного тока на напряжение 3 кВ и выше. Общие методы испытаний электрической прочности изоляции ГОСТ 1516.3-96 Электрооборудование переменного тока на напряжения от 1 до 750 кВ. Требования к электрической прочности изоляции ГОСТ 8024-90 Аппараты и электротехнические устройства переменного тока на напряжение свыше 1000 В. Норма нагрева при продолжительном режиме работы и методы испытаний ГОСТ 9920-89 (МЭК 815-86, МЭК 694-80) Электроустановки переменного тока на напряжения от 3 до 750 кВ. Длина пути утечки внешней изоляции ГОСТ 10434-82 Соединения контактные электрические. Классификация. Общие технические требования ГОСТ 14192-96 Маркировка грузов ГОСТ 14254-96 (МЭК 529-89) Степени защиты, обеспечиваемые оболочками (Код IP) ГОСТ 15150-69 Машины, приборы и другие технические изделия. Исполнения для различных климатических районов. Категории, условия эксплуатации, хранения и транспортирования в части воздействия климатических факторов внешней среды ГОСТ 15151-69 Машины, приборы и другие технические изделия для районов с тропическим климатом. Общие технические условия ГОСТ 15543.1-89 Изделия электротехнические. Общие требования в части стойкости к климатическим внешним воздействующим факторам ГОСТ 15963-79 Изделия электротехнические для районов с тропическим климатом. Общие технические требования и методы испытаний ГОСТ 16962.1-89 (МЭК 68-2-1-74) Изделия электротехнические. Методы испытаний на устойчивость к климатическим внешним воздействующим факторам ГОСТ 16962.2-90 Изделия электротехнические. Методы испытаний на стойкость к механическим внешним воздействующим факторам ГОСТ 17412-72 Изделия электротехнические для районов с холодным климатом. Технические требования, приемка и методы испытаний ГОСТ 17516.1-90 Изделия электротехнические. Общие требования в части стойкости к механическим внешним воздействующим факторам ГОСТ 18620-86 Изделия электротехнические. Маркировка ГОСТ 19132-86 Зажимы наборные контактные. Общие технические условия ГОСТ 20419-83 Материалы керамические электротехнические. Классификация и технические требования ГОСТ 21130-75 Изделия электротехнические. Зажимы заземляющие и знаки заземления. Конструкция и размеры ГОСТ 21242-75 Выводы контактные электротехнических устройств плоские и штыревые. Основные размеры ГОСТ 23216-78 Изделия электротехнические. Хранение, транспортирование, временная противокоррозионная защита, упаковка. Общие требования и методы испытаний ГОСТ 24753-81 Выводы контактные электротехнических устройств. Общие технические требования ГОСТ 25874-83 Аппаратура радиоэлектронная, электронная и электротехническая. Условные функциональные обозначения Примечание - При пользовании настоящим стандартом целесообразно проверить действие ссылочных стандартов в информационной системе общего пользования - на официальном сайте Федерального агентства по техническому регулированию и метрологии в сети Интернет или по ежегодно издаваемому информационному указателю «Национальные стандарты», который опубликован по состоянию на 1 января текущего года, и по соответствующим ежемесячно издаваемым информационным указателям, опубликованным в текущем году. Если ссылочный стандарт заменен (изменен), то при пользовании настоящим стандартом следует руководствоваться заменяющим (измененным) стандартом. Если ссылочный стандарт отменен без замены, то положение, в котором дана ссылка на него, применяется в части, не затрагивающей эту ссылку. 3 Термины и определенияВ настоящем стандарте применены следующие термины с соответствующими определениями: 3.1 IP код: Система кодирования, характеризующая степени защиты, обеспечиваемые оболочкой для предотвращения доступа к опасным частям, попадания твердых посторонних предметов и воды. 3.2 блокировка электротехнического изделия (устройства): Часть электротехнического изделия (устройства), предназначенная для предотвращения или ограничения выполнения операций одними частями изделия при определенных состояниях или положениях других частей изделия в целях предупреждения возникновения в нем недопустимых состояний или исключения доступа к его частям, находящимся под напряжением. [ГОСТ 18311-86, статья 54] 3.3 включающая способность (коммутационного аппарата): Значение ожидаемого тока включения, который коммутационный аппарат способен включать при заданном напряжении в определенных условиях применения и поведения. 3.4 включенное положение контактов аппарата: Замкнутое положение контактов контактного аппарата, при котором обеспечивается заданная непрерывность электрической цепи и заданные контактные нажатия. [ГОСТ 17703-72, статья 85] 3.5 волновое сопротивление линии (с распределенными параметрами) Z0, Ом: Отношение комплексной амплитуды электрического напряжения к комплексной амплитуде электрического тока бегущей синусоидальной электромагнитной волны, распространяющейся в линии с распределенными параметрами. [ГОСТ Р 52002-2003 , статья 258] 3.6 восстанавливающееся напряжение: Напряжение, появляющееся между выводами полюса коммутационного аппарата или предохранителя после отключения тока. Примечание - Это напряжение может рассматриваться в двух последовательных интервалах времени: во время первого интервала существует переходное напряжение, за которым следует второй, в течение которого существует только восстанавливающееся напряжение промышленной частоты или установившееся восстанавливающееся напряжение (цепи постоянного тока). 3.7 время протекания номинального кратковременного выдерживаемого тока (время короткого замыкания) tк.з, с: Промежуток времени, в течение которого коммутационные аппараты во включенном положении могут пропускать номинальный кратковременный выдерживаемый ток. 3.8 вспомогательная цепь аппарата: Электрическая цепь аппарата, не являющаяся его главной цепью. [ГОСТ 17703-72, статья 35] 3.9 вспомогательный контакт: Контакт, входящий во вспомогательную цепь контактного коммутационного аппарата и механически приводимый в действие этим аппаратом. 3.10 вывод аппарата: Часть коммутационного аппарата, предназначенная для соединения его с внешними проводниками электрической цепи. [ГОСТ 17703-72, статья 45] 3.11 высокопрочный изолятор: Изолятор, изготовленный на основе электротехнического керамического материала не ниже подгруппы 120 по ГОСТ 20419 (глиноземистый фарфор высокой прочности). 3.12 гибкая ошиновка: Присоединение аппарата гибкими проводами. 3.13 главная цепь аппарата: Токоведущие части аппарата, включенные в электрическую цепь, которую этот аппарат должен коммутировать в соответствии с его основным назначением. [ГОСТ 17703-72, статья 34] 3.14 двигательный привод контактного аппарата: Привод контактного аппарата, в котором передаваемая или создаваемая сила образована любыми видами энергии, кроме мускульной энергии оператора. Примечание - В зависимости от вида энергии и конструкции привода применяются термины: «электромагнитный привод», «электродвигательный привод», «пневматический привод» и др. [ГОСТ 17703-72, статья 64] 3.15 жесткая ошиновка: Присоединение аппарата жесткими шинами. 3.16 заземленная нейтраль: Нейтраль сети, соединенная с землей наглухо или через резистор или реактор, сопротивление которых достаточно мало, чтобы существенно ограничить колебания переходного процесса и обеспечить значение тока, необходимое для селективной защиты от замыкания на землю. 3.17 заземлитель: Контактный коммутационный аппарат, используемый для заземления частей цепи, способный выдерживать в течение нормированного времени токи при ненормальных условиях, таких как короткое замыкание, но не предусмотренный для проведения тока при нормальных условиях в цепи. Примечания 1 Заземлитель может обладать включающей способностью при коротком замыкании. 2 Заземлитель на номинальное напряжение 110 кВ и выше может отключать (коммутировать) и проводить наведенные токи. 3.18 заземлитель класса Е0: Заземлитель, приемлемый для применения в распределительных и передающих системах для выполнения общих требований настоящего стандарта, без включающей способности при коротком замыкании (стандартный заземлитель). 3.19 заземлитель класса Е1: Заземлитель класса Е0 с включающей способностью при коротком замыкании. Примечание - Количество операций включения при номинальном токе включения - две. 3.20 заземлитель класса Е2: Заземлитель класса Е1 с повышенной включающей способностью при коротком замыкании, приемлемый для применения в системах на напряжение до 35 кВ включительно. Примечание - Количество операций включения при номинальном токе включения - пять. 3.21 зона контактирования: Область пространственного положения, которое может занять неподвижный контакт аппаратов с разделенными опорами для правильного соединения с подвижным контактом. 3.22 изделие: Разъединитель и (или) заземлитель и (или) привод к ним. 3.23 изолированная нейтраль: Нейтраль сети, которая не имеет соединений с землей, за исключением приборов сигнализации, измерения и защиты, имеющих весьма высокое сопротивление, или которая соединена с землей через дугогасящий реактор, индуктивность которого такова, что при однофазном замыкании на землю ток реактора в основном компенсирует емкостную составляющую тока замыкания на землю. 3.24 изоляционный промежуток: Расстояние между двумя токопроводящими частями вдоль нити, натянутой по кратчайшему пути между ними. 3.25 изоляционный промежуток между разомкнутыми контактами: Суммарный промежуток между контактами или любыми присоединенными к ним токопроводящими частями полюса контактного коммутационного аппарата в отключенном состоянии. 3.26 изоляционный промежуток на землю: Изоляционный промежуток между любыми токопроводящими частями и любыми частями, которые заземлены или предназначены для соединения с землей. 3.27 испытательное переменное одноминутное напряжение (одноминутное напряжение) (Uисп кр, кВ: Испытательное переменное напряжение, прикладываемое к изоляции с выдержкой, как правило, в течение 1 мин или в определенных случаях другого времени, но не более 5 мин. [ГОСТ 1516.2-97, статья 3.15] 3.28 испытательное напряжение коммутационного импульса U ком. имп, кВ: Максимальное значение напряжения стандартного коммутационного импульса. Примечание - Форма и параметры коммутационного импульса - по ГОСТ 1516.2. 3.29 испытательное напряжение полного грозового импульса U.гр. имп, кВ: Максимальное значение напряжения стандартного полного грозового импульса 1,2/50 мкс. 3.30 коммутационный аппарат: Аппарат, предназначенный для включения или отключения тока в одной или нескольких цепях. 3.31 коммутационная износостойкость контактного аппарата: Способность контактного аппарата выполнять в определенных условиях определенное число операций при коммутации его контактами цепей, имеющих заданные параметры, оставаясь после этого в предусмотренном состоянии. [ГОСТ 17703-72, статья 127] 3.32 коммутационная операция: Дискретный переход контактного аппарата из одного коммутационного положения в другое или бесконтактного аппарата из одного коммутационного состояния в другое. Примечания 1 Различают коммутационные операции: включения (В) и отключения (О). 2 Под коммутационной операцией понимают также включение и следующее за ним автоматическое отключение (ВО). [ГОСТ 17703-72, статья 89] 3.33 3.33 коммутационная способность коммутационного аппарата: Способность коммутационного аппарата предусмотренным образом коммутировать электрические цепи определенное число раз в предусмотренных условиях, оставаясь после этого в предусмотренном состоянии. [ГОСТ 17703-72, статья 117] 3.34 коммутационный цикл: Совокупность коммутационных операций, производимых с заданным интервалом времени. [ГОСТ 17703-72, статья 90] 3.35 контакт электрической цепи: Часть электрической цепи, предназначенная для коммутации и проведения электрического тока. [ГОСТ 14312-79, статья 3] 3.36 контактное соединение: Контакт электрической цепи, предназначенный только для проведения электрического тока и не предназначенный для коммутации электрической цепи при заданном действии устройства. [ГОСТ 14312-79, статья 5] 3.37 контактный коммутационный аппарат: Коммутационный аппарат, предназначенный для замыкания и размыкания одной или нескольких цепей с помощью контактов. 3.38 контакт управления: Контакт, входящий в цепь управления контактного коммутационного аппарата и механически приводимый в действие этим аппаратом. 3.39 коэффициент запаса механической прочности: Отношение нормированной или расчетной разрушающей нагрузки изолятора к расчетной наибольшей сумме следующих нагрузок (с учетом возможной одновременности их действия): - от электродинамических усилий (при предельной амплитуде тока в условиях двухполюсного короткого замыкания); - от усилий, передаваемых от привода (с учетом гололеда в контактах при его наличии); - от механической нагрузки на выводы, направленной вдоль полюса перпендикулярно к оси изолятора, при условии ее нормирования; - от давления ветра наиболее неблагоприятного направления для аппаратов категории размещения 1 по ГОСТ 15150. 3.40 механическая износостойкость контактного аппарата: Способность контактного аппарата выполнять в определенных условиях определенное число операций без тока в цепи главных и свободных контактов, оставаясь после этого в предусмотренном состоянии. [ГОСТ 17703-72, статья 126] 3.41 наведенный ток: Ток, возникающий в отключенных и заземленных линиях в результате емкостного и индуктивного взаимодействия с соседними линиями, находящимися под напряжением. 3.42 наибольшее рабочее напряжение Uнр, кВ: Наибольшее напряжение, неограниченно длительное приложение которого к выводам разных фаз коммутационных аппаратов допустимо по условиям работы их изоляции. 3.43 наибольший пик номинального кратковременного выдерживаемого тока (ток электродинамической стойкости) Iд, кА: Значение пика тока, который цепь или коммутационный аппарат может выдержать во включенном положении при предписанных условиях применения и поведения. 3.44 начальное действующее значение периодической составляющей Iн.п, кА: Действующее значение периодической составляющей тока короткого замыкания через полупериод после возникновения короткого замыкания. 3.45 номинальная динамическая механическая нагрузка на выводы: Комбинация максимальной статической механической нагрузки и электродинамических сил в условиях короткого замыкания на выводы коммутационных аппаратов. 3.46 номинальная статическая механическая нагрузка на выводы: Максимальная статическая механическая нагрузка на выводы коммутационных аппаратов в наиболее неблагоприятных условиях эксплуатации. 3.47 номинальное давление сжатого газа (воздуха) для пневматических приводов Рном, МПа: Избыточное давление сжатого газа (воздуха) в приводах во время оперирования коммутационных аппаратов в нормальном режиме работы. 3.48 номинальное емкостное напряжение Uc, кВ: Максимальное напряжение промышленной частоты, при котором заземлители способны включать и отключать номинальный емкостный ток. 3.49 номинальное индуктивное напряжение UL, кВ: Максимальное напряжение промышленной частоты, при котором заземлители способны включать и отключать номинальный индуктивный ток. 3.50 номинальное напряжение Uном, кВ: Номинальное междуфазное напряжение электрической сети, для работы в которой предназначены коммутационные аппараты. 3.51 номинальное напряжение питания цепей включающих и отключающих устройств и вспомогательных цепей (управления, блокировки и сигнализации) Uп.ном, В: Напряжение постоянного или переменного тока, измеренное на выводах источников питания включающих и отключающих устройств, вспомогательных цепей и цепей управления во время оперирования коммутационного аппарата в нормальном режиме работы. 3.52 номинальное уравнительное напряжение Uурав.ном, В: Максимальное уравнительное напряжение, при котором разъединитель способен коммутировать уравнительный ток. 3.53 номинальный емкостной ток IС, А: Максимальный наведенный электростатическим полем ток в случае, когда один конец линии передачи отключен, а коммутация на землю осуществляется на другом ее конце. 3.54 номинальный индуктивный ток IL, А: Максимальный наведенный электромагнитным полем ток в случае, когда один конец линии передачи заземлен, а коммутация на землю осуществляется на другом ее конце. 3.55 номинальный кратковременный выдерживаемый ток (ток термической стойкости) IT, кА: Ток, который цепь или коммутационный аппарат может выдержать во включенном положении в течение нормированного короткого промежутка времени при предписанных условиях применения и поведения. 3.56 номинальный наведенный ток: Максимальный наведенный ток, который заземлители способны включать и отключать при номинальном наведенном напряжении. 3.57 номинальный ток Iном, А: Ток, который главная цепь разъединителя способна длительно пропускать в нормированных условиях эксплуатации. 3.58 номинальный уравнительный ток Iурав.ном, А: Максимальный уравнительный ток, который разъединитель способен коммутировать при номинальном уравнительном напряжении. 3.59 нормированная разрушающая нагрузка изолятора: Минимальная разрушающая нагрузка, установленная в технических документах на конкретный тип изолятора. 3.60 орган управления: Часть приводного механизма, к которой прикладывается внешняя сила воздействия. Примечание - Орган управления может иметь форму ручки, кнопки, ролика, поршня и т.д. 3.61 отключающая способность (коммутационного аппарата или предохранителя): Значение ожидаемого тока отключения, который коммутационный аппарат или предохранитель способен отключить при заданном напряжении в предписанных условиях применения и поведения. Примечание - Для коммутационных аппаратов отключающая способность может быть определена в соответствии с видом тока, предусмотренного в предписанных условиях, например отключающая способность при отключении ненагруженной линии, отключающая способность при отключении ненагруженного кабеля, отключающая способность при отключении одиночной конденсаторной батареи и т. д. 3.62 отключенное положение контактов аппарата: Разомкнутое положение контактов контактного аппарата, при котором между ними имеется заданный изоляционный промежуток. [ГОСТ 17703-72, статья 86] 3.63 переходное восстанавливающееся напряжение; ПВН: Восстанавливающееся напряжение в период времени, когда оно имеет заметно выраженный переходный характер. Примечания 1 Переходное восстанавливающееся напряжение может быть колебательным или неколебательным или их комбинацией в зависимости от характеристик цепи и коммутационного аппарата. Оно отражает также смещение напряжения нейтрали многофазной цепи. 2 Если не оговорено иначе, переходное восстанавливающееся напряжение в трехфазных цепях представляет собой напряжение между выводами первого отключающего полюса, так как это напряжение обычно более высокое, чем то, которое появляется между выводами каждого из двух других полюсов. 3.64 подогревательное устройство защищенного типа: Подогревательное устройство, у которого исключено касание рукой нагревательных частей, находящихся под напряжением. 3.65 полюс аппарата: Часть коммутационного аппарата, связанная только с одной электрически независимой частью главной цепи этого аппарата и не включающая части, предназначенные для совместного монтажа и оперирования всеми полюсами. Примечание - Аппарат называется однополюсным, если он имеет только один полюс. Если у него более одного полюса, его называют многополюсным (двухполюсным, трехполюсным и т.д.) при условии, что полюсы соединены или могут быть соединены так, что обеспечивается их одновременное срабатывание. 3.66 привод контактного аппарата: Устройство, предназначенное для создания или передачи силы, воздействующей на подвижные части контактного аппарата для выполнения функций этого аппарата. [ГОСТ 17703-72, статья 62] 3.67 продольная нагрузка: Механическая нагрузка на контактные выводы вдоль полюса. 3.68 рабочий цикл (контактного коммутационного аппарата): Последовательность операций перемещения из одного положения в другое с возвратом в первое положение и с прохождением через все другие положения при их наличии. 3.69 разъединитель: Контактный коммутационный аппарат, который обеспечивает в отключенном положении изоляционный промежуток, удовлетворяющий нормированным требованиям. Примечания 1 Разъединитель способен размыкать и замыкать цепь при малом токе или малом изменении напряжения на выводах каждого из его полюсов. Он также способен проводить токи при нормальных условиях в цепи и проводить в течение нормированного времени токи при ненормальных условиях, таких как короткое замыкание. 2 Малые токи - это такие токи, как емкостные токи вводов, шин, соединений, очень коротких кабелей, токи постоянно соединенных ступенчатых сопротивлений выключателей и токи трансформаторов напряжения и делителей. Для номинальных напряжений до 330 кВ включительно ток, не превышающий 0,5 А, считается малым током по этому определению; для номинального напряжения от 500 кВ и выше и токов, превышающих 0,5 А, необходимо проконсультироваться с изготовителем, если нет особых указаний в руководствах по эксплуатации разъединителей. 3 К малым изменениям напряжения относятся изменения напряжения, возникающие при шунтировании регуляторов индуктивного напряжения или выключателей. 4 Для разъединителей номинальным напряжением от 110 кВ и выше может быть установлена коммутация уравнительных токов. 3.70 разъединитель (заземлитель) с разделенными опорами: Разъединитель (заземлитель), в котором подвижные и неподвижные контакты каждого полюса не опираются на одно общее основание или раму. Примечания 1 Характерным примером является пантографный или полупантографный разъединитель. 2 Этот термин распространяется только на разъединители высокого напряжения. 3.71 разъединитель класса М0: Разъединитель, имеющий механическую износостойкость 1000 рабочих циклов, применяемый в распределительных и передающих системах для выполнения общих требований настоящего стандарта. 3.72 разъединитель класса М1: Разъединитель, имеющий механическую износостойкость 2000 рабочих циклов, в основном приемлемый для совместной работы с выключателем одного класса. 3.73 разъединитель класса М2: Разъединитель, имеющий повышенную механическую износостойкость 10000 рабочих циклов, в основном приемлемый для совместной работы с выключателем одного класса. 3.74 ручкой привод контактного аппарата: Привод контактного аппарата, в котором передаваемая или создаваемая сила образована за счет мускульной энергии оператора. [ГОСТ 17703-72, статья 63] 3.75 степень загрязнения; СЗ: Характеристика, отражающая степень влияния загрязненности атмосферы на работу изоляции электроустановок. 3.76 ток включения IВКЛ, А: Номинальный ток, включаемый разъединителем (заземлителем). 3.77 ток отключения Iоткл, А: Номинальный ток, отключаемый разъединителем (заземлителем). 3.78 уравнительное напряжение: Напряжение промышленной частоты на отключенном разъединителе после включения или отключения уравнительного тока. 3.79 уравнительный ток: Ток, который разъединитель способен коммутировать при передаче нагрузки с одной системы шин на другую. 3.80 цепь управления аппарата: Вспомогательная цепь аппарата, предназначенная для его управления. [ГОСТ 17703-72, статья 36] 3.81 электродинамическое усилие: Усилие, создаваемое током электродинамической стойкости, протекающим по токоведущим частям при коротком замыкании. 4 Классификация4.1 Классификация и исполнение разъединителей и заземлителей должны соответствовать указанным в таблице 1. Таблица 1 - Классификация разъединителей и заземлителей
4.2 Структура условного обозначения разъединителей, заземлителей и приводов к ним приведена в приложении А. 5 Технические требования5.1 Основные параметрыЗначения основных номинальных параметров должны выбираться из таблицы 2. Таблица 2 -Основные параметры
5.2 Общие технические требования5.2.1 Разъединители, заземлители и приводы к ним должны изготовляться в соответствии с требованиями настоящего стандарта, технических документов на конкретный тип изделий и (или) по конструкторской документации, утвержденной в установленном порядке. 5.2.2 Изделия должны изготовляться для эксплуатации на высоте над уровнем моря до 1000 м. Климатические исполнения изделий и места их размещения (категории) - по ГОСТ 15150 и ГОСТ 15543.1. Работоспособность изделий, предназначенных для эксплуатации на открытом воздухе, должна обеспечиваться при давлении ветра до 700 или 1000 Па (соответствует скорости ветра 34 или 40 м/с), при давлении ветра свыше 1000 Па - по согласованию потребителя с изготовителем. Конкретные требования по работоспособности при воздействии пыли должны быть указаны в технических документах на конкретные типы изделий. 5.2.3 В отношении стойкости к воздействию климатических факторов внешней среды изделия должны удовлетворять требованиям ГОСТ 15150, ГОСТ 15151, ГОСТ 15543.1, ГОСТ 15963 и ГОСТ 17412. Конкретные требования в части воздействия климатических факторов внешней среды в зависимости от климатических условий и категорий размещения должны быть указаны в технических документах на конкретные типы изделий. 5.2.4 Для изделий, предназначенных для эксплуатации в районах с повышенной сейсмичностью, требования по сейсмостойкости (интенсивность землетрясения в баллах по шкале сейсмической интенсивности [1], высота установки над нулевой отметкой в метрах)должны быть установлены в технических документах на конкретный тип изделий. Номинальные значения механических внешних воздействующих факторов по ГОСТ 17516.1 для группы (групп) механического исполнения должны быть установлены в технических документах на конкретный тип изделий. 5.3 Требования к электрической прочности изоляцииРазъединители и заземлители по электрической прочности изоляции должны соответствовать ГОСТ 1516.3. 5.4 Требования к нагреву в продолжительном режиме работы5.4.1 Разъединители в отношении нагрева в продолжительном режиме работы должны соответствовать ГОСТ 8024. Электрическое сопротивление главных цепей должно быть указано в руководствах по эксплуатации на конкретные типы изделий. 5.4.2 Разъединители при длительном протекании номинального тока должны соответствовать требованиям ГОСТ 10434. 5.5 Требования к механическим характеристикам5.5.1 Разъединители по механической износостойкости в зависимости от класса должны выдерживать при отсутствии напряжения и тока в главной цепи следующее количество рабочих циклов (включение - произвольная пауза - отключение): - разъединитель класса М0 - 1000; - разъединитель класса М1 - 2000; - разъединитель класса М2 - 10000. 5.5.2 Заземлители по механической износостойкости должны выдерживать при отсутствии напряжения не менее 1000 рабочих циклов (включение - произвольная пауза - отключение), конкретное значение должно быть указано в технических документах. 5.5.3 Разъединители и заземлители с двигательными приводами должны выдерживать: - 90 % циклов, указанных выше, - при номинальном напряжении источника питания и (или) номинальном давлении сжатого газа (жидкости); - 5 % циклов, указанных выше, - при нормированном минимальном напряжении источника питания и (или) минимальном давлении сжатого газа (жидкости); - 5 % циклов, указанных выше, - при нормированном максимальном напряжении источника питания и (или) максимальном давлении сжатого газа (жидкости). 5.5.4 Включение и отключение разъединителей и заземлителей должно обеспечиваться: - при управлении электродвигательным приводом - при напряжении источника питания переменного (постоянного) тока в диапазоне от 85 % до 110 % Uп.ном; - при управлении пневматическим (гидравлическим) приводом - при давлении сжатого газа (жидкости) в диапазоне от 85 % до 110 % Рном. 5.5.5 Класс разъединителей по механической износостойкости (М1 или М2) должен быть указан в технических документах. 5.5.6 Разъединители наружной установки должны выдерживать номинальные статические механические нагрузки на выводы от присоединяемых проводов (с учетом ветровых нагрузок и образования льда на проводах) с сохранением своей работоспособности, рекомендуемые значения которых приведены в таблице 3. Разъединители и заземлители в случае присоединения гибкой ошиновки должны включаться и отключаться при продольных нагрузках, а во включенном положении - выдерживать дополнительно поперечные нагрузки, имитирующие нагрузки оттока короткого замыкания и ветра. Разъединители и заземлители в случае присоединения жесткой ошиновки должны включаться и отключаться при вертикальных нагрузках, а во включенном положении - выдерживать дополнительно поперечные нагрузки, имитирующие нагрузки оттока короткого замыкания и ветра. (Поправка, ИУС 6-2008 г.). Таблица 3 - Рекомендуемые значения механических нагрузок В ньютонах
Рисунок 1 - Пример приложения механических нагрузок к выводам двухколонкового разъединителя
Примечание - Над пантографом показан неподвижный контакт. Рисунок 2 - Пример приложения механических нагрузок к выводам пантографного разъединителя Вертикальная нагрузка воспроизводит направленную вниз силу, вызванную весом подсоединенных шин (жесткой ошиновки). Конкретные значения нагрузок, в том числе от давления ветра на части разъединителей и заземлителей в неблагоприятном направлении, и вид подсоединяемых проводов должны быть указаны в технических документах на изделия. 5.5.7 Разъединители и заземлители наружной установки, предназначенные для работы в условиях образования льда, должны допускать включение и отключение при толщине корки льда, не превышающей 1 мм (класс образования льда 1), 10 мм (класс 10) или 20 мм (класс 20), и давлении ветра, не превышающем 140 Па (соответствует скорости ветра 15 м/с). Разъединители и заземлители, имеющие вспомогательную аппаратуру для обеспечения коммутации уравнительного и наведенных токов соответственно, должны испытываться вместе с этими смонтированными устройствами. Толщина (класс) корки льда должна быть указана в технических документах на разъединители и заземлители. 5.5.8 Коэффициент запаса механической прочности изоляторов должен быть: - разъединителей и заземлителей всех классов напряжения категории размещения 1 по ГОСТ 15150 с использованием высокопрочных изоляторов - не менее 2; - разъединителей и заземлителей на напряжение 110 кВ и выше категорий размещения 2,3,4 по ГОСТ 15150 - не менее 2; - разъединителей и заземлителей на напряжение до 35 кВ включительно категорий размещения 2, 3,4 по ГОСТ 15150 - не менее 1,5; - разъединителей и заземлителей с полимерной изоляцией всех категорий размещения по ГОСТ 15150 - не менее 1,5; - разъединителей в подвесном исполнении - не менее 4. Расчеты коэффициентов запаса механической прочности должны проводиться по методикам предприятий - разработчиков изделий. 5.6 Требования к стойкости при сквозных токах короткого замыкания5.6.1 Разъединители во включенном положении должны выдерживать без повреждений, препятствующих их нормальной работе, электродинамическое и термическое воздействия сквозных токов короткого замыкания с параметрами вплоть до следующих нормированных значений: - номинальный кратковременный выдерживаемый ток (ток термической стойкости) Iт, равный одному из значений, приведенных в таблице 2, указанный в технических документах на конкретное изделие; - наибольший пик номинального кратковременного выдерживаемого тока (ток электродинамической стойкости) Iд, равный 2,5 Iт при номинальной частоте 50 Гц; - начальное действующее значение периодической составляющей IНП. Время протекания номинального кратковременного выдерживаемого тока (время короткого замыкания) tк.з должно быть указано в технических документах на конкретные типы и должно быть: - 1 или 2, или 3 с - для разъединителей на напряжение 220 кВ и ниже; - 1 - или 2 с - для разъединителей на напряжение 330 кВ и выше. 5.6.2 Заземлители во включенном положении должны выдерживать электродинамическое и термическое воздействия сквозных токов короткого замыкания с параметрами, нормированными для разъединителей, если разъединители и заземлители составляют единое целое, при этом значение tк.з принимают равным 1 с. Для заземлителей, применяемых отдельно от разъединителей, параметры следует устанавливать в технических документах на конкретные типы изделий. 5.6.3 Для заземлителей, предназначенных также для длительного пропускания тока, номинальный ток должен быть указан в технических документах. 5.6.4 Допускается использовать разъединители и заземлители при времени короткого замыкания t, превышающем нормированное tк.з с одновременным уменьшением величины номинального кратковременного выдерживаемого тока (тока термической стойкости) Iт до значения It, определяемого по формуле
При t < tк.з It принимают равным IT 5.6.5 Допустимое расстояние от разъединителей и заземлителей до ближайшего опорного изолятора под ошиновку или ближайшего аппарата, при котором обеспечивается гарантируемая стойкость при сквозных токах короткого замыкания, должно быть указано в руководствах по эксплуатации. 5.7 Требования к коммутации разъединителями уравнительного тока, тока холостого хода трансформаторов, зарядных токов воздушных и кабельных линий5.7.1 По требованию потребителя разъединители на номинальное напряжение 110 кВ и выше, используемые для передачи токов нагрузки с одной системы шин на другую при их переключении, должны коммутировать уравнительные токи. Величина номинального уравнительного тока должна составлять 80 % номинального тока, но не должна превышать 1600 А. Примечание - Номинальный уравнительный ток разъединителей может быть значительно больше номинального тока. Номинальный уравнительный ток, более 80 % номинального тока или более 1600 А, должен устанавливаться по соглашению между изготовителем и потребителем. Конкретное значение уравнительного тока должно быть указано в технических документах. 5.7.2 Номинальные уравнительные напряжения, при которых разъединители должны коммутировать уравнительные токи, приведены в таблице 4. Таблица 4 - Номинальные уравнительные напряжения
5.7.3 Разъединители должны включать и отключать токи холостого хода трансформаторов, зарядные токи воздушных и кабельных линий при минимально допустимом расстоянии между полюсами. Значения этих токов должны быть указаны в эксплуатационной документации на конкретные типы разъединителей. 5.8 Требования к коммутации заземлителями наведенного тока и тока включения короткого замыкания5.8.1 По требованию потребителя заземл ители классов А и В на номинальное напряжение 110 кВ и более, предназначенные для заземления линий передач, должны коммутировать и проводить наведенные токи, возникающие в отключенных и заземленных линиях в результате индуктивного и емкостного взаимодействий с соседними линиями, находящимися под напряжением. Эти заземлители в эксплуатации должны обеспечивать следующее: - включение и отключение индуктивного тока, когда один конец линии передач заземлен, а коммутация на землю осуществляется на другом ее конце; - включение и отключение емкостного тока, когда один конец линии передач отключен, а коммутация на землю осуществляется на другом ее конце; - постоянное прохождение индуктивного и емкостного токов. 5.8.2 Номинальные индуктивные и емкостные токи, наведенные электромагнитным и электростатическим полями соответственно, и номинальные наведенные напряжения, при которых заземлители должны проводить, включать и отключать вышеуказанные токи, приведены в таблице 5. Таблица 5 - Номинальные наведенные (индуктивные и емкостные) токи и напряжения
5.8.3 Заземлители по включающей способности при коротком замыкании в зависимости от класса должны выдерживать количество операций включения, указанное в таблице 6, при номинальном токе включения короткого замыкания Iвкл. Таблица 6 - Включающая способность заземлителей при коротком замыкании
Величина этого тока должна быть равна наибольшему пику номинального кратковременного выдерживаемого тока Iд. Заземлители, для которых установлен номинальный ток включения короткого замыкания, должны быть способны включать номинальный ток включения короткого замыкания при любом приложенном напряжении, не превышающем номинального. 5.8.4 Классы заземлителей по коммутации наведенных токов (А или В), а также по включающей способности при токе включения короткого замыкания (Е1 или Е2) должны быть указаны в технических документах. 5.9 Требования к вспомогательным цепям, цепям управления и низковольтной аппаратуре приводов5.9.1 Низковольтная аппаратура приводов должна соответствовать нормативным документам, утвержденным в установленном порядке. 5.9.2 Вспомогательные контакты и контакты управления должны быть пригодны для определенного количества электрических и механических рабочих циклов, указанных для разъединителей и заземлителей. 5.9.3 Изоляция цепей управления и вспомогательных цепей, а также их элементов должна соответствовать ГОСТ 1516.3. По требованию потребителя изоляция должна выдерживать также импульсное напряжение, равное 5 кВ. 5.9.4 Рабочие характеристики вспомогательных контактов при постоянном токе должны соответствовать значениям, указанным в таблице 7. Таблица 7 - Рабочие характеристики вспомогательных контактов
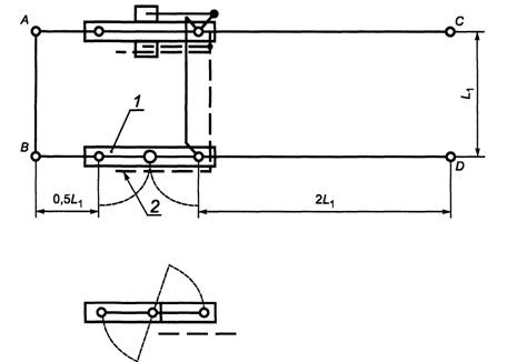
Класс вспомогательных контактов должен быть указан в технических документах на конкретные типы приводов. 5.9.5 Комплектующая низковольтная аппаратура приводов в отношении нагрева - по ГОСТ 403. 5.10 Требования к конструкции5.10.1 Металлические части, подвергающиеся воздействию климатических факторов внешней среды, при необходимости должны иметь защитные покрытия с учетом условий эксплуатации по ГОСТ 15150 и срока службы изделия. Указания о восстановлении покрытий отдельных частей в процессе эксплуатации, кроме контактных поверхностей, а также периодичность восстановления, должны быть указаны в технических документах и руководстве по эксплуатации на конкретный тип изделия. Технология восстановления покрытий должна быть указана в руководстве по эксплуатации. 5.10.2 Допустимость контактов разнородных в электрохимическом отношении металлов, сплавов и металлических и неметаллических неорганических покрытий и металлов с неметаллами и методы защиты от контактной коррозии - по ГОСТ 9.005. Контактирующие поверхности контактных соединений и контактов электрических цепей должны быть выполнены в зависимости от агрессивности среды и степени возникновения контактной коррозии как «допустимые» по ГОСТ 9.005. 5.10.3 Разъединители должны допускать установку на горизонтальной и (или), вертикальной, и (или) наклонной плоскостях, а в подвесном исполнении - на портале. Конкретный вид установки должен быть указан в технических документах. 5.10.4 Для разъединителей с разделенными опорами изготовителем должна быть установлена номинальная зона контактирования. Рекомендуемые значения номинальных зон контактирования приведены в таблице 8. Таблица 8 - Рекомендуемые зоны контактирования для неподвижных контактов разъединителей В миллиметрах
Номинальные значения зоны контактирования должны быть указаны в технических документах на конкретные типы разъединителей. 5.10.5 Шарнирные соединения и трущиеся части изделий, требующие периодической смазки, должны иметь, при необходимости, смазочные отверстия или приспособления для смазки. Закрытые узлы изделий категорий размещения 1 и 2 по ГОСТ 15150 должны быть выполнены так, чтобы смазка не загрязнялась и не вымывалась до ее замены при ремонтах. Периодичность обновления смазки следует указывать в руководстве по эксплуатации. Рекомендуется использовать материалы, покрытия и трущиеся узлы (шарнирные соединения), не требующие смазки в течение межремонтного периода. Механические редукторы приводов не должны иметь утечек масла (при его наличии) и должны работать без пополнения масла в течение межремонтного периода. Периодичность замены масла должна быть указана в руководстве по эксплуатации. 5.10.6 Элементы схем управления и питания приводов должны быть расположены в местах, удобных для осмотра, обслуживания и ремонта. 5.10.7 Сечение гибких медных проводников между подвижной частью заземлителя и неподвижной частью заземлителя или разъединителя в случае, если заземлитель и разъединитель составляют единое целое, должно быть не менее 50 мм2. Примечание - Минимальное поперечное сечение медных соединений 50 мм2 дано для обеспечения механической прочности и сопротивления коррозии проводников. Если для проведения тока короткого замыкания используют гибкое соединение, оно должно быть рассчитано соответствующим образом. Если используют другой материал, то должно быть обеспечено соответствующее эквивалентное поперечное сечение. 5.10.8 Подвижные части разъединителя и заземлителей, составляющих единое целое, должны быть сблокированы механически так, чтобы при включенном положении главной цепи было невозможно включение заземляющей цепи, а при включенном положении заземляющей цепи не допускалось включение главной цепи. Кроме механической блокировки должна быть предусмотрена возможность применения электромагнитной или электрической блокировки. Виды блокировки должны быть согласованы с заказчиком и указаны в технических документах на изделие. Разъединители и заземлители или приводы к ним, неправильная работа которых может причинить ущерб или которые применяют для обеспечения изоляционных промежутков, должны быть снабжены элементами для установки запирающих устройств (например навесных замков). 5.10.9 Контактные соединения проводников между собой в разъединителях и заземлителях, а также с выводами разъединителей - по ГОСТ 10434. Выводы разъединителей - по ГОСТ 21242 и ГОСТ 24753. Выводы заземлителей в части присоединительных размеров должны удовлетворять требованиям, указанным в технических документах на конкретные типы изделий. Зажимы для присоединения внешних вспомогательных цепей (цепей управления, блокировки и сигнализации) в приводах - по ГОСТ 10434 и ГОСТ 19132. Требования к зажимам должны быть указаны в технических документах. 5.10.10 Таблички изделий должны крепиться так, чтобы они были видны (при необходимости с помощью специальных средств) при нормальной эксплуатации. Таблички и их крепления должны быть устойчивы против атмосферных воздействий и коррозии. 5.10.11 Приводы, требующие подсоединения внешних цепей, должны иметь устройства для подсоединения кабелей (проводников) по ГОСТ 12.2.007.0. Отверстия в кабельных вводах должны быть сконструированы так, чтобы при установке кабелей должным образом была достигнута установленная степень защиты оболочки привода, о чем указывают в руководстве по эксплуатации на привод. Количество и размеры отверстий должны быть указаны в технических документах на привод. 5.10.12 В зависимости от наличия свободных вспомогательных контактов приводы могут иметь два исполнения: - с вспомогательными контактами; - без вспомогательных контактов. Число свободных вспомогательных контактов, установленных в местах, доступных для осмотра и ремонта, рекомендуется выбирать из ряда: - 4; 8; 12 - для разъединителей и 2; 4 - для заземлителей, если конструкция вспомогательных контактов допускает взаимную перестановку (пересоединение) контактов (замыкающий - размыкающий); - 8; 12; 16 - для разъединителей и 4; 8 - для заземлителей, если конструкция вспомогательных контактов не допускает взаимную перестановку (пересоединение) контактов (замыкающий - размыкающий). Конкретное число вспомогательных контактов должно быть указано в технических документах. 5.10.13 Приводы, требующие подогрева, должны иметь подогревательные устройства защищенного типа, как правило, на номинальное напряжение 220 В переменного тока. Все подогревательные устройства должны быть расположены так, чтобы не вызвать ухудшения проводки или функционирования других элементов электрической схемы привода. Температура, при которой должны включать и отключать в процессе эксплуатации подогревательные устройства, не имеющие автоматического включения - отключения, должна быть указана в руководстве по эксплуатации на привод. Приводы с автоматическим управлением подогревательными устройствами должны изготовляться по требованию потребителя. Шкафы приводов и переключающих устройств электрических и электромагнитных блокировок должны быть снабжены устройствами постоянного подогрева для исключения образования конденсационной влаги и дополнительным устройством подогрева, включаемым на зимний период. Способ управления подогревательными устройствами (ручной или автоматический) должен быть указан в технических документах на конкретное изделие. 5.10.14 Характер движения и направление движения органов управления приводов должны соответствовать указанным в таблице 9. Таблица 9 - Характер и направление движения органов управления приводов
При отклонении отданного требования на приводах должна быть помещена информационная табличка об этом (например, «Включение против часовой стрелки»). 5.10.15 Разъединители и заземлители, включая их приводы, должны быть сконструированы так, чтобы исключался их выход из включенного или отключенного положения под действием: - силы тяжести; - давления ветра; - вибраций; - ударов умеренной силы или случайного прикосновения к соединительным тягам приводов; - электродинамических усилий тока короткого замыкания; - протечек воздуха в системе пневматических приводов. Разъединители и заземлители с приводами должны быть сконструированы таким образом, чтобы они могли фиксироваться как в отключенном, так и включенном положениях. Разъединители и заземлители должны допускать временное механическое запирание как в отключенном, так и включенном положении с целью безопасности, например при техническом обслуживании. Примечание - Последнее требование не относится к разъединителям или заземлителям, приводимым в действие штангой ручного управления. 5.10.16 Конструкция изделий для районов с холодным климатом должна в дополнение к требованиям настоящего стандарта соответствовать ГОСТ 17412. 5.10.17 Степень защиты от доступа к опасным частям, от внешних твердых предметов и от воды приводов, имеющих оболочки (шкафы), а также шкафов, содержащих переключающие устройства систем электрических и электромагнитных блокировок по ГОСТ 14254, должна быть не ниже IP3X для наружных установок и не ниже IP2X - для внутренней установки. Любые вентиляционные отверстия должны быть защищены или выполнены так, чтобы была достигнута такая же степень защиты, что и для оболочки шкафа. Степень защиты приводов должна быть указана в технических документах на конкретные типы приводов. 5.10.18 Основания (подшипники) подвижных (поворотных) изоляторов, шарнирные соединения с подшипниками качения (скольжения) с заложенной в них смазкой, узлы с вращающимися электрическими контактами и выводами разъединителей и заземлителей категории размещения 1 и 2 по ГОСТ 15150 должны быть защищены от попадания в них пыли (в том числе снежной по ГОСТ 17412) и дождя, если это необходимо по работоспособности разъединителей и заземлителей. Степень защиты по ГОСТ 14254 таких узлов должна быть указана в технических Документах на изделия. 5.10.19 Валы управления двухполюсных и трехполюсных заземлителей, а также разъединителей на номинальные токи свыше 10000 А, предназначенных для установки в закрытых токопроводах, для предупреждения образования замкнутых электрических контуров должны быть изолированы как между собой, так и от приводов. 5.10.20 Ручные рычажные приводы разъединителей и заземлителей категории размещения 1 по ГОСТ 15150 на номинальные напряжения 35 кВ и выше должны снабжаться откидной рукояткой. На более низкое напряжение такие приводы можно изготовлять с рукоятками, длина которых для облегчения оперирования может быть, при необходимости, увеличена насадкой специального удлинителя длиной до 1,2 м, поставляемого комплектно с приводом. Приводы, управляемые с помощью электроэнергии, должны также обеспечиваться средствами ручного управления. При подсоединении устройства для ручного управления (например заводной рукояткой) к такому приводу электроэнергия должна быть отключена автоматически. 5.10.21 Усилие, необходимое для оперирования разъединителем и заземлителем, прикладываемое к рукоятке или качающемуся рычагу привода во время операции, требующей поворота привода до одного оборота, не должно превышать 250 Н. На протяжении угла поворота до 15° включительно допускается амплитудное значение усилия, равное 450 Н. Усилие, необходимое для оперирования разъединителем и заземлителем, прикладываемое к рукоятке привода, вращаемой более одного оборота, должно быть не более 60 Н с возможным увеличением усилия до 120 Н на протяжении не более 10 % общего числа требуемых оборотов. Вышеуказанные значения усилий распространяются также на проводимое вручную техническое обслуживание разъединителей и заземлителей, приводимых в действие обычно двигательными приводами. Примечание - Данные значения усилий включают и усилия необходимые для разрушения льда. 5.10.22 Разъединители и заземлители должны быть снабжены указателями положения, видимыми, нестираемыми в эксплуатации, дающими четкое представление о положении главных контактов. Включенное положение должно быть промаркировано символом «I», отключенное - символом «О » по ГОСТ 25874. Указатель положения должен быть промаркирован непосредственно на механической части силовой кинематической цепи разъединителя и заземлителя или на приводе. 5.10.23 Изделия с большими габаритными размерами (разъединители и заземлители на напряжение 220 кВ и выше) допускается поставлять в частично разобранном виде. При этом составные части должны иметь маркировку в соответствии с конструкторской документацией. Разъединители и заземлители должны быть сконструированы так, чтобы обеспечивалась минимальная трудоемкость сборки и регулировки на месте монтажа в эксплуатации. 5.11 Требования к уровню радиопомехУровень радиопомех, создаваемых разъединителями и заземлителями на напряжение 110 кВ и (/ выше, при напряжении 5.12 Требования к надежности5.12.1 Средний срок службы до первого среднего ремонта должен быть не менее 15 лет и указан в технических документах на конкретные типы изделий. 5.12.2 Показатели ремонтопригодности и сохраняемости должны быть указаны в технических документах на конкретные типы изделий. 5.12.3 Средний срок службы изделий должен быть не менее 30 лет и указан в технических документах на конкретные типы изделий. 5.13 Комплектность5.13.1 В комплект поставки разъединителей и заземлителей с приводами должны входить: - соединительные элементы разъединителей и заземлителей с приводами; - соединительные элементы для монтажа изделия; - комплектующие детали и сборочные единицы - при поставке разъединителей и заземлителей в разобранном виде укрупненными сборочными единицами; - индивидуальный комплект запасных частей, инструментов и принадлежностей, приведенный в руководстве по эксплуатации. К комплекту следует прилагать эксплуатационную документацию: - паспорт разъединителя; - паспорт заземлителя, если он не составляет единого целого с разъединителем; - паспорт привода; - руководство по эксплуатации. Паспорта могут быть объединены в один документ. Количество экземпляров руководства по эксплуатации на партию устанавливают в технических документах на конкретные типы изделий. 5.13.2 Каждый двигательный привод со съемной рукояткой должен быть укомплектован рукояткой, а ручной привод - специальным удлинителем (при его наличии). 5.14 Маркировка5.14.1 Каждый разъединитель или полюс разъединителя, заземлитель, если он не составляет единое целое с разъединителем, и привод должны иметь табличку, содержащую маркировочные данные в соответствии с таблицей 10. Таблица 10 - Маркировочные данные
Окончание таблицы 10
5.14.2 Катушки элементов приводов должны иметь таблички или ярлыки, на которых должны быть указаны: - марка провода; - диаметр провода в миллиметрах; - число витков; - сопротивление постоянному току при температуре 20°С в омах. 5.14.3 Способ нанесения маркировки на изделия, качество маркировки - по ГОСТ 18620. 5.14.4 Маркировка транспортной тары - по ГОСТ 14192. 5.15 Упаковка5.15.1 Изделия и (или) их укрупненные составные части при транспортировании изделий в частично разобранном виде должны быть упакованы по ГОСТ 23216. 5.15.2 Тип упаковки изделий и вид транспортной тары должны устанавливаться в технических документах на конкретные типы изделий. 5.15.3 По согласованию с потребителем допускается упаковывать изделия в специальную многооборотную тару. 6 Требования безопасности6.1 Требования безопасности к конструкции изделий должны соответствовать ГОСТ 12.2.007.3. 6.2 Разъединители должны быть сконструированы таким образом, чтобы опасные токи утечки не смогли пройти от выводов одной стороны к выводам другой стороны разъединителя. Это требование выполняется в том случае, если любой ток утечки отводится на землю с помощью надежного соединения с землей или если изоляция эффективно защищена от загрязнения в эксплуатации. 6.3 Разъединители, отдельно стоящие заземлители и приводы должны иметь контактную площадку для присоединения заземляющего проводника и заземляющий зажим в виде болта (болтов) диаметром не менее 12 мм, выполненного из металла, стойкого в отношении коррозии или покрытого металлом, предохраняющим его от коррозии. Возле контактной площадки должен быть нанесен знак заземления по ГОСТ 21130. Сопротивление между вышеуказанным болтом и всеми доступными прикосновению токоведущими частями изделия, которые могут оказаться под напряжением, должно быть не более 0,1 Ом. Допускается не иметь: - заземляющий зажим на заземлителе и соответствующую ему контактную площадку при условии надежного электрического соединения между цоколем (рамой) разъединителя и заземлителем, составляющим с разъединителем единое целое; - заземляющий зажим на ведомом полюсе разъединителя при условии надежного электрического соединения между ведущим и ведомыми полюсами разъединителя. 6.4 Механический указатель включенного и отключенного положений разъединителя и заземлителя в приводе должен соответствовать ГОСТ 12.2.007.3. 6.5 Вспомогательные контакты приводов, предназначенные для сигнализации включенного или отключенного положений разъединителя или заземлителя, должны удовлетворять следующим требованиям: - сигнал включенного положения должен появиться только тогда, когда разъединитель или заземлитель будет готов выдерживать протекание номинального тока и тока короткого замыкания; - сигнал отключенного положения должен появиться после того, как подвижные контакты достигнут положения, при котором изоляционный промежуток между контактами будет соответствовать требованиям, предъявляемым к изоляции разъединителей и заземлителей. 6.6 Изделия должны иметь фиксацию, во включенном и отключенном положениях, в соответствии с 5.10.15 настоящего стандарта. 6.7 Коэффициент запаса механической прочности изоляторов разъединителей и заземлителей - в соответствии с 5.5.8 настоящего стандарта. 7 Правила приемки7.1 Общие положения7.1.1 Изделия следует подвергать испытаниям: - квалификационным; - приемосдаточным; - периодическим. При необходимости изделия подвергают также типовым испытаниям, которые проводят при изменении конструкции, применяемых материалов или технологии производства, если эти изменения могут оказать влияние на параметры и характеристики изделий, а также по требованию заказчика (основного потребителя), если эксплуатацией не подтверждаются характеристики, указанные в технической документации. 7.1.2 В зависимости от вида испытаний, проверяемых параметров и конструкции изделий объектами испытаний могут быть: - разъединитель; - полюс разъединителя; - заземлитель; - привод; - отдельные элементы и сборочные единицы. Если объектом испытаний является часть разъединителя или заземлителя, функционально связанная с другими такими же частями, то в технических документах на конкретные типы изделий должны быть указаны меры, принимаемые для воспроизведения (имитирования) влияния других частей на испытуемую часть, либо указано, что данное испытание одной части не облегчает условий испытаний изделий. 7.1.3 Допускается в зависимости от конструктивных особенностей изделий (а для приемосдаточных испытаний - также от объема производства) проводить испытания без установки отдельных сборочных единиц или деталей, функционально не влияющих на результаты испытаний. О допустимости проведения таких испытаний должно быть указано в технических документах, программах испытаний или, по согласованию с разработчиком изделия, в протоколах испытаний. 7.1.4 Допускается по согласованию с потребителем распространять результаты, полученные при квалификационных и периодических испытаниях на одном типоисполнении, на другие исполнения этой же серии. 7.1.5 Если для управления разъединителем или заземлителем предусмотрены разные типы приводов, то испытания проводят со всеми типами приводов. Допускается по согласованию с потребителем сокращать объем испытаний. 7.1.6 Если привод предназначен для нескольких типов разъединителей или заземлителей, то испытания привода должны быть проведены как с самым тяжелым по механическим нагрузкам исполнением разъединителя или заземлителя, так и с самым легким. 7.2 Квалификационные испытания7.2.1 Квалификационные испытания проводят при приемке установочной (головной) серии после освоения технологического процесса производства изделий с целью установления готовности предприятия к производству изделий, отвечающих требованиям технических условий на конкретные типы. 7.2.2 Программа квалификационных испытаний должна включать указанный в таблице 11 объем испытаний (проверок). Количество образцов и последовательность испытаний должны быть указаны в технических документах на конкретные типы изделий. Таблица 11 - Объемы испытаний (проверок)
Окончание таблицы 11
7.3 Приемосдаточные испытания7.3.1 Изделия должны быть подвергнуты проверке сплошным контролем. Допускается ручные приводы подвергать выборочному контролю на стенде в объеме 20 %, но не менее 10 шт. от партии. При этом проверяют функционирование каждого привода по методике предприятия-изготовителя. 7.3.2 Программа приемосдаточных испытаний должна включать указанный в таблице 11 объем испытаний (проверок). 7.4 Периодические испытания7.4.1 Периодические испытания должны проводиться не реже, чем один раз в 10 лет. 7.4.2 Периодические испытания должны проводиться по программе, включающей: - перечень видов испытаний, проверок; - методики проведения испытаний и проверок; - указания о числе отбираемых для испытаний изделий; - последовательность проведения отдельных видов испытаний. 7.4.3 Программа периодических испытаний должна включать указанный в таблице 11 объем испытаний (проверок). 7.4.4 Периодические испытания могут не проводиться, если у изготовителя сертифицировано производство или имеется сертифицированная система менеджмента качества в соответствии с требованиями межгосударственного или национального стандарта. 7.5 Типовые испытанияТиповые испытания должны проводиться по программе, включающей: перечень видов испытаний, проверок; методики проведения испытаний и проверок; указания о числе изделий, подвергаемых испытаниям; последовательность проведения отдельных видов испытаний на каждом испытуемом изделии. 8 Методы испытаний8.1 Проверка на соответствие требованиям технической документацииПроверке подлежат: - состояние защитных покрытий и поверхностей наружных изоляционных частей; - правильность маркировки и клеймения и прочие требования технической документации, которые могут быть проверены визуально; - габаритные, установочные и присоединительные размеры путем измерения универсальным измерительным инструментом или шаблонами (при квалификационных и типовых испытаниях); - масса изделия с помощью динамометра или весов общего назначения (при квалификационных и типовых испытаниях); - правильность регулировки главных ножей и заземлителей с проверкой установленных характеристик; - контактное нажатие в разъемных контактах. 8.2 Проверка исправности действия механизмов изделий на соответствие требованиям технической документацииПроверка исправности действия механизмов при приемосдаточных испытаниях должна проводиться пятью циклами («включение - отключение»): - разъединителей и заземлителей - по методике, установленной в технических документах на конкретные типы изделий; - электродвигательных приводов - при нижнем пределе напряжения на зажимах электродвигателя (0,85 Uп.ном); - пневматических приводов - при следующих сочетаниях начального избыточного давления сжатого газа (воздуха) в резервуаре привода и напряжения на зажимах включающего и отключающего электромагнитов: 1) верхний предел избыточного давления (1,1 Рном) и нижний предел напряжения (0,85 Uп.ном); 2) нижний предел избыточного давления (0,85 Рном) и верхний предел напряжения (1,1 Uп.ном); - ручных приводов - на стенде при номинальном моменте на валу привода в объеме 1 %, но не менее трех штук. 8.3 Проверка электрического сопротивленияПроверку электрического сопротивления главной цепи каждого полюса разъединителя или суммарного сопротивления ее отдельных последовательно соединенных частей проводят по ГОСТ 8024. 8.4 Испытания электрической прочности изоляции8.4.1 Испытания изоляции главных цепей разъединителей и заземлителей - по ГОСТ 1516.2. Методы дополнительных испытаний изоляции разъединителей и заземлителей категории размещения 2 по ГОСТ 15150 на соответствие требованиям в условиях выпадения росы должны быть установлены в технических документах на конкретные типы изделий. Разъединители и заземлители должны быть смонтированы для испытаний с минимальными, указанными изготовителем в конструкторской документации, изоляционными промежутками. Если изготовителем в эксплуатационной документации предусматривается применение при эксплуатации дополнительной изоляции, такой как растяжки и перегородки, то такую дополнительную изоляцию следует использовать при испытаниях. Разъединители и заземлители должны подвергаться испытаниям напряжением грозового импульса только в сухом состоянии. Испытания следует проводить при напряжении обеих полярностей. 8.4.2 Испытания изоляции вспомогательных цепей и цепей управления - по ГОСТ 1516.2. 8.5 Проверка механических характеристик8.5.1 Общие положения 8.5.1.1 Проверку механических характеристик разъединителей и заземлителей следует проводить без напряжения и тока в главной цепи. Для испытаний разъединитель, заземлитель и их приводы должны быть установлены в соответствии с эксплуатационной документацией. Разъединители и заземлители, допускающие различные положения при эксплуатации (например вертикальное и горизонтальное), должны подвергаться проверке в полном объеме в положении, создающем наибольшие нагрузки. В другом положении проверка может быть сокращена до объема, достаточного для проверки функционирования (собираемости), что должно быть указано в технических документах на конкретные типы изделий. 8.5.1.2 В объем проверки механических характеристик должны входить: - проверка характеристик работы механизмов изделий на соответствие требованиям конструкторской документации; - проверка исправности действия механизмов изделий; - испытания на механическую износостойкость; проверка оперирования при приложении номинальной статистической механической нагрузки к выводам; - испытание на повышенную механическую износостойкость. 8.5.2 Проверка характеристик работы механизмов В зависимости от конструктивных особенностей изделия должны быть проверены следующие характеристики работы механизмов: - минимальные напряжения; - давление воздуха (газа); - усилия (статические моменты) пружин при включении и отключении; - время действия; - ход контактов; - контактные нажатия; - электрическое сопротивление; - ток потребления электромагнитов управления; - зона контактирования; - работа вспомогательных контактов и др. Перечень проверяемых характеристик работы механизмов изделия и соответствующие методы их проверок должны быть указаны в технических документах на конкретные типы изделий. Значение характеристик должно определяться как среднеарифметическое значение характеристик, снятых при проведении пяти циклов («включение - отключение»). Если применяют двигательный привод, то эти испытания должны проводиться при номинальных параметрах привода. Определение механических характеристик разъединителей и заземлителей (момент на валу, контактное нажатие или вытягивающее усилие размыкаемых контактов, время срабатывания, максимальные рабочие усилия для ручных приводов, максимальное потребление электрической энергии, проверка работы указателей, проверка зоны контактирования и пр.) должны проводиться по методике, приведенной в технических документах на конкретные типы изделий. Проверка работы вспомогательных контактов - в соответствии с 8.5.5. 8.5.3 Проверка исправности действия механизмов разъединителей и заземлителей при нормированных значениях напряжения или давления приводов До и после испытаний на механическую износостойкость должна быть проведена следующая серия испытаний без приложения статической нагрузки на выводы: - пять рабочих циклов «включение - отключение» при минимальном напряжении источника питания и/или давления; - пять рабочих циклов «включение - отключение» при максимальном давлении источника питания (только в отношении разъединителей или заземлителей, оперируемых с использованием газа или жидкости); - пять операций «включения - отключения» (только для разъединителей и заземлителей с ручным приводом). Во время этих рабочих циклов должны быть зарегистрированы и оценены рабочие характеристики, такие как время работы и максимальный ток, потребляемый двигателем. Перечень проверяемых характеристик и методы проверок должны быть приведены в технических документах на конкретные типы изделий. В отношении разъединителей, имеющих только ручные приводы, должны быть зарегистрированы максимальные усилия при включении и отключении, должна проверяться работа вспомогательных контактов в соответствии с 6.5 и указателей положения в соответствии с 6.4 (если таковые имеются). 8.5.4 Испытания на механическую износостойкость Испытание на механическую износостойкость должно состоять из 1000 рабочих циклов с приложением 50 % номинальной статической нагрузки на выводы трехфазного разъединителя или заземлителя. Испытания должны проводиться на разъединителях и заземлителях вместе с приводами. Разъединитель и заземлитель, имеющий двигательный привод, должен подвергаться наработке: - 900 рабочим циклам «включение - отключение» при номинальном напряжении источника питания и (или) номинальном давлении газа; - 50 рабочим циклам «включение - отключение» при нормированном минимальном напряжении источника питания и (или) минимальном давлении газа; - 50 рабочим циклам «включение - отключение» при нормированном максимальном напряжении источника питания и (или) максимальном давлении газа. Испытания по подтверждению номинального момента привода должны проводиться с самым тяжелым разъединителем или заземлителем, предназначенным для работы с данным приводом, при этом момент на аппарате при движении подвижного контакта в неподвижном доводят до значения номинального момента привода в объеме требований механической износостойкости. Допускается испытания по подтверждению номинального момента привода проводить с имитатором нагрузки, эквивалентным по своим характеристикам нагрузке разъединителя или заземлителя. Во время испытания на механическую износостойкость при каждой операции должно достигаться полностью включенное и полностью отключенное положения привода и разъединителя или заземлителя. Во время испытаний допускается смазка трущихся частей, необходимость и периодичность которой указывается в руководстве по эксплуатации. Не допускается механическая регулировка, замена деталей или подтягивание крепежа. При испытании разъединителей и заземлителей с двигательными приводами на механическую износостойкость допускается (в случае необходимости) делать перерывы для охлаждения электродвигателя и (или) других электрических устройств привода. После испытаний на механическую износостойкость изделия должны быть работоспособны, причем допускается незначительная регулировка (например подтягивание крепежа и т. п.). Сопротивление главной цепи должно быть измерено до и после испытания на механическую износостойкость. Сопротивление не должно отличаться более чем на 20 % от значения, измеренного до испытания на механическую износостойкость. Температура окружающей среды при проведении испытания должна быть зарегистрирована и внесена в протокол испытания. 8.5.5 Проверка работы вспомогательных контактов Проверку работы вспомогательных контактов, коммутирующих цепь электрического (дистанционного) сигнала, следует проводить при установке привода со всеми типами разъединителей и заземлителей, отличающихся кинематическими схемами, с которыми применяют данный привод, и для всех вариантов установки. Контроль замыкания и размыкания контактов следует определять посредством индикатора. Для двигательных приводов проверку проводят при ручном оперировании. 8.5.6 Оперирование при приложении номинальной статической механической нагрузки к Должно быть проведено 20 рабочих циклов с номинальным напряжением питания и приложением номинальных статических механических нагрузок к обоим выводам. В отношении разъединителей и заземлителей только с ручным приводом число рабочих циклов может быть уменьшено до 10. В отношении разъединителей с горизонтальным изолирующим промежутком нагрузка должна быть приложена в одно и то же время к обеим сторонам. Направления и значения прилагаемых при испытании нагрузок приведены в таблице 3. 8.5.7 Испытания на повышенную механическую износостойкость Испытания по данному пункту должны проводиться на разъединителях классов М1 и М2. После каждой серии, состоящей из 1000 рабочих циклов, или в период текущего технического обслуживания должны быть зарегистрированы или оценены рабочие характеристики. Между указанными сериями испытаний допускается техническое обслуживание, такое как смазка и механическая регулировка, которые должны проводиться в соответствии с указаниями изготовителя. Не допускается менять такие существенные элементы как контакты. Программа проведения технического обслуживания во время испытаний должна быть определена изготовителем перед испытаниями и записана в протокол испытаний. Механические характеристики (зоны контактирования, если это применимо, нажатие контактов, усилия пружин, момент на валу привода, работа вспомогательных контактов) должны проверяться в соответствии с 8.5.3 до и после проведения испытания по наработке рабочих циклов. 8.5.8 Критерии годности после проведенных испытаний Изделия считают выдержавшими проверку механических характеристик, если выполнены следующие условия: - в процессе испытаний разъединитель и заземлитель вместе с приводом и другими устройствами работал исправно; - разрегулировки, самоотвинчивания, поломки деталей и отказов в выполнении операций не наблюдалось; - все контрольные измерения подтверждают, что характеристики не вышли за пределы, предусмотренные конструкторской документацией; - осмотр изделия после выполнения всей программы испытаний на механическую износостойкость не выявил изменений или повреждений, препятствующих дальнейшей работе; - сопротивление главной цепи не отличается более чем на 20 % от значения, измеренного до испытаний на механическую стойкость. Если разъединитель или заземлитель имеют контактные части, подвергающиеся серебрению с целью использования повышенных норм нагрева, то следует руководствоваться ГОСТ 8024 при наработке необходимого количества циклов по 8.5.4. 8.6 Испытания блокировочных устройств8.6.1 Испытания блокировочных устройств при приемосдаточных испытаниях 8.6.1.1 Для проверки механического блокировочного устройства от неправильных операций на разъединителе необходимо при включенном разъединителе (заземлителе) провести попытку включения заземлителя (разъединителя). Значение крутящего момента или соответствующего усилия на рукоятке должно быть установлено в технических документах на конкретные типы изделий. 8.6.1.2 Для проверки механического блокировочного устройства на приводе необходимо при установленной рукоятке управления разъединителем (заземлителем) в положении «включено» провести попытку перевода рукоятки управления заземлителем (разъединителем). Усилие, прикладываемое к рукоятке, должно быть от 240 до 250 Н. При необходимости учитывают возможность применения удлинителя рукоятки привода. 8.6.1.3 Механическое блокировочное устройство считают выдержавшим испытание, если: - сохраняется нормированный изоляционный промежуток; - механизм блокировки остался в исправном состоянии. 8.6.1.4 Для проверки электромагнитного или механического блокировочного устройства при оперировании приводом необходимо: - провести попытку перемещения рукоятки управления из одного конечного положения в другое при отсутствии напряжения на зажимах цепи электромагнитного блок-замка при статическом усилии от 240 до 250 Н (без деблокирования механического замка) и проверить невозможность деблокирования привода; - провести подачу напряжения, соответствующего 85 % номинального напряжения на зажимы блок-замка (или деблокировать механический замок), и проверить возможность деблокирования привода. 8.6.1.5 Электромагнитное блокировочное устройство считают выдержавшим испытание, если: - невозможен перевод рукоятки (вала) привода из одного конечного положения в другое при отсутствии напряжения на зажимах цепи блок-замка (или деблокирования механического замка) и невозможно деблокирование привода; -при наличии напряжения на зажимах цепи блок-замка (деблокировании механического замка) возможно деблокирование привода; - детали электромагнитного или механического блокировочного устройства после испытания остались в исправном состоянии, что позволяет проводить необходимые операции. 8.6.2 Испытание блокировочных устройств при квалификационных и периодических испытаниях 8.6.2.1 Для проверки механического блокировочного устройства с целью предотвращения неправильных операций, в случае возможности установки съемной рукоятки или при стационарной рукоятке, необходимо при включенном разъединителе (заземлителе) провести попытку включения заземлителя (разъединителя) путем трехкратного приложения к рукояткам ручных и двигательных приводов статического усилия, превышающего в 1,5 раза максимальное статическое усилие, необходимое для включения разъединителя (заземлителя), но не более 400 Н. Если для управления ручным приводом применяют удлинитель рукоятки, то указанные усилия относятся к наибольшей длине удлинителя. 8.6.2.2 Для проверки электромагнитного или механического блокировочного устройства необходимо при включенном разъединителе (заземлителе) и отключенном заземлителе (разъединителе) проверить отсутствие напряжения (давления) на блокировочном устройстве разъединителя и заземлителя и провести попытку включения заземлителя (разъединителя) в соответствии с 8.6.2.1. Если приводы разъединителя (заземлителя) двигательные, то необходимо подать на зажимы цепи управления номинальное напряжение и при включенном разъединителе (заземлителе) подать команду на включение заземлителя (разъединителя). 8.6.2.3 Блокировочное устройство считают выдержавшим испытание, если: - сохраняется минимально необходимый разрядный промежуток, указанный в технических документах на конкретный тип изделия; - после испытаний блокировочное устройство остается в исправном состоянии, что позволяет проводить необходимые операции; - блок-замки остались в исправном состоянии. 8.6.2.4 Электромагнитное и электрическое блокировочные устройства приводов считают выдержавшим испытания, если привод, заблокированный в положении «отключено», невозможно перевести в положение «включено» при двигательном и ручном оперировании. 8.6.3 Для проверки блокировочного устройства ручного и двигательного управления приводом необходимо при установленной рукоятке ручного управления проверить возможность работы привода от двигателя. 8.7 Испытания в условиях образования льда8.7.1 Испытания в условиях образования льда должны проводиться на изделиях наружной установки, предназначенных для эксплуатации в районах с умеренным и (или) холодным климатом. Перед испытаниями с наружных поверхностей должна быть удалена смазка, за исключением мест, подвергающихся периодической смазке. Для облегчения измерения толщины льда следует установить в горизонтальное положение медный стержень или трубку диаметром 30 мм и длиной 1 м в месте, где выпадает такое же количество осадков, как и на испытуемый заземлитель или разъединитель. 8.7.2 Испытание изделия должно проводиться в камере холода следующим образом: - снижают температуру в камере до 2ºС и обрызгивают изделие водой температурой от 0°С до 3°С. Интенсивность обрызгивания должна быть от 20 до 80 л/ч на 1 м2 по всей площади камеры, при этом искусственный дождь должен падать на изделие сверху под разными углами от 0° до 45° относительно вертикали. Обрызгивание должно проводиться в течение 1 ч, при этом температура в камере должна поддерживаться от 1ºС до 3°С; - затем температура в камере должна быть снижена до температуры от минус 3ºС до минус 7°С и должно быть продолжено обрызгивание до тех пор, пока на изделии не образуется лед необходимой толщины. Количество воды при этом должно быть таким, чтобы обледенение происходило со скоростью 6 мм/ч; - после получения льда необходимой толщины обрызгивание должно быть прекращено, а изделие должно быть выдержано в камере в течение 4 ч при температуре от минус 3ºС до минус 7°С; - по окончании выдержки должна быть проведена операция отключения (включения). После удаления льда необходимо повторить операцию включения (отключения). Допускается взамен испытаний в камере холода проводить испытания в естественных условиях. При этом испытания должны быть проведены при температуре окружающего воздуха от минус 3°С до минус 20°С следующим образом: - изделие должно обрызгиваться теплой водой в течение 1 ч. Разность температур окружающего воздуха и воды должна быть такой, чтобы на наружных поверхностях изделий не образовался лед; - после обрызгивания изделие должно быть выдержано не менее 1 ч, затем температура воды должна быть понижена так, чтобы при попадании воды на наружные поверхности изделия образовался лед. Скорость обледенения не регламентируют. 8.7.3 Для изделий на напряжение 110 кВ и выше допускается получать лед по частям, расположенным на разной высоте, при этом контрольные трубки устанавливают вблизи узлов, перемещающихся относительно друг друга. При наличии ветра происходит одностороннее образование льда, в этом случае толщину льда измеряют со стороны наибольшего льдообразования. Допускается проводить испытания при давлении ветра не более 63 Па (соответствует скорости ветра 10 м/с). После получения необходимой толщины льда обрызгивание прекращают и изделие выдерживают в течение 4 ч при температуре от минус 3°С до минус 20°С. После выдержки проводят операцию отключения (включения). 8.7.4 Если разъединитель (заземлитель) управляется вручную, испытание считают удовлетворительным, если он полностью включается и отключается и не имеет повреждений, которые могут повлиять на его механические и электрические характеристики. Если разъединитель (заземлитель) управляется при помощи электрического, пневматического или гидравлического привода, испытание считают удовлетворительным, если он с первой попытки включается и отключается полностью при помощи привода при номинальном напряжении или давлении и не имеет повреждений, которые могут повлиять на его механические и электрические характеристики. После испытаний следует проверить наличие контактирования в контактах и измерить сопротивление главной токоведущей системы. 8.8 Испытания на нагрев номинальным током8.8.1 Испытания на нагрев главной цепи разъединителя при длительном режиме работы 8.8.1.1 Испытания на нагрев главной цепи разъединителя при длительном режиме работы - по ГОСТ 8024. По данной методике испытывают и токоведущие части заземлителей, для которых установлены требования по номинальному току. Перед испытаниями на нагрев, когда температура разъединителя равна температуре окружающего воздуха, и после испытаний на нагрев, когда разъединитель охладится до температуры окружающего воздуха, проводят измерения электрического сопротивления главной цепи. Измеренные сопротивления в этих двух случаях не должны отличаться более чем на 20 %. 8.8.1.2 Определение допустимых токов заземлителей для плавки гололеда на воздушных линиях электропередач - по ГОСТ 8024 для температуры окружающего воздуха 0°С, если температура не указана в требованиях заказчика. При испытаниях определяют допустимое время протекания тока по заземлителю, которое указывают в протоколе испытаний. 8.8.2 Испытания на нагрев приводов Испытания на нагрев приводов - по ГОСТ 403. Испытаниям подвергают только контактные соединения коммутирующих устройств, переключающих устройств и других аналогичных устройств, применяемых в приводах разъединителей. Испытания проводят до установившегося теплового режима путем пропускания постоянного или переменного тока 10 А по всем цепям устройств с контактами класса 1,2 А - для устройств с контактами класса 2 и 0,2 А - для устройств с контактами класса 3. Перед испытанием на нагрев и после него проводят измерение электрического сопротивления цепей низковольтных устройств. Увеличение сопротивления должно быть не более 20 % значения, измеренного до испытания. 8.9 Испытания на стойкость при сквозных токах короткого замыкания8.9.1 Разъединитель (заземлитель) вместе с приводом должен быть установлен на опорную конструкцию в соответствии с руководством по эксплуатации. Разъединитель (заземлитель) должен быть с чистыми новыми контактами. 8.9.2 Испытания должны проводиться трехфазным или однофазным током частотой (50 ± 10) Гц от источника, напряжение и мощность которого достаточны для обеспечения протекания токов необходимых величин и длительности. Напряжение источника должно обеспечивать непрерывность протекания тока в случае ослабления нажатия в контактах или отброса под действием электродинамических усилий. Токоподводящий контур должен воспроизводить наиболее неблагоприятные конфигурации (с точки зрения электродинамических воздействий), имеющие место при практическом использовании разъединителей (заземлителей) в распределительных устройствах. Испытания трехполюсных разъединителей (заземлителей) должны проводиться трехфазным током. Если испытательные стенды не позволяют проводить трехфазные испытания, то допускается проводить испытания однофазным током. При этих испытаниях попеременно соединяют последовательно средний и один из крайних полюсов. Разъединители (заземлители) с раздельными полюсами должны испытываться трехфазным или однофазным током с установкой полюсов с наименьшим расстоянием между осями, указанным в эксплуатационной документации. Разъединители (заземлители) должны испытываться согласно схемам, указанным на рисунках 3-6. К выводам аппаратов должны быть приложены номинальные статические механические нагрузки в соответствии с таблицей 3. Если испытания проводят на одном полюсе, обратный проводник должен находиться на фазном расстоянии от испытуемого полюса. Обратный проводник должен быть параллелен главным ножам разъединителя или заземлителя на той же самой высоте над основанием. Аналогичным требованиям должен удовлетворять обратный проводник при вертикальном расположении ножей разъединителя или заземлителя. 8.9.3 Перед испытаниями должна быть проведена проверка исправности действия механизмов путем выполнения трех циклов «включение - отключение» при отсутствии тока в цепи. При этих операциях должно быть проверено усилие, необходимое для оперирования. 8.9.4 На контактных пружинах должен быть установлен минимальный натяг (для обеспечения минимального контактного нажатия), допускаемый конструкторской документацией. 8.9.5 Испытание должно проводиться путем однократного пропускания через включенный разъединитель (заземлитель) номинального кратковременно выдерживаемого тока (тока термической стойкости) в пределах от 1,0 до 1,15 Iт частотой (50 ± 10) Гц со следующими параметрами: - наибольший пик номинального кратковременного выдерживаемого тока - в пределах от 1,0 до 1,1iд; - начальное действующее значение периодической составляющей - в пределах от 1,0 до 1.15 Iн.п.
1 - заземлитель; 2 - испытуемый разъединитель; L1 - минимальное расстояние между осями соседних полюсов; I - ток Примечание - Расстояния L2 и L3 должны быть по возможности минимальны, но не менее чем L1 Рисунок 3 - Трехфазная испытательная установка для разъединителей и их заземлителей на напряжение до 35 кВ включительно
1 - испытуемый разъединитель; 2 - испытуемый заземлитель; А-В - короткозамкнутое соединение; С-D - источник питания; L1 - минимальное расстояние между осями соседних полюсов Рисунок 4 - Однофазная испытательная установка для разъединителей с горизонтальным изолирующим промежутком и их заземлителей на номинальное напряжение 35 кВ и выше
1 - изолирующие опоры; 2 - испытуемый аппарат; 3 - токопроводы; L1 - минимальное межосевое расстояние между соседними полюсами А-В или С-D - соединение проводников накоротко или с источником жесткой ошиновкой Рисунок 5 - Однофазная испытательная установка для разъединителей (заземлителей) с разделенными опорами с вертикальным изолирующим промежутком на номинальное напряжение 110 кВ и выше
1 - изолирующие элементы; 2 - испытуемый аппарат; А-В или С-D - соединение проводников накоротко или с источником жесткой ошиновкой; L1 - минимальное межосевое расстояние между соседними полюсами, установленное изготовителем: L2 = (30 ± 2) м при UH0M > 150 кВ; L2 > 4L1 при UH0M < 150 кВ Рисунок 6 - Однофазная испытательная установка для разъединителей (заземлителей) с разделенными опорами с вертикальным изолирующим промежутком на номинальное напряжение 110 кВ и выше Время протекания тока должно быть таким, чтобы произведение номинального кратковременного
выдерживаемого тока в квадрате на время его протекания было в пределах от 1,0 до В зависимости от характеристик испытательной установки допускается: - в случае большого затухания периодической составляющей проводить испытания при меньшем среднеквадратичном значении тока IТ с соответствующим увеличением времени протекания (но не более чем 2 tк.з); - проводить испытание при увеличенном начальном действующем значении периодической составляющей тока, если это необходимо для получения требуемого наибольшего пика, с соответствующим уменьшением времени протекания тока. Указанные требования к величине сквозного предельного тока должны быть выдержаны хотя бы в одном из крайних полюсов разъединителя (при испытании трехполюсного разъединителя в трехполюсной схеме). Разница симметричного значения токов между отдельными фазами не должна превышать ± 7 %. После испытания разъединитель (заземлитель) должен быть отключен, при этом усилие, прикладываемое оператором, не должно превышать значений, указанных в 5.10.21, при этом допускается оперирование толчком (в случае ручного привода) или (в случае двигательного привода) при номинальном гарантируемом напряжении (для электродвигательного привода) или давлении (для пневматического привода). После указанных испытаний разъединитель (заземлитель) не должен иметь повреждений, препятствующих его исправной дальнейшей работе. Допускается регулировка в соответствии с руководством по эксплуатации. При проведении испытания на протекание кратковременно выдерживаемого тока (тока термической стойкости) температура контактных соединений разъединителя должна удовлетворять ГОСТ 10434 с учетом нагрева номинальным током. Температура должна определяться с помощью термопар или термоиндикаторов. При определении конечных температур следует исходить из начальных температур нагрева, соответствующих длительной работе разъединителя при номинальном токе. Указанные требования относятся к состоянию разъединителя после испытаний. Для заземлителей температуру токоведущих частей не нормируют. Температура окружающей среды при испытаниях разъединителя (заземлителя) на стойкость при сквозных токах короткого замыкания должна быть от минус 10°С до плюс 35 °С. Допускается проводить испытания при температуре от минус 20°С до плюс 50°С. 8.9.6 Допускается подвергать испытанию на стойкость только один из полюсов трехполюсного или двухполюсного разъединителя и заземлителя, если расчетом установлено, что взаимодействием между полюсами можно пренебречь. При отсутствии технических возможностей для испытаний полностью собранного разъединителя или его полюса допускается подвергать испытанию не полностью собранный разъединитель или его полюс без привода, а также с некоторыми отступлениями от требований к токоведущему контуру, вызванными условиями испытаний. Испытания объекта в данных условиях проводят по программе, согласованной в установленном порядке. Об отсутствии повреждений контактов в этом случае судят по усилию, требуемому для их размыкания. Допускается небольшое сваривание контактов заземлителя, но такое, чтобы усилие на рукоятке привода при оперировании при этом не превышало значения, нормированного ГОСТ 12.2.007.3. 8.9.7 После испытаний разъединители и заземлители должны быть работоспособны, пропускать длительно номинальный ток без превышения норм нагрева, и изоляция главной цепи должна выдерживать испытательные напряжения. 8.10
Испытания на стойкость к воздействию
| |||||||||||||||||||||||||||||||||||||||||||||||||||||||||||||||||||||||||||||||||||||||||||||||||||||||||||||||||||||||||||||||||||||||||||||||||||||||||||||||||||||||||||||||||||||||||||||||||||||||||||||||||||||||||||||||||||||||||||||||||||||||||||||||||||||||||||||||||||||||||||||||||||||||||||||||||||||||||||||||||||||||||||||||||||||||||||||||||||||||||||||||||||||||||||||||||||||||||||||||||||||||||||||||||||||||||||||||||||||||||||||||||||||||||||||||||||||||||||||||||||||||||||||||||||||||||||||||||||||||||||||||||||||||||||||||||||||||||||||||||||||||||||||||||||||||||||||||||||||||||||||||||||||||||||||||||||||||||||||||||||||||||||||||||||||||||||||||||||||||||||||||||||||||||||||||||||||||||||||||||||||||||||||||||||||||||||||||||||||||||||||||||||||||||||||||||||||||||||||||||||||||||||||||||||||||||||||||||||||||||||||||||||||||||||||||||||||||||||||||||||||||||||||||
|
Uном кВ |
Класс А |
Класс В |
||||
|
Восстанавливающееся напряжение промышленной частоты 1) (действующее значение), кВ |
ПНВ (амплитудное значение)1) кВ |
Время до пика 2), мкс |
Восстанавливающееся напряжение промышленной частоты 1) (действующее значение), кВ |
ПВН (амплитудное значение) 1) кВ |
Время до пика 2), мкс |
|
|
110 |
0,5 |
1,1 |
100 |
2 |
4,5 |
300 |
|
150 |
1 |
2,3 |
200 |
2 |
4,5 |
300 |
|
220 |
1,4 |
3,2 |
200 |
2 |
4,5 |
330 |
|
330 |
2 |
4,5 |
325 |
10 |
23 |
1000 |
|
500 |
2 |
4,5 |
325 |
20 |
45 |
2000 |
|
750 |
2 |
4,5 |
325 |
20 |
45 |
2000 |
|
1) Допустимое отклонение - +10 %. 2) Допустимое отклонение - -10 %. |
||||||
8.16.2.7 Испытательные контуры 1 и 2 на рисунке 10 эквивалентны друг другу и один из них может быть выбран для проведения испытаний.
Коэффициент мощности испытательного контура не должен превышать 0,15. Значения напряжения источника питания Uc, индуктивность L и емкость С2 для испытательного контура 1 могут быть рассчитаны, исходя из приведенных значений С1 в таблице 13 и значений номинального тока и напряжения в таблице 5, посредством использования уравнений, приведенных на рисунке 10.
В результате получаются соответствующие значения испытательного тока и напряжения, а также соответствующие значения частоты броска тока и волнового сопротивления испытательного контура. Значения для испытательного контура 2 могут вычисляться из значений, полученных для испытательного контура 1.
Сопротивление R, не превышающее 10 % емкостного сопротивления [ω (С1 + С2) = ω
], как видно из
уравнения, может быть включено в контуры, как указано на рисунке 10. Однако выбранное значение не должно быть больше волнового сопротивления рассматриваемой линии передачи и не должно привести к уменьшению симметричной составляющей броска тока при включении заземлителя.

|
|
|
|
|
|
|
|
|
|
|
|
Рисунок 10
Таблица 13 - Емкости испытательного контура (значение СО для испытаний на включение и отключение тока, наведенного электростатическим полем
|
Uном кВ |
С1 МкФ ± 10 % |
||
|
Класс А |
Класс В |
||
|
110 |
0,07 |
0,27 |
|
|
150 |
0,13 |
0,27 |
|
|
220 |
0,15 |
0,27 |
|
|
330 |
0,29 |
1,18 |
|
|
500 |
0,35 |
1,47 |
|
|
750 |
0,35 |
1,47 |
|
|
Примечание - Значения C1 могут быть вычислены по формуле |
|
||
|
|
(2) |
||
|
где D - длина линии, км; |
|
|
|
|
Z0 - волновое сопротивление, Ом. |
|
|
|
|
Принимаемое волновое сопротивление: |
|
|
|
|
от 110 кВ до 150 кВ включ. - 425 Ом; |
|
|
|
|
220 кВ - 380 Ом; |
|
|
|
|
от 330 кВ до 750 кВ включ. - 325 Ом. |
|
|
|
8.16.2.8 Для каждого из испытаний на включение и отключение тока, наведенного как электростатическим, так и электромагнитным полем, должно быть проведено 10 рабочих циклов на «включение-отключение».
Примечание - 10 рабочих циклов не считаются соответствующими требованиям для подтверждения электрического срока службы, но они обеспечат обнаружение эрозии контактов.
Операция отключения должна следовать за операцией включения, при этом время задержки между двумя операциями должно быть достаточным для снижения любых переходных токов.
8.16.2.9 Заземлитель должен нормально включаться и отключаться.
Допускается наружный выброс пламени или металлических частиц из заземлителя во время операции, если это не ухудшает изоляцию заземлителя или не причиняет вред оператору или другим лицам, находящимся поблизости.
8.16.2.10 Механические функции и изоляция заземлителя должны находиться в таком же состоянии, что и перед испытанием. Заземлитель должен быть способен проводить свой номинальный пиковый выдерживаемый ток и номинальный кратковременный выдерживаемый ток.
Допускаются механический износ и эрозия, возникающие вследствие образования дуги, при условии, что они совместимы с ожидаемым сроком службы и режимом технического обслуживания заземлителя. Качество материала, используемого для гашения дуги, если это происходит, может ухудшаться, а его количество уменьшаться ниже нормального уровня. Могут быть отложения на изоляторах, вызванные испарением материалов, в процессе горения дуги.
Визуальный контроль и операция без нагрузки заземлителя после испытаний обычно достаточны для проверки вышеуказанных требований. В случае сомнения может возникнуть необходимость проводить соответствующие испытания для подтверждения.
Если есть сомнения в изолирующих свойствах заземлителя, должны быть выполнены испытания электрической прочности изоляции (фаза - земля) по ГОСТ 1516.3.
8.17.1 Заземлители класса Е1 должны быть подвергнуты двум операциям «включения».
Заземлители класса Е2 для номинальных напряжений до 35 кВ включительно должны быть подвергнуты пяти операциям «включения».
8.17.2 Испытательный ток должен соответствовать техническим условиям на данный тип заземлителя и должен находиться в пределах от 1 до 1,1 установленного значения.
8.17.3 Испытательное напряжение должно быть от 1 до 1,1 Uном на отключенном заземлителе.
8.17.4 При испытании заземлителей на включающую способность контур подводящей ошиновки должен соответствовать эксплуатационной документации.
8.17.5 Во время оперирования заземлитель не должен:
- иметь признаков сваривания и выгорания контактов;
- представлять опасности для оператора.
После проведения испытаний механические части заземлителя и изоляторы заземлителя должны быть работоспособны.
Испытания изделий, предназначенных для работы в условиях повышенной сейсмичности, - по ГОСТ 17516.1 и техническим документам на конкретные типы изделий.
Для данных испытаний применяют источник питания постоянного или выпрямленного тока, обеспечивающий при измерении ток не менее 2 А.
Измерение сопротивления должно проводиться между болтом заземления привода и следующими металлическими частями:
- дверью;
- рукояткой управления;
- рамой;
- металлической оболочкой.
В точках измерения металл должен быть зачищен.
Привод считается выдержавшим испытания, если измеренные сопротивления не превышают 0,1 Ом.
Испытания проводят путем пропускания не менее 20 раз через замкнутый вспомогательный контакт тока в соответствии с таблицей 7. Интервалы между пропусканием тока равны одной минуте.
Относительный допуск по амплитуде тока - +5 %, относительный допуск по длительности - -10 %. До испытаний и после них измеряют электрическое сопротивление контактов. Увеличение сопротивления должно быть не более 20 % первоначального значения.
Нагрузка контакта активно-индуктивная с постоянной времени в соответствии с таблицей 7. Относительный допуск испытательного тока - +5 %, испытательного напряжения 20 %. Испытания должны проводиться путем пропускания не менее 20 раз через контакт испытательного тока в течение 5 с и размыкания контакта на 1 мин после каждого пропускания испытательного тока.
Восстанавливающееся напряжение должно удерживаться в течение каждого интервала, равного 1 мин и (300 + 30) мс после последнего оперирования.
До испытаний и после них измеряют электрическое сопротивление контактов. Увеличение сопротивления контактов должно быть не более 20 % первоначального значения.
9.1 Консервация изделий - по ГОСТ 23216.
9.2 Транспортирование изделия может проводиться любым видом транспорта.
9.3 Условия транспортирования и хранения в части воздействия климатических факторов внешней среды должны соответствовать ГОСТ 15150 и ГОСТ 23216 и должны быть указаны в технических документах на конкретные типы изделий.
Эксплуатация изделий должна проводиться в соответствии с правилами технической эксплуатации электроустановок потребителей, правилами технической эксплуатации электрических станций и сетей, правилами по охране труда (правилами безопасности) при эксплуатации электроустановок и руководством по эксплуатации изготовителя.
Руководство по эксплуатации должно содержать информацию по:
- транспортированию и хранению;
- описанию и работе изделий и их основным техническим параметрам;
- требованию безопасности при распаковке, подъеме, регулировке и эксплуатации изделий;
- установке и фундаментам (опорам);
- монтажу и регулировкам;
- окончательному осмотру и вводу в эксплуатацию;
- запчастям и утилизации изделий после окончания срока эксплуатации;
- числу операций, интервалам времени и условиям, после которых необходимо проводить обслуживание определенных частей изделий;
- осмотрам, регулировкам и замене контактов, допустимому их обгоранию;
- измерению сопротивления цепей;
- работе блокировок;
- обслуживанию приводов;
- проверке вспомогательных цепей и вспомогательных устройств;
- смазке и ее замене;
- методам предотвращения коррозии, а также перечню специальных инструментов и принадлежностей, необходимых для сборки и ремонта, при их использовании.
11.1 Изготовитель должен гарантировать соответствие изделий требованиям настоящего стандарта при соблюдении условий транспортирования, хранения, монтажа и эксплуатации, установленных настоящим стандартом и техническими условиями на конкретные типы изделий.
11.2 Гарантийный срок эксплуатации - 5 лет со дня ввода в эксплуатацию, но не более пяти с половиной лет с даты отгрузки изготовителем.
А.1 Условное обозначение разъединителя должно содержать:
- букву Р для сокращенного обозначения разъединителя;
- букву (буквы) для обозначения особенностей конструктивного исполнения разъединителя:
Г - горизонтально-поворотный,
Д - двухколонковый,
Т - телескопический,
К - килевой установки,
СК - ступенчато-килевой установки,
Р - рубящий,
В - вертикальной установки,
ПГ - полупантографный с разрывом в горизонтальной плоскости,
П - пантографный,
С - со складывающимся ножом и т. д.;
- класс разъединителя М1, М2 (класс М0 не указывают);
- цифру или цифры с буквой для обозначения количества и расположения заземлителей в случае, если разъединитель и заземлитель составляют единое целое;
- цифры, обозначающие номинальное напряжение разъединителя в киловольтах;
- цифру, обозначающую степень загрязнения изоляции по ГОСТ 9920. Цифру не указывают, если степень загрязнения легкая по ГОСТ 9920;
- цифры, обозначающие номинальный ток разъединителя в амперах;
- букву (буквы) и цифру, обозначающие климатическое исполнение и категорию размещения разъединителя - по ГОСТ 15150.
Пример условного обозначения разъединителя и расшифровка его структуры:

А.2 Условное обозначение заземлителя должно содержать:
- букву З для сокращенного обозначения заземлителя;
- букву (буквы) для обозначения особенностей конструктивного исполнения заземлителя:
Т - телескопический,
ПП - поворотно-поступательный,
Р - рубящий,
С - со складывающимся ножом и т. д;
- класс заземлителя (А - для коротких линий; В - для длинных линий);
- класс заземлителя Е1 или Е2 (класс Е0 не указывают);
- цифры, обозначающие номинальное напряжение заземлителя в киловольтах;
- цифру, обозначающую степень загрязнения изоляции по ГОСТ 9920 для заземлителей с опорной изоляцией. Цифру не указывают, если степень загрязнения легкая по ГОСТ 9920;
- цифру, обозначающую вариант исполнения заземлителя;
- букву (буквы) и цифру, обозначающие климатическое исполнение и категорию размещения заземлителя по ГОСТ 15150.
Пример условного обозначения заземлителя, не являющегося составной частью разъединителя (поставляемого как самостоятельное изделие), и расшифровка его структуры:

А.3 Условное обозначение привода должно содержать:
- букву П для сокращенного обозначения привода;
- букву (буквы), обозначающую(ие) вид привода:
Д - электродвигательный,
Э - электромагнитный,
Р - ручной,
П - пневматический,
ПР - пружинный,
Г - гидравлический и т. д.;
- цифру (цифры), обозначающую(ие) модификацию привода;
- цифры, обозначающие конструктивное исполнение привода;
- букву (буквы) и цифру, обозначающие климатическое исполнение и категорию размещения по ГОСТ 15150.
Пример условного обозначения привода и расшифровка его структуры:

[1] MSK-64 Шкала сейсмической интенсивности MSK-1964 (Рекомендована для временного использования
межправительственным совещанием ЮНЕСКО по сейсмологии и сейсмостойкому строительству. Париж,
Ключевые слова: разъединитель, заземлитель, привод
|
|
|
|