//
|
|
ГОСУДАРСТВЕННЫЙ КОМИТЕТ СОВЕТА МИНИСТРОВ СССР ПО ДЕЛАМ СТРОИТЕЛЬСТВА (ГОССТРОй СССР) СТРОИТЕЛЬНЫЕ НОРМЫ И ПРАВИЛАЧасть II, раздел В Глава 8 полыНОРМЫ ПРОЕКТИРОВАНИЯ СНиП II-В.8-71 УтвержденыГосударственным комитетом Совета Министров СССР по делам строительства 20 июля 1971 г.
ИЗДАТЕЛЬСТВО ЛИТЕРАТУРЫ ПО СТРОИТЕЛЬСТВУ Москва - 1972Глава СНиП II-В.8-71 «Полы. Нормы проектирования» разработана Центральным научно-исследовательским и проектно-экспериментальным институтом промышленных зданий (ЦНИИПромзданий) Госстроя СССР. С введением в действие настоящей главы утрачивают силу «Указания по проектированию полов производственных, жилых, общественных и вспомогательных зданий» (СН 300-65). Расчет полов с подстилающим слоем следует производить в соответствии с «Рекомендациями по расчету полов с подстилающим слоем и по конструкциям металлических плит для полов производственных помещений», сброшюрованными вместе с настоящей главой СНиП. Редакторы - инж. В.П. СМИРНОВ (Госстрой СССР), канд. техн. наук В.Я. ДАЛМАТОВ (ЦНИИПромзданий)
ОБЩИЕ УКАЗАНИЯ1. Нормы настоящей главы распространяются на проектирование полов производственных, жилых, общественных и вспомогательных зданий. 2. При проектировании полов кроме требований настоящей главы следует также соблюдать требования соответствующих нормативных документов, утвержденных или согласованных Госстроем СССР. 3. Полимерные материалы и изделия для полов следует применять согласно требованиям главы СНиП «Материалы и изделия на основе полимеров». 4. Конструкции полов следует назначать согласно табл. 1. 5. Типы покрытий полов производственных помещений следует назначать в зависимости от вида и интенсивности механических и тепловых воздействий, а также воздействий жидкостей на полы с учетом специальных требований к полам, согласно табл. 2. 6. Типы покрытий полов жилых, общественных и вспомогательных зданий следует назначать согласно табл. 3.
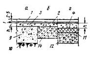
КОНСТРУКЦИИ ПОЛОВа - на грунте; б - на перекрытии по стяжке; в - на плите перекрытия; г - на перекрытии по стяжке, уложенной по тепло- или звукоизоляции. Полы со сплошным покрытием Продолжение табл. 1
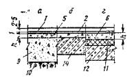
Продолжение табл. 1 Полы с покрытием из штучных материалов (камня, кирпича, плит и торцовой шашки)
Продолжение табл. 1
Продолжение табл. 1
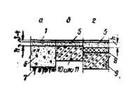
Продолжение табл. 1 Полы дощатые, из древесностружечных плит, паркетных досок и щитов
Продолжение табл. 1 Полы из штучного и наборного паркета (ГОСТ 862-69) Продолжение табл. 1 Полы из линолеума, полимерных плиток, ковровые
Продолжение табл. 1 Обогреваемые полы, устраиваемые по перекрытиям над холодными (проветриваемыми) подпольями зданий, сооружаемых в северной строительно-климатической зоне
1 В качестве уплотняющей добавки для кислотоупорных бетонов и растворов на жидком стекле следует назначать фуриловый спирт и солянокислый анилин (ГОСТ 5243-68), вводимые при затворении бетона или раствора в количестве соответственно 3 и 0,4% от веса жидкого стекла. 2 Пропитку кирпича следует предусматривать на глубину 20 мм при малой и средней интенсивности воздействия на пол жидкостей и на всю толщину кирпича--при большой интенсивности воздействия. 3 Температура размягчения битумных и дегтевых мастик принимается:
4 При нежестком подстилающем слое на грунте следует предусматривать прослойку из песка слоем толщиной 60 мм, а при бетонном подстилающем слое или по железобетонному перекрытию - из песка или теплоизоляционных материалов слоем толщиной, приведенной ниже.
В качестве теплоизоляционных материалов для прослойки применяют каменноугольные шлаки, молотые отходы шамотного кирпича или другие жаростойкие сыпучие материалы объемным весом в уплотненном состоянии 1 - 1,2 т/м3. Примечания: 1. В отапливаемых помещениях с температурой воздуха до 23°С при расположении покрытия пола, основанного на грунте выше отмостки здания или ниже ее до 0,5 м, надлежит предусматривать утепление пола в зонах его примыкания к наружным стенам и стенам, отделяющим отапливаемые помещения от неотапливаемых помещений: а) в производственных помещениях на постоянных рабочих местах при работах, выполняемых сидя или стоя, не требующих систематического физического напряжения или поднятия и переноски тяжестей (легкие работы); б) в помещениях жилых, общественных и вспомогательных зданий с долговременным пребыванием людей. Для утепления пола следует предусматривать укладку по грунту основания под конструкцию пола на ширину 1,5-2 м от стен слоя минеральных несжимаемых теплоизоляционных материалов (шлака, керамзита и др.) толщиной 0,15-0,25 м или предусматривать размещение вдоль стен каналов с трубами отопления. 2. В помещениях со средней и большой интенсивностью воздействия на пол жидкостей следует предусматривать уклоны полов. Величину уклонов полов, сточных лотков и каналов следует принимать: 2-4% - при покрытиях из брусчатки, кирпича и бетонов всех видов: 1-2% - при покрытиях из плит; при смыве твердых отходов производства с пола струей воды под напором уклоны полов и сточных лотков следует принимать 3-5%. Сточные лотки следует располагать так, чтобы они не пересекали проходов. Уклоны полов на перекрытиях следует создавать путем применения стяжки С-10, а полов на грунте - соответствующей планировкой грунта основания, причем толщина подстилающего слоя должна быть одинаковой по всей площади помещения. 3. Отделку поверхности покрытий и материалы для расцветки покрытий следует принимать:
4. Между стяжкой, укладываемой по звукоизоляционному слою или звукоизоляционным ленточным прокладкам и стенами, перегородками, трубопроводами и другими конструкциями следует предусматривать зазор шириной 15-25 мм, заполняемый звукоизоляционными материалами группы А или Б (см. табл. 8 приложения 4). 5. Полы П-64 - П-66 допускается применять в помещениях с нормативными нагрузками на пол не более 400 кг/м2 или сосредоточенными нагрузками не более 200 кг. При нагрузках на пол, превышающих указанные, расстояние между лагами (пролет покрытия), а также толщину и пролет лаг в полах П-64д, е - П-66д, е определяют расчетом. 6. Воздушное пространство под покрытием полов П-64 - П-66 не должно сообщаться с внутренним воздухом помещения, вентиляционными и дымовыми каналами и в помещениях площадью более 25 м2 должно разделяться перегородками из досок на замкнутые отсеки размером (4-5)×(5-6) м. 7. Полы П-64 - П-66, укладываемые на перекрытиях по звукоизоляционному слою или ленточным прокладкам, как правило, следует применять согласно схеме а, приведенной в табл. 1. 8. Применение полов П-64 - П-66 в помещениях хранения и переработки пищевых продуктов не допускается. 9. В полах П-64 толщина досок покрытия может быть увеличена до 37 мм в помещениях с динамическими воздействиями на пол, например в спортивных залах и т.д. 10. Пролет лаг (расстояние между осями столбиков) полов П-64д, е - П-66 д, е должен составлять: при толщине лаг 40 мм - 0,8 - 0,9 м; при толщине лаг 50 мм - 1 - 1,1 м. 11. Полы П-64д - П-66д допускается применять только при грунтах основания с ненарушенной структурой, естественной плотности, с отметкой поверхности основания пола выше уровня отмостки здания и выше зоны опасного капиллярного поднятия грунтовых вод. 12. Полы П-64е - П-66е допускается применять в нижеуказанных случаях:
13. Толщина покрытий полов производственных помещений должна назначаться согласно приложению 1. 14. Подстилающие слои в полах на грунте следует применять с соблюдением требований, приведенных в приложении 2. 15. Гидроизоляционные слои в полах следует предусматривать в случаях, указанных в приложении 3. 16. Типы стяжек в полах, их толщина и характеристики материала должны удовлетворять требованиям, приведенным в приложении 4. 17. Грунты оснований под полы должны удовлетворять требованиям, приведенным в приложении 5. 18. Конструктивные решения примыканий полов, а также деформационных швов, сточных лотков, каналов и трапов в полах следует назначать согласно приложению 6. 19. В приложении 8 приведены принятые в главе СНиП наименования элементов пола. Таблица 2 НАЗНАЧЕНИЕ ТИПОВ ПОКРЫТИЙ ПОЛОВ ПРОИЗВОДСТВЕННЫХ ПОМЕЩЕНИЙ
Продолжение табл. 2
Продолжение табл. 2
Продолжение табл. 2
Продолжение табл. 2
Продолжение табл. 2
Продолжение табл. 2
Продолжение табл. 2
Продолжение табл. 2
Продолжение табл. 2
Продолжение табл. 2
Продолжение табл. 2
Продолжение табл. 2
Продолжение табл. 2
1 Коэффициент С давления на пол металлических шин и круглых предметов определяют по формуле:
где Р - наибольшее давление колеса или обода на пол в кгс; b - ширина шины колеса или обода в см; D - диаметр колеса или обода в м. 2 Предусматриваются удары при падении твердых (металлических, каменных) предметов с высоты 1 м, действующих на различные места пола (сбрасывание грузов с автомобилей, тележек, перекидывание деталей, падение предметов и т.д.). При падении предметов на одно и то же место пола (из отверстий, желобов, установочных мест и пр.) вес, указанный в таблице, уменьшают в 3 раза. При падении предметов с высоты 2 м, действующих на различные места пола, вес, указанный в таблице, уменьшают в 2 раза, а при падении предметов с высоты 0,5 м - увеличивают в 1,5 раза. Ударные воздействия при обработке на полу различных предметов кувалдами и ломами условно приравниваются к ударам, при падении с высоты 1 м твердых предметов весом 30 кг, действующих на различные места пола. Воздействия на пол при волочении твердых предметов с острыми углами и ребрами условно приравниваются к ударам при падении с высоты 1 м твердых предметов весом 10 кг, действующих на различные места пола, а при работе острым металлическим инструментом (лопатами и пр.) - к ударам при падении с высоты 1 м твердых предметов весом 5 кг. 3 Предельные концентрации указаны: в числителе для кислот: азотной, серной, соляной, уксусной, фосфорной, хлорноватистой, хромовой; в знаменателе для кислот: масляной, молочной, муравьиной, щавелевой. Наибольшая концентрация кислот условно обозначена равной 100%. 4 Допускается при крупности зерен грунта в верхнем слое покрытия не более 2 мм. 5 Допускается при применении щебня, песка, исключающих искрообразование при ударах металлическими или каменными предметами (известнякового и др.). 6 При воздействии уксусной кислоты и ее растворов не допускается. 7 Допускается при интенсивности движения пешеходов, не превышающей 500 человек в сутки на 1 м ширины прохода. 8 Допускается при малой интенсивности воздействия эмульсий. 9 Допускается из диабазовой брусчатки. 10 Допускается при применении для прослойки и заполнения швов между камнями и плитами дегтевой мастики (не битумной). 11 Допускается при концентрации щелочи в растворе не более 8% по весу. 12 При отсутствии требований к пылеотделению, легкости очистки и ровности пола следует применять земляные или шлаковые покрытия. 13 Применение торцового покрытия допускается также при обработке на полу и возможном падении предметов, повреждение которых недопустимо. 14 Допускается в помещениях с относительной влажностью воздуха не более 60%. 15 Допускается только в случае, предусмотренном в примечании 2 к табл. 2. Примечания: 1. Приведенный в таблице тип покрытия может быть применен при воздействиях, не превышающих установленных для них в таблице ограничений. Покрытия специального назначения применяют только при воздействии на пол, отмеченном в таблице рамкой, при одновременном наличии воздействия, отмеченного подстрочной чертой. Покрытия специального назначения, для которых в таблице отсутствуют воздействия или специальные требования, отмеченные подстрочной чертой, применяют только при наличии воздействия или специального требования, отмеченного рамкой. 2. В отапливаемых производственных помещениях с температурой воздуха до 23°С на постоянных рабочих местах при работах, выполняемых сидя или стоя, не требующих систематического физического напряжения или поднятия и переноски тяжестей (легкие работы), следует применять покрытия: поливинилацетатное П-19, торцовые - П-62, П-63, дощатое П-64, из древесностружечных плит П-65, паркетные П-66 - П-70, из линолеума П-71, П-72, П-74, П-76, П-77, из поливинилхлоридных и кумароновых плит П-73, П-78, П-80, ковровое П-75, из поливинилхлоридного пластиката П-79. В случае воздействий на полы или специальных требований к ним, щри которых указанные покрытия не допускаются, могут применяться и другие типы покрытий при условии укладки на пол у рабочих мест ковриков или деревянных щитов. 3. Малой «интенсивностью движения считается нерегулярного характера (эпизодическое) движение пешеходов, а также безрельсового транспорта в количестве не более 10 единиц в сутки. 4. Воздействия на полы и специальные требования к полам производственных помещений (данные для проектирования полов) приведены в приложении 7. НАЗНАЧЕНИЕ ТИПОВ ПОКРЫТИЙ ПОЛОВ ЖИЛЫХ, ОБЩЕСТВЕННЫХ И ВСПОМОГАТЕЛЬНЫХ ЗДАНИЯ
1 Допускается при интенсивности движения пешеходов, не превышающей 500 человек в сутки на 1 м ширины прохода. 2 Не содержащие карбамидных смол и ортофосфорной кислоты. 3 Толщина покрытий должна быть 20 мм, а марка бетона или раствора для этих покрытий - не менее 200. Примечания: 1. Уровень пола в помещениях с воздействием на пол воды должен быть на 20-30 мм ниже уровня неувлажняемых покрытий смежных помещений. Полы в указанных помещениях допускается устраивать в одном уровне при условии устройства в дверных проемах между этими помещениями порогов высотой 20-30 мм. 2. Керамические и шлакоситалловые плиты, применяемые для покрытий полов бань в помещениях с мокрым режимом, должны иметь рифленую лицевую поверхность. 3. Назначение типа покрытий полов помещений, в которых воздействия на полы аналогичны воздействиям в производственных помещениях, следует осуществлять, как для производственных зданий. ПРИЛОЖЕНИЕ 1ТОЛЩИНА И ПРОЧНОСТЬ МАТЕРИАЛА ПОКРЫТИЯ ПОЛОВ ПРОИЗВОДСТВЕННЫХ ПОМЕЩЕНИЙТолщина земляных П-1; шлаковых П-2; гравийных П-3; щебеночных П-4, П-5; глинобитных П-6, П-7; бетонных П-8; из жароупорного бетона П-14 покрытий должна назначаться по расчету в зависимости от нагрузок на пол, применяемых материалов и свойств грунта основания и быть не менее: для земляного - 60 мм; для шлакового, гравийного, щебеночных и глинобитных - 80 мм; для бетонного П-8 и из жароупорного бетона - 120 мм. Таблица 4 Толщина, марки бетона и раствора сплошных покрытий и плит для покрытий
Примечания: 1. Толщину покрытий П-9 - П-11 и П-39 - П-41 при действии на пол щелочей или их растворов следует принимать на 10 мм более указанной в таблице. Марку бетона или раствора указанных покрытий и плит следует принимать не менее 400. 2. Толщину бетонных и металлоцементных покрытий и плит при движении транспорта на гусеничном ходу следует принимать на 20 мм более указанной в таблице. 3. Для бетонных, мозаичных и асфальтобетонных покрытий и плит при значительных механических воздействиях на полы следует предусматривать применение щебня или гравия из материалов прочностью при сжатии не менее 1000 кгс/см2, при умеренных воздействиях - не менее 800 кгс/см2, при слабых - не менее 600 кгс/см2. Таблица 5 Механические воздействия на полы
Таблица 6 Высота и прочность камня покрытий булыжных и из брусчатки
ПРИЛОЖЕНИЕ 2ПОДСТИЛАЮЩИЕ СЛОИ1. Толщина подстилающих слоев должна назначаться по расчету, в зависимости от нагрузок на пол, применяемых материалов и свойств грунта основания и быть не менее: песчаного - 60 мм; шлакового, гравийного, щебеночного и глинобетонного - 80 мм; булыжного-120 мм; из кислотоупорного бетона-100 мм; бетонного: в производственных помещениях- 100 мм; в жилых, общественных и вспомогательных зданиях - 80 мм. 2. В производственных помещениях проектную марку бетона следует назначать по расчету. 3. Подстилающий слой из кислотоупорного бетона следует применять только при средней и большой интенсивности воздействия на пол серной, соляной, азотной, уксусной, фосфорной, хлорноватистой, хромовой кислот концентрацией более 20%. 4. Глинобетонный подстилающий слой допускается применять только при постоянно сухих грунтах основания. ПРИЛОЖЕНИЕ 3ТИПЫ ГИДРОИЗОЛЯЦИОННЫХ СЛОЕВ
1. Гидроизоляцию от проникания сточных вод и других жидкостей следует предусматривать только при средней и большой интенсивности воздействия на пол: а) воды и нейтральных растворов - в полах только на перекрытиях, просадочных и набухающих грунтах, а также на пучинистых грунтах оснований полов в неотапливаемых помещениях; б) органических растворителей, минерального масла и эмульсий - в полах только на перекрытиях; в) кислот, щелочей и их растворов, а также веществ животного происхождения - в полах на грунте и перекрытиях. 2. При средней интенсивности воздействия жидкостей на пол должна применяться оклеечная гидроизоляция Г-1а, Г-2а или Г-3а, а при большой интенсивности воздействия и под сточными лотками, каналами и трапами - Г-1б, Г-2б или Г-3б. Примечание. Назначение гидроизоляции Г-1а и Г-1б при средней и большой интенсивности воздействия на пол минерального масла, эмульсий и органических растворителей, а также гидроизоляции Г-2а и и Г-2б - при средней и большой интенсивности воздействия на пол органических растворителей не допускается. 3. Поверх гидроизоляции Г-1а - Г-3б следует предусматривать стяжки С-1, С-7 или С-10 при покрытиях: бетонном П-9, цементно-песчаном П-10, мозаичном П-11, а также из плит, укладываемых по прослойке из цементно-песчаного раствора П-39 - П-41, П-43 - П-48. 4. При устройстве по гидроизоляции Г-1а - Г-2б покрытия, стяжки или прослойки, в состав которых входит цемент или жидкое стекло, следует предварительно на гидроизоляцию нанести соответственно битумную или дегтевую мастику с посыпкой песком крупностью 1,5-5 мм. 5. При расположении в зоне опасного капиллярного поднятия грунтовых вод низа бетонного подстилающего слоя, применяемого в помещениях, где отсутствует воздействие на пол сточных вод средней и большой интенсивности, следует применять гидроизоляцию Г-4 - Г-6. Высоту опасного капиллярного поднятия грунтовых вод при проектировании гидроизоляции надлежит принимать от горизонта грунтовых вод: 0,3 м - для крупного песка; 0,5 м - для песка средней крупности и мелкого; 1,5 м - для песка пылеватого; 2 м - для суглинка, пылеватых суглинка и супеси, глины. 6. При расположении бетонного подстилающего слоя ниже уровня отмостки здания в помещениях, где отсутствует воздействие на пол сточных вод средней и большой интенсивности, следует применять гидроизоляцию Г-6. 7. При средней и большой интенсивности воздействия на пол растворов серной, соляной, азотной, уксусной, фосфорной, хлорноватистой и хромовой кислот под бетонным подстилающим слоем следует предусматривать гидроизоляцию Г-4 - Г-6. ПРИЛОЖЕНИЕ 4ТИПЫ СТЯЖЕКа - по бетонному подстилающему слою, плите перекрытия или стяжке; б - по сплошному тепло- или звукоизоляционному слою перекрытия; в - по звукоизоляционным ленточным прокладкам на перекрытии Таблица 7 Сплошные стяжки
Толщина и объемный вес звукоизоляционных прокладок и засыпок
ПРИЛОЖЕНИЕ 5ГРУНТЫ ОСНОВАНИЙ ПОД ПОЛЫ1. Полы следует устраивать на грунтах исключающих возможность деформаций пола. В необходимых случаях следует предусматривать меры по укреплению грунтов. Торф и другие растительные грунты в основаниях под полы не допускаются. 2. При наличии пучинистых грунтов в основании пола помещений, где возможно промерзание этих грунтов, следует предусматривать: а) устройство по основанию теплоизоляционного слоя толщиной по расчету из неорганических влагостойких материалов объемным весом не более 1,2 т/м3 (каменноугольный шлак и др.) или б) замену пучинистого грунта при обратных засыпках котлованов в зоне промерзания грунта непучинистым грунтом. 3. При применении подстилающих слоев бетонного и из кислотоупорного бетона по нескальному грунту следует в основание втрамбовать слой щебня или гравия крупностью 40-60 мм. ПРИЛОЖЕНИЕ 6ПРИМЫКАНИЯ ПОЛОВ. ДЕФОРМАЦИОННЫЕ ШВЫ, СТОЧНЫЕ ЛОТКИ, КАНАЛЫ И ТРАПЫ В ПОЛАХ
Рис. 1. Плинтусы и галтели при отсутствии воздействия на пол жидкостей Д-1 - деревянные плинтусы (ГОСТ 8242-63); Д-2 - деревянные плинтусы с раскладкой (ГОСТ 82421-63); Д-3 - деревянные галтели (ГОСТ 8242-63); Д-4 - плинтусы из полимерных материалов; Д-5 - плинтусы из цементно-песчаного раствора; Д-6 - примыкание пола из чугунных плит к стенам и полам других типов; 1 - деревянный плинтус; 2 - деревянная раскладка; 3 - деревянная галтель; 4 - деревянные пробки через 0,5 м; 5 - плинтус из полимерных материалов; 6 - мастика; 7 - плинтус из цементно-песчаного раствора марки 150; 8 - стена, перегородка, колонна и т.п.; 9 - покрытие; 10 - подстилающий слой или плита перекрытия; 11 - покрытие из чугунных плит (П-59); 12 - крючки из круглой стали Ø10 мм через 0,5 м; 13 - бетон марки 300; в местах нагревания пола более 100°С - жароупорный бетон; 14 - песчаная прослойка; 15 - грунт основания Примечание. Примыкания Д-1 - Д-4 следует предусматривать на покрытиях: поливинилацетатных (П-18; П-19), ксилолитовых (П-17, П-42); дощатых, из древесностружечных плит, паркетных, из листовых, ковровых и плитных материалов (П-64 - П-85). Примыкание Д-5 допускается при сплошных покрытиях, выполняемых на цементном вяжущем, а также при покрытиях из штучных материалов на цементно-песчаной прослойке.
Рис. 2. Примыкание полов к каналам и приямкам при отсутствии воздействия на пол жидкостей Д-7 - канал или приямок, перекрытый железобетонными, стальными плитами или деревянными щитами; Д-8 - то же, перекрытый чугунными плитами; Д-9 - открытый приямок или канал; съемные плиты перекрытия каналов и приямков; Д-10 - железобетонные; Д-11 - деревянные; Д-12 - чугунные; Д-13 - стальные сварные; 1 - окаймление из угловой стали; 2 - анкеры из полосовой стали 20×4 мм, через 0,5 м; 3 - сварная сетка с ячейками размером 100×100 мм, из круглой стали диаметром 8-10 мм; 4 - покрытие; 5 - подстилающий слой; 6 - стенки и днище канала или приямка из бетона или кирпича; 7 - грунт основания; 8 - сварной шов; 9 - бетон марки 300; 10 - монтажные отверстия
Рис. 3. Деформационные швы Д-14 - в полах на грунте с покрытиями: бетонными (П-8; П-9; П-39), цементно-песчаными (П-10; П-40), мозаичными П-11; П-41), поливинилацетатно-цементно-бетонными (П-13), металлоцементными (П-13), ксилолитовыми (П-19, П-42) и из чугунных дырчатых плит (П-60), в зонах умеренных и значительных механических воздействий на пол; Д-15 - то же, в полах на перекрытиях; Д-16 - то же, в полах на грунте и перекрытиях при наличии оклеечной гидроизоляции; Д-17 - в полах на грунте с покрытиями, указанными для Д-14, при слабых механических воздействиях на пол, а также в полах с покрытиями других типов; Д-18 - то же, в полах на перекрытиях; Д-19 - то же, в полах на грунте и перекрытиях при наличии оклеечной гидроизоляции; 1 - окаймление из угловой стали; 2 - анкеры из полосовой стали 4×40 мм, через 0,5 м; 3 - анкеры из полосовой стали 4×40 мм, через 0,5 м; 4 - компенсатор из оцинкованной кровельной стали; 5 - компенсатор из полиизобутилена либо нержавеющей листовой стали толщиной 0,8-1 мм; 6 - заполнение деформационного шва; 7 - покрытие; 8 - бетонный подстилающий слой; 9 - грунт основания; 10 - плита перекрытия; 11 - оклеечная гидроизоляция; 12 - сварной шов; 13 - круглая сталь диаметром 12- 14 мм Примечания: 1. Деформационные швы Д-14 и Д-17 следует предусматривать в бетонном подстилающем слое и покрытии П-8 только в помещениях, при эксплуатации которых возможны положительная и отрицательная температуры воздуха. Указанные деформационные швы следует размещать на расстоянии между собой 6-8 м во взаимно перпендикулярных направлениях. 2. Деформационные швы Д-15; Д-16; Д-18; Д-19 следует предусматривать только в местах расположения деформационных швов здания. 3. Расположение деформационных швов в полах с уклонами должно совпадать с водоразделами стока жидкостей.
Рис. 4. Полы в зоне железнодорожных путей Д-20 - колеи 1524 мм с покрытием из железобетонных плит; Д-21 - то же, с покрытием из штучных материалов; Д-22 - узкой колеи в полах на перекрытии, при отсутствии оклеечной гидроизоляции; Д-23 - то же, при наличии оклеечной гидроизоляции; Д-24 - узкой колеи в полах на грунте, при отсутствии оклеечной гидроизоляции; Д-25 - то же, при наличии оклеечной гидроизоляции; 1 - разборное покрытие из железобетонных плит размером 1 400×700 мм, бетон марки 300; 2 - то же, из брусчатки (П-21), клинкерного кирпича (П-22), торцовой шашки (П-62); 3-покрытие пола; 4 - железобетонные шпалы; 5 - металлические шпалы; 6 - песчаный балласт; 7 - оклеечная гидроизоляция; 8 - бетонный подстилающий слой; 9 - плита перекрытия; 10 - грунт основания; 11 - окаймление из угловой стали
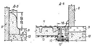
Рис. 5. Плинтусы при воздействии на пол жидкостей Д-26 - плинтусы из керамических, шлакоситалловых или каменных литых плит; Д-27 - плинтусы из клинкерного или кислотоупорного кирпича; Д-28 - плинтусы у трубопроводов, закрепленных в перекрытии; Д-29, Д-30 - то же, не закрепленных в перекрытии; 1 - плинтус из керамических, шлакоситалловых или каменных литых плит; 2 - то же, из клинкерного или кислотоупорного кирпича; 3 - прослойка; 4 - оклеечная гидроизоляция типов Г-1а - Г-3б; 5 - полоска из кровельной стали шириной 30 мм; 6 - гвозди; 7 - деревянные пробки через 0,5 м; 8 - обмотка изоляционной лентой или проволокой; 9 - трубопровод; 10 - стальной патрубок; 11 - опорное кольцо; 12 - хомут и зонт из нержавеющей стали; 13 - стена, колонна, фундамент и т.п.; 14 - покрытие, сплошное или из штучных материалов с прослойкой; 15 - подстилающий слой; 16 - плита перекрытия; 17 - сварной шов; 18 - бетонный бортик; 19 - окраска химически стойкими красками Примечание. Плинтусы должны выполняться из материалов, допускаемых согласно табл. 2 для покрытия и прослойки полов при воздействии жидкостей средней интенсивности.
Рис. 6. Сточные лотки Д-31 - в полах на грунте, без гидроизоляции; Д-32 - в полах на грунте и перекрытиях, с гидроизоляцией; Д-33 - из плит с бортами из кирпича в полах на грунте, без гидроизоляции; Д-34 - то же, в полах на грунте и перекрытиях, с гидроизоляцией; Д-35 - из керамической трубы, разрезанной вдоль, в полах на грунте, без гидроизоляции; Д-36 - то же, в полах на грунте, с гидроизоляцией; 1 - покрытие сплошное или из штучных материалов с прослойкой; 2 - прослойка; 3 - оклеечная гидроизоляция типов Г-1a - Г-3а; 4 - оклеечная гидроизоляция типов Г-1б - Г-3б; 5 - покрытие лотка из плиток; 6 - бортовой кирпич; 7- керамическая труба, разрезанная вдоль; 8 - подстилающий слой; 9 - плита перекрытия со стяжкой С-10; 10 - грунт основания Примечания: 1. Покрытие лотков должно выполняться из материалов, допускаемых согласно табл. 2 для покрытия и прослойки полов при воздействии жидкостей большой интенсивности. 2. Лотки типов Д-31; Д-33; Д-35 следует предусматривать только в полах на грунте при отсутствии в конструкции пола гидроизоляции от сточных вод.
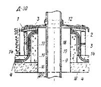
Рис. 7. Трапы и каналы в полах для стока воды и растворов нейтральной реакции Д-37 - чугунный трап в полах на грунте; Д-38 - то же, в полах на перекрытиях; Д-39 - бетонный трап в полах на грунте; Д-40 - канал в полах на грунте, с чугунной решеткой; Д-41 - то же, с деревянной решеткой; 1 - чугунный трап (ГОСТ 1811-62); 2 - съемная чугунная решетка; 3 - съемная стальная решетка с приваренным колпаком; 4 - съемная деревянная решетка; 5 - окаймление из угловой стали; 6 - анкер; 7 - водоотводящая труба (чугунная, стальная, керамическая и др.); 8 - покрытие сплошное или из штучных материалов с прослойкой; 9 - оклеечная гидроизоляция типов Г-1а - Г-3б; 10 - подстилающий слой; 11 - сварная сетка с ячейками размером 100×100 мм из круглой стали диаметром 8-10 мм; 12 - стяжка С-10; 13 - плита перекрытия; 14 - стенки и днище канала из бетона марки 150 или кирпича; 15 - цементно-песчаный раствор состава 1:1, с железнением поверхности; 16 - грунт основания
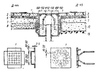
Рис. 8. Трапы в полах для стока воды, содержащей кислоты и щелочи Д-42; Д-44 - сточные трапы в полах на перекрытиях; Д-43; Д-45 - то же, в полах на грунте; 1 - трап из листовой нержавеющей (кислотоупорной, щелочестойкой) стали; 2 - покрытие сплошное или из штучных материалов с прослойкой; 3 - прослойка; 4 - керамические, шлакоситалловые и тому подобные плиты; 5 - оклеечная гидроизоляция типов Г-1а - Г-3а; 6 - оклеечная гидроизоляция типов Г-1б - Г-3б; 7 - стяжка типа С-10; 8 - плита перекрытия; 9 - керамическая труба; 10 - хомут из полосовой нержавеющей стали 30×4 мм; 11 - подвеска из полосовой нержавеющей стали 30×4 мм; 12 - подстилающий слой; 13 - грунт основания
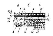
Рис. 9. Каналы в полах для стока воды, содержащей кислоты и щелочи Д-46 - сточный канал в полах на грунте, облицованный плитами; Д-47 - то же, облицованный кирпичом; 1 - покрытие сплошное или из штучных материалов с прослойкой; 2 - прослойка; 3 - керамические, шлакоситалловые и тому подобные плиты; 4 - оклеечная гидроизоляция типов Г-1а - Г-3а; 5 - оклеечная гидроизоляция типов Г-1б - Г-3б; 6 - подстилающий слой; 7 - деревянная или чугунная съемная решетка; 8 - облицовка канала керамическими, шлакоситалловыми и тому подобными плитами; 9 -то же, кислотоупорным кирпичом; 10 - стенки и днище из бетона марки 150 или кирпича; 11 - грунт основания Примечание. Облицовка сточных каналов должна выполняться из материалов, допускаемых согласно табл. 2 для покрытия и прослойки полов при воздействии жидкостей большой интенсивности. ПРИЛОЖЕНИЕ 7ВОЗДЕЙСТВИЯ НА ПОЛЫ И СПЕЦИАЛЬНЫЕ ТРЕБОВАНИЯ К ПОЛАМ ПРОИЗВОДСТВЕННЫХ ПОМЕЩЕНИЙ (ДАННЫЕ ДЛЯ ПРОЕКТИРОВАНИЯ ПОЛОВ)А. Механические воздействия на пола) воздействие на пол при движении пешеходов - количество людей, проходящих в сутки на 1 м ширины прохода; б) воздействие на пол при движении безрельсовых транспортных средств - количество проездов в сутки по одной полосе движения следующих транспортных средств: ручных тележек на резиновых шинах; тяжелого транспорта на резиновых шинах (автомобилей, электрокаров, автопогрузчиков и др.), с указанием наименования, типа и грузоподъемности каждого вида транспорта; тележек на металлических шинах, с указанием диаметра и ширины шин, наибольшей нагрузки на колесо; на гусеничном ходу (тракторы и др.), с указанием площади опирания и общего давления от гусениц; в) воздействие на пол при перекатывании круглых металлических предметов (колес, бочек, барабанов с кабелем, тросом и др.) - количество перекатываний в сутки, диаметр предметов, ширина обода, давление обода на пол; г) ударные воздействия на пол при производственных процессах и ремонте, демонтаже, перемещении и монтаже оборудования: высота падения и вес падающих твердых (например, металлических, каменных) предметов, раздельно для ударов: действующих на различные места пола (сбрасывание грузов с автомобилей и тележек, перекидывание деталей, случайное падение предметов, инструмента и пр.); действующих на одно и то же место пола (падение предметов из отверстий, желобов, установочных мест, скатывание на пол круглых предметов по направляющим и др.); производство работ на полу с применением кувалд и ломов (обработка изделий, разбивание кусков материала и пр.); удары и воздействия на пол при волочении твердых предметов с острыми углами и ребрами и при работе острым металлическим инструментом (сгребание материала лопатами и др.); д) сосредоточенные на ограниченной площади нагрузки на пол: стационарные (от оборудования, стеллажей и пр.) и временные (от отдельных изделий, штабелей материалов, подставок и подкладок под изделия и пр.), с указанием: величины общей и удельной нагрузки на пол; формы и размеров следа опирания предметов; возможного наибольшего сближения мест приложения нагрузок при монтаже, эксплуатации и ремонтных работах; е) распределенные нагрузки на пол (от сыпучих материалов, штабелей изделий и др.), с указанием: удельной нагрузки в разных местах загруженной площади; возможности загружения всей и части пола, границ зоны загружения; ж) нагрузки от самоходных кранов (автомобильных, на гусеничном ходу), применяемых для монтажа сборных конструкций зданий и оборудования, выполняемого с подстилающего слоя пола в строительный период, с указанием зоны движения самоходных кранов; их грузоподъемности и марок; наибольшего давления на пол от колес и опор или гусениц. Б. Тепловые воздействия на полВ качестве температуры пола следует принимать наибольшую температуру: а) нагретого воздуха на уровне пола; б) горячих предметов (раскаленные и нагретые детали, проливы расплавленного металла, горячие днища ковшей и др.) при их соприкосновении с полом; температуру горячих предметов следует указывать по следующей условной шкале: до 50, 100, 500, 800, 1400, более 1400°С; в) горячих жидкостей при их воздействии на пол. Температуру пола, нагреваемого теплоизлучением от технологического оборудования, определяют теплотехническим расчетом. В. Воздействия жидкостей на пол.При проектировании следует учитывать воздействия следующих жидкостей на пол: а) воды и растворов нейтральной реакции; б) минеральных масел и масляных эмульсий; в) органических растворителей (бензина, бензола и др.); г) веществ животного происхождения (жиров, крови, молока и др.); д) кислот (серной, азотной, соляной, уксусной и др.) и растворов кислой реакции с указанием концентраций; е) щелочей (едких, углекислых и др.) и растворов щелочной реакции с указанием концентраций. Смывные воды с незначительным количеством кислых или щелочных примесей следует относить соответственно к растворам кислоты или щелочи. Зона воздействия жидкостей, вследствие их перекоса на подошвах обуви и шинах транспорта, распространяется во все стороны (включая смежные помещения) от места смачивания пола: водой и водными растворами на 20 м, веществами животного происхождения - 30 м, минеральными маслами и эмульсиями - 100 м. Интенсивность воздействия жидкостей на пол следует считать: малой - воздействие жидкостей на пол вызывает лишь увлажнение пола, который периодически просыхает; уборка помещения или оборудования производится без поливания пола водой; средней - при периодическом стоке жидкостей по поверхности пола; большой - при постоянном или систематическом стоке жидкостей по поверхности пола. Примечание. Влажная протирка пола как воздействие на пол жидкостей не учитывается. Г. Специальные требования к полуа) диэлектричность; б) безыскровость (невозможность ценообразования при ударах металлическими или каменными предметами); в) беспыльность. Примечания: 1. Данные для проектирования полов производственных помещений должны включать все возможные воздействия на пол и специальные требования к нему и устанавливаться для каждой зоны помещения в соответствии с технологическими требованиями. 2. Требования к безыскровости пола предъявляются, когда в помещениях возможно образование горючих газов, пыли, жидкостей и других веществ в таких концентрациях, при которых искры, образующиеся на поверхности пола при ударах металлическими или другими предметами, могут вызвать взрыв или возгорание. 3. При воздействии щелочей и их растворов на сплошные и плитные бетонные, цементно-песчаные и мозаичные полы, а также растворов кислот и щелочей на полы асфальтобетонные и из брусчатки, кирпича я плит всех видов на битумной или дегтевой мастике и при специальных требованиях к указанным полам в проектах кроме наименования покрытия надлежит указывать его соответствующие свойства, например при воздействиях на асфальтобетонный пол растворов кислот - покрытие асфальтобетонное, кислотостойкое. ПРИЛОЖЕНИЕ 8ПРИНЯТЫЕ НАИМЕНОВАНИЯ ЭЛЕМЕНТОВ ПОЛАПокрытие - верхний элемент пола, непосредственно подвергающийся эксплуатационным воздействиям; покрытия подразделяются на сплошные (бетонные, ксилолитовые, щебеночные и др.) и из штучных материалов (плит, досок, линолеума и др.). Различают покрытия общего, а также специального назначения: прослойка - промежуточный слой, связывающий покрытие с нижележащим элементом пола или перекрытием или же служащий для покрытия упругой постелью; стяжка - слой, образующий жесткую или плотную корку по нежестким или пористым элементам перекрытия; стяжка устраивается также для выравнивания поверхности элемента пола или перекрытия, придания покрытию заданного уклона, закрытия различных трубопроводов, создания теплоизоляционного слоя или воздушной прослойки; гидроизоляционный слой (или несколько слоев) - элемент пола, препятствующий: а) прониканию через пол сточных вод и других жидкостей; б) прониканию в пол грунтовых вод; подстилающий слой (подготовка) - элемент пола на грунте, распределяющий нагрузки по основанию; теплоизоляционный слой - элемент пола на грунте, уменьшающий общую теплопроводность пола. Наименование пола устанавливается по наименованию его покрытия. РЕКОМЕНДАЦИИ
| ||||||||||||||||||||||||||||||||||||||||||||||||||||||||||||||||||||||||||||||||||||||||||||||||||||||||||||||||||||||||||||||||||||||||||||||||||||||||||||||||||||||||||||||||||||||||||||||||||||||||||||||||||||||||||||||||||||||||||||||||||||||||||||||||||||||||||||||||||||||||||||||||||||||||||||||||||||||||||||||||||||||||||||||||||||||||||||||||||||||||||||||||||||||||||||||||||||||||||||||||||||||||||||||||||||||||||||||||||||||||||||||||||||||||||||||||||||||||||||||||||||||||||||||||||||||||||||||||||||||||||||||||||||||||||||||||||||||||||||||||||||||||||||||||||||||||||||||||||||||||||||||||||||||||||||||||||||||||||||||||||||||||||||||||||||||||||||||||||||||||||||||||||||||||||||||||||||||||||||||||||||||||||||||||||||||||||||||||||||||||||||||||||||||||||||||||||||||||||||||||||||||||||||||||||||||||||||||||||||||||||||||||||||||||||||||||||||||||||||||||||||||||||||||||||||||||||||||||||||||||||||||||||||||||||||||||||||||||||||||||||||||||||||||||||||||||||||||||||||||
|
Марки транспортных средств |
Количество осей в шт. |
Нагрузка на колесо Р в кг |
Площадь следа колеса F в см2 |
Удельное
давление на пол |
Диаметр круга следа колеса |
Коэффициент |
|
Условный автомобиль с расчетной нагрузкой Н-13 |
2 |
4550 |
910 |
5 |
34 |
1 |
|
Автомобили: |
|
|
|
|
|
|
|
|
2 |
2000 |
500 |
4 |
25 |
0,59 |
|
|
2 |
2260 |
640 |
3,5 |
28,5 |
0,59 |
|
ЗИЛ-585 |
2 |
2725 |
650 |
4,2 |
29 |
0,72 |
|
Урал-377 |
3 |
2750 |
640 |
4,3 |
28,5 |
0,72 |
|
ГАЗ-93А |
2 |
2850 |
710 |
4 |
30 |
0,72 |
|
ГАЗ-53А |
2 |
2800 |
580 |
4,8 |
27 |
0,76 |
|
ЗИЛ-164 |
2 |
3080 |
720 |
4,3 |
30 |
0,76 |
|
ЗИЛ-ММЗ-585 |
2 |
2850 |
570 |
5 |
2,7 |
0,8 |
|
ЗИЛ-164А |
2 |
3100 |
620 |
5 |
28 |
0,82 |
|
ЗИЛ-ММЗ-555 |
2 |
3250 |
540 |
6 |
26 |
0,92 |
|
ЗИЛ-130 |
2 |
3500 |
600 |
5,8 |
28 |
0,95 |
|
МАЗ-205 |
2 |
4200 |
700 |
6 |
30 |
1,06 |
|
ЯAЗ-210 |
3 |
4500 |
750 |
6 |
31 |
1,1 |
|
КрАЗ-219Б |
3 |
4700 |
780 |
6 |
31,5 |
1,1 |
|
МАЗ-503 |
2 |
4700 |
780 |
6 |
31,5 |
1,1 |
|
|
2 |
5000 |
830 |
6 |
33 |
1,16 |
|
КрАЗ-221 |
3 |
8100 |
1590 |
5,1 |
45 |
1,35 |
|
Автопогрузчики |
|
|
|
|
|
|
|
4000; 4043М |
2 |
3640 |
490 |
7,4 |
25 |
1,1 |
|
4003; 4045М |
2 |
5120 |
850 |
6 |
33 |
1,16 |
|
Электрокары: |
|
|
|
|
|
|
|
ЭК-1,5 |
2 |
625 |
42 |
15 |
7,3 |
0,64 |
|
ЭК-2 |
2 |
675 |
56 |
15,7 |
8,3 |
0,76 |
|
ТС |
2 |
1200 |
78 |
15,3 |
10 |
0,9 |
|
Трейлер Т-101 |
3 |
6440 |
1073 |
6 |
37 |
1,31 |
Примечания: 1. Для автопогрузчиков увеличение нагрузки на колеса в момент подъема груза учтено в таблице в размере 10%.
2. Расчетные данные для нагрузки от транспортных средств, не указанных в таблице, определяют по п. 5.
К1 - коэффициент, учитывающий воздействия на пол транспортных средств в зависимости от количества осей у них; принимают по табл. 2.
Значения К1
|
Транспортные средства |
Значения К1 при количестве осей у транспортных средств |
||
|
2 |
3 |
4 |
|
|
Автомобили, автопогрузчики, электрокары. |
1 |
1,8 |
- |
|
Трейлеры |
1,8 |
2,4 |
3 |
Для каждого значения Ni по графику рис. 1 определяют эквивалентное, по воздействию на пол, количество условных автомобилей с расчетной нагрузкой Н-13 (Niн) следующим образом: из точки на оси п, отвечающей значению Ni восстанавливают перпендикуляр до пересечения с наклонной линией, соответствующей данной марке транспортного средства; из полученной точки пересечения проводят линию, параллельную оси п, до пересечения с наклонной линией Н-13 и из точки пересечения опускают перпендикуляр на ось п. Полученное значение на оси п соответствует значению Niн.

Количествo транспортных средств в сутки
Рис. 1. График для приведения интенсивности движения транспортных средств к интенсивности движения условного автомобиля с расчетной нагрузкой Н-13 и для определения требуемого модуля деформации Етр пола
Для определения значения Niн
для транспортного средства, не указанного в табл. 1, на рис. 1
проводят специальную для него наклонную прямую линию, ординаты точек которой
равны ординатам точек наклонной линии Н-13, умноженным на коэффициент
данного транспортного
средства (см. табл. 1).
Расчетную интенсивность движения определяют по формуле
где ΣNiн - определяется суммированием значений Niн для каждой марки транспортных средств;
γ - коэффициент распределения движения по ширине проезда, принимаемый по табл. 3.
|
Количество полос движения |
1 |
2 |
3 |
|
γ |
2 |
1 |
0,75 |
6. За критерий несущей способности нежестких
подстилающих слоев принимают относительную деформацию
(S - осадка в см покрытия пола под действием нагрузки).
Допускаемые значения δ приведены в табл.
4.
Прочность покрытия, подстилающего слоя и грунта основания характеризуется соответствующим модулем деформации Е в кгс/см2, зависящим от прочности материала, а для грунтов, кроме того, от их влажности и возможности промерзания.
Значения модуля деформации Е принимают: для покрытий и подстилающих слоев - по табл. 4, а для грунтов основания - по табл. 5.
Допускаемые значения относительной деформации δ и значения модуля деформации Е для покрытий и подстилающих слоев
|
Покрытия, подстилающие слои и характеристики применяемых материалов |
Допускаемые значения относительной деформации δ |
Модуль деформации Е в кгс/см2 при расположении низа подстилающего слоя |
|
|
в зоне опасного капиллярного поднятия грунтовых вод |
выше зоны опасного капиллярного поднятия грунтовых вод |
||
|
Земляные из песчаных смесей оптимального гранулометрического состава |
0,06 |
250 |
300 |
|
Шлаковые с применением шлака из высококалорийных углей (донецких, кузнецких, карагандинских) с содержанием зерен мельче 2 мм не свыше 20% |
0,06 |
450 |
600 |
|
Шлаковые с применением шлаков из бурых углей (подмосковных, черемховских) с содержанием зерен мельче 2 мм и золы не свыше 30% |
0,06 |
200 |
300 |
|
Гравийные с применением гравия из каменных материалов прочностью при сжатии не менее 500 кгс/см2, с содержанием зерен крупнее 2 мм: |
|
|
|
|
85% и более |
0,06 |
800 |
900 |
|
70-85% |
0,06 |
600 |
700 |
|
50-70% |
0,06 |
400 |
500 |
|
Щебеночные из сортированного щебня из каменных материалов или доменных шлаков прочностью при сжатии в кгс/см2: |
|
|
|
|
800 и более |
0,05 |
1300 |
1300 |
|
500-800 |
0,06 |
1100 |
1100 |
|
То же, пропитанные битумом при прочности щебня в кгс/см2: |
|
|
|
|
800 и более |
0,04 |
1800 |
1800 |
|
500-800 |
0,04 |
1500 |
1500 |
|
Глинобитные |
0,05 |
150 |
200 |
|
Глинобетонные с содержанием щебня или гравия 50-65% |
0,05 |
300 |
400 |
|
Асфальтобетонные |
0,035 |
2400 |
2400 |
|
Булыжные, из каменной и шлаковой брусчатки, из клинкерного кирпича на ребро, уложенных на песке при их высоте: |
|
|
|
|
более 15 см |
0,06 |
1600 |
1600 |
|
15 см и менее |
0,05 |
1300 |
1300 |
|
Из брусчатки и кирпича всех видов на ребро, по прослойке из раствора или из мастики |
0,035 |
2500 |
2500 |
|
Торцовые |
0,04 |
1200 |
1200 |
Примечание. Значения модуля деформации песчаного подстилающего слоя принимают по табл. 5, как для песчаных грунтов.
Значения модуля деформации грунта основания
|
Грунт |
Содержание (по весу) зерен, крупнее |
Модуль деформации Е в кгс/см2 при расположении низа подстилающего слоя |
|||
|
выше зоны опасного капиллярного поднятия грунтовых вод |
в зоне опасного капиллярного поднятия грунтовых вод |
||||
|
отапливаемые здания |
неотапливаемые здания |
отапливаемые здания |
неотапливаемые здания |
||
|
Песок крупный и гравелистый |
0,5 мм, более 50% |
450 |
420 |
370 |
350 |
|
Песок средней крупности |
0,25 мм, более 50% |
400 |
370 |
300 |
250 |
|
Песок мелкий |
0,1 мм, более 75% |
350 |
300 |
200 |
150 |
|
Супесь |
0,05 мм, более 50% |
280 |
240 |
160 |
120 |
|
Песок пылеватый |
0,1 мм, менее 75% |
220 |
200 |
140 |
- |
|
Суглинок, глина |
0,05 мм, более 40% |
220 |
190 |
130 |
- |
|
Супесь, суглинок и глина пылеватые |
0,05 мм, более 40% |
190 |
160 |
120 |
- |
7. Необходимую прочность пола, характеризуемую требуемым модулем деформации Етр в кгс/см2, определяют:
а) для нагрузок от безрельсовых транспортных средств по формуле
где δ - допускаемая относительная деформация покрытия, принимаемая по табл. 4;
К3 = 0,5 + 0,65lgNp - коэффициент, учитывающий повторность воздействий нагрузок при движении транспортных средств;
Np - расчетная интенсивность движения;
μ = 1,2 - коэффициент запаса на неоднородность условий работы пола.
Значение Етр можно также определить по рис. 1. Для этого из точки на оси п, соответствующей расчетной интенсивности движения Np условных автомобилей с расчетной нагрузкой Н-13, проводят перпендикуляр к оси п до пересечения с наклонной линией Н-13. Полученную точку пересечения переносят параллельно оси п на ординату со значением δ, допускаемой для данного типа покрытия (см. табл. 4), затем по наклонной линии, проходящей через полученную точку, на ординате определяют требуемый модуль деформации Етр;
б) для неподвижных нагрузок по формуле
где р - удельное давление на пол в кгс/см2;
δ - принимают по табл. 4;
μ = 1,2.
8. При расчете прочности пола составляют расчетную схему конструкций пола в соответствии с рис. 2 и принимают материал каждого его слоя. На схеме указывают расчетные модули деформации Е материала каждого слоя пола и грунта основания, а также толщину h каждого слоя пола, за исключением нижнего слоя, устраиваемого непосредственно на грунте, толщина которого определяется расчетом.

Рис. 2. Расчетные схемы полов с нежестким подстилающим слоем
а - покрытие на грунте основания; б - покрытие на однослойном подстилающем слое; в - покрытие на двухслойном подстилающем слое или однослойном подстилающем слое по искусственному основанию; г - покрытие на двухслойном подстилающем слое по искусственному основанию; 1 - грунт основания; 2 - слой пола; 3 - нагрузка на пол
Модули деформации материала отдельных слоев пола принимают по табл. 4 настоящих Рекомендаций, а грунта основания - по табл. 5 настоящих Рекомендаций. Толщину покрытий асфальтобетонных, булыжных и из брусчатки назначают по приложению 1 к главе СНиП II-В.8-71; толщину покрытий других типов устанавливают по табл. 1 главы СНиП II-В.8-71, а толщину других слоев пола назначают по конструктивным соображениям, но не менее указанных в приложении 2 к главе СНиП II-В.8-71. Толщину прослоек и мастик, а также гидроизоляционных слоев от сточных вод и других жидкостей включают в толщину покрытия. Толщину прослоек, расположенных на подстилающем слое, не учитывают.
Материалы для подстилающего слоя следует выбирать так, чтобы расчетный модуль деформации материала каждого вышележащего слоя превышал в 1,5-3,5 раза расчетный модуль деформации материала нижележащего слоя пола или грунта основания.
9. Расчет прочности пола производят следующим
образом. По значению D и Eэn
= Eтр, а также Еп и hn для n-го верхнего слоя (рис. 2)
вычисляют отношения
и по рис. 3
определяют эквивалентный модуль деформации Еэn-1 всех слоев
пола и основания, расположенных ниже верхнего слоя. Для этого из точки на оси
, соответствующей значению
, проводят перпендикуляр до пересечения с кривой со
значением, равным
. Полученная точка пересечения переносится параллельно оси
влево на ось
. Полученное значение на этой оси соответствует отношению
, откуда определяют Еэn-1
= Кэn Еп.
Зная Еэn-1; Еn-1; hn-1; D, аналогичным путем
определяют Еэn-2
и т.д., пока не определят эквивалентный модуль деформации Eэ0+1 на поверхности
первого снизу слоя пола. По значениям Eэ0+1; E0+1; Е0
вычисляют отношения
здесь Е0 - модуль деформации грунта основания, принимаемый по табл. 5, a E0+1 - модуль
деформации нижнего слоя пола. Точку на оси
, соответствующую значению
переносят параллельно
оси
на кривую со значением
. Из полученной точки на этой кривой опускают перпендикуляр
на ось
. Значение на этой оси соответствует отношению
, откуда h0+1 = a1D.
Если толщина подстилающего слоя получается меньше величин, приведенных в приложении 2 к главе СНиП II-В.8-71, или если Eэ0+1 больше, чем E0+1 толщина подстилающего слоя принимается согласно указаниям приложения 2 к главе СНиП II-В.8-71.
10. Полученная по расчету толщина подстилающего слоя может быть уменьшена путем повышения прочности основания, например путем устройства искусственного основания (песчаного и др.) или путем понижения уровня грунтовых вод и др.
Пример 1.
Требуется определить толщину нежесткого подстилающего слоя в неотапливаемом складе. По полу склада при ширине проезда 3,5 м за сутки проходит следующее количество транспортных средств:
электрокары ЭК-2 (двухосные) - 30 машин;
автопогрузчики 4000 (двухосные) - 20 машин;
автомобили ЗИЛ-585 (двухосные) - 20 автомобилей;
автомобили ЯАЗ-210 (трехосные) - 5 автомобилей.
Покрытие пола из асфальтобетона толщиной 4 см.
Подстилающий слой из щебня прочностью при сжатии 900 кгс/см2.
Грунт основания супесчаный.
Горизонт грунтовых вод находится на глубине 0,4-0,5 м.
Расчет. При покрытии из асфальтобетона δ = 0,035 (табл. 4). По формуле (2) приведем количество трехосных автомобилей ЯАЗ-210 к двухосным:
Ni = 1,8·5 = 9 автомобилей.
По рис. 1 определим эквивалентное, по воздействию на пол, количество условных автомобилей с расчетной нагрузкой Н-13:
30 электрокаров ЭК-2 соответствуют 11 условным автомобилям;
20 автопогрузчиков 4000 соответствуют 30 условным автомобилям;
20 автомобилей ЗИЛ-585 соответствуют 5 условным автомобилям;
9 автомобилей ЯАЗ-210 (в двухосном исчислении) соответствуют 13 условным автомобилям. Всего ΣNiн = 59 условным автомобилям с расчетной нагрузкой Н-13.
Расчетную интенсивность движения Np при ширине проезда 3,5 м (одна полоса движения) и γ = 2 (табл. 3) определим по формуле (3); Np = γ ΣNiн =2·59=118 условных автомобилей в сутки.
По рис. 1 или по формуле (4), по значениям Np = 118 и δ = 0,035 определяем требуемый модуль деформации пола Етр =495 кгс/см2.
Грунт основания находится в зоне опасного капиллярного поднятия грунтовых вод (см. п. 6 приложения 3 к главе СНиП II-В.8-71). При этом по табл. 5 настоящих Рекомендаций расчетный модуль деформации грунта основания E0 = 120 кгс/см2.
Принимаем расчетную схему б по рис. 2. Расчетный модуль деформации (табл. 4) асфальтобетонного покрытия E2 = 2400 кгс/см2, щебеночного подстилающего слоя E1 = = 1300 кгс/см2; толщина покрытия h2=4 см; Еэ2 = Етp = 495 кгс/см2.
Для условного автомобиля диаметр приведенного круга следа колеса D = 34 см (табл. 1).
Для определения Еэ1 сначала вычислим значения отношений ![]()
По рис. 3 определяем
откуда Еэ1 =0,184·2400=442 кгс/см2.
Определим h1, для чего
сначала вычислим отношения
по которым,
пользуясь рис. 3, определяем
откуда h1 = 0,97·34 = 33
см.
Согласно п. 10 полученная толщина h1 подстилающего слоя может быть уменьшена, например, путем понижения уровня грунтовых вод ниже их опасного капиллярного поднятия. В этом случае Е0 = 220 кгс/см2 (табл. 5).
Определяем вновь:
![]()
откуда h1 = 0,55·34 = 18,7 см.
Уменьшение толщины подстилающего слоя может быть также достигнуто устройством искусственного основания, например из крупного песка, уложенного на грунте основания. Для этого случая принимаем расчетную схему в по рис. 2.
Задаемся толщиной щебеночного подстилающего слоя, равной 15 см. Расчетные модули деформации: покрытия Е3 = 2400 кгс/см2; подстилающего слоя Е2 =1300 кгс/см2; искусственного основания Е1 = 350 кгс/см2; грунта основания Е0=120 кгс/см2.
Толщина асфальтобетонного покрытия h3 = 4 см.
Толщина подстилающего слоя из щебня h2 = 15 см.
Еэ3
= Етp = 495 кгс/см2; D = 34 см;
Еэ2 = 0,184·2400 =
442 кгс/см2.
Определим Еэ1, для чего сначала вычислим отношения
![]()
По рис. 3 определяем
откуда Еэ1 = 0,203·1300 = 264 кгс/см2.
Определим h1 для чего сначала вычислим отношения
![]()
По рис. 3 определим
откуда h1
= 1,28·34 = 43,5 см.
Таким же путем определяется толщина искусственного основания, если задаться иными толщинами подстилающего слоя (например, 12 см, 18 см и т.д.). Из рассмотренных вариантов толщины подстилающего слоя наиболее целесообразный определяют по технико-экономическим соображениям.

Рис. 3. График для расчета пола с нежестким подстилающим слоем
Пример 2.
Требуется определить толщину нежесткого подстилающего слоя пола. Нагрузка Р = 10 т. Форма следа опирания на пол - прямоугольник размером 50×40 см, площадь F = 2000 см2. Удельное давление р = 5 кгс/см2. Помещение неотапливаемое.
Покрытие пола из торцовой шашки толщиной 8 см. Подстилающий слой гравийный, с содержанием зерен крупнее 2 мм 75%. Грунт основания - пылеватый суглинок. Грунтовые воды находятся на глубине 3 м.
Расчет. Определим
расчетные параметры по формуле (1):
При покрытии пола из торцовой шашки δ = 0,04 (табл.
4).
Примем расчетную схему б по рис. 2.
Расчетные модули деформации: покрытия Е2 = 1200 кгс/см2 (табл. 4); подстилающего слоя Е1 =700 кгс/см2 (табл. 4); грунта основания Е0 = 160 кгс/см2 (табл. 5).
Толщина покрытия h1 = 8 см.
По формуле (5) определяем требуемый модуль деформации пола
![]()
Эквивалентный модуль деформации пола Еэ2 = Етр = 236 кгс/см2.
Определим Еэ1, для чего сначала вычислим отношения
![]()
По рис. 3
определяем
откуда
Еэ1 = 0,163·1200 =
196 кгс/см2.
Определим h1 для чего сначала вычислим отношения
![]()
По рис. 3
определим
откуда h1
= 0,21·50 = 10,5 см.
Принимаем толщину подстилающего слоя h1
= 11 см.
11. Расчет распространяется на сплошные подстилающие слои бетонные и из жароупорного бетона на грунте и на теплоизоляционном слое из сыпучих материалов (шлак и др.), уложенных на плите перекрытия, а также из кислотоупорного бетона на грунте.
12. При расчете следует учитывать нагрузки на пол, приведенные в приложении 7 к главе СНиП II-В.8-71.
На схеме нагрузок в плане должна быть указана их наибольшая величина, размеры и форма следов опирания на пол и наименьшие расстояния между этими следами.
Собственный вес пола, а также нагрузки, равномерно распределенные по всей площади пола, при расчете не учитывают.
13. В зависимости от формы и величины площади следа опирания различают следующие нагрузки.
а) Простого вида - равномерно распределенные по площади следа, расположенного в плане так, что наименьшее расстояние от центра следа одной нагрузки до следа другой нагрузки превышает 6l.
При подстилающем слое на грунте основания:
след в виде круга радиусом rр ≤ 6l (в том числе от колес безрельсовых транспортных средств);
след в виде прямоугольника длиной ар и шириной bр при ар ≥ bр;
след, ограниченный с одной стороны прямой и имеющий размеры, при которых квадрат со стороной ар = 12,2l вписывается в этот след, в этом случае расчет ведут на нагрузку, равномерно распределенную по условному квадратному следу со стороной ар = 12,2l;
след, ограниченный с двух сторон параллельными прямыми и имеющий размеры, при которых прямоугольник длиной ар=12,2l и шириной bр < 12,2l вписывается в этот след, в этом случае расчет ведут на нагрузку, равномерно распределенную по условному прямоугольному следу длиной ар = 12,2l и шириной bр.
При подстилающем слое на теплоизоляционном слое из сыпучих материалов, уложенных по плите перекрытия:
след в виде прямоугольника с отношением сторон от 1 до 1,5, равновеликий следу в виде круга радиусом rр ≤ 2l;
след в виде прямоугольника длиной ар ≤ 0,6l, шириной bр < ар;
след в виде круга радиусом rр < 2l (в том числе от колес безрельсовых транспортных средств).
б) Сложного вида (рис. 4 и 5) - при подстилающем слое на грунте основания:
равномерно распределенные по площади следа, отличающегося по величине площади или форме следа от указанных в подпункте «а»;
неравномерно распределенные по площади следа;
расположенные так, что наименьшее расстояние от центра следа одной нагрузки до следа другой нагрузки менее 6l.
Примечание. Определение l приведено в п. 20, а ар; bр; rр - в п. 14.
14. Для нагрузок простого вида расчетные размеры следа определяются по формулам:
где а и b - длина и ширина прямоугольного следа на поверхности покрытия в см; при опирании предметов на пол по образующей цилиндрической поверхности или ребром след условно принимают прямоугольным, у которого b = 0,1l;
h1 - толщина слоев пола, расположенных выше подстилающего слоя, в см;
r - радиус круга, равновеликого площади следа опирания на поверхности покрытия, в см: при прямоугольном следе
для следа колес безрельсовых транспортных средств
D
в см принимают по табл. 1
настоящих Рекомендаций; при опирании предметов на пол углом след условно
принимают круглым, у которого r = 0,1l, в см.
Если бетонный подстилающий слой используется в качестве покрытия, то принимают ар = a; bp = b; rp = r.
15. Расчетную нагрузку Рр в т от колеса транспортных средств определяют по формуле
где Р - нагрузка на колесо в т, принимается по табл. 1 настоящих Рекомендаций;
К - коэффициент, учитывающий влияние нагрузки от других колес; для транспортных средств с двумя осями К = 1,2, с тремя и четырьмя осями К = 1,8.
16. Характеристика бетона, применяемого для подстилающего слоя полов, приведена в табл. 6.
|
Показатели |
Обозначение |
Характеристика бетона в кгс/см2 при марке бетона |
|||
|
100 |
150 |
200 |
300 |
||
|
Сопротивление растяжению при расчете на неподвижные нагрузки |
Rp |
4 |
5,2 |
6,4 |
9,5 |
|
Сопротивление растяжению при расчете на динамические, многократно повторяющиеся нагрузки (от безрельсовых транспортных средств, от предметов, устанавливаемых на пол при помощи кранов и пр.) и на одновременное действие неподвижных и динамических нагрузок |
RP |
3,2 |
4,2 |
5,1 |
7,6 |
|
Модуль упругости бетона |
Еб |
160 000 |
195 000 |
225 000 |
270 000 |
Для бетонов на глиноземистом цементе значения сопротивления растяжению Rp следует умножить на коэффициент 0,7.
Для кислотоупорного и жароупорного бетонов принимают Rp = 4 кгс/см2, Еб = 60 000 кгс/см2.
17. Значения коэффициента постели К0 грунтов основания и теплоизоляционных засыпок на перекрытиях приведены в табл. 7.
|
Грунт и засыпка |
Содержание по весу зерен, крупнее |
Коэффициент постели К0 в кг/см3 при расположении грунта основания |
|
|
выше зоны опасного капиллярного поднятия грунтовых вод (см. приложение 3 к главе СНиП II-В.8-71) |
в зоне опасного капиллярного поднятия грунтовых вод |
||
|
Песок крупный и гравилистый |
0,5 мм, более 50% |
8,5 |
8 |
|
Песок средней крупности |
0,25 мм, более 50% |
7 |
6,5 |
|
Песок мелкий |
0,1 мм, более 75% |
6 |
4,5 |
|
Супесь |
0,05 мм, более 50% |
4 |
3 |
|
Песок пылеватый |
0,1 мм, менее 75% |
5 |
3,5 |
|
Суглинок, глина |
0,05 мм, более 40% |
6,5 |
4,5 |
|
Супесь, суглинок и глина пылеватные |
0,05 мм, менее 40% |
7,5 |
5,5 |
|
Засыпки шлаковые с применением шлака из высококалорийных углей (донецких, кузнецких, карагандинских) |
2 мм, более 80% |
7 |
- |
|
Засыпки шлаковые с применением шлака из бурых углей (подмосковных, черемховских) |
2 мм, более 70% |
6 |
- |
Расчет прочности пола
18. Расчет прочности пола с бетонным подстилающим слоем производят на изгиб.
При нескольких нагрузках простого или сложного вида, расчет ведут на каждую из них в отдельности.
19. Напряжение растяжения при изгибе σр в кгс/см2 в плите бетонного подстилающего слоя определяют по формуле
Толщину h в см бетонного подстилающего слоя определяют по формуле
(12)
В формулах (11) и (12): Мр - расчетный изгибающий момент в кгс·см/см (отнесенный к одному сантиметру ширины сечения плиты), определяемый при нагрузках простого вида по формулам (13), (15) и (16), при нагрузках сложного вида по формуле (17);
Rp - принимают по табл. 6.
Расчет при нагрузках простого вида
20. Расчетный изгибающий момент Мр в плите бетонного подстилающего слоя, расположенного на грунте основания, при действии на пол нагрузки простого вида, равномерно распределенной по площади следа в виде прямоугольника (см. п. 13), определяют по формуле
где Рр - расчетная нагрузка на всю площадь следа в т, принимаемая по п. 12; для следа, условно принятого прямоугольным (см. пп. 13 и 14), Рр равняется нагрузке на площади этого условного следа;
K1 - коэффициент, принимаемый по табл. 9 в зависимости от отношений
![]()
где ар и bр - расчетные длина и ширина прямоугольного следа (ар ≥ bр) в см, определяемые по п. 14;
l - характеристика гибкости плиты бетонного подстилающего слоя в см, принимаемая по табл. 8 или определяемая по формуле
где Еб - модуль упругости бетона в кгс/см2, принимаемый по табл. 6;
h - толщина бетонного подстилающего слоя в см;
R0 - коэффициент постели грунта основания в кг/см3, принимаемый по табл. 7.
21. Расчетный изгибающий момент Мр в плите бетонного подстилающего слоя, расположенного на грунте основания, при действии на пол нагрузки простого вида, равномерно распределенной по площади следа в виде круга (см. п. 13), определяют по формуле
где К3
- коэффициент, принимаемый по табл.
11 в зависимости от отношения ![]()
rp - определяемый по п. 14;
Рр и l - определяемые по п. 20.
22. Расчетный изгибающий момент Мр в плите бетонного подстилающего слоя, расположенного на слое грунта или сыпучего материала толщиной h' в см, уложенного по жесткому основанию (например, на теплоизоляционной засыпке, уложенной по железобетонному перекрытию), при действии на пол нагрузки простого вида (см. п. 13) определяют по формуле
где К2
- коэффициент, принимаемый по табл. 10 в зависимости от отношений ![]()
rр - определяемый по п. 14;
Рр и l - определяемые по п. 20.
23. Расчет плиты бетонного
подстилающего слоя на изгиб при нагрузках простого вида производят следующим образом.
Вначале устанавливают Рр, К0 и соответственно aр, bр
или rр
и h'; принимают бетон марки 300, ориентировочно
задаются значением h= 10 см, находят l и соответственно α,
β или ρ и
определяют К1,
К2 или К3, Мр и
вычисляют σр.
Если полученное значение σр равно или на 1-5% меньше Rp, то ориентировочно принятое значение h = 10 см принимают за окончательное, в противном случае расчет повторяют.
При повторном расчете надо учитывать следующее:
а) если при ранее произведенном расчете получилось σр > Рр, то задаются большим значением h;
б) если при предварительно принятом h = 10 см по расчету получилось σр < Рр для бетона марки 300, то, сохраняя h =10 см, повторным расчетом устанавливают более низкую марку бетона.
Характеристика l гибкости плиты бетонного подстилающего слоя
|
Марка бетона |
h в см |
Значения l в см при К0 в кг см3 |
|||||
|
3 |
3,5 |
4 |
4,5 |
5 |
5,5 |
||
|
100 |
10 |
46,2 |
44,5 |
43,1 |
41,8 |
40,6 |
39,7 |
|
150 |
10 |
48,5 |
46,8 |
45,2 |
43,9 |
42,7 |
41,7 |
|
200 |
10 |
50,3 |
48,5 |
46,8 |
45,4 |
44,2 |
43,2 |
|
300 |
10 |
52,6 |
50,8 |
49 |
47,6 |
46,3 |
45,2 |
|
300 |
11 |
56,6 |
54,5 |
52,7 |
51,1 |
49,8 |
48,6 |
|
300 |
12 |
60,4 |
58,2 |
56,2 |
54,6 |
53,1 |
51,9 |
|
300 |
13 |
64,1 |
61,8 |
59,7 |
57,9 |
56,4 |
55,1 |
|
300 |
14 |
67,7 |
65,3 |
63,1 |
61,2 |
59,6 |
58,2 |
|
300 |
15 |
71,4 |
68,7 |
66,4 |
64,5 |
62,8 |
61,3 |
|
300 |
16 |
75 |
72,1 |
69,7 |
67,7 |
65,9 |
64,4 |
|
300 |
17 |
78,4 |
75,5 |
73 |
70,8 |
68,9 |
67,4 |
|
300 |
18 |
81,8 |
78,8 |
76,2 |
73,9 |
71,9 |
70,4 |
|
300 |
19 |
85,2 |
82 |
79,4 |
76,9 |
74,9 |
73,3 |
|
300 |
20 |
88,5 |
85,2 |
82,4 |
80 |
77,9 |
76,1 |
|
300 |
21 |
91,8 |
88,4 |
85,5 |
83 |
80,8 |
78,8, |
|
300 |
22 |
95 |
91,6 |
88,5 |
85,9 |
83,6 |
81,6 |
|
300 |
23 |
98,3 |
94,7 |
91,5 |
88,8 |
86,4 |
84,4 |
|
300 |
24 |
101,5 |
97,8 |
94,5 |
91,7 |
89,2 |
87,2 |
|
300 |
25 |
104,7 |
100,9 |
97,5 |
94,6 |
92 |
89,9 |
|
300 |
26 |
107,8 |
103,9 |
100,4 |
97,4 |
94,7 |
92,6 |
|
300 |
27 |
110,9 |
106,8 |
103,3 |
100,2 |
97,4 |
95,3 |
|
300 |
28 |
114 |
109,7 |
106,1 |
103 |
100,1 |
97,9 |
|
300 |
29 |
117 |
112,6 |
108,9 |
105,7 |
102,8 |
100,5 |
|
300 |
30 |
120 |
115,5 |
111,7 |
108,4 |
105,5 |
103,1 |
Продолжение табл. 8
|
Марка бетона |
h в см |
Значения l в см при К0 в кг см3 |
|||||
|
6 |
6,5 |
7 |
7,5 |
8 |
8,5 |
||
|
100 |
10 |
38,9 |
38,1 |
37,4 |
36,8 |
36,2 |
35,8 |
|
150 |
10 |
40,9 |
40,1 |
39,3 |
38,7 |
38,1 |
37,6 |
|
200 |
10 |
42,3 |
41,6 |
40,8 |
40 |
39,4 |
38,9 |
|
300 |
10 |
44,3 |
43,4 |
42,6 |
41,9 |
41,2 |
40,7 |
|
300 |
41 |
47,6 |
46,7 |
45,8 |
45 |
44,3 |
43,7 |
|
300 |
12 |
50,8 |
49,9 |
48,9 |
48,1 |
47,3 |
46,7 |
|
300 |
13 |
54 |
53 |
52 |
51,1 |
50,2 |
49,6 |
|
300 |
14 |
57,1 |
56 |
54,9 |
54 |
53,1 |
52,3 |
|
300 |
15 |
60,1 |
58,9 |
57,8 |
56,8 |
55,9 |
55,1 |
|
300 |
16 |
63,1 |
61,8 |
60,7 |
59,7 |
68,7 |
57,9 |
|
300 |
17 |
66,1 |
64,6 |
63,6 |
62,5 |
61,4 |
60,5 |
|
300 |
18 |
69 |
67,5 |
66,4 |
65,1 |
64,1 |
63,2 |
|
300 |
19 |
71,8 |
70,3 |
69,1 |
67,8 |
66,7 |
65,8 |
|
300 |
20 |
74,6 |
73,1 |
71,8 |
70,4 |
69,3 |
68,3 |
|
300 |
21 |
77,3 |
75,8 |
74,4 |
73,1 |
71,9 |
70,8 |
|
300 |
22 |
80 |
78,4 |
77 |
75,6 |
74,4 |
73,3 |
|
300 |
23 |
82,7 |
81,1 |
79,6 |
78,2 |
77 |
75,8 |
|
300 |
24 |
85,4 |
83,8 |
82,2 |
80,8 |
79,5 |
78,3 |
|
300 |
25 |
88,1 |
86,4 |
84,8 |
814 |
82 |
80,8 |
|
300 |
26 |
90,8 |
89 |
87,3 |
85,9 |
84,5 |
83,2 |
|
300 |
27 |
93,4 |
91,6 |
89,8 |
88,4 |
86,9 |
85,6 |
|
300 |
28 |
96 |
94,1 |
92,3 |
90,9 |
89,3 |
88 |
|
300 |
29 |
98,5 |
96,6 |
94,8 |
93,2 |
91,7 |
90,4 |
|
300 |
30 |
101 |
99,1 |
97,3 |
95,6 |
94,1 |
92,7 |
Значения коэффициента К1
|
α |
Значения К1 при β |
||||||
|
0,1 |
0,2 |
0,4 |
0,6 |
0,8 |
1,0 |
1,2 |
|
|
0,1 |
140,4 |
- |
- |
- |
- |
- |
- |
|
0,2 |
135,7 |
132,5 |
- |
- |
- |
- |
- |
|
0,4 |
127,1 |
123,9 |
118,3 |
- |
- |
- |
- |
|
0,6 |
119,3 |
116,2 |
110,8 |
105,9 |
- |
- |
- |
|
0,8 |
112,2 |
109,3 |
103,9 |
99,2 |
95,0 |
- |
- |
|
1,0 |
105,7 |
102,9 |
97,7 |
93,1 |
89,0 |
85,4 |
- |
|
1,2 |
99,7 |
97,0 |
91,9 |
87,5 |
83,5 |
80,0 |
76,9 |
|
1,4 |
94,3 |
91,6 |
86,7 |
82,4 |
78,5 |
75,2 |
72,1 |
|
1,6 |
89,4 |
86,8 |
82,0 |
77,8 |
74,0 |
70,7 |
67,7 |
|
1,8 |
84,8 |
82,3 |
77,6 |
73,5 |
69,9 |
66,6 |
63,7 |
|
2,0 |
80,6 |
78,1 |
73,5 |
69,5 |
66,0 |
62,9 |
60,0 |
|
2,2 |
76,7 |
74,3 |
69,8 |
65,9 |
62,5 |
59,4 |
56,6 |
|
2,4 |
73,1 |
70,7 |
66,4 |
62,6 |
59,3 |
56,2 |
53,5 |
|
2,6 |
69,7 |
67,4 |
63,2 |
59,6 |
56,3 |
53,3 |
50,6 |
|
2,8 |
66,6 |
64,4 |
60,3 |
56,8 |
53,5 |
50,6 |
47,9 |
|
3,0 |
63,7 |
61,5 |
57,6 |
54,1 |
50,9 |
48,1 |
45,4 |
|
3,2 |
61,0 |
58,9 |
55,1 |
51,6 |
48,5 |
45,7 |
43,2 |
|
3,4 |
58,5 |
56,4 |
52,7 |
49,3 |
46,3 |
43,6 |
41,1 |
|
3,6 |
56,1 |
54,1 |
50,5 |
47,2 |
44,3 |
41,6 |
39,1 |
|
3,8 |
53,9 |
51,9 |
48,4 |
45,3 |
42,4 |
39,8 |
37,3 |
|
4,0 |
51,9 |
50,0 |
46,6 |
43,5 |
40,7 |
38,1 |
35,7 |
|
4,2 |
49,9 |
48,1 |
44,8 |
41,7 |
39,0 |
36,5 |
34,2 |
|
4,4 |
48,0 |
46,3 |
43,1 |
40,1 |
37,4 |
35,0 |
32,7 |
|
4,6 |
46,3 |
44,6 |
41,5 |
38,6 |
36,0 |
33,6 |
31,4 |
|
4,8 |
44,7 |
43,0 |
40,0 |
37,2 |
34,7 |
32,4 |
30,2 |
|
5,0 |
43,2 |
41,5 |
38,6 |
35,9 |
33,5 |
31,2 |
29,0 |
|
5,2 |
41,8 |
40,2 |
37,3 |
34,7 |
32,3 |
30,0 |
27,9 |
|
5,4 |
40,4 |
38,9 |
36,1 |
33,5 |
31,1 |
28,9 |
26,9 |
|
5,6 |
39,1 |
37,6 |
34,9 |
32,4 |
30,1 |
27,9 |
25,9 |
|
5,8 |
37,9 |
36,4 |
33,8 |
31,3 |
29,1 |
26,9 |
24,9 |
|
6,0 |
36,7 |
35,3 |
32,7 |
30,3 |
28,1 |
26,0 |
24,1 |
|
6,5 |
34,0 |
32,7 |
30,2 |
28,0 |
26,0 |
24,0 |
22,1 |
|
7,0 |
31,7 |
30,5 |
28,2 |
26,1 |
24,1 |
22,3 |
20,5 |
|
7,5 |
29,7 |
28,5 |
26,4 |
24,4 |
22,5 |
20,8 |
19,15 |
|
8,0 |
27,8 |
26,7 |
24,7 |
22,9 |
21,1 |
19,5 |
17,95 |
|
9,0 |
24,7 |
23,7 |
21,9 |
20,3 |
18,77 |
17,31 |
15,93 |
|
10,0 |
22,2 |
21,3 |
19,73 |
18,27 |
16,88 |
15,56 |
14,32 |
|
11,0 |
20,2 |
19,39 |
17,94 |
16,59 |
15,33 |
14,13 |
13,01 |
|
12,2 |
18,18 |
17,48 |
16,16 |
14,95 |
13,81 |
12,73 |
11,72 |
Продолжение табл. 9
|
α |
Значения К1 при β |
||||||
|
1,2 |
1,4 |
1,6 |
1,8 |
2,0 |
2,2 |
2,4 |
|
|
1,2 |
76,9 |
- |
- |
- |
- |
- |
- |
|
1,4 |
72,1 |
69,3 |
- |
- |
- |
- |
- |
|
1,6 |
67,7 |
64,9 |
62,3 |
- |
- |
- |
- |
|
1,8 |
63,7 |
60,9 |
58,4 |
56,1 |
- |
- |
- |
|
2,0 |
60,0 |
57,3 |
54,9 |
52,6 |
50,4 |
- |
- |
|
2,2 |
56,6 |
54,0 |
51,6 |
49,3 |
47,2 |
45,2 |
- |
|
2,4 |
53,5 |
50,9 |
48,5 |
46,3 |
44,3 |
42,3 |
40,4 |
|
2,6 |
50,6 |
48,1 |
45,7 |
43,5 |
41,5 |
39,6 |
37,8 |
|
2,8 |
47,9 |
45,4 |
43,2 |
41,0 |
39,0 |
37,1 |
35,4 |
|
3,0 |
45,4 |
43,0 |
40,8 |
38,7 |
36,7 |
34,9 |
33,2 |
|
3,2 |
43,2 |
40,8 |
38,6 |
36,6 |
34,7 |
32,9 |
31,2 |
|
3,4 |
41,1 |
38,8 |
36,6 |
34,6 |
32,8 |
31,0 |
29,4 |
|
3,6 |
39,1 |
36,9 |
34,8 |
32,8 |
31,0 |
29,2 |
27,6 |
|
3,8 |
37,3 |
35,1 |
33,1 |
31,2 |
29,4 |
27,6 |
26,0 |
|
4,0 |
35,7 |
33,5 |
31,5 |
29,7 |
27,9 |
26,1 |
24,5 |
|
4,2 |
34,2 |
32,1 |
30,1 |
28,3 |
26,5 |
24,8 |
23,3 |
|
4,4 |
32,7 |
30,7 |
28,8 |
27,0 |
25,2 |
23,6 |
22,1 |
|
4,6 |
31,4 |
29,4 |
27,5 |
25,7 |
24,0 |
22,4 |
21,0 |
|
4,8 |
30,2 |
28,2 |
26,3 |
24,5 |
22,9 |
21,4 |
19,96 |
|
5,0 |
29,0 |
27,0 |
25,2 |
23,5 |
21,9 |
20,4 |
19,00 |
|
5,2 |
27,9 |
25,9 |
24,1 |
22,5 |
20,9 |
19,43 |
18,11 |
|
5,4 |
26,9 |
24,9 |
23,1 |
21,5 |
19,96 |
18,57 |
17,28 |
|
6,6 |
25,9 |
24,0 |
22,2 |
20,6 |
19,13 |
17,78 |
16,51 |
|
5,8 |
24,9 |
23,1 |
21,4 |
19,82 |
18,37 |
17,04 |
15,81 |
|
6,0 |
24,1 |
22,3 |
20,6 |
19,08 |
17,67 |
16,36 |
15,16 |
|
6,5 |
22,2 |
20,4 |
18,89 |
17,43 |
16,08 |
14,85 |
13,72 |
|
7,0 |
20,5 |
18,89 |
17,40 |
16,02 |
14,75 |
13,59 |
12,53 |
|
7,5 |
19,15 |
17,60 |
16,16 |
14,84 |
13,63 |
12,54 |
11,55 |
|
8,0 |
17,95 |
16,49 |
15,14 |
13,87 |
12,71 |
11,66 |
10,72 |
|
9,0 |
15,93 |
14,65 |
13,43 |
12,29 |
11,24 |
10,28 |
9,43 |
|
10,0 |
14,32 |
13,15 |
12,07 |
11,05 |
10,09 |
9,22 |
8,44 |
|
11,0 |
13,01 |
11,95 |
10,95 |
10,03 |
9,17 |
8,37 |
7.66 |
|
12,2 |
11,72 |
10,76 |
9,87 |
9,04 |
8,26 |
7,54 |
6,91 |
Продолжение табл. 9
|
α |
Значения К1 при β |
||||||
|
2,4 |
2,6 |
2,8 |
3,0 |
3,2 |
3,4 |
3,6 |
|
|
2,4 |
40,4 |
- |
- |
- |
- |
- |
- |
|
2,6 |
37,8 |
36,1 |
- |
- |
- |
- |
- |
|
2,8 |
35,4 |
33,8 |
32,2 |
- |
- |
- |
- |
|
3,0 |
33,2 |
31,6 |
30,0 |
28,5 |
- |
- |
- |
|
3,2 |
31,2 |
29,6 |
28,0 |
26,6 |
25,2 |
- |
- |
|
3,4 |
29,4 |
27,8 |
26,3 |
24,9 |
23,5 |
22,1 |
- |
|
3,6 |
27,6 |
26,1 |
24,7 |
23,3 |
21,9 |
20,7 |
19,47 |
|
3,8 |
26,0 |
24,5 |
23,2 |
21,9 |
20,6 |
19,43 |
18,23 |
|
4,0 |
24,5 |
23,1 |
21,8 |
29,6 |
19,38 |
18,21 |
17,08 |
|
4,2 |
23,3 |
21,9 |
20,6 |
19,4 |
18,22 |
17,1 |
16,03 |
|
4,4 |
22,1 |
20,7 |
19,47 |
18,29 |
17,16 |
16,09 |
15,08 |
|
4,6 |
21,0 |
19,64 |
18,43 |
17,28 |
16,19 |
15,17 |
14,22 |
|
4,8 |
19,96 |
18,65 |
17,46 |
16,35 |
15,31 |
14,34 |
13,44 |
|
5,0 |
19,0 |
17,73 |
16,57 |
15,5 |
14,51 |
13,59 |
12,74 |
|
5,2 |
18,11 |
16,88 |
15,75 |
14,72 |
13,78 |
12,91 |
12,1 |
|
5,4 |
17,28 |
16,09 |
15,0 |
14,0 |
13,1 |
12,28 |
11,52 |
|
5,6 |
16,51 |
15,36 |
14,3 |
13,34 |
12,48 |
11,7 |
10,99 |
|
5,8 |
15,81 |
14,69 |
13,66 |
12,74 |
11,92 |
11,18 |
10,5 |
|
6,0 |
15,16 |
14,07 |
13,08 |
12,19 |
11,4 |
10,70 |
10,06 |
|
6,5 |
13,72 |
12,71 |
11,8 |
10,99 |
10,28 |
9,65 |
9,08 |
|
7,0 |
12,53 |
11,59 |
10,75 |
10,01 |
9,35 |
8,78 |
8,27 |
|
7,5 |
11,55 |
10,66 |
9,88 |
9,19 |
8,58 |
8,06 |
7,6 |
|
8,0 |
10,72 |
9,89 |
9,15 |
8,5 |
7,94 |
7,45 |
7,03 |
|
9,0 |
9,43 |
8,68 |
8,02 |
7,44 |
6,94 |
6,52 |
6,15 |
|
10,0 |
8,44 |
7,76 |
7,15 |
6,63 |
6,18 |
5,8 |
5,48 |
|
11,0 |
7,66 |
7,04 |
6,49 |
6,01 |
5,59 |
5,25 |
4,95 |
|
12,2 |
6,91 |
6,34 |
5,84 |
5,4 |
5,03 |
4,72 |
4,46 |
Продолжение табл. 9
|
α |
Значения К1 при β |
||||||
|
3,6 |
3,8 |
4,0 |
4,2 |
4,4 |
4,6 |
4,8 |
|
|
3,6 |
19,47 |
- |
- |
- |
- |
- |
- |
|
3,8 |
18,23 |
17,07 |
- |
- |
- |
- |
- |
|
4,0 |
17,08 |
15,98 |
14,91 |
- |
- |
- |
- |
|
4,2 |
16,03 |
15,0 |
13,99 |
13,0 |
- |
- |
- |
|
4,4 |
15,08 |
14,11 |
13,18 |
12,25 |
11,31 |
- |
- |
|
4,6 |
14,22 |
13,31 |
12,45 |
11,60 |
10,76 |
9,89 |
- |
|
4,8 |
13,44 |
12,59 |
11,79 |
11,02 |
10,28 |
9,52 |
8,72 |
|
5,0 |
12,74 |
11,94 |
11,2 |
10,50 |
9,84 |
9,16 |
8,38 |
|
5,2 |
12,1 |
11,35 |
10,67 |
10,03 |
9,43 |
8,82 |
8,06 |
|
5,4 |
11,52 |
10,82 |
10,19 |
9,6 |
9,05 |
8,5 |
7,76 |
|
5,6 |
10,99 |
10,34 |
9,75 |
9,2 |
8,70 |
8,19 |
7,47 |
|
5,8 |
10,5 |
9,89 |
9,34 |
8,83 |
8,37 |
7,9 |
7,2 |
|
6,0 |
10,06 |
9,48 |
8,96 |
8,49 |
8,06 |
7,62 |
6,94 |
|
6,5 |
9,08 |
8,58 |
8,13 |
7,73 |
7,36 |
6,99 |
6,36 |
|
7,0 |
8,27 |
7,83 |
7,44 |
7,08 |
6,77 |
6,45 |
5,85 |
|
7,5 |
7,6 |
7,2 |
6,85 |
6,54 |
6,25 |
5,97 |
5,42 |
|
8,0 |
7,03 |
6,67 |
6,35 |
6,07 |
5,81 |
5,56 |
5,05 |
|
9,0 |
6,15 |
5,83 |
5,56 |
5,32 |
5,09 |
4,88 |
4,41 |
|
10,0 |
5,48 |
5,21 |
4,97 |
4,75 |
4,55 |
4,35 |
3,93 |
|
11,0 |
4,95 |
4,7 |
4,48 |
4,29 |
4,12 |
3,93 |
3,55 |
|
12,2 |
4,46 |
4,23 |
4,03 |
3,86 |
3,7 |
3,53 |
3,19 |
Продолжение табл. 9
|
α |
Значения К1 при β |
||||||
|
4,8 |
5 |
5,2 |
5,4 |
5,6 |
5,8 |
6 |
|
|
4,8 |
8,72 |
- |
- |
- |
- |
- |
- |
|
5,0 |
8,38 |
7,73 |
- |
- |
- |
- |
- |
|
5,2 |
8,06 |
7,43 |
6,91 |
- |
- |
- |
- |
|
5,4 |
7,76 |
7,14 |
6,64 |
6,23 |
- |
- |
- |
|
5,6 |
7,47 |
6,87 |
6,38 |
5,98 |
5,65 |
- |
- |
|
5,8 |
7,20 |
6,62 |
6,15 |
5,76 |
5,43 |
5,15 |
- |
|
6,0 |
6,94 |
6,38 |
5,93 |
5,55 |
5,23 |
4,96 |
4,73 |
|
6,5 |
6,36 |
5,84 |
5,41 |
5,07 |
4,77 |
4,53 |
4,32 |
|
7,0 |
5,85 |
5,37 |
4,98 |
4,65 |
4,38 |
4,17 |
3,99 |
|
7,5 |
5,42 |
4,96 |
4,59 |
4,29 |
4,06 |
3,88 |
3,73 |
|
8,0 |
5,05 |
4,62 |
4,26 |
3,99 |
3,8 |
3,65 |
3,51 |
|
9,0 |
4,41 |
4,04 |
3,75 |
3,53 |
3,39 |
3,26 |
3,14 |
|
10,0 |
3,93 |
3,6 |
3,35 |
3,18 |
3,06 |
2,94 |
2,83 |
|
11,0 |
3,55 |
3,25 |
3,03 |
2,89 |
2,77 |
2,67 |
2,57 |
|
12,2 |
3,19 |
2,92 |
2,73 |
2,61 |
2,51 |
2,41 |
2,32 |
Продолжение табл. 9
|
α |
Значения К1 при β |
||||||||
|
6,0 |
6,5 |
7 |
7,5 |
8 |
9 |
10 |
11 |
12,2 |
|
|
6,5 |
4,32 |
3,92 |
- |
- |
- |
- |
- |
- |
- |
|
7,0 |
3,99 |
3,63 |
3,33 |
- |
- |
- |
- |
- |
- |
|
7,5 |
3,73 |
3,4 |
3,12 |
2,91 |
- |
- |
- |
- |
- |
|
8,0 |
3,51 |
3,2 |
2,94 |
2,74 |
2,57 |
- |
- |
- |
- |
|
9,0 |
3,14 |
2,86 |
2,64 |
2,46 |
2,31 |
2,05 |
- |
- |
- |
|
10,0 |
2,83 |
2,58 |
2,38 |
2,22 |
2,09 |
1,853 |
1,668 |
- |
- |
|
11,0 |
2,57 |
2,34 |
2,17 |
2,02 |
1,897 |
1,687 |
1,518 |
1,38 |
- |
|
12,2 |
2.32 |
2,11 |
1,956 |
1,825 |
1,711 |
1,521 |
1,368 |
1,244 |
1,122 |
Значения коэффициента К2
|
ρ |
Значения К2 при h'/l |
||||||
|
0,1 |
0,2 |
0,1 |
0,6 |
0,8 |
1 |
2 |
|
|
0,1 |
99 |
107 |
115 |
119 |
122 |
124 |
130 |
|
0,2 |
82 |
90 |
99 |
105 |
108 |
111 |
117 |
|
0,3 |
67 |
76 |
86 |
92 |
96 |
99 |
106 |
|
0,4 |
55 |
65 |
75 |
81 |
85 |
88 |
95 |
|
0,5 |
45 |
55 |
65 |
71 |
75 |
78 |
85 |
|
0,6 |
36 |
46 |
56 |
62 |
66 |
69 |
77 |
|
0,7 |
29 |
38 |
48 |
54 |
58 |
62 |
69 |
|
0,8 |
23 |
32 |
42 |
47 |
51 |
55 |
63 |
|
0,9 |
19 |
27 |
36 |
41 |
45 |
49 |
57 |
|
1,0 |
15 |
23 |
31 |
36 |
40 |
43 |
51 |
|
1,1 |
12 |
19 |
27 |
32 |
35 |
38 |
46 |
|
1,2 |
9 |
15 |
23 |
28 |
31 |
34 |
41 |
|
1,3 |
- |
12 |
19 |
24 |
27 |
30 |
36 |
|
1,4 |
- |
10 |
16 |
20 |
23 |
26 |
32 |
|
1,5 |
- |
- |
13 |
17 |
20 |
22 |
28 |
|
1,6 |
- |
- |
11 |
14 |
17 |
19 |
25 |
|
1,7 |
- |
- |
- |
12 |
14 |
16 |
22 |
|
1,8 |
- |
- |
- |
10 |
12 |
14 |
19 |
|
1,9 |
- |
- |
- |
- |
10 |
12 |
17 |
|
2,0 |
- |
- |
- |
- |
9 |
10 |
15 |
Значения коэффициента К3
|
ρ |
К3 |
ρ |
К3 |
ρ |
К3 |
ρ |
К3 |
|
0,02 |
145,9 |
0,42 |
97,9 |
2,1 |
17,88 |
4,1 |
2,92 |
|
0,04 |
142,9 |
0,44 |
96,0 |
2,2 |
15,95 |
4,2 |
2,78 |
|
0,06 |
139,9 |
0,46 |
94,2 |
2,3 |
14,13 |
4,3 |
2,65 |
|
0,08 |
137,1 |
0,48 |
92,4 |
2,4 |
12,5 |
4,4 |
2,53 |
|
0,1 |
134,3 |
0,5 |
90,7 |
2,5 |
11,05 |
4,5 |
2,43 |
|
0,12 |
131,6 |
0,6 |
82,6 |
2,6 |
9,73 |
4,6 |
2,34 |
|
0,14 |
128,9 |
0,7 |
75,2 |
2,7 |
8,55 |
4,7 |
2,25 |
|
0,16 |
126,3 |
0,8 |
68,6 |
2,8 |
7,56 |
4,8 |
2,16 |
|
0,18 |
123,8 |
0,9 |
62,5 |
2,9 |
6,74 |
4,9 |
2,08 |
|
0,2 |
121,3 |
1,0 |
56,9 |
3,0 |
6,08 |
5,0 |
2,0 |
|
0,22 |
118,9 |
1,1 |
51,7 |
3,1 |
5,52 |
5,1 |
1,925 |
|
0,24 |
116,6 |
1,2 |
47,0 |
3,2 |
5,05 |
5,2 |
1,855 |
|
0,26 |
114,3 |
1,3 |
42,6 |
3,3 |
4,65 |
5,3 |
1,79 |
|
0,28 |
112,1 |
1,4 |
38,6 |
3,4 |
4,31 |
5,4 |
1,729 |
|
0,3 |
109,9 |
1,5 |
34,8 |
3,5 |
4,02 |
5,5 |
1,671 |
|
0,32 |
107,8 |
1,6 |
31,4 |
3,6 |
3,77 |
5,6 |
1,616 |
|
0,34 |
105,7 |
1,7 |
28,2 |
3,7 |
3,56 |
5,7 |
1,563 |
|
0,36 |
103,7 |
1,8 |
25,3 |
3,8 |
3,38 |
5,8 |
1,511 |
|
0,38 |
101,7 |
1,9 |
22,6 |
3,9 |
3,21 |
5,9 |
1,46 |
|
0,4 |
99,8 |
2,0 |
20,2 |
4,0 |
3,06 |
6,0 |
1,41 |
Значения коэффициента К4
|
|
Значения К4 при Хi/l |
||||||
|
0 |
0,05 |
0,1 |
0,15 |
0,2 |
0,25 |
0,3 |
|
|
0 |
- |
255,8 |
191,7 |
154,4 |
128,0 |
107,8 |
91,6 |
|
0,05 |
322,1 |
257,0 |
194,6 |
156,2 |
129,1 |
108,6 |
92,1 |
|
0,1 |
257,7 |
234,2 |
192,7 |
157,8 |
131,0 |
110,2 |
93,4 |
|
0,15 |
220,2 |
208,8 |
183,1 |
155,5 |
131,4 |
111,4 |
94,7 |
|
0,2 |
193,8 |
187,1 |
170,4 |
149,8 |
129,5 |
111,2 |
95,3 |
|
0,25 |
173,4 |
169,0 |
157,6 |
142,1 |
125,5 |
109,5 |
94,9 |
|
0,3 |
156,7 |
153,7 |
145,5 |
133,6 |
120,2 |
106,6 |
93,5 |
|
0,35 |
142,8 |
140,6 |
134,4 |
125,2 |
114,3 |
102,7 |
91,2 |
|
0,4 |
130,8 |
129,1 |
124,3 |
117,1 |
108,2 |
98,4 |
88,3 |
|
0,45 |
120,4 |
119,0 |
115,2 |
109,4 |
102,0 |
93,7 |
84,9 |
|
0,5 |
111,1 |
110,0 |
106,9 |
102,1 |
96,0 |
83,9 |
81,3 |
|
0,55 |
102,8 |
101,9 |
99,4 |
95,4 |
90,2 |
84,2 |
77,6 |
|
0,6 |
95,3 |
94,6 |
92,5 |
89,1 |
84,7 |
79,5 |
73,7 |
|
0,65 |
88,6 |
88,0 |
86,2 |
83,3 |
79,5 |
75,0 |
70,0 |
|
0,7 |
82,4 |
81,9 |
80,4 |
77,9 |
74,6 |
70,7 |
66,3 |
|
0,75 |
76,7 |
76,3 |
75,0 |
72,9 |
70,0 |
66,6 |
62,7 |
|
0,8 |
71,6 |
71,2 |
70,0 |
68,2 |
65,7 |
62,7 |
59,2 |
|
0,9 |
62,3 |
62,0 |
61,1 |
59,7 |
57,8 |
55,4 |
52,7 |
|
1,0 |
54,3 |
54,1 |
53,4 |
52,3 |
50,8 |
48,9 |
46,7 |
|
1,1 |
47,4 |
47,2 |
46,7 |
45,8 |
44,6 |
43,1 |
41,3 |
|
1,2 |
41,5 |
41,3 |
40,8 |
40,1 |
39,1 |
37,9 |
36,4 |
|
1,3 |
36,2 |
36,1 |
35,7 |
35,1 |
34,3 |
33,3 |
32,1 |
|
1,4 |
31,6 |
31,5 |
31,2 |
30,7 |
30,1 |
29,2 |
28,2 |
|
1,5 |
27,6 |
27,5 |
27,2 |
26,8 |
26,3 |
25,6 |
24,7 |
Продолжение табл. 12
|
|
Значения К4 при Хi/l |
||||||
|
0,3 |
0,35 |
0,4 |
0,45 |
0,5 |
0,55 |
0,6 |
|
|
0 |
91,6 |
78,0 |
66,5 |
56,6 |
47,8 |
40,2 |
33,4 |
|
0,05 |
92,1 |
78,4 |
66,8 |
56,8 |
48,1 |
40,4 |
33,5 |
|
0,1 |
93,4 |
79,5 |
67,7 |
57,5 |
48,7 |
40,9 |
34.0 |
|
0,15 |
94,7 |
80,7 |
68,8 |
58,5 |
49,5 |
41,6 |
34,6 |
|
0,2 |
95,3 |
81,6 |
69,8 |
59,6 |
50,5 |
42,5 |
35,5 |
|
0,25 |
94,9 |
82,0 |
70,5 |
60,4 |
51,4 |
43,4 |
36,3 |
|
0,3 |
93,5 |
81,5 |
70,6 |
60,8 |
52,0 |
44,2 |
37,1 |
|
0,35 |
91,2 |
80,3 |
70,2 |
60,9 |
52,4 |
44,7 |
37,8 |
|
0,4 |
88,3 |
78,5 |
69,2 |
60,5 |
52,4 |
45,0 |
38,3 |
|
0,45 |
84,9 |
76,2 |
67,7 |
59,6 |
52,0 |
45,0 |
38,5 |
|
0,5 |
81,3 |
73,6 |
65,9 |
58,4 |
51,3 |
44,7 |
38,5 |
|
0,55 |
77,6 |
70,7 |
63,7 |
56,9 |
50,4 |
44,1 |
38,2 |
|
0,6 |
73,7 |
67,6 |
61,4 |
55,2 |
49,2 |
43,4 |
37,8 |
|
0,65 |
70,0 |
64,5 |
58,9 |
53,3 |
47,8 |
42,4 |
37,2 |
|
0,7 |
66,3 |
61,4 |
56,4 |
51,3 |
46,2 |
41,2 |
36,4 |
|
0,75 |
62,7 |
58,4 |
53,9 |
49,3 |
44,6 |
39,9 |
35,4 |
|
0,8 |
59,2 |
55,4 |
51,3 |
47,1 |
42,8 |
38,6 |
34,4 |
|
0,9 |
52,7 |
49,6 |
46,3 |
42,8 |
39,2 |
36,6 |
32,0 |
|
1,0 |
46,7 |
44,2 |
41,5 |
38,7 |
35,7 |
32,6 |
29,6 |
|
1,1 |
41,3 |
39,3 |
37,1 |
34,7 |
32,2 |
29,6 |
27,0 |
|
1,2 |
36,4 |
34,8 |
33,0 |
31,0 |
28,9 |
26,7 |
24,5 |
|
1,3 |
32,1 |
30,7 |
29,2 |
27,6 |
25,8 |
24,0 |
22,1 |
|
1,4 |
28,2 |
27,1 |
25,8 |
24,4 |
22,9 |
21,4 |
19,75 |
|
1,5 |
24,7 |
23,8 |
22,7 |
21,5 |
20,3 |
18,96 |
17,57 |
Продолжение табл. 12
|
|
Значения К4 при Хi/l |
||||||
|
0 |
0,1 |
0,2 |
0,3 |
0,4 |
0,5 |
0,6 |
|
|
1,5 |
27,6 |
27,2 |
26,3 |
24,7 |
22,7 |
20,3 |
17,57 |
|
1,6 |
24,0 |
23,7 |
22,9 |
21,6 |
19,92 |
17,87 |
15,56 |
|
1,7 |
20,8 |
20,6 |
19,94 |
18,85 |
17,41 |
15,67 |
13,7 |
|
1,8 |
18,06 |
17,87 |
17,3 |
16,38 |
15,17 |
13,69 |
12,01 |
|
1,9 |
15,64 |
15,46 |
14,98 |
14,20 |
13,17 |
11,91 |
10,47 |
|
2,0 |
13,47 |
13,33 |
12,93 |
12,27 |
11,39 |
10,31 |
9,08 |
|
2,1 |
11,57 |
11,45 |
11,11 |
10,56 |
9,81 |
8,89 |
7,83 |
|
2,2 |
9,91 |
9,81 |
9,52 |
9,05 |
8,41 |
7,63 |
6,72 |
|
2,3 |
8,45 |
8,37 |
8,12 |
7,71 |
7,17 |
6,51 |
5,73 |
|
2,4 |
7,17 |
7,10 |
6,89 |
6,54 |
6,08 |
5,51 |
4,84 |
|
2,5 |
6,05 |
5,99 |
5,81 |
5,51 |
5,12 |
4,63 |
4,05 |
|
2,6 |
6,07 |
5,02 |
4,87 |
4,61 |
4,27 |
3,85 |
3,36 |
|
2,7 |
4,22 |
4,18 |
4,05 |
3,82 |
3,53 |
3,17 |
2,75 |
|
2,8 |
3,48 |
3,44 |
3,33 |
3,14 |
2,89 |
2,58 |
2,22 |
|
2,9 |
2,83 |
2,8 |
2,71 |
2,55 |
2,34 |
2,07 |
1,76 |
|
3,0 |
2,28 |
2,25 |
2,17 |
2,04 |
1,86 |
1,63 |
1,36 |
|
3,2 |
1,4 |
1,38 |
1,33 |
1,23 |
1,1 |
0,94 |
0,74 |
|
3,4 |
0,77 |
0,76 |
0,72 |
0,65 |
0,56 |
0,44 |
0,3 |
|
3,6 |
0,33 |
0,32 |
0,29 |
0,25 |
0,19 |
0,1 |
-0,01 |
|
3,8 |
0,03 |
0,03 |
0,01 |
-0,02 |
-0,07 |
-0,13 |
-0,21 |
|
4,0 |
-0,16 |
-0,16 |
-0,18 |
-0,21 |
-0,24 |
-0,28 |
-0,33 |
|
4,5 |
-0,36 |
-0,36 |
-0,36 |
-0,37 |
-0,39 |
-0,4 |
-0,41 |
|
5,0 |
-0,31 |
-0,31 |
-0,32 |
-0,32 |
-0,33 |
-0,33 |
-0,33 |
|
5,5 |
-0,21 |
-0,21 |
-0,21 |
-0,21 |
-0,2! |
-0,21 |
-0,21 |
|
6,0 |
-0,13 |
-0,13 |
-0,13 |
-0,12 |
-0,12 |
-0,12 |
-0,12 |
Продолжение табл. 12
|
|
Значения К4 при Хi/l |
||||||
|
0,6 |
0,65 |
0,7 |
0,75 |
0,8 |
0,85 |
0,9 |
|
|
0 |
33,4 |
27,3 |
21,8 |
16,95 |
12,55 |
8,59 |
5,02 |
|
0,1 |
34,0 |
27,8 |
22,3 |
17,38 |
12,95 |
8,95 |
5,34 |
|
0,2 |
35,5 |
29,2 |
23,6 |
18,53 |
14,0 |
9,92 |
6,24 |
|
0,3 |
37,1 |
30,8 |
25,2 |
20,0 |
15,43 |
11,27 |
7,52 |
|
0,4 |
38,3 |
32,1 |
26,5 |
21,5 |
16,88 |
12,71 |
8,93 |
|
0,5 |
38,5 |
32,7 |
27,4 |
22,5 |
18,08 |
14,0 |
10,26 |
|
0.6 |
37,8 |
32,6 |
27,7 |
23,1 |
18,85 |
14,94 |
11,33 |
|
0,7 |
36,4 |
31,7 |
27,3 |
23,1 |
19,16 |
15,5 |
12,1 |
|
0,8 |
34,4 |
30,3 |
26,4 |
22,6 |
19,03 |
15,66 |
12,49 |
|
0,9 |
32,0 |
28,5 |
25,1 |
21,7 |
18,52 |
15,46 |
12,55 |
|
1,0 |
29,6 |
26,5 |
23,5 |
20,6 |
17,71 |
14,96 |
12,32 |
|
1,1 |
27,0 |
24,4 |
21,8 |
19,21 |
16,69 |
14,24 |
11,88 |
|
1,2 |
24,5 |
22,3 |
20,0 |
17,75 |
15,54 |
13,37 |
11,27 |
|
1,3 |
22,1 |
20,1 |
18,19 |
16,24 |
14,31 |
12,4 |
10,54 |
|
1,4 |
19,75 |
18,1 |
16,42 |
14,73 |
13,04 |
11,37 |
9,73 |
|
1,5 |
17,57 |
16,14 |
14,69 |
13,23 |
11,76 |
10,31 |
8,86 |
|
1,6 |
15,56 |
14,33 |
13,08 |
11,81 |
10,53 |
9,26 |
7,99 |
|
1,7 |
13,7 |
12,66 |
11,58 |
10,48 |
9,37 |
8,26 |
7,15 |
|
1,8 |
12,01 |
11,12 |
10,19 |
9,24 |
8,28 |
7,32 |
6,35 |
|
1,9 |
10,47 |
9,71 |
8,91 |
8,09 |
7,26 |
6,42 |
5,58 |
|
2,0 |
9,08 |
8,42 |
7,74 |
7,03 |
6,31 |
6,58 |
4,85 |
|
2,1 |
7,83 |
7,26 |
6,67 |
6,06 |
5,44 |
4,81 |
4,17 |
|
2,2 |
6,72 |
6,22 |
5,71 |
5,19 |
4,65 |
4,1 |
3,55 |
Продолжение табл. 12
|
|
Значения К4 при Хi/l |
||||||
|
0,9 |
0,95 |
1,0 |
1,05 |
1,1 |
1,15 |
1,2 |
|
|
0 |
5,02 |
4,80 |
-1,1 |
-3,71 |
-6,07 |
-8,19 |
-10,07 |
|
0,1 |
5,34 |
2,09 |
-10,83 |
-3,46 |
-6,84 |
-17,97 |
-9,86 |
|
0,2 |
6,24 |
2,93 |
-0,07 |
-2,75 |
-5,16 |
-7,33 |
-9,27 |
|
0,3 |
7,52 |
4,14 |
1,08 |
-1,66 |
-4,13 |
-6,35 |
-8,35 |
|
0,4 |
8,93 |
5,51 |
2,42 |
-0,37 |
-2,89 |
-5,16 |
-7,2 |
|
0,5 |
10,25 |
6,86 |
3,78 |
0,96 |
-1,56 |
-3,66 |
-6,94 |
|
0,6 |
11,33 |
8,03 |
6,01 |
2,25 |
-0,28 |
-2,58 |
-4,67 |
|
0,7 |
12,09 |
8,94 |
6,02 |
3,34 |
0,87 |
-1,4 |
-3,46 |
|
0,8 |
12,49 |
9,53 |
6,77 |
4,21 |
1,84 |
-0,34 |
-2,36 |
|
0,9 |
12,55 |
9,81 |
7,24 |
4,83 |
2,59 |
0,51 |
-1,41 |
|
1,0 |
12,32 |
9,82 |
7,46 |
5,23 |
3,1,3 |
1,17 |
-0,64 |
|
1,1 |
11,88 |
9,61 |
7,46 |
6,42 |
3,48 |
1,66 |
-0,04 |
|
1,2 |
11,27 |
9,23 |
7,29 |
5,43 |
3,65 |
1,98 |
0,41 |
|
1,3 |
10,54 |
8,72 |
6,98 |
5,29 |
3,68 |
2,15 |
0,71 |
|
1,4 |
9,73 |
8,11 |
6,65 |
6,04 |
3,6 |
2,22 |
0,89 |
|
1,5 |
8,86 |
7,44 |
6,05 |
4,71 |
3,43 |
2,18 |
0,98 |
|
1,6 |
7,99 |
6,75 |
5,53 |
4,34 |
3,19 |
2,08 |
1,0 |
|
1,7 |
7,16 |
6,07 |
5,0 |
3,94 |
2,9 |
1,9 |
0,95 |
|
1,8 |
6,35 |
5,4 |
4,45 |
3,51 |
2,59 |
1,7 |
0,86 |
|
1,9 |
5,58 |
4,74 |
3,9 |
3,08 |
2,27 |
1,49 |
0,74 |
|
2,0 |
4,85 |
4,11 |
3,38 |
2,66 |
1,95 |
1,26 |
0,59 |
|
2,1 |
4,17 |
3,53 |
2,89 |
2,26 |
1,63 |
1,02 |
0,43 |
|
2,2 |
3,55 |
2,99 |
2,43 |
1,88 |
1,33 |
0,8 |
0,28 |
Продолжение табл. 12
|
|
Значения К4 при Хi/l |
||||||
|
1,2 |
1,3 |
1,4 |
1,5 |
1,6 |
1,7 |
1,8 |
|
|
0 |
-10,07 |
-13,26 |
-15,78 |
-17,72 |
-19,15 |
-20,15 |
-20,78 |
|
0,1 |
-9,86 |
-13,08 |
-15,62 |
-17,57 |
-19,01 |
-20,03 |
-20,67 |
|
0,2 |
-9,27 |
-12,55 |
-15,15 |
-17,14 |
-18,63 |
-19,68 |
-20,36 |
|
0,3 |
-8,36 |
-11,73 |
-14,41 |
-16,46 |
-18,02 |
-19,12 |
-19,85 |
|
0,4 |
-7,2 |
-10,69 |
-13,45 |
-15,59 |
-17,21 |
-18,38 |
-19,17 |
|
0,5 |
-5,94 |
-0,51 |
-12,34 |
-14,55 |
-16,24 |
-17,49 |
-18,35 |
|
0,6 |
-4,67 |
-8,26 |
-11,14 |
-13,41 |
-15,17 |
-16,5 |
-17,42 |
|
0,7 |
-3,46 |
-7,02 |
-9,92 |
-12,24 |
-14,05 |
-15,44 |
-16,42 |
|
0,8 |
-2,36 |
-5,85 |
-6,73 |
-11,08 |
-42,91 |
-14,34 |
-15,37 |
|
0,9 |
-1,41 |
-4,80 |
-7,62 |
-9,95 |
-11,77 |
-13,22 |
-14,29 |
|
1,0 |
-0,64 |
-3,88 |
-6,61 |
-8,87 |
-10,68 |
-12,12 |
-13,23 |
|
1,1 |
-0,04 |
-8,1 |
-5,71 |
-7,87 |
-9,66 |
-11,06 |
-12,2 |
|
1,2 |
0,41 |
-2,45 |
-4,91 |
-5,97 |
-8,71 |
-10,11 |
-11,21 |
|
1,3 |
0,71 |
-1,93 |
-4,22 |
-6,18 |
-7,84 |
-0,2 |
-10,27 |
|
1,4 |
0,89 |
-1,52 |
-3,65 |
-6,49 |
-7,06 |
-8,35 |
-9,39 |
|
1,5 |
0,98 |
-1,22 |
-3,18 |
-4,89 |
-6,36 |
-7,57 |
-8,58 |
|
1,6 |
1,0 |
-1,0 |
-2,79 |
-4,37 |
-5,73 |
-6,88 |
-7,83 |
|
1,7 |
0,95 |
-0,85 |
-2,48 |
-3,93 |
-5,18 |
-6,26 |
-7,14 |
|
1,8 |
0,86 |
-0,76 |
-2,23 |
-3,55 |
-4,7 |
-5,7 |
-6,52 |
|
1,9 |
0,74 |
-0,72 |
-2,04 |
-3,23 |
-4,27 |
-6,2 |
-5,96 |
|
2,0 |
0,59 |
-0,7 |
-1,88 |
-2,96 |
-8,9 |
-4,74 |
-5,45 |
|
2,1 |
0,43 |
-0,71 |
-1,75 |
-2,72 |
-3,58 |
-4,33 |
-4,98 |
|
2,2 |
0,28 |
-0,72 |
-1,66 |
-2,52 |
-3,29 |
-3,97 |
-4,56 |
Продолжение табл. 12
|
|
Значения К4 при Хi/l |
||||||
|
0,6 |
0,8 |
1,0 |
1,2 |
1,4 |
1,6 |
1,8 |
|
|
2,2 |
6,72 |
4,65 |
2,43 |
0,28 |
-1,66 |
-3,29 |
-4,56 |
|
2,3 |
5,73 |
3,94 |
2,01 |
0,13 |
-1,58 |
-3,03 |
-4,18 |
|
2,4 |
4,84 |
3,3 |
1,63 |
-0,02 |
-1,53 |
-2,81 |
-3,83 |
|
2,5 |
4,05 |
2,73 |
1,29 |
-0,15 |
-1,49 |
-2,62 |
-3,52 |
|
2,6 |
3,36 |
2,22 |
0,98 |
-0,28 |
-1,45 |
-2,44 |
-3,24 |
|
2,7 |
2,75 |
1,78 |
0,7 |
-0,39 |
-1,41 |
-2,28 |
-2,99 |
|
2,8 |
2,22 |
1,39 |
0,46 |
-0,48 |
-1,37 |
-2,13 |
-2,76 |
|
2,9 |
1,76 |
1,05 |
0,25 |
-0,56 |
-1,33 |
-1,99 |
-2,54 |
|
3,0 |
1,36 |
0,75 |
0,07 |
-0,62 |
-1,28 |
-1,86 |
-2,34 |
|
3,2 |
0,74 |
0,3 |
-0,21 |
-0,71 |
-1,21 |
-1,63 |
-1,99 |
|
3,4 |
0,3 |
-0,02 |
-0,39 |
-0,75 |
-1,12 |
-1,43 |
-1,68 |
|
3,6 |
-0,01 |
-0,24 |
-0,49 |
-0,76 |
-1,02 |
-1,24 |
-1,42 |
|
3,8 |
-0,21 |
-0,37 |
-0,55 |
-0,74 |
-0,92 |
-1,08 |
-1,19 |
|
4,0 |
-0,33 |
-0,43 |
-0,57 |
-0,7 |
-0,82 |
-0,93 |
-1,0 |
|
4,2 |
-0,38 |
-0,45 |
-0,56 |
-0,64 |
-0,72 |
-0,79 |
-0,83 |
|
4,4 |
-0,41 |
-0,45 |
-0,52 |
-0,57 |
-0,62 |
-0,66 |
-0,68 |
|
4,6 |
-0,41 |
-0,43 |
-0,47 |
-0,5 |
-0,53 |
-0,54 |
-0,55 |
|
4,8 |
-0,38 |
-0,39 |
-0,4 |
-0,43 |
-0,44 |
-0,43 |
-0,43 |
|
5,0 |
-0,33 |
-0,33 |
-0,34 |
-0,35 |
-0,35 |
-0,34 |
-0,33 |
|
5,5 |
-0,21 |
-0,21 |
-0,21 |
-0,2 |
-0,19 |
-0,18 |
-0,17 |
|
6,0 |
-0,12 |
-0,12 |
-0,11 |
-0,11 |
-0,10 |
-0,08 |
-0,07 |
Продолжение табл. 12
|
|
Значения К4 при Хi/l |
||||||
|
1,8 |
2,0 |
2,2 |
2,4 |
2,6 |
2,8 |
3,0 |
|
|
0 |
-20,78 |
-21,18 |
-20,72 |
-19,67 |
-18,21 |
-16,51 |
-14,71 |
|
0,2 |
-20,35 |
-20,83 |
-20,43 |
-19,43 |
-18,01 |
-16,35 |
-14,57 |
|
0,4 |
-19,17 |
-19,84 |
-19,61 |
-18,74 |
-17,43 |
-15,87 |
-14,17 |
|
0,6 |
-17,42 |
-18,35 |
-18,35 |
-17,67 |
-16,53 |
-15,11 |
-13,54 |
|
0,8 |
-15,37 |
-16,54 |
-16,77 |
-16,31 |
-15,37 |
-14,13 |
-12,72 |
|
1,0 |
-13,23 |
-14,58 |
-15,02 |
-14,77 |
-14,04 |
- 12,99 |
-11,76 |
|
1,2 |
-11,21 |
-12,64 |
-13,22 |
-13,15 |
-12,61 |
-11,75 |
-10,71 |
|
1,4 |
-9,39 |
-10,82 |
-11,48 |
-11,54 |
-11,16 |
-10,48 |
-9,62 |
|
1,6 |
-7,83 |
-9,16 |
-0,85 |
-10,01 |
-9,76 |
-9,24 |
-8,52 |
|
1,8 |
-6,52 |
-7,71 |
-8,38 |
-8,6 |
-8,45 |
-8,04 |
-7,45 |
|
2,0 |
-5,45 |
-6,49 |
-7,09 |
-7,33 |
-7,24 |
-6,93 |
-6,44 |
|
2,2 |
-4,56 |
-5,45 |
-5,97 |
-6,2 |
-6,15 |
-5,91 |
-5,51 |
|
2,4 |
-3,83 |
-4,57 |
-5,0 |
-5,21 |
-5,19 |
-4,99 |
-4,67 |
|
2,6 |
-3,24 |
-3,83 |
-4,18 |
-4,35 |
-4,35 |
-4,18 |
-3,92 |
|
2,8 |
-2,76 |
-3,21 |
-3,49 |
-3,62 |
-3,62 |
-3,48 |
-3,26 |
|
3,0 |
-2,34 |
-2,69 |
-2,9 |
-2,99 |
-2,98 |
-2,87 |
-2,68 |
|
3,2 |
-1,99 |
-2,25 |
-2,4 |
-12,46 |
-2,44 |
-2,34 |
-2,18 |
|
3,4 |
-1,68 |
-1,87 |
-1,98 |
-2,01 |
-1,98 |
-1,89 |
-1,76 |
|
3,6 |
-1,42 |
-1,55 |
-1,62 |
-1,64 |
-1,6 |
-1,52 |
-1,4 |
|
3,8 |
-1,19 |
-1,28 |
-1,32 |
-1,33 |
-1,28 |
-1,21 |
-1,1 |
|
4,0 |
-1,0 |
-1,05 |
-1,07 |
-1,06 |
-1,01 |
-0,94 |
-0,85 |
|
4,5 |
-0,61 |
-0,61 |
-0,6 |
-0,57 |
-0,53 |
-0,47 |
-0,4 |
|
5,0 |
-0,33 |
-0,32 |
-0,3 |
-0,27 |
-0,24 |
-0,2 |
-0,15 |
|
5,5 |
-0,17 |
-0,15 |
-0,13 |
-0,11 |
-0,09 |
-0,06 |
-0,03 |
|
6,0 |
-0,07 |
-0,05 |
-0,04 |
-0,03 |
-0,01 |
0,01 |
0,02 |
Продолжение табл. 12
|
|
Значения К4 при Хi/l |
||||||
|
3,0 |
3,2 |
3,4 |
3,6 |
3,8 |
4,0 |
4,2 |
|
|
0 |
-14,71 |
-12,9 |
-11,15 |
-9,5 |
-7,96 |
-6,56 |
-5,3 |
|
0,2 |
-14,57 |
-12,79 |
-11,06 |
-9,42 |
-7,9 |
-6,5 |
-5,26 |
|
0,4 |
-14,17 |
-12,46 |
-10,79 |
-9,2 |
-7,72 |
-6^5 |
-5,14 |
|
0,6 |
-13,54 |
-11,94 |
-10,36 |
-8,85 |
-7,43 |
-6,12 |
-4,96 |
|
0,8 |
-12,72 |
-11,26 |
-9,8 |
-8,39 |
-7,05 |
-5,81 |
-4,71 |
|
1,0 |
-11,76 |
-10,45 |
-9,12 |
-7,83 |
-6,59 |
-5,44 |
-4,41 |
|
1,2 |
-10,71 |
-9,56 |
-8,37 |
-7,2 |
-6,07 |
-5,02 |
-4,07 |
|
1,4 |
-9,62 |
-8,62 |
-7,57 |
-6,52 |
-5,51 |
-4,56 |
-3,7 |
|
1,6 |
-8,52 |
-7,67 |
-6,75 |
-5,83 |
-4,93 |
-4,09 |
-3,32 |
|
1,8 |
-7,45 |
-6,74 |
-6,95 |
-5,15 |
-4,36 |
-3,62 |
-2,94 |
|
2,0 |
-6,44 |
-5,85 |
-5,18 |
-4,49 |
-3,81 |
-3,16 |
-2,56 |
|
2,2 |
-5,51 |
-5,02 |
-4,45 |
-3,86 |
-3,28 |
-2,72 |
-2,19 |
|
2,4 |
-4,67 |
-4,25 |
-3,78 |
-3,28 |
-2,78 |
-2,3 |
-1,85 |
|
2,6 |
-3,92 |
-3,57 |
-3,17 |
-2,75 |
-2,33 |
-1,92 |
-1,54 |
|
2,8 |
-3,26 |
-2,97 |
-2,64 |
-2,28 |
-1,93 |
-1,58 |
-1,26 |
|
3,0 |
-2,68 |
-2,45 |
-2,17 |
-1,87 |
-1,57 |
-1,28 |
-1,01 |
|
3,2 |
-2,18 |
-1,99 |
-1,75 |
-1,51 |
-1,25 |
-1,01 |
-0,78 |
|
3,4 |
-1,76 |
-1,59 |
-1,4 |
-1,19 |
-0,98 |
-0,78 |
-0,59 |
|
3,6 |
-1,4 |
-1,25 |
-1,09 |
-0,92 |
-0,75 |
-0,58 |
-0,43 |
|
3,8 |
-1,1 |
-0,98 |
-0,84 |
-0,7 |
-0,56 |
-0,42 |
-0,29 |
|
4,0 |
-0,85 |
-0,75 |
-0,63 |
-0,52 |
-0,4 |
-0,29 |
-0,18 |
|
4,5 |
-0,4 |
-0,33 |
-0,27 |
-0,2 |
-0,13 |
-0,06 |
0 |
|
5,0 |
-0,15 |
-0,11 |
-0,07 |
-0,03 |
0,01 |
0,05 |
0,07 |
|
6,0 |
0,02 |
0,03 |
0,04 |
0,05 |
0,06 |
0,06 |
0,06 |
Продолжение табл. 12
|
|
Значения К4 при Хi/l |
||||||
|
4,2 |
4,4 |
4,6 |
4,8 |
5,0 |
5,2 |
5,4 |
|
|
0 |
-5,3 |
-4,21 |
-3,27 |
-2,48 |
-1,81 |
-1,27 |
-0,83 |
|
0,2 |
-5,26 |
-4,18 |
-3,25 |
-2,46 |
-1,8 |
-1,26 |
-0,82 |
|
0,4 |
-5,14 |
-4,09 |
-3,18 |
-2,4 |
-1,76 |
-1,22 |
-0,79 |
|
0,6 |
-4,96 |
-3,94 |
-3,06 |
-2,31 |
-1,69 |
-1,17 |
-0,75 |
|
0,8 |
-4,71 |
-3,74 |
-2,9 |
-2,19 |
-1,6 |
-1,1 |
-0,7 |
|
1,0 |
-4,41 |
-3,5 |
-2,71 |
-2,04 |
-1,49 |
-1,02 |
-0,64 |
|
1,2 |
-4,07 |
-3,23 |
-2,5 |
-1,87 |
-1,36 |
-0,92 |
-0,57 |
|
1,4 |
-3,7 |
-2,94 |
-2,27 |
-1,69 |
-1,22 |
-0,82 |
-0,49 |
|
1,6 |
-3,32 |
-2,63 |
-2,03 |
-1,5 |
-1,07 |
-0,71 |
-0,41 |
|
1,8 |
-2,94 |
-2,32 |
-1,78 |
-1,31 |
-0,92 |
-0,59 |
-0,33 |
|
2,0 |
-2,56 |
-2,02 |
-1,53 |
-1,12 |
-0,77 |
-0,48 |
-0,24 |
|
2,2 |
-2,19 |
-1,72 |
-1,29 |
-0,93 |
-0,63 |
-0,37 |
-0,16 |
|
2,4 |
-1,85 |
-1,44 |
-1,07 |
-0,76 |
-0,5 |
-0,27 |
-0,09 |
|
2,6 |
-1,54 |
-1,18 |
-0,87 |
-0,6 |
-0,37 |
-0,18 |
-0,02 |
|
2,8 |
-1,26 |
-0,95 |
-0,69 |
-0,46 |
-0,26 |
-0,1 |
0,03 |
|
3,0 |
-1,01 |
-0,75 |
-0,52 |
-0,32 |
-0,16 |
-0,03 |
0,07 |
|
3,2 |
-0,78 |
-0,57 |
-0,38 |
-0,21 |
-0,08 |
0,03 |
0,11 |
|
3,4 |
-0,59 |
-0,41 |
-0,25 |
-0,12 |
-0,02 |
0,07 |
0,13 |
|
3,6 |
-0,43 |
-0,28 |
-0,15 |
-0,05 |
0,04 |
0,1 |
0,15 |
|
3,8 |
-0,29 |
-0,17 |
-0,07 |
0,01 |
0,08 |
0,12 |
0,16 |
|
4,0 |
-0,18 |
-0,09 |
-0,01 |
0,05 |
0,1 |
0,13 |
0,16 |
|
4,5 |
0 |
0,05 |
0,08 |
0,12 |
0,13 |
0,14 |
0,14 |
|
5,0 |
0,07 |
0,08 |
0,09 |
0,1 |
0,11 |
0,11 |
0,1 |
|
6,0 |
0,06 |
0,06 |
0,06 |
0,06 |
0,05 |
0,04 |
0,04 |
Продолжение табл. 12
|
|
Значения К4 при Хi/l |
||||||
|
4,2 |
4,4 |
4,6 |
4,8 |
5,0 |
5,2 |
5,4 |
|
|
0 |
-0,83 |
-0,48 |
-0,2 |
0 |
0,24 |
0,25 |
0,1 |
|
0,2 |
-0,82 |
-0,47 |
-0,2 |
0 |
0,24 |
0,25 |
0,1 |
|
0,4 |
-0,79 |
-0,45 |
-0,19 |
0,01 |
0,24 |
0,25 |
0,1 |
|
0,6 |
-0,75 |
-0,42 |
-0,17 |
0,02 |
0,24 |
0,25 |
0,1 |
|
0,8 |
-0,70 |
-0,38 |
-0,14 |
0,04 |
0,25 |
0,24 |
0,09 |
|
1,0 |
-0,64 |
-0,34 |
-0,11 |
0,06 |
0,25 |
0,23 |
0,09 |
|
1,5 |
-0,45 |
-0,2 |
-0,02 |
0,12 |
0,25 |
0,22 |
0,08 |
|
2,0 |
-0,24 |
-0,05 |
0,08 |
0,16 |
0,24 |
0,19 |
0,06 |
|
2,5 |
-0,05 |
0,07 |
0,15 |
0,19 |
0,22 |
0,17 |
0,05 |
|
3,0 |
0,07 |
0,14 |
0,19 |
0,2 |
0,19 |
0,14 |
0,04 |
|
6,6 |
0,14 |
0,17 |
0,18 |
0,18 |
0,15 |
0,1 |
- |
|
4,0 |
0,16 |
0,16 |
0,15 |
0,15 |
0,11 |
0,07 |
- |
|
5,0 |
0,1 |
0,09 |
0,08 |
0,07 |
0,05 |
- |
- |
|
6,0 |
0,04 |
0,03 |
0,02 |
0,02 |
- |
- |
- |
Расчет при нагрузках сложного вида
24. При нагрузках сложного вида (см. п. 13) расчетный изгибающий момент в плите бетонного подстилающего слоя, расположенного на грунте основания, определяют как сумму моментов от отдельных нагрузок по формуле
где М0 - изгибающий момент в расчетном центре от нагрузки простого вида, равномерно распределенной по следу, центр тяжести которого совпадает с расчетным центром; при следе в виде круга М0 определяют по формуле (15), а при следе в виде квадрата или прямоугольника, длинная сторона а которого расположена параллельно оси OY (рис. 4,в, 5а), - по формуле (13);
Mi - изгибающий момент в расчетном центре от сосредоточенной нагрузки Pi, приложенной в центре тяжести элементарной площадки; определяют по формуле
где Pi в т - определяемый по п. 31;
К4 - коэффициент,
принимаемый по табл. 12 в
зависимости от отношений
, в которых Хi и Yi
- координаты точки приложения нагрузки Pi, определяемые по схеме расположения нагрузок (рис.
4 и 5)
в соответствии с п. 31.

Рис. 4. Схемы расположения в плане нагрузок сложного вида, расчетного центра 0, осей координат и разделения следов нагрузок на элементарные площадки
а - нечетное количество одинаковых нагрузок, расположенных в один ряд; б - то же, при четном количестве нагрузок b ≤ 4,4l; в(в'; в"; в'") - нагрузки разной величины с различными площадями следов; 1 - след колеса транспортного средства; 2 - след станка, агрегата
25. Для определения расчетного изгибающего момента при нагрузках сложного вида вычерчивают схему расположения следов опирания нагрузок на пол, расчетного центра O, осей координат и схему разделения следов нагрузок на элементарные площадки с указанием на каждой из них центра тяжести приложения нагрузки (рис. 4 и 5). Нагрузки, расположение которых на полу может изменяться, следует располагать по возможности ближе к расчетному центру.

Рис. 5. Схемы расположения в плане нагрузок сложного вида, расчетного центра O, осей координат и разделения следов нагрузок на элементарные площадки
а, в - нагрузки, равномерно распределенные по длине параллельных следов (от подкладок под тяжелые предметы, от штабелей цилиндрических валов и др.) при b ≤ 4,4l; a>b; б; б'; г - то же, при b>4,4l; а>b
26. Расположение расчетного центра O выбирают из условия получения наибольшего значения изгибающего момента от заданных нагрузок. Для нагрузок, равномерно распределенных по следу, приведенных на рис. 4 и 5, расположение и количество расчетных центров следует принимать по табл. 13.
Таблица 13
|
Характеристика нагрузок |
№ рисунка |
Расчетные центры |
|
|
количество |
расположение - в центре тяжести следа |
||
|
Нечетное количество одинаковых нагрузок, расположенных в одном ряду |
4, а |
1 |
Средней нагрузки |
|
То же, четное количество нагрузок |
4, б |
1 |
Одной из двух средних нагрузок |
|
Различные по площади следа опирания |
4, в |
2 |
Каждой отдельной нагрузки |
|
Нагрузки с удлиненными следами, расположенными в зоне загружения шириной b ≤ 4,4l, длиной а>b |
5, а, в |
1 |
Нагрузки, ближайшей к центру тяжести зоны загружения |
|
Нагрузки с удлиненными следами, расположенными параллельно оси 0Y в зоне загружения шириной b > 4,4l, длиной а > b |
5б', б" |
2-3 |
Каждой отдельной нагрузки, кроме крайних |
|
То же, перпендикулярно оси 0Y |
5, г |
1 |
Средней нагрузки на расстоянии L от края ее следа (см. табл. 14) |
Таблица 14
Значение L в зависимости от b (по рис. 5, г)
|
bсм |
4,4l |
4,5l |
4,6l |
4,8l |
5l |
5,5l |
6l |
6,5l |
7l и более |
|
Lсм |
2,l |
1,84l |
1,67l |
1,52l |
1,4l |
1,26l |
1,18l |
1,13l |
1,1l |
27. В расчетном центре располагают начало прямоугольных координат и размещают ось OY так, чтобы центры тяжести элементарных площадок (см. п. 28), на которые разделены площади одного или нескольких следов опирания, располагались возможно ближе к этой оси.
В тех случаях когда недостаточно ясно, какое следует установить направление оси OY, изгибающий момент определяют сначала для одного направления оси, а затем для другого, перпендикулярного первому направления (рис. 4, в' и 4, в") и из полученных изгибающих моментов принимают наибольший.
28. Следы опирания нагрузок разделяют на элементарные площадки простой геометрической формы (квадрат, прямоугольник, круг). Размеры элементарных площадок устанавливают равными 0,3-0,5 расстояния от их центра тяжести до расчетного центра. Такой же величины следует принимать длину элементарных площадок следов опирания предметов ребром или по образующей цилиндрической поверхности (рис. 5).
Одинаковые элементарные площадки следует располагать симметрично относительно осей координат или во всяком случае относительно одной из них.
Следы нагрузок размерами менее 0,5l и след колеса безрельсового транспорта на элементарные площадки не разделяют.
29. С расчетным центром совмещают центр тяжести элементарной площадки, по форме и размерам соответствующей нагрузке простого вида со следами круглой (рис. 4, в") или квадратной (рис. 4 а, б, в") формы, а также прямоугольной формы (рис. 4,в', 5а, б), если ось OY располагается параллельно длинной стороне прямоугольника; при расположении длинной стороны прямоугольника перпендикулярно оси OY длину этой стороны прямоугольника следует принимать не более 0,6l (рис. 5, в, г,) и для него определять радиус равновеликого круга r, rр (см. п. 14).
Для элементарной площадки определяют нагрузку, равную Р0 в т, передаваемую на эту площадку.
30. Нагрузку, приходящуюся на каждую элементарную площадку, расположенную вне расчетного центра, заменяют эквивалентной сосредоточенной нагрузкой Pi с точкой приложения в центре тяжести элементарной площадки.
Значение Pi в т определяют по формуле
где fi - площадь элементарной площадки в см2;
F - вся площадь следа нагрузки в см2;
Рр - расчетная нагрузка на всю площадь следа в т.
31. Для всех элементарных
площадок определяют координаты Xi
и Yi точек приложения Pi
относительно осей ОХ и OY
и вычисляют приведенные координаты этих точек
.
Нагрузки и элементарные площадки с приведенными
координатами точек приложения Рi;
или
в расчете не
учитывают.
32. Расчет плиты бетонного
подстилающего слоя на изгиб при нагрузках сложного вида производят следующим
образом. Вначале устанавливают К0, принимают бетон марки 300, ориентировочно
задаются значением h = 10 см и
находят l. Для каждой
схемы нагрузок, каждого расчетного центра и направления осей координат
определяют Р0; Pi; М0; Xi; Yi;
;
; Мi; ΣМi; Мр и по формуле (11) вычисляют σр.
Если наибольшее из полученных значений σр равно или на 1-5% меньше Rp, то ориентировочно принятое значение h = 10 см принимают за окончательное. В противном случае расчет повторяют. Повторный расчет производится только по схеме загружения, по которой получен наибольший Мр. При повторном расчете следует выполнять указания, приведенные в п. 23.
Пример 1.
Требуется определить толщину бетонного подстилающего слоя. Покрытие пола бетонное, толщиной h1 = 2,5 см. Нагрузка на пол - от автомобилей МАЗ-205; грунт основания - суглинок. Грунтовые воды отсутствуют.
Определим расчетные параметры. Для автомобиля МАЗ-205 расчетная нагрузка на колесо по формуле (10) Рр = 1,2·4,2 = 5,04 т.
Согласно п. 14 ![]()
По формуле (8) rр = 15+2,5= 17,5 см.
Для суглинистого грунта основания при отсутствии грунтовых вод по табл. 7; К0 = 6,5 кг/см3.
Для подстилающего слоя примем бетон марки 300, тогда при нагрузке от безрельсовых транспортных средств по табл. 6; Rр = 7,6 кгс/см2, Еб = 270 000 кгс/см2.
Расчет. Определим
напряжение растяжения в бетоне плиты при изгибе σр. Нагрузка от
автомобиля, согласно п. 13, является
нагрузкой простого вида и передается по следу круглой формы. Поэтому расчетный
изгибающий момент определим по формуле (15).
Согласно п. 23 зададимся ориентировочно h
= 10 см. Тогда по п. 20; l = 43,4 см. При
по табл. 11 найдем К3 = 99,4. По формуле (15) Мр = К3Рр = = 99,4·5,04 = 500 кгс·см/см; по формуле (11)
т.е. напряжение в
плите толщиной h
= 10 см превышает Rp = 7,6 кгс/см2. В соответствии с п. 23 расчет повторим, задавшись большим значением h = 16 см, тогда l = 61,8 см;
К3 = 111,8; Mр = 111,8·5,04 =
563,5 кгс·см/см; ![]()
Принимаем подстилающий слой из бетона марки 300 толщиной h = 16 см.
Пример 2.
Требуется определить толщину бетонного подстилающего слоя, используемого в качестве пола, без устройства покрытия (h1 = 0). Нагрузка на пол от станка весом Рр= = 8 т, стоящего непосредственно на подстилающем слое, равномерно распределяется по следу в виде прямоугольника размером 220×120 см. Грунт основания - мелкий песок, находится в зоне капиллярного поднятия грунтовых вод.
Определим расчетные параметры.
Расчетная длина следа по формуле (6) ар = а = 220 см. Расчетная ширина следа по формуле (7) bр = b =120 см. Для грунта основания из мелкого песка, находящегося в зоне капиллярного поднятия грунтовых вод, по табл. 7; К0 = 4,5 кг/см3. Для подстилающего слоя примем бетон марки 300, тогда при неподвижной нагрузке по табл. 6; Rp = 9,5 кгс/см2, Еб =270 000 кгс/см2.
Расчет. Определим напряжение растяжения в бетоне плиты при изгибе σр. Нагрузка передается по следу прямоугольной формы и, согласно п. 13, является нагрузкой простого вида. Поэтому расчетный изгибающий момент определим по формуле (13). Согласно п. 23 зададимся ориентировочно h = 10 см, тогда по п. 20; l = 47,6 см.
По величине
по табл. 9. найдем К1 = 19,95. По формуле (13) Мр = К1Рр = 19,95·10=199,5 кгс·см/см, по формуле (11)
т.е. напряжение
растяжения в плите толщиной 10 см значительно
меньше Rр = 9,5 кгс/см2. Поэтому согласно п. 23 проведем повторный расчет и, сохраняя h = 10 см, найдем более низкую марку бетона плиты
подстилающего слоя, при которой σр » Rр. Примем бетон
марки 200, для которого Rp =6,4 кгс/см2; Е6 = 225 000 кгс/см2.
Тогда l = 45,4 см,
К1 = 18,05; Мр = 18,05·10=180,5 кгс·см/см;
т.е. напряжение
растяжения в плите из бетона марки 200 меньше Rp = 6,4 кгс/см2. Принимаем подстилающий слой из бетона
марки 200, толщиной h = 10 см.
Пример 3.
Требуется определить толщину бетонного подстилающего слоя пола при нагрузках от станков и автомобилей ЗИЛ-164. Схема расположения нагрузок приведена на рис. 4, в', в" и в'". Центр следа колеса автомобиля находится на расстоянии 50 см от края следа станка. Вес станка в рабочем состоянии Рр = 15 т распределяется равномерно по площади следа прямоугольной формы длиной 260 см, шириной 140 см.
Покрытие пола отсутствует. Грунт основания - супесь. Основание находится в зоне капиллярного поднятия грунтовых вод.
Определим расчетные параметры.
Для автомобиля ЗИЛ-164 расчетная нагрузка на колесо
по формуле (10) Рр = 1,2×3,03 = 3,7 т. Согласно п. 14 ![]()
Для супесчаного грунта основания, находящегося в зоне капиллярного поднятия грунтовых вод, по табл. 7; К0 = 3 кг/см3. Для подстилающего слоя примем бетон марки 300, тогда при одновременном действии неподвижных и динамических нагрузок по табл. 6 Rp = 7,6 кгс/см2, Eб =270 000 кгс/см2.
Зададимся ориентировочно h = 10 см, тогда по п. 20; l = 52,6 см. В этом случае расстояние от центра тяжести следа колеса автомобиля до края следа станка 50 = 0,95 l < 6l, т.е. согласно п. 13 вышеуказанные нагрузки относятся к нагрузкам сложного вида.
В соответствии с п. 26 установим положение расчетных центров в центрах тяжести следа стайка (o1) и колеса автомобиля (O2). Из схемы расположения нагрузок (рис. 4, в') следует, что для расчетного центра o1 неясно, какое следует установить направление оси OY, поэтому изгибающий момент определим, как при направлении оси OY, параллельном длинной стороне следа станка (рис. 4, в'), так и перпендикулярном этой стороне (рис. 4, в"). Для расчетного центра O2 примем направление OY через центры тяжести следов станка и колеса автомобиля (рис. 4, в"').
Расчет 1. Определим напряжение растяжения в бетоне плиты при изгибе σр для расчетного центра o1 при направлении оси OY параллельно длинной стороне следа станка (рис. 4, в'). При этом нагрузка от станка при следе прямоугольной формы относится к нагрузке простого вида. Для следа станка по п. 14 при отсутствии покрытия пола (h1 = 0) ар = а = 260 см, bр = b = 140 см.
По величинам
по табл. 9 найдем К1 = 17,51; для станка Р0 = Рр
= 15 т, по п. 24 и формуле (13) М0 = 17,51·15 = 262,7/кгс·см/см.
Координаты центра тяжести следа колеса автомобиля X1 = 120 см; Y1 = 0.
По величине отношений
по табл. 11 найдем К4 = -20,3.
Изгибающий момент в расчетном центре О1 от колеса автомобиля по формуле (18), М1 = -20,3·3,7 = -75,1 кгс·см/см.
Расчетный изгибающий момент от колеса автомобиля и станка по формуле (17) Мр = 262,7 - 75,1 = 187,6 кгс·см/см.
Напряжение растяжения в плите при изгибе по формуле(11)
.
2. Определим напряжение растяжения в бетоне плиты при изгибе σ"р для расчетного центра О1 при направлении оси OY перпендикулярно длинной стороне следа станка (рис. 4, в"). Разделим площадь следа станка на элементарные площадки согласно п. 28. Совместим с расчетным центром О1 центр тяжести элементарной площадки квадратной формы с длиной стороны ар = bр=140 см.
Определим нагрузки Pi, приходящиеся на каждую
элементарную площадку, по формуле (19), для
чего сначала определим площадь следа станка F = 260·140 = 36400
см2; ![]()
Для определения изгибающего момента М0 от нагрузки Р0 вычислим для элементарной площадки
квадратной формы с центром тяжести в расчетном центре О1 величины
для которых по табл. 9; К1 = 34,9; по п. 24 и формуле (13) М0 =34,9·8,08 = 282 кгс·см/см.
Определим суммарный изгибающий момент ΣМi от нагрузок, расположенных вне расчетного центра О1. Расчетные данные приведены в табл. 15.
Таблица 15
Расчетные данные при расчетном центре О1 и направлении оси OY, перпендикулярном длинной стороне следа станка
|
i |
Xi в см |
Yi в см |
|
|
К4 по табл. 12 |
Pi в т |
ni - количество нагрузок |
Мi = ni×К4Pi |
|
1 |
0 |
120 |
0 |
12,28 |
8,7 |
3,7 |
1 |
32,2 |
|
2 |
100 |
35 |
1,90 |
0,666 |
-17,3 |
1,731 |
4 |
-119,7 |
Σmi = -87,5 кгс·см/см
Расчетный изгибающий момент по формуле (17) М"р = 282 - 87,5=194,5 кгс·см/см.
Напряжение растяжения в плите при изгибе по формуле
(11) ![]()
3. Определим напряжение растяжения в бетоне плиты
при изгибе σ"'р для расчетного центра О2 (рис.
4, в'"). Разделим
площадь следа станка на элементарные площадки согласно п. 28. Определим нагрузки Рi, приходящиеся на каждую элементарную
площадку, по формуле (19)
![]()
Определим изгибающий момент от нагрузки от колеса
автомобиля, для чего найдем
по табл. 11; К3
= 111,5; по п. 24 и формуле (15) М0
= 111,5·3,7 = 412,6 кгс·см/см.
Определим суммарный изгибающий момент ΣМi от нагрузок, расположенных вне расчетного центра О2. Расчетные данные приведены в табл. 16.
Таблица 16
Расчетные данные при расчетном центре О2
|
i |
Xi в см |
Yi в см |
|
|
К4 по табл. 12 |
Pi в т |
ni - количество нагрузок |
Мi = ni×К4Pi |
|
1 |
0 |
65 |
0 |
1,24 |
39,4 |
0,49 |
1 |
19,8 |
|
2 |
0 |
100 |
0 |
1,9 |
15,62 |
0,66 |
1 |
10,4 |
|
3 |
0 |
155 |
0 |
2,95 |
2,55 |
1,15 |
1 |
2,9 |
|
4 |
40 |
65 |
0,76 |
1,24 |
16,73 |
0,49 |
2 |
16,4 |
|
5 |
40 |
100 |
0,76 |
1,9 |
7,92 |
0,66 |
2 |
10,5 |
|
6 |
40 |
155 |
0,76 |
2,95 |
1,04 |
1,15 |
2 |
2,4 |
|
7 |
95 |
65 |
1,81 |
1,24 |
-10,9 |
0,87 |
2 |
-19,0 |
|
8 |
95 |
100 |
1,81 |
1,90 |
-6,02 |
1,15 |
2 |
-13,8 |
|
9 |
95 |
155 |
1,81 |
2,95 |
-2,46 |
2,02 |
2 |
-9,9 |
Σmi = 19,2 кгс·см/см
Расчетный изгибающий момент по формуле (17) Мр = 412,6 + 19,2 = 431,8 кгс·см/см.
Напряжение растяжения в плите при изгибе по формуле
(11) ![]()
Полученное значение σ"'р = 15,1 кгс/см2 более Rp = 7,6 кгс/см2, вследствие чего повторим расчет, задавшись большим значением h. Расчет проведем только по схеме загружения с расчетным центром О2 для которой значение σ"'р в первом расчете получилось наибольшим.
Для повторного расчета ориентировочно зададимся h
= 17 см, тогда l = 78,4 см;
К3 = 122,4; М0 = 122,4·3,7 = 452,9 кгс·см/см.
Определим суммарный изгибающий момент от нагрузок, расположенных вне расчетного центра О2. Расчетные данные приведены в табл. 17.
Таблица 17
|
i |
Xi в см |
Yi в см |
|
|
К4 по табл. 12 |
Pi в т |
ni - количество нагрузок |
Мi = ni×К4Pi |
|
1 |
0 |
65 |
0 |
0,83 |
68,7 |
0,49 |
1 |
33,6 |
|
2 |
0 |
100 |
0 |
1,275 |
37,5 |
0,66 |
1 |
24,8 |
|
3 |
0 |
155 |
0 |
1,98 |
13,9 |
1,15 |
1 |
16,0 |
|
4 |
40 |
65 |
0,51 |
0,83 |
40,9 |
0,49 |
2 |
40,0 |
|
5 |
40 |
100 |
0,51 |
1,275 |
26,2 |
0,66 |
2 |
34,6 |
|
6 |
40 |
155 |
0,51 |
1,98 |
10,51 |
1,15 |
9 |
24,2 |
|
7 |
95 |
65 |
1,21 |
0,83 |
-2,42 |
0,87 |
2 |
-4,2 |
|
8 |
95 |
100 |
1,21 |
1,275 |
0,37 |
1,15 |
2 |
0,9 |
|
9 |
95 |
155 |
1,21 |
1,98 |
0,49 |
2,02 |
2 |
2,0 |
Σmi = 171,9 кгс·см/см
Мр =452,9 + 171,9=624,8 кгс·см/см;
![]()
Принимаем подстилающий слой из бетона марки 300, толщиной h = 17 см.
Пример 4.
Требуется определить толщину бетонного подстилающего слоя при нагрузке от валов, укладываемых на пол кранами. Длина вала 7 м, диаметр 40 см, вес 1 м вала 0,98 т. Валы могут располагаться по отдельности или в штабелях в два ряда по высоте.
Покрытие пола отсутствует, бетонный подстилающий слой является покрытием.
Грунт основания - супесь. Грунтовые воды отсутствуют.
Определим расчетные параметры.
Нагрузка от одного вала со следом прямоугольной формы, согласно п. 13, относится к нагрузкам простого вида, а от нескольких рядом лежащих валов - к нагрузкам сложного вида.
Для грунта основания из супеси при отсутствии грунтовых вод по табл. 2; К0 = 4 кгс/см2.
Для подстилающего слоя примем бетон марки 300, тогда, учитывая укладку валов на пол кранами, по табл. 6; Rр = 7,6 кгс/см2, Еб = 270 000 кгс/см2. Согласно п. 25 рассмотрим расчетные схемы нагрузок (рис. 6). Расчетные центры О, согласно табл. 12, поместим в центре тяжести следа валов, а ось ОY расположим параллельно следам валов.

Рис. 6. Схемы расположения в плане нагрузок от валов, расчетных центров О, осей координат и разделения следов нагрузок на элементарные площадки
P1 = 1,47 т/м вала; Р2 = 1.96 т/м вала; а б, в, г - разновидности нагрузок и количество следов опирания
Зададимся ориентировочно, согласно п. 32, h = 10 см, тогда по п. 20; l = 49 см. Длина следа вала а = 12,2l = 598 см. Расчетная ширина согласно пп. 13 и 20 принимаем расчетную длину следа вала ар =12,2l = 598 см. Расчетная ширина следа вала по п. 14; bp = b = 0,1l = 4,9 см.
Расчет. 1. Определим напряжение растяжения в бетоне плиты при изгибе σ'р для нагрузки от одного вала расчетной длиной ар = 598 см. Расчетная нагрузка Рp = 5,98×0,98 = 5,86 т.
По величинам
по табл. 9 найдем К1 = 18,18.
По формуле (13) М'р = 18,18·5,86 = 106,5 кгс·см/см;
по формуле (11) ![]()
2. Определим напряжение растяжения в бетоне плиты
при изгибе σ"р для нагрузки, приведенной на рис. 6 а. Изгибающий момент от нагрузки по следу,
для которого Х = 0, определим как
от нагрузки простого вида со следом прямоугольной формы. Расчетная нагрузка Р0 = 5,98·1,47 = 8,8 т. По величинам
по табл.
4
найдем
К1 = 18,18. По п. 24 и формуле (13) М0
= 18,18·8,8= 160 кгс·см/см. Для
определения изгибающего момента в расчетном центре О, от нагрузки по следу, для которого X
= 40 см, разделим этот
след на элементарные площадки согласно п. 28.
Нагрузки, приходящиеся на каждую элементарную площадку, определяем по формуле (19) ![]()
Определим суммарный изгибающий момент ΣМi от нагрузок, расположенных вне расчетного центра О1. Расчетные данные приведены в табл. 18.
Расчетный изгибающий момент по формуле (17) Мр = 160 + 41,6 = 201,6 кгс·см/см.
Таблица 18
|
i |
Xi в см |
Yi в см |
|
|
К4 по табл. 12 |
Pi в т |
ni - количество нагрузок |
Мi = ni×К4Pi |
|
1 |
40 |
12,25 |
0,816 |
0,25 |
13,36 |
0,36 |
2 |
9,6 |
|
2 |
40 |
36,75 |
0,816 |
0,75 |
18,03 |
0,36 |
2 |
13,0 |
|
3 |
40 |
61,25 |
0,816 |
1,25 |
14,27 |
0,36 |
2 |
10,3 |
|
4 |
40 |
85,75 |
0,816 |
1,75 |
8,5 |
0,36 |
2 |
6,1 |
|
5 |
40 |
122,5 |
0,816 |
2,5 |
2,61 |
0,72 |
2 |
3,8 |
|
6 |
40 |
171,5 |
0,816 |
3,5 |
-0,15 |
0,72 |
2 |
-0,2 |
|
7 |
40 |
220,5 |
0,816 |
4,5 |
-0,45 |
0,72 |
2 |
-0,7 |
|
8 |
40 |
269,5 |
0,816 |
5,5 |
-0,21 |
0,72 |
2 |
-0,3 |
|
9 |
40 |
296,5 |
0,816 |
6,04 |
-0,12 |
0,72 |
2 |
0 |
ΣМi = 41,6 кгс·см/см
Напряжение растяжения в плите при изгибе по формуле
(11) ![]()
3. Определим напряжение растяжения в бетоне плиты при изгибе σ"'р для нагрузки, приведенной на рис. 6, б. Изгибающий момент от нагрузки по следу, для которого Х = 0, так же как и в предыдущем расчете, определим как от нагрузки простого вида со следом прямоугольной формы. Тогда расчетная нагрузка Р0 = 5,98·1,96= 11,72 т; К1 = 18,18; М0 = 18,18·11,72 = 213,1 кгс·см/см.
Определим суммарный изгибающий момент ΣМi от нагрузок, расположенных вне расчетного центра О2. Расчетные данные приведены в табл. 19.
Таблица 19
|
i |
Xi в см |
Yi в см |
|
|
К4 по табл. 12 |
Pi в т |
ni - количество нагрузок |
Мi = ni×К4Pi |
|
1 |
40 |
12,25 |
0,816 |
0,25 |
13,36 |
0,36 |
4 |
19,2 |
|
2 |
40 |
36,75 |
0,816 |
0,75 |
18,03 |
0,36 |
4 |
26,0 |
|
3 |
40 |
61,25 |
0,816 |
1,25 |
14,27 |
0,36 |
4 |
20,6 |
|
4 |
40 |
85,75 |
0,816 |
1,75 |
8,5 |
0,36 |
4 |
12,2 |
|
5 |
40 |
122,5 |
0,816 |
2,5 |
2,61 |
0,72 |
4 |
7,6 |
|
6 |
40 |
171,5 |
0,816 |
3,5 |
-0,15 |
0,72 |
4 |
-0,4 |
|
7 |
40 |
220,5 |
0,816 |
4,5 |
-0,45 |
0,72 |
4 |
-1,4 |
|
8 |
40 |
269,5 |
0,816 |
5,5 |
-0,21 |
0,72 |
4 |
-0,6 |
|
9 |
40 |
296,5 |
0,816 |
6,04 |
-0,12 |
0,72 |
4 |
0 |
ΣМi = 83,2 кгс·см/см
М'" = 213,1 + 83,2 = 296,3 кгс·см/см;
![]()
4. Аналогично определим напряжение растяжения в бетоне плиты при изгибе σIVр для нагрузки согласно рис. 6, в. Расчетная нагрузка Р0 = 11,72 т; К1 = 18,18; М0 = 213,1 кгс·см/см. Расчетные данные приведены в табл. 20.
Таблица 20
|
i |
Xi в см |
Yi в см |
|
|
К4 по табл. 12 |
Pi в т |
ni - количество нагрузок |
Мi = ni×К4Pi |
|
1 |
40 |
12,25 |
0,816 |
0,25 |
13,36 |
0,36 |
2 |
9,6 |
|
2 |
40 |
36,75 |
0,816 |
0,75 |
18,03 |
0,36 |
2 |
13,0 |
|
3 |
40 |
61,25 |
0,816 |
1,25 |
14,27 |
0,36 |
2 |
10,3 |
|
4 |
40 |
85,75 |
0,816 |
1,75 |
8,5 |
0,36 |
2 |
6,1 |
|
5 |
40 |
122,5 |
0,816 |
2,5 |
2,61 |
0,72 |
2 |
3,8 |
|
6 |
40 |
171,5 |
0,816 |
3,5 |
-0,15 |
0,72 |
2 |
-0,2 |
|
7 |
40 |
220,5 |
0,816 |
4,5 |
-0,45 |
0,72 |
2 |
-0,7 |
|
8 |
40 |
269,5 |
0,816 |
5,5 |
-0,21 |
0,72 |
2 |
-0,3 |
|
9 |
40 |
296,5 |
0,816 |
6,04 |
-0,12 |
0,07 |
2 |
0 |
|
10 |
40 |
12,25 |
0,816 |
0,25 |
13,36 |
0,48 |
2 |
12,8 |
|
11 |
40 |
36,75 |
0,816 |
0,75 |
18,03 |
0,48 |
2 |
17,3 |
|
12 |
40 |
61,25 |
0,816 |
1,25 |
14,27 |
0,48 |
2 |
13,7 |
|
13 |
40 |
85,75 |
0,816 |
1,75 |
8,5 |
0,48 |
2 |
8,1 |
|
14 |
40 |
122,5 |
0,816 |
2,5 |
2,61 |
0,96 |
2 |
5,1 |
|
15 |
40 |
171,5 |
0,816 |
3,5 |
-0,15 |
0,96 |
2 |
-0,3 |
|
16 |
40 |
220,5 |
0,816 |
4,5 |
-0,45 |
0,96 |
2 |
-0,9 |
|
17 |
40 |
269,5 |
0,816 |
5,5 |
-0,21 |
0,96 |
2 |
-0,4 |
|
18 |
40 |
296,5 |
0,816 |
6,04 |
-0,12 |
0,1 |
2 |
0 |
|
19 |
80 |
12,25 |
1,63 |
0,25 |
-18,59 |
0,36 |
2 |
-13,4 |
|
20 |
80 |
36,75 |
1,63 |
0,75 |
-13,85 |
0,36 |
2 |
-10,0 |
|
21 |
80 |
61,25 |
1,63 |
1,25 |
-8,65 |
0,36 |
2 |
-6,2 |
|
22 |
80 |
85,75 |
1,63 |
1,75 |
-5,22 |
0,36 |
2 |
-3,8 |
|
23 |
80 |
122,5 |
1,63 |
2,5 |
-2,76 |
0,72 |
2 |
-4,0 |
|
24 |
80 |
171,5 |
1,63 |
3,5 |
-1,37 |
0,72 |
2 |
-2,0 |
|
25 |
80 |
220,5 |
1,63 |
4,5 |
-0,6 |
0,72 |
2 |
-0,9 |
|
26 |
80 |
269,5 |
1,63 |
5,5 |
-0,18 |
0,72 |
2 |
-0,3 |
|
27 |
80 |
296,5 |
1,63 |
6,04 |
-0,08 |
0,07 |
2 |
0 |
ΣМi = 56,4 кгс·см/см,
МIVр = 213,1 + 56,4 = 269,5 кгс·см/см;
![]()
Таким образом, наибольшее напряжение растяжения в бетоне плиты при изгибе σ"'р = 10,37 кгс/см2 получилось для нагрузки согласно рис. 6, б. Полученное значение σ"'р = 10,37 кгс/см2 более Rp = 7,6 кгс/см2, вследствии чего согласно п. 27 повторим расчет, задавшись большим значением h.
Для повторного расчета ориентировочно зададимся h = 16 см. Определим напряжение растяжения в бетоне плиты при изгибе σVр для нагрузки согласно рис. 6, г. По п. 20; l = 69,7 см.
Длина следа вала 700 = 10,04 l < 12,2 l. Поэтому согласно п. 13 примем расчетную длину следа вала ар =10,04 l = 700 см. Расчетная ширина следа вала по п. 14 bp
= b
= 0,1l = 7 см. Расчетная нагрузка от вала длиной 700 см; Рр = 7·1,96 =13,62 т. По величинам
по табл. 9 найдем К1 = 22,1, по
п. 24 и формуле (13) М0
= 22,1·13,62 = 301 кгс·см/см. Нагрузки, приходящиеся на
каждую элементарную площадку, определяем по формуле (19) ![]()
Определим суммарный изгибающий момент ΣМi от нагрузок, расположенных вне расчетного центра O. Расчетные данные при повторном расчете приведены в табл. 21.
Таблица 21
|
i |
Xi в см |
Yi в см |
|
|
К4 по табл. 12 |
Pi в т |
ni - количество нагрузок |
Мi = ni×К4Pi |
|
1 |
40 |
10 |
0,573 |
0,144 |
38,5 |
0,294 |
4 |
45,3 |
|
2 |
40 |
30 |
0,573 |
0.431 |
42,0 |
0,294 |
4 |
49,4 |
|
3 |
40 |
50 |
0,573 |
0,718 |
38,5 |
0,294 |
4 |
45,3 |
|
4 |
40 |
70 |
0,573 |
1,004 |
31,2 |
0,294 |
4 |
36,7 |
|
5 |
40 |
100 |
0,573 |
1,436 |
19,8 |
0,588 |
4 |
46,6 |
|
6 |
40 |
140 |
0,573 |
2,01 |
9,3 |
0,588 |
4 |
21,8 |
|
7 |
40 |
200 |
0,573 |
2,87 |
2,0 |
1,176 |
4 |
9,4 |
|
8 |
40 |
295 |
0,573 |
4,23 |
-0,4 |
1,62 |
4 |
-2,6 |
ΣМi = 251,9 кгс·см/см
Расчетный изгибающий момент по формуле (17) Мр = 301 + 251,9 = 552,9 кгс·см/см.
Напряжение растяжения в плите при изгибе по формуле
(11) ![]()
Принимаем подстилающий слой из бетона марки 300, толщиной 16 см.
В плите с нижней стороны имеются ребра жесткости, а по периметру - шесть опорных выступов, обеспечивающих взаимную связь между отдельными плитами, а также передачу нагрузки на смежные плиты и ровность пола (вследствие невозможности вертикального взаимного перемещения плит).

Рис. 7. Плита чугунная с опорными выступами для полов, укладываемая на песке. Общин вид. Вес плиты: гладкой 6,9 кг, рифленой 7,1 кг
По характеру лицевой поверхности различаются два вида плит: а) гладкая; б) рифленая.
Форма и размеры плиты указаны на рис. 7 и 8.

Рис. 8. Плита чугунная с опорными выступами для полов, укладываемая на песке. Детали
Поверхность всех частей плиты должна быть плотной (без раковин и трещин), гладкой, без наплывов чугуна и очищенной от формовочной земли.
Лицевая поверхность, рифления и боковые грани плиты должны иметь четкие контуры с переходом одной плоскости в другую под углом, без закруглений.
Отклонение размеров от указанных на рис. 7 и 8 не должны превышать ± 1 мм.
Разность длин обеих диагоналей плиты не должна превышать 2 мм.
Искривление (отклонение от плоскости) лицевой поверхности и боковых граней плиты не должно превышать 1 мм.
Марка чугуна, применяемого для изготовления плит, должна быть не ниже СЧ12-28. Чугун по прочности при изгибе должен удовлетворять требованиям ГОСТ 1412-70 «Отливки из серого чугуна».
Твердость поверхности плиты по Бринеллю должна быть не менее 143 и не более 248.
Для проверки правильности формы плиты и расположения ее опорных выступов производится пробная укладка плит на контрольном столе на участке размером 0,75×1,25 м.
При укладке опорные выступы должны легко заходить под соседние плиты. Ребра жесткости уложенных плит должны плотно прилегать к поверхности контрольного стола. Отдельные зазоры между плитами не должны превышать 3 мм.
В плите имеются цилиндрические отверстия для выхода воздуха при укладке плит, а снизу - ребра жесткости и шипы треугольного сечения для сцепления с раствором, на котором укладывается плита.
По характеру лицевой поверхности различают два вида плит: а) гладкая, б) рифленая.
Форма и размеры плиты указаны на рис. 9 настоящего приложения.

Рис. 9. Плита чугунная дырчатая с шипами для полов, укладываемая на растворе. Вес плиты: гладкой 4,5 кг, рифленой 4,8 кг
Поверхность всех частей плиты должна быть плотной (без раковин и трещин), гладкой без наплывов чугуна и очищенной от формовочной земли.
Лицевая поверхность, рифления и боковые грани плиты должны иметь четкие контуры с переходом одной плоскости в другую под углом, без закруглений.
Отклонения размеров от указанных на рис. 9 не должны превышать ±1 мм.
Разность длин обеих диагоналей плиты не должна превышать 2 мм.
Искривление (отклонение от плоскости) лицевой поверхности и боковых граней плиты не должно превышать 1 мм.
Марка чугуна, применяемого для изготовления плит, должна быть не ниже СЧ12-28. Чугун по прочности при изгибе должен удовлетворять требованиям ГОСТ 1412-70 «Отливки из серого чугуна».
Твердость лицевой поверхности плиты по Бринеллю должна быть не менее 143 и не более 248.
Форма и размеры плиты указаны на рис. 10.
Отклонения размеров от указанных на рис. 10 не должны превышать ±0,5 мм.
Разность длин обеих диагоналей не должна превышать 1 мм.
Искривление (отклонение от плоскости) лицевой поверхности и боковых граней плиты не должно превышать 1 мм.

Рис. 10. Плита стальная штампованная перфорированная для полов. Вес плиты 2,34 кг
|
|
|
|