//
|
|
РОССИЙСКОЕ АКЦИОНЕРНОЕ ОБЩЕСТВО "ГАЗПРОМ" Информационно-рекламный центр газовой
промышленности РЕГЛАМЕНТ ПО ТЕХНИЧЕСКОМУ ОБСЛУЖИВАНИЮ ПОДВОДНЫХ
ПЕРЕХОДОВ РД 51-3-96 РАЗРАБОТАН АО "Гипроречтанс". РАЗРАБОТЧИКИ: Гольдин Э.Р., Левин С.И., Зуев О.С., Кутырева Е.Н., Челышев Ф.П., Аршалян С.М., Коробов Г.А., Мысовский К.А. (АО "Гипроречтранс"), Фесенко С.Р. (ВНИИгаз), Варламов Е.В. (РАО "Газпром"), Солин А.М., Жуков Г.Д. (Подводгазэнергосервис), Меркулов А.М. ("Сервисгазпром"), Воронов А.Ф. (Интершельф). СОГЛАСОВАН с Управлением по надзору в нефтяной и газовой промышленности "Госгортехнадзора" (письмо N 10-03/323 от 29.08.96), Управлением проектно-изыскательских работ и экспертизы проектов, Управлением по транспортировке газа и газового конденсата. УТВЕРЖДЕН Членом Правления РАО "Газпром" Б.В. Будзуляком 10.06.96 г. С введением в действие настоящего
"Регламента ..." утрачивает силу "Регламент по обслуживанию
подводных переходов на действующих магистральных газопроводах", Предназначен для предприятий, эксплуатирующих магистральные газопроводы, в качестве руководящего документа при составлении индивидуальных программ (графиков) обслуживания переходов, а также для специализированных предприятий, выполняющих обследования, ремонтные работы или реконструкцию подводных переходов газопроводов с целью обеспечения их надежной и безопасной эксплуатации. Содержание1. ОСНОВНЫЕ ТЕРМИНЫ И ОПРЕДЕЛЕНИЯПодводный переход магистрального газопровода (МГ) - в дальнейшем именуемый "подводный переход" или "переход", представляет собой участок линейной части МГ, пересекающий водную преграду и уложенный, как правило, с заглублением в дно водоема (реки, озера, канала, водохранилища и т.д.). Переход включает в себя одну или несколько ниток трубопровода с соответствующими системами его технического обеспечения. Классификация и категория магистрального газопровода и его участков принимаются в соответствии со СНиП 2.05.06-85 "Магистральные трубопроводы". Технический коридор подводных переходов магистральных газопроводов - система переходов, проложенных через один и тот же участок водной преграды и объединенных, как правило, единой системой их технического обеспечения. Охранная зона подводного
перехода (коридора) - участок акватории и поверхности земли, длина которого
соответствует длине подводного перехода, а ширина ограничена двумя
параллельными плоскостями, проведенными на расстоянии Длина подводного перехода - определяется границами, которыми являются: - для однониточных переходов - участок, ограниченный урезами уровня высоких вод 10% обеспеченности, - для переходов через горные реки - участок, ограниченный урезами уровня высоких вод 2% обеспеченности, - для многониточных переходов - участки в пределах запорной арматуры, установленной на берегах. Подводный (русловой) участок перехода - участок, ограниченный урезами воды при среднемноголетнем меженном уровне. Береговые участки перехода - участки, ограниченные с одной стороны урезом воды при среднемноголетнем меженном уровне, с другой стороны - границами перехода в пределах его длины (см. выше). Среднемноголетний меженный уровень - среднее арифметическое значение отметок меженных уровней водоема, полученных в результате многолетних наблюдений. Уровень высоких вод п% обеспеченности - максимальный уровень вод в паводок (половодье) в месте перехода, вероятность превышения которого возможна "n" раз в 100 лет. Прогнозируемый предельный профиль размыва русла - линия, проведенная по наинизшим отметкам дна и берегов водоема, полученным в результате прогнозируемых переформирований русла за период эксплуатации подводного перехода. Величина заглубления подводного трубопровода - толщина слоя грунта от верха балластных грузов или балластного покрытия трубопровода до поверхности дна водоема, устанавливаемая в соответствии с действующими нормами с учетом возможных деформаций русла и перспективных дноуглубительных работ. Надежность подводного перехода - свойство сохранять способность непрерывно транспортировать газ в заданном технологическом режиме. Исправное состояние подводного перехода - состояние, при котором он соответствует всем требованиям нормативно-технической и проектной документации. Неисправное состояние подводного перехода - состояние, при котором он не соответствует хотя бы одному из требований нормативно-технической и проектной документации. Предельное состояние подводного перехода - состояние, определяемое нормативно-технической документацией, при котором его дальнейшая эксплуатация недопустима или нецелесообразна. Работоспособное состояние подводного перехода - состояние, при котором значение всех параметров, характеризующих способность непрерывного транспортирования газа (или иного продукта), соответствует требованиям нормативно-технической и проектной документации*. * Примечание. Подводный переход может быть работоспособным при неисправном состоянии, например, при обнажении трубопровода, нарушении берегоукрепления, повреждении информационных знаков и др. Безопасность подводного перехода - состояние, при котором он не вызывает ситуаций, опасных для людей и окружающей среды. Повреждение подводного перехода - нарушение исправного состояния перехода при сохранении его работоспособного состояния. Отказ - нарушение работоспособного состояния подводного перехода (повреждение трубы, уменьшение толщины стенки из-за развития коррозии, резкое изменение пространственного положения трубопровода из-за деформации дна и др.), при котором его дальнейшая эксплуатация приостанавливается. Недозаглубленный участок подводного трубопровода - участок с величиной заглубления трубопровода меньшей, чем это установлено нормативно-технической документацией (вплоть до полного оголения трубопровода). Провисающий участок подводного трубопровода - оголенный участок трубопровода, имеющий просвет между нижней образующей и дном водоема. Величина провисания - расстояние от поверхности дна водоема до нижней образующей трубопровода. Критическая длина провисающего участка подводного трубопровода - предельно допустимая длина провисающего участка, при которой еще не могут возникнуть резонансные колебания трубопровода или при которой действующие напряжения еще не превышают расчетное сопротивление материала трубы. Осмотр перехода - визуальный контроль и оценка состояния береговых участков перехода. Приборное обследование подводного перехода - контроль технического состояния перехода и его составляющих с применением технических средств измерения и наблюдения. Водолазное обследование подводного перехода - проводимый водолазами визуальный и приборный контроль состояния подводных трубопроводов. Техническое обслуживание подводного перехода - комплекс работ (пункт 2.8) по поддержанию исправного и работоспособного состояния при эксплуатации перехода. Планово-предупредительный ремонт перехода - плановые работы по устранению отдельных неисправностей элементов перехода, выполняемые, как правило, при нормальном эксплуатационном режиме. Текущий ремонт перехода - минимально необходимый по объему и содержанию вид ремонта, осуществляемый в процессе эксплуатации и заключающийся в работах по недопущению преждевременного износа, устранению мелких повреждений и неисправностей. Аварийно-восстановительный ремонт - работы по устранению последствий отказа газопровода на переходе в период вынужденного кратковременного прекращения транспортирования газа, а также работы по предотвращению возможных отказов газопровода из-за нарушений его состояния (например, при образовании обнаженных и провисающих участков, повреждений изоляции и т.п.). Капитальный ремонт подводного перехода - ремонт, выполняемый для приведения перехода в исправное состояние с заменой или восстановлением любых его составных частей. Реконструкция подводного перехода - перестройка перехода для улучшения его функционирования (например, прокладка дополнительных ниток газопроводов на переходе, замена старых ниток газопроводов на новые и т.п.). 2. ОБЩИЕ ПОЛОЖЕНИЯ2.1. Настоящий Регламент разработан в развитие Правил технической эксплуатации магистральных газопроводов и устанавливает порядок технического обслуживания и контроля за состоянием подводных переходов МГ и выполнением их ремонтов. 2.2. Техническое обслуживание переходов газопроводов, контроль за их состоянием и ремонтные работы должны выполняться в соответствии с настоящим Регламентом, Правилами технической эксплуатации магистральных газопроводов, а также требованиями Правил, норм и инструкций на строительство и эксплуатацию магистральных газопроводов (приложение 1). 2.3. Регламент является обязательным для всех предприятий и организаций, эксплуатирующих газопроводы, а также для организаций и предприятий, выполняющих обследования, ремонтные работы и реконструкцию переходов. 2.4. Техническое обслуживание и контроль за состоянием перехода осуществляют Предприятия по транспортировке газа своими силами и средствами, а также с привлечением специализированных предприятий подводно-технических работ, имеющих лицензии на их выполнение. 2.5. Техническое
обслуживание переходов через несудоходные водные преграды глубиной до 2.6. Выполнение специальных работ (гидрологических изысканий, геодезической русловой съемки, приборного и водолазного обследования и диагностирования подводных переходов) осуществляется специализированными предприятиями РАО "Газпром" и другими организациями, имеющими соответствующие лицензии в соответствии с ежегодными планами, утверждаемыми РАО "Газпром". 2.7. Организация, осуществляющая техническое обслуживание и контроль за состоянием перехода, несет полную ответственность за достоверность информации, указанной в оперативной и отчетной документации. 2.8. Система технического обслуживания перехода предусматривает: - осмотр (визуальное обследование) пойменных и береговых участков перехода; - приборное обследование руслового участка перехода; - обследование и анализ состояния провисающих участков подводного газопровода; - контроль состояния электрохимической защиты от коррозии; - контроль состояния изоляционного покрытия русловых и береговых участков переходов: - проверку наличия и состояния береговых информационных знаков; - ремонтные работы на переходе. 2.9. Техническое обслуживание береговых участков линейной части МГ (запорной арматуры, систем электрохимической защиты) настоящим Регламентом не предусмотрено и должно осуществляться в соответствии с Правилами технической эксплуатации магистральных газопроводов, а также действующими стандартами, нормами и инструкциями. 2.10. Все специалисты (ИТР и рабочие), привлекаемые к техническому обслуживанию подводных переходов МГ, должны периодически (но не реже чем через 5 лет) проходить курс повышения квалификации по программе, учитывающей особенности строительства и эксплуатации подводных трубопроводов. 2.11. Переходы через судоходные водные преграды (реки, водохранилища, каналы) должны быть оборудованы береговыми информационными знаками ("Якоря не бросать", приложение 15), в соответствии с Правилами внутреннего водного транспорта и иметь сигнальные огни, автоматически включающиеся в темное время суток. На переходах через несудоходные водные преграды должны быть установлены знаки закрепления трассы. 2.12. Переходы через
водные преграды с шириной зеркала воды в межень более 3. ПРАВА И ОБЯЗАННОСТИ ОРГАНИЗАЦИИ, ЭКСПЛУАТИРУЮЩЕЙ ПЕРЕХОД3.1. Ответственность за техническое состояние подводного перехода несет Предприятие по транспортировке газа (ПТГ). 3.2. Предприятие по транспортировке газа должно обеспечить техническое обслуживание и контроль за: - состоянием всех элементов подводного перехода (газопроводы, антикоррозионная защита, крепление дна и берегов, береговые информационные знаки и др.): - сохранностью информационных и опорных геодезических знаков (реперов), принятых от подрядных организаций после окончания строительства перехода; - выполнением осмотров, обследований и ремонтных работ на переходах; - состоянием кабелей технологических связей; - выполнением всех работ в охранной зоне перехода; - наличием нормативно-технической и оперативной документации. 3.3. ПТГ устанавливает сроки работ по осмотру, обследованиям и ремонтным работам на переходе в соответствии с настоящим Регламентом и осуществляет приемку работ. 3.4. ПТГ должно своевременно оповещать соответствующие организации Речного флота и Рыбнадзора и согласовывать с ними сроки начала и продолжительность обследований руслового участка и ремонтных работ на переходе. 3.5. Организации, выполняющие обследования подводного перехода газопровода, проектирование и осуществляющие капитальный ремонт, несут ответственность за качественное выполнение работ, которое должно обеспечивать нормативный срок службы газопровода в целом. Формы ответственности и санкции за несоблюдение качества устанавливаются договором на выполнение работ. 3.6. Порядок оповещения при обнаружении аварийных ситуаций и ликвидации этих ситуаций определен в плане, утвержденном ПТГ, а также Правилами технической эксплуатации магистральных газопроводов. 3.7. Случаи отказа на переходе с утечкой газа доводятся до сведения организаций (местных органов власти и правоохранительных органов) по установленной схеме оповещения. 3.8. Каждый факт отказа и повреждения газопровода на переходе должен быть расследован в соответствии с действующими нормативными документами. 3.9. ПТГ обязано: - обеспечивать непрерывный контроль за сохранностью подводных переходов, усиливая его в периоды ледостава, весеннего паводка и ливневых дождей; - не допускать использования огнеопасных и взрывных работ вблизи перехода; - не допускать производства необоснованных дноуглубительных работ вблизи подводных переходов. 4. ОРГАНИЗАЦИОННАЯ И ИНЖЕНЕРНАЯ ПОДГОТОВКА ТЕХНИЧЕСКОГО ОБСЛУЖИВАНИЯ4.1. Организационная и инженерная подготовка технического обслуживания подводных переходов включает: - организацию структур (служб), способных обеспечить выполнение требований настоящего Регламента; - обеспечение проводимых работ по техническому обслуживанию переходов транспортом, плавучими средствами, оборудованием и приборами; - обеспечение персонала, обслуживающего переходы, необходимой нормативно-технической, оперативной документацией и должностными Инструкциями. В линейно-эксплуатационной службе должен храниться паспорт перехода с оперативной и отчетной документацией: - журналами обследований и ремонта; - актами контроля состояния перехода и текущего ремонта; - актами приборного и водолазного обследований с приложением чертежей планов и профилей перехода; - документацией по результатам капитального ремонта; - обучение и переподготовку специалистов на курсах повышения квалификации. 4.2. Руководитель ПТГ назначает лицо или группу лиц, ответственных за эксплуатацию и техническое состояние подводного перехода. Права, обязанности и ответственность лиц, входящих в группу, определяются должностными инструкциями. 4.3. В зависимости от местных условий и технического состояния перехода Предприятием по транспортировке газа могут предусматриваться и другие организационные формы обслуживания с обязательной персональной ответственностью за эксплуатацию и техническое состояние подводного перехода и его составляющих. 5. КЛАССИФИКАЦИЯ ТЕХНИЧЕСКОГО СОСТОЯНИЯ ПЕРЕХОДОВ5.1. Техническое состояние подводного перехода определяется по данным осмотров и обследований (см. разделы 6, 7, 8) путем сопоставления этих данных с проектными и нормативными требованиями. 5.2. Основными факторами, определяющими техническое состояние перехода, являются: - соответствие положения трубопровода проектному; - величина заглубления подводного газопровода в русле реки; - достаточность и сохранность балластировки газопровода; - целостность антикоррозионной изоляции трубопровода; - фактическая толщина стенки в сопоставлении с минимальной расчетной (проектной); - отсутствие или наличие мест утечки газа; - деформация (размыв) дна и береговых склонов водной преграды, в том числе состояние крепления берегов на участке перехода; - состояние информационных знаков и опорной топографической основы. 5.3. В зависимости от изменения факторов, указанных в п.5.2, техническое состояние подводного перехода классифицируется следующим образом (cм. также табл.1): 1) Исправное состояние, когда параметры, характеризующие перечисленные в п.5.2 факторы, соответствуют требованиям нормативно-технической документации: - заглубление трубопровода в дно на всем протяжении руслового участка соответствует проектному и нормативным требованиям; - дно устойчиво и берега практически недеформируемы; - балластировка, антикоррозионная изоляция, толщина стенки соответствуют требованиям норм и правил; - состояние информационных знаков и реперов соответствует требованиям действующих норм и правил. 2) Неисправное состояние, основными признаками которого являются: Квалификация технического состояния подводного перехода
Примечание. Под lкр понимается критическая длина провисающего участка, определяемая в соответствии с Приложением 20. - наличие на подводном трубопроводе обнаженных и провисающих участков длиной, не превышающей 70% критической длины (приложение 20); - повреждения антикоррозионной изоляции; - наличие на провисающем участке трубопровода незначительных механических повреждений; - понижение отметок дна
в зоне перехода свыше - нарушение устойчивости балластных грузов на трубопроводе с незначительными изменениями их расположения; - уменьшение толщины стенки, не превышающее 12% проектной; - неисправность или полная утрата береговых информационных знаков и реперов. 3) Предельное состояние, основными признаками которого являются: - наличие на подводном трубопроводе провисающего участка длиной, превышающей 70% критической длины (приложение 20); - наличие вибрации трубопровода под воздействием течения: - уменьшение толщины стенки трубопровода в результате многолетней эксплуатации и (или) коррозии более чем на 12%; - наличие трещин и мест утечки газа; - отсутствие части балластных грузов и значительные нарушения в их расположении; - значительные повреждения крепления берегов в подводной части с оголением трубопровода; 5.4. Подводный переход газопровода, техническое состояние которого по результатам обследования признано исправным, требует выполнения плановых обследований с указанной в разделе 6 периодичностью, а также планово-предупредительного ремонта. 5.5. При неисправном техническом состоянии подводного перехода по любому из указанных в п.2 табл.1 признаков (при этом газопровод может быть работоспособным) необходимо выполнение капитального ремонта в установленный планом срок. При наличии провисающих участков трубопроводов ремонт должен быть закончен до весеннего паводка. 5.6. Предельное состояние подводного перехода по признакам, приведенным в п.3 табл.1, за исключением признаков по графе 7, указывает на необходимость принятия срочных мер по предупреждению аварий, с отключением поврежденной нитки газопровода, выполнению капитального ремонта или прокладке новой нитки газопровода вместо поврежденной. 6. ЗАДАЧИ И ПЕРИОДИЧНОСТЬ ОБСЛЕДОВАНИЙ ПОДВОДНЫХ ПЕРЕХОДОВ6.1. Основными задачами осмотра и обследования подводного перехода является оценка его технического состояния (пункт 5.2) и соответствия требованиям настоящего Регламента, Правил технической эксплуатации магистрального газопровода и других действующих нормативных документов (приложение 1). 6.2. На основании осмотров и обследований подводного перехода в соответствии с основными задачами должны быть получены следующие данные: - фактическое плановое и высотное положение трубопровода относительно линии дна и склонов берега, существующие на дату обследования водоема в створе перехода в координатах и отметках проекта; - наличие обнаженных и провисающих участков газопровода и их характер (протяженность, величина провиса); - состояние балластировки трубопровода на обнаженных и провисающих участках; - значение толщины стенки трубопровода на обнаженных и провисающих участках и на береговых участках в зоне переменного уровня воды; - состояние защитного и изоляционного покрытия на обнаженных и провисающих участках трубопровода; - значение высотных отметок дна реки и береговых склонов в координатах и отметках проекта; - наличие и характер посторонних объектов (предметов) на дне водной преграды; - состояние сооружений защиты берегов; - состояние береговых информационных знаков; - сохранность реперов топографической основы для закрепления промерных створов и створов наблюдений за переформированием береговых склонов. 6.3. В зависимости от поставленной цели и состава (вида) работ обследование подводных переходов газопроводов подразделяется на три класса. Классификация обследований по этим признакам приведена в табл. 2. Виды работ, выполняемых при обследовании подводных переходов газопроводов, в зависимости от класса обследования
Примечание: Размеры зоны топографической съемки для II класса обследования могут быть уменьшены до границ охранной зоны перехода. 6.4. Периодичность осмотров и обследований подводных переходов газопроводов указана в таблице 3. Таблица 3 Периодичность осмотров и обследований подводных переходов газопроводов
6.5. Обследование руслового участка перехода назначают с периодичностью, зависящей от интенсивности деформаций берегов и дна на участке перехода (с учетом технического состояния трубопровода, установленного на основании предыдущих обследований) в соответствии с табл.4. Периодичность обследований русловой части подводных переходов газопроводов
Примечания: 1. При временной эксплуатации перехода, находящегося в предельном состоянии, за ним необходимо осуществлять постоянное наблюдение с контролем параметров, создающих риск аварии и принятием незамедлительных мер по проведению обследования и ремонта; 2. Периодичность обследования перехода, выведенного из эксплуатации по предельному состоянию, определяется предприятием по транспортировке газа; 3. В отдельных случаях при отсутствии заметных деформаций дна и берегов в зоне расположения перехода ПТГ могут увеличивать по пп. 1 и 2 табл. 4 интервал между обследованиями. 6.6. Первое обследование руслового участка перехода выполняется по окончании строительства и включает: - топографическую съемку и определение гидрологических характеристик водоема на участке перехода в границах и объеме, соответствующих изысканиям при разработке проекта перехода; - определение фактического планового и высотного положения всех ниток подводного газопровода; - определение состояния засыпки, крепления дна и склонов берегов. Результаты этого обследования фиксируются и прилагаются к акту приемки перехода в эксплуатацию. Затраты на проведение первого обследования включаются в сводную смету на строительство перехода. 6.7. Второе обследование руслового участка выполняется в объеме 2 класса (табл.2) через год после первого обследования. Если результаты первого и второго обследований практически не отличаются друг от друга, последующее обследование руслового участка перехода следует выполнить с периодичностью, определенной в соответствии с табл. 4. 6.8. Дополнительные обследования подводных переходов сверх предусмотренных в табл. 4 в объеме обследований 2 класса выполняются при изменениях гидрологических режимов реки и русловых переформирований, вызванных разработкой карьеров, проведением выправительных работ или строительством гидротехнических сооружений и мостовых переходов. Результаты дополнительных обследований сопоставляются с данными предыдущих обследований, а также с исполнительной документацией перехода и, при отсутствии расхождений, последующие обследования выполняются с периодичностью, определяемой табл.4. 6.9. Внеочередные обследования руслового участка перехода выполняются также после оползней, землетрясений и других стихийных бедствий, когда возникает повышенная опасность повреждения газопровода. 7. ОСМОТР БЕРЕГОВЫХ УЧАСТКОВ ПОДВОДНЫХ ПЕРЕХОДОВ7.1. Осмотр (патрулирование) береговых участков подводного перехода в пределах его охранной зоны выполняется линейно-эксплуатационной службой ПТГ в соответствии с графиком обхода, объезда и облета магистрального газопровода. 7.2. Осмотр выполняется бригадой (группой) ЛЭС с целью выявления: - утечек газа с помощью приборов; - развития оврагов, оползней, размыва берегов, явлений пучения грунтов и возникающей в связи с этим угрозой повреждения газопровода; - состояния береговых информационных знаков и реперов. 7.3. Результаты осмотра указываются в журнале осмотра и обследования перехода. 7.4. Незначительные неисправности (потеря видимости знаков из-за снежных заносов, кустарниковой и травянистой растительности, обветшалости надписей на указателях) устраняются в процессе осмотра. 8. ОБСЛЕДОВАНИЕ РУСЛОВОГО УЧАСТКА ПЕРЕХОДА8.1. Обследование руслового участка перехода осуществляется под наблюдением ответственного сотрудника ПТГ и выполняется в соответствии с планом периодичности обследования в зависимости от состояния перехода. Для выполнения обследований могут привлекаться специализированные организации подводно-технических работ или другие предприятия, имеющие лицензии на обследование подводных переходов. 8.2. Задача обследования перехода - определение его технического состояния, согласно классификации, приведенной в табл.1, с целью принятия, при необходимости, мер для приведения трубопровода в исправное эксплуатационное состояние. 8.3. Для выполнения поставленной задачи специализированная организация должна быть обеспечена: - необходимыми транспортными и плавсредствами; - приборами по определению положения трубопровода, исправности средств электрохимзащиты и антикоррозионного покрытия, измерения толщины стенки трубопровода, геодезическими инструментами и т.п., а также проектными материалами (профиль, план) и материалами полевых исследований; - водолазным оборудованием и снаряжением в составе и количестве, необходимом для выполнения всего комплекса работ по обследованию перехода; - материалами проектной, исполнительной документации и предыдущих обследований. 8.4. В организации, занимающейся обследованием перехода, должны быть специалисты для выполнения топографических, гидрографических работ, по обслуживанию приборов, контролю и обработке материалов обследования. 8.5. Состав и объемы работ по обследованию устанавливаются в зависимости от технического состояния перехода в соответствии с табл.2 настоящего Регламента. 8.6. Обследование руслового участка перехода производится с помощью приборов, обеспечивающих необходимую точность и подробность обследования. Конкретный состав необходимого оборудования и приборов, а также методика проведения обследований выбирается, исходя из характера пересекаемой водной преграды (глубина, скорость течения, характер грунта, судоходство) и сезона проведения работ. Приборное обследование производится по методикам и инструкциям, учитывающим конкретные характеристики приборов. 8.7. Обследование руслового участка перехода включает в себя подготовительные работы, полевые работы и обработку результатов обследования. Подготовительные работы включают в себя: - анализ проектной и исполнительной документации; - анализ материалов предыдущих обследований; - определение конкретной методики проведения обследования и приборного обеспечения; - инструктаж бригады по технике безопасности в соответствии с действующими правилами. Полевые работы включают в себя: - топографическую съемку русла и берегов с установкой (в случае отсутствия постоянных) грунтовых реперов, выполняемую в соответствии со СНиП 1.02.07-87 "Инженерные изыскания для строительства"; - инженерно-гидрологические измерения с устройством водомерного поста (приложение 17) и привязкой его нивелировкой к постоянным или временным реперам. Количество и размещение промерных створов и скоростных вертикалей выбирается в соответствии с нормативными документами по гидрогеологическим измерениям; - приборное обследование газопровода, в процессе которого определяется истинное пространственное положение газопровода относительно поверхности дна и берегов, выявляются обнаженные и провисающие участки, оценивается их протяженность и величина провисов; - водолазное обследование обнаженных или провисающих участков газопровода, производимое в случае их выявления. При водолазном обследовании производится уточнение длины обнаженного или провисающего участка, величины провиса, оценивается состояние антикоррозионной изоляции, расположение и устойчивость грузов на трубопроводе, состояние подводной части берегоукрепления. В случае необходимости рекомендуется применение подводной видеосъемки. Организация и выполнение работ по водолазному обследованию должна осуществляться в соответствии с Едиными правилами безопасности труда на водолазных работах РД 31.84.01-90. Обработка результатов обследования предусматривает выпуск чертежей плана перехода, продольных и поперечных (для оголенных и провисающих участков) профилей ниток перехода. На плане перехода должны быть указаны все створы, по которым производились измерения, реперы, границы береговых укреплений, места и границы обнаруженных провисов и обнажений, места и границы повреждения берегоукреплений. На продольных профилях должны быть указаны отметки грунта над трубой и верха забалластированного трубопровода, отметки уровня воды на день обследования, обнаженные и провисающие участки, участки с недостаточной глубиной залегания. Система отметок на плане и профилях должна соответствовать принятой на проектной и исполнительной документации. Изменение рельефа дна и положения газопровода определяется сравнением отметок, полученных в процессе обследования, с отметками исполнительной документации и предыдущих обследований. 8.8. После окончания обследования составляется акт, в котором отражается состояние подводного перехода. К акту прилагаются обработанные материалы обследования. 8.9. Расчет напряженно-деформированного состояния трубопровода для провисающих участков трубопровода может быть поручен специализированной организации. 8.10. Если в результате обследования подводного перехода установлена деформация русла реки, значительно превышающая прогнозируемую при проектировании перехода и угрожающая его нормальной эксплуатации, следует с участием соответствующей специализированной проектно-изыскательской организации рассмотреть возможные мероприятия по стабилизации русловых процессов или реконструкции перехода. 9. НАБЛЮДЕНИЕ ЗА БЕРЕГОУКРЕПИТЕЛЬНЫМИ СООРУЖЕНИЯМИ И СОСТОЯНИЕМ БЕРЕГА9.1. Наблюдения за берегоукрепительными сооружениями должны включать: - проверку состояния и одежды крепления в надводной и подводной зонах; - установление фактического профиля сооружения и сопоставление его с проектным (или исполнительным); - проверку вымывания грунта из-под одежды крепления; - промеры глубин перед подошвой откосов крепления; - проверку состояния обратных фильтров, швов омоноличивания, пригрузки, одерновки и других элементов крепления; - измерение плановых и высотных смещений конструкций; - наблюдения за прорастанием растительности на одежде крепления, оказывающей разрушительное действие. 9.2. За откосными сооружениями, берега которых сложены глинистыми грунтами пластичной или полутвердой консистенции, необходимо вести специальные виды наблюдений, призванные прогнозировать и предотвратить образование оползней. В число этих наблюдений должны входить: - измерения плановых и высотных смещений откоса (в надводной и подводной зонах) и прилегающего к бровке откоса участка территории шириной не менее двух высот откоса; - контроль за образованием и динамикой развития трещин и заколов в грунтовом массиве; - наблюдения за состоянием растительности кустарников, деревьев, которое может свидетельствовать о подвижках грунта. 9.3. Увеличение скорости деформации откосного берегоукрепления в сочетании с прогрессирующим развитием трещин и заколов служит предвестником возникновения оползня. В таких случаях надлежит принять неотложные меры по усилению или реконструкции берегоукрепления. 9.4. При обнаружении активных оползневых процессов на береговых зонах подводных переходов рекомендуется силами специализированной научно-исследовательской или проектной организации составить расчетный прогноз длительной устойчивости оползневых масс. В необходимых случаях должны быть осуществлены надлежащие противооползневые мероприятия. 10. МЕТОДЫ И СРЕДСТВА КОНТРОЛЯ ТЕХНИЧЕСКОГО СОСТОЯНИЯ ПОДВОДНЫХ ПЕРЕХОДОВ10.1. Методика приборного обследования подводного перехода выбирается, исходя из его особенностей и сезона проведения работ. При обследовании могут быть использованы плавсредства, вертолеты и другие транспортные и технические средства. Также может быть использована система спутниковой навигации. 10.2. Для
планово-высотной привязки промерных точек верха трубопроводов, грунта дна и
береговых участков перехода (коридора) могут применяться оптические,
оптико-электронные, радиотехнические, лазерные и т.п. геодезические приборы и
инструменты с абсолютной погрешностью определения планового положения промерных
точек не более 10.3. Для определения высотных отметок верха трубопровода могут применяться электромагнитные и магнитные системы, акустические и другие профилографы и т.п. трубопоисковые приборы, обеспечивающие абсолютную погрешность при глубине залегания трубопровода относительно горизонта воды: - до - более 10.4. Для определения
высотных отметок обнаженных или оголенных подводных трубопроводов и дна водной
преграды могут применяться эхолоты, обеспечивающие абсолютную погрешность
измерений не более При глубине водной
преграды менее 10.5. Для обнаружения и
предварительной оценки протяженности обнаженных и провисающих участков
подводных трубопроводов и наличия посторонних объектов на дне могут применяться
гидролокаторы бокового (ГБО), секторного (ГСО) или кругового (ГКО) обзора с
разрешающей способностью не хуже 10.6. При обследовании обнаженных или провисающих участков для обеспечения подводной видеосъемки могут применяться водолазные телевизионные системы или телекамеры, установленные на борту телеуправляемых подводных аппаратов. 10.7. Для определения
мест повреждения антикоррозионной изоляции трубопроводов могут применяться
электромагнитные и магнитные системы, обеспечивающие абсолютную погрешность измерения
планового положения мест повреждения не более 10.8. Для измерения
толщины стенок размытых трубопроводов могут применяться ультразвуковые,
рентгенографические и т.п. толщиномеры с абсолютной погрешностью измерения не
более На современных газопроводах и их переходах через водные преграды измерение толщины стенок трубопроводов может осуществляться методом внутритрубной дефектоскопии. 10.9. Для измерения скоростей течения водной преграды могут применяться гидрометрические вертушки и другие приборы с относительной погрешностью измерения не более 10%. 10.10. Поиск утечек газа через трещины или небольшие свищи на газопроводе выполняют путем транспортирования катером, вертолетом или другим средством вдоль трассы газопровода специальных приборов (газоанализаторов, приложение 18). 10.11. Все нестандартизированные средства измерений, предназначенные для контроля за техническим состоянием подводных трубопроводов, могут быть допущены к применению только после их метрологической аттестации. 10.12. Средства контроля технического состояния переходов должны: - ежегодно калиброваться отраслевой метрологической службой по подводным переходам в соответствии с нормативными требованиями к метрологическому обеспечению измерений в Российской Федерации; - обеспечивать, как правило, непосредственно при проведении обследований документирование измеряемых параметров на бумажных или магнитных (машинных) носителях информации; - обеспечивать соблюдение мер безопасности и сохранности перехода и его сооружений при проведении обследований. 10.13. Допускается применение приборов, основанных на других физических принципах, если их применение технически целесообразно и точность, обеспечиваемая прибором, удовлетворяет вышеуказанным требованиям. 11. ОПЕРАТИВНАЯ И ОТЧЕТНАЯ ДОКУМЕНТАЦИЯ ПО ОБСЛЕДОВАНИЮ ПОДВОДНЫХ ПЕРЕХОДОВ11.1. Результаты осмотров и обследований состояния подводных переходов оформляются соответствующими записями в журнале обследований (приложение 2) и актами. 11.2. Результаты контроля береговых участков перехода оформляются актами: - осмотра состояния сухопутных участков трассы перехода (приложение 5): - проверки состояния берегоукрепительных сооружений на переходе (приложение 6): - проверки переходного сопротивления для оценки состояния катодной защиты на переходе (приложение 7). Первые два акта могут быть объединены в один. 11.3. Результаты приборного и водолазного контроля подводных участков перехода оформляются актом обследования подводного перехода (приложение 8), к которому прилагаются чертежи: - топографического плана перехода (приложение 9); - продольных профилей подводного трубопровода (приложение 10); - поперечных профилей трубопроводов в местах их оголения или провисания (приложение 11). 11.4. Оперативная и отчетная документация по результатам осмотров и обследований подводных переходов хранится вместе с паспортом и другой технической документацией на переход в течение всего периода эксплуатации. Результаты обследований наносятся на исполнительные профили и планы перехода. 11.5. Требования к оформлению документации по обследованию подводных переходов с целью достижения единообразия и создания единого банка данных приводятся в приложении 21. 12. ОРГАНИЗАЦИЯ РЕМОНТА ПОДВОДНЫХ ПЕРЕХОДОВ12.1. Система технического обслуживания подводных переходов включает ремонтные работы: планово-предупредительный, текущий, аварийно-восстановительный и капитальный ремонты. 12.2. Планово-предупредительный и текущий ремонты не связаны непосредственно с нарушением целостности трубопровода и выполняются в целях предупреждения опасности размыва, деформации дна и береговых участков перехода, нарушения целостности берегоукрепительных и других сооружений на переходах. 12.3. К планово-предупредительному и текущим ремонтам относятся работы по: - отводу поверхностных, паводковых и ливневых вод от створов подводных переходов с расчисткой старых и устройством новых водоотводных канав, дренажа; - ежегодной (перед весенним паводком) очистке от снега водоотводных канав и водопропускных отверстий; - ремонту и замене створных и информационных знаков на берегах, реперов и указателей, пришедших в негодность; - засыпке грунтом образовавшихся на пойме и берегах промоин и других эрозионных форм, несущих опасность оврагообразования; - ремонту надводных участков крепления берегов. 12.4. Планово-предупредительный и текущий ремонты обычно выполняются без снижения давления на переходе. 12.5. В объем работ по текущему ремонту должны включаться работы, не предусмотренные в планах капитального ремонта газопровода. 12.6. Работы по текущему
ремонту переходов через водоемы глубиной до 12.7. Способы, объем и сроки проведенных планово-предупредительных и текущих ремонтов вносятся в журнал ремонта перехода (приложение 2). 12.8. Аварийно-восстановительный ремонт подводного перехода газопровода выполняется для быстрого устранения отказов, восстановления его работоспособности и обеспечения бесперебойной транспортировки газа до производства капитального ремонта. 12.9. Необходимость аварийно-восстановительного ремонта возникает в следующих случаях: - незначительные местные повреждения, вызывающие утечку газа (например, точечная коррозия, свищи); - незначительные повреждения газопровода и его изоляции от ударов судовым якорем-волокушей проходящего судна; - вибрация газопровода на провисающем участке, длина которого равна критической или близка к ней; - отказ газопровода на переходе. 12.10. На период аварийно-восстановительных работ подача газа по ремонтируемому газопроводу должна быть отключена. 12.11. Аварийно-восстановительный ремонт выполняется силами ПТГ с использованием, при необходимости, специализированных предприятий. 12.12. После выполнения аварийно-восстановительного ремонта составляется акт сдачи ремонтируемого газопровода в эксплуатацию. В акте указываются способ и объемы работ, выполненные при ремонте. К акту прикладываются: - акт испытаний трубопровода; - акт водолазного обследования; - исполнительный чертеж выполненного аварийно-восстановительного ремонта. 12.13. Капитальный ремонт подводного перехода выполняется при неисправном и предельном техническом состоянии, установленном обследованием (см. раздел 5) по проекту, утвержденному руководителем ПТГ. 12.14. Капитальный ремонт осуществляется в соответствии с действующей нормативно-технической документацией силами специализированных предприятий РАО "Газпром" или других организаций. 12.15. Капитальный
ремонт подводных переходов через реки и ручьи глубиной (в межень) до 12.16. Сроки осуществления ремонтных работ на русловом участке перехода должны быть согласованы предприятием - производителем работ с соответствующими организациями речного флота и рыбнадзора. 12.17. При приемке подводного перехода в эксплуатацию после капитального ремонта должны быть выполнены все предусмотренные проектом ремонта испытания и обследования. 12.18. Организация, выполнившая работы по капитальному ремонту подводного перехода газопровода, передает эксплуатирующей организации следующую документацию: - утвержденный проект с пояснительной запиской и сметой; - документы и согласования проектно-сметной документации и изменений, произведенных в процессе производства ремонтных работ; - паспорта (сертификаты) на трубы, арматуру, материалы, документы на их испытания и приемку; - акты на скрытые работы, журналы сварочных и изоляционных работ; - акты испытаний трубопроводов и сооружений перехода; - акты на производство земляных работ (создание и засыпку подводных траншей, засыпку оголенных и провисающих участков и т.п.); - акт приемки дно- и берегоукрепительных работ; - заключения по проверке качества сварных соединений трубопроводов физическими методами контроля и протоколы механических испытаний; - акты испытаний трубопровода на прочность и герметичность. 12.19. Сведения о капитальных ремонтах и обследованиях необходимо внести в паспорт подводного перехода газопровода. 12.20. Документация о проведенных ремонтах перехода хранится вместе с его техническим паспортом в течение всего периода эксплуатации перехода. 13. ДОНЕСЕНИЕ ПО ОБНАРУЖЕННЫМ УТЕЧКАМ И ПОВРЕЖДЕНИЮ ГАЗОПРОВОДА НА ПОДВОДНОМ ПЕРЕХОДЕ13.1. При обнаружении утечки газа или повреждения газопровода во время осмотров, обследований или ремонта производитель этих работ обязан срочно поставить в известность об утечке газа: - лицо, ответственное за эксплуатацию перехода; - диспетчерскую службу и руководство предприятия по транспортировке газа. 13.2. Диспетчерская служба и руководство ПТГ после получения сообщения об утечке газа должны незамедлительно обеспечить определение места и характера утечки и обеспечить необходимые меры безопасности до производства аварийно-восстановительных работ. 13.3. Ответственное лицо за эксплуатацию перехода при обнаружении утечки газа должно направить письменное донесение руководителю предприятия по транспортировке газа и в местные организации: исполнительной власти, газового надзора, госгортехнадзора, пожарного надзора, речного флота, охраны природы. Приложение 1
| |||||||||||||||||||||||||||||||||||||||||||||||||||||||||||||||||||||||||||||||||||||||||||||||||||||||||||||||||||||||||||||||||||||||||||||||||||||||||||||||||||||||||||||||||||||||||||||||||||||||||||||||||||||||||||||||||||||||||||||||||||||||||||||||||||||||||||||||||||||||||||||||||||||||||||||||||||||||||||||||||||||||||||||||||||||||||||||||||||||||||||||||||||||||||||||||||||||||||||||||||||||||||||||||||||||||||||||||||||||||||||||||||||||||||||||||||||||||||||||||||||||||||||||||||||||||||||||||||||||||||||||||||||||||||||||||||||||||||||||||||||||||||||||||||||||||||||||||||||||||||||||
|
ПАСПОРТ N _____ Наименование трассы газопровода ____________________________________ __________________________________________________________________ Наименование перехода _____________________________________________ Год ввода в эксплуатацию перехода ___________________________________ Организация-проектировщик перехода ________________________________ __________________________________________________________________ (наименование, ведомственная принадлежность, реквизиты) Организация-исполнитель строительно-монтажных работ ________________ __________________________________________________________________ __________________________________________________________________ (наименование, ведомственная принадлежность, реквизиты) Организация-производитель подводно-технического надзора за строительством перехода____________________________________________ (наименование, ведомственная принадлежность, реквизиты) Количество ниток в переходе ________________________________________ Протяженность перехода ___________________________________________ Длина подводной части ____________________________________________ Изоляция, система антикоррозионной защиты, футеровка, балластировка _________________________________________________________________ Тип берегового укрепления
|
Приложения:
1. Проектный профиль
2. Исполнительный профиль
3. План перехода
4. Схема расположения реперов, береговых информационных и других знаков.
5. Механические характеристики трубопровода (марка стали, диаметр, толщина стенки трубы, масса трубопровода, момент инерции, момент сопротивления).
6. Критическая длина провисающего участка трубопровода для разных скоростей течения.
7. Продольные профили по данным обследования.
8. Акты обследований.
Журнал обследований
|
NN актов обследования |
Дата, период проведения обследования |
Класс и вид обследований |
Основные выводы |
Подпись ответственного лица |
|
1 |
2 |
3 |
4 |
5 |
Журнал ремонтов
|
NN пп |
Период ремонта |
Вид ремонта |
Исполнители |
Примечание |
|
1 |
2 |
3 |
4 |
5 |
|
Наименование и краткое содержание технической документации |
Утверждающая инстанция |
Примечания |
|
Исполнительная документация по законченному строительством подводному переходу |
- |
Хранится до замены или снятия с баланса перехода |
|
Программа и график проведения осмотров береговых участков |
Отдел эксплуатации ПТГ |
Составляется ЛЭС |
|
Программа обследований подводных переходов |
Управление по транспортировке газа и газового конденсата РАО Газпром" |
Составляется отраслевым инженерно-техническим центром по подводным переходам |
|
Технические паспорта переходов |
Руководитель ПТГ |
Составляются и корректируются отделом эксплуатации ПТГ |
|
Журналы осмотров и обследований подводного перехода |
- |
Ведется по мере заполнения, сдается в отдел эксплуатации ПТГ |
|
Акты по обследованиям подводных переходов |
- |
Составляются группой, производящей обследование |
|
Техническая документация по планово-предупредительным и капитальным ремонтам подводных переходов |
- |
Длительность хранения определяется главным инженером ПТГ |
Эксплуатирующая организация ________________________________________
УТВЕРЖДАЮ
________________________________________
(должность, Ф.И.О.)
________________________________________
(подпись)
"________"______________________19___ г.
РАЗРЕШЕНИЕ
на производство работ в охранной зоне действующего магистрального газопровода
|
Место производства работ __________________________________________________ _________________________________________________________________________ (наименование трубопровода и его сооружения, его техническая характеристика, км или пикет трассы) Начало работ_________ час. "______"________________________19____ г. Окончание работ _____ час. "______"________________________19____ г. Организация-производитель работ ____________________________________ Руководитель работ _________________________________________________ (должность, Ф.И.О.)
|
ВЫПОЛНЕННЫЕ РАБОТЫ
|
NN пп |
Наименование работ |
Ответственный исполнитель (должность, профессия, Ф.И.О.) |
Начало работ |
Окончание работ |
|
|
|
|
|
|
Этапы работ, выполняемые в присутствии представителя эксплуатирующей организации:
1.
2.
3.
Меры безопасности при производстве работ (указать условия, при которых будет производиться работы, конкретно меры предосторожности, инструкции, которыми необходимо руководствоваться).
Примечания:
1. Ответственность за соблюдение мер безопасности и сохранность действующего трубопровода и его сооружений в процессе производства работ несет руководитель работ.
2. Письменное уведомление о вызове представителя на работы, выполняемые в его присутствии, передается эксплуатирующей организации за 5 сут. до начала этих работ.
3. Производство работ (их этапов) по истечении указанного в разрешении срока запрещается.
Разрешение выдал ________________________________________________________
(должность, Ф.И.О.)
_________________________________________________________________________
(подпись)
Разрешение получил _______________________________________________________
(должность, Ф.И.О.)
__________________________________________________________________________
(подпись)
АКТ
|
АКТ
|
АКТ
|
||||||||||||||||||||||||||||
|
Время измерения ч |
Сила тока, А |
Разность потенциалов "труба-земля", В |
|||||
|
естественная |
при включенном источнике тока |
смещение |
|||||
|
в начале участка |
в конце участка |
в начале участка |
в конце участка |
в начале участка |
в конце участка |
||
|
1 |
2 |
3 |
4 |
5 |
6 |
7 |
8 |
Результаты измерения-расчета свидетельствуют о __________________________________
_____________________________________________________________________________
(состояние изоляции - хорошее, удовлетворительное, неудовлетворительное)
_____________________________________________________________________________
_____________________________________________________________________________
Подписи:___________________________
АКТ N
|




|
Участок ___________________очередь _____________________ ___________________ 19___г. через ______________________ АКТ Мы, нижеподписавшиеся представители заказчика _______________________ ____________________________________________________________________ и представители подрядчика __________________________________________ ____________________________________________________________________ составили настоящий акт в том, что на участке ___________________________ нитки _____________ м от ПК _____________ до ПК ______________________ выполнены ремонтные работы _________________________________________ ____________________________________________________________________ ____________________________________________________________________ ____________________________________________________________________ ____________________________________________________________________ в соответствии с _____________________________________________________ ____________________________________________________________________ Работу считать законченной и принятой с оценкой ________________________ Заключение _________________________________________________________ Подписи: ______________________________ М.П. ______________________________ ______________________________ Заказчика
|
|
Гор.______________________ "___"_________________ 19__ г. Рабочая комиссия, назначенная ______________________________________ ____________________________________________________________________ (наименование организации-заказчика, назначившей рабочую комиссию) решением от "_____"__________________________ 19___ г. в составе: председателя _______________________________________________________ членов комиссии - представителей ______________________________________ ____________________________________________________________________ ____________________________________________________________________ ____________________________________________________________________ ____________________________________________________________________ ____________________________________________________________________ Установила: 1. Генеральным подрядчиком _________________________________________ ____________________________________________________________________ (указать наименование и ведомственную подчиненность) предъявлен к приемке в эксплуатацию подводный переход, входящий в состав _____________________________________________________________ (наименование объекта) 2. Капитальный ремонт осуществлялся генеральным подрядчиком, выполнившим _______________________________________________________ ____________________________________________________________________ (указать виды работ) и его субподрядными организациями __________________________________ ____________________________________________________________________ (указать наименование организации, их ведомственную подчиненность) выполнившим _______________________________________________________ (указать виды работ) 3. Проектно-сметная документация на капитальный ремонт разработана проектными организациями ___________________________________________ ____________________________________________________________________ (указать наименование проектных организаций и их ведомственную подчиненность) ____________________________________________________________________ 4. Капитальный ремонт осуществлялся по проекту _____________________ ____________________________________________________________________ (указать N проекта, N серии (по типовым проектам) 5. Проектно-сметная документация утверждена ________________________ ____________________________________________________________________ (наименование органа, утвердившего проектно-сметную документацию на объект в целом) ____________________________________________________________________ "____"_____________________ 19___ г. N___________ 6. Строительно-монтажные работы осуществлены в сроки: начало работ _______________________________________________________ (месяц, год) окончание работ ____________________________________________________ (месяц, год) 7. Рабочей комиссии представлена документация в объеме, предусмотренном СНиП, перечисленная в приложении к настоящему акту. 8. Предъявленный подводный переход магистрального трубопровода имеет Следующие показатели: _______________________________________________ (указать пропускную способность, протяженность, ____________________________________________________________________ конструктивное исполнение, инженерное и технологическое оборудование) 9. Оборудование установлено в количестве согласно актам о его приемке после индивидуального испытания и комплексного опробования рабочими комиссиями. Перечень указанных актов приведен в приложении к настоящему акту. 10. Мероприятия по охране труда, обеспечению взрывобезопасности, пожаробезопасности, охране окружающей природной Среды и антисейсмические мероприятия, предусмотренные проектом _____________ ____________________________________________________________________ (указать о выполнении мероприятий) 11. Имеющиеся недоделки согласно приложению N ___________________ не препятствуют эксплуатации подводного перехода. 12. Сметная стоимость по утвержденной проектно-сметной документации: всего __________________ тыс.руб., в том числе строительно-монтажных работ ________________________ тыс.руб., оборудования, инструментов, инвентаря ____________________ тыс.руб. Решение рабочей комиссии ___________________________________________ (наименование подводного перехода) ____________________________________________________________________ считать принятым от генерального подрядчика и готовым для предъявления приемочной комиссии. Приложения к акту: 1. _________________________________________________________________ 2. _________________________________________________________________ 3. _________________________________________________________________ и т.д. Председатель рабочей комиссии: (подпись) Члены комиссии: (подписи) Приняли: Представители заказчика (подписи)
|
Знак представляет собой
щит с символом. Поле щита - белое, окантовка и диагональная полоса - красные,
символ - черный, ширина поля красного и черного цветов 30 ....
Знаки изготовляют по ГОСТ
26600-85 и устанавливают на сигнальных столбах в
Запрещающие знаки устанавливают владельцы сооружений по согласованию с органами, регулирующими судоходство.

Информационный береговой запрещающий знак "Якоря не бросать!" /Подводный переход/
Реперы, привязанные к государственной нивелирной сети, устанавливаются для обоснования и соблюдения проектных высот всего комплекса и отдельных элементов сооружений как при новом строительстве, так и при капитальном ремонте подводного перехода газопровода.
Конструкции реперов приведены на рис. 1, 2, 3.
Pиc. 1. Репер в виде бетонной тумбы:
1 - металлическая крышка; 2 - железобетонная рамка; 3 - марка со штырем; 4 - металлическая труба; 5 - насыпной грунт; 6 - железобетонный массив 500×500×500 мм; 7 - бетонная подушка.
Рис. 2. Репер в виде столба:
1 - марка со штырем; 2 - металлическая труба; 3 - насыпной грунт; 4 - утрамбованный слой крупной гальки; 5 - бетонная подушка.

Рис. 3. Конструкции временных реперов:
1 -
костыль; 2 - кругляк Ø 18-
Временный водомерный пост предназначен для измерения характеристик гидрологического режима (уровня воды, скорости течения, температуры воды, толщины льда).
Водомерный пост оборудуется на период строительства или капитального ремонта подводного перехода магистрального газопровода вблизи перехода вне зоны производства работ.
Пост (рис. 1) состоит из
забитых в грунт деревянных свай диаметром 20-
Верх береговой сваи
должен быть выше предполагаемого максимального уровня на 0,25-
Уровни воды замеряют мерной переносной рейкой, устанавливаемой на нуле сваи (рис. 2а).
В летний период для измерения уровня воды может быть достаточно нанесенных на сваи делений выше минимального уровня воды (рис. 2б).
Пост должен быть защищен от волнения, заносимости, размыва от воздействия паводковых вод и не должен располагаться на оползневом и вогнутом обрывистом участке берега.

Рис. 1. Временный водомерный пост:
1 - репер; 2 - сваи; 3 - нивелировочный ход

Рис. 2. Способы измерения уровня воды:
а) с
помощью рейки; б) с помощью сваи; 1 - переносная рейка с делениями через
Газовые анализаторы предназначены для определения места утечки газа в газопроводе
|
Наименование |
Длина волн излучения, мкм |
Измеряемые инградиенты |
Диапазон измеряемых значений концентрации млн -1 |
Длина трассы, м |
Потребляемая мощность сети 220В/50 Гц, кВт |
Габариты, м |
Масса, кг |
|
Трассовый лазерный газоанализатор (ТЛГ) |
3,39 |
Метан, пропан, бутан и т.д. |
2 - 200 |
5 - 100 |
1,0 |
1,0×2,0×0,4 |
40 |
|
Лазерный оптико-акустический газоанализатор (ЛОАГ) |
3,39 |
Метан, пропан, бутан и т.д. |
2 - 100 |
- |
1,0 |
2,0×0,3×0,4 |
30 |
Ультразвуковые толщиномеры предназначены для измерения толщины стенок подводных трубопроводов
|
Наименование |
Диапазон измеряемых по стали, мм |
Погрешность измерений, мм |
Время установления рабочего режима после включения, сек |
Габаритные размеры, мм |
Потребляемая мощность, Вт |
Способ индексации |
Дискретность отсчета |
Масса, кг |
Фирма, страна |
|
УТ - 302 |
0,6 - 300 |
+/-0,1 |
10 |
83×140×36 |
- |
- |
- |
0,4 |
МП "Спектр" Россия |
|
Кварц - 6 |
2 - 50 |
0,15 -0,6 |
- |
- |
1,5 |
Стрелочный прибор |
- |
5,0 |
МП "Спектр" Россия |
|
Кварц - 15 |
1,2-200 |
+/-0,2 |
- |
- |
1,5 |
Цифровое табло |
0,1 |
2,0 |
МП "Спектр" Россия |
|
Диаметр трубопровода, мм |
Скорость течения потока, м/с |
Hopмативный предел текучести стали МПа (кгс/кв.см) |
|||||||||||
|
353 (3600) |
461 (4700) |
353 (3600) |
461 (4700) |
||||||||||
|
Характер участка подводной трассы |
|||||||||||||
|
Прямолинейный |
Выпуклый |
Вогнутый |
Прямолинейный |
Выпуклый |
Вогнутый |
Прямолинейный |
Выпуклый |
Вогнутый |
Прямолинейный |
Выпуклый |
Вогнутый |
||
|
чугунные балластные грузы |
бетонные балластные грузы |
||||||||||||
|
530×9 |
0,5 |
18 |
17 |
15 |
30 |
29 |
26 |
13 |
13 |
12 |
22 |
22 |
20 |
|
1,0 |
18 |
17 |
15 |
30 |
29 |
26 |
13 |
13 |
12 |
22 |
22 |
20 |
|
|
1,5 |
17 |
16 |
15 |
29 |
28 |
25 |
13 |
13 |
12 |
22 |
21 |
19 |
|
|
2,0 |
16 |
15 |
14 |
26 |
26 |
24 |
12 |
12 |
11 |
21 |
20 |
19 |
|
|
2,5 |
14 |
14 |
13 |
24 |
23 |
22 |
12 |
11 |
11 |
20 |
19 |
18 |
|
|
0,5 |
13 |
13 |
12 |
31 |
30 |
28 |
10 |
10 |
9 |
23 |
22 |
21 |
|
|
1,0 |
13 |
13 |
12 |
31 |
30 |
28 |
10 |
10 |
9 |
23 |
22 |
21 |
|
|
720×10 |
1,5 |
13 |
13 |
12 |
30 |
29 |
27 |
10 |
10 |
9 |
23 |
22 |
21 |
|
2,0 |
12 |
12 |
11 |
29 |
28 |
26 |
10 |
9 |
9 |
22 |
22 |
20 |
|
|
2,5 |
12 |
11 |
11 |
27 |
26 |
25 |
9 |
9 |
9 |
21 |
21 |
20 |
|
|
0,5 |
14 |
14 |
13 |
36 |
36 |
34 |
11 |
10 |
10 |
27 |
27 |
25 |
|
|
1,0 |
14 |
14 |
13 |
36 |
36 |
34 |
11 |
10 |
10 |
27 |
27 |
25 |
|
|
1020×14 |
1,5 |
14 |
14 |
13 |
36 |
35 |
33 |
11 |
10 |
10 |
27 |
26 |
25 |
|
2,0 |
14 |
14 |
13 |
35 |
34 |
33 |
10 |
10 |
10 |
27 |
26 |
25 |
|
|
2,5 |
13 |
13 |
13 |
34 |
33 |
32 |
10 |
10 |
10 |
26 |
26 |
25 |
|
Примечания:
1) Давление газа внутри трубопровода 4,91 МПа (50 кгс/кв.см):
2) Для других диаметров и толщин стенки труб и при иных значениях внутреннего давления газа в трубопроводе критические длины рекомендуется принимать в соответствии со Справочными материалами для определения критической длины провисающего участка подводного трубопровода, ОАО Гипроречтранс, 1996.
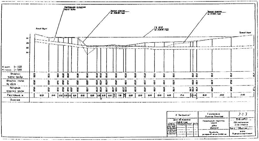
1. К актам приборного и водолазного обследований прилагаются чертежи:
- топографический план перехода (коридора):
- продольные профили каждого подводного трубопровода;
- поперечные профили подводных трубопроводов в местах их оголения или провисания, оформленные в соответствии с правилами выполнения строительных чертежей.
2. Топографические планы переходов (коридоров) выполняются в масштабе и с сечением рельефа береговых участков и дна, которые выбираются по таблице в зависимости от ширины водной преграды или охранной зоны перехода.
|
Ширина водной преграды или перехода (коридора), м |
Масштаб съемки |
Высота сечения рельефа, м |
|
до 500 |
1:500 |
0,5 |
|
от 500 до 1000 |
1:1000 |
1,0 |
|
от 1000 до 2000 |
1:2000 |
1,0 |
|
свыше 2000 |
1:5000 |
2,0 |
2.1. Планы выполняются в абсолютных высотных отметках (до десятых долей метра) с отображением на них условными знаками;
- высотных отметок земли береговых участков и дна водной преграды;
- сечения рельефа горизонталями (изобатами);
- планового положения трубопроводов с указанием на них высотных отметок дна по оси трубопровода, величин заглубления в грунт и принятого пикетажа;
- береговой линии с высотной отметкой уреза воды и датой измерения;
- реперов с высотной отметкой рельефа и полочек;
- береговых информационных знаков;
- направлений сторон света и течения воды;
- наименований газопроводов с указанием основной и резервной ниток, а также диаметров трубопроводов.
2.2. Пример выполнения топографического плана перехода представлен в приложении 9.
3. Продольные профили трубопроводов выполняются в масштабе:
- по горизонтали (по створу трубопровода) - в масштабе плана;
- по вертикали (при глубине залегания трубопровода относительно горизонта воды);
- М 1:100 при глубине до
- М 1:200 при глубине
свыше
3.1. Продольные профили выполняются в абсолютных отметках с отображением в условных знаках:
- линии береговых участков и дна по отметкам данного и предыдущего обследования;
- линий верха трубопроводов по отметкам данного и предыдущего обследования;
- линий горизонта воды с указанием его высотной отметки и даты измерения;
- вертикальной шкалы с
разбивкой через
- горизонтальной шкалы с указанием:
- номеров пикетов;
- расстояний (в целых метрах) между промерными точками по створу трубопровода;
- высотных отметок в промерных точках верха трубопровода и дна водной преграды по данному и предыдущему обследованию.
Допускается дополнительное указание высотных отметок дна и верха трубопровода по исполнительной или проектной документации.
3.2. Пример выполнения продольного профиля трубопровода представлен в приложении 10.
4. Поперечные профили трубопроводов выполняются в абсолютных отметках для каждого участка их обнажения или провисания в месте максимального обнажения или провиса трубопровода в формате A3 в масштабах 1:100 или 1:200 с отображением в условных знаках:
- линии дна по высотным отметкам данного обследования;
- поперечного сечения трубопровода с указанием высотной отметки его верха;
- линии горизонта воды с указанием его высотной отметки и даты измерения;
- вертикальной шкалы с
разбивкой через
- горизонтальной шкалы с указанием:
- расстояний (в целых метрах) между промерными точками поперек оси трубопровода;
- высотных отметок дна водной преграды по данному обследованию.
На свободном поле чертежа указывается (до десятых долей метра) расстояние от верха (при оголении) или от низа трубопровода (при провисании) до дна.
4.1. Пример выполнения поперечного профиля подводного трубопровода представлен в приложении 11.
5. Продольные профили должны быть ориентированы вверх по течению водной преграды.
6. Чертежи по результатам обследования выполняются на листах бумаги (кальки) в форматах по ГОСТ 2.301-68.
7. При длине (ширине)
топографических планов или продольных профилей более
8. Чертежи должны иметь рамку, а в правом нижнем углу - основную надпись (штамп), в графах которой указывают:
- наименование чертежа;
- наименование переходов газопроводов;
- наименование пересекаемой водной преграды;
- наименование предприятия-исполнителя работ по обследованию перехода (коридора);
- условный отраслевой номер (для коридора - номера) технического паспорта перехода;
- масштаб чертежа;
- фамилии и подписи ответственных лиц от ПТГ и предприятия - исполнителя работ;
- дату проведения работ.
9. Чертежи выпускаются в 4 экземплярах, первые два из которых передаются в ПТГ, третий - в отраслевой архив подводных переходов, а четвертый остается у исполнителя работ.
Кроме того, в ПТГ и отраслевой архив отчетная документация передается на магнитном носителе (дискете) в едином для РАО "Газпром" формате обмена данными.
|
|
|
|