//
ТехЛит.ру
- крупнейшая бесплатная электронная интернет библиотека для "технически умных" людей.
WWW.TEHLIT.RU - ТЕХНИЧЕСКАЯ ЛИТЕРАТУРА

:: Алготрейдинг::


АЛГОТРЕЙДИНГ
шаг за шагом
с нуля по урокам!

Торговые роботы на PYTHON, BackTrader,
Pandas, Pine Script для TradingView. Связка с брокерами, телеграм и легкими приложениями.


ОРДЕНА ТРУДОВОГО КРАСНОГО ЗНАМЕНИ
ЦЕНТРАЛЬНЫЙ НАУЧНО-ИССЛЕДОВАТЕЛЬСКИЙ
И ПРОЕКТНО-ЭКСПЕРИМЕНТАЛЬНЫЙ
ИНСТИТУТ КОМПЛЕКСНЫХ ПРОБЛЕМ
СТРОИТЕЛЬНЫХ КОНСТРУКЦИЙ И СООРУЖЕНИЙ
им. В.А. КУЧЕРЕНКО
ГОССТРОЯ СССР

РЕКОМЕНДАЦИИ ПО ПРОЕКТИРОВАНИЮ МЕМБРАННЫХ ПОКРЫТИЙ НА ПРЯМОУГОЛЬНОМ ПЛАНЕ ДЛЯ РЕКОНСТРУИРУЕМЫХ ЗДАНИЙ И СООРУЖЕНИЙ

Утверждены Директором ЦНИИСК им. Кучеренко 21 ноября 1988 г.

МОСКВА-1989

Содержание

ПРЕДИСЛОВИЕ

Реконструкция и техническое перевооружение действующих предприятий во многих случаях сопряжены с заменой несущих конструкций покрытий промышленных зданий. Необходимость такой замены вызвана как исчерпанием амортизационных сроков, так и изменением технологии производства и соответственно нагрузок на покрытие. Реконструкция промышленных зданий, включающая замену существующих покрытий, обычно приводит к длительным остановкам производства, что отражается на основной деятельности предприятий. В научно-исследовательских институтах Госстроя СССР разработаны и исследованы мембранные конструкции покрытий на прямоугольном плане, позволяющие производить замену устаревших покрытий в ряде случаев без остановки производства.

Мембранные системы представляют собой пространственную конструкцию из тонкого металлического листа, закрепленного на контуре. Основными преимуществами мембранных конструкций являются: снижение расхода материалов за счет пространственной работы тонкого листа на растяжение и совмещения в одном материале несущих и ограждающих функций, уменьшение трудоемкости и стоимости их изготовления и монтажа, сокращение сроков строительства, благодаря применению большеразмерных рулонируемых полотнищ заводского изготовления, существенное облегчение собственного веса покрытия, относительная простота их монтажа, возможность перекрытия значительных пролетов без промежуточных опор. Мембранные покрытия имеют дополнительные преимущества перед традиционными конструкциями в случаях проведения реконструкции в стесненных условиях существующего производства.

Для одноэтажных производственных зданий, в том числе при их реконструкции, могут быть использованы различные конструктивные решения мембранных покрытий на прямоугольном плане: провисающие оболочки с плоским опорным контуром, цилиндрические оболочки, оболочки в форме гиперболического параболоида. В Рекомендациях рассмотрены покрытия с плоским опорным контуром наиболее простые в изготовлении и монтаже и, в большинстве случаев, наиболее рациональные с точки зрения работы пролетной конструкции и опорного контура.

Настоящие рекомендации составлены в дополнение главы СНиП II-23-81* "Нормы проектирования. Стальные конструкции" и предназначены для использования при проектировании металлических мембранных покрытий на прямоугольном плане для реконструируемых объектов. Рекомендации могут быть также использованы при проектировании вновь строящихся покрытий.

При составлении рекомендаций использованы и обобщены результаты конструктивных разработок, опытного проектирования, экспериментально-теоретических исследований, выполненных в ЦНИИСК им. Кучеренко и других научно-исследовательских и проектных институтах страны (НИИЖБ, ЦНИИПроектстальконструкция им. Мельникова, ЛенЗНИИЭП, ЛенПромстройпроект, УкрНИИПСК и др.).

Рекомендации разработаны в отделе прочности и новых форм металлических конструкций ЦНИИСК им. Кучеренко канд. техн. наук Еремеевым П.Г. и инж. Присяжным В.Б. под руководством Заслуженного деятеля науки и техники РСФСР д-ра техн. наук проф. Трофимова В.И.

1. ОСНОВНОЕ ПОЛОЖЕНИЯ

1.1. Настоящие рекомендации предназначены для проектирования металлических мембранных покрытий с плоским прямоугольным контуром для реконструируемых объектов как отдельно стоящих, так и с укрупненной сеткой колонн для промышленного, гражданского и сельскохозяйственного строительства (производственные помещения, оборудованные мостовыми кранами или напольным транспортом, гаражи, склады, спортивно-зрелищные и выставочные залы, крытые рынки, магазины, овощехранилища и т.п.). Рекомендации могут быть использованы при проектировании мембранных покрытий вновь строящихся зданий на прямоугольном плане.

1.2. Проектирование элементов мембранных конструкций осуществляется в соответствии с главами СНиП II-23-81* "Стальные конструкции", СНиП 2.03.01-84 "Бетонные и железобетонные конструкции" с учетом настоящих Рекомендаций.

При проектировании должны соблюдаться требования СНиП 2.03.11-85 "Защита строительных конструкций от коррозии".

При проектировании мембранных конструкций, находящихся в особых условиях эксплуатации (на просадочных грунтах и подрабатываемых территориях, в районах Крайнего Севера, в районах с расчетной сейсмичностью 7 баллов и более и т.д.), надлежит учитывать специальные рекомендации,

1.3. Мембранные конструкции рекомендуется применять при реконструкции взамен устаревших покрытий в следующих случаях:

- для покрытий одного или нескольких зданий без опирания на существующие внутренние опоры с пролетами от 40 до 100 м при отношении сторон здания до 1:1,5. При необходимости устройства покрытий для протяженных по длине зданий их следует разбивать на отдельные секции с отношением сторон не более 1:1,5 в случае, если допустима установка новых внутренних опор;

- в первую очередь, для реконструируемых зданий с металлическими и деревянными конструкциями покрытий и, во вторую очередь, для зданий с покрытиями из железобетонных конструкций, при реконструкции которых возможна частичная остановка производства;

- в зданиях, оборудованных кранами, в которых существующие внутренние колонны могут быть использованы в качестве крановой эстакады, что требует дополнительного обоснования, так как после демонтажа существующей пролетной конструкции изменяются условия работы колонн;

- в бескрановых зданиях и зданиях без подвесного подъемно-транспортного оборудования, в которых существующие внутренние колонны могут быть демонтированы.

1.4. При замене покрытия мембранной оболочкой реконструируемое здание перекрывается одним пролетом (рис. 1,а) без промежуточных опор. Одной оболочкой могут быть перекрыты сразу несколько мелких зданий (рис. 1,б). Для реконструируемого многопролетного здания существующая сетка колонн может быть сохранена с установкой в каждой ячейке нового мембранного покрытия, опертого по четырем углам на колонны. Возможна замена покрытия с укрупнением существующих пролетов. В последних двух случаях реконструкция сопряжена с частичной остановкой производства.

Рис. 1. Схемы мембранных покрытий реконструируемых объектов
а - для одного здания; б - для нескольких зданий

1.5. Мембранные покрытия вновь возводимых объектов рекомендуется применять как для отдельно стоящих зданий пролетом до 100 м, так и для зданий с укрупненной сеткой колонн пролетом 24¸36 м, при соотношении сторон прямоугольного плана до 1:1,5.

Мембранные покрытия отдельно стоящих зданий опираются по периметру на колонны, устанавливаемые с шагом 6 или 12 м.

Мембранные покрытия зданий с укрупненной сеткой колонн могут опираться только в углах (рис. 2,а), или с установкой дополнительных колонн по продольным осям здания (рис. 2,б).

Рис. 2. Схема мембранных покрытий зданий с укрупненной сеткой колонн
а - с расположением колонн в углах секций; б - с дополнительными колоннами по продольным осям здания

1.6. Мембранные покрытия проектируют с внутренним водоотводом. Для этого в центральной части покрытия необходимо предусматривать установку водосточных воронок и подвешиваемых к мембране труб для отвода самотеком дождевых и талых вод. В расчетах не следует предусматривать очистку покрытия от снега.

1.7. Мембранные покрытия проектируют с учетом комплекса требований к ограждениям по гидро- и теплоизоляции, водоотводу, устройству различных проходок через покрытие, фонарных и других проемов и отверстий.

Выбор конструктивных решений должен производиться на основе технико-экономического анализа вариантов с учетом п.п. 1.3 и 1.4 общих положений СНиП II-23-81* и оптимизации приведенных затрат на пролетную конструкцию, опорный контур, поддерживающие элементы, эксплуатацию здания, а также сроков строительства при обеспечении безостановочной работы основного производства реконструируемого объекта.

2. РЕКОМЕНДАЦИИ ПО КОНСТРУИРОВАНИЮ

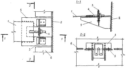
2.1. Элементами покрытия являются мембранная пролетная конструкция и наружный опорный контур (рис. 3). Пролетная конструкция, работающая на двухосное растяжение и совмещающая несущие и ограждающие функции, выполняется из тонколистовых металлических полотнищ. Наружный замкнутый опорный контур, к которому крепится мембрана, воспринимающий цепные усилия с пролетной конструкции, выполняется железобетонным или металлическим. Опорный контур устанавливается на нижележащие конструкции - колонны, стены [1].

Рис. 3. Схема мембранного покрытия
1 - мембрана; 2 - опорный контур; 3 - вуты; 4 - стойки

Пролетная конструкция

2.2. Мембранные оболочки выполняются из отдельных тонколистовых полотнищ, объединяемых на монтаже в сплошную пространственную систему. Поверхности металлических мембран должны быть защищены от атмосферной и контактной коррозии согласно требований СНиП 2.03.11-85 "Защита строительных конструкций от коррозии" и других нормативных документов.

2.3. Пролетная конструкция мембранных покрытий должна выполняться из полотнищ максимальной площади (с учетом условий изготовления, перевозки и монтажа), поставляемых на монтажную площадку в рулонах. Пролетная конструкция может быть первоначально плоской или с начальной стрелой провиса.

2.4. Первоначально плоские мембранные покрытия, собираемые на подмостях (п. 4.4). или, для вновь строящихся зданий, на спланированной площадке (п. 4.5), после раскружаливания или подъема провисают под действием собственного веса. Форма образующейся при этом поверхности и стрела провиса покрытия зависят от ряда факторов:

- избыточной площади поверхности мембраны, возникающей из-за сварочных деформаций, начальных погибей, оставшихся после правки листов или рулонов, остаточных деформаций, появляющихся в результате сворачивания и разворачивания рулона и т.п.;

- упругих деформаций мембраны;

- податливости опорного контура.

Стрела провиса первоначально плоского покрытия после раскружаливания может достигать относительно больших величин, что отражается на напряженно-деформированном состоянии конструкции и должно учитываться при расчете. Рекомендуется для этого случая начальную стрелу провиса в расчетах принимать не менее 1/60 пролета.

2.5. Покрытия с заданной стрелой провиса (п. 4.4) собираются на предварительно смонтированной ортогональной системе висячих вспомогательных элементов ("постель").

Геометрия элементов "постели" определяет начальную форму поверхности мембранной оболочки и должна соответствовать проектной, что рекомендуется достигать регулировкой длины элементов "постели".

В случае, если элементы "постели" обладают малой изгибной жесткостью, то их очертание получается расчетом с учетом податливости контура висячей системы, состоящей из монтажных элементов, на воздействие нагрузок, прикладываемых к покрытию до объединения отдельных полотнищ в сплошную оболочку (п. 5.22).

Начальную форму поверхности оболочки, не соответствующую распределению монтажных нагрузок, можно получить за счет изгибной жесткости элементов "постели", или используя предварительно напряженные вантовые фермы.

2.6. Рекомендуется начальную форму поверхности покрытия принимать по формуле

где а и в - половины сторон прямоугольного плана покрытия; f0 - начальная стрела провиса в центре покрытия; x и у - текущие координаты (рис. 4).

Рис. 4. Геометрия поверхности оболочки

Показатель степени n меняется от 2 до 4 и зависит от способа монтажа. При навесном методе монтажа значение n рекомендуется принимать равным 2. При монтаже на подмостях или уровне земли первоначально плоской мембраны показатель степени n следует принимать равным 4. Форма начальной геометрии поверхности покрытия (значение показателя степени п) мало отражается на результатах расчета, которые зависят, в основном, от величины начальной стрелы провиса.

2.7. Формообразование оболочки под нагрузкой, особенно в случае первоначально плоской системы, приводит к образованию в углах покрытия складок, направленных вдоль его диагоналей. Длина складок достигает 1/10 размера диагонали, а их высота зависит от степени первоначальной "рыхлости" системы и податливости опорного контура. Появление складок, хотя и приводит к некоторому местному перераспределению усилий в мембране, однако не снижает общей несущей способности системы. В то же время, наличие складок может привести к ухудшению эксплуатационных свойств покрытия, в частности, к нарушению гидроизоляционного ковра. В связи с этим рекомендуется большие складки в мембране удалять путем их разрезки и выправления, с последующей установкой накладок и обваркой их по контуру.

2.8. В пролетную конструкцию мембранных покрытий с заданной стрелой провиса (п. 2.5) включаются вспомогательные элементы висячей "постели", которые состоят из направляющих и поперечных элементов (рис. 5,а).

Рис. 5. Монтажный план покрытия
а - при монтаже покрытия навесным методом по "постели", б - при монтаже покрытия на подмостях или на земле
1 - мембрана; 2 - опорный контур; 3 - вуты; 4 - направляющие элементы "постели"; 5 - поперечные элементы "постели"; 6 - дополнительные диагональные элементы

При монтаже покрытия на подмостях или внизу на спланированной площадке элементы "постели" не требуются (рис. 5,б).

Направляющие располагаются вдоль мембранных полотнищ шагом равным их ширине. Если ширина полотнища более 6 м, направляющие рекомендуется устанавливать шагом равным половине ширины мембранного полотнища. Шаг направляющих необходимо увязывать с шагом основных колонн и размером сборных элементов опорного контура. Поперечные элементы ''постели'', объединяющие отдельные направляющие в пространственную систему, рекомендуется устанавливать с шагом 3¸6 м.

Направляющие и поперечные элементы рекомендуется выполнять металлическими из полосы шириной 300¸500 мм и длиной на пролет.

В отдельных случаях поперечные элементы выполняются из гнутых или прокатных профилей. При этом максимальный прогиб поперечного элемента от местной нагрузки от собственного веса полотнища мембраны не должен превышать 1/200 его пролета. Рекомендуется крепление их к направляющим конструировать таким образом, чтобы обеспечить работу поперечных элементов по неразрезной схеме (рис. 6).

Рис. 6. Узел сопряжения элементов ''постели''
1 - направляющий элемент "постели"; 2 - поперечный элемент "постели"; 3 - накладка; 4-монтажный болт

Рекомендуется в систему элементов ''постели'' включать дополнительные диагональные стержни, расположенные по периметру (рис. 5, а), образующие замкнутую сквозную раму для снижения изгибающих моментов в контуре на стадии монтажа (п. 5.22).

Конструкция узлов прикрепления направляющих к контуру должна обеспечивать возможность рихтовки геометрии "постели", определяющей начальную геометрию поверхности мембранного покрытия. Для этого на одном из концов направляющих рекомендуется устанавливать хвостовик, подтяжкой которого к упорам на контуре обеспечивается регулировка длины направляющих во время монтажа (рис. 7). Другой конец направляющих крепится к контуру жестко (рис. 8). Также жестко крепятся поперечные элементы "постели".

Рис. 7. Регулируемый узел крепления направляющих элементов "постели" к контуру
1 - направляющий элемент "постели"; 2 - контур; 3 - упор (снимается после приварки направляющего элемента к столику); 4 - хвостовик; 5 - опорный столик. 6 - опорный столик для крепления мембраны

Рис. 8. Узел жесткого крепления направляющих элементов "постели" к контуру
1 - направляющий элемент "постели"; 2 - контур; 3 - опорный столик; 4 - опорный столик для крепления мембраны

Площадь сечения направляющих рекомендуется включать в работу пролетной конструкции при расчетах на эксплуатационную нагрузку. Для этого необходимо обеспечить совместность работы мембраны и направляющих за счет надлежащего их соединения друг с другом и с опорным контуром. После окончательной выверки геометрии "постели" конец направляющего элемента, снабженный хвостовиком, должен быть также жестко закреплен к контуру (рис. 7).

2.9. Цепные усилия в мембране с податливым контуром (п. 5.14) распределяются неравномерно. Максимальные главные усилия, превышающие более чем в 2 раза усилия в центре оболочки, возникают на относительно небольших по площади участках, расположенных на диагоналях покрытия на расстоянии равном 1/6¸1/8 ее размера от углов. На участках примыкания мембраны к середине длины бортового элемента эти усилия с увеличением податливости контура резко падают, приближаясь к нулю. С целью снижения расхода металла и обеспечения равнопрочности мембраны при пролетах свыше 60 м допускается назначать ее толщину по усилиям в центральной части покрытия, осуществляя усиление мембраны в углах покрытия. Оно может выполняться либо увеличением толщины мембраны в указанных местах при изготовлении рулонируемых полотнищ, либо постановкой дополнительных листов, крепящихся по всей их площади к основному полотнищу соединениями, обеспечивающими их совместную работу. Зазор между основным полотнищем и листами усиления по их периметру должен быть изолирован для предотвращения щелевой коррозии. Толщина листов усиления не должна превышать толщину основного листа.

2.10. Мембранные полотнища рекомендуется соединять друг с другом и с опорным контуром внахлестку на сварке (непрерывным угловым швом, точечной сваркой проплавлением) [2, 3, 4, 5] или на высокопрочных болтах. При выполнении стыков односторонним сварным угловым швом обязательна конструктивная постановка точек проплавлением или высокопрочных болтов (рис. 9).

Рис. 9. Узлы сопряжения полотнищ мембраны
а - без "постели"; б - с "постелью", внахлестку полотнищ мембраны; в - с "постелью", внахлестку на направляющих элементах
1 - мембрана; 2 - направляющие элементы "постели", 3 - болты или сварные точки; 4 - сварка

При наличии монтажной "постели" соединение отдельных полотнищ рекомендуется осуществлять на направляющих с нахлесткой кромок полотнищ друг на друга. При этом рекомендуется направляющие элементы объединять с полотнищами мембраны (рис. 9,б),

Допускается второстепенные элементы подкрепления (поперечные элементы) с мембраной не соединять.

При выполнении соединений на высокопрочных болтах в местах стыков снизу покрытия рекомендуется устанавливать защитную сетку.

2.11. Конструктивное решение узла присоединения мембраны к бортовому элементу (п.п. 2.34¸2.36) должно обеспечивать надежную передачу значительных цепных (нормальных и касательных) усилий с пролетной конструкции на опорный контур. Присоединение мембраны к бортовому элементу контура рекомендуется выполнять сплошным с использованием опорного столика.

2.12. В связи с незначительной изгибной жесткостью мембранных покрытий необходимы мероприятия по их стабилизации, предотвращающие потерю общей устойчивости покрытий (их "выхлоп" в сторону противоположную провису); уменьшающие повышенную деформативность мембранных систем от неравномерных нагрузок, которая может привести к расстройству кровли и невозможности нормальной эксплуатации здания; обеспечивающие надежную работу покрытий на динамические воздействия, в частности ветровые.

2.13. Для мембранных покрытий на прямоугольном плане, характеризуемых относительно малыми стрелами провиса, рекомендуется стабилизацию покрытия осуществлять за счет его собственного веса (веса кровли, цементной или бетонной стяжки, подвески постоянного технологического оборудования). В отдельных случаях возможно применение и других способов стабилизации введением в работу конструкции изгибно-жестких элементов или вантовых ферм для предварительного напряжения покрытия за счет натяжения нижних поясов, решетки или оттяжек вантовых ферм.

Необходимые для стабилизации вес покрытия, изгибная жесткость ребер, величина предварительного напряжения определяются расчетом в зависимости от назначения стабилизации, а также пролета, начальной стрелы провиса, нагрузок. Выбор способа стабилизации рекомендуется производить на основе технико-экономических обоснований с учетом архитектурно-технологических требований и возможности упрощения изготовления и монтажа. Применяемые в настоящее время традиционные конструкции кровель совместно с мембраной в большинстве случаев обладают весом, необходимым для стабилизации покрытия.

2.14. В пролетной конструкции мембранных систем возможно устраивать проемы для установки зенитных фонарей, пропуска коммуникаций и т.п. Проемы рекомендуется размещать в местах удаленных от опорного контура. Проемы необходимо обрамлять листом, расположенным в плоскости мембраны и имеющим площадь поперечного сечения не менее половины площади ослабления мембраны (рис. 10).

Рис. 10. Узел усиления отверстий в мембране
1 - мембрана; 2 - лист усиления

При несимметричном расположении и больших размерах проемов в мембране в них рекомендуется постановка растяжек, воспринимающих совместно с листами окаймления цепных усилий в оболочке. Проемы рекомендуется проектировать круглыми, овальными или многоугольными с закруглениями углов радиусом не менее 200 мм.

Отверстия в мембране, имеющие размеры большие, чем расстояния между элементами подкрепления или размеры более 1/10 меньшего размера плана оболочки (например, проемы под центральные фонари), должны учитываться в расчете конструкции.

2.15. К мембранной оболочке возможна подвеска технологического оборудования в виде грузов - сосредоточенных, полосовых, распределенных на небольшой площади.

Крепление технологического оборудования к мембранному покрытию рекомендуется осуществлять на гибких подвесках. При наличии элементов "постели", подвески рекомендуется крепить к этим элементам (рис. 11, а). Возможно крепление подвесок выполнять непосредственно к мембране с использованием распределительных шайб (рис. 11,б), диаметр и толщина которых подбираются в зависимости от нагрузки на подвеску.

Рис. 11. Узлы крепления подвесок к мембране
а - к элементам "постели"; б - к мембране
1 - мембрана; 2 - поперечный элемент "постели"; 3 - распределительная шайба; 4 - подвеска

2.16. Стальные мембраны допускаются к эксплуатации без специальных мероприятий по огнезащите с пределом огнестойкости 0,75 ч, согласно рекомендации ВНИИПО МВД СССР. Данные получены на основе огневых испытаний модели [6]. Предел огнестойкости назначен, исходя из предельных прогибов мембраны при нагреве. Испытания показали, что обрушение мембранных покрытий при огневых воздействиях не превышающих 0,75 ч, не происходит, так как при нагреве параллельно со снижением предела текучести стали увеличивается стрела провиса и соответственно снижаются усилия в мембране.

Опорный контур

2.17. Замкнутый прямоугольный опорный контур воспринимает с мембраны цепные усилия (нормальные и касательные) и передает на нижележащие конструкции в основном вертикальные усилия. Ввиду пологости пролетной конструкции усилия в мембране, воспринимаемые контуром, достигают больших величин, поэтому важное значение имеет рациональное конструирование опорного контура, материалоемкость и трудоемкость изготовления которого занимают значительный удельный вес в общих показателях, влияющих на экономичность покрытия.

2.18. Опорный контур может лежать на сплошном основании, образованном стенами, или на отдельных колоннах, в том числе расположенных только по четырем углам покрытия (п.п. 2.37, 2.41) при пролетах до 36 м. В последнем случае опорный контур может быть подкреплен в вертикальной плоскости фермой или шпренгельной системой, верхним поясом которых служит бортовой элемент опорного контура (рис. 12).

Рис. 12. Схема усиления опорного контура в вертикальной плоскости
а - при помощи шпренгеля; б - при помощи фермы
1 - контур; 2 - стойка; 3 - шпренгель; 4 - ферма

Рекомендуется предусматривать начальный выгиб опорного контура в горизонтальной плоскости наружу, равный его расчетным горизонтальным перемещениям от постоянных нагрузок, для уменьшения влияния этих перемещений на нижележащие ограждающие стеновые конструкции.

2.19. В общем случае опорный контур воспринимает сжатие с изгибом в одной или двух плоскостях в зависимости от условий его опирания. Усилия сжатия возрастают от углов покрытия к центру бортового элемента за счет передачи с мембраны на контур касательных усилий. Кроме того, в опорном контуре могут возникать крутящие моменты, в случаях эксцентричного крепления мембраны к контуру или опирания покрытия только в углах.

2.20. Поперечное сечение опорного контура определяется расчетом покрытия с учетом податливости контура, которая характеризуется относительными параметрами  и :

                                                                                                      (2)

где (ЕJ)k, и (ЕА)k - изгибная (в горизонтальной плоскости) и продольная жесткости контура; Е и t -модуль упругости и толщина мембраны; a - характерный размер плана оболочки.

Уменьшение изгибной жесткости контура в его плоскости приводит к снижению в нем величин изгибающих моментов как в горизонтальной, так и в вертикальной плоскостях. Причем снижение изгибающих моментов в пролете опережает снижение этих же значений в углах контура.

2.21. Контур рекомендуется проверять расчетом на продольные усилия, изгибающие и крутящие моменты в двух сечениях по его длине: в середине стороны покрытия и в углах или местах окончания вутов, распорок (п.п. 2.32, 2.33). Поперечное сечение контура рекомендуется подбирать по усилиям в середине стороны покрытия, с усилением его в углах в соответствии с эпюрой усилий, за счет дополнительного армирования железобетонного контура или установкой накладок для металлического контура.

2.22. Для многопролетных покрытий зданий с укрупненной сеткой колонн рекомендуется контурные элементы смежных ячеек не объединять друг с другом в пролете, что позволяет использовать податливость опорного контура для снижения величин изгибающих моментов в вертикальной плоскости. При этом углы покрытий смежных ячеек можно объединять.

2.23. Высота сечения опорного контура принимается: при опирании на сплошное основание по конструктивным соображениям, а при опирании на отдельно стоящие опоры, в том числе расположенные только в углах покрытия (п. 2.18), расчетом. В последнем случае следует учитывать, что кручение контурного элемента вызывает в элементе, примыкающем к нему перпендикулярно, дополнительные изгибающие моменты в вертикальной плоскости.

Опорный контур, площадь поперечного сечения которого подбирается расчетом по усилиям в середине его длины (п. 2.21), где определяющими являются сжимающие усилия, возможно проектировать развитым как в вертикальном, так и в горизонтальном направлениях. Развитие сечения контура в горизонтальном направлении во многих случаях позволяет, при сохранении расхода материалов на контур, уменьшить напряжения в мембране, горизонтальные перемещения контура.

Развитие сечения контура в вертикальном направлении рекомендуется в случае его опирания по четырем углам или на редко расположенные колонны при отсутствии подкрепляющих ферм или шпренгелей.

Для мембранных покрытий вновь строящихся зданий, собираемых на уровне земли (п. 4.5), ширина сечения опорного контура назначается с учетом размеров отверстий для пропуска колонн. При этом сечение с вырезом должно быть равнопрочным основному сечению за счет дополнительного армирования (железобетонный контур) или накладок (металлический контур).

2.24. При значениях относительной изгибной жесткости опорного контура, больших, чем величины указанные в п. 5.14, мембранная пролетная конструкция, при -крепленная по всему периметру к замкнутому опорному контуру, обеспечивает его устойчивость в плоскости мембраны. Устойчивость в вертикальной плоскости контурного элемента, опертого на колонны, проверяется расчетом с учетом условий его опирания и нагружения.

2.25. Форма поперечного сечения опорного контура, выполненного из железобетона, может быть: прямоугольной-сплошной или пустотелой, двутавровой, круглой (трубобетон) (рис. 13, а¸д).

Рис. 13. Железобетонный опорный контур
а - сборный или монолитный элемент; б - сборно-монолитный элемент; в - сборный элемент; г - трубобетонный элемент; д - монолитный элемент в металлической опалубке

Для облегчения сборных железобетонных элементов опорного контура они могут иметь корытообразное сечение с последующим заполнением полости монолитным бетоном, с установкой продольной арматуры и замкнутых хомутов (рис. 13,б). Возможны решения, когда опорный контур бетонируется в металлической опалубке (рис. 13,д).

2.26. Железобетонные сборные и сборно-монолитные элементы опорного контура рекомендуется проектировать с учетом эффективных способов их изготовления и монтажа - из унифицированных элементов, монтируемых с применением укрупнительной сборки. Членение сборных элементов необходимо увязывать с шагом расположенных по периметру покрытия опор.

2.27. Сборные элементы опорного контура должны удовлетворять по несущей способности требованиям расчета и быть целесообразными по форме и размерам с точки зрения технологии их изготовления, перевозки и монтажа, в том числе с применением укрупнительной сборки монтажных элементов на строительной площадке. При проектировании сборных элементов опорного контура отклонение их номинальных размеров следует назначать согласно требованиям ГОСТ 13015-75.

Возможно применять крупноразмерные элементы опорного контура, изготавливаемые на строительной площадке, в большепролетных и других уникальных конструкциях, а также во всех случаях, когда это экономически целесообразно.

2.28. Стыки сборных элементов опорного контура должны быть рассчитаны и запроектированы так, чтобы они могли надежно передавать от одного элемента к другому усилия, возникающие в соединении при монтаже и в процессе эксплуатации, согласно требованиям п.1.6 главы СНиП 2.03.01-84.

2.29. Металлическую опалубку монолитного железобетонного опорного контура или корытообразные сборные железобетонные элементы рассчитывают на усилия от массы уложенного бетона и монтажных нагрузок, с учетом их последующей работы в качестве элемента составного сечения на эксплуатационные нагрузки. Поверхности, соприкасающиеся с монолитным бетоном, и выпуски арматуры должны обеспечивать совместную работу указанных элементов и монолитного бетона.

2.30. Возможно опорный контур выполнять из трубобетона [7, 8] в покрытиях, опертых по периметру на сплошные стены или имеющих дополнительные подкрепляющие элементы в вертикальной плоскости. Стальную трубу рекомендуется заполнять в проектном положении с помощью бетононасоса бетоном марки не ниже В20, с обязательным контролем полноты наполнения бетоном всего сечения. В случае необходимости трубобетонный опорный контур можно дополнительно армировать.

Стыки труб рекомендуется выполнять на сварке стыковым швом с использованием подкладных колец, обеспечивая равнопрочность соединения основному сечению.

2.31. При сохранении существующих стен или колонн реконструируемого здания для уменьшения нагрузки на них от собственного веса опорного контура, его рекомендуется выполнять металлическим (рис. 14, а¸в). Металлический опорный контур мембранных покрытий малых и средних пролетов выполняется в виде балок из прокатных или сварных профилей. Для покрытий больших пролетов металлический опорный контур рекомендуется выполнять коробчатого сечения из листов, усиленных поперечными и продольными ребрами и диафрагмами, обеспечивающими местную устойчивость стенок, неизменяемость поперечного сечения и передачу усилий с мембраны на все сечение опорного контура (рис. 14, в).

Рис. 14. Металлический опорный контур
а, б - прокатный или сварное элемент; в - коробчатый сварной элемент

При больших размерах покрытия и существенной разнице в величинах усилий вдоль опорного контура металлические коробчатые элементы заводского изготовления рекомендуется принимать с двумя типами поперечногоe сечения (приопорным и пролетным), отличающимися толщиной листов стенки при сохранении габаритных размеров.

Монтажный стык металлических элементов опорного контура рекомендуется выполнять на высокопрочных болтах (фланцевым или на накладках) или сварным. В последнем случае на одном из торцов отправочной марки должен быть фрезерованный фланец, а на другом -фрезерованные кромки, разделанные под сварку (рис. 15).

Рис. 15. Сварной монтажный стык металлических элементов опорного контура
1 - фрезерованный торец с приваренным фланцем; 2 - торец с кромками разделенными под сварку

2.32. Сопряжение бортовых элементов в углах рекомендуется выполнять с применением вутов. Размер вута в плане следует принимать не менее 1/10 длины опорного контура, располагая вут симметрично относительно нейтральной оси контурного элемента. Очертание вута в плане можно принимать в виде прямой, ломаной линии или кривой, плавно сопряженной со сторонами опорного контура.

2.33. При сборном железобетонном опорном контуре углы с вутами рекомендуется выполнять из доборных сборных элементов (рис. 16) или из монолитного железобетона. Высота вута принимается не менее трети высоты опорного контура. Для обеспечения передачи контактных усилий между монолитным участком и сборными элементами, надлежит предусматривать установку шпонок, упоров, выпусков арматуры, закладных деталей и т.п.

Рис. 16. Угловые вуты опорного контура из сборных железобетонных элементов
1 - мембрана; 2 - контур; 3 - вут

При металлическом, сборном железобетонном или трубобетонном опорном контуре вуты могут быть заменены распорками (рис. 17).

Рис. 17. Угловые распорки опорного контура из трубобетона
1 - мембрана; 2 - контур; 3 - распорка

2.34. Для присоединения мембраны к бортовому элементу контура рекомендуется установка опорного столика, крепящегося на сварке к закладным деталям или стальной опалубке железобетонного контура, или к стальному опорному контуру (рис. 18, а, б). При проектировании необходимо обратить особое внимание на анкеровку закладных деталей и усиление стенки стального короба в местах установки столика.

Рис. 18. Узел примыкания мембраны к опорному контуру
а - внахлестку, на опорном столике; б - через листовую подкладку
1 - мембрана; 2 - опорный контур; 3 - опорный столик; 4 - подкладка

Анкера закладных деталей железобетонного опорного контура рекомендуется выполнять из арматуры класса А-II или А-III диаметром не менее 16 мм. Шаг установки анкеров назначается из условия их равнопрочности основному сечению мембраны, но не более 250 мм. Анкера рекомендуется доводить до противоположной от закладной детали грани опорного контура (рис. 19).

Рис. 19. Узел сопряжения опорного столика с железобетонным опорным контуром
1 - контур; 2 – опорный столик; 3 - анкер

2.35. Рекомендуется плоскость опорного столика выполнять с постоянным наклоном, соответствующим среднему значению наклона касательной к поверхности мембранной оболочки в месте примыкания к контуру под максимальной нагрузкой.

2.36. Опорный столик необходимо подкреплять вертикальными ребрами не реже чем через 300 мм. Толщину листа опорного столика рекомендуется назначать не менее 1,3 толщины мембраны. Ширина столика принимается не менее 300¸400 мм. Можно выполнять присоединение мембраны к опорному столику через листовую накладку. В этом случае ширина опорного столика назначается не менее 150 мм (рис. 18, б).

Опорные конструкции

2.37. Опорные конструкции воспринимают вертикальные усилия от поперечной нагрузки на покрытие и горизонтальные усилия, обусловленные соответствующими перемещениями опорного контура. Кроме того, опорные конструкции воспринимают горизонтальные нагрузки от ветрового воздействия на стеновое ограждение, а также сейсмические воздействия при их наличии.

Вертикальные нагрузки, передаваемые на опорные конструкции и являющиеся вертикальными составляющими цепных усилий в мембране, распределяются вдоль периметра неравномерно (п. 5.15).

2.38. Мембранные покрытия реконструируемых объектов рекомендуется опирать на существующие конструкции стен или колонн, обладающие достаточной несущей способностью, или после их усиления. Несущая способность существующих конструкций должна быть удостоверена соответствующими обследованиями и расчетом. При невозможности использования существующих конструкций покрытие опирают на вновь возводимые опорные конструкции, при этом рекомендуется использовать существующие стены в качестве ограждающих конструкций.

2.39. При опирании покрытия на существующие стены их необходимо нарастить на высоту, назначаемую с учетом стрелы провиса мембранного покрытия. Фонари и другие возвышающиеся над существующим покрытием надстройки должны быть демонтированы перед раскружаливанием мембраны. Опорный контур рекомендуется устанавливать на стену через монолитный железобетонный распределительный пояс (рис. 20).

Рис. 20. Опирание контура на существующие стены
1 - контур; 2 - стена; 3 - железобетонная обвязка; 4 - фторопластовая прокладка

Возведение покрытия на проектной отметке может быть осуществлено с использованием коротких стальных или железобетонных колонн, устанавливаемых на существующие стены через распределительный пояс или плиты (рис. 21).

Рис. 21. Опирание контура на существующие стены через короткие колонны
1 - контур; 2 - колонны; 3 - распределительная плита; 4 - стена

2.40. При проектировании опорных конструкций необходимо предусматривать мероприятия по уменьшению воздействия на них горизонтальных перемещений податливого контура.

При опирании опорного контура непосредственно на распределительный пояс рекомендуется установка между ними прокладок из фторопласта или стальных пластин с графитовой смазкой (см. рис. 20).

Колонны, расположенные в центральной части сторон покрытия, рекомендуется проектировать максимально гибкими и при l ³ 100 жестко соединять их с опорным контуром и фундаментом. При гибкости колонн l < 100 рекомендуется шарнирное соединение их с фундаментами или защемление внизу и скользящая опора в месте сопряжения с контуром (рис. 22). В коротких колоннах (п. 2.39) рекомендуется устройство шарнирных соединений их с распределительным поясом или плитами и опорным контуром.

Рис. 22. Узел скользящего опирания контура на колонны
1 - контур; 2 - колонна; 3 - фторопластовая прокладка; 4 - стальная пластинка

2.41. При проектировании необходимо предусматривать мероприятия по обеспечению общей устойчивости сооружения в период его монтажа и эксплуатации. Для этого рекомендуется установка вертикальных связей между колоннами в середине каждой из сторон здания.

Расчетная длина колонн принимается с учетом их проектных закреплений в фундаменте и опорном контуре. При этом следует иметь ввиду, что мембранная оболочка обеспечивает в уровне покрытия жесткий диск. В расчетной схеме закрепление колонн в опорном контуре из плоскости стен следует принимать шарнирно-неподвижным, так как жесткость контура на кручение обычно мала. Закрепление колонн в опорном контуре в плоскости стен следует принимать с учетом соотношения соответствующих изгибных жесткостей колонн и контура, также неподвижным. В случае использования скользящей опоры (см. рис. 22) колонна должна рассматриваться как консоль, защемленная в фундаменте.

3. МАТЕРИАЛЫ, ТРЕБОВАНИЯ ПО ИЗГОТОВЛЕНИЮ

3.1. Для изготовления пролетной конструкции мембранных покрытий применяются стали углеродистые, низколегированные, в особых случаях нержавеющие стаяли, выпускаемые в виде листов или рулонов, обычно толщиной до 6 мм при пролетах до 100 м.

Выбор материала определяется конкретными условиями эксплуатации мембранных покрытий, технологии их изготовления и монтажа, экономической целесообразностью.

При этом рекомендуется:

- сталь марки ВСт3пс, поставляемая в листах и рулонах толщиной до 6 мм по ГОСТ 380-71, ГОСТ 16523-74*, а также по ТУ 14-1-3579-83;

- низколегированная сталь марки 09Г2С и атмосферостойкая сталь марки 10ХНДП, поставляемые в листах и рулонах толщиной до 4 мм по ГОСТ 17066-80 и в листах толщиной свыше 4 мм по ГОСТ 19282-73;

- низколегированная сталь марки 16Г2АФ, поставляемая в рулонах толщиной свыше 5 мм по ТУ 14-1-1762-76.

3.2. В зданиях с агрессивной средой допускается применять нержавеющие стали: марки 08Х18Т1 толщиной до 2 мм и марки 12Х18Н10Т толщиной до 4 мм, поставляемые в листах и рулонах по ГОСТ 5582-75.

3.3. Расчетные сопротивления листовой стали толщиной 4 мм и выше принимаются согласно СНиП II-23-81 табл. 51. При толщинах менее 4 мм расчетные сопротивления стали рекомендуется назначать по той же таблице как для листовой стали толщиной 4 мм.

3.4. Для пролетной конструкции мембранных покрытий используются полотнища, сворачиваемые в рулоны. Длина полотнища принимается равной всему пролету, ширина полотнища - не более 12 м, ограничивается габаритом и весом рулона, производственными возможностями завода-изготовителя.

3.5. Рулонные полотнища толщиной от 3 мм и выше изготавливаются в заводских условиях из отдельных листов размером 1,5´6 м, свариваемых друге другом встык на специальных высокомеханизированных установках. Стыковые сварные швы должны обладать той же прочностью, что и основной металл. Изготовление полотнищ толщиной менее 3 мм следует предусматривать из рулонных лент, поставляемых металлургической промышленностью и соединяемых друг с другом на сварке.

3.6. При изготовлении рулонных заготовок-полотнищ следует соблюдать требования СНиП III-18-75 "Правила производства и приемки работ. Металлические конструкции", а также дополнительные технические требования:

а) допускаемые отклонения от проектных линейных размеров полотнища по ширине ±10 мм, по стрелке саблевидности (отклонение продольной оси) ±l/3000, где l - длина полотнища;

б) высота выпучин (хлопунов) на поверхности полотнища не должна превышать 0,006h, где h - расстояние между противоположными краями выпучин, которое не должно превышать 1500 мм;

в) сварку заводских стыков следует предусматривать автоматической двухсторонней с контролем проникающими излучениями мест пересечения швов и участков швов с признаками дефектов;

г) при выполнении монтажных соединений отдельных полотнищ на высокопрочных болтах стыковые швы у кромок рулона зачищаются заподлицо с листом, а сами кромки обрабатываются согласно требованиям СНиП III-18-75 к свободным кромкам растянутых элементов.

3.7. Опорный контур мембранных покрытий рекомендуется проектировать из железобетона - сборного или сборно-монолитного. Возможно применение трубобетона и монолитного железобетона. Рекомендуется применение бетона высоких марок (не ниже В20) и продольной арматуры класса А-III и выше. Расчетные сопротивления и другие характеристики бетона и арматуры следует принимать по главе СНиП 2.03.01-84.

При соответствующем обосновании, в качестве материала опорного контура возможно применение металла.

3.8. Конструкция кровли в мембранных покрытиях в большинстве случаев принимается традиционной. Непосредственно по мембране, защищенной лакокрасочными покрытиями от коррозии, укладывается утеплитель и гидроизоляционный ковер. Для теплоизоляции покрытий рекомендуется применять несгораемые или трудносгораемые эффективные теплоизоляционные материалы с плотностью до 200 кг/м (перлитопластобетон, минераловатные плиты повышенной жесткости и т.п.). Перспективным является устройство кровли из пенополиуретана.

3.9. Противокоррозионная защита назначается в соответствии с требованиями СНиП 2.03.11-85 в зависимости от степени агрессивности наружной и внутренней среды и контакта с кровельными материалами. Особое внимание следует обращать на антикоррозионную защиту поверхности мембран, на которую укладывается кровля, и нахлесточных соединений мембранных полотнищ.

4. ОСНОВНЫЕ ПОЛОЖЕНИЯ ПО МОНТАЖУ

4.1. Монтаж мембранных систем осуществляется в соответствии с главами СНиП "Правила производства и приемки работ": III-18-75 "Металлические конструкции" III-15-76 "Бетонные и железобетонные конструкции монолитные", III-16-80 "Бетонные и железобетонные конструкции сборные" и с учетом настоящих Рекомендаций.

4.2. Способы монтажа определяются на основании технико-экономического анализа вариантов с учетом требований снижения трудоемкости и стоимости возведения покрытия, сокращения сроков строительства, снижения расхода материалов на временные конструкции и монтажные приспособления, максимально возможного укрупнения на земле монтажных элементов для сокращения трудоемких верхолазных работ, улучшения условий работы монтажников и повышения качества монтажа, а также с учетом средств и способов транспортирования, монтажного оборудования, климатических условий и т.п.

4.3. Способ монтажа должен быть решен на стадии проектирования с тем, чтобы в техническом проекте конструкций были учтены монтажные требования.

Работы по монтажу могут производиться только на основании утвержденного проекта производства монтажных работ с обязательным разделом по технике безопасности.

4.4. Монтаж мембранных покрытий реконструируемых объектов производится на проектной отметке после выполнения опорных конструкций, по которым монтируется контур, а затем пролетная часть конструкции.

Пролетную конструкцию рекомендуется монтировать раскаткой полотнищ мембраны длиною на пролет по ленточным подмостям, устанавливаемым на существующее покрытие, или навесным способом по системе предварительно смонтированных монтажных элементов ("постель"), без загрузки существующих конструкций покрытий.

После крепления мембраны к контуру производится раскружаливание подмостей, при их наличии, и разборка конструкций старого покрытия. Основные преимущества указанного метода производства работ - отсутствие или сокращение до минимума остановок производственного процесса.

Возможно сборку мембранных покрытий осуществлять на земле на свободной площадке, с последующим подъемом и надвижкой в проектное положение.

4.5. Монтаж мембранных покрытий вновь строящихся зданий рекомендуется осуществлять на проектной отметке навесным способом по системе элементов "постели" или на уровне земли на спланированной площадке с последующим подъемом на проектную отметку с помощью подъемников, домкратов, подъемных мачт и т.п.

4.6. Перед монтажом пролетной конструкции производится геодезическая съемка опорного контура с проверкой соответствия фактических и проектных размеров и отметок, а также правильности установки закладных деталей для крепления направляющих "постели" и мембраны.

4.7. Временные ленточные подмости рекомендуется устанавливать вдоль направления раскатки мембранных полотнищ шагом около 6 м. Шаг поперечных балок принимается не более 3 м. Монтажную поверхность подмостей рекомендуется выполнять горизонтальной. Расположение стоек временных подмостей следует увязывать с расположением существующих конструкций - колонн, ферм, балок. Стойки проектируются с учетом последующего раскружаливания временных подмостей телескопическими или раздвижными. При использовании временных подмостей монтаж мембранного покрытия следует производить в летний период времени с обязательной проверкой несущей способности существующих конструкций покрытий на монтажные нагрузки.

4.8. Монтаж "постели" рекомендуется выполнять блоками, включающими как минимум одну пару направляющих длиною на перекрываемый пролет и, расположенные между ними, поперечные элементы. Блок с направляющими из гибких элементов рекомендуется собирать на ровной спланированной площадке на уровне земли с последующим подъемом на проектную отметку полиспастами, лебедками, траверсами или траверсами-распорками.

После установки блоков проемы между ними заполняются поперечными элементами, которые рекомендуется поднимать вместе с блоками.

Монтаж "постели", определяющей начальную форму поверхности мембранной оболочки, завершается выверкой ее геометрии и окончательным креплением к контуру. Регулировку поверхности монтажной сетки рекомендуется производить за счет подтяжки к упорам на контуре хвостовиков, которыми заканчиваются направляющие.

В отдельных случаях монтаж "постели" возможно выполнять поэлементно.

4.8. Раскатку свернутых в рулон на специальный барабан, полотнищ мембраны по смонтированной и выверенной монтажной "постели" или подмостям производят с помощью лебедок. Станок с барабаном устанавливается на опорном контуре или земле за пределами сооружения. В последнем случае на опорный контур рекомендуется устанавливать приспособление в виде вращающейся катушки для плавного перегиба полотнища мембраны при его вытягивании на покрытие. Для того, чтобы в листе не возникали пластические деформации, диаметр барабана и катушки следует назначать в зависимости от толщины мембраны по формуле

где Е и t модуль упругости и толщина мембраны, sT - предел текучести материала мембраны.

4.10. После укладки полотнища в проектное положение, одна из его коротких сторон должна крепиться к контуру постоянными соединениями. Продольные кромки полотнища мембраны, в случае монтажа покрытия по "постели", следует временно крепить к направляющим с помощью кляммер, устанавливаемых шагом не менее 6 м, для предотвращения выхлопа или срыва полотнища под действием ветровой нагрузки. Перед тем как закрепить к контуру второй конец полотнища мембраны, рекомендуется его предварительно натянуть, на усилия, вызывающие в листе напряжения порядка 15-25 МПа (150-250 кг/см2), для выправления листа от появившихся во время укладки полотнищ хлопунов и обеспечения совместной работы мембраны с элементами "постели". Предварительное натяжение полотнищ мембраны можно выполнять с помощью горизонтально расположенных домкратов или форкопфов.

4.11. При монтаже пролетной части покрытия без использования подмостей следует учитывать, что в контуре, еще не связанном сплошной мембраной, могут во время монтажа возникать значительные изгибающие моменты, превышающие соответствующие величины от эксплуатационных нагрузок (п. 5.22).

4.12. Способ сборки мембранных, оболочек на уровне земли рекомендуется для монтажа покрытий реконструируемых зданий с размерами в плане менее 24´24 м, когда условия строительной площадки позволяют производить сборку покрытия рядом со зданием, с последующим подъемом его краном в проектное положение. Сборка покрытий вновь строящихся зданий на уровне земли осуществляется в пределах габаритов здания. Пролетную конструкцию рекомендуется собирать из отдельных полотнищ на спланированной площадке или специальных стендах.

С целью облегчения веса поднимаемого покрытия рекомендуется монолитный железобетонный опорный контур выполнять с жесткой арматурой, рассчитанной на все монтажные нагрузки, с последующим обетонированием контура на проектной отметке. С этой же целью может быть использован дополнительный опорный контур, воспринимающий монтажные нагрузки, с последующим включением его в работу ранее смонтированного основного каркаса (колонн и контура), или металлический контур,

4.13. Соединения на монтаже отдельных полотнищ друг с другом и к опорному контуру выполняются согласно п. 2.10. При монтаже мембранного покрытия по предварительно навешенным элементам "постели", соединения полотнищ друг с другом рекомендуется выполнять после укладки и временного закрепления всех полотнищ в проектном положении.

4.14. При сварке полотнищ мембраны рекомендуется применять автоматическую сварку с минимальным количеством сварных швов, выполняемых на монтаже. Применяемые при сварке материалы должны отвечать требованиям СНиП III-18-75 и соответствующих стандартов.

4.15. При соединении полотнищ на высокопрочных болтах отверстия под болты рекомендуется сверлить по месту с использованием специальных приспособлений и устройств. Перед постановкой болтов поверхности мембраны и направляющих элементов нахлесточного соединения необходимо очищать от грязи и оставшейся после сверления между листами стружки.

5. РЕКОМЕНДАЦИИ ПО РАСЧЕТУ

Основные положения

5.1. Расчет мембранных конструкций производят согласно глав СНиП II-23-81* "Стальные конструкции", СНиП 2.03.01-84 "Бетонные и железобетонные конструкции" и настоящих Рекомендаций для двух предельных состояний:

а) по несущей способности или по прочности и устойчивости;

б) по эксплуатационной пригодности, имея в виду предельные перемещения, нежелательные местные повреждения, колебания и т.п.

5.2. Расчет мембранных конструкций следует производить, как правило, для всех воздействий на конструкцию или ее элементы в процессе возведения и эксплуатации, причем расчетные схемы и нагрузки должны отвечать принятым конструктивным решениям и воздействиям для каждой стадии.

5.3. При расчете мембранных конструкций за основные искомые величины принимаются нормальные sx, sy и касательные t напряжения и перемещения пролетной конструкции, изгибающие Мх, Мy и крутящие Мkp моменты, продольные усилия Nk, поперечные силы Qk и перемещения uk опорного контура от силовых и температурных воздействий, определяемые методами теории упругости на основе уравнений равновесия и совместности деформаций, геометрических и физических уравнений с учетом граничных условий.

5.4. В основу расчета мембранных конструкций может быть положена теория безмоментных пластинок или оболочек с учетом геометрической и физической нелинейности, так как их напряженное состояние определяется в основном цепными напряжениями, ввиду весьма малой жесткости мембраны на изгиб. Однако в месте примыкания мембраны к контуру возможно возникновение быстро затухающего моментного напряженного состояния.

5.5. Выбор метода расчета определяется стадией проектирования. Для обоснования технических решений и вариантов конструкций, а также на первой стадии рабочего проектирования рекомендуется использовать, приведенную в п.п. 5.10¸5.22 приближенную методику, формулы и графики для предварительного определения усилий и перемещений в основных элементах конструкции покрытия.

5.6. Усилия и перемещения на стадии рабочего проектирования следует определять с использованием численных методов расчета на ЭВМ, позволяющими учесть различные виды загружения покрытия, включая температурные воздействия, конструктивные особенности оболочек (геометрию поверхности, начальную стрелу провиса, переменную толщину мембраны, наличие элементов подкрепления, проемов, вутов в углах покрытия, местное изменение жесткости контура за счет образования трещин в сечении железобетонного опорного контура и т.п.). Расчет мембранных конструкций следует выполнять как единой пространственной системы с учетом продольной, изгибной и крутильной жесткостей опорного контура, связи контура с поддерживающими опорными конструкциями, эксцентриситетов между линией крепления мембраны к опорному контуру и его нейтральной осью как по вертикали, так и по горизонтали. Выбор метода рабочего расчета с использованием ЭВМ следует проводить с учетом п.п. 5.23¸5.33 настоящих Рекомендаций.

5.7. Расчет мембранных покрытий с применением ЭВМ рекомендуется выполнять с учетом не упругих деформаций железобетонного или стального опорного контура. Расчет пролетной конструкции следует выполнять в пределах упругой работы материала мембраны. Учет неупругих деформаций мембраны возможен при условии обеспечения ее надежной долговременной антикоррозионной защиты, исключения хлопунов на поверхности мембраны и, соответственно, неравномерного ее включения в работу, а также при условии работы конструкции на нормативные нагрузки в упругой стадии. В этих случаях расчет системы необходимо выполнять с учетом физической нелинейности.

5.8. Расчет на прочность пролетной части мембранного покрытия, находящегося в двухосном напряженном состоянии, следует выполнять по формуле

                                                                                                      (3)

или

s1 £ Rygc,

где s1 и s2 - главные нормальные напряжения в мембране, Ry - расчетное сопротивление материала мембраны, gc - коэффициент условий работы.

5.8. Расчет мембранных конструкций на динамические и циклические воздействия следует проводить в соответствии с указаниями главы 9 СНиП II-23-81* и соответствующих руководств.

Приближенная методика расчета

Расчет мембранных покрытий без учета податливости контура

5.10. Приведенные ниже формулы рекомендуются для первоначальной оценки напряженно-деформированного состояния покрытия, в частности для назначения толщины мембраны, а также предварительных расчетов средних ячеек многопролетных мембранных покрытий, в случае объединенного контурного элемента для смежных ячеек.

5.11. Для первоначально плоских квадратных мембран со стороной равной 2а, нагруженных равномерно распределенной нагрузкой q при несмещаемых кромках, перемещения и усилия рекомендуется определять по следующим формулам [9].

Прогиб в центре мембраны

                                                                                                                 (4)

где Е и t - модуль упругости и толщина мембраны. Напряжения в центре мембраны

                                                                                                     (5)

Максимальное нормальное напряжение в мембране (в месте примыкания к середине опорного контура)

                                                                                                              (6)

Распределение напряжений sx и sy в мембране по осям симметрии и в месте примыкания к контуру, а также главных напряжений s1 и s2 по диагоналям мембраны приведены на рис. 23.

Рис. 23. Эпюры распределения нормальных напряжений sx по осям симметрии х, у и вдоль опорного контура и главных напряжений s1, s2 по диагоналям мембраны с недеформируемым контуром

Изгибающие моменты в горизонтальной плоскости контура:

в пролете

                                                                                                      (7)

на опоре

                                                                                                     

Усилия сжатия в контуре

                                                                                                            (8)

При опирании мембранного покрытия на колонны только в углах, изгибающие моменты в вертикальной плоскости контура определяются по следующим формулам:

а) в случае защемления контура в углах в вертикальной плоскости (многопролетные здания) изгибающие моменты в пролете и на опоре равны:

                                                                                      (9)

б) в случае отдельно стоящих зданий изгибающие моменты в контуре равны:

                                                                                                 (10)

5.12. Для первоначально плоских прямоугольных мембран со сторонами, равными 2а и 2в, нагруженных равномерно распределенной нагрузкой q, при несмещаемых кромках перемещения и усилия рекомендуется определять по следующим формулам [18].

Прогиб в центре мембраны

                                                                                                                        (11)

Напряжения в мембране

                                                                                                               (12)

где h, bx,i, by,i числовые коэффициенты, приведенные в табл. 1, в зависимости от соотношения сторон мембраны. Расположение точек на мембране, для которых определяются усилия, приведено на рис. 24.

Рис. 24. План расположения характерных точек для определения усилий в прямоугольном покрытии

Таблица 1

а/в

h

x = 0, у = 0

x = 0, у - ± в

x = ±а, у = 0

bkk

bkд

bx,1

by,1

bx,2

by,2

bx,3

by,3

1,00

0,724

0,432

0,432

0,151

0,503

0,503

0,151

0,32

0,32

1,25

0,808

0,387

0,508

0,168

0,558

0,489

0,150

0,445

0,317

1,50

0,846

0,337

0,548

0,187

0,624

0,490

0,147

0,595

0,312

1,75

0,860

0,289

0,566

0,180

0,632

0,482

0,145

0,704

0,307

2,00

0,866

0,274

0,575

0,187

0,624

0,475

0,143

0,794

0,302

2,25

0,867

0,256

0,579

0,173

0,577

0,471

0,141

0,825

0,300

2,50

0,868

0,245

0,581

0,172

0,573

0,468

0,141

0,911

0,298

2,75

0,869

0,237

0,582

0,171

0,570

0,465

0,140

0,997

0,296

3,00

0,868

0,232

0,581

0,170

0,568

0,463

0,139

1,084

0,295

3,25

0,870

0,228

0,581

0,170

0,567

0,461

0,138

1,172

0,293

3,50

0,870

0,224

0,581

0,170

0,566

0,460

0,138

1,260

0,293

3,75

0,870

0,221

0,580

0,170

0,565

0,459

0,138

1,348

0,292

4,00

0,871

0,219

0,579

0,169

0,564

0,458

0,137

1,435

0,291

4,25

0,871

0,216

0,578

0,169

0,564

0,458

0,137

1,525

0,291

4,50

0,871

0,214

0,578

0,169

0,563

0,458

0,137

1,612

0,291

4,75

0,871

0,212

0,577

0,168

0,563

0,458

0,137

1,701

0,291

5,00

0,871

0,210

0,576

0,168

0,562

0,458

0,137

1,787

0,291

Усилия сжатия в контуре:

а) длинные стороны

                                                                                                             (13)

б) короткие стороны

                                                                                                             (14)

5.13. Для квадратных мембран с начальной стрелой провиса, не превышающей 1/10а, нагруженных равномерно распределенной нагрузкой q, при несмещаемых кромках перемещения и усилия рекомендуется определять по следующим формулам:

прогиб в центре мембраны

                                                                                                                      (15)

напряжения в центре мембраны

                                                                                                          (16)

Максимальное напряжение в мембране (в месте примыкания к середине опорного контура)

                                                                                                                  (17)

Распределение напряжений в мембране аналогично эпюрам, приведенным на рис. 23.

Изгибающие моменты в горизонтальной плоскости опорного контура:

в пролете

                                                                                                           (18)

на опоре

                                                                                                          

Усилия сжатия в контуре:

в пролете

                                                                                                             (19)

на опоре

                                                                                                            

Числовые коэффициенты a1, g1, g2, b1-b4 рекомендуется определять по графикам на рис. 25 в зависимости от безразмерного параметра - относительной начальной стрелы провиса

                                                                                                         (19а)

Изгибающие моменты в вертикальной плоскости опорного контура можно определять по формулам (9), (10),так как начальная стрела провиса не влияет на их величину.

Рис. 25. Значения коэффициентов a, b, g для определения напряженно-деформированного состояния квадратной мембраны с начальной стрелой провиса при недеформируемом опорном контуре

Расчет мембранных покрытий с учетом податливости контура

5.14. Приведенные ниже формулы рекомендуются для предварительного расчета мембранных покрытий с учетом изгибной в плоскости мембраны (ЕJ)к и продольной (ЕА)к жесткостей опорного контура, опертых как по углам, так и по всему периметру.

Относительные продольная  и изгибная в горизонтальной плоскости  жесткости опорного контура определяются по формулам (2).

Относительные жесткости опорного контура рекомендуется принимать не менее: для железобетонного контура для стального контура  При наличии вутов (распорок) в углах контура в формулах (2) вместо а (половины пролета покрытия) следует подставлять величину а1 = а - ав, где ав - длина вута.

5.15. Напряжения перемещения и усилия в элементах мембранного покрытия на квадратном плане с учетом податливости опорного контура и значении относительного параметра

следует определять по следующим формулам.

Прогиб в центре мембраны

                                                                                                                      (20)

Напряжения в центре мембраны (точка 1, рис. 26)

                                                                                                           (21)

Максимальные нормальные напряжения в мембране (точка 3, рис. 26).

                                                                                                                (22)

Рис. 26. План расположения характерных точек для определения усилий в покрытии с податливым опорным контуром

В случае выполнения мембраны переменной толщины (п. 2.9), следует напряжения в углах пролетной конструкции определять по формуле (22), а толщину основного полотнища проверять по формуле

                                                                                                                   (23)

При выполнении мембраны переменной толщины в формулу (2) для определения относительных жесткостей опорного контура, подставляется толщина основного полотнища.

Напряжения в мембране в месте примыкания к середине контура (точка 2, рис. 26)

                                                                                                                   (24)

                                                                                                                   (25)

Максимальные касательные напряжения в мембране (точка 4, рис. 26).

                                                                                                                (26)

Максимальные изгибающие моменты в опорном контуре в горизонтальной плоскости:

в середине стороны

                                                                                                       (27)

в углах

                                                                                                          

Расстояние от углов контура до места перемены знака эпюры изгибающих моментов

a0 = a2а .                                                                                                                              (28)

Усилия сжатия в опорном контуре:

в середине стороны

                                                                                                         (29а)

 

в углах

                                                                                                         (29б)

Поперечная сила в углу опорного контура определяется по формуле (29 б).

Максимальное перемещение середины опорного контура в горизонтальной плоскости:

                                                                                                                   (30)

Изгибающие моменты в вертикальной плоскости контурного элемента, опертого только в углах, следует принимать по следующим формулам.

Для отдельно стоящих покрытий:

в середине стороны

                                                                                                                       (31)

в углах

М2у = 0                                                                                                                                      

Для средних ячеек многопролетных зданий, с объединенными только в углах смежными контурными элементами:

в середине стороны

                                                                                                                   (32)

в углах

                                                                                                                    

Числовые коэффициенты a1-a3, g1-g6, b1-b6 можно определять по графикам на рис. 27¸40 в зависимости от величин относительных жесткостей и (2).

Эпюры распределения главных напряжений s1 и s2 по диагоналям мембраны, напряжений sх по осям симметрии и по линии примыкания мембраны к контуру приведены на рис. 41. Эпюры изгибающих моментов и усилий сжатия в контуре приведены на рис. 42,а. Напряжения и усилия даны для значений относительных жесткостей контура  и

Рис. 27. Значения коэффициента a1 для определения прогиба в центре мембраны

Рис. 28. Значения коэффициента g1 для определения напряжений в центре мембраны

Рис. 29. Значения коэффициента g2 для определения нормальных напряжений в мембране в т. 5

Рис. 30. Значения коэффициента g3 для определения напряжений в мембране sх в т. 2

Рис. 31. Значения коэффициента g4 для определения напряжений в мембране sу в т.2

Рис. 32. Значения коэффициента g5 для определения максимальных нормальных напряжении в мембране

Рис. 33. Значения коэффициента g6 для определения максимальных касательных напряжений в мембране

Рис. 34. Значения коэффициента b1 для определения изгибающих моментов в середине пролета опорного контура (в горизонтальной плоскости)

Рис. 35. Значения коэффициента b2 для определения изгибающих моментов в углу опорного контура (в горизонтальной плоскости)

Рис. 38. Значения коэффициента b3 для определения продольного усилия в середине пролета опорного контура

Рис. 37. Значения коэффициента b4 для определения продольного усилия в углу опорного контура

Рис. 38. Значения коэффициента a2 для определения расстояния от угла опорного контура до места перемены знака эпюры изгибающих моментов

Рис. 39. Значения коэффициентов b5 и b6 для определения изгибающих моментов в вертикальной плоскости опорного контура

Рис. 40. Значения коэффициента a3 для определения максимальных перемещений середины опорного контура в горизонтальной плоскости

Рис. 41. Эпюры напряжений в мембранном покрытии без вутов с податливым опорным контуром

Рис. 42. Эпюры усилий сжатия и изгибающих моментов в опорном контуре
а - в покрытии без вутов
б - в покрытии с вутами

Рис. 43. Эпюра вертикальных составляющих цепных усилий в месте примыкания мембраны к опорному контуру

Изгибающие моменты в вертикальной плоскости контурного элемента, опертого на колонны, рекомендуется определять как в многопролетной неразрезной балке с шарнирными концами, загруженной вертикальными составляющими цепных усилий в мембране по схеме на рис. 43. Интенсивность погонных нагрузок в точках 1¸9 следует вычислять по формуле

                                                                                                                         (33)

где gvi - коэффициент, учитывающий влияние изгибной жесткости контура в горизонтальной плоскости , определяемый по табл. 2. Промежуточные значения коэффициента gvi принимаются по линейной интерполяции.

Таблица 2

gvi

1

2

3

4

5

6

7

8

9

1´10-5

0,036

0,144

0,029

0,008

0,006

0,005

0,004

0,004

0,004

5´10-5

0,036

0,131

0,041

0,008

0,006

0,006

0,005

0,005

0,005

30´10-5

0,021

0,102

0,063

0,020

0,007

0,006

0,005

0,005

0,005

140´10-5

0,005

0,060

0,066

0,041

0,022

0,011

0,006

0,005

0,005

690´10-5

0,004

0,024

0,042

0,043

0,034

0,026

0,019

0,015

0,013

3440´10-5

0,003

0,008

0,022

0,030

0,034

0,034

0,033

0,032

0,032

140

0,003

0,004

0,012

0,022

0,030

0,036

0,041

0,044

0,044

5.16. Для мембранных покрытий с относительной начальной стрелой провиса (19а)  приближенный расчет с учетом податливости контура следует выполнять по формуле

Рf = yP,                                                                                                                                (34)

где Рf - величины напряжений, усилий и перемещений в основных элементах покрытия с учетом начальной стрелы провиса; Р - те же величины при , определяемые по формулам (20)¸(33), y - значения поправочных коэффициентов aif, bif, gif, определяемые по графикам на рис. 44, 45 в зависимости от безразмерного параметра

Рис. 44. Значения поправочных коэффициентов a1f, g1f¸g6f для определения напряженно-деформированного состояния квадратной мембраны с начальной стрелой провиса при податливом опорном контуре

Рис. 45. Значения поправочных коэффициентов a2f, b1f¸b4f для определения напряженно-деформированного состояния квадратной мембраны с начальной стрелой провиса при податливом опорном контуре

5.17. При наличии вутов (распорок) в углах покрытия размером ав = а/5 приближенный расчет квадратной мембраны с учетом податливости контура следует выполнять по формулам.

Прогиб в центре мембраны

wв = 0,85w.                                                                                                                           (35)

Максимальные нормальные напряжения в мембране

smaxв = 0,85smax.                                                                                                                   (36)

Максимальные касательные напряжения в мембране

tmaxв = 0,85tmax                                                                                                                      (37)

Расстояние от окончания вутов до места перемены знака эпюры изгибающих моментов

a = 0,75a0.                                                                                                                          (38)

Максимальное горизонтальное перемещение середины опорного контура

икв = 0,85ик.                                                                                                                          (39)

Максимальные изгибающие моменты в опорном контуре в горизонтальной плоскости:

в пролете

М1хв = b1вМ1х,                                                                                                                        (40)

в местах окончания вутов (распорок)

М2хв = b2вМ2х                                                                                                                                                                      

Усилие сжатия в опорном контуре в месте примыкания к вуту (распорке)

N2kв = b4вN1k                                                                                                                                                                  (41)

Поперечная сила в опорном контуре в месте примыкания к вуту (распорке)

                                                                                                            (41а)

где w, smах, tmах, М1х, М2х, a0, N1k, ик - величины, определяемые по формулам (20¸33) для покрытий без вутов (распорок), в зависимости от . Для покрытий с относительной стрелой провиса , указанные выше исходные величины определяются по формуле (34).

b1в, b2в, b4в, b7в - значения поправочных коэффициентов, определяемые по графикам на рис. 46, в зависимости от величины относительной изгибной жесткости контура с учетом вутов (распорок)

где ав - размер вута (распорки) в плане (ав = а/5).

Остальные величины, характеризующие напряженно-деформированное состояние мембранной оболочки с вутами, можно принимать такими же, как для конструкций без вутов. Изменения относительной продольной жесткости опорного контура с учетом вутов  в пределах их реальных значений незначительно влияют на поправочные коэффициенты к величинам усилий и перемещений в основных элементах покрытия. Характерные эпюры изгибающих моментов и усилий сжатия в контуре при наличии вутов в углах покрытия приведены на рис. 42,б.

Рис. 46. Значения поправочных коэффициентов b1в, b2в, b4в, b7в для определения в опорном контуре изгибающих моментов в середине стороны продольных усилий, изгибающих моментов и поперечной силы в местах окончания вутов (распорок)

5.18. На стадии предварительного проектирования допускается снижать расчетные величины изгибающих моментов (формулы 27, 34, 40) в железобетонном опорном контуре в углах или местах окончания вутов (распорок). Это оказывается возможным ввиду снижения изгибной жесткости контура за счет появления в указанных сечениях растянутой зоны и образования трещин (при условии работы контура на сжатие с изгибом с большими эксцентриситетами). Коэффициент h снижения величины изгибающего момента следует определять по графику на рис. 47, в зависимости от соотношения жесткостей  где (ЕJ)k - изгибная жесткость железобетонного контура в горизонтальной плоскости без учета образования трещин; (ЕJ)1k - то же с учетом образования трещин, определяемая по СНиП 2.03.01-84. В первом приближении можно принимать h = 0,7.

Рис. 47. Значения коэффициента h снижения величины изгибающего момента в углу железобетонного контура или в местах окончания вутов (распорок)

5.19. Нагрузка, равномерно распределенная по поверхности покрытия, является определяющей для максимальных величин усилий и перемещений в основных конструктивных элементах покрытия. Односторонняя нагрузка (снег на половине покрытия) и горизонтальная нагрузка на опорный контур, передающаяся на него через колонны и обусловленная ветровым давлением на стеновое ограждение, в большинстве случаев, не вызывает каких-либо существенных дополнительных усилий в мембране и опорном контуре. В связи с этим при предварительном проектировании приближенный расчет можно проводить на нагрузку равномерно распределенную по поверхности покрытия.

5.20. Для прямоугольных мембранных покрытий с соотношением сторон менее 1:1,5 приближенный расчет с учетом податливости контура может быть выполнен по формулам для квадратной мембраны (п.п. 5.14-5.19) пролетом, равным длинной стороне прямоугольного покрытия. При этом, следует иметь ввиду, что максимальные напряжения в центре мембраны ориентированы параллельно длинной стороне покрытия, максимальные сжимающие усилия и горизонтальные перемещения возникают в контуре по длинной стороне, а максимальные изгибающие моменты в контуре - по короткой стороне прямоугольного покрытия.

5.21. При значениях относительной изгибной жесткости опорного контура больших, чем величины указанные в п. 5.14, мембранная пролетная конструкция, прикрепленная по всему периметру к замкнутому опорному контуру, обеспечивает его устойчивость в плоскости мембраны. При проверке устойчивости опорного контура из плоскости покрытия расчетную длину бортового элемента следует принимать с учетом условий его опирания и нагружения.

5.22. При монтаже первоначально плоских мембран на земле или подмостях в пролетной конструкции и в опорном контуре на стадии монтажа не возникают дополнительные усилия. При монтаже оболочки на проектной отметке навесным способом (п. 4.5) в элементах покрытия возникают дополнительные усилия от монтажных нагрузок, суммирующиеся с величинами усилий от эксплуатационных нагрузок. В этом случае приближенный расчет системы, состоящей из опорного контура с вутами (распорками), продольных и поперечных висячих элементов "постели" (см. рис. 5,а) рекомендуется выполнять по следующим формулам.

Прогиб в центре покрытия (монтажная "постель")

                                                                                                   (42)

Максимальные усилия в элементах "постели"

                                                                                              (43)

Изгибающие моменты в горизонтальной плоскости опорного контура:

в пролете

                                                                                   (44)

в местах окончания вутов (распорок)

                                                                                  (45)

Максимальное горизонтальное перемещение середины опорного контура

                                                                                          (46)

Усилие сжатия в опорном контуре

                                                                                     (47)

Усилие сжатия в распорке (вуте)

Npm = 1,41Nkm,                                                                                                                      (48)

где d = An/h - приведенная толщина элементов "постели";

An - площадь сечения одного элемента "постели";

h - шаг элементов "постели";

Р - расчетная равномерно распределенная монтажная нагрузка, определяемая в основном собственным весом элементов "постели" и мембраны;

a1m, a3m, g1m, b1m, b2m – числовые коэффициенты, определяемые по графикам на рис. 48 в зависимости от относительной изгибной жесткости опорного контура с учетом вутов. Начальную стрелу провиса f0 элементов "постели" рекомендуется принимать равной 1/15¸1/30a.

Рис. 48. Значения коэффициентов a1m, a3m, g1m, b1m, b2m для определения прогиба в центре покрытия (а) максимальных растягивающих усилии в элементах "постели" (б) изгибающих моментов в середине пролета и в углу опорного контура (в) максимальных горизонтальных перемещений середины опорного контура (г) на стадии монтажа

Формулы и графики для приближенного расчета покрытия на стадии монтажа получены на основе многовариантных расчетов на ЭВМ численными методами в геометрически нелинейной постановке с учетом податливости контура при следующих исходных предпосылках:

- в углах опорного контура расположены вуты - (распорки) длиной, равной 1/10 пролета покрытия;

- площадь сечения продольных и поперечных элементов "постели" принята равной 1,2t´300 мм.

- шаг элементов "постели" в обоих направлениях принят 6 м.

Изменения указанных величин в пределах 30 % приводит к снижению точности результатов расчета до 16 %. Для снижения на стадии монтажа деформативности и максимальных изгибающих моментов в опорном контуре (до 30 %) рекомендуется устанавливать вдоль контура между элементами подкрепления диагональные стержни из гнутого профиля (см. рис. 5,а).

Расчеты численными методами на ЭВМ

5.23. Для выполнения расчетов на стадии рабочего проектирования рекомендуется применение численных методов с использованием ЭВМ - метод конечных элементов (МКЗ) или метод стержневой аппроксимации (МСА), позволяющих решать сложные задачи расчета мембранных покрытий с учетом различных конструктивных особенностей (п. 5.6). Рекомендуется использование стандартных программ МКЭ или расчета пространственных стержневых систем (для МСА) с учетом геометрической и, в случае необходимости, физической нелинейности.

Допускается использование программ расчета на ЭВМ, основанных на применении других численных методов - вариационно-разностного, конечных разностей и т.п., в том числе не стандартных программ при условии их всесторонней аппробации применительно к мембранным покрытиям.

Для повышения надежности результатов расчеты рекомендуется проводить с использованием различных программ с сопоставлением и анализом расчетных данных.

5.24. Точность результатов расчета, выполняемых численными методами, зависит в основном от густоты сетки дискретной расчетной модели. Выбор густоты сетки определяется компромиссом между временем счета задачи на ЭВМ и точностью расчета, в зависимости от конкретных условий решаемой задачи. Для задач расчета мембранных покрытий время счета пропорционально mh2, где m - количество неизвестных, h - ширина ленточной матрицы системы уравнений. При оценке точности решения следует иметь ввиду, что порядок сходимости по перемещениям соответствует l2, а по усилиям l, где l - шаг расчетной сетки. Для обоснования дискретной расчетной схемы рекомендуется проводить численный эксперимент, выполняя расчеты при различной густоте сетки. Оценку погрешности результатов расчета следует проводить по уточненному решению, получаемому по экстраполяционным формулам [10]. При наличии двух решений Аn1 и Аn2 при густоте сетки n1 и n2, уточненное решение Аn1n2 вычисляется по формуле

                                                                                         (49)

При наличии трех решений уточненное решение равно

                (50)

Густоту сетки расчетной модели мембранных покрытий с податливым контуром рекомендуется в первом приближении принимать не менее 24. Для мембран с несмещаемыми кромками густоту сетки можно снизить до 12¸16.

5.25. Геометрическая нелинейность в стандартных программах численных методов расчета в большинстве случаев учитывается линеаризацией задачи шаговым методом последовательных нагружений.

При назначении количества шагов N и величины приращения нагрузок Dq на каждой ступени метода последовательных нагружений следует иметь ввиду, что конечные приращения усилий и перемещений должны быть такими, чтобы пренебрежение их квадратами и высшими степенями на каждом из этапов не приводило бы к нарушению принятой точности расчета.

Нагружение системы следует производить с постепенным увеличением порции нагрузки на каждой ступени. Величину порции нагрузки Dqi на i-ом этапе нагружения рекомендуется определять по формуле

                                                                                                               (51)

где q - суммарная расчетная нагрузка на мембранное покрытие;

N - количество ступеней нагружения.

Выбор количества ступеней нагружения N зависит от показателя степени нелинейности задачи

                                                                                                                     (52)

В первом приближении рекомендуется при  принимать N не менее 10; а при  принимать  но не более 20.

Одной из проверок правильности выбора количества шагов и величины приращения нагрузок метода последовательных нагружений является примерное равенство или постепенное увеличение приращения прогибов в центре мембраны на каждом из этапов нагружения. Более точную оценку можно получить численным экспериментом при решении задачи с постепенным увеличением параметра N.

5.26. Пролетная конструкция тонколистового покрытия аппроксимируется дискретной расчетной схемой - прямоугольными или треугольными мембранными (безмоментными) конечными элементами в МКЭ или шарнирно-стержневой системой в МСА (рис. 49).

Рис. 49. Расчетная модель метода стержневой аппроксимации
а - квадратная ячейка; б - прямоугольная ячейка: в - дискретная схема покрытия

Формирование дискретной системы, аппроксимирующей мембранное покрытие, рекомендуется производить следующим образом. На план оболочки параллельно контуру наносится сетка выбранной, согласно п. 5.24, густоты с учетом симметрии оболочки и нагрузки. В общем случае размеры типовой ячейки могут быть неравными, с уменьшением их размеров на участках примыкающих к опорному контуру, где значения усилий и перемещений имеют максимальные градиенты.

Исходную геометрию поверхности дискретной системы, аппроксимирующей мембрану, следует принимать с учетом начальной стрелы провисла в соответствии с п.п. 2.4¸2.6.

5.27. Для мембранных покрытий, подкрепленных ребрами, формирование расчетной системы рекомендуется производить так, чтобы пояса ячеек модели совпадали бы с ребрами.

Ребра, обладающие наряду с Продольной также и изгибной жесткостью, рекомендуется в расчетной модели аппроксимировать отдельными стержнями с соответствующими жесткостями и с жесткими соединениями между собой в узлах. Соединение этих элементов с дискретной системой, моделирующей мембрану, рекомендуется производить в узлах с помощью стержней, имеющих повышенную (на 2-3 порядка) изгибную и продольную жесткости по сравнению с подкрепляющим ребром. Длину этих соединительных стержней следует принимать, равной расстоянию от нейтральной оси ребра до срединной поверхности мембранной оболочки, по направлению нормальному к ребру (рис. 50,а).

Рис. 50. Узлы расчетной модели МСА
а - соединение мембраны с подкрепляющими ребрами; б - соединение мембраны с опорным контуром

5.28. Опорный контур мембранного покрытия в расчетной схеме следует аппроксимировать жестко сопряженными между собой стержнями, обладающими продольной, изгибными и крутильной жесткостями, ось которых совпадает с нейтральной осью контура. Сопряжение опорного контура с пролетной конструкцией в расчетной схеме рекомендуется осуществлять в узлах с помощью стержней, с жесткостями на 2-3 порядка больше жесткостей контура, и длиной, соответствующей расстоянию от нейтральной оси контура до места примыкания мембраны (рис. 50, б).

Такая аппроксимация позволяет учесть крутящие и дополнительные изгибающие моменты в контуре, возникающие в нем от нормальных и касательных усилий по кромке мембраны, за счет эксцентричного крепления ее относительно центра тяжести поперечного сечения опорного контура.

5.29. В расчетной схеме рекомендуется учитывать периметральные стойки, на которые опирается контур, включением в пространственную систему соответствующих стержней, обладающих проектными жесткостями и соединениями.

5.30. Метод стержневой аппроксимации [11, 12, 13, 14, 15, 16] позволяет рассчитывать континуальные системы, компоненты напряженно-деформированного состояния которых определяются через усилия в специально подобранной стержневой модели. Преимуществами этого метода является хорошо разработанный аппарат машинного расчета стержневых систем, наличие во многих проектных организациях довольно мощных стандартных программ [17], положительный опыт применения этого метода для расчета мембранных систем. Точность результатов расчета МСА такая же, как и МКЭ при одинаковой густоте сетки дискретной модели. Недостатками МСА по сравнению с МКЗ являются необходимость дополнительных работ при подготовке данных по жесткостным характеристикам расчетной модели при переводе ее из континуальной системы в стержневую, по замене распределенной нагрузки на мембрану на сосредоточенные силы, прикладываемые в узлы стержневой модели, а также при определении погонных усилий в оболочке по результатам расчета стержневой системы. Указанные работы легко поддаются автоматизации.

5.31. Пролетная конструкция мембранного покрытия при использовании МСА аппроксимируется шарнирно-стержневой системой, продольные жесткости элементов которой определяются, исходя из эквивалентности деформаций и усилий стержневой модели и элемента мембраны. Изгибные и крутильные жесткости элементов стержневой модели мембраны следует принимать равными нулю. Типовую ячейку шарнирно-стержневой модели рекомендуется принимать с двумя диагональными связями (см. рис. 49).

Для квадратной ячейки стержневой модели при Dх = Dу (см. рис. 49,а) площади сечения элементов определяются по формулам:

                                                                                                                       (53)

                                                                                                                    (54)

где t - толщина мембраны; Dх - размер стороны ячейки стержневой модели.

Для прямоугольной ячейки с размерами Dх и Dу (см. рис. 49,б) площади сечения элементов шарнирно-стержневой модели определяются по формулам:

                                                                                                              (55)

                                                                                                              (56)

                                                                                                             (57)

где b = ctga = Dх/Dу, остальные обозначения ясны из рис. 49,б.

Соотношение сторон прямоугольной ячейки стержневой модели (b = Dх/Dу) рекомендуется принимать не более 1,5. Для вытянутой прямоугольной ячейки, при соотношении сторон b > 1,73, площадь одного из стержней модели оказывается отрицательной, что однако не исключает возможности применения универсальных программ расчета на ЭВМ стержневых систем.

5.32. Расчетную схему конструкции МСА следует представлять в виде стержневой системы с учетом рекомендаций по п.п. 5.24¸5.29 с пронумерованными узлами и стержнями. Порядок нумерации узлов рекомендуется производить вдоль поясов параллельно короткой стороне мембраны.

Исходные данные должны содержать координаты узлов в прямоугольной системе координат; топологию стержневой системы (положение каждого стержня в пространстве с нумерацией стержней и соединяемых узлов и ориентацией осей местной системы координат); жесткостные характеристики стержней (изгибные, крутильную и продольную жесткости); способ соединения стержней в узлах (жесткий или шарнирный узел); граничные условия (наложение связей, определяющих нулевые перемещения и углы поворота); величины и места приложения внешних статических воздействий, приводимых к узловым и задающихся проекциями своих векторов на координатные оси. Площади сечений диагоналей стержневой системы следует подбирать по формулам (53) или (55), а площади сечения поясов параллельных контуру по формулам (54) или (56) и (57), суммируя эти площади для стержней, принадлежащих смежным ячейкам.

5.33. Результаты расчета МСА - перемещения и усилия - выдаются на АЦПУ и снабжаются обычной индексацией. Для перемещений указывается номер узла и вид перемещения. Для усилий указывается номер стержня и вид усилия.

Погонные цепные усилия в мембране следует определять в узлах стержневой модели по формулам:

или

                                                                                       (58)

или

или

Обозначения, приведенные в формулах (58) ясны из рис. 51.

Рис. 51. Узел расчетной модели МСА

Рекомендуется брать среднеарифметические значения величин, полученных по каждой из формул (58), для определения нормальных и касательных усилий.

Усилия в подкрепляющих ребрах, опорном контуре и стойках находятся непосредственно из расчета стержневой модели. В случае совмещения поясных стержней, аппроксимирующих мембрану, с подкрепляющими ребрами, обладающими только продольной жесткостью, усилия распределяются пропорционально продольным жесткостям.

Примеры расчета

Пример 1.

Исходные данные: пролет квадратного мембранного покрытия 2а = 60 м; расчетная равномерно распределенная нагрузка q = 2.5 кН/м2 (250 кг/м2). Покрытие отдельно стоящее, опертое по периметру на колонны шагом 6 м. Мембрана выполняется из низколегированной стали 09Г2С. Опорный контур металлический - сталь 09Г2С, в углах контура на расстоянии 8 м поставлены распорки. Монтаж покрытия ведется на подмостях с использованием реконструируемого покрытия в качестве рабочего горизонта.

С учетом рекомендаций п.п. 2.4; 5.14 принимаем: начальную стрелу провиса – f0 = 1 м (2а/60 ); относительные продольную и изгибную жесткости контура с учетом вутов -  Принимаем в первом приближении мембрану толщиной 4 мм. Безразмерный параметр  по формуле п. 5.16 равен

Относительные жесткости контура без учета наличия распорок

Жесткости опорного контура

Перемещения и усилия в элементах покрытия с учетом начальной стрелы провиса и наличия распорок определяются по формулам 20¸22; 27¸30; 34¸41.

Прогиб в центре покрытия

Напряжения в центре мембраны

Максимальные напряжения в мембране

Изгибающий момент в пролете опорного контура (в горизонтальной плоскости)

Сжимающее усилие в пролете опорного контура

Максимальный изгибающий момент в контуре в местах окончания распорок

Сжимающее усилие в контуре в местах окончания распорок

N2k = b4вN1k = 0,55×14879 = 8183 кН (818,3 т).

Поперечная сила в опорном контуре в местах окончания распорок

Максимальное горизонтальное перемещение середины опорного контура

Числовые коэффициенты a1, a3, g1, g5, b1, b2, b3 - определяем по графикам на рис. 27¸40 как для конструкции без распорок при

Числовые коэффициенты a1f, a3f, g1f, g5f, b1f, b2f, b3f - учитывающие начальную стрелу провиса мембраны определяем по графикам на рис. 44, 45.

Числовые коэффициенты b1в, b2в, b4в, b7в, учитывающие наличие распорок, определяем по графику на рис. 46 при

По вычисленным усилиям в контуре его необходимо законструировать и определить параметры  Если они превосходят принятые ранее значения  более чем на 10 % расчет покрытия следует провести заново.

Пример 2

Исходные данные: пролет квадратного мембранного покрытия 2а = 60 м; расчетная равномерно распределенная нагрузка q = 2,5 кН/м2 (250 кг/м2). Покрытие отдельно стоящее, опертое по периметру на колонны шагом 6 м. Мембрана выполняется из низколегированной стали 09Г2С. Опорный контур сборный железобетонный (бетон класса В25). В углах контура расположены вуты aв = 6 м. Монтаж покрытия ведется навесным методом по системе элементов "постели" (п.п. 4.4, 4.8, 5.22).

С учетом рекомендаций п.п. 5.14 относительные продольную и изгибную жесткости опорного контура с учетом вутов принимаем равной

Относительные жесткости контура без учета вутов

Жесткости опорного контура

(ЕА)к = 1,28×2,1×108×0,003×30 = 2,42×107 кН (2,42-106 т);

(ЕJ)к = 1,54×10-4×2,1×108×0,003×303 = 2,62×106 кН×м2 (2,62×105 тм2).

Начальную стрелу провиса элементов "постели" согласно п. 5.22 принимаем равной fом = 2 м (1/15а).

Принимаем в первом приближении мембрану толщиной 3 мм. Элементы "постели", расположенные в плане шагом 6 м в обоих направлениях, выполняются из полосы 4´285 мм (Ап = 11,4 см2).

Приведенная толщина элементов "постели"

d = An/h = 11,4/600 = 0,019 см .

Расчетная равномерно распределенная монтажная нагрузка, определяемая собственным весом элементов "постели" и мембраны

Р = (3 + 2×0,19)×0,0785×1,1 = 0,292 кН/м2 (0,029 т/м2).

Перемещения и усилия в элементах покрытия на стадии монтажа определяются по формулам (42)¸(48).

Прогиб в центре покрытия

Максимальные усилия в элементах "постели"

Изгибающие моменты в горизонтальной плоскости опорного контура в пролете

в местах окончания вутов

Усилие сжатия в опорном контуре

Максимальное горизонтальное перемещение середины опорного контура

Числовые коэффициенты a1m, a3m, g1m, b1m, b2m определяем по графику на рис. 48 для покрытий с вутами при  и f = a/15.

Монтажную систему элементов  "постели" принимаем с дополнительными диагональными стержнями (см. рис. 5,а). В соответствии с п. 5.22 прогибы, горизонтальные перемещения контура и изгибающие моменты в опорном контуре снижаем на 30 %

w = 0,7×1,34 = 0,94 м; М1m = 0,7×2739 = 1917 кН×м;

М2m = 0,7×5820 = 4074 кН×м; ukm = 0,7×0,188 = 0,132 м.

Расчет покрытия на эксплуатационные нагрузки. Начальная стрела провиса равна

f0 = 2 + 0,94 = 2,94 м (1/20 l) .

Расчетная эксплуатационная нагрузка за вычетом собственного веса мембраны и элементов  "постели"

q = 2,5 - 0,292 = 2,21 кН/м2 (0,221 т/м2) .

Безразмерный параметр по формуле п. 5.16 равен

Перемещения и усилия в элементах покрытия с учетом начальной стрелы провиса и наличия вутов определяются по формулам 20¸30, 34¸41.

Прогиб в центре покрытия

Напряжения в центре мембраны

 

Максимальные напряжения в мембране

Изгибающий момент в пролете опорного контура (в горизонтальной плоскости)

Сжимающее усилие в пролете опорного контура

Максимальный изгибающий момент в контуре в месте окончания вутов

Сжимающее усилие в контуре в месте окончания вутов

N2k = 0,6×9451 = 5671 кН (567,1 т).

Поперечная сила в контуре в месте окончания вутов

Расстояние от окончания вута до места перемены знака эпюры изгибающих моментов в опорном контуре

a0 = 0,2×(30 - 6) = 4,8 м.

Максимальное горизонтальное перемещение середины опорного контура:

Числовые коэффициенты a1, a2, a3, g1, g5, b1, b2, b3 - определяем по графикам рис. 27¸40 как для конструкции без вутов при

Числовые коэффициенты a1f, a3f, g1f, g5f, b1f, b2f, b3f - учитывающие начальную стрелу провиса мембраны  определяем по графикам на рис. 44, 45.

Числовые коэффициенты b1в, b2в, b4в, b7в, учитывающие наличие вутов, определяем по графику на рис. 46 при

По величинам усилий и перемещений в элементах покрытия на стадии монтажа и эксплуатации определяем их суммарные значения.

Максимальная стрела провиса покрытия:

f = 2 + 0,94 + 0,47 = 3,41 м.

Изгибающие моменты в пролете опорного контура

М1х = 1917 + 1053 = 2970 кН×м (297 тм).

Сжимающее усилие в пролете опорного контура

N1k = 841 + 9451 = 10292 кН (1029 т).

Изгибающий момент в контуре в месте окончания вутов

М2х = 4074 + 9757 = 13831 кН×м (1383,1 тм).

С учетом п. 5.18 рекомендуется снижение величины изгибающего момента в опорном контуре в местах окончания вутов на 30 % ввиду снижения его изгибной жесткости за счет появления в этих сечениях трещин.

М2х = 0,7×13831 = 9682 кН×м (968,2 тм).

Сжимающее усилие в контуре в месте окончания вутов

N2k = 841 + 5671 = 6512 кН (651,2 т).

Максимальное горизонтальное перемещение середины опорного контура

uk = 0,188 + 0,157 = 0,345 м.

СПИСОК ЛИТЕРАТУРЫ

1. Трофимов В.И., Еремеев П.Г., Давыдов Е.Ю. Мембранные (тонколистовые) висячие покрытия. - М, : ВНИИИС, 1981. - 85 с.

2. Рекомендации, по применению метода дуговой точечной сварки (ДТСПФ) с мозаичным проплавлением / ЦНИИСК им. Кучеренко. - М-., 1980. - 78 с.

3. Рекомендации по дуговой точечной сварке соединений элементов стальных строительных конструкций / ЦНИИСК им. Кучеренко. - М., 1981. - 61 с.

4. Рекомендации по точечной дуговой приварке профилированного настила к стальным элементам каркаса / ЦНИИСК им. Кучеренко. -М., 1981. - 43 с.

5. Рекомендации по аргоно-дуговой сварке тонколистовых алюминиевых строительных конструкций в монтажных условиях / ЦНИИСК им. Кучеренко. - М., 1974. - 31 с.

6. Пособие по определению пределов огнестойкости конструкций, пределов распространения огня по конструкциям и групп возгораемости материалов (к СНиП II-2-80). - М.: Стройиздат, 1985. - 54 с.

7. Кикин А.И., Санжаровский Р.С., Труль В.А. Конструкции из стальных труб, заполненных бетоном. -М.: Стройиздат, 1974. - 145 с.

8. Стороженко Л.И. Трубобетонные конструкции. - Киев: Будивельник, 1978. - 81 с.

9. Григорьев А.С., Шадрин В.А. О равновесии квадратной мембраны при больших прогибах // Исследования по теории сооружений. -Вып. XXIУ. - М.: Стройиздат, 1980. С 115-120.

10. Сальвадори М.Д. Численные методы в технике. - М.: ИЛ, 1955. - 247 с.

11. Розин Л.А. Стержневые системы как системы конечных элементов. - Л.: Изд-во Ленинградского университета, 1976. - 232 с.

12. Ржаницын А.Р. Представление сплошного изотропного упругого тела в виде щарнирно-стержневой системы//Исследования по вопросам строительной механики и теории пластичности. - М.: Госстройиздат, 1056.-С. 81-83.

13. Николенков В.А., Шарапан И.А. О расчете оболочек с использованием стержневой модели // Сб.тр. /ЛИСИ. 1975. - Вып. 7-С. 63-78.

14. Шарапан И.А. О возможности моделирования шарнирно-стержневой системой упругого континуума с произвольным значением коэффициента Пуассона. Механика стержневых систем а сплошных сред //Тр. ин-та/ ЛИСИ. - 1869. - Вып. 60.-С 37-42.

15. Шарапан И.А. Шарнирно-стержневые модели упругой среды//Сб. тр./ЛИСИ - 1870. - № 63. -С. 150-185.

16. Мак-Кормик С.У. Решение плоской задачи теории упругости //Расчет строительных конструкций с использованием электронных машин. - М.: Стройиздат, 1967.-С. 268-289.

17. Программа для статического и динамического расчета пластинчато-стержневых систем с учетом геометрической нелинейности "Гамма-2". - Киев: КиевЗНИИЭП, 1980. - 124 с

18. Seide P. Large deflections of rectangular membranes under uniform pressure. Int. J. Non-Linear Mechanics, vol.12, 1977, P.397-W.




Яндекс цитирования



   Copyright © 2007-2026,  www.tehlit.ru.

[ ѓосты, стандарты, нормативы, инструкции, правила, строительные нормы ]