//
|
|
ОТКРЫТОЕ АКЦИОНЕРНОЕ ОБЩЕСТВО КОНСТРУКТОРСКОЕ БЮРО ПО
АРХИТЕКТУРНО-СТРОИТЕЛЬНЫМ СИСТЕМАМ И НОВЫМ ТЕХНОЛОГИЯМ имени А.А. ЯКУШЕВА
РЕКОМЕНДАЦИИ РАЗРАБОТАНЫ: ООО «ПЕНОПЛЕКС СПб» ОАО «КБ им. А.А. Якушева Москва, 2007 г. Содержание ВведениеНастоящие Рекомендации по проектированию наружных трехслойных стеновых панелей с теплоизоляционным слоем из плит полистирольных вспененных экструзионных ПЕНОПЛЭКС® для жилых и общественных зданий разработаны ОАО «Конструкторское бюро по архитектурно-строительным системам и новым технологиям им. А.А. Якушева» (ОАО «КБ им. А.А. Якушева») по заказу ООО «ПЕНОПЛЭКС СПб» и содержат материалы для выполнения расчетов и проектирования. При разработке Рекомендаций использованы результаты научно-исследовательских, проектно-конструкторских и производственно-технологических работ, выполненных ОАО «КБ им. А.А. Якушева», ООО «Бийский завод стеклопластиков» (далее БЗС), ООО «ПЕНОПЛЭКС СПб». 1. Общие положенияНастоящие Рекомендации распространяются на трехслойные бетонные и железобетонные панели с теплоизоляционным слоем из плит полистирольных вспененных экструзионных ПЕНОПЛЭКС® (далее панели), отвечающие требованиям ГОСТ 31310-2005. 1.1. Проектирование панелей следует проводить в соответствии с требованиями ГОСТ 31310-2005, ГОСТ 13015-2003, СНиП 2.01.07-85*, СНиП 52-01-2003, СП 52-101-2003, СНиП 2.03.01-84*, СНиП 21-01-97, СНиП 23-02-2003, СП 23-101-2004 и др. действующей нормативно-технической документации, а также технических условий на панели конкретных видов. 1.2. Панели предназначены для наружных стен однорядной (поэтажной) разрезки жилых и общественных зданий. 1.3. В состав панелей входят следующие конструктивные элементы. 1.3.1. Основные слои панели: - наружный слой из армированного тяжелого или легкого бетона; - средний теплоизоляционный слой из плит полистирольных вспененных экструзионных ПЕНОПЛЭКС® 35; - внутренний слой из армированного тяжелого или легкого бетона; 1.3.2. Соединительные связи, объединяющие наружный и внутренний слои панели, обеспечивая их совместную работу при транспортировании, монтаже и эксплуатации, могут выполняться в виде: - жестких дискретных связей - железобетонных перемычек (шпонок); - гибких связей из неметаллических коррозионно-стойких материалов, имеющих документированное подтверждение в установленном порядке на использование в качестве связей в трехслойных панелях конкретных видов, и коррозионно-стойкой стали, имеющей необходимую стойкость в условиях эксплуатации панелей. 1.3.3. С фасадной стороны панели рекомендуется предусматривать наружный защитно-декоративный слой, предназначенный для защиты основных слоев от внешних климатических воздействий и выполнения декоративных функций. Защитно-декоративный слой может выполняться в виде: - слоя облицовки керамическими плитками или плитками из декоративного бетона; - слоя из раствора или декоративного бетона; - покрытий различными фасадными красками. С обращенной в помещение стороны панели рекомендуется предусматривать внутренний отделочный слой, служащий основанием для последующей отделки стены и состоящий из слоя из раствора и отделочного покрытия. Вид и качество отделки наружных лицевых поверхностей панелей должны соответствовать эталонам отделки, утвержденным по согласованию с заказчиком. 1.4. Панели должны иметь заводскую готовность, соответствующую требованиям ГОСТ 31310-2005. 2. Область применения панелей:Панели предназначены для наружных стен жилых и общественных зданий I, II и III уровней ответственности высотой до 75 м. По геологическим и геофизическим условиям: - обычные условия строительства; - строительство в районах сейсмического воздействия интенсивностью до 9 баллов (для панелей на гибких связях при наличии соответствующего документированного подтверждения) По природно-климатическим условиям: - значение нормативного ветрового давления - по расчету в соответствии со СНиП 2.01.07-85 - рабочий интервал температур, °С,: - от минус 60 до плюс 75 (для панелей с жесткими дискретными железобетонными связями); - от минус 60 до плюс 45 (для панелей на гибких связях БЗС); - зона влажности (по СНиП 23-02-2003) - сухая, нормальная, влажная; - степень агрессивности наружной среды (по СНиП 2.03.11-85) - неагрессивная, слабоагрессивная; По условиям эксплуатации: - степень агрессивности внутренней среды (по СНиП 2.03.11-85) - неагрессивная, слабоагрессивная; - влажностный режим помещений (по СНиП 23-02-2003) - сухой, нормальный, влажный, мокрый По требованиям пожарной безопасности: - в зданиях всех степеней огнестойкости, классов конструктивной пожарной опасности и классов функциональной пожарной опасности в соответствии со СНиП 21-01-97 на основании документировано подтвержденных в установленном порядке данных о пределах огнестойкости и классах пожарной опасности применяемых панелей. 3. Классификация панелей3.1. В зависимости от статической схемы работы наружных стен в здании панели могут быть запроектированы: - несущими (включая поэтажно несущие и самонесущие), воспринимающими вертикальные нагрузки от собственного веса и опирающихся на них других конструкций здания; - ненесущими, не предназначенными для опирания на них конструкций здания. 3.2. По назначению панели подразделяются: - панели стен надземных этажей; - панели стен цокольного этажа или технического подполья; - панели стен чердака или парапетные. 3.3. По типу соединительных связей - с жесткими дискретными железобетонными связями; - с гибкими связями из коррозионно-стойких материалов. - для надземных этажей: ЗНСНг - трехслойная наружная стеновая несущая панель с гибкими связями; ЗНСНж - трехслойная наружная стеновая несущая панель с жесткими связями; ЗНСг - трехслойная наружная стеновая ненесущая панель с гибкими связями; ЗНСж - трехслойная наружная стеновая ненесущая панель с жесткими связями. - для цокольного этажа или технического подполья: ЗНЦНг - трехслойная наружная цокольная несущая панель с гибкими связями; ЗНЦНж - трехслойная наружная цокольная несущая панель с жесткими связями; ЗНЦг - трехслойная наружная цокольная ненесущая панель с гибкими связями; ЗНЦж - трехслойная наружная цокольная ненесущая панель с жесткими связями. - для чердака: ЗНЧНг - трехслойная наружная чердачная несущая панель с гибкими связями; ЗНЧНж- трехслойная наружная чердачная несущая панель с жесткими связями; ЗНЧг - трехслойная наружная чердачная ненесущая панель с гибкими связями; ЗНЧж - трехслойная наружная чердачная ненесущая панель с жесткими связями. 3.5. По расположению на фасаде здания панели подразделяются на: - рядовые; - угловые. 3.6. По наличию в панелях проемов: - глухие; - с проемами (оконными или дверными). 3.7. По конструктивным, архитектурным, технологическим особенностям панели различаются: - габаритными размерами; - видом (тяжелый или легкий) и техническими характеристиками бетона основных слоев; - видом гибких связей (из неметаллических коррозионно-стойких материалов или коррозионно-стойкой стали); - видами отделки наружных и внутренних лицевых поверхностей; - типом вертикальных и горизонтальных стыков (с противодождевым гребнем или без него - плоский стык); - типом стыков по способу обеспечения водо- и воздухоизоляции помещений (закрытый или дренированный); - видом крепления к другим конструкциям зданий; - размерами проемов для окон и балконных дверей. 4. Условное обозначение панелей4.1. Панели следует обозначать марками в соответствии с ГОСТ 23009 и ГОСТ 31310-2005. Условное обозначение панели должно состоять из буквенно-цифровых групп, разделенных дефисами. 4.2. В первой группе указывают сокращенное обозначение типа панели согласно п. 3.4 и ее номинальные габаритные размеры (значения которых округлены до целого числа) - длина и высота в дециметрах, толщина в сантиметрах. Обозначения типов панелей могут быть дополнены при необходимости буквенными индексами, указывающими на особенности конкретных типов. 4.3. Во второй группе рекомендуется указывать класс бетона по прочности на сжатие, обозначаемый цифровым индексом класса бетона, вид бетона, обозначаемый буквой: Т - тяжелый бетон, Л - легкий бетон. Для панелей с наружным и внутренним слоями из бетона разного класса по прочности на сжатие или разного вида следует указывать класс и вид бетона несущего слоя панели. Во второй группе рекомендуется также указывать дополнительные характеристики, отражающие конструктивные особенности панелей (форму панели, конфигурацию торцевых зон, наличие, вид и расположение проемов, подрезов, закладных деталей и т.д.), обозначаемые арабскими цифрами или строчными буквами. 4.4. Пример условного обозначения трехслойной наружной стеновой несущей панели для надземных этажей с жесткими дискретными железобетонными связями, длиной 2980 мм, высотой 2780 мм и толщиной 400 мм из тяжелого бетона класса по прочности на сжатие B15, с оконным проемом: ЗНСНж 30.28.40-15То 5. Основные параметры и показатели оценки свойств панелейВ соответствии с ГОСТ 31310-2005 в рабочей документации следует указывать комплекс параметров и показателей оценки свойств панелей. 5.1. Параметры, характеризующие сопротивление панелей нагрузкам и воздействиям: - Расчетная нагрузка на верхнюю грань панели, кН/м; - Расчетная ветровая нагрузка, кПа; - Расчетная нагрузка от навесного оборудования на внутренней (обращенной к помещению) стороне панели при расстоянии центра тяжести груза от поверхности панели 150 мм и при обусловленных способах крепления, кН; - То же, на наружной стороне панели, кН; - Расчетная ударная нагрузка с внутренней стороны панели, кПа; - То же, с наружной стороны панели, кПа; - Расчетная сейсмичность района строительства, баллы по шкале Рихтера; - Расчетное значение предельного смещения по вертикали наружного бетонного слоя по отношению к внутреннему бетонному слою, мм; - Расчетное значение предельного смещения по горизонтали наружного бетонного слоя по отношению к внутреннему бетонному слою, мм. 5.2. Параметры, характеризующие пожарно-технические характеристики панелей: - класс функциональной пожарной опасности ограждаемых помещений; - предел огнестойкости, мин.; - класс пожарной опасности; 5.3. Параметры, характеризующие показатели качества бетона основных слоев панелей: - класс бетона по прочности на сжатие; - марка по средней плотности (для легкого бетона); - структура бетона; - марка бетона по морозостойкости; - марка бетона по водонепроницаемости; - начальная влажность бетона в панелях, % по массе, (для панелей из легкого бетона). 5.4. Параметры, характеризующие качество теплоизоляционного слоя панелей: - биостойкость утеплителя; - срок службы материала утеплителя (до достижения предельного состояния по теплозащитным свойствам при заданных условиях эксплуатации), лет. 5.5. Параметры, характеризующие степень обеспечения панелями тепловой защиты зданий: - приведенное сопротивление теплопередаче панели, м2·°С/Вт; - наименьшее локальное сопротивление теплопередаче панели в местах теплотехнических неоднородностей, м2·°С/Вт; - показатель теплоустойчивости панели - расчетная амплитуда колебаний температуры внутренней поверхности стен в летнее время, °С; - сопротивление воздухопроницанию, м2·ч·Па/кг; - сопротивление паропроницанию, м2·ч·Па/мг. 5.6. Параметр, характеризующий степень обеспечения панелями акустического комфорта в помещениях: - звукоизоляция панели от воздушного шума, дБА 6. Общие требования к конструкции панелей6.1. Требования к размерам панелей6.1.1. Координационные и конструктивные размеры панелей по длине, высоте и толщине назначаются в соответствии с ГОСТ 28984 и ГОСТ 31310-2005. Кратность координационного размера панелей модулю (М = 100 мм) принимается - по длине - 6М, 12М, 15М; - по высоте - М, 3М, 6М; - по толщине - М/2, М/5. 6.1.2. Рекомендуется принимать следующие координационные размеры панелей (при отсутствии разделяющих элементов в местах их сопряжений со смежными конструкциями здания): - по длине: 2400, 3000, 3600, 4200, 4500, 4800, 5400, 6000, 6600, 7200 мм; - по высоте: 2800, 3000, 3300, 3600 мм; - по толщине: в диапазоне от 200 до 400 мм (200, 220, 240, 250, 260, 280, 300, 320, 340, 350, 360, 380, 400 мм). 6.1.3. При наличии разделяющих элементов, координационные длина и высота панелей принимаются уменьшенными на величины, зависящие от координационных размеров разделяющих элементов. Координационные высоты панелей, относятся к панелям, предназначенным для надземных этажей. Координационную длину угловых панелей определяют в зависимости от толщины панелей и конструкции угловых стыковых соединений. 6.1.4. Конструктивные длину и высоту панелей принимают равными соответствующему координационному размеру, уменьшенному (или увеличенному) на величину, зависящую от конфигурации и размеров стыковых соединений панелей между собой и со смежными конструкциями здания. Конструктивную толщину панелей с плоской фасадной поверхностью, а также панелей с элементами, выступающими на фасад здания (например, ребрами), на участках между этими элементами принимают равной соответствующей координационной толщине. 6.1.5. Предельные отклонения фактических размеров панелей по длине, высоте и толщине от номинальных должны устанавливаться в рабочей документации на панели не более значений, указанных в ГОСТ 31310-2005. 6.2. Требования к бетонным слоям панелей6.2.1. Требования к толщине слоевНоминальную толщину армированных наружного и внутреннего бетонных слоев панели следует принимать в соответствии с ГОСТ 31310-2005 не менее: - внутреннего слоя несущих панелей - 120 мм; - внутреннего слоя ненесущих панелей - 80 мм; - внутреннего слоя поэтажно несущих панелей - 80 мм при тяжелом бетоне и 100 мм - при легком бетоне; - наружного слоя панелей - 65 мм при тяжелом бетоне и 80 мм - при легком бетоне. Перечисленные выше номинальные толщины слоев включают номинальную толщину бетона или раствора защитно-декоративного и внутреннего отделочного слоев. 6.2.2. Требования к бетону основных слоев и жестких дискретных связей6.2.2.1. В рабочей документации на панели устанавливаются следующие характеристики бетона основных слоев и связей: - вид бетона слоев; - класс бетона по прочности на сжатие; - марка по средней плотности для легкого бетона; - структура бетона; - объем межзерновых пустот; - вид крупного и мелкого заполнителей; - допускаемая предельная крупность заполнителей; - нормируемая отпускная прочность бетона; - марка бетона по морозостойкости; -марка бетона по водонепроницаемости -расчетные теплотехнические показатели бетона (при условиях эксплуатации по СНиП 23-02) - коэффициенты массового отношения влаги в материале, теплопроводности, теплоусвоения и паропроницаемости. 6.2.2.2. Для наружного и внутреннего слоев и жестких дискретных связей панелей следует применять тяжелый бетон, отвечающий требованиям ГОСТ 26633, или легкий бетон, отвечающий требованиям ГОСТ 25820, классов по прочности на сжатие не ниже B15, плотной структуры, с объемом межзерновых пустот в уплотненной смеси не более 3 %. В качестве наиболее апробированного решения основных слоев панелей из легкого бетона рекомендуется керамзитобетон с использованием в качестве мелкого заполнителя плотного песка или смеси плотного и пористого песка. 6.2.2.3. Нормируемая отпускная прочность на сжатие тяжелого и легкого бетонов основных слоев и жестких дискретных связей панелей в соответствии с требованиями ГОСТ 31310-2005 и ГОСТ 13015 должна составлять: 70 % от проектной прочности в летний период и 85% - в зимний. 6.2.2.4. Марки по морозостойкости и водонепроницаемости бетона наружного слоя, защитно-декоративного слоя и дискретных железобетонных связей следует принимать в соответствии с ГОСТ 31310-2005 не менее: - F100 и W4 - для панелей надземных этажей; - F150 и W4 - для панелей цокольного этажа и технического подполья и парапетных панелей. 6.2.2.5. Расчетные теплотехнические показатели бетона основных слоев панелей и жестких связей следует принимать в соответствии с СП 23-101-2004; для легкого бетона - в зависимости от плотности бетона в сухом состоянии. 6.2.3. Требования к защитно-декоративным и отделочным слоям6.2.3.1 Номинальную толщину защитно-декоративного слоя панелей следует принимать, мм, не менее: 15 - в надземных панелях; 30 - в цокольных панелях и панелях технического подполья. 6.2.3.2 Номинальную толщину слоя раствора во внутреннем отделочном слое панелей следует принимать, мм, не более: 15 - в панелях стен помещений с сухим или нормальным режимами; 20 - в панелях стен помещений с повышенной влажностью. 6.2.3.3. Для защитно-декоративного и отделочного слоев панелей следует применять мелкозернистые бетоны, отвечающие требованиям ГОСТ 26633, и растворы, отвечающие требованиям ГОСТ 28013. Проектные классы бетона и марки раствора по прочности на сжатие для наружного защитно-декоративного слоя следует принимать не ниже класса бетона основного слоя. Марку раствора по прочности на сжатие для внутреннего отделочного слоя панелей следует принимать не выше марки бетона, на который наносится этот слой, и не ниже М25. 6.2.3.4. Нормируемая отпускная прочность на сжатие раствора наружного защитно-декоративного и внутреннего отделочных слоев в соответствии с требованиями ГОСТ 31310-2005 и ГОСТ 13015 должна составлять: 70 % от проектной прочности в летний период и 85 % - в зимний. 6.2.3.5. Марки по морозостойкости и водонепроницаемости бетона и раствора защитно-декоративного слоя следует принимать не менее: F100 и W4 - для панелей надземных этажей; F150 и W4 - для панелей цокольного этажа и технического подполья и парапетных панелей. 6.2.2.6. Расчетные теплотехнические показатели защитно-декоративного и отделочного слоев панелей следует принимать в соответствии с СП 23-101-2004. 6.3. Требования к теплоизоляционному слою6.3.1. В качестве теплоизоляционного слоя панелей следует применять плиты полистирольные вспененные экструзионные ПЕНОПЛЭКС® тип 35 (далее плит ПЕНОПЛЭКС® 35), отвечающие требованиям ТУ 5767-006-56925804-2007. Плиты ПЕНОПЛЭКС® 35 имеют санитарно-эпидемиологическое заключение о соответствии государственным санитарно-эпидемиологическим правилам и нормативам при использовании в качестве теплоизоляционного материала для ограждающих конструкций жилых и общественных зданий, а также сертификат пожарной безопасности. 6.3.2. Номинальные размеры плит ПЕНОПЛЭКС® 35 составляют: - длина: 1200, 2400, 3000, 4000, 4500 мм; - ширина: 600 мм; - толщина: 20, 22, 30, 40, 50, 60, 80, 100, 120 мм. По согласованию с потребителем допускается изготавливать плиты других размеров по толщине, ширине и длине. 6.3.3. Физико-технические свойства плит ПЕНОПЛЭКС® 35: - средняя плотность - 28,0 ... 38,0 кг/м (марка плотности П35); - прочность на сжатие при 10 % линейной деформации, МПа, не менее: - 0,18 для плит толщиной 20 мм; - 0,20 для плит толщиной 30 мм; - 0,25 для плит толщиной 40 ... 100 мм; - предел прочности при статическом изгибе, МПа, не менее: - 0,7 для плит толщиной 20 и 30 мм; - 0,6 для плит толщиной 40 мм; - 0,5 для плит толщиной 50 мм; - 0,4 для плит толщиной 60 ... 100 мм; - водопоглощение за 24 часа, % по объему, не более: - 0,4 для плит толщиной 20 ... 80 мм; - 0,5 для плит толщиной 100 мм; - коэффициент теплопроводности при (25 ± 5)°С не более - 0,030 Вт/(м∙°С); - время самостоятельного горения, не более 2 с; - диапазон рабочих температур - минус 50°C ... плюс 75°С. 6.3.4. Теплотехнические показатели плит ПЕНОПЛЭКС® 35 приведены в СП 23-101-2004. Характеристики материала в сухом состоянии: - плотность - 35 кг/м; - удельная теплоемкость - 1,65 кДж/(кг·°С); - коэффициент теплопроводности при (25 ± 5) °С - 0,028 Вт/(м·°С). Расчетные коэффициенты (при условиях эксплуатации по СНиП 23-02): - массового отношения влаги в материале при условиях А – 2 %; - массового отношения влаги в материале при условиях Б – 3 %; - теплопроводности при условиях А - 0,029 Вт/(м·°С); - теплопроводности при условиях Б - 0,030 Вт/(м·°С); - теплоусвоения (при периоде 24 часа) при условиях А-0,36 Вт/(м2·°С); - теплоусвоения (при периоде 24 часа) при условиях Б-0,37 Вт/(м2·°С); - паропроницаемости - 0,018 мг/(м·ч·Па). 6.3.5. Пожарно-технические характеристики плит ПЕНОПЛЭКС® 35: - группа горючести - Г1 (слабогорючие); - группа воспламеняемости - В2 (умеренновоспламеняемые); - группа дымообразующей способности - Д3 (высокая дымообразующая способность); - группа распространения пламени по поверхности - РП1 (нераспространяющие). 6.3.6. Биостойкость утеплителя: плиты ПЕНОПЛЭКС® 35 не подвержены биологическому разрушению. 6.3.7. Проектную толщину теплоизоляционного слоя следует определять в соответствии с требованиями СНиП 23-02-2003 и СП 23-101-2004. Толщина теплоизоляционного слоя назначается кратной 10 мм с учетом номинальных толщин плит «ПЕНОПЛЭКС» и не должна превышать 250 мм. Ориентировочные значения толщин теплоизоляционных слоев панелей, характеризующихся различной теплотехнической неоднородностью, при использовании их для строительства жилых и общественных зданий в различных городах РФ приведены в Приложении 1 (таблица 1). 6.3.8. В рабочей документации на панели следует указывать раскладку теплоизоляционных плит ПЕНОПЛЭКС® и расположение отверстий для образования жестких железобетонных дискретных связей и пропуска гибких связей. 6.3.8.1. Теплоизоляционные плиты ПЕНОПЛЭКС® в панелях с дискретными железобетонными связями могут располагаться в один или несколько слоев. При расположении теплоизоляционных плит в несколько слоев швы между плитами в каждом из слоев должны быть смещены по отношению к швам между плитами в смежных слоях не менее чем на толщину слоя. 6.3.8.2. В панелях с гибкими связями теплоизоляционные плиты ПЕНОПЛЭКС® следует располагать в один слой, без образования стыков, параллельных верхней грани панели. Длина плит должна соответствовать высоте панели или высоте утепляемых участков под и над оконными проемами. 6.3.8.3. Стыки теплоизоляционных плит ПЕНОПЛЭКС® должны быть защищены от затекания бетонной смеси и ее растворной составляющей клейкой лентой. 6.3.9. По периметру оконных и дверных проемов и в стыках панелей необходимо устраивать в соответствии с ГОСТ 31310-2005 огнезащитные преграды в виде: - минераловатных плит на базальтовой основе толщиной не менее 100 мм; - цементно-песчаного раствора толщиной не менее 10 мм; В ряде случаев в качестве огнезащитной преграды можно использовать деревянную антисептированную и антипирированную доску толщиной не менее 40 мм. Конструктивные решения, вид и толщина огнезащитных преград в панелях конкретных видов рекомендуется назначать в зависимости от требуемых для данных панелей значений пределов огнестойкости и классов пожарной опасности. 6.4. Требования к соединительным связям6.4.1. Панели с теплоизоляционным слоем из плит ПЕНОПЛЭКС® 35 могут выполняться: - с дискретными железобетонными связями; - с гибкими связями в виде отдельных стержней, полос, арматурных изделий различных видов из коррозионно-стойкой стали; - с гибкими связями из неметаллических коррозионно-стойких материалов. 6.4.2. Применение гибких связей из неметаллических материалов разрешается при наличии положительного заключения уполномоченных органов о возможности применения панелей конкретного вида с такими связями. 6.4.3. При проектировании панелей с дискретными железобетонными связями (шпонками) номинальные размеры сечения железобетонных шпонок следует принимать не менее 60 мм. Требования к бетону дискретных железобетонных связей приведении в п. 6.2.2. 6.4.3.1. Пример технического решения наружных трехслойных стеновых панелей теплоизоляционным слоем из плит ПЕНОПЛЭКС и дискретными железобетонными связями приведен в Приложении 2. 6.4.3.2. Армирование железобетонных дискретных связей рекомендуется производить в соответствии с требованиями п. 6.5. 6.4.4. Гибкие связи, используемые в панелях, в зависимости от назначения и расчетной схемы статической работы подразделяются на: - подвески, предназначенные для передачи вертикальной нагрузки от массы наружного бетонного слоя и утеплителя ПЕНОПЛЭКС® на внутренний армированный слой панели; - распорки, предназначенные для фиксации взаимного положения армированных бетонных слоев и слоя теплоизоляции и восприятия сжимающих и растягивающих усилий от ветровых и других воздействий, направленных перпендикулярно фасадной поверхности стены; - подкосы, предназначенные для предотвращения взаимных смещений слоев панели по горизонтали в плоскости стены от усилий, возникающих при погрузочно-разгрузочных работах, транспортировании и монтаже. - подкосы, предназначенные для предотвращения взаимных смещений слоев панели по горизонтали в плоскости стены от усилий, возникающих при погрузочно-разгрузочных работах, транспортировании и монтаже. 6.4.4.1. В качестве гибких связей из неметаллических материалов при проектировании панелей рекомендуется использовать связи из стеклопластиковой арматуры (далее СПА) ООО «Бийского завода стеклопластиков» (далее БЗС), выпускаемые по ТУ 2296-001-20994511-04. Характеристики СПА подтверждены Техническим свидетельством Росстроя о пригодности продукции для применения в строительстве на территории Российской Федерации № ТС-07-1349-06 и сертификатами соответствия. Пример реализации трехслойных панелей с гибкими связями из СПА и рекомендации по расчету необходимого числа связей представлен в Техническом свидетельстве № ТС-07-1542-06. Копии Технического свидетельства № ТС-07-1349-06 с Технической оценкой ФЦС № ТО-07-1349-06 и Технического свидетельства № ТС-07-1542-06 с Технической оценкой ФЦС № ТО-07-1542-06 приведены в Приложении 3. 6.4.4.2. Связи, предназначенные для использования в панелях, поставляются в виде стержней стеклопластиковой арматуры типа 2 - с двумя анкерными уширениями и имеют номинальный внешний диаметр арматуры 7,5 мм. Связи выпускаются с установленными технологическими ограничителями, включающими цилиндрическую втулку и тарельчатый держатель, в комплекте с технологическими ограничителями- колпачками, которые способствуют обеспечению проектной долговечности гибких связей, а также определяют заданное положение связи в наружном слое панели. Гарантийный срок службы связей составляет не менее 50 лет. 6.4.4.3. Данные о геометрических параметрах, точности геометрических размеров, физико-технических характеристиках, нормативных и расчетных значениях основных механических характеристик СПА, нормативные и расчетные значения прочности анкеровки СПА в тяжелом и легком бетоне классов по прочности на сжатие В15 - В40, расчетные значения характеристик арматуры для определения напряженно- деформированного состояния приведены в Технической оценке ФЦС № ТО-07-1349-06. 6.4.5. Допускается применение гибких связей других производителей - ООО «ГАЛЕН», ООО «МАТЕК» и др. при условии выполнения требований п. 6.4.2. настоящих рекомендаций. 6.4.6. Минимально допустимые значения коэффициента теплотехнической однородности панелей, определяемые в соответствии с СП 23-01-2004, должны быть не менее: - 0,7 для панелей с гибкими связями; - 0,6 для панелей с дискретными железобетонными связями. 6.4.7. Число связей, необходимое для обеспечения целостности панели при эксплуатации здания, должно определяться расчетом по апробированным методикам. Типы и расположение связей должны быть указаны в рабочей документации на панель. 6.5. Требования к армированию панелей6.5.1. Для армирования наружных бетонных слоев панелей рекомендуется применять сварные сетки из арматурной проволоки класса Bp-I по ГОСТ 6727. 6.5.2. Для армирования внутренних бетонных слоев панелей рекомендуется применять сварные плоские каркасы, изготовленные из арматуры класса А-III по ГОСТ 5781 и арматурной проволоки класса Bp-I по ГОСТ 6727. 6.5.3. Сварные арматурные элементы для армирования дискретных связей панелей следует изготавливать из арматурной стали класса A-I по ГОСТ 5781 и арматурной проволоки класса Bp-I по ГОСТ 6727. 6.5.4. Стальные арматурные сетки, каркасы и закладные изделия должны отвечать требованиям ГОСТ 23279 и ГОСТ 10922. 6.5.5. Монтажные петли следует изготавливать из арматурной стали класса A-I марки Ст3сп2 по ГОСТ 5781-82. 6.5.6. Закладные детали изготавливаются с использованием полосы стальной по ГОСТ 103-76 и арматурной стали А-II по ГОСТ 5781. 6.5.7. Сварные соединения арматуры и закладных изделий должны удовлетворять требованиям ГОСТ 14098. 6.5.8. Антикоррозийную защиту закладных деталей следует проводить с соблюдением требований СНиП 2.03.11. 6.5.9. Номинальную толщину защитного слоя бетона до арматуры (включая наружный защитно-декоративный или внутренний отделочный слой) следует принимать не менее значений, приведенных в ГОСТ 31310-2005. 6.5.10. Предельные отклонения от проектной толщины защитного слоя бетона до рабочей арматуры следует принимать по ГОСТ 13015. 6.6. Требования к материалам и комплектующим изделиям6.6.1. Материалы для изготовления наружных стеновых панелей должны удовлетворять требованиям ГОСТ 13015-2003, ГОСТ 31310-2005, а также действующих нормативных документов на эти материалы, и обеспечивать получение изделий с заданными показателями. 6.6.2. Окна и балконные двери, устанавливаемые в панелях, должны соответствовать требованиям ГОСТ 11214, ГОСТ 21519, ГОСТ 23166, ГОСТ 24700, ГОСТ 25097, ГОСТ 30674, наружные двери - ГОСТ 475, узлы примыкания к проемам панелей - ГОСТ 30971. 6.6.3. Теплоизоляционные, герметизирующие, уплотняющие, отделочные и прочие материалы и изделия для панелей, изготовляемые с использованием искусственных органических материалов, должны отвечать требованиям государственных санитарно- эпидемиологических правил и нормативов: СанПиН 2.1.2.729-99 и ГН 2.1.6.1338-03. 7. Нормативные ссылкиГОСТ 103-76 Полоса стальная горячекатаная. Сортамент ГОСТ 475-78 Двери деревянные. Общие технические условия ГОСТ 5781-82 Сталь горячекатаная для армирования железобетонных конструкций. Технические условия ГОСТ 6727-80 Проволока из низкоуглеродистой стали холоднотянутая для армирования железобетонных конструкций. Технические условия ГОСТ 10884-94 Сталь арматурная термомеханически упрочненная для железобетонных конструкций. Технические условия ГОСТ 10922-90 Арматурные и закладные изделия сварные, соединения сварные арматуры и закладных изделий железобетонных конструкций. Общие технические условия ГОСТ 11214-2003 Блоки оконные деревянные с листовым остеклением. Технические условия ГОСТ 13015-2003 Изделия железобетонные и бетонные для строительства. Общие технические требования. Правила приемки, маркировки, транспортирования и хранения ГОСТ 14098-91 Соединения сварные арматуры и закладных изделий железобетонных конструкций ГОСТ 21519-2003 Блоки оконные из алюминиевых сплавов. Технические условия ГОСТ 23009-78 Конструкции и изделия бетонные и железобетонные сборные. Условные обозначения (марки) ГОСТ 23166-99 Блоки оконные. Общие технические условия ГОСТ 23279-85 Сетки арматурные сварные для железобетонных конструкций и изделий. Общие технические условия ГОСТ 24700-99 Блоки оконные деревянные со стеклопакетами. Технические условия ГОСТ 25097-2002 Блоки оконные деревоалюминиевые. Технические условия ГОСТ 25820-2000 Бетоны легкие. Технические условия ГОСТ 26633-91 Бетоны тяжелые и мелкозернистые. Технические условия ГОСТ 28013-98 Растворы строительные. Общие технические условия ГОСТ 28984-91 Модульная координация размеров в строительстве. Основные положения ГОСТ 30244-94 Материалы строительные. Методы испытаний на горючесть ГОСТ 30674-99 Блоки оконные из поливинилхлоридных профилей. Технические условия ГОСТ 30971-2002 Швы монтажные узлов примыканий оконных блоков к стеновым проемам. Общие технические условия ГОСТ 31310-2005 Панели стеновые трехслойные железобетонные с эффективным утеплителем. Общие технические условия СНиП 2.01.07-85* Нагрузки и воздействия СНиП 2.03.01-84* Бетонные и железобетонные конструкции СНиП 52-01-2003 Бетонные и железобетонные конструкции. Основные положения СП 52-101-2003 Бетонные и железобетонные конструкции без предварительного напряжения арматуры СНиП 21-01-97* Пожарная безопасность зданий и сооружений МСН 2.04-01-98 Строительная климатология СНиП 23-02-2003 Тепловая защита зданий СП 23-101-2004 Проектирование тепловой защиты зданий СНиП 2.03.11-85 Защита строительных конструкций от коррозии СанПиН 2.1.2.729-99 Полимерные и полимерсодержащие строительные материалы, изделия и конструкции. Гигиенические требования безопасности ГН 2.1.6.1338-03 Предельно-допустимые концентрации (ПДК) загрязняющих веществ в атмосферном воздухе населенных мест ТУ 5767-006-56925804-2007 Плиты полистирольные вспененные экструзионные ПЕНОПЛЭКС® ТУ 2296-001-20994511-04 Арматура стеклопластиковая. Технические условия. ПРИЛОЖЕНИЯПриложение
1
| ||||||||||||||||||||||||||||||||||||||||||||||||||||||||||||||||||||||||||||||||||||||||||||||||||||||||||||||||||||||||||||||||||||||||||||||||||||||||||||||||||||||||||||||||||||||||||||||||||||||||||||||||||||||||||||||||||||||||||||||||||||||||||||||||||||||||||||||||||||||||||||||||||||||||||||||||||||||||||||||||||||||||||||||||||||||||||||||||||||||||||||||||||||||||||||||||||||||||||||||||||||||||||||||||||||||||||||||||||||||||||||||||||||||||||||||||||||||||||||||||||||||||||||||||||||||||||||||||||||||||||||||||||||||||||||||||||||||||||||||||||||||||||||||||||||||||||||||||||||||||||||||||||||||||||||||||||||||||||||||||||||||||||||||||||||||||||||||||||||||||||||||||||||||||||||||||||||||||||||||||||||||||||||||||||||||||||||||||||||||||||||||||||||||||||||||||||||||||||||||||||||||||||||||||||||||||||||||||||||||||||||||||||||||||||||||||||||||||||||||||||||||||||||||||||||||||||||||||||||||||||||||||||||||||||||||||||||||||||||||||||||||||||||||||||||||||||||||||||||||
|
№ п/п |
Город РФ |
Условия эксплуатации |
Градусо-сутки |
Тип здания и помещения |
|
Толщина теплоизоляции, мм, при коэффициенте теплотехнической однородности панели |
||||
|
0,6 |
0,7 |
0,8 |
0,9 |
|||||||
|
1 |
2 |
3 |
4 |
5 |
6 |
7 |
8 |
9 |
10 |
|
|
1 |
Архангельск |
Б |
6170 |
1 |
3 |
56 |
170 |
140 |
130 |
110 |
|
5670 |
2 |
2 |
90 |
140 |
120 |
100 |
90 |
|||
|
2 |
Астрахань |
А |
3540 |
1 |
2 |
64 |
120 |
100 |
90 |
80 |
|
3200 |
2 |
2 |
08 |
90 |
80 |
70 |
60 |
|||
|
3 |
Анадырь |
Б |
9500 |
1 |
4 |
72 |
230 |
190 |
170 |
150 |
|
8900 |
2 |
3 |
87 |
180 |
160 |
140 |
120 |
|||
|
4 |
Барнаул |
А |
6120 |
1 |
3 |
54 |
160 |
140 |
120 |
110 |
|
5680 |
2 |
2 |
90 |
130 |
110 |
100 |
90 |
|||
|
5 |
Белгород |
А |
4180 |
1 |
2 |
86 |
130 |
110 |
100 |
90 |
|
3800 |
2 |
2 |
32 |
100 |
90 |
80 |
70 |
|||
|
6 |
Благовещенск |
Б |
6670 |
1 |
3 |
74 |
180 |
150 |
130 |
120 |
|
6240 |
2 |
3 |
07 |
140 |
120 |
110 |
100 |
|||
|
7 |
Брянск |
Б |
4570 |
1 |
3 |
00 |
140 |
120 |
110 |
90 |
|
4160 |
2 |
2 |
45 |
110 |
100 |
90 |
80 |
|||
|
8 |
Волгоград |
А |
3950 |
1 |
2 |
78 |
130 |
110 |
90 |
80 |
|
3600 |
2 |
2 |
24 |
100 |
90 |
80 |
70 |
|||
|
9 |
Вологда |
Б |
5570 |
1 |
3 |
35 |
160 |
140 |
120 |
110 |
|
5100 |
2 |
2 |
73 |
130 |
110 |
100 |
90 |
|||
|
10 |
Воронеж |
А |
4530 |
1 |
3 |
00 |
140 |
120 |
100 |
90 |
|
4140 |
2 |
2 |
44 |
110 |
90 |
80 |
70 |
|||
|
11 |
Владимир |
Б |
5000 |
1 |
3 |
30 |
160 |
130 |
120 |
100 |
|
4580 |
2 |
2 |
57 |
120 |
100 |
90 |
80 |
|||
|
12 |
Владивосток |
Б |
4680 |
1 |
3 |
04 |
140 |
120 |
110 |
100 |
|
4300 |
2 |
2 |
49 |
120 |
100 |
90 |
80 |
|||
|
13 |
Владикавказ |
А |
3410 |
1 |
2 |
59 |
120 |
100 |
90 |
80 |
|
3060 |
2 |
2 |
02 |
90 |
80 |
70 |
60 |
|||
|
14 |
Грозный |
А |
3060 |
1 |
2 |
47 |
110 |
90 |
80 |
70 |
|
2740 |
2 |
1 |
90 |
80 |
70 |
60 |
60 |
|||
|
15 |
Екатеринбург |
А |
5980 |
1 |
3 |
49 |
160 |
140 |
120 |
110 |
|
5520 |
2 |
2 |
85 |
130 |
110 |
100 |
90 |
|||
|
16 |
Иваново |
Б |
5230 |
1 |
3 |
23 |
150 |
130 |
110 |
100 |
|
4800 |
2 |
2 |
64 |
120 |
110 |
90 |
80 |
|||
|
17 |
Игарка |
Б |
9660 |
1 |
4 |
78 |
230 |
200 |
170 |
150 |
|
9090 |
2 |
3 |
93 |
190 |
160 |
140 |
130 |
|||
|
18 |
Иркутск |
А |
6480 |
1 |
3 |
79 |
170 |
150 |
130 |
120 |
|
6360 |
2 |
3 |
12 |
140 |
120 |
110 |
90 |
|||
|
19 |
Ижевск |
Б |
5680 |
1 |
3 |
39 |
160 |
140 |
120 |
110 |
|
5240 |
2 |
2 |
77 |
130 |
110 |
100 |
90 |
|||
|
20 |
Йошкар Ола |
Б |
5520 |
1 |
3 |
33 |
160 |
140 |
120 |
110 |
|
5080 |
2 |
2 |
72 |
130 |
110 |
100 |
80 |
|||
|
21 |
Казань |
Б |
5420 |
1 |
3 |
30 |
160 |
130 |
120 |
100 |
|
4990 |
2 |
2 |
70 |
130 |
110 |
90 |
80 |
|||
|
22 |
Калининград |
Б |
3650 |
1 |
2 |
68 |
130 |
110 |
90 |
80 |
|
3260 |
2 |
2 |
10 |
100 |
80 |
70 |
60 |
|||
|
23 |
Калуга |
Б |
4810 |
1 |
3 |
08 |
150 |
130 |
110 |
100 |
|
4400 |
2 |
2 |
52 |
120 |
100 |
90 |
80 |
|||
|
24 |
Кемерово |
А |
6540 |
1 |
3 |
69 |
170 |
150 |
130 |
110 |
|
6080 |
2 |
3 |
02 |
140 |
120 |
100 |
90 |
|||
|
25 |
Вятка |
Б |
5870 |
1 |
3 |
45 |
160 |
140 |
120 |
110 |
|
5400 |
2 |
2 |
82 |
130 |
110 |
100 |
90 |
|||
|
1 |
2 |
3 |
4 |
5 |
6 |
7 |
8 |
9 |
10 |
|
|
26 |
Кострома |
Б |
5300 |
1 |
3 |
25 |
150 |
130 |
120 |
100 |
|
4860 |
2 |
2 |
66 |
120 |
110 |
90 |
80 |
|||
|
27 |
Краснодар |
А |
2680 |
1 |
2 |
34 |
100 |
90 |
80 |
70 |
|
2380 |
2 |
1 |
75 |
80 |
60 |
60 |
50 |
|||
|
28 |
Красноярск |
А |
6340 |
1 |
3 |
62 |
170 |
140 |
120 |
110 |
|
5870 |
2 |
2 |
96 |
130 |
120 |
100 |
90 |
|||
|
29 |
Курган |
А |
5980 |
1 |
3 |
49 |
160 |
140 |
120 |
110 |
|
5550 |
2 |
2 |
86 |
130 |
110 |
100 |
90 |
|||
|
30 |
Курск |
Б |
4400 |
1 |
2 |
95 |
140 |
120 |
100 |
90 |
|
4040 |
2 |
2 |
41 |
110 |
100 |
90 |
70 |
|||
|
31 |
Кызыл |
А |
7880 |
1 |
4 |
16 |
190 |
160 |
140 |
130 |
|
7430 |
2 |
3 |
43 |
160 |
130 |
120 |
100 |
|||
|
32 |
Липецк |
А |
4730 |
1 |
3 |
06 |
140 |
120 |
100 |
90 |
|
4320 |
2 |
2 |
50 |
110 |
100 |
80 |
70 |
|||
|
33 |
Магадан |
Б |
7800 |
1 |
4 |
13 |
200 |
170 |
150 |
130 |
|
7230 |
2 |
3 |
37 |
160 |
140 |
120 |
110 |
|||
|
34 |
Махачкала |
А |
2560 |
1 |
2 |
30 |
100 |
90 |
80 |
70 |
|
2260 |
2 |
1 |
70 |
70 |
60 |
60 |
50 |
|||
|
35 |
Москва |
Б |
4940 |
1 |
3 |
13 |
150 |
130 |
110 |
100 |
|
4520 |
2 |
2 |
55 |
120 |
100 |
90 |
80 |
|||
|
36 |
Мурманск |
Б |
6380 |
1 |
3 |
63 |
170 |
150 |
130 |
120 |
|
5830 |
2 |
2 |
95 |
140 |
120 |
100 |
90 |
|||
|
37 |
Нальчик |
А |
3260 |
1 |
2 |
54 |
110 |
100 |
90 |
80 |
|
2920 |
2 |
1 |
97 |
90 |
70 |
60 |
60 |
|||
|
38 |
Нижний Новгород |
Б |
5180 |
1 |
3 |
21 |
150 |
130 |
110 |
100 |
|
4750 |
2 |
2 |
63 |
120 |
110 |
90 |
80 |
|||
|
39 |
Новгород |
Б |
4930 |
1 |
3 |
13 |
150 |
130 |
110 |
100 |
|
4490 |
2 |
2 |
55 |
120 |
100 |
90 |
80 |
|||
|
40 |
Новосибирск |
А |
6600 |
1 |
3 |
71 |
170 |
150 |
130 |
110 |
|
6140 |
2 |
3 |
04 |
140 |
120 |
100 |
90 |
|||
|
41 |
Омск |
А |
6280 |
1 |
3 |
60 |
170 |
140 |
120 |
110 |
|
5840 |
2 |
2 |
85 |
130 |
110 |
100 |
90 |
|||
|
42 |
Оренбург |
А |
5310 |
1 |
3 |
26 |
150 |
130 |
110 |
100 |
|
4900 |
2 |
2 |
67 |
120 |
100 |
90 |
80 |
|||
|
43 |
Орел |
Б |
4650 |
1 |
3 |
03 |
140 |
120 |
110 |
100 |
|
4250 |
2 |
2 |
48 |
120 |
100 |
90 |
80 |
|||
|
44 |
Пенза |
А |
5070 |
1 |
3 |
17 |
140 |
120 |
110 |
100 |
|
4660 |
2 |
2 |
60 |
120 |
100 |
90 |
80 |
|||
|
45 |
Пермь |
Б |
5930 |
1 |
3 |
48 |
170 |
140 |
120 |
110 |
|
5470 |
2 |
2 |
84 |
130 |
110 |
100 |
90 |
|||
|
46 |
Петрозаводск |
Б |
5540 |
1 |
3 |
34 |
160 |
140 |
120 |
110 |
|
5060 |
2 |
2 |
85 |
130 |
110 |
100 |
90 |
|||
|
47 |
Петропавловск Камчатский |
Б |
4760 |
1 |
3 |
07 |
140 |
120 |
110 |
100 |
|
4250 |
2 |
2 |
48 |
120 |
100 |
90 |
80 |
|||
|
48 |
Псков |
Б |
4580 |
1 |
3 |
00 |
140 |
120 |
110 |
90 |
|
4160 |
2 |
2 |
45 |
110 |
100 |
90 |
80 |
|||
|
49 |
Ростов-на-Дону |
А |
3520 |
1 |
2 |
63 |
120 |
100 |
90 |
80 |
|
3180 |
2 |
2 |
07 |
90 |
80 |
70 |
60 |
|||
|
50 |
Рязань |
Б |
4890 |
1 |
3 |
11 |
150 |
130 |
110 |
100 |
|
4470 |
2 |
2 |
54 |
120 |
100 |
90 |
80 |
|||
|
51 |
Самара |
Б |
5110 |
1 |
3 |
19 |
150 |
130 |
110 |
100 |
|
4710 |
2 |
2 |
61 |
120 |
100 |
90 |
80 |
|||
|
52 |
Санкт-Петербург |
Б |
4800 |
1 |
3 |
08 |
150 |
120 |
110 |
100 |
|
4360 |
2 |
2 |
51 |
120 |
100 |
90 |
80 |
|||
|
1 |
2 |
3 |
4 |
5 |
6 |
7 |
8 |
9 |
10 |
|
|
53 |
Саранск |
А |
5120 |
1 |
3 |
19 |
150 |
120 |
110 |
100 |
|
4700 |
2 |
2 |
61 |
120 |
100 |
90 |
80 |
|||
|
54 |
Саратов |
А |
4760 |
1 |
3 |
07 |
140 |
120 |
100 |
90 |
|
4370 |
2 |
2 |
51 |
110 |
100 |
90 |
80 |
|||
|
55 |
Салехард |
Б |
9170 |
1 |
4 |
61 |
220 |
190 |
170 |
150 |
|
8590 |
2 |
3 |
78 |
180 |
150 |
140 |
120 |
|||
|
56 |
Смоленск |
Б |
4820 |
1 |
3 |
09 |
140 |
120 |
110 |
100 |
|
4400 |
2 |
2 |
52 |
120 |
100 |
90 |
80 |
|||
|
57 |
Ставрополь |
А |
3210 |
1 |
2 |
52 |
110 |
100 |
80 |
80 |
|
2880 |
2 |
1 |
95 |
90 |
70 |
60 |
60 |
|||
|
58 |
Сыктывкар |
Б |
6320 |
1 |
3 |
61 |
170 |
150 |
130 |
110 |
|
5830 |
2 |
2 |
95 |
140 |
120 |
100 |
90 |
|||
|
59 |
Тамбов |
А |
4760 |
1 |
3 |
07 |
140 |
120 |
100 |
90 |
|
4360 |
2 |
2 |
51 |
110 |
100 |
80 |
80 |
|||
|
60 |
Тверь |
Б |
5010 |
1 |
3 |
15 |
150 |
130 |
110 |
100 |
|
4580 |
2 |
2 |
57 |
120 |
100 |
90 |
80 |
|||
|
61 |
Томск |
Б |
6700 |
1 |
3 |
75 |
180 |
150 |
130 |
120 |
|
6230 |
2 |
3 |
07 |
140 |
120 |
110 |
100 |
|||
|
62 |
Тула |
Б |
4760 |
1 |
3 |
07 |
140 |
120 |
110 |
100 |
|
4350 |
2 |
2 |
50 |
120 |
100 |
90 |
80 |
|||
|
63 |
Тюмень |
А |
6120 |
1 |
3 |
54 |
160 |
140 |
120 |
110 |
|
5670 |
2 |
2 |
90 |
130 |
110 |
100 |
90 |
|||
|
64 |
Ульяновск |
А |
5380 |
1 |
3 |
29 |
150 |
130 |
110 |
100 |
|
4960 |
2 |
2 |
69 |
120 |
100 |
90 |
80 |
|||
|
65 |
Улан-Удэ |
А |
7200 |
1 |
3 |
92 |
180 |
150 |
140 |
120 |
|
6730 |
2 |
3 |
22 |
150 |
130 |
110 |
100 |
|||
|
66 |
Уфа |
А |
5520 |
1 |
3 |
33 |
150 |
130 |
110 |
100 |
|
5090 |
2 |
2 |
73 |
120 |
110 |
90 |
80 |
|||
|
67 |
Хабаровск |
Б |
6180 |
1 |
3 |
56 |
170 |
140 |
130 |
110 |
|
5760 |
2 |
2 |
93 |
140 |
120 |
100 |
90 |
|||
|
68 |
Чебоксары |
Б |
5400 |
1 |
3 |
29 |
160 |
130 |
120 |
100 |
|
4970 |
2 |
2 |
70 |
130 |
110 |
90 |
80 |
|||
|
69 |
Челябинск |
А |
5780 |
1 |
3 |
43 |
160 |
130 |
120 |
100 |
|
5340 |
2 |
2 |
80 |
130 |
110 |
90 |
80 |
|||
|
70 |
Чита |
А |
7600 |
1 |
4 |
06 |
190 |
160 |
140 |
130 |
|
7120 |
2 |
3 |
34 |
150 |
130 |
110 |
100 |
|||
|
71 |
Элиста |
А |
3670 |
1 |
2 |
68 |
120 |
100 |
90 |
80 |
|
3320 |
2 |
2 |
13 |
90 |
80 |
70 |
60 |
|||
|
72 |
Южно-Сахалинск |
Б |
5590 |
1 |
3 |
36 |
160 |
140 |
120 |
110 |
|
5130 |
2 |
2 |
74 |
130 |
110 |
100 |
90 |
|||
|
73 |
Якутск |
А |
10400 |
1 |
5 |
04 |
230 |
200 |
180 |
160 |
|
9900 |
2 |
4 |
17 |
190 |
170 |
140 |
130 |
|||
|
74 |
Ярославль |
Б |
5300 |
1 |
3 |
26 |
150 |
130 |
120 |
100 |
|
4860 |
2 |
2 |
66 |
120 |
110 |
90 |
80 |
|||
Примечание:
Тип здания и помещения 1 - жилые, лечебно-профилактические и детские учреждения, школы, интернаты.
Тип здания и помещения 2 - общественные, кроме указанных в типе 1, административные и бытовые, за исключением помещений с влажным и мокрым режимом.


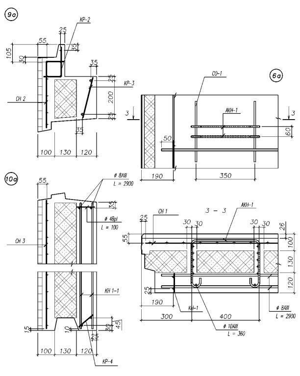
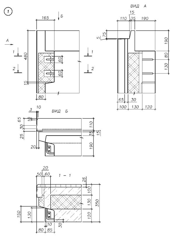
Рис. 2. Раскладка плит ПЕНОПЛЭКС® 35

Рис. 3. Армирование наружного и внутреннего слоев панели
СПЕЦИФИКАЦИЯ АРМАТУРЫ

Рис. 5.1. Узлы опалубочные

Рис. 5.2. Узлы опалубочные

Рис. 5.3. Узлы опалубочные

Рис. 6.1. Узлы арматурные

Рис. 6.2. Узлы арматурные
1. № ТС-07-1349-06
Наименование продукции: Арматура стеклопластиковая
Назначение: Для гибких связей трехслойных сборных железобетонных стеновых панелей ...
Заявитель: Бийский завод стеклопластиков Приложение: Техническая оценка ФЦС № ТО-07-1349-06.
2. № ТС-07-1542-06
Наименование продукции: Панели стеновые железобетонные трехслойные с гибкими связями из стеклопластиковой арматуры
Назначение: Для зданий и сооружений различного назначения, в том числе жилых
Заявитель: Бийский завод стеклопластиков Приложение: Техническая оценка ФЦС № ТО-07-1542-06.


Приложение
4
Сертификаты и заключения на плиты ПЕНОПЛЭКС®








УСЛОВИЯ ПРИМЕНЕНИЯ ЗНАКА ПРИГОДНОСТИ
Настоящее техническое свидетельство дает заявителю право маркировать в течение срока действия технического свидетельства документ о качестве, техническую (проектную) или другую товаросопроводительную документацию на продукцию указанного наименования знаком пригодности, приведенным на рис.
Маркирование продукции осуществляет заявитель (производитель, изготовитель, разработчик, продавец) в течение срока действия технического свидетельства способами, обеспечивающими его четкое изображение, стойкость к внешним воздействующим факторам.
Наносимый знак пригодности должен быть одноцветным и контрастным на фоне поверхности, на которую он нанесен.
Изображение знака пригодности может быть выполнено гравированием, травлением, литьем, печатанием или другим способом, обеспечивающим соблюдение предъявляемых к нему требований.
Базовый размер D (см. рис.)
должен быть не менее
ЗНАК ПРИГОДНОСТИ, ФОРМА И РАЗМЕРЫ

ТЕХНИЧЕСКАЯ ОЦЕНКА
ПРИГОДНОСТИ ПРОДУКЦИИ ДЛЯ ПРИМЕНЕНИЯ В СТРОИТЕЛЬСТВЕ
ТО №0638-02
Продукция: Панели стеновые бетонные и железобетонные трехслойные с гибкими связями из стеклопластиковой арматуры
Разработчик/Изготовитель: Бийский завод стеклопластиков (Россия)
Назначение: Для зданий и сооружений различного назначения, в том числе жилых
Настоящий документ
является обязательным приложение к техническому свидетельству Госстроя России №TC-Q7-0638-02;
содержит
|
|
|
1. ОБЩИЕ ПОЛОЖЕНИЯ
1.1. Настоящий документ распространяется на панели стеновые бетонные и железобетонные трехслойные с гибкими связями из стеклопластиковой арматуры (далее - продукция), предназначенные для зданий и сооружений различного назначения, в том числе жилых.
1.2. Техническая оценка продукции проведена на основании результатов экспертизы представленных заявителем технических данных по продукции, документов и материалов.
1.3 Панели стеновые бетонные и железобетонные трехслойные с гибкими связями (далее - панели) разработаны Бийским заводом стеклопластиков (далее - БЗС).
1.4. В качестве гибких связей, соединяющих наружный и внутренний слой панелей, применяют специальные изделия из стеклопластиковой арматуры, разработанные и изготавливаемые БЗС по ТУ 2296-001-20994511-02, разработанным БЗС в соответствии с требованиями технического свидетельства Госстроя России № ТС-07-0451-01 от 26.12.01.
1.5. Положения, содержащиеся в настоящем документе, по мере накопления опыта применения данной продукции и получения новой информации о её свойствах могут быть в дальнейшем ФЦС дополнены, изменены или отменены.
1.6. ФЦС имеет право производить проверку соблюдения требований, содержащихся в настоящем документе, и в необходимых случаях приостанавливать его действие.
2. ПРИНЦИПИАЛЬНОЕ ОПИСАНИЕ ПРОДУКЦИИ
2.1. Панели включают в себя:
- внутренний несущий железобетонный слой;
- средний теплоизоляционный слой (плитный, заливочный и комбинированный виды утеплителя);
- горизонтальные и наклонные гибкие связи (далее - связи);
- наружный (фасадный) ненесущий слой.
2.2. Внутренний (со стороны помещения) несущий железобетонный слой панели выполняют из тяжелого или легкого бетона класса прочности на сжатие не ниже В12,5 (для несущих и ненесущих стен).
2.3. Толщины железобетонных слоев назначают в соответствии с расчетом панели на прочность и требований по степени огнестойкости стен.
2.4. В панелях используют четыре вида связей: рядовые распорки, растянутые наклонные подвески, сжатые распорки, подкосы (рис. 1).
2.5. Рядовые распорки воспринимают поперечные силы при вертикальном сдвиге железобетонных слоев панели относительно друг друга, работают на осевые усилия от ветровой нагрузки и нагрузки при извлечении панели из формы, а также обеспечивают связь между слоями панели.
Растянутые наклонные подвески (далее - подвески) воспринимают усилие от массы наружного железобетонного слоя и часть усилия от массы утеплителя. Подвески в панели устанавливают по вертикали, как правило, под углом к плоскости панели равным 45°С, таким образом, чтобы нагрузки от массы облицовочного и теплоизоляционного слоев создавали в подвесках растягивающее усилие:
Сжатые распорки расположены у нижних концов подвесок и воспринимают совместно с утеплителем сжимающие усилия, возникающие при растяжении подвесок, а также осевые сжимающие или растягивающие (в зависимости от направления ветра) усилия от ветровой нагрузки и нагрузки, возникающие при подъеме панели с поддона.
Подкосы придают панели необходимую жесткость, предотвращая взаимное смещение слоев. Подкосы располагают, в панели по горизонтали (рассматривая панель в монтажном положении), как правило, под углом 45°С к плоскости панели.
2.6. Все связи (рис. 2) изготавливают из
арматуры диаметром di -
Для обеспечения долговечности связей торцы стержней в предусмотренных проектом случаях защищают упорными наконечниками (защитными колпачками - рис. 5, 6), которые также обеспечивают проектное положение связи по толщине панели.
3. НАЗНАЧЕНИЕ И ДОПУСКАЕМАЯ ОБЛАСТЬ ПРИМЕНЕНИЯ ПРОДУКЦИИ
Назначение
3.1. Новое строительство и реконструкция зданий и сооружений различного назначения, в т.ч. жилых, I, II и III уровней ответственности.
3.2. Панели могут проектироваться как несущие, так и ненесущие (самонесущие и навесные).
Допускаемая область применения
3.3. По геологическим и геофизическим условиям - обычные условия строительства.
3.4. По природно-климатическим условиям:
- расчетное значение ветрового давления на панель и расчетная зимняя температура наружного воздуха равная, средней температуре наиболее холодной пятидневки с обеспеченностью 0,92 - по расчету;
- рабочий интервал температур для связей, °С - от минус 60 до плюс 45;
- зона влажности для связей - сухая, нормальная, влажная;
- степень агрессивности среды для связей - неагрессивная, слабоагрессивная.
3.5. По условиям эксплуатации:
- степень агрессивности внутренней среды для связей - неагрессивная или слабоагрессивная;
- влажностный режим помещений для связей - сухой, нормальный, влажный, мокрый.
3.6. По требованиям пожарной безопасности (СНиП 21-01-97) - минимальная толщина бетонных слоев панелей с горючим теплоизоляционным слоем для обеспечения надежной работы связей при пожаре приведена в табл. 1.
|
Вид конструкции |
Степень огнестойкости здания |
Допускаемая высота здания, м |
Минимальный требуемый предел огнестойкости конструкции, ч |
Минимальная толщина наружного бетонного слоя, см тяжелый бетон легкий бетон |
Минимальная толщина внутреннего бетонного слоя, см тяжелый бетон легкий бетон |
|
Наружная несущая стена |
I |
75 |
R 120 |
6/5 |
11/10 |
|
II |
50 |
R 75 |
6/5 |
10/9 |
|
|
III |
28 |
R 45 |
5/4 |
8/7 |
|
|
Наружная ненесущая стена |
I |
75 |
Е 30 |
6/5 |
8/8 |
|
II |
50 |
Е 15 |
6/5 |
7/6 |
|
|
III |
28 |
Е 15 |
5/4 |
6/5 |
3.7. Гарантийный срок эксплуатации связей - по техническим условиям, срок службы - не менее 50 лет.
4. ОБОСНОВАНИЕ БЕЗОПАСНОСТИ, НАДЁЖНОСТИ И ОБЛАСТИ ПРИМЕНЕНИЯ ПРОДУКЦИИ
Соответствие характеристик панелей требованиям нормативных документов, а также назначению и области применения, указанных в разделе 3 настоящего документа, установлено на основе представленных заявителем документов [7.1. - 7.7.], анализа и оценки результатов:
- комплексных исследований прочности и деформативности трёхслойных железобетонных панелей с гибкими связями из стеклопластиковой арматуры (далее - панели), выполненных: Бийским заводом стеклопластиков, Сибирским государственным университетом путей сообщения, 211 комбинатом ЖБИ МОРФ, Красноярским ПромстройНИИпроектом и Сибирским зональным НИИ экспериментального проектирования [7.8. - 7.14.];
- испытаний по пожарной безопасности панелей наружных стен жилых зданий [7.15.].
5. ОСНОВНЫЕ ТЕХНИЧЕСКИЕ ТРЕБОВАНИЯ К ПРОДУКЦИИ
5.1. Панели должны соответствовать требованиям ГОСТ 11024-84, СНиП 2.03.01-84* и настоящего документа.
5.2. Отклонения от основных проектных размеров не должны превышать следующих величин:
- по длине и высоте слоя
панели ±
- по толщине слоя панели ±
- по толщине слоя утеплителя ±
- по положению связей:
- в плоскости панели ±
- из плоскости панели ±
5.3. Вид и количество связей определяют расчетом в соответствии с [7.6.].
Связи рассчитывают на нагрузки и воздействия:
- от собственного веса железобетонных конструкций и утеплителя (на всех стадиях возведения и эксплуатации);
- ветровой нагрузки;
- температурного воздействия.
При этом должны быть учтены рекомендуемые нормами коэффициенты безопасности, надежности и условий работы для каждого расчетного случая.
5.4. Независимо от результатов
расчета при площади панели до
5.5. Подвески должны располагаться в верхней части панели, преимущественно в одном горизонтальном ряду. Допускается устанавливать подвески в двух горизонтальных рядах, расположенных в верхней трети панели. Для повышения надежности их работы в каждой стеновой панели следует устанавливать на 1-2 подвески больше, чем это требуется по расчету. Дополнительные подвески следует устанавливать в наиболее ответственных местах.
5.6. Суммарная площадь
распорок должна быть не менее 0,5 см2 на
5.7. Подкосы (не менее четырех) располагают в верхней и нижней частях панели симметрично относительно вертикальной оси панели.
5.8. Для расчета связей необходимо использовать физико-механические характеристики стеклопластиковой арматуры, приведенные в табл. 2 и 3.
Таблица 2
|
№№ пп |
Наименование характеристики |
Обозначение |
Единица измерения |
Расчетное значение |
|
1. |
Модуль упругости при |
|
МПа |
|
|
- растяжении |
Еср |
50000 |
||
|
- сжатии |
Есс |
30000 |
||
|
2. |
Модуль ползучести при |
|
МПа |
|
|
- растяжении |
Еср |
40000 |
||
|
- сжатии |
Есс |
24000 |
||
|
3. |
Относительная деформация при разрыве |
ε |
% |
2,8 |
|
4. |
Коэффициент линейного расширения |
αct |
К-1 |
0,60∙10-5 |
|
5. |
Коэффициент теплопроводности |
λс |
Вт/(м∙К) |
0,48 |
Таблица 3
Расчетные характеристики стеклопластиковой арматуры
диаметрам
|
Вид разрушающего воздействия |
Нормативные сопротивления Rcin |
Расчетные значения сопротивления Rci |
|
Растяжение |
Rcpn = 900 МПа (9200 кгс/см2) |
Rсp = 700 МПа (7100 кгс/см2) |
|
Сжатие |
Rccn = 700 МПа (7100 кгс/см2) |
Rсс = 600 МПа (6100 кгс/см2) |
|
Изгиб |
Rсиn = 1200 МПа (12200 кгс/см2) |
Rси = 900 МПа (9200 кгс/см2) |
|
Срез поперек волокон |
Rcqn = 200 Мпа (2040 кгс/см2) |
Rcq =175 МПа (1780 кгс/см2) |
5.9. Значения усилий при выдергивании связи из бетона в зависимости от класса бетона и глубины анкеровки даны в табл. 4.
Таблица 4
|
Класс бетона |
Глубина анкеровки, hс, км |
Усилие выдергивания |
|
|
нормативные значения Fcbn = Fcb1ser1kH(кгс) |
расчетные значения Fcb = Fсbn/γсbt kH(кгс) |
||
|
В12,5 |
40 60 80 |
3,55 (363) 5,43 (554) 8,13 (829) |
2,37 (242) 3,63 (370) 5,43 (554) |
|
В15 |
40 60 80 |
4,25 (435) 6,50 (665) 9,75 (995) |
2,85 (290) 4,35 (445) 6,50 (665) |
|
В20 |
40 60 80 |
5,10 (520) 7,95 (810) 11,65 (1185) |
3,40 (345) 5,30 (540) 7,75 (790) |
|
В25 |
40 60 80 |
5,90 (600) 9,25 (945) 13,35 (1360) |
3,90 (400) 6,15 (630) 8,85 (905) |
|
ВЗО |
40 60 80 |
6,65 (680) 10,50 (1070) 1490 (1520) |
4,45 (450) 7,00 (715) 9,95 (1010) |
|
В35 |
40. 60 80 |
7,35 (750) 11,70 (1190) 16,35 (1665) |
4,90 (500) 7,80 (795) 10,90 (1110) |
|
В40 |
40 60 80 |
8,00 (815) 12,85 (1310) 17,75 (1805) |
5,35 (545) 8,55 (8751) 11,80 (1205) |
5.10. Значения коэффициентов условий работы, учитывающих влияния кратковременных и периодически действующих нагрузок, приведены в табл. 5.
Таблица 5
|
Учитываемые факторы |
Коэффициент γci |
|
|
условное обозначение |
числовое значение |
|
|
1. Нахождение связей в нейтральной среде - в воде или лад ее поверхностью |
γc1 |
0,95 |
|
2. Нахождение связей в щелочной среде с pH = 12 или в кислой среде pH = 5 |
γc2 |
0,94 |
|
3. Нахождение связей в бетоне в процессе тепловлажностной обработки по схеме (2 + 3 + 6 + 2) часов с прогревом до 80 °С |
γc3 |
0,93 |
|
4. Нахождение связей без бетона или в бетоне в условиях замораживания-оттаивания (морозостойкость по стандартной программе до 150 циклов) |
γc4 |
0,94 |
|
5. Разрушение связи при кратковременной выдержке при напряжениях более 65... 70 % от разрушающего усилия |
γc5 |
0,65 |
5.11. При расчете гибких связей необходимо учитывать:
- коэффициент старения γс6 в зависимости от климатического района (табл. 6);
- коэффициент долговременной прочности γс7, учитывающий влияние длительного воздействия на связи постоянных усилий и температуры эксплуатации обусловленной климатическим районом (табл. 7);
- коэффициент надежности связей в зависимости от их количества γс8 (табл. 8);
- коэффициенты условий работы анкерного уширения связи в бетоне (табл. 9) - γсв2, γсв6, γсв9, γсв13, γсв14.
Таблица 6
|
Характеристика климатического района по ГОСТ 16350-80 |
Коэффициент γс6 |
|
Очень холодный |
0,825 |
|
Холодный |
0,892 |
|
Арктический влажный |
0,951 |
|
Умеренно холодный |
0,776 |
|
Умеренный |
0,762 |
|
Умеренно влажный |
0,776 |
|
Умеренно теплый |
0,675 |
|
Умеренно теплый влажный |
0,776 |
|
Умеренно теплый с влажной зимой |
0,635 |
|
Теплый влажный |
0,530 |
Таблица 7
|
Характеристика климатического района по ГОСТ 16350-80 |
Коэффициент γс |
|
|
без учета солнечной радиации |
с учетом солнечной радиации |
|
|
Очень холодный |
0,333 |
0,222 |
|
Холодный |
0,372 |
0,261 |
|
Арктический влажный |
0,426 |
0,315 |
|
Умеренно холодный |
0,325 |
0,214 |
|
Умеренный |
0,329 |
0,218 |
|
Умеренно влажный |
0,433 |
0,322 |
|
Умеренно теплый |
0,318 |
0,201 |
|
Умеренно теплый влажный |
0,437 |
0,326 |
|
Умеренно теплый с влажной зимой |
0,311 |
0,200 |
|
Теплый влажный |
0,298 |
0,187 |
Таблица 8
|
Количество учитываемых связей |
1 |
св. 2 до 6 |
св. 6 до 12 |
св. 12 |
|
Значение коэффициента γс8 |
1,00 |
1,07 |
1,10 |
1,12 |
Таблица 9
|
Учитываемый фактор |
Коэффициент (γсb)i |
|
|
условное обозначение |
числовое значение |
|
|
Длительное действие нагрузки |
γсв2 |
0,90 |
|
Попеременное замораживание и оттаивание в условиях эпизодического водонасыщения при расчетной зимней температуре наружного воздуха: |
|
|
|
- минус 40°С и выше |
γсв6 |
1,00 |
|
- ниже минус 40°С |
γсв6 |
0,90 |
|
Отсутствие косвенного армирования в зоне выдергивания связи (бетонные конструкции) |
γсв9 |
0,90 |
|
Неравномерное распределение напряжений в бетоне в зоне анкеровки гибкой связи (при совместном действии отрывающей силы Тсв, изгибающего момента Мсв и поперечной силы Осв) |
γсв13 |
0,75 |
|
Работа анкерного уширения в легком бетоне |
γсв14 |
0,80 |
5.12. Совместное влияние факторов для конкретных расчетных случаев производится с помощью обобщенного коэффициента сочетаний γу, представляющего собой произведение соответствующих коэффициентов условий работы (табл. 10).
Таблица 10
|
Стадия |
Нагрузочные воздействия |
Рассчитываемые элементы |
Расчетное сочетание коэффициентов условий работы |
|
Изготовление |
Подъем с поддона, хранение, транспортирование и монтаж |
Подвески, распорки, подкосы |
γу = γс1 γс2 γс3 γс4 γс5 |
|
Анкеровка связи |
γу = γсв1 γсв6 γсв3 γсв9 γсв13 (γсв14) |
||
|
Эксплуатация |
Собственный вес, температурные нагрузки |
Подвески, распорки |
γу = γс6 γс7 γс8 |
|
Анкеровка связи |
γу = γсв2 γсв6 γсв9 γсв13 (γсв14) |
||
|
Ветровая нагрузка |
Распорки |
γу = γс1 γс4 γс5 γсв6 |
|
|
Анкеровка связи |
γу = γсв2 γсв6 γсв9 γсв13 (γсв14) |
5.13. Требования к расчету связей
При проектировании панелей, как правило, может использоваться упрощенная расчетная схема (рис. 7) для определения усилий в связях.
При проверочных расчетах целесообразно использовать метод конечных элементов (МКЭ).
5.14. Требования к входному контролю
При входном контроле связей проверять:
- целостность упаковки связей и наличие маркировки на упаковке;
- наличие документа о качестве на полученную партию связей;
- соответствие полученной партии связей заказу и проектной документации на панель.
5.15. Требования к точности установки связей в соответствии с [7.4. - 7.5.].
5.16. Требования к хранению, транспортированию, эксплуатации и ремонту панелей с гибкими связями аналогичны требованиям к трехслойным панелям со стальными гибкими связями, выпускаемыми по ГОСТ 11024-84.
6. УСЛОВИЯ БЕЗОПАСНОГО И НАДЁЖНОГО ПРИМЕНЕНИЯ ПРОДУКЦИИ
6.1. Изготовление панелей и установка связей должны производится в соответствии с технической документацией и технологическим регламентом, согласованным и утверждённым в установленном порядке.
6.2. Каждая партия связей должна иметь документ о качестве, в котором кроме общих сведений о партии должны быть приведены конкретные сведения об использованных материалах и результатах приемочных испытаний партии.
6.3. При формировании железобетонных слоев панелей должны соблюдаться требования ГОСТ 13015.0-83, в том числе требования к бетону, а также к его отпускной прочности, к арматурным сталям и закладным изделиям, к точности изготовления, к качеству поверхностей и внешнему виду изделий.
Требования к теплоизоляционному слою должны соответствовать ГОСТ 11024-84.
6.4. При монтаже панелей должны соблюдаться требования СНиП 3.01.01-87, в том числе отклонения окончательно смонтированных конструкций от проектного положения.
6.5. Конструкция швов между панелями Должна обеспечивать свободу перемещений панели при всех внешних воздействиях.
7. ПЕРЕЧЕНЬ ИСПОЛЬЗОВАННЫХ ДОКУМЕНТОВ И МАТЕРИАЛОВ
7.2. Техническое свидетельство Госстроя России № ТС-07-0637-02 от 27.12.2002 г. на арматуру стеклопластиковую для гибких связей сборных железобетонных трехслойных стеновых панелей, бетонных, каменных, комбинированных стен и для армирования бетонных и каменных конструкций.
7.3. ТУ 2296-001 -20994511 -02 "Арматура стеклопластиковая. Технические условия".
7.4. ГОСТ 11024-84 Панели стеновые наружные бетонные и железобетонные для жилых и общественных зданий. Общие технические условия.
7.9. Заключение по результатам испытаний железобетонных конструкций по ГОСТ 8829-94. Испытание опытной трехслойной панели ЗНС 30.28.35-200-0 с гибкими стеклопластиковыми связями на прочность, жесткость и трещиностойкость. Красноярский ПромстройНИИПроект, 1998.
7.10. Заключение по результатам испытаний по определению несущей способности, гибких стеклопластиковых связей. Определение несущей способности гибких стеклопластиковых связей в составе опытной трехслойной панели ЗНС 30.28.35-200-0. Красноярский ПромстройНИИПроект, 1998.
7.11. Заключение по
результатам испытаний опытной стеновой панелей ЗНС 30.28.35-200-0 с гибкими
связями из стеклопластика диаметром
7.12. Заключение по
результатам испытаний опытной стеновой панели ЗНС 30.28.35-200-0 с гибкими
связям из стеклопластиковой арматуры диаметром
7.13. Заключение по результатам испытаний фрагмента трехслойной стеновой панели с гибкими связями из стеклопластиковой арматуры, изготовленной БЗС. СибЗНИИЭП, г. Новосибирск, 1998.
7.14. Протокол контрольного испытания стеновой панели марки Н2-1 (со стеклопластиковыми связями). 211 Комбинат ЖБИ МО РФ, 1999.
|
Эксперт |
|
Д.М. Лаковский |
Настоящий документ действителен до 27 декабря

Рис. 1 - Схема расположения гибких связей в стеновой панели
1 - растянутые подвески; 2 - наиболее сжатые распорки; 3 - рядовые распорки; 4-подкосы.

Рис. 2
Гибкая связь - стеклопластиковая арматура типа 2 по ТУ 2296-001-20994511

Рис. 3
Гибкая связь с технологическим ограничителем под углом 90° к оси

Рис. 4
Гибкая связь с технологическим ограничителем под углом 45° к оси

Рис.5
Упорный (защитный) колпачок

Рис. 6
Гибкая связь с установленным упорным наконечником

G = G1 + G2 F3 = F2 = G∙tgα
Рис. 7
Упрощенная расчётная схема для определения усилий в гибких связях
|
|
|
|