//
|
|
ОАО «ЦНИИПРОМЗДАНИЙ»
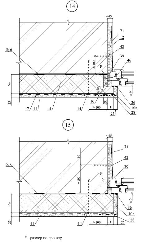
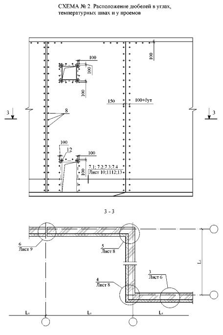
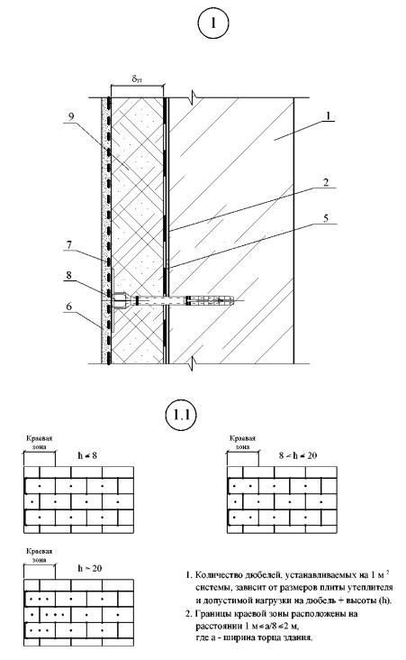
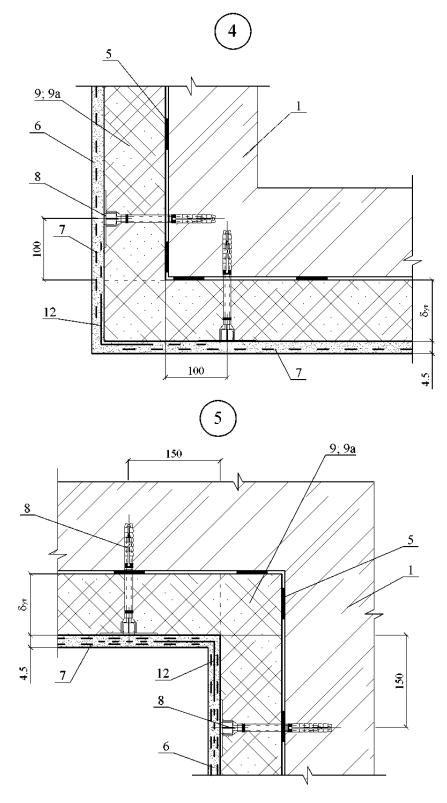
СТЕНЫ, ПОКРЫТИЯ (В Т.Ч. КРОВЛИ), ПОЛЫ (В Т.Ч. ХОЛОДИЛЬНЫХ КАМЕР), ПЕРЕГОРОДКИ, ОГРАЖДАЮЩИЕ КОНСТРУКЦИИ МАНСАРД И ЧЕРДАЧНЫЕ ПЕРЕКРЫТИЯ С ПРИМЕНЕНИЕМ МИНИРАЛОВАТНЫХ ПЛИТ «ТЕХНО» И ПЕНОПОЛИСТИРОЛЬНЫХ ПЛИТ «ТЕХНОПЛЕКС» МАТЕРИАЛЫ ДЛЯ ПРОЕКТИРОВАНИЯ И РАБОЧИЕ ЧЕРТЕЖИ УЗЛОВ ШИФР М24.04/07
Зам. Генерального директора С.М. Гликин Руководитель отдела А.М. Воронин
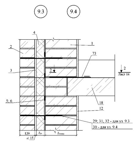
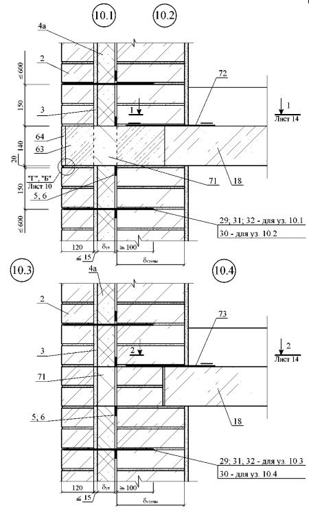
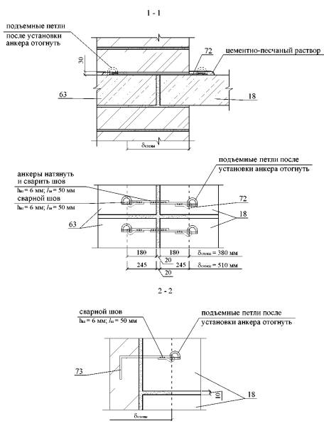
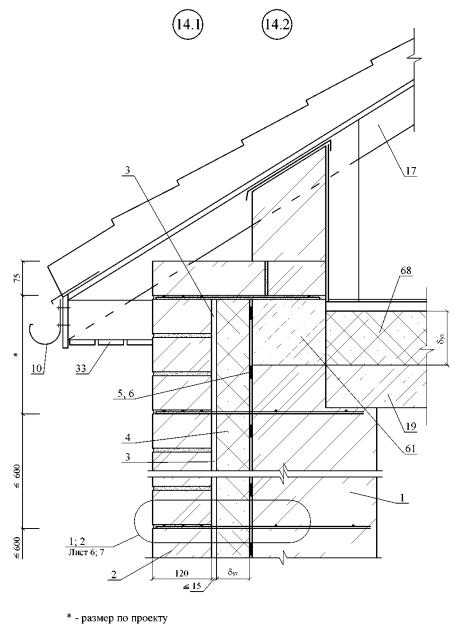
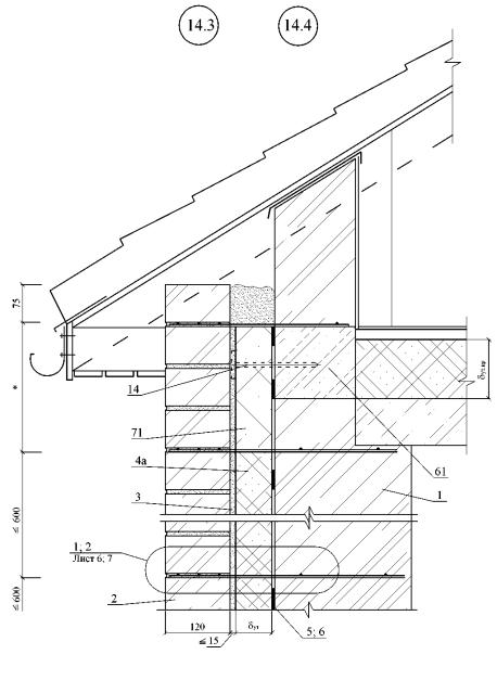
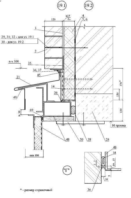
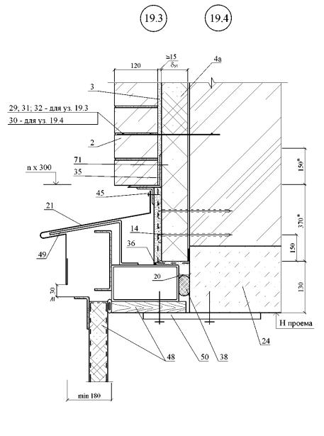
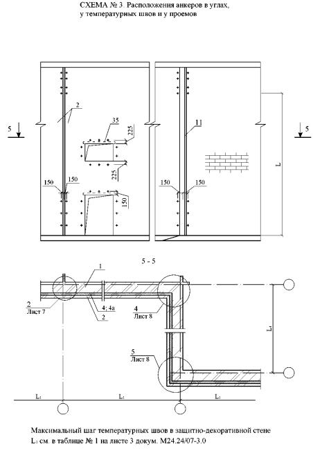
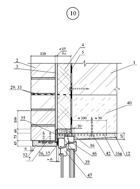
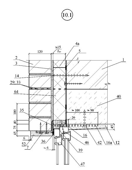
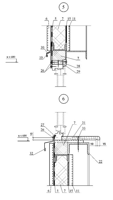
Содержание 1 ОБЩИЕ ПОЛОЖЕНИЯ1.1. Альбом содержит материалы для проектирования и рабочие чертежи узлов трехслойных стен, стен подвала, покрытий, чердачных перекрытий, перегородок, ограждающих конструкций мансард и полов отапливаемых зданий различного назначения с теплоизоляцией из минераловатных плит ТЕХНОЛАЙТ ЭКСТРА, ТЕХНОЛАЙТ ОПТИМА, ТЕХНОЛАЙТ ПРОФ, ТЕХНОБЛОК СТАНДАРТ, ТЕХНОБЛОК ОПТИМА, ТЕХНОБЛОК ПРОФ, ТЕХНОВЕНТ СТАНДАРТ, ТЕХНОВЕНТ ОПТИМА, ТЕХНОВЕНТ ПРОФ, ТЕХНОРУФ Н25, ТЕХНОРУФ Н30, ТЕХНОРУФ Н35, ТЕХНОРУФ Н40, ТЕХНОРУФ 45, ТЕХНОРУФ 50, ТЕХНОРУФ 60, ТЕХНОРУФ 70, ТЕХНОРУФ В50, ТЕХНОРУФ В60, ТЕХНОРУФ В70, ТЕХНОПЛАСТ, ТЕХНОФАС, ТЕХНОФАС Л, ТЕХНОФЛОР ГРУНТ, ТЕХНОФЛОР СТАНДАРТ, ТЕХНОФЛОР ПРОФ, ТЕХНОСЭНДВИЧ БЕТОН, ТЕХНОСЭНДВИЧ С, ТЕХНОСЭНДВИЧ К (ТУ 5762-043-17925162-2006); ТЕХНОВЕНТ ДВУХСЛОЙНЫЙ , ТЕХНОФАС ДВУХСЛОЙНЫЙ, ТЕХНОРУФ ДВУХСЛОЙНЫЙ (ТУ 5762-002-74182181-2007) и экструдированного пенополистирола ТЕХНОПЛЕКС (ТУ 2244-047-17925162-2006). В качестве кровельных материалов предусмотрены: - полимерные пленки «Logicroof» марок RP, R2P, SR, P, PMV (сертификат соответствия № РОСС ES.СЛ16.Н00530 от 10.05.2005 г. до 18.05.2008 г.); - битумно-полимерные наплавляемые рулонные материалы марок «УНИФЛЕКС» (ТУ 5774-001-17925162-99), «ТЕХНОЭЛАСТ» (ТУ 5774-003-00287852-99), «ТЕХНОЭЛАСТ-ТЕРМО» (ТУ 5774-040-17925162-2005), «БИПОЛЬ» (ТУ 5774-008-17925162-2002), «ТЕХНОЭЛАСТ СОЛО» (ТУ 5774-003-00287852-99), «ЭКОФЛЕКС» (ТУ 5774-003-17925162-00), «ТЕХНОЭЛАСТ-ФИКС» (ТУ 5774-003-00287852-99); - гибкая черепица «ШИНГЛАС» (ТУ 5774-036-17925162-2005) и композитная черепица «Люксард» (Luxard) по ТУ 1476-001-56852608-2005. В качестве гидро-, ветрозащиты и пароизоляции предусмотрены: - пароизоляционная пленка для скатных кровель и стен ТехноНИКОЛЬ, пароизоляция для плоской кровли ТехноНИКОЛЬ; пленка пароизоляционная универсальная; - мембрана супердиффузионная ТехноНИКОЛЬ, мембрана супердиффузионная оптима ТехноНИКОЛЬ, мембрана супердиффузионная усиленная ТехноНИКОЛЬ, пленка гидро-ветрозащитная для скатной кровли и фасадов. 1.2. Материалы разработаны для следующих условий: здания одно- и многоэтажные, I-IV степени огнестойкости с сухим и нормальным температурно-влажностным режимом для строительства на всей территории страны; стены несущие или самонесущие из штучных материалов (кирпич, камни, бетонные блоки) или монолитного железобетона; температура холодной пятидневки обеспеченностью 0,92 - до минус 55оС. 1.3. Проектирование следует вести с учетом указаний следующих действующих нормативных документов: СНиП 31-01-2003 «Здания жилые многоквартирные»; СНиП 31-05-2003 «Общественные здания административного назначения»; СНиП 31-03-2001 «Производственные здания»; СНиП 2.09.04-87* «Административные и бытовые здания» (изд. 2001); СНиП 2.08.02-89* «Общественные здания и сооружения»; СНиП 23-02-2003 «Тепловая защита зданий»; СНиП II-22-81 «Каменные и армокаменные конструкции»; СНиП 21-01-97* «Пожарная безопасность зданий и сооружений»; СНиП 23-01-99 «Строительная климатология»; СНиП II-26-76 «Кровли»; СП 55-101-2000 «Ограждающие конструкции с применением гипсокартонных листов»; СП 55-102-2001 «Конструкции с применением гипсоволокнистых листов». СО-002-02495342-2005 «Кровли зданий и сооружений. Проектирование и строительство», М., ОАО «ЦНИИПромзданий», 2005 г. 2 ТЕПЛОИЗОЛЯЦИЯ2.1. В зависимости от физико-технических свойств плиты предназначаются: 2.1.1 Минераловатные для применения в качестве тепло- и звукоизоляции: - ТЕХНОПЛАСТ - в стенах с отделочным слоем из традиционной штукатурки; - ТЕХНОФАС, ТЕХНОФАС ДВУХСЛОЙНЫЙ, ТЕХНОФАС Л - в стенах с отделочным слоем из тонкослойной штукатурки; - ТЕХНОЛАЙТ ЭКСТРА, ТЕХНОЛАЙТ ОПТИМА, ТЕХНОЛАЙТ ПРОФ - в каркасных стенах, чердачных перекрытиях, в полах по лагам, перегородках, ограждающих конструкциях мансард и покрытиях по профнастилу с кровлей из профлиста; - ТЕХНОБЛОК СТАНДАРТ, ТЕХНОБЛОК ОПТИМА, ТЕХНОБЛОК ПРОФ - средний слой в трехслойных стенах с отделочным слоем из кирпича (слоистая, колодезная кладка) или штукатурки; в каркасных стенах, в том числе наружных с различными видами отделки (например, сайдингом); - ТЕХНОВЕНТ СТАНДАРТ, ТЕХНОВЕНТ ОПТИМА, ТЕХНОВЕНТ ПРОФ, ТЕХНОВЕНТ ДВУХСЛОЙНЫЙ - в стенах с вентилируемой воздушной прослойкой; - ТЕХНОРУФ Н25, ТЕХНОРУФ Н30, ТЕХНОРУФ Н35, ТЕХНОРУФ Н40, ТЕХНОРУФ 45, ТЕХНОРУФ 50 , ТЕХНОРУФ 60, ТЕХНОРУФ 70, ТЕХНОРУФ В50 , ТЕХНОРУФ В60, ТЕХНОРУФ В70, ТЕХНОРУФ ДВУХСЛОЙНЫЙ - в покрытиях с железобетонным основанием или со стальным профнастилом; - ТЕХНОФЛОР ГРУНТ, ТЕХНОФЛОР СТАНДАРТ, ТЕХНОФЛОР ПРОФ - в стенах подвала и полах по грунту. - ТЕХНОСЭНДВИЧ БЕТОН - в трехслойных бетонных и железобетонных стеновых панелях; - ТЕХНОСЭНДВИЧ С - в трехслойных стеновых сэндвич панелях с металлическими обшивками; - ТЕХНОСЭНДВИЧ К - в трехслойных кровельных сэндвич панелях с металлическими обшивками. 2.1.2. Из экструдированного пенополистирола для применения в качестве теплоизоляции: ТЕХНОПЛЕКС 30, ТЕХНОПЛЕКС 30 СТАНДАРТ, ТЕХНОПЛЕКС 35, ТЕХНОПЛЕКС 35 СТАНДАРТ, ТЕХНОПЛЕКС 45 для плоских кровель (инверсионных, эксплуатируемых, под стяжку), штукатурных фасадов, слоистой кладки, фундаментов (цоколей), полов по грунту, по железобетону, в т.ч. нагружаемых, полов холодильных камер. 2.2. Показатели физико-технических свойств плит приведены в таблице 1. Таблица 1
Продолжение таблицы 1
Продолжение таблицы 1
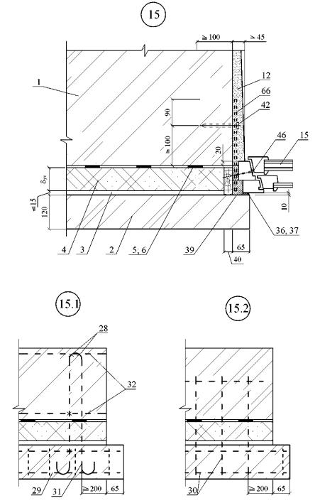
Примечание: * - толщина верхнего слоя - 30 мм толщина нижнего слоя - 50 - 170 мм ** - толщина верхнего слоя - 30 мм толщина нижнего слоя – 40 - 170 мм *** - толщина верхнего слоя - 30 мм толщина нижнего слоя- 30 - 170 мм Средняя плотность зависит от толщины теплоизоляции. Продолжение таблицы 1
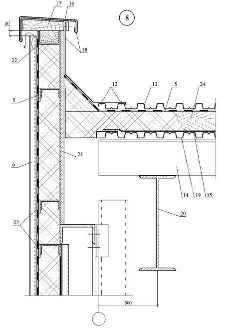
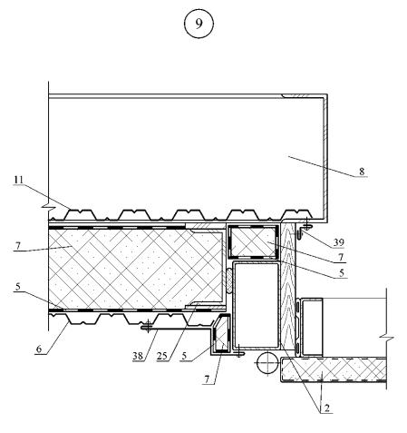
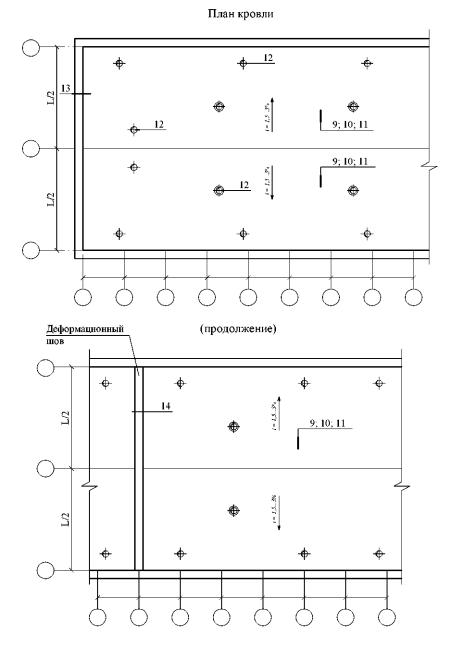
2.3. Все минераловатные плиты относятся к группе горючести НГ по ГОСТ 30244. Плиты ТЕХНОПЛЕКС марок 35, 30 - группа горючести Г1 по ГОСТ 30244; группа воспламеняемости В2 по ГОСТ 30244; группа дымообразующей способности Д3 по ГОСТ 12.1.044, группа распространения пламени РП1 по ГОСТ 30444. Плиты ТЕХНОПЛЕКС марки 30 стандарт, 35 стандарт, 45 - группа горючести Г4 по ГОСТ 30244; группа воспламеняемости В2 по ГОСТ 30244; группа дымообразующей способности Д3 по ГОСТ 12.1.044; группа распространения пламени РП4 по ГОСТ 30444. Стены с защитно-декоративным штукатурным слоем, кирпичной кладкой, или экраном из материалов группы горючести НГ могут применяться в зданиях I-IV степеней огнестойкости классов пожарной опасности СО по СНиП 21-01-97* табл. 4 и 5 высотой до 25 этажей. Покрытия и стены настоящего выпуска с использованием плит ТЕХНОПЛЭКС марки 30, 35 с защитным слоем из штукатурки при размещении теплоизоляции с наружной стороны могут применяться в зданиях II и III степеней огнестойкости классов пожарной опасности С1 по СНиП 21-01-97*. Покрытия по железобетонным плитам толщиной по полю не менее 50 мм и стены с защитным слоем из кирпича шириной 120 мм могут применяться в зданиях I-IV степеней огнестойкости классов пожарной опасности СО по СНиП 21-01-97*. Покрытия по стальным профилированным настилам могут применяться в зданиях II-IV степеней огнестойкости классов пожарной опасности СО по СНиП 21-01-97*. 3 НОРМЫ ТЕПЛОЗАЩИТЫ И ДАННЫЕ ПО ТОЛЩИНЕ ТЕПЛОИЗОЛЯЦИИ3.1 Минимальное допустимое сопротивление теплопередаче стен и покрытий зданий различного назначения и разных климатических условий регламентировано СНиП 23-02-2003 «Тепловая защита зданий». Сопротивление теплопередаче стен подвалов принимается с учетом расчетной температуры воздуха подвала как для наружных стен. Показатель теплоусвоения полов общественных и производственных зданий не должен превышать значений, приведенных в СНиП 23-02-2003. В противном случае предусматривается устройство слоя дополнительной теплоизоляции. 3.2 По назначению рассматриваемые в работе здания образуют три группы: 1. Жилые, лечебно-профилактические и детские учреждения, школы, интернаты; 2. Общественные, кроме указанных выше, административные и бытовые, за исключением помещений с влажным режимом; 3. Производственные с сухим и нормальным режимами. 3.3 При новом строительстве необходимая толщина слоя теплоизоляции из минераловатных плит должна определяться с учетом следующих условий. Стены без воздушной прослойки имеют несущую часть из полнотелого керамического кирпича или камней толщиной 380 мм и наружную защитно-декоративную стенку из штукатурки или из кирпича толщиной 120 мм. В зданиях 1 и 2 группы стена с внутренней стороны имеет отделочный штукатурный слой толщиной 20 мм. Коэффициент теплотехнической однородности 0,95 без учета откосов проемов и их теплопроводных включений. При наличии замкнутой воздушной прослойки должно быть учтено ее термическое сопротивление. 3.4 В конструкциях стен с вентилируемой воздушной прослойкой требуемая толщина теплоизоляции определяется на основе теплотехнического и аэродинамического расчета воздушной прослойки. 3.5 Стены подвала имеют несущую часть, выполненную из кирпича или камней толщиной 510 мм или из бетонных блоков толщиной 500 мм с отделочным штукатурным слоем толщиной 20 мм со стороны помещения. 3.6 Теплоизоляция стен подвала рассчитывается только для «теплых» подвалов, в которых предусмотрена нижняя разводка труб систем отопления, горячего водоснабжения, а также труб систем водоснабжения и канализации. 3.7 Требуемое сопротивление теплопередаче стен подвала над уровнем земли принимается равным сопротивлению теплопередаче наружных стен здания, которое находится по табл. 4 СНиП 23-02-2003 в зависимости от значения градусо-суток отопительного периода. 3.8 Градусо-сутки отопительного периода вычисляются по формуле: Dd=(tint-tht)·Zht; где tint - расчетная температура внутреннего воздуха в помещении 1-го этажа, оС; tht.; Zht - средняя температура, оС, и продолжительность, сут., периода со средней суточной температурой воздуха ниже или равной 8оС по СНиП 23-01-99*. 3.9 Требуемая толщина теплоизоляции стены подвала, расположенной выше уровня земли, принимается равной толщине теплоизоляции наружной стены и вычисляется по формуле:
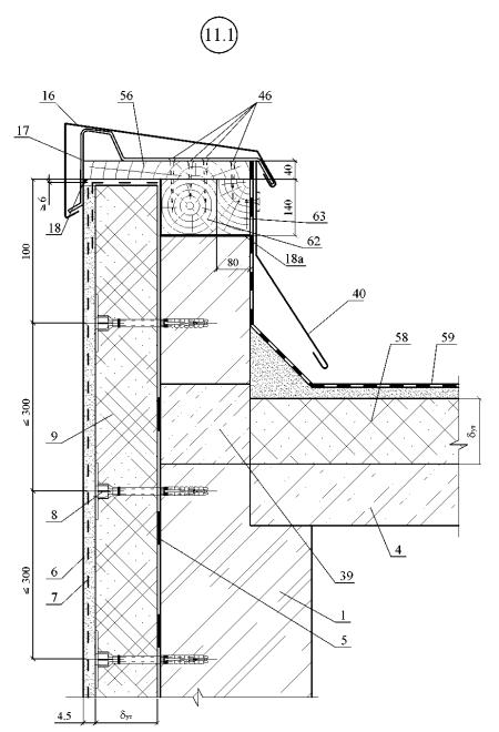
где Rreq - нормируемое сопротивление теплопередаче наружной стены, принятое в зависимости от значения Dd, (м2×оС)/Вт; δ - толщина несущей части стены, м; λ - коэффициент теплопроводности материала несущей части стены, Вт/(м×оС); λут - коэффициент теплопроводности теплоизоляции, Вт/(м×оС). 3.10 Требуемая толщина теплоизоляции стены подвала, расположенной ниже уровня земли, вычисляется по формуле:
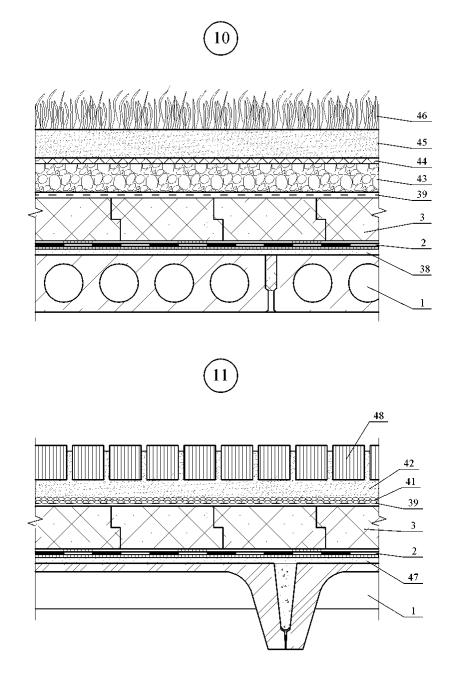
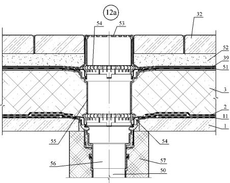
3.11 Покрытия - совмещенные из сборных ребристых железобетонных плит по серии 1.465.1-21 или многопустотных железобетонных плит толщиной 220 мм по ГОСТ 9561-91 или монолитного железобетона и кровлей. 3.12 При реконструкции стен и покрытий толщина слоя дополнительной теплоизоляции определялась исходя из разности сопротивлений теплопередаче
где Rсущо - вычисляется по формуле (5) СП 23-101-2004 «Проектирование тепловой защиты зданий». 3.13. Требуемая толщина теплоизоляции из минераловатных плит в полах холодильников, установленная с учетом требований СНиП 2.11.02-87, приведена в таблицах 2а, 2б и 2в. Требуемая толщина теплоизоляции из экструдированных пенополистирольных плит в полах холодильников приведена в таблицах 3а, 3б и 3в. 3.14. Требуемая толщина теплоизоляции в полах по не обогреваемому грунту принимается по расчету в соответствии с указаниями СНиП 23-02-2003. При этом пол должен удовлетворять требованиям по показателю теплоусвоения. 3.15. Необходимость устройства специального парозащитного слоя определяется расчетом по СНиП 23-02-2003. Пароизоляционный слой в стене располагается между несущим слоем и слоем эффективной теплоизоляции, а в покрытии - по железобетонному основанию или стальному профилированному настилу.
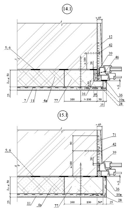
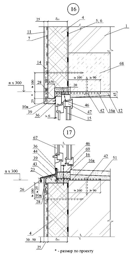
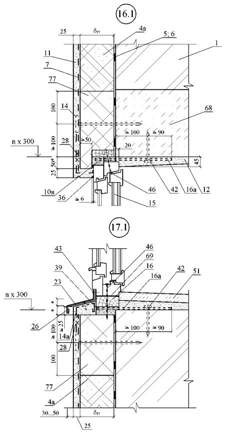
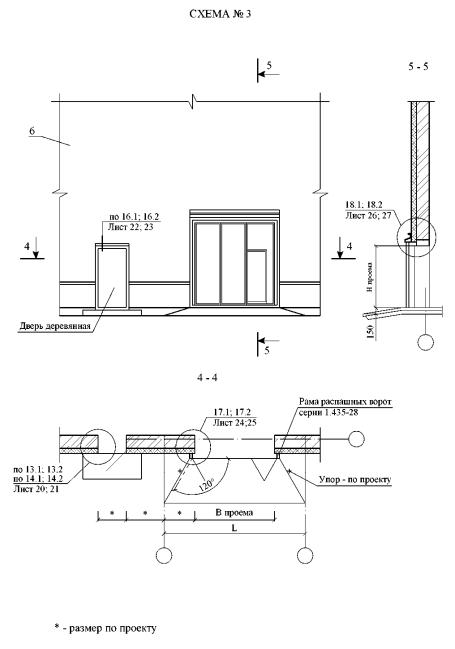
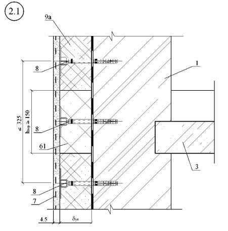
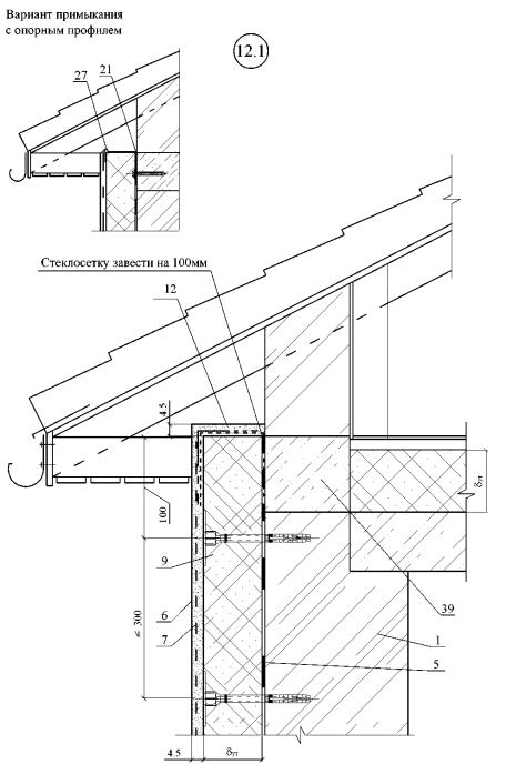
КОНСТРУКТИВНЫЕ РЕШЕНИЯ СТЕНСтена при новом строительстве может быть несущей или самонесущей и представляет собой трехслойную конструкцию с несущим слоем из полнотелого керамического кирпича, бетонных блоков или монолитного железобетона. 4 СТЕНЫ С ОТДЕЛОЧНЫМ СЛОЕМ ИЗ ТРАДИЦИОННОЙ ШТУКАТУРКИ4.1 При отделочном слое из традиционной штукатурки толщиной 25-30 мм в качестве теплоизоляции используются плиты минераловатные «ТЕХНОПЛАСТ», «ТЕХНОФАС» или из экструдированного пенополистирола «ТЕХНОПЛЕКС». 4.2 При защитно-декоративном слое из штукатурки необходимо, чтобы: - штукатурка имела нулевой предел распространения огня; - традиционная штукатурка должна выполняться толщиной 25-30 мм по закрепленной к несущей части стены стальной сетке; - при теплоизоляции из пенополистирола в уровне перекрытий, но не реже чем через 4 м по вертикали, следует предусмотреть рассечки из «негорючих» материалов (из минераловатных плит ««ТЕХНОПЛАСТ», «ТЕХНОФАС» на всю толщину слоя теплоизоляции и высотой не менее толщины перекрытия (не менее 150 мм)); - по контуру оконных и дверных проемов должен предусматриваться слой негорючей теплоизоляции шириной 100-120 мм из минераловатной плиты см. «Пособие по определению пределов огнестойкости конструкций, пределов распространения огня по конструкциям и групп возгораемости материалов (к СНиП II-2-80)», М., ЦНИИСК, 1985г., табл. 10 п.п. 1, 2.30 и табл. 3. - штукатурка на высоту 2,5 м от планировки должна иметь защиту от механических повреждений. 4.3 Теплоизоляционные плиты крепят к несущему слою стены на клею и дополнительно распорными дюбелями. При подготовке несущей части стены до закрепления к ней теплоизоляции рекомендуется использовать при необходимости: антигрибковый препарат, грунтовку. 4.4 Для наклейки теплоизоляционных плит рекомендуется применять клеевую смесь. 4.5 Клей следует наносить на теплоизоляционную плиту с помощью штукатурного шпателя или валиком (шириной 4-6 см) по всему периметру с отступлением от краев на 2-3 см и дополнительно “куличами” на остальную поверхность плиты, при этом площадь приклеенной поверхности плит - не менее 40%. 4.6 Установку плит в проектное положение осуществляют с прижатием к поверхности несущей части стены и выравниванием по высоте относительно друг друга трамбовками. Попадание клея в швы между плитами недопустимо. 4.7 Выравнивание по горизонтали теплоизоляционных плит может осуществляться с помощью временно закрепленной к несущей части стены деревянной рейки или с применением цокольного профиля (изготовленного из алюминия или оцинкованной стали) толщиной 1-1,5 мм, который закрепляют к несущей части стены дюбелями, располагаемыми с шагом не более 300 мм. 4.8 При установке цокольных профилей необходимо оставлять зазор в стыке между ними в 2-3 мм. Для выравнивания вдоль несущей части стены необходимо использовать соответствующие подкладочные шайбы из ПВХ, а для соединения профилей между собой пластмассовые соединительные элементы. 4.9 После установки первого ряда теплоизоляционных плит на цокольный профиль зазор между поверхностью несущей части стены и профилем необходимо заполнить полиуретановой пеной. 4.10 Теплоизоляционные плиты устанавливают вплотную друг к другу. В случае если между ними образуются зазоры более 2 мм их необходимо заполнить материалом используемого утеплителя. 4.11 Установку и наклеивание теплоизоляционных плит следует выполнять с перевязкой швов с устройством зубчатого защемления на внешних и внутренних углах стен. 4.12 Плиты теплоизоляционного материала, устанавливаемые в углах оконных и дверных проемов, должны быть цельными с вырезанными по месту фрагментами. Не допускается стыковать плиты на линиях углов оконных и дверных проемов. 4.13 Рекомендуемые типы тарельчатых дюбелей и условия их применения приведены в таблице 4. 4.14 При отделке фасадов штукатуркой сетку, армирующую штукатурный слой, крепят к несущему слою стены также распорными дюбелями (см. табл. 4). Таблица 4 Характеристики тарельчатых дюбелей
4.15 Установка дюбелей для крепления плит теплоизоляции должна выполняться после полного высыхания клеевого состава. Срок высыхания при температуре наружного воздуха 20°С и относительной влажности 65% составляет не менее 72 часов. Перед установкой дюбелей, выполняется шлифовка плит теплоизоляции при наличии неровностей в местах стыка. 4.16 Внешние углы здания с укрепленной теплоизоляцией, а также углы дверных и оконных проемов должны быть усилены при традиционной штукатурке дополнительными стальными сетками 250´400 мм на скрутках. 4.17 Традиционная штукатурка выполняется из известково-цементного раствора, приготавливаемого на месте из извести, песка, цемента, воды и добавок, в том числе обязательно пластифицирующих, или из готовых растворных смесей, и армируется стальной оцинкованной сеткой по ГОСТ 2715-75 с размером ячейки 20 мм и диаметром проволоки 1-1,6 мм. 4.18 В качестве вяжущего рекомендуется портландцемент или шлакопортландцемент по ГОСТ 10178-85* марок 300; 400 и известь строительная по ГОСТ 9179-77 в виде известкового теста (γ=1400 кг/м3). Технические требования - по ГОСТ 28013-98 «Растворы строительные. Общие технические условия». Рекомендуемые рецептуры штукатурных смесей приведены в табл. 5
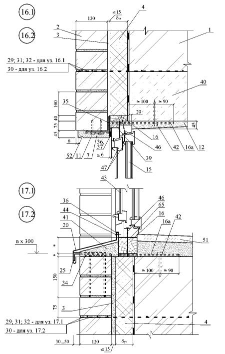
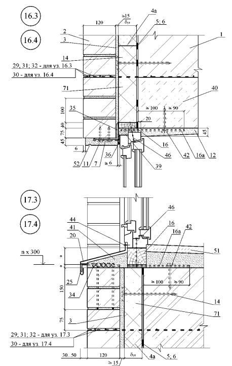
4.19 Традиционная штукатурка выполняется улучшенного качества или высококачественная с нанесением ее соответственно в 2 или 3 слоя. После грунтовки поверхности плит пластичным раствором слоем в 3-5 мм, он разравнивается в горизонтальном направлении зубчатым шпателем, образующем борозды глубиной 2-3 мм. После выдержки в течение 1-3 суток наносят нижний слой грунта толщиной 7-8 мм. После схватывания этого слоя (24-36 час) раскатывается армирующая сетка и крепится через штукатурку и теплоизоляцию к несущей части дюбелями при установке в среднем 8 дюбелей/м2 поверхности. Затем наносят второй слой грунта толщиной 7-8 мм с выравниванием его «под правило». При высококачественной штукатурке наносят третий, отделочный слой толщиной 2-5 мм в зависимости от вида отделки (см. ниже). Из приведенных в табл. 5 смесей состав № 1 служит для приготовления грунтовки, № 2 - для грунта и № 3 - для отделочного слоя, окрашенного в массе (см. ниже). 4.20 При улучшенной штукатурке (под окраску) общая толщина штукатурного слоя доводится до 30 мм и поверхность ее выравнивается «под правило». При высококачественной штукатурке и окраске фасадов второй слой грунта выравнивают по маякам и после его схватывания наносят отделочный слой - накрывку толщиной 1-2 мм из мелкозернистого раствора, который затирается гладилками или затирочно-шлифовальными машинами. При отделке цветным раствором толщина выполненного к этому моменту штукатурного слоя должна составлять около 25-27 мм. 4.21 После полного затвердевания штукатурки ее в соответствии с проектом прорезают на всю толщину горизонтальными и вертикальными деформационными швами шириной 6 мм с шагом не более 8 м. Крайний вертикальный шов должен располагаться не ближе 150 мм от угла фасада (наружного или входящего). Затем швы заделывают вулканизующейся мастикой. 4.22 Между штукатурным слоем и элементами заполнения проемов окон, дверей, ворот и др. предусматривается паз на всю толщину штукатурки, заполняемый вулканизующейся мастикой, в качестве которой рекомендуются силиконовые или тиоколовые составы. В стенах с теплоизоляцией из экструдированного пенополистирола «ТЕХНОПЛЕКС» по контуру оконных и дверных проемов должен предусматриваться слой негорючей теплоизоляции (рассечка), например, из минераловатных плит марок «ТЕХНОПЛАСТ», «ТЕХНОФАС» шириной 100-200 мм. (cм. «Пособие по определению пределов огнестойкости конструкций, пределов распространения огня по конструкциям и групп возгораемости материалов (к СНиП II-2-80)», М., ЦНИИСК, 1985, табл. 10, п.п. 1, 2.30 и табл. 3). 4.23 При традиционной штукатурке фасады отделывают нанесением слоя цветного раствора (цветной накрывки) или окрашиванием поверхности. Первый вариант предпочтительнее из-за меньшей стоимости, большей прочности поверхности и практичности отделки, на которой незаметны мелкие дефекты. 4.24 Отделочный слой выполняется также из известково-цементного раствора с добавлением необходимых пигментов (от 3 до 12% к весу сухого вяжущего). Подробные рекомендации содержатся в Инструкции по приготовлению и применению строительных растворов СН 290-74. Оптимальным является применение раствора, получаемого из сухих смесей заводского изготовления. 4.25 Отделочный слой из цветного раствора наносится с помощью пневматической форсунки непосредственно по 2-му слою штукатурки (грунту). Характеристика вариантов отделки из цветного раствора дана в табл. 6. Таблица 6
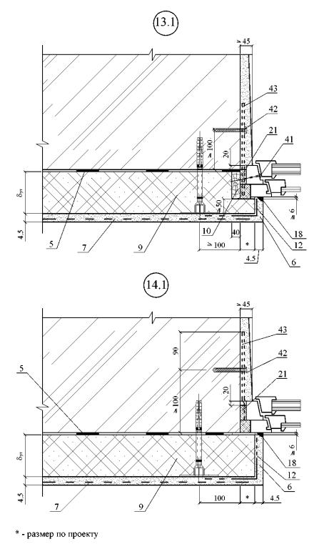
4.26 Для цветовой отделки рекомендуются известково-цементные или цементные краски, которые отличаются высокой атмосферостойкостью и представляют собой смесь белого портландцемента и извести со щелочестойкими пигментами и добавками хлористого кальция. Могут быть применены также и другие долговечные и атмосферостойкие краски, перечень которых приведен в Приложении 3 СНиП 2.03.11-85, в том числе полимерцементные краски на основе поливинилацетатной дисперсии, алкидные, перхлорвиниловые и хлоркаучуковые эмали. 4.27 При отсутствии требований к получению особо гладкой поверхности краску наносят без какой-либо дополнительной обработки выполненной штукатурки с расходом ее около 0,9 кг/м2. 4.28 Для получения особо гладкой поверхности по грунту выполняют слой накрывки толщиной до 2 мм из мелкозернистого раствора (крупностью зерна до 1 мм). В этом варианте нет необходимости в тщательной затирке поверхности 2-го слоя штукатурки (грунта); она должна быть лишь ровной после ее выравнивания правилом. По накрывке наносится краска с расходом ее около 0,8 кг/м2. 5 СТЕНЫ С ОТДЕЛОЧНЫМ СЛОЕМ ИЗ ТОНКОСЛОЙНОЙ ШТУКАТУРКИ5.1 При отделочном слое из тонкослойной штукатурки толщиной 4,5-5 мм в качестве теплоизоляции используются плиты минераловатные «ТЕХНОФАС», «ТЕХНОФАС ДВУХСЛОЙНЫЙ», «ТЕХНОФАС Л» или из экструдированного пенополистирола «ТЕХНОПЛЕКС». 5.2 При защитно-декоративном слое из тонкослойной штукатурки необходимо, чтобы: - штукатурка имела нулевой предел распространения огня; - тонкослойная штукатурка должна выполняться толщиной 4,5-5 мм по закрепленной к несущей части стены щелочестойкой стеклосетке; - при теплоизоляции из пенополистирола в уровне перекрытий, но не реже чем через 4 м по вертикали, следует предусмотреть рассечки из «негорючих» материалов (из минераловатных плит «ТЕХНОФАС», «ТЕХНОФАС ДВУХСЛОЙНЫЙ», «ТЕХНОФАС Л», на всю толщину слоя теплоизоляции и высотой не менее толщины перекрытия (не менее 150 мм)); - по контуру оконных и дверных проемов должен предусматриваться слой негорючей теплоизоляции шириной 100-120 мм из минераловатных плит «ТЕХНОФАС», «ТЕХНОФАС ДВУХСЛОЙНЫЙ», «ТЕХНОФАС Л» (см. «Пособие по определению пределов огнестойкости конструкций, пределов распространения огня по конструкциям и групп возгораемости материалов (к СНиП II-2-80)», М., ЦНИИСК, 1985г., табл. 10 п.п. 1, 2.30 и табл. 3). - штукатурка на высоту 2,5 м от планировки должна иметь защиту от механических повреждений. 5.3 Установку и крепление плит к несущей части стены выполняют в соответствии с указаниями п. 4.3-4.13. 5.4 При отделке фасадов штукатуркой сетку, армирующую штукатурный слой, крепят к несущему слою стены также распорными дюбелями (см. табл. 5). 5.5 Установка дюбелей для крепления плит теплоизоляции должна выполняться после полного высыхания клеевого состава. Срок высыхания при температуре наружного воздуха 20°С и относительной влажности 65% составляет не менее 72 часов. Перед установкой дюбелей, выполняется шлифовка плит теплоизоляции при наличии неровностей в местах стыка. 5.6 Внешние углы здания с укрепленной теплоизоляцией, а также углы дверных и оконных проемов должны быть усилены пластмассовыми уголками с вклеенной стеклосеткой, которые устанавливают встык по отношению друг к другу с нахлесткой сетки в местах стыка на 10 см. 5.7 При тонкослойной штукатурке после устройства усиливающего уголка на плоскости откосов дверных и оконных проемов следует наклеивать усилительную диагональную армирующую сетку размером 20´30 см. При этом усилительная сетка в углах оконных и дверных проемов вклеивается без напуска на пластмассовую часть уголка. 5.8 Для тонкослойной штукатурки при устройстве защитного слоя на поверхность закрепленного утеплителя наносится полутерком клеевой состав, на котором фиксируется и втапливается полотно стеклосетки. Второе и последующие полотна стеклосетки устанавливаются с напуском 9-10 см на предыдущее. В местах примыкания защитного слоя к оконным и дверным блокам снимается фаска под углом 45˚ для уплотнительной ленты или герметизирующей мастики (допускается для уплотнения применять самоклеющиеся профили). 5.9 После технологического перерыва не менее 72 часов, необходимого для высыхания клеевого состава, на поверхность защитного слоя наносят грунтовку. 5.10 До нанесения защитно-декоративного слоя необходимо выдержать технологический перерыв не менее 6 часов. 5.11 Для тонкослойной штукатурки используется сухая цементно-песчаная смесь. Нанесение базового штукатурного слоя осуществляется по щелочестойкой стеклосетке. Физико-технические показатели стеклосеток приведены в таблице 7. Таблице 7 Физико-технические показатели стеклосеток
5.12 При тонкослойной штукатурке фасады отделывают устройством защитно-декоративного слоя. Основание под декоративную штукатурку или окраску должно соответствовать требованиям СНиП 3.04.01-87. 5.13 На заармированную стеклосеткой поверхность защитной штукатурки декоративная штукатурная смесь наносится теркой слоем, соответствующим размеру зерна минерального наполнителя. 4.14 Работы по нанесению декоративной штукатурной смеси следует выполнять при температуре воздуха от +5 до +30˚С (для цветных штукатурок от +9˚С) и относительной влажности не более 80%. 6 СТЕНЫ С ЗАЩИТНОЙ СТЕНКОЙ ИЗ КИРПИЧНОЙ КЛАДКИ6.1 Для стен с облицовкой из кирпича толщиной 120 мм используются плиты марки «ТЕХНОБЛОК СТАНДАРТ», «ТЕХНОБЛОК ОПТИМА», «ТЕХНОБЛОК ПРОФ» или из экструдионного пенополистирола «ТЕХНОПЛЕКС». 6.2 При устройстве защитной кирпичной стенки может применяться кирпич или камни керамические лицевые (ГОСТ 7484-78) или отборные стандартные (ГОСТ 530-95) предпочтительно полусухого прессования, а также силикатный кирпич (ГОСТ 379-95). При облицовке силикатным кирпичом цоколь, пояса, парапеты и карниз выполняют из керамического кирпича. При новом строительстве защитная стенка из кирпича может выполняться на всю высоту здания. При этом она может быть самонесущей до высоты 6-7 м, а далее навесной с опиранием на пояса (несущая балка пояс) выступающие из несущей стены через каждые 2 этажа (6-7 м) по высоте здания. При этом несущая часть стены и балка пояс в соответствии с п. 6.35 СНиП II-22-81 крепятся к перекрытиям анкерами сечением не менее 0,5 см2. Шаг анкеров должен быть не более 6 м. При реконструкции кирпичная защитная стенка обязательна в виде цоколя высотой не менее 2,5 м от планировочной отметки. По архитектурным соображениям она может быть выполнена самонесущей и большей высоты. 6.3. При защитной стенке из кирпича кладка ведется с обязательным заполнением раствором горизонтальных и вертикальных швов и расшивкой с фасадной стороны. Шаг температурных швов в кирпичной облицовке принимается по СНиП II-22-81*, как для не отапливаемых зданий. 6.4. При облицовке кирпичной кладкой в новом строительстве последняя армируется с несущей частью стены сварными арматурными сетками, располагаемыми с шагом по высоте 600 мм; площадь поперечных стержней (связей) должна быть не менее 0,4 см2/м2 (глава СНиП II-22-81, п. 6.32). При реконструкции кирпичная облицовка связывается с существующей кладкой с помощью кронштейнов закрепленных на дюбелях. При этом рекомендуются дюбели типа Д1 ВЗ-1 III (Бийского завода стеклопластиков), НРS-I фирмы «Хилти» или ДГ (табл. 8). Таблица 8
Примечание: * - В бетоне В³15, кладке из полнотелого керамического кирпича. В кладке из дырчатого кирпича или легкого бетона расчетное усилие уменьшается на половину. ** - В бетоне В³12,5. *** - В кладке из полнотелого кирпича. 6.5 Парапеты, пояса, подоконники и т.п. должны иметь надежные сливы из оцинкованной стали, которые обеспечивают отвод атмосферной влаги и исключают возможность ее сбегания непосредственно по стене. 6.6 Все открытые поверхности стальных элементов, выходящих на фасад, и анкера, устанавливаемые в кладке, должны быть защищены от коррозии металлизацией слоем толщиной 120 мкм или лакокрасочными покрытиями (п. 2.40-2.45 СНиП 2.03.11-85). 6.7 Отделку цоколя рекомендуется выполнять из материалов повышенной прочности и декоративности, допускающих их очистку и мойку, например, из лицевого кирпича, плит из натурального или искусственного камня, керамической и стеклянной плитки и др. Верхняя кромка этой защитно-декоративной отделки должна располагаться не ниже 2,5 м от уровня планировки. Аналогичную отделку могут иметь углы стен, порталы дверей, арок, ворот, оконные наличники или отдельные участки глухих стен. 7 КАРКАСНЫЕ СТЕНЫ7.1 Каркасные конструкции стен могут быть выполнены послойной сборкой или из трехслойных панелей укрупнительной сборки. 7.2 В целях снижения трудоемкости производства работ сборку панелей с последующим их монтажом целесообразно производить на объекте строительства. 7.3 Панели имеют наружный каркас, выполненный из стальных швеллеров, к которому закреплены на заклепках профлист внутренней обшивки и внутренний каркас панели, а к нему профлист наружной обшивки. 7.4 Теплоизоляция выполняется из минераловатных плит марки «ТЕХНОЛАЙТ ЭКСТРА», «ТЕХНОЛАЙТ ОПТИМА», «ТЕХНОЛАЙТ ПРОФ», «ТЕХНОБЛОК СТАНДАРТ», «ТЕХНОБЛОК ОПТИМА», «ТЕХНОБЛОК ПРОФ», по которым с наружной стороны размещается ветрозащитная пленка типа Мембрана супердиффузионная ТехноНИКОЛЬ, а с внутренней стороны при необходимости слой пароизоляции (см. п. 1.1). 7.5 Крепление панелей укрупнительной сборки к несущим конструкциям стального каркаса выполняется на высокопрочных болтах. 8 СТЕНЫ С ВЕНТИЛИРУЕМОЙ ВОЗДУШНОЙ ПРОСЛОЙКОЙ8.1 Стены с вентилируемой воздушной прослойкой включают несущую часть, выполненную из полнотелого керамического кирпича, бетонных блоков или из монолитного железобетона, металлический каркас, теплоизоляционный слой из минераловатных плит марки «ТЕХНОВЕНТ СТАНДАРТ», «ТЕХНОВЕНТ ОПТИМА», «ТЕХНОВЕНТ ПРОФ» или «ТЕХНОВЕНТ ДВУХСЛОЙНЫЙ», ветрозащитную пленку (см. п. 1.1) и защитный облицовочный экран. 8.2 Каркас состоит из кронштейнов, направляющих и кляммеров для закрепления облицовки. 8.3 Кронштейны и направляющие каркаса, а также кляммеры для крепления плит облицовки изготавливаются из оцинкованной стали. Толщина прижимов кляммеров должна составлять не менее 1 мм, ширина прижима - не менее 10 мм. 8.4 Кронштейн имеет подвижную вставку, позволяющую осуществлять регулировку установки направляющих в заданной плоскости. Длина подвижной вставки установлена исходя из толщины теплоизоляционного слоя от 50 до 270 мм. 8.5 Шаг кронштейнов по горизонтали рекомендуется принимать равным 600 мм, а по вертикали не менее 1400 мм. 8.6 Кронштейны крепятся к несущей части стены анкерными дюбелями, число которых определяется расчетом, исходя из величины ветровой нагрузки и веса облицовки с каркасом. 8.7 Стандартная длина направляющей составляет 3000 мм. Направляющие выполнены Т и Г-образного профиля и закрепляются к кронштейнам двумя вытяжными заклепками диаметром 3,2¸4,8 мм. При этом свободный конец направляющей от места закрепления к кронштейну не должен превышать 300 мм. 8.8 Стык направляющих по вертикали осуществляется с помощью вставок. При этом между направляющими предусматривается зазор в 8¸10 мм. 8.9 При скрытом креплении материалов облицовочного слоя после установки в проектное положение вертикальных направляющих к ним крепятся на заклепках горизонтальные направляющие. 8.10 Минераловатные плиты теплоизоляции крепятся к несущей части стены тарельчатыми дюбелями. 8.11 Во избежание продувания и увлажнения теплоизоляции из минераловатных плит поверх их закрепляется тарельчатыми дюбелями ветрозащитная пленка (см. п. 1.1). Пленка должна устанавливаться в один слой с перехлестом смежных полотен в зоне стыков не более чем на 100¸150 мм. Материалы «ТЕХНОВЕНТ СТАНДАРТ», «ТЕХНОВЕНТ ОПТИМА», «ТЕХНОВЕНТ ПРОФ», «ТЕХНОВЕНТ ДВУХСЛОЙНЫЙ» могут применяться без ветрозащитных мембран. 8.12 При креплении облицовочных плит керамогранита кляммеры располагаемые с шагом, соответствующим размеру облицовочных плит, крепят к направляющим на заклепках. При этом конструкция кляммера определяет величину горизонтального зазора между плитами облицовки, равную 4 мм. Вертикальный зазор между плитами также принимается равным 4 мм. 8.13 При скрытом креплении на плитах облицовки предусматриваются опорные элементы для их навески на горизонтальные направляющие. Опорный элемент крепится посредством самозапирающейся втулки, которая вставляется в предварительно рассверленное в плите отверстие. 8.14 Фиксация плит в проектном положении обеспечивается по вертикали регулировочным винтом опорного элемента, а по горизонтали - посредством свободного перемещения опорного элемента вдоль горизонтальной направляющей. 8.15 При облицовочном слое из металлических кассет перед их установкой внутрь направляющей вставляют салазки, имеющие поперечный штифт. Салазки крепят к направляющим двумя заклепками. 8.16 После навески на штифты кассету выравнивают согласно проектному положению и крепят заклепками через верхний отгиб кассеты к направляющим. 9 СТЕНЫ ПОДВАЛА9.1 Несущая часть стен подвала может быть выполнена из кирпичной кладки, бетонных блоков, или из монолитного железобетона. 9.2 Теплоизоляция стен подвала необходима при размещении в подвалах служебно-вспомогательных помещений, складов и т.п. В результате достигается снижение затрат на отопление, исключается возможность образования конденсата на стенах, повышается комфортность и улучшаются условия работы конструкций. 9.3 Плитная теплоизоляция располагается по выровненной наружной поверхности стен подвала после выполнения по ней гидроизоляции, которая в зависимости от гидроусловий может быть окрасочной или оклеечной (см. «Рекомендации по проектированию гидроизоляции подземных частей зданий и сооружений», М., ЦНИИПромзданий, 1996 г.). 9.4 При невозможности устройства теплоизоляции с наружной стороны поверхности стен подвала допускается размещение ее с внутренней стороны. При этом обязательна проверка стены повала, согласно СНиП 23-02-2003, на возможность накопления в ней конденсационной влаги. Для теплоизоляции стен подвала применяют минераловатные плиты марки «ТЕХНОФЛОР ГРУНТ», «ТЕХНОФЛОР СТАНДАРТ» или «ТЕХНОФЛОР ПРОФ» либо экструдированный пенополистирол «ТЕХНОПЛЕКС». 9.5 Теплоизоляционные плиты к стене крепят на битумно-цементном клее. В зоне цоколя обязательна установка дюбелей из расчета 4 дюбеля на плиту 1200´600 мм. Примыкание изоляции к окнам и дверям наружных стен подвальных помещений выполняется аналогично таковым для надземной части. 9.6 Работы по теплоизоляции стен, расположенных ниже уровня земли следует выполнять после завершения гидроизоляционных работ. 9.7 Крепление теплоизоляционных плит к гидроизолированной поверхности производят в следующей последовательности: битуминозный покровный слой гидроизоляции подплавляют в трех-пяти точках и к ним плотно прижимают теплоизоляционную плиту. 9.8 Каждую теплоизоляционную плиту с четвертями укладывают вплотную к соседним плитам с последующей проклейкой швов (стыков) полосой «Герлена» шириной 100 мм. 9.9 Теплоизоляция стены подвала со стороны помещения может быть также приклеена к поверхности стены, либо закреплена механическим способом с последующим устройством отделочного слоя. 10 КОНСТРУКТИВНЫЕ РЕШЕНИЯ ПОКРЫТИЙ10.1 Конструкции разработаны для совмещенных покрытий при сборных железобетонных плитах (или с монолитным железобетонным основанием) и при стальных профилированных настилах с утеплением из минераловатных плит и кровлями из рулонных материалов и из стальных профилированных листов. 10.2 В общем случае покрытие включает следующие конструктивные слои: - несущее основание (железобетонное или из стальных оцинкованных профилированных настилов); - пароизоляционный слой (по расчету) из битумно-полимерных наплавляемых рулонных материалов (см. п. 1.1) - по основанию из железобетона; из битумно-полимерных рулонных материалов с армирующей основой из полиэстра (см. п. 1.1) - по основанию из профилированных листов; - теплоизоляцию из минераловатных плит «ТЕХНОРУФ», «ТЕХНОРУФ Н», «ТЕХНОРУФ В», «ТЕХНОРУФ ДВУХСЛОЙНЫЙ» или экструдированного пенополистирола (см. п. 1.1) при рулонной кровле и из плит «ТЕХНОЛАЙТ» при кровле из профилированных стальных листов; - цементно-песчаную стяжку из раствора с прочностью не менее 5 МПа или сборную стяжку из плоских асбестоцементных прессованных листов толщиной 10 мм (ГОСТ 18124-85) или из цементно-стружечных плит толщиной 10 мм (ГОСТ 26816-86) при кровле из рулонных материалов; - кровлю из рулонных материалов (см. п. 1.1) или из стальных профилированных листов; кровельный ковер из полимерной пленки марки «Loqicroof» и из наплавляемого рулонного материала «ТЕХНОЭЛАСТ СОЛО» выполняют однослойным, а из других марок - двухслойным, причем для верхнего слоя применяют материалы с крупнозернистой посыпкой. Примечание: по основанию из минераловатных плит применение наплавляемых рулонных материалов с армирующей основой из стеклохолста не допускается. 10.3 В качестве крепежа предусмотрены: - для покрытий по сборным или монолитным железобетонным основаниям: комплект из дюбеля ТехноНИКОЛЬ для плоской кровли, дюбеля распорного ТехноНИКОЛЬ для плоской кровли и самореза остроконечного ТехноНИКОЛЬ. 11 ЖЕЛЕЗОБЕТОННЫЕ ПОКРЫТИЯ С РУЛОННОЙ КРОВЛЕЙ (ТРАДИЦИОННАЯ КРОВЛЯ)11.1 До начала изоляционных работ должны быть выполнены и приняты все строительно-монтажные работы на изолируемых участках, включая замоноличивание швов между плитами, устройство выравнивающей стяжки из раствора, установку и закрепление к плитам чаш водосточных воронок, компенсаторов деформационных швов, патрубков (или стаканов) для пропуска вентиляционного оборудования и т.п. Кирпичные парапеты должны быть оштукатурены, и иметь необходимые закладные детали. 11.2 Поверхности основания из сборных железобетонных плит или монолитного железобетона должны быть выровнены, а стыки между плитами зачеканены цементно-песчаным раствором марки не ниже 50 (ГОСТ 28031-98) или легким бетонном класса не ниже В7.5 (ГОСТ 25820-2000). Уклонообразующий слой рекомендуется выполнять из раствора или легкого бетона. 11.3 Все поверхности из бетона и раствора должны быть огрунтованы битумным праймером. 11.4 Теплоизоляционные плиты при укладке по толщине в 2 и более слоев следует располагать в разбежку с плотным прилеганием друг к другу. Нахлестки между слоями должны составлять 1/2-1/3 поверхности плит. Швы между плитами более 5 мм должны быть заполнены теплоизоляционным материалом. 11.5 Плиты закрепляют к несущему основанию механическим способом или точечно приклеивают к основанию и между собой (при толщине в два и более слоя) горячим битумом строительных марок с температурой нагрева не более 120оС. При наклейке плиты плотно прижимают друг к другу и к основанию. Точечная либо полосовая приклейка должна быть равномерной и составлять 25-35% склеиваемых поверхностей. 11.6 При эксплуатируемой кровле по плитам теплоизоляции предусматривается выравнивающая цементно-песчаная стяжка, которая должна укладываться по разделительному слою, например из пергамина (ГОСТ 2697-83 изм. № 1) и выполняться из жесткого (с осадкой конуса до 30 мм) раствора марок 50-100. Толщину стяжки и ее армирование устанавливают расчетом. Затирку из раствора по железобетонному основанию предусматривают толщиной 10-15 мм. 11.7 В цементно-песчаной стяжке по несущим железобетонным плитам должны быть предусмотрены температурно-усадочные швы шириной 5-10 мм, разделяющие стяжку на участки не более 3´3 м, а при длине несущих плит 6 м, швы располагают над торцевыми швами несущих плит. 11.8 Температурно-усадочные швы в монолитных выравнивающих стяжках рекомендуется выполнять путем прорезки механической пилой. Допускается образовывать их путем установки реек при укладке цементно-песчаного раствора, которые удаляют после твердения материала стяжки, а швы заполняют мастикой с последующей укладкой на шов полосок рулонного материала шириной 150-200 мм с наклейкой их по кромкам. Также проклеивают стыки, образуемые листами сборной стяжки. 11.9 Для обеспечения необходимой адгезии рулонных пароизоляционных и кровельных материалов все поверхности основания из бетона, цементно-песчаного раствора или сборных стяжек должны быть огрунтованы холодными составами (праймерами). 11.10 Грунтовку наносят на выровненную сухую и обеспыленную поверхность при помощи окрасочного распылителя или вручную кистью. Грунтовка должна иметь прочное сцепление с основанием. На приложенном к ней после высыхания тампоне не должно оставаться следов цементного вяжущего или пыли. 11.11 Плоские асбестоцементные прессованные листы или цементно-стружечные плиты, используемые в качестве сборной стяжки, во избежание коробления, должны быть огрунтованы с обеих сторон. Грунтовка наносится на поверхность листов с помощью малярного валика или кисти. 11.12 Кровля может быть выполнена двухслойной из рулонных наплавляемых битумно-полимерных материалов, или однослойной из полимерных рулонных материалов. 11.13 При однослойной кровле из полимерной пленки, ее, как правило, укладывают насухо с механическим креплением или пригрузом; допускается частичная наклейка пленки по стяжке для обеспечения возможности выхода водяных паров в зоне парапетов, перепада высот и конька, при этом частичная (полосовая) приклейка производится вдоль уложенного по скату слоя рулонного материала; на вертикальной поверхности парапетов пленку наклеивают точечно; выход водяных паров обеспечивается через не приклеенные к основанию полосы водоизоляционного ковра. 11.14 При двухслойной кровле из наплавляемых битумно-полимерных рулонных материалов (с верхним слоем из материала с крупнозернистой посыпкой) эти материалы укладывают, как правило, путем сплошной приклейки к основанию под кровлю; допускается нижний слой ковра приклеивать частично (полосами) или крепить механическим способом. Для полосовой приклейки нижнего слоя ковра применяют материал марки «УНИФЛЕКС-ВЕНТ» (ТУ 5774-001-17925162-99). 11.15 На участках примыкания кровли к парапетам, деформационным швам и другим конструктивным элементам основанием под кровлю должны служить ровные поверхности конструкций и наклонные бортики высотой не менее 100 мм (под углом 45о) из теплоизоляционных материалов, применяемых для утепления покрытий, либо из цементно-песчаного раствора или легкого бетона. Бортики из теплоизоляционных материалов должны быть приклеены к основанию под кровлю. 11.16 Изоляционные работы выполняют в соответствии с требованиями главы СНиП 3.04.01-87 «Изоляционные и отделочные работы», СНиП 12-04-2002 «Техника безопасности в строительстве», а также СО-002-02495342-2005 «Кровли зданий и сооружений. Проектирование и строительство», М., ОАО «ЦНИИПромзданий», 2005г. и «Руководства по применению и устройству кровель из битумно-полимерных материалов кровельной компании «ТЕХНОНИКОЛЬ», 2004 г. 11.17 На кровлях с уклоном до 10% из битумно-полимерных рулонных материалов с мелкозернистой посыпкой защитный слой рекомендуется выполнять из гравия фракции 5-10 мм или крупнозернистой посыпки, втопленных в слой мастики толщиной 1,5-2 мм или в подплавленный покровный слой наплавляемого рулонного материала. Фракция крупнозернистой посыпки должна быть 3-5 мм. Гравий и посыпка должны быть 3-5 мм. Гравий и посыпка должны быть промыты и просушены. 11.18 Максимально допустимая площадь кровли из рулонных и мастичных материалов групп горючести Г3 и Г4 при общей толщине водоизоляционного ковра до 6 мм не имеющей защиты слоем гравия, а также площадь участков разделенных противопожарными поясами (стенами) не должна превышать значений, приведенных в таблице 9. 11.19 Противопожарные пояса должны быть выполнены как защитные слои эксплуатируемых кровель шириной не менее 6 м. Противопожарные пояса должны пересекать основание под кровлю (в том числе теплоизоляцию), выполненное из материалов групп горючести Г3 и Г4 на всю толщину этих материалов. Таблица 9
11.20 При реконструкции железобетонных покрытий дополнительная теплоизоляция устраивается по существующей рулонной кровле, отремонтированной в соответствии со СО-002-02495342-2005 «Кровли зданий и сооружений. Проектирование и строительство», М., ОАО «ЦНИИПромзданий», 2005 г., при этом особое внимание обращается на состояние примыкания кровли к деформационным швам, парапетам, вентшахтам, трубам. В зоне воронок внутреннего водостока полностью удаляются старая теплоизоляция и кровля. Воронки поднимаются на новый уровень; кровля в зоне примыкания к воронке должна быть понижена относительно прилегающих участков на 15-20 мм. 11.21 Над существующими в старой кровле разжелобками (ендовами) минераловатные плиты по разметке прорезают пилой, обеспечивая их плотное прилегание к основанию. 12 ЖЕЛЕЗОБЕТОННЫЕ ПОКРЫТИЯ С РУЛОННОЙ КРОВЛЕЙ (ИНВЕРСИОННАЯ КРОВЛЯ)12.1 Вариант покрытия с теплоизоляцией из пенополистирольных плит ТЕХНОПЛЕКС: - железобетонные плиты; - стяжку толщиной 20 мм из цементно-песчаного раствора; - кровельный ковер; - слой теплоизоляции ТЕХНОПЛЕКС; - фильтрующий слой; - пригрузочный или защитный слой. 12.2 Инверсионные кровли рекомендуется выполнять на покрытиях с уклоном 1,5-3%, ендовы выполняются без уклона. 12.3 Подготовка поверхности покрытия, включая устройство по несущим плитам выравнивающей стяжки или уклонообразующего слоя из легкого бетона и выравнивающей затирки (стяжки) - в соответствии с указаниями п. 9.1. 12.4 Плиты теплоизоляции приклеивают к кровле горячим битумом. Температура приклеивающего состава не должна превышать 75оС. Приклейка может быть полосовой или точечной, но равномерной. 12.5 По плитам теплоизоляции устраивают фильтрующий слой из не гниющих водопропускающих материалов типа геотекстиль. Затем выполняют пригрузку плит теплоизоляции гравием фракцией 20-40 мм из расчета не менее 50 кг/м2 покрытия, либо тротуарными плитками. На эксплуатируемых кровлях выполняют защитный слой из цементно-песчаного раствора, бетона, плиток на растворе и т.п. 12.6 В любом случае конструкцию покрытия проверяют на несущую способность, а кровлю на ветровой отсос. В случае необходимости участки кровли с отрицательным давлением ветра (конек, парапет) пригружают дополнительно. 12.7 Для отвода атмосферной влаги с кровли может быть использована воронка, которая при необходимости комплектуется встроенным саморегулирующимся электрокабелем мощностью 10-30 Вт. 13 ПОКРЫТИЯ С ПРОФИЛИРОВАННЫМ НАСТИЛОМ И РУЛОННОЙ КРОВЛЕЙ13.1 Покрытие включает следующие конструкционные слои: - стальной профилированный настил; - пароизоляционный слой (по расчету); - теплоизоляцию из минераловатных плит «ТЕНОРУФ Н», «ТЕНОРУФ В», «ТЕНОРУФ» (ТУ 5762-043-17925162-2006), «ТЕНОРУФ ДВУХСЛОЙНЫЙ» (ТУ 5762-002-74182181-2007); - водоизоляционный ковер из рулонных материалов. 13.2 В местах примыкания профнастила к стенкам парапетов, к деформационным швам, к водосточным воронкам, а также с каждой стороны конька и ендовы следует предусматривать заполнение пустот ребер настилов (со стороны теплоизоляции) на длину 250 мм заглушками из негорючих минераловатных материалов. 13.3 При устройстве пароизоляции поверхности стальных профилированных настилов должны быть очищены от пыли, строительного мусора и обезжирены растворителем, а полки настилов огрунтованы битумным праймером. 13.4 Теплоизоляционные минераловатные плиты могут закрепляться к профнастилу наклейкой или механически. 13.5 Точечная наклейка выполняется горячим битумом с температурой нагрева не более 120оС. Наклейка должна быть равномерной и составлять 25-35% площади наклеиваемых плит. Стыки плит должны располагаться на полках профнастила. 13.6 При механическом креплении теплоизоляционные плиты закрепляют крепежным элементом к основанию вместе с полимерным рулонным материалом или с нижним слоем из наплавляемого рулонного кровельного материала и с пароизоляционным слоем. Количество креплений для различных участков покрытия должно устанавливаться расчетом в соответствии с требованиями СНиП 2.01.07-85 «Нагрузки и воздействия», но не менее чем одно крепление на плиту. 14 ПОКРЫТИЯ С ПРОФИЛИРОВАННЫМ НАСТИЛОМ И КРОВЛЕЙ ИЗ ОЦИНКОВАННЫХ СТАЛЬНЫХ ПРОФЛИСТОВ14.1 В качестве кровельных листов рекомендуется применять в «перевернутом положении» профили стальные гнутые с высотой гофра не менее 44 мм с цинковым, алюмоцинковым или алюминиевым покрытием и защитно-декоративным лакокрасочным покрытием. 14.2 Наиболее целесообразно кровлю из металлических профлистов применять в зданиях с длиной ската до 12 м. При большей длине ската и уклоне кровли более 10% профлист должен устанавливаться с величиной нахлестки вдоль ската не менее 200 мм и с обязательной герметизацией продольной нахлестки, а при уклонах менее 10% - с величиной нахлестки не менее 300 мм и герметизацией мест продольной и поперечной нахлесток. 14.3 В утепленных покрытиях для разрыва «мостиков холода» между верхней полкой дистанционного прогона и профлистом должны быть установлены прокладки из бакелизированной фанеры толщиной 10 мм, окрашенные пентафталевыми или хлорвиниловыми эмалями за 2 раза. В качестве противоветрового барьера рекомендуется использовать встроенную пленку (см. п. 1.1). 14.4 Продольные и поперечные стыки профлиста при уклонах до 20% рекомендуется загерметизировать тиоколовыми, силиконовыми или полиуретановыми герметиками. 14.5 Примыкание кровли из металлического профлиста к стенам следует осуществлять с устройством фартуков из оцинкованной стали толщиной 0,8 мм, окрашенной с обеих сторон. Крепление их выполняется на заклепках, а между собой одинарным лежачим фальцем. Коньковый и карнизный фасонные элементы, а также фартуки для отделки пропусков через кровлю должны иметь «гребенку» по форме поперечного сечения металлического профлиста. 14.6 При кровлях из стальных профилированных листов работы ведут в следующей последовательности: - к прогонам покрытия несущий профилированный настил закрепляют самонарезающими винтами, устанавливаемыми в каждый гофр (впадину) профиля к крайним и коньковым прогонам; на промежуточных опорах закрепление производят с шагом через гофр. Шаг прогонов 1,5-3,0 м. - в продольном направлении соединение профнастилов между собой выполняют на заклепках с шагом 250 мм; - перпендикулярно гофрам с нахлесткой полотнищ на 100 мм раскатывают пароизоляционную (см. п. 1.1) пленку, заводя ее во второй и третий гофр каждого профлиста для установки опорных элементов с шагом 750 мм; - опорные элементы закрепляют к прогонам двумя самонарезающими винтами в каждую “лапку”; - дистанционные прогоны закрепляют к опорным элементам через термовкладыш из бакелизированной фанеры двумя самонарезающими винтами; - теплоизоляцию из плит или матов выполняют заподлицо с дистанционными прогонами с перевязкой стыков нижнего слоя верхними плитами; - под опорные элементы и дистанционные прогоны укладывают доборные вкладыши из этих же плит; - ветрозащиту (см. п. 1.1) выполняют так же с нахлесткой полотнищ не менее чем на 100 мм; - профилированные листы кровли закрепляют к дистанционным прогонам самонарезающими винтами В6´80 с шайбой и уплотнителем из герметизирующей ленты в каждый гофр (гребень) на карнизных и коньковых прогонах; с шагом через гофр - на промежуточных прогонах; - для увеличения жесткости продольных кромок кровельных профлистов на дистанционный прогон под накрываемый гофр листа устанавливается элемент жесткости; - между собой в продольном направлении кровельные профлисты соединяют на заклепках после нанесения на накрываемую кромку силиконового, тиоколового или полиуретанового герметика. Отверстия в заклепках также промазывают герметиком. Перед нанесением герметизирующих мастик поверхности должны быть обеспылены и обезжирены бензином (ГОСТ 443-76* или ГОСТ 3134-78*). 15 КОНСТРУКТИВНЫЕ РЕШЕНИЯ ЧЕРДАЧНЫХ ПЕРЕКРЫТИЙ15.1 Чердачные перекрытия разработаны железобетонными (из сборных плит или монолитного железобетона) и деревянными. 15.2 При перекрытии из железобетона в качестве теплоизоляционного слоя предусмотрено применение минераловатных плит «ТЕХНОЛАЙТ ЭКСТРА», «ТЕХНОЛАЙТ ОПТИМА», «ТЕХНОЛАЙТ ПРОФ», которые размещаются по пароизоляционному слою из битумного или битумно-полимерного наплавляемого рулонного материала. 15.3 По поверхности минераловатных плит укладывают рулонный материал, например пергамин (ГОСТ 2697-83, изм. № 1). 15.4 По слою рулонного материала выполняют армированную цементно-песчаную стяжку из раствора марки 100 толщиной 40 мм. 15.5 В деревянном чердачном перекрытии минераловатные плиты укладываются на слой пароизоляции из битумного, битумно-полимерного рулонного материала или из пароизоляционной пленки (см. п. 1.1). 15.6 По верху деревянных балок перекрытия раскладывают цементно-стружечные плиты толщиной 20 мм, которые закрепляют к балкам шурупами с шагом 300 мм. 16 ОГРАЖДАЮЩИЕ КОНСТРУКЦИИ МАНСАРД16.1 Несущие конструкции мансард могут быть выполнены из дерева или стали марок С235, С245, С255, С345 по ГОСТ 27772-88*. 16.2 В поперечнике несущие конструкции мансард представляют собой раму. Шаг рам и сечения элементов определяются статическим расчетом. 16.3 Соединения металлоконструкций предусматривается на сварке и монтажных болтах или на постоянных болтах. 16.4 Сечения узловых элементов и величина сварных швов определяются расчетом. 16.5 Деревянные несущие конструкции следует выполнять из пиломатериалов хвойных пород второго сорта по ГОСТ 8486-86*. 16.6. Для изготовления настилов и обрешетки применяется древесина 3 сорта, а для несущих элементов стропильной системы (стропильные ноги, ендов, мауэрлатов, прогонов, стоек, подкосов, связей) - древесина 2 сорта. 16.7 Соединения деревянных элементов несущих конструкций предусмотрены гвоздевыми с прямой расстановкой гвоздей или расположением их в шахматном порядке. 16.8 Для устройства деревянных несущих конструкций должны применяться элементы с глубокой антипиреновой пропиткой. 16.9 Огнезащитная облицовка стальных и деревянных несущих конструкций предусмотрена двумя слоями гипсокартонных листов марок ГКЛО и ГКЛВО (ГОСТ 6266-97), или гипсоволокнистых листов марок ГВЛ и ГВЛВ (ГОСТ Р 51829). Под обшивкой предварительно закрепляют проcечно-вытяжную сетку или стальные струны диаметром не менее 2,0 мм с шагом 250-300 мм. 16.10 Устройство огнезащитной облицовки несущих стальных и деревянных конструкций следует выполнять в соответствии с указаниями СП 55-101-2000 и СП 55-102-2001. 16.11 Для теплоизоляции мансард предусматривают плиты марки «ТЕХНОЛАЙТ ОПТИМА», «ТЕХНОЛАЙТ ПРОФ» либо «ТЕХНОПЛЕКС СТАНДАРТ», а для кровли - штучные материалы (см. п. 1.1). 16.12 Для естественного освещения мансардных помещений в ограждающие конструкции встраиваются мансардные окна. 16.13 В покрытии мансард между слоем теплоизоляции и кровлей должен быть предусмотрен вентиляционный зазор (канал) высотой не менее 50 мм, сообщающийся с наружным воздухом на карнизном и коньковом участках, а по теплоизоляции - слой гидро-ветрозащиты (см. п. 1.1). 16.14 Кровлю мансард рекомендуется выполнять из кровельной стали, мягкой черепицы, керамической или цементно-песчаной черепицы. 17 КОНСТРУКТИВНЫЕ РЕШЕНИЯ ПОЛОВ17.1 Полы на лагах с теплозвукоизоляционным слоем из минераловатных плит или экструзионного пенополистирола могут выполняться по подстилающему бетонному слою (в полах по грунту) или по железобетонному перекрытию. 17.2 В качестве теплозвукоизоляции должны использоваться минераловатные плиты марки «ТЕХНОЛАЙТ ЭКСТРА», «ТЕХНОЛАЙТ ОПТИМА» или «ТЕХНОЛАЙТ ПРОФ», для укладки между лагами, «ТЕХНОФЛОР ГРУНТ», «ТЕХНОФЛОР СТАНДАРТ», «ТЕХНОФЛОР ПРОФ» - под цементно-песчаную стяжку, либо «ТЕХНОПЛЕКС 30», «ТЕХНОПЛЕКС 35» или «ТЕХНОПЛЕКС 45». 17.3 В полах по грунту лаги опираются на кирпичные или бетонные столбики, установленные на бетонный подстилающий слой, при этом применяют минераловатные плиты «ТЕХНОФЛОР ГРУНТ», «ТЕХНОФЛОР СТАНДАРТ» и «ТЕХНОФЛОР ПРОФ» или плиты из экструзионного пенополистирола (см. п. 1.1). Теплоизоляционные плиты должны, как правило, укладываться на слой гидроизоляции, выполненный из рулонного битумного или битумно-полимерного материала (см. п. 1.1). 17.4 В полах по железобетонному перекрытию плиты укладывают на предварительно выровненную поверхность перекрытия, а при необходимости на слой пароизоляции (см. п. 1.1). 17.5 По теплоизоляционным плитам рекомендуется предусматривать монолитную или сборную стяжку, по которой выполняется покрытие пола. Монолитная стяжка выполняется на основе цементного или гипсового вяжущего и должна быть толщиной не менее 40 мм. Прочность стяжки на изгиб должна быть не менее 2,5 МПа (СНиП 2.03.13-88 «Полы»). 17.6 При сосредоточенных нагрузках на пол более 20 кН толщина монолитной стяжки по теплозвукоизоляционному слою должна устанавливаться расчетом из условия исключения деформации последнего (СНиП 2.03.13-88 «Полы»). 17.7 В местах сопряжения стяжек, выполненных по теплозвукоизоляционному слою с другими конструкциями здания (стенами, перегородками и т.п.) должны быть предусмотрены зазоры шириной 25-30 мм на всю толщину стяжки, заполняемые звукоизоляционным материалом. 17.8 Сборные стяжки следует выполнять из спаренных гипсоволокнистых листов размером 1500´500 мм в соответствии с указаниями СП 55-102-2001. Общая толщина сборной стяжки склеенных из двух гипсоволокнистых листов составляет 20 мм. 17.9 При стыковке сборной стяжки из спаренных гипсоволокнистых листов на фальцы уложенных элементов стяжки сплошным слоем наносится дисперсия ПВА или клеящая мастика с последующим скреплением фальцев шурупами длиной не менее 19 мм, располагаемых с шагом 300 мм. 17.10 В местах примыкания сборной стяжки к стенам, перегородкам и т.п. конструкциям следует предусматривать зазор толщиной 8-10 мм, который заполняют кромочной лентой. 17.11 Полы на грунте в помещениях с нормируемой температурой внутреннего воздуха, расположенные выше отмостки здания или ниже ее не более, чем на 0,5 м, должны быть утеплены в зоне примыкания пола к наружным стенам или стенам, отделяющим отапливаемые помещения от неотапливаемых на ширину 0,8 м путем укладки по грунту слоя теплоизоляционных плит толщиной, определяемой из условия обеспечения термического сопротивления наружной стены. 17.12 Требуемая толщина теплоизоляционного слоя должна устанавливаться расчетом в соответствии с указаниями СНиП 23-02-2003. 17.13 Необходимость устройства пароизоляции в каждом конкретном случае должна определяться расчетом сопротивления паропроницанию в соответствии с указаниями СНиП 23-02-2003 «Тепловая защита зданий». 18 ПОЛЫ ХОЛОДИЛЬНИКОВ18.1 Конструкции полов холодильников представлены: - на междуэтажных перекрытиях многоэтажных холодильников; - на обогреваемых грунтах; - над вентилируемыми подпольями. 18.2 Сборный железобетонный каркас многоэтажных холодильников принят по серии 1.420.1-14 для сетки колонн 6´6 м. 18.3 Несущие конструкции перекрытий над проветриваемыми подпольями приняты по серии 1.44-ЗМ/92 «Конструкции железобетонные над холодными вентилируемыми подпольями». 18.4 В качестве теплоизоляции в холодильниках рекомендуется применять экструзионный пенополистирол «ТЕХНОПЛЕКС» (см. п. 1.1). 18.5 Требуемое сопротивление паропроницанию полов принимается по главе СНиП 2.11.02-87 «Холодильники». Пароизоляция выполняется оклеечной - из битумно-полимерных рулонных материалов или из полимерной пленки, и располагается, как правило, между плитой перекрытия или подготовкой под полы и теплоизоляционным слоем. 19 ПЕРЕГОРОДКИ19.1 Перегородки представляют собой конструкцию, включающую металлический или деревянный каркас, звукоизоляционный слой из минераловатных плит «ТЕХНОЛАЙТ ЭКСТРА», «ТЕХНОЛАЙТ ОПТИМА», «ТЕХНОЛАЙТ ПРОФ» и обшивку из гипсокартонных ГКЛ (ГОСТ 6266-97) или гипсоволокнистых листов ГВЛ (ГОСТ. Р 51829-2001), закрепленных к каркасу на самонарезающих винтах. 19.2 В качестве металлического каркаса применяют оцинкованные профили (ТУ 1111-004-04001508-95) стандартной длины 2750, 3000, 4000 и 4500 мм. Металлический каркас состоит из стоечных профилей ПС 50/50, ПС 75/50 или ПС 100/50 и направляющих ПН 50/40, ПН 75/40 и ПН 100/40. 19.3 Стойки и направляющие деревянного каркаса выполняются из брусков сечением соответственно 60´50 и 60´40 мм, изготовленных из хвойных пород древесины не ниже 2 сорта по ГОСТ 8486-86. Бруски каркаса должны быть обработаны антипиринами и антисептиками в соответствии с требованиями СНиП 3.03.01-87. Влажность древесины не должна превышать 12±3%. 19.4 Крепление направляющих металлических профилей (ТУ 1111-004-04001508-95) и деревянных брусков каркасов к полу и потолку, а также стоек, примыкающих к стенам или колоннам, следует предусматривать с помощью дюбелей, располагаемых с шагом не более 1000 мм, но не менее 3 креплений на один профиль (брусок). 19.5 С целью повышения звукоизолирующей способности перегородок следует предусматривать применение уплотнительной ленты между направляющим профилем каркаса и перекрытием, а также в местах сопряжения каркаса со стенами. 19.6 Стоечные профили (ПС) каркаса устанавливают между верхним и нижним направляющими профилями (ПН) с шагом 500 или 600 мм.(300, 400 мм - в необходимых случаях). 19.7 Крепление стоечного профиля к направляющему следует выполнять методом «просечки с отгибом», а деревянных стоек гвоздями и винтами. 19.8 Для повышения звукоизоляционных характеристик пространство между листами обшивки заполняют изоляционными материалами. Горизонтальные стыки ГКЛ или ГВЛ располагают в разбежку. 19.9 Толщина звукоизоляционного слоя должна быть не менее половины расстояния между внутренними поверхностями листов обшивки. 19.10 Крепление каркаса к несущим конструкциям выполняют дюбелями, приведенными в табл. 10. Таблица 10
19.11 Крепление листов обшивки к каркасу перегородок осуществляется самонарезающими винтами, приведенными в табл. 11. Таблица 11
19.12 Швы между листами обшивки следует заделывать шпаклевочной смесью. 19.13 Выбор конструктивного решения перегородок в зависимости от высоты и требований звукоизоляции следует производить по таблицам на стр. 219, 220 и 232. 19.14 Перегородки с обшивками из листов ГКЛ и ГВЛ на металлическом каркасе с заполнением из минераловатных материалов группы горючести НГ (ГОСТ 30244-94) относятся к классу пожарной опасности КО. Область применения перегородок должна определяться с учетом требований СНиП 21-01-97 и нормативных документов на здания функционального различного назначения. 19.15 Монтаж перегородок следует выполнять с учетом указаний СП 55-101-2000 и СП 55-102-2001. Монтаж осуществляется до устройства чистого пола в условиях сухого или нормального температурно-влажностного режима. 19.16 До начала монтажа перегородок все строительные работы, связанные с «мокрыми» процессами должны быть закончены. Монтаж осуществляется до устройства чистого пола в условиях сухого или нормального температурно-влажностного режима. РАЗДЕЛ 1СТЕНЫ С ЗАЩИТНО-ДЕКОРАТИВНЫМ СЛОЕМ ИЗ ТРАДИЦИОННОЙ
ШТУКАТУРКИ.
| ||||||||||||||||||||||||||||||||||||||||||||||||||||||||||||||||||||||||||||||||||||||||||||||||||||||||||||||||||||||||||||||||||||||||||||||||||||||||||||||||||||||||||||||||||||||||||||||||||||||||||||||||||||||||||||||||||||||||||||||||||||||||||||||||||||||||||||||||||||||||||||||||||||||||||||||||||||||||||||||||||||||||||||||||||||||||||||||||||||||||||||||||||||||||||||||||||||||||||||||||||||||||||||||||||||||||||||||||||||||||||||||||||||||||||||||||||||||||||||||||||||||||||||||||||||||||||||||||||||||||||||||||||||||||||||||||||||||||||||||||||||||||||||||||||||||||||||||||||||||||||||||||||||||||||||||||||||||||||||||||||||||||||||||||||||||||||||||||||||||||||||||||||||||||||||||||||||||||||||||||||||||||||||||||||||||||||||||||||||||||||||||||||||||||||||||||||||||||||||||||||||||||||||||||||||||||||||||||||||||||||||||||||||||||||||||||||||||||||||||||||||||||||||||||||||||||||||||||||||||||||||||||||||||||||||||||||||||||||||||||||||||||||||||||||||||||||||||||||||||
|
№ поз. |
Наименование |
№ поз. |
Наименование |
|
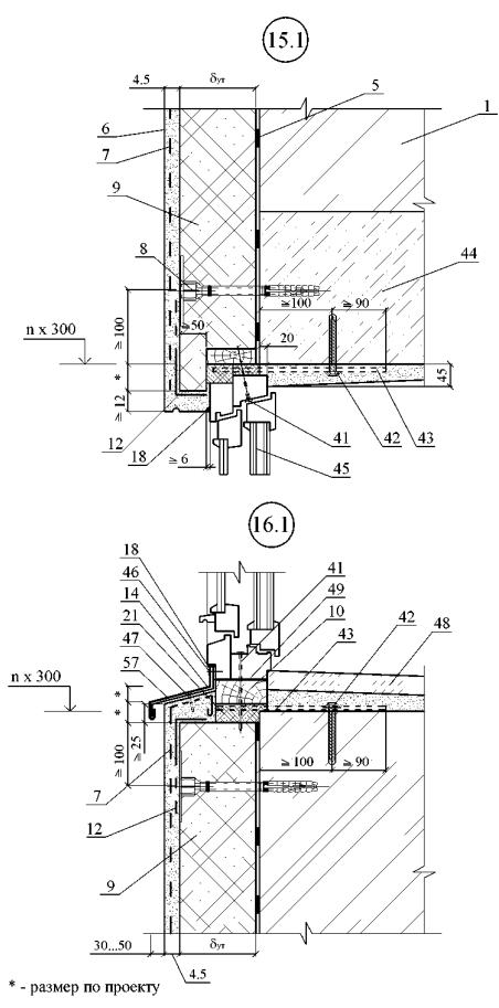
1 |
Стена (несущая часть) |
34 |
Кровля |
|
2 |
Междуэтажное перекрытие |
35 |
Подшивка карниза из доски 150´30 мм |
|
3 |
Плита покрытия |
36 |
Мастика |
|
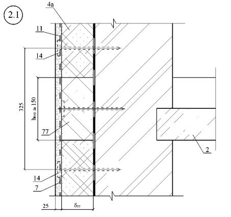
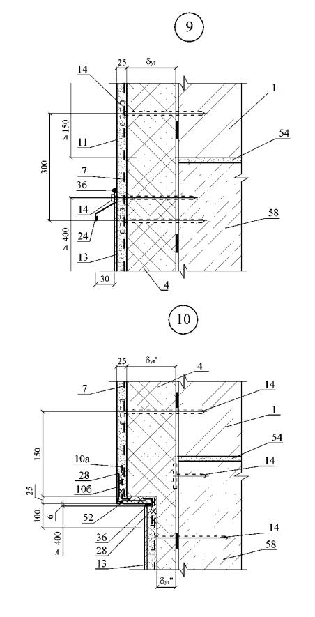
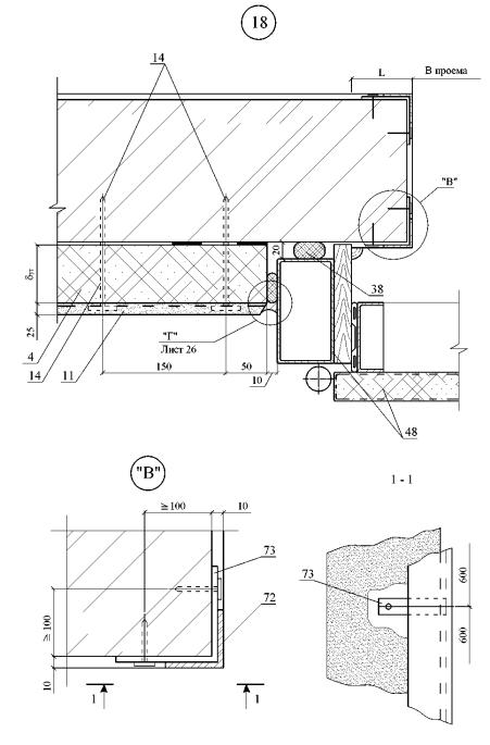
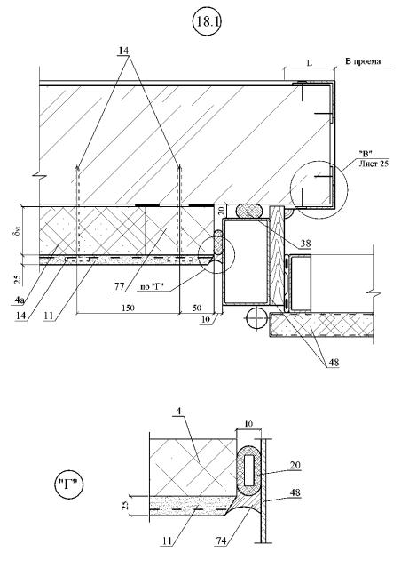
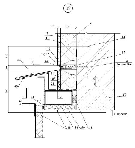
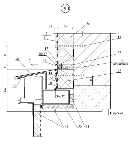
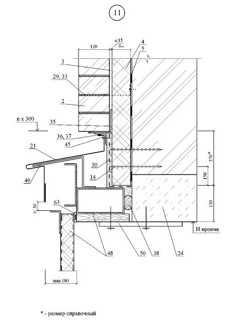
4 |
Теплоизоляция из минераловатных плит «ТЕХНОПЛАСТ» |
37 |
Прокладка уплотняющая из пенорезины сечением 8´8 мм по ТУ 38-406316-87 |
|
4а |
Теплоизоляция из экструдированного (см. п. 2.1.1) |
38 |
Прокладка уплотняющая |
|
5 |
Клеевой состав для приклейки плит теплоизоляции |
39 |
Пена строительная |
|
6 |
Выравнивающая штукатурка, сухая смесь |
40 |
Горизонтальный шов |
|
7 |
Сварная оцинкованная металлическая сетка 20´20 Æ1,0-1,6 |
41 |
Вертикальный шов |
|
8 |
Два ряда металлической сетки |
42 |
Дюбель Æ6 или 8 |
|
9 |
Стык сеток внахлест 100 мм |
43 |
Дюбель из полиамида ТУ 36-941-79 |
|
10 |
Дополнительная сетка 250´400 на скрутках |
44 |
Шуруп ГОСТ 1144-80 |
|
10а |
Z - образная сетка |
45 |
Трубчатый уплотнитель из резины |
|
10б |
Г - образная сетка |
46 |
Гвоздь Æ6 с шагом 600 мм, но не менее 2 шт. на проем |
|
10в |
П - образная сетка |
47 |
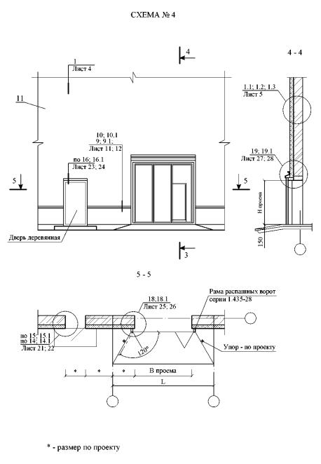
Окно деревянное |
|
11 |
Наружная штукатурка |
48 |
Рама и полотно распашных складчатых ворот серии 1.435-28 |
|
11а |
Грунтовка, сухая смесь |
49 |
Костыль МС-1 с шагом 700 мм, см. в серии 1.435-28 |
|
11б |
Нижний слой грунта, штукатурная цементно-песчаная смесь |
50 |
Стальная планка для крепления рамы ворот |
|
11в |
Второй слой грунта, цементно-известково-песчаная штукатурная смесь |
51 |
Подоконник по проекту |
|
11г |
Поверхность увлажнить или огрунтовать |
52 |
Капельник |
|
11д |
Отделочный слой, смесь штукатурная декоративная |
53 |
Отмостка по проекту |
|
12 |
Внутренняя штукатурка |
54 |
Гидроизоляция - цементно-песчаный раствор |
|
13 |
Плитка облицовочная глазурованная |
55 |
Гидроизоляция |
|
13а |
Выравнивающая цементно-песчаная штукатурная смесь |
56 |
Антисептированная доска |
|
13б |
Клей для плитки облицовочной |
57 |
Железобетонная перемычка над воротным проемом |
|
14 |
Дюбельный комплект |
58 |
Стена подвала |
|
15 |
Стеклопакет |
59 |
Пол подвала или 1-го этажа: - линолеум; - стяжка из цементно-песчаного раствора М50-30 мм; - минераловатная плита или экструзионный пенополистирол (см. п. 1.1); - гидроизоляция; - бетонная подготовка марки В7,5-80 мм |
|
16 |
Доска, пропитанная антипирином |
60 |
Щебень |
|
16а |
Пластина 6´40 с болтом Æ10 и шагом 600 мм, но не менее 2 штук на проем |
61 |
Труба дренажная |
|
17 |
Рейка 40´50, закрепленная к пробкам 50´60 шурупами. Пробки закреплены к стене дюбелями без шайбы |
62 |
Бортовой камень |
|
18 |
Антисептированная доска |
63 |
Перекрытие подвала |
|
19 |
Защитная стенка из кирпича |
64 |
Крупный песок |
|
20 |
Бетонная подготовка |
65 |
Термовставка из ячеистобетонных блоков по ГОСТ 21520-89 |
|
21 |
Слив С2 |
66 |
Фартук из оцинкованной кровельной стали |
|
22 |
Слив С4 |
67 |
Оконное стекло |
|
23 |
Слив С1 |
68 |
Железобетонная надоконная перемычка |
|
24 |
Слив С3 |
69 |
Прокладка уплотняющая |
|
25 |
Антисептированный брус 140´140 мм |
70 |
Плита перекрытия |
|
26 |
Костыль К2 |
71 |
Пластина 6´40, заранее скрепленная с оконной рамой шурупами |
|
27 |
Костыль К3 |
72 |
Обрамляющий уголок 50´4 |
|
28 |
Вязальная проволока ГОСТ 3282-74 |
73 |
Полосу 4´40 крепить к стене дюбелями |
|
29 |
Антисептированный брусок 100´40 |
74 |
Мастика |
|
30 |
Кровельный ковер рулонный |
75 |
Теплоизоляция покрытия (см. п. 2.1.1) |
|
31 |
Прокладка из рулонного битумного материала |
76 |
Выравнивающая стяжка |
|
32 |
Теплоизоляция из плит марки «ТЕХНОФЛОР СТАНДАРТ» или «ТЕХНОФЛОР ПРОФ» |
77 |
Рассечка из минераловатных плит марки «ТЕХНОПЛАСТ» |
|
33 |
Стропильная нога |
|
|



























|
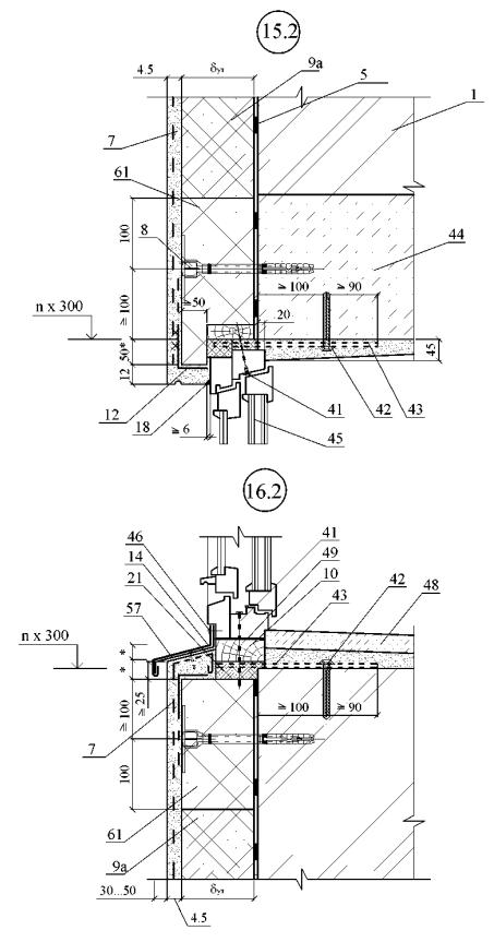
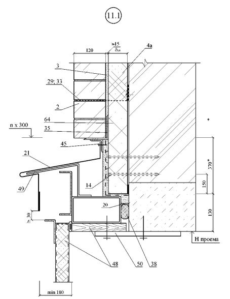
№ поз. |
Наименование |
№ поз. |
Наименование |
|
1 |
Стена (несущая часть) |
31 |
Стены подвала |
|
2 |
Грунтовка |
32 |
Пол подвала или 1-го этажа: - линолеум; - стяжка из цементно-песчаного раствора М50-30 мм; - плита теплоизоляции (см. п. 2.1.1); - гидроизоляция; - бетонная подготовка марки В7,5-80 мм |
|
3 |
Междуэтажное перекрытие |
33 |
Перекрытие подвала |
|
4 |
Плита покрытия |
34 |
Защитная стенка из кирпича |
|
5 |
Клеевой состав для приклейки плит теплоизоляции и устройства базового защитного слоя, сухая смесь |
35 |
Щебень |
|
6 |
Декоративная штукатурка, сухая смесь |
36 |
Труба дренажная |
|
6а |
Грунтовки |
37 |
Бортовой камень |
|
7 |
Армирующая сетка |
38 |
Крупный песок |
|
8 |
Дюбель из полиамида или полиэтилена |
39 |
Термовставка из ячеистобетонных блоков по ГОСТ 21520-88 |
|
9 |
Теплоизоляция из минераловатных плит «ТЕХНОФАС», «ТЕХНОФАС ДВУХСЛОЙНЫЙ», «ТЕХНОФАС Л» |
40 |
Фартук из оцинкованной стали |
|
9а |
Теплоизоляция из экструдированного пенополистирола (см. п. 2.1.1) |
41 |
Гвоздь Æ6 через деревянную прокладку с шагом 600 мм, но не менее 2 шт. на проем |
|
10 |
Доска, пропитанная антипирином; пластина 6´40 с болтом Æ10 и шагом 600 мм, но не менее 2 штук на проем |
42 |
Дюбель HPS-I, «Хилти», Æ6 или 8 |
|
11 |
Стык сеток внахлест 100 мм |
43 |
Пластина 6´40, заранее скрепленная с окном шурупами |
|
12 |
Усиливающий уголок со стеклосеткой |
44 |
Железобетонная перемычка |
|
13 |
Рейка 40´50, закрепленная к пробкам 50´60 шурупами. Пробки закреплены к стене дюбелями без шайбы |
45 |
Окно деревянное |
|
14 |
Слив С1 |
46 |
Шуруп ГОСТ 1144-80 |
|
15 |
Слив С2 |
47 |
Дюбель из полиамида (ТУ 36-941-79) |
|
16 |
Слив С4 |
48 |
Подоконник по проекту |
|
17 |
Костыль К3 |
49 |
Прокладка уплотнительная |
|
18 |
Мастика, см. п. 4.22 |
50 |
Рама и полотно распашных складчатых ворот серии 1.435-28 |
|
18а |
Прокладка из рулонного битумного материала |
51 |
Костыль МС-1 с шагом 700 мм, см. в серии 1.435-28 |
|
19 |
Прокладка уплотняющая из пенорезины сечением 8´8 мм по ТУ 38-406316-87 |
52 |
Стальная планка для крепления рамы ворот, см. в серии 1.435-28 |
|
20 |
Прокладка пенополиэтиленовая уплотняющая |
53 |
Наличник деревянный |
|
21 |
Пена строительная |
54 |
Обрамляющий уголок 50´4 |
|
22 |
Компенсатор |
55 |
Полосу 4´40 крепить к стене дюбелями |
|
23 |
Плитка облицовочная |
56 |
Антисептированная доска |
|
24 |
Клей для плитки облицовочной |
57 |
Костыль К2 |
|
25 |
Цокольная плита (цементно-волокнистая) |
58 |
Теплоизоляция покрытия |
|
26 |
Уплотнительная лента |
59 |
Кровля |
|
27 |
Опорный профиль |
60 |
Трубчатый уплотнитель из резины |
|
28 |
Отмостка по проекту |
61 |
Рассечка из минераловатной плиты марки «ТЕХНОФАС», «ТЕХНОФАС ДВУХСЛОЙНЫЙ», «ТЕХНОФАС Л» |
|
29 |
Гидроизоляция - цементно-песчаный раствор |
62 |
Антисептированный брусок 140´140 |
|
30 |
Обмазочная гидроизоляция 2 слоя |
63 |
Антисептированный брусок 140´80 |



























|
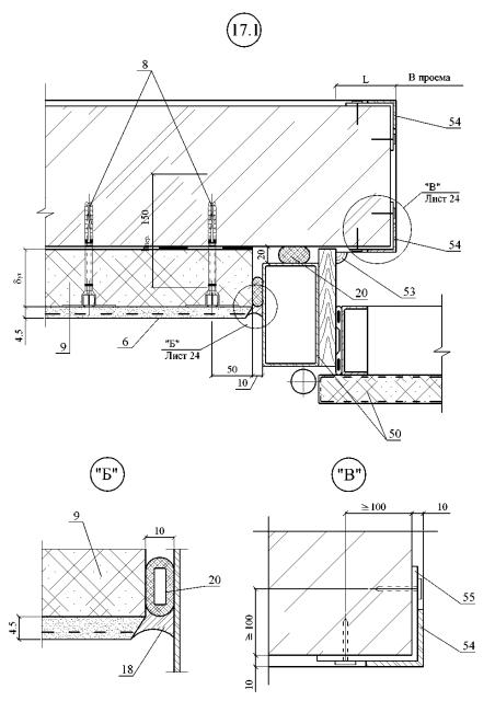
№ поз. |
Наименование |
№ поз. |
Наименование |
|
1 |
Стена (несущая часть) |
37 |
Прокладка уплотняющая из пенорезины сечением 8´8 мм по ТУ 38-406316-87 |
|
2 |
Защитно-декоративная кладка |
38 |
Прокладка пенополиэтиленовая уплотняющая |
|
3 |
Рихтовочный зазор (при применении экструдированного пенополистирола засыпается песком) |
39 |
Пена строительная |
|
4 |
Теплоизоляция «ТЕХНОБЛОК СТАНДАРТ», «ТЕХНОБЛОК ОПТИМА», «ТЕХНОБЛОК ПРОФ» |
40 |
Надоконная перемычка |
|
4а |
Теплоизоляция из экструдированного пенополистирола (см. п. 2.1.1) |
41 |
Цементный раствор |
|
5 |
Клеевой состав для приклейки плит теплоизоляции |
42 |
Дюбель Æ6 или 8 |
|
6 |
Грунтовка |
43 |
Оконное стекло |
|
7 |
Сварная оцинкованная металлическая сетка 20´20 Æ1,0-1,6 |
44 |
Шуруп ГОСТ 1144-80 |
|
8 |
Антисептированнный деревянный брусок 80´80 мм |
45 |
Шуруп ГОСТ 1144-80 |
|
9 |
Антисептированный деревянный брусок 80´40 мм |
46 |
Гвоздь Æ6 через деревянную прокладку с шагом 600 мм, но не менее 2 шт. на проем |
|
10 |
Желоб |
47 |
Окно деревянное |
|
11 |
Наружная штукатурка |
48 |
Рама и полотно распашных складчатых ворот серии 1.435-28 |
|
12 |
Внутренняя штукатурка |
49 |
Костыль МС-1 с шагом 700 мм, см. в серии ворот |
|
13 |
Кровля |
50 |
Стальная планка для крепления рамы ворот, см. в серии ворот |
|
14 |
Дюбель |
51 |
Подоконник по проекту |
|
15 |
Стеклопакет |
52 |
Капельник |
|
16 |
Доска, пропитанная антипирином |
53 |
Отмостка по проекту |
|
16а |
Пластина 6´40 с болтом Æ10 и шагом 600 мм, но не менее 2 штук на проем |
54 |
Гидроизоляция - цементно-песчаный раствор |
|
17 |
Стропила |
55 |
Отделка цоколя |
|
18 |
Междуэтажное перекрытие |
56 |
Фундаментная балка |
|
19 |
Чердачное перекрытие |
57 |
Бортовой камень |
|
20 |
Слив С1 |
58 |
Стена подвала |
|
21 |
Слив С2 |
59 |
Пол подвала или 1-го этажа: - линолеум; - стяжка из цементно-песчаного раствора М50-30 мм; - минераловатная плита или экструзионный пенополистирол (см. п. 2.1.1); - гидроизоляция; - бетонная подготовка марки В7,5-80 мм или плита перекрытия |
|
22 |
Слив С4 |
60 |
Крупный песок |
|
23 |
Плита покрытия |
61 |
Термовставка из ячеистобетонных блоков по ГОСТ 21520-89 |
|
24 |
Надворотная перемычка |
62 |
Фартук из оцинкованной кровельной стали |
|
25 |
Костыль К1 |
63 |
Несущая балка - пояс |
|
26 |
Теплоизоляция покрытия (см. п. 2.1.1) |
64 |
Декоративная плитка |
|
27 |
Костыль К3 |
65 |
Прокладка уплотняющая |
|
28 |
Вязальная проволока ГОСТ 3282-74 |
66 |
Пластина 6´40, заранее скрепленная с окном шурупами |
|
29 |
Закладная сетка М1 |
67 |
Обрамляющий уголок 50´4 |
|
30 |
Закладная сетка М2 |
68 |
Теплоизоляция из плит (см. п. 2.1.1) |
|
31 |
Закладная петля ЗП1 |
69 |
Трубчатый уплотнитель из резины |
|
32 |
2 Æ6 |
70 |
Прокладка из рулонного битумного материала |
|
33 |
Подшивка карниза |
71 |
Рассечка из минераловатных плит марки «ТЕХНОБЛОК СТАНДАРТ», «ТЕХНОБЛОК ОПТИМА», «ТЕХНОБЛОК ПРОФ» |
|
34 |
Анкер А2 |
72 |
Анкер А3 |
|
35 |
Уголок - перемычка с опиранием на боковую кладку проема не менее 120 мм |
73 |
Анкер А4 |
|
36 |
Мастика |
|
|

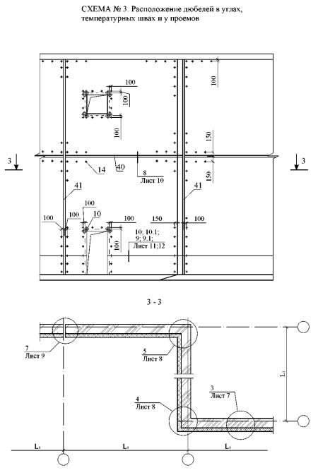
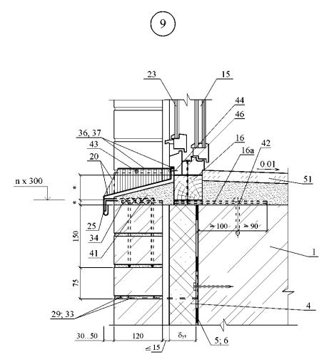
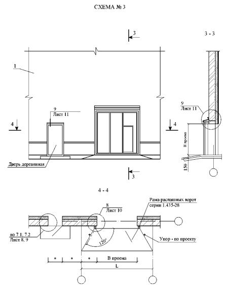
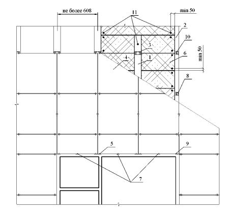
Расположение минераловатных плит утеплителя, защитно-декоративной кладки, несущей балки-пояса
Схема № 1

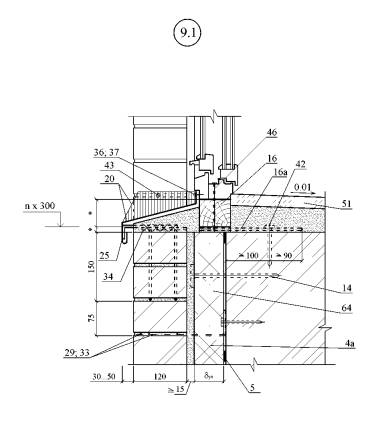
Расположение плит утеплителя из экструзионного пенополистирола, рассечек, защитно-декоративной кладки, несущей балки-пояса
Схема № 2

Таблица 1
Максимальный шаг (м) температурных швов в защитно-декоративной стене L1
|
Вид кладки |
Шаг швов при средней температуре наружного воздуха наиболее холодной пятидневки |
||
|
минус 40°С и ниже |
минус 30°С |
минус 20°С и выше |
|
|
Из кирпича, в т.ч. лицевого на растворе марки 50 и более |
30 |
42 |
70 |
|
Из силикатного кирпича на растворе марки 50 |
21 |
30 |
42 |

























|
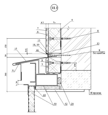
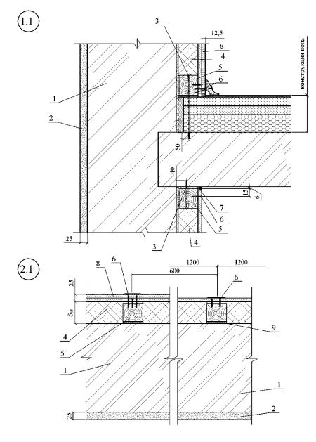
№ поз. |
Наименование |
№ поз. |
Наименование |
|
1 |
Стена (несущая часть) |
32 |
Гидроизоляция |
|
2 |
Защитно-декоративная кладка |
33 |
Анкер А1 |
|
3 |
Рихтовочный зазор (при применении экструдированного пенополистирола засыпается песком) |
34 |
Анкер А2 |
|
4 |
Теплоизоляция из минераловатных плит «ТЕХНОБЛОК СТАНДАРТ», «ТЕХНОБЛОК ОПТИМА», «ТЕХНОБЛОК ПРОФ» |
35 |
Уголок - перемычка с опиранием на боковую кладку проема не менее 120 мм |
|
4а |
Теплоизоляция из экструдированного пенополистирола (см. п. 2.1.1) |
36 |
Мастика |
|
5 |
Клеевой состав для приклейки плит теплоизоляции |
37 |
Прокладка уплотняющая из пенорезины сечением 8´8 мм по ТУ 38-406316-87 |
|
6 |
Грунтовка |
38 |
Прокладка пенополиэтиленовая уплотняющая |
|
7 |
Сварная оцинкованная металлическая сетка 20´20 Æ1,0-1,6 |
39 |
Пена строительная |
|
8 |
Антисептированнный деревянный брусок 80х80 мм |
40 |
Надоконная перемычка |
|
9 |
Антисептированный деревянный брусок 80´40 мм |
41 |
Цементный раствор |
|
10 |
Желоб |
42 |
Дюбель Æ6 или 8 |
|
11 |
Деформационный шов кладки |
43 |
Дюбель из полиамида ТУ 36-941-79 |
|
12 |
Внутренняя штукатурка |
44 |
Шуруп ГОСТ 1144-80 |
|
13 |
Кровля |
45 |
Шуруп ГОСТ 1144-80 |
|
14 |
Дюбель |
46 |
Гвоздь Æ6 через деревянную прокладку с шагом 600 мм, но не менее 2 шт. на проем |
|
15 |
Стеклопакет |
47 |
Окно деревянное |
|
16 |
Доска, пропитанная антипиреном |
48 |
Рама и полотно распашных складчатых ворот серии 1.435-28 |
|
16а |
Пластина 6´40 с болтом Æ10 и шагом 600 мм, но не менее 2 штук на проем |
49 |
Костыль МС-1 с шагом 700 мм, см. в серии 1.435-28 |
|
17 |
Стропила |
50 |
Стальная планка для крепления рамы ворот, см. в серии 1.435-28 |
|
18 |
Плита покрытия |
51 |
Подоконник по проекту |
|
19 |
Чердачное перекрытие |
52 |
Капельник |
|
20 |
Слив С1 |
53 |
Отмостка по проекту |
|
21 |
Слив С2 |
54 |
Гидроизоляция - цементно-песчаный раствор |
|
22 |
Слив С4 |
55 |
Перекрытие над подвалом |
|
23 |
Оконное стекло |
56 |
Фундаментная балка |
|
24 |
Надворотная перемычка |
57 |
Консоль под фундаментную балку |
|
25 |
Костыль К1 |
58 |
Стена подвала |
|
26 |
Теплоизоляция из плит марок «ТЕХНОРУФ», «ТЕХНОРУФ ДВУХСЛОЙНЫЙ» или «ТЕХНО РУФ Н», «ТЕХНО РУФ В» |
59 |
Крупный песок |
|
27 |
Костыль К3 |
60 |
Термовставка из ячеистобетонных блоков по ГОСТ 21520-89 |
|
28 |
Вязальная проволока ГОСТ 3282-74 |
61 |
Фартук из оцинкованной кровельной стали |
|
29 |
Закладная сетка М1 |
62 |
Подшивка карниза |
|
30 |
Г-образная сетка |
63 |
Трубчатый уплотнитель из резины |
|
31 |
Теплоизоляция пола |
64 |
Рассечка из минераловатных плит марки «ТЕХНОБЛОК СТАНДАРТ», «ТЕХНОБЛОК ОПТИМА», «ТЕХНОБЛОК ПРОФ» |














* - размер по проекту





|
№ поз. |
Наименование |
№ поз. |
Наименование |
|
1 |
Стена (несущая часть) |
13 |
Шпаклевка |
|
2 |
Наружная штукатурка |
14 |
Клей «ГМ» |
|
2а |
Грунтовка, сухая смесь № 51 |
15 |
Мастика |
|
2б |
Нижний слой грунта, штукатурная цементно-песчаная смесь №16 |
16 |
Оконный блок |
|
2в |
Второй слой грунта, цементно-известково-песчаная смесь №15; 41* |
17 |
Подоконник по проекту |
|
2г |
Поверхность, увлажненная или обработанная эмульсией |
18 |
Вязальная проволока ГОСТ 3282-74 |
|
2д |
Отделочный слой, смесь штукатурная декоративная №31; 32* |
19 |
Внутренняя штукатурка |
|
3 |
Дюбельный комплект |
20 |
Сварная оцинкоанная металлическая сетка 20´20 Æ1,0-1,6 |
|
4 |
Теплоизоляция из экструзионных пенополистирольных плит (см. п. 2.1.1) |
21 |
Слив |
|
5 |
Брусок 60´50 мм деревянного каркаса |
22 |
Прокладка пенополиэтиленовая уплотняющая |
|
6 |
Шуруп ГОСТ 1144-80 |
23 |
Рама и полотно распашных складчатых ворот серии 1.435-28 |
|
7 |
Мастика |
24 |
Обрамляющий уголок 50´4 |
|
8 |
Гипсокартонный лист |
25 |
Полоса 4´40, крепить к стене дюбелями |
|
9 |
Уплотнительная лента |
26 |
Слив С2 |
|
10 |
Стальной профиль каркаса, d=,55 мм |
27 |
Дюбель Ø6 или 8 мм |
|
11 |
Угловой защитный профиль ПУА |
28 |
Костыль МС-1 с шагом 700 мм, (см. в серии ворот) |
|
12 |
Армирующая лента |
29 |
Стальная планка для крепления рамы ворот, (см. в серии ворот) |











|
№ поз. |
Наименование |
№ поз. |
Наименование |
|
1 |
Панель стеновая цокольная |
21 |
Асбестоцементный лист |
|
2 |
Рама и полотно ворот по сети 1.435-28 |
22 |
Ригель |
|
3 |
Слив С2 |
23 |
Самонарезающие винты |
|
4 |
Костыль МС-1 с шагом 700 мм см в серии 1.435-28 |
24 |
Ригель |
|
5 |
Ветрозащитная пленка (см. п. 2.1.1) |
25 |
Термовкладыш из бакелизированной фанеры |
|
6 |
Наружная обшивка из оцинкованного стального профлиста |
26 |
Шуруп 1-4´40 (шаг 300) |
|
7 |
Утеплитель из плит марки «ТЕХНОЛАЙТ» |
27 |
Герметизирующая мастика, см. п. 4.22 |
|
8 |
Каркас панели |
28 |
Антисептированный деревянный брус сечением 40´130, крепить шурупами 1-6´90 с шагом 600 |
|
9 |
Угловой нащельник |
29 |
Антисептированный деревянный брусок 40´90 (120) |
|
10 |
Слив С1 |
30 |
Нащельник Н1 |
|
11 |
Внутренняя обшивка |
31 |
Подоконник из деревянной доски 60´280 |
|
12 |
Заклепка |
32 |
Слив С5 |
|
13 |
Кровля из профлиста |
33 |
Болт М16´50 с шагом 600 |
|
14 |
Прогон |
34 |
Нащельник Н2 |
|
15 |
Пароизоляция (см. п. 2.1.1) |
35 |
Элемент крепления окна У2; У3 с шагом 600 |
|
16 |
Костыль К-4 |
36 |
Мастика |
|
17 |
Деревянный брусок |
37 |
Доска |
|
18 |
Фартук |
38 |
Нащельник Н3 |
|
19 |
Несущий настил покрытия |
39 |
Нащельник Н4 |
|
20 |
Балка покрытия |
40 |
Нащельник Н5 |










|
№ поз. |
Наименование |
№ поз. |
Наименование |
|
1 |
Стены подвала |
11 |
Бортовой камень |
|
2 |
Отделочный штукатурный слой |
12 |
Пол подвала |
|
3 |
Теплоизоляция из минераловатных плит «ТЕХНОФАС», «ТЕХНОФАС ДВУХСЛОЙНЫЙ», «ТЕХНОФАС Л» при тонкослойной штукатурке, «ТЕХНОПЛАСТ» при толстослойной штукатурке |
13 |
Опорный профиль |
|
3а |
Теплоизоляция из экструдированного пенополистирола |
14 |
Облицовка цоколя |
|
4 |
Горизонтальная гидроизоляция из цементно-песчаного раствора М50 |
15 |
Щебень |
|
5 |
Клеевой слой для крепления теплоизоляции, сухая смесь №51 |
16 |
Крупный песок |
|
6 |
Перекрытие над подвалом |
17 |
Дренажная труба |
|
7 |
Дюбели для крепления внутреннего слоя гидроизоляции из битумно-полимерного рулонного материала |
18 |
Теплоизоляция пола (см. п. 2.1.1) |
|
8 |
Рулонная гидроизоляция (см. п. 2.1.1) |
19 |
Наружная штукатурка |
|
9 |
Защитная стенка из кирпича толщиной 120 мм |
20 |
Рассечка из минераловатных плит «ТЕХНОФАС», «ТЕХНОФАС ДВУХСЛОЙНЫЙ», «ТЕХНОФАС Л» при тонкослойной штукатурке, «ТЕХНОПЛАСТ» при толстослойной штукатурке |
|
10 |
Отмостка |
21 |
Гипсокартонный лист |




|
№ поз. |
Наименование |
№ поз. |
Наименование |
|
1 |
Направляющая из Т-образного профиля |
21 |
Дюбель Æ6 или 8 мм |
|
2 |
Направляющая из Г-образного профиля |
22 |
Главный профиль, δ=1,5 мм |
|
3 |
Кляммер К-1 |
23 |
Лист оцинкованной стали 1250´50´0,7 мм с шагом 600 мм |
|
4 |
Плитка керамогранитная |
24 |
Вставка рядовая 130´100´2 мм |
|
5 |
Кляммер К-2 |
25 |
Пленка ветрозащитная (см. п. 2.1.1) |
|
6 |
Минераловатная плита «ТЕХНОВЕНТ», «ТЕХНОВЕНТ ДВУХСЛОЙНЫЙ» |
26 |
Кронштейн угловой |
|
7 |
Кляммер К-3 |
27 |
Зажимной профиль |
|
8 |
Кляммер К-4 |
28 |
Направляющая из Λ-образного профиля |
|
9 |
Кляммер К-5 |
29 |
Регулировочный винт |
|
10 |
Кляммер К-6 |
30 |
Кляммер угловой К-7 |
|
11 |
Дюбели крепления теплоизоляции |
31 |
Тарельчатый дюбель или дюбель с шайбой |
|
12 |
Заклепка вытяжная нержавеющая 3,2-4,8 |
32 |
Вставка угловая 250´250´2 мм |
|
13 |
Анкерный дюбель |
33 |
Самонарезающий винт |
|
14 |
Поронитовая прокладка |
34 |
Отрезки Г-образного профиля l=200-300 мм |
|
15 |
Резиновая прокладка |
35 |
Клей |
|
16 |
Стальной элемент рамы обрамления оконной коробки, d=0,55 мм |
36 |
Защитный фартук из оцинкованной стали |
|
17 |
Слив оконного блока |
37 |
Гнутый уголок 100´100´2 мм |
|
18 |
Оконный блок |
38 |
Слив цоколя |
|
19 |
Кронштейн рядовой |
39 |
Гидроизоляция |
|
20 |
Стыковочный профиль |
40 |
Отмостка |

Раскладка плит теплоизоляции, размещения кляммеров и дюбелей
Схема № 1













|
№ поз. |
Наименование |
№ поз. |
Наименование |
|
1 |
Стальной стоечный профилированный каркас ПС |
10 |
Шпаклевка по армирующей ленте |
|
2 |
Стальной направляющий профилированный каркас ПН |
11 |
Угловая армирующая лента и шпаклевка |
|
3 |
Гипсокартонный ГКЛ или гипсоволокнистый ГВЛ лист |
12 |
Вставка из минераловатной плиты «ТЕХНОЛАЙТ ЭКСТРА», «ТЕХНОЛАЙТ ОПТИМА», «ТЕХНОЛАЙТ ПРОФ» |
|
4 |
Звукоизоляция из минераловатных плит «ТЕХНОЛАЙТ ЭКСТРА», «ТЕХНОЛАЙТ ОПТИМА», «ТЕХНОЛАЙТ ПРОФ» |
13 |
Профиль ПС с дополнительным деревянным бруском |
|
5 |
Лента уплотнительная |
14 |
Гладкий стоечный профиль |
|
6 |
Дюбель |
15 |
Спаренный стоечный профиль ПС |
|
7 |
Разделительная лента |
16 |
Армированный защитный уголок с последующим шпаклеванием |
|
8 |
Шпаклевка |
17 |
Лента кромочная |
|
9 |
Самонарезающий винт |
|
|










Таблица
Технические характеристики перегородок на металлическом каркасе
|
Тип перегородок |
Эскиз |
Максимальная высота перегородки, м |
Толщина перегородки, D, мм |
Толщина одного слоя обшивки, d, мм |
Шаг стоечных профилей а, мм |
Тип элементов каркаса |
Индекс изоляции воздушного шума Iв, дБ |
Характеристики звукоизоляционного слоя |
||
|
тип направляющего профиля |
тип стоечного профиля |
Плотность кг/м3 |
Толщина, мм |
|||||||
|
с металлическим каркасом и однослойной обшивкой |
|
2,5 |
70 |
10 |
600 |
ПН 50/40 |
ПС 50/50 |
45 |
40 |
50 |
|
3,0 |
75 |
12,5 |
46 |
|||||||
|
3,0 |
70 |
10 |
400 |
45 |
||||||
|
4,0 |
75 |
12,5 |
46 |
|||||||
|
4,0 |
70 |
10 |
300 |
47 |
||||||
|
5,0 |
75 |
12,5 |
48 |
|||||||
|
4,5 |
95 |
10 |
600 |
ПН 75/40 |
ПС 75/50 |
47 |
40 |
50 |
||
|
100 |
12,5 |
48 |
||||||||
|
6,0 |
95 |
10 |
400 |
48 |
40 |
50 |
||||
|
100 |
12,5 |
49 |
||||||||
|
7,0 |
95 |
10 |
300 |
48 |
||||||
|
100 |
12,5 |
49 |
||||||||
|
5,0 |
120 |
10 |
600 |
ПН 100/40 |
ПС 100/50 |
48 |
40 |
50 |
||
|
125 |
12,5 |
49 |
||||||||
|
6,5 |
120 |
10 |
400 |
48 |
||||||
|
125 |
12,5 |
49 |
||||||||
|
8,0 |
120 |
10 |
300 |
48 |
40 |
50 |
||||
|
125 |
12,5 |
49 |
||||||||
|
|
4,0 |
90 |
2´10 |
600 |
ПН 50/40 |
ПС 50/50 |
48 |
40 |
50 |
|
|
100 |
2´12,5 |
49 |
||||||||
|
5,0 |
90 |
2´10 |
400 |
48 |
||||||
|
100 |
2´12,5 |
49 |
||||||||
|
6,0 |
90 |
2´10 |
300 |
48 |
||||||
|
100 |
2´12,5 |
49 |
||||||||
|
5,5 |
115 |
2´10 |
600 |
ПН 75/40 |
ПС 75/50 |
50 |
40 |
50 |
||
|
125 |
2´12,5 |
52 |
||||||||
|
6,5 |
115 |
2´10 |
400 |
50 |
||||||
|
125 |
2´12,5 |
52 |
||||||||
|
7,5 |
115 |
2´10 |
300 |
50 |
||||||
|
125 |
2´12,5 |
52 |
||||||||
|
6,5 |
140 |
2´10 |
600 |
ПН 100/40 |
ПС 100/50 |
50 |
40 |
50 |
||
|
150 |
2´12,5 |
52 |
||||||||
|
7,5 |
140 |
2´10 |
400 |
50 |
||||||
|
150 |
2´12,5 |
52 |
||||||||
|
9,0 |
150 |
2´12,5 |
300 |
52 |
||||||
|
№ поз. |
Наименование |
№ поз. |
Наименование |
|
1 |
Деревянный брусок 60´50 мм |
8 |
Шпаклевка |
|
2 |
Гвоздь оцинкованный, шаг 500 мм |
9 |
Самонарезающий винт |
|
3 |
Гипсокартонный ГКЛ или гипсоволокнистый ГВЛ лист |
10 |
Шпаклевка по армирующей ленте |
|
4 |
Звукоизоляция из минераловатных плит «ТЕХНОЛАЙТ ЭКСТРА», «ТЕХНОЛАЙТ ОПТИМА», «ТЕХНОЛАЙТ ПРОФ» |
11 |
Угловая армирующая лента и шпаклевка |
|
5 |
Лента уплотнительная |
12 |
Вставка из минераловатной плиты «ТЕХНОЛАЙТ ЭКСТРА», «ТЕХНОЛАЙТ ОПТИМА», «ТЕХНОЛАЙТ ПРОФ» |
|
6 |
Винт с пластмассовым дюбелем с шагом 500 мм |
13 |
Армированный защитный уголок с последующим шпаклеванием |
|
7 |
Разделительная лента |
14 |
Лента кромочная |









Таблица
Технические характеристики перегородок на деревянном каркасе
|
Тип перегородок |
Эскиз |
Максимальная высота перегородки, м |
Толщина перегородки D, мм |
Толщина одного слоя обшивки d, мм |
Шаг стоечных профилей а, мм |
Тип элементов каркаса |
Индекс изоляции воздушного шума Iв, дБ |
Характеристики звукоизоляционного слоя |
|||
|
тип направляющего профиля |
тип стоечного профиля |
плотность, кг/м3 |
толщина, мм |
||||||||
|
С деревянным каркасом |
С однослойной обшивкой |
|
3,1 |
80 |
10 |
600 |
60´40 |
60´50 |
45 |
40 |
50 |
|
85 |
12,5 |
600 |
45 |
50 |
|||||||
|
С двухслойной обшивкой |
|
3,1 |
100 |
2´10 |
600 |
60´40 |
60´50 |
53 |
40 |
50 |
|
|
110 |
2´12,5 |
600 |
53 |
50 |
|||||||
|
№ поз. |
Наименование |
№ поз. |
Наименование |
|
1 |
Железобетонная плита перекрытия |
5а |
Неармированная стяжка |
|
2 |
Пароизоляция (см. п. 1.1) |
6 |
Выравнивающая стяжка |
|
3 |
Слой пергамина |
7 |
Деревянная балка перекрытия |
|
4 |
Минераловатные плиты марки «ТЕХНОФЛОР ГРУНТ», «ТЕХНОФЛОР СТАНДАРТ», «ТЕХНОФЛОР ПРОФ» |
8 |
Деревянный щит |
|
4а |
Не нагружаемые минераловатные плиты «ТЕХНОЛАЙТ ЭКСТРА», «ТЕХНОЛАЙТ ОПТИМА», «ТЕХНОЛАЙТ ПРОФ» |
9 |
Цементно-стружечная плита, d=20 мм |
|
|
Экструдированный пенополистирол (см. п. 1.1) |
||
|
5 |
Армированная цементно-песчаная стяжка |
10 |
Штукатурка |


|
№ поз. |
Наименование |
№ поз. |
Наименование |
|
1 |
Дощатое покрытие пола |
13 |
Клеевой состав |
|
2 |
Гвозди |
14 |
Монолитная стяжка из раствора на основе цемента и гипса |
|
3 |
Лага |
15 |
Полиэтиленовая пленка |
|
4 |
Звукоизоляция из не нагружаемых минераловатных плит «ТЕХНОЛАЙТ ЭКСТРА», «ТЕХНОЛАЙТ ОПТИМА», «ТЕХНОЛАЙТ ПРОФ» |
16 |
Бетонный подстилающий слой |
|
4а |
Экструдированный пенополистирол (см. п. 1.1) |
||
|
5 |
Железобетонное перекрытие |
17 |
Сборная стяжка из гипсоволоконных листов |
|
6 |
Гидроизоляция из наплавляемых рулонных материалов |
18 |
Плиточное покрытие пола |
|
7 |
Мозаично-бетонное покрытие пола |
19 |
Подстилающий слой из песка |
|
8 |
Звукоизоляция из минераловатных плит «ТЕХНОФЛОР ГРУНТ», «ТЕХНОФЛОР СТАНДАРТ», «ТЕХНОФЛОР ПРОФ» |
20 |
Утрамбованный щебень |
|
9 |
Покрытие пола паркетное |
21 |
Грунт |
|
10 |
Сборная стяжка из ГВЛ |
22 |
Покрытие пола из железобетона |
|
11 |
Пароизоляция (см. п. 8.2) |
23 |
Система обогрева |
|
12 |
Звукоизоляционная лента |
|
|



|
№ поз. |
Наименование |
№ поз. |
Наименование |
|
1 |
Монолитное бетонное покрытие класса В22,5 - 40 мм |
14 |
Противопожарный пояс из пенобетона γ=500 кг/м |
|
2 |
Армобетонная стяжка - 80 мм |
15 |
Железобетонная наружная стеновая панель с теплоизоляцией |
|
3 |
Слой пергамина насухо с промазкой швов битумной мастикой |
16 |
Монолитное бетонное покрытие класса В22,5 - 40 мм |
|
4 |
Теплоизоляция - экструзионный пенополистирол (см. п. 1.1) |
17 |
Фольгоизол по битумной грунтовке - 5 мм |
|
5 |
Оклеечная пароизоляция |
18 |
Уплотненный песок влажностью 10% - 200 мм |
|
6 |
Стяжка из цементно-песчаного раствора марки 100-20 мм |
19 |
Бетонная подготовка класса В20 с электронагревателями |
|
7 |
Железобетонная плита перекрытия подполья |
20 |
Гидроизоляция оклеечная |
|
8 |
Ригель перекрытия |
21 |
Стяжка из бетона В10 с выравниванием поверхности под гидроизоляцию - 50 мм |
|
9 |
Сборные железобетонные плиты 500´500´40 мм |
22 |
Подсыпка местным грунтом с уплотнением |
|
10 |
Прослойка из цементно-песчаного раствора марки 300 - 15 мм |
23 |
Грунт основания |
|
11 |
Стяжка из бетона класса В15, армированная сеткой 60-3,0-0 по ГОСТ 5336-80 - 80 мм |
24 |
Наружная стена холодильника |
|
12 |
Железобетонная плита безбалочного перекрытия - 160 мм |
25 |
Теплоизоляция стены из экструзионных пенополистирольных плит (см. п. 1.1) |
|
13 |
Цементно-песчаный раствор марки 200 по металлической сетке 35-2,0-0 по ГОСТ 5336-80 |
|
|


|
№ поз. |
Наименование |
№ поз. |
Наименование |
|
1 |
Гипсокартонный лист (2 слоя) |
27 |
Герметик |
|
2 |
Стропила стальные |
28 |
Разжелобок |
|
3 |
Стропила деревянные |
29 |
Дымовая труба |
|
4 |
Кровля из гибкой («ШИНГЛАС») или композитной черепицы («ЛЮКСАРД») |
30 |
Металлическая планка |
|
4´ |
Подкладочный ковер |
31 |
Ендовный ковер |
|
5 |
Контробрешетка |
32 |
Треугольная рейка |
|
6 |
Сплошной настил из обрезной доски, влагостойкой фанеры или плит OSB |
33 |
Капельник |
|
7 |
Стальной профлист |
34 |
Крюк водостока |
|
8 |
Деревянный брусок 40´30 мм |
35 |
Подшивка вагонкой |
|
9 |
Деревянный брусок 60´40 мм |
36 |
Каркас из досок |
|
10 |
Вкладыш из гипсокартона |
37 |
Стена |
|
11 |
Ветрозащитная пленка (см. п. 1.1) |
38 |
Дополнительная теплоизоляция по периметру наружной стены |
|
12 |
Пароизоляция (см. п. 1.1) |
39 |
Чердачное перекрытие |
|
13 |
Минераловатная плита марки «ТЕХНОЛАЙТ» |
40 |
Гибкие связи |
|
14 |
Вентилируемая воздушная прослойка |
41 |
Анкер стропила |
|
15 |
Защитная перфорированная металлизированная лента |
42 |
Мауэрлат |
|
16 |
Битумно-полимерная мастика |
43 |
Гидроизоляция |
|
17 |
Оконный оклад “VELUX” |
44 |
Кобылка |
|
18 |
Вентиляционное отверстие |
45 |
Защитно-декоративная стенка |
|
19 |
Точечный коньковый аэратор |
46 |
Минераловатная плита марки «ТЕХНОРУФ», «ТЕХНОРУФ ДВУХСЛОЙНЫЙ» |
|
20 |
Щипцовое окно с решеткой |
47 |
Цементно-песчаная стяжка или деревянные ходовые дорожки |
|
21 |
Затяжка |
48 |
Пергамин |
|
22 |
Вентиляционное отверстие (шаг 500 мм) |
49 |
Кирпичная кладка |
|
23 |
Сплошной коньковый аэратор |
50 |
Блоки |
|
24 |
Кровельный низкий вентилятор скатного типа |
51 |
Фиксаторы |
|
25 |
Кровельный высокий вентилятор скатного типа |
52 |
Обшивка вагонкой |
|
26 |
Штукатурка |
|
|








|
№ поз. |
Наименование |
№ поз. |
Наименование |
|
1 |
Несущая железобетонная плита |
24 |
Слой рулонного материала (усиление кровли в ендове) |
|
2 |
Выравнивающая затирка цементно-песчаным раствором марки 50 толщиной до 15 мм или уклонообразующий слой из легкого бетона |
25 |
Костыль из стальной полосы 4´40 мм |
|
3 |
Грунтовка раствором битума в керосине (1:3) и пароизоляционный слой (по расчету) |
26 |
Дюбель ДГ3,7´70 Ц6 |
|
4 |
Плиты теплоизоляционные марки «ТЕХНОРУФ» |
27 |
Защитный фартук из оцинкованной стали толщиной 0,8 мм |
|
5* |
То же, марки «ТЕХНОРУФ В» |
28 |
Ограждение |
|
5а* |
То же, марки «ТЕХНОРУФ Н» |
29 |
Приклейка мастикой «Эврика» |
|
6 |
Основной водоизоляционный ковер из полимерной пленки Loqicroof или «ТЕХНОЭЛАСТ СОЛО» |
30 |
Стена |
|
6а |
То же, из 2-х слоев наплавляемых битумно-полимерных рулонных материалов: нижний - марки «ТЕХНОЭЛАСТ ФИКС» и верхний - марки «ТЕХНОЭЛАСТ» |
31а |
Герметик - мастика |
|
6б |
Основной водоизоляционный ковер из двух слоев наплавляемых рулонных материалов (см. п. 8.2) |
32 |
Приклейка по кромкам |
|
7 |
Защитный слой (посыпка на верхнем слое рулонного материала) |
32а |
Механическое крепление по кромкам |
|
8 |
Механическое крепление (см. п. 8.3) |
33 |
Усиление кровли в коньке |
|
9 |
Точечная приклейка теплоизоляционных плит мастикой «Эврика» (ТУ 5775-010-17925162-2003) |
34 |
Патрубок с фланцем |
|
9а |
Грунтовка мастикой «Эврика» |
35 |
Хомут |
|
9б |
Полоса наплавляемого рулонного материала |
36 |
Местное понижение воронки |
|
10 |
Прокладочный слой (пергамин по ГОСТ 2697-83) |
37 |
Колпак воронки |
|
11 |
Выравнивающая стяжка из цементно-песчаного раствора, в т.ч. армированная (по расчету) |
38 |
Прижимной фланец |
|
11а |
Сборная стяжка из асбестоцементных листов или цементно-стружечных плит |
39 |
Минеральная плита марки «ТЕХНОЛАЙТ» |
|
12 |
Пригрузочный слой из гравия |
40 |
Подливка цементно-песчаным раствором |
|
13 |
Бетонные плитки на растворе или пластиковых подставках |
41 |
Дополнительный слой вокруг воронки; трубы; анкера |
|
14 |
Цементно-песчаный раствор |
42 |
Компенсатор из оцинкованной стали толщиной 1,0 мм |
|
15 |
Почвенный слой |
43 |
Стена деформационного шва (бетон, кирпичная кладка) |
|
16 |
Геотекстиль |
44 |
Дополнительная пароизоляция (см. п. 1.1) |
|
17 |
Геодренажная полимерная мембрана |
45 |
Стальная полоса 4´40 мм |
|
18 |
Парапет |
46 |
Рамка из уголка 30´0 мм |
|
19 |
Уплотнитель |
47 |
Анкер |
|
20 |
Легкий бетон класса В7,5 на пористых заполнителях |
48 |
Стальная шайба 100´100´5 мм |
|
21 |
Бортик из теплоизоляционных плит или легкого бетона |
49 |
Парапетная плита |
|
22 |
Дополнительные слои ковра (усиление примыкания кровли к парапету) |
50 |
Стальной стакан с фланцем |
|
23 |
Сварной шов в кровле из полимерной пленки |
51 |
Труба |
Примечание: *- плиты марок «ТЕХНОРУФ Н», «ТЕХНОРУФ В» можно заменить на однослойную плиту «ТЕХНОРУФ ДВУХСЛОЙНЫЙ».














|
№ поз. |
Наименование |
№ поз. |
Наименование |
|
1 |
Железобетонная плита покрытия |
32 |
Противокорневой слой |
|
2 |
Водоизоляционный ковер |
33 |
Минеральная вата |
|
3 |
Теплоизоляция - плиты ТЕХНОПЛЕКС марки 30, 30 СТАНДАРТ, 35, СТАНДАРТ |
34 |
Рулонный битумно-полимерный, уложенный насухо |
|
4 |
Предохранительный (фильтрующий) слой - холст из синтетических волокон ТУ 6-19-290-83 |
35 |
Стеклоткань |
|
5 |
Пригрузочный слой из гравия ГОСТ 8268-88* |
36 |
Выкружка из оцинкованной стали толщиной 0,8 мм |
|
6 |
Слой кровельного материала |
37 |
Компенсатор из оцинкованной стали толщиной 0,8 мм |
|
7 |
Заделка стыка цементно-песчаным раствором |
38 |
Стяжка из цементно-песчаного раствора марки 50-30 мм |
|
8 |
Защитная решетка |
39 |
Фильтрующий слой |
|
9 |
Прижимной фланец, устанавливаемый на мастику толщиной 5 мм |
40 |
Опоры из атмосферостойкой резиновой пластины по ГОСТ 7338-90*, 1 класса, вида Ф, с присоединенными к ней вулканизацией ребрами из той же резины |
|
10 |
Герметизирующая мастика |
41 |
Слой щебня (гравия) фракцией 10-20 мм |
|
11 |
Дополнительные слои кровельного ковра |
42 |
Слой песка с размерами частиц до 4-х мм |
|
12 |
Легкий бетон выравнивающего слоя ендовы |
43 |
Дренажный слой из гравия |
|
13 |
Водоприемный патрубок с фланцем |
44 |
Противокорневой слой |
|
14 |
Зажимной хомут |
45 |
Грунтовочный слой |
|
15 |
Уплотнитель - ПРП по ГОСТ 19177-81 |
46 |
Растительный слой |
|
16 |
Уплотняющие прокладки - ПРП - 40 К (2 шт.), ГОСТ 19177-81, перевить |
47 |
Уклонообразующий слой из легкого бетона класса В 7,5 с затиркой раствором или стяжка из цементно-песчаного раствора марки 100 |
|
17 |
Негорючая теплоизоляция, толщина по теплотехническому расчету |
48 |
Камень брусчатый по ГОСТ 23668-79 |
|
18 |
Пропускаемая труба |
49 |
Бортовой камень |
|
19 |
Зонт из оцинкованной стали |
50 |
Водоприемный стояк |
|
20 |
Патрубок с фланцем |
51 |
Разделительный слой из кровельного рулонного материала |
|
21 |
Рамка из стального уголка |
52 |
Засыпка из гравия |
|
22 |
Легкий бетон |
53 |
Трап воронки HL |
|
23 |
Кожух вентилятора |
54 |
Дренажное кольцо |
|
24 |
Защитный фартук из кровельной стали |
55 |
Надставной элемент |
|
25 |
Пароизоляция |
56 |
Корпус воронки |
|
26 |
Цементно-песчаный раствор марки 50 |
57 |
Утепление воронки и водосточной трубы |
|
27 |
Гвоздь с шайбой |
58 |
Наклонный бортик из цементно-песчаного раствора |
|
28 |
Фундамент под вентилятор |
59 |
Слой кровельного материала (усиление ковра) |
|
29 |
Слив из оцинкованной кровельной стали |
60 |
Крепежный элемент |
|
30 |
Костыль из стальной полосы 4´40 |
61 |
Стенка деформационного шва |
|
31 |
Гвозди КЗ´70, ГОСТ 4028-63 |
62 |
Огрунтовка поверхности под кровлю |












|
№ поз. |
Наименование |
№ поз. |
Наименование |
|
1 |
Стальной профнастил |
27 |
Комплект деталей для крепления ограждения парапета |
|
2 |
Пароизоляция (см. п. 1.1) |
28 |
Толевые гвозди |
|
3 |
Плиты теплоизоляционные марки «ТЕХНОРУФ» |
29 |
Заглушка из негорючего утеплителя |
|
4* |
То же, марки «ТЕХНОРУФ Н» |
30 |
Деревянный брус антисептированный и антипирерованный |
|
5* |
То же, марки «ТЕХНОРУФ В» |
31 |
Заклепка комбинированная ЗК-10 |
|
6 |
Основной водоизоляционный ковер из полимерной пленки Loqicroof или «ТЕХНОЭЛАСТ СОЛО ЭКМ» (ТУ 5774-003-00287852-99) |
32 |
Винт самонарезающий В6´25 |
|
6а |
То же, из 2-х слоев наплавляемого битумно-полимерного рулонного материала: нижний - марки «ТЕХНОЭЛАСТ ФИКС» и верхний - марки «ТЕХНОЭЛАСТ» |
33 |
Слой рулонного материала (усиление ковра в коньке) |
|
6б |
Водоизоляционный ковер из двух слоев наплавляемых рулонных материалов (см. п. 8.2) |
34 |
Стальной поддон |
|
7 |
Защитный слой (посыпка на верхнем слое рулонного материала) |
35 |
Патрубок с фланцем |
|
8 |
Механическое крепление (см. п. 8.3) |
36 |
Стальной хомут |
|
9 |
Точечная приклейка мастикой «Эврика» теплоизоляционных плит (ТУ 5775-010-17925162-2003) |
37 |
Колпак воронки |
|
9а |
Грунтовка мастикой «Эврика» |
38 |
Прижимной фланец |
|
9б |
Полоса наплавляемого рулонного материала |
39 |
Дополнительный слой ковра вокруг воронки |
|
10 |
Сборная стяжка из асбестоцементного листа или цементно-стружечной плиты |
40 |
Местное понижение вокруг воронки |
|
11 |
Подкладка из асбестоцементного листа или цементно-стружечной плиты |
41 |
Прогон |
|
12 |
Стальная гребенка |
42 |
Опорный столбик |
|
13 |
Оцинкованная сталь толщиной 0,8 мм |
43 |
Бортик из гнутого профиля |
|
14 |
Приклейка |
44 |
Минеральная вата |
|
14а |
Механическое крепление (см. п. 8.3) |
45 |
Компенсатор из оцинкованной стали толщиной 0,8 мм |
|
15 |
Бортик из теплоизоляционных плит |
46 |
Стальная полоса 4´40 мм |
|
16 |
Слой рулонного материала (усиление ендовы) |
47 |
Болт М10´30-011 с шайбой и гайкой |
|
17 |
Герметик полимерный (в кровлях из полимерных пленок) |
48 |
Стальная пластина 220´120´10 мм |
|
17а |
Герметик-мастика |
49 |
Уголок 125´80´7 |
|
18 |
Сварной шов в кровле из полимерных пленок |
50 |
Компенсатор из оцинкованной стали толщиной 2 мм |
|
19 |
Дополнительные слои рулонного материала (усиление примыкания кровли) |
51 |
Выкружка из оцинкованной стали толщиной 1,5 мм |
|
20 |
Защитный фартук из оцинкованной стали толщиной 0,8 мм |
52 |
Слой кровельного рулонного материала «насухо» (крупнозернийстой посыпкой вниз) |
|
21 |
Костыль из полосы 4´40 мм |
53 |
Труба |
|
22 |
Ограждение |
54 |
Стальной стакан |
|
23 |
Дюбель ДГ3,7´70 Ц6 |
55 |
Дополнительный слой рулонного материала (усиление ковра в коньке) |
|
24 |
Парапет |
56 |
Цементно-песчаный раствор |
|
25 |
Трехслойная стеновая панель |
57 |
Шуруп |
|
26 |
Дополнительный слой теплоизоляции (≥50 мм) |
|
|
Примечание: *- плиты марок «ТЕХНОРУФ Н», «ТЕХНОРУФ В» можно заменить на однослойную плиту «ТЕХНОРУФ ДВУХСЛОЙНЫЙ».














|
№ поз. |
Наименование |
№ поз. |
Наименование |
|
1 |
Несущий стальной профилированный настил |
16 |
Шайба неопреновая |
|
2 |
Стальной профилированный настил |
17 |
Заглушка из минераловатной плиты марки «ТЕХНОЛАЙТ» |
|
3 |
Пароизоляция (см. п. 1.1) |
18 |
Стальная гребенка по форме профлиста |
|
4 |
Ветрозащита из пленки (см. п. 1.1) |
19 |
Оцинкованная сталь δ=0,8 мм |
|
5 |
Теплоизоляция марки «ТЕХНОЛАЙТ» |
20 |
Защитный фартук из оцинкованной стали δ=0,8 мм |
|
6 |
Термовкладыш из бакелизированной фанеры |
21 |
Гребенчатый уплотнитель из пористой резины |
|
7 |
Опорный элемент из стали δ=3 мм |
22 |
Труба |
|
8 |
Элемент жесткости δ=2 мм |
23 |
Стальной квадратный стакан с фланцем |
|
9 |
Дистанционный прогон |
24 |
Дополнительные прогоны |
|
10 |
Шайба стальная |
25 |
Хомут |
|
11 |
Герметизирующая лента |
26 |
Зонт из оцинкованной стали |
|
12 |
Мастика герметизирующая |
27 |
Коньковый защитный фартук |
|
13 |
Винт самонарезающий В6´80 |
28 |
Уплотнитель по форме профнастила (гребенка) |
|
14 |
Заклепка комбинированная |
29 |
Слив |
|
15 |
Винт самонарезающий В6´25 |
|
|






|
Марка изделия |
№ поз. |
Наименование |
Кол. |
Масса ед., кг |
Примечание |
||
|
А1 |
1 |
6 А-III, ГОСТ 5781-82, L=150 |
1 |
0,03 |
0,31-0,43 |
||
|
2* |
Лист |
БТ-ПН-3´80, ГОСТ 19903-74 |
L=200-350 |
1 |
0,3-0,4 |
||
|
С235 ГОСТ 27772-88 |
|||||||

|
Марка изделия |
№ поз. |
Наименование |
Кол. |
Масса ед., кг |
Примечание |
|
|
А2 |
1 |
6 А-III, ГОСТ 5781-82, L=240 |
2 |
0,053 |
0,42 |
|
|
2 |
Лист |
БТ-ПН-4´100´100, ГОСТ 19903-74 |
1 |
0,314 |
||
|
С235 ГОСТ 27772-88 |
||||||










Административное здание в г. Москве.
Усиление теплозащиты выполнено с применением минераловатных плит «ТЕХНО БЛОК». Принятая конструкция стены дана на расчетной схеме.

1 - цементно-известковая штукатурка, λ1=0,87 Вт/(м·ºС);
2; 4 - кирпичная кладка, λ2=0,81 Вт/(м·ºС);
3 - плита минераловатная «ТЕХНОБЛОК», λБ=0,044 Вт/(м·ºС).
Требуемое сопротивление теплопередаче стены является функцией числа градусо-суток отопительного периода (ГСОП):
![]()
где: tint - расчетная температура внутреннего воздуха, оС;
tht, Zht - средняя температура, оС и продолжительность, сут. периода со средней суточной температурой воздуха ниже или равной 8 оС по СНиП 23-01-99 «Строительная климатология».
Для г. Москвы Dd=4600 и Rreq=2,58 м2·оС/Вт.
![]()
Требуется усиление теплозащитной способности стены на:
![]()
а за вычетом R облицовочного слоя из кирпича, равного 0,148 м2·оС/Вт, получаем
ΔR=1,77-0,148=1,622 м2·оС/Вт.
Толщина слоя дополнительной теплоизоляции при λБ=0,044 Вт/(м·оС) и коэффициенте теплотехнической однородности r=0,92 составит:
![]()
Принимаем слой изоляции равным 80 мм, тогда фактическое сопротивление теплопередаче составит:
![]()
(Наружная стена)
1 Цель расчета - определение необходимости устройства специальной парозащиты в многослойной стене.
Расчет
выполнен по СНиП 23-02-2003
«Тепловая защита зданий».
2 Исходные данные - административное здание в г. Москва
tвн=18 оС; φвн=50%; Rreq=2,63 м2·оС/Вт (см. расчет теплозащиты стены).
3 Конструкция стены:

- цементно-известковая штукатурка,
λ=0,87 Вт/м·оС;
μ=0,098 мг/м·ч·Па
- 2, 4 - кирпичная кладка,
λ=0,81 Вт/м·оС;
μ=0,11 мг/м·ч·Па
- плита минераловатная «ТЕХНО БЛОК»
λБ=0,044 Вт/м·оС;
μ=0,35 мг/м·ч·Па
а - а - плоскость возможной конденсации
Сопротивление теплопередаче внутренних слоев составит:
![]()
4
Требуемое сопротивление паропроницанию слоев стены до плоскости возможной
конденсации должно быть не менее его значения:
по формуле:
![]()
или по формуле:
![]()
5 Проверка возможности влагонакопления за годовой период.
Значения
среднемесячных температур наружного воздуха для Москвы по СНиП 23-01-99 «Строительная климатология»
приведены в таблице, Zo по тому же СНиПу (стр. 8) и средней упругости водяных паров наружного
воздуха по СНиП
2.01.01-82 «Строительная климатология и геофизика», т.к. в новом СНиПе эти
данные отсутствуют.
|
1 |
2 |
3 |
4 |
5 |
6 |
7 |
8 |
9 |
10 |
11 |
12 |
|
|
Tн, оС |
-10,2 |
-9,2 |
-4,3 |
4,4 |
11,9 |
16,0 |
18,1 |
16,3 |
10,7 |
4,3 |
-1,9 |
-7,3 |
|
ен, гПа |
2,8 |
2,9 |
3,7 |
6 |
8,9 |
12,4 |
14,7 |
14,2 |
10,4 |
6,9 |
4,8 |
3,6 |
Zo=145 сут
Сезонные и среднемесячные температуры:
Z1=3 мес; tн1 = -8,9оС;
Z2=4 мес; tн2 = +0,625оС;
Z3=5 мес; tн3 = +14,6оС.
Температура в плоскости возможной конденсации, соответствующая среднезонным температурам, определяется по формуле:
![]()
![]()
![]()
![]()
соответственно Е1=337 Па, Е2=701 Па, Е3=1683 Па, тогда
Е=(337·3+701·4+1683·5)/12=1019 Па
ев=1032 Па;
ен=761 Па (см. таблицу выше).
Rп. нар. слоя=0,12/0,11=1,09 м2·ч·Па/мг;
Rп. внут. слоя=0,08/0,35+0,51/0,11+0,02/0,098=5,06 м2·ч·Па/мг.
По формуле
RП1=(1032-1019)·1,09/(1019-761)=0,054<5,06 м2·ч·Па/мг.
то есть по этому условию устройство парозащиты не требуется.
6 Проверка возможности влагонакопления за период с отрицательными среднемесячными температурами.
7 Средняя упругость водяного пара наружного воздуха за период Zо (см. таблицу выше)
енo=356 Па.
Средняя температура наружного воздуха за тот же период
tнo=- 6,58 оС.
По формуле:
![]()
этой температуре соответствует Ео=408 Па.
По формуле:
η=0,0024·(408-356)·145/1,09=16,6
γ=40 кг/м3; δ=0,08 м; ΔWср=3%, находим:
RП2=0,0024·145·(1032-408)/(140·0,08·3+16,6)=4,32<5,06 м2·ч·Па/мг.
Таким образом, по этому условию накопления влаги в конструкции за период с отрицательными средними месячными температурами наружного воздуха не будет.
Исходные данные: пол подвала жилого дома.
Конструкция пола:

Таблица физико-технических характеристик составляющих пола
|
№ п/п |
Материал |
Толщина слоя, м |
Плотность материала в сухом состоянии, γо, кг/м3 |
Коэффициенты при условии эксплуатации А |
Теплотермическое сопротивление, R, м2оС/Вт |
|
|
теплопроводность, λ, Вт/моС |
теплоусвоения, s, Вт/м2оС |
|||||
|
1 |
Линолеум |
0,003 |
1600 |
0,33 |
7,52 |
0,009 |
|
2 |
Мастика водостойкая |
0,001 |
1000 |
0,18 |
4,56 |
0,0055 |
|
3 |
Сборная стяжка из гипсоволокнистых листов |
0,02 |
1150 |
0,3 |
6,00 |
0,066 |
|
4 |
Теплоизоляция из плит минераловатных плит |
0,044 |
160 |
0,043 |
0,64 |
0,93 |
|
5 |
Железобетонное перекрытие |
0,14 |
2500 |
1,92 |
17,98 |
0,073 |
Тепловую инерцию каждого слоя определяем по формуле
D1=R1·S1=0,009·7,52=0,068;
D2=R2·S2=0,0055·4,56=0,025;
D3=R3·S3=0,066·6,00=0,396;
D5=R5·S5=0,073·17,98=1,31.
Т.к. суммарная тепловая инерция первых трех слоев
D1+D2+D3=0,068+0,025+0,396=0,489<0,5,
а суммарная тепловая инерция трех плюс пятый слой
D1+D2+D3+D5=0,489+1,31=1,799>0,5.
Следовательно показатель теплоусвоения пола Yп следует определять последовательно расчетом показателей теплоусвоения поверхностей слоев конструкции, начиная с третьего слоя
![]()
![]()
![]()
что не удовлетворяет требованиям СНиП предъявляемым к теплоусвоению поверхности пола в жилых, больничных и других подобных зданиях (1 группа зданий и помещений). Поэтому вводим в конструкцию пола дополнительный слой из минераловатной плиты:
![]()
![]()
![]()
Таким образом, выбранная конструкция отвечает требованиям СНиП 23-02-2003 для зданий и помещений всех трех групп.
1. Поверхностная плотность элементов перекрытия:
m1=2400×0,14=336 кг/м2
m2=110,0×0,04+1150×0,02=4,4+23=27,4 кг/м2
2. Вычисляем величину Rwо для несущей плиты перекрытия при
m1=336 кг/м2>200 кг/м2
Rwо=23 lgmэ-10 дБ=23 lg336-10 дБ=58-10=48 дБ
3. Для минплиты «ТЕХНО ФЛОР+» и нагрузке на пол в жилом доме 2 кПа:
Ед=1,1×105 кг/м2 и εд=0,02
4. Вычисляем:
hэ=hо×(1-εд)=0,04×(1-0,02)=0,039 м
5. Определяем частоту резонанса конструкции:

6. По таблице 15 СП к СНиП 23-03-2003 находим Rw=52 дБ (по интерполяции).
![]()
7. В соответствии с таблицей 6 СНиП
23-03-2003 данная конструкция перекрытия с покрытием пола из линолеума
удовлетворяет нормативным требованиям в домах жилых зданий категории «Б» и «В».
1. Поверхностная плотность элементов перекрытия:
m1=2500×0,1=250 кг/м2
m2=600×0,04 (доски)+600×0,05×0,1×2 (лага)=24+6=30 кг/м2
2. Вычисляем величину Rwо для несущей плиты перекрытия при
m1=250 кг/м2>200 кг/м2
Rwо=23 lgm1-10 дБ=23 lg250-10 дБ=45 дБ
3. Для минплиты γ=40 кг/м3 и нагрузке на пол в жилом доме 200 кг/м2 (2000 Па)
Ед=1,4×105 кг/м2 и εд=0,22
4. Вычисляем:
hэ=hо×(1-εд)=0,05×(1-0,22)=0,039 м
5. Определяем частоту резонанса конструкции:

6. По таблице 15 СП к СНиП 23-03-2003 находим Rw=51 дБ (по интерполяции).
7. В соответствии с таблицей 6 СНиП 23-03-2003 данная конструкция перекрытия с дощатым покрытием пола удовлетворяет нормативным требованиям в домах категории «В».
1. Поверхностная плотность элементов перекрытия:
m1=2400×0,14=336 кг/м2
m2=700×0,018+1150×0,02=12,6+23,0=35,6 кг/м2
По таблице 18 СП к СНиП 23-03-2003 при нагрузке на звукоизоляционный слой равной
200+35,6=235,6 кг/м2
индекс приведенного уровня ударного шума плиты перекрытия Lпwo=83 дБ;
2. Для минплиты «ТЕХНОФЛОР СТАНДАРТ» при нагрузке на пол в жилом доме 200 кг/м2
Ед=1,1×105 кг/м2 и εд=0,02
3. Вычисляем:
hэ=hо×(1-εд)=0,04×(1-0,02)=0,039 м
4. Определяем частоту резонанса конструкции:

5. По таблице 17 СП к СНиП 23-03-2003 при значениях Lпwo=83 дБ и f0@141 Гц находим Lпw=63 дБ (по интерполяции).
6. В соответствии с таблицей 6 СНиП 23-03-2003 данная конструкция перекрытия с покрытием пола из паркета удовлетворяет только нормативным требованиям, предъявляемым к перекрытиям между комнатами в двух уровнях в домах категории «В». Следует изменить конструкцию пола, предусмотрев для устройства звукоизоляции плиты минераловатные толщиной 6 см.
7. Определяем:
hэ=hо×(1-εд)=0,06×(1-0,02)=0,059 м»0,06 м
8. Определяем частоту резонанса конструкции:

9. По таблице 17 при значениях Lпwo=83 дБ и f0@257 Гц находим Lпw=69 дБ (по интерполяции).
10. В соответствии с таблицей 6 СНиП 23-03-2003 данная конструкция перекрытия с покрытием пола из паркета удовлетворяет нормативным требованиям в домах категории «А», «Б» и «В».
|
|
|
|