//
ТехЛит.ру
- крупнейшая бесплатная электронная интернет библиотека для "технически умных" людей.
WWW.TEHLIT.RU - ТЕХНИЧЕСКАЯ ЛИТЕРАТУРА

:: Алготрейдинг::


АЛГОТРЕЙДИНГ
шаг за шагом
с нуля по урокам!

Торговые роботы на PYTHON, BackTrader,
Pandas, Pine Script для TradingView. Связка с брокерами, телеграм и легкими приложениями.


ГОСТ 64-77

МЕЖГОСУДАРСТВЕННЫЙ СТАНДАРТ

ЭМАЛИ ГФ-230 ВЭ

ТЕХНИЧЕСКИЕ УСЛОВИЯ

ИПК ИЗДАТЕЛЬСТВО СТАНДАРТОВ
Москва

Содержание

МЕЖГОСУДАРСТВЕННЫЙ СТАНДАРТ

ЭМАЛИ ГФ-230 ВЭ

Технические условия

Enamels ГФ-230 ВЭ.
Specifications

ГОСТ 64-77

Дата введения 01.01.79

Настоящий стандарт распространяется на эмали ГФ-230 ВЭ различных цветов, представляющие собой суспензию пигментов и наполнителей в водной эмульсии алкидного лака с введением сиккатива, растворителя и других добавок.

Эмали ГФ-230 ВЭ предназначаются для отделки интерьеров помещений (за исключением окраски полов) и для окраски изделий из металла и древесины, эксплуатируемых внутри помещения.

Обязательные требования к эмали ГФ-230 ВЭ, направленные на обеспечение ее безопасности для жизни, здоровья, имущества населения и охраны окружающей среды, изложены в п. 1.4 (табл. 1, показатели 5, 12, 13), пп. 4.1, 4.2.

(Измененная редакция, Изм. № 1, 2, 3, 4).

1. ТЕХНИЧЕСКИЕ ТРЕБОВАНИЯ

1.1. Эмали ГФ-230 ВЭ должны изготовляться в соответствии с требованиями настоящего стандарта по рецептуре и технологическому регламенту, утвержденным в установленном порядке.

1.2. Цвет эмали ГФ-230 ВЭ и код ОКП по Общесоюзному классификатору промышленной и сельскохозяйственной продукции должны соответствовать указанным в табл. 1а.

Таблица 1а

Наименование цвета

Код ОКП

Эмали ГФ-230 ВЭ различных цветов:

23 1212 2400 05

красный

23 1212 2406 10

оранжевый

23 1212 2405 00

лимонный

23 1212 2413 00

«слоновая кость»

23 1212 2412 01

кремовый

23 1212 2414 10

золотисто-желтый

23 1212 2404 01

зеленый

23 1212 2408 08

светлый серо-зеленый

23 1212 2473 10

бледно-зеленый

23 1212 2467 08

светло-голубой

23 1212 2471 01

голубой

23 1212 2410 03

светло-серый

23 1212 2459 08

бежевый

23 1212 2417 07

белый

23 1212 2401 04

черный

23 1212 2402 03

(Измененная редакция, Изм. № 1, 2).

1.3. (Исключен, Изм. № 3).

1.4. По физико-механическим показателям эмали должны соответствовать требованиям и нормам, указанным в табл. 1.

Таблица 1

Наименование показателя

Норма

Метод испытания

1. Цвет покрытия эмали:

Должен находиться в пределах допускаемых отклонений, установленных образцами цвета «Картотеки» или контрольными образцами цвета, утвержденными в установленном порядке

По ГОСТ 29319-92 и п. 3.3 настоящего стандарта

красный

9, 11

 

оранжевый

121, 128

 

лимонный

239, 240

 

«слоновая кость»

252, 253

 

кремовый

270, 271

 

золотисто-желтый

285, 286

 

зеленый

300, 302

 

светлый серо-зеленый

319, 352

 

бледно-зеленый

332, 339

 

светло-голубой

448, 467

 

голубой

469, 470

 

светло-серый

560, 561

 

бежевый

629, 630

 

белый

Контрольные образцы цвета

 

черный

То же

 

2. Внешний вид покрытия

После высыхания эмаль должна образовывать гладкую, однородную, без оспин, потеков, морщин, глянцевую или полуглянцевую поверхность

По п. 3.3

3. Блеск пленки, %:

 

По ГОСТ 896

полуматовой

25 - 36

 

полуглянцевой

37 - 49

 

глянцевой

Не менее 50

 

4. Условная вязкость по вискозиметру типа ВЗ - 246 с диаметром сопла 4 мм при температуре (20,0 ± 0,5) °С, с

70 - 120

По ГОСТ 8420-74

5. Массовая доля нелетучих веществ, %

50 ± 3

По ГОСТ 17537-72 и п. 3.3а настоящего стандарта

6. Степень перетира, мкм, не более

35

По ГОСТ 6589-74

7. Укрывистость высушенной пленки, г/м, не более, для эмалей:

 

По ГОСТ 8784-75, разд. 1

зеленой

70

 

черной

30

 

«слоновая кость» и белой

150

 

остальных цветов

130

 

8. Время высыхания до степени 3 при температуре (20 ± 2) °С, ч, не более

24

По ГОСТ 19007-73

9. Прочность пленки при ударе на приборе типа У-1, см, не менее, для эмалей:

 

По ГОСТ 4765-73

белой

30

 

остальных цветов

35

 

10. Эластичность пленки при изгибе, мм, не более

3

По ГОСТ 6806-73

11. Твердость покрытия по маятниковому прибору, не менее:

 

По ГОСТ 5233-89

типа ТМЛ (маятник А), относительные единицы, или

0,10

 

типа М - 3, условные единицы

0,25

По п. 3.3б

12. Стойкость покрытия к статическому воздействию воды при температуре (20 ± 2) °С, мин, не менее

30

По ГОСТ 9.403-80, разд. 2, и п. 3.4 настоящего стандарта

13. Стойкость покрытия к статическому воздействию раствора моющего средства при температуре (40 ± 2) °С, мин, не менее

10

По ГОСТ 9.403-80, разд. 2, и п. 3.5 настоящего стандарта

14. Условная светостойкость покрытия, мин, не менее

10

По ГОСТ 21903-76, метод 3, и п. 3.6 настоящего стандарта

Примечание. При использовании двуокиси титана с показателем белизны 92 - 93 условные единицы допускается увеличение массовой доли нелетучих веществ в эмали до 57 % по верхнему пределу.

(Измененная редакция, Изм. № 1, 2, 3, 4).

2. ПРАВИЛА ПРИЕМКИ

2.1. Правила приемки эмалей - по ГОСТ 9980.1-86

(Измененная редакция, Изм. № 1).

2.2. Приемосдаточные испытания проводят по показателям 1 - 6, 8, 11 табл. 1.

При получении неудовлетворительных результатов приемосдаточных испытаний хотя бы по одному из показателей проводят повторные испытания на удвоенной выборке, взятой от той же партии.

Результаты испытаний распространяются на всю партию.

Нормы по показателям 7, 9, 10, 12 - 14 табл. 1 определяют периодически в каждой 15-й партии.

При получении неудовлетворительных результатов периодических испытаний проверяют каждую партию до получения удовлетворительных результатов подряд не менее чем на трех партиях.

При получении повторного отрицательного результата периодические испытания переводят в приемосдаточные до получения удовлетворительных результатов.

(Измененная редакция, Изм. № 4).

3. МЕТОДЫ ИСПЫТАНИЙ

3.1. Отбор проб - по ГОСТ 9980.2-86. При хранении при температуре ниже 0 °С перед испытанием и применением эмали необходимо выдержать до достижения температуры (20 ± 2) °С.

(Измененная редакция, Изм. № 1).

3.2. Твердость, блеск и условную светостойкость покрытия определяют на стеклянных пластинках размером 90´120 мм, толщиной от 1,2 мм до 1,8 мм.

Прочность покрытия при ударе определяют на пластинках из стали марок 08кп и 08пс размером 70´150 мм, толщиной 0,5 или 0,8 - 0,9 мм по ГОСТ 16523-97 или проката холоднокатаного марки 08кп размером 70´150 мм, толщиной 0,8 - 1,0 мм по ГОСТ 9045-93.

Эластичность пленки при изгибе определяют на пластинках из черной жести по ГОСТ 13345-85 размером 20´150 мм, толщиной 0,25 - 0,32 мм.

Остальные показатели определяют на пластинках из черной жести по ГОСТ 13345-85 размером 70´150 мм, толщиной 0,25 - 0,32 мм. Условную вязкость, массовую долю нелетучих веществ, степень перетира определяют в неразбавленных эмалях. Пластинки для нанесения эмалей подготавливают по ГОСТ 8832-76, разд. 3.

Перед нанесением на пластинки эмаль разбавляют уайт-спиритом (нефрасом-С4-155/200) и фильтруют через сетку № 01Н - 02Н по ГОСТ 6613-86.

Эмаль разбавляют до рабочей вязкости 24 - 28 с по вискозиметру ВЗ - 246 с диаметром сопла 4 мм при температуре (20,0 ± 0,5) °С при нанесении краскораспылителем и до вязкости 40 – 60 с при нанесении кистью и наносят одним слоем.

Нанесенную на пластинку эмаль сушат при температуре (20 ± 2) °С и относительной влажности воздуха (65 ± 5) % в течение 24 ч.

Толщина покрытия после высыхания должна быть 25 - 30 мкм. Толщину покрытия эмали измеряют микрометром типа МР - 25 по ГОСТ 4381-87 или другими приборами, имеющими погрешность не более ± 3 мкм.

Перед определением прочности покрытия эмали при ударе, эластичности пленки при изгибе, твердости, условной светостойкости, стойкости покрытия к статическому воздействию воды и раствора моющего средства высушенные в течение 24 ч покрытия предварительно выдерживают при температуре (20 ± 2) °С в течение 48 ч.

Перед определением укрывистости эмали выдержку не проводят.

(Измененная редакция, Изм. № 4).

3.2а. (Исключен, Изм. № 4).

3.3. Цвет высушенного покрытия определяют визуально по ГОСТ 29319-92.

При разногласиях в оценке цвета за окончательный результат принимают определение цвета при естественном дневном свете.

Внешний вид покрытия определяют при естественном рассеянном свете.

(Измененная редакция, Изм. № 4).

3.3а. Массовую долю нелетучих веществ эмали определяют по ГОСТ 17537-72. Навеску испытуемой эмали массой (2,00 ± 0,20) г помещают в сушильный шкаф и выдерживают при температуре (105 ± 2) °С. Первое взвешивание проводят через 1 ч после выдержки в шкафу, последующие - через каждые 30 мин до постоянной массы.

Допускается определение массовой доли нелетучих веществ под инфракрасной лампой при температуре (105 ± 2) °С. При разногласиях в оценке данного показателя окончательным результатом является определение в сушильном шкафу.

(Измененная редакция, Изм. № 2).

3.3б. Определение твердости покрытия

3.3б.1. Твердость покрытия эмали определяют по ГОСТ 5233-89, разд. 1.

3.3б.2. Определение твердости покрытия по маятниковому прибору типа М - 3

3.3б.2.1. Аппаратура и материалы

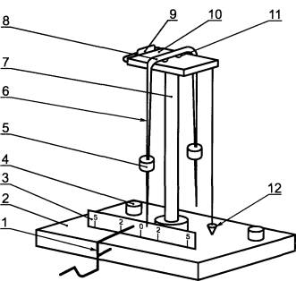
Маятниковый прибор типа М - 3 для определения твердости при комнатной температуре (20 ± 2) °С (чертеж).

Основные характеристики маятникового прибора:

масса маятника (120 ± 1) г;

длина маятника, считая от точки опоры до конца стрелки, (500 ± 1) мм;

диаметр стального шарика (точки опоры) 7,938 мм по ГОСТ 3722-81;

шкала прибора, разделенная на градусы;

угол отклонения от 5° до 2°;

время затухания колебаний на стеклянной пластинке («стеклянное число») (440 ± 6) с.

Стеклянные пластинки размером 90´120 мм, толщиной от 1,2 до 1,8 мм.

Секундомер.

Растворители: эфир этиловый по ГОСТ 8981-78 или ацетон технический по ГОСТ 2768-84.

3.3б.2.2. Подготовка к испытанию

Перед каждым испытанием шарики маятника и стеклянную пластинку прибора тщательно протирают ватой, смоченной растворителем, а затем сухой чистой марлей.

На пластинки, подготовленные по ГОСТ 8832-76, наносят испытуемую эмаль (п. 3.2).

3.3б.2.3. Проведение испытания

Маятниковый прибор проверяют по «стеклянному числу» - времени затухания колебаний маятника, точки опоры которого лежат на стеклянной пластинке прибора.

1 - пусковой механизм; 2 - основание; 3 - шкала; 4 - установочные винты; 5 - груз; 6 - двустрелочный механизм; 7 - штатив; 8 - соединительная планка; 9 - рамка; 10 - столик; 11 - стальные шарики; 12 - отвес

Определение «стеклянного числа» проводят при температуре (20 ± 2) °С и относительной влажности воздуха (65 ±5 ) %.

Измерения проводят не менее чем на трех участках поверхности стеклянной пластинки.

Таким же образом определяют время затухания колебаний маятника на стеклянной пластинке с испытуемым покрытием эмали.

3.3б.2.4. Обработка результатов

Твердость (Н), условные единицы, вычисляют по формуле:

где t - время затухания колебаний маятника на испытуемом покрытии эмали, с;

t1 - время затухания колебаний маятника на стеклянной пластинке прибора («стеклянное число»), с.

За результат испытания принимают среднеарифметическое полученных результатов измерения времени затухания колебаний маятника на стеклянной пластинке и на испытуемом образце покрытия эмали.

Отклонения значений единичных измерений от среднеарифметического не должно быть более 3 %.

При разногласиях показатель «твердость покрытия» определяют по ГОСТ 5233-89 по маятниковому прибору типа ТМЛ (маятник А).

3.3б.2.5. Погрешность метода

Погрешность метода при определении твердости на приборе М - 3 составляет ± 0,02 условной единицы.

3.3б - 3.36.2.5. (Введены дополнительно, Изм. № 4).

3.4. Стойкость покрытия к статическому воздействию воды определяют по ГОСТ 9.403-80, разд. 2, при этом образец, подготовленный по п. 3.2, помещают на 2/3 его высоты в дистиллированную воду по ГОСТ 6709-72, выдерживают в течение 30 мин, затем после испытания выдерживают на воздухе при (20 ± 2) °С в течение 2 ч, осматривают невооруженным глазом. Пленка эмали по внешнему виду должна быть без изменения.

3.5. Стойкость покрытия к статическому воздействию раствора моющего средства определяют по ГОСТ 9.403-80, разд. 2. Образец, подготовленный по п. 3.2, помещают на 2/3 его высоты в 0,5 %-ный раствор моющего синтетического порошкообразного средства по ГОСТ 25644-96 при температуре (40 ± 2) °С и выдерживают в течение 10 мин. Затем образец промывают водой, обсушивают фильтровальной бумагой, выдерживают на воздухе при (20 ± 2) °С в течение 1 ч и осматривают. Допускается незначительное изменение цвета и незначительная потеря блеска.

3.4, 3.5. (Измененная редакция, Изм. № 2, 4).

3.6. Условную светостойкость определяют по ГОСТ 21903-76, разд. 3. Допускается применять дуговую ртутную трубчатую лампу высокого давления типа ДРТ - 400.

Образцы помещают на расстоянии 25 - 26 см от лампы.

Режим лампы:

напряжение - (120 ± 6) В;

сила тока - (3,75 ± 0,25) А.

Электрические параметры лампы фиксируются при помощи вольтметра и амперметра.

Облучение образцов проводят в течение 10 мин; облученные образцы сравнивают с необлученными образцами при дневном рассеянном свете. Цвет пленки эмали должен быть без изменения.

(Измененная редакция, Изм. № 1, 3).

4. УПАКОВКА, МАРКИРОВКА, ТРАНСПОРТИРОВАНИЕ И ХРАНЕНИЕ

4.1. Упаковка - по ГОСТ 9980.3-86.

(Измененная редакция, Изм. № 2).

4.2. Маркировка - по ГОСТ 9980.4-2002. При маркировке указывают в соответствии со значением блеска глянцевые, полуглянцевые или полуматовые эмали.

На транспортную тару должны быть нанесены знак опасности по ГОСТ 19433-88 (класс 3), классификационный шифр 3313, номер ООН 1263.

(Измененная редакция, Изм. № 2, 4).

4.3. Транспортирование и хранение - по ГОСТ 9980.5-86.

Эмали хранят и транспортируют при температуре выше 0 °С. Допускается хранение и транспортирование эмалей при температуре до минус 40 °С, при этом продолжительность хранения и транспортирования не должна превышать одного месяца.

При хранении условная вязкость эмалей увеличивается от нормы по табл. 1. При разбавлении эмалей уайт-спиритом (нефрасом-С-4-155/200) в количестве не более 7 % (массы эмали) до нормы по показателю «вязкость» эмали должны соответствовать требованиям настоящего стандарта.

(Измененная редакция, Изм. № 2, 3, 4).

5. ГАРАНТИИ ИЗГОТОВИТЕЛЯ

5.1. Изготовитель гарантирует соответствие эмалей требованиям настоящего стандарта при соблюдении условий хранения и транспортирования.

5.2. Гарантийный срок хранения эмалей - 12 мес. со дня изготовления.

5.1, 5.2. (Измененная редакция, Изм. № 1).

6. ТРЕБОВАНИЯ БЕЗОПАСНОСТИ

6.1. Эмали ГФ-230 ВЭ являются пожароопасными и токсичными материалами, что обусловлено свойствами компонентов, входящих в состав эмалей.

Предельно допустимые концентрации, классы опасности компонентов по ГОСТ 12.1.005-88 и характеристики пожароопасности по ГОСТ 12.1.044-89 приведены в табл. 2.

Таблица 2

Наименование компонента

Предельно допустимая концентрация паров в воздухе рабочей зоны производственных помещений, мг/м3

Класс опасности

Температура, °С

Концентрационные пределы воспламенения, % (по объему)

вспышки

самовоспламенения

нижний

верхний

Уайт-спирит

300

4

Не ниже 33

270

1,4

6,0

Ксилол

50

3

Не ниже 23

Выше 450

1,0

6,0

6.2. Возможные пути поступления вредных веществ в организм человека - ингаляционный и через кожные покровы.

Пары растворителей оказывают раздражающее действие на слизистые оболочки глаз, верхних дыхательных путей и кожу.

6.3. Производство эмалей должно соответствовать правилам безопасности лакокрасочных производств, утвержденным в установленном порядке.

6.4. Производство, испытания и применение эмалей должны соответствовать требованиям ГОСТ 12.3.005-75 и ГОСТ 12.1.004-91.

6.5. Лица, связанные с изготовлением и применением эмалей, должны быть обеспечены специальной одеждой по ГОСТ 12.4.103-83 и средствами индивидуальной защиты по ГОСТ 12.4.011-89, ГОСТ 12.4.068-79.

Индивидуальные средства защиты органов дыхания от паров растворителей - по ГОСТ 12.4.028-76, ГОСТ 12.4.004-74 и ГОСТ 17269-71.

6.6. Работы, связанные с изготовлением и применением эмалей, проводят в помещениях, снабженных приточно-вытяжной и местной вентиляцией по ГОСТ 12.4.021-75, обеспечивающей состояние воздушной среды в соответствии с ГОСТ 12.1.005-88.

Средства тушения пожара - песок, кошма, огнетушители пенные ОХП - 10, углекислотные ОУ - 2 и ОУ - 5, пенные установки по ГОСТ 12.4.009-83.

6.7. Для охраны атмосферного воздуха от загрязнений должны быть предусмотрены очистка воздуха на газоочистных установках и контроль за соблюдением предельно допустимых выбросов (ПДВ) по ГОСТ 17.2.3.02-78.

6.8. Отходы, образующиеся при очистке оборудования, утилизируют в соответствии с порядком накопления, транспортирования, обезвреживания и захоронения токсичных промышленных отходов.

Разд. 6. (Измененная редакция, Изм. № 4).

7. УКАЗАНИЯ ПО ПРИМЕНЕНИЮ

7.1. Перед применением эмаль тщательно перемешивают, разбавляют при необходимости уайт-спиритом (нефрасом-С4-155/200) по ГОСТ 3134-78, скипидаром по ГОСТ 1571-82 или их смесью в количестве не более 20 % массы эмали. При транспортировании и хранении эмали при температуре до минус 40 °С в эмали происходит замерзание и отслоение воды. В этом случае эмаль перед применением выдерживают до температуры (20 ± 5) °С и тщательно перемешивают до однородного состояния.

Эмали при применении наносят кистью или валиком ровным слоем на сухую, предварительно очищенную от пыли, грязи, старой отслоившейся краски, жира поверхность одним или двумя слоями.

При промышленном применении эмали наносят краскораспылителем.

Время высыхания каждого слоя при (20 ± 2) °С - 24 ч.

Расход эмали для однослойного покрытия – 45 - 225 г/м2 в зависимости от цвета.

(Измененная редакция, Изм. № 2, 3, 4).

ПРИЛОЖЕНИЕ. (Исключено, Изм. № 3).

ИНФОРМАЦИОННЫЕ ДАННЫЕ

1. РАЗРАБОТАН И ВНЕСЕН Министерством химической промышленности

2. УТВЕРЖДЕН И ВВЕДЕН В ДЕЙСТВИЕ Постановлением Государственного комитета СССР по стандартам от 19.12.77 № 2927

Изменение № 4 принято Межгосударственным советом по стандартизации, метрологии и сертификации (протокол № 20 от 01.11.2001)

За принятие изменения проголосовали:

Наименование государства

Наименование национального органа по стандартизации

Азербайджанская Республика

Азгосстандарт

Республика Армения

Армгосстандарт

Республика Беларусь

Госстандарт Республики Беларусь

Республика Казахстан

Госстандарт Республики Казахстан

Кыргызская Республика

Кыргызстандарт

Республика Молдова

Молдовастандарт

Российская Федерация

Госстандарт России

Республика Таджикистан

Таджикстандарт

Туркменистан

Главгосслужба «Туркменстандартлары»

Республика Узбекистан

Узгосстандарт

Украина

Госстандарт Украины

3. ВЗАМЕН ГОСТ 64-66

4. ССЫЛОЧНЫЕ НОРМАТИВНО-ТЕХНИЧЕСКИЕ ДОКУМЕНТЫ

Обозначение НТД, на который дана ссылка

Номер пункта, подпункта

ГОСТ 9.403-80

1.4; 3.4; 3.5

ГОСТ 12.1.004-91

6.4

ГОСТ 12.1.005-88

6.1; 6.6

ГОСТ 12.1.044-89

6.1

ГОСТ 12.3.005-75

6.4

ГОСТ 12.4.004-74

6.5

ГОСТ 12.4.009-83

6.6

ГОСТ 12.4.011-89

6.5

ГОСТ 12.4.021-75

6.6

ГОСТ 12.4.028-76

6.5

ГОСТ 12.4.068-79

6.5

ГОСТ 12.4.103-83

6.5

ГОСТ 17.2.3.02-78

6.7

ГОСТ 896-69

1.4

ГОСТ 1571-82

7.1

ГОСТ 2768-84

3.36.2.1

ГОСТ 3134-78

7.1

ГОСТ 3722-81

3.36.2.1

ГОСТ 4381-87

3.2

ГОСТ 4765-73

1.4

ГОСТ 5233-89

1.4; 3.36.1; 3.36.2.4

ГОСТ 6589-74

1.4

ГОСТ 6613-86

3.2

ГОСТ 6709-72

3.4

ГОСТ 6806-73

1.4

ГОСТ 8420-74

1.4

ГОСТ 8784-75

1.4

ГОСТ 8832-76

3.2; 3.36.2.1

ГОСТ 8981-78

3.36.2.1

ГОСТ 9045-93

3.2

ГОСТ 9980.1-86

2.1

ГОСТ 9980.2-86

3.1

ГОСТ 9980.3-86

4.1

ГОСТ 9980.4-2002

4.2

ГОСТ 9980.5-86

4.3

ГОСТ 13345-85

3.2

ГОСТ 16523-97

3.2

ГОСТ 17269-71

6.5

ГОСТ 17537-72

1.4; 3.3а

ГОСТ 19007-73

1.4

ГОСТ 19433-88

4.2; 4.3

ГОСТ 21903-76

1.4; 3.6

ГОСТ 25644-96

3.5

ГОСТ 29319-92

1.4; 3.3

5. Ограничение срока действия снято по протоколу № 3-93 Межгосударственного совета по стандартизации, метрологии и сертификации (ИУС 5-6-93)

6. ИЗДАНИЕ (июль 2003 г.) с Изменениями № 1, 2, 3, 4, утвержденными в ноябре 1982 г., декабре 1987 г., феврале 1993 г., мае 2002 г. (ИУС 2-83, 3-88, 10-93, 8-2002)




Яндекс цитирования



   Copyright © 2007-2026,  www.tehlit.ru.

[ ѓосты, стандарты, нормативы, инструкции, правила, строительные нормы ]