//
ТехЛит.ру
- крупнейшая бесплатная электронная интернет библиотека для "технически умных" людей.
WWW.TEHLIT.RU - ТЕХНИЧЕСКАЯ ЛИТЕРАТУРА

:: Алготрейдинг::


АЛГОТРЕЙДИНГ
шаг за шагом
с нуля по урокам!

Торговые роботы на PYTHON, BackTrader,
Pandas, Pine Script для TradingView. Связка с брокерами, телеграм и легкими приложениями.


Система нормативных документов в строительстве

СВОД ПРАВИЛ
ПО ПРОЕКТИРОВАНИЮ И СТРОИТЕЛЬСТВУ

ПОДЗЕМНЫЕ ХРАНИЛИЩА ГАЗА, НЕФТИ И ПРОДУКТОВ ИХ ПЕРЕРАБОТКИ

СП 34-106-98

МОСКВА 2000

ПРЕДИСЛОВИЕ

1. РАЗРАБОТАН научно-исследовательским и проектным предприятием по сооружению и эксплуатации подземных хранилищ ООО "Подземгазпром" ОАО "Газпром"

2. ВНЕСЕН ООО "Подземгазпром" ОАО "Газпром"

3. ПОДГОТОВЛЕН К УТВЕРЖДЕНИЮ Управлением проектирования и экспертизы ОАО "Газпром"

4. УТВЕРЖДЕН И ВВЕДЕН В ДЕЙСТВИЕ приказом ОАО "Газпром" от 15.01.99 №5

5. ОДОБРЕН Госстроем России (письмо от 15.12.98 № 13-669)

6. СОГЛАСОВАН с ГУГПС МВД России (письмо от 18.12.97 № 70/7.7/7696); Госгортехнадзором России (письмо от 20.06.97 № 10-03/325); Госсанэпиднадзором России (письмо от 07.08.97 № Д01-13/904-111); Министерством природных ресурсов РФ (письмо от 14.08-97 № 21-19/152); Государственным комитетом РФ по охране окружающей среды (приказ от 31.12.97 № 586)

7. ВЗАМЕН ВСН 51-5-85

 

СВОД ПРАВИЛ ПО ПРОЕКТИРОВАНИЮ И СТРОИТЕЛЬСТВУ

ПОДЗЕМНЫЕ ХРАНИЛИЩА ГАЗА, НЕФТИ И ПРОДУКТОВ ИХ ПЕРЕРАБОТКИ

underground storages of natural gas, oil and processing products

Дата введения 1999-03-01

1 ОБЛАСТЬ ПРИМЕНЕНИЯ

Настоящий Свод правил является приложением к СНиП 34-02-99 «Подземные хранилища газа, нефти и продуктов их переработки» и применяется при проектировании и строительстве подземных хранилищ газа, нефти, газового конденсата и продуктов их переработки (далее - подземные хранилища) с резервуарами, сооружаемыми в каменной соли и других горных породах.

2 ПРАВИЛА ПРОЕКТИРОВАНИЯ

ОПРЕДЕЛЕНИЕ РАССТОЯНИЯ МЕЖДУ УСТЬЯМИ СОСЕДНИХ ЭКСПЛУАТАЦИОННЫХ СКВАЖИН БЕСШАХТНЫХ РЕЗЕРВУАРОВ В КАМЕННОЙ СОЛИ

2.1 Расстояние между устьями соседних эксплуатационных скважин а, м, следует определять по формуле

,                                             (1)

где r - радиус выработки-емкости резервуара*, м;

ad - допустимое отклонение оси скважины от вертикали на отметке кровли выработки-емкости, м;

п - коэффициент, учитывающий погрешности формообразования в зависимости от принятой технологической схемы строительства, принимаемый равным для схемы растворения соли:

сверху вниз.....................................................0,1

то же, снизу вверх..........................................0,5

для комбинированных и иных схем.............0,2;

k - коэффициент, учитывающий возможную асимметричность формы выработки-емкости по геологическим условиям, определяемый по таблице 1.

Таблица 1

Морфологический тип
месторождения

Значение коэффициента k при схеме растворения

сверху вниз

снизу вверх

комбинированной и иной

Пластовый и пластово-линзообразный

0,2

0,7

0,4

Куполо - и штокообразный

0,5

1,5

1

* Если соседние выработки-емкости имеют разные размеры, то значение r в формуле (1) принимается равным большему радиусу.

2.2 В мощных соляных залежах расстояние между устьями скважин допускается уменьшать за счет двух- или многоярусного расположения выработок-емкостей резервуаров. При этом величина целика между соседними выработками-емкостями по кратчайшему расстоянию между стенками должна соответствовать требованиям формулы (1), а расстояние от стенки выработки-емкости до соседних скважин должно быть не менее 50 м.

2.3 При необходимости вытеснения продукта из подземного резервуара ненасыщенным рассолом или водой следует произвести расчет увеличения объема выработки-емкости в процессе эксплуатации и определение ее конечной конфигурации. Значение r в формуле (1) принимается в соответствии с конечной конфигурацией. Увеличение объема выработки-емкости должно быть запланировано на стадии проектирования резервуара в соответствии с потребностями в расширении объема хранения.

ОПРЕДЕЛЕНИЕ ОБЪЕМА ВЫБРОСА СУГ, НЕФТИ И НЕФТЕПРОДУКТОВ ПРИ АВАРИЙНОЙ РАЗГЕРМЕТИЗАЦИИ УСТЬЯ СКВАЖИНЫ БЕСШАХТНОГО РЕЗЕРВУАРА В КАМЕННОЙ СОЛИ

2.4 Объем выброса продукта хранения Ve, м3, при аварийной разгерметизации устьевой обвязки скважины допускается определять по формуле

                                (2)

где DP - изменение давления внутри резервуара при разгерметизации устьевой обвязки, Па;

e - степень заполнения резервуара продуктами (в долях единицы);

cb - изотермический коэффициент сжимаемости рассола, 1/Па, для насыщенного рассола допускается принимать равным 2,3·10-10 1/Па;

cp - изотермический коэффициент сжимаемости продукта, 1/Па, допускается принимать равным (8-12)·10-10 1/Па, где нижние значения коэффициента относятся к дизельным топливам, верхние - к бензинам;

cp - для СУГ следует принимать по имеющимся справочным данным;

Кs - коэффициент концентрации напряжений на контуре выработки-емкости, принимаемый равным:

для выработок-емкостей сферической или близкой к сферической формы - 1,5;

для выработок-емкостей, вытянутых вдоль оси скважины (цилиндрической или близкой к ней формы) - 2;

Е - модуль деформации каменной соли, Па

Н - длина скважины, м;

S1 - сечение столба рассола, м2;

P0 - начальное давление в выработке-емкости, Па.

Примечание. При расчете вместимости обвалования уровень разлившейся жидкости при максимальном объеме излива следует принимать ниже верхней отметки гребня обвалования на 0,2 м.

Высота обвалования должна быть не менее 1 м и ширина по верху насыпи не менее 0,5 м.

ОПРЕДЕЛЕНИЕ МИНИМАЛЬНОЙ ГЛУБИНЫ ЗАЛОЖЕНИЯ КРОВЛИ ВЫРАБОТКИ-ЕМКОСТИ ПОДЗЕМНОГО РЕЗЕРВУАРА

2.5 Минимальную глубину заложения кровли выработки-емкости подземного резервуара, эксплуатирующегося в условиях избыточного давления, Hmin, м, при сооружении резервуаров в непроницаемых породах следует определять по формуле

                                                          (3)

где Рmax - максимально допускаемое эксплуатационное давление, Па, принимаемое:

для бесшахтных резервуаров в каменной соли на уровне башмака основной обсадной колонны;

для шахтных резервуаров в породах с положительной температурой - на уровне кровли выработки-емкости;

gf - коэффициент надежности по нагрузке, принимаемый:

0,85 - для бесшахтных резервуаров в каменной соли при спокойном или пластово-линзообразном залегании соли, когда надсолевая толща представлена непроницаемыми породами;

0,75 - в остальных случаях;

а - длина необсаженной части скважины, м (только для бесшахтных резервуаров в каменной соли);

rr - усредненная плотность пород, залегающих выше башмака основной обсадной колонны (для бесшахтных резервуаров) и выше кровли выработки (для шахтных резервуаров), кг/м3;

g - ускорение свободного падения, м/с2.

                                                  (4)

здесь п - число слоев;

           ri - плотность пород i-слоя, кг/м3;

           тi – мощность i-слоя, м.

2.6 В проницаемых породах глубину заложения кровли выработок-емкостей шахтных резервуаров в породах с положительной температурой, следует выбирать с таким расчетом, чтобы величина подпора подземных вод на кровлю выработок-емкостей превышала внутреннее давление в резервуаре не менее чем на 0,05 МПа.

2.7 Глубину заложения кровли шахтных резервуаров в вечномерзлых породах, следует принимать, как правило, ниже слоя сезонных колебаний температуры, либо по условиям герметичности и устойчивости.

2.8 Оценочная классификация горных пород по экранирующей способности приведена в таблице 2.

 

Таблица 2

Экранирующая способность горных пород

Давление прорыва через водонасыщенную породу, МПа

Коэффициент проницаемости по газу e · 108, мкм2

Коэффициент водонасыщенности породы, %

Высокая

Более 7

Менее 1

85 и более

Повышенная

Более 4 до 7

Более 10 до 1

То же

Средняя

Более 1,5 до 4

Более 102 до 10

То же

Пониженная

Более 0,5 до 1,5

Более 103 до 102

То же

Низкая

Более 0,1 до 0,5

Более 104 до 103

То же

Очень низкая

Более 0,01 до 0,1

Более 105 до 104

25 и более

Примечания:

1. Коэффициенты проницаемости по газу e и водонасыщенности пород определяются при инженерно-геологических изысканиях.

2. Оценку пригодности пород следует производить по величине давления прорыва через водонасыщенную породу, при этом давление прорыва должно быть не менее избыточного давления в выработке-емкости.

ОЦЕНКА ЭКРАНИРУЮЩИХ СВОЙСТВ ВЕЧНОМЕРЗЛЫХ ПОРОД

2.9 Экранирующие свойства массивов вечномерзлых пород, предназначаемых для строительства подземных резервуаров, рекомендуется оценивать по данным опытных наливов светлых нефтепродуктов, подлежащих хранению, в разведочные скважины.

Допускается в качестве испытательной жидкости использовать керосин и реактивное топливо независимо от видов подлежащих хранению светлых нефтепродуктов.

2.10 Испытываемый интервал в разведочной скважине перед наливом испытательной жидкости должен быть проработан буровым инструментом "всухую". Диаметр бурового инструмента должен быть равен или больше диаметра ствола скважины.

2.11 Замеры глубин забоя скважины и уровня жидкости в начальный период следует производить не реже одного раза в сутки, после стабилизации уровня и забоя периодичность измерений может быть увеличена, но не реже одного раза в десять суток.

2.12 Вечномерзлые породы в испытанном интервале глубин считаются пригодными для размещения выработок-емкостей, если средняя за период наблюдений скорость понижения уровня испытательной жидкости в скважине, после стабилизации ее забоя, не превышает 0,5 см/сут.

2.13 При скорости понижения уровня жидкости более 0,5 см/сут., проницаемый пласт следует перекрыть ледяной пробкой, путем налива в скважину воды, до заданной отметки. Объем подаваемой в скважину воды следует определять расчетом.

2.14 При наличии в геологическом разрезе площадки проницаемых пропластков продолжительность наблюдений за уровнем испытательной жидкости в разведочных скважинах должна быть не менее трех месяцев; при отсутствии таких пропластков - не менее 15 суток после стабилизации скважины.

2.15 По окончании опытных наливов испытательная жидкость из разведочной скважины вытесняется водой, собирается или сжигается на месте.

СРОКИ ХРАНЕНИЯ ТОПЛИВА В ПОДЗЕМНЫХ РЕЗЕРВУАРАХ РАЗЛИЧНОГО ТИПА, ОБЕСПЕЧИВАЮЩИЕ СОХРАНЕНИЕ КАЧЕСТВА В ПРЕДЕЛАХ ТРЕБОВАНИЙ ГОСТ И ТУ НА МЕСТЕ ПРИМЕНЕНИЯ

Таблица 3

Наименование топлива

Типы подземных резервуаров

Срок хранения, лет

Авиационные бензины

Бесшахтные в каменной соли с температурой до 25°С

8

 

Шахтные в вечномерзлых породах

10

Автомобильные бензины А-72, А-76

Бесшахтные в каменной соли с температурой

 

 

до                                             25°С

12

 

                              -"-               26-35°С

9

 

                              -"-               36-45°С

5

 

Шахтные в породах с положительной температурой (неэтилированные бензины)

15

 

Шахтные в вечномерзлых породах

15

Автомобильные бензины АИ-91, АИ-93, АИ-95

Бесшахтные в каменной соли с температурой до 25°С

15

 

до                                             25°С

15

 

                              -"-               26-35°С

11

 

                              -"-               36-45°С

6

 

Шахтные в вечномерзлых породах

15

Дизельное топливо всех марок

Бесшахтные в каменной соли с температурой

 

 

до                                             25°С

15

 

                              -"-               26-35°С

11

 

                              -"-               36-45°С

7

 

Шахтные в порода с положительной температурой

15

 

Шахтные в вечномерзлых породах

15

Авиационный керосин

Бесшахтные в каменной соли с температурой

 

 

до                                             25°С

12*

 

                              -"-               26-35°С

9*

 

                              -"-               36-45°С

7*

 

Шахтные в породах с положительной температурой

15*

 

Шахтные в вечномерзлых породах

15*

* Сроки хранения, обеспечивающие сохранение качества в пределах норм ГОСТ, но не согласованные с организациями, эксплуатирующими авиационную технику (согласованные сроки хранения - до 5 лет во всех типах хранилищ).

 

ПРИНЦИПИАЛЬНЫЕ ОБЪЕМНО-ПЛАНИРОВОЧНЫЕ СХЕМЫ

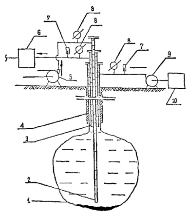
2.16 Бесшахтные резервуары в каменной соли вертикального типа показаны на рисунках 1 и 2.

 

Рисунок 1 - Расположение выработок-емкостей

 

а) на одном уровне

б) на различных уровнях

в) двухъярусное на одной вертикальной скважине

 

Рисунок 2 - Расположение выработок-емкостей по сетке

 

а) треугольной

б) ромбической

в) квадратной

а - расстояние между центрами выработок-емкостей

r - радиус выработки-емкости

 

2.17 Шахтные резервуары в породах с положительной температурой и в вечномерзлых породах показаны на рисунках 3-6.

 

Рисунок 3 - Вскрывающие выработки

а) вертикальный ствол

б) наклонный ствол

в) наклонный спиральный ствол

Рисунок 4 - Выработки-емкости для нескольких видов продукта (а) и для одного вида продукта (б)

а

б

1 - выработка-емкость; 2 - герметичная перемычка; 3 - коллекторная выработка; 4 - ствол

 

Рисунок 5 - Узел герметизации выработок-емкостей

а)

б)

в)

а) кровля выработки-емкости ниже почвы подходной выработки;

б) почва выработки-емкости в одном уровне с почвой подходной выработки;

в) почва выработки-емкости выше уровня кровли подходной выработки

 

Рисунок 6 - Формы поперечных сечений выработок-емкостей

а) прямоугольно-сводчатая с полуциркульным сводом;

б) прямоугольно-сводчатая с коробовым сводом;

в) арочная (подквообразная);

г) трапецевидно-сводчатая;

д) прямоугольная;

е) трапецевидная;

ж) прямоугольно-трапецевидная;

з) прямоугольно-трапециевидная с наклонной кровлей;

и) круглая

ОЦЕНКА ДЛИТЕЛЬНОЙ УСТОЙЧИВОСТИ ВЫРАБОТОК-ЕМКОСТЕЙ ПОДЗЕМНЫХ РЕЗЕРВУАРОВ В ПОРОДНЫХ МАССИВАХ, ПРОЯВЛЯЮЩИХ РЕОЛОГИЧЕСКИЕ СВОЙСТВА

Бесшахтные резервуары в каменной соли

2.18 Максимально допускаемое эксплуатационное давление Pmax, Па, создаваемое в резервуаре на уровне башмака обсадной колонны, определяется по формуле

                                                     (5)

где gf  - коэффициент надежности по нагрузке, принимаемый по 2.5 СП;

        Н- расстояние от поверхности земли до кровли выработки-емкости, м;

        а - длина необсаженного участка скважины, м.

2.19 Минимально допускаемое давление Pmin, Па, на уровне кровли выработки-емкости, создаваемое в резервуаре, определяется по формуле

                                               (6)

Здесь gf - коэффициент надежности по нагрузке, принимаемый равным единице;

           с и  - параметры уравнения состояния каменной соли, принимаемого в виде:

                                                  (7)

                                                                (8)

где                                 (9)

                                                           (10)

                               (11)

                                                       (12)

                                                       (13)

Здесь:

si - интенсивность касательных напряжений. Па;

 - интенсивность касательных напряжений, соответствующая пределу длительной прочности при заданной сумме главных напряжений ev Па;

ei - интенсивность деформации сдвига;

- интенсивность деформации сдвига при  и бесконечно большом значении времени;

Е - модуль деформации, Па;

v - коэффициент Пуассона;

ev - объемная деформация;

s1, s2, s3 - главные напряжения. Па;

e1, e2, e3, -главные деформации.

Параметры уравнений (7) и (8), ; , Е, v определяются путем обработки результатов длительных испытаний образцов каменной соли, отобранных в интервале предполагаемой кровли выработки-емкости, при всестороннем неравнокомпонентном сжатии в условиях ползучести для постоянной суммы главных напряжений ev вычисляемой по формуле

                                                         (14)

Параметр  определяется по формуле

                                                                   (15)

где - интенсивность деформации сдвига при разрушении образца для  и времени нагружения более 100 ч.

8.1.3. Пролет кровли выработки-емкости на уровне кровли l, м, определяется по формуле

                                                                       (16)

где Vadm - допустимый объем области запредельного деформирования (ОЗД) в окрестности кровли, где значение ei - превысило величину , м3;

Vr - значение объема ОЗД в окрестности кровли резервуара при l = 1 м;

                                             (17)

где gf - коэффициент надежности по нагрузке, принимаемый равным единице;

        Ре - эксплуатационное давление, удовлетворяющее условию Pmin £ Ре £ Ртах, Па;

        a, b, - безразмерные параметры, значения которых приведены в табл. 4 в зависимости от безразмерной величины, определяемой по формуле

                                              (18)

и от отношения высоты выработки-емкости h к пролету l.

Таблица 4

Значения параметров a и b

h/l

d

a · 105

b

3 и более

1,105

29,6

4,8

 

1,073

19,1

5,13

 

1,04

4,9

6,19

1

1,105

22,3

4,63

 

1,073

10,0

5,32

 

1,04

1,1

7,23

1/3

1,105

4,05

6,41

 

1,073

1,5

7,34

 

1,04

0,72

7,37

При значениях d, отличающихся от приведенных в табл. 4, по формуле (17) вычисляются объемы ОЗД для двух ближайших d, линейной интерполяцией находится необходимое значение Vr и по формуле (16) определяется пролет выработки-емкости.

На основании опыта эксплуатации бесшахтных резервуаров рекомендуется принимать Vadm = 700 м3. Если вычисленное по формуле (17) значение Vr - меньше 1,37·10-3, то следует принимать Vr = 1,37·10-3.

2.21 Для оценки длительной устойчивости выработки-емкости бесшахтного резервуара в породном массиве выделяется зона ее влияния, для которой строится геомеханическая модель. Элементами модели являются фрагменты массива, выделенные по характерным для них литологическим признакам. Для каждого элемента определяются параметры уравнения состояния. Методами механики сплошных сред рассчитывается напряженно-деформированное состояние в окрестности выработки-емкости заданной формы при пролете кровли l, минимальном эксплуатационном давлении Ре, уравнении состояния пород (7), (8).

Длительная устойчивость выработки-емкости будет обеспечена на весь период эксплуатации, если будут выполнены следующие условия (критерии устойчивости):

не вся поверхность выработки принадлежит ОЗД;

объем ОЗД в кровле не превышает величины Vadm;

максимальный размер ОЗД в кровле в направлении, нормальном поверхности выработки-емкости, не превышает 0,04 l;

растягивающие напряжения в породном массиве не превышают прочности породы при растяжении.

Взаимовлияние выработок-емкостей не учитывается при оценке их устойчивости, если выполняется условие:

b > l + l1 + l2,                                                          (19)

где b - кратчайшее расстояние между контурами соседних выработок-емкостей, м;

     l - максимальный пролет соседних выработок-емкостей, м;

     l1, l2 - наибольший размер ОЗД в глубь целика по нормали к поверхности для каждой из двух соседних выработок-емкостей соответственно, м.

Если критерии устойчивости не выполняются, то значения минимального эксплуатационного давления увеличиваются и расчет повторяется.

Шахтные резервуары в вечномерзлых породах

2.22 Для оценки длительной устойчивости системы горизонтальных протяженных выработок пролетом l, высотой h, целиком b, кровля которых располагается на глубине Н от поверхности земли используются уравнения состояния мерзлых пород в виде (7) и (8). Методами механики сплошных сред определяется напряженно-деформированное состояние породного массива в окрестности выработки-емкости шахтного резервуара. Устойчивость выработки-емкости будет обеспечена, если выполняются следующие условия:

не вся поверхность выработки принадлежит ОЗД;

максимальный размер ОЗД в кровле в направлении, нормальном поверхности выработки, не превышает 0,03 l;

растягивающие напряжения в породном массиве не превышают прочности породы при растяжении;

максимальное опускание кровли не превышает 0,0175 l.

ТЕХНОЛОГИЧЕСКИЕ СХЕМЫ СТРОИТЕЛЬСТВА БЕСШАХТНЫХ РЕЗЕРВУАРОВ В КАМЕННОЙ СОЛИ

2.23 Создание выработок-емкостей бесшахтных хранилищ следует предусматривать, как правило, через одну скважину. Допускается создание выработок-емкостей через несколько скважин.

2.24 При строительстве выработок-емкостей через одну скважину следует принимать одну из следующих технологических схем растворения соли водой:

снизу вверх с перемещением внешней подвесной колонны на каждом этапе (рисунок 7,а);

снизу вверх без перемещения внешней подвесной колонны (рисунок 7,б);

с подачей растворителя через перфорированную подвесную колонну (рисунок 7,в);

сверху вниз без перемещения внешней подвесной колонны с постепенным накоплением нерастворителя в верхней части растворяемой выработки (рисунок 7,г);

"комбинированная" схема, когда нижняя часть выработки создается по схеме "снизу вверх", а верхняя - по схеме "сверху вниз" (рисунок 7,д);

с применением энергии "затопленных струй" с вводом растворителя в нижнюю часть выработки через насадки (рисунок 7,е).

2.25 При строительстве выработок-емкостей через одну скважину допускается создавать подземные выработки одну над другой (двухъярусного типа). Выработки сообщаются друг с другом и с поверхностью земли общей эксплуатационной скважиной.

2.26 При строительстве резервуаров через две скважины (рисунок 7,ж) следует предусматривать как независимую, так и совместную подачу растворителя. Соединение выработок следует предусматривать, как правило, сбойкой гидроврубов или с помощью специальных устройств.

Рисунок 7 - Технологические схемы сооружения выработок-емкостей бесшахтных резервуаров в каменной соли I-VII - ступени сооружения выработок-емкостей

2.27 Выбор схемы создания выработок-емкостей следует производить на основании сравнения вариантов с учетом следующих факторов:

планируемого срока строительства;

формы и вместимости выработок-емкостей;

допустимых размеров выработок-емкостей по условию прочности;

количества нерастворимых включений, вида нерастворителя и его влияния на качество продукта.

2.28 Содержание и форма представления технологического регламента на строительство выработки-емкости бесшахтного резервуара в каменной соли даны в таблицах 5-7.


Таблица 5

Основные расчетные параметры технологического регламента сооружения подземного резервуара

Номер ступени

Уровень установки башмака колонн, м

Уровень границы раздела нерастворитель-рассол, м

Производительность растворения, м3

Концентрация выдаваемого рассола, кг/м3

Количество выданного рассола, тыс. м3

Количество добытой соли, тыс. т

внешней колонны Ш194мм

центральной колонны, Ш127мм

по растворителю

по рассолу

в начале ступени

в конце ступени

средняя

на ступени

ВСЕГО

на ступени

ВСЕГО

1

2

3

4

5

6

7

8

9

10

11

12

13

 

 

 

 

 

 

 

 

 

 

 

 

 


Продолжение таблицы 5

Объем выработки, тыс. м3

Время создания, сут.

Средняя температура процесса растворения соли, °С

Режим работы

на ступени

ВСЕГО

Технологическое

Полное с к=1,05

чистое, часы/сугки

приподъем колонн, контроль уровня нерастворит.

локация

на ступени

ВСЕГО

на ступени

ВСЕГО

14

15

16

17

18

19

20

21

22

23

24

 

 

 

 

 

 

 

 

 

 

 

Примечание - Отметки должны уточняться геофизическими методами измерений.

Таблица 6

Расчет регламента закачки нерастворителя для создания резервуара

 

Время растворения, сутки

Кол-во на зарядку скважины, м3

Ежесуточная закачка, м3

Объем нерастворителя, м3

Контроль уровня нерастворителя и положения башмака рабочих колонн

подбашмачный

геофизический

1

2

3

4

5

6

 

 

 

 

 

 

Таблица 7

Прогнозный состав получаемых рассолов при строительстве подземного резервуара

 

Содержание ионов, г/л

Содержание NaCI, г/л

Общая минерализ.,

г/л

Са2+

Mg2+

Na+

К+

SO42-

СI-

Br-

1

2

3

4

5

6

7

8

9

 

 

 

 

 

 

 

 

 

 

КОНСТРУКЦИЯ ЭКСПЛУАТАЦИОННЫХ СКВАЖИН БЕСШАХТНЫХ РЕЗЕРВУАРОВ В КАМЕННОЙ СОЛИ

2.29 Конструкция эксплуатационной скважины должна выбираться, исходя из конкретных горно-геологических условий наличия коррозионно-активных сред и обеспечивать:

условия безопасного ведения работ на всех этапах строительства и эксплуатации скважины и бесшахтного резервуара;

условия охраны недр и окружающей среды, в первую очередь, за счет прочности и долговечности крепи скважины с учетом перекрытия верхних водоносных горизонтов не менее, чем двумя обсадными колоннами;

максимальную унификацию по типоразмерам обсадных труб и ствола скважины.

Выбор обсадных труб, количества колонн, типа тампонажного материала и решение других вопросов по строительству скважин следует осуществлять в соответствии с требованиями Правил безопасности в нефтяной и газовой промышленности.

2.30 Для уточнения конструкции скважины и интервала заложения выработки-емкости следует предусматривать отбор керна и проведение комплекса геофизических исследований. Количество скважин с отбором керна, интервала отбора и состав комплекса исследований определяются в зависимости от сложности геолого-гидрогеологического строения площадки и могут быть уточнены на стадии строительства хранилища.

2.31 При бурении по соленосным породам следует предусматривать промывочную жидкость, исключающую растворение солей (концентрированный хлорнатриевый раствор, концентрированный хлормагниевый раствор при наличии в разрезе калийно-магниевых солей, полимерный раствор и др.).

2.32 Диаметр труб основной обсадной колонны следует определять расчетом, исходя из условий строительства и эксплуатации резервуара.

2.33 Основная обсадная колонна должна заглубляться, как правило, в толщу каменной соли. Между кровлей выработки-емкости и башмаком основной обсадной колонны должна оставляться, как правило, необсаженная часть скважины длиной от 5 до 15 м.

2.34 Основные и промежуточные обсадные колонны должны комплектоваться из труб, удовлетворяющих требованиям ГОСТ 632-80.

2.35 Затрубное пространство всех обсадных колонн должно цементироваться по всей глубине до устья скважины.

В интервале залегания каменной соли для цементирования обсадных колонн следует предусматривать тампонажный раствор на насыщенном растворе хлористого натрия плотностью не менее 1190 кг/м3. При наличии в геологическом разрезе калийно-магниевых солей для цементирования колонн следует подбирать магнезиальный цемент. Для цементирования вышележащих интервалов должны применяться тампонажные растворы, коррозионно-стойкие в присутствии вод перекрываемых водоносных горизонтов.

2.36 Эксплуатационные скважины следует оборудовать подвесными колоннами из обсадных или насосно-компрессорных труб (последние комплектуются в соответствии с требованиями ГОСТ 633-80). Диаметр труб подвесной колонны следует определять из условий равенства гидравлических сопротивлений при движении рассола и хранимого продукта или газа в процессе эксплуатации, а диаметр труб подвесных колонн при создании выработки-емкости - из равенства гидравлических сопротивлений при движении воды и рассола.

Скорости движения жидкостей в подвесных колоннах, не оборудованных специальными демпфирующими устройствами, не должны превышать значений, приведенных в таблице 8.

Таблица 8

Диаметр подвесных колонн, мм

Скорость движения жидкости в подвесной колонне, м/с, при длине свободно висящих труб в резервуаре, м

100

150

200

114; 127; 140; 146; 168;

3,5

2,5

1,5

178; 194; 219; 245

4,0

3,0

2,0

2.37 Глубину спуска в скважину подвесных колонн перед началом сооружения резервуара следует определять в соответствии с выбранным интервалом заложения выработки-емкости и принятой технологической схемой ее создания.

2.38 Для бесшахтных резервуаров СУГ следует предусматривать спуск двух подвесных колонн. При этом башмак центральной колонны необходимо устанавливать ниже башмака внешней колонны. Межтрубное пространство между подвесными колоннами следует использовать для контроля и предотвращения переполнения резервуара. Расстояние между башмаками подвесных колонн определяется расчетом из условия  недопущения переполнения резервуара за время срабатывания контрольной системы и автоматического прекращения закачки продукта.

2.39 Основные обсадные колонны резервуаров для газа следует комплектовать из обсадных труб с высокогерметичными соединениями.

Следует предусматривать нанесение на резьбы труб и муфт герметиков, которые должны обладать химической стойкостью по отношению к хранимому продукту и нерастворителю.

2.40 Оборудование устьев скважин бесшахтных резервуаров должно обеспечивать:

при строительстве:

раздельную закачку в скважины растворителя (воды, промстоков) и нерастворителя, выдачу рассола, возможность изменения направления потоков жидкостей (прямоток-противоток);

при эксплуатации:

- резервуаров для СУГ, нефти и нефтепродуктов - взаимозамещение хранимого продукта рассолом, водой или газом, аварийный сброс на свечу - через продуктовую или рассольную линии обвязки (только для резервуаров СУГ);

- резервуаров для газа - вытеснение рассола газом при первоначальном заполнении, закачку и отбор газа за счет изменения давления в резервуаре.

При строительстве и эксплуатации оборудование устьев должно обеспечивать измерение давлений и температур, отбор проб хранимого продукта и вытесняющего агента, осуществление подбашмачного контроля и геофизических исследований.

2.41 В оборудовании устьев скважин резервуаров, отбор продукта из которых осуществляется методом вытеснения газом, следует предусматривать предохранительные клапаны, обеспечивающие сброс паровой фазы из резервуаров при превышении в них рабочего давления более, чем на 10%.

2.42 Оборудование устьев скважин должно соответствовать требованиям Правил устройства и безопасной эксплуатации сосудов, работающих под давлением, утвержденных Госгортехнадзором России.

СПОСОБЫ УДАЛЕНИЯ РАССОЛА С ПЛОЩАДОК СТРОИТЕЛЬСТВА БЕСШАХТНЫХ РЕЗЕРВУАРОВ В КАМЕННОЙ СОЛИ

2.43 Удаление рассола с площадок строительства подземных хранилищ следует предусматривать по согласованию с соответствующими органами государственного надзора одним из следующих способов:

передачей рассола солепотребляющим предприятиям;

сбросом рассола в отработанные горные выработки;

естественной выпаркой рассола;

передачей рассола в системы заводнения нефтяных месторождений;

сбросом рассола в глубокие водоносные горизонты;

сбросом рассола в поверхностные акватории (моря, соленые озера) и, в порядке исключения, в крупные водотоки.

При соответствующем обосновании допускается предусматривать одновременно несколько способов удаления рассола.

2.44 Естественную выпарку рассола следует предусматривать в районах с аридным климатом при наличии малоценных земель (солонцы, солончаки, развеваемые песками и т.п.) для размещения испарительных карт.

2.45 Сброс рассола в глубокие водоносные горизонты следует предусматривать при невозможности использования иных решений по его удалению.

2.46 Комплекс по удалению рассола включает, как правило, следующие сооружения: рассолопроводы, насосные станции, буферные резервуары, очистные сооружения. В зависимости от способа удаления рассола в комплекс сооружений могут также входить нагнетательные скважины и испарительные карты для рассола.

2.47 Проектирование сооружения по очистке рассола от нерастворимой взвеси следует осуществлять в соответствии с требованиями СНиП 2.04.03 и СН 496.

2.48 Проектирование рассолопроводов должно производиться в соответствии с требованиями СНиП 2.04.03, и СН 550.

2.49 Для сброса рассола в глубокие водоносные горизонты следует использовать как специально пробуренные, так и существующие (разведочные, отработанные нефтегазовые и др.) скважины.

2.50 Конструкция нагнетательной скважины, предназначенной для сброса рассола в глубокие водоносные горизонты, должна обеспечивать:

надежную изоляцию поглощающего водоносного горизонта от вышележащих водоносных горизонтов с пресными и другими ценными для народного хозяйства подземными водами;

оптимальное вскрытие поглощающего водоносного горизонта;

возможность проведения работ по восстановлению приемистости нагнетательной скважины;

возможность замера устьевого давления и расхода закачиваемого в скважину рассола.

2.51 Для поддержания фактической приемистости нагнетательных скважин на уровне расчетной в проекте по сбросу рассола в глубокие водоносные горизонты следует предусматривать восстановление их приемистости.

Во избежание загрязнения поверхностных и подземных вод и засоления почв у нагнетательных скважин для сброса рассола следует предусматривать проектирование прудов-отстойников с противофильтрационными экранами для сброса рассола, извлекаемого на поверхность при восстановлении приемистоси нагнетательных скважин.

2.52 Допускаемое содержание нерастворимой взвеси (НВ) в закачиваемом рассоле рекомендуется определять в зависимости от проницаемости и вида водоносного коллектора поглощающего горизонта в соответствии с данными таблицы 9.

Таблица 9

Коллектор
водоносного горизонта

Коэффициент проницаемости,
e · 1012 м 2

Допускаемое содержание НВ с гидравлической крупностью до 0,02 мм/с в рассоле, мг/л

Трещинный

1,0 и более

150

 

0,5-1.0

100

 

Менее 0,5

15

Поровый сцементированный

0,5 и более

50

 

0,25-0,5

25

Поровый рыхлый

0,5 и более

25

 

0,25-0,5

15

Всех видов

Менее 0,25

10

2.53 При выборе способа очистки рассола от НВ следует руководствоваться данными таблицы 10.

Таблица 10

Содержание НВ с гидравлической крупностью до 0,02 мм/с в неочищенном рассоле, мг/л

Допускаемое содержание НВ в очищенном (закачиваемом) рассоле, мг/л

Рекомендуемый способ очистки рассола

Св. 200

100-150

Отстаивание

125-200

50-100

Отстаивание

125-200

25-50

Коагуляция

65-125

10-25

Отстаивание с фильтрацией

Менее 65

Св. 25

Отстаивание

 

15-25

Отстаивание

 

10-15

Отстаивание с коагуляцией

2.54 Средняя концентрация минеральной массы (твердая фаза) в уплотненном шламе dm принимается в зависимости от содержания НВ в исходном рассоле по таблице 11.

Таблица 11

Содержание НВ в исходном

рассоле, мг/л

Средняя концентрация уплотненного шлама, кг/м3, через

24 ч

720 ч

До 100

10

25

100-400

10-20

25-65

400-1000

20-100

65-200

1000-2500

100-400

200-600

2.55 Объем отстойника должен обеспечивать отстаивание рассола продолжительностью не менее 6 ч. Глубина зоны осаждения в отстойниках не должна превышать 1,5 м.

2.56 Очистка рассола коагуляцией производится с помощью поочередного ввода в рассол водных растворов сернокислого закисного железа (FeSO4), силиката натрия (Na2SiO3) и полиакриламида (ПАА), при рН рассола в пределах от 6 до 8. При других значениях рН следует предусматривать нейтрализацию рассола.

2.57 Удельную приемистость одиночной нагнетательной скважины qs, м3/(ч·МПа), следует рассчитывать по формуле

,                                                       (20)           

где a - коэффициент снижения приемистости нагнетательной скважины за счет кольматации призабойной зоны принимается равным 0,25;

e - коэффициент проницаемости водоносного горизонта, м2;

        т - мощность вскрытых водоносных пород, м;

        hb - динамическая вязкость рассола в пластовых условиях, Па·с;

        c - коэффициент пьезопроводности, м3/сут;

        t - общая продолжительность закачки рассола, сут;

        rs - радиус рассолоприемной части скважины, м.

2.58 Допустимый перепад давлений , Па, при нагнетании рассола в одиночную скважину следует рассчитывать по формуле

                                                         (21)

где rr - усредненная плотность пород над кровлей водоносного горизонта, кг/м3;

     Нr - глубина залегания кровли вскрытого интервала водоносного горизонта, м;

     Pb - статическое пластовое давление в водоносном горизонте, Па.

2.59 При определении расчетного числа нагнетательных скважин в рассолосбросе следует учитывать гидравлическое взаимодействие между ними.

Изменение перепада давлений Dij, Па в скважине i от влияния скважины j следует рассчитывать по формуле

                                                           (22)

где i, j - номера скважин;

        rij - расстояние между скважинами i и j, м.

Расчетное число нагнетательных скважин п в рассолосбросе должно удовлетворять условию

                                                       (23)

где Q - требуемая производительность закачки рассола, м3/ч.

При п £ 2 следует предусматривать одну резервную нагнетательную скважину.

2.60 Максимально допустимое давление на устье скважины ph, Па, следует рассчитывать по формуле

                                           (24)

где l - коэффициент гидравлического сопротивления, принимаемый равным 0,024;

        v - скорость движения рассола, м/с (принимаемая не более 2 м/с);

        r - гидравлический радиус канала в нагнетательной скважине, по которому ведется закачка рассола, м.

2.61 При проектировании закачки рассола в поглощающие водоносные горизонты, сложенные неустойчивыми горными породами, башмак насосно-компрессорных труб спускается в нижнюю треть рассолоприемной части скважины. В колонне насосно-компрессорных труб следует, как правило, устанавливать муфту-смеситель.

Глубина установки муфты-смесителя определяется расчетом, исходя из технической характеристики по давлению компрессорного оборудования, которое предусматривается для восстановления приемистости нагнетательных скважин.

2.62 По окончании строительства подземных резервуаров комплекс сооружений по удалению рассола должен быть передан заказчику или другой заинтересованной организации. При невозможности использования этих сооружений необходимо их ликвидировать и осуществить рекультивацию нарушенных земель.

2.63 Не допускается применение насосов для закачки рассола в глубокие водоносные горизонты с характеристиками по давлению нагнетания, превышающими расчетные более чем на 15%.

УСТРОЙСТВО РАССОЛОХРАНИЛИЩ

2.64 Проектирование рассолохранилищ следует осуществлять в соответствии с требованиями СНиП 2.02.02, СНиП 2.06.05, СНиП 2.06.06, СНиП 2.06.08 и настоящих правил.

2.65 При проектировании допускается принимать один из следующих типов рассолохранилищ:

открытые наземные - в насыпных дамбах;

полузаглубленные - в полувыемках-полунасыпях;

заглубленные - в выемках;

закрытые - в наземных железобетонных или металлических резервуарах;

подземные - в бесшахтном резервуаре в каменной соли или в шахтном резервуаре в каменной соли.

2.66 Объем рассолохранилища следует предусматривать равным, как правило, объему подземного хранилища. При соответствующем технико-экономическом обосновании допускается уменьшать объем рассолохранилища, но во всех случаях он должен быть не менее объема самого крупного подземного резервуара. При кооперировании подземных хранилищ с рассолопромыслом следует предусматривать буферные рассолохранилища, объем которых определяется на основании технико-экономического анализа.

2.67 Уклон откосов рассолохранилищ открытого типа следует рассчитывать в соответствии со СНиП 2.06.05. При этом уклон внутренних откосов рассолохранилища следует назначить 1:2,5 - 1:3, исходя из технологии укладки пленочного экрана. Внутренние откосы дамб должны защищаться от волнового воздействия в соответствии с требованиями СНиП 2.06.04. Ширину гребня дамбы следует устанавливать в зависимости от условий производства работ и эксплуатации, но не менее 3 м.

2.68 Основные размеры рассолохранилища открытого типа следует определять для каждой конкретной площадки в зависимости от климатических условий.

В районах с превышением испарения над осадками или осадков над испарением более чем в 2 раза необходимо выбирать минимальные размеры в плане за счет увеличения глубины рассолохранилища.

2.69 При определении глубины рассолохранилища следует учитывать объем заиления, а также "мертвый" объем.

2.70 В рассолохранилищах открытого типа следует, как правило, предусматривать отбор разбавленного водой рассола с зеркала его переменного уровня при преобладании осадков над испарением и добавление пресной вода на поверхность зеркала рассола при превышении испарения над осадками.

2.71 При расположении рассолохранилища открытого типа в зоне пустынь или полупустынь для защиты полевых откосов дамб рассолохранилища от ветровой эрозии следует применять специальные технические мероприятия с последующим посевом растительности.

2.72 Рассолохранилища подземного типа следует проектировать аналогично подземным резервуарам для углеводородов в практически непроницаемых породах.

2.73 Рассолохранилища следует оборудовать устройствами, предотвращающими попадание в них нефти, нефтепродуктов и СУГ с рассолом.

2.74 Территория рассолохранилища, как правило, должна быть ограждена.

ПОДЗЕМНЫЕ ВЫРАБОТКИ ШАХТНЫХ РЕЗЕРВУАРОВ В ПОРОДАХ С ПОЛОЖИТЕЛЬНОЙ ТЕМПЕРАТУРОЙ И ИХ ОБУСТРОЙСТВО

2.75 Площадь поперечного сечения вскрывающих выработок подземных резервуаров должна приниматься минимальной, исходя из условий:

размещения постоянного эксплуатационного оборудования;

размещения горнопроходческого оборудования;

пропуска необходимого количества воздуха при скорости его движения не более 8 м/с;

возможности спуска оборудования или его узлов, имеющих наибольшие габариты.

2.76 Сечения вскрывающих выработок при размещении в них стационарного эксплуатационного оборудования следует принимать с учетом:

устройства лестничного отделения для вертикальных и наклонных выработок с углом наклона более 45° или свободного людского прохода для горизонтальных и наклонных выработок с углом наклона до 45° в соответствии с требованиями Единых правил безопасности при разработке рудных, нерудных и россыпных месторождений подземным способом;

устройства грузолюдского подъема в вертикальных и наклонных выработках;

оставления проема для спуска-подъема длинномерных предметов в вертикальных выработках;

прокладки труб принудительной вентиляции;

проведения ремонтно-восстановительных работ;

прокладки продуктовых и других трубопроводов и кабелей.

2.77 В качестве механического грузолюдского подъема на период эксплуатации хранилищ с подземными насосными камерами, как правило, должен применяться лифтовый подъемник. Устройство и ввод в эксплуатацию лифтового подъемника должна определяться наибольшим весом транспортируемого оборудования или его частей, но не менее 3500 Н.

2.78 Околоствольные (коллекторные) и подходные выработки следует проектировать минимальной длины и сечения с учетом размещения в них эксплуатационного оборудования, а также с учетом прохода людей и транспортирования оборудования.

Площадь поперечного сечения коллекторных выработок должна быть проверена на пропуск необходимого для вентиляции количества воздуха при скорости его движения не более 8 м/с.

2.79 Во вскрывающих, коллекторных и подходных выработках и подземных насосных следует предусматривать системы приточной и вытяжной вентиляции с искусственным побуждением. При этом должно быть предусмотрено резервирование всех приточных и вытяжных вентиляторов.

2.80 В хранилищах, предназначенных для нескольких видов продуктов, объединять между собой вытяжные системы вентиляции, обслуживающие подземные насосные камеры для перекачки различных видов продукта, не допускается.

2.81 Часовую кратность воздухообмена следует принимать:

в подземных насосных камерах и в зонах перемычек - 20;

в стволах и коллекторных выработках - 6.

При хранении этилированных нефтепродуктов указанные кратности воздухообмена должны быть увеличены на 50%.

2.82 Подачу приточного воздуха в подземные насосные камеры следует предусматривать в рабочую зону этих помещений.

В подземных насосных камерах в дополнение к общеобменной вентиляции следует предусматривать устройство местных отсосов в местах возможных утечек паров хранимых продуктов.

2.83 Все вентиляционные установки должны быть сблокированы с эксплуатационным оборудованием с тем, чтобы исключить работу последнего при недействующей вентиляции.

2.84 Для обеспечения проектных тепловлажностных параметров воздуха в подземных выработках хранилищ следует предусматривать системы подогрева и кондиционирования приточной вентиляции.

2.85 Для прокладки дыхательных и эксплуатационных трубопроводов допускается использовать скважины, пробуренные с поверхности земли в выработки.

Продуктовые трубопроводы следует предусматривать внутри обсадных колонн скважин или в трубах большего диаметра, расположенных в стволе.

2.86 Заборные зумпфы должны крепиться монолитным бетоном и облицовываться сварными металлическими обечайками.

В резервуарах СУГ материал обечайки следует выбирать с учетом минимальной температуры, которую приобретает подаваемый СУГ при первом заполнении резервуара.

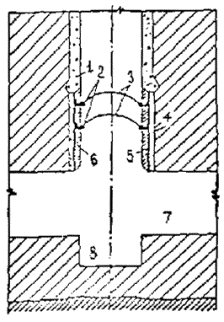
2.87 Для герметизации выработок-емкостей следует предусматривать следующие конструкции герметичных перемычек:

бетонная с контурным гидрозатвором (рисунок 8);

двойная бетонная с гидрозатвором (рисунки 9 и 10);

двойная металлическая (рисунки 11 и 12);

одинарная металлическая.

В перемычках, как правило, следует предусматривать проем диаметром в свету не менее 600 мм, перекрываемый герметичным люком.

2.88 Бетоны, используемые для сооружения герметичных перемычек, должны иметь:

классы по прочности на сжатие В35;

классы по прочности на осевое растяжение Bt2,4;

марки по морозостойкости не ниже F100;

марки по водонепроницаемости не ниже W12;

коэффициент проницаемости по газу не более 10-8 мкм2;

коэффициент агрессивной стойкости к углеводородным средам не ниже 0,8.

2.89 Для тампонажа затрубного пространства скважин, закрепного пространства выработок, трещиноватых зон, контура перемычек следует применять растворы, приготовленные на основе цементов, удовлетворяющие следующим требованиям:

прочность при изгибе в возрасте 2 суток - не менее 2,7 МПа по ГОСТ 1581;

коэффициент проницаемости по газу - не более 10-7 мкм2;

деформации расширения - не менее 3 и не более 10 мм/м;

коэффициент агрессивной стойкости к углеводородным средам не менее 0,85.

Рисунок 8 - Бетонная перемычка с контурным гидрозатвором

1 - выработка-емкость; 2 - напорная стенка; 3 - полость контурного гидрозатвора; 4, 5 - система трубопроводов для залива и перемешивания изолирующей жидкости; 6 - металлический лист

Рисунок 9 - Двойная бетонная перемычка

1 - выработка-емкость; 2- напорные стенки герметичной перемычки; 3 - полость гидрозатвора с изолирующей жидкостью; 4- штроба; 5 - трубопровод для выпуска воздуха из гидрозатвора; 6 - трубопровод для заполнения гидрозатвора

Рисунок 10 - Двойная бетонная перемычка с гидрозатвором, расположенная во вскрывающей выработке

1 - выработка-емкость; 2 - бетонные стенки герметичной перемычки; 3 - трубопровод для заполнения гидрозатвора;4 - полость гидрозатвора с изолирующей жидкостью; 5 - зумпф

Рисунок 11 - Двойная металлическая перемычка, расположенная в верхней части ствола

1, 2 - металлические перемычки в обсадной трубе; 3 - устье ствола; 4 - продукто-непроницаемый раствор: 5 - обсадная труба; 6 - выработка-емкость; 7 - зумпф

Рисунок 12 - Двойная металлическая перемычка, расположенная во вскрывающей выработке

1 - опорный венец крепи ствола; 2 - кольцевые металлические воротники; 3 - металлические перемычки; 4 - продуктонепроницаемый раствор; 5 - металлическая сварная обечайка; 6 - железобетонная рубашка; 7 - выработка-емкость; 8 - зумпф

 

РАСЧЕТ ТОЛЩИНЫ ТЕПЛОИЗОЛЯЦИИ ЭКСПЛУАТАЦИОННЫХ СКВАЖИН ШАХТНЫХ РЕЗЕРВУАРОВ В ВЕЧНОМЕРЗЛЫХ ПОРОДАХ

2.90 Минимально допустимую (из условия сохранения породы в мерзлом состоянии) толщину теплоизоляции эксплуатационной скважины d, м, рекомендуется определять согласно уравнению

        (25)

где tph - температура фазовых переходов воды в лед, °С;

        tr - естественная температура вечномерзлой породы, °С;

        tp - средняя за период заполнения температура продукта, °С;

        erfc - функция ошибок Гаусса, затабулирована и приводится в справочной литературе

                                                          (26)

b и b - коэффициенты, определяемые по формулам

                                                          (27)

                                                      (28)

здесь аi - коэффициент температуропроводности теплоизоляции, м2/с;

           Q - скорость заполнения резервуара, м3/c;

           li- коэффициент теплопроводности теплоизоляции, Вт/(м·°С);

           сi- объемная теплоемкость теплоизоляции, Дж/(м3·°С);

           lr - коэффициент теплопроводности вечномерзлой породы Вт/(м·°С);

           cr - объемная теплоемкость вечномерзлой породы, Дж/(м3·°С).

2.91 Уравнение рекомендуется решать графоаналитическим способом. Задаваясь значениями d, м в диапазоне 0,01-0,2 м с шагом 0,02-0,05 м, расчетным путем определяется правая часть уравнения и строится ее график. Расчетом определяется левая часть уравнения и в виде прямой, параллельной оси абсцисс, наносится на предыдущий график. Точка пересечения графиков левой и правой частей уравнения является его решением, определяющим минимально допустимую толщину теплоизоляции.

3 ПРАВИЛА ПРОИЗВОДСТВА РАБОТ

СТРОИТЕЛЬСТВО ЭКСПЛУАТАЦИОННЫХ СКВАЖИН БЕСШАХТНЫХ РЕЗЕРВУАРОВ В КАМЕННОЙ СОЛИ

3.1 В случаях, когда требуется уточнение (по керну, геофизическим исследованиям) интервалов заложения выработок-емкостей по фактическому геологическому разрезу скважин (при наличии в солевой толще многочисленных пропластков нерастворимых пород, при сложном химическом составе каменной соли и т.д.), допускается крепление скважины основной обсадной колонной после проходки ее ствола до конечной отметки скважины. Цементирование основной обсадной колонны в этом случае должно производиться с обязательным принятием мер, исключающих поступление цементного раствора в нижележащую необсаженную часть скважины.

3.2 Смену бурового раствора на промывочную жидкость, исключающую растворение солей, следует проводить, когда забой скважины находится на 50 м выше предполагаемой кровли соли.

3.3 Разгрузка колонн на забой скважины не допускается.

3.4 При использовании сварных основных и промежуточных обсадных колонн сваривание стыков труб должно производиться с использованием агрегатов для автоматической и полуавтоматической сварки. После сваривания должен проводиться контроль качества каждого сварного шва методом дефектоскопии.

3.5 Цементирование скважины следует производить до выхода цементного раствора на устье скважины.

3.6 Сроки ожидания затвердевания цемента (ОЗЦ) при затворении цемента на насыщенном хлорнатриевом растворе должны быть не менее 72 часов.

Тампонажный раствор для цементирования обсадных колонн, независимо от наличия паспорта заводских испытаний, должен подвергаться проверке о соответствии ГОСТ 1581 в специализированной лаборатории. Партию цемента, не отвечающую требованиям стандарта по технологическим параметрам, применять не допускается.

3.7 При креплении скважины основной обсадной колонной не допускается использование нефти и нефтепродуктов для приготовления промывочных, буферных жидкостей и тампонажных растворов.

3.8 В процессе проходки скважины должен производиться периодический контроль технического состояния ее ствола комплексом геофизических методов, включающим инклинометрию, кавернометрию профилеметрию и другие методы.

Инклинометрические методы следует проводить через каждые 100 м проходки скважины при расстояниях между точками измерения 10 м.

Кавернометрию и профилеметрию необходимо проводить перед каждым креплением скважины обсадными колоннами и после проходки скважины до конечной глубины.

После цементирования обсадных колонн должно производиться обследование затрубного пространства методом акустической цементометрии (АКЦ) и термометрическим методом отбивки уровня цементного камня (ОЦК).

ОЦК следует осуществлять не позднее, чем через 24 часа после окончания цементирования, а АКЦ - после набора цементным камнем 60-70% прочности.

После разбуривания башмака обсадной колонны следует провести отбивку местоположения муфт, центрирующих фонарей и башмака электромагнитным локатором муфт.

В процессе бурения скважины следует производить проверку на герметичность основной обсадной колонны, ее затрубного пространства и незакрепленной части скважины путем гидравлической опрессовки в соответствии с 4.1-4.4.

3.9 Отклонение оси скважины от вертикали не должно выходить за пределы конуса средних отклонений, образующая которого составляет угол 1° с вертикалью, проходящей через устье скважины. Допускается искривление скважины на отдельных участках в пределах конуса средних отклонений не более 4°.

3.10 Для уточнения геологического разреза следует проводить комплекс геофизических работ, включающий, как правило:

методы электрического каротажа: метод кажущегося удельного сопротивления (КС), метод естественного электрического поля (ПС), боковой каротаж (БК);

методы радиоактивного каротажа: гамма-каротаж (ГК), гамма-гамма-каротаж (ГГК), гамма-гамма-каротаж плотностной (ГГКП); нейтронный гамма-каротаж (НТК) и нейтронный каротаж (НК);

акустический каротаж (АК);

термометрию;

кавернометрию;

пластовую наклонометрию.

3.11 Спуск подвесных колонн и оборудование устья следует производить после испытания скважины на герметичность, шаблонирования, проработки ствола скважины и получения от проектной организации регламента создания на скважине выработки-емкости.

3.12 Перед началом работ по созданию выработки-емкости необходимо испытать на герметичность основную обсадную колонну, затрубное пространство и внешнюю подвесную колонну нерастворителем в соответствии с 4.5.

СТРОИТЕЛЬСТВО ВЫРАБОТОК-ЕМКОСТЕЙ БЕСШАХТНЫХ РЕЗЕРВУАРОВ В КАМЕННОЙ СОЛИ

3.13 Подземные резервуары сооружаются в соответствии с технологическим регламентом, соответствующим образом утвержденным. Соблюдение регламента обязательно.

3.14 Растворение соли при сооружении выработки-емкости следует начинать независимо от предусмотренного проектом режима работы, с подачи воды в центральную подвесную колонну (прямоточный режим).

Переход на режим работы с подачей воды в межтрубное пространство внешней и центральной подвесных колонн (противоточный режим) производится после 10-20 мин. работы на прямоточном режиме.

3.15 При зашламовании нижней части выработки-емкости нерастворимыми включениями, в случае опасности закупорки колонны, следует периодически применять в течение одного-двух часов прямоточный режим работы скважины.

Подъем центральной подвесной колонны труб при зашламовании следует производить на 0,5-2 м, предусматривая для этой цели необходимый набор патрубков соответствующей длины.

3.16 Спуск и подъем подвесных колонн следует производить при отсутствии избыточного давления в соответствующей колонне и ее затрубье на устье скважины и при соблюдении мер пожарной безопасности в соответствии с требованиями ГОСТ 12.1.004, ГОСТ 12.1.010, ГОСТ 12.4.009 и Правил безопасности в нефтяной и газовой промышленности.

Допускается осуществлять спуско-подъемные операции при наличии избыточного давления в колоннах с использованием специального оборудования (снаббинговые установки).

3.17 В процессе создания выработки-емкости следует производить комплекс замеров и наблюдений, обеспечивающих поэтапное управление формообразованием выработки в соответствии с проектом. При этом необходимо определять:

уровень раздела нерастворитель-рассол и количество нерастворителя;

почасовую производительность подачи в скважину воды и ее количество в смену;

температуру воды;

производительность выхода из скважины рассола, его концентрацию (плотность) и количество в смену;

температуру рассола;

количество выносимых с рассолом нерастворимых включений;

давление в линиях: водяной, рассольной и нерастворителя.

В сроки, предусмотренные технологическим регламентом создания выработки-емкости, должна определяться форма образуемой подземной выработки посредством звуколокации.

При потребности в дополнительных сведениях о влиянии примесей в растворяемом массиве каменной соли на качество нефтепродуктов и получаемого рассола производится отбор проб нерастворителя при закачке и выдаче из скважины и рассола при выдаче для определения основных физико-химических показателей нерастворителя и химического состава рассола (в том числе содержания в строительных рассолах углеводородных газов).

3.18 Уровень раздела нерастворитель-рассол следует определять геофизическими методами (например, гамма-гамма каротаж плотностной - ГГКП, нейтрон-нейтронный каротаж по тепловым нейтронам - ННКТ, импульсный нейтрон-нейтронный каротаж - ИННК, термокаротаж), электроконтактным методом и подбашмачным методом контроля.

Радиометрические методы контроля следует применять при любой схеме создания выработки-емкости, когда в радиальном направлении ширина слоя нерастворителя достигает 0,8 м, а по высоте - не менее 3 м от уровня раздела. Первый радиометрический каротаж следует производить перед началом растворения до и после зарядки скважины нерастворителем.

Для лучшей привязки глубин радиометрические приборы целесообразно совмещать с электромагнитным локатором муфт.

3.19 Количество закачиваемого в скважину нерастворителя следует определять при помощи расходомеров или резервуаров - мерников с учетом температурных поправок.

3.20 Точность замеров температур воды, рассола и нерастворителя должна составить 0,5 °С, точность измерения расхода воды и рассола - 1%.

3.21 Для измерения концентрации рассола следует предусматривать концентратомеры, либо осуществлять отбор проб рассола на устье скважины через каждые 30 мин.

Точность замеров плотности должна быть не менее 0,001 г/см3. Из отобранных за смену проб составляется средняя проба, по которой определяется среднесменная концентрация рассола, необходимая для расчета объемов выработки. Определение концентрации рассола по замеренной плотности приведена в таблице 12. Если температура проб рассола отличается от 20 °С, то для пересчета плотности следует пользоваться справочными таблицами.


Таблица 12

Определение концентрации по замеренной плотности при 20 °С

Раствор хлористого натрия в воде

Плотность г/см3

Концентрация, г/л

Плотность, г/см3

Концентрация, г/л

Плотность, г/см3

Концентрация, г/л

Плотность, г/см3

Концентрация, г/л

Плотность, г/см3

Концентрация, г/л

Плотность, г/см3

Концентрация, г/л

Плотность, г/см3

Концентрация, г/л

 

 

1.027

41.233

1.055

81.517

1.082

124.576

1.110

168.305

1.142

221.328

1.174

274.543

1.002

3.211

1.028

42.694

1.056

82.450

1.083

126.156

1.111

170.835

1.143

222.946

1.175

276.250

1.003

5.284

1.029

44.165

1.057

84.557

1.084

127.736

1.112

172.915

1.144

224.970

1.176

277.963

1.004

6.570

1.030

45.633

1.058

86.634

1.085

129.318

1.113

175.835

1.145

226.201

1.177

279.676

1.005

8.219

 

 

1.059

88.711

 

 

1.114

175.471

1.146

227.830

1.178

281.389

 

 

1.031

47.138

 

 

1.086

130.891

1.115

177.011

1.147

229.460

1.179

283.104

1.006

9.863

1.032

48.659

1.060

90.63

1.087

132.460

1.116

178.560

1.148

231.091

1.180

284.568

1.007

11.507

1.033

50.182

1.061

92.319

1.088

134.029

1.117

180.680

1.149

232.708

1.181

286.632

1.008

13.151

1.034

51.705

1.062

94.004

1.089

135.598

1.118

181.680

1.150

234.350

1.182

287.496

1.009

14.795

1.035

53.162

1.063

85.691

 

 

1.119

184.790

1.151

236.016

1.183

288.980

1.010

16.439

1.036

54.619

1.064

97.109

1.090

137.095

1.120

185.240

1.152

237.665

1.184

290.424

 

 

1.037

56.076

1.065

98.517

1.091

138.629

1.121

186.350

1.153

239.314

1.185

291.888

1.011

17.899

1.038

57.533

1.066

99.945

1.092

140.163

1.122

187.910

1.154

240.963

1.186

293.352

1.012

19.358

1.039

58.920

1.067

101.365

1.093

141.697

1.123

189.470

1.155

242.613

1.187

294.816

 

 

1.040

60.447

1.068

102.906

 

 

1.124

191.029

1.156

244.274

1.188

296.298

1.013

20.818

1.041

61.901

1.069

104.447

1.094

143.307

1.125

193.129

1.157

245.935

1.189

298.837

1.014

22.278

 

 

1.070

105.988

1.095

144.950

1.126

195.229

1.158

247.596

1.190

300.495

1.015

23.738

1.042

63.434

 

 

1.096

146.593

1.127

197.330

1.159

249.450

1.191

302.251

1.016

25.197

1.043

65.018

1.071

107.535

 

 

1.128

198.930

1.160

250.915

1.192

304.008

1.017

26.657

1.044

66.602

1.072

109.086

1.097

148.266

1.129

200.350

1.161

253.216

1.193

306.765

1.018

28.117

 

 

1.073

110.637

1.098

150.210

1.130

202.130

1.162

254.256

1.194

307.400

1.019

29.576

1.045

67.983

1.074

112.388

1.099

152.154

1.131

203.670

1.163

255.926

1.195

309.275

 

 

1.046

69.421

 

 

1.100

154.098

1.132

205.420

1.164

257.617

1.196

311.038

1.020

31.036

1.047

70.979

1.075

113.749

1.101

155.998

1.133

207.170

1.165

259.306

1.197

312.451

1.021

32.477

1.048

72.472

1.076

115.311

1.102

157.093

1.134

208.920

1.166

260.995

1.198

313.864

1.022

33.928

1.049

73.957

1.077

116.373

1.103

158.598

1.135

210.670

1.167

262.665

1.199

315.277

1.023

35.39

1.050

75.473

1.078

118.435

1.104

160.512

1.136

212.124

1.168

264.354

1.200

316.700

 

 

1.051

76.971

 

 

1.105

161.672

1.137

213.578

1.169

266.043

 

 

1.024

 

1.052

78.469

1.079

119.977

1.106

163.792

1.138

215.038

1.170

267.732

 

 

1.025

 

 

 

1.080

121.504

1.107

164.712

1.139

216.486

1.171

269.427

 

 

1.026

 

1.053

79.593

1.081

123.031

1.108

166.245

1.140

218.100

1.172

271.129

 

 

 

 

 

 

 

 

1.109

167.775

1.141

219.414

1.173

272.836

 

 


3.22 Количество нерастворимых включений, выносимых рассолом, следует определять по твердому остатку в пробах, а при выносе большого количества нерастворимых включений также и по мерной емкости (объемом 1-2 м3).

3.23 Допускается регулировка производительности подачи воды задвижкой на водяной линии. Задвижки на рассольной линии должны быть всегда полностью открытыми.

3.24 Данные контроля за процессом создания выработки-емкости фиксируются в следующих документах:

сменном рапорте о работе скважины (на скважине по форме, приведенной в таблице 13);

журнале роста выработки-емкости (ведется по результатам работы каждой смены по форме, приведенной в таблице 14);

журнале движения нерастворителя и перемещения подвесных колонн труб (ведется по форме, приведенной в таблице 15);

журнале баланса времени по скважине (ведется по результатам работы за одни сутки по форме, приведенной в таблице 16).

3.25 В процессе создания выработки-емкости расчетом определяются: количество вытесненной на поверхность земли соли; фактический объем выработки; объем выработки при условии полного насыщения растворителя в ней.

Количество соли, выданной с рассолом из выработки на поверхность земли Q, т, определяется по формуле

                                                       (29)

где n - количество отработанных смен;

     Vi, и Сi - соответственно объем и концентрация рассола, выданного из выработки в i-ю смену, м3 и т/м3.


Таблица 13

Форма

Сменный рапорт о работе скважины № ______

Дата ____________________

Смена от 8.00 до 16.00

№ п/п

Время замеров, ч/мин

Давление, МПа

Режим работы "противоток" или "прямоток"

Температура, °С

Кол-во нерастворимых

см3/л

Производительность скважины, м3/ч, по:

Плотность рассола, г/см3

Примечание

в водяной линии

в обсадной колонне

во внешней подвесной колонне

в центральной подвесной колонне

воды

рассола

воде

рассолу

Примечание - Заполняется сменным оператором на скважине через каждые 30 минут.

Таблица 14

Форма

Журнал роста выработки по скважине

№ п/п

Дата

Время работы смены, ч

Чистое время работ

Количество подаваемой воды в скважину, м3

Количество полученного из скважины рассола, м3

Среднесменная концентрация т/м3

Количество добытой соли в смену, т

Вынос нерастворимых включений, м3

Объем выработки, м3

Положение подвесных колонн от планшайбы обсадной колонны, м

от

до

в смену

от начала растворения

в смену

от начала растворения

в смену

от начала растворения

в том числе

в том числе

в том числе

в том числе

в смену

от начала растворения

в смену

от начала растворения

в смену

от начала растворения

внешней

внутренней

всего

через подвесную колонну

всего

через подвесную колонну

всего

через подвесную колонну

всего

через подвесную колонну

внешнюю

внутреннюю

внешнюю

внутреннюю

внешнюю

внутреннюю

внешнюю

внутреннюю

Примечание - Заполняется по результатам работы каждой смены на основании показаний расходомеров и среднесменной пробы концентрации рассола

Таблица 15

Форма

Движение нерастворителя и перемещение подвесных колонн по скважине № _____

№ п/п

Дата

Положение подвесных колонн от планшайбы обсадной колонны, м

Уровень нерастворителя от планшайбы обсадной колонны, м

Нерастворитель (наименование)

Уровень нерастворителя в момент отбивки контакта, м

Общее количество нерастворителя в момент отбивки контакта, м

Причина изменения количества нерастворителя

Примечание

внешней

внутренней

плотность, г/см3

изменение количества, м3

закачка

отбор

общее количество

Примечание - Заполняется сменным мастером после каждой очередной закачки или отбора нерастворителя, а также после изменения положения подвесных колонн или уровня нерастворителя.

Таблица 16

Форма

Журнал баланса времени по скважине № _____

№ п/п

Дата

Продолжительность создания выработки, ч/мин

Продолжительность непредвиденных работ, ч/мин

Простой, ч

Примечание

чистое время растворения

спускоподъемные операции

подкачка нерастворителя

подбашмачный контроль

геофизические работы

спускоподъемные операции

геофизические работы

прочие

всего

причина простоя

Примечание - Заполняется старшим мастером по результатам работы за одни сутки.


Фактический объем выработки на любой момент растворения Vf, м3, определяется по формуле

                           (30)

где 0,7 - коэффициент, учитывающий разность между среднесменной и средней концентрацией рассола в выработке;

        Cm - среднесменная концентрация выходящего рассола, т/м3;

        rs - плотность соли, т/м3;

        Vb - объем нерастворителя в выработке, м3;

        Cz- концентрация нерастворимых включений в осадке, т/м3;

        rr - плотность нерастворимых включений, т/м3;

        Cr - концентрация взвешенных нерастворимых включений в рассоле, т/м3;

        п - среднее объемное содержание нерастворимых включений в массиве каменной соли, м33.

Достигаемый объем выработки Vp, м3, определяется по формуле

                                (31)

где Cs - концентрация насыщения рассола, т/м3.

3.26 Центральная колонна на период эксплуатации резервуара устанавливается, как правило, не менее чем на 1,5 м выше поверхности осадка, выпавшего на почву выработки-емкости.

УДАЛЕНИЕ РАССОЛА С ПЛОЩАДОК СТРОИТЕЛЬСТВА

3.27 Перед началом удаления рассола со строительной площадки подземного хранилища весь технологический комплекс наземных сооружений по удалению рассола должен быть заполнен водой, промыт и проверен на работоспособность. Приемка комплекса наземных сооружений к удалению рассола должна осуществляться рабочей комиссией и оформляться актом.

3.28 Освоение нагнетательных скважин следует производить по окончании их бурения и обустройства, как правило, до начала работ по удалению рассола со строительной площадки подземного хранилища.

3.29 Освоение нагнетательных скважин независимо от типа водоносного коллектора и способа его вскрытия должно начинаться с откачки подземных вод.

3.30 В процессе откачки воды при освоении нагнетательной скважины необходимо:

замерять расход, температуру и плотность откачиваемой воды через час;

замерять количество нерастворимой взвеси в откачиваемой воде через час;

отбирать перед окончанием откачки пробу пластовой воды объемом не менее двух литров для химического анализа;

производить наблюдение за восстановлением статического уровня пластовых вод.

Освоение нагнетательной скважины следует прекращать после достижения полного осветления откачиваемой воды (прекращения выноса минеральных частиц с водой).

Указанные данные должны заноситься в журнал освоения нагнетательной скважины.

3.31 По данным освоения нагнетательной скважины рассчитываются:

параметр проводимости - в м3;

коэффициент проницаемости - в м2;

общий дебит скважины - в м3/ч;

удельный дебит скважины - в м3/ч · МПа.

Материалы расчета указанных показателей отражаются в журнале освоения нагнетательной скважины.

3.32 В процессе закачки рассола в глубокие водоносные горизонты необходимо:

определять содержание нерастворимой взвеси в рассоле на входе и выходе из очистных сооружений не реже одного раза в сутки;

замерять устьевое давление и приемистость каждой нагнетательной скважины не реже одного раза в неделю;

определять температуру и плотность закачиваемого рассола;

рассчитывать общее количество закачанного рассола.

3.33 При изменении давления на выходе из насоса более чем на 0,25 МПа в смену необходимо:

в случае падения давления проверить исправность рассолопроводов от насосной станции до всех работающих нагнетательных скважин; выявленные разрывы рассолопроводов устранить; при исправных рассолопроводах следует замерить давление на устье и приемистость каждой работающей нагнетательной скважины; нагнетательную скважину, увеличившую приемистость, следует отключить и провести ее обследование (в первую очередь проверить на герметичность обсадную колонну);

в случае повышения давления следует проверить исправность рассолопроводов по изменению разности давлений на выходе из насоса и на устьях нагнетательных скважин; выявленную неисправность рассолопроводов - устранить; при исправных рассолопроводах замерить устьевые давления и приемистость каждой работающей нагнетательной скважины; скважину, уменьшившую приемистость, отключить и подключить в работу резервную скважину.

3.34 Восстановление приемистости нагнетательной скважины следует производить после того, как фактическая ее приемистость при максимально допустимом давлении станет меньше расчетной.

3.35 Восстановление приемистости нагнетательной скважины независимо от принятого в проекте способа должно заканчиваться откачкой из нее пластовой воды (рассола) до полного ее осветления.

3.36 При откачке пластовой воды (рассола) в процессе восстановления приемистости нагнетательной скважины необходимо осуществлять комплекс мероприятий и производить обработку данных откачки в соответствии с 3.30 и 3.31.

3.37 При компрессорном способе откачки пластовой воды (рассола) из нагнетательной скважины, вскрывающей неустойчивый водоносный коллектор, башмак насосно-компрессорных труб следует спускать в рассолоприемную часть скважины во избежание образования в ней породной пробки.

3.38 В процессе естественной выпарки рассола на выпарных картах необходимо осуществлять:

замер (расчет) объема и концентрации рассола, закачанного в выпарную карту в течение суток;

замер уровня и концентрации рассола в выпарной карте в сутки;

замер уровня и отбор проб воды из гидронаблюдательных скважин, расположенных у выпарных карт, а также определение других показателей, заданных проектом.

СООРУЖЕНИЕ НАЗЕМНЫХ РАССОЛОХРАНИЛИЩ

3.39 Рассолохранилища, рассолоотстойники, выпарные карты следует сооружать в соответствии с требованиями нормативных документов: СНиП 3.02.01, СНиП 2.06.05, СНиП 2.06.06, СНиП 3.04.03 и СН 551.

3.40 Вводы технологических трубопроводов следует устанавливать по окончании земляных работ до укладки гидроизоляционного экрана.

3.41 Внутреннюю грунтовую поверхность рассолохранилища перед укладкой гидроизоляционного экрана из рулонного материала следует планировать, разрыхлять боронованием и протравливать гербицидами (для подавления растительности) и родентицидами (для уничтожения грызунов). Основание рассолохранилища должно быть ровным, без выступов, углублений и выступающих острых частиц, которые могут вызвать проколы гидроизоляционного покрытия.

Для обеспечения устойчивости и долговечности дамб их, как правило, следует выдерживать до укладки экрана не менее одного сезона, в течение которого происходит естественная усадка грунта.

3.42 Необходимо учитывать возможность просадки или пучения грунтов и капиллярного поднятия грунтовых вод. Рассолохранилища на просадочных грунтах сооружают с учетом ВСН П-23-75.

3.43 Подстилающий слой, как правило, должен выполняться из мелкозернистых однородных грунтов, а его поверхность должна быть как можно более ровной. Все посторонние предметы в подстилающем слое, которые могут повредить гидроизоляционный экран, должны быть удалены. В качестве подстилающего слоя гидроизоляционного экрана может быть использован рулонный кровельный материал. Листы подстилающего слоя должны укладываться внахлестку и соединяться холодной мастикой или прикрепляться к основанию временными штырями. Укладка подстилающего слоя допускается только на сухое основание.

3.44 Укладываемый гидроизоляционный экран должен непрерывно перекрываться рулонным кровельным материалом, а также защитным слоем грунта, как правило, в течение той же смены.

3.45 Участок гидроизоляционного экрана, укладываемый в течение одной смены, в зависимости от применяемого материала, должен закрываться слоем рулонного кровельного материала и защитным слоем грунта, как правило, в течение той же смены.

3.46 По защитному слою не допускается движение строительных машин.

3.47 После окончания строительства рассолохранилище следует испытать на герметичность водой в течение 3-х суток с замерами уровней через каждые 4 ч. Изменение уровня воды в рассолохранилище с учетом величин испарения и атмосферных осадков за период испытания должно отвечать требованиям системы стандартов в области охраны природы применительно к утечкам концентрированного рассола.

ГЕОДЕЗИЧЕСКО-МАРКШЕЙДЕРСКОЕ, ГЕОЛОГИЧЕСКОЕ И ГИДРОГЕОЛОГИЧЕСКОЕ ОБЕСПЕЧЕНИЕ ПРИ СТРОИТЕЛЬСТВЕ ШАХТНЫХ РЕЗЕРВУАРОВ

3.48 Геодезическо-маркшейдерское обеспечение работ по строительству подземных выработок должно осуществляться в соответствии с правилами, установленными СНиП 3.02.03, и Инструкцией по производству маркшейдерских работ, утвержденной Госгортехнадзором России.

По окончании проходки выработок-емкостей маркшейдерская служба строительства должна произвести съемку фактического внутреннего очертания выработок-емкостей и составить калибровочные таблицы с интервалами по высоте через каждые 200 мм.

Калибровочные таблицы для шахтных резервуаров в вечномерзлых породах следует составлять до и после намораживания ледяной облицовки на внутренней поверхности выработок-емкостей.

3.49 При проведении геологических и гидрогеологических наблюдений в горных выработках должны устанавливаться случаи несоответствия фактических геологических и гидрогеологических условий проходки проектным данным для внесения корректив в проектную документацию.

В процессе геологических и гидрогеологических наблюдений в выработках следует проводить:

фотодокументацию или зарисовки горных пород в забоях, по стенкам, почве и кровле выработок с описанием этих пород, а также всех нарушений залегания и монолитности пород;

зарисовки источников выхода воды с замером ее дебитов;

систематический замер суммарных притоков воды в каждую выработку и в целом по подземному резервуару;

отбор проб подземных вод и горных пород для лабораторных исследований;

оценку экранирующей способности вечномерзлых пород в процессе проходки горных выработок в соответствии с требованиями 2.9-2.15 настоящих правил;

замеры температуры вечномерзлых пород в процессе строительства резервуара вплоть до начала его эксплуатации;

определение мощности трещиноватой зоны по периметру выработки в местах сооружения герметичных перемычек.

3.50 Мощность трещиноватой зоны определяется нагнетанием жидкости или газа в шпуры.

Параллельные парные шпуры пробуриваются на глубину 2 м с расстоянием между их стенками 5-10 см (не менее 4 пар в одном поперечном сечении). Один из парных шпуров (нагнетательный) предназначен для нагнетания в массив жидкого (вода) или газообразного (азот, воздух) флюида, другой - наблюдательный.

Устья наблюдательных шпуров должны быть тщательно загерметизированы. Давление нагнетания должно превышать в 1,5 рабочее давление в выработках-емкостях, предусмотренное проектом.

Нагнетание флюида следует производить многократно через пакер при закреплении его в шпуре на различном заглублении в направлении от поверхности выработки в глубь массива.

Одновременно с подачей флюида в нагнетательный шпур в наблюдательном шпуре необходимо регистрировать расход флюида.

Границу трещиноватой зоны следует проводить на глубине, за пределами которой в течение суток не происходит фильтрации между шпурами.

Результаты определения мощности трещиноватой зоны вокруг выработки должны быть зарегистрированы в журнале и оформлены актом.

3.51 В процессе контроля за эффективностью выполнения работ по водоподавлению при проходке горных выработок в породах с положительной температурой геологическая и гидрогеологическая службы должны руководствоваться следующим:

приток воды во вскрывающие выработки, пересекающие водопроницаемые породы, допускается не более 1 м3/ч на каждые 100 м длины;

в горизонтальных горных выработках источники выхода воды с дебитом 0,01 м3/ч и выше должны подавляться методами тампонажа водопроводящих каналов.

СТРОИТЕЛЬСТВО ВЫРАБОТОК И ГЕРМЕТИЧНЫХ ПЕРЕМЫЧЕК ШАХТНЫХ РЕЗЕРВУАРОВ В ПОРОДАХ С ПОЛОЖИТЕЛЬНОЙ ТЕМПЕРАТУРОЙ

3.52 При вскрытии толщи пород, вмещающей выработки-емкости, двумя стволами или стволом и специальной скважиной, их следует использовать для целей вентиляции при проходке выработок-емкостей. В этом случае, в первую очередь, следует проходить выработки, обеспечивающие создание сквозной вентиляции.

3.53 Буровзрывные работы при сооружении выработок-емкостей следует вести, как правило, методом контурного (гладкого) взрывания. Допускается одновременная проходка параллельных выработок-емкостей с отставанием забоя на величину, не меньшую расстояния между выработками.

Сооружение выработок-емкостей горным способом в отложениях каменной соли следует вести, как правило, с применением проходческих комбайнов.

3.54 Проходка врубов герметичных перемычек, подходных выработок и стволов в зоне примыкания перемычек (по 5 м в обе стороны от места примыкания), а также рассечка околоствольных выработок, если она попадает в эту зону, должны производиться, преимущественно, без применения взрывчатых веществ, а при высокой крепости пород (7 и выше по шкале М. М. Протодьяконова) с использованием ослабленных зарядов взрывчатых веществ.

Разработку породы при разделке врубов герметичных перемычек шахтных резервуаров в каменной соли следует осуществлять без применения буровзрывных работ. Для этого следует применять комбайны, отбойные молотки, обуривание врубов короткими скважинами с последующей разработкой соли между ними отбойными молотками.

3.55 Возведение герметичных перемычек в подземных выработках должно выполняться после окончания горнопроходческих работ. Порядок и технология производства работ по сооружению перемычек должны быть определены проектом производства работ.

Возведение кольцевого воротника металлической перемычки в нижней части стволов должно осуществляться одновременно с возведением крепи на этом участке и до начала работ по рассечке околоствольных выработок.

Производство работ по возведению крепи стволов в месте примыкания перемычки должно осуществляться в направлении снизу вверх в следующей очередности:

монтаж стальной изоляции (обечайки) на сварке с проверкой швов на герметичность;

армирование внутренней железобетонной "рубашки" и кольцевого воротника, монтаж тампонажных трубок на стальной обечайке на сварке с проверкой швов на герметичность;

установка опалубки и бетонирование внутренней железобетонной "рубашки";

тампонаж закрепного пространства.

3.56 Монтаж и сварку металлических конструктивных элементов перемычек следует производить в соответствии с Правилами устройства и безопасной эксплуатации сосудов, работающих под давлением, утвержденными Госгортехнадзором России.

3.57 При сооружении герметичной перемычки размеры врубов, принятые в проекте, должны уточняться по фактической мощности трещиноватой зоны, образующейся по периметру выработок в процессе ведения взрывных работ, из условий перекрытия перемычкой этой зоны.

Мощность трещиноватой зоны следует определять нагнетанием жидкости или газа в шпуры, пробуренной по контуру перемычки в месте ее сооружения в соответствии с 3.50.

3.58 В качестве материалов для сооружения герметичных перемычек следует предусматривать бетон, железобетон (в случае необходимости - в комбинации с листовой сталью) и металл.

3.59 Для возведения герметичных перемычек следует, как правило, использовать металлическую опалубку, которую допускается оставлять как часть конструкции перемычки.

Опалубка и поддерживающие ее конструкции должны выдерживать давление свежеуложенной смеси и не допускать вытекания цементного молока через швы между отдельными ее элементами.

Для лучшего сцепления материала перемычки с горной породой перед укладкой бетона поверхность врубов следует очистить от грязи и пыли с помощью сжатого воздуха и промыть водой, но не выравнивать.

Создание непроницаемого контакта тела перемычки с каменной солью обеспечивается за счет образования совместной с солью и бетоном прокладки из затворенного на рассоле торкрет-бетона, который наносится на очищенную поверхность врубов механизированным способом. Бетон в тело перемычки укладывается только после создания прокладки.

3.60 Одновременно с возведением опалубки должны устанавливаться и жестко закрепляться закладные детали и металлические части конструкции перемычки. Отклонение местоположения закладных деталей от проектного положения не допускается.

Для лучшего сцепления материала перемычки с технологическими трубопроводами в месте прохода через тело перемычки их следует очистить от ржавчины, краски, масел и других посторонних покрытий и зачистить до металлического блеска.

3.61 Для приготовления бетона в качестве вяжущего следует применять портландцемент, шлакопортландцемент марки 400, 500.

Допускается применять расширяющийся гипсоглиноземистый цемент и напрягающий цемент марки 400, 500, а также бетоны и растворы, приготовленные на основе или с введением различных химических добавок при соблюдении требований, изложенных в 2.88. Заполнители для бетона должны отвечать ГОСТ 26633.

Для приготовления бетона перемычек в каменной соли в качестве жидкости затворения следует применять насыщенный раствор хлористого натрия плотностью 1190 кг/м3, а в других породах - воду, соответствующую требованиям ГОСТ 26633.

3.62 Все материалы (вяжущие и заполнители) перед началом работ по сооружению герметичных перемычек должны быть подвергнуты лабораторным испытаниям в соответствии с действующими ГОСТ 26633, ГОСТ 310.1, ГОСТ 26798.0, ГОСТ 1581, ГОСТ 8269, ГОСТ 8735 и ТУ 57034-072-02495.336 независимо от наличия паспортов.

Заполнители для бетона допускается хранить в подземных условиях на бетонных площадках или деревянных настилах.

3.63 Дозирование материалов для бетонной смеси должно производиться по массе с точностью:

цемента и воды ± 2 %;

заполнителя ± 2,5 %.

При приготовлении бетонных смесей необходимо осуществлять контроль за их подвижностью, в соответствии с ГОСТ 10181.0.

Песчаный бетон (набрызг-бетон) для торкретирования должен характеризоваться подвижностью 6 см, растворной смеси - 4-8 см.

Мелкозернистый бетон должен характеризоваться подвижностью 6 см.

3.64 Приготовление бетонной смеси на напрягающем цементе должно производиться методом частичной гидратации в соответствии с требованиями ТУ 57034-072-02495.336.

Допускается также приготовление вяжущего материала непосредственно на строительной площадке. Для его приготовления используется расширяющийся портландцемент, состоящий из гипсоглиноземистого цемента марки 400, 500 с содержанием SO3 в пределах от 11 до 16 % и среднеалюминатного портландцемента марки 400, 500 путем тщательного смешивания их в количестве соответственно 75-85 % (масс.) и 25-15 % (масс.).

3.65 При производстве работ по сооружению герметичных перемычек и тампонажу следует отбирать контрольные пробы бетонов и растворов для испытания их в соответствии с ГОСТ 10180 и ГОСТ 1581.

Физико-механические свойства бетонов и растворов допускается определять по результатам испытания образцов, выбуренных из тела перемычки.

3.66 Для заполнения полостей гидрозатворов следует применять воду или изолирующие жидкости, как правило, на основе глинистого раствора из бентонитового порошка ПБВ по ТУ 39-01-08-658.

В качестве добавок к изолирующей жидкости допускается применять жидкое стекло, карбоксиметилцеллюлозу, щелочь, гипан и другие добавки, обеспечивающие стабильность раствора.

Реагенты-стабилизаторы следует растворять отдельно и вводить в глинистый раствор после его перемешивания до образования однородной массы.

Для приготовления изолирующей жидкости следует использовать воду из хозяйственно-питьевого водопровода.

В качестве изолирующей жидкости в гидрозатворах перемычек в каменной соли следует использовать насыщенный раствор хлористого натрия плотностью 1190 кг/м3.

Дозировка глины, воды и стабилизирующих добавок должна осуществляться по массе с точностью до 2 %.

3.67 Давление изолирующей жидкости в полости гидрозатвора должно превышать на 0,05-0,1 МПа давление хранимых продуктов в выработках-емкостях.

3.68 При заполнении полостей гидрозатвора следует отбирать пробы изолирующей жидкости для последующего определения ее водоотдачи, стабильности, условной вязкости и статического напряжения сдвига.

3.69 Испытание бетонных перемычек с гидрозатвором (одинарных и двойных) производится после завершения работ по строительству выработок-емкостей, но не ранее приобретения бетоном проектной прочности.

3.70 Опрессовку полости гидрозатвора следует выполнять под давлением на 0,1 МПа превышающим рабочее давление продукта.

3.71 Перемычка с гидрозатвором принимается в эксплуатацию, если падение давления в полости гидрозатвора не происходит или происходит незначительное падение давления, позволяющее эксплуатировать перемычку с постоянной или периодической подкачкой изолирующей жидкости.

3.72 При возведении герметичных перемычек должна быть обеспечена непрерывность бетонирования.

При укладке бетона в замковой части стенок герметичных перемычек бетонирование следует проводить одновременно с двух сторон к замку.

Бетон после укладки в конструкцию необходимо содержать во влажном состоянии - закрывать мокрыми рогожками, матами и т.п. и поливать водой в течение 15-20 суток после снятия опалубки.

Распалубливать бетонные конструкции герметичных перемычек следует не ранее чем через 14 суток после бетонирования.

3.73 Нагнетание растворов для тампонажа трещиноватых пород следует осуществлять через тампонажные трубки, которые по окончании работ должны зачеканиваться расширяющимся быстротвердеющим цементом, а торцы их - завариваться.

Нагнетание раствора по контуру герметичных перемычек следует производить через шпуры или скважины, пробуренные через тело бетона до контакта его с породой, не раньше, чем бетон в конструкции перемычек достигает 85-90 % проектной прочности.

3.74 Для тампонажных работ должны применяться насосы, обеспечивающие равномерность режима нагнетания и исключающие резкие пульсации давления.

Нагнетание цементных растворов должно производиться при давлении не ниже 1 МПа и не выше величины давления гидроразрыва пород, определяемого проектом.

Нанесение бетонной и растворной смеси при торкретировании должно производиться механизированно с помощью пневморастворонасосов. Толщина наносимого набрызг-бетона на вертикальные и наклонные поверхности (под углом 40° к горизонтали) составляет 1-1,5 см на один слой. Расстояние сопла от рабочей поверхности 0,6-0,8 м.

СТРОИТЕЛЬСТВО ШАХТНЫХ РЕЗЕРВУАРОВ В ВЕЧНОМЕРЗЛЫХ ПОРОДАХ

3.75 К проходке выработок следует приступать после промерзания сезонно-талого слоя.

Гидроизоляцию и герметизацию стволов, шурфов и скважин следует завершить до сезонного таяния снега.

3.76 Шурфы и скважины герметизируются путем засыпки песка в закрепное пространство и полного насыщения его водой. Высота слоя засыпки не должна превышать 2 м. Засыпка следующего слоя производится после промерзания предыдущего. Контроль за промерзанием осуществляется по датчикам температуры.

3.77 При проходке выработок следует предусматривать вентиляцию по нагнетательной схеме. Не следует допускать поступление в выработки воздуха с положительной температурой.

3.78 Герметизация устья наклонного ствола производится по окончании проходческих работ и обустройства смотрового шурфа путем установки опорной перемычки с гидроизоляцией и послойной засыпки устья мерзлой породой с последующей ее трамбовкой.

3.79 Герметичные перемычки в подходных выработках, расположенных ниже почвы выработок-емкостей, сооружаются путем послойного намораживания воды или водогрунтовой смеси.

Допускается возведение герметичных перемычек путем послойной укладки в опалубку мелкодробленой мерзлой породы (песка), либо ледяных или ледопородных блоков, пролива водой до полного насыщения и замораживания. Высота отдельного слоя должна быть не более 0,2 м. Вытекание воды через опалубку не допускается.

При намораживании следует применять подачу холодного воздуха в место сооружения перемычки.

Контроль намораживания ведется по датчикам температуры.

3.80 Ледяную облицовку на внутренней поверхности выработок-емкостей следует создавать путем их заполнения пресной водой до появления зеркала воды в стволе на проектной отметке. Воду следует откачать непосредственно по истечении расчетного периода времени г, с, определяемого в зависимости от предусмотренной в проекте толщины ледяной облицовки, температуры воды и теплофизических свойств по формуле:

                                               (32)

где, ar - коэффициент температуропроводности вечномерзлых пород, м2/с;

        b - толщина ледяной облицовки, м;

        W - скрытая теплота замерзания воды, Дж/м3;

                                                                (33)

ri - плотность льда, кг/м3;

rw - плотность воды, кг/м3;

S - поверхность теплообмена воды с породой, м2;

Vw - объем воды, сливаемой в выработки-емкости, м3;

Сw - объемная теплоемкость воды, Дж/м3 · °С);

t - температура воды, сливаемой в выработку-емкость,°С;

tp . температура фазового перехода воды в лед, °С;

lr - коэффициент теплопроводности вечномерзлых пород, Вт/м×°С;

tr - естественная температура вечномерзлых пород, °С.

Максимально допустимую температуру воды tmax, °C, сливаемой в выработки-емкости для намораживания ледяной облицовки, следует определять по формуле

                                             (34)

где Sq - площадь почвы выработок-емкостей, м2;

     Sw - суммарная площадь стен выработок-емкостей, м2;

     Q - производительность заполнения выработок-емкостей водой, м3/с;

     V -  объем выработок-емкостей, м3.

3.81 Продолжительность заполнения выработки-емкости водой для намораживания ледяной облицовки должна быть не более трех суток. Следует предусмотреть меры, исключающие возможность гидравлического разрушения породы.

Откачку воды после намораживания ледяной облицовки следует осуществлять непрерывно.

3.82 При откачке воды после намораживания ледяной облицовки следует произвести тарировку резервуара.

3.83 Для сокращения периода восстановления естественной температуры вечномерзлых пород после намораживания ледяной облицовки, в условиях заполнения резервуара продуктом с положительной температурой, следует обеспечить принудительную вентиляцию выработок-емкостей атмосферным воздухом, как правило, с температурой ниже минус 20 °С.

Объем воздуха Qa, м3, подаваемого в выработки-емкости за период его вентиляции (из условия восстановления естественной температуры вечномерзлых пород), следует определять по формуле

                                                 (35)

где Сa - объемная теплоемкость воздуха, Дж/(м3 · °С);

        tт - средняя за период вентиляции температура атмосферного воздуха, °С.

3.84 Передвижение техники на площадке строительства должно осуществляться по снежному покрову или по слою отсыпки высотой не менее 1 м.

4 ПРАВИЛА ИСПЫТАНИЙ НА ГЕРМЕТИЧНОСТЬ ПОДЗЕМНЫХ РЕЗЕРВУАРОВ

ИСПЫТАНИЕ НА ГЕРМЕТИЧНОСТЬ ЭКСПЛУАТАЦИОННЫХ СКВАЖИН БЕСШАХТНЫХ РЕЗЕРВУАРОВ В КАМЕННОЙ СОЛИ

4.1 Испытание на герметичность кондукторов и промежуточных колонн следует проводить в соответствии с Правилами безопасности в нефтяной и газовой промышленности.

4.2 Перед спуском труб основной обсадной колонны в скважину на поверхности следует производить их гидравлические испытания под давлением, на 5 % превышающем давление на устье скважины при испытании обсадной колонны на герметичность. Трубы под давлением следует выдерживать не менее 30 с. При этом давление не должно превышать величин, предусмотренных ГОСТ 632.

4.3 Испытания на герметичность основной обсадной колонны производятся по окончании времени ОЗЦ до разбуривания в ней цементного стакана, а ее затрубного пространства после разбуривания цементного стакана в колонне и породы на 1-3 м ниже башмака основной колонны. Испытания незакрепленной части ствола скважины производятся после ее проводки до конечной глубины.

4.4 В качестве испытательной жидкости при испытании основной обсадной колонны следует использовать насыщенный рассол, пресную или минерализованную воду.

При испытании основной обсадной колонны испытательное давление на устье должно быть равным 1.1 эксплуатационного давления и при этом не должно превышать значения, допускаемого по условиям прочности обсадных труб в соответствии с ГОСТ 632 и быть не ниже значений, приведенных в таблице 17.

Основная колонна считается выдержавшей испытания, если по образцовому манометру в течение одного часа не фиксируется падение давления после троекратной доводки его до испытательного.

В скважинах подземных резервуаров, предназначенных для хранения газа, после завершения гидравлических испытаний приустьевую часть основной обсадной колонны следует испытать инертным газом на то же давление.

При зафиксированном падении давления в этот период следует установить место утечки, выполнить ремонтные работы и повторить испытание.

Таблица 17

Минимальное давление при испытании на герметичность основных обсадных колонн

Наружный диаметр колонны, мм

377-508

273-351

219-245

178-194

168

141-146

114-127

Давление, МПа

6,5

7,5

9

9,5

11,5

12,5

15

4.5 Испытание на герметичность затрубного пространства основной обсадной колонны и незакрепленной части ствола скважины производится концентрированным рассолом.

Величина испытательного давления рассола на устье скважины Pt, Па, определяется по формуле

                                                          (36)

где, K1 - коэффициент превышения испытательного давления, равный 1,05;

        Pec - максимальное проектное эксплуатационное давление на отметке башмака основной обсадной колонны. Па;

        rb - плотность рассола, кг/м3;

        g - ускорение свободного падения, м2/с;

        L - глубина спуска основной обсадной колонны, м.

Если величина Реc проектом не задана, то она определяется по формуле

Pec = Pes + rpgL - DPfp                                                                                            (37)

где Pes - проектная величина максимального эксплуатационного давления хранимого продукта, измеряемого на устье скважины, Па;

        rp  - средняя по скважине плотность хранимого продукта при максимальном проектном давлении, кг/м3.

        DPfp - гидравлическое сопротивление межтрубного пространства обсадной и внешней подвесной колонн при закачке хранимого продукта в скважину, Па.

На всех этапах испытания должна быть исключена утечка испытательной жидкости через соединительные элементы, детали устьевой обвязки, арматуру.

В процессе испытаний определяется соотношение е, м3/Па

                                                                (38)

Для этого в подготовленную к испытаниям скважину закачивается порция рассола объемом DV, м3 и измеряется соответствующее изменение давления рассола на устье скважины DР, Па. Закачка рассола производится порциями для определения не менее 3-х значений е.

В качестве расчетной принимается среднее арифметическое.

Допускается определение величины е путем выпуска порции рассола и измерения соответствующего падения давления.

Испытания производятся следующим образом.

В скважину закачивают концентрированный рассол до достижения испытательного давления.

Через 1 час и 2 часа подкачивают (при необходимости) рассол, и доводят давление до испытательного без разрядки скважины от давления.

Затем фиксируют значение давления в течение суток каждый час.

Расчетную величину утечки DVd, м3, определяют по формуле

DVd = e DPd                                                            (39)

где DPd - падение давления за сутки. Па.

Система "основная обсадная колонна - затрубное пространство основной обсадной колонны - незакрепленная часть ствола скважины" считается выдержавшей испытание на герметичность, если суточная расчетная утечка не превышает 0,02 м3.

4.6 После оборудования скважины для строительства подземной выработки следует проводить испытания на герметичность основной обсадной колонны, ее затрубного пространства и внешней подвесной колонны.

4.7 При использовании жидкого нерастворителя пространство между основной обсадной и внешней подвесной колоннами труб заполняется нерастворителем до башмака внешней подвесной колонны с вытеснением рассола из скважины по межтрубному пространству подвесных колонн. Количество закачанного нерастворителя тщательно замеряется.

После установления контакта нерастворителя с рассолом на уровне башмака внешней подвесной колонны следует зафиксировать давление на устье скважины в межтрубном пространстве основной обсадной и внешней подвесной колонн, а затем давление в указанном пространстве необходимо поднять до значения испытательного, определяемого в соответствии с 4.5, и поддерживать его в течение 48 ч подкачкой насыщенного рассола в центральную подвесную колонну с измерением его количества.

В период закачки нерастворителя и выдержки скважины под давлением проверяется герметичность внешней подвесной колонны по перетоку нерастворителя из пространства между основной обсадной и внешней подвесной колоннами в пространство между внешней и центральной подвесной колоннами.

Внешнюю подвесную колонну следует считать герметичной, если переток нерастворителя через нее при испытаниях отсутствует. При негерметичности внешней подвесной колонны негерметичность устраняют и испытания повторяют.

После двухсуточной выдержки скважины под давлением подкачку рассола в центральную подвесную колонну следует прекратить.

Чтобы снизить давление в межтрубном пространстве обсадной и внешней подвесной колонн до гидростатического, т.е. до нулевого значения на устье скважины, следует выпустить рассол из центральной подвесной колонны. Затем необходимо закачать дополнительно в межтрубное пространство основной обсадной и внешней подвесной колонн нерастворитель в количестве V1 порциями объемом по 0,5-1,0 м3 до доведения контакта "нерастворитель-рассол" до башмака внешней подвесной колонны. Объем порций измеряют с точностью не менее 0,005 м3. Измеряют температуру Т1, К, закачиваемой порции. После окончания закачки дополнительной порции выдерживают систему 2-4 ч для всплытия нерастворителя через рассол.

Всплывший во внешней подвесной колонне нерастворитель извлекают, вытесняя его при необходимости закачкой рассола в центральную подвесную колонну, а количество отобранного нерастворителя V2 замеряют с точностью не менее 0,005 м3. Измеряют температуру Т2, К, отобранного нерастворителя.

Разность объемов закачанного и отобранного нерастворителя DVr, м3, вычисляется по формуле

                                                         (40)

где, r1, r2, r3 - плотность нерастворителя при температуре T1, Т2 и в скважине соответственно.

Основная обсадная колонна и ее зацементированное затрубное пространство считаются выдержавшими испытание, если разность в объемах дополнительно закачанной и отобранной порции нерастворителя за двое суток испытания не превышает 0,04 м3.

4.8 При использовании газообразного нерастворителя испытания скважины на герметичность производятся методом компенсации масс газа над границей раздела «газ-рассол».

В скважину опускается подвесная колонна труб, имеющая в нижней части, на расстоянии 15-20 м от ее башмака, отверстие диаметром около 10 мм. Подвесная колонна труб устанавливается так, чтобы это отверстие находилось ниже башмака основной обсадной колонны. Расстояние до башмака основной обсадной колонны подбирается таким образом, чтобы граница раздела «газ-рассол» при увеличении давления до испытательного оставалась ниже башмака основной обсадной колонны.

Испытательный газ нагнетается в межтрубное пространство, пока он не начнет проходить через отверстие в подвесную колонну.

Переток газа в отверстие указывает, что уровень границы раздела «газ-рассол» установлен на отметке расположения отверстия.

Скважина при испытаниях на герметичность выдерживается под испытательным давлением в течение 48 ч с регистрацией давления на устье скважины через каждый час. Затем в скважину закачивается газ до прежнего уровня (до отверстия), с регистрацией масс закачиваемого и вышедшего через подвесную колонну газа.

Скважина считается выдержавшей испытание на герметичность, если разность масс дополнительно закаченного и отобранного газа после двух суток выдержки скважины под наблюдательным давлением не превышает 100 кг, а темп падения давления в процессе испытаний снижается, стремясь к постоянной величине.

4.9 При невозможности проведения испытаний в соответствии с требованиями 4.8 по обоснованному решению проектной организации испытания следует проводить следующим образом. В межтрубное пространство обсадной и внешней подвесных колонн закачивают сжатый газ с одновременным вытеснением рассола из скважины по межтрубному пространству подвесных колонн и (или) по центральной подвесной колонне. Закачка газа в межтрубное пространство обсадной и внешней подвесной колонн продолжается до тех пор, чтобы после увеличения давления до испытательного, граница раздела «газ-рассол», находилась на отметке не менее, чем на 0,5 - 1 м ниже башмака основной обсадной колонны.

Момент достижения контактом «газ-рассол» необходимой отметки устанавливается по объему вытесненного рассола, а также геофизическими методами контроля.

Затем выпуск рассола прекращается и осуществляется подкачка газа до достижения на устье скважины давления, равного испытательному.

После этого система выдерживается под испытательным давлением в течение 48 ч с регистрацией давления на устье скважины через каждый час.

Вычисляется темп изменения давления на устье скважины в межтрубном пространстве обсадной и внешней подвесной колонн, равный разности показаний манометра за один час.

Система считается выдержавшей испытание на герметичность, если темп падения давления снижается, стремясь к постоянной величине, а среднее падение давления за час в течение последних 12 ч выдержки не превышает 0,05 % испытательного давления.

4.10 Испытания на герметичность оформляются актами.

ИСПЫТАНИЕ НА ГЕРМЕТИЧНОСТЬ БЕСШАХТНЫХ РЕЗЕРВУАРОВ В КАМЕННОЙ СОЛИ

4.11 Испытания бесшахтных резервуаров на герметичность производятся с целью установления" их пригодности к эксплуатации после окончания строительства, капитального ремонта или аварийно-восстановительных работ, а также по мере необходимости в период эксплуатации.

4.12 Испытания производятся путем создания избыточного давления испытательной среды, в качестве которой могут быть использованы, в зависимости от продукта, хранимого в резервуаре, жидкие нефтепродукты, газы или рассол.

4.13 При испытаниях проверяется раздельно герметичность подвесных колонн труб, устьевой обвязки скважины с зацементированной обсадной колонной и выработки-емкости.

4.14 Герметичность устьевой обвязки устанавливается по отсутствию утечек испытательной среды в ее элементах в период проведения испытаний. При наличии таких утечек дефектные элементы подлежат замене или ремонту.

4.15 Герметичность подвесных колонн устанавливается по отсутствию перетоков испытательной среды между трубными пространствами в период проведения испытаний. При этом испытательная среда должна быть закачана в скважину на глубину, соответствующую длине испытуемого участка труб.

4.16 После установления герметичности устьевой обвязки и подвесных колонн труб осуществляются испытания на герметичность скважины с зацементированной обсадной колонной и резервуара в целом.

4.17 Для испытания скважины бесшахтного резервуара следует использовать компенсационной метод, основанный на сохранении количества нерастворителя в системе или метод контроля уровня жидкости в межтрубном пространстве.

Необходимым условием применения указанных методов является освобождение выработки-емкости от нерастворителя или хранимого продукта и отсутствие притока их остатков в скважину.

4.18 Испытание компенсационным методом допускается производить после окончания строительства резервуара перед сдачей его в эксплуатацию, при этом требуется установить внешнюю подвесную колонну таким образом, чтобы отметка башмака колонны была расположена на 0,5-1,0 м ниже башмака обсадной колонны и не менее 1,0 м выше отметки кровли выработки.

Испытание методом контроля уровня допускается производить в период окончания строительства и в процессе эксплуатации, при этом не требуется перемещать внешнюю подвесную колонну в положение выше отметки кровли выработки.

4.19 Скважины бесшахтных резервуаров для хранения нефтепродуктов допускается испытывать жидким нерастворителем или продуктом, подлежащим хранению.

Скважины бесшахтных резервуаров для хранения СУГ следует испытывать бензином прямой гонки или допускается производить испытания хранимым продуктом.

Бесшахтные резервуары для СУГ, нефти и нефтепродуктов в целом следует испытывать рассолом, при этом допускается наличие в межтрубье обсадной и внешней подвесной колонн испытательной среды, используемой для испытания скважины бесшахтного резервуара.

Бесшахтные резервуары для хранения газа следует испытывать газом, подлежащим хранению, допускается производить испытания газом, нейтральным по отношению к хранимому продукту.

4.20 На проведение испытаний на герметичность бесшахтных резервуаров разрабатывается специальный проект.

4.21 При испытаниях бесшахтных резервуаров на герметичность величина испытательного давления в резервуаре на отметке башмака основной обсадной колонны Рtc определяется соотношением

Рtc = K1 Рec                                                                                                     (41)

где K1 - коэффициент превышения испытательного давления, равный 1,05.

Величина испытательного давления, измеряемая на устье скважины, вычисляется по формуле

Pt = Ptc -rfgL,                                                         (42)

где rf  - средняя по скважине плотность испытательной среды, кг/м3.

4.22 Испытательное давление на устье скважины не должно превышать значения, допустимого по условиям прочности элементов устьевой обвязки и обсадных труб в соответствии с ГОСТ 632.

4.23 При испытании на герметичность обсадных колонн скважин бесшахтных резервуаров компенсационным методом допускается использовать для проведения испытания подвесные колонны, использовавшиеся в процессе создания выработки-емкости (рисунок 13).

1 - выработка-емкость; 2 - внутренняя подвесная колонна; 3 - внешняя подвесная колонна; 4 - обсадная колонна; 5 - насос для закачки рассола; 6 - мерная емкость; 7 - термометр; 8 - манометр; 9 - насос для закачки испытательной среды; 10 - мерная емкость

Рисунок 13 - Схема испытаний на герметичность обсадных колонн скважин бесшахтных резервуаров компенсационном методом

 

Пространство между обсадной и внешней подвесной колоннами труб следует заполнить нерастворителем до башмака внешней колонны с вытеснением рассола из скважины и проводить испытания в соответствии с п. 4.7 настоящих правил.

4.24 При испытании на герметичность обсадных колонн скважин методом контроля уровня жидкости в межтрубном пространстве резервуар должен быть оборудован двумя подвесными колоннами труб (внешней и центральной). Башмак подвесных колонн должен быть установлен ниже кровли выработки-емкости.

Допускается применять для проведения испытаний подвесные колонны, использовавшиеся в процессе создания выработки.

Испытание следует проводить, как правило, не ранее чем через 1,5 мес. после окончания сооружения выработки-емкости.

Для проведения испытаний используются приборы и оборудование, представленные на рисунке 14.

Дифманометр должен быть рассчитан на испытательное давление и иметь цену деления не более 5 · 10-4 МПа.

Мерная емкость должна быть рассчитана на прием рассола в количестве, равном объему закачиваемой испытательной жидкости.

Напорное устройство для закачки испытательной среды в скважину должно обеспечивать ее подачу под давлением не ниже испытательного.

Насос для закачки рассола в скважину должен обеспечивать его подачу под давлением не ниже Рb, Па, в соответствии с формулой

Рb > Рt – (rb - rf ) gL                                                          (43)

Количество испытательного флюида для проведения испытаний должно быть равно объему межтрубных пространств внешней и внутренней подвесных и обсадной колонн в интервале до кровли выработки.

При неустойчивой погоде (резкие изменения температуры, осадки) следует укрыть устье скважины от прямых солнечных лучей и осадков для предотвращения искажений, вносимых его неравномерным охлаждением или нагревом.

Перед испытанием следует провести ревизию всех сальников и уплотнений, проверить герметичность подвесных колонн.

1 - выработка-емкость; 2 - внутренняя подвесная колонна; 3 - внешняя подвесная колонна; 4 - обсадная колонна; 5 - напорное устройство для закачки испытательной среды; 6 - расходомер; 7 - дифманометр; 8 - манометр; 9 - насос; 10 - мерная емкость

Рисунок 14 - Схема испытаний на герметичность обсадных колонн скважин бесшахтных резервуаров методом контроля уровня жидкости в межтрубном пространстве

Дифманометр должен быть установлен следующим образом: патрубок со знаком минус" для среды с меньшим давлением присоединяется к межтрубному пространству обсадной и внешней подвесных колонн, патрубок со знаком "плюс" для среды с большим давлением присоединяется к межтрубному пространству подвесных колонн, перемычка дифманометра должна быть перекрыта.

В начале испытаний следует закачивать испытательную среду в межтрубные пространства обсадной, внешней и внутренней подвесных колонн, вытесняя при этом рассол в мерную емкость. При этом перемычка между трубными пространствами должна быть открыта.

Количество испытательной жидкости, закачиваемой в скважину, должно быть таким, чтобы уровень границы раздела «испытательная жидкость-рассол» при проведении испытаний был на 1-5 м ниже башмака основной обсадной колонны и выше отметки кровли выработки-емкости.

Контроль глубины заполнения трубных пространств и отметки границы раздела ведут по объему рассола, вытесненного в мерную емкость, а также геофизическими методами.

После закачки испытательной среды, при необходимости, на всех подводящих технологических трубопроводах, кроме трубопровода, подающего рассол в центральную подвесную колонну, должны быть установлены заглушки.

После закачки заданного количества испытательной жидкости увеличивают давление жидкости в резервуаре до испытательного закачкой насыщенного рассола в центральную колонну.

Перекрывают перемычки, соединяющие межтрубные пространства обсадной, внешней и центральной подвесных колонн, и открывают перемычку дифманометра.

Через 24 и 48 ч после начала испытаний подкачивают, при необходимости, насыщенный рассол для поддержания давления на уровне испытательного.

Фиксируют ежечасно показания дифманометра в течение 3-х суток после начала испытаний.

В случае изменения давления фиксируемого дифманометром рассчитывают величину (объем) утечки DVd, м3, по формуле

                                                (44)

где D1 - внутренний диаметр обсадной колонны (или необсаженного участка скважины), м;

        D2 - диаметр внешней подвесной колонны, м;

        DPd - изменение давления на дифманометре после последней подкачки. Па;

        r1 - плотность испытательной жидкости, кг/м3.

Испытанный участок скважины считается герметичным, если величина DVd,  рассчитанная за третьи сутки испытаний, не превышает 0,02 м3.

Допускается измерение величины DVd с использованием дозировочного насоса в качестве напорного устройства для закачки испытательной среды.

Для этого в межтрубное пространство обсадной и внешней подвесной колонны закачивают испытательную среду в конце каждых суток испытаний до тех пор, пока не восстановятся показания дифманометра, соответствующие началу испытаний.

Объем испытательного флюида, закачанный в конце третьих суток, принимается за величину суточной утечки и не должен превышать 0,02 м3.

При наличии утечки и необходимости ее локализации осуществляют поинтервальные испытания. Для этого закачивают по описанной выше схеме такое количество испытательной среды, чтобы обеспечить заданный уровень границы контакта ее и рассола. Определяемая при этом утечка соответствует интервалу вышеуказанного уровня.

Начальная величина испытуемого интервала составляет, как правило, 100 м.

При наличии в данном интервале утечки, ее точное местонахождение может быть найдено при проведении, в соответствии с изложенным способом, поинтервальных испытаний путем деления данного интервала на меньшие участки длиной 10-20 м.

4.25 При испытании на герметичность скважин бесшахтных резервуаров газом резервуар должен быть оборудован подвесной, непроницаемой для газа колонной труб. Подвесная колонна труб в нижней части, на расстоянии 15-20 м от башмака колонны, должна иметь отверстие диаметром около 10 мм. Подвесная колонна труб устанавливается так, чтобы ее отверстие находилось ниже башмака основной обсадной колонны, но выше кровли выработки на таком расстоянии, чтобы граница раздела «газ-рассол» при увеличении давления до испытательного оставалась ниже башмака основной обсадной колонны. Дальнейшие испытания проводятся в соответствии с 4.8.

4.26 Испытание бесшахтных резервуаров на герметичность насыщенным рассолом производится при положительных результатах оценки герметичности скважины.

Допускается наличие жидкой испытательной среды, использовавшейся для испытаний закрепленной и незакрепленной частей скважины, в затрубном пространстве внешней подвесной колонны.

Для проведения испытаний используется насос для закачки рассола, мерная емкость для замера объема закачиваемого и отбираемого рассола, манометры (рисунок 15), термометры, денсиметры.

Измерение давления рассола на устье скважины производится образцовым манометром, устанавливаемом на внутренней подвесной колонне.

Мерная емкость должна обеспечивать измерение объема с точностью не менее 0,05 м3.

С целью исключения влияния недонасыщения рассола в резервуаре испытание выработки следует начинать не ранее, чем через 1,5 месяца после окончания работ по сооружению выработки-емкости.

До начала испытаний определяется соотношение е в соответствии с формулой (38).

Количество насыщенного рассола DVl м3, необходимое для проведения испытаний, определяется по формуле

DVl = 1,1e DPt,                                                       (45)

где 1,1 - коэффициент запаса;

       DPt - величина изменения давления на устье скважины на продуктовой линии от первоначального до испытательного. Па.

Испытание производится следующим образом:

в выработку закачивают насыщенный рассол до достижения испытательного давления, величина которого определяется в соответствии с формулой (41);

затем закачка рассола прекращается и фиксируется изменение давления на устье скважины в подвесной колонне в течение 3-х суток через каждый час.

Вычисляется ежечасовой темп изменения давления на устье скважины в межтрубном пространстве обсадной и внешней подвесной колонн, равный разности показаний манометра за предыдущий и текущий час.

1 - выработка-емкость; 2 - подвесная колонна; 3 - обсадная колонна; 4 - насос; 5 - мерная емкость; 6 - манометр

Рисунок 15 - Схема испытаний на герметичность бесшахтного резервуара рассолом

 

Бесшахтный резервуар считается выдержавшим испытание на герметичность, если темп ежечасового падения давления со временем снижается, стремясь к постоянной величине, а среднее падение давления за час в течение последних 12 ч выдержки не превышает 0,05 % испытательного давления.

В случае, если темп ежечасового падения давления со временем снижается, а среднее падение давления в течение последних 12 часов превышает вышеуказанную величину, испытания продолжают до стабилизации темпа падения давления. Окончательное решение о герметичности бесшахтного резервуара принимается по установившемуся темпу падения давления, если он не превышает 0,05 % от испытательного давления за час в течение последних 12 ч испытаний.

4.27 По результатам испытаний на герметичность составляется акт, по форме, в котором отражаются условия их проведения и результаты.

Форма

УТВЕРЖДАЮ

Руководитель организации-заказчика

М.П. (подпись) __________________

" _____ " ___________199 г.

АКТ

испытания на герметичность бесшахтного резервуара в каменной соли

______________________________

(место составления акта)                                                                                 "__" _____ 199 г.

Мы, нижеподписавшиеся, представители:

исполнителя работ __________________________________________________________

(должность, ф.и.о.)

заказчика __________________________________________________________________

(должность, ф.и.о.)

проектной организации ______________________________________________________

(должность, ф.и.о. и наименование

___________________________________________________________________________

___________________________________________________________________________

привлеченной организации)

составили настоящий акт о том, что в период с «____» по «_____» 199 г. проведено испытание бесшахтного резервуара №______ на герметичность при следующих исходных данных:

1. Глубина расположения почвы выработки-емкости ................... м

2. Вместимость бесшахтного резервуара......................................... м3

3. Диаметр основной обсадной колонны (наружный).................... м

4. Глубина спуска основной обсадной колонны (длина

колонны) ........................................................................................ м

5. Диаметр (наружный) внешней подвесной колонны .................. м

6. Глубина спуска внешней подвесной колонны. .......................... м

7. Диаметр (наружный) центральной подвесной колонны ........... м

8. Глубина спуска центральной подвесной колонны..................... м

9. Компоновка основной обсадной колонны,

по маркам стали и толщина стенок в интервалах. .............…... м

10. Тип смазки резьб на заводе и при спуске колонн........................

11. Уровень подъема тампонажного раствора за

основной обсадной колонной.............................................……. м

12. Глубина кровли подземной выработки-емкости...................... м

Работы по испытанию проводились при следующих условиях:

- испытания скважины производились методом ..........................

- испытания выработки производились методом .........................

- вид продукта, используемого в качестве

испытательного флюида и его плотность. ........................……. г/м3

- давление испытательного флюида на устье в

межтрубном пространстве между обсадной и внешней

подвесной колоннами следовало поднять до....................…….. Па,

фактически поднято до ..........................................................…... Па

- время выдержки системы «скважина-выработка»

под давлением ......................... Па.............................................. часов

- объем и плотность рассола, закачанного в подземный

резервуар для поддержания испытательного давления

.........................м3 и .................................................................... кг/м3

- расчетная величина коэффициента сжимаемости системы

«выработка-емкость - скважина................................................ м3/Па

- давление испытательного флюида на устье в межтрубном

пространстве между обсадной и внешней подвесной

колоннами в процессе подкачки рассола поддерживалось

в пределах ..................................................................................... Па

- после достижения испытательного давления зафиксировано следующее:

Время час

Давление рассола в центральной подвесной колонне, Па

Давление в межтрубном пространстве между обсадной и внешней подвесной колоннами, Па

Показания дифманометра, установленного между межтрубными пространствами основной и внешней, внешней и центральной подвесных колонн, Па

Через 1 час

 

 

 

Через 2 часа

 

 

 

Через 3 часа

 

 

 

……………..

 

 

 

……………..

 

 

 

Через 24 часа

 

 

 

……………..

 

 

 

Через 47 часов

 

 

 

……………..

 

 

 

Через 72 часа

 

 

 

Средний темп падения давления в межтрубном пространстве за последние 12 час....................................................................................……………………………….. Па/ч.

Масса дополнительной порции испытательного флюида, закачанного и отобранного из скважины в процессе проведения испытаний на герметичность компенсационным методом ............... кг и ......................... кг соответственно. Разность масс .............кг и соответствующий объем.................м3.

Объем утечки, установленный по изменению показаний дифманометра за последние сутки, ......................... м3.

Результаты испытаний показали, что:

- разность в объемах дополнительной порции испытательного флюида (не) превышает 0,04 м3;

- среднее падение давления в течение последних 12 часов (не) превышает 0,05 % испытательного давления за час;

- объем утечки за сутки, вычисленный по изменению показаний дифманометра за последние сутки испытаний, (не) превышает 0,02 м3.

Подземный резервуар (не) выдержал испытания и комиссией признан (не) герметичным и (не) пригодным к эксплуатации.

Подписи

 

ИСПЫТАНИЕ НА ГЕРМЕТИЧНОСТЬ ШАХТНЫХ РЕЗЕРВУАРОВ В ПОРОДАХ С ПОЛОЖИТЕЛЬНОЙ ТЕМПЕРАТУРОЙ

4.28 Контроль за герметичностью шахтных резервуаров должен осуществляться по результатам наблюдений за уровнем подземных вод в гидронаблюдательных скважинах до проходки выработок, на протяжении всего периода строительства резервуаров и после завершения строительства.

4.29 Резервуары считаются выдержавшими испытания на герметичность, если в результате наблюдений в скважинах установлено, что после завершения строительства резервуаров положение статического или пьезометрического уровня водоносного горизонта, залегающего над кровлей выработок-емкостей, обеспечивает напор на кровлю, превышающий максимальное проектное давление хранимых продуктов в резервуаре не менее чем на 0,05 МПа.

При несоблюдении этого условия по специальному проекту проводятся мероприятия по повышению давления в водоносном горизонте.

4.30 По результатам испытаний составляется акт, приведенный ниже.

Форма

УТВЕРЖДАЮ

________________________________

Руководитель организации-заказчика

М.П. (подпись) __________________

Ф.И.О.                    

" _____ " ___________199 г.

АКТ

испытания на герметичность шахтного резервуара
в породах с положительной температурой

___________________________                                                                    "__" _____ 199 г.

(место составления акта)

Мы, нижеподписавшиеся, представители:

исполнителя работ __________________________________________________________

(должность, ф.и.о.)

заказчика _________________________________________________________________

(должность, ф.и.о.)

проектной организации _____________________________________________________

(должность, ф.и.о. и наименование

__________________________________________________________________________

__________________________________________________________________________

привлеченной организации)

составили настоящий акт о том, что в период с "___" ___________ 19 г. по "___"
___________ 19 г. проведено испытание на герметичность подземного резервуара

___________________________________________________________________________

(название)

Резервуар предназначен для хранения ________________________________________

(вид продукта)

Рабочее давление в резервуаре ____ МПа, наибольшая абсолютная отметка кровли
выработок-емкостей _____м.

Гидронаблюдательные скважины № _________________________________________

оборудованы на ___________ водоносный горизонт (комплекс), вмещающий

(название)

выработки-емкости

Гидронаблюдательные скважины № ____________________________________________

оборудованы на _______________________________ водоносный горизонт (комплекс),

(название)

залегающий над кровлей выработок-емкостей.

Результаты наблюдений за уровнем ________________ водоносного (ых) горизонта (ов)

                                                           (название)

комплекса (ов) приведены в таблице.

 

Дата

Абсолютная отметка уровней воды, м

 

№ п/п

наблюдений

подпор воды на кровлю выработок-емкостей, м

Примечание

 

 

скв. №

скв. №

скв. №

скв. №

скв. №

скв. №

 

 

 

 

 

 

 

 

 

До начала строительства

 

 

 

 

 

 

 

 

После окончания

строительства

Результаты наблюдений показывают, что подпор подземных вод на кровлю выработок-емкостей на ........ МПа превышает рабочее давление продукта в подземном резервуаре.

Подземный резервуар признан герметичным (не герметичным).

Подписи

 

ИСПЫТАНИЕ НА ГЕРМЕТИЧНОСТЬ ШАХТНЫХ РЕЗЕРВУАРОВ В ВЕЧНОМЕРЗЛЫХ ПОРОДАХ

4.31 Контроль за герметичностью шахтных резервуаров осуществляется по данным опытных наливов светлых нефтепродуктов и по изменению уровня воды во вскрывающей выработке.

4.32 Опытные наливы светлых нефтепродуктов производятся в шпуры глубиной не менее 2,0 м, закладываемые в почве выработки до намораживания ледяной облицовки. На участках с однородным геологическим строением на 50 м выработки следует закладывать один шпур, а на участках с неоднородным строением - один шпур на 25 м.

Вечномерзлые породы, вмещающие выработки-емкости, следует считать непроницаемыми, если понижение уровня испытательной жидкости в контрольном шпуре за 10 сут., не считая первых двух, составило менее 0,05 м.

4.33 В период намораживания ледяной облицовки следует осуществлять контроль за уровнем воды во вскрывающей выработке. Выработки-емкости следует считать герметичными, если за период намораживания ледяной облицовки, не считая первых двух суток после заполнения водой, понижение уровня воды во вскрывающей выработке не происходит.

4.34 По результатам испытаний составляется акт по форме, приведенной ниже.

Форма

УТВЕРЖДАЮ

____________________________________

Руководитель организации-заказчика

М.П. (подпись) _______________________

Ф.И.О.                    

" _____ " ___________199 г.

АКТ

испытания на герметичность шахтного резервуара в вечномерзлых породах

___________________________                                                               "__" _____ 199 г.

(место составления акта)

Мы, нижеподписавшиеся, представители:

исполнителя работ __________________________________________________________

(должность, ф.и.о.)

заказчика __________________________________________________________________

(должность, ф.и.о.)

проектной организации ______________________________________________________

(должность, ф.и.о.)

составили настоящий акт о том, что в период с "___" ___________ 19 г. по "___"
___________ 19 г.

проведено испытание подземного резервуара № ____ на герметичность.

Резервуар предназначен для хранения ________________________________________

(вид продукта)

Наибольшая и наименьшая отметки почвы выработок-емкостей __________________ м.

Опытные наливы произведены в шпуры: №__ глубиной ______ м; №   ______ глубиной
_______ м.

В шпуры заливалось _______________________________________________________

испытательная жидкость

Размещение шпуров в выработках-емкостях показано на прилагаемой схеме.

Результаты наблюдений за уровнем испытательной жидкости за ___________________

период

приведены в табл. 1.

Таблица 1

Дата

Отметка уровня испытательной жидкости

Примечание

п/п

наблюдений

Шпур №

Шпур №

Шпур №

Шпур №

Шпур №

Шпур №

Шпур №

 

По результатам наблюдений установлено, что понижение уровня испытательной жидкости в контрольных шпурах за 10 суток, не считая первых двух, составило ....... см.

Результаты наблюдений за уровнем воды во вскрывающей выработке приведены в табл. 2.

Таблица 2

№ п/п

Дата наблюдений

Отметка уровня воды во вскрывающей выработке

Примечание

По результатам наблюдений установлено, что изменение уровня воды во вскрывающей выработке, не считая первых двух суток, составило .......см.

Подземный резервуар признан герметичным (не герметичным).

Подписи

 

5 ПРАВИЛА ПРИЕМКИ РАБОТ

 

5.1 При приемке работ в составе исполнительной документации должны быть:

рабочие чертежи с подписями о соответствии выполненных в натуре работ этим чертежам и внесенным в них изменениям или исполнительные чертежи;

для бесшахтных резервуаров в каменной соли - исполнительная схема конфигурации выработки-емкости по локационным измерениям или расчетным данным;

для шахтных резервуаров - калибровочные таблицы (с указанием толщины ледяной облицовки для резервуаров в вечномерзлых породах);

документы, удостоверяющие качество примененных материалов, конструкций и деталей;

акты на скрытые работы;

журнал учета работ и авторского надзора;

журнал роста выработки по скважине при создании бесшахтного резервуара в каменной соли;

журналы опытных закачек и закачка в поглощающий коллектор нагнетательных и откачек из водоносного горизонта водозаборных скважин с графиками установления постоянства состава и отбора проб воды на сокращенный и полный химический анализ;

журнал пробных и опытных откачек из водоносных горизонтов в разведочных и водозаборных скважинах;

графики установления постоянства состава по хлору и брому;

журнал опытных закачек в поглощающий коллектор;

геологическая и гидрогеологическая документация учета уровней воды по гидронаблюдательным скважинам;

ведомости и акты испытаний контрольных образцов;

протоколы лабораторных анализов пород, подземных вод и материалов;

документация по развитию геодезической основы на поверхности, каталоги координат и высотных отметок, эскизы расположения реперов;

для бесшахтных резервуаров в каменной соли дела эксплуатационных скважин, буровые журналы, технологические паспорта скважин;

для шахтных резервуаров, первичная маркшейдерская документация - полевые и вычислительные журналы по ориентированию выработок, передаче высотных отметок, разбивке осей вскрывающих выработок, съемке и нивелированию горных выработок, каталоги координат подземных выработок, эскизы расположения маркшейдерских точек, материалы замеров и вычислений по калибровке резервуаров, журналы зарисовок сечений и обмеров прочих горных выработок, материалы по водоподавлению в горных выработках, включающие: эскизы мест водоподавления с расположением тампонажных скважин, расходы тампонажного раствора, результаты водоподавления - приток до и после подавления;

отчет по результатам выполнения в период строительства документации, отражающий геологические и гидрогеологические условия;

акты испытаний скважин и герметичных перемычек под давлением;

акты на приемку специальных работ по тампонажу или замораживанию, если таковые имели место;

акты о приемке оборудования, трубопроводов и КИП;

акты об испытании герметичности подземных резервуаров;

акты о приемке законченного строительством хранилища;

паспорта на подземные резервуары;

для рассолохранилищ:

документы, удостоверяющие качество примененных материалов;

акты на скрытые работы;

журнал учета работ и авторского надзора;

протоколы физико-механических испытаний примененных гидроизоляционных материалов и их соединений в соответствии с ГОСТ 10345-73;

журнал результатов осмотров территории возле рассолохранилища и состояния стенок и ложа рассолохранилища.

5.2 При составлении исполнительных документов следует использовать рабочие чертежи, данные исполнительных съемок и контрольных геодезиче-ско-маркшейдерских, геофизических и других измерений, которые производятся и систематизируются в течение всего периода строительства.

5.3 Паспорт подземного резервуара должен содержать следующие сведения:

принадлежность резервуара;

номер резервуара;

назначение резервуара;

глубина заложения резервуара;

полный и полезный объем резервуара;

вместимость резервуара;

сечения резервуара;

конструкции эксплуатационных скважин (для бесшахтных резервуаров в каменной соли);

перечень установленного оборудования;

перечень установленных КИП;

наименование проектных и строительных организаций, выполнявших работы по сооружению резервуара;

дату начала и окончания строительства;

дату испытания резервуара;

дату ввода в эксплуатацию;

состав приемочной комиссии;

отклонения от проекта, допущенные при строительстве;

дату составления паспорта.

5.4 В паспорт бесшахтных резервуаров в каменной соли должны быть внесены также:

данные о виде нерастворителя, его первоначальном количестве, неизвлекаемом остатке и максимальном количестве, закачанном при создании выработки;

первоначальное расстояние от верхней кромки фланца обсадной колонны до почвы выработки-емкости резервуара;

паспорта и журналы эксплуатации нагнетательных и водозаборных скважин.

 

ПРИЛОЖЕНИЕ А

НОРМАТИВНЫЕ ССЫЛКИ

 

1. СНиП 34-02-99. Подземные хранилища газа, нефти и продуктов их переработки.

2. СНиП 21-01-97. Пожарная безопасность зданий и сооружений.

3. СНиП 2.01.02-85*. Противопожарные нормы.

4. СНиП 2.01.09-91. Здания и сооружения на подрабатываемых территориях и просадочных грунтах.

5. СНиП 2.01.07-85*. Нагрузки и воздействия.

6. СНиП 2.02.02-85. Основания гидротехнических сооружений.

7. СНиП 2.02.04-88. Основания и фундаменты на вечномерзлых грунтах.

8. СНиП 2.03.11-85. Защита строительных сооружений от коррозии.

9. СНиП 2.04.01-85*. Внутренний водопровод и канализация зданий.

10. СНиП 2.04.02-84*. Водоснабжение. Наружные сети и сооружения.

11. СНиП 2.04.03-85. Канализация. Наружные сети и сооружения.

12. СНиП 2.04.05-91*. Отопление, вентиляция и кондиционирование.

13. СНиП 2.04.07-86*. Тепловые сети.

14. СНиП 2.04.08-87*. Газоснабжение.

15. СНиП 2.04.09-84. Пожарная автоматика зданий и сооружений.

16. СНиП 2.05.06-85*. Магистральные газопроводы

17. СНиП 2.06.09-84. Туннели гидротехнические.

18. СНиП 2.06.04-82*. Нагрузки и воздействия на гидротехнические сооружения (волновые, ледовые и от судов).

19. СНиП 2.06.05-84*. Плотины из грунтовых материалов.

20. СНиП 2.06.06-85. Плотины бетонные и железобетонные.

21. СНиП 2.06.08-87. Бетонные и железобетонные конструкции гидротехнических сооружений.

22. СНиП 2.07.01-89*. Градостроительство. Планировка и застройка городских и сельских поселений.

23. СНиП 2.09.02-85*. Производственные здания.

24. СНиП 2.09.03-85. Сооружение промышленных предприятий.

25. СНиП 2.09.04-87*. Административные и бытовые здания.

26. СНиП 2.11.01-85*. Складские здания.

27. СНиП 2.11.03-93. Склады нефти и нефтепродуктов. Противопожарные нормы.

28. СНиП 3.01.01-85*. Организация строительного производства.

29. СНиП 3.01.04-87. Приемка в эксплуатацию законченных строительством объектов. Основные положения.

30. СНиП 3.02.01-87. Земляные сооружения, основания и фундаменты.

31. СНиП 3.05.02-88*. Газоснабжение.

32. СНиП 3.05.04-85*. Наружные сети и сооружения водоснабжения и канализации.

33. СНиП 3.05.05-84. Технологическое оборудование и технологические трубопроводы.

34. СНиП II-35-76. Котельные установки.

35. СНиП II-89-80*. Генеральные планы промышленных предприятий.

36. СНиП II-94-80. Подземные горные выработки.

37. СНиП III-10-75. Благоустройство территорий.

38. СНиП III-42-80*. Магистральные трубопроводы.

39. СНиП 11-01-95. Инструкция о порядке разработки, согласования, утверждения и состава проектно-сметной документации на строительство предприятий, зданий и сооружений.

40. СП 11-101-95. Порядок разработки, согласования, утверждения и состав обоснований инвестиций в строительство предприятий, зданий и сооружений.

41. СН 452-73. Нормы отвода земель для магистральных трубопроводов.

42. СН 459-74. Нормы отвода земель для нефтяных и газовых скважин.

43. СН 496-77. Временная инструкция по проектированию сооружений для очистки поверхностных сточных вод.

44. СН 550-82. Инструкция по проектированию технологических трубопроводов из пластмассовых труб.

45. СН 512-78. Инструкция по проектированию зданий и помещений для электронно-вычислительных машин.

46. ВСН П-23-75. Инструкция по проектированию оросительных систем на просадочных грунтах.

47. ВУП СНЭ-87. Ведомственные указания по проектированию железнодорожных сливо-наливных эстакад ЛВЖ, ГЖ и СУГ.

48. НПБ 101-95. Нормы проектирования объектов пожарной охраны.

49. НПБ 105-95. Определение категорий помещений и зданий по взрывопожарной и пожарной опасности.

50. НПБ 201-96. Пожарная охрана предприятий. Общие требования.

51. УПАУТН-96. Указания по проектированию автоматизированных установок тактового налива светлых нефтепродуктов в железнодорожные и автомобильные цистерны.

52. ВУПП-88. Ведомственные указания по противопожарному проектированию предприятий, зданий и сооружений нефтеперерабатывающей и нефтехимической промышленности.

53. Правила пожарной безопасности при эксплуатации ГПЗ. Миннефтепром,1981.

54. ПБ 08-83-95. Правила обустройства и безопасной эксплуатации подземных хранилищ природного газа в отложениях каменной соли. Утв. Госгортехнадзором России Постановлением № 2 от 11.01.95.

55. РД 34.21.122-87. Инструкция по устройству молниезащиты зданий и сооружений.

56. ГОСТ 1.5-93. Государственная система стандартизации РФ. Общие требования к построению, изложению, оформлению и содержанию стандартов.

57. ГОСТ 12.0.003-74. ССБТ. Опасные и вредные производственные факторы. Классификация.

58. ГОСТ 12.1.004-91. ССБТ. Пожарная безопасность. Общие требования.

59. ГОСТ 12.1.005-88. ССБТ. Общие санитарно-гигиенические требования к воздуху рабочей зоны.

60. ГОСТ 12.1.010-76. ССБТ. Взрывобезопасность. Общие требования.

61. ГОСТ 12.2.016-81. Оборудование компрессорное. Общие требования безопасности.

62. ГОСТ 12.2.041-79. Оборудование буровое. Общие требования безопасности.

63. ГОСТ 12.2.115-86. Оборудование противовыбросовое. Требования безопасности.

64. ГОСТ 12.4.009-83. Пожарная техника для защиты объектов. Основные виды. Размещение и обслуживание.

65. ГОСТ 17.0.0.04-90. Охрана природы. Экологический паспорт промышленного предприятия. Основные положения.

66. ГОСТ 17.1.3.05-82. Охрана природы. Гидросфера. Общие требования к охране поверхностных и подземных вод от загрязнения нефтью и нефтепродуктами.

67. ГОСТ 17.1.3.06-82. Охрана природы. Гидросфера. Общие требования к охране подземных вод.

68. ГОСТ 17.1.3.12-86. Охрана природы. Гидросфера. Общие правила охраны вод от загрязнения при бурении и добыче нефти и газа на суше.

69. ГОСТ 17.2.3.02-78. Охрана природы. Атмосфера. Правила установления допустимых выбросов вредных веществ промышленными предприятиями.

70. ГОСТ 17.4.3.02-85. Почвы. Требования к охране плодородного слоя почвы при производстве земляных работ.

71. ГОСТ 17.5.3.04-83. Земли. Общие требования к рекультивации земель.

72. ГОСТ 17.5.3.05-84. Охрана природы. Рекультивация земель. Общие требования к землепользованию.

73. ГОСТ 305-82. Топливо дизельное. Технические условия.

74. ГОСТ 310.1-76. Цементы. Методы испытаний. Общие положения.

75. ГОСТ 632-80. Трубы обсадные и муфты к ним. Технические условия.

76. ГОСТ 633-80. Трубы насосно-компрессорные и муфты к ним.

77. ГОСТ 1581-91. Портландцементы тампонажные. Технические условия.

78. ГОСТ 2084-77. Бензины автомобильные. Технические условия.

79. ГОСТ Р 5057-93. Паспорт безопасности вещества (материала). Основные положения.

80. ГОСТ 8269.0-97. Щебень и гравий из плотных горных пород и отходов промышленного производства для строительных работ. Методы химического анализа.

81. ГОСТ 8735-88. Песок для строительных работ. Методы испытаний.

82. ГОСТ 10180-90. Бетоны. Методы определения прочности по контрольным образцам.

83. ГОСТ 10181.0-81. Смеси бетонные. Общие требования к методам испытаний.

84. ГОСТ 10227-86. Топливо для реактивных двигателей. Технические условия.

85. ГОСТ 13686-85. Соль поваренная. Методы испытаний.

86. ГОСТ 26633-91. Бетоны тяжелые и мелкозернистые. Технические условия.

87. ГОСТ 27751-88. Надежность строительных конструкций и оснований. Основные положения по расчету.

88. ГОСТ 26798.1-96. Цементы тампонажные. Методы испытаний.

Земельный кодекс РСФСР. Утв. ВС РСФСР 25.04.91.

Водный кодекс Российской Федерации. Принят Государственной Думой 18 октября 1995 г.

Федеральный закон от 3 марта 1995 г. № 27-ФЗ "О внесении изменений и дополнений в Закон Российской Федерации "О недрах".

Федеральный закон от 23 ноября 1995 г. № 174-ФЗ "Об экологической экспертизе".

Положение о федеральном горном и промышленном надзоре России. Утв. 18.02.93 Указом Президента РФ № 234.

Положение о порядке лицензирования пользования недрами. Утв. ВС РСФСР 15.07.92. М., 1992.

Инструкция о порядке предоставления горных отводов для разработки газовых и нефтяных месторождений. Утв. Постановлением Госгортехнадзора России от 11.09.96 г. № 35.

Закон РФ "О санитарно-эпидемиологическом благополучии населения", 1991 г.

Положение о Федеральной службе России по гидрометеорологии и мониторингу окружающей среды. Утв. 08.09.94 Постановлением Правительства № 10035.

Положение о Комитете РФ о геологии и использовании недр. Утв. 12.09.94. Постановлением Правительства РФ № 932.

Положение о Комитете РФ по водному хозяйству. Утв. 12.09.94 Постановлением Правительства РФ № 941.

О рекультивации земель, снятии, сохранении и рациональном использовании плодородного слоя почвы. Утв. 23.02.94 Постановлением Правительства РФ № 140.

Временные методические указания на ведение геофизических работ при проектировании, сооружении и эксплуатации подземных хранилищ в отложениях каменной соли (ВУМГ-ПХС-79). Утв. 13.05-80 Мингазпромом и Мингеологии СССР.

Основы экологической безопасности объектов топливно-энергетического комплекса. М., 1995 г.

Правила безопасности в нефтяной и газовой промышленности. М., 1998 г.

Единые правила безопасности при разработке рудных, нерудных и россыпных месторождений подземным способом. Утв. постановлением Госгортехнадзора России от 31.08.71.

Инструкция по производству маркшейдерских работ. Утв. Госгортехнадзором России.

Правила устройства и безопасной эксплуатации сосудов, работающих под давлением. Утв. Госгортехнадзором России.

 

ПРИЛОЖЕНИЕ Б

ТЕРМИНЫ И ИХ ОПРЕДЕЛЕНИЯ

Башмак колонны

нижний торец обсадной или подвесной колонны.

Вместимость

максимально возможный объем заполнения подземного резервуара продуктом хранения.

Выработки:

вскрывающая

подготовительная выработка, используемая для создания подземного резервуара, в отдельных случаях может частично или полностью использоваться для хранения продукта.

выработка-емкость

подземная горная выработка, часть подземного резервуара, предназначенная для хранения продукта.

коллекторная

вспомогательная выработка, предназначенная для доступа людей и доставки оборудования при проходке обособленных выработок-емкостей; в период эксплуатации хранилища продуктом не заполняется.

подходная

вспомогательная выработка малого сечения, где устанавливается герметичная перемычка.

специальные

выработки, предназначенные для размещения эксплуатационного оборудования, например насосные камеры.

Вода подтоварная

в шахтных резервуарах в породах с положительной температурой слой, состоящий из подземных вод, поступающих в выработку-емкость и воды, выделившейся из хранимого продукта.

Гидровруб

подготовительная выработка бесшахтного резервуара, создаваемая методом растворения массива каменной соли в нижней части выработки-емкости, для обнажения активно растворяемой горизонтальной поверхности, приема нерастворимых включений и начала образования проектной формы.

Гидронаблюдательная скважина

скважина, вскрывающая горные породы в интервале водоносных горизонтов, используемая для наблюдения за режимом подземных вод.

Звуколокатор

ультразвуковой прибор для определения формы и оценки объема подземной выработки.

Зумпф

донная часть выработки-емкости, в бесшахтных резервуарах - заполненная осадком, нерастворенными материалами и остатками солевого раствора; в шахтных резервуарах - углубление в почве выработки-емкости для аккумуляции хранимого продукта и подтоварной воды, где располагается всасывающий патрубок насоса.

Колонна:

основная обсадная

последняя обсадная колонна бесшахтного резервуара, заглубленная в толщу соли, через которую осуществляется строительство выработки-емкости и эксплуатация резервуара.

подвесная

колонна труб, закрепленная на устье скважины и предназначенная для закачки и отбора жидкостей и газов при создании и эксплуатации бесшахтных резервуаров.

Контроль подбашмачный

контроль уровня контакта "нерастворитель-рассол" в процессе формирования выработки-емкости в каменной соли; осуществляется путем наблюдения за появлением нерастворителя на устье скважины в межтрубном пространстве подвесных колонн, что соответствует положению контакта "нерастворитель-рассол" на уровне башмака внешней подвесной колонны.

Муфта-смеситель

устройство, обеспечивающее компрессорную откачку без подъема подвесной колонны при восстановлении приемистости сбросных скважин; устанавливается на подвесной колонне и представляет собой муфту с отверстиями, оборудованными клапанами.

Нерастворитель

газовая или жидкая среда между основной обсадной колонной и внешней подвесной колонной; используется для предохранения горизонтальных поверхностей каменной соли от растворения, т.е. для управления формообразованием выработок-емкостей подземных резервуаров.

Объем продукта буферный

минимально допустимый остаток жидкого или газообразного продукта в резервуаре, неизвлекаемый в процессе эксплуатации.

Рассол:

концентрированный

хлориднонатриевый рассол с концентрацией не менее 300 г/л.

строительный

хлориднонатриевый рассол, образующийся при растворении каменной соли в процессе создания выработки-емкости бесшахтного резервуара.

Рассолоприемная часть скважины

интервал нагнетательной скважины, оборудованный для закачки строительного рассола в пласт-коллектор.

Рассолохранилище

емкость для хранения концентрированного рассола, использующегося при рассольной схеме эксплуатации.

Режим подачи растворителя:

прямоточный

создание подземной выработки в солях, когда вода подается по центральной подвесной колонне, а рассол отбирается по межтрубному пространству внешней и центральной подвесных колонн.

противоточный

создание подземной выработки, когда вода подается в скважину по межтрубному пространству внешней и центральной подвесных колонн, а рассол отбирается по центральной колонне.

Резервуар:

подземный

система горных выработок в непроницаемых породах, оборудованная для закачки, хранения и выдачи жидкостей и газов и состоящая из вскрывающих, вспомогательных горных выработок и выработок-емкостей.

бесшахтный

резервуар, выработка-емкость которого создается путем растворения каменной соли через обсаженную буровую скважину, оборудованную подвесными колоннами.

шахтный

резервуар в породах, выработки которого сооружаются буровзрывным, комбайновым или щитовым способами проходки.

Схема эксплуатации бесшахтного резервуара:

рассольная

взаимовытеснение хранимого продукта рассолом при закачке-выдаче.

безрассольная

компрессорная закачка газа и его выдача за счет внутреннего давления в резервуаре, взаимозамещение продукта и газа при закачке-выдаче, отбор продукта погружными насосами.

Ступень растворения

этап отработки подземной выработки, в массиве каменной соли, методом растворения водой для формирования выработки-емкости проектной формы и объема.

Устьевое оборудование

наземное оборудование, предназначенное для герметизации устья эксплуатационных скважин при строительстве и эксплуатации подземных резервуаров, включающее колонные головки, клиньевую подвеску обсадных и подвесных колонн, фонтанную арматуру.

Целик

часть массива горных пород, не извлекаемая при строительстве и предназначенная для обеспечения устойчивости и герметичности выработок и предотвращения прорыва в них подземных вод.

Целик барьерный

целик, разделяющий поля размещения подземных резервуаров и соседнего горнодобывающего предприятия.

Экранирующая способность горных пород

свойство горной породы, определяющее ее фактическую непроницаемость по отношению к продуктам, хранимым под избыточным давлением.

Эксплуатационная скважина

в бесшахтном резервуаре, оборудованная скважина для строительства выработки-емкости и эксплуатации резервуара; в шахтном резервуаре - для его эксплуатации.

 

Ключевые слова: подземные хранилища, шахтные резервуары, выработки-емкости, каменная соль, нефть, нефтепродукты, газ, СУГ, строительный рассол, обсадная колонна, подвесная колонна




Яндекс цитирования



   Copyright © 2007-2026,  www.tehlit.ru.

[ ѓосты, стандарты, нормативы, инструкции, правила, строительные нормы ]