//
ТехЛит.ру
- крупнейшая бесплатная электронная интернет библиотека для "технически умных" людей.
WWW.TEHLIT.RU - ТЕХНИЧЕСКАЯ ЛИТЕРАТУРА

:: Алготрейдинг::


АЛГОТРЕЙДИНГ
шаг за шагом
с нуля по урокам!

Торговые роботы на PYTHON, BackTrader,
Pandas, Pine Script для TradingView. Связка с брокерами, телеграм и легкими приложениями.


ГОСТ 7399-97

МЕЖГОСУДАРСТВЕННЫЙ СТАНДАРТ

ПРОВОДА И ШНУРЫ НА НОМИНАЛЬНОЕ НАПРЯЖЕНИЕ ДО 450/750 В

ТЕХНИЧЕСКИЕ УСЛОВИЯ

МЕЖГОСУДАРСТВЕННЫЙ СОВЕТ ПО СТАНДАРТИЗАЦИИ, МЕТРОЛОГИИ И СЕРТИФИКАЦИИ

Минск

Предисловие

1. РАЗРАБОТАН Российской Федерацией

ВНЕСЕН Госстандартом России

2. ПРИНЯТ Межгосударственным Советом по стандартизации, метрологии и сертификации (протокол № 11-97 от 25 апреля 1997 г.)

За принятие проголосовали:

Наименование государства

Наименование национального органа по стандартизации

Азербайджанская Республика

Азгосстандарт

Республика Армения

Армгосстандарт

Республика Белоруссия

Госстандарт Белоруссии

Казахстан

Госстандарт Республики Казахстан

Киргизская Республика

Киргизстандарт

Республика Молдова

Молдовастандарт

Российская Федерация

Госстандарт России

Республика Таджикистан

Таджикгосстандарт

Туркменистан

Главная государственная инспекция Туркменистана

Республика Узбекистан

Узгосстандарт

3. Постановлением Государственного комитета Российской Федерации по стандартизации, метрологии и сертификации от 11 сентября 1997г. № 304 межгосударственный стандарт ГОСТ 7399-97 введен в действие непосредственно в качестве государственного стандарта Российской Федерации с 1 января 1998 г.

4. Стандарт соответствует международным стандартам МЭК 60227-1-93 с изменениями № 1 (1995) и № 2 (1998), МЭК 60227-2-97, МЭК 60227-5-97 с изменением № 1 (1997), МЭК 60245-1-94 с изменениями № 1 (1997) и № 2 (1997), МЭК 60245-2-94 с изменениями № 1 (1997) и № 2 (1997), МЭК 60245-4-94 с изменением № 1 (1997).

5. ВЗАМЕН ГОСТ 7399-80

(Измененная редакция, Изм. № 1).

Содержание

1

Область применения

2

Нормативные ссылки

3

Основные параметры и размеры

4

Технические требования

 

4.1 Характеристики

 

 

4.1.1 Требования к конструкции

 

 

4.1.2 Требования к электрическим параметрам

 

 

4.1.3 Требования к механическим параметрам

 

 

4.1.4 Требования к внешним воздействующим факторам

 

 

4.1.5 Требования по надежности

 

4.2 Требования к маркировке

 

4.3 Требования к упаковке

5

Правила приемки

 

5.1 Приемо-сдаточные испытания

 

5.2 Периодические испытания

 

5.3 Типовые испытания

6

Методы контроля

 

6.1 Проверка конструкции

 

6.2 Проверка электрических параметров

 

6.3 Проверка механических параметров

 

6.4 Проверка стойкости к внешним воздействующим факторам

 

6.5 Проверка надежности

 

6.6 Проверка упаковки и маркировки

7

Транспортирование и хранение

8

Указания по эксплуатации

9

Гарантии изготовителя

Приложение А

Преимущественные области применения проводов и шнуров

Приложение Б

Коды ОКП и контрольные числа проводов и шнуров

Приложение В

Расчетная масса проводов и шнуров

Приложение Г

Методика определения потери массы композиций поливинилхлоридного пластика

Приложение Д

Методика определения тепловой деформации резиновой изоляции и оболочки проводов и шнуров

Приложение Е

Методика испытания шнуров малых сечений на нераспространение горения

Приложение Ж

Номинальные токовые нагрузки

Приложение З

Библиография

 

МЕЖГОСУДАРСТВЕННЫЙ СТАНДАРТ

ПРОВОДА И ШНУРЫ НА НОМИНАЛЬНОЕ НАПРЯЖЕНИЕ ДО 450/750 В

Технические условия

Wires and cords of voltage up to and including 450/750 V.
Specifications

Дата введения 1998-01-01

1. ОБЛАСТЬ ПРИМЕНЕНИЯ

Настоящий стандарт распространяется на провода и шнуры с медными жилами с поливинилхлоридной изоляцией и с медными и медными лужеными жилами с резиновой изоляцией, предназначенные для присоединения электрических машин и приборов бытового и аналогичного применения к электрической сети номинальным переменным напряжением до 450/750 В.

Требования по безопасности изложены в 3.2, 4.1.2.1-4.1.3.9, 4.1.4.4, 4.1.4.5, 4.1.5.1, 4.1.5.2.

2. НОРМАТИВНЫЕ ССЫЛКИ

В настоящем стандарте использованы ссылки на следующие стандарты:

ГОСТ 20.57.406-81 Комплексная система контроля качества. Изделия электронной техники, квантовой электроники и электротехнические. Методы испытаний

ГОСТ 427-75 Линейки измерительные металлические. Технические условия

ГОСТ 2789-73 Шероховатость поверхности. Параметры и характеристики

ГОСТ 2990-78 Кабели, провода и шкуры. Методы испытания напряжением

ГОСТ 3345-76 Кабели, провода и шнуры. Метод определения электрического сопротивления изоляции

ГОСТ 7229-76 Кабели, провода и шнуры. Метод определения электрического сопротивления токопроводящих жил и проводников

ГОСТ 12176-89 Кабели, провода и шнуры. Методы проверки на нераспространение горения

ГОСТ 12177-79 Кабели, провода и шнуры. Методы проверки конструкции

ГОСТ 12182.1-80 Кабели, провода и шнуры. Методы проверки стойкости к многократному перегибу через систему роликов

ГОСТ 12182.8-80 Кабели, провода и шнуры. Метод проверки стойкости к изгибу

ГОСТ 15150-69 Машины, приборы и другие технические изделия. Исполнения для различных климатических районов. Категории, условия эксплуатации, хранения и транспортирования в части воздействия климатических факторов внешней среды

ГОСТ 16962.1-89 Изделия электротехнические. Методы испытаний на устойчивость к климатическим внешним воздействующим факторам

ГОСТ 17491-80 Кабели, провода и шнуры с резиновой и пластмассовой изоляцией и оболочкой. Методы испытания на холодостойкость

ГОСТ 18690-82 Кабели, провода, шнуры и кабельная арматура. Маркировка, упаковка, транспортирование и хранение

ГОСТ 22220-76 Кабели, провода и шнуры. Методы определения стойкости изоляции и оболочек из поливинилхлоридного пластиката к растрескиванию и деформации при повышенной температуре

ГОСТ 22483-77 Жилы токопроводящие медные и алюминиевые для кабелей, проводов и шнуров. Основные параметры. Технические требования

ГОСТ 25018-81 Кабели, провода и шнуры. Методы определения механических показателей изоляции и оболочки

(Измененная редакция, Изм. № 1).

3. ОСНОВНЫЕ ПАРАМЕТРЫ И РАЗМЕРЫ

3.1 Марки проводов и шнуров и их наименования должны соответствовать указанным в таблице 1.

Таблица 1

Марка

Наименование

ШОГ

Шнур с параллельными жилами, с поливинилхлоридной изоляцией, особо гибкий, на напряжение до 300 В для систем 300/300 В

ШВП

То же, повышенной гибкости

ШВД

Шнур одножильный, с поливинилхлоридной изоляцией, повышенной гибкости, на напряжение до 300 В для систем 300/300 В

ШВВП

Шнур с параллельными жилами, с поливинилхлоридной изоляцией, с поливинилхлоридной оболочкой, гибкий на напряжение до 380 В для систем 380/380 В

ШВЛ

То же, со скрученными жилами

ПВС

Провод со скрученными жилами с поливинилхлоридной изоляцией, с поливинилхлоридной оболочкой, гибкий, на напряжение до 380 В для систем 380/660 В

ПВСП

То же, с параллельными жилами

ШРО

Шнур со скрученными жилами, с. резиновой изоляцией, в оплетке из хлопчатобумажной швейной нитки, синтетической нити или из их комбинации, гибкий, на напряжение до 380 В для систем 380/380 В

ПРС

Провод со скрученными жилами, с резиновой изоляцией, с резиновой оболочкой, гибкий, на напряжение до 380 В для систем 380/660 В

ПРМ

Провод со скрученными жилами, с резиновой изоляцией, с оболочкой из маслостойкой резины, гибкий, на напряжение до 380 В для систем 380/660 В

ПСГ

Провод одножильный или со скрученными жилами, с резиновой изоляцией, с усиленной оболочкой из маслостойкой резины, на напряжение до 450 В для систем 450/750 В

Примечания:

1. Шнур марки ШОГ может Изготовляться в спиральном исполнении мерными длинами, при этом к марке шнура через дефис добавляют букву «С»: ШОГ-С.

2. Преимущественные области применения проводов и шнуров указаны в приложении А.

3. (Исключен, Изм. № 1).

4. Провода и шнуры в зависимости от конструкции обеспечивают подключение электроприборов всех классов защиты по электробезопасности.

Коды ОКП проводов и шнуров приведены в приложении Б.

Расчетная масса проводов и шнуров приведена в приложении В.

(Измененная редакция, Изм. № 1).

3.2 Число, номинальные сечения, классы жил, номинальные толщины изоляции и оболочки, наружные размеры проводов и шнуров должны соответствовать указанным в таблице 2.

Таблица 2


Марка

Число и номинальное сечение жил, мм2

Класс жилы по ГОСТ 22483, не ниже, или конструкция

Номинальная толщина, мм

Наружные размеры, мм

Электрическое сопротивление изоляции при 70ºС, МОм
на 1 км,
не менее

изоляции

оболочки

минимальные

максимальные

ШОГ

-

Две жилы из мишурных нитей

0,8

-

2,2х4,4

3,5х7,0

0,019

2,4х5,9*

3,0х6,0*

ШВП

2х0,50

6

0,8

-

2,4х4,9

3,0х5,9

0,016

2,5х5,0*

2,8х5,6*

2х0,75

2,6х5,2

3,1х6,3

0,014

2,7х5,4*

3,0х6,0*

ШВД

1х0,50

6

0,7

-

2,3

2,7

0,014

1х0,75

2,4

2,9

0,012

ШВВП

2х0,50

5

0,5

0,6

3,0х4,9

3,7х5,9

0,012

3,0х4,9*

3,4х5,4*

2х0,75

3,2х5,2

3,8х6,3

0,010

3,2х5,2*

3,6х5,8*

3х0,50

3,0х6,8

3,7х8,2

0,012

3,0х6,8*

3,3х7,4*

3х0,75

3,2х7,2

3,8х8,7

0,010

3,2х7,4*

3,6х8,2*

ШВЛ

2х0,50

5

0,5

0,6

4,6

5,9

0,012

4,8*

5,4*

2х0,75

4,9

6,3

0,010

5,2*

5,8*

3х0,50

4,9

6,3

0,012

5,0*

5,7*

3х0,75

0,5

0,6

5,2

6,7

0,010

5,4*

6,1*

ПВС

2х0,75

5

0,6

0,8

5,7

7,2

0,011

6,0*

6,6*

2х1,00

0,6

0,8

5,9

7,5

0,010

6,4*

7,0*

2х1,50

0,7

0,8

6,8

8,6

0,010

7,4*

8,2*

2х2,50

0,8

1,0

8,4

10,6

0,009

3х0,75

0,6

0,8

6,0

7,6

0,011

6,4*

7,0*

3х1,00

0,6

0,8

6,3

8,0

0,010

6,8*

7,6*

3х1,50

0,7

0,9

7,4

9,4

0,010

8,0*

8,8*

3х2,50

0,8

1,1

9,2

11,4

0,009

4х0,75

0,6

0,8

6,6

8,3

0,011

4х1,00

0,6

0,9

7,1

9,0

0,010

4х1,50

0,7

1,0

8,4

10,5

0,010

4х2,50

0,8

1,1

10,1

12,5

0,009

5х0,75

0,6

0,9

7,4

9,3

0,011

5х1,00

0,6

0,9

7,8

9,8

0,010

5х1,50

0,7

1,1

9,3

11,6

0,010

5х2,50

0,8

1,2

11,2

13,9

0,009

ПВСП

2х0,75

5

0,6

0,8

3,7х6,0

4,5х7,2

0,011

3,8х6,0*

4,3х6,8*

ШРО

2х0,75

5

0,8

-

5,5

7,2

-

5,8*

7,2*

2х1,00

5,7

7,6

6,2*

7,5*

2х1,50

6,2

8,2

6,8*

8,1*

3х0,75

5,9

7,7

6,2*

7,5*

3х1,00

6,2

8,1

6,6*

7,9*

3х1,50

6,7

8,8

7,2*

8,6*

ПРС

2х0,75

5

0,6

0,8

5,7

7,4

-

6,0*

7,0*

2х1,00

0,6

0,9

6,1

8,0

6,6*

7,6*

2х1,50

0,8

1,0

7,6

9,8

8,0*

9,3*

2х2,50

0,9

1,1

9,0

11,6

2х4,00

1,0

1,2

10,5

13,7

3х0,75

0,6

0,9

6,2

8,1

6,5*

7,5*

3х1,00

0,6

0,9

6,5

8,5

7,0*

8,1*

3х1,50

0,8

1,0

8,0

10,4

8,6*

10,0*

3х2,50

0,9

1,1

9,6

12,4

3х4,00

1,0

1,2

11,3

14,5

4х0,75

0,6

0,9

6,8

8,8

4х1,00

0,6

0,9

7,1

9,3

4х1,50

0,8

1,1

9,0

11,6

4х2,50

0,9

1,2

10,7

13,8

4х4,00

1,0

1,3

12,5

15,9

5х0,75

0,6

1,0

7,6

9,9

5х1,00

0,6

1,0

8,0

10,3

5х1,50

0,8

1,1

9,8

12,7

5х2,50

0,9

1,3

11,9

15,3

ПРМ

2х0,75

5

0,6

0,8

5,7

7,4

-

6,0*

7,0*

2х1,00

0,6

0,9

6,1

8,0

6,6*

7,6*

2х1,50

0,8

1,0

7,6

9,8

8,0*

9,3*

2х2,50

0,9

1,1

9,0

11,6

3х0,75

0,6

0,9

6,2

8,1

6,5*

7,5*

3х1,00

0,6

0,9

6,5

8,5

7,0*

8,1*

3х1,50

0,8

1,0

8,0

10,4

8,6*

10,0*

3х2,50

0,9

1,1

9,6

12,4

4х0,75

0,6

0,9

6,8

8,8

4х1,00

0,6

0,9

7,1

9,3

4х1,50

0,8

1,1

9,0

11,6

4х2,50

0,9

1,2

10,7

13,8

5х0,75

0,6

1,0

7,6

9,9

5х1,00

0,6

1,0

8,0

10,3

5х1,50

0,8

1,1

9,8

12,7

5х2,50

0,9

1,3

11,9

15,3

ПСГ

1х1,50

5

0,8

1,4

5,7

7,1

-

1х2,50

0,9

1,4

6,3

7,9

1х4,00

1,0

1,5

7,2

9,0

1х6,00

1,0

1,6

7,9

9,8

1х10,0

1,2

1,8

9,5

11,9

1х16,0

1,2

1,9

10,8

13,4

1х25,0

1,4

2,0

12,7

15,8

1х35,0

1,4

2,2

14,3

17,9

1х50,0

1,6

2,4

16,5

20,6

1х70,0

1,6

2,6

18,6

23,3

1х95,0

1,8

2,8

20,8

26,0

1х120

1,8

3,0

22,8

28,6

1х150

2,0

3,2

25,2

31,4

1х185

2,2

3,4

27,6

34,4

1х240

2,4

3,5

30,6

38,3

1х300

2,6

3,6

33,5

41,9

1х400

2,8

3,8

37,4

46,8

2х1,00

0,8

1,3

7,7

10,0

2х1,50

0,8

1,5

8,5

11,0

2х2,50

0,9

1,7

10,2

13,1

2х4,00

1,0

1,8

11,8

15,1

2х6,00

1,0

2,0

13,1

16,8

2х10,0

1,2

3,1

17,7

22,6

2х16,0

1,2

3,3

20,2

25,7

2х25,0

1,4

3,6

24,3

30,7

3х1,00

0,8

1,4

8,3

10,7

3х1,50

0,8

1,6

9,2

11,9

3х2,50

0,9

1,8

10,9

14,0

3х4,00

1,0

1,9

12,7

16,2

3х6,00

1,0

2,1

14,1

18,0

3х10,0

1,2

3,3

19,1

24,2

3х16,0

1,2

3,5

21,8

27,6

3х25,0

1,4

3,8

26,1

33,0

3х35,0

1,4

4,1

29,3

37,1

3х50,0

1,6

4,5

34,1

42,9

3х70,0

1,6

4,8

38,4

48,3

3х95,0

1,8

5,3

43,3

54,0

4х1,00

0,8

1,5

9,2

11,9

4х1,50

0,8

1,7

10,2

13,1

4х2,50

0,9

1,9

12,1

15,5

4х4,00

1,0

2,0

14,0

17,9

4х6,00

1,0

2,3

15,7

20,0

4х10,0

1,2

3,4

20,9

26,5

4х16,0

1,2

3,6

23,8

30,1

4х25,0

1,4

4,1

28,9

36,6

4х35,0

1,4

4,4

32,5

41,1

4х50,0

1,6

4,8

37,7

47,5

4х70,0

1,6

5,2

42,7

54,0

4х95,0

1,8

5,9

48,4

61,0

4х120

1,8

6,0

53,0

66,0

4х150

2,0

6,5

58,0

73,0

5х1,00

0,8

1,6

10,2

13,1

5х1,50

0,8

1,8

11,2

14,4

5х2,50

0,9

2,0

13,3

17,0

5х4,00

1,0

2,2

15,6

19,9

5х6,00

1,0

2,5

17,5

22,2

5х10,0

1,2

3,6

22,9

29,1

5х16,0

1,2

3,9

26,4

33,3

5х25,0

1,4

4,4

32,0

40,4

* Для проводов и шнуров, предназначенных для армирования неразборной арматурой.

Второе значение наружных размеров (без знака *) – для проводов и шнуров, не предназначенных для армирования неразборной арматурой, при заказе к маркам этих проводов и шнуров добавляют букву «н».

Примечание – В проводах и шнурах с резиновой (кроме проводов и шнуров с наружными размерами со знаком *) и поливинилхлоридной изоляцией по требованию потребителя токопроводящие жилы должны быть изготовлены из медных луженых проволок. При заказе к марке провода или шнура добавляют букву «л».


Нижнее предельное отклонение толщины изоляции и оболочки в любом сечении не должно быть более 0,1 мм плюс 10 % для изоляции и 0,1 мм плюс 15 % для оболочки от значений, указанных в таблице 2.

Таблица 3, таблица 4 (Исключены, Изм. № 1).

Изоляция шнура марки ШВД должна состоять из двух слоев: минимальная толщина каждого слоя изоляции в любом сечении должна быть не менее 0,2 мм, минимальная общая толщина изоляции двух слоев - не менее 0,6 мм.

Оболочка провода марки ПСГ (кроме одножильного) с жилами сечением от 16 до 150 мм2 может состоять из двух слоев. Номинальная толщина каждого слоя в любом сечении провода должна соответствовать указанной в таблице 5.

Таблица 5

Число и номинальное сечение жил, мм

Номинальная толщина оболочки, мм

внутреннего слоя

наружного слоя

2х16,0

1,3

2,0

2х25,0

1,4

2,2

3х16,0

1,4

2,1

3х25,0

1,5

2,3

3х35,0

1,6

2,5

3х50,0

1,8

2,7

3х70,0

1,9

2,9

3х95,0

2,1

3,2

4х16,0

1,4

2,2

4х25,0

1,6

2,5

4х35,0

1,7

2,7

4х50,0

1,9

2,9

4х70,0

2,0

3,2

4х95,0

2,3

3,6

4х120

2,4

3,6

4х150

2,6

3,9

5х16,0

1,5

2,4

5х25,0

1,7

2,7

Нижнее предельное отклонение толщины внутреннего и наружного слоев оболочки в любом месте не должно быть более 0,1 мм + 15 % значений, указанных в таблице 5.

Наружный слой оболочки провода марки ПСГ должен иметь адгезию к внутреннему слою.

Разность между любыми двумя значениями наружного диаметра проводов и шнуров марок ШВЛ, ПРС и ПВС, не предназначенных для армирования неразборной арматурой, на одном и том же сечении (овальность) не должна превышать 15 % максимального наружного размера, а овальность проводов и шнуров марок ШРО, ШВЛ, ПВС, ПРС, ПРМ, предназначенных для армирования неразборной арматурой, не должна превышать 5 % максимального наружного размера, указанного в таблице 2.

Наружный диаметр спирали шнура марки ШОГ-С должен быть от 12 до 18 мм; по обе стороны спирали должны быть линейные концы длиной от 0,06 до 0,07 м.

Мерная длина шнура марки ШОГ-С должна быть (1,2±0,03), (1,7±0,06) или (2,2±0,06) м.

Мерной длиной спирального шнура марки ШОГ-С считают соответствующую линейную мерную длину заготовки из шнура марки ШОГ.

(Измененная редакция, Изм. № 1).

3.3 Строительная длина проводов и шнуров должны быть не менее 50 м. Допускается в партии не более 10 % отрезков длиной не менее 5 м.

Допускается поставка проводов и шнуров любыми длинами, согласованными с потребителем.

По согласованию с потребителем шнур марки ШОГ может поставляться мерными длинами. Мерная длина шнура должна быть (1,2±0,06) м.

(Измененная редакция, Изм. № 1).

3.4 Примеры условных обозначений

Провода марки ПВС с двумя жилами сечением 0,75 мм2, предназначенного для армирования неразборной арматурой исполнения У:

ПВС-У 2х0,75 ГОСТ 7399-97

То же, исполнения Т:

ПВС-Т 2х 0,75 ГОСТ 7399-97

Провода марки ПВС с тремя основными жилами сечением 0,75 мм2, предназначенного для армирования неразборной арматурой:

ПВС 3х0,75 ГОСТ 7399-97

Провода марки ПВС с двумя основными и заземляющей жилами сечением 0,75 мм2, предназначенного для армирования неразборной арматурой:

ПВС 2х0,75+1х0,75 ГОСТ 7399-97

Провода марки ПРС с двумя жилами сечением 0,75 мм2, не предназначенного для армирования неразборной арматурой, с лужеными жилами, в оболочке зеленого цвета;

ПРС нлц 2х0,75 ГОСТ 7399-97

Шнура марки ШОГ, предназначенного для армирования неразборной арматурой:

ШОГ ГОСТ 7399-97

То же, мерной длиной 1,7 м:

ШОГ-1,7 ГОСТ 7399-97

То же, спирального:

ШОГ-С-1,7 ГОСТ 7399-97

(Измененная редакция, Изм. № 1).

4. ТЕХНИЧЕСКИЕ ТРЕБОВАНИЯ

Провода и шнуры должны соответствовать требованиям настоящего стандарта и изготовляться в климатических исполнениях по ГОСТ 15150:

У - категорий размещения 1, 2 или 3 (за исключением шнуров марок ШОГ, ШВД) или

Т - категории размещения 4 или

УХЛ - категории размещения 4 по технологической документации, утвержденной в установленном порядке.

(Измененная редакция, Изм. № 1).

4.1 Характеристики

4.1.1 Требования к конструкции

4.1.1.1 Токопроводящие жилы проводов и шнуров, кроме шнура марки ШОГ, должны быть изготовлены из медной или медной луженой проволоки в соответствии с таблицей 2 и соответствовать требованиям ГОСТ 22483 и ТУ 16-505.850 [1].

Направление скрутки проволок в жилу - левое.

Мишурные токопроводящие жилы шнура марки ШОГ должны соответствовать требованиям ТУ 16-705.129 [2].

Токопроводящие жилы проводов и шнуров с поливинилхлоридной и резиновой изоляцией по требованию потребителя, проводов и шнуров с резиновой изоляцией, предназначенных для армирования неразборной арматурой, и с резиновой изоляцией исполнения Т должны быть изготовлены из медных луженых проволок.

(Измененная редакция, Изм. № 1).

4.1.1.2 Токопроводящие жилы проводов и шнуров должны быть изолированы поливинилхлоридным пластикатом или резиной в соответствии с таблицами 1 и 2.

Коэффициент эксцентриситета изоляции поливинилхлоридной изоляции - не более 10 %, резиновой - не более 15 %.

(Измененная редакция, Изм. № 1).

4.1.1.3 Параллельно уложенные жилы шнуров марок ШВП, ШОГ должны иметь разделение между жилами. Толщина изоляции между жилами должна быть не менее 1,6 мм.

Высота разделительного участка шнура марки ШОГ должна быть не более 0,9 мм. Изоляция между жилами, кроме шнура марки ШОГ, должна разделяться при усилии от 3 до 30 Н.

(Измененная редакция, Изм. № 1).

4.1.1.4 Изоляция, кроме шнура марки ШОГ, должна плотно прилегать к токопроводящей жиле, но легко отделяться.

4.1.1.5 Изолированные жилы проводов и шнуров марок ПВС, ПРС, ПРМ, ПСГ, ШЕЛ  должны быть скручены без заполнителя. Изолированные жилы пятижильных проводов допускается скручивать вокруг сердечника.

Изолированные жилы шнура марки ШРО должны быть скручены с заполнителем из пряжи. Допускается скрутка двух изолированных жил шнура марки ШРО без заполнителя (при условии, что две скрученные изолированные жилы в сечении будут иметь круглую форму) для реализации на внутреннем рынке, при этом поверх скрученных жил может быть наложен сепаратор в виде пленки или ленты.

(Измененная редакция, Изм. № 1).

4.1.1.6 На изолированные жилы проводов и шнуров марок ШВВП, ШВЛ, ПВС, ПВСП, ПРС, ПРМ и ПСГ должна быть наложена оболочка из поливинилхлоридного пластиката или резины в соответствии с таблицами 1 и 2.

Оболочка на шнуры марок ШВЛ, ПВС, ПРС, ПРМ и ПСГ должна быть наложена так, чтобы она заполняла промежутки между жилами, придавая проводу или шнуру круглую форму.

Допускается наложение оболочки и заполнение промежутков между жилами совмещенным экструдированием. Заполнение может быть из поливинилхлоридного пластиката, вспененного или наполненного поливинилхлоридного пластиката, невулканизованной резины. При этом между материалом заполнения, изоляции и оболочки не должно быть вредного взаимодействия.

Оболочка (оболочка и заполнение) должны легко отделяться от изоляции жил и изолированного грузонесущего элемента без повреждения изоляции.

Допускается под оболочку по скрученным жилам наложение синтетической пленки. Допускается разрушение пленки после наложения оболочки.

(Измененная редакция, Изм. № 1).

4.1.1.7 На поверхности оболочки (изоляции шнуров без оболочки) не должно быть проминов, вмятин, утолщений, наплывов и ребристости, выводящих размеры проводов, шнуров за пределы допустимых отклонений, а также пузырей, трещин, видимых без применения увеличительных приборов.

Для шнура марки ШОГ-С допускается на ненавитых линейных концах на длине не более 10 мм от концов шнуров наличие вмятин от зажимов: толщина изоляции в месте вмятин не должна быть менее 0,3 мм.

Изолированные жилы проводов и шнуров в оболочке и шнура марки ШРО должны легко отделяться друг от друга без повреждения изоляции. Качество поверхности оплетки шнура марки ШРО должно соответствовать РД 16.171 [3].

(Измененная редакция, Изм. № 1).

4.1.1.8 Цвет оболочки (изоляции шнуров без оболочки), оплетки проводов и шнуров должен соответствовать указанному в таблице 6.

Таблица 6

Марка

Цвет оболочки (изоляции), оплетки

ШВП, ШВД*

Белый, голубой, желтый, зеленый, коричневый, красный, под слоновую кость, серый, синий, черный

ШВЛ, ПВС, ШВВП, ПВСП

Белый, голубой, желтый, зеленый, коричневый, серый, красный, синий, черный, оранжевый

ШРО

Черный, синий, красный, белый, коричневый и их сочетания

ПРС*

Красный, серый, черный, коричневый, желтый, оранжевый, зеленый, синий, голубой, фиолетовый

ШОГ

Белый, черный

ПРМ, ПСГ

Черный

* Предпочтительный цвет внешнего слоя изоляции шнура марки ШВД - зеленый. Цвет внутреннего слоя должен быть контрастным по отношению к внешнему слою.

** При заказе провода марки ПРС с оболочкой любого цвета, кроме черного и серого, к марке провода прибавляют букву «ц»: ПРСц.

(Измененная редакция, Изм. № 1).

4.1.1.9 Цвет изоляции основных жил и расцветка изоляции жилы заземления проводов и шнуров должны соответствовать указанным в таблице 7.

Изоляция жил заземления должна быть зелено-желтой расцветки.

На любом участке жилы заземления длиной 15 мм один из цветов должен покрывать не менее 30 и не более 70 % поверхности изоляции, а другой - остальную часть.

Цвет изоляции одножильных проводов марки ПСГ может быть любым.

Таблица 7

Число жил

Цвет (расцветка) жил

шнура или провода с заземляющей жилой

шнура или провода без заземляющей жилы

2

-

Голубой, коричневый

3

Зелено-желтый, голубой, коричневый

Голубой, черный, коричневый

4

Зелено-желтый, голубой, черный, коричневый

Голубой, черный, коричневый, черный или коричневый

5

Зелено-желтый, голубой, черный, коричневый, черный или коричневый

Голубой, черный, коричневый, черный или коричневый, черный или коричневый

Примечание. Для маркировки нулевой жилы применяют только голубой цвет. Если нет нулевой жилы, голубой цвет используют для других жил, кроме заземляющей.

4.1.1.10 Цвета проводов и шнуров должны быть согласованы между потребителем и изготовителем. При отсутствии указания об определенных цветах оболочки (изоляции шнуров без оболочки) изготовитель выполняет провода и шнуры по своему усмотрению в соответствии с таблицей 6. В двухжильных проводах и шнурах допускаются изолированные жилы одного цвета по согласованию с потребителем.

Цвет оболочки (изоляции шнуров без оболочки) проводов и шнуров из поливинилхлоридного пластиката исполнения Т не должен быть белым и/или натуральным.

4.1.2 Требования к электрическим параметрам

4.1.2.1 Провод марки ПСГ должен выдержать испытание переменным напряжением 2500 В, провода и шнуры остальных марок, за исключением шнура марки ШОГ-С, - 2000 В номинальной частотой 50 Гц в течение 5 мин без погружения в воду.

Шнур марки ШОГ-С должен выдержать в воде испытание переменным напряжением 2000 В номинальной частотой 50 Гц в течение 5 мин.

4.1.2.2 Провода и шнуры после выдержки в воде при температуре (20±5) °С в течение 1 ч должны выдержать испытание переменным напряжением частотой 50 Гц в течение 15 мин:

2500 В - провод марки ПСГ;

2000 В - провода и шнуры остальных марок.

(Измененная редакция, Изм. № 1).

4.1.2.3 Изолированные жилы проводов и шнуров, за исключением марок ШОГ и ШВД, после выдержки в воде в течение 1 ч при температуре (20±5) °С должны выдержать в течение 5 мин испытание переменным напряжением 1500 В при толщине изоляции до 0,6 мм включительно, 2000 В - при толщине изоляции свыше 0,6 мм и 2500 В - провода марки ПСГ частотой 50 Гц.

4.1.2.4 Электрическое сопротивление изоляции проводов и шнуров с изоляцией и в оболочке из поливинилхлоридного пластиката после пребывания в воде в течение 2 ч при температуре (70±2) °С должно соответствовать указанному в таблице 2.

4.1.2.5 Электрическое сопротивление постоянному току 1 км жилы при 20 °С должно соответствовать ГОСТ 22483.

Максимальное электрическое сопротивление постоянному току жилы шнура марки ШЮ может быть увеличено на 3 % от значений, соответствующих классу жил, предусмотренному в ГОСТ 22483.

Электрическое сопротивление постоянному току 1 км жилы при 20 °С шнура марки ШОГ должно быть не более 270 Ом.

4.1.3 Требования к механическим параметрам

4.1.3.1 Среднее значение прочности при растяжении изоляции и оболочки проводов и шнуров из поливинилхлоридного пластиката в исходном состоянии должно быть не менее 10 Н/мм2 (10 МПа), относительного удлинения при разрыве - не менее 150 %.

Снижение среднего значения прочности при растяжении и относительного удлинения при разрыве после теплового старения не должно быть более 20 % исходных средних значений.

4.1.3.2 Поливинилхлоридная изоляция и оболочка проводов и шнуров должны быть:

а) стойкими к деформации при температуре (70±2) °С;

б) стойкими к растрескиванию.

4.1.3.3 Средние значения физико-механических характеристик изоляции из резины должны соответствовать указанным в таблице 8.

Таблица 8

Наименование показателя

Значение для проводов и шнуров марок ШРО, ПРС, ПРМ, ПСГ

В состоянии поставки:

 

- прочность при растяжении, Н/мм2, не менее

5,0

- относительное удлинение при разрыве, %, не менее

250

После теплового старения:

 

- прочность при растяжении, Н/мм2, не менее

4,2

- изменение прочности при растяжении, %, не более

±25

- относительное удлинение при разрыве, %, не менее

250

- изменение относительного удлинения при разрыве, %, не более

±25

(Измененная редакция, Изм. № 1).

4.1.3.4 Средние значения физико-механических характеристик оболочки из резины должны соответствовать указанным в таблице 9.

Таблица 9

Наименование показателя

Значение для провода марки

ПРС

ПРМ, ПСГ

В состоянии поставки:

 

 

- прочность при растяжении, Н/мм2, не менее

7,0

10,0

- относительное удлинение при разрыве, %, не менее

300

300

После теплового старения:

 

 

- изменение прочности при растяжении, %, не более

±20

-15

- относительное удлинение при разрыве, %, не менее

250

250

- изменение относительного удлинения при разрыве, %, не более

±20

-25

4.1.3.5 Исключен, Изм. № 1.

4.1.3.6 Шнур марки ШОГ должен выдержать силу растяжения при пяти падениях груза массой (0,50±0,01) кг при токовой нагрузке от 0,10 до 0,13 А.

4.1.3.7 Спиральные шнуры должны выдержать не менее 45000 циклов вращательного движения по окружности при испытании на износоустойчивость спирали.

4.1.3.8 Спиральные шнуры должны быть эластичными. Длина спиральной части шнуров не должна увеличиваться более чем в три раза под действием собственной массы и должна увеличиваться не менее чем в четыре раза под действием груза массой (0,15±0,01) кг.

После снятия груза длина спиральной части шнуров не должна быть увеличена более чем в 3,5 раза от своей первоначальной длины.

4.1.3.9 Оплетка шнура марки ШРО должна быть износоустойчивой при истирании.

4.1.4 Требования к внешним воздействующим факторам

4.1.4.1 Резиновая изоляция и оболочка проводов и шнуров должны выдерживать испытание на тепловую деформацию в течение 15 мин при температуре (200±3) °С и механическом напряжении 0,20 Н/мм2 (0,20 МПа). При этом относительное удлинение под нагрузкой не должно превышать 175 %, после снятия нагрузки и охлаждения образцов - 25 % значений, полученных до помещения образцов в термостат.

4.1.4.2 Максимальная температура токопроводящей жилы при эксплуатации должна быть, °С, не более:

65 - для проводов и шнуров с резиновой изоляцией;

70 - для проводов и шнуров с поливинилхлоридной изоляцией.

4.1.4.3 Провода и шнуры исполнения У, за исключением шнура марки ШРО и провода марки ПСГ с токопроводящими жилами сечением более 16 мм2, должны быть холодостойкими при температуре минус 40 °С и минус 25 °С до старения и после старения соответственно; провода и шнуры исполнения УХЛ, за исключением провода марки ПСГ с токопроводящими жилами сечением более 16 мм2, минус 25 °С и минус 15 °С до старения и после старения соответственно.

(Измененная редакция, Изм. № 1).

4.1.4.4 Оболочка проводов марок ПРМ и ПСГ должна быть устойчива к воздействию масла. Значения прочности оболочки при растяжении и относительного удлинения при разрыве после 24 ч пребывания в масле при температуре (100±2) °С могут отличаться на ±40 % от исходных значений.

4.1.4.5 Провода и шнуры с изоляцией из поливинилхлоридного пластиката не должны распространять горение.

4.1.4.6 Провода и шнуры исполнения Т должны быть стойкими к поражению плесневыми грибами.

4.1.4.7 Поливинилхлоридная изоляция и оболочка проводов и шнуров должны выдерживать испытание на потерю массы при температуре (80±2) °С в течение 7 сут. Значение потери массы не должно превышать 2,0 мг/см2.

4.1.4.8 Оплетка шнура марки ШРО должна быть теплостойкой.

Введен дополнительно. Изм. № 1.

4.1.5 Требования по надежности

4.1.5.1 Ресурс проводов и шнуров, выраженный в стойкости к знакопеременным деформациям изгиба при номинальном напряжении, должен быть, циклов (движений), не менее:

15000 (30000) - для шнура марки ШВД;

60000 (120000) - для шнура марки ШОГ;

30000 (60000)-для проводов и шнуров остальных марок с жилами сечением до 4,0 мм2 включительно.

Токовая нагрузка на жилах при испытании шнура марки ШОГ должна быть (0,1±0,01) А, шнуров с поливинилхлоридной изоляцией - (1,0±0,01) А. Значения токовых нагрузок на жилах шнуров с резиновой изоляцией приведены в таблице 9а. В двух- и трехжильных проводах и шнурах все жилы должны иметь полную токовую нагрузку по таблице 9а. В четырех- и пятижильных проводах и шнурах полную токовую нагрузку прикладывают к трем жилам или все жилы должны иметь нагрузку In, А, рассчитанную по формуле

где n - число изолированных жил;

I3 - полная токовая нагрузка по таблице 9а, А.

По изолированным жилам, не несущим токовой нагрузки, пропускают сигнальный ток.

Таблица 9а

Номинальное сечение токопроводящих жил, мм2

Токовая нагрузка, А

0,75

6

1,00

10

1,50

14

2,50

20

4,00

25

Номинальное растягивающее усилие и диаметр роликов должны соответствовать указанным в таблице 10.

Таблица 10

Марка

Число изолированных жил

Номинальное сечение, мм2

Номинальное растягивающее усилие, Н
(кгс)

Номинальный диаметр роликов, мм

ШВП, ШВД

1 или 2

Для всех сечений

9,8 (1,0)

60

ШВВП, ШВЛ, ШРО

2 или 3

Для всех сечений

9,8 (1,0)

80

ПВС, ПВСП

От 2 до 5

0,75; 1,0

9,8 (1,0)

80

1,5; 2,5

14,7 (1,5)

120

ПРС, ПСГ, ПРМ

От 2 до 5

0,75

9,8 (1,0)

80

2

1,0; 1,5

9,8 (1,5)

120

2,5

14,7 (1,5)

4,0

24.5 (2,5)

160

3

1,0

9,8 (1,0)

120

1,5

14,7 (1,5)

2,5

19,6 (2,0)

160

4,0

29,4 (3,0)

4

1,0; 1,5

14,7 (1,5)

120

2,5

24,5 (2,5)

160

4,0

34,3 (3,5)

200

5

1,0

14,7 (1,5)

120

1,5

24,5 (2,5)

160

2,5

29,4 (3,0)

4,0

39,2 (4,0)

200

ШОГ

-

-

4,9 (0,5)

5

(Измененная редакция, Изм. № 1).

4.1.5.2 Установленная безотказная наработка должна быть, ч, не менее:

3000 - для шнуров марок ШВП, ШРО и ШВД;

5000 - для проводов и шнуров марок ШВВП, ШВЛ, ПВС, ПВСП и ПРС.

12000 - для проводов и шнуров марок ШВВП, ШВЛ, ПВС, ПВСП, применяемых в стационарных электроприборах.

(Измененная редакция, Изм. № 1).

4.1.5.3 Срок службы проводов и шнуров при ресурсе по 4.1.5.1, при установленной безотказной наработке по 4.1.5.2 и соблюдении условий эксплуатации, хранения и транспортирования, установленных настоящим стандартом, должен быть, лет, не менее:

4 - для шнуров марок ШРО;

10 -для шнуров марок ШОГ, ШОГ-С;

6 - для проводов и шнуров остальных марок.

10 - для проводов и шнуров марок ШВВП, ШВЛ, ПВС, ПВСП, применяемых в стационарных электроприборах.

(Измененная редакция, Изм. № 1).

4.2 Требования к маркировке

4.2.1 Маркировка проводов и шнуров должна соответствовать требованиям ГОСТ 18690 с дополнениями, изложенными в 4.2.2 - 4.2.4.

4.2.2 На поверхности оболочки или изоляции проводов и шнуров без оболочки, кроме шнура марки ШРО, должна быть нанесена непрерывная маркировка, содержащая:

- маркоразмер провода (шнура),

- год выпуска,

- кодовое обозначение или товарный знак предприятия-изготовителя.

Маркировка считается непрерывной, если расстояние между концом одной маркировки и началом следующей не превышает:

500 и 550 мм - для проводов и шнуров с поливинилхлоридной и резиновой изоляцией соответственно, если маркировка наносится на оболочку;

200 и 275 мм - для проводов и шнуров с поливинилхлоридной и резиновой изоляцией соответственно, если маркировка наносится на изоляцию проводов и шнуров без оболочки;

Маркировка наносится краской или тиснением, или лазерным способом.

Маркировка должна быть четкой и легко читаемой.

По согласованию с потребителем провода и шнуры, предназначенные для армирования, могут изготовляться без маркировки.

Маркировка шнура марки ШРО должна осуществляться опознавательной нитью, присвоенной предприятию-изготовителю.

По согласованию с потребителем допускается применять опознавательную нить в проводах и шнурах, не предназначенных для армирования неразборной арматурой.

(Измененная редакция, Изм. № 1).

4.2.3 На ярлыке, прикрепленном к бухте, барабану, ящику, коробке, а также на индивидуальном пакете или этикетке, вложенной в пакет, должны быть указаны:

- наименование предприятия-изготовителя или его товарный знак;

- условное обозначение провода или шнура;

- обозначение настоящего стандарта;

- длина провода или шнура в метрах или число мерных отрезков;

- масса брутто в килограммах (для барабанов, ящиков или коробок);

- дата изготовления (год, месяц);

- знак соответствия при наличии сертификата.

На ярлыке должен быть проставлен штамп технического контроля.

(Измененная редакция, Изм. № 1).

4.2.4 Маркирование проводов и шнуров в бухтах, предназначенных для розничной торговой сети, должно производиться на этикетке, прикрепленной к бухте.

4.3 Требования к упаковке

4.3.1 Упаковка проводов и шнуров должна соответствовать требованиям ГОСТ 18690 с дополнениями, изложенными в 4.3.2.

4.3.2 Провода и шнуры, кроме шнура марки ШОГ-С, должны быть намотаны в бухты или на барабаны. Бухты должны иметь плотную намотку без смещения и перехлестывания витков и упакованы в термоусаживаемую пленку.

Допускается упаковка бухт в полиэтиленовую или поливинилхлоридную пленку, или индивидуальные пакеты а также другие виды упаковки, обеспечивающие сохранность проводов и шнуров при хранении и транспортировании.

Шнуры марок ШОГ и ШОГ-С, поставляемые мерными длинами, должны быть упакованы в коробки или деревянные ящики, выложенные внутри упаковочной бумагой.

Масса грузового места, предназначенного для розничной торговли, не должна превышать 15 кг,

(Измененная редакция, Изм. № 1).

5 ПРАВИЛА ПРИЕМКИ

Для проверки соответствия проводов и шнуров требованиям настоящего стандарта устанавливают следующие виды контрольных испытаний: приемо-сдаточные, периодические, типовые.

5.1 Приемо-сдаточные испытания

5.1.1 Провода и шнуры предъявляют к приемке партиями. За партию принимают провода и шнуры одного маркоразмера, изготовленные из одного материала, на однотипном технологическом оборудовании, одновременно предъявляемые к приемке.

Объем партии должен быть:

- от 0,5 до 20 км - для проводов и шнуров, поставляемых строительными длинами;

- от 10 до 10000 шт. - для шнуров, поставляемых мерными длинами.

5.1.2 Состав испытаний, деление его на группы должны соответствовать указанным в таблице 11.

Испытания проводов и шнуров (кроме шнура марки ШОГ-С по 4.1.1.7 и 4.1.2.1) проводят по плану сплошного или выборочного одноступенчатого контроля в соответствии с таблицей 11 с приемочным числом С = 0. Выборки составляются случайным отбором.

Таблица 11

Группа испытаний

Вид испытания или проверки

Пункт

Объем выборки от партии

технических требований

методов испытаний

С-1

Проверка маркировки и упаковки

4.2.1-4.2.4 (за исключением качества маркировки), 4.3.1, 4.3.2

6.6.1, 6.6.3

5 %, но не менее одной бухты (барабана, ящика, коробки)

С-2

Проверка конструктивных размеров

3.2, 4.1.1.1-4.1.1.3 (кроме разделяемости жил), 4.1.1.6, 4.1.1.7

6.1.2

5 %, но не менее одной бухты (барабана, ящика, коробки)

Проверка отделяемости оболочки от изоляции жил

4.1.1.6

6.1.5

Тоже

Проверка отделяемости изолированных жил

4.1.1.7

6.1.5

«

С-3

Испытание напряжением

4.1.2.1

6.2.1

100%

Определение электрического сопротивления токопроводящей жилы

4.1.2.5

6.2.3

3 %, но не менее одной бухты (барабана, ящика, коробки)

Примечания.

1. Испытания или проверки мерных шнуров марок ШОГ и ШОГ-С проводят на строительных длинах шнура марки ШОГ до их резки на мерные длины.

2. Испытания и проверки по группам проводят на одной выборке.

5.1.3 Испытание шнура марки ШОГ-С на соответствие требованиям 4.1.1.7 и 4.1.2.1 должно проводиться по плану выборочного двухступенчатого контроля на выборках п1=n2=3, составленных случайным отбором, с приемочным числом С1 = 0 и браковочным числом С2 = 2 для первой выборки и приемочным числом С3 = 1 для суммарной (п1 и п2) выборки.

5.1.4 Испытания проводов и шнуров на соответствие требованиям 3.3, 4.1.1.1 и 4.1.1.5 проводят в процессе производства методом контроля по 6.1.1 и 6.1.2.

5.2 Периодические испытания

5.2.1 Состав испытаний и деление его на группы должны соответствовать указанным в таблице 12.

Таблица 12

Группа испытаний

Вид испытания и проверки

Пункт

технических требований

методов контроля

П-1

Определение стойкости поливинилхлоридной изоляции и оболочки к деформации при повышенной температуре, растрескиванию

4.1.3.2

6.3.2

П-1

Определение прочности при растяжении и относительного удлинения при разрыве поливинилхлоридной изоляции и оболочки

4.1.3.1

6.3.1

Определение физико-механических показателей резиновой изоляции и оболочки

4.1.3.3, 4.1.3.4

6.3.3

Проверка качества маркировки, выполненной краской

4.2.2

6.6.2

Испытание на нераспространение горения

4.1.4.5

6.4.5

Испытание на стойкость к воздействию максимальной температуры при эксплуатации

4.1.4.2

6.4.2

Определение износоустойчивости оплетки к истиранию

4.1.3.9

6.3.8

Испытание шнура марки ШОГ на растяжение

4.1.3.6

6.3.5

Определение эластичности спиральных шнуров

4.1.3.8

6.3.7

Испытание на износоустойчивость спиральных шнуров

4.1.3.7

6.3.6

Проверка стойкости оболочки проводов марок ПРМ и ПСГ к воздействию масла

4.1.4.4

6.4.4

П-2

Испытание на холодоустойчивость

4.1.4.3

6.4.3

Испытание на стойкость к знакопеременным изгибам

4.1.5.1

6.5.1

Определение разделяемости жил шнуров с параллельно уложенными жилами

4.1.1.3

6.1.3

Определение плотности наложения изоляции

4.1.1.4

6.1.4

П-3

Проверка электрического сопротивления изоляции

4.1.2.4

6.2.2

Испытание напряжением после выдержки в воде

4.1.2.2, 4.1.2.3

6.2.1

5.2.2 Испытания проводят раз в 12 мес, если другие сроки не указаны для конкретных испытаний.

5.2.3 Испытания по группам проводят на отдельных выборках.

5.2.4 Испытания по группе П-1, кроме испытания на соответствие 4.1.3.1 и 4.1.3.2, проводят по планам выборочного одноступенчатого контроля при приемочном числе С = 0 не менее чем на пяти образцах, отобранных от разных бухт или барабанов, выдержавших приемо-сдаточные испытания. Испытания на соответствие 4.1.3.1 и 4.1.3.2 должны проводиться не менее чем на двух образцах.

Испытания по группе П-1 и 4.1.4.3 и 4.1.5.1 должны проводиться на отдельных образцах один раз в 36 мес.

5.2.5 Испытания по группам П-2, П-3 проводят по плану выборочного двухступенчатого контроля с объемом выборки п1 = 5, п2 = 10 образцов.

Для первой выборки приемочное число С1 = 0, браковочное число С2 = 2. При числе дефектов первой выборки, равному 1, проверяют вторую выборку. Приемочное число суммарной (п1 и п2) выборки С3 = 1. В выборки включают случайным отбором образцы от партий текущего выпуска.

5.2.6 Провода и шнуры, подвергавшиеся периодическим испытаниям, отгрузке не подлежат.

5.3 Типовые испытания

5.3.1 Типовые испытания проводит предприятие-изготовитель с целью проверки соответствия проводов и шнуров требованиям настоящего стандарта при изменении конструкции, технологии, применяемых материалов, если эти изменения могут оказать влияние на их качество.

Испытания проводят по программе, утвержденной в установленном порядке. По результатам испытаний, оформленных протоколом или актом, принимают решение о возможности и целесообразности внесения изменений в техническую документацию.

5.4 Потребитель проводит входной контроль качества проводов и шнуров на соответствие требованиям настоящего стандарта на 3 % барабанов, бухт, ящиков или мерных отрезков проводов и шнуров от партии, но не менее 3 шт.

За партию принимают число барабанов, бухт, ящиков с проводами или шнурами, полученное потребителем по одному сопроводительному документу.

При получении неудовлетворительных результатов испытаний хотя бы по одному показателю, по этому показателю проводят повторное испытание на удвоенной выборке числа барабанов, бухт, ящиков, взятой от той же партии. Результаты повторного испытания распространяют на всю партию.

6. МЕТОДЫ КОНТРОЛЯ

Все испытания, если нет особых указаний, должны проводиться в нормальных климатических условиях по ГОСТ 15150.

Испытания шнуров марки ШОГ-С на соответствие требованиям настоящего стандарта, за исключением 4.1.2.1, 4.1.3.7 и 4.1.3.8, должны проводиться до их навивания.

6.1 Проверка конструкции

6.1.1. Проверку конструктивных элементов проводов и шнуров, качество поверхности и расцветки жил по 4.1.1.1 - 4.1.1.3, 4.1.1.5 - 4.1.1.10 проводят внешним осмотром без применения увеличительных приборов.

6.1.2 Проверку конструктивных размеров проводов и шнуров по 3.2, 3.3, 4.1.1.1-4.1.1.3, 4.1.1.5 - 4.1.1.7 проводят по ГОСТ 12177.

6.1.3 Разделяемость жил шнуров с параллельно уложенными жилами по 4.1.1.3 проверяют на образцах длиной (170 ± 30) мм.

Изоляцию между жилами надрезают на расстоянии 50-60 мм и при помощи разрывной машины со скоростью движения зажима 5 мм/с разделяют жилы.

Образцы считают выдержавшими испытание, если усилие разделения находится в пределах, указанных в 4.1.1.3.

Проверку овальности проводят измерением диаметра в одном и том же сечении в трех местах, примерно через 120°. Овальность , %, определяют по формуле

                         (2)

где  - разность между максимальным и минимальным значениями диаметра, мм;

 - максимальное значение диаметра по таблице 2,мм.

(Измененная редакция, Изм. № 1).

6.1.4 Плотность наложения изоляции по 4.1.1.4 определяют на образцах длиной не менее 50 мм. Изоляцию на жилах надрезают по окружности перпендикулярно к оси жилы на расстоянии 25-30 мм от концов образца, после чего ее вручную со стороны надреза снимают с токопроводящей жилы.

Образцы считают выдержавшими испытания, если при внешнем осмотре без применения увеличительных приборов на токопроводящей жиле не обнаружено остатков изоляции и повреждения (отслоения) полуды, если она имеется. В поперечном сечении или на внутренней стороне снятой изоляции должны просматриваться отпечатки проволок жилы.

6.1.5 Проверку отделяемости оболочки (оболочки и заполнения) от изоляции жил по 4.1.1.6 и отделяемости изолированных жил друг от друга по 4.1.1.7 проводят внешним осмотром без применения увеличительных приборов.

Отделяемость проверяют при разделке провода или шнура на длине не менее 50 мм.

(Измененная редакция, Изм. № 1).

6.2 Проверка электрических параметров

6.2.1 Испытание напряжением по 4.1.2.1-4.1.2.3 проводят по ГОСТ 2990. Специальным электродом при испытании (за исключением 4.1.2.1) является вода.

Испытание напряжением изолированных жил проводов и шнуров марок ШВВП, ШВЛ, ШРО, ПВС, ПВСП, ПРС, ПРМ и ПСГ проводят на образце длиной (5,00 ± 0,01) м; с образцов должна быть удалена оболочка.

Испытание напряжением изолированных жил шнура марки ШВП проводят на образце длиной (2,00 ± 0,01) м, при этом в изоляции между жилами должен быть сделан разрез на длине не более 20 мм и жилы должны быть разделаны вручную.

Испытания по 4.1.2.2 проводят на образцах длиной не менее 20 м.

(Измененная редакция, Изм. № 1).

6.2.2 Электрическое сопротивление изоляции проводов и шнуров по 4.1.2.4 определяют по ГОСТ 3345.

6.2.3 Электрическое сопротивление токопроводящих жил постоянному току проводов и шнуров по 4.1.2.5 определяют по ГОСТ 7229.

6.3 Проверка механических параметров

6.3.1 Физико-механические параметры изоляции и оболочки из поливинилхлоридного пластиката по 4.1.3.1 до и после старения определяют по ГОСТ 25018.

Испытание на тепловое старение проводят по следующему режиму.

Образцы должны быть выдержаны в термостате при температуре (80 ± 2) °С в течение 168 ч, после чего вынутые образцы должны быть выдержаны в течение не менее 10 ч при температуре (25 ± 10) °С без прямого воздействия света.

6.3.2 Стойкость поливинилхлоридной изоляции и оболочки к деформации при повышенной температуре и растрескиванию по 4.1.3.2 проверяют по ГОСТ 22220.

Толщина изоляции и оболочки, измеренная по ГОСТ 12177, в месте деформации должна составлять не менее 50 % средней толщины, измеренной в двух соседних участках, не подвергавшихся деформации.

6.3.3 Физико-механические показатели резиновых изоляции и оболочки проводов и шнуров по 4.1.3.3, 4.1.3.4 проверяют по ГОСТ 25018.

Прочность при растяжении (¦р), Н/мм2, изоляции шнура марки ШРО, изготовленного без заполнения высчитывают по формуле

                             (3)

где Р - сила, вызывающая разрыв образца, Н;

S - площадь поперечного сечения образца изоляции, мм2;

К- коэффициент, учитывающий профиль изоляции, равный 1,2.

Испытание на тепловое старение проводят по следующему режиму. Образцы проводов и шнуров должны быть выдержаны в термостате при температуре (70 ± 2) °С в течение 240 ч, после чего вынутые образцы должны быть выдержаны в течение не менее 10 ч при температуре (25 ± 10) °С.

(Измененная редакция, Изм. № 1).

6.3.4 (Исключен, Изм. № 1).

6.3.5 Испытание шнура марки ШОГ на растяжение под действием свободно падающего груза по 4.1.3.6 проводят на приспособлении, схема которого приведена на рисунке 1. Шнур жестко закрепляют одним концом, на расстоянии (500 ± 1,5) мм от точки закрепления к шнуру подвешивают груз. Через жилы пропускают электрический ток. Груз пять раз поднимают до точки закрепления шнура и отпускают.

Во время испытания на должно быть нарушения целостности электрической цепи.

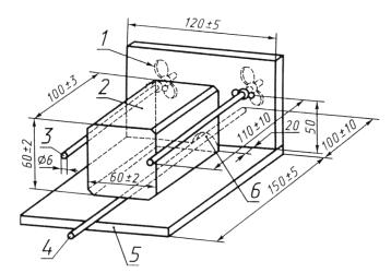
Рисунок 1 - Схема приспособления для испытания шнуров на растяжение

6.3.6 Износоустойчивость спиральных шнуров по 4.1.3.7 проверяют на установке, схема которой приведена на рисунке 2.

Рисунок 2 - Схема установки для испытания износоустойчивости спиральных шнуров

Концы шнура должны быть закреплены на длине (850 ± 10) мм в оправку устройства под углом (p/2 + 0,01) рад к оси спирали.

Середина шнура должна быть закреплена в устройстве, которое совершает вращательное движение по окружности радиусом (325 ± 5) мм с частотой вращения не менее 1 об/с.

Один оборот устройства соответствует одному циклу испытания.

После испытания не должно быть повреждения изоляции, а сопротивление токопроводящей жилы должно быть не более 1,7 Ом.

6.3.7 Эластичность спиральных шнуров по 4.1.3.8 определяют при температуре окружающей среды (20 ± 5) °С на приспособлении, схема которого приведена на рисунке 3. Шнур закрепляют за первый виток спирали и располагают его по вертикали вдоль шкалы.

Спиральную часть шнура измеряют:

- до закрепления шнура в приспособлении, когда шнур находится в горизонтальной плоскости и витки плотно прилегают друг к другу;

- после закрепления шнура в приспособлении, когда шнур находится под действием собственной массы;

- через 1 мин после приложения груза;

- через 1 мин после снятия груза.

Рисунок 3 - Схема приспособления для испытания эластичности спиральных шнуров

1- подвижный испытательный образец; 2 - неподвижный испытательный образец; 3 - блок; 4 - груз

Рисунок 4 - Схема установки для испытания износоустойчивости оплетки

6.3.8 Износоустойчивость оплетки при истирании по 4.1.3.9 определяют на трех парах образцов длиной (1 ± 0,01) м. Каждую пару образцов испытывают следующим образом:

- наматывают один образец так, чтобы получилось два витка на неподвижном блоке диаметром (40 ± 1) мм, как показано на рисунке 4, причем расстояние между краями блока должно быть таким, чтобы витки были плотными и не смещались относительно блока.

Другой образец помещают в углубление, образованное витками, и к одному концу этого образца прикрепляют груз массой (500 ± 10) г. Другой его конец перемещают вверх - вниз на расстоянии 100 мм со скоростью не менее 40 движений в минуту.

После 20000 одиночных движений изоляция закрепленного образца не должна быть видна на общей длине более 10 мм, и этот образец должен выдержать испытание напряжением по 4.1.2.2 в течение 5 мин.

6.4 Проверка стойкости к внешним воздействующим факторам

6.4.1 Испытание резиновых изоляции и оболочки проводов и шнуров на тепловую деформацию по 4.1.4.1 проводят по методике, изложенной в приложении Д.

6.4.2 Испытание на стойкость к воздействию максимальной температуры по 4.1.4.2 проводят по ГОСТ 16962.1 (метод 201.1.1) на образцах длиной не менее 1 м, свернутых в бухту внутренним диаметром, равным от 10 до 12 наружных диаметров шнура или провода (для плоских шнуров диаметр бухты определяют по нижнему размеру), помещенных в камеру тепла до установления температуры испытания.

Испытание шнура марки ШРО должно проводиться на образцах до наложения оплетки.

Время выдержки в камере тепла при температуре (80 ± 2) °С:

55 ч - для шнуров марок ШВП, ШРО, ШВД, ШОГ;

90 ч - для проводов и шнуров марок ШВВП, ШВЛ, ПВСП, ПРС, ПРМ, ПСГ, ЛВС.

После испытания образцы проводов и шнуров выдерживают в нормальных климатических условиях в течение не менее 2 ч.

Провода и шнуры считают выдержавшими испытания, если на поверхности образцов при осмотре без применения увеличительных приборов не обнаружено трещин.

(Измененная редакция, Изм. № 1).

6.4.3 Испытание на стойкость к воздействию пониженной температуры по 4.1.4.3 проводят по ГОСТ 17491.

Испытанию на изгиб подвергают по четыре образца проводов и шнуров с резиновой и пластмассовой изоляцией (в том числе по два образца после испытания на тепловое старение по режиму в соответствии с 6.3.1 и 6.3.3).

Диаметр стержня должен быть равен четырехкратному наружному диаметру образца. Для плоских шнуров диаметр оправки определяют по меньшему размеру. Диаметр стержня для испытания провода марки ПСГ должен быть равен от 8 до 10 наружных диаметров провода.

Испытанию на стойкость к воздействию пониженной температуры методом удара подвергают образцы проводов и шнуров марок ШВП, ШОГ, ШВВП, ШВЛ, ПВС, ШВД, ПВСП по три образца до и после старения.

(Измененная редакция, Изм. № 1).

6.4.4 Стойкость оболочки проводов марок ПСГ и ПРМ к воздействию масла по 4.1.4.4 проверяют по ГОСТ 25018.

6.4.5 Испытание проводов и шнуров на нераспространение горения по 4.1.4.5, за исключением шнура марки ШОГ, проводят по ГОСТ 12176 (раздел 2).

Испытание шнура марки ШОГ проводят по методике, изложенной в приложении Е.

6.4.6 Проверку стойкости к поражению плесневыми грибами по 4.1.4.6 проводят по ГОСТ 20.57.406 (метод 214-2 для второй группы изделий).

Провода и шнуры считают выдержавшими испытание, если степень биологического обрастания не более трех баллов.

6.4.7 Потерю массы для изоляции и оболочки из поливинилхлоридного пластиката по 4.1.4.7 определяют по методике, изложенной в приложении Г.

6.4.8 Испытание оплетки шнура марки ШРО на теплостойкость по 4.1.4.8 проводят на образцах длиной (300±10) мм, которые выпрямляют и располагают, по возможности, по центральной продольной оси стальной опорной плиты, как показано на рисунке 5, при этом один конец образца должен выступать на (100±10) мм из выводного отверстия.

1 - фиксирующее устройство; 2 - алюминиевый блок; 3 - направляющий стержень; 4 - образец; 5 - стальная опорная плита; 6 - выводное отверстие для образца диаметром 9 мм

Рисунок 5 - Схема приспособления для испытания оплетки на теплостойкость

Алюминиевый блок массой (1000±50) г с гладкими плоскими поверхностями (обработка поверхности - по ГОСТ 2789, класс шероховатости Ra = 50 мкм) выдерживают в камере с электрическим обогревом с естественной циркуляцией воздуха при температуре (260±5) °С не менее 4 ч. После этого блок сразу помещают на образец на (60±3) с. Затем алюминиевый блок снимают с образца.

Шнур считают выдержавшим испытание, если оплетка не расплавилась и не обуглилась.

(Введен дополнительно, Изм. № 1).

6.5 Проверка надежности

6.5.1 Испытание шнура марки ШОГ на стойкость к изгибам по 4.1.5.1 проводят по ГОСТ 12182.8 на образцах длиной не менее 1 м под углом (p/2 ± 0,003) рад с частотой не менее 60 изгибов в минуту.

Испытание проводов и шнуров остальных марок на стойкость к перегибам через систему роликов проводят по ГОСТ 12182.1.

Провода и шнуры считают выдержавшими испытания, если они не имеют повреждений изоляции и оболочки, видимых при внешнем осмотре без применения увеличительных приборов, и выдерживают в течение 5 мин испытание напряжением в соответствии с 4.1.2.2.

6.5.2 Испытания по подтверждению установленной безотказной наработки проводов и шнуров по 4.1.5.2 проводят по методике, указанной в 6.4.2. Время выдержки в камере тепла: 550 ч - для шнуров марок ШВП-2, ШВП, ШРО, ШВД; 900 ч - для проводов и шнуров марок ШВВП, ШВЛ, ПВС, ПВСП, ПРС. Провода и шнуры считают выдержавшими испытание, если на поверхности образцов не обнаружено трещин, видимых внешним осмотром без применения увеличительных приборов.

Испытание шнура марки ШРО проводят на образцах до наложения оплетки.

6.6 Проверка упаковки и маркировки

6.6.1 Маркировку по 4.2.1 - 4.2.4 проверяют по ГОСТ 18690 внешним осмотром и измерениями линейкой по ГОСТ 427.

6.6.2 Качество маркировки, выполненное краской, по 4.2.2 проверяют десятикратным протиранием (в двух противоположных направлениях) с усилием (5±0,5) Н ватным или марлевым тампоном, смоченным водой. Проверку проводят в два этапа со сменой тампона после пятикратного протирания. Окрашивание второго тампона при внешнем осмотре без применения увеличительных приборов не допускается. Маркировку, выполненную тиснением или лазерным способом, испытанию не подвергают.

6.6.3 Упаковку по 4.3.1, 4.3.2 проверяют внешним осмотром и взвешиванием на весах с погрешностью не более 5 %.

7 ТРАНСПОРТИРОВАНИЕ И ХРАНЕНИЕ

7.1 Транспортирование и хранение проводов и шнуров должно соответствовать ГОСТ 18690 с дополнениями, изложенными в 7.2.

7.2 Условия транспортирования и хранения проводов и шнуров в части воздействия климатических факторов должны соответствовать условиям хранения группы ЖЗ ГОСТ 15150.

8 УКАЗАНИЯ ПО ЭКСПЛУАТАЦИИ

8.1 Номинальные токовые нагрузки проводов и шнуров должны соответствовать указанным в приложении Ж.

8.2 Провода и шнуры исполнения У предназначены для эксплуатации при температуре окружающей среды от минус 40 до плюс 40 °С, остальных исполнений - от минус 25 до плюс 40 °С.

8.3 Минимальный радиус изгиба проводов и шнуров при эксплуатации должен быть не менее указанного в 4.1.5.1.

9 ГАРАНТИИ ИЗГОТОВИТЕЛЯ

9.1 Изготовитель гарантирует соответствие качества проводов и шнуров требованиям настоящего стандарта при соблюдении условий эксплуатации, хранения, транспортирования.

9.2 Гарантийный срок эксплуатации - два года со дня ввода проводов и шнуров в эксплуатацию.

Гарантийный срок эксплуатации проводов и шнуров для розничной торговли исчисляется со дня продажи, а для внерыночного потребления - со дня ввода провода или шнура в эксплуатацию.

ПРИЛОЖЕНИЕ А
(рекомендуемое)

ПРЕИМУЩЕСТВЕННЫЕ ОБЛАСТИ ПРИМЕНЕНИЯ ПРОВОДОВ И ШНУРОВ

Таблица А.1

Марка

Преимущественные области применения

ШВП

Для присоединения радиоэлектронной аппаратуры, бытовых осветительных приборов, электроприборов микроклимата, электромеханических бытовых приборов, электровентиляторов и других подобных приборов, если шнур часто подвергается легким механическим деформациям

ШВВП, ШВЛ

Для присоединения приборов личной гигиены и микроклимата, электропаяльников, светильников, кухонных электромеханических приборов, радиоэлектронной аппаратуры, стиральных машин, холодильников и других подобных приборов, эксплуатируемых в жилых и административных помещениях, и для изготовления шнуров удлинительных

ПВС, ПВСП

Для присоединения электроприборов и электроинструмента по уходу за жилищем и его ремонту, стиральных машин, холодильников, средств малой механизации для садоводства и огородничества и других подобных машин и приборов, и для изготовления шнуров удлинительных

ПРС

То же, и электронагревательных приборов

ШВД

Для декоративных осветительных гирлянд, для неподвижного защищенного монтажа внутри приборов (установок)

ШОГ, ШОГ-С

Для присоединения электробритв, массажных и других подобных приборов с номинальной токовой нагрузкой не более 0,2 А

ШР

Для присоединения бытовых нагревательных приборов

ПРМ

Для присоединения электроприборов и электроинструмента по уходу за жилищем и его ремонту, средств малой механизации для садоводства и огородничества, электронагревательных приборов, контактируемых с маслами и смазками, и для изготовления шнуров удлинительных

ПСГ

Для передвижных токоприемников и механизмов

(Измененная редакция, Изм. № 1).

ПРИЛОЖЕНИЕ Б
(обязательное)

КОДЫ ОКП И КОНТРОЛЬНЫЕ ЧИСЛА ПРОВОДОВ И ШНУРОВ

Таблица Б.1

Марка провода, шнура

Код ОКП

Контрольное число

ШВП

35 5353 0100

03

ШОГ

35 5353 0501

01

ШОГ-С

35 5353 0601

09

ШВД

35 5353 4500

08

ШВВП

35 5353 0300

08

ШВЛ

35 5353 1400

01

ШРО

35 5354 0500

08

ПВСП

35 5513 3500

00

ПВС

35 5513 0200

10

ПРС

35 5514 0200

05

ПРМ

35 5354 3100

08

ПСГ

35 5354 3600

04

ШВП-Т

35 5353 0900

01

ШОГ-Т

35 5353 0531

06

ШОГ-С-Т

35 5353 0631

03

ШВД-Т

35 5353 4600

05

ШВВП-Т

35 5353 2900

04

ШВЛ-Т

35 5353 3100

02

ШРО-Т

35 5354 2300

06

ПВСП-Т

35 5513 3600

08

ПВС-Т

35 5513 2100

05

ПРС-Т

35 5514 2100

00

ПРМ-Т

35 5354 3200

05

ПСГ-Т

35 5354 3700

01

ШВП-У

35 5353 1000

02

ШБВП-У

35 5353 3000

05

ШВЛ-У

35 5353 3200

10

ШРО-У

35 5354 2400

03

ПВСП-У

35 5513 3700

05

ПВС-У

35 5513 2200

02

ПРС-У

35 5514 2200

08

ПРМ-У

35 5354 3300

02

ПСГ-У

35 5354 3800

09

Таблица Б.2 - Девятый и десятый разряды кода маркоразмера

Девятый и десятый разряды кода маркоразмера

Число жил и номинальное сечение, мм2

04

1х0,50

05

1х0,75

06

1х1,50

07

1х2,50

08

1х4,00

09

1х6,00

10

1х10,0

11

1х16,0

12

1х25,0

14

1х50,0

15

1х70,0

16

1х95,0

17

1х120

18

1х150

19

1х185

20

1х240

21

1х300

22

1х400

33

2х0,50

34

2х0,75

35

2х1,00

36

2х1,50

37

2х2,50

38

2х4,00

39

2х6,00

40

2х10,0

41

2х16,0

42

2х25,0

51

3х0,50

52

3х0,75

53

3х1,00

54

3х1,50

55

3х2,50

56

3х4,00

57

3х6,00

58

3х10,0

59

3х16,0

60

3х25,0

61

3х35,0

62

3х50,0

63

3х70,0

64

3х95,0

71

4х0,75

72

4х1,00

73

4х1,50

74

4х2,50

75

4х4,00

76

4х6,00

77

4х10,0

78

4х16,0

79

4х25,0

80

4х35,0

81

4х50,0

82

4х70,0

83

4х95,0

84

4х120

85

4х150

91

5х0,75

92

5х1,00

93

5х1,50

94

5х2,50

95

5х4,00

96

5х6,00

97

5х10,0

98

5х16,0

99

5х25,0

(Измененная редакция, Изм. № 1).

ПРИЛОЖЕНИЕ В
(справочное)

РАСЧЕТНАЯ МАССА ПРОВОДОВ И ШНУРОВ

Таблица В.1

Марка провода, шнура

Номинальное сечение жил, мм2

Масса 1 км, кг, при числе жил

1

2

3

4

5

ШОГ

-

-

19,5

-

-

-

ШВП

0,50

-

21,0

-

-

-

0,75

-

27,1

-

-

-

ШВД

0,50

10,3

-

-

-

-

0,75

13,4

-

-

-

-

ШРО

0,50

-

51,4

62,9

-

-

0,75

-

60,8

75,9

-

-

1,00

-

71,0

87,4

-

-

1,50

-

87,3

109

-

-

ШВВП

0,50

-

25,4

36,9

-

-

0,75

-

32,5

47,8

-

-

ШЕЛ

0,50

-

37,4

44,4

-

-

0,75

-

46,6

55,3

-

-

ПВС

0,75

-

57,6

68,2

77,1

94,8

1,00

-

66,4

77,8

93,8

111,0

1,50

-

88,5

110,9

132,0

164,0

2,50

-

134,0

167,0

205,0

253,0

ПРС

0,75

 

66,9

82,7

89,6

110

1,00

-

80,0

95,2

104,0

126

1,50

-

119,5

141,6

165,0

195

2,50

-

160,0

196,0

246,0

300

4,00

-

221,0

273,0

342,0

-

ПВСП

0,75

-

40,4

-

-

-

ПРМ

0,75

-

74,8

91,4

107,4

130,9

1,00

-

89,8

104,7

123,2

148,3

1,50

-

133,4

154,6

195,7

227,9

2,50

-

199,1

232,9

286,3

348,0

ПСГ

1,00

-

81,1

95,3

114,5

123,2

1,50

41,1

106,5

125,1

150,1

135,0

2,50

23,8

168,6

196,6

236,1

237,5

4,00

33,9

229,7

261,2

278,0

337,6

6,00

58,0

314,7

376,3

465,4

444,5

10,00

96,8

556,7

676,6

813,9

866,5

16,00

120,0

708,9

843,2

976,1

1019,8

25,00

237,0

1119,2

1367,0

1740,8

1877,8

35,00

333,7

-

1805,3

2300,5

-

50,00

478,7

-

2512,7

2854,3

-

70,00

673,8

-

3369,1

4177,6

-

95,00

888,7

-

4361,2

5576,7

-

120

1137,5

-

-

-

-

150

1414,5

-

-

-

-

185

1730,6

-

-

-

-

240

2284,4

-

-

-

-

300

2853,2

-

-

-

-

400

3766,2

-

-

-

-

(Измененная редакция, Изм. № 1.)

ПРИЛОЖЕНИЕ Г
(обязательное)

МЕТОДИКА ОПРЕДЕЛЕНИЯ ПОТЕРИ МАССЫ КОМПОЗИЦИЙ ПОЛИВИНИЛХЛОРИДНОГО ПЛАСТИКАТА

Г.1 Назначение

Методика предназначена для проведения испытаний по определению потери массы композиций поливинилхлоридных пластикатов с изоляции и оболочки проводов и шнуров.

Г.2 Отбор образцов

Г.2.1 Образцы из изоляции и/или оболочки провода или шнура в виде трубок или двусторонних лопаток изготавливают по ГОСТ 25018.

Г.2.2 Масса образца - от 0,1 10 до 10 кг; толщина образца - от 0,1 до 4 мм; диаметр образцов в виде трубки - от 1 до 10 мм.

Г.3 Испытательное оборудование

Для испытания применяют:

1 термостат с естественной или принудительной циркуляцией воздуха. Воздух должен поступать в термостат таким образом, чтобы он проходил над поверхностью испытуемых образцов и выходил возле верхней части термостата. При заданной температуре испытания в термостате с принудительной циркуляцией воздуха в течение 1 ч должно произойти не менее 8 и не более 20 полных смен объема воздуха. Применять вентилятор внутри термостата не допускается;

2 аналитические весы чувствительностью до 0,1 мг;

3 штампы для изготовления плоских образцов в виде двусторонней лопатки по ГОСТ 25018;

4 эксикатор с селикагелем или аналогичным материалом или сушильный шкаф.

Г.4 Порядок проведения испытания

Г.4.1 Сущность метода заключается в оценке изменений массы образцов после воздействия повышенных температур.

Г.4.2 Подготовленные образцы выдерживают не менее 20 ч при комнатной температуре в сушильном шкафу или эксикаторе с селикагелем или аналогичным материалом.

Г.4.3 Затем каждый образец взвешивают на аналитических весах, при этом массу определяют в миллиграммах с точностью до одного десятичного знака.

Г.4.4 Образцы помещают в термостат, предварительно нагретый до температуры 80 °С, на 7 сут при соблюдении следующих условий:

- испытание компаундов различного состава в одно и то же время, в одном и том же термостате должно быть исключено;

- образцы подвешивают вертикально в середине термостата на расстоянии не менее 20 мм друг от друга;

- образцами следует занимать не более 0,5 объема термостата.

Г.4.5 После термической обработки образцы, выдерживают в течение 20 ч в сушильном шкафу или эксикаторе при комнатной температуре.

Г.4.6 Затем каждый образец вновь взвешивают на аналитических весах, массу определяют в миллиграммах с точностью до одного десятичного знака.

Г.5 Обработка результатов

Г.5.1 Рассчитывают площадь поверхности каждого образца А, см2, по формулам:

а) для трубовидных образцов

где В - средний наружный диаметр образца с точностью до сотых долей, мм;

d - средняя толщина образца с точностью до сотых долей, мм;

l - длина образца, мм;

б) для плоских образцов в виде двусторонней лопатки размерами, соответствующими чертежу 2 ГОСТ 25018

для плоских образцов в виде двусторонней лопатки размерами, соответствующими чертежу 3 ГОСТ 25018

где d - среднее значение толщины образца с точностью до двух десятичных знаков, мм.

Г.5.2 Рассчитывают разницу между значениями масс в миллиграммах, определенными по Г.4.3 и Г.4.6 для каждого образца, и округляют ее до целых единиц.

Г.5.3 Потерю массы каждого образца Q, мг/см2 , рассчитывают по формуле

где Р - изменение массы образца после термического старения, мг;

А - площадь поверхности, см2.

Г.5.4 Находят среднее значение потери массы по трем образцам. Результат принимают за потерю в массе.

Г.5.5 Среднее значение потери массы не должно превышать 2,0 мг/см2.

После получения результатов испытаний и расположения их в порядке увеличения или уменьшения определяют медиану, которая является средним значением, если число имеющихся результатов нечетное, и усредненным двух средних значений, если число проведенных испытаний четное.

ПРИЛОЖЕНИЕ Д
(обязательное)

МЕТОДИКА ОПРЕДЕЛЕНИЯ ТЕПЛОВОЙ ДЕФОРМАЦИИ РЕЗИНОВОЙ ИЗОЛЯЦИИ И ОБОЛОЧКИ ПРОВОДОВ И ШНУРОВ

Д.1 Назначение

Методика предназначена для проведения испытания на тепловую деформацию резиновой изоляции и оболочки проводов и шнуров.

Д.2 Отбор образцов

Д.2.1 Образцы и изоляции и/или оболочки проводов и шнуров в виде трубок или двусторонних лопаток изготавливают по ГОСТ 25018.

Д.2.2 Толщина образца в виде двусторонней лопатки - от 0,8 до 2,0 мм; диаметр образца (в виде трубки) - от 1,0 до 10 мм.

Д.3 Аппаратура

Д.3.1 Испытание проводят в термостате.

Д.3.2 Термостат с естественной или принудительной циркуляцией воздуха. Воздух должен поступать в термостат таким образом, чтобы он проходил над поверхностью испытуемых образцов и выходил возле верхней части термостата. При заданной температуре испытания в термостате с принудительной циркуляцией воздуха в течение 1 ч должно произойти не менее 8 и не более 20 полных смен воздуха. Не допускается применять вентилятор внутри термостата.

Д.3.3 Зажимные приспособления предусмотрены таким образом, что каждый образец может быть подвешен в термостате с помощью верхнего зажимного приспособления на образце. Фиксация зажимных приспособлений не должна вызывать герметичной закупорки доступа воздуха с двух концов трубчатого образца во время испытания. С этой целью рекомендуется ввод с одного конца короткого отрезка металлического стержня диаметром, меньшим внутреннего диаметра образца.

Д.4 Порядок проведения испытания

Д.4.1 Сущность метода заключается в измерении длины рабочего участка во время приложения и после снятия нагрузки (механическое напряжение) при повышенных температурах.

Д.4.2 Подготовленные образцы подвешивают в термостате, нагретом до температуры (200 ± 3) °С, а груз, выбранный с учетом площади поперечного сечения образца для установления механического напряжения 0,2 Н/мм2, прикрепляют в зажимных приспособлениях.

Д.4.3 В подвешенном состоянии образцы выдерживают в термостате при заданной температуре 15 мин.

Д.4.4 После 15 мин пребывания образцов в термостате при заданной температуре измеряют на них расстояние между отметками в течение 30 с после открывания дверцы либо через смотровое окно, встроенное в термостат.

Д.4.5 После измерения снимают растягивающую нагрузку, которая воздействует на образец (срезанием образца у зажима), и выдерживают образец вновь в термостате в течение 5 мин при температуре 200 °С.

Д.4.6 После выдержки образцы извлекают из термостата или медленно охлаждают в термостате до температуры окружающей среды, а затем вновь измеряют расстояние между метками.

Д.5 Оценка результатов

Д.5.1 Относительное удлинение образца e, %, после 15 мин нагрева рассчитывают по формуле

                                                     (Д1)

где l0 - длина рабочего участка образца до приложения механической нагрузки и выдерживания в термостате, мм;

l1 - длина рабочего участка образца во время приложения механической нагрузки при температуре 200 °С в течение 15 мин, мм.

Д.5.2 Относительное удлинение образца e, %, после охлаждения рассчитывают по формуле

                                                    (Д2)

где l0 - длина рабочего участка образца до приложения механической нагрузки и выдерживания в термостате, мм;

l2 - длина рабочего участка образца после снятия нагрузки и охлаждения, мм.

Д.5.3 Определяют среднее арифметическое данных по пяти образцам.

Д.5.4 Среднее арифметическое значение удлинения после испытания образцов в течение 15 мин при установленной температуре с прикрепленным грузом не должно превышать 175 %, а после извлечения образца из термостата и его охлаждения среднее арифметическое значение удлинения не должно превышать 25 % значения, установленного в стандарте.

ПРИЛОЖЕНИЕ Е
(обязательное)

МЕТОДИКА ИСПЫТАНИЯ ШНУРОВ МАЛЫХ СЕЧЕНИЙ НА НЕРАСПРОСТРАНЕНИЕ ГОРЕНИЯ

Е.1 Назначение

Методика предназначена для проведения испытаний шнуров с жилами сечением от 0,1 до 0,5 мм на соответствие требованиям нераспространения горения в пожароопасных условиях.

Испытания проводят на одиночном проводе или шнуре.

Е.2 Отбор образцов

Е.2.1 От конца провода или шнура отбирают два образца длиной (600 ± 25) мм.

Е.2.2. Если провод или шнур покрыт краской или лаком, то образец перед испытанием следует выдержать в печи при температуре (60 ± 2) °С в течение 4 ч, а затем охладить до температуры окружающей среды.

Е.3 Аппаратура

а) Испытательная металлическая камера, соответствующая указанной на рисунке Е.1.

б) Пропановая горелка, соответствующая рисунку Е.3.

в) Баллон с пропаном с редукционным клапаном и манометром.

г) Секундомер типа С-1-2а или С-1-2б.

д) Электрический прибор (зажигалка).

Е.4 Подготовка к испытанию

Е.4.1 Горелка должна питаться пропаном так, чтобы она давала светящееся пламя длиной (125 ± 25) мм (рисунок Е.2), когда находится в вертикальном положении при закрытом вводе воздуха. Выполнение этого требования должно обеспечиваться давлением в 1 бар на уровне редукционного клапана.

Е.4.2 Горелка должна быть расположена следующим образом. Ось горелки должна составлять угол 45° с осью образца. Расстояние между центром выхода горелки и поверхностью образца, измеренное вдоль оси горелки, должно быть (10 ± 1) мм. Расстояние от точки пересечения оси горелки и оси образца до точки прикрепления груза должно быть (100 ± 10) мм. Расстояние от точки пересечения осей горелки и образца до нижней части верхней крепежной системы не должно превышать 465 мм.

Е.4.3 Необходимо исключить малейший поток воздуха в камере.

Е.5 Проведение испытания

Е.5.1 Образец шнура натягивают и прикрепляют в вертикальном положении к центру металлической камеры. К нижней части образца прикладывают усилие 5 Н/мм2 (сечения шнура) так, чтобы длина шнура между нижним и верхним креплениями составляла (550 ± 25) мм. Пламя направляют так, чтобы оно обволакивало образец. На первый образец пламя должно воздействовать в течение (20 ± 1) с.

Если образец шнура не выдерживает испытания в соответствии с разделом Е.6 настоящей методики в течение времени Т, меньшего чем (20 ± 1) с, испытание повторяют на втором образце с длительностью приложения пламени (Т - 2) с. В этом случае результат испытания определяют по второму образцу.

Рисунок Е. 1 - Испытательная камера

 

Рисунок Е.2 - Длина пламени

 

Рисунок Е.3 - Пропановая горелка

Е.6 Оценка результатов

Образец шнура считают выдержавшим испытания, если после прекращения подачи пламени и удаления с поверхности образца копоти обугленные или поврежденные части не достигают нижнего края верхнего зажима менее чем на 50 мм.

ПРИЛОЖЕНИЕ Ж
(обязательное)

НОМИНАЛЬНЫЕ ТОКОВЫЕ НАГРУЗКИ

Таблица Ж 1

Номинальное сечение жилы, мм2

Номинальная токовая нагрузка, А, не более

Мишурные жилы

0,2

0,50

2,5

0,75

6,0

1,00

10,0

1,50

16,0

2,50

25,0

4,00

32,0

Примечание. Токовые нагрузки проводов и шнуров с сечением жил свыше 4,00 мм2 - в стадии рассмотрения.

(Измененная редакция, Изм. № 1).

ПРИЛОЖЕНИЕ З
(информационное)

БИБЛИОГРАФИЯ

1. ТУ 16-505.850-75 Проволока медная круглая луженая для электротехнических целей

2. ТУ 16-705.129-80 Нити мишурные для шнуров связи

3. РД 16.171-84 Отраслевая система технологической подготовки производства. Кабели, провода и шнуры. Оплетка. Типовой технологический процесс

 

Ключевые слова: провода, шнуры, напряжение, технические условия




Яндекс цитирования



   Copyright © 2007-2026,  www.tehlit.ru.

[ ѓосты, стандарты, нормативы, инструкции, правила, строительные нормы ]