//
ТехЛит.ру
- крупнейшая бесплатная электронная интернет библиотека для "технически умных" людей.
WWW.TEHLIT.RU - ТЕХНИЧЕСКАЯ ЛИТЕРАТУРА

:: Алготрейдинг::


АЛГОТРЕЙДИНГ
шаг за шагом
с нуля по урокам!

Торговые роботы на PYTHON, BackTrader,
Pandas, Pine Script для TradingView. Связка с брокерами, телеграм и легкими приложениями.


ОКП 576810

Группа Ж 15

СОГЛАСОВАНО

УТВЕРЖДАЮ

Генеральный директор
АО "Теплопроект"

__________ Е.Г. Овчаренко

__________ 1999 г.

Директор ООО "Научно-исследовательская и внедренческая деятельность (СОКРАТ)"

___________ Б.В. Сухарев

___________ 16.11. 1999 г.

 

БЛОКИ СТЕНОВЫЕ ТЕПЛОИЗОЛЯЦИОННЫЕ

НА ОСНОВЕ ТОРФЯНОГО СВЯЗУЮЩЕГО

 

ТЕХНИЧЕСКИЕ УСЛОВИЯ

ТУ 5768-001-03983434-99

(взамен ТУ 5768-001-03983434-96)

Срок введения 30.11. 1999 г.

Без ограничения срока действия

 

СОГЛАСОВАНО

 

Директор АО "Бежецкий опытно-
экспериментальный завод"

___________ Н.С. Савостов

___________ 16.11. 1999 г.

 

Директор проектного института
"ТВЕРЬГРАЖДАНПРОЕКТ"

___________ П.А. Вязовченко

___________ 16.11. 1999 г.

 

 

Настоящие технические условия разработаны взамен ТУ 5768-001-03983434-96 "Блоки стеновые и плиты теплоизоляционные на основе торфяного связующего. Технические условия" и распространяются на теплоизоляционные блоки "Геокар", изготовляемые на основе связующего строительного торфяного с использованием в качестве наполнителя отходов деревообработки (опилки, стружка) и других заполнителей по согласованию с заказчиком.

Блоки "Геокар", в дальнейшем именуемые "Изделия", применяются:

в качестве тепловой изоляции в ограждающих строительных конструкциях из панелей и из мелкоштучных материалов для помещений с сухим или нормальным влажностным режимом;

в качестве тепло- и звукоизоляционного материала при кладке ненесущих стен (перегородок) высотой до 3 м жилых и гражданских зданий (для помещений с сухим и нормальным влажностным режимом).

Условное обозначение блоков при заказе должно состоять из наименования (Блок "Геокар"), указания - с пустотами (П) или сплошные (С), категории (1 или 2) и обозначения настоящих ТУ.

Пример условного обозначения блококв "Геокар" с пустотами, 1-ой категории:

Блок "Геокар" - П-1 ТУ 5768-001-03983434-99.

В технологии получения блоков "Геокар" использованы следующие изобретения:

- Патент РФ № 2004328 на изобретение "Центробежная мельница";

- Патент РФ № 2041185 на изобретение "Способ получения связующего";

- Патент РФ № 2062843 на изобретение "Способ возведения наружных стен и строительный элемент для возведения наружных стен".

1. ТЕХНИЧЕСКИЕ ТРЕБОВАНИЯ

Блоки "Геокар" должны соответствовать требованиям настоящих технических условий, технологическому регламенту и конструкторской документации, утвержденным в установленном порядке предприятием-изготовителем.

1.1. Основные параметры и характеристики (свойства)

1.1.1. Изделие относится (ГОСТ 16381):

-    по виду основного исходного сырья - к органическим,

-    по структуре - к волокнистым,

-    по содержанию связующего вещества - содержащие связующее вещество,

-    по форме - к плоским,

-    по возгораемости - к сгораемым.

1.1.2. Изделия относятся к группе Г4 сгораемых материалов (по ГОСТ 30244) средней воспламеняемости (по ГОСТ 12.1.044) и к группе небиостойких строительных материалов со степенью биостойкости 7 (без введения антисептиков).

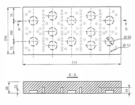
1.1.3. Размеры и масса изделий должны соответствовать таблице 1.

Таблица 1

Наименование показателя

Вид изделий

Блоки "Геокар" сплошные

Блоки "Геокар" с пустотами

1-й категории

2-й категории

1-й категории

2-й категории

1

2

3

4

5

Размеры изделий после суши (длина, ширина, толщина), мм

510 ´250´88

510´250´88

510´250´88

510´250´88

Отклонение от размеров, мм:

 

 

 

 

По длине

± 4

± 6

± 4

± 6

По ширине

± 3

± 4

± 3

± 4

По толщине

± 2

± 3

± 2

± 3

Масса изделия не более, кг

4,0

5,2

3,3

4,3

Разность длин диагоналей, мм

5

7

5

7

Отбитости и притупленности ребер от 5 до 8 мм на блоке, шт

5

5

5

5

Отбитости углов глубиной от 10 до 15 мм на блоке, шт

5

5

5

5

 

Примечание:

Допускается по заказу потребителя, согласованному с проектной организацией, изготовлять блоки других размеров.

 

1.1.4. Поверхности изделий должны быть ровными. Допускаются на поверхности отпечатки поддонов глубиной не более 3 мм.

1.1.5. Отклонение от плоскостности изделия не должно превышать 1 % от размера, в  направлении которого имеется искривление.

1.1.6. Изделие не должно иметь сквозных трещин, надломов и отбитых углов на всю толщину изделия и заусенцев более 5 мм.

1.1.7. Изделия в изломе должны иметь однородную структуру без расслоений и пустот. Древесные включения длиной более 30 мм не допускаются.

1.1.8. На широкой поверхности изделия допускаются не более 3-х древесных включений длиной до 30 мм. На боковых поверхностях изделий древесные включения указанных выше размеров не допускаются.

1.1.9. Физико-механические показатели изделия должны соответствовать нормам, указанным в таблице 2.

Таблица 2

Наименование показателя

Вид изделий

Блоки "Геокар" сплошные

Блоки "Геокар" с пустотами

1-й категории

2-й категории

1-й категории

2-й категории

Влажность, % по массе, не более

15

15

15

15

Плотность, кг/м3

250-350

350-450

250-350

350-450

Предел прочности при изгибе, МПа, не менее

0,3

0,35

0,3

0,35

Теплопроводность при температуре (298±5) К, Вт/(м´К), не более

0,07

0,08

0,072

0,082

Водопоглощение за 24 часа, % по массе, не более

170

170

170

170

Набухание по толщине, %, не более

7

5

7

5

 

1.1.10. Удельная эффективная активность естественных радионуклидов не должна превышать Аэф= 370 Бк/кг.

1.2. Требования к сырью, материалам

1.2.1. Требования к сырью и материалам для изготовления изделий и отходам промышленного производства должны соответствовать "Технологическому регламенту участка производства теплоизоляционных торфоблоков "Геокар".

1.2.2. Ограничения на типы применяемых торфов отсутствуют.

1.2.3. Ограничения на вид древесины для наполнителя отсутствует. Древесный наполнитель должен быть без видимых признаков плесени, а также инородных материалов (глины, растительного слоя почвы, камней, песка, а в зимнее время льда и снега). Содержание коры не более 10 %.

Наибольший размер древесного наполнителя для 95 % частиц - 15 мм, для 5 % - 30 мм.

1.3. Маркировка

1.3.1. Общие требования к маркировке изделий должны соответствовать ГОСТ 25880.

1.3.2. Непосредственно на изделие маркировка не наносится.

1.3.3. Каждое упакованное место должно содержать материалы и изделия одного вида, марки и размеров. На каждое упакованное грузовое место должна быть нанесена маркировка, содержащая следующие данные:

- наименование предприятия-изготовителя и его товарный знак;

- вид продукции, тип, категория;

- номер партии;

- количество продукции в упакованном месте (шт., м3);

- обозначение настоящих технических условий;

- дата изготовления.

1.3.4. Маркировку наносят:

- непосредственно на тару или на ярлык из фанеры и картона штемпелеванием или несмываемой краской по трафарету;

- на бумажную этикетку печатанием типографским способом.

Не допускается нанесение маркировки от руки, кроме проставления номера партии на этикетке или ярлыке.

1.3.5. Бумажную этикетку приклеивают на боковую поверхность упакованного места или вкладывают в конверт из прозрачного материала.

Ярлык привязывают проволокой или шпагатом к обвязке или планке ящика, обрешетки, щита.

На контейнеры и транспортные пакеты маркировку наносят одним из способов, указанных в п. 1.3.4.

1.3.6. При перевозке изделий одной партии в прямом железнодорожном сообщении допускается вкладывать этикетку не на все упакованные места, но не менее чем на восемь, уложенных по четыре у дверей вагона с каждой стороны.

1.3.7. Транспортная маркировка должна производиться по ГОСТ 14192 и, при необходимости, иметь манипуляционные знаки и информационные надписи в соответствии с конструкторской документацией на вид упаковки.

Транспортная маркировка наносится светлой несмываемой краской по трафарету.

1.4. Упаковка

1.4.1. Общие требования к упаковке изделий должны соответствовать ГОСТ 25880.

1.4.2. Изделия должны быть упакованы одним из следующих способ:

- на деревянных поддонах, обернутыми термоусадочной полиэтиленовой пленкой по ГОСТ 25951;

- в пакетах из термоусадочной полиэтиленовой пленки по ГОСТ 25951;

- в закрытых ящичных поддонах или закрытых контейнерах, на обрешетке.

1.4.3. Изделия, упакованные в полиэтиленовую термоусадочную пленку, укладывают друг на друга вплотную. Не допускается укладка на два смежных ряда. Высота уложенных изделий не должна превышать 3 м.

1.4.4. По соглашению с потребителем допускается транспортирование неупакованных изделий при условии защиты их от увлажнения и механических повреждений. Неупакованные изделия не следует укладывать в штабели высотой более 2 м.

1.4.5. Каждое упакованное грузовое место должно содержать изделие одного вида, категории и размеров. Способы укладки указывают в конструкторской документации на каждый вид упаковки.

4. МЕТОДЫ КОНТРОЛЯ

4.1. Контроль изделий должен производиться методами, изложенными в государственных стандартах, настоящих технических условиях, в инструкциях (описаниях) по использованию приборов и установок, применяемых при испытаниях.

4.2. Все применяемые при контроле средства испытаний должны подвергаться периодической государственной и ведомственной поверке в соответствии с ГОСТ 8.002 и ГОСТ 8.513 и меть свидетельства или паспорта с результатами проверки.

4.3. Измерение линейных размеров производится в соответствии с разделом 4 ГОСТ 17177.

4.4. Контроль внешнего вида изделия осуществляется в соответствии с разделом 5 ГОСТ 17177.

4.5. Контроль правильности геометрической формы производится в соответствии с разделом 6 ГОСТ 17177.

4.6. Определение плотности осуществляется в соответствии с разделом 7 ГОСТ 17177.

Плотность определяют на изделии, в котором отклонения от правильной формы не превышают предельных значений, установленных настоящими техническими условиями, или на выпиленном из изделия образце размером [(50´50´50) ± 1] мм, не имеющем перфорационных отверстий.

4.7. Определение влажности производится в соответствии с разделом 8 ГОСТ 17177.

4.8. Определение водопоглощения осуществляется в соответствии с разделом 10 ГОСТ 17177.

Водопоглощение определяют на выпиленном из изделия образце размером [(50´50´50) ± 1] мм, не имеющем перфорационных отверстий, при полном погружении образца в воду.

4.9. Метод определения предела прочности при изгибе производится в соответствии с разделом 15 ГОСТ 17177.

Прочность при изгибе определяется на выпиленном из изделия образце квадратного сечения с размером ребра (40 ± 2) мм и длиной (200 ± 3) мм, не имеющем перфорационных отверстий.

4.10. Метод определения набухания по толщине:

4.10.1. Общие требования - в соответствии с разделом 3 ГОСТ 17177.

4.10.2. Средства контроля

- электрошкаф сушильный, обеспечивающий температуру нагрева до 105 °С и автоматическое регулирование температуры с пределом допускаемой погрешности ± 5 °С;

- весы, имеющие предел допускаемой погрешности взвешивания ± 0,01 г;

- ванна из нержавеющего материала, имеющая сетчатые подставку и пригруз из нержавеющего материала (рисунок 4 ГОСТ 17177);

- эксикатор по ГОСТ 25336;

- кальций хлористый плавленый;

- штангенциркуль по ГОСТ 166.

4.10.3. Порядок подготовки к испытанию

Набухание по толщине определяют на изделии, в котором отклонения от правильной формы не превышают предельных значений, установленных настоящими техническими условиями.

Изделие высушивают до постоянной массы в соответствии с разделом 3 ГОСТ 17177 и охлаждают в эксикаторе над хлористым кальцием. Толщину высушенного изделия измеряют штангенциркулем в шести местах (по три измерения с каждой стороны изделия по направлению длины: на расстоянии (50 ± 5) мм от торцов и посередине).

4.10.4. Порядок проведения испытания

В ванну на сетчатую подставку помещают изделие и фиксируют его положение сетчатым пригрузом. Затем заливают в ванну воду температурой (22 ± 5) °С так, чтобы уровень воды был выше пригруза на 20 - 40 мм.

Через 24 часа после залива воды изделие переносят на подставку и замеряют штангенциркулем толщину в тех же точках, что и для высушенного изделия.

4.10.5. Обработкарезультатов

Набухание изделия dh в процентах по толщине вычисляют по формуле

dh=(h1-h2)/h2×100

где h1 - высота образца после насыщения водой, мм;

h2 - высота образца, предварительно высушенного до постоянной массы, мм.

4.11. Определение теплопроводности осуществляется в соответствии с ГОСТ 7076.

4.12. Определение удельной эффективной активности естественных радионуклидов производится в соответствии с ГОСТ 30108 и методиками, утвержденными Минздравом РФ.

4.13. Контроль однородности структуры изделия в изломе, а также контроль маркировки и упаковки проводят внешним осмотром.

4.14. Контроль качества материалов для изготовления изделий осуществляется в соответствии с требованиями технологического регламента.

7. ГАРАНТИИ ИЗГОТОВИТЕЛЯ

7.1. Предприятие-изготовитель гарантирует соответствие изделий требованиям настоящих технических условий при соблюдении потребителем условий транспортирования и хранения, установленных настоящими техническими условиями.

7.2. Гарантийный срок хранения изделий - 12 месяцев с момента их изготовления.

7.3. Пригодность изделий к использованию по истечении гарантийного срока хранения определяется потребителем после проведения испытаний в соответствии с разделом 4 настоящих технических условий.

ПРИЛОЖЕНИЕ 2

Виды блоков "Геокар"

 

Рисунок 1. Блоки "Геокар" с отверстиями.

 

Рисунок 2. Блоки "Геокар" сплошные.

 




Яндекс цитирования



   Copyright © 2007-2026,  www.tehlit.ru.

[ ѓосты, стандарты, нормативы, инструкции, правила, строительные нормы ]