|
| |

ГОСУДАРСТВЕННЫЙ
СТАНДАРТ СОЮЗА ССР
ФЛАНЦЫ АРМАТУРЫ,
СОЕДИНИТЕЛЬНЫХ ЧАСТЕЙ И ТРУБОПРОВОДОВ
НА Ру от 0,1 до 20,0 МПа (от 1 до 200 кгс/см2)
ТИПЫ.
ПРИСОЕДИНИТЕЛЬНЫЕ РАЗМЕРЫ И РАЗМЕРЫ УПЛОТНИТЕЛЬНЫХ ПОВЕРХНОСТЕЙ
ГОСТ 12815-80
(СТ СЭВ 3249-81, СТ СЭВ 3250-81, СТ СЭВ 3251-81)
ГОСУДАРСТВЕННЫЙ КОМИТЕТ СССР ПО УПРАВЛЕНИЮ КАЧЕСТВОМ
ПРОДУКЦИИ И СТАНДАРТАМ
Москва
ГОСУДАРСТВЕННЫЙ
СТАНДАРТ СОЮЗА ССР
|
ФЛАНЦЫ АРМАТУРЫ, СОЕДИНИТЕЛЬНЫХ
ЧАСТЕЙ И ТРУБОПРОВОДОВ НА
Pу от 0,1 до 20,0 МПа (от 1 до 200 кгс/см2)
Типы. Присоединительные размеры
и размеры уплотнительных поверхностей
Flanges for valves,
fittings, and pipelines for
Pnom from 0,1 to 20 MPa (from 1 to 200 kgf/cm2).
Types. Connecting dimensions and dimensions
of sealing surfaces
|
ГОСТ
12815-80
(СТ СЭВ 3249-81,
СТ СЭВ 3250-81,
СТ СЭВ 3251-81)
|
Срок действия с 01.01.83
до 01.01.93
1. Настоящий
стандарт распространяется на фланцы трубопроводов и соединительных частей, а
также на присоединительные фланцы арматуры, машин, приборов, патрубков,
аппаратов и резервуаров на условное давление Pу
от 0,1 до 20,0 МПа (от 1 до 200 кгс/см2) и температуру среды от 20
до 873 К (от минус 253 до плюс 600 °С) и на фланцы с прокладками из
фторопласта-4 на условное давление Pу от 0,1 до
20,0 МПа (от 1 до 200 кгс/см2) и температуру среды от 73 до 473 К
(от минус 200 до плюс 200 °С).
Стандарт не распространяется на
фланцы трубопроводов транспортных машин, если эти фланцы не предназначены для
присоединения арматуры или приборов общего назначения, а также фланцы
стандартизованные ГОСТ
1536-76 и ГОСТ
4433-76.
Требования пп. 1 - 3; 5; 6; 10 - 12 настоящего
стандарта являются обязательными, остальные требования - рекомендуемыми.
(Измененная редакция, Изм. № 2, 3).
(Измененная редакция, Изм. № 5).
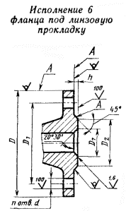
2. Типы и основные
параметры фланцев должны соответствовать указанным в табл. 1,
присоединительные размеры, размеры и исполнения уплотнительных поверхностей -
указанным на черт. 1 - 6 и в табл. 2 - 11, кроме размеров уплотнительных поверхностей щип-паз
под фторопластовые прокладки, которые должны соответствовать указанным на черт. 6 и в табл. 12.
(Измененная редакция, Изм. № 5).
Таблица
1
|
Тип фланца
|
Условное давление Py, МПа (кгс/см2)
|
Уловный проход Dy, мм
|
|
Литые из серого чугуна по ГОСТ
12817-80
|
0,1; 0,25 (1; 2,5)
|
15 - 3000
|
|
0,6 (6)
|
15 - 2400
|
|
1,0 (10)
|
15 - 2000
|
|
1,6 (16)
|
15 - 1000
|
|
Литые из ковкого чугуна по ГОСТ
12818-80
|
1,6; 2,5; 4,0 (16; 25; 40)
|
15 - 80
|
|
Литые стальные по ГОСТ
12819-80
|
1,6 (16)
|
15 - 1600
|
|
2,5 (25)
|
15 - 1400
|
|
4,0 (40)
|
15 - 800
|
|
6,3 (63)
|
15 - 600
|
|
10 (100)
|
15 - 400
|
|
16 (160)
|
15 - 300
|
|
20 (200)
|
15 - 250
|
|
Стальные плоские приварные по ГОСТ
12820-80
|
0,1; 0,25 (1; 2,5)
|
10 - 2400
|
|
0,6 (6)
|
10 - 1600
|
|
1,0 (10)
|
10 - 1600
|
|
1,6 (16)
|
10 - 1200
|
|
2,5 (25)
|
10 - 800
|
|
Стальные приварные встык по ГОСТ
12821-80
|
0,1; 0,25; 0,6 (1; 2,5; 6)
|
10 - 1600
|
|
1,0; 1,6; 2,5; 4,0 (10; 16;
25; 40)
|
10 - 1200
|
|
6,3 (63)
|
10 - 400; 500 - 1200
|
|
10 (100)
|
10 - 400
|
|
16 (160)
|
15 - 300
|
|
20 (200)
|
15 - 250
|
|
Стальные свободные на приварном кольце по ГОСТ
12822-80
|
0,1; 0,25; 0,6; 1,0; 1,6;
2,5 (1; 2,5; 6; 10; 16; 25)
|
10 - 500
|

Черт. 1.

Черт. 2.

Черт. 3.

Черт. 4.

Черт. 5.

Черт. 6.
Примечания к черт. 1 - 6:
1. Допускается обработка поверхностей А с
шероховатостью Ra £ 100 мкм.
2. Допускается обработка поверхности Б с
шероховатостью Ra £ 25 мкм при кругообразном направлении неровностей.
3.
Допускается вместо Ð 45° выполнять округление.
Таблица 2
Py 0,1 и 0,25 МПа (1,0 и
2,5 кгс/см2)
Размеры,
мм
|
Проход условный Dy
|
D
|
D1
|
D2
|
D3
|
D4
|
D5
|
D6
|
d
|
n
|
h
|
h1
|
h2
|
B
|
Номинальный диаметр болтов
или шпилек
|
|
Ряд 1
|
Ряд 2
|
Ряд 1
|
Ряд 2
|
Ряд 1
|
Ряд 2
|
Ряд 1
|
Ряд 2
|
Ряд 1
|
Ряд 2
|
Ряд 1
|
Ряд 2
|
Ряд 1
|
Ряд 2
|
Ряд 1
|
Ряд 2
|
Ряд 1
|
Ряд 2
|
|
10
|
75
|
50
|
35
|
20
|
19
|
30
|
29
|
19
|
18
|
31
|
30
|
11
|
11
|
4
|
4
|
2
|
4
|
4
|
3
|
3
|
60
|
М10
|
М10
|
|
15
|
80
|
55
|
40
|
25
|
23
|
35
|
33
|
24
|
22
|
36
|
34
|
65
|
|
20
|
90
|
65
|
50
|
32
|
33
|
46
|
43
|
31
|
32
|
47
|
44
|
70
|
|
25
|
100
|
75
|
60
|
39
|
41
|
53
|
51
|
38
|
40
|
54
|
52
|
75
|
|
32
|
120
|
90
|
70
|
49
|
49
|
63
|
59
|
48
|
48
|
64
|
60
|
14
|
14
|
95
|
М12
|
М12
|
|
40
|
130
|
100
|
80
|
56
|
55
|
70
|
69
|
55
|
54
|
71
|
70
|
3
|
100
|
|
50
|
140
|
110
|
90
|
69
|
66
|
83
|
80
|
68
|
65
|
84
|
81
|
110
|
|
65
|
160
|
130
|
110
|
89
|
86
|
103
|
100
|
88
|
85
|
104
|
101
|
125
|
|
80
|
185
|
150
|
128
|
103
|
101
|
17
|
115
|
102
|
100
|
118
|
116
|
18
|
18
|
140
|
М16
|
М16
|
|
100
|
205
|
170
|
148
|
123
|
117
|
143
|
137
|
122
|
116
|
144
|
138
|
4,5
|
3,5
|
155
|
|
125
|
235
|
200
|
178
|
149
|
146
|
169
|
166
|
148
|
145
|
170
|
167
|
8
|
8
|
-
|
|
150
|
260
|
225
|
202
|
176
|
171
|
196
|
191
|
175
|
170
|
197
|
192
|
|
(175)
|
290
|
255
|
232
|
206
|
203
|
226
|
223
|
205
|
202
|
227
|
224
|
|
200
|
315
|
280
|
258
|
231
|
229
|
251
|
249
|
230
|
228
|
252
|
250
|
|
(225)
|
340
|
305
|
282
|
256
|
256
|
276
|
276
|
255
|
255
|
277
|
277
|
|
250
|
370
|
335
|
312
|
286
|
283
|
306
|
303
|
285
|
282
|
307
|
304
|
12
|
12
|
|
300
|
435
|
395
|
365
|
336
|
336
|
356
|
356
|
335
|
335
|
357
|
357
|
22
|
22
|
4
|
5
|
4
|
М20
|
М20
|
|
350
|
485
|
445
|
415
|
381
|
386
|
407
|
406
|
380
|
385
|
408
|
407
|
5
|
4
|
|
400
|
535
|
495
|
465
|
431
|
436
|
457
|
456
|
430
|
435
|
458
|
457
|
16
|
16
|
|
(450)
|
590
|
550
|
520
|
481
|
489
|
507
|
509
|
480
|
488
|
508
|
510
|
|
500
|
640
|
600
|
570
|
531
|
541
|
557
|
561
|
530
|
540
|
558
|
562
|
20
|
|
600
|
755
|
705
|
670
|
531
|
635
|
657
|
661
|
630
|
634
|
658
|
662
|
26
|
26
|
20
|
5
|
6
|
5
|
М24
|
М24
|
|
(700)
|
860
|
810
|
775
|
736
|
737
|
762
|
763
|
735
|
736
|
763
|
764
|
24
|
24
|
|
800
|
975
|
920
|
880
|
841
|
841
|
867
|
867
|
840
|
840
|
868
|
868
|
30
|
30
|
М27
|
М27
|
|
(900)
|
1075
|
1020
|
980
|
-
|
-
|
-
|
-
|
-
|
-
|
-
|
-
|
-
|
-
|
-
|
-
|
|
1000
|
1175
|
1120
|
1080
|
28
|
28
|
|
1200
|
1375
|
1320
|
1280
|
32
|
32
|
|
1400
|
1575
|
1520
|
1480
|
36
|
36
|
|
1600
|
1785
|
1730
|
1690
|
40
|
40
|
|
(1800)
|
1985
|
1930
|
1890
|
44
|
44
|
|
2000
|
2190
|
2130
|
2090
|
48
|
48
|
|
(2200)
|
2405
|
2340
|
2295
|
33
|
33
|
52
|
52
|
6
|
М30
|
М30
|
|
2400
|
2605
|
2540
|
2495
|
56
|
56
|
|
(2600)
|
2805
|
2740
|
2695
|
60
|
60
|
|
(2800)
|
3035
|
2960
|
2910
|
36
|
39
|
64
|
64
|
М33
|
М36
|
|
3000
|
3240
|
3160
|
3110
|
68
|
68
|
(Поправка. ИУС 11-2005 г.)
Таблица 3
Py 0,6 МПа (6 кгс/см2)
Размеры, мм
|
Проход условный Dy
|
D
|
D1
|
D2
|
D3
|
D4
|
D5
|
D6
|
d
|
n
|
h
|
h1
|
h2
|
B
|
Номинальный диаметр болтов
или шпилек
|
|
Ряд 1
|
Ряд 2
|
Ряд 1
|
Ряд 2
|
Ряд 1
|
Ряд 2
|
Ряд 1
|
Ряд 2
|
Ряд 1
|
Ряд 2
|
Ряд 1
|
Ряд 2
|
Ряд 1
|
Ряд 2
|
Ряд 1
|
Ряд 2
|
Ряд 1
|
Ряд 2
|
|
10
|
75
|
50
|
35
|
20
|
19
|
30
|
29
|
19
|
18
|
31
|
30
|
11
|
11
|
4
|
4
|
2
|
4
|
4
|
3
|
3
|
60
|
М10
|
М10
|
|
15
|
80
|
55
|
40
|
25
|
23
|
35
|
33
|
24
|
22
|
36
|
34
|
65
|
|
20
|
90
|
65
|
50
|
32
|
33
|
46
|
43
|
31
|
32
|
47
|
44
|
70
|
|
25
|
100
|
75
|
60
|
39
|
41
|
53
|
51
|
38
|
40
|
54
|
52
|
75
|
|
32
|
120
|
90
|
70
|
49
|
49
|
63
|
59
|
48
|
48
|
64
|
60
|
14
|
14
|
95
|
М12
|
М12
|
|
40
|
130
|
100
|
80
|
56
|
55
|
70
|
69
|
55
|
54
|
71
|
70
|
3
|
100
|
|
50
|
140
|
110
|
90
|
69
|
66
|
83
|
80
|
68
|
65
|
84
|
81
|
110
|
|
65
|
160
|
130
|
110
|
89
|
86
|
103
|
100
|
88
|
85
|
104
|
101
|
125
|
|
80
|
185
|
150
|
128
|
103
|
101
|
117
|
115
|
102
|
100
|
118
|
116
|
18
|
18
|
140
|
М16
|
М16
|
|
100
|
205
|
170
|
148
|
123
|
117
|
143
|
137
|
122
|
116
|
144
|
138
|
4,5
|
3,5
|
155
|
|
125
|
235
|
200
|
178
|
149
|
146
|
169
|
166
|
148
|
145
|
170
|
167
|
8
|
8
|
-
|
|
150
|
260
|
225
|
202
|
176
|
171
|
196
|
191
|
175
|
170
|
197
|
192
|
|
(175)
|
290
|
255
|
232
|
206
|
203
|
226
|
223
|
205
|
202
|
227
|
224
|
|
200
|
315
|
280
|
258
|
231
|
229
|
251
|
249
|
230
|
228
|
252
|
250
|
|
(225)
|
340
|
305
|
282
|
256
|
256
|
276
|
276
|
255
|
255
|
277
|
277
|
|
250
|
370
|
335
|
312
|
286
|
283
|
306
|
303
|
285
|
282
|
307
|
304
|
12
|
12
|
|
300
|
435
|
395
|
365
|
336
|
336
|
356
|
356
|
335
|
335
|
357
|
357
|
22
|
22
|
4
|
5
|
4
|
М20
|
М20
|
|
350
|
485
|
445
|
415
|
381
|
386
|
407
|
406
|
380
|
385
|
408
|
407
|
5
|
4
|
|
400
|
535
|
495
|
465
|
431
|
436
|
457
|
456
|
430
|
435
|
458
|
457
|
16
|
16
|
|
(450)
|
590
|
550
|
520
|
481
|
489
|
507
|
509
|
480
|
488
|
508
|
510
|
|
500
|
640
|
600
|
570
|
531
|
541
|
557
|
561
|
53U
|
540
|
558
|
562
|
20
|
|
600
|
755
|
705
|
670
|
631
|
635
|
657
|
661
|
630
|
634
|
658
|
662
|
26
|
26
|
20
|
5
|
6
|
5
|
М24
|
М24
|
|
(700)
|
860
|
810
|
775
|
736
|
737
|
762
|
763
|
735
|
73iS
|
763
|
764
|
24
|
24
|
|
800
|
975
|
920
|
880
|
841
|
841
|
867
|
867
|
840
|
840
|
868
|
868
|
30
|
30
|
М27
|
М27
|
|
(900)
|
1075
|
1020
|
980
|
-
|
-
|
-
|
-
|
-
|
-
|
-
|
-
|
-
|
-
|
-
|
-
|
|
1000
|
1175
|
1120
|
1080
|
28
|
28
|
|
1200
|
1400
|
1340
|
1295
|
33
|
33
|
32
|
32
|
М30
|
М30
|
|
1400
|
1620
|
1560
|
1510
|
36
|
36
|
36
|
М33
|
|
1600
|
1820
|
1760
|
1710
|
40
|
40
|
|
(1800)
|
2045
|
1970
|
1920
|
39
|
39
|
44
|
44
|
М36
|
М36
|
|
2000
|
2265
|
2180
|
2125
|
42
|
45
|
48
|
48
|
М39
|
М42
|
|
(2200)
|
2475
|
2390
|
2335
|
52
|
52
|
6
|
|
2400
|
2685
|
2600
|
2545
|
56
|
56
|
(Поправка. ИУС 11-2005 г.)
Таблица 4
Py 1,0 МПа (10 кгс/см2)
Размеры, мм
|
Проход условный Dy
|
D
|
D1
|
D2
|
D3
|
D4
|
D5
|
D6
|
d
|
n
|
h
|
h1
|
h2
|
B
|
Номинальный диаметр болтов
или шпилек
|
|
Ряд 1
|
Ряд 2
|
Ряд 1
|
Ряд 2
|
Ряд 1
|
Ряд 2
|
Ряд 1
|
Ряд 2
|
Ряд 1
|
Ряд 2
|
Ряд 1
|
Ряд 2
|
Ряд 1
|
Ряд 2
|
Ряд 1
|
Ряд 2
|
Ряд 1
|
Ряд 2
|
|
10
|
90
|
60
|
42
|
24
|
34
|
23
|
35
|
14
|
14
|
4
|
4
|
2
|
4
|
4
|
3
|
3
|
70
|
М12
|
М12
|
|
15
|
95
|
65
|
47
|
29
|
39
|
28
|
40
|
75
|
|
20
|
105
|
75
|
58
|
36
|
50
|
35
|
51
|
80
|
|
25
|
115
|
85
|
68
|
43
|
57
|
42
|
58
|
90
|
|
32
|
135
|
100
|
78
|
51
|
65
|
50
|
66
|
18
|
18
|
105
|
М16
|
М16
|
|
40
|
145
|
110
|
88
|
61
|
75
|
60
|
76
|
3
|
110
|
|
50
|
160
|
125
|
102
|
73
|
87
|
72
|
88
|
125
|
|
65
|
180
|
145
|
122
|
95
|
109
|
94
|
110
|
140
|
|
80
|
195
|
160
|
133
|
106
|
120
|
105
|
121
|
8
|
150
|
|
100
|
215
|
180
|
158
|
129
|
149
|
128
|
150
|
8
|
4,5
|
3,5
|
-
|
|
125
|
245
|
210
|
184
|
155
|
175
|
154
|
176
|
|
150
|
280
|
240
|
212
|
183
|
203
|
182
|
204
|
22
|
22
|
М20
|
М20
|
|
(175)
|
310
|
270
|
242
|
213
|
233
|
212
|
234
|
|
200
|
335
|
295
|
268
|
239
|
259
|
238
|
260
|
|
(225)
|
365
|
325
|
295
|
266
|
286
|
265
|
287
|
|
250
|
390
|
350
|
320
|
292
|
312
|
291
|
313
|
12
|
12
|
|
300
|
440
|
400
|
370
|
343
|
363
|
342
|
364
|
4
|
5
|
4
|
|
350
|
500
|
460
|
430
|
395
|
421
|
394
|
422
|
16
|
16
|
5
|
4
|
|
400
|
565
|
515
|
482
|
447
|
473
|
446
|
474
|
26
|
26
|
М24
|
М24
|
|
(450)
|
615
|
565
|
532
|
497
|
523
|
496
|
524
|
20
|
20
|
|
500
|
670
|
620
|
585
|
549
|
575
|
548
|
576
|
|
600
|
780
|
725
|
685
|
649
|
651
|
675
|
677
|
648
|
650
|
676
|
678
|
30
|
30
|
5
|
6
|
5
|
М27
|
М27
|
|
(700)
|
895
|
840
|
800
|
751
|
751
|
777
|
777
|
750
|
750
|
778
|
778
|
24
|
24
|
|
800
|
1010
|
950
|
905
|
856
|
851
|
882
|
877
|
855
|
850
|
883
|
878
|
33
|
33
|
М30
|
М30
|
|
(900)
|
1110
|
1050
|
1005
|
-
|
-
|
-
|
-
|
-
|
-
|
-
|
-
|
28
|
28
|
-
|
-
|
-
|
-
|
|
1000
|
1220
|
1160
|
1110
|
36
|
М33
|
М30
|
|
1200
|
1455
|
1380
|
1330
|
39
|
39
|
32
|
32
|
М36
|
М36
|
|
1400
|
1675
|
1590
|
1530
|
42
|
45
|
36
|
36
|
М39
|
М42
|
|
1600
|
1915
|
1820
|
1750
|
48
|
52
|
40
|
40
|
М45
|
М48
|
|
(1800)
|
2115
|
2020
|
1950
|
44
|
44
|
|
2000
|
2325
|
2230
|
2150
|
48
|
48
|
Таблица 5
Py 1,6 МПа (16 кгс/см2)
Размеры,
мм
|
Проход условный Dy
|
D
|
D1
|
D2
|
D3
|
D4
|
D5
|
D6
|
d
|
n
|
h
|
h1
|
h2
|
B
|
Номинальный диаметр болтов
или шпилек
|
|
Ряд 1
|
Ряд 2
|
Ряд 1
|
Ряд 2
|
Ряд 1
|
Ряд 2
|
Ряд 1
|
Ряд 2
|
Ряд 1
|
Ряд 2
|
Ряд 1
|
Ряд 2
|
Ряд 1
|
Ряд 2
|
Ряд 1
|
Ряд 2
|
Ряд 1
|
Ряд 2
|
|
10
|
90
|
60
|
42
|
24
|
34
|
23
|
35
|
14
|
14
|
4
|
4
|
2
|
4
|
4
|
3
|
3
|
70
|
М12
|
М12
|
|
15
|
95
|
65
|
47
|
29
|
39
|
28
|
40
|
75
|
|
20
|
105
|
75
|
58
|
36
|
50
|
35
|
51
|
80
|
|
25
|
115
|
85
|
68
|
43
|
57
|
42
|
58
|
90
|
|
32
|
135
|
100
|
78
|
51
|
65
|
50
|
66
|
18
|
18
|
105
|
М16
|
М16
|
|
40
|
145
|
110
|
88
|
61
|
75
|
60
|
76
|
3
|
110
|
|
50
|
160
|
125
|
102
|
73
|
87
|
72
|
88
|
125
|
|
65
|
180
|
145
|
122
|
95
|
109
|
94
|
110
|
140
|
|
80
|
195
|
160
|
133
|
106
|
120
|
105
|
121
|
8
|
150
|
|
100
|
215
|
180
|
158
|
129
|
149
|
128
|
150
|
8
|
4,5
|
3,5
|
-
|
|
125
|
245
|
210
|
184
|
155
|
175
|
154
|
176
|
|
150
|
280
|
240
|
212
|
183
|
203
|
182
|
204
|
22
|
22
|
М20
|
М20
|
|
(175)
|
310
|
270
|
242
|
213
|
233
|
212
|
234
|
|
200
|
335
|
295
|
268
|
239
|
259
|
238
|
260
|
12
|
12
|
|
(225)
|
365
|
325
|
295
|
266
|
286
|
265
|
287
|
|
250
|
405
|
355
|
320
|
292
|
312
|
291
|
313
|
26
|
26
|
М24
|
М24
|
|
300
|
460
|
410
|
370
|
343
|
363
|
342
|
364
|
4
|
5
|
4
|
|
350
|
520
|
470
|
430
|
395
|
421
|
394
|
422
|
16
|
16
|
5
|
4
|
|
400
|
580
|
525
|
482
|
447
|
473
|
446
|
474
|
30
|
30
|
М27
|
М27
|
|
(450)
|
640
|
585
|
532
|
497
|
523
|
496
|
524
|
20
|
20
|
|
500
|
710
|
650
|
585
|
549
|
575
|
548
|
576
|
33
|
33
|
М30
|
М30
|
|
600
|
840
|
770
|
685
|
649
|
651
|
675
|
677
|
648
|
650
|
676
|
678
|
36
|
39
|
5
|
6
|
5
|
М33
|
М36
|
|
(700)
|
910
|
840
|
800
|
751
|
751
|
777
|
777
|
750
|
750
|
778
|
778
|
24
|
24
|
|
800
|
1020
|
950
|
905
|
856
|
851
|
882
|
877
|
855
|
850
|
883
|
878
|
39
|
М36
|
|
(900)
|
1120
|
1050
|
1005
|
-
|
-
|
-
|
-
|
-
|
-
|
-
|
-
|
28
|
28
|
-
|
-
|
-
|
-
|
|
1000
|
1255
|
1170
|
1110
|
42
|
45
|
М39
|
М42
|
|
1200
|
1485
|
1390
|
1330
|
48
|
52
|
32
|
32
|
М45
|
М48
|
|
1400
|
1685
|
1590
|
1530
|
36
|
36
|
|
1600
|
1925
|
1820
|
1750
|
56
|
56
|
40
|
40
|
М52
|
М52
|
Таблица 6
Py 2,5 МПа (25 кгс/см2)
Размеры, мм
|
Проход условный Dy
|
D
|
D1
|
D2
|
D3
|
D4
|
D5
|
D6
|
d
|
n
|
h
|
h1
|
h2
|
B
|
Номинальный диаметр болтов
или шпилек
|
|
Ряд 1
|
Ряд 2
|
Ряд 1
|
Ряд 2
|
Ряд 1
|
Ряд 2
|
Ряд 1
|
Ряд 2
|
Ряд 1
|
Ряд 2
|
Ряд 1
|
Ряд 2
|
Ряд 1
|
Ряд 2
|
Ряд 1
|
Ряд 2
|
|
10
|
90
|
60
|
42
|
24
|
34
|
23
|
35
|
14
|
14
|
4
|
2
|
4
|
4
|
3
|
3
|
70
|
М12
|
М12
|
|
15
|
05
|
65
|
47
|
29
|
39
|
28
|
40
|
75
|
|
20
|
105
|
75
|
58
|
36
|
50
|
35
|
51
|
80
|
|
25
|
115
|
85
|
68
|
43
|
57
|
42
|
58
|
90
|
|
32
|
135
|
100
|
78
|
51
|
65
|
50
|
66
|
18
|
18
|
105
|
М16
|
М16
|
|
40
|
115
|
110
|
88
|
61
|
75
|
60
|
76
|
3
|
110
|
|
50
|
160
|
125
|
102
|
73
|
87
|
72
|
88
|
125
|
|
65
|
180
|
145
|
122
|
95
|
109
|
94
|
110
|
8
|
-
|
|
80
|
195
|
160
|
133
|
106
|
120
|
105
|
121
|
|
100
|
230
|
190
|
158
|
129
|
149
|
128
|
150
|
22
|
22
|
4,5
|
3,5
|
М20
|
М20
|
|
125
|
270
|
220
|
184
|
155
|
175
|
154
|
176
|
26
|
26
|
М24
|
М24
|
|
150
|
300
|
250
|
212
|
183
|
203
|
182
|
204
|
|
(175)
|
33C
|
280
|
242
|
213
|
233
|
212
|
234
|
12
|
|
200
|
360
|
310
|
278
|
239
|
259
|
238
|
260
|
|
(225)
|
395
|
340
|
305
|
266
|
286
|
265
|
287
|
30
|
30
|
М27
|
М27
|
|
250
|
425
|
370
|
335
|
292
|
312
|
291
|
313
|
|
300
|
485
|
430
|
390
|
343
|
363
|
312
|
364
|
16
|
4
|
5
|
4
|
|
350
|
550
|
490
|
450
|
395
|
421
|
394
|
422
|
33
|
33
|
5
|
4
|
М30
|
М30
|
|
400
|
610
|
550
|
505
|
447
|
473
|
446
|
474
|
36
|
М33
|
|
(450)
|
660
|
600
|
555
|
497
|
523
|
496
|
524
|
20
|
|
500
|
730
|
660
|
615
|
549
|
575
|
548
|
576
|
39
|
М36
|
|
600
|
840
|
770
|
720
|
649
|
651
|
575
|
377
|
648
|
550
|
676
|
678
|
39
|
5
|
6
|
5
|
М36
|
|
(700)
|
960
|
875
|
820
|
751
|
751
|
777
|
777
|
750
|
750
|
778
|
778
|
42
|
45
|
24
|
М39
|
М42
|
|
800
|
1075
|
990
|
930
|
356
|
351
|
882
|
877
|
855
|
350
|
883
|
878
|
48
|
М45
|
|
(900)
|
1185
|
1090
|
1030
|
-
|
-
|
-
|
-
|
-
|
-
|
-
|
-
|
52
|
28
|
-
|
-
|
-
|
-
|
М48
|
|
1000
|
1315
|
1210
|
1140
|
56
|
56
|
М52
|
М52
|
|
1200
|
1525
|
1420
|
1350
|
32
|
|
1400
|
1750
|
1640
|
1560
|
62
|
62
|
36
|
М56
|
М56
|
Таблица 7
Py 4,0 МПа (40 кгс/см2)
Размеры, мм
|
Проход условный Dy
|
D
|
D1
|
D2
|
D3
|
D4
|
D5
|
D6
|
d
|
n
|
h
|
h1
|
h2
|
B
|
Номинальный диаметр болтов
или шпилек
|
|
Ряд 1
|
Ряд 2
|
Ряд 1
|
Ряд 2
|
Ряд 1
|
Ряд 2
|
Ряд 1
|
Ряд 2
|
Ряд 1
|
Ряд 2
|
Ряд 1
|
Ряд 2
|
Ряд 1
|
Ряд 2
|
Ряд 1
|
Ряд 2
|
|
10
|
90
|
60
|
42
|
24
|
34
|
23
|
35
|
14
|
14
|
4
|
2
|
4
|
4
|
3
|
3
|
70
|
М12
|
М12
|
|
15
|
95
|
65
|
47
|
29
|
39
|
28
|
40
|
75
|
|
20
|
105
|
75
|
58
|
36
|
50
|
35
|
51
|
80
|
|
25
|
115
|
85
|
68
|
43
|
57
|
42
|
58
|
90
|
|
32
|
135
|
100
|
78
|
51
|
65
|
50
|
66
|
18
|
18
|
105
|
М16
|
М16
|
|
40
|
145
|
110
|
88
|
61
|
75
|
60
|
76
|
3
|
110
|
|
50
|
160
|
125
|
102
|
73
|
87
|
72
|
88
|
125
|
|
65
|
180
|
145
|
122
|
95
|
109
|
94
|
110
|
8
|
-
|
|
80
|
195
|
160
|
133
|
106
|
120
|
105
|
121
|
|
100
|
230
|
190
|
158
|
129
|
149
|
128
|
150
|
22
|
22
|
4,5
|
3,5
|
М20
|
М20
|
|
125
|
270
|
220
|
184
|
155
|
175
|
154
|
176
|
26
|
26
|
М24
|
М24
|
|
150
|
300
|
250
|
212
|
183
|
203
|
182
|
204
|
|
(175)
|
350
|
295
|
242
|
213
|
233
|
212
|
234
|
30
|
30
|
12
|
М27
|
М27
|
|
200
|
375
|
320
|
285
|
239
|
259
|
238
|
260
|
|
(225)
|
415
|
355
|
315
|
266
|
286
|
265
|
287
|
33
|
33
|
М30
|
М30
|
|
250
|
445
|
385
|
345
|
292
|
312
|
291
|
313
|
|
300
|
510
|
450
|
410
|
343
|
363
|
342
|
364
|
16
|
4
|
5
|
4
|
|
350
|
570
|
510
|
465
|
395
|
421
|
394
|
422
|
36
|
5
|
4
|
М33
|
М30
|
|
400
|
655
|
585
|
535
|
447
|
473
|
446
|
474
|
39
|
39
|
М36
|
М36
|
|
(450)
|
680
|
610
|
560
|
497
|
523
|
496
|
524
|
20
|
|
500
|
755
|
670
|
615
|
549
|
575
|
548
|
576
|
42
|
45
|
М39
|
М42
|
|
600
|
890
|
795
|
735
|
649
|
651
|
675
|
677
|
648
|
650
|
676
|
678
|
48
|
52
|
5
|
6
|
5
|
М45
|
М48
|
|
(700)
|
995
|
900
|
810
|
751
|
751
|
777
|
777
|
750
|
750
|
778
|
778
|
24
|
|
800
|
1135
|
1030
|
960
|
856
|
851
|
882
|
877
|
855
|
850
|
883
|
878
|
56
|
56
|
М52
|
М52
|
|
(900)
|
1250
|
1140
|
1070
|
-
|
-
|
-
|
-
|
-
|
-
|
-
|
-
|
28
|
-
|
-
|
-
|
-
|
|
1000
|
1360
|
1250
|
1180
|
|
1200
|
1575
|
1460
|
1380
|
62
|
62
|
32
|
М56
|
М56
|
Таблица 8
Py 6,3 МПа (63 кгс/см2)
Размеры, мм
|
Проход условный Dy
|
D
|
D1
|
D2
|
D3
|
D4
|
D5
|
D6
|
D7
|
D8
|
D9
|
|
Ряд 1
|
Ряд 2
|
Ряд 1
|
Ряд 2
|
Ряд 1
|
Ряд 2
|
Ряд 1
|
Ряд 2
|
|
10
|
100
|
70
|
42
|
24
|
34
|
23
|
35
|
18
|
35
|
50
|
|
15
|
105
|
75
|
47
|
29
|
39
|
28
|
40
|
24
|
55
|
|
20
|
125
|
90
|
58
|
36
|
50
|
35
|
51
|
30
|
45
|
58
|
|
25
|
135
|
100
|
68
|
43
|
57
|
42
|
58
|
35
|
50
|
68
|
|
32
|
150
|
110
|
78
|
51
|
65
|
50
|
66
|
42
|
65
|
78
|
|
40
|
165
|
125
|
88
|
61
|
75
|
60
|
76
|
52
|
75
|
88
|
|
50
|
175
|
135
|
102
|
73
|
87
|
72
|
88
|
63
|
85
|
102
|
|
65
|
200
|
160
|
122
|
95
|
109
|
94
|
110
|
85
|
10
|
132
|
|
80
|
210
|
170
|
133
|
106
|
120
|
105
|
121
|
97
|
115
|
133
|
|
100
|
250
|
200
|
158
|
129
|
149
|
128
|
150
|
124
|
145
|
170
|
|
125
|
295
|
240
|
184
|
155
|
175
|
154
|
176
|
153
|
175
|
205
|
|
150
|
340
|
280
|
212
|
183
|
203
|
182
|
204
|
181
|
205
|
240
|
|
(175)
|
370
|
310
|
212
|
213
|
233
|
212
|
234
|
218
|
235
|
270
|
|
200
|
405
|
345
|
285
|
239
|
259
|
238
|
260
|
243
|
265
|
285
|
|
(225)
|
430
|
370
|
315
|
266
|
286
|
265
|
287
|
270
|
280
|
315
|
|
250
|
470
|
400
|
345
|
292
|
312
|
291
|
313
|
298
|
320
|
345
|
|
300
|
530
|
460
|
410
|
343
|
363
|
342
|
364
|
345
|
375
|
410
|
|
350
|
595
|
525
|
465
|
395
|
421
|
394
|
422
|
394
|
420
|
465
|
|
400
|
670
|
585
|
535
|
447
|
473
|
446
|
474
|
445
|
480
|
535
|
|
500
|
800
|
705
|
615
|
549
|
575
|
548
|
576
|
-
|
-
|
-
|
|
600
|
925
|
820
|
735
|
649
|
651
|
675
|
677
|
648
|
650
|
676
|
678
|
|
(700)
|
1045
|
935
|
840
|
-
|
-
|
-
|
-
|
|
800
|
1165
|
1050
|
960
|
|
(900)
|
1285
|
1170
|
1070
|
|
1000
|
1415
|
1290
|
1180
|
|
1200
|
1665
|
1530
|
1380
|
Продолжение табл. 8
|
Проход условный Dy
|
d
|
n
|
h
|
h1
|
h2
|
h3
|
b2
|
r
|
Номинальный диаметр шпилек
|
|
Ряд 1
|
Ряд 2
|
Ряд 1
|
Ряд 2
|
Ряд 1
|
Ряд 2
|
Ряд 1
|
Ряд 2
|
|
10
|
14
|
14
|
4
|
2
|
4
|
4
|
3
|
3
|
6,5
|
9
|
2,8
|
М12
|
М12
|
|
15
|
|
20
|
18
|
18
|
М16
|
М16
|
|
25
|
|
32
|
22
|
22
|
М20
|
М20
|
|
40
|
3
|
|
50
|
8,0
|
12
|
4,0
|
|
65
|
8
|
|
80
|
|
100
|
26
|
26
|
4,5
|
3,5
|
М24
|
М24
|
|
125
|
30
|
30
|
М27
|
М27
|
|
150
|
33
|
33
|
М30
|
М30
|
|
(175)
|
12
|
|
200
|
36
|
М33
|
|
(225)
|
|
250
|
39
|
М36
|
|
300
|
16
|
4
|
5
|
4
|
|
350
|
39
|
39
|
5
|
4
|
М36
|
М36
|
|
400
|
42
|
45
|
М39
|
М42
|
|
500
|
48
|
52
|
20
|
-
|
-
|
-
|
М45
|
М48
|
|
600
|
56
|
56
|
5
|
6
|
5
|
М52
|
М52
|
|
(700)
|
24
|
-
|
-
|
-
|
-
|
|
800
|
62
|
62
|
М56
|
М56
|
|
(900)
|
28
|
|
1000
|
70
|
70
|
М64
|
М64
|
|
1200
|
78
|
78
|
32
|
М72
|
М72
|
Таблица 9
Py 10 МПа (100 кгс/см2)
Размеры, мм
|
Проход условный Dy
|
D
|
D1
|
D2
|
D3
|
D4
|
D5
|
D6
|
D7
|
D8
|
D9
|
d
|
n
|
h
|
h1
|
h2
|
h3
|
b2
|
r
|
Номинальный диаметр шпилек
|
|
Ряд 1
|
Ряд 2
|
Ряд 1
|
Ряд 2
|
Ряд 1
|
Ряд 2
|
Ряд 1
|
Ряд 2
|
|
10
|
100
|
70
|
42
|
24
|
34
|
23
|
35
|
18
|
35
|
50
|
14
|
14
|
4
|
2
|
4
|
4
|
3
|
3
|
6,5
|
9
|
2,8
|
М12
|
М12
|
|
15
|
105
|
75
|
47
|
29
|
39
|
28
|
40
|
24
|
55
|
|
20
|
125
|
90
|
58
|
36
|
50
|
35
|
51
|
30
|
45
|
58
|
18
|
18
|
М16
|
М16
|
|
25
|
135
|
100
|
68
|
43
|
57
|
42
|
58
|
35
|
50
|
68
|
|
32
|
150
|
110
|
78
|
51
|
65
|
50
|
66
|
42
|
65
|
78
|
22
|
22
|
М20
|
М20
|
|
40
|
165
|
125
|
88
|
61
|
75
|
60
|
76
|
52
|
75
|
88
|
3
|
|
50
|
195
|
145
|
102
|
73
|
87
|
72
|
88
|
63
|
85
|
102
|
26
|
26
|
8,0
|
12
|
4,0
|
М24
|
М24
|
|
65
|
220
|
170
|
122
|
95
|
109
|
94
|
110
|
85
|
110
|
140
|
8
|
|
80
|
230
|
180
|
133
|
106
|
120
|
105
|
121
|
97
|
115
|
150
|
|
100
|
265
|
210
|
158
|
129
|
149
|
128
|
150
|
124
|
145
|
175
|
30
|
30
|
4,5
|
3,5
|
М27
|
М27
|
|
125
|
310
|
250
|
184
|
155
|
175
|
154
|
176
|
153
|
175
|
210
|
33
|
33
|
М30
|
М30
|
|
150
|
350
|
290
|
212
|
183
|
203
|
182
|
204
|
181
|
205
|
250
|
12
|
|
(175)
|
380
|
320
|
242
|
213
|
233
|
212
|
234
|
218
|
235
|
280
|
|
200
|
430
|
360
|
285
|
239
|
259
|
238
|
260
|
243
|
265
|
285
|
36
|
39
|
М33
|
М36
|
|
(225)
|
470
|
400
|
315
|
266
|
286
|
265
|
287
|
270
|
280
|
315
|
39
|
М36
|
|
250
|
500
|
430
|
345
|
292
|
312
|
291
|
313
|
298
|
320
|
345
|
|
300
|
585
|
500
|
410
|
343
|
363
|
342
|
364
|
345
|
375
|
410
|
42
|
45
|
16
|
4
|
5
|
4
|
М39
|
М42
|
|
350
|
655
|
560
|
465
|
395
|
421
|
394
|
422
|
394
|
420
|
65
|
48
|
52
|
5
|
4
|
11,0
|
17
|
5,8
|
М45
|
М48
|
|
400
|
715
|
620
|
535
|
447
|
473
|
446
|
474
|
445
|
480
|
535
|
Таблица 10
Py 16 МПа (160 кгс/см2)
Размеры, мм
|
Проход условный Dy
|
D
|
D1
|
D2
|
D3
|
D4
|
D5
|
D6
|
D7
|
D8
|
D9
|
d
|
n
|
h
|
h1
|
h2
|
h3
|
b2
|
r
|
Номинальный диаметр шпилек
|
|
Ряд 1
|
Ряд 2
|
Ряд 1
|
Ряд 2
|
Ряд 1
|
Ряд 2
|
Ряд 1
|
Ряд 2
|
|
15
|
105
|
75
|
47
|
29
|
39
|
28
|
40
|
24
|
35
|
55
|
14
|
14
|
4
|
2
|
4
|
4
|
3
|
3
|
6,5
|
9
|
2,8
|
М12
|
М12
|
|
20
|
125
|
90
|
58
|
36
|
50
|
35
|
51
|
30
|
45
|
58
|
18
|
18
|
М16
|
М16
|
|
25
|
135
|
100
|
68
|
43
|
57
|
42
|
58
|
35
|
50
|
68
|
|
32
|
150
|
110
|
78
|
51
|
65
|
50
|
66
|
42
|
65
|
78
|
22
|
22
|
М20
|
М20
|
|
40
|
165
|
125
|
88
|
61
|
75
|
60
|
76
|
52
|
75
|
88
|
3
|
|
50
|
195
|
145
|
102
|
73
|
87
|
72
|
88
|
63
|
95
|
115
|
26
|
26
|
8,0
|
12
|
4,0
|
М24
|
М24
|
|
65
|
220
|
170
|
122
|
95
|
109
|
94
|
110
|
85
|
110
|
140
|
8
|
|
80
|
230
|
180
|
133
|
106
|
120
|
105
|
121
|
97
|
130
|
150
|
|
100
|
265
|
210
|
158
|
129
|
149
|
128
|
150
|
124
|
145
|
175
|
30
|
30
|
4,5
|
3,5
|
М27
|
М27
|
|
125
|
310
|
250
|
184
|
155
|
175
|
154
|
176
|
153
|
190
|
210
|
33
|
33
|
М30
|
М30
|
|
150
|
350
|
290
|
212
|
183
|
203
|
182
|
204
|
181
|
205
|
250
|
12
|
10,0
|
14
|
4,2
|
|
(175)
|
380
|
320
|
242
|
213
|
233
|
212
|
234
|
218
|
255
|
280
|
36
|
11,0
|
17
|
5,8
|
М33
|
|
200
|
430
|
360
|
285
|
239
|
259
|
238
|
260
|
243
|
275
|
315
|
39
|
М36
|
М36
|
|
(225)
|
470
|
400
|
315
|
266
|
286
|
265
|
287
|
270
|
305
|
350
|
39
|
|
250
|
500
|
430
|
345
|
292
|
312
|
291
|
313
|
298
|
330
|
380
|
42
|
М39
|
|
300
|
585
|
500
|
410
|
343
|
363
|
342
|
364
|
345
|
380
|
410
|
45
|
16
|
4
|
5
|
4
|
14,0
|
23
|
8,5
|
М42
|
Таблица
11
Py 20 МПа (200 кгс/см2)
Размеры, мм
|
Проход условный Dy
|
D
|
D1
|
D2
|
D3
|
D4
|
D5
|
D6
|
D7
|
D8
|
D9
|
d
|
n
|
h
|
h1
|
h2
|
h3
|
b2
|
r
|
Номинальный диаметр шпилек
|
|
15
|
120
|
82
|
47
|
29
|
39
|
28
|
40
|
24
|
40
|
55
|
22
|
4
|
2
|
4
|
3
|
6,5
|
9
|
2,8
|
М20
|
|
20
|
130
|
90
|
58
|
36
|
50
|
35
|
51
|
30
|
45
|
58
|
|
25
|
150
|
102
|
68
|
43
|
57
|
42
|
58
|
35
|
50
|
68
|
26
|
М24
|
|
32
|
160
|
115
|
78
|
51
|
65
|
50
|
66
|
42
|
65
|
78
|
|
40
|
170
|
124
|
88
|
61
|
75
|
60
|
76
|
52
|
75
|
91
|
3
|
8,0
|
12
|
4,0
|
|
50
|
210
|
160
|
102
|
73
|
87
|
72
|
88
|
63
|
95
|
129
|
8
|
|
65
|
260
|
203
|
122
|
99
|
109
|
94
|
110
|
85
|
130
|
167
|
30
|
М27
|
|
80
|
290
|
230
|
133
|
106
|
120
|
105
|
121
|
97
|
160
|
190
|
33
|
М30
|
|
100
|
360
|
292
|
158
|
129
|
149
|
128
|
150
|
124
|
190
|
245
|
39
|
4,5
|
3,5
|
М36
|
|
125
|
385
|
318
|
184
|
155
|
175
|
154
|
176
|
153
|
205
|
271
|
12
|
10,0
|
14
|
4,2
|
|
150
|
440
|
360
|
212
|
183
|
203
|
182
|
204
|
181
|
240
|
306
|
45
|
11,0
|
17
|
5,8
|
М42
|
|
(175)
|
475
|
394
|
242
|
213
|
233
|
212
|
234
|
218
|
275
|
340
|
|
200
|
535
|
440
|
285
|
239
|
259
|
238
|
260
|
243
|
305
|
380
|
52
|
М48
|
|
(225)
|
580
|
483
|
315
|
266
|
286
|
265
|
287
|
-
|
-
|
-
|
56
|
-
|
-
|
-
|
М52
|
|
250
|
670
|
572
|
345
|
292
|
312
|
291
|
313
|
-
|
-
|
-
|
16
|
|
|
|
|
|
|
|
|
|
|
|
|
|
|
|
|
|
|
|
|
|
Примечания к табл. 1 - 12:
1. Фланцы с условными проходами, указанными в скобках,
не допускается применять для арматуры общего назначения.
2. Фланцы должны изготовляться с размерами по
предпочтительному ряду 2.
3. Для ранее разработанных изделий размеры d и
D2, D7 и D9 допускается выполнять по
рабочим чертежам до замены технологической оснастки.
Таблица
12
Размеры, мм
|
Условный проход Dy
|
Py, МПа (кгс/см2)
|
Ряд
|
D3, D5
|
D4, D6
|
h1
|
h2
|
|
10
|
До
0,63
(6,3)
|
1
|
19
|
31
|
4
|
3
|
|
2
|
18
|
30
|
|
Св.
0,63 (6,3) до 10 (100)
|
1; 2
|
23
|
35
|
|
15
|
До
0,63
(6,3)
|
1
|
24
|
36
|
|
2
|
22
|
34
|
|
Св.
0,63 (6,3) до 20 (200)
|
1; 2
|
28
|
40
|
|
20
|
До
0,63
(6,3)
|
1
|
31
|
47
|
|
2
|
32
|
44
|
|
Св.
0,63 (6,3) до 20 (200)
|
1; 2
|
35
|
51
|
|
25
|
До
0,63
(6,3)
|
1
|
38
|
54
|
|
2
|
40
|
52
|
|
Св.
0,63 (6,3) до 20 (200)
|
1; 2
|
42
|
58
|
|
32
|
До
0,63
(6,3)
|
1
|
48
|
64
|
|
2
|
60
|
|
Св.
0,63 (6,3) до 20 (200)
|
1; 2
|
50
|
66
|
|
40
|
До
0,63
(6,3)
|
1
|
55
|
71
|
|
2
|
54
|
70
|
|
Св.
0,63 (6,3) до 20 (200)
|
1; 2
|
60
|
76
|
|
50
|
До
0,63
(6,3)
|
1
|
68
|
84
|
|
2
|
65
|
81
|
|
Св.
0,63 (6,3) до 20 (200)
|
1; 2
|
72
|
88
|
|
65
|
До
0,63
(6,3)
|
1
|
88
|
104
|
|
2
|
85
|
101
|
|
Св.
0,63 (6,3) до 20 (200)
|
1; 2
|
94
|
110
|
|
80
|
До
0,63
(6,3)
|
1
|
102
|
118
|
|
2
|
100
|
116
|
|
Св.
0,63 (6,3) до 20 (200)
|
1; 2
|
105
|
121
|
|
100
|
До
0,63 (6,3)
|
1
|
122
|
144
|
6
|
5
|
|
2
|
116
|
138
|
|
Св.
0,63 (6,3) до 20 (200)
|
1; 2
|
128
|
150
|
|
125
|
До
0,63 (6,3)
|
1
|
148
|
170
|
|
2
|
145
|
167
|
|
Св.
0,63 (6,3) до 20 (200)
|
1; 2
|
154
|
176
|
|
150
|
До
0,63 (6,3)
|
1
|
175
|
197
|
|
2
|
170
|
192
|
|
Св.
0,63 (6,3) до 20 (200)
|
1; 2
|
182
|
204
|
|
(175)
|
До
0,63 (6,3)
|
1
|
205
|
227
|
|
2
|
202
|
224
|
|
Св.
0,63 (6,3) до 20 (200)
|
1; 2
|
212
|
234
|
|
200
|
До
0,63 (6,3)
|
1
|
230
|
252
|
|
2
|
228
|
250
|
|
Св.
0,63 (6,3) до 20 (200)
|
1; 2
|
238
|
260
|
|
(225)
|
До
0,63 (6,3)
|
1; 2
|
225
|
277
|
|
Св.
0,63 (6,3) до 20 (200)
|
1; 2
|
265
|
287
|
|
250
|
До
0,63 (6,3)
|
1
|
285
|
307
|
|
2
|
282
|
304
|
|
Св.
0,63 (6,3) до 20 (200)
|
1; 2
|
291
|
313
|
|
300
|
До
0,63 (6,3)
|
1; 2
|
335
|
357
|
|
Св.
0,63 (6,3) до 16 (160)
|
1; 2
|
242
|
364
|
|
350
|
До
0,63 (6,3)
|
1
|
380
|
408
|
|
2
|
385
|
407
|
|
Св.
0,63 (6,3) до 10 (100)
|
1; 2
|
394
|
422
|
|
400
|
До
0,63 (6,3)
|
1
|
430
|
458
|
|
2
|
435
|
457
|
|
Св.
0,63 (6,3) до 10 (100)
|
1; 2
|
446
|
474
|
|
450
|
До
0,63 (6,3)
|
1
|
480
|
508
|
|
2
|
488
|
510
|
|
Св.
0,63 (6,3) до 4,0 (400)
|
1; 2
|
496
|
524
|
|
500
|
До
0,63 (6,3)
|
1
|
530
|
558
|
|
2
|
540
|
562
|
|
Св.
0,63 (6,3) до 6,3 (63)
|
1; 2
|
548
|
576
|
|
600
|
До
0,63 (6,3)
|
1
|
630
|
658
|
|
2
|
634
|
662
|
|
Св.
0,63 (6,3) до 6,3 (63)
|
1
|
648
|
676
|
|
2
|
650
|
678
|
|
700
|
До
0,63 (6,3)
|
1
|
735
|
763
|
|
2
|
736
|
764
|
|
Св.
0,63 (6,3) до 4,0 (40)
|
1; 2
|
750
|
778
|
|
800
|
До
0,63 (6,3)
|
1; 2
|
840
|
868
|
|
Св.
0,63 (6,3) до 4,0 (40)
|
1
|
855
|
883
|
|
2
|
850
|
878
|
(Измененная редакция, Изм. № 1,
3, 4).
3. Поля допусков
посадочных мест под фторопластовые прокладки в сопрягаемых деталях должны
соответствовать указанным в табл. 13.
4. Допускается изготовлять
фланцы других конструкций с другими исполнениями уплотнительных поверхностей, в
том числе с уплотнительными канавками на соединительном выступе или приварном
кольце, с обязательным выполнением присоединительных размеров по табл. 2 - 11.
5. Проходы
условные - по ГОСТ 28338-89.
Давление номинальное (условное)
- по ГОСТ
26349-84.
Давления рабочие - по ГОСТ
356-80.
(Измененная редакция, Изм. № 5).
Таблица 13
|
Диаметр (шипа или паза),
мм
|
Поле допуска
|
|
Отверстие
|
Вал
|
|
От 18 до 30
|
Н12
|
b12
|
|
Св. 30 до 130
|
d11
|
|
Св. 130 до 260
|
Н11
|
|
Св. 260 до 500
|
f9
|
|
Св. 500 до 800
|
Н10
|
f9
|
|
Св. 800 до 1000
|
Н9
|
(Измененная редакция, Изм. № 3).
6. Отверстия под
болты и шпильки во фланцах арматуры машин, приборов, патрубков аппаратов и
резервуаров для удобства монтажа должны располагаться симметрично по отношению
к главным осям (но не на главных осях).
(Измененная редакция, Изм. №
3).
(Измененная редакция, Изм. № 5).
7. Допускается фланцы всех
исполнений, имеющие 4 отверстия под болты (или шпильки), изготовлять
квадратными на Ру £ 4,0 МПа (40 кгс/см2).
8. Допуски
размеров D и В:
для чугунных литых и литых
стальных фланцев - по 9 классу точности ГОСТ
26645-85;
для фланцев, изготавливаемых из
проката обычной точности (В), - по ГОСТ 2590-88 и ГОСТ
2591-88;
для фланцев, изготавливаемых
методом кислородной и плазменно-дуговой резки, - по 2-му классу точности ГОСТ
14792-80;
для фланцев штампованных,
изготавливаемых методом гибки из полосового проката с последующей сваркой стыка
и горячей рихтовкой, - по классу точности Т4 ГОСТ
7505-89, при этом допускается усиление шва, которое при определении
предельного отклонения не учитывается;
при изготовлении другими
методами - по h16.
(Измененная редакция, Изм. №
4).
(Измененная редакция, Изм. № 5).
9. (Исключен, Изм. № 3).
10. Предельные
отклонения номинального размера h:
± 1 мм при h = 2 мм;
± 2 мм при h > 2 мм.
Для литых фланцев допускается
выполнение размера h
не менее 2 мм для Dy £
32 мм
и не менее 3 мм для Dy > 32 мм.
(Измененная редакция, Изм. №
3).
11. Предельные отклонения номинальных размеров:
h1
и h2 +
0,5 мм
D2 ±
4,0 мм
D3,
D6 Н12
D4,
D5 h12
D7 ±
0,75 мм
D8 ±
0,15 мм
b2,
h3 0,4
мм
d Н15
D9 h14
(Измененная редакция, Изм. № 3, 4).
12. Для
соединений типа А по ГОСТ 14140-81 позиционный допуск осей отверстий d (допуск
зависимый) в диаметральном выражении не должен быть более, мм:
1,0 - для отверстий диаметром 11
мм;
2,0 - для отверстий диаметром от
14 до 26 мм;
3,0 - для отверстий диаметром от
30 до 45 мм;
4,0 - для отверстий диаметром 52
и 56 мм;
6,0 - для отверстий диаметром от
62 до 78 мм.
При изготовлении фланцев с
резьбовыми отверстиями (тип В по ГОСТ
14140-81) позиционный допуск осей отверстий d (допуск зависимый) в
диаметральном выражении не должен быть более, мм:
0,5 - для отверстий диаметром 11
мм;
1,0 - для отверстий диаметром от
14 до 26 мм;
1,6 - для отверстий диаметром от
30 до 45 мм;
2,0 - для отверстий диаметром 52
и 56 мм;
3,0 - для отверстий диаметром от
62 до 78 мм.
(Измененная редакция, Изм. №
1).
ПРИЛОЖЕНИЕ
Справочное
Информационные данные о соответствии ГОСТ 12815-80 СТ СЭВ 3249-81 СТ СЭВ
3250-81 и СТ СЭВ 3251-81.
Пункт 2 ГОСТ 12815-80 соответствует пунктам: 4 и 5 СТ СЭВ 3249-81; 4, 5
и 6 СТ СЭВ 3250-81; 4 и 5 СТ СЭВ 3251-81.
(Введено дополнительно, Изм. № 2).
ИНФОРМАЦИОННЫЕ ДАННЫЕ
1. РАЗРАБОТАН И ВНЕСЕН
Министерством химического и нефтяного машиностроения СССР.
ИСПОЛНИТЕЛИ
М. И. Власов, Ю. И. Тарасьев (руководитель
темы), Р. И. Хасанов, О. И. Федоров.
2. УТВЕРЖДЕН И ВВЕДЕН В ДЕЙСТВИЕ
Постановлением Государственного комитета СССР по стандартам от 20.05.80 № 2240.
3. Срок проверки - 1992 г.; периодичность
проверки 5 лет.
4. Стандарт соответствует СТ СЭВ
3249-81, СТ СЭВ 3250-81, СТ СЭВ 3251-81 в части присоединительных размеров
круглых и квадратных фланцев.
5. ВЗАМЕН ГОСТ 1233-67, ГОСТ 1234-67.
6. ССЫЛОЧНЫЕ
НОРМАТИВНО-ТЕХНИЧЕСКИЕ ДОКУМЕНТЫ
7. Переиздание
(ноябрь 1989 г.) с Изменениями № 1, 2, 3, 4, 5, утвержденными в марте 1983 г., декабре
1983 г., декабре 1987 г., сентябре 1980 г, апреле 92 г. (ИУС 6-83, 3-84, 4-88,
12-89, 7-92).
| |
|