//
ТехЛит.ру
- крупнейшая бесплатная электронная интернет библиотека для "технически умных" людей.
WWW.TEHLIT.RU - ТЕХНИЧЕСКАЯ ЛИТЕРАТУРА

:: Алготрейдинг::


АЛГОТРЕЙДИНГ
шаг за шагом
с нуля по урокам!

Торговые роботы на PYTHON, BackTrader,
Pandas, Pine Script для TradingView. Связка с брокерами, телеграм и легкими приложениями.


ГОСУДАРСТВЕННЫЙ СТАНДАРТ СОЮЗА ССР

ЯЩИКИ ДЕРЕВЯННЫЕ ДЛЯ ПРОДУКЦИИ, ПОСТАВЛЯЕМОЙ ДЛЯ ЭКСПОРТА

ОБЩИЕ ТЕХНИЧЕСКИЕ УСЛОВИЯ

ГОСТ 24634-81

ИПК ИЗДАТЕЛЬСТВО СТАНДАРТОВ

Москва

ГОСУДАРСТВЕННЫЙ СТАНДАРТ СОЮЗА ССР

ЯЩИКИ ДЕРЕВЯННЫЕ ДЛЯ ПРОДУКЦИИ, ПОСТАВЛЯЕМОЙ ДЛЯ ЭКСПОРТА

Общие технические условия

Wooden boxes for export products.
General specifications

ГОСТ
24634-81

Дата введения 01.01.82

Настоящий стандарт распространяется на ящики из древесины и листовых древесных материалов и дощатые обрешетки, предназначенные для упаковывания, транспортирования и хранения продукции для экспорта (в т. ч. в страны с тропическим климатом), а также по требованию потребителя - для продукции, изготовляемой на комплектацию для головных предприятий с переупаковыванием в эту тару и без переупаковывания.

Ящики и обрешетки должны удовлетворять требованиям ГОСТ 2991, ГОСТ 5959, ГОСТ 12082, ГОСТ 10198 и требованиям, изложенным в соответствующих разделах настоящего стандарта.

(Измененная редакция, Изм. № 4, 5).

1. ТИПЫ. ОСНОВНЫЕ ПАРАМЕТРЫ И РАЗМЕРЫ.

1.1. Ящики и обрешетки должны изготовляться следующих типов:

I - VI по ГОСТ 2991;

I, II-2, III, VI по ГОСТ 5959;

I, II, III no ГОСТ 12082;

I - VIII по ГОСТ 10198.

(Измененная редакция, Изм. № 1, 5).

1.2. Толщины деталей в обрешетках при транспортировании морским транспортом должны быть увеличены на одну градацию против предусмотренных ГОСТ 12082, или обрешетки должны быть усилены дополнительными элементами в соответствии с технической документацией.

(Измененная редакция, Изм. № 1, 4).

1.3. Ящики длиной более 500 мм для грузов массой св. 50 кг, предназначенные для транспортирования грузов с перевалками и перегрузками в пути следования, а также морским и речным транспортом, должны изготовляться с поясами из деревянных планок или стальной упаковочной ленты.

(Измененная редакция, Изм. № 1).

1.4. Для грузов массой св. 20000 кг применяют ящики типов II, IV, VIII-1, VIII-2, VIII-4 по ГОСТ 10198.

Сечения деталей каркаса и полозьев ящиков рассчитывают по технической документации.

(Измененная редакция, Изм. № 1, 5).

1.5. Размеры ящиков и обрешеток должны устанавливаться по стандартам (техническим условиям) на ящики и обрешетки для конкретных видов продукции с учетом требований договора (контракта) поставщика с внешнеэкономической организацией или иностранным покупателем, габаритов упаковываемого груза.

Максимальные наружные размеры крупногабаритных ящиков должны соответствовать габаритам погрузки подвижного состава железных дорог СССР и зарубежных железных дорог, через которые следует груз.

Допускается изготовлять ящики со скошенными верхними углами таких размеров, которые вписываются в габариты погрузки подвижного состава железных дорог.

(Измененная редакция, Изм. № 1, 4).

1.6. Ящики дощатые типов I и II по ГОСТ 2991, ящики по ГОСТ 5959 и типа VI-I по ГОСТ 10198 по требованию, указанному в договоре (контракте), с внешнеэкономической организацией или иностранным покупателем, должны быть обтянуты или обиты по торцам стальной упаковочной лентой. В дощатых ящиках и обрешетках по поясам из деревянных планок должны устанавливаться угольники или пояса из ленты.

При транспортировании пакетами на поддонах или в контейнерах допускается дополнительные крепления на ящиках и обрешетках не устанавливать.

Ящики для грузов до 50 кг при прямых железнодорожных перевозках без перегрузок допускается не обтягивать (не обивать) по торцам стальной упаковочной лентой.

1.7. Ящики и обрешетки с размерами более 1200×800×1200 мм для обеспечения захвата вилочными погрузчиками должны иметь полозья толщиной 50 - 70 мм, а ящики типов I-3, I-4, II, III, IV, V, VI-4, VII, VIII по ГОСТ 10198 - подполозные доски из отрезков длиной не менее 300 мм и толщиной 50 - 70 мм.

Расположение отрезков должно быть рассчитано с учетом вилочных захватов и отмечено предупредительной надписью «Захвати здесь».

1.6, 1.7. (Измененная редакция, Изм. № 1, 4, 5).

1.8. Решетчатые ящики и обрешетки типа III в местах нанесения маркировки должны изготовляться с плотной обшивкой или на стенки должны быть прибиты накладки из фанеры или других материалов, если невозможно нанесение маркировки на ярлыки.

Допускается просвет между кромками досок в местах нанесения маркировки до 10 мм.

1.9. В ящиках для грузов массой более 5000 кг при морских перевозках для соединения деталей каркаса должны применяться металлические накладки, скобы, угольники или деревянные бруски в соответствии с ГОСТ 10198.

1.10. (Исключен, Изм. № 4).

2. ТЕХНИЧЕСКИЕ ТРЕБОВАНИЯ.

2.1. Ящики и обрешетки должны изготовляться в соответствии с требованиями ГОСТ 2991, ГОСТ 5959, ГОСТ 12082, ГОСТ 10198, настоящего стандарта, нормативно-технической документации на ящики для конкретных видов продукции по чертежам, утвержденным в. установленном порядке.

Допускается по согласованию с внешнеэкономической организацией или иностранным покупателем изготовлять ящики и обрешетки в соответствии с требованиями ГОСТ 2991, ГОСТ 5959, ГОСТ 12082, ГОСТ 10198, без учета требований настоящего стандарта.

По показателям качества древесина досок, планок и брусьев должна соответствовать нормам, установленным в вышеуказанных стандартах.

(Измененная редакция, Изм. № 1, 4, 5).

2.2. Качество фанеры должно соответствовать ГОСТ 3916.1 для сортов ; ГОСТ 3916.2 для сортов :

- в ящиках по ГОСТ 5959 - для всех марок;

- в ящиках типов VI, VII, VIII по ГОСТ 10198 - для марок ФСФ и ФК.

Качество древесноволокнистой плиты должно соответствовать ГОСТ 4598 для марки Т, групп качества А и Б или марок Тс-350 и Тс-400 по нормативно-технической документации.

(Измененная редакция, Изм. № 1, 3, 5).

2.3. Детали ящиков должны быть обрезными.

Допускается наличие коры и следов поверхностной червоточины на непропиленной части деталей ящиков, если в договоре (контракте) с внешнеэкономическими организациями или иностранным покупателем не предусмотрены другие требования.

2.4. Параметр шероховатости наружных поверхностей деталей плотных ящиков Rmmax не должен быть более 320 мкм по ГОСТ 7016.

Параметр шероховатости поверхностей полозьев, подполозных досок, планок для крепления кровельного материала, крышек, закрываемых водонепроницаемым материалом, внутренних поверхностей деталей ящиков и поверхностей деталей решетчатых ящиков и обрешеток Rmmax не должен быть более 1250 мкм по ГОСТ 7016.

Допускается в зависимости от требований к упаковке конкретных видов продукции изготовлять дощатые плотные ящики с параметром шероховатости внутренних поверхностей не более 320 мкм по ГОСТ 7016, с параметром шероховатости наружных поверхностей Rmmax не более 1250 мкм по ГОСТ 7016.

2.3, 2.4. (Измененная редакция, Изм. № 1, 4).

2.5. Доски в плотных ящиках по ГОСТ 2991 и доски обшивки в ящиках типов I-1, I-3, II-1, II-3, III, IV-1, V-1 по ГОСТ 10198 должны быть соединены по кромкам в соответствии с соединениями К-2, К-3 или К-6 по ГОСТ 9330, а также на гладкую фугу без клея.

Доски дна и двухслойной крышки в ящиках типов I-1, I-3, II-1, II-3, III, IV-1, V-1 по ГОСТ 10198 должны быть соединены по кромкам на пропиленную непрофилированную кромку.

В соединениях К-2, К-3 и К-6 по ГОСТ 9330 не должно быть сквозных зазоров между досками. В соединении на гладкую фугу без клея сквозной зазор не должен превышать 5 мм.

В соединениях К-2 и К-3 допускаются несквозные зазоры между досками не более 3 мм по всей длине досок и повреждение четверти или паза и гребня на расстоянии не более 1/10 длины доски.

(Измененная редакция, Изм. № 4, 5).

2.6. Плотные ящики по ГОСТ 2991 и обшивки в ящиках типов I-1, I-3, II-1, II-3, III, IV-1, V-1 по ГОСТ 10198 должны изготовляться из досок с пропиленными непрофилированными кромками при транспортировании в крытых вагонах или автомобилях, а также при предварительном упаковывании продукции в чехлы из полимерных пленок.

(Измененная редакция, Изм. № 2, 4, 5).

2.7. Необходимость изготовления двухслойной крышки в плотных ящиках типов I-3, I-4, II, III, IV, V, VIII-1, VIII-2 по ГОСТ 10198, обивки или выстилания стенок, дна и крышки ящиков водонепроницаемым материалом и вид материала, тип соединения досок по кромкам, а также применение чехлов из полимерных пленок должны быть предусмотрены в нормативно-технической документации на ящики для упаковывания конкретных видов продукции.

Двухслойную крышку плотных ящиков допускается изготовлять с нижним слоем из древесноволокнистой плиты толщиной не менее 3,2 мм, при этом водонепроницаемый материал между слоями может не применяться.

2.8. Крышки ящиков типов I-1, I-3, II-1, II-3, III, IV-1, V-1, VIII по ГОСТ 10198 должны быть покрыты с наружной стороны водонепроницаемыми материалами, перечисленными в указанном стандарте.

Листы кровельного материала или пленки должны перекрывать друг друга не менее чем на 100 мм. Края листов должны быть опущены на боковые и торцевые щиты на 100 - 150 мм. Листы прикрепляют по периметру на боковых и торцевых щитах и местах перекрытия листов деревянными планками толщиной 16 мм и шириной не более 50 мм.

2.7, 2.8. (Измененная редакция, Изм. № 1, 4, 5).

2.9. В ящиках типов I-1, I-3, II-1, II-3, III, IV-1, V-1, VI-4, VII, VIII по ГОСТ 10198 при необходимости обеспечения циркуляции воздуха внутри ящика и удаления влаги должны быть вентиляционные и сточные отверстия.

Вентиляционные отверстия должны быть просверлены в количестве 10 - 15 шт. или прорезаны в количестве 2 - 4 шт. в каждой торцевой стенке ящика.

Сточные отверстия диаметром 15-20 мм должны быть просверлены в досках дна группами по 4 - 5 шт. или прорезаны размером 30×30 мм в количестве по 1 шт. в каждом углу ящика, а при длине ящика св. 2500 мм - и в середине ящика.

Вентиляционные отверстия должны быть защищены с наружной стороны козырьком или решеткой из металла или пластмассы. Конструкция козырька и решетки указана на черт. 1 и 2 приложения 1, размеры козырька и решетки устанавливаются в зависимости от схемы расположения вентиляционных отверстий. В ящиках с обшивкой из фанеры или древесноволокнистой плиты козырек можно прикреплять к облицовочным доскам.

(Измененная редакция, Изм. № 1, 3, 4, 5).

2.10. На торцевой стенке ящика может быть установлен карман для упаковочного листа в соответствии с приложением 1, черт. 3. Карман изготовляют по чертежам, утвержденным в установленном порядке, из тонкой листовой стали, окрашенной снаружи и внутри перхлорвиниловыми эмалями или другими стойкими против коррозии лаками или красками, оцинкованной стали или пластмассы. Необходимость установки кармана оговаривается в нормативно-технической документации на ящики для конкретных видов продукции.

Допускается изготовлять карман для упаковочного листа другой конструкции по чертежам, утвержденным в установленном порядке.

(Измененная редакция, Изм. № 4).

2.11. Для угольников, обтяжки или обивки ящиков должна применяться стальная упаковочная лента по ГОСТ 3560, ГОСТ 503, листовая сталь по ГОСТ 16523 и тонколистовая оцинкованная сталь по ГОСТ 14918.

Допускается применять отходы оцинкованной ленты по ГОСТ 3559.

Для обтяжки допускается применять равнопрочную ленту из полимерных материалов, изготовленную по нормативно-технической документации.

(Измененная редакция, Изм. №1,3).

2.12. (Исключен, Изм. № 5).

3. ТРЕБОВАНИЯ К ЯЩИКАМ, ПРЕДНАЗНАЧЕННЫМ ДЛЯ ПРОДУКЦИИ, ПОСТАВЛЯЕМОЙ В РАЙОНЫ С ТРОПИЧЕСКИМ КЛИМАТОМ.

3.1. Ящики в тропическом исполнении изготовляют при поставке продукции в страны, перечень которых приведен в ГОСТ 15150.

Требования к изготовлению ящиков в тропическом исполнении распространяются при поставке продукции на всю территорию Японии.

При поставках продукции в районы с сухим тропическим климатом изготовление ящиков в тропическом исполнении производится по требованию внешнеэкономических организаций или иностранного покупателя.

(Измененная редакция, Изм. № 4).

3.2. Для изготовления ящиков по ГОСТ 2991, ящиков и деталей ящиков по ГОСТ 10198, обрешеток по ГОСТ 12082 и планок ящиков по ГОСТ 5959 должны применяться пиломатериалы лиственных пород и березы по ГОСТ 2695, пиломатериалы хвойных пород по ГОСТ 8486 и ГОСТ 24454 или заготовки из древесины хвойных пород по ГОСТ 9685, для изготовления стенок ящиков по ГОСТ 5959 и обшивки ящиков типов VI, VII, VIII по ГОСТ 10198 - фанера марок ФСФ и ФК сортов  по ГОСТ 3916.1, сортов  по ГОСТ 3916.2 и древесноволокнистая плита марки Т, групп качества А и Б по ГОСТ 4598 или марок Тс-350 и Тс-400 по нормативно-технической документации.

(Измененная редакция, Изм. № 5).

3.3. По требованию, указанному в договоре (контракте) поставщика с внешнеэкономическими организациями или иностранным покупателем, древесина, фанера и древесноволокнистая плита для изготовления ящиков и обрешеток должна быть защищена от биологического разрушения грибами и насекомыми по ГОСТ 15155 или окрашена с наружной и внутренней сторон перхлорвиниловыми эмалями или другими красителями в соответствии с требованиями ГОСТ 9.401, или масляными красками. В масляные краски вводят 3 % салициланилида.

(Измененная редакция, Изм. № 3, 4).

3.4. 3.5. (Исключены, Изм. № 1).

3.6. Влажность древесины ящиков и обрешеток не должна быть более 22 %.

По согласованию с внешнеэкономическими организациями или иностранным покупателем, если это не влияет на сохранность и качество продукции, допускается изготовлять ящики и обрешетки из древесины с влажностью более 22 %. При этом ящики и обрешетки должны иметь крепления в виде поясов из стальной упаковочной ленты. Влажность древесины полозьев и подполозных досок не регламентируется.

(Измененная редакция, Изм. № 4).

3.7. Крышки ящиков типов I-3, II-1, II-3, III, IV, V, VIII по ГОСТ 10198 допускается, а при транспортировании в страны с влажным тропическим климатом по требованию внешнеэкономической организации или иностранного покупателя должны изготовляться двухслойными с прокладками между слоями толя, пергамина, рубероида, полимерной пленки или упаковочной бумаги в соответствии с приложением 2 (черт. 1 и 2). При этом крышки ящиков кровельным материалом не покрывают.

По согласованию с внешнеэкономическими организациями или иностранным покупателем при транспортировании в страны с влажным тропическим климатом допускается крышки ящиков изготовлять однослойными с покрытием сверху и снизу водонепроницаемым материалом.

Доски верхнего и нижнего слоев крышки располагают взаимно перпендикулярно и соединяют между собой по периметру так, чтобы каждый конец доски был прибит гвоздями:

- при ширине досок до 125 мм - одним;

- при ширине досок более 125 мм - двумя.

Допускается изготовлять нижний слой крышки из древесноволокнистой плиты толщиной не менее 3,2 мм с прокладкой между досками обшивки крышки и древесноволокнистой плитой водонепроницаемого материала в соответствии с приложением 2, черт. 2. По требованию внешнеэкономических организаций или иностранного покупателя крышки ящиков типа VI по ГОСТ 5959 изготовляют однослойными из досок.

(Измененная редакция, Изм. № 1, 4, 5).

3.8. Вентиляционные и сточные отверстия должны быть закрыты металлической сеткой с ячейками от 0,9 до 1,1 мм.

(Измененная редакция, Изм. № 3).

ПРИЛОЖЕНИЕ 1
Рекомендуемое

Установка козырька или решетки над вентиляционными отверстиями.

1 - вентиляционные отверстия; 2 - металлический козырек; 3 - водонепроницаемый материал.

Черт. 1.

Черт. 2.

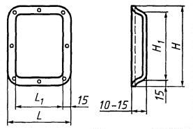
Конструкция и размеры кармана для упаковочного листа.

Черт. 3.

Размеры в мм

Номер кармана

L1

L

H1

H

1

115

145

80

110

2

115

145

160

190

ПРИЛОЖЕНИЕ 2
Рекомендуемое

Конструкция двухслойной крышки.

1 - поперечная доска обшивки; 2 - водонепроницаемый материал; 3 - продольная доска обшивки; 4 - поперечный брус крышки.

Черт. 1.

1 - поперечная доска обшивки; 2 - водонепроницаемый материал; 3 - обшивка из древесноволокнистой плиты; 4 - продольный брус крышки; 5 - поперечный брус крышки.

Черт. 2

(Измененная редакция, Изм. № 4).

ИНФОРМАЦИОННЫЕ ДАННЫЕ.

1. РАЗРАБОТАН Министерством лесной и деревообрабатывающей промышленности СССР

РАЗРАБОТЧИКИ

И. Н. Ганцовский, О. И. Лебедева, Т. Б. Скоробогатов.

2. УТВЕРЖДЕН И ВВЕДЕН В ДЕЙСТВИЕ Постановлением Государственного комитета СССР по стандартам от 11.03.81 № 1262.

3. ВЗАМЕН ГОСТ 10.65-72.

4. ССЫЛОЧНЫЕ НОРМАТИВНО-ТЕХНИЧЕСКИЕ ДОКУМЕНТЫ.

Обозначение НТД, на который дана ссылка

Номер пункта

ГОСТ 9.401-91

3.3

ГОСТ 503-81

2.11

ГОСТ 2695-83

3.2

ГОСТ 2991-85

Вводная часть, 1.1, 1.6, 2.1, 2.5, 2.6, 3.2

ГОСТ 3559-75

2.11

ГОСТ 3560-73

2.11

ГОСТ 3916.1-96

2.2, 3.2

ГОСТ 3916.2-96

2.2, 3.2

ГОСТ 4598-86

2.2, 3.2

ГОСТ 5959-80

Вводная часть, 1.1, 1.6, 2.1, 2.2, 3.2, 3.7

ГОСТ 7016-82

2.4

ГОСТ 8486-86

3.2

ГОСТ 9330-76

2.5

ГОСТ 9685-61

3.2

ГОСТ 10198-91

Вводная часть, 1.1, 1.4, 1.6, 1.7, 1.9, 2.1, 2.2, 2.5-2.9, 3.2, 3.7

ГОСТ 12082-82

Вводная часть, 1.1, 1.2, 2.1, 3.2

ГОСТ 14918-80

2.11

ГОСТ 15150-69

3.1

ГОСТ 15155-89

3.3

ГОСТ 16523-89

2.11

ГОСТ 24454-80

3.2

5. Ограничение срока действия снято Постановлением Госстандарта от 26.06.92 № 579.

6. ПЕРЕИЗДАНИЕ (декабрь 1997 г.) с Изменениями № 1, 2, 3, 4, 5, утвержденными в апреле 1985 г., июле 1986 г., апреле 1987 г., феврале 1990 г., мае 1994 г. (ИУС 7-85, 10-86, 7-87, 5-90, 8-94).

СОДЕРЖАНИЕ

 




Яндекс цитирования



   Copyright © 2007-2026,  www.tehlit.ru.

[ ѓосты, стандарты, нормативы, инструкции, правила, строительные нормы ]