//
ТехЛит.ру
- крупнейшая бесплатная электронная интернет библиотека для "технически умных" людей.
WWW.TEHLIT.RU - ТЕХНИЧЕСКАЯ ЛИТЕРАТУРА

:: Алготрейдинг::


АЛГОТРЕЙДИНГ
шаг за шагом
с нуля по урокам!

Торговые роботы на PYTHON, BackTrader,
Pandas, Pine Script для TradingView. Связка с брокерами, телеграм и легкими приложениями.


 

ГОСУДАРСТВЕННЫЙ СТАНДАРТ СОЮЗА ССР

 

ПАРОНИТ И ПРОКЛАДКИ ИЗ НЕГО

ТЕХНИЧЕСКИЕ УСЛОВИЯ

ГОСТ 841-80

 

ГОССТАНДАРТ РОССИИ

Москва

 

ГОСУДАРСТВЕННЫЙ СТАНДАРТ СОЮЗА ССР

ПАРОНИТ И ПРОКЛАДКИ ИЗ НЕГО

Технические условия

Compressed asbestos fibre sheets and gaskets from it. Specifications

ГОСТ
481-80

Срок действия с 01.01.81
до 01.01.96

Настоящий стандарт распространяется на листовой паронит и прокладки из него, предназначенные для уплотнения плоских разъемов агрегатов с различными средами.

Прокладки из паронита применяют в районах с умеренным, тропическим и холодным климатом при температуре до минус 60 °С. Требования настоящего стандарта являются обязательными.

(Измененная редакция, Изм. № 5).

1. МАРКИ И РАЗМЕРЫ

1.1. В зависимости от назначения изготовляют паронит девяти марок (табл. 1).

Таблица 1

Наименование и обозначение марки

Применяемость

Рабочая среда

Максимально допустимые

Тип соединения

давление, МПа (кгс/м2)

температура,
°С

Паронит общего назначения ПОН

Пресная перегретая вода, насыщенный и перегретый пар, воздух, сухие нейтральные и инертные газы

6,4 (64)

От -50
до +450

Для неподвиж ных соединений типа «гладкие» с давлением рабочей среды не более 4 МПа
(40 кгс/см2),

Водные растворы солей, жидкий и газообразный аммиак, спирты

2,5 (25)

От -40
до +200

«шип-паз», «выступ-впадина» сосудов, аппаратов, насосов, арматуры, трубопроводов, компрессоров, двигателей внутреннего сгорания и других агрегатов

Жидкий кислород и азот

0,25 (2,5)

-182

Тяжелые и легкие нефтепродукты

2,5 (25)

200

Паронит маслобензостойкий - ПМБ

Тяжелые и легкие нефтепродукты, масляные фракции, расплав воска

3,0 (30)

300

Для неподвижных соединений типа «гладкие» с давлением рабочей среды не более 4 МПа
(40 кгс/см2), «шип-паз», «выступ-впадина» сосудов, аппаратов, насосов, арматуры, трубопроводов, компрессоров, двигателей внутреннего сгорания и других агрегатов

Сжиженные и газообразные углеводороды С15

2,0 (20)

От -40
до +100

Рассолы

10,0 (100)

От -40
до +50

Коксовый газ

6,4 (64)

490

Газообразный кислород и азот

5,0 (50)

150

ПМБ-1

Тяжелые и легкие нефтепродукты, масляные фракции

16,0 (160)

От -40
до +250

Для неподвижных соединений типа «гладкие» с давлением рабочей среды не более 2,5 МПа
(25 кгс/см2), «шип-паз», «выступ-впадина», сосудов, аппаратов, насосов, арматуры, трубопроводов, компрессоров, двигателей внутреннего сгорания и других агрегатов

Жидкость ВПС

16,0 (160)

От -40
до +100

Морская вода

10,0 (100)

От -40
до +50

Хладоны 12, 22, 114В-2

2,5 (25)

От -50
до +150

Паронит кислотостойкий ПК

Кислоты, щелочи, окислители, нитрозные и другие агрессивные газы -

2,5 (25)

250

Для неподвижных соединений типа «гладкие», «шип-паз», «выступ-впадина» сосудов, аппаратов, насосов, арматуры, трубопроводов, компрессоров и других агрегатов. В спирально навитых прокладках в качестве мягкого «наполнителя

Органические растворители

1,0 (10)

150

Паронит, армированный сеткой ПА

Пресная перегретая вода, насыщенный и перегретый пар

10,0 (100)

450

Для неподвижных соединений типа «гладкие» с давлением рабочей среды не более 4 МПа
(40 кгс/см2), «шип-паз», «выступ-впадина» сосудов и аппаратов, насосов, арматуры, трубопроводов, компрессоров, двигателей внутреннего сгорания и других агрегатов

Нейтральные инертные, сухие газы, воздух

7,5 (75)

250

Тяжелые и легкие нефтепродукты, масляные фракции

7,5 (75)

400

Паронит электролизерный ПЭ

Щелочи концентрацией
300-400 г/дм3, водород, кислород

2,5 (25)

180

Для уплотнения собираемых в батарею ячеек в электролизерах для электрической изоляции ячеек друг от друга. Минимальное давление, необходимое для герметизации соединения,
10 МПа
(100 кгс/см2) для электролизеров, работающих под давлением
0,02 МПа
(0,2 кгс/см2) и
30 МПа
(300 кгс/см2) для электролизеров, работающих под давлением 1 МПа (10 кгс/см2)

ПОН-А

Пресная перегретая вода, насыщенный и перегретый пар

4,5 (45)

450

Для неподвижных соединений типа «гладкие» с давлением рабочей среды не более 4 МПа
(40 кгс/см2) «шип-паз», «выступ-впадина», сосудов, аппаратов, насосов, арматуры, трубопроводов, компрессоров и других агрегатов

Водные растворы солей, жидкий и газообразный аммиак

2,5 (25)

От -40
до +150

Тяжелые и легкие нефтепродукты

2,3 (23)

175

ПОН-Б

Пресная перегретая вода, насыщенный и перегретый пар, сухие нейтральные инертные газы

6,4 (64)

От -50
до +450

Воздух

1,0 (10)

От -50
до +100

Водные растворы солей, жидкий и газообразный аммиак, спирты

2,5 (25)

От -40
до +200

Жидкий кислород и азот

0,25 (2,5)

-182

Тяжелые и легкие нефтепродукты

2,5 (25)

200

ПОН-В

Минеральные масла и легкие нефтепродукты

4,0 (40)

150

Для уплотнения неподвижных соединений, узлов и деталей двигателей внутреннего сгорания

Топливовоздушная смесь, воздух

1,0(10)

130

Вода, тосол, антифриз -

4,0 (40)

130

(Измененная редакция, Изм. № 2, 3, 4; Поправка, ИУС 8-2004).

1.2. Параметр шероховатости уплотняемых поверхностей Rz по ГОСТ 2789-73 должен быть не более 40 мкм.

1.3. Размер листов паронита должен соответствовать указанным в табл. 2, 3.

Примечание. По согласованию между изготовителем и потребителем допускается изготовление паронита других размеров по длине и ширине.

Таблица 2

Обозначение марки

Код ОКП

Толщина

Номин.

Пред. откл.

ПОН

25 7515 0104

0,4

±0,10

25 7515 0106

0,6

±0,10

25 7515 0111

0,8

±0,10

25 7515 0113

1,0

±0,10

25 7515 0118

1,5

±0,15

25 7515 0125

2,0

±0,20

25 7515 0131

3,0

±0,25

25 7515 0133

3,5

±0,30

25 7515 0135

4,0

±0,30

25 7515 0137

5,0

±0,40

25 7515 0138

6,0

±0,50

 

 

±0,20

 

 

±0,25

 

 

±0,30

ПМБ

25 7521 0104

0,4

±0,10

25 7521 0105

0,5

±0,10

25 7521 0106

0,6

±0,10

25 7521 0111

0,8

±0,10

25 7521 0113

1,0

±0,10

25 7521 0118

1,5

±0,15

25 7521 0125

2,0

±0,20

25 7521 0128

2,5

±0,25

25 7521 0131

3,0

±0,30

ПМБ-1

25 7522 0103

0,3

±0,10

25 7522 0104

0,4

±0,10

25 7522 0105

0,5

±0,10

25 7522 0106

0,6

±0,10

25 7522 0111

0,8

±0,10

25 7522 0113

1,0

±0,10

25 7522 0115

1,2

±0,10

25 7522 0118

1,5

±0,15

25 7522 0125

2,0

±0,20

25 7522 0128

2,5

±0,25

25 7522 0131

3,0

±0,30

ПК

25 7542 0104

0,4

±0,10

25 7542 0105

0,5

±0,10

25 7542 0106

0,6

±0,10

25 7542 0111

0,8

±0,10

25 7542 0113

1,0

±0,10

25 7542 0118

1,5

±0,15

25 7542 0125

2,0

±0,20

ПА

25 7551 0111

0,8

±0,10

25 7551 0113

1,0

±0,10

25 7551 0115

1,2

±0,15

ПЭ

25 7541 0113

1,0

±0,10

25 7541 0118

1,5

±0,15

25 7541 0125

2,0

±0,20

25 7541 0131

3,0

±0,30

25 7541 0135

4,0

±0,40

25 7541 0137

5,0

±0,50

25 7541 0138

6,0

±0,60

25 7541 0139

7,0

±0,70

25 7541 0141

7,5

±0,75

ПОН-А

25 7512 0125

2,0

±0,20

25 7512 0128

2,5

±0,25

25 7512 0131

3,0

±0,30

25 7512 0104

0,4

±0,10

25 7512 0106

0,6

±0,10

25 7512 0111

0,8

±0,10

25 7512 0113

1,0

±0,10

25 7512 0118

1,5

±0,15

25 7512 0133

3,5

±0,30

25 7512 0135

4,0

±0,30

25 7512 0137

5,0

±0,40

25 7512 0138

6,0

±0,50

ПОН-Б

25 7511 0104

0,4

±0,10

25 7511 0106

0,6

±0,10

25 7511 0111

0,8

±0,10

25 7511 0113

1,0

±0,10

25 7511 0118

1,5

±0,15

25 7511 0125

2,0

±0,20

25 7511 0131

3,0

±0,25

25 7511 0133

3,5

±0,30

25 7511 0135

4,0

±0,30

25 7511 0137

5,0

±0,40

25 7511 0138

6,0

±0,50

ПОН-В

25 7513 0104

0,4

±0,10

25 7513 0106

0,6

±0,10

25 7513 0111

0,8

±0,10

25 7513 0113

1,0

±0,10

 

Таблица 3

мм

Обозначение

Длина

Ширина

Номин.

Пред. откл.

Номин.

Пред. откл.

ПОН

400

±20

300

±15

500

±25

500

±25

750

±40

500

±25

1000

±50

750

±40

1500

±75

1000

±50

1500

±75

1500

±75

3000

1500

±75

1000

±50

880

±50

1770

±75

1000

±50

1770

±75

1500

±75

3000

1770

±75

ПМБ

500

±25

500

±25

1000

±50

750

±40

1500

±75

1000

±50

1000

±50

880

±50

1770

±75

1000

±50

ПМБ-1

400

±20

400

±20

500

±25

500

±25

1000

±50

600

±30

1000

±50

700

±30

1000

±50

750

±40

1000

±50

850

±50

ПК

400

±20

300

±15

500

±25

500

±25

750

±40

500

±25

1000

±50

750

±40

1500

±75

1000

±50

1500

±75

1500

±75

3000

465

±5

3000

520

±5

3000

1500

±75

1770

±75

1000

±50

1770

±75

1500

±75

3000

1770

±75

ПА

400

±20

300

±15

500

±25

400

±20

500

±25

500

±25

750

±40

600

±25

1000

±50

750

±40

1000

±50

800

±45

1500

±75

1000

±50

ПЭ

400

±20

300

±15

500

±25

500

±2б

750

±40

500

±25

1000

±50

450

±20

1000

±50

750

±40

1050

±50

1050

±50

1500

±75

1000

±50

1500

±75

1500

±75

3000

1500

±75

1050

±50

450

±20

1500

±75

900

±50

1770

±75

1000

±50

1770

±75

1500

±75

3000

1700

±50

ПОН-А

500

±25

500

±25

1000

±50

750

±40

1500

±75

1000

±50

1500

±75

1500

±75

3000

1500

±75

ПОН-Б

400

±20

300

±15

500

±25

500

±25

750

±40

500

±25

1000

±50

750

±40

1000

±50

880

±50

1500

±75

1000

±50

1500

±75

1500

±75

1770

±75

1000

±50

1770

±75

1500

±75

3000

1500

±75

3000

1770

±75

ПОН-В

500

±25

500

±25

750

±40

500

±25

1000

±50

750

±40

Пример условного обозначения паронита марки ПОН-А, толщиной 2,0 мм, шириной 500 мм и длиной 500 мм:

Паронит ПОН-А 2,0´500´500 ГОСТ 481-80

То же, в тропическом исполнении:

Паронит ПОН-АТ 2,0´500´500 ГОСТ 481-80

Прокладки из паронита марки ПОН-А при заказе:

Прокладка _______________________________________ ПОН-А ГОСТ 481-80

номер детали по чертежу

То же, в тропическом исполнении:

Прокладка ______________________________________ ПОН-АТ ГОСТ481-80.

номер детали по чертежу

(Измененная редакция, Изм. № 2, 3, 4).

1.4. Паронит изготовляют в виде листов и прокладок.

(Измененная редакция, Изм. № 4).

2. ТЕХНИЧЕСКИЕ ТРЕБОВАНИЯ

2.1. Паронит и прокладки из него должны изготовляться в соответствии с требованиями настоящего стандарта по технологическим регламентам, утвержденным в установленном порядке. Прокладки должны соответствовать чертежам, согласованным между изготовителем и потребителем.

(Измененная редакция, Изм. № 4).

2.2. Поверхность паронита и прокладок из него должна быть ровной без разрывов, складок, задиров и надломов, вздутий, раковин и посторонних включений.

Допускается незначительная ворсистость и незначительная непрокрашенность асбеста на поверхности и по кромкам.

Допускается согласовывать контрольный образец внешнего вида.

(Измененная редакция, Изм. № 3).

2.3. Для изготовления паронита марки ПА должна  применяться армирующая стальная сетка № 09 по ГОСТ 3826-82.

2.4. Прокладки вырубают из листов паронита, при этом паронит не должен расслаиваться и крошиться. Способ изготовления прокладок диаметром более 1500 мм указан в приложении.

(Измененная редакция, Изм. № 5).

2.5. По физико-механическим показателям листы паронита и прокладки должны соответствовать нормам, указанным в табл. 4.

(Измененная редакция, Изм. №1,2,3,4,5).

2.6. Паронит должен обеспечивать полную герметичность уплотняемых соединений.

2.7. Паронит марки ПМБ не является коррозионно-активным при работе с алюминиевыми анодированными сплавами, латунью и оцинкованной сталью с хроматным пассивированием.

(Измененная редакция, Изм. № 1).

2.8. Паронит должен быть устойчивым к изгибу и при испытании не должен ломаться и давать трещины.

Таблица 4


Наименование показателя

Норма для марки

ПОН

ПМБ

ПМБ-1

ПК

ПА

ПЭ

ПОН-А

ПОН-Б

ПОН-В

1. Плотность, г/см3

1,6-2,0

1,5-2,0

1,5-2,0

2,0-2,5

1,9-2,5

1,6-2,0

1,7-1,9

1,8-2,0

1,8-2,0

2. Условная прочность при разрыве в поперечном направлении, МПа (кгс/см2), не менее

9,0 (90)

14 (140)

20 (200)

10 (100)

-

8 (80)

13 (130)
11 (110)*

18 (180)
15 (150)*

24 (240)
20 (200)*

3. Увеличение массы в жидких средах, %, не более:

 

 

 

 

 

 

 

 

 

воде при температуре100 °С в течение 5 ч

14

-

-

-

-

-

10

10

10

керосине при температуре 23 °С в течение 5 ч

40

10-24

-

-

8-21

-

45

35

30

масле МС-20 или МК-22 при температуре 150 °С в течение 5 ч

-

23

15

-

28

-

-

-

-

масле МК-8 при температуре 100 °С в течение 5 ч

-

-

15

13

-

-

-

-

-

топливе ТС-1 при температуре 200 °С в течение 5 ч

-

-

14

12

-

-

-

-

-

едком кали концентрации 450 г/дм3 при температуре 100 °С в течение 5 ч

-

-

-

-

-

19

-

-

-

4. Уменьшение массы в жидких средах, %, не более:

 

 

 

 

 

 

 

 

 

10 %-ной азотной кислоте по ГОСТ 4461-77 при температуре (100±5) °С в течение 5 ч

-

-

-

30

-

-

-

-

-

10 %-ной серной кислоте по ГОСТ 4204-77 при температуре (100±5) °С в течение 5 ч

-

-

-

30

-

-

-

-

-

5. Сжимаемость при давлении 35 МПа (350 кгс/см2), %

8-18

5-16

2-15

2-12

6-13

6-16

8-18

5-15

5-15

6. Восстанавливаемость после снятия давления 35 МПа (350 кгс/см2), %, не менее

33

40

40

30

37

38

30

35

40


___________

* Значение для паронита толщиной менее 2 мм.

(Измененная редакция, Изм. № 5).

2.9. Для работы в районах с тропическим климатом прокладки изготовляют из паронита с применением фунгицидов.

Прокладки из паронита марок ПМБ-1, ПК работоспособны в условиях тропического климата без применения фунгицида при изготовлении паронитов,

(Измененная редакция, Изм. № 4, 5)

3. ПРАВИЛА ПРИЕМКИ

3.1. Паронит и прокладки принимают партиями. Партией считают листы паронита одной марки и одного размера по толщине в количестве не более 10000 кг или прокладки одного размера не более 30000 шт. Для прокладок с наружным размером менее 60 мм объем партии не более 100000 шт.

По требованию потребителя каждую партию прокладок сопровождают документом о качестве, содержащим:

наименование предприятия-изготовителя и (или) его товарный знак;

наименования и марки паронита;

размеры листов паронита или номера прокладки (детали);

номер партии;

дату изготовления;

массу нетто;

цену одной прокладки для розничной торговли;

обозначение настоящего стандарта;

букву «Т» для паронита и прокладок в тропическом исполнении;

количество мест в партии;

результаты испытаний.

(Измененная редакция, Изм. № 1, 3, 4, 5).

3.1а. Каждая партия прокладок должна сопровождаться двумя образцами размером не менее 200´200 мм, вырезанными из листов паронита, из которых были вырублены прокладки.

(Введен дополнительно, Изм. № 3).

3.2. Приемо-сдаточные испытания проводят в следующем объеме:

по внешнему виду - 100 %;

по п. 1.3 - не менее 10 листов или 5 прокладок от партии;

по п.п. 2.5, 2.8 - не менее 3 листов от партии;

по п. 2.6 - не менее 3 листов от каждой десятой партии.

(Измененная редакция, Изм. № 3).

3.3. При получении неудовлетворительных результатов испытаний хотя бы по одному из показателей по нему проводят повторные испытания на удвоенной выборке от той же партии. Результаты повторных испытаний распространяются на всю партию.

При получении неудовлетворительных результатов повторных испытаний изготовителю допускается проводить 100 %-ный контроль.

(Измененная редакция, Изм. № 4).

4. МЕТОДЫ КОНТРОЛЯ

4.1. Поверхность паронита и прокладок контролируют визуально или сравнением с контрольными образцами внешнего вида.

(Измененная редакция, Изм. № 4).

4.2. Размеры паронита определяют по ГОСТ 24039-80. Размеры прокладок определяют в соответствии с чертежом.

4.3. Из каждого отобранного листа вырубают для испытаний:

по п.п. 2.5 (табл. 4, показатели 1, 3, 4, 5, 6), 2,8 - 1 образец;

по п. 2.5 (табл. 4, показатель 2) - 2 образца;

по п. 2.6 - 3 образца.

Расстояние от образца до края листа не менее 30 мм.

4.2, 4.3. (Измененная редакция, Изм. № 3).

4.4. Плотность паронита определяют по ГОСТ 24039-80, при этом допускаются отклонения по отдельным определениям не более, чем на 10 % от нормы.

4.5. Определение условной прочности при разрыве

Вырубают образцы размером 20´110 мм с предельным отклонением ±0,5 мм, в направлении поперечном вальцеванию. Образцы выдерживают в течение (60±5) мин в сушильном шкафу при температуре (110±5)°С, при этом образцы должны быть расположены таким образом, чтобы обеспечивался свободный доступ воздуха по всей их поверхности. Затем образцы охлаждают не менее 30 мин в эксикаторе по ГОСТ 25336-82, заполненном хлористым кальцием по ТУ 6-09-5077-87, при температуре окружающей среды () °С.

Измеряют толщину образцов.

Образцы зажимают в разрывной машине с расстоянием между зажимами (50±2) мм и скоростью подвижного зажима (250±10) мм/мин и разрывают их.

Разрыв образцов проводят не позднее, чем через 10 мин после извлечения их из эксикатора. При разрыве образца в месте его зажима результат испытания в расчет не берут и проводят испытания на новом образце.

Погрешность изменений не должна превышать 1 % измеряемой нагрузки.

Условную прочность при разрыве (G) в мегапаскалях (кгс/см2) вычисляют по формуле

где Р - нагрузка, вызывающая разрыв образца, Н (кгс);

S - площадь поперечного сечения образца до испытаний, м2 (см2).

За результат испытания принимают среднее арифметическое результатов всех определений, округленное до целого числа, при этом допускаются отклонение от нормы по отдельным определениям не более, чем на 10 %.

(Измененная редакция, Изм. № 4).

4.6. Увеличение массы иаронита в жидких средах определяют по ГОСТ 24037-90, при этом допускаются отклонения по отдельным определениям не более, чем на 10 % от нормы.

(Измененная редакция, Изм. № 4).

4.7. Уменьшение массы в жидких средах определяют по ГОСТ 24037-90 на образцах размером 20´20 мм с предельным отклонением ±0,5 мм.

(Измененная редакция, Изм. № 5).

4.8. Сжимаемость и восстанавливаемость паронита определяют по ГОСТ 24038-90, при этом допускаются отклонения по отдельным определениям нe более, чем на 10 % от нормы.

(Измененная редакция, Изм. № 4).

4.9. Определение уплотняющей способности

4.9.1. Паронит марок ПОН и ПА, ПОН-А, ПОН-Б, ПОН-В испытывают на уплотняющую способность в среде пара в лабораторном автоклаве типа АП-1 (черт. 1).

Девять кольцевых образцов паронита наружным диаметром (120±1) мм и внутренним диаметром (80±1) мм, покрытых маслографитовой пастой (состав: минеральное масло с кинематической вязкостью при 100 °С (6-11) м2/с 65-85 % и графит по ГОСТ 5420-74 шли ГОСТ 5279-74 15-35 %) зажимают .между фланцами (сталь 40Х по ГОСТ 4543-71) коллектора. Наличие смазки на торцовой части образцов не допускается.

(Измененная редакция, Изм. № 4).

Испытания проводят при давлении пара в коллекторе (10±0,5) МПа [(100±5) кгс/см2, давлении на образцы (22,5±0,5) МПа [(225±5) кгс/см2 температуре коллектора (450±10) °С и времени испытания (30±2) мин.

Образцы обеспечивают герметичность уплотняемых соединений, если в процессе испытания отсутствует утечка пара.

4.9.2. Паронит марок ПОН, ПМБ, ПМБ-1, ПА, ПОН-А, ПОН-Б, ПОН-В испытывают на уплотняющую способность в жидких средах в лабораторном автоклаве типа АП-2 (черт. 2). В качестве контрольной жидкости применяют керосин. Девять кольцевых образцов паронита наружным диаметром (120±1) мм и внутренним диаметром (80±1) мм, покрытых маслографитовой пастой, зажимают между фланцами коллектора. Наличие смазки на торцовой части образцов не допускается.

Испытания проводят при давлении жидкой среды в коллекторе (15±0,5) МПа [(150±5) кгс/см2], при этом давление поднимают постепенно через каждые 15 мин на (2,5±0,5) МПа [(25±5) кгс/см2] давлении на образцы (32,4±0,5) МПа [324±5) кгс/см2], температуре жидкой среды (20±5) °С и времени испытания при указанных параметрах (30±2) мин.

Образцы обеспечивают герметичность уплотняемых соединений, если в процессе испытания отсутствует утечка керосина.

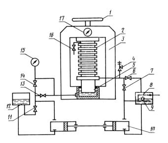
Схема) автоклава типа АП-1

1 - штурвал: 2, 6, 7 - манометр; 3 - вентиль продувочный; 4 - фланцевый коллектор: 5 - вентиль для спуска пара из коллектора; 8 — вентиль для спуска масла; 9 - насос ручной: 10 - емкость для масла: 11 - вентиль холостого хода насосов; II, 13 - запорные вентили: 14 - котел; 15 - электрообогрев; 16 - рама автоклава: 17 - гидравлический пресс; 18 - электрообогрев фланцевого коллектора

Черт. 1

 

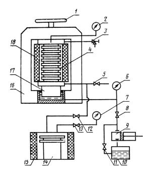
Схема автоклава типа АП-2

1 - штурвал; 2 - фланцевый коллектор: 3 - рама автоклава; 4 - предохранительный клапан; 5 - гидравлический пресс: 6 - вентиль для слива жидкости коллектора; 7, 13 - обратные клапаны; 8 - запорный клапан холостого хода насоса; 9 - емкость для жидкой среды: 10 - насос; 11 - вентиль холостого хода насоса; 13 - емкость для масла; 14 - вентиль для слива масла; 15 - 17 - манометры; 16 - продувочный вентиль

Черт. 2

4.9.1, 4.9.2. (Измененная редакция, Изм. № 1, 4).

4.10. (Исключен, Изм. № 1).

4.11. Устойчивость паронита на изгиб определяют по ГОСТ 24036-80.

5. МАРКИРОВКА, УПАКОВКА, ТРАНСПОРТИРОВАНИЕ И ХРАНЕНИЕ

5.1. На каждый лист паронита несмываемой краской наносят четкий штамп или приклеивают этикетку с указанием:

наименования предприятия-изготовителя и (или) его товарного знака; марки паронита;

номера партии;

даты изготовления;

толщины листа;

буквы «Т» для паронита в тропическом исполнении.

(Измененная редакция, Изм. № 5).

5.2. Листы паронита упаковывают в деревянные ящики или обрешетки массой брутто не более 500 кг.

Допускается пакетирование листов паронита на плоских деревянных поддонах массой брутто не более 1500 кг с обвязкой металлической упаковочной лентой по ГОСТ 3560-73. Пакеты на плоских поддонах формируют в соответствии с требованиями ГОСТ 26663-85.

При транспортировании в универсальных контейнерах или крытых автомашинах или автофургонах допускается отгрузка паронита без упаковки.

Допускается паронит толщиной до 2 мм свертывать в рулоны и скреплять шпагатом или металлической лентой.

Прокладки связывают в пачки от 25 до 100 шт. и упаковывают в деревянные ящики и картонные коробки или в металлическую многооборотную тару,

Прокладки связывают в пачки от 25 до 100 шт. шпагатом техническим по ГОСТ 17308-88 или шпагатом из химических волокон,

Пачки или пакеты с прокладками упаковывают в деревянные ящики, ящики из ДВП, гофрированного картона, картонные коробки с предельной загрузкой не более 50 кг или в многооборотную металлическую тару.

Прокладки наружным размером менее 100 мм и простой конфигурации допускается неувязанными в пачки укладывать в бумажные пакеты по ГОСТ 13502-86, массой брутто не более 5кг.

Прокладки размером 350 мм и более упаковывают в другие виды упаковки массой не более 500 кг, обеспечивающие их сохранность при транспортировании.

Для розничной торговли масса брутто одной единицы упаковки прокладок должна быть не более 30 кг.

(Измененная редакция, Изм. № 1, 3).

5.3. К каждой упаковочной единице прикрепляют ярлык, маркированный в соответствии с ГОСТ 14192-77, с нанесением следующих обозначений:

наименования предприятия-изготовителя и (или) его товарного знака;

наименования и марки паронита;

размеров листов паронита или номера прокладки (детали);

номера партии;

даты изготовления;

массы нетто;

обозначения настоящего стандарта;

буквы «Т» для паронита и прокладок в тропическом исполнении.

Для прокладок в тропическом исполнении, связанных в пачки, допускается по согласованию с потребителем другой вид маркировки.

(Измененная редакция, Изм. № 3, 5).

5.4. Паронит и прокладки транспортируют транспортом всех видов в крытых транспортных средствах в соответствии с правилами перевозки грузов, действующими на транспорте данного вида.

5.3; 5.4. (Измененная редакция, Изм. № 2).

5.5. Паронит и прокладки должны храниться в закрытых помещениях, защищающих от прямого воздействия солнечных лучей, органических растворителей, смазочных масел, кислот и других веществ, разрушающих паронит, на расстоянии не менее 1 м от теплоизлучающих приборов и при температуре не выше 35 °С.

Влажность в помещении для хранения паронита марки ПА должна быть не более 65 %.

5.6. При хранении и транспортировании паронита при температуре ниже 0 °С можно изготовлять из него прокладки после выдержки паронита в течение 24 ч при (20 ± 5) °С.

6. ГАРАНТИИ ИЗГОТОВИТЕЛЯ

6.1. Изготовитель гарантирует соответствие паронита и прокладок требованиям настоящего стандарта при соблюдении условий транспортирования и хранения.

6.2. Гарантийный срок хранения паронита и прокладок - 2 года со дня изготовления.

6.3. Гарантийный срок эксплуатации или гарантийная наработка прокладок должна быть равна гарантийному сроку эксплуатации или гарантийной наработке узлов или агрегатов, в которых они смонтированы без разъема соединения.

(Введен дополнительно, Изм. № 4).

ПРИЛОЖЕНИЕ

Рекомендуемое

СПОСОБ ИЗГОТОВЛЕНИЯ ПРОКЛАДОК ДИАМЕТРОМ БОЛЕЕ 1500 мм

При изготовлении прокладок диаметром более 1500 мм допускается стыковка паротита в «ласточкин хвост» или внахлестку. При стыковке внахлестку срез проводится по наклонной к склеиваемым концам.

Для склеивания применяют клей № 88Н. Склеенные части выдерживают в течение 2 ч под давлением 05 МПа при (20±5) °С.

 

ИНФОРМАЦИОННЫЕ ДАННЫЕ

1. РАЗРАБОТАН И ВНЕСЕН Министерством нефтеперерабатывающей и нефтехимической промышленности СССР

РАЗРАБОТЧИКИ СТАНДАРТА:

В. А. Кириллов; В. А. Соколов, канд. техн. наук; Г. В. Порошин, канд. техн. наук; Л. П. Красичева; Г. Г. Антипина

2. УТВЕРЖДЕН И ВВЕДЕН В ДЕЙСТВИЕ Постановлением Государственного комитета СССР по стандартам от 27.03.80 № 1394

3. ВЗАМЕН ГОСТ 481-71

4. ССЫЛОЧНЫЕ НОРМАТИВНО-ТЕХНИЧЕСКИЕ ДОКУМЕНТЫ

 

Обозначение НТД, на который дана ссылка

Номер пункта, подпункта

ГОСТ 2789-73

1.2

ГОСТ 3560-73

5.2

ГОСТ 3826-82

2.3

ГОСТ 4204-77

4.7.1

ГОСТ 4461-77

4.7.1

ГОСТ 4543-71

4.9.1

ГОСТ 5279-74

4,9.1

ГОСТ 5420-74

4.9.1

ГОСТ 13502-86

5.2,

ГОСТ 14192-77

5.3

ГОСТ 17308-88

5.2

ГОСТ 24036-80

4.11

ГОСТ 24037-90

4.6

ГОСТ 24038-90

4.8

ГОСТ 24039-80

4.2, 4.4

ГОСТ 24104-88

4.7.1

ГОСТ 25336-82

4.5

ГОСТ 26663-82

5.2

ТУ 6-09-5077-87

4.5

5. Срок действия продлен до 01.01.96 Постановлением Госстандарта СССР от 12.02.90 № 190

6. ПЕРЕИЗДАНИЕ (июнь 1992 г.) с Изменениями №1,2,3,4,5, утвержденными в декабре 1982 г., мае 1985 г., феврале 1988 г., феврале 1990 г. и декабре 1991 г. (ИУС 3-83, 8-85, 5-88, 5-90,4-92)

 




Яндекс цитирования



   Copyright © 2007-2026,  www.tehlit.ru.

[ ѓосты, стандарты, нормативы, инструкции, правила, строительные нормы ]