//
ТехЛит.ру
- крупнейшая бесплатная электронная интернет библиотека для "технически умных" людей.
WWW.TEHLIT.RU - ТЕХНИЧЕСКАЯ ЛИТЕРАТУРА

:: Алготрейдинг::


АЛГОТРЕЙДИНГ
шаг за шагом
с нуля по урокам!

Торговые роботы на PYTHON, BackTrader,
Pandas, Pine Script для TradingView. Связка с брокерами, телеграм и легкими приложениями.


ГОСТ 191-82

МЕЖГОСУДАРСТВЕННЫЙ СТАНДАРТ

ЦЕПИ ГРУЗОВЫЕ ПЛАСТИНЧАТЫЕ

ТЕХНИЧЕСКИЕ УСЛОВИЯ

 

ИПК ИЗДАТЕЛЬСТВО СТАНДАРТОВ

Москва

МЕЖГОСУДАРСТВЕННЫЙ СТАНДАРТ

ЦЕПИ ГРУЗОВЫЕ ПЛАСТИНЧАТЫЕ

Технические условия

Block load chains.

Specifications

ГОСТ
191-82

Дата введения 01.07.83

Настоящий стандарт распространяется на грузовые пластинчатые цепи, применяемые в цепных передачах возвратно-поступательного движения.

(Измененная редакция, Изм. № 1).

1. ТИПЫ, ОСНОВНЫЕ ПАРАМЕТРЫ И РАЗМЕРЫ

1.1. Цепи должны изготавливаться следующих типов:

1 - цепь грузовая пластинчатая с соединительным валиком на одном конце отрезка цепи;

2 - цепь грузовая пластинчатая с соединительным валиком на одном конце отрезка цепи и удлиненными валиками;

3 - цепь грузовая пластинчатая с соединительным валиком на одном конце, концевыми пластинами и концевым валиком на другом конце отрезка цепи;

4 - цепь грузовая пластинчатая с соединительным валиком на одном конце, концевыми пластинами и концевым валиком на другом конце отрезка цепи и удлиненными валиками;

5 - цепь грузовая пластинчатая с концевыми пластинами и концевым валиком на одном конце отрезка цепи;

6 - цепь грузовая пластинчатая с концевыми пластинами и концевым валиком на обоих концах отрезка цепи.

1.2. (Исключен, Изм. № 1).

1.3. Основные параметры и размеры цепей должны соответствовать указанным на черт. 1-6 и в таблице.

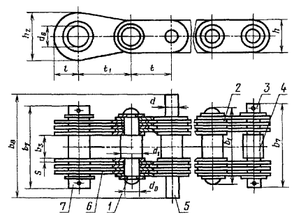
Цепь грузовая пластинчатая с соединительным валиком на одном конце отрезка цепи

Тип 1

1 - валик; 2 - пластина; 3 - валик соединительный; 4 - втулка.

Черт. 1

Цепь грузовая пластинчатая с соединительным валиком на одном конце отрезка цепи и удлиненными валиками

Тип 2

1 - валик; 2 - пластина; 3 - валик соединительный; 4 - втулка; 5 - валик удлиненный

Черт. 2

Цепь грузовая пластинчатая с соединительным валиком на одном конце, концевыми пластинами и концевым валиком на другом конце отрезка цепи

Тип 3

1 - валик; 2 - пластина; 3 - валик соединительный; 4 - втулка; 5 - пластина концевая; 6 - валик концевой

Черт. 3

Цепь грузовая пластинчатая с соединительным валиком на одном конце, концевыми пластинами и концевым валиком на другом конце отрезка цепи и удлиненными валиками

Тип 4

1 - валик; 2 - пластина; 3 - валик соединительный; 4 - втулка; 5 - валик удлиненный; 6 - пластина концевая; 7 - валик концевой

Черт. 4

Цепь грузовая пластинчатая с концевыми пластинами и концевым валиком на одном конце отрезка цепи

Тип 5

1 - валик; 2 - пластина; 3 - пластина концевая; 4 - валик концевой

Черт. 5

Цепь грузовая пластинчатая с концевыми пластинами и концевым валиком на обоих концах отрезка цепи

Тип 6

1 - валик; 2 - пластина; 3 - пластина концевая; 4 - валик концевой

Черт. 6

Примечание. Черт. 1-6 не устанавливают форму контура пластин, головок валиков.


Основные параметры и размеры грузовых пластинчатых цепей

Размеры в мм

Тип цепи

Шаг цепи t

Опорная поверхность, мм2

b3, не менее

h, не более

h2,

не более

d0

d0

d8

t1

l, не более

b1, не более

b7, не более

b8, не более

s

Число пластин, не менее

Разрушающая нагрузка, кН, не менее

Масса 1 м цепи, кг, не более

Номин.

Пред. откл.

1

3,5 и 6

 

6

4,6

4

5

-

2,3

3

-0,06

-

-

-

12

-

-

1

2

1,25

0,13

8

5,0

6

7

-

2,5

3,5

-0,08

-

-

-

14

17

-

1,60

0,20

10

9,0

8

8

-

3

4

-

-

-

18

20

-

1,5

2,50

0,32

15

16,0

12

12

18

4

5

9

20

11,5

25

27

-

2

5,00

0,56

20

24,0

15

15

20

6

8

-0,10

10

25

12,5

28

33

-

12,50

0,80

2 и 4

25

48,0

18

18

25

8

10

12

30

15,5

36

42

68

3

25,00

1,68

30

108,0

20

20

30

9

11

-0,12

14

40

18,5

51

58

88

4

40,00

2,76

35

120,0

22

26

35

10

12

16

45

21,5

53

61

93

63,00

3,30

40

144,0

25

30

40

12

14

18

50

24,5

58

66

102

80,00

3,70

45

168,0

30

35

45

14

17

22

55

27,5

63

70

108

100,00

5,30

50

324,0

35

38

50

18

22

-0,14

26

60

30,5

95

102

146

4,5

160,00

9,40

55

504,0

40

40

55

21

24

32

65

33,5

108

115

163

6

200,00

14,60

60

552,0

45

45

60

23

26

-0,17

36

70

36,5

114

120

171

6

250,00

17,50

70

1008,0

50

55

70

28

32

40

85

42,5

148

157

213

400,00

25,80

80

1152,0

60

60

85

32

36

50

100

51,5

159

171

233

500,00

31,50

90

1512,0

70

70

100

36

40

60

120

60,5

198

200

266

7 .

800,00

46,80

100

2240,0

80

80

120

40

45

70

140

72,5

237

239

309

8

1000,00

69,40

110

2520,0

90

90

140

45

50

80

160

84,5

249

251

327

1250,00

80,00

120

3200,0

100

100

160

50

55

-0,20

90

180

96,5

275

277

357

8

1600,00

99,90

Примечания:

1. Шероховатость поверхности средней части валика должна быть Ra £ 6,3 по ГОСТ 2789.

2. Масса цепей приведена без присоединительных элементов.

(Измененная редакция, Изм. № 1).


1.4. Обозначение цепи должно содержать: буквенное обозначение - G, значение разрушающей нагрузки, тип и шаг цепи.

Пример условного обозначения

Цепь грузовая пластинчатая с разрушающей нагрузкой 160,00 кН, типа 1, с шагом 50 мм:

Цепь G160-1-50 ГОСТ 191-82

Примечание. Величина разрушающей нагрузки в обозначении цепей с шагом 25 мм и более приводится без цифр после запятой.

2. ТЕХНИЧЕСКИЕ ТРЕБОВАНИЯ

2.1. Цепи должны изготавливаться в соответствии с требованиями настоящего стандарта по рабочим чертежам, утвержденным в установленном порядке.

2.2. Детали цепей должны изготавливаться из стали по ГОСТ 1050 с временным сопротивлением не менее: пластины - 650 МПа, валики - 550 МПа. Нормы по временному сопротивлению установлены для готовых деталей цепей.

2.3. Детали цепей не должны иметь окалины, трещин, заусенцев, раковин, вмятин, рисок, острых кромок, следов коррозии, влияющих на прочность цепи. Заделка трещин и раковин не допускается. Необработанные поверхности деталей должны соответствовать технической документации на применяемые материалы.

2.4. Собранная цепь должна иметь легкую, без заедания подвижность в шарнирных соединениях.

2.5. Все цепи после сборки должны быть подвергнуты изготовителем плавному статическому растяжению технологической нагрузкой, равной 50 % от величины разрушающей, указанной в таблице.

(Измененная редакция, Изм. № 1).

2.6. Предельное отклонение длины отрезка цепи от номинального значения должно быть положительным и не превышать +0,2 %.

2.7. Цепи должны изготовляться отрезками. Длину отрезков цепи, ее тип и чередование удлиненных валиков устанавливают по заказу потребителя.

(Измененная редакция, Изм. № 1).

2.8. Показатели надежности цепей приведены в приложении.

(Введен дополнительно, Изм. № 1).

3. ПРИЕМКА

3.1. Для проверки соответствия цепей требованиям настоящего стандарта изготовитель должен проводить приемо-сдаточные и периодические испытания.

Порядок предъявления и испытания цепей Госприемкой должен соответствовать НТД.

3.2. Приемо-сдаточным испытаниям следует подвергать каждую партию цепей на соответствие требованиям пп. 1.3, 2.3, 2.4, 2.6, 5.1. Партия должна состоять не более чем из 100 м цепей одного типоразмера, изготовленных по одному технологическому процессу.

3.1, 3.2. (Измененная редакция, Изм. № 1).

3.3. Для проведения контроля и испытаний от каждой партии цепей должно быть отобрано следующее число образцов:

на соответствие п. 2.4-10 звеньев;

на соответствие п. 1.3 (разрушающая нагрузка) - один образец из 5 звеньев при шаге 70 мм включительно и из 3 звеньев при шаге 80 мм и более;

на соответствие пп. 2.3, п. 5.1 - все цепи в партии;

на соответствие п. 2.6 - 3 цепи (несмазанные).

Длина измеряемого участка цепи - 49 звеньев, но не более 1500 мм.

3.4. Периодические испытания проводят один раз в два года в объеме требований настоящего стандарта.

3.5. Если в процессе приемо-сдаточных и периодических испытаний хотя бы один из параметров цепей не будет удовлетворять требованиям настоящего стандарта, должно быть проведено повторное испытание удвоенного числа образцов. Результаты повторных испытаний являются окончательными и распространяются на всю партию.

4. МЕТОДЫ ИСПЫТАНИЙ

4.1. Временное сопротивление стали для элементов цепей (п. 2.2) должно быть подтверждено сертификатом поставщика металла или результатами механических испытаний, выполняемых изготовителем цепей.

4.2. Наличие дефектов (п. 2.3) следует проверять визуально невооруженным глазом путем внешнего осмотра.

4.3. Подвижность шарнирных соединений (п. 2.4) следует проверять поворотом от руки соседних звеньев цепи, причем цепь должна лежать ребрами пластин на горизонтальной плоскости.

Для цепей с шагом 100 мм и более допускается проводить проверку подвижности звеньев путем подъема и укладки цепи на горизонтальную плоскость грузоподъемным механизмом. Звенья должны свободно сгибаться и полностью расправляться под действием собственного веса.

4.4. Измерение длины отрезка цепи (п. 2.6) должно производиться при нагрузке, равной 1 % от величины разрушающей нагрузки, указанной в таблице. При этом цепь должна быть расположена в горизонтальной плоскости.

4.5. Разрушающая нагрузка (п. 1.3) определяется на универсальных разрывных машинах путем статического растяжения цепи. Для цепей с шагом 100 мм и более допускается испытание на разрыв отрезка с уменьшенным числом пластин с доведением нагрузки до значения, пропорционального числу пластин.

При испытании цепей на разрыв отрезок цепи должен плавно нагружаться до разрушения, в момент которого должно быть зафиксировано значение величины разрушающей нагрузки.

4.6. Показатели надежности цепей контролируются по результатам эксплуатации. Критерием предельного состояния является удлинение цепи вследствие износа шарниров на 3 % и более. Периодичность контроля - один раз в два года. Объем выборки - не менее трех цепей. Обработка и оценка результатов - по НТД.

(Введен дополнительно, Изм. № 1).

5. МАРКИРОВКА, УПАКОВКА, ТРАНСПОРТИРОВАНИЕ И ХРАНЕНИЕ

5.1. На внешней стороне концевых пластин или каждой десятой наружной пластины должно быть нанесено клеймо, содержащее шаг цепи и товарный знак предприятия-изготовителя.

5.2. Консервация и упаковка готовых цепей - по ГОСТ 9.014. Консервация и упаковка должны обеспечить стойкость цепей против коррозии не менее 6 мес со дня отгрузки изготовителем.

5.3. Цепи могут транспортироваться транспортом всех видов в крытых транспортных средствах в соответствии с правилами перевозок грузов, действующими на транспорте каждого вида.

Для транспортирования цепи должны быть упакованы в дощатые ящики по ГОСТ 15841, выложенные внутри упаковочной бумагой (битумированной или дегтевой по ГОСТ 515) или другим водонепроницаемым материалом. Масса брутто ящика - не более 120 кг.

На ящике должна быть нанесена маркировка, содержащая:

знак предприятия-изготовителя;

обозначение цепи;

количество отрезков цепи в ящике;

длину отрезка цепи в шагах.

Допускается транспортирование цепей в металлической производственной таре по ГОСТ 14861.

Цепи в крытых вагонах должны транспортироваться пакетами по НТД.

Средства пакетирования - ящичные металлические поддоны по ГОСТ 9570 или плоские деревянные поддоны по ГОСТ 9557.

В универсальных унифицированных контейнерах или автомобилях цепи транспортируют без упаковки, увязанными в бухты массой не более 120 кг.

Универсальный унифицированный контейнер выстилают бумагой по ГОСТ 8828, ГОСТ 515 для предохранения от загрязнения стенок и пола.

Транспортная маркировка - по ГОСТ 14192.

5.4. Каждая отгружаемая партия цепей одного типоразмера должна сопровождаться документом (этикеткой), содержащим:

товарный знак или условное обозначение предприятия-изготовителя;

обозначение цепей по настоящему стандарту;

число цепей в партии;

штамп технического контроля;

дату выпуска цепей.

5.3, 5.4. (Измененная редакция, Изм. № 1).

5.5. Цепи должны храниться в условиях, исключающих их механическое повреждение, коррозию и воздействие на них атмосферных осадков. Хранение цепей совместно с агрессивными веществами не допускается.

6. ГАРАНТИИ ИЗГОТОВИТЕЛЯ

6.1. Изготовитель должен гарантировать соответствие цепей требованиям настоящего стандарта при условии соблюдения правил транспортирования, хранения и эксплуатации.

6.2. Гарантийный срок эксплуатации - 12 мес с момента ввода цепей в эксплуатацию.

ПРИЛОЖЕНИЕ

Обязательное

Показатели надежности цепей

Обозначение цепи (без указания ее типа)

Средняя наработка до отказа, ч

Установленная безотказная наработка, ч

G 1,25-6

970

600

G 1,60-8

870

540

G 2,50-10

930

580

G 5,00-15

890

550

G 12,50-20

550

340

G 25-25

550

340

G 40-30

810

500

G 63-35

550

340

G 80-40

480

300

G 100-45

440

270

G 160-50

600

370

G 200-55

740

460

G 250-60

650

400

G 400-70

740

460

G 500-80

680

420

G 800-90

500

310

G 1000-100

660

410

G 1250-110

580

360

G 1600-120

580

360

ПРИЛОЖЕНИЕ. (Введено дополнительно, Изм. № 1).

ИНФОРМАЦИОННЫЕ ДАННЫЕ

1. РАЗРАБОТАН И ВНЕСЕН Министерством угольной промышленности СССР РАЗРАБОТЧИКИ

O.K. Гвоздев; А.В. Иляхин, канд. техн. наук; Ю.С. Зельцер, канд. техн. наук; Г.И. Извеков; А.А. Пузанов

2. УТВЕРЖДЕН И ВВЕДЕН В ДЕЙСТВИЕ Постановлением Государственного комитета СССР по стандартам от 09.06.82 № 2330

3. ВЗАМЕН ГОСТ 191-75

4. ССЫЛОЧНЫЕ НОРМАТИВНО-ТЕХНИЧЕСКИЕ ДОКУМЕНТЫ

Обозначение НТД, на который дана ссылка

Номер пункта

ГОСТ 9.014-78

5.2

ГОСТ 515-77

5.3

ГОСТ 1050-88

2.2

ГОСТ 2789-73

1.3

ГОСТ 8828-89

5.3

ГОСТ 9557-87

5.3

ГОСТ 9570-84

5.3

ГОСТ 14192-96

5.3

ГОСТ 14861-91

5.3

ГОСТ 15841-88

5.3

5. Ограничение срока действия снято по протоколу № 2-92 Межгосударственного Совета по стандартизации, метрологии и сертификации (ИУС 2-93)

6. ПЕРЕИЗДАНИЕ (ноябрь 1999 г.) с Изменением № 1, утвержденным в сентябре 1988 г. (ИУС 12-88)

СОДЕРЖАНИЕ

 




Яндекс цитирования



   Copyright © 2007-2026,  www.tehlit.ru.

[ ѓосты, стандарты, нормативы, инструкции, правила, строительные нормы ]