//
ТехЛит.ру
- крупнейшая бесплатная электронная интернет библиотека для "технически умных" людей.
WWW.TEHLIT.RU - ТЕХНИЧЕСКАЯ ЛИТЕРАТУРА

:: Алготрейдинг::


АЛГОТРЕЙДИНГ
шаг за шагом
с нуля по урокам!

Торговые роботы на PYTHON, BackTrader,
Pandas, Pine Script для TradingView. Связка с брокерами, телеграм и легкими приложениями.


ГОСТ 3778-98

МЕЖГОСУДАРСТВЕННЫЙ СТАНДАРТ

 

СВИНЕЦ

Технические условия

 

МЕЖГОСУДАРСТВЕННЫЙ СОВЕТ
ПО СТАНДАРТИЗАЦИИ, МЕТРОЛОГИИ И СЕРТИФИКАЦИИ

Минск

Предисловие

1 РАЗРАБОТАН Межгосударственным техническим комитетом по стандартизации МТК 504 «Цинк, свинец», Восточным научно-исследовательским горно-металлургическим институтом цветных металлов (ВНИИцветмет) Республики Казахстан

ВНЕСЕН Комитетом по стандартизации, метрологии и сертификации Министерства энергетики, индустрии и торговли Республики Казахстан

2 ПРИНЯТ Межгосударственным Советом по стандартизации, метрологии и сертификации (протокол № 14 от 12 ноября 1998 г.)

За принятие проголосовали:

Наименование государства

Наименование национального органа по стандартизации

Азербайджанская Республика

Азгосстандарт

Республика Армения

Армгосстандарт

Республика Беларусь

Госстандарт Республики Беларусь

Республика Казахстан

Госстандарт Республики Казахстан

Российская Федерация

Госстандарт России

Туркменистан

Главгосинспекция «Туркменстандартлары»

Республика Узбекистан

Узгосстандарт

Украина

Госстандарт Украины

3 Постановлением Государственного комитета Российской Федерации по стандартизации и метрологии от 19 декабря 2000 г. № 384-ст межгосударственный стандарт ГОСТ 3778-98 введен в действие непосредственно в качестве государственного стандарта Российской Федерации с 1 июля 2001 г.

4 ВЗАМЕН ГОСТ 3778-77

СОДЕРЖАНИЕ

ГОСТ 3778-98

МЕЖГОСУДАРСТВЕННЫЙ СТАНДАРТ

СВИНЕЦ

Технические условия

Lead. Specifications

Дата введения 2001-07-01

1 Область применения

Настоящий стандарт распространяется на свинец в чушках, блоках и слитках.

2 Нормативные ссылки

В настоящем стандарте использованы ссылки на следующие стандарты:

ГОСТ 3.1120-83 Единая система технологической документации. Общие правила отражения и оформления требований безопасности труда в технологической документации

ГОСТ 12.3.002-75 Система стандартов безопасности труда. Процессы производственные. Общие требования безопасности

ГОСТ 3560-73 Лента стальная упаковочная. Технические условия

ГОСТ 8857-77 Свинец. Метод спектрального анализа

ГОСТ 14192-96 Маркировка грузов

ГОСТ 15846-79 Продукция, отправляемая в районы Крайнего Севера и труднодоступные районы. Упаковка, маркировка, транспортирование и хранение

ГОСТ 18477-79 Контейнеры универсальные. Типы, основные параметры и размеры

ГОСТ 20580.0-80 Свинец. Общие требования к методам химического анализа

ГОСТ 20580.1-80 Свинец. Методы определения серебра

ГОСТ 20580.2-80 Свинец. Методы определения меди

ГОСТ 20580.3-80 Свинец. Метод определения цинка

ГОСТ 20580.4-80 Свинец. Методы определения висмута

ГОСТ 20580.5-80 Свинец. Метод определения мышьяка

ГОСТ 20580.6-80 Свинец. Методы определения олова

ГОСТ 20580.7-80 Свинец. Метод определения сурьмы

ГОСТ 20580.8-80 Свинец. Метод определения железа

ГОСТ 21399-75 Пакеты транспортные чушек, катодов и слитков цветных металлов. Общие требования

ГОСТ 22477-77 Средства крепления транспортных пакетов в крытых вагонах. Общие технические требования

ГОСТ 26653-90 Подготовка генеральных грузов к транспортированию. Общие требования

ГОСТ 26880.1-86 Свинец. Атомно-абсорбционный метод анализа

ГОСТ 26880.2-86 Свинец. Методы определения натрия и калия

3 Общие технические требования

3.1 Свинец изготовляют в соответствии с требованиями настоящего стандарта по технологической документации, утвержденной в установленном порядке.

3.2 Обозначение марок и их химический состав должны соответствовать требованиям, указанным в таблице 1.

Коды ОКП приведены в приложении А.

3.2.1 В свинце, применяемом для изготовления сплавов и изделий, в которых нормируемые примеси являются компонентами, допускается массовую долю этих примесей не ограничивать и по согласованию изготовителя с потребителем увеличивать их норму до уровня массовой доли в соответствующем сплаве, а марку свинца устанавливать по остальным примесям. Регламентируемая в таблице 1 массовая доля свинца должна быть уменьшена на сумму компонентов сплава.

Таблица 1 - Марки и химический состав

В процентах

Обозначение марки

Химический состав

Свинец, не менее

Массовая доля примесей, не более

Серебро

Медь

Цинк

Висмут

Мышьяк

Олово

Сурьма

Железо

Магний, кальций и натрий в сумме

Всего

С0

99,992

3×10-4

5×10-4

0,001

0,004

5×10-4

5×10-4

5×10-4

0,001

0,002

0,008

С1С

99,99

0,001

0,001

0,001

0,005

0,0005

0,0005

0,001

0,001

0,001

0,01

С1

99,985

0,001

0,001

0,001

0,006

0,0005

0,0005

0,001

0,001

0,002

0,015

С2С

99,97

0,002

0,001

0,001

0,02

0,001

0,001

0,001

0,001

0,003

0,03

С2

99,95

0,002

0,001

0,001

0,03

0,002

0,002

0,005

0,002

0,010

0,05

С3

99,90

0,002

0,002

0,001

0,06

0,003

0,002

0,005

0,005

0,020

0,10

С3С

99,50

0,01

0,09

0,07

0,15

0,05

0,10

0,20

0,01

-

0,50

Примечания

1 В свинце марки С0, предназначенной для производства сурика, массовая доля примеси хрома не должна превышать 0,0001 %. Массовая доля хрома в свинце марки С0 гарантируется изготовителем.

2 Свинец марок С1С, С2С и С3С изготовляют по требованию потребителя.

3.3 Свинец изготовляют в виде чушек с плоским основанием или взаимозамыкаемой формы, слитков и блоков.

Чушки изготовляют массой от 30 до 40 кг, блоки - 1, 2 и 3 т. Допускаемые отклонения по массе блоков ± 10 %.

Форму и размеры блоков и слитков, а также массу слитков устанавливают по согласованию изготовителя с потребителем.

3.4 Поверхность чушек, блоков и слитков свинца должна быть без порошкообразных окислов и посторонних включений (шлака, кирпича и т.п.). Допускаются цвета побежалости, белый налет и усадочные раковины. Чушки, блоки и слитки не должны быть слоистыми.

3.5 Каждая чушка, блок и слиток свинца должны иметь маркировку с указанием товарного знака предприятия-изготовителя и номера партии.

3.6 Для обозначения марки свинца на чушки, слитки и блоки по торцу наносят несмываемой краской одну полосу следующего цвета:

- красного - для марки С0;

- зеленого - для марки С1С;

- белого - для марки С2С;

- желтого - для марки С2;

- синего - для марки С3;

- коричневого - для марки С3С.

Чушки, блоки и слитки свинца марки С1 краской не маркируют.

На каждом пакете должно быть указано: количество чушек в пакете, порядковый номер пакета, масса нетто.

На каждом блоке и слитке свинца, предназначенном для длительного хранения, на верхней поверхности должны быть указаны порядковый номер блока или слитка и масса нетто.

По согласованию изготовителя с потребителем допускается при формировании чушек в пакеты цветную маркировку наносить только на одну чушку верхнего ряда пакета.

Транспортная маркировка - по ГОСТ 14192.

Свинец, предназначенный для экспорта, маркируют в соответствии с заказом-нарядом внешнеторгового объединения.

Допускается наносить на верхнюю поверхность пакета водостойкую цифровую маркировку от руки.

3.7 Свинец в чушках транспортируют в универсальных контейнерах по ГОСТ 18477 или сформированным в пакеты.

Пакеты чушек должны соответствовать следующим требованиям:

- количество рядов в пакете - от 5 до 7;

- количество чушек в ряду - 5 шт.;

- количество чушек в пакете - от 25 до 35 шт.;

- масса пакета - не более 1500 кг. Для исключения перегруза вагона допускается снижение количества рядов чушек в отдельных пакетах.

Пакеты плоских чушек и чушек взаимозамыкаемой формы должны быть обвязаны стальной упаковочной лентой, натянутой и скрепленной в замок зажимными машинками.

Замок располагают на верхнем основании пакета. Верхний свободный конец ленты в поясе срезают у замка под углом 90°. Длина нижнего загнутого конца ленты не должна превышать 70 мм от замка. Толщина ленты 0,9 - 1 мм, ширина 30 мм, временное сопротивление разрыву не менее 35 кгс/мм2 по ГОСТ 3560.

Схемы укладки и скрепления чушек свинца в пакеты приведены в приложениях Б и В.

Устройства для крепления пакетов в крытых вагонах должны соответствовать ГОСТ 22477.

4 Требования безопасности

Требования безопасности при работе со свинцом у изготовителя и потребителя - по технологической документации в соответствии с ГОСТ 12.3.002 и ГОСТ 3.1120.

5 Правила приемки

5.1 Свинец принимают партиями. Партия должна состоять из свинца одной марки и должна быть оформлена одним документом о качестве, содержащим:

- товарный знак или наименование и товарный знак предприятия-изготовителя;

- наименование продукции и ее марку;

- номер партии;

- массу партии и количество пакетов, блоков или слитков;

- результаты анализа;

- дату выпуска;

- обозначение настоящего стандарта.

Масса партии не должна превышать 500 т.

5.2 Для проверки массы и химического состава свинца от каждой партии отбирают 2 % чушек, но не менее 5 шт. и 10 % блоков и слитков, но не менее 3 шт.

На предприятии-изготовителе пробу свинца отбирают от жидкого металла равномерно в процессе розлива партии металла в начале, в середине и в конце.

Массовую долю мышьяка, олова, сурьмы, а также суммы магния, натрия и кальция в свинце всех марок изготовитель определяет периодически, не реже одного раза в месяц.

Массовую долю хрома в свинце марки С0, предназначенной для изготовления сурика, изготовитель определяет периодически, не реже одного раза в 6 мес.

5.3 Проверке качества поверхности подвергают все чушки, блоки и слитки, входящие в партию.

5.4 При получении неудовлетворительных результатов испытаний хотя бы по одному из показателей по нему проводят повторные испытания на удвоенной выборке, взятой от той же партии. Результаты повторных испытаний распространяют на всю партию.

6 Методы контроля

6.1 Для контроля химического состава свинца отобранные чушки сверлят сверлом диаметром 10 - 20 мм. Места входа и выхода сверла зачищают на глубину 0,3 - 0,5 мм. Чушки сверлят в шести точках - по три на верхней и нижней поверхностях, при этом одно сверление производят в середине и два - на расстоянии 1/6 диагонали от угла на глубину, равную половине высоты чушки.

Допускается отбирать пробу распиловкой или фрезерованием. Каждую чушку распиливают или фрезеруют в трех местах - посередине и на равных расстояниях от середины, примерно на расстоянии 1/4 длины чушки.

Поверхность чушек в местах отбора проб очищают от грязи и окислов металлической щеткой, шлифованием или шабровкой до получения чистой металлической поверхности.

Отбор пробы проводят всухую, без применения охлаждающих жидкостей и смазок, с умеренной скоростью (во избежание перегрева и окисления).

Пробу от блоков и слитков отбирают срезанием двух противоположных по диагонали углов по всей высоте блока или слитка.

Стружку и опилки, отобранные от всех чушек, слитков или блоков, смешивают. Полученную объединенную пробу измельчают ножницами до частичек размером 3 - 5 мм, тщательно перемешивают и обрабатывают магнитом, после чего сокращают квартованием до получения лабораторной пробы массой не менее 2 кг. Лабораторную пробу делят на две равные части, одну из которых передают на анализ, другую хранят в качестве дубликата.

6.2 Отбор проб от жидкого металла проводят отливкой пробных слитков. Форма и масса пробных слитков не регламентируется. На предприятии-изготовителе допускается объединенную пробу готовить в виде цилиндров в количестве не менее трех.

Отобранную объединенную пробу при необходимости сокращают до получения пробы массой не менее 3 кг.

Лабораторную пробу делят на две части, помещают в полиэтиленовые пакеты, в которые вкладывают ярлыки с указанием даты отбора пробы, номера партии и фамилии пробоотборщика. Одну часть пробы передают на анализ, другую хранят на предприятии-изготовителе в течение 6 мес.

6.3 Анализ свинца проводят по ГОСТ 20580.0 - ГОСТ 20580.8, ГОСТ 26880.1, ГОСТ 26880.2 или ГОСТ 8857.

На предприятии-изготовителе допускается проводить анализы другими методами, по точности не уступающими стандартным.

При возникновении разногласий в оценке качества свинца химический состав определяют по ГОСТ 20580.0 - ГОСТ 20580.8, ГОСТ 26880.1, ГОСТ 26880.2 или ГОСТ 8857.

6.4 Массовую долю свинца определяют по разности между 100 % и суммой массовых долей нормируемых примесей в процентах.

6.5 Качество поверхности чушек, слитков и блоков свинца проверяют визуально, без применения увеличительных приборов.

7 Транспортирование и хранение

7.1 Свинец в чушках транспортируют транспортом всех видов в крытых транспортных средствах в соответствии с правилами перевозок грузов, действующими на данном виде транспорта.

Допускается по согласованию изготовителя с потребителем и транспортными организациями транспортировать чушки свинца в открытых транспортных средствах.

7.2 Подготовка свинца к перевозке морским транспортом - по ГОСТ 26653.

7.3 Свинец в блоках, слитках и контейнерах транспортируют транспортом всех видов.

7.4 Свинец, предназначенный для длительного хранения, транспортируют только сформированным в пакеты, блоками или слитками.

7.5 Транспортные средства для свинца, предназначенного для длительного хранения, должны быть чистыми.

7.6 В районы Крайнего Севера и труднодоступные районы свинец транспортируют в контейнерах по ГОСТ 18477 или пакетами в соответствии с требованиями ГОСТ 15846.

7.7 Транспортирование пакетов - по ГОСТ 21399.

7.8 Свинец хранят под навесом.

Допускается свинец в блоках и слитках хранить на специально подготовленных площадках.

8 Гарантии изготовителя

8.1 Изготовитель гарантирует соответствие качества свинца требованиям настоящего стандарта при соблюдении условий транспортирования и хранения, установленных стандартом.

8.2 Гарантийный срок хранения свинца в блоках и слитках на открытых площадках:

- с содержанием сернистого газа 0,22 - 10 мг/м3 - 5 лет;

- с содержанием сернистого газа 0,02 - 0,21 мг/м3 - 10 лет;

- с содержанием сернистого газа менее 0,02 мг/м3 - 15 лет.

ПРИЛОЖЕНИЕ А

(справочное)

Коды ОКП

Таблица A.1

Наименование

Идентификационный признак

Код ОКП

Контрольное число

Марка

Масса, кг

Свинец технический:

С0

 

17 2532 0100

10

- в чушках

С0

От 30 до 40

17 2532 0103

07

- в блоках

С0

1000

17 2532 0121

05

- в блоках

С0

2000

17 2532 0122

04

- в блоках

С0

3000

17 2532 0123

03

Свинец технический:

С1С

 

17 2532 0200

07

- в чушках

С1С

От 30 до 40

17 2532 0203

04

- в блоках

С1С

1000

17 2532 0221

02

- в блоках

С1С

2000

17 2532 0222

01

- в блоках

С1С

3000

17 2532 0223

00

Свинец технический:

С1

 

17 2532 0300

04

- в чушках

С1

От 30 до 40

17 2532 0303

01

- в блоках

С1

1000

17 2532 0321

10

- в блоках

С1

2000

17 2532 0322

09

- в блоках

С1

3000

17 2532 0323

08

Свинец технический:

С2С

 

17 2532 0400

01

- в чушках

С2С

От 30 до 40

17 2532 0403

09

- в блоках

С2С

1000

17 2532 0420

08

- в блоках

С2С

2000

17 2532 0421

07

- в блоках

С2С

3000

17 2532 0422

06

Свинец технический:

С2

 

17 2532 0500

09

- в чушках

С2

 

17 2532 0510

07

- в чушках

С2

От 30 до 40

17 2532 0511

06

- в блоках

С2

 

17 2532 0520

05

 в блоках

С2

1000

17 2532 0521

04

Свинец технический:

C3

 

17 2532 0600

06

- в чушках

C3

 

17 2532 0610

04

- в чушках

C3

От 30 до 40

17 2532 0611

03

- в блоках

C3

 

17 2532 0620

02

- в блоках

C3

1000

17 2532 0621

01

- в блоках

C3

2000

17 2532 0622

00

- в блоках

C3

3000

17 2532 0623

10

Свинец технический:

C3C

 

17 2532 0700

03

- в чушках

C3C

 

17 2532 0710

01

- в чушках

C3C

От 30 до 40

17 2532 0711

00

- в блоках

C3C

 

17 2532 0720

10

- в блоках

C3C

1000

17 2532 0721

09

- в блоках

C3C

2000

17 2532 0722

08

- в блоках

C3C

3000

17 2532 0723

07

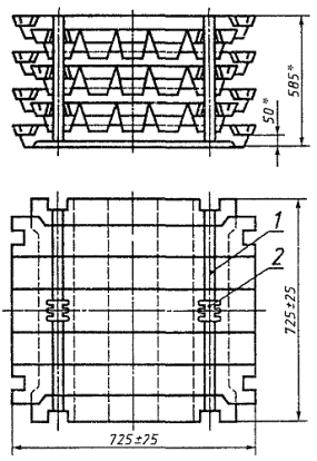
ПРИЛОЖЕНИЕ Б

(справочное)

Схемы укладки и скрепления взаимозамыкаемых чушек свинца в пакеты

* Размеры для справок.

1 - упаковочная лента, 2 - замок для скрепления чушек

Рисунок Б.1

* Размеры для справок.

1 - упаковочная лента, 2 - замок для скрепления чушек

Рисунок Б.2

* Размеры для справок.

1 - упаковочная лента, 2 - замок для скрепления чушек

Рисунок Б.3

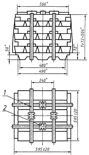
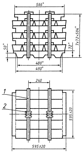
ПРИЛОЖЕНИЕ В

(справочное)

Схемы укладки и скрепления плоских чушек свинца в пакеты

* Размеры для справок.

1 - упаковочная лента, 2 - замок для скрепления чушек

Рисунок В.1

* Размеры для справок.

1 - упаковочная лента, 2 - замок для скрепления чушек

Рисунок В.2

* Размеры для справок.

1 - упаковочная лента, 2 - замок для скрепления чушек

Рисунок В.3

Ключевые слова: свинец, технические требования, правила приемки, методы контроля, транспортирование, хранение




Яндекс цитирования



   Copyright © 2007-2026,  www.tehlit.ru.

[ ѓосты, стандарты, нормативы, инструкции, правила, строительные нормы ]