//
|
|
Министерство
строительства предприятий Всесоюзный научно-исследовательский институт по строительству магистральных трубопроводов ВНИИСТ УТВЕРЖДАЮ Заместитель директора по научн. части _______________ К.И. Зайцев 25.XII. 1990 г. ПОСОБИЕ (к СНиП 3.05.02.88 «Газоснабжение») Москва, 1990 г. АННОТАЦИЯ В Пособии рекомендованы организационно-технологические решения по выполнению требований СНиП 3.05.02-88 и СНиП 2.04.08-87 с учетом оснащенности строительных организаций Миннефтегазстроя машинами, оборудованием и аппаратурой и опыта поточно-скоростного строительства промысловых и магистральных трубопроводов. В Пособии также рассмотрены отдельные вопросы организации строительства газопроводов-отводов высокого давления от магистральных газопроводов до газораспределительных станций (ГРС), проектируемых по СНиП 2.05.06.86 и осуществляемых строительством по СНиП III-42-80. Учитывая, что технология строительства газопроводов-отводов высокого давления достаточно полно освещена в ведомственных строительных нормах, в Пособии дана только специфика организации строительства и производства работ в сельских районах Нечерноземья, а также даны предложения по использованию имеющейся техники и оборудования для сооружения трубопроводов малых диаметров (до 530 мм включительно). Для повышения организационно-технологического уровня строительства трубопроводов малых диаметров предлагаются прогрессивные способы производства работ: Расчистка трассы от леса - с полной утилизацией отходов с помощью механизированного комплекса; строительство дорог - с использованием полимерных оснований; рекультивация земель с использованием дифференцированных схем производства работ; транспортировка труб и секций - в пакетах и контейнерах; соединение металлических труб - электроконтактной сваркой, пайкой, сваркой вращающейся дугой; разработка траншеи непрерывными способами - роторными и фрезерными экскаваторами, плугом; изоляция трубопроводов стендовым способом, битумная для труб диаметром до 219 мм и полимерными лентами - для труб больших диаметров; для зимних условий предлагается применять новые изоляционные материалы; для укладки трубопроводов предлагается: бестраншейная укладка ножевыми или плужным трубозаглубителем трубопроводов диаметром 32-114 мм, включая пластмассовые газопроводы; циклические и непрерывные методы укладки с бровки траншеи для трубопроводов диаметром 159-530 мм; засыпка трубопровода - непрерывными методами для трубопроводов диаметром 32-273 мм, при продольном перемещении бульдозера или траншеезасыпателем для больших диаметров; очистка полости трубопроводов с применением поршней повышенной прочности и износостойкости; монтаж крановых узлов - в блочном исполнении с защитой при гидроиспытании зимой пенополимерными материалами; для переходов через дороги - применение полимерных манжет и муфт вместо деревянной футеровки; для балластировки трубопроводов - базовое обетонирование набрызгом и контейнерные утяжелители, заполненные грунтом; сварка пластмассовых трубопроводов - контактная и муфтами с электронагревом. Реализация указанных технических решений позволит снизить трудозатраты и базовую стоимость в 1,5...1,7 раз в зависимости от диаметра трубопровода. Подробно технология и организация производства работ приводится в последующих разделах Пособия. Пособие разработали: К.И. Зайцев, канд. техн. наук, Р.Д. Габелая, канд. техн. наук, Е.А. Аникин, канд. техн. наук, А.В. Амелин, канд. техн. наук, Н.Т. Виленская, Т.С. Воронина, канд. техн. наук, С.В. Головин, канд. техн. наук, Ю.Н. Гарбер, канд. хим. наук, В.Д. Лебедь, канд. техн. наук, М.А. Майская, канд. техн. наук, М.В. Машков, В.В. Притула, докт. техн. наук, Н.В. Покровская, В.В. Парамонов, Р.Т. Сагателян, канд. техн. наук, Ю.Н. Сватиков, В.Г. Селиверстов, А.Н. Слуцкий, В.Б. Серафимович, канд. техн. наук, В.К. Семенченко, канд. техн. наук, Е.Л. Семин, канд. техн. наук, В.Д. Тарлинский, канд. техн. наук, Т.Е. Трущелева, канд. техн. наук, Р.Р. Хакимьянов, канд. техн. наук, А.С. Шацкий, канд. техн. наук, В.Ф. Чабуркин, канд. техн. наук, М.С. Бардо, И.Н. Илюшина.
1. Общие положения1.1. Пособие распространяется на сооружение распределительных газопроводов населенных пунктов и межпоселковых газопроводов, и вводов проектируемых и сооружаемых по СНиП 2.04.08.87 и СНиП 3.05.02.88 с избыточным давлением природного газа не свыше 1,2 МПа (12 кгс/см2) в сельских районах Нечерноземной зоны РСФСР. 1.2. Пособие не распространяется на строительство новых, расширение и реконструкцию действующих: систем газоснабжения предприятий черной и цветной металлургии, нефтеперерабатывающей и других отраслей промышленности, для которых строительство систем газоснабжения осуществляется в соответствии со специальными требованиями производства и приемки работ, указанными в проектной документации; внутригородских газовых сетей; внутриплощадочных газопроводов предприятий, использующих газ в качестве сырья, автомобильных заправочных станций природного газа; на газооборудование передвижных средств; внутренние (прокладываемые внутри зданий) газопроводы и газооборудование промышленных и сельскохозяйственных предприятий, котельных, предприятий бытового обслуживания производственного характера (бани, прачечные и т.п.) и не производственного характера (школы, больницы и т.п.), жилых и общественных зданий; резервуарные, баллонные и испарительная установка.
1.4. Строительство трубопроводов систем газоснабжения должны выполнять строительно-монтажные организации, получившие разрешение от местных органов Госпроматомнадзора СССР. К работам по строительству систем газоснабжения допускаются рабочие, обученные безопасным методам работы, и инженерно-технические работники, имеющие техническую подготовку в соответствии с требованиями «Правил безопасности в газовом хозяйстве» и СНиП III-4-80. 1.6. На трубы, фасонные части, арматуру, сварочные и изоляционные материалы, применяемые в соответствии с проектом, должны иметься сертификаты заводов-изготовителей (или их копии, заверенные владельцем сертификата, удостоверяющие их качество). На оборудование, узлы, соединительные детали и изолирующие фланцы должны иметься технические паспорта заводов-изготовителей, центрально-заготовительных заводов (ЦЗЗ) строительно-монтажных организаций. 1.7. Монтаж трубопроводов и арматуры систем газоснабжения следует выполнять индустриальными методами с применением узлов высокой заводской готовности. 1.8. На законченные строительством подземные газопроводы следует составлять строительные паспорта по формам обязательного приложения 1 СНиП 3.05.02-88. 1.9. При разработке проекта производства работ (ПНР) для строительства газопроводов в местах наличия густой сети подземных коммуникаций необходимо разработать специальные методы производства работ, обеспечивающие сохранность этих коммуникаций. 1.10. Приемка в эксплуатацию законченных строительством объектов газоснабжения должна производиться приемочной комиссией в соответствии с правилами, утвержденными приказом Минжилкомхоза РСФСР от 10.06.88 г. 152 (см. приложение 1). 1.11. Запрещается осуществление строительно-монтажных работ без утвержденных проекта организации строительства и проекта производства работ. Не допускаются отступления от решений проектов организации строительства и проектов производства работ без согласования с организациями, разработавшими и утвердившими их. 2. Организационно-технологические схемы производства работ2.1. Рекомендуемые в пособии организационно-технологические схемы производства работ исходят из особенностей трубопроводов систем газоснабжения сельских районов нечерноземной зоны РСФСР: большой диапазон диаметров трубопроводов - от 32 мм до 530 мм, толщин стенок труб от 4 мм до 10 мм, рабочих давлений газа в трубопроводах, небольшая протяженность трубопроводов - от 0,5 км до 20 км, разбросанность коротких по протяженности трубопроводов по территории газификации, большая уязвимость сельскохозяйственных угодий от внешнего воздействия, густая сеть коммуникаций (пересечений трубопроводов), большое количество ГРС, ГРП и ГРУ. 2.2. При сооружении трубопроводов системы газоснабжения требуется более высокая технологическая дисциплина, т.к. нормы на производство основных видов работ по СНиП 3.05.02 более жесткие, чем по СНиП III-42-80. Например, нормы контроля качества сварки и изоляции более высокие, используется усиленное изоляционное покрытие 3-хслойное битумное, испытание на прочность и герметичность производится, как правило, воздухом и при этом длина испытываемого участка не должна превышать 12 км, продолжительность испытания на герметичность - до 48 часов. 2.3. Организационно-технологические решения должны обладать следующими качествами: гибкостью, малооперационностью, автономностью, организационной надежностью, ресурсосберегательностью, экологической чистотой. 2.4. Гибкая технология и организация должны реализоваться за счет применения универсальных и многофункциональных машин и оснастки, универсальных материалов, унифицированных строительных конструкций, различных структур линейных подразделений для трубопроводов различных диаметров и протяженности. 2.5. В зависимости от диаметра трубопровода рекомендуются три различные структуры линейных подразделений (см. табл. 1 и рис. 1, 2, 3): для строительства трубопроводов диаметром 32-114 мм рекомендуется формировать комплексные бригады, структура которых зависит от применяемой технологии; для строительства трубопроводов диаметром 159-273 мм рекомендуется формировать комплексные участки из специализированных бригад; и линейный поток - для трубопроводов диаметром 325-530 мм. Ресурсный состав комплексной бригады, участка и линейного потока приведены в таблицах 2, 3, 4. 2.6. Для сооружения трубопроводов диаметром 32-273 мм организуются территориальные потоки, объединяющие комплексные бригады или комплексные участки. Для сооружения трубопроводов большего диаметра и большой протяженности (свыше 20 км) организуется линейный поток как для магистрального трубопровода. Таблица 1
Рис. 1. Технологическая схема строительства трубопроводов диаметром 32-114 мм
Рис. 2. Технологическая схема строительства трубопроводов диаметром 159-273 мм
Рис. 3. Технологическая схема строительства трубопроводов диаметром 325-530 мм Условные обозначения к рис. 1, 2 и 3 1. Лесоповалочная машина 2. Трелевочный трактор 3. Сучкорезная машина 4. Корчеватель 5. Машина для переработки отходов в щепу 6. Бульдозер 7. Трубоукладчик 8. Плетевоз 9. Сварочный агрегат 10. Контроль сварных соединений 11. Роторный экскаватор 12. Одноковшовый экскаватор 13. Трубозаглубительная машина 14. Траншеезасыпатель 15. Обетонированные трубы 16. Балластирующие контейнера 17. ВАГ 18. Наполнительные и опрессовочные агрегаты РЕСУРСНЫЙ СОСТАВ КОМПЛЕКСНОЙ БРИГАДЫ ПО СООРУЖЕНИЮ ТРУБОПРОВОДОВ Æ 32-114 мм (темп работ 0,5 км/дн.) Таблица 2
При бестраншейном способе укладки трубопровода с использованием трубозаглубительной машины состав первого и четвертого звеньев изменяется: Таблица 18 Состав первого четвертого звеньев
Таблица 3 РЕСУРСНЫЙ СОСТАВ КОМПЛЕКСНОГО УЧАСТКА ПО СООРУЖЕНИЮ ТРУБОПРОВОДОВ Æ 159-273 мм (темп работ 0,7 км-дн.)
Таблица 4 РЕСУРСНЫЙ СОСТАВ ЛИНЕЙНОГО ПОТОКА ПО СООРУЖЕНИЮ ТРУБОПРОВОДОВ Æ 325-530 мм (темп работ 1,0 км/дн.)
2.7. С целью рационального использования техники в условиях большого разнообразия трубопроводов предлагается гибкий принцип формирования ресурсооснащенности потока (см. табл. 5) он должен состоять из постоянных и переменных технических ресурсов. Постоянные ресурсы (универсальные машины и универсальная технологическая оснастка) передается потоку на длительное пользование, а переменные - на краткосрочное пользование, на период сооружения трубопровода определенного диаметра. Переменные ресурсы находятся в распоряжении СМУ (треста). 2.8. Выбор организационных схем производства сварочно-изоляционных работ производится по критерию минимизации трудозатрат и базисной стоимости этих работ. Исходя из этого, рекомендуется: для трубопроводов диаметром 32-114 мм базовая изоляция одиночных труб и сварка стыков на трассе; для трубопроводов диаметрами 159-273 мм сварка 2-х трубных секций и их изоляция на базе; для трубопроводов диаметрами 325-530 мм - базовая сварка 2-3-х трубных секций и трассовая изоляция (при использовании пленочной изоляции). 2.9. Выбор организационно-технологических схем производства земляных работ с рекультивацией земель производится в зависимости от почвенных условий и характера сельскохозяйственных угодий с целью минимизации ширины строительной полосы. 3. Организация строительства3.1. Строительство распределительных и межпоселковых газопроводов с давлением газа до 1,2 МПа (12 атм.), а также газопроводов-отводов высокого давления (до 10 МПа (100 атм.)) следует организовать в соответствии с требованиями СНиП 3.01.01-85, СНиП 3.05.02-88, СНиП III-42-80 и с рекомендациями настоящего Пособия. 3.2. Основной формой организации строительства трубопровода является поточный метод с широким использованием индустриализации монтажных работ (базовая изоляция труб и деталей, блочные крановые узлы). 3.3. Основной формой организации труда рабочих должна являться бригадная форма с разбивкой бригады, при необходимости, на специализированные звенья рабочих. 3.4. Бригады в зависимости от характера работы следует формировать комплексными или специализированными. Комплексные бригады, как правило, необходимо создавать укрупненными для производства законченной строительной продукции (готового объекта). Таблица 5 Принцип формирования ресурсооснащенности потока 3.5. Количественный и профессионально-квалификационный состав бригад и звеньев рабочих устанавливается в зависимости от планируемых объемов, трудоемкости и сроков выполнения работ. 3.6. Основой для планирования работы должен служить проект организации работ (ПОР) на годовую производственную программу треста (СМУ). На основе ПОР должен разрабатываться сводный календарный план, графики движения потоков, строительных участков (комплексных бригад). 3.7. Сводный календарный план должен удовлетворять следующим условиям: соответствие объемов и структур работ технологической производственной мощности комплексной бригады, участка или потока; мимизация межобъектных перебазировок; равномерность загрузки строительных организаций по временным интервалам; максимальная занятость (загрузка) бригады на объектах, расположенных в районе базирования участка. 3.8. График движения потока участка (бригады) разрабатывается на один-два года и отражает: перечень всех объектов, строящихся участком (бригадой); объемы работ и объекты зимнего и летнего сезонов строительства; продолжительность строительства с учетом влияния сезона и перебазировок; виды основных работ; последовательность движения потока участка, бригады по объектам. 3.9. Оптимальные запасы материально-технологических ресурсов, необходимые для бесперебойной работы следует определять с учетом следующих факторов: отдаленность основной базы снабжения; состояние дорожной сети; сезона года; транспортной схемы доставки материалов; производительности участка (бригады). 3.10. Строительный поток, участок (управление) должен функционировать на определенной территории (область, район или межобластной или межрайонной уровень), ведя строительство одновременно нескольких газопроводов: газопроводов-отводов высокого давления от магистральных газопроводов до ГРП или ГРС, распределительных и межпоселковых газопроводов от ТРП и ГРС до потребителей: межпоселковых, распределительных и т.д. 3.11. Места базирования потока участка определяют с учетом расположения наиболее ресурсоемких объектов, чтобы минимизировать транспортные затраты. 3.12. Сооружение ГРП, ГРС, а также сложные переходы через естественные и искусственные препятствия, авто и железные дороги целесообразно осуществлять специализированными бригадами, звеньями. 3.13. График сооружения объектов по п. 11 настоящего раздела составляют в соответствии со сводным календарным графиком сооружения систем газоснабжения. В свою очередь, график поставки труб, материалов, оборудования, арматуры и деталей должен быть увязан с графиком сооружения объектов (систем газоснабжения). 3.14. При наличии в строительной организации мощной трубопроводостроительной техники, рассчитанной на сооружение труб большого диаметра, она может быть использована при сооружении газопроводов систем газоснабжения районов Нечерноземья. Способы повышения эффективности использования мощных машин приведены в приложении. 3.15. Для осуществления работ по сооружению систем газоснабжения сельских районов целесообразно поделить территорию Нечерноземья в зависимости от плотности сооружения газопроводных систем на отдельные регионы, которые могут и не совпадать с административно-территориальным делением. 3.16. Назначить (или создать) в регионах строительную организацию, которой поручить выполнение всех видов работ, связанных с сооружением газопроводов. 3.17. На основе плана ввода объектов в эксплуатацию и территориального их расположения (с учетом плотности строительства газопроводных систем) определить и обустроить постоянные места централизованного складирования строительных материалов труб и оборудования, необходимое количество изоляционных и сварочно-изоляционных баз и места их расположения. Создать региональные обменные пункты машин и механизмов для трубопроводного строительства. 4. Сооружение дорог4.1. Тип, конструкцию и ширину проезжей части временных проездов выбирают в зависимости от диаметров газопроводов, способ их прокладки и с учетом сезонности производства строительно-монтажных работ, несущей способности естественного основания, местных дорожно-строительных материалов. 4.2. На сложных участках (болотах, переувлажненных и обводненных участках трассы) могут быть использованы следующие конструкции технологических проездов: со сборно-разборным покрытием; лежневых; дерево-грунтовых; насыпные, армированные мелколесьем; насыпные с применением нетканных синтетических материалов (НСМ) грунтовые без покрытия; снежно-ледовые. 4.3. В ряде случаев в зависимости от типа болот и их несущей способности в качестве основания дорог возможно использовать отходы резино-технической промышленности (бортовые кольца изношенных автопокрышек, обрезки транспортерной ленты). Это позволяет значительно снизить стоимость временных дорог, повысить производительность труда. Конструкция и технология сооружения этих дорог даны в приложении 2. 4.4. Для сооружения дорог в базовых условиях из вышеперечисленных материалов изготавливаются маты. 5. Транспортировка труб и секций5.1. При перевозке труб и плетей необходимо руководствоваться «Правилами дорожного движения», утвержденные МВД СССР. 5.2. Для предохранения изоляции от повреждения при перевозке необходимо оборудовать коники плетевозов ложементами с эластичными прокладками. 5.3. Рекомендуется перевозить трубы на ложементах не более чем на два в два яруса. Уложенные плети должны соприкасаться друг с другом. 5.4. При перевозке секций труб в несколько ярусов, трубы должны разделяться мягкими прокладками, а каждый ярус секций труб должен лежать на полукруглых ложементах с эластичными прокладками (рис. 4). При увязке секций под канаты необходимо подкладывать мягкие прокладки. 5.5. Неизолированные трубы перевозятся плотно увязанными пакетами (рис. 5). 5.6. Трубы малых диаметров (32-89 мм) перевозятся в контейнерах, а трубы диаметрами 114-219 мм - в пакетах. Пакетирование производится на трубозаготовительной базе. Пакет труб перевозится на автопоездах в составе автомобиля и полуприцепа. Для этого трубоплетевозы могут быть дооборудованы путем установки на них платформ (см. рис. 6). Платформы выпускаются ВНИИСТом по заказам. Специальная платформа, которая устанавливается на конки плетевоза, имеет длину 11 м и ширину 2,5 м. Основные технические характеристики: Базовый плетевоз - ПВ-204 Грузоподъемность плетевоза с платформой - 16 т Погрузочная высота платформы - 2,2 м 5.7. Для раскладки труб из пакета по трассе кран-трубоукладчик следует оборудовать дополнительной опорой (рис. 7), которая может перегружать трубы (секций труб) с автотранспортного средства на «себя». Перегрузка труб (секций труб) с плетевоза на дополнительные опоры выполняется или вилочными захватами, соединенными траверсой, или методом размещения дополнительных опор под грузом с последующим их подъемом. При транспортировке труб (секций труб) к месту их раскладки дополнительные опоры поднимаются в крайнее по высоте положение. Раскладка труб (секций труб) производится при опущенных дополнительных опорах с применением вилочных захватов (рис. 7). Основные технические характеристики оборудования: Базовый кран-трубоукладчик - ТГ-502 (Кат, Комацу) Грузоподъемность опор - до 12 т Тип дополнительных опор - телескопические Длина опор - 15 м Ширина опор - 2,5 м Длина рычагов параллелограмма - 3,1 м. 5.8. На кране-трубоукладчике ТО-1224 монтируются дополнительные опоры на расстоянии 8 м друг от друга. Подъем и спуск этих опор осуществляется крюком крана-трубоукладчика в направляющих, выполненных аналогично подъемному устройству автопогрузчиков. Рис. 4. Схема погрузки изолированных труб 1 - коник 2 - ложемент 3 - канат стяжки 4 - мягкая прокладка 5 - труба (плеть) Рис. 5. Схема погрузки неизолированных труб 1 - коник 2 - канат стяжка 3 - труба Рис. 7. Трубоукладчик с навесным оборудованием для раскладки труб вдоль трассы 6. Рекультивация земель на строительной полосе трубопровода6.1. Ширина полосы отвода земель для строительства межпоселковых и распределительных газопроводов назначается проектом по согласованию с землепользователями, а для газопроводов-отводов высокого давления устанавливается в соответствии со СНи 452-73 и тоже согласовывается с землепользователем. 6.2. Учитывая большую уязвимость плодородной почвы в Нечерноземной зоне РСФСР, при рекультивации земель необходимо снимать гумусный слой грунта со всей ширины рабочей полосы. 6.3. Ширина полосы отвода на землях сельскохозяйственного назначения назначается в зависимости от вида сельскохозяйственных угодий и технологической схемы производства рекультивации. Предлагаемые схемы производства работ направлены на сокращение площадей отводимых земель под строительство трубопроводов (рис. 8). 6.4. Первая схема предусматривает хранение плодородной почвы на нерабочей зоне полосы за отвалом минерального грунта, при этом и плодородный грунт и минеральный грунт перемещаются бульдозером. При второй схеме ширина строительной полосы сужается на величину С1 за счет сближения отвалов плодородного и минерального грунтов, т.к. засыпка минерального грунта производится экскаватором или другой машиной, установленной на рабочей зоне. При третьей схеме минеральный грунт укладывается на рабочую зону и планируется для прохода монтажной техники, при этом ширина строительной полосы еще более сужается. Четвертая схема позволяет еще больше сузить строительную полосу за счет засыпки минерального грунта продольным проходом землеройной машины по отвалу грунта (роторного траншеезасыпателя, грейдера и др.). Пятая схема предписывает укладку плодородного грунта также как и минерального на рабочей зоне, его планировку для проезда транспортных машин. Шестая схема предусматривает вывозку плодородного грунта за пределами строительной полосы, хранение его в буртах и возвращение на место после засыпки трубопровода. Седьмая схема рассчитана на стесненные условия, когда нет места для укладки отвала грунта, а движение строительных машин осуществляется по оси строящегося трубопровода (сварка труб в траншее или протаскивание плетей по траншее, укладка трубозаглубительными машинами). Восьмая схема отражает организацию работ в условиях, когда не требуется техническая рекультивация земель, т.е. снятие плодородного слоя грунта не производится. Рис. 8 . Ширина отвода земель в зависимости от схем производства работ 7. Разработка траншеи и засыпка7.1.
Способ производства земляных работ при строительстве трубопроводов систем
газоснабжения (1,2 МПа) (межпоселковых, распределительных, вводов) должен
определиться проектом и выполняется в соответствии со СНиП 3.02.01-87 и СНиП 3.05.02-88 и рекомендациями настоящего
Пособия, а при строительстве газопроводов-отводов высокого давления в
соответствии со СНиП
III-42-80 и 7.2. Наименьшая ширина траншеи по дну должна назначаться в соответствии с таблицей 6. Таблица 6
Примечание: Ширина траншей для газопроводов в грунтах, расположенных ниже уровня грунтовых вод и разрабатываемых с открытым водоливом, должна приниматься с учетом размещения водосборных и водоотливных устройств согласно проекта. 7.3. Наименьшая ширина траншеи по дну при разработке грунта землеройными машинами цикличного действия должна соответствовать ширине режущей кромки рабочего органа машины с добавлением в песчаных грунтах и супесях 0,15 м, в глинах и суглинках 0,1 м. Размеры приямков для монтажа трубопроводов в траншеи следует принимать не менее: длина 1 м, ширина Д + 1,2, глубина 0,7 м. 7.4. Поперечный профиль траншеи определяется устойчивостью откосов и способом производства работ. При балластировке трубопроводов диаметром более 300 мм железобетонными грузами ширина траншеи должна быть такой, чтобы обеспечить расстояние между пригрузом и стенкой траншеи не менее 0,15 м. 7.5. Заглубление трубопровода определяют до верха трубы или балластирующей конструкции и должно быть не менее 0,8 м с учетом условий сохранности трубопровода от повреждений. В местах, где не предусматривается движение транспорта, глубину прокладки газопроводов допускается уменьшать до 0,6 м. 7.5. Профиль траншеи должен быть выполнен таким образом, чтобы уложенный трубопровод по всей длине нижней образующей соприкасался с дном, а на участках поворота трасса трубопровода располагался на дне траншеи по линии изгиба. Для обеспечения указанного условия дно траншеи должно быть спланировано путем протаскивания по дну тяжелых устройств (например, клин-бабы, шар-бабы и др.). 7.7. Прокладку газопроводов в грунтах с включением строительного мусора и перегноя следует предусматривать с устройством под газопровод основания из мягкого или песчаного грунта толщиной не менее 10 см (над выступающими неровностями основания); засыпку газопровода следует предусматривать таким же грунтом на полную глубину траншеи. 7.8. До начала разработки экскаватором траншеи необходимо выполнить следующие виды работ: разбить и закрепить трассу газопровода на месте путем установки разбивочных знаков; вскрыть шурфами места пересечения трассы газопровода с подземными коммуникациями; установить ограждения и предупредительные знаки в местах производства работ. 7.9. В зимний период до начала разработки траншей необходимо очистить трассу от снега. Размеры очищаемого участка определяются в зависимости от производительности комплекса машин и должны соответствовать проходке машин за одну-две смены. 7.10. Вдоль размеченной трассы газопровода через каждые 40-50 м и на переломах продольного профиля на расстоянии 0,5 м от разрабатываемой траншеи следует установить визирки с рабочими отметками глубины разработки траншей экскаватором. 7.11. Вскрытие траншей следует начинать с низовой стороны для обеспечения возможности удаления грунтовых и атмосферных вод в места с пониженными отметками. Место отвала грунта следует располагать на стороне, с которой возможен приток дождевых вод. 7.12. При наличии в проектной документации указаний о необходимости крепления вертикальных стенок траншей вслед за разработкой траншеи на расстоянии 10 м от экскаватора должны устанавливаться крепления инвентарного типа. 7.13. Разгрузку ковша необходимо производить в односторонний отвал, при этом из верхних слоев грунт необходимо укладывать в наиболее удаленные части отвала с постепенным приближением мест разгрузки ковша к бровке траншеи по мере её углубления. 7.14. Для рытья траншей под трубопроводы диаметром свыше 219 мм целесообразно использовать преимущественно роторные и цепные траншейные экскаваторы непрерывного действия. Цепные экскаваторы рекомендуется применять для рытья траншей в легких и средних грунтах с однородной структурой (без включения крупных камней, твердых прослоек и т.п.). Роторные экскаваторы можно применять для разработки практически всех видов грунтов, включая мерзлые. Рытье траншей под трубопроводы меньших диаметров производят плужными канавокопателями. 7.15. При разработке мерзлых грунтов можно использовать, рыхлители, дискофрезерные машины, многоковшовые роторные экскаваторы, буровые машины. 7.16. Для разработки мерзлых грунтов используются щеленарезные машины в комплекте с одноковшовым экскаватором по следующей технологии: производят нарезку щелей щеленарезной машиной, при этом длина участка должна быть такой, чтобы его можно было разработать экскаватором в течение одной смены. При глубине промерзания меньшей, чем глубина траншеи; щеленарезной машиной следует нарезать несколько продольных щелей на глубину промерзания грунта таким образом, чтобы ширина межщелевых целиков грунта составляла не более 0,8 от ширины ковша экскаватора. Затем в начале участка при образовании забоя нарезается несколько поперечных щелей длиной равной ширине траншеи, на глубину промерзания грунта. Межщелевые целики мерзлого грунта взламывают ковшом экскаватора и удаляют из траншеи, после чего незамерзающий грунт вынимается экскаватором до проектной отметки дна траншеи. Расстояние между экскаватором и началом участка, на котором работает щеленарезная машина, должна быть не менее 20-30 м. 7.17. При глубине промерзания больше, чем глубина траншеи нарезаются на проектную глубину траншеи продольные и поперечные щели. Расстояние между щелями должно быть 0,8-0,9 ширины ковша экскаватора. Затем межщелевые целики мерзлого грунта следует взломать экскаватором и удалить из забоя. 7.18. Приямки под технологические захлесты, трубную арматуру или при монтаже газопровода в траншее разрабатывают одновременно с рытьем траншеи, если позволяет устойчивость грунтов. 7.19. Разработка траншей одноковшовым экскаватором следует вести с устранением гребешков на дне в процессе копания, что достигается протаскиванием ковша по дну траншеи после завершения разработки забоя. 7.20. На участках с высоким уровнем грунтовых вод разработку траншей следует начинать с более низких мест для обеспечения стока воды и осушения вышележащих участков. 7.21. Для районов с глубиною промерзания 0,4 м и более в ППР должны предусматриваться мероприятия по предохранению грунта от промерзания (рыхление поверхностного слоя, снежный валик, утепление древесными остатками и т.д.). 7.22. Если в траншеи образовался лед и снег, перед укладкой трубопровода его необходимо удалить экскаватором. 7.23. До начала производства работ по засыпке траншей газопровод должен быть полностью смонтирован, сварные стыки проверены физическими методами контроля и заизолированы, должна быть выполнена проверка правильного положения газопровода и плотного его прилегания ко дну траншеи, проверка качества изоляционного покрытия. 7.24. Засыпка траншей с уложенным газопроводом должна производиться в два приема: сначала мягким грунтом засыпаются и подбиваются приямки и пазухи одновременно с обеих сторон газопровода, а затем траншея засыпается указанным грунтом на 0,2 м выше верхней образующей трубы с обеспечением сохранности труб, стыков и изоляции, при этом грунт отсыпается слоями и уплотняется ручными, механическими или пневматическими трамбовками (рис. 9). 7.25. Окончательная засыпка траншей должна производиться после испытания газопроводов на прочность и проверки изоляции приборами. Засыпку следует производить грунтом без крупных включений. Рис. 9. Схема трамбовки пазухов и послойной засыпки трубопровода: 1 - газопровод; 2 - подбивка пазухов с уплотнением; 3 - присыпка с уплотнением; 4 - послойная засыпка. 7.26. Для футеровки трубопровода в мерзлых и каменистых грунтах вместо подсыпки и присыпки мягкого грунта или деревянных реек рекомендуется использовать вспененный, полимерный материал на основе карбамидной смолы. (Пеногенератор, смонтированный на трехосном автомобиле повышенной проходимости, изготавливается ВНИИСТом по заказам строительных организаций). Кроме того, для этой цели могут быть использованы маты, изготавливаемые из отходов резино-технической промышленности (отходы транспортной ленты, полимерная вата изношенных автопокрышек). Конструкция таких матов и технология их изготовления разработаны ВНИИСТом. 7.27. Засыпку траншей, выполненную роторным экскаватором, когда объем грунта в отвале не большой, следует производить продольным проходом бульдозера с косо установленным ножом или роторным траншеезасыпателем. 7.28. Засыпку траншей, разработанную одноковшовым экскаватором, осуществляют преимущественно бульдозерами (траншеезасыпателями роторного типа). На слабых грунтах в ряде случаев засыпку выполняют одноковшовыми экскаваторами, оборудованными ковшом с обратной лопатой. 7.29. При наличии горизонтальных кривых вначале засыпают криволинейный участок трубопровода, а затем остальную часть. При этом засыпку начинают с середины криволинейного участка, двигаясь к его концам. На участках трассы с вертикальными кривыми газопровода засыпку его осуществляют сверху вниз. 7.30. После засыпки трубопровода, проложенного на рекультивируемых землях, над газопроводом устраивают валик, высота которого должна совпадать с ожидаемой величиной осадка грунта засыпки. После засыпки газопровода минеральным грунтом на рекультивируемых землях в летнее время его уплотняют многократными проходами гусеничных тракторов. По уплотненному грунту укладывают, а затем разравнивают ранее снятый плодородный слой. 7.31. Засыпку газопровода, уложенного в мерзлых грунтах, осуществляют как в обычных условиях: присыпка газопровода талым мягким грунтом на высоту 20-25 см над образующей трубы. Дальнейшую засыпку газопровода выполняют грунтом с отвала. 7.32. Если по грунтовым условиям работа техники затруднена в зоне размещения отвала грунта, засыпку необходимо вести одноковшовым экскаватором с размещением его со стороны рабочей полосы. 7.33. При засыпке мерзлым грунтом над трубопроводом делают грунтовый валик с учетом его осадки после оттаивания. 7.34. Метод засыпки трубопровода, уложенного в траншею, разработанную в болотистых грунтах, выполняют в летнее время года, зависит от типа и структуры болота. На болотах с несущей способностью более 0,01 МПа засыпку трубопровода производят бульдозерами на болотном ходу или одноковшовыми экскаваторами с обратной лопатой на уширенных гусеницах, работающих с перекидных сланей. 7.35. Засыпку разработанных траншей на болотах, промерзших в зимнее время и имеющих достаточную несущую способность, осуществляют так же, как при засыпке траншей в обычных мерзлых грунтах. При недостаточности промерзания болота или малой несущей способности для засыпки траншей используют бульдозеры или одноковшовые экскаваторы на уширенных гусеницах, пеносанях или щитах. 8. Сварка поворотных и неповоротных стыков трубопроводов8.1. Сварочные работы следует осуществлять в соответствии с требованиями СНиП 3.05.02.88 и рекомендациями настоящего раздела. Рекомендуемые методы и способы сварки стыков труб, включая перспективные, приведены в таблице 7. Таблица 7 Рекомендуемые и перспективные методы и способы сварки стыков труб
8.2. Ручная дуговая сварка. 8.2.1. Ручная дуговая сварка (РДС) производится с использованием электродов: - с основным видом покрытия (все слои шва любых трубопроводов, газоснабжения, городских и поселковых газопроводов); - с целлюлозным видов покрытия (только корневой слой шва и горячий проход неповоротных стыков труб диаметром 219 мм и выше с толщиной стенки не менее 8 мм); - с рутиловым видом покрытия (все слои шва трубопроводов малого диаметра из низкоуглеродистых нелегированных сталей). 8.2.2. Диаметр электродов с основным видом покрытия типов Э42А-Б, Э46А-Б и Э50А-Б и электродов с рутиловым видом покрытия типов 42-Р, 46-Р и 50-Р должен быть не более: - 2,0 (2,5 мм) для труб диаметром 57-159 мм; - 2,5 мм для труб диаметром 159-377 мм; - 3,0¸3,25 мм для труб диаметром свыше 377 мм. 8.2.3. Диаметр электродов с целлюлозным видом покрытия типа Э42-Ц и Э46-Ц должен быть не более: - 3,0¸3,25 мм для труб диаметром 219-377 мм, - 4,0 мм для труб диаметром 426-530 мм. 8.2.4. Заполняющие и облицовочный слои при сварке электродами с основным и рутиловыми видами покрытия, типы которых указаны в п. 1.3, выполняются электродами диаметром: -3,0¸3,25 мм (трубы с толщиной стенки не более 6,0 мм); - 4,0 мм трубы с толщиной стенки более 6,0 мм. 8.2.5. При РДС рекомендуются следующие марки электродов: - для основного покрытия типа Э42А-Б: УОНИ13/45; типа Э50А-Б: УОНИ13/55, АНО-ТМ, ВСО-50СК, а также импортные электроды, марки которых соответствуют данным типам отечественных электродов; - для рутилового покрытия типа Э42-Р: ОЗС-26, АНО-6; типа Э46-Р: АНО-4; ОЗС-6,4; МР-3, а также импортные электроды, марки которых соответствуют данным типам отечественных электродов; - для целлюлозного покрытия типа Э42-Ц и Э46-Ц марки ВСЦ-4М, а также импортные электроды, марки которых соответствуют данным типам отечественных электродов. 8.2.6. Сварка всех слоев шва должна выполняться участками, примерно равными половине окружности трубы, преимущественно не менее, чем двумя одновременно работающими сварщиками. В случае невозможности выполнить это условие сначала сваривается участок 1¢ (см. схему), затем навстречу ему участок 1¢ с перекрытием начала и конца первого участка на 20-30 мм, заполняющие и облицовочный слои свариваются аналогичным образом (2 ® 2¢; 3 ® 3¢) с обязательным перекрытием «замков».
8.2.7. При ручной дуговой сварке труб диаметром до 59 мм из сталей марок Ст3, 10, 20 или из аналогичных им, наряду со стыковыми соединениями, рекомендуются нахлесточные муфтовые соединения. Конструкция муфтового соединения должна соответствовать ГОСТу 16037-80 «Соединения сварки стальных трубопроводов. Основные типы, конструктивные элементы и размеры». Обвариваемая с двух торцов муфта должна быть изготовлена в соответствии с требованиями ГОСТ 16037-80 из труб соответствующих типоразмеров для обеспечения зазора между муфтой и соединяемыми трубами 10,5 мм и из стали аналогичного класса прочности. Длина муфты должна быть не менее 50 мм. Сварка может производиться электродами с основным или рутиловыми покрытиями, марки которых регламентированы п. 1.5 настоящего Пособия. 8.3. Сварка под флюсом. 8.3.1. Одностороннюю автоматическую сварку под флюсом рекомендуют для труб диаметром 325-530 мм. 8.3.2. Сварка производится по ручной подварке электродами (см. раздел 1). 8.3.3. Автоматическая сварка производится сварочной проволокой диаметром 2,0 мм марок Св-08А (для сталей типа Ст3, 10 и 20 и из аналогичных им) или СВ-08ГА (для низколегированных сталей) под флюсами АН-348А или АНЦ-1. 8.3.4. Ширина облицовочного слоя зависит от толщины стенки трубы и должна соответствовать 14±4 мм для толщин до 8 мм, 20±4 мм для толщин 8-12 мм и 24±4 мм для толщин 12-16 мм. 8.4. Стыковая контактная сварка оплавлением (КСО). 8.4.1. КСО должна выполняться в соответствии с дополнениями № 1 к ВСН 006-89 «Технология стыковой контактной сварки оглавлением и пайки труб диаметром 57-325 мм для систем газоснабжения, межпоселковых и городских трубопроводов». 8.4.2. Перед началом сварки осуществляется техническое обслуживание сварочной машины в соответствии с инструкцией по её эксплуатации, наладка и проверка на холостом ходу и при сварке. 8.4.3. Смещение кромок сцентрированных труб допускается на величину до 20 % толщины стенки труб, но не более 2,0 мм. Величина зазора между центрируемыми трубами в любом месте периметра не должна превышать 3,0 мм. 8.4.4. Сварка труб должна выполняться на установках типа ТКУП в автоматическом режиме с программным изменением основных параметров в процессе сварки после нажатия кнопки «ПУСК-СВАРКА». 8.4.5. Основные параметры режима сварки труб приведены в дополнении 1 к ВСН 006-89. При сварке разнотолщинных труб режим сварки выбирают по наибольшей толщине стенки трубы. 8.4.6. Контроль качества контактной сварки производится в соответствии со СНиП III-42-80 и ВСН 012-88. 8.5. Сварка вращающейся дугой. 8.5.1. Автоматическая сварка вращающейся дугой выполняется (СВД) с использованием сварочных машин типа ОБ-2398 и ОБ-2303 и электростанции мощностью не менее 100 кВт. 8.5.2. СВД предназначена для сварки неповоротных стыков труб диаметром 32-57 мм с толщиной стенки 2,5¸5,0 мм. 8.5.3. Трубы следует собирать встык без зазора, в случае неперпендикулярности торцев оси трубы допускается местный зазор до 0,7 мм. 8.5.4.
Процесс сварки зависит от сортамента свариваемых труб (диаметр менее 57 мм с
толщиной стенки менее 4,0 мм и 57 мм с толщиной стенки 4,0¸5,0
мм) и определяется требованиями таблицы 42 8.5.5. Смещение кромок в газовом стыке не должно превышать 25 % периметра стыка и 30 % толщины стенки трубы. 8.6. Газо-кислородная сварка. 8.6.1. Газо-кислородная сварка (ГКС) рекомендуется для соединения газопроводов диаметром до 168 мм включительно с толщиной стенки до 5 мм. В качестве рабочего газа может использоваться ацетилен или пропан. 8.6.2. Сварка должна производиться нейтральным пламенем проволокой марок СЗ-03, СВ-08А и СВ-08ГА. 8.6.3. Способ сварки («левый» или «правый») выбирается в зависимости от положения шва в пространстве и диаметра трубы: стыки труб диаметром до 57 мм обычно выполняются «левым» способом, свыше 57 мм - «правым» способом. 8.6.4.
При «левом» способе диаметр присадочной проволоки должен быть равным 8.7. Перспективные способы соединения. 8.7.1. В качестве перспективных методов соединения стыков труб рекомендуется индукционная пайка с использованием специальных припоев и механизированная сварка тонкой самозащитной порошковой проволокой. 8.7.2.
Соединение труб индукционной пайкой и механизированная сварка неповоротных
стыков порошковой проволокой, выбор материалов и оборудования для этих
процессов должны производиться в соответствии с 9. Контроль качества сварных соединений. 9.1. Выполнению сварочно-монтажных работ должен предшествовать входной контроль за качеством поступающей в монтаж продукции и соответствием её требованиям проекта; при этом качество (в т.ч. геометрические размеры) труб, деталей трубопроводов, запорной и распределительной арматуры и сварочных материалов должно удовлетворять требованиям ГОСТ или ТУ, а номенклатура указанной продукции должна соответствовать приложенным к ней сертификатным (паспортным) данным и отвечать требованиям проекта. По результатам входного контроля, осуществляемого линейными ИТР, запрещается принимать в монтаж продукцию, не соответствующую требованиям проекта (за исключением случаев, когда имеется соответствующее согласование проектной организации) или не удовлетворяющую по качеству требованиям ГОСТ или ТУ. 9.2. В процессе выполнения сборочно-сварочных работ линейные ИТР должны осуществлять операционный контроль в объеме 100 % за качеством каждой из технологических операций (вплоть до завершения сварки), в т.ч. их последовательностью и соблюдением временных интервалов, обеспечивая неукоснительное выполнение всех требований по сборке и сварке, регламентируемых ведомственными нормативными документами. 9.3. Выполненные сварные соединения, удовлетворяющие по результатам визуального осмотра и измерений геометрических размеров требованиям нормативных документов, должны подвергаться радиографическому контролю, в т.ч. по трубопроводам ГРС и отводам к ним от линейной части магистральных трубопроводов в объеме 100 %, а по подводящим, отводящим, внутренним и наружным газопроводам ГРП и ГРУ в объемах, определяемых СНиП 3.05.0288. Примечание: допускается взамен радиографического осуществлять комплексный контроль (100 % ультразвуковой и выборочный радиографический); при этом ультразвуковой метод может быть использован для контроля: - сварных стыков труб Æ 32-168 мм толщиной 2-8 мм с применением ультразвуковых дефектоскопов УД-ИI или других эхо-импульсных дефектоскопов, обладающих соответствующими техническими параметрами, но используемых в комплексе с искательными головками от дефектоскопа УД-ИI; - сварных стыков труб Æ 219-520 мм толщиной 4 мм и более (за исключением стыков трубопроводов категории «В» и I с применением эхо-импульсных дефектоскопов, в т.ч. для Æ 219 мм в комплексе с притертыми к криволинейной поверхности труб наклонными искателями; - угловых сварных соединений с толщиной стенки труб 4 мм и более с применением эхо-импульсных дефектоскопов, в т.ч. для труб Æ 219 мм и менее в комплексе с наклонными искателями, притертыми к криволинейной поверхности труб по каждому их конкретному диаметру; объемы выборочного дублирующего радиографического контроля сварных соединений в зависимости от категорийности трубопроводов должны быть не менее: 25 % - категории по СНиП III-42-80 В, I и II; 10 % - категории по СНиП III-42-80 III и IV; 20 % - трубопроводы, предусмотренные СНиП 3.05.0288. 9.4. Контроль качества сварных соединений трубопроводов с применением радиографического метода должен осуществляться в соответствии с требованиями ГОСТ 7512-82 и ВСН 012-88 с учетом ряда особенностей. Основным способом радиографического контроля сварных швов трубопроводов небольшого диаметра является просвечивание через две стенки, когда толщина металла в направлении излучения не является постоянной. Схемы просвечивания этих соединений указаны на рис. ВСН 012-88. Чувствительность контроля (чувствительность снимков) при просвечивании «на эллипс» за одну или две экспозиции определяют по отношению к удвоенной толщине стенки трубы (все обозначения те же, что и в 5.44 ВСН 012-88): а) при использовании канавочных или пластинчатых эталонов чувствительности КI = hmin или
б) при использовании проволочных эталонов чувствительности КI = dmin;
При просвечивании «на эллипс» с использованием канавочных эталонов чувствительность снимков может считаться достаточной, если видна следующая меньшая по величине канавка по сравнению с той, которая соответствует допускаемой глубине дефектов (допускаемая глубина дефектов определяется требованиями п. 5 настоящего раздела). При просвечивании «на эллипс» допускается, чтобы кассеты с пленкой неплотно прилегали к поверхности контролируемого сварного соединения. При гамма-просвечивании сварных соединений целесообразно использовать гибкие ампулопроводы, которыми укомплектованы серийно выпускаемые дефектоскопы типа Гаммарид. При применении гибкого ампулопровода нет необходимости крепить гамма-дефектоскопы на трубе, а это способствует повышению производительности контроля. При фронтальном просвечивании через две стенки (см. рис. 3 ВСН 012-88) гамма-дефектоскоп ставят снаружи трубы (на землю, на пол и т.д.), а конец подсоединенного к нему гибкого ампулопровода привязывают обычной веревкой или любым поясом к трубе. После очередной экспозиции ампулопровод смещают в новое положение и выполняют следующую экспозицию (при этом веревку или пояс снимать со стыка не требуется). При просвечивании по схемам, предусмотренным на рис. 6, 7 ВСН 012-88, гибкий ампулопровод вводят внутрь врезки. Для повышения производительности и качества контроля целесообразно использовать внутритрубные самоходные установки панорамного просвечивания, например, Сирена-1 и другие. 9.5. Оценка качества сварных соединений трубопроводов, контролируемых с применением радиографического метода, должна осуществляться в соответствии с требованиями ВСН 012-88. Примечание: оценку качества сварных соединений трубопроводов, регламентируемых СНиП 3.05.02-88, допускается осуществлять в соответствии с требованиями указанного СНиП. 9.6. Контроль качества сварных соединений трубопроводов с применением ультразвукового метода должен осуществляться в соответствии с требованиями ГОСТ 14782-86, инструкции ВСН 012-88 и технического описания, прилагаемого к ультразвуковому дефектоскопу. 10. Изоляционные работы и контроль качества10.1. Все стальные подземные газопроводы, сооружаемые по СНиП 3.05.02.88, должны быть защищены от подземной коррозии и коррозии блуждающими токами в соответствии с требованиями ГОСТ 9.602-89 «Единая система защиты от коррозии и старения. Сооружения подземные. Общие требования к защите от коррозии». 10.2. Для стальных трубопроводов, прокладываемых непосредственно в земле в пределах территории городов и других населенных пунктов, промышленных предприятий, а также на газопроводах с давлением газа до 1,2 МПа (12 кгс/см2), предназначенных для газоснабжения городов, населенных пунктов и промышленных предприятий, но прокладываемые вне их территории, должны применяться защитные покрытия весьма усиленного типа (ГОСТ 9.602-89). 10.3. Конструкция защитных покрытий зависит от основы применяемых изоляционных материалов. Допускается применение структур покрытий, грунтовочных, защитных и оберточных материалов, не указанных в ГОСТ 9.602-89, но оформленных в установленном порядке и обеспечивающих выполнение требований не ниже установленных этим стандартом. 10.4. Из регламентированных существующей НТД изоляционных покрытий весьма усиленного типа в трассовых условиях возможно нанесение только покрытий ленточного типа. Конструкции ленточных покрытий трубопроводов приведены в таблице 8. Таблица 8 Конструкции изоляционных ленточных покрытий весьма усиленного типа для трассовой изоляции
10.5. Изоляционные работы в трассовых условиях, включают: - подготовку изоляционных материалов, - сушку и подогрев изолируемой поверхности, - очистку, - нанесение покрытий, -
контроль качества покрытий (производится согласно инструкции 10.6. Рекомендуемая ширина рулонов изоляционных лент и оберток для нанесения на трубопроводы малых диаметров представлена в таблице 9. Таблица 9 Рекомендуемая ширина лент и оберток для изоляции трубопроводов в трассовых условиях
10.7. Базовая изоляция труб обеспечивает более высокое качество противокоррозионных покрытий трубопроводов, возможность нанесения на трубы битумно-мастичных покрытий весьма усиленного типа, защитных покрытий на основе термоусаживающихся лент, экструдированного полиэтилена, порошковых эпоксидных красок. 10.8. При базовой изоляции можно использовать приведенные в таблице конструкции защитных покрытий. Таблица 10 Конструкция изоляционного покрытия для базовой изоляции весьма усиленного типа
10.9. Изоляционные работы в базовых условиях могут производиться с использованием технологических линий типа ПТЛ-2, ГТБ-3, ЛИ-III, ЛИТ-I и стенда для изоляции труб (стенд-530), характеристика которых дана в приложении № 3 (техдокументация имеется во ВНИИСТе) (рис. 10). 10.10. Технология изоляции труб на всех рекомендованных линиях должна включать следующие операции: - приемку, входной контроль, хранение и подготовка изоляционных материалов к нанесению на трубы; - приемку и складирование труб; - предварительный подогрев и сушку труб; - очистку наружной поверхности труб; - нанесение изоляционного покрытия; - контроль качества и ремонт покрытия (при необходимости); - прием, маркировку, складирование и хранение изоляционных труб; - отгрузку изолированных труб.
Рис. 11. Стенд для изоляции труб диаметром 32-530 мм 10.11. Применяемые для изоляции материалы проверяются на их соответствие требованиям действующих стандартов и технических условий. Импортные материалы проверяют по показателям, оговоренным в контракте. При отсутствии технического паспорта на изоляционный материал, лаборатория строительно-монтажной организации по результатам испытаний должна дать письменное заключение о возможности применения этого материала. 10.12. В зимнее время перед нанесением изоляции трубы должны быть очищены от снега, наледи, высушены и подогреты до температуры не менее +15 °С, но не более +50 °С. При температуре окружающего воздуха выше +5 °С трубы необходимо подогреть до полного удаления влаги. 10.13.
Наружная поверхность труб очищается от ржавчины, грязи, копоти, жировых пятен,
следов топлива, рыхлой окалины и т.п. Очищенная поверхность должна соответствовать
определенной степени в зависимости от вида наносимого изоляционного покрытия в
соответствии 10.14. При нанесении покрытий на основе битумных мастик, лент холодного нанесения на трубы наносится слой грунтовки. Грунтовка наносится на сухую очищенную поверхность, включая зоны сварных швов, сплошным ровным слоем без пропусков, подтеков, пузырей, сгустков. Торцы труб не праймируются. Нанесение изоляционного материала следует проводить по высушенному «до отлипа» грунтовочному слою. 10.15. Каждый тип изоляционного покрытия должен наноситься по утвержденным инструкциям (регламентам). 10.16. Нанесение битумно-резиновых покрытий в базовых условиях. Для получения 9 мм покрытия необходимо иметь ванну длиной 3 метра для размещения 3-х сопел (леек) для полива расплавленной мастики и 2-х устройств для разматывания армирующего материала. Армирующий материал должен наноситься без гофр, складок, перекосов полотнища с натяжением, необходимым для полного погружения, в мастичный слой. Защитная обертка наносится сразу же после нанесения армирующего слоя с нахлестом не менее 3 см. Температуру наносимой мастики необходимо поддерживать в зависимости от температуры трубы. Таблица 11
10.17. Для изоляции труб малого диаметра могут быть применены ленточные покрытия. Для получения качественного покрытия необходимо, чтобы ширина рулона соответствовала рекомендации табл. 12. Таблица 12
10.18. Для нанесения в базовых условиях термоусаживающихся лент «горячего» нанесения могут быть использованы отечественные термоусаживающиеся ленты ЛТИ-823 (ТУ 1.02-047-84), ДТЛ (ТУ 51-03-08-87), Радлен ЛГ-2, Радлен ЭГ или импортные ленты «Райклад-60», «Райклад-110» фирмы «Райхем» (США), которые представляют собой двухслойный изоляционный материал, состоящий из пленки-основы и адгезионного подслоя. Особенностью нанесения этих лент является обязательная: -
очистка поверхности трубы до получения поверхности металла светло-серого цвета
типа SА22 по шведскому стандарту S1S055900
или 80 % по - нагрев поверхности трубы перед нанесением лент до температуры, указанных в ТУ на ленту, производится ТВЧ или нагревателями, не вызывающими загрязнения трубы продуктами сгорания. Нагрев должен быть равномерным с разбросом по температуре не более +10 °С. При контакте с нагретой трубой адгезионный подслой переходит в расплав, что обеспечивает высокую адгезию покрытия к стали и герметизацию в местах нахлеста. 10.19. Нанесение комбинированного мастично-полимерного покрытия в базовых условиях изоляционным слоем является мастичный слой на основе антикоррозионной мастичной композиции - АПК (ТУ 102-422-87). АПК-П, АПК-7 являются мастиками «холодного» нанесения (без подогрева), АПК-П или легкоплавкие - АПК-7 обладают высокой морозостойкостью - до минус 50, что предохраняет от растрескивания мастичный слой при транспортных и монтажных операциях с изолированными трубами в осенне-зимний период и дает возможность «самозалечиваться» при нарушении сплошности покрытия. Нанесение мастичного слоя на трубу осуществляется непосредственно на трубу или посредством 2-х сторонней промазки армирующего материала, при общей толщине мастики не менее 1,5 мм. Защитным слоем от механических повреждений мастичного слоя в этой конструкции является экструдированный полиэтилен, нанесенный методом «чулка» толщиной от 1,8 до 2,5 мм, в зависимости от диаметра изолируемой трубы. Вместо полиэтиленового слоя может наноситься оберточный материал типа ПЭКОМ. 10.20. Ремонт изоляционного покрытия следует производить на трубоизоляционных базах перед погрузкой, а также на трассе после сварки труб или секций в плеть до спуска трубопровода в траншею и в траншее до засыпки. 10.21. Ремонту подлежат все сквозные повреждения, обнаруженные дефектоскопом, а также повреждения с оставшимся на трубе слоем полиэтилена толщиной менее 1,5 мм на покрытии из порошкового полиэтилена. 10.22. Отслоившееся от металла покрытие в зоне дефекта должно быть удалено. Участок вокруг дефекта тщательно очищается от загрязнений, наледи, влаги на расстоянии не менее 20 см. Изоляцию, как правило, ремонтируют теми же материалами. Если изоляция имеет наружную обертку, то перед ремонтом её следует удалить. 10.23. При ремонте ленточных покрытий, поврежденный участок освобождается от изоляции, очищается пыль, влага, масляные пятна и наносится грунтовка. Заплатка из липкой ленты, перекрывающая ремонтируемый участок на 15 см в каждую сторону накладывается по подсохшей грунтовке. Значительные повреждения, места захлестов, вставок, катушек следует ремонтировать, нанося липкую ленту специально по грунтовке с перекрытием имеющейся изоляции на 15 см. 10.24. При ремонте битумной изоляции на небольшие повреждения и дефекты накладываются заплатки с предварительным подогревом дефектного места. Для исправления некачественной или поврежденной изоляции накладывают пояски из битумной мастики и стеклохолста, а при необходимости - защитную обертку по всей окружности трубы. Можно также эти места изолировать полимерной липкой лентой. 10.25. Ремонт повреждений покрытий из порошкового полиэтилена производят с использованием грунтовки, ленты заполнителя типа Герлен-Т и полиэтиленовых липких лент. До начала ремонта и при температуре трубы ниже плюс 10 °С очищенную поверхность покрытия и металла трубы равномерно нагревают до температуры 30-40 °С, грунтуют и заполняют вровень с неповрежденным покрытием заполнителем Герлен, добиваясь полного прилипания Герлена к металлу трубы и краям неповрежденного покрытия. Затем на расстоянии не менее 20 см по периметру дефекта наносят слой грунтовки и после её высыхания (до отлипа) наносят две заплаты из липкой ленты с нахлестом на неповрежденное покрытие не менее 10 см для первой и 15 см для второй. 10.26. Сварные стыки труб, фасонные части (гидрозатворы, конденсатосборники, колена) и места повреждений защитного покрытия изолируют теми же материалами, что и трубопроводы, а также полимерными липкими лентами и термоусаживающимися материалами на основе полиэтилена. При ремонте сквозных повреждений полиэтиленового покрытия заводского нанесения можно использовать ленту-заполнитель типа Герлен. Технология работ выполняется в соответствии с инструкцией ВСН 008-88. 10.27. Для изоляции зон сварных стыков могут применяться следующие покрытия весьма усиленного типа: - битумное, состоящее из грунтовки, 2х слоев изоляционной мастики на основе битума, 1-2 слоев армирующего материала и слоя защитной обертки; - ленточное, холодного нанесения, состоящее из высохшего до отлипа слоя грунтовки, двух-трех слоев изоляционной ленты и одного-трех слоев липкой защитной обертки; - ленточное, муфтовое, или манжетное, состоящее из термоусаживающейся полиэтиленовой основы и термоплавкого клея на внутренней стороне. Число слоев изоляционных лент, защитных оберток, термоусаживающихся лент определяется толщиной основного покрытия и толщиной самой ленты. Допускается слой полимерной обертки заменять липкой лентой слой на слой. 10.28. В конструкции битумных покрытий стыков труб допускается применение защитных оберток типа бризол, бикарул, ПЭКОМ, ЦДБ, а также оберточную бумагу марки А по ГОСТ 8273. 10.29. Работы по изоляции стыков производятся как в стационарных условиях (на трубосварочных базах после сварки труб в секции), так и на трассе - после сварки секций или отдельных труб в плеть механизированным способом. 10.30.
Контроль качества защитных покрытий должен осуществляться при проведении
изоляционных работ в базовых условиях и на трассе согласно СНиП 3.05.02-88, 10.31. Основными контролируемыми параметрами защитных покрытий являются их характеристики (толщина, адгезия к стали, сплошность и переходное сопротивление) в соответствии со СНиП 3.05.02-88. 10.32. Толщина защитных покрытий контролируется с применением толщиномеров и других измерительных приборов: для экструдированного полиэтилена и битумно-мастичных покрытий в базовых и заводских условиях через каждые 100 м на каждой десятой трубе одной партии не менее, чем в четырех точках по окружности трубы, и в местах, вызывающих сомнение; для битумно-мастичных покрытий - в трассовых условиях на 10 % сварных стыков труб, изолируемых вручную, в тех же точках. 10.33. Адгезию защитных покрытий к стали рекомендуется контролировать адгезиметром: в трассовых условиях - 10 % сварных стыков труб, изолированных вручную; в базовых и заводских условиях - через каждые 100 м на каждой десятой трубе партии. Допускается определение адгезии методом выреза треугольника с углом 45°. 10.34. Сплошность покрытия контролируется на всей поверхности с помощью искрового дефектоскопа при напряжении 4 кВ на 1 мм толщины покрытия после окончания процесса изоляции труб, а также на берме траншеи после изоляции трубопровода и стыков. После окончания монтажа и полной засыпки сооружений грунтом, а также в процессе изоляции сплошность защитных покрытий контролируется приборами, обнаруживающими контакт оголенных мест трубопроводов с землей. При проведении катодной поляризации в зимних условиях контроль проводится после оттаивания грунта. 10.35. Проверку качества защитных покрытий необходимо осуществлять поэтапно в следующем порядке: перед опусканием газопровода в траншею следует проверить всю поверхность защитного покрытия: внешним осмотром; искровым дефектоскопом - на сплошности отсутствие трещин и повреждений; по ГОСТ 9.602-89 - толщину и прилипаемость покрытия; после опускания газопровода в траншею до его присыпки защитное покрытие подлежит проверке внешним осмотром, также следует проверять качество покрытий монтажных стыков, изолированных в траншее; через сутки после присыпки газопровода покрытие подлежит проверке инструментальным методом на отсутствие участков прямого электролитического контакта металла трубы с грунтом; после засыпки траншей защитное покрытие подлежит окончательной проверке инструментальным методом на отсутствие участков электролитического контакта металла трубы с грунтом. Данные о качестве защитного покрытия следует оформлять в строительном паспорте. 11. Укладка и балластировка трубопроводов11.1. Трубопровод следует укладывать в траншею в зависимости от вида изоляции и диаметра одним из следующих методов: опусканием трубопровода с одновременной его изоляцией механизированным способом (совмещенный способ производства изоляционно-укладочных работ); применение такого метода возможно при использовании пленочной изоляции; опусканием с бермы траншеи плетей из предварительно заизолированных секций труб в базовых условиях (раздельный способ производства работ); его применение рационально, когда используется битумная изоляция; опусканием с бермы отдельных заизолированных труб, с последующей их сборкой в траншее (способ последовательного наращивания в проектном положении); он преимущественно применяется в стесненных условиях строительства, а также при использовании для укладки трубопровода автокраном; продольным протаскиванием (протягиванием) заранее подготовленных плетей вдоль траншей по специальным опорам или по дну траншеи; методом бестраншейного трубозаглубления. 11.2. При укладке газопровода в траншею должны обеспечиваться: правильный выбор количества и расстановки трубоукладчиков (кранов) и соблюдение минимально необходимой для производства работ высоты подъема трубопровода над землей с целью его предохранения от перенапряжения, изломов и вмятин; сохранность изоляционного покрытия трубопровода; полное прилегание газопровода ко дну траншеи по всей его длине; проектное положение газопровода; недопущение воздействий на трубопровод резких динамических нагрузок; запрещается сбрасывать трубы или плети в траншею, выдергивать из-под них прокладки и т.п. 11.3. Схемы расстановки трубоукладчиков, а также очистных изоляционных машин в колонне при совмещенном методе производства изоляционно-укладочных работ приведены на рис. 12. Основные параметры этих схем представлены в табл. 13. Технологические расстояния и t и t1, соответственно выбираются в пределах 3 ... 5 м и 2 ... 4 м. Рис. 12. Технологические схемы производства изоляционно-укладочных работ совмещенным способом: а - для трубопроводов диаметром 57 ... 426 мм; б - для трубопроводов диаметром 530 мм; СТ - установка для сушки труб; ОМ - очистная машина; ИМ - изоляционная машина Таблица 13 Основные параметры схем укладки трубопроводов
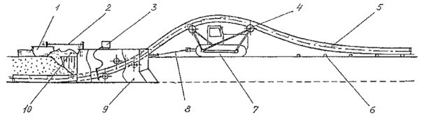
В качестве грузоподъемных средств при реализации данных схем могут быть использованы как гусеничные трубоукладчики типа ТГ614, так и колесные. Выбор той или иной марки трубоукладчика производится в соответствии с расчетом их устойчивости против опрокидывания. 11.4. При использовании мощных трубоукладчиков типа Т 35-60, Т-503 и т.д. укладку газопроводов диаметром до 530 мм включительно возможно осуществить с использованием траверс, обеспечивающих спаривание троллейных подвесок (как показано на рис. 13), что позволяет снизить напряжения изгиба в трубопроводе и практически полностью исключить возможность его повреждений (изломов, вмятин и т.п.). Длина траверсы для получения желаемого результата должна составлять 8 м, однако и более короткие траверсы способствуют уменьшению напряжений в трубопроводе. Применение спаренных подвесок позволяет при укладке трубопроводов диаметром 530 мм иметь в колонне не три, а два трубоукладчика, тип которых указан выше. 11.5. Для укладки газопроводов можно использовать автокраны марок: КС-1562, 1563, К-46, КС-2561А, К-54 и др. Укладка труб (секций) должна производиться не менее, чем двумя автокранами (рис. 14). Рекомендуемая длина свесов (консолей) составляет 0,2 (где l - длина трубы или секции). Краны должны устанавливаться так, чтобы угол поворота стрелы был наименьшим. 11.6. Кран должен быть оснащен мягким полотенцем для захвата трубы. Вес опускаемой трубы должен быть на 15-20 % меньше суммарной грузоподъемности кранов при требуемом вылете стрелы. Ширина полотенца выбирается от 0,15 до 0,6 м в зависимости от диаметра трубы и типа изоляционного покрытия, а длина - не менее 1,5 длины внешней окружности, включая изоляцию. Рис. 13. Схемы укладки изолированных трубопроводов диаметром до 530 мм (включительно) трубоукладчиками большой грузоподъемности: а - с траверсой у головного трубоукладчика; б - с траверсой у заднего трубоукладчика; в - с траверсами у обоих трубоукладчиков. Расстояния на схемах указаны в метрах. Рис. 14. Схема производства работ по укладке газопровода в траншею автокранами: 1 - автокран; 2 - секция трубопровода (газопровода) 11.7. Опускание трубопровода трубоукладчиками или автокранами должно производиться плавно, без рывков, ударов труб о дно траншеи и её стенки, а также об элементы крепления откосов (подпорные щиты, распоры, стойки и т.п.). 11.8. Укладку трубопроводов диаметром 114 мм включительно можно производить методом бестраншейного трубозаглубления (рис. 15). Этот метод используется, когда местность, по которой проходит трасса, равнинная, а грунты по всей толщине слоя, определяемого глубиной заложения трубопровода, состоят из мягких пород. 11.9. Для реализации данного способа необходимо иметь специальный трубозаглубитель табл. № 14, состоящий из трактора-тягача, рабочего органа («кассеты») выполняющего роль щелереза, а также функции устройства, которое формирует по заданному очертанию упругий изгиб трубопровода в зоне его укладки. Кроме того, трубозаглубитель содержит в себе сцепное устройство, обеспечивающее кинематическую связь тягача и рабочего органа (с ограничением числа степеней свободы). 11.10. Трубопровод, подлежащий укладке методом бестраншейного трубозаглубления, должен быть расположен непосредственно над осью трассы (а не рядом с ней, как это делается обычно). Для обеспечения данного условия целесообразно выполнять сварочно-монтажные работы вдоль этой оси; если же на отдельных участках по каким-либо причинам монтаж трубопровода произведен по линии, не совпадающей с осью траншеи, то сваренную плеть до её укладки необходимо передвинуть с помощью трубоукладчиков в нужное (предукладочное) положение. 11.11. Собственно процесс укладки трубопровода рассматриваемым методом заключается в приподнятии плети (за счет накатывания её на грузонесущие ролики тягача трубозаглубителя) и подачи её в «кассету» где формируется упругий изгиб укладываемого трубопровода по расчетной кривой (что обеспечивается прохождением плети между опорными и упорными роликами). 11.12. Принимая решение об использовании метода бестраншейного трубозаглубления, необходимо иметь в виду следующее. Вертикальные нагрузки на грузоподъемные средства здесь меньше, чем при традиционных методах (это обусловлено тем, что общая длина приподнятого участка трубопровода становится более короткой за счет применения «принудительного» изгиба плети в «кассете», имеющей сравнительно компактные размеры), а горизонтальные нагрузки, т.е. требования к тяговым характеристикам трубозаглубителя, - увеличенные; это связано с тем, что помимо необходимости устраивать щель, ему приходится преодолевать дополнительные силы, обусловленные сопротивлением трубы изгибу. Технические характеристики трубозаглубителей приведены в таблице 14. Таблица 14
Рис. 15. Принципиальная схема укладки газопровода методом бестраншейного трубозаглубления 1 - щелезасыпщик; 2 и 8 - сцепка; 3 - дефектоскоп; 4 - роликовая опора; 5 - трубопровод; 6 - лежки; 7 - трактор-тягач; 9 - рабочий орган («кассета»); 10 - отвал грунта 11.13. Эффективность данного метода укладки может быть повышена (в особенности при работе на относительно плотных грунтах) за счет применения дополнительного тягача-буксировщика, а также путем создания предварительной прорези в грунте или проведения работ по его рыхлению. Такие предварительные операции следует выполнять до того, как трубопровод займет предукладочное положение. 11.14. Процесс укладки методом бестраншейного заглубления может выполняться либо как самостоятельный, либо в сочетании с другими процессами (очистка и изоляция трубопровода). В тех случаях, когда укладка совмещена с очисткой и изоляцией, трубопровод до начала этих работ следует расположить на лежках, которые должны убираться из-под трубопровода по мере их освобождения от нагрузки, т.е. при подходе трубозаглубителя (он же и приподнимает плеть). 11.15. Счистка и изоляция в этом случае производится типовыми машинами (раздельными или комбинированными), которые движутся по трубопроводу перед заглубителем, либо трубы изолируются в базовых условиях. 11.16. Засыпка трубопровода производится щелезасыпщиком, который может работать либо в кинематической связи с трубозаглубителем, либо автономно. 11.17. Контроль качества изоляционного покрытия должен производиться на всех стадиях его формирования на трубопроводе (после изоляционной машины или «комбайна», вслед за проведением работ по изоляции стыковки на участках, где производился ремонт), а также в месте выхода трубопровода из «кассеты». Если на последнем пункте контроля обнаружены дефекты изоляции, то надо принять меры по устранению причин их появления, а сами поврежденные места необходимо отремонтировать путем устройства шурфов. 11.18. Укладку трубопровода на заболоченной или обводненной местности методами сплава и протаскивания следует применять в тех условиях, когда трубопровод можно забалластировать на береговой монтажной площадке (например, используя железобетонные скорлупы или муфты) или когда применяются обетонированные в заводских условиях трубы. Метод сплава или протаскивания целесообразно использовать и в тех случаях, когда трубопровод имеет собственную отрицательную плавучесть, превышающую расчетную (диаметром до 219 мм). 11.19. При использовании методов сплава и протаскивания с целью повышения качества производства работ и сокращения размеров береговой монтажной площадки следует применять спусковые роликовые дорожки, состоящие из унифицированных секций, которые скрепляются между собой по схеме, соответствующей очертаниям берегового уреза. 11.20. Метод протаскивания можно применять только тогда, когда грунтовым основанием для якоря лебедки служат материковые породы; допускается устанавливать якорь и в насыпных грунтах, но при условии, что в комплекте с механической лебедкой будет использоваться стартовое устройство, которое на 40...60 % понижает усилие, необходимое для трогания плети с места. 11.21. Сплав плети трубопровода следует применять на тех участках трассы, где уровень воды в траншее обеспечивает беспрепятственное перемещение её в надводном положении. Придание плети на время сплава расчетной положительной плавучести обеспечивается за счет применения инвентарных поплавков. Для этой цели рекомендуется использовать пенополимерные поплавки грузоподъемностью 0,2...0,5 т. 11.22. Расстояние между поплавками определяется расчетом, исходя из условий создания гарантированной плавучести (с коэффициентом запаса 1,2...1,3); также расчетным путем необходимо убедиться в том, что в процессе последующего погружения трубопровода (при отстроповке поплавков) напряжения изгиба в стенках труб не превзойдут допустимого уровня. 11.23. Крепление поплавков на трубопроводе (оно производится по мере наращивания сплавляемой плети на береговой монтажной площадке) должно быть надежным; с этой целью следует использовать, как правило, замковые устройства заводского изготовления. Наряду с ними может быть рекомендована разработанная ВНИИСТом тросово-штыревая система крепления поплавков. И в этом, и другом случае отстроповка поплавков производится последовательно посредством управляющего троса с береговой монтажной площадки. 11.24. Для обеспечения прямолинейности оси трубопровода, укладываемого методом сплава целесообразно предусмотреть меры, которые направлены на создание в трубопроводе осевых растягивающих усилий величиной 1,5...3 т. Для этого можно использовать, например, болотоход, перемещающийся по мере сплава в створе перехода по берегу, противоположному тому, где находится монтажная площадка. 11.25. Стабильность процесса сплава (так и протаскивания) может быть улучшена, если в головной части сплавляемой плети установить оголовок, обеспечивающий курсовую устойчивость трубопровода. 11.26. Балластировка требуется для трубопроводов диаметром 219-529 мм. Если отношение толщины стенки труб d к диаметру D менее 1/30, то данное условие является обязательным во всех случаях. Если оно более чем 1/30, то вопрос о необходимости балластировки решается путем расчетных обоснований (с учетом действия продольных сжимающих сил). 11.27. При прокладке на периодически обводненных участках при сухих траншеях в период строительства следует применять анкерные устройства или грунтовую балластировку в сочетании с несущими полотнищами из технических тканей или геотекстильных (синтетических) материалов. Из этих же материалов могут быть изготовлены металлотканевые балластирующие контейнеры, заполняемые минеральным грунтом в соответствии с ВСН 007-88. 11.28. На болотах и озерах, где возможна укладка трубопровода методом сплава или протаскивания следует применять обетонированные трубы. Установка для производства таких труб, сконструированная ВНИИСТом, действует в Сургуте; на ней трубы обетонируются методом набрызга. 11.29. Анкерные устройства для закрепления газопроводов следует применять с лопастями повышенного диаметра в одностоечном варианте с мягкими силовыми поясами из технических лент. 12. Сооружение газопроводов на пересечениях через естественные и искусственные преграды12.1. Строительство переходов газопроводов через водные преграды, железные и автомобильные дороги должны выполнять специализированные организации. 12.2. Способы и сроки производства работ при сооружении подводных переходов, согласованные проектной организацией с заинтересованными организациями, должны быть определены проектом организации строительства и уточнены проектом производства работ. 12.3. Газопровод, прокладываемый через водную преграду, должен быть сварен, изолирован, испытан и подготовлен к спуску или протаскиванию к моменту окончания работ по устройству подводной траншеи. 12.4. Перед укладкой газопровода в подводную траншею должны быть сделаны промеры ею глубины по проектному створу (проверка отметок продольного профиля траншеи), а также составлен акт о готовности траншеи и соответствии проекту продольного профиля трассы перехода. 12.5. Прокладки газопроводов под автомобильными и железными дорогами можно осуществить установками горизонтального бурения типа УГБ (грунты I-IV группы) и типа «Запорожья» (грунты I-II группы), методом прокола с применением гидравлических домкратов в следующих грунтах: песчаных, глинистых, супесях и суглинках, при помощи пневмопробойников в связанных не водонасыщенных грунтах при отсутствии крупных включений валунов. 12.6. При использовании установок типа УБГ диаметр прокладываемых футляров от 325 до 1020 мм (длина проходки до 60 м), типа «Запорожья» - 820, 920, 1020 мм и более (длина проходки 120 м), гидравлических домкратов - 200-400 мм (длина прокола до 50 м), пневмопробойников 95-400 мм (длина проходки до 40 м). 12.7. Для футеровки изолированного трубопровода при его протаскивании через водные преграды и в кожухе на переходе через дороги предлагается вместо деревянных реек применять негниющие эластичные ковры, изготавливаемые из отходов резино-технической промышленности (обрезки транспортерной ленты). 12.8. Эластичные ковры могут быть изготовлены из цельного полотна транспортной ленты, охватывающего периметр трубы либо из отдельных полосок путем их крестообразного сплетения (см. рис. 16). Толщина исходного материала 10-15 мм, ширина ковра не менее 700 мм. 12.9. На пересечениях всех видов подземных коммуникаций разработка грунта в траншеях допускается лишь при наличии письменного разрешения организации, эксплуатирующей эти коммуникации, или соответствующих управлений или отделов исполнительных комитетов Советов депутатов трудящихся и в присутствии ответственных представителей строительной организации производящей разработку грунта и организации, эксплуатирующей эти коммуникации. 12.10. Организации, эксплуатирующие подземные коммуникации, обязаны до начала производства указанных работ обозначить на местности в районе работ хорошо заметными знаками оси и границы этих коммуникаций. 12.11. Места пересечения должны быть вскрыты шурфами (шириной равной ширине траншеи, длиною по 2 м в каждую сторону от места пересечения) до проектных отметок дна траншеи и, при необходимости, раскреплены. 12.12. Разработка грунта механизированным способом разрешается на расстоянии не менее 2 м от боковой стенки и не менее 1 м над верхом трубы, кабеля и др. Грунт, оставшийся после механизированной разработки, должен дорабатываться вручную без применения ударных инструментов; при этом должны приниматься меры, исключающие возможность повреждения этих коммуникаций. 12.13. В случае обнаружения действующих подземных коммуникаций и других сооружений, не обозначенных в имеющейся проектной документации, земляные работы должны быть приостановлены, на место работы вызваны представители организаций, эксплуатирующих эти сооружения, одновременно указанные места ограждаются и принимаются меры к предохранению обнаруженных подземных устройств от повреждений. 12.14. Вскрытые электрические кабели и кабели связи необходимо защитить от механических повреждений и провисаний с помощью футляров из полиэтиленовых или металлических труб, подвешиваемых к брусу (рис. 17). Асбестоцементные и керамические трубы должны быть заключены в деревянные короба из досок, толщиною 3-5 см и подвешены. Концы бруса должны перекрывать траншею не менее чем на 0,5 м в каждую сторону. Рис. 16. Ковёр для футеровки трубопроводов: подводных, в скальных грунтах, при проколе под дорогами. Изготавливается из отходов производства резинотехнической промышленности Рис. 17. Защита пересекаемого кабеля или трубопровода 1. Деревянный брус 2. Кабель 3. Футляр 4. Подвеска из скруток проволоки 5. Прокладываемый газопровод 12.15. При ширине разрабатываемой траншеи более 1 м, в местах пересечения с водопроводом, газопроводом, теплопроводом (при бесканальной прокладке) необходимо в целях защиты этих трубопроводов от повреждения и провисания подвесить их к деревянному или металлическому брусу с помощью скруток из проволоки или стальных подвесок. При этом следует обеспечить сохранность изоляции трубопроводов, а в отношении водовода принять меры против замораживания. 12.16. Вскрытие дорожных покрытий должно производиться после уточнения фронта работ и выявления пересекаемых подземных коммуникаций на трассе газопровода. Место работ должно быть огорожено (рис. 18). Для вскрытия асфальтового или булыжного покрытия применяются отбойные пневматические молотки и перфораторы. Вскрытие бетонных покрытий целесообразно производить с помощью пневматических бетоноломов. Ширина вскрытия дорожных покрытий должна быть более ширины верхней части разрабатываемой траншеи при усовершенствованном покрытии (асфальт, асфальтобетон) - на 10 см (на сторону), при других конструкциях дорожного покрытия - на 25 см (на сторону). 12.17. При устройстве перекрытий колодцев зазора между стенками колодцев и перекрытиями не допускаются. При строительстве колодцев из сборных элементов торцы соединяемых элементов должны быть очищены. Элементы следует соединять цементным раствором марки не ниже М-100 с затиркой швов. 12.18. Основание под ковер должно быть установлено на утрамбованный грунт после монтажа отводящей трубки. Отводящую трубку сооружений на газопроводе (гидрозатворов, конденсатосборников и др.) следует монтировать по центру ковера перпендикулярно плоскости его основания. Пространство вокруг отводящей трубки по всей высоте в радиусе не менее 0,3 м необходимо засыпать песчаным грунтом и устроить отместки радиусом 0,5-0,7 м. Расстояние между крышкой ковера (или люка колодца) и концом выводных устройств (отводящие трубки, краны, пробки) должно быть 10-15 см. Рис. 18. Схема производства работ на дорожном полотне 1 - компрессор 2 - шланги к отбойному молотку 3 - ограждение 4 - ось траншеи 5 - место вскрытия 6 - место складирования материалов от разрушенных покрытий 13. Конструкция и технология устройства средств ЭХЗ13.1. Сооружение электрохимической защиты
газопроводов следует осуществлять в соответствии с проектом (рабочим проектом и
требованиями СНиП 2.04.08-87, СНиП 3.05.02-88, ГОСТ
9.602-89, ГОСТ
25812-83, 13.2. Электромонтажные работы необходимо производить в соответствии с требованиями «Правил устройства электроустановок (ПУЭ)», утвержденными Минэнерго СCCP. 13.3. Работы по сооружению электрохимической защиты необходимо проводить в два этапа. На первом этапе необходимо выполнить следующие работы: разметку трассы ЛЭП и кабелей, подготовку строительной площадки; разработку грунта под монтаж оборудования и токопроводящих линий; прокладку подземных кабелей; монтаж катодных выводов от перемычек и узлов тоководов на трубопроводах; монтаж контрольно-измерительных пунктов, которые необходимо устанавливать на газопроводе после укладки его в траншею до засыпки землей; установку или закладку в сооружаемые фундаменты несущих опорных конструкций, подставок, рам для монтажа оборудования. На втором этапе необходимо осуществлять следующие работы: установку оборудования и подключение к нему электрических кабелей и проводов; индивидуальное опробирование электрических коммуникаций и установочного оборудования. Работы второго этапа должны быть выполнены после окончания основных видов строительных работ и одновременно с работами специализированных монтажных организаций, осуществляющих опробирование установок электрохимической защиты по совмещенному графику. 13.4. Для сооружения ЭХЗ от коррозии следует применять средства и установки катодной, электродренажной, протекторной защиты, электрические перемычки, контрольно-измерительные пункты и конструктивные узлы типовых проектов. 13.5. В качестве установки катодной защиты для трубопроводов I категории 1 и 2-й группы 2-ой категории (согласно ГОСТ 25812-83) должна применяться система защиты катодными станциями с протяженными (типа ЭР-2) или распределенными (типа АК-3, ЭР-1) анодными заземлениями. 13.6. В качестве установки катодной защиты ЭХЗ для трубопроводов 3-й группы 2-ой категории (согласно ГОСТ 25812-83) должна применяться катодная (а в случае необходимости - дренажная или секционированная через изолирующие фланцы) защита комплектными протекторами с протяженными диодными заземлителями типа ЭР-2. 13.7. В зонах коррозионного влияния блуждающих токов должна осуществляться защита от коррозии, позволяющая сократить утечку блуждающих токов от их источника: использовать поляризованный дренаж с регулируемым сопротивлением или шупитированные изолирующие фланцы. 13.8. В случае параллельной прокладки трубопроводов могут применяться электрические перемычки между трубопроводами, что должно быть предусмотрено в проекте участка трубопровода. 13.9. На подводных переходах любых трубопроводов должна осуществляться протекторная защита (в случае необходимости - дренажная или секционированная через изолирующие фланцы) с применением сменных браслетных протекторов в обойме или спиральных протекторов. 13.10. Монтаж источника тока (преобразователя) должен осуществляться в соответствии с ВСН 009-88 (пп. 3.4-3.34). 13.11. Монтаж источника тока (комплектного протектора) должен осуществляться в следующей последовательности: - рытье траншей заданной глубины и протяженности; - укладка комплектного протектора; - прокладка соединительного кабеля; - изоляция мест контактных соединений; -засыпка траншеи грунтом с уплотнением. 13.12. Монтаж анодных заземлителей осуществляется согласно ВСН 009-88 п.п. 3.35-3.41, 3.43-3.54. 13.13. Монтаж протяженного анодного заземлителя производится после укладки трубопровода на проектную отметку, укладка производится бунторазмотчиком в ту же траншею за один или несколько проходов в зависимости от количества анодных заземлителей. После чего производится засыпка трубопровода. 13.14. При укладке трубопровода бесподъемным способом бунторазмотчик укладывает протяженный анодный заземлитель параллельно, сваренной и изолированной плети трубопровода в непосредственной близости с ней. После прохождения трубозаглубителя или укладочной тележки протяженный анодный заземлитель под собственным весом совместно с трубопроводом опускается на дно траншеи. После чего производится засыпка траншеи. 13.15. Монтаж установки электродренажной защиты должен осуществляться согласно ВСН 009-88 пп. 3.55-3.63. 13.16. Монтаж протекторной установки для ЭХЗ должен осуществляться в соответствии с ВСН 009-88 пп. 3.64-3.84. 13.17. Монтаж контрольно-измерительного пункта должен осуществляться в соответствии с ВСН 009-88 пп. 3.85-3.86. 13.18. При приемке установки электрохимической защиты необходимо: проверить соответствие всех её элементов проекту; измерить поляризационный потенциал (разность потенциалов) газопровода по всей длине защитной зоны при включенной в работу установки; проверить соответствие фактического значения сопротивления растеканию анодного и защитного заземления проектным значениям; проверить наличие утечек защитного тока через вводы газопровода; провести комплексное опробирование работы установки; проверить прибором состояние изоляционного покрытия газопроводов, пролегавших в грунте более 6 месяцев. 13.19. Результаты приемки строительно-монтажных работ по устройству установки электрохимической защиты следует оформить актом. 13.20. Если длина защитной зоны менее предусмотренной проектом или величина защитных потенциалов на отдельных участках газопровода по отношению к земле не соответствует требованиям ГОСТ 9.602-89, необходимо дополнительно устранить обнаруженные неисправности. 14. Особенности производства работ при сооружении пластмассовых газопроводов14.1. Для строительства газопроводов применяются трубы из полиэтилена низкого давления (ПНД) диаметром 63, 110, 160, 225 мм двух типов С (средний) и Т (тяжелый). Тип трубы выбирается в зависимости от рабочего давления газа в газопроводе. Трубы типа С могут использоваться для транспортировки газа давлением до 0,3 МПа, а типа Т - давлением до 0,6 МПа в соответствии с ТУ 6-19-352-87. Трубы, выпускаемые в прямых отрезках длиной от 5 до 12 м, должны быть связаны в пакеты; трубы диаметром 63 и 110 мм могут поставляться в бухтах. 14.2.
Общие принципы организации строительства газопроводов из пластмассовых труб
следует выполнять в соответствии с При выполнении подготовительных работ необходимо соблюдать требования 7 раздела ВСН 003-88. Транспортные и погрузо-разгрузочные работы, складирование труб и деталей следует выполнять с требованиями ВСН 003-88. 14.3. Количество вывозимых на объект труб должна устанавливаться сменной выработкой. Погрузку-разгрузку одиночных полиэтиленовых труб диаметром до 160 мм включительно можно производить вручную, диаметром 225 мм - автомобильными кранами. Перевозку пакетов из труб длиной до 6 м в зависимости от дорожных условий рекомендуется осуществлять колесным или гусеничным транспортом (бортовые автомобили с бортовыми прицепами, трубоплетевозами и др.). При длине труб до 12 м следует применять специальные прицепы. Погрузо-разгрузочные работы с одиночными трубами разрешается производить при температуре окружающего воздуха не ниже минус 20 °С, а пакетированных - до минус 30 °С. Раскладка труб на трассе осуществляется из пакетов при помощи трубоукладчиков с навесным специальным оборудованием (рис. 7, см. р. 5). 14.4. До начала сварочных работ должны быть выполнены следующие работы: - раскладка труб на подкладках вдоль трассы в количестве, необходимом для работы в течение одной смены (не более); - установка сварочного оборудования; - уточнение технологических параметров (на основании сварки не менее пяти допускных стыков). 14.5. Трубы и соединительные детали следует соединять контактной сваркой нагретым инструментом встык. Сварочные работы допускается производить при температуре воздуха от минус 10 до плюс 30 °С. При более широком интервале температур сварочные работы следует выполнять в специальных укрытиях. На каждое сварное соединение сварщик должен поставить номер (клеймо), который наносится на горячий расплав через 20-30 с после осадки. Последовательность и содержание технологических операций контактной сварки нагретым инструментом должны отвечать требованиям раздела 7 ВСН 003-88. 14.6. Соединения полиэтиленовых труб со стальными следует выполнять разъемными. Присоединение пластмассовых газопроводов к арматуре следует выполнять в соответствии с ВСН 003-88, п. 7.5.5. Монтаж разъемных соединений и ответвлений должен выполняться в стандартных колодцах на газопроводах высокого давления от 0,3 до 0,6 МПа. При этом следует использовать запорные отключающие устройства и компенсаторы, устанавливаемые на стальных газопроводах. В местах прохода газопровода через стенки колодца должны устанавливаться стальные футляры. Арматура, устанавливаемая в колодцах, монтируется на опорах, исключающих передачу усилий на полиэтиленовые трубы. 14.7. Сварные соединения полиэтиленовых труб необходимо проверять внешним осмотром и подвергать механическим испытаниям. Сварные стыки полиэтиленовых газопроводов считаются выдержавшими испытания, если не менее 80 % вырезанных из каждого стыкового соединения образцов имеют пластичный характер разрушения по основному материалу с пределом текучести не менее 19,0 МПа (190 кгс/см2) и относительным удлинением не менее 350 %. Остальные образцы должны иметь предел текучести при растяжении не менее 19,0 МПа и относительное удлинение при разрыве не менее 50 % для каждого образца. Хрупкое разрушение образцов по сварному шву недопустимо. Контроль качества сварных соединений производится в соответствии с п. 7.5.7 ВСН 003-88. Результаты испытаний следует оформлять протоколом по форме 6. При неудовлетворительных результатах механического испытания хотя бы одного стыка необходимо произвести повторное испытание удвоенного числа стыков, сваренных одним сварщиком. Если при повторной проверке хотя бы один из проверяемых стыков окажется неудовлетворительного качества, то все стыки, сваренные этим сварщиком на данном объекте, бракуются. После этого сварщик может быть допущен к работе только после прохождения дополнительной практики по сварке и получения положительных результатов проверки допускного стыка. Забракованные стыки следует вырезать и на их место вваривать «катушки» длиной не менее 500 мм. 14.8. При укладке полиэтиленовых газопроводов длина плетей может быть различной в зависимости от условий ведения работы. Для опирания плетей во избежание падения всей плети в траншею следует применять временные подкладки (лежки). Ими могут служить обрезки забракованных полиэтиленовых труб, а также деревянные бруски, доски. Устанавливать лежки следует таким образом, чтобы сваренные трубы опирались на нее по центру во избежание излома в месте сваренного стыка. При отрицательных температурах окружающего воздуха трубопровод необходимо опускать в траншею плавно, без рывков. 14.9. Подъем и укладка полиэтиленового трубопровода двумя трубоукладчиками (автокранами) является наиболее приемлемой схемой для большинства трубопроводов из пластмасс. Возможна укладка одним трубоукладчиком при первоначальной укладке на лежки по оси траншеи. Из-за малых нагрузок на крюк трубоукладчика пригодны все типы серийной легкой трубоукладочной техники. При укладке опускать плети газопровода в траншею следует с помощью пеньковых канатов, мягких монтажных полотенец, расположенных на расстоянии 10-20 м друг от друга, в зависимости от веса плети газопровода. Спуск трубопровода на проектную отметку можно также осуществлять с помощью подвижной опоры (рис. 19). 14.10. Во время проведения сварочно-монтажных и укладочных работ концы трубопровода должны быть закрыты заглушками, препятствующими попаданию в трубы веды, грунта, посторонних предметов. 14.11. Укладывать сваренный трубопровод допускается не ранее 10 часов после окончания сварки. После укладки трубопровод должен опираться на всем своем протяжении на плотное основание. Уложенный трубопровод закрепляют путем подбивки и подсыпки грунта с последующим уплотнением. Рис. 19. Схема укладки полиэтиленового газопровода в траншею: 1 - полиэтиленовый трубопровод; 2 - траншея; 3 - грузоподъемный механизм; 4 - временные подкладки; 5 - подвижная опора. 14.12. Первоначальная засыпка (присыпка) трубопровода производится песком или измельченным грунтом (в зимних условиях талым) на высоту не менее 0,3 м выше верхней образующей трубы с тщательной подбивкой пазух. Последующая засыпка трубопровода должна производиться механизированным способом послойно грунтом, не имеющим крупных включений, с тщательным уплотнением. 14.13. Переходы под железнодорожными, автомобильными дорогами, через овраги, реки, болота и другие водные преграды, а также вводы в здания должны предусматриваться из стальных труб, либо участок перехода должен заключаться в металлический кожух. Внутренний диаметр кожуха должен не менее, чем на 100 мм превышать наружный диаметр полиэтиленовой трубы. При протаскивании полиэтиленовой трубы или плети необходимо принять меры предохранения труб от повреждения. 14.14. Для пластмассовых газопроводов следует применять баластирующие конструкции, создающие на поверхности труб минимальную удельную нагрузку и исключающую повреждение труб в процессе строительства и эксплуатации. В зависимости от конкретных участков трассы, характеристики грунтов, температурного режима и схемы прокладки полиэтиленовых трубопроводов рекомендуется применять следующие конструкции для балластировки и закрепления трубопроводов: - минеральным грунтом, в т.ч. с применением рулонных нетканых синтетических материалов (НСМ); - полимерно-контейнерными балластирующими устройствами; - анкерными устройствами с прокладками из лент-отходов резиновой промышленности для защиты поверхности трубопровода от механических повреждений. Применение седловидных железобетонных утяжелителей, а также металлических силовых поясов для таких трубопроводов недопустимо. 14.15. Очистка полости, испытание на прочность и герметичность проводятся после укладки и присыпки трубопровода грунтом по всей протяженности с целью фиксации его в проектном положении. После проведения испытаний полиэтиленовый трубопровод должен засыпаться до проектной отметки. В отдельных случаях при высоком качестве работ и небольшой протяженности трубопровода (до 1 км), а также при доступе к трубопроводу по всей длине трассы испытания могут выполняться после полной засыпки трубопровода в соответствии с ВСН 003-88, п. 7.7. 14.16. Перед сдачей в эксплуатацию полиэтиленового газопровода к началу работы комиссии строительная организация должна представить следующую документацию: 1 - проект, утвержденный в установленном порядке с внесением в него изменениями, допущенными в процессе строительства, 2 - схему сварных стыков, 3 - паспорта на трубы, материалы, арматуру и оборудование, 4 - копию удостоверению сварщика полиэтиленовых газопроводов, 5 - заключение о качестве материала полиэтиленовых труб, 6 - заключение об испытании сварных соединений, 7 - паспорта разъемных соединений полиэтиленовых труб со стальными. 14.17. Перечень машин и технологического оборудования для производства основных видов работ приведен в табл. 15. Таблица 15 Машины и технологическое оборудование для выполнения основных видов работ
15. Очистка полости и испытание15.1. Все вновь сооруженные трубопроводы системы газоснабжения должны испытываться на прочность и герметичность. Испытания проводятся в соответствии с требованиями СНиП 3.05.02-88. 15.2. Газопроводы диаметром 219 мм и более очищают продувкой с пропуском очистных устройств, а газопроводы диаметром менее 219 мм, а также газопроводы любого диаметра при наличии крутоизогнутых вставок радиусом менее пяти диаметров трубопровода или при длине очищаемого участка менее одного километра - без пропуска очистных устройств. 15.3. Продувку выполняют сжатым воздухом, поступающим из ресивера (баллона) или непосредственно от высокопроизводительных компрессорных установок. Ресивер для продувки создается на прилегающем участке трубопровода, ограниченном с обеих сторон заглушками или запорной арматурой. 15.4. Для продувки с пропуском очистного устройства давление воздуха в ресивере при соотношении объемов ресивера и продуваемого участка 1:1 определяется по табл. 16. Таблица 16 Давление воздуха в ресивере для продувки
Диаметр перепускной (байпасной) линии и полнопроходного крана на ней должен быть равен 0,3 диаметра продуваемого участка. Продувка с пропуском очистного устройства считается законченной, когда после вылета очистного устройства из продувочного патрубка выходит струя незагрязненного воздуха. 15.5. Продувка без пропуска очистных устройств осуществляется скоростным потоком воздуха. Для продувки без пропуска поршня давление воздуха в ресивере при соотношении объемов ресивера и продуваемого участка 2:1 и диаметре перепускной линии равной 0,3 диаметра продувочного трубопровода определяется по табл. 16. Продувка без пропуска очистного устройства считается законченной, когда из продувочного патрубка выходит струя незагрязненного воздуха. 15.6. Очистку полости газопроводов ГРП (ГРУ) следует производить перед монтажом, отдельными элементами. 15.7. Испытания на прочность и герметичность газопроводов должна производить строительно-монтажная организация в присутствии представителя газового хозяйства. Допускается проведение испытания на прочность без участия представителя газового хозяйства по согласованию с ним. Результаты испытаний следует оформить записью в строительном паспорте. 15.8. Длина участков газопроводов, подвергаемых испытанию на прочность и герметичность в застроенной части населенных пунктов, должна быть не более, км: для газопроводов условным диаметром до 200 мм 6 св. 200 до 400 мм 4 св. 400 мм 3 В незастроенной части населенных мест, а также за их пределами длину испытываемых участков допускается принимать в два раза больше установленной для застроенной части. 15.9. Если строящийся газопровод разделен на несколько испытываемых участков, то монтажные стыки, их соединяющие (сваренные после испытаний), должны быть проверены физическими методами. 15.10. Испытания на прочность и герметичность наружных газопроводов, газовых вводов, ГРП и ГРУ следует производить после установки отключающей арматуры, оборудования и контрольно-измерительных приборов. Если арматура, оборудование и приборы не рассчитаны на испытательное давление, то вместо них на период испытаний следует устанавливать катушки, заглушки, пробки. 15.11. При пневматических испытаниях на прочность газопроводов и ГРП осмотр и проверку соединений с помощью мыльной эмульсии допускается проводить только после снижения давления до норм, установленных для испытания на герметичность. 15.12. Дефекты, обнаруженные в процессе испытания газопровода на прочность и герметичность, можно устранять только после снижения давления до атмосферного. 15.13. Испытательное давление и продолжительность испытания наружных газопроводов и газовых вводов, ГРП и ГРУ следует принимать по таблице 11. 15.14. Результаты испытания газопровода на прочность следует считать положительными, если в период испытания давление в газопроводе остается неизменным (нет видимого падения давления по манометру) и при проверке газопровода с помощью мыльной эмульсии после снижения давления до норм, установленных для испытания на герметичность, не будут обнаружены утечки. Обнаруженные дефекты при испытании на прочность следует устранять до начала испытания газопровода на герметичность. 15.15. Результаты испытания газопровода на герметичность следует считать положительными, если в период испытания фактическое падение давления в газопроводе не превышает допускаемого падения давления, установленного в соответствии с табл. 17 и при осмотре с помощью мыльной эмульсии (доступных к проверке мест) не были обнаружены утечки. 15.16. Подземные газопроводы всех давлений на прочность и герметичность следует испытывать воздухом. Надземные газопроводы высокого давления на прочность и герметичность следует испытывать водой. Допускается их испытание воздухом при соблюдении специальных мер безопасности, предусмотренных проектом производства работ. 15.17. Испытание подземных газопроводов на прочность следует производить после их монтажа в траншее и присыпки на 20-25 см выше верхней образующей трубы. На участках газопроводов, пересекающих автомобильные дороги с интенсивным движением транспорта, по согласованию с органами Госпроматомнадзора СССР допускается производить испытание на прочность после засыпки траншеи. 15.18. Испытание подземных трубопроводов на герметичность следует производить после полной засыпки траншеи до проектных отметок. Таблица 17 Испытательное давление и продолжительность испытания
До начала испытаний на герметичность подземные газопроводы после их заполнения воздухом следует выдерживать под испытательным давлением в течение времени, необходимого для выравнивания температуры воздуха в газопроводе с температурой грунта. Минимальная продолжительность выдержки газопровода под давлением устанавливается в зависимости от условного диаметра газопровода: до 300 мм - 6 часов св. 300 до 500 мм - 12 часов св. 500 мм - 24 часа. 15.19. Подземный газопровод считается выдержавшим испытание на герметичность, если фактическое падение давления в период испытания не превысит величины, определяемой по формуле где
d - внутренний диаметр газопровода, мм; Т - продолжительность испытания, ч. Фактическое падение давления в газопроводах DРf, кПа (мм рт.ст.), за время их испытания на герметичность определяется по формуле DРf = (Р1 + В1) - (Р2 + В2), (2) где Р1 и Р2 - избыточное давление в газопроводе в начале и в конце испытания по показаниям манометра, кПа (мм рт. ст.) В1 и В2 - то же показаниям барометра, кПа (мм рт.ст.) 15.20. Участки газопроводов на переходах через водные преграды, а также под автомобильными дорогами I, II и III категорий, железнодорожными и трамвайными путями следует испытывать в три стадии: на прочность - после сварки перехода или его части до укладки на место; на герметичность - после укладки его на место, полного монтажа и засыпки всего перехода; - на герметичность - при окончательном испытании на герметичность всего газопровода в целом. Испытание на прочность и герметичность коротких однотрубных переходов, без сварных стыков, допускается производить вместе с основным газопроводом. 15.21. Испытание газопроводов и оборудования ГРП и ГРУ следует производить или в целом (от входной до выходной задвижки) по нормам испытательного давления на стороне высокого давления, или по частям: до регулятора давления - по нормам испытательных давлений на стороне высокого давления; после регулятора давления - по нормам испытательного давления на стороне низкого давления. 15.22. Для продувки пневматического испытания газопроводов следует применять компрессорные установки, указанные в таблице 18. Таблица 18 Компрессорные установки для продувки и испытания трубопроводов различных диаметров
Технические характеристики компрессорных установок приведены в приложении 1. 15.23. Для проведения испытаний газопроводов на прочность и герметичность следует применять следующие манометры: при испытательном давлении до 0,01 МПа (0,1 кгс/см2) - U-образные жидкостные манометры с водяным заполнением; при испытательном давлении от 0,01 МПа (0,1 кгс/см2) до 0,1 МПа (1 кгс/см2) - U-образные жидкостные манометры с ртутным заполнением и образцовые манометры по ГОСТ 6521-72, а кроме того, для испытания на прочность - пружинные манометры класса точности не ниже 1,0 по ГОСТ 2405-80; при испытательном давлении 0,1 МПа (1 кгс/см2) и выше; для испытания на прочность - пружинные манометры класса точности не ниже 1,5 по ГОСТ 2405-80; для испытания на герметичность - пружинные манометры образцовые по ГОСТ 6521-72, пружинные манометры класса точности не ниже 1,0 по ГОСТ 2405-80 и дифманометры типа ДП-50. Пружинные манометры, применяемые при испытании, должны иметь корпус диаметром не менее 160 мм и шкалу с верхним пределом измерений не менее 4/3 и не более 5/3 от величины измеряемого давления. Для замера барометрического давления следует применять барометры-анероиды. Допускается данные о барометрическом давлении получать от местных метеостанций. 16. Мероприятия по охране окружающей среды16.1. Требования настоящего раздела разработаны в дополнение и развитие ВСН 014-39 «Строительство магистральных и промысловых трубопроводов. Охрана окружающей среды» и направлены на конкретизацию мероприятий по охране природы в регионе Нечерноземья, а также с учетом специализации сооружения газопроводных систем: газопроводы малого диаметра. 16.2. Основные мероприятия по охране окружающей среды при строительстве трубопроводов разрабатываются в ПОС в совокупности со сметной стоимостью расходов на их осуществление. 16.3. При разработке ППР в части мероприятий по охране окружающей среды необходимо выполнять требования «Основ законодательства СССР и союзных республик о недрах», «Основ земельного законодательства СССР и союзных республик», Закона СССР «Об охране и использовании животного мира», Закона СССР «Об охране атмосферного воздуха», Закона СССР «Об охране и использовании памятников истории и культуры», а также постановления местных Советов по охране природы и рациональному использованию природных ресурсов в регионе. Пространственная приуроченность проектируемых природоохранных мероприятий показывается на карте, карте-схеме охраны природы в масштабе рабочей документации, сопровождаемой текстовой характеристикой. Контроль за качеством проведения работ по предотвращению последствий техногенных воздействий осуществляется органами по контролю за качеством строительства. 16.4. Природовосстановительные работы считаются завершенными, если отсутствуют: участки, лишенные растительного покрова; участки, загрязненные горюче-смазочными материалами, строительными и бытовыми отходами. 16.5. Ответственность за соблюдение проектных решений по охране окружающей среды несет строительная организация, осуществляющая прокладку трубопровода. 16.6. Предоставляемые во временное пользование земельные участки после окончания строительно-монтажных работ должны быть рекультивированы (восстановлены). 16.7. Рекультивации подлежат: строительная полоса трубопроводов по всей ширине отвода; карьеры; береговые участки в местах переходов и сами переходы через реки; участки, на которых развились эрозионные процессы, овраги. 16.8. Основной природной особенностью Нечерноземья является наличие двух видов сельскохозяйственных земель: это пахотные земли и лесные угодья, а основными неблагоприятными процессами - следствиям строительства являются эрозия (в том числе и ветровая) и заболачивание. При этом наиболее эрозионноопасными районами считаются Тульская, Орловская и Брянская области. 16.9. На эрозионноопасных, оползневых склонах, особенно в вышеперечисленных районах, необходимо предусмотреть проведение опережающих противооползневых и противоэрозионных мероприятий, т.е. определить места сооружения водоотводных дренажных каналов, сточных лотков, водозадерживающих валов. 16.10. На склонах круче 6°, сложенных глинами, суглинками, супесями активизируется водная эрозия, начинается оврагообразование, для прекращения которого необходимо проводить засыпку эрозионных форм остатками грунта и порубочными остатками, сооружать в днищах глубоких эрозионных форм заграждения для задержания твердого стока, провести мероприятия, предусмотренные СНиПом 2.05.06-85. Ослабление ветровой эрозии достигается путем покрытия участков слоем торфа толщиной не менее 0,05 м с последующим высевом трав. 16.11. Для закрепления оврагов на эрозионноактивных участках рекомендуется создавать разнообразные гидротехнические сооружения, к которым относятся: земляные валы и канавы; перепады, дамбы перемычки; водосбросные сооружения. 16.12. Земляные валы и канавы способствуют полному или частичному зарегулированию поверхностного стока, закреплению вершин и русел оврагов и их необходимо сочетать с восстановлением растительного покрова. Горизонтальные валы распылители достаточно эффективны на пашнях и пастбищах. Эти сооружения устраивают на ровных склонах. Валики распылители с продольным уклоном могут быть использованы для предупреждения образования потоков там, где ложе распылителя подвергается постоянной или частичной распашке. Этот тип сооружения представляет собой земляной валик, пересекающий водонаправляющую ложбину под углом около 45й к оси водотока. Высота валиков 0,3-0,5 м. Вдоль верхнего края валика параллельно ему формируют выемку. 16.13. При пересечении трубопроводом мочажин, тальвегов, ручьев для предотвращения подтопления и заболачивания необходимо устраивать водопропускные сооружения, а для восстановления стока необходимо ввести расчистку русел водотоков, ложбин временного стока от грунта, попавшего в них во время земляных работ. 16.14. Наибольшее влияние на природу оказывается при расчистке, планировке трассы, строительстве водопропускных сооружений. Во время подготовительных работ необходимо обеспечить вывоз древесины и порубочных остатков, снять и складировать плодородный слой почвы для последующего его использования при рекультивации. 16.15. Расчистку земель от древесно-кустарниковой растительности и пней выполняют следующими способами: врезкой с последующим сгребанием в кучи (валы) и вывозкой (или сжиганием) древесины; корчеванием с последующим сгребанием выкорчеванной массы; запашкой кустарника; измельчением кустарника на месте и перемешиванием его с почвой. Срезку древесно-кустарникового покрова целесообразно проводить зимой при промерзании почвы на глубину более 15 см и высоте снежного покрова до 50 см. Для срезки деревьев используют валочно-пакетирующие машины ЛП-2 и ЛП-19. Одиночно стоящие деревья срезают ранцевым мотоагрегатом «Секор» или бензомоторными пилами. 16.16. Корчевание древесной растительности и пней выполняют корчевателями-собирателями или корчевальными машинами. Выкорчеванные растения и пни перемещают на 8-15 м и оставляют для подсушки на 10-30 дней. После этого их собирают в кучи и сжигают. 16.17. После проведения технической рекультивации проводят посев трав. Для зоны Нечерноземья рекомендуются использовать травосмеси многолетних трав в следующем процентном соотношении: ежа сборная 40 % овсяница дуговая 40 % костер луговой 20 %, а также овсяница луговая 40 % мятлик луговой 40 % люцерна посевная 20 %, либо костер безостый 40 % овсяница 40 % посевная 20 %. Для залужения водосборов рекомендуется следующая травосмесь: костер безостный 50 % мятлик луговой 50 %, или рейграс высокий 50 % мятлик луговой 50 %. 17. Охрана труда17.1. Безопасное проведение всех видов работ при сооружении газопроводов системы газоснабжения осуществляется в соответствии с отраслевым руководящим документом РД 102-011-89 «Охрана труда. Организационно-методические документы». 17.2. При сооружении газопровода в населенных пунктах место производства работ должно быть огорожено и установлена сигнализация. Ограждение трассы газопровода должно производиться после разбивки и закрепления трассы на местности, установки указателей о наличии пересекаемых подземных коммуникаций. Ширина участка ограждения должна определяться в зависимости от местных условий (ширина улицы, движение транспорта и т.д.). 17.3. Ограждение следует производить в соответствии с требованиями ГОСТ 23-407-78 «Ограждения инвентарные строительных площадок и участков производства строительно-монтажных работ». Ограждения должны быть сборно-разборными с унифицированными элементами и деталями крепления. По конструктивному решению они могут быть панельными, панельно-стоечными и стоечными. 17.4. Панели ограждения должны быть прямоугольными длиною 1,2; 1,6; 2,0 м и высотою 1,2 м. Высота стоек должна быть не менее 0,8 м, расстояние между стойками до 6 м. Способ соединения элементов ограждения должны обеспечивать удобство их монтажа, демонтажа, прочность при эксплуатации, возможность и простоту замены. На ограждениях должны быть установлены указатели и дорожные знаки. 17.5. Материалы от разборки дорожных покрытий должны складироваться в пределах ограждения места производства работ не менее 1,5 м от края траншеи (котлована) на стороне противоположной месту будущего отвала грунта. 17.6. Усовершенствованные дорожные покрытия можно вскрывать с помощью баровой установки в комплекте с одноковшовыми экскаваторами. Выбор технологической схемы и комплекса машин для вскрытия покрытия следует производить в зависимости от ширины разрабатываемой траншеи, толщины покрытия, объема работ. Асфальтовые покрытия целесообразно вскрывать с помощью однобаровых (БМГ на тракторе Т-74, КНП-2 на тракторе С-80) или двухбаровых (КНП-3 на тракторе С-100), установок, работающих в комплекте с одноковшовым экскаватором. 17.7. Нарезка продольных параллельных щелей ведется на глубину асфальтового покрытия. Движение машины следует осуществлять продольными с разворотами на концах вскрываемого участка или челночными проходами (с холостым возвратным движением задним ходом). Ширина вскрытия должна быть больше ширины верхней части разрабатываемой траншеи на 10 см (в каждую сторону). 17.8. После прорезания продольных по всей длине участка вскрытия следует прорезать поперечные щели на глубину покрытия проходами баровой установки вперед. При этом возврат машины и переход на соседнюю позицию должен осуществляться задним ходом. 17.9. Расстояние между щелями должно быть таким, чтобы оставляемые целики покрытия были равны 0,8-0,9 ширины ковша экскаватора. 17.10. Наружные целики покрытия следует взломать ковшом одноковшового экскаватора. Расстояние между работающим экскаватором и началом участка, на котором работает баровая установка, должно быть не менее 20-30 м. 18. Средства механизации строительно-монтажных работ18.1. Экономически рентабельными базовыми машинами являются: - для трубопроводов диаметром 114-630 мм - гусеничные машины, мощностью 80-100 л.с.; колесные машины, мощностью - 150-300 л.с.; - для трубопроводов диаметром 32-89 мм - колесные машины мощностью 80-150 л.с. 18.2. Рекомендации по повышению эффективности использования имеющихся в отрасли мощных машин при сооружении трубопроводов малых диаметров приведены в таблице 19. Таблица 19 Способы повышения эффективности использования мощных машин при сооружении трубопроводов малых диаметров
Таблица 20 ПЕРЕЧЕНЬ машин, оборудования, приспособлений и приборов, необходимых для выполнения технологических процессов при строительстве трубопроводов малых диаметров (32-530 мм) систем газификации
Приложение 1ПРАВИЛА
| ||||||||||||||||||||||||||||||||||||||||||||||||||||||||||||||||||||||||||||||||||||||||||||||||||||||||||||||||||||||||||||||||||||||||||||||||||||||||||||||||||||||||||||||||||||||||||||||||||||||||||||||||||||||||||||||||||||||||||||||||||||||||||||||||||||||||||||||||||||||||||||||||||||||||||||||||||||||||||||||||||||||||||||||||||||||||||||||||||||||||||||||||||||||||||||||||||||||||||||||||||||||||||||||||||||||||||||||||||||||||||||||||||||||||||||||||||||||||||||||||||||||||||||||||||||||||||||||||||||||||||||||||||||||||||||||||||||||||||||||||||||||||||||||||||||||||||||||||||||||||||||||||||||||||||||||||||||||||||||||||||||||||||||||||||||||||||||||||||||||||||||||||||||||||||||||||||||||||||||||||||||||||||||||||||||||||||||||||||||||||||||||||||||||||||||||||||||||||||||||||||||||||||||||||||||||||||||||||||||||||||||||||||||||||||||||||||||||||||||||||||||||||||||||||||||||||||||||||||||||||||||||||||||||||||||||||||||||||||||||||||||||||||||||||||||||||||||||||||||||
|
АКТ ________________________________________________________________________ (наименование и адрес объекта) г.______________________ «___» ___________ 19 __ г. Приемочная комиссия в составе: председателя комиссии-представителя заказчика ________________________________ (фамилия, ________________________________________________________________________ имя, отчество, должность) членов комиссии представителей: генерального подрядчика ___________________________________________________ (фамилия, имя, отчество, должность) эксплуатационной организации _______________________________________________ (фамилия, имя, отчество, должность) заинтересованных органов надзора и организаций _______________________________ ________________________________________________________________________ (фамилия, имя, отчество, должность) УСТАНОВИЛА: 1. Генеральным подрядчиком ________________________________________________ (наименование организации, ведомственная ________________________________________________________________________ подчиненность) предъявлен к приемке в эксплуатацию законченный строительством ________________ ________________________________________________________________________ (наименование объекта, его краткая техническая характеристика) 2. Строительство осуществлялось генеральным подрядчиком, выполнившим _________ ___________________________________________________________________________ (виды работ) и субподрядными организациями ____________________________________________ (наименование организации, ведомственная ___________________, выполнившими _______________________________________ подчиненность) (виды работ) по типовому (индивидуальному) проекту № ____________________________________ 3. Проектно-сметная документация разработана _________________________________ (наименование организации, ______________________________________________________________ утверждена ведомственная подчиненность) _________________________________________________ «____» ____________ 19__ г. (наименование организации, утвердившей проект) 4. Сметная стоимость принимаемого объекта составляет: всего _________ тыс. руб., в том числе строительно-монтажных работ ______________ тыс. руб. 5. Строительство осуществлялось в сроки: начало работ _________________________ окончание работ _____________________ (месяц, год) (месяц, год) 6. Приемочной комиссии представлена следующая документация ________________________________________________________________________ (перечень документации в соответствии с п. 3 «Правил приемки в эксплуатацию ________________________________________________________________________ законченных строительством объектов систем газоснабжения) Приемочная комиссия рассмотрела представленную документацию, произвела внешний осмотр объекта, определила соответствие выполненных строительно-монтажных работ проекту, установила качество монтажа, провела при необходимости дополнительные испытания (кроме зафиксированных в исполнительной документации) ________________________________________________________________________ (виды испытаний) Решение приемочной комиссии: 1. Строительно-монтажные работы выполнены в полном объеме в соответствии с проектом и требованиями СНиП 3.05.02.-88. 2. Предъявленной к приемке __________________________________________ считать (наименование, адрес объекта) принятым в эксплуатацию и переданным заказчику вместе с представленной исполнительной документацией. Председатель комиссии _________________ (подпись) Представитель генерального подрядчика _________________ (подпись) Представитель эксплуатационной организации _________________ (подпись) Представитель органов Госгортехнадзора _________________ (подпись) |
1.1. Маты представляют собой набор бортовых колец, скрепленных между собой и уложенных со смешением друг на друга с образованием межкольцевого пространства. Это обуславливает повышение механической прочности, долговечности и несущей способности полотна. В отверстие межкольцевого пространства бортовых колец протаскивается крепежный элемент; резино-тканевая лента длиной, соответствующей длине мата. Ширина ленты 70-100 мм, толщина 12-14 мм. Крепежные ленты соединяют бортовые кольца в продольном и поперечном направлении.
1.2. Маты в зависимости от нагрузки на дорожное полотно могут быть изготовлены различных конструкций:
1). Двухслойный из бортовых колец и кромок лент (рис. 1).
2). Четырехслойное полотно из гирлянд, переплетенных лентами. Способ переплетения показан на рис. 2.
3). Двухслойное полотно из бортовых колец с крестообразным переплетением резино-тканевыми лентами (рис. 3).
4). Двухслойное полотно из бортовых колец с прямоугольным переплетением резино-тканевыми лентами (перспективная конструкция) (рис. 4).
1.3. Характеристика исходных материалов:
1. Бортовые кольца
dВ = 510 мм h » 10 ¸ 25 мм
dн » 660 мм вес » 5,0 кг

2. Кромки транспортных лент
l = 30 м d » 10 ¸ 15 мм вес пог. м » 0,73 кг
1.4 Объем расхода материалов и трудоемкость изготовления матов приведены в таблице 1.
1.5 Предварительно необходимо изготовить стол (размером 4´8 м) для сборки секций мата из бортовых колец. Бортовые кольца с захлестом до 50 % раскладывают по всей поверхности стола. Кольца сплетаются между собой резиновыми лентами. Полученные секции размером 3´6 метров (размеры могут уточняться) складируются в штабель на поддоне для доставки на трассу.
1.6 Строительство временных дорог с применением матов может осуществляться по следующим вариантам:
Вариант 1.
Трактор в болотном исполнении буксирует салазки со штабелем (до 25 матов). Экскаватор на болотном ходу со снятым ковшом (ковш заменен на многоветвевой захват) или подъемное устройство на гусеничном ходу последовательно снимает одну за другой маты и укладывает их. Рабочие скрепляют уложенные маты между собой. Выгруженный автосамосвалом грунт разравнивается бульдозером и уплотняется бульдозером и самосвалами (рис. 5).
Вариант 2.
Трактор в болотном исполнении буксирует салазки с секциями. Параллельно оси будущей временной дороги двигается кран в болотном исполнении или трубоукладчик. Кран или трубоукладчик снимают и укладывают на основание будущей дороги маты. Двое рабочих скрепляют их между собой.
Выгруженный автосамосвалом грунт разравнивается бульдозером и уплотняется (рис. 6).
Вариант 3.
Болотоход «Хаски» (Формост) или болотоход БТ 361 с крановым оборудованием и уложенным на нем штабелем матов передвигается вдоль оси будущей временной дороги. Болотоход снимает последовательно одну за другой секции и укладывает их на землю за собой. Далее, также как в вышеуказанных вариантах, ведется отсыпка насыпи и уплотнение (рис. 7).
Расход материалов
колец 91 шт. 410 кг
лент 60 м 46 кг
Рис. 1. Двухслойное полотно из гирлянд бортовых колец и кромок лент
а - сечение по кромке ленты
б - фрагмент плетения гирлянд лентами
в - общий вид мата
Расход материалов
колец 182 шт. 820 кг
лент 120 м 91 кг
Рис. 2. Четырехслойное полотно из гирлянд бортовых колец и кромок лент
а - сечение по кромке ленты
б - общий вид мата с боку
Расход материала
колец 98 шт. 441 кг
лент 210 м 153 кг
Рис. 3. Двухслойное полотно из отдельных бортовых колец, сплетенных резино-тканевыми лентами перекрестным способом
а - сечение по кромке ленты
б - общий вид мата
Расход материала
колец 49 шт. 220,5 кг
лента 120 м 87,6 кг
Рис. 4. Двухслойное полотно из бортовых колец с прямоугольным переплетением
а - сечение по кромке ленты
б - общий вид мата
ВАРИАНТ № 1
Рис. 5. Укладка дорожных матов с применением полноповоротного крана
1 - бульдозер
2 - самосвал (типа Урал-375, Краз-255Б)
3 - звено из 2-х человек
4 - трактор в болотном исполнении (типа Т-130 В1)
5 - бульдозер
6 - трактор в болотном исполнении со стрелой (или трубоукладчик)
7 - секция из бортовых колец на деревянном поддоне
8 - салазки
Рис. 6. Укладка дорожных матов с применением крана-трубоукладчика
1 - бульдозер
2 - трактор в болотном исполнении со стрелой (или трубоукладчик)
3 - салазки
4 - трактор в болотном исполнении (типа Т-130 В1)
5 - самосвал (типа Урал-375, Краз-255Б и др.)
6 - звено из 2-х человек
Рис. 7. Укладка дорожных матов с применением крана, установленного на болотоходе
1 - автомобиль-самосвал (типа Урал-375, Краз-255Б и др.)
2 - звено из 2-х человек
3 - болотоход «Хаски» (Формост) или болотоход БТ 361
4 - бульдозер
5 - секция из бортовых колец на деревянном поддоне
6 - траверса
Таблица 1
Расход материалов и трудоемкость изготовления матов
(состав звена - 2 человека)
на 1 км
|
Размер мата, мм |
Расход материалов |
Вес мата, кг |
Выработка |
Трудозатраты, чел/день |
||||
|
колец, шт. |
лент, м |
шт./день |
пог. м/день |
дни |
||||
|
1. 2х-слойные маты |
4800´4750´200 |
91 |
60 |
456 |
6 |
30 |
33 |
0,3 |
|
2. 4х-слойные маты |
4800´4756´400 |
182 |
120 |
912 |
6 |
15 |
67 |
0,6 |
|
3. 2х-слойные (с крестообразным плетением) |
5000´5000´200 |
98 |
210 |
594 |
3 |
15 |
67 |
0,6 |
|
4. 2х-слойные маты с прямоугольным переплетением |
5000х - 5000х 200 |
49 |
120 |
308 |
4 |
20 |
50 |
0,5 |
Технологическое оборудование для очистки и изоляции труб
|
Обозначение и наименование |
Назначение |
Техническая характеристика |
Разработчик |
Серийный выпуск (экспертная оценка) |
|||
|
Диаметр обрабатыв. труб, мм |
Длина обрабатываемых труб, м |
Производительность, м/см |
Присоединительная мощность, квт |
||||
|
1 |
2 |
3 |
4 |
5 |
6 |
7 |
8 |
|
ПТЛ2 Линия для наружной изоляции труб |
Для нанесения битумно-резиновых защитных покрытий, комбинированных и изоляционных лент холодного нанесения на наружные поверхности труб |
57-530 |
10-36 |
1700 |
150 |
Ленинградский филиал СКВ «Газстроймашина» (Л.Ф. СКБ ГСМ) |
Серийно изготавл. Львовским экспериментально механическим заводом (ЛЭМЗ) |
|
ГТБЗ Технологическое оборудование линии для изоляции труб |
Для использования в условиях стационарных баз и производственных цехов при сооружении городских подземных трубопроводов |
57-530 |
8-12 |
1000 |
105 |
« |
Серийно изготавл. |
|
ЛИ 111 Технологическое оборудование линии изоляции труб |
Для использования в составе трубозаготовительной базы изоляции труб битумными мастиками |
57-114 |
22-36 |
185 |
100 |
« |
Опытные образцы |
|
ЛИТ 1 Линия изоляции труб и трубных секций в блочном исполнении |
Для использования при строительстве трубопроводов различного назначения с нанесением мастичных, комбинированных покрытий, лент «холодного» и «горячего» нанесения |
57-530 |
8-36 |
2400 |
0 |
« |
Серийное изготовление с 1992 г. ЛЭМЗ |
|
СТЕНД-530 Участок изоляции труб |
Для использования при строительстве трубопроводов различного назначения с нанесением битумных мастик и ленточных покрытий |
89-530 |
8-12 |
360 |
100 |
ВНИИСТ |
Серийное изготовление с 199 |
|
Покрытие на основе т.у. лент Термоусаживающаяся лента (1,0-2,0 мм)
|
Наносится на трубы при +100¸+230 °С T° строительства -40 ¸ +50 °С Т° эксплуатации до + 110 °С Себестоимость 1 км труб Æ 219 мм - 4790 руб. Технология и оборудование разрабатываются |
|
Покрытие «Антикоррэкс Север» Полиэтилен (1,6¸3,0 мм) Мастика АПК (0,7-0,8 мм)
|
Наносится на «холодные» трубы T° строительства -40 ¸ +50 °С Т° эксплуатации до -40 ¸ +40 °С Себестоимость изоляции 1 км труб Æ 219 мм - 1200 руб. Технология и оборудование разработаны |
|
Покрытие «Антикоррэкс» Полиэтилен (1,6¸3,0 мм) Липкая лента (0,5¸1,2 мм) Грунтовка (50 мкм)
|
Покрытие наносится на «холодные» трубы T° строительства -40 ¸ +50 °С Т° эксплуатации Себестоимость изоляции 1 км труб Æ 219 мм - 1960 руб. Технология и оборудование разработаны |
|
Покрытие «Промет» Полиэтилен (1,8¸3,0 мм) Мастика пластифицир. (450 мкм) Грунтовка (50 мкм)
|
Покрытие наносится на «холодные» трубы Т° эксплуатации: -10 ¸ +50 °С Себестоимость изоляции 1 км труб Æ 219 мм - Технология и оборудование разработаны «Промет» (ВНР, СССР, Австрия) |
|
Комбинированное покрытие Обертка «ПЭКОМ» (0,5 мм) Мастика АПК + НСМ (0,8¸1,2 мм)
|
Наносится на «холодные» трубы T° строительства -40 ¸ 0 °С Т° эксплуатации -40¸+40 °С Себестоимость изоляции 1 км труб Æ 219 мм - 1465 руб. Технология и оборудование разрабатываются |
|
Трехслойное покрытие Полиэтилен (1,5¸1,8 мм) Сэвилен (250 мкм) Эпоксидная грунтовка (50 мкм)
|
Наносится на трубы при 180¸200 °С T° строительства -40 ¸ +50 °С Т° эксплуатации до -20 ¸ +60 °С Себестоимость изоляции 1 км труб Æ 219 мм - 3020 руб. Технология и оборудование разработаны |
|
Наименование НТД |
Изготовитель |
|
1. ТУ 102-340-83 Грунтовка ГТ-760 ИН |
Сызранский ЗИМ ПО «Трубоизоляция» |
|
2. ТУ 102-349-83 Грунтовка ГТ-381 НИ |
« |
|
3. ТУ 102-502-90 Праймер П-001 |
« |
|
4. ТУ 619-103-85 Лента поливинилхлоридная липкая ПИЛ |
Минхимпром, Новосибирский з-д, Стерлитомакский з-д |
|
5. ТУ 102-340-88 Лента поливинилхлоридная липкая ПВХ-СК |
ПО «Трубоизоляция» г. Новокуйбышевск |
|
6. ТУ 102-320-86 Пленка оберточная ПЭКОМ |
« |
|
7. ТУ 102-504-91 Обертка полиэтиленовая НКПЭЛО-45, НКПЭЛО-63 |
« |
|
8. ТУ 102-503-91 Лента полиэтиленовая НКПЭЛ-45, НКПЭЛ-63 |
« |
|
9. ТУ 102-500-90 Лента полиэтиленовая для изоляции газонефтепроводов Полилен |
« |
|
10. ТУ 102-501-90 Обертка липкая полиэтиленовая для защиты изоляции газонефтепродуктопроводов Полилен-О |
« |
|
Лаборатория._______________________________ (наименование строительно-монтажной ________________________________________ организации) ПРОТОКОЛ
|
|
Номер контрольного стыка |
Номер и тип образца, вырезанного из контрольного стыка |
Тип разрывной машины |
Предел текучести или разрушающее напряжение, МПа |
Относительное удлинение при разрушении, % |
Характер разрушения, тип |
Технические данные компрессорных установок
|
Марка компрессорной установки |
Производительность, м3/мин. |
Давление нагнетания, МПа |
База |
Привод от двигателя |
Мощность двигателя, кВт |
Габариты, м |
Масса, т |
|
ЗИФ-55 |
5,0 |
0,7 |
Тележка на пневмоколесном ходу |
ЗИЛ-121 |
73 |
3,4´1,8´1,7 |
2,7 |
|
КС-9 |
8,5 |
0,6 |
То же |
КДМ-100 |
75 |
5,0´1,9´2,1 |
5,7 |
|
ДК-9 |
10,0 |
0,6 |
« |
КДМ-100 |
75 |
5,0´1,8´2,1 |
5,6 |
|
ПК-10 |
10,0 |
0,7 |
« |
Д-108 |
81 |
4,7´1,9´2,6 |
5,1 |
|
ПР-10/8 |
11,0 . |
0,8 |
« |
А-01 МК |
95 |
5,2´1,7´2,2 |
2,97 |
|
НВ-10 |
10,0 |
0,8 |
Рама-салазки |
МАЗ-М204А |
140 |
3,2´1,7´1,5 |
2,8 |
|
СД 15/25 |
15,0 |
2,45 |
Автомобиль КРАЗ-257Б1 |
1Д12Б |
220 |
10,3´3,0´3,7 |
11,2 |
|
СД 9/101 |
9,0 |
9,9 |
То же |
1Д12Б |
220 |
10,3´3,0´3,7 |
21,0 |
Список
согласований с отделами
ВНИИСТа
Пособия
по технологии и организации сооружения трубопроводов систем газоснабжения
сельских районов Нечерноземной зоны РСФСР
(к СНиП 3.05.02.88 «Газоснабжение»)
|
Название отдела |
Фамилия И.О. работника отдела |
Подпись |
|
1. Отдел технологии и ремонта трубопроводов |
Габелая Р.Д. |
|
|
2. Отдел базовой изоляции, теплоизоляции труб и соединительных деталей |
Семенченко В.К. |
|
|
3. Отдел изоляции трубопроводов |
Сагателян Р.Т. |
|
|
4. Отдел качества строительства трубопроводов |
Чабуркин В.Ф. |
|
|
5. Отдел сварки трубопроводов |
Тарлинский В.Д. |
|
|
6. Отдел очистки полости и испытания трубопроводов |
Селиверстов В.Г. |
|
|
7. Отдел электрохимической защиты трубопроводов |
Притула В.В. |
|
|
8. Отдел охраны природы |
Амелин А.В. |
|
|
9. Лаборатория стандартизации и метрологии в трубопроводном строительстве |
Шапиро В.Д. |
|
|
10. Отдел охраны труда |
Исмагилов P.M. |
|
|
11. Отдел механизации строительства |
Щацкий А.С. |
|
СОДЕРЖАНИЕ
|
|
|
|