//
ТехЛит.ру
- крупнейшая бесплатная электронная интернет библиотека для "технически умных" людей.
WWW.TEHLIT.RU - ТЕХНИЧЕСКАЯ ЛИТЕРАТУРА

:: Алготрейдинг::


АЛГОТРЕЙДИНГ
шаг за шагом
с нуля по урокам!

Торговые роботы на PYTHON, BackTrader,
Pandas, Pine Script для TradingView. Связка с брокерами, телеграм и легкими приложениями.


ГОСТ 9.510-93

МЕЖГОСУДАРСТВЕННЫЙ СТАНДАРТ

ЕДИНАЯ СИСТЕМА ЗАЩИТЫ
ОТ КОРРОЗИИ И СТАРЕНИЯ

ПОЛУФАБРИКАТЫ ИЗ АЛЮМИНИЯ
И АЛЮМИНИЕВЫХ СПЛАВОВ

ОБЩИЕ ТРЕБОВАНИЯ К ВРЕМЕННОЙ
ПРОТИВОКОРРОЗИОННОЙ ЗАЩИТЕ, УПАКОВКЕ,
ТРАНСПОРТИРОВАНИЮ И ХРАНЕНИЮ

МЕЖГОСУДАРСТВЕННЫЙ СОВЕТ ПО СТАНДАРТИЗАЦИИ,
МЕТРОЛОГИИ И СЕРТИФИКАЦИИ

Минск

Предисловие

1 РАЗРАБОТАН ТК 297 «Материалы и полуфабрикаты из легких и специальных сплавов»

ВНЕСЕН Госстандартом России

2 ПРИНЯТ Межгосударственным Советом по стандартизации, метрологии и сертификации 15 марта 1994 г. (отчет Технического секретариата № 1)

За принятие проголосовали:

Наименование государства

Наименование национального органа стандартизации

Республика Азербайджан

Азгосстандарт

Республика Беларусь

Белстандарт

Республика Казахстан

Госстандарт Республики Казахстан

Республика Молдова

Молдовастандарт

Российская Федерация

Госстандарт России

Республика Туркменистан

Главгосинспекция Туркменистана

Украина

Госстандарт Украины

3 Постановлением Комитета Российской Федерации по стандартизации, метрологии и сертификации от 26.12.94 № 352 межгосударственный стандарт ГОСТ 9.510-92 введен в действие непосредственно в качестве государственного стандарта Российской Федерации с 01.01.96

4 ВЗАМЕН ГОСТ 9.011-79 и ГОСТ 9.081-77 (в части полуфабрикатов из алюминия и алюминиевых сплавов)

СОДЕРЖАНИЕ

ГОСТ 9.510-93

МЕЖГОСУДАРСТВЕННЫЙ СТАНДАРТ

Единая система защиты от коррозии и старения

ПОЛУФАБРИКАТЫ ИЗ АЛЮМИНИЯ И АЛЮМИНИЕВЫХ СПЛАВОВ

Общие требования к временной противокоррозионной защите,
упаковке, транспортированию и хранению

Unified system of corrosion and ageing protection.

Aluminium and aluminium alloys semifinished products.

General requirements for temporary anticorrosive protection,
packing, transportation and storage

Дата введения 1996-01-01

1 ОБЛАСТЬ ПРИМЕНЕНИЯ

Настоящий стандарт распространяется на полуфабрикаты из алюминия и алюминиевых сплавов и устанавливает общие требования к выбору средств временной противокоррозионной защиты, упаковке, транспортированию и хранению.

2 НОРМАТИВНЫЕ ССЫЛКИ

В настоящем стандарте использованы ссылки на следующие стандарты:

ГОСТ 9.010-80 ЕСЗКС. Воздух сжатый для распыления лакокрасочных материалов. Технические требования. Методы контроля

ГОСТ 9.014-78 ЕСЗКС. Временная противокоррозионная защита изделий. Общие требования

ГОСТ 9.031-74 ЕСЗКС. Покрытия анодно-окисные полуфабрикатов из алюминия и его сплавов. Общие требования и методы контроля

ГОСТ 201-76 Тринатрийфосфат. Технические условия

ГОСТ 202-84 Белила цинковые. Технические условия

ГОСТ 515-77 Бумага упаковочная битумированная и дегтевая. Технические условия

ГОСТ 645-89 Бумага кабельная для изоляции кабелей на напряжение от 10 до 500 кВ. Технические условия

ГОСТ 745-79 Фольга алюминиевая для упаковки. Технические условия

ГОСТ 101-72 Бензины авиационные. Технические условия

ГОСТ 1760-86 Подпергамент. Технические условия

ГОСТ 1931-80 Бумага электроизоляционная намоточная. Технические условия

ГОСТ 2228-81 Бумага мешочная. Технические условия.

ГОСТ 2263-79 Натрий едкий технический. Технические условия

ГОСТ 2477-65 Нефть и нефтепродукты. Метод определения содержания воды

ГОСТ 2488-79 Церезин. Технические условия

ГОСТ 2695-83 Пиломатериалы лиственных пород. Технические условия

ГОСТ 2991-85 Ящики дощатые неразборные для грузов массой до 500 кг. Общие технические условия

ГОСТ 3134-78 Уайт-спирит. Технические условия

ГОСТ 3282-74 Проволока стальная низкоуглеродистая общего назначения. Технические условия

ГОСТ 3553-87 Бумага телефонная. Технические условия

ГОСТ 3560-73 Лента стальная упаковочная. Технические условия

ГОСТ 3956-76 Силикагель технический. Технические условия

ГОСТ 4028-63 Гвозди строительные. Конструкция и размеры

ГОСТ 4034-63 Гвозди тарные круглые. Конструкция и размеры

ГОСТ 4598-86 Плиты древесно-волокнистые. Технические условия

ГОСТ 5100-85 Сода кальцинированная техническая. Технические условия

ГОСТ 5530-81 Ткани упаковочные и технического назначения. Технические условия

ГОСТ 5959-80 Ящики из листовых древесных материалов неразборные для грузов массой до 200 кг. Общие технические условия

ГОСТ 6009-74 Лента стальная горячекатаная. Технические условия

ГОСТ 6370-83 Нефть, нефтепродукты и присадки. Метод определения механических примесей

ГОСТ 6449.1-82 Изделия из древесины и древесных материалов. Поля допусков для линейных размеров и посадки

ГОСТ 6707-76 Смазки пластичные. Метод определения свободных щелочей и свободных органических кислот

ГОСТ 6659-83 Картон обивочный водостойкий. Технические условия

ГОСТ 7016-82 Изделия из древесных материалов. Параметры шероховатости поверхности

ГОСТ 8273-75 Бумага оберточная. Технические условия ГОСТ 8433-81 Вещества вспомогательные ОП-7 и ОП-10. Технические условия

ГОСТ 8486-86 Пиломатериалы хвойных пород. Технические условия

ГОСТ 8505-80 Нефрас С50/170. Технические условия

ГОСТ 8828-89 Бумага-основа и бумага двухслойная водонепроницаемая упаковочная. Технические условия

ГОСТ 9078-84 Поддоны плоские. Общие "технические условия

ГОСТ 9557-87 Поддон плоский деревянный размером 800х1200 мм. Технические условия

ГОСТ 9569-79 Бумага парафинированная. Технические условия

ГОСТ 9570-84 Поддоны ящичные и стоечные. Общие технические условия

ГОСТ 10198-91 Ящики деревянные для грузов массой св. 200 до 2000 кг. Общие технические условия

ГОСТ 10354-82 Пленка полиэтиленовая. Технические условия

ГОСТ 10396-84 Бумага кабельная крепированная. Технические условия

ГОСТ 10877-76 Масло консервационное К-17. Технические условия

ГОСТ 11382-76 Нефтепродукты. Метод определения числа нейтрализации потенциометрическим титрованием

ГОСТ 11836-76 Бумага для билетов. Технические условия

ГОСТ 13078-81 Стекло натриевое жидкое. Технические условия

ГОСТ 13726-78 Листы из алюминия и алюминиевых сплавов. Технические условия

ГОСТ 13843-78 Катанка алюминия. Технические условия

ГОСТ 14192-77 Маркировка грузов

ГОСТ 14838-78 Проволока из алюминия и алюминиевых сплавов для холодной высадки. Технические условия

ГОСТ 15102-75 Контейнер универсальный металлический закрытый номинальной массой брутто 5,0 т. Технические условия

ГОСТ 15150-69 Машины, приборы и другие технические изделия. Исполнения для различных климатических районов. Категории, условия эксплуатации, хранения и транспортирования в части воздействия климатических факторов

ГОСТ 15171-78 Присадка АКОР-1. Технические условия

ГОСТ 15846-79 Продукция, отправляемая в районы Крайнего Севера и труднодоступные районы. Упаковка, маркировка, транспортирование и хранение

ГОСТ 16295-93 Бумага противокоррозионная. Технические условия

ГОСТ 16711-84 Основа парафинированной бумаги. Технические условия

ГОСТ 17308-88 Шпагаты. Технические условия

ГОСТ 29231-91 Шнуры хлопчатобумажные крученые. Технические условия

ГОСТ 18477-79 Контейнеры универсальные. Типы, основные параметры и размеры

ГОСТ 19113-84 Канифоль сосновая. Технические условия

ГОСТ 30090-93 Ткани мешочные. Технические условия

ГОСТ 19537-83 Смазка пушечная. Технические условия

ГОСТ 19667-74 Контейнер специализированный групповой массой брутто 5,0 т для штучных грузов

ГОСТ 20435-75 Контейнер универсальный металлический закрытый номинальной массой брутто 3,0 т. Технические условия

ГОСТ 20799-88 Масла индустриальные. Технические условия

ГОСТ 21488-76 Прутки прессованные из алюминия и алюминиевых сплавов. Технические условия

ГОСТ 21650-76 Средства скрепления тарно-штучных грузов в транспортных пакетах. Общие требования

ГОСТ 22225-76 Контейнеры универсальные массой брутто 0,625 и 1,25 т. Технические условия

ГОСТ 22831-77 Поддоны плоские деревянные массой брутто 3,2 т размером 1200х1600 и 1200х1800 мм. Технические условия

ГОСТ 23436-83 Бумага кабельная для изоляции силовых кабелей на напряжение до 35 кВ включительно. Технические условия

ГОСТ 24454-80 Пиломатериалы хвойных пород. Размеры

ГОСТ 24634-81 Ящики деревянные для продукции, поставляемой для экспорта. Общие технические условия

ГОСТ 24597-81 Пакеты тарно-штучных грузов. Основные параметры и размеры

3 ОБЩИЕ ПОЛОЖЕНИЯ

3.1 Требования настоящего стандарта учитываются при изготовлении, хранении и транспортировании полуфабрикатов из алюминия и алюминиевых сплавов и являются основанием при разработке нормативно-технической документации (НТД) на полуфабрикаты конкретного вида.

3.2 Материалы полуфабрикатов, подлежащих хранению и транспортированию, должны соответствовать требованиям НТД.

3.3 Средства и методы временной противокоррозионной защиты должны обеспечивать защиту от коррозии полуфабрикатов на весь период транспортирования и хранения у потребителя в течение 15 сут. в условиях, исключающих попадание атмосферных осадков, а также длительного хранения у потребителя.

3.4 Средства подготовки поверхности, временной защиты, упаковочные средства и тара должны соответствовать требованиям НТД.

3.5 Консервация полуфабрикатов включает подготовку поверхности, применение (нанесение) средств временной противокоррозионной защиты и упаковывание.

3.6 Консервацию полуфабрикатов проводят в специально оборудованных помещениях или специально оборудованных участках цехов.

Требования к участкам консервации - по ГОСТ 9.014.

3.7 Техника безопасности - по ГОСТ 9.014.

4 ВРЕМЕННАЯ ПРОТИВОКОРРОЗИОННАЯ ЗАЩИТА

4.1 Временной противокоррозионной защите изготовителем на период транспортирования и хранения у потребителя в течение 15 сут. в условиях, исключающих попадание атмосферных осадков, подлежат ленты в рулонах (торцы), листы, круги (диски), гнутые профили, прессованные прутки диаметром не более 22 мм, прессованные профили диаметром описанной окружности до 350 мм из алюминиевых сплавов с содержанием меди более 0,5 %, кроме сплава марки 1925, прессованные панели, холодно-деформированные трубы, проволока в бухтах, штампованные поковки массой не более 2,5 кг, штампованные поковки с необрабатываемой потребителем поверхностью, поковки и штампованные поковки после обработки резанием (обдирки).

По согласованию с потребителем допускается указанные полуфабрикаты не подвергать временной противокоррозионной защите.

Примечания:

1 По согласованию с потребителем временной противокоррозионной защите подвергают прессованные прутки диаметром более 22 мм из алюминиевых сплавов с содержанием меди более 0,5 %.

2 По согласованию с потребителем допускается промасливание всей поверхности ленты технологической смазкой «Укринол-202»*.

3 Холоднодеформированные трубы из алюминия всех марок и алюминиевых сплавов марок АМц и АД31 допускается подвергать временной противокоррозионной защите только по наружной поверхности.

* Здесь и далее по тексту материалы, отмеченные знаком*, изготавливают по НТД.

4.2 Не подлежат временной противокоррозионной защите изготовителем на период транспортирования и хранения у потребителя в течение 15 сут. следующие полуфабрикаты: катаные полосы, листовые прокатно-сварные заготовки для теплообменников, плиты, прессованные прутки диаметром более 22 мм, прессованные прутки в бухтах, прессованные профили с диаметром описанной окружности до 350 мм из алюминия всех марок и алюминиевых сплавов с содержанием меди до 0,5 % и из сплавов марок 1925, ВД1, АВД1-1, АКМ, профили: прессованные диаметром описанной окружности более 350 мм, электротехнического назначения, профили толщиной полки более 4,0 мм, имеющие номинальные габаритные размеры более 100 мм, прессованные шины: электротехнического назначения, в бухтах, прессованные ленты, прессованные трубы (в том числе крупногабаритные), в бухтах, Холоднодеформированные трубы в бухтах, сварные трубы в бухтах, штампованные поковки массой более 2,5 кг, а также полуфабрикаты, подвергаемые механической обработке со всех сторон.

По согласованию с потребителем указанные полуфабрикаты подвергают временной противокоррозионной защите.

4.3 При отправке всех видов полуфабрикатов в районы Крайнего Севера и труднодоступные районы они подлежат временной противокоррозионной защите, кроме бурильных труб, на которых противокоррозионной защите подвергают только бурильные замки.

4.4 Все полуфабрикаты перед длительным хранением подлежат временной противокоррозионной защите.

Допускается не консервировать полуфабрикаты при сроке хранения до 1 года в отапливаемом хранилище.

4.5 Средства временной противокоррозионной защиты полуфабрикатов на период транспортирования и хранения у потребителя в течение 15 сут. приведены в таблице 1.

Таблица 1

Средство временной противокоррозионной защиты

Защищаемый полуфабрикат

Особенности применения

1 Масло индустриальное марки И-12А или И-20А по ГОСТ 20799 при концентрации 90-95 %; присадка АКОР-1 по ГОСТ 15171 при концентрации 5-10 %

Ленты в рулонах; листы; профили; прутки; трубы; проволока; панели; штампованные поковки

Без подогрева или с подогревом до температуры 313-353 К (40-80 °С)

2 Масло индустриальное марки И-12А или И-20А по ГОСТ 20799 при концентрации 90-96 %; присадка АКОР-1 по ГОСТ 15171 при концентрации 5-10 %; вазелин технический* при концентрации 10-15 %

Ленты в рулонах; листы; профили; прутки; трубы; панели; штампованные поковки

Проволока

С подогревом до температуры 313-353 К (40- 80 °С)

С подогревом до температуры 368 К (95°С)

3 Для применения в зимнее время (температура не более +5°С):

масло индустриальное марки И-12А или И-20А по ГОСТ 20799 при концентрации 70 %; вазелин технический* при концентрации 30 %

Ленты в рулонах; листы; трубы; штампованные поковки

С подогревом до температуры 333-353 К (60-80оС)

Для применения в летнее время (температура не более +5°С):

масло индустриальное марки И-12А или И-20А по ГОСТ 20799 при концентрации 50 %; вазелин технический* при концентрации 50 %

То же

То же

4 Масло консервационное марки К-17 по ГОСТ 10877

Штампованные поковки

-

5 Бумага промасленная или непромасленная следующих сортов: телефонная по ГОСТ 3553; для билетов по ГОСТ 11836; прокладочно-упаковочная для резиновой обуви по НТД; основа парафинированной бумаги марки ОДП-35 по ГОСТ 16711

Ленты в рулонах; листы; круги

Промасливание бумаги проводится составами по подпунктам 1-3 настоящей таблицы

6 Бумага липкая следующих сортов: телефонная по ГОСТ 3553; электроизоляционная намоточная по ГОСТ 1931; кабельная по ГОСТ 645 и ГОСТ 23436

Листы

Липкий слой на бумаге образуется нанесением на поверхность резинового или полиизобутиленового клея1

7 Покрытия анодно-окисные по ГОСТ 9.031

Профили; панели; трубы; штампованные поковки

-

8 Линасиль ИФХАН-1Н*

То же

Необходима дополнительная упаковка в чехлы из полиэтиленовой пленки толщиной 0,10-0,20 мм по ГОСТ 10354

9 Силикагель технический по ГОСТ 3956

»

10 Бумага противокоррозионная марок МБГИ-3-40 и МБГИ-8-40 по ГОСТ 16295

»

1Резиновый или полиизобутиленовый клей представляет собой раствор резиновой смеси или полиизобутилена, канифоли по ГОСТ 19113, белил цинковых по ГОСТ 202, церезина по ГОСТ 2488, масла индустриального по ГОСТ 20799 в нефрасе по НТД.

4.6 Средства временной противокоррозионной защиты полуфабрикатов при длительном хранении приведены в таблице 2.

Таблица 2

Средство временной противокоррозионной защиты

Срок хранения, год не более

1 Масло индустриальное марки И-12А или И-20А по ГОСТ 20799 при концентрации 90-95 %;

присадка АКОР-1 по ГОСТ 15171 при концентрации 5-10 %

101)

2 Масло индустриальное марки И-12А или И-20А по ГОСТ 20799 при концентрации 80-85 %;

присадка АКОР-1 по ГОСТ 15171 при концентрации 5-10 %;

вазелин технический* при концентрации 10-15 %

101)

3 Масло консервационное марки К-17 по ГОСТ 10877 или НГ-203 (Б, В)*

101)

4 Покрытие анодно-окисное по ГОСТ 9.031

10

5 Бумага противокоррозионная марок МБГИ-3-40 или МБГИ-8-40 по ГОСТ 16295

32)

6 Линасиль ИФХАН-1Н*

102)

1) Срок защиты полуфабрикатов, законсервированных маслами, приведен при их прокладке бумагой, промасленной этими же маслами.

Допускается хранение без прокладки бумагой.

2) Срок защиты полуфабрикатов с использованием противокоррозионной бумаги или линасиля дан при их упаковке в полиэтиленовую пленку толщиной 0,15-0,20 мм по ГОСТ 10354 с обеспечением герметизации и защиты от механических повреждений.

4.7 Подготовку поверхности полуфабрикатов перед консервацией проводят в соответствии с приложением А.

4.8 Технология временной противокоррозионной защиты полуфабрикатов установленными средствами приведена в приложении Б.

4.9 Способы расконсервации полуфабрикатов приведены в приложении В.

4.10 Контроль качества нанесения средств временной противокоррозионной защиты осуществляется соблюдением всех стадий технологического процесса в соответствии с требованиями настоящего стандарта.

4.11 Дополнительные требования к временной противокоррозионной защите полуфабрикатов устанавливают в НТД на полуфабрикаты конкретного вида.

5 УПАКОВКА

5.1 Упаковка служит для предотвращения или ограничения воздействия климатических факторов, сохранения средств временной противокоррозионной защиты, предохранения от загрязнения и механических повреждений, создания удобств при погрузочно-разгрузочных работах, транспортировании и хранении.

5.2 Полуфабрикаты подразделяют следующим образом:

упакованные в тару;

упакованные без тары (увязанные в пучки, пачки, рулоны, бухты);

без упаковки.

5.3 Для упаковки полуфабрикатов используют:

бумагу упаковочную битумированную по ГОСТ 515;

подпергамент по ГОСТ 1760;

бумагу мешочную марок В-70 и В-78 по ГОСТ 2228;

бумагу телефонную по ГОСТ 3553;

бумагу двухслойную водонепроницаемую упаковочную марки ДБ по ГОСТ 8828;

бумагу оберточную марок А и В цвета естественного волокна по ГОСТ 8273;

бумагу парафинированную по ГОСТ 9569; бумагу кабельную крепированную по ГОСТ 10396;

бумагу для билетов по ГОСТ 11836;

бумагу прокладочно-упаковочную для резиновой обуви по НТД;

основу парафинированной бумаги марки ОДП-35 по ГОСТ 16711;

бумагу кабельную марки К-080 по ГОСТ 23436;

картон обивочный водостойкий по ГОСТ 6659;

ткани упаковочные и технического назначения по ГОСТ 5530;

ткани льняные и полульняные мешочные по ГОСТ 30090;

синтетические или нетканые материалы*;

фольгу алюминиевую для упаковки по ГОСТ 745;

ленту из алюминия всех марок или алюминиевого сплава марки АКМ, отожженную по ГОСТ 13726;

ленту отожженную плакированную из сплава марки АЖ* или АМг2*;

пленку полиэтиленовую толщиной 0,10-0,20 мм по ГОСТ 10354.

5.4 Допускается применять другие виды упаковочных материалов при условии обеспечения требований на уровне настоящего стандарта.

5.5 При погрузочно-разгрузочных работах, хранении и транспортировании применяют:

ящики дощатые неразборные для грузов массой до 500 кг по ГОСТ 2991;

ящики из листовых древесных материалов неразборные для грузов массой до 200 кг по ГОСТ 5959;

ящики дощатые для грузов массой свыше 500 до 20000 кг по ГОСТ 10198;

ящики деревянные для продукции, поставляемой для экспорта по ГОСТ 24634;

ящики дощатые решетчатые для листов в соответствии с приложением Г (рисунок 1);

ящики дощатые комбинированные для листов в соответствии с приложением Г (рисунок 2);

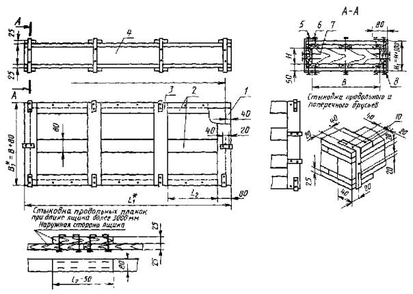
Ящик дощатый решетчатый типа I

1 - поперечный брус, 2 шт.; 2 - продольная планка; 3 - поперечная планка; 4 - продольный брус, 2 шт.; 5 - гвозди К3´70; 6 - гвозди К2´40; 7 - гвозди К4´100; 8 - стальная лента 0,4-0,5´20.

* Размеры для справок.

Рисунок 1

Ящик дощатый комбинированный типа II

1 - поперечный брус, 2 шт.; 2 - продольная планка; 3 - поперечная планка; 4 - продольный брус, 2 шт.; 5 - гвозди К3´70; 6 - гвозди К2´40; 7 - гвозди К4´100; 8 - стальная лента 0,4-0,5´20; 9 - фанера

* Размеры для справок.

Рисунок 2

ящики дощатые решетчатые для прутков, профилей и труб в соответствии с приложением Г (рисунок 3);

ящики дощатые комбинированные для прутков, профилей и труб в соответствии с приложением Г (рисунок 4);

ящики дощатые для листов*;

ящики дощатые для прутков, профилей и труб*;

контейнеры универсальные металлические закрытые номинальной массой брутто 5,0 т по ГОСТ 15102;

контейнеры универсальные по ГОСТ 18477;

контейнеры специализированные групповые массой брутто 5,0 т для штучных грузов по ГОСТ 19667;

контейнеры универсальные металлические номинальной массой брутто 3,0 т по ГОСТ 20435;

контейнеры универсальные массой брутто 0,625 и 1,25 т по ГОСТ 22225;

контейнеры специализированные*;

поддоны плоские по ГОСТ 9078;

поддоны плоские деревянные размером 800´1200 мм по ГОСТ 9557;

поддоны ящичные и стоечные по ГОСТ 9570;

поддоны плоские деревянные массой брутто 3,2 т, размером 1200´1600 и 1200´1800 мм по ГОСТ 22831;

поддоны плоские деревянные многооборотные для листов массой до 4000 кг*;

тару разборную многооборотную для листов массой до 10000 кг*;

кассеты пакетирующие металлические многооборотные для листов массой до 7000 кг* и 10000 кг*;

тару разборную многооборотную для лент в рулонах*;

тару разборную многооборотную для прутков, профилей, труб и продукции в бухтах массой до 3000 кг*;

тару разборную многооборотную для панелей массой до 10000 кг*;

тару разборную многооборотную металлическую для штамповок*;

тару специальную многооборотную металлическую для заготовок листовых прокатно-сварных для теплообменников*;

обрешетки (циновки) деревянные для прутков, профилей и труб*;

тару мягкую*.

5.6 Допускается применять другие виды тары, изготовленные по чертежам изготовителя, при условии обеспечения требований на уровне настоящего стандарта

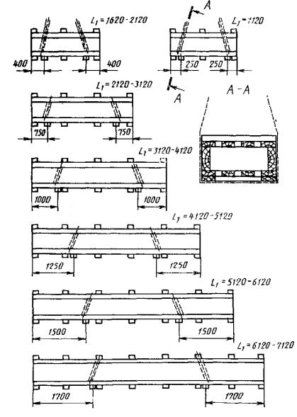
Ящик дощатый решетчатый типа III

1 - планка, 4 шт.; 2 - доска, 4 шт.; 3 - верхняя планка; 4 - продольная планка, 8 шт.; 5 - боковая планка; 6 - гвоздь К3´70; 7 - стальная лента 0,4 - 0,5´20

* Размеры для справок.

Рисунок 3

Ящик дощатый комбинированный типа IV

1 - планка, 4 шт.; 2 - доска, 4 шт.; 3 - верхняя планка; 4 - продольная планка, 8 шт.; 5 - боковая планка; 6 - гвоздь К3´70; 7 - стальная лента 0,4 - 0,5´20; 8 - фанера

* Размер для справок.

Рисунок 4

5.7 Тара должна иметь чалочные приспособления (крюки, проушины, балки, планки, подстроповочные бруски или другие элементы), обеспечивающие строповку грузовых мест при погрузочно-разгрузочных работах.

При отсутствии чалочных приспособлений допускается строповка в обхват для полуфабрикатов, упакованных в мягкую тару, обрешетку, пучки, а также без упаковки с применением деревянных или металлических подкладок, используемых также для разделения грузовых мест, укладки грузовых мест на пол склада или транспортного средства.

Не допускается использовать обвязки для зачаливания груза при погрузочно-разгрузочных работах.

5.8 При укладке полуфабрикатов в тару все свободное пространство между стенками ящика и полуфабрикатами должно быть заполнено жгутами из бумаги.

5.9 Для обвязки полуфабрикатов и грузовых мест применяют:

шпагат по ГОСТ 17308;

шпагат полипропиленовый из пленочной нити*;

шнур хлопчатобумажный крученый по ГОСТ 29231;

проволоку стальную низкоуглеродистую общего назначения по ГОСТ 3282 или другой НТД диаметром 2,0-7,0 мм;

проволоку из алюминия всех марок, отожженную по ГОСТ 14838 или другой НТД, диаметром 7,0-10,0 мм;

катанку алюминиевую мягкую по ГОСТ 13843 диаметром 9,0-12,0 мм;

пруток прессованный из алюминия всех марок, отожженный или без термической обработки по ГОСТ 21488 диаметром 7,0-10,0 мм;

ленту стальную упаковочную мягкую по ГОСТ 3560;

ленту стальную горячекатаную по ГОСТ 6009 или другой НТД толщиной 0,5-2,0 мм и шириной до 30 мм;

ленту из алюминия всех марок или алюминиевых сплавов марок ВД1, АКМ, В95-1, В95-2, отожженную по ГОСТ 13726 толщиной 0,5-6,0 мм и шириной 20-50 мм.

Примечание - Для обвязки допускается применять холоднокатаную ленту из углеродистой конструкционной стали в нагартованном или полунагартованном состоянии толщиной 0,7-1,0 мм и шириной до 32 мм*.

5.10 Допускается применять другие обвязочные материалы при условии сохранения целостности обвязки грузового места.

5.11 Обвязку проволокой или прутком в зависимости от массы грузового места и диаметра применяемых проволоки или прутка проводят в один-три оборота стальной проволокой или в два-три оборота алюминиевой проволокой или прутком с плотной укруткой концов.

Концы проволоки или прутка соединяют скруткой не менее пяти витков.

5.12 Концы ленты при обвязке должны быть соединены с помощью замков или двойного точечного сварного шва.

5.13 Масса грузового места, а также масса неувязанной продукции (полуфабрикат без упаковки) при ручной погрузке и разгрузке должен быть не более 80 кг; при массе более 80 кг должна применяться механизированная погрузка и разгрузка.

5.14 Упаковывание полуфабрикатов, отправляемых в районы Крайнего Севера и труднодоступные районы, проводят в соответствии с ГОСТ 15846.

5.15 Упаковывание лент в рулонах

5.15.1 Рулоны лент стягивают по окружности стяжной машиной или вручную стальной лентой или лентой из алюминия всех марок или алюминиевых сплавов марок ВД1, АКМ, В95-1, В95-2 или проволокой стальной (5.9).

Количество стяжек по окружности (продольных) определяют из расчета одна стяжка на 600 мм ширины рулона.

5.15.2 Каждый стянутый рулон упаковывают одним из следующих способов:

обертывают по боковой поверхности двумя слоями двухслойной водонепроницаемой упаковочной бумаги или упаковочной битумированной бумаги с завертыванием ее на торцы, затем одним слоем алюминиевой фольги или ленты алюминия всех марок, или алюминиевого сплава марки АКМ (5.3);

обертывают одним слоем алюминиевой фольги или лентой из алюминия всех марок или алюминиевого сплава марки АКМ (5.9);

обертывают торцы рулона двумя слоями двухслойной водонепроницаемой упаковочной бумаги или упаковочной битумированной бумаги, или одним слоем алюминиевой фольги, или ленты из алюминия всех марок, или алюминиевого сплава марки АКМ, или водостойкого картона (5.3).

5.15.3 Упакованные рулоны лент укладывают в разборную или неразборную многооборотную тару (сборные деревянные или металлические щиты, стянутые болтами или шпильками при помощи гаек), или деревянные или металлические поддоны с укладкой на боковую поверхность.

Допускается укладывать в одну тару несколько рулонов лент, изготовленных разрезкой; при этом общая ширина упаковываемого комплекта не должна превышать ширины разрезаемого рулона.

5.15.4 Рулоны лент массой не более 80 кг укладывают стоя, рядами в дощатые ящики (плотные или решетчатые) или универсальные или специализированные групповые контейнеры, предварительно выложив дно и стенки двухслойной водонепроницаемой упаковочной бумаги или упаковочной битумированной бумаги. Такой же бумагой покрывают рулоны лент сверху. Каждый ряд должен быть переложен прокладочным материалом (5.3).

5.15.5 Масса грузового места в разборной многооборотной таре или на поддоне должна быть не более 5000 кг, в ящиках - не более 800 кг.

По согласованию с потребителем допускается увеличивать массу грузового места в разборной многооборотной таре до 10000 кг.

5.15.6 По согласованию с потребителем рулоны лент могут не упаковываться. В зависимости от ширины рулоны должны быть стянуты одной или двумя поперечными стяжками и не менее чем двумя продольными стяжками при ширине рулона более 1000 мм.

5.16 Упаковывание листов

5.16.1 Каждый лист из алюминиевых сплавов всех марок и всех состояний материала, кроме состояния без термической обработки и отожженного, после нанесения средств временной противокоррозионной защиты должен быть дополнительно переложен одним слоем промасленной или непромасленной бумаги.

Каждый лист из алюминия всех марок и всех состояний материала, а также из алюминиевых сплавов всех марок в состоянии без термической обработки и отожженном после нанесения средств временной противокоррозионной защиты дополнительно бумагой не перекладывают.

Примечание - Допускается не перекладывать бумагой листы при укладке в специализированные контейнеры или разборную многооборотную тару.

5.16.2 Листы специального назначения, обклеенные с лицевой стороны липкой бумагой, по согласованию с потребителем дополнительно перекладывают одним слоем промасленной бумаги.

5.16.3 Листы, не подвергаемые (по согласованию сторон) временной противокоррозионной защите, должны быть обязательно переложены одним слоем промасленной или непромасленной бумаги.

5.16.4 Листы одного размера, одной марки и одного состояния материала укладывают в стопы высотой не более 0,5 м.

5.16.5 Каждая стопа листов должна быть завернута в два слоя промасленной бумаги (5.3) и один слой двухслойной водонепроницаемой упаковочной или упаковочной битумированной бумаги или один слой парафинированной бумаги и один слой двухслойной водонепроницаемой упаковочной или упаковочной битумированной бумаги.

5.16.6 Завернутые стопы листов укладывают в дощатые ящики (плотные, решетчатые и комбинированные), разборную многооборотную тару, пакетирующие кассеты или на поддоны (5.5) и дополнительно сверху и с боков накрывают лентой из алюминия всех марок или алюминиевого сплава марки АКМ (5.3).

Стопы листов на поддонах должны быть связаны стальной лентой толщиной 1,2-1,5 мм и шириной 30 мм вдоль не менее чем в двух местах при длине листа до 2 м включительно и поперек в трех - пяти местах при длине листа более 2 м.

5.16.7 Масса грузового места при упаковывании в ящики должна быть не более 800 кг, в разборную многооборотную тару - не более 10000 кг, в пакетирующие кассеты - не более 7000 кг, а на поддонах - не более 2000 кг.

По согласованию с потребителем масса грузового места при упаковывании в ящики может быть увеличена.

5.17 Упаковывание кругов (дисков)

5.17.1 Круги (диски) одного размера, одной марки и одного состояния материала укладывают в стопы высотой не более 0,5 м.

5.17.2 Каждая стопа кругов (дисков) должна быть завернута в два-три слоя промасленной или непромасленной бумаги (5.3) и один-два слоя двухслойной водонепроницаемой или упаковочной битумированной бумаги.

Допускается стопу кругов (дисков) или несколько стоп упаковывать в полиэтиленовую пленку и пропускать через сушильную печь, где пленка плотно облегает стопу кругов или всю упаковку.

5.17.3 Завернутые стопы кругов (дисков) укладывают в дощатые ящики (плотные или фанерные) или контейнеры (5.5) и разделяют двумя-тремя слоями двухслойной водонепроницаемой упаковочной или упаковочной битумированной бумаги и уплотняют деревянными распорками, которые устанавливают между стенками, крышкой ящика и стопами кругов (дисков).

5.17.4 Масса грузового места при упаковывании в ящики должна быть не более 500 кг.

5.18 Упаковывание катаных полос

5.18.1 Катаные полосы одного размера, одной марки и одного состояния материала укладывают в стопы высотой не более 0,5 м.

5.18.2 Стопы полос укладывают в дощатые решетчатые ящики типов I, II по ГОСТ 10198 или контейнеры (5.5), предварительно выложенные внутри одним слоем двухслойной водонепроницаемой бумаги и одним слоем оберточной бумаги.

При упаковывании полос в универсальный контейнер пол его должен быть выстлан одним слоем двухслойной водонепроницаемой упаковочной бумаги. Этой же бумагой накрывают стопы полос.

5.18.3 Масса грузового места при упаковывании в ящики или универсальные контейнеры должна быть не более 3000 кг.

5.19 Упаковывание заготовок листовых прокатно-сварных для теплообменников

5.19.1 Каждая заготовка должна быть завернута в один слой прокладочно-упаковочной бумаги для резиновой обуви или телефонной, или для билетов.

5.19.2 Завернутые заготовки собирают в пакеты по 10 шт. и перевязывают шпагатом или шнуром (5.9).

5.19.3 Пакеты заготовок укладывают в дощатые решетчатые ящики, специальную металлическую многооборотную тару или специализированные контейнеры (5.5).

Дощатые решетчатые ящики перед укладкой заготовок должны быть предварительно выстланы внутри (кроме торцевых стенок) одним слоем упаковочной битумированной бумаги.

5.19.4 Масса грузового места при упаковывании в ящики должна быть не более 50 кг, в специальную металлическую многооборотную тару - не более 3000 кг.

5.20 Упаковывание плит

5.20.1 Каждая плита (по согласованию сторон) должна быть переложена двумя слоями промасленной бумаги.

5.20.2 Плиты укладывают в стопы высотой не более 0,5 м.

5.20.3 Каждую стопу плит укладывают в разборную многооборотную тару (5.5) или непосредственно в транспортное средство с перекладкой деревянными прокладками.

5.20.4 Масса грузового места при упаковывании в разборную многооборотную тару должна быть не более 10000 кг.

5.21 Упаковывание прутков

5.21.1 Прутки одного номинального диаметра, одной марки и одного состояния материала связывают в пучки.

Каждый пучок прутков диаметром до 30 мм включительно связывают любым материалом (5.9) не менее чем в двух равномерно удаленных друг от друга местах при длине прутка до 3 м включительно или в трех-пяти местах при длине прутка более 3 м.

5.21.2 Каждый пучок прутков должен быть завернут в два слоя промасленной или непромасленной бумаги (5.3) и один слой двухслойной водонепроницаемой упаковочной или упаковочной битумированной бумаги или один слой парафинированной бумаги и один слой двухслойной водонепроницаемой упаковочной или упаковочной битумированной бумаги.

5.21.3 Завернутые пучки прутков укладывают в дощатые ящики (плотные или решетчатые), многооборотную разборную тару, обрешетку или универсальные контейнеры (5.5).

Связанные пучки прутков или отдельные прутки можно укладывать в ящики, обрешетку, контейнеры или разборную многооборотную тару, предварительно выложенные той же бумагой и в том же количестве, что и по 5.21.2.

5.21.4 Масса грузового места при упаковывании в ящики должна быть не более 500 кг, в разборную многооборотную тару - не более 5000 кг, в обрешетку - не более 2000 кг, в мягкой таре - не более 200 кг.

5.21.5 Прутки диаметром до 30 мм допускается упаковывать в мягкую тару, обертывая связанные пучки (один или несколько) двумя слоями промасленной или непромасленной бумаги (5.3) и одним слоем двухслойной водонепроницаемой упаковочной бумаги или двумя слоями упаковочной битумированной бумаги.

Упаковочное место должно быть связано стальной проволокой или лентой, лентой из алюминия всех марок или алюминиевого сплава марки АКМ или проволокой из алюминия всех марок, или круглым прутком из алюминия всех марок (5.9) не менее чем в трех равномерно удаленных друг от друга местах.

5.21.6 При отправке одному потребителю прутков в мягкой таре допускается упаковочные места массой не более 200 кг связывать в одно грузовое место массой не более 1000 кг.

Грузовое место должно быть связано не менее чем в двух местах при длине прутков до 3 м включительно или в трех-пяти местах при длине прутков более 3 м лентой или стальной проволокой, или лентой из алюминия всех марок или алюминиевого сплава марки АКМ, или проволокой из алюминия всех марок, или круглым прутком из алюминия всех марок (5.9).

Прутки диаметром до 30 мм при отправке потребителю в прямом транспорте без перевалки в пути допускается упаковывать в мягкую тару с массой грузового места не более 2000 кг.

Примечание - При отправке прутков потребителю в крытых вагонах или полувагонах с универсальной металлической кровлей без перевалки в пути масса грузового места может быть увеличена до 2000 кг. Грузовое место должно быть связано в трех-пяти местах проволокой стальной (5.9).

5.21.7 Прутки диаметром более 30 мм связывают в пучки в трех-пяти местах лентой или стальной проволокой, или лентой из алюминия всех марок или алюминиевого сплава марки АКМ, или проволокой, или круглым прутком из алюминия (5.9).

5.21.8 Масса грузового места должна быть не более 3500 кг.

5.21.9 Прутки, намотанные в бухты, должны быть связаны шпагатом или шнуром, или проволокой из алюминия всех марок не менее чем в трех равномерно удаленных друг от друга местах (5.9).

Связанные бухты прутков могут быть уложены в стопы и перевязаны проволокой или круглым прутком из алюминия всех марок (5.9).

5.21.10 Каждая связанная стопа бухт должна быть уложена в разборную многооборотную тару, предварительно выложенную бумагой.

5.21.11 Масса одной бухты в стопе должна быть не более 50 кг.

Масса стопы должна быть не более 350 кг.

Масса грузового места в разборной многооборотной таре должна быть не более 3000 кг.

5.21.12 Допускается прутки в бухтах упаковывать по 5.26.

5.22 Упаковывание профилей

5.22.1 Профили одного типоразмера, одного номера и шифра, одной марки, одного состояния материала, одного вида прочности и одного назначения укладывают в пучки.

Профили диаметром описанной окружности до 350 мм связывают в пучки любым материалом (5.9) не менее чем в двух местах при длине профиля до 3 м включительно или в трех - пяти местах при длине профиля более 3 м.

5.22.2 Каждый связанный пучок профилей должен быть завернут в два слоя промасленной или непромасленной бумаги (5.3) и один слой двухслойной водонепроницаемой упаковочной или упаковочной битумированной бумаги или один слой парафинированной бумаги и один слой двухслойной водонепроницаемой упаковочной или упаковочной битумированной бумаги.

5.22.3 Завернутые пучки профилей укладывают в дощатые ящики (плотные или решетчатые), разборную многооборотную тару, обрешетку или универсальные контейнеры (5.5).

Связанные пучки профилей или отдельные профили можно укладывать в ящики, разборную многооборотную тару, обрешетку или контейнеры, предварительно выложенные той же бумагой и в том же количестве, что в 5.22.2.

Примечание - При отправке профилей одному потребителю допускается грузовое место в разборной многооборотной таре формировать из нескольких пучков профилей разных размеров или шифров; при этом каждый пучок должен состоять из профилей одного типоразмера, одного номера или шифра.

5.22.4 Масса грузового места при упаковывании в ящики должна быть не более 500 кг, в разборную многооборотную тару - не более 5000 кг, в обрешетку - не более 2000 кг.

5.22.5 Профили толщиной полки более 2 мм допускается упаковывать в мягкую тару, завертывая связанные пучки (один или несколько) двумя слоями промасленной или непромасленной бумаги и одним слоем двухслойной водонепроницаемой упаковочной бумаги или двумя слоями упаковочной битумированной бумаги (5.3).

Упаковочное место должно быть связано лентой или стальной проволокой или лентой из алюминия всех марок или алюминиевого сплава марки АКМ, или проволокой из алюминия всех марок, или прутком из алюминия всех марок (5.9) не менее чем в трех местах.

5.22.6 Масса упаковочного места в мягкой таре должна быть не более 200 кг.

5.22.7 При отправке профилей одному потребителю в мягкой таре допускается упаковочные места массой не более 200 кг связывать в одно грузовое место массой не более 800 кг.

Грузовое место должно быть связано не менее чем в двух местах при длине профилей до 3 м включительно или в трех - пяти местах при длине профилей более 3 м лентой или стальной проволокой, или лентой из алюминия всех марок или алюминиевого сплава марки АКМ, или проволокой из алюминия всех марок, или круглым прутком из алюминия всех марок (5.9).

5.22.8 Профили толщиной полки более 5 мм при отправке потребителю прямо без перевалки в пути допускается упаковывать в мягкую тару массой грузового места не более 1500 кг.

Примечание - При отправке профилей в крытых вагонах или полувагонах с универсальной металлической кровлей без перевалки в пути масса грузового места может быть увеличена до 2000 кг.

5.22.9 Профили толщиной полки более 4 мм с номинальным габаритным размером более 100 мм, а также крупногабаритные профили диаметром описанной окружности более 350 мм и профили электротехнического назначения связывают лентой или стальной проволокой, или лентой из алюминия всех марок или алюминиевого сплава марки АКМ, или проволокой из алюминия всех марок, или круглым прутком из алюминия всех марок (5.9) не менее чем в двух местах при длине профилей до 3 м включительно или в трех-пяти местах при длине профиля более 3 м.

Масса грузового места связанных профилей должна быть не более 3500 кг.

5.22.10 Крупногабаритные профили массой до 800 кг не связывают в пучки, а непосредственно укладывают на подкладки рядами в полувагоны с наведенной временной кровлей*.

5.22.11 Гнутые профили связывают в пучки массой 30-40 кг Шпагатом или шнуром (5.9). Пучки собирают в пачки и перевязывают лентой или проволокой из алюминия всех марок (5.9) не менее чем в двух местах при длине профиля до 3 м включительно или в трех местах при длине профиля более 3 м.

Связанные пучки должны быть завернуты в два слоя промасленной или непромасленной бумаги и один слой двухслойной водонепроницаемой упаковочной или упаковочной битумированной бумаги или один слой парафинированной бумаги и один слой двухслойной водонепроницаемой упаковочной или упаковочной битумированной бумаги (5.3).

Завернутые пачки гнутых профилей укладывают в дощатые ящики (плотные или решетчатые) или в разборную многооборотную тару (5.5).

Масса грузового места собранных в пачку пучков должна быть не более 1500 кг.

5.23 Упаковывание панелей

5.23.1 Каждая панель должна быть завернута в конверт, состоящий из двух слоев промасленной бумаги и одного слоя двухслойной водонепроницаемой упаковочной или упаковочной битумированной бумаги (5.3).

В зависимости от массы панелей допускается в один конверт заворачивать несколько панелей одного размера.

5.23.2 Завернутые в конверт панели укладывают стопами в дощатые ящики (плотные и решетчатые), разборную многооборотную тару, универсальные или специализированные контейнеры (5.5) или стягивают в пакеты стальной лентой (5.9).

Между панелями прокладывают один слой промасленной бумаги (5.3) и любые неметаллические или специальные резиновые прокладки, надеваемые на ребра. Расстояние между прокладками должно быть не более 3 м; расстояние от крайних прокладок до концов панелей должно быть не более 0,5 м.

Верхнюю панель накрывают одним слоем промасленной бумаги и одним слоем двухслойной водонепроницаемой упаковочной или упаковочной битумированной бумаги (5.3).

Допускается применять один слой алюминиевой фольги взамен наружного слоя бумаги.

5.23.3 Масса грузового места при упаковывании в ящики должна быть не более 500 кг, в разборную многооборотную тару - не более 10000 кг.

5.24 Упаковывание шин и прессованных лент

5.24.1 Шины и прессованные ленты одного размера, одной марки и одного состояния материала укладывают в пучки или наматывают в бухты.

5.24.2 Каждый пучок шин и прессованных лент связывают лентой из алюминия всех марок или алюминиевого сплава марки АКМ или проволокой из алюминия всех марок, или круглым прутком из алюминия всех марок (5.9) не менее чем в двух местах при длине шины и ленты до 3 м включительно или в трех-пяти местах при длине более 3 м.

5.24.3 Масса грузового места связанных шин и лент должна быть не более 4000 кг.

5.24.4 Каждую бухту шин или прессованной ленты связывают не менее чем в трех равномерно удаленных друг от друга местах лентой из алюминия всех марок или алюминиевого сплава марки АКМ, проволокой или круглым прутком из алюминия всех марок (5.9).

Связанные бухты шин и лент укладывают в стопы, которые связывают проволокой или круглым прутком из алюминия всех марок или лентой из алюминия всех марок или алюминиевого сплава марки АКМ (5.9).

5.24.5 Масса одной бухты шин и лент должна быть не более 350 кг.

Масса стопы шин должна быть не более 1000 кг.

5.25 Упаковывание труб

5.25.1 Холоднодеформированные трубы одного типоразмера, одной марки и одного состояния материала укладывают в пучки и связывают шпагатом или проволокой из алюминия всех марок (5.9) не менее чем в двух местах при длине трубы до 3 м включительно или в трех-пяти местах при длине трубы более 3 м.

5.25.2 Каждый связанный пучок труб завертывают в два слоя промасленной или непромасленной бумаги и один слой двухслойной водонепроницаемой упаковочной или упаковочной битумированной бумаги или один слой парафинированной бумаги и один слой двухслойной водонепроницаемой упаковочной или упаковочной битумированной бумаги (5.3).

5.25.3 Завернутые пучки труб укладывают в дощатые ящики (плотные или решетчатые), разборную многооборотную тару, обрешетку или универсальные контейнеры (5.5).

Связанные пучки труб или отдельные трубы можно укладывать в ящики, разборную многооборотную тару, обрешетку или контейнеры, предварительно выложенные той же бумагой и в том же количестве, что по 5.25.2.

5.25.4 Масса грузового места при упаковывании в ящики должна быть не более 500 кг, в разборную многооборотную тару - не более 5000 кг, в обрешетку - не более 2000 кг.

5.25.5 Холоднодеформированные трубы допускается упаковывать в мягкую тару, завернув связанные пучки (один или несколько) двумя слоями промасленной или непромасленной бумаги и одним слоем двухслойной водонепроницаемой упаковочной бумаги или двумя слоями упаковочной битумированной бумаги (5.3).

Грузовое место должно быть связано лентой из алюминия всех марок или алюминиевого сплава марки АКМ или проволокой из алюминия всех марок, или круглым прутком из алюминия всех марок (5.9) не менее чем в трех местах.

Масса грузового места в мягкой таре должна быть не более 200 кг.

При отправке одному потребителю холоднодеформированных труб в мягкой таре допускается формировать грузовое место массой не более 800 кг.

Грузовое место должно быть связано не менее чем в двух местах при длине труб до 3 м включительно или в трех-пяти местах при длине более 3 м лентой или стальной проволокой или лентой из алюминия всех марок или алюминиевого сплава марки АКМ, или проволокой, или круглым прутком из алюминия всех марок (5.9).

5.25.6 Прессованные трубы (кроме крупногабаритных), том числе электротехнического назначения, и сварные трубы связывают лентой или сальной проволокой, или лентой из алюминия всех марок или алюминиевого сплава марки АКМ, или проволокой из алюминия всех марок, или круглым прутком из алюминия всех марок (5.9) не менее чем в двух местах при длине трубы до 3 м включительно или в трех-пяти местах при длине трубы более 3 м.

Масса грузового места связанных прессованных тонкостенных труб должна быть не более 1500 кг, а прессованных толстостенных и сварных труб - не более 3000 кг.

Прессованные и сварные трубы могут упаковываться в соответствии с 5.25.1-5.25.3.

5.25.7 Трубы, намотанные в бухты, должны быть связаны шпагатом или шнуром, или проволокой из алюминия всех марок (5.9) не менее чем в трех равномерно удаленных друг от друга местах.

Каждая связанная бухта должна быть уложена в разборную многооборотную тару массой грузового места не более 3000 кг.

5.25.8 Прессованные крупногабаритные трубы наружным диаметром более 290 мм поставляют без упаковки и формирования в пучки.

5.26 Упаковывание проволоки

5.26.1 Проволоку одного размера, одной марки и одного состояния материала наматывают в бухты и связывают не менее чем в трех равномерно удаленных друг от друга местах шпагатом, шнуром или проволокой из алюминия всех марок (5.9).

5.26.2 Каждая связанная бухта проволоки должна быть завернута в два слоя промасленной или непромасленной бумаги и упаковочную ткань, упаковочную битумированную бумагу, синтетические или нетканые материалы или полиэтиленовую пленку толщиной 0,10-0,20 мм (5.3).

5.26.3 Завернутые бухты должны быть перевязаны шпагатом или шнуром, или проволокой из алюминия всех марок (5.9) не менее чем в трех равномерно удаленных друг от друга местах.

Концы проволоки соединяют скруткой не менее пяти витков. Допускается связанные бухты проволоки укладывать в контейнеры.

5.26.4 Масса грузового места бухты проволоки должна быть не более 50 кг.

5.27 Упаковывание поковок

5.27.1 Штампованные поковки массой не более 2,5 кг, штампованные поковки с необрабатываемой потребителем поверхностью, а также поковки и штампованные поковки, поставляемые после обработки резанием (обдирки) одного размера, одной марки и одного состояния материала укладывают в пачки.

5.27.2 Каждая пачка поковок должна быть завернута в два слоя промасленной бумаги и один слой двухслойной водонепроницаемой упаковочной или упаковочной битумированной бумаги или один слой парафинированной бумаги и один слой двухслойной водонепроницаемой упаковочной или упаковочной битумированной бумаги (5.3).

5.27.3 Завернутые пачки поковок укладывают в разборную многооборотную металлическую тару или контейнеры (5.5).

Примечание - При укладке пачек в контейнеры допускается не заворачивать их в бумагу.

5.27.4 Допускается укладка поковок в дощатые решетчатые ящики, предварительно выложенные внутри двухслойной водонепроницаемой упаковочной или упаковочной битумированной бумагой.

Бумагу укладывают в два слоя внахлестку, при этом один слой располагают вдоль ящика, второй - поперек.

5.27.5 Масса грузового места при упаковывании в ящики должна быть не более 500 кг, в разборную многооборотную металлическую тару - не более 3000 кг.

5.27.6 Штампованные поковки массой более 2,5 кг, штампованные поковки и поковки, подвергаемые потребителем механической обработке со всех сторон, одного размера, одной марки и одного состояния материала укладывают без упаковывания в бумагу в разборную многооборотную металлическую тару или контейнеры (5.9) или непосредственно в вагоны.

5.28 Полуфабрикаты, упакованные в тару или без тары, а также полуфабрикаты без упаковки могут быть сформированы в транспортные пакеты.

5.29 Укрупнение грузовых мест с учетом их массы, габаритных размеров проводят в соответствии с ГОСТ 24597 и Правилами перевозок грузов, действующих на транспорте соответствующего вида.

5.30 Для пакетирования полуфабрикатов применяют:

многооборотные средства - плоские универсальные поддоны по ГОСТ 9078, ящичные и стоечные поддоны по ГОСТ 9570, поддоны по НТД, подкладки по ГОСТ 22322 и кассеты по НТД;

одноразовые средства - плоские упрощенные поддоны (фанерные и другие облегченные), ленточные обвязки и проволочные.

5.31 Средства крепления пакетов должны соответствовать требованиям ГОСТ 21650.

Крепление пакетов проводится стальной лентой сечением 1,2-1,8х30 мм по ГОСТ 3560 или мягкой стальной проволокой диаметром не менее 5 мм по ГОСТ 3282.

Скрепление концов: скрутка проволоки - не менее 5 витков, ленты - в замок.

5.32 Способы и средства пакетирования, масса и габаритные размеры пакетов должны устанавливаться в НТД на полуфабрикаты конкретного вида.

5.33 По согласованию с потребителем полуфабрикаты могут транспортироваться без упаковки.

5.34 Дополнительные требования к упаковке устанавливают в НТД на полуфабрикаты конкретного вида.

5.35 Правила маркировки грузов - по ГОСТ 14192.

6 ТРАНСПОРТИРОВАНИЕ

6.1 Полуфабрикаты транспортируют всеми видами транспортных средств (крытых и открытых) в соответствии с Правилами перевозки грузов, действующими на транспорте данного вида:

автомобильным транспортом (бортовые автомашины, прицепы, полуприцепы), укрытые брезентом.

Запрещается перевозка полуфабрикатов в ящиках, если их габариты больше длины кузова автомашины;

железнодорожным транспортом (крытый и открытый подвижной состав);

водным транспортом (в трюмах морских и речных судов),

6.2 Масса грузового места при транспортировании в крытых вагонах должна быть не более 1250 кг, длина - не более 3 м.

6.3 При транспортировании полуфабрикатов в полувагонах целевого назначения должна быть наведена временная или универсальная кровля по НТД.

Допускается транспортирование полуфабрикатов, упакованных в тару, без наведения временной кровли, кроме лент в рулонах и листов, закрытых лентой или алюминиевой фольгой.

6.4 Погрузка, размещение и крепление грузовых мест с полуфабрикатами, а также неупакованных полуфабрикатов в железнодорожном транспорте должны соответствовать техническим условиям погрузки и крепления грузов, действующим на данном транспортном средстве.

7 ХРАНЕНИЕ

7.1 Условия хранения полуфабрикатов в части воздействия климатических факторов - по ГОСТ 15150.

7.2 Требования к хранилищам

7.2.1 Хранилище должно быть отапливаемое и иметь вспомогательное (также отапливаемое) помещение.

7.2.2 Полы в хранилище должны быть деревянными, асфальтированными, ксилолитовыми или плиточными.

Земляные полы не допускаются.

Примечание - При уборке полов необходимо пользоваться мокрыми опилками или пылесосом. Подметать сухой пол, а также поливать или обрызгивать водой категорически запрещается.

7.2.3 Степы, кровля, полы, двери и окна должны быть исправными. Особое внимание должно быть обращено на своевременную заделку трещин, щелей и выбоин.

Двери и окна должны быть плотно закрывающимися.

Оконные проемы должны быть оборудованы жалюзями или занавесками во избежание попадания солнечных лучей на хранящиеся полуфабрикаты.

7.2.4 Освещение в хранилищах допускается только электрическое. Электропроводка должна соответствовать требованиям Правил устройств электроустановок.

7.2.5 Хранилища должны иметь противопожарное оборудование согласно нормам пожарного надзора.

7.2.6 В хранилищах должен быть набор весовых и измерительных приборов.

7.2.7 Стеллажи и стойки для хранения полуфабрикатов должны изготовляться из металла или дерева, имеющего влажность не более 18 %.

Не допускается обивка стеллажа текстилем или другими гигроскопичными материалами.

Полки деревянных и металлических стеллажей должны быть окрашены масляной краской или глифталевой эмалью и постоянно содержаться в чистоте.

Стеллажи не должны примыкать к стенам хранилища. По всему периметру хранилища между стеллажами и стенами должен быть проход шириной от 0,4 до 0,5 м. В середине хранилища должен быть главный проход шириной не менее 2,5 м.

Располагать нижние полки стеллажей непосредственно на полу не допускается.

7.2.8 Хранилища должны хорошо проветриваться, быть надежно защищены от проникания атмосферных осадков, вредных веществ, коррозионно-активных агентов, способствующих образованию и развитию коррозии (ионы хлора, пары аммиака), дыма, пыли.

Хранилища должны быть отделены от наружного двора тамбуром.

7.2.9 Температура воздуха в хранилище должна быть от 5 °С до 35 °С. Суточный перепад температуры должен быть не более 5 °С.

Относительная влажность воздуха должна быть не более 75 %.

Допускается кратковременно повышать относительную влажность воздуха до 80 % (суммарно не более 1 мес. в год).

7.2.10 Хранилища должны проветриваться при относительной влажности воздуха в них более 75 % с учетом следующих условий:

отсутствие атмосферных осадков;

относительная влажность наружного воздуха ниже относительной влажности в хранилище;

скорость ветра не более 5 м/с.

Проветривание должно быть прекращено, если относительная влажность воздуха в хранилище будет близка к относительной влажности наружного воздуха и не будет меняться в течение 1 ч после проветривания.

7.2.11 Контроль температуры и влажности воздуха в хранилище должен проводиться ежедневно в начале и конце рабочего дня с регистрацией данных в журнале.

Для непрерывной регистрации температуры и влажности воздуха в хранилище могут быть установлены самопишущие приборы - термографы и гигрографы.

7.3 Подготовка полуфабрикатов к хранению

7.3.1 Полуфабрикаты должны разгружаться на разгрузочной асфальтированной или деревянной площадке с навесом.

При разгрузке надо избегать повреждения тары. Ящики должны быть уложены на сухие деревянные подставки, доски или металлические бруски аккуратными штабелями повагонными партиями.

7.3.2 Разгруженные полуфабрикаты в течение 24 ч должны быть внесены во вспомогательное помещение хранилища и выдержаны там до тех пор, пока не примут температуру вспомогательного помещения.

Влажность воздуха во вспомогательном помещении должна быть одинаковой с основным помещением хранилища.

При температуре воздуха на улице ниже 0 °С полуфабрикаты должны быть выдержаны во вспомогательном помещении от 1 до 2 сут.

Примечание - Нахождение законсервированных полуфабрикатов на разгрузочной площадке допускается не более 10 сут, после чего они должны быть помещены во вспомогательное помещение.

7.3.3 Все поступающие на хранение полуфабрикаты подвергаются у потребителя входному контролю для определения:

состояния упаковки и консервации;

наличия маркировки, клейм и пломб;

наличия и правильности оформления сопроводительной документации.

7.3.4 Во вспомогательном помещении все полуфабрикаты должны быть распакованы, расконсервированы, осмотрены, а при необходимости дальнейшего длительного хранения - законсервированы вновь.

Примечание - Осмотр полуфабрикатов, законсервированных маслами и смазками, допускается проводить без расконсервации или с частичной расконсервацией только места осмотра с обязательной последующей консервацией.

7.3.5 Осмотр полуфабрикатов проводят осторожно во избежание повреждения поверхности и средств консервации.

Перекладывать или перемещать полуфабрикаты с одного места на другое следует аккуратно, чтобы не допустить механических повреждений поверхности.

При перекладке листов каждый лист надо снимать с общей пачки (стопы), а не сдвигать его по соседнему листу.

7.3.6 Расконсервация и осмотр листов должны проводиться на столах, обитых бакелизированной фанерой, пластиком или линолеумом.

Осмотр других видов полуфабрикатов может проводиться на обычных столах или специальных стойках.

7.3.7 Освещенность рабочего места при контроле полуфабрикатов должна быть не менее 200 люкс. Свет должен быть рассеянным или отраженным.

7.3.8 Поверхность полуфабрикатов должна быть чистой, сухой, без коррозионных поражений, солевых осадков, пыли.

При наличии следов влаги или отпотевания, а также при наличии солевых осадков и пыли полуфабрикаты немедленно надо протереть чистыми концами или тряпками.

7.3.9 При работе с полуфабрикатами следует пользоваться матерчатыми перчатками, рукавицами, промасленной или парафинированной бумагой или соответствующими приспособлениями (щипцами, сетками и др.). Запрещается прикасаться к металлу голыми руками.

7.4 Требования к размещению полуфабрикатов при хранении

7.4.1 Полуфабрикаты в хранилищах необходимо размещать по номенклатуре (листы, плиты, ленты в рулонах, прутки, профили, трубы, поковки и т.д.), маркам, плавкам и размерам (толщине, диаметру).

Запрещается хранение полуфабрикатов навалом, без сортировки.

Примечание - Допускается размещать полуфабрикаты по маркам без разбивки по плавкам.

7.4.2 Полуфабрикаты укладывают на стеллажи, стойки или хранят в штабелях.

Запрещается хранить полуфабрикаты на полу.

7.4.3 Листы хранят на стеллажах на ребре или в горизонтальном положении (высота пачки не более 200 мм).

Не допускается укладка листов разных размеров вместе (во избежание царапин).

7.4.4 Прутки, профили и трубы хранят на стеллажах в вертикальном или горизонтальном положении.

7.4.5 Проволоку в бухтах хранят на стеллажах в вертикальном положении с наклоном в сторону рядом стоящей бухты.

7.4.6 Ленту в рулонах хранят на опорных подставках, положенных под выступающие концы сердечника.

7.4.7 Не допускается совместное хранение полуфабрикатов из алюминия и алюминиевых сплавов с материалами из черных металлов, неметаллическими материалами, а также материалами, пораженными коррозией.

Не допускается совместное хранение полуфабрикатов с химическими, легкогорючими и воспламеняющимися веществами.

7.5 Контроль полуфабрикатов при хранении

7.5.1 В процессе хранения проводится визуальный осмотр не реже одного раза в год 3-5 % от партии полуфабрикатов.

7.5.2 При обнаружении коррозионных повреждений полуфабрикаты данной партии, а также других партий, поступивших на хранение в те же сроки, подвергают 100 %-ному контролю. В случае обнаружения коррозионных полуфабрикатов, пораженных коррозией, заменяют всю закладку.

ПРИЛОЖЕНИЕ А

(рекомендуемое)

ПОДГОТОВКА ПОВЕРХНОСТИ ПОЛУФАБРИКАТОВ ПЕРЕД КОНСЕРВАЦИЕЙ

1 Очистка от всех видов жировых и механических загрязнений проводится водными растворами или органическими растворителями.

2 Состав водных растворов и режимы обезжиривания полуфабрикатов в зависимости от вида загрязнений приведены в таблице 1.

3 Обезжиривание полуфабрикатов проводят в стационарных ваннах, струйных установках или моечных машинах.

4 Интенсивность очистки полуфабрикатов в стационарных ваннах достигается перемешиванием раствора, механическим воздействием щеток и т.д.

5 Продолжительность обработки любым методом устанавливают в зависимости от степени загрязнения поверхности полуфабриката.

6 Полуфабрикаты после обезжиривания в водных растворах промывают горячей водой при температуре (60-80)±5 °С и сушат до полного высыхания на воздухе или в сушильных установках, или обдувают сжатым воздухом при температуре (75±5) °С.

Воздух, применяемый для сушки, должен быть очищен от пыли, масла и влаги.

7 При очистке органическими растворителями применяют:

керосин технический*;

бензин авиационный по ГОСТ 1012;

нефрас марок С2-80/120 и С3-80/120 по НТД и С50/170 по ГОСТ 8505;

уайт-спирит по ГОСТ 3134.

Для уменьшения пожароопасности в органические растворители допускается вводить антистатические присадки («Сигбол»* и др.).

8 Контроль качества обезжиривания проводят визуальным осмотром по смачиваемости поверхности водной пленкой: полное обезжиривание обеспечивает ровное покрытие всей поверхности водной пленкой без разрывов.

9 Контроль растворов проводят химическим анализом состава производственных ванн по НТД.

Растворы, содержащие органические препараты (сульфанол, вспомогательное вещество ОП-7 и ОП-10 по ГОСТ 8433), не контролируют.

При снижении обезжиривающей способности растворы заменяют.

Таблица 1

Характер загрязнения

Номер раствора

Концентрация компонент, г/дм3

Режим обработки

Натр едкий по ГОСТ 2263

Сода кальцинированная по ГОСТ 5100

Стекло натриевое жидкое по ГОСТ 13078

Тинатрийфосфат по ГОСТ 201

Вспомогательное вещество ОП-7, ОП-10 по ГОСТ 8433

Сульфанол по НТД

Препарат типа МЛ по НТД

Моноэтанол амин по НТД

Температура, К ГС)

Продолжительность, мин

Жировые (технологические и консервационные масла и смазки)

1

-

-

-

-

-

-

10-30

-

323-343 (50-70)

5-8

21,2)

-

-

25-30

20-70

-

-

-

-

333-343 (60-70)

10-15

3

-

-

-

-

-

5-15

-

-

323-333 (50-60)

-

4

-

-

-

-

5-6

-

-

1-2

323-333 (50-60)

1-10

Полировальные пасты

51)

-

26-30

2-5

20-50

-

-

-

-

333-343 (60-70)

3-5

6

3-5

-

20-30

30-50

-

-

-

-

333-343 (60-70)

2-3

Примечания:

1 Для улучшения обезжиривающей способности растворов 2 и 5 допускается добавлять 2-6 г/дм3 вспомогательного вещества марок ОП-7 или ОП-10 по ГОСТ 8433.

2 В растворе 2 концентрацию тринатрийфосфата 20-50 г/дм3 следует применять при незначительных загрязнениях; 50-70 г/дм3 - при значительных.

3 Допускается применять другие аналогичные водные растворы, обеспечивающие чистоту поверхности.

ПРИЛОЖЕНИЕ Б

(обязательное)

ТЕХНОЛОГИЯ КОНСЕРВАЦИИ

1 Консервация консервационными маслами

1.1 Консервационые масла наносят на поверхность полуфабрикатов (в зависимости от габаритов и массы) погружением, распылением или кистью.

1.2 Масла наносят нагретыми до температуры 313-353 К (40-80 °С) или 368 К (95 °С).

1.3 При нанесении масел погружением избытку масла дают стечь.

1.4 Масло в ванне необходимо контролировать один раз в неделю по следующим показателям:

массовой доли воды по ГОСТ 2477;

механическим примесям по ГОСТ 6370;

кислотности по ГОСТ 11362;

концентрации свободной щелочи по ГОСТ 6707.

1.5 При нанесении распылением сжатый воздух должен соответствовать ГОСТ 9.010.

1.6 Слой масла после нанесения должен быть сплошным, без воздушных пузырей и инородных включений.

Дефекты устраняются повторным нанесением масла.

2 Консервация летучими ингибиторами

2.1 Летучие ингибиторы применяются на носителях (бумагах) или в виде сухого порошка с обязательным последующим упаковыванием в полиэтиленовую пленку по ГОСТ 10354 толщиной 0,15-0,20 мм.

2.2 Количество внесенного ингибитора в объем упаковочного пространства зависит от площади защищаемой поверхности и должно быть:

от 50 до 100 г/м3 при использовании противокоррозионной бумаги марок МБГИ-3-40 и МБГИ-8-40 по ГОСТ 16295;

от 10 до 50 г/см3 при использовании линасиля ИФХАН-1 или ИФХАН-1Н.

2.3 Консервацию ингибированной бумагой проводят одним из следующих способов:

обертыванием полуфабрикатов (по одному или несколько штук) с последующим упаковыванием в чехол из полиэтиленовой пленки;

укладкой полуфабрикатов во влагонепроницаемую тару, выложенную ингибированной бумагой;

размещением листов и жгутов ингибированной бумаги между полуфабрикатами с последующим упаковыванием (укрытием) в тару, выложенную влагонепроницаемым материалом;

помещением ингибированной бумаги внутри труб с последующим закрытием отверстий пробками или заглушками.

Расстояние от ингибированной бумаги до защищаемой поверхности должно быть не более 0,1 м.

2.4 Консервацию линасилем ИФХАН-1Н проводят размещением его в упаковочном пространстве чехла или тары с помощью перфорированных патронов из оргстекла или мешочков (марлевых, бязевых и т.п.).

Линасиль можно размещать на расстоянии не более 100 см от поверхности полуфабриката.

2.4.1 При консервации листов необходимо обеспечить доступ паров ингибитора к каждому листу.

При консервации внутренних поверхностей труб необходимо провести герметизацию отверстий.

2.5 Технологию консервации летучими ингибиторами в зависимости от мест размещения при хранении устанавливают в НТД на полуфабрикат конкретного вида.

ПРИЛОЖЕНИЕ В

(обязательное)

Таблица 1

СПОСОБЫ РАСКОНСЕРВАЦИИ

Средство временной противокоррозионной защиты

Способ расконсервации

1 Масло консервационное К-17 по ГОСТ 10877

2 Масло консервационное НГ-203 (Б, В)*

3 Масло индустриальное марки И-12А или И-20А по ГОСТ 20799 при концентрации 90-95 %; присадка АКОР-1 по ГОСТ 15171 при концентрации 5-10 %

4 Масло индустриальное марки И-12А или И-20А по ГОСТ 20799 при концентрации 80-85 %; присадка АКОР-1 по ГОСТ 15171 при концентрации 5-10 %; вазелин технический* при концентрации 5-10 %

5 Масло индустриальное марки И-12А или И-20А по ГОСТ 20799 при концентрации 70%; вазелин технический* при концентрации 30%

6 Масло индустриальное марки И-12А или И-20А по ГОСТ 20799 при концентрации 50 %; вазелин технический* при концентрации 50 %

7 Смазка пушечная ПВК по ГОСТ 19537

Протирка ветошью, смоченной растворителем по ГОСТ 1012, ГОСТ 3134, ГОСТ 8505 с последующей обдувкой теплым воздухом или протирка насухо

Погружение в растворители с последующей сушкой или протиркой насухо

Обработка струей пара или промывка горячей водой или моющим раствором с пассиваторами с последующей сушкой

Обработка водными растворами на основе препаратов МЛ*, КМ*

8 Силикагель технический по ГОСТ 3956

Разгерметизация тары, удаление тары и мешочков с силикагелем

9 Линасиль ИФХАН-1Н*

10 Бумага противокоррозионная марок МБГИ-3-40, МБГИ-8-40 по ГОСТ 16295

Разгерметизация и удаление тары, удаление бумаги и мешочков с ингибиторами, продувка теплым воздухом

11 Бумага липкая*

Удаление бумаги и промывка бензином

Примечание - При хранении полуфабрикатов в упаковке расконсервация включает и удаление упаковочных средств.

ПРИЛОЖЕНИЕ Г

(обязательное)

ЯЩИКИ ДЛЯ УПАКОВЫВАНИЯ ПОЛУФАБРИКАТОВ

1 В зависимости от конструкции и предельной массы полуфабрикатов ящики изготовляют четырех типов:

тип I - дощатые решетчатые с четырьмя брусьями, собранными в рамку, с наружными продольными досками и наружными поперечными поясами из досок, скрепленных металлическими скобами (рисунок 1);

тип II - дощатые комбинированные с четырьмя брусьями, собранными, в рамку, с наружными продольными досками, наружными поперечными поясами из досок, скрепленных металлическими скобами, дном и крышкой, обшитыми фанерой (рисунок 2);

тип III - дощатые решетчатые с плотными торцевыми стенками, с наружными поперечными поясами из планок, скрепленных металлической лентой (рисунок 3);

тип IV - дощатые комбинированные с плотными торцевыми стенками, наружными поперечными поясами из планок, скрепленных металлической лентой, с дном, боками и крышкой, обшитыми фанерой (рисунок 4).

Ящики типов I и II применяют для упаковывания листов, типов III и IV - для упаковывания профилей, прутков и труб.

2 Размеры ящиков установлены:

для типа I - в таблице 1;

для типа II - в таблице 2;

для типов III и IV - в таблице 3, а их предельные отклонения - в таблице 4.

В ящиках типов III и IV применяют планки (рисунки 3, 4, позиции 1, 3, 4, 5) размером 25´50 мм. Допускается применять планки размером 32´40 мм.

На каждом конкретном ящике допускается применять планки только одного сечения.

3 Для изготовления ящиков должны применяться пиломатериалы хвойных пород 3-4-го сорта по ГОСТ 8486, ГОСТ 24454 и пиломатериалы лиственных пород 2-3-го сорта по ГОСТ 2695.

4 При отсутствии длинномерного материала при длине ящика более 3000 мм разрешается стыковка продольных брусков, досок и планок.

5 Для изготовления ящиков типов II и IV применяется фанера толщиной 3-4 мм   марок ФСФ и ФК сортов  или .

Допускается применять древесноволокнистые плиты толщиной 3,2-4,0 мм марок Т-350 и Т-400 по ГОСТ 4598,.

6 Влажность древесины ящиков и их деталей не должна превышать (22 + 3) %.

7 Шероховатость поверхности деталей ящиков Rmmax должна быть не более 1260 мкм по ГОСТ 7016.

8 Обзол допускается на одной кромке деталей не более  ее толщины и ширины без ограничения длины.

При сборке ящиков и щитов кромка детали с обзолом не должна прилегать к фанере или древесноволокнистой плите.

9 Ящики сколачиваются гвоздями типов К4´100 по ГОСТ 4028, К2´40 и К3´70 по ГОСТ 4034, П-образными металлическими скобами, изготовляемыми по НТД, или комбинированным способом (гвоздями и скобами).

10 Крепление угловых соединений с применением брусьев высотой менее 60 мм проводят одним гвоздем. Допускается применять укомины на крайних поясах для ящиков типа III.

11 При сборке дна и крышки с торцевыми и боковыми стенками гвозди забивают: в ящиках типов I и II - по прямой линии, типов III и IV - в шахматном порядке, то есть один гвоздь в планку, другой - в доску.

При сборке продольных досок с продольным брусом в ящиках типов I и II расстояние между гвоздями должно быть не более 380 мм при длине ящика до 4000 мм и более 250 мм - при длине более 4000 мм.

При сборке ящиков П-образными скобами спинка скобы должна размешаться поперек волокон досок или под углом 30-45° к волокнам прибиваемой детали.

Гвозди или скобы должны располагаться от торца планок или досок на расстоянии не менее 15 мм, от продольных кромок - не менее 10 мм.

Дно и крышку крепят к боковым щитам между поперечными поясами гвоздями типа К3´70 по ГОСТ 4034 двумя для дна и одним для крышки.

12 При сборке ящиков с применением фанеры гвозди забивают в фанеру. Концы гвоздей должны быть загнуты и утоплены в древесину с наружной стороны ящика.

13 Головки гвоздей не должны выступать или быть утоплены более чем на высоту головки, проволочные скобы должны быть правильной формы, без петель, срезов и других дефектов.

14 Пояса и торцы ящиков должны быть скреплены стальной сплошной лентой или в виде скобы толщиной 0,4-0,8 мм и шириной 20 мм по ГОСТ 3560.

15 Пояса из стальной ленты устанавливают лентообвязочными станками, ручными механическими приспособлениями или ручным способом.

Лента при механической обтяжке должна быть плотно натянута на ящике так, чтобы на ребрах она врезалась в древесину.

При ручной сплошной обтяжке стальную ленту прибивают гвоздями по торцам ящика с соединением концов внахлестку.

16 Стыковка фанеры в ящиках типов II и IV должна проводиться под поперечными поясами встык или в любом месте внахлест с перекрытием листов фанеры не менее чем на 100 мм.

17 В ящиках типов III и IV при сборке торцевых стенок планки надо прибивать к доскам двумя гвоздями типа К3´70 по ГОСТ 4034 в каждое соединение.

18 Строповку тары проводят в соответствии с приложением Д.

19 Торцевую стенку ящиков типов III и IV допускается изготавливать из цельной доски толщиной 40 мм.

20 Ящики с внутренней стороной квадрата торцевой стенки, равной 300, 350, 400 и 450 мм, допускается изготавливать с четырьмя дополнительными продольными планками.

21 Ящики типов III и IV с торцевой стенкой 100´100, 150´150, 200´200 и 250´250 мм изготавливают на четырех продольных планках.


Таблица 1

РАЗМЕРЫ ЯЩИКОВ ТИПА I

Номер ящика

Размер листов, упаковываемых в ящики, мм

Высота бруса Н, мм

Внутренняя ширина ящика В, мм

Внутренняя длина ящика L, мм

Общая длина ящика L1, мм3)

Количество продольных досок, шт,

Количество поясов, шт,

Расстояние между поясами L2, мм

Количество поперечных досок, шт,

Масса, кг, для гвоздей типов

Количество скоб, шт, (стальная лента)

Масса ленты, кг

Объем древесины в чистоте, м3 2)

Удельная материалоемкость q, м3/дм3х10-4

Масса ящика, кг

Ширина

Длина

К4х100

К2х40

К3х70

1

600

1500

203

620

1540

1620

6

3

690

6

0,356

0,03

0,158

8

0,31

0,083

4,2

50

2

2000

155

2040

2120

3

940

6

0,356

0,03

8

0,28

0,094

4,7

57

3

2500

12

2540

2620

4

770

8

0,474

0,04

10

0,33

0,108

5,4

66

4

3000

110

3040

3120

4

930

8

0,474

0,04

10

0,31

0,122

5,8

74

5

800

1500

155

820

1540

1620

3

690

6

0,356

0,03

8

0,28

0,094

4,8

57

6

2000

105

2040

2120

3

940

6

0,356

0,03

8

0,24

0,106

6,0

64

7

2500

95

2540

2620

4

770

8

0,474

0,04

10

0,30

0,126

6,5

78

8

3000

85

3040

3120

4

930

8

0,474

0,04

10

0,29

0,147

6,9

89

9

900

1500

140

920

1540

1620

3

690

6

0,356

0,03

8

0,26

0,100

5,0

61

10

2000

100

2040

2120

3

940

6

0,356

0,03

8

0,25

0,118

5.7

71

11

2500

90

2540

2620

4

770

8

0,474

0,04

10

0,30

0,146

6,9

88

12

3000

75

3040

3120

4

930

8

0,474

0,04

10

0,29

0,160

7,6

96

13

1000

2000

140

1020

2040

2120

3

940

6

0,356

0,03

0,158

8

0,27

0,072

2,4

40

14

2500

110

254,

2620

4

770

8

0,474

0,04

0,158

10

0,33

0,080

2,8

47

15

3000

95

3040

3120

4

930

8

0,474

0,04

0,158

10

0,31

0,085

2,8

50

16

3500

80

3540

3620

5

800

10

0,593

0,05

0,253

12

0,36

0,094

3,2

56

17

4000

70

4040

4120

5

920

10

0,593

0,05

0,253

12

0,35

0,101

3,5

60

18

4500

70

4540

4620

6

820

12

0,712

0,06

0,332

14

0,41

0,112

3,4

72

19

5000

65

5040

5120

6

920

12

0,712

0,06

0,332

14

0,39

0,118

3,5

76

20

5500

60

5540

5520

7

820

14

0,830

0,07

0,380

16

0,43

0,129

3,8

82

21

6000

55

6040

6120

7

920

14

0,830

0,07

0,380

16

0,43

0,134

3,9

86

22

6500

50

6540

6620

6

8

850

16

0,950

0,08

0,426

18

0,49

0,144

4,3

92

23

7000

50

7040

7120

8

920

16

0,950

0,08

0,426

18

0,49

0,154

4,2

99

24

1200

2000

115

1220

2040

2120

3

940

6

0,356

0,03

0,158

8

0,25

0,072

2,5

42

25

2500

95

2540

220

4

770

8

0,474

0,04

0,158

10

0,31

0,082

2,7

48

26

3000

80

3040

3120

4

930

8

0,474

0,04

0,158

10

0,30

0,087

2,9

51

27

3500

65

3540

3620

5

800

10

0,593

0,05

0,253

12

0,34

0,097

3,4

59

28

4000

60

4040

4120

5

920

10

0,593

0,05

0,253

12

0,34

0,103

3,4

63

29

4500

50

4540

4620

6

820

12

0,712

0,06

0,332

14

0,39

0,116

4,1

74

30

5000

55

5040

5120

6

920

12

0,712

0,06

0,332

14

0,38

0,122

3,6

78

31

5500

50

5540

5620

7

820

14

0,830

0,07

0,380

16

0,38

0,132

3,9

85

32

6000

45

6040

6120

7

920

14

0,830

0,07

0,380

16

0,42

0,138

4,2

88

33

6500

45

6540

6620

8

850

16

0,960

0,08

0,426

18

0,47

0,150

4,2

96

34

7000

40

7040

7120

8

920

16

0,950

0,08

0,426

18

0,47

0,155

4,5

100

35

1400

2000

100

1420

2040

2120

3

940

6

0,356

0,03

0,158

8

0,23

0,074

2,6

44

36

2500

80

2540

2620

4

770

8

0,474

0,04

0,158

10

0,30

0,084

2,9

51

37

3000

65

3040

3120

4

930

8

0,474

0,04

0,158

10

0,28

0,088

2,9

54

38

3500

60

3540

3620

5

800

10

0,593

0,05

0,253

12

0,34

0,100

3,3

62

39

4000

50

4040

4120

5

920

10

0,593

0,05

0,253

12

0,34

0,105

3,7

65

40

4500

50

4540

4620

6

820

12

0,712

0,06

0,332

14

0,38

0,119

3,6

76

41

5000

45

5040

5120

6

920

12

0,712

0,06

0,332

14

0,36

0,125

3,9

80

42

5500

45

5540

5620

7

820

14

0,830

0,07

0,380

16

0,43

0,138

3,9

88

43

6000

40

6040

6120

7

920

14

0,830

0,07

0,380

16

0,42

0,143

4,2

92

44

6500

40

6540

6620

8

850

16

0,950

0,08

0,426

18

0,47

0,156

4,2

100

45

7000

35

7040

7120

8

920

16

0,950

0,08

0,426

18

0,47

0,161

4,6

103

46

1425

2000

100

1445

2040

2120

6

3

940

6

0,356

0,03

0,158

8

0,23

0,075

2,5

46

47

2500

80

2540

2620

4

770

8

0,474

0,04

0,168

10

0,32

0,085

2,9

53

48

3000

65

3040

3120

4

930

8

0,474

0,04

0,158

10

0,28

0,092

3,2

56

49

3500

60

3540

3320

5

800

10

0,593

0,05

0,253

12

0,35

0,105

3,4

64

50

4000

50

4040

4120

5

920

10

0,593

0,05

0,253

12

0,35

0,109

3,7

67

51

4500

50

4540

4620

6

820

12

0,712

0,06

0,332

14

0,38

0,125

3,8

78

52

5000

45

5040

5120

6

920

12

0,712

0,06

0,332

14

0,36

0,131

4,0

82

53

5500

45

5540

5620

7

820

14

0,830

0,07

0,360

16

0,43

0,143

4,0

90

54

6000

40

6040

6120

7

920

14

0,830

0,07

0,380

16

0,42

0,150

4,3

94

55

6500

40

6540

6620

8

850

16

0,950

0,08

0,426

18

0,47

0,162

4,3

102

56

7000

35

7040

7120

8

920

16

0,950

0,08

0,426

18

0,47

0,166

4,7

105

57

1500

2000

95

1520

2040

2120

8

3

940

6

0,356

0,03

0,158

10

0,30

0,072

2,4

45

58

2500

75

2540

2620

4

770

8

0,474

0,04

0,158

12

0,34

0/087

3,0

53

59

3000

65

3040

3120

4

930

8

0,474

0,04

0,158

12

0,32

0,102

3,2

62

60

3500

55

3540

3620

5

800

10

0,593

0,05

0,253

14

0,37

0,119

3,4

73

61

4000

45

4040

4120

5

920

10

0,593

0,05

0253

14

0,36

0,123

4,4

82

62

4500

50

4540

4620

6

820

12

0,712

0,06

0,332

16

0,43

0,141

4,0

90

63

5000

45

5040

5120

6

920

12

0,712

0,06

0,332

16

0,47

0,148

4,2

95

64

5500

45

5540

5620

7

820

14

0,830

0,07

0,380

18

0,46

0,163

4,8

105

65

6000

40

6040

6120

7

920

14

0,830

0,07

0,380

18

0,47

0,171

4,6

ПО

66

6500

40

6540

6620

8

830

16

0,950

0,08

0,426

20

0,52

0,181

5,2

116

67

7000

35

7040

7120

8

920

16

0,950

0,08

0,426

20

0,52

0,182

4,8

118

68

1600

2000

90

1620

2040

2120

8

3

940

6

0,356

0,03

0,158

10

0,30

0,085

2,8

50

69

2500

70

2540

2620

4

770

8

0,474

0,04

0,158

12

0,34

0,098

3,4

60

70

3000

60

3040

3120

4

930

8

0,474

0,04

0,158

12

0,32

0,104

3,3

64

71

3500

50

3540

3620

5

800

10

0,593

0,05

0,253

14

0,37

0,120

4,1

75

72

4000

45

4040

4120

5

920

10

0,593

0,05

0,253

14

0,36

0,126

4,2

78

73

4500

45

4540

4620

6

820

12

0,712

0,06

0,332

16

0,41

0,142

4,2

91

74

5000

40

5040

5120

6

920

12

0,712

0,06

0,332

16

0,47

0,149

4,5

96

75

5500

40

5540

5620

7

820

14

0,830

0,07

0,380

18

0,47

0,161

4,4

107

76

6000

35

6040

6120

7

920

14

0,830

0,07

0,380

18

0,52

0,172

5,0

110

77

6500

35

6540

6620

8

850

16

0,950

0,08

0,4,26

20

0,50

0,186

6,8

119

78

7000

30

7040

7120

8

920

16

0,950

0,08

0,426

20

0,50

0,191

5,5

122

79

1800

2000

80

1820

2040

2120

3

940

6

0,356

0,03

0,158

8

0,24

0,088

2,9

53

80

2500

60

2540

2620

4

770

8

0,474

0,04

0,158

10

0,27

0,10,1

3,6

62

81

3000

50

3040

3120

4

930

8

0,474

0,04

0,158

10

0,27

0,107

3,8

67

82

3500

45

3540

3620

5

800

10

0,593

0,05

0,253

12

0,31

0,125

4.3

78

83

4000

40

4040

4120

5

920

10

0,593

0,05

0,253

12

0,31

0,130

4,4

81

84

4500

40

4540

4620

,6

820

12

0,712

0,06

0,332

14

0,36

0,1,50

4,5

96

85

5000

40

5040

5120

6

920

12

0,712

0,06

0,332

14

0,36

0,156

4.2

97

86

5500

35

5540

5620

7

820

14

0,830

0,07

0,380

16

0,42

0,173

4,9

111

87

6000

35

6040

6120

7

820

14

0,830

0,07

0,380

16

0,42

0,176

4,5

113

88

6500

30

6540

6620

8

850

16

0,950

0,08

0,426

18

0,45

0,192

5,3

123

89

7000

30

7040

7120

8

920

16

0,950

0,08

0,426

18

0,45

0,199

5,1

127

90

2000

2000

70

2020

2040

2120

8

3

940

б

0,356

0,03

0,158

10

0,29

0,089

3,0

55

91

2500

55

2540

2620

4

770

8

0,474

0,04

0,158

12

0,34

0,105

3,7

65

92

3000

45

3040

3120

4

930

8

0,474

0,04

0,158

12

0,34

0,111

4,0

69

93

3500

40

3540

3620

5

800

10

0,593

0,05

0,253

14

0,36

0,129

4,5

80

94

4000

35

4040

4120

5

920

10

0,593

0,05,

0,253

14

0,36

0,133

4,6

85

95

4500

35

4540

4620

6

820

12

0,712

0,06

0,332

16

0,41

0,145

4,5

93

96

5000

35

5040

5120

6

920

12

0,830

0,06

0,380

16

0,41

0,161

4,5

103

97

5500

30

5540

5620

7

820

14

0,830

0,07

0,380

18

0,46

0,178

5,3

114

98

6000

30

6040

6120

7

920

14

0,830

0,07

0,380

18

0,46

0,185

5,0

118

99

6500

25

6540

6620

8

850

16

0,950

0,08

0,426

20

0,51

0,197

5,9

126

100

7000

25

7040

7120

8

920

16

0,950

0,08

0,426

20

0,51

0,204

5,7

131

101

2200

2000

80

2220

2040

2120

3

940

6

0,080

0,020

0,170

10

0,150

0,090

2,5

48

102

2500

65

2540

2620

4

770

8

0,024

0,220

12

0,170

0,104

2,8

55

103

3000

55

3040

3120

4

930

8

0,040

12

0,160

0,110

3,0

58

104

3500

50

3540

3620

5

800

10

0,028

0,260

14

0,182

0,127

3,2

67

105

4000

45

4040

4120

5

930

10

14

0,168

0,136

3,4

71

106

4500

40

4540

4620

6

830

12

0,032

0,310

16

0,192

0,150

3,8

79

107

5000

40

5040

5120

6

930

12

16

0,192

0,160

3,6

84

108

5500

35

5540

5620

7

810

14

0,036

0,360

18

0,216

0,173

4,1

91

109

6000

35

6040

6120

7

930

14

18

0,216

0,185

4,0

97

110

6500

30

6540

6620

8

850

16

0,040

0,410

20

0,220

0,201

4,7

106

111

7000

30

7040

7120

8

930

16

20

0,220

0,208

4,5

109

112

2400

2000

70

2420

2040

2120

10

3

940

6

0,080

0,024

0,190

12

0,168

0,097

2,8

51

113

2500

60

2540

2620

4

770

8

0,028

0,230

14

0,192

0,116

3,2

61

114

3000

50

3040

3120

4

930

8

0,040

14

0,183

0,124

3,4

65

115

3500

45

3540

3620

5

800

10

0,032

0,280

16

0,192

0,144

3,8

76

116

4000

40

4040

4120

5

930

10

16

0,200

0,153

4,0

80

117

4500

40

4540

4620

6

830

12

0,036

0,325

18

0,225

0,175

40

92

118

5000

35

5040

5120

6

930

12

18

0,219

0,183

4,3

96

119

5500

35

5540

5620

7

810

14

0,040

0,370

20

0,243

0,205

44

108

120

6000

30

6040

3120

7

930

14

20

0,237

0,212

4,9

111

121

6500

30

6540

6620

8

850

16

0,044

0,420

22

0,261

0,234

5,0

123

122

7000

30

7040

7120

8

930

16

22

0,261

0,243

4,8

127

123

2600

2000

65

2620

2040

2120

3

940

6

0,080

0,024

0,190

12

0,170

0,099

2,9

52

124

2500

55

2540

2620

4

770

8

0,040

0,028

0,230

14

0,187

0,118

3,2

62

125

3000

50

3040

3120

4

930

8

14

0,183

0,128

3,2

67

126

3500

45

3540

3620

5

800

10

0,032

0,280

16

0,192

0,148

3,6

78

127

4000

40

4040

4120

5

930

10

16

0,200

0,158

3,8

83

128

4500

35

4540

4620

6

830

12

0,036

0,325

18

0,219

0,177

4,3

93

129

5000

35

5040

5120

6

930

12

18

0,219

0,189

4,1

99

130

5500

30

5540

5620

7

840

14

0,040

0,370

20

0,237

0,208

4,8

109

131

6000

30

6040

6120

7

930

14

20

0,237

0,219

4,7

115

132

6500

30

6540

6620

8

850

16

0,044

0,420

22

0,261

0,240

4,7

126

133

7000

30

7040

7120

8

930

16

22

0,261

0,249

4,5

131

134

2800

2000

65

2820

2040

2120

10

3

940

6

0,080

0,024

0,190

12

0,170

0,103

2,8

54

135

2500

55

2540

2620

4

770

8

0,040

0,028

0,230

14

0,187

0,122

3,1

64

136

3000

45

3040

3120

4

930

8

14

0,179

0,129

3,4

68

137

3500

40

3540

3620

5

800

10

0,032

0,280

16

0,200

0,151

3,8

80

138

4000

40

4040

4120

5

930

10

16

0,200

0,162

3,6

85

139

4500

35

4540

4620

6

830

12

0,036

0,325

18

0,219

0,183

4,1

96

140

5000

35

5040

5120

6

930

12

18

0,219

0,194

4,0

102

141

5500

30

5540

5620

7

840

14

0,040

0,370

20

0,237

0,213

4,6

112

142

6000

30

6040

6120

7

930

14

20

0,237

0,224

4,4

117

143

6500

30

6540

6620

8

850

16

0,044

0,420

22

0,261

0,248

4,5

129

144

7000

25

7040

7120

8

930

16

22

0,254

0,253

5,1

133

145

3000

2000

60

3020

2040

2120

3

940

6

0,080

0,024

0,190

12

0,165

0,104

2,8

55

146

2500

50

2540

2620

4

770

8

0,040

0,028

0,230

14

0,187

0,125

3,3

66

147

30

45

3040

3120

4

930

8

14

0,179

0,134

3,3

70

148

3500

40

3540

3620

5

800

10

0,032

0,280

16

0,200

0,156

3,7

82

149

4000

35

4040

4120

5

930

10

16

0,195

0,164

3,9

86

150

4500

35

4540

4620

6

830

12

0,036

0,325

18

0,219

0,188

4,0

99

151

5000

30

5040

5120

6

930

12

18

0,213

0,196

4,3

103

152

5500

30

5540

5620

7

840

14

0,040

0,370

20

0,237

0,220

4,4

115

153

6000

30

6040

6120

7

930

14

20

0,237

0,231

4,3

121

154

6500

30

6540

6520

8

850

16

0,044

0,420

22

0,261

0,254

4,3

133

155

7000

25

7040

7120

8

930

16

22

0,254

0,259

4,9

136

Примечания:

1 Масса листов, упаковываемых в ящики № 1-12, - не более 500 кг, в ящики № 13-155 - не более 800 кг.

2 Объем древесины в чистоте определен с учетом двух поперечных и двух продольных брусьев.

3 Допускается изготовлять промежуточные по длине размеры ящиков.

РАЗМЕРЫ ЯЩИКОВ ТИПА II

Номер ящика

Размер листов, упаковываемых в ящики, мм

Высота бруса H, мм

Внутренняя ширина ящика В, мм

Внутренняя длина ящика L, мм

Общая длина ящика L1, мм

Количество про дольных досок, шт.

Количество поясов, шт.

Расстояние между поясами L2, мм

Количество поперечных досок, шт.

Фанера, м3

Масса, кг, для гвоздей

Количество скоб, шт. (стальная лента)

Масса ленты, кг

Объем древесины в чистоте, м3

Масса ящика, кг

Ширина

Длина

К4х100

К3х70

К2х40

1

500

3500

175

520

3540

3620

4

5

800

10

0,017

0,120

0,200

0,040

10

0,261

0,097

62

2

4000

155

4040

4120

5

930

10

0,020

10

0,246

0,101

65

3

600

1500

200

620

1540

1620

6

3

690

6

0,009

0,120

0,160

0,028

8

0,230

0,063

40

4

2000

200

2040

2120

3

940

6

0,012

8

0,230

0,076

49

5

2500

200

2540

2620

4

770

8

0,015

0,200

0,035

10

0,287

0,094

61

6

3000

170

3040

3120

4

930

8

0,017

10

0,257

0,098

62

7

3500

145

3540

3620

5

800

10

0,020

0,250

0,043

12

0,285

0,106

68

8

4000

130

4040

4120

5

930

10

0,023

12

0,266

0,112

73

9

800

1500

200

820

1540

1620

6

3

690

6

0,012

0,120

0,160

0,028

8

0,230

0,069

45

10

2000

190

2040

2120

3

940

6

0,015

8

0,225

0,079

54

11

2500

155

2540

2620

4

770

8

0,019

0,300

0,035

10

0,145

0,087

58

12

3000

130

3040

3120

4

930

8

0,022

10

0,246

0,091

62

13

3500

115

3540

3620

5

800

10

0,026

0,250

0,043

12

0,257

0,101

69

14

4000

100

4040

4120

5

930

10

0,030

0,080

12

0,243

0,088

65

15

900

1500

200

920

1540

1620

6

3

690

6

0,013

0,120

0,160

0,028

8

0,230

0,072

49

16

2000

170

2040

2120

3

940

6

0,017

 

0,215

0,077

55

17

2500

140

2540

2620

4

770

8

0,021

0,200

0,035

10

0,250

0,087

63

18

3000

120

3040

3120

4

930

8

0,025

10

0,237

0,092

69

19

3500

105

3540

3620

5

800

10

0,029

0,250

0,043

12

0,273

0,101

77

20

4000

95

4040

4120

5

930

10

0,033

0,080

12

0,266

0,108

83

21

1000

2000

155

1020

2040

2120

6

3

940

6

0,019

0,120

0,160

0,028

8

0,197

0,076

52

22

2500

125

2540

2620

4

770

8

0,023

0,200

0,035

10

0,222

0,084

58

23

3000

110

3040

3120

4

930

8

0,027

10

0,211

0,090

65

24

3500

95

3540

3620

5

800

10

0,032

0,080

0,250

0,043

12

0,238

0,100

73

25

4000

85

4040

4120

5

930

10

0,036

12

0,229

0,105

78

26

4500

80

4540

4620

6

830

12

0,041

0,300

0,051

14

0,262

0,117

87

27

5000

75

5040

5120

6

930

12

0,045

14

0,256

0,123

93

28

5500

70

5540

5620

7

840

14

0,049

0,350

0,059

16

0,287

0,134

102

29

6000

65

6040

6120

7

930

14

0,054

16

0,280

0,140

107

30

6500

60

6540

6620

8

850

16

0,058

0,400

0,067

18

0,308

0,150

117

31

7000

55

7040

7120

8

930

16

0,063

0,040

18

0,301

0,155

121

32

1200

1500

175

1220

1540

1620

3

690

6

0,017

0,120

0,160

0,028

8

0,209

0,073

48

33

2000

135

2040

2120

3

940

6

0,022

8

0,236

0,076

54

34

2500

110

2540

2620

4

770

8

0,027

0,200

0,035

10

0,211

0,088

64

35

3000

95

3040

3120

4

930

8

0,032

0,080

10

0,199

0,093

70

36

3500

85

3540

3620

5

800

10

0,038

0,250

0,043

12

0,229

0,099

76

37

4000

75

4040

4120

5

930

10

0,043

12

0,219

0,105

82

38

4500

70

4540

4620

6

830

12

0,048

0,300

0,051

14

0,251

0,116

91

39

5000

65

5040

5120

6

930

12

0,053

14

0,245

0,122

96

40

5500

60

5540

5620

7

840

14

0,058

0,350

0,059

16

0,274

0,133

107

41

6000

55

6040

6120

7

930

14

0,064

0,040

16

0,268

0,139

115

42

1200

6500

55

1220

6540

6620

6

8

850

16

0,069

0,040

0,400

0,067

18

0,301

0,152

123

43

7000

50

7040

7120

8

930

16

0,074

18

0,294

0,157

128

44

1400

2000

115

1420

2040

2120

8

3

940

6

0,026

0,120

0,170

0,028

8

0,171

0,082

70

45

2500

95

2540

2620

4

770

8

0,032

0,080

0,220

0,035

0,199

0,094

82

46

3000

85

3040

3120

4

930

8

0,038

0,190

0,102

88

47

1400, 1425

3500.

75

1420, 1445

3540

3620

5

800

10

0,044

0,260

0,043

12

0,219

0,116

104

48

4000

65

4040

4120

5

930

10

0,050

12

0,210

0,122

112

49

4500

60

4540

4620

6

830

12

0,056

0,310

0,051

14

0,240

0,136

124

50

5000

55

5040

5120

6

930

12

0,062

0,040

14

0,235

0,144

134

51

5500

55

5540

5620

7

840

14

0,068

0,360

0,059

16

0,268

0,160

148

52

6000

50

6040

6120

7

930

14

0,075

16

0,262

0,167

157

53

6500

50

6540

6620

8

850

16

0,081

0,410

0,067

18

0,295

0,182

170

54

7000

40

7040

7120

8

930

16

0,087

18

0,288

0,189

178

55

1500

2000

110

1520

2040

2120

3

940

6

0,027

0,120

0,170

0,028

8

0,168

0,084

73

56

2500

90

2540

2620

4

770

8

0,033

0,080

0,220

0,035

10

0,195

0,095

84

57

3000

80

3040

3120

4

930

8

0,040

10

0,187

0,103

93

58

3500

70

3540

3620

5

800

10

0.046

0,260

0,043

12

0,215

0,116

106

59

4000

65

4040

4120

5

930

10

0,053

12

0,210

0,125

116

60

4500

60

4540

4620

6

830

12

0,059

0,310

0,051

14

0,240

0,139

129

61

5000

55

5040

5120

6

930

12

0,065

0,040

14

0,235

0,147

138

62

5500

50

5540

5620

7

840

14

0,071

0,360

0,059

16

0,262

0,160

151

63

1500

6000

50

1520

6040

6120

8

7

930

14

0,078

0,040

0,360

0,059

16

0,262

0,170

162

64

6500

45

6540

6620

8

850

16

0,083

0,410

0,067

18

0,288

0,183

174

65

7000

45

7040

7120

8

930

16

0,091

18

0,288

0,193

186

66

1600

2000

105

1620

2040

2120

3

940

6

0,029

0,080

0,170

0,028

8

0,165

0,084

74

67

2500

90

2540

2620

4

770

8

0,036

0,220

0,035

10

0,195

0,097

87

68

3000

75

3040

3120

4

930

8

0,042

10

0,183

0,103

95

69

3500

65

3540

3620

5

800

10

0,049

0,260

0,043

12

0,216

0,117

108

70

4000

60

4040

4120

5

930

10

0,056

12

0,206

0,125

118

71

4500

55

4540

4620

6

830

12

0,063

0,040

0,310

0,051

14

0,235

0,139

131

72

5000

55

5040

5120

6

930

12

0,070

14

0,235

0,149

142

73

5500

50

5540

5620

7

840

14

0,076

0,360

0,059

16

0,262

0,163

155

74

6000

45

6040

6120

7

930

14

0,083

16

0,256

0,170

1б5

75

6500

45

6540

6620

8

850

16

0,090

0,410

0,067

18

0,287

0,186

180

76

7000

40

7040

7120

8

930

16

0,097

18

0,280

0,192

187

77

1800

2000

95

1820

2040

2120

3

940

6

0,032

0,080

0,170

0,028

8

0,159

0,084

76

78

2500

80

2540

2620

4

770

8

0,040

0,220

0,035

10

0,187

0,099

91

79

3000

70

3040

3120

4

930

8

0,047

10

0,179

0,106

100

80

3500

60

3540

3620

5

800

10

0,055

0,260

0,043

12

0,205

0,120

114

81

4000

55

4040

4120

5

930

10

0,063

0,040

12

0,201

0,128

124

82

4500

50

4540

4620

6

830

12

0,070

0,310

0,051

14

0,229

0,142

138

83

5000

50

5040

5120

6

930

12

0,078

14

0,229

0,152

149

84

5500

45

5540

5620

7

840

14

0,085

0,360

0,059

16

0,256

0,166

162

85

6000

45

6040

6120

7

930

14

0,093

16

0,256

0,176

175

86

6500

40

6540

6620

8

850

16

0,101

0,410

0,067

18

0,280

0,190

188

87

7000

40

7040

7120

8

930

16

0,108

18

0,270

0,200

201

88

2000

2000

85

2020

2040

2120

3

940

6

0,036

0,080

0,170

0,028

8

0,153

0,086

79

89

2500

75

2540

2620

4

770

8

0,044

0,220

0,035

10

0,183

0,101

94

90

3000

65

3040

3120

4

930

8

0,052

10

0,176

0,108

105

91

3500

55

3540

3620

5

800

10

0,061

0,040

0,260

0,043

12

0,201

0,122

119

92

4000

50

4040

4120

5

930

10

0,069

12

0,197

0,130

129

93

4500

50

4540

4620

6

830

12

0,078

0,310

0,051

14

0,229

0,148

147

94

5000

45

5040

5120

6

930

12

0,086

14

0,224

0,155

156

95

5500

45

5540

5620

7

840

14

0,094

0,360

0,059

16

0,256

0,173

174

96

6000

40

6040

6120

7

930

14

0,103

16

0,250

0,180

183

97

6500

40

6540

6620

8

850

16

0,111

0,400

0,067

18

0,280

0,197

201

98

7000

35

7040

7120

8

930

16

0,120

18

0,274

0,203

210

Примечание - Допускается изготовлять промежуточные по длине размеры ящика.


Таблица 3

РАЗМЕРЫ ЯЩИКОВ ТИПОВ III, IV

Номер ящика

Внутренняя длина ящика L, мм

Внутренний размер стороны ящика а, мм

Общая длина ящика L1, мм

Количество поясов, шт.

Расстояние между поясами L2, мм

Количество боковых и поперечных планок, шт.

Фанера, м3

Объем древесины в чистоте, м3

Масса, кг

ленты

гвоздей

ящика

1

2040

100

2140

5

670

20

0,004

0,026

0,27

0,24

19

2

150

0,006

0,027

0,34

21

3

200

0,008

0,031

0,47

23

4

250

0,009

0,033

0,55

24

5

270

0,010

0,034

0,59

25

6

300

0,011

0,035

0,63

26

7

320

0,012

0,037

0,67

28

8

350

0,013

0,040

0,72

29

9

400

0,015

0,043

0,77

31

10

450

0,016

0,046

0,82

33

11

2540

100

2640

5

920

20

0,005

0,031

0,27

0,24

23

12

150

0,007

0,034

0,34

25

13

200

0,010

0,036

0,41

26

14

250

0,012

0,038

0,49

28

15

270

0,013

0,039

0,53

28

16

300

0,014

0,040

0,58

29

17

320

0,015

0,042

0,61

30

18

350

0,016

0,045

0,65

33

19

400

0,018

0,048

0,73

35

20

450

0,020

0,051

0,81

37

21

3040

100

3140

6

780

24

0,006

0,037

0,32

0,35

27

22

150

0,009

0,040

0,48

29

23

200

0,011

0,042

0,57

30

24

250

0,014

0,044

0,66

32

25

270

0,015

0,045

0,70

33

26

300

0,016

0,047

0,76

34

27

320

0,017

0,049

0,80

35

28

350

0,019

0,052

0,86

37

29

400

0,021

0,055

0,92

40

30

450

0,024

0,058

0,98

42

31

3640

100

3640

6

950

24

0,007

0,042

0,32

0,35

30

32

150

0,010

0,045

0,48

33

33

200

0,013

0,047

0,57

34

34

250

0,016

0,049

0,66

35

35

270

0,017

0,050

0,70

36

36

300

0,019

0,052

0,76

37

37

320

0,020

0,054

0,80

39

38

3540

350

3640

6

950

24

0,022

0,057

0,86

0,35

41

39

400

0,025

0,060

0,92

43

40

450

0,028

0,063

0,98

45

41

4040

100

4140

7

835

28

0,008

0,047

0,38

0,38

34

42

150

0,012

0,050

0,56

36

43

200

0,015

0,053

0,66

38

44

250

0,018

0,056

0,77

40

45

270

0,020

0,057

0,82

41

46

300

0,022

0,059

0,88

42

47

320

0,023

0,061

0,93

44

48

350

0,025

0,064

1,00

46

40

400

0,028

0,068

1,12

49

50

450

0,031

0,071

1,24

51

51

4540

100

4640

7

955

28

0,009

0,052

0,45

0,38

37

52

150

0,013

0,055

0,56

40

53

200

0,017

0,058

0,66

42

54

250

0,020

0,061

0,77

44

55

300

0,024

0,065

0,88

47

56

350

0,028

0,068

1,00

49

57

400

0,032

0,072

1,12

51

58

450

0,035

0,076

1,24

54

59

5040

100

5140

8

870

32

0,010

0,058

0,51

0,41

42

60

150

0,014

0,061

0,64

44

61

200

0,019

0,064

0,76

46

62

250

0,023

0,067

0,88

48

63

300

0,027

0,071

1,01

51

64

350

0,031

0,075

1,14

54

65

400

0,035

0,079

1,27

56

66

450

0,039

0,084

1,40

60

67

5540

100

5640

8

970

32

0,011

0,063

0,51

0,41

45

68

150

0,016

0,066

0,64

47

69

200

0,020

0,069

0,76

49

70

250

0,025

0,072

0,88

51

71

300

0,029

0,076

1,01

54

72

350

0,034

0,080

1,14

57

73

400

0,038

0,084

1,27

60

74

450

0,043

0,089

1,40

63

75

6040

100

6140

9

890

36

0,012

0,069

0,58

0,44

49

76

150

0,017

0,072

0,72

51

77

200

0,022

0,076

0,85

54

78

250

0,027

0,079

0,99

56

79

300

0,032

0,083

1,13

59

80

350

0,037

0,087

1,30

62

81

400

0,042

0,091

1,47

66

82

450

0,047

0,096

1,64

68

83

6540

100

6640

9

970

36

0,013

0,074

0,58

0,44

53

84

150

0,019

0,077

0,72

55

85

200

0,024

0,081

0,85

58

86

250

0,029

0,084

0,99

60

87

300

0,035

0,088

1,13

63

88

350

0,040

0,092

1,30

65

89

400

0,045

0,096

1,47

68

90

450

0,050

0,101

1,64

72

91

7040

100

7140

10

905

40

0,014

0,080

0,64

0,47

57

92

150

0,020

0,083

0,80

59

93

200

0,026

0,087

0,95

62

94

250

0,031

0,091

1,10

65

95

300

0,037

0,095

1,26

68

96

350

0,043

0,099

1,43

70

97

400

0,049

0,104

1,60

74

98

450

6,054

0,109

1,77

77

99

7540

100

7640

11

855

44

0,015

0,085

0,70

0,50

61

100

150

0,021

0,088

0,88

63

101

200

0,028

0,092

1,05

65

102

250

0,034

0,096

1,21

68

103

300

0,040

0,100

1,38

71

104

350

0,046

0,104

1,56

74

105

400

0,052

0,109

1,74

77

106

450

0,058

0,114

1,92

81

107

8040

100

8140

11

920

44

0,016

0,091

0,70

0,50

65

108

150

0,023

0,094

0,88

67

109

200

0,029

0,098

1,05

70

110

250

0,036

0,102

1,21

72

111

8040

300

8140

11

920

44

0,042

0,106

1,38

0,50

75

112

350

0,049

0,111

1,56

79

113

400

0,055

0,116

1,74

82

114

450

0,062

0,121

1,92

86

115

8540

100

8640

12

870

48

0,017

0,097

0,77

0,53

69

116

150

0,024

0,100

0,96

71

117

200

0,031

0,104

1,14

74

118

250

0,033

0,109

1,32

77

119

300

0,045

0,114

1,51

81

120

350

0,052

0,119

1,70

84

121

400

0,059

0,124

1,89

88

122

450

0,066

0,129

1,92

91

123

9040

100

9140

12

930

48

0,018

0,102

0,77

0,53

72

124

150

0,026

0,105

0,96

75

125

200

0,033

0,109

1,14

77

126

250

0,040

0,114

1,32

81

127

300

0,048

0,119

1,51

84

128

350

0,055

0,124

1,70

88

129

400

0,062

0,129

1,89

91

130

450

0,069

0,134

2,08

95

131

9540

100

9640

13

880

52

0,019

0,108

0,83

0,58

77

132

150

0,027

0,112

1,04

79

133

200

0,035

0,116

1,23

82

134

250

0,042

0,121

1,43

86

135

300

0,050

0,126

1,64

89

136

350

0,058

0,131

1,85

93

137

400

0,066

0,136

2,06

96

138

450

0,073

0,142

2,27

100

139

10040

100

10140

13

930

52

0,020

0,113

0,83

0,58

80

140

150

0,028

0,116

1,04

82

141

200

0,037

0,121

1,23

86

142

250

0,045

0,126

1,43

89

143

300

0,053

0,131

1,64

93

144

350

0,061

0,136

1,85

96

145

400

0,068

0,141

2,06

100

146

450

0,077

0,147

2,27

104

Таблица 4

ПРЕДЕЛЬНЫЕ ОТКЛОНЕНИЯ РАЗМЕРОВ ЯЩИКОВ И ИХ ДЕТАЛЕЙ

Размеры ящиков и их деталей, мм

Предельное отклонение, мм

Обозначение предельных отклонений по ГОСТ 6449

Внутренние размеры:

 

 

до 1000 включ.

+3

Н16

св. 1000 до 2000

+5

Н16

» 2000 » 4000

+8

Н16

» 4000 » 5000

+10

Н16

» 5000 » 10000

+24

Н16

Длина планок, досок и брусьев:

 

 

до 1000 включ.

±3

js16

св. 1000 до 3000

±5

js15

» 3000 » 5000

±7

js15

» 5000 »10000

±12

js15

Расстояние между поясами

±3

js16

Ширина планок, досок, брусьев

±2

js16

Толщина планок, досок, брусьев

±1

js17

ПРИЛОЖЕНИЕ Д

(обязательное)

Схема строповки ящиков типов I и II

Рисунок 1

Примечание - В местах строповки крепят бруски размером 25´80´150 мм двумя гвоздями типа К3´70 по ГОСТ 4034.

Схема строповки ящиков типов III и IV

Рисунок 2

Примечание - При нагрузках, превышающих 200 кг, в местах строповки крепят бруски размером 25´50´100 мм двумя гвоздями типа К3´70 по ГОСТ 4034.

Ключевые слова: единая система защиты от коррозии и старения, полуфабрикаты из алюминия и алюминиевых сплавов, общие требования, временная противокоррозионная защита




Яндекс цитирования



   Copyright © 2007-2026,  www.tehlit.ru.

[ ѓосты, стандарты, нормативы, инструкции, правила, строительные нормы ]