//
ТехЛит.ру
- крупнейшая бесплатная электронная интернет библиотека для "технически умных" людей.
WWW.TEHLIT.RU - ТЕХНИЧЕСКАЯ ЛИТЕРАТУРА

:: Алготрейдинг::


АЛГОТРЕЙДИНГ
шаг за шагом
с нуля по урокам!

Торговые роботы на PYTHON, BackTrader,
Pandas, Pine Script для TradingView. Связка с брокерами, телеграм и легкими приложениями.


ПРАВИТЕЛЬСТВО МОСКВЫ
МОСКОМАРХИТЕКТУРА

РЕКОМЕНДАЦИИ
ПО ЗАЩИТЕ ЖИЛЫХ КАРКАСНЫХ ЗДАНИЙ
ПРИ ЧРЕЗВЫЧАЙНЫХ СИТУАЦИЯХ

2002

ПРЕДИСЛОВИЕ

1. РАЗРАБОТАНЫ МНИИТЭП (инженер Г. И. Шапиро, к. т. н. В. С. Коровкин, инженер Ю. А. Эйсман) и НИЦ СтаДиО (к. т. н. Ю. М. Стругацкий).

2. ПОДГОТОВЛЕНЫ к утверждению и изданию Управлением перспективного проектирования и нормативов Москомархитектуры.

3. СОГЛАСОВАНЫ ЦНИИСК им. Кучеренко, ЦНИИЭП жилища.

4. УТВЕРЖДЕНЫ И ВВЕДЕНЫ В ДЕЙСТВИЕ Указанием Москомархитектуры от 18.10.2002 г. № 68.

СОДЕРЖАНИЕ

ВВЕДЕНИЕ

Решение проблемы защиты жилых зданий, строящихся в Москве, в случаях возникновения чрезвычайных ситуаций (ЧС)1 в соответствии с директивными и нормативными документами должно учитывать природные и техногенные чрезвычайные ситуации, определенные соответствующими ГОСТ. Однако учет природных особенностей Московского региона и уроков многочисленных аварий зданий и сооружений в России и за рубежом2 показывает, что перечень ЧС, рассматриваемых при таком анализе, должен быть существенно уточнен и расширен по сравнению с гостируемым. В него необходимо включить следующие чрезвычайные ситуации:

1 Здесь и в дальнейшем курсивом выделяются термины и сокращения, определенные в госстандартах.

2 Библиография строительных аварий чрезвычайно обширна; весьма подробная библиография аварий жилых зданий во второй половине 20 века - в [20].

1. Природные ЧС:

A) - сейсмические воздействия;

Б) - опасные метеорологические явления, приводящие к повышенным ветровым нагрузкам на здания;

B) - образование карстовых воронок и провалов в основаниях зданий;

2. Антропогенные (в т.ч. техногенные) ЧС3:

3 Термин - «антропогенные ЧС», применяемый в литературе, представляется более общим, чем гостируемый «техногенные ЧС», это иллюстрирует приводимый здесь перечень ЧС.

А) - взрывы снаружи или внутри здания (в литературе упоминаются следующие источники - бытовой газ, взрывоопасные газовые смеси и жидкости, бомбы и другие взрывные устройства, используемые террористами);

Б) - пожары4;

4 Пожары могут быть отнесены и к природным ЧС, но чаще они возникают по причинам, связанным с деятельностью людей.

В) - транспортные аварии (ДТП, авиационные катастрофы);

Г) - аварии зданий и сооружений или значительные повреждения их несущих конструкций, вызванные одной из следующих причин:

а) ошибки в проектах, в том числе вызванные несовершенством СНиП;

б) недоброкачественное производство работ (на заводе или на монтаже);

в) дефекты материалов;

г) недостатки эксплуатации зданий, в том числе их инженерного оборудования;

д) небрежность, некомпетентность, а иногда и случаи вандализма жильцов, технического персонала или посторонних посетителей здания (в частности, самовольная перепланировка квартир с ослаблением несущих конструкций).

Указанные в приведенном перечне источники ЧС, по аналогии с классификацией взрывов на производстве, здесь разделены на проектные и запроектные. Защита зданий при ЧС, вызванных проектными источниками, определяется соответствующими СНиП; защита зданий при ЧС, вызванных запроектными источниками, требует специального анализа, конечная цель которого - разработка соответствующих норм и перевод рассматриваемых ЧС из разряда запроектных в категорию проектных. Основная цель настоящих рекомендаций - обеспечение безопасности московских жилых зданий при запроектных ЧС.

Как показывает анализ чрезвычайных ситуаций, перечисленных выше, [19] наиболее вероятные для московских условий запроектные ЧС сводятся к локальным аварийным воздействиям на отдельные конструкции одного здания: взрывы, пожары, карстовые провалы, ДТП, дефекты конструкций и материалов, аварии инженерных систем здания, некомпетентная реконструкция и т.п. Это случайные, в общем случае непредсказуемые, нештатные ситуации, указанные в п.п. 1В, 2 вышеприведенного перечня ЧС.

Как правило, воздействия рассматриваемого типа приводят к местным повреждениям несущих конструкций зданий. При этом в одних случаях ЧС этими первоначальными повреждениями и исчерпываются, а в других - несущие конструкции, сохранившиеся в первый момент аварии, не выдерживают дополнительной нагрузки, ранее воспринимавшейся поврежденными элементами, и тоже разрушаются. Аварии последнего типа получили в литературе наименование «прогрессирующее обрушение».

Термин «прогрессирующее обрушение» и формулировка проблемы защиты от него панельных зданий появились в 1968 г. в докладе комиссии, расследовавшей причины известной аварии 22-этажного панельного жилого дома «Роунан Пойнт» в Лондоне [1]. После публикации доклада практически во всех развитых странах были начаты исследования этой проблемы, и к концу 70-х годов анализ возможных средств защиты от прогрессирующего обрушения зданий различных конструктивных систем с учетом экономических критериев был в основном завершен. Основные выводы, полученные разными исследователями, и последовавшие за ними изменения норм проектирования особенно для панельных зданий большинства развитых стран оказались схожи. Для конструкций различных систем зданий основные рекомендации сводились к следующему.

1. Не отказываясь в принципе от профилактических мер, направленных на предупреждение локальных ЧС или возникающих при них аварийных воздействий, самое серьезное внимание следует уделить предупреждению прогрессирующего обрушения. Это вызвано, во-первых, тем, что никакими экономически оправданными мерами невозможно полностью исключить возможность локальных разрушений несущих конструкций зданий; во-вторых, тем, что прогрессирующее обрушение ведет к наиболее тяжелым последствиям, в-третьих, тем, что при сравнительно небольших местных разрушениях несущих конструкций зданий обеспечение их устойчивости против прогрессирующего обрушения позволяет предотвратить эти последствия и защита может быть достигнута простыми и не дорогостоящими техническими средствами.

2. Основной принцип предотвращения прогрессирующего обрушения - повышение неразрезности конструктивной системы здания посредством совершенствования стыков и связей между конструктивными элементами.

3. Эффективность конструктивной защиты зависит от развития в элементах конструкций и их связях пластических деформаций; для пластичности связей, в частности, требуется, чтобы прочность анкеровки связей в сборных элементах была «соответствующей», т.е. больше несущей способности самой связи, или больше усилий, вызывающих текучесть связи.

4. Отмечается качественное сходство рекомендуемых мер защиты от прогрессирующего обрушения с апробированными конструктивными антисейсмическими мероприятиями. В литературе приводятся многочисленные примеры сейсмостойких зданий, локальные разрушения которых не привели к прогрессирующему обрушению благодаря соответствующей сейсмозащите.

Настоящие рекомендации, основанные на указанных принципах, рассматривают вопросы защиты при локальных ЧС для жилых каркасных зданий. Вопросы, рассмотренные в настоящих Рекомендациях, в той или иной мере ранее рассматривались, необходимость разработки данных рекомендаций появилась после ужесточения противопожарных требований [12]. Пожары являются частным случаем ЧС. Мероприятия по выполнению требований противопожарных норм защищают отдельные элементы здания только от воздействия пожара, а в случае других ЧС могут оказаться бесполезными. Поэтому в московских нормах [13] было принято положение о необходимости защиты здания в целом от прогрессирующего обрушения (п. 3.6) при ЧС любого типа, а требования по огнестойкости отдельных конструктивных элементов (п. 3.24) трактуются с учетом защищенности здания от прогрессирующего обрушения.

Рекомендации составлены на основе анализа обширной научной и нормативной зарубежной литературы и по результатам научных исследований проблемы защиты зданий от прогрессирующего обрушения, выполненных в МНИИТЭП, и разработаны в развитие Московских городских норм [13].

1. ОСНОВНЫЕ ПОЛОЖЕНИЯ

1.1. Жилые каркасные здания должны быть защищены от прогрессирующего (цепного) обрушения в случае локального разрушения их несущих конструкций при аварийных воздействиях, не предусмотренных условиями нормальной эксплуатации зданий (взрывы, пожары, ударные воздействия транспортных средств и т.п.).

Каркасные здания имеют несущие элементы, которые невозможно защитить от прогрессирующего обрушения конструктивными мероприятиями. Это ключевые элементы каркаса (в первую очередь колонны), и для повышения устойчивости здания против прогрессирующего обрушения при ЧС следует резервировать для этих элементов дополнительную прочность (см. п.п. 2.6 - 2.9), поэтому то понимание защиты от прогрессирующего обрушения, которое пришло от панельных зданий5, для каркасных зданий трактуется иначе.

5 Для панельных зданий это требование означает следующее. В случае аварийных воздействий допускаются локальные разрушения несущих конструкций (полное или частичное разрушение отдельных стен в пределах одного этажа и двух смежных осей здания), но эти первичные разрушения не должны приводить к обрушению или к разрушению конструкций, на которые передается нагрузка, ранее воспринимавшаяся элементами, поврежденными аварийным воздействием.

Конструктивная система каркасного здания должна обеспечивать его прочность и устойчивость в случае локального воздействия на отдельные элементы, не предусмотренного условиями нормальной эксплуатации здания как минимум на время, необходимое для эвакуации людей. Перемещения конструкций и раскрытие в них трещин в рассматриваемой чрезвычайной ситуации не ограничивается.

1.3. Устойчивость здания против прогрессирующего обрушения следует обеспечивать:

- конструктивными мерами, способствующими развитию в ригелях и их соединениях пластических деформаций при предельных нагрузках;

- рациональным решением системы конструктивных связей, отдельных узлов и элементов соединений и стыков.

1.4. Реконструкция здания (в частности, перепланировка квартир) не должна снижать устойчивости здания против прогрессирующего обрушения.

2. РАСЧЕТ КАРКАСНЫХ ЖИЛЫХ ЗДАНИЙ НА УСТОЙЧИВОСТЬ ПРОТИВ ПРОГРЕССИРУЮЩЕГО ОБРУШЕНИЯ

2.1. Устойчивость здания против прогрессирующего обрушения проверяется расчетом на особое сочетание нагрузок и воздействий, включающее постоянные и временные длительные нагрузки, а также одно из гипотетических воздействий на конструкции здания (см. п. 2.3)

2.2. Постоянная и временная длительная нагрузка должна определяться по [11]. При этом коэффициенты сочетаний нагрузок и коэффициенты надежности по нагрузкам к постоянным и длительным нагрузкам следует принимать равными единице.

2.3. Гипотетические воздействия на несущие конструкции учитываются тем, что проводятся расчеты здания при различных локальных воздействиях, каждое из которых соответствует одному из возможных ЧС.

Рекомендуется принимать следующие локальные воздействия:

·    карстовая воронка диаметром 6 м, расположенная в любом месте под фундаментом здания (для карстоопасных районов);

·    повреждение перекрытия общей площадью до 40 м2;

·    неравномерные осадки основания;

·    горизонтальная нагрузка на вертикальные несущие элементы 3,5 т для стержневых и 1 т для пластинчатых на 1 м2 поверхности рассматриваемого элемента в пределах одного этажа (коэффициент надежности по нагрузке равен единице).

2.4. При расчете зданий на устойчивость против прогрессирующего обрушения нормативные сопротивления материалов принимаются в соответствии с [8, 9, 21] Расчетные характеристики сопротивления материалов, определяемые делением нормативных сопротивлений на коэффициенты надежности для бетонных и железобетонных конструкций, повышают за счет использования коэффициентов надежности, указанных в табл. 1. Кроме того, расчетные сопротивления умножают на коэффициенты условий работы, учитывающие малую вероятность аварийных воздействий и интенсивный рост прочности бетона в первый период после возведения здания, а также возможность использования арматуры и металлических конструкций и элементов за пределом текучести материала.

Коэффициенты условий работы для бетона принимают по таблице 2, для арматуры всех классов вводится единый коэффициент gs = 1,1.

Расчетные сопротивления прокатной стали принимаются по [9] с учетом допустимости работы пластичных сталей за пределом текучести. Коэффициент условий работы для пластичных сталей принимается равным 1,1.

Таблица 1

Материал

Напряженное состояние или характеристика материала

Условное обозначение

Коэффициент надежности по материалу

Бетон

Сжатие

gb

1,15

Растяжение

gbt

1,25

2.5. Для расчета зданий на устойчивость к прогрессирующему обрушению рекомендуется использовать пространственную расчетную модель.

Такая модель может учитывать элементы, которые при нормальных эксплуатационных условиях являются ненесущими, а при наличии локальных воздействий активно участвуют в перераспределении нагрузки. Модель здания должна быть рассчитана на все локальные воздействия, указанные в п. 2.3.

Таблица 2

Факторы, обуславливающие введение коэффициентов

Условное обозначение

Коэффициент условий работы

1. Конструкции бетонные

gb1

0,9

2. Нарастание прочности бетона во времени, кроме бетонов класса В50 и выше, бетонов на глиноземистом цементе, алюминатных и алитовых портландцементах.

gb2

1,25

3. Элементы заводского изготовления (бетонные и железобетонные).

gb3

1,15

2.6. Упругая модель здания должна быть рассчитана на локальное воздействие и позволять учитывать изменившийся характер работы элементов.

Полученные при упругом расчете усилия в отдельных элементах должны сравниваться с их расчетными несущими способностями. Устойчивость здания против прогрессирующего обрушения при этом будет обеспечена, если для любого элемента соблюдается условие F £ S, где F и S - соответственно усилие в элементе, найденное из упругого расчета, и его расчетная несущая способность, найденная с учетом указаний п. 2.4.

2.7. В случае обеспечения пластичной работы конструктивной системы в предельном состоянии расчет рекомендуется проводить методом теории предельного равновесия.

2.8. Каркасные здания, надземная часть которых запроектирована на расчетную сейсмику 6 баллов (независимо от категории грунтов основания), можно не рассчитывать на устойчивость против прогрессирующего обрушения. При этом для расчета в соответствии с [10], принимать необходимые коэффициенты по экстраполяции. По результатам этого расчета должны быть запроектированы узлы и связи в соответствии с [8, 9, 21].

2.9. При расчетах на воздействие ЧС нормальные силы в колоннах, усилия сдвига между колоннами и диафрагмами, полученные без учета неравномерных осадок фундаментов*, рекомендуется увеличивать на 15 %.

* Эта рекомендация не относится к расчетам на образование карста под фундаментом.

2.10. Связи, соединяющие перекрытия с колоннами, ригелями, диафрагмами и стенами, должны удерживать перекрытие от падения (в случае его разрушения) на нижележащий этаж. Связи должны быть рассчитаны на нормативный вес половины пролета перекрытия с расположенным на нем полом.

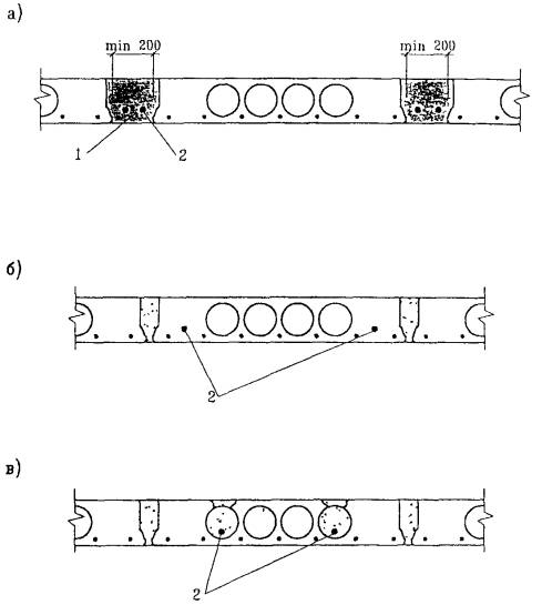
2.11. В перекрытиях необходимо предусматривать участки (скрытые распорки), запроектированные в соответствии с требованиями п. 5.18 [12] по степени огнестойкости, предъявляемыми к несущим конструкциям (рис. 1). Эти участки, имеющие арматуру, расположенную с увеличенным защитным слоем, соединяют вертикальные несущие конструкции и обеспечивают устойчивость здания при ЧС (прогибы конструкций и раскрытие в них трещин не ограничиваются). Количество и места расположения арматуры определяются расчетом. Указанная арматура может учитываться при расчетах на эксплуатационные и монтажные нагрузки.

Вся остальная арматура может проектироваться в соответствии с требованиями п.п. 5, 18 [12] к перекрытиям междуэтажным, в том числе чердачным и над подвалом.

В случае применения сборных плит перекрытия, в которых нет такой арматуры, необходимо устраивать специальные монолитные участки или проводить альтернативные мероприятия (например устройство специальных распорок).

3. КОНСТРУКТИВНЫЕ ТРЕБОВАНИЯ

3.1. Основное средство защиты жилых зданий от прогрессирующего обрушения - резервирование прочности несущих элементов, обеспечение необходимой несущей способности колонн, ригелей, диафрагм, дисков перекрытий и стыков конструкций Создание неразрезности перекрытий, повышение пластических свойств связей между колоннами и ригелями, между перекрытиями и конструкциями каркаса, вовлечение в работу пространственной системы ненесущих элементов.

3.2. Связи между сборными элементами, устанавливаемые по расчету на нормальные эксплуатационные или монтажные нагрузки или по конструктивным соображениям, следует проектировать с учетом возможности аварийных локальных разрушений. Для эффективного решения проблемы защиты зданий от прогрессирующего обрушения, с учетом всех задач проектирования при нормальных эксплуатационных и монтажных условиях, наиболее предпочтительна следующая система связей:

Рис. 1. Варианты укладки дополнительной арматуры с увеличенным защитным слоем

а) - в монолитных участках,

б) - в плитах перекрытия,

в) - в замоноличенных пустотах плит перекрытия,

1 - бетон, 2 - арматура.

- горизонтальные продольные и поперечные связи между плитами перекрытий, обеспечивающие необходимую прочность дисков перекрытий при растяжении и сдвиге (рис. 2);

- горизонтальные связи между навесными наружными стенами и дисками перекрытий, обеспечивающие устойчивость и работу на ветровые и температурные воздействия навесных стеновых панелей.

3.3. Эффективная работа связей, препятствующих прогрессирующему обрушению, возможна лишь при обеспечении их пластичности в предельном состоянии необходимо, чтобы после исчерпания несущей способности связь не выключалась из работы и допускала без разрушения сравнительно большие абсолютные деформации (порядка нескольких миллиметров).

Для обеспечения пластичности соединений сборных элементов, они должны включать специальные пластичные элементы, выполненные из пластичной листовой или арматурной стали.

Растянутая линейная связь между сборными элементами, как правило, представляет цепочку последовательно соединенных элементов анкер закладной детали, закладная деталь, собственно связь, закладная деталь второго элемента и ее анкер. В силу случайной изменчивости сопротивлений отдельных элементов этой цепи и их соединений, предельное состояние всего стыка определяется слабейшим звеном. Соответственно, реальная пластичность всего соединения зависит от того, какой элемент окажется слабейшим:

- если произойдет выкалывание бетона, в котором анкеруется закладная деталь, то разрушение будет носить хрупкий характер с весьма незначительными абсолютными деформациями, предшествующими выключению связи из работы (рис. 3а);

- если разрушится одно из сварных соединений, то, хотя при качественной сварке пластичность и проявится, в силу малой протяженности самого разрушаемого звена абсолютные деформации, предшествующие выключению связи из работы, будут сравнительно невелики (рис. 3б);

Рис. 2. Варианты соединения плит перекрытия

а - с ригелями, б - между собой.

- только в том случае, когда слабейшим звеном соединения окажется собственно металлическая связь все соединение проявит максимально возможные пластические свойства (рис. 3в).

Соединения сборных элементов, препятствующие прогрессирующему обрушению каркасных зданий, должны проектироваться неравнопрочными, при этом элемент, предельное состояние которого обеспечивает наибольшие пластические деформации соединения, должен быть наименее прочным.

Для выполнения этого условия рекомендуется рассчитывать все элементы соединения, кроме наиболее пластичного, на усилие, в 1,5 раза превышающее несущую способность пластичного элемента например, анкеровку закладных деталей и сварные соединения рекомендуется рассчитывать на усилие в 1,5 раза большее, чем несущая способность самой связи.

При этом несущую способность связи следует определять в соответствии со СНиП II-23-81* по формуле

N = AnRygc

при gc = 1. Необходимо особо следить за фактически точным исполнением проектных решений пластичных элементов - замена их более прочными недопустима.

3.4. Эффективность сопротивления прогрессирующему обрушению здания требует пластичной работы в предельном состоянии не только связей, но и других конструктивных элементов. В частности, необходимо:

- несущие конструкции каркаса здания проектировать так, чтобы пластические шарниры образовывались в ригелях, а не в колоннах каркаса;

- шпоночные соединения проектировать так, чтобы прочность отдельных шпонок на срез была в 1,5 раза больше их прочности при смятии.

3.5. Сечения связей в дисках перекрытия (указанных в п. 3.2 типов) должны определяться расчетом на эксплуатационные, монтажные или рассматриваемые здесь аварийные воздействия, но не менее требуемых для обеспечения восприятия растягивающих усилий следующих величин:

- для горизонтальных связей, расположенных в перекрытиях вдоль длины протяженного в плане здания, - 15 кН (1,5 тс) на 1 м ширины здания;

Рис. 3. Диаграмма деформирования растянутой линейной связи при разрушении различных ее элементов

а) - при выкалывании анкерующего бетона;

б) - при разрушении сварных соединений;

в) - при разрушении листовой или стержневой связи.

- для горизонтальных связей, расположенных в перекрытиях перпендикулярно длине протяженного в плане здания, а также для горизонтальных связей в зданиях с компактным планом - 10 кН (1,0 тс) на 1 м длины здания;

- для горизонтальных связей между бетонными и железобетонными навесными наружными панелями и дисками перекрытий - не менее 10 кН (1 тс) на 1 м длины стены;

Расстояние между связями следует назначать не более чем 3,6 м.

3.6. В каркасных зданиях следует отдавать предпочтение монолитным перекрытиям, особенно в зданиях, где имеются помещения с большими площадями (более 40 м2).

3.7. Плиты покрытия и перекрытий, как сборные, так и монолитные, должны быть надежно связаны с несущими конструкциями каркаса связями, а сборные плиты - друг с другом.

3.8. Предпочтительно перегородки проектировать из листовых материалов по каркасу либо едиными сборными элементами - железобетонными или гипсолитовыми. Перегородки из штучных материалов объемной массой менее 500 кг/м3 не рекомендуются.

3.9. Перегородки должны быть надежно соединены с перекрытиями связями, исключающими горизонтальные перемещения, но допускающими взаимное вертикальное перемещение, т.е. свободный прогиб перекрытий при статической нагрузке.

Вместе с тем конструкция крепления перегородки к вышележащему перекрытию должна обеспечивать ее зависание в случае обрушения нижележащего перекрытия. Это относится в первую очередь к помещениям над нежилыми первыми этажами.

Перегородки рекомендуется соединять вертикальными стыками с соседними перегородками, колоннами, стенами металлическими связями. Связи должны быть рассчитаны на восприятие собственного веса перегородок.

Список литературы

1. Report of the Inquiry into the Collapse of Flats at Ronan Point, Caning Town, MSO, 1968. (ЦИНИС, перевод 18736).

2. Д. Д. Сергеев, Краткий обзор отчета об аварии 22-этажного жилого дома в Лондоне. Обзорная информация № 2. М., ГлавАПУ, 1969.

3. Разработка и исследование усовершенствованной системы конструктивных связей между сборными элементами панельных зданий унифицированной конструкции с целью повышения их надежности и улучшения технико-экономических характеристик. Научно-технический отчет МНИИТЭП, шифр НИ-1696. М., 1976.

4. Д. Пуме, Особенности проектирования многоэтажных зданий на аварийные нагрузки «Строительная механика и расчет сооружений», 1977, № 1.

5. Ю. М. Стругацкий, Обеспечение прочности панельных зданий при локальных разрушениях их несущих конструкций. В сб. «Исследования несущих бетонных и железобетонных конструкций сборных многоэтажных зданий», МНИИТЭП, М., 1980.

6. «Пособие по проектированию жилых зданий Вып. 3 Конструкции жилых зданий (к СНиП 2.08.01-85)» М., 1989.

7. В. В. Ханджи, Расчет многоэтажных зданий со связевым каркасом. М. Стройиздат, 1977.

8. СНиП 2.03.01-84* Бетонные и железобетонные конструкции. М., 1996.

9. СНиП II-23-81* Стальные конструкции. М., 1996.

10. СНиП II-7-81* Строительство в сейсмических районах. М., 1996.

11. СНиП 2.01.07-85* Нагрузки и воздействия. М., 1996.

12. СНиП 21-01-97* Пожарная безопасность зданий и сооружений. М., 1999.

13. МГСН 3.01-01 Жилые здания. М., 2001.

14. Design and Typical Details of Connections for precast and Prestressed Concrete, Second Edition, PSI, Chicago, 1988. 13. British Standard Structural use of Concrete.

a) BS 8110: Part 1: 1997. Code of practice for design and construction.

b) BS 8110: Part 2: 1985. Code of practice for special circumstances.

15. Construction Standards Manual. CSM CS: 1996 Common Standards. (summaries of standards etc of professional interest across construction sector).

16. Building Regulations Disproportional collapse. The Structural Engineer 1993, v. 71, № 23.

17. J. В. Menzies, Improving structural safety through feedback. The Structural Engineer 1993, v. 71, № 21.

18. J.N.J.A. Vambersky. Precast concrete in buildings today and hi the future. The Structural Engineer. 1994, v. 72.

19. Ю. М. Стругацкий, Г.И. Шапиро. Безопасность московских жилых зданий массовых серий при чрезвычайных ситуациях. ПГС № 8, Стройиздат, М., 1998.

20. Б. В. Сендеров, Аварии жилых зданий. М., СИ, 1991.

21. Инструкция по проектированию зданий и сооружений в районах г. Москвы с проявлением карстово-суффозионных процессов. Мосгорисполком, ГЛАВАПУ, Моспроект-1, Мосгоргеотрест. 1984.




Яндекс цитирования



   Copyright © 2007-2026,  www.tehlit.ru.

[ ѓосты, стандарты, нормативы, инструкции, правила, строительные нормы ]