//
ТехЛит.ру
- крупнейшая бесплатная электронная интернет библиотека для "технически умных" людей.
WWW.TEHLIT.RU - ТЕХНИЧЕСКАЯ ЛИТЕРАТУРА

:: Алготрейдинг::


АЛГОТРЕЙДИНГ
шаг за шагом
с нуля по урокам!

Торговые роботы на PYTHON, BackTrader,
Pandas, Pine Script для TradingView. Связка с брокерами, телеграм и легкими приложениями.


ГОСТ 9722-97

МЕЖГОСУДАРСТВЕННЫЙ СТАНДАРТ

Материалы для электродных
покрытий

ПОРОШОК НИКЕЛЕВЫЙ

Технические условия

МЕЖГОСУДАРСТВЕННЫЙ СОВЕТ
ПО СТАНДАРТИЗАЦИИ, МЕТРОЛОГИИ И СЕРТИФИКАЦИИ

Минск

Москва

ИПК ИЗДАТЕЛЬСТВО СТАНДАРТОВ

1999

Предисловие

1 РАЗРАБОТАН Российской Федерацией, Техническим комитетом ТК 370 «Никель, кобальт»

ВНЕСЕН Госстандартом России

2 ПРИНЯТ Межгосударственным Советом по стандартизации, метрологии и сертификации (протокол № 11-97 от 23 - 26 апреля 1997 г.)

За принятие проголосовали:

Наименование государства

Наименование национального органа по стандартизации

Азербайджанская Республика

Азгосстандарт

Республика Армения

Армгосстандарт

Республика Беларусь

Госстандарт Беларуси

Республика Казахстан

Госстандарт Республики Казахстан

Российская Федерация

Госстандарт России

Туркменистан

Главная государственная инспекция Туркменистана

Республика Узбекистан

Узгосстандарт

Украина

Госстандарт Украины

3 Постановлением Государственного комитета Российской Федерации по стандартизации, метрологии и сертификации от 15 октября 1997 г. № 353 межгосударственный стандарт ГОСТ 9722-97 введен в действие непосредственно в качестве государственного стандарта Российской Федерации с 1 января 1998 г.

4 ВЗАМЕН ГОСТ 9722-79

5 ПЕРЕИЗДАНИЕ

ГОСТ 9722-97

МЕЖГОСУДАРСТВЕННЫЙ СТАНДАРТ

ПОРОШОК НИКЕЛЕВЫЙ

Технические условия

Nickel powder.
Specifications

Дата введения 1998-01-01

1 Область применения

Настоящий стандарт распространяется на никелевый порошок, изготовленный карбонильным или электролитическим способом, предназначенный для изготовления изделий методами порошковой металлургии и других целей.

Стандарт не распространяется на никелевый порошок, получаемый восстановлением никелевых соединений.

2 Нормативные ссылки

В настоящем стандарте использованы ссылки на следующие стандарты:

ГОСТ 12.1.005-88 Система стандартов безопасности труда. Общие санитарно-гигиенические требования к воздуху рабочей зоны

ГОСТ 12.1.007-76 Система стандартов безопасности труда. Вредные вещества. Классификация и общие требования безопасности

ГОСТ 12.3.009-76 Система стандартов безопасности труда. Работы погрузочно-разгрузочные. Общие требования безопасности

ГОСТ 12.4.021-75 Система стандартов безопасности труда. Системы вентиляционные. Общие требования

ГОСТ 2226-88 Мешки бумажные. Технические условия

ГОСТ 2991-85 Ящики дощатые неразборные для грузов массой до 500 кг. Общие технические условия

ГОСТ 5044-79 Барабаны стальные тонкостенные для химических продуктов. Технические условия

ГОСТ 5556-81 Вата медицинская гигроскопическая. Технические условия

ГОСТ 6012-98 Никель. Методы химико-атомно-эмиссионного спектрального анализа

ГОСТ 6128-81 Банки металлические для химических продуктов. Технические условия

ГОСТ 6613-86 Сетки проволочные тканые с квадратными ячейками. Технические условия

ГОСТ 9078-84 Поддоны плоские. Общие технические условия

ГОСТ 10157-79 Аргон газообразный и жидкий. Технические условия

ГОСТ 10727-91 Нити стеклянные однонаправленные. Технические условия

ГОСТ 13047.1-81 Никель. Методы определения никеля

ГОСТ 13047.2-81 Никель. Методы определения углерода

ГОСТ 13047.3-81 Никель. Методы определения серы

ГОСТ 14192-96 Маркировка грузов

ГОСТ 15102-75 Контейнер универсальный металлический закрытый номинальной массой брутто 5,0 т. Технические условия

ГОСТ 17811-78 Мешки полиэтиленовые для химической продукции. Технические условия

ГОСТ 18300-87 Спирт этиловый ректификованный технический. Технические условия

ГОСТ 18318-94 Порошки металлические. Определение размера частиц сухим просеиванием

ГОСТ 18477-79 Контейнеры универсальные. Типы, основные параметры и размеры

ГОСТ 18896-73 Барабаны стальные толстостенные для химических продуктов. Технические условия

ГОСТ 19433-88 Грузы опасные. Классификация и маркировка

ГОСТ 19440-94 Порошки металлические. Определение насыпной плотности. Часть 1. Метод с использованием воронки. Часть 2. Метод волюмометра Скотта

ГОСТ 19667-74 Контейнер специализированный групповой массой брутто 5,0 т для штучных грузов

ГОСТ 20435-75 Контейнер универсальный металлический закрытый номинальной массой брутто 3,0 т. Технические условия

ГОСТ 20461-75 Гелий газообразный. Метод определения объемной доли примесей эмиссионным спектральным анализом

ГОСТ 21029-75 Бочки алюминиевые для химических продуктов. Технические условия

ГОСТ 21140-88 Тара. Система размеров

ГОСТ 21241-89 Пинцеты медицинские. Общие технические требования и методы испытаний

ГОСТ 21650-76 Средства скрепления тарно-штучных грузов в транспортных пакетах. Общие требования

ГОСТ 23148-78 Порошки металлические. Методы отбора и подготовки проб

ГОСТ 24597-81 Пакеты тарно-штучных грузов. Основные параметры и размеры

ГОСТ 25086-87 Цветные металлы и их сплавы. Общие требования к методам анализа

ГОСТ 25336-82 Посуда и оборудование лабораторные стеклянные. Типы, основные параметры и размеры

ГОСТ 26319-84 Грузы опасные. Упаковка

ГОСТ 26663-85 Пакеты транспортные. Формирование с применением средств пакетирования. Общие технические требования

ГОСТ 29298-92 Ткани хлопчатобумажные и смешанные бытовые. Общие технические требования

3 Марки и технические требования

3.1 По химическому составу карбонильный никелевый порошок делится на группы: У, 0, 1, 2; электролитический никелевый порошок - на группы 1 и 2.

3.2 По насыпной плотности карбонильный никелевый порошок делится на группы: Т - тяжелый, Л - легкий, К - крупнозернистый. Каждая группа подразделяется на подгруппы: Т - 1, 2, 3, 4; Л - 5, 6, 7, 8; К - 9, 10.

3.3 Карбонильный никелевый порошок групп У, 0, 1 и 2 может выпускаться с различными характеристиками по насыпной плотности в соответствии с таблицей 1.

Таблица 1

Группа по химическому составу

Группа по насыпной плотности

Подгруппа по насыпной плотности

У

Т

1, 2, 3, 4

0

Т

1, 2, 3, 4

1

Л

5, 6, 7, 8

2

К

9, 10

3.4 Примеры условных обозначений

3.4.1 Порошок никелевый карбонильный (ПНК), нулевой группы по химическому составу, тяжелый, первой подгруппы по насыпной плотности:

ПНК-I

3.4.2 Порошок никелевый электролитический (ПНЭ), первой группы по химическому составу:

ПНЭ-1

3.5 Никелевый порошок должен изготовляться в соответствии с требованиями настоящего стандарта по технологическому регламенту, утвержденному в установленном порядке. Химический состав карбонильного никелевого порошка должен соответствовать нормам, указанным в таблице 2, электролитического порошка - в таблице 3.

Таблица 2 - Химический состав карбонильного никелевого порошка

Обозначение порошка

Код ОКП

Группа по химическому составу

Массовая доля, %

Никель, не менее

Примеси, не более

Углерод

Железо

Кобальт

Кремний

Медь

Магний

Мышьяк

Сера

ПНК-УТ1

ПНК-УТ2

ПНК-УТ3

ПНК-УТ4

17 9333 8000

17 9333 4000

17 9333 5000

17 9333 6000

У

99,90

0,09

0,0015

0,001

0,001

0,0003

0,0003

0,0005

0,0007

ПНК-0Т1

ПНК-0Т2

ПНК-0Т3

ПНК-0Т4

17 9331 1000

17 9331 2000

17 9331 3000

17 9331 4000

0

99,90

0,09

0,0015

0,001

0,001

0,001

0,001

0,001

0,001

ПНК-1Л5

ПНК-1Л6

ПНК-1Л7

ПНК-1Л8

17 9331 5000

17 9331 6000

17 9331 7000

17 9331 8000

1

99,70

0,28

0,002

0,001

0,001

0,001

0,001

0,001

0,001

ПНК-2К9

ПНК-2К10

17 9333 1000

17 9333 7000

2

99,70

0,28

0,010

0,001

0,002

0,003

0,001

0,001

0,001

Окончание таблицы 2

Обозначение порошка

Код ОКП

Группа по химическому составу

Массовая доля, %

Примеси, не более

Цинк

Фосфор

Кадмий

Висмут

Марганец

Олово

Свинец

Сурьма

Кальций

ПНК-УТ1

ПНК-УТ2

ПНК-УТ3

ПНК-УТ4

17 9333 8000

17 9333 4000

17 9333 5000

17 9333 6000

У

0,0003

0,0003

0,0001

0,0001

0,0003

0,0001

0,0001

0,0002

0,005

ПНК-0Т1

ПНК-0Т2

ПНК-0Т3

ПНК-0Т4

17 9331 1000

17 9331 2000

17 9331 3000

17 9331 4000

0

0,001

0,001

0,0003

0,0003

0,0005

0,0003

0,0002

0,0003

0,005

ПНК-1Л5

ПНК-1Л6

ПНК-1Л7

ПНК-1Л8

17 9331 5000

17 9331 6000

17 9331 7000

17 9331 8000

1

0,001

0,001

0,0003

0,0003

0,001

0,0003

0,0003

0,0003

0,005

ПНК-2К9

ПНК-2К10

17 9333 1000

17 9333 7000

2

0,001

0,001

0,0003

0,0003

0,001

0,0005

0,001

0,001

0,005

Примечание - Массовая доля примесей меди, магния, серы, цинка, мышьяка, фосфора, кадмия, висмута, марганца, олова, свинца, сурьмы и кальция не более значений, указанных в таблице, обеспечивается технологией изготовления

Таблица 3 - Химический состав электролитического никелевого порошка

Обозначение порошка

Код ОКП

Массовая доля, %

Никель плюс кобальт, не менее

Примеси, не более

Углерод

Железо

Кобальт

Кремний

Кислород

Медь

Сера

ПНЭ-1

17 9341 1000

99,5

0,02

0,10

0,20

0,03

0,10

0,06

0,008

ПНЭ-2

17 9341 2000

99,5

0,02

0,20

0,50

0,03

0,10

0,08

0,010

3.6 Размер частиц никелевого порошка должен соответствовать нормам, приведенным в таблице 4.

Таблица 4

Марка никелевого порошка

Размер частиц, мкм

Допускаемые отклонения

ПНК-УТ1

ПНК-УТ2

ПНК-УТ3

ПНК-УТ4

ПНК-0Т1

ПНК-0Т2

ПНК-0Т3

ПНК-0Т4

Менее 20

Содержание частиц порошка размером более 20 мкм не должно быть более 20 % от массы партии

ПНК-1Л5

ПНК-1Л6

ПНК-1Л7

ПНК-1Л8

Менее 20

Содержание частиц порошка размером более 20 мкм не должно быть более 15 % от массы партии

ПНК-2К9

ПНК-2К10

От 71     до 100 включ.

  »   45     »   71       »

Содержание частиц порошка других размеров не должно быть более 20 % от массы партии

ПНЭ-1

Менее 71

Содержание частиц порошка размером менее 45 мкм должно быть не менее 30 % от массы партии

Содержание частиц порошка размером более 71 мкм не должно быть более 4 % от массы партии

ПНЭ-2

Менее 250

Содержание частиц порошка размером менее 71 мкм должно быть не менее 3 % от массы партии

Содержание частиц порошка размером более 250 мкм не должно быть более 3 % от массы партии

Примечание - Размер частиц порошков (кроме марок ПНК-1Л7 и ПНК-1Л8) гарантируется технологией изготовления

3.7 Насыпная плотность карбонильного никелевого порошка должна соответствовать значениям, указанным в таблице 5.

Таблица 5

Обозначение порошка

Подгруппа по насыпной плотности

Насыпная плотность, г/см3

ПНК-УТ1, ПНК-0Т1

1

3,0 - 3,5

ПНК-УТ2, ПНК-0Т2

2

2,51 - 2,99

ПНК-УТ3, ПНК-0Т3

3

1,91 - 2,50

ПНК-УТ4, ПНК-0Т4

4

1,41 - 1,90

ПНК-1Л5

5

1,01 - 1,40

ПНК-1Л6

6

0,81 - 1,00

ПНК-1Л7

7

0,61 - 0,80

ПНК-1Л8

8

0,45 - 0,60

ПНК-2К9

9

1,3 - 1,7

ПНК-2К10

10

1,20 и более

3.8 Насыпная плотность электролитического никелевого порошка должна соответствовать значениям, указанным в таблице 6.

Таблица 6

Обозначение порошка

Насыпная плотность, г/см3, не более

ПНЭ-1

3,4

ПНЭ-2

5,0

4 Общие требования

4.1 Маркировка

4.1.1 Маркировку потребительской тары проводят при помощи бумажных ярлыков с нанесением следующих данных:

- товарного знака или товарного знака и условного обозначения предприятия-изготовителя;

- наименования и марки продукта;

- номера партии;

- номера единицы упаковки;

- массы нетто единицы упаковки;

- даты выпуска.

4.1.2 Транспортная маркировка - по ГОСТ 14192. Знак опасности - по ГОСТ 19433, класс 9, категория 915, классификационный шифр 9153.

4.2 Упаковка

4.2.1 Никелевый порошок упаковывают в полиэтиленовую тару вместимостью не более 50 дм3 по нормативному документу (НД) [1] или в металлические банки вместимостью не более 3 дм3 по ГОСТ 6128, или в стальные барабаны по ГОСТ 5044 и ГОСТ 18896, или в алюминиевые бочки по ГОСТ 21029, или в стальные бочки по нормативному документу [2]. Порошок, упаковываемый в барабаны и бочки, предварительно засыпают в полиэтиленовые мешки по ГОСТ 17811 или в трехслойные бумажные мешки по ГОСТ 2226.

Допускается упаковывать порошок в полиэтиленовые мешки по ГОСТ 17811, дополнительно помещенные в трехслойные бумажные мешки марки НМ или БМ по ГОСТ 2226. Горловины полиэтиленовых мешков заваривают, бумажных - прошивают или заворачивают ручным или другим способом.

По согласованию изготовителя с потребителем допускается упаковывать порошок в другие виды металлической транспортной тары и другие виды упаковки и тары, изготовленной по НД, согласованной с МПС и обеспечивающей сохранность продукции.

Механическая прочность, методы контроля и маркировка тары - по ГОСТ 26319.

4.2.2 Полиэтиленовую тару, банки и мешки с порошком дополнительно укладывают в дощатые ящики типов I - III по ГОСТ 2991, размером по ГОСТ 21140 или в контейнеры типа СК-3-1,5 по нормативному документу [3], или в контейнеры типа УУК-3 по ГОСТ 20435 и типа УУК-5 по ГОСТ 15102, или формируют в пакеты с применением поддонов по ГОСТ 9078 и в соответствии с требованиями ГОСТ 26663. Средства скрепления - по ГОСТ 21650. Размеры и масса пакетов - по ГОСТ 24597. При транспортировании мелкими отправками порошок следует упаковывать в дощатые ящики.

4.2.3 Масса брутто деревянного ящика не должна превышать 200 кг, барабана и бочки - 250 кг.

5 Требования безопасности

5.1 Никелевый порошок не горюч, температура самовоспламенения 470°С, пожаро- и взрывобезопасен при концентрации порошка в воздухе не более 220 г/м3.

5.2 Предельно допустимая концентрация аэрозолей никелевого порошка в пересчете на никель в воздухе рабочей зоны производственных помещений 0,05 мг/м3 согласно ГОСТ 12.1.005.

5.3 Никелевый порошок относят к 1-му классу опасности по ГОСТ 12.1.007.

Никелевый порошок раздражает слизистые оболочки верхних дыхательных путей. При попадании в организм человека поражает ткань легких и оказывает общетоксичное действие.

5.4 Работающие с никелевым порошком должны быть обеспечены средствами индивидуальной защиты в соответствии с нормами выдачи специальной одежды, специальной обуви и других средств защиты, утвержденными в установленном порядке.

5.5 В целях коллективной защиты должна быть предусмотрена герметизация оборудования. Производственные и лабораторные помещения, в которых проводят работы с никелевым порошком, должны быть оснащены приточно-вытяжной вентиляцией по ГОСТ 12.4.021, обеспечивающей состояние воздушной среды в соответствии с требованиями ГОСТ 12.1.005.

Контроль за состоянием воздушной среды проводят по ГОСТ 12.1.005 и ГОСТ 12.1.007.

5.6. При погрузке и разгрузке никелевого порошка должны соблюдаться требования безопасности по ГОСТ 12.3.009.

5.7 В воздушной среде и сточных водах в присутствии других веществ или факторов никелевый порошок токсичных соединений не образует.

5.8 Обезвреживанию и уничтожению никелевый порошок не подлежит. Просыпавшийся продукт после сухой и последующей влажной уборки утилизируют в технологических процессах получения или потребления никелевого порошка.

6 Правила приемки

6.1 Никелевый порошок принимают партиями. Партия должна состоять из порошка одной марки, оформленного одним документом о качестве. Масса партии карбонильного никелевого порошка должна быть не более 10 т, электролитического никелевого порошка - 0,5 т.

Документ о качестве должен содержать:

- товарный знак (или наименование предприятия-изготовителя и товарный знак);

- наименование и обозначение продукта;

- номер партии;

- массу партии (брутто и нетто);

- количество грузовых мест в партии;

- результаты анализа химического состава, размера частиц, насыпной плотности или подтверждение о соответствии требованиям настоящего стандарта;

- дату выпуска;

- обозначение настоящего стандарта.

6.2 Для проверки соответствия качества никелевых порошков требованиям настоящего стандарта от партии берут выборку согласно таблице 7.

Насыпная плотность порошков ПНК-1Л6, ПНК-1Л7 и ПНК-1Л8 должна соответствовать требованиям таблицы 5 в каждой емкости, при этом допускается наличие порошка другой насыпной плотности в количестве не более 5 % от массы партии.

Таблица 7

Количество единиц упаковки в партии

Объем выборки, шт.

Количество единиц упаковки в партии

Объем выборки, шт.

От 1 до 5

Все

Св.  60 » 99

9

Св. 5 » 15

5

»    99 » 149

10

  » 15 » 35

7

»  149 » 199

11

  » 35 » 60

8

»  199 » 299

12

Примечание - От каждых последующих 100 единиц упаковки партии отбирают одну единицу упаковки

6.3 Массовую долю в карбонильном никелевом порошке примесей меди, магния, мышьяка, цинка, серы, фосфора, кадмия, висмута, марганца, олова, свинца, сурьмы и кальция определяют по требованию потребителя.

6.4 Размер частиц карбонильных никелевых порошков определяют периодически, один раз в месяц, или по требованию потребителя. Размер частиц порошков ПНК-1Л7 и ПНК-1Л8 определяют в каждой партии.

6.5 При получении неудовлетворительных результатов хотя бы по одному из показателей по нему проводят повторные испытания на удвоенной выборке, взятой от той же партии. Результаты повторных испытаний распространяют на всю партию.

6.6 Для проверки соответствия требованиям стандарта при наличии гарантированной технологии изготовитель может применять статистический приемочный контроль партий никелевого порошка.

7 Методы контроля

7.1 Отбор и подготовка проб

7.1.1. Отбор проб проводят по ГОСТ 23148.

7.1.2 Отобранные точечные пробы тщательно перемешивают, полученную объединенную пробу сокращают квартованием до готовой пробы массой не менее 500 г.

7.1.3 Полученную готовую пробу делят на две равные части. Одну часть подвергают испытаниям, другую упаковывают в плотно закрытые банки и хранят в течение гарантийного срока хранения на случай возникновения разногласий в оценке качества. Каждая банка должна быть снабжена этикеткой, на которой указывают:

- наименование предприятия-изготовителя;

- наименование продукта;

- номер партии;

- дату отбора пробы.

7.2 Массовую долю углерода и серы определяют химическим методом по ГОСТ 13047.2 и ГОСТ 13047.3, а прочих примесей - спектральным методом по ГОСТ 6012.

Массовую долю никеля в карбонильном никелевом порошке определяют по разности 100 % и суммы массовых долей постоянно определяемых примесей (углерод, железо, кобальт и кремний) и массовых долей остальных примесей, взятых по таблице 2.

Массовую долю никеля в электролитическом никелевом порошке определяют по разности 100 % и суммы массовых долей нормируемых примесей (таблица 3).

7.3 Определение кислорода на автоматическом анализаторе

7.3.1 Сущность метода

Метод определения массовой доли кислорода основан на реакции взаимодействия кислорода в пробе с углеродом графитового тигля при температуре расплава в токе инертного газа с образованием оксида углерода (II). Газовая смесь проходит через колонку с нагретым оксидом меди (II), на котором происходит окисление оксида углерода (II) до оксида углерода (IV). Поток газа, содержащий оксид углерода (IV), проходит через детектор теплопроводности. Изменение теплопроводности газовой смеси пропорционально содержанию кислорода в пробе. Газом сравнения является инертный газ, направляемый отдельным потоком в детектор.

7.3.2 Общие требования к методам анализа - по ГОСТ 25086, требования безопасности - по ГОСТ 13047.1.

7.3.3 Аппаратура, реактивы, растворы

Автоматический анализатор для определения содержания кислорода со всеми принадлежностями, обеспечивающий получение метрологических характеристик, не уступающих приведенным в таблице 8.

Таблица 8

В процентах

Массовая доля кислорода

Абсолютные допускаемые расхождения

Нормируемый показатель точности ∆

d

D

От 0,070 до 0,130

0,010

0,020

0,014

Весы лабораторные общего назначения типа ВЛР-200 г или аналогичного типа. Регулятор напряжения на 220 - 300 В.

Стандартные образцы предприятий состава никелевого порошка или государственные стандартные образцы состава стали СГ-10.

Соответствующие анализатору стандартные образцы состава.

Секундомер [4].

Тигли графитовые.

Пресс гидравлический, обеспечивающий получение усилия не менее 1500 Н.

Пресс-форма стальная с пуансоном диаметром 5 - 6 мм, высотой 50 - 60 мм.

Пинцет пластмассовый.

Пинцет медицинский по ГОСТ 21241.

Эксикатор 2-100, 2-140 или 2-250 по ГОСТ 25336.

Аскарит [5].

Магния перхлорат (ангидрон).

Гелий газообразный по ГОСТ 20461 или аргон газообразный по ГОСТ 10157.

Спирт этиловый ректификованный технический по ГОСТ 18300.

Стекловолокно по ГОСТ 10727.

Вата медицинская гигроскопическая по ГОСТ 5556.

Ткань хлопчатобумажная бязевой группы по ГОСТ 29298.

7.3.4 Проведение анализа

7.3.4.1 Включение анализатора, его прогрев, градуировку и выполнение анализа производят согласно инструкции по эксплуатации анализатора.

Определение поправки контрольного опыта проводят в соответствии с инструкцией [6].

Значение контрольного опыта не должно превышать 4·10-4 %.

7.3.4.2 При анализе никелевого порошка на содержание кислорода берут навеску массой в зависимости от модификации газоанализатора в виде порошка или спрессованной таблетки.

По окончании анализа определяют коэффициент экстракции, который не должен превышать значение контрольного опыта.

Массовую долю кислорода в порошке определяют по показаниям цифрового вольтметра в процентах.

За результат анализа принимают среднее арифметическое результатов трех параллельных определений массовой доли кислорода.

7.3.4.3 Абсолютные допускаемые расхождения результатов параллельных определений, характеризующие сходимость метода определения кислорода (d) и результатов двух анализов, характеризующих воспроизводимость метода (D), а также нормируемый показатель точности (∆) не должны превышать значений, приведенных в таблице 8.

7.3.4.4 Контроль точности результатов определения кислорода осуществляют по стандартным образцам с аттестованной характеристикой кислорода и проводят один раз в месяц одновременно с партией проб.

7.4 Допускается при определении массовых долей всех примесей в никелевых порошках применять другие методы анализа, по метрологическим характеристикам не уступающие указанным в стандарте. При разногласиях в оценке качества никелевого порошка должны использоваться методы анализа, указанные в данном стандарте.

7.5 Размер части никелевого карбонильного порошка групп Т и Л определяют на лазерном дифракционном микроанализаторе. Прибор состоит из измерительного блока и компьютера. Измерительный блок содержит гелий-неоновый лазер, необходимую оптическую систему и измерительную ячейку. Навеску порошка массой около 20 г подвергают сухому диспергированию и потоком воздуха подают в измерительный блок, где частицы вновь диспергируются и вводятся в лазерный луч. Результаты измерений выдаются с помощью компьютера в виде графика и таблиц.

7.5.1 Погрешность измерения количества частиц определенного размера должна быть не более 3 % при доверительной вероятности Р = 0,95.

Допускается проводить измерение гранулометрического состава карбонильных порошков групп Т и Л другими методами, обеспечивающими точность измерений в пределах, установленных стандартом.

7.6 Размер частиц порошков ПНЭ-1, ПНЭ-2, ПНК-2К9 и ПНК-2К10 определяют по ГОСТ 18318 на сетках по ГОСТ 6613.

Количество проб для определения размера частиц в порошке должно быть не менее двух. Абсолютное расхождение между параллельными определениями соответствующих фракций не должно превышать 3 %. За величину фракции принимают среднее арифметическое результатов параллельных определений. Рассев пробы порошка проводят в течение 30 мин. Допускается при рассеве порошков использовать набор из двух сит.

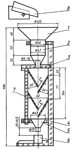
1 - большая приемная воронка; 2 - малая воронка; 3 - объемная крышка; 4 - корпус; 5 - направляющая воронка; 6 - стакан емкостью 25 см3; 7 - система четырех пластинок; 8 - лотковый вибропитатель

Рисунок 1 - Волюмометр

7.7 Насыпную плотность никелевых порошков определяют по ГОСТ 19440. Для определения насыпной плотности трудносыпучих порошков следует применять волюмометр (рисунок 1). Для создания равномерной подачи струи порошка в воронку волюмометра рекомендуется использовать малогабаритный лотковый вибрационный питатель (рисунок 1), установленный на отдельном штативе.

Для легких карбонильных порошков допускается помещать волюмометр на отдельный штатив, не связанный со стаканом. В процессе работы на волюмометре допускается слегка постукивать по его корпусу для стряхивания с пластин застрявшего порошка, не допуская вибрации стакана.

При определении насыпной плотности карбонильных никелевых порошков расхождение результатов параллельных определений не должно быть более для группы Л - 6 %, а для группы Т - 3 %.

8 Транспортирование и хранение

8.1 Упакованный порошок транспортируют всеми видами транспорта в крытых и открытых транспортных средствах в соответствии с правилами перевозки грузов, действующими на данном виде транспорта.

Специализированные и универсальные контейнеры перевозят на открытом подвижном составе в соответствии с техническими условиями погрузки и крепления грузов, утвержденными Министерством путей сообщения.

Допускается транспортировать упакованный порошок в универсальных и специализированных мало-, средне- и крупнотоннажных контейнерах по ГОСТ 15102, ГОСТ 18477, ГОСТ 19667, ГОСТ 20435 и нормативным документам [3], [7].

Допускается транспортировать порошок, упакованный в полиэтиленовую тару вместимостью не более 50 дм3, в крытых вагонах без пакетирования при условии погрузки и выгрузки на подъездных путях грузоотправителя и грузополучателя.

8.2 Порошок должен храниться в упаковке предприятия-потребителя (изготовителя) в закрытых сухих отапливаемых помещениях при температуре воздуха от 0 до 35 °С.

9 Гарантии изготовителя

9.1 Изготовитель гарантирует соответствие качества выпускаемого порошка требованиям настоящего стандарта при соблюдении потребителем условий хранения, установленных данным стандартом.

9.2 Гарантийный срок хранения карбонильного никелевого порошка - 36 мес, электролитического никелевого порошка - 12 мес со дня изготовления.

9.3 По истечении гарантийного срока хранения перед использованием порошок должен быть проверен на соответствие всем требованиям настоящего стандарта.

ПРИЛОЖЕНИЕ А

(информационное)

Библиография

[1] ТУ 6-51-002-89 Изделия хозяйственного назначения из пластических масс

[2] ТУ 48-0404-82-89 Бочки стальные для никеля электролитического, поставляемого на экспорт

[3] ТУ 32-ЦТВР-142-85 Контейнер складной СК-3-1,5

[4] ТУ 25-1819.0021-90 Секундомеры механические «Слава» СДСПР-1-2-000, СДСПР-46-2-000, СОСПР-6А-1-000

[5] ТУ 6-09-4128-88 Аскарит чистый

[6] Инструкция для лаборанта по эксплуатации газоанализатора

[7] ТУ 32-086-014-91 Контейнер специализированный СК-1-3,4 для перевозки сыпучих грузов

Ключевые слова: порошок никелевый, марки, химический состав, насыпная плотность, безопасность, методы контроля, транспортирование, хранение

СОДЕРЖАНИЕ

 




Яндекс цитирования



   Copyright © 2007-2026,  www.tehlit.ru.

[ ѓосты, стандарты, нормативы, инструкции, правила, строительные нормы ]