|
| |
|

|
РОССИЙСКОЕ
НАУЧНО-ТЕХНИЧЕСКОЕ
ОБЩЕСТВО АВТОМОБИЛЬНОГО
ТРАНСПОРТА И
АВТОМОБИЛЬНЫХ ДОРОГ
|
ПОСОБИЕ
ПО ПРОИЗВОДСТВЕННОМУ
КОНТРОЛЮ КАЧЕСТВА ПРИ
СТРОИТЕЛЬСТВЕ
АВТОМОБИЛЬНЫХ ДОРОГ
Москва 1998
Ковалев
П.В., Мансветов А.Б., Свежинская И.М. Пособие по производственному контролю
качества при строительстве автомобильных дорог. М.: НИЦ *Инженер*, 1998.
Целью создания данного пособия является оказание помощи
организациям и подразделениям, осуществляющим контроль качества
дорожно-строительных работ, а также организациям, осуществляющим эти работы.
Все
допуски, применяемые при проведении и приемке дорожно-строительных работ взяты
из действующих нормативных документов (по состоянию на 01.01.97). Пособие носит
справочный характер и не заменяет собой использованные при его составлении
нормативные документы. Пособие содержит требования не только приемочного, но и
операционного и входного контроля, а также некоторые технологические
требования, на которые, по мнению составителей, следует обращать взимание при
промежуточных приемках, авторском надзоре, инженерном сопровождении проекта и
инспекционном контроле.
В
данном пособии намеренно не отражены вопросы контроля подготовительных (в т.ч.
геодезических) работ в дорожном строительстве, контроля строительства мостов и
путепроводов, а так же вопросы контроля качества продукции на предприятиях
строительного комплекса (АБЗ, ЦБЗ, карьеры, ЖБИ и т.д.), так как эти аспекты
требуют более детального рассмотрения в специальной литературе.
Разработчики
- главный инженер Ковалев П.В., начальник отдела Мансветов А.Б, главный
специалист Свежинская И.М Региональной дирекции № 7 «Дороги Центральной России»
«Центравтомагистраль».
Коллектив
разработчиков выражает благодарность МАДИ (ТУ) (проф. Н.В. Горелышев), ГП
«РосдорНИИ» (В.Ю. Гладков), ВГАСА (проф. В.И. Резванцев, доц. В.Г. Еремин),
ФДДР (Н.С. Медведев), «Костромаавтодор» (В.А. Ейст, С.Ю. Павлов, И.В. Сизов),
ДП «Смоленский СоюздорНИИ» (В.И. Мястовский, В.Б. Салтыков), АООТ
Воронежавтодор (Н.И. Паневин) за высказанные предложения и замечания, которые
помогли в работе над «Пособием».

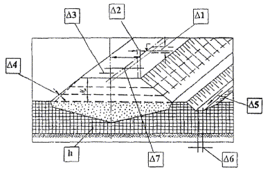
Условные
обозначения:
В/2 -
расстояние между осью и бровкой
земляного полотна;
Н -
недобор грунта;
h
- глубина кюветов.
Рис. 1
Таблица 1.
|
Приемочный контроль
|
Обоснование
|
|
Контролируемые
параметры
|
Допускаемые
отклонения
|
|
Высотные отметки продольного профиля
|
D1: Не более 10 % результатов определений могут иметь отклонения
от проектных значений в пределах до
± 100 (20)* мм, остальные - до ± 50 (10) мм.
|
СНиП 3.06.03-85 Приложение 2
Гл. 5, п. 1.2.2.
|
|
Расстояние между осью и бровкой земляного полотна (В/2)
|
D2: Не более 10 % результатов
определений могут иметь отклонения от проектных значений в пределах до ± 20
см, остальные - до ± 10 см.
|
СНиП 3.06.03-85 Приложение 2
Гл. 5, п. 1.2.3.
|
|
Поперечные уклоны
|
D3: Не более 10 % результатов определений могут иметь отклонения
от проектных значений в пределах от минус 0,015 (минус 0,010) до 0,030
(0,015), остальные - до ± 0,010 (0,005)
|
СНиП 3.06.03-85 Приложение 2
Гл. 5, п. 1.2.4.
|
|
Уменьшение крутизны откосов
|
D4: Не более 10 % результатов определений могут иметь отклонения
от проектных значений в пределах до 20 %, остальные - до 10 %
|
СНиП 3.06.03-85 Приложение 2
Гл. 5, п. 1.2.5.
|
|
Увеличение поперечных размеров кюветов, нагорных и других канав b (по дну)
|
D5: Не более 10 % результатов определений могут иметь отклонения
от проектных значений в пределах до 10 см, остальные - до 5 см.
|
СНиП 3.06.03-85 Приложение 2
Гл. 5, п. 1.3.1.
|
|
Глубина кюветов h (при условии обеспечения стока)
|
D6: Не более 10 % результатов
определений могут иметь отклонения от проектных значений в пределах до ± 10 см, остальные - до ± 5 см.
|
СНиП 3.06.03-85 Приложение 2
Гл. 5, п. 1.3.2.
|
|
Продольные уклоны дренажей
|
D7: Не более 10 % результатов определений могут иметь отклонения
от проектных значений в пределах до ± 0,002, остальные - до ± 0,001.
|
СНиП 3.06.03-85
Приложение 2
Гл. 5, п. 1.3.4.
|
|
Положение оси в плане
|
D8: Предельные отклонения от проектного положения оси ± 0,2 м
|
СНиП 3.02.01-87
таб. 13, п. 7.
|
|
Допускается снижение плотности слоев земляного полотна:
не более 10 % результатов измерений могут иметь отклонения от
проектных значений в пределах до 4 %, а остальные должны быть не ниже
проектных значений.
Разница в показателях плотности на одном поперечнике верхнего
слоя земляного полотна для дорог с усовершенствованными покрытиями не должна
превышать 2 %.
|
СНиП 3.06.03-85
Приложение 2
Гл. 5, п. 1.2.1.
Руководство по сооружению земляного полотна автомобильных дорог
п. 13.27.
|
|
* - данные в скобках относятся к
работам, выполняемым с применением машин с автоматической системой задания
вертикальных отметок.
|
Таблица 2.
|
Операционный контроль
|
Обоснование
|
|
При операционном контроле
качества значения допускаемых отклонений D1
- D8 принимаются по нормам
приемочного контроля, указанным в таблице 1. Измерения проводятся не реже чем через 100 м (в трех
точках на поперечнике). Кроме параметров, указанных выше, при устройстве
земляного полотна контролируются:
|
СНиП 3.06.03-85
п. 4.76.
п. 4.77.
|
|
■ плотность грунта в
основании земляного полотна:
плотность грунта
следует контролировать в каждом технологическом слое по оси земляного полотна
и расстоянии 1,5 - 2 м от бровки, а при ширине слоя более 20 м - также в
промежутках между ними.
|
п. 4.77.
п. 4.78.
|
|
Контроль плотности грунта
необходимо производить на каждой сменной захватке работы уплотняющих машин.
Контроль плотности верхнего слоя
следует производить не реже чем через 50 м.
Контроль плотности следует
производить на глубине, равной 1/3 толщины уплотняемого слоя, но не менее 8
см.
|
|
|
Кроме основного метода (ГОСТ
22733-77) допускается применение экспресс-методов и приборов для
ускоренного контроля плотности. При этом не менее 10 % всех измерений должны
быть произведены стандартным методом с отбором проб.
|
Руководство по сооружению
земляного полотна автомобильных дорог
|
|
■ влажность используемого
грунта;
|
п. 13.28.
|
|
■ ровность поверхности:
-
контролируется нивелированием по оси и бровкам в трех точках на поперечнике
не реже чем 50 м;
|
СНиП 3.06.03-85
п. 4.78.
|
|
■
укрепление откосов (контроль качества укрепительных работ приводится в п. 1.10. настоящего «Пособия»).
|
п. 4.81.
|
Таблица 3.
|
Примечание
|
Обоснование
|
|
Разработка выемок одноковшовыми
экскаваторами должна осуществляться с недобором грунта до проектного
очертания выемки во избежание нарушений естественной структуры грунта в
основании и на откосах выемки. Недобор грунта принимается по таблице 4.
|
Руководство по сооружению
земляного полотна автомобильных дорог
п. 3.72.
|
|
Степень уплотнения грунта
рабочего слоя, определяемая величиной коэффициента уплотнения должна отвечать
требованиям таблицы 5.
|
СНиП 2.05.02-85
таб. 22.
Руководство по сооружению
земляного полотна автомобильных дорог. Приложение 5.
|
Таблица 4.
|
Рабочее
оборудование
|
Допускаемый
недобор грунта, (Н) см, при вместимости ковша экскаватора, м3
|
|
0,5
- 0,65
|
0,8
- 1,25
|
1,5
- 1,6
|
|
Прямая лопата
|
10
|
10
|
15
|
|
Драглайн
|
20
|
25
|
30
|
Таблица 5.
|
Элементы земляного
полотна
|
Глубина
расположения слоя от поверхности покрытия, м
|
Наименьший
коэффициент уплотнения грунта
При
типе дорожных одежд*
|
|
капитальном
|
облегченном
и переходном
|
|
Дорожно-климатические
зоны
|
|
I
|
II, III
|
IV, V
|
I
|
II, III
|
IV, V
|
|
Рабочий слой
|
До 1,5
|
0,98 - 0,96
|
1,0 - 0,98
|
0,98 - 0,95
|
0,95 - 0,93
|
0,98 - 0,95
|
0,95
|
|
Неподтопляемая часть насыпи
|
Св. 1,5 до 6
|
0,95 - 0,93
|
0,95
|
0,95
|
0,93
|
0,95
|
0,90
|
|
Св. 6
|
0,95
|
0,98
|
0,95
|
0,93
|
0,95
|
0,90
|
|
Подтопляемая часть насыпи
|
Св. 1,5 до 6
|
0,96 - 0,95
|
0,98 - 0,95
|
0,95
|
0,95 - 0,93
|
0,95
|
0,95
|
|
Св. 6
|
0,96
|
0,98
|
0,98
|
0,95
|
0,95
|
0,95
|
|
В рабочем слое выемки ниже зоны сезонного промерзания
|
До 1,2
|
-
|
0,95
|
-
|
-
|
0,95 - 0,92
|
-
|
|
До 0,8
|
-
|
-
|
0,95 - 0,92
|
-
|
-
|
0,90
|
|
* - большие значения
коэффициентов уплотнения грунта следует принимать в случаях применения
цементобетонных и цементогрунтовых покрытий и оснований, а также
усовершенствованных облегченных покрытий.
|

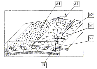
Условные
обозначения:
В/2 - расстояние между осью и бровкой земляного полотна;
h - глубина кюветов.
Рис. 2
Таблица 6.
|
Приемочный контроль
|
Обоснование
|
|
Контролируемые параметры
|
Допускаемые отклонения
|
|
Высотные отметки продольного профиля
|
D1: Не более 10 % результатов определений могут иметь отклонения
от проектных значений в пределах до ± 100 (20)* мм, остальные - до ± 50
(10) мм.
|
СНиП 3.06.03-85
Приложение 2
Гл. 5, п. 1.2.2.
|
|
Расстояние между осью и бровкой земляного полотна 3/2
|
D2: Не более 10 % результатов определений могут иметь отклонения
от проектных значений в пределах до ± 20 см, остальные - до ± 10 см.
|
СНиП 3.06.03-85
Приложение 2
Гл. 5, п. 1.2.3.
|
|
Поперечные уклоны
|
D3: Не более 10 % результатов определений могут иметь отклонения
от проектных значений в пределах от минус 0,015 (минус 0,010) до 0,030 (0,015), остальные - до ± 0,010 (0,005)
|
СНиП 3.06.03-85
Приложение 2
Гл. 5, п. 1.2.4.
|
|
Уменьшение крутизны откосов
|
D4: Не более 10 % результатов определений могут иметь отклонения
от проектных значений в пределах до 20 %, остальные - до 10 %
|
СНиП 3.06.03-85
Приложение 2
Гл. 5, п. 1.2.5.
|
|
Положение оси в плане
|
D8: Предельные отклонения от проектного положения оси ± 0,2
м
|
СНиП 3.02.01-87
таб. 13, п. 7.
|
|
* - данные в скобках относятся к
работам, выполняемым с применением машин с автоматической системой задания
вертикальных отметок.
|
Таблица 7.
|
Приемочный контроль
|
Обоснование
|
|
Контролируемые
параметры
|
Допускаемые
отклонения
|
|
Увеличение поперечных размеров кюветов, нагорных и других канав b (по дну)
|
D5: Не более 10 % результатов определений могут иметь отклонения
от проектных значений в пределах до 10 см, остальные - до 5 см.
|
СНиП 3.06.03-85
Приложение 2
Гл. 5, п. 1.3.1.
|
|
Глубина кюветов h (при условии обеспечения стока)
|
D6: Не более 10 % результатов определений могут иметь отклонения
от проектных значений в пределах до 10 см, остальные - до 5 см.
|
СНиП 3.06.03-85
Приложение 2
Гл. 5, п. 1.3.2.
|
|
Продольные уклоны дренажей
|
D7: Не более 10 % результатов определений могут иметь отклонения
от проектных значений в пределах до ± 0,002, остальные - до ± 0,001.
|
СНиП 3.06.03-85
Приложение 2
Гл. 5., п. 1.3.4.
|
Таблица 8.
|
Операционный контроль
|
Обоснование
|
|
При операционном контроле
качества значения допускаемых отклонений D1
- D8 принимаются по нормам
приемочного контроля, указанным в таблице 6, 7.
Измерения проводятся не реже чем через 100 м (в трех точках на поперечнике).
Кроме параметров, указанных выше, при устройстве земляного полотна
контролируются:
|
СНиП 3.06.03-85
п. 4.76.
п. 4.77.
|
|
■ плотность грунта в
основании земляного полотна:
плотность грунта в
естественном основании выемки следует контролировать по оси земляного полотна и расстоянии 1,5
- 2 м от бровки, а при ширине слоя более 20 м - также в промежутках между
ними.
|
Руководство по сооружению
земляного полотна
автомобильных дорог
п. 13.27
|
|
Контроль плотности грунта
необходимо производить на каждой сменной захватке работы уплотняющих машин.
|
СНиП 3.06.03-85
|
|
■
влажность
используемого грунта (в случае замены грунта):
|
п. 4.77.
п. 4.78.
|
|
-
контроль влажности используемого грунта следует производить, как правило, в
месте его получения (в резерве, карьере) не реже одного раза в смену и
обязательно при выпадении осадков.
|
|
|
■
ровность
поверхности:
-
контролируется нивелированием по оси и бровкам в трех точках на поперечнике
не реже чем через 50 м;
|
п. 4.81.
|
|
■
укрепление откосов
(контроль качества укрепительных работ приводится в п. 1.10. настоящего «Пособия»).
|
|
|
Степень уплотнения крупнообломочных
грунтов, содержащих более 60 % обломочной фракции, следует считать
достаточной, если полная величина осадки поверхности слоя грунта в результате
уплотнения составляет 8 - 10 % первоначальной толщины, для верхнего слоя 10 -
12 %.
|
Руководство по сооружению
земляного полотна автомобильных дорог
п. 13.29.
|
|
Относительную плотность
крупнообломочных грунтов необходимо измерять следующим образом:
|
|
|
■
по коэффициенту
уплотнения отношением плотности сухого грунта, определяемого методом лунок, к
максимальной плотности при стандартном уплотнении в укрупненном цилиндре.
Диаметр укрупненного цилиндра, в котором ведется стандартное уплотнение,
должен быть в 4 - 5 раз больше размера крупной фракции грунта (метод
целесообразен для грунтов с включением обломков не крупнее 60 - 65 мм).
|
|
|
■
методом пробного
динамического нагружения через жесткий штамп диаметром 40 - 50 см путем
сравнения полученной при 20-кратном нагружении ударами интенсивностью 0,5 -
1,05 Па (0,5 кг/см) (груз массой 35 - 45 кг падает с высоты 0,9 - 1,0 м)
остаточной осадки штампа, с допустимой, находящейся в пределах 0,4 - 0,6 % от
его диаметра. Этот метод пригоден для грунтов с максимальным размером крупных
обломков до 100 - 120 мм.
|
Руководство по сооружению
земляного полотна автомобильных дорог
п. 13.29.
|
|
■
методом пробного
нагружения поверхности уплотненной насыпи грузовым автомобилем со спаренными
шинами с нагрузкой на ось не менее 10 т или тяжелым гладковальцовым катком
массой не менее 10 т. При этом насыпь считается уплотненной до требуемой плотности,
если осадка ее поверхности не превышает 3 мм при проходе автомобиля и 5 мм
при проходе гладковальцового катка. Метод можно применять, когда грунт
включает обломки размером более 100 - 120 мм, а также при отсыпке насыпей из
скальных грунтов.
|
|
Таблица 9.
|
Примечание
|
Обоснование
|
|
При взрывных методах разработки
и рыхления недоборы по основанию выемок не допускаются. Недоборы по
поверхности откосов не должны превышать 0,2 м при условии обеспечения их
устойчивости. Величина переборов после окончательной зачистки дна и откосов
выемок не должна быть больше указанной в таблице 10.
|
Руководство по сооружению
земляного полотна автомобильных дорог
п. 11.16.
СНиП 3.02.01-87
п. 3.6., таб. 4, 5.
|
Таблица 10.
|
Разновидность
грунта в соответствии с ГОСТ 25100-95 и модулем трещиноватости
|
Допустимые
величины переборов при разработке, см, при рыхлении способом
|
|
взрывным
способом
|
механическим
способом
|
|
методом
скважинных зарядов
|
методом
шпуровых зарядов
|
|
Прочные и очень прочные при модуле трещиноватости менее 0,1
|
20
|
10
|
5
|
|
Прочие скальные грунты, вечномерзлые грунты
|
40
|
20
|
10
|

Условные обозначения:
В/2 - расстояние между осью и бровкой
земляного полотна;
b - ширина насыпных берм.
Таблица 11.
|
Приемочный контроль
|
Обоснование
|
|
Контролируемые
параметры
|
Допускаемые
отклонения
|
|
Высотные отметки продольного профиля
|
D1: Не более 10 % результатов определений могут иметь отклонения
от проектных значений в пределах до ± 100 (20)* мм, остальные - до ± 50 (10)
мм.
|
СНиП 3.06.03-85
Приложение 2
Гл. 5, п. 1.2.2.
|
|
Расстояние между осью и бровкой земляного полотна В/2
|
D2: Не более 10 % результатов определений могут иметь отклонения
от проектных значений в пределах до ± 20 см, остальные - до ± 10 см.
|
СНиП 3.06.03-85
Приложение 2
Гл. 5, п. 1.2.3.
|
|
Поперечные уклоны
|
D3: Не более 10 % результатов определений могут иметь отклонения
от проектных значений в пределах от минус 0,015 (минус 0,010) до 0,030
(0,015), остальные - до ± 0,010 (0,005)
|
СНиП 3.06.03-85
Приложение 2
Гл. 5, п. 1.2.4.
|
|
Уменьшение крутизны откосов
|
D4: Не более 10 % результатов определений могут иметь отклонения
от проектных значений в пределах до 20 %, остальные - до 10 %
|
СНиП 3.06.03-85
Приложение 2
Гл. 5, п. 1.2.5.
|
|
Положение оси в плане
|
D5: Предельные отклонения от проектного положения оси ± 0,2 м
|
СНиП 3.02.01-87
таб. 13, п. 7.
|
|
Ширина насыпных берм b
|
D6: Не более 10 % результатов определений могут иметь отклонения
от проектных значений в пределах до ± 30 см, остальные - до ± 15 см.
|
СНиП 3.06.03-85
Приложение 2
Гл. 5, п. 1.3.5.
|
|
Продольные уклоны дренажей:
Не более 10 % результатов определений могут иметь отклонения от
проектных значений в пределах до ± 0,002, остальные - до ± 0,001.
|
СНиП 3.06.03-85
Приложение 2
Гл. 5, п. 1.3.4.
|
|
При приемке готового земляного полотна контрольную проверку
производят не менее чем в трех местах на каждом километре дороги и
дополнительно над трубами и конусами мостов не мене чем на 1/3 от их общего
числа путем отбора из специальных буровых скважин или шурфов по три образца с
глубины 1 - 1,5 м. Отбор образцов производится режущими кольцами.
Определение вида, плотности (коэффициент уплотнения), влажности
грунта определяется в лаборатории стандартными методами.
|
Руководство по сооружению земляного полотна автомобильных дорог
п. 13.64.
|
|
Допускается снижение плотности слоев земляного полотна:
не более 10 % результатов измерений могут иметь отклонения от
проектных значений в пределах до 4 %, а остальные должны быть не ниже
проектных значений.
Разница в показателях плотности на одном поперечнике верхнего
слоя земляного полотна для дорог с усовершенствованными покрытиями не должна
превышать 2 %.
|
СНиП 3.06.03-85
Приложение 2
Гл. 5, п. 1.2.1.
Руководство по сооружению земляного полотна автомобильных дорог
п. 13.27.
|
|
* - данные в скобках относятся к
работам, выполняемым с применением машин с автоматической системой задания
вертикальных отметок.
|
Таблица 12.
|
Операционный контроль
|
Обоснование
|
|
При операционном контроле
качества значения допускаемых отклонений D1
- D5, отклонения продольных уклонов
дренажей и снижение плотности земляного полотна принимаются по нормам
приемочного контроля, указанным в таблице 11. Измерения проводятся не реже чем через 100 м (в
трех точках на поперечнике).
|
СНиП 3.06.03-85
п. 4.76.
п. 4.77.
|
|
Кроме параметров, указанных
выше, при устройстве земляного полотна контролируются:
|
|
|
■ толщину снимаемого плодородного
слоя грунта;
|
|
|
■ толщину отсыпаемых слоев;
|
|
|
■ однородность грунта в слоях
насыпи;
|
|
|
■ плотность грунта в слоях насыпи
и в основании земляного полотна:
|
|
|
-
плотность грунта следует контролировать в каждом технологическом слое по оси
земляного полотна и расстоянии 1,5 - 2 м от бровки, а при ширине слоя более
20 м - также в промежутках между ними.
|
|
|
Контроль плотности грунта
необходимо производить на каждой сменной захватке работы уплотняющих машин,
но не реже чем через 200 м при высоте насыпи до 3 м и не реже чем через 50 м
при высоте насыпи более 3 м.
Контроль плотности верхнего слоя
следует производить не реже чем через 50 м.
|
|
|
Дополнительный контроль
плотности необходимо производить в каждом слое засыпки пазух труб, над
трубами, в конусах и в местах сопряжения с мостами.
Контроль плотности следует
производить на глубине, равной 1/3 толщины уплотняемого слоя, но не менее 8
см. Кроме основного метода (ГОСТ
22733-77) допускается применение экспресс-методов и приборов для
ускоренного контроля плотности. При этом не менее 10 % всех измерений должны
быть произведены стандартным методом с отбором проб.
|
Руководство по сооружению
земляного полотна автомобильных дорог
п. 13.28.
|
|
■ влажность используемого грунта:
|
|
|
-
контроль влажности используемого грунта следует производить, как правило, в
месте его получения (в резерве, карьере) не реже одного раза в смену и
обязательно при выпадении осадков.
|
СНиП 3.06.03-85
п. 4.78.
|
|
■ ровность поверхности:
-
контролируется нивелированием по оси и бровкам в трех точках на поперечнике
не реже чем 50 м;
|
п.4.81.
|
|
■
укрепление откосов
(контроль качества укрепительных работ приводится в п. 1.10. настоящего «Пособия»).
|
|
Таблица 13.
|
Примечание
|
Обоснование
|
|
Степень уплотнения грунта
рабочего слоя, определяемая величиной коэффициента уплотнения, должна
отвечать требованиям таблицы 14.
|
СНиП 2.05.02-85
п. 6.15., таб. 22
|
Таблица 14.
|
Элементы земляного
полотна
|
Глубина
расположения слоя от поверхности покрытия, м
|
Наименьший
коэффициент уплотнения грунта
При
типе дорожных одежд*
|
|
капитальном
|
облегченном
и переходном
|
|
Дорожно-климатические
зоны
|
|
I
|
II, III
|
IV, V
|
I
|
II, III
|
IV, V
|
|
Рабочий слой
|
До 1,5
|
0,98 - 0,96
|
1,0 - 0,98
|
0,98 - 0,95
|
0,95 - 0,93
|
0,98 - 0,95
|
0,95
|
|
Неподтопляемая часть насыпи
|
Св. 1,5 до 6
|
0,95 - 0,93
|
0,95
|
0,95
|
0,93
|
0,95
|
0,90
|
|
Св. 6
|
0,95
|
0,98
|
0,95
|
0,93
|
0,95
|
0,90
|
|
Подтопляемая часть насыпи
|
Св. 1,5 до 6
|
0,96 - 0,95
|
0,98 - 0,95
|
0,95
|
0,95 - 0,93
|
0,95
|
0,95
|
|
Св. 6
|
0,96
|
0,98
|
0,98
|
0,95
|
0,95
|
0,95
|
|
В рабочем слое выемки ниже зоны сезонного промерзания
|
До 1,2
|
-
|
0,95
|
-
|
-
|
0,95 - 0,92
|
-
|
|
До 0,8
|
-
|
-
|
0,95 - 0,92
|
-
|
-
|
0,90
|
|
* - большие значения
коэффициентов уплотнения грунта следует принимать в случаях применения
цементобетонных и цементогрунтовых покрытий и оснований, а также
усовершенствованных облегченных покрытий, меньшие значения - во всех
остальных случаях.
|

Условные обозначения:
В/2 - расстояние между осью и бровкой
земляного полотна;
Н - высота верхней части насыпи.
Рис. 4
Таблица 15.
|
Приемочный контроль
|
Обоснование
|
|
Контролируемые
параметры
|
Допускаемые
отклонения
|
|
Высотные отметки продольного профиля
|
D1: Не более 10 % результатов определений могут иметь отклонения
от проектных значений в пределах до ± 100 (20)* мм, остальные - до ± 50 (10)
мм.
|
СНиП 3.06.03-85
Приложение 2
Гл. 5, п. 1.2.2.
|
|
Расстояние между осью и бровкой земляного полотна В/2
|
D2: Не более 10 % результатов определений могут иметь отклонения
от проектных значений в пределах до ± 20 см, остальные - до ± 10 см.
|
СНиП 3.06.03-85
Приложение 2
Гл. 5, п. 1.2.3.
|
|
Поперечные уклоны
|
D3: Не более 10 % результатов определений могут иметь отклонения
от проектных значений в пределах от минус 0,015 (минус 0,010) до 0,030 (0,015),
остальные - до ± 0,010 (0,005).
|
СНиП 3.06.03-85
Приложение 2
Гл. 5, п. 1.2.4.
|
|
Уменьшение крутизны откосов
|
D4: Не более 10 % результатов определений могут иметь отклонения
от проектных значений в пределах до 20 %, остальные - до 10 %.
|
СНиП 3.06.03-85
Приложение 2
Гл. 5, п. 1.2.5.
|
|
Положение оси в плане
|
D5: Предельные отклонения от проектного положения оси ± 0,2 м.
|
СНиП 3.02.01-87
таб. 13, п. 7.
|
|
При приемке готового земляного полотна контрольную проверку
производят не менее чем в трех местах на каждом километре дороги и
дополнительно над трубами и конусами мостов не мене чем на 1/3 от их общего
числа путем отбора из специальных буровых скважин или шурфов по три образца с глубины 1 - 1,5 м. Вид,
плотность (коэффициент уплотнения), влажность грунта определяется в
лаборатории стандартными методами.
|
Руководство по сооружению земляного полотна автомобильных дорог
п. 13.64.
|
|
* - данные в скобках относятся к
работам, выполняемым с применением машин с автоматической системой задания
вертикальных отметок.
|
Таблица 16.
|
Операционный контроль
|
Обоснование
|
|
При операционном контроле
качества значения допускаемых отклонений D1
- D5 принимаются по нормам
приемочного контроля, указанным в таблице 15. Измерения проводятся не реже чем через 100 м (в
трех точках на поперечнике).
Кроме параметров, указанных выше,
при устройстве земляного полотна контролируются:
■ толщину снимаемого плодородного
слоя грунта;
■ толщину отсыпаемых слоев;
■ однородность грунта в слоях
насыпи;
■ плотность грунта в слоях насыпи
и в основании земляного полотна:
-
плотность грунта следует контролировать в каждом технологическом слое по оси
земляного полотна и расстоянии 1,5 - 2 м от бровки, а при ширине слоя более
20 м - также в промежутках между ними.
Контроль плотности грунта
необходимо производить на каждой сменной захватке работы уплотняющих машин,
но не реже чем через 200 м при высоте насыпи до 3 м и не реже чем через 50 м
при высоте насыпи более 3 м.
Контроль плотности верхнего слоя
следует производить не реже чем через 50 м.
Дополнительный контроль
плотности необходимо производить в каждом слое засыпки пазух труб, над
трубами, в конусах и в местах сопряжения с мостами.
|
СНиП 3.06.03-85
п. 4.76.
п. 4.77.
|
|
Контроль плотности следует
производить на глубине, равной 1/3 толщины уплотняемого слоя, но не менее 8
см.
|
СНиП 3.06.03-85
|
|
■ влажность используемого грунта:
-
контроль влажности используемого грунта следует производить, как правило, в
месте его получения (в резерве, карьере) не реже одного раза в смену и
обязательно при выпадении осадков.
■ ровность поверхности:
-
контролируется нивелированием по оси и бровкам в трех точках на поперечнике
не реже чем 50 м;
■
укрепление откосов
(контроль качества укрепительных работ приводится в п. 1.10. настоящего «Пособия»)
|
п. 4.78.
п. 4.81.
|
Таблиц 17
|
Операционный контроль
|
Обоснование
|
|
Степень уплотнения
крупнообломочных грунтов, содержащих более 60 % обломочной фракции, следует
считать достаточной, если полная величина осадки поверхности слоя грунта в
результате уплотнения составляет 8 - 10 % первоначальной толщины, для
верхнего слоя 10 - 12 %.
Относительную плотность
крупнообломочных грунтов необходимо измерять следующим образом:
■
по коэффициенту уплотнения
отношением плотности сухого грунта, определяемого методом лунок, к
максимальной плотности при стандартном уплотнении в укрупненном цилиндре.
Диаметр укрупненного цилиндра, в котором ведется стандартное уплотнение,
должен быть в 4 - 5 раз больше размера крупной фракции грунта (метод
целесообразен для грунтов с включением обломков не крупнее 60 - 65 мм);
■
методом пробного
динамического нагружения через жесткий штамп диаметром 40 - 50 см путем
сравнения полученной при 20-кратном нагружении ударами интенсивностью 0,5 -
1,05 Па (0,5 кг/см) (груз массой 35 - 45 кг падает с высоты 0,9 - 1,0 м)
остаточной осадки штампа, с допустимой, находящейся в пределах 0,4 - 0,6 % от
его диаметра. Этот метод пригоден для грунтов с максимальным размером крупных
обломков до 100 - 120 мм;
■
методом пробного
нагружения поверхности уплотненной насыпи грузовым автомобилем со спаренными
шинами с нагрузкой на ось не менее 10 т или тяжелым гладковальцовым катком
массой не менее 10 т. При этом насыпь считается уплотненной до требуемой
плотности, если осадка ее поверхности не превышает 3 мм при проходе
автомобиля и 5 мм при проходе гладковальцового катка. Метод можно применять,
когда грунт включает обломки размером более 100 - 120 мм, а также при отсыпке
насыпей из скальных грунтов.
|
Руководство по сооружению
земляного полотна автомобильных дорог
п. 13.29.
|
Таблица 18.
|
Примечание
|
Обоснование
|
|
Уплотнение крупнообломочных
грунтов, прочность которых составляет 50 кг/см, следует осуществлять в два
этапа: на первом - решетчатыми катками, на втором - катками на пневматических
шинах массой не менее 25 - 30 тонн.
|
Руководство по сооружению
земляного полотна автомобильных дорог
п. 11.25.
|
|
Верхняя часть насыпей Н должна отсыпаться до 1 м по высоте
из крупнообломочных грунтов, включающих фракции не крупнее 250 мм (при
уплотнении насыпи катками на пневматических шинах) (рис. 4).
|
Руководство по сооружению
земляного полотна автомобильных дорог
п. 11.23.
|
|
Допускается максимальный размер
фракций грунта, используемого для остальной части насыпи не более 2/3 толщины
уплотняемого слоя.
|
Руководство по сооружению
земляного полотна автомобильных дорог
п. 11.23.
|
Таблица 19.
|
Примечание
|
Обоснование
|
|
До начала земляных работ на
объектах, намеченных к строительству в зимних условиях, кроме общих
подготовительных работ, должны быть проведены следующие специальные
подготовительные работы:
■ установка снегонезаносимых
разбивочных знаков;
■ обеспечение водоотвода на участках
производства работ на трассе;
■
подготовка
подъездных путей и средств защиты их от снежных заносов;
■
предохранение от
промерзания участков, намеченных к разработке, а также участков с пучинистыми
основаниями;
■ обеспечение освещения мест
разработки и укладки грунта;
■ подготовка помещений для обогрева рабочих.
|
Руководство по сооружению
земляного полотна автомобильных дорог
п. 9.4.
|
|
Грунт предохраняют от
промерзания предварительным рыхлением поверхности до наступления зимнего
периода, засолением реагентами, снижающими температуру смерзания, укрытием
поверхности грунта теплоизоляционными материалами, удержанием снежного
покрова. Можно использовать в качестве утепляющих и снегоудерживающих средств
густой кустарник, мощный слой дерна, высокий травостой, имеющийся на
поверхности.
|
Руководство по сооружению
земляного полотна автомобильных дорог
п. 9.7.
|

Условные
обозначения:
Н -
высота верхней части насыпи;
L
- расстояние от укладываемого грунта до
поверхности откоса.
Рис. 5
Таблица 20.
|
Приемочный контроль
|
Обоснование
|
|
При приемочном контроле значения допускаемых отклонений D1 - D8 принимаются по нормам приемочного контроля при положительных
температурах (п.п. 1.3., 1.4. данного «Пособия»).
|
|
|
При наступлении весеннего потепления необходимо установить
тщательнее наблюдение за возведенными насыпями, а появляющиеся на них
деформации немедленно ликвидировать. Трещины, возникающие в насыпи при
неравномерной ее осадке, следует расчищать на возможно большую глубину и
заполнять с тщательной утрамбовкой тем же грунтом, из которого возведена
насыпь. Весной, после оттаивания мерзлого грунта на всю глубину промерзания,
требуется проверить качество всех возведенных зимой насыпей. Необходимо
проверить отсутствие на них оползней, сплывов и т.п. Возобновление работ
допускается только на основании акта.
|
Руководство по сооружению земляного полотна автомобильных дорог
п. 13.48.
|
Таблица 21.
|
Операционный контроль
|
Обоснование
|
|
При операционном контроле
качества значения допускаемых отклонений D1 - D8 и снижение плотности земляного полотна принимаются по
нормам приемочного контроля указанным в таблице 20. Измерения проводятся не реже чем через 100 м (в
трех точках на поперечнике).
Кроме параметров, указанных
выше, при устройстве земляного полотна контролируют:
|
п. 4.76.
п. 4.77.
|
|
■ толщину отсыпаемых слоев;
|
|
|
■ однородность грунта в слоях
насыпи;
|
|
|
■ плотность грунта в слоях насыпи:
- плотность грунта
следует контролировать в каждом технологическом слое по оси земляного полотна
и расстоянии 1,5 - 2 м от бровки, а при ширине слоя более 20 м - также в
промежутках между ними.
Контроль плотности
грунта необходимо производить на каждой сменной захватке работы уплотняющих
машин, но не реже чем через 200 м при высоте насыпи до 3 м и не реже чем
через 50 м при высоте насыпи более 3 м.
Контроль плотности
верхнего слоя следует производить не реже чем через 50 м.
Дополнительный
контроль плотности необходимо производить в каждом слое засыпки пазух труб,
над трубами, в конусах и в местах сопряжения с мостами.
Контроль плотности
следует производить на глубине, равной 1/3 толщины уплотняемого слоя, но не
менее 8 см.
|
|
|
Кроме основного
метода (ГОСТ
22733-77) допускается применение экспресс-методов и приборов для
ускоренного контроля плотности. При этом не менее 10 % всех измерений должны
быть произведены стандартным методом с отбором проб.
|
Руководство по сооружению
земляного полотна автомобильных дорог
п. 13.28.
|
|
■ влажность используемого грунта:
-
контроль влажности используемого грунта следует производить, как правило, в
месте его получения (в резерве, карьере) не реже одного раза в смену и
обязательно при выпадении осадков.
|
СНиП 3.06.03-85
п. 4.78.
|
|
■ ровность поверхности:
-
контролируется нивелированием по оси и бровкам в трех точках на поперечнике
не реже чем через 50 м.
|
п. 4.81.
|
|
В составе операционного контроля
дополнительно определяют относительное содержание мерзлых комьев в грунте.
Отношение массы мерзлых комьев к массе всей пробы определяют на пробе
размером 0,5 ´ 0,5 ´ 0,3 м. Весь грунт пробы
просеивают сквозь сито размером отверстий 25 мм, из остатков на сите вручную
удаляют комья талого грунта. Контрольные пробы отбирают из каждых 500 м
грунта, уложенного в тело насыпи, но не реже 1 раза в смену. Размеры наиболее
крупных комьев определяют непосредственным измерением.
|
Руководство по сооружению
земляного полотна автомобильных дорог
п. 13.45.
|
|
Качество уплотнения проверяют
только до замерзания слоя. Плотность грунтов с содержанием более 10 % мерзлых
комьев проверяют методом лунок с использованием песчаного или жидкостного
(балонный плотномер) эквивалента-заполнителя, методом парафинирования или
методом выбуривания керна для мерзлых грунтов.
|
Руководство по сооружению
земляного полотна автомобильных дорог
п. 13.46.
|
|
При операционном контроле
лабораторные посты должны следить за соблюдением правил производства работ и
дополнительно к контролю свойств грунтов и контролю качества уплотнения
грунтов фиксировать следующие данные:
■
процентное
содержание мерзлого грунта и среднюю крупность мерзлых комьев;
■ степень уплотнения;
■ температуру воздуха и силу ветра
во время производства работ;
■ время перерыва в работе;
■ часы снегопада;
■ методы удаления снега и льда с
насыпи;
■ попикетные отметки части насыпи,
возведенной за смену.
|
Руководство по сооружению
земляного полотна автомобильных дорог
п. 13.47.
|
Таблица 22.
|
Примечание
|
Обоснование
|
|
В зимний период целесообразно
выполнять следующие работы:
■ возведение насыпей из
крупнообломочных и песчаных грунтов;
■
возведение насыпей
из глинистых грунтов при влажности, близкой к оптимальной на устойчивых
основаниях;
■ устройство насыпей на болотах;
■ выторфовывание.
|
Руководство по сооружению
земляного полотна автомобильных дорог
п. 9.1.
|
|
Основания под насыпи должны быть
подготовлены (включая снятие плодородного слоя почвы) в летнее время, а перед
началом работ тщательно очищены от снега и льда. В случае возведения насыпи
на сильно и чрезмерно пучинистых грунтах в районах с глубиной промерзания
более 1,5 м нижние слои насыпей (1,2 - 1,5 м) следует устраивать до
наступления устойчивых отрицательных температур.
|
Руководство по сооружению
земляного полотна автомобильных дорог
п. 9.5.
|
|
В летний период необходимо
подготовить поверхность сосредоточенных резервов и грунтовых карьеров, к
разработке в зимнее время. Подготовка заключается в устройстве подъездных
дорог, расчистке поверхности, устройстве входных забоев и пионерных траншей,
а также устройстве отепляющих слоев или использовании химических реагентов
для предотвращения промерзания грунта. Способы защиты от промерзания должны
быть указаны в ППР.
|
Руководство по сооружению
земляного полотна автомобильных дорог
п. 9.6.
|
|
Для обеспечения необходимого
уплотнения грунта до его смерзания промежуток времени от выемки грунта в
карьере до момента его окончательного уплотнения в насыпи не должен
превышать:
■ 2 - 3 ч при температуре воздуха
до -10 °С;
■ 1 - 2 ч при температуре воздуха
от -10 °С до -20 °С;
■ 1 ч при температуре воздуха ниже
-20 °С;
При сильном ветре (более 3 - 4
баллов) эти промежутки времени должны быть уменьшены в два раза.
|
Руководство по сооружению
земляного полотна автомобильных дорог
п. 9.34.
|
|
Значение L при укладке мерзлых комьев
грунта должно быть не менее 1 м (рис. 5).
|
СНиП 3.06.03-85
п. 4.41.
|
|
Размер мерзлых комьев при
возведении насыпей не должен превышать 30 см при уплотнении грунтов
решетчатыми катками или трамбующими машинами и 15 см при уплотнении грунтов
катками на пневматических шинах и вибрационными.
|
СНиП 3.06.03-85
п. 4.41.
|
|
Общее количество мерзлого грунта
не должно превышать 30 % общего объема грунта, укладываемого в насыпь, при
уплотнении трамбованием и 20 % при уплотнении укаткой. Мерзлый грунт должен
равномерно распределяться в теле насыпи.
|
СНиП 3.06.03-85
п. 4.41.
|
|
Высоту насыпи, возводимой в
зимнее время из глинистых и песчаных грунтов с включением мерзлых комьев,
необходимо увеличить на 3 % от толщины слоя зимней отсыпки. Более
дифференцировано запас на осадку подобной насыпи при оттаивании можно
определить расчетом в соответствии с методикой, приведенной в приложении 7
«Руководства по сооружению земляного полотна автомобильных дорог».
Уплотнение грунтов до требуемой
плотности следует производить до их замерзания.
|
СНиП 3.06.03-85
п. 4.42.
Руководство по сооружению
земляного полотна автомобильных дорог
п. 9.43.
СНиП 3.06.03-85
п. 4.43.
|
|
Для дорог с усовершенствованными
типами покрытий верхнюю часть насыпи Н
на высоту не менее 1 м следует возводить из талого грунта с отсыпкой и
уплотнением его до установленных норм, как правило в теплое время года.
Отсыпка грунта должна
производиться только после оттаивания той части насыпи, которая была
возведена зимой. Только талый грунт применяют для устройства насыпей за
задними гранями устоев и конусов, а также при засыпке водопропускных труб
(рис. 5).
|
Руководство по сооружению
земляного полотна автомобильных дорог
п. 9.37.
|
Таблица 23.
|
Приемочный контроль
|
Обоснование
|
|
При приемочном контроле значения допускаемых отклонений D1 - D8 принимаются по нормам приемочного контроля при положительных
температурах (п.п. 1.1., 1.2. данного «Пособия»).
|
|
|
При наступлении весеннего потепления необходимо установить
тщательное наблюдение за разработанными зимой выемками, а появляющиеся на них
деформации немедленно ликвидировать. Весной, после оттаивания мерзлого грунта
на всю глубину промерзания, требуется проверить качество всех выемок. Необходимо
проверить отсутствие на них оползней, сплывов и т.п. Возобновление работ
допускается только на основании акта.
|
Руководство по сооружению земляного полотна автомобильных дорог
п. 13.48.
|
Таблица 24.
|
Операционный контроль
|
Обоснование
|
|
При операционном контроле
качества значения допускаемых отклонений D1
- D8 принимаются по нормам
приемочного контроля, указанным в таблице 23. Измерения проводятся не реже чем через 100 м (в
трех точках на поперечнике).
|
СНиП 3.06.03-85
п. 4.76.
п. 4.77.
|
|
Кроме параметров, указанных
выше, при устройстве земляного полотна контролируются:
|
п. 4.77.
|
|
■ плотность грунта в основании
земляного полотна:
- плотность грунта
следует контролировать в каждом технологическом слое по оси земляного полотна
и расстоянии 1,5 - 2 м от бровки, а при ширине слоя более 20 м - также в
промежутках между ними.
Контроль плотности
грунта необходимо производить на каждой сменной захватке работы уплотняющих
машин.
Контроль плотности
верхнего слоя следует производить не реже чем через 50 м.
Контроль плотности
следует производить на глубине, равной 1/3 толщины уплотняемого слоя, но не
менее 8 см. Кроме основного метода (ГОСТ
22733-77) допускается применение экспресс-методов и приборов для
ускоренного контроля плотности. При этом не менее 10 % всех измерений должны
быть произведены стандартным методом с отбором проб.
|
Руководство по сооружению
земляного полотна автомобильных дорог
п. 13.28.
|
|
■ влажность используемого грунта;
|
|
|
■ ровность поверхности:
-
контролируется нивелированием по оси и бровкам в трех точках на поперечнике
не реже чем через 50 м.
|
СНиП 3.06.03-85
п. 4.77.
п. 4.81.
|
Таблица 25.
|
Примечание
|
Обоснование
|
|
В зимний период целесообразно
выполнять следующие работы:
■
разработку выемок и
резервов в необводненных песках, гравийно-галечных и скальных грунтах;
■
разработку в
непереувлажненных глинистых грунтах выемок глубиной более 3 м.
|
Руководство по сооружению
земляного полотна автомобильных дорог
п. 9.1.
|
|
При разработке выемок или
карьеров в зимних условиях необходимо очищать поверхность экскавации от
снега, льда, кустарника, растительного слоя, отепляющих материалов не более
чем на одну смену вперед и в дальнейшем по мере продвижения забоя
непосредственно перед началом разработки грунта. Площадь очистки определяется
суточной производительностью землеройной машины при температуре до -10 °С, а
при более низких температурах - ее сменной производительностью.
Дно и откосы выемок следует
планировать после оттаивания грунта.
|
Руководство по сооружению
земляного полотна автомобильных дорог
п. 9.15.
|
|
При промерзании грунта на глубину
более 20 - 30 см его разработка возможна только после подготовки поверхности
одним из следующих способов: предохранением грунта от промерзания, рыхлением
мерзлого грунта, оттаиванием мерзлого грунта.
|
Руководство по сооружению
земляного полотна автомобильных дорог
п. 9.18.
|
|
Разработка выемок, расположенных
на уклоне должна начинаться с низовой стороны. Отдельные забои располагаются
с обеспечением постоянного водоотвода от них. При наличии в откосах выемок
грунтовых вод должен быть обеспечен отвод, осуществляемый при сильных морозах
по закрытым утепленным лоткам на расстояние, исключающее образование наледей
в рабочей зоне.
|
Руководство по сооружению
земляного полотна автомобильных дорог
п. 9.32
|

Условные обозначения:
Нн - толщина насыпи, сооружаемой без
выторфовывания или частичным выторфовыванием;
h - толщина остающегося слоя торфа с учетом его уплотнения.
Рис. 6
Таблиц 26.
|
Приемочный контроль
|
Обоснование
|
|
Контролируемые
параметры
|
Допускаемые
отклонения
|
|
Высотные отметки продольного профиля
|
D1: Не более 10 % результатов определений могут иметь отклонения
от проектных значений в пределах до ± 100 (20)* мм, остальные - до ± 50 (10)
мм.
|
СНиП 3.06.03-85
Приложение 2
Гл. 5, п. 1.2.2.
|
|
Расстояние между осью и бровкой земляного полотна
|
D2: Не более 10 % результатов определений могут иметь отклонения
от проектных значений в пределах до ± 20 см, остальные - до ± 10 см.
|
СНиП 3.06.03-85
Приложение 2
Гл. 5, п. 1.2.3.
|
|
Поперечные уклоны
|
D3: Не более 10 % результатов определений могут иметь отклонения
от проектных значений в пределах от минус 0,015 (минус 0,010) до 0,030
(0,015), остальные - до ± 0,010 (0,005).
|
СНиП 3.06.03-85
Приложение 2
Гл. 5, п. 1.2.4.
|
|
Уменьшение крутизны откосов
|
D4: Не более 10 % результатов определений могут иметь отклонения
от проектных значений в пределах до 20 %, остальные - до 10 %.
|
СНиП 3.06.03-85
Приложение 2
Гл. 5, п. 1.2.5.
|
|
Продольные уклоны дренажей
|
D5: Не более 10 % результатов определений могут иметь отклонения
от проектных значений в пределах до ± 0,002, остальные - до ± 0,001.
|
СНиП 3.06.03-85
Приложение 2
Гл. 5, п. 1.3.4.
|
|
Поперечные размеры дренажей
|
D6: Не более 10 % результатов определений могут иметь отклонения
от проектных значений в пределах до ± 10 см, остальные - до ± 5 см.
|
СНиП 3.06. 03-85
Приложение 2
Гл. 5, п. 1.3.3.
|
|
Положение оси в плане
|
D7: Предельные отклонения от проектного положения оси ± 0,2 м.
|
СНиП 3.02.01-87
таб. 13, п. 7.
|
|
При приемке готового земляного полотна контрольную проверку
производят не менее чем в трех местах на каждом километре дороги и
дополнительно над трубами и конусами мостов не менее чем на 1/3 от их общего
числа путем отбора из специальных буровых скважин или шурфов по три образца с
глубины 1 - 1,5 м. Отбор образцов производится режущими кольцами.
Вид, плотность (коэффициент уплотнения), влажность грунта
определяется в лаборатории стандартными методами.
|
Руководство по сооружению земляного полотна автомобильных дорог
п. 13.64.
|
|
Допускается снижение плотности слоев земляного полотна: не более
10 % результатов измерений могут иметь отклонения от проектных значений в
пределах до 4 %, а остальные должны быть не ниже проектных значений. Разница
в показателях плотности на одном поперечнике верхнего слоя земляного полотна
для дорог с усовершенствованными покрытиями не должна превышать 2 %.
|
СНиП 3.06.03-85
Приложение 2
Гл. 5, п. 1.2.1.
Руководство по сооружению земляного полотна автомобильных дорог
п. 13.27
|
|
* данные в скобках относятся к
работам, выполняемым с применением машин c автоматической системой задания вертикальных отметок.
|
Таблица 27
|
Операционный контроль
|
Обоснование
|
|
При операционном контроле
качества значения допускаемых отклонений D1
- D7 и снижение плотности земляного
полотна принимаются по нормам приемочного контроля, указанным в таблице 26. Измерения проводятся не реже чем
через 100 м (в трех точках на поперечнике).
Кроме параметров, указанных
выше, при устройстве земляного полотна контролируются:
■
толщину отсыпаемых
слоев;
■
однородность грунта
в слоях насыпи;
■
плотность грунта в
слоях насыпи:
-
плотность грунта следует контролировать в каждом технологическом слое по оси
земляного полотна и расстоянии 1,5 - 2 м от бровки, а при ширине слоя более
20 м - также в промежутках между ними.
Контроль
плотности грунта необходимо производить на каждой сменной захватке работы уплотняющих
машин, но не реже чем через 200 м при высоте насыпи до 3 м и не реже чем
через 50 м при высоте насыпи более 3 м.
Контроль
плотности верхнего слоя следует производить не реже чем через 50 м.
Дополнительный
контроль плотности необходимо производить в каждом слое засыпки пазух труб,
над трубами, в конусах и в местах сопряжения с мостами.
|
СНиП 3.06.03-85
п. 4.76.
п. 4.77.
|
|
Контроль
плотности следует производить на глубине, равной 1/3 толщины уплотняемого
слоя, но не менее 8 см.
Кроме
основного метода (ГОСТ
22733-77) допускается применение экспресс-методов и приборов для
ускоренного контроля плотности. При этом не менее 10 % всех измерений должны
быть произведены стандартным методом с отбором проб.
|
Руководство по сооружению
земляного полотна автомобильных дорог
п. 13.28.
|
|
■
влажность
используемого грунта:
-
контроль влажности используемого грунта следует производить, как правило, в
месте его получения не реже одного раза в смену и обязательно при выпадении
осадков;
|
СНиП 3.06.03-85
п. 4.78.
|
|
■
ровность
поверхности:
-
контролируется нивелированием по оси и бровкам в трех точках на поперечнике
не реже чем 50 м;
■
укрепление откосов
(контроль качества укрепительных работ приводится в п. 1.10. настоящего «Пособия»);
|
п. 4.81.
|
|
■
полноту
выторфовывания;
■
режим отсыпки;
■
величину осадки;
■
геометрические
размеры вертикальных прорезей, дрен и коэффициент фильтрации песка в них.
|
п. 4.76.
|
Таблица 28.
|
Примечание
|
Обоснование
|
|
В тех случаях, когда нижняя
часть насыпей на болотах погружается ниже уровня поверхности болота на 0,2 - 0,5
м, ее следует предусматривать, как правило, из дренирующих песчаных или
крупнообломочных грунтов (рис. 6).
|
п. 6.40.
|
|
Степень уплотнения грунта
рабочего слоя, определяемая величиной коэффициента уплотнения должна отвечать
требованиям таблицы 29.
|
п. 6.15., таб. 22
|
Таблица 29.
|
Элементы земляного
полотна
|
Глубина
расположения слоя от поверхности покрытия, м
|
Наименьший
коэффициент уплотнения грунта
При
типе дорожных одежд*
|
|
капитальном
|
облегченном
и переходном
|
|
Дорожно-климатические
зоны
|
|
I
|
II, III
|
IV, V
|
I
|
II, III
|
IV, V
|
|
Рабочий слой
|
До 1,5
|
0,98 - 0,96
|
1,0 - 0,98
|
0,98 - 0,95
|
0,95 - 0,93
|
0,98 - 0,95
|
0,95
|
|
Неподтопляемая часть насыпи
|
Св. 1,5 до 6
|
0,95 - 0,93
|
0,95
|
0,95
|
0,93
|
0,95
|
0,90
|
|
Св. 6
|
0,95
|
0,98
|
0,95
|
0,93
|
0,95
|
0,90
|
|
Подтопляемая часть насыпи
|
Св. 1,5 до 6
|
0,96 - 0,95
|
0,98 - 0,95
|
0,95
|
0,95 - 0,93
|
0,95
|
0,95
|
|
Св. 6
|
0,96
|
0,98
|
0,98
|
0,95
|
0,95
|
0,95
|
|
В рабочем слое выемки ниже зоны сезонного промерзания
|
До 1,2
|
-
|
0,95
|
-
|
-
|
0,95 - 0,92
|
-
|
|
До 0,8
|
-
|
-
|
0,95 - 0,92
|
-
|
-
|
0,90
|
|
* - большие значения
коэффициентов уплотнения грунта следует принимать в случаях применения
цементобетонных и цементогрунтовых покрытий и оснований, а также
усовершенствованных облегченных покрытий, меньшие значения - во всех
остальных случаях.
|

Условные обозначения:
В - ширина насыпи;
Нт - глубина выторфовывания.
Рис. 7
Таблица 30.
|
Приемочный контроль
|
Обоснование
|
|
Контролируемые
параметры
|
Допускаемые
отклонения
|
|
Высотные отметки продольного профиля
|
D1: Не более 10 % результатов определений могут иметь отклонения
от проектных значений в пределах до ± 100 (20)* мм, остальные - до ± 50 (10)
мм.
|
СНиП 3.06.03-85
Приложение 2
Гл. 5, п. 1.2.2.
|
|
Расстояние между осью и бровкой земляного полотна
|
D2: Не более 10 % результатов определений могут иметь отклонения
от проектных значений в пределах до ± 20 см, остальные - до ± 10 см.
|
СНиП 3.06.03-85
Приложение 2
Гл. 5, п. 1.2.3.
|
|
Поперечные уклоны
|
D3: Не более 10 % результатов определений могут иметь отклонения
от проектных значений в пределах от минус 0,015 (минус 0,010) до 0,030
(0,015), остальные - до ± 0,010 (0,005).
|
СНиП 3.06.03-85
Приложение 2
Гл. 5, п. 1.2.4.
|
|
Уменьшение крутизны откосов
|
D4: Не более 10 % результатов определений могут иметь отклонения
от проектных значений в пределах до 20 %, остальные - до 10 %.
|
СНиП 3.06.03-85
Приложение 2
Гл. 5, п. 1.2.5.
|
|
Продольные уклоны дренажей
|
D5: Не более 10 % результатов определений могут иметь отклонения
от проектных значений в пределах до ± 0,002, остальные - до ± 0,001.
|
СНиП 3.06.03-85
Приложение 2 Гл. 5, п. 1.3.4.
|
|
Поперечные размеры дренажей
|
D6: Не более 10 % результатов определений могут иметь отклонения
от проектных значений в пределах до ± 10 см, остальные - до ± 5 см.
|
СНиП 3.06.03-85
Приложение 2
Гл. 5, п. 1.3.3.
|
|
Положение оси в плане
|
D7: Предельные отклонения от проектного положения оси ± 0,2 м.
|
СНиП 3.02.01-87
таб. 13, п. 7.
|
|
При приемке готового земляного полотна контрольную проверку
производят не менее чем в трех местах на каждом километре дороги и
дополнительно над трубами и конусами мостов не мене чем на 1/3 от их общего
числа путем отбора из специальных буровых скважин или шурфов по три образца с
глубины 1 - 1,5 м. Отбор образцов производится режущими кольцами.
Вид, плотность (коэффициент уплотнения), влажность грунта
определяется в лаборатории стандартными методами.
|
Руководство по сооружению земляного полотна автомобильных дорог
п. 13.64.
|
|
Допускается снижение плотности слоев земляного полотна: не более
10 % результатов измерений могут иметь отклонения от проектных значений в
пределах до 4 %, а остальные должны быть не ниже проектных значений. Разница
в показателях плотности на одном поперечнике верхнего слоя земляного полотна
для дорог с усовершенствованными покрытиями не должна превышать 2 %.
|
СНиП 3.06.03-85
Приложение 2
Гл. 5, п. 1.2.1.
Руководство по сооружению земляного полотна автомобильных дорог
п. 13.27.
|
|
* - данные в скобках относятся к
работам, выполняемым с применением машин с автоматической системой задания
вертикальных отметок.
|
Таблица 31.
|
Операционный контроль
|
Обоснование
|
|
При операционном контроле
качества значения допускаемых отклонений D1
- D7 и снижение плотности земляного
полотна принимаются по нормам приемочного контроля, указанным в таблице 30. Измерения проводятся не реже чем
через 100 м (в трех точках на поперечнике).
Кроме параметров, указанных
выше, при устройстве земляного полотна контролируются:
■
толщина отсыпаемых
слоев;
■
однородность грунта
в слоях насыпи;
■
плотность грунта в
слоях насыпи:
- плотность грунта
следует контролировать в каждом технологическом слое по оси земляного полотна
и расстоянии 1,5 - 2 м от бровки, а при ширине слоя более 20 м - также в
промежутках между ними.
Контроль плотности
грунта необходимо производить на каждой сменной захватке работы уплотняющих
машин, но не реже чем через 200 м при высоте насыпи до 3 м и не реже чем
через 50 м при высоте насыпи более 3 м.
Контроль плотности
верхнего слоя следует производить не реже чем через 50 м.
Дополнительный
контроль плотности необходимо производить в каждом слое засыпки пазух труб,
над трубами, в конусах и в местах сопряжения с мостами.
|
СНиП 3.06.03-85
п. 4.76.
п. 4.77.
|
|
Контроль плотности
следует производить на глубине, равной 1/3 толщины уплотняемого слоя, но не
менее 8 см. Кроме основного метода (ГОСТ
22733-77) допускается применение экспресс-методов и приборов для
ускоренного контроля плотности. При этом не менее 10 % всех измерений должны
быть произведены стандартным методом с отбором проб.
|
Руководство по сооружению
земляного полотна автомобильных дорог
п. 13.28.
|
|
■
влажность
используемого грунта:
- контроль влажности
используемого грунта следует производить, как правило, в месте его получения
не реже одного раза в смену и обязательно при выпадении осадков;
|
СНиП 3.06.03-85
п. 4.78.
п. 4.81.
|
|
■
ровность поверхности:
- контролируется
нивелированием по оси и бровкам в трех точках на поперечнике не реже чем 50
м;
|
|
|
■
укрепление откосов
(контроль качества укрепительных работ приводится в п. 1.10. настоящего «Пособия»);
■
полноту
выторфовывания;
■
режим отсыпки;
■
величину осадки;
■
геометрические
размеры вертикальных прорезей, дрен и коэффициент фильтрации песка в них.
|
п. 4.76.
|
Таблица 32.
|
Примечание
|
Обоснование
|
|
При ширине насыпи В более 20 м
рекомендуется в начале осаживать ее среднюю часть (1/3В), а затем крайние
(рис. 7).
|
Руководство по сооружению
земляного полотна автомобильных дорог
п. 12.21.
|
|
Степень уплотнения грунта
рабочего слоя, определяемая величиной коэффициента уплотнения должна отвечать
требованиям таблицы 33.
|
СНиП 2.05.02-85
п. 6.15., таб. 22
|
Таблица 33.
|
Элементы земляного
полотна
|
Глубина
расположения слоя от поверхности покрытия, м
|
Наименьший
коэффициент уплотнения грунта
При
типе дорожных одежд*
|
|
капитальном
|
облегченном
и переходном
|
|
Дорожно-климатические
зоны
|
|
I
|
II, III
|
IV, V
|
I
|
II, III
|
IV, V
|
|
Рабочий слой
|
До 1,5
|
0,98 - 0,96
|
1,0 - 0,98
|
0,98 - 0,95
|
0,95 - 0,93
|
0,98 - 0,95
|
0,95
|
|
Неподтопляемая часть насыпи
|
Св. 1,5 до 6
|
0,95 - 0,93
|
0,95
|
0,95
|
0,93
|
0,95
|
0,90
|
|
Св. 6
|
0,95
|
0,98
|
0,95
|
0,93
|
0,95
|
0,90
|
|
Подтопляемая часть насыпи
|
Св. 1,5 до 6
|
0,96 - 0,95
|
0,98 - 0,95
|
0,95
|
0,95 - 0,93
|
0,95
|
0,95
|
|
Св. 6
|
0,96
|
0,98
|
0,98
|
0,95
|
0,95
|
0,95
|
|
В рабочем сдое выемки ниже зоны сезонного промерзания
|
До 1,2
|
-
|
0,95
|
-
|
-
|
0,95 - 0,92
|
-
|
|
До 0,8
|
-
|
-
|
0,95 - 0,92
|
-
|
-
|
0,90
|
|
* - большие значения
коэффициентов уплотнения грунта следует принимать в случаях применения
цементобетонных и цементогрунтовых покрытий и оснований, а также
усовершенствованных облегченных покрытий, меньшие - во всех остальных
случаях.
|

Таблица 34.
|
Приемочный контроль
|
Обоснование
|
|
Контролируемые параметры
|
Допускаемые отклонения
|
|
Высотные отметки продольного
профиля
|
D1: Не более 10 % результатов
определений могут иметь отклонения от проектных значений в пределах до ± 100
(20)* мм, остальные - до ± 50 (10) мм.
|
СНиП 3.06.03-85
Приложение 2
Гл. 5, п. 1.2.2
|
|
Перемыв земляного полотна по
ширине
|
D2: Не более 0,2 м.
|
СНиП 3.02.01-87
таб. 13, п. 7.
|
|
Положение оси в плане
|
D3: Предельные отклонения от
проектного положения оси ± 0,2 м.
|
СНиП 3.02.01-87
таб. 13, п. 7.
|
|
*
- данные в скобках относятся к работам, выполняемым с применением машин с
автоматической системой задания вертикальных отметок.
|
Таблица 35.
|
Примечание
|
Обоснование
|
|
Участок намыва должен иметь
длину 100 - 300 м. Отдельные участки намыва могут быть расположены уступами,
высоту которых определяют в проекте.
|
Руководство по сооружению
земляного полотна автомобильных дорог
п. 7.13.
|
|
Насыпи необходимо намывать с
запасом на осадку: 1,5 % высоты насыпи при намыве из смешанных (супесчаных,
суглинистых) грунтов и 0,75 % при намыве из песчаных и песчано-гравийных
грунтов.
|
Руководство по сооружению
земляного полотна автомобильных дорог
п. 7.14.
|
|
Досыпка грунта при недомыве не
допускается; откосы планируют с плавным переходом к проектному очертанию.
|
Руководство по сооружению
земляного полотна автомобильных дорог
п. 7.21.
|
|
Гидронамыв насыпей из
мелкозернистых песков зимой не допускается.
|
Руководство по сооружению
земляного полотна автомобильных дорог
п. 7.19.
|

Условные обозначения:
b1 - расстояние от
подошвы откоса банкета до бровки выемки;.
b2 - расстояние от
бровки канавы до подошвы откоса кавальера;
h - глубина забанкетной канавы;
L - расстояние от бровки насыпи или от границы откоса выемки
до подошвы кавальера.
Рис. 9
Таблица 36
|
Приемочный контроль
|
Обоснование
|
|
При приемке водоотводных
сооружений, входящих в комплекс земляного полотна (кюветы, защитные банкеты)
должны быть проверены продольные и поперечные уклоны, размеры поперечных
сечений. Измерения производятся с привязкой к оси или бровке земляного
полотна на двух-трех поперечниках на каждый километр длины, а также во всех
местах изменения конструктивных сечений.
|
Руководство по сооружению
земляного полотна автомобильных дорог
п. 13.67.
|
|
Расстояние L от бровки насыпи или от границы
откоса выемки до подошвы кавальера должно быть не менее 3 м (рис. 9).
|
СН
449-72*
п. 11.14.
|
|
Кавальеры, отсыпанные в зимних
условиях, по сравнению с обычными нормами их расположения должны быть
отодвинуты от бровки выемки на 1,5 м при высоте кавальера до 2 м и на 2,5 м
при высоте кавальера более 2 м.
|
Руководство по сооружению
земляного полотна автомобильных дорог
п. 9.39.
|
|
При отводе поверхностных и
подземных вод необходимо:
■
с верховой стороны
выемок для перехвата потока поверхностных вод использовать кавальеры и
резервы, устраиваемые сплошным контуром, а также постоянные водосборные и
водоотводящие сооружения или временные обвалования и канавы (канавы, в случае
необходимости, могут иметь защитные крепления от размыва или фильтрационных
утечек);
|
СНиП 3.02.01-87
п. 2.15.
|
|
■
кавальеры с низовой стороны выемок отсыпать с размывом, в пониженных местах,
но не реже чем через каждые 50 м, ширина разрывов по низу должна быть не
менее 3 м.
■
при расположении нагорных и водоотводных канав в непосредственной близости от
линейных выемок между выемкой и канавой выполнять банкет с уклоном его
поверхности 20 - 40 ‰, в сторону нагорной канавы (рис. 9).
|
|
|
Банкеты следует устраивать
треугольной формы, высотой не более 0,6 м, назначая откос со стороны полотна
не круче 1:1,5, расстояние от подошвы откоса банкета до бровки выемки b1 - 1 м. Верху банкета придается
уклон 20 - 40 ‰ в сторону забанкетной канавы (рис. 9).
|
СН
449-72
п. 11.19.
|
|
Забанкетная канава должна иметь:
■ продольный уклон не
менее 5 ‰;
■ в глубину h и ширину по дну при
трапецеидальной форме - 0,3 м;
■ откосы крутизной -
1:1,5;
■ расстояние b2 от бровки канавы до подошвы
откоса кавальера 0,5 м;
■
забанкетные канавы устраиваются также треугольной формы глубиной 0,4 м.
|
СН
449-72
п. 11.20.
|

Рис. 10 а
Таблица 37.
|
Приемочный контроль
|
Обоснование
|
|
Качество дерна, полученного через
2 - 3 месяца после травосеяния на откосах земляного полотна, следует
определять по его толщине (толщина дернины должна быть 0,05 - 0,12 м) и
количеству побегов на учетной площадке размером 20 ´ 20 см. Минимальное количество
побегов:
■ и не менее 20 для степной зоны;
■ не менее 40 для лесостепной
зоны;
■ не менее 60 для лесной зоны.
|
Руководство по сооружению
земляного полотна автомобильных дорог
п. 6.44.
|
Таблица 38.
|
Приемочный контроль
|
Обоснование
|
|
Качество дерна, полученного
через 2 - 3 месяца после травосеяния на откосах земляного полотна, следует
определять по его толщине (толщина дернины должна быть 0,05 - 0,12 м) и
количеству побегов на учетной площадке размером 20 ´ 20 см. Минимальное количество
побегов:
■ не менее 20 для степной зоны;
■ не менее 40 для лесостепной
зоны;
■ не менее 60 для лесной зоны.
|
Руководство по сооружению
земляного полотна автомобильных дорог
п. 6.44.
|
Таблица 39.
|
Примечание
|
Обоснование
|
|
При укреплении откосов путем
посева трав по слою растительного грунта необходимо откосы выемок,
разработанных в плотных глинистых грунтах, разрыхлять перед укладкой
растительного грунта на глубину 0,1 - 0,15
|
СНиП 3.06.03-85
п. 4.30.
|

Рис. 10 б
Таблица 40.
|
Приемочный контроль
|
Обоснование
|
|
Контролируемые параметры
|
Допускаемые отклонения
|
|
Ширина швов между смежными
плитами
|
D1: Не должна превышать 0,5 см.
|
Руководство по сооружению
земляного полотна автомобильных дорог
п. 6.46.
|
|
Уступ между смежными плитами
(элементами)
|
D2: Не должен превышать 1 см.
|
Руководство по сооружению
земляного полотна автомобильных дорог
п. 6.46
|
|
Отклонение поверхности грунта
откоса от проектной величины
|
D3: Не должно превышать 5 см.
|
СНиП 3.06.04-91
п. 9.16., таб. 30
|
|
До начала укрепления откосов
земляных сооружений сборными решетчатыми конструкциями необходимо устраивать
бетонный упор, укладывая блоки принятого размера в траншею, подготовленную по
опорной линии. Толщина слоя щебеночной подготовки - 11 - 12 см. Допуски при
устройстве упорной призмы:
■ глубина траншеи ± 10 %;
■ ширина траншеи ± 5 см;
■ толщина слоя щебеночной
подготовки ± 10 %;
■ положение блоков в плане после
установки ± 5 мм;
■ превышение одного блока над
другим после установки ± 5 мм;
■ величина зазора между блоками ±
5 мм.
|
Руководство по сооружению
земляного полотна автомобильных дорог
п.п. 6.17., 6.21.
|
|
При использовании железобетонных
плит размером 1 ´ 1 и менее не допускаются плиты
с отклонением длины, ширины и толщины от проектных размеров более чем на 5
мм, а также плиты с трещинами, раковинами, наплывами, обнажением арматуры или
без монтажных петель.
|
Руководство по сооружению
земляного полотна автомобильных дорог
п. 6.45.
|
|
При использовании решетчатых
конструкций для укрепления откосов изменение толщины слоя щебня, заполняющего
ячейки, не должно превышать ± 10 %.
|
Руководство по сооружению
земляного полотна автомобильных дорог
п. 6.47.
|
Таблица 41.
|
Примечание
|
Обоснование
|
|
При укреплении откосов
геотекстилем раскатку полотен следует осуществлять в продольном или
поперечном направлении по откосу с перекрытием полотен:
■ не менее 0,2 м при продольной
раскатке;
■ 0,1 - 0,15 м при поперечной
раскатке.
|
ВСП 49-86
п. 4.3.5.
|
|
В процессе раскатки полотна СМ
периодически через 10 - 15 м разравнивают и прижимают к поверхности откоса
анкерами или скобами:
■
при продольном
раскатывании - через 5 - 6 м по длине (в 2 - 3 точках по ширине);
■ при поперечном раскатывании -
через 4 - 5 м.
|
ВСН
49-86
п. 4.3.5.
|
|
Готовое защитное покрытие из
цементогрунта и набрызг-бетона не должно иметь на поверхности трещин,
отслоений и других деформаций. Прочность покрытия должна быть не ниже
предусмотренной проектом. Набрызг-материалы неудовлетворительного качества
удаляют, а дефектные места снова заделывают пневмонабрызгом
|
Руководство по сооружению
земляного полотна автомобильных дорог
п. 6.48.
|

Условные обозначения:
b - ширина шва.
Рис. 10 в
|
Операционный контроль
|
Обоснование
|
|
Контролируемые параметры
|
Допускаемые отклонения
|
|
Отклонение поверхности грунта
откоса от проектной (2 замера
на поперечнике с шагом, указанным в проекте)
|
D1: Не более ± 5 см.
|
СНиП 3.06.04-91
п. 9.16., таб. 30
|
|
Превышение граней смежных
бетонных и железобетонных плит (1 замер на 100 м поверхности откоса)
|
D2: Не более 10 мм.
|
СНиП 3.06.04-91
п. 9.16., таб. 30
|
|
Отклонение поверхности
подготовки (ровность) (1 замер на 200
м откоса)
|
D3: + 3 см на базе 5 м.
|
СНиП 3.06.04-91
п. 9.16., таб. 30
|
|
Минимальная толщина слоев
подготовки (1 замер на 200 м откоса):
■ 10 см при ручной
укладке;
■ 15 см при укладке
механизмами.
|
СНиП 3.06.04-91
п. 9.16., таб. 30
|
|
При устройстве подготовки из
геотекстиля допускаемый нахлест полотен при стыковании не менее 10 см при
сварке и склейке сплошным швом (1 замер на 50 м длины шва).
|
СНиП 3.06.04-91
п. 9.16., таб. 30
|
|
Ширина раскрытия швов b в конструкциях без
омоноличивания не более 10 мм. При большем раскрытии швы омоноличиваются
(рис. 10 в).
|
СНиП 3.06.04-91
п. 9.16., таб. 30
|
Таблица 43.
|
Примечание
|
Обоснование
|
|
Плиты следует укладывать на
укрепленный откос от подошвы к гребню сооружения.
|
СНиП 3.06.04-91
п. 9.15.
|
|
При использовании железобетонных
плит размером 1 ´ 1 и менее не допускаются плиты с отклонением длины, ширины и
толщины от проектных размеров более
чем на 5 мм, а также плиты с трещинами, раковинами, наплывами,
обнажением арматуры или без монтажных петель.
|
Руководство по сооружению
земляного полотна автомобильных дорог
п. 6.45.
|
Таблица 44.
|
Приемочный контроль
|
Обоснование
|
|
Контролируемые параметры
|
Допускаемые отклонения
|
|
Высотные отметки по оси
|
D1: Не более 10 % результатов
могут иметь отклонения от проектных значений в пределах до ± 100 (20)* мм, остальные - ± 50 (10) мм.
|
СНиП 3.06.03-85
Приложение 2
Гл. 5, п. 2.1.
|
|
Ширина основания
|
D2:
Не более 10 % результатов могут иметь отклонения от проектных значений в
пределах от минус 15 до 20 см, остальные - до ± 10 см.
|
СНиП 3.06.03-85
Приложение 2
Гл. 5, п. 2.2.2.
|
|
Толщина слоя
|
D3: Не более 10 % результатов
могут иметь отклонения от проектных значений в пределах от минус 22 (минус
15) до 30 (20) мм, остальные - до ± 15 (10) мм.
|
СНиП 3.06.03-85
Приложение 2
Гл. 5, п. 2.3.2.
|
|
Поперечные уклоны
|
D4: Не более 10 % результатов
могут иметь отклонения от проектных значений в пределах от минус 0,015 (минус
0,010) до 0,030 (0,015), остальные - до ± 0,010 (0,005).
|
СНиП 3.06.03-85
Приложение 2
Гл. 5, п. 2.4.
|
|
Допускаемые отклонения D1 - D4 приводятся для дополнительных
слоев, устраиваемых из песчано-гравийных, песчано-щебеночных смесей и
грунтов, укрепленных органическими и неорганическими вяжущими. При
использовании других материалов контролируемые параметры и допускаемые
отклонения принимаются по соответствующим нормативным требованиям,
относящимся к данному материалу.
|
|
|
При осуществлении приемочного
контроля при устройстве дополнительных слоев из грунтов, укрепленных органическими
и неорганическими вяжущими, кроме параметров, указанных выше, следует
контролировать:
|
СНиП 3.06.03-85
п. 5.1.
|
|
■ коэффициент уплотнения
укрепленных грунтов.
Плотность
укрепленного материала должна быть не менее 0,98 максимальной по ГОСТ
22733-77.
|
п. 6.5.
|
|
При осуществлении приемочного
контроля при устройстве дополнительных слоев из песчано-гравийных и песчано-щебеночных
смесей кроме геометрических параметров, указанных выше, следует
контролировать:
|
СНиП 3.06.03-85
п. 5.1.
|
|
■ качество уплотнения:
-
для щебеночных, гравийных, шлаковых оснований и покрытий - путем контрольного
прохода катка массой 10 - 13 т по всей длине контролируемого участка.
|
п. 7.36.
|
Таблица 45.
|
Операционный контроль
|
Обоснование
|
|
Дополнительные слои основания
устраивают:
■
из
песчано-гравийных или песчано-щебеночных смесей оптимального гранулометрического
состава по ГОСТ
25607-94. Влажность смеси должна быть близкой к оптимальной по ГОСТ
8269-87 (с отклонением не более 10 %). Контроль влажности ведется не реже
одного раза в смену.
■
из грунтов,
укрепленных органическими и неорганическими вяжущими (требования по
устройству и контролю качества приведены в п. 3.1., таб. 48., 49.
Настоящего «Пособия»).
|
СНиП 3.06.03-85
п.п. 5.1., 7.9., 6.38. - 6.41.
|
|
При устройстве морозозащитных и
дренирующих слоев необходимо контролировать:
■
соответствие
качества материалов и песчаных грунтов требованиям проекта;
|
СНиП 3.06.03-85
п. 5.7.
|
|
■ плотность материала:
-
плотность материалов слоя необходимо контролировать в трех точках на
поперечнике (по оси и у кромок проезжей части) не реже чем через 100 м.
Определяют плотность по ГОСТ
5180-84 (для текущего контроля допускается использовать ускоренные методы
и экспресс-приборы);
■
отсутствие
загрязнения грунтом выходов дрен на откосах земляного полотна.
|
п.п. 5.11., 4.79.
|
|
При устройстве дренирующих и
капилляропрерывающих прослоек необходимо проверять:
■ гранулометрический состав слоев
грунта над и под прослойкой;
■ толщину слоев грунта над и под
прослойкой;
■ качество стыковки полотнищ
материала;
■ толщину первого слоя дорожной
одежды над прослойкой.
|
СНиП 3.06.03-85
п. 5.8.
|
|
При использовании в качестве
армирующих, защитных и дренирующих прослоек синтетических материалов (СМ)
после укладки СМ, перед отсыпкой вышележащего слоя грунта проводят осмотр с
составлением акта на скрытые работы. В акте отражают:
|
ВСН
49-86
п.п. 3.3.6., 5.3.1.
|
|
■
результаты
визуального осмотра (сплошность, величина перекрытия, качество полотен и их
стыковки);
|
п. 2.2.5.
|
|
■
данные о
поставщике, характеристики СМ (предел прочности на растяжение, условный
модуль деформации при растяжении, общее относительное удлинение при разрыве,
сопротивляемость местным повреждениям, коэффициент фильтрации, фильтрующая
способность, стойкость к агрессивным воздействиям, сопротивление сдвигу на
контакте с грунтом), указанные в паспорте на партию СМ или на этикетках
рулонов;
|
|
|
■ данные полученные при приемке
СМ. Прежде всего:
-
поверхностную плотность (массу на 1 м), путем взвешивания образца 500 ´ 500 мм с увеличением
полученного результата в 4 раза. Точность взвешивания - 5 гс;
-
толщину, путем замера пригруженного нагрузкой 1 Н образца размером 50 ´ 200 мм для нетканных материалов
и замером ее в трех точках на расстоянии не менее 20 мм от кромки полотна для
других материалов с вычислением среднего значения. Замеры ведутся
толщиномерами, микрометрами, штангенциркулями (в условиях строительства). Точность
измерений - 0,05 мм;
-
ширину, измерением металлической линейкой. Точность - 5 см.
|
п. 2.3.6.
|
|
При устройстве морозозащитного
слоя из непучинистых или слабопучинистых грунтов контроль качества грунта
следует производить в карьере путем отбора соответственно не менее 3 и 10
проб из каждых 500 м песчаного грунта и проводить их испытание с определением
содержания пыли и глины и величины коэффициента фильтрации по ГОСТ 25584-83.
Допускается устанавливать величину коэффициента фильтрации расчетным путем в
зависимости от гранулометрического состава песчаного грунта.
|
СНиП 3.06.03-85
п. 5.9.
|
|
При устройстве теплоизолирующих
слоев из бетонов, каменных материалов, обработанных вяжущими, укрепленных
грунтов и золошлаковых смесей необходимо контролировать качество смесей путем
определения прочности образцов материалов в соответствии с требованиями,
приведенными в соответствующих пунктах «Пособия».
|
СНиП 3.06.03-85
п. 5.8.
|
|
При устройстве теплоизолирующих
слоев из пенопласта необходимо проверять:
■
равномерность
опирания плит на поверхность земляного полотна. При необходимости поверхность
земляного полотна выравнивают песком;
■
толщину первого
слоя дорожной одежды над пенопластом. Первый над плитами слой дорожной одежды
следует отсыпать на толщину не менее 0,25 м в плотном теле способом «от
себя».
|
СНиП 3.06.03-85
п.п. 5.8., 5.3.
|
|
При устройстве гидроизолирующих
прослоек необходимо проверять:
|
СНиП 3.06.03-85
п.п. 5.8.
|
|
■
гранулометрический
состав слоев грунта над и под прослойкой (один раз в смену):
-
при устройстве гидроизолирующей прослойки с использованием изола грунт под и
над прослойкой на толщину не менее 10 см не должен иметь зерен крупнее 40 мм,
а содержание зерен размером 5 - 40 мм не должно выходить за пределы
допустимого зернового состава;
-
при использовании полиэтиленовой пленки при устройстве гидроизолирующей
прослойки грунт не должен иметь зерен крупнее 20 мм, а содержание зерен 5 -
20 мм не должно выходить за пределы допустимого зернового состава;
-
при укладке гидроизолирующего материала между прослойками из нетканного
синтетического материала требования к крупности грунта не предъявляются.
|
п. 5.5.
|
|
■
толщину слоев
грунта над и под прослойкой, толщину первого слоя дорожной одежды над
прослойкой:
-
следует контролировать линейкой в трех точках на поперечнике (по оси и у
бровок земляного полотна) не реже чем через 100 м. Минимальная толщина слоя
грунта или материала дорожной одежды в уплотненном состоянии должна быть не
менее 0,25 м;
|
п.п. 5.10., 5.4.
|
|
■
качество стыковки
полотнищ материала:
-
полотнища материала следует укладывать внахлестку с перекрытием на 0,1 м и
закреплять скобами или сшивать;
-
отдельные полотнища пленки при укладке следует склеивать или сваривать. При
устройстве гидроизолирующей прослойки из полиэтиленовой пленки (за
исключением конструкций с грунтом в обойме или подтопляемых поверхностными
или грунтовыми водами) допускается устраивать стыки внахлестку (с перекрытием
не менее 0,5 м) и скручиванием при условии, что они находятся под нагрузкой
от веса вышележащих слоев не менее 9,8 МПа.
|
п. 5.6.
|
|
Укладывать гидроизолирующий
материал необходимо на спланированное и уплотненное основание, коэффициент
уплотнения которого должен быть не менее 0,95.
|
СНиП 3.06.03-85
п.п. 5.4., 5.11., 4.79.
|
Таблица 46.
|
Примечание
|
Обоснование
|
|
При двух- и трехярусном
теплоизолирующем слое швы нижележащего ряда
плит необходимо перекрывать вышележащими плитами.
|
СНиП 3.06.03-85
п. 5.3.
|
|
Полиэтиленовая пленка может
находиться под воздействием солнечной радиации не более 2 ч, изол необходимо
засыпать в день его укладки.
|
СНиП 3.06.03-85
п. 5.6.
|
|
При устройстве прослоек из СМ
необходимы следующие операции:
|
ВСН
49-86
п.п. 3.3.1., 5.3.1.
|
|
■
подготовка
подстилающего грунта, путем профилирования поверхности (не должно быть ям,
неровностей, колей глубиной более 5 см) и уплотнения (коэффициент уплотнения
должен соответствовать нормативным требованиям);
|
п. 3.3.2.
|
|
■
транспортировка,
распределение, укладка и при необходимости соединение СМ. Соединение СМ
возможно производить тепловым соединением, сшиванием, склеиванием, т.д.
(перекрытие полотен должно быть не менее 0,1 м);
|
п. 3.3.5.
|
|
■
отсыпка на СМ
материала вышележащего слоя, его распределение и уплотнение. Отсыпка
производится с таким расчетом, чтобы время пребывания СМ под воздействием
дневного света было не более 5 ч.
|
п. 3.3.6.
|

Условные обозначения:
Н - толщина уплотненного слоя;
В - ширина основания (покрытия);
а - перекрытие следа проходов катка.
Рис. 11
Таблица 47.
|
Приемочный контроль
|
Обоснование
|
|
Контролируемые
параметры
|
Допускаемые
отклонения
|
|
Высотные отметки по оси
|
D1: Не более 10 % результатов могут иметь отклонения от проектных
значений в пределах до ± 100 (20)* мм, остальные - ± 50 (10) мм.
|
СНиП 3.06.03-85
Приложение 2
Гл. 5, п. 2.1.
|
|
Ширина покрытия (основания) В
|
D2: Не более 10 % результатов могут иметь отклонения от проектных
значений в пределах от минус 15 до 20 см, остальные - до ± 10 см.
|
СНиП 3.06.03-85
Приложение 2
Гл. 5, п. 2.2.2.
|
|
Толщина слоя
|
D3: Не более 10 % результатов могут иметь отклонения от проектных
значений в пределах от минус 22 (минус 15) до 30 (20) мм, остальные - до ± 15 (10) мм.
|
СНиП 3.06.03-85
Приложение 2
Гл. 5, п. 2.3.2.
|
|
Поперечные уклоны
|
D4: Не более 10 % результатов могут иметь отклонения от проектных
значений в пределах от минус 0,015 (минус 0,010) до 0,030 (0,015), остальные
- до ± 0,010 (0,005).
|
СНиП 3.06.03-85
Приложение 2
Гл. 5, п. 2.4.
|
|
Ровность** (просвет под рейкой длиной 3 м)
|
D5: Не более 5 % результатов определений могут иметь значения
просветов в пределах до 14 (10) мм, остальные - до 7 (5) мм.
|
СНиП 3.06.03-85
Приложение 2
Гл. 5, п. 2.5.1.
|
|
При осуществлении приемочного контроля кроме параметров,
указанных выше, следует контролировать:
■ коэффициент уплотнения
укрепленных грунтов. Плотность укрепленного материала должна быть не менее
0,98 максимальной по ГОСТ
22733-77;
|
СНиП 3.06.03-85
п. 14.3., п. 6.5.
|
|
■ коэффициент сцепления
шины с покрытием. Измерения следует выполнять по одной полосе наката колес
автомобилей каждой полосы движения. На каждые 1000 м необходимо делать 3 - 5
измерений в зависимости от состояния покрытия по каждой полосе движения. Для
обеспечения безопасности движения встречных автомобилей на двухполосных
дорогах и движущихся по смежным полосам многополосных дорог, а также при
съездах автомобилей на укрепительные полосы или прикромочные зоны обочин
изменение коэффициента сцепления в поперечном профиле дорожного полотна не
должно превышать 0,10;
|
ГОСТ Р
50597-93
п. 3.1.4.
СНиП 3.06.03-85
п. 14.6.
ВСН 38-90
п. 2.4.
|
|
■ ровность слоев оснований
и покрытий путем определения алгебраических разностей высотных отметок:
На каждой захватке следует производить определение
вертикальных абсолютных или относительных отметок путем нивелирования с шагом
5 м. На основе полученных вертикальных отметок следует вычислить
алгебраические разности отметок точек (амплитуд) по формуле:

где Hi, Hi+1, Hi+2 - отметки смежных точек. Все вычисления следует производить со
сдвижкой на 5 м с целью получения для каждой захватки не менее 50 - 60
значений амплитуд. При этом 90 % определений должны быть в пределах,
указанных в таблице 50, а 10 % определений не должны
превышать эти значения более чем в 1,5 раза.
|
п.п. 14.3., 14.5.
|
|
* - данные в скобках относятся к работам, выполняемым с
применением машин с автоматической
системой задания вертикальных отметок.
** - детальные измерения ровности следует производить на
расстоянии 0,5 - 1,0 м от каждой кромки
покрытия или края полосы движения (СНиП 3.06.03-85 п. 14.5).
|
Таблица 48.
|
Операционный
контроль
|
Обоснование
|
|
При операционном контроле качества значения допускаемых
отклонений D1 - D5 и коэффициент уплотнения грунта принимаются по нормам
приемочного контроля, указанным в таблице 47. Измерения проводятся не реже
чем через 100 м.
|
СНиП 3.06.03-85
п.п. 1.13., 6.38.
|
|
При операционном контроле не реже одного раза в смену
контролируют:
• гранулометрический состав
крупнообломочных и песчаных грунтов по ГОСТ
12536-79;
• число пластичности глинистых
грунтов по ГОСТ
5180-84;
• степень размельчения глинистых
грунтов путем рассева проб на ситах с отверстиями 5 и 10 мм;
• температуру органического
вяжущего перед использованием;
• однородность эмульсии -
отсутствие расслоения;
• качество смеси путем
определения прочности образцов на сжатие;
• температуру смеси на глубине
0,2 - 0,4 м (при хранении сухих смесей в штабеле).
|
СНиП 3.06.03-85
п. 6.38.
|
|
Не реже чем через 200 м контролируют:
• влажность обрабатываемых
грунтов и готовой смеси перед ее уплотнением и плотность материала в
уплотненном слое в трех точках на поперечнике в соответствии с ГОСТ
5180-84.
|
СНиП 3.06.03-85
п.п. 6.38., 4.79.
|
|
Не реже одного раза в пять смен:
• содержание легкорастворимых солей
в засоленных грунтах по ГОСТ 25100-95;
• пригодность зол уноса и
золошлаковых смесей;
• постоянное соблюдение
требований по уходу.
|
СНиП 3.06.03-85
п. 6.38.
|
Таблица 49.
|
Примечание
|
Обоснование
|
|
Смешение грунтов с вяжущими материалами следует осуществлять:
■ на дороге, специальной
площадке или в карьере, используя однопроходные грунтосмесительные машины и
дорожные фрезы. При этом размер зерен в грунте не должен превышать 25 мм;
■ в смесительных
установках, как правило, с принудительным перемешиванием. Грунты не должны
содержать зерен крупнее 40 мм, количество зерен размером 2 - 25 мм не должно
превышать 70 % массы грунта;
■ в смесительных
установках со свободным перемешиванием (для крупнообломочных грунтов, отходов
промышленности и их смесей с мелким песком).
|
СНиП 3.06.03-85
п.п. 6.1., 6.3.
|
|
Толщина уплотненного слоя Н
(независимо от результатов расчета на прочность) должна быть не менее 10 см
(рис. 11).
|
СНиП 2.05.02-85
п. 7.24.
|
|
Перекрытие следа проходов катка а должно составлять не менее 20 см (рис. 11).
|
Пособие
к СНиП
3.06.03-85
п. 5.15.
|
Таблица 50.
|
Категория дороги
|
Значения
амплитуд, мм, при использовании комплектов машин
|
Обоснование
|
|
без
автоматической системы задания вертикальных отметок
|
с
автоматической системой задания вертикальных отметок
|
|
Расстояние
между точками, м
|
|
5
|
10
|
20
|
5
|
10
|
20
|
|
I, II, III
|
7
|
12
|
24
|
5
|
8
|
16
|
СНиП 3.06.03-85
п. 14.5., таб. 17.
|

Условные обозначения:
Н - толщина уплотняемого слоя;
В - ширина основания (покрытия).
Рис. 12
Таблица 51.
|
Приемочный контроль
|
Обоснование
|
|
Контролируемые
параметры
|
Допускаемые
отклонения
|
|
Высотные отметки по оси
|
D1: Не более 10 % результатов могут иметь отклонения от проектных
значений в пределах до ± 100 (20)* мм, остальные - ± 50 (10) мм.
|
СНиП 3.06.03-85
Приложение 2
Гл. 5, п. 2.1.
|
|
Ширина покрытия (основания)
|
D2: Не более 10 % результатов могут иметь отклонения от проектных
значений в пределах от минус 15 до 20 см, остальные - до ± 10 см.
|
СНиП 3.06.03-85
Приложение 2
Гл. 5, п. 2.2.2.
|
|
Толщина слоя
|
D3: Не более 10 % результатов могут иметь отклонения от проектных
значений в пределах от минус 22 (минус 15) до 30 (20) мм, остальные - до ± 15 (10) мм.
|
СНиП 3.06.03-85
Приложение 2
Гл. 5, п. 2.3.2.
|
|
Поперечные уклоны
|
D4: Не более 10 % результатов могут иметь отклонения от проектных
значений в пределах от минус 0,015 (минус 0,010) до 0,030 (0,015), остальные
- до ± 0,010 (0,005).
|
СНиП 3.06.03-85
Приложение 2
Гл. 5, п. 2.4.
|
|
Ровность** (просвет под рейкой длиной 3 м)
|
D5: Не более 5 % результатов определений могут иметь значения
просветов в пределах до 20 (10) мм, остальные - до 10 (5) мм.
|
СНиП 3.06.03-85
Приложение 2
Гл. 5, п. 2.5.2.
|
|
При осуществлении приемочного контроля также следует
контролировать:
|
СНиП 3.06.03-85
|
|
■ качество уплотнения:
- для щебеночных, гравийных,
шлаковых оснований и покрытий - путем контрольного прохода катка массой 10 -
13 т по всей длине контролируемого участка;
|
п. 7.36.
|
|
- для гравийных покрытий -
балонным плотномером в трех поперечниках на каждом километре дороги путем
измерения фактической плотности гравийного материала по оси и в 1 - 1,5 м от
кромки покрытия;
|
ВСН
7-89
п. 5.4.2.
|
|
■ ровность слоев оснований и покрытий путем определения
алгебраических разностей высотных отметок:
На каждой захватке следует производить определение
вертикальных абсолютных или относительных отметок путем нивелирования с шагом
5 м. На основе полученных вертикальных отметок следует вычислить
алгебраические разности отметок точек (амплитуд) по формуле:
((Нi + Нi + 2)/2) - Нi + 1,
где Нi, Нi + 1, Нi + 2 - отметки смежных точек. Все
вычисления следует производить со сдвижкой на 5 м с целью получения для
каждой захватки не менее 50 - 60 значений амплитуд. При этом 90 % определений
должны быть в пределах, указанных в таблице 54, а 10 % определений не должны
превышать эти значения более чем в 1,5 раза.
|
СНиП 3.06.03-85
п.п. 14.3., 14.5.
|
|
* - данные в скобках относятся к работам, выполняемым с
применением машин с автоматической системой задания вертикальных отметок.
** - детальные измерения ровности следует производить на
расстоянии 0,5 - 1,0 м от каждой кромки покрытия или края полосы движения (СНиП 3.06.03-85 п. 14.5).
|
Таблица 52.
|
Операционный контроль
|
Обоснование
|
|
При операционном контроле
качества значения допускаемых отклонений D1
- D5 и качество уплотнения грунта
принимаются по нормам приемочного контроля, указанным в таблице 51.
|
СНиП 3.06.03-85
п.п. 1.13., 7.35.
|
|
Дополнительно контролируют не
реже одного раза в смену:
влажность щебня и пескоцементной
смеси по ГОСТ
8269-87 и ГОСТ
5180-84;
прочность пескоцемента по ГОСТ
23558-93.
|
СНиП 3.06. 03-85
п. 7.35.
|
|
Постоянно визуально контролируют
качество уплотнения и соблюдение режима ухода.
|
СНиП 3.06.03-85
п. 7.35.
|
Таблица 53.
|
Примечание
|
Обоснование
|
|
Наименьшая толщина
распределяемого слоя должна в 1,5 раза превышать размер наиболее крупных
частиц и быть не менее 10 см при укладке на прочное основание и не менее 15
см при укладке на песок. Максимальная толщина слоя Н не должна превышать значений, указанных в таблице 55.
|
СНиП 3.06.03-85
п. 7.1.
|
Таблица 54.
|
Категория дороги
|
Значения
амплитуд, мм, при использовании комплектов машин
|
Обоснование
|
|
без
автоматической системы задания вертикальных отметок
|
с
автоматической системой задания вертикальных отметок
|
|
Расстояние
между точками, м
|
|
5
|
10
|
20
|
5
|
10
|
20
|
|
I, II, III
|
7
|
12
|
24
|
5
|
8
|
16
|
СНиП 3.06.03-85
п. 14.5., таб. 17.
|
Таблица 55.
|
Вид материала
|
Максимальная
толщина уплотняемого слоя, см, при применении катков
|
Обоснование
|
|
с
гладкими вальцами массой 10 т и более
|
решетчатых
и на пневматических шинах массой 15 т и более
|
вибрационных
и комбинированных массой, т
|
|
до
10
|
16
и более
|
|
Трудноуплотняемый (из изверженных и метаморфических пород марки
по прочности 1000 и более, гравий прочный, хорошо окатанный, шлаки
остеклованной структуры)
|
18
|
24
|
18
|
24
|
СНиП 3.06.03-85
п. 7.1., таб. 5
|
|
Легкоуплотняемый (из изверженных и метаморфических пород марки
по прочности менее 1000, осадочные, гравий неокатанный, шлаки с пористой
структурой)
|
22
|
30
|
22
|
30
|

Условные обозначения:
Н - толщина уплотняемого слоя;
В - ширина основания (покрытия).
Рис. 13
Таблица 56.
|
Приемочный контроль
|
Обоснование
|
|
Допускаемые отклонения D1 - D5, качество уплотнения и ровность
слоев основания принимаются по нормам приемочного контроля для щебеночных,
гравийных и шлаковых оснований и покрытий, устраиваемых при положительных
температурах.
|
|
Таблица 57.
|
Операционный контроль
|
Обоснование
|
|
Операционный контроль качества
при устройстве щебеночных, гравийных и шлаковых оснований и покрытий,
устраиваемых в зимнее время, ведется по нормам операционного контроля,
приведенном в п. 4.1. данного
«Пособия».
|
|
Таблица 58.
|
Примечание
|
Обоснование
|
|
При температуре воздуха от 0 °
до минус 5 °С продолжительность работ по распределению, профилированию и
уплотнению каменного материала влажностью до 3 % не должна превышать 4 ч, а при более низкой
температуре - 2 ч. При
влажности материала свыше 3 % его следует обрабатывать раствором хлористых
солей в количестве 0,3 - 0,5 % по массе.
|
СНиП 3.06.03-85
п. 7.23.
|
|
Уплотнение каменного материала
при отрицательной температуре следует производить без увлажнения
|
СНиП 3.06.03-85
п. 7.24.
|
|
Досыпку материала и исправление
деформаций основания (покрытия), устроенного при отрицательной температуре,
следует производить только после просыхания земляного полотна и основания
(покрытия).
|
СНиП 3.06.03-85
п. 7.26.
|

Условные
обозначения:
Н -
толщина уплотненного слоя;
В -
ширина основания (покрытия).
Рис. 14
Таблица 59.
|
Приемочный контроль
|
Обоснование
|
|
Контролируемые параметры
|
Допускаемые отклонения
|
|
Высотные отметки по оси
|
D1: Не более 10 % результатов
могут иметь отклонения от проектных значений в пределах до ± 100 (20)* мм, остальные - ± 50 (10) мм.
|
СНиП 3.06.03-85
Приложение 2
Гл. 5, п. 2.1.
|
|
Ширина покрытия (основания)
|
D2: Не более 10 % результатов
могут иметь отклонения от проектных значений в пределах от минус 15 до 20 см,
остальные- до ± 10 см.
|
СНиП 3.06.03-85
Приложение 2
Гл. 5, п. 2.2.2.
|
|
Толщина слоя
|
D3: Не более 10 % результатов
могут иметь отклонения от проектных значений в пределах от минус 22 (минус 15)
до 30 (20) мм, остальные - до ± 15 (10) мм.
|
СНиП 3.06.03-85
Приложение 2
Гл. 5, п. 2.3.2.
|
|
Поперечные уклоны
|
D4: Не более 10 % результатов
могут иметь отклонения от проектных значений в пределах от минус 0,015 (минус
0,010)!до.,. 0,030 (0,01 5), остальные - до ±0,010(0,005).
|
СНиП 3.06.03-85
Приложение 2
Гл. 5, п. 2.4.
|
|
Ровность** (просвет под рейкой
длиной 3 м)
|
D5: Не более 5 % результатов
определений могут иметь значения просветов в пределах, до 14(10) мм,
остальные - до 7 (5) мм.
|
СНиП 3.06.03-85
Приложение 2
Гл. 5, п. 2.5.3.
|
|
При осуществлении приемочного
контроля кроме параметров, указанных выше, следует контролировать:
|
СНиП 3.06.03-85
|
|
■
коэффициент сцепления шины с покрытием. Измерения следует выполнять по одной
полосе наката колес автомобилей каждой полосы движения. На каждые 1000 м
необходимо делать 3 - 5 измерений в зависимости от состояния покрытия по
каждой полосе движения. Для обеспечения безопасности движения встречных
автомобилей на двухполосных дорогах и движущихся по смежным полосам
многополосных дорог, а также при съездах автомобилей на укрепительные полосы
или прикромочные зоны обочин изменение коэффициента сцепления в поперечном
профиле дорожного полотна не должно превышать 0,10;
|
ГОСТ
Р 50597-93
п. 3.1.4.
СНиП 3.06.03-85
п. 14.6.
ВСН
38-90 п. 2.4.
|
|
■
ровность слоев оснований и покрытий путем определения алгебраических
разностей высотных отметок:
На каждой захватке
следует производить определение вертикальных абсолютных или относительных
отметок путем нивелирования с шагом 5 м. На основе полученных вертикальных
отметок следует вычислить алгебраические разности отметок точек (амплитуд) по
формуле:
((Нi + Нi
+ 2)/2) - Нi
+ 1,
где Нi, Нi + 1, Нi + 2 - отметки смежных точек. Все вычисления следует
производить со сдвижкой на 5 м с целью получения для каждой захватки не менее
50 - 60 значений амплитуд. При этом 90 % определений должны быть в пределах,
указанных в таблице 62, а 10 % определений
не должны превышать эти значения более чем в 1,5 раза.
|
СНиП 3.06.03-85
п.п. 14.3., 14.5.
|
|
Качество смеси, плотность
материала в покрытии (основании) и коэффициент уплотнения соответствуют этим
же показателям при операционном контроле. Объем контроля принимается
по п. 14.4. СНиП 3.06.03-85.
|
СНиП 3.06.03-85
п.п. 14.3., 14.4.
|
|
* - данные в скобках
относятся к работам, выполняемым с применением машин с автоматической
системой задания вертикальных отметок.
** - детальные
измерения ровности следует производить на расстоянии 0,5 - 1,0 м от каждой
кромки покрытия или края полосы движения (СНиП 3.06.03-85 п. 14.5).
|
Таблица 60.
|
Операционный контроль
|
Обоснование
|
|
При приготовлении эмульсий
следует контролировать:
• постоянно - температуру битума
и водного раствора эмульгатора;
• не реже одного раза в смену -
качество эмульсии по ГОСТ 18659-81.
|
СНиП 3.06.03-85
п. 9.46.
|
|
При приготовлении дегтебетона
следует контролировать:
• постоянно - температуру дегтя
и минеральных материалов;
• в каждом автомобиле-самосвале
- температуру дегтебетонной смеси;
• не реже одного раза в смену -
качество смеси по ГОСТ
25877-83*.
|
СНиП 3.06.03-85
п. 9.47.
|
|
При устройстве оснований и
покрытий из дегтебетонных смесей следует контролировать:
• в каждом автомобиле-самосвале
- температуру дегтебетонной смеси.
|
СНиП 3.06.03-85
п. 9.48.
|
|
При устройстве оснований и
покрытий из черного щебня и смесей, обработанных битумными эмульсиями в
смесителе, следует контролировать:
• в каждом автомобиле-самосвале
- температуру черного щебня;
•
визуально - однородность смеси и качество уплотнения путем контрольного
прохода катка массой 10 - 13 т по всей длине контролируемого участка;
• качество смеси по показателям
трех проб на 1 км.
|
СНиП 3.06.03-85
п.п. 9.49., 8.25.
|
|
При устройстве оснований и
покрытий способом пропитки следует контролировать:
■ при каждом розливе -
температуру вяжущего материала;
■
визуально - равномерность распределения каменных материалов и качество
уплотнения путем контрольного прохода катка массой 10 - 13 т по всей длине
контролируемого участка.
|
СНиП 3.06.03-85
п. 9.50., 8.25.
|
|
При устройстве оснований и
покрытий способом смешения на дороге следует контролировать:
■ при каждом розливе -
температуру вяжущего материала;
■
не реже одного раза в смену (и при выпадении осадков) - влажность минеральных
материалов по ГОСТ
5180-84;
■
визуально - равномерность распределения каменных материалов и качество
уплотнения путем контрольного прохода катка массой 10 - 13 т по всей длине контролируемого участка;
■ качество смеси - по
показателям двух проб на 1 км по ГОСТ
12801-84.
|
СНиП 3.06.03-85
п. 9.51., 8.25.
|
|
При операционном контроле
качества оснований и покрытий кроме параметров указанных выше следует
контролировать:
|
СНиП 3.06.03-85
|
|
■ для оснований и покрытий
из дегтебетонных смесей;
-
плотность дегтебетона в покрытии по трем вырубкам (кернам) на 1 км (по ГОСТ
25877-83), отобранным не ранее:
30
суток после устройства - для холодного дегтебетона;
10
суток после устройства - для горячего дегтебетона.
-
коэффициент уплотнения должен быть не ниже 0,98 для дегтебетонов из горячих
смесей и 0,96 - для дегтебетонов из
холодных смесей;
|
ГОСТ
25877-83
п. 5.4.
|
|
■
для оснований и покрытий из черного щебня и смесей, обработанных битумными
эмульсиями в смесителе:
- качество смеси по показателям трех проб
на 1 км;
-
уплотнение покрытия оценивают коэффициентом уплотнения, который должен быть
не менее 0,97;
|
СНиП 3.06.03-85
п. 9.49.
|
|
■
для оснований и покрытий, устроенных способом смешения на дороге:
- качество смеси - по
показателям двух проб на 1 км по ГОСТ
12801-84;
-
плотность материала в покрытии по трем вырубкам (кернам) на 1 км по ГОСТ
12801-84;
|
Пособие
к СНиП
3.06.03-85,
п. 6.23.
СНиП 3.06.03-85
п. 9.51.
|
|
-
уплотнение покрытия оценивают коэффициентом уплотнения, который должен быть
не менее 0,96 через 30 сут после устройства покрытия или основания.
|
п. 9.44
|
|
*
- ГОСТ
25877-83 действует на территории бывшего СССР, за исключением РФ.
|
Таблица 61.
|
Примечание
|
Обоснование
|
|
Толщина уплотненного слоя Н для оснований и покрытий из черного
щебня, смесей, обработанных битумными эмульсиями в смесителе, щебеночных
смесей по способу пропитки и смешением на дороге (независимо от результатов
расчета на прочность) должна быть не менее 8 см (рис. 14).
|
СНиП 2.05.02-85
п. 7.24., таб. 30.
|
|
Толщина уплотненного слоя Н для дегтебетона (независимо от
результатов расчета на прочность) должна быть не менее:
■ для крупнозернистого
дегтебетона 6 - 7 см;
■ для мелкозернистого дегтебетона 3 -
5 см;
■ для песчаного дегтебетона 3 - 4
см.
|
СНиП 2.05.02-85
п. 7.24, таб. 30
|
|
Требования к климатическим
условиям при производстве работ приведены в СНиП 3.06.03-85 п.п. 9.16., 9.22., 9.26., 9.27.,
9.32., 9.40.
|
СНиП 3.06.03-85
|
Таблица 62.
|
Категория дороги
|
Значения
амплитуд, мм, при использовании комплектов машин
|
Обоснование
|
|
без
автоматической системы задания вертикальных отметок
|
с
автоматической системой задания вертикальных отметок
|
|
Расстояние
между точками, м
|
|
5
|
10
|
20
|
5
|
10
|
20
|
|
I, II, III
|
7
|
12
|
24
|
5
|
8
|
16
|
СНиП 3.06.03-85
п. 14.5, таб. 17
|

Условные обозначения:
H - толщина уплотняемого слоя;
В - ширина основания (покрытия).
Рис. 15
Таблица 63.
|
Приемочный контроль
|
Обоснование
|
|
Контролируемые
параметры
|
Допускаемые
отклонения
|
|
Высотные отметки по оси
|
D1: Не более 10 % результатов могут иметь отклонения от проектных
значений в пределах до ± 100 (20)* мм, остальные - ± 50 (10) мм,
|
СНиП 3.06.03-85
Приложение 2
Гл. 5, п. 2.1.
|
|
Ширина покрытия (основания) В
|
D2: Не более 10 % результатов могут иметь отклонения от проектных
значений в пределах от минус 15 до 20 см, остальные - до ± 10 см.
|
СНиП 3.06.03-85
Приложение 2
Гл. 5, п. 2.2.2.
|
|
Толщина слоя
|
D3: Не более 10 % результатов могут иметь отклонения от проектных
значений в пределах от минус 22 (минус 15) до 30 (20) мм, остальные - до ± 15
(10) мм.
|
СНиП 3.06.03-85
Приложение 2
Гл. 5, п. 2.3.2.
|
|
Поперечные уклоны
|
D4: Не более 10 % результатов могут иметь отклонения от проектных
значений в пределах от минус 0,015 (минус 0,010) до 0,030 (0,015), остальные
- до ± 0,010 (0,005).
|
СНиП 3.06.03-85
Приложение 2
Гл. 5, п. 2.4.
|
|
Ровность** (просвет под рейкой длиной 3 м)
|
D5: Не более 5 % результатов определений могут иметь значения
просветов в пределах до 20 (10) мм, остальные - до 10 (5) мм.
|
СНиП 3.06.03-85
Приложение 2
Гл. 5, п. 2.5.2.
|
|
При осуществлении приемочного контроля кроме параметров,
указанных выше, следует контролировать:
|
СНиП 3.06.03-85
|
|
■ качество уплотнения
путем контрольного прохода катка массой 10 - 13 т по всей длине
контролируемого участка;
|
п. 8.25.
|
|
■ качество готового слоя
по физико-механическим показателям кернов или вырубок, которые отбирают не
ранее чем через 30 суток после устройства слоя и открытия по нему движения из
расчета две пробы на 1 км. Уплотнение покрытия оценивают коэффициентом
уплотнения, который должен быть не менее 0,97.
|
Пособие
к СНиП
3.06.03-85
п.п. 6.22., 6.23.
|
|
■ ровность слоев оснований
и покрытий путем определения алгебраических разностей высотных отметок:
На каждой захватке следует производить определение
вертикальных абсолютных или относительных отметок путем нивелирования с шагом
5 м. На основе полученных вертикальных отметок следует вычислить
алгебраические разности отметок точек (амплитуд) по формуле:
((Нi + Нi + 2)/2) - Нi + 1,
где Нi, Нi + 1, Нi + 2 - отметки смежных точек. Все
вычисления следует производить со сдвижкой на 5 м с целью получения для
каждой захватки не менее 50 - 60 значений амплитуд. При этом 90 % определений
должны быть в пределах, указанных в таблице 66, а 10 % определений не должны
превышать эти значения более чем в 1,5 раза.
|
СНиП 3.06.03-85
п.п. 14.3., 14.5.
|
|
* - данные в скобках относятся к работам, выполняемым с
применением машин с автоматической системой задания вертикальных отметок.
** - детальные измерения ровности следует производить на
расстоянии 0,5 - 1,0 м от каждой кромки покрытия или края полосы движения (СНиП 3.06.03-85 п. 14.5).
|
Таблица 64.
|
Операционный контроль
|
Обоснование
|
|
При операционном контроле
качества значения допускаемых отклонений D1
- D5 и качество уплотнения грунта
принимаются по нормам приемочного контроля, указанным в таблице 63.
|
СНиП 3.06.03-85
п.п. 1.13., 8.24., 8.25.
|
|
Дополнительно контролируют не
реже одного раза в смену:
■ влажность смеси по ГОСТ
5180-84;
■ прочность материала по
ГОСТ 23558-93;
■ плотность солевых
растворов при отрицательной температуре.
|
СНиП 3.06.03-85
п. 8.24.
|
|
Не реже одного раза в семь смен
контролируют точность дозирования компонентов смеси контрольным взвешиванием.
|
СНиП 3.06.03-85
п. 8.24.
|
|
Постоянно визуально контролируют
качество уплотнения и соблюдение режима ухода.
|
СНиП 3.06.03-85
п. 8.24.
|
Таблица 65.
|
Примечание
|
Обоснование
|
|
Основания (покрытия) из каменных
материалов, обработанных неорганическими вяжущими, следует устраивать, как
правило, в сухую погоду при среднесуточной температуре воздуха не ниже 5 °С.
|
СНиП 3.06.03-85
п. 8.10.
|
|
Максимальная толщина Н уплотняемого слоя для
легкоуплотняемого материала не должна превышать 0,3 м (рис. 15).
|
СНиП 3.06.03-85
п.п. 8.11., 7.1., таб. 5
|
|
Приготовление и укладка каменных
материалов, обработанных неорганическими вяжущими материалами, при
среднесуточной температуре воздуха в пределах от 5 °С до минус 15 °С должны
осуществляться с принятием специальных мер:
■ утепление основания;
■ подогрев воды и
заполнителей;
■ введение в смесь водных
растворов хлористых солей.
|
СНиП 3.06.03-85
п. 8.15.
|
Таблица 66.
|
Категория дороги
|
Значения
амплитуд, мм, при использовании комплектов машин
|
Обоснование
|
|
без автоматической
системы задания вертикальных отметок
|
с
автоматической системой задания вертикальных отметок
|
|
Расстояние
между точками, м
|
|
5
|
10
|
20
|
5
|
10
|
20
|
|
I, II, III
|
7
|
12
|
24
|
5
|
8
|
16
|
СНиП 3.06.03-85
п. 14.5., таб. 17.
|

Условные обозначения:
H - толщина уплотняемого слоя.
Рис. 16
Таблица 67.
|
Операционный контроль
|
Обоснование
|
|
При операционном контроле
качества работ по устройству дорожной одежды следует контролировать по
каждому укладываемому слою не реже чем через каждые 100 м:
■ высотные отметки по оси дороги;
■ ширину;
■ толщину слоя неуплотненного
материала по его оси;
■ поперечный уклон D2;
■ ровность (просвет под рейкой
длиной 3 м) D3;
■ температуру горячей и теплой
асфальтобетонной смеси в каждом автомобиле-самосвале;
■ качество продольных и
поперечных сопряжений укладываемых полос.
|
СНиП 3.06.03-85
п.п. 1.13., 10.40.
|
Таблица 68.
|
Примечание
|
Обоснование
|
|
Покрытия и основания из
асфальтобетонных смесей следует устраивать в сухую погоду. Температура
воздуха должна быть:
■ для горячих и холодных
смесей весной и летом не ниже 5 °С;
■ для горячих и холодных
смесей осенью не ниже 10 °С;
■ для теплых смесей не
ниже минус 10 °С.
|
СНиП 3.06.03-85
п. 10.16.
|
|
Допускается укладка горячей
асфальтобетонной смеси при температуре воздуха не ниже 0 °С, с соблюдением
следующих условий:
■ толщина укладываемого
слоя Н должна быть не менее 4 см
(рис. 16);
■
необходимо применять асфальтобетонные смеси с ПАВ или активированными
минеральными порошками;
■
устраивать следует, как правило, только нижний слой двухслойного
асфальтобетонного покрытия (из плотного асфальтобетона - если зимой и весной
по нему будут передвигаться транспортные средства);
■
верхний слой допускается устраивать только на свежеуложенном нижнем слое до
его остывания (с сохранением температуры нижнего слоя не менее 20 °С).
|
СНиП 3.06.03-85
п. 10.16.
|
|
При укладке горячих, теплых и
холодных (в горячем состоянии) асфальтобетонных смесей толщина укладываемого
слоя Н должна быть на D1 больше проектной:
■ при укладке
асфальтоукладчиками D1
- 10 - 15 %;
■ при укладке
автогрейдером или вручную D1
- 25 - 30 %;
■
при укладке холодной асфальтобетонной смеси из штабеля асфальтоукладчиком (с
выключенными уплотняющими рабочими органами) и при укладке автогрейдером или
вручную D1
- 60 - 70 %.
|
СНиП 3.06.03-85
п. 10.19.
|
|
Поперечные сопряжения полос,
устраиваемых из асфальтобетонных смесей, должны быть перпендикулярны оси
дороги (рис. 16).
|
СНиП 3.06.03-85
п. 10.30.
|
|
Температура асфальтобетонных
смесей при укладке в конструктивные слои дорожной одежды должна
соответствовать требованиям ГОСТ
9128-84. Уплотнение смесей начинают непосредственно после их укладки,
соблюдая температурный режим, указанный в таблице 69.
|
СНиП 3.06.03-85
п. 10.22., таб. 14.
|
|
При устройстве верхних слоев
покрытий в процессе строительства и ремонта федеральных дорог I и II
технических категорий предписывается применять битумы, модифицированные
полимерами типа СБС и другими.
|
Приказ ФДД № 9 от 31.01.95 «О
повышении качества выпускаемых асфальтобетонных смесей» (п. 1)
|
Таблица 69.
|
Вид смеси
|
Марка
битума
|
Температура
смеси в начале уплотнения, °С,
для
|
|
плотного
асфальтобетона типов А и Б, пористого и высокопористого асфальтобетонов с
содержанием щебня (гравия) более 40 % массы
|
плотного
асфальтобетона типов В, Г и Д пористого и высокопористого асфальтобетонов с
содержанием щебня (гравия) менее 40 % массы и высокопористого песчаного
|
|
Горячая
|
БНД 40/60, БНД 60/90, БНД 90/130, БН
60/90, БН 90/130
|
120 - 160
|
100 - 130
|
|
Теплая
|
БНД 130/200, БНД 200/300, БН 130/200,
БН 200/300
|
100 - 140
|
80 - 110
|
|
|
СГ 130/200, МГ 130/200, МГО 130/200
|
70 - 100
|
|
Холодная
|
СГ 70/130, МГ 70/130, МГО 70/130
|
Не ниже 5
|

Условные
обозначения:
Н -
толщина уплотненного слоя;
В -
ширина основания (покрытия).
Рис. 17
Таблица 70.
|
Приемочный контроль
|
Обоснование
|
|
Контролируемые
параметры
|
Допускаемые
отклонения
|
|
Высотные отметки по оси
|
D1: Не более 10 % результатов могут иметь отклонения от проектных
значений в пределах до ± 100 (20)* мм, остальные - ± 50 (10) мм.
|
СНиП 3.06.03-85
Приложение 2
Гл. 5, п. 2.1.
|
|
Ширина покрытия (основания)
|
D2: Не более 10 % результатов могут иметь отклонения от проектных
значений в пределах от минус 15 до 20 см, остальные - до ± 10 см.
|
СНиП 3.06.03-85
Приложение 2
Гл. 5, п. 2.2.2.
|
|
Толщина слоя
|
D3: Не более 10 % результатов могут иметь отклонения от проектных
значений в пределах от минус 15 до 20 мм, остальные - до ± 10 мм.
|
СНиП 3.06.03-85
Приложение 2
Гл. 5, п. 2.3.1.
|
|
Поперечные уклоны
|
D4: Не более 10 % результатов могут иметь отклонения от проектных
значений в пределах от минус 0,015 (минус 0,010) до 0,030 (0,015), остальные
- до ± 0,010 (0,005).
|
СНиП 3.06.03-85
Приложение 2
Гл. 5, п. 2.4.
|
|
Ровность** (просвет под рейкой длиной 3 м)
|
D5: Не более 5 % результатов определений могут иметь значения
просветов в пределах до 10 (6) мм, остальные - до 5 (3) мм.
|
СНиП 3.06.03-85
Приложение 2
Гл. 5, п. 2.5.4.
|
|
При приемке готового асфальтобетонного покрытия (основания)
кроме параметров указанных выше контролируют:
■ ровность слоев оснований
и покрытий путем определения алгебраических разностей высотных отметок:
На каждой захватке следует производить определение
вертикальных абсолютных или относительных отметок путем нивелирования с шагом
5 м. На основе полученных вертикальных отметок следует вычислить
алгебраические разности отметок точек (амплитуд) по формуле:
((Нi + Нi + 2)/2) - Нi + 1,
где Нi, Нi + 1, Нi + 2 - отметки смежных точек. Все
вычисления следует производить со сдвижкой на 5 м с целью получения для
каждой захватки не менее 50 - 60 значений амплитуд. При этом 90 % определений
должны быть в пределах, указанных в таблице 73, а 10 % определений не должны
превышать эти значения более чем в 1,5 раза.
|
СНиП 3.06.03-85
п.п. 14.3., 14.5.
|
|
■ качество асфальтобетона (по нормам операционного
контроля);
|
|
|
■ сцепление шины
автомобиля с покрытием (для верхних слоев) или шероховатость покрытия.
Измерения следует выполнять по одной полосе наката колес автомобилей каждой
полосы движения. На каждые 1000 м необходимо делать 3 - 5 измерений в
зависимости от состояния покрытия по каждой полосе движения. Для обеспечения
безопасности движения встречных автомобилей на двухполосных дорогах и
движущихся по смежным полосам многополосных дорог, а также при съездах
автомобилей на укрепительные полосы или прикромочные зоны обочин изменение
коэффициента сцепления в поперечном профиле дорожного полотна не должно
превышать 0,10.
|
ГОСТ Р
50597-93
п. 3.1.4.
СНиП 3.06.03-85
п. 14.6.
ВСН
38-90
п. 2.4.
|
|
* - данные в скобках относятся к работам, выполняемым с
применением машин с автоматической системой задания вертикальных отметок.
** - детальные измерения ровности следует производить на
расстоянии 0,5 - 1,0 м от каждой кромки покрытия или края полосы движения (СНиП 3.06.03-85 п. 14.5).
|
Таблица 71.
|
Операционный контроль
|
Обоснование
|
|
При осуществлении операционного
контроля значения допускаемых отклонений D1
- D5 принимаются по нормам
приемочного контроля, указанным в таблице 70.
|
СНиП 3.06.03-85
п.п. 1.13., 10.40.
|
|
Дополнительно к геометрическим
параметрам при операционном контроле проверяют:
■ качество продольных и
поперечных сопряжений укладываемых полос;
■ качество асфальтобетона по
показателям кернов (вырубок) в трех местах на 7000 м покрытия по ГОСТ
9128-84 и ГОСТ
12801-84. Вырубки следует отбирать - для горячих и теплых асфальтобетонов
через 1 - 3 сут после их уплотнения, а из холодного - через 15 - 30 сут на
расстоянии не менее 1 м от края покрытия.
Коэффициенты
уплотнения должны быть не ниже:
-
0,99 - для асфальтобетонов из горячих и теплых смесей типов А и Б;
-
0,98 - для плотного асфальтобетона из горячих и теплых смесей типов В, Г и Д,
пористого и высокопористого асфальтобетона;
-
0,96 - для асфальтобетона из холодных смесей, прочность сцепления слоев
покрытия.
|
СНиП 3.06.03-85
п. 10.40.
|
Таблица 72.
|
Примечание
|
Обоснование
|
|
Толщина уплотненного слоя Н (рис. 17) независимо от результатов расчета на прочность
должна быть не менее:
■ для крупнозернистого
асфальтобетона 6 - 7 см;
■ для мелкозернистого
асфальтобетона 3 - 5 см;
■ для песчаного асфальтобетона 3
- 4 см.
|
СНиП 2.05.02-85
п. 7.24., таб. 30
|
Таблица 73.
|
Категория дороги
|
Значения амплитуд, мм, при использовании
комплектов машин
|
Обоснование
|
|
без автоматической системы задания
вертикальных отметок
|
с автоматической системой задания
вертикальных отметок
|
|
Расстояние между точками, м
|
|
5
|
10
|
20
|
5
|
10
|
20
|
|
I, II, III
|
7
|
12
|
24
|
5
|
8
|
16
|
СНиП 3.06.03-85
п. 14.5., таб. 17
|
Таблица 74.
|
Приемочный контроль
|
Обоснование
|
|
При приемке поверхностной
обработки контролируют:
■
сцепление шины автомобиля с покрытием или шероховатость покрытия. Измерения
следует выполнять по одной полосе наката колес, автомобилей каждой полосы
движения. На каждые 1000 м необходимо делать 3 - 5 измерений в зависимости от
состояния покрытия по каждой полосе движения. Для обеспечения безопасности
движения встречных автомобилей на двухполосных дорогах и движущихся по
смежным полосам многополосных дорог, а также при съездах автомобилей на
укрепительные полосы или прикромочные зоны обочин изменение коэффициента
сцепления в поперечном профиле дорожного полотна не должно превышать 0,10.
|
СНиП 3.06.03-85
п.п. 14.3., 14.5.
п. 14.6.
ВСН
38-90
п. 2.4.
ВСН
38-90
п. 6.5.
|
|
■
геометрические параметры шероховатости (среднюю высоту выступов и глубину
впадин шероховатости оценивают методом «песчаное пятно»). Измерения следует
производить на каждой полосе движения (5 измерений на 1000 м по одной полосе
наката).
|
СНиП 3.06.03-85
п. 14.7
|
Таблица 75.
|
Операционный контроль
|
Обоснование
|
|
При
операционном контроле проверяют:
■
температуру битума в каждом битумовозе;
■
постоянно:
-
однородность, чистоту и равномерность распределения щебня;
-
равномерность распределения вяжущего материала;
■
не реже одного раза в смену:
-
сцепление вяжущего материала с поверхностью зерен щебня по ГОСТ
12801-84 и ГОСТ 18659-81;
-
соответствие состава эмульсионно-минеральных смесей и шламов проекту;
-
нормы расхода материалов путем взвешивания распределенного материала на
площади 0,25 м.
|
СНиП 3.06.03-85
п. 11.15.
|
Таблица 76.
|
Примечание
|
Обоснование
|
|
Работы по устройству
поверхностной обработки следует выполнять при температуре воздуха не ниже 15 °С. При использовании катионной эмульсии для устройства
поверхностной обработки - при температуре воздуха не ниже 5 °С.
|
СНиП 3.06.03-85
п. 11.1.
|
|
Температура битума во время
розлива должна быть:
■ для марок БНД 60/90, БНД
90/130, БН 90/130 - 130 - 160 °С;
■ для марок БНД 130/200,
БН 130/200 - 100 - 130 °С.
|
СНиП 3.06.03-85
п. 11.6.
|
|
При температуре воздуха ниже 20 °С следует применять эмульсии с концентрацией битума 55 -
60 % и температурой 0 - 50 °С. При температуре воздуха выше
20 °С подогревать эмульсию не
следует, а концентрация битума может быть снижена до 50 %.
|
СНиП 3.06.03-85
п. 11.9.
|

Условные обозначения:
b - ширина основания под рельс-формы.
Рис. 18
Таблица 77.
|
Операционный контроль
|
Обоснование
|
|
Контролируемые параметры
|
Допускаемые отклонения
|
|
Отклонения отметок рельс-форм
после обкатки
|
D1: Не должны превышать ± 5 мм.
|
СНиП 3.06.03-85
п. 12.16.
|
|
Разность высоты звеньев
рельс-форм на стыках
|
D2: Не должна превышать 2 мм.
|
ВСН
139-80
п. 5.20.
|
|
Искривление рельс-форм в
вертикальной плоскости
|
D3: Не должно превышать 2 мм.
|
ВСН
139-80
п. 5.20.
|
|
Искривление рельс-форм в
горизонтальной плоскости
|
D4: Не должно превышать 5 мм.
|
ВСН
139-80
п. 5.20.
|
Таблица 78.
|
Примечание
|
Обоснование
|
|
Рельс-формы должны быть
установлены на спланированное основание шириной b не менее 0,5 м с каждой стороны полосы бетонирования (из щебня,
гравия или грунта, укрепленного вяжущими материалами) или на уширенное для
этого основание под покрытие (рис. 18).
|
СНиП 3.06.03-85
п. 12.16.
|
|
Рельс-формы следует
устанавливать после приемки земляного полотна и основания на участке длиной
не менее 500 м.
|
ВСН
139-80
п. 5.21.
|
|
Снимать рельс-формы следует не
ранее 24 часов после укладки бетонной смеси.
|
СНиП 3.06.03-35
п. 12.16.
|
Таблица 79.
|
Примечание
|
Обоснование
|
|
При строительстве покрытий
машинами со скользящими формами и подвозе бетонной смеси и других материалов
по обочине расстояние от одной из бровок земляного полотна до края основания
должно быть не менее 3,3 м. При ширине обочин 3,75 м и крутизне откосов 1:2
не требуется уширять земляное полотно. В отдельных случаях на высоких насыпях
при крутизне откосов менее 1:2 допускается уширять одну из обочин на 20 см за
счет другой обочины. Необходимость уширения земляного полотна должна быть
установлена проектной организацией.
|
ВСН
139-80
п. 2.1.
|
|
Автоматическая система задания
вертикальных отметок рабочих органов машин должна работать, как правило, от
двух копирных струн. Копирную струну закрепляют в кронштейнах на стойках,
устанавливаемых на расстоянии не более 15 м друг от друга на прямых участках
и 4 - 6 м на виражах.
Копирную струну следует закреплять параллельно оси дороги примерно на
расстоянии 7 м. Высота установки копирной струны над верхом земляного полотна
находится в пределах 0,5 - 1 м. Отклонение копирной струны от вертикальных
отметок не должно превышать ± 3 мм.
|
СНиП 3.06.03-85
п. 12.14.
ВСН
139-80
п. 5.18.
|
|
При строительстве покрытия
шириной 7,5 м машинами со скользящими формами предварительное распределение
бетонной смеси в случае применения распределителя следует осуществлять на
ширину 7,3 - 7,35 м.
|
ВСН
139-80
п. 5.35.
|
|
Бетонную смесь нужно
распределять с учетом припуска на уплотнение. При строительстве покрытия
машинами со скользящими формами на распределителе или бетоноукладчике в
начале смены или после длительных перерывов в работе рекомендуется делать
припуск 5 - 7 см, если проектная толщина покрытия равна 22 - 24 см. Указанный
припуск необходимо выдержать на участке длиной 10 - 15 м, после чего его
следует уменьшить до 3 - 5 см.
|
ВСН
139-80
п. 5.36.
|
|
Бетонную смесь следует
распределять равномерно по всей ширине покрытия без пропусков.
Технологический разрыв между распределителем смеси и бетоноукладчиком зависит
от погодных условий, наличия закладных элементов и составляет 10 - 30 м.
|
ВСН
139-80
п. 5.37.
|
|
Уплотнение бетонной смеси и
отделку поверхности покрытия при устройстве его в скользящих формах следует
осуществлять бетоноукладчиком на гусеничном ходу, входящим в комплект
высокопроизводительных машин.
|
ВСН
139-80
п. 5.39.
|
|
При предварительной настройке
рабочих органов бетоноукладчика необходимо:
•
первичную дозирующую заслонку устанавливать на 3 - 4 см выше низа боковых рам
(проектной отметки поверхности покрытия);
•
глубинные вибраторы устанавливать при полностью выдвинутом штоке
гидроцилиндра траверсы, как правило, в средней по толщине устраиваемого
покрытия плоскости;
•
вторичную дозирующую заслонку (вибробрус) устанавливать на 0,5 - 1 см выше
поверхности покрытия;
•
первичный качающийся брус устанавливать на 0,3 - 0,4 см выше проектной
отметки поверхности покрытия с углом наползания равным 1° - 2°;
•
вторичный качающийся брус устанавливать на 0,1 - 0,3 см выше отметки
поверхности покрытия с углом наползания 1°;
•
выглаживающую плиту регулировать винтами по шнуру с поднятием передней части
на 3 - 5 см.
|
ВСН
139-80
п. 5.40.
|
|
Высота основных боковых форм
(скользящей опалубки) и опалубки кромкообразователя должна быть приблизительно
на 5 мм меньше толщины слоя укладываемого бетона.
Кромкообразующий узел следует
настраивать с учетом остаточных деформаций свежеотформованного бетона после
прохода бетоноукладчика.
Расстояние между боковыми
формами (опалубки) кромкообразователя должно быть на 2 - 4 см меньше
проектной ширины покрытия. Край кромкообразующего узла должен быть приподнят
на 1 - 3 см выше поверхности покрытия.
|
ВСН
139-80
п. 5.41.
|
|
С целью обеспечения высокого
качества бетонного покрытия бетоноукладчик должен перемещаться непрерывно с
постоянной скоростью.
В процессе бетонирования также
следует обеспечивать сплошность поверхности уплотненной бетонной смеси после
вибробруса с электромагнитными вибраторами и наличие валиков бетонной смеси,
равномерных по всей ширине качающихся брусьев, высота валиков должна
находиться в пределах 20 - 25 см для первичного качающегося бруса и 10 - 15
см для вторичного.
|
ВСН
139-80
п. 5.44.
|
|
При устройстве бетонного
покрытия, армированного сварной сеткой из стержней периодического профиля
диаметром более 8 мм, устанавливаемой на подставках, глубинные вибраторы в
процессе уплотнения бетонной смеси должны быть подняты на 5 - 7 см выше
арматуры, так чтобы вибраторы постоянно находились в бетонной смеси.
|
ВСН
139-80
п. 5.47.
|
|
При устройстве бетонных
покрытий, армированных сварной сеткой с рабочей арматурой диаметром до 8 мм,
ее разрешается устанавливать в проектное положение в процессе бетонирования
вибропогружателем, который монтируют на бетоноукладчике.
|
ВСН
139-80
п. 5.48.
|

Условные
обозначения:
h1 - расстояние от
верха клина до поверхности покрытия;
h2 - глубина нарезки
шва;
а -
ширина шва расширения.
Рис. 20
Таблица 82.
|
Приемочный контроль
|
Обоснование
|
|
Контролируемые параметры
|
Допускаемые отклонения
|
|
Разница в уровне поверхности в
швах монолитных цементобетонных оснований и покрытий
|
D1: Не более 20 % результатов
определений могут иметь значения в пределах до 10 (7)* мм, остальные - до 3
(2) мм.
|
СНиП 3.06.03-85
Приложение 2
Гл. 5., п. 2.6.
|
|
*
- данные в скобках относятся к работам, выполняемым с применением машин с
автоматической системой задания вертикальных отметок.
|
Таблица 83.
|
Операционный контроль
|
Обоснование
|
|
Ширина паза должна быть не менее
ширины прокладки, глубина его нарезки h2 должна быть на 30 - 55 мм до
верха доски (рис. 20).
|
ВСН
139-80
п.п. 2.26., таб. 6
|
|
Ширину швов расширения а
(толщину доски) следует принимать равной 30 мм (рис. 20).
|
ВСН
139-80
п. 2.18.
|
|
Пазы для швов расширения должны
быть на 3 - 5 мм шире толщины доски (т.е. 33 - 35 мм).
|
ВСН
139-80
п. 2.18.
|
|
Прокладка должна быть
установлена по месту так, чтобы после уплотнения бетона верх клина прокладки
был ниже поверхности покрытия не более чем на h1 = 10 - 12 мм.
|
ВСН
139-80
п. 2.23.
|
Таблица 84.
|
Примечание
|
Обоснование
|
|
Прокладки следует устанавливать
в проектное положение вместе со штырями. Штыри следует изготовлять из
стержневой горячекатаной гладкой арматурной стали класса А-I.
|
ВСН
139-80
п.п. 2.22., 3.15.
|
Ширина
и минимальная глубина паза для заполнения мастиками должны назначаться в
соответствии с требованиями ВСН
139-80 (п. 2.26., таб. 6.).
Таблица 85.
|
Тип шва
|
Расстояние между
швами, м
|
Ширина паза, мм
|
Глубина нарезки
паза в долях от толщины покрытия
|
|
Шов
сжатия
|
5 - 8
|
8 - 12
|
³ 0,25
|
|
8 - 12
|
15
|
³ 0,25
|
|
15 -
20
|
20
|
³ 0,25
|
|
Шов
коробления
|
3,5 -
6
|
3 - 6
|
³ 0,33
|
|
Продольный
шов
|
-
|
3 - 5
|
0,25 -
0,33
|
|
Примечание: Ширину паза швов сжатия допускается назначать по расчету, но
не менее 3 мм.
|

Условные обозначения:
В - ширина покрытия (основания).
Рис. 21
Таблица 86.
|
Приемочный контроль
|
Обоснование
|
|
Контролируемые
параметры
|
Допускаемые
отклонения
|
|
Высотные отметки по оси
|
D1: Не более 10 % результатов могут иметь отклонения от проектных
значений в пределах до ± 100 (20)* мм, остальные - ± 50 (10) мм.
|
СНиП 3.06.03-85
Приложение 2
Гл. 5., п. 2.1.
|
|
Ширина покрытия (основания) b
|
D2: Не более 10 % результатов могут иметь отклонения от проектных
значений в пределах от минус 7,5 до 10 см, остальные - до ± 5 см.
|
СНиП 3.06.03-85
Приложение 2
Гл. 5, п. 2.2.1.
|
|
Толщина слоя
|
D3: Не более 10 % результатов могут иметь отклонения от проектных
значений в пределах от минус 22 (минус 15) до 30 (20) мм, остальные - до ± 15 (10) мм.
|
СНиП 3.06.03-85
Приложение 2
Гл. 5., п. 2.3.2.
|
|
Поперечные уклоны
|
D4: Не более 10 % результатов могут иметь отклонения от проектных
значений в пределах от минус 0,015 (минус 0,010) до 0,030 (0,015), остальные
- до ±0,010(0,005).
|
СНиП 3.06.03-85
Приложение 2
Гл. 5., п. 2.4.
|
|
Ровность (просвет
под рейкой длиной 3 м)
|
D5: Не более 5 % результатов определений могут иметь значения
просветов в пределах до 10 (6) мм,
остальные - до 5 (3) мм.
|
СНиП 3.06.03-85
Приложение 2
Гл. 5., п. 2.5.4.
|
|
Разница в уровне поверхности в швах монолитных цементобетонных
оснований и покрытий
|
D6: Не более 20 % результатов определений могут иметь значения в
пределах до 10 (7) мм, остальные - до 3 (2) мм.
|
СНиП 3.06.03-85
Приложение 2
Гл. 5., п. 2.6.
|
|
При приемке законченного
бетонного покрытия необходимо проверять:
■ качество исходных
материалов и их соответствие проекту, состав смеси, соблюдение
технологического режима приготовления смеси (по данным лабораторной
документации для принимаемых участков покрытия и текущего технического
контроля в процессе работы);
■ состояние поверхности
покрытия - наличие неровностей, раковин, наплывов, трещин, правильность
устройства и разделки швов, отделку краев покрытия (тщательным внешним
осмотром всего принимаемого участка покрытия); правильность установки
рельс-форм или копирных струн, арматуры и конструкций швов расширения и
сжатия (по данным актов промежуточной приемки скрытых работ и журналов
технического контроля в процессе работ);
■ качество бетона (по
данным лабораторных испытаний образцов хранившихся в стандартных и одинаковых
условиях с построенным бетонным покрытием). При необходимости высверливаются
керны на каждом километре покрытия не менее трех, диаметром не менее 130 мм,
на расстояниях в поперечном сечении: - 0,5 м от наружных краев покрытия и 0,5
м от его продольной оси;
■ толщину краев покрытия
на каждом пикете;
■ ширину покрытия - один
раз на пикет;
■ продольный профиль -
контрольным нивелированием не менее чем 10 % сдаваемого участка;
■ ровность в продольном
направлении и поперечные уклоны - на 10 - 15 % длины сдаваемого участка
дороги захватками длиной по 300 - 400 м. На каждой захватке через равные
расстояния следует выполнить 100 - 130 измерений просветов или непрерывную
графическую запись неровностей на расстоянии 0,75 - 1 м от кромки полосы
движения, 80 - 100 измерений поперечных уклонов рейкой с уровнем;
■ разницу в уровнях
поверхности покрытия у стыков смежных плит. Контролируют не менее чем на трех
стыках каждого пикета. На каждом стыке следует замерять просветы в двух
местах: у оси и на расстоянии 0,75 - 1 м от кромки;
|
ВСН
139-80
п. 7.6.
|
|
■ коэффициент сцепления
шины с покрытием. Измерения следует выполнять по одной полосе наката колес
автомобилей каждой полосы движения. На каждые 1000 м необходимо делать 3 - 5
измерений в зависимости от состояния покрытия по каждой полосе движения. Для
обеспечения безопасности движения встречных автомобилей на двухполосных
дорогах и движущихся по смежным полосам многополосных дорог, а также при
съездах автомобилей на укрепительные полосы или прикромочные зоны обочин
изменение коэффициента сцепления в поперечном профиле дорожного полотна не
должно превышать 0,10.
|
ГОСТ Р
50597-93
п. 3.1.4.
СНиП 3.06.03-85
п. 14.6.
ВСН
38-90
п. 2.4.
|
|
У бетонных покрытий следует оценивать также качество отделки
поверхности и швов. Когда оценки ровности поверхности, отделки поверхности и
швов разные, общую оценку качества принимаемого покрытия устанавливают по
низшему показателю.
|
ВСН
139-80
п. 7.12.
|
|
* - данные в скобках относятся к
работам, выполняемым с применением машин с автоматической системой задания
вертикальных отметок.
|
Таблица 87.
|
Операционный контроль
|
Обоснование
|
|
При осуществлении операционного
контроля значения допускаемых отклонений D1
- D6 принимаются по нормам
приемочного контроля, указанным в таблице 86.
|
СНиП 3.06.03-85
п. 1.13.
|
|
При приготовлении
цементобетонной смеси контролируют:
• постоянно:
-
соблюдение технологических режимов приготовления бетонной смеси;
■
не реже одного раза в смену:
-
показатель удобоукладываемости бетонной смеси и объем вовлеченного воздуха по
ГОСТ 10181.0-81,
ГОСТ
10181.1-81, ГОСТ 10181.2-81, ГОСТ
10181.3-81;
-
концентрацию рабочих растворов химических добавок;
-
прочность бетона (путем испытания трех образцов-балок, изготовленных и
хранившихся в соответствии с ГОСТ
10180-90);
-
влажность заполнителей по ГОСТ
8269-87 и ГОСТ 8735-88
(проверяется также в случае выпадения осадков);
|
СНиП 3.06.03-85
п. 12.57.
|
|
•
при изменении качества смеси:
-
точность дозирования компонентов;
•
качество песка, щебня или гравия по ГОСТ
8269-87, ГОСТ 8735-88;
•
один раз в квартал:
-
морозостойкость бетона по ГОСТ
10060.0-95
•
прочность бетона по ГОСТ
13015.0-83, ГОСТ
13015.1-81, ГОСТ
13015.2-81, ГОСТ
13015.3-81, ГОСТ
13015.4-84, ГОСТ
18105-86;
•
контроль дозаторов осуществляется в установленном порядке.
|
|
|
При операционном контроле
постоянно следует контролировать:
•
соблюдение технологических режимов бетонирования, ухода за бетоном,
устройства и герметизации швов;
•
правильность установки арматуры и прокладки швов;
•
устойчивость кромок боковых граней;
•
сплошность поверхности покрытия.
|
СНиП 3.06.03-85
п. 12.58.
|
|
Перед началом бетонирования
контролируют правильность установки копирных струн и рельс-форм.
|
СНиП 3.06.03-85
п. 12.58.
|
|
Не реже одного раза в смену и
при изменении качества смеси на месте бетонирования контролируют следующие параметры:
•
прочность бетона (по трем контрольным образцам-балкам);
•
удобоукладываемость и объем вовлеченного воздуха;
•
качество работ по уходу за свежеуложенным бетоном с применением
пленкообразующих материалов на участках покрытия размером 20 ´ 20 см;
•
плотность жесткой бетонной смеси, уплотняемой по методу укатки по трем пробам
на 1 км (по контрольным проходам катка).
|
СНиП 3.06.03-85
п. 12.58.
|
Таблица 88.
|
Примечание
|
Обоснование
|
|
Шероховатость бетонного покрытия
следует устраивать путем обработки поверхности свежеуложенного бетона
мешковиной, щетками, дисковой накаткой и др.
Средняя глубина бороздок,
определяемая по методу «песчаного пятна», в зависимости от требуемой величины
коэффициента сцепления колеса с покрытием должна быть в пределах 0,5 - 1,5
мм. Фактура обработанного покрытия должна быть однородной.
|
СНиП 3.06.03-85
п. 12.22.
|

Рис. 22
Таблица 89.
|
Приемочный контроль
|
Обоснование
|
|
Контролируемые параметры
|
Допускаемые отклонения
|
|
Высотные отметки по оси
|
D1: Не более 10 % результатов
могут иметь отклонения от проектных значений в пределах до ± 100 (20)* мм,
остальные - ± 50 (10) мм.
|
СНиП 3.06.03-85
Приложение 2
Гл. 5., п. 2.1.
|
|
Поперечные уклоны
|
D2: Не более 10 % результатов
могут иметь отклонения от проектных значений в пределах от минус 0,015 (минус
0,010) до 0,030 (0,015), остальные - до ± 0,010 (0,005).
|
СНиП 3.06.03-85
Приложение 2
Гл. 5., п. 2.4.
|
|
Превышение граней смежных плит
сборных цементобетонных покрытий
|
D3: Не более 20 % результатов
определений могут иметь значения в пределах до 10 мм, остальные - до 5 мм.
|
СНиП 3.06.03-85
Приложение 2
Гл. 5., п. 2.7.
|
|
*
- данные в скобках относятся к работам, выполняемым с применением машин с
автоматической системой задания вертикальных отметок.
|
Таблица 90.
|
Операционный контроль
|
Обоснование
|
|
При строительстве сборных
железобетонных покрытий контролировать:
■
постоянно визуально - цельность плит и стыковых элементов, качество сварки
стыков и заполнение швов, соблюдение технологии строительства;
■
не реже одного раза в смену - контакт плит с основанием (выравнивающим слоем)
поднятием одной из 100 уложенных плит, превышение граней смежных плит в
продольных швах на трех поперечниках на 1 км, а в поперечных швах в 10 стыках
на 1 км.
|
СНиП 3.06.03-85
п. 12.59.
|
Таблица 91.
|
Примечание
|
Обоснование
|
|
Посадка плит на основание должна
производиться путем прикатки покрытия до исчезновения осадки плит. После
прикатки плита (с гладкой опорной поверхностью) должна иметь контакт с
основанием (выравнивающим слоем) не менее 95 % ее площади.
|
СНиП 3.06.03-85
п.п. 12.52., 12.53.
|

Рис. 23 а Рис. 23 б
Таблица 92.
|
Приемочный контроль
|
Обоснование
|
|
Контролируемые параметры
|
Допускаемые отклонения
|
|
Снижение плотности грунта в
обочинах
|
Не более 10 % результатов
определений могут иметь отклонения от проектных значений в пределах до 4 %,
остальные должны быть не ниже проектных значений
|
СНиП 3.06.03-85
Приложение 2
Гл. 5, п. 1.4.1.
|
|
Толщина укрепления
|
Не более 10 % результатов
определений могут иметь отклонения от проектных значений в пределах от минус
22 до 30 мм, остальные - до ± 15 мм.
|
СНиП 3.06.03-85
Приложение 2
Гл. 5, п. 1.4.2.
|
|
Поперечные уклоны обочин
|
Не более 10 % результатов определений могут иметь
отклонения от проектных значений в пределах от минус 0,015 (минус 0,010)* до
0,030 (0,015), остальные - до ± 0,010 (0,005).
|
СНиП 3.06.03-85
Приложение 2
Гл. 5, п. 1.4.3.
|
|
*
- данные в скобках относятся к работам, выполняемым с применением машин с
автоматической системой задания вертикальных отметок.
|
Таблица 93.
|
Операционный контроль
|
Обоснование
|
|
Контроль качества строительства
покрытия обочин, устраиваемых из монолитного и сборного цементобетона,
асфальтобетона, битумоминеральной смеси, черного щебня, щебеночных (гравийных),
грунтощебеночных (грунтогравийных) материалов ведется по нормам операционного
контроля, приведенным в соответствующих пунктах настоящего «Пособия»
|
|
|
При использовании синтетических
материалов (СМ) для укрепления обочин после укладки СМ, перед отсыпкой
вышележащего слоя грунта проводят осмотр с составлением акта на скрытые
работы. В акте отражают:
|
ВСН
49-86
п. 3.3.6.
|
|
■
результаты
визуального осмотра (сплошность, величина перекрытия, качество полотен и их
стыковки);
|
|
|
■
данные о
поставщике, характеристики СМ (предел прочности на растяжение, условный
модуль деформации при растяжении, общее относительное удлинение при разрыве,
сопротивляемость местным повреждениям, коэффициент фильтрации, фильтрующая
способность, стойкость к агрессивным воздействиям, сопротивление сдвигу на
контакте с грунтом), указанные в паспорте на партию СМ или на этикетках
рулонов;
|
п. 2.2.5.
|
|
■
данные полученные
при приемке СМ. Прежде всего:
-
поверхностную плотность (массу на 1 м), путем взвешивания образца 500 ´ 500 мм с увеличением
полученного результата в 4 раза. Точность взвешивания - 5 гс;
-
толщину, путем замера пригруженного нагрузкой 1 Н образца размером 50 ´ 200 мм для нетканных материалов
и замером ее в трех точках на расстоянии не менее 20 мм от кромки полотна для
других материалов с вычислением среднего значения. Замеры ведутся
толщиномерами, микрометрами, штангенциркулями (в условиях строительства).
Точность измерений - 0,05 мм;
-
ширину, измерением металлической линейкой. Точность - 5 см.
|
п. 2.3.6.
|
|
Для обеспечения безопасности
движения при съездах на укрепительные полосы или прикромочные зоны обочин
изменение коэффициента сцепления в поперечном профиле дорожного полотна не
должно превышать 0,10.
|
ВСН
38-90
п. 2.4.
|
Таблица 94.
|
Примечание
|
Обоснование
|
|
Планировку и укрепление обочин необходимо выполнять вслед за
устройством дорожной одежды. При этом следует ликвидировать все въезды и
съезды
|
СНиП 3.06.03-85
п. 4.27.
|
|
При устройстве обочин необходимо:
■ устранить деформации земляного
полотна по всей площади обочин;
■ досыпать грунт до
установленного проектом уровня;
■ спланировать и уплотнить грунт
|
СНиП 3.06.03-85
п. 4.36.
|
|
При необходимости для укрепления обочин применяют синтетические
материалы в качестве армирующих, защитных и дренирующих элементов (рис. 23б). Если прослойка из СМ
выполняет армирующие функции, то ее укладывают только в пределах краевой
укрепительной полосы. В случае выполнения дренирующих (гидроизолирующих)
функций и необходимости защиты обочины от эрозии прослойку устраивают на всю
ширину обочины с выводом на откосную часть.
|
ВСН
49-86
п. 3.1.9.
|
|
При устройстве прослоек из СМ необходимы следующие операции:
|
ВСН
49-86
п.п. 3.3.1., 5.3.1.
|
|
■ подготовка подстилающего грунта, путем профилирования
поверхности (не должно быть ям, неровностей, колей глубиной более 5 см) и
уплотнения (коэффициент уплотнения должен соответствовать нормативным
требованиям);
|
п. 3.3.2.
|
|
■ транспортировка, распределение, укладка и при необходимости
соединение СМ. Соединение СМ возможно производить тепловым соединением,
сшиванием, склеиванием, т.д. (перекрытие полотен должно быть не менее 0,1 м);
|
п. 3.3.5.
|
|
■ отсыпка на СМ материала вышележащего слоя, его распределение и
уплотнение. Отсыпка производится с таким расчетом, чтобы время пребывания СМ
под воздействием дневного света было не более 5 ч.
|
п. 3.3.6.
|
|
Покрытия на краевой укрепительной полосе обочин (0,5 - 0,75 м) и
на остановочной полосе (2,5 м) рекомендуется предусматривать из цементо- или
асфальтобетона с применением щебня преимущественно крупных размеров (до 25 -
45 мм), а также из обработанных вяжущими местных каменных, гравийных,
шлаковых и других минеральных материалов.
|
СНиП 2.05.02-85
п. 7.31.
|
|
Поверхность остальной части обочин (прибровочной) следует
укреплять в зависимости от интенсивности и характера движения, грунтов
земляного полотна и особенностей климата:
■ засевом трав;
■ россыпью щебня, гравия, шлака и других наиболее дешевых местных
крупнозернистых материалов
|
|
|
Покрытия на обочинах должны отличаться по цвету и внешнему виду
от покрытия проезжей части. Допускается устраивать покрытие краевых и
остановочных полос однотипным с покрытием проезжей части, но с обязательным
устройством краевой разметки краской, термопластиками и др. материалами.
|
ВСН
39-79
п. 1.8.
|

Условные
обозначения:
L
- длина секции фундамента;
b
- ширина секции фундамента.
Рис. 24
Таблица 95.
|
Операционный контроль
|
Обоснование
|
|
Контролируемые параметры
|
Допускаемые отклонения
|
|
Уступы в рядах фундаментных
блоков по высоте
|
D1: Не более 10 мм.
|
СНиП 3.06.04-91
п. 6.68., таб. 17
|
|
Длина и ширина секций
фундаментов
|
D2: Отклонения не должны превышать
значений от минус 10 мм до + 20 мм.
|
СНиП 3.06.04-91
п. 6.68., таб. 17
|
|
Относительные смещения смежных
железобетонных и бетонных элементов
|
Не более 10 мм.
|
СНиП 3.06.04-91
п. 6.68., таб. 17
|
|
Величина зазоров между секциями фундаментов
и звеньями (от проектной величины) Зазоры между звеньями и секциями
фундаментов труб должны быть в одной плоскости
|
D3: Не должна превышать ± 5 мм.
|
СНиП 3.06.04-91
п. 6.68., таб. 17
|
Таблица 96.
|
Примечание
|
Обоснование
|
|
Установку блоков следует вести
посекционно в направлении от выходного оголовка трубы к входному.
|
СНиП 3.06.04-91
п. 6.63.
|
|
Строительный подъем труб при
высоте насыпи свыше 12 м следует назначать в соответствии с расчетом
ожидаемых осадок от веса грунта насыпи. При расчете осадок труб допускается
использовать методику, применяемую при расчете осадок фундаментов.
Трубы под насыпями высотой 12 м
и менее следует укладывать со строительным подъемом (по лотку), равным:
■
1/80 h - при фундаментах на песчаных, галечниковых и гравелистых
грунтах основания;
■
1/50 h - при фундаментах на глинистых, суглинистых и супесчаных
грунтах основания;
■
1/40 h - при грунтовых подушках из песчано-гравелистой и песчано-щебеночной
смеси (h - высота насыпи).
Отметки лотка входного оголовка
(или входного звена) трубы следует назначать так, чтобы они были выше отметок
среднего звена трубы как до проявления осадок основания, так и после
прекращения этих осадок.
Стабильность проектного
положения секций фундаментов и звеньев водопропускных труб в направлении
продольной оси сооружений должна быть обеспечена устойчивостью откосов насыпи
и прочностью грунтов основания.
|
СНиП 2.05.03-84
п. 1.49.
|
|
При устройстве труб на скальных
грунтах и на свайных фундаментах строительный подъем назначать не следует.
|
СНиП 2.05.03-84
п. 1.49.
|

Рис. 25
Таблица 97.
|
Операционный контроль
|
Обоснование
|
|
Контролируемые параметры
|
Допускаемые отклонения
|
|
Величина зазоров между секциями
фундаментов и звеньями (от проектной величины). Зазоры между звеньями и
секциями фундаментов труб должны быть в одной плоскости
|
D1: Не должна превышать ± 5 мм.
|
СНиП 3.06.04-91
п. 6.68., таб. 17
|
|
Отклонение продольной оси трубы
в профиле и в плане (при условии отсутствия участков застоя воды)
|
D2: Не более 30 мм.
|
СНиП 3.06.04-91
п. 6.68., таб. 17
|
|
Относительные смещения смежных
железобетонных и бетонных элементов
|
Не более 10 мм.
|
СНиП 3.06.04-91
п. 6.68., таб. 17
|
Таблица 98.
|
Входной контроль
|
Обоснование
|
|
Контролируемые параметры
|
Допускаемые отклонения
|
|
Отклонение фактических размеров
звеньев от номинальных, приведенных в чертежах типовых конструкций
|
D3: Отклонения по длине от + 5 мм
до минус 10 мм;
D4: Отклонения по толщине стенок
от + 10 мм до минус 5 мм;
Отклонения по внутреннему
диаметру (ширине, высоте) не более ± 10 мм.
|
ГОСТ
24547-81
п. 2.5.1.
|
|
Отклонения фактических размеров
от номинальных для звеньев высшей категории качества
|
D3 и D4: Отклонения по длине и толщине
не более ± 5 мм.
|
ГОСТ
24547-81
п. 2.5.1.
|
|
Для звеньев, изготавливаемых в
формах с внутренним конусообразным вкладышем, отклонение по толщине стенок
относится к верхнему (во время формования) торцу звена. Конусность внутренней
поверхности форм (разность диаметров звена) не должна превышать 0,01 ее длины.
|
ГОСТ
24547-81
п. 2.5.1.
|
|
Звенья круглых труб по всей
длине должны иметь правильную цилиндрическую или коническую (для оголовков)
форму, а звенья прямоугольных труб - призматическую.
Допуск прямолинейности
поверхности круглых звеньев, измеряемый по образующей, не должен превышать 5
мм на 1 м длины звена.
Искривление лицевой поверхности
(неплоскостность) звеньев прямоугольных труб не должно превышать 0,005
наибольшего размера стороны трубы.
Для звеньев высшей категории
качества искривление по поверхности не должно превышать 3 мм на 1 м длины
звена круглой трубы или 0,003 наибольшего размера стороны прямоугольной трубы.
|
ГОСТ
24547-81
п. 2.5.2.
|
|
Плоскости торцов звена должны
быть перпендикулярны к его продольной оси. Допускается перекос торцевой
плоскости звена не более 5 мм.
|
ГОСТ
24547-81
п. 2.5.3.
|
|
Отклонение фактической толщины
защитного слоя бетона от номинальной, указанной в чертежах типовых
конструкций звеньев, не должно превышать ± 5 мм.
Для звеньев высшей категории
качества отклонение фактической толщины защитного слоя бетона от номинальной
не должно превышать ± 3 мм.
|
ГОСТ
24547-81
п. 2.5.5.
|
|
Качество наружных и внутренних
поверхностей звеньев должно соответствовать категории А6 по ГОСТ
13015.0-83:
■ диаметр или наибольший
размер раковины - 15 мм;
■ высота местного наплыва
(выступа) или глубина впадины - 5 мм;
|
ГОСТ
24547-81
п. 2.6.1.
ГОСТ
13015.0-83
п. 13.1., таб. 3.
|
|
■
глубина окола бетона на ребре, измеряемая по поверхности конструкции - 10 мм;
■
суммарная длина околов бетона на 1 м ребра - 100 мм.
Для
звеньев высшей категории качества околы бетона на внутренних ребрах торцов труб
не допускаются.
|
ГОСТ
24547-81
п. 2.6.1.
|
|
Трещины в бетоне звеньев не
допускаются. Местные поверхностные усадочные трещины шириной не более 0,1 мм,
а для звеньев высшей категории качества - не более 0,05 мм не являются
основанием для браковки при условии соблюдения требований п. 4.10. ГОСТ
24547-81
|
ГОСТ
24547-81
п. 2.6.2.
|
|
Отклонения монтажных петель от
номинального положения, указанного в чертежах типовых конструкций звеньев, не
должны превышать:
■ в плане ± 20 мм;
■ по длине, выпуска из
плоскости звена от 0 до минус 10 мм.
|
ГОСТ
24547-81
п. 2.5.4.
|
|
Отклонения фактических размеров
арматурных каркасов от номинальных, указанных в чертежах типовых конструкций
звеньев, не должны превышать:
■
по расстоянию между отдельными стержнями рабочей арматуры в ряду (при условии
сохранения проектного количества на 1 пог. м на всю длину звена) - от + 5 до
минус 10 мм;
■ по расстоянию между
рядами рабочей арматуры - ± 5 мм;
■ по расстоянию между
хомутами в сварных каркасах - ± 10 мм;
■ по расстоянию между
хомутами в вязаных каркасах - ± 15 мм;
■ по высоте - ± 5 мм;
■ по остальным наружным
размерам - ± 10 мм.
|
ГОСТ
24547-81
п. 2.5.6.
|

26 а - устройство гидроизоляции над
деформационными межсекционными швами труб на фундаменте при битумной мастичной
армированной гидроизоляции типа БМ-1;
26 б - устройство гидроизоляции над
деформационными межсекционными швами труб на фундаменте при битумной
неармированной мастичной гидроизоляции типа БМ-3.
Условные обозначения:
1 - звено;
2 -
гидроизоляция звена;
3 -
гидроизоляция деформационного шва;
4 -
защитный слой из цементно-песчаного раствора;
5 - пакля, пропитанная битумом;
6 - расшивка цементно-песчаным раствором.
Таблица 99.
|
Приемочный контроль
|
Обоснование
|
|
При контроле гидроизоляции
проверке подлежат:
■
качество примененных материалов и правильность приготовления на месте
составов мастик и грунтовок;
■
состояние подготовленной поверхности и ее соответствие проекту;
■
правильность выполнения гидроизоляции в местах примыканий, сопряжений и
стыков;
|
ВСН
32-81
п. 7.2.
|
|
■
соответствие конструкции гидроизоляции проекту и проверка ее толщины. Толщину
слоя в необходимых случаях проверяют контрольными надрезами с замером толщины
отогнутых концов, а в тиоколовой гидроизоляции - с помощью иглы, погружаемой
в незавулканизовавшийся слой. Проколы и надрезы в изоляции, служащие для
контроля ее толщины и прочности сцепления с основанием, допускается не более
одного на каждые 10 м.
|
п. 7.6.
п. 7.5.
|
|
■ сцепление гидроизоляции с
выравнивающим слоем и отдельных слоев между собой. Данный показатель
проверяют путем медленного отрыва слоев на небольшом участке. Прочность
приклейки считается достаточной, если отрыв битумной гидроизоляции произойдет
по слою мастики, а тиоколовой - по контакту с выравнивающим слоем с
повреждением его поверхности. Наличие неприклеенных мест обнаруживают по
глухому звуку при простукивании поверхности только гидроизолирующего слоя;
|
п. 7.7.
|
|
■ правильность армирования
гидроизоляции;
|
|
|
■ состояние поверхности слоев
гидроизоляции. Проверяют визуально, фиксируя дефекты, подлежащие устранению -
вздутия, складки, просветы армирующих материалов, разрывы.
|
|
|
Проколы и надрезы в изоляции,
служащие для проверки толщины и сцепления следует тщательно заделать после
проверки. Обнаруженные дефекты или отклонения от проекта устраняют до
устройства защитного слоя.
|
ВСН
32-81
п.п. 7.6., 7.7.
|
Таблица 100.
|
Примечание
|
Обоснование
|
|
Водопропускные трубы и лотки на
автомобильных дорогах изолируют с учетом результатов заводских испытаний их
звеньев на водонепроницаемость.
|
ВСН
32-81
п. 3.7.
|
|
На звеньях высшей категории
качества применяют битумную мастичную неармированную гидроизоляцию (типа
БМ-3), устраиваемую по поверхности секции и по поверхности заполнения между
ними с заведением на фундамент (рис. 26).
|
п. 6.11.
п. 3.7.
|
|
На звеньях, отнесенных при
испытании на водонепроницаемость к первой и второй категориям качества, и
беспаспортных звеньях устраивают битумную мастичную армированную
гидроизоляцию (типа БМ-1) или изольную рулонную (тип ИР).
В стыках между звеньями труб
устраивают двуслойно армированную гидроизоляцию (тип БМ-1, БМ-2).
|
|
|
Гидроизоляцию на ригеле и плите
перекрытия водопропускных труб под железную и автомобильную дороги защищают
слоем толщиной 30 мм цементно-песчаного раствора марки 150.
|
ВСН
32-81
п. 3.11.
|
|
Работы по гидроизоляции звеньев
водопропускных труб и стыков между ними на стройплощадке следует выполнять
при отсутствии атмосферных осадков и положительной (не ниже + 5 °С)
температуре воздуха.
|
ВСН
32-81
п. 6.2.
|
|
В зимнее время и при температуре
воздуха ниже + 5 °С гидроизоляционные работы следует выполнять под прикрытием
сборно-разборных тепляков с обеспечением в них положительной температуры.
Возможно устройство гидроизоляции в зимнее время без тепляков на
подогреваемых изнутри звеньях водопропускных труб с закрытыми торцами.
|
п. 5.3.
п. 6.2.
|
|
Гидроизоляционные материалы с применением
наплавляемых рулонных материалов (тип БРН) и резиноподобных рулонных (типа
РПР) допускается выполнять при отрицательной температуре до минус 10 °С, а с
применением полиэтиленовой пленки (тип ПЭР) - до минус 15 °С.
|
п. 5.3.
|
|
Устройству гидроизоляции должна
предшествовать очистка бетонной поверхности от грязи и конопатка швов.
Швы между торцами звеньев и
блоками оголовков конопатят, для чего в зазор закладывают жгуты из пакли,
пропитанной раствором битума в бензине (состава 1:1 по массе), жгуты утапливают
на 1 - 1,5 см, зазор над ними заполняют битумной мастикой. С внутренней
стороны шов заполняют цементно-песчаным раствором (состава 1:3). В пределах
«дуги стирания» звена трубы зазор конопатят жгутом пакли также изнутри и
заделывают цементно-песчаным раствором. Все входящие углы в примыканиях
конструктивных элементов трубы заполняют цементно-песчаным раствором с
устройством плавных закруглений радиусом 10 - 15 см.
|
ВСН
32-81
п. 6.5., 6.6.
|
|
Стыки между звеньями перекрывают
битумной мастичной двухслойно-армированной гидроизоляцией полосами шириной 25
- 30 см симметрично относительно оси стыка рис. 26 а,
26 б). На бесфундаментных трубах гидроизоляцию,
перекрывающую стыки между звеньями, устраивают с компенсационным выгибом
кверху (рис. 26 б).
|
ВСН
32-81
п. 6.16.
|
|
В стыках труб на фундаменте над
деформационными швами дополнительно устраивают компенсатор в виде
двухслойно-армированной полосы битумной мастичной гидроизоляции, каждый слой
армирующей ткани которой утапливают внутрь стыка (рис. 26
а, 26 б).
В деформационных швах между
секциями фундаментов водопропускных труб в процессе монтажа должны быть
вертикально установлены по торцам деревянные прокладки толщиной 3 см,
пропитанные раствором битума в бензине.
|
ВСН
32-81
п. 6.17.
|

Условные
обозначения:
b
- ширина прогала в насыпи;
h1 - толщина
отсыпаемых слоев;
h2 - высота засыпки
над трубой.
Рис. 27
Таблица 101.
|
Приемочный контроль
|
Обоснование
|
|
При приемке готового земляного
полотна контрольную проверку производят не менее чем в трех местах на каждом
километре дороги и дополнительно над трубами и конусами мостов не менее чем
на 1/3 от их общего числа путем отбора из специальных буровых скважин или шурфов
по три образца с глубины 1 - 1,5 м. Отбор образцов производится режущими
кольцами.
Вид, плотность (коэффициент
уплотнения), влажность грунта определяется в лаборатории стандартными
методами.
|
Руководство по сооружению
земляного полотна автомобильных дорог
п. 13.64.
|
Таблица 102.
|
Операционный контроль
|
Обоснование
|
|
Ширина прогала b в насыпи для сооружения трубы
не менее 10 м и не менее 4 м (b1)
от подошвы откоса насыпи до трубы. Прогалы контролируются на каждой трубе
(рис. 27).
|
СНиП 3.06.04-91
п. 9.11., таб. 29.
|
|
Размеры грунтовой призмы,
контролируемые на каждой трубе:
верха - не ниже верха трубы;
откоса - не круче 1:5.
|
СНиП 3.06.04-91
п. 9.11., таб. 29.
|
|
Коэффициент уплотнения грунта
грунтовой призмы у МГТ 0,95. Контроль осуществляется на горизонтах 0,25d, 0,5d, 0,75d по высоте
с обеих сторон по оси насыпи на расстоянии 0,1 и 1,0 м от стенок - не менее 2
проб в каждой точке.
|
СНиП 3.06.04-91
п. 9.11., таб. 29.
|
|
Коэффициент уплотнения грунта
грунтовой призмы у бетонных и железобетонных труб 0,95. Контроль
осуществляется в каждом уплотненном слое грунта - в сечениях по оси насыпи и
с обеих сторон трубы на расстоянии 0,6 и 1,0 м от стенок.
|
СНиП 3.06.04-91
п. 9.11., таб. 29.
|
|
Коэффициент уплотнения грунта
над трубой на высоту 2 м в зоне пониженного уплотнения при насыпях высотой 8
м и более 0,85 - 0,90. Осуществляется контроль каждого уплотненного слоя.
|
СНиП 3.06.04-91
п. 9.11., таб. 29.
|
|
Уменьшение горизонтального
диаметра МГТ в период засыпки и уплотнения грунта до 3 % d.
Контролируют каждую трубу по всей длине.
|
СНиП 3.06.04-91
п. 9.11., таб. 29.
|
Таблица 103.
|
Примечание
|
Обоснование
|
|
Уплотнение грунта в стесненных
условиях при засыпке водопропускных труб следует производить с применением
специальных уплотняющих средств виброударного или ударного действия. Не
допускается уплотнение трамбующими плитами на расстоянии менее 3 м от
искусственных сооружений и при высоте засыпки над трубой менее h2 2 м (рис. 27).
|
СНиП 3.06.03-85
п. 4.19.
|
|
При сооружении труб пазухи
котлованов фундаментов необходимо засыпать сразу после приемки фундаментов.
Не допускается засыпать пазухи при наличии в них воды. На участках мокрых и
сырых оснований пазухи и нижнюю часть призмы на высоту 0,5 м необходимо
отсыпать до начала устойчивых заморозков.
|
СНиП 3.06.04-91
п. 9.3.
|
|
При засыпке трубы вначале
следует отсыпать грунтовую призму с 2-х сторон трубы, а затем насыпь на
проектную высоту.
|
СНиП 3.06.04-91
п. 9.4.
|
|
Переезд через сооружаемую трубу
транспортных средств допускается только в случае отсыпки поверх трубы слоя
грунта, толщиной не менее 1 м, а для бульдозеров - не менее 0,5 м. Грунтовую
призму следует сооружать под контролем представителей организации, строящей
трубу, и оформлять актом. Отсыпку насыпи следует выполнять по нормам на
сооружение земляного полотна.
|
СНиП 3.06.04-91
п. 9.4.
|
|
Особое внимание необходимо
уделять качеству уплотнения грунта в труднодоступных местах - в нижних
четвертях звеньев круглых труб, в местах перехода звеньев в оголовки, в
гофрах металлических труб и т.д.
|
СНиП 3.06.04-91
п. 9.5.
|
|
При расположении труб на склонах
лога засыпку следует начинать с низовой стороны, уделяя особое внимание
тщательному уплотнению слоев грунта. Уровень засыпки с низовой стороны должен
всегда превышать уровень грунта с верховой.
|
СНиП 3.06.04-91
п. 9.6.
|
|
Грунты, предусмотренные в
проекте для устройства подушки МГТ:
■ пески средней крупности,
крупные, гравелистые;
■
щебенисто-галечниковые и древесно-гравийные грунты, не содержащие обломков
размером более 50 мм.
Содержание частиц размером 0,1
мм - не более 10 %, в том числе глинистых размером менее 0,005 мм - не более
2 %. То же, для засыпки грунтовой призмы МГТ и мелкие пески, не содержащие
частиц размером менее 0,1 мм - не более 10 %, в том числе глинистых размером
менее 0,005 мм - не более 2 %.
То же, для засыпки МГТ выше
жесткого слоя, используемые при отсыпке насыпи, в том числе глинистые.
Контроль грунта каждой трубы ведется визуально и по данным
гранулометрического анализа.
|
СНиП 3.06.04-91
п. 9.11., таб. 29.
|
|
Грунты для засыпки грунтовой
призмы бетонных и железобетонных труб допускается применять такие же, как при
отсыпке насыпи. Контроль осуществляется для каждой трубы.
|
СНиП 3.06.04-91
п. 9.11., таб. 29.
|
|
Засыпка пазух между стенками
котлована и фундаментом трубы ведется горизонтальными слоями, одновременно с
обеих сторон фундамента на всю длину котлована с допустимым опережением на
величину уплотненного слоя. При глубине заложения фундамента до 0,7 м пазухи
следует засыпать грунтом на полную высоту и уплотнять машиной виброударного
действия для стесненных условий на базе трактора ДТ-75 за два прохода по
одному следу со скоростью 500 м/ч.
Контроль осуществляется для
каждой трубы.
|
СНиП 3.06.04-91
п. 9.11., таб. 29.
|
|
Толщина отсыпаемых слоев грунта h1 (в плотном теле), м:
■
0,40 - 0,45 глинистых грунтов - при уплотнении машинами на базе тракторов ДТ-75,
Т-130Г для уплотнения насыпей;
■
0,50 - 0,65 песчаных грунтов - при уплотнении теми же машинами;
■
0,20 - 0,25 песчаных грунтов - при уплотнении пневмокатками массой 25 - 30 т;
■
до 0,15 песчаных грунтов - при уплотнении ручными электротрамбовками типа
ИЭ-4505 или ИЭ-1502. Во время отсыпки контролируют толщину каждого слоя.
|
СНиП 3.06.04-91
п. 9.11., таб. 29.
|
Таблица 104.
|
Примечание
|
Обоснование
|
|
При засыпке труб в зимнее время
необходимо:
■ тщательно очищать от
снега и льда основание под призму;
■
не допускать попадания снега и льда в пазухи между стенками котлована и
фундамента, а также в тело грунтовой призмы;
■
засыпать пазухи между стенками фундамента и котлована, а также слои грунта
непосредственно над верхом звеньев на высоту не менее 1 м только талым
грунтом;
■
вести наблюдения за погодными условиями с соответствующими записями в журнале
производства работ. Необходимо фиксировать:
- температуру наружного воздуха (при 2- и
3-сменной работе 3 раза в сутки - в 8, 13 и 21 ч);
-
направление и скорость ветра;
-
данные о снегопадах и метелях;
■
вести наблюдения (с записью в журналы) за температурой укладываемого грунта,
за тем, чтобы в засыпке не было снега и льда. В журнале следует указывать
способ контроля плотности.
|
СНиП 3.06.04-91
п. 9.11., таб. 29.
|
|
Допускаются грунты для засыпки
МГТ, указанные в таб. 94, а также
талые (сухие несмерзшиеся), имеющие в момент уплотнения t
³ 0,5 °С. Время рабочего цикла от
момента разработки грунта до окончания его уплотнения - не более времени, в
течение которого грунт сохраняет возможность к уплотнению. Контроль
осуществляется в каждом уплотненном слое.
|
СНиП 3.06.04-91
п. 9.11., таб. 29.
|
|
Грунты для засыпки бетонных и
железобетонных труб - скальные, крупнообломочные, крупный и средний песок.
Допускаются глинистые грунты, имеющие влажность не выше границы раскатывания.
Глинистые грунты полутвердой консистенции разрешается применять при
отсутствии грунтов меньшей влажности и только в талом состоянии. Время
рабочего цикла определяется на объекте ориентировочно. Содержание мерзлого
грунта менее 30 %. Размер комьев мерзлого грунта менее 2/3 толщины
укладываемого слоя.
Размещение мерзлого грунта -
равномерное (не гнездами) на расстоянии не более 1 м от поверхности откоса.
Контроль осуществляется для
каждой трубы.
|
СНиП 3.06.04-91
п. 9.11., таб. 29.
|
|
Подготовка насыпей для
сооружения труб под вторые пути:
■ из глинистых грунтов
высотой более 1 м - нарезать уступы шириной от 1 до 1,5 м с поперечным
уклоном 0,01 - 0,02;
■ из дренирующих грунтов -
удалить с откосов дерн и древесно-кустарниковую растительность и после этого
разрыхлить откосы на глубину 10 - 15 см. Контроль осуществляется для каждой
трубы.
|
СНиП 3.06.04-91
п. 9.11., таб. 29.
|
|
Минимальная засыпка для пропуска
паводковых вод грунтовой призмы труб:
■ круглых - на высоту d/2;
■ прямоугольных - на
высоту Н/2;
■ МГТ - на высоту d.
Контроль осуществляется для
каждой трубы.
|
СНиП 3.06.04-91
п. 9.11., таб. 29.
|
(Обоснование: СНиП 3.02.01-87)
Виды
контроля классифицируются по следующим признакам:
1. В
зависимости от места и времени проведения контроля в технологическом процессе
(стадия контроля):
входной
контроль - контроль поступающих материалов, изделий, конструкций, грунта и
т.п., а также технической документации. Контроль осуществляется преимущественно
регистрационным методом (по сертификации, накладным, паспортам и т.п.), а при
необходимости - измерительным методом;
операционный
контроль - контроль, выполняемый в процессе производства работ или
непосредственно после их завершения. Осуществляется преимущественно
измерительным методом или техническим осмотром. Результаты операционного
контроля фиксируются в общих или специальных журналах работ, журналах
геотехнического контроля и других документах, предусмотренных действующей в
данной организации системой управления качеством;
приемочный
контроль - контроль, выполняемый по завершении строительства объекта или его
этапов, скрытых работ и других объектов контроля. По его результатам
принимается документированное решение о пригодности объекта к эксплуатации или
выполнению последующих работ.
Приемочный
контроль одного и того же показателя может осуществляться на нескольких уровнях
и разными методами (например, плотность грунта отдельных слоев и насыпи в
целом). При этом результаты контроля низшего уровня могут служить предметом
контроля высшего уровня (например, акты освидетельствования скрытых работ по
приемке оснований насыпи представляются при приемке насыпи в целом). Результаты
приемочного контроля фиксируются в актах освидетельствования скрытых работ,
актах промежуточной приемки ответственных конструкций, актах испытания свай
пробной нагрузкой и других документах, предусмотренных действующими нормативами
по приемке строительных работ, зданий и сооружений.
2. В
зависимости от охвата контролируемых параметров (объем контроля):
сплошной
контроль, при котором проверяется все количество контролируемой продукции
(все стыки, все сваи, все конструкции, вся поверхность основания и т.п.);
выборочный
контроль, при котором проверяется какая-то часть количества (выборка)
контролируемой продукции. Объем выборки устанавливается строительными нормами и
правилами, проектом или другим документом. Если строительные нормы требуют
случайного размещения точек контроля, выборка устанавливается по ГОСТ
18321-73 как для продукции, представляемой на контроль способом «россыпь».
3. В
зависимости от периодичности контроля (периодичность контроля):
непрерывный
контроль, когда информация о контролируемом параметре технологического процесса
поступает непрерывно;
периодический
контроль, когда информация о контролируемом параметре поступает через
определенные промежутки времени;
летучий
контроль, выполняемый в случайное время (эпизодически), преимущественно при
нецелесообразности применения сплошного, выборочного или периодического
контроля (например, контроль плотности грунта при обратной засыпке траншей).
4. В
зависимости от применения специальных средств контроля (метод контроля):
измерительный
контроль, выполняемый с применением средств
измерений, в т.ч. лабораторного оборудования;
визуальный
контроль,
технический
осмотр,
регистрационный
контроль, выполняемый путем анализа данных, зафиксированных в документах
(сертификатах, актах освидетельствования скрытых работ, общих или специальных журналах
работ и т.п.). Применяется при недоступности объекта контроля (например,
заделка анкера) или нецелесообразности выполнения измерительного или
визуального контроля (например, вид грунта для насыпи при наличии материалов
инженерно-геологических изысканий по карьеру).
Таблица 105.
Правила приемки работ
|
Обоснование
|
|
Технический надзор и
производственный контроль в процессе строительно-монтажных и ремонтных работ
осуществляются в целях:
•
обеспечения выполнения всех видов работ в полном соответствии
проектно-сметной и нормативно-технической документации;
•
обеспечения соответствия применяемых материалов и изделий требованиям
проекта, технических условий, стандартов и других нормативных документов;
•
проверки соответствия объемов выполненных работ по отдельным видам, а также
по законченным строительством или ремонтом объектам требованиям
проектно-сметной и исполнительной документации;
•
своевременного производства промежуточной приемки ответственных конструкций,
освидетельствования скрытых работ и ведения исполнительной
производственно-технической документации по ним в соответствии с
установленными требованиями.
|
ВСН
19-89
п. 1.6.
|
|
В случае несоответствия
выполненных работ утвержденным проектным решениям и требованиям нормативных
документов указанные работы должны быть переделаны выполнявшей их
организацией.
Если подобные недостатки
вскрываются работниками технического надзора или других контролирующих
органов в процессе работы, то они должны давать производителям работ
обязательные к исполнению письменные распоряжения о приостановке работ до
устранения дефектов и немедленно сообщать об этом руководителям организации,
выполняющей работы.
Осуществление технического
надзора не снимает ответственности за качество выполненных работ с лиц,
руководящих работами.
|
ВСН
19-89
п. 1.8.
|
|
Исполнительная производственно-техническая
документация, оставляемая в процессе выполнения и сдачи работ, включает:
•
исполнительные чертежи, общие журналы работ и авторского надзора;
•
акты освидетельствования скрытых работ и промежуточной приемки ответственных
конструкций (таб. 107., 108.);
•
журналы лабораторного контроля, акты испытаний строительных материалов и
контрольных образцов, паспорта и сертификаты на применяемые материалы и изделия
и другие документы
|
ВСН
19-89
п. 1.9.
|
|
Правила распространяются на
следующие виды приемки:
•
промежуточную приемку (или освидетельствование) скрытых работ, осуществляемую
с целью проверки правильности выполнения отдельных работ или конструктивных
элементов, которые будут частично или полностью скрыты при последующих
работах;
•
промежуточную приемку ответственных конструкций;
|
ВСН
19-89
п. 1.10.
|
|
•
приемку законченных ремонтом участков автомобильных дорог (комплексов,
этапов) и сооружений на них;
До приемки скрытых работ
запрещается выполнять последующие работы.
|
|
|
Промежуточная приемка
конструктивных элементов, отнесенных к наиболее ответственным, осуществляется
в процессе строительства по мере готовности их к сдаче.
К наиболее ответственным
относятся те конструктивные элементы, некачественное выполнение которых может
привести к потере несущей способности конструкций или к непригодности
сооружения для нормальной эксплуатации. Перечень наиболее ответственных
конструкций определяется проектом на автомобильную дорогу или сооружение.
|
ВСН
19-89
п. 2.2.
|
|
Освидетельствование скрытых
работ после проверки правильности их выполнения в натуре и ознакомления с
технической документацией, а также промежуточная приемка ответственных
конструкций оформляются соответственно актом освидетельствования скрытых
работ и актом промежуточной приемки ответственных конструкций с обязательной
оценкой соответствия выполненных работ требованиям СНиП 3.06.03-85.
|
ВСН
19-89
п. 2.3.
|
|
Акты освидетельствования скрытых
работ и промежуточной приемки ответственных конструкций при строительстве и
ремонте автомобильных дорог и сооружений на них составляются в трех
экземплярах и после подписания хранятся: один экземпляр у
организации-заказчика (в техническом надзоре), один экземпляр - в
организации, выполнившей работы, один - в проектной организации.
|
ВСН
19-89
п. 2.7.
|
Таблица 106.
|
Формы исполнительной
производственно-технической документации и порядок ее заполнения при
строительстве и ремонте объектов дорожного и мостового строительства
|
Обоснование
|
|
Строительная организация обязана
своевременно и правильно оформлять производственно-техническую документацию,
отражающую весь процесс производства работ по строительству дорог и отдельных
сооружений, по приведенным ниже формам. Каждая форма должна сопровождаться
краткой аннотацией по ее выдаче, заполнению, порядку передачи и т.п.
|
ВСН
19-89
прил. 5
п. 1.1.
|
|
Общие требования к ведению
исполнительной производственно-технической документации:
•
четкость построения и логическая последовательность изложения материала;
•
краткость и точность формулировок, исключающие возможность субъективного и
неоднозначного толкования;
•
конкретность изложения результатов работы;
•
полное соблюдение и выполнение указаний настоящего порядка ведения
исполнительной производственно-технической документации
|
ВСН
19-89
прил. 5
п. 1.2.
|
|
Типовыми формами исполнительной
производственно-технической документации строительные организации
обеспечиваются автодорами, автомобильными дорогами, автодорстройтрестами.
|
ВСН
19-89
прил. 5
п. 1.3.
|
|
Исполнительные чертежи
законченных строительством конструктивных элементов составляются либо в виде
отдельного чертежа, либо используются рабочие чертежи с нанесением на них
фактических размеров конструкций
|
ВСН
19-89
прил. 5
п. 2.2.
|
|
Исполнительные чертежи
подписывает главный инженер подрядной организации с указанием даты
|
ВСН
19-89
прил. 5
п. 2.3.
|
|
Исполнительные чертежи
составляются на следующие элементы автомобильной дороги:
•
законченные участки земляного полотна с указанием вертикальных отметок
продольного профиля на каждом пикете и в местах, где осуществляется проектная
привязка поперечных профилей земляного полотна, а также расстояния (сужения)
между осью и бровкой, поперечных уклонов и заложения откосов;
•
законченные строительством водопропускные трубы, скотопрогоны и подпорные
стенки с указанием планового и высотного положения, типа или марки
примененных конструкций, изделий, полуфабрикатов и материалов, основных
геометрических размеров искусственного сооружения;
•
законченную дорожную одежду с указанием вертикальной отметки верха дорожной
одежды по оси попикетно, ширины, толщины, поперечных уклонов и ровности (в
том же объеме попикетно);
•
опоры мостов с указанием их планового высотного положения, основных размеров,
характеристик примененных конструкций, изделий, полуфабрикатов и материалов;
•
законченные строительством мосты с указанием основных геометрических размеров
и качественных характеристик примененных конструкций, материалов и изделий.
|
ВСН
19-89
прил. 5
п. 2.4.
|
|
Исполнительные чертежи
составляются в одном экземпляре и хранятся в подрядной организации, а по
окончании строительства объекта передаются рабочей комиссии.
|
ВСН
19-89
прил. 5
п. 2.5.
|
|
Исполнительные чертежи
составляются до осуществления приемочного контроля соответствующих
конструктивных элементов автомобильной дороги или ее участков.
|
ВСН
19-89
прил. 5
п. 2.6.
|
|
Общий журнал работ ведется в
установленном порядке.
|
ВСН
19-89
прил. 5., п. 2.7.
|
|
Специальные журналы ведутся по
следующим видам работ:
• журнал бойки свай, журнал
укладки материалов, конструкций, деталей;
• журнал авторского надзора.
|
ВСН
19-89
прил. 5
п. 2.8.
|
|
В дополнение к журналам
лабораторного контроля в состав исполнительной документации входят рецепты на приготовление
асфальтобетонных и цементобетонных смесей, грунтов, укрепленных вяжущими, а
также рецепты на приготовление влажных смесей на основе органических вяжущих,
паспорт-накладные на асфальтобетонные и цементобетонные смеси.
|
ВСН
19-89
прил. 5
п. 2.9.
|
Таблица 107.
|
Примерный перечень
работ, подлежащих освидетельствованию с составлением акта скрытых работ
|
Обоснование
|
|
Геодезические и разбивочные работы:
• восстановление и закрепление
трассы;
• создание геодезической
разбивочной основы (ГРО);
• разбивка и закрепление в плане
и профиле осей сооружений.
|
ВСН
19-89
прил. 6.
|
|
Земляные работы:
• снятие мохового, дернового слоя, выторфовывание, корчевка пней
и удаление кустарника;
• нарезка уступов на косогорах;
• замена грунтов в основании
земляного полотна;
• возведение земляного полотна
(законченные участки).
|
|
Дорожная одежда:
• конструктивные слои оснований и
покрытий;
• установка рельс-форм и копирных
струн.
|
|
Малые искусственные сооружения:
• рытье котлованов;
• укладка щебеночной (песчаной)
подготовки;
• монтаж сборного или
бетонирование монолитного фундамента;
• монтаж звеньев трубы и оголовков, заделка стыков с промазкой
швов цементным раствором;
• гидроизоляция тела трубы и
оголовков;
• засыпка трубы;
• укрепительные работы у труб;
• строительство водоотводов,
дренажей, водобойных колодцев.
|
|
Мосты:
• сварочные работы при монтаже
сборных железобетонных конструкций;
• монтаж сборных конструкций, их участков, секций (до
окончательного закрепления элементов);
• устройство гидроизоляции
деформационных швов;
• устройство гидроизоляции
конструкций;
• укладка защитного слоя,
уложенного на гидроизоляции.
|
Таблица 108.
|
Примерный перечень
ответственных конструкций, подлежащих промежуточной приемке с составлением
акта
|
Обоснование
|
|
Сооружение насыпи на слабом основании
|
ВСН
19-89
прил. 7.
|
|
Возведение свайных оснований
|
|
Земляное полотно на переувлажненных или заторфованных, или
оттаивающих мерзлых грунтах
|
|
Сооружение насыпи более 12,0 м
|
|
Разработка выемки в скальных грунтах и сооружение насыпей из
крупнообломочных грунтов
|
|
Строительство сложных дренажных систем
|
|
Установка элементов швов расширения и коробления
|
|
Устройство противооползневых сооружений
|
|
Устройство противолавинных галерей
|
|
Устройство подпорных стен
|
|
Укладка бетона при подводном бетонировании
|
|
Укладка бетона в опоры мостов с помощью вертикально
перемещающихся труб
|
|
Установка тангенциальных опорных частей
|
|
Установка напрягаемой арматуры
|
|
Монтаж сборных железобетонных элементов коробчатого сечения
|
|
Инъектирование каналов в предварительно напряженных мостовых
конструкциях
|
|
Окраска металлических пролетных строений мостов
|
|
Установка высокопрочных болтов
|
Таблица 109
|
Индекс документа
|
Наименование
|
Пункты «Пособия»
|
|
1. Государственные стандарты
|
|
ГОСТ
5180-84
|
Грунты. Метод лабораторного
определения физических характеристик
|
2.1., 3.1., 4.1., 4.3., 5.1.
|
|
ГОСТ
8269-87
|
Щебень из природного камня,
гравий и щебень из гравия для строительных работ. Методы испытаний
|
2.1., 4.1., 7.4.
|
|
ГОСТ 8735-88
|
Песок для строительных работ.
Методы испытаний
|
7.4.
|
|
ГОСТ
9128-84
|
Смеси асфальтобетонные дорожные
и аэродромные и асфальтобетон.
Технические условия.
|
6.1., 6.2.
|
|
ГОСТ
10060.0-95
|
Бетоны. Метод определения
морозостойкости. Общие требования.
|
7.4.
|
|
ГОСТ
10180-90
|
Бетоны. Метод определения
прочности по контрольным образцам
|
7.4.
|
|
ГОСТы 10181.0-10181.3
|
Смеси бетонные.
|
7.4.
|
|
ГОСТ
11501-78
|
Битумы нефтяные. Метод
определения глубины проникания иглы
|
6.1.
|
|
ГОСТ 11503-74
|
Битумы нефтяные. Метод
определения условной вязкости
|
6.1.
|
|
ГОСТ
12536-79
|
Грунты. Метод лабораторного
определения зернового (гранулометрического) состава
|
3.1.
|
|
ГОСТ
12801-84
|
Смеси асфальтобетонные дорожные
и аэродромные, дегтебетонные дорожные, асфальтобетон и дегтебетон. Методы
испытаний.
|
4.3., 6.1. ,6.2., 6.3.
|
|
ГОСТ 13015.0-13015.4
|
Конструкции и изделия бетонные и
железобетонные сборные.
|
7.4., 9.2.
|
|
ГОСТ 18105-86
|
Бетоны. Правила контроля
прочности. Основные положения.
|
7.4.
|
|
ГОСТ 18659-81
|
Эмульсии битумные дорожные.
Технические условия
|
4.3., 6.3.
|
|
ГОСТ
22733-77
|
Грунты. Метод лабораторного
определения максимальной плотности
|
1.1., 1.3., 1.4., 1.5.1., 1.5.2.,
1.6., 1.7., 2.1., 3.1.
|
|
ГОСТ
24547-81
|
Звенья железобетонные
водопропускные труб
|
9.2.
|
|
ГОСТ 25100-95
|
Грунты. Классификация.
|
1.2., 3.1.
|
|
ГОСТ
25607-94
|
Смеси
щебеночно-гравийно-песчаные для покрытий и оснований автомобильных дорог и
аэродромов. Технические условия
|
2.1.
|
|
ГОСТ
25877-83
|
Смеси дегтебетонные дорожные и
дегтебетон
|
4.3.
|
|
ГОСТ
Р 50597-93
|
Автомобильные дороги и улицы.
Требования к эксплуатационному состоянию, допустимому по условиям обеспечения
безопасности движения
|
3.1., 4.3., 6.2., 7.4.
|
|
2. Строительные нормы и правила
|
|
СНиП 2.05.02-85
|
Автомобильные дороги
|
1.1., 1.2., 1.3., 1.4., 1.6., 1.7., 3.1., 4.3., 6.2.,
8.1.
|
|
СНиП 2.05.03-84
|
Мосты и трубы
|
9.1.
|
|
СНиП 3.02.01-87
|
Земляные сооружения, основания и
фундаменты
|
1.1., 1.2., 1.3., 1.4., 1.6., 1.7., 1.8., 1.9.,
прил. 1.
|
|
СНиП 3.06.03-85
|
Автомобильные дороги
|
1.1., 1.2., 1.3., 1.4., 1.5.1.,
1.5.2., 1.6., 1.7., 1.8., 1.10.2., 1.10.3.,
1.10.4., 2.1., 3.1., 4.1., 4.2., 4.3.,
5.1., 6.1., 6.2., 7.1.1.,
7.1.2., 7.3.1., 7.4.,
7.5., 8.1.
|
|
СНиП 3.06.04-91
|
Мосты и трубы
|
1.10.5., 9.1.,
9.2., 9.4.1., 9.4.2.
|
|
3. Строительные нормы
|
|
СН 449-72**
|
Указания по проектированию
земляного полотна железных и автомобильных дорог
|
1.9.
|
|
4. Пособия к СНиП
|
|
к СНиП 3.06.03-85
|
Пособие по приготовлению и
применению битумных дорожных эмульсий
|
4.3., 5.1.
|
|
к СНиП 3.06.03-85 и 3.06.06-88
|
Пособие по строительству
покрытий и оснований автомобильных дорог и аэродромов из грунтов, укрепленных
вяжущими материалами
|
4.3., 5.1.
|
|
5. Ведомственные строительные нормы
|
|
ВСН 7-89
|
Указания по строительству,
ремонту и содержанию гравийных покрытий
|
4.1.
|
|
ВСН 19-89
|
Правила приемки работ при
строительстве и ремонте автомобильных дорог
|
Прил. 2.
|
|
ВСН 38-90
|
Технические указания по
устройству дорожных покрытий с шероховатой поверхностью
|
3.1., 4.3., 6.2., 6.3., 8.1.
|
|
ВСН 39-79
|
Технические указания по
укреплению обочин автомобильных дорог
|
8.1.
|
|
ВСН 49-86
|
Указания по повышению несущей
способности земляного полотна дорожных одежд с применением синтетических
материалов
|
2.1., 8.1.
|
|
ВСН 139-80
|
Инструкция по строительству
цементобетонных покрытий автомобильных дорог
|
7.1.1., 7.1.2.,
7.2., 7.3.1., 7.3.2., 7.4.
|
|
6. Отраслевые документы
|
|
Руководство по сооружению
земляного полотна автомобильных дорог. Минтрансстрой, 1982 г.
|
1.1., 1.2., 1.3., 1.4., 1.5., 1.5.1., 1.5.2., 1.6.,
1.7., 1.8., 1.9., 1.10.1., 1.10.2., 1.10.3.,
1.10.4., 1.10.5, 9.4.1.
|
|
7. Приказы ФДД
|
|
Приказ ФДД № 9 от 31.01.95 «О
повышении качества выпускаемых асфальтобетонных смесей»
|
6.1.
|
|
8. Техническая литература
|
|
В.В. Гладченко, А.Ф. Олейник,
Н.В. Мотора. Допуски при строительстве автомобильных дорог и искусственных
сооружений. Киев; Будiвельник, 1979. 46 с.
|
|
* - ГОСТ
25877-83 действует на территории бывшего СССР, за исключением РФ.
** - СН
449-72 отменен в части проектирования автомобильных дорог.
|
|
|
|
|
СОДЕРЖАНИЕ
|
Глава 1. Сооружение земляного
полотна. 1
1.1.
Выемка в нескальных грунтах. 1
1.2.
Выемка в скальных и крупнообломочных грунтах. 4
1.3.
Насыпи из нескальных грунтов. 6
1.4.
Насыпи из крупнообломочных грунтов. 8
1.5. Устройство
земляного полотна в зимних условиях. 10
1.5.1. Возведение
насыпей в зимних условиях. 11
1.5.2. Разработка
выемок в зимних условиях. 13
1.6.
Устройство земляного полотна на болотах I и II
типов. 14
1.7.
Устройство земляного полотна на болотах II и III
типов с погружением на минеральное дно. 16
1.8.
Намыв земляного полотна. 19
1.9.
Устройство кавальеров и банкетов. 20
1.10.
Укрепление откосов. 21
1.10.1. Укрепление
откосов насыпей засевом трав. 21
1.10.2 укрепление
откосов выемок засевом трав. 21
1.10.3. Укрепление
откосов плитами и решетчатыми конструкциями. 22
1.10.4. Укрепление
откосов с использованием геотекстиля, цементогрунта или набрызг-бетона. 22
1.10.5. Укрепление
откосов регуляционных сооружений плитами. 23
Глава
2. Устройство дополнительных слоев оснований и прослоек (морозозащитных,
дренирующих, изолирующих и капилляропрерывающих) 24
Глава
3. Устройство оснований и покрытий из крупнообломочных, песчаных и глинистых
грунтов и отходов промышленности, укрепленных неорганическими и органическими
вяжущими материалами. 26
Глава
4. Устройство щебеночных, гравийных, шлаковых оснований и покрытий. 28
4.1.
Устройство щебеночных, гравийных, шлаковых оснований и покрытий. 28
4.2.
Устройство щебеночных, гравийных, шлаковых оснований в зимнее время. 30
4.3.
Устройство оснований и покрытий из дегтебетонных смесей, черного щебня,
смесей, обработанных битумными эмульсиями в смесителе, щебеночных смесей по
способу пропитки органическими вяжущими и смешением на дороге. 31
Глава
5. Устройство оснований и покрытий из щебеночных, гравийных и песчаных
материалов, обработанных неорганическими вяжущими материалами. 34
Глава
6. Устройство асфальтобетонных покрытий и оснований. 36
6.1.
Устройство асфальтобетонных покрытий и оснований. Прием и укладка смеси. 36
6.2.
Устройство асфальтобетонных покрытий и оснований. Уплотнение и окончательная
отделка. 37
6.3.
Устройство поверхностной обработки. 39
Глава
7. Устройство монолитных и сборных цементобетонных покрытий и оснований. 40
7.1.1. Устройство
монолитных цементобетонных оснований (покрытий). Установка рельс-форм и
окончательная подготовка основания. 40
7.1.2. Устройство
монолитных цементобетонных оснований (покрытий) комплектом машин со
скользящей опалубкой. 41
7.3.
Устройство монолитных цементобетонных оснований и покрытий. 42
7.3.1. Швы расширения. 42
7.3.2. Швы сжатия,
коробления и продольные швы.. 43
7.4.
Устройство монолитных цементобетонных покрытий и оснований. Приемка
выполненных работ. 43
7.5.
Устройство сборных цементобетонных покрытий. Разбивка покрытия и укладка плит. 46
Глава
8. Устройство и укрепление обочин. 46
Глава
9. Устройство малых искусственных сооружений (водопропускных труб) 48
9.1.
Монтаж сборных фундаментов труб. 48
9.2.
Монтаж звеньев труб. 49
9.3.
Устройство гидроизоляции водопропускных труб. 51
9.4.1. Засыпка водопропускных труб. 53
9.4.2. Засыпка труб в зимнее время. 55
Приложение
1. Виды контроля качества. Термины и определения. 55
Приложение
2. Правила приемки работ. 56
Приложение 3. Перечень основных ГОСТ, снип, СН, ВСН
и руководящих документов, требования которых учтены при составлении «Пособия». 59
|
| |
|