//
ТехЛит.ру
- крупнейшая бесплатная электронная интернет библиотека для "технически умных" людей.
WWW.TEHLIT.RU - ТЕХНИЧЕСКАЯ ЛИТЕРАТУРА

:: Алготрейдинг::


АЛГОТРЕЙДИНГ
шаг за шагом
с нуля по урокам!

Торговые роботы на PYTHON, BackTrader,
Pandas, Pine Script для TradingView. Связка с брокерами, телеграм и легкими приложениями.


Госгортехнадзор России

НТЦ «Промышленная безопасность»

Серия 08

Нормативные документы по безопасности,
надзорной и разрешительной деятельности
в нефтяной и газовой промышленности

Выпуск 1

ПРОМЫШЛЕННАЯ БЕЗОПАСНОСТЬ
НА ГАЗОПЕРЕРАБАТЫВАЮЩИХ
ПРОИЗВОДСТВАХ

Сборник документов

МЕТОДИЧЕСКИЕ УКАЗАНИЯ
ПО ОПРЕДЕЛЕНИЮ ТЕХНОЛОГИЧЕСКИХ ПОТЕРЬ НЕФТИ
НА ПРЕДПРИЯТИЯХ НЕФТЯНЫХ КОМПАНИЙ
РОССИЙСКОЙ ФЕДЕРАЦИИ

РД 153-39-019-97

Москва

Государственное унитарное предприятие
«Научно-технический центр по безопасности в промышленности
Госгортехнадзора России»

2002

Промышленная безопасность на газоперерабатывающих производствах: Сборник документов. Серия 08. Выпуск 1 / Колл. авт. - М.: Государственное унитарное предприятие «Научно-технический центр по безопасности в промышленности Госгортехнадзора России», 2002.

В настоящий Сборник включены следующие нормативно-технические документы Госгортехнадзора России: Правила безопасности для газоперерабатывающих заводов и производств, Инструкция по техническому диагностированию состояния передвижных установок для ремонта скважин, Положение о системе технического диагностирования сварных вертикальных цилиндрических резервуаров для нефти и нефтепродуктов, а также документы Минтопэнерго России: Методические указания по определению технологических потерь нефти на предприятиях нефтяных компаний Российской Федерации, Требования к химпродуктам, обеспечивающие безопасное применение их в нефтяной отрасли, регламентирующие деятельность в области промышленной безопасности предприятий и объектов нефтяной и газовой промышленности.

Требования нормативно-технических документов, включенных в этот Сборник, обязательны при проектировании, строительстве, изготовлении, монтаже, эксплуатации, техническом перевооружении, консервации и ликвидации производств и объектов нефтяной и газовой промышленности.

В разработке включенных в Сборник документов принимали участие специалисты российских нефтяных и газовых компаний «Газпром», «Лукойл», «ЮКОС», институты ВолгоуралНИТИгаз, ВНИПИгазопереработка, Ассоциация Буровых Подрядчиков, Госгортехнадзор России, Минтопэнерго России, ИПТЭР, Нефтепромхим, Нефтеотдача и др.

СОДЕРЖАНИЕ

1. Общие положения. 3

2. Метод определения потерь нефти от испарения измерением объема паровоздушной смеси, вытесняемой из резервуара. 5

3. Метод определения потерь нефти от испарения по концентрации углеводородных паров, вытесняемых из резервуаров. 8

4. Метод определения потерь нефти от испарения по изменению углеводородного состава. 10

5. Метод определения потерь нефти от испарения по изменению давления насыщенных паров. 13

6. Расчетно-экспериментальный метод определения потерь нефти от испарения из резервуарных парков промыслов и магистральных нефтепроводов. 21

7. Методы определения потерь нефти со сточными водами. 24

8. Метод определения потерь нефти от уноса газом.. 25

9. Метод определения потерь нефти от утечек через уплотнения насосов, фланцевые соединения, сальниковые уплотнения запорной арматуры.. 26

10. Рекомендации по отбору и подготовке к анализу проб нефти и паровоздушной смеси. 27

11. Рекомендации по организации исследований и порядку определения технологических потерь нефти. 30

Приложение а. Перечень основного оборудования и контрольно-измерительных приборов для определения потерь нефти от испарения. 33

Приложение б. Характеристика измерительных средств. 35

Приложение в. Предельная погрешность показаний счетчиков газа ротационных типа рг (ту 25-02-030445-78) 35

Приложение г. Относительная погрешность измерения анемометром скорости выходящей из резервуара паровоздушной смеси, % (анемометр ручной чашечный мс-13 гост 6376) 35

Нормативные ссылки. 35

 

Согласованы

Госгортехнадзором России

Письмом № 10-03/284

от 30.05.97

Утверждены

первым заместителем министра

топлива и энергетики

Российской Федерации 16.06.97

Введены в действие с 01.01.98

МЕТОДИЧЕСКИЕ УКАЗАНИЯ ПО ОПРЕДЕЛЕНИЮ ТЕХНОЛОГИЧЕСКИХ ПОТЕРЬ НЕФТИ НА ПРЕДПРИЯТИЯХ НЕФТЯНЫХ КОМПАНИЙ РОССИЙСКОЙ ФЕДЕРАЦИИ*

* Разработчики: А.Г. Гумеров, Р.С. Гумеров, И.С. Бронштейн, М.Ф. Коваленко, Б.М. Грошев (Институт проблем транспорта энергоресурсов, г. Уфа).

РД 153-39-019-97

В Методических указаниях приведены источники технологических потерь нефти при сборе продукции скважин, подготовке, транспортировке и хранении нефти на промыслах, а также классификация потерь.

Данные о величине потерь нефти, полученные в результате применения рекомендуемых методов, являются исходными для нормирования технологических потерь. Методы определения потерь нефти применимы как в процессе сбора, подготовки, транспортировки и хранения нефти на промыслах, так и при транспортировке нефти по магистральным нефтепроводам, а также могут быть использованы на предприятиях, занимающихся переработкой нефти, хранением, транспортировкой и распределением нефтепродуктов.

1. ОБЩИЕ ПОЛОЖЕНИЯ

1.1. Под технологическими потерями понимаются безвозвратные потери нефти (уменьшение ее массы), являющиеся следствием исходных ее физико-химических свойств, воздействия метеорологических факторов и степени совершенства используемых технологических процессов, технических средств и нефтесберегающих мероприятий при сборе, подготовке, транспортировки и хранении нефти.

1.2. Технологические потери нефти нормируются по утвержденной в установленном порядке методике.

1.3. Нормативные технологические потери нефти используются в расчетах валовой добычи нефти, а также при установлении платежей за пользование недрами.

1.4. Фактические технологические потери нефти (реальные потери в данный момент времени) определяются по источникам потерь нефти на нефтепромысловых объектах в процессах добычи, сбора, подготовки, транспортировки и хранения нефти при условиях соблюдения технологических регламентов, правил и инструкций по эксплуатации и обслуживанию оборудования, аппаратов и сооружений.

1.5. Нефтепромысловые объекты: эксплуатационные скважины (кусты скважин или отдельно расположенные скважины), замерные установки, дожимные насосные станции, центральные пункты сбора нефти и газа, резервуарные парки и пр.

1.6. Источники технологических потерь нефти

1.6.1. При добыче и сборе: фланцевые соединения, сальниковые уплотнения открытой запорной арматуры и полированного штока штанг на устье скважин и замерных установках; сепарационные узлы нефти и газа всех ступеней, если жидкость из конденсатосборников газосборных сетей и факельных линий не утилизируется на предприятиях нефтяных или иных компаний, фланцевые соединения, сальниковые уплотнения открытой запорной арматуры на ДНС, резервуары и отстойники для предварительного сбора дренажных вод; емкости для сбора утечек из сальниковых уплотнений центробежных насосов и др.

1.6.2. При подготовке: технологические резервуары; отстойники или резервуары для очистки и подготовки сточных вод; сепараторы концевых ступеней сепарации нефти, если газ из них сбрасывается на факел, а жидкость не утилизируется из конденсатосборников, и др.

1.6.3. При транспортировке и хранении на промыслах: резервуары товарной нефти, дренажные емкости для сбора утечек нефти из сальниковых уплотнений насосов и др.

1.6.4. При транспортировке по магистральным нефтепроводам: резервуары на головных НПС, дренажные емкости для сбора утечек нефти из сальниковых уплотнений подпорных и магистральных насосов, установки для очистки сточных вод и др.

1.7. Технологические потери нефти условно классифицируются по видам: от испарения, от уноса капельной нефти газом, от уноса остаточной нефти пластовыми дренажными водами, от утечек нефти через уплотнения оборудования (см. табл. 1).

Таблица 1

Виды технологических потерь нефти на нефтепромысловых объектах

Нефтепромысловые объекты и источники потерь нефти

Испарение нефти

Унос капельной нефти газом

Унос остаточной нефти сточными водами

Утечка нефти через уплотнения

1

2

3

4

5

Эксплуатационные скважины

Фланцевые соединения, сальниковые уплотнения открытой запорной арматуры и полированного штока штанг на устье скважин

-

-

-

+

Установка замера продукции скважин

Фланцевые соединения, сальниковые уплотнения открытой запорной арматуры

-

-

-

+

Сепарационные узлы и дожимные насосные станции

Установки предварительного отбора газа, нефтегазовые и газовые сепараторы, если жидкость из конденсатосборников газосборных сетей и факельных линий не утилизируется на предприятиях нефтяных или иных компаний

-

+

-

-

Резервуары и установки для предварительного сбора дренажных вод

-

-

+

-

Емкости для сбора утечек из сальниковых и торцевых уплотнений центробежных насосов

-

-

-

+

Фланцевые соединения, сальниковые уплотнения открытой запорной арматуры

-

-

-

+

Центральный пункт сбора нефти и газа

Технологические и товарные резервуары

+

-

-

-

Сепараторы концевых ступеней сепарации, если газ из них сбрасывается на факел, а жидкость не утилизируется из конденсатосборников

-

+

-

-

Отстойники или резервуары для очистки и подготовки сточных вод

-

-

+

-

Дренажные емкости для сбора утечек нефти из сальниковых и торцевых уплотнений насосов

-

-

-

+

Фланцевые соединения, сальниковые уплотнения открытой запорной арматуры

-

-

-

+

1.8. Выделившийся в резервуарах из нефти углеводородный газ относится к технологическим потерям нефти от испарения, если абсолютное давление в сепараторах КСУ не превышает 0,105 МПа. При давлениях сепарации более 0,105 МПа потери из резервуаров подлежат дифференциации: на потери нефтяного газа и потери нефти от испарения. Последние определяются по разнице между общей величиной потерь из резервуара и величиной потерь нефтяного газа, установленной по величине газового фактора пробы нефти, отобранной до резервуара и разгазированной до давления 0,105 МПа при температуре сепарации нефти.

1.9. Потери нефти, вызванные нарушением правил технической эксплуатации аппаратов, установок и оборудования, режимов технологических процессов, авариями технических сооружений, а также ремонтно-восстановительными работами, к технологическим потерям не относятся.

1.10. Определение технологических потерь нефти осуществляется территориальными и специализированными научно-исследовательскими институтами, ЦНИИЛами, ЦНИПРами.

1.11. Известные методы определения потерь нефти от испарения подразделяются на прямые и косвенные.

1.12. К прямым методам относятся методы непосредственного измерения или расчета объема (массы) паров углеводородов, вытесняемых из емкости в процессе сливоналивных операций или хранения нефти. Достоинством прямых методов является достаточно хорошая точность измерений, а недостатком - трудоемкость проведения измерений в промышленных условиях на действующих установках, резервуарах.

1.13. К косвенным относятся методы определения величины потерь по изменению физико-химических свойств нефти:

а) концентрации остатка, т.е. того, что остается в пробе нефти после испарения из нее углеводородов до С6 включительно;

б) давления насыщенных паров;

в) углеводородного состава (метод расчета потерь по константам равновесия) в пробах, отобранных до и после резервуара.

Преимущество косвенных методов заключается в том, что определение потерь производится на основе анализов проб, проводимых в лабораторных условиях; возможна оценка потерь по нескольким последовательным источникам или целому технологическому процессу одновременно. Недостатком косвенных методов является сравнительно меньшая точность.

2. МЕТОД ОПРЕДЕЛЕНИЯ ПОТЕРЬ НЕФТИ ОТ ИСПАРЕНИЯ ИЗМЕРЕНИЕМ ОБЪЕМА ПАРОВОЗДУШНОЙ СМЕСИ, ВЫТЕСНЯЕМОЙ ИЗ РЕЗЕРВУАРА

2.1. Потери углеводородов рассчитываются по формуле

G = VСr,                                                                  (1)

где G - потери углеводородов, кг;

V - объем паровоздушной смеси, вышедшей из резервуара за измеряемый промежуток времени, приведенный к давлению 0,101 МПа и температуре 273 К, м3;

С - концентрация углеводородов в выходящей из резервуара паровоздушной смеси, доли единицы;

r - средняя плотность вытесняемых из резервуаров углеводородных паров, приведенных к давлению 0,101 МПа и температуре 273 К, кг/м3.

2.2. Объем паровоздушной смеси, выходящей из резервуаров, измеряется ротационными газовыми счетчиками типа РГ, выбираемыми по максимально ожидаемой производительности (приложения А - В); нормальными диафрагмами, смонтированными на резервуарах в соответствии с РД 50-213-80; анемометрами (п. 4). В холодное время года применять счетчики не рекомендуется, так как на роторах оседает иней, затрудняющий вращение последних.

2.3. Концентрация углеводородов определяется не менее 8 раз за время заполнения резервуара по анализам проб паровоздушной смеси на газоанализаторах КГА1-1 (ОСТ 25.1256) или хроматографах. Во избежание искажения результатов анализов вследствие конденсации углеводородов температура подаваемых на анализ проб должна быть не ниже, чем температура паров, выходящих из резервуара.

2.4. Средняя плотность углеводородистых паров нефти определяется по результатам хроматографических анализов состава проб паровоздушной смеси по ГОСТ 14920.

При отсутствии данных хроматографических анализов плотность паров можно рассчитать по формуле

                                                            (2)

где Мп = 0,0043(212 + tнк)1,7 - средняя молярная масса углеводородных паров нефти в паровоздушной смеси, кг/моль;

tнк - температура начала разгонки нефти, °С.

2.5. Уровень нефти в резервуарах измеряется стационарными уровнемерами или измерительной рулеткой с грузом (лотом) по ГОСТ 7502.

2.6. Выбранный в качестве объекта исследований резервуар тщательно проверяется, неплотности, обнаруженные в кровле, устраняются (например, заливаются эпоксидной смолой), фланцевые соединения герметизируются.

2.7. Перечень основного оборудования, приборов и материалов для определения потерь по рассматриваемому методу приведен в приложении А. Конструкция газового пробоотборника, технология отбора проб и их анализ на газоанализаторе КГА1-1 (ОСТ 25.1256) изложены в разделе 10.

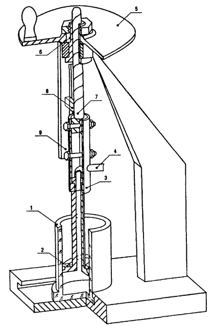
2.8. Принципиальная схема установки ротационного счетчика на резервуаре представлена на рис. 1. Швы на жестяной трубе, соединяющей световой люк со счетчиком, должны герметизироваться пайкой. В трубу впаиваются термометрический карман 7 и пробоотборный штуцер 8.

2.9. В начале и конце заполнения резервуара нефтью фиксируются показания счетчика (или расходомера, анемометра), уровнемера, атмосферное давление, температура паровоздушной смеси, температура воздуха, отбираются пробы паровоздушной смеси (ПВС) на хроматографический анализ. Фиксируются давление и температура в сепараторах КСУ, если нефть из этих установок поступает в резервуар.

2.10. В промежуточные моменты времени ежечасно измеряется температура ПВС и отбираются пробы ПВС для определения концентрации углеводородов на газоанализаторе КГА1-1 (ОСТ 25.1256).

2.11. Отбирается до резервуара одна проба нефти за период наблюдения в любое время для последующего определения фракционного и углеводородного состава, плотности, давления насыщенных паров, газового фактора (при температуре в резервуаре и давлении 1,05 ата).

2.12. При расчете средней плотности паров по результатам хроматографических анализов принимается среднеарифметическое значение.

Рис. 1. Схема установки счетчика типа РГ на резервуаре:

1 - резервуар; 2 - счетчик типа РГ; 3 - манометр; 4 - труба жестяная; 5 - патрубок входной; 6 - постамент; 7 - карман термометрический; 8 - штуцер для отбора проб паровоздушной смеси; 9 - пробоотборник; 10 - люк световой; 11 - измеритель уровня; 12 - арматура дыхательная

2.13. Концентрация углеводородов в ПВС определяется как среднеарифметическое всех значений за время заполнения резервуара.

2.14. Величина потерь углеводородов рассчитывается по формуле (1) и относится на одну тонну поступившей за время наблюдения нефти.

2.15. При эксплуатации резервуара в подключенном режиме вследствие непредсказуемости периодов увеличения уровня нефти в резервуаре и колебания температур в его газовом пространстве наблюдения за показаниями счетчика ведутся непрерывно в течение установленного времени измерения потерь (например, двое суток).

2.16. Если показания счетчика нарастают, то в течение каждого периода нарастания измерение параметров и отбор проб ПВС проводят в соответствии с пунктами 2.9, 2.10.

2.17. Величина потерь углеводородов за каждый период нарастания показаний счетчика рассчитывается по формуле (1). Потери за время наблюдения определяются как сумма потерь на одну тонну перекачиваемой по трубопроводу нефти за время наблюдения.

2.18. Все данные экспериментов и характеристика резервуара (размеры, тип дыхательной арматуры, место в технологическом цикле и т.д.) оформляются в журнале наблюдений.

2.19. Относительная среднеквадратичная погрешность определения потерь нефти по формуле (1) равна, %:

                                              (3)

где DG - среднеквадратичное отклонение результатов п определений величины потерь от среднего значения;

 - среднеарифметическое значение результатов п определений величины потерь;

здесь п - количество заполнений резервуара от нижнего до верхнего уровня;

 - относительная среднеквадратичная погрешность результатов п измерений объема паровоздушной смеси, выходящей из резервуара;

здесь S2* - выборочная дисперсия по n измерениям объема паровоздушной смеси, выходящей из резервуара;

 - среднеарифметическое значение объема паровоздушной смеси по п измерениям.

* - для п наблюдаемых значений x1, х2, ..., хn случайной величины х выборочную дисперсию принято определять выражением

где  - среднеарифметическое значение случайной величины х.

Величина  зависит от выбранного способа измерения объема выходящей из резервуара ПВС (приложения Б, В, Г);

 - относительная среднеквадратичная погрешность результатов определений концентрации углеводородов в паровоздушной смеси при n заполнениях резервуаров, %;

здесь  - выборочная дисперсия концентрации углеводородов в ПВС при п заполнениях резервуаров;

 - среднеарифметическое значение концентрации углеводородов в ПВС при п заполнениях резервуаров, %;

 - относительная среднеквадратичная погрешность результатов определений плотности углеводородных паров в выходящей из резервуара ПВС при п заполнениях резервуара;

здесь Sr - выборочная дисперсия плотности углеводородных паров при п заполнениях резервуара;

 - среднеарифметическое значение плотности углеводородных паров при п заполнениях резервуаров.

2.20. Относительная среднеквадратичная погрешность определения величины потерь нефти при 10 заполнениях резервуара зависит от применяемых измерительных средств и находится в пределах 6 - 15 % масс.

3. МЕТОД ОПРЕДЕЛЕНИЯ ПОТЕРЬ НЕФТИ ОТ ИСПАРЕНИЯ ПО КОНЦЕНТРАЦИИ УГЛЕВОДОРОДНЫХ ПАРОВ, ВЫТЕСНЯЕМЫХ ИЗ РЕЗЕРВУАРОВ

3.1. Потери углеводородов за одно наполнение резервуара рассчитываются по формуле

где  - масса углеводородов, теряемая из резервуара за промежуток времени (i, i + 1), кг;

п - число промежутков времени;

Vi, Vi+1 - объемы газового пространства резервуара в моменты времени (i, i + 1), м3;

Ci, Ci+1 - объемная концентрация углеводородов в газовом пространстве резервуара в моменты времени (i, i + 1), МПа, К;

T0, P0 - температура и давление при нормальных условиях, К, МПа;

 - средняя плотность теряемых углеводородных паров при нормальных условиях, кг/м3;

 - средняя объемная концентрация углеводородов в паровоздушной смеси, вытесняемой в атмосферу из резервуара за промежуток времени (i, i + 1), доли единицы.

Концентрация углеводородов в газовом пространстве резервуара в момент времени i определяется по формуле

где , ,  - объемная концентрация углеводородов в верхней, средней и нижней точках газового пространства резервуара, доли единицы.

3.2. Если за весь период заполнения резервуара среднее значение концентрации углеводородов в выходящей паровоздушной смеси превышает 0,4, определение потерь может производиться по формуле

                            (4)

где Сср = (1/8)(С0 + 3С1 + 3С2 + С3) - средняя объемная концентрация углеводородов в выходящей паровоздушной смеси за весь период заполнения, доли единицы;

здесь С0, С1, С2, С3 - объемная концентрация углеводородов в выходящей из резервуара паровоздушной смеси в начале наполнения, в двух промежуточных точках и в конце наполнения, доли единицы;

Сн, Ск, Тн, Тк - объемная концентрация углеводородов и температура в газовом пространстве резервуара в начале и конце заполнения, доли единицы, К;

Vн, Vк, Рн, Рк - объем газового пространства резервуара и давление в нем в начале и конце заполнения, м3, МПа;

r0 - средняя плотность паров углеводородов в выходящей паровоздушной смеси за весь период заполнения, кг/м3.

3.3. Относительную среднеквадратичную погрешность определения величины потерь нефти при п заполнениях резервуара принято рассчитывать по формуле

где  = Gk / mk - удельная величина потерь нефти при k-м заполнении резервуара, кг/т;

здесь Gk - потери нефти от испарения при k-м заполнении резервуара, т;

тk - масса поступившей нефти в резервуар за время наполнения, т;

 - среднеарифметическое значение удельной величины потерь нефти при п заполнениях.

3.4. Относительная среднеквадратичная погрешность определения величины потерь нефти при 10 заполнениях резервуара находится в пределах 9 - 15 % в зависимости от величины потерь.

3.5. Порядок проведения измерений

3.5.1. В журнал наблюдений вносят:

дату проведения испытаний;

номер резервуара;

тип резервуара (РВС, ЖБР);

полный объем резервуара (с учетом объема под кровлей), м3;

высоту резервуара, м;

диаметр резервуара, м;

типоразмеры дыхательных клапанов и их количество, шт.;

режим испытаний (заполнение - опорожнение, подключенный);

наименование нефти;

дата и продолжительность предыдущей выкачки нефти из резервуара;

время простоя резервуара с остатком, ч.

3.5.2. Определяется начальный уровень нефти в резервуаре (Нн) по уровнемеру или замеряется рулеткой с лотом по ГОСТ 7502.

Отбираются пробы паровоздушной смеси в трех точках: над уровнем нефти - 1 проба, в середине газового пространства - 2 пробы, под кровлей резервуара - 1 проба. Отбор проб производится по методике, изложенной в разделе 10. Схема расположения точек отбора проб и замера температуры газового пространства и нефти представлена на рис. 2. Пробы паровоздушной смеси доставляются в лабораторию, где анализируются на объемное содержание углеводородов с помощью газоанализатора КГА1-1 (см. раздел 10), а одна из средних проб анализируется на углеводородный состав на хроматографе для определения плотности углеводородных паров.

Измеряются максимальным термометром или с помощью хромелькопелевых термопар (приложение А) температура газового пространства резервуара в трех точках (см. рис. 2), температура нефти на глубине 0,05 м от поверхности. Температура воздуха измеряется термометром метеорологическим (ГОСТ 112). Измеряется атмосферное давление барометром-анероидом.

Рис. 2. Схема расположения точек отбора проб паровоздушной смеси и замера температуры газового пространства:

1, 2, 3, 4 - точки измерения температуры; 1, 2, 3 - точки отбора проб паровоздушной смеси

3.5.3. Начинают наполнение резервуара. Фиксируется время начала закачки нефти.

3.5.4. При уровне взлива Н1 = Нн + (Нк - Нн) / 3 производят первые промежуточные измерения и отборы проб в соответствии с п. 3.4.2. Фиксируется время достижения уровня Н1. Конечный уровень заполнения резервуара нефтью - Нк.

3.5.5. При уровне взлива Н2 = Нн + {(Нк - Нн)2}/3 производят вторые промежуточные измерения и отборы проб в соответствии с п. 3.4.2. Фиксируется время достижения уровня, Н2.

3.5.6. В конце заполнения резервуара (за 10 - 20 мин до конечного уровня взлива Нк) производят измерения температур и атмосферного давления, отборы проб в соответствии с п. 3.4.2. Фиксируется время достижения уровня.

3.5.7. Из подводящего трубопровода в процессе наполнения резервуара в любое время отбирается проба нефти для последующего определения газового фактора при давлении 1,05 ата и температуре нефти, поступающей в резервуар, углеводородного и фракционного состава, плотности.

3.5.8. Определенные по формулам потери относятся к массе закачанной в резервуар нефти и выражаются в кг/т.

3.5.9. В журнал наблюдений заносят данные экспериментов:

уровни нефти в резервуаре (начальный, первый промежуточный, второй промежуточный, конечный);

время достижения каждого уровня;

объемы нефти в резервуаре, соответствующие каждому уровню, м3;

концентрация углеводородов в газовом пространстве резервуара, соответствующая уровню, % об. (над уровнем нефти, в середине газового пространства, у кровли);

сведения об отборе проб паровоздушной смеси на анализ углеводородного состава;

температура в газовом пространстве резервуара, соответствующая уровню нефти (над уровнем нефти, в середине газового пространства, у кровли), °С;

температура нефти на глубине 0,05 м от поверхности, °С;

температура окружающего воздуха, °С;

атмосферное давление, кПа;

сведения об отборе проб нефти;

выписка из вахтового журнала - плотность нефти при температуре перекачки, кг/м3.

3.5.10. Организация и проведение исследований оформляется актом, составленным совместно с представителями предприятий.

4. МЕТОД ОПРЕДЕЛЕНИЯ ПОТЕРЬ НЕФТИ ОТ ИСПАРЕНИЯ ПО ИЗМЕНЕНИЮ УГЛЕВОДОРОДНОГО СОСТАВА

4.1. Величина потерь нефти испарения определяется по формуле

                                                             (5)

где s - величина потерь нефти (от исходной нефти, доли массовые);

 - концентрация «остатка», т.е. того, что остается в обезвоженной пробе нефти, отобранной до резервуара, после испарения из нее углеводородов не менее чем до С6 включительно, доли массовые;

 - концентрация «остатка» в пробе нефти, отобранной после резервуара, доли массовые.

4.2. Концентрации  и  определяется по формуле

,                                                (6)

где  и  - соответственно суммарные концентрации углеводородов в пробах нефтей, отобранных до и после резервуара.

4.3. Углеводородный состав нефти (Сi) определяют хроматографическим методом по ГОСТ 13379. Перед загрузкой в хроматограф нефть обезвоживают карбидом кальция.

4.4. При анализе газосодержащих нефтей вследствие отсутствия надежных способов ввода в испаритель хроматографа проб нефтей с давлением насыщенных паров выше атмосферного анализы ведут поэтапно: разгазируют газосодержащую нефть, раздельно анализируют пробы отделившегося от нефти газа и разгазированной нефти.

4.5. Концентрации индивидуальных углеводородов в исходной нефти рассчитывают по формуле

;

где  - массовая концентрация i-го углеводорода в разгазированной нефти, массовые доли;

ri, Yi - плотность и концентрация i-го углеводорода в газе, выделившемся из нефти при давлении 0,101 МПа и температуре 20 °С; кг/м3 и доли мольные;

r0 - плотность газа при давлении 0,101 МПа и температуре 20 °С, кг/м3;

Г - остаточный газовый фактор, м3/кг;

Vг - объем газа, выделившегося из нефти при давлении 0,101 МПа и температуре 20 °С, м3;

Gрн - масса пробы исследуемой разгазированной нефти, кг.

4.6. Суммарное содержание легких углеводородов в пробах нефти, отобранных до и после источника потерь, вычисляются по формулам:

;                                     (7)

4.7. В метеорологии ошибки измерений (прямых и косвенных) принято оценивать среднеквадратичным отклонением, выраженным в абсолютной или относительной форме. По ГОСТ 8.381 среднеквадратичное отклонение результата косвенных измерений величины, являющейся функцией х = F(Y1, Y2, ..., Yт), вычисляют по формуле

                                    (8)

где S1, S2, ..., Sm - среднеквадратичные отклонения результатов измерений величин Y1, Y2, ..., Yт.

Применительно к рассматриваемому методу среднеквадратичная абсолютная ошибка в определении потерь равна

                                                  (9)

где δС' и δС" - среднеквадратичные относительные ошибки в определении концентрации «остатков» в пробах нефти, отобранных до и после резервуара.

Среднеквадратичная относительная ошибка в определении потерь выражается формулой

                                              (10)

4.8. Метод применим, если разница в концентрациях остатков в пробах нефти, отобранных до и после источника потерь, больше допустимых расхождений между параллельными определениями концентрации на хроматографе по ГОСТ 13379, ГОСТ 14920.

4.9. Пример расчета технологических потерь нефти по изменению ее углеводородного состава

4.9.1. Определить величину технологических потерь нефти по изменению ее углеводородного состава до и после резервуара, если давление в сепараторах КСУ не превышает 0,105 МПа, газовый фактор до источника потерь составляет 3×10-3 м3/кг, после источника потерь равен нулю, плотность нефтяного газа ρ'0 = 1,467 кг/м3. Углеводородные составы проб нефти до и после резервуара представлены в табл. 2.

Таблица 2

Углеводородные составы проб нефти до и после резервуара

Компоненты

Содержание компонентов

до резервуара

после резервуара

в нефтяном газе, мольные доли

в дегазированной нефти, массовые доли

в нефти, массовые доли

Метан (СН4)

0,4090

-

-

Этан (С2Н6)

0,0855

0,0020

0,0015

Пропан (С3Н8)

0,3054

0,0102

0,0083

Изо-бутан (iС4Н10)

0,0493

0,0155

0,0082

Н-бутан (nС4Н10)

0,0935

0,0223

0,0131

Изо-пентан (iС5Н12)

0,0236

0,0152

0,0108

Н-пентан (nС5Н12)

0,0186

0,0165

0,0121

Гексан (С6Н14)

0,0151

0,0163

0,0159

Остаток (С7 + высш)

-

0,9020

0,9301

Итого:

1,0000

1,0000

1,0000

4.9.2. Определяем суммарные концентрации легких углеводородов в пробах дегазированной нефти до и после резервуара.

 = 0,0020 + 0,0102 + 0,0155 + 0,0223 + 0,0152 + 0,0165 + 0,0163 = 0,0980 масс. доли.

 = 0,0015 + 0,0083 + 0,0082 + 0,0131 + 0,0108 + 0,0121 + 0,0159 = 0,0699 масс. доли.

4.9.3. По формулам (7) рассчитаем концентрации легких углеводородов в пробах нефти, отобранных до и после резервуара:

 масс. доли.

 масс. доли.

4.9.4. По формулам (6) рассчитаем концентрации «остатков»:

С' = 1 - 0,1020 = 0,8980 масс. доли,

С" = 1 - 0,0699 = 0,9301 масс. доли.

Разность концентраций остатков 0,0321 масс. доли больше сходимости между параллельными определениями 0,0100 по ГОСТ 13379, метод можно применять для расчета потерь.

4.9.5. Технологические потери нефти рассчитаем по формуле (5):

масс.

4.9.6. Относительную среднеквадратичную ошибку в определении потерь рассчитаем по формуле (10):

где 0,005 масс. доли - абсолютная ошибка в определении концентрации остатка С' по ГОСТ 13379;

0,004 масс. доли - абсолютная ошибка в определении концентрации остатка С" по ГОСТ 13379.

5. МЕТОД ОПРЕДЕЛЕНИЯ ПОТЕРЬ НЕФТИ ОТ ИСПАРЕНИЯ ПО ИЗМЕНЕНИЮ ДАВЛЕНИЯ НАСЫЩЕННЫХ ПАРОВ

5.1. Метод основан на использовании линейной зависимости массовой доли потерь легких углеводородов нефти (s) от натурального логарифма ее давления насыщенных паров (Рs):

                                                            (11)

где а - эмпирический коэффициент, постоянный для данной нефти;

Р0, Рs - давление насыщенных паров нефти до и после источника потерь, кПа, мм рт. ст.

5.2. Величина потерь нефти от испарения определяется путем наложения логарифма давления насыщенных паров пробы нефти, отобранной после источника потерь, на график зависимости s = f(ln Рs) или рассчитывается по формуле (11) после установления численного значения коэффициента а.

5.3. Давление насыщенных паров нефти (ДНП) определяется по ГОСТ 1756, метод Б. Метод позволяет герметично загружать пробу испытываемой нефти в топливную камеру аппарата, снабженную для этих целей двумя кранами. Таким образом избавляются от неучтенной погрешности в определении давления насыщенных паров, которая возникает при негерметичной загрузке камеры. Кроме того, установлено, что метод по ГОСТ 1756 содержит линейно изменяющуюся систематическую ошибку. Исправленное значение ДНП может быть оценено по формуле

Р' = 1,11Р,                                                               (12)

где Р - измеренное по ГОСТ 1756-52 значение ДНП, МПа.

5.4. Давление насыщенных паров нефти до и после источника потерь, а также эмпирический коэффициент в формуле потерь (см. п. 5.1) являются случайными величинами, зависящими от углеводородного состава нефти (даже на одном месторождении нефть, добываемая из разных скважин, неодинаковая по составу, особенно когда месторождение многопластовое); температуры нагрева ее на установках подготовки (отклонения от установленного режима в какой-то степени всегда имеются); условий сепарации на КСУ; метастабильности нефти (пересыщенности легкими углеводородами); от конвективных течений в технологических и товарных резервуарах, которые в свою очередь зависят от метеоусловий, и пр. Упомянутые случайные величины характеризуются нормальным законом распределения. Массовая доля потерь нефти от испарения есть функция случайных величин, поэтому она сама является случайной величиной и закон ее распределения тоже нормальный, так как определяется законами распределения случайных величин-аргументов.

5.5. Величина потерь нефти от испарения за год определяется как сумма потерь за весенне-летний и осенне-зимний период. Поэтому строятся графики s = f(ln Рs) для каждого из указанных периодов.

5.6. Точность, с которой определяется характеристика случайной величины - математическое ожидание, зависит от количества наблюдений случайной величины. Установлено, что при десяти независимых определениях потерь нефти среднеквадратичное отклонение составляет не более 10 % относительных (см. п. 5.10.8).

Соотношение между повышением точности и количеством наблюдений случайной величины для нормального распределения выражается формулой

                                                                (13)

где  - среднеквадратичное отклонение от среднеарифметического значения случайной величины по одной выборке (для 10 наблюдений в выборке);

n - количество выборок (по 10 наблюдений в каждой);

 - среднеквадратичное отклонение от математического ожидания по всей совокупности выборок.

Соотношение показывает, если требуется увеличить точность определения потерь, например, в два раза, то количество выборок нужно иметь 4, т.е. 40 наблюдений потерь, что весьма трудоемко и с практической точки зрения не всегда разумно.

5.7. Порядок построения графика зависимости s = f(ln Рs)

5.7.1. В течение определенного периода года (осенне-зимнего или весенне-летнего) предпочтительно через равные промежутки времени производить отбор 10 проб нефти до и 10 проб нефти после источника потерь. Пробы до источника потерь отбираются в пробоотборники емкостью 4 дм3, после источника - 2 дм3. Временной интервал между отборами пробы нефти до источника и соответствующей ей пробы после источника должен быть по возможности сокращен.

5.7.2. Определяют без разгазирования величину давления насыщенных паров отобранных проб нефти. При этом топливную камеру бомбы предварительно заполняют насыщенным водным раствором NaCl, а затем по схеме (рис. 3) герметично перепускают в нее пробу нефти, вытесняя рассол.

Рис. 3. Схема герметичной загрузки нефти в топливную камеру аппаратов для определения давления насыщенных паров:

1, 3, 6 - манометры; 2 - пробоотборник с нефтью; 4 - пробоотборник с рассолом; 5 - топливная камера; 7 - игольчатый вентиль; 8 - кран диаметром 13 мм; 9 - кран диаметром 6 мм

5.7.3. Остаток пробы нефти, отобранной до источника потерь, переводят из пробоотборника в установку (рис. 4) для разгазирования при фиксированной комнатной температуре и атмосферном давлении.

5.7.4. Определяется (через объем, концентрацию и плотность) масса выделившихся углеводородов (тг) и масса разгазированной нефти (тн). Отношение, заданное формулой

характеризует массовую долю потерь нефти от разгазирования при атмосферном давлении.

5.7.5. Взвешивают поочередно четыре пустых стакана с поршнями (рис. 5), предназначенных для испарения нефти.

5.7.6. По схеме (рис. 6) герметично переводят разгазированную нефть по 250 мл в каждый стакан, поднимая при этом поршни вверх. После снятия резинового шланга проходной канал в поршне закрывают пробкой. Заполненные стаканы вместе с поршнями поочередно взвешивают на весах.

5.7.7. По разности весов заполненных и пустых стаканов определяют начальную массу нефти (m1) в каждом стакане.

5.7.8. Осторожно удаляют поршни из стаканов, предварительно открыв проходной канал. При этом следят, чтобы капли нефти с поверхности поршня падали в стакан. Поршень с находящейся в нем пробкой подвешивают над стаканом с помощью штатива. Маловязкие нефти испаряют при комнатной температуре, а высоковязкие при температурах выше температуры начала кристаллизации парафина. Периодически взвешивая испаряющиеся образцы нефти, доводят массовую долю потерь от исходной (неразгазированной) нефти: до 0,005 - в первом стакане; до 0,01 - во втором; до 0,015 - в третьем и до 0,02 - в четвертом. Массовую долю потерь от исходной нефти рассчитывают по формуле

где т2 - конечная масса нефти в каждом стакане.

5.7.9. Определяют ДНП проб нефти после испарения из них указанных в п. 5.7.8 массовых долей. Для этого с помощью поршней из стаканов герметично перепускают нефть в топливную камеру бомбы, предварительно заполнив ее рассолом NaCl.

Рис. 4. Схема установки разгазирования нефти:

1 - пробоотборник с нефтью; 2 - пробоотборник с рассолом; 3 - линия отвода газа и нефти; 4 - манометр; 5 - термометр; 6 - вентиль игольчатый; 7 - U-образный манометр; 8 - зажим винтовой

Рис. 5. Устройство для герметичного перевода проб нефти:

1 - стакан; 2 - поршень; 3 - муфта разъемная; 4 - шланг резиновый; 5 - механизм для плавного перемещения поршня; 6 - шпонка; 7 - винт; 8 - шип; 9 - направляющая

Рис. 6. Схема герметичного перевода разгазированной нефти в стаканы для испарения

5.7.10. Производится графическое построение зависимости s = f(ln Рs). Для этого рассчитывают среднеарифметическое значение ДНП десяти исходных (неразгазированных) проб нефти, отобранных до источника потерь. Логарифм среднеарифметического значения ДНП будет начальной точкой на оси ln Рs, через которую проходит прямая. Угол наклона прямой к оси ln Рs определяется коэффициентом а, численное значение которого равно тангенсу искомого угла. Численное значение коэффициента а для данной нефти рассчитывается как среднеарифметическое его значений на уровнях испарения, т.е. по 40 значениям.

5.8. Рассчитывают среднеарифметическое значение ДНП десяти неразгазированных проб нефти, отобранных после источника потерь. В соответствии с п. 5.2, используя логарифм среднеарифметического значения ДНП, определяют величину потерь нефти за рассматриваемый период года, масс. доли.

5.9. Среднеквадратичная относительная ошибка в определении потерь по данному методу выражается формулой

                                      (14)

где  - среднеквадратичная относительная ошибка в определении ДНП нефти до источника потерь, %;

 - среднеквадратичная относительная ошибка в определении ДНП нефти после источника потерь, %;

 - среднеквадратичная относительная ошибка в определении эмпирического коэффициента а, %.

5.10. Пример расчета технологических потерь нефти по изменению давления насыщенных паров

5.10.1. Определить величину технологических потерь нефти от испарения из товарно-технологических резервуаров РВС-10000 при подготовке и перекачке нефти за весенне-летний период.

Нефть после установки подготовки и КСУ (давление сепарации 0,105 МПа) с содержанием воды до 1 % поступает в резервуары № 1, № 3, а из них через стояки в резервуар № 4. В резервуарах нефть отстаивается от воды при температуре 30 - 33 °С до концентрации 0,2 % масс. Из резервуара № 4 нефть периодически откачивается в магистральный нефтепровод. Уровень нефти в резервуаре колеблется в пределах 5 - 10,6 м.

5.10.2. Для построения зависимости s = f(ln Рs) и последующего определения по ней технологических потерь нефти было отобрано в течение июля 1996 г. 20 проб нефти, в том числе 10 проб из трубопровода после КСУ (т.е. до технологических резервуаров № 1, № 3) и 10 проб на выкиде насосов внешней откачки (т.е. после резервуара № 4). Пробы отбирались по ГОСТ 2517.

5.10.3. Определялись без предварительного разгазирования давления насыщенных паров всех проб нефти по ГОСТ 1756, метод Б, с герметичной загрузкой топливной камеры, при температуре 37,8 °С. Результаты определения с поправкой (12) приводятся в табл. 3.

5.10.4. Затем разгазировались при атмосферном давлении и комнатной температуре пробы нефти, отобранные до технологических резервуаров. Фиксировались массовые доли потерь нефти от разгазирования. Разгазированная нефть каждой пробы герметично переводилась по 250 мл в четыре стакана для испарения, в которых доводили массовую долю потерь (с учетом потерь от разгазирования) соответственно до уровней 0,005; 0,01; 0,015; 0,02. Затем определяли ДНП проб нефти из стаканов по ГОСТ 1756, метод Б, при температуре 37,8 °С. Результаты определения с поправкой (12) приведены в табл. 3.

5.10.5. По формуле (11) рассчитываем значения коэффициента а для каждого уровня испарения каждой пробы нефти. Результаты расчетов занесены в ту же таблицу.

5.10.6. Строим графическую зависимость s = f(ln Рs), используя данные таблицы (рис. 7). По оси ординат откладываем массовую долю потерь в масштабе 1 мм : 0,0002. По оси абсцисс откладываем логарифм давления насыщенных паров нефти в масштабе 1 мм : 0,01. Начальная точка графика (прямая линия) на оси абсцисс определяется логарифмом среднеарифметического значения ДНП исходных проб нефти, отобранных до резервуарного парка, т.е. ln 551 = 6,31. Угол наклона прямой к оси абсцисс определяется коэффициентом 50а, т.е. 50 × 0,0297 = 1,484, так как масштаб по оси ординат в 50 раз крупнее масштаба по оси абсцисс:

arctg 1,484 = 56°.

Таблица 3

Давление насыщенных паров проб нефти, отобранных до и после резервуаров, на уровнях испарения. Значения эмпирического коэффициента

№ проб нефти

Давление насыщенных паров на уровнях испарения, мм рт. ст.

ДНП проб нефти, отобранных после резервуаров

Значения коэффициента а на уровнях испарения

0

0,5 %

1,0 %

1,5 %

2,0 %

№ проб

мм рт. ст.

0,5 %

1,0 %

1,5 %

2,0 %

1

540

454

385

326

275

11

465

0,0288

0,0279

0,0297

0,0296

2

552

466

397

338

287

12

459

0,0295

0,0305

0,0306

0,0306

3

546

461

391

333

281

13

461

0,0295

0,0292

0,0303

0,0301

4

550

467

394

335

284

14

462

0,0306

0,0298

0,0310

0,0303

5

553

471

398

339

287

15

461

0,0312

0,0307

0,0307

0,0305

6

549

467

394

336

284

16

460

0,0309

0,0298

0,0306

0,0303

7

548

466

393

334

283

17

449

0,0308

0,0296

0,0303

0,0303

8

556

469

401

343

289

18

469

0,0294

0,0315

0,0311

0,0306

9

562

476

406

347

295

19

452

0,0301

0,0327

0,0311

0,0310

10

554

468

401

340

287

20

456

0,0296

0,0315

0,0307

0,0304

Средние значения

551

467

396

337

285

 

459

0,0297

Масштаб по оси ординат 1 мм : 0,0002

Масштаб по оси абсцисс 1 мм : 0,01

Рис. 7. Зависимость массовой доли потерь легких углеводородов повховской нефти из товарно-технологических резервуаров (б) от натурального логарифма давления ее насыщенных паров (Рs, мм рт. ст.)

5.10.7. Рассчитывая натуральный логарифм среднего значения ДНП проб нефти, отобранных после резервуаров: ln 459 = 6,129 и откладывая это число на оси абсцисс, находим по графику массовую долю потерь от испарения нефти из товарно-технологических резервуаров в весенне-летний период - 0,0054 или 0,54 % масс.

5.10.8. Среднеквадратичную относительную ошибку в определении потерь рассчитаем по формуле (14) в соответствии с п. 4.7, используя данные таблицы:

где Р0 = 551 мм рт. ст. - среднее значение ДНП нефти до товарно-технологических резервуаров;

Рs = 459 мм рт. ст. - среднее значение ДНП нефти после товарно-технологических резервуаров;

здесь  - дисперсия случайной величины - давления насыщенных паров проб нефти, отобранных до резервуаров;

 - значения ДНП на уровне испарения 0 (табл. 3);

n = 10 - количество значений ДНП на уровне испарения 0.

здесь  - дисперсия случайной величины - ДНП проб нефти, отобранных после резервуаров;

 - значения ДНП для проб нефти, отобранных после резервуаров.

здесь  - дисперсия эмпирического коэффициента;

аi - значения эмпирического коэффициента на уровнях испарения (табл. 3);

40 - количество значений коэффициента.

Доверительная вероятность нахождения массовой доли потерь от испарения нефти из товарно-технологических резервуаров в весенне-летний период в границах 0,0054 ± 10 % определяется табулированным интегралом Лапласа:

где и = (s - m) / s,

здесь s - массовая доля потерь;

m = 0,0054 - математическое ожидание величины потерь;

s = 0,0054 × 10 % = 0,00054 - среднеквадратичное отклонение;

2,06 - максимальное значение переменной и, рассчитанное по максимальному значению потерь нефти в весенне-летний период (10 определений): 0,0065; 0,0044; 0,0058; 0,0050; 0,0054; 0,0052; 0,0059; 0,0051; 0,0055; 0,0053. Данные 10 определений величины потерь рассчитаны по формуле (11), используя данные табл. 3.

6. РАСЧЕТНО-ЭКСПЕРИМЕНТАЛЬНЫЙ МЕТОД ОПРЕДЕЛЕНИЯ ПОТЕРЬ НЕФТИ ОТ ИСПАРЕНИЯ ИЗ РЕЗЕРВУАРНЫХ ПАРКОВ ПРОМЫСЛОВ И МАГИСТРАЛЬНЫХ НЕФТЕПРОВОДОВ

6.1. Метод основан на замене реального неравновесного процесса испарения легких углеводородов нефти в резервуарах гипотетическим равновесным, у которого величина потерь одинакова с неравновесным. Неравновесность реального процесса испарения следует из того, что концентрация углеводородов в паровоздушном пространстве резервуара, как правило, ниже концентрации насыщения. Это свидетельствует о том, что динамическое равновесие между нефтью и ее парами отсутствует. Если бы при заполнении резервуаров постоянно вытеснялась в атмосферу насыщенная паровоздушная смесь, то такой процесс был бы равновесным.

Гипотетически можно свести неравновесный процесс испарения в резервуарах к равновесному, если уменьшить объем воздуха, контактирующего с нефтью, до такой величины, при которой количество углеводородов, перешедшее в паровое пространство в неравновесном процессе, было бы достаточно для образования насыщенной паровоздушной смеси. Теоретически количественная связь между параметрами равновесного и неравновесного процессов выражается формулой

,                                          (15)

где Рs - давление насыщенных паров нефти, тождественно равное парциальному давлению углеводородов в газовом пространстве резервуара в равновесном процессе, Па;

Рp - давление в газовом пространстве резервуара, Па;

Рп.воды - давление насыщенных паров воды при температуре в резервуаре, Па;

Тс - температура в резервуаре, К;

М - молекулярная масса исходной нефти;

r - плотность исходной нефти при температуре Тс, кг/м3;

п = Va / V0 - отношение объема воздуха Vа к объему поступившей в резервуар нефти V0 в равновесном процессе;

е¢ - мольная доля потерь нефти в неравновесном процессе, тождественно равная потерям в равновесном процессе.

Переход к равновесному процессу необходим, чтобы иметь возможность рассчитывать потери нефти от испарения (е¢) из технологических и товарных резервуаров, промыслов и магистральных нефтепроводов по константам фазового равновесия. Метод может быть использован для расчетов процесса сепарации нефти.

6.2. Исходные данные для расчета

6.2.1. Углеводородный состав исходной нефти - Х0i, % масс (от С1 до С6 + в), по ГОСТ 13379.

6.2.2. Молекулярная масса исходной нефти - M.

6.2.3. Плотность исходной нефти при температуре 293 К - r, кг/м

6.2.4. Температура нефти в резервуаре - Тс, К.

6.2.5. Молекулярная масса компонентов - M0i:

Компоненты

с1н4

С2Н6

с3н8

iС4Н10

nС4Н10

iС1Н12

nС5Н12

С6Н14

M0i

16

30

44

58

58

72

72

86

6.2.6. Давление насыщенных паров товарной нефти после резервуаров в пункте сдачи по ГОСТ 1756 (выписки из журналов лабораторий или по замерам исследователей) - Р¢s, Па.

6.2.7. Расчеты потерь выполняются на 1 моль исходной нефти.

6.3. Последовательность расчетов

6.3.1. Определяется молярная концентрация (в долях единицы) каждого компонента (по С5 включительно) в нефти по формуле

6.3.2. Определяется молярная концентрация (в долях единицы) в нефти компонента С6 + в по формуле

6.3.3. Давление в системе Рс, Па:

Рс = Рр - Рп.воды,

где lg Pп.воды = 2,747 + .

6.3.4. Давление насыщенных паров товарной нефти при нулевом соотношении фаз и температуре Тс:

Ps = 1,7×1,11×Р¢s.

6.3.5. Пересчет давления насыщенных паров на другие температуры выполняется по формуле

6.3.6. Рассчитываются константы фазового равновесия индивидуальных компонентов нефти Кi при давлении в системе Рc и температуре Тс в резервуаре:

.

Коэффициенты аi, bi, сi, mi для каждого компонента принимаются из табл. 4.

Таблица 4

Значения коэффициентов аi, bi, сi, mi для компонентов нефти

Компоненты

аi

bi

сi

mi

СO2

17,7

-9,79

-27,35

0,996

N2

4,58

4,51

82,00

1,006

C1H4

5,66

2,38

117,00

1,000

С2H6

-75,78

84,18

7,00

0,993

С3Н8

-65,29

74,11

12,56

0,989

iС4Н10

422,12

13,34

-2,39

0,986

nС4Н10

-99,6

108,57

10,43

0,986

iC5Н12

-2773,9

2782,74

0,42

0,986

nС5Н12

-107,18

116,18

11,29

0,983

С6 + в

2944,99

-2936,44

-0,55

0,970

6.3.7. Плотность исходной нефти при заданной температуре Тс определяется по формуле (ГОСТ 3900), кг/м3:

где  - средняя температурная поправка плотности, которая принимается из табл. 5.

6.3.8. Рассчитываются константы фазового равновесия каждого i-го компонента в присутствии воздуха по формуле

6.3.9. Рассчитывается методом последовательных приближений мольная доля потерь е¢ по уравнению

                                                   (16)

6.3.10. Среднеквадратичная относительная ошибка определения потерь по расчетно-экспериментальному методу не превышает 15 % при доверительной вероятности 95 %.

Таблица 5

Температурная поправка на плотность нефти

Плотность, r

Температурная поправка, g

Плотность, r

Температурная поправка, g

630,0 - 699,9

0,910

800,0 - 809,9

0,765

700,0 - 709,9

0,897

810,0 - 819,9

0,752

710,0 - 719,9

0,884

820,0 - 829,9

0,738

720,0 - 729,9

0,870

830,0 - 839,9

0,725

730,0 - 739,9

0,857

840,0 - 849,9

0,712

740,0 - 749,9

0,844

850,0 - 859,9

0,699

750,0 - 759,9

0,831

860,0 - 869,9

0,686

760,0 - 769,9

0,818

870,0 - 879,9

0,673

770,0 - 779,9

0,805

880,0 - 889,9

0,660

780,0 - 789,9

0,792

890,0 - 899,9

0,647

790,0 - 799,9

0,778

 

7. МЕТОДЫ ОПРЕДЕЛЕНИЯ ПОТЕРЬ НЕФТИ СО СТОЧНЫМИ ВОДАМИ

7.1. Углеводородные компоненты нефти, находящиеся в сточной воде в растворенном состоянии или в виде эмульсии и пленки и увлекаемые вместе с водой при ее утилизации, составляют технологические потери.

7.2. Потери нефти от уноса сточными водами месторождения рассчитываются по формуле, % масс. от добытой нефти:

                                             (17)

где п - удельное средневзвешенное содержание нефти в сточной воде, мг/дм3;

W - средневзвешенная обводненность добываемой нефти на месторождении, % об.;

rн - плотность товарной нефти, т/м3;

V - среднесуточный расход пресной воды на подготовку нефти, м3/сут;

т - среднесуточная масса добытой нефти на месторождении, т/сут.

7.3. В отличие от предыдущего интегрального метода определения потерь нефти от уноса сточными водами расчеты можно проводить по отдельным установкам подготовки и сброса сточных вод с суммированием результатов по формуле:

                                       (18)

где k - количество установок подготовки и сброса сточных вод на месторождении;

Нсi, Hтi - содержание нефти в продукции скважин соответственно до и после i-й установки, объемные доли;

mi - среднесуточное количество добытой нефти из скважин, вода которых попадает на i-ю установку подготовки и сброса сточных вод, т/сут;

ni - среднее удельное содержание нефти в сточной воде i-й установки, мг/дм3;

rн - плотность товарной нефти, т/м;

т - среднесуточная масса добытой нефти на месторождении, т/сут.

В пунктах, где осуществляется обессоливание нефти, унос нефти пресной водой учитывается введением поправки в параметр - содержание нефти в продукции скважин до i-й установки (Hсi). Исправленное значение Hсi имеет вид:

где Vн - объем товарной нефти, подвергающейся обессоливанию, т/сут;

V - среднесуточный расход пресной воды, м3/сут.

7.4. Параметры, входящие в формулы (17), (18), принимаются из отчетов нефтепромысловых служб.

7.5. Удельное содержание нефти в сточной воде определяется по ОСТ 39-133 «Вода для заводнения нефтяных пластов ...».

7.6. Для расчета средневзвешенной обводненности добываемой на месторождении нефти используются данные замеров дебитов жидкости скважин и ее анализов на обводненность по ГОСТ 2477 «Нефтепродукты. Метод количественного определения содержания воды».

7.7. Определение плотности нефти производится по ГОСТ 3900.

7.8. Отбор проб сточной воды производится в соответствии с Методическим руководством по анализу сточных вод нефтеперерабатывающих и нефтехимических заводов.

7.9. Потери нефти от уноса сточными водами на перекачивающих станциях магистральных нефтепроводов рассчитываются по формуле, % масс:

                                                         (19)

где q - удельное содержание нефти в сточной воде, определенное по ПНДФ 14.1:2.5-95 «Методика выполнения измерений массовой концентрации нефтепродуктов в природных и сточных водах методом ИКС», мг/дм3;

Qв - объем дренируемой воды, м3;

Gн - масса нефти, подверженной отстою на НПС, т.

8. МЕТОД ОПРЕДЕЛЕНИЯ ПОТЕРЬ НЕФТИ ОТ УНОСА ГАЗОМ

8.1. На ступенях сепарации капли нефти уносятся потоком газа и выпадают в осадок в конденсатосборниках промысловых газосборных сетей или в отсутствии последних в приемных газосепараторах компрессорных станций. Если конденсатосборники и приемные сепараторы продуваются в атмосферу или же содержимое их сжигается в факелах, то унос капельной нефти потоком газа относится к технологическим потерям нефти.

8.2. Потери капельной нефти от уноса газом рассчитываются по формуле, % масс:

Пуг = qГ × 0,0001,                                                        (20)

где q - удельный унос нефти газом на ступени сепарации, г/м3;

Г - газовый фактор на ступени сепарации, м3/т.

                                            (21)

где G1, G2 - масса фильтровального стакана с материалом до и после сброса газа (определение производится по РД 39-1-61-78), г;

W - средневзвешенная обводненность добываемой нефти на месторождении (по данным нефтепромысловых служб), % об.;

Qсч - объем нефтяного газа, зафиксированный счетчиком за время одного замера (определение по РД 39-1-61-78), м3;

Рсч, Тсч - абсолютные давления и температура газа в счетчике (определение по РД 39-1-61-78), кг/см2, К;

Р0, Т0 - нормальное давление и температура, кг/см2, К;

rн - плотность товарной нефти (по данным нефтепромысловых служб), кг/дм3;

rп,в - плотность пластовой воды (по данным нефтепромысловых служб), кг/дм3.

Газовый фактор на ступенях сепарации принимается по данным нефтепромысловых служб.

8.3. При определении удельного уноса нефти газом фильтр-накопитель устанавливается на выходе газового потока из газосепаратора, если таковой имеется в составе сепарационного узла; в противном случае - на выходе из нефтегазового сепаратора. В указанных местах в газовом потоке углеводородный или водяной конденсат отсутствует, имеются капли водонефтяной эмульсии или же при высокой обводненности продукции скважин капли нефти и воды.

8.4. Удельный унос капельной нефти потоком газа есть случайная величина, поэтому замеры параметров G1, G2, Qсч, Рсч, Тсч производятся не менее 20 раз в течение продолжительного времени (20 дней).

8.5. В случае необходимости уточнения полученного по формуле (21) удельного уноса капельной нефти газом рекомендуется использовать более сложный метод определения этого параметра: экстрагирование фильтрующего элемента и последующее определение по оптической плотности ксилольного экстракта массы нефти, уловленной фильтром.

9. МЕТОД ОПРЕДЕЛЕНИЯ ПОТЕРЬ НЕФТИ ОТ УТЕЧЕК ЧЕРЕЗ УПЛОТНЕНИЯ НАСОСОВ, ФЛАНЦЕВЫЕ СОЕДИНЕНИЯ, САЛЬНИКОВЫЕ УПЛОТНЕНИЯ ЗАПОРНОЙ АРМАТУРЫ

9.1. Техническими условиями на центробежные насосы с сальниковыми и торцевыми уплотнениями валов предусматриваются утечки перекачиваемой среды через уплотнения как неизбежные, связанные с образованием и отводом фрикционного тепла от пар трения. Величина утечек для насосов различных типоразмеров с сальниковыми уплотнениями изменяется в пределах 12 - 30 л/ч, с торцевыми уплотнениями от 0,04 до 0,3 л/ч. Отделившаяся от уплотнений жидкость попадает в воронки, а из них без задержек по вертикальным трубам и наклонному коллектору в подземную дренажную емкость (от 8 - 40 м3) по ТУ 26-18-34-89Е. Вытесняемые в атмосферу жидкостью, по мере наполнения емкости, пары нефти представляют технологические потери нефти от утечек через уплотнения насосов.

9.2. Потери нефти от утечек через уплотнения насосов рассчитываются по формуле, % масс:

                   (22)

где т - масса нефти, перекачанная насосной станцией за год, т;

bi - утечки перекачиваемой жидкости через уплотнение i-го насоса, принятые по его паспорту или техническим условиях, л/ч;

,  - время работы i-го насоса соответственно в весенне-летний и осенне-зимний периоды года, ч;

,  - концентрация углеводородов в газовом пространстве дренажной емкости соответственно в весенне-летний и осенне-зимний периоды года, доли мольные. Определяется как среднеарифметическое хроматографических анализов 10 проб паровоздушной смеси (ПВС), отбираемых последовательно из емкости в течение 10 дней в каждом периоде;

,  - плотность паров нефти по хроматографическим анализам ПВС, вытесняемых из дренажной емкости в весенне-летний и осенне-зимний периоды, г/дм3;

V - объем дренажной емкости, м3;

n1, п2 - количество откачек из дренажной емкости соответственно в весенне-летний и осенне-зимний периоды;

Р1, Р2, Т1, Т2 - соответственно давление и температура в газовом пространстве дренажной емкости в весенне-летний и осенне-зимний периоды (среднеарифметические данные замеров в моменты отбора проб), кг/см2, К;

Р0, Т0 - нормальные давление и температура, кг/см2, К;

k - количество насосов на насосной станции.

9.3. Потери нефти от утечек через уплотнения насосов рассчитываются как средневзвешенное значение потерь по насосным станциям, % масс:

                                                   (23)

где Пуi - потери нефти от утечек на i-й насосной станции, % масс;

m1 - масса нефти, перекачанная i-й насосной станцией за год, т;

М - годовая добыча нефти, т.

9.4. Потери нефти через фланцевые соединения и сальниковые уплотнения арматуры рассчитываются по РД 39-142-96 «Методика расчета выбросов вредных веществ в окружающую среду от неорганизованных источников нефтегазового оборудования», % масс:

                                               (24)

где q1, q2 - соответственно величина утечки нефти через одно фланцевое соединение и сальниковое уплотнение, кг/ч;

n1, n2 - соответственно число фланцевых соединений и сальниковых уплотнений на технологическом потоке, шт.;

x1, x2 - соответственно доля фланцевых соединений и сальниковых уплотнений, потерявших герметичность, доли единицы;

,  - соответственно время работы соединений и уплотнений в течение года, ч;

т - масса нефти, перенесенная технологическим потоком в течение года, т/год.

10. РЕКОМЕНДАЦИИ ПО ОТБОРУ И ПОДГОТОВКЕ К АНАЛИЗУ ПРОБ НЕФТИ И ПАРОВОЗДУШНОЙ СМЕСИ

10.1. При определении потерь нефти косвенными методами отбираются пробы нефти до и после источника потерь.

10.2. Пробы нефти отбираются по ГОСТ 2517 в пробоотборники типа ПГО по ГОСТ 14921.

10.3. Отбор проб производится в местах интенсивного перемешивания потока нефти (вертикальные и наклонные участки нефтепровода, выкидные линии насосов и др.) герметично «мокрым» способом, т.е. вытеснением из пробоотборника насыщенного раствора поваренной соли нефтью. Принципиальная схема отбора проб представлена на рис. 8. Вытеснение рассола регулируют вентилем 4 таким образом, чтобы давление в пробоотборнике было больше давления разгазирования нефти.

10.4. Объемы проб определяются расходом нефти на один анализ и количеством анализов, необходимых для расчета величины потерь нефти по одному из выбранных методов, и составляют от 2 - 5 дм3.

10.5. Пробы нефти доставляются в лабораторию, подготовляются к хроматографическим и иным анализам и затем анализируются по химическому составу, определяется ДНП нефти по мере отбора легких фракций. Подготовка проб к анализам заключается в разгазировании и обезвоживании нефти, если в этом есть необходимость (например, если пробы водонефтяной эмульсии отбирались на дожимных насосных станциях). Разгазирование нефти можно проводить на установке, собранной по схеме, изображенной на рис. 4.

Рис. 8. Принципиальная схема отбора пробы нефти:

1 - трубопровод; 2 - пробоотборник; 3 - манометр; 4, 5, 6, 7 - игольчатые вентили; 8 - емкость

10.6. Для обезвоживания разгазированную водонефтяную эмульсию перепускают в пробоотборник с водным раствором деэмульгатора. Перемешивание эмульсии с деэмульгатором достигается резким переворачиванием и встряхиванием пробоотборника. Содержание воды в нефти должно соответствовать требованиям ГОСТ 9965.

10.7. Пробы паровоздушной смеси из резервуаров отбираются с помощью резинового шланга в бутылки емкостью 330 см3 (ГОСТ 10117), снабженные резиновыми пробками со вставленными в них латунными трубками диаметром 5 мм (рис. 9). Использование бутылок для отбора проб газа под атмосферным давлением допускается ГОСТ 18917. В нефтяных резервуарах давление близко к атмосферному.

10.8. Порядок отбора проб

10.8.1. Пробоотборник заполняется водным 22 %-ным раствором NaCl, включая резиновые трубки 4 (рис. 9). Последние зажимаются пружинными зажимами, как показано на рис. 9. Температура раствора должна быть не ниже максимальной температуры в газовом пространстве резервуара.

Рис. 9. Пробоотборник для паровоздушной смеси:

1 - бутылка 330 мл; 2 - трубка латунная длинная; 3 - трубка латунная короткая; 4 - трубка резиновая; 5 - зажим

10.8.2. Промеряемый по длине резиновый шланг диаметром 5 мм опускается в резервуар, один конец шланга устанавливается в месте отбора пробы, другой - в замерном люке. Для исключения конденсации углеводородов в пробоотборном шланге необходимо выдержать его в резервуаре в течение времени, достаточном для принятия температуры газового пространства резервуара. Затем с помощью резиновой груши отсасывают воздух из шланга, прокачивая его таким образом паровоздушной смесью для отбора не менее чем пятикратным объемом.

10.8.3. Продутый шланг присоединяется к длинной трубке пробоотборника. Последний переворачивают, снимают зажимы, опускают пробоотборник в резервуар на глубину не менее 1 м. При этом из короткой трубки вытекает рассол, а через длинную - в пробоотборник поступает паровоздушная смесь. Отбор пробы заканчивают, когда в пробоотборнике останется 50 - 60 см3 рассола для гидравлического затвора. Зажимают короткую и длинную трубки зажимами, отсоединяют шланг. В перевернутом виде пробоотборники с пробами доставляют в промысловую лабораторию, где определяют концентрацию углеводородов газоанализатором КГА1-1 или же погружают в перевернутом виде в рассол, заменяют пробку с трубками на резиновую пробку и отправляют в исследовательскую организацию.

10.9. При поступлении проб на анализ пробоотборник должен быть нагрет до температуры, превышающей температуру отбора проб для предотвращения конденсации тяжелых углеводородов в нем.

10.10. Пробы паровоздушной смеси, отобранные из промысловых резервуаров, в которые непосредственно поступает нефть из концевых сепарационных установок, анализируются на содержание углеводородов газоанализатором КГА1-1 косвенно, по содержанию кислорода. Концентрация углеводородов рассчитывается по формуле, доли объемные:

С = 1 - a1 / а = 1 - 4,77а1,

где а1 - содержание кислорода в паровоздушной смеси, доли объемные;

а = 0,2095 - содержание кислорода в воздухе, доли объемные.

Содержание кислорода определяется поглощением его раствором пирогаллола в присутствии едкого калия. Раствор приготовляют по ГОСТ 5439.

Подготовку газоанализатора к работе и проведение анализа производят согласно инструкции по эксплуатации, прилагаемой к газоанализатору КГА1-1.

Результаты анализов уточняются контрольными хроматографическими анализами выборочных проб на предмет присутствия азота, выделившегося из нефти.

10.11. Пробы паровоздушной смеси, отобранные из резервуаров нефтеперекачивающих станций, допускается анализировать на содержание углеводородов на газоанализаторе КГА1-1 с применением в качестве абсорбента керосина осветительного по ОСТ 38-01407 или топлива Т-1, ТС-1, Т-2 по ГОСТ 10227. В этих пробах мало метана и для его поглощения не требуется избыточное давление.

11. РЕКОМЕНДАЦИИ ПО ОРГАНИЗАЦИИ ИССЛЕДОВАНИЙ И ПОРЯДКУ ОПРЕДЕЛЕНИЯ ТЕХНОЛОГИЧЕСКИХ ПОТЕРЬ НЕФТИ

11.1. Проводят анализ действующих систем сбора, подготовки, транспортировки и хранения продукции скважин месторождений в целях выявления источников потерь нефти и распределения их по видам.

11.1.1. Выясняют организационный состав акционерного общества, для которого определяются потери нефти.

11.1.2. Устанавливают количество и наименование разрабатываемых месторождений.

11.1.3. По проектным схемам систем сбора нефти, газа и воды, проектам обустройства месторождений с учетом фактических отклонений от проектных решений определяют количество сепарационных узлов, состав их оборудования, наличие компрессорных станций (КС), конденсатосборников в газосборных сетях. Выясняют способы утилизации смеси конденсата и нефти из конденсатосборников и приемных сепараторов КС. Если жидкость из них выдувается в атмосферу или сжигается в факелах, то устройства предварительного отбора газа, нефтегазовые сепараторы или выносные газосепараторы являются источниками потерь капельной нефти от уноса газом.

11.1.4. Определяют количество установок предварительного сброса пластовых вод, места их расположения (на какой ДНС и т.д.), ознакамливаются с технологией подготовки пластовой воды для использования в системе поддержания пластового давления.

11.1.5. Определяют количество дожимных насосных станций, места их расположения, типы и количество насосов и дренажных емкостей на каждой ДНС.

11.1.6. Определяют количество центральных пунктов сбора нефти и газа, принадлежность каждого ЦПС, место расположения. На каждом ЦПС выясняют степень утилизации нефтяного газа второй и последующих ступеней сепарации нефти, жидкой фазы из конденсатосборников и приемных сепараторов КС. С учетом полученной информации принимают решение - являются ли нефтегазовые сепараторы источниками потерь нефти от уноса газом.

Выясняют, применяется ли на ЦПС подготовка нефти в резервуарах (в технологических и товарных). Если применяется, то резервуары будут источниками потерь нефти от испарения. Если не применяются, то источниками потерь будут являться только товарные резервуары.

Ознакамливаются с режимами работы резервуаров. Технологические резервуары могут эксплуатироваться в режиме динамического отстоя нефти, когда нефть с остаточным содержанием воды с установок подготовки поступает в нижнюю часть резервуара, а через стояк с верхнего уровня перетекает в товарный резервуар, из которого по мере накопления откачивается в магистральный нефтепровод. Такие резервуары могут эксплуатироваться в режиме заполнение - отстой - опорожнение. Товарные резервуары эксплуатируются в режиме заполнение - опорожнение или перекачки через резервуар.

Отстойники или резервуары для очистки и подготовки сточных вод на ЦПС являются источниками потерь нефти от уноса сточными водами, поступающими в систему поддержания пластового давления.

Дренажные емкости для сбора нефти из уплотнений насосов на ЦПС являются источниками потерь нефти от утечек из уплотнений.

11.1.7. В итоге проведенного анализа составляется таблица, представляющая распределение выявленных источников по видам потерь (графа - наименование вида потерь, графа - количество источников, графа - место расположения источника).

11.2. В зависимости от вида потерь выбираются методы определения величины потерь нефти из источников. Для определения потерь нефти от испарения применяется несколько методов, краткая характеристика которых приводится в табл. 6.

Из табл. 6 следует, что наиболее рациональным методом определения потерь нефти от испарения является расчетно-экспериментальный метод с использованием констант равновесия, не требующим трудоемких экспериментальных работ в действующих резервуарных парках, наиболее механизированный, достаточно точный, с минимальными затратами на аналитические лабораторные работы для получения исходных данных.

Таблица 6

Краткая характеристика методов определения потерь нефти от испарения

Наименование метода

Относительная среднеквадратичная погрешность

Трудоемкость

Область применения

1

2

3

4

1. Измерение объема паровоздушной смеси, вытесняемой из резервуара

6 - 15

Требуется проведение экспериментальных работ на действующих резервуарах

При заполнении герметизированных резервуаров емкостью не более 2000 м3, если применяются счетчики

2. Измерение концентрации углеводородных паров, вытесняемых из резервуаров

9 - 15

Требуется проведение экспериментальных работ на действующих резервуарах

При заполнении - опорожнении герметизированных резервуаров при хранении нефти в них

3. По изменению углеводородного состава нефти в пробах, отобранных до и после резервуаров

20 - 30

Лабораторные работы, анализ химического состава нефти и газа

При ожидании больших величин потерь из единичного источника (например, при вентиляции газового пространства резервуаров через неплотности или прокорродированные участки кровли) или из нескольких источников одновременно

4. По изменению давления насыщенных паров нефти в пробах, отобранных до и после резервуаров

10 - 20

Лабораторные работы, анализы химического состава нефтяного газа, построение эталонных зависимостей днп

Для герметичных и негерметичных резервуаров при заполнении, опорожнении, отстое, из нескольких источников одновременно

5. Расчетно-экспериментальный метод с использованием констант равновесия

10 - 15

Аналитические расчеты, минимум аналитических лабораторных работ - анализы химического состава проб нефти, отобранных до резервуаров, определение ДНП нефти после резервуаров по ГОСТ 1756, метод Б

При заполнении - опорожнении герметичных и негерметичных резервуаров, отстое нефти в них, из нескольких источников одновременно

11.3. Сбор исходных данных для определения величины потерь из источников по выборным методам

11.3.1. Перечень параметров, данные по которым получают от промысловых служб, определяется формулами, на которых основан выбранный метод. Например, потери нефти со сточными водами рассчитываются по формуле (17), в которую входят промысловые параметры:

п - удельное содержание нефти в сточной воде, мг/дм3;

rн - плотность товарной нефти, кг/м3;

т - среднесуточная добыча нефти на месторождении, т/сут;

V - среднесуточный расход пресной воды на подготовку нефти, м3/сут (все эти данные можно получить в службе подготовки нефти);

W - средневзвешенная обводненность добываемой нефти на месторождении, % об. (сведения по этому параметру можно получить в геологической службе).

11.3.2. Остальные исходные данные: концентрация углеводородов, температура в газовом пространстве резервуаров, углеводородные составы нефти и газа, давление насыщенных паров нефти и другие определяются экспериментально. При планировании экспериментов исходят из того, что потери нефти от испарения есть случайная величина, зависящая от сезонного колебания температуры воздуха и других случайных факторов (см. пп. 5.4, 5.5, 5.6). Для обеспечения относительной среднеквадратичной погрешности в определении годовых потерь нефти от испарения на уровне 15 - 20 % (что достаточно как для целей нормирования, так и для определения эффективности средств сокращения потерь) принято определять потери нефти в два периода года: весенне-летний и осенне-зимний с количеством определений в каждом периоде не менее десяти, т.е. две выборки случайной величины по десять наблюдений в каждой.

Если по каким-либо причинам погрешность конечного результата представляется большой, то необходимо увеличить число выборок в соответствии с формулой (13).

11.4. Величина потерь нефти от испарения за год определяется как сумма потерь за весенне-летний и осенне-зимний периоды.

Приложение А

Обязательное

ПЕРЕЧЕНЬ
основного оборудования и контрольно-измерительных приборов для определения потерь нефти от испарения

А.1. Метод определения потерь нефти измерением объема паровоздушной смеси

Полевое оборудование

Счетчик типа РГ (ТУ 25-02-030445-78)                                                  2 - 3 шт.

Диафрагмы, выполненные в соответствии                                             4 шт.

с требованиями РД 50-213-80

U-образные манометры                                                                             3 шт.

Дифференциальный манометр (ГОСТ 18140)                                        2 шт.

Бутылки для отбора проб (ГОСТ 10117)                                                 50 шт.

Патрубок для соединения светового люка со счетчиком                      1 шт.

Максимальный и минимальный термометры (ГОСТ 112)                   4 шт.

Потенциометр (ГОСТ 9245)                                                                     79 шт.

Термопара типа ТХК-0515, ТХА-0515 (ТУ 25-02-221133-78)              6 шт.

Термометры ртутные лабораторные (ГОСТ 400-80)                             4 шт.

Трубки резиновые диаметром 5 мм (ГОСТ 5496)                                  30 м

Противогазы шланговые (ГОСТ 12.4.121)                                               4 комплекта

Барометр-анероид (ТУ 25-04-1838-73)                                                    1 шт.

Пробоотборник (ГОСТ 14921), тип ПГО                                                3 шт.

Лабораторное оборудование

Хроматограф ЛХМ-8МД или другого типа                                             1 шт.

с детектором по теплопроводности (ТУ 25-05.2815-82)

Лупа измерительная (ГОСТ 25706)                                                          1 шт.

Набор сит «Физприбор» (ГОСТ 6613)                                                     1 шт.

Весы аналитические с погрешностью измерения                                   1 шт.

± 0,0002 г (ТУ 25-06-1131-76)

Печь муфельная с нагревом до 750 - 800 °С                                            1 шт.

Шкаф сушильный с нагревом до 150 °С (ТУ 64-1-1411-76)                  1 шт.

Газоанализатор КГА1-1 (ОСТ 25.1256)                                                   2 шт.

А.2. Метод определения потерь нефти измерением концентрации углеводородных паров

Полевое оборудование

Все по п. А.1, за исключением счетчиков, нормальных диафрагм, дифференциальных манометров.

Лабораторное оборудование

Все лабораторное оборудование по А.1.

А.3. Материалы и инструменты для прямых методов

Эпоксидная смола (составные элементы) (ГОСТ 10587)                      2 кг

Мыло хозяйственное твердое

Общие технические условия (ГОСТ 30266)                                             0,5 кг

Кисти малярные. Технические условия (ГОСТ 10597)                          2 шт.

Поглотитель к газоанализатору КГА1-1 - пирогаллол                           2 кг

(ТУ 6-09-5319-86)

Машинное масло (ГОСТ 20799)                                                               0,5 кг

Хлористый кальций, гранулированный (ГОСТ 450)                              2 кг

Керосин осветительный (ОСТ 38-01407)                                                 3 л

или топливо Т-1, Т-2, ТС-1 (ГОСТ 10227)

Наждачная бумага (ГОСТ 10054)                                                             0,5

Ключи омедненные (ГОСТ 2838)                                                             1 компл.

Поваренная соль (ГОСТ 4233)                                                                  2 кг

Вакуумная смазка (ГОСТ 9433)                                                                0,1 кг

Стеклянная воронка (ГОСТ 19908)                                                          2 шт.

Фарфоровый стакан на 0,5 л, 2,0 л (ГОСТ 9147)                                    2 шт.

Метилоранж (ТУ 6-09-5319-86)                                                                20 г

Соляная кислота (ГОСТ 3118)                                                                  20 г

Пробки для бутылок резиновые (ТУ 38.1051835-88)                              50 шт.

Трубы латунные наружным диаметром 6 мм (ГОСТ 494)                     10 м

Зажимы лабораторные                                                                               40 шт.

Стеклограф (ТУ 480-11-59-82)                                                                  2 шт.

Комплект слесарного инструмента                                                          1 шт.

А.4. Метод определения потерь нефти по изменению углеводородного состава

Полевое оборудование

Пробоотборники ПГО (ГОСТ 14921)                                                       40 шт.

Манометр образцовый МО (ТУ 25-05-1664-74)                                      2 шт.

Манометр избыточного давления (ГОСТ 2405)                                      1 шт.

Лабораторное оборудование

Все лабораторное оборудование по п. А.1, за исключением газоанализатора КГА1-1.

А.5. Метод определения потерь нефти по изменению давления насыщенных паров

Полевое оборудование

Пробоотборники ПГО (ГОСТ 14921)                                                       40 шт.

Манометр образцовый типа МО (ТУ 25-05-1661-74)                             1 шт.

Лабораторное оборудование

Аппаратура для определения давления                                                    2 компл.

насыщенных паров нефти, метод Б (ГОСТ 1756)

Весы лабораторные квадратные модель ВЛКТ-500г-М                         1 шт.

(ТУ 25-06.1101-79), погрешность взвешивания 20 мг

Установка для разгазирования проб нефти                                             1 шт.

и герметичной загрузки ее в аппарат ДНП

Устройство для герметичного перевода разгазированной                    1 шт.

нефти в стаканы для испарения, а из них в аппарат ДНП

Стаканы емкостью 250 мл из оргстекла для испарения нефти             4 шт.

А.6. Расчетно-экспериментальный метод определения потерь нефти с использованием констант равновесия

Полевое оборудование

Пробоотборники ПГО (ГОСТ 14921)                                                       40 шт.

Манометр образцовый типа МО (ТУ 25-05-1664-74)                             1 шт.

Лабораторное оборудование

Компьютер                                                                                                  1 шт.

Дискета с программой расчета                                                                 1 шт.

Лабораторное оборудование по п. А.1, за исключением

газоанализатора КГА1-1

Аппарат для определения давления                                                         1 шт.

насыщенных паров нефти, метод Б (ГОСТ 1756)

Приложение Б

Обязательное

ХАРАКТЕРИСТИКА ИЗМЕРИТЕЛЬНЫХ СРЕДСТВ

Наименование, тип

ГОСТ, ТУ

Диапазон измерений

Данные о погрешности измерений

Счетчики газа ротационные (РГ)

ТУ 25-02-030445-78

40 - 1000 м3

± 1,5 - 3 %

Микроманометр

ТУ 14-13-015-79

0 - 2,4 кПа

Кл. точности 1,0

Манометр образцовый

ТУ 25-05-1664-74

0 - 0,16 МПа

Кл. точности 0,4

Термометр метеорологический (ТМ)

ГОСТ 112

-35 - 50 °С

± 0,2 - С

Термометр ртутный лаб.

ГОСТ 40-80Е

0 - 50 °С

± 0,2 - С

Потенциометр постоянного тока (ПП-63)

ГОСТ 9245

0 - 100 мв

Кл. точности 0,02

Газоанализатор КГА1-1

ОСТ 25.1256

0 - 100 %

± 0,2 %

Приложение В

Обязательное

ПРЕДЕЛЬНАЯ ПОГРЕШНОСТЬ ПОКАЗАНИЙ СЧЕТЧИКОВ ГАЗА РОТАЦИОННЫХ ТИПА РГ (ТУ 25-02-030445-78)

Наименование, тип

Модификация счетчиков

РГ-40

РГ-100

РГ-250

РГ-400

РГ-600

РГ-1000

Номинальный расход, м3

40

100

250

400

600

1000

Погрешность показаний на расходах, %:

 

от 10 до 20 % номинального

± 3

± 2

± 2

± 2

± 2

± 2

от 20 до 120 % номинального

± 2,5

± 1,5

± 1,5

± 1,5

± 1,5

± 1,5

Приложение Г

Обязательное

ОТНОСИТЕЛЬНАЯ ПОГРЕШНОСТЬ
измерения анемометром скорости выходящей из резервуара паровоздушной смеси, % (анемометр ручной чашечный МС-13
ГОСТ 6376)

V, м/с

d, %

V, м/с

d, %

1

36,0

11

8,7

2

21,0

12

8,5

3

16,0

13

8,3

4

13,5

14

8,2

5

12,0

15

8,0

6

11,0

16

7,9

7

10,3

17

7,8

8

9,8

18

7,7

9

9,4

19

7,6

10

9,0

20

7,5

НОРМАТИВНЫЕ ССЫЛКИ

Комплект газоаналитический КГА1-1

ОСТ 25.1256-86

Газ сухой. Метод определения компонентного состава

ГОСТ 14920-79

Рулетки измерительные металлические. Технические условия

ГОСТ 7502-89

Нефть. Метод определения содержания углеводородов С1 - С6

ГОСТ 13379-82

Эталоны. Способы выражения погрешностей

ГОСТ 8.381-80

Измерения косвенные. Определение результатов измерений и оценивание их погрешностей

МИ 2083-90 ГСИ

Нефтепродукты. Методы определения давления насыщенных паров

ГОСТ 1756-52

Нефть и нефтепродукты. Методы отбора проб

ГОСТ 2517-85

Нефть и нефтепродукты. Методы определения плотности

ГОСТ 3900-85

Плотность нефти при учетно-расчетных операциях, методика выполнения измерений ареометром

МИ 2153-91

Нефтепродукты. Методика количественного определения содержания воды

ГОСТ 2477-65

Газы углеводородные сжиженные. Методы отбора проб

ГОСТ 14921-78

Нефть для нефтеперерабатывающих предприятий. Технические условия

ГОСТ 9965-76

Бутылки стеклянные для пищевых жидкостей. Технические условия

ГОСТ 10117-91

Газ горючий природный, методы отбора проб

ГОСТ 18917-82

Газы горючие природные и искусственные. Метод определения объемной доли компонентов на комплектах для газовых анализов типа КГА

ГОСТ 5439-76

Керосин осветительный. Технические условия

ОСТ 38-01407-86

Топлива для реактивных двигателей. Технические условия

ГОСТ 10227-86

Манометры дифференциальные ГСП. Общие технические условия

ГОСТ 18140-84

Термометры метеорологические стеклянные. Технические условия

ГОСТ 112-78Е

Потенциометры постоянного тока измерительные. Общие технические условия

ГОСТ 9245-79

Термометры стеклянные для испытаний нефтепродуктов. Технические условия

ГОСТ 400-80Е

Трубки резиновые технические. Технические условия

ГОСТ 5496-78

Противогазы промышленные фильтрующие. Технические условия

ГОСТ 12.4.121-83

Барометры. Общие технические условия

ОСТ 251117-83

Барометр-анероид типа БАММ-1

ТУ 25-04-1838-73

Лупы. Типы, основные параметры. Общие технические условия

ГОСТ 25706-83

Сетки проволочные тканые с квадратными ячейками. Технические условия

ГОСТ 6613-86

Смолы эпоксидно-диановые неотвержденные. Технические условия

ГОСТ 10587-84

Мыло хозяйственное твердое. Общие технические условия

ГОСТ 30266-95

Масла индустриальные. Технические условия

ГОСТ 20799-88

Кальций хлористый технический. Технические условия

ГОСТ 450-77

Шкурка шлифовальная бумажная водостойкая. Технические условия

ГОСТ 10054-82

Ключи гаечные. Технические условия

ГОСТ 2838-80Е

Натрий хлористый. Технические условия

ГОСТ 4233-77

Смазка ЦИАТИМ-221. Технические условия

ГОСТ 9433-80

Кисти малярные. Технические условия

ГОСТ 10597-87

Тигли, чаши, стаканы, колбы из кварцевого стекла. Технические условия

ГОСТ 19908-90

Посуда и оборудование лабораторные фарфоровые. Технические условия

ГОСТ 9147-80Е

Кислота соляная. Технические условия

ГОСТ 3118-77

Трубы латунные. Технические условия

ГОСТ 494-90

Карандаши по стеклу и фарфору

ТУ 480-11-59-82

Манометры, вакуумметры и др. Общие технические условия

ГОСТ 2405-88

Анемометры ручные. Технические условия

ГОСТ 6376-74

 




Яндекс цитирования



   Copyright © 2007-2026,  www.tehlit.ru.

[ ѓосты, стандарты, нормативы, инструкции, правила, строительные нормы ]