//
|
|
ТИПОВЫЕ СТРОИТЕЛЬНЫЕ КОНСТРУКЦИИ, ИЗДЕЛИЯ И УЗЛЫ
СЕРИЯ 1.420.3-36.03 КАРКАСЫ СТАЛЬНЫЕ ТИПА «УНИТЕК»
ОДНОЭТАЖНЫЕ ПРОИЗВОДСТВЕННЫЕ ЗДАНИЯ С ПРИМЕНЕНИЕМ КОНСТРУКЦИЙ ИЗ ПРОФИЛЕЙ СТАЛЬНЫХ ГНУТЫХ ЗАМКНУТЫХ СВАРНЫХ КВАДРАТНЫХ И ПРЯМОУГОЛЬНЫХ
ВЫПУСК 0-1
КАРКАСЫ С ОДНО- И МНОГОПРОЛЕТНЫМИ РАМАМИ ПРОЛЕТАМИ 15,18, 21,24 и 30 м ДЛЯ БЕСКРАНОВЫХ ЗДАНИЙ И ЗДАНИЙ С ПОДВЕСНЫМИ КРАНАМИ ГРУЗОПОДЪЕМНОСТЬЮ ДО 5 т.
МАТЕРИАЛЫ ДЛЯ ПРОЕКТИРОВАНИЯ
Уральский трубный завод «УРАЛТРУБПРОМ» 2005 СОДЕРЖАНИЕ1.420.3-36.03.0-1-01ПЗ
| ||||||||||||||||||||||||||||||||||||||||||||||||||||||||||||||||||||||||||||||||||||||||||||||||||||||||||||||||||||||||||||||||||||||||||||||||||||||||||||||||||||||||||||||||||||||||||||||||||||||||||||||||||||||||||||||||||||||||||||||||||||||||||||||||||||||||||||||||||||||||||||||||||||||||||||||||||||||||||||||||||||||||||||||||||||||||||||||||||||||||||||||||||||||||||||||||||||||||||||||||||||||||||||||||||||||||||||||||||||||||||||||||||||||||||||||||||||||||||||||||||||||||||||||||||||||||||||||||||||||||||||||||||||||||||||||||||||||||||||||||||||||||||||||||||||||||||||||||||||||||||||||||||||||||||||||||||||||||||||||||||||||||||||||||||||||||||||||||||||||||||||||||||||||||||||||||||||||||||||||||||||||||||||||||||||||||||||||||||||||||||||||||||||||||||||||||||||||||||||||||||||||||||||||||||||||||||||||||||||||||||||||||||||||||||||||||||||||||||||||||||||||||||||||||||||||||||||||||||||||||||||||||||||||||||||||||||||||||||||||||||||||||||||||||||||||||||||||||||||||
|
Пролет L, м |
Количество пролетов |
Высота до низа ригеля Н, м |
||||
|
4.8 |
6.0 |
7.2 |
8.4 |
9.6 |
||
|
15 |
1 |
• |
• |
• |
|
|
|
18 |
от 1 до 5 |
• |
• |
• |
• |
|
|
21 |
от 1 до 5 |
|
• |
• |
• |
• |
|
24 |
от 1 до 5 |
|
• |
• |
• |
• |
|
30 |
от 1 до 5 |
|
• |
• |
• |
• |
2.4. Отклонения от указанной области применения конструкций каркасов УНИТЕК следует согласовывать с ООО "Фирма "УНИКОН" или заводом-изготовителем.
3.1. Основными несущими конструкциями каркасов УНИТЕК являются сквозные одно- и многопролетные рамы из гнутосварных труб (далее - трубчатые рамы) по ГОСТ 30245-03. Шаг основных несущих конструкций 6 м. При необходимости, при больших вертикальных нагрузках (снеговой мешок и др.) шаг рам может быть уменьшен по согласованию с заводом-изготовителем.
3.2. Сопряжение конструкций крайних стоек рам с фундаментом - шарнирное; средних стоек рам и стоек фахверка - жесткое.
Сопряжение ригеля рамы с крайними стойками - жесткое; со средними стойками - шарнирное.
3.3. Устойчивость и геометрическая неизменяемость здания обеспечивается: в поперечном направлении - конструкциями несущих рам; в продольном направлении - системой вертикальных связей и распорок.
Жесткость покрытия обеспечивается системой горизонтальных связей и распорок по ригелю рамы; жесткость торцевых стен - системой вертикальных связей и распорок по стойкам фахверка.
3.4. Прогоны покрытия выполнены по разрезной схеме. Шаг прогонов покрытия принимается равным 1.5 или 3.0 м в зависимости от нагрузки на покрытие и несущей способности кровельных ограждающих конструкций. Сечения прогонов покрытия приняты из прокатных и гнутых швеллеров.
3.5. Прогоны стен выполнены по разрезной схеме. Шаг стеновых прогонов назначается от 1.2 до 3.0 м кратным 0.6 м в соответствии с расположением окон, ворот и других проемов, а также в зависимости от вертикальной и горизонтальной нагрузок и несущей способности стеновых ограждающих конструкций.
Сечения стеновых прогонов приняты из прокатных и гнутых швеллеров, а также из гнуто-сварных труб.
3.6. Горизонтальные и вертикальные связи по каркасу и фахверку - крестовые гибкие из круглой стали Ø20 и Ø 24 мм, устанавливаемые с предварительным натяжением или без натяжения.
3.7. Распорки между рамами выполняются 2-х типов:
- двухветвевые решетчатого типа из гнутосварных труб (для связевых блоков);
- одноветвевые из гнутосварных труб.
Допускается применение гибких растяжек вместо одноветвевых распорок по нижним поясам ригелей рам, за исключением связевых блоков.
3.8. Все заводские соединения - сварные. Монтажные соединения на втулках и на обычных и высокопрочных болтах (см. п. 7 "Требования к изготовлению и монтажу").
3.9. Основные конструктивные элементы каркасов УНИТЕК представлены на листе 10.
4.1. Расчет конструкций произведен в соответствии с главами СНиП II-23-81* "Стальные конструкции. Нормы проектирования", СНиП 2.01.07-85* "Нагрузки и воздействия", СНиП II-7-81* "Строительство в сейсмических районах", "Пособием по проектированию стальных конструкций (к СНиП II-23-81*)", "Руководством по проектированию стальных конструкций из гнутосварных замкнутых профилей", М., 1978 г.
4.2. Рамные конструкции каркасов УНИТЕК рассчитаны на сочетание вертикальных и горизонтальных нагрузок. Подбор сечений рамных конструкций (крайних стоек и ригелей) производится по расчетным кодам вертикальной нагрузки, который определяется в зависимости от базового кода вертикальной нагрузки на покрытие.
Базовый код является расчетным для рам из стали С255 для бескрановых зданий. При изменении перечисленных условий - сталь С345 или наличие кранового оборудования - расчетный код вертикальной нагрузки для рамных конструкций получается путем корректировки базового в соответствии с таблицей 8.
Сечения остальных конструкций каркаса подбирается в зависимости от:
• базового кода вертикальной нагрузки с учетом действия на них дополнительных факторов: ветровой и крановой нагрузок;
• действующих в элементе усилий, определенных от соответствующих нагрузок.
|
Наименование нагрузки |
Величина нормативной нагрузки, кгс/м2 |
|
1. Ограждающий конструкции покрытия |
36.0 |
|
2. Несущие конструкции покрытия |
32.0 |
|
3. Нагрузки от освещения, систем сигнализации, пожаротушения и т.д. |
8.0 |
|
Итого: |
76.0 |
Средний коэффициент надежности для постоянной нагрузки γf=1,13.
Коэффициент надежности по назначению γn принят равным 0,95.
4.3. Определение базового кода.
Базовый код вертикальной нагрузки на покрытие определяется по табл.3. Для удобства пользования базовый код вертикальной нагрузки принят равным номеру снегового района. Унифицированная вертикальная нагрузка, состоящая из постоянной и снеговой нагрузок, приведена в табл.3. Допускается превышение кодовой нагрузки не более 3 %.
|
Базовый код вертикальной нагрузки |
I |
II |
III |
IV |
V |
VI |
|
Снеговой район по СНиП 2.01.07-85* |
I |
II |
III |
IV |
V |
VI |
|
Унифицированная вертикальная расчетная нагрузка, qкод, кгс/м2 |
155 |
180 |
240 |
315 |
390 |
480 |
Определение базового кода вертикальной нагрузки при проектировании может производиться двумя способами:
1 способ
Базовый код определяется по номеру снегового района места строительства. Применяется для бескрановых зданий, при отсутствии на покрытии снеговых мешков и при постоянной нормативной вертикальной нагрузке, входящей в qкод, не превышающей 76,0 кгс/м2.
2 способ
Код нагрузки определяется в соответствии с фактической величиной расчетной нагрузки. Применяется при воздействии нагрузок со значениями, существенно отличающимися от нагрузок по кодам (при повышенной постоянной нагрузке, образовании снеговых мешков на участках кровли и т.п.), а также при возможности уменьшения массы зданий за счет корректировки нагрузок (для неотапливаемых зданий, при учете сдува снега ветром и т.д.). Сбор нагрузок производится в соответствии со СНиП 2.01.07-85*, далее определяется фактическая вертикальная расчетная нагрузка на здание:
qфакт=qпост+qврем,
где qпост - постоянная нагрузка, действующая на здание;
qврем - временная нагрузка, действующая на здание.
Путем сравнения qфaкт с унифицированной нагрузкой (по табл. 2.) определяется базовый код вертикальной нагрузки при условии, что qкод≥qфакт.
4.4. Код горизонтальной нагрузки на несущие рамы определяется по табл. 4, в зависимости от ветровой нагрузки, определяемой по СНиП 2.01.07-85* для местности типа В.
|
Код горизонтальной нагрузки |
1 |
2 |
|
Величина нормативной ветровой нагрузки, кгс/м2 |
qw≤38 |
38<qw≤85 |
4.5. Ветровая нагрузка на средние стойки рам, конструкции фахверка, стеновые прогоны, конструкции связевых блоков, а так же для определения горизонтальных нагрузок на фундаменты, принимается в соответствии с фактическими ветровыми районами по СНиП 2.01.07-85*.
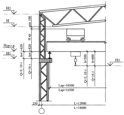
4.6. Нагрузки от подвесных кранов не должны превышать значения, приведенные в табл.5.
|
1 подвесной кран на пути |
|||
|
Q кран, тс |
D max, тс |
D min, тс |
Т попереч, тс |
|
1 |
1.67 |
0.72 |
0.075 |
|
2 |
2.78 |
0.88 |
0.15 |
|
3.2 |
4.22 |
1.18 |
0.25 |
|
5 |
6.16 |
1.52 |
0.38 |
|
2 подвесных крана на пути (ψ=0.85) |
|||
|
1 |
2.56 |
1.10 |
0.13 |
|
2 |
4.27 |
1.36 |
0.26 |
|
3.2 |
6.43 |
1.76 |
0.43 |
|
5 |
9.32 |
2.30 |
0.64 |
5.1. Выбор основных несущих конструкций производится исходя из следующих условий:
• модификации несущих рам;
• вертикальных и горизонтальных нагрузок, определяемых соответствующими кодами нагрузок;
• сейсмичности площадки строительства;
• крановых нагрузок;
• стали несущих конструкций, определяемой климатическими условиями строительства и (или) действующими нагрузками.
Порядок выбора основных несущих конструкций приведен ниже.
5.2. Каркасы УНИТЕК включают основные несущие рамы 3 модификаций.
|
Модификация 1– (основная) |
рамы одно- и многопролетные с пролетами 18, 21, 24 и 30 м. Высота ригеля 1.5 м. Длина панели 3.0 м. |
|
Модификация 2– |
рамы по сечениям и габаритам идентичны рамам модификации 1. Решетка ригеля выполнена с дополнительными стойками для шага прогонов покрытия 1.5 м. |
|
Модификация 3– |
рамы однопролетные с пролетами 15 м. Имеют уменьшенную высоту ригеля и стоек по сравнению с рамами модификации 1 и 2. |
Выбор модификации 1 или 2 зависит от выбранного шага прогонов покрытия.
5.3. При выборе пролетов рамы необходимо учитывать ограничения, связанные с сейсмичностью площадки строительства в соответствии с табл. 6. Расчетная сейсмичность площадки строительства определяется по СНиП II-7-81* "Строительство в сейсмических районах".
5.4. Сталь выбирается по табл.7, в зависимости от типа здания (отапливаемое или неотапливаемое) и климатического района строительства. Рамы всех модификаций могут быть выполнены из 2-х сталей: С255 и С345.
5.5. Код вертикальной нагрузки определяется по табл. 3 в зависимости от фактической вертикальной нагрузки и корректируется в зависимости от стали, наличия кранов, их количества и грузоподъемности, а также от количества и величины пролета рамы по табл. 8. В таблице выделен базовый вариант. В графе "Учет крановой нагрузки" указано количество кранов на одном пути. Привязка кранов относительно пролета здания принята центральной.
|
Пролет, м |
Код вертикальной нагрузки |
|||||
|
I |
II |
III |
IV |
V |
VI |
|
|
15 |
≤9 |
≤9 |
≤9 |
≤9 |
≤8 |
≤7 |
|
18 |
≤9 |
≤9 |
≤9 |
≤9 |
≤8 |
≤7 |
|
21 |
≤9 |
≤9 |
≤9 |
≤8 |
≤7 |
≤6 |
|
24 |
≤9 |
≤9 |
≤9 |
≤8 |
≤7 |
≤6 |
|
30 |
≤9 |
≤9 |
≤9 |
≤8 |
≤7 |
≤6 |
|
Климатические районы |
Расчетная температура района строительства, °С |
Сталь при типе здания |
|
|
Неотапливаемое |
Отапливаемое |
||
|
II4, II5 |
-30°С>t≥-40°С |
С255 |
С255 |
|
I2, II2 и II3 |
-40°С>t≥-50°С |
С345-3 |
С345-3 (С2551) |
|
I1 |
-50°C>t≥-65°C |
С345-4 |
С345-4 (С2551) |
1- применение данной стали возможно в соответствии с п. 2.1*.СНиП II-23-81*.
5.6. Сечения элементов рам подбираются по сортаментам стоек и ригелей рам в зависимости от расчетного кода вертикальной нагрузки и марки рамы.
|
Тип рамы |
Сталь |
Учет крановой нагрузки |
Код вертикальной нагрузки |
|||||
|
Однопролетные L=l5,18,21,24 и 30 м Многопролетные L=18,21 м |
С255 |
Без крана |
I |
II |
III |
IV |
V |
VI |
|
С255 |
2 крана Q=2 т (1 кран Q=3.2 т) |
II |
III |
IV |
V |
VI |
– |
|
|
С255 |
2 крана Q=5 т |
III |
IV |
V |
VI |
– |
– |
|
|
С345 |
Без крана |
I |
II |
II |
II |
III |
IV |
|
|
С345 |
2 крана Q=от 1 до 5 т |
I |
II |
III |
IV |
V |
VI |
|
|
Многопролетные L=24 м |
С255 |
Без крана |
I |
II |
III |
IV |
V |
– |
|
С255 |
2 крана Q=2 т (1 кран Q=3.2 т) |
II |
III |
IV |
V |
– |
– |
|
|
С255 |
2 крана Q=5 т |
III |
IV |
V |
– |
– |
– |
|
|
С345 |
Без крана |
I |
II |
III |
IV |
V |
VI |
|
|
С345 |
2 крана Q=l-2 т (1 кран Q=3.2 т) |
II |
III |
IV |
V |
VI |
– |
|
|
С345 |
2 крана Q=от 1 до 5 т |
III |
IV |
V |
VI |
– |
– |
|
|
Многопролетные L=30 м |
С255 |
Без крана |
I |
II |
III |
IV |
– |
– |
|
С255 |
2 крана Q=2 т (1 кран Q=3.2 т) |
II |
III |
IV |
– |
– |
– |
|
|
С255 |
2 крана Q=5 т |
III |
IV |
– |
– |
– |
– |
|
|
С345 |
Без крана |
I |
II |
III |
IV |
V |
– |
|
|
С345 |
2 крана Q=l-2 т (1 кран Q=3.2 т) |
I |
II |
III |
IV |
– |
– |
|
|
С345 |
2 крана Q=от 1 до 5 т |
I |
II |
III |
IV |
– |
– |
|
5.7. Пример определения кода несущей рамы.

Для удобства пользования в настоящем выпуске серии применяются 3 типа сокращенных кодов рам, в которых часть обозначений замена знаком * (звездочка). Сокращенный код не допускается применять в чертежах КМ (КМД) и при заказе конструкций.
Примеры сокращенных кодов рамы:
Тип 1

Используется в основных надписях габаритных схем рам и сортаментов ригелей рам, а также в документах сортаментов ригелей рам.
Тип 2

Используется в таблицах, приведенных на габаритных схемах рам, в основных надписях и в документах сортаментов стоек рам.
Тип 3

Используется в основных надписях и в документах сортаментов ригелей и крайних стоек рам.
6.1. Привязки стоек рам и фахверка к осям здания выбираются в зависимости от возможности будущего расширения здания по длине, а также в зависимости от наличия подвесных кранов.
6.2. Количество и расположение связевых блоков определяется в зависимости от длины здания и расчетной сейсмичности площадки. Количество связевых блоков может быть скорректировано после определения усилий в элементах связевых блоков.
6.3. Выбор элементов каркаса и подбор их сечений производится в зависимости от действующих нагрузок в соответствующих документах настоящей серии.
6.4. Нагрузки на фундаменты стоек рам и фахверка определяются в зависимости от выбранной схемы и кодов нагрузок.
7.1. Изготовление и монтаж конструкций производить в соответствии с требованиями существующих документов: ГОСТ 23118-99 "Конструкции стальные строительные. Общие технические условия", СНиП 3.03.01-87 "Несущие и ограждающие конструкции", "Рекомендации по сборке фланцевых соединений стальных строительных конструкций" Минмонтажспецстроя СССР и стандарта предприятия на изготовление конструкций.
7.2. Для изготовления конструкций применены стали С255 и С345 по ГОСТ 27772-88. Допускается производить замену сталей на другую в соответствии со СНиП II-23-81* "Стальные конструкции. Нормы проектирования"
7.3. Все заводские соединения сварные. Монтажные соединения на втулках, высокопрочных болтах, болтах нормальной точности и самонарезающих винтах.
7.4. Заводская сварка полуавтоматическая в среде углекислого газа по ГОСТ 8050-85. Марка сварочной проволоки Св-08Г2С диаметром 1.4 мм по ГОСТ 2246-70.
7.5. Постоянные болты М12, М16, М20 и М24 класса прочности 5.8. по ГОСТ 1759.4-87.
В сейсмических районах класс прочности постоянных болтов 8.8. Применение автоматной стали для болтов не допускается.
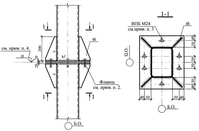
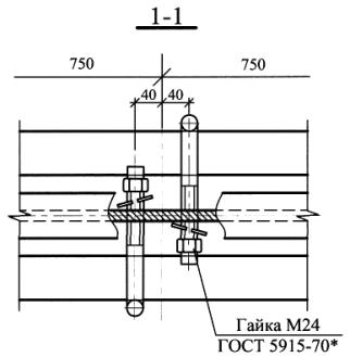
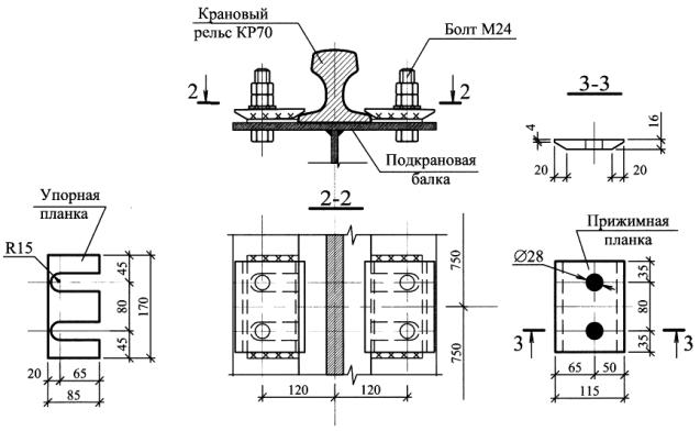
7.6. Высокопрочные болты М24 исполнения ХЛ по ГОСТ 22353-77 с временным сопротивлением 110 кг/мм2 из стали 40Х "Селект" по ГОСТ 4543-71, категории размещения I по ГОСТ 22356-77. Высокопрочные гайки М24 по ГОСТ 22354-77 с временным сопротивлением 110 кг/мм2 из стали 40Х "Селект" по ГОСТ 4543-71, категории размещения I по ГОСТ 22356-77. Шайбы 24 по ГОСТ 22355-77.
7.7. Анкерные болты для всех стоек должны изготовляться в соответствии с требованиями ГОСТ 24379.0-80 и ГОСТ 24379.1-80. Материал анкерных болтов принимать в соответствии с таблицей докум. -112.
7.8. Гайки постоянных болтов (анкерных и нормальной точности) после выверки конструкций закрепляются контргайками. Допускается вместо контргаек постановка пружинных шайб.
7.9. Окраску стальных конструкций следует производить в соответствии с требованиями СНиП 2.03.11-85 "Защита строительных конструкций от коррозии". В чертежах КМ проектируемого объекта необходимо указывать способ защиты, марки материалов и количество слоев и толщину покрытия (для лакокрасочных покрытий - количество грунтовых и покрывных слоев).
|
Шифр или серия |
Наименование |
Примечания |
|
Серия 1.426.2-6 |
Балки путей подвесного транспорта |
|
|
Выпуск 1/91 |
Балки пролетом 3, 4 и 6 м. Чертежи КМ |
|
|
ГОСТ |
Наименование |
Примечания |
|
Профили стальные гнутые замкнутые сварные квадратные и прямоугольные для строительных конструкций. Технические условия |
|
|
|
Конструкции стальные строительные. Общие технические условия |
|
|
|
Балки двутавровые и швеллеры стальные специальные. Сортамент |
|
|
|
Двутавры стальные горячекатаные с параллельными гранями полок. |
|
|
|
|
Сортамент |
|
|
Швеллеры стальные горячекатаные. Сортамент |
|
|
|
Швеллеры стальные гнутые равнополочные. Сортамент |
|
|
|
Двуокись углерода газообразная и жидкая. Технические условия |
|
|
|
Проволока стальная сварочная. Технические условия |
|
|
|
Болты с шестигранной головкой класса точности В. Конструкция и размеры |
|
|
|
Болты, винты и шпильки. Механические свойства и методы испытаний |
|
|
|
Болты с шестигранной головкой класса точности С. Конструкция и размеры |
|
|
|
Болты с шестигранной уменьшенной головкой класса точности С. |
|
|
|
|
Конструкция и размеры |
|
|
Болты с шестигранной уменьшенной головкой класса точности А. |
|
|
|
|
Конструкция и размеры |
|
|
Гайки шестигранные класса точности В. Конструкция и размеры |
|
|
|
Болты фундаментные. Общие технические условия |
|
|
|
Болты фундаментные. Конструкция и размеры |
|
|
|
Болты высокопрочные класса точности В. Конструкция и размеры |
|
|
|
Болты и гайки высокопрочные и шайбы. Общие технические условия |
|
|
|
Гайки высокопрочные класса точности В. Конструкция и размеры |
|
|
|
Шайбы класса точности С к высокопрочным болтам. Конструкция и размеры |
|
|
|
Шайбы пружинные. Технические условия |
|
|
|
Прокат из легированной конструкционной стали. Технические условия |
|
|
|
Прокат для строительных стальных конструкций. Общие технические условия |
|
|
|
Прокат стальной горячекатаный круглый. Сортамент |
|
|
|
Прокат листовой горячекатаный. Сортамент |
|
|
|
Прокат из стали повышенной прочности. Общие технические условия |
|
|
|
Пиломатериалы лиственных пород. Технические условия |
|
|
|
Узел крепления крановых рельсов к стальным подкрановым балкам. |
|
|
|
|
Технические условия |
|
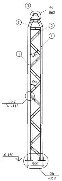
Основными несущими конструкциями каркасов УНИТЕК являются сквозные одно- и многопролетные рамы из гнутосварных труб (далее - трубчатые рамы).
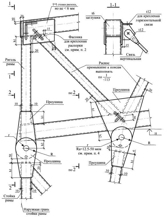
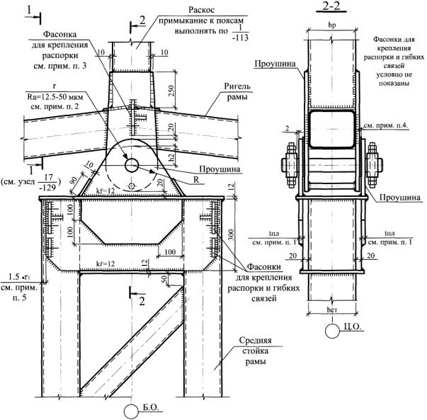
Связевые блоки устанавливаются по стойкам и ригелям рам. Они состоят из гибких связей и распорок (одно- и двухветвевых). Количество связевых блоков определяется индивидуально для каждого здания в зависимости от его длины и сейсмичности площадки строительства.
В торце здания устанавливается несущий торцевой фахверк, состоящий из стоек и балок. Жесткость системы фахверка обеспечивается постановкой системы гибких связей и распорок. В случае предполагаемого расширения здания в торце устанавливается основная несущая рама с самонесущими стойками фахверка.
Прогоны покрытия устанавливаются с шагом 3.0 или 1.5 метра в зависимости от нагрузки на покрытие. Прогоны выполняются по разрезной схеме. Сечение прогонов - гнутые или прокатные швеллеры. При необходимости на кровле здания могут быть установлены светоаэрационные фонари и дефлекторы.
Прогоны стен устанавливаются в соответствии с расположением окон, ворот, козырьков и подобных элементов. Рядовые прогоны выполняются из гнутых или прокатных швеллеров. Надоконные и подоконные прогоны - из гнутосварных труб. Стеновые прогоны выполняются по разрезной схеме.
Ограждающие конструкции кровли и стен в зданиях с каркасами УНИТЕК могут применяться теплые или холодные в зависимости от типа здания (отапливаемое или неотапливаемое). В неотапливаемых зданиях ограждающие конструкции, как правило, выполняются из одного слоя профилированного листа, в отапливаемых - из панелей с обшивками из профилированного листа или послойной сборкой.
УСЛОВНЫЕ ИЗОБРАЖЕНИЯ И ОБОЗНАЧЕНИЯ МЕТИЗОВ
|
№ п/п |
Условное изображение |
Наименование |
Условное обозначение |
|
|
в плане |
в разрезе |
|||
|
1. |
|
|
Болт нормальной точности |
М12 |
|
М16 |
||||
|
М20 |
||||
|
М24 |
||||
|
2. |
|
|
Высокопрочный болт |
ВПБ М24 |
УСЛОВНЫЕ ИЗОБРАЖЕНИЯ И ОБОЗНАЧЕНИЯ СВАРНЫХ ШВОВ
|
№ п/п |
Условное изображение шва |
Наименование |
|
|
заводского |
монтажного |
||
|
|
|
|
Шов сварного соединения стыкового - сплошной: |
|
1. |
|
|
с видимой стороны |
|
2. |
|
|
с невидимой стороны |
|
|
|
|
Шов сварного соединения углового, таврового или внахлестку - сплошной: |
|
3. |
|
|
с видимой стороны |
|
4. |
|
|
с невидимой стороны |
СОКРАЩЕНИЯ В ТЕКСТЕ
|
Полное наименование |
Сокращение |
|
Документ |
докум. |
|
Таблица |
табл. |
|
Лист |
л. |
|
Пункт |
п. |
|
Примечания |
прим. |
|
Количество |
кол-во |
ОБОЗНАЧЕНИЕ УЗЛОВ НА СХЕМАХ


Условное
изображение линии симметрии
ИСХОДНЫЕ ДАННЫЕ
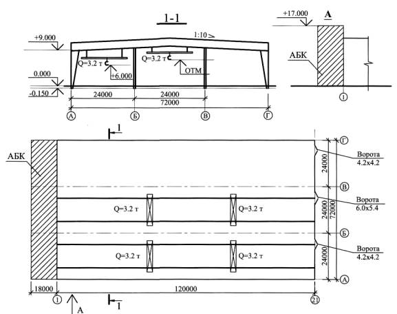
1. Производственное здание.
2. Место строительства - г. Челябинск.
3. Размеры в плане - (3×24)×120 м. Отметка низа несущих конструкций 9.0 м.
4. Здание отапливаемое, температура внутреннего воздуха +5°С.
5. Подвесной кран грузоподъемностью Q=3.2 т (2 крана на пути). Пролет крана 15 м. Высота подъема крюка 6.0 и 9.0 м. Расположение кранов см. схему.
6. Дополнительная нагрузка - нагрузка от автоматического пожаротушения 10 кгс/м2.
7. Ворота 4.2×4.2 - 2 шт., ворота 6.0×5.4 - 1 шт. см. схему.
8. Дополнительные условия - примыкание АБК с торца здания, см. схему.
КЛИМАТИЧЕСКИЕ УСЛОВИЯ
1. Снеговой район - III.
2. Ветровой район - II.
3. Средняя скорость ветра за 3 наиболее холодных месяца - 3 м/с.
4. Расчетная температура наиболее холодной пятидневки (обеспеченностью 0.92) - минус 34°С.
5. Климатический район - II4.
6. Несейсмичный район строительства.
ОГРАЖДАЮЩИЕ КОНСТРУКЦИИ
1. Кровля - послойная сборка из 2 слоев профлиста и утеплителя типа URSA.
2. Стены - стеновые панели по шифру 172 КМ5.
По теплотехническому расчету толщина утеплителя для кровли - 100 мм, для стен -100 мм.

СБОР НАГРУЗОК
1.1. Дополнительные исходные данные:
- снеговой район III, нормативное значение веса снегового покрова 100 кгс/м2;
- ветровой район II, нормативное значение ветрового давления 30 кгс/м2;
Из-за отсутствия данных о площадке строительства принимаем, что проектируемое здание защищено более высокими соседними зданиями, поэтому снижение снеговой нагрузки от сдува ветром не учитываем. Тип местности В.
|
|
Наименование нагрузки |
Нормативная нагрузка, кгс/м2 |
Коэффициент надежности по нагрузке, γf |
Расчетная нагрузка, кгс/м2 |
|
|
ПОСТОЯННЫЕ НАГРУЗКИ 1. Ограждающие конструкции покрытия: |
|
|
|
|
|
- профлист Н60-845-0.7 (2 слоя), с коэффициентом перехлеста 1.02; |
18 |
1.05 |
18.9 |
|
|
- утеплитель URSA; толщиной 100 мм, 25 кг/м3; |
2.5 |
1.2 |
3.0 |
|
|
- тетива; |
2 |
1.05 |
2.1 |
|
|
- пароизоляция |
1 |
1.2 |
1.2 |
|
|
2. Прогоны покрытия |
10 |
1.05 |
10.5 |
|
|
3. Ригели рам |
22 |
1.05 |
23.1 |
|
|
3. Технологические нагрузки (автоматическое пожаротушение) |
10 |
1.1 |
11.0 |
|
|
Итого: q1 |
65.5 |
|
70.0 |
|
|
СНЕГОВЫЕ НАГРУЗКИ |
|
|
|
|
|
4. Снеговая нагрузка для рядовых рам q2 (исключая зону снегового мешка) q1/q2=65.5/100=0.655<0.8, тогда коэффициент надежности по нагрузке γf принять 1.6 |
100 |
1.6 |
160 |
|
|
Всего: |
165.5 |
|
230.0 |
1.2. Определение базового кода вертикальной нагрузки для рядовых рам (исключая зону снегового мешка).
способ 1:
- снеговой район III, следовательно по табл. 3 докум. -01ПЗ принимаем базовый код вертикальной нагрузки III.
способ 2:
- собранная фактическая вертикальная расчетная нагрузка составляет 230 кгс/м2, следовательно по табл. 3 докум. -01 ПЗ принимаем базовый код вертикальной нагрузки III с соответствующей ему унифицированной расчетной нагрузкой 240 кгс/м2.
1.3. Определение кода горизонтальной нагрузки: - ветровой район II, qw=30 кгс/м2.
В соответствии с табл. 4 докум. -01ПЗ принимается код горизонтальной нагрузки 1.
1.4. Определение расчетного кода вертикальной нагрузки для рядовых рам.
В соответствии с табл. 7 докум. -01ПЗ принимаем сталь С255 (для отапливаемого здания, проектируемого для климатического района 114).
В соответствии с табл. 8 докум. -01ПЗ принимаем расчетный код вертикальной нагрузки V для рам (исключая зону снегового мешка) - для многопролетного здания с пролетами 24 м, оборудованного двумя кранами на одном пути с грузоподъемностью Q=3.2 т (как для Q=5 т).
СБОР НАГРУЗОК В ЗОНЕ СНЕГОВОГО МЕШКА

Рис.1
Определение нагрузок в зоне снегового мешка производим в соответствии со СНиП 2.01.07-85* (см. рис. 1.)
Нормативное значение веса снегового покрова S0=1 кПа (100 кгс/м2). Для пологих покрытий принимаем доли переносимого снега m1=m2=0.5.
В результате вычислений принимаем длину зону повышенных снегоотложений b=9.5 м и следующие коэффициенты перехода от веса снегового покрова земли к снеговой нагрузке на покрытие (см. рис. 2):
μ=3.8
μ1=0.5
μ2=1.72 (см. рис. 2)

Рис.2
При загружении рам единичной нагрузкой получим реакцию R1=9.32.
При загружении снеговой нагрузкой одного погонного метра рамы с S0=100 кгс/м2 нагрузка составит:
нормативная нагрузка 9.32•100•1=932 кгс/м;
расчетная нагрузка 9.32•100•1•1.6=1491 кгс/м.
Базовый код вертикальной нагрузки в табл. 3 докум. -01ПЗ определен для шага рам 6 м и приводится в кгс/м2, поэтому переведем полученную расчетную нагрузку от снега в кгс/м2:
1491/6 =248 кгс/м2.
Полная нагрузка на раму по оси 1 составит:
постоянная расчетная -70 кгс/м2
снеговая расчетная -248 кгс/м2
Итого: 318 кгс/м2
Следовательно, для рам в зоне снегового мешка в соответствии с табл.3 принимаем базовый код вертикальной нагрузки - IV.
Произвести переход с базового кода на расчетный код вертикальный нагрузки для рам в зоне снегового мешка в соответствии с табл. 8 докум. -01ПЗ невозможно. Поэтому изменяем шаг рам - ставим дополнительную раму в осях 1-2, см. рис. 3.
Необходимо произвести сбор снеговой нагрузки при изменении шага рам в зоне снегового мешка.

Рис.3
В результате вычислений получаем для дополнительной рамы в осях 1-2 значение коэффициента μ12=2.76. При загружении единичной нагрузкой слева реакция составляет R12=4.46 и при загружении единичной нагрузкой справа R12=3.62.

Рис.4
Так как прогон покрытия имеет длину 6 м, то при определении нагрузки на дополнительную раму необходимо учесть коэффициенты реакций опор как для двухпролетной балки с равными пролетами, см. рис.4:
1.25•(R12 слева +R12 справа)=1.25•(4.46+3.62)=10.35
При загружении снеговой нагрузкой одного погонного метра дополнительной рамы с S0=100 кгс/м2 нагрузка составит:
нормативная нагрузка 10.35•100•1=1035 кгс/м;
расчетная нагрузка 10.35•100•1•1.6=1656 кгс/м.
Базовый код вертикальной нагрузки в табл. 3 докум. -01ПЗ определен для шага рам 6 м и приводится в кгс/м2, поэтому переведем полученную расчетную нагрузку от снега в кгс/м2 и учтем уменьшение шага рам в 2 раза:
1656/(6•2)=138 кгс/м2.
Полная нагрузка на дополнительную раму (между осями 1 и 2) составит:
постоянная расчетная -70 кгс/м2
снеговая расчетная –138 кгс/м2
Итого: 218 кгс/м2
Следовательно для рам, поставленных в зоне снегового мешка с шагом 3 м, принимаем базовый код вертикальной нагрузки III в соответствии с табл. 3 докум. -01ПЗ.
Для рам в зоне снегового мешка (по оси 1 и на расстоянии 3 м от оси 1) принимаем расчетный код вертикальной нагрузки V в соответствии с табл. 8 докум. -01ПЗ.
Базовые и расчетные коды вертикальных нагрузок для разных конструкций сведены в табл. 2.
|
Вид конструкции |
Код вертикальной нагрузки |
Код горизонтальной нагрузки |
|
|
базовый |
расчетный |
||
|
1. Несущие рамы: |
|
|
|
|
- рядовые рамы |
III |
V |
I |
|
- рамы в осях 1-2 |
III |
V |
I |
|
2. Прогоны покрытия |
|
|
|
|
- рядовые |
III |
III |
|
|
- в зоне снегового мешка (см. схема, лист 6) |
III |
VI |
|
|
3. Стойки фахверка |
III |
III |
I |
|
4. Балки фахверка |
III |
III |
|
ВЫБОР ОСНОВНЫХ НЕСУЩИХ КОНСТРУКЦИЙ
НЕСУЩИЕ РАМЫ
1. Рама трехпролетная с пролетами 24 м - 3×24.
Высота до низа несущих конструкций по заданию 9.0 м, принимаем близкую к этой величине унифицированную высоту 9.6 м.
2. Расчетный код вертикальной нагрузки - V.
3. Сталь несущих конструкций С255 (по табл. 7 докум. -01ПЗ).
4. Определение модификации рамы.
Модификация рамы (1 или 2) зависит от шага прогонов покрытия.
Определим шаг прогонов покрытия в зависимости от несущей способности ограждающих конструкций.
ТАБЛИЦА СБОРА НАГРУЗОК НА ПРОГОНЫ ПОКРЫТИЯ
|
Наименование нагрузки |
Нормативная нагрузка, кгс/м2 |
Коэффициент надежности по нагрузке, γf |
Расчетная нагрузка, кгс/м2 |
|
ПОСТОЯННЫЕ НАГРУЗКИ |
|
|
|
|
1. Ограждающие конструкции покрытия |
23.5 |
|
25.2 |
|
2. Прогоны покрытия |
10 |
1.05 |
10.5 |
|
Итого: |
33.5 |
|
35.7 |
|
СНЕГОВЫЕ НАГРУЗКИ |
|
|
|
|
3. Снеговая нагрузка для прогонов покрытия в осях 3-21 |
100 |
1.6 |
160.0 |
|
4. Снеговая нагрузка для прогонов покрытия в осях 2-3 (в зоне снегового мешка) с коэффициентом μ2=1.72: |
172 |
1.6 |
275.0 |
|
5. Снеговая нагрузка для прогонов покрытия в осях 1-2 (в зоне снегового мешка) с коэффициентом μ12=2.76: |
276 |
1.6 |
442.0 |
|
Всего для прогонов в осях 3-21: |
133.5 |
|
195.7 |
|
Всего для прогонов в осях 2-3: |
205.5 |
|
311.0 |
|
Всего для прогонов в осях 1 -2: |
310.0 |
|
478.0 |
5. В соответствии с табл. 1 докум. -059 принимаем для прогонов покрытия в осях 3-21 код вертикальной нагрузки III (с расчетной кодовой нагрузкой 215 кгс/м2 при фактической расчетной нагрузке 195.7 кгс/м2).
6. В соответствии с табл. 2 докум. -059 принимаем в осях 3-21 марку прогона ППР-3.0-III. Сечение прогона [20 (по таблице докум. -061). Шаг прогонов 3 м в осях 3-21.
7. В соответствии с табл. 1 докум. -059 принимаем для прогонов покрытия в осях 2-3 код вертикальной нагрузки V (с расчетной кодовой нагрузкой 365 кгс/м2 при фактической расчетной нагрузке 311 кгс/м2). В соответствии с табл. 2 докум.-059 должны принять в осях 2-3 марку прогона ППР-3.0-V, этой марке соответствует прогон сечением [24 по таблице докум. -061. Но для сохранения высоты сечения прогонов покрытия по всей кровле (h=200) примем для осей 2-3 марку прогона ППР-1.5-VI с соответствующим сечением [20 (по таблице докум. -061). Шаг прогонов 1.5 м в осях 2-3.
8. В зоне снегового мешка в осях 1-2 рамы стоят с шагом 3 м, следовательно прогон покрытия длиной 6 м работает по 2-х пролетной схеме. Такая схема прогонов покрытия не предусмотрена в настоящей серии. В целях унификации принимаем для осей 1-2 прогоны покрытия марки ППР-1.5-VI с соответствующим сечением [20. Шаг прогонов принимаем 1.5 м в осях 1-2.
9. Принимаем модификацию рамы в соответствии с пунктом 5.2. докум. -01ПЗ:
- для осей с 4 по 21 - модификация 1;
- для осей 1, 2, 3 - модификация 2.
10. Таким образом, рядовая рама имеет марку 1 РТМ 3×240.96 - V-1.
В зоне снегового мешка рамы имеют марку 2 РТМ 3×240.96 - V-1.
СХЕМА НЕСУЩИХ РАМ

СХЕМА ПРОГОНОВ ПОКРЫТИЯ

|
Прогоны покрытия |
|
|
марка |
сечение |
|
ППР-3.0-III |
[20 |
|
ППР-1.5-III |
[20 |
В соответствии с докум. -059 принята разрезная схема прогонов покрытия без тяжей, так как принятые ограждающие конструкции покрытия (послойная сборка) создают жесткий диск покрытия. Прогоны покрытия в коньке скрепить специальными элементами, установленными с шагом 1 м.
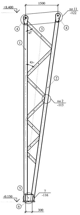
РАЗБИВКА РАМЫ НА ОТПРАВОЧНЫЕ ЭЛЕМЕНТЫ

1. Марки отправочным элементам назначают в соответствии с докум. -065...- 071.
В марке отправочного элемента ригеля над чертой дана марка для рядовых рам, под чертой - марка для рам в зоне снегового мешка.
2. Для определения типа средней стойки К2 (одноветвевая или двухветвевая) и подбора сечения необходимо определить суммарное вертикальное усилие на среднюю стойку в связевом блоке в соответствии с докум. -045.
ОПРЕДЕЛЕНИЕ СУММАРНОГО ВЕРТИКАЛЬНОГО УСИЛИЯ
НА СРЕДНИЕ СТОЙКИ РАМ В СВЯЗЕВОМ БЛОКЕ
|
|
Усилие на среднюю стойку |
|
Nкод - усилие в стойке от вертикальных нагрузок, |
|
|
определяемое по докум. -022, |
N2 код=0.9•N2 табл |
|
для рамы с пролетом 3×24 высотой 9.6 м, |
N2 табл=37.1 тс |
|
базовый код вертикальной нагрузки III (для рядовых рам и рам в зоне снегового мешка). |
N2 код=0.9•37.1=33.39 тс |
|
Nкран - усилие в стойке от действия крана, определяемое по докум. -023, |
Σ Nкран=(Nкран лев+Nкран прав)•ψ |
|
Σ Nкран=(Nкран лев+Nкран прав)•ψ, |
Nкран=4.86 тс |
|
где ψ=0.7 - при двух кранах в каждом пролете |
Σ Nкран=1.8•(4.86+4.86)•0.7 |
|
Коэффициент k=1.8 для рядовых рам при наличии двух кранов на одном пути. |
Σ Nкран=12.25 тс |
|
Nw - дополнительное вертикальное усилие на стойку в связевом блоке от ветра, определяемое по документам -042...-045 (для рядовых рам и для рамы по оси 2). |
Nw=2.045 тс (см. лист 10 докум. -02ПЗ) |
|
Суммарное вертикальное усилие на среднюю стойку в связевом блоке (для рядовых рам и для рамы по оси 2): ΣNст=Nкод+Nкран+Nw |
ΣNст=33.39+12.25+2.045=47.685 тс |
3. Марка средней стойки рядовой рамы (в осях 3...21) - 2К2.1 50.55-1-1. Марка средней стойки рамы в зоне снегового мешка (в осях 1...3) - 2К2.1 50.55-1-1.
4.Сечение средней стойки К2 принимаем по сортаменту двухветвевых средних стоек в соответствии с докум. -094 при суммарном вертикальном усилии в стойке ΣN=47.685 тс для высоты стойки Нст=12 м, при высоте сечения поясов ригеля h=180.
Сечение ветвей средней стойки: гн. □180×5, сечение решетки гн. □140×4.
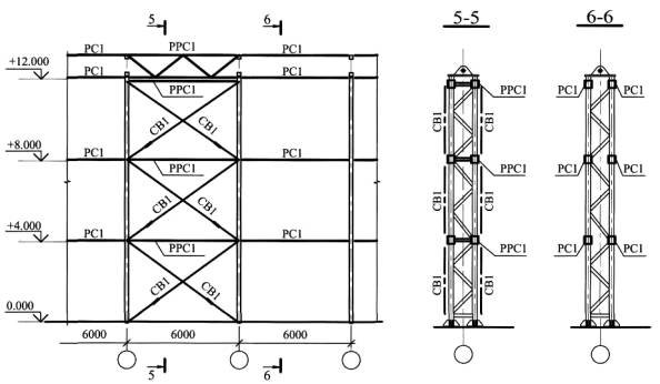
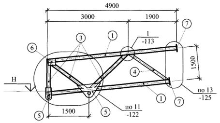
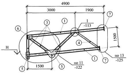
СВЯЗЕВЫЕ БЛОКИ
1. В соответствии с докум. -028 и -029 здание длиной 120 м необходимо разбить на 2 температурных блока длиной 60 м каждый. Длина блоков должна быть согласована с заказчиком и соответствовать технологии производства.
2. Расстановка горизонтальных и вертикальных связей, распорок по покрытию и стойкам рам выполнена в соответствии с докум. -030...-032, 038, 039.
3. Определение усилий в элементах связевого блока и выбор сечений элементов связевого блока выполнен в соответствии с докум. -042...-045.
Схема горизонтальных связей и распорок по покрытию

Схема горизонтальных связей и распорок в связевом блоке

Схема горизонтальных связей и распорок в рядовом блоке

Схема вертикальных связей и распорок по крайним стойкам рам

1 Отметка установки распорки определяется местоположением 2-го узла сверху по внутренней ветви стойки, точную отметку уточнить при разработке КМД.
Схема вертикальных связей и распорок по средним стойкам рам

Определение усилий и выбор сечений элементов связевого блока см. лист 10.
СВОДНАЯ ТАБЛИЦА СЕЧЕНИЙ ЭЛЕМЕНТОВ СВЯЗЕВОГО БЛОКА
|
Элементы связевого блока |
|||||
|
по средним стойкам |
по крайним стойкам |
по покрытию |
|||
|
Марка |
сечение |
марка |
сечение |
марка |
сечение |
|
СВ1 |
Ø20 |
СВ2 |
Ø20 |
СГ1 |
Ø20 |
|
РС1 |
□100×4 |
РС2 |
□100×4 |
РСЗ |
□100×4 |
|
РРС1 |
пояса □l00×4 раскосы □80×4 |
РРС2 |
пояса □100×4 раскосы □80×4 |
РРСЗ |
пояса □100×4 раскосы □80×4 |
ОПРЕДЕЛЕНИЕ УСИЛИЙ В ЭЛЕМЕНТАХ СВЯЗЕВОГО БЛОКА
Усилия в элементах связевого блока определяются в соответствии с документами -042...-045.
|
|
Для средней стойки |
Для крайней стойки |
|
Суммарная ветровая нагрузка QΣw=СеΣ·w0·Kzcp·γf·Агр |
Грузовая площадь Агр= 0.5•15.26•24=183 м2 |
Грузовая площадь Агр= 0.5•(9.6+2+0.1•24/2)•(24/2) =76.8 м2 |
|
w0=30 CeΣ=1.4 Kzcp=0.65 γf =1.4 |
QΣw =1.4·30·0.65·1.4·183=6.99 тс |
QΣw =1.4·30·0.65·1.4·76.8=2.935тс |
|
Нагрузка в гибкой связи: Nсв=0.525•Qyc/(cosα•γс) Qyc=l.l•QΣw/n γc=0.9 n=2 - количество связевых блоков по длине температурного блока |
Вертикальные связи по средним стойкам
|
Вертикальные связи по крайним стойкам
|
|
|
Qyc=1.1•6.99/2=3.84 тс |
Qyc=1.1•2.935/2=1.61 тс |
|
|
cosα=6/7.2=0.832 |
cosα=6/8.34= 0.719 |
|
|
Nсв=0.525•3.84/(0.832•0.9)=2.69 тс |
Nсв=0.525•1.61/(0.719•0.9)=1.31 тс |
|
Усилие предварительного натяжения: Sпн=0.95•Nпред где Nпред - предельная несущая способность гибкой связи по табл. 2 докум. -044. |
По табл. 2 докум. -044 принимаем сечение гибкой связи Ø20 класса прочности 4.8., сталь С255. Nпред=3.53 тс Sпн=0.95•3.53=3.35 тс |
По табл. 2 докум. -044 принимаем сечение гибкой связи Ø20 класса прочности 4.8., сталь С255. Nпред=3.53 тс Sпн=0.95•3.53=3.35 тс |
|
Суммарное вертикальное усилие на стойки в связевом блоке: ΣNст=Nкод+Nкран+Nw Nкод - см. докум. -022 и лист 7. Nкран - см. докум. -023 и лист 7. ΣNw - см. докум. -045 ΣNw=1.1•Sпн•sin α |
Nкод=33.39 тс Nкран=12.25 тс sin α=4/7.2=0.555 ΣNw=1.1•3.35•0.555=2.045 тс ΣNст=33.39+12.25+2.045=47.685 тс |
Nкод=22.14 тс Nкран=8.75 тс sin α=5.8/8.34=0.695 ΣNw=1.1•3.35•0.695=2.56 тс ΣNст=22.14+8.75+2.56=33.45 тс |
|
Усилие в одноветвевой распорке PC Nрасп=2.2•Sпн•cosα+QficΣ где QficΣ - суммарная условная сила; QficΣ=Qfic•√nc, но не менее 2Qfic Qfic=0.02•ΣNст nc=4 - количество стоек, примыкающих к связевому блоку |
Qfic=0.02•47.685=0.954 тс QficΣ=0.954•√4=1.91 тс Nрасп=2.2•3.35•0.832+1.91=8.04 тс По табл. 1 докум. -044 принимаем сечение распорки PC: □100×4 |
Qfic=0.02•33.45=0.669 тс QficΣ=0.669•√4=1.34 тс Nрасп=2.2•3.35•0.719+1.34=6.64 тс По табл. 1 докум. -044 принимаем сечение распорки PC: □100×4 |
|
Усилие в поясе двухветвевой распорке РРС Nрасп=0.5(2.2•Sпн•cosα+QficΣ) |
Nрасп=0.5•(2.2•3.35•0.832+1.91)=4.02 тс По таблице докум. -043 принимаем сечение распорки РРС: пояса - □100×4 раскосы - □80×4 |
Nрасп=0.5•(2.2•3.35•0.719+1.34)=3.32 тс По таблице докум. -043 принимаем сечение распорки РРС: пояса - □100×4 раскосы - □80×4 |
ТОРЦЕВОЙ ФАХВЕРК
Схема стоек и балок фахверка, распорок, вертикальных связей и балок БШ

1. В соответствии с заданием принята схема с несущим фахверком по оси 21.
2. Проектирование конструкций несущего фахверка выполнено в соответствии с докум. -046...-048.
3. Крановые пути в торце опираются на балки БШ между стойками фахверка.
4. Связевый блок расположен в середине торца здания. При установке ворот в соседнем шаге происходит разрыв линии распорок по стойкам фахверка, поэтому устанавливается дополнительный связевый блок с другой стороны разрыва.
ОПРЕДЕЛЕНИЕ УСИЛИЙ И ПОДБОР СЕЧЕНИЙ В ЭЛЕМЕНТАХ ТОРЦЕВОГО ФАХВЕРКА
|
Марка |
Маркировка по настоящей серии |
Тип элемента |
Сечение элемента |
|
Ссылочный документ |
|
СФ1 |
СФ1.160-1-III |
стойка несущего фахверка без крана |
гн. □160×240×8 |
ветровой район II, код вертикальной нагрузки III, при Нсф=14.7 м |
докум. -050 |
|
СФ2 |
СФ2.160-1-III |
стойка несущего фахверка с краном |
гн. □160×240×10 |
ветровой район II, код вертикальной нагрузки III, при Нсф=14.7 м |
докум. -051 |
|
БФ1 |
БФ1.60-III |
рядовая балка фахверка |
гн. □140×180×5 |
код вертикальной нагрузки III |
докум. -053 |
5. Сечения элементов связевого блока по фахверку принимаем аналогично сечениям элементов связевого блока по крайним стойкам несущим рам.
ТАБЛИЦА СЕЧЕНИЙ ЭЛЕМЕНТОВ СВЯЗЕВОГО БЛОКА ФАХВЕРКА
|
Элементы связевого блока |
|
|
марка |
сечение |
|
СВ3 |
Ø20 |
|
РС4 |
□100×4 |
ОПРЕДЕЛЕНИЕ НАГРУЗОК НА ФУНДАМЕНТЫ.


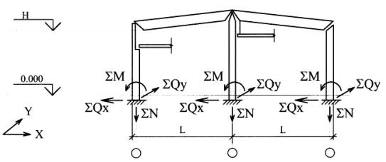
На схеме показаны направления усилий с положительными знаками.
1. Сбор нагрузок на фундаменты стоек несущих рам выполнен в соответствии с докум. -020...-024 и представлен в табл. 10. Сводный сбор нагрузок на фундаменты стоек несущих рам представлен в табл. 9.
2. Сбор нагрузок на фундаменты стоек несущего фахверка выполнен в соответствии с докум. -025 и представлен в табл. 11.
СВОДНАЯ ТАБЛИЦА НАГРУЗОК НА ФУНДАМЕНТЫ СТОЕК НЕСУЩИХ РАМ, тс
|
Усилие |
Рядовой блок |
Связевый блок |
Температ. шов |
Снегов. мешок |
||||
|
Ф1 |
Ф2 |
ФЗ |
Ф4 |
Ф5 |
Ф6 |
Ф7 |
Ф8 |
|
|
Суммарное вертикальное усилие ΣN |
–31.31 |
–45.64 |
–32.87 |
–48.18 |
–16.96 |
–24.74 |
–15.65 |
–22.83 |
|
Суммарное горизонтальное усилие ΣQx |
±9.88 |
|
±9.88 |
|
±5.34 |
|
±4.93 |
|
|
Суммарное горизонтальное усилие ΣQy |
|
|
±3.55 |
±4.33 |
|
|
|
|
ТАБЛИЦА СБОРА НАГРУЗОК НА ФУНДАМЕНТЫ НЕСУЩИХ РАМ, тс
|
Усилие |
Рядовой блок |
Связевый блок |
Температ. шов |
Снегов. мешок |
||||
|
Ф1 |
Ф2 |
Ф3 |
Ф4 |
Ф5 |
Ф6 |
Ф7 |
Ф8 |
|
|
ОПРЕДЕЛЕНИЕ СУММАРНОГО ВЕРТИКАЛЬНОГО УСИЛИЯ ΣN, тс |
||||||||
|
Nкод - усилие от вертикальных нагрузок: |
|
|
|
|
|
|
|
|
|
для крайних стоек N1код=1.07•N1табл |
–22.14 |
|
–22.14 |
|
–11.99 |
|
–11.07 |
|
|
для средних стоек N2код=0.9•N2табл |
|
–33.39 |
|
–33.9 |
|
–18.10 |
|
–16.70 |
|
N1табл=20.7 тс, N2табл=37.1 тс |
|
|
|
|
|
|
|
|
|
Nкран - усилие от подвесного крана Икран=4.86 тс, к=1.8 - для рядовых рам |
|
|
|
|
|
|
|
|
|
Для крайних стоек: ΣNкран=k•Nкран лев |
–8.75 |
|
–8.75 |
|
–4.74 |
|
–4.37 |
|
|
Для средних стоек: ΣNкран=k•(Nкран лев+ Nкран прав)•0.7 |
|
–12.25 |
|
–12.25 |
|
–6.64 |
|
–6.13 |
|
Nw - вертикальное усилие в стойке от ветра поперек здания Nw=MΣw/Lзд |
–0.42 |
|
–0.42 |
|
–0.23 |
|
–0.21 |
|
|
MΣw=0.575•QΣw•Нзд QΣw=СеΣ·w0·Kzcp·γf·Aгр w0=30кгс/м2, СеΣ=1.4, Kzcp=0.65, γf=1.4 Aгр=90.66 м2 (крайняя стойка) |
|
|
|
|
|
|
|
|
|
Nw - вертикальное усилие в стойке связевого блока от ветра вдоль здания. |
|
|
|
|
|
|
|
|
|
Nw=Qy•h/В |
|
|
–1.56 |
–2.54 |
|
|
|
|
|
h=5.8 (крайняя ст-ка), h= 4.0 (средняя ст-ка) Qy=l.l·QΣw/n, n=2 QΣw = CeΣ·w0·Kzcp·γf·Arp w0=30 кгс/м2, CeΣ=1.4, Kzcp=0.65, γf=1.4 Агр=76.8 м2 (кр. ст-ка), Агр=181.32 м2 (ср. ст-ка) |
|
|
|
|
|
|
|
|
|
Суммарное вертикальное усилие ΣN, тс |
–31.31 |
–45.64 |
–32.87 |
–48.18 |
–16.96 |
–24.74 |
–15.65 |
–22.83 |
|
ОПРЕДЕЛЕНИЕ СУММАРНОГО ГОРИЗОНТАЛЬНОГО УСИЛИЯ ΣQx, тс |
||||||||
|
Qx - усилие от вертикальных нагрузок: для крайних стоек Qx=1.05•Qxтабл Qxтабл=3.8 тс |
±3.99 |
|
±3.99 |
|
±2.16 |
|
±1.99 |
|
|
Qxкран - усилие от действия подвесного крана, k=1.8 Qxкран=2.64 тс Для крайних стоек: ΣQкран=0.85•k•Qxкран |
±4.04 |
|
±4.04 |
|
±2.18 |
|
±2.02 |
|
|
Qxw – усилие от ветра поперек здания. Qlxwmax=0.535·QΣw |
±1.85 |
|
±1.85 |
|
±1.00 |
|
±0.92 |
|
|
QΣw=CeΣ·w0·Kzcp·γf·Aгр w0=30 кгс/м2, CeΣ=1.4, Kzcp=0.65, γf=1.4 Aгр=90.66 м2 (крайняя стойка) |
|
|
|
|
|
|
|
|
|
Суммарное горизонтальное усилие ΣQx, тс |
±9.88 |
|
±9.88 |
|
±5.34 |
|
±4.93 |
|
|
ОПРЕДЕЛЕНИЕ СУММАРНОГО ГОРИЗОНТАЛЬНОГО УСИЛИЯ ΣQy, тс |
||||||||
|
Qyкран - усилие от подвесного крана, k=1.8 Qyкран=±0.5 тс |
|
|
|
|
|
|
|
|
|
Для крайних стоек : ΣQyкран=k•Qyкран |
|
|
±0.90 |
|
|
|
|
|
|
Для средних стоек: ΣQyкран=0.7•k•(Qyкран лев+Qyкран прав) |
|
|
|
±1.26 |
|
|
|
|
|
Qyw - усилие от ветра вдоль здания в связевом блоке: Qyw=1.1•Sпн•cosα Sпн=0.95•Nпред, Nпред=3.53 тс |
|
|
|
|
|
|
|
|
|
cosα=0.719 ( крайняя стойка) |
|
|
±2.65 |
|
|
|
|
|
|
cosα=0.832 ( средняя стойка) |
|
|
|
±3.07 |
|
|
|
|
|
Суммарное горизонтальное усилие ΣQy, тс |
|
|
±3.55 |
±4.33 |
|
|
|
|
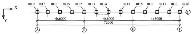
Схема фундаментов стоек несущего фахверка (по оси 21)

Суммарная ветровая нагрузка на стойки фахверка определяется в соответствии с докум. -025:
- ветер поперек здания
QxΣw=0.25·CeΣ·w0·Kzcp·γf·Нзд·В
w0=30 кгс/м2, CeΣ=1.4, Kzcp=0.65, γf =1.4, принимаем Нзд=14.7+0.15+0.410=15.26 м
QxΣw=0.25·1.4·30·0.65·1.4·15.26·6=0.875 тс
- ветер вдоль здания
QyΣw=CeΣ·w0·Kzcp·γf·Нзд·l
QyΣw=1.4·30·0.65·1.4·15.26·6=3.500 тс
ТАБЛИЦА СБОРА НАГРУЗОК НА ФУНДАМЕНТЫ СТОЕК НЕСУЩЕГО ФАХВЕРКА
|
Усилие |
Ф10 |
Ф11 |
Ф12 |
Ф13 |
Ф14 |
Ф15 |
Ф16 |
|
ОПРЕДЕЛЕНИЕ СУММАРНОГО ВЕРТИКАЛЬНОГО УСИЛИЯ ΣN, тс |
|||||||
|
Nкод - вертикальная нагрузка от покрытия Nкод=0.5•qкод•В•l; qкод=240 кгс/м2 |
–4.32 |
–4.32 |
–4.32 |
–4.32 |
–4.32 |
–4.32 |
–4.32 |
|
Nст - вертикальная нагрузка от стены и цоколя Nст=qстен•hстен•l+qцок•hцок•l qстен=50 кгс/м2, qцок=750 кгс/м2, hцок=0.6 м |
–6.20 |
–6.74 |
–6.92 |
–7.10 |
–7.28 |
–7.10 |
–6.20 |
|
Nкр - вертикальная нагрузка от действия крана Nкр=ΣNкран•(l–а)/l; а=4.5 м Nкран=4.86 тс, k=1.2 - для торцевых рам Для стойки по оси Б: ΣNкран=k•(Nкран лев+Nкран прав)•0.7 Для остальных крановых стоек: ΣNкран=k•Nкран лев |
–1.46 |
|
–2.04 |
–1.46 |
|
–1.46 |
|
|
Nw - вертикальная нагрузка от ветра поперек здания (вдоль оси X в связевом блоке) Nw=QxΣw•Нзд/l |
|
|
|
–2.23 |
–2.23 |
|
|
|
Суммарное вертикальное усилие ΣN |
–11.98 |
-11.06 |
-13.28 |
-15.11 |
-13.83 |
-12.88 |
-10.52 |
|
ОПРЕДЕЛЕНИЕ СУММАРНОГО ГОРИЗОНТАЛЬНОГО УСИЛИЯ ΣQx, тс |
|||||||
|
Qx - горизонтальная нагрузка от ветра вдоль оси X: |
|
|
|
|
|
|
|
|
для стойки в связевом блоке Qx=1.1•Sпн•cosα Sпн=3.35 т, cosα=6/7.75=0.775 |
|
|
|
±2.86 |
±2.86 |
|
|
|
для крайней стойки Qx = QxΣw |
±0.88 |
|
|
|
|
|
±0.88 |
|
Суммарное горизонтальное усилие ΣQx |
±0.88 |
|
|
±2.86 |
±2.86 |
|
±0.88 |
|
ОПРЕДЕЛЕНИЕ СУММАРНОГО ГОРИЗОНТАЛЬНОГО УСИЛИЯ ΣQy, тс |
|||||||
|
Qy -горизонтальная нагрузка от ветра вдоль оси Y: Qy=0.5•QyΣw |
±1.75 |
±1.75 |
±1.75 |
±1.75 |
±1.75 |
±1.75 |
±1.75 |
|
ОПРЕДЕЛЕНИЕ МОМЕНТА Мх, тм |
|||||||
|
Мх - опрокидывающий момент, возникающий от действия ветра вдоль оси Y: Мх=0.125•QyΣ•Нзд |
±6.67 |
±6.67 |
±6.67 |
±6.67 |
±6.67 |
±6.67 |
+6.67 |
СТЕНОВЫЕ ПРОГОНЫ
Определение усилий и подбор сечений стеновых прогонов см. следующий лист.
Схема стеновых прогонов в осях 1-21, 21-1

Фасад А-Г

Схема стеновых прогонов в осях А-Г

1. Расстановка стеновых прогонов производится в соответствии с заданными фасадами. Максимальный шаг прогонов по высоте принимается в соответствии с проектом по шифру 172 КМ5.
2. Сечения стеновых прогонов принимаются в зависимости от расчетного ветрового давления и расчетной вертикальной нагрузки в соответствии с докум. -062...-064.
ОПРЕДЕЛЕНИЕ УСИЛИЙ И ПОДБОР СЕЧЕНИЙ СТЕНОВЫХ ПРОГОНОВ
|
Марка |
Местоположение |
Расчетное ветровое давление |
Р, кгс/м |
Расчетная вертикальная нагрузка |
Q, кгс/м |
Сечение элемента |
|
|
|
P=w0•k•c•γf•hw w=30 кгс/м2, с=1.4 k=0.55, γf=1.4 |
|
Q=q св•hс Ql ст=50 кгс/м2 - вес стены, см. докум. -062 q2 ст=5 кгс/м2- вес стенового прогона. |
|
|
|
ПС2 |
Фасад 1-21 (21-1) отм.+7.500 |
hw=3.5/2+3.5/2=3.5 м - для рядового прогона |
113 |
hc=3.5/2+3.5/2=3.5 м - для рядового прогона Q=5•3.5=18 кгс/м |
18 |
гн.[160×80×5 |
|
ПС1 |
отм.+4.000 |
hw=l.8/2+3.5/2=2.65 м - для надоконного прогона |
85.7 |
hc=11.0-4.0=7.0 м - для надоконного прогона Q=50•7.0=350 кгс/м |
350 |
гн.□160×5 |
|
ПС2 |
Фасад А-Г отм.+4.200 |
hw=3.6/2+3.6/2=3.60 м - для рядового прогона |
116 |
hс=3.6/2+3.6/2=3.60 м - для рядового прогона Q=5•3.6=18 кгс/м |
18 |
гн.[160×80×5 |
|
ПС1 |
отм.+7.800 |
hw=3.6/2+3.2/2=3.40 м - для стыкового прогона |
110 |
hс =14.7–7.8=6.90 м - для стыкового прогона Q=50•6.9=345 кгс/м |
345 |
гн.□160×5 |
|
ПС2 |
отм.+11.000 |
hw=3.7/2+3.2/2=3.45 м - для рядового прогона |
112 |
hс=3.7/2+3.2/2=3.45 м - для рядового прогона Q=5•3.45=18 кгс/м |
18 |
гн.[160×80×5 |
|
ПСЗ |
отм.+4.200 |
hw=4.2/2+3.6/2=3.9 м - для надворотного прогона |
126 |
hс=7.8–4.2=3.6 м - для надворотного прогона Q=50•3.6=180 кгс/м |
180 |
гн.□160×5 (унификация) |
|
ПЦ1 |
отм.+0.600 |
В соответствии с проектом по шифру 172 КМ5. |
гн.[160×80×4 |
|||
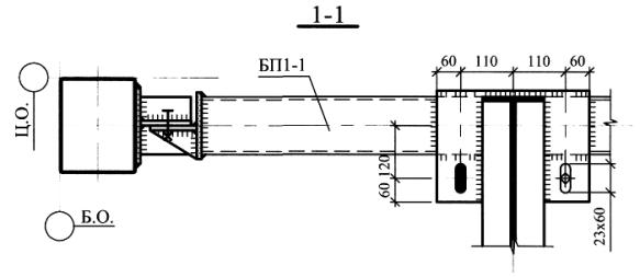
ПУТИ ПОДВЕСНОГО ТРАНСПОРТА



1. Схемы путей подвесного транспорта выполнены в соответствии с докум. -055 ...-058.
2. Сечения элементов для крепления путей подвесного транспорта см. лист 18.

|
Грузоподъемность крана |
Марки элементов для крепления путей подвесного транспорта |
Балки подвесных путей |
||||||||
|
БП1 |
БП2 |
П1 |
П2 |
|||||||
|
Сечение |
Сталь |
Сечение |
Сталь |
Сечение |
Сталь |
Сечение |
Сталь |
Сечение |
Сталь |
|
|
Q=3.2 т |
[30 |
С255 |
гн. □140×4 |
С255 |
гн. □100×4 |
С255 |
гн. □100×4 |
С255 |
I 36M |
С345 |
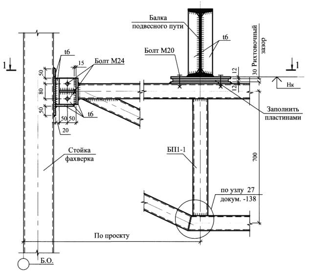
ДАННЫЕ ДЛЯ УЗЛОВ КРЕПЛЕНИЯ ПОДВЕСНЫХ ПУТЕЙ
|
Грузо-подъемность крана |
Толщина пластины tпл, мм |
Болт диаметр d1, мм |
Болт диаметр d2, мм |
Шпилька диаметр d3, мм |
Класс прочности |
|
Q=3.2 т |
22 |
20 |
24 |
20 |
5.8 |
1. Узлы крепления элементов путей подвесного транспорта выполнить в соответствии с документами -151...-158.
2. Допускается применять болты по ГОСТ 15591-70*, ГОСТ 7796-70* и назначать по табл. 57 СНиП II-23-81* применительно к конструкциям, не рассчитываемым на выносливость.
3. Гайки применять по ГОСТ 5915-70.

|
КОД РАМЫ |
Осевая привязка, А, мм |
Размеры рамы, м |
Размеры крана, м |
||||||
|
L |
Н |
Нр |
Нс |
С |
d |
Lкр |
Lk, max |
||
|
1РТО180.48-* |
0 |
18.0 |
4.8 |
1.5 |
1.5 |
0.3 |
3.0 |
≤12.0 |
1.2 |
|
250 |
12.0 |
1.5 |
|||||||
|
1РТО180.60-* |
0 |
18.0 |
6.0 |
1.5 |
1.5 |
0.3 |
3.0 |
≤12.0 |
1.2 |
|
250 |
12.0 |
1.5 |
|||||||
|
1РТО180.72-* |
0 |
18.0 |
7.2 |
1.5 |
1.5 |
0.3 |
3.0 |
≤12.0 |
1.2 |
|
250 |
12.0 |
1.5 |
|||||||
|
1РТО180.84-* |
0 |
18.0 |
8.4 |
1.5 |
1.5 |
0.3 |
3.0 |
≤12.0 |
1.2 |
|
250 |
12.0 |
1.5 |
|||||||
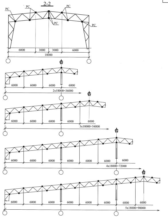
Пролет 21 м

|
КОД РАМЫ |
Размеры рамы, м |
Размеры крана, м |
||||||
|
L |
Н |
Нр |
Нc |
С |
d |
Lкр |
Lk, max |
|
|
1РТО210.60-* |
21.0 |
6.0 |
1.5 |
1.5 |
0.3 |
3.0 |
≤15.0 |
1.5 |
|
1РТО210.72-* |
21.0 |
7.2 |
1.5 |
1.5 |
0.3 |
3.0 |
≤15.0 |
1.5 |
|
1РТО210.84-* |
21.0 |
8.4 |
1.5 |
1.5 |
0.3 |
3.0 |
≤15.0 |
1.5 |
|
1РТО210.96-* |
21.0 |
9.6 |
1.5 |
1.5 |
0.3 |
3.0 |
≤15.0 |
1.5 |
1. Трубчатые рамы с указанными габаритами могут применяться в зданиях без кранов или с подвесными кранами. При наличии кранов следует руководствоваться данными по привязке стоек рам и параметрами кранов, указанными в таблицах 1,2.
2. Lk max уточнить в соответствии с табл. 1, документ 056.
3. Принцип маркировки рам см. документ 01ПЗ.

|
КОД РАМЫ |
Размеры рамы, м |
Размеры крана, м |
||||||
|
L |
Н |
Нр |
Нс |
С |
d |
Lкр |
Lk, max |
|
|
1РТО240.60-* |
24.0 |
6.0 |
1.5 |
1.5 |
0.3 |
3.0 |
≤15 |
1.5 |
|
1РТО240.72-* |
24.0 |
7.2 |
1.5 |
1.5 |
0.3 |
3.0 |
≤15 |
1.5 |
|
1РТО240.84-* |
24.0 |
8.4 |
1.5 |
1.5 |
0.3 |
3.0 |
≤15 |
1.5 |
|
1РТО240.96-* |
24.0 |
9.6 |
1.5 |
1.5 |
0.3 |
3.0 |
≤15 |
1.5 |
Примечания см. документ –001.

|
КОД РАМЫ |
Размеры рамы, м |
Размеры крана, м |
||||||
|
L |
H |
Нр |
Нc |
С |
d |
Lкр |
Lk, max |
|
|
1РТО300.60-* |
30.0 |
6.0 |
1.5 |
1.5 |
0.3 |
3.0 |
≤15 |
1.5 |
|
1РТО300.72-* |
30.0 |
7.2 |
1.5 |
1.5 |
0.3 |
3.0 |
≤15 |
1.5 |
|
1РТО300.84-* |
30.0 |
8.4 |
1.5 |
1.5 |
0.3 |
3.0 |
≤15 |
1.5 |
|
1РТО300.96-* |
30.0 |
9.6 |
1.5 |
1.5 |
0.3 |
3.0 |
≤15 |
1.5 |

|
КОД РАМЫ |
Осевая привязка, А, мм |
Размеры рамы, м |
Размеры крана, м |
||||||
|
L |
Н |
Нр |
Нc |
С |
d |
Lкр |
Lk, max |
||
|
2РТО180.48-* |
0 |
18.0 |
4.8 |
1.5 |
1.5 |
0.3 |
1.5 |
≤12.0 |
1.2 |
|
250 |
12.0 |
1.5 |
|||||||
|
2РТО180.60-* |
0 |
18.0 |
6.0 |
1.5 |
1.5 |
0.3 |
1.5 |
≤12.0 |
1.2 |
|
250 |
12.0 |
1.5 |
|||||||
|
2РТО180.72-* |
0 |
18.0 |
7.2 |
1.5 |
1.5 |
0.3 |
1.5 |
≤12.0 |
1.2 |
|
250 |
12.0 |
1.5 |
|||||||
|
2РТО180.84-* |
0 |
18.0 |
8.4 |
1.5 |
1.5 |
0.3 |
1.5 |
≤12.0 |
1.2 |
|
250 |
12.0 |
1.5 |
|||||||
Пролет 21 м

|
КОД РАМЫ |
Размеры рамы, м |
Размеры крана, м |
||||||
|
L |
Н |
Нр |
Нc |
С |
d |
Lкр |
Lk, max |
|
|
2РТО210.60-* |
21.0 |
6.0 |
1.5 |
1.5 |
0.3 |
1.5 |
≤15.0 |
1.5 |
|
2РТО210.72-* |
21.0 |
7.2 |
1.5 |
1.5 |
0.3 |
1.5 |
≤15.0 |
1.5 |
|
2РТО210.84-* |
21.0 |
8.4 |
1.5 |
1.5 |
0.3 |
1.5 |
≤15.0 |
1.5 |
|
2РТО210.96-* |
21.0 |
9.6 |
1.5 |
1.5 |
0.3 |
1.5 |
≤15.0 |
1.5 |

|
КОД РАМЫ |
Размеры рамы, м |
Размеры крана, м |
||||||
|
L |
Н |
Нр |
Нc |
С |
d |
Lкр |
Lk, max |
|
|
2РТО240.60-* |
24.0 |
6.0 |
1.5 |
1.5 |
0.3 |
1.5 |
≤15 |
1.5 |
|
2РТО240.72-* |
24.0 |
7.2 |
1.5 |
1.5 |
0.3 |
1.5 |
≤15 |
1.5 |
|
2РТО240.84-* |
24.0 |
8.4 |
1.5 |
1.5 |
0.3 |
1.5 |
≤15 |
1.5 |
|
2РТО240.96-* |
24.0 |
9.6 |
1.5 |
1.5 |
0.3 |
1.5 |
≤15 |
1.5 |
Пролет 30 м

|
КОД РАМЫ |
Размеры рамы, м |
Размеры крана, м |
||||||
|
L |
Н |
Нр |
Нc |
С |
d |
Lкр |
Lk, max |
|
|
2РТО300.60-* |
30.0 |
6.0 |
1.5 |
1.5 |
0.3 |
1.5 |
≤15 |
1.5 |
|
2РТО300.72-* |
30.0 |
7.2 |
1.5 |
1.5 |
0.3 |
1.5 |
≤15 |
1.5 |
|
2РТО300.84-* |
30.0 |
8.4 |
1.5 |
1.5 |
0.3 |
1.5 |
≤15 |
1.5 |
|
2РТО300.96-* |
30.0 |
9.6 |
1.5 |
1.5 |
0.3 |
1.5 |
≤15 |
1.5 |

|
КОД РАМЫ |
Осевая привязка, А, мм |
Размеры рамы, м |
Размеры крана, м |
||||||
|
L |
Н |
Нр |
Нc |
с |
d |
Lкр |
Lk, max |
||
|
3РТ0150.48-* |
0 |
15.0 |
4.8 |
1.0 |
1.0 |
0.25 |
1.5 |
≤9.0 |
1.5 |
|
250 |
12.0 |
0.6 |
|||||||
|
3РТО150.60-* |
0 |
15.0 |
6.0 |
1.0 |
1.0 |
0.25 |
1.5 |
≤9.0 |
1.5 |
|
250 |
12.0 |
0.6 |
|||||||
|
3РТО150.72-* |
0 |
15.0 |
7.2 |
1.0 |
1.0 |
0.25 |
1.5 |
≤9.0 |
1.5 |
|
250 |
12.0 |
0.6 |
|||||||
1. Трубчатые рамы с указанными габаритами могут применяться в зданиях без кранов или с подвесными кранами. При наличии кранов следует руководствоваться данными по осевой привязке стоек рам и параметрами кранов, указанными в таблице.
2. Lk max уточнить в соответствии с таблицей 1 документ -056.
3. Принцип маркировки рам см. документ -01ПЗ.

|
КОД РАМЫ |
Размеры рамы, м |
Размеры крана, м |
|||||||
|
L |
L1 |
Н |
Нр |
Нc |
С |
d |
Lкр |
Lk, max |
|
|
1РТМ2×180.48-* |
36.0 |
18.0 |
4.8 |
1.5 |
1.5 |
0.25 |
3.0 |
≤12.0 |
1.5 |
|
1РТМ2×180.60-* |
36.0 |
18.0 |
6.0 |
1.5 |
1.5 |
0.3 |
3.0 |
≤12.0 |
1.5 |
|
1РТМ2×180.72-* |
36.0 |
18.0 |
7.2 |
1.5 |
1.5 |
0.3 |
3.0 |
≤12.0 |
1.5 |
|
1РТМ2×180.84-* |
36.0 |
18.0 |
8.4 |
1.5 |
1.5 |
0.3 |
3.0 |
≤12.0 |
1.5 |
Пролет 3×18 м

|
КОД РАМЫ |
Размеры рамы, м |
Размеры крана, м |
|||||||
|
L |
L1 |
Н |
Нр |
Нc |
С |
d |
Lкр, max |
Lk, max |
|
|
1РТМ3×180.48-* |
54.0 |
18.0 |
4.8 |
1.5 |
1.5 |
0.25 |
3.0 |
≤12.0 |
1.5 |
|
1РТМ3×180.60-* |
54.0 |
18.0 |
6.0 |
1.5 |
1.5 |
0.3 |
3.0 |
≤12.0 |
1.5 |
|
1РТМ3×180.72-* |
54.0 |
18.0 |
7.2 |
1.5 |
1.5 |
0.3 |
3.0 |
≤12.0 |
1.5 |
|
1РТМ3×180.84-* |
54.0 |
18.0 |
8.4 |
1.5 |
1.5 |
0.3 |
3.0 |
≤12.0 |
1.5 |
1. Трубчатые рамы с указанными габаритами могут применяться в зданиях без кранов или с подвесными кранами.
2. Принципы маркировки рам см. документ -01ПЗ.

|
КОД РАМЫ |
Размеры рамы, м |
Размеры крана, м |
|||||||
|
L |
L1 |
Н |
Hp |
Нc |
С |
d |
Lкр, max |
Lk, max |
|
|
1РТМ4×180.48-* |
72.0 |
18.0 |
4.8 |
1.5 |
1.5 |
0.3 |
3.0 |
≤12.0 |
1.5 |
|
1РТМ4×180.60-* |
72.0 |
18.0 |
6.0 |
1.5 |
1.5 |
0.3 |
3.0 |
≤12.0 |
1.5 |
|
1РТМ4×180.72-* |
72.0 |
18.0 |
7.2 |
1.5 |
1.5 |
0.3 |
3.0 |
≤12.0 |
1.5 |
|
1РТМ4×180.84-* |
72.0 |
18.0 |
8.4 |
1.5 |
1.5 |
0.3 |
3.0 |
≤12.0 |
1.5 |
Пролет 5×18 м

|
КОД РАМЫ |
Размеры рамы, м |
Размеры крана, м |
|||||||
|
L |
L1 |
Н |
Нр |
Нc |
С |
d |
Lкр, max |
Lk, max |
|
|
1РТМ5×180.48-* |
90.0 |
18.0 |
4.8 |
1.5 |
1.5 |
0.3 |
3.0 |
≤12.0 |
1.5 |
|
1РТМ5×180.60-* |
90.0 |
18.0 |
6.0 |
1.5 |
1.5 |
0.3 |
3.0 |
≤12.0 |
1.5 |
|
1РТМ5×180.72-* |
90.0 |
18.0 |
7.2 |
1.5 |
1.5 |
0.3 |
3.0 |
≤12.0 |
1.5 |
|
1РТМ5×180.84-* |
90.0 |
18.0 |
8.4 |
1.5 |
1.5 |
0.3 |
3.0 |
≤12.0 |
1.5 |

|
КОД РАМЫ |
Размеры рамы, м |
Размеры крана, м |
|||||||
|
L |
L1 |
Н |
Нр |
Нc |
С |
d |
Lкр |
Lk, max |
|
|
1РТМ2×210.60-* |
42.0 |
21.0 |
6.0 |
1.5 |
1.5 |
0.3 |
3.0 |
≤l5.0 |
1.5 |
|
1РТМ2×210.72-* |
42.0 |
21.0 |
7.2 |
1.5 |
1.5 |
0.3 |
3.0 |
≤15.0 |
1.5 |
|
1РТМ2×210.84-* |
42.0 |
21.0 |
8.4 |
1.5 |
1.5 |
0.3 |
3.0 |
≤15.0 |
1.5 |
|
1РТМ2×210.96-* |
42.0 |
21.0 |
9.6 |
1.5 |
1.5 |
0.3 |
3.0 |
≤15.0 |
1.5 |
Пролет 3×21 м

|
КОД РАМЫ |
Размеры рамы, м |
Размеры крана, м |
|||||||
|
L |
L1 |
H |
Нр |
Нc |
С |
d |
Lкр |
Lk, max |
|
|
1РТМ3×210.60-* |
63.0 |
21.0 |
6.0 |
1.5 |
1.5 |
0.3 |
3.0 |
≤15.0 |
1.5 |
|
1РТМ3×210.72-* |
63.0 |
21.0 |
7.2 |
1.5 |
1.5 |
0.3 |
3.0 |
≤15.0 |
1.5 |
|
1РТМ3×210.84-* |
63.0 |
21.0 |
8.4 |
1.5 |
1.5 |
0.3 |
3.0 |
≤15.0 |
1.5 |
|
1РТМ3×210.96-* |
63.0 |
21.0 |
9.6 |
1.5 |
1.5 |
0.3 |
3.0 |
≤15.0 |
1.5 |
Трубчатые рамы с указанными габаритами могут применяться в зданиях без кранов или с подвесными кранами.
Пролет 4×21 м

|
КОД РАМЫ |
Размеры рамы, м |
Размеры крана, м |
|||||||
|
L |
L1 |
Н |
Нр |
Нc |
С |
d |
Lкр |
Lk, max |
|
|
1РТМ4×210.60-* |
84.0 |
21.0 |
6.0 |
1.5 |
1.5 |
0.3 |
3.0 |
≤15.0 |
1.5 |
|
1РТМ4×210.72-* |
84.0 |
21.0 |
7.2 |
1.5 |
1.5 |
0.3 |
3.0 |
≤15.0 |
1.5 |
|
1РТМ4×210.84-* |
84.0 |
21.0 |
8.4 |
1.5 |
1.5 |
0.3 |
3.0 |
≤15.0 |
1.5 |
|
1РТМ4×210.96-* |
84.0 |
21.0 |
9.6 |
1.5 |
1.5 |
0.3 |
3.0 |
≤l5.0 |
1.5 |
Пролет 2×24 м

|
КОД РАМЫ |
Размеры рамы, м |
Размеры крана, м |
|||||||
|
L |
L1 |
Н |
Нр |
Нc |
С |
d |
Lкр |
Lk, max |
|
|
1РТМ2×240.60-* |
48.0 |
24.0 |
6.0 |
1.5 |
1.5 |
0.3 |
3.0 |
≤15.0 |
1.5 |
|
1РТМ2×240.72-* |
48.0 |
24.0 |
7.2 |
1.5 |
1.5 |
0.3 |
3.0 |
≤15.0 |
1.5 |
|
1РТМ2×240.84-* |
48.0 |
24.0 |
8.4 |
1.5 |
1.5 |
0.3 |
3.0 |
≤15.0 |
1.5 |
|
1РТМ2×240.96-* |
48.0 |
24.0 |
9.6 |
1.5 |
1.5 |
0.3 |
3.0 |
≤15.0 |
1.5 |
Пролет 3×24 м

|
КОД РАМЫ |
Размеры рамы, м |
Размеры крана, м |
|||||||
|
L |
L1 |
Н |
Нр |
Нc |
С |
d |
Lkp, max |
Lk, max |
|
|
1РТМ3×240.60-* |
72.0 |
24.0 |
6.0 |
1.5 |
1.5 |
0.3 |
3.0 |
≤15.0 |
1.5 |
|
1РТМ3×240.72-* |
72.0 |
24.0 |
7.2 |
1.5 |
1.5 |
0.3 |
3.0 |
≤15.0 |
1.5 |
|
1РТМ3×240.84-* |
72.0 |
24.0 |
8.4 |
1.5 |
1.5 |
0.3 |
3.0 |
≤15.0 |
1.5 |
|
1РТМ3×240.96-* |
72.0 |
24.0 |
9.6 |
1.5 |
1.5 |
0.3 |
3.0 |
≤15.0 |
1.5 |
Пролет 4×24 м

|
КОД РАМЫ |
Размеры рамы, м |
Размеры крана, м |
|||||||
|
L |
L1 |
Н |
Нр |
Нc |
С |
d |
Lкр, max |
Lk, max |
|
|
1РТМ4×240.60-* |
96.0 |
24.0 |
6.0 |
1.5 |
1.5 |
0.3 |
3.0 |
≤15.0 |
1.5 |
|
1РТМ4×240.72-* |
96.0 |
24.0 |
7.2 |
1.5 |
1.5 |
0.3 |
3.0 |
≤15.0 |
1.5 |
|
1РТМ4×240.84-* |
96.0 |
24.0 |
8.4 |
1.5 |
1.5 |
0.3 |
3.0 |
≤15.0 |
1.5 |
|
1РТМ4×240.96-* |
96.0 |
24.0 |
9.6 |
1.5 |
1.5 |
0.3 |
3.0 |
≤l5.0 |
1.5 |
Пролет 2×30 м

|
КОД РАМЫ |
Размеры рамы, м |
Размеры крана, м |
|||||||
|
L |
L1 |
Н |
Нр |
Нc |
С |
d |
Lкр |
Lk, max |
|
|
1РТМ2×300.60-* |
60.0 |
30.0 |
6.0 |
1.5 |
1.5 |
0.3 |
3.0 |
≤15.0 |
1.5 |
|
1РТМ2×300.72-* |
60.0 |
30.0 |
7.2 |
1.5 |
1.5 |
0.3 |
3.0 |
≤15.0 |
1.5 |
|
1РТМ2×300.84-* |
60.0 |
30.0 |
8.4 |
1.5 |
1.5 |
0.3 |
3.0 |
≤15.0 |
1.5 |
|
1РТМ2×300.96-* |
60.0 |
30.0 |
9.6 |
1.5 |
1.5 |
0.3 |
3.0 |
≤15.0 |
1.5 |
Пролет 3×30 м

|
КОД РАМЫ |
Размеры рамы, м |
Размеры крана, м |
|||||||
|
L |
L1 |
H |
Нр |
Нc |
С |
d |
Lкр |
Lk, max |
|
|
1РТМ3×300.60-* |
90.0 |
30.0 |
6.0 |
1.5 |
1.5 |
0.3 |
3.0 |
≤15.0 |
1.5 |
|
1РТМ3×300.72-* |
90.0 |
30.0 |
7.2 |
1.5 |
1.5 |
0.3 |
3.0 |
≤15.0 |
1.5 |
|
1РТМ3×300.84-* |
90.0 |
30.0 |
8.4 |
1.5 |
1.5 |
0.3 |
3.0 |
≤15.0 |
1.5 |
|
1РТМ3×300.96-* |
90.0 |
30.0 |
9.6 |
1.5 |
1.5 |
0.3 |
3.0 |
≤15.0 |
1.5 |
Трубчатые рамы с указанными габаритами могут применяться в зданиях без кранов или с подвесными кранами.
Пролет 2×18 м

|
КОД РАМЫ |
Размеры рамы, м |
Размеры крана, м |
|||||||
|
L |
L1 |
Н |
Нр |
Нc |
С |
d |
Lкр |
Lk, max |
|
|
2РТМ2×180.48-* |
36.0 |
18.0 |
4.8 |
1.5 |
1.5 |
0.3 |
1.5 |
≤12.0 |
1.5 |
|
2РТМ2×180.60-* |
36.0 |
18.0 |
6.0 |
1.5 |
1.5 |
0.3 |
1.5 |
≤12.0 |
1.5 |
|
2РТМ2×180.72-* |
36.0 |
18.0 |
7.2 |
1.5 |
1.5 |
0.3 |
1.5 |
≤12.0 |
1.5 |
|
2РТМ2×180.84-* |
36.0 |
18.0 |
8.4 |
1.5 |
1.5 |
0.3 |
1.5 |
≤12.0 |
1.5 |
Пролет 3×18 м

|
КОД РАМЫ |
Размеры рамы, м |
Размеры крана, м |
|||||||
|
L |
L1 |
Н |
Hp |
Нc |
С |
d |
Lкр, max |
Lk, max |
|
|
2РТМ3×180.48-* |
54.0 |
18.0 |
4.8 |
1.5 |
1.5 |
0.3 |
1.5 |
≤12.0 |
1.5 |
|
2РТМ3×180.60-* |
54.0 |
18.0 |
6.0 |
1.5 |
1.5 |
0.3 |
1.5 |
≤12.0 |
1.5 |
|
2РТМ3×180.72-* |
54.0 |
18.0 |
7.2 |
1.5 |
1.5 |
0.3 |
1.5 |
≤12.0 |
1.5 |
|
2РТМ3×180.84-* |
54.0 |
18.0 |
8.4 |
1.5 |
1.5 |
0.3 |
1.5 |
≤12.0 |
1.5 |
Пролет 4×18 м

|
КОД РАМЫ |
Размеры рамы, м |
Размеры крана, м |
|||||||
|
L |
L1 |
Н |
Нр |
Нc |
С |
d |
Lкр, max |
Lk, max |
|
|
2РТМ4×180.48-* |
72.0 |
18.0 |
4.8 |
1.5 |
1.5 |
0.3 |
1.5 |
≤l2.0 |
1.5 |
|
2РТМ4×180.60-* |
72.0 |
18.0 |
6.0 |
1.5 |
1.5 |
0.3 |
1.5 |
≤12.0 |
1.5 |
|
2РТМ4×180.72-* |
72.0 |
18.0 |
7.2 |
1.5 |
1.5 |
0.3 |
1.5 |
≤12.0 |
1.5 |
|
2РТМ4×180.84-* |
72.0 |
18.0 |
8.4 |
1.5 |
1.5 |
0.3 |
1.5 |
≤l2.0 |
1.5 |
Пролет 5×18 м

|
КОД РАМЫ |
Размеры рамы, м |
Размеры крана, м |
|||||||
|
L |
L1 |
Н |
Нр |
Нc |
С |
d |
Lкр, max |
Lk, max |
|
|
2РТМ5×180.48-* |
90.0 |
18.0 |
4.8 |
1.5 |
1.5 |
0.3 |
1.5 |
≤12.0 |
1.5 |
|
2РТМ5×180.60-* |
90.0 |
18.0 |
6.0 |
1.5 |
1.5 |
0.3 |
1.5 |
≤l2.0 |
1.5 |
|
2РТМ5×180.72-* |
90.0 |
18.0 |
7.2 |
1.5 |
1.5 |
0.3 |
1.5 |
≤l2.0 |
1.5 |
|
2РТМ5×180.84-* |
90.0 |
18.0 |
8.4 |
1.5 |
1.5 |
0.3 |
1.5 |
≤12.0 |
1.5 |
Пролет 2×21 м.

|
КОД РАМЫ |
Размеры рамы, м |
Размеры крана, м |
|||||||
|
L |
L1 |
Н |
Нр |
Нc |
С |
d |
Lкр |
Lk, max |
|
|
2РТМ2×210.60-* |
42.0 |
21.0 |
6.0 |
1.5 |
1.5 |
0.3 |
1.5 |
<15.0 |
1.5 |
|
2РТМ2×210.72-* |
42.0 |
21.0 |
7.2 |
1.5 |
1.5 |
0.3 |
1.5 |
<15.0 |
1.5 |
|
2РТМ2×210.72-* |
42.0 |
21.0 |
8.4 |
1.5 |
1.5 |
0.3 |
1.5 |
<15.0 |
1.5 |
|
2РТМ2×210.84-* |
42.0 |
21.0 |
9.6 |
1.5 |
1.5 |
0.3 |
1.5 |
<15.0 |
1.5 |
Пролет 3×21 м

|
КОД РАМЫ |
Размеры рамы, м |
Размеры крана, м |
|||||||
|
L |
L1 |
Н |
Нр |
Нс |
С |
d |
Lкр |
Lk, max |
|
|
2РТМ3×210.60-* |
63.0 |
21.0 |
6.0 |
1.5 |
1.5 |
0.3 |
1.5 |
≤15.0 |
1.5 |
|
2РТМ3×210.72-* |
63.0 |
21.0 |
7.2 |
1.5 |
1.5 |
0.3 |
1.5 |
≤15.0 |
1.5 |
|
2РТМ3×210.72-* |
63.0 |
21.0 |
8.4 |
1.5 |
1.5 |
0.3 |
1.5 |
≤15.0 |
1.5 |
|
2РТМ3×210.84-* |
63.0 |
21.0 |
9.6 |
1.5 |
1.5 |
0.3 |
1.5 |
≤15.0 |
1.5 |
Пролет 4×21 м

|
КОД РАМЫ |
Размеры рамы, м |
Размеры крана, м |
|||||||
|
L |
L1 |
Н |
Нр |
Нc |
С |
d |
Lкp |
Lk, max |
|
|
2РТМ4×210.60-* |
84.0 |
21.0 |
6.0 |
1.5 |
1.5 |
0.3 |
1.5 |
≤l5.0 |
1.5 |
|
2РТМ4×210.72-* |
84.0 |
21.0 |
7.2 |
1.5 |
1.5 |
0.3 |
1.5 |
≤15.0 |
1.5 |
|
2РТМ4×210.84-* |
84.0 |
21.0 |
8.4 |
1.5 |
1.5 |
0.3 |
1.5 |
≤15.0 |
1.5 |
|
2РТМ4×210.96-* |
84.0 |
21.0 |
9.6 |
1.5 |
1.5 |
0.3 |
1.5 |
≤15.0 |
1.5 |
Пролет 2×24 м

|
КОД РАМЫ |
Размеры рамы, м |
Размеры крана, м |
|||||||
|
L |
L1 |
Н |
Нр |
Нc |
С |
d |
Lкр |
Lk, max |
|
|
2РТМ2×240.60-* |
48.0 |
24.0 |
6.0 |
1.5 |
1.5 |
0.3 |
1.5 |
≤15.0 |
1.5 |
|
2РТМ2×240.72-* |
48.0 |
24.0 |
7.2 |
1.5 |
1.5 |
0.3 |
1.5 |
≤15.0 |
1.5 |
|
2РТМ2×240.84-* |
48.0 |
24.0 |
8.4 |
1.5 |
1.5 |
0.3 |
1.5 |
≤15.0 |
1.5 |
|
2РТМ2×240.96-* |
48.0 |
24.0 |
9.6 |
1.5 |
1.5 |
0.3 |
1.5 |
≤15.0 |
1.5 |
Пролет 3×24 м

|
КОД РАМЫ |
Размеры рамы, м |
Размеры крана, м |
|||||||
|
L |
L1 |
Н |
Нр |
Нc |
С |
d |
Lкр, max |
Lk, max |
|
|
2РТМ3×240.60-* |
72.0 |
24.0 |
6.0 |
1.5 |
1.5 |
0.3 |
1.5 |
≤15.0 |
1.5 |
|
2РТМ3×240.72-* |
72.0 |
24.0 |
7.2 |
1.5 |
1.5 |
0.3 |
1.5 |
≤15.0 |
1.5 |
|
2РТМ3×240.84-* |
72.0 |
24.0 |
8.4 |
1.5 |
1.5 |
0.3 |
1.5 |
≤15.0 |
1.5 |
|
2РТМ3×240.96-* |
72.0 |
24.0 |
9.6 |
1.5 |
1.5 |
0.3 |
1.5 |
≤15.0 |
1.5 |
Пролет 4×24 м

|
КОД РАМЫ |
Размеры рамы, м |
Размеры крана, м |
|||||||
|
L |
L1 |
Н |
Нр |
Нc |
С |
d |
Lкр, max |
Lk, max |
|
|
2РТМ4×240.60-* |
96.0 |
24.0 |
6.0 |
1.5 |
1.5 |
0.3 |
1.5 |
≤l5.0 |
1.5 |
|
2РТМ4×240.72-* |
96.0 |
24.0 |
7.2 |
1.5 |
1.5 |
0.3 |
1.5 |
≤l5.0 |
1.5 |
|
2РТМ4×240.84-* |
96.0 |
24.0 |
8.4 |
1.5 |
1.5 |
0.3 |
1.5 |
≤15.0 |
1.5 |
|
2РТМ4×240.96-* |
96.0 |
24.0 |
9.6 |
1.5 |
1.5 |
0.3 |
1.5 |
≤15.0 |
1.5 |
Пролет 2×30 м

|
КОД РАМЫ |
Размеры рамы, м |
Размеры крана, м |
|||||||
|
L |
L1 |
H |
Нр |
Нc |
С |
d |
Lкр |
Lk, max |
|
|
2РТМ2×300.60-* |
60.0 |
30.0 |
6.0 |
1.5 |
1.5 |
0.3 |
1.5 |
≤15.0 |
1.5 |
|
2РТМ2×300.72-* |
60.0 |
30.0 |
7.2 |
1.5 |
1.5 |
0.3 |
1.5 |
≤15.0 |
1.5 |
|
2РТМ2×300.84-* |
60.0 |
30.0 |
8.4 |
1.5 |
1.5 |
0.3 |
1.5 |
≤15.0 |
1.5 |
|
2РТМ2×300.96-* |
60.0 |
30.0 |
9.6 |
1.5 |
1.5 |
0.3 |
1.5 |
≤15.0 |
1.5 |
Пролет 3×30 м

|
КОД РАМЫ |
Размеры рамы, м |
Размеры крана, м |
|||||||
|
L |
L1 |
H |
Нр |
Нc |
С |
d |
Lкр |
Lk, max |
|
|
2РТМ3×300.60-* |
90.0 |
30.0 |
6.0 |
1.5 |
1.5 |
0.3 |
1.5 |
≤15.0 |
1.5 |
|
2РТМ3×300.72-* |
90.0 |
30.0 |
7.2 |
1.5 |
1.5 |
0.3 |
1.5 |
≤15.0 |
1.5 |
|
2РТМ3×300.84-* |
90.0 |
30.0 |
8.4 |
1.5 |
1.5 |
0.3 |
1.5 |
≤15.0 |
1.5 |
|
2РТМ3×300.96-* |
90.0 |
30.0 |
9.6 |
1.5 |
1.5 |
0.3 |
1.5 |
≤15.0 |
1.5 |

Нагрузки на фундаменты определяются как сумма постоянных, длительных и кратковременных нагрузок.
|
Суммарная вертикальная нагрузка: |
ΣN=Nкод+Nкран+Nw |
(1) |
|
|
Суммарная горизонтальная нагрузка по оси X: |
ΣQx=Qx+Qxкран+Qxw |
(2) |
|
|
Суммарная горизонтальная нагрузка по оси Y: |
ΣQy=Qyкран+Qyw |
(3) |
|
|
где Nкод, Qx |
– усилия от вертикальных нагрузок, которые включают в себя постоянные, снеговые и технологические нагрузки от коммуникаций, определяются по таблицам докум. -021, - 022; |
||
|
Nкран, Qxкран, Qyкран |
– усилия от действия крана, определяются по таблице см. докум. -023; |
||
|
Nw, Qxw, Qyw |
– усилия от ветра (вдоль или поперек здания) определяются в зависимости от ветрового района, конфигурации и габаритов здания по формулам, приведенным в докум. -024. |
||
Расчет фундаментов следует выполнять с учетом наиболее неблагоприятных сочетаний нагрузок. Эти сочетания устанавливаются из анализа реальных вариантов одновременного действия различных нагрузок. При учете сочетаний следует вводить коэффициенты сочетаний в соответствии со СНиП 2.01.07-85* "Нагрузки и воздействия".
Допускается корректировка усилий, действующих на фундаменты, по следующим формулам:
|
|
(4) |
|
|
|
(5) |
|
|
|
(6) |
|
|
где Nфакт, Qxфакт, Qy факт |
– фактическое усилие на фундамент; |
|
|
ΣN, ΣQx, ΣQy |
– суммарные усилия на фундамент, определенные в соответствии с кодом вертикальной нагрузки; |
|
|
qфaкт |
– фактическая вертикальная нагрузка, кгс/м2; |
|
|
qкод |
– унифицированная вертикальная нагрузка, см. табл. 3 докум. -01ПЗ, кгс/м2 |
|

РАСЧЕТНЫЕ УСИЛИЯ НА ФУНДАМЕНТЫ ОДНОПРОЛЕТНЫХ РАМ ОТ ВЕРТИКАЛЬНЫХ НАГРУЗОК, тс
|
Пролет рамы L, м |
Отметка Н, м |
Код вертикальной нагрузки |
|||||||||||
|
I |
II |
III |
IV |
V |
VI |
||||||||
|
N |
Qx |
N |
Qx |
N |
Qx |
N |
Qx |
N |
Qx |
N |
Qx |
||
|
15 |
4.8; 6.0 |
9.24 |
2.13 |
11.09 |
2.56 |
13.04 |
3.39 |
16.94 |
4.40 |
19.93 |
5.54 |
24.60 |
6.84 |
|
7.2 |
9.80 |
1.35 |
11.76 |
1.62 |
13.56 |
2.19 |
17.61 |
2.85 |
20.46 |
3.62 |
25.26 |
4.47 |
|
|
18 |
4.8; 6.0 |
10.55 |
2.87 |
12.66 |
3.45 |
15.15 |
4.60 |
19.68 |
5.97 |
23.38 |
7.64 |
28.86 |
9.43 |
|
7.2; 8.4 |
11.65 |
1.79 |
13.98 |
2.15 |
16.17 |
2.87 |
21.00 |
3.73 |
24.45 |
4.67 |
30.18 |
5.77 |
|
|
21 |
6.0; 7.2 |
12.31 |
3.48 |
14.78 |
4.18 |
17.69 |
5.66 |
22.97 |
7.35 |
27.52 |
9.23 |
33.97 |
11.40 |
|
8.4; 9.6 |
13.42 |
2.30 |
16.11 |
2.76 |
18.71 |
3.85 |
24.30 |
5.00 |
28.36 |
6.27 |
35.01 |
7.74 |
|
|
24 |
6.0; 7.2 |
13.69 |
4.73 |
16.43 |
5.68 |
19.55 |
7.55 |
25.39 |
9.80 |
30.80 |
12.18 |
38.03 |
15.04 |
|
8.4; 9.6 |
14.74 |
3.27 |
17.69 |
3.92 |
20.83 |
5.19 |
27.05 |
6.75 |
31.82 |
8.46 |
39.29 |
10.45 |
|
|
30 |
6.0; 7.2 |
16.24 |
7.31 |
19.50 |
8.78 |
24.03 |
11.66 |
31.21 |
15.14 |
37.67 |
18.99 |
46.51 |
23.44 |
|
8.4; 9.6 |
17.17 |
5.11 |
20.61 |
6.13 |
24.49 |
8.32 |
31.80 |
10.80 |
38.56 |
13.54 |
47.61 |
16.72 |
|
1. Вертикальные нагрузки включают постоянные (каркас, ограждающие конструкции кровли и стен, кроме цоколя), снеговые и дополнительные нагрузки (освещение, сигнализация и электрокабели с суммарным нормативным значением 8 кгс/м2). Нагрузки от цоколя определяются индивидуально в зависимости от принятого типа цоколя.
2. Нагрузки на фундаменты от снега определяются путем умножения усилий N, Qx из табл. 1 на коэффициент kснег из табл. 2.
ОТНОСИТЕЛЬНАЯ ДОЛЯ РАСЧЕТНОЙ СНЕГОВОЙ НАГРУЗКИ
|
Коэффициент перехода к снеговой нагрузке |
Код вертикальной нагрузки |
|||||
|
I |
II |
III |
IV |
V |
VI |
|
|
kснег |
0.45 |
0.55 |
0.58 |
0.67 |
0.72 |
0.73 |

РАСЧЕТНЫЕ УСИЛИЯ НА ФУНДАМЕНТЫ ДВУХПРОЛЕТНЫХ РАМ ОТ ВЕРТИКАЛЬНЫХ НАГРУЗОК, тс
|
Пролет рамы L, м |
Отметка Н, м |
Код вертикальной нагрузки |
|||||||||||||||||
|
I |
II |
III |
IV |
V |
VI |
||||||||||||||
|
N1 |
N2 |
Qx |
N1 |
N2 |
Qx |
N1 |
N2 |
Qx |
N1 |
N2 |
Qx |
N1 |
N2 |
Qx |
N1 |
N2 |
Qx |
||
|
18 |
4.8; 6.0 |
10.8 |
16.8 |
2.1 |
12.4 |
20.2 |
2.5 |
15.6 |
26.8 |
3.3 |
19.4 |
34.6 |
4.3 |
23.6 |
43.5 |
5.3 |
28.2 |
53.5 |
6.6 |
|
7.2; 8.4 |
11.7 |
17.3 |
1.6 |
13.3 |
20.6 |
1.9 |
16.5 |
27.4 |
2.6 |
20.2 |
35.3 |
3.3 |
24.5 |
44.4 |
4.1 |
29.3 |
54.6 |
5.1 |
|
|
21 |
6.0; 7.2 |
12.4 |
19.9 |
2.3 |
14.3 |
23.9 |
2.8 |
18.1 |
31.8 |
3.7 |
22.5 |
41.0 |
4.8 |
27.5 |
51.5 |
6.0 |
33.2 |
63.3 |
7.4 |
|
8.4; 9.6 |
13.4 |
20.4 |
1.8 |
15.2 |
24.4 |
2.2 |
18.9 |
32.5 |
2.9 |
23.3 |
41.8 |
3.7 |
28.5 |
52.5 |
4.7 |
34.3 |
64.6 |
5.7 |
|
|
24 |
6.0; 7.2 |
13.5 |
22.7 |
3.0 |
15.6 |
27.3 |
3.7 |
19.8 |
36.3 |
4.8 |
24.8 |
46.8 |
6.3 |
30.3 |
58.9 |
7.9 |
36.3 |
72.4 |
9.7 |
|
8.4; 9.6 |
14.4 |
23.3 |
2.4 |
16.5 |
27.9 |
2.8 |
20.7 |
37.1 |
3.8 |
25.6 |
47.8 |
4.9 |
31.2 |
60.1 |
6.1 |
37.5 |
73.8 |
7.5 |
|
|
30 |
6.0; 7.2 |
15.9 |
28.2 |
4.9 |
18.6 |
33.7 |
5.9 |
23.9 |
44.9 |
7.7 |
30.2 |
57.9 |
10.1 |
37.1 |
72.8 |
12.6 |
44.7 |
97.4 |
15.6 |
|
8.4; 9.6 |
16.9 |
28.8 |
3.8 |
19.6 |
34.5 |
4.5 |
24.8 |
45.8 |
6.0 |
31.0 |
59.1 |
7.8 |
38.1 |
74.2 |
9.8 |
46.0 |
99.3 |
12.1 |
|
Нагрузки на фундаменты двухпролетных рам от снега определяются путем умножения усилий N1, N2, Qx, приведенных в таблице, на соответствующий коэффициент kснег из табл. 2, докум. -021.
РАСЧЕТНЫЕ УСИЛИЯ НА ФУНДАМЕНТЫ МНОГОПРОЛЕТНЫХ РАМ ОТ ВЕРТИКАЛЬНЫХ НАГРУЗОК, тс

Нагрузки на фундаменты многопролетных рам с числом пролетов n=3...5 определяются следующим образом:
вертикальные усилия
|
N1=1.07•N1табл |
(1) |
|
N2=0.9•N2табл |
(2) |
|
N3=0.8•N2табл |
(3) |
горизонтальные усилия
|
Qx=1.05•Qxтабл |
(4) |
где N1табл, N2табл, Qxтабл – соответствующие значения нагрузок N1, N2, Qx из таблицы для двухпролетных рам.
Коэффициенты получены в результате обобщенных расчетов.

РАСЧЕТНЫЕ УСИЛИЯ НА ФУНДАМЕНТЫ ОДНОПРОЛЕТНЫХ РАМ ОТ ПОДВЕСНЫХ КРАНОВ, тс
|
Нагрузки на фундаменты |
Грузоподъемность подвесного крана, т |
|||
|
≤1 |
2 |
3.2 |
5 |
|
|
Nкран |
2.38 |
3.24 |
4.86 |
6.94 |
|
Qxкран |
1.23 |
1.8 |
2.64 |
3.67 |
|
Qyкран |
±0.21 |
±0.33 |
±0.50 |
±0.71 |
1. В таблице приведены максимальные расчетные нагрузки от одного подвесного крана для зданий всех пролетов и высот. При наличии двух кранов на одном пути значения нагрузок Nкран и Qxкран, приведенные в таблице, следует умножать на коэффициент k=1.8 для рядовых рам и k=1.2 для торцевых рам.
2. При определении Qxкран учтены максимальные величины нагрузок, взятые от действия сил поперечного торможения тележки крана и распора от вертикальной крановой нагрузки.
3. Усилие Qyкран прикладывается только к фундаментам связевых блоков.
4. Для средних стоек многопролетных зданий нагрузки на фундаменты определяются по формулам:
|
– вертикальная нагрузка |
ΣNкран=(Nкран лев+Nкран прав)•ψ |
(1) |
|
|
– горизонтальная нагрузка |
ΣQyкран=(Qyкран лев+Qyкран прав)•ψ, |
(2) |
|
|
где Nкран лев и Nкран прав |
– определяются по таблице и п. 1. в зависимости от количества кранов в каждом пролете; |
||
|
ψ=0.85 |
– при одном кране в каждом пролете; |
||
|
ψ=0.7 |
– при двух кранах в каждом пролете. |
||
СХЕМА 1 ВЕТЕР ПОПЕРЕК ЗДАНИЯ

СХЕМА 2 ВЕТЕР ВДОЛЬ ЗДАНИЯ

Суммарная ветровая нагрузка:
– сдвигающая нагрузка
|
QΣw=CeΣ•W0•Kzcp•γf•Aгр |
(1) |
– опрокидывающий момент
|
MΣw=0.575•QΣw•Нзд |
(2) |
|
где CeΣ |
– суммарный аэродинамический коэффициент для наветренной и подветренной стен здания, определяемый по СНиП 2.01.07-85* "Нагрузки и воздействия": СеΣ=Се+Се3 (максимальное значение СеΣ=1.4 – для зданий с проницаемостью μ<1) |
|||||||||||||||
|
W0 |
– нормативное значение ветрового давления, определяемое в соответствии со СНиП 2.01.07-85* "Нагрузки и воздействия"; |
|||||||||||||||
|
Kzcp |
– усредненный коэффициент, учитывающий изменение ветрового давления по высоте здания, принимаемый по приведенной ниже таблице:
|
|||||||||||||||
|
γf=1.4 |
– коэффициент надежности по ветровой нагрузке; |
|||||||||||||||
|
Нзд |
– высота здания от уровня фундаментов до конька с учетом ограждающих конструкций, м. |
|||||||||||||||
|
Агр |
– грузовая площадь, м2, определяемая по формуле: Агр=a×в |
|||||||||||||||
|
a, в |
– размеры грузовой площади, м, определенные в соответствии со схемами 1 и 2,
|
|||||||||||||||
НАГРУЗКИ НА ФУНДАМЕНТЫ СТОЕК ОТ ВЕТРА ПОПЕРЕК ЗДАНИЯ
СХЕМА 1 ВЕТЕР ПОПЕРЕК ЗДАНИЯ

|
Горизонтальная нагрузка на наветренную стойку рамы: |
Q1xw=Q1w•(0.6+0.25•Се3)/СеΣ |
(3) |
|
Q2xw max=0.535•QΣw |
(4) |
|
|
Горизонтальная нагрузка на подветренную стойку рамы: |
Q2xw=QΣw•(0.2+0.75•Се3)/CeΣ |
(5) |
|
Q2xw max=0.465•QΣw |
(6) |
|
|
Вертикальная нагрузка на стойку рамы: |
N1w= N2w=MΣw/L |
(7) |
|
где L - общая ширина здания. |
|
НАГРУЗКИ НА ФУНДАМЕНТЫ СТОЕК СВЯЗЕВОГО БЛОКА ОТ ВЕТРА ВДОЛЬ ЗДАНИЯ
|
СХЕМА 2 ВЕТЕР ВДОЛЬ ЗДАНИЯ
|
Крестовые гибкие связи без предварительного натяжения
|
Крестовые гибкие связи с предварительным натяжением
|
||||
|
Горизонтальная нагрузка на фундамент стойки связевого блока: |
|
|
||||
|
Вертикальная нагрузка на фундамент стойки связевого блока: |
|
|
|
где Sпн |
– усилие предварительного натяжения связи, см.докум.- 044; |
||
|
n |
– количество связевых блоков по длине здания; |
||
|
h |
– высота связевого блока, м; |
||
|
Qy |
– горизонтальное усилие от ветра на стойку связевого блока, определяемое по формуле:
|

Суммарная ветровая нагрузка на стойки торцевого фахверка:
Ветер поперек здания
|
QxΣw=0.25•СехΣ•W0•Kzcp•γf•Нзд•В |
(1) |
Ветер вдоль здания
|
QyΣw=СеуΣ•W0•Kzcp•γf•Нзд•l |
(2) |
|
|
где СехΣ |
– суммарный аэродинамический коэффициент для наветренной и подветренной стен здания, определяемый по СНиП 2.01.07-85* "Нагрузки и воздействия": СехΣ=Се+Се3 (максимальное значение СеΣ=1.4) |
|
|
СеуΣ |
– суммарный аэродинамический коэффициент для наветренной стены здания, определяемый по СНиП 2.01.07-85* "Нагрузки и воздействия": СеуΣ=1 |
|
|
W0 |
– нормативное значение ветрового давления, определяемое в соответствии со СНиП 2.01.07-85* "Нагрузки и воздействия"; |
|
|
Kzcp |
– усредненный коэффициент, учитывающий изменение ветрового давления по высоте здания, принимаемый по таблице см. л. 1 докум. -024; |
|
|
γf=1.4 |
– коэффициент надежности по ветровой нагрузке; |
|
|
Нзд |
– высота здания от уровня фундаментов до конька с учетом ограждающих конструкций, м; |
|
|
В |
– шаг стоек рам, В=6 м; |
|
|
l |
– шаг стоек фахверка, м. |
|
НАГРУЗКИ НА ФУНДАМЕНТЫ СТОЕК ЙЕСУЩЕГО ФАХВЕРКА
Суммарная вертикальная нагрузка:
ΣN=Nкод+Nст+Nкр+Nw,
|
где Nкод – вертикальная нагрузка от покрытия |
Nкод=0.5•qкод•В•l |
(3) |
|
Nст – вертикальная нагрузка от стены и цоколя |
Nст=qстен•hстен•l+qцок•hцок•l |
(4) |
|
Nкр – вертикальная нагрузка от действия крана |
Nкp=Nкран•(l–а)/l |
(5) |
|
Nw – вертикальная нагрузка от ветра поперек здания (вдоль оси X в связевом блоке) |
Nw=QxΣw•Нзд/l |
(6) |
|
где qкод |
– унифицированная вертикальная нагрузка от покрытия, определяется по табл.3 докум. -01ПЗ, кгс/м2; |
|
qстен, qцок |
– вертикальная нагрузка от ограждающих конструкций стены и цоколя, определяется индивидуально, кгс/м2; |
|
hстен |
– высота стенового ограждения, м; |
|
hцок |
– высота цоколя, м; |
|
Nкран |
– вертикальное усилие от крана в зависимости от грузоподъемности, см. таблицу докум. -023. |
При наличии двух кранов на соседних путях следует учитывать их одновременное воздействие. При наличии двух кранов на одном пути значение N кран следует умножать на коэффициент 1.2. Для учета сочетаний нагрузок следует вводить коэффициенты сочетаний нагрузок в соответствии со СНиП 2.01.07-85*.
|
Горизонтальная нагрузка от ветра вдоль оси X: |
|
|
|
– для стойки в связевом блоке |
Qx=1.1•Sпн•Cosα |
(7) |
|
|
где Sпн – усилие предварительного натяжения связи, см. докум. -044 |
|
|
– для крайней стойки |
Qx=QxΣw |
(8) |
|
– для крайней стойки, к которой примыкает связевый блок |
Qx=1.1•Sпн•Cosα+QxΣw |
(9) |
|
Горизонтальная нагрузка от ветра вдоль оси Y: |
Qy=0.5•QyΣw |
(10) |
|
Опрокидывающий момент, возникающий от действия ветра вдоль оси Y: |
Мх=0.125•QyΣ•Нзд |
(11) |

Суммарная ветровая нагрузка на стойки самонесущего фахверка:
Ветер вдоль здания
|
QyΣw=Сеу•W0•Kzcp•γf•Нзд•l |
(1) |
|
|
где Сеу |
– суммарный аэродинамический коэффициент для наветренной и подветренной стен здания, определяемый по СНиП 2.01.07-85* "Нагрузки и воздействия": CeyΣ=1 |
|
|
W0 |
– нормативное значение ветрового давления, определяемое в соответствии со СНиП 2.01.07-85* "Нагрузки и воздействия"; |
|
|
Kzcp |
– усредненный коэффициент, учитывающий изменение ветрового давления по высоте здания, принимаемый по табл. лист 1 докум. -024; |
|
|
γf=1.4 |
– коэффициент надежности по ветровой нагрузке; |
|
|
Нзд |
– высота здания от уровня фундаментов до конька, м. |
|
|
l |
– шаг стоек фахверка, м. |
|
НАГРУЗКИ НА ФУНДАМЕНТЫ СТОЕК САМОНЕСУЩЕГО ФАХВЕРКА
|
Вертикальная нагрузка от покрытия |
NΣ=qфахв•Нзд•l |
(2) |
|
|
где qфахв – вертикальная нагрузка от стоек самонесущего фахверка, веса ограждающих конструкций стены и веса цоколя, кгс/м2, определяется индивидуально. |
|
|
Горизонтальная нагрузка от ветра вдоль оси Y: |
Qy=0.5•QyΣw |
(3) |
|
Опрокидывающий момент, возникающий от действия ветра вдоль оси Y: |
Мх=0.125•QySΣ•Нзд |
(4) |
Нагрузки на фундаменты основной несущей рамы в торце здания определяются аналогично нагрузкам на фундаменты соответствующей рамы от вертикальных, крановых, ветровых нагрузок с учетом уменьшенной грузовой площади покрытия и дополнительной нагрузки от собственного веса торца здания.
ОДНОПРОЛЕТНЫЕ ЗДАНИЯ
ТОРЕЦ С НЕСУЩИМ ФАХВЕРКОМ

ТОРЕЦ С ОСНОВНОЙ НЕСУЩЕЙ РАМОЙ
(для перспективного расширения здания)

В зданиях пролетом 15 и 18 м при наличии подвесных кранов привязка "А" принимается "0" или "250" мм в зависимости от параметров выбранного крана. Для других пролетов рам, а также для зданий без кранов при любых пролетах, принята нулевая привязка.
Шаг стоек фахверка l принимается в зависимости от пролета в соответствии со схемами фахверка.
МНОГОПРОЛЕТНЫЕ ЗДАНИЯ
ТОРЕЦ С НЕСУЩИМ ФАХВЕРКОМ

ТОРЕЦ С ОСНОВНОЙ НЕСУЩЕЙ РАМОЙ
(для перспективного расширения здания)

СХЕМЫ ПРИВЯЗКИ СТОЕК В ТЕМПЕРАТУРНЫХ ШВАХ
ВАРИАНТ 1

ВАРИАНТ 2

СВЯЗЕВЫЕ БЛОКИ
1. Расстановка связевых блоков в одно- и многопролетных зданиях производится в соответствии со схемами, приведенными в докум. -029 в зависимости от длины здания.
2. Дополнительные связевые блоки, показанные на схемах связевых блоков пунктирами, устанавливаются в следующих случаях:
а) в районах с сейсмичностью ≥7 баллов в зданиях длиной 54...72 и 90...96 м для всех кодов вертикальной нагрузки;
б) в зданиях длиной 90 и 96 м для кодов вертикальной нагрузки V и VI даже при сейсмике <7 баллов.
Дополнительные связевые блоки также могут быть установлены в соответствии с п. 5 настоящих указаний.
3. Связевый блок состоит из распорок и гибких связей, которые устанавливаются по крайним и средним стойкам и ригелям рам. Распорки в связевом блоке могут быть двухветвевые решетчатые и одноветвевые из замкнутых гнутосварных труб квадратного сечения. Гибкие связи могут выполняться с предварительным натяжением и без натяжения из круглой стали. При проектировании предпочтение следует отдавать связям с предварительным натяжением, как наиболее прогрессивным. Сечения элементов связевых блоков подбираются по сортаментам в зависимости от действующих усилий.
4. Между связевыми блоками раскрепление рам производится одноветвевыми жесткими распорками или гибкими растяжками (только по нижним поясам ригелей). Замену жестких распорок на гибкие растяжки допускается производить в зданиях с пролетами L≤24 м при отсутствии крановой и сейсмической нагрузок. Сечение гибких растяжек принимается по сортаменту как для гибких связей покрытия.
5. Усилия в элементах связевого блока определяются в соответствии с положениями, приведенными в докум. -042. При выборе основных несущих конструкций (колонн, стоек, ригелей), входящих в состав связевого блока, должны быть учтены дополнительные усилия от горизонтальных нагрузок и предварительного натяжения связей. Усилия во всех конструкциях, входящих в состав связевого блока не должны превышать их предельной несущей способности, указанной в сортаменте. Для уменьшения усилий в элементах каркаса и связевых блоков необходимо устанавливать дополнительные связевые блоки.
6. Величина предварительного натяжения гибких связей определяется в соответствии с формулой, приведенной в докум. -044. Контроль натяжения связей - по моменту закручивания. При установке гибких связей предусматривать последовательность их натяжения, исключающую появление перекосов и деформаций конструкций каркаса.
7. Маркировка элементов связевого блока:
- распорки двухветвевые решетчатые - РРС;
- распорки одноветвевые - PC;
- вертикальные связи гибкие - СВ.
- горизонтальные связи гибкие - СГ.





Обозначение связевых блоков:
1 - основные связевые блоки из горизонтальных и вертикальных связей;
2 - основные связевые блоки только из горизонтальных связей;
3 - дополнительные связевые блоки из горизонтальных и вертикальных связей.
1. При длине здания более 96 м необходимо устраивать температурный шов.
2. Вертикальные связи в многопролетных зданиях устанавливаются по крайним и средним стойкам.


1. Схемы вертикальных связей зависят только от высоты стоек.
2. Отметка установки распорки определяется местоположением 2-го узла сверху по внутренней ветви стойки и вычисляется по формуле:
Нр≈Н–3.9 м
При разработке чертежей КМД отметка уточняется.

а) В связевых блоках между средними стойками ставятся распорки марки:
PC - между одноветвевыми средними стойками;
РРС - между двухветвевыми средними стойками.
б) В двухветвевых стойках распорка PC устанавливается между каждой ветвью.
1. Распорки устанавливаются только между рамами.
2. Суммарное вертикальное усилие в стойке ΣNст определяется по формуле 1, докум. -045.
1. На данном листе представлена принципиальная схема связей и распорок по покрытию.
2. Расположение и маркировка распорок и связей для конкретных пролетов зданий приведены в документах -033...-041 в виде разрезов в связевом блоке 1-1 и в рядовом блоке 2-2.
3. В случае, когда в торце здания устанавливается несущий фахверк, в крайнем шаге распорки PC по покрытию устанавливаются только в уровне верхнего пояса рамы.
4. Сечения связей и распорок по покрытию принимаются такими же, как для элементов вертикальных связевых блоков по крайним стойкам рам.


|
УСЛОВНЫЕ ОБОЗНАЧЕНИЯ: |
|
|
Решетчатая распорка РРС |
|
|
Распорка PC |
|
|
Горизонтальная связь ГС |
|
1. В зданиях без крановой и сейсмической нагрузки допускается замена распорок PC между связевыми блоками по нижнему поясу ригеля на гибкие растяжки по типу гибких связей.
2. Сечение гибких растяжек принимать по сортаменту гибких связей (табл.2, докум. -044).


|
УСЛОВНЫЕ ОБОЗНАЧЕНИЯ: |
|
|
Решетчатая распорка РРС |
|
|
Распорка PC |
|
|
Связь горизонтальная СГ Связь вертикальная СВ |
|
Для рам модификации 2 расстановку распорок выполнять согласно данного документа.

|
УСЛОВНЫЕ ОБОЗНАЧЕНИЯ: |
|
|
Распорка PC |
|
1. В зданиях без крановой и сейсмической нагрузки допускается замена распорок PC между связевыми блоками по нижним поясам ригелей на гибкие растяжки, выполненные по типу гибких связей.
2. Сечение гибких растяжек принимать по сортаменту гибких связей (табл. 2, документ -044).
3. Для рам модификации 2 расстановку распорок выполнять согласно данного документа.

|
УСЛОВНЫЕ ОБОЗНАЧЕНИЯ: |
|
|
Решетчатая распорка РРС |
|
|
Распорка PC |
|
|
Связь горизонтальная СГ Связь вертикальная СВ |
|
Для рам модификации 2 расстановку распорок выполнять согласно данного документа.

|
УСЛОВНЫЕ ОБОЗНАЧЕНИЯ: |
|
|
Распорка PC |
|
1. В зданиях без крановой и сейсмической нагрузки допускается замена распорок PC между связевыми блоками по нижним поясам ригелей на гибкие растяжки, выполненные по типу гибких связей.
2. Сечение гибких растяжек принимать по сортаменту гибких связей (табл. 2, документ -044).
3. Для рам модификации 2 расстановку распорок выполнять согласно данного документа.


|
УСЛОВНЫЕ ОБОЗНАЧЕНИЯ: |
|
|
Решетчатая распорка РРС |
|
|
Распорка PC |
|
|
Связь горизонтальная СГ Связь вертикальная СВ |
|
Для рам модификации 2 расстановку распорок выполнять согласно данного документа.


|
УСЛОВНЫЕ ОБОЗНАЧЕНИЯ: |
|
|
Распорка PC |
■ |
1. В зданиях без крановой и сейсмической нагрузки допускается замена распорок PC между связевыми блоками по нижним поясам рам на гибкие растяжки, выполненные по типу гибких связей.
2. Сечение гибких растяжек принимать по сортаменту гибких связей (табл. 2, документ -044).
3. Для рам модификации 2 расстановку распорок выполнять согласно данного документа.


|
УСЛОВНЫЕ ОБОЗНАЧЕНИЯ: |
|
|
Решетчатая распорка РРС |
|
|
Распорка PC |
|
|
Связь горизонтальная СГ Связь вертикальная СВ |
|
Для рам модификации 2 расстановку распорок выполнять согласно данного документа.


|
УСЛОВНЫЕ ОБОЗНАЧЕНИЯ: |
|
|
Распорка PC |
|
Для рам модификации 2 расстановку распорок выполнять согласно данного документа.
СХЕМА 1

СХЕМА 2

Суммарная ветровая нагрузка:
|
QΣw=CeΣ•W0•KZcp•γf•Агр |
(1) |
|||||||||||||
|
где CeΣ |
– суммарный аэродинамический коэффициент для наветренной и подветренной стен здания, определяемый по СНиП 2.01.07-85* "Нагрузки и воздействия": максимальное значение СеΣ=1.4 |
|||||||||||||
|
W0 |
– нормативное значение ветрового давления, определяемое в соответствии со СНиП 2.01.07-85* "Нагрузки и воздействия"; |
|||||||||||||
|
KZcp |
– усредненный коэффициент, учитывающий изменение ветрового давления по высоте здания, принимаемый по таблице докум. -024 данного выпуска; |
|||||||||||||
|
γf=1.4 |
– коэффициент надежности по ветровой нагрузке; |
|||||||||||||
|
Нзд |
– высота здания от уровня фундаментов до конька, м. |
|||||||||||||
|
Агр |
– грузовая площадь, определяемая по формуле, м2: Агр=a×в |
|||||||||||||
|
а, в |
– размеры грузовой площади, определенные в соответствии со схемой 2, м:
|
|||||||||||||

УСИЛИЕ В ГИБКОЙ СВЯЗИ:
с предварительным натяжением
|
Ncв=0.525•Qyc/(cosα•γс) |
(2) |
без предварительного натяжения
|
Ncв=Qyc/(cosα•γс) |
(3) |
|
|
Qyc=1.1•QΣw/n |
(4) |
|
|
где α |
– наибольший угол наклона вертикальной связи к горизонту (при максимальном значении hi); |
|
|
γс |
– коэффициент условий работы, принимаемый по СНиП П-23-81*; |
|
|
n |
– количество связевых блоков по длине здания. |
|
В соответствии с полученным усилием Nсв производится подбор сечения гибких связей по сортаменту гибких связей (табл. 2, докум. -044) и для связей с предварительным натяжением определяется усилие предварительного натяжения Sпн (формула в докум. -044).
Рекомендация: в случае, когда усилие Nсв превышает предельное усилие Nпред, приведенное в сортаменте гибких связей (табл. 2, докум. -044), необходимо увеличить количество связевых блоков (n) и произвести пересчет усилия Nсв.
УСИЛИЕ В ОДНОВЕТВЕВОЙ РАСПОРКЕ PC:
для связевого блока для связевого блока
|
Nрасп=2.2•Sпн•cosα+QficΣ |
(5) |
с предварительным натяжением связей без предварительного натяжения связей
|
Nрасп=Qyc+QficΣ |
(6) |
|||||
|
где QficΣ |
– суммарная условная сила;
|
|||||
|
где nc |
– количество стоек, примыкающих к связевому блоку; |
|||||
|
ΣNст |
– суммарное вертикальное усилие в стойке рамы в связевом блоке, определяется по формуле 1, докум. -045. |
|||||
В соответствии с полученным усилием Nрасп производится подбор сечения одноветвевых распорок по сортаменту распорок PC (табл.1, докум.-044).
УСИЛИЕ В ПОЯСЕ ДВУХВЕТВЕВОЙ РАСПОРКИ РРС:
для связевого блока для связевого блока
|
Nрасп=0.5•(2.2•Sпн•cosα+QficΣ) |
(9) |
с предварительным натяжением связей без предварительного натяжения связей
|
Nрасп=0.5•(Qyc+QficΣ) |
(10) |
В соответствии с полученным усилием N расп производится подбор сечения двухветвевых распорок по сортаменту распорок РРС (см. докум. -043).
РЕШЕТЧАТЫЕ РАСПОРКИ РРС

1. Высота распорок h определяется в зависимости от параметров рамы.
2. Число панелей (2, 3 и 4) определяется высотой решетчатой распорки h.

3. Сечение элементов распорок РРС определяется по сортаменту в зависимости от предельной несущей способности распорки.
СОРТАМЕНТ РАСПОРОК РРС
|
№ п/п |
Сечение |
Предельная несущая способность ветви решетчатой распорки Nпред, т Nпред≥Nрасп |
Масса (кг) при различной высоте h, мм |
|||
|
пояса |
раскоса |
h=1000 |
h=1500 |
h=2000 |
||
|
1 |
□100×4 |
□80×4 |
9.6 |
212.6 |
223.3 |
215.5 |
|
2 |
□120×4 |
□80×4 |
16.4 |
248.4 |
259.1 |
251.3 |
|
3 |
□140×4 |
□100×4 |
25.4 |
232.0 |
267.8 |
303.7 |
4. Пояса и раскосы в распорках выполнять из гнутосварных труб по ГОСТ 30245-03.
5. Сечение распорок по покрытию принимать равным сечению распорок по крайним стойкам.
6. Массу распорок с высотой h, отличной от приведенных, принимать по интерполяции.

|
№ п/п |
Сечение распорки |
Предельная несущая способность распорки Nпред, тс Nпред≥Nрасп |
Масса, кг |
|
1 |
□100×4 |
9.6 |
72.34 |
|
2 |
□120×4 |
16.4 |
90.4 |
|
3 |
□140×4 |
25.4 |
108.1 |
- масса дана из условия номинальной длины распорки L=6.0 м.

СОРТАМЕНТ ГИБКИХ СВЯЗЕЙ СГ и СВ
|
№ п/п |
Сталь круглая горячекатаным ГОСТ 2590-88 |
Предельная несущая способность гибкой связи Nпред, тс Nпред≥Nрасп |
Масса, кг |
||
|
Сталь по ГОСТ 27772-88 |
35Х (см. п. 2) |
||||
|
С255 |
С345 |
||||
|
Класс прочности |
|||||
|
4.8. |
5.8. |
8.8 |
|||
|
1 |
Ø20 |
3.53 |
4.41 |
8.82 |
33.09 |
|
2 |
Ø24 |
5.07 |
6.34 |
12.67 |
45.83 |
- масса связи дана при длине связи L=11.0 м
1. Гнутосварные трубы для распорок по ГОСТ 30245-03 из стали С255 по ГОСТ 27772-88.
2. Сталь 35Х термически обработанная по ГОСТ 4543-71.
3. Усилие предварительного натяжения гибких связей определяется по формуле:
Sпн=0.95•Nпред
где Nпред – предельная несущая способность гибкой связи, приведенная в табл. 2.
4. Сечение распорок по покрытию принимать равным сечению распорок по крайним стойкам.
5. Сечение горизонтальных связей принимать равным сечению гибких вертикальных связей по крайним стойкам.
ОПРЕДЕЛЕНИЕ ВЕРТИКАЛЬНЫХ УСИЛИЙ В СТОЙКАХ РАМ
1. Вертикальные усилия в стойках связевых блоков определяются по формулам (1)...(3) настоящего документа.
2. В соответствии с найденными усилиями в стойках определяются:
- сечения средних стоек;
- параметры узлов сопряжения ригеля рамы со средней стойкой;
- условная сила Qfic, необходимая для определения усилий в связях и распорках связевых блоков крайних и средних рядов стоек.
3. Подбор сечения средних стоек рам производится по сортаментам в зависимости от действующих в них усилий и высот стоек.

СУММАРНОЕ ВЕРТИКАЛЬНОЕ УСИЛИЕ НА СРЕДНИЕ И КРАЙНИЕ СТОЙКИ РАМ В СВЯЗЕВОМ БЛОКЕ
|
ΣNстi=Nкод+Nкран+Nw |
(1) |
|||||
|
где Nкод |
– усилие в стойке от вертикальных нагрузок, определяемое по таблице и формулам см. документ -021 и -022; |
|||||
|
Nкран |
– усилие в стойке от подвесного крана, определяемое по таблице и формулам см. документ -023; |
|||||
|
Nw |
– дополнительное вертикальное усилие на стойку от ветра в связевом блоке со связями: с предварительным натяжением
без предварительного натяжения
|
|||||
|
где α |
– наибольшее значение угла наклона вертикальной связи к горизонту; |
|||||
|
h, b |
– высота и ширина связевого блока соответственно, м. |
|||||
Для учета сочетаний нагрузок следует вводить коэффициенты сочетаний нагрузок в соответствии со СНиП 2.01.07-85*.
Сечения средних стоек подбираются по сортаментам средних стоек рам в соответствии с полученным усилием ΣNст.
ВЕРТИКАЛЬНОЕ УСИЛИЕ НА УЗЕЛ СОПРЯЖЕНИЯ СРЕДНЕЙ СТОЙКИ С РИГЕЛЕМ РАМЫ В СВЯЗЕВОМ БЛОКЕ
|
ΣNвт=Nкод+Nкран+Nw |
(4) |
|
|
где ΣNвт |
– вертикальное усилие, на которое рассчитываются втулка и проушины узла сопряжения средней стойки с ригелем рамы; |
|
|
n |
– количество раскреплений стойки по высоте; |
|
|
Nкод, Nкран, Nw |
– см. выше. |
|
ТОРЦЕВОЙ ФАХВЕРК
1. Торцевые фахверки в каркасах УНИТЕК подразделяются на два типа:
Тип 1. Несущий фахверк – воспринимает вертикальную нагрузку от покрытия, торцевой стены, кранов и собственного веса конструкций фахверка, а также нагрузку от ветра, действующую вдоль и поперек здания.
Тип 2. Самонесущий фахверк – воспринимает вертикальную нагрузку от торцевой стены и собственного веса конструкций фахверка, а также нагрузку от ветра, действующую вдоль здания. Остальные нагрузки (от покрытия, кранов, ветра поперек здания и др.) воспринимаются основной несущей рамой, установленной в торце здания с привязкой 500 мм к крайней оси. Самонесущий фахверк применяется, в основном, в случае перспективного расширения здания по длине. Допускается применение фахверка обоих типов в одном здании.
2. Проектирование конструкций несущего и самонесущего фахверков выполняется в соответствии со схемами настоящего раздела.
3. Сечения конструкций несущего и самонесущего фахверков принимаются по сортаменту в зависимости от типа фахверка, его высоты и действующих нагрузок, включая крановые.
4. При подборе и расстановке стоек фахверка необходимо учитывать ориентацию их сечений. Обозначение сечения стойки: b×h×t, где b×h -размер в плоскости и из плоскости торцевой стены соответственно; t - толщина трубы.
5. Связевый блок фахверка следует располагать в шаге размером 6 м по возможности в средней части торца здания. В зданиях шириной 21м связевый блок следует располагать в шаге размером 4.5 м. В случае разрыва линии распорок по стойкам фахверка (например, при установке ворот и др.) следует устанавливать дополнительный связевый блок с другой стороны разрыва.
Марка стойки фахверка:

1 - стоика несущего фахверка в здании без крана
2 - стойка несущего фахверка в здании с кранами
3 - стойка самонесущего фахверка
1) Сечение стоек самонесущего фахверка не зависит от кода вертикальной нагрузки.
2) Высота стойки в маркировке указывается максимальной для группы стоек по высотам Нсф, по которой принимается ее сечение, см. таблицы докум. -050...-052.
Сокращенная марка стойки фахверка - используется в документах сортаментов стоек фахверка:

Марка балки фахверка:

1 - рядовая балка фахверка
2 - коньковая балка фахверка
Сокращенная марка балки фахверка - используется в документах сортаментов балок фахверка:


В зданиях пролетом 15 и 18 м при наличии подвесных кранов привязка "А" крайних стоек принимается 0 или 250 мм в зависимости от параметров крана (см. схемы рам). Для остальных зданий принята привязка "А"=0.

СХЕМА СТОЕК И БАЛОК ФАХВЕРКА ДЛЯ ЗДАНИЙ ПРОЛЕТОМ, КРАТНЫМ 6 м

СХЕМА СТОЕК И БАЛОК ФАХВЕРКА ДЛЯ ЗДАНИЙ ШИРИНОЙ L = 63 м

1. На данном листе представлены схемы несущих фахверков для одно- и многопролетных зданий.
2. Схема связевого блока выбирается в зависимости от наибольшей высоты стойки фахверка.
3. Расположение связевого блока должно быть максимально приближено к середине торца здания.
4. Сечение стоек фахверка подбирается по сортаменту для стойки максимальной высоты и принимается для всех стоек данного фахверка одинаковым. Допускается назначать сечение стоек в соответствии с их фактической высотой и действующими на них нагрузками (включая крановые).
5. Сечения распорок и гибких связей по фахверку принимается по табл. 1 и 2 докум. -044. Усилия в элементах связевого блока несущего фахверка определяются по типу продольных связевых блоков (см. докум.-042).

1) В случае разрыва линии распорок проемом необходимо поставить дополнительный блок связей или дополнительные конструкции, обеспечивающие раскрепление стоек фахверка в плоскости стены.
1. На данном листе представлены схемы самонесущих фахверков для одно- и многопролетных зданий.
2. Схема связевого блока выбирается в зависимости от наибольшей высоты стойки фахверка.
3. Расположение связевого блока должно быть максимально приближено к середине торца здания.
4. Сечение стоек фахверка подбирается по сортаменту для стойки максимальной высоты и принимается для всех стоек данного фахверка одинаковым. Допускается назначать сечение стоек в соответствии с их фактической высотой и действующими на них нагрузками.
5. Сечения распорок и гибких связей по самонесущему фахверку принимается минимальными по табл. 1 и 2 , см. докум.-044.

1) В случае разрыва линии распорок проемом необходимо поставить дополнительный блок связей или дополнительные конструкции, обеспечивающие раскрепление стоек фахверка в плоскости стены.


|
Группы стоек фахверка по высотам Нсф, м |
Марка стойки фахверка |
Гнутосварные трубы по ГОСТ 30245-03, сечение b×h×t, мм |
|||
|
Ветровой район по СНиП 2.01.07-85* |
Код вертикальной нагрузки |
||||
|
I-II |
III-IV |
V-VI |
|||
|
Нсф≤6.0 |
СФ1.60-* |
I |
|
|
|
|
II |
|
120×5 |
|
||
|
III |
|
|
|
||
|
IV |
|
120×160×5 |
|
||
|
V |
|
|
|||
|
VI |
140×160×5 |
|
|||
|
VII |
160×5 |
||||
|
6.0<Нсф≤8.4 |
СФ1.84-* |
I |
140×160×5 |
|
|
|
II |
|
160×5 |
|
||
|
III |
160×200×5 |
||||
|
IV |
160×200×6 |
||||
|
V |
|
200×6 |
|
||
|
VI |
|
|
|
||
|
VII |
|
160×240×8 |
|||
|
8.4<Нсф≤10.8 |
СФ1.108-* |
I |
|
160×5 |
|
|
II |
|
160×200×5 |
|||
|
III |
160×200×5 |
160×200×6 |
|
||
|
IV |
|
|
|
||
|
V |
200×6 |
|
|||
|
VI |
|
|
|||
|
VII |
160×240×8 |
|
|||
|
10.8<Нсф≤13.2 |
СФ1.132-* |
I |
160×200×6 |
|
|
|
II |
|
200×6 |
|
||
|
III |
|
|
160×240×8 |
||
|
IV |
160×240×8 |
160×240×10 |
|||
|
V |
|
160×240×10 |
|
||
|
VI |
160×240×10 |
300×8 |
|||
|
VII |
|
||||
|
13.2<Нсф≤16.0 |
СФ1.160-* |
I |
200×6 |
160×240×8 |
|
|
II |
|
|
|
||
|
III |
|
160×240×10 |
|||
|
IV |
|
300×8 |
|
||
|
V |
|
|
|||
|
VI |
|
|
|||
|
VII |
|
|
|||
1. Применяемая сталь С255 по ГОСТ 27772-88.
2. Сортамент стоек фахверка с учетом крановой нагрузки см. докум.-051.
3. Принцип маркировки стоек фахверка см. докум.-046.


|
Группы стоек фахверка по высотам Нсф, м |
Марка стойки фахверка |
Гнутосварные трубы по ГОСТ 30245-03, сечения b×h×t, мм |
|||
|
Ветровой район по СНиП 2.01.07-85* |
Код вертикальной нагрузки |
||||
|
I-II |
III-IV |
V-VI |
|||
|
Нсф≤6.0 |
СФ2.60 - * |
I |
140×160×5 |
|
|
|
II |
|
||||
|
III |
|
160×5 |
|
||
|
IV |
|
|
|||
|
V |
|
|
|
||
|
VI |
|
160×200×5 |
|
||
|
VII |
|
|
|
||
|
6.0<Нсф≤8.4 |
СФ2.84 - * |
I |
|
160×200×6 |
|
|
II |
|
||||
|
III |
|
|
|
||
|
IV |
|
200×6 |
|
||
|
V |
|
|
|
||
|
VI |
|
160×240×8 |
|
||
|
VII |
|
160×240×10 |
|
||
|
8.4<Нсф≤10.8 |
СФ2.108-* |
I |
160×200×5 |
|
|
|
II |
|
160×200×6 |
|||
|
III |
160×200×6 |
|
|||
|
IV |
|
200×6 |
|
||
|
V |
|
160×240×8 |
|
||
|
VI |
|
|
|||
|
VII |
|
160×240×10 |
|
||
|
10.8<Нсф≤13.2 |
СФ2.132-* |
I |
|
200×6 |
|
|
II |
|
160×240×8 |
|||
|
III |
160×240×8 |
160×240×10 |
|||
|
IV |
300×8 |
||||
|
V |
|||||
|
VI |
|||||
|
VII |
|||||
|
13.2<Нсф≤16.0 |
СФ2.160-* |
I |
160×240×8 |
|
|
|
II |
|
160×240×10 |
|||
|
III |
300×8 |
||||
|
IV |
|||||
|
V |
|||||
|
VI |
|||||
|
VII |
|||||
1. Применяемая сталь С255 по ГОСТ 27772-88.
2. Принцип маркировки стоек фахверка см. докум.-046.


|
Группы стоек фахверка по высотам Нсф, м |
Марка стойки фахверка |
Ветровой район по СНиП 2.01.07-85* |
Гнутосварные трубы по ГОСТ 30245-03, сечение b×h×t, мм |
|
Код вертикальной нагрузки |
|||
|
I-VI |
|||
|
Нсф≤6.0 |
СФ3.60-* |
I |
120×5 |
|
II |
|||
|
III |
|||
|
IV |
|||
|
V |
|||
|
VI |
|||
|
VII |
120×160×5 |
||
|
6.0<Нсф≤8.4 |
СФ3.84-* |
I |
120×5 |
|
II |
120×160×5 |
||
|
III |
|||
|
IV |
|||
|
V |
160×5 |
||
|
VI |
160×200×5 |
||
|
VII |
|||
|
8.4<Нсф≤10.8 |
СФ3.108-* |
I |
160×5 |
|
II |
|||
|
III |
160×200×5 |
||
|
IV |
|||
|
V |
160×200×6 |
||
|
VI |
200×6 |
||
|
VII |
160×240×8 |
||
|
10.8<Нсф≤13.2 |
СФ3.132-* |
I |
160×200×6 |
|
II |
|||
|
III |
200×6 |
||
|
IV |
160×240×8 |
||
|
V |
|||
|
VI |
160×240×10 |
||
|
VII |
300×8 |
||
|
13.2<Нсф≤16.0 |
СФ3.160-* |
I |
200×6 |
|
II |
160×240×8 |
||
|
III |
|||
|
IV |
160×240×10 |
||
|
V |
300×8 |
||
|
VI |
|||
|
VII |
1. Применяемая сталь С255 по ГОСТ 27772-88.
2. Принцип маркировки стоек фахверка см. докум.-046.
Балка фахверка рядовая БФ1.*

Балка фахверка коньковая БФ2.*


СОРТАМЕНТ БАЛОК ФАХВЕРКА
|
Марка балки фахверка |
Номинальная длина L, м |
Код вертикальной нагрузки |
Гнутосварные трубы по ГОСТ 30245-03, сечение b×h×t, мм |
|
БФ1.* |
6.0 4.5 |
I |
120×160×5 |
|
II |
140×160×5 |
||
|
III |
140×180×5 |
||
|
IV |
100×200×6 |
||
|
V |
160×200×6 |
||
|
VI |
200×200×6 |
||
|
БФ2.* |
6.0 3.0 |
I |
120×160×5 |
|
II |
140×160×5 |
||
|
III |
140×180×5 |
||
|
IV |
100×200×6 |
||
|
V |
160×200×6 |
||
|
VI |
200×200×6 |
1. Применяемая сталь С255 по ГОСТ 27772-88.
2. Принцип маркировки балок фахверка см. докум.-046.
1. В зданиях с каркасами УНИТЕК выпуск 0-1 могут применяться подвесные краны с режимами работы 1К-3К грузоподъемностью 1, 2, 3.2 и 5 т.
2. Возможность и условия применения кранов той или иной грузоподъемности, а также возможное количество кранов на одном пути определяется по табл. 8 докум.-01ПЗ в зависимости от пролета рамы и кода вертикальной нагрузки.
3. Подвеска кранов производится симметрично, относительно центральной оси пролета рамы.
4. Допустимые габариты подвесных кранов (пролет крана и длина консоли) для различных пролетов рам приведены в табл. 1, докум.-056.
5. Крепление балок подвесных путей производится к несущим рамам при помощи специальных крепежных элементов, передающих нагрузку в нижний или верхний узел ригеля рамы. Внеузловая передача нагрузки от подкранового пути на верхний или нижний пояс ригеля запрещается.
6. В торцах зданий с несущим фахверком подвесные пути опираются на специальные балки или непосредственно на стойки фахверка.



1. А – осевая привязка. А=0 или 250 мм.
2. Основные примечания к настоящему документу см. л. 2.
3. Балки БП1-1 показаны условно.

Нк – отметка низа балки подвесных путей;
Н – отметка низа ригеля




1. Кран располагать по центру пролета.
2. Размеры подвесных кранов и сортамент балок см. документы -056, -057 и -058.
3. Балки подвесных путей раскрепляются подкосами для передачи тормозных усилий через тормозные балки БП2 на раму. Тормозные балки БП2 крепятся к ригелю рамы в местах крепления распорок связевого блока.
4. На разрезе 4-4 показаны различные случаи опирания балок подкрановых путей в торце здания на балку БП1 (БП1-1- решетчатого типа или БШ-2 прокатный профиль) или на стойку фахверка.
ПАРАМЕТРЫ ПОДВЕСНЫХ КРАНОВ
|
Пролет рамы L, м |
А, мм |
Количество пролетов рамы |
Грузоподъемность крана, т |
Пролет крана Lкр, м |
Длина консоли крана Lк, м |
|
15 |
0 |
1 |
1; 2; 3.2; 5 |
9 |
0.6; 0.9; 1.2; 1.5 |
|
250 |
1 |
1; 2; 3.2; 5 |
9 |
0.6; 0.9; 1.2; 1.5 |
|
|
12 |
0.6 |
||||
|
18 |
0 |
1-5 |
1; 2; 3.2; 5 |
9 |
0.6; 0.9; 1.2; 1.5 |
|
12 |
0.6; 0.9; 1.2 |
||||
|
250 |
1 |
1; 2; 3.2; 5 |
9 |
0.6; 0.9; 1.2; 1.5 |
|
|
12 |
0.6; 0.9; 1.2; 1.5 |
||||
|
21 |
0 |
1-4 |
1; 2; 3.2; 5 |
9 |
0.6; 0.9; 1.2; 1.5 |
|
12 |
0.6; 0.9; 1.2; 1.5 |
||||
|
15 |
0.6; 0.9; 1.2 |
||||
|
24 |
0 |
1-4 |
1; 2; 3.2; 5 |
9 |
0.6; 0.9; 1.2; 1.5 |
|
12 |
0.6; 0.9; 1.2; 1.5 |
||||
|
15 |
0.6; 0.9; 1.2; 1.5 |
||||
|
30 |
0 |
1-3 |
1; 2; 3.2; 5 |
9 |
0.6; 0.9; 1.2; 1.5 |
|
12 |
0.6; 0.9; 1.2; 1.5 |
||||
|
15 |
0.6; 0.9; 1.2; 1.5 |
• А - осевая привязка крайних стоек рамы
СОРТАМЕНТ БАЛОК ПОДВЕСНЫХ КРАНОВЫХ ПУТЕЙ
|
Грузоподъемность крана, т |
Кол-во кранов на колее |
Сечение балок подвесных путей |
Примечание |
|
|
Балки двутавровые по ГОСТ 19425-74* |
||||
|
Сталь С255 |
Сталь С345 |
|||
|
1 |
1 |
I24M |
|
Наименование стали приведены для климатических районов II4 и II5. Для остальных климатических районов применять сталь С345. |
|
2 |
I30M |
|
||
|
2 |
1 |
I30M |
|
|
|
2 |
I36M |
|
||
|
3.2 |
1 |
I36M |
|
|
|
2 |
|
I36M |
||
|
5 |
1 |
I36M |
|
|
|
2 |
I45M |
|
||
1. Балки подвесных путей для подвесных кранов рассчитаны на нагрузки от одного или двух кранов, расположенных самым невыгодным образом.
2. Элементы замаркированы на документе -055.
СОРТАМЕНТ ЭЛЕМЕНТОВ КРЕПЛЕНИЯ ПОДВЕСНЫХ ПУТЕЙ
|
Грузоподъемность крана, т |
Сечение, марка и масса элементов |
||||||
|
БП1–1 БП1–2 |
БП2 |
П1 |
П2 |
||||
|
сечение |
масса, кг |
сечение |
масса, кг |
сечение |
масса, кг |
||
|
1 |
Сечения, марки и массу БП1 см. документ -058 |
гн.□120×4 |
78.1 |
гн.□100×4 |
64.7 |
гн.□100×4 |
64.7 |
|
2 |
|||||||
|
3.2 |
гн.□140×4 |
92.1 |
гн.□100×4 |
64.7 |
гн.□100×4 |
64.7 |
|
|
5 |
|||||||
ДАННЫЕ ДЛЯ УЗЛОВ КРЕПЛЕНИЯ ПОДВЕСНЫХ ПУТЕЙ
|
Грузоподъемность крана, т |
Толщина пластины tпл, мм |
Болт диаметр d1, мм ГОСТ 15589-70* |
Болт диаметр d2, мм ГОСТ 15589-70* |
Шпилька диаметр d3, мм |
Класс прочности |
Примечание |
|
1 |
14 |
16 |
20 |
16 |
5.8 |
Сталь болтов назначается в соответствии с таблицей 57 СНиП II-23-81* |
|
2 |
18 |
16 |
20 |
16 |
5.8 |
|
|
3.2 |
22 |
20 |
24 |
20 |
5.8 |
|
|
5 |
25 |
24 |
24 |
20 |
5.8 |
1. Для элементов крепления подвесных кранов применять сталь марки С255 для климатических районов II4 и II5, для остальных климатических районов применять сталь С345.
2. Балку БП2 и подкосы П1, П2 выполнить из гнутосварных труб по ГОСТ 30245-03.
3. Массы элементов приведены для справок, при L=6 м.
4. Допускается применять болты по ГОСТ 15591-70*, ГОСТ 7798-70*, ГОСТ 7796-70* и назначать по табл. 57 СНиП II-23-81* применительно к конструкциям, не рассчитываемым на выносливость.
5. Гайки применять по ГОСТ 5915-70*.
6. Толщины пластин tпл и диаметры болтов d1 приняты по серии 1.426.2-6 "Балки путей подвесного транспорта" выпуск 1/91.
БАЛКА БП1-1

БАЛКА БП1-2

СОРТАМЕНТ БАЛОК БП1
|
Грузоподъемность крана, т |
Решетчатого типа БП1–1 |
Прокатный профиль БП1–2 |
|||||
|
Номер позиции |
Масса, кг |
Номер позиции |
Масса, кг |
||||
|
1 |
2 |
4 |
3 |
4 |
|||
|
1 |
□120×4 |
□120×4 |
t6 |
138.4 |
[22 |
t6 |
117.4 |
|
2 |
□120×4 |
□120×4 |
138.4 |
[27 |
154.8 |
||
|
3.2 |
□140×4 |
□120×4 |
161.0 |
[30 |
177.4 |
||
|
5 |
□140×4 |
□120×4 |
161.0 |
[40 |
268.6 |
||
1. Балки БП1-1 и БП1-2 служат для опирания балки подвесных путей в торце здания.
2. Балка БП1-1 выполняется из гнутосварных труб по ГОСТ 30245-03, балка БП1-2 - из горячекатанных швеллеров по ГОСТ 8240-97.
3. Балка подвесных путей опирается на верхний пояс балки БШ-1 (решетчатого типа) в точках крепления вертикальных элементов решетки и на балку БП1-2 (прокатного профиля) в местах крепления вертикальных ребер.
4. Привязку определить при разработке КМД.
1. В каркасах УНИТЕК предусматривается разрезная схема прогонов покрытия.
2. Марка прогонов покрытия определяется в зависимости от шага прогонов и кода вертикальной нагрузки. Код вертикальной нагрузки соответствует снеговым районам по СНиШ.01.07-85*. При воздействии нагрузок, существенно отличающихся от нагрузок по кодам (повышенная постоянная нагрузка, образование снеговых мешков и др.), код должен быть скорректирован.
|
Код вертикальной нагрузки для прогонов |
I |
II |
III |
IV |
V |
VI |
|
Снеговой район по СНиП 2.01.07-85* |
I |
II |
III |
IV |
V |
VI |
|
Расчетная кодовая нагрузка, qкод, кгс/м2 |
130 |
155 |
215 |
290 |
365 |
455 |
3. Сечение прогонов покрытия подбирается по сортаментам в зависимости от марки прогона.
4. Раскрепление прогонов от действия скатной составляющей может осуществляться при помощи ограждающих конструкций кровли (послойная сборка, кровельные панели) за счет прикрепления указанных конструкций непосредственно к прогонам в каждом продольном стыке самонарезающими винтами. В случае, когда крепление ограждающих конструкций не обеспечивает раскрепление прогонов, прогоны должны быть раскреплены в плоскости ската гибкими тяжами. Монтаж прогонов покрытия без их раскрепления ограждающими конструкциями или тяжами запрещается.
5. Для уравновешивания скатной составляющей коньковые прогоны объединяются попарно специальными элементами с шагом 1 м, а при применении тяжей - в местах, расположения тяжей. В случае установки в коньке светоаэрационных фонарей прогоны, на которые опираются фонари, дополнительно объединяются между собой с помощью тяжей.
КОД ПРОГОНОВ ПОКРЫТИЯ
|
Шаг прогонов, м |
Код вертикальной нагрузки |
|||||
|
I |
II |
III |
IV |
V |
VI |
|
|
3.0 |
ППР-3.0-I |
ППР-3.0-II |
ППР-3.0-III |
ППР-3.0-IV |
ППР-3.0-V |
- |
|
1.5 |
ППР-1.5-I |
ППР-1.5-II |
ППР-1.5-III |
ППР-1.5-IV |
ППР-1.5-V |
ППР-1.5-VI |
ПРИМЕР МАРКИРОВОК:
ППР-3.0-I – Прогон Покрытия по Разрезной схеме, шаг прогонов - 3.0 м, вертикальная нагрузка - код I.


1. Шаг прогонов покрытия выбирается в зависимости от действующей на здание нагрузки и несущей способности ограждающих конструкций.
Основной шаг прогонов 3 м. Для больших вертикальных нагрузок и в зоне снеговых мешков шаг прогонов принимается 1.5 м.
2. Марки прогонов в зависимости от кода вертикальной нагрузки приведены в табл. 2, докум.-059 . Сечения прогонов в зависимости от марок приведены в сортаменте в докум. -061.
3. Прогоны покрытия ставятся над верхними узлами решетки ригеля.


1. На данной странице представлена принципиальная схема раскрепления прогонов покрытия тяжами.
2. Тяжи по прогонам покрытия служат для уменьшения скатной составляющей вертикальной нагрузки и устанавливаются в тех случаях, когда ограждающие конструкции покрытия (кровли) не обеспечивают требуемой развязки прогонов из плоскости изгиба. При наличии жесткого диска покрытия или при прикреплении ограждающих конструкций непосредственно к прогонам установка тяжей не требуется.
Сечение тяжей определяется при разработке КМ как для растянутых элементов для одноболтовых соединений при γс=0.9 в зависимости от величины скатной составляющей.
4. Прогоны в коньке должны быть скреплены друг с другом специальными элементами, устанавливаемыми напротив тяжей.
ПРОГОНЫ В СРЕДНЕМ ШАГЕ НЕСУЩИХ КОНСТРУКЦИЙ

ПРОГОНЫ В КРАЙНЕМ ШАГЕ НЕСУЩИХ КОНСТРУКЦИЙ


СОРТАМЕНТ РАЗРЕЗНЫХ ПРОГОНОВ ПОКРЫТИЯ
|
КОД ПРОГОНА |
Швеллер горячекатаный по ГОСТ 8240-97 |
Швеллер гнутый равнополочный по ГОСТ 8278-83* |
||||
|
Сечение |
Размеры, мм |
Сечение |
Размеры, мм |
|||
|
a1 |
a2 |
a1 |
a2 |
|||
|
ППР-3.0-I |
[18 |
50 |
60 |
гн.[200×80×4 |
50 |
60 |
|
ППР-3.0-II |
[18 |
50 |
60 |
гн.[250×125×3 |
65 |
90 |
|
ППР-3.0-III |
[20 |
50 |
60 |
гн.[250×125×3 |
65 |
90 |
|
ППР-3.0-IV |
[22 |
65 |
90 |
гн.[250×125×4 |
65 |
90 |
|
ППР-3.0-V |
[24 |
65 |
90 |
- |
- |
- |
|
|
|
|
|
|
|
|
|
ППР-1.5-I |
[14 |
50 |
60 |
гн.[200×80×3 |
50 |
60 |
|
ППР-1.5-II |
[14 |
50 |
60 |
гн.[200×80×3 |
50 |
60 |
|
ППР-1.5-III |
[16 |
50 |
60 |
гн.[200×80×3 |
50 |
60 |
|
ППР-1.5-IV |
[18 |
50 |
60 |
гн.[200×80×4 |
50 |
60 |
|
ППР-1.5-V |
[18 |
50 |
60 |
гн.[250×125×3 |
50 |
60 |
|
ППР-1.5-VI |
[20 |
50 |
60 |
гн.[250×125×4 |
65 |
90 |
1. Применяемая сталь С255 по ГОСТ 27772-88.
2. Определить при разработке КМД в зависимости от сортамента стоек и балок фахверка, а также от типа несущей конструкции в торце здания.
3. Все отверстия в прогонах 019, болты для крепления прогонов к ригелям рамы - М16×40.58.
Сечения стеновых прогонов подбираются по сортаментам (докум. -064) в зависимости от величины горизонтальной (нагрузка от ветрового давления) и вертикальной (нагрузка от ограждающих конструкций стен) нагрузок.
Горизонтальная нагрузка, приходящаяся на стену, воспринимается всеми стеновыми прогонами пропорционально грузовой площади.
В серии принято, что вертикальная нагрузка - нагрузка от веса стены:
а) при применении панелей заводского изготовления передается на опорные прогоны или на цоколь, при этом рядовые прогоны воспринимают только ветровую нагрузку;
б) при применении ограждающих конструкций послойной сборки равномерно распределяется между стеновыми прогонами пропорционально грузовой площади.
Расстояния между стеновыми прогонами принимаются равными 1.2; 1.8; 2.4 и 3.0 м в зависимости от несущей способности ограждающих конструкций. Возможно изменение расстояния между прогонами без превышения их несущей способности.
Принципиальные схемы сбора нагрузки на стеновые прогоны

РАСЧЕТНОЕ ВЕТРОВОЕ ДАВЛЕНИЕ
|
P=W0•k•с•γf•hw |
(1) |
РАСЧЕТНАЯ ВЕРТИКАЛЬНАЯ НАГРУЗКА
|
Q=qст•hс |
(2) |
|
|
где Р |
– расчетное ветровое давление, кгс/м; |
|
|
W0 |
– нормативное значение ветрового давления, кгс/м2; |
|
|
k |
– коэффициент, учитывающий изменение ветрового давления по высоте здания и от типа местности; |
|
|
с |
– аэродинамический коэффициент; |
|
|
hw |
– высота грузовой площади прогона для ветровой нагрузки, м; |
|
|
γf |
– коэффициент надежности по ветровой нагрузке, γf=1.4; |
|
|
Q |
– расчетная вертикальная нагрузка (от собственного веса прогона и стенового ограждения), кгс/м ; |
|
|
qст |
– расчетная нагрузка от веса стенового ограждения и собственного веса прогона, кгс/м2 (по проекту), если стеновое ограждение неизвестно, принимается: qст=50 кгс/м2 – для теплого здания; qст=20 кгс/м2 – для холодного здания, |
|
|
hс |
– высота грузовой площади для стенового ограждения, м. |
|
ТИПЫ И МАРКИРОВКА СТЕНОВЫХ ПРОГОНОВ
Стеновые прогоны по восприятию нагрузок и местоположению на стене подразделяются на три типа:
- рядовые ПСР – Прогон Стеновой Рядовой;
ПСРТ – Прогон Стеновой Рядовой с Тяжом;
- опорные (стыковые, надоконные, подоконные, надворотные и т.п.)
ПСО – Прогон Стеновой Опорный;
ПСОТ – Прогон Стеновой Опорный с Тяжом;
- цокольные ПЦ – Прогон Цокольный.

СТАТИЧЕСКИЕ СХЕМЫ СТЕНОВЫХ ПРОГОНОВ
В каркасах УНИТЕК предусматривается разрезная схема для стеновых прогонов.
Для уменьшения вертикальной нагрузки от стенового ограждения стеновые прогоны могут быть раскреплены гибкими тяжами.
Стеновые прогоны могут изготавливаться из горячекатаных и гнутых швеллеров (рядовые) и гнутосварных труб (опорные).
Принятие типов сечения прогонов производится проектировщиком в зависимости от конкретных условий. Сечение подбирается по сортаментам в зависимости от выбранного типа, горизонтальной и вертикальной нагрузки.

Сечение тяжей Т1 зависит от высоты грузовой площади и принимается из круглой стали по ГОСТ 2590-88:
при Н≤8 м – Ø14;
Н>8 м – Ø16.
Сталь С255 по ГОСТ 27772-88.
Сечение стойки Т2 зависит от ее высоты и принято по предельной гибкости:
при h≤2 м – гн. L60×3;
h>2 м – гн. L80×3.
СОРТАМЕНТ РЯДОВЫХ ПРОГОНОВ ПСР ИЗ ГНУТЫХ ШВЕЛЛЕРОВ ПО ГОСТ 8278-83
|
Вертикальная нагрузка Q, кгс/м |
Ветровое давление Р, кгс/м |
||||||
|
50 |
100 |
150 |
200 |
250 |
300 |
||
|
15 (без тяжа) |
гн.[120×60×5 |
гн.[160×80×4 |
|
|
|||
|
30 (без тяжа) |
|
|
гн.[160×80×5 |
* |
|||
|
с тяжом |
15 |
|
|
гн.[160×80×3 |
|
|
|
|
30 |
гн.[120×60×3 |
гн.[160×80×4 |
|
||||
|
60 |
|
|
|
|
|||
|
90 |
гн.[120×60×5 |
|
гн.[160×80×5 |
||||
|
120 |
|
|
|
|
|
* |
|
|
150 |
|
гн.[160×80×4 |
|
|
|||
СОРТАМЕНТ РЯДОВЫХ ПРОГОНОВ ПСР ИЗ ПРОКАТНЫХ ШВЕЛЛЕРОВ
ПО ГОСТ 8240-97
|
Вертикальнаянагрузка Q,кгс/м |
Ветровое давление Р, кгс/м |
|||||||
|
50 |
100 |
150 |
200 |
250 |
300 |
350 |
||
|
15 (без тяжа) |
|
|
[14 |
|
|
[16 |
||
|
с тяжом |
15 |
|
[12 |
|
|
|
|
|
|
30 |
|
|
[14 |
|
|
|||
|
60 |
|
|
|
|
|
|
||
|
90 |
|
|
|
[16 |
|
|||
|
120 |
|
[14 |
|
|
|
* |
||
|
150 |
|
|
|
|
|
|||
*–сечение определяется индивидуально
СОРТАМЕНТ ОПОРНЫХ ПРОГОНОВ ПСО ИЗ ГНУТОСВАРНЫХ ТРУБ ПО ГОСТ 30245-03
|
Вертикальная нагрузка Q,кгс/м |
Ветровое давление Р, кгс/м |
|||||||||||
|
|
50 |
100 |
150 |
200 |
250 |
300 |
350 |
400 |
450 |
500 |
||
|
без тяжа |
10 |
|
|
|
|
|
|
|
|
|||
|
25 |
гн.□120×4 |
|
|
|
|
|
|
|
||||
|
50 |
|
|
|
|
|
|
|
|||||
|
100 |
|
гн.□140×4 |
|
|
|
|
|
|||||
|
150 |
|
|
|
|
|
|
|
|
|
|
||
|
200 |
|
|
|
|
|
|
|
|
|
|
||
|
250 |
|
|
|
|
|
гн.□140×5 |
|
|
|
|||
|
300 |
|
|
|
|
|
|
|
|
|
|
||
|
350 |
|
|
|
|
|
|
гн.□160×5 |
|
|
|||
|
400 |
|
|
|
|
|
|
|
|
|
|
||
|
450 |
|
|
|
|
|
|
|
гн.□160×6 |
|
|||
|
500 |
|
|
|
|
|
|
|
|
* |
|||
|
550 |
гн.□160×8 |
|
||||||||||
При установке тяжей на прогонах, выполненных из холодногнутых сварных труб, при выборе прогона следует принять величину расчетной нагрузки от ограждения уменьшенную в 4 раза.
На маркировочных схемах элементов рам приведена разбивка рам на отправочные элементы, которым присвоены начальные коды марок элементов (К1, К2, Р1-Р6). Цифра в начальном коде элемента ригеля определяет место элемента в конкретной раме. Элементы ригеля нумеруются в соответствии с маркировочными схемами рам. Крайняя стойка рамы всегда имеет начальный код К1, средние стойки рамы всегда имеют начальный код К2. Полная марка элемента получается добавлением к начальному коду факторов, влияющих на сечение элемента. Для удобства пользования в сортаментах применяются сокращенные марки крайних стоек рам и элементов ригеля.
Марка крайней стойки

Пример:
К1.180.72-III-1(с) – стойка рамы К1 для рамы пролетом L=18 м, высотой Н=7.2 м, при расчетном коде вертикальной нагрузки - III, из стали С255, при сейсмической нагрузке более 7 баллов.
Сокращенная марка крайней стойки

Марка средней стойки рамы

Пример:
1К2.110.75-2-2(c) – средняя одноветвевая стойка, высотой 8<Н≤11 м, действующее в стойке усилие находится в пределах 65<ΣNст≤75 тс, примыкает к ригелю с высотой сечения нижней ветви hp=200 мм, из стали С345, может применяться при сейсмической нагрузке более 7 баллов.
Подбор сечений средних стоек производится в зависимости от усилия, действующего в стойке, и высоты данной стойки.
Марка ригеля

Пример:
1Р1-2х210-П-1(с) - модификация 1 ригеля рамы Р1, для двухпролетной рамы пролетом L=2×21 м, при расчетном коде вертикальной нагрузки-II, из стали С255, при сейсмичности более 7 баллов.
Сокращенная марка ригеля

ОРИЕНТАЦИЯ СЕЧЕНИЙ ЭЛЕМЕНТОВ РАМ
|
При выборе сечений стоек рам необходимо знать их ориентацию. Во всех сортаментах запись тр. 100×200×6 соответствует b×h×t, где b – размер в плоскости рамы, h – размер из плоскости рамы, t – толщина трубы. Запись 180×6 соответствует b×h×t, где b=h. |
Все элементы каркасов УНИТЕК выполнены из гнутосварных труб по ГОСТ 30245-03 и листовой стали по ГОСТ 19903-74*.
1РТО180.*
2РТО180.*

1РТО210.*
2РТО210.*
1РТО240.*
2РТО240.*

1РТО300.*
2РТО300.*

3РТО150.*






СОРТАМЕНТ КРАЙНИХ СТОЕК ОДНОПРОЛЕТНЫХ РАМ 1РТО180.48-*, 2РТО180.48-*
|
Код вертикальной нагрузки |
Гнутосварные трубы, b×h×t, мм |
Листовая сталь t, мм |
|||||
|
Номер позиции |
|||||||
|
1 |
2 |
3 |
4 |
5 |
6 |
||
|
K1.180.48- |
I |
120×160×5 |
140×160×6 |
80×4 |
12 |
6 |
20 |
|
II |
120×160×5 |
140×160×6 |
80×4 |
12 |
6 |
20 |
|
|
III |
120×160×5 |
160×6 |
80×4 |
12 |
6 |
25 |
|
|
IV |
120×160×5 |
160×6 |
80×4 |
12 |
6 |
25 |
|
|
V |
120×160×5 |
160×8 |
80×4 |
14 |
6 |
25 |
|
|
VI |
120×160×5 |
160×8 |
80×4 |
14 |
6 |
25 |
|
1. Сталь определяется по табл. 7 докум.-01ПЗ.
2. Сечение элемента подбирается по сортаменту в соответствии с табл. 8 докум.- 01ПЗ.

СОРТАМЕНТ КРАЙНИХ СТОЕК ОДНОПРОЛЕТНЫХ РАМ 1РТО180.60-*, 2РТО180.60-*
|
Код вертикальной нагрузки |
Гнутосварные трубы, b×h×t, мм |
Листовая сталь t, мм |
|||||
|
Номер позиции |
|||||||
|
1 |
2 |
3 |
4 |
5 |
6 |
||
|
K1.180.60-* |
I |
120×160×5 |
160×6 |
80×4 |
12 |
6 |
20 |
|
II |
120×160×5 |
160×6 |
80×4 |
12 |
6 |
20 |
|
|
III |
120×160×5 |
160×8 |
80×4 |
12 |
6 |
25 |
|
|
IV |
120×160×5 |
160×8 |
80×4 |
12 |
6 |
25 |
|
|
V |
120×160×5 |
160×8 |
80×4 |
14 |
6 |
25 |
|
|
VI |
120×160×5 |
160×8 |
80×4 |
14 |
6 |
25 |
|
СОРТАМЕНТ КРАЙНИХ СТОЕК ОДНОПРОЛЕТНЫХ РАМ 1РТО210.60-*, 2РТО210.60-*
|
Код вертикальной нагрузки |
Гнутосварные трубы, b×h×t, мм |
Листовая сталь t, мм |
|||||
|
Номер позиции |
|||||||
|
1 |
2 |
3 |
4 |
5 |
6 |
||
|
K1.210.60-* |
I |
140×180×5 |
140×180×6 |
100×4 |
12 |
6 |
20 |
|
II |
140×180×5 |
140×180×6 |
100×4 |
12 |
6 |
20 |
|
|
III |
140×180×5 |
180×6 |
100×4 |
14 |
6 |
25 |
|
|
IV |
140×180×5 |
180×6 |
100×4 |
14 |
6 |
25 |
|
|
V |
140×180×6 |
180×8 |
100×4 |
16 |
6 |
25 |
|
|
VI |
140×180×6 |
180×8 |
100×4 |
16 |
6 |
25 |
|
1. Сталь определяется по табл. 7 докум.-01ПЗ.
2. Сечение элемента подбирается по сортаменту в соответствии с табл. 8 докум.- 01ПЗ.

СОРТАМЕНТ КРАЙНИХ СТОЕК ОДНОПРОЛЕТНЫХ РАМ 1РТО180.72-*, 2РТО180.72-*
|
Код вертикальной нагрузки |
Гнутосварные трубы, b×h×t, мм |
Листовая сталь t, мм |
|||||
|
Номер позиции |
|||||||
|
1 |
2 |
3 |
4 |
5 |
6 |
||
|
K1.180.72-* |
I |
120×160×5 |
120×160×5 |
80×4 |
12 |
6 |
20 |
|
II |
120×160×5 |
120×160×5 |
80×4 |
12 |
6 |
20 |
|
|
III |
120×160×5 |
160×5 |
80×4 |
12 |
6 |
25 |
|
|
IV |
120×160×5 |
160×5 |
80×4 |
12 |
6 |
25 |
|
|
V |
120×160×5 |
160×6 |
80×4 |
14 |
6 |
25 |
|
|
VI |
120×160×5 |
160×6 |
80×4 |
14 |
6 |
25 |
|
СОРТАМЕНТ КРАЙНИХ СТОЕК ОДНОПРОЛЕТНЫХ РАМ 1РТО210.72-*, 2РТО210.72-*
|
Код вертикальной нагрузки |
Гнутосварные трубы, b×h×t, мм |
Листовая сталь t, мм |
|||||
|
Номер позиции |
|||||||
|
1 |
2 |
3 |
4 |
5 |
6 |
||
|
K1.210.72-* |
I |
140×180×5 |
180×5 |
100×4 |
12 |
6 |
20 |
|
II |
140×180×5 |
180×5 |
100×4 |
12 |
6 |
20 |
|
|
III |
140×180×5 |
180×5 |
100×4 |
14 |
6 |
25 |
|
|
IV |
140×180×5 |
180×5 |
100×4 |
14 |
6 |
25 |
|
|
V |
140×180×5 |
180×6 |
100×4 |
16 |
6 |
25 |
|
|
VI |
140×180×5 |
180×6 |
100×4 |
16 |
6 |
25 |
|
1. Сталь определяется по табл. 7 докум.-01ПЗ.
2. Сечение элемента подбирается по сортаменту в соответствии с табл. 8 докум.- 01ПЗ.

СОРТАМЕНТ КРАЙНИХ СТОЕК ОДНОПРОЛЕТНЫХ РАМ 1РТО180.84-*, 2РТО180.84-*
|
Код вертикальной нагрузки |
Гнутосварные трубы, b×h×t, мм |
Листовая сталь t, мм |
|||||
|
Номер позиции |
|||||||
|
1 |
2 |
3 |
4 |
5 |
6 |
||
|
K1.180.84-* |
I |
120×160×5 |
140×160×5 |
80×4 |
12 |
6 |
20 |
|
II |
120×160×5 |
140×160×5 |
80×4 |
12 |
6 |
20 |
|
|
III |
120×160×5 |
160×6 |
80×4 |
12 |
6 |
25 |
|
|
IV |
120×160×5 |
160×6 |
80×4 |
12 |
6 |
25 |
|
|
V |
120×160×5 |
160×8 |
80×4 |
14 |
6 |
25 |
|
|
VI |
120×160×5 |
160×8 |
80×4 |
14 |
6 |
25 |
|
СОРТАМЕНТ КРАЙНИХ СТОЕК ОДНОПРОЛЕТНЫХ РАМ 1РТО210.84-*, 2РТО210.84-*
|
Код вертикальной нагрузки |
Гнутосварные трубы, b×h×t, мм |
Листовая сталь t, мм |
|||||
|
Номер позиции |
|||||||
|
1 |
2 |
3 |
4 |
5 |
6 |
||
|
K1.210.84-* |
I |
140×180×5 |
180×5 |
100×4 |
12 |
6 |
20 |
|
II |
140×180×5 |
180×5 |
100×4 |
12 |
6 |
20 |
|
|
III |
140×180×5 |
180×5 |
100×4 |
14 |
6 |
25 |
|
|
IV |
140×180×5 |
180×5 |
100×4 |
14 |
6 |
25 |
|
|
V |
140×180×5 |
180×6 |
100×4 |
16 |
6 |
25 |
|
|
VI |
140×180×5 |
180×6 |
100×4 |
16 |
6 |
25 |
|
1. Сталь определяется по табл. 7 докум.-01ПЗ.
2. Сечение элемента подбирается по сортаменту в соответствии с табл. 8 докум.-01ПЗ.

СОРТАМЕНТ КРАЙНИХ СТОЕК ОДНОПРОЛЕТНЫХ РАМ 1РТО210.96-*, 2РТО210.96-*
|
Код вертикальной нагрузки |
Гнутосварные трубы, b×h×t, мм |
Листовая сталь t, мм |
|||||
|
Номер позиции |
|||||||
|
1 |
2 |
3 |
4 |
5 |
6 |
||
|
K1.210.96-* |
I |
140×180×5 |
180×5 |
100×4 |
12 |
6 |
20 |
|
II |
140×180×5 |
180×5 |
100×4 |
12 |
6 |
20 |
|
|
III |
140×180×5 |
180×5 |
100×4 |
14 |
6 |
25 |
|
|
IV |
140×180×5 |
180×5 |
100×4 |
14 |
6 |
25 |
|
|
V |
140×180×5 |
180×6 |
100×4 |
16 |
6 |
25 |
|
|
VI |
140×180×5 |
180×6 |
100×4 |
16 |
6 |
25 |
|
1. Сталь определяется по табл. 7 докум.-01ПЗ.
2. Сечение элемента подбирается по сортаменту в соответствии с табл. 8 докум.- 01ПЗ.

СОРТАМЕНТ КРАЙНИХ СТОЕК ОДНОПРОЛЕТНЫХ РАМ 1РТО240.60-*, 2РТО240.60-*
|
Код вертикальной нагрузки |
Гнутосварные трубы, b×h×t, мм |
Листовая сталь t, мм |
|||||
|
Номер позиции |
|||||||
|
1 |
2 |
3 |
4 |
5 |
6 |
||
|
K1.240.60-* |
I |
140×180×5 |
180×6 |
100×4 |
12 |
6 |
20 |
|
II |
140×180×5 |
180×6 |
100×4 |
12 |
6 |
20 |
|
|
III |
140×180×6 |
180×8 |
100×4 |
14 |
6 |
25 |
|
|
IV |
140×180×6 |
180×8 |
100×4 |
14 |
6 |
25 |
|
|
V |
100×200×6 |
200×8 |
120×4 |
16 |
6 |
25 |
|
|
VI |
100×200×6 |
200×8 |
120×4 |
16 |
6 |
25 |
|
СОРТАМЕНТ КРАЙНИХ СТОЕК ОДНОПРОЛЕТНЫХ РАМ 1РТО300.60-*, 2РТО300.60-*
|
Код вертикальной нагрузки |
Гнутосварные трубы, b×h×t, мм |
Листовая сталь t, мм |
|||||
|
Номер позиции |
|||||||
|
1 |
2 |
3 |
4 |
5 |
6 |
||
|
K1.300.60-* |
I |
100×200×6 |
200×6 |
120×4 |
16 |
6 |
25 |
|
II |
100×200×6 |
200×6 |
120×4 |
16 |
6 |
25 |
|
|
III |
160×240×6 |
160×240×8 |
140×4 |
18 |
8 |
25 |
|
|
IV |
160×240×6 |
160×240×8 |
140×4 |
18 |
8 |
25 |
|
|
V |
160×240×8 |
160×240×10 |
140×4 |
20 |
8 |
25 |
|
|
VI |
160×240×8 |
160×240×10 |
140×4 |
20 |
8 |
25 |
|
1. Сталь определяется по табл. 7 докум.- 01ПЗ.
2. Сечение элемента подбирается по сортаменту в соответствии с табл. 8 докум.- 01ПЗ.

СОРТАМЕНТ КРАЙНИХ СТОЕК ОДНОПРОЛЕТНЫХ РАМ 1РТО240.72-*, 2РТО240.72-*
|
Код вертикальной нагрузки |
Гнутосварные трубы, b×h×t, мм |
Листовая сталь t, мм |
|||||
|
Номер позиции |
|||||||
|
1 |
2 |
3 |
4 |
5 |
6 |
||
|
K1.240.72-* |
I |
140×180×5 |
180×5 |
100×4 |
12 |
6 |
20 |
|
II |
140×180×5 |
180×5 |
100×4 |
12 |
6 |
20 |
|
|
III |
140×180×6 |
180×6 |
100×4 |
14 |
6 |
25 |
|
|
IV |
140×180×6 |
180×6 |
100×4 |
14 |
6 |
25 |
|
|
V |
100×200×6 |
200×6 |
120×4 |
16 |
6 |
25 |
|
|
VI |
100×200×6 |
200×6 |
120×4 |
16 |
6 |
25 |
|
СОРТАМЕНТ КРАЙНИХ СТОЕК ОДНОПРОЛЕТНЫХ РАМ 1РТО300.72-*, 2РТО300.72-*
|
Код вертикальной нагрузки |
Гнутосварные трубы, b×h×t, мм |
Листовая сталь t, мм |
|||||
|
Номер позиции |
|||||||
|
1 |
2 |
3 |
4 |
5 |
6 |
||
|
K1.300.72-* |
I |
100×200×6 |
200×6 |
120×4 |
16 |
6 |
25 |
|
II |
100×200×6 |
200×6 |
120×4 |
16 |
6 |
25 |
|
|
III |
160×240×6 |
160×240×8 |
140×4 |
18 |
8 |
25 |
|
|
IV |
160×240×6 |
160×240×8 |
140×4 |
18 |
8 |
25 |
|
|
V |
160×240×8 |
160×240×10 |
140×4 |
20 |
8 |
25 |
|
|
VI |
160×240×8 |
160×240×10 |
140×4 |
20 |
8 |
25 |
|
1. Сталь определяется по табл. 7 докум.- 01ПЗ.
2. Сечение элемента подбирается по сортаменту в соответствии с табл. 8 докум.- 01ПЗ.

СОРТАМЕНТ КРАЙНИХ СТОЕК ОДНОПРОЛЕТНЫХ РАМ 1РТО240.84-*, 2РТО240.84-*
|
Код вертикальной нагрузки |
Гнутосварные трубы, b×h×t, мм |
Листовая сталь t, мм |
|||||
|
Номер позиции |
|||||||
|
1 |
2 |
3 |
4 |
5 |
6 |
||
|
K1.240.84-* |
I |
140×180×5 |
180×5 |
100×4 |
12 |
6 |
20 |
|
II |
140×180×5 |
180×5 |
100×4 |
12 |
6 |
20 |
|
|
III |
140×180×6 |
180×6 |
100×4 |
14 |
6 |
25 |
|
|
IV |
140×180×6 |
180×6 |
100×4 |
14 |
6 |
25 |
|
|
V |
100×200×6 |
200×6 |
120×4 |
16 |
6 |
25 |
|
|
VI |
100×200×6 |
200×6 |
120×4 |
16 |
6 |
25 |
|
СОРТАМЕНТ КРАЙНИХ СТОЕК ОДНОПРОЛЕТНЫХ РАМ 1РТО300.84-*, 2РТО300.84-*
|
Код вертикальной нагрузки |
Гнутосварные трубы, b×h×t, мм |
Листовая сталь t, мм |
|||||
|
Номер позиции |
|||||||
|
1 |
2 |
3 |
4 |
5 |
6 |
||
|
K1.300.84-* |
I |
100×200×6 |
200×6 |
120×4 |
16 |
6 |
25 |
|
II |
100×200×6 |
200×6 |
120×4 |
16 |
6 |
25 |
|
|
III |
160×240×6 |
160×240×8 |
140×4 |
18 |
8 |
25 |
|
|
IV |
160×240×6 |
160×240×8 |
140×4 |
18 |
8 |
25 |
|
|
V |
160×240×8 |
160×240×10 |
140×4 |
20 |
8 |
25 |
|
|
VI |
160×240×8 |
160×240×10 |
140×4 |
20 |
8 |
25 |
|
1. Сталь определяется по табл. 7 докум.- 01ПЗ.
2. Сечение элемента подбирается по сортаменту в соответствии с табл. 8 докум.- 01ПЗ.

СОРТАМЕНТ КРАЙНИХ СТОЕК ОДНОПРОЛЕТНЫХ РАМ 1РТО240.96-*, 2РТО240.96-*
|
Код вертикальной нагрузки |
Гнутосварные трубы, b×h×t, мм |
Листовая сталь t, мм |
|||||
|
Номер позиции |
|||||||
|
1 |
2 |
3 |
4 |
5 |
6 |
||
|
K1.240.96-* |
I |
140×180×5 |
180×6 |
100×4 |
12 |
6 |
20 |
|
II |
140×180×5 |
180×6 |
100×4 |
12 |
6 |
20 |
|
|
III |
140×180×6 |
180×8 |
100×4 |
14 |
6 |
25 |
|
|
IV |
140×180×6 |
180×8 |
100×4 |
14 |
6 |
25 |
|
|
V |
100×200×6 |
200×8 |
120×4 |
16 |
6 |
25 |
|
|
VI |
100×200×6 |
200×8 |
120×4 |
16 |
6 |
25 |
|
СОРТАМЕНТ КРАЙНИХ СТОЕК ОДНОПРОЛЕТНЫХ РАМ 1РТО300.96-*, 2РТО300.96-*
|
Код вертикальной нагрузки |
Гнутосварные трубы, b×h×t, мм |
Листовая сталь t, мм |
|||||
|
Номер позиции |
|||||||
|
1 |
2 |
3 |
4 |
5 |
6 |
||
|
K1.300.96-* |
I |
100×200×6 |
200×6 |
120×4 |
16 |
6 |
25 |
|
II |
100×200×6 |
200×6 |
120×4 |
16 |
6 |
25 |
|
|
III |
160×240×6 |
160×240×8 |
140×4 |
18 |
8 |
25 |
|
|
IV |
160×240×6 |
160×240×8 |
140×4 |
18 |
8 |
25 |
|
|
V |
160×240×8 |
160×240×10 |
140×4 |
20 |
8 |
25 |
|
|
VI |
160×240×8 |
160×240×10 |
140×4 |
20 |
8 |
25 |
|
1. Сталь определяется по табл. 7 докум.- 01ПЗ.
2. Сечение элемента подбирается по сортаменту в соответствии с табл. 8 докум.- 01ПЗ.

СОРТАМЕНТ КРАЙНИХ СТОЕК ОДНОПРОЛЕТНЫХ РАМ 3РТО150.48-*
|
Код вертикальной нагрузки |
Гнутосварные трубы, b×h×t, мм |
Листовая сталь t, мм |
|||||
|
Номер позиции |
|||||||
|
1 |
2 |
3 |
4 |
5 |
6 |
||
|
K1.150.48-* |
I |
140×180×5 |
140×180×5 |
100×4 |
12 |
6 |
20 |
|
II |
140×180×5 |
140×180×5 |
100×4 |
12 |
6 |
20 |
|
|
III |
140×180×5 |
140×180×5 |
100×4 |
12 |
6 |
20 |
|
|
IV |
140×180×5 |
140×180×5 |
100×4 |
12 |
6 |
20 |
|
|
V |
140×180×5 |
180×5 |
100×4 |
12 |
6 |
20 |
|
|
VI |
140×180×5 |
180×5 |
100×4 |
12 |
6 |
20 |
|
1. Сталь определяется по табл. 7 докум.- 01ПЗ.
2. Сечение элемента подбирается по сортаменту в соответствии с табл. 8 докум.- 01ПЗ.

СОРТАМЕНТ КРАЙНИХ СТОЕК ОДНОПРОЛЕТНЫХ РАМ 3РТ0150.60-*
|
Код вертикальной нагрузки |
Гнутосварные трубы, b×h×t, мм |
Листовая сталь t, мм |
|||||
|
Номер позиции |
|||||||
|
1 |
2 |
3 |
4 |
5 |
6 |
||
|
K1.150.60-* |
I |
140×180×5 |
140×180×5 |
100×4 |
12 |
6 |
20 |
|
II |
140×180×5 |
140×180×5 |
100×4 |
12 |
6 |
20 |
|
|
III |
140×180×5 |
180×5 |
100×4 |
12 |
6 |
20 |
|
|
IV |
140×180×5 |
180×5 |
100×4 |
12 |
6 |
20 |
|
|
V |
140×180×5 |
180×6 |
100×4 |
12 |
6 |
20 |
|
|
VI |
140×180×5 |
180×6 |
100×4 |
12 |
6 |
20 |
|
1. Сталь определяется по табл. 7 докум.- 01ПЗ.
2. Сечение элемента подбирается по сортаменту в соответствии с табл. 8 докум.- 01ПЗ.

СОРТАМЕНТ КРАЙНИХ СТОЕК ОДНОПРОЛЕТНЫХ РАМ 3РТ0150.72-*
|
Код вертикальной нагрузки |
Гнутосварные трубы, b×h×t, мм |
Листовая сталь t, мм |
|||||
|
Номер позиции |
|||||||
|
1 |
2 |
3 |
4 |
5 |
6 |
||
|
K1.150.72-* |
I |
140×180×5 |
140×180×5 |
100×4 |
12 |
6 |
20 |
|
II |
140×180×5 |
140×180×5 |
100×4 |
12 |
6 |
20 |
|
|
III |
140×180×5 |
140×180×5 |
100×4 |
12 |
6 |
20 |
|
|
IV |
140×180×5 |
140×180×5 |
100×4 |
12 |
6 |
20 |
|
|
V |
140×180×5 |
180×5 |
100×4 |
12 |
6 |
20 |
|
|
VI |
140×180×5 |
180×5 |
100×4 |
12 |
6 |
20 |
|
1. Сталь определяется по табл. 7 докум.- 01ПЗ.
2. Сечение элемента подбирается по сортаменту в соответствии с табл. 8 докум.- 01ПЗ.

СОРТАМЕНТ КРАЙНИХ СТОЕК МНОГОПРОЛЕТНЫХ РАМ
1РТМ2×180.48-*, 2РТМ2×180.48-*,
1РТМ3×180.48-*, 2РТМ3×180.48-*,
1РТМ4×180.48-*, 2РТМ4×180.48-*,
1РТМ5×180.48-*, 2PTM5×180.48-*
|
Код вертикальной нагрузки |
Гнутосварные трубы, b×h×t, мм |
Листовая сталь t, мм |
|||||
|
Номер позиции |
|||||||
|
1 |
2 |
3 |
4 |
5 |
6 |
||
|
K1.n×180.48-* |
I |
140×180×5 |
140×180×5 |
100×4 |
12 |
6 |
20 |
|
II |
140×180×5 |
140×180×5 |
100×4 |
12 |
6 |
20 |
|
|
III |
100×200×5 |
160×200×5 |
120×4 |
12 |
6 |
25 |
|
|
IV |
100×200×5 |
160×200×5 |
120×4 |
12 |
6 |
25 |
|
|
V |
100×200×5 |
160×200×6 |
120×4 |
12 |
6 |
25 |
|
|
VI |
100×200×5 |
160×200×6 |
120×4 |
12 |
6 |
25 |
|
1. Сталь определяется по табл. 7 докум.- 01ПЗ.
2. Сечение элемента подбирается по сортаменту в соответствии с табл. 8 докум.- 01ПЗ.

СОРТАМЕНТ КРАЙНИХ СТОЕК МНОГОПРОЛЕТНЫХ РАМ
1РТМ2×180.60-*, 2РТМ2×180.60-*,
1РТМ3×180.60-*, 2РТМ3×180.60-*,
1РТМ4×180.60-*, 2РТМ4×180.60-*,
1РТМ5×180.60-*, 2PTM5×180.60-*
|
Код вертикальной нагрузки |
Гнутосварные трубы, b×h×t, мм |
Листовая сталь t, мм |
|||||
|
Номер позиции |
|||||||
|
1 |
2 |
3 |
4 |
5 |
6 |
||
|
K1.n×l80.60-* |
I |
140×180×5 |
180×5 |
100×4 |
12 |
6 |
20 |
|
II |
140×180×5 |
180×5 |
100×4 |
12 |
6 |
20 |
|
|
III |
100×200×5 |
160×200×5 |
120×4 |
12 |
6 |
25 |
|
|
IV |
100×200×5 |
160×200×5 |
120×4 |
12 |
6 |
25 |
|
|
V |
100×200×5 |
160×200×6 |
120×4 |
12 |
6 |
25 |
|
|
VI |
100×200×5 |
160×200×6 |
120×4 |
12 |
6 |
25 |
|
СОРТАМЕНТ КРАЙНИХ СТОЕК МНОГОПРОЛЕТНЫХ РАМ
1РТМ2×210.60-*, 2РТМ2×210.60-*,
1РТМ3×210.60-*, 2РТМ3×210.60-*,
1РТМ4×210.60-*, 2РТМ4×210.60-*,
1РТМ5×210.60-*, 2РТМ5×210.60-*
|
Код вертикальной нагрузки |
Гнутосварные трубы, b×h×t, мм |
Листовая сталь t, мм |
|||||
|
Номер позиции |
|||||||
|
1 |
2 |
3 |
4 |
5 |
6 |
||
|
K1.n×210.60-* |
I |
100×200×5 |
120×200×6 |
120×4 |
12 |
6 |
20 |
|
II |
100×200×5 |
120×200×6 |
120×4 |
12 |
6 |
20 |
|
|
III |
160×240×5 |
160×240×5 |
140×4 |
12 |
6 |
25 |
|
|
IV |
160×240×5 |
160×240×5 |
140×4 |
12 |
6 |
25 |
|
|
V |
160×240×5 |
160×240×6 |
140×4 |
12 |
6 |
25 |
|
|
VI |
160×240×5 |
160×240×6 |
140×4 |
12 |
6 |
25 |
|
1. Сталь определяется по табл. 7 докум.- 01ПЗ.
2. Сечение элемента подбирается по сортаменту в соответствии с табл. 8 докум.- 01ПЗ.

СОРТАМЕНТ КРАЙНИХ СТОЕК МНОГОПРОЛЕТНЫХ РАМ
1РТМ2×180.72-*, 2РТМ2×180.72-*,
1РТМ3×180.72-*, 2РТМ3×180.72-*,
1РТМ4×180.72-*, 2РТМ4×180.72-*,
1РТМ5×180.72-*, 2PTM5×180.72-*
|
Код вертикальной нагрузки |
Гнутосварные трубы, b×h×t, мм |
Листовая сталь t, мм |
|||||
|
Номер позиции |
|||||||
|
1 |
2 |
3 |
4 |
5 |
6 |
||
|
K1.n×l80.72-* |
I |
140×180×5 |
140×180×5 |
100×4 |
12 |
6 |
25 |
|
II |
140×180×5 |
140×180×5 |
100×4 |
12 |
6 |
25 |
|
|
III |
100×200×5 |
160×200×5 |
120×4 |
12 |
6 |
25 |
|
|
IV |
100×200×5 |
160×200×5 |
120×4 |
12 |
6 |
25 |
|
|
V |
100×200×5 |
160×200×6 |
120×4 |
12 |
6 |
25 |
|
|
VI |
100×200×5 |
160×200×6 |
120×4 |
12 |
6 |
25 |
|
СОРТАМЕНТ КРАЙНИХ СТОЕК МНОГОПРОЛЕТНЫХ РАМ
1РТМ2×210.72-*, 2РТМ2×210.72-*,
1РТМ3×210.72-*, 2РТМ3×210.72-*,
1РТМ4×210.72-*, 2РТМ4×210.72-*,
1РТМ5×210.72-*, 2РТМ5×210.72-*
|
Код вертикальной нагрузки |
Гнутосварные трубы, b×h×t, мм |
Листовая сталь t, мм |
|||||
|
Номер позиции |
|||||||
|
1 |
2 |
3 |
4 |
5 |
6 |
||
|
K1.n×210.72-* |
I |
100×200×5 |
120×200×6 |
120×4 |
12 |
6 |
25 |
|
II |
100×200×5 |
120×200×6 |
120×4 |
12 |
6 |
25 |
|
|
III |
160×240×5 |
160×240×5 |
140×4 |
12 |
6 |
25 |
|
|
IV |
160×240×5 |
160×240×5 |
140×4 |
12 |
6 |
25 |
|
|
V |
160×240×5 |
160×240×6 |
140×4 |
12 |
6 |
25 |
|
|
VI |
160×240×5 |
160×240×6 |
140×4 |
12 |
6 |
25 |
|
1. Сталь определяется по табл. 7 докум.- 01ПЗ.
2. Сечение элемента подбирается по сортаменту в соответствии с табл. 8 докум.- 01ПЗ.

СОРТАМЕНТ КРАЙНИХ СТОЕК МНОГОПРОЛЕТНЫХ РАМ
1РТМ2×180.84-*, 2РТМ2×180.84-*,
1РТМ3×180.84-*, 2РТМ3×180.84-*,
1РТМ4×180.84-*, 2РТМ4×180.84-*,
1РТМ5×180.84-*, 2PTM5×180.84-*
|
Код вертикальной нагрузки |
Гнутосварные трубы, b×h×t, мм |
Листовая сталь t, мм |
|||||
|
Номер позиции |
|||||||
|
1 |
2 |
3 |
4 |
5 |
6 |
||
|
K1.n×l80.84-* |
I |
140×180×5 |
140×180×5 |
100×4 |
12 |
6 |
25 |
|
II |
140×180×5 |
140×180×5 |
100×4 |
12 |
6 |
25 |
|
|
III |
100×200×5 |
160×200×5 |
120×4 |
12 |
6 |
25 |
|
|
IV |
100×200×5 |
160×200×5 |
120×4 |
12 |
6 |
25 |
|
|
V |
100×200×5 |
160×200×6 |
120×4 |
12 |
6 |
25 |
|
|
VI |
100×200×5 |
160×200×6 |
120×4 |
12 |
6 |
25 |
|
СОРТАМЕНТ КРАЙНИХ СТОЕК МНОГОПРОЛЕТНЫХ РАМ
1РТМ2×210.84-*, 2РТМ2×210.84-*,
1РТМ3×210.84-*, 2РТМ3×210.84-*,
1РТМ4×210.84-*, 2РТМ4×210.84-*,
1РТМ5×210.84-*, 2РТМ5×210.84-*
|
Код вертикальной нагрузки |
Гнутосварные трубы, b×h×t, мм |
Листовая сталь t, мм |
|||||
|
Номер позиции |
|||||||
|
1 |
2 |
3 |
|
|
|
||
|
K1.n×210.84-* |
I |
100×200×5 |
120×200×6 |
120×4 |
12 |
6 |
25 |
|
II |
100×200×5 |
120×200×6 |
120×4 |
12 |
6 |
25 |
|
|
III |
160×240×5 |
160×240×5 |
140×4 |
12 |
6 |
25 |
|
|
IV |
160×240×5 |
160×240×5 |
140×4 |
12 |
6 |
25 |
|
|
V |
160×240×5 |
160×240×6 |
140×4 |
12 |
6 |
25 |
|
|
VI |
160×240×5 |
160×240×6 |
140×4 |
12 |
6 |
25 |
|
1. Сталь определяется по табл. 7 докум.- 01ПЗ.
2. Сечение элемента подбирается по сортаменту в соответствии с табл. 8 докум.- 01ПЗ.

СОРТАМЕНТ КРАЙНИХ СТОЕК МНОГОПРОЛЕТНЫХ РАМ
1РТМ2×210.96-*, 2РТМ2×210.96-*,
1РТМ3×210.96-*, 2РТМ3×210.96-*,
1РТМ4×210.96-*, 2РТМ4×210.96-*
|
Код вертикальной нагрузки |
Гнутосварные трубы, b×h×t, мм |
Листовая сталь t, мм |
|||||
|
Номер позиции |
|||||||
|
1 |
2 |
3 |
4 |
5 |
6 |
||
|
K1.n×210.96-* |
I |
100×200×5 |
120×200×6 |
120×4 |
12 |
6 |
25 |
|
II |
100×200×5 |
120×200×6 |
120×4 |
12 |
6 |
25 |
|
|
III |
160×240×5 |
160×240×5 |
140×4 |
12 |
6 |
25 |
|
|
IV |
160×240×5 |
160×240×5 |
140×4 |
12 |
6 |
25 |
|
|
V |
160×240×5 |
160×240×6 |
140×4 |
12 |
6 |
25 |
|
|
VI |
160×240×5 |
160×240×6 |
140×4 |
12 |
6 |
25 |
|
1. Сталь определяется по табл. 7 докум.- 01ПЗ.
2. Сечение элемента подбирается по сортаменту в соответствии с табл. 8 докум.- 01ПЗ.

СОРТАМЕНТ КРАЙНИХ СТОЕК МНОГОПРОЛЕТНЫХ РАМ
1РТМ2×240.60-*, 2РТМ2×240.60-*,
1РТМ3×240.60-*, 2РТМ3×240.60-*,
1РТМ4×240.60-*, 2РТМ4×240.60-*
|
Код вертикальной нагрузки |
Гнутосварные трубы, b×h×t, мм |
Листовая сталь t, мм |
|||||
|
Номер позиции |
|||||||
|
1 |
2 |
3 |
4 |
5 |
6 |
||
|
K1.n×240.60-* |
|
Сталь С255 и С345 |
|||||
|
I |
100×200×5 |
160×200×6 |
120×4 |
12 |
6 |
25 |
|
|
II |
100×200×5 |
160×200×6 |
120×4 |
12 |
6 |
25 |
|
|
III |
160×240×6 |
160×240×6 |
140×4 |
14 |
6 |
25 |
|
|
IV |
160×240×6 |
160×240×6 |
140×4 |
14 |
6 |
25 |
|
|
V |
160×240×6 |
160×240×8 |
140×4 |
14 |
6 |
25 |
|
|
|
Сталь С345 |
||||||
|
VI |
160×240×6 |
160×240×8 |
140×4 |
14 |
6 |
25 |
|
СОРТАМЕНТ КРАЙНИХ СТОЕК МНОГОПРОЛЕТНЫХ РАМ
1РТМ2×300.60-*, 2РТМ2×300.60-*
1РТМ3×300.60-*, 2РТМ3×300.60-*
|
Код вертикальной нагрузки |
Гнутосварные трубы, b×h×t, мм |
Листовая сталь t, мм |
|||||
|
Номер позиции |
|||||||
|
1 |
2 |
3 |
4 |
5 |
6 |
||
|
K1.n×300.60-* |
|
Сталь С255 и С345 |
|||||
|
I |
160×240×6 |
160×240×6 |
140×4 |
16 |
6 |
20 |
|
|
II |
160×240×6 |
160×240×6 |
140×4 |
16 |
6 |
20 |
|
|
III |
160×240×6 |
160×240×8 |
140×4 |
16 |
8 |
25 |
|
|
IV |
160×240×6 |
160×240×8 |
140×4 |
16 |
8 |
25 |
|
|
|
Сталь С345 |
||||||
|
V |
160×240×6 |
160×240×8 |
140×4 |
16 |
8 |
25 |
|
|
VI |
- |
- |
- |
- |
- |
- |
|
1. Сталь определяется по табл. 7 докум.-01ПЗ.
2. Сечение элемента подбирается по сортаменту в соответствии с табл. 8 докум.- 01ПЗ.

СОРТАМЕНТ КРАЙНИХ СТОЕК МНОГОПРОЛЕТНЫХ РАМ
1РТМ2×240.72-*, 2РТМ2×240.72-*,
1РТМ3×240.72-*, 2РТМ3×240.72-*,
1РТМ4×240.72-*, 2РТМ4×240.72-*
|
Код вертикальной нагрузки |
Гнутосварные трубы, b×h×t, мм |
Листовая сталь t, мм |
|||||
|
Номер позиции |
|||||||
|
1 |
2 |
3 |
4 |
5 |
6 |
||
|
K1.n×240.72-* |
|
Сталь С255 и С345 |
|||||
|
I |
100×200×5 |
160×200×5 |
120×4 |
12 |
6 |
25 |
|
|
II |
100×200×5 |
160×200×5 |
120×4 |
12 |
6 |
25 |
|
|
III |
160×240×6 |
160×240×6 |
140×4 |
14 |
6 |
25 |
|
|
IV |
160×240×6 |
160×240×6 |
140×4 |
14 |
6 |
25 |
|
|
V |
160×240×6 |
160×240×8 |
140×4 |
14 |
6 |
25 |
|
|
|
Сталь С345 |
||||||
|
VI |
160×240×6 |
160×240×8 |
140×4 |
14 |
6 |
25 |
|
СОРТАМЕНТ КРАЙНИХ СТОЕК МНОГОПРОЛЕТНЫХ РАМ
1РТМ2×300.72-*, 2РТМ2×300.72-*,
1РТМ3×300.72-*, 2РТМ3×300.72-*
|
Код вертикальной нагрузки |
Гнутосварные трубы, b×h×t, мм |
Листовая сталь t, мм |
|||||
|
Номер позиции |
|||||||
|
1 |
2 |
3 |
4 |
5 |
6 |
||
|
K1.n×300.72-* |
|
Сталь С255 и С345 |
|||||
|
I |
160×240×6 |
160×240×6 |
140×4 |
16 |
6 |
25 |
|
|
II |
160×240×6 |
160×240×6 |
140×4 |
16 |
6 |
25 |
|
|
III |
160×240×6 |
160×240×6 |
140×4 |
16 |
8 |
25 |
|
|
IV |
160×240×6 |
160×240×6 |
140×4 |
16 |
8 |
25 |
|
|
|
Сталь С345 |
||||||
|
V |
160×240×6 |
160×240×8 |
140×4 |
16 |
8 |
25 |
|
|
VI |
- |
- |
- |
- |
- |
- |
|
1. Сталь определяется по табл. 7 докум.-01ПЗ.
2. Сечение элемента подбирается по сортаменту в соответствии с табл. 8 докум.- 01ПЗ.

СОРТАМЕНТ КРАЙНИХ СТОЕК МНОГОПРОЛЕТНЫХ РАМ
1РТМ2×240.84-*, 2РТМ2×240.84-*,
1РТМ3×240.84-*, 2РТМ3×240.84-*,
1РТМ4×240.84-*, 2РТМ4×240.84-*
|
Код вертикальной нагрузки |
Гнутосварные трубы, b×h×t, мм |
Листовая сталь t, мм |
|||||
|
Номер позиции |
|||||||
|
1 |
2 |
3 |
4 |
5 |
6 |
||
|
K1.n×240.84-* |
|
Сталь С255 и С345 |
|||||
|
I |
100×200×5 |
160×200×5 |
120×4 |
12 |
6 |
25 |
|
|
II |
100×200×5 |
160×200×5 |
120×4 |
12 |
6 |
25 |
|
|
III |
160×240×6 |
160×240×6 |
140×4 |
14 |
6 |
25 |
|
|
IV |
160×240×6 |
160×240×6 |
140×4 |
14 |
6 |
25 |
|
|
V |
160×240×6 |
160×240×8 |
140×4 |
14 |
6 |
25 |
|
|
|
Сталь С345 |
||||||
|
VI |
160×240×6 |
160×240×8 |
140×4 |
14 |
6 |
25 |
|
СОРТАМЕНТ КРАЙНИХ СТОЕК МНОГОПРОЛЕТНЫХ РАМ
1РТМ2×300.84-*, 2РТМ2×300.84-*,
1РТМ3×300.84-*, 2РТМ3×300.84-*
|
Код вертикальной нагрузки |
Гнутосварные трубы, b×h×t, мм |
Листовая сталь t, мм |
|||||
|
Номер позиции |
|||||||
|
1 |
2 |
3 |
4 |
5 |
6 |
||
|
Kl.n×300.84-* |
|
Сталь С255 и С345 |
|||||
|
I |
160×240×6 |
160×240×6 |
140×4 |
16 |
6 |
25 |
|
|
II |
160×240×6 |
160×240×6 |
140×4 |
16 |
6 |
25 |
|
|
III |
160×240×6 |
160×240×6 |
140×4 |
16 |
8 |
25 |
|
|
IV |
160×240×6 |
160×240×6 |
140×4 |
16 |
8 |
25 |
|
|
|
Сталь С345 |
||||||
|
V |
160×240×6 |
160×240×8 |
140×4 |
16 |
8 |
25 |
|
|
VI |
- |
- |
- |
- |
- |
- |
|
1. Сталь определяется по табл. 7 докум.- 01ПЗ.
2. Сечение элемента подбирается по сортаменту в соответствии с табл. 8 докум.- 01ПЗ.

СОРТАМЕНТ КРАЙНИХ СТОЕК МНОГОПРОЛЕТНЫХ РАМ
1РТМ2×240.96-*, 2РТМ2×240.96-*,
1РТМ3×240.96-*, 2РТМ3×240.96-*,
1РТМ4×240.96-*, 2РТМ4×240.96-*
|
Код вертикальной нагрузки |
|
|
|||||
|
Номер позиции |
|||||||
|
1 |
2 |
3 |
4 |
5 |
6 |
||
|
K1.n×240.96-* |
|
Сталь С255 и С345 |
|||||
|
I |
100×200×5 |
160×200×6 |
120×4 |
12 |
6 |
25 |
|
|
II |
100×200×5 |
160×200×6 |
120×4 |
12 |
6 |
25 |
|
|
III |
160×240×6 |
160×240×6 |
140×4 |
14 |
6 |
25 |
|
|
IV |
160×240×6 |
160×240×6 |
140×4 |
14 |
6 |
25 |
|
|
V |
160×240×6 |
160×240×8 |
140×4 |
14 |
6 |
25 |
|
|
|
Сталь С345 |
||||||
|
VI |
160×240×6 |
160×240×8 |
140×4 |
14 |
6 |
25 |
|
СОРТАМЕНТ КРАЙНИХ СТОЕК МНОГОПРОЛЕТНЫХ РАМ
1РТМ2×300.96-*, 2РТМ2×300.96-*,
1РТМ3×300.96-*, 2РТМ3×300.96-*
|
Код вертикальной нагрузки |
|
|
|||||
|
Номер позиции |
|||||||
|
1 |
2 |
3 |
4 |
5 |
6 |
||
|
K1.n×300.96-* |
|
Сталь С255 и С345 |
|||||
|
I |
160×240×6 |
160×240×6 |
140×4 |
16 |
6 |
25 |
|
|
II |
160×240×6 |
160×240×6 |
140×4 |
16 |
6 |
25 |
|
|
III |
160×240×6 |
160×240×6 |
140×4 |
16 |
8 |
25 |
|
|
IV |
160×240×6 |
160×240×6 |
140×4 |
16 |
8 |
25 |
|
|
|
Сталь С345 |
||||||
|
V |
160×240×6 |
160×240×8 |
140×4 |
16 |
8 |
25 |
|
|
VI |
- |
- |
- |
- |
- |
- |
|
1. Сталь определяется по табл. 7 докум.- 01ПЗ.
2. Сечение элемента подбирается по сортаменту в соответствии с табл. 8 докум.- 01ПЗ.


СОРТАМЕНТ ОДНОВЕТВЕВЫХ СРЕДНИХ СТОЕК РАМ
|
Суммарное вертикальное усилие ΣNст, тс |
Марка стали |
Сечение гнутосварных труб по ГОСТ 30245-03, h×t, мм, в зависимости от высоты средней стойки Нст, м, и высоты сечения нижнего пояса ригеля hp, мм |
|||
|
6<Нст≤8 |
8<Нст≤11 |
||||
|
hp=180 |
hp=200 |
hp=180 |
hp=200 |
||
|
N≤25 |
C255 |
180×5 |
200×6 |
180×5 |
200×6 |
|
C345 |
|||||
|
25<N≤35 |
C255 |
180×6 |
|||
|
C345 |
|||||
|
35<N≤45 |
C255 |
180×6 |
180×8 |
||
|
C345 |
180×5 |
||||
|
45<N≤55 |
C255 |
180×8 |
180×10 |
200×8 |
|
|
C345 |
180×6 |
180×8 |
200×6 |
||
|
55<N≤65 |
C255 |
180×8 |
200×8 |
- |
200×8 |
|
C345 |
180×8 |
200×6 |
180×10 |
||
|
65<N≤75 |
C255 |
180×10 |
200×8 |
- |
200×10 |
|
C345 |
180×8 |
200×6 |
200×8 |
||
|
75<N≤85 |
C255 |
180×10 |
200×8 |
200×10 |
|
|
C345 |
180×10 |
200×6 |
|||
|
85<N≤95 |
C255 |
- |
200×10 |
- |
|
|
C345 |
180×10 |
200×8 |
200×10 |
||
|
95<N≤105 |
C255 |
- |
200×10 |
- |
|
|
C345 |
180×10 |
200×8 |
|||
|
105<N≤115 |
C255 |
- |
- |
||
|
C345 |
- |
200×8 |
|||
1. hp – высота сечения нижнего пояса ригеля, hст - высота сечения ветви стойки.
2. Для ригелей с высотой сечения нижнего пояса h1=140 мм принимать среднюю стойку только с высотой сечения ветви hст=180 мм.
3. Сталь определяется по табл. 7 докум.-01ПЗ.
4. Принцип маркировки средних стоек много пролетных рам см. докум.-065.


СОРТАМЕНТ ДВУХВЕТВЕВЫХ СРЕДНИХ СТОЕК РАМ
|
Суммарное вертикальное усилие ΣNст, тс |
Марка стали |
Сечение гнутосварных труб по ГОСТ 30245-03, h×t, мм, в зависимости от высоты средней стойки Нcт, м, и высоты сечения нижнего пояса ригеля hp, мм |
|||||
|
6<Нст≤8 |
8<Нст≤11 |
11<Нст≤15 |
|||||
|
hp=180 |
hp=200 |
hp=180 |
hp=200 |
hp=180 |
hp=200 |
||
|
25<N≤55 |
C255 |
- |
- |
- |
- |
180×5 |
200×6 |
|
C345 |
|||||||
|
55<N≤65 |
C255 |
180×5 |
|||||
|
C345 |
- |
||||||
|
65<N≤75 |
C255 |
180×5 |
|||||
|
C345 |
|||||||
|
75<N≤85 |
C255 |
||||||
|
C345 |
|||||||
|
85<N≤95 |
C255 |
180×8 |
200×6 |
||||
|
C345 |
|||||||
|
95<N≤105 |
C255 |
180×6 |
|||||
|
C345 |
180×5 |
||||||
|
105<N≤115 |
C255 |
200×6 |
180×6 |
180×6 |
|||
|
C345 |
- |
180×5 |
180×5 |
||||
|
115<N≤125 |
C255 |
200×6 |
180×8 |
180×6 |
|||
|
C345 |
180×6 |
180×5 |
|||||
|
125<N≤135 |
C255 |
180×8 |
180×8 |
||||
|
C345 |
180×6 |
180×6 |
|||||
|
135<N≤145 |
C255 |
180×8 |
180×8 |
||||
|
C345 |
180×6 |
180×6 |
|||||
|
145<N≤155 |
C255 |
180×10 |
200×8 |
180×8 |
200×8 |
180×8 |
|
|
C345 |
180×8 |
200×6 |
200×6 |
180×6 |
|||
|
155<N≤165 |
C255 |
180×10 |
200×8 |
180×10 |
200×8 |
180×8 |
200×8 |
|
C345 |
180×8 |
200×6 |
180×8 |
200×6 |
200×6 |
||
|
165<N≤175 |
C255 |
180×10 |
200×8 |
180×10 |
200×8 |
180×10 |
200×8 |
|
C345 |
180×8 |
200×6 |
180×8 |
200×6 |
180×8 |
200×6 |
|
|
175<N≤185 |
C255 |
180×10 |
200×8 |
180×10 |
200×8 |
180×10 |
200×8 |
|
C345 |
180×8 |
200×6 |
180×8 |
200×6 |
|||
|
185<N≤195 |
C255 |
- |
200×10 |
180×10 |
200×8 |
180×10 |
200×8 |
|
C345 |
180×10 |
200×8 |
180×8 |
180×8 |
200×6 |
||
1. hp – высота сечения нижнего пояса ригеля, h – высота сечения ветви стойки.
2. Для ригелей с высотой сечения нижнего пояса hp=140 мм принимать среднюю стойку только с высотой сечения ветви hст=180 мм.
3. Сечение решетки средней стойки принимать равным сечению решетки крайней стойки.
4. Сталь определяется по табл. 7 докум.-01ПЗ.
5. Принцип маркировки средних стоек многопролетных рам см. докум.-065.
1Р1.180.*

СОРТАМЕНТ РИГЕЛЕЙ ОДНОПРОЛЕТНЫХ РАМ 1РТО180.*
|
Код вертикальной нагрузки |
Гнутосварные трубы, b×h×t, мм |
Листовая сталь, t, мм |
|||||
|
Номер позиции |
|||||||
|
1 |
2 |
3 |
4 |
5 |
6 |
||
|
1Р1.180.* |
I |
120×5 |
120×5 |
80×4 |
12 |
6 |
20 |
|
II |
120×5 |
120×5 |
80×4 |
12 |
6 |
20 |
|
|
III |
120×5 |
120×5 |
80×4 |
12 |
6 |
20 |
|
|
IV |
120×5 |
120×5 |
80×4 |
12 |
6 |
20 |
|
|
V |
120×6 |
120×6 |
80×4 |
14 |
6 |
20 |
|
|
VI |
120×6 |
120×6 |
80×4 |
14 |
6 |
20 |
|
1. Сталь определяется по табл. 7 докум.-01ПЗ.
2. Сечение элемента подбирается по сортаменту в соответствии с табл. 8 докум.- 01ПЗ.
1Р1.210.*

СОРТАМЕНТ РИГЕЛЕЙ ОДНОПРОЛЕТНЫХ РАМ 1РТО210.*
|
Код вертикальной нагрузки |
Гнутосварные трубы, b×h×t, мм |
Листовая сталь, t, мм |
|||||
|
Номер позиции |
|||||||
|
1 |
2 |
3 |
4 |
5 |
6 |
||
|
1Р1.210.* |
I |
140×5 |
140×5 |
100×4 |
12 |
6 |
20 |
|
II |
140×5 |
140×5 |
100×4 |
12 |
6 |
20 |
|
|
III |
140×6 |
140×6 |
100×4 |
14 |
6 |
20 |
|
|
IV |
140×6 |
140×6 |
100×4 |
14 |
6 |
20 |
|
|
V |
140×8 |
140×8 |
100×4 |
16 |
6 |
25 |
|
|
VI |
140×8 |
140×8 |
100×4 |
16 |
6 |
25 |
|
1. Сталь определяется по табл. 7 докум.- 01ПЗ.
2. Сечение элемента подбирается по сортаменту в соответствии с табл. 8 докум.- 01ПЗ.
1Р1.240.*

СОРТАМЕНТ РИГЕЛЕЙ ОДНОПРОЛЕТНЫХ РАМ 1РТО240.*
|
Код вертикальной нагрузки |
Гнутосварные трубы, b×h×t, мм |
Листовая сталь, t, мм |
|||||
|
Номер позиции |
|||||||
|
1 |
2 |
3 |
4 |
5 |
6 |
||
|
1Р1.240.* |
I |
140×5 |
140×5 |
100×4 |
12 |
6 |
20 |
|
II |
140×5 |
140×5 |
100×4 |
12 |
6 |
20 |
|
|
III |
140×6 |
140×6 |
100×4 |
14 |
6 |
25 |
|
|
IV |
140×6 |
140×6 |
100×4 |
14 |
6 |
25 |
|
|
V |
160×8 |
160×8 |
120×4 |
16 |
6 |
25 |
|
|
VI |
160×8 |
160×8 |
120×4 |
16 |
6 |
25 |
|
1. Сталь определяется по табл. 7 докум.- 01ПЗ.
2. Сечение элемента подбирается по сортаменту в соответствии с табл. 8 докум.- 01ПЗ.
1Р1.300.*

1Р2.300.*

СОРТАМЕНТ РИГЕЛЕЙ ОДНОПРОЛЕТНЫХ РАМ 1РТО300.*
|
Код вертикальной нагрузки |
Гнутосварные трубы, b×h×t, мм |
Листовая сталь, t, мм |
||||||
|
Номер позиции |
||||||||
|
1 |
2 |
3 |
4 |
5 |
6 |
7 |
||
|
1Р1.300.* 1Р2.300.* |
I |
160×6 |
160×8 |
160×6 |
120×4 |
16 |
6 |
20 |
|
II |
160×6 |
160×8 |
160×6 |
120×4 |
16 |
6 |
20 |
|
|
III |
180×6 |
180×8 |
180×6 |
140×4 |
18 |
6 |
25 |
|
|
IV |
180×6 |
180×8 |
180×6 |
140×4 |
18 |
6 |
25 |
|
|
V |
180×8 |
180×10 |
180×8 |
140×4 |
20 |
8 |
30 |
|
|
VI |
180×8 |
180×10 |
180×8 |
140×4 |
20 |
8 |
30 |
|
1. Сталь определяется по табл. 7 докум.- 01ПЗ.
2. Сечение элемента подбирается по сортаменту в соответствии с табл. 8 докум.- 01ПЗ.
2Р1.180.*

СОРТАМЕНТ РИГЕЛЕЙ ОДНОПРОЛЕТНЫХ РАМ 2РТО180.*
|
Код вертикальной нагрузки |
Холодногнутые сварные трубы |
Листовая сталь, t |
|||||
|
Номер позиции |
|||||||
|
1 |
2 |
3 |
4 |
5 |
6 |
||
|
2Р1.180.* |
I |
120×5 |
120×5 |
80×4 |
12 |
6 |
20 |
|
II |
120×5 |
120×5 |
80×4 |
12 |
6 |
20 |
|
|
III |
120×5 |
120×5 |
80×4 |
12 |
6 |
20 |
|
|
IV |
120×5 |
120×5 |
80×4 |
12 |
6 |
20 |
|
|
V |
120×6 |
120×6 |
80×4 |
14 |
6 |
20 |
|
|
VI |
120×6 |
120×6 |
80×4 |
14 |
6 |
20 |
|
1. Сталь определяется по табл. 7 докум.- 01ПЗ.
2. Сечение элемента подбирается по сортаменту в соответствии с табл. 8 докум.- 01ПЗ.
2Р1.210.*

СОРТАМЕНТ РИГЕЛЕЙ ОДНОПРОЛЕТНЫХ РАМ 2РТО.210.*
|
Код вертикальной нагрузки |
Гнутосварные трубы, b×h×t, мм |
Листовая сталь, t, мм |
|||||
|
Номер позиции |
|||||||
|
1 |
2 |
3 |
4 |
5 |
6 |
||
|
2Р1.210.* |
I |
140×5 |
140×5 |
100×4 |
12 |
6 |
20 |
|
II |
140×5 |
140×5 |
100×4 |
12 |
6 |
20 |
|
|
III |
140×6 |
140×6 |
100×4 |
14 |
6 |
20 |
|
|
IV |
140×6 |
140×6 |
100×4 |
14 |
6 |
20 |
|
|
V |
140×8 |
140×8 |
100×4 |
16 |
6 |
25 |
|
|
VI |
140×8 |
140×8 |
100×4 |
16 |
6 |
25 |
|
1. Сталь определяется по табл. 7 докум.- 01ПЗ.
2. Сечение элемента подбирается по сортаменту в соответствии с табл. 8 докум.- 01ПЗ.
2Р1.240.*

СОРТАМЕНТ РИГЕЛЕЙ ОДНОПРОЛЕТНЫХ РАМ 2РТО240.*
|
Код вертикальной нагрузки |
Гнутосварные трубы, b×h×t, мм |
Листовая сталь, t, мм |
|||||
|
Номер позиции |
|||||||
|
1 |
2 |
3 |
4 |
5 |
6 |
||
|
2Р1.240.* |
I |
140×5 |
140×5 |
100×4 |
12 |
6 |
20 |
|
II |
140×5 |
140×5 |
100×4 |
12 |
6 |
20 |
|
|
III |
140×6 |
140×6 |
100×4 |
14 |
6 |
25 |
|
|
IV |
140×6 |
140×6 |
100×4 |
14 |
6 |
25 |
|
|
V |
160×8 |
160×8 |
120×4 |
16 |
6 |
25 |
|
|
VI |
160×8 |
160×8 |
120×4 |
16 |
6 |
25 |
|
1. Сталь определяется по табл. 7 докум.- 01ПЗ.
2. Сечение элемента подбирается по сортаменту в соответствии с табл. 8 докум.- 01ПЗ.
2Р1.300.*

2Р2.300.*

СОРТАМЕНТ РИГЕЛЕЙ ОДНОПРОЛЕТНЫХ РАМ 2РТО300.*
|
Код вертикальной нагрузки |
Гнутосварные трубы, b×h×t, мм |
Листовая сталь, t, мм |
||||||
|
Номер позиции |
||||||||
|
1 |
2 |
3 |
4 |
5 |
6 |
7 |
||
|
2Р1.300.* 2Р2.300.* |
I |
160×6 |
160×8 |
160×6 |
120×4 |
16 |
6 |
20 |
|
II |
160×6 |
160×8 |
160×6 |
120×4 |
16 |
6 |
20 |
|
|
III |
180×6 |
180×8 |
180×6 |
140×4 |
18 |
6 |
25 |
|
|
IV |
180×6 |
180×8 |
180×6 |
140×4 |
18 |
6 |
25 |
|
|
V |
180×8 |
180×10 |
180×8 |
140×4 |
20 |
8 |
30 |
|
|
VI |
180×8 |
180×10 |
180×8 |
140×4 |
20 |
8 |
30 |
|
1. Сталь определяется по табл. 7 докум.- 01ПЗ.
2. Сечение элемента подбирается по сортаменту в соответствии с табл. 8 докум.- 01ПЗ.
3Р1.150.*

СОРТАМЕНТ РИГЕЛЕЙ ОДНОПРОЛЕТНЫХ РАМ ЗРТО150.*
|
Код вертикальной нагрузки |
Гнутосварные трубы, b×h×t, мм |
Листовая сталь, t, мм |
|||||
|
Номер позиции |
|||||||
|
1 |
2 |
3 |
4 |
5 |
6 |
||
|
3Р1.150.* |
I |
140×5 |
140×5 |
100×4 |
12 |
6 |
20 |
|
II |
140×5 |
140×5 |
100×4 |
12 |
6 |
20 |
|
|
III |
140×6 |
140×6 |
100×4 |
12 |
6 |
20 |
|
|
IV |
140×6 |
140×6 |
100×4 |
12 |
6 |
20 |
|
|
V |
140×8 |
140×8 |
100×4 |
12 |
6 |
20 |
|
|
VI |
140×8 |
140×8 |
100×4 |
12 |
6 |
20 |
|
1. Сталь определяется по табл. 7 докум. -01ПЗ.
2. Сечение элемента подбирается по сортаменту в соответствии с табл. 8 докум. -01ПЗ.
1Р1.n×180.*

1Р2.n×180.*

СОРТАМЕНТ РИГЕЛЕЙ МНОГОПРОЛЕТНЫХ РАМ
1РТМ2×180.*, 1РТМ3×180.*,
1РТМ4×180.*, 1РТМ5×180.*
|
Код вертикальной нагрузки |
Гнутосварные трубы, b×h×t, мм |
Листовая сталь, t, мм |
||||||
|
Номер позиции |
||||||||
|
1 |
2 |
3 |
4 |
5 |
6 |
7 |
||
|
1Р1.n×180.* 1Р2.n×180.* |
I |
140×5 |
140×6 |
140×5 |
100×4 |
12 |
6 |
20 |
|
II |
140×5 |
140×6 |
140×5 |
100×4 |
12 |
6 |
20 |
|
|
III |
160×5 |
160×6 |
160×5 |
120×4 |
12 |
6 |
20 |
|
|
IV |
160×5 |
160×6 |
160×5 |
120×4 |
12 |
6 |
20 |
|
|
V |
160×6 |
160×8 |
160×6 |
120×4 |
12 |
6 |
20 |
|
|
VI |
160×6 |
160×8 |
160×6 |
120×4 |
12 |
6 |
20 |
|
1. Сталь определяется по табл. 7 докум.-01ПЗ.
2. Сечение элемента подбирается по сортаменту в соответствии с табл. 8 докум.- 01ПЗ.
1P3.n×180.*

1Р4.n×180.*

СОРТАМЕНТ РИГЕЛЕЙ МНОГОПРОЛЕТНЫХ РАМ
1РТМ2×180.*, 1РТМ3×180.*,
1РТМ4×180.*, 1РТМ5×180.*
|
Код вертикальной нагрузки |
Гнутосварные трубы, b×h×t, мм |
Листовая сталь, t, мм |
|||||
|
Номер позиции |
|||||||
|
1 |
2 |
3 |
4 |
5 |
6 |
||
|
1P3.n×180.* 1P4.n×180.* |
I |
140×6 |
140×6 |
100×4 |
20 |
- |
- |
|
II |
140×6 |
140×6 |
100×4 |
20 |
- |
- |
|
|
III |
160×6 |
160×6 |
120×4 |
20 |
- |
- |
|
|
IV |
160×6 |
160×6 |
120×4 |
20 |
- |
- |
|
|
V |
160×8 |
160×8 |
120×4 |
20 |
- |
- |
|
|
VI |
160×8 |
160×8 |
120×4 |
20 |
- |
- |
|
1. Сталь определяется по табл. 7 докум.-01ПЗ.
2. Сечение элемента подбирается по сортаменту в соответствии с табл. 8 докум.-01ПЗ.
1Р5.n×180.*

СОРТАМЕНТ РИГЕЛЕЙ МНОГОПРОЛЕТНЫХ РАМ
1РТМ3×180.*, 1РТМ5×180.*
|
Код вертикальной нагрузки |
Гнутосварные трубы, b×h×t, мм |
Листовая сталь, t, мм |
|||||
|
Номер позиции |
|||||||
|
1 |
2 |
3 |
4 |
5 |
6 |
||
|
1Р5.n×180.* |
I |
140×5 |
140×6 |
100×4 |
20 |
- |
- |
|
II |
140×5 |
140×6 |
100×4 |
20 |
- |
- |
|
|
III |
160×5 |
160×6 |
120×4 |
20 |
- |
- |
|
|
IV |
160×5 |
160×6 |
120×4 |
20 |
- |
- |
|
|
V |
160×6 |
160×8 |
120×4 |
20 |
- |
- |
|
|
VI |
160×6 |
160×8 |
120×4 |
20 |
- |
- |
|
1. Сталь определяется по табл. 7 докум.-01ПЗ.
2. Сечение элемента подбирается по сортаменту в соответствии с табл. 8 докум.-01ПЗ.
1Р1.n×210.*

1Р2.n×210.*

СОРТАМЕНТ РИГЕЛЕЙ МНОГОПРОЛЕТНЫХ РАМ
1РТМ2×210.*, 1РТМ3×210.*,
1РТМ4×210.*
|
Код вертикальной нагрузки |
Гнутосварные трубы, b×h×t, мм |
Листовая сталь, t, мм |
||||||
|
Номер позиции |
||||||||
|
1 |
2 |
3 |
4 |
5 |
6 |
7 |
||
|
1Р1.n×210.* 1Р2.n×210.* |
I |
160×5 |
160×6 |
160×5 |
120×4 |
12 |
6 |
20 |
|
II |
160×5 |
160×6 |
160×5 |
120×4 |
12 |
6 |
20 |
|
|
III |
180×5 |
180×6 |
180×5 |
140×4 |
12 |
6 |
20 |
|
|
IV |
180×5 |
180×6 |
180×5 |
140×4 |
12 |
6 |
20 |
|
|
V |
180×6 |
180×8 |
180×6 |
140×4 |
12 |
6 |
25 |
|
|
VI |
180×6 |
180×8 |
180×6 |
140×4 |
12 |
6 |
25 |
|
1. Сталь определяется по табл. 7 докум.-01ПЗ.
2. Сечение элемента подбирается по сортаменту в соответствии с табл. 8 докум.-01ПЗ.
1Р3.n×210.*

1Р4.n×210.*

СОРТАМЕНТ РИГЕЛЕЙ МНОГОПРОЛЕТНЫХ РАМ
1РТМ2×210.*, 1РТМ3×210.*,
1РТМ4×210.*
|
Код вертикальной нагрузки |
Гнутосварные трубы, b×h×t, мм |
Листовая сталь, t, мм |
|||||
|
Номер позиции |
|||||||
|
1 |
2 |
3 |
4 |
5 |
6 |
||
|
1Р3.n×210.* 1Р4.n×210.* |
I |
160×6 |
160×6 |
120×4 |
20 |
- |
- |
|
II |
160×6 |
160×6 |
120×4 |
20 |
- |
- |
|
|
III |
180×6 |
180×6 |
140×4 |
20 |
- |
- |
|
|
IV |
180×6 |
180×6 |
140×4 |
20 |
- |
- |
|
|
V |
180×8 |
180×8 |
140×4 |
25 |
- |
- |
|
|
VI |
180×8 |
180×8 |
140×4 |
25 |
- |
- |
|
1. Сталь определяется по табл. 7 докум.-01ПЗ.
2. Сечение элемента подбирается по сортаменту в соответствии с табл. 8 докум.-01ПЗ.
1Р5.n×210.*

СОРТАМЕНТ РИГЕЛЕЙ МНОГОПРОЛЕТНЫХ РАМ
1РТМ3×210.*
|
Код вертикальной нагрузки |
Гнутосварные трубы, b×h×t, мм |
Листовая сталь, t, мм |
|||||
|
Номер позиции |
|||||||
|
1 |
2 |
3 |
4 |
5 |
6 |
||
|
1Р5.n×210.* |
I |
160×5 |
160×6 |
120×4 |
20 |
- |
- |
|
II |
160×5 |
160×6 |
120×4 |
20 |
- |
- |
|
|
III |
180×5 |
180×6 |
140×4 |
20 |
- |
- |
|
|
IV |
180×5 |
180×6 |
140×4 |
20 |
- |
- |
|
|
V |
180×6 |
180×8 |
140×4 |
25 |
- |
- |
|
|
VI |
180×6 |
180×8 |
140×4 |
25 |
- |
- |
|
1. Сталь определяется по табл. 7 докум.-01ПЗ.
2. Сечение элемента подбирается по сортаменту в соответствии с табл. 8 докум.-01ПЗ.
1Р1.n×240.*

1Р2.m×240.*

СОРТАМЕНТ РИГЕЛЕЙ МНОГОПРОЛЕТНЫХ РАМ
1РТМ2×240.*, 1РТМ3×240.*,
1РТМ4×240.*
|
Код вертикальной нагрузки |
Гнутосварные трубы, b×h×t, мм |
Листовая сталь, t, мм |
|||||||
|
Номер позиции |
|||||||||
|
1 |
2 |
3 |
4 |
5 |
6 |
7 |
8 |
||
|
1Р1.n×240.* 1Р2.n×240.* |
|
Сталь С255 и С345 |
|||||||
|
I |
160×6 |
160×8 |
160×6 |
120×4 |
12 |
6 |
20 |
20 |
|
|
II |
160×6 |
160×8 |
160×6 |
120×4 |
12 |
6 |
20 |
20 |
|
|
III |
180×6 |
180×8 |
180×6 |
140×4 |
14 |
6 |
25 |
20 |
|
|
IV |
180×6 |
180×8 |
180×6 |
140×4 |
14 |
6 |
25 |
20 |
|
|
V |
180×8 |
180×10 |
180×8 |
140×4 |
14 |
6 |
30 |
20 |
|
|
|
Сталь С345 |
||||||||
|
VI |
180×8 |
180×10 |
180×8 |
140×4 |
14 |
6 |
30 |
20 |
|
1. Сталь определяется по табл. 7 докум.-01ПЗ.
2. Сечение элемента подбирается по сортаменту в соответствии с табл. 8 докум.-01ПЗ.
1Р3.n×240.*

1Р4.n×240.*

СОРТАМЕНТ РИГЕЛЕЙ МНОГОПРОЛЕТНЫХ РАМ
1РТМ2×240.*, 1РТМ3×240.*,
1РТМ4×240.*
|
Код вертикальной нагрузки |
Гнутосварные трубы, b×h×t, мм |
Листовая сталь, t, мм |
|||||
|
Номер позиции |
|||||||
|
1 |
2 |
3 |
4 |
5 |
6 |
||
|
1Р3.n×240.* 1Р4.n×240.* |
|
Сталь С255 и С345 |
|||||
|
I |
160×8 |
160×8 |
120×4 |
20 |
20 |
- |
|
|
II |
160×8 |
160×8 |
120×4 |
20 |
20 |
- |
|
|
III |
180×8 |
180×8 |
140×4 |
20 |
25 |
- |
|
|
IV |
180×8 |
180×8 |
140×4 |
20 |
25 |
- |
|
|
V |
180×10 |
180×10 |
140×4 |
20 |
30 |
- |
|
|
|
Сталь С345 |
||||||
|
VI |
180×10 |
180×10 |
140×4 |
20 |
30 |
- |
|
1. Сталь определяется по табл. 7 докум.-01ПЗ.
2. Сечение элемента подбирается по сортаменту в соответствии с табл. 8 докум.-01ПЗ.
1Р5.n×240.*

СОРТАМЕНТ РИГЕЛЕЙ МНОГОПРОЛЕТНЫХ РАМ
1РТМ3×240.*
|
Код вертикальной нагрузки |
Гнутосварные трубы, b×h×t, мм |
Листовая сталь, t, мм |
|||||
|
Номер позиции |
|||||||
|
1 |
2 |
3 |
4 |
5 |
6 |
||
|
1Р5.n×240.* |
|
Сталь С255 и С345 |
|||||
|
I |
160×6 |
160×8 |
120×4 |
20 |
- |
- |
|
|
II |
160×6 |
160×8 |
120×4 |
20 |
- |
- |
|
|
III |
180×6 |
180×8 |
140×4 |
25 |
- |
- |
|
|
IV |
180×6 |
180×8 |
140×4 |
25 |
- |
- |
|
|
V |
180×8 |
180×10 |
140×4 |
30 |
- |
- |
|
|
|
Сталь С345 |
||||||
|
VI |
180×8 |
180×10 |
140×4 |
30 |
- |
- |
|
1. Сталь определяется по табл. 7 докум.-01ПЗ.
2. Сечение элемента подбирается по сортаменту в соответствии с табл. 8 докум.-01ПЗ.
1Р1.n×300.*

1Р2.n×.300.*

СОРТАМЕНТ РИГЕЛЕЙ МНОГОПРОЛЕТНЫХ РАМ
1РТМ2×300.*, 1РТМ3×300.*
|
Код вертикальной нагрузки |
Гнутосварные трубы, b×h×t, мм |
Листовая сталь, t, мм |
|||||||
|
Номер позиции |
|||||||||
|
1 |
2 |
3 |
4 |
5 |
6 |
7 |
8 |
||
|
1Р1.n×300.* 1Р2.n×300.* |
|
Сталь С255 и С345 |
|||||||
|
I |
180×6 |
180×8 |
180×6 |
140×4 |
16 |
6 |
20 |
25 |
|
|
II |
180×6 |
180×8 |
180×6 |
140×4 |
16 |
6 |
20 |
25 |
|
|
III |
200×8 |
200×10 |
200×8 |
140×4 |
16 |
6 |
25 |
30 |
|
|
IV |
200×8 |
200×10 |
200×8 |
140×4 |
16 |
6 |
25 |
30 |
|
|
|
Сталь С345 |
||||||||
|
V |
200×8 |
200×10 |
200×8 |
140×4 |
16 |
8 |
25 |
30 |
|
|
VI |
- |
- |
- |
- |
- |
- |
- |
- |
|
1. Сталь определяется по табл. 7 докум.-01ПЗ.
2. Сечение элемента подбирается по сортаменту в соответствии с табл. 8 докум.-01ПЗ.
1Р6.n×300.*

1Р3.n×300.*

СОРТАМЕНТ РИГЕЛЕЙ МНОГОПРОЛЕТНЫХ РАМ
1РТМ2×300.*, 1РТМ3×300.*
|
Код вертикальной нагрузки |
Гнутосварные трубы, b×h×t, мм |
Листовая сталь, t, мм |
||||||
|
Номер позиции |
||||||||
|
1 |
2 |
3 |
4 |
5 |
6 |
7 |
||
|
1Р6.n×300.* 1Р3.n×300.* |
|
Сталь С255 и С345 |
||||||
|
I |
180×6 |
180×8 |
180×8 |
140×4 |
25 |
20 |
- |
|
|
II |
180×6 |
180×8 |
180×8 |
140×4 |
25 |
20 |
- |
|
|
III |
200×8 |
200×10 |
200×10 |
140×4 |
30 |
20 |
- |
|
|
IV |
200×8 |
200×10 |
200×10 |
140×4 |
30 |
20 |
- |
|
|
|
Сталь С345 |
|||||||
|
V |
200×8 |
200×10 |
200×10 |
140×4 |
30 |
20 |
- |
|
|
VI |
- |
- |
- |
- |
- |
- |
- |
|
1. Сталь определяется по табл. 7 докум.-01ПЗ.
2. Сечение элемента подбирается по сортаменту в соответствии с табл. 8 докум.-01ПЗ.
1Р4.n×300.*

1P7.n×300.*

СОРТАМЕНТ РИГЕЛЕЙ МНОГОПРОЛЕТНЫХ РАМ
1РТМ3×300.*
|
Код вертикальной нагрузки |
Гнутосварные трубы, b×h×t, мм |
Листовая сталь, t, мм |
|||||||
|
Номер позиции |
|||||||||
|
1 |
2 |
3 |
4 |
5 |
6 |
7 |
8 |
||
|
1Р4.n×300.* 1Р7.n×300.* |
|
Сталь С255 и С345 |
|||||||
|
I |
180×6 |
180×8 |
180×8 |
140×4 |
20 |
25 |
20 |
- |
|
|
II |
180×6 |
180×8 |
180×8 |
140×4 |
20 |
25 |
20 |
- |
|
|
III |
200×8 |
200×10 |
200×10 |
140×4 |
20 |
30 |
25 |
- |
|
|
IV |
200×8 |
200×10 |
200×10 |
140×4 |
20 |
30 |
25 |
- |
|
|
|
Сталь С345 |
||||||||
|
V |
200×8 |
200×10 |
200×10 |
140×4 |
20 |
30 |
25 |
- |
|
|
VI |
- |
- |
- |
- |
- |
- |
- |
- |
|
1. Сталь определяется по табл. 7 докум.-01ПЗ.
2. Сечение элемента подбирается по сортаменту в соответствии с табл. 8 докум.-01ПЗ.
2Р1.n×180.*

2Р2.n×180.*

СОРТАМЕНТ РИГЕЛЕЙ МНОГОПРОЛЕТНЫХ РАМ
2РТМ2×180.*, 2РТМ3×180.*,
2РТМ4×180.*, 2РТМ5×180.*
|
Код вертикальной нагрузки |
Гнутосварные трубы, b×h×t, мм |
Листовая сталь, t, мм |
||||||
|
Номер позиции |
||||||||
|
1 |
2 |
3 |
4 |
5 |
6 |
7 |
||
|
2Р1.n×180.* 2Р2.n×180.* |
I |
140×5 |
140×6 |
140×5 |
100×4 |
12 |
6 |
20 |
|
II |
140×5 |
140×6 |
140×5 |
100×4 |
12 |
6 |
20 |
|
|
III |
160×5 |
160×6 |
160×5 |
120×4 |
12 |
6 |
20 |
|
|
IV |
160×5 |
160×6 |
160×5 |
120×4 |
12 |
6 |
20 |
|
|
V |
160×6 |
160×8 |
160×6 |
120×4 |
12 |
6 |
20 |
|
|
VI |
160×6 |
160×8 |
160×6 |
120×4 |
12 |
6 |
20 |
|
1. Сталь определяется по табл. 7 докум.-01ПЗ.
2. Сечение элемента подбирается по сортаменту в соответствии с табл. 8 докум.-01ПЗ.
2P3.n×l80.*

2P4.n×180.*

СОРТАМЕНТ РИГЕЛЕЙ МНОГОПРОЛЕТНЫХ РАМ
2РТМ2×180.*, 2РТМ3×180.*,
2РТМ4×180.*, 2РТМ5×180.*
|
Код вертикальной нагрузки |
Гнутосварные трубы, b×h×t, мм |
Листовая сталь, t, мм |
|||||
|
Номер позиции |
|||||||
|
1 |
2 |
3 |
4 |
5 |
6 |
||
|
2P3.n×l80.* 2P4.n×l80.* |
I |
140×6 |
140×6 |
100×4 |
20 |
- |
- |
|
II |
140×6 |
140×6 |
100×4 |
20 |
- |
- |
|
|
III |
160×6 |
160×6 |
120×4 |
20 |
- |
- |
|
|
IV |
160×6 |
160×6 |
120×4 |
20 |
- |
- |
|
|
V |
160×8 |
160×8 |
120×4 |
20 |
- |
- |
|
|
VI |
160×8 |
160×8 |
120×4 |
20 |
- |
- |
|
1. Сталь определяется по табл. 7 докум.-01ПЗ.
2. Сечение элемента подбирается по сортаменту в соответствии с табл. 8 докум.-01ПЗ.
2P5.n×180.*

СОРТАМЕНТ РИГЕЛЕЙ МНОГОПРОЛЕТНЫХ РАМ
2РТМ3×180.*, 2РТМ5×180.*
|
Код вертикальной нагрузки |
Гнутосварные трубы, b×h×t, мм |
Листовая сталь, t, мм |
|||||
|
Номер позиции |
|||||||
|
1 |
2 |
3 |
4 |
5 |
6 |
||
|
2P5.n×180.* |
I |
140×5 |
140×6 |
100×4 |
20 |
- |
- |
|
II |
140×5 |
140×6 |
100×4 |
20 |
- |
- |
|
|
III |
160×5 |
160×6 |
120×4 |
20 |
- |
- |
|
|
IV |
160×5 |
160×6 |
120×4 |
20 |
- |
- |
|
|
V |
160×6 |
160×8 |
120×4 |
20 |
- |
- |
|
|
VI |
160×6 |
160×8 |
120×4 |
20 |
- |
- |
|
1. Сталь определяется по табл. 7 докум.-01ПЗ.
2. Сечение элемента подбирается по сортаменту в соответствии с табл. 8 докум.-01ПЗ.
2Р1.n×210.*

2Р2.n×210.*

СОРТАМЕНТ РИГЕЛЕЙ МНОГОПРОЛЕТНЫХ РАМ
2РТМ2×210.*, 2РТМ3×210.*,
2РТМ4×210.*
|
Код вертикальной нагрузки |
Гнутосварные трубы, b×h×t, мм |
Листовая сталь, t, мм |
||||||
|
Номер позиции |
||||||||
|
1 |
2 |
3 |
4 |
5 |
6 |
7 |
||
|
2Р1.n×210.* 2Р2.n×210.* |
I |
160×5 |
160×6 |
160×5 |
120×4 |
12 |
6 |
20 |
|
II |
160×5 |
160×6 |
160×5 |
120×4 |
12 |
6 |
20 |
|
|
III |
180×5 |
180×6 |
180×5 |
140×4 |
12 |
6 |
20 |
|
|
IV |
180×5 |
180×6 |
180×5 |
140×4 |
12 |
6 |
20 |
|
|
V |
180×6 |
180×8 |
180×6 |
140×4 |
12 |
6 |
25 |
|
|
VI |
180×6 |
180×8 |
180×6 |
140×4 |
12 |
6 |
25 |
|
1. Сталь определяется по табл. 7 докум.-01ПЗ.
2. Сечение элемента подбирается по сортаменту в соответствии с табл. 8 докум.-01ПЗ.
2P3.n×210.*

2P4.n×210.*

СОРТАМЕНТ РИГЕЛЕЙ МНОГОПРОЛЕТНЫХ РАМ
2РТМ2×210.*, 2РТМ3×210.*,
2РТМ4×210.*
|
Код вертикальной нагрузки |
Гнутосварные трубы, b×h×t, мм |
Листовая сталь, t, мм |
|||||
|
Номер позиции |
|||||||
|
1 |
2 |
3 |
4 |
5 |
6 |
||
|
2P3.n×210.* 2P4.n×210.* |
I |
160×6 |
160×6 |
120×4 |
20 |
- |
- |
|
II |
160×6 |
160×6 |
120×4 |
20 |
- |
- |
|
|
III |
180×6 |
180×6 |
140×4 |
20 |
- |
- |
|
|
IV |
180×6 |
180×6 |
140×4 |
20 |
- |
- |
|
|
V |
180×8 |
180×8 |
140×4 |
25 |
- |
- |
|
|
VI |
180×8 |
180×8 |
140×4 |
25 |
- |
- |
|
1. Сталь определяется по табл. 7 докум.-01ПЗ.
2. Сечение элемента подбирается по сортаменту в соответствии с табл. 8 докум.-01ПЗ.
2P5.n×210.*

СОРТАМЕНТ РИГЕЛЕЙ МНОГОПРОЛЕТНЫХ РАМ
2РТМ3×210.*
|
Код вертикальной нагрузки |
Гнутосварные трубы, b×h×t, мм |
Листовая сталь, t, мм |
|||||
|
Номер позиции |
|||||||
|
1 |
2 |
3 |
4 |
5 |
6 |
||
|
2P5.n×210.* |
I |
160×5 |
160×6 |
120×4 |
20 |
- |
- |
|
II |
160×5 |
160×6 |
120×4 |
20 |
- |
- |
|
|
III |
180×5 |
180×6 |
140×4 |
20 |
- |
- |
|
|
IV |
180×5 |
180×6 |
140×4 |
20 |
- |
- |
|
|
V |
180×6 |
180×8 |
140×4 |
25 |
- |
- |
|
|
VI |
180×6 |
180×8 |
140×4 |
25 |
- |
- |
|
1. Сталь определяется по табл. 7 докум.-01ПЗ.
2. Сечение элемента подбирается по сортаменту в соответствии с табл. 8 докум.-01ПЗ.
2Р1.n×240.*

2Р2.n×240.*

СОРТАМЕНТ РИГЕЛЕЙ МНОГОПРОЛЕТНЫХ РАМ
2РТМ2×240.*, 2РТМ3×240.*,
2РТМ4×240.*
|
Код вертикальной нагрузки |
Гнутосварные трубы, b×h×t, мм |
Листовая сталь, t, мм |
|||||||
|
Номер позиции |
|||||||||
|
1 |
2 |
3 |
4 |
5 |
6 |
7 |
8 |
||
|
2Р1.n×240.* 2Р2.n×240.* |
|
Сталь С255 и С345 |
|||||||
|
I |
160×6 |
160×8 |
160×6 |
120×4 |
12 |
6 |
20 |
20 |
|
|
II |
160×6 |
160×8 |
160×6 |
120×4 |
12 |
6 |
20 |
20 |
|
|
III |
180×6 |
180×8 |
180×6 |
140×4 |
14 |
6 |
25 |
20 |
|
|
IV |
180×6 |
180×8 |
180×6 |
140×4 |
14 |
6 |
25 |
20 |
|
|
V |
180×8 |
180×10 |
180×8 |
140×4 |
14 |
6 |
30 |
20 |
|
|
|
Сталь С345 |
||||||||
|
VI |
180×8 |
180×10 |
180×8 |
140×4 |
14 |
6 |
30 |
20 |
|
1. Сталь определяется по табл. 7 докум.-01ПЗ.
2. Сечение элемента подбирается по сортаменту в соответствии с табл. 8 докум.-01ПЗ.
2P3.n×240.*

2P4.n×240.*

СОРТАМЕНТ РИГЕЛЕЙ МНОГОПРОЛЕТНЫХ РАМ
2РТМ2×240.*, 2РТМ3×240.*,
2РТМ4×240.*
|
Код вертикальной нагрузки |
Гнутосварные трубы, b×h×t, мм |
Листовая сталь, t, мм |
|||||
|
Номер позиции |
|||||||
|
1 |
2 |
3 |
4 |
5 |
6 |
||
|
2P3.n×240.* 2P4.n×240.* |
|
Сталь С255 и С345 |
|||||
|
I |
160×8 |
160×8 |
120×4 |
20 |
20 |
- |
|
|
II |
160×8 |
160×8 |
120×4 |
20 |
20 |
- |
|
|
III |
180×8 |
180×8 |
140×4 |
20 |
25 |
- |
|
|
IV |
180×8 |
180×8 |
140×4 |
20 |
25 |
- |
|
|
V |
180×10 |
180×10 |
140×4 |
20 |
30 |
- |
|
|
|
Сталь С345 |
||||||
|
VI |
180×10 |
180×10 |
140×4 |
20 |
30 |
- |
|
1. Сталь определяется по табл. 7 докум.-01ПЗ.
2. Сечение элемента подбирается по сортаменту в соответствии с табл. 8 докум.-01ПЗ.
2P5.n×240.*

СОРТАМЕНТ РИГЕЛЕЙ МНОГОПРОЛЕТНЫХ РАМ
2РТМ3×240.*
|
Код вертикальной нагрузки |
Гнутосварные трубы, b×h×t, мм |
Листовая сталь, t, ми |
|||||
|
Номер позиции |
|||||||
|
1 |
2 |
3 |
4 |
5 |
6 |
||
|
2P5.n×240.* |
|
Сталь С255 и С345 |
|||||
|
I |
160×6 |
160×8 |
120×4 |
20 |
- |
- |
|
|
II |
160×6 |
160×8 |
120×4 |
20 |
- |
- |
|
|
III |
180×6 |
180×8 |
140×4 |
25 |
- |
- |
|
|
IV |
180×6 |
180×8 |
140×4 |
25 |
- |
- |
|
|
V |
180×8 |
180×10 |
140×4 |
30 |
- |
- |
|
|
|
Сталь С345 |
||||||
|
VI |
180×8 |
180×10 |
140×4 |
30 |
- |
- |
|
1. Сталь определяется по табл. 7 докум.-01ПЗ.
2. Сечение элемента подбирается по сортаменту в соответствии с табл. 8 докум.-01ПЗ.
2Р1.n×300.*

2Р2.n×300.*

СОРТАМЕНТ РИГЕЛЕЙ МНОГОПРОЛЕТНЫХ РАМ
2РТМ2×300.*, 2РТМ3×300.*
|
Код вертикальной нагрузки |
Гнутосварные трубы, b×h×t, мм |
Листовая сталь, t, мм |
|||||||
|
Номер позиции |
|||||||||
|
1 |
2 |
3 |
4 |
5 |
6 |
7 |
8 |
||
|
2Р1.n×300.* 2Р2.n×300.* |
|
Сталь С255 и С345 |
|
||||||
|
I |
180×6 |
180×8 |
180×6 |
140×4 |
16 |
6 |
20 |
25 |
|
|
II |
180×6 |
180×8 |
180×6 |
140×4 |
16 |
6 |
20 |
25 |
|
|
III |
200×8 |
200×10 |
200×8 |
140×4 |
16 |
6 |
25 |
30 |
|
|
IV |
200×8 |
200×10 |
200×8 |
140×4 |
16 |
6 |
25 |
30 |
|
|
|
Сталь С345 |
|
|
|
|
||||
|
V |
200×8 |
200×10 |
200×8 |
140×4 |
16 |
8 |
25 |
30 |
|
|
VI |
- |
- |
- |
- |
- |
- |
- |
- |
|
1. Сталь определяется по табл. 7 докум. -01ПЗ.
2. Сечение элемента подбирается по сортаменту в соответствии с табл. 8 докум. -01ПЗ.
2P6.n×300.*

2P3.n×300.*

СОРТАМЕНТ РИГЕЛЕЙ МНОГОПРОЛЕТНЫХ РАМ
2РТМ2×300.*, 2РТМ3×300.*
|
Код вертикальной нагрузки |
Гнутосварные трубы, b×h×t, мм |
Листовая сталь, t, мм |
||||||
|
Номер позиции |
||||||||
|
1 |
2 |
3 |
4 |
5 |
6 |
7 |
||
|
2P6.n×300.* 2P3.n×300.* |
|
Сталь С255 и С345 |
||||||
|
I |
180×6 |
180×8 |
180×8 |
140×4 |
25 |
20 |
- |
|
|
II |
180×6 |
180×8 |
180×8 |
140×4 |
25 |
20 |
- |
|
|
III |
200×8 |
200×10 |
200×10 |
140×4 |
30 |
20 |
- |
|
|
IV |
200×8 |
200×10 |
200×10 |
140×4 |
30 |
20 |
- |
|
|
|
Сталь С345 |
|||||||
|
V |
200×8 |
200×10 |
200×10 |
140×4 |
30 |
20 |
- |
|
|
VI |
- |
- |
- |
- |
- |
- |
- |
|
1. Сталь определяется по табл. 7 докум. -01ПЗ.
2. Сечение элемента подбирается по сортаменту в соответствии с табл. 8 докум. -01ПЗ.
2P4.n×300.*

2P7.n×300.*

СОРТАМЕНТ РИГЕЛЕЙ МНОГОПРОЛЕТНЫХ РАМ
2РТМ3×300.*
|
Код вертикальной нагрузки |
Гнутосварные трубы, b×h×t, мм |
Листовая сталь, t, мм |
||||||
|
Номер позиции |
||||||||
|
1 |
2 |
3 |
4 |
5 |
6 |
7 |
||
|
|
|
Сталь С255 и С345 |
||||||
|
I |
180×6 |
180×8 |
180×8 |
140×4 |
20 |
25 |
20 |
|
|
II |
180×6 |
180×8 |
180×8 |
140×4 |
20 |
25 |
20 |
|
|
III |
200×8 |
200×10 |
200×10 |
140×4 |
20 |
30 |
25 |
|
|
IV |
200×8 |
200×10 |
200×10 |
140×4 |
20 |
30 |
25 |
|
|
|
Сталь С345 |
|||||||
|
V |
200×8 |
200×10 |
200×10 |
140×4 |
20 |
30 |
25 |
|
|
VI |
- |
- |
- |
- |
- |
- |
- |
|
1. Сталь определяется по табл. 7 докум. -01ПЗ.
2. Сечение элемента подбирается по сортаменту в соответствии с табл. 8 докум. -01ПЗ.
1. В заводских условиях для сварки элементов следует применять полуавтоматическую сварку в среде углекислого газа по ГОСТ 8050-85. Марка сварочной проволоки Св-08Г2С диаметром 1.4 мм по ГОСТ 2246-70*. Материалы для монтажной сварки применять в соответствии с т. 55 СНиП II-23-81* "Стальные конструкции. Нормы проектирования".
2. Монтажные соединения выполнять на втулках, высокопрочных болтах, болтах нормальной точности и самонарезающих винтах.
3. Постоянные болты М12, М16, М20 и М24 ГОСТ 7798-70 класса прочности 5.8. по ГОСТ 1759.4-87. В сейсмических районах класс прочности постоянных болтов 8.8. Применение автоматной стали для болтов не допускается.
4. Гайки постоянных болтов (анкерных, нормальной точности) после выверки конструкций закреплять контргайками. Допускается вместо контргаек постановка пружинных шайб по ГОСТ 6402-70.
5. Образование отверстий в соединениях с болтами предусматривать сверлением в кондукторах или на поточных линиях, при этом допускаемые отклонения расстояний между центрами отверстий в группе ±1.0 мм, диаметров отверстий +1.0 мм.
6. Высокопрочные болты М24 исполнения ХЛ по ГОСТ 22353-77 с временным сопротивлением 110 кгс/мм2 из стали 40Х "Селект" по ГОСТ 4543-71*, категории размещения I по ГОСТ 22356-77. Высокопрочные гайки М24 по ГОСТ 22354-77 с временным сопротивлением 110 кгс/мм2 из стали 40Х "Селект" по ГОСТ 4543-71*, категории размещения I по ГОСТ 22356-77. Шайбы 24 по ГОСТ 22355-77.
7. Для фланцев применять толстолистовую горячекатаную сталь марки 09Г2С-15 по ГОСТ 19281-89. Расчетное сопротивление в направлении толщины проката Rth=225 МПа. Осевое натяжение высокопрочных болтов фланцевых соединений 24 тс. Контроль натяжения - по моменту закручивания.
8. Сталь фланцев должна быть проверена на отсутствие несплошностей (расслоений) при помощи ультразвукового дефектоскопического контроля до приваривания фланца.
9. Анкерные болты для всех стоек выполнять в соответствии с ГОСТ 24379.0 и ГОСТ 24379.1-80. Сталь болтов принимать в соответствии с ГОСТ 24379.0-80 в зависимости от климатического района строительства по таблице.
|
Климатические районы |
Расчетная температура района строительства, °С |
Сталь |
|
II4, II5 |
-30°С>t≥-40°С |
Ст3пс2 по ГОСТ 380-88* |
|
I2, II2 и II3 |
-40°С>t≥-50°С |
09Г2С-6 по ГОСТ 19281-89 |
|
I1 |
-50°С>t≥-65°С |
09Г2С-8 по ГОСТ 19281-89 |
10. Контроль натяжения гибких связей с предварительным натяжением - по моменту закручивания.

1. Катеты швов kf=1.2·tmin, где tmin – минимальная толщина соединяемых элементов.
2. Для элементов решетки из стали С345 для кодов нагрузки III, IV, V, VI с толщиной стенки 4 мм. раскосы варить с полным проваром или увеличить толщину элементов решетки с 4 мм на 5 мм.
3. Толщину пластины принимать равной толщине стенки пояса, но не менее 6мм.

1. Катеты швов kf=1.2·tmin, где tmin – минимальная толщина соединяемых элементов.
2. Для элементов решетки из стали С345 для кодов нагрузки III, IV, V, VI с толщиной стенки 4 мм. раскосы варить с полным проваром или увеличить толщину элементов решетки с 4 мм на 5 мм.

1. Катеты швов kf=1.2·tmin, где tmin – минимальная толщина соединяемых элементов.
2. Обварить по контуру. Сварной шов выполнить с полным проваром.
3. После выполнения сварного шва шов зачистить.

Катеты швов kf=1.2·tmin, где tmin – минимальная толщина соединяемых элементов.

1. Катеты швов kf=1.2·tmin, где tmin – минимальная толщина соединяемых элементов.
2. Для элементов решетки из стали С345 для кодов нагрузки III, IV, V, VI с толщиной стенки 4 мм раскосы варить с полным проваром или увеличить толщину элементов решетки с 4 мм на 5 мм.

1. Катеты швов kf=1.2·tmin, где tmin – минимальная толщина соединяемых элементов.
2. Для элементов решетки из стали С345 для кодов нагрузки III, IV, V, VI с толщиной стенки 4 мм раскосы варить с полным проваром или увеличить толщину элементов решетки с 4 мм на 5 мм.
3. Толщину пластины принимать равной толщине стенки пояса, но не менее 6 мм.



|
Параметры |
Анкерный болт, d1, мм при пролете рамы L, м |
||
|
15 |
18; 21 |
24; 30 |
|
|
М24 |
М30 |
М36 |
|
|
В |
450 |
490 |
580 |
|
b1 |
170 |
180 |
210 |
|
b2 |
80 |
100 |
120 |
|
h1 |
80 |
100 |
100 |
|
d2 |
25 |
31 |
37 |
|
tпл |
8 |
8 |
8 |
|
d3 |
Ø36 |
Ø45 |
Ø54 |
С - расстояние между осями ветвей стойки рамы (см. докум. -072...-092)
1. Необозначенные катеты швов kf= 1.2tmin, но не более 8мм.
2. Бетонируется бетоном класса В7.5 на высоту 300 мм.
3. Для опорных пластин применяется сталь марки С255. Толщину опорной пластины (tоп) см. табл. 2.
4. Диаметр анкерных болтов определяется по табл. 1.
5. В пластине на высоте не более 8 мм от нижнего края выполняется отверстие Ø30 мм для стока воды.
6. Определение сечений противосдвиговых закладных элементов фундамента производится по табл. 3, докум. -117.
ТАБЛИЦА ТОЛЩИН ОПОРНЫХ ПЛИТ ДЛЯ КРАЙНИХ СТОЕК РАМ
|
Пролет, м |
Высота стойки, м |
Код горизонт, нагрузки |
Толщина опорной плиты tоп, мм |
|||||
|
Код вертикальной нагрузки |
||||||||
|
I |
II |
III |
IV |
V |
VI |
|||
|
15 |
4.8-7.2 |
1; 2 |
|
|
20 |
|
|
|
|
18 |
4.8-8.4 |
1; 2 |
|
|
|
|
|
|
|
21 |
6.0-9.6 |
1; 2 |
|
|
|
|
|
|
|
24 |
6.0-9.6 |
1; 2 |
|
|
|
25 |
|
|
|
30 |
6.0-7.2 |
1 |
|
|
|
|
|
|
|
2 |
|
|
|
|
|
|
||
|
8.4-9.6 |
1; 2 |
|
|
|
|
|
|
|



|
Параметры |
Анкерный болт, d1, мм при пролете рамы L, м |
||
|
15 |
18; 21 |
24; 30 |
|
|
М24 |
М30 |
М36 |
|
|
В |
55 |
65 |
80 |
|
b1 |
55 |
65 |
80 |
|
b2 |
80 |
100 |
100 |
|
h1 |
80 |
100 |
120 |
|
d2 |
25 |
31 |
37 |
|
tпл |
8 |
8 |
8 |
|
d3 |
Ø36 |
Ø45 |
Ø54 |
a=h–2•r,
где r – радиус гиба сечения стойки;
h – высота сечения ветви средней стойки.
1. Необозначенные катеты швов kf= 1.2·tmin, но не более 8 мм.
2. Толщину опорной пластины (tоп) см. табл. 2, л. 2.
3. Диаметр анкерных болтов d1 определяется по табл. 1.
4. Толщину пластины принимать равной толщине стенки стойки tпл=t, но не менее 6 мм.
5. Противосдвиговые закладные элементы фундамента ставить только в опорных узлах стоек связевых блоков, h закладного элемента см. документ -116.
6. Определение сечений противосдвиговых закладных элементов фундамента производится по табл. 3.
ТОЛЩИНА ОПОРНЫХ ПЛАСТИН СРЕДНИХ ОДНОВЕТВЕВЫХ СТОЕК
|
Суммарное вертикальное усилие ΣNст, тс |
Толщина опорной пластины tоп, мм |
|
Nст≤55 |
20 |
|
55<Nст≤85 |
20 |
|
85<Nст≤115 |
25 |
Для опорных пластин применять сталь С255.
ОПРЕДЕЛЕНИЕ УСИЛИЯ НА ПРОТИВОСДВИГОВОЙ ЗАКЛАДНОЙ ЭЛЕМЕНТ ФУНДАМЕНТА
Определение сечений противосдвиговых закладных элементов фундамента производится по табл. 3 по большему значению усилий Qха или Qya, определяемых по формулам:
|
Qxa=ΣQx/n–ΣN•μ/n |
(1) |
|
|
Qya=ΣQy/n–ΣNmin•μ/n, |
(2) |
|
|
где ΣQx, ΣQy, ΣN |
– см. общие положения определения нагрузок на фундаменты рам докум. -020; |
|
|
n |
– количество противосдвиговых закладных элементов фундамента; |
|
|
ΣNmin |
– минимальное вертикальное усилие от постоянных нагрузок; |
|
|
μ=0.25 |
– коэффициент трения опорной пластины о поверхность бетона фундамента. |
|
|
|
Предельные горизонтальные усилия |
Длина заделки lх, м |
Длина заделки lу, м |
Примечание |
|||
|
Qy, тс |
Qx, тс |
||||||
|
при m=100 мм |
при m=50 мм |
при m=100 мм |
при m=50 мм |
||||
|
[12 |
2.9 |
3.75 |
2.9 |
3.84 |
0.68 |
0.62 |
Нагрузки Qx и Qy действуют раздельно |
|
[14 |
3.8 |
4.85 |
3.9 |
5.05 |
0.76 |
0.68 |
|
|
[16 |
4.9 |
6.2 |
5.1 |
6.4 |
0.85 |
0.74 |
|
|
[18 |
6.1 |
7.5 |
6.4 |
8.05 |
0.93 |
0.81 |
|
|
[20 |
7.4 |
9.0 |
7.9 |
9.85 |
1.01 |
0.87 |
|
|
[22 |
9.0 |
10.7 |
9.6 |
11.8 |
1.1 |
0.93 |
|
|
[24 |
11.0 |
13.1 |
11.6 |
14.1 |
1.2 |
1.01 |
|
|
[27 |
12.9 |
15.2 |
14.3 |
17.1 |
1.3 |
1.08 |
|
|
[30 |
15.0 |
17.4 |
17.1 |
20.3 |
1.41 |
1.15 |
|
1. m – расстояние приложения поперечной силы от поверхности бетона.
2. Класс бетона фундамента В12.5.
Для более высокого класса бетона предельные нагрузки Q увеличиваются в k=Rпр/60 раз. Анкерные болты при этом должны быть дополнительно проверены на совместное действие N и Q.
3. Длина заделки (lх и lу) определяется от верхнего обреза фундамента.


|
Переменные |
Анкерный болт, dl, мм при пролете рамы L, м |
||
|
15 |
18; 21 |
24; 30 |
|
|
М24 |
М30 |
М36 |
|
|
h1 |
55 |
65 |
80 |
|
h2 |
80 |
100 |
120 |
|
b2 |
80 |
100 |
100 |
|
d2 |
25 |
31 |
37 |
|
tпл |
8 |
8 |
8 |
|
d3 |
Ø36 |
Ø45 |
Ø54 |
а=b–2•r1,
где r1 – радиус гиба сечения ветви средней стойки;
b – ширина сечения ветви средней стойки.
1. Необозначенные катеты швов kf=1.2·tmin, но не более 8 мм.
2. Толщину опорной пластины (tоп) см. табл. 2, л. 2.
3. Диаметр анкерных болтов определяется по табл. 1.
4. Толщину пластины принимать равной толщине стенки стойки tпл=t, но не менее 6 мм.
5. Противосдвиговые закладные элементы ставить только в опорных узлах стоек связевых блоков.
6. Определение сечений противосдвиговых элементов фундамента производится по табл. 3, документ -117, л. 2.
ТОЛЩИНЫ ОПОРНЫХ ПЛАСТИН СРЕДНИХ ДВУХВЕТВЕВЫХ СТОЕК
|
Суммарное вертикальное усилие ΣNст, тс |
Толщина опорной пластины tоп, мм в зависимости от высоты средней стойки Нст, м |
|||
|
6<Нст≤8 |
8<Нст≤11 |
11<Нст≤15 |
||
|
h=180 |
h=200 |
|||
|
Nст≤55 |
- |
- |
- |
16 |
|
55<Nст≤65 |
16 |
|||
|
65<Nст≤75 |
||||
|
75<Nст<85 |
||||
|
85<Nст≤95 |
16 |
|||
|
95<Nст≤105 |
||||
|
105<Nст≤115 |
16 |
|||
|
115<Nст≤125 |
||||
|
125<Nст≤135 |
18 |
18 |
18 |
18 |
|
135<Nст≤145 |
||||
|
145<Nст≤155 |
||||
|
155<Nст≤165 |
20 |
|||
|
165<Nст≤175 |
20 |
20 |
20 |
|
|
175<Nст≤185 |
||||
|
185<Nст≤195 |
||||
1. Для опорных пластин применять сталь С255.
2. В табл. 2 величина h, мм - высота сечения ветви средней стойки.




|
Параметры |
Анкерный болт, dl |
|||
|
М20 |
М24 |
М30 |
М36 |
|
|
a1 |
60 |
70 |
80 |
90 |
|
b1 |
45 |
55 |
65 |
80 |
|
b2 |
70 |
80 |
100 |
120 |
|
h1 |
70 |
80 |
100 |
100 |
|
d2 |
21 |
25 |
31 |
37 |
|
tпл |
8 |
8 |
8 |
8 |
|
d3 |
Ø30 |
Ø36 |
Ø45 |
Ø54 |
a=h–2•r1,
где r1 – радиус гиба сечения стойки.
1. Необозначенные катеты швов kf= 1.2·tmin, но не более 8 мм.
2. Диаметр анкерных болтов (d1) и толщину опорной пластины (tоп) см. табл. 2 и табл. 3, л. 2.
3. Толщину пластины принимать равной толщине стенки стойки tp=t, но не менее 6 мм.
ТАБЛИЦА АНКЕРНЫХ БОЛТОВ И ТОЛЩИН ОПОРНЫХ ПЛИТ ДЛЯ НЕСУЩЕГО ФАХВЕРКА
|
Код горизонт, нагрузки |
Ветровой район |
Высота стоек фахверка, м |
||||||
|
Нсф≤6.0 |
6.0<Нсф≤8.4 |
8.4<Нсф≤10.8 |
10.8<Нсф≤13.2 |
13.2<Нсф≤16.0 |
||||
|
СНЕГОВЫЕ РАЙОНЫ |
||||||||
|
I-VI |
I-VI |
I-VI |
I-VI |
I - II |
III -IV |
V-VI |
||
|
1 |
I |
tоп=16
мм |
tоп=16
мм |
tоп=16
мм |
tоп=20
мм |
tоп=20
мм |
||
|
II, III |
tоп=25
мм |
|||||||
|
2 |
IV |
tоп=20
мм |
tоп=25
мм |
|
||||
|
V |
tоп=16
мм |
tоп=25
мм |
|
|
|
|||
|
VI |
tоп=20
мм |
tоп=25
мм |
tоп=25
мм |
|
tоп=25
мм |
|||
|
VII |
tоп=25
мм |
|
||||||
ТАБЛИЦА АНКЕРНЫХ БОЛТОВ И ТОЛЩИН ОПОРНЫХ ПЛИТ ДЛЯ САМОНЕСУЩЕГО ФАХВЕРКА
|
Код горизонт, нагрузки |
Ветровой район |
Высота стоек фахверка, м |
|||||||||
|
Нсф≤6.0 |
6.0<Нсф≤8.4 |
8.4<Нсф≤10.8 |
10.8<Нсф≤13.2 |
13.2<Нсф≤16.0 |
|||||||
|
tоп |
d1 |
tоп |
d1 |
tоп |
d1 |
tоп |
d1 |
tоп |
d1 |
||
|
1 |
I, II |
16 |
020 |
16 |
020 |
16 |
020 |
20 |
020 |
20 |
024 |
|
III |
024 |
030 |
|||||||||
|
2 |
IV, V |
20 |
|||||||||
|
VI, VII |
024 |
030 |
25 |
||||||||
1. tоп – толщина опорной плиты.
d1 – диаметр анкерного болта.
2. Диаметры анкерных болтов и толщины опорных плит для стоек фахверка определяются по таблицам 2 и 3 для стойки максимальной высоты и принимаются для всех стоек данного фахверка одинаковыми. Допускается принимать значения в соответствии с фактической высотой стоек фахверка и действующими на них нагрузками.
СРЕДНЯЯ ОДНОВЕТВЕВАЯ СТОЙКА РАМЫ

1. Необозначенные катеты швов kf=1.2·tmin, но не более 8 мм.
2. Соприкасающиеся поверхности фланцев не грунтовать. На монтаже соприкасающиеся поверхности фланцев очистить металлическими щетками.
3. ВПБ М24×90 исполнение ХЛ по ГОСТ 22353-77 сталь 40Х "Селект" по ГОСТ 4543-71. Осевое натяжение высокопрочных болтов фланцевых соединений - 24 тс. Контроль натяжения - по моменту закручивания.
4. Отметка монтажного стыка средней стойки, Н≤11.85 м.


a1=h–2•r1
b1=b–2•r1,
где r1 – радиус гиба сечения стойки;
h – высота сечения ветви средней стойки;
b – ширина сечения ветви средней стойки.
Необозначенные катеты швов kf=1.2·tmin, но не более 8 мм.

1. Разрез 2-2 и примечания см. л. 2.
2. Крепление распорок см. на узле 21 докум. -133 .
3. Численные значения параметров см. табл. 1 и 2, л. 3.
4. Ra – точность обработки поверхности отверстия в проушинах.


1. Катеты швов kf=1.2tmin, где tmin – минимальная толщина соединяемых элементов.
2. Сталь проушин С345-3 (для климатического района строительства I1 – C345-4).
3. Численные значения параметров (tпр) см. докум. -122, лист 3.
4. Размеры проушин на внутренней и внешней ветвях крайней стойки рамы выполняются одного размера.
5. Сборочные чертежи монтажных элементов M1, Ш1, В1 см. л. 4.
6. Зазоры между проушинами ригеля и стойки должны быть симметрично заполнены монтажными прокладками. Толщину монтажных прокладок определить при разработке КМД. Для удобства монтажа одну из прокладок рекомендуется приварить до монтажа.
ТОЛЩИНА ПРОУШИН И ДИАМЕТРЫ ВТУЛОК ДЛЯ СТОЕК ОДНОПРОЛЕТНЫХ РАМ
|
ПРОЛЕТ, м |
КОД ВЕРТИКАЛЬНОЙ НАГРУЗКИ |
tпр, мм |
Dвт, мм |
R, мм |
r, мм |
h1, мм |
h2, мм |
|
15.0 |
I-VI |
12 |
64 |
110 |
34 |
150 |
100 |
|
18.0 |
I-IV |
200 |
|||||
|
V, VI |
14 |
||||||
|
21.0 |
I, II |
12 |
|||||
|
III, IV |
14 |
||||||
|
V, VI |
16 |
72 |
38 |
250 |
120 |
||
|
24.0 |
I, II |
12 |
64 |
34 |
100 |
||
|
III, IV |
14 |
||||||
|
V, VI |
16 |
72 |
38 |
120 |
|||
|
30.0 |
I, II |
64 |
34 |
100 |
|||
|
III, IV |
18 |
84 |
44 |
140 |
|||
|
V,VI |
20 |
|
ТОЛЩИНА ПРОУШИН И ДИАМЕТРЫ ВТУЛОК ДЛЯ КРАЙНИХ СТОЕК МНОГОПРОЛЕТНЫХ РАМ
|
ПРОЛЕТ, м |
КОД ВЕРТИКАЛЬНОЙ НАГРУЗКИ |
tпр, мм |
Dвт, мм |
R, мм |
r, мм |
h1, мм |
h2, мм |
|
18.0 |
I÷VI |
12 |
64 |
110 |
34 |
200 |
100 |
|
21.0 |
I÷VI |
||||||
|
24.0 |
I, II |
72 |
38 |
250 |
120 |
||
|
III, VI |
14 |
||||||
|
30.0 |
I÷V |
16 |
|||||
|
VI |
- |
- |
- |
- |
- |
- |
СБОРОЧНЫЙ ЧЕРТЕЖ

МУФТА M1

ШПИЛЬКА Ш1

ВТУЛКА В1

L1=bн(bв)+2•tпр,
где bн (bв) – размер из плоскости наружной или внутренней ветви стойки рамы;
tпр – толщина проушин.
Требуемые механические характеристики для сталей втулок
- предел текучести σ02≥3600 кгс/см2;
- относительное сужение, ψ≥40%;
- относительное удлинение, δ05≥10%;
- твердость по Бринеллю НВ=160–250;
- ударная вязкость KCU, Дж/см2, при температуре Т, °С:
|
Т, °С |
–20°С |
–40°С |
–60°С |
|
KCU |
≥55 |
≥39 |
≥35 |
1. Численные значения Dвт и tпр см. в табл. 1 и табл. 2.
2. Определить при разработке КМД.
3. Примеры сталей втулок, отвечающие приведенным в табл. 3 требованиям при применении термической обработки: 30Х, 35Х, 40Х, 45Х по ГОСТ 4543-71.
ВАРИАНТ 1

1. Узел сопряжения средней стойки с ригелем может быть решен в двух вариантах в зависимости от высоты сечений ригеля (hp) и средней стойки (hст). Выбор варианта производится по таблице на л. 2.
2. См. примечания с п.1 по п.5 на л. 2.
3. Крепление распорок см. узел 17, докум. -129.
ВАРИАНТ 2

1. Катеты швов kf=l.2·tmin где tmin – минимальная толщина соединяемых элементов.
2. Сталь проушин С345-3 (для климатического района строительства I1 – С345-4).
3. Численные значения параметров см. табл 2, докум. -124.
4. Сборочные чертежи монтажных элементов M1, Ш1, В1 см. докум. -122, л. 4.
5. Ra – точность обработки поверхности отверстия в проушинах.
6. Зазоры между проушинами ригеля и стойки должны быть симметрично заполнены монтажными прокладками. Толщину монтажных прокладок определить при разработке КМД. Для удобства монтажа одну из прокладок рекомендуется приварить до монтажа.
7. Толщины добавочных пластин для сопряжения ригеля со средней стойкой по ВАРИАНТУ 2, определяются по таблице. Сталь добавочных пластин С345-3 (для климатического района строительства I1 – C345-4).
|
Высота сечения стойки hст, мм |
Высота сечения ригеля hp, мм |
|||
|
140 |
160 |
180 |
200 |
|
|
180 |
Вариант 1 |
Вариант 2 |
Вариант 2 |
- |
|
tпл=10 мм |
tпл=20 мм |
|||
|
200 |
- |
Вариант 1 |
Вариант 2 |
Вариант 2 |
|
tпл=10 мм |
tпл=20 мм |
|||
ВАРИАНТ 1

1. Узел сопряжения средней двухветвевой стойки с ригелем может быть решен в двух вариантах в зависимости от высоты сечений ригеля (hp) и средней стойки (hст). Выбор варианта производится по таблице 1.
2. См. прим. п.1 -п.5 на докум. -123, л. 2.
3. Крепление распорок см. на узле 21, докум. -133.
4. Толщины проушин и диаметров втулок для средних стоек см. табл. 2.
5. Заполнить на монтаже прокладками. Толщину прокладок определить при разработке КМД.
6. r1 – радиус закругления гнутосварного профиля.
|
Высота сечения стойки hст, мм |
Высота сечения ригеля hp, мм |
|||
|
140 |
160 |
180 |
200 |
|
|
180 |
Вариант 1 |
Вариант 2 |
Вариант 2 |
- |
|
|
tпл=10 мм |
tпл=20 мм |
||
|
200 |
- |
Вариант 1 |
Вариант 2 |
Вариант 2 |
|
tпл=10 мм |
tпл=20 мм |
|||
ВАРИАНТ 2

ТОЛЩИНА ПРОУШИН И ДИАМЕТРЫ ВТУЛОК ДЛЯ СРЕДНИХ СТОЕК РАМ
|
УсилиеNвт, тс |
tпр, мм |
Dвт ,мм |
R, мм |
г, мм |
h2, мм |
|
Nвт≤55 |
12 |
56 |
110 |
30 |
100 |
|
55<Nвт≤75 |
14 |
64 |
34 |
||
|
75<Nвт≤105 |
16 |
72 |
38 |
120 |
|
|
105<Nвт≤125 |
18 |
84 |
44 |
140 |
Усилие Nвт определяется по формуле 4, докум. -045.
1. Узел сопряжения двухветвевой средней стойки с ригелем может быть решен в двух вариантах в зависимости от высоты сечений ригеля (hp) и средней стойки (hст). Выбор варианта и tпл производится по табл. 1. докум. -124.
2. См. примечания п.1-п.5 на докум.-123, лист 2.
3. Крепление распорок см. на узле 21, докум. -133 .
4. Заполнить на монтаже прокладками. Толщину прокладок определить при разработке КМД.
5. r1 – радиус закругления гнутосварного профиля.

1. Катеты швов kf=1.2·tmin, где tmin – минимальная толщина соединяемых элементов.
2. В том случае, если ширина раскоса меньше ширины пояса, вертикальные ребра в растянутом фланце можно не приваривать к раскосам.
3. tp=1.2•t, где t – толщина стенки пояса.
4. Толщины фланцев указаны в таблицах сортаментов ригелей рам.

1. Катеты швов kf=l.2·tmin, где tmin – минимальная толщина соединяемых элементов.
2. Толщины фланцев указаны в таблицах сортаментов ригелей рам.
3. Вертикальную стойку ставить только в одном из коньковых элементов рамы.

1. Катеты швов kf=1.2·tmin, где tmin – минимальная толщина соединяемых элементов.
2. Все неуказанные толщины 6 мм.
3. Определить при разработке чертежей КМД.



1. Катеты швов kf=1.2·tmin, где tmin – минимальная толщина соединяемых элементов.
2. Уточнить при разработке чертежей КМД.
3. Крепление распорок (одно- и двухветвевых) выполнять по узлу 21 докум. -133.



1. Все неуказанные толщины 6 мм.
2. Уточнить при разработке чертежей КМД.
3. Крепление распорок (одиночных и пространственных) выполнять по узлу 21 докум. -133.
4. Катеты швов kf=1.2·tmin, где tmin – минимальная толщина соединяемых элементов.
ВАРИАНТ 1


ВАРИАНТ 2


|
Код ветровой нагрузки |
№ варианта |
d1 |
L1 |
L2 |
b |
h1 |
h2 |
t1 |
Прим. |
|
1 |
Вариант 1 |
Ø20 |
45 |
40 |
120 |
40 |
36 |
8 |
|
|
Вариант 2 |
Ø20 |
45 |
40 |
100 |
40 |
36 |
6 |
|
|
|
2 |
Вариант 1 |
Ø24 |
55 |
50 |
120 |
50 |
45 |
8 |
|
|
Вариант 2 |
Ø24 |
55 |
50 |
100 |
50 |
45 |
6 |
|
1. Возможна замена гнутого профиля на сварной.
2. Гнутосварной профиль коробчатого сечения по ГОСТ 30245-03.
3. Размер "b" определяется из условия (B–2r1), где r1 – радиус закругления гнутосварного профиля.
4. Диаметры гибких растяжек принимать равными диаметрам вертикальных связей. Расчет вертикальных связей табл. 2 докум. -044 (при выборе двойных вертикальных связей ставить одинарную гибкую растяжку указанного сечения).

1. Катеты швов kf=1.2·tmin, где tmin – минимальная толщина соединяемых элементов.
2. Пластина для крепления горизонтальной связи (горизонтальная связь условно не показана).
3. Определить при разработке чертежей КМД.
4. Крепление распорок (одиночных и пространственных) выполнять по узлу 21 докум.-133.

1. Катеты швов kf=1.2·tmin, где tmin – минимальная толщина соединяемых элементов.
2. Пластина для крепления горизонтальной связи (горизонтальная связь условно не показана).
3. Крепление распорок (одиночных и пространственных) выполнять по узлу 21 докум. -133.
ВАРИАНТ 1
(без накладки)

1. Вариант узла крепления распорки принимается по табл. 1 в зависимости от действующего в распорке усилия Nрасп.
2. Катеты швов kf=1.2·tmin, где tmin - минимальная толщина соединяемых элементов.
3. Диаметр болта определяется по табл. 2 в зависимости от Nрасп. Nb=Nрасп•0,5
4. Гнутосварные трубы по ГОСТ 30245-03.
|
Сечение распорки |
tпл, мм |
Предельное усилие на узел Nрасп, тс |
|
|
Вариант 1 |
Вариант 2 |
||
|
□100×4 |
6 |
7.3 |
9.6 |
|
□120×4 |
10 |
12.2 |
16.4 |
|
□140×4 |
14 |
16.1 |
25.4 |
|
Диаметр болта, мм |
Предельно допустимое усилие на болт Nb>, тс |
|
|
класс прочности 5.8 |
класс прочности 8.8 |
|
|
Ø16 |
3.61 |
5.78 |
|
Ø20 |
5.65 |
9.04 |
|
Ø24 |
8.13 |
13.01 |



ОПОРНЫЙ СТОЛИК ОПЗ-1

ОПОРНЫЙ СТОЛИК ОПЗ-2

1. Опорный элемент может быть выполнен как гнутым, так и сварным.
2. Размеры a1 и а2 см. докум. -061.
3. Размер hоп определить при разработке КМД.
4. Опорное ребро обварить по контуру.

1. Определить при разработке КМД в зависимости от сортамента балок и стоек фахверка.
2. Привязки (a1, a2,) и диаметры болтов (d) см. докум. -061.
3. Опорный столик ОПЗ-2 см. докум. -134.

1. Для уравновешивания скатной составляющей коньковые прогоны объединяются попарно специальными элементами с шагом не более 1 м.
2. Элемент для объединения прогонов покрытия не должен попадать в места опирания нижней гофры профлиста.
3. Привязка прогонов покрытия к коньку определяется при разработке чертежей КМД и зависит от осевой привязки рам "А"(А=0 или А=250, см. докум. -060).

1. Для уравновешивания скатной составляющей коньковые прогоны объединяются попарно специальными элементами с шагом не более 1 м.
2. Коньковые прогоны объединяются специальными элементами в местах крепления тяжей.
3. Элемент для объединения прогонов покрытия не должен попадать в места опирания нижней гофры профлиста.
4. Привязка прогонов покрытия к коньку определяется при разработке чертежей КМД и зависит от осевой привязки рам "А"(А=0 или А=250, см. докум. -060).

Длину резьбы у кровельных тяжей принимать равной 100 мм.

1. Катеты швов kf=1.2·tmin, где tmin – минимальная толщина соединяемых элементов.
2. Угол определить при разработке КМД.
3. Сварной шов с полным проваром, зачистить.





Длину неразрезных прогонов, попадающих в зону зенитного фонаря, скорректировать в соответствии с узлом С.


1. Размеры h1 и h2 определяются при КМД и зависят от толщины кровельного утеплителя. Кроме того, размер h2 зависит от диаметра дефлектора или крышного вентилятора.
2. В горизонтальных элементах рамки (L75×5 и [10) выполнить отверстия для крепления дефлектора или крышного вентилятора. Диаметр и количество отверстий определяется по серии вентилятора или дефлектора.

1. Катеты швов kf=1.2·tmin, где tmin – минимальная толщина соединяемых элементов.
2. Все неуказанные толщины 6 мм.
3. Размеры a1, а2 и диаметр болтов см. таблицу.
4. Применяемая сталь С255 по ГОСТ 27772-88*.
|
Прогоны стеновые рядовые марки ПСР |
|||||
|
Сечение прогона |
Размеры, мм |
Болт |
Масса, кг |
||
|
a1 |
а2 |
Øотв. |
|||
|
[12 |
100 |
40 |
15 |
М12×40.58 |
62,4 |
|
[14 |
85 |
50 |
|
73,8 |
|
|
[16 |
70 |
60 |
19 |
М16×40.58 |
85,2 |
|
гн.[120×60×3 |
100 |
40 |
15 |
М12×40.58 |
56,6 |
|
гн.[120×60×5 |
100 |
40 |
|
52,3 |
|
|
гн.[160×80×3 |
70 |
60 |
19 |
М16×40.58 |
43,2 |
|
гн.[160×80×4 |
70 |
60 |
|
57,5 |
|
|
гн.[160×80×5 |
70 |
60 |
|
71,2 |
|

1. Катеты швов kf=1.2·tmin, где tmin – минимальная толщина соединяемых элементов.
2. Все неуказанные толщины 6 мм.
3. Размеры a1, а2 и диаметр болтов см. таблицу.
4. Применяемая сталь С255 по ГОСТ 27772-88.
|
Прогоны стеновые опорные марки ПСО |
|||||
|
Сечение прогона |
Размеры, мм |
Болт |
Масса, кг |
||
|
a1 |
а2 |
Øотв. |
|||
|
гн.□120×4 |
60 |
80 |
19 |
М16×40.58 |
88,4 |
|
гн.□140×4 |
60 |
80 |
103,9 |
||
|
гн.□140×5 |
60 |
80 |
127,6 |
||
|
гн.□160×5 |
60 |
80 |
146,8 |
||
|
гн.□160×6 |
60 |
80 |
174,0 |
||
|
гн.□160×8 |
60 |
80 |
227,0 |
||
ВАРИАНТ А
при примыкании к стойке опорных прогонов

ВАРИАНТ Б
при примыкании к стойке рядовых прогонов


1. Сортамент стеновых тяжей см. докум. -063.
2. Отверстия под тяжи выполнить 019 мм.
ВАРИАНТ А

1. Сортамент тяжей и стойки см. докум. -063.
2. В "Варианте Б" вместо пластины можно использовать гнутый уголок толщиной 6 мм.



1. Неуказанные фасонки и ребра толщиной 6 мм.
2. Катет шва kf=6 мм.
3. Все неуказанные болты М20.

1. Необозначенные катеты швов kf=1.2·tmin, но не более 8 мм.
2. Все неуказанные накладки t=8 мм.
3. Все неуказанные сварные швы kf=tmin свариваемых элементов.

1. Уточнить при разработке КМД .
2. Все неуказанные болты М16.
3. Все неуказанные толщины 6 мм.
4. Все неуказанные катеты швов kf=6мм.
5. Крепление распорок выполнить по узлу 21 докум. -133



1. Катеты швов kf=1.2·tmin, где tmin – минимальная толщина соединяемых элементов.
2. Все неуказанные толщины 6 мм.
3. Все неуказанные болты M16.
4. Уточнить при разработке КМД.

|
d1 |
d2 |
d3 |
|
20 |
36 |
14 |
|
24 |
42 |
16 |
Диаметр связей см. "Сортамент гибких связей" докум.-044.
1. Узел натяжения связи для удобства закручивания располагать на расстоянии 1000-1500 мм от узла крепления связи.
2. Наружный диаметр резьбы ветвей связи и диаметр контргайки берутся равными наружному диаметру связи.
3. Объединяющие элементы в двойных связях ставить с шагом 3000 мм после натяжения связей на проектное усилие.



|
Сталь связи |
Сталь проушин |
Болты |
|
35Х |
С345 |
ВПБ24 |
|
С255 |
С255 |
М24 |
|
С345 |
С255 |
М24 |
|
d1 |
p1 |
d4 |
R1 |
n1 |
|
20 |
5 |
14 |
5 |
14 |
|
24 |
5 |
14 |
5 |
18 |



1. Отметку определить при разработке индивидуального проекта.
2. Привязку стоек для проема определить при разработке КМД.
3. Все неуказанные болты М16.




1. Разрешается выполнять крепление дополнительного стенового прогона на сварке.
2. Отметку верха дверного проема определить при разработке КМД.
3. Пластина толщиной 4 мм для крепления уголка при монтаже стеновых панелей.


1. Разрезы 1-1, 2-2, 3-3,4-4 л. 3.
2. Катет шва назначается исходя из минимальной толщины соединяемых деталей в соответствии со СНиП II-23-81*.
3. Данные для проектирования узлов подвесных путей см. докум. -054...-058.



1. Разрезы 1-1,3-3, 4-4 см. л. 3.
2. Катет шва назначается исходя аз минимальной толщины соединяемых деталей в соответствии со СНиП II-23-81*.
3. Данные для проектирования узлов подвесных путей см. докум. -054...-058.

1. Катет шва назначается исходя из минимальной толщины соединяемых деталей в соответствии со СНиП II-23-81*
2. Данные для проектирования узлов подвесных путей см. докум. -054...-058.


1. См. совместно с узлом 45 докум. -151.
2. Катет шва назначается исходя из минимальной толщины соединяемых деталей в соответствии со СНиП II-23-81*.
3. Данные для проектирования узлов подвесных путей см. докум. -054...-058.
4. Размер "а" определяется при разработке КМД из условия симметричности крепежных элементов.


1. См. совместно с узлом 45 докум. 151.
2. Катет шва назначается исходя из минимальной толщины соединяемых деталей в соответствии со СНиП II-23-81*.
3. Данные для проектирования узлов подвесных путей см. докум. -054...-058.
4. Размер "а" определяется при разработке КМД из условия симметричности крепежных элементов.


1. См. совместно с узлом 45 докум. -151.
2. Катет шва назначается исходя из минимальной толщины соединяемых деталей в соответствии со СНиП II-23-81*.
3. Данные для проектирования узлов подвесных путей см. докум. -054...-058.
4. Размер "а" определяется при разработке КМД из условия симметричности крепежных элементов.

1. Катет шва назначается исходя из минимальной толщины соединяемых деталей в соответствии со СНиП II-26-81*.
2. Толщина ребер и фасонок 6 мм.
3. Данные для проектирования узлов подвесных путей см. докум. -054...-058.



1. Катет шва назначается исходя из минимальной толщины соединяемых деталей в соответствии со СНиП II-23-81*.
3. Данные для проектирования узлов подвесных путей см. докум. -054...-058.

1. Монтажный стык балок подвесного пути выполнить в соответствии с серией 1.426.2-6 вып. 1/91.
2. Монтажный шов выполнить с полным проваром.

1. Расположение упора (выше или ниже ездовой поверхности) определяется по оборудованию подвесного транспорта.
2. Упор крепить к балке подвесного пути болтами M18 для I 24M - I 36M, М20 для I 45M .
3. Привязку упора принимать в соответствии со схемами, см. докум. -055.


1. Сортамент балки БП1-1 см. докум. -058.
2. Катет шва назначается исходя из минимальной толщины соединяемых деталей в соответствии со СНиП II-23-81*.


1. Сортамент балки БП1-2 см. докум. -058.
2. Катет шва назначается исходя из минимальной толщины соединяемых деталей в соответствии со СНиП II-23-81*.

1. Катет шва назначается исходя из минимальной толщины соединяемых деталей в соответствии со СНиП II-23-81*.
2. Болт M16 при грузоподъемности крана Q=l–2 т,
М20 при грузоподъемности крана Q=3.2–5 т.
3. Данные для проектирования узлов подвесных путей см. докум. -054 ... - 058.
Массы прогонов покрытия, стеновых прогонов, элементов рам (стоек и ригелей), стоек и балок фахверка в спецификациях приведены для справок.
В спецификациях наряду с обычными марками элементов рам применяются марки, в которых приведены несколько кодов вертикальной нагрузки и значок * (звездочка), обозначающий стали С255 и С345 одновременно.
Например, марка K1.150.48-I(II-IV)-*(c) обозначает, что указанные для данной марки в спецификации сечения и массы применимы для крайних стоек рам с 15-ти метровым пролетом, высотой до низа ригеля 4.8 м, с кодами вертикальной нагрузки I-IV, из сталей С255 и С345 при сейсмичности района строительства более 7 баллов.
Массы стоек фахверка даны для стоек максимальной высоты в марке. Для элементов рам (ригелей и стоек), стоек и балок фахверка применяются гнутосварные трубы по ГОСТ 30245-03 и листовая сталь по ГОСТ 19903-74.
СПЕЦИФИКАЦИЯ ПРОГОНОВ ПОКРЫТИЯ
|
Код прогона |
Масса по профилям, кг |
|||||||||||||||||||
|
швеллер горячекатанный по ГОСТ 8240-97 |
швеллер гнутый равнополочный по ГОСТ 8278-83* |
|||||||||||||||||||
|
в среднем шаге |
в крайнем шаге |
в среднем шаге |
в крайнем шаге |
|||||||||||||||||
|
[14 |
[16 |
[18 |
[20 |
[22 |
[24 |
[14 |
[16 |
[18 |
[20 |
[22 |
[24 |
200×80×3 |
200×80×4 |
250×125×3 |
250×125×4 |
200×80×3 |
200×80×4 |
250×125×3 |
250×125×4 |
|
|
ППР-3.0-I |
|
|
98 |
|
|
|
|
|
101 |
|
|
|
|
65 |
|
|
|
67 |
|
|
|
ППР-3.0-II |
|
|
98 |
|
|
|
|
|
101 |
|
|
|
|
|
68 |
|
|
|
70 |
|
|
ППР-3.0-Ш |
|
|
|
111 |
|
|
|
|
|
114 |
|
|
|
|
68 |
|
|
|
70 |
|
|
ППР-3.0-IV |
|
|
|
|
126 |
|
|
|
|
|
130 |
|
|
|
|
90 |
|
|
|
93 |
|
ППР-3.0-V |
|
|
|
|
|
144 |
|
|
|
|
|
148 |
|
|
|
|
- |
|
|
- |
|
ППР-1.5-I |
74 |
|
|
|
|
|
76 |
|
|
|
|
|
49 |
|
|
|
51 |
|
|
|
|
ППР-1.5-II |
74 |
|
|
|
|
|
76 |
|
|
|
|
|
49 |
|
|
|
51 |
|
|
|
|
ППР-1.5-Ш |
|
85 |
|
|
|
|
|
88 |
|
|
|
|
49 |
|
|
|
51 |
|
|
|
|
ППР-1.5-IV |
|
|
98 |
|
|
|
|
|
101 |
|
|
|
|
65 |
|
|
|
67 |
|
|
|
ППР-1.5-V |
|
|
98 |
|
|
|
|
|
101 |
|
|
|
|
|
68 |
|
|
|
70 |
|
|
ППP-1.5-VI |
|
|
|
111 |
|
|
|
|
|
114 |
|
|
|
|
|
90 |
|
|
|
93 |
СПЕЦИФИКАЦИЯ СТЕНОВЫХ ПРОГОНОВ
|
Код прогона |
Масса по профилям, кг |
|||||||||||||
|
швеллер горячекатанный по ГОСТ 8240-97 |
швеллер гнутый равнополочный по ГОСТ 8278-83* |
гнутосварные трубы по ГОСТ 30245-03 |
||||||||||||
|
[12 |
[14 |
[16 |
120×60×3 |
120×60×5 |
160×80×3 |
160×80×4 |
160×80×5 |
120×4 |
140×4 |
140×5 |
160×5 |
160×6 |
160×8 |
|
|
ПСР |
63 |
74 |
85 |
33 |
52 |
43 |
57 |
71 |
|
|
|
|
|
|
|
ПСО |
|
|
|
|
|
|
|
|
89 |
104 |
128 |
147 |
174 |
227 |
СПЕЦИФИКАЦИЯ СТОЕК ОДНОПРОЛЕТНЫХ РАМ
|
Марка элемента |
Масса по профилям, кг |
Общая масса, кг |
||||||||||||||||||||||
|
Гнутосварные трубы |
сталь листовая |
прочее |
||||||||||||||||||||||
|
80×4 |
100×4 |
100×200×6 |
120×4 |
120×160×5 |
140×4 |
140×160×5 |
140×160×6 |
140×180×5 |
140×180×6 |
160×5 |
160×6 |
160×8 |
160×240×6 |
160×240×8 |
160×240×10 |
180×5 |
180×6 |
180×8 |
200×6 |
200×8 |
||||
|
K1.150.48‑I(II‑IV)‑*(c) |
|
66 |
|
|
|
|
|
|
221 |
|
|
|
|
|
|
|
|
|
|
|
|
80 |
|
367 |
|
K1.150.48‑V(VI)‑*(c) |
|
66 |
|
|
|
|
|
|
107 |
|
|
|
|
|
|
|
129 |
|
|
|
|
80 |
|
382 |
|
K1.150.60‑1(II)‑*(с) |
|
66 |
|
|
|
|
|
|
277 |
|
|
|
|
|
|
|
|
|
|
|
|
80 |
|
423 |
|
K1.150.60‑III(IV)‑*(c) |
|
66 |
|
|
|
|
|
|
136 |
|
|
|
|
|
|
|
141 |
|
|
|
|
80 |
|
423 |
|
K1.150.60‑V(VI)‑*(c) |
|
66 |
|
|
|
|
|
|
136 |
|
|
|
|
|
|
|
|
160 |
|
|
|
80 |
|
442 |
|
K1.150.72‑I(II‑IV)‑*(c) |
|
66 |
|
|
|
|
|
|
333 |
|
|
|
|
|
|
|
|
|
|
|
|
80 |
|
479 |
|
K1.150.72‑V(VI)‑*(c) |
|
66 |
|
|
|
|
|
|
164 |
|
|
|
|
|
|
|
192 |
|
|
|
|
80 |
|
502 |
|
K1.180.48‑1(II)‑*(с) |
42 |
|
|
|
93 |
|
|
126 |
|
|
|
|
|
|
|
|
|
|
|
|
|
85 |
|
346 |
|
K1.180.48‑III(IV)‑*(c) |
42 |
|
|
|
93 |
|
|
|
|
|
|
135 |
|
|
|
|
|
|
|
|
|
93 |
|
363 |
|
K1.180.48‑V(VI)‑*(c) |
42 |
|
|
|
93 |
|
|
|
|
|
|
|
176 |
|
|
|
|
|
|
|
|
100 |
|
411 |
|
K1.180.60‑I(II)‑*(c) |
63 |
|
|
|
118 |
|
|
|
|
|
|
167 |
|
|
|
|
|
|
|
|
|
90 |
|
438 |
|
K1.180.60‑III(IV‑VI)‑*(c) |
63 |
|
|
|
118 |
|
|
|
|
|
|
|
218 |
|
|
|
|
|
|
|
|
106 |
|
505 |
|
K1.180.72‑I(II)‑*(c) |
63 |
|
|
|
289 |
|
|
|
|
|
|
|
|
|
|
|
|
|
|
|
|
90 |
|
442 |
|
K1.180.72‑III(IV)‑*(c) |
63 |
|
|
|
142 |
|
|
|
|
|
169 |
|
|
|
|
|
|
|
|
|
|
100 |
|
474 |
|
K1.180.72‑V(VI)‑*(c) |
63 |
|
|
|
142 |
|
|
|
|
|
|
201 |
|
|
|
|
|
|
|
|
|
106 |
|
512 |
|
K1.180.84‑I(II)‑*(c) |
74 |
|
|
|
167 |
|
184 |
|
|
|
|
|
|
|
|
|
|
|
|
|
|
90 |
|
515 |
|
K1.180.84‑III(IV)‑*(c) |
74 |
|
|
|
167 |
|
|
|
|
|
|
234 |
|
|
|
|
|
|
|
|
|
100 |
|
575 |
|
K1.180.84‑V(VI)‑*(c) |
74 |
|
|
|
167 |
|
|
|
|
|
|
|
304 |
|
|
|
|
|
|
|
|
106 |
|
651 |
|
K1.210.60‑I(II)‑*(c) |
|
79 |
|
|
|
|
|
|
136 |
141 |
|
|
|
|
|
|
|
|
|
|
|
92 |
|
448 |
|
K1.210.60‑III(IV)‑*(c) |
|
79 |
|
|
|
|
|
|
136 |
|
|
|
|
|
|
|
|
190 |
|
|
|
109 |
|
514 |
|
K1.210.60‑V(VI)‑*(c) |
|
79 |
|
|
|
|
|
|
136 |
|
|
|
|
|
|
|
|
|
248 |
|
|
122 |
|
584 |
|
K1.210.72‑I(II)‑*(c) |
|
79 |
|
|
|
|
|
|
164 |
|
|
|
|
|
|
|
192 |
|
|
|
|
92 |
|
527 |
|
K1.210.72‑III(IV)‑*(c) |
|
79 |
|
|
|
|
|
|
164 |
|
|
|
|
|
|
|
192 |
|
|
|
|
109 |
|
544 |
|
K1.210.72‑V(VI)‑*(c) |
|
79 |
|
|
|
|
|
|
164 |
|
|
|
|
|
|
|
|
228 |
|
|
|
122 |
|
593 |
|
K1.210.84‑I(II)‑*(c) |
|
92 |
|
|
|
|
|
|
192 |
|
|
|
|
|
|
|
223 |
|
|
|
|
92 |
|
599 |
|
K1.210.84‑III(IV)‑*(c) |
|
92 |
|
|
|
|
|
|
192 |
|
|
|
|
|
|
|
223 |
|
|
|
|
109 |
|
616 |
|
K1.210.84‑V(VI)‑*(c) |
|
92 |
|
|
|
|
|
|
192 |
|
|
|
|
|
|
|
|
265 |
|
|
|
122 |
|
671 |
|
K1.210.96‑I(II)‑*(c) |
|
92 |
|
|
|
|
|
|
221 |
|
|
|
|
|
|
|
255 |
|
|
|
|
92 |
|
660 |
|
K1.210.96‑III(IV)‑*(c) |
|
92 |
|
|
|
|
|
|
221 |
|
|
|
|
|
|
|
255 |
|
|
|
|
109 |
|
677 |
|
K1.210.96‑V(VI)‑*(c) |
|
92 |
|
|
|
|
|
|
221 |
|
|
|
|
|
|
|
|
303 |
|
|
|
122 |
|
738 |
|
K1.240.60‑I(II)‑*(c) |
|
91 |
|
|
|
|
|
|
136 |
|
|
|
|
|
|
|
|
190 |
|
109 |
|
104 |
|
521 |
|
K1.240.60‑III(IV)‑*(c) |
|
91 |
|
|
|
|
|
|
|
161 |
|
|
|
|
|
|
|
|
248 |
|
|
124 |
|
624 |
|
K1.240.60‑V(VI)‑*(c) |
|
91 |
150 |
|
|
|
|
|
|
|
|
|
|
|
|
|
|
|
|
|
278 |
132 |
|
651 |
|
K1.240.72‑I(II)‑*(c) |
|
91 |
|
|
|
|
|
|
164 |
|
|
|
|
|
|
|
192 |
|
|
|
|
104 |
|
551 |
|
K1.240.72‑III(IV)‑*(c) |
|
91 |
|
|
|
|
|
|
|
194 |
|
|
|
|
|
|
|
228 |
|
|
|
124 |
|
637 |
|
K1.240.72‑V(VI)‑*(c) |
|
|
181 |
110 |
|
|
|
|
|
|
|
|
|
|
|
|
|
|
|
254 |
|
132 |
|
677 |
|
K1.240.84‑I(II)‑*(c) |
|
91 |
|
|
|
|
|
|
192 |
|
|
|
|
|
|
|
223 |
|
|
|
|
104 |
|
610 |
|
K1.240.84‑III(IV)‑*(c) |
|
91 |
|
|
|
|
|
|
|
228 |
|
|
|
|
|
|
|
265 |
|
|
|
124 |
|
708 |
|
K1.240.84‑V(VI)‑*(c) |
|
|
213 |
|
|
|
|
|
|
|
|
|
|
|
|
|
|
|
|
300 |
|
132 |
|
755 |
|
K1.240.96‑I(II)‑*(c) |
|
91 |
|
|
|
|
|
|
221 |
|
|
|
|
|
|
|
|
303 |
|
|
|
104 |
|
719 |
|
K1.240.96‑III(IV)‑*(c) |
|
91 |
|
|
|
|
|
|
|
262 |
|
|
|
|
|
|
|
|
395 |
|
|
124 |
|
872 |
|
K1.240.96‑V(VI)‑*(c) |
|
|
244 |
110 |
|
|
|
|
|
|
|
|
|
|
|
|
|
|
|
|
443 |
132 |
|
929 |
|
K1.300.60‑I(II)‑*(c) |
|
|
150 |
109 |
|
|
|
|
|
|
|
|
|
|
|
|
|
|
|
213 |
|
121 133 |
|
593 605 |
|
K1.300.60‑III(IV)‑*(c) |
|
|
|
|
|
128 |
|
|
|
|
|
|
|
204 |
278 |
|
|
|
|
|
|
145 |
|
755 |
|
K1.300.60‑V(VI)‑*(c) |
|
|
|
|
|
128 |
|
|
|
|
|
|
|
|
267 |
340 |
|
|
|
|
|
152 |
|
887 |
|
K1.300.72‑I(II)‑*(c) |
|
|
164 |
89 |
|
|
|
|
|
|
|
|
|
|
|
|
|
|
|
254 |
|
121 133 |
|
628 640 |
|
K1.300.72‑III(IV)‑*(c) |
|
|
|
|
|
109 |
|
|
|
|
|
|
|
247 |
333 |
|
|
|
|
|
|
145 |
|
834 |
|
K1.300.72‑V(VI)‑*(c) |
|
|
|
|
|
109 |
|
|
|
|
|
|
|
|
322 |
407 |
|
|
|
|
|
152 |
|
990 |
|
K1.300.84‑I(II)‑*(c) |
|
|
213 |
109 |
|
|
|
|
|
|
|
|
|
|
|
|
|
|
|
297 |
|
133 |
|
752 |
|
K1.300.84‑III(IV)‑*(c) |
|
|
|
|
|
128 |
|
|
|
|
|
|
|
289 |
388 |
|
|
|
|
|
|
145 |
|
950 |
|
K1.300.84‑V(VI)‑*(c) |
|
|
|
|
|
128 |
|
|
|
|
|
|
|
|
378 |
475 |
|
|
|
|
|
152 |
|
1113 |
|
K1.300.96‑I(II)‑*(c) |
|
|
244 |
109 |
|
|
|
|
|
|
|
|
|
|
|
|
|
|
|
339 |
|
133 |
|
825 |
|
K1.300.96‑III(IV)‑*(c) |
|
|
|
|
|
128 |
|
|
|
|
|
|
|
332 |
443 |
|
|
|
|
|
|
145 |
|
1048 |
|
K1.300.96‑V(VI)‑*(c) |
|
|
|
|
|
128 |
|
|
|
|
|
|
|
|
434 |
543 |
|
|
|
|
|
152 |
|
1257 |
СПЕЦИФИКАЦИЯ КРАЙНИХ СТОЕК МНОГОПРОЛЕТНЫХ РАМ
|
Марка элемента |
Масса по профилям, кг |
Общая масса, кг |
|||||||||||||||
|
Гнутосварные трубы |
сталь листовая |
||||||||||||||||
|
100×4 |
100×200×5 |
120×4 |
120×200×6 |
140×4 |
140×180×5 |
160×200×5 |
160×200×6 |
160×240×5 |
160×240×6 |
160×240×8 |
180×5 |
|
|
|
|||
|
|
|
|
|
|
|
|
|
|
|
|
|
|
|
|
|
|
|
|
K1.n×180.48‑I(II)‑*(с) |
53 |
|
|
|
|
221 |
|
|
|
|
|
|
|
|
|
82 |
356 |
|
K1.n×180.48‑III(IV)‑*(c) |
|
100 |
65 |
|
|
|
129 |
|
|
|
|
|
|
|
|
91 |
385 |
|
K1.n×180.48‑V(VI)‑*(c) |
|
100 |
65 |
|
|
|
|
153 |
|
|
|
|
|
|
|
90 |
408 |
|
K1.n×180.60‑I(II)‑*(c) |
80 |
|
|
|
|
136 |
|
|
|
|
|
160 |
|
|
|
88 |
464 |
|
K1.n×180.60‑III(IV)‑*(c) |
|
127 |
97 |
|
|
|
160 |
|
|
|
|
|
|
|
|
97 |
481 |
|
K1.n×180.60‑V(VI)‑*(c) |
|
127 |
97 |
|
|
|
|
190 |
|
|
|
|
|
|
|
97 |
511 |
|
K1.n×180.72‑I(II)‑*(c) |
80 |
|
|
|
|
333 |
|
|
|
|
|
|
|
|
|
96 |
509 |
|
K1.n×180.72‑III(IV)‑*(c) |
|
153 |
97 |
|
|
|
192 |
|
|
|
|
|
|
|
|
96 |
538 |
|
K1.n×180.72‑V(VI)‑*(c) |
|
153 |
97 |
|
|
|
|
228 |
|
|
|
|
|
|
|
96 |
574 |
|
K1.n×180.84‑I(II)‑*(c) |
93 |
|
|
|
|
390 |
|
|
|
|
|
|
|
|
|
96 |
579 |
|
K1.n×180.84‑III(IV)‑*(c) |
|
180 |
113 |
|
|
|
224 |
|
|
|
|
|
|
|
|
96 |
613 |
|
K1.n×180.84‑V(VI)‑*(c) |
|
180 |
113 |
|
|
|
|
265 |
|
|
|
|
|
|
|
96 |
654 |
|
K1.n×210.60‑I(II)‑*(c) |
|
127 |
96 |
168 |
|
|
|
|
|
|
|
|
|
|
|
92 |
483 |
|
K1.n×210.60‑III(IV)‑*(c) |
|
|
|
|
112 |
|
|
|
350 |
|
|
|
|
|
|
103 |
565 |
|
K1.n×210.60‑V(VI)‑*(c) |
|
|
|
|
112 |
|
|
|
171 |
213 |
|
|
|
|
|
103 |
599 |
|
K1.n×210.72‑I(II)‑*(c) |
|
153 |
96 |
201 |
|
|
|
|
|
|
|
|
|
|
|
102 |
552 |
|
K1.n×210.72‑III(IV)‑*(c) |
|
|
|
|
112 |
|
|
|
421 |
|
|
|
|
|
|
103 |
636 |
|
K1.n×210.72‑V(VI)‑*(c) |
|
|
|
|
112 |
|
|
|
207 |
255 |
|
|
|
|
|
103 |
677 |
|
K1.n×210.84‑I(II)‑*(c) |
|
180 |
112 |
234 |
|
|
|
|
|
|
|
|
|
|
|
102 |
628 |
|
K1.n×210.84‑III(IV)‑*(c) |
|
|
|
|
131 |
|
|
|
493 |
|
|
|
|
|
|
103 |
727 |
|
K1.n×210.84‑V(VI)‑*(c) |
|
|
|
|
131 |
|
|
|
243 |
297 |
|
|
|
|
|
103 |
774 |
|
K1.n×210.96‑I(II)‑*(c) |
|
206 |
112 |
267 |
|
|
|
|
|
|
|
|
|
|
|
102 |
687 |
|
K1.n×210.96‑III(IV)‑*(c) |
|
|
|
|
131 |
|
|
|
564 |
|
|
|
|
|
|
103 |
798 |
|
K1.n×210.96‑V(VI)‑*(c) |
|
|
|
|
131 |
|
|
|
279 |
339 |
|
|
|
|
|
103 |
852 |
|
K1.n×240.60‑I(II)‑*(c) |
|
127 |
96 |
|
|
|
|
190 |
|
|
|
|
|
|
|
115 |
528 |
|
K1.n×240.60‑III(IV)‑*(c) |
|
|
|
|
112 |
|
|
|
|
417 |
|
|
|
|
|
124 |
653 |
|
K1.n×240.60‑V‑*(c) |
|
|
|
|
112 |
|
|
|
|
204 |
278 |
|
|
|
|
124 |
718 |
|
K1.n×240.60‑VI‑2(c) |
|
|
|
|
112 |
|
|
|
|
204 |
278 |
|
|
|
|
124 |
718 |
|
K1.n×240.72‑I(II)‑*(c) |
|
153 |
96 |
|
|
|
|
192 |
|
|
|
|
|
|
|
115 |
556 |
|
K1.n×240.72‑III(IV)‑*(c) |
|
|
|
|
112 |
|
|
|
|
501 |
|
|
|
|
|
124 |
737 |
|
K1.n×240.72‑V‑*(c) |
|
|
|
|
112 |
|
|
|
|
247 |
333 |
|
|
|
|
124 |
816 |
|
K1.n×240.72‑VI‑2(c) |
|
|
|
|
112 |
|
|
|
|
247 |
333 |
|
|
|
|
124 |
816 |
|
K1.n×240.84‑I(II)‑*(c) |
|
180 |
114 |
|
|
|
|
224 |
|
|
|
|
|
|
|
115 |
633 |
|
K1.n×240.84‑III(IV)‑*(c) |
|
|
|
|
134 |
|
|
|
|
586 |
|
|
|
|
|
124 |
844 |
|
K1.n×240.84‑V‑*(c) |
|
|
|
|
134 |
|
|
|
|
289 |
388 |
|
|
|
|
124 |
935 |
|
K1.n×240.84‑VI‑2(c) |
|
|
|
|
134 |
|
|
|
|
289 |
388 |
|
|
|
|
124 |
935 |
|
K1.n×240.96‑I(II)‑*(c) |
|
206 |
112 |
|
|
|
|
303 |
|
|
|
|
|
|
|
115 |
736 |
|
K1.n×240.96‑III(IV)‑*(c) |
|
|
|
|
131 |
|
|
|
|
671 |
|
|
|
|
|
124 |
926 |
|
K1.n×240.96‑V‑*(c) |
|
|
|
|
131 |
|
|
|
|
332 |
443 |
|
|
|
|
124 |
1030 |
|
K1.n×240.96‑VI‑2(c) |
|
|
|
|
131 |
|
|
|
|
332 |
443 |
|
|
|
|
124 |
1030 |
|
K1.n×300.60‑I(II)‑*(c) |
|
|
|
|
112 |
|
|
|
|
417 |
|
|
|
|
|
131 |
660 |
|
K1.n×300.60‑III(IV)‑*(c) |
|
|
|
|
112 |
|
|
|
|
204 |
278 |
|
|
|
|
135 |
729 |
|
K1.n×300.60‑V‑2(c) |
|
|
|
|
112 |
|
|
|
|
204 |
278 |
|
|
|
|
135 |
729 |
|
K1.n×300.72‑I(II)‑*(c) |
|
|
|
|
112 |
|
|
|
|
501 |
|
|
|
|
|
131 |
744 |
|
K1.n×300.72‑III(IV)‑*(c) |
|
|
|
|
112 |
|
|
|
|
501 |
|
|
|
|
|
134 |
747 |
|
K1.n×300.72‑V‑2(c) |
|
|
|
|
112 |
|
|
|
|
247 |
333 |
|
|
|
|
134 |
826 |
|
K1.n×300.84‑I(II)‑*(c) |
|
|
|
|
131 |
|
|
|
|
586 |
|
|
|
|
|
131 |
848 |
|
K1.n×300.84‑III(IV)‑*(c) |
|
|
|
|
131 |
|
|
|
|
586 |
|
|
|
|
|
134 |
851 |
|
K1.n×300.84‑V‑2(c) |
|
|
|
|
131 |
|
|
|
|
289 |
388 |
|
|
|
|
134 |
942 |
|
K1.n×300.96‑I(II)‑*(c) |
|
|
|
|
131 |
|
|
|
|
671 |
|
|
|
|
|
131 |
933 |
|
K1.n×300.96‑III(IV)‑*(c) |
|
|
|
|
131 |
|
|
|
|
671 |
|
|
|
|
|
134 |
936 |
|
K1.n×300.96‑V‑2(c) |
|
|
|
|
131 |
|
|
|
|
332 |
443 |
|
|
|
|
134 |
1040 |
СПЕЦИФИКАЦИЯ СРЕДНИХ СТОЕК МНОГОПРОЛЕТНЫХ РАМ
|
Марка элемента |
Масса по профилям, кг |
Общая масса, кг |
||||||||
|
Гнутосварные трубы |
сталь листовая |
|||||||||
|
180×5 |
180×6 |
180×8 |
180×10 |
200×6 |
200×8 |
200×10 |
|
|||
|
|
Одноветвевые стойки |
|||||||||
|
1K2.80.25(35)‑1‑*(с) |
207 |
|
|
|
|
|
|
|
88 |
295 |
|
1K2.80.45‑1‑1(с) |
|
248 |
|
|
|
|
|
|
88 |
336 |
|
1K2.80.45‑1‑2(с) |
207 |
|
|
|
|
|
|
|
88 |
295 |
|
1K2.80.55‑1‑1(с) |
|
|
324 |
|
|
|
|
|
89 |
413 |
|
1K2.80.55‑1‑2(с) |
|
248 |
|
|
|
|
|
|
88 |
336 |
|
1K2.80.65‑1‑*(с) |
|
|
324 |
|
|
|
|
|
91 |
415 |
|
1K2.80.75‑1‑1(с) |
|
|
|
397 |
|
|
|
|
93 |
490 |
|
1K2.80.75‑1‑2(с) |
|
|
324 |
|
|
|
|
|
91 |
415 |
|
1K2.80.85‑1‑*(с) |
|
|
|
397 |
|
|
|
|
93 |
490 |
|
1K2.80.95(105)‑1‑2(с) |
|
|
|
397 |
|
|
|
|
110 |
507 |
|
1K2.80.25(35‑55)‑2‑*(с) |
|
|
|
|
275 |
|
|
|
88 |
363 |
|
1K2.80.65(75‑85)‑2‑1(с) |
|
|
|
|
|
359 |
|
|
92 |
451 |
|
1K2.80.65(75‑85)‑2‑2(с) |
|
|
|
|
275 |
|
|
|
197 |
472 |
|
1K2.80.95(105)‑2‑1(с) |
|
|
|
|
|
|
440 |
|
110 |
550 |
|
1K2.80.95(105)‑2‑2(с) |
|
|
|
|
|
359 |
|
|
109 |
468 |
|
1K2.80.115‑2‑2(с) |
|
|
|
|
|
359 |
|
|
112 |
471 |
|
1K2.110.25‑1‑*(с) |
288 |
|
|
|
|
|
|
|
87 |
375 |
|
1K2.110.35‑1‑*(с) |
|
344 |
|
|
|
|
|
|
88 |
432 |
|
1K2.110.45‑1‑*(с) |
|
|
450 |
|
|
|
|
|
88 |
538 |
|
1K2.110.55‑1‑1(с) |
|
|
|
551 |
|
|
|
|
91 |
642 |
|
1K2.110.55‑1‑2(c) |
|
|
450 |
|
|
|
|
|
91 |
541 |
|
1K2.110.65‑1‑2(c) |
|
|
450 |
|
|
|
|
|
195 |
645 |
|
1K2.110.25(35‑45)‑2‑*(с) |
|
|
|
|
382 |
|
|
|
88 |
470 |
|
1K2.110.55‑2‑1(с) |
|
|
|
|
|
500 |
|
|
88 |
588 |
|
1K2.110.55‑2‑2(с) |
|
|
|
|
382 |
|
|
|
88 |
470 |
|
1K2.110.65‑2‑*(с) |
|
|
|
|
|
500 |
|
|
92 |
592 |
|
1K2.110.75(85)‑2‑1(с) |
|
|
|
|
|
|
611 |
|
110 |
721 |
|
1K2.110.75‑2‑2(с) |
|
|
|
|
|
500 |
|
|
110 |
610 |
|
1K2.110.85(95)‑2‑2(с) |
|
|
|
|
|
|
611 |
|
109 |
720 |
|
|
Двухветвевые стойки |
|||||||||
|
2K2.80.95(105‑125)‑1‑*(с) |
|
|
779 |
|
|
|
|
|
203 |
982 |
|
2K2.80.135(145)‑1‑*(с) |
|
|
779 |
|
|
|
|
|
208 |
987 |
|
2K2.80.155‑1‑1(с) |
|
|
|
921 |
|
|
|
|
213 |
1134 |
|
2K2.80.155‑1‑2(c) |
|
|
779 |
|
|
|
|
|
208 |
987 |
|
2K2.80.165(175‑185)‑1‑1(с) |
|
|
|
921 |
|
|
|
|
217 |
1138 |
|
2K2.80.165(175)‑1‑2(с) |
|
|
779 |
|
|
|
|
|
213 |
992 |
|
2K2.80.185(195)‑1‑2(с) |
|
|
|
921 |
|
|
|
|
217 |
1138 |
|
2K2.80.115‑2‑1(с) |
|
|
|
|
689 |
|
|
|
206 |
895 |
|
2K2.80.125‑2‑*(с) |
|
|
|
|
689 |
|
|
|
206 |
895 |
|
2K2.80.135(145)‑2‑*(с) |
|
|
|
|
689 |
|
|
|
211 |
900 |
|
2K2.80.155(165)‑2‑1(с) |
|
|
|
|
|
856 |
|
|
218 |
1074 |
|
2K2.80.155(165)‑2‑2(с) |
|
|
|
|
689 |
|
|
|
206 |
895 |
|
2K2.80.175‑2‑1(с) |
|
|
|
|
|
856 |
|
|
223 |
1079 |
|
2K2.80.175‑2‑2(с) |
|
|
|
|
689 |
|
|
|
216 |
905 |
|
2K2.80.185‑2‑*(с) |
|
|
|
|
|
856 |
|
|
223 |
1079 |
|
2K2.80.195‑2‑1(с) |
|
|
|
|
|
|
1020 |
|
223 |
1243 |
|
2K2.80.195‑2‑2(с) |
|
|
|
|
|
856 |
|
|
223 |
1079 |
|
2K2.110.65‑1‑1(с) |
771 |
|
|
|
|
|
|
|
203 |
974 |
|
2K2.110.65(75‑95)‑1‑2(с) |
771 |
|
|
|
|
|
|
|
203 |
974 |
|
2K2.110.105(115)‑1‑1(с) |
|
879 |
|
|
|
|
|
|
203 |
1082 |
|
2K2.110.105(115)‑1‑2(с) |
771 |
|
|
|
|
|
|
|
203 |
974 |
|
2K2.110.125(135)‑1‑1(с) |
|
|
1087 |
|
|
|
|
|
203 |
1290 |
|
2K2.110.125(135)‑1‑2(с) |
|
879 |
|
|
|
|
|
|
203 |
1082 |
|
2K2.110.145(155)‑1‑1(с) |
|
|
1087 |
|
|
|
|
|
213 |
1300 |
|
2K2.110.145‑1‑2(с) |
|
879 |
|
|
|
|
|
|
213 |
1092 |
|
2K2.110.155(165)‑1‑2(с) |
|
|
1087 |
|
|
|
|
|
213 |
1300 |
|
2K2.110.165‑1‑1(с) |
|
|
|
1284 |
|
|
|
|
213 |
1497 |
|
2X2.110.175(185‑195)‑1‑1(с) |
|
|
|
1284 |
|
|
|
|
218 |
1502 |
|
2K2.110.175(185‑195)‑1‑2(с) |
|
|
1087 |
|
|
|
|
|
218 |
1305 |
|
2K2.110.95(105‑135)‑2‑*(с) |
|
|
|
|
967 |
|
|
|
267 |
1174 |
|
2K2.110.145‑2‑*(с) |
|
|
|
|
967 |
|
|
|
267 |
1174 |
|
2K2.110.155(165)‑2‑1(с) |
|
|
|
|
|
1202 |
|
|
216 |
1418 |
|
2K2.110.155(165)‑2‑2(с) |
|
|
|
|
967 |
|
|
|
216 |
1183 |
|
2K2.110.175(185‑195)‑2‑1(с) |
|
|
|
|
|
1202 |
|
|
221 |
1423 |
|
2K2.110.175(185)‑2‑2(с) |
|
|
|
|
967 |
|
|
|
221 |
1188 |
|
2K2.110.195‑2‑2(с) |
|
|
|
|
|
1202 |
|
|
221 |
1423 |
|
2K2.150.25(55‑105)‑1‑*(с) |
985 |
|
|
|
|
|
|
|
286 |
1271 |
|
2K2.150.115(125)‑1‑1(с) |
|
1133 |
|
|
|
|
|
|
286 |
1419 |
|
2K2.150.115(125)‑1‑2(с) |
985 |
|
|
|
|
|
|
|
286 |
1271 |
|
2K2.150.135‑1‑1(с) |
|
|
1418 |
|
|
|
|
|
286 |
1704 |
|
2K2.150.135‑1‑2(с) |
|
1133 |
|
|
|
|
|
|
286 |
1419 |
|
2K2.150.145(155‑165)‑1‑1(с) |
|
|
1418 |
|
|
|
|
|
290 |
1708 |
|
2K2.150.145(155)‑1‑2(с) |
|
1133 |
|
|
|
|
|
|
290 |
1423 |
|
2K2.150.165‑1‑2(c) |
|
|
1418 |
|
|
|
|
|
290 |
1708 |
|
2K2.150.175(185‑195)‑1‑1(с) |
|
|
|
1690 |
|
|
|
|
389 |
1989 |
|
2K2.150.175(185‑195)‑1‑2(с) |
|
|
1418 |
|
|
|
|
|
300 |
1718 |
|
2K2.150.25(55‑135)‑2‑*(с) |
|
|
|
|
1332 |
|
|
|
298 |
1630 |
|
2K2.150.145(155)‑2‑*(с) |
|
|
|
|
1332 |
|
|
|
307 |
1369 |
|
2K2.150.165‑2‑1(c) |
|
|
|
|
|
1654 |
|
|
307 |
1961 |
|
2K2.150.165‑2‑2(с) |
|
|
|
|
1332 |
|
|
|
307 |
1639 |
|
2K2.150.175(185‑195)‑2‑1(c) |
|
|
|
|
|
1654 |
|
|
312 |
1966 |
|
2K2.150.175(185‑195)‑2‑2(с) |
|
|
|
|
1332 |
|
|
|
213 |
1644 |
СПЕЦИФИКАЦИЯ РИГЕЛЕЙ ОДНОПРОЛЕТНЫХ РАМ
|
Марка элемента |
Масса по профилям, кг |
Общая масса, кг |
|||||||||||||||
|
Гнутосварные трубы |
сталь листовая |
прочее |
|||||||||||||||
|
80×4 |
100×4 |
120×4 |
120×5 |
120×6 |
140×4 |
140×5 |
140×6 |
140×8 |
160×6 |
160×8 |
180×6 |
180×8 |
180×10 |
||||
|
1Р1.180‑I(III‑IV)‑*(с) |
85 85 |
|
|
407 417 |
|
|
|
|
|
|
|
|
|
|
161 161 |
36 36 |
689 696 |
|
1P1.180‑V(VI)‑*(c) |
85 85 |
|
|
|
480 490 |
|
|
|
|
|
|
|
|
|
175 175 |
36 36 |
776 785 |
|
1Р1.210‑I(Ш)‑*(с) |
|
129 |
|
|
|
|
540 |
|
|
|
|
|
|
|
176 |
39 |
884 |
|
1Р1.210‑III(IV)‑*(с) |
|
129 |
|
|
|
|
|
640 |
|
|
|
|
|
|
190 |
39 |
998 |
|
1P1.210‑V(VI)‑*(c) |
|
129 |
|
|
|
|
|
|
827 |
|
|
|
|
|
227 |
49 |
1232 |
|
1Р1.240‑I(Ш)‑*(с) |
|
151 |
|
|
|
|
601 |
|
|
|
|
|
|
|
187 |
21 |
960 |
|
1Р1.240‑III(IV)‑*(с) |
|
151 |
|
|
|
|
|
713 |
|
|
|
|
|
|
212 |
21 |
1096 |
|
1P1.240‑V(VI)‑*(c) |
|
|
183 |
|
|
|
|
|
|
|
1068 |
|
|
|
257 |
45 |
1553 |
|
1Р1.300‑I(Ш)‑*(с) |
|
|
81 |
|
|
|
|
|
|
577 |
|
|
|
|
238 |
39 |
935 |
|
1P1.300‑III(IV)‑*(c) |
|
|
|
|
|
95 |
|
|
|
|
|
655 |
|
|
295 |
62 |
1107 |
|
1P1.300‑V(VI)‑*(c) |
|
|
|
|
|
95 |
|
|
|
|
|
|
854 |
|
338 |
62 |
1349 |
|
1Р2.300‑I(III)‑*(c) |
|
|
154 |
|
|
|
|
|
|
|
506 |
|
|
|
99 |
– |
759 |
|
1P2.300‑III(IV)‑*(c) |
|
|
|
|
|
181 |
|
|
|
|
|
|
575 |
|
128 |
– |
884 |
|
1P2.300‑V(VI)‑*(c) |
|
|
|
|
|
181 |
|
|
|
|
|
|
|
703 |
155 |
– |
1039 |
|
2P1.180‑I(III‑IV)‑*(c) |
98 98 |
|
|
430 440 |
|
|
|
|
|
|
|
|
|
|
164 164 |
36 36 |
729 739 |
|
2P1.180‑V(VI)‑*(c) |
98 98 |
|
|
|
507 518 |
|
|
|
|
|
|
|
|
|
178 178 |
36 36 |
820 831 |
|
2P1.210‑I(III)‑*(c) |
|
145 |
|
|
|
|
568 |
|
|
|
|
|
|
|
182 |
39 |
936 |
|
2P1.210‑III(IV)‑*(c) |
|
145 |
|
|
|
|
672 |
|
|
|
|
|
|
|
197 |
39 |
1053 |
|
2P1.210‑V(VI)‑*(c) |
|
145 |
|
|
|
|
|
870 |
|
|
|
|
|
|
233 |
49 |
1297 |
|
2P1.240‑I(III)‑*(c) |
|
182 |
|
|
|
|
629 |
|
|
|
|
|
|
|
193 |
21 |
1025 |
|
2P1.240‑III(IV)‑*(c) |
|
182 |
|
|
|
|
|
744 |
|
|
|
|
|
|
218 |
21 |
1165 |
|
2P1.240‑V(VI)‑*(c) |
|
|
221 |
|
|
|
|
|
|
|
1118 |
|
|
|
264 |
45 |
1648 |
|
2P1.300‑I(III)‑*(c) |
|
|
119 |
|
|
|
|
|
|
615 |
|
|
|
|
242 |
39 |
1015 |
|
2P1.300‑III(IV)‑*(c) |
|
|
|
|
|
140 |
|
|
|
|
|
697 |
|
|
301 |
62 |
1200 |
|
2P1.300‑V(VI)‑*(c) |
|
|
|
|
|
140 |
|
|
|
|
|
|
909 |
|
344 |
62 |
1455 |
|
2P2.300‑I(III)‑*(c) |
|
|
173 |
|
|
|
|
|
|
|
506 |
|
|
|
104 |
– |
783 |
|
2P2.300‑III(IV)‑*(c) |
|
|
|
|
|
203 |
|
|
|
|
|
|
575 |
|
132 |
– |
910 |
|
2P2.300‑V(VI)‑*(c) |
|
|
|
|
|
203 |
|
|
|
|
|
|
|
703 |
160 |
– |
1065 |
|
3P1.150‑I(III)‑*(c) |
|
161 164 |
|
|
|
|
377 404 |
|
|
|
|
|
|
|
194 194 |
20 20 |
752 782 |
|
3P1.150‑III(IV)‑*(c) |
|
161 164 |
|
|
|
|
|
446 479 |
|
|
|
|
|
|
194 194 |
20 20 |
821 857 |
|
3P1.150‑V(VI)‑*(c) |
|
161 164 |
|
|
|
|
|
|
577 620 |
|
|
|
|
|
194 194 |
20 20 |
952 998 |
Массы, приведенные над чертой приведены для А=0, под чертой для А=250мм.
Привязку А см. докум.027 и докум.-056.
СПЕЦИФИКАЦИЯ РИГЕЛЕЙ МНОГОПРОЛЕТНЫХ РАМ
|
Марка элемента |
Масса по профилям, кг |
Общая масса, кг |
|||||||||||||||
|
Гнутосварные трубы |
сталь листовая |
прочее |
|||||||||||||||
|
100×4 |
120×4 |
140×4 |
140×5 |
140×6 |
160×5 |
160×6 |
160×8 |
180×5 |
180×6 |
180×8 |
180×10 |
|
|
||||
|
Многопролетные рамы с пролетом L=n×18 м |
|||||||||||||||||
|
1Р1.nх180‑1(II)‑*(с) |
23 |
|
|
300 |
|
|
|
|
|
|
|
|
|
|
174 |
36 |
553 |
|
1P1.n×180‑III(IV)‑*(c) |
|
27 |
|
|
|
346 |
|
|
|
|
|
|
|
|
190 |
39 |
602 |
|
1P1.n×180‑V(VI)‑*(c) |
|
27 |
|
|
|
|
410 |
|
|
|
|
|
|
|
190 |
39 |
666 |
|
1Р2.nх180‑I(II)‑*(с) |
135 |
|
|
186 |
210 |
|
|
|
|
|
|
|
|
|
90 |
– |
601 |
|
1Р2.nх180‑III(TV)‑*(c) |
|
164 |
|
|
|
214 |
243 |
|
|
|
|
|
|
|
107 |
– |
728 |
|
1Р2.nх180‑V(VI)‑*(c) |
|
164 |
|
|
|
|
254 |
243 |
|
|
|
|
|
|
107 |
– |
768 |
|
1P3.n×180‑I(II)‑*(c) |
90 |
|
|
|
507 |
|
|
|
|
|
|
|
|
|
142 |
36 |
775 |
|
1P3.n×180‑III(IV)‑*(c) |
|
109 |
|
|
|
|
585 |
|
|
|
|
|
|
|
172 |
39 |
905 |
|
1Р3.nх180‑V(VI)‑*(c) |
|
109 |
|
|
|
|
|
761 |
|
|
|
|
|
|
182 |
39 |
1091 |
|
1P4.n×180‑I(II)‑*(c) |
90 |
|
|
|
555 |
|
|
|
|
|
|
|
|
|
142 |
36 |
823 |
|
1P4.n×180‑III(IV)‑*(c) |
|
109 |
|
|
|
|
641 |
|
|
|
|
|
|
|
172 |
39 |
961 |
|
1P4.n×180‑V(VI)‑*(c) |
|
109 |
|
|
|
|
|
834 |
|
|
|
|
|
|
182 |
39 |
1164 |
|
1P5.n×180‑I(II)‑*(c) |
151 |
|
|
169 |
181 |
|
|
|
|
|
|
|
|
|
102 |
– |
603 |
|
1P5.n×180‑III(IV)‑*(c) |
|
183 |
|
|
|
195 |
209 |
|
|
|
|
|
|
|
122 |
– |
709 |
|
1P5.n×180‑V(VI)‑*(c) |
|
183 |
|
|
|
|
232 |
271 |
|
|
|
|
|
|
122 |
– |
808 |
|
2P1.n×180‑I(II)‑*(c) |
38 |
|
|
330 |
|
|
|
|
|
|
|
|
|
|
175 |
37 |
580 |
|
2P1.n×180‑III(IV)‑*(c) |
|
47 |
|
|
|
346 |
|
|
|
|
|
|
|
|
191 |
39 |
623 |
|
2P1.n×180‑V(VI)‑*(c) |
|
47 |
|
|
|
|
410 |
|
|
|
|
|
|
|
191 |
39 |
687 |
|
2P2.n×180‑I(II)‑*(c) |
182 |
|
|
186 |
210 |
|
|
|
|
|
|
|
|
|
96 |
– |
674 |
|
2P2.n×180‑III(IV)‑*(c) |
|
222 |
|
|
|
214 |
243 |
|
|
|
|
|
|
|
115 |
– |
794 |
|
2P2.n×180‑V(VI)‑*(c) |
|
222 |
|
|
|
|
254 |
243 |
|
|
|
|
|
|
115 |
– |
834 |
|
2P3.n×180‑I(II)‑*(c) |
122 |
|
|
|
507 |
|
|
|
|
|
|
|
|
|
148 |
36 |
813 |
|
2P3.n×180‑III(IV)‑*(c) |
|
148 |
|
|
|
|
585 |
|
|
|
|
|
|
|
179 |
39 |
951 |
|
2P3.n×180‑V(VI)‑*(c) |
|
148 |
|
|
|
|
|
761 |
|
|
|
|
|
|
189 |
39 |
1137 |
|
2P4.n×180‑I(II)‑*(c) |
137 |
|
|
|
555 |
|
|
|
|
|
|
|
|
|
148 |
36 |
876 |
|
2P4.n×180‑III(TV)‑*(c) |
|
168 |
|
|
|
|
641 |
|
|
|
|
|
|
|
179 |
39 |
1027 |
|
2P4.n×180‑V(VI)‑*(c) |
|
168 |
|
|
|
|
|
834 |
|
|
|
|
|
|
189 |
39 |
1230 |
|
2P5.n×180‑I(II)‑*(c) |
182 |
|
|
169 |
181 |
|
|
|
|
|
|
|
|
|
108 |
– |
640 |
|
2P5.n×180‑III(TV)‑*(c) |
|
222 |
|
|
|
195 |
209 |
|
|
|
|
|
|
|
128 |
– |
754 |
|
2P5.n×180‑V(VI)‑*(c) |
|
222 |
|
|
|
|
232 |
271 |
|
|
|
|
|
|
128 |
– |
853 |
|
Многопролетные рамы с пролетом L=n×21 м |
|||||||||||||||||
|
1Р1.nх210‑I(II)‑*(с) |
|
27 |
|
|
|
|
344 |
|
|
|
|
|
|
|
185 |
35 |
591 1 |
|
1P1.n×210‑III(IV)‑*(c) |
|
|
32 |
|
|
|
|
|
390 |
|
|
|
|
|
201 |
41 |
664 |
|
1P1.n×210‑V(VI)‑*(c) |
|
|
32 |
|
|
|
|
|
|
463 |
|
|
|
|
211 |
41 |
747 |
|
1Р2.nх210‑I(II)‑*(с) |
|
216 |
|
|
|
285 |
327 |
|
|
|
|
|
|
|
98 |
– |
926 |
|
1P2.n×210‑III(IV)‑*(c) |
|
|
253 |
|
|
|
|
|
323 |
371 |
|
|
|
|
116 |
– |
1063 |
|
1P2.n×210‑V(VI)‑*(c) |
|
|
253 |
|
|
|
|
|
|
384 |
484 |
|
|
|
116 |
– |
1237 |
|
1Р3.nх210‑I(II)‑*(c) |
|
108 |
|
|
|
|
583 |
|
|
|
|
|
|
|
159 |
39 |
891 |
|
1P3.n×210‑III(IV)‑*(c) |
|
|
127 |
|
|
|
|
|
|
661 |
|
|
|
|
190 |
41 |
1019 |
|
1P3.n×210‑V(VI)‑*(c) |
|
|
127 |
|
|
|
|
|
|
|
862 |
|
|
|
200 |
41 |
1230 |
|
1P4.n×210‑I(II)‑*(c) |
|
108 |
|
|
|
|
640 |
|
|
|
|
|
|
|
159 |
39 |
946 |
|
1Р4.nх210‑III(IV)‑*(с) |
|
|
127 |
|
|
|
|
|
|
725 |
|
|
|
|
190 |
41 |
1083 |
|
1P4.n×210‑V(VI)‑*(c) |
|
|
127 |
|
|
|
|
|
|
|
946 |
|
|
|
200 |
41 |
1314 |
|
1Р5.nх210‑I(II)‑*(с) |
|
235 |
|
|
|
266 |
294 |
|
|
|
|
|
|
|
113 |
– |
908 |
|
1P5.n×210‑III(IV)‑*(c) |
|
|
275 |
|
|
|
|
|
302 |
333 |
|
|
|
|
132 |
– |
1042 |
|
1P5.n×210‑V(VI)‑*(c) |
|
|
275 |
|
|
|
|
|
|
358 |
434 |
|
|
|
137 |
– |
1204 |
|
2P1.n×210‑I(II)‑*(c) |
|
46 |
|
|
|
376 |
|
|
|
|
|
|
|
|
186 |
35 |
643 |
|
2P1.n×210‑III(IV)‑*(c) |
|
|
54 |
|
|
|
|
|
426 |
|
|
|
|
|
202 |
41 |
723 |
|
2P1.n×210‑V(VI)‑*(c) |
|
|
54 |
|
|
|
|
|
|
505 |
|
|
|
|
212 |
41 |
812 |
|
2P2.n×210‑I(II)‑*(c) |
|
292 |
|
|
|
285 |
327 |
|
|
|
|
|
|
|
105 |
– |
1009 |
|
2P2.n×210‑III(TV)‑*(c) |
|
|
342 |
|
|
|
|
|
232 |
371 |
|
|
|
|
124 |
– |
1169 |
|
2P2.n×210‑V(VI)‑*(c) |
|
|
342 |
|
|
|
|
|
|
384 |
484 |
|
|
|
124 |
– |
1334 |
|
2P3.n×210‑I(II)‑*(c) |
|
147 |
|
|
|
|
583 |
|
|
|
|
|
|
|
166 |
39 |
935 |
|
2P3.n×210‑III(IV)‑*(c) |
|
|
172 |
|
|
|
|
|
|
661 |
|
|
|
|
198 |
41 |
1072 |
|
2P3.n×210‑V(VI)‑*(c) |
|
|
172 |
|
|
|
|
|
|
|
862 |
|
|
|
208 |
41 |
1283 |
|
2P4.n×210‑I(II)‑*(c) |
|
165 |
|
|
|
|
638 |
|
|
|
|
|
|
|
166 |
39 |
1008 |
|
2P4.n×210‑III(IV)‑*(c) |
|
|
194 |
|
|
|
|
|
|
725 |
|
|
|
|
198 |
41 |
1158 |
|
2P4.n×210‑V(VI)‑*(c) |
|
|
194 |
|
|
|
|
|
|
|
946 |
|
|
|
208 |
41 |
1389 |
|
2P5.n×210‑I(II)‑*(c) |
|
273 |
|
|
|
266 |
294 |
|
|
|
|
|
|
|
120 |
– |
953 |
|
2P5.n×210‑III(IV)‑*(c) |
|
|
320 |
|
|
|
|
|
302 |
333 |
|
|
|
|
140 |
– |
1095 |
|
2P5.n×210‑V(VI)‑*(c) |
|
|
320 |
|
|
|
|
|
|
358 |
434 |
|
|
|
145 |
– |
1257 |
|
Многопролетные рамы с пролетом L=n×24 м |
|||||||||||||||||
|
1Р1.nх240‑I(II)‑*(с) |
|
82 |
|
|
|
|
578 |
|
|
|
|
|
|
|
208 |
45 |
913 |
|
1P1.n×240‑III(IV)‑*(c) |
|
|
95 |
|
|
|
|
|
|
655 |
|
|
|
|
257 |
49 |
1056 |
|
1P1.n×240‑V(VI)‑*(c) |
|
|
95 |
|
|
|
|
|
|
|
854 |
|
|
|
267 |
49 |
1265 |
|
1Р2.nх240‑I(II)‑*(c) |
|
216 |
|
|
|
|
338 |
425 |
|
|
|
|
|
|
107 |
– |
1086 |
|
1Р2.n×240‑III(IV)‑*(c) |
|
|
253 |
|
|
|
|
|
|
384 |
484 |
|
|
|
133 |
– |
1254 |
|
1Р2.n×240‑V(VI)‑*(c) |
|
|
253 |
|
|
|
|
|
|
|
500 |
591 |
|
|
144 |
– |
1488 |
|
!P3.n×240‑I(II)‑*(c) |
|
108 |
|
|
|
|
|
758 |
|
|
|
|
|
|
192 |
45 |
1103 |
|
1РЗ.n×240‑III(IV)‑*(c) |
|
|
127 |
|
|
|
|
|
|
|
862 |
|
|
|
228 |
49 |
1266 |
|
1РЗ.n×240‑V‑*(c) |
|
|
127 |
|
|
|
|
|
|
|
|
1054 |
|
|
241 |
49 |
1471 |
|
1РЗ.n×240‑VI‑2(c) |
|
|
127 |
|
|
|
|
|
|
|
|
1054 |
|
|
241 |
49 |
1471 |
|
1P4.n×240‑I(II)‑*(c) |
|
162 |
|
|
|
|
|
1051 |
|
|
|
|
|
|
206 |
45 |
1464 |
|
1Р4.n×240‑III(IV)‑*(c) |
|
|
190 |
|
|
|
|
|
|
|
1196 |
|
|
|
213 |
49 |
1648 |
|
1Р4.n×240‑V‑*(c) |
|
|
190 |
|
|
|
|
|
|
|
|
1461 |
|
|
262 |
49 |
1962 |
|
1P4.n×240‑VI‑2(c) |
|
|
190 |
|
|
|
|
|
|
|
|
1461 |
|
|
262 |
49 |
1962 |
|
1P5.n×240‑I(II)‑*(c) |
|
235 |
|
|
|
|
232 |
272 |
|
|
|
|
|
|
131 |
– |
870 |
|
1Р5.n×240‑III(IV)‑*(c) |
|
|
275 |
|
|
|
|
|
|
262 |
309 |
|
|
|
150 |
– |
996 |
|
1P5.n×240‑V‑*(c) |
|
|
275 |
|
|
|
|
|
|
|
342 |
377 |
|
|
156 |
– |
1150 |
|
1Р5.n×240‑VI‑2(c) |
|
|
275 |
|
|
|
|
|
|
|
342 |
377 |
|
|
156 |
– |
1150 |
|
2P1.n×240‑I(II)‑*(c) |
|
119 |
|
|
|
|
615 |
|
|
|
|
|
|
|
211 |
45 |
990 |
|
2P1.n×240‑III(IV)‑*(c) |
|
|
140 |
|
|
|
|
|
|
697 |
|
|
|
|
260 |
49 |
1146 |
|
2P1.n×240‑V(VI)‑*(c) |
|
|
140 |
|
|
|
|
|
|
|
909 |
|
|
|
271 |
49 |
1369 |
|
2Р2.n×240‑I(II)‑*(с) |
|
292 |
|
|
|
|
339 |
425 |
|
|
|
|
|
|
114 |
– |
1170 |
|
2Р2.n×240‑III(IV)‑*(с) |
|
|
342 |
|
|
|
|
|
|
384 |
484 |
|
|
|
142 |
– |
1352 |
|
2Р2.n×240‑V(VI)‑*(с) |
|
|
342 |
|
|
|
|
|
|
|
500 |
591 |
|
|
152 |
– |
1585 |
|
1РЗ.n×240‑I(II)‑*(с) |
|
147 |
|
|
|
|
|
758 |
|
|
|
|
|
|
199 |
45 |
1149 |
|
1РЗ.n×240‑III(IV)‑*(с) |
|
|
172 |
|
|
|
|
|
|
|
862 |
|
|
|
237 |
49 |
1320 |
|
1P3.n×240‑V‑*(c) |
|
|
172 |
|
|
|
|
|
|
|
|
1053 |
|
|
249 |
49 |
1523 |
|
1P3.n×240‑VI‑2(c) |
|
|
172 |
|
|
|
|
|
|
|
|
1053 |
|
|
249 |
49 |
1523 |
|
1Р4.n×240‑I(II)‑*(с) |
|
238 |
|
|
|
|
|
1051 |
|
|
|
|
|
|
217 |
45 |
1551 |
|
1Р4.n×240‑III(IV)‑*(с) |
|
|
279 |
|
|
|
|
|
|
|
1196 |
|
|
|
226 |
49 |
1750 |
|
1Р4.n×240‑V‑*(с) |
|
|
279 |
|
|
|
|
|
|
|
|
1461 |
|
|
275 |
49 |
2064 |
|
1Р4.n×240‑VI‑2(с) |
|
|
279 |
|
|
|
|
|
|
|
|
1461 |
|
|
275 |
49 |
2064 |
|
1Р5.n×240‑I(II)‑*(с) |
|
273 |
|
|
|
|
231 |
271 |
|
|
|
|
|
|
138 |
– |
913 |
|
1Р5.n×240‑III(IV)‑*(с) |
|
|
320 |
|
|
|
|
|
|
262 |
309 |
|
|
|
158 |
– |
1049 |
|
1P5.n×240‑V‑*(c) |
|
|
320 |
|
|
|
|
|
|
|
342 |
377 |
|
|
164 |
– |
1203 |
|
1Р5.n×240‑VI‑2(с) |
|
|
320 |
|
|
|
|
|
|
|
342 |
377 |
|
|
164 |
– |
1203 |
СПЕЦИФИКАЦИЯ РИГЕЛЕЙ МНОГОПРОЛЕТНЫХ РАМ С ПРОЛЕТОМ L=n×30 м
|
Марка элемента |
Масса по профилям, кг |
Общая масса, кг |
||||||
|
Гнутосварные трубы |
сталь листовая |
прочее |
||||||
|
140×4 |
180×6 |
180×8 |
200×8 |
200×10 |
||||
|
1Р1.n×300‑I(II)‑*(с) |
31 |
460 |
|
|
|
249 |
49 |
789 |
|
1P1.n×300‑III(IV)‑*(c) |
31 |
|
|
673 |
|
287 |
51 |
1042 |
|
1Р1.n×300‑V‑2(c) |
31 |
|
|
673 |
|
297 |
51 |
1052 |
|
1Р2.n×300‑I(II)‑*(с) |
249 |
384 |
484 |
|
|
126 |
– |
1243 |
|
1Р2.n×300‑III(IV)‑*(с) |
249 |
|
|
561 |
664 |
167 |
– |
1641 |
|
1Р2.n×300‑V‑2(с) |
249 |
|
|
561 |
664 |
167 |
– |
1641 |
|
1Р3.n×300‑I(II)‑*(с) |
249 |
288 |
359 |
|
|
126 |
– |
1022 |
|
1P3.n×300‑III(IV)‑*(с) |
249 |
|
|
421 |
493 |
156 |
– |
1319 |
|
1Р3.n×300‑V‑2(с) |
249 |
|
|
421 |
493 |
156 |
– |
1319 |
|
1Р4.n×300‑I(II)‑*(с) |
125 |
|
859 |
|
|
218 |
51 |
1253 |
|
1P4.n×300‑III(IV)‑*(c) |
125 |
|
|
|
1180 |
267 |
54 |
1626 |
|
1Р4.n×300‑V‑2(с) |
125 |
|
|
|
1180 |
267 |
54 |
1626 |
|
1Р5.n×300‑I(II)‑*(с) |
125 |
|
942 |
|
|
221 |
48 |
1336 |
|
1Р5.n×300‑III(IV)‑*(с) |
125 |
|
|
|
1294 |
283 |
50 |
1752 |
|
1P5.n×300‑V‑2(c) |
125 |
|
|
|
1294 |
283 |
50 |
1752 |
|
1Р6.n×300‑I(II)‑*(с) |
218 |
310 |
|
421 |
|
126 |
– |
1075 |
|
1Р6.n×300‑III(IV)‑*(с) |
218 |
|
|
454 |
578 |
167 |
– |
1417 |
|
1Р6.n×300‑V‑2(с) |
218 |
|
|
454 |
578 |
167 |
– |
1417 |
|
2Р1.n×300‑I(II)‑*(с) |
53 |
502 |
|
|
|
251 |
49 |
855 |
|
2P1.n×300‑III(IV)‑*(c) |
53 |
|
|
734 |
|
289 |
51 |
1127 |
|
2Р1.n×300‑V‑*(c) |
53 |
|
|
734 |
|
299 |
51 |
1137 |
|
2P2.n×300‑I(II)‑*(с) |
337 |
384 |
484 |
|
|
134 |
– |
1339 |
|
2P2.n×300‑III(IV)‑*(с) |
337 |
|
|
561 |
664 |
175 |
– |
1737 |
|
2P2.n×300‑V‑*(с) |
337 |
|
|
561 |
664 |
175 |
– |
1737 |
|
2Р3.n×300‑I(II)‑*(с) |
315 |
288 |
359 |
|
|
131 |
– |
1093 |
|
2Р3.n×300‑III(IV)‑*(с) |
315 |
|
|
421 |
492 |
161 |
– |
1389 |
|
2Р3.n×300‑V‑2(с) |
315 |
|
|
421 |
492 |
161 |
– |
1389 |
|
2Р4.n×300‑I(II)‑*(с) |
169 |
|
859 |
|
|
227 |
51 |
1306 |
|
2Р4.n×300‑III(IV)‑*(с) |
169 |
|
|
|
1180 |
275 |
54 |
1678 |
|
2Р4.n×300‑V‑2(с) |
169 |
|
|
|
1180 |
275 |
54 |
1678 |
|
2Р5.n×300‑I(II)‑*(с) |
191 |
|
942 |
|
|
229 |
48 |
1410 |
|
2Р5.n×300‑III(IV)‑*(с) |
191 |
|
|
|
1294 |
290 |
50 |
1825 |
|
2Р5.n×300‑V‑2(с) |
191 |
|
|
|
1294 |
290 |
50 |
1825 |
|
2Р6.n×300‑I(II)‑*(с) |
284 |
310 |
421 |
|
|
133 |
– |
1148 |
|
2Р6.n×300‑III(IV)‑*(с) |
284 |
|
|
454 |
578 |
174 |
– |
1490 |
|
2Р6.n×300‑V‑2(с) |
284 |
|
|
454 |
578 |
174 |
– |
1490 |
СПЕЦИФИКАЦИЯ СТОЕК НЕСУЩЕГО ФАХВЕРКА В ЗДАНИЯХ БЕЗ КРАНА
|
Марка элемента |
Масса по профилям, кг |
Общая масса, кг |
||||||||
|
Гнутосварные трубы |
сталь листовая |
|||||||||
|
120×5 |
120×160×5 |
140×160×5 |
160×5 |
160×200×5 |
160×200×6 |
200×6 |
160×240×8 |
|||
|
СФ1.60‑1(II)‑I(II‑VI) |
107 |
|
|
|
|
|
|
|
29 |
136 |
|
СФ1.60‑III‑I(II‑IV) |
107 |
|
|
|
|
|
|
|
29 |
136 |
|
CФ1.60‑III‑V(VI) |
|
127 |
|
|
|
|
|
|
31 |
158 |
|
CФ1.60‑IV‑I(II‑VI) |
|
127 |
|
|
|
|
|
|
31 |
158 |
|
СФ1.60‑V‑I(II‑IV) |
|
127 |
|
|
|
|
|
|
31 |
158 |
|
СФ1.60‑V‑V(VI) |
|
|
136 |
|
|
|
|
|
33 |
169 |
|
CФ1.60‑VI‑I(II‑VI) |
|
|
136 |
|
|
|
|
|
33 |
169 |
|
СФ1.60‑VII‑I(II‑VI) |
|
|
|
146 |
|
|
|
|
32 |
178 |
|
СФ1.84‑I‑I(II‑IV) |
|
|
189 |
|
|
|
|
|
29 |
218 |
|
CФ184‑I‑V(VI) |
|
|
|
203 |
|
|
|
|
30 |
233 |
|
CФ1.84‑II‑I(II‑VI) |
|
|
|
203 |
|
|
|
|
30 |
233 |
|
CФ1.84‑III‑I(II‑VI) |
|
|
|
|
230 |
|
|
|
32 |
262 |
|
CФ1.84‑IV‑I(II‑VI) |
|
|
|
|
|
273 |
|
|
32 |
305 |
|
CФ1.84‑V‑I(II‑VI) |
|
|
|
|
|
|
305 |
|
39 |
344 |
|
CФ1.84‑VI‑I(II‑VI) |
|
|
|
|
|
|
305 |
|
45 |
350 |
|
СФ1.84‑VII‑I(II) |
|
|
|
|
|
|
305 |
|
45 |
350 |
|
CФ1.84‑VII‑III(IV‑VI) |
|
|
|
|
|
|
|
399 |
48 |
447 |
|
СФ1.108‑I‑I(II‑VI) |
|
|
|
260 |
|
|
|
|
33 |
293 |
|
СФ1.108‑II‑I(II) |
|
|
|
260 |
|
|
|
|
33 |
293 |
|
CФ1.108‑II‑III(IV‑VI) |
|
|
|
|
294 |
|
|
|
37 |
331 |
|
СФ1.108‑III‑I(II) |
|
|
|
|
294 |
|
|
|
37 |
331 |
|
СФ1.108‑III‑III(IV‑VI) |
|
|
|
|
|
349 |
|
|
37 |
386 |
|
СФ1.108‑IV‑I(II‑IV) |
|
|
|
|
|
349 |
|
|
41 |
390 |
|
СФ1.108‑IV‑V(VI) |
|
|
|
|
|
|
390 |
|
45 |
435 |
|
СФ1.108‑V‑I(II‑VI) |
|
|
|
|
|
|
390 |
|
45 |
435 |
|
СФ1.108‑VI‑I(II‑IV) |
|
|
|
|
|
|
390 |
|
52 |
442 |
|
СФ1.108‑VI‑V(VI) |
|
|
|
|
|
|
|
510 |
55 |
565 |
|
СФ1.108‑VII‑I(II‑VI) |
|
|
|
|
|
|
|
510 |
61 |
571 |
|
Марка элемента |
Масса по профилям, кг |
Общая масса, кг |
|||||
|
Гнутосварные трубы |
сталь листовая |
||||||
|
160×200×6 |
200×6 |
160×240×8 |
160×240×10 |
300×8 |
|||
|
СФ1.132‑I‑I(II) |
425 |
|
|
|
|
42 |
467 |
|
СФ1.132‑I‑III(IV‑VI) |
|
476 |
|
|
|
45 |
521 |
|
СФ1.132‑II‑I(II) |
425 |
|
|
|
|
42 |
467 |
|
СФ1.132‑II‑III(IV‑VI) |
|
476 |
|
|
|
45 |
521 |
|
СФ1.132‑III‑I(II‑IV) |
|
476 |
|
|
|
45 |
521 |
|
СФ1.132‑III‑V(VI) |
|
|
622 |
|
|
49 |
671 |
|
СФ1.132‑IV‑I(II‑IV) |
|
|
622 |
|
|
49 |
671 |
|
СФ1.132‑IV‑V(VI) |
|
|
|
762 |
|
49 |
811 |
|
СФ1.132‑V‑I(II) |
|
|
622 |
|
|
56 |
678 |
|
СФ1.132‑V‑III(IV) |
|
|
|
762 |
|
56 |
818 |
|
СФ1.132‑V‑V(VI) |
|
|
|
|
958 |
77 |
1035 |
|
СФ1.132‑VI‑I(II) |
|
|
|
762 |
|
64 |
826 |
|
СФ1.132‑VI‑III(IV‑VI) |
|
|
|
|
958 |
87 |
1045 |
|
СФ1.132‑VII‑I(II‑VI) |
|
|
|
|
958 |
87 |
1045 |
|
СФ1.160‑I‑I(II) |
|
576 |
|
|
|
45 |
621 |
|
СФ1.160‑I‑III(IV‑VI) |
|
|
753 |
|
|
49 |
802 |
|
СФ1.160‑II‑I(II‑VI) |
|
|
753 |
|
|
49 |
802 |
|
СФ1.160‑III‑I(II) |
|
|
753 |
|
|
49 |
802 |
|
СФ1.160‑Ш‑Ш(IV‑VI) |
|
|
|
922 |
|
57 |
979 |
|
СФ1.160‑IV‑I(II) |
|
|
|
922 |
|
64 |
986 |
|
СФ1.160‑IV‑III(IV‑VI) |
|
|
|
|
1159 |
87 |
1246 |
|
СФ1.160‑V‑I(II‑VI) |
|
|
|
|
1159 |
103 |
1262 |
|
СФ1.160‑VI‑I(II‑VI) |
|
|
|
|
1159 |
103 |
1262 |
|
СФ1.160‑VII‑I(II‑VI) |
|
|
|
|
1159 |
103 |
1262 |
СПЕЦИФИКАЦИЯ СТОЕК НЕСУЩЕГО ФАХВЕРКА В ЗДАНИЯХ С КРАНАМИ
|
Марка элемента |
Масса по профилям, кг |
Общая масса, кг |
|||||||
|
Гнутосварные трубы |
сталь листовая |
||||||||
|
140×160×5 |
160×5 |
160×200×5 |
160×200×6 |
200×6 |
160×240×8 |
160×240×10 |
|||
|
СФ2.60‑I‑I(II‑IV) |
139 |
|
|
|
|
|
|
33 |
172 |
|
СФ2.60‑I‑V(VI) |
|
146 |
|
|
|
|
|
34 |
180 |
|
СФ2.60‑II‑I(II‑IV) |
139 |
|
|
|
|
|
|
33 |
172 |
|
СФ2.60‑II‑V(VI) |
|
146 |
|
|
|
|
|
34 |
180 |
|
СФ2.60‑III‑I(II) |
139 |
|
|
|
|
|
|
33 |
172 |
|
СФ2.60‑III‑III(IV‑VI) |
|
146 |
|
|
|
|
|
34 |
180 |
|
СФ2.60‑IV‑I(II‑IV) |
|
146 |
|
|
|
|
|
34 |
180 |
|
СФ2.60‑IV‑V(VI) |
|
|
165 |
|
|
|
|
37 |
202 |
|
СФ2.60‑V‑I(II‑VI) |
|
|
165 |
|
|
|
|
37 |
202 |
|
СФ2.60‑VI‑I(II‑IV) |
|
|
165 |
|
|
|
|
37 |
202 |
|
СФ2.60‑VI‑V(VI) |
|
|
|
196 |
|
|
|
37 |
233 |
|
СФ2.60‑VII‑I(II‑IV) |
|
|
165 |
|
|
|
|
37 |
202 |
|
СФ2.60‑VII‑V(VI) |
|
|
|
196 |
|
|
|
37 |
233 |
|
СФ2.84‑I‑I(II) |
|
|
230 |
|
|
|
|
32 |
262 |
|
СФ2.84‑I‑III(IV‑VI) |
|
|
|
273 |
|
|
|
32 |
305 |
|
СФ2.84‑II‑I(II‑VI) |
|
|
|
273 |
|
|
|
32 |
305 |
|
СФ2.84‑III(IV)‑I(II‑VI) |
|
|
|
|
305 |
|
|
34 |
339 |
|
СФ2.84‑V‑I(II‑VI) |
|
|
|
|
305 |
|
|
39 |
344 |
|
СФ2.84‑VI‑I(II‑VI) |
|
|
|
|
|
399 |
|
48 |
447 |
|
СФ2.84‑VII‑I(II‑VI) |
|
|
|
|
|
|
488 |
51 |
539 |
|
СФ2.108‑I‑I(П‑V1) |
|
|
294 |
|
|
|
|
37 |
331 |
|
СФ2.108‑II‑I(II‑IV) |
|
|
294 |
|
|
|
|
37 |
331 |
|
СФ2.108‑II‑V(VI) |
|
|
|
349 |
|
|
|
37 |
386 |
|
СФ2.108‑III‑I(II‑IV) |
|
|
|
349 |
|
|
|
37 |
386 |
|
СФ2.108‑III‑V(VI) |
|
|
|
|
390 |
|
|
40 |
430 |
|
СФ2.108‑IV‑I(II‑VI) |
|
|
|
|
390 |
|
|
45 |
435 |
|
СФ2.108‑V‑I(II) |
|
|
|
|
390 |
|
|
45 |
435 |
|
СФ2.108‑V‑III(IV‑VI) |
|
|
|
|
|
510 |
|
49 |
559 |
|
СФ2.108‑VI‑I(II‑IV) |
|
|
|
|
|
510 |
|
55 |
565 |
|
СФ2.108‑VI‑V(VI) |
|
|
|
|
|
|
625 |
56 |
681 |
|
СФ2.108‑VII‑I(VI) |
|
|
|
|
|
|
625 |
64 |
689 |
|
Марка элемента |
Масса по профилям, кг |
Общая масса, кг |
||||
|
Гнутосварные трубы |
сталь листовая |
|||||
|
200×6 |
160×240×8 |
160×240×10 |
300×8 |
|||
|
СФ2.132‑I‑I(II‑VI) |
476 |
|
|
|
45 |
521 |
|
СФ2.132‑II‑I(II) |
476 |
|
|
|
45 |
521 |
|
СФ2.132‑II‑III(IV‑VI) |
|
622 |
|
|
49 |
671 |
|
СФ2.132‑III‑I(II) |
|
622 |
|
|
49 |
671 |
|
СФ2.132‑III‑III(IV‑VI) |
|
|
762 |
|
48 |
810 |
|
СФ2.132‑IV‑I(II‑VI) |
|
|
|
958 |
66 |
1024 |
|
СФ2.132‑V‑I(II‑VI) |
|
|
|
958 |
77 |
1035 |
|
СФ2.132‑VI(VII)‑I(II‑VI) |
|
|
|
958 |
87 |
1045 |
|
СФ2.160‑I‑I(II‑IV) |
|
753 |
|
|
45 |
798 |
|
СФ2.160‑I‑V(VI) |
|
|
922 |
|
49 |
971 |
|
СФ2.160‑II‑I(II‑VI) |
|
|
922 |
|
56 |
978 |
|
СФ2.160‑III‑I(II‑VI) |
|
|
|
1159 |
57 |
1216 |
|
СФ2.160‑IV‑I(II) |
|
|
|
1159 |
64 |
1223 |
|
CФ2.160‑IV‑III(IV‑VI) |
|
|
|
1159 |
87 |
1246 |
|
СФ2.160‑V‑I(II‑VI) |
|
|
|
1159 |
103 |
1262 |
|
СФ2.160‑VI‑I(II‑VI) |
|
|
|
1159 |
103 |
1262 |
|
СФ2.160‑VII‑I(II‑VI) |
|
|
|
1159 |
103 |
1262 |
СПЕЦИФИКАЦИЯ СТОЕК САМОНЕСУЩЕГО ФАХВЕРКА
|
Марка элемента |
Масса по профилям, кг |
Общая масса, кг |
||||||||
|
Гнутосварные трубы |
сталь листовая |
|||||||||
|
120×5 |
120×160×5 |
140×160×5 |
160×5 |
160×200×5 |
160×200×6 |
200×6 |
160×240×8 |
|||
|
СФ3.60‑I(II‑VI) |
107 |
|
|
|
|
|
|
|
23 |
130 |
|
СФ3.60‑VII |
|
127 |
|
|
|
|
|
|
26 |
153 |
|
СФ3.84‑I |
149 |
|
|
|
|
|
|
|
24 |
173 |
|
СФ3.84‑II(III‑IV) |
|
176 |
|
|
|
|
|
|
25 |
201 |
|
СФ3.84‑V |
|
|
|
203 |
|
|
|
|
29 |
232 |
|
СФ3.84‑VI(VII) |
|
|
|
|
230 |
|
|
|
32 |
262 |
|
СФ3.108‑I(II) |
|
|
|
260 |
|
|
|
|
29 |
289 |
|
СФ3.108‑III |
|
|
|
|
294 |
|
|
|
32 |
326 |
|
СФ3.108‑IV |
|
|
|
|
294 |
|
|
|
36 |
330 |
|
СФ3.108‑V |
|
|
|
|
|
349 |
|
|
36 |
385 |
|
СФ3.108‑VI |
|
|
|
|
|
|
390 |
|
45 |
435 |
|
СФ3.108‑VII |
|
|
|
|
|
|
|
510 |
46 |
556 |
|
Марка элемента |
Масса по профилям, кг |
Общая масса, кг |
|||||
|
Гнутосварные трубы |
сталь листовая |
||||||
|
160×200×6 |
200×6 |
160×240×8 |
160×240×10 |
300×8 |
|||
|
СФ3.132‑I(II) |
425 |
|
|
|
|
36 |
461 |
|
СФ3.132‑III |
|
476 |
|
|
|
45 |
521 |
|
СФ3.132‑IV(V) |
|
|
622 |
|
|
46 |
668 |
|
СФ3.132‑VI |
|
|
|
762 |
|
56 |
818 |
|
СФ3.132‑VII |
|
|
|
|
958 |
75 |
1033 |
|
СФ3.160‑I |
|
576 |
|
|
|
47 |
623 |
|
СФ3.160‑II |
|
|
753 |
|
|
47 |
800 |
|
СФ3.160‑III |
|
|
753 |
|
|
57 |
810 |
|
СФ3.160‑IV |
|
|
|
922 |
|
56 |
978 |
|
СФ3.160‑V |
|
|
|
|
1159 |
75 |
1234 |
|
СФ3.160‑VI |
|
|
|
|
1159 |
87 |
1246 |
|
СФ3.160‑VII |
|
|
|
|
1159 |
87 |
1246 |
СПЕЦИФИКАЦИЯ БАЛОК ФАХВЕРКА
|
Марка элемента |
Масса по профилям, кг |
Общая масса, кг |
||||||
|
Гнутосварные трубы |
сталь листовая |
|||||||
|
120×160×5 |
140×160×5 |
140×180×5 |
200×100×6 |
200×160×6 |
200×6 |
|||
|
БФ1.60‑I |
116 |
|
|
|
|
|
5 |
121 |
|
БФ1.60‑II |
|
125 |
|
|
|
|
5 |
130 |
|
БФ1.60‑III |
|
|
134 |
|
|
|
6 |
140 |
|
БФ1.60‑IV |
|
|
|
148 |
|
|
6 |
154 |
|
БФ1.60‑V |
|
|
|
|
180 |
|
6 |
186 |
|
БФ1.60‑VI |
|
|
|
|
|
201 |
8 |
209 |
|
БФ1.45‑I |
85 |
|
|
|
|
|
5 |
90 |
|
БФ1.45‑II |
|
92 |
|
|
|
|
5 |
97 |
|
БФ1.45‑III |
|
|
99 |
|
|
|
6 |
105 |
|
БФ1.45‑IV |
|
|
|
109 |
|
|
6 |
115 |
|
БФ1.45‑V |
|
|
|
|
132 |
|
6 |
138 |
|
БФ1.45‑VI |
|
|
|
|
|
148 |
8 |
156 |
|
БФ2.60‑I |
118 |
|
|
|
|
|
5 |
123 |
|
БФ2.60‑II |
|
127 |
|
|
|
|
5 |
132 |
|
БФ2.60‑III |
|
|
137 |
|
|
|
6 |
143 |
|
БФ2.60‑IV |
|
|
|
150 |
|
|
6 |
156 |
|
БФ2.60‑V |
|
|
|
|
177 |
|
6 |
183 |
|
БФ2.60‑VI |
|
|
|
|
|
205 |
8 |
213 |
|
БФ2.30‑I |
56 |
|
|
|
|
|
5 |
61 |
|
БФ2.30‑II |
|
61 |
|
|
|
|
5 |
66 |
|
БФ2.30‑III |
|
|
65 |
|
|
|
6 |
71 |
|
БФ2.30‑IV |
|
|
|
72 |
|
|
6 |
78 |
|
БФ2.30‑V |
|
|
|
|
87 |
|
6 |
93 |
|
БФ2.30‑VI |
|
|
|
|
|
98 |
8 |
106 |
ТИПОВЫЕ СТРОИТЕЛЬНЫЕ КОНСТРУКЦИИ, ИЗДЕЛИЯ И УЗЛЫ
СЕРИЯ 1.420.3-36.03 КАРКАСЫ СТАЛЬНЫЕ ТИПА «УНИТЕК»
ОДНОЭТАЖНЫЕ ПРОИЗВОДСТВЕННЫЕ ЗДАНИЯ С ПРИМЕНЕНИЕМ КОНСТРУКЦИЙ ИЗ ПРОФИЛЕЙ СТАЛЬНЫХ ГНУТЫХ ЗАМКНУТЫХ СВАРНЫХ КВАДРАТНЫХ И ПРЯМОУГОЛЬНЫХ
ВЫПУСК 0-2
КАРКАСЫ С ОДНО- И ДВУХПРОЛЕТНЫМИ РАМАМИ ПРОЛЕТАМИ 12 И 18 м ДЛЯ БЕСКРАНОВЫХ ЗДАНИЙ И ЗДАНИЙ С ПОДВЕСНЫМИ КРАНАМИ ГРУЗОПОДЪЕМНОСТЬЮ ДО 5 т И С МОСТОВЫМИ ОПОРНЫМИ КРАНАМИ ГРУЗОПОДЪЕМНОСТЬЮ ДО 16 т.
МАТЕРИАЛЫ ДЛЯ ПРОЕКТИРОВАНИЯ
|
Разработаны |
Утверждены |
|
ООО «Научно-исследовательская и проектно-строительная фирма «УНИКОН» |
ОАО «УРАЛТРУБПРОМ» Приказ от 16.05.03 № 290 |
|
Президент фирмы, Руководитель проекта Катюшин В.В. Главный инженер проекта Шуткина Г.П. |
|
|
При участии |
Введены в действие |
|
ОАО «УРАЛТРУБПРОМ» Генеральный директор Кожухарь А.Ф. ОАО «Объединение СОЮЗЛЕГКОНСТРУКЦИЯ» Генеральный директор Шамсутдинов И.З. |
ОАО «УРАЛТРУЮПРОМ» с 01.06.03, Приказ от 16.05.03 № 290 |
Уральский трубный завод
«УРАЛТРУБПРОМ»
2005
1.1. Стальные каркасы типа УНИТЕК (УНИверсальные Трубчатые Конструкции) одноэтажных производственных зданий с применением конструкций из профилей стальных гнутых замкнутых сварных квадратных и прямоугольных (далее - гнутосварные трубы) разработаны ООО "Научно-исследовательская и проектно-строительная фирма "УНИКОН" в соответствии с техническим заданием ОАО "УРАЛТРУБПРОМ".
1.2. Настоящий выпуск содержит материалы для разработки каркасов типовых зданий различного назначения с применением сквозных одно- и двухпролетных рам из гнутосварных труб.
Выпуск 0-2 включает:
• габаритные схемы основных несущих конструкций;
• схемы для определения нагрузок на фундаменты;
• схемы размещения связевых блоков для зданий с мостовыми опорными кранами;
• схемы путей мостовых опорных кранов;
• дополнительные сортаменты элементов фахверка и элементов связевого блока;
• сортаменты отправочных элементов рам;
• дополнительные узлы несущих конструкций.
2.1. Стальные каркасы типа УНИТЕК одноэтажных производственных зданий с применением конструкций из гнутосварных труб (далее - каркасы УНИТЕК, выпуск 0-2) разработаны для применения в отапливаемых зданиях с неагрессивной или слабоагрессивной средой при влажности внутри помещения не более 70% без кранов, с мостовыми однобалочными подвесными кранами (далее - подвесными кранами) грузоподъемностью 1; 3.2; 5 т с режимами работы 1К-3К и с мостовыми опорными кранами (далее - мостовыми кранами) грузоподъемностью 5; 10; 16 т с режимами работы 1К-5К. Допустимое количество мостовых опорных кранов определенной грузоподъемности на одном пути и соответствующий режим работы принимается по табл. 1. Для двухпролетных зданий допускается использование одновременно мостовых опорных и подвесных кранов в соседних пролетах.
|
Грузоподъемность мостовых опорных кранов, т |
Количество кранов на пути |
Режим работы кранов |
|
5; 10; 16 |
1 |
1К-5К |
|
5 |
2 |
1К-5К |
|
10; 16 |
2 |
1К-3К |
2.2. Каркасы УНИТЕК выпуск 0-2 предназначены для строительства:
• в III; IV и V районах по весу снегового покрова;
• в III и IV районах по ветровому давлению;
• в I1-II5 районах по климатическим условиям строительства;
• в районах с расчетной сейсмичностью до 6 баллов включительно.
2.3. Каркасы УНИТЕК выпуск 0-2 разработаны для зданий следующих параметров:
• пролет здания L=12 м, число пролетов 1,2;
• пролет здания L=18 м, число пролетов 1, 2;
• высота здания Н=6.0; 7.2; 8.4; 9.6; 10.8; 12.0; 13.2 и 14.4 м;
• за высоту Н принята отметка низа несущей конструкции ригеля в месте сопряжения с крайней стойкой рамы;
• шаг основных несущих конструкций 6 м.
3.1. Основными несущими конструкциями каркасов УНИТЕК являются сквозные одно- и многопролетные рамы из гнутосварных труб по ГОСТ 30245-2003 (далее - трубчатые рамы).
3.2. Сопряжение крайних и средних стоек рам с фундаментом - жесткое.
Сопряжение ригеля с крайними и средними стойками рамы - шарнирное.
3.3. Устойчивость и геометрическая неизменяемость зданий обеспечивается: в поперечном направлении - конструкциями несущих рам; в продольном направлении - системой вертикальных связей и распорок.
3.4. Для бескрановых зданий и зданий с подвесными кранами горизонтальные и вертикальные связи
по каркасу принимаются по выпуску 0-1 настоящей серии.
3.5. Для зданий с мостовыми кранами схемы связевых блоков приведены в настоящем выпуске.
Вертикальные связи в зданиях с мостовыми кранами выполняются жесткими. Допускается установка гибких вертикальных связей из круглой стали 024 мм в зданиях с мостовыми кранами грузоподъемностью 5 т с режимом работы 1К-5К.
3.6. Прогоны покрытия и прогоны стен подбираются по выпуску 0-1 настоящей серии.
3.7. Основные решения по торцевому фахверку, в том числе вертикальные связи по фахверку, приведены в выпуске 0-1 данной серии. В настоящем выпуске приведены дополнительные схемы фахверка и дополнительные сортаменты стоек фахверка.
4.1 Основные расчетные положения см. выпуск 0-1 настоящей серии.
4.2. Конструкции каркасов УНИТЕК выпуск 0-2 рассчитаны на сочетания унифицированных вертикальных и горизонтальных нагрузок, приведенных в табл. 2 и 3 докум. -ПЗ, с учетом допустимого количества мостовых опорных кранов определенной грузоподъемности на одном пути и соответствующего режима работы, приведенных в табл. 1.
4.3. Конструкции каркасов УНИТЕК выпуск 0-2 выполняются из стали С345 по ГОСТ 27772-88 с учетом требований табл. 5.
4.4. Код вертикальной нагрузки на несущие рамы принимать по табл.2. Состав вертикальных нагрузок см. выпуск 0-1 настоящей серии.
|
Базовый код вертикальной нагрузки |
III |
IV |
V |
|
Снеговой район по СНиП 2.01.07-85* |
III |
IV |
V |
|
Унифицированная вертикальная расчетная нагрузка, дкод, кгс/м2 |
240 |
315 |
390 |
4.5. Код горизонтальной нагрузки на несущие рамы принимается по табл.3. в зависимости от ветровой нагрузки, определяемой по СНиП 2.01.07-85* для местности типа В.
|
Код горизонтальной нагрузки |
1 |
2 |
|
Величина нормативной ветровой нагрузки, кгс/м2 |
qw≤38 |
38<qw≤48 |
4.6. Нагрузки от подвесных кранов не должны превышать значения, приведенные в табл. 4.
|
1 подвесной кран на пути |
|||
|
Qкран, т |
Dmax, тс |
Dmin, тс |
Тпопереч, тс |
|
1 |
1.67 |
0.72 |
0.075 |
|
2 |
2.78 |
0.88 |
0.15 |
|
3.2 |
4.22 |
1.18 |
0.25 |
|
5 |
6.16 |
1.52 |
0.38 |
|
2 подвесных крана на пути (ψ=0.85) |
|||
|
1 |
2.56 |
1.10 |
0.13 |
|
2 |
4.27 |
1.36 |
0.26 |
|
3.2 |
6.43 |
1.76 |
0.43 |
|
5 |
9.32 |
2.30 |
0.64 |
4.7. Код крановой нагрузки принимается по табл. 5.
|
№ п/п |
Тип крана |
Код крановой нагрузки |
||||||||
|
0 |
1 |
2 |
3 |
4 |
||||||
|
Количество кранов в пролете, шт |
||||||||||
|
Без кранов |
1 |
2 |
1 |
2 |
1 |
2 |
1 |
2 |
||
|
Грузоподъемности кранов, т |
||||||||||
|
1 |
Мостовые опорные краны |
- |
5 |
- |
10 |
5 |
16 |
10 |
- |
16 |
|
2 |
Подвесные краны |
- |
1 |
1 |
3.2 |
- |
5 |
3.2 |
- |
5 |
5.1. Выбор основных несущих конструкций производится исходя из следующих условий:
• габаритных размеров здания;
• величин вертикальных и горизонтальных нагрузок, определяемых соответствующими кодами нагрузок;
• наличие подвесных или мостовых опорных кранов;
• грузоподъемности кранов, определяемой соответствующими кодами крановых нагрузок.
В случае, когда двухпролетное здание в соседних пролетах оборудовано различными кранами (мостовой и подвесной) или кранами одного типа, но различной грузоподъемности, при выборе конструкций необходимо руководствоваться следующим:
- средние стойки выбираются по сортаментам для максимальной крановой нагрузки, действующей в одном из пролетов;
- крайние стойки и ригели при соответствующем обосновании допускается выбирать по сортаментам для крановой нагрузки, принадлежащей данному пролету.
5.2. Каркасы УНИТЕК выпуск 0-2 включают 2 модификации основных несущих рам.
Модификация4 - рамы одно- и двухпролетные с пролетами 12 ми 18 м без кранового оборудования и (или) с подвесными кранами.
Модификация 5 - рамы одно- и двухпролетные с пролетами 12ми 18мс мостовыми кранами.
Определение габаритов рамы модификации 5 производится с учетом требований табл. 8.Пример определения кода несущей рамы.

Для удобства пользования в настоящем выпуске серии применяются 2 типа сокращенных кодов рам, в которых часть обозначений замена знаком * (звездочка). Сокращенный код не допускается применять в чертежах КМ (КМД) и при заказе конструкций.
Примеры сокращенных кодов рамы: Тип 1

Используется в таблицах, приведенных на габаритных схемах рам, в документах сортаментов стоек рам.
Тип 2

Используется в основных надписях и в документах сортаментов элементов рам.
5.3. Категория стали несущих конструкций выбирается по табл. 6 в зависимости от климатического района строительства.
|
Климатичские районы |
Расчетная температура района строительства, °С |
Наименование стали |
|
II4, II5 |
-30°С>t≥-40°С |
С345-3 |
|
I2, II2 и II3 |
-40°С>t≥-50°С |
С345-3 |
|
I1 |
-50°С>t≥-65°С |
С345-4 |
6.1. Привязка крайних стоек рам к продольным осям зданий, разработанных в настоящем выпуске, независимо от наличия кранов принята 250 мм. Основные положения по осевым привязкам конструкций в зданиях без кранов и (или) с кранами определены в выпуске 0-1 настоящей серии.
6.2. Расстановка связевых блоков в зданиях без кранов и в зданиях с подвесными кранами принимается по выпуску 0-1 настоящей серии. Расстановка связевых блоков в зданиях с мостовыми кранами приведена в докум. -014. Количество связевых блоков может быть увеличено для уменьшения усилий в элементах связевых блоков.
6.3. Нагрузки на фундаменты стоек рам определяются по формулам, приведенным в докум. -006...- 012, в зависимости от выбранной схемы рамы.
6.4. Нагрузки на фундаменты стоек фахверка определяются по докум. 0-1-025 и 0-1-026 настоящей серии.
7.1. Требования к изготовлению и монтажу конструкций см. выпуск 0-1 настоящей серии.
7.2. Для изготовления несущих конструкций рам применена сталь С345 (см. табл. 6) для изготовления остальных конструкций - сталь С245 и С255 по ГОСТ 27772-88. Сталь для подкрановых конструкций см. серию 1.426.2-7 " Балки подкрановые стальные под мостовые опорные краны ", вып. 3.
7.3. Допускается производить замены стали в соответствии со СНиП II-23-81* "Стальные конструкции. Нормы проектирования".
|
Шифр или серия |
Наименование |
Примечания |
|
Серия 1.426.2-6 |
Балки путей подвесного транспорта |
|
|
Выпуск 1/91 |
Балки пролетом 3, 4 и 6 м. Чертежи КМ |
|
|
Серия 1.426.2-7 |
Балки подкрановые стальные под мостовые опорные краны |
|
|
Выпуск 3 |
Балки пролетом 6 и 12 м разрезные под краны общего назначения грузоподъемностью до 50 т. Чертежи КМ |
|

|
Н, м |
Н2, м |
Грузоподъемность крана Q, т |
|||||
|
5 |
10 |
16 |
|||||
|
Н1, м |
Н3, м |
Н1, м |
Н3, м |
Н1, м |
Н3, м |
||
|
8.400 |
9.600 |
6.000 |
6.120 |
5.600 |
5.720 |
5.200 |
5.420 |
|
9.600 |
10.800 |
7.200 |
7.320 |
6.800 |
6.920 |
6.400 |
6.620 |
|
10.800 |
12.000 |
8.400 |
8.520 |
8.000 |
8.120 |
7.600 |
7.820 |
|
12.000 |
13.200 |
9.600 |
9.720 |
9.200 |
9.320 |
8.800 |
9.020 |
|
13.200 |
14.400 |
10.800 |
10.920 |
10.400 |
10.520 |
10.000 |
10.220 |
|
14.400 |
15.600 |
12.000 |
12.12 |
11.600 |
11.720 |
11.200 |
11.420 |
Н - номинальная отметка низа ригеля на крайней опоре, может меняться в зависимости от сечения пояса ригеля.
Нур.г.р. - отметка уровня головки рельса;
Н3 - высота подъема крюка крана.
|
ГОСТ |
Наименование |
Примечания |
|
Профили стальные гнутые замкнутые сварные квадратные и прямоугольные для строительных конструкций. Технические условия |
|
|
|
Конструкции стальные строительные. Общие технические условия |
|
|
|
Балки двутавровые и швеллеры стальные специальные. Сортамент |
|
|
|
Двутавры стальные горячекатаные с параллельными гранями полок. Сортамент |
|
|
|
Швеллеры стальные горячекатаные. Сортамент |
|
|
|
Швеллеры стальные гнутые равнополочные. Сортамент |
|
|
|
Двуокись углерода газообразная и жидкая. Технические условия |
|
|
|
Проволока стальная сварочная. Технические условия |
|
|
|
Болты с шестигранной головкой класса точности В. Конструкция и размеры |
|
|
|
Болты, винты и шпильки. Механические свойства и методы испытаний |
|
|
|
Болты с шестигранной головкой класса точности С. Конструкция и размеры |
|
|
|
Болты с шестигранной уменьшенной головкой класса точности С. Конструкция и размеры |
|
|
|
Болты с шестигранной головкой класса точности В. Конструкция и размеры |
|
|
|
Болты с шестигранной уменьшенной головкой класса точности А. Конструкция и размеры |
|
|
|
Гайки шестигранные класса точности В. Конструкция и размеры |
|
|
|
Болты фундаментные. Общие технические условия |
|
|
|
Болты фундаментные. Конструкция и размеры |
|
|
|
Болты высокопрочные класса точности В. Конструкция и размеры |
|
|
|
Болты и гайки высокопрочные и шайбы. Общие технические условия |
|
|
|
Гайки высокопрочные класса точности В. Конструкция и размеры |
|
|
|
Шайбы класса точности С к высокопрочным болтам. Конструкция и размеры |
|
|
|
Шайбы пружинные. Технические условия |
|
|
|
Прокат из легированной конструкционной стали. Технические условия |
|
|
|
Прокат для строительных стальных конструкций. Общие технические условия |
|
|
|
Прокат стальной горячекатаный круглый. Сортамент |
|
|
|
Прокат листовой горячекатаный. Сортамент |
|
|
|
Прокат из стали повышенной прочности. Общие технические условия |
|
|
|
Пиломатериалы лиственных пород. Технические условия |
|
|
|
Узел крепления крановых рельсов к стальным подкрановым балкам. Технические условия |
|

|
КОД РАМЫ |
Размеры рамы, м |
||||
|
L |
Н |
Нр |
Нс |
d |
|
|
4РТО120.60-* |
12.0 |
6.0 |
1.5 |
0.9 |
1.5; 3.0 |
|
4РТО120.72-* |
12.0 |
7.2 |
1.5 |
0.9 |
1.5; 3.0 |
|
4РТО120.84-* |
12.0 |
8.4 |
1.5 |
0.9 |
1.5; 3.0 |
|
4РТО120.96-* |
12.0 |
9.6 |
1.5 |
0.9 |
1.5; 3.0 |
|
4РТО120.108-* |
12.0 |
10.8 |
1.5 |
0.9 |
1.5; 3.0 |
|
4РТО120.120-* |
12.0 |
12.0 |
1.5 |
0.9 |
1.5; 3.0 |
|
4РТО120.132-* |
12.0 |
13.2 |
1.5 |
0.9 |
1.5; 3.0 |
|
4РТО120.144-* |
12.0 |
14.4 |
1.5 |
0.9 |
1.5; 3.0 |
|
4РТО180.60-* |
12.0 |
6.0 |
1.5 |
0.9 |
1.5; 3.0 |
|
4РТО180.72-* |
12.0 |
7.2 |
1.5 |
0.9 |
1.5; 3.0 |
|
4РТО180.84-* |
18.0 |
8.4 |
1.5 |
0.9 |
1.5; 3.0 |
|
4РТО180.96-* |
18.0 |
9.6 |
1.5 |
0.9 |
1.5; 3.0 |
|
4РТО180.108-* |
18.0 |
10.8 |
1.5 |
0.9 |
1.5; 3.0 |
|
4РТО180.120-* |
18.0 |
12.0 |
1.5 |
0.9 |
1.5; 3.0 |
|
4РТО180.132-* |
18.0 |
13.2 |
1.5 |
0.9 |
1.5; 3.0 |
|
4РТО180.144-* |
18.0 |
14.4 |
1.5 |
0.9 |
1.5; 3.0 |
Трубчатые рамы с указанными габаритами применяются в зданиях без кранов или в зданиях с подвесными кранами. При наличии кранов следует руководствоваться данными по параметрам кранов (Lк, Lкр), указанных в таблице в докум. -028.

|
КОД РАМЫ |
Размеры рамы, м |
Пролет крана, м |
|||||
|
L |
Н |
Нр |
Нс |
Нв |
d |
Lкр |
|
|
5РТО120.84-* |
12.0 |
8.4 |
1.5 |
0.9 |
0.62 |
1.5; 3.0 |
10.5 |
|
5РТО120.96-* |
12.0 |
9.6 |
1.5 |
0.9 |
0.62 |
1.5; 3.0 |
10.5 |
|
5РТО120.108-* |
12.0 |
10.8 |
1.5 |
0.9 |
0.62 |
1.5; 3.0 |
10.5 |
|
5РТО120.120-* |
12.0 |
12.0 |
1.5 |
0.9 |
0.62 |
1.5; 3.0 |
10.5 |
|
5РТО120.132-* |
12.0 |
13.2 |
1.5 |
0.9 |
0.62 |
1.5; 3.0 |
10.5 |
|
5РТО120.144-* |
12.0 |
14.4 |
1.5 |
0.9 |
0.62 |
1.5; 3.0 |
10.5 |
|
5РТО180.84-* |
18.0 |
8.4 |
1.5 |
0.9 |
0.62 |
1.5; 3.0 |
16.5 |
|
5РТО180.96-* |
18.0 |
9.6 |
1.5 |
0.9 |
0.62 |
1.5; 3.0 |
16.5 |
|
5РТО180.108-* |
18.0 |
10.8 |
1.5 |
0.9 |
0.62 |
1.5; 3.0 |
16.5 |
|
5РТО180.120-* |
18.0 |
12.0 |
1.5 |
0.9 |
0.62 |
1.5; 3.0 |
16.5 |
|
5РТО180.132-* |
18.0 |
13.2 |
1.5 |
0.9 |
0.62 |
1.5; 3.0 |
16.5 |
|
5РТО180.144-* |
18.0 |
14.4 |
1.5 |
0.9 |
0.62 |
1.5; 3.0 |
16.5 |
1. Трубчатые рамы с указанными габаритами применяются в зданиях с мостовыми кранами.
2. Отметку H1 в зависимости от грузоподъемности крана см. табл. 8 докум. -ПЗ лист 6.

|
КОД РАМЫ |
Размеры рамы, м |
||||||
|
L |
L1 |
Н |
Нр |
Нс |
Нср |
d |
|
|
4PTM2×120.60-* |
24.0 |
12.0 |
6.0 |
1.5 |
0.2 |
0.9 |
1.5; 3.0 |
|
4PTM2×120.72-* |
24.0 |
12.0 |
7.2 |
1.5 |
0.2 |
0.9 |
1.5; 3.0 |
|
4РТМ2×120.84-* |
24.0 |
12.0 |
8.4 |
1.5 |
0.24 |
0.9 |
1.5; 3.0 |
|
4РТМ2×120.96-* |
24.0 |
12.0 |
9.6 |
1.5 |
0.24 |
0.9 |
1.5; 3.0 |
|
4PTM2×180.60-* |
36.0 |
18.0 |
6.0 |
1.5 |
0.2 |
0.9 |
1.5; 3.0 |
|
4PTM2×180.72-* |
36.0 |
18.0 |
7.2 |
1.5 |
0.2 |
0.9 |
1.5; 3.0 |
|
4РТМ2×180.84-* |
36.0 |
18.0 |
8.4 |
1.5 |
0.24 |
0.9 |
1.5; 3.0 |
|
4PTM2×180.96-* |
36.0 |
18.0 |
9.6 |
1.5 |
0.24 |
0.9 |
1.5; 3.0 |
Трубчатые рамы с указанными габаритами применяются в зданиях без кранов или в зданиях с подвесными кранами. При наличии кранов следует руководствоваться данными по параметрам кранов (Lк, Lкр), указанных в таблице в докум. -028.

|
КОД РАМЫ |
Размеры рамы, м |
||||||
|
L |
L1 |
Н |
Нр |
Нс |
Нср |
d |
|
|
4РТМ2×120.108-* |
24.0 |
12.0 |
10.8 |
1.5 |
0.9 |
0.9 |
1.5; 3.0 |
|
4РТМ2×120.120-* |
24.0 |
12.0 |
12.0 |
1.5 |
0.9 |
0.9 |
1.5; 3.0 |
|
4РТМ2×120.132-* |
24.0 |
12.0 |
13.2 |
1.5 |
0.9 |
0.9 |
1.5; 3.0 |
|
4РТМ2×120.144-* |
24.0 |
12.0 |
14.4 |
1.5 |
0.9 |
0.9 |
1.5; 3.0 |
|
4РТМ2×180.108-* |
36.0 |
18.0 |
10.8 |
1.5 |
0.9 |
0.9 |
1.5; 3.0 |
|
4РТМ2×180.120-* |
36.0 |
18.0 |
12.0 |
1.5 |
0.9 |
0.9 |
1.5; 3.0 |
|
4РТМ2×180.132-* |
36.0 |
18.0 |
13.2 |
1.5 |
0.9 |
0.9 |
1.5; 3.0 |
|
4РТМ2×180.144-* |
36.0 |
18.0 |
14.4 |
1.5 |
0.9 |
0.9 |
1.5; 3.0 |
Трубчатые рамы с указанными габаритами применяются в зданиях без кранов или в зданиях с подвесными кранами. При наличии кранов следует руководствоваться данными по параметрам кранов (Lк, Lкр), указанных в таблице в докум.-028.

|
КОД РАМЫ |
Размеры рамы, м |
Пролет крана, м |
|||||||
|
L |
L1 |
Н |
Нр |
Нс |
Нв |
Нср |
d |
Lкр |
|
|
5РТМ2×120.84-* |
24.0 |
12.0 |
8.4 |
1.5 |
0.9 |
0.62 |
0.9 |
1.5; 3.0 |
10.5 |
|
5РТМ2×120.96-* |
24.0 |
12.0 |
9.6 |
1.5 |
0.9 |
0.62 |
0.9 |
1.5; 3.0 |
10.5 |
|
5РТМ2×120.108-* |
24.0 |
12.0 |
10.8 |
1.5 |
0.9 |
0.62 |
0.9 |
1.5; 3.0 |
10.5 |
|
5РТМ2×120.120-* |
24.0 |
12.0 |
12.0 |
1.5 |
0.9 |
0.62 |
0.9 |
1.5; 3.0 |
10.5 |
|
5РТМ2×120.132-* |
24.0 |
12.0 |
13.2 |
1.5 |
0.9 |
0.62 |
0.9 |
1.5; 3.0 |
10.5 |
|
5РТМ2×120.144-* |
24.0 |
12.0 |
14.4 |
1.5 |
0.9 |
0.62 |
0.9 |
1.5; 3.0 |
10.5 |
|
5РТМ2×180.84-* |
36.0 |
18.0 |
8.4 |
1.5 |
0.9 |
0.62 |
0.9 |
1.5; 3.0 |
16.5 |
|
5РТМ2×180.96-* |
36.0 |
18.0 |
9.6 |
1.5 |
0.9 |
0.62 |
0.9 |
1.5; 3.0 |
16.5 |
|
5РТМ2×180.108-* |
36.0 |
18.0 |
10.8 |
1.5 |
0.9 |
0.62 |
0.9 |
1.5; 3.0 |
16.5 |
|
5РТМ2×180.120-* |
36.0 |
18.0 |
12.0 |
1.5 |
0.9 |
0.62 |
0.9 |
1.5; 3.0 |
16.5 |
|
5РТМ2×180.132-* |
36.0 |
18.0 |
13.2 |
1.5 |
0.9 |
0.62 |
0.9 |
1.5; 3.0 |
16.5 |
|
5РТМ2×180.144-* |
36.0 |
18.0 |
14.4 |
1.5 |
0.9 |
0.62 |
0.9 |
1.5; 3.0 |
16.5 |
1. Трубчатые рамы с указанными габаритами применяются в зданиях с мостовыми кранами.
2. Отметку H1 в зависимости от грузоподъемности крана см. табл. 8 докум. -ПЗ лист 6.

Нагрузки на фундаменты определяются как сумма постоянных, длительных и кратковременных нагрузок отдельно для крайних и средних стоек:
|
Суммарный опрокидывающий момент: |
ΣМ=Му код+Mw+Mкp(Mм) |
(1) |
|
|
Суммарная вертикальная нагрузка: |
ΣN=Nкод+Nкр(Nм) |
(2) |
|
|
Суммарная горизонтальная нагрузка по оси X: |
ΣQx=Qx код+Qx w+Qx кр(Qx м) |
(3) |
|
|
Суммарная горизонтальная нагрузка по оси Y: |
ΣQy=Qy w+Qy кр(Qy м) |
(4) |
|
|
где My код, Nкод, Qx код- |
усилия от вертикальных нагрузок, определенные по докум. -007; |
||
|
Mw, Qx w, Qy w- |
усилия от ветра (вдоль или поперек здания) определяются в зависимости от ветрового района, конфигурации и габаритов здания по докум. -008; |
||
|
Мкр, Nкp, Qx кр, Qy кр- |
усилия от действия подвесных кранов, определяются по докум. -009, -010; |
||
|
Мм, Nм, Qx м, Qy м- |
усилия от действия мостовых кранов, определяются по докум. -011, -012. |
||
Расчет фундаментов следует выполнять с учетом наиболее неблагоприятных сочетаний нагрузок. Эти сочетания устанавливаются из анализа реальных вариантов одновременного действия различных нагрузок. В особых случаях, не предусмотренных данным разделом, нагрузки на фундаменты определяются статическим или динамическим расчетом.
При учете сочетаний следует вводить коэффициенты сочетаний в соответствии со СНиП 2.01.07-85* "Нагрузки и воздействия".
При одновременном использовании в двухпролетных зданиях подвесных и мостовых кранов, определение нагрузок от них производить индивидуально.
Унифицированную расчетную вертикальную нагрузку см. табл. 2 докум. -ПЗ.


НАГРУЗКИ НА ФУНДАМЕНТЫ СТОЕК ОДНОПРОЛЕТНЫХ РАМ
|
Вертикальная нагрузка: |
N1код=0.5•qкод•L•B+qстен•Hcтен•B+Gк+Gдоп |
(1) |
|
Опрокидывающий момент: |
Му код=0.05•N1код•Нст |
(2) |
|
Горизонтальная нагрузка: |
Qx код=0.05•N1код |
(3) |
НАГРУЗКИ НА ФУНДАМЕНТЫ СТОЕК ДВУХПРОЛЕТНЫХ РАМ
В крайней стойке:
|
Вертикальная нагрузка: |
N1код определяется по формуле (1) |
|
|
Опрокидывающий момент: |
My1код определяется по формуле (2) |
|
|
Горизонтальная нагрузка: |
Qx1код определяется по формуле (3) |
|
В средней стойке:
|
Вертикальная нагрузка: |
N2код=0.5•qкод•(L1+L2)•B+Gк+Gдоп |
(4) |
|
|
где qкод- |
унифицированная вертикальная нагрузка, которая включает в себя постоянные, снеговые и нагрузки от коммуникаций, определяется по табл. 2 докум. -ПЗ, кгс/м2; |
||
|
L, L1, L2- |
пролеты здания по наружным граням крайних стоек, м; |
||
|
В- |
шаг стоек каркаса, В=6м; |
||
|
qcтен- |
собственный вес стенового ограждения ,30-50 кгс/м2; |
||
|
Нстен- |
высота стены, м; |
||
|
Gк- |
собственный вес стойки, Gк=100•(Н+0.15), кгс; |
||
|
Gдоп- |
дополнительная нагрузка на стоики от технологических площадок, кронштейнов и т.д., кгс ; |
||
|
Нст- |
высота стойки Нст=Н+0.35, м |
||
Нагрузки на фундаменты от снеговой нагрузки определяются путем умножения полученных усилий Ni, Qx на соответствующий коэффициент kснег из приведенной ниже таблицы.
ОТНОСИТЕЛЬНАЯ ДОЛЯ СНЕГОВОЙ НАГРУЗКИ В ОБЩЕЙ НАГРУЗКЕ
|
Коэффициент перехода к снеговой нагрузке |
КОД ВЕРТИКАЛЬНОЙ НАГРУЗКИ |
|||||
|
III |
IV |
V |
||||
|
Ni |
Qx |
Ni |
Qx |
Ni |
Qx |
|
|
kснег |
0.37 |
0.68 |
0.47 |
0.76 |
0.54 |
0.80 |
ВЕТЕР ПОПЕРЕК ЗДАНИЯ

Суммарный опрокидывающий момент МΣw от действия ветра на каркас:
|
MΣw=1.15•CeΣ•W0•KZcp•γf•В•Нзд2/2 |
(1) |
Суммарная поперечная сила QxΣw от действия ветра на каркас:
|
QxΣw=CeΣ•W0•KZcp•γf•В•Нзд |
(2) |
|
где CeΣ- |
суммарный аэродинамический коэффициент для наветренной и подветренной стен здания, определяемый по СНиП 2.01.07-85* "Нагрузки и воздействия": CeΣ=Се+Се3 (максимальное значение CeΣ=1.4 - для зданий с проницаемостью μ<1); |
|
W0- |
нормативное значение ветрового давления, определяемое в соответствии со СНиП 2.01.07-85* "Нагрузки и воздействия"; |
|
KZcp- |
усредненный коэффициент, учитывающий изменение ветрового давления по высоте здания, принимаемый по приведенной ниже таблице: |
|
|
Значение KZcp при типе местности |
||
|
Высота здания Нзд, м |
А |
В |
С |
|
Нзд≤10 |
0.85 |
0.55 |
0.40 |
|
10<Нзд≤20 |
0.95 |
0.65 |
0.45 |
|
γf=1.4- |
коэффициент надежности по ветровой нагрузке; |
|
В- |
шаг стоек каркаса, В=6 м; |
|
Нзд- |
высота здания от уровня фундаментов до конька с учетом ограждающих конструкций, м. |
НАГРУЗКИ НА ФУНДАМЕНТЫ СТОЕК ОДНОПРОЛЕТНЫХ РАМ
Опрокидывающий момент на наветренную стойку рамы:
|
M1w=Mw•(0.5+0.375•Се3)/CeΣ |
(3) |
Опрокидывающий момент на подветренную стойку рамы:
|
M2w=Mw•(0.3+0.625•Се3)/CeΣ |
(4) |
Горизонтальная нагрузка на наветренную стойку рамы:
|
Q1xw=Qw•(0.65+0.2•Се3)/СeΣ |
(5) |
Горизонтальная нагрузка на подветренную стойку рамы:
|
Q2xw=Qw•(0.15+0.8•Се3)/СeΣ |
(6) |
ВЕТЕР ПОПЕРЕК ЗДАНИЯ

НАГРУЗКИ НА ФУНДАМЕНТЫ СТОЕК МНОГОПРОЛЕТНЫХ РАМ
|
Опрокидывающий момент: - на крайнюю стойку рамы |
M1w=±k1•MΣw |
(7) |
|
- на среднюю стойку рамы |
M2w=±k2•MΣw |
(8) |
|
Горизонтальная нагрузка: - на крайнюю стойку рамы |
Q1xw=±n1•QxΣw |
(9) |
|
- на среднюю стойку рамы |
Q2xw=±n2•QxΣw |
(10) |
где k1, k2, n1, n2 - коэффициенты, принимаемые по таблице.
|
Тип крайней стойки |
kl |
k2 |
n1 |
n2 |
|
сплошная |
0.2 |
0.7 |
0.4 |
0.4 |
|
сквозная |
0.4 |
0.3 |
0.5 |
0.2 |
ВЕТЕР ВДОЛЬ ЗДАНИЯ
Нагрузки на фундаменты стоек рам от ветра вдоль здания определяются по формулам, приведенным в выпуске 0-1 настоящей серии докум. 0-1-024.

НАГРУЗКИ НА ФУНДАМЕНТЫ СТОЕК ОДНОПРОЛЕТНЫХ РАМ
|
Опрокидывающий момент: |
M1кp=М2кр=±(Тх•Нст)/2 |
(1) |
||
|
Вертикальная нагрузка: |
Nкр max=[Dmin•a+Dmax•(L-a)]/L, |
(2) |
||
|
Горизонтальная нагрузка по оси X : |
Qx кр=±Tx |
(3) |
||
|
Горизонтальная нагрузка по оси У: |
Qy кр=±0.1•Nкр max |
(4) |
||
|
где Dmax; Dmin; Tx- |
суммарные нагрузки от одного или двух подвесных кранов, см. приведенную ниже таблицу; |
|
||
|
Hcт- |
высота стойки рамы, м; |
|
||
|
L- |
пролет здания по наружным граням стоек, м; |
|
||
|
Lкp- |
пролет крана, м; |
|
||
|
a- |
привязка подвески крана, м: а=(L-Lкр)/2 |
|
||
НАГРУЗКИ НА РАМЫ ОТ ПОДВЕСНЫХ КРАНОВ
|
Вид нагрузки |
Количество кранов в пролете |
|||||
|
1 кран в пролете |
2 крана в пролете |
|||||
|
Грузоподъемность крана, т |
Грузоподъемность крана, т |
|||||
|
1 |
3.2 |
5 |
1 |
3.2 |
5 |
|
|
Dmax, тс |
2.130 |
5.400 |
7.320 |
3.220 |
7.680 |
10.970 |
|
Dmin, тс |
1.050 |
1.660 |
2.030 |
1.550 |
2.360 |
2.970 |
|
Тх, тс |
0.086 |
0.285 |
0.433 |
0.130 |
0.490 |
0.730 |
1. Нагрузки Dmax, Dmin, Тх даны с учетом коэффициента сочетаний ψ, принятого согласно п.4.17. СНиП 2.01.07-85*: ψ=1 - для одного крана, ψ=0.85 - для двух кранов.
Масса монорельсов (подкрановых балок для мостовых кранов) в нагрузках Dmax, Dmin не учтена.
2. Горизонтальная нагрузка Qy кр прикладывается только к фундаментам связевых блоков.
СХЕМА 1
(Н≤9.6 м)

НАГРУЗКИ НА ФУНДАМЕНТЫ СТОЕК ДВУХПРОЛЕТНЫХ РАМ СО СПЛОШНОЙ КРАЙНЕЙ СТОЙКОЙ (СХЕМА 1)
|
Опрокидывающий момент в средней стойке: |
М2кр=0.9•ΣТх•(Нст+0.1•Li max) |
(1) |
|
Опрокидывающий момент в крайней стойке: |
М1кр=0.1•М2кр |
(2) |
|
Вертикальная нагрузка в крайней стойке: |
N1кp max (N3кp max) определяется по формуле 2 докум. -009 с учетом положения тележки |
|
|
Вертикальная нагрузка в средней стойке: |
Nкр max=Nлев кр max+Nправ кр max |
(3) |
|
где Nлев кр max, Nправ кр max- |
максимальные вертикальные нагрузки от кранов, расположенных в левом и правом пролетах соответственно, и определяемые по формуле 2 докум. -009 для каждого пролета |
|
|
Горизонтальная нагрузка по оси X: |
Qx кр определяется по формуле 3 докум. -009 |
|
|
- в крайней стойке |
как для крайней стойки однопролетной рамы |
|
|
- в средней стойке |
Qx кр=±ΣTх |
(4) |
|
Горизонтальная нагрузка по оси У ( в зоне связевых блоков): |
Qy кр определяется по формуле 4 докум. -009 |
|
|
- в крайней стойке |
как для крайней стойки однопролетной рамы |
|
|
- в средней стойке |
Qy кр=±0.1•N2кр max |
(5) |
При учете четырех кранов для определения нагрузок для средней стойки необходимо значения, приведенные в таблице докум. -009 (2 крана в пролете), умножить на коэффициент 0.82.
СХЕМА 2
(9.6 м<Н≤14.4 м)

НАГРУЗКИ НА ФУНДАМЕНТЫ СТОЕК ДВУХПРОЛЕТНЫХ РАМ СО СКВОЗНОЙ КРАЙНЕЙ СТОЙКОЙ (СХЕМА 2)
|
Опрокидывающий момент в крайней стойке: |
M1кр=0.4•ΣTx•Hcт |
(6) |
|
Опрокидывающий момент в средней стойке: |
М2кр=0.4•ΣTх•(Нст+0.1•Li max) |
(7) |
|
Вертикальная нагрузка в крайней стойке: |
N1кр max, N3кр max определяется по формуле 2 докум. -009 с учетом положения тележки |
|
|
Вертикальная нагрузка в средней стойке: |
N2кp max определяется по формуле 3 лист 1. |
|
|
Горизонтальная нагрузка по оси X в крайней и средней стойке: |
Qx кр=0.4•ΣTx |
(8) |
|
Горизонтальная нагрузка по оси У (в зоне связевых блоков): |
|
|
|
- для крайней стойки |
Qy кр определяется по формуле 4 докум. -009 |
|
|
- в средней стойке |
Qy кр определяется по формуле 5 лист 1. |
|
При учете четырех кранов для определения нагрузок для средней стойки необходимо значения, приведенные в таблице на листе 1 (2 крана в пролете), умножить на коэффициент 0.82.

|
Опрокидывающий момент: |
Mм=MD+MT |
(1) |
|
где MD- |
момент от вертикального давления крана, |
|
|
МT- |
момент от поперечного торможения тележки крана. |
|
|
|
М1D=М•[K-1.16•(0.33/(1-λ)-0.15)•(1+K)] |
(2) |
|
|
M2D=M•[1-1.16•(0.33/(1-λ)-0.15)•(1+K)] |
(3) |
|
|
M=Dmax•е |
(4) |
|
|
λ=(H2-H1)/Нcт |
(5) |
|
|
M1T=±T•Нcт•(0.5-0.217•λ)•(1+hпб/H1) |
(6) |
|
|
М2T=±0.25•Т•Нcт•(2-3.13•λ)•(1+hпб/H1) |
(7) |
Для расчета принимается максимальный момент М, определенный для опоры 1 и опоры 2.
|
Горизонтальная нагрузка по оси X: |
Qx м=QT+QD |
(8) |
||||||||||||
|
где QD- |
горизонтальная сила, возникающая от вертикального давления крана, |
|||||||||||||
|
QT- |
горизонтальная сила, возникающая от торможения тележки крана |
|||||||||||||
|
|
QD=M/Нст•(1+K)•[1-1.16•(0.33/λ-0.15)] |
(9) |
||||||||||||
|
|
Q1T=±Tx•(0.5+0.782•λ)•(1+hпб/H1) |
(10) |
||||||||||||
|
|
Q2T=±0.25•Tx•(2-3.13•λ)•(1+hпб/H1) |
(11) |
||||||||||||
|
Горизонтальная нагрузка по оси Y: |
Qy м=+0.l•Dmax |
(12) |
||||||||||||
|
Вертикальная нагрузка: |
N1м=Dmax |
(13) |
||||||||||||
|
|
N2м=Dmin |
(14) |
||||||||||||
|
где Dmax; Dmin; T- |
суммарные нагрузки от одного или двух мостовых кранов, см. таблицу докум. -012 лист 2; |
|||||||||||||
|
K- |
коэффициент K=Dmin/Dmax, принимаемый по таблице; |
|||||||||||||
|
Нст- |
полная высота стойки, Нст=Н2+0.15, м; |
|||||||||||||
|
H1, H2- |
габаритные отметки для стойки; |
|||||||||||||
|
e- |
эксцентриситет приложения нагрузок Dmax и Dmin относительно оси сечения стойки, е≈0.55 м; |
|||||||||||||
|
hпб- |
высота подкрановой балки и рельса по таблице, м.
|
|||||||||||||
1. На схеме показаны положительные направления нагрузок М, Qx.
2. Горизонтальная нагрузка Qy м прикладывается только к фундаментам связевых блоков.
3. При необходимости нагрузки уточнить путем статического расчета.

1. МОСТОВОЙ КРАН В ОДНОМ ПРОЛЕТЕ
|
Опрокидывающий момент: |
Mм=MD+MT |
(1) |
|
где MD- |
момент от вертикального давления крана, |
|
|
МT- |
момент от поперечного торможения тележки крана. |
|
|
для крайней стойки: |
М1D=М•[0.5-λ2•(0.68+1.7•K)] |
(2) |
|
|
М1T=±0.8•Тх•Нcт•(0.5-0.217•λ)•(1+hпб/H1) |
(3) |
|
для средней стойки: |
М2D=М•(K•λ2•(1.47-0.47•λ2)-0.51+0.65•λ2) |
(4) |
|
|
М2Т определяется по формуле 3 |
|
|
|
M=Dmax•e |
(5) |
|
|
λ=(H2-H1)/Нcт |
(6) |
Для расчета принимается максимальный момент М, определенный для опоры 1 и опоры 2.
|
Горизонтальная нагрузка по оси X: |
Qx м=QT+QD |
(7) |
|
где QD- |
горизонтальная сила, возникающая от вертикального давления крана, |
|
|
QT- |
горизонтальная сила, возникающая от торможения тележки крана |
|
|
для крайней стойки: |
Q1D=-M/Нст•(0.5-0.68• λ2+K•(1-1.7• λ2) |
(8) |
|
|
Q1T=±0.5•Tx•(0.5-0.217•λ)•(1+hпб/H1) |
(9) |
|
для средней стойки: |
Q2D=М/Нст•(K•(1-1.35•λ2)+0.51-0.65•λ2) |
(10) |
|
|
Q2T=±Tx•(0.5-0.217•λ)•(1+hпб/H1) |
(11) |
|
Горизонтальная нагрузка по оси Y: |
Qy м=+0.l•Dmax |
(12) |
|
Вертикальная нагрузка: |
N1м=Dmax |
(13) |
|
|
N2м=Dmin |
(14) |
|
где Dmax; Dmin; T- |
суммарные нагрузки от одного или двух мостовых кранов, см. таблицу докум. -012 лист 2; |
|
|
K- |
коэффициент K=Dmin/Dmax, принимаемый по таблице; |
|
|
Нст- |
полная высота стойки, Нст=Н2+0.15, м; |
|
|
H1, H2- |
габаритные отметки для стойки; |
|
|
e- |
эксцентриситет приложения нагрузок Dmax и Dmin относительно оси сечения стойки, е≈0.55 м; |
|
|
hпб- |
высота подкрановой балки и рельса по таблице докум. -011, м; |
|
1. На схеме показаны положительные направления нагрузок М, Qx.
2. Горизонтальная нагрузка Qy м прикладывается только к фундаментам связевых блоков.
3. При необходимости нагрузки уточнить путем статического расчета.

2. МОСТОВОЙ КРАН В ДВУХ ПРОЛЕТАХ
|
Опрокидывающий момент: |
Mм=MD+MT |
(1) |
|
где MD- |
момент от вертикального давления крана, |
|
|
МT- |
момент от поперечного торможения тележки крана. |
|
|
для крайней стойки: |
М1D=M•[1-1.72•λ2-K•(1.02•λ2+0.5)] |
(15) |
|
|
М1T=±1.3•Тх•Нcт•(0.5-0.217•λ)•(1+hпб/H1) |
(16) |
|
для средней стойки: |
М2D=M•(0.55• λ2+0.1•λ+0.5)•(K-1) |
(17) |
|
|
М2Т=±1.55•Тх•Нcт•(0.5-0.217•λ)•(1+hпб/H1) |
(18) |
Для расчета принимается максимальный момент М, определенный для опоры 1 и опоры 2.
|
Горизонтальная нагрузка по оси X: |
Qx м=QT+QD |
(7) |
|
где QD- |
горизонтальная сила, возникающая от вертикального давления крана, |
|
|
QT- |
горизонтальная сила, возникающая от торможения тележки крана |
|
|
для крайней стойки: |
Q1D=M/Нст•[1-1.72•λ2+K•(0.5-1.02• λ2)] |
(19) |
|
|
Q1T=±1.3•Tx•(0.5-0.217•λ)•(1+hпб/H1) |
(20) |
|
для средней стойки: |
Q2D=М/Нст•(K•(0.5-0.7•λ2)+0.7•λ2-0.5) |
(21) |
|
|
Q2T=±1.55•Tx•(0.5-0.217•λ)•(1+hпб/H1) |
(22) |
|
Горизонтальная нагрузка по оси Y: |
|
|
|
для крайней стойки: |
Q1ум=±0.1•Dmax |
(23) |
|
для средней стойки: |
Q2yм=±0.1•(D1max+D2max) |
(24) |
|
Вертикальная нагрузка: |
|
|
|
для крайней стойки: |
N1м=D1max |
(25) |
|
для средней стойки: |
N2м=D1max+D2max |
(26) |
НАГРУЗКИ НА РАМЫ ОТ МОСТОВЫХ КРАНОВ С УЧЕТОМ ВЕСА ПОДКРАНОВЫХ БАЛОК
|
Вид нагрузки, тс |
Количество кранов в пролете |
|||||
|
1 кран в пролете |
2 крана в пролете |
|||||
|
Грузоподъемность крана, т |
Грузоподъемность крана, т |
|||||
|
5 |
10 |
16 |
5 |
10 |
16 |
|
|
Dmax |
9.780 |
13.650 |
20.210 |
14.270 |
19.800 |
28.540 |
|
Dmin |
5.850 |
6.420 |
8.660 |
8.380 |
9.140 |
12.030 |
|
Тх |
0.433 |
0.855 |
1.368 |
0.741 |
1.460 |
2.330 |
1. Условние обозначения, коэффициенты см. лист 1.
2. На схеме показаны положительные направления нагрузок М, Qx.
3. Горизонтальная нагрузка Qy м прикладывается только к фундаментам связевых блоков.
4. При необходимости нагрузки уточнить путем статического расчета.
1. Проектирование связевых блоков в зданиях без кранов или оборудованных подвесными кранами производится в соответствии с положениями, приведенными в выпуске 0-1 настоящей серии. При этом замена распорок по нижнему поясу ригеля на гибкие растяжки не допускается.
2. Вертикальные связи и распорки в зданиях без кранов или с подвесными кранами по двухветвевым стойкам устанавливаются в плоскости каждой ветви стойки.
3. В зданиях с мостовыми опорными кранами расстановка связевых блоков производится в соответствии со схемами, приведенными в настоящем выпуске, в зависимости от длины здания. Связевый блок (горизонтальные связи по покрытию, вертикальные связи по колоннам и распорки) устанавливается в середине температурного блока, кроме того, в крайних шагах рам устанавливаются горизонтальные связи по покрытию и вертикальные связи по надкрановым частям колонн.
4. В здании с мостовыми опорными кранами связевый блок состоит из распорок и жестких вертикальных связей по крайним и средним стойкам и гибких связей по ригелям рам. В зданиях с мостовыми кранами грузоподъемностью 5 т с режимом работы 1К-5К допускается установка гибких предварительно напряженных вертикальных связей из круглой стали С255 Ø24 мм, усилие предварительного натяжения связей 3,0 тс.
5. Жесткие двухветвевые решетчатые связи выполняются из профилей стальных гнутых замкнутых сварных квадратных и прямоугольных по ГОСТ 30245-2003 (далее - гнутосварные трубы).
6. Распорки в связевом блоке выполняются двухветвевыми решетчатыми и одноветвевыми из гнутосварных труб. В шагах, расположенных между связевыми блоками, устанавливаются одноветвевые распорки по каждой ветви стойки. Раскрепление ригелей рам между связевыми блоками производится одноветвевыми распорками.
7. Сечения элементов связевых блоков (гибких горизонтальных и жестких вертикальных связей и распорок) приведены в сортаменте в документе -022 настоящего выпуска.
Схемы расположения блоков горизонтальных и вертикальных связей для бескрановых зданий или зданий с подвесным крановым оборудованием принимаются по схемам выпуска 0-1 настоящей серии.
На листе даны схемы для зданий, оборудованных мостовыми кранами и с сейсмичностью до 6 баллов включительно.



1. H1 - отметка низа подкрановой балки.
2. Максимальная длина температурного блока для зданий, оборудованных мостовыми кранами, не более 96 м.
3. Вертикальные связи в многопролетных зданиях устанавливаются по крайним и средним стойкам.

1. Схемы вертикальных связей зависят от высоты стойки.
2. Сортамент распорок и гибких связей см. докум. 0-1-043 и 0-1-044.
3. Н2=Н+1.2 м, где Н - отметка низа ригеля на крайней опоре.

1. Схемы вертикальных связей зависят от высоты стойки.
2. Сортамент распорок и гибких связей см. докум. 0-1-043 и 0-1-044.
3. Н2=Н+1.2 м, где Н - отметка низа ригеля на крайней опоре.

1. Схемы вертикальных связей зависят от высоты стойки.
2. Сортамент распорок и гибких связей см. докум. 0-1-043 и 0-1-044.
3. Н2=H+1.2+0.1Lmax, где Н - отметка низа ригеля на крайней опоре,
Lmax - величина большего пролета с учетом осевой привязки стойки.

1. В зданиях с мостовыми кранами устанавливаются жесткие вертикальные связи марки СВР.
При грузоподъемности кранов 5 т с режимами работы 1К-5К допускается установка гибких вертикальных связей СВ из круглой стали С255 Ø24 мм с усилием предварительного натяжения 3.0 т. Расстановку гибких вертикальных связей выполнять по типу схем, приведенных в докум. -015 и -016. Раскрепление стоек распорками производить в соответствии со схемами на данном листе.
2. Сечения распорок и жестких вертикальных связей см. докум. -022.

1. В зданиях с мостовыми кранами устанавливаются жесткие вертикальные связи марки СВР. При грузоподъемности кранов 5 т с режимами работы 1К-5К допускается установка гибких вертикальных связей СВ из круглой стали С255 Ø24 мм с усилием предварительного натяжения 3.0 тс. Расстановку гибких вертикальных связей выполнять по типу схем, приведенных в докум. -015 и -016. Раскрепление стоек распорками производить в соответствии со схемами на данном листе.
2. Сечения распорок и жестких вертикальных связей см. докум. -022.




|
УСЛОВНЫЕ ОБОЗНАЧЕНИЯ: |
|
|
Решетчатая распорка РРС |
|
|
Распорка PC |
|
|
Связь горизонтальная СГ |
|




|
УСЛОВНЫЕ ОБОЗНАЧЕНИЯ: |
|
|
Распорка PC |
|
1. Коньковые прогоны включены в связевую систему и выполняют роль распорок.
2. Распорки на стойках показаны условно.
|
Марка |
ЭСКИЗ |
Код ветровой нагрузки |
Номер позиции |
Сечение |
Наименование стали |
Масса марки, кг |
|
PC |
|
1 2 |
1 |
□120×4 |
С255 |
88 |
|
2 |
-t10 |
С255 |
||||
|
|
|
|
||||
|
|
|
|
||||
|
|
|
|
||||
|
РРС (см. прим. п. 3) |
|
1 |
1 |
□120×4 |
С255 |
323 |
|
2 |
□80×4 |
С255 |
||||
|
3 |
-t10 |
С255 |
||||
|
2 |
1 |
□140×4 |
С255 |
354 |
||
|
2 |
□80×4 |
С255 |
||||
|
3 |
-t10 |
С255 |
||||
|
|
|
|
||||
|
|
|
|
||||
|
|
|
|
||||
|
|
|
|
||||
|
|
|
|
||||
|
|
|
|
||||
|
СГ |
|
1 |
1 |
Ø20 |
С255, С345 |
26 |
|
2 |
-t12 |
C255 |
||||
|
2 |
1 |
Ø24 |
С255, С345 |
36 |
||
|
2 |
-t12 |
С255 |
||||
|
|
|
|
||||
|
СВТ |
|
1 2 |
1 |
□140×4 |
С255 |
113 |
|
2 |
-t10 |
С255 |
||||
|
|
|
|
||||
|
|
|
|
||||
|
|
|
|
||||
|
СВР |
|
1 2 |
1 |
□140×4 |
С255 |
614 |
|
2 |
□80×4 |
С255 |
||||
|
3 |
-t10 |
С255 |
||||
|
|
|
|
||||
|
|
|
|
||||
|
|
|
|
||||
|
|
|
|
||||
|
|
|
|
||||
|
|
|
|
1. Распорки выполнены из гнутосварных труб по ГОСТ 30245-2003.
Гибкие связи выполнены из круглой стали по ГОСТ 2590-88.
2. Конфигурацию решетки распорки в зависимости от высоты h см. докум. 0-1-043.
3. Распорки РРС по покрытию всегда имеют сечение □120×4.
4. Усилие предварительного натяжения гибкой связи
из стали С255: Ø20 - 2.0 тс, Ø24 - 3.0 тс;
из стали С345: Ø20 - 2.5 тс, Ø24 - 3.5 тс;
ТОРЦЕВОЙ ФАХВЕРК
1. Фахверк в зданиях без кранов и с подвесными кранами может быть несущим или самонесущим. В зданиях с опорными кранами применяется только самонесущий фахверк с установкой поперечных рам на крайних осях.
2. Размещение стоек несущего и самонесущего торцевых фахверков выполняется в соответствии со схемами, приведенными в данном документе.
3. При высоте стоек в коньке здания до 16 м проектирование фахверков производится по выпуску 0-1 настоящей серии. Схемы раскрепления стоек распорками и вертикальными связями см докум. 0-1-048 и 0-1-049. Сечения балок и стоек высотой до 16 м несущего и самонесущего фахверков принимаются по сортаменту в зависимости от типа фахверка, его высоты и действующих нагрузок, включая нагрузки от подвесных кранов см. докум. с 0-1-050 по 0-1-053.
4. Для стоек фахверка высотой 16...18 м схемы раскрепления стоек распорками и вертикальными связями приведены в докум. -024 настоящего выпуска.
5. Дополнительный сортамент для стоек фахверка высотой 16... 18 м приведен в докум. -025.
СХЕМЫ РАЗМЕЩЕНИЯ СТОЕК И БАЛОК ФАХВЕРКА ДЛЯ ОДНО- И ДВУХПРОЛЕТНЫХ ЗДАНИЙ





1. На данном листе представлены схемы несущих и самонесущих фахверков для одно- и двухпролетных зданий при высоте стоек фахверка 16...18 м.
2. Сечение стоек фахверка подбирается по сортаментам: для стоек высотой до 16 м см. выпуск 0-1 настоящей серии, для стоек высотой более 16 м см. табл. 1, докум. -025. Сечение принимается для всех стоек данного фахверка одинаковым. Допускается назначать сечение стоек в соответствии с их фактической высотой и действующими на них нагрузками (включая крановые).
3. Сечения элементов связевого блока несущего фахверка подбираются по сортаментам:
- для распорок см. докум. -022;
- для вертикальных связей см. докум. -025.
4. Сечения элементов связевого блока самонесущего фахверка принимаются минимальными по таблицам 1 и 2 докум. 0-1-044.
СХЕМА НЕСУЩЕГО ФАХВЕРКА

СХЕМА САМОНЕСУЩЕГО ФАХВЕРКА



СОРТАМЕНТ СТОЕК ФАХВЕРКА
|
Высота стойки фахверка, м |
Гнутосварные трубы по ГОСТ 30245-2003. Сечение b×h×t, мм |
|
16.0<Нсф≤18.0 |
300×300×8 |
1. Данный сортамент распространяется на все типы стоек фахверка (несущие, несущие крановые, самонесущие).
2. Применяемая сталь С255 по ГОСТ 27772-88.
СОРТАМЕНТ ГИБКИХ ВЕРТИКАЛЬНЫХ СВЯЗЕЙ ПО ФАХВЕРКУ

|
Высота стойки фахверка, м |
Ветровой район по СНиП 2.01.07-85* |
Марка стали |
|||
|
С255 |
С345 |
||||
|
d, мм |
Nнат, тс |
d, мм |
Nнат, тс |
||
|
Нсф≤15.6 |
III; IV |
20 |
2.0 |
20 |
2.5 |
|
Нсф>15.6 |
III |
20 |
2.0 |
20 |
2.5 |
|
IV |
24 |
3.0 |
20 |
3.5 |
|
1. В таблице:
d, мм - сечение гибкой связи;
Nнат - усилие предварительного натяжения гибких связей.
2. Гибкая связь выполнена из круглой стали по ГОСТ 2590-88.
1. В зданиях с каркасами УНИТЕК выпуск 0-2 могут применяться:
- подвесные краны;
- мостовые краны.
Грузоподъемность, режимы работы и параметры на краны представлены в таблице.
|
Тип крана |
Грузоподъемность крана, т |
Режим работы по ГОСТ 25546-82 |
Пролет крана, м |
Длина консоли, м (для справки) |
|
Подвесные краны |
1, 3.2, 5 |
1К-3К |
6; 9; 12; 15 |
0.6-1.5 |
|
Мостовые краны общего назначения |
5 |
1К-5К |
10.5; 16.5 |
|
|
10 |
1К-5К |
|
||
|
16 |
1К-5К |
|
2. Габаритные отметки рам для зданий с мостовыми кранами в зависимости от грузоподъемности крана приведены в табл. 8 докум. ПЗ, лист 6.
3. Допустимые габариты подвесных кранов (пролет крана и длина консоли) для различных пролетов рам приведены в докум. -028.
4. В настоящем выпуске предусмотрены 2 схемы размещения подвесных кранов:
вариант "а" - для зданий пролетом 12 м с краном пролетом 9 м;
- для зданий пролетом 18 м с краном пролетом 15 м;
вариант "б" - для зданий пролетом 12 м с краном пролетом 6 м;
- для зданий пролетом 18 м с краном пролетом 12 м;
Схемы подвески кранов см. докум. -028.
5. Сортамент подвесных путей, а так же сортамент элементов для крепления подвесных путей на фахверке и данные для узлов крепления подвесных путей приведены в выпуске 0-1 настоящей серии.
6. Схемы размещения путей мостовых кранов приведены в документе -027.
7. Подкрановые балки под мостовые краны в каркасах УНИТЕК выполняются сварными или прокатными. Сварные подкрановые балки приняты по серии 1.426.2-7 "Балки подкрановые стальные под мостовые опорные краны", выпуск 3. Сортамент прокатных подкрановых балок приведен в таблице докум. -027.
8. Узлы крепления подкрановых балок к колоннам и между собой выполняются в соответствии с серией 1.426.2-7 "Балки подкрановые стальные под мостовые краны", выпуск 3.
9. Для подкрановых путей мостовых кранов следует применять специальные крановые рельсы КР70 или железнодорожные Р43 или любые другие под нагрузку не более 30 тс.

1. Сортамент сварных подкрановых балок см. серию 1.426.2-7 "Балки подкрановые стальные под мостовые опорные краны" выпуск 3.
2. Сортамент прокатных подкрановых балок см. таблицу, приведенную ниже. Общий вид прокатных подкрановых балок и дополнительные элементы (опорные ребра, ребра жесткости, планки и т.д.) должны соответствовать сварным балкам по серии 1.426.2-7 "Балки подкрановые стальные под мостовые опорные краны" выпуск 3.
3.Стали для подкрановых балок принимаются для климатических районов с расчетной температурой:
до - 40°С - С255 по ГОСТ 27772-88;
-40°С>t≥-50°С - С345 по ГОСТ 27772-88.
4. Узлы крепления крановых рельсов и стык рельсов см. узел 67 докум. -070 и узел 68 докум. -071.
СОРТАМЕНТ ПРОКАТНЫХ ПОДКРАНОВЫХ БАЛОК
|
Элемент конструкции |
Сечение подкрановой балки для кранов грузоподъемностью, т |
|
|
5; 10 |
16 |
|
|
Двутавры стальные горячекатанные по ГОСТ 26020-83 |
I40Ш1 |
I50Ш2 |



1. ур.г.р. - уровень головки рельса (по ГОСТ 21.101-97).
2. В зданиях с мостовыми кранами вертикальные связи приняты жесткие диагональные, при использовании кранов грузоподъемностью 5т с режимами работы 1К-5К допускаются крестовые гибкие вертикальные связи из круглой стали С255 Ø24 мм. Усилие натяжения гибких связей - 3.0 тс.
3. Сортамент связей и распорок см. докум. -022.

• Н - отметка низа ригеля
• Нк - отметка низа балки подвесных путей
• Нс - ширина крайней стойки по наружным граням
ПАРАМЕТРЫ ПОДВЕСНЫХ КРАНОВ
|
Пролет рамы L, м |
Количество пролетов рамы |
Грузоподъемность крана, т |
Пролет крана Lкр, м |
Длина консоли крана Lк, m |
Примечание |
|
12 |
1 |
1; 3.2; 5 |
6 |
0.6; 0.9; |
|
|
1 |
1; 3.2; 5 |
9 |
0.6 |
|
|
|
2 |
1; 3.2; 5 |
6 |
0.6; 0.9 |
|
|
|
2 |
1; 3.2; 5 |
9 |
0.6 (при Нс=900 мм) |
|
|
|
0.9 (при Нс=240 мм) |
|
||||
|
18 |
1 |
1; 3.2; 5 |
12 |
0.6; 0.9; 1.2; 1.5 |
|
|
1 |
1; 3.2; 5 |
15 |
0.6 |
|
|
|
2 |
1; 3.2; 5 |
12 |
0.6; 0.9; 1.2; 1.5 |
|
|
|
2 |
1; 3.2; 5 |
15 |
0.6 (при Нс=900 мм) |
|
|
|
0.9 (при Нс=240 мм) |
|
1. Запрещается использовать краны с пролетами, отличными от указанных в таблице, для соответствующих пролетов рам.
2. Схемы размещения и сортамент подвесных путей, сортамент элементов крепления подвесных путей на фахверке и данные для узлов их крепления определяется по выпуску 0-1 настоящей серии.
3. Варианты "а" и "б" отличаются подвеской кранов:
- вариант "а" - подвеска подкрановых путей в крайних узлах нижнего пояса ригеля, для кранов пролетом 9 и 15 м;
- вариант "б" - подвеска подкрановых путей посередине первой панели нижнего пояса ригеля, для кранов пролетом 6 и 12 м.
СОРТАМЕНТ ЭЛЕМЕНТОВ РАМ
1. Сортамент элементов рам содержит сортаменты крайних, средних стоек рам и ригелей рам. Элементы рам выполнены из гнутосварных труб по ГОСТ 30245-2003.
2. Категория стали элементов рам назначается по таблице в зависимости от климатического района строительства.
|
Климатические районы |
Расчетная температура района строительства, °С |
Сталь |
|
II4, II5 |
-30°С>t≥-40°С |
С345-3 |
|
I2, II2 и II3 |
-40°С>t≥-50°С |
С345-3 |
|
I1 |
-50°С>t≥-65°С |
С345-4 |
3. Подбор сечений крайних и средних стоек рам производится по сортаменту в зависимости от кода вертикальной нагрузки, кода крановой нагрузки, модификации рамы, высоты стоек
и пролета рам.
4. Подбор сечений ригелей рам производится по сортаменту в зависимости от кода вертикальной нагрузки, кода крановой нагрузки и пролета рамы.
В настоящем выпуске приводится 2 варианта ("а" и "б") ригелей рам для зданий с подвесными кранами, которые отличаются друг от друга пролетом подвески крана при всех прочих равных условиях. Схемы подвески кранов см. документ -028.
Вариант "а" - для зданий пролетом 12 м с краном пролетом Lкр=9 м;
- для зданий пролетом 18 м с краном пролетом Lкр=15 м.
Вариант "б" - для зданий пролетом 12 м с краном пролетом Lкр=6 м;
- для зданий пролетом 18 м с краном пролетом Lкр=12 м.
Буквы "а" и "б" введены в маркировку ригелей.
5. В случае, когда двухпролетное здание в соседних пролетах оборудовано различными кранами (мостовой и подвесной) или кранами одного типа, но различной грузоподъемности, при выборе конструкций необходимо руководствоваться следующим:
- средние стойки выбираются по сортаментам для максимальной крановой нагрузки, действующей в одном из пролетов;
- крайние стойки и ригели при соответствующем обосновании допускается выбирать по сортаментам для крановой нагрузки, принадлежащей данному пролету.
|
Ориентация сечений элементов рам При выборе сечений стоек рам необходимо знать их ориентацию. Во всех сортаментах запись 100×200×6 соответствует b×h×t, где b - размер в плоскости рамы, мм; h - размер из плоскости рамы, мм; t - толщина трубы, мм. Запись 100×6 соответствует b×t, где b=h. |
На маркировочных схемах элементов рам приведена разбивка рам на отправочные элементы, которым присвоены начальные коды марок элементов. Начальные коды стоек: 4К1, 4К2, 5К1, 5К2. Начальные коды элементов ригелей: 4*Р1, 4*Р2, 5*Р1, 5*Р2. Вторая цифра в коде элементов определяет место элемента в конкретной раме. Значок * (звездочка) обозначает тип решетки ригеля (см. марку элемента ригеля). Полная марка элемента получается добавлением к начальному коду факторов, влияющих на сечение элемента. Для удобства пользования в сортаментах применяются сокращенные марки стоек рам и элементов ригеля.
Марка стойки

Пример:
5 К1.2х180.60-II-1 - крайняя стойка К1 рамы модификации 5 для двухпролетной рамы пролетом L=2x18 м, высотой до низа ригеля Н=6.0 м, код вертикальной нагрузки - II и код крановой нагрузки - 1 .
Сокращенная марка стойки

Марка ригеля

Примечание: Ригели рам модификации 4 могут выполняться в 3-х вариантах:
- без буквенного индекса - для зданий без кранового оборудования;
- с буквой "а" - для зданий с подвесным краном пролетом 9 и 15 м;
- с буквой "б" - для зданий с подвесным краном пролетом 6 и 12 м.
Пример: 41P1a.2×180-V-2 - ригель Р1 двухпролетной рамы пролетом L=2×18 м, модификации 4 с решеткой первого типа (для шага прогонов 3 м), исполнения "а" (для крана пролетом 15 м) при коде вертикальной нагрузки-V, коде крановой нагрузки - 2.
Сокращенная марка ригеля


Отметку H1 определить по табл. 8 докум. -ПЗ лист 6 в зависимости от грузоподъемности крана.

1, Крайние стойки двухпролетных рам до отметки Н=9.6 м включительно - одноветвевые. С отметки 10.8 м - двухветвевые. Монтажный стык по средней стойке К2 выполняется при отметке низа ригеля - 10.8 м.
2. Отметку H1 в зависимости от грузоподъемности крана определить по табл. 8 докум. -ПЗ лист 6.
4К1.120.60-* 4К1.180.60-*
4К1.120.72-* 4К1.180.72-*
4К1.120.84-* 4К1.180.84-*
4К1.120.96-* 4К1.180.96-*

СОРТАМЕНТ СТОЕК ОДНОПРОЛЕТНЫХ РАМ
4РТО120.60-*, 4РТО120.72-*,
4РТО120.84-*, 4РТО120.96-*
|
Код вертикал, нагрузки |
Код крановой нагрузки |
Гнутосварные трубы, b×h×t, мм |
Листовая сталь t, мм |
|||
|
Номер позиции |
||||||
|
1 |
2 |
3 |
|
|
||
|
III-V |
0 |
140×5 |
80×4 |
12 |
|
|
|
1 |
140×5 |
80×4 |
12 |
|
|
|
|
2 |
140×5 |
80×4 |
12 |
|
|
|
|
3 |
120×160×5 |
80×4 |
12 |
|
|
|
|
4 |
120×160×5 |
80×4 |
12 |
|
|
|
СОРТАМЕНТ СТОЕК ОДНОПРОЛЕТНЫХ РАМ
4РТО180.60-*, 4РТО180.72-*,
4РТО180.84-*, 4РТО180.96-*
|
Код вертикал, нагрузки |
Код крановой нагрузки |
Гнутосварные трубы, b×h×t, мм |
Листовая сталь t, мм |
|||
|
Номер позиции |
||||||
|
1 |
2 |
3 |
|
|
||
|
III-V |
0 |
140×5 |
80×4 |
12 |
|
|
|
1 |
140×5 |
80×4 |
12 |
|
|
|
|
2 |
120×160×5 |
80×4 |
12 |
|
|
|
|
3 |
120×160×5 |
80×4 |
12 |
|
|
|
|
4 |
120×160×5 |
80×4 |
12 |
|
|
|
4К1.120.108-* 4К1.120.132-*
4К1.120.120-* 4К1.120.144-*
4K1.2×l20.108-* 4K1.2×l20.132-*
4К1.2×120.120-* 4К1.2×120.144-*
4К1.180.108-* 4К1.180.132-*
4К1.180.120-* 4К1.180.144-*
4К1.2×180.108-* 4K1.2×180.132-*
4К1.2×180.120-* 4К1.2×180.144-*

СОРТАМЕНТ КРАЙНИХ СТОЕК РАМ
4РТО120.108-*, 4РТМ2×120.108-*,
4РТО120.120-*, 4РТМ2×120.120-*
|
Код вертикал, нагрузки |
Код крановой нагрузки |
Гнутосварные трубы, b×h×t, мм |
Листовая сталь t, мм |
|||
|
Номер позиции |
||||||
|
1 |
2 |
3 |
|
|
||
|
III-V |
0 |
140×5 |
80×4 |
12 |
|
|
|
1 |
140×5 |
80×4 |
12 |
|
|
|
|
2 |
140×5 |
80×4 |
12 |
|
|
|
|
3 |
120×160×5 |
80×4 |
12 |
|
|
|
|
4 |
120×160×5 |
80×4 |
12 |
|
|
|
СОРТАМЕНТ КРАЙНИХ СТОЕК РАМ
4РТО180.108-*, 4РТМ2×180.108-*,
4РТО180.120-*. 4РТМ2×180.120-*
|
Код вертикал, нагрузки |
Код крановой нагрузки |
Гнутосварные трубы, b×h×t, мм |
Листовая стань t, мм |
|||
|
Номер позиции |
||||||
|
1 |
2 |
3 |
|
|
||
|
III-V |
0 |
140×5 |
80×4 |
12 |
|
|
|
1 |
140×5 |
80×4 |
12 |
|
|
|
|
2 |
120×160×5 |
80×4 |
12 |
|
|
|
|
3 |
120×160×5 |
80×4 |
12 |
|
|
|
|
4 |
120×160×5 |
80×4 |
12 |
|
|
|
СОРТАМЕНТ КРАЙНИХ СТОЕК РАМ
4РТО120.132-*, 4РТМ2×120.132-*,
4РТО120.144-*, 4РТМ2×120.144-*
|
Код вертикал, нагрузки |
Код крановой нагрузки |
Гнутосварные трубы, b×h×t, мм |
Листовая сталь t, мм |
|||
|
Номер позиции |
||||||
|
1 |
2 |
3 |
|
|
||
|
III-V |
0 |
120×160×5 |
80×4 |
12 |
|
|
|
1 |
120×160×5 |
80×4 |
12 |
|
|
|
|
2 |
120×160×5 |
80×4 |
12 |
|
|
|
|
3 |
140×160×5 |
80×4 |
12 |
|
|
|
|
4 |
140×180×5 |
100×4 |
12 |
|
|
|
СОРТАМЕНТ КРАЙНИХ СТОЕК РАМ
4РТО180.132-*, 4РТМ2×180.132-*,
4РТО180.144-* 4РТМ2×180.144-*
|
Код вертикал, нагрузки |
Код крановой нагрузки |
Гнутосварные трубы, b×h×t, мм |
Листовая сталь t, мм |
|||
|
Номер позиции |
||||||
|
1 |
2 |
3 |
|
|
||
|
III-V |
0 |
120×160×5 |
80×4 |
12 |
|
|
|
1 |
140×160×5 |
80×4 |
12 |
|
|
|
|
2 |
160×5 |
80×4 |
12 |
|
|
|
|
3 |
160×5 |
80×4 |
12 |
|
|
|
|
4 |
140×180×5 |
100×4 |
12 |
|
|
|
4К1.2×120.60-*
4К1.2×120.72-*
4К1.2×180.60-*
4К1.2×180.72-*
4К1.2×120.84-*
4К1.2×120.96-*
4К1.2×180.84-*
4К1.2×180.96-*

СОРТАМЕНТ КРАЙНИХ СТОЕК ДВУХПРОЛЕТНЫХ РАМ
4РТМ2×120.60-* 4РТМ2×120.72-*
|
Код вертикал, нагрузки |
Код крановой нагрузки |
Гнутосварные трубы, b×h×t, мм |
Листовая сталь t, мм |
||
|
Номер позиции |
|||||
|
1 |
2 |
|
|
||
|
III-V |
0 |
200×160×6 |
12 |
|
|
|
1 |
200×160×6 |
12 |
|
|
|
|
2 |
200×160×6 |
12 |
|
|
|
|
3 |
200×160×6 |
12 |
|
|
|
|
4 |
200×160×6 |
12 |
|
|
|
СОРТАМЕНТ КРАЙНИХ СТОЕК ДВУХПРОЛЕТНЫХ РАМ
4РТМ2×180.60-* 4РТМ2×180.72-*
|
Код вертикал, нагрузки |
Код крановой нагрузки |
Гнутосварные трубы, b×h×t, мм |
Листовая сталь t, мм |
||
|
Номер позиции |
|||||
|
1 |
2 |
|
|
||
|
III-V |
0 |
200×160×6 |
12 |
|
|
|
1 |
200×160×6 |
12 |
|
|
|
|
2 |
240×160×6 |
12 |
|
|
|
|
3 |
240×160×6 |
12 |
|
|
|
|
4 |
240×160×6 |
12 |
|
|
|
СОРТАМЕНТ КРАЙНИХ СТОЕК ДВУХПРОЛЕТНЫХ РАМ
4РТМ2×120.84-* 4PTM2×120.96-*
|
Код вертикал, нагрузки |
Код крановой нагрузки |
Гнутосварные трубы, b×h×t, мм |
Листовая сталь t, мм |
||
|
Номер позиции |
|||||
|
1 |
2 |
|
|
||
|
III-V |
0 |
240×160×6 |
12 |
|
|
|
1 |
240×160×6 |
12 |
|
|
|
|
2 |
240×160×6 |
12 |
|
|
|
|
3 |
240×160×6 |
12 |
|
|
|
|
4 |
240×160×8 |
12 |
|
|
|
СОРТАМЕНТ КРАЙНИХ СТОЕК ДВУХПРОЛЕТНЫХ РАМ
4РТМ2×180.84-* 4РТМ2×180.96-*
|
Код вертикал, нагрузки |
Код крановой нагрузки |
Гнутосварные трубы, b×h×t, мм |
Листовая сталь t, мм |
||
|
Номер позиции |
|||||
|
1 |
2 |
|
|
||
|
III-V |
0 |
240×160×6 |
12 |
|
|
|
1 |
240×160×8 |
12 |
|
|
|
|
2 |
240×160×8 |
12 |
|
|
|
|
3 |
240×160×8 |
12 |
|
|
|
|
4 |
240×160×8 |
12 |
|
|
|
4К2.2×120.60-*
4K2.2×120.72-*
4К2.2×180.60-*
4K2.2×180.72-*

СОРТАМЕНТ СРЕДНИХ СТОЕК ДВУХПРОЛЕТНЫХ РАМ
4РТМ2×120.60-* 4РТМ2×120.72-*
|
Код вертикал нагрузки |
Код крановой нагрузки |
Гнутосварные трубы, b×h×t, мм |
Листовая сталь t, мм |
|||
|
Номер позиции |
||||||
|
1 |
2 |
3 |
|
|
||
|
III |
0 |
140×5 |
80×4 |
12 |
|
|
|
1 |
140×5 |
80×4 |
12 |
|
|
|
|
2 |
140×5 |
80×4 |
12 |
|
|
|
|
3 |
160×5 |
80×4 |
12 |
|
|
|
|
4 |
160×5 |
80×4 |
12 |
|
|
|
|
IV-V |
0 |
140×5 |
80×4 |
12 |
|
|
|
1 |
140×5 |
80×4 |
12 |
|
|
|
|
2 |
140×5 |
80×4 |
12 |
|
|
|
|
3 |
160×5 |
80×4 |
12 |
|
|
|
|
4 |
160×5 |
80×4 |
12 |
|
|
|
СОРТАМЕНТ СРЕДНИХ СТОЕК ДВУХПРОЛЕТНЫХ РАМ
4РТМ2×180.60-* 4PTM2×180.72-*
|
Код вертикал, нагрузки |
Код крановой нагрузки |
Гнутосварные трубы, b×h×t, мм |
Листовая сталь t, мм |
|||
|
Номер позиции |
||||||
|
1 |
2 |
3 |
|
|
||
|
III |
0 |
140×5 |
80×4 |
12 |
|
|
|
1 |
120×160×5 |
80×4 |
12 |
|
|
|
|
2 |
120×160×5 |
80×4 |
12 |
|
|
|
|
3 |
140×160×5 |
80×4 |
12 |
|
|
|
|
4 |
180×5 |
100×4 |
12 |
|
|
|
|
IV-V |
0 |
120×160×5 |
80×4 |
12 |
|
|
|
1 |
120×160×5 |
80×4 |
12 |
|
|
|
|
2 |
140×160×5 |
80×4 |
12 |
|
|
|
|
3 |
140×180×5 |
100×4 |
12 |
|
|
|
|
4 |
180×5 |
100×4 |
12 |
|
|
|
4K2.2×120.84-* 4K2.2×120.96-*
4K2.2×180.84-* 4К2.2×180.96-*

СОРТАМЕНТ СРЕДНИХ СТОЕК ДВУХПРОЛЕТНЬК РАМ
4РТМ2×120.84-* 4РТМ2×120.96-*
|
Код вертикал нагрузки |
Код крановой нагрузки |
Гнутосварные трубы, b×h×t, мм |
Листовая сталь t, мм |
|||
|
Номер позиции |
||||||
|
1 |
2 |
3 |
|
|
||
|
III |
0 |
160×5 |
80×4 |
12 |
|
|
|
1 |
160×5 |
80×4 |
12 |
|
|
|
|
2 |
140×180×5 |
100×4 |
12 |
|
|
|
|
3 |
180×5 |
100×4 |
12 |
|
|
|
|
4 |
180×6 |
100×4 |
12 |
|
|
|
|
IV-V |
0 |
160×5 |
80×4 |
12 |
|
|
|
1 |
140×180×5 |
100×4 |
12 |
|
|
|
|
2 |
140×180×5 |
100×4 |
12 |
|
|
|
|
3 |
180×6 |
100×4 |
12 |
|
|
|
|
4 |
180×6 |
100×4 |
12 |
|
|
|
СОРТАМЕНТ СРЕДНИХ СТОЕК ДВУХПРОЛЕТНЫХ РАМ
4РТМ2×180.84-* 4РТМ2×180.96-*
|
Код вертикал нагрузки |
Код крановой нагрузки |
Гнутосварные трубы, b×h×t, мм |
Листовая сталь t, мм |
|||
|
Номер позиции |
||||||
|
1 |
2 |
3 |
|
|
||
|
III |
0 |
140×5 |
80×4 |
12 |
|
|
|
1 |
120×160×5 |
80×4 |
12 |
|
|
|
|
2 |
120×160×5 |
80×4 |
12 |
|
|
|
|
3 |
140×160×5 |
80×4 |
12 |
|
|
|
|
4 |
100×200×6 |
100×4 |
12 |
|
|
|
|
IV-V |
0 |
120×160×5 |
80×4 |
12 |
|
|
|
1 |
120×160×5 |
80×4 |
12 |
|
|
|
|
2 |
140×160×5 |
80×4 |
12 |
|
|
|
|
3 |
100×200×6 |
100×4 |
12 |
|
|
|
|
4 |
100×200×6 |
100×4 |
12 |
|
|
|
4K2.2×120.108-* 4К2.2×120.120-*
4K2.2×180.108-* 4K2.2×180.120-*

СОРТАМЕНТ СРЕДНИХ СТОЕК ДВУХПРОЛЕТНЬЕК РАМ
4РТМ2×120.108* 4РТМ2×120.120-*
|
Код вертикал нагрузки |
Код крановой нагрузки |
Гнутосварные трубы, b×h×t, мм |
Листовая сталь t, мм |
|||
|
Номер позиции |
||||||
|
1 |
2 |
3 |
|
|
||
|
III |
0 |
140×5 |
80×4 |
12 |
|
|
|
1 |
140×5 |
80×4 |
12 |
|
|
|
|
2 |
140×5 |
80×4 |
12 |
|
|
|
|
3 |
120×160×5 |
80×4 |
12 |
|
|
|
|
4 |
120×160×5 |
80×4 |
12 |
|
|
|
|
IV-V |
0 |
140×5 |
80×4 |
12 |
|
|
|
1 |
140×5 |
80×4 |
12 |
|
|
|
|
2 |
140×5 |
80×4 |
12 |
|
|
|
|
3 |
120×160×5 |
80×4 |
12 |
|
|
|
|
4 |
120×160×5 |
80×4 |
12 |
|
|
|
СОРТАМЕНТ СРЕДНИХ СТОЕК ДВУХПРОЛЕТНЬК РАМ
РТМ2×180.108-* 4РТМ2×180.120-*
|
Код вертикал. нагрузки |
Код крановой нагрузки |
Гнутосварные трубы, b×h×t, мм |
Листовая сталь t, мм |
|||
|
Номер позиции |
||||||
|
1 |
2 |
3 |
|
|
||
|
III |
0 |
140×5 |
80×4 |
12 |
|
|
|
1 |
120×160×5 |
80×4 |
12 |
|
|
|
|
2 |
120×160×5 |
80×4 |
12 |
|
|
|
|
3 |
120×160×5 |
80×4 |
12 |
|
|
|
|
4 |
120×160×5 |
80×4 |
12 |
|
|
|
|
IV-V |
0 |
120×160×5 |
80×4 |
12 |
|
|
|
1 |
120×160×5 |
80×4 |
12 |
|
|
|
|
2 |
120×160×5 |
80×4 |
12 |
|
|
|
|
3 |
140×160×5 |
80×4 |
12 |
|
|
|
|
4 |
160×5 |
80×4 |
12 |
|
|
|
4K2.2×120.132-*
4K2.2×120.144-*
4K2.2×180.132-*
4K2.2×180.144-*

СОРТАМЕНТ СРЕДНИХ СТОЕК ДВУХПРОЛЕТНЬЕК РАМ
4РТМ2×120.132-* 4РТМ2×120.144-*
|
Код вертикал нагрузки |
Код крановой нагрузки |
Гнутосварные трубы, b×h×t, мм |
Листовая сталь t, мм |
|||
|
Номер позиции |
||||||
|
1 |
2 |
3 |
|
|
||
|
III |
0 |
140×5 |
80×4 |
12 |
|
|
|
1 |
120×160×5 |
80×4 |
12 |
|
|
|
|
2 |
120×160×5 |
80×4 |
12 |
|
|
|
|
3 |
140×160×5 |
80×4 |
12 |
|
|
|
|
4 |
160×5 |
80×4 |
12 |
|
|
|
|
IV-V |
0 |
140×5 |
80×4 |
12 |
|
|
|
1 |
120×160×5 |
80×4 |
12 |
|
|
|
|
2 |
140×160×5 |
80×4 |
12 |
|
|
|
|
3 |
160×5 |
80×4 |
12 |
|
|
|
|
4 |
140×180×5 |
100×4 |
12 |
|
|
|
СОРТАМЕНТ СРЕДНИХ СТОЕК ДВУХПРОЛЕТНЫХ РАМ
4РТМ2×180.132-* 4РТМ2×180.144-*
|
Код вертикал нагрузки |
Код крановой нагрузки |
Гнутосварные трубы, b×h×t, мм |
Листовая сталь t, мм |
|||
|
Номер позиции |
||||||
|
1 |
2 |
3 |
|
|
||
|
III |
0 |
140×5 |
80×4 |
12 |
|
|
|
1 |
140×5 |
80×4 |
12 |
|
|
|
|
2 |
120×160×5 |
80×4 |
12 |
|
|
|
|
3 |
120×160×5 |
80×4 |
12 |
|
|
|
|
4 |
120×160×5 |
80×4 |
12 |
|
|
|
|
IV-V |
0 |
120×160×5 |
80×4 |
12 |
|
|
|
1 |
120×160×5 |
80×4 |
12 |
|
|
|
|
2 |
120×160×5 |
80×4 |
12 |
|
|
|
|
3 |
140×160×5 |
80×4 |
12 |
|
|
|
|
4 |
160×5 |
80×4 |
12 |
|
|
|
5K1.120-84-*
5К1.120-96-*
5К1.180-84-*
5К1.180-96-*
5K1.2×120.84-*
5K1.2×120.96-*
5К1.2×180.84-*
5K1.2×180.96-*

СОРТАМЕНТ КРАЙНИХ СТОЕК РАМ
5РТО120.84-*, 5РТО120.96-*,
5РТМ2×120.84-*, 5PTM2×120.96-*
|
Код вертикал. нагрузки |
Код крановой нагрузки |
Гнутосварные трубы, b×h×t, мм |
Листовая сталь t, мм |
|||
|
Номер позиции |
||||||
|
1 |
2 |
3 |
|
|
||
|
III |
1 |
140×180×5 |
100×4 |
12 |
|
|
|
2 |
140×180×5 |
100×4 |
12 |
|
|
|
|
3 |
160×200×5 |
100×4 |
12 |
|
|
|
|
4 |
200×6 |
100×4 |
12 |
|
|
|
|
IV |
1 |
140×180×5 |
100×4 |
12 |
|
|
|
2 |
180×5 |
100×4 |
12 |
|
|
|
|
3 |
160×200×5 |
100×4 |
12 |
|
|
|
|
4 |
200×6 |
100×4 |
12 |
|
|
|
|
V |
1 |
140×180×5 |
100×4 |
12 |
|
|
|
2 |
180×5 |
100×4 |
12 |
|
|
|
|
3 |
160×200×5 |
100×4 |
12 |
|
|
|
|
4 |
200×6 |
100×4 |
12 |
|
|
|
СОРТАМЕНТ КРАЙНИХ СТОЕК РАМ
5РТО180.84-*, 5РТО180.96-*,
5РТМ2×180.84-*, 5РТМ2×180.96-*
|
Код вертикал, нагрузки |
Код крановой нагрузки |
Гнутосварные трубы, b х h × t, мм |
Листовая сталь t, мм |
|||
|
Номер позиции |
||||||
|
1 |
2 |
3 |
|
|
||
|
III |
1 |
100×200×6 |
100×4 |
12 |
|
|
|
2 |
100×200×6 |
100×4 |
12 |
|
|
|
|
3 |
160×200×5 |
100×4 |
12 |
|
|
|
|
4 |
200×6 |
100×4 |
12 |
|
|
|
|
IV |
1 |
100×200×6 |
100×4 |
12 |
|
|
|
2 |
160×200×5 |
100×4 |
12 |
|
|
|
|
3 |
160×200×5 |
100×4 |
12 |
|
|
|
|
4 |
200×6 |
100×4 |
12 |
|
|
|
|
V |
1 |
100×200×6 |
100×4 |
12 |
|
|
|
2 |
160×200×5 |
100×4 |
12 |
|
|
|
|
3 |
200×6 |
100×4 |
12 |
|
|
|
|
4 |
200×6 |
100×4 |
12 |
|
|
|
Независимо от нагрузок: поз. 4 - □140×5;
поз. 5 - □80×4.
5К1.120.108-* 5Kl.2×120.108-*
5К1.120.120-* 5К1.2×120.120-*
5К1.180.108-* 5Kl.2×180.108-*
5К1.180.120-* 5Kl.2×180.120-*

СОРТАМЕНТ КРАЙНИХ СТОЕК РАМ
5РТО120.108-*, 5РТО120.120-*,
5РТМ2×120.108-*, 5РТМ2×120.120-*
|
Код вертикал нагрузки |
Код крановой нагрузки |
Гнутосварные трубы, b×h×t, мм |
Листовая сталь t, мм |
|||
|
Номер позиции |
||||||
|
1 |
2 |
3 |
|
|
||
|
III |
1 |
120×160×5 |
80×4 |
12 |
|
|
|
2 |
120×160×5 |
80×4 |
12 |
|
|
|
|
3 |
160×5 |
80×4 |
12 |
|
|
|
|
4 |
180×5 |
100×4 |
12 |
|
|
|
|
IV |
1 |
120×160×5 |
80×4 |
12 |
|
|
|
2 |
120×160×5 |
80×4 |
12 |
|
|
|
|
3 |
160×5 |
80×4 |
12 |
|
|
|
|
4 |
180×5 |
100×4 |
12 |
|
|
|
|
V |
1 |
120×160×5 |
80×4 |
12 |
|
|
|
2 |
120×160×5 |
80×4 |
12 |
|
|
|
|
3 |
160×5 |
80×4 |
12 |
|
|
|
|
4 |
180×5 |
100×4 |
12 |
|
|
|
СОРТАМЕНТ КРАЙНИХ СТОЕК РАМ
5РТО180.108-*, 5РТО180.120-*,
5РТМ2×180.108-*, 5РТМ2×180.120-*
|
Код вертикал нагрузки |
Код крановой нагрузки |
Гнутосварные трубы, b×h×t, мм |
Листовая сталь t, мм |
|||
|
Номер позиции |
||||||
|
1 |
2 |
3 |
|
|
||
|
III |
1 |
120×160×5 |
80×4 |
12 |
|
|
|
2 |
120×160×5 |
80×4 |
12 |
|
|
|
|
3 |
140×180×5 |
100×4 |
12 |
|
|
|
|
4 |
160×200×5 |
100×4 |
12 |
|
|
|
|
|
1 |
120×160×5 |
80×4 |
12 |
|
|
|
2 |
120×160×5 |
80×4 |
12 |
|
|
|
|
3 |
140×180×5 |
100×4 |
12 |
|
|
|
|
4 |
160×200×5 |
100×4 |
12 |
|
|
|
|
V |
1 |
120×160×5 |
80×4 |
12 |
|
|
|
2 |
140×160×5 |
80×4 |
12 |
|
|
|
|
3 |
140×180×5 |
100×4 |
12 |
|
|
|
|
4 |
160×200×5 |
100×4 |
12 |
|
|
|
Независимо от нагрузок: поз. 4 - □140×5;
поз. 5 - □80×4.
5К1.120.132-*
5К1.120.144-*
5К1.180.132-*
5К1.180.144-*
5K1.2×120.132-*
5K1.2×120.144-*
5К1.2×180.132-*
5К1.2×180.144-*

СОРТАМЕНТ КРАЙНИХ СТОЕК РАМ
5РТО120.132-*, 5РТО120.144-*,
5РТМ2×120.132-*, 5РТМ2×120.144-*
|
Код вертикал. нагрузки |
Код крановой нагрузки |
Гнутосварные трубы, b×h×t, мм |
Листовая сталь t, мм |
|||
|
Номер позиции |
||||||
|
1 |
2 |
3 |
|
|
||
|
III |
1 |
120×160×5 |
80×4 |
12 |
|
|
|
2 |
120×160×5 |
80×4 |
12 |
|
|
|
|
3 |
140×180×5 |
100×4 |
12 |
|
|
|
|
4 |
180×6 |
100×4 |
12 |
|
|
|
|
IV |
1 |
120×160×5 |
80×4 |
12 |
|
|
|
2 |
120×160×5 |
80×4 |
12 |
|
|
|
|
3 |
140×180×5 |
100×4 |
12 |
|
|
|
|
4 |
180×6 |
100×4 |
12 |
|
|
|
|
V |
1 |
120×160×5 |
80×4 |
12 |
|
|
|
2 |
140×160×5 |
80×4 |
12 |
|
|
|
|
3 |
140×180×5 |
100×4 |
12 |
|
|
|
|
4 |
180×6 |
100×4 |
12 |
|
|
|
СОРТАМЕНТ КРАЙНИХ СТОЕК РАМ
5РТО180.132-*, 5РТО180.144-*,
5РТМ2×180.132-*, 5РТМ2×180.144-*
|
Код вертикал. нагрузки |
Код крановой нагрузки |
Гнутосварные трубы, b×h×t, мм |
Листовая сталь t, мм |
|||
|
Номер позиции |
||||||
|
1 |
2 |
3 |
|
|
||
|
III |
1 |
120×160×5 |
80×4 |
12 |
|
|
|
2 |
120×160×5 |
80×4 |
12 |
|
|
|
|
3 |
100×200×6 |
100×4 |
12 |
|
|
|
|
4 |
160×200×5 |
100×4 |
12 |
|
|
|
|
IV |
1 |
120×160×5 |
80×4 |
12 |
|
|
|
2 |
140×160×5 |
80×4 |
12 |
|
|
|
|
3 |
100×200×6 |
100×4 |
12 |
|
|
|
|
4 |
200×6 |
100×4 |
12 |
|
|
|
|
V |
1 |
120×160×5 |
80×4 |
12 |
|
|
|
2 |
140×160×5 |
80×4 |
12 |
|
|
|
|
3 |
160×200×5 |
100×4 |
12 |
|
|
|
|
4 |
200×6 |
100×4 |
12 |
|
|
|
Независимо от нагрузок: поз. 4 - □140×5;
поз. 5 - □80×4.
5K2.2×120.84-*
5К2.2×120.96-*
5К2.2×180.84-*
5K2.2×180.96-*

СОРТАМЕНТ СРЕДНИХ СТОЕК ДВУХПРОЛЕТНЬЕК РАМ
5РТМ2×120.84-* 5РТМ2×120.96-*
|
Код вертикал нагрузки |
Код крановой нагрузки |
Гнутосварные трубы, b×h×t, мм |
Листовая сталь t, мм |
|||
|
Номер позиции |
||||||
|
1 |
2 |
3 |
|
|
||
|
III |
1 |
140×180×5 |
100×4 |
12 |
|
|
|
2 |
180×5 |
100×4 |
12 |
|
|
|
|
3 |
200×6 |
100×4 |
12 |
|
|
|
|
4 |
200×8 |
100×4 |
12 |
|
|
|
|
IV |
1 |
140×180×5 |
100×4 |
12 |
|
|
|
2 |
180×5 |
100×4 |
12 |
|
|
|
|
3 |
200×6 |
100×4 |
12 |
|
|
|
|
4 |
200×8 |
100×4 |
12 |
|
|
|
|
V |
1 |
140×180×5 |
100×4 |
12 |
|
|
|
2 |
160×200×5 |
100×4 |
12 |
|
|
|
|
3 |
200×6 |
100×4 |
12 |
|
|
|
|
4 |
200×8 |
100×4 |
12 |
|
|
|
СОРТАМЕНТ СРЕДНИХ СТОЕК ДВУХПРОЛЕТНЫХ РАМ
5РТМ2×180.84-* 5РТМ2×180.96-*
|
Код вертикал нагрузки |
Код крановой нагрузки |
Гнутосварные трубы, b×h×t, мм |
Листовая сталь t, мм |
|||
|
Номер позиции |
||||||
|
1 |
2 |
3 |
|
|
||
|
III |
1 |
140×180×5 |
100×4 |
12 |
|
|
|
2 |
160×200×5 |
100×4 |
12 |
|
|
|
|
3 |
200×6 |
100×4 |
12 |
|
|
|
|
4 |
200×8 |
100×4 |
12 |
|
|
|
|
IV |
1 |
180×5 |
100×4 |
12 |
|
|
|
2 |
160×200×5 |
100×4 |
12 |
|
|
|
|
3 |
200×6 |
100×4 |
12 |
|
|
|
|
4 |
200×8 |
100×4 |
12 |
|
|
|
|
V |
1 |
180×5 |
100×4 |
12 |
|
|
|
2 |
200×6 |
100×4 |
12 |
|
|
|
|
3 |
200×6 |
100×4 |
12 |
|
|
|
|
4 |
200×8 |
100×4 |
12 |
|
|
|
5K2.2×120.108-*
5K2.2×120.120-*
5K2.2×180.108-*
5K2.2×180.120-*

СОРТАМЕНТ СРЕДНИХ СТОЕК ДВУХПРОЛЕТНЫХ РАМ
5РТМ2×120.108-* 5РТМ2×120.120-*
|
Код вертикал нагрузки |
Код крановой нагрузки |
Гнутосварные трубы, b×h×t, мм |
Листовая сталь t, мм |
|||
|
Номер позиции |
||||||
|
1 |
2 |
3 |
|
|
||
|
III |
1 |
140×5 |
80×4 |
12 |
|
|
|
2 |
160×5 |
80×4 |
12 |
|
|
|
|
3 |
180×5 |
100×4 |
12 |
|
|
|
|
4 |
200×6 |
100×4 |
12 |
|
|
|
|
IV |
1 |
140×5 |
80×4 |
12 |
|
|
|
2 |
160×5 |
80×4 |
12 |
|
|
|
|
3 |
180×5 |
100×4 |
12 |
|
|
|
|
4 |
200×6 |
100×4 |
12 |
|
|
|
|
V |
1 |
140×5 |
80×4 |
12 |
|
|
|
2 |
160×5 |
80×4 |
12 |
|
|
|
|
3 |
180×5 |
100×4 |
12 |
|
|
|
|
4 |
200×6 |
100×4 |
12 |
|
|
|
СОРТАМЕНТ СРЕДНИХ СТОЕК ДВУХПРОЛЕТНЫХ РАМ
5РТМ2×180.108-* 5РТМ2×180.120-*
|
Код вертикал нагрузки |
Код крановой нагрузки |
Гнутосварные трубы, b×h×t, мм |
Листовая сталь t, мм |
|||
|
Номер позиции |
||||||
|
1 |
2 |
3 |
|
|
||
|
III |
1 |
120×160×5 |
80×4 |
12 |
|
|
|
2 |
140×160×5 |
80×4 |
12 |
|
|
|
|
3 |
180×5 |
100×4 |
12 |
|
|
|
|
4 |
200×6 |
100×4 |
12 |
|
|
|
|
IV |
1 |
120×160×5 |
80×4 |
12 |
|
|
|
2 |
160×5 |
80×4 |
12 |
|
|
|
|
3 |
180×5 |
100×4 |
12 |
|
|
|
|
4 |
200×6 |
100×4 |
12 |
|
|
|
|
V |
1 |
140×160×5 |
80×4 |
12 |
|
|
|
2 |
160×5 |
80×4 |
12 |
|
|
|
|
3 |
160×200×6 |
100×4 |
12 |
|
|
|
|
4 |
200×6 |
100×4 |
12 |
|
|
|
5K2.2×120.132-*
5K2.2×120.144-*
5K2.2×180.132-*
5K2.2×180.144-*

СОРТАМЕНТ СРЕДНИХ СТОЕК ДВУХПРОЛЕТНЫХ РАМ
5РТМ2×120.132-* 5РТМ2×120.144-*
|
Код вертикал, нагрузки |
Код крановой нагрузки |
Гнутосварные трубы, b×h×t, мм |
Листовая сталь t, мм |
|||
|
Номер позиции |
||||||
|
1 |
2 |
3 |
|
|
||
|
III |
1 |
140×5 |
80×4 |
12 |
|
|
|
2 |
140×160×5 |
80×4 |
12 |
|
|
|
|
3 |
120×200×6 |
100×4 |
12 |
|
|
|
|
4 |
200×6 |
100×4 |
12 |
|
|
|
|
IV |
1 |
140×5 |
80×4 |
12 |
|
|
|
2 |
140×160×5 |
80×4 |
12 |
|
|
|
|
3 |
120×200×6 |
100×4 |
12 |
|
|
|
|
4 |
200×6 |
100×4 |
12 |
|
|
|
|
V |
1 |
140×5 |
80×4 |
12 |
|
|
|
2 |
140×160×5 |
80×4 |
12 |
|
|
|
|
3 |
120×200×6 |
100×4 |
12 |
|
|
|
|
4 |
200×8 |
100×4 |
12 |
|
|
|
СОРТАМЕНТ СРЕДНИХ СТОЕК ДВУХПРОЛЕТНЫХ РАМ
5РТМ2×180.132-* 5РТМ2×180.144-*
|
Код вертикал. нагрузки |
Код крановой нагрузки |
Гнутосварные трубы, b×h×t, мм |
Листовая сталь t, мм |
|||
|
Номер позиции |
||||||
|
1 |
2 |
3 |
|
|
||
|
III |
1 |
120×160×5 |
80×4 |
12 |
|
|
|
2 |
160×6 |
80×4 |
12 |
|
|
|
|
3 |
200×6 |
100×4 |
12 |
|
|
|
|
4 |
180×8 |
100×4 |
12 |
|
|
|
|
IV |
1 |
120×160×5 |
80×4 |
12 |
|
|
|
2 |
160×6 |
80×4 |
12 |
|
|
|
|
3 |
200×6 |
100×4 |
12 |
|
|
|
|
4 |
180×8 |
100×4 |
12 |
|
|
|
|
V |
1 |
160×5 |
80×4 |
12 |
|
|
|
2 |
160×6 |
80×4 |
12 |
|
|
|
|
3 |
200×6 |
100×4 |
12 |
|
|
|
|
4 |
200×8 |
100×4 |
12 |
|
|
|

СОРТАМЕНТ РИГЕЛЕЙ ОДНОПРОЛЕТНЫХ РАМ
4РТО120.*
|
Код вертикал. нагрузки |
Код крановой нагрузки |
Гнутосварные трубы, b×h×t, мм |
Листовая сталь t, мм |
||||
|
Номер позиции |
|||||||
|
1 |
2 |
3 |
4 |
5 |
|
||
|
III |
0 |
120×5 |
120×4 |
80×4 |
12 |
- |
|
|
1 |
120×5 |
120×4 |
80×4 |
12 |
- |
|
|
|
2 |
120×5 |
120×5 |
80×4 |
12 |
- |
|
|
|
3 |
140×5 |
120×5 |
80×4 |
12 |
- |
|
|
|
4 |
140×5 |
120×5 |
80×4 |
12 |
- |
|
|
|
IV |
0 |
120×5 |
120×5 |
80×4 |
12 |
- |
|
|
1 |
140×5 |
120×5 |
80×4 |
12 |
- |
|
|
|
2 |
140×5 |
120×5 |
80×4 |
12 |
- |
|
|
|
3 |
140×5 |
120×5 |
80×4 |
12 |
- |
|
|
|
4 |
140×5 |
120×5 |
80×4 |
12 |
- |
|
|
|
V |
0 |
140×5 |
120×5 |
100×4 |
12 |
- |
|
|
1 |
140×5 |
120×5 |
100×4 |
12 |
- |
|
|
|
2 |
140×5 |
120×5 |
100×4 |
12 |
- |
|
|
|
3 |
140×5 |
120×5 |
100×4 |
12 |
- |
|
|
|
4 |
140×5 |
120×5 |
100×4 |
12 |
- |
|
|
СОРТАМЕНТ РИГЕЛЕЙ ОДНОПРОЛЕТНЫХ РАМ
5РТО120.*
|
Код вертикал. нагрузки |
Код крановой нагрузки |
Гнутосварные трубы, b×h×t, мм |
Листовая сталь t, мм |
||||
|
Номер позиции |
|||||||
|
1 |
2 |
3 |
4 |
5 |
|
||
|
III |
1-4 |
120×5 |
120×4 |
80×4 |
12 |
- |
|
|
IV |
1-4 |
120×5 |
120×5 |
80×4 |
12 |
- |
|
|
V |
1-4 |
140×5 |
120×5 |
100×4 |
12 |
- |
|
1. Стойки, обозначенные на чертеже пунктиром, добавляются в решетку ригеля для марок 42Р1.120* , 42Р1а.120* и 52Р1.120* (для шага прогонов покрытия 1.5 м). Сечение стоек решетки принимается по поз. 3.
2. Вариант "а" для подвесного крана пролетом 15 м. Схему подвески крана см. докум. -028.

СОРТАМЕНТ РИГЕЛЕЙ ОДНОПРОЛЕТНЫХ РАМ
4РТО120.*
|
Код вертикал. нагрузки |
Код крановой нагрузки |
Гнутосварные трубы, b×h×t, мм |
Листовая сталь t, мм |
||||
|
Номер позиции |
|||||||
|
1 |
2 |
3 |
4 |
5 |
|
||
|
III |
1 |
120×5 |
120×4 |
80×4 |
12 |
- |
|
|
2 |
140×5 |
120×5 |
80×4 |
12 |
- |
|
|
|
3 |
140×5 |
120×5 |
80×4 |
12 |
- |
|
|
|
4 |
140×5 |
120×5 |
80×4 |
12 |
- |
|
|
|
IV |
1 |
140×5 |
120×5 |
80×4 |
12 |
- |
|
|
2 |
140×5 |
120×5 |
80×4 |
12 |
- |
|
|
|
3 |
140×5 |
120×5 |
80×4 |
12 |
- |
|
|
|
4 |
140×5 |
120×5 |
80×4 |
12 |
- |
|
|
|
V |
1 |
140×5 |
120×5 |
100×4 |
12 |
- |
|
|
2 |
140×5 |
120×5 |
100×4 |
12 |
- |
|
|
|
3 |
160×5 |
120×5 |
100×4 |
12 |
- |
|
|
|
4 |
160×5 |
120×5 |
100×4 |
12 |
- |
|
|
1. Стойки, обозначенные на чертеже пунктиром, добавляются в решетку ригеля для марок 42Р16.120* (для шага прогонов покрытия 1.5 м). Сечение стоек решетки принимается по поз. 3.
2. Вариант "б" для подвесного крана пролетом 6 м. Схему подвески крана см. докум. -028.

СОРТАМЕНТ РИГЕЛЕЙ ОДНОПРОЛЕТНЫХ РАМ
4РТО180.*
|
Код вертикал. нагрузки |
Код крановой нагрузки |
Гнутосварные трубы, b×h×t, мм |
Листовая сталь t, мм |
||||
|
Номер позиции |
|||||||
|
1 |
2 |
3 |
4 |
5 |
|
||
|
III |
0 |
140×5 |
120×5 |
80×4 |
12 |
20 |
|
|
1 |
140×5 |
120×5 |
80×4 |
12 |
20 |
|
|
|
2 |
140×5 |
120×5 |
80×4 |
12 |
20 |
|
|
|
3 |
140×5 |
120×5 |
80×4 |
12 |
20 |
|
|
|
4 |
140×6 |
120×5 |
80×4 |
12 |
20 |
|
|
|
IV |
0 |
160×5 |
140×5 |
100×4 |
12 |
20 |
|
|
1 |
160×5 |
140×5 |
100×4 |
12 |
20 |
|
|
|
2 |
160×5 |
140×5 |
100×4 |
12 |
20 |
|
|
|
3 |
160×5 |
140×5 |
100×4 |
12 |
20 |
|
|
|
4 |
160×5 |
140×5 |
100×4 |
12 |
20 |
|
|
|
V |
0 |
160×5 |
160×5 |
100×4 |
12 |
25 |
|
|
1 |
160×6 |
160×5 |
100×4 |
12 |
25 |
|
|
|
2 |
160×6 |
160×5 |
100×4 |
12 |
25 |
|
|
|
3 |
160×6 |
160×5 |
100×4 |
12 |
25 |
|
|
|
4 |
160×6 |
160×5 |
120×4 |
12 |
25 |
|
|
СОРТАМЕНТ РИГЕЛЕЙ ОДНОПРОЛЕТНЫХ РАМ
5РТО180.*
|
Код вертикал. нагрузки |
Код крановой нагрузки |
Гнутосварные трубы, b×h×t, мм |
Листовая сталь t, мм |
||||
|
Номер позиции |
|||||||
|
1 |
2 |
3 |
4 |
5 |
|
||
|
III |
1-4 |
140×5 |
120×5 |
80×4 |
12 |
20 |
|
|
IV |
1-4 |
160×5 |
140×5 |
100×4 |
12 |
20 |
|
|
V |
1-4 |
160×5 |
160×5 |
100×4 |
12 |
25 |
|
1. Стойки, обозначенные на чертеже пунктиром, добавляются в решетку ригеля для марок 42Р1.180* ,42Р1а.180* и 52Р1а.180* (для шага прогонов покрытия 1.5 м). Сечение стоек решетки принимается по поз. 3.
2. Вариант "а" для подвесного крана пролетом 15 м. Схему подвески крана см. докум. -028.

СОРТАМЕНТ РИГЕЛЕЙ ОДНОПРОЛЕТНЫХ РАМ 4РТО180.*
|
Код вертикал. нагрузки |
Код крановой нагрузки |
Гнутосварные трубы, b×h×t, мм |
Листовая сталь t, мм |
||||
|
Номер позиции |
|||||||
|
1 |
2 |
3 |
4 |
5 |
|
||
|
III |
1 |
140×5 |
120×5 |
80×4 |
12 |
20 |
|
|
2 |
160×5 |
120×5 |
80×4 |
12 |
20 |
|
|
|
3 |
160×5 |
120×5 |
80×4 |
12 |
20 |
|
|
|
4 |
160×6 |
140×5 |
80×4 |
12 |
20 |
|
|
|
IV |
1 |
160×5 |
140×5 |
100×4 |
12 |
20 |
|
|
2 |
160×5 |
140×5 |
100×4 |
12 |
20 |
|
|
|
3 |
160×6 |
140×5 |
100×4 |
12 |
20 |
|
|
|
4 |
160×6 |
160×5 |
100×4 |
12 |
20 |
|
|
|
V |
1 |
160×6 |
160×5 |
100×4 |
12 |
25 |
|
|
2 |
160×6 |
160×5 |
100×4 |
12 |
25 |
|
|
|
3 |
180×5 |
160×5 |
120×4 |
12 |
25 |
|
|
|
4 |
180×6 |
160×6 |
120×4 |
12 |
25 |
|
|
1. Стойки, обозначенные на чертеже пунктиром, добавляются в решетку ригеля для марки 42Р16.180* (для шага прогонов покрытия 1.5 м). Сечение стоек решетки принимается по поз. 3.
2. Вариант "б" для подвесного крана пролетом 12 м. Схему подвески крана см. докум. -028.
41Р1.2×120.* 42Р1.2×120.*
51Р1.2×120.* 52Р1.2×120.*

СОРТАМЕНТ РИГЕЛЕЙ ДВУХПРОЛЕТНЫХ РАМ
4РТМ2×120.*
|
Код вертикал. нагрузки |
Код крановой нагрузки |
Гнутосварные трубы, b×h×t, мм |
Листовая сталь t, мм |
||||
|
Номер позиции |
|||||||
|
1 |
2 |
3 |
4 |
5 |
|
||
|
III |
0 |
120×5 |
120×4 |
80×4 |
12 |
12 |
|
|
IV |
0 |
120×5 |
120×4 |
80×4 |
12 |
12 |
|
|
V |
0 |
140×5 |
120×5 |
100×4 |
12 |
12 |
|
СОРТАМЕНТ РИГЕЛЕЙ ДВУХПРОЛЕТНЫХ РАМ 5РТМ2х120.*
|
Код вертикал. нагрузки |
Код крановой нагрузки |
Гнутосварные трубы, b×h×t, мм |
Листовая сталь t, мм |
||||
|
Номер позиции |
|||||||
|
1 |
2 |
3 |
4 |
5 |
|
||
|
III |
1-4 |
120×5 |
120×4 |
80×4 |
12 |
12 |
|
|
IV |
1-4 |
120×5 |
120×4 |
80×4 |
12 |
12 |
|
|
V |
1-4 |
140×5 |
120×5 |
100×4 |
12 |
12 |
|
Стойки, обозначенные на чертеже пунктиром, добавляются в решетку ригеля для марки 42Р1.120* и 52Р1.120* (для шага прогонов покрытия 1.5 м). Сечение стоек решетки принимается по поз. 3.
41Р1а.2×120.* 42Р1а.2×120.*

СОРТАМЕНТ РИГЕЛЕЙ ДВУХПРОЛЕТНЫХ РАМ
4РТМ2×120.*
|
Код вертикал. нагрузки |
Код крановой нагрузки |
Гнутосварные трубы, b×h×t, мм |
Листовая сталь t, мм |
||||
|
Номер позиции |
|||||||
|
1 |
2 |
3 |
4 |
5 |
|
||
|
III |
1 |
120×5 |
120×4 |
80×4 |
12 |
12 |
|
|
2 |
120×5 |
120×5 |
80×4 |
12 |
12 |
|
|
|
3 |
120×5 |
120×5 |
80×4 |
12 |
12 |
|
|
|
4 |
120×5 |
120×5 |
80×4 |
12 |
12 |
|
|
|
IV |
1 |
140×5 |
120×5 |
80×4 |
12 |
12 |
|
|
2 |
140×5 |
120×5 |
80×4 |
12 |
12 |
|
|
|
3 |
140×5 |
120×5 |
80×4 |
12 |
12 |
|
|
|
4 |
140×5 |
120×5 |
80×4 |
12 |
12 |
|
|
|
V |
1 |
140×5 |
120×5 |
100×4 |
12 |
12 |
|
|
2 |
140×5 |
120×5 |
100×4 |
12 |
12 |
|
|
|
3 |
140×5 |
120×5 |
100×4 |
12 |
12 |
|
|
|
4 |
140×5 |
120×5 |
100×4 |
12 |
12 |
|
|
1. Стойки, обозначенные на чертеже пунктиром, добавляются в решетку ригеля для марки 42Р16.2×120* (для шага прогонов покрытия 1.5 м). Сечение стоек решетки принимается по поз. 3.
2. Вариант "а" для подвесного крана пролетом 9 м. Схему подвески крана см. докум. -028.
41Р1б.2×120.* 42Р1б.2×120.*

СОРТАМЕНТ РИГЕЛЕЙ ДВУХПРОЛЕТНЫХ РАМ 4РТМ2х120.*
|
Код вертикал. нагрузки |
Код крановой нагрузки |
Гнутосварные трубы, b×h×t, мм |
Листовая сталь t, мм |
||||
|
Номер позиции |
|||||||
|
1 |
2 |
3 |
4 |
5 |
|
||
|
III |
1 |
120×5 |
120×4 |
80×4 |
12 |
12 |
|
|
2 |
140×5 |
120×5 |
80×4 |
12 |
12 |
|
|
|
3 |
140×5 |
120×5 |
80×4 |
12 |
12 |
|
|
|
4 |
140×5 |
120×5 |
80×4 |
12 |
12 |
|
|
|
IV |
1 |
140×5 |
120×5 |
80×4 |
12 |
12 |
|
|
2 |
140×5 |
120×5 |
80×4 |
12 |
12 |
|
|
|
3 |
140×5 |
120×5 |
80×4 |
12 |
12 |
|
|
|
4 |
140×5 |
120×5 |
80×4 |
12 |
12 |
|
|
|
V |
1 |
140×5 |
120×5 |
100×4 |
12 |
12 |
|
|
2 |
140×5 |
120×5 |
100×4 |
12 |
12 |
|
|
|
3 |
160×5 |
120×5 |
100×4 |
12 |
12 |
|
|
|
4 |
160×5 |
120×5 |
100×4 |
12 |
12 |
|
|
1. Стойки, обозначенные на чертеже пунктиром, добавляются в решетку ригеля для марки 42Р16.2×120* (для шага прогонов покрытия 1.5 м). Сечение стоек решетки принимается по поз. 3.
2. Вариант "б" для подвесного крана пролетом 6 м. Схему подвески крана см. докум. -028.
41Р1.2×180.* 41Р1а.2×180.* -42Р1.2×180.* 42Р1а.2×180.*
51Р1.2×180.* 52Р1.2×180.*

СОРТАМЕНТ РИГЕЛЕЙ ДВУХПРОЛЕТНЫХ РАМ
4РТМ2×180.*
|
Код вертикал. нагрузки |
Код крановой нагрузки |
Гнутосварные трубы, b×h×t, мм |
Листовая сталь t, мм |
||||
|
Номер позиции |
|||||||
|
1 |
2 |
3 |
4 |
5 |
|
||
|
III |
0 |
160×5 |
120×5 |
80×4 |
12 |
16 |
|
|
1 |
160×5 |
120×5 |
80×4 |
12 |
16 |
|
|
|
2 |
160×5 |
120×5 |
80×4 |
12 |
16 |
|
|
|
3 |
160×5 |
120×5 |
80×4 |
12 |
20 |
|
|
|
4 |
160×5 |
120×5 |
100×4 |
12 |
20 |
|
|
|
IV |
0 |
160×6 |
120×5 |
80×4 |
12 |
20 |
|
|
1 |
160×6 |
120×5 |
80×4 |
12 |
20 |
|
|
|
2 |
160×6 |
120×5 |
80×4 |
12 |
20 |
|
|
|
3 |
160×6 |
120×5 |
80×4 |
12 |
20 |
|
|
|
4 |
160×6 |
120×5 |
100×4 |
12 |
20 |
|
|
|
V |
0 |
180×6 |
140×5 |
100×4 |
12 |
20 |
|
|
1 |
180×6 |
140×5 |
100×4 |
12 |
20 |
|
|
|
2 |
180×6 |
140×5 |
100×4 |
12 |
20 |
|
|
|
3 |
180×6 |
140×5 |
100×4 |
12 |
20 |
|
|
|
4 |
180×6 |
140×5 |
100×4 |
12 |
25 |
|
|
СОРТАМЕНТ РИГЕЛЕЙ ДВУХПРОЛЕТНЫХ РАМ
5РТМ2×180.*
|
Код вертикал. нагрузки |
Код крановой нагрузки |
Гнутосварные трубы, b×h×t, мм |
Листовая сталь t, мм |
||||
|
Номер позиции |
|||||||
|
1 |
2 |
3 |
4 |
5 |
|
||
|
III |
1-4 |
160×5 |
120×5 |
80×4 |
12 |
16 |
|
|
IV |
1-4 |
160×6 |
120×5 |
80×4 |
12 |
20 |
|
|
V |
1-4 |
180×6 |
140×5 |
100×4 |
12 |
20 |
|
1. Стойки, обозначенные на чертеже пунктиром, добавляются в решетку ригеля для марок 42Р1.2×180*, 42Р1а.2×180*, 52Р1.2×180* (для шага прогонов покрытия 1.5 м). Сечение стоек решетки принимается по поз. 3.
2. Вариант "а" для подвесного крана пролетом 15 м. Схему подвески крана см. докум. -028.
41Р1б.2×180.* 42Р1б.2×180.*

СОРТАМЕНТ РИГЕЛЕЙ ДВУХПРОЛЕТНЫХ РАМ
4РТМ2×180.*
|
Код вертикал. нагрузки |
Код крановой нагрузки |
Гнутосварные трубы, b×h×t, мм |
Листовая сталь t, мм |
||||
|
Номер позиции |
|||||||
|
1 |
2 |
3 |
4 |
5 |
|
||
|
III |
1 |
160×5 |
120×5 |
80×4 |
12 |
16 |
|
|
2 |
160×6 |
120×5 |
80×4 |
12 |
16 |
|
|
|
3 |
160×6 |
120×5 |
80×4 |
12 |
20 |
|
|
|
4 |
180×5 |
140×5 |
100×4 |
12 |
20 |
|
|
|
IV |
1 |
180×5 |
140×5 |
100×4 |
12 |
20 |
|
|
2 |
180×5 |
140×5 |
100×4 |
12 |
20 |
|
|
|
3 |
180×6 |
140×5 |
100×4 |
12 |
20 |
|
|
|
4 |
180×6 |
140×5 |
100×4 |
12 |
20 |
|
|
|
V |
1 |
180×6 |
140×5 |
100×4 |
12 |
20 |
|
|
2 |
180×8 |
140×5 |
100×4 |
12 |
20 |
|
|
|
3 |
180×8 |
140×5 |
100×4 |
12 |
20 |
|
|
|
4 |
180×8 |
160×5 |
100×4 |
12 |
25 |
|
|
1. Стойки, обозначенные на чертеже пунктиром, добавляются в решетку ригеля для марки 42Р1б.2×180* (для шага прогонов покрытия 1.5 м). Сечение стоек решетки принимается по поз. 3.
2. Вариант "б" для подвесного крана пролетом 12 м. Схему подвески крана см. докум. -028.
41Р2.2×180.* 42Р2.2×180.*
51Р2.2×180.* 52Р2.2×180.*

СОРТАМЕНТ РИГЕЛЕЙ ДВУХПРОЛЕТНЫХ РАМ
4РТМ2×180.*
|
Код вертикал. нагрузки |
Код крановой нагрузки |
Гнутосварные трубы, b×h×t, мм |
Листовая сталь t, мм |
||||
|
Номер позиции |
|||||||
|
1 |
2 |
3 |
4 |
5 |
|
||
|
III |
0 |
160×5 |
120×5 |
80×4 |
12 |
16 |
|
|
1 |
160×5 |
120×5 |
80×4 |
12 |
16 |
|
|
|
2 |
160×5 |
120×5 |
80×4 |
12 |
16 |
|
|
|
3 |
160×5 |
120×5 |
80×4 |
12 |
20 |
|
|
|
4 |
160×5 |
120×5 |
100×4 |
12 |
20 |
|
|
|
IV |
0 |
160×6 |
120×5 |
80×4 |
12 |
20 |
|
|
1 |
160×6 |
120×5 |
80×4 |
12 |
20 |
|
|
|
' 2 |
160×6 |
120×5 |
80×4 |
12 |
20 |
|
|
|
3 |
160×6 |
120×5 |
80×4 |
12 |
20 |
|
|
|
4 |
160×6 |
120×5 |
100×4 |
12 |
20 |
|
|
|
V |
0 |
180×6 |
140×5 |
100×4 |
12 |
20 |
|
|
1 |
180×6 |
140×5 |
100×4 |
12 |
20 |
|
|
|
2 |
180×6 |
140×5 |
100×4 |
12 |
20 |
|
|
|
3 |
180×6 |
140×5 |
100×4 |
12 |
20 |
|
|
|
4 |
180×6 |
140×5 |
100×4 |
12 |
25 |
|
|
СОРТАМЕНТ РИГЕЛЕЙ ДВУХПРОЛЕТНЫХ РАМ
5РТМ2×180.*
|
Код вертикал. нагрузки |
Код крановой нагрузки |
Гнутосварные трубы, b×h×t, мм |
Листовая сталь t, мм |
||||
|
Номер позиции |
|||||||
|
1 |
2 |
3 |
4 |
5 |
|
||
|
III |
1-4 |
160×5 |
120×5 |
80×4 |
12 |
16 |
|
|
IV |
1-4 |
160×6 |
120×5 |
80×4 |
12 |
20 |
|
|
V |
1-4 |
180×6 |
140×5 |
100×4 |
12 |
20 |
|
Стойки, обозначенные на чертеже пунктиром, добавляются в решетку ригеля для марки 42Р2.2×180.*, 52Р2.2×180.* (для шага прогонов покрытия 1.5 м). Сечение стоек решетки принимается по поз. 3.
41Р2а.2×180.* 42Р2а.2×180.*
41Р2б.2×180.* 42Р2б.2×180.*

СОРТАМЕНТ РИГЕЛЕЙ ДВУХПРОЛЕТНЫХ РАМ 4РТМ2х180.*
|
Код вертикал. нагрузки |
Код крановой нагрузки |
Гнутосварные трубы, b×h×t, мм |
Листовая сталь t, мм |
||||||
|
Номер позиции |
|||||||||
|
1а |
2а |
3а |
1б |
2б |
3б |
4 |
5 |
||
|
III |
1 |
160×5 |
120×5 |
80×4 |
160×5 |
120×5 |
80×4 |
12 |
16 |
|
2 |
160×5 |
120×5 |
80×4 |
160×6 |
120×5 |
80×4 |
12 |
16 |
|
|
3 |
160×5 |
120×5 |
80×4 |
160×6 |
120×5 |
80×4 |
12 |
20 |
|
|
4 |
160×5 |
120×5 |
100×4 |
180×5 |
140×5 |
100×4 |
12 |
20 |
|
|
IV |
1 |
160×6 |
120×5 |
80×4 |
180×5 |
140×5 |
100×4 |
12 |
20 |
|
2 |
160×6 |
120×5 |
80×4 |
180×5 |
140×5 |
100×4 |
12 |
20 |
|
|
3 |
160×6 |
120×5 |
80×4 |
180×6 |
140×5 |
100×4 | |
! 12 |
20 |
|
|
4 |
160×6 |
120×5 |
100×4 |
180×6 |
140×5 |
100×4 |
12 |
20 |
|
|
V |
1 |
180×6 |
140×5 |
100×4 |
180×6 |
140×5 |
100×4 |
12 |
20 { |
|
2 |
180×6 |
140×5 |
100×4 |
180×8 |
140×5 |
100×4 |
12 |
20 |
|
|
3 |
180×6 |
140×5 |
100×4 |
180×8 |
140×5 |
100×4 |
12 |
20 |
|
|
4 |
180×6 |
140×5 |
100×4 |
180×8 |
160×5 |
100×4 |
12 |
25 | |
|
Позиция 1а, 2а, 3а - для ригеля марок 41Р2а.2×180.* и 42Р2а.2×180.*.
Позиция 1б, 2б, 3б - для ригеля марок 41Р2б.2×180.* и 42Р2б.2×180.*.
1. Стойки, обозначенные на чертеже пунктиром, добавляются в решетку ригеля для марки 42Р1а.2×180* , 42Р1б.2×180* (для шага прогонов покрытия 1.5 м). Сечение стоек решетки принимается по поз. 3.
2. Вариант "а" для подвесного крана пролетом 15 м, вариант "б" - пролетом 12 м. Схему подвески кранов см. докум. -028.
УЗЛЫ НЕСУЩИХ КОНСТРУКЦИЙ
Узлы несущих конструкций, разработанные в настоящем выпуске следует выполнять в соответствии с указаниями, приведенными в докум. 0-1-112 настоящей серии.
Крепление подкрановых балок выполняется по приведенным в настоящем выпуске узлам с учетом серии 1.426.2-7 "Балки подкрановые стальные под мостовые опорные краны", выпуск 3.

1. Катеты швов kf=1.2·tmin, но не более 8 мм.
2. Толщину пластины принимать равной толщине стенки стойки tпл=t, но не менее 6 мм.
3. а=b-2•r,
где r - радиус гиба сечения стойки;
b - высота сечения ветви средней стойки.

1. Катеты швов kf=tmin, где tmin - минимальная толщина соединяемых элементов.
2. Противосдвиговые закладные элементы ставить только в опорных узлах стоек связевых блоков. Определение сечений противосдвиговых элементов фундамента производится по таблице 3 докум. 0-1-117. Установку противосдвиговых элементов выполнять по узлу 56 докум. -059.
3. Для опорных пластин сталь С255 по ГОСТ 27772-88.

1. Катеты швов kf=tmin, где tmin - минимальная толщина соединяемых элементов.
2. Толщину опорной пластины tоп см. табл.1.
3. Численные значения параметров d1, h1, h2 см. табл. 2 и 3, л.2.
4. Противосдвиговые закладные элементы ставить только в опорных узлах стоек связевых блоков. Сечения противосдвиговых элементов фундамента определяются по табл. 3 докум. 0-1-117.
5. Максимальное напряжение под плитой 90 кгс/см2.
ТОЛЩИНА ОПОРНЫХ ПЛАСТИН ДВУХВЕТВЕВЫХ СТОЕК РАМ
|
Количество кранов в пролете, шт. |
Толщина опорной пластины tоп, мм, при грузоподъемности крана, т |
|||||
|
здания с подвесными кранами |
здания с мостовыми кранами |
|||||
|
Q=1 |
Q=3.2 |
Q=5 |
Q=5 |
Q=10 |
Q=16 |
|
|
1 |
20 |
20 |
25 |
20 |
20 |
25 |
|
2 |
20 |
25 |
25 |
20 |
25 |
25 |
|
Бескрановые здания - tоп=20 мм |
||||||
ДИАМЕТРЫ АНКЕРНЫХ БОЛТОВ ДВУХВЕТВЕВЫХ СТОЕК РАМ
|
Количество кранов в пролете, шт. |
Грузоподъемность крана для зданий, т |
Диаметр анкерного болта d1, мм |
||||
|
ветровой район III |
ветровой район IV |
|||||
|
с подвесными кранами |
с мостовыми кранами |
Нcт≤12 |
Нст>12 |
Нcт≤12 |
Нcт>12 |
|
|
1 |
Q=1; 3.2 |
Q=5; 10 |
30 |
36 |
30 |
36 |
|
Q=5 |
Q=16 |
30 |
36 |
30 |
42 |
|
|
2 |
Q=1; 3.2 |
Q=5; 10 |
30 |
36 |
30 |
42 |
|
Q=5 |
Q=16 |
36 |
42 |
36 |
42 |
|
|
Бескрановые здания |
30 |
36 |
30 |
36 |
||
|
Обозначение параметров |
Величины параметров, мм |
||
|
при диаметре анкерного болта d1, мм |
|||
|
30 |
36 |
42 |
|
|
d2 |
31 |
37 |
43 |
|
d3 |
45 |
54 |
63 |
|
h1 |
80 |
80 |
100 |
|
h2 |
65 |
80 |
100 |
|
tp |
20 |
20 |
20 |
1. Для опорных пластин сталь С255 по ГОСТ 27772-88.
2. В таблице величина "Нcт" - высота стойки в метрах.

1. Катеты швов kf: - для крепления проушин и опорных пластин - kf=1.2tmin;
- для остальных швов - kf=tmin, но не менее 6 мм,
где tmin - минимальная толщина соединяемых элементов.
2. Сталь проушин С345-3 (для климатического района строительства I1 - C345-4).
3. r - радиус отверстия в проушине.
Ra - точность обработки поверхности отверстия в проушинах.
4. Минимальное расстояние между втулкой и наклонным раскосом ригеля.
СБОРОЧНЫЙ ЧЕРТЕЖ

МУФТА Ml

ШПИЛЬКА Ш1

ВТУЛКА В1

L1=b+2•tпр,
где b - размер из плоскости наружной или внутренней ветви стойки рамы;
tпр - толщина проушин.
Требуемые механические характеристики для сталей втулок
- предел текучести σ02≥3600 кгс/см2;
- относительное сужение, ψ≥40%;
- относительное удлинение, δ05≥10%;
- твердость по Бринеллю НВ=160-250;
- ударная вязкость KCU, Дж/см2, при температуре Т, °С:
|
т,°С |
-20°С |
-40°С |
-60°С |
|
KCU |
≥55 |
≥39 |
≥35 |
1. Определить при разработке чертежей КМД.
2. Примеры сталей втулок, отвечающие требованиям, приведенным в таблице, при применении термообработки: 30Х, 35Х, 40Х, 45Х.

1. Катеты швов kf:
- для крепления проушин, опорных пластин и элементов распорок - kf=1.2tmin;
- для остальных швов - kf=tmin, но не менее 6 мм,
где tmin - минимальная толщина соединяемых элементов.
2. Сталь проушин С345-3 (для климатического района строительства I1 - C345-4).
3. Сборочные чертежи монтажных элементов M1, Ш1, В1 см. докум. -060, лист 2.
4. Распорки, вертикальные и горизонтальные связи на узле условно не показаны.
5. Зазоры между проушинами ригеля и стойки должны быть симметрично заполнены монтажными прокладками. Толщину монтажных прокладок определить при разработке КМД. Для удобства монтажа одну из прокладок рекомендуется приварить до монтажа.
6. Минимальное расстояние между втулкой и наклонным раскосом ригеля.
СОПРЯЖЕНИЕ ПРОГОНОВ МЕЖДУ СОБОЙ В ПРОЛЕТЕ

1. Катеты швов kf:
- для крепления проушин, опорных пластин и элементов распорок - kf=1.2tmin;
- для остальных швов - kf=tmin, но не менее 6 мм,
где tmin - минимальная толщина соединяемых элементов.
2. Сталь проушин С345-3 (для климатического района строительства I1 - C345-4).
3. Сборочные чертежи монтажных элементов M1, Ш1, В1 см. докум. -060, лист 2.
4. Распорки, вертикальные и горизонтальные связи на узле условно не показаны.
5. Толщина пластины tпл=t, но не менее 6 мм.
6. Коньковые прогоны включены в связевую систему и выполняют роль распорок.


Катеты швов kf:
- для крепления элементов распорок - kf=1.2tmin;
- для крепления фасонок вертикальных связей - kf=tmin, но не менее 6 мм,
где tmin - минимальная толщина соединяемых элементов.


Катеты швов kf:
- для крепления элементов распорок - kf=1.2tmin;
- для крепления фасонок вертикальных связей - kf=tmin, но не менее 6 мм,
где tmin - минимальная толщина соединяемых элементов.



1. Данные для проектирования узлов подвесных путей (tпл, d1, d3) см. докум. 0-1-057.
2. Катет шва назначается исходя из минимальной толщины соединяемых деталей в соответствии со СНиП II-23-81*.
3. Сопряжение пояса и раскосов выполнять по узлу 5 или 6 (докум 0-1-115) в зависимости от сечения элементов решетки.



1. Разрез 2-2 выполнить по разрезу 2-2, докум. -065.
2. Данные для проектирования узлов подвесных путей (tпл, d1, d3) см. докум. 0-1-057.
3. Катет шва назначается исходя из минимальной толщины соединяемых изделий в соответствии со СНиП II-23-81*.

|
Параметры |
Толщина, мм при грузоподъемности кранов |
|
|
5т |
10т; 16 т |
|
|
tпл |
14 |
16 |
|
tpl |
6 |
8 |
|
tp2 |
6 |
8 |
1. Катеты швов (кроме оговоренных) kf=tmin, где tmin - минимальная толщина соединяемых элементов.
2. Сортамент сварных подкрановых балок и узлы крепления см. серию 1.426.2-7, вып. 3.
3. Данный узел см. совместно с узлом 65 докум. -068.
4. Разрез 3-3 см. узел 65, докум. -068.
5. Уточнить при разработке чертежей КМД.


1. Толщины элементов tпл, tp1, tp2 см. таблицу данный докум. лист 1.
2. Место стыка горизонтальной пластины определить при разработке КМД.
3. Катеты швов (кроме оговоренных) kf=tmin, где tmin - минимальная толщина соединяемых элементов.


1. Толщины элементов tпл, tp1, tp2 см. таблицу в докум. -067, лист 1.
2. Катеты швов (кроме оговоренных) kf=tmin, где tmin - минимальная толщина соединяемых элементов.
3. Уточнить при разработке чертежей КМД.


1. Катеты швов (кроме оговоренных) kf=tmin, где tmin - минимальная толщина соединяемых элементов.
2. Данный узел см. совместно с узлом 64 докум. -067.
3. Толщины элементов tпл, tp1, tp2 см. таблицу в докум. -067, лист 1.



1. Катеты швов (кроме оговоренных) kf=tmin, где tmin - минимальная толщина соединяемых элементов.
2. Уточнить при разработке чертежей КМД.
3. Данный узел см. совместно с узлом 65 докум. -068.
4. Толщины элементов tпл, tp1, tp2 см. таблицу в докум. -067
h - высота сечения ветви стойки, определить по сортаменту стоек.
5. Соприкасающиеся поверхности фланцев не грунтовать. На монтаже соприкасающиеся поверхности фланцев очистить металлическими щетками. Сталь фланцев 09Г2С-15.
6. ВПБ М24×90 исполнение ХЛ по ГОСТ 22353 сталь 40Х "Селект". Осевое натяжение высокопрочных болтов фланцевых соединений - 15тс Контроль натяжения - по моменту закручивания.
СТЫК РЕЛЬСА ЖЕЛЕЗНОДОРОЖНОГО ТИПА Р43

СТЫК РЕЛЬСА КРАНОВОГО ТИПА КР70

1. Стыки рельсов должны быть смещены относительно стыков балок не менее, чем на 1500 мм.
2. Накладки для стыка рельсов должны поставляться в комплекте с рельсом.
КРЕПЛЕНИЕ ЖЕЛЕЗНОДОРОЖНОГО РЕЛЬСА ТИПА Р43


КРЕПЛЕНИЕ КРАНОВОГО РЕЛЬСА ТИПА КР70

1. Крановые рельсы крепятся посредством планок с подкладками по ГОСТ 24741-81.
2. Планки имеют круглые отверстия и соединяются с балкой болтами 0 24 мм, а подкладки имеют овальные вырезы, которые позволяют рихтовать рельс упором подкладок. После рихтовки рельсов плотно прижатые к ним подкладки приваривают к планкам.

|
Грузоподъемность крана, т |
Группа режима крана |
Размер h, мм (ориентировочный) |
|
|
2К; 3К |
4К; 5К |
||
|
Сечение упора |
|||
|
5 |
I35Б1 |
I35Б1 |
700 |
|
10 |
I35Б1 |
I35Б1 |
725 |
|
16 |
I35Б1 |
I40Б2 |
835 |
1. Размер определить при разработке чертежей КМД.
2. Конструкцию упора выполнить по серии 1.426.2-7 вып.3.
3. Нагрузки от удара крана о тупиковый упор определяют по приложению 2 СНиП 2.01.07-85*.
4. Катет шва kf=6 мм, кроме оговоренных.
5. Сечение упора выполнить из прокатного двутавра по ГОСТ 26020-83.
Массы элементов рам (стоек и ригелей) в спецификациях приведены для справок. В спецификациях наряду с обычными марками элементов рам применяются марки, в которых приведены несколько кодов вертикальной и (или) крановой нагрузок.
Например, марка 4K1.120.60-III(IV-V)-0(1;2) обозначает, что указанные в спецификации сечения и массы для данной марки применимы для крайних стоек рам с 12-ти метровым пролетом, высотой до низа ригеля 6.0 м, с кодами вертикальной нагрузки III-V и кодами крановой нагрузки 0-2.
В марках элементов ригелей рам модификации 4 могут объединяться два варианта исполнения ригелей, например, 41Р1(1а).120-III-0(1). Указанные в спецификации сечения и массы для данной марки применимы для первых элементов ригелей рам с 12-ти метровым пролетом, высотой до низа ригеля 6.0 м, с кодом вертикальной нагрузки III и кодами крановой нагрузки 0 и 1, для зданий без кранов (исполнение 1) и с подвесными кранами пролетом 9 м (исполнение 1а).
Для элементов рам (ригелей и стоек) применяются гнутосварные трубы по ГОСТ 30245-2003 и листовая сталь по ГОСТ 19903-74.
СПЕЦИФИКАЦИЯ КРАЙНИХ СТОЕК РАМ МОДИФИКАЦИИ 4
|
Марка элемента |
Масса по профилям, кг |
Общая масса, кг |
||||||||||
|
Гнутосварные трубы |
сталь листовая |
|||||||||||
|
80×4 |
100×4 |
120×160×5 |
140×5 |
140×160×5 |
140×180×5 |
160×5 |
200×160×6 |
240×160×6 |
240×160×8 |
|||
|
4K1.120.60‑III(IV;V)‑0(1;2) |
89 |
|
|
282 |
|
|
|
|
|
|
94 |
660 |
|
4K1.120.60‑III(IV;V)‑3(4) |
92 |
|
282 |
|
|
|
|
|
|
|
105 |
479 |
|
4K1.120.72‑III(IV;V)‑0(1;2) |
109 |
|
|
332 |
|
|
|
|
|
|
94 |
535 |
|
4K1.120.72‑III(IV;V)‑3(4) |
102 |
|
232 |
|
|
|
|
|
|
|
105 |
538 |
|
4K1.120.84‑III(IV;V)‑0(1;2) |
119 |
|
|
381 |
|
|
|
|
|
|
94 |
594 |
|
4K1.120.84‑III(IV;V)‑3(4) |
122 |
|
380 |
|
|
|
|
|
|
|
106 |
608 |
|
4K1.120.96‑III(IV;V)‑0(1;2) |
139 |
|
|
430 |
|
|
|
|
|
|
93 |
662 |
|
4K1.120.96‑III(IV;V)‑3(4) |
132 |
|
430 |
|
|
|
|
|
|
|
105 |
667 |
|
4K1.120.108‑III(IV;V)‑0(1;2) |
149 |
|
|
479 |
|
|
|
|
|
|
94 |
722 |
|
4K1.120.108‑III(IV;V)‑3(4) |
153 |
|
479 |
|
|
|
|
|
|
|
105 |
737 |
|
4K1.120.120‑III(IV;V)‑0(1;2) |
169 |
|
|
529 |
|
|
|
|
|
|
180 |
878 |
|
4K1.120.120‑III(IV;V)‑3(4) |
173 |
|
528 |
|
|
|
|
|
|
|
195 |
896 |
|
4K1.120.132‑III(IV;V)‑0(1;2) |
183 |
|
577 |
|
|
|
|
|
|
|
185 |
945 |
|
4K1.120.132‑III(IV;V)‑3 |
188 |
|
|
|
662 |
|
|
|
|
|
201 |
1051 |
|
4K1.120.132‑III(IV;V)‑4 |
|
240 |
|
|
|
666 |
|
|
|
|
209 |
1115 |
|
4K1.120.144‑III(IV;V)‑0(1;2) |
203 |
|
627 |
|
|
|
|
|
|
|
185 |
1015 |
|
4K1.120.144‑III(IV;V)‑3 |
198 |
|
|
|
675 |
|
|
|
|
|
200 |
1073 |
|
4K1.120.144‑III(IV;V)‑4 |
|
252 |
|
|
|
723 |
|
|
|
|
210 |
1185 |
|
4K1.180.60‑III(IV;V)‑0(1) |
89 |
|
|
282 |
|
|
|
|
|
|
95 |
466 |
|
4K1.180.60‑III(IV;V)‑2 |
92 |
|
282 |
|
|
|
|
|
|
|
93 |
467 |
|
4K1.180.60‑III(IV;V)‑3(4) |
92 |
|
282 |
|
|
|
|
|
|
|
104 |
478 |
|
4K1.180.72‑III(IV;V)‑0(1) |
109 |
|
|
332 |
|
|
|
|
|
|
94 |
535 |
|
4K1.180.72‑III(IV;V)‑2 |
102 |
|
332 |
|
|
|
|
|
|
|
94 |
527 |
|
4K1.180.72‑III(IV;V)‑3(4) |
102 |
|
332 |
|
|
|
|
|
|
|
104 |
537 |
|
4K1.180.84‑III(IV;V)‑0(1) |
119 |
|
|
381 |
|
|
|
|
|
|
94 |
594 |
|
4K1.180.84‑III(IV;V)‑2 |
122 |
|
380 |
|
|
|
|
|
|
|
94 |
596 |
|
4K1.180.84‑III(IV;V)‑3(4) |
122 |
|
380 |
|
|
|
|
|
|
|
104 |
606 |
|
4K1.180.96‑III(IV;V)‑0(1) |
139 |
|
|
430 |
|
|
|
|
|
|
94 |
663 |
|
4K1.180.96‑III(IV;V)‑2 |
132 |
|
430 |
|
|
|
|
|
|
|
94 |
596 |
|
4K1.180.96‑III(IV;V)‑3(4) |
132 |
|
430 |
|
|
|
|
|
|
|
104 |
607 |
|
4K1.180.108‑III(IV;V)‑0(1) |
149 |
|
|
479 |
|
|
|
|
|
|
94 |
722 |
|
4K1.180.108‑III(IV;V)‑2 |
153 |
|
479 |
|
|
|
|
|
|
|
92 |
724 |
|
4K1.180.108‑III(IV;V)‑3(4) |
153 |
|
479 |
|
|
|
|
|
|
|
105 |
737 |
|
4K1.180.120‑III(IV;V)‑0(1) |
169 |
|
|
528 |
|
|
|
|
|
|
181 |
878 |
|
4K1.180.120‑III(IV;V)‑2 |
173 |
|
528 |
|
|
|
|
|
|
|
175 |
876 |
|
4K1.180.120‑III(IV;V)‑3(4) |
173 |
|
528 |
|
|
|
|
|
|
|
195 |
896 |
|
4K1.180.132‑III(IV;V)‑0 |
183 |
|
577 |
|
|
|
|
|
|
|
178 |
938 |
|
4K1.180.132‑III(IV;V)‑1 |
188 |
|
|
|
662 |
|
|
|
|
|
190 |
1040 |
|
4K1.180.132‑III(IV;V)‑2(3) |
183 |
|
|
|
|
|
667 |
|
|
|
208 |
1058 |
|
4K1.180.132‑III(IV;V)‑4 |
|
240 |
|
|
|
|
|
666 |
|
|
209 |
1115 |
|
4K1.180.144‑III(IV;V)‑0 |
203 |
|
627 |
|
|
|
|
|
|
|
178 |
1008 |
|
4K1.180.144‑III(IV;V)‑1 |
198 |
|
|
|
675 |
|
|
|
|
|
189 |
1062 |
|
4K1.180.144‑III(IV;V)‑2 |
203 |
|
|
|
|
|
724 |
|
|
|
190 |
1117 |
|
4K1.180.144‑III(IV;V)‑3 |
203 |
|
|
|
|
|
724 |
|
|
|
207 |
1134 |
|
4K1.180.144‑III(IV;V)‑4 |
|
252 |
|
|
|
723 |
|
|
|
|
209 |
1184 |
|
4K1.2×120(2×180).60‑III(IV;V)‑0(1‑4) |
|
|
|
|
|
|
|
231 |
|
|
103 |
334 |
|
4K1.2×120(2×180).72‑III(IV;V)‑0(1‑4) |
|
|
|
|
|
|
|
269 |
|
|
103 |
372 |
|
4K1.2×120.84‑III(IV;V)‑0(1‑3) |
|
|
|
|
|
|
|
|
344 |
|
111 |
454 |
|
4K1.2×120.84‑III(IV;V)‑4 |
|
|
|
|
|
|
|
|
|
449 |
111 |
560 |
|
4K1.2×120.96‑III(IV;V)‑0(1‑3) |
|
|
|
|
|
|
|
|
386 |
|
111 |
497 |
|
4K1.2×120.96‑III(IV;V)‑4 |
|
|
|
|
|
|
|
|
|
505 |
111 |
616 |
|
4K1.2×120.108‑III(IV;V)‑0(1‑2) |
149 |
|
|
479 |
|
|
|
|
|
|
94 |
722 |
|
4K1.2×120.108‑III(IV;V)‑3(4) |
153 |
|
479 |
|
|
|
|
|
|
|
105 |
737 |
|
4K1.2×120.120‑III(IV;V)‑0(1‑2) |
168 |
|
|
529 |
|
|
|
|
|
|
180 |
877 |
|
4K1.2×120.120‑III(IV;V)‑3(4) |
173 |
|
577 |
|
|
|
|
|
|
|
194 |
896 |
|
4K1.2×120.132‑III(IV;V)‑0(1;2) |
183 |
|
529 |
|
|
|
|
|
|
|
185 |
945 |
|
4K1.2×120.132‑III(IV;V)‑3 |
188 |
|
|
|
662 |
|
|
|
|
|
201 |
1051 |
|
4K1.2×120.132‑III(IV;V)‑4 |
|
240 |
|
|
|
666 |
|
|
|
|
209 |
1115 |
|
4K1.2×120.144‑III(IV;V)‑0(1;2) |
203 |
|
627 |
|
|
|
|
|
|
|
185 |
1015 |
|
4K1.2×120.144‑III(IV;V)‑3 |
198 |
|
|
|
675 |
|
|
|
|
|
195 |
1073 |
|
4K1.2×120.144‑III(IV;V)‑4 |
|
252 |
|
|
|
723 |
|
|
|
|
210 |
1185 |
|
4K1.2×180.84‑III(IV;V)‑0 |
|
|
|
|
|
|
|
|
343 |
|
111 |
454 |
|
4K1.2×180.84‑III(IV;V)‑1(2‑4) |
|
|
|
|
|
|
|
|
|
449 |
111 |
560 |
|
4K1.2×180.96‑III(IV;V)‑0 |
|
|
|
|
|
|
|
|
386 |
|
111 |
497 |
|
4K1.2×180.96‑III(IV;V)‑1(2‑4) |
|
|
|
|
|
|
|
|
|
505 |
111 |
616 |
|
4K1.2×180.108‑III(IV;V)‑0(1) |
149 |
|
|
479 |
|
|
|
|
|
|
94 |
722 |
|
4K1.2×180.108‑III(IV;V)‑2 |
153 |
|
479 |
|
|
|
|
|
|
|
92 |
724 |
|
4K1.2×180.108‑III(IV;V)‑3(4) |
153 |
|
479 |
|
|
|
|
|
|
|
106 |
738 |
|
4K1.2×180.120‑III(IV;V)‑0(1) |
168 |
|
|
529 |
|
|
|
|
|
|
181 |
878 |
|
4K1.2×180.120‑III(IV;V)‑2 |
173 |
|
529 |
|
|
|
|
|
|
|
174 |
876 |
|
4K1,2×180.120‑III(IV;V)‑3(4) |
173 |
|
529 |
|
|
|
|
|
|
|
194 |
896 |
|
4K1.2×180.132‑III(IV;V)‑0 |
183 |
|
577 |
|
|
|
|
|
|
|
178 |
938 |
|
4K1.2×180.132‑III(IV;V)‑1 |
188 |
|
|
|
662 |
|
|
|
|
|
189 |
1039 |
|
4K1.2×180.132‑III(IV;V)‑2 |
183 |
|
|
|
|
|
667 |
|
|
|
191 |
1041 |
|
4K1.2×180.132‑III(IV;V)‑3 |
183 |
|
|
|
|
|
667 |
|
|
|
208 |
1058 |
|
4K1.2×180.132‑III(IV;V)‑4 |
|
240 |
|
|
|
666 |
|
|
|
|
209 |
1115 |
|
4K1.2×180.144‑III(IV;V)‑0 |
203 |
|
627 |
|
|
|
|
|
|
|
178 |
1008 |
|
4K1.2×180.144‑III(IV;V)‑1 |
198 |
|
|
|
675 |
|
|
|
|
|
189 |
1062 |
|
4K1.2×180.144‑III(IV;V)‑2 |
203 |
|
|
|
|
|
724 |
|
|
|
191 |
1118 |
|
4K1.2×180.144‑III(IV;V)‑3 |
203 |
|
|
|
|
|
724 |
|
|
|
208 |
1135 |
|
4K1.2×180.144‑III(IV;V)‑4 |
|
252 |
|
|
|
723 |
|
|
|
|
209 |
1184 |
СПЕЦИФИКАЦИЯ СРЕДНИХ СТОЕК РАМ МОДИФИКАЦИИ 4
|
Марка элемента |
Масса по профилям, кг |
Общая масса, кг |
||||||||||
|
Гнутосварные трубы |
сталь листовая |
|||||||||||
|
80×4 |
100×4 |
100×200×6 |
120×160×5 |
140×5 |
140×160×5 |
140×180×5 |
160×5 |
180×5 |
180×6 |
|||
|
4K2.2×120.60‑III(IV;V)‑0(1;2) |
109 |
|
|
|
382 |
|
|
|
|
|
126 |
617 |
|
4K2.2×120.60‑III(IV;V)‑3(4) |
106 |
|
|
|
|
|
|
439 |
|
|
146 |
691 |
|
4K2.2×120.72‑III(IV;V)‑0(1;2) |
129 |
|
|
|
431 |
|
|
|
|
|
126 |
686 |
|
4K2.2×120.72‑III(IV;V)‑3(4) |
126 |
|
|
|
|
|
|
496 |
|
|
146 |
768 |
|
4K2.2×120.84‑III‑0(1) |
145 |
|
|
|
|
|
|
553 |
|
|
134 |
832 |
|
4К2.2×120.84‑III‑2 |
|
177 |
|
|
|
|
554 |
|
|
|
132 |
863 |
|
4К2.2×120.84‑III‑3 |
|
179 |
|
|
|
|
|
|
625 |
|
152 |
956 |
|
4К2.2×120.84‑III‑4 |
|
179 |
|
|
|
|
|
|
|
742 |
156 |
1077 |
|
4K2.2×120.84‑IV(V)‑0 |
145 |
|
|
|
|
|
|
553 |
|
|
134 |
832 |
|
4K2.2×120.84‑IV(V)‑1(2) |
|
177 |
|
|
|
|
554 |
|
|
|
132 |
863 |
|
4K2.2×120.84‑IV(V)‑3(4) |
|
179 |
|
|
|
|
|
|
|
742 |
156 |
1077 |
|
4К2.2×120.96‑III‑0(1) |
154 |
|
|
|
|
|
|
609 |
|
|
134 |
897 |
|
4К2.2×120.96‑III‑2 |
|
202 |
|
|
|
|
611 |
|
|
|
132 |
945 |
|
4К2.2×120.96‑III‑3 |
|
203 |
|
|
|
|
|
|
689 |
|
152 |
1044 |
|
4К2.2×120.96‑III‑4 |
|
203 |
|
|
|
|
|
|
|
818 |
156 |
1177 |
|
4K2.2×120.96‑IV(V)‑0 |
154 |
|
|
|
|
|
|
609 |
|
|
134 |
897 |
|
4K2.2×120.96‑IV(V)‑1(2) |
|
202 |
|
|
|
|
611 |
|
|
|
132 |
945 |
|
4K2.2×120.96‑IV(V)‑3(4) |
|
203 |
|
|
|
|
|
|
|
818 |
156 |
1177 |
|
4K2.2×120.108‑III(IV;V)‑0(1;2) |
169 |
|
|
|
579 |
|
|
|
|
|
125 |
873 |
|
4K2.2×120.108‑III(IV;V)‑3(4) |
173 |
|
|
579 |
|
|
|
|
|
|
136 |
888 |
|
4K2.2×120.120‑III(IV;V)‑0(1;2) |
188 |
|
|
|
628 |
|
|
|
|
|
134 |
950 |
|
4K2.2×120.120‑III(IV;V)‑3(4) |
183 |
|
|
628 |
|
|
|
|
|
|
144 |
955 |
|
4K2.2×120.132‑III(IV;V)‑0 |
198 |
|
|
|
677 |
|
|
|
|
|
128 |
1003 |
|
4K2.2×120.132‑III‑1(2) |
203 |
|
|
678 |
|
|
|
|
|
|
134 |
1015 |
|
4K2.2×120.132‑III‑3 |
198 |
|
|
|
|
729 |
|
|
|
|
149 |
1076 |
|
4K2.2×120.132‑III‑4 |
203 |
|
|
|
|
|
|
780 |
|
|
154 |
1137 |
|
4K2.2×120.132‑IV(V)‑1 |
203 |
|
|
678 |
|
|
|
|
|
|
134 |
1015 |
|
4K2.2×120.132‑IV(V)‑2 |
198 |
|
|
|
|
729 |
|
|
|
|
132 |
1059 |
|
4K2.2×120.132‑IV(V)‑3 |
203 |
|
|
|
|
|
|
780 |
|
|
154 |
1037 |
|
4K2.2×120.132‑IV(V)‑4 |
|
252 |
|
|
|
|
782 |
|
|
|
155 |
1189 |
|
4K2.2×120.144‑III(IV;V)‑0 |
218 |
|
|
|
726 |
|
|
|
|
|
128 |
1072 |
|
4K2.2×120.144‑111‑1(2) |
214 |
|
|
726 |
|
|
|
|
|
|
134 |
1074 |
|
4K2.2×120.144‑III‑3 |
218 |
|
|
|
|
782 |
|
|
|
|
149 |
1049 |
|
4K2.2×120.144‑III‑4 |
222 |
|
|
|
|
|
|
827 |
|
|
154 |
1203 |
|
4K2.2×120.144‑IV(V)‑1 |
214 |
|
|
727 |
|
|
|
|
|
|
134 |
1075 |
|
4K2.2×120.144‑IV(V)‑2 |
218 |
|
|
|
|
782 |
|
|
|
|
132 |
1132 |
|
4K2.2×120.144‑IV(V)‑3 |
222 |
|
|
|
|
|
|
827 |
|
|
154 |
1203 |
|
4K2.2×120.144‑IV(V)‑4 |
|
277 |
|
|
|
|
839 |
|
|
|
155 |
1271 |
|
4К2.2×180.60‑III‑0 |
109 |
|
|
|
382 |
|
|
|
|
|
126 |
617 |
|
4К2.2×180.60‑III‑1(2) |
112 |
|
|
382 |
|
|
|
|
|
|
121 |
615 |
|
4К2.2×180.60‑III‑3 |
109 |
|
|
|
|
411 |
|
|
|
|
138 |
658 |
|
4К2.2×180.60‑III(1V;V)‑4 |
|
143 |
|
|
|
|
|
|
496 |
|
156 |
795 |
|
4K2.2×180.60‑IV(V)‑0(1) |
112 |
|
|
382 |
|
|
|
|
|
|
121 |
615 |
|
4K2.2×180.60‑IV(V)‑2 |
109 |
|
|
|
|
411 |
|
|
|
|
129 |
649 |
|
4K2.2×180.60‑IV(V)‑3 |
|
139 |
|
|
|
|
441 |
|
|
|
142 |
722 |
|
4К2.2×180.72‑III‑0 |
129 |
|
|
|
431 |
|
|
|
|
|
126 |
686 |
|
4K2.2×180.72‑III‑1(2) |
122 |
|
|
431 |
|
|
|
|
|
|
121 |
674 |
|
4К2.2×180.72‑III‑3 |
129 |
|
|
|
|
464 |
|
|
|
|
138 |
731 |
|
4K2.2×180.72‑III(IV;V)‑4 |
|
155 |
|
|
|
|
|
|
561 |
|
156 |
872 |
|
4K2.2×180.72‑IV(V)‑0(1) |
122 |
|
|
431 |
|
|
|
|
|
|
121 |
674 |
|
4K2.2×180.72‑IV(V)‑2 |
129 |
|
|
|
|
464 |
|
|
|
|
129 |
722 |
|
4K2.2×180.72‑IV(V)‑3 |
|
164 |
|
|
|
|
498 |
|
|
|
142 |
804 |
|
4K2.2×180.84‑III‑0 |
139 |
|
|
|
480 |
|
|
|
|
|
126 |
745 |
|
4K2.2×180.84‑III‑1(2) |
139 |
|
|
481 |
|
|
|
|
|
|
125 |
745 |
|
4K2.2×180.84‑III‑3 |
139 |
|
|
|
|
517 |
|
|
|
|
138 |
794 |
|
4K2.2×180.84‑III‑4 |
|
173 |
614 |
|
|
|
|
|
|
|
139 |
926 |
|
4K2.2×180.84‑IV(V)‑0(1) |
139 |
|
|
481 |
|
|
|
|
|
|
125 |
745 |
|
4K2.2×180.84‑IV(V)‑2 |
139 |
|
|
|
|
517 |
|
|
|
|
129 |
785 |
|
4K2.2×180.84‑IV(V)‑3(4) |
|
173 |
614 |
|
|
|
|
|
|
|
139 |
926 |
|
4K2.2×180.96‑III‑0 |
159 |
|
|
|
529 |
|
|
|
|
|
126 |
814 |
|
4K2.2×180.96‑III‑1(2) |
153 |
|
|
529 |
|
|
|
|
|
|
125 |
807 |
|
4K2.2×180.96‑III‑3 |
159 |
|
|
|
|
570 |
|
|
|
|
138 |
867 |
|
4K2.2×180.96‑III‑4 |
|
199 |
677 |
|
|
|
|
|
|
|
139 |
1015 |
|
4K2.2×180.96‑IV(V)‑0(1) |
153 |
|
|
529 |
|
|
|
|
|
|
125 |
807 |
|
4K2.2×180.96‑IV(V)‑2 |
159 |
|
|
|
|
570 |
|
|
|
|
129 |
858 |
|
4K2.2×180.96‑IV(V)‑3(4) |
|
199 |
677 |
|
|
|
|
|
|
|
139 |
1015 |
|
4K2.2×180.108‑III‑0 |
169 |
|
|
|
579 |
|
|
|
|
|
126 |
874 |
|
4K2.2×180.108‑III‑1(2) |
173 |
|
|
579 |
|
|
|
|
|
|
125 |
877 |
|
4K2.2×180.108‑III‑3(4) |
173 |
|
|
579 |
|
|
|
|
|
|
136 |
888 |
|
4K2.2×180.108‑IV(V)‑0(1;2) |
173 |
|
|
579 |
|
|
|
|
|
|
125 |
877 |
|
4K2.2×180.108‑IV(V)‑3 |
169 |
|
|
|
|
623 |
|
|
|
|
138 |
930 |
|
4K2.2×180.108‑IV(V)‑4 |
174 |
|
|
|
|
|
|
666 |
|
|
146 |
986 |
|
4K2.2×180.120‑III‑0 |
188 |
|
|
|
628 |
|
|
|
|
|
128 |
944 |
|
4K2.2×180.120‑III‑1(2) |
183 |
|
|
628 |
|
|
|
|
|
|
134 |
945 |
|
4K2.2×180.120‑III‑3(4) |
183 |
|
|
628 |
|
|
|
|
|
|
144 |
955 |
|
4K2.2×180.120‑IV(V)‑0(1;2) |
183 |
|
|
628 |
|
|
|
|
|
|
127 |
938 |
|
4K2.2×180.120‑IV(V)‑3 |
188 |
|
|
|
|
676 |
|
|
|
|
137 |
1001 |
|
4K2.2×180.120‑IV(V)‑4 |
183 |
|
|
|
|
|
|
723 |
|
|
150 |
1056 |
|
4К2.2×180.132‑III‑0(1) |
198 |
|
|
|
677 |
|
|
|
|
|
134 |
1009 |
|
4К2.2×180.132‑III‑2 |
203 |
|
|
678 |
|
|
|
|
|
|
127 |
1008 |
|
4К2.2×180.132‑III‑3(4) |
203 |
|
|
678 |
|
|
|
|
|
|
144 |
1025 |
|
4K2.2×l80.132‑IV(V)‑0(l;2) |
203 |
|
|
678 |
|
|
|
|
|
|
134 |
1015 |
|
4K2.2×l80.132‑IV(V)‑3 |
198 |
|
|
|
|
729 |
|
|
|
|
149 |
1076 |
|
4K2.2×l80.132‑IV(V)‑4 |
203 |
|
|
|
|
|
|
780 |
|
|
154 |
1139 |
|
4К2.2×180.144‑III‑0(1) |
218 |
|
|
|
726 |
|
|
|
|
|
134 |
1078 |
|
4К2.2×180.144‑III‑2 |
213 |
|
|
726 |
|
|
|
|
|
|
127 |
1066 |
|
4K2.2×l80.144‑III‑3(4) |
213 |
|
|
726 |
|
|
|
|
|
|
144 |
1083 |
|
4K2.2×l80.144‑IV(V)‑0(l;2) |
213 |
|
|
726 |
|
|
|
|
|
|
134 |
1073 |
|
4K2.2×l80.144‑IV(V)‑3 |
218 |
|
|
|
|
782 |
|
|
|
|
149 |
1149 |
|
4K2.2×l80.144‑IV(V)‑4 |
222 |
|
|
|
|
|
|
837 |
|
|
154 |
1213 |
СПЕЦИФИКАЦИЯ КРАЙНИХ СТОЕК РАМ МОДИФИКАЦИИ 5
|
Марка элемента |
Масса по профилям, кг |
Общая масса, кг |
||||||||||||
|
Гнутосварные трубы |
сталь листовая |
|||||||||||||
|
80×4 |
100×4 |
100×200×6 |
120×160×5 |
140×5 |
140×160×5 |
140×180×5 |
160×5 |
160×200×5 |
180×5 |
180×6 |
200×6 |
|||
|
5K1.2×120.84‑III(IV;V)‑1 |
32 |
88 |
|
|
161 |
|
272 |
|
|
|
|
|
284 |
837 |
|
5К1.2×120.84‑III‑2 |
32 |
88 |
|
|
161 |
|
272 |
|
|
|
|
|
305 |
858 |
|
5K1.2×120.84‑III(IV;V)‑3 |
32 |
86 |
|
|
177 |
|
|
|
300 |
|
|
|
311 |
906 |
|
5K1.2×120.84‑III(IV;V)‑4 |
38 |
81 |
|
|
193 |
|
|
|
|
|
|
352 |
321 |
985 |
|
5K1.2×120.84‑IV(V)‑2 |
32 |
84 |
|
|
161 |
|
|
|
|
308 |
|
|
309 |
894 |
|
5K1.2×120.96‑III(IV;V)‑1 |
32 |
114 |
|
|
161 |
|
329 |
|
|
|
|
|
284 |
920 |
|
5K1.2×120.96‑III‑2 |
32 |
114 |
|
|
161 |
|
329 |
|
|
|
|
|
305 |
939 |
|
5K1.2×120.96‑III(IV;V)‑3 |
32 |
98 |
|
|
177 |
|
|
|
367 |
|
|
|
311 |
985 |
|
5K1.2×120.96‑III(IV;V)‑4 |
38 |
93 |
|
|
193 |
|
|
|
|
|
|
438 |
321 |
1083 |
|
5K1.2×120.96‑IV(V)‑2 |
32 |
108 |
|
|
161 |
|
|
|
|
373 |
|
|
309 |
983 |
|
5K1.2×120.108‑III(IV;V)‑1 |
134 |
|
|
334 |
161 |
|
|
|
|
|
|
|
355 |
984 |
|
5K1.2×120.108‑III(IV;V)‑2 |
134 |
|
|
334 |
161 |
|
|
|
|
|
|
|
379 |
1008 |
|
5K1.2×120.108‑III(IV;V)‑3 |
129 |
|
|
|
177 |
|
|
367 |
|
|
|
|
416 |
1088 |
|
5K1.2×120.108‑III(IV;V)‑4 |
38 |
119 |
|
|
193 |
|
|
|
|
394 |
|
|
423 |
1167 |
|
5K1.2×120.120‑III(IV;V)‑1 |
144 |
|
|
384 |
161 |
|
|
|
|
|
|
|
355 |
1044 |
|
5K1.2×120.120‑III(IV;V)‑2 |
144 |
|
|
384 |
161 |
|
|
|
|
|
|
|
379 |
1068 |
|
5K1.2×120.120‑III(IV;V)‑3 |
179 |
|
|
|
177 |
|
|
424 |
|
|
|
|
416 |
1196 |
|
5K1.2×120.120‑III(IV;V)‑4 |
38 |
131 |
|
|
193 |
|
|
|
|
458 |
|
|
423 |
1243 |
|
5K1.2×120.132‑III(IV;V)‑1 |
164 |
|
|
433 |
161 |
|
|
|
|
|
|
|
355 |
1113 |
|
5K1.2×120.132‑III(IV)‑2 |
164 |
|
|
433 |
161 |
|
|
|
|
|
|
|
379 |
1137 |
|
5K1.2×120.132‑III(IV;V)‑3 |
32 |
164 |
|
|
177 |
|
480 |
|
|
|
|
|
389 |
1242 |
|
5K1.2×120.132‑III(IV;V)‑4 |
38 |
155 |
|
|
193 |
|
|
|
|
|
620 |
|
423 |
1429 |
|
5K1.2×120.120‑V‑2 |
161 |
|
|
|
161 |
466 |
|
|
|
|
|
|
381 |
1169 |
|
5K1.2×120.144‑III(IV;V)‑1 |
185 |
|
|
482 |
161 |
|
|
|
|
|
|
|
355 |
1183 |
|
5K1.2×120.144‑III(IV)‑2 |
185 |
|
|
482 |
161 |
|
|
|
|
|
|
|
379 |
1207 |
|
5K1.2×120.144‑III(IV;V)‑3 |
32 |
177 |
|
|
177 |
|
537 |
|
|
|
|
|
389 |
1312 |
|
5K1.2×120.144‑III(IV;V)‑4 |
38 |
179 |
|
|
193 |
|
|
|
|
|
697 |
|
423 |
1530 |
|
5K1.2×120.144‑V‑2 |
181 |
|
|
|
161 |
519 |
|
|
|
|
|
|
381 |
1242 |
|
5K1.2×180.84‑III(IV;V)‑1 |
32 |
93 |
301 |
|
161 |
|
|
|
|
|
|
|
281 |
868 |
|
5K1.2×180.84‑III‑2 |
32 |
93 |
301 |
|
161 |
|
|
|
|
|
|
|
302 |
889 |
|
5K1.2×180.84‑III(IV)‑3 |
32 |
86 |
|
|
177 |
|
|
|
287 |
|
|
|
314 |
896 |
|
5K1.2×180.84‑III(IV;V)‑4 |
38 |
81 |
|
|
193 |
|
|
|
|
|
|
352 |
316 |
980 |
|
5K1.2×180.84‑IV(V)‑2 |
32 |
86 |
|
|
161 |
|
|
|
366 |
|
|
|
309 |
954 |
|
5K1.2×180.84‑V‑3 |
32 |
81 |
|
|
177 |
|
|
|
|
|
|
381 |
314 |
985 |
|
5K1.2×180.96‑III(IV;V)‑1 |
32 |
106 |
364 |
|
161 |
|
|
|
|
|
|
|
281 |
944 |
|
5K1.2×180.96‑III‑2 |
32 |
106 |
364 |
|
161 |
|
|
|
|
|
|
|
302 |
965 |
|
5K1.2×180.96‑III(IV)‑3 |
32 |
98 |
|
|
177 |
|
|
|
351 |
|
|
|
314 |
972 |
|
5K1.2×180.96‑III(IV;V)‑4 |
38 |
93 |
|
|
193 |
|
|
|
|
|
|
438 |
326 |
1088 |
|
5K1.2×180.96‑IV(V)‑2 |
32 |
111 |
|
|
161 |
|
|
|
442 |
|
|
|
309 |
1055 |
|
5K1.2×180.96‑V‑3 |
32 |
105 |
|
|
177 |
|
|
|
|
|
|
466 |
312 |
1092 |
|
5К1.2×180.108‑III(IV;V)‑1 |
134 |
|
335 |
|
161 |
|
|
|
|
|
|
|
355 |
985 |
|
5K1.2×18O.108‑III(IV)‑2 |
134 |
|
335 |
|
161 |
|
|
|
|
|
|
|
379 |
1009 |
|
5К1.2×180.108‑III(IV;V)‑3 |
32 |
126 |
|
|
177 |
|
367 |
|
|
|
|
|
389 |
1091 |
|
5K1.2×180.108‑III(IV;V)‑4 |
38 |
111 |
|
|
193 |
|
|
|
394 |
|
|
|
421 |
1157 |
|
5K1.2×180.108‑V‑2 |
131 |
|
|
|
161 |
360 |
|
|
|
|
|
|
379 |
1031 |
|
5K1.2×180.120‑III(IV;V)‑1 |
144 |
|
384 |
|
161 |
|
|
|
|
|
|
|
355 |
1044 |
|
5К1.2×180.120‑III(IV)‑2 |
144 |
|
384 |
|
161 |
|
|
|
|
|
|
|
379 |
1068 |
|
5K1.2×180.120‑III(IV;V)‑3 |
32 |
139 |
|
|
177 |
|
424 |
|
|
|
|
|
389 |
1161 |
|
5K1.2×180.120‑III(IV;V)‑4 |
38 |
135 |
|
|
193 |
|
|
|
458 |
|
|
|
421 |
1245 |
|
5K1.2×180.120‑V‑2 |
151 |
|
|
|
161 |
413 |
|
|
|
|
|
|
389 |
1114 |
|
5K1.2×180.132‑III(IV;V)‑1 |
164 |
|
|
433 |
161 |
|
|
|
|
|
|
|
355 |
1113 |
|
5K1.2×180.132‑III‑2 |
164 |
|
|
433 |
161 |
|
|
|
|
|
|
|
379 |
1135 |
|
5K1.2×180.132‑III(IV)‑3 |
32 |
159 |
531 |
|
177 |
|
|
|
|
|
|
|
412 |
1311 |
|
5K1.2×180.132‑III‑4 |
38 |
160 |
|
|
193 |
|
|
|
620 |
|
|
|
421 |
1432 |
|
5K1.2×180.132‑IV(V)‑2 |
161 |
|
|
|
161 |
466 |
|
|
|
|
|
|
409 |
1197 |
|
5K1.2×180.132‑IV(V)‑4 |
38 |
151 |
|
|
193 |
|
|
|
|
|
|
694 |
428 |
1504 |
|
5K1.2×180.132‑V‑3 |
32 |
160 |
|
|
177 |
|
|
|
544 |
|
|
|
418 |
1331 |
|
5K1.2×180.144‑III(IV;V)‑1 |
185 |
|
|
482 |
161 |
|
|
|
|
|
|
|
355 |
1183 |
|
5K1.2×180.144‑III‑2 |
185 |
|
|
482 |
161 |
|
|
|
|
|
|
|
379 |
1207 |
|
5K1.2×180.144‑III(IV)‑3 |
32 |
186 |
594 |
|
177 |
|
|
|
|
|
|
|
412 |
1401 |
|
5K1.2×180.144‑III‑4 |
38 |
172 |
|
|
193 |
|
|
|
697 |
|
|
|
421 |
1521 |
|
5K1.2×180.144‑IV(V)‑2 |
181 |
|
|
|
161 |
519 |
|
|
|
|
|
|
409 |
1270 |
|
5K1.2×180.144‑IV(V)‑4 |
38 |
174 |
|
|
193 |
|
|
|
|
|
|
779 |
428 |
1612 |
|
5K1.2×180.144‑V‑3 |
32 |
184 |
|
|
177 |
|
|
|
608 |
|
|
|
418 |
1419 |
СПЕЦИФИКАЦИЯ СРЕДНИХ СТОЕК РАМ МОДИФИКАЦИИ 5
|
Марка элемента |
Масса по профилям, кг |
Общая масса, кг |
|||||||||||||||
|
Гнутосварные трубы |
сталь листовая |
||||||||||||||||
|
80×4 |
100×4 |
120×200×5 |
120×200×6 |
140×5 |
140×160×5 |
140×180×5 |
160×5 |
160×6 |
160×200×5 |
160×200×6 |
180×5 |
180×8 |
200×6 |
200×8 |
|||
|
5K2.2×120.84‑III(IV;V)‑1 |
|
164 |
|
|
|
|
509 |
|
|
|
|
|
|
|
|
393 |
1066 |
|
5K2.2×120.84‑III(IV)‑2 |
|
167 |
|
|
|
|
|
|
|
|
|
577 |
|
|
|
425 |
1169 |
|
5K2.2×120.84‑III(IV;V)‑3 |
|
174 |
|
|
|
|
|
|
|
|
|
|
|
766 |
|
427 |
1367 |
|
5K2.2×120.84‑III(IV;V)‑4 |
|
174 |
|
|
|
|
|
|
|
|
|
|
|
|
1001 |
429 |
1604 |
|
5K2.2×120.84‑V‑2 |
|
172 |
|
|
|
|
|
|
|
577 |
|
|
|
|
|
414 |
1163 |
|
5K2.2×120.96‑III(IV;V)‑1 |
|
189 |
|
|
|
|
566 |
|
|
|
|
|
|
|
|
445 |
1200 |
|
5K2.2×120.96‑III(IV)‑2 |
|
191 |
|
|
|
|
|
|
|
|
|
641 |
|
|
|
490 |
1322 |
|
5K2.2×120.96‑III(IV;V)‑3 |
|
197 |
|
|
|
|
|
|
|
|
|
|
|
851 |
|
498 |
1546 |
|
5K2.2×120.96‑III(IV;V)‑4 |
|
186 |
|
|
|
|
|
|
|
|
|
|
|
|
1113 |
498 |
1797 |
|
5K2.2×120.96‑V‑2 |
|
196 |
|
|
|
|
|
|
|
641 |
|
|
|
|
|
481 |
1318 |
|
5K2.2×120.108‑III(IV;V)‑1 |
159 |
|
|
|
540 |
|
|
|
|
|
|
|
|
|
|
439 |
1138 |
|
5K2.2×120.108‑III(IV;V)‑2 |
174 |
|
|
|
|
|
|
623 |
|
|
|
|
|
|
|
475 |
1272 |
|
5K2.2×120.108‑III(IV;V)‑3 |
|
203 |
|
|
|
|
|
|
|
|
|
705 |
|
|
|
490 |
1398 |
|
5K2.2×120.108‑III(IV;V)‑4 |
|
209 |
|
|
|
|
|
|
|
|
|
|
|
937 |
|
494 |
1318 |
|
5K2.2×120.120‑III(IV;V)‑1 |
178 |
|
|
|
589 |
|
|
|
|
|
|
|
|
|
|
439 |
1206 |
|
5K2.2×120.120‑III(IV;V)‑2 |
183 |
|
|
|
|
|
|
680 |
|
|
|
|
|
|
|
475 |
1338 |
|
5K2.2×120.120‑III(IV;V)‑3 |
|
227 |
|
|
|
|
|
|
|
|
|
770 |
|
|
|
490 |
1487 |
|
5K2.2×120.120‑III(IV;V)‑4 |
|
232 |
|
|
|
|
|
|
|
|
|
|
|
1022 |
|
494 |
1748 |
|
5K2.2×120.132‑III(IV;V)‑1 |
188 |
|
|
|
639 |
|
|
|
|
|
|
|
|
|
|
440 |
1267 |
|
5K2.2×120.132‑III(IV;V)‑2 |
188 |
|
|
|
|
687 |
|
|
|
|
|
|
|
|
|
472 |
1347 |
|
5K2.2×120.132‑III(IV;V)‑3 |
|
258 |
|
873 |
|
|
|
|
|
|
|
|
|
|
|
464 |
1595 |
|
5K2.2×120.132‑III(IV)‑4 |
|
244 |
|
|
|
|
|
|
|
|
|
|
|
1107 |
|
498 |
1849 |
|
5K2.2×120.132‑V‑4 |
|
244 |
|
|
|
|
|
|
|
|
|
|
|
|
1416 |
498 |
2158 |
|
5K2.2×120.144‑III(IV;V)‑1 |
208 |
|
|
|
688 |
|
|
|
|
|
|
|
|
|
|
440 |
1336 |
|
5K2.2×120.144‑III(IV;V)‑2 |
208 |
|
|
|
|
741 |
|
|
|
|
|
|
|
|
|
472 |
1421 |
|
5K2.2×120.144‑III(IV;V)‑3 |
|
271 |
|
940 |
|
|
|
|
|
|
|
|
|
|
|
464 |
1675 |
|
5K2.2×120.144‑III(IV)‑4 |
|
279 |
|
|
|
|
|
|
|
|
|
|
|
1193 |
|
498 |
1970 |
|
5K2.2×120.144‑V‑4 |
|
267 |
|
|
|
|
|
|
|
|
|
|
|
|
1526 |
498 |
2291 |
|
5K2.2×180.84‑III‑1 |
164 |
|
|
|
|
|
509 |
|
|
|
|
|
|
|
|
393 |
1066 |
|
5K2.2×180.84‑III(IV)‑2 |
172 |
|
|
|
|
|
|
|
|
577 |
|
|
|
|
|
414 |
1163 |
|
5K2.2×180.84‑III(IV;V)‑3 |
174 |
|
|
|
|
|
|
|
|
|
|
|
|
766 |
|
427 |
1367 |
|
5K2.2×120.84‑III(IV;V)‑4 |
174 |
|
|
|
|
|
|
|
|
|
|
|
|
|
1001 |
429 |
1604 |
|
5K2.2×180.84‑IV(V)‑1 |
167 |
|
|
|
|
|
|
|
|
|
|
577 |
|
|
|
397 |
1141 |
|
5K2.2×180.84‑V‑2 |
174 |
|
|
|
|
|
|
|
|
|
|
|
|
766 |
|
421 |
1361 |
|
5K2.2×180.96‑III‑1 |
189 |
|
|
|
|
|
566 |
|
|
|
|
|
|
|
|
445 |
1200 |
|
5K2.2×180.96‑III(IV)‑2 |
196 |
|
|
|
|
|
|
|
|
641 |
|
|
|
|
|
474 |
1311 |
|
5K2.2×180.96‑III(IV;V)‑3 |
197 |
|
|
|
|
|
|
|
|
|
|
|
|
851 |
|
498 |
1546 |
|
5K2.2×120.96‑III(IV;V)‑4 |
186 |
|
|
|
|
|
|
|
|
|
|
|
|
|
1113 |
498 |
1797 |
|
5K2.2×180.96‑IV(V)‑1 |
191 |
|
|
|
|
|
|
|
|
|
|
641 |
|
|
|
461 |
1293 |
|
5K2.2×180.96‑V‑2 |
186 |
|
|
|
|
|
|
|
|
|
|
|
|
851 |
|
491 |
1528 |
|
5K2.2×180.108‑III(IV)‑1 |
163 |
|
540 |
|
|
|
|
|
|
|
|
|
|
|
|
434 |
1137 |
|
5K2.2×180.108‑III‑2 |
159 |
|
|
|
|
581 |
|
|
|
|
|
|
|
|
|
472 |
1212 |
|
5K2.2×180.108‑III(IV)‑3 |
|
203 |
|
|
|
|
|
|
|
|
|
705 |
|
|
|
497 |
1405 |
|
5K2.2×180.108‑III(IV;V)‑4 |
|
209 |
|
|
|
|
|
|
|
|
|
|
|
937 |
|
498 |
1644 |
|
5K2.2×180.108‑IV(V)‑2 |
174 |
|
|
|
|
|
|
623 |
|
|
|
|
|
|
|
482 |
1279 |
|
5K2.2×180.108‑V‑1 |
163 |
|
|
|
|
540 |
|
|
|
|
|
|
|
|
|
443 |
1146 |
|
5K2.2×180.108‑V‑3 |
|
209 |
|
|
|
|
|
|
|
|
738 |
|
|
|
|
481 |
1428 |
|
5K2.2×180.120‑III(IV)‑1 |
173 |
|
589 |
|
|
|
|
|
|
|
|
|
|
|
|
434 |
1196 |
|
5K2.2×180.120‑III‑2 |
178 |
|
|
|
|
634 |
|
|
|
|
|
|
|
|
|
472 |
1284 |
|
5K2.2×180.120‑III(IV)‑3 |
|
227 |
|
|
|
|
|
|
|
|
|
770 |
|
|
|
497 |
1494 |
|
5K2.2×180.120‑III(IV;V)‑4 |
|
232 |
|
|
|
|
|
|
|
|
|
|
|
1022 |
|
498 |
1752 |
|
5K2.2×180.120‑IV(V)‑2 |
183 |
|
|
|
|
|
|
680 |
|
|
|
|
|
|
|
482 |
1345 |
|
5K2.2×180.120‑V‑1 |
178 |
|
|
|
|
634 |
|
|
|
|
|
|
|
|
|
443 |
1255 |
|
5K2.2×180.120‑V‑3 |
|
233 |
|
|
|
|
|
|
|
|
805 |
|
|
|
|
481 |
1519 |
|
5K2.2×180.132‑III(IV)‑1 |
193 |
|
639 |
|
|
|
|
|
|
|
|
|
|
|
|
434 |
1266 |
|
5K2.2×180.132‑III(IV;V)‑2 |
203 |
|
|
|
|
|
|
|
873 |
|
|
|
|
|
|
480 |
1556 |
|
5K2.2×180.132‑III(IV;V)‑3 |
|
256 |
|
|
|
|
|
|
|
|
|
|
|
1107 |
|
498 |
1861 |
|
5K2.2×180.132‑III(IV)‑4 |
|
251 |
|
|
|
|
|
|
|
|
|
|
1291 |
|
|
497 |
2039 |
|
5K2.2×180.132‑V‑1 |
203 |
|
|
|
|
|
|
736 |
|
|
|
|
|
|
|
449 |
1388 |
|
5K2.2×180.132‑V‑4 |
|
251 |
|
|
|
|
|
|
|
|
|
|
|
|
1447 |
498 |
2196 |
|
5K2.2×180.144‑III(IV)‑1 |
214 |
|
688 |
|
|
|
|
|
|
|
|
|
|
|
|
434 |
1336 |
|
5K2.2×180.144‑III(IV,V)‑2 |
212 |
|
|
|
|
|
|
|
940 |
|
|
|
|
|
|
480 |
1632 |
|
5K2.2×180.144‑III(IV;V)‑3 |
|
279 |
|
|
|
|
|
|
|
|
|
|
|
1193 |
|
498 |
1970 |
|
5K2.2×180.144‑III(IV)‑4 |
|
263 |
|
|
|
|
|
|
|
|
|
|
1390 |
|
|
497 |
2150 |
|
5K2.2×180.144‑V‑1 |
212 |
|
|
|
|
|
|
793 |
|
|
|
|
|
|
|
449 |
1454 |
|
5K2.2×180.144‑V‑4 |
|
279 |
|
|
|
|
|
|
|
|
|
|
|
|
1559 |
498 |
2336 |
СПЕЦИФИКАЦИЯ РИГЕЛЕЙ ОДНОПРОЛЕТНЫХ РАМ МОДИФИКАЦИИ 4
|
Марка элемента |
Масса по профилям, кг |
Общая масса, кг |
|||||||||||
|
Гнутосварные трубы |
сталь листовая |
прочее |
|
||||||||||
|
80×4 |
100×4 |
120×4 |
120×5 |
140×5 |
140×6 |
160×5 |
160×6 |
180×5 |
180×6 |
||||
|
41Р1(1а).120‑III‑0(1) |
84 |
|
175 |
109 |
|
|
|
|
|
|
53 |
11 |
432 |
|
41Р1(1а).120‑III‑2 41P1(1a).120‑IV‑0 |
84 |
|
|
322 |
|
|
|
|
|
|
53 |
11 |
470 |
|
41Р1(1а).120‑III‑3(4) 41P1(1a).120‑IV‑1(2‑4) |
84 |
|
|
213 |
129 |
|
|
|
|
|
53 |
11 |
490 |
|
41P1(1a).120‑V‑0(1‑4) |
107 |
|
|
213 |
129 |
|
|
|
|
|
62 |
11 |
522 |
|
41Р1б.120‑III‑1 |
109 |
|
175 |
109 |
|
|
|
|
|
|
53 |
11 |
457 |
|
41Р1б.120‑III‑2(3;4) 41P1б.120‑IV‑1(2‑4) |
109 |
|
|
213 |
129 |
|
|
|
|
|
53 |
11 |
515 |
|
41P1б.120‑V‑1(2) |
|
139 |
|
213 |
129 |
|
|
|
|
|
62 |
11 |
554 |
|
41P1б.120‑V‑3(4) |
|
139 |
|
213 |
|
|
149 |
|
|
|
63 |
11 |
575 |
|
41Р1(1а).180‑III‑0(1‑3) |
83 |
|
66 |
131 |
191 |
|
|
|
|
|
60 |
11 |
542 |
|
41Р1(1а).180‑III‑4 |
83 |
|
66 |
131 |
|
226 |
|
|
|
|
62 |
11 |
577 |
|
41Р1(1а).180‑IV‑0(1‑4) |
|
105 |
|
|
233 |
|
220 |
|
|
|
67 |
12 |
637 |
|
41P1(1a).180‑V‑0 |
|
105 |
|
|
|
|
488 |
|
|
|
80 |
12 |
685 |
|
41P1(1a).180‑V‑1(2;3) |
|
105 |
|
|
|
|
269 |
261 |
|
|
80 |
12 |
727 |
|
41P1(1a).180‑V‑4 |
|
|
128 |
|
|
|
269 |
261 |
|
|
81 |
12 |
750 |
|
41P1б.180‑III‑1 |
95 |
|
|
197 |
191 |
|
|
|
|
|
60 |
11 |
554 |
|
41Р1б.180‑III‑2(3) |
95 |
|
|
197 |
|
|
220 |
|
|
|
62 |
11 |
585 |
|
41P1б.180‑III‑4 |
95 |
|
|
|
233 |
|
|
261 |
|
|
65 |
12 |
665 |
|
41P1б.180‑IV‑1(2) |
|
121 |
|
|
233 |
|
220 |
|
|
|
65 |
12 |
651 |
|
41P1б.180‑IV‑3(4) |
|
121 |
|
|
233 |
|
|
261 |
|
|
65 |
12 |
692 |
|
41P1б.180‑V‑1(2) |
|
121 |
|
|
|
|
269 |
261 |
|
|
80 |
12 |
743 |
|
41P1б.180‑V‑3 |
|
|
147 |
|
|
|
269 |
|
249 |
|
83 |
12 |
760 |
|
41P1б.180‑V‑4 |
|
|
147 |
|
|
|
|
318 |
|
296 |
83 |
12 |
856 |
|
42P1(1a).120‑III‑0(1) |
135 |
|
175 |
109 |
|
|
|
|
|
|
59 |
11 |
489 |
|
42P1(1a).120‑III‑2 42P1(1a).120‑IV‑0 |
135 |
|
|
322 |
|
|
|
|
|
|
59 |
11 |
527 |
|
42P1(1a).120‑III‑3(4) 42P1(1a).120‑IV‑1(2‑4) |
135 |
|
|
213 |
129 |
|
|
|
|
|
60 |
11 |
548 |
|
42P1(1a).120‑V‑0(1‑4) |
172 |
|
|
213 |
129 |
|
|
|
|
|
69 |
11 |
594 |
|
42P1б.120‑III‑1 |
160 |
|
175 |
109 |
|
|
|
|
|
|
59 |
11 |
514 |
|
42P1б.120‑III‑2(3;4) 42P1б.120‑IV‑1(2‑4) |
160 |
|
|
213 |
129 |
|
|
|
|
|
60 |
11 |
573 |
|
42P1б.120‑V‑1(2) |
|
204 |
|
213 |
129 |
|
|
|
|
|
69 |
11 |
625 |
|
42P1б.120‑V‑3(4) |
|
203 |
|
213 |
|
|
149 |
|
|
|
69 |
11 |
645 |
|
42P1(1a).180‑III‑0(1‑3) |
120 |
|
66 |
131 |
191 |
|
|
|
|
|
63 |
11 |
582 |
|
42P1(1a).180‑III‑4 |
120 |
|
66 |
131 |
|
226 |
|
|
|
|
63 |
И |
617 |
|
42P1(1a).180‑IV‑0(1‑4) |
|
152 |
|
|
233 |
|
220 |
|
|
|
71 |
12 |
688 |
|
42P1(1a).180‑V‑0 |
|
152 |
|
|
|
|
488 |
|
|
|
84 |
12 |
736 |
|
42P1(1a).180‑V‑1(2;3) |
|
152 |
|
|
|
|
269 |
261 |
|
|
84 |
12 |
778 |
|
42P1(1a).180‑V‑4 |
|
|
185 |
|
|
|
269 |
261 |
|
|
85 |
12 |
811 |
|
42Р1б.180‑III‑1 |
132 |
|
|
197 |
191 |
|
|
|
|
|
63 |
11 |
594 |
|
42Р1б.180‑III‑2(3) |
132 |
|
|
197 |
|
|
220 |
|
|
|
65 |
11 |
625 |
|
42Р1б.180‑III‑4 |
132 |
|
|
|
233 |
|
|
261 |
|
|
68 |
12 |
706 |
|
42P1б.180‑IV‑1(2) |
|
168 |
|
|
233 |
|
220 |
|
|
|
69 |
12 |
702 |
|
42P1б.180‑IV‑3(4) |
|
168 |
|
|
233 |
|
|
261 |
|
|
69 |
12 |
743 |
|
42P1б.180‑V‑1(2) |
|
168 |
|
|
|
|
269 |
261 |
|
|
84 |
12 |
794 |
|
42P1б.180‑V‑3 |
|
|
204 |
|
|
|
269 |
|
249 |
|
87 |
12 |
821 |
|
42P1б.180‑V‑4 |
|
|
204 |
|
|
|
|
318 |
|
296 |
87 |
12 |
917 |
СПЕЦИФИКАЦИЯ РИГЕЛЕЙ ОДНОПРОЛЕТНЫХ РАМ МОДИФИКАЦИИ 5
|
Марка элемента |
Масса по профилям, кг |
Общая масса, кг |
|||||||||||
|
Гнутосварные трубы |
сталь листовая |
прочее |
|||||||||||
|
80×4 |
100×4 |
120×4 |
120×5 |
140×5 |
160×5 |
|
|
|
|
||||
|
51Р1.120‑III‑1(2‑4) |
84 |
|
175 |
109 |
|
|
|
|
|
|
53 |
11 |
432 |
|
51P1.120‑IV‑1(2‑4) |
84 |
|
|
322 |
|
|
|
|
|
|
53 |
11 |
470 |
|
51P1.120‑V‑1(2‑4) |
|
107 |
|
213 |
129 |
|
|
|
|
|
62 |
11 |
522 |
|
51Р1.180‑III‑1(2‑4) |
83 |
|
|
197 |
191 |
|
|
|
|
|
60 |
11 |
542 |
|
51P1.180‑IV‑1(2‑4) |
|
105 |
|
|
233 |
220 |
|
|
|
|
67 |
12 |
637 |
|
51P1.180‑V‑1(2‑4) |
|
105 |
|
|
|
488 |
|
|
|
|
80 |
12 |
685 |
|
52P1.120‑III‑1(2‑4) |
135 |
|
175 |
109 |
|
|
|
|
|
|
59 |
11 |
489 |
|
52P1.120‑IV‑1(2‑4) |
135 |
|
|
322 |
|
|
|
|
|
|
59 |
11 |
527 |
|
52P1.120‑V‑1(2‑4) |
|
172 |
|
213 |
129 |
|
|
|
|
|
69 |
11 |
594 |
|
52Р1.180‑III‑1(2‑4) |
120 |
|
|
197 |
191 |
|
|
|
|
|
63 |
11 |
582 |
|
52P1.180‑IV‑1(2‑4) |
|
152 |
|
|
233 |
220 |
|
|
|
|
71 |
12 |
688 |
|
52P1.180‑V‑1(2‑4) |
|
152 |
|
|
|
488 |
|
|
|
|
84 |
12 |
736 |
СПЕЦИФИКАЦИЯ РИГЕЛЕЙ ДВУХПРОЛЕТНЫХ РАМ МОДИФИКАЦИИ 4
|
Марка элемента |
Масса по профилям, кг |
Общая масса, кг |
|||||||||||
|
Гнутосварные трубы |
сталь листовая |
прочее |
|||||||||||
|
80×4 |
100×4 |
120×4 |
120×5 |
140×5 |
160×5 |
160×6 |
180×5 |
180×6 |
180×8 |
||||
|
41Р1.2×120‑III‑0 |
105 |
|
183 |
214 |
|
|
|
|
|
|
44 |
11 |
557 |
|
41P1.2×120.IV‑0 |
105 |
|
183 |
214 |
|
|
|
|
|
|
44 |
11 |
557 |
|
41P1.2×120.V‑0 |
|
134 |
|
224 |
253 |
|
|
|
|
|
47 |
11 |
669 |
|
41Р1а.2×120‑III‑1 |
100 |
|
211 |
214 |
|
|
|
|
|
|
44 |
11 |
580 |
|
41Р1а.2×120‑III‑2(3;4) |
100 |
|
|
471 |
|
|
|
|
|
|
44 |
11 |
626 |
|
41P1a.2×120‑IV‑1(2‑4) |
100 |
|
|
257 |
253 |
|
|
|
|
|
44 |
11 |
665 |
|
41P1a.2×120‑V‑1(2‑4) |
|
127 |
|
257 |
253 |
|
|
|
|
|
47 |
11 |
695 |
|
41Р1б.2×120‑III‑1 |
95 |
|
238 |
214 |
|
|
|
|
|
|
47 |
11 |
605 |
|
41Р1б.2×120‑III‑2(3;4) |
95 |
|
|
290 |
253 |
|
|
|
|
|
48 |
И |
697 |
|
41P1б.2×120‑IV‑1(2‑4) |
95 |
|
|
290 |
253 |
|
|
|
|
|
48 |
11 |
697 |
|
41P1б.2×120‑V‑1(2) |
|
121 |
|
290 |
253 |
|
|
|
|
|
48 |
11 |
723 |
|
41P1б.2×120‑V‑3(4) |
|
121 |
|
290 |
|
292 |
|
|
|
|
49 |
11 |
763 |
|
41Р1(1а).2×180‑III‑0(1;2) |
70 |
|
|
138 |
|
194 |
|
|
|
|
67 |
11 |
480 |
|
41Р1(1а).2×180‑III‑3 |
70 |
|
|
138 |
|
194 |
|
|
|
|
74 |
11 |
487 |
|
41Р1(1а).2×180‑III‑4 |
|
89 |
|
138 |
|
194 |
|
|
|
|
76 |
11 |
508 |
|
41Р1(1а).2×180‑IV‑0(1‑3) |
70 |
|
|
138 |
|
|
230 |
|
|
|
74 |
11 |
523 |
|
41P1(1a).2×180‑IV‑4 |
|
89 |
|
138 |
|
|
230 |
|
|
|
77 |
11 |
545 |
|
41P1(1a).2×180‑V‑0(1‑3) |
|
89 |
|
|
163 |
|
|
|
261 |
|
81 |
12 |
606 |
|
41P1(1a).2×180‑V‑4 |
|
89 |
|
|
163 |
|
|
|
261 |
|
90 |
12 |
615 |
|
41Р1б.2×180‑III‑1 |
65 |
|
|
171 |
|
194 |
|
|
|
|
68 |
11 |
509 |
|
41Р1б.2×180‑III‑2 |
65 |
|
|
171 |
|
|
230 |
|
|
|
68 |
11 |
547 |
|
41Р1б.2×180‑III‑3 |
65 |
|
|
171 |
|
194 |
|
|
|
|
75 |
11 |
516 |
|
41Р1б.2×180‑III‑4 |
|
83 |
|
|
202 |
|
|
220 |
|
|
83 |
12 |
600 |
|
41P1б.2×180‑IV‑1(2) |
|
83 |
|
|
202 |
|
|
220 |
|
|
83 |
12 |
600 |
|
41P1б.2×180‑IV‑3(4) |
|
83 |
|
|
202 |
|
|
|
261 |
|
84 |
12 |
642 |
|
41P1б.2×180‑V‑1 |
|
83 |
|
|
202 |
|
|
|
261 |
|
84 |
12 |
642 |
|
41P1б.2×180‑V‑2(3) |
|
83 |
|
|
202 |
|
|
|
|
340 |
84 |
12 |
721 |
|
41P1б.2×180‑V‑4 |
|
83 |
|
|
|
233 |
|
|
|
340 |
96 |
12 |
764 |
|
41P2.2×180‑III‑0(1;2) |
105 |
|
|
190 |
|
240 |
|
|
|
|
66 |
11 |
612 |
|
41P2.2×180‑III‑3 |
105 |
|
|
190 |
|
240 |
|
|
|
|
73 |
11 |
619 |
|
41P2.2×180‑III‑4 |
|
134 |
|
190 |
|
240 |
|
|
|
|
75 |
11 |
650 |
|
41P2.2×180‑IV‑0(1‑3) |
105 |
|
|
190 |
|
|
285 |
|
|
|
73 |
11 |
664 |
|
41P2.2×180‑IV‑4 |
|
134 |
|
190 |
|
|
285 |
|
|
|
75 |
11 |
695 |
|
41P2.2×180‑V‑0(1‑3) |
|
134 |
|
|
225 |
|
|
|
323 |
|
80 |
12 |
774 |
|
41P2.2×180‑V‑4 |
|
134 |
|
|
225 |
|
|
|
323 |
|
89 |
12 |
783 |
|
41P2a.2×180‑III‑1(2) |
100 |
|
|
223 |
|
240 |
|
|
|
|
68 |
11 |
642 |
|
41P2a.2×180‑III‑3 |
100 |
|
|
223 |
|
240 |
|
|
|
|
74 |
11 |
648 |
|
41P2a.2×180‑III‑4 |
|
127 |
|
223 |
|
240 |
|
|
|
|
76 |
11 |
677 |
|
41P2a.2×180‑IV‑1(2;3) |
100 |
|
|
223 |
|
|
285 |
|
|
|
74 |
11 |
693 |
|
41P2a.2×180‑IV‑4 |
|
127 |
|
223 |
|
|
285 |
|
|
|
76 |
11 |
722 |
|
41P2a.2×180‑V‑1(2;3) |
|
127 |
|
|
264 |
|
|
|
323 |
|
82 |
12 |
808 |
|
41P2a.2×180‑V‑4 |
|
127 |
|
|
264 |
|
|
|
323 |
|
91 |
12 |
817 |
|
41Р2б.2×180‑III‑1 |
100 |
|
|
223 |
|
240 |
|
|
|
|
68 |
11 |
642 |
|
41Р2б.2×180‑III‑2 |
100 |
|
|
223 |
|
|
285 |
|
|
|
68 |
11 |
687 |
|
41Р2б.2×180‑III‑3 |
|
127 |
|
223 |
|
|
|
245 |
|
|
76 |
11 |
722 |
|
41Р2б.2×180‑III‑4 |
|
127 |
|
|
264 |
|
|
245 |
|
|
82 |
12 |
757 |
|
41P2б.2×180‑IV‑1(2) |
|
127 |
|
|
264 |
|
|
245 |
|
|
82 |
12 |
757 |
|
41P2б.2×180‑IV‑3(4) |
|
127 |
|
|
264 |
|
|
|
322 |
|
82 |
12 |
807 |
|
41P2б.2×180‑V‑1 |
|
127 |
|
|
264 |
|
|
|
322 |
|
82 |
12 |
807 |
|
41P2б.2×180‑V‑2(3) |
|
127 |
|
|
264 |
|
|
|
|
421 |
82 |
12 |
906 |
|
41P2б.2×180‑V‑4 |
|
127 |
|
|
|
304 |
|
|
|
421 |
96 |
12 |
960 |
|
42P1.2×120‑III‑0 |
155 |
|
183 |
214 |
|
|
|
|
|
|
51 |
11 |
614 |
|
42P1.2×120‑IV‑0 |
155 |
|
183 |
214 |
|
|
|
|
|
|
51 |
11 |
614 |
|
42P1.2×120‑V‑0 |
|
197 |
|
224 |
253 |
|
|
|
|
|
54 |
11 |
739 |
|
42P1a.2×120‑III‑1 |
137 |
|
211 |
214 |
|
|
|
|
|
|
48 |
11 |
621 |
|
42P1a.2×120‑III‑2(3;4) |
137 |
|
|
471 |
|
|
|
|
|
|
48 |
11 |
667 |
|
42P1a.2×120‑IV‑1(2‑4) |
137 |
|
|
257 |
253 |
|
|
|
|
|
48 |
11 |
706 |
|
42P1a.2×120‑V‑1(2‑4) |
|
174 |
|
257 |
253 |
|
|
|
|
|
51 |
11 |
746 |
|
42P1б.2×120‑III‑1 |
144 |
|
238 |
214 |
|
|
|
|
|
|
50 |
11 |
657 |
|
42P1б.2×120‑III‑2(3;4) |
144 |
|
|
290 |
253 |
|
|
|
|
|
51 |
11 |
749 |
|
42P1б.2×120‑IV‑1(2‑4) |
144 |
|
|
290 |
253 |
|
|
|
|
|
51 |
11 |
749 |
|
42P1б.2×120‑V‑1(2) |
|
184 |
|
290 |
253 |
|
|
|
|
|
53 |
11 |
791 |
|
42P1б.2×120‑V‑3(4) |
|
184 |
|
290 |
|
292 |
|
|
|
|
53 |
11 |
830 |
|
42P1(1a).2×180‑III‑0(1;2) |
107 |
|
|
138 |
|
194 |
|
|
|
|
70 |
11 |
520 |
|
42P1(1a).2×180‑III‑3 |
107 |
|
|
138 |
|
194 |
|
|
|
|
77 |
11 |
527 |
|
42P1(1a).2×180‑III‑4 |
|
136 |
|
138 |
|
194 |
|
|
|
|
80 |
11 |
559 |
|
42P1(1a).2×180‑IV‑0(1‑3) |
107 |
|
|
138 |
|
|
230 |
|
|
|
77 |
11 |
563 |
|
42P1(1a).2×180‑IV‑4 |
|
136 |
|
138 |
|
|
230 |
|
|
|
80 |
11 |
595 |
|
42P1(1a).2×180‑V‑0(1‑3) |
|
136 |
|
|
163 |
|
|
|
261 |
|
84 |
12 |
656 |
|
42P1(1a).2×180‑V‑4 |
|
136 |
|
|
163 |
|
|
|
261 |
|
93 |
12 |
665 |
|
42P1б.2×180‑III‑1 |
102 |
|
|
171 |
|
194 |
|
|
|
|
71 |
11 |
549 |
|
42Р1б.2×180‑III‑2 |
102 |
|
|
171 |
|
|
230 |
|
|
|
71 |
11 |
585 |
|
42Р1б.2×180‑III‑3 |
102 |
|
|
171 |
|
194 |
|
|
|
|
77 |
11 |
555 |
|
42Р1б.2×180‑III‑4 |
|
130 |
|
|
202 |
|
|
220 |
|
|
87 |
12 |
651 |
|
42P1б.2×180‑IV‑1(2) |
|
130 |
|
|
202 |
|
|
220 |
|
|
87 |
12 |
651 |
|
42P1б.2×180‑IV‑3(4) |
|
130 |
|
|
202 |
|
|
|
261 |
|
87 |
12 |
692 |
|
42P1б.2×180‑V‑1 |
|
130 |
|
|
202 |
|
|
|
261 |
|
87 |
12 |
692 |
|
42P1б.2×180‑V‑2(3) |
|
130 |
|
|
202 |
|
|
|
|
340 |
87 |
12 |
771 |
|
42P1б.2×180‑V‑4 |
|
130 |
|
|
|
233 |
|
|
|
340 |
99 |
12 |
814 |
|
42P2.2×180‑III‑0(1;2) |
142 |
|
|
190 |
|
240 |
|
|
|
|
70 |
11 |
653 |
|
42P2.2×180‑III‑3 |
142 |
|
|
190 |
|
240 |
|
|
|
|
76 |
11 |
659 |
|
42P2.2×180‑III‑4 |
|
181 |
|
190 |
|
240 |
|
|
|
|
79 |
11 |
701 |
|
42P2.2×180‑IV‑0(1‑3) |
142 |
|
|
190 |
|
|
285 |
|
|
|
76 |
11 |
704 |
|
42P2.2×180‑IV‑4 |
|
181 |
|
190 |
|
|
285 |
|
|
|
79 |
11 |
746 |
|
42P2.2×180‑V‑0(1‑3) |
|
181 |
|
|
225 |
|
|
|
323 |
|
84 |
12 |
825 |
|
42P2.2×180‑V‑4 |
|
181 |
|
|
225 |
|
|
|
323 |
|
93 |
12 |
834 |
|
42Р2а.2×180‑III‑1(2) |
137 |
|
|
223 |
|
240 |
|
|
|
|
71 |
11 |
682 |
|
42Р2а.2×180‑III‑3 |
137 |
|
|
223 |
|
240 |
|
|
|
|
78 |
11 |
689 |
|
42Р2а.2×180‑III‑4 |
|
174 |
|
223 |
|
240 |
|
|
|
|
80 |
11 |
728 |
|
42P2a.2×180‑IV‑1(2;3) |
137 |
|
|
223 |
|
|
285 |
|
|
|
78 |
11 |
734 |
|
42P2a.2×180‑IV‑4 |
|
174 |
|
223 |
|
|
285 |
|
|
|
80 |
11 |
773 |
|
42P2a.2×180‑V‑1(2;3) |
|
174 |
|
|
264 |
|
|
|
323 |
|
86 |
12 |
859 |
|
42P2a.2×180‑V‑4 |
|
174 |
|
|
264 |
|
|
|
323 |
|
95 |
12 |
868 |
|
42Р2б.2×180‑III‑1 |
137 |
|
|
223 |
|
240 |
|
|
|
|
71 |
11 |
682 |
|
42Р2б.2×180‑III‑2 |
137 |
|
|
223 |
|
|
285 |
|
|
|
71 |
11 |
727 |
|
42Р2б.2×180‑III‑3 |
|
174 |
|
223 |
|
|
|
245 |
|
|
80 |
11 |
733 |
|
42Р2б.2×180‑III‑4 |
|
174 |
|
|
264 |
|
|
245 |
|
|
86 |
12 |
808 |
|
42P2б.2×180‑IV‑1(2) |
|
174 |
|
|
264 |
|
|
245 |
|
|
86 |
12 |
808 |
|
42P2б.2×180‑IV‑3(4) |
|
174 |
|
|
264 |
|
|
|
322 |
|
86 |
12 |
858 |
|
42P2б.2×180‑V‑1 |
|
174 |
|
|
264 |
|
|
|
322 |
|
86 |
12 |
858 |
|
42P2б.2×180‑V‑2(3) |
|
174 |
|
|
264 |
|
|
|
|
421 |
86 |
12 |
957 |
|
42P2б.2×180‑V‑4 |
|
174 |
|
|
|
304 |
|
|
|
421 |
100 |
12 |
1011 |
СПЕЦИФИКАЦИЯ РИГЕЛЕЙ ДВУХПРОЛЕТНЫХ РАМ МОДИФИКАЦИИ 5
|
Марка элемента |
Масса по профилям, кг |
Общая масса, кг |
|||||||||||
|
Гнутосварные трубы |
сталь листовая |
прочее |
|||||||||||
|
80×4 |
100×4 |
120×4 |
120×5 |
140×5 |
160×5 |
160×6 |
180×5 |
180×6 |
180×8 |
||||
|
51Р1.2х120-III-1(2-4) 51P1.2×120-IV-1(2-4) |
105 |
|
184 |
214 |
|
|
|
|
|
|
44 |
11 |
558 |
|
51P1.2×120-V-1(2-4) |
|
134 |
|
224 |
253 |
|
|
|
|
|
47 |
11 |
669 |
|
51Р1.2×180-III-1(2-4) |
70 |
|
|
138 |
|
194 |
|
|
|
|
67 |
11 |
480 |
|
51P1.2×180-IV-1(2-4) |
70 |
|
|
138 |
|
|
230 |
|
|
|
74 |
11 |
523 |
|
51P1.2×180-V-1(2-4) |
|
89 |
|
|
163 |
|
|
|
261 |
|
81 |
12 |
606 |
|
51P2.2×180-III-1(2-4) |
105 |
|
|
190 |
|
240 |
|
|
|
|
66 |
11 |
612 |
|
51P2.2×180-IV-1(2-4) |
105 |
|
|
190 |
|
|
285 |
|
|
|
73 |
11 |
664 |
|
51P2.2×180-V-1(2-4) |
|
134 |
|
|
225 |
|
|
|
323 |
|
80 |
12 |
774 |
|
52P1.2×120-III-1(2-4) 52P1.2×120-IV-1(2-4) |
155 |
|
183 |
214 |
|
|
|
|
|
|
51 |
11 |
614 |
|
52P1.2×120-V-1(2-4) |
|
197 |
|
224 |
253 |
|
|
|
|
|
54 |
11 |
739 |
|
52P1.2×180-III-1(2-4) |
107 |
|
|
138 |
|
194 |
|
|
|
|
70 |
11 |
520 |
|
52P1.2×180-IV-1(2-4) |
107 |
|
|
138 |
|
|
230 |
|
|
|
77 |
11 |
563 |
|
52P1.2×180-V-1(2-4) |
|
136 |
|
|
163 |
|
|
|
261 |
|
84 |
12 |
656 |
|
52P2.2×180-III-1(2-4) |
142 |
|
|
190 |
|
240 |
|
|
|
|
70 |
11 |
653 |
|
52P2.2×180‑IV‑1(2‑4) |
142 |
|
|
190 |
|
|
285 |
|
|
|
76 |
11 |
704 |
|
52P2.2×180-V-1(2-4) |
|
181 |
|
|
225 |
|
|
|
323 |
|
84 |
12 |
825 |
|
|
|
|