|
| |
РОССИЙСКОЕ ОБЩЕСТВО
ИНЖЕНЕРОВ СТРОИТЕЛЬСТВА
(РОИС)
|

|
СТАНДАРТ ОРГАНИЗАЦИИ
|
СТО
00044807-001-2006
|
ТЕПЛОЗАЩИТНЫЕ
СВОЙСТВА ОГРАЖДАЮЩИХ КОНСТРУКЦИЙ ЗДАНИЙ
Москва 2006
Содержание
Цели и
принципы стандартизации в РФ установлены Федеральным законом от 27 декабря 2002
г. № 184-ФЗ «О
техническом регулировании», а правила применения стандартов организаций - ГОСТ
Р 1.4-2004 «Стандартизация в Российской Федерации. Стандарты организаций.
Общие положения»
Сведения о
стандарте
1 РАЗРАБОТАН
Российским обществом инженеров строительства (РОИС) совместно со специалистами
других организаций
2 УТВЕРЖДЕН
РОИС, ЦНИИСК им В.А. Кучеренко - филиал ФГУП НИЦ «Строительство», НИИЖБ -
филиал ФГУП НИЦ «Строительство», Национальным институтом технического
регулирования, Самарским государственным архитектурно-строительным
университетом, ЗАО «Победа ЛСР» (С.-Петербург)
3 ОДОБРЕН И
РЕКОМЕНДОВАН ДЛЯ ПРИМЕНЕНИЯ в качестве нормативного документа в строительстве
Экспертным Советом экономической рабочей группы при Администрации Президента РФ
протоколом № 1 от 6 февраля 2006 г.
4 ВВЕДЕН В
ДЕЙСТВИЕ приказом РОИС от 21 февраля 2006 г. № 8-12 с 1 марта 2006 г.
5 ВВЕДЕН
ВПЕРВЫЕ
В соответствии
с изменениями № 3 СНиП II-3-79* «Строительная
теплотехника», введенными 1995 г., требуемый уровень теплозащитных качеств
наружных стен необоснованно завышен в 3-3,5 раза. В большинстве регионов страны
его можно обеспечить применением только мягких утеплителей с недостаточно
изученной долговечностью в климатических условиях России. Расходы на ремонт
таких стен значительно превышают экономию от снижения энергозатрат на отопление
зданий.
Введенный в
действие СНиП 23-02-2003
«Тепловая защита зданий» взамен СНиП II-3-79* не решил возникших проблем, поскольку в нем
сохранены те же завышенные требования к теплозащитным качествам наружных стен
зданий. Сложилось положение, при котором новая система нормирования
теплозащитных качеств наружных ограждающих конструкций не удовлетворяет
современную строительную практику и ограничивает применение новых отечественных
теплоэффективных, долговечных, огнестойких керамических, ячеистобетонных,
полистиролбетонных, пенополиуретановых (с наполнителями), легких
керамзитобетонных материалов, альтернативных мягким минераловатным,
пенополистирольным. Это обусловило необходимость разработки данного стандарта.
Стандарт СТО
00044807-001-2006 разработан на основе требований Федерального закона «О
техническом регулировании» в целях обеспечения безопасного проживания, отдыха и
работы граждан в помещениях и повышения долговечности стен при рациональном
уровне теплозащитных качеств.
В стандарте
использован двухуровневый принцип нормирования теплозащитных качеств наружных
стен:
1 - по
санитарно-гигиеническим условиям, не допускающим образования конденсата и
плесени на внутренней поверхности наружных стен, покрытий, перекрытий, а также
их морозного разрушения в результате переувлажнения. Ниже этого уровня
теплозащитные качества стен принимать запрещается;
2 - из условий
энергосбережения и долговечности. Второй уровень установлен с целью экономии энергозатрат
на отопление зданий и снижения расходов на капитальные ремонты стен.
В разделе
«Долговечность наружных стен зданий» представленные данные позволяют подходить
дифференцированно к выбору строительных материалов для обеспечения требуемого
уровня теплоизоляции наружных стен с учетом числа капитальных ремонтов в
пределах прогнозируемой долговечности.
В приложение 3
«Расчетные теплотехнические показатели строительных материалов и конструкций»
внесены:
данные по
новым долговечным крупноформатным пустотелым камням из пористой керамики и
другим теплоизоляционным материалам на клинкерном вяжущем;
кладки стен из
новых типов эффективного пустотелого керамического кирпича и камня;
откорректированные
значения коэффициентов теплопроводности силикатного кирпича, ячеистых бетонов,
изготавливаемых по современным технологиям;
данные по
теплопроводности кладок стен из блоков и камней, изготовленных из ячеистого
бетона, полистиролбетона и легкого керамзитобетона;
предложения по
приведению в единую систему расчетных коэффициентов теплопроводности
материалов, определенных по разным методикам.
Использование
внесенных теплотехнических показателей строительных материалов при
проектировании зданий обеспечит равнозначные теплопотери наружных стен в
процессе эксплуатации зданий при одинаковых значениях сопротивлений
теплопередаче.
Настоящий
стандарт разработан Российским обществом инженеров строительства (ген. директор
канд. экон. наук О.А. Хоров, директор научного центра д-р техн. наук А.И.
Ананьев - руководитель работы, зав. кафедрой ТГВ МГСУ д-р техн. наук, проф.
Ю.Я. Кувшинов), д-р техн. наук, проф. ТТ. Маклакова, канд. техн. наук, доцент
кафедры Архитектуры МГСУ А.А. Плотников, Центральным научно-исследовательским
институтом строительных конструкций им. В.А. Кучеренко (ЦНИИСК им. В.А.
Кучеренко) - филиал ФГУП НИЦ «Строительство» (директор д-р техн. наук, проф.
В.М. Горпинченко, зам. директора канд. техн. наук О.И. Пономарев, зав. лаб.
канд. техн. наук М.К. Ищук, зав. сектором. Л.М. Ломова),
Научно-исследовательским институтом бетона и железобетона (НИИЖБ) - филиал ФГУП
НИЦ «Строительство» (директор д-р техн. наук, проф. А.С. Семченков, зав. лаб.
канд. техн. наук Т.А. Ухова, нач. отдела Д.В. Литвиненко), Национальным
институтом технического регулирования (Председатель правления - проф. А.В.
Рубцов), Самарским государственным архитектурно-строительным университетом
(ректор д-р техн. наук, проф. М.И. Бальзанников, проректор по научной работе
д-р техн. наук, проф. Н.Г. Чумаченко, д-р техн. наук Л.Д. Евсеев, зав кафедрой
канд. техн. наук, доцент Ю.С. Вытчиков), ЗАО «Победа ЛСР», г. С.-Петербург
(Управляющий С.А. Бегоулев, начальник управления перспективного развития канд.
техн. наук А.А. Акберов).
В разработке
разделов 4, 5 и приложений 3,
4
стандарта принимали также участие ОАО «Голицынский керамический завод»,
Московская обл. (ген. директор В.А. Крюков), ЗАО «Норский керамический завод»,
г.Ярославль (ген. директор Ю.И. Марченко), «Строительные технологии XXI век» (ген. директор В.К.
Тихое), фирма Винербергер, Австрия (в лице доверенного представителя А.
Хофера), ООО «Винербергер кирпич», г. Киржач (директор Карл Талер), ОАО
«Альтаир», г. Ижевск (ген. директор О.Б. Наговицын), ОАО «Новокубанский завод
керамических стеновых материалов», Краснодарский край (ген. директор В.Д.
Курбатов), ОАО ВНИИСТРОМ им. П.П. Будникова (ген. директор Ю.В. Гудков),
Бежецкий опытно-экспериментальный завод (ген. директор Н.С. Савостов), ООО
«БОЭЗ-Развитие+», г. Бежецк (ген. директор Л.П. Дмитриев),
Производственно-строительная компания «РИТМ-Л» (гл. инженер Т.Д. Локшин),
ЦНИИОМТ-М (ген. директор д-р техн. наук, проф. ИИ Олейник). Главное управление
архитектуры и строительства Самарской области (руководитель управления В.И.
Жуков), ФГУП ЦНИ-ИЭПсельстрой (зам. директора канд. техн. наук В.А. Заренин),
НУКУС КОНСТРАКШНЗ ЛТД (технический директор Родивое Батинич, инж. ОВК Милош
Батинич, инж. АЛ. Ананьев), Верхневолжский институт, Тверское отделение РОИС
(директор канд. техн. наук НА. Вязовченко), РООИ «ЭКОС» (директор канд. техн.
наук А.Н Савицкий), ГУППИ «Тверыражданпроект» (директор СТ. Демидов),
Ярославгражданпроект (зам. ген. директора по проектным работам ТВ. Великанова),
ОАО «ТЕРМОСТЕПС - МТЛ», г. Самара (технический директор - гл. конструктор Е.Р.
Бабурин, инж. В.Э. Пташкин), ЗАО Фирма «Горжилпроект», г. Самара (ген. директор
Ю.Г. Скворцов).
|
СТАНДАРТ ОРГАНИЗАЦИИ
|
|
ТЕПЛОЗАЩИТНЫЕ
СВОЙСТВА ОГРАЖДАЮЩИХ КОНСТРУКЦИЙ ЗДАНИЙ
|
|
Дата введения 2006-03-01
|
Настоящий
стандарт распространяется на проектирование ограждающих конструкций новых и
реконструируемых жилых, общественных, производственных и сельскохозяйственных
зданий с естественной вентиляцией для холодного периода года с нормируемыми
температурой и относительной влажностью воздуха.
В стандарте
установлены требования к сопротивлению теплопередаче, паропроницанию,
воздухопроницанию, долговечности ограждающих конструкций, теплоусвоению
поверхности полов и дан порядок теплотехнических расчетов.
К ограждающим
конструкциям относятся наружные стены, полы на грунте, внутренние стены и
перегородки между помещениями с различной температурой внутреннего воздуха,
покрытия над верхними этажами, перекрытия над подвалами, техническими
подпольями и проездами, заполнения проемов (окна, витражи, витрины, фонари,
двери, ворота).
В настоящем
стандарте приведены ссылки на нормативные документы, перечень которых дан в
приложении 1.
3.1
Ограждающие конструкции совместно с системами отопления, вентиляции,
кондиционирования воздуха должны обеспечивать нормируемые значения температуры,
относительной влажности воздуха в помещениях при оптимальном энергопотреблении.
3.2 В целях
сокращения энергопотребления в зимний период на создание нормируемых параметров
микроклимата помещений при проектировании зданий следует предусматривать:
а)
объемно-планировочные решения с учетом обеспечения наименьшей площади наружных
ограждающих конструкций и минимально возможным соотношением периметра стен к
площади здания;
б)
расположение зданий на генеральном плане застройки с учетом розы ветров и
требований по инсоляции помещений и озеленению территории;
в) применение
конструкций окон с повышенными теплозащитными качествами, пониженной
воздухопроницаемостью притворов и фальцев, а также с теплоотражающими пленками
и покрытиями;
г) рекуперацию
теплоты вентиляционных выбросов с использованием ее на подогрев приточного
воздуха при наличии механической вентиляции;
д) применение
поквартирного учета расхода тепловой энергии и более эффективных отопительных
приборов и систем отопления с местным и пофасадным регулированием
температурного режима;
е)
рациональное применение эффектных теплоизоляционных материалов для повышения
теплозащитных качеств, без снижения долговечности наружных стен.
3.3 При оценке
долговечности сплошных кирпичных, блочных несущих и самонесущих наружных стен
необходимо учитывать деструкционные процессы в материалах, происходящие от
совокупного воздействия внутренних усилий (изгибающих моментов, поперечных и
продольных сил) и наружных, вызываемых односторонним периодическим
температурным воздействием, а также периодическим замораживанием и оттаиванием
влаги в порах.
3.4 В слоистых
самонесущих и ненесущих наружных стенах деструкция теплоизоляционных материалов
значительно опережает разрушение несущей части стены из прочных долговечных
материалов. Поэтому теплотехническую долговечность слоистых наружных стен в
первую очередь следует определять по снижению теплозащитных качеств утеплителя
до установленного предела.
4.1 Расчетные
параметры воздуха в помещениях для расчета теплозащитных качеств наружных
ограждающих конструкций жилых, общественных, административных и бытовых зданий
следует принимать по таблице 1, составленной
согласно ГОСТ
30494. Для помещений зданий, не указанных в таблице 1, параметры
воздуха следует принимать по СанПиН
2.1.2.1002, ГОСТ
30494, ГОСТ
12.1.005 и нормам проектирования соответствующих зданий.
4.2 Параметры
воздуха в помещениях производственного назначения, а также с влажным и мокрым
режимами общественных зданий следует принимать согласно ГОСТ
12.1.005, ГОСТ 2.04.005 и нормам технологического проектирования
соответствующих зданий.
4.3 Температура внутренних поверхностей углов стен,
оконных откосов, теплопроводных включений в стенках и панелях в виде диафрагм
из бетона или металла, межпанельных стыков, гибких связей, оконных обрамлений
не должна быть ниже температуры точки росы воздуха, замеренной на расстоянии 10
см от внутренней поверхности стены при расчетной температуре, относительной
влажности воздуха, приведенных в таблице 1.
Таблица 1 - Расчетные параметры воздуха
в помещениях зданий
|
№
п.п.
|
Здания, помещения
|
Температура воздуха, °С
|
Относительная влажность
воздуха, %
|
Температура, °С, воздуха на
расстоянии 10 см от наружной стены
|
Расчетная температура точки
росы на внутренней поверхности наружной стены, °С
|
|
оптимальная
|
допустимая
|
предлагаемая расчетная
|
допустимая
|
предлагаемая расчетная для
температуры точки росы
|
|
1
|
Жилые здания (жилые
помещения)
|
20-22
|
18-24
|
20
|
35-60
|
55
|
18
|
8,8
|
|
2
|
То же, в районах с
температурой наиболее холодной пятидневки (обеспеченностью 0,92) минус 31 °С
и ниже
|
21-23
|
20-24
|
22
|
35-60
|
55
|
20
|
10,7
|
|
3
|
Детские дошкольные
учреждения (раздевальная, спальня, туалет)
|
21-23
|
20-24
|
24
|
35-60
|
55
|
22
|
12,6
|
|
4
|
То же, в районах с
температурой наиболее холодной пятидневки (обеспеченностью 0,92), минус 31 °С
и ниже
|
22-24
|
21-25
|
25
|
35-60
|
55
|
23
|
13,5
|
|
5
|
Общественные здания, кроме
указанных выше, административные и бытовые, за исключением помещений с
влажным и мокрым режимами:
|
|
|
|
|
|
|
|
|
|
а) помещения, в которых
люди в положении лежа или сидя находятся в состоянии покоя и отдыха;
|
20-22
|
18-24
|
23
|
35-60
|
55
|
21
|
11,6
|
|
|
б) помещения, в которых
люди заняты умственным трудом, учебой
|
19-21
|
18-23
|
22
|
35-60
|
55
|
20
|
10,7
|
|
|
в) помещения с массовым
пребыванием людей, в которых люди находятся преимущественно в положении сидя
без уличной одежды
|
20-21
|
19-23
|
20
|
35-60
|
55
|
18
|
8,8
|
|
|
г) помещения с массовым
пребыванием людей, в которых люди находятся
|
14-16
|
12-17
|
15
|
35-60
|
55
|
14
|
5,1
|
|
|
преимущественно в положении
сидя в уличной одежде
|
|
|
|
|
|
|
|
|
|
д) помещения с массовым
пребыванием людей, в которых люди находятся преимущественно в положении стоя
без уличной одежды
|
18-20
|
16-22
|
17
|
35-60
|
55
|
16
|
7,0
|
|
|
е) помещения для занятия
подвижными видами спорта
|
17-19
|
15-21
|
15
|
35-60
|
55
|
14
|
5,1
|
4.4 Расчетную температуру
наружного воздуха следует принимать соответствующей средней температуре
наиболее холодной пятидневки с обеспеченностью 0,92 согласно СНиП 23-01 для определенного района
строительства.
4.5 Продолжительность отопительного периода zот.пер,
сут и среднюю температуру наружного воздуха tот.пер , °C, следует принимать согласно
СНиП 23-01 (таблица 1,
графы 13, 14 для больниц, школ и дошкольных учреждений, графы 11,12 - для
других зданий). При отсутствии данных для конкретного пункта расчетные
параметры отопительного периода следует принимать для ближайшего пункта,
который указан в СНиП
23-01.
4.6
Влажностный режим помещений зданий в холодный период года в зависимости от
относительной влажности и температуры внутреннего воздуха следует устанавливать
по таблице 2.
Таблица 2 - Влажностный режим помещения
зданий
|
Влажностный режим помещения
|
Относительная влажность внутреннего
воздуха, %, при температуре, °С
|
|
До 12
|
Св. 12 до 24
|
Св.24
|
|
Сухой
|
До 60
|
До 50
|
До 40
|
|
Нормальный
|
Св. 60 до 75
|
Св. 50 до 60
|
Св. 40 до 50
|
|
Влажный
|
Св.75
|
Св. 60 до 75
|
Св. 50 до 60
|
|
Мокрый
|
-
|
Св.75
|
Св.60
|
Условия эксплуатации
ограждающих конструкций А и Б в зависимости от влажностного режима помещений и
зон влажности района строительства для выбора теплотехнических показателей
строительных материалов наружных ограждений следует устанавливать по таблице 3.
Зоны влажности территории России следует принимать по приложению 2.
Таблица 3 - Условия эксплуатации
ограждающих конструкций
|
Влажный режим помещений зданий (по таблице 2)
|
Условия эксплуатации А и Б в зонах влажности (по
приложению 2)
|
|
Сухой
|
Нормальной
|
Влажной
|
|
Сухой
|
А
|
А
|
Б
|
|
Нормальный
|
А
|
Б
|
Б
|
|
Влажный
или мокрый
|
Б
|
Б
|
Б
|
4.7
Расчетные теплотехнические показатели строительных материалов при
проектировании теплозащитных качеств наружных ограждающих конструкций принимают
из приложений 3,
4
для условий эксплуатации А и Б. Эти показатели установлены по данным
сертификационных испытаний в аккредитованных лабораториях, СНиП II-3, СП 23-101, а также из таблиц,
приведенных в соответствующих разделах и приложениях настоящего стандарта.
5 Сопротивление
теплопередаче ограждающих конструкций
5.1 Требуемое
приведенное сопротивление теплопередаче , наружных ограждающих конструкций, за исключением заполнений
проемов, должно быть не менее требуемого из условий обеспечения
санитарно-гигиенической безопасности проживания людей , и нормативного приведенного сопротивления теплопередаче , из условий энергосбережения и долговечности (таблица 7).
5.2. Требуемое приведенное
сопротивление теплопередаче наружных ограждающих конструкций из условий
обеспечения санитарно-гигиенической безопасности проживания людей следует
определять по формуле
(1)
где n - коэффициент,
принимаемый в зависимости от положения наружной поверхности ограждающих
конструкций по отношению к наружному воздуху по таблице 4;
tB - расчетная
температура внутреннего воздуха, °С, принимаемая по таблице 1 или ГОСТ
30494, ГОСТ
12.1.005, СанПиН
2.1.2.1002;
tH - расчетная
зимняя температура наружного воздуха, °С, принимаемая равной температуре
наиболее холодной пятидневки обеспеченностью 0,92 по СНиП 23-01;
ΔtH -
нормативный температурный перепад между температурой внутреннего воздуха и
температурой внутренней поверхности ограждающей конструкции, °С, принимаемый по
таблице 5;
αB - коэффициент
теплоотдачи внутренней поверхности ограждающей конструкции, принимаемый по
таблице 6.
5.3
Нормативное приведенное сопротивление теплопередаче установлено из
условий экономии энергозатрат на отопление зданий в результате повышения уровня
теплозащитных качеств наружных стен за вычетом затрат на дополнительную
теплоизоляцию и капитальные ремонты в пределах прогнозируемой долговечности
(см. таблицу 7).
5.4
Сопротивление теплопередаче наружных ограждающих конструкций (за исключением
заполнений проемов) помещений с избытками явной теплоты должно быть не менее , определяемого по формуле (1).
5.5
Приведенное сопротивление теплопередаче перекрытий над проездами, подвалами и
подпольями, а также покрытиями должно быть не менее требуемого приведенного
сопротивления теплопередаче, определяемого по формуле (1) с соответствующими значениями n, ΔtH, αB.
Таблица 4 - Значения коэффициента n
|
Ограждающие конструкции
|
Коэффициент n
|
|
1
|
Наружные стены и покрытия
(в том числе вентилируемые наружным воздухом), перекрытия чердачные (с
кровлей из штучных материалов) и над проездами; перекрытия над холодными (без
ограждающих стенок) подпольями в северной строительно-климатической зоне
|
1
|
|
2
|
Перекрытия над холодными
подвалами, сообщающимися с наружным воздухом; перекрытия чердачные (с кровлей
из рулонных материалов); перекрытия над холодными (с ограждающими стенками)
подпольями и холодными этажами в северной строительно-климатической зоне
|
0,9
|
|
3
|
Перекрытия над неотапливаемыми
подвалами со световыми проемами в стенах
|
0,75
|
|
4
|
Перекрытия над
неотапливаемыми подвалами без световых проемов в стенах, расположенными выше
уровня земли
|
0,6
|
|
5
|
Перекрытия над
неотапливаемыми техническими подпольями, расположенными ниже уровня земли
|
0,4
|
Таблица 5 - Нормируемые величины
температурного перепада ΔtH
|
Здания и помещения
|
Нормируемый температурный перепад ΔtH, °С, для
|
|
наружных стен
|
покрытий и чердачных перекрытий
|
перекрытий над проездами, подвалами и подпольями
|
|
1. Жилые, лечебно-профилактические
и детские учреждения, школы, интернаты
|
6,0
|
3,0
|
2,0
|
|
2 Общественные, кроме
указанных в п. 1, административные и бытовые, за исключением помещений с
влажным или мокрым режимом
|
6,0
|
4,0
|
2,5
|
|
3. Производственные с сухим
режимом
|
tB - tp,
но не более 10
|
0,8 (tB - tp),
но не более 8
|
2,5
|
|
4. Производственные с
нормальным режимом
|
tB - tp,
но не более 8
|
0,8 (tB - tp),
но не более 7
|
2,5
|
|
5. Производственные и
другие помещения с влажным или мокрым режимом
|
tB - tp
|
0,8 (tB - tp)
|
2,5
|
|
6. Производственные здания
со значительными избытками явной теплоты более 23 Вт/м3 и расчетной
относительной влажностью внутреннего воздуха не более 50 %
|
12
|
12
|
2,5
|
|
Примечания:
1.
tB - то же, что и формуле (1).
2.
tp - температура точки росы, °С, при расчетных
температуре и относительной влажности внутреннего воздуха, принимаемым по ГОСТ
12.1.005, СНиП 41-01 и нормам
проектирования соответствующих зданий и сооружений.
3. Для зданий картофеле- и овощехранилищ ΔtH для наружных стен, покрытий и чердачных перекрытий
следует принимать по СНиП 2.11.02.
|
Таблица 6 - Коэффициент теплоотдачи
внутренней поверхности ограждений αв
|
Внутренняя поверхность ограждающих конструкций
|
Коэффициент теплоотдачи αB, Вт/(м2·°С)
|
|
1. Стен вертикальных и с
углом наклона более 60°
|
6,75
|
|
2. Полов, гладких потолков.
Потолков с выступающими ребрами при отношении высоты h ребер к расстоянию а между гранями соседних
ребер h/a ≤
0,3
|
8,7
|
|
3. Потолков с выступающими
ребрами при отношении h/a ≥
0,3
|
7,6
|
|
4. Окон с нагревательным
прибором
|
10,7
|
|
5. Зенитных фонарей
|
9,9
|
|
Примечание.
Коэффициент теплоотдачи αB внутренней поверхности ограждающих конструкций
животноводческих, птицеводческих и звероводческих зданий следует принимать в
соответствии со СНиП
2.10.03.
|
Таблица 7- Нормативное приведенное
сопротивление теплопередаче наружных стен из
условий энергосбережения и долговечности
|
Продолжительность эксплуатации наружных стен до
первого капитального ремонта (в годах) из таблицы 16
|
Расчетная температура наружного воздуха наиболее
холодной пятидневки с обеспеченностью 0,92 tH, °C
|
|
-10
|
-20
|
-25
|
-30
|
-40
|
-50
|
|
Нормативное приведенное сопротивление теплопередаче
наружных стен 
|
|
80; 75; 70
|
0,74
|
0,99
|
1,11
|
1,24
|
1,48
|
1,73
|
|
65
|
0,88
|
1,18
|
1,32
|
1,48
|
1,75
|
2,05
|
|
60
|
0,95
|
1,27
|
1,42
|
1,60
|
1,89
|
2,21
|
|
55
|
1,00
|
1,33
|
1,50
|
1,73
|
2,00
|
2,32
|
|
50
|
1,05
|
1,40
|
1,57
|
1,79
|
2,10
|
2,44
|
|
45
|
1Д5
|
1,53
|
1,72
|
1,93
|
2,30
|
2,68
|
|
40
|
1,20
|
1,60
|
1,80
|
2,00
|
2,40
|
2,80
|
|
35 и менее
|
1,40
|
1,80
|
2,00
|
2,20
|
2,60
|
3,00
|
|
Примечания:
1. Промежуточные значения следует определять интерполяцией.
2. Превышать верхний предел наружных стен
(нижняя строка таблицы) нецелесообразно из экономических условий.
|
5.6 Приведенное
сопротивление теплопередаче внутренних ограждающих конструкций (стен,
перегородок, перекрытий) между помещениями с нормируемой температурой воздуха
при разности температур воздуха в этих помещениях более 6 °С должно быть не
менее требуемого, определяемого по формуле (1).
5.7 Полы на
грунте, устраиваемые в отапливаемых зданиях с нормируемой температурой
внутреннего воздуха, расположенные выше отмостки здания или ниже ее не более
чем на 0,5 м, должны быть утеплены в зоне примыкания пола к наружным стенам
шириной 0,8 м путем укладки по грунту слоя утеплителя с термическим сопротивлением,
соответствующим термическому сопротивлению наружной стены.
5.8
Сопротивление теплопередаче наружных дверей (кроме балконных) и ворот должно
быть не менее 0,6 значения требуемого сопротивления теплопередаче наружных
стен, определяемого по формуле (1).
5.9 Для
установления требуемой толщины теплоизоляционного слоя при проектировании
наружных стен, панелей покрытий и перекрытий определяют условное сопротивление
теплопередаче по формуле
(2)
где r - коэффициент
теплотехнической однородности наружных ограждений, определяется расчетом по
температурным полям или экспериментальным способом по ГОСТ
26254. Для определения ориентировочного значения наружного ограждения
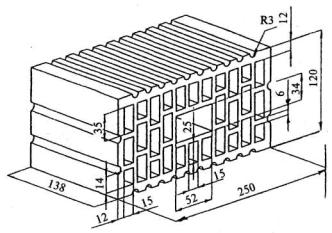
в качестве первого варианта следует принимать значения r, приведенные в таблице 8.
Таблица 8 - Значения коэффициента
теплотехнической однородности r для различных конструкций наружных ограждений
|
|
Конструкции наружных ограждений
|
Коэффициент r
|
|
1.
|
Сплошная кладка из
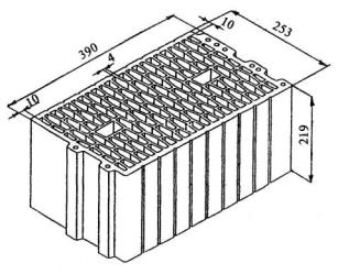
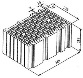
крупноформатных пустотелых пористых керамических камней
|
0,98
|
|
2.
|
Сплошная кладка из
пустотелого керамического, силикатного камня
|
0,97
|
|
3.
|
Сплошная кладка из
полнотелого и пустотелого керамического, силикатного обыкновенного и
утолщенного кирпича
|
0,95
|
|
4.
|
Сплошная кладка из
полнотелого и пустотелого керамического, силикатного обыкновенного и
утолщенного кирпича и камня, утепленная пенополиуретаном, напыляемым толщиной
30-35 мм
|
0,95
|
|
5.
|
Облегченная кладка из
полнотелого, пустотелого керамического силикатного кирпича или камня с
внутренним слоем из плитного эффективного утеплителя с гибкими стальными
связями или сетками
|
0,75
|
|
6.
|
Облегченная кладка из
полнотелого, пустотелого керамического кирпича или камня с внутренним слоем
из плитного эффективного утеплителя с поперечными связями
|
0,50
|
|
7.
|
Кладка из
полистиролбетонных блоков с арматурой в растворных швах, отштукатуренная по
металлической сетке с обеих сторон
|
0,87
|
|
8.
|
Кладка полистиролбетонных
блоков, облицованная с наружной стороны в полкирпича с поперечными
металлическими сетками в растворных швах
|
0,85
|
|
9.
|
Однослойные легкобетонные
панели с монтажной арматурой
|
0,90
|
|
10.
|
Легкобетонные панели с
термовкладышами и монтажной арматурой
|
0,75
|
|
11.
|
Трехслойные железобетонные
панели с эффективным утеплителем и гибкими стальными связями
|
0,70
|
|
12.
|
Трехслойные железобетонные
панели с эффективным утеплителем и железобетонными шпонками или поперечными
ребрами из керамзитобетона
|
0,60
|
|
13.
|
Трехслойные железобетонные
панели с эффективным утеплителем и поперечными железобетонными ребрами
|
0,50
|
|
14.
|
Трехслойные металлические
панели с эффективным утеплителем
|
0,75
|
|
15.
|
Трехслойные асбоцементные
панели с эффективным утеплителем
|
0,70
|
|
16.
|
Железобетонные, кирпичные
конструкции с плитным утеплителем, закрепленным дюбелями, оштукатуренные по
капроновой или металлической сетке (термофасад)
|
0,90
|
|
17.
|
Железобетонные и кирпичные
конструкции (δ = 20-25 см) с плитным эффективным утеплителем, с
вентилируемой воздушной прослойкой и облицовочным слоем (массой не более 20
кг/м2) на подконструкции, прикрепленной к стене двумя (на 1 м2
стены) стальными кронштейнами (вентилируемый фасад здания)
|
0,85
|
|
18.
|
Железобетонные и кирпичные
конструкции (δ = 20-25 см) с плитным эффективным утеплителем, с
вентилируемой воздушной прослойкой и облицовочным слоем (массой не более 20
кг/м2) на подконструкции, прикрепленной к стене двумя (на 1 м2
стены) алюминиевыми кронштейнами с термической прокладкой (вентилируемый
фасад здания)
|
0,70
|
|
19.
|
Железобетонные и кирпичные
конструкции (δ = 20-25 см) с плитным эффективным утеплителем, с
вентилируемой воздушной прослойкой и облицовочным слоем (массой не более 30
кг/м2) на подконструкции, прикрепленной к стене тремя (на 1 м2
стены) стальными кронштейнами (вентилируемый фасад здания)
|
0,80
|
|
20.
|
Железобетонные и кирпичные
конструкции (δ = 20-25 см) с плитным эффективным утеплителем, с
вентилируемой воздушной прослойкой и облицовочным слоем (массой не более 30
кг/м2) на подконструкции, прикрепленной к стене тремя (на 1 м2
стены) алюминиевыми кронштейнами (вентилируемый фасад здания)
|
0,60
|
|
21.
|
Железобетонные и кирпичные
конструкции (δ = 20-25 см) с плитным эффективным утеплителем, с
вентилируемой воздушной прослойкой и облицовочным слоем (массой не более 30
кг/м2) на подконструкции, прикрепленной к стене металлическими кронштейнами
(≥ 4 шт/м2 стены) (вентилируемый фасад здания)
|
От 0,55 до 0,30
|
|
22.
|
Конструкции чердачных
перекрытий и над подвалами:
|
|
|
|
а) из железобетонных
панелей с плитным эффективным утеплителем
|
0,80
|
|
|
б) из железобетонных плит
по металлическим балкам с плитным эффективным утеплителем
|
0,50
|
|
|
в) из деревянных элементов
(балок, брусьев) с плитным эффективным утеплителем
|
0,90
|
5.10
После установления по формуле (2) требуемой толщины теплоизоляционных слоев рассчитывается
по температурным полям приведенное сопротивление теплопередаче Ro.пр наружного ограждения для
конкретного проектного решения здания и сравнивается с нормативным приведенным
сопротивлением теплопередаче . Принятое конструктивное решение наружного ограждения
проверяется расчетом на невыпадение конденсата на внутренней поверхности углов
и теплопроводных включений.
5.11 Термическое сопротивление R, м2·°С/Вт, слоя
многослойной ограждающей конструкции, а также однородной (однослойной)
ограждающей конструкции следует определять по формуле
(3)
где δ-
толщина слоя, м;
λ
- расчетный коэффициент теплопроводности материала слоя, Вт/(м·°С), принимаемый
по приложению 3.
5.12
Сопротивление теплопередаче Rо,
м2·°С/Вт, ограждающей конструкции следует определять по формуле
(4)
где αB - то же, что и в
формуле (1);
RK -
термическое сопротивление ограждающей конструкции, м2·°С/Вт,
определяемое: однородной (однослойной) - по формуле (3), многослойной - в соответствии с пп. 5.11
и 5.13;
αH - коэффициент
теплоотдачи (для зимних условий) наружной поверхности ограждающей конструкции,
Вт/( м2·°С), принимаемый по таблице 9.
Таблица 9 - Коэффициент теплоотдачи
наружной поверхности ограждающей конструкции αH
|
|
Наружная поверхность ограждающих конструкций
|
Коэффициент теплоотдачи для зимних условий αH, Вт/(м2·°С)
|
|
1.
|
Наружных стен, покрытий,
перекрытий над проездами и над холодными (без ограждающих стенок) подпольями
в северной строительно-климатической зоне
|
23
|
|
2.
|
Перекрытий над холодными
подвалами, сообщающимися с наружным воздухом, перекрытий над холодными (с
ограждающими стенками) подпольями и холодными этажами в северной
строительно-климатической зоне
|
17
|
|
3.
|
Перекрытий чердачных и над
неотапливаемыми подвалами со световыми проемами в стенах, а также наружных
стен с воздушной прослойкой, вентилируемой наружным воздухом
|
12
|
|
4.
|
Перекрытий над
неотапливаемыми подвалами без световых проемов в стенах, расположенных выше
уровня земли, и над неотапливаемыми техническими подпольями, расположенными
ниже уровня земли
|
6
|
При
определении RK
слои конструкции, расположенные за воздушной прослойкой, вентилируемой наружным
воздухом, не учитываются.
5.13 Термическое сопротивление RK, м2·°С/Вт,
ограждающей конструкции с последовательно расположенными однородными слоями
следует определять как сумму термических сопротивлений отдельных слоев:
RK = R1
+ R2 + ... + Rn + Rв.п, (5)
где R1, R2, ..., Rn
- термические сопротивления отдельных слоев ограждающей конструкции, м2·°С/Вт,
определяемые по формуле (3);
Rв.п
- термическое сопротивление замкнутой воздушной прослойки, принимаемое по
таблицам 10.1 и 10.2.
Таблица 10.1 - Термическое
сопротивление замкнутых воздушных прослоек Rв.п
|
Толщина воздушной прослойки, м
|
Термическое сопротивление замкнутой воздушной
прослойки Rв.п, м2·°С/Вт
|
|
горизонтальной при потоке теплоты снизу вверх и
вертикальной
|
горизонтальной при потоке теплоты сверху вниз
|
|
при температуре воздуха в прослойке
|
|
положительной
|
отрицательной
|
положительной
|
отрицательной
|
|
0,01
|
0,13
|
0,15
|
0,14
|
0,15
|
|
0,02
|
0,14
|
0,15
|
0,15
|
0,19
|
|
0,03
|
0,14
|
0,16
|
0,16
|
0,21
|
|
0,05
|
0,14
|
0,17
|
0,17
|
0,22
|
|
0,1
|
0,15
|
0,18
|
0,18
|
0,23
|
|
0,15
|
0,15
|
0,18
|
0,19
|
0,24
|
|
0,2-0,3
|
0,15
|
0,19
|
0,19
|
0,24
|
|
Примечание. При
оклейке одной или обеих поверхностей воздушной прослойки алюминиевой фольгой
термическое сопротивление следует увеличивать в 2 раза.
|
Таблица 10.2 - Термическое
сопротивление замкнутых воздушных прослоек (ограниченных размеров) в
керамических камнях и кирпичах, расположенных перпендикулярно направлению
теплового потока Rв.п
|
Толщина воздушной прослойки, м
|
Rв.п, м2·°С/Вт, при средней температуре
воздуха в прослойке, °С
|
|
12,5
|
0,0
|
-40
|
|
0,006
|
0,12
|
0,14
|
0,19
|
|
0,01
|
0,14
|
0,16
|
0,22
|
|
0,02
|
0,16
|
0,18
|
0,26
|
|
0,03
|
0,17
|
0,19
|
0,27
|
5.14
Приведенное термическое сопротивление Rк.пр, м2·°С/Вт, неоднородной
ограждающей конструкции (многослойной каменной стены облегченной кладки с
теплоизоляционным слоем и т.п.) определяется следующим образом:
а)
плоскостями, параллельными направлению теплового потока, ограждающая
конструкция (или часть ее) условно разрезается на участки, из которых одни
участки могут быть однородными (однослойными) - из одного материала, а другие
неоднородными - из слоев различных материалов, и термическое сопротивление
ограждающей конструкции Ra,
м2·°С/Вт, определяется по формуле
(6)
F1, F2, ..., Fn - площади
отдельных участков конструкции (или части ее), м2;
R1, R2, ..., Rn
- термические сопротивления указанных отдельных участков конструкции,
определяемые по формуле (3) для
однородных участков и по формуле (5)
для последовательно расположенных слоев;
б)
плоскостями, перпендикулярными направлению теплового потока, ограждающая
конструкция (или часть ее, принятая для определения Ra) условно разрезается
на слои, из которых одни слои могут быть однородными - из одного материала, а
другие неоднородными - из однослойных участков разных материалов. Термическое
сопротивление однородных слоев определяется по формуле (3), неоднородных слоев по формуле (6) и термическое сопротивление ограждающей конструкции Rб - как сумма
термических сопротивлений отдельных однородных и неоднородных слоев - по
формуле (5). Приведенное термическое
сопротивление ограждающей конструкции следует определять по формуле
(7)
Если величина Ra превышает
величину Rб
более чем на 25 % или ограждающая конструкция не является плоской (имеет
выступы на поверхности), то приведенное термическое сопротивление Rк.пр такой
конструкции следует определять на основании расчета температурного поля
следующим образом.
По результатам
расчета температурного поля при tB и tН определяют средние температуры, °С, внутренней
τв.ср и наружной τн.ср поверхностей ограждающей
конструкции и вычисляют величину теплового потока qрасч, Вт/м2,
по формуле
qрасч = аB(tB - τв.ср) = aН (τн.ср - tН),
(8)
где аB,
tB, tН - то же,
что и в формуле (1);
aН - то же,
что и в формуле (4).
Приведенное
термическое сопротивление конструкций определяется по формуле
(9)
5.15
Приведенное сопротивление теплопередаче Rо.пр, м2·°С/Вт, неоднородной
ограждающей конструкции следует определять по формуле
(10)
где tB, tН - то же,
что и в формуле (1);
qрасч - то же,
что и в формуле (8).
Допускается
ориентировочное значение приведенного сопротивления теплопередаче Rо.пр наружных ограждающих конструкций зданий
принимать равным:
(11)
где - сопротивление
теплопередаче наружных ограждающих конструкций, условно определяемое по
формулам (4) и (5) без учета теплопроводных включений, м2·°С/Вт;
r - коэффициент
теплотехнической однородности, принимаемый по таблице 8.
Значение
коэффициента теплотехнической однородности r трехслойных панельных стен можно
определять по таблицам приложения 5.
Окончательное значение Rо.пр
наружного ограждения принимается после выполнения требований п. 5.10.
5.16
Температуру внутренней поверхности τв, °С, ограждающей
конструкции (без теплопроводного включения) следует определять по формуле
(12)
Температуру
внутренней поверхности τ′в, °С, ограждающей конструкции
(с теплопроводным включением) необходимо принимать на основании расчета
температурного поля конструкции.
Схемы
теплопроводных включений в ограждающих конструкциях приведены на рис. 1.
Для
теплопроводных включений, приведенных на рис. 1,
температуру τ′в, °С, допускается определять:
для
неметаллических теплопроводных включений по формуле
(13)
для
металлических теплопроводных включений по формуле
(14)
В формулах (12) - (14):
n, tB, tН, αB - то же, что и в
формуле (1);
Rо - то же,
что и в формуле (4);
- сопротивления
теплопередаче ограждающей конструкции, м2·°С/Вт, соответственно в
местах теплопроводных включений и вне этих мест, определяемые по формуле (4);
η,
ξ - коэффициенты, принимаемые по таблицам 11 и 12.

Рисунок 1 Схемы теплопроводных включений в
ограждающих конструкциях
Таблица 11
|
Схема теплопроводного включения по рис. 1
|
Коэффициент η при 
|
|
0,1
|
0,2
|
0,4
|
0,6
|
0,8
|
1,0
|
1,5
|
2,0
|
|
I
|
0,52
|
0,65
|
0,79
|
0,86
|
0,90
|
0,93
|
0,95
|
0,98
|
|
IIа
|
При 
|
|
|
|
|
|
|
|
|
|
|
0,5
|
0,30
|
0,46
|
0,68
|
0,79
|
0,86
|
0,91
|
0,97
|
1,00
|
|
|
1,0
|
0,24
|
0,38
|
0,56
|
0,69
|
0,77
|
0,83
|
0,93
|
1,00
|
|
|
2,0
|
0,19
|
0,31
|
0,48
|
0,59
|
0,67
|
0,73
|
0,85
|
0,94
|
|
|
5,0
|
0,16
|
0,28
|
0,42
|
0,51
|
0,58
|
0,64
|
0,76
|
0,84
|
|
III
|
При 
|
|
|
|
|
|
|
|
|
|
|
0,25
|
3,60
|
3,26
|
2,72
|
2,3
|
1,97
|
1,71
|
1,47
|
1,38
|
|
|
0,50
|
2,34
|
2,26
|
1,97
|
1,76
|
1,62
|
1,48
|
1,31
|
1,22
|
|
|
0,75
|
1,28
|
1,52
|
1,4
|
1,28
|
1,21
|
1,17
|
1,11
|
1,09
|
|
IV
|
При 
|
|
|
|
|
|
|
|
|
|
|
0,25
|
0,16
|
0,28
|
0,45
|
0,57
|
0,66
|
0,74
|
0,87
|
0,95
|
|
|
0,50
|
0,23
|
0,39
|
0,57
|
0,60
|
0,77
|
0,83
|
0,91
|
0,95
|
|
|
0,75
|
0,29
|
0,47
|
0,67
|
0,78
|
0,84
|
0,88
|
0,93
|
0,95
|
|
Примечания:
1.
Для промежуточных значений коэффициент η
следует определять интерполяцией.
2.
При следует принимать η
= 1.
3. Для параллельных теплопроводных включений типа IIа табличное значение коэффициента η
следует принимать с поправочным множителем 1 + e-5L (где L - расстояние
между включениями, м).
|
Таблица 12
|
Схема теплопроводного включения по рис. 1
|
Коэффициент ξ при 
|
|
|
0,25
|
0,5
|
1,0
|
2,0
|
5,0
|
10,0
|
20,0
|
50,0
|
150,0
|
|
|
I
|
0,105
|
0,160
|
0,227
|
0,304
|
0,387
|
0,430
|
0,456
|
0,485
|
0,503
|
|
|
II б
|
-
|
-
|
-
|
0,156
|
0,206
|
0,257
|
0,307
|
0,369
|
0,436
|
|
|
|
При 
|
|
|
|
|
|
|
|
|
|
|
|
III
|
0,25
|
0,061
|
0,075
|
0,085
|
0,091
|
0,096
|
0,100
|
0,101
|
0,101
|
0,102
|
|
|
|
0,50
|
0,084
|
0,112
|
0,140
|
0,160
|
0,178
|
0,184
|
0,186
|
0,187
|
0,188
|
|
|
|
0,75
|
0,106
|
0,142
|
0,189
|
0,227
|
0,267
|
0,278
|
0,291
|
0,292
|
0,293
|
|
|
|
При 
|
|
|
|
|
|
|
|
|
|
|
|
IV
|
0,25
|
0,002
|
0,002
|
0,003
|
0,003
|
0,003
|
0,004
|
0,004
|
0,005
|
0,005
|
|
|
|
0,50
|
0,006
|
0,008
|
0,011
|
0,012
|
0,014
|
0,017
|
0,019
|
0,021
|
0,022
|
|
|
|
0,75
|
0,013
|
0,022
|
0,033
|
0,045
|
0,058
|
0,063
|
0,066
|
0,071
|
0,073
|
|
|
V
|
При 
|
|
|
|
|
|
|
|
|
|
|
|
|
0,75
|
0,007
|
0,021
|
0,055
|
0,147
|
-
|
-
|
|
-
|
-
|
|
|
|
1,0
|
0,006
|
0,017
|
0,047
|
0,127
|
-
|
-
|
-
|
-
|
-
|
|
|
|
2,0
|
0,003
|
0,011
|
0,032
|
0,098
|
-
|
-
|
-
|
-
|
-
|
|
|
Примечания:
1.
Для промежуточных значений коэффициент ξ
следует определять интерполяцией.
2. Для теплопроводного включения типа V при наличии плотного контакта между гибкими связями
и арматурой (сварка или скрутка вязальной проволокой) в формуле (14) вместо следует принимать Rо.пр.
|
|
|
|
|
5.17 Сопротивление
теплопередаче заполнений световых проемов должно быть не менее нормативного
сопротивления теплопередаче , приведенного в таблице 13.
Рекомендуемые
типы окон, балконных дверей и фонарей, их приведенное сопротивление
теплопередаче приведены в таблице 14.
Площадь окон в зданиях следует принимать в соответствии с требованиями СНиП 23-05.
Таблица 13 - Нормативное приведенное
сопротивление теплопередаче заполнений световых проемов
|
Здания и помещения
|
Нормативное приведенное сопротивление теплопередаче
заполнений световых проемов , м2·°С/Вт
|
|
|
градусо-сутки отопительного периода, °С сут
|
окон и балконных дверей, витрин и витражей
|
фонарей с вертикальным остеклением
|
|
|
Жилые,
лечебно-профилактические и детские учреждения, школы, интернаты
|
2000
|
0,30
|
0,30
|
|
|
4000
|
0,40
|
0,35
|
|
|
6000
|
0,51
|
0,40
|
|
|
8000
|
0,56
|
0,45
|
|
|
10000
|
0,60
|
0,50
|
|
|
12000
|
0,68
|
0,55
|
|
|
Общественные, кроме
указанных выше, административные и бытовые, за исключением помещений с
влажным или мокрым режимом
|
2000
|
0,30
|
0,30
|
|
|
4000
|
0,40
|
0,35
|
|
|
6000
|
0,44
|
0,40
|
|
|
8000
|
0,55
|
0,45
|
|
|
10000
|
0,60
|
0,50
|
|
|
12000
|
0,68
|
0,55
|
|
|
Производственные с сухим и
нормальным режимами
|
2000
|
0,25
|
0,20
|
|
|
4000
|
0,30 -
|
0,25
|
|
|
6000
|
0,35
|
0,30
|
|
|
8000
|
0,40
|
0,35
|
|
|
1000
|
0,45
|
0,40
|
|
|
12000
|
0,50
|
0,45
|
|
|
Примечания:
1. Промежуточные значения следует определять
интерполяцией.
2. Нормы сопротивления теплопередаче светопрозрачных
ограждающих конструкций для помещений, производственных зданий с влажным или
мокрым режимом, с избытками явной теплоты от 23 Вт/м3, а также для
помещений общественных, административных и бытовых зданий с влажным или
мокрым режимом следует принимать как для помещений с сухим и нормальным
режимами производственных зданий.
3. Приведенное
сопротивление теплопередаче глухой части балконных дверей должно быть не
менее чем в 1,5 раза выше сопротивления теплопередаче светопрозрачной части
этих изделий.
4. В отдельных обоснованных случаях,
связанных с конкретными конструктивными решениями заполнения оконных и других
проемов, допускается применять конструкции окон, балконных дверей, витражей и
фонарей с приведенным сопротивлением теплопередаче до 10 % ниже
устанавливаемого в таблице.
5. Градусо-сутки отопительного периода
(ГСОП) следует определять по формуле
ГСОП = (tB – tот.пер)zот.пер,
где tB см.п.5.2,
tот.пер и
zот.пер
см.п.4.5
|
|
|
|
|
|
|
|
|
|
|
|
|
|
|
Таблица 14 - Приведенное сопротивление
теплопередаче рекомендуемых окон, балконных дверей и фонарей
|
Заполнение светового проема
|
Приведенное сопротивление теплопередаче Ro.пр, м2·°С/Вт
|
|
из обычного стекла
|
с селективным покрытием
|
|
твердым
|
мягким
|
|
1. Одинарное остекление в
деревянных переплетах
|
0,18
|
-
|
-
|
|
2. Одинарное остекление в
стальных переплетах
|
0,15
|
-
|
-
|
|
3. Двойное остекление в
стальных раздельных переплетах
|
0,34
|
-
|
-
|
|
4. Двойное остекление
витрин в стальных раздельных переплетах
|
0,31
|
-
|
-
|
|
5. Блоки стеклянные
пустотелые без переплета с шириной швов между ними 6 мм, размером 194x194x98
мм
|
0,31
|
-
|
-
|
|
6. Блоки стеклянные
пустотелые без переплета размером 244x244x98 мм
|
0,33
|
-
|
-
|
|
7. Профили коробчатого
сечения из органического стекла зенитных фонарей:
|
|
|
|
|
двойное
остекление Ro = 0,36 м2·°С/Вт
|
-
|
-
|
-
|
|
тройное
остекление Ro = 0,52 м2·°С/Вт
|
-
|
-
|
-
|
|
8. Двойное остекление в
спаренных переплетах
|
0,40
|
0,55
|
-
|
|
9. Двойное остекление в
раздельных переплетах
|
0,44
|
0,57
|
-
|
|
10. Тройное остекление в
раздельно-спаренных переплетах
|
0,55
|
0,60
|
-
|
|
11. Однокамерный
стеклопакет в одинарном переплете
|
0,38
|
0,51
|
0,56
|
|
12. Двухкамерный
стеклопакет в одинарном переплете с межстекольным расстоянием:
|
|
|
|
|
8
мм
|
0,51
|
-
|
-
|
|
12
мм
|
0,54
|
0,58
|
0,68
|
|
13. Стекло и однокамерный
стеклопакет в раздельных переплетах
|
0,56
|
0,65
|
0,72
|
|
14. Стекло и двухкамерный
стеклопакет в раздельных переплетах
|
0,68
|
0,74
|
0,81
|
|
15. Два однокамерных
стеклопакета в спаренных переплетах
|
0,70
|
-
|
-
|
|
16. Два однокамерных
стеклопакета в раздельных переплетах
|
0,74
|
-
|
-
|
|
17. Четыре стекла в двух
спаренных переплетах
|
0,80
|
-
|
-
|
|
Примечания:
1. В позициях 8-17 переплеты деревянные или
пластмассовые.
2. Значения приведенных сопротивлений теплопередаче Ro.пр
заполнений световых проемов приведены для случаев, когда отношение площади
остекления к площади заполнения светового проема равно 0,75. При отношении
≤ 0,6 указанные значения следует увеличивать на 10 %, а при ≥
0,85 - уменьшать на 5 %.
3. При наличии стандартов или ТУ на световые
заполнения Ro.пр следует принимать указанные в соответствующих
нормативных документах.
4.
Фактическое сопротивление теплопередаче окон в лабораторных условиях и
эксплуатируемых зданиях определяют по ГОСТ
26602.1.
|
6.1 Под
долговечностью наружных стен понимают их способность сохранять требуемые
эксплуатационные качества при установленной системе технического обслуживания и
ремонтов. Долговечность наружных стен характеризуется сроком службы в годах, в
течение которого целесообразно их техническое обслуживание и ремонт для
поддержания безопасных условий проживания или работы людей.
6.2
Безопасность проживания или работы граждан в помещениях характеризуется
обеспечением требуемых санитарно-гигиенических условий, при которых не
происходит образования конденсата, плесени и переувлажнения стен, а также
увеличения относительной влажности внутреннего воздуха выше нормативных
значений.
6.3
Санитарно-гигиеническую безопасность в помещениях необходимо обеспечивать при
проектировании выполнением нормативных требований к теплозащитным качествам,
воздухо- и паропроницанию и другим физическим свойствам ограждений с учетом
климатических особенностей района строительства.
6.4
Долговечность наружных стен следует обеспечивать применением материалов,
имеющих надлежащие прочность, морозостойкость, влагостойкость, теплозащитные
свойства, а также соответствующими конструктивными решениями,
предусматривающими специальную защиту элементов конструкций, выполненных из
недостаточно стойких материалов.
6.5 Наружные
стены из железобетонных панелей, блоков, кирпича с установленным сроком службы
должны удовлетворять требованиям СНиП 52-01,
СНиП II-22, настоящего
стандарта и нормативным требованиям по проектированию панельных и блочных
зданий.
6.6 При разработке конструкций наружных стен для
конкретного проектного решения здания необходимо руководствоваться
прогнозируемой долговечностью и доремонтными сроками службы, приведенными в
таблицах 15, 16.
Таблица 15 - Прогнозируемая
долговечность наружных стен зданий
|
|
Характеристика зданий, наружных стен и
других конструктивных элементов
|
Прогнозируемая долговечность наружных стен, лет
|
|
1.
|
Каркасно-панельные
(высотой до 30 этажей). Наружные
стены с металлическим каркасом и пустотелыми крупноформатными камнями из
пористой керамики (γ ≤ 1000 кг/м3), полистирольными,
ячеистобетонными автоклавными блоками, огнестойкими пенополиуретановыми
плитами повышенной плотности с наполнителями, минераловатными плитами из
базальтового волокна повышенной жесткости, облицованные керамическим кирпичом
или крупноразмерными плитами из природного и искусственного камня. Перекрытия
и внутренние стены железобетонные
|
150
|
|
2.
|
Монолитные и
сборно-монолитные (высотой до 30 этажей). С монолитными железобетонными межоконными простенками в наружных
стенах и пустотелыми крупноформатными камнями из пористой керамики
(γ ≤ 1000 кг/м3)
полистиролбетонными, ячеистобетонными автоклавными блоками, огнестойкими
пенополиуретановыми плитами повышенной плотности с наполнителями,
минераловатными плитами из базальтового волокна повышенной жесткости,
облицованные керамическим кирпичом или крупноразмерными плитами из природного
и искусственного камня. Перекрытия и внутренние стены железобетонные
|
150
|
|
3.
|
Панельные (высотой до 30
этажей). Наружные стены из
железобетонных несущих, самонесущих и навесных трехслойных панелей с
утеплителем из полистиролбетона, ячеистого бетона автоклавного твердения,
пенополистирольных, пенополиуретановых, минераловатных плит из базальтового
волокна повышенной жесткости. Перекрытия и внутренние стены из железобетонных
панелей
|
125
|
|
4.
|
Крупноблочные (высотой
до 16 этажей). Наружные стены
несущие и самонесущие из легкобетонных крупноразмерных блоков. Перекрытия
железобетонные, внутренние стены бетонные
|
125
|
|
5.
|
Кирпичные:
а) наружные стены
самонесущие из сплошной кладки, выполненной из пустотелых крупноформатных
камней из пористой керамики общей толщиной с лицевым кирпичным слоем в 2,5
кирпича, усиленные металлическими сетками или железобетонными поясами. Перекрытия
и внутренние стены железобетонные (высотой до 16 этажей)
|
150
|
|
|
б) наружные стены
самонесущие и ненесущие из сплошной кладки, выполненной из пустотелых
крупноформатных камней из пористой керамики общей толщиной с лицевым
кирпичным слоем в 1,5-2,0 кирпича, утепленные с внутренней стороны напылением
пенополиуретанового слоя толщиной 30-35 мм. Перекрытия из железобетонных
панелей. Внутренние стены из железобетонных панелей или из полнотелого
кирпича (высотой до 12 этажей)
|
125
|
|
|
в) наружные стены несущие и
самонесущие из сплошной кладки, выполненной из полнотелого и пустотелого
керамического и силикатного кирпича и мелких камней общей толщиной в 2,5
кирпича, утепленные с внутренней стороны напылением пенополиуретана толщиной
30-35 мм перекрытия из железобетонных панелей. Внутренние стены и перегородки
из кирпича (высотой до 12 этажей)
|
125
|
|
|
г) наружные стены
самонесущие и ненесущие из облегченной кирпичной кладки, утепленной
минераловатными, пенополистирольными плитами, торфоблоками «Геокаф»,
ячеистобетонными автоклавными блоками и полистиролбетонными (высотой до 9
этажей)
|
100
|
|
6.
|
Объемно-блочные (высотой
до 16 этажей). Наружные стены
трехслойные или с двухкомплектованной двухслойной утепляющей панелью с
минераловатными, пенополистирольными, полистиролбетонными плитами.
Перекрытия, внутренние стены и перегородки являются частью объемно-блочного
бетонного элемента
|
125
|
|
7.
|
Монолитные и каркасные
железобетонные (высотой до 12 этажей).
Наружные стены с несущими монолитными железобетонными межоконными простенками
или ненесущими из кирпича и камня, утепленные жесткими минераловатными,
пенополиуретановыми плитами, закрепленными дюбелями к несущей части наружной
стены, оштукатуренными по капроновой или металлической сетке
|
125
|
|
8.
|
Мелкоблочные (высотой до
5 этажей). Наружные стены
самонесущие и ненесущие из мелких ячеистобетонных блоков, легкобетонных
камней полистиролбетонных блоков, облицованных кирпичом. Перекрытия бетонные,
внутренние стены из бетонных камней
|
2 100
|
|
9.
|
Каркасные из легких
наружных металлических панелей (высотой до 12 этажей).
Наружные стены ненесущие из
навесных панелей с металлическими облицовками с минераловатными,
пенополиуретановыми утеплителями (типа «сэндвич»). Перекрытия железобетонные,
внутренние стены каркасно-панельные
|
70
|
|
10.
|
Деревянные (высотой не
более 2 этажей).
а) наружные стены
бревенчатые, брусовые, в том числе облицованные кирпичом. Перекрытия чердака
и подвала деревянные, утепленные минераловатными, пенополистирольными,
торфяными, камышитовыми и другими теплоизоляционными плитами
|
90
|
|
|
б) наружные стены
сборно-щитовые, каркасные с применением ЦСП, ДВП, оргалита, утепленные
минераловатными, пенополистирольными, торфяными, камышитовыми плитами и
другими теплоизоляционными материалами. Перекрытия чердака и подвала
деревянные, утепленные вышеперечисленными материалами
|
50
|
Таблица 16 - Продолжительность
эффективной эксплуатации различных конструкций наружных стен зданий до первого
капитального ремонта
|
|
Конструкции наружных стен
|
Продолжительность эксплуатации до первого капитального ремонта, лет
|
|
1.
|
Каркасные из металла со
стенами из пустотелых крупноформатных камней из пористой керамики с
морозостойкостью F35-F50, облицованные керамическим кирпичом или
крупноразмерными плитами из природного или искусственного камня с
морозостойкостью не менее F50
|
80
|
|
2.
|
Каркасные из металла со
стенами из пустотелого керамического кирпича, камней с морозостойкостью F35-F50,
утепленные полистиролбетонными, ячеистобетонными автоклавными блоками,
минераловатными, базальтовыми плитами повышенной жесткости, облицованные
керамическим кирпичом или крупноразмерными плитами из природного или
искусственного камня с морозостойкостью не менее F50
|
60
|
|
3.
|
Кирпичные толщиной в 2,5
кирпича из пустотелого крупноформатного камня из пористой керамики с
морозостойкостью не менее F35-F50 с лицевым слоем из керамического кирпича с
морозостойкостью не менее F50
|
80
|
|
4.
|
Кирпичные толщиной в 2,5
кирпича из пустотелого крупноформатного камня или кирпича из пористой
керамики с морозостойкостью не менее F25-F35 с лицевым
слоем из керамического кирпича с морозостойкостью не менее F35
|
75
|
|
5.
|
Кирпичные, оштукатуренные
толщиной в 2-2,5 кирпича из пустотелого крупноформатного камня или кирпича из
пористой керамики с морозостойкостью не менее F35
|
70
|
|
6.
|
Кирпичные толщиной в
1,5-2,0 кирпича из пустотелого крупноформатного камня из пористой керамики с
морозостойкостью не менее F15, лицевого
керамического кирпича толщиной 60-120 мм с морозостойкостью не менее F50
|
70
|
|
7.
|
Кирпичные толщиной в
1,5-2,0 кирпича с морозостойкостью не менее F35, лицевого слоя из керамического кирпича с
морозостойкостью не менее F35,
утепленные напыляемым пенополиуретаном толщиной не более 30-35 мм
|
65
|
|
8.
|
Монолитные железобетонные,
кирпичные (F35), утепленные жесткими
минераловатными плитами на дюбелях, облицованные керамическим кирпичом с
морозостойкостью не менее F35 (типа
«Термофасад»)
|
35
|
|
9.
|
Монолитные железобетонные,
кирпичные (F35), утепленные
пенополиуретановыми плитами или напылением, облицованные керамическим
кирпичом с морозостойкостью не менее F35
|
50
|
|
10.
|
Монолитные железобетонные,
кирпичные (F35) с беспрессовыми
пенополистирольными плитами на дюбелях, с противопожарными рассечками из
минераловатных плит, оштукатуренные по металлической или капроновой сетке
(типа «Термофасад»)
|
25
|
|
11.
|
Из трехслойных
железобетонных панелей, утепленных пенополистирольными экструдированными
плитами
|
45
|
|
12.
|
Из трехслойных
железобетонных панелей, утепленных беспрессовыми пенополистирольными плитами
|
35
|
|
13.
|
Из трехслойных
железобетонных панелей, утепленных пенополиуретановыми плитами
|
60
|
|
14.
|
С навесными панелями (типа
«сэндвич»), с металлическими облицовками с минераловатными базальтовыми
плитами
|
40
|
|
15.
|
Из полистиролбетонных
блоков, облицованных с обеих сторон керамическим кирпичом с F35
|
40
|
|
16.
|
Из теплоизоляционных
торфоблоков «Геокар» с армированными горизонтальными растворными швами,
облицованных с обеих сторон силикатным или керамическим кирпичом с
морозостойкостью кирпича в наружном слое F35
|
50
|
|
17.
|
Из ячеистобетонных
автоклавных блоков с фасадной поверхностью, офактуренной каменными дроблеными
материалами, в том числе с наружным лицевым слоем из керамического кирпича с
морозостойкостью F35
|
55
|
|
18.
|
Из мелких керамзитобетонных
блоков, пустотелых бетонных силикатных камней и кирпича с лицевым кирпичным
слоем морозостойкостью не менее F25
|
40
|
|
19.
|
Кирпичные, каменные,
блочные облегченной кладки, утепленные монолитным ячеистым бетоном,
полистиролбетоном, пенополиуретаном с морозостойкостью кирпича лицевого слоя
не менее F25
|
40
|
|
20.
|
Рубленые из бревен, бруса,
в том числе облицованные кирпичом F35
|
50
|
|
21.
|
Деревянные сборно-щитовые,
каркасные (с применением ДВП, ЦСП, оргалита), утепленные минераловатными,
пенополистирольными, пенополиуретановыми, торфяными, камышитовыми плитами и
другими теплоизоляционными материалами
|
20
|
6.7 Допускается для одного
и того же здания по высоте принимать конструкции наружных стен с отличающимися
доремонтными сроками.
6.8 При выборе
конструкций наружных стен для здания необходимо дифференцированно совмещать
закладываемые в проект прогнозируемую долговечность, доремонтные сроки с
требуемым уровнем теплоизоляции, снижением материалоемкости и нагрузки на
фундамент.
6.9 Для
обеспечения прогнозируемой долговечности наружных стен и безопасной
эксплуатации до первого капитального ремонта необходимо проводить текущие
ремонты с периодичностью 5-7 лет.
6.10 Первый
капитальный ремонт наружных стен из условий недопустимости нарушения
санитарно-гигиенической безопасности проживания граждан и энергосбережения
необходимо проводить при снижении , не более чем на 35 % по
отношению к экономически целесообразному на текущий момент или не более чем на
15 % по отношению к требуемому сопротивлению теплопередаче по
санитарно-гигиеническим условиям.
6.11 Перед
наступлением срока проведения первого капитального ремонта снижение уровня
теплозащитных качеств наружных стен необходимо устанавливать по методике ГОСТ
26254 и испытаниями на теплопроводность отобранных проб утеплителя по ГОСТ
7076, однородность температурных полей стен по фасаду фиксируется тепловизором
по ГОСТ
26629.
7.1.
Поверхность пола жилых и общественных зданий, вспомогательных зданий и
помещений промышленных предприятий и отапливаемых помещений производственных
зданий (на участках с постоянными рабочими местами) должна иметь показатель
теплоусвоения Yn,
Вт/( м2·°С), не более
нормативной величины, установленной таблицей 17.
Фактическое
значение показателя теплоусвоения полов в эксплуатируемых зданиях и в
лабораторных условиях определяется по ГОСТ
25609.
Таблица 17 - Нормируемые величины
коэффициентов теплоусвоения поверхности полов Yn
|
Здания, помещения и отдельные участки
|
Показатель теплоусвоения поверхности пола
(нормативная величина) Yn,
Вт/( м2·°С)
|
|
1. Здания жилые, больничных учреждений (больниц,
клиник, стационаров и госпиталей), диспансеров, амбулаторно-поликлинических
учреждений, родильных домов, домов ребенка, домов-интернатов для престарелых
и инвалидов, общеобразовательных детских школ, детских садов, яслей,
яслей-садов (комбинатов), детских домов и детских приемников-распределителей
|
12
|
|
2 Общественные здания (кроме указанных в поз. 1);
вспомогательные здания и помещения промышленных предприятий; участки с
постоянными рабочими местами в отапливаемых помещениях, где выполняются
легкие физические работы (категория I)
|
14
|
|
3. Участки с постоянными рабочими местами в
отапливаемых помещениях производственных зданий, где выполняются физические
работы средней тяжести (категория II)
|
17
|
|
Примечания:
1. Не нормируется показатель теплоусвоения
поверхности пола:
а) имеющего температуру поверхности выше 23 °С;
б) в отапливаемых помещениях производственных
зданий, где выполняются тяжелые физические работы (категория III);
в) производственных зданий при условии укладки на
участки постоянных рабочих мест деревянных щитов или теплоизолирующих
ковриков;
г) помещений общественных зданий, эксплуатация
которых не связана с постоянным пребыванием в них людей (залов музеев и
выставок, фойе театров, кинотеатров и т.п.).
2. Теплотехнический расчет полов
животноводческих, птицеводческих и звероводческих зданий следует выполнять с
учетом требований СНиП
2.10.03.
|
8.1
Сопротивление воздухопроницанию ограждающих конструкций, за исключением
заполнений световых проемов (окон, балконных дверей и фонарей), зданий и
сооружений Rи
должно быть не менее требуемого сопротивления воздухопроницанию , м2·ч·Па/кг, определяемого по формуле
(15)
где Δр
- разность давлений воздуха на наружной и внутренней поверхностях ограждающих
конструкций, Па, определяемая в соответствии с п. 8.2;
GH -
нормативная воздухопроницаемость ограждающих конструкций, кг/(м2·ч),
принимаемая в соответствии с п. 8.3.
8.2 Разность давлений воздуха на наружной и внутренней
поверхностях ограждающих конструкций Δр, Па, следует определять по
формуле
Δр = 0,55·Н· (γн - γв)
+ 0,03·γн·ν2, (16)
где Н -
высота здания (от поверхности земли до верха карниза), м;
γн,
γв - удельный вес соответственно наружного и внутреннего
воздуха, Н/м3, определяемый по формуле
(17)
здесь t - температура воздуха:
внутреннего (для определения γв), наружного (для определения
γн) согласно таблице 1 и СНиП 23-01;
ν
- максимальная из средних скоростей ветра по румбам за январь, повторяемость
которых составляет 16 % и более, принимаемая согласно СНиП 23-01; для типовых проектов скорость
ветра ν следует принимать равной 5 м/с, а в климатических
подрайонах 1Б и 1Г – 8 м/с.
8.3 Нормативную воздухопроницаемость GН, кг/(м2·ч),
ограждающих конструкций зданий и сооружений следует принимать по таблице 18.
Таблица 18 - Нормативная
воздухопроницаемость конструкций
|
|
Ограждающие конструкции
|
Воздухопроницаемость GН,
кг/(м2·ч) не более
|
|
1.
|
Наружные стены, перекрытия
и покрытия жилых, общественных, административных и бытовых зданий и помещений
|
0,5
|
|
2.
|
Наружные стены, перекрытия
и покрытия производственных зданий и помещений
|
1,0
|
|
3.
|
Стыки между панелями
наружных стен:
|
|
|
|
а) жилых зданий
|
05
|
|
|
б) производственных зданий
|
1,0
|
|
4.
|
Входные двери в квартиры
|
1,5
|
|
5.
|
Входные двери в жилые, общественные
и бытовые здания
|
7,0
|
|
6.
|
Окна и балконные двери
жилых общественных и бытовых зданий и помещений в переплетах:
|
|
|
|
пластмассовых и алюминиевых
|
5,0
|
|
|
деревянных
|
6,0
|
|
7.
|
Окна, двери и ворота
производственных зданий
|
8,0
|
|
|
Окна производственных зданий
с кондиционированием воздуха
|
6,0
|
|
8.
|
Зенитные фонари
производственных зданий
|
10,0
|
|
Примечания: 1. Воздухопроницаемость стыков между панелями
наружных стен жилых и производственных зданий должна быть не более 0,5 кг/(м2·ч).
2. Минимальное значение воздухопроницаемости окон
должно приниматься из условия обеспечения в помещениях 0,3-кратного
воздухообмена.
|
8.4 Сопротивление
воздухопроницанию многослойной ограждающей конструкции Rи, м2·ч·Па/кг,
следует определять по формуле
Rи = Rи1 + Rи2 + ... + Rиn , (18)
где Rи1 , Rи2 , ... , Rиn -
сопротивление воздухопроницанию отдельных слоев ограждающей конструкции, м2·ч·Па/кг,
принимаемое по таблице 19.
Примечание -
Сопротивление воздухопроницанию слоев ограждающих конструкций (стен, покрытий),
расположенных за воздушной прослойкой, вентилируемой наружным воздухом, не
учитывается.
8.5
Сопротивление воздухопроницанию окон и балконных дверей жилых и общественных
зданий, а также окон и фонарей производственных зданий Rи должно быть не менее
требуемого сопротивления воздухопроницанию , м2·ч·Па/кг, определяемого по формуле
(19)
где GH - то же,
что в формуле (15);
Δр
- то же, что в формуле (16);
Δро
= 10 Па - разность давления воздуха, при которой определяется
сопротивление воздухопроницанию Rи.
8.6
Сопротивление воздухопроницанию заполнений световых проемов (окон, балконных
дверей и фонарей с различными уплотняющими прокладками) следует принимать по ГОСТ
26602.2. Фактическое значение сопротивления воздухопроницанию наружных
ограждающих конструкций в эксплуатируемых зданиях определяют по ГОСТ
31167.
Таблица 19 - Сопротивление
воздухопроницанию материалов и конструкций Rи
|
|
Материалы и конструкции
|
Толщина слоя, мм
|
Сопротивление воздухопроницанию Rи, м2·ч·Па/кг
|
|
1.
|
Бетон сплошной (без швов)
|
100
|
19 620
|
|
2.
|
Газосиликат сплошной (без
швов)
|
140
|
21
|
|
3.
|
Известняк-ракушечник
|
500
|
6
|
|
4.
|
Картон строительный (без
швов)
|
1,3
|
64
|
|
5.
|
Кирпичная кладка из
сплошного кирпича на цементно-песчаном растворе толщиной в 1 кирпич и более
|
250 и более
|
18
|
|
6.
|
Кирпичная кладка из
сплошного кирпича на цементно-песчаном растворе толщиной в полкирпича
|
120
|
2
|
|
7.
|
Кирпичная кладка из
сплошного кирпича на цементно-шлаковом растворе толщиной в 1 кирпич и более
|
250 и более
|
9
|
|
8.
|
Кирпичная кладка из
сплошного кирпича на цементно-шлаковом растворе толщиной в полкирпича
|
120
|
1
|
|
9.
|
Кладка из кирпича керамического
пустотного на цементно-песчаном растворе толщиной в полкирпича
|
120
|
1,5
|
|
10.
|
Кладка из легкобетонных
камней на цементно-песчаном растворе
|
400
|
13
|
|
11.
|
Кладка из легкобетонных
камней на цементно-шлаковом растворе
|
400
|
1
|
|
12.
|
Листы асбестоцементные с
заделкой швов
|
6
|
196
|
|
13.
|
Обои бумажные обычные
|
-
|
20
|
|
14.
|
Обшивка из обрезных досок,
соединенных впритык или в четверть
|
20-25
|
0,1
|
|
15.
|
Обшивка из обрезных досок,
соединенных в шпунт
|
20-25
|
1,5
|
|
16.
|
Обшивка из досок двойная с
прокладкой между обшивками строительной бумаги
|
50
|
98
|
|
17.
|
Обшивка из фибролита или из
древесно-волокнистых бесцементных мягких плит с заделкой швов
|
15-70
|
2,5
|
|
18.
|
Обшивка из фибролита или из
древесно-волокнистых бесцементных мягких плит без заделки швов
|
15-70
|
0,5
|
|
19.
|
Обшивка из жестких древесно-волокнистых
листов с заделкой швов
|
10
|
3,3
|
|
20.
|
Обшивка из гипсовой сухой
штукатурки с заделкой швов
|
10
|
20
|
|
21.
|
Пенобетон автоклавный (без
швов)
|
100
|
1960
|
|
22.
|
Пенобетон неавтоклавный
|
100
|
196
|
|
23.
|
Пенополистирол
|
50-100
|
79
|
|
24.
|
Пеностекло сплошное (без
швов)
|
120
|
Воздухонепроницаемое
|
|
25.
|
Плиты минераловатные
жесткие
|
50
|
2
|
|
26.
|
Рубероид
|
1,5
|
Воздухонепроницаемый
|
|
27.
|
Толь
|
1,5
|
490
|
|
28.
|
Фанера клееная (без швов)
|
3-4
|
2940
|
|
29.
|
Шлакобетон сплошной (без
швов)
|
100
|
14
|
|
30.
|
Штукатурка
цементно-песчаным раствором по каменной или кирпичной кладке
|
15
|
373
|
|
31.
|
Штукатурка известковая по
каменной или кирпичной кладке
|
15
|
142
|
|
32.
|
Штукатурка
известково-гипсовая по дереву (по драни)
|
20
|
17
|
|
33.
|
Керамзитобетон плотностью
900 кг/м3
|
250-400
|
13-17
|
|
34.
|
То же, 1000 кг/м3
|
250-400
|
53-80
|
|
35.
|
То же, 1100-1300 кг/м3
|
250-450
|
390-590
|
|
36.
|
Шлакопемзобетон плотностью
1500 кг/м3
|
250-400
|
0,3
|
|
Примечания:
1. Для кладок из
кирпича и камней с расшивкой швов на наружной поверхности приведенное в
настоящем приложении сопротивление воздухопроницанию следует увеличивать на
20 м2·ч·Па/кг.
2.
Сопротивление воздухопроницанию воздушных прослоек и слоев ограждающих
конструкций из сыпучих (шлака, керамзита, пемзы и т.п.), рыхлых и волокнистых
(минеральной ваты, соломы, стружки и т.п.) материалов следует принимать
равным нулю независимо от толщины слоя.
3. Для материалов и конструкций, не указанных в
настоящем приложении, сопротивление воздухопроницанию следует определять
экспериментально.
|
9.1 Сопротивление
паропроницанию Rп,
м2·ч·Па/мг, ограждающей конструкции (в пределах от внутренней
поверхности до плоскости возможной конденсации) должно быть не менее
наибольшего из следующих требуемых сопротивлений паропроницанию:
а) требуемого
сопротивления паропроницанию , м2·ч·Па/мг (из условия недопустимости накопления
влаги в ограждающей конструкции за годовой период эксплуатации), определяемого
по формуле
(20)
б) требуемого
сопротивления паропроницанию , м2·ч·Па/мг (из условия ограничения влаги в
ограждающей конструкции за период с отрицательными среднемесячными
температурами наружного воздуха), определяемого по формуле
(21)
В формулах (20) и (21):
еB - упругость
водяного пара внутреннего воздуха, Па, при расчетной температуре и влажности
этого воздуха;
Rпн -
сопротивление паропроницанию, м2·ч·Па/мг, части ограждающей конструкции,
расположенной между наружной поверхностью ограждающей конструкции и плоскостью
возможной конденсации, определяемое в соответствии с п. 9.3;
еН
- средняя упругость водяного пара наружного воздуха, Па, за годовой период,
определяемая согласно СНиП
23-01;
zo -
продолжительность, сут, периода влагонакопления, принимаемая равной периоду с
отрицательными среднемесячными температурами наружного воздуха согласно СНиП 23-01;
Ео
- максимальная упругость водяного пара, Па, в плоскости возможной конденсации,
определяемая при средней температуре наружного воздуха периода месяцев с отрицательными
среднемесячными температурами;
γw -
плотность материала увлажняемого слоя, кг/м3, принимаемая по
приложению 3;
δw -
толщина увлажняемого слоя ограждающей конструкции, м, принимаемая равной 2/3
толщины однородной (однослойной) стены от внутренней поверхности или толщины
теплоизоляционного слоя (утеплителя) многослойной ограждающей конструкции;
Δwcp -
предельно допустимое приращение расчетного массового отношения влаги в
материале (приведенного в приложении 3)
увлажняемого слоя, %, за период влагонакопления zo принимаемое по таблице
21;
Е -
максимальная упругость водяного пара, Па, в плоскости возможной конденсации за
годовой период эксплуатации, определяемая по формуле
(22)
где E1, Е2,
Е3 - упругости водяного пара, Па, принимаемые по температуре
в плоскости возможной конденсации, определяемой при средней температуре
наружного воздуха соответственно зимнего, весенне-осеннего и летнего периодов;
z1, z2, z3 -
продолжительность, мес, зимнего, весенне-осеннего и летнего периодов,
определяемая согласно СНиП
23-01 с учетом следующих условий:
а) к зимнему
периоду относятся месяцы со средними температурами наружного воздуха ниже минус
5 °С;
б) к
весенне-осеннему периоду относятся месяцы со средними температурами наружного
воздуха от минус 5 до плюс 5°С;
в) к летнему периоду относятся месяцы со средними
температурами наружного воздуха выше плюс 5 °С;
η
- определяется по формуле
(23)
где ен.о
- средняя упругость водяного пара наружного воздуха, Па, периода месяцев с
отрицательными среднемесячными температурами, определяемая согласно СНиП 23-01.
Таблица 21 - Предельно допустимое
приращение расчетного массового отношения влаги в материале ограждающей
конструкции Δwcp
|
|
Материал ограждающей конструкции
|
Предельно допустимое приращение расчетного массового
отношения влаги в материале Δwcp, %
|
|
1.
|
Кладка из глиняного кирпича
и керамических блоков
|
1,5
|
|
2
|
Кладка из силикатного
кирпича
|
2,0
|
|
3.
|
Легкие бетоны на пористых
заполнителях (керамзитобетон, шунгизитобетон, перлитобетон, пемзобетон и др.)
|
5,0
|
|
4.
|
Ячеистые бетоны (газобетон,
пенобетон, газосиликат и др.)
|
6,0
|
|
5.
|
Пеногазостекло
|
1,5
|
|
6.
|
Фибролит цементный
|
7,5
|
|
7.
|
Минераловатные плиты и маты
|
3,0
|
|
8.
|
Пенополистирол и
пенополиуретан
|
25,0
|
|
9.
|
Теплоизоляционные засыпки
из керамзита, шунгизита, шлака
|
3,0
|
|
10.
|
Тяжелые бетоны
|
2,0
|
|
Примечания:
1. Упругости E1, Е2,
Е3 и Е0 для конструкций помещений с
агрессивной средой следует принимать с учетом агрессивной среды.
2. При определении упругости Е3
для летнего периода температуру в плоскости возможной конденсации во всех
случаях следует принимать не ниже средней температуры наружного воздуха
летнего периода, упругость водяного пара внутреннего воздуха еB - не ниже средней упругости водяного пара наружного
воздуха за этот период.
3. Плоскость возможной конденсации в однородной
(однослойной) ограждающей конструкции располагается на расстоянии, равном 2/3
толщины конструкции от ее внутренней поверхности, а в многослойной
конструкции совпадает с наружной поверхностью утеплителя (кроме вентилируемых
фасадов).
|
Плоскость
максимального увлажнения определяется по методике, базирующейся на
использовании метода безразмерных характеристик, разработанной в 1989 г.
Самарским государственным строительным университетом. По формуле (24) для каждого слоя многослойной
ограждающей конструкции вычисляют значение комплекса F(tki), величина которого
зависит от температуры в плоскости возможной конденсации.
(24)
где μi - коэффициент
паропроницаемости слоя ограждения, мг/(м·ч·Па);
λi -
коэффициент теплопроводности слоя ограждения, Вт/(м·°С);
Rп.о - общее
сопротивление паропроницанию ограждающей конструкции, (м2·ч·Па)/мг;
tB - расчетная температура внутреннего воздуха в
помещении, °С;
еB - упругость
водяного пара внутреннего воздуха в помещении, Па;
tH -
температура наружного воздуха, принимаемая равной средней температуре наиболее
холодного месяца, °С;
еH - упругость водяного пара
наружного воздуха, Па;
Ro - сопротивление теплопередаче
ограждения, м2·°С/Вт.
По полученным
значениям комплекса F(tki) по
таблице 22
определяют значения температуры tki в плоскости возможной конденсации для каждого
слоя многослойной конструкции. Затем находят координату плоскости возможной
конденсации Хi
по величине tki.
В том случае, если значение координаты существенно выходит за пределы слоя,
расчет по накоплению влаги в данном слое не выполняется.
При
незначительном отклонении координаты Хi от границы слоя за плоскость
возможной конденсации принимают наружную поверхность рассматриваемого слоя, так
как в этом случае температура на ней будет мало отличаться от значения tki.
9.2
Сопротивление паропроницанию Rп,
(м2·ч·Па)/мг, чердачного перекрытия или части конструкции
вентилируемого покрытия, расположенной между внутренней поверхностью покрытия и
воздушной прослойкой, в зданиях со скатами кровли шириной до 24 м должно быть
не менее требуемого сопротивления паропроницанию , (м2·ч·Па)/мг, определяемого по формуле
(25)
где еB, еH.O - то же, что и в
формулах (20), (21) и (23).
Таблица 22 - Значение комплекса F(tki)
|
tki , °С
|
F(tki), °С2/Па
|
tki , °С
|
F(tki), °С2/Па
|
tki , °С
|
F(tki), °С2/Па
|
tki , °С
|
F(tki), °С2/Па
|
|
-30
|
1117
|
-17
|
350,0
|
-4
|
123,2
|
9
|
52,3
|
|
-29
|
1020,2
|
-16
|
320,5
|
-3
|
114,1
|
10
|
49,2
|
|
-28
|
920,5
|
-15
|
296,0
|
-2
|
105,9
|
11
|
46,5
|
|
-27
|
856,5
|
-14
|
272,3
|
-1
|
98,1
|
12
|
43,84
|
|
-26
|
773,7
|
-13
|
249,9
|
0
|
91,16
|
13
|
41,4
|
|
-25
|
706,7
|
-12
|
231,2
|
1
|
85,5
|
14
|
39,1
|
|
-24
|
651,4
|
-11
|
213,6
|
2
|
80,2
|
15
|
36,95
|
|
-23
|
589,2
|
-10
|
196,5
|
3
|
75,3
|
16
|
34,93
|
|
-22
|
538,8
|
-9
|
181,4
|
4
|
70,8
|
17
|
33,05
|
|
-21
|
497,0
|
-8
|
167,7
|
5
|
66,6
|
18
|
31,3
|
|
-20
|
453,0
|
-7
|
155,2
|
6
|
62,8
|
19
|
29,6
|
|
-19
|
416,7
|
-6
|
143,4
|
7
|
59,0
|
20
|
28,03
|
|
-18
|
380,2
|
-5
|
132,7
|
8
|
55,6
|
|
|
9.3 Сопротивление
паропроницанию Rп,
(м2·ч·Па)/мг, однослойной или отдельного слоя многослойной
ограждающей конструкции следует определять по формуле
(26)
где δ -
толщина слоя ограждающей конструкции, м;
μ -
расчетный коэффициент паропроницаемости материала слоя ограждающей конструкции,
мг/(м·ч·Па), принимаемый по приложению 3.
Определяется по ГОСТ
25898.
Сопротивление
паропроницанию многослойной ограждающей конструкции (или ее части) равно сумме
сопротивлений паропроницанию составляющих ее слоев.
Сопротивление паропроницанию
Rп
листовых материалов и тонких слоев пароизоляции следует принимать по таблице 23.
Примечания: 1. Сопротивление паропроницанию воздушных прослоек в
ограждающих конструкциях следует принимать равным нулю независимо от
расположения и толщины этих прослоек.
2. Для обеспечения требуемого сопротивления
паропроницанию ограждающей
конструкции следует определять сопротивление паропроницанию Rп
конструкции в пределах от внутренней поверхности до плоскости возможной
конденсации.
3. В помещениях следует предусматривать пароизоляцию теплоизолирующих
уплотнителей сопряжения элементов ограждающих конструкций (мест примыкания
заполнений проемов к стенам и т.п.) со стороны помещений: сопротивление
паропроницанию в местах таких сопряжений проверяется из условия ограничения
накопления влаги в сопряжениях за период с отрицательными среднемесячными
температурами наружного воздуха на основании расчета температурного и
влажностного полей.
9.4 Не
требуется определять сопротивление паропроницанию следующих ограждающих
конструкций:
а) однородных
(однослойных) наружных стен помещений с сухим или нормальным режимом;
б) двухслойных
наружных стен помещений с сухим или нормальным режимом, если внутренний слой
стены имеет сопротивление паропроницанию более 1,6 м2·ч·Па/мг.
9.5 Для защиты от увлажнения теплоизоляционного
слоя (утеплителя) в покрытиях зданий с влажным или мокрым режимом следует
предусматривать пароизоляцию (ниже теплоизоляционного слоя), которую следует
учитывать при определении сопротивления паропроницанию покрытия в соответствии
с п. 9.3.
Таблица 23 - Сопротивление
паропроницанию листовых материалов и тонких слоев пароизоляции Rn
|
Материал
|
Толщина слоя, мм
|
Сопротивление паропроницанию Rп, м2·ч·Па/мг
|
|
1. Картон обыкновенный
|
1,3
|
0,016
|
|
2 Листы асбоцементные
|
6
|
0,3
|
|
3. Листы гипсовые
обшивочные (сухая штукатурка)
|
10
|
0,12
|
|
4. Листы
древесно-волокнистые жесткие
|
10
|
0,11
|
|
5. Листы
древесно-волокнистые мягкие
|
12,5
|
0,05
|
|
6. Окраска горячим битумом
за один раз
|
2
|
0,3
|
|
7. Окраска горячим битумом
за два раза
|
4
|
0,48
|
|
8. Окраска масляная за два
раза с предварительной шпатлевкой и грунтовкой
|
-
|
0,64
|
|
9. Окраска эмалевой краской
|
-
|
0,48
|
|
10. Покрытие изольной
мастикой за один раз
|
2
|
0,60
|
|
11. Покрытие
битумно-кукерсольной мастикой за один раз
|
1
|
0,64
|
|
12. Покрытие
битумно-кукерсольной мастикой за два раза
|
2
|
1,1
|
|
13. Пергамин кровельный
|
0,4
|
0,33
|
|
14. Полиэтиленовая пленка
|
0,16
|
7,3
|
|
15. Рубероид
|
1,5
|
1,1
|
|
16. Толь кровельный
|
1,9
|
0,4
|
|
17. Фанера клееная
трехслойная
|
3
|
0,15
|
Федеральный
закон «О техническом регулировании» от 27.12.2002 г. № 184-ФЗ.
ГОСТ
Р 1.4-2004 Стандарты организаций. Общие положения
СНиП II-3-79* Строительная теплотехника
СНиП 23-01-99*
Строительная климатология
СНиП 23-05-95* Естественное
и искусственное освещение
СНиП
41-01-2003 Отопление, вентиляция и кондиционирование
СНиП 23-02-2003 Тепловая
защита зданий
СанПиН
2.1.2.1002-00 Санитарно-эпидемиологические требования к жилым зданиям и
помещениям
СНиП 2.11.02-87 Холодильники
СНиП 11-22-81*
Каменные и армокаменные конструкции
СНиП 52-01-2003
Бетонные и железобетонные конструкции
СНиП
2.10.03-84 Животноводческие, птицеводческие и звероводческие здания и
помещения
ГОСТ
12.1.005-88* ССБТ. Общие санитарно-гигиенические требования к воздуху
рабочей зоны
ГОСТ
30494-96 Здания жилые и общественные. Параметры микроклимата в помещениях
ГОСТ
26254-84 Здания и сооружения. Методы определения сопротивления
теплопередаче ограждающих конструкций
ГОСТ
7076-99 Материалы и изделия строительные. Методы определения
теплопроводности и термического сопротивления при стационарном тепловом потоке
ГОСТ
25898-83 Материалы и изделия строительные. Методы определения сопротивления
паропроницанию
ГОСТ
25609-83 Материалы полимерные рулонные и плиточные для полов. Метод определения
показателя теплоусвоения
ГОСТ
31167-2003 Здания и сооружения. Методы определения воздухопроницаемости
ограждающих конструкций в натурных условиях
ГОСТ
26602.1-99 Блоки оконные и дверные. Методы определения теплопередачи
ГОСТ
26602.2-99 Блоки оконные и дверные. Методы определения
воздухо-водопроницаемости
ГОСТ
26629-85 Здания и сооружения. Метод тепловизионного контроля качества
теплоизоляции ограждающих конструкций
ГОСТ
530-95 Кирпич и камни керамические. Технические условия
ГОСТ
379-95 Кирпич и камни силикатные. Технические условия
ГОСТ 25485-89
Бетоны ячеистые. Технические условия
ГОСТ 25820-2000
Бетоны легкие. Технические условия
ГОСТ Р 51263-99
Полистиролбетон. Технические условия
ГОСТ
6133-99 Камни бетонные стеновые. Технические условия
ГОСТ
21520-89 Блоки из ячеистых бетонов стеновые мелкие. Технические условия
СП 23-101-2004
Проектирование тепловой защиты зданий

|
Материал
|
Характеристики материала в сухом состоянии
|
Расчетное массовое отношение влаги в материале (при
условиях эксплуатации по прил. 2) , w, %
|
Расчетные коэффициенты (при условиях эксплуатации по
прил. 2)
|
|
плотность γп, , кг/м3
|
удельная теплоемкость со,
кДж/(кг·°С)
|
коэффициент теплопроводности, λo, Вт/(м·°С)
|
теплопроводности λ, Вт/(м·°С)
|
паропроницаемости μ , мг/(м·ч·Па)
|
|
А
|
Б
|
А
|
Б
|
А, Б
|
|
I. Бетоны и растворы
|
|
А. Бетоны на природных плотных заполнителях
|
|
1. Железобетон
|
2500
|
0,84
|
1,69
|
2
|
3
|
1,92
|
2,04
|
0,03
|
|
2. Бетон на гравии или
щебне из природного камня
|
2400
|
0,84
|
1,51
|
2
|
3
|
1,74
|
1,86
|
0,03
|
|
3. Плотный силикатный бетон
|
1800
|
0,88
|
0,81
|
2
|
4
|
0,99
|
1,16
|
0,11
|
|
Б. Бетоны на природных пористых заполнителях
|
|
4. Туфобетон
|
1800
|
0,84
|
0,64
|
7
|
10
|
0,87
|
0,99
|
0,090
|
|
5. То же
|
1600
|
0,84
|
0,52
|
7
|
10
|
0,70
|
0,81
|
0,11
|
|
6. »
|
1400
|
0,84
|
0,41
|
7
|
10
|
0,52
|
0,58
|
0,11
|
|
7. »
|
1200
|
0?84
|
0,29
|
7
|
10
|
0,41
|
0,47
|
0,12
|
|
8. Пемзобетон
|
1600
|
0,84
|
0,52
|
4
|
6
|
0,62
|
0,68
|
0,075
|
|
9. То же
|
1400
|
0,84
|
0,42
|
4
|
6
|
0,49
|
0,54
|
0,083
|
|
10. »
|
1200
|
0,84
|
0,34
|
4
|
6
|
0,40
|
0,43
|
0,098
|
|
11. »
|
1000
|
0,84
|
0,26
|
4
|
6
|
0,30
|
0,34
|
0,11
|
|
12. »
|
800
|
0,84
|
0,19
|
4
|
6
|
0,22
|
0,26
|
0,12
|
|
13. Бетон на вулканическом
шлаке
|
1600
|
0,84
|
0,52
|
7
|
10
|
0,64
|
0,70
|
0,075
|
|
14. То же
|
1400
|
0,84
|
0,41
|
7
|
10
|
0,52
|
0,58
|
0,083
|
|
15. »
|
1200
|
0,84
|
0,33
|
7
|
10
|
0,41
|
0,47
|
0,090
|
|
16. »
|
1000
|
0,84
|
0,24
|
7
|
10
|
0,29
|
0,35
|
0,098
|
|
17. »
|
800
|
0,84
|
0,20
|
7
|
10
|
0,23
|
0,29
|
0,11
|
|
В. Бетоны на искусственных пористых заполнителях
|
|
18. Керамзитобетон на
керамзитовом песке и керамзитопенобетон
|
1800
|
0,84
|
0,66
|
5
|
10
|
0,80
|
0,92
|
0,090
|
|
19. То же
|
1600
|
0,84
|
0,58
|
5
|
10
|
0,67
|
0,79
|
0,090
|
|
20. »
|
1400
|
0,84
|
0,47
|
5
|
10
|
0,56
|
0,65
|
0,098
|
|
21. »
|
1200
|
0,84
|
0,36
|
5
|
10
|
0,44
|
0,52
|
0,11
|
|
22. »
|
1000
|
0,84
|
0,27
|
5
|
10
|
0,33
|
0,41
|
0,14
|
|
23. »
|
800
|
0,84
|
0,21
|
5
|
10
|
0,24
|
0,31
|
0,19
|
|
24. »
|
600
|
0,84
|
0,16
|
5
|
10
|
0,20
|
0,26
|
0,26
|
|
25. »
|
500
|
0,84
|
0,14
|
5
|
10
|
0,17
|
0,23
|
0,30
|
|
26. Керамзитобетон на
кварцевом песке с поризацией
|
1200
|
0,84
|
0,41
|
4
|
8
|
0,52
|
0,58
|
0,075
|
|
27. То же
|
1000
|
0,84
|
0,33
|
4
|
8
|
0,41
|
0,47
|
0,075
|
|
28. Керамзитобетон на
кварцевом песке с поризацией
|
800
|
0,84
|
0,23
|
4
|
8
|
0,29
|
0,35
|
0,075
|
|
29. Керамзитобетон на
перлитовом песке
|
1000
|
0,84
|
0,28
|
9
|
13
|
0,35
|
0,41
|
0,15
|
|
30. То же
|
800
|
0,84
|
0,22
|
9
|
13
|
0,29
|
0,35
|
0,17
|
|
31. Шунгизитобетон
|
1400
|
0,84
|
0,49
|
4
|
7
|
0,56
|
0,64
|
0,098
|
|
32. То же
|
1200
|
0,84
|
0,36
|
4
|
7
|
0,44
|
0,50
|
0,11
|
|
33. »
|
1000
|
0,84
|
0,27
|
4
|
7
|
0,33
|
0,38
|
0,14
|
|
34. Перлитобетон
|
1200
|
0,84
|
0,29
|
10
|
15
|
0,44
|
0,50
|
0,15
|
|
35. То же
|
1000
|
0,84
|
0,22
|
10
|
15
|
0,33
|
0,38
|
0,19
|
|
36. »
|
800
|
0,84
|
0,16
|
10
|
15
|
0,27
|
0,33
|
0,26
|
|
37. »
|
600
|
0,84
|
0,12
|
10
|
15
|
0,19
|
0,23
|
0,30
|
|
38. Шлакопемзобетон
(термозитобетон)
|
1800
|
0,84
|
0,52
|
5
|
8
|
0,63
|
0,76
|
0,075
|
|
39. То же
|
1600
|
0,84
|
0,41
|
5
|
8
|
0,52
|
0,63
|
0,090
|
|
40. »
|
1400
|
0,84
|
0,35
|
5
|
8
|
0,44
|
0,52
|
0,098
|
|
41. »
|
1200
|
0,84
|
0,29
|
5
|
8
|
0,37
|
0,44
|
0,11
|
|
42. »
|
1000
|
0,84
|
0,23
|
5
|
8
|
0,31
|
0,37
|
0,11
|
|
43. Шлакопемзопено- и
шлакопемзогазобетон
|
1600
|
0,84
|
0,47
|
8
|
11
|
0,63
|
0,70
|
0,09
|
|
44. То же
|
1400
|
0,84
|
0,35
|
8
|
11
|
0,52
|
0,58
|
0,098
|
|
45. »
|
1200
|
0,84
|
0,29
|
8
|
11
|
0,41
|
0,47
|
0,11
|
|
46. »
|
1000
|
0,84
|
0,23
|
8
|
11
|
0,35
|
0,41
|
0,11
|
|
47. »
|
800
|
0,84
|
0,17
|
8
|
11
|
0,29
|
0,35
|
0,13
|
|
48. Бетон на доменных
гранулированных шлаках
|
1800
|
0,84
|
0,58
|
5
|
8
|
0,70
|
0,81
|
0,083
|
|
49. То же
|
1600
|
0,84
|
0,47
|
5
|
8
|
0,58
|
0,64
|
0,09
|
|
50. »
|
1400
|
0,84
|
0,41
|
5
|
8
|
0,52
|
0,58
|
0,098
|
|
51. »
|
1200
|
0,84
|
0,35
|
5
|
8
|
0,47
|
0,52
|
0,11
|
|
52. Аглопоритобетон и
бетоны на топливных (котельных) шлаках
|
1800
|
0,84
|
0,70
|
5
|
8
|
0,85
|
0,93
|
0,075
|
|
53. То же
|
1600
|
0,84
|
0,58
|
5
|
8
|
0,72
|
0,78
|
0,083
|
|
54. »
|
1400
|
0,84
|
0,47
|
5
|
8
|
0,59
|
0,65
|
0,09
|
|
55. »
|
1200
|
0,84
|
0,35
|
5
|
8
|
0,48
|
0,54
|
0,11
|
|
56. »
|
1000
|
0,84
|
0,29
|
5
|
8
|
0,38
|
0,44
|
0,14
|
|
57. Бетон на зольном гравии
|
1400
|
0,84
|
0,47
|
5
|
8
|
0,52
|
0,58
|
0,09
|
|
58. То же
|
1200
|
0,84
|
0,35
|
5
|
8
|
0,41
|
0,47
|
0,11
|
|
59. »
|
1000
|
0,84
|
0,24
|
5
|
8
|
0,30
|
0,35
|
0,12
|
|
60. Вермикулитобетон
|
800
|
0,84
|
0,21
|
8
|
13
|
0,23
|
0,26
|
|
|
61. Тоже
|
600
|
0,84
|
0,14
|
8
|
13
|
0,16
|
0,17
|
0,15
|
|
62. »
|
400
|
0,84
|
0,09
|
8
|
13
|
0,11
|
0,13
|
0,19
|
|
63. »
|
300
|
0,84
|
0,08
|
8
|
13
|
0,09
|
0,11
|
0,23
|
|
Кладка стен из керамзитобетонных камней с
трехрядными несквозными пустотами (ГОСТ 6133-99)на
цементно-песчаном растворе плотностью 1800 кг/м3
|
|
63а. Камни γ = 1200
кг/м3
|
1270
|
0,84
|
0,35
|
5
|
10
|
0,42
|
0,47
|
0,10
|
|
63б. То же γ = 1000
кг/м3
|
1060
|
0,84
|
0,28
|
5
|
10
|
0,36
|
0,41
|
0,11
|
|
63в. » γ = 800 кг/м3
|
880
|
0,84
|
0,23
|
5
|
10
|
0,29
|
0,33
|
0,14
|
|
Г. Бетоны ячеистые (ГОСТ 25485, ГОСТ
5742, ГОСТ
21520) ФГУП. Научно-исследовательский центр «Строительство». Филиал -
НИИЖБ
|
|
64. Газо- и пенобетон,
газо- и пеносиликат (λ
определен по ГОСТ
7076)
|
1000
|
0,84
|
0,21
|
6
|
8
|
0,23
|
0,25
|
0,11
|
|
65. То же
|
800
|
0,84
|
0,17
|
6
|
8
|
0,19
|
0,21
|
0,14
|
|
66. »
|
600
|
0,84
|
0,14
|
5
|
6
|
0,16
|
0,18
|
0,17
|
|
67. »
|
400
|
0,84
|
0,10
|
5
|
6
|
0,12
|
0,14
|
0,23
|
|
68. »
|
300
|
0,84
|
0,08
|
5
|
6
|
0,10
|
0,12
|
0,26
|
|
69. Газо- и пенозолобетон (λ определен по ГОСТ
7076)
|
1000
|
0,84
|
0,24
|
8
|
12
|
0,30
|
0,36
|
0,098
|
|
70. То же
|
800
|
0,84
|
0,20
|
8
|
12
|
0,27
|
0,33
|
0,12
|
|
71. »
|
600
|
0,84
|
0,16
|
8
|
12
|
0,23
|
0,29
|
0,15
|
|
72. »
|
400
|
0,84
|
0,13
|
8
|
12
|
0,20
|
0,26
|
0,20
|
|
Кладка стен из мелких ячеистобетонных блоков на клеевом
растворе c толщиной швов 2-3 мм (λ и w определены по ГОСТ
26254)
|
|
73. Блоки из газо- и
пенобетона, газо- и пеносиликата
|
|
|
|
|
|
|
|
|
|
74. То же
|
800
|
0,84
|
0,22
|
6
|
8
|
0,25
|
0,27
|
0,14
|
|
75. »
|
600
|
0,84
|
0,15
|
5
|
6
|
0,17
|
0,19
|
0,17
|
|
76. »
|
400
|
0,84
|
0,11
|
5
|
6
|
0,13
|
0,15
|
0,23
|
|
77. »
|
300
|
0,84
|
0,08
|
5
|
6
|
0,12
|
0,14
|
0,26
|
|
Кладка стен из мелких ячеистобетонных блоков на
теплоизоляционном растворе (γo = 1000 кг/м3 с толщиной растворных швов
12 мм (λ и w определены по ГОСТ
26254)
|
|
78. Блоки из газо- и
пенобетона, газо- и пеносиликата
|
|
|
|
|
|
|
|
|
|
79. То же, γo = 800 кг/м3
|
815
|
0,84
|
0,22
|
6
|
8
|
0,25
|
0,27
|
0,14
|
|
80. » γo = 600 кг/м3
|
630
|
0,84
|
0,16
|
5
|
6
|
0,20
|
0,23
|
0,17
|
|
81. » γo = 400 кг/м3
|
450
|
0,84
|
0,12
|
5
|
6
|
0,17
|
0,19
|
0,20
|
|
Кладка стен из мелких ячеистобетонных блоков на
цементно-песчаном растворе (γo = 1800 кт/м3 с толщиной растворных швов
12 мм (λ и w определены по ГОСТ
26254)
|
|
82. Блоки из газо- и
пенобетона, газо- и пеносиликата, γo = 1000 кг/м3
|
1060
|
0,84
|
0,25
|
6
|
8
|
0,35
|
0,37
|
0,11
|
|
83. То же, γo = 800 кг/м3
|
880
|
0,84
|
0,22
|
6
|
8
|
0,26
|
0,24
|
0,14
|
|
84. » γo = 600 кг/м3
|
700
|
0,84
|
0,17
|
5
|
6
|
0,23
|
0,25
|
0,17
|
|
Д. Полистиролбетон (ГОСТ 51263)
Всероссийский федеральный технологический институт
ВНИИЖЕЛЕЗОБЕТОН (λ
определен по ГОСТ
7076)
|
|
85. Полистиролбетон
|
600
|
1,06
|
0,145
|
4
|
8
|
0,175
|
0,200
|
0,068
|
|
86. То же
|
500
|
1,06
|
0,125
|
4
|
8
|
0,140
|
0,155
|
0,075
|
|
87. »
|
400
|
1,06
|
0,105
|
4
|
8
|
0,120
|
0,130
|
0,085
|
|
88. »
|
300
|
1,06
|
0,085
|
4
|
8
|
0,095
|
0,105
|
0,100
|
|
89. »
|
250
|
1,06
|
0,075
|
4
|
8
|
0,085
|
0,090
|
0,110
|
|
90. »
|
200
|
1,06
|
0,065
|
4
|
8
|
0,070
|
0,075
|
0,120
|
|
Е. Модифицированный полистиролбетон
ФГУП. Научно-исследовательский центр «Строительство». Филиал - НИИЖБ
|
|
91. Модифицированный
монолитный полистиролбетон на портландцементе (ТУ 5745-175-46854090-04 и ТУ
5745-204-46854090-05) (λ
определен по ГОСТ
7076)
|
300
|
1,06
|
0,085
|
3,8
|
7,5
|
0,085
|
0,105
|
0,100
|
|
92. Тоже
|
250
|
1,06
|
0,075
|
3,7
|
7,3
|
0,075
|
0,090
|
0,109
|
|
93. Модифицированный
полистиролбетон на шлакопортландцементе в стеновых блоках и плитах (ТУ
5746-001-57096126-2001), в блоках (ТУ 5741-200-46854090-05), в перемычках (ТУ
5828-023-02495282-02) (λ
определен по ГОСТ
7076)
|
500
|
1,06
|
0,121
|
3,8
|
7,6
|
0,130
|
0,150
|
0,075
|
|
94. Тоже
|
400
|
1,06
|
0,102
|
3,6
|
7,2
|
0,111
|
0,127
|
0,085
|
|
95. »
|
300
|
1,06
|
0,081
|
3,4
|
6,8
|
0,090
|
0,096
|
0,100
|
|
96. »
|
250
|
1,06
|
0,070
|
3,3
|
6,6
|
0,075
|
0,082
|
0,116
|
|
97. »
|
200
|
1,06
|
0,062
|
3,2
|
6,4
|
0,065
|
0,071
|
0,135
|
|
98. Модифицированный
полистиролбетон на композиционном малоклинкерном вяжущем в стеновых блоках и
плитах (ТУ 5746-001-57096126-2001), ТУ 5741-162-46854090-03) (λ определен по ГОСТ
7076)
|
500
|
1,06
|
0,105
|
3,4
|
6,0
|
0,114
|
0,120
|
0,075
|
|
99. Тоже
|
400
|
1,06
|
0,083
|
3,2
|
5,6
|
0,090
|
0,093
|
0,085
|
|
100. »
|
300
|
1,06
|
0,062
|
3,0
|
5,2
|
0,065
|
0,068
|
0,100
|
|
101. »
|
250
|
1,06
|
0,057
|
2,9
|
5,0
|
0,058
|
0,060
|
0,116
|
|
102. »
|
200
|
1,06
|
0,052
|
2,8
|
4,8
|
0,053
|
0,054
|
0,135
|
|
103. Модифицированный
полистиролбетон на активированном пластифицированном шлакопортландцементе (ТУ
5746-001-57096126-2001, ТУ 5828-023-02495282-02, ТУ 5741-200-4684090-05) (λ определен по ГОСТ
7076)
|
500
|
1,06
|
0,113
|
3,6
|
6,8
|
0,122
|
0,137
|
0,075
|
|
104. Тоже
|
400
|
1,06
|
0,092
|
3
|
6
|
0,100
|
0,110
|
0,083
|
|
105. »
|
300
|
1,06
|
0,071
|
3
|
6
|
0,077
|
0,080
|
0,100
|
|
106. »
|
250
|
1,06
|
0,063
|
3
|
6
|
0,066
|
0,071
|
0,111
|
|
107. »
|
200
|
1,06
|
0,057
|
3
|
6
|
0,059
|
0,062
|
0,122
|
|
Кладка стен из полистиролбетонных блоков
(295x375x600 мм) на клеевом растворе с толщиной швов 2-3 мм (λ и w определены по ГОСТ
26254)
|
|
108. Блоки на
портландцементе
|
500
|
1,06
|
0,13
|
4
|
8
|
0,15
|
0,17
|
0,075
|
|
109. То же
|
400
|
1,06
|
0,11
|
4
|
8
|
0,13
|
0,14
|
0,085
|
|
110. »
|
300
|
1,06
|
0,09
|
4
|
8
|
0,11
|
0,12
|
0,100
|
|
111. »
|
250
|
1,06
|
0,08
|
4
|
8
|
0,09
|
0,10
|
0,110
|
|
112. Блоки на
шлакопортландцементе
|
500
|
1,06
|
0,13
|
3,8
|
7,6
|
0,14
|
0,16
|
0,075
|
|
113. Тоже
|
400
|
1,06
|
0,11
|
3,6
|
7,2
|
0,12
|
0,13
|
0,085
|
|
114. Блоки на
шлакопортландцементе
|
300
|
1,06
|
0,09
|
3,4
|
6,8
|
0,10
|
0,11
|
0,100
|
|
115. Тоже
|
250
|
1,06
|
0,08
|
3,3
|
6,6
|
0,08
|
0,09
|
0,110
|
|
116. Блоки на
активированном пластифицированном шлакопортландцементе
|
500
|
1,06
|
0,12
|
3,6
|
6,8
|
0,13
|
0,15
|
0,075
|
|
117. То же
|
400
|
1,06
|
0,10
|
3,4
|
6,4
|
0,11
|
0,12
|
0,085
|
|
118. »
|
300
|
1,06
|
0,08
|
3,2
|
6,0
|
0,08
|
0,09
|
0,100
|
|
119. »
|
250
|
1,06
|
0,07
|
3,1
|
5,8
|
0,07
|
0,08
|
0,110
|
|
Кладка стен из полистиролбетонных блоков
(295x375x600 мм) на цементно-песчаном растворе (γo = 1800 кг/м3 с толщиной швов 10 мм (λ и w определены по ГОСТ
26254)
|
|
120. Блоки на
портландцементе, γo = 500
кг/м3
|
550
|
1,06
|
0,14
|
4
|
8
|
0,17
|
0,19
|
0,075
|
|
121. То же, γo = 400 кг/м3
|
460
|
1,06
|
0,12
|
4
|
8
|
0,15
|
0,17
|
0,085
|
|
122. » γo = 300 кг/м3
|
370
|
1,06
|
0,10
|
4
|
8
|
0,13
|
0,15
|
0,100
|
|
123. » γo = 250 кг/м3
|
320
|
1,06
|
0,09
|
4
|
8
|
0,11
|
0,13
|
0,110
|
|
124. Блоки на
шлакопортландцементе,
γo = 500 кг/м3
|
550
|
1,06
|
0,14
|
3,8
|
7,6
|
0,17
|
0,19
|
0,075
|
|
125. То же, γo = 400 кг/м3
|
460
|
1,06
|
0,12
|
3,6
|
7,2
|
0,14
|
0,16
|
0,085
|
|
126 » γo = 300 кг/м3
|
370
|
1,06
|
0,10
|
3,4
|
6,8
|
0,12
|
0,14
|
0,100
|
|
127. » γo = 250 кг/м3
|
320
|
1,06
|
0,09
|
3,3
|
6,6
|
0,10
|
0,12
|
0,110
|
|
128. Блоки на
активированном пластифицированном портландцементе, γo = 500 кг/м3
|
550
|
1,06
|
0,13
|
3,6
|
6,8
|
0,15
|
0,17
|
0,075
|
|
129. То же, γo = 400 кг/м3
|
460
|
1,06
|
0,11
|
3,4
|
6,4
|
0,13
|
0,15
|
0,085
|
|
130. »
γo = 300 кг/м3
|
370
|
1,06
|
0,09
|
3,2
|
6,0
|
0,10
|
0,12
|
0,100
|
|
131. » γo = 250 кг/м3
|
320
|
1,06
|
0,08
|
3,1
|
5,8
|
0,09
|
0,11
|
0,110
|
|
Ж. Растворы цементные, известковые и гипсовые
|
|
132. Цементно-песчаный
|
1800
|
0,84
|
0,58
|
2
|
4
|
0,76
|
0,93
|
0,09
|
|
133. Сложный (песок,
известь, цемент)
|
1700
|
0,84
|
0,52
|
2
|
4
|
0,70
|
0,87
|
0,098
|
|
134. Известково-песчаный
|
1600
|
0,84
|
0,47
|
2
|
4
|
0,70
|
0,81
|
0,12
|
|
135. Цементно-шлаковый
|
1400
|
0,84
|
0,41
|
2
|
4
|
0,52
|
0,64
|
0,11
|
|
136. То же
|
1200
|
0,84
|
0,35
|
2
|
4
|
0,47
|
0,58
|
0,14
|
|
137. Цементно-перлитовый
|
1000
|
0,84
|
0,21
|
7
|
12
|
0,26
|
0,30
|
0,15
|
|
138. То же
|
800
|
0,84
|
0,16
|
7
|
12
|
0,21
|
0,26
|
0,16
|
|
139. Гипсоперлитовый
|
600
|
0,84
|
0,14
|
10
|
15
|
0,19
|
0,23
|
0,17
|
|
140. Поризованный
гипсоперлитовый
|
500
|
0,84
|
0,12
|
6
|
10
|
0,15
|
0,19
|
0,43
|
|
141. То же
|
400
|
0,84
|
0,09
|
6
|
10
|
0,13
|
0,15
|
0,53
|
|
142. Плиты из гипса (ГОСТ
6428)
|
1200
|
0,84
|
0,35
|
4
|
6
|
0,41
|
0,47
|
0,098
|
|
143. То же
|
1000
|
0,84
|
0,23
|
4
|
6
|
0,29
|
0,35
|
0,11
|
|
144. Листы гипсовые
обшивочные (сухая штукатурка) (ГОСТ 6266)
|
800
|
0,84
|
0,15
|
4
|
6
|
0,19
|
0,21
|
0,075
|
|
II. Кирпичная кладка и облицовка природным камнем (λ и w определены
по ГОСТ
26254 и ГОСТ 530)
|
|
А. Кирпичная кладка из керамического камня и кирпича
на цементно-песчаном растворе (γo = 1800 кг/м3)
|
|
1. Камня керамического
крупноформатного пустотелого из пористой керамики, γo = 600 кг/м3
|
670
|
0,88
|
0,13
|
1
|
1,4
|
0,15
|
0,16
|
0,12
|
|
2. То же, γo = 800 кг/м3
|
890
|
0,88
|
0,18
|
1
|
1,4
|
0,21
|
0,23
|
0,12
|
|
3. Камня керамического
пустотелого (250x120x138 мм), γo = 800 кг/м3
|
960
|
0,88
|
0,20
|
1
|
2
|
0,27
|
0,35
|
0,14
|
|
4. То же, γo = 1000 кг/м3
|
ИЗО
|
0,88
|
0,26
|
1
|
2
|
0,32
|
0,41
|
0,14
|
|
5. » γo = 1200 кг/м3
|
1300
|
0,88
|
0,32
|
1
|
2
|
0,40
|
0,48
|
0,14
|
|
6. » γo = 1400 кг/м3
|
1460
|
0,88
|
0,39
|
1
|
2
|
0,47
|
0,54
|
0,13
|
|
7. Кирпича трепельного
полнотелого одинарного и утолщенного, γo = 900 кг/м3
|
1090
|
0,88
|
0,30
|
2
|
4
|
0,40
|
0,47
|
0,23
|
|
8. Кирпича трепельного
полнотелого одинарного и утолщенного, γo = 1000 кг/м3
|
1170
|
0,88
|
0,34
|
2
|
4
|
0,45
|
0,50
|
0,19
|
|
9. Кирпича керамического
пустотелого одинарного и утолщенного, γo = 1000 кг/м3
|
1170
|
0,88
|
0,28
|
1
|
2
|
0,35
|
0,44
|
0,14
|
|
10. То же, γo = 1200 кг/м3
|
1330
|
0,88
|
0,34
|
1
|
2
|
0,42
|
0,50
|
0,14
|
|
11. » γo = 1400 кг/м3
|
1480
|
0,88
|
0,40
|
1
|
2
|
0,49
|
0,55
|
0,13
|
|
12. Кирпича керамического
полнотелого одинарного и утолщенного, γo = 1600 кг/м3
|
1640
|
0,88
|
0,45
|
1
|
2
|
0,61
|
0,70
|
0,11
|
|
13. То же, γo = 1800 кг/м3
|
1800
|
0,88
|
0,56
|
1
|
2
|
0,70
|
0,81
|
0,10
|
|
14. » γo = 2000 кг/м3
|
1960
|
0,88
|
0,66
|
1
|
2
|
0,80
|
0,90
|
0,09
|
|
Б. Кирпичная кладка из керамического камня и кирпича
на теплоизоляционном цементном растворе с пористыми наполнителями (γo = 1200 кг/м3)
|
|
15. Камня керамического
крупноформатного пустотелого из пористой керамики, γo = 600 кг/м3
|
640
|
0,88
|
0,13
|
1
|
1,4
|
0,15
|
0,16
|
0,13
|
|
16. То же, γo = 800 кг/м3
|
870
|
0,88
|
0,18
|
1
|
1,4
|
0,21
|
0,23
|
0,13
|
|
17. Камня керамического
пустотелого (250x120x138 мм), γo = 800 кг/м3
|
890
|
0,88
|
0,20
|
1,5
|
3
|
0,26
|
0,32
|
0,15
|
|
18. Тоже, γo = 1000 кг/м3
|
1030
|
0,88
|
0,25
|
1,5
|
3
|
0,31
|
0,37
|
0,15
|
|
19. » γo = 1200 кг/м3
|
1200
|
0,88
|
0,27
|
1,5
|
3
|
0,32
|
0,41
|
0,15
|
|
20. » γo = 1400 кг/м3
|
1370
|
0,88
|
0,35
|
1,5
|
3
|
0,42
|
0,52
|
0,14
|
|
21. Кирпича трепельного
полнотелого одинарного и утолщенного, γo = 900 кг/м3
|
960
|
0,88
|
0,26
|
2
|
4
|
0,31
|
0,37
|
0,24
|
|
22. То же, γo = 1000 кг/м3
|
1040
|
0,88
|
0,31
|
2
|
4
|
0,39
|
0,45
|
0,20
|
|
23. Кирпича керамического
пустотелого одинарного и утолщенного, γo = 1000 кг/м3
|
1040
|
0,88
|
0,25
|
1,5
|
3
|
0,29
|
0,36
|
0,15
|
|
24. То же, γo = 1200 кг/м3
|
1200
|
0,88
|
0,29
|
1,5
|
3
|
0,33
|
0,42
|
0,15
|
|
25. » γo = 1400 кг/м3
|
1360
|
0,88
|
0,33
|
1,5
|
3
|
0,37
|
0,46
|
0,14
|
|
26. Кирпича керамического
полнотелого одинарного и утолщенного, γo = 1600 кг/м3
|
1510
|
0,88
|
0,42
|
1,5
|
3
|
0,56
|
0,66
|
0,12
|
|
27. То же, γo = 1800 кг/м3
|
1670
|
0,88
|
0,50
|
1,5
|
3
|
0,70
|
0,82
|
0,11
|
|
28. » γo = 2000 кг/м3
|
1830
|
0,88
|
0,60
|
1,5
|
3
|
0,74
|
0,86
|
0,10
|
|
В. Кирпичная кладка из керамического камня и кирпича
на теплоизоляционном цементном перлитовом растворе (γo = 800 кг/м3)
|
|
29. Камня керамического крупноформатного
пустотелого из пористой керамики, γo = 600 кг/м3
|
630
|
0,88
|
0,12
|
1
|
1,4
|
0,14
|
0,15
|
0,14
|
|
30. То же, γo = 800 кг/м3
|
800
|
0,88
|
0,17
|
1
|
1,4
|
0,20
|
0,22
|
0,14
|
|
31. Камня керамического
пустотелого (250x120x138 мм), γo = 800 кг/м3
|
800
|
0,88
|
0,19
|
2
|
3
|
0,24
|
0,30
|
0,16
|
|
32. То же, γo = 1000 кг/м3
|
970
|
0,88
|
0,23
|
2
|
3
|
0,30
|
0,36
|
0,16
|
|
33. » γo = 1200 кг/м3
|
1140
|
0,88
|
0,25
|
2
|
3
|
0,35
|
0,42
|
0,16
|
|
34. » γo = 1400 кг/м3
|
1300
|
0,88
|
0,28
|
2
|
3
|
0,40
|
0,47
|
0,15
|
|
35. Кирпича трепельного
полнотелого одинарного и утолщенного, γo = 1000 кг/м3
|
960
|
0,88
|
0,28
|
2
|
4
|
0,38
|
0,45
|
0,24
|
|
36. То же, γo = 1200 кг/м3
|
1110
|
0,88
|
0,30
|
2
|
4
|
0,39
|
0,46
|
0,20
|
|
37. Кирпича керамического
пустотелого одинарного и утолщенного, γo = 1000 кг/м3
|
960
|
0,88
|
0,23
|
2
|
4
|
0,31
|
0,37
|
0,16
|
|
38. То же, γo = 1200 кг/м3
|
1110
|
0,88
|
0,27
|
2
|
4
|
0,36
|
0,43
|
0,16
|
|
39. » γo = 1400 кг/м3
|
1270
|
0,88
|
0,30
|
2
|
4
|
0,41
|
0,49
|
0,15
|
|
40. » γo = 1600 кг/м3
|
1430
|
0,88
|
0,39
|
2
|
4
|
0,50
|
0,60
|
0,13
|
|
41. Кирпича керамического
полнотелого одинарного и утолщенного, γo = 1800 кг/м3
|
1590
|
0,88
|
0,45
|
2
|
4
|
0,57
|
0,69
|
0,12
|
|
42. То же, γo = 2000 кг/м3
|
1750
|
0,88
|
0,53
|
2
|
4
|
0,65
|
0,77
|
0,12
|
|
Г. Кирпичная кладка из силикатного кирпича и камня
на цементно-песчаном растворе (γo = 1800 кг/м3) (ГОСТ 379)
|
|
43. Полнотелого одинарного
кирпича, γo = 2000
кг/м3
|
1960
|
0,88
|
1,06
|
2
|
4
|
1,25
|
1,48
|
0,09
|
|
44. То же, γo = 1800 кг/м3
|
1800
|
0,88
|
0,78
|
2
|
4
|
0,90
|
1,05
|
0,11
|
|
45. Пустотелого одинарного
и утолщенного кирпича, γo
= 1600 кг/м3
|
1640
|
0,88
|
0,68
|
2
|
4
|
0,80
|
0,90
|
0,12
|
|
46. Пустотелого
одиннадцатипустотного утолщенного кирпича и камня, γo = 1400 кг/м3
|
1500
|
0,88
|
0,64
|
2
|
4
|
0,7
|
0,81
|
0,13
|
|
47. Пустотелого
четырнадцатипустотного утолщенного кирпича и камня, γo = 1300 кг/м3
|
1400
|
0,88
|
0,52
|
2
|
4
|
0,64
|
0,76
|
0,14
|
|
48. То же, γo = 1200 кг/м3
|
1300
|
0,88
|
0,43
|
2
|
4
|
0,50
|
0,61
|
0,15
|
|
49. Кладка из шлакового
кирпича и камня (у0 = 1400 кг/м3) на цементно-песчаном растворе
(γo = 1800 кг/м3)
|
1500
|
0,88
|
0,52
|
1,5
|
3
|
0,64
|
0,70
|
0,11
|
|
Д. Облицовка природным камнем
|
|
50. Гранит, гнейс и базальт
|
2800
|
0,88
|
3,49
|
0
|
0
|
3,49
|
3,49
|
0,008
|
|
51. Мрамор
|
2800
|
0,88
|
2,91
|
0
|
0
|
2,91
|
2,91
|
0,008
|
|
52. Известняк
|
2000
|
0,88
|
0,93
|
2
|
3
|
1,16
|
1,28
|
0,06
|
|
53. То же
|
1800
|
0,88
|
0,70
|
2
|
3
|
0,93
|
1,05
|
0,075
|
|
54. »
|
1600
|
0,88
|
0,58
|
2
|
3
|
0,73
|
0,81
|
0,09
|
|
55. »
|
1400
|
0,88
|
0,49
|
2
|
3
|
0,56
|
0,58
|
0,11
|
|
56. Туф
|
2000
|
0,88
|
0,76
|
3
|
5
|
0,93
|
1,05
|
0,075
|
|
57. То же
|
1800
|
0,88
|
0,56
|
3
|
5
|
0,70
|
0,81
|
0,083
|
|
58. »
|
1600
|
0,88
|
0,41
|
3
|
5
|
0,52
|
0,64
|
0,09
|
|
59. »
|
1400
|
0,88
|
0,33
|
3
|
5
|
0,43
|
0,52
|
0,098
|
|
60. »
|
1200
|
0,88
|
0,27
|
3
|
5
|
0,35
|
0,41
|
0,11
|
|
61. »
|
1000
|
0,88
|
0,21
|
3
|
5
|
0,24
|
0,29
|
0,11
|
|
III. Дерево, изделия из него и других природных
органических материалов
(λ и w определены по ГОСТ
26254 и ГОСТ 530)
|
|
1. Сосна и ель поперек
волокон (ГОСТ 8486, ГОСТ 9463)
|
500
|
2,30
|
0,09
|
15
|
20
|
0,14
|
0,18
|
0,06
|
|
2. Сосна и ель вдоль
волокон
|
500
|
2,30
|
0,18
|
15
|
20
|
0,29
|
0,35
|
0,32
|
|
3. Дуб поперек волокон (ГОСТ 9462,
ГОСТ
2695)
|
700
|
2,30
|
0,10
|
10
|
15
|
0,18
|
0,23
|
0,05
|
|
4. Дуб вдоль волокон
|
700
|
2,30
|
0,23
|
10
|
15
|
0,35
|
0,41
|
0,30
|
|
5. Фанера клееная (ГОСТ
3916)
|
600
|
2,30
|
0,12
|
10
|
13
|
0,15
|
0,18
|
0,02
|
|
6. Картон облицовочный
|
1000
|
2,30
|
0,18
|
5
|
10
|
0,21
|
0,23
|
0,06
|
|
7. Картон строительный многослойный
(ГОСТ 4408)
|
650
|
2,30
|
0,13
|
6
|
12
|
0,15
|
0,18
|
0,083
|
|
8. Плиты
древесно-волокнистые и древесно-стружечные (ГОСТ 4598, ГОСТ
10632)
|
1000
|
2,30
|
0,15
|
10
|
12
|
0,23
|
0,29
|
0,12
|
|
9. То же
|
800
|
2,30
|
0,13
|
10
|
12
|
0,19
|
0,23
|
0,12
|
|
10. »
|
600
|
2,30
|
0,11
|
10
|
12
|
0,13
|
0,16
|
0,13
|
|
11. »
|
400
|
2,30
|
0,08
|
10
|
12
|
0,11
|
0,13
|
0,19
|
|
12. »
|
200
|
2,30
|
0,06
|
10
|
12
|
0,07
|
0,08
|
0,24
|
|
13. Плиты фибролитовые
(ГОСТ 8928) и арболит (ГОСТ 19222)
на портландцементе
|
800
|
2,30
|
0,16
|
10
|
15
|
0,24
|
0,30
|
0,11
|
|
14. То же
|
600
|
2,30
|
0,12
|
10
|
15
|
0,18
|
0,23
|
0,11
|
|
15. »
|
400
|
2,30
|
0,08
|
10
|
15
|
0,13
|
0,16
|
0,26
|
|
16. »
|
300
|
2,30
|
0,07
|
10
|
15
|
0,11
|
0,14
|
0,30
|
|
17. Плиты камышитовые
|
300
|
2,30
|
0,07
|
10
|
15
|
0,09
|
0,14
|
0,45
|
|
18. То же
|
200
|
2,30
|
0,06
|
10
|
15
|
0,07
|
0,09
|
0,49
|
|
19. Плиты торфяные (ГОСТ
4861)
|
300
|
2,30
|
0,064
|
10
|
15
|
0,07
|
0,08
|
0,19
|
|
20. То же
|
200
|
2,30
|
0,052
|
15
|
20
|
0,06
|
0,064
|
0,49
|
|
21. То же, блоки «Геокар»
(ТУ 5768-001-03983434-99)
|
380
|
2,30
|
0,055
|
10
|
20
|
0,063
|
0,072
|
0,19
|
|
22. Пакля
|
150
|
2,30
|
0,05
|
7
|
12
|
0,06
|
0,07
|
0,49
|
|
23. Плиты льнокостричные
изоляционные
|
250
|
2,30
|
0,054
|
7
|
12
|
0,091
|
0,11
|
0,49
|
|
24. Эковата
|
35-40
|
2,30
|
0,032
|
15
|
20
|
0,040
|
0,043
|
0,3
|
|
25. То же
|
50
|
2,30
|
0,035
|
15
|
20
|
0,045
|
0,048
|
0,3
|
|
26. »
|
60
|
2,30
|
0,041
|
15
|
20
|
0,049
|
0,052
|
0,3
|
|
IV. Теплоизоляционные материалы
|
|
А. Минераловатные и стекловолокнистые (λ и w определены по ГОСТ
26254)
|
|
1. Маты минераловатные
прошивные (ГОСТ 1880) и на синтетическом связующем (ГОСТ
9573)
|
125
|
0,84
|
0,056
|
2
|
5
|
0,064
|
0,07
|
0,30
|
|
2. То же
|
75
|
0,84
|
0,052
|
2
|
5
|
0,06
|
0,064
|
0,49
|
|
3. »
|
50
|
0,84
|
0,048
|
2
|
5
|
0,052
|
0,06
|
0,53
|
|
4. Плиты мягкие,
полужесткие и жесткие минераловатные на синтетическом и битумном связующих (ГОСТ
9573, ГОСТ
10140, ГОСТ 12394)
|
350
|
0,84
|
0,091
|
2
|
5
|
0,09
|
0,11
|
0,38
|
|
5. То же
|
300
|
0,84
|
0,084
|
2
|
5
|
0,087
|
0,09
|
0,41
|
|
6. »
|
200
|
0,84
|
0,070
|
2
|
5
|
0,076
|
0,08
|
0,49
|
|
7. »
|
100
|
0,84
|
0,056
|
2
|
5
|
0,06
|
0,07
|
0,56
|
|
8. »
|
50
|
0,84
|
0,048
|
2
|
5
|
0,052
|
0,06
|
0,60
|
|
9. Плиты полужесткие
минераловатные на крахмальном связующем (ТУ 400-1-61-74 Мосгорисполкома)
|
200
|
0,84
|
0,07
|
2
|
5
|
0,076
|
0,08
|
0,38
|
|
10. То же
|
125
|
0,84
|
0,056
|
2
|
5
|
0,06
|
0,064
|
0,38
|
|
11. Плиты из стеклянного
штапельного волокна на синтетическом связующем (ГОСТ
10499)
|
50
|
0,84
|
0,056
|
2
|
5
|
0,06
|
0,064
|
0,60
|
|
12. Маты и полосы из
стеклянного волокна прошивные (ТУ 21-23-72-75)
|
150
|
0,84
|
0,061
|
2
|
5
|
0,064
|
0,07
|
0,53
|
|
Б. Минераловатные и стекловолокнистые (λ определен по ГОСТ
7076)
|
|
Минераловатные изделия «Роквул» и ЗАО «Минеральная
вата» (г. Железнодорожный)
|
|
13. Плита 200
|
200
|
0,84
|
0,045
|
|
5
|
|
0,050
|
0,53
|
|
14. Плита 150
|
150
|
0,84
|
0,042
|
|
5
|
|
0,047
|
0,56
|
|
15. Плита 100
|
100
|
0,84
|
0,040
|
|
5
|
|
0,045
|
0,59
|
|
16. Маты 50
|
50
|
0,84
|
0,042
|
|
5
|
|
0,047
|
0,62
|
|
17. Маты 35
|
35
|
0,84
|
0,043
|
|
5
|
|
0,048
|
0,65
|
|
Изделия из стеклянного штапельного волокна
«Флайдер-Чудово» (г. Чудово)
|
|
18. Маты М-11
|
11
|
0,84
|
0,048
|
|
5
|
|
0,055
|
0,70
|
|
19. Маты М-15
|
15
|
0,84
|
0,046
|
|
5
|
|
0,053
|
0,68
|
|
20. Маты М-17
|
17
|
0,84
|
0,044
|
|
5
|
|
0,053
|
0,66
|
|
21. Маты М-25
|
25
|
0,84
|
0,04
|
|
5
|
|
0,050
|
0,61
|
|
22. Плита П-15
|
15
|
0,84
|
0,046
|
|
5
|
|
0,055
|
0,55
|
|
23. Плита П-17
|
17
|
0,84
|
0,044
|
|
5
|
|
0,053
|
0,54
|
|
24. Плита П-20
|
20
|
0,84
|
0,04
|
|
5
|
|
0,048
|
0,53
|
|
25. Плита П-30
|
30
|
0,84
|
0,04
|
|
5
|
|
0,046
|
0,52
|
|
26. Плита П-35
|
35
|
0,84
|
0,039
|
|
5
|
|
0,046
|
0,52
|
|
27. Плита П-45
|
45
|
0,84
|
0,039
|
|
5
|
|
0,045
|
0,51
|
|
28. Плита П-60
|
60
|
0,84
|
0,038
|
|
5
|
|
0,045
|
0,51
|
|
29. Плита П-75
|
75
|
0,84
|
0,04
|
|
5
|
|
0,047
|
0,50
|
|
30. Плита П-85
|
85
|
0,84
|
0,044
|
|
5
|
|
0,050
|
0,50
|
|
Минераловатные теплоизоляционные плиты ОАО «АКСИ»
(г. Челябинск)
|
|
31. Плита ППЖ-200
повышенной жесткости ТУ 67-16-207-93
|
220
|
0,84
|
0,048
|
2
|
5
|
0,05
|
0,054
|
0,42
|
|
32. Фасадная плита ПФ ТУ
5762-003-08621635-98
|
180
|
0,84
|
0,047
|
2
|
5
|
0,049
|
0,053
|
0,46
|
|
33. Полужесткая плита П-125
ГОСТ
9573-96
|
90
|
0,84
|
0,040
|
2
|
5
|
0,042
|
0,045
|
0,49
|
|
34. Полужесткая плита П-125
гидрофобизированная ГОСТ
9573-96
|
100
|
0,84
|
0,040
|
2
|
5
|
0,042
|
0,045
|
0,46
|
|
Базальтовая изоляция ТЕРМО ОАО «Термостепс-МТЛ» (г.
Самара)
|
|
Плиты мягкие
|
|
35.ТермоЛайт(ПМ-35)
|
40
|
0,84
|
0,038
|
2
|
5
|
0,038
|
0,044
|
0,62
|
|
36. Термо Лайт+ (ПМ-50)
|
55
|
0,84
|
0,038
|
2
|
5
|
0,038
|
0,043
|
0,60
|
|
Плиты полужесткие
|
|
37. Термостена (ПП-60)
|
70
|
0,84
|
0,038
|
2
|
|
0,038
|
0,043
|
0,58
|
|
Плиты жесткие
|
|
38. Термовент (ПЖ-80)
|
90
|
0,84
|
0,037
|
2
|
5
|
0,038
|
0,040
|
0,59
|
|
39. Термокровля Н (ПЖ-100)
|
110
|
0,84
|
0,037
|
2
|
5
|
0,038
|
0,040
|
0,58
|
|
40. Термомонолит (ПЖ-120)
|
130
|
0,84
|
0,037
|
2
|
5
|
0,038
|
0,041
|
0,58
|
|
41.Термопол (ПЖ-140)
|
150
|
0,84
|
0,038
|
2
|
5
|
0,039
|
0,041
|
0,55
|
|
Плиты сверхжесткие
|
|
42. Термофасад (ПСЖ-150 Фасад)
|
Не менее 150
|
0,84
|
0,038
|
2
|
5
|
0,039
|
0,043
|
0,55
|
|
43. Термокровля (ПСЖ-150)
|
160
|
0,84
|
0,038
|
2
|
5
|
0,039
|
0,043
|
0,52
|
|
44. Термокровля В (ПСЖ-175)
|
185
|
0,84
|
0,041
|
2
|
5
|
0,042
|
0,045
|
0,50
|
|
45. Термокровля В+
(ПСЖ-200)
|
210
|
0,84
|
0,042
|
2
|
5
|
0,042
|
0,045
|
0,50
|
|
В. Полимерные (λ и w определены по ГОСТ
26254)
|
|
46. Пенополистирол (ТУ
6-05-11-78)
|
150
|
1,34
|
0,05
|
1
|
5
|
0,052
|
0,06
|
0,05
|
|
47. То же
|
100
|
1,34
|
0,041
|
2
|
10
|
0,041
|
0,052
|
0,05
|
|
48. Пенополистирол (ГОСТ
15588-70*)
|
40
|
1,34
|
0,038
|
2
|
10
|
0,041
|
0,05
|
0,05
|
|
49. Пенопласт ПХВ-1 (ТУ
6-05-13-79) и ПВ-1 (ТУ 6-05-1158-78)
|
125
|
1,26
|
0,052
|
2
|
10
|
0,06
|
0,064
|
0,23
|
|
50. То же
|
10
|
1,26
|
0,041
|
2
|
10
|
0,05
|
0,052
|
0,23
|
|
51. Плиты из
резольнофенолформальдегидного пенопласта (ГОСТ
20916)
|
10
|
1,68
|
0,047
|
5
|
20
|
0,052
|
0,076
|
0,15
|
|
52. То же
|
75
|
1,68
|
0,043
|
5
|
20
|
0,05
|
0,07
|
0,23
|
|
53. »
|
50
|
1,68
|
0,041
|
5
|
20
|
0,05
|
0,064
|
0,23
|
|
54. »
|
40
|
1,68
|
0,038
|
5
|
20
|
0,041
|
0,06
|
0,23
|
|
55. Перлитопластбетон (ТУ
480-1-145-74)
|
200
|
1,05
|
0,041
|
2
|
3
|
0,052
|
0,06
|
0,008
|
|
56. То же
|
100
|
1,05
|
0,035
|
2
|
3
|
0,041
|
0,05
|
0,008
|
|
57. Перлитофосфогелевые
изделия (ГОСТ 21500)
|
300
|
1,05
|
0,076
|
3
|
12
|
0,08
|
0,12
|
0,20
|
|
58. То же
|
200
|
1,05
|
0,064
|
3
|
12
|
0,07
|
0,09
|
0,23
|
|
Г. Полимерные (λ определен по ГОСТ
7076)
|
|
59. Экспедированный
пенополистирол фирмы БАСФ (ТУ 2244-001-47547616-00) Стиродур 2500С
|
25
|
1,34
|
0,029
|
2
|
10
|
0,031
|
0,031
|
0,013
|
|
60. То же, 2800С
|
28
|
1,34
|
0,029
|
2
|
10
|
0,031
|
0,031
|
0,013
|
|
61. » 3035С
|
33
|
1,34
|
0,029
|
2
|
10
|
0,031
|
0,031
|
0,013
|
|
62. » 4000С
|
35
|
1,34
|
0,030
|
2
|
10
|
0,031
|
0,031
|
0,005
|
|
63. » 5000С
|
45
|
1,34
|
0,030
|
2
|
10
|
0,031
|
0,031
|
0,005
|
|
64. Пенополистирол фирмы
БАСФ Стиропор PS15
|
15
|
1,34
|
0,039
|
2
|
10
|
0,040
|
0,044
|
0,035
|
|
65. То же, PS20
|
20
|
1,34
|
0,037
|
2
|
10
|
0,038
|
0,042
|
0,030
|
|
66. » PS30
|
30
|
1,34
|
0,035
|
2
|
10
|
0,036
|
0,040
|
0,030
|
|
67. Теплоизоляционные изделия
из вспененного синтетического каучука «Аэрофлекс»
|
80
|
1,806
|
0,034
|
5
|
15
|
0,04
|
0,054
|
0,003
|
|
Теплоизоляционные изделия
из вспененного синтетического каучука «Кайманфлекс»:
|
|
|
|
|
|
|
|
|
|
68. ЕС
|
60-80
|
1,806
|
0,039
|
0
|
0
|
0,039
|
0,039
|
0,010
|
|
69. ST
|
60-80
|
1,806
|
0,039
|
0
|
0
|
0,039
|
0,039
|
0,009
|
|
70. ЕСО
|
60-95
|
1,806
|
0,041
|
0
|
0
|
0,041
|
0,041
|
0,010
|
|
Экструзионный
пенополистирол «Пеноплекс» (ТУ 5767-001-56925804-2003):
|
|
|
|
|
|
|
|
|
|
71. ПО «Пеноплекс» (г.
Кириши Ленинградской обл.), тип 35
|
35
|
1,65
|
0,028
|
2
|
3
|
0,029
|
0,030
|
0,018
|
|
72. То же, тип 45
|
43
|
1,53
|
0,030
|
2
|
3
|
0,031
|
0,032
|
0,016
|
|
Пенополистирол «Радослав»
(г. Пере-славль-Залесский):
|
|
|
|
|
|
|
|
|
|
73. Плита 18
|
18
|
1,34
|
0,042
|
5
|
10
|
0,042
|
0,043
|
0,02
|
|
74. Плита 24
|
24
|
1,34
|
0,040
|
5
|
10
|
0,040
|
0,041
|
0,02
|
|
Теплотехнические показатели напыляемых пенополиуретанов
и меттэмпластов, компания «РИТМ» (г. Самара) (λ и w определены по ГОСТ
26254)
|
|
А. При использовании в качестве среднего теплоизоляционного
слоя и с внутренней стороны
|
|
75. Пенополиуретан Изолан
101(2)* ТУ . 2254-211-10480596-03
|
45-70
|
1,61
|
0,027
|
2
|
5
|
0,027
|
0,027
|
0,017
|
|
76. Пенополиуретан Изолан
101(3) ТУ 2254-211-10480596-03
|
45-70
|
1,61
|
0,028
|
2
|
5
|
0,028
|
0,028
|
0,015
|
|
77. Пенополиуретан Изолан
105(2) ТУ 2254-228-10480596-97
|
40-70
|
1,061
|
0,025
|
2
|
5
|
0,025
|
0,025
|
0,018
|
|
78. Пенополиуретан Изолан
105(3) ТУ 2254-228-10480596-97
|
40-70
|
1,61
|
0,027
|
2
|
5
|
0,027
|
0,027
|
0,014
|
|
79. Пенополиуретан Изолан
123(2) ТУ 2254-214-10480596-97
|
50-75
|
1,61
|
0,028
|
2
|
5
|
0,028
|
0,028
|
0,018
|
|
80. Пенополиуретан Изолан
123(3) ТУ 2254-214-10480596-97
|
50-75
|
1,61
|
0,028
|
2
|
5
|
0,028
|
0,028
|
0,016
|
|
81. Пенополиуретан Изолан
210-1 ТУ 2254-234-10480596-03
|
50-65
|
1,61
|
0,025
|
2
|
5
|
0,025
|
0,025
|
0,043
|
|
82. Пенопласт жесткий
ЦУСПОР-5162(2) ТУ 2254-030-10493601-95
|
50-70
|
1,61
|
0,028
|
2
|
5
|
0,028
|
0,028
|
0,019
|
|
83. Пенопласт жесткий
ЦУСПОР-5162(зал) ТУ 2254-030-10493601-95
|
40-50
|
1,61
|
0,025
|
2
|
5
|
0,025
|
0,025
|
0,048
|
|
84. Система полиуретановая
Корунд 117(3) ТУ 2254-006-02748978-2004
|
40-70
|
1,61
|
0,027
|
2
|
5
|
0,027
|
0,027
|
0,014
|
|
85. Пенопласт ППУ Н-10 (2)
ТУ 2254-294-05763441-2000
|
40-80
|
1,61
|
0,025
|
2
|
5
|
0,025
|
0,025
|
0,02
|
|
86.
Пенополиурстанизоцианурат Изолан 14 М (2) ТУ 2254-021-21070677-2004
|
35-65
|
1,61
|
0,026
|
2
|
5
|
0,026
|
0,026
|
0,017
|
|
87. Пенополиуретан Изолан
18 М (3) ТУ 2254-024-21070677-2004
|
40-65
|
1,61
|
0,027
|
2
|
5
|
0,027
|
0,027
|
0,014
|
|
88. Карбамидный пенопласт
Мэттэмпласт (бывший пеноизол) ТУ 2254-001-33000727-2000
|
15-20
|
1,42
|
0,030
|
2
|
5
|
0,030
|
0,030
|
0,24
|
|
Б. При использовании для наружной теплоизоляции стен и
покрытий
|
|
89. Пенополиуретан Изолан
101(2)* ТУ 2254-211-10480596-03
|
45-70
|
1,61
|
0,027
|
2
|
5
|
0,028
|
0,028
|
0,0175
|
|
90. Пенополиуретан Изолан
101(3) ТУ 2254-211-10480596-03
|
45-70
|
1,61
|
0,028
|
2
|
5
|
0,029
|
0,029
|
0,0147
|
|
91. Пенополиуретан Изолан
105(2) ТУ 2254-228-10480596-03
|
40-70
|
1,61
|
0,025
|
2
|
5
|
0,027
|
0,027
|
0,0177
|
|
92. Пенополиуретан Изолан
105(3) ТУ 2254-228-10480596-97
|
40-70
|
1,61
|
0,027
|
2
|
5
|
0,028
|
0,028
|
0,0138
|
|
93. Пенополиуретан Изолан
123(2) ТУ 2254-214-10480596-97
|
50-75
|
1,61
|
0,028
|
2
|
5
|
0,029
|
0,029
|
0,0177
|
|
94. Пенополиуретан Изолан
123(3) ТУ 2254-214-10480596-97
|
50-75
|
1,61
|
0,028
|
2
|
5
|
0,030
|
0,030
|
0,0155
|
|
95. Пенополиуретан Изолан
210-1 ТУ 2254-234-10480596-03
|
50-65
|
1,61
|
0,025
|
2
|
5
|
0,027
|
0,027
|
0,0427
|
|
96. Пенопласт жесткий
ЦУСПОР-5162(2) ТУ 2254-030-10493601-95
|
50-70
|
1,61
|
0,028
|
2
|
5
|
0,029
|
0,029
|
0,0190
|
|
97. Пенопласт жесткий
ЦУСПОР-5162(зал) ТУ 2254-030-10493601-95
|
40-50
|
1,61
|
0,025
|
2
|
5
|
0,026
|
0,026
|
0,0480
|
|
98. Система полиуретановая
Корунд 117(3) ТУ 2254-006-02748978-2004
|
40-70
|
1,61
|
0,027
|
2
|
5
|
0,028
|
0,028
|
0,0142
|
|
99. Пенопласт ППУ Н-10(2)
ТУ 2254-294-05763441-2000
|
40-80
|
1,61
|
0,025
|
2
|
5
|
0,027
|
0,027
|
0,020
|
|
100.
Пенополиуретанизоцианурат Изолан 14 М (2) ТУ 2254-021-21070677-2004
|
35-65
|
1,61
|
0,026
|
2
|
5
|
0,028
|
0,028
|
0,0171
|
|
101. Пенополиуретан Изолан
18 М (3) ТУ 2254-024-21070677-2004
|
40-65
|
1,61
|
0,027
|
2
|
5
|
0,028
|
0,028
|
0,0143
|
|
102. Карбамидный пенопласт
«Метгэм-пласт» (бывший пеноизол) ТУ 2254-001-33000727-2000
|
15-20
|
1,42
|
0,030
|
2
|
5
|
0,031
|
0,031
|
0,237
|
|
103. Пенополиуретановое
покрытие ИЗОКОР 105 МГ (6) ТУ 2254-235-10480596-04
|
Не менее 150
|
1,61
|
0,035
|
2
|
5
|
0,036
|
0,036
|
0,011
|
|
* В скобках для всех
материалов указано число пароизоляционных слоев.
|
|
V. Теплоизоляционные засыпки, пеностекло
|
|
1. Гравий керамзитовый
(ГОСТ 9759)
|
800
|
0,84
|
0,18
|
2
|
3
|
0,21
|
0,23
|
0,21
|
|
2. То же
|
600
|
0,84
|
0,14
|
2
|
3
|
0,17
|
0,20
|
0,23
|
|
3. »
|
400
|
0,84
|
0,12
|
2
|
3
|
0,13
|
0,14
|
0,24
|
|
4. »
|
300
|
0,84
|
0,108
|
2
|
3
|
0,12
|
0,13
|
0,25
|
|
5. »
|
200
|
0,84
|
0,099
|
2
|
3
|
0,11
|
0,12
|
0,26
|
|
6. Гравий шунгизитовый
(ГОСТ 19345)
|
800
|
0,84
|
0,16
|
2
|
4
|
0,20
|
0,23
|
0,21
|
|
7. Тоже
|
600
|
0,84
|
0,13
|
2
|
4
|
0,16
|
0,20
|
0,22
|
|
8. »
|
400
|
0,84
|
0,11
|
2
|
4
|
0,13
|
0,14
|
0,23
|
|
9. Щебень из доменного
шлака (ГОСТ
5578), шлаковой пемзы (ГОСТ 9760) и аглопорита (ГОСТ 11991)
|
800
|
0,84
|
0,18
|
2
|
3
|
0,21
|
0,26
|
0,21
|
|
10. То же
|
600
|
0,84
|
0,15
|
2
|
3
|
0,18
|
0,21
|
0,23
|
|
11. »
|
400
|
0,84
|
1,122
|
2
|
3
|
0,14
|
0,16
|
0,24
|
|
12. Щебень и песок из
перлита вспученного (ГОСТ 10832)
|
600
|
0,84
|
0,11
|
1
|
2
|
0,111
|
0,12
|
0,26
|
|
13. То же
|
400
|
0,84
|
0,076
|
1
|
2
|
0,087
|
0,09
|
0,30
|
|
14. »
|
200
|
0,84
|
0,064
|
1
|
2
|
0,076
|
0,08
|
0,34
|
|
15. Вермикулит вспученный (ГОСТ 12865)
|
200
|
0,84
|
0,076
|
1
|
3
|
0,09
|
0,11
|
0,23
|
|
16. То же
|
100
|
0,84
|
0,064
|
1
|
3
|
0,076
|
0,08
|
0,30
|
|
17. Пеностекло или
газостекло (ТУ 21-БССР-86-73)
|
400
|
0,84
|
0,11
|
1
|
2
|
0,12
|
0,14
|
0,02
|
|
18. То же
|
300
|
0,84
|
0,09
|
1
|
2
|
0,11
|
0,12
|
0,02
|
|
19. »
|
200
|
0,84
|
0,07
|
1
|
2
|
0,08
|
0,09
|
0,03
|
|
VI. Материалы кровельные, гидроизоляционные,
облицовочные и рулонные покрытия для полов
|
|
А. Асбестоцементные
|
|
1. Листы асбестоцементные
плоские (ГОСТ
18124)
|
1800
|
0,84
|
0,35
|
2
|
3
|
0,47
|
0,52
|
0,03
|
|
2. Тоже
|
1600
|
0,84
|
0,23
|
2
|
3
|
0,35
|
0,41
|
0,03
|
|
Б. Битумные
|
|
3. Битумы нефтяные
строительные и кровельные (ГОСТ 6617, ГОСТ
9548)
|
1400
|
1,68
|
0,27
|
0
|
0
|
0,27
|
0,27
|
0,008
|
|
4. То же
|
1200
|
1,68
|
0,22
|
0
|
0
|
0,22
|
0,22
|
0,008
|
|
5. »
|
1000
|
1,68
|
0,17
|
0
|
0
|
0,17
|
0,17
|
0,008
|
|
6. Асфальтобетон (ГОСТ
9128)
|
2100
|
1,08
|
1,05
|
0
|
0
|
1,05
|
1,05
|
0,008
|
|
7. Изделия из вспученного
перлита на битумном связующем (ГОСТ
16136)
|
400
|
1,26
|
0,111
|
1
|
2
|
0,12
|
0,13
|
0,04
|
|
8. То же
|
300
|
1,12
|
0,087
|
1
|
2
|
0,09
|
0,099
|
0,04
|
|
9. Рубероид (ГОСТ 10923),
пергамин (ГОСТ
2697), толь (ГОСТ 10999)
|
600
|
1,68
|
0,17
|
0
|
0
|
0,17
|
0,17
|
См. табл. 23
|
|
В. Линолеумы
|
|
10. Линолеум
поливинилхлоридный многослойный (ГОСТ
14632) S а,б = 8,56
|
1800
|
1,47
|
0,38
|
0
|
0
|
0,38
|
0,38
|
0,002
|
|
11. То же, S a,6 = 7,52
|
1600
|
1,47
|
0,33
|
0
|
0
|
0,33
|
0,33
|
0,002
|
|
12. Линолеум
поливинилхлоридный на тканевой подоснове (ГОСТ
7251) S а,б = 8,22
|
1800
|
1,47
|
0,35
|
0
|
0
|
0,35
|
0,35
|
0,002
|
|
13. То же, Sa,6 = 7,05
|
1600
|
1,47
|
0,29
|
0
|
0
|
0,29
|
0,29
|
0,002
|
|
14. » S a,6 = 5,87
|
1400
|
1,47
|
0,23
|
0
|
0
|
0,23
|
0,23
|
0,002
|
|
VII. Металлы, стекло, песок
|
|
1. Сталь стержневая арматурная
(ГОСТ
10884)
|
7850
|
0,482
|
58
|
0
|
0
|
58
|
58
|
0
|
|
2. Чугун
|
7200
|
0,482
|
50
|
0
|
0
|
50
|
50
|
0
|
|
3. Алюминий (ГОСТ 22233)
|
2600
|
0,84
|
221
|
0
|
0
|
221
|
221
|
0
|
|
4. Медь (ГОСТ 859)
|
8500
|
0,42
|
407
|
0
|
0
|
407
|
407
|
0
|
|
5. Стекло оконное (ГОСТ 111)
|
2500
|
0,84
|
0,76
|
0
|
0
|
0,76
|
0,76
|
0
|
|
6. Песок для строительных
работ (ГОСТ 8736)
|
1600
|
0,84
|
0,35
|
1
|
2
|
0,47
|
0,58
|
0,17
|
|
Примечания:
1.
Промежуточные значения расчетных теплотехнических показателей следует
определять интерполяцией.
2.
Значения коэффициентов теплопроводности теплоизоляционных материалов,
определенных по ГОСТ
7076 (например, минераловатные, пенополистирольные плиты), при расчете
сопротивления теплопередаче наружных ограждающих конструкций следует
увеличивать в невентилируемых конструкциях на 30 %; в вентилируемых
конструкциях на 20 %.
3.
Расчетные значения коэффициентов теплопроводности кладок из керамического
кирпича и камня со сквозными пустотами соответствуют конструкциям стен,
выполненным по технологии, исключающей заполнение пустот раствором.
Коэффициенты теплопроводности кладок из пустотелого кирпича плотностью до 1200
кг/м3, изготовленных без выполнения мероприятий, исключающих
заполнение пустот раствором плотностью 1800 кг/м3, следует
принимать соответствующими увеличенной плотности кладки на 100 кг/м3.
4. Фактическое значение коэффициента
теплопроводности кирпичных кладок стен определяется по ГОСТ
26254.
|
Керамические
стеновые материалы ЗАО «Победа ЛСР» (г. С.-Петербург)
а) Завод «Победа»
|



|
Кирпич керамический пустотелый одинарный, ГОСТ
530, ГОСТ 7484
|
|
Размер, мм
|
250x120x65
|
|
Средняя плотность, кг/м3
|
1200
|
|
Масса, кг
|
2,3
|
|
Марка по прочности
|
М125
|
|
Марка по морозостойкости
|
F50
|
|
Водопоглощение, %
|
9
|
|
Пустотность, %
|
42
|
|
Коэфф. теплопроводности в
кладке, Вт/(м·°С)
|
λб = 0,42
|
|
Коэфф. паропроницаемости,
мг/(м·ч·Па)
|
μ = 0,14
|
|
Камень керамический пустотелый поризованный 2NF, ГОСТ 530
|
|
Размер, мм
|
250x120x138
|
|
Средняя плотность, кг/м3
|
1000
|
|
Масса, кг
|
4,3
|
|
Марка по прочности
|
М175
|
|
Марка по морозостойкости
|
F50
|
|
Водопоглощение, %
|
9
|
|
Пустотность, %
|
51
|
|
Коэфф. теплопроводности в
кладке, Вт/(м·°С)
|
λб = 0,22
|
|
Коэфф. паропроницаемости,
мг/(м·ч·Па)
|
μ = 0,14
|
|
Камень керамический пустотелый поризованный 2NF, ГОСТ 530
|
|
Размер, мм
|
250x120x138
|
|
Средняя плотность, кг/м3
|
900
|
|
Масса, кг
|
3,8
|
|
Марка по прочности
|
М150
|
|
Марка по морозостойкости
|
F50
|
|
Водопоглощение, %
|
11
|
|
Пустотность, %
|
51
|
|
Коэфф. теплопроводности в
кладке, Вт/(м·°С)
|
λб = 0,17
|
|
Коэфф. паропроницаемости,
мг/(м·ч·Па)
|
μ = 0,14
|
|
Камень керамический пустотелый поризованный 4,5NF, ГОСТ 530
|
|
Размер, мм
|
250x250x138
|
|
Средняя плотность, кг/м3
|
780
|
|
Масса, кг
|
6,9
|
|
Марка по прочности
|
М100, М150
|
|
Марка по морозостойкости
|
F50
|
|
Водопоглощение, %
|
10
|
|
Пустотность, %
|
54
|
|
Коэфф. теплопроводности в
кладке, Вт/(м·°С)
|
λб = 0,21
|
|
Коэфф. паропроницаемости,
мг/(м·ч·Па)
|
μ = 0,14
|
|



|
Камень керамический пустотелый крупноформатный
поризованный 15NF; ТУ 5741-026-03984362-2003
|
|
Размер, мм
|
510x253x219
|
|
Средняя плотность, кг/м3
|
800
|
|
Масса, кг
|
23
|
|
Марка по прочности
|
М75, М100
|
|
Марка по морозостойкости
|
F50
|
|
Водопоглощение, %
|
11
|
|
Пустотность, %
|
54
|
|
Коэфф. теплопроводности в
кладке, Вт/(м·°С)
|
λб = 0,18
|
|
Коэфф. паропроницаемости,
мг/(м·ч·Па)
|
μ = 0,12
|
|
Камень керамический пустотелый крупноформатный
поризованный 11,3NF; ТУ
5741-026-03984362-2003
|
|
Размер, мм
|
390x253x219
|
|
Средняя плотность, кг/м3
|
800
|
|
Масса, кг
|
17,7
|
|
Марка по прочности
|
М75, М100
|
|
Марка по морозостойкости
|
F50
|
|
Водопоглощение, %
|
11
|
|
Пустотность, %
|
52
|
|
Коэфф. теплопроводности в
кладке, Вт/(м·°С)
|
λб = 0,18
|
|
Коэфф. паропроницаемости,
мг/(м·ч·Па)
|
μ = 0,12
|
|
Камень керамический пустотелый крупноформатный
поризованный 10,8NF; ТУ
5741-026-03984362-2003
|
|
Размер, мм
|
380x253x219
|
|
Средняя плотность, кг/м3
|
800
|
|
Масса, кг
|
17
|
|
Марка по прочности
|
М75, М100
|
|
Марка по морозостойкости
|
F50
|
|
Водопоглощение, %
|
11
|
|
Пустотность, %
|
52
|
|
Коэфф. теплопроводности в
кладке, Вт/(м·°С)
|
λб = 0,18
|
|
Коэфф. паропроницаемости,
мг/(м·ч·Па)
|
μ = 0,12
|
|
Камень керамический пустотелый крупноформатный
поризованный 10,8NF; ТУ
5741-026-03984362-2003
|
|
Размер, мм
|
380x253x219
|
|
Средняя плотность, кг/м3
|
650-670
|
|
Масса, кг
|
14
|
|
Марка по прочности
|
М75, М100
|
|
Марка по морозостойкости
|
F35, F50
|
|
Водопоглощение, %
|
17
|
|
Пустотность, %
|
55
|
|
Коэфф. теплопроводности в
кладке, Вт/(м·°С)
|
λб =
0,154
|
|
Коэфф. паропроницаемости,
мг/(м·ч·Па)
|
μ = 0,12
|
а) Завод «Керамика»
|

|
Кирпич керамический пустотелый одинарный лицевой
красный и двухслойный (белый, цветной), ГОСТ
7484
|
|
Размер, мм
|
250x120x65
|
|
Средняя плотность, кг/м3
|
1100-1150
|
|
Марка по прочности
|
М125-М175
|
|
Марка по морозостойкости
|
F35-F75
|
|
Водопоглощение, %
|
9-11
|
|
Пустотность, %
|
43-45
|
|
Коэфф. теплопроводности в
кладке, Вт/(м·°С)
|
λо =
0,25-0,26;
λб = 0,31-0,34
|
|
Коэфф. паропроницаемости,
мг/(м·ч·Па)
|
μ = 0,14
|
|

|
Камень керамический пустотелый поризованный 2NF, ГОСТ 530
|
|
Размер, мм
|
250x120x138
|
|
Средняя плотность, кг/м3
|
960
|
|
Марка по прочности
|
Ml25-Ml75
|
|
Марка по морозостойкости
|
F35-F50
|
|
Водопоглощение, %
|
11
|
|
Пустотность, %
|
45-46
|
|
Коэфф. теплопроводности в
кладке, Вт/(м·°С)
|
λо =
0,18-0,19;
λб = 0,21-0,26
|
|
Коэфф. паропроницаемости,
мг/(м·ч·Па)
|
μ = 0,14
|
в) Завод «Ленстройкерамика»
|


|
Кирпич керамический полнотелый одинарный, ГОСТ
530
|
|
Размер, мм
|
250x120x65
|
|
Средняя плотность, кг/м3
|
2100
|
|
Марка по прочности
|
Ml50-М300
|
|
Марка по морозостойкости
|
F75-F100
|
|
Водопоглощение, %
|
8,5
|
|
Пустотность, %
|
0
|
|
Коэфф. теплопроводности в
кладке, Вт/(м·°С)
|
λо =
0,72;
λб = 0,98 (w= 1,4%)
|
|
Коэфф. паропроницаемости,
мг/(м·ч·Па)
|
μ = 0,09
|
|
Кирпич керамический пустотелый одинарный, ГОСТ
530
|
|
Размер, мм
|
250x120x65
|
|
Средняя плотность, кг/м3
|
1700
|
|
Марка по прочности
|
М175-М250
|
|
Марка по морозостойкости
|
F35-F50
|
|
Водопоглощение, %
|
8,5
|
|
Пустотность, %
|
22
|
|
Коэфф. теплопроводности в
кладке, Вт/(м·°С)
|
λо =
0,53;
λб = 0,78 (w= 1,4%)
|
|
Коэфф. паропроницаемости,
мг/(м·ч·Па)
|
μ = 0,10
|
|
Кирпич керамический пустотелый одинарный лицевой, ГОСТ
530, ГОСТ 7484
|
|
Средняя плотность, кг/м3
|
1400
|
|
Марка по прочности
|
М125-М200
|
|
Марка по морозостойкости
|
F35-F50
|
|
Водопоглощение, %
|
6-7
|
|
Пустотность, %
|
35
|
|
Коэфф. теплопроводности в
кладке на легком растворе, Вт/(м·°С)
|
λо = 0,26-0,28;
λб = 0,36-0,41 (w=l,4%)
|
|
Коэфф. паропроницаемости,
мг/(м·ч·Па)
|
μ = 0,14
|
|
|
Кирпич керамический пустотелый одинарный лицевой, ГОСТ
530
|
|
Пустотность кирпича, %
|
Размеры, мм
|
|
Средняя плотность, кг/м3
|
1120-1190
|
|
А
|
В
|
С
|
Д
|
Е
|
Н
|
G
|
|
Марка по прочности
|
М125-М200
|
|
27
|
15
|
26,0
|
15,0
|
49,0
|
15,0
|
12,0
|
14,2
|
|
Марка по морозостойкости
|
F35-F50
|
|
30
|
14
|
27,5
|
14,0
|
50,5
|
1,0
|
13,0
|
13,3
|
|
Водопоглощение, %
|
9
|
|
35
|
12,3
|
30,0
|
12,3
|
53,0
|
12,3
|
14,0
|
12,4
|
|
Пустотность, %
|
40
|
|
40
|
12,0
|
32,5
|
8,0
|
55,0
|
12,0
|
15,0
|
12,0
|
|
Коэфф. теплопроводности в
кладке на легком растворе, Вт/(м·°С)
|
λо =
0,24;
λб = 0,3 (w =
1,4 %)
|
|
|
Коэфф. паропроницаемости,
мг/(м·ч·Па)
|
μ = 0,14
|
Керамические стеновые материалы ОАО «Голицынский керамический
завод» (Московская обл.. г. Одинцово)
|

|
Кирпич керамический полнотелый одинарный, ГОСТ
530
|
|
Размер, мм
|
250x120x65
|
|
Средняя плотность, кг/м3
|
1650
|
|
Марка по прочности
|
М125, М150
|
|
Марка по морозостойкости
|
F50
|
|
Водопоглощение, %
|
10
|
|
Пустотность, %
|
8-10
|
|
Коэфф. теплопроводности в
кладке, Вт/(м·°С)
|
λо =
0,47; λа = 0,64; λб = 0,73
|
|
Коэфф. паропроницаемости,
мг/(м·ч·Па)
|
μ = 0,11
|
|

|
Камень керамический пустотелый, ГОСТ 530
|
|
Средняя плотность, кг/м3
|
1200
|
|
Марка по прочности
|
М150
|
|
Марка по морозостойкости
|
F50
|
|
Водопоглощение, %
|
-
|
|
Пустотность, %
|
38-40
|
|
Коэфф. теплопроводности в
кладке, Вт/(м·°С)
|
λо =
0,37; λа = 0,46; λб = 0,55
|
|
Коэфф. паропроницаемости,
мг/(м·ч·Па)
|
μ = 0,14
|
|

|
Камень керамический пустотелый поризованный, ГОСТ
530
|
|
Размер, мм
|
250x120x138
|
|
Средняя плотность, кг/м3
|
900-950
|
|
Марка по прочности
|
М100, М125
|
|
Марка по морозостойкости
|
F50
|
|
Водопоглощение, %
|
15
|
|
Пустотность, %
|
42-45
|
|
Коэфф. теплопроводности в
кладке, Вт/(м·°С)
|
λо =
0,20; λа = 0,31; λб = 0,40
|
|
Коэфф. паропроницаемости,
мг/(м·ч·Па)
|
μ = 0,14
|
|

|
Кирпич керамический пустотелый одинарный лицевой, ГОСТ 7484,
ГОСТ
530
|
|
Размер, мм
|
250x120x65
|
|
Средняя плотность, кг/м3
|
1150
|
|
Марка по прочности
|
Ml25, Ml50
|
|
Марка по морозостойкости
|
F50
|
|
Водопоглощение, %
|
-
|
|
Пустотность, %
|
38-40
|
|
Коэфф. теплопроводности в
кладке, Вт/(м·°С)
|
λо =
0,38; λа = 0,45; λб = 0,53
|
|
Коэфф. паропроницаемости,
мг/(м·ч·Па)
|
μ = 0,14
|
|

|
Камень керамический пустотелый утолщенный лицевой, ГОСТ 7484,
ГОСТ
530
|
|
Размер, мм
|
250x120x88
|
|
Средняя плотность, кг/м3
|
1150
|
|
Марка по прочности
|
М150
|
|
Марка по морозостойкости
|
F50
|
|
Водопоглощение, %
|
-
|
|
Пустотность, %
|
38-40
|
|
Коэфф. теплопроводности в
кладке, Вт/(м·°С)
|
λо =
0,38, λа = 0,44, λб = 0,52
|
|
Коэфф. паропроницаемости,
мг/(м·ч·Па)
|
μ = 0,14
|
|

|
Кирпич
керамический пустотелый «Ретро»
|
|
Размер, мм
|
250x120x65
|
|
Средняя плотность, кг/м3
|
1450
|
|
Марка по прочности
|
М150
|
|
Марка по морозостойкости
|
F50
|
|
Водопоглощение, %
|
11,5
|
|
Пустотность, %
|
20-22
|
|
Коэфф. теплопроводности в
кладке, Вт/(м·°С)
|
λо =
0,40;
λа = 0,53; λб = 0,61
|
|
Коэфф. паропроницаемости,
мг/(м·ч·Па)
|
μ = 0,13
|
|

|
Изделие
керамическое пустотелое
|
|
Размер, мм
|
250x60x65
|
|
Средняя плотность, кг/м3
|
1350
|
|
Марка по прочности
|
М125; М150
|
|
Марка по морозостойкости
|
F50
|
|
Водопоглощение, %
|
11
|
|
Пустотность, %
|
30-32
|
|
Коэфф. теплопроводности в
кладке, Вт/(м·°С)
|
λо =
0,43; λа = 0,55; λб = 0,63
|
|
Коэфф. паропроницаемости. ,
мг/(м·ч·Па)
|
μ = 0,13
|
Керамические стеновые материалы ЗАО «Норский керамический завод»
(г. Ярославль)
|

|
Кирпич керамический полнотелый одинарный, ГОСТ
530
|
|
Размер, мм
|
250x120x65
|
|
Марка по прочности
|
М100- М125
|
|
Марка по морозостойкости
|
F50
|
|
Водопоглощение, %
|
18±1
|
|
Пустотность, %
|
0
|
|
Коэфф. теплопроводности
фрагмента кладки, Вт/(м·°С)
|
λ = 0,48
|
|
Коэфф. паропроницаемости,
мг/(м·ч·Па)
|
μ = 0,12
|
|

|
Кирпич керамический одинарный с технологическими
пустотами, ГОСТ 530
|
|
Размер, мм
|
250x120x65
|
|
Марка по прочности
|
М200, М250, М300
|
|
Марка по морозостойкости
|
F50
|
|
Водопоглощение, %
|
13±1
|
|
Пустотность, %
|
7±1
|
|
Коэфф. теплопроводности
фрагмента кладки, Вт/(м·°С)
|
λ = 0,52
|
|
Коэфф. паропроницаемости,
мг/(м·ч·Па)
|
μ = 0,11
|
|

|
Кирпич керамический одинарный с технологическими
пустотами с рифлеными гранями, ГОСТ 7484
|
|
Размер, мм
|
250x120x65
|
|
Марка по прочности
|
М200, М250
|
|
Марка по морозостойкости
|
F50
|
|
Водопоглощение, %
|
13±1
|
|
Пустотность, %
|
7±1
|
|
Коэфф. теплопроводности
фрагмента кладки, Вт/(м·°С)
|
λ = 0,52
|
|
Коэфф. паропроницаемости,
мг/(м·ч·Па)
|
μ = 0,11
|
|

|
Кирпич керамический пустотелый одинарный лицевой, ГОСТ 7484,
ГОСТ
530
Цвет: «абрикос», «слоновая кость»
|
|
Размер, мм
|
250x120x65
|
|
Марка по прочности
|
М100, М125, М150
|
|
Марка по морозостойкости
|
F50
|
|
Водопоглощение, %
|
13±1;18±1
|
|
Пустотность, %
|
38±2
|
|
Коэфф. теплопроводности
фрагмента кладки, Вт/(м·°С)
|
λ = 0,38
|
|
Коэфф. паропроницаемости,
мг/(м·ч·Па)
|
μ = 0,14
|
|

|
Кирпич керамический пустотелый одинарный лицевой, ГОСТ 7484,
ГОСТ
530
Цвет: «абрикос», «слоновая кость»
|
|
Размер, мм
|
250x120x65
|
|
Марка по прочности
|
Ml25, Ml50
|
|
Марка по морозостойкости
|
F75
|
|
Водопоглощение, %
|
11 ± 1; 18± 1
|
|
Пустотность, %
|
27-40
|
|
Коэфф. теплопроводности
фрагмента кладки, Вт/(м·°С)
|
λ = 0,34
|
|
Коэфф. паропроницаемости,
мг/(м·ч·Па)
|
μ = 0,14
|
|

|
Кирпич керамический пустотелый утолщенный лицевой, ГОСТ 7484,
ГОСТ
530
Цвет: «абрикос», «слоновая кость»
|
|
Размер, мм
|
250x120x88
|
|
Марка по прочности
|
М125, М150
|
|
Марка по морозостойкости
|
F50, F75
|
|
Водопоглощение, %
|
18±1
|
|
Пустотность, %
|
38±2
|
|
Коэфф. теплопроводности
фрагмента кладки, Вт/(м·°С)
|
λ = 0,38; λ = 0,39
|
|
Коэфф. паропроницаемости,
мг/(м·ч·Па)
|
μ = 0,14
|
|

|
Кирпич керамический пустотелый утолщенный
поризованный, ГОСТ 530
|
|
Размер, мм
|
250x120x88
|
|
Марка по прочности
|
Ml00, Ml25
|
|
Марка по морозостойкости
|
F50
|
|
Водопоглощение, %
|
17±1
|
|
Пустотность, %
|
8±2
|
|
Коэфф. теплопроводности
фрагмента кладки, Вт/(м·°С)
|
λ = 0,26
|
|
Коэфф. паропроницаемости,
мг/(м·ч·Па)
|
μ = 0,14
|
|

|
Камень керамический пустотелый поризованный
|
|
Размер, мм
|
250x120x138
|
|
Марка по прочности
|
Ml25, Ml50
|
|
Марка по морозостойкости
|
F50
|
|
Водопоглощение, %
|
17+1
|
|
Пустотность, %
|
38±2
|
|
Коэфф. теплопроводности
фрагмента кладки, Вт/(м·°С)
|
λ = 0,20
|
|
Коэфф. паропроницаемости,
мг/(м·ч·Па)
|
μ = 0,14
|
Керамические стеновые материалы ОАО «Альтаир» (г. Ижевск)
|
Кирпич керамический полнотелый, ГОСТ 530
|
|
Кирпич керамический полнотелый лицевой, ГОСТ 7484
|
|
Размер, мм
|
250x120x65
|
|
Размер, мм
|
250x120x65
|
|
Средняя плотность, кг/м3
|
1890
|
|
Средняя плотность, кг/м3
|
1950
|
|
Марка по прочности
|
М150
|
|
Марка по прочности
|
М175-М200
|
|
Марка по морозостойкости
|
F35
|
|
Марка по морозостойкости
|
F35-F50
|
|
Водопоглощение, %
|
>8
|
|
Водопоглощение, %
|
>8
|
|
Пустотность, %
|
0
|
|
Пустотность, %
|
0
|
|
Коэфф. теплопроводности в кладке,
Вт/(м·°С)
|
λо =
0,62; λа = 0,66; λб = 0,70
|
|
Коэфф. теплопроводности в
кладке, Вт/(м·°С)
|
λо =
0,64; λа = 0, 70; λб = 0,78
|
|
Коэфф. паропроницаемости,
мг/(м·ч·Па)
|
μ = 0,10
|
|
Коэфф. паропроницаемости,
мг/(м·ч·Па)
|
μ = 0,09
|
|
Кирпич керамический пустотелый одинарный, ГОСТ
530, ГОСТ 7484
|
|
Кирпич керамический пустотелый одинарный, ГОСТ
530, ГОСТ 7484
|
|
Размер, мм
|
250x120x65
|
|
Размер, мм
|
250x120x65
|
|
Средняя плотность, кг/м3
|
1490
|
|
Средняя плотность, кг/м3
|
1350
|
|
Марка по прочности
|
М150
|
|
Марка по прочности
|
М125
|
|
Марка по морозостойкости
|
F50
|
|
Марка по морозостойкости
|
F50
|
|
Водопоглощение, %
|
>6
|
|
Водопоглощение, %
|
>6
|
|
Пустотность, %
|
29
|
|
Пустотность, %
|
36
|
|
Коэфф. теплопроводности в
кладке, Вт/(м·°С)
|
λо =
0,44, λа = 0,54, λб = 0,60
|
|
Коэфф. теплопроводности в
кладке, Вт/(м·°С)
|
λо =
0,40; λа = 0,50, λб = 0,55
|
|
Коэфф. паропроницаемости,
мг/(м·ч·Па)
|
μ = 0,12
|
|
Коэфф. паропроницаемости,
мг/(м·ч·Па)
|
μ = 0,14
|
|
|
|
|
Кирпич керамический пустотелый утолщенный, ГОСТ 7484,
ГОСТ
530
|
|


|
|
Размер, мм
|
250x120x88
|
|
|
Средняя плотность, кг/м3
|
1350
|
|
|
Марка по прочности
|
М150
|
|
|
Марка по морозостойкости
|
F50
|
|
|
Водопоглощение, %
|
>6
|
|
|
Пустотность, %
|
36
|
|
|
Коэфф. теплопроводности в
кладке, Вт/(м·°С)
|
λо =
0,40, λа = 0,50; λб = 0,55
|
|
|
Коэфф. паропроницаемости,
мг/(м·ч·Па)
|
μ = 0,14
|
|
|
Камень керамический пустотелый, ГОСТ 7484,
ГОСТ
530
|
|
|
Размер, мм
|
250x120x138
|
|
|
Средняя плотность, кг/м3
|
1350
|
|
|
Марка по прочности
|
М175
|
|
|
Марка по морозостойкости
|
F50
|
|
|
Водопоглощение, %
|
>6
|
|
|
Пустотность, %
|
36
|
|
|
Коэфф. теплопроводности в
кладке, Вт/(м·°С)
|
λо =
0,40; λа = 0,50; λб = 0,55
|
|
|
Коэфф. паропроницаемости,
мг/(м·ч·Па)
|
μ = 0,14
|
|
|
Камень керамический пустотелый поризованный, ГОСТ
530
|
|
|
Размер, мм
|
250x120x138
|
|
|
Средняя плотность, кг/м3
|
1050
|
|
|
Марка по прочности
|
М100
|
|
|
Марка по морозостойкости
|
F35
|
|
|
Водопоглощение, %
|
>6
|
|
|
Пустотность, %
|
38
|
|
|
Коэфф. теплопроводности в
кладке, Вт/(м·°С)
|
λо =
0,31; λа = 0,38; λб = 0,42
|
|
|
Коэфф. паропроницаемости,
мг/(м·ч·Па)
|
μ = 0,14
|
Керамические стеновые материалы ОАО «Новокубанский завод
керамических стеновых материалов» (Краснодарский край, г. Новокубанск)
|
|
Кирпич керамический пустотелый одинарный, ГОСТ
530
|
|


|
Размер, мм
|
250x120x65
|
|
Средняя плотность, кг/м3
|
1350
|
|
Марка по прочности
|
М125; М150
|
|
Марка по морозостойкости
|
F50
|
|
Водопоглощение, %
|
>6
|
|
Пустотность, %
|
32-35
|
|
Коэфф. теплопроводности в
кладке, Вт/(м·°С)
|
λо =
0,42; λа = 0,50; λб = 0,56
|
|
Коэфф. паропроницаемости,
мг/(м·ч·Па)
|
μ = 0,14
|
|
Кирпич керамический пустотелый утолщенный, ГОСТ
530
|
|
Размер, мм
|
250x120x88
|
|
Средняя плотность, кг/м3
|
1350
|
|
Марка по прочности
|
М125; М150; М175
|
|
Марка по морозостойкости
|
F50
|
|
Водопоглощение, %
|
>6
|
|
Пустотность, %
|
32-35
|
|
Коэфф. теплопроводности в
кладке, Вт/(м·°С)
|
λо =
0,41; λа = 0,49; λб = 0,55
|
|
Коэфф. паропроницаемости,
мг/(м·ч·Па)
|
μ = 0,14
|
|
Камень керамический пустотелый, ГОСТ 530
|
|
Размер, мм
|
250x120x138
|
|
Средняя плотность, кг/м3
|
1350
|
|
Марка по прочности
|
М100;М125
|
|
Марка по морозостойкости
|
F50
|
|
Водопоглощение, %
|
>6
|
|
Пустотность, %
|
32-35
|
|
Коэфф. теплопроводности в
кладке, Вт/(м·°С)
|
λо =
0,40; λа = 0,48; λб = 0,54
|
|
Коэфф. паропроницаемости,
мг/(м·ч·Па)
|
μ = 0,14
|
|
Кирпич керамический пустотелый одинарный светлый, с
добавкой СаСО3
|
|
Размер, мм
|
250x120x65
|
|
Средняя плотность, кг/м3
|
1200
|
|
Марка по прочности
|
М100
|
|
Марка по морозостойкости
|
F35
|
|
Водопоглощение, %
|
>6
|
|
Пустотность, %
|
32-35
|
|
Коэфф. теплопроводности в
кладке, Вт/(м·°С)
|
λо =
0,31; λа = 0,41; λб = 0,49
|
|
Коэфф. паропроницаемости,
мг/(м·ч·Па)
|
μ = 0,14
|
|
Кирпич керамический пустотелый одинарный с 21
пустотами размером 14x14 мм,
ГОСТ
530
|
|
Размер, мм
|
250x120x65
|
|
Средняя плотность, кг/м3
|
1500
|
|
Марка по прочности
|
М125
|
|
Марка по морозостойкости
|
F50
|
|
Водопоглощение, %
|
>6
|
|
Пустотность, %
|
25
|
|
Коэфф. теплопроводности в
кладке, Вт/(м·°С)
|
λо =
0,44; λа = 0,55; λб = 0,62
|
|
Коэфф. паропроницаемости,
мг/(м·ч·Па)
|
μ = 0,12
|
Керамические стеновые материалы, выпускаемые, заводами Винербергер
|
POROTHERM 12 с канавками и выступами
|
|
Камень керамический
пустотелый «ПОРОТЕРМ 12»
|
|
Размер 12/50/21,9 см
|

|
Размер. мм
|
120x500x219
|
|
Вид отверстия -
прямоугольник
|
Средняя плотность, кг/м3
|
900
|
|
Ряды отверстий - 3
|
Марка по прочности
|
≥ М75
|
|
Канавка + выступ. Форма 1
|
Марка по морозостойкости
|
≥ F15
|
|
Внешняя стенка ок. 11 мм
|
Расчетное массовое
отношение влаги при условиях эксплуатации А, Б, %
|
< 1,5
|
|
Внутренняя перегородка ок.
6 мм
|
Пустотность, %
|
45
|
|
|
Коэфф. теплопроводности
кладки А. λо = 0,29; λб = 0,30;
на растворе с λ = 1,0 Вт/(м·°С)
|
|
|
|
Коэфф. паропроницаемости,
мг/(м·ч·Па)
|
μ = 0,05-0,14
|
|
POROTHERM 25 с канавками и выступами
|
|
Камень керамический
пустотелый «ПОРОТЕРМ 25»
|
|
|

|
Размер, мм
|
250x380x219
|
|
Размер 25/38/21,9 см
|
Средняя плотность, кг/м3
|
900
|
|
Вид отверстия -
прямоугольник
|
Марка по прочности
|
≥ М75
|
|
Ряды отверстий - 3
|
Марка по морозостойкости
|
≥ F15
|
|
Канавка + выступ. Форма 3
|
Расчетное массовое
отношение влаги при условиях эксплуатации А, Б, %
|
< 1,5
|
|
Внешняя стенка ок. 11 мм
|
Пустотность, %
|
45
|
|
Внутренняя перегородка ок.
6 мм
|
Коэфф. теплопроводности
кладки λо = 0,24; λб = 0,25; на
растворе с λ = 1,0 Вт/(м·°С)
|
|
|
|
Коэфф. паропроницаемости,
мг/(м·ч·Па)
|
μ = 0,05-0,14
|
|
POROTHERM 30 с канавками и выступами
|
|
Камень керамический
пустотелый «ПОРОТЕРМ 30»
|
|
Размер 30/25/21,9 см
|

|
Размер, мм
|
300x250x219
|
|
Вид отверстия -
прямоугольник
|
Средняя плотность, кг/м3
|
900
|
|
Ряды отверстий - 15
|
Марка по прочности
|
≥ М75
|
|
Канавка + выступ. Форма 4
|
Марка по морозостойкости
|
≥ F15
|
|
Внешняя стенка ок. 11 мм
|
Расчетное массовое
отношение влаги при условиях эксплуатации А, Б, %
|
< 1,5
|
|
Внутренняя перегородка ок.
6 мм
|
Пустотность, %
|
45
|
|
|
Коэфф. теплопроводности
кладки λо = 0,21; λб = 0,22; на
растворе с λ = 1,0 Вт/(м·°С)
|
|
|
|
Коэфф. паропроницаемости,
мг/(м·ч·Па)
|
μ = 0,05-0,14
|
|
POROTHERM 38 с канавками и выступами
|
|
Камень керамический пустотелый «ПОРОТЕРМ 38»
|
|
Размер 38/25/21,9 см
|

|
Размер, мм
|
380x250x219
|
|
Вид отверстия -
прямоугольник
|
Средняя плотность, кг/м3
|
750
|
|
Ряды отверстий - 19
|
Марка по прочности
|
≥ М75
|
|
Канавка + выступ. Форма 5
|
Марка по морозостойкости
|
≥ F15
|
|
Внешняя стенка ок. 11 мм
|
Расчетное массовое
отношение влаги при условиях эксплуатации А, Б, %
|
< 1,5
|
|
Внутренняя перегородка ок.
6 мм
|
Пустотность, %
|
55
|
|
|
Коэфф. теплопроводности
кладки λо = 0,15; λб = 0,16; на
растворе с λ = 0,2 Вт/(м·°С)
|
|
|
|
Коэфф. паропроницаемости,
мг/(м·ч·Па)
|
μ = 0,05-0,14
|
|
POROTHERM 38 S
с канавками и выступами
|
|
Камень керамический пустотелый «ПОРОТЕРМ 38S»
|
|
Размер 38/25/21,9 см
|

|
Размер, мм
|
380x250x219
|
|
Вид отверстия - ромб
|
Средняя плотность, кг/м3
|
750
|
|
Ряды отверстий - 23
|
Марка по прочности
|
≥ М75
|
|
Канавка + выступ. Форма 5
|
Марка по морозостойкости
|
≥ F15
|
|
Внешняя стенка ок. 11 мм
|
Расчетное массовое
отношение влаги при условиях эксплуатации А, Б, %
|
< 1,5
|
|
Внутренняя перегородка ок.
6 мм
|
Пустотность, %
|
55
|
|
|
Коэфф. теплопроводности
кладки λо = 0,13; λб = 0,14; на
растворе с λ = 0,2 Вт/(м·°С)
|
|
|
|
Коэфф. паропроницаемости,
мг/(м·ч·Па)
|
μ = 0,05-0,14
|
|
POROTHERM 44 с канавками и выступами
|
|
Камень керамический пустотелый «ПОРОТЕРМ 44»
|
|
Размер 44/25/21,9 см
|

|
Размер, мм
|
440x250x219
|
|
Вид отверстия -
прямоугольник
|
Средняя плотность, кг/м3
|
750
|
|
Ряды отверстий - 23
|
Марка по прочности
|
≥ М75
|
|
Канавка + выступ. Форма 5
|
Марка по морозостойкости
|
≥ F15
|
|
Внешняя стенка ок. 11 мм
|
Расчетное массовое
отношение влаги при условиях эксплуатации А, Б, %
|
< 1,5
|
|
Внутренняя перегородка ок.
6 мм
|
Пустотность, %
|
55
|
|
|
Коэфф. теплопроводности
кладки λо = 0,15; λб = 0,16; на
растворе с λ = 0,2 Вт/(м·°С)
|
|
|
Коэфф. паропроницаемости,
мг/(м·ч·Па)
|
μ = 0,05-0,14
|
|
POROTHERM 44 S
с канавками
|
Камень керамический пустотелый «ПОРОТЕРМ 44S»
|
|
и выступами
|
Размер, мм
|
440x250x219
|
|
Размер 44/25/21,9 см
|
Средняя плотность, кг/м3
|
750
|
|
Вид отверстия - ромб
|
Марка по прочности
|
≥ М75
|
|
Ряды отверстий - 27
|
Марка по морозостойкости
|
≥ F15
|
|
Канавка + выступ. Форма 5
|
Расчетное массовое
отношение влаги при условиях эксплуатации А, Б, %
|
< 1,5
|
|
Внешняя стенка ок. 11 мм
|
Пустотность, %
55
|
|
|
Внутренняя перегородка ок.
6 мм
|
Коэфф. теплопроводности
кладки λо = 0,13; λб = 0,14; на
растворе с λ = 0,2 Вт/(м·°С)
|
|
|
|
Коэфф. паропроницаемости,
мг/(м·ч·Па)
|
μ = 0,05-0,14
|
|
POROTHERM 51 с канавками и выступами
|
|
Камень керамический пустотелый «ПОРОТЕРМ 51»
|
|
Размер 51/25/21,9 см
|

|
Размер, мм
|
510x250x219
|
|
Вид отверстия -
прямоугольник
|
Средняя плотность, кг/м3
|
750
|
|
Ряды отверстий - 27
|
Марка по прочности
|
≥ М75
|
|
Канавка + выступ. Форма 7
|
Марка по морозостойкости
|
≥ F15
|
|
Внешняя стенка ок. 11 мм
|
Расчетное массовое
отношение влаги при условиях эксплуатации А, Б, %
|
< 1,5
|
|
Внутренняя перегородка ок.
6 мм
|
Пустотность, %
|
55
|
|
|
Коэфф. теплопроводности
кладки ко = 0,15; λб = 0,16; на растворе с λ
= 0,2 Вт/(м·°С)
|
|
|
Коэфф. паропроницаемости,
мг/(м·ч·Па)
|
μ = 0,05-0,14
|
|
POROTHERM 51 S
с канавками и выступами
|
Камень керамический пустотелый «ПОРОТЕРМ 51S»
|
|
Размер 51/25/21,9 см
|
Размер, мм
|
510x250x219
|
|
Вид отверстия - ромб
|
Средняя плотность, кг/м3
|
750
|
|
Ряды отверстий - 33
|
Марка по прочности
|
≥ М75
|
|
Канавка + выступ. Форма 7
|
Марка по морозостойкости
|
≥ F15
|
|
Внешняя стенка ок. 11 мм
|
Расчетное массовое
отношение влаги при условиях эксплуатации А, Б, %
|
< 1,5
|
|
Внутренняя перегородка ок.
6 мм
|
Пустотность, %
|
55
|
|
|
Коэфф. теплопроводности
кладки λо = 0,13; λб = 0,14; на
растворе с λ = 0,2 Вт/(м·°С)
|
|
|
|
Коэфф. паропроницаемости,
мг/(м·ч·Па)
|
μ = 0,05-0,14
|
Теплофизические и прочностные свойства теплоизоляционных блоков
«Геокар», выпускаемых на основе торфа Бежецким опытно-экспериментальным заводом
(ТУ 5768-001-03983434-99)
1. Средняя
плотность, 380 кг/м3
2. Марка по
прочности М8-М12
3. Марка по морозостойкости ≥ F50
4. Коэфф. теплопроводности в кладке, Вт/(м·°С) λо = 0,055; λa = 0,063; λб = 0,072
5. Коэфф.
паропроницаемости, мг/(м·ч·Па), μ = 0,19

Рисунок 1. Блоки «Геокар» с отверстиями

Рисунок 2. Блоки «Геокар» сплошные
Теплофизические и прочностные свойства жестких пенополиуретановых
теплоизоляционных материалов и карбамидных пенопластов ООО «Ритм-Л» (г. Самара)
Для
теплоизоляции наружных ограждающих конструкций зданий ООО «Ритм-Л» производит и
применяет жесткие пенополиуретаны в виде плит, заливочных и напыляемых
материалов со следующими свойствами:
1) плотность
40-80 кг/м3;
2) коэффициент
теплопроводности λ = 0,030-0,035 Вт/(м·°С);
3) коэффициент
паропроницаемости μ = 0,011- 0,05 мг/(м·ч·Па);
4) водопоглощение
1-3 об. %;
5) высокая
адгезия к бетону, кирпичу, металлу (0,1-0,3 МПа);
6)
влагопоглощение 0,05-0,3 %;
7) предел
прочности, МПа (при сжатии 0,1 - 0,7; при изгибе 0,15-1,0; при растяжении 0,1-
0,6);
8)
долговечность 30-60 лет с допустимым изменением теплопроводности и прочности;
9)
прогнозируемое снижение теплопроводности за 100 лет эксплуатации составляет 30
%;
10)
устойчивость к воздействию грибков, микроорганизмов, растворителей строительных
красок, минеральных масел и химических веществ, встречающихся в строительстве;
11) по
огнестойкости относится к трудногорючим материалам;
12) после
завершения процесса твердения (10- 20 с) нетоксичен;
13)
экологически безопасен в процессе эксплуатации.
Особые
физические свойства жесткого пено-полиуретана позволяют проводить работы по
утеплению наружных ограждающих конструкций зданий круглогодично. Напыление
пенополиуретанового слоя толщиной 30-35 мм на кирпичную стену в 1,5-2,5 кирпича
увеличивает сопротивление теплопередаче в 2-2,5 раза, практически без уменьшения
полезной площади здания.
Разработанная
ООО «Ритм-Л» технология послойного нанесения пенополиуретана позволяет
обеспечивать дифференцированный влажностный режим, сопротивление паропроницанию
и воздухопроницанию наружных стен с учетом изменения теплового напора на высоте
многоэтажного здания.
Сопротивление теплопередаче и паропроницанию кирпичных стен,
утепленных жестким пенополиуретаном
Кирпичная стена, утепленная напылением пенополиуретана изнутри
помещения
|

|
1. - гипсокартон толщиной 13 мм;
2. - пенополиуретан;
3. - кирпичная кладка толщиной 380-640 мм
|
|
Толщина слоя теплоизоляции, мм
|
Сопротивление теплопередаче/паропроницанию
стены (м2·°С)/Вт / (м2·ч·Па)/мг
при толщине кирпичной стенки
|
|
380 мм
|
510 мм
|
640 мм
|
|
25
|
1,72/4,59
|
1,96/5,52
|
2,21/6,45
|
|
35
|
2,04/5,27
|
2,27/6,20
|
2,52/7,13
|
Кирпичная стена, утепленная напылением пенополиуретана снаружи
|

|
1. - известково-песчаный раствор толщиной 15 мм;
2. - кирпичная кладка толщиной 380-640 мм;
3. - пенополиуретан;
4 - цементно-песчаный раствор толщиной 20 мм
|
|
Толщина слоя теплоизоляции, мм
|
Сопротивление теплопередаче/паропроницанию
стены (м2·°С)/Вт / (м2·ч·Па)/мг
при толщине кирпичной стенки
|
|
380 мм
|
510 мм
|
640 мм
|
|
25
|
1,64/4,80
|
1,87/5,73
|
2,09/6,66
|
|
35
|
1,95/5,48
|
2,18/6,41
|
2,40/7,34
|
|
45
|
2,27/6,16
|
2,49/7,09
|
2,72/8,02
|
|
55
|
2,58/6,84
|
2,80/7,77
|
3,03/8,70
|
|
65
|
2,89/7,52
|
3,12/8,45
|
3,34/9,38
|
|
75
|
3,20/8,21
|
3,43/9,13
|
3,65/10,06
|
|
85
|
3,52/8,89
|
3,74/9,81
|
3,97/10,74
|
|
95
|
3,83/9,57
|
4,05/10,49
|
4,28/11,42
|
Сопротивление теплопередаче колодцевой кладки кирпичной стены,
утепленной заливочным жестким пенополиуретаном

Карбамидный пенопласт
«МЕТТЭМПЛАСТ» (бывший пеноизол) производится и применяется ООО «Ритм-Л» в
строительстве для тепловой изоляции наружных ограждающих конструкций зданий и
сооружений гражданского и промышленного назначения. Используется в качестве
среднего слоя строительных конструкций для утепления стен, полов, потолков.
Производится в форме плит размером 50x60 см, толщиной от 50 до 200 мм,
плотность 12-18 кг/м3; коэффициент теплопроводности 0,03 Вт/(м·°С);
коэффициент паропроницаемости 0,24 мг/(м·ч·Па); пожаробезопасность - не
способен к самостоятельному горению; устойчив к воздействию грибков,
микроорганизмов, бензола, бензина, ацетона, эфира и т.п.; эксплуатационная
долговечность согласуется с установленными межкапитальными ремонтными сроками
для наружных ограждающих конструкций.
ООО «Ритм-Л»
производит и применяет в строительстве пенополиуретан повышенной
теплоэффективности с коэффициентом теплопроводности 0,020-0,023 Вт/(м·°С) при
плотности 38-40 кг/м3. Использование его для теплоизоляции наружных
ограждающих конструкций на 25-30 % экономичнее по сравнению с вышеприведенными
материалами.
Пенополиуретановое гидромеханозащитное покрытие
производится и применяется ООО «Ритм-Л» для антикоррозионной защиты и
гидроизоляции подземных и надземных сооружений, работающих в самых жестких
климатических условиях. Пенополиуретановое покрытие сохраняет свои свойства на
протяжении 30 лет. Оно устойчиво к действию соленой морской воды, разбавленных
кислот и щелочей, минеральных масел и алифатических растворителей. Покрытие
обладает следующими свойствами: плотность не менее 150 кг/м3;
коэффициент теплопроводности 0,036 Вт/(м·°С); коэффициент паропроницаемости
0,11 мг/(м·ч·Па); прочность покрытия на разрыв (при δ = 2-3 мм) - 16 МПа;
относительное удлинение покрытия при разрыве (δ = 2-3 мм) - 360 %;
прочность на раздир - 38 Н/мм.
Стеновые и кровельные сэндвич-панели ОАО «ТЕРМОСТЕПС-МТЛ» на
основе базальтовой изоляции ТЕРМО (г. Самара)
В качестве
теплоизоляционного слоя в панелях используется базальтовый утеплитель на
синтетическом связующем с гидрофобизирующими добавками, с горизонтальной
ориентацией волокон относительно направления теплового потока. Облицовка
панелей выполняется из стального оцинкованного листа или алюминиевого со
специальным полимерным покрытием или из нержавеющей стали.
Применение сэндвич-панелей
с базальтовой изоляцией ТЕРМО толщиной от 50 до 200 мм при ее высокой
эффективности обеспечивает рациональный уровень теплозащитных качеств наружных
стен зданий в большинстве климатических регионов России.
Срок службы
сэндвич-панелей при условии выполнения квалифицированного монтажа и
своевременного текущего ремонта составляет 30-40 лет.

Стеновая панель

Кровельная панель
|
Наименование панели
|
Ширина, мм
|
Длина, мм
|
Толщина, мм
|
Приведенное сопротивление теплопередаче, , м2·°С/Вт
|
Вес, кг/м2
|
Предел огнестойкости
|
Горючесть утеплителя, ГОСТ 30244
|
|
Термопанель-монолит ПСБ
Стеновая панель с базальтовым утеплителем
|
1000
|
До 14000
|
50
|
1,20
|
16,3
|
EI-30
|
НГ
|
|
80
|
1,95
|
19,9
|
EI-90
|
|
100
|
2,40
|
22,3
|
EI-90
|
|
120
|
2,90
|
24,7
|
EI-150
|
|
150
|
3,65
|
28,3
|
EI-180
|
|
200
|
4,80
|
34,3
|
EI-180
|
|
Термопанель-монолит ПКБ
Кровельная панель с базальтовым утеплителем
|
1000
|
До 14000
|
50
|
1,20
|
19,7
|
|
НГ
|
|
80
|
1,95
|
22,3
|
RE-30
|
|
100
|
2,40
|
25,7
|
RE-30
|
|
120
|
2,90
|
28,1
|
RE-30
|
|
150
|
3,65
|
31,7
|
RE-30
|
|
200
|
4,80
|
37,7
|
RE-30
|
Базальтовая изоляция ТЕРМО производства ОАО «Термостепс-МТЛ» (г.
Самара)

Физические свойства и геометрические параметры базальтовых
теплоизоляционных плит
|
Наименование
|
Длина, мм
|
Ширина, мм
|
Толщина, мм, с интервалом 10
мм
|
Плотность, кг/м3
|
Горючесть, ГОСТ
30244
|
Коэффициент
теплопроводности, Вт/м°С
|
Сжимаемость, %, ГОСТ 17177
|
Водопоглощение, %
|
|
λА
|
λБ
|
|
Плиты мягкие
|
|
Термо Лайт (ПМ-35)
|
1200
|
600
|
50-200
|
40
|
нг
|
0,038
|
0,044
|
25
|
1,5
|
|
Термо Лайт+ (ПМ-50)
|
55
|
0,038
|
0,043
|
20
|
|
Плиты полужесткие
|
|
Термо Стена (ПП-80)
|
1200
|
600
|
40-200
|
70
|
нг
|
0,038
|
0,043
|
15
|
1,5
|
|
Плиты жесткие
|
|
Термо Вент (ПЖ-80)
|
1200
|
600
|
40-150
|
90
|
нг
|
0,038
|
0,040
|
8
|
1,0
|
|
Термо Кровля Н (ПЖ-100)
|
40-150
|
110
|
0,038
|
0,040
|
6
|
|
Термо Монолит (ПЖ-120)
|
40-120
|
130
|
0,038
|
0,041
|
4
|
|
Термо Пол (ПЖ-140)
|
40-100
|
150
|
0,039
|
0,041
|
2
|
|
Плиты сверхжесткие
|
|
Термо Фасад (ПСЖ-150 Фасад)
|
1200
|
600
|
40-100
|
Не менее 150
|
нг
|
0,039
|
0,043
|
|
1,0
|
|
Термо Кровля (ПСЖ-150)
|
40-100
|
160
|
0,039
|
0,043
|
|
Термо Кровля В (ПСЖ-175)
|
40-80
|
185
|
0,042
|
0,045
|
|
Термо Кровля В+ (ПСЖ-200)
|
40-70
|
210
|
0,042
|
0,045
|
1. Коэффициент
r для участков
трехслойных бетонных конструкций с ребрами и теплоизоляционными вкладышами
следует вычислять по формуле
r = r1
r2, (1)
где r1 -
коэффициент, учитывающий относительную площадь ребер в конструкции, следует
принимать по таблице 1 приложения
5;
r2 -
коэффициент, учитывающий плотность материала ребер конструкции, принимается по
таблице 2 приложения 5.
2. Коэффициент
r для участков
ограждающих конструкций из панелей с гибкими металлическими связями в сочетании
с утеплителем из минеральных волокон или вспененных пластмасс допускается
принимать по таблице 3 приложения
5 с уточнением по фактическим значениям.
Таблица 1
|
, м2·°С/Вт
|
r1 при Fl/F2
|
|
0,25
|
0,15
|
0,05
|
|
3,0
|
0,5
|
0,56
|
0,79
|
|
2,1
|
0,67
|
0,73
|
0,83
|
|
1,7
|
0,76
|
0,80
|
0,86
|
|
1,4
|
0,83
|
0,85
|
0,87
|
|
Обозначения, принятые в табл. 1:
Fl -
площадь ребер в конструкции, м2;
F2 -
площадь конструкции (без учета площади оконных и дверных проемов), м2.
|
Таблица 2
|
Плотность материала γ,
кг/м3
|
1000
|
1200
|
1400
|
1600
|
2400
|
|
r2
|
1,0
|
1,0
|
0,9
|
0,8
|
0,6
|
|
Примечание. Для
трехслойных конструкций толщиной менее 0,3 м коэффициент г следует умножать
на 0,9.
|
Таблица 3
|
Материал
|
Плотность материала γ, кг/м3
|
Коэффициент r при расстоянии между гибкими связями а, м
|
|
0,6
|
0,8
|
1,0
|
1,2
|
|
Диаметр стержня гибкой связи d, мм
|
|
8
|
12
|
8
|
12
|
8
|
12
|
8
|
12
|
|
Керамзитобетон
|
1000
|
0,95
|
0,91
|
0,96
|
0,94
|
0,97
|
0,96
|
0,98
|
0,96
|
|
1200
|
0,93
|
0,89
|
0,95
|
0,92
|
0,96
|
0,94
|
0,97
|
0,95
|
|
1400
|
0,91
|
0,87
|
0,94
|
0,90
|
0,95
|
0,92
|
0,96
|
0,94
|
|
1600
|
0,89
|
0,84
|
0,93
|
0,88
|
0,94
|
0,91
|
0,95
|
0,93
|
|
Тяжелый бетон
|
2400
|
0,74
|
0,69
|
0,80
|
0,75
|
0,84
|
0,81
|
0,87
|
0,85
|
Примечание.
Промежуточные значения r1, r2 и r
по таблицам 1-3 следует
определять интерполяцией.
Пример 1. Расчет сопротивления паропроницанию наружной
стены, утепленной с внутренней стороны напыляемым пенополиуретаном.
|

|
1 слой - известково-песчаный раствор
δ1 = 0,02 м; γ1 = 1600 кг/м3;
λ1 = 0,7 Вт/(м·°С); μ1 =
0,12 мг/(м·ч·Па);
2 слой - пенополиуретан марки «Изолан 105-3»
δ2 = 0,035 м; γ2 = 80
кг/м3;
λ2 = 0,026 Вт/(м·°С); μ2 =
0,014 мг/(м·ч·Па);
3 слой - силикатный кирпич
δ3 = 0,51 м; γ3 = 1800
кг/м3;
λ3 == 0,76 Вт/(м·°С); μ3 =
0,11 мг/(м·ч·Па)
|



tk1 = 4,5 °C;

tk2 = -11,0 °C;

tk3
= 7,5 °C.
Определяем координаты
плоскостей возможной конденсации


В первом слое
плоскость возможной конденсации отсутствует.

Во втором слое
за плоскость возможной конденсации принимаем наружную поверхность утеплителя.

Плоскость
возможной конденсации находится за пределами 3-го слоя.
Следовательно,
расчет по определению накопления влаги следует производить по наружной
поверхности пенополиуретана.
Определяем
температуру в зоне конденсации для трех периодов года:
а) зимний
период

E1
= 613 Па;
б) переходный
период

E2=
995 Па;
в) летний
период

E3
= 1913 Па;

Rпн = 4,64 (м2·ч·Па)/мг;
Rп1тр
=(eB- Е) · Rпн /(E- ен)
= (1285,6 - 1327) ·4,64/(1327 - 720) = -0,316 (м2·ч·Па)/мг.
Rn = 0,167 +
2,5 = 2,667 (м2·ч·Па)/мг.
Rn > Rп1тр;
2,667 > -0,316 (м2·ч·Па)/мг.
Следовательно,
накопления влаги за годовой период эксплуатации не происходит. Определяем также
требуемое сопротивление паропроницанию из условия ограничения накопления влаги
за период с отрицательными температурами


E0
= 650 Па.
η = 0,0024·(650 - 334)·151/4,64 = 24,7;

Rn > ; 2,667 > 2,43 (м2·ч·Па)/мг.
Результаты расчетов влажностного режима наружной
стены показали, что фактическое сопротивление паропроницанию превышает
требуемое значение. Следовательно, накопление влаги в наружной стене
отсутствует.
Пример 2.
Выполнить расчет сопротивления паропроницанию облегченной кирпичной стены,
утепленной монолитным ячеистым бетоном.
|

|
1 слой - известково-песчаный раствор
δ1 = 0,02 м; γ1 = 1600
кг/м3;
λ1 = 0,7 Вт/(м·°С); μ1 =
0,12 мг/(м·ч·Па);
2 слой - керамический эффективный кирпич
δ2 = 0,25 м; γ2 = 1600
кг/м3;
λ2= 0,58 Вт/(м·°С); μ2 =
0,14 мг/(м·ч·Па);
3 слой - монолитный пенобетон
δ3 = 0,15 м; γ3 = 300 кг/м3;
λ3 = 0,095 Вт/(м·°С); μ3 =
0,25 мг/(м·ч·Па);
4 слой - керамический эффективный кирпич
δ4 = 0,12 м; γ4 = 1600
кг/м3;
λ4= 0,58 Вт/(м·°С); μ4 = 0,14
мг/(м·ч·Па).
|



tk1 = 19,5 °C.

tk2 = 13,5 °C.

tk3 = 7,5 °C.

tk4
= 13,5 °C.
Определяем координаты
плоскостей возможной конденсации


Плоскость
возможной конденсации находится за пределами 1-го слоя.

Во втором слое
плоскость возможной конденсации находится внутри слоя.

В третьем слое
за плоскость конденсации следует принять наружную поверхность монолитного
пенобетона и выполнить расчет на накопление влаги.

Плоскость
возможной конденсации находится за пределами 4-го слоя.
Определяем значение
упругости водяного пара в плоскости возможной конденсации для 2-го и 3-го
слоев.

При
температуре tk2
= 13,5 °С значение Е2 = 1547 Па. Следовательно, конденсация
водяного пара невозможна и расчет на накопление влаги производить не следует.
Определяем
значение упругости е3 и температуры τ3
на наружной поверхности монолитного пенобетона.

При
температуре tk3
= -8,9 °С значение Е3 = 287 Па. Следовательно, возможна
конденсация водяного пара, так как е3 > Е3.
Следует выполнить расчет на накопление влаги.
Определяем
температуру в зоне конденсации для трех периодов года:
а) зимний
период

Е1
= 353,5 Па;
б) переходный
период

Е2
= 737 Па;
в) летний
период

Е3
= 1795 Па;

Rпн = 0,857 (м2·ч·Па)/мг;
Rп1тр
=(eB- Е) · Rпн /(E- ен)
= (1285,6 - 1138) ·0,857/(1138 - 720) = 0,303 (м2·ч·Па)/мг.
Rn = 3,27 -
0,857 = 2,41 (м2·ч·Па)/мг.
Rn > Rп1тр;
2,41 > 0,303 (м2·ч·Па)/мг.
Следовательно,
накопления влаги за годовой период эксплуатации не происходит.
Определяем
также требуемое сопротивление паропроницанию из условия ограничения накопления
влаги за период с отрицательными температурами


E0 = 388 Па.
η = 0,0024·(338 -
334)·151/0,857 = 22,8;

Rn > ; 2,41 > 1,1 (м2·ч·Па)/мг.
Результаты расчетов
влажностного режима наружной стены показали, что фактическое сопротивление
паропроницанию превышает требуемое значение, поэтому накопления влаги в
наружной стене не происходит.
Ключевые
слова: ограждающие конструкции, снижение ресурсопотребления, теплозащита,
коэффициент теплопроводности, сопротивление теплопередаче, воздухопроницанию,
паропроницанию, долговечность
| |
|