//
ТехЛит.ру
- крупнейшая бесплатная электронная интернет библиотека для "технически умных" людей.
WWW.TEHLIT.RU - ТЕХНИЧЕСКАЯ ЛИТЕРАТУРА

:: Алготрейдинг::


АЛГОТРЕЙДИНГ
шаг за шагом
с нуля по урокам!

Торговые роботы на PYTHON, BackTrader,
Pandas, Pine Script для TradingView. Связка с брокерами, телеграм и легкими приложениями.


РОССИЙСКАЯ ФЕДЕРАЦИЯ

НАУЧНО–ИССЛЕДОВАТЕЛЬСКИЙ ИНСТИТУТ
ТРАНСПОРТНОГО СТРОИТЕЛЬСТВА
(ЦНИИС)

МЕТОДИЧЕСКИЕ РЕКОМЕНДАЦИИ

ПО ПРОЕКТИРОВАНИЮ И СТРОИТЕЛЬСТВУ
ГРУНТОВЫХ НАСЫПЕЙ НА ТОРФЯНОМ ОСНОВАНИИ,
АРМИРОВАННЫХ ГЕОРЕТКАМИ «ПРУДОН–494» В
УСЛОВИЯХ ЗАПАДНОЙ СИБИРИ

Москва

2000

Настоящие рекомендации разработаны для использования при проектировании и строительстве армогрунтовых конструкций, которые выполняют роль грунтовой буровой площадки для установки вышечного блока и оборудования на сложном инженерно - геологическом участке, характеризуемом наличием мощной толщи болота, где глубина залегания торфяных грунтов достигает более 4.0 м в условиях Западной Сибири.

Работа выполнена по договору с ОАО 494 УНР за № ПЛТКЭ-2000-0136.

Конструкция армогрунтовой насыпи для усиления и стабилизации ее основания армируется георешеткой «Прудон-494» в виде композитной системы с использованием геотекстиля (типа «Дорнит») для формирования геомембран.

Вопрос о конструкционном оформлении насыпи, представляющей собой композитное объединение мембран из георешетки «Прудон-494» и послойно армированной насыпи с расчетом количества мембран и потребного числа слоев георешетки, может решаться в каждом конкретном случае, в зависимости от мощности торфяной толщи и характеристик торфа. Гeopeшетки «Прудон-494» являются основным элементом подобных насыпей, поскольку наиболее полно отвечают требованиям композитного конструирования - придания целенаправленных свойств конструктивным элементам и включения их в работу сооружения - в данном случае упрочнения грунтового массива и восприятия растягивающих напряжений при его нагружении полезной нагрузкой.

российская федерация

Открытое акционерное общество
«Научно-исследовательский институт
транспортного строительства»
(«ЦНИИС»)

УТВЕРЖДАЮ
Заместитель генерального
директора
Цернант А.А.
15 июня 2000 г.

МЕТОДИЧЕСКИЕ РЕКОМЕНДАЦИИ

ПО ПРОЕКТИРОВАНИЮ И СТРОИТЕЛЬСТВУ
ГРУНТОВЫХ НАСЫПЕЙ НА ТОРФЯНОМ ОСНОВАНИИ,
АРМИРОВАННЫХ ГЕОРЕШЕТКАМИ «ПРУДОН-494»
В УСЛОВИЯХ ЗАПАДНОЙ СИБИРИ

Москва 2000

Содержание

1. ИНЖЕНЕРНО-ГЕОЛОГИЧЕСКАЯ ХАРАКТЕРИСТИКА РАЙОНА ПРИМЕНЕНИЯ РЕКОМЕНДАЦИЙ

1.1 Геоморфологические особенности, рельеф и геологическое строение

2. Строительные условия и требования

3. РАСЧЕТЫ УСТОЙЧИВОСТИ НАСЫПИ И ОСНОВАНИЯ ПЛОЩАДКИ.

4. РАСЧЕТ ПРОЧНОСТИ КОНСТРУКЦИИ И ПРОГНОЗА ОСАДКИ АРМОГРУНТОВОЙ НАСЫПИ НА ТОРФЯНОМ ОСНОВАНИИ

5. ТЕХНОЛОГИЯ ВОЗВЕДЕНИЯ АРМОГРУНТОВОЙ НАСЫПИ ИЗ ОБЪЕМНОЙ ГЕОРЕШЕТКИ «ПРУДОН-494»

5.1. Подготовительные paботы

5.2. Основные работы

5.3. Детальное описание технологии производства работ

6. ОРГАНИЗАЦИЯ ТРУДА ПО СООРУЖЕНИЮ АРМОГРУНТОВОЙ НАСЫПИ

7. ТЕХНИКА БЕЗОПАСНОСТИ

8. КОНТРОЛЬ КАЧЕСТВА РАБОТ. НАУЧНОЕ СОПРОВОЖДЕНИЕ. ПОТРЕБНОСТЬ РЕСУРСОВ

ЛИТЕРАТУРА

Приложение 1. Физико-механические свойства грунта

Приложение 1a

Приложение 2

Приложение 3.

Приложение 4.

Приложение 4а.

Приложение 5

Приложение 5а

Приложение 6.

Приложение 6а

Приложение 7

Приложение 8

Приложение 9. Схема строительства буровой площадки

Приложение 10. Технологическая схема укладки рулонного геотекстильного материала и георешетки «ПРУДОН-494» в основании земляного полотна.

Методические рекомендации разработаны сотрудниками Проблемной лаборатории транспортных коммуникаций и экологии ОАО «ЦНИИС»: Бирюковой Л.М., Кузнецовой Л.И., Штейном А.И., Акиовой Н.Г.

1. ИНЖЕНЕРНО-ГЕОЛОГИЧЕСКАЯ ХАРАКТЕРИСТИКА РАЙОНА ПРИМЕНЕНИЯ РЕКОМЕНДАЦИЙ

1.1 Геоморфологические особенности, рельеф и геологическое строение

Рекомендации относятся к области использования современных технических и технологических решений при строительстве новых промышленных площадок и их обустройстве (трубопроводы, дороги, поселки и др.), что требует вовлечения в строительство территории с неблагоприятными инженерно-геологическими условиями при дальнейшем развитии нефтегазодобывающих районов Западной Сибири. К таковым относятся: наличие слабых водонасыщенных минеральных грунтов, торфяников и др.

Западно-Сибирская плита характеризуется широтной зональностью инженерно-геологических условий с севера на юг. Особенностью региона являются довольно низкие абсолютные отметки поверхности рельефа от 70 до 200 м.

Рельеф области в целом плоский, в большинстве районов совершенно нерасчлененный и слабо дренированный. По характеру заболоченности и заозерности здесь выделяются два типа местности.

Первый из них (южная часть области - так называемое Сургутское Полесье) характеризуется сильной заболоченностью, заозерностью и заторфованностью (до 90%) территории. По существу этот район представляет собой огромное, преимущественно верховое торфяное болото, которое пересекается узкими, относительно дренированными линейно ориентированными полосами, расположенными вдоль русел рек и сложенными, как правило, водно-ледниковыми озерно-аллювиальными и аллювиальными песками.

Ко второму типу относятся более возвышенные и дренированные районы, окаймляющие с запада, севера и востока Сургутское Полесье. Эта территория имеет плоский и разной степени заболоченный рельеф, однако степень заболоченности в целом значительно ниже, чем в Сургутском Полесье. Микрорельеф торфяников в северной части обычно выпукло- и плоско-бугристый, а в южной - плоский грядово-мочажинный или кочковатый.

В строении верхней части разреза области принимают участие среднечетвертичные ледниковые и водно-ледниковые, а также верхнечетвертичные, озерные, озерно-аллювиальные и аллювиальные образования. Широко развиты голоценовые (современные) болотные отложения.

Среднечетвертичные водно-ледниковые отложения представлены крупными, средними, мелкими и пылеватыми песками, как правило, содержащими в верхних 1-2.5 м разрезе различное количество гравия и мелкой гальки. Преобладают песчаные фракции 0.5-0.25 и 0.25-0.005 мм.

Свойства среднечетвертичных водно-ледниковых песков представлены в таблице 1.

Южные районы области сложены с поверхности средне- и верхнечетвертичными озерно-аллювиальными преимущественно песчаными отложениями, которые перекрыты голоценовыми грунтами. Озерно-аллювиальные пески в основном мелкие и пылеватые.

Таблица 1.

Пески

Природн. влажность, доли ед.

Плотность, г/см3

Пористость, %

Коэффици­ент пористости

Коэффици­ент фильтрации, м/сут.

Угол естественного откоса, град.

частиц грунта

грунта

скелета грунта

в воздушно сухом состоянии

Подвод­ной

Крупные

0,5-0,25

2,64-2,69

1,81-1,98

1,60-1,74

36-10

0,56-0,66

8,4-11,2

28-34

25-33

-

2,67

-

1,68

37

0,59

9,6

32

30

Средние

0,07-0,20

2,64-2,70

1,77-2,00

1,46-1,81

33-46

0,49-0,84

6,2-7,7

29-34

27-32

-

2,67

-

1,67

38

0,61

7,3

32

30

Мелкие

0,10-0,25

2,65-2,70

1,58-1,78

1,42-1,73

36-47

0,56-0,89

2,1-5,8

30-33

28-33

-

2,67

-

1,51

44

0,77

3,7

32

30

Пылеватые

0,05-0,25

-

-

-

-

-

-

27-32

27-32

-

 

 

 

 

 

 

31

30

Примечание: В числителе приведены предельные значения показателей, в знаменателе - средние.

Голоценовые болотные и озерно-болотные отложения, залегающие с поверхности па обширной территории области, представлены преимущественно верховыми типами торфа. Мощность торфа в пределах торфяных массивов изменяется от 0.5 до 5-6 м, причем преобладают значения 1.5-2.5 м.

2. Строительные условия и требования

Строительная классификация торфяных грунтов и сапропелей по материалам [5, 6] приведены в таблице 2; типизация торфяных грунтов Западной Сибири по разработкам Гипротюменнефтегаза дана в таблицах 3 и 4.

Из таблиц следует, что торфяные грунты характеризуются значительным водонасыщением с влажностью, иногда превышающей 1200%, малой плотностью с льдонасыщенностью в отдельных слоях, достигающей 80%. Торфы сильно сжимаемы достигает 60% от мощности слоя, а при болотах II и III типа характеризуются деформациями сдвига и выдавливания.

Таблица 2

Разновид­ность торфяного грунта

Природ­ная влажность

Сте­пень раз­ложе­ния

Золь­ность

Плот­ность γск, г/см3

Сопротивление

Сжимаемость

Тип грунта по проч­ности

Сдвигу по крыльчатке

Модуль деформации Е, кПа, при нагрузке Р, кПа

Модуль осадки ip, мм/м, при нагрузке Р, кПа

В природном залегании

После уп­лотнения под нагрузкой Р=49 кПа

49

98

49

98

 

1

2

3

4

5

6

7

8

9

10

11

12

Торф сухой

<300

<25

мз

>5

>48

>245

>245

>323

<100

<200

 

 

сз

>41

>168

(<200)

(<300)

1

25-40

мз

>29

>123

 

 

 

сз

>32

>103

Торф маловлажный

300-600

<25

мз

0,2-0,15

48-26

245-133

245-147

323-225

100-250

200-370

1

сз

 

41-22

168-88

(200-350)

(300-420)

 

25-40

мз

41-17

123-39

1,2

сз

32-16

103-55

Торф средней влажности

600-900

<25

мз

0,5-0,10

26-16

136-87

147-108

225-108

250-400

370-500

1

 

сз

22-16

90-66

мз

17-10

60-42

(350-450)

(420-530)

2

25-40

сз

16-11

56-35

Торф очень влажный

900-1200

<25

мз

0,10-0,06

16-11

87-62

108-88

186-167

400-470

(500-550)

1

сз

16-11

62-46

 

(450-550)

(530-600)

25-40

мз

 

10-6

42-28

2

Торф избыточно влажный

>1200

25

мз

0,6

11-7

62-38

90-85

170-150

470-490

550-570

2,3

сз

 

11-6

46-20

(550-600)

(600-650)

Сапропель влажный

<200

-

-

-

>20

>30

>300

-

<150

-

1,2

Сапропель средней влажности

200-250

-

-

-

20-10

30-15

300-100

-

150-400

-

2

Сапропель сильно влажный

500-1000

-

-

-

10-1

15-3

<98

-

400

-

2,3

Сапропель избыточно влажный (жидкий)

>1000

-

-

-

<1

<3

-

-

-

-

3

Типизация торфяных грунтов по деформативности применительно к условиям нефтяных районов Западной Сибири (разработка ГипротюменНефтегаз)

Таблица 3

Разновидность отложений

Тип грунта по прочности

Подтип по деформатив­ности

Сопротивление сдвигу (по крыльчатке) Скр, кПа

Влажность торфа

Плотность γск, г/см2

Коэффициент пористости

Сопротивление зондированию q, кПа

Торф маловлажный

1

А

≥14,7

≤600

>0,13

≤10

-

Торф средней влажности

1

Б

14,7-9,8

600-800

0,13-0,10

10-13

-

Торф очень влажный

2

-

9,8-4,9

800-1200

0,10-0,07

13-20

-

Topф избыточно влажный

3

А

4,9

>1200

<0,07

>20

-

Жидкие образования

3

Б

-

-

-

-

<30,0

Примечание. Типизация торфов выполнена применительно к насыпи высотой до 2,5-3 м. Для насыпей большей высоты, тип торфа должен уточняться по расчету.

Рекомендации имеют целью выбор технических решений наиболее рациональных, с позиции экономических, технологических, экологических и временных, обеспечивающих сооружение конструкций грунтовых насыпей на торфяном основании в Западной Сибири под буровую площадку для установки вышечного блока и оборудования.

Конструкция основания под буровую площадку на слабом основании должна обеспечивать:

1. устойчивость основания насыпи;

2. исключение недопустимых осадок основания насыпи после сооружения вышечного блока и оборудования;

3. обеспечение динамической устойчивости конструкции насыпи под воздействием работы оборудования.

Пример конструкции армогрунтовой насыпи на торфяном основании под буровую площадку

1. Поверхность выравнивающего слоя;

2. Замкнутая обойма;

3. Стеклоткань ТР-07;

4. Геотекстиль «Дорнит»;

5. Георешетка «Прудон-494»;

6. Верхняя поверхность искусственного основания;

7. Верхняя грань первой обоймы;

8. Нижняя грань второй обоймы;

9. Верхняя грань второй обоймы;

10. Нижняя грань третьей обоймы;

11. Верхняя грань третьей обоймы;

12. Нижняя грань четвертой обоймы;

13. Верхняя грань четвертой обоймы;

14. Отметка фундамента;

15. Заполнение песком обоймы;

16. Выравнивающий слой;

17. Торф

рис. 1.

Армогрунтовая насыпь на торфяном основании под буровую площадку

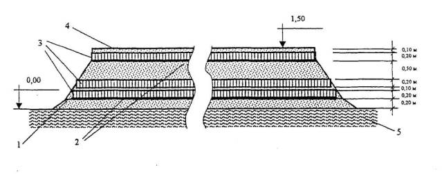
1. Поверхность выравнивающего слоя;

2. Геотекстиль «Дорнит»;

3. Георешетка «Прудон-494»;

4. Выравнивающий слой песка;

5. Торф.

Рис. 2

Таблица 4

Строительный тип болота

Характеристика деформаций грунта в основании насыпи

Характеристика режима отсыпки (по нарастанию нагрузки на основание)

Возможное наличие типов грунтов, слагающих болото

I

Сжатие

Любая скорость

Только тип I (I-А и I-Б)

II

Сжатие

Скорость отсыпки ограничена (не более 63 кПа за месяц)

Тип 2 обязателен, возможно наличие типа 1

III-A

Выпор, частично сжатие

Как правило, скорость отсыпки ограничена (не более 63 кПа за месяц)

Возможно наличие всех типов торфа, типы 3 и 1 обязательны

Ш-Б

Только выпор

Любая скорость

Только тип 3

Примечание. Характеристика типов торфяных грунтов по прочности приведена в табл. 1 и 2

Технические характеристики объемной георешетки «Прудон-494»

Таблица 5

№№ п/п

Параметры георешетки

Измеритель

Показатель

1

Габаритные размеры георешетки:

 

 

 

длина

м

6.0/11.0

 

ширина

 

2.40/3.30

 

высота

 

0.17/0.18

2

Толщина стенки ячейки

мм

1.2

3

Длина диагонали ячейки

см

0.27/0.41

4

Материал

 

Полиэтилен

5

Разрывная нагрузка:

кгс/5 см

 

 

пластина

146

 

шов на отрыв

65

6

Максимальное удлинение материала

%

25

3. РАСЧЕТЫ УСТОЙЧИВОСТИ НАСЫПИ И ОСНОВАНИЯ ПЛОЩАДКИ.

На основании имеющихся исходных геологических данных расчеты устойчивости насыпи площадки выполняют по методу круглоцилиндрических поверхностей (КЦПС) с последующим сопоставлением полученных результатов и достаточности конструктивных решений.

Устойчивость насыпи оценивают коэффициентом устойчивости. Для расчетов устойчивости поперечное сечение насыпи разбивают на блоки (см. рис. 3.1).

Коэффициент устойчивости каждого блока, смещение которого возможно по поверхности круглого цилиндра, ищется как отношение суммы моментов сил, удерживающих блоки насыпи от вращения относительно оси, проходящей через т. О, к сумме моментов сдвигающих сил относительно той же оси. При этом внешние силы раскладывают на составляющие нормальные и тангенциальные к поверхности скольжения.

Моменты берутся относительно т. О - центра кривой возможного смещения. Можно записать, что коэффициент устойчивости

;

где - Муд и Мcдв - моменты удерживающих и сдвигающих сил.

Очевидно, что для устойчивых откосов К>1, ибo Мудсдв.

В случаях когда К=1, грунты находятся в предельном равновесии. Для нормальных условии эксплуатации принято, чтобы К≥1,2. Если расчетные характеристики грунта (объемный вес γ, коэффициент трения f удельное сцепление с) определены для реального объекта специальными лабораторными исследованиями (а не взяты из справочников), можно допустить коэффициент устойчивости К≥1,1.

Расчеты устойчивости обычно проводят для 1 пог. м длины насыпи.

Рис.3.1. Схема разбивки на блоки поперечного сечения насыпи из однородных грунтов

Для каждого блока можно изобразить его вес γωi, в виде вектора на поверхность скольжения откоса. Вектор веса γωi раскладывается на нормальную Ni и касательную Тi составляющие:

Ni = γωi cosβi; Ti = γωisinβi

Сила Тi вызывает смешение отсека, а составляющая Ni порождает силу трения Fi, удерживающую грунт от смещения.

Fi = fNi.

Здесь f - коэффициент внутреннего трения грунта, равный

f = tgφ,

где φ - угол внутреннего трения грунта.

Препятствуют смещению грунта также силы сцепления сl, где с - удельное сцепление; l - длина кривой смещения

где: r - радиус кривой обрушения;

α - центральный угол, соответствующий дуге l.

В блоках, расположенных левее вертикально направленного радиуса кривой смещения, возникают тангенциальные составляющие веса Tк, которые направлены в сторону, противоположную смещению грунта.

Таким обратом, часть тангенциальных составляющих веса отсеков относится к удерживающим силам Туд. другая часть - к сдвигающим силам Тсдв.

Формула коэффициента устойчивости принимает вид:

Расчет устойчивости насыпи, состоящей из двух пластов - 1 и 2 с разными расчетными характеристиками грунтов (рис. 3.2).

γ1, γ2 и γ3 - объемный вес грунтов насыпи и основания;

f1, f2 и f3 - коэффициенты трения в грунтах насыпи и основания;

с1, с2 и c3 - коэффициенты сцепления в грунтах насыпи и основания;

li, 12, и 13 - длины кривых смещения в двух зонах и основания.

Рис.3.2 Разбивка на блоки из разнородных грунтов

Разбивка на блоки поперечного сечения насыпи с разнородными грушами проводится по формуле для определения коэффициента устойчивости в развернутом виде, которая имеет вид:

где  и  - соответственно части площадей отсеков в первом и втором пластах;

 - часть площади отсеков в грунте основания.

Для оценки устойчивости имеет значение критическая кривая смещения, т.е. такая кривая, при которой коэффициент устойчивости К имеет наименьшее значение.

Задача состоит в том, чтобы найти такое положение поверхности скольжения, при котором коэффициент устойчивости минимален. То есть задача поиска коэффициента устойчивости сводится к решению оптимизационной задачи. Параметрами оптимизации при этом являются координата точки вращения и радиус поверхности круглого цилиндра.

Радиус круглоцилиндрической поверхности скольжения и координаты ее центра однозначно определяются координатами ее точек пересечения с поверхностью земляного полотна (основания) и величиной стрелы стягивающей концы рассматриваемой потенциальной кривой скольжения (см схему рис. 3.3).

Рис. 3.3

В качестве параметров приняты:

- координата верхней точки поверхности скольжения (точка Б1);

- длина проекции на ось X поверхности скольжения (1х);

- стрела хорды стягивающей концы кривой скольжения (f).

Наихудшее сочетание параметров ищется на основе метода систематического просмотра многомерных областей. В качестве пробных точек в пространстве параметров используются точки равномерно распределенных последовательностей. В основе алгоритма лежит численное зондирование пространства параметров проектируемой конструкции насыпи. Исследование проводится в три этапа.

1-й этап: составление таблиц испытаний.

2-й этап: выбор критериальных ограничений. В нашем случае это принятая величина коэффициента устойчивости, менее которой считается устойчивость земляного полотна не обеспеченной.

3-й этап: проверка непустоты множества недопустимых точек. Если на третьем этапе найдутся возможные поверхности, для которых коэффициент устойчивости близок или меньше допустимого значения, то следует соответствующим образом изменить диапазон (сузить) изменения параметров и повторить все три этапа. Если будут найдены новые «плохие» точки, то следует провести новый цикл расчетов. И так до тех пор пока не будет уверенности, что найдены все положения поверхности скольжения, для которых не обеспечена устойчивость земляною полотна.

Результаты расчетов методом КЦПС приведены в приложении для условной площадки размером 165×70 м применительно к кусту буровых (заштрихованная площадь) рис П.8.

4. РАСЧЕТ ПРОЧНОСТИ КОНСТРУКЦИИ И ПРОГНОЗА ОСАДКИ АРМОГРУНТОВОЙ НАСЫПИ НА ТОРФЯНОМ ОСНОВАНИИ

При отсутствии достаточно достоверных данных по испытаниям грунтов основания и физико-механических свойств заполняемого в георешетку грунта расчеты носят достаточно условный характер, а интерпретация их результатов требует осторожности.

Определения наиболее точных значений величин напряжений и деформаций проводят методом конечных элементов (МКЭ). В качестве математической модели грунта применяют упруго-пластическую модель с ассоциированным законом течения и условием прочности Мора-Кулона.

Однако, на стадии проектирования для оперативного определения параметров конструкции насыпи усиленной одним или несколькими слоями георешетки «Прудон-494» требуется производить вариантные расчеты. Применять для этого каждый раз такие мощные численные методы, как МКЭ весьма затруднительно и трудоемко. Поэтому рекомендуется для этой цели пользоваться результатами численного эксперимента, проведенного по МКЭ, на основе которого построена многофакторная зависимость осадки армированной насыпи. Расчетная область была разбита на 1092 треугольных КЭ (600 узлов). План численного эксперимента формировался с использованием алгоритма, позволяющего равномерно зондировать многомерное пространство факторов.

Расчет прочности конструкции насыпи на торфяном основании включает:

1. Расчет устойчивости основания (под давлением насыпи)

2. Расчет величин осадки основании

Расчет устойчивости позволяет определить принципиальную схему армирования насыпи георешеткой «Прудон-494», обеспечивающую ее устойчивость на слабых грунтах основания, в том числе предотвращающую выпор грунтов. Устойчивость характеризуется "коэффициентом устойчивости", который должен быть как правило, не менее чем 1.25. Расчет устойчивости производится методом круглоцилиндрических поверхностей скольжения с учетом взаимодействия отсеков. При этом по алгоритмам, позволяющим зондировать поле параметров, ищется их наихудшее сочетание. Это сочетание параметров и определяет положение потенциальной кривой обрушения, по которой возможна деформация насыпи. Приведенные в приложении 1 результаты расчета устойчивости насыпи выполнены с учетом торфяного основания могут служить основой для ориентировочного выбора конструкций армогрунтового массива. Расчеты проводились для трех возможных состояний торфяного слоя, характеризуемых следующими физико-механическими свойствами (табл. П.1):

1. Сопротивление грунта сдвигу по крыльчатке принималось, соответственно равным 5, 10 и 15 кПа (рис П.1)

2. Угол внутреннего трения принимался близким к нулю О... 1 град.

3. Модуль деформации торфа соответственно варьировался от 100 до 300 кН/м2.

4. Расчетная прочность слоя георешетки «Прудон-494» па разрыв принималась 50 кН на 1 п.м. (с коэффициентом запаса на неоднородность заполнения ячеек).

Результаты расчетов приведены в приложении (таблицы П.2, П.3, П.4 и рисунки П.2, П.3, П.4). Следует отметить, что применение георешетки «Прудон-494» позволяет обеспечить устойчивость конструкции. На графиках П.5 и П.6 покачано изменение коэффициента устойчивости для максимальных и минимальных сочетаний параметров в зависимости от количества слоев георешетки «Прудон-494». Для обеспечения устойчивости основания в зависимости от его консистенции может потребоваться от 1 до 5 слоев. Расчеты показали, что во всех случаях положение потенциальной кривой обрушения практически одинаково.

Однако положительные результаты расчетов устойчивости не гарантируют допустимые величины деформации основания. Поэтому были проведены вариационные расчеты напряженно-деформированного состояния конструкции методом конечных элементов в упругопластической постановке. Условие прочности принято по Мору-Кулону. Для решения упруго-пластической, нелинейной задачи использован шаговый метод нагружения.

Необходимо отмстить, что данные по величинам физико-механических свойств слоя георешетки, заполненной различными грунтами могут существенно различаться. Поэтому принята достаточно условная схема расчета - двухслойная конструкция, поскольку основное влияние на величину осадки оказывает торф. При этом нижний слой - торф рассматривается со свойствами, указанными выше. Прочность насыпи, характеризуемая модулем деформации и сцеплением, варьировалась в диапазоне: Ед = 10000 ... 60000 кПа, С = 50 ... 175 кПа. Угол внутреннего трения насыпи принимался равным 36 град. На графике (рис. П.7) приведено семейство кривых, показывающих влияние физико-механических свойств насыпи на осадку торфа основания в зависимости от его консистенции.

Расчеты деформаций при необходимости могут быть уточнены после проведения исследований физико-механических свойств георешетки «Прудон-494», заполненной конкретными грунтами, уложенной на конкретное податливое основание.

Для практического применения при проектировании на основании указанного плана и результатов расчетов по МКЭ с использованием метода наименьших квадратов построена многофакторная, нелинейная математическая модель зависимости осадки армированной насыпи от расчетных параметров (см. табл. П.5).

Перед подстановкой значений варьируемых факторов в уравнение регрессии они должны быть нормированы по формулам:

Х1 = -(20-Ен)/10

Х2 = -(125-Сн)/75

Х3 = -(10-Ст)/5

При этом необходимо отметить, что модель дает удовлетворительные результаты при изменении нормированных факторов в диапазоне от -1 до +1.

Коэффициенты уравнения регрессии приведены в таблице:

Х1

Х2

Х3

F0

Х12

Х13

Х23

Х32

-0.1816

-0.2237

-0.9353

1.124

0.2625

0.1615

0.2751

0.5821

В табл. П.6 приведены результаты сравнения расчетов по МКЭ и по математической регрессионной модели.

Регрессионная модель характеризуется следующими показателями:

- Число степеней свободы = 12

- Средняя ошибка регрессии, % = 5,9

- Дисперсия адекватности =0,013

Для проверки прочности и устойчивости конструкции насыпи площадки были проведены расчеты коэффициента прочности по Мизесу для средних грунтовых условий основания, которые показали, что возможные зоны, где коэффициент прочности может оказаться <1, имеют ограниченный замкнутый характер и достаточно удалены от поверхности площадки.

Эти данные позволяют рекомендовать при реальном проектировании ограничиться расчетами по предложенной методике и обращаться к более углубленным расчетам только в случаях существенно отличных природных условий (на глубинах болот более 6 метров, на болотах со сплавиной, при полном отсутствии дренирующих грунтов для отсыпки насыпи и т.п.).

Порядок расчетов при проектировании конструкции насыпи.

1. Устанавливается необходимый коэффициент устойчивости. Как правило он должен быть в диапазоне 1,1 .. 1,25.

2. По графикам зависимости коэффициента устойчивости от количества слоев георешетки и консистенции основания определяют схему армирования.

3. По регрессионной математической модели определяют ожидаемую величину осадки (см. формулу). Для расчетов удобно использовать Microsoft Excel.

Н = Fo - 0.1816*Х1 - 0.2237*X2 - 0.9353*Х3+

+0.2625*Х12+0.1615*Х13+0.2751*Х23+ +0.5821*Х32

4.Если величина ожидаемой осадки превышает допустимую, то следует изменить конструкцию и повторить расчет.

5 Собственные частоты колебаний насыпи, как показали расчеты, слабо зависят от параметров основания и определяются в основном физико-механическими свойствами грунта и армирования насыпи. Расчетные значения величины октав собственных частот колебаний насыпи, армированной георешеткой «Прудон-494» составили, Гц:

2,3

4,0

6,1

8,9

12,9

18,4

26,2

При наличии динамической нагрузки и необходимости ее учета целесообразно выбирать частоту вынуждающей силы отличную от указанных.

5. ТЕХНОЛОГИЯ ВОЗВЕДЕНИЯ АРМОГРУНТОВОЙ НАСЫПИ ИЗ ОБЪЕМНОЙ ГЕОРЕШЕТКИ «ПРУДОН-494»

5.1. Подготовительные paботы

Подготовительные работы включают в себя:

- выравнивание основания будущей армогрунтовой насыпи:

- разбивку границ участка длиной 165 м и шириной 70 м армогрунтовой насыпи с фиксированием се подошвы;

- подготовка георешеток:

- заготовка колышков, требующихся для закрепления полотнищ геотекстиля, и металлических штырей и скрепок для закрепления георешеток.

- доставка заготовленных материалов на место работ и складирование их во временном помещении;

- выравнивание основания, отсыпка выравнивающего слоя песком производятся бульдозером.

Разбивочные работы ведут от оси проектируемого земляного сооружения (насыпи) с обозначением ее подошвы. Для закрепления разбивки на местности применяют колья с натянутой на них проволокой, вешки-визирки и шпильки-высотники.

5.2. Основные работы

Возведение армогрунтовой конструкции насыпи на всю высоту осуществляют в следующей последовательности:

- на всю площадь насыпи расстилают полотнища геотекстиля, закрепляют их колышками.

- укладывают первый слой георешетки, засыпают его песком, уплотняют;

- укладывают второй слой георешетки, также засыпают песком и уплотняют;

- отсыпают насыпь песком слоем толщиной 50 см, уплотняют;

- расстилают полотнища геотекстиля, закрепляют;

- укладывают третий слой георешетки, засыпают песком, уплотняют;

- выравнивают поверхность с приданием требуемых уклонов.

5.3. Детальное описание технологии производства работ

До начала работ по устройству армогрунтовой насыпи должны быть выполнены все подготовительные работы. В их число, кроме отсыпки выравнивающего слоя и геодезической разбивки, входит устройство временных дорог для транспортировки грунта в тело насыпи и доставки материалов армирования.

Предшествующие работы оформляются актами на скрытые работы.

5.3.1. Укладка георешеток

На армирующие полотнища устанавливаются звенья георешеток на всю ширину насыпи в поперечном направлении одновременно с обоих торцов по длине насыпи на протяжении 25 м.

Звенья георешеток устанавливают следующим образом:

с помощью натянутых шнуров фиксируют плановое положение каждою звена вдоль ширины насыпи (торца):

- георешетку растягивают, при этом двое рабочих удерживают короткий край решетки, а двое рабочих другой край.

- георешетку крепят к основанию штырями вдоль торца насыпи;

- вторую георешетку растягивают и устанавливают вплотную к первой по короткому краю решетки

Параллельно устанавливают звенья георешеток вплотную к первым звеньям и ребра георешеток закрепляют скрепками.

Такая последовательность установки звеньев георешеток попеременно с двух торцов насыпи осуществляется на протяжении 25 м (с каждой стороны) по длине насыпи.

В середине насыпи (на протяжении 115 м) на всю ее длину звенья георешеток устанавливаются чередованием их в поперечном и продольном направлении, а ребра георешеток также скрепляются скрепками.

Края георешеток крепят штырями к основанию с шагом 1.5 - 2.0 м по всему периметру, при этом следует контролировать параллельность сторон георешетки.

После окончания укладки георешеток проверяют качество выполненных работ и оформляют «акт на скрытые работы».

5.3.2. Засыпки георешеток песчаным грунтом

Операцию засыпки песком ячеек георешеток выполняют с помощью ковшовых погрузчиков ТО-11.

Используют два погрузчика, но одному с обеих торцевых сторон насыпи.

Песок предварительно завозят автосамосвалами и складируют в бунты у этих же сторон площадки.

Песок отсыпают в ячейки с избытком, не менее чем на 20-25 см над уровнем верха георешетки.

Отсыпку песка выполняют за один раз на всю толщину слоя.

При выполнении этой технологической операции необходимо следить, чтобы колеса погрузчика не деформировали ребра решетки.

5.3.3. Разравнивание и предварительная планировка грунта

Предварительную планировку поверхности отсыпки выполняют бульдозером типа ДЗ-42 на пневмошинах за один - два прохода по одному следу.

Эту работу выполняют поперечными и продольными проходами на 2-й рабочей скорости, начиная от торцов насыпи с постепенным перемещением к се середине и с перекрытием предыдущего следа на 0.5-0.8 м.

Использование бульдозера на гусеничном ходу не допускается.

5.3.4. Уплотнение грунта

При выборе уплотняющего механизма необходимо учитывать несущую способность основания.

Особое внимание следует уделять тщательности уплотнения грунта, помещаемого в обойму по всей ширине насыпи, включая откосную часть.

Поэтому уплотняют сначала легким катком ДУ-31А за 4 прохода по одному следу, а затем окончательно средним катком ДУ-16В на пневмошинах за 6 проходов по одному следу по всей ширине насыпи.

Первые проходы катка выполняют от середины к краям насыпи, смещая каждым последующий проход на 1/3 ширины катка с выравниванием прибровочного участка со стороны лицевого откоса насыпи.

Степень уплотнения проверяют лабораторно-строительные посты строительства.

6. ОРГАНИЗАЦИЯ ТРУДА ПО СООРУЖЕНИЮ АРМОГРУНТОВОЙ НАСЫПИ

Организуют комплексную бригаду.

Бригада состоит из следующего состава рабочих:

машинист бульдозера                  6 разряда - 2 чел.

машинист катков ДУ-31А           6 разряда - 2 чел.

ДУ-16В            6 разряда - 2 чел.

машинист автогрейдера ДЗ-99    6 разряда - 1 чел.

машинисты погрузчиков ТО-11  6 разряда - 2 чел.

дорожные рабочие:                      3 разряда - 4чел.

                      2 разряда - 4 чел.

Работу бригада организует следующим образом:

- дорожные рабочие (2 чел. 3 разряда и 2 чел. 2 разряда) раскатывают дорнит на всю ширину насыпи;

- машинист бульдозера производит отсыпку и разравнивание грунта на толщину 5 см на всю площадь насыпи:

- дорожные рабочие (2 чел. 3 разряда и 2 чел. 2 разряда) устанавливают георешетки вдоль ширины насыпи (70 м), попеременно с одной и другой стороны.

- машинисты погрузчиков ТО-11 выполняют отсыпку ячеек георешеток за одни раз на всю толщину слоя 35 см с учетом осадки при уплотнении;

- машинист катка ДУ-31А прокатывает отсыпанный грунт за 4 прохода по одному следу;

- дорожные рабочие (2 чел. 3 разряда, и 2 чел. 2 разряда) устанавливают на отсыпанный над первым слоем георешетки и уплотненный грунт второй слой георешетки и скрепляют его скобами с первым слоем, установку второго слоя георешетки производят в той же последовательности, что и первый слой;

- машинисты погрузчиков ТО-11 осуществляют засыпку георешеток второго слоя (с торцов насыпи);

- машинисты катков ДУ-31А прокатывают отсыпанный грунт в ячейки георешеток второго слоя;

- машинист катка ДУ-16В укатывает послойно грунт над вторым слоем георешетки до необходимой плотности 0,98.

Окончательную планировку выравнивающего слоя выполняют автогрейдером ДЗ-99 за два прохода по одному следу по всей ширине насыпи.

Первый проход делают по оси насыпи. Последующие проходы с постепенным смещением к краю насыпи. Повторные - от краев насыпи с перемещением к середине.

При проходе по оси насыпи отвал грейдера устанавливают вертикально, при остальных проходах - и соответствии с проектными уклонами.

В отдельных местах, особенно у бровки откосных частей насыпи, рабочие разравнивают и планируют поверхность насыпи вручную.

7. ТЕХНИКА БЕЗОПАСНОСТИ

При строительстве армогрунтовой насыпи на торфяном основании под кустовую площадку с применением в качестве армирующих прослоек георешетки «Прудон-494», необходимо выполнять «Правила по охране труда при сооружении насыпей».

До начала работ необходимо:

- оградить участок работ дорожными знаками;

- место производства работ и строительная площадка должны освещаться стационарными, передвижными или переносными осветительными установками наружного освещения по всему периметру насыпи;

- наметить для рабочих схему захода в зону работ автосамосвалов.

В процессе работ по возведению насыпи необходимо соблюдать следующие требования:

- расстояние от бровки насыпи до колеса бульдозера, автогрейдеров, погрузчика должно быть не менее 0.5 м, а до колеса автосамосвала - не менее 1.0 м;

- при выгрузке грунта из самосвалов рабочие должны находиться со стороны водителя машины и не ближе 5 м от зоны развала выгруженного грунта;

- при выгрузке грунта расстояние от оси заднего колеса автосамосвала до бровки отсыпаемого армогрунтового откоса должно быть не менее 2 м;

- рабочие, обслуживающие машины, должны пользоваться средствами индивидуальной защиты в соответствии с отраслевыми нормами;

- при совместной работе нескольких машин, идущих друг за другом, дистанция между ними должна быть не менее 10 м;

- каждая машина должна быть закреплена по приказу за определенным водителем;

- засыпку георешеток грунтом следует вести не ближе, чем за 20 м от места установки георешетки;

При обрезке полотен геотекстиля и стеклоткани ручным режущим инструментом необходимо соблюдать следующие правила безопасности:

- отрезать армирующие полотнища способом от себя;

- убирать режущий инструмент в футляр;

- при укреплении откосов георешеткой, состоящей из отдельных элементов, ее разрешается укладывать только в направлении от подошвы откоса к вершине.

В таком же порядке следует производить отсыпку ячеек георешетки растительным грунтом с семенами.

Все работы по защите откосов георешетками - доставка их на место монтажа, где они раскладываются в объемах, соответствующих погонному расходу в сооружении, транспортные операции, складирование и монтаж их в карту покрытия следует производить в соответствии с Правилами техники безопасности и санитарии.

8. КОНТРОЛЬ КАЧЕСТВА РАБОТ. НАУЧНОЕ СОПРОВОЖДЕНИЕ. ПОТРЕБНОСТЬ РЕСУРСОВ

Выполнение работ по возведению насыпи рекомендуемой конструкции требует особого внимания к контролю качества ведения работы и ее результатов по каждому технологическому процессу и организации научного сопровождения хода строительства.

В первой составляющей - основное требование - это соблюдение указаний нормативных документов.

Во второй - своевременное регулирование технологии отсыпки и реакция на процесс и тенденции хода осадок и их стабилизации.

Научное сопровождение должно быть организовано заказчиком и выполняться компетентными специалистами научной организации, курирующей объект.

Для выполнения расчетов потребности в ресурсах могут быть использованы данные, полученные на основании опыта строительства аналогичных объектов. Пример расчета стоимости и трудоемкости дан на 1 м2 в локальной смете, с учетом перерасхода материала при укладке в приложении 10.

Рекомендованные материалы для армирования - георешетки «Прудон-494», принятые в расчетах, не являются дефицитными, однако, в случае их замены на какие-либо другие, кроме проверки обязательного наличия сертификата, следует провести контрольные расчеты конструкций насыпи, прежде чем применить их при ее возведении.

Специфика объекта и возможные в связи с этим отклонения от расчетных экономических показателей и единичных расценок должны при соответствующем обосновании компенсироваться за счет непредвиденных расходов, закладываемых в сметные документы.

Приложения к настоящим рекомендациям могут быть использованы при рабочем проектировании как исходный материал.

ЛИТЕРАТУРА

1. Атлас СССР, главное управление геодезии и картографии, М.. 1986.

2. СНиП 2.01.01-82. Строительная климатология и геофизика, М., Госстрой, 1983.

3. Инженерная геология, том 2. Западная Сибирь, изд-во МГУ, 1976.

4. Инженерная геология. Западно-Сибирская и Тургансткая плиты, книга 1, М. «Недра» 1990.

5. Основания и фундаменты транспортных сооружений. М, «Транспорт», 1996.

6. Пособие по проектированию земляного полотна на слабых грунтах (к СНиП 2.05.02-85).

7. Временные строительные нормы по применению синтетических материалов при устройстве нежестких дорожных одежд автомобильных дорог, приложение 3 - технические характеристики объемных георешеток «Прудон-494», М. ЦНИИС, 26 ЦНИИ МО РФ, 1999.

8. Глотов Н.М., Леонычев А.В. и др. Основания и фундаменты транспортных сооружений, М.. «Транспорт». 1996.

9. Методические указания по проектированию земляного полотна на слабых грунтах. М.. ЦНИИС. СоюздорНИИ. Оргтрансстрой.

10. Методика расчета устойчивости грунтовых насыпей, армированных георешетками «Прудон-494», М. СоюздорНИИ. 1999.

11. Синтетические текстильные материалы в транспортом строительстве, М., «Транспорт», 1984.

12. Сборник научных трудов. Новые конструкции и технология сооружения земляного полотна. М., «Транспорт», 1987.

13. Обзорная информация. Автомобильные дороги. № 5 за 1998 год. Львович Ю.М., Ким А.И., Аливер Ю.А.. Геосинтетические и геопластиковые материалы в дорожном строительстве, М.. Информавтодор. 1998.

14. Инструкция по использованию геотекстилей и георешеток в строительстве. Рабочая немецкая группа по земляным работам и фундаментному строительству, М., 1994.

15. НТО и НИР «Научно-техническое сопровождение строительства опытных участков с использованием георешеток «Прудон-494» на автомобильной дороге в г. Бронницы Московской области» (шифр «Дорога-94»). 26 ЦНИИ МО РФ, М., 1994.

16.СНиП 3.02.01-83. Основания и фундаменты.

17. СНиП 2.02.04-88. Основания и фундаменты на вечномерзлых грунтах, М., Госстрой, 1990.

18.СНиП II-4-80 часть III глава 4. Правила производства и приемки работ, техника безопасности в строительстве.

19. Заключение по эффективности использования георешеток в конструктивных слоях дорожных одежд в практике pемонта и строительства автомобильных дорог 494 УНР. М., РосдорНИИ, 1997.

20. Материалы отечественной и зарубежной печати по проблемам применения георешеток «Прудон-494»: «Строительная газета», журналы «Деловые люди». «CIS TODAY», «Автомобильные дороги».

21. Энциклопедические издания:

- Федеральный справочник. Российское строительство. Строительный потенциал Подмосковья, М., «РОДИНА-ПРО», 1998, стр. 93:

- Большой российский каталог. Строительство 2000, М., 2000 г., стр. 82-83.

Приложение 1.

Таблица П.1.

Физико-механические свойства грунта

Объект - Грунтовая насыпь на торфяном основании

 

Блоки

Толщина слоя, м

Плотность кН/м куб

Сцепление, кПа

Угол внутреннего трения, град

Отметка основания слоя, м

№ слоя 1

 

 

 

 

 

 

 

3

2.00

18.500

4.00

36.00

20.00

 

4

2.00

18.500

4.00

36.00

20.00

№ слоя 2

 

 

 

 

 

 

 

1

4.00

12.000

5.00

1.00

16.00

 

2

4.00

12.000

5.00

0.00

16.00

 

3

4.00

12.000

5.00

0.00

16.00

 

4

4.00

12.000

5.00

1.00

16.00

№ слоя 3

 

 

 

 

 

 

 

1

16.00

17.500

4.00

36.00

0.00

 

2

16.00

17.500

4.00

36.00

0.00

 

3

16.00

17.500

4.00

36.00

0.00

 

4

16.00

17.500

4.00

36.00

0.00

Приложение 1a

рис. П.1

Приложение 2

Таблица П.2.

Протокол расчета устойчивости объекта - Грунтовая насыпь па торфяном основании

Координата точки входа, м

Длина кривой обрушения, м

Стрела кривой обрушения, в % от ее длины

Коэффициент устойчивости (4 слоя)

57.97

28.09

17.38

1.113

54.69

29.45

16.25

1.212

53.91

26.91

18.13

1.216

59.77

31.70

14.56

1.333

57.85

31.85

13.34

1.427

59.61

35.02

11.19

1.526

52.23

32.63

14.84

1.529

52.42

24.47

20.94

1.578

56.95

34.43

18.31

1.722

58.13

25.16

15.50

1.723

55.86

30.33

20.19

1.740

55.31

28.67

11.75

1.745

53.20

23.50

15.31

1.755

55.39

26.23

25.06

1.756

49.73

23.25

20.84

1.771

59.92

15.10

38.94

1.783

55.16

37.85

15.13

1.788

54.92

33.85

26.94

1.804

54.53

38.63

13.63

1.807

40.20

19.15

22.72

1.825

53.59

35.12

24.88

1.810

56.60

39.66

22.34

1.845

52.73

26.43

33.69

1.860

54.41

36.14

17 09

1.876

52.54

30.67

27.59

1.882

56.25

32.19

23.00

1.909

52.11

31.89

29.19

1.928

52.85

25.60

25.34

1.939

54.14

37.17

22.06

1.945

51.64

21.54

28.06

1.946

54.22

32.77

32.38

1.952

42.27

22.32

20.56

1.973

Приложение 3.

Таблица П.3.

Протокол расчета устойчивости объекта - Грунтовая насыпь на торфяном основании

Координата точки входа, м

Длина кривой обрушения, м

Стрела кривой обрушения, в % от ее длины

Коэффициент устойчивости (4 слоя)

57.97

28.09

17.38

1.269

53. 91

26.91

18.13

1.393

54.69

29.45

16.25

1.405

59.77

31.70

14.56

1.528

57.85

31.85

13.34

1.624

52.42

24.47

20.94

1.703

59.61

35.02

11.19

1.780

56.95

34.43

18.31

1.795

55.39

26.23

25.06

1.801

52.23

32.63

14.84

1.807

55.86

30.33

20.19

1.814

54.92

33.85

26.94

1.827

53.59

35.12

24.88

1.865

56.60

39.66

22.34

1.868

58.13

25.16

15.50

1.877

52.73

26.43

33.69

1.878

55.16

37.85

15.13

1.892

52.54

30.67

27.59

1.906

59.92

15.10

38.94

1.914

56.25

32.19

23.00

1.932

53.20

23.50

15.31

1.940

54.41

36.14

17.09

1.945

54.22

32.77

32.38

1.950

52.11

31.89

29.19

1.955

54.53

38.63

13.63

1.961

54.14

37.17

22.06

1.980

55.31

28.67

11.75

1.989

52.85

25.60

25.34

1.990

51.64

21.54

28.06

2.014

58.67

38.54

23.94

2.021

49.73

23.25

20.84

2.022

55.08

33.65

28.81

2.052

Приложение 4.

Таблица П.4.

Протокол расчета устойчивости объекта - Грунтовая насыпь на торфяном основании

Координата точки входа, м

Длина кривой обрушения, м

Стрела кривой обрушения, в % от ее длины

Коэффициент устойчивости (4 слоя)

57.97

28.09

17.38

1.351

53.91

26.91

18.13

1.480

54.69

29.45

16.25

1.508

59.77

31.70

14.56

1.636

57.85

31.85

13.34

1.730

52.42

24.47

20.94

1.735

56.95

34.43

18.31

1.788

55.39

26.23

25.06

1.793

55.86

30.33

20.19

1.803

54.92

33.85

26.94

1.810

53.59

35.12

24.88

1.844

56.60

39.66

22.34

1.851

52.73

26.43

33.69

1.853

52.54

30.67

27.59

1.881

58.13

25.16

15.50

1.891

56.25

32.19

23.00

1.907

54.22

32.77

32.38

1.910

55.16

37.85

15.13

1.918

59.61

35.02

11.19

1.931

52.11

31.89

29.19

1.937

54.41

36.14

17.09

1.940

59.92

15.10

38.94

1.947

54.14

37.17

22.06

1.966

52.23

32.63

14.84

1.970

52.85

25.60

25.34

1.986

58.67

38.54

23.94

2.006

53.20

23.50

15.31

2.006

51.64

21.54

28.06

2.009

54.53

38.63

13.63

2.024

55.08

33.65

28.81

2.025

57.89

35.61

31.06

2.025

53.05

33.07

19.44

2.038

Приложение 4а.

Грунтовая насыпь на торфяном основании. Коэффициент устойчивости = 1,1 по методу КЦПС

рис. П.2

Грунтовая насыпь на торфяном основании. Коэффициент устойчивости = 1,269 по методу КЦПС

рис П.3

Грунтовая насыпь на торфяном основании. Коэффициент устойчивости =1,351 по методу КЦПС

рис. П.4

Приложение 5

Таблица П.5

План численного эксперимента расчета осадок насыпи

Модуль деформации армогрунтовой насыпи, МПа

Расчетная величина сцепления армогрунтовой насыпи, кПа

Сопротивление сдвигу по крыльчатке торфа основания, кПа

20

125

10

15

162,5

7,5

25

87,5

12.5

12,5

68,75

13.75

22,5

143,8

8,75

17,5

181,3

11,25

27,5

106,3

6,25

13,75

115,6

8,125

23,75

190,6

13,13

18,75

153,1

5,625

28,75

78,13

10,63

11,25

96,88

11,88

21,25

171,9

6,875

16,25

134,4

14,38

26.25

59,38

9,375

10,63

54,69

6,563

20,63

129,7

11,56

15,63

167,2

9,063

25,63

92,19

14,06

13,13

73,44

12,81

Приложение 5а

Рис. П.5

Приложение 6.

Результаты сравнения расчетов осадок насыпи по МКЭ и математическом модели

Таблица П.6

Х1

Х2

X3

Осадки по МКЭ, мм

Осадки по модели, м

Ошибка, %

0.0000

0.0000

0.0000

1.108

1.124

1.443

-0.5000

0.5000

-0.5000

1.608

1.622

0.902

0.5000

-0.5000

0.5000

0.758

0.729

3.832

-0.7500

-0.7500

0.7500

0.794

0.956

20389

0.2500

0.2500

-0.2500

1.223

1.282

4.798

-0.2500

0.7500

0.2500

0.914

0.797

12.843

0.7500

-0.2500

-0.7500

2.033

1.984

2.384

-0.6250

-0.1250

-0.3750

1.616

1.769

9505

0.3750

0.8750

0.6250

0.716

0.778

8.608

-0.1250

0.3750

-0.8750

2.285

2.242

1.881

0.8750

-0.6250

0.1250

0.899

0.850

5.494

-0.8750

-0.3750

0.3750

1.064

1.092

2 661

0.1250

0.6250

-0.6250

1.647

1.674

1.660

-0.3750

0.1250

0.8750

0.727

0.756

4.051

0.6250

-0.8750

-0.1250

1.105

1.206

9.192

-0.9375

-0.9375

-0.6875

2.984

2.934

1658

0.0625

0.0625

0.3125

0.916

0.873

4.740

-0.4375

0.5625

-0.1875

1.225

1.193

2.576

0.5625

-0.4375

0.8125

0.662

0.656

0.980

-0.6875

-0.6875

0.5625

1.251

1.016

18.767

Приложение 6а

Рис. П.6

Приложение 7

Рис. П.7

Приложение 8

Таблица П.8

Потребность в машинах, инвентаре, оборудовании, инструментах

№№ п/п

Наименование

Тип, марка ГОСТ

Количество, шт

1

Бульдозер

ДЗ-42

1

2

Каток

ДУ-31А

1

3

Каток

ДУ-16

1

4

Автогрейдер

ДЗ-99

1

5

Погрузчики

ТО-11

1

6

Автомобили-самосвалы

КамАЗ-54111

По расчету

7

Нивелир

ГОСТ 11158-83

1

8

Рейки нивелирные

ГОСТ 10528-76

2

9

Шнур льнопеньковый крученый длиной 50 м

ГОСТ 5107-70

2

10

Рейка трехметровая с мерным клином

-“-

1

11

Лопаты строительные стальные

ГОСТ 3620-76

4

12

Рулетка металлическая измерительная

ГОСТ 7502-80

1

13

Молотки стальные строительные

ГОСТ 11042-83

5

14

Вешки

-“-

6

15

Штыри стальные

-“-

По расчету

16

Специальные скрепки

-“-

По расчету

17

Деревянные колышки

-“-

По расчету

18

Выдвижные стабилизаторы

-“-

По расчету

19

Знаки дорожные для ограждения участка работ, комплект

ГОСТ 10807-78

1

20

Вагон для мастера

-“-

1

21

Наружное освещение по периметру

 

Приложение 9.

Схема строительства буровой площадки

Приложение 10.

Технологическая схема укладки рулонного геотекстильного материала и георешетки «ПРУДОН-494» в основании земляного полотна.

1 - синтетический нетканый материал; 2 - «ПРУДОН-494»; 3 - песок.

 




Яндекс цитирования



   Copyright © 2007-2026,  www.tehlit.ru.

[ ѓосты, стандарты, нормативы, инструкции, правила, строительные нормы ]