//
ТехЛит.ру
- крупнейшая бесплатная электронная интернет библиотека для "технически умных" людей.
WWW.TEHLIT.RU - ТЕХНИЧЕСКАЯ ЛИТЕРАТУРА

:: Алготрейдинг::


АЛГОТРЕЙДИНГ
шаг за шагом
с нуля по урокам!

Торговые роботы на PYTHON, BackTrader,
Pandas, Pine Script для TradingView. Связка с брокерами, телеграм и легкими приложениями.


ФЕДЕРАЛЬНОЕ АГЕНТСТВО

ПО ТЕХНИЧЕСКОМУ РЕГУЛИРОВАНИЮ И МЕТРОЛОГИИ

НАЦИОНАЛЬНЫЙ
СТАНДАРТ
РОССИЙСКОЙ
ФЕДЕРАЦИИ

ГОСТ Р
52161.2.15-
2006

(МЭК 60335-2-15:2005)

БЕЗОПАСНОСТЬ БЫТОВЫХ И АНАЛОГИЧНЫХ ЭЛЕКТРИЧЕСКИХ ПРИБОРОВ

Часть 2.15

Частные требования для приборов для нагревания жидкостей

IEC 60335-2-15:2005

Household and similar electrical appliances - Safety - Part 2-15: Particular requirements for appliances for heating liquids

(MOD)

Москва

Стандартинформ

2007

Предисловие

Цели и принципы стандартизации в Российской Федерации установлены Федеральным законом от 27 декабря 2002г. 184-ФЗ «О техническом регулировании», а правила применения национальных стандартов Российской Федерации - ГОСТ P 1.0-2004 «Стандартизация в Российской Федерации. Основные положения»

Сведения о стандарте

1. ПОДГОТОВЛЕН ООО «ТЕСТБЭТ» на основе собственного аутентичного перевода стандарта, указанного в пункте 4

2. ВНЕСЕН Техническим комитетом по стандартизации ТК 19 «Электрические приборы бытового назначения»

3. УТВЕРЖДЕН И ВВЕДЕН В ДЕЙСТВИЕ Приказом Федерального агентства по техническому регулированию и метрологии от 13 ноября 2006г. 251-ст

4. Настоящий стандарт является модифицированным по отношению к международному стандарту МЭК 60335-2-15:2005 «Бытовые и аналогичные электрические приборы. Безопасность. Часть 2-15. Частные требования для приборов для нагревания жидкостей», издание 5.1 (IEC 60335-2-15:2005 «Household and similar electrical appliances - Safety - Part 2-15: Particular requirements for appliances for heating liquids») путем внесения дополнительных требований, объяснение которых приведено во введении к настоящему стандарту.

Наименование настоящего стандарта изменено относительно наименования указанного международного стандарта для приведения в соответствие с ГОСТ P 1.5-2004 (подраздел 3.5)

5. ВЗАМЕН ГОСТ P МЭК 60335-2-15-98

Информация об изменениях к настоящему стандарту публикуется в ежегодно издаваемом информационном указателе «Национальные стандарты», а текст изменений и поправок - в ежемесячно издаваемых информационных указателях «Национальные стандарты». В случае пересмотра (замены) или отмены настоящего стандарта соответствующее уведомление будет опубликовано в ежемесячно издаваемом информационном указателе «Национальные стандарты». Соответствующая информация, уведомление и тексты размещаются также в информационной системе общего пользования - на официальном сайте Федерального агентства по техническому регулированию и метрологии в сети Интернет

Содержание

1. Область применения

2 Нормативные ссылки

3. Термины и определения

4. Общие требования

5. Общие условия испытаний

6. Классификация

7. Маркировка и инструкции

8. Защита от доступа к токоведущим частям

9. Пуск электромеханических приборов

10. Потребляемая мощность и ток

11. Нагрев

12. Свободен

13. Ток утечки и электрическая прочность при рабочей температуре

14. Динамические перегрузки по напряжению

15. Влагостойкость

16. Ток утечки и электрическая прочность

17. Защита от перегрузки трансформаторов и соединенных с ними цепей

18. Износостойкость

19. Ненормальная работа

20. Устойчивость и механические опасности

21. Механическая прочность

22. Конструкция

23. Внутренняя проводка

24. Комплектующие изделия

25. Подсоединение к источнику питания и внешние гибкие шнуры

26. Зажимы для внешних проводов

27. Заземление

28. Винты и соединения

29. Воздушные зазоры, пути утечки и непрерывная изоляция

30. Теплостойкость и огнестойкость

31. Стойкость к коррозии

32. Радиация, токсичность и подобные опасности

Приложение C (обязательное) Испытание двигателей на старение

Приложение 2 (справочное) Сведения о соответствии ссылочных международных стандартов национальным стандартам Российской Федерации, использованным в настоящем стандарте в качестве нормативных ссылок

Введение

Настоящий стандарт относится к группе стандартов, регламентирующих требования безопасности бытовых и аналогичных электрических приборов, состоящей из Части 1 (ГОСТ P 52161.1) - общие требования безопасности приборов, а также Частей, устанавливающих частные требования к конкретным видам приборов.

Настоящий стандарт содержит нормы, правила и методы испытаний, которые дополняют, изменяют или исключают соответствующие разделы и (или) пункты ГОСТ P 52161.1.

Стандарт применяют совместно с ГОСТ P 52161.1.

Методы испытаний выделены курсивом.

Термины, применяемые в настоящем стандарте, выделены полужирным шрифтом.

Номера пунктов настоящего стандарта, которые дополняют разделы ГОСТ P 52161.1, начинаются с цифры 101.

Изменение наименования раздела 3 вызвано необходимостью приведения в соответствие с ГОСТ P 1.5-2004.

В настоящем стандарте раздел «Нормативные ссылки» изложен в соответствии с ГОСТ P 1.5-2004 и выделен сплошной вертикальной линией, расположенной слева от приведенного текста.

Сведения о соответствии ссылочных международных стандартов национальным стандартам Российской Федерации, использованным в настоящем стандарте в качестве нормативных ссылок, приведены в приложении 2. В тексте стандарта соответствующие ссылки выделены подчеркиванием сплошной горизонтальной линией.

НАЦИОНАЛЬНЫЙ СТАНДАРТ РОССИЙСКОЙ ФЕДЕРАЦИИ

БЕЗОПАСНОСТЬ БЫТОВЫХ И АНАЛОГИЧНЫХ ЭЛЕКТРИЧЕСКИХ ПРИБОРОВ

Часть 2.15

Частные требования для приборов для нагревания жидкостей

Safety of household and similar electrical appliances. Part 2.15. Particular requirements for appliances for heating liquids

Дата введения - 2008-01-01

1. Область применения

Этот раздел Части 1 заменен следующим.

Настоящий стандарт устанавливает требования безопасности электрических приборов для нагревания жидкостей (далее - приборы) для бытового и аналогичного применения номинальным напряжением не более 250 В.

Примечания

101. Некоторые приборы могут быть использованы для нагревания пищи.

102. Примерами таких приборов являются:

- кофеварки;

- кастрюли;

- яйцеварки;

- подогреватели детского питания;

- чайники и другие приборы для кипячения воды номинальным объемом не более 10л;

- подогреватели молока;

- приборы варки под давлением, имеющие номинальное давление варки не более 140 кПа и номинальный объем не более 10л;

- приборы медленной варки;

- пароварки;

- баки для кипячения белья;

- приборы для приготовления йогурта.

Приборы, не предназначенные для бытового использования, но которые тем не менее могут быть источником опасности для людей, например приборы, используемые неспециалистами в магазинах, в легкой промышленности и на фермах, входят в область распространения настоящего стандарта.

Примечание 103. - Примерами таких приборов являются:

- клееварки с водяной баней;

- подогреватели питания для скота;

- стерилизаторы.

Насколько это возможно, настоящий стандарт устанавливает основные виды опасностей приборов, с которыми люди сталкиваются внутри и вне дома. Стандарт не учитывает опасностей, возникающих в случаях:

- безнадзорного использования приборов детьми или немощными лицами;

- игр детей с приборами.

Примечания

104. Следует обратить внимание на следующее:

- для приборов, предназначенных для использования в транспортных средствах, на борту кораблей, самолетов, могут быть необходимы дополнительные требования;

- во многих странах национальные органы здравоохранения, охраны труда и др. предъявляют к приборам дополнительные требования.

105. Настоящий стандарт не распространяется:

- на сковороды и фритюрницы (ГОСТ P 52161.2.13):

- аккумуляционные водонагреватели (ГОСТ P 52161.2.21):

- проточные водонагреватели (ГОСТ P МЭК 60335-2-35):

- приборы для очистки поверхностей с использованием жидкостей или пара (ГОСТ P МЭК 60335-2-54);

- портативные погружные нагреватели (ГОСТ P МЭК 335-2-74):

- коммерческие дозирующие устройства и торговые автоматы;

- приборы для медицинских целей (ГОСТ 30324.0):

- приборы, предназначенные исключительно для промышленных целей;

- приборы, предназначенные для применения в местах, где преобладают особые условия, например коррозионная или взрывоопасная среда (пыль, пар или газ);

- приборы для высокочастотного нагрева;

- стерилизаторы высокого давления;

- увлажнители для бытового и аналогичного использования (ГОСТ P МЭК 60335-2-98).

106. Необходимо обратить внимание на то, что во многих странах требования к сосудам под давлением применяют к приборам для варки под давлением.

2 Нормативные ссылки

Этот раздел Части 1 применяют, за исключением следующего.

Дополнение

ГОСТ P 51325.1-99 (МЭК 60884-1-94) Соединители электрические бытового и аналогичного назначения. Часть 1. Общие требования и методы испытаний

ГОСТ P 52161.1-2004 (МЭК 60335-1:2001) Безопасность бытовых и аналогичных электрических приборов. Часть 1. Общие требования

ГОСТ P 52161.2.13-2005 (МЭК 60335-2-13:2002) Безопасность бытовых и аналогичных электрических приборов. Часть 2.13. Частные требования для фритюрниц, сковород и аналогичных приборов

ГОСТ P МЭК 60335-2-21-99 Безопасность бытовых и аналогичных электрических приборов. Дополнительные требования к аккумуляционным водонагревателям и методы испытаний

ГОСТ P МЭК 60335-2-35-2000 Безопасность бытовых и аналогичных электрических приборов. Дополнительные требования к проточным водонагревателям и методы испытаний

ГОСТ P МЭК 60335-2-54-2000 Безопасность бытовых и аналогичных электрических приборов. Дополнительные требования к приборам для очистки поверхностей с использованием жидкостей и пара и методы испытаний

ГОСТ P МЭК 335-2-74-95 Безопасность бытовых и аналогичных электрических приборов. Дополнительные требования к портативным погружным нагревателям и методы испытаний

ГОСТ P МЭК 60335-2-98-2000 Безопасность бытовых и аналогичных электрических приборов. Дополнительные требования к увлажнителям воздуха и методы испытаний

ГОСТ 14254-96 (МЭК 529-89) Степени защиты, обеспечиваемые оболочками (Код IP)

ГОСТ 30324.0-95 (МЭК 601-1-88) /ГОСТ P 50267.0-92 (МЭК 601-1-88) Изделия медицинские электрические. Часть 1. Общие требования безопасности

Примечание - При пользовании настоящим стандартом целесообразно проверить действие ссылочных стандартов в информационной системе общего пользования - на официальном сайте Федерального агентства по техническому регулированию и метрологии в сети Интернет или по ежегодно издаваемому указателю «Национальные стандарты», который опубликован по состоянию на 1 января текущего года, и по соответствующим ежемесячно издаваемым информационным указателям, опубликованным в текущем году. Если ссылочный стандарт заменен (изменен), то при пользовании настоящим стандартом следует руководствоваться замененным (измененным) стандартом. Если ссылочный стандарт отменен без замены, то положение, в котором дана ссылка на него, применяется в части, не затрагивающей эту ссылку.

3. Термины и определения

Этот раздел Части 1 применяют, за исключением следующего.

3.1.9. Замена

нормальная работа (normal operation): Работа прибора при следующих условиях.

3.1.9.101. Чайники, термокружки, самовары и другие приборы для кипячения воды, кофеварки, кастрюли, клееварки, подогреватели молока, приборы медленной варки, стерилизаторы, баки для кипячения белья и приборы для приготовления йогурта работают со своими сосудами, наполненными водой до номинального объема, любые крышки закрывают. Количество воды в приборах медленной варки поддерживают свыше 50 % их номинального объема.

Приборы с нагревательной поверхностью, предназначенные для поддержания жидкости теплой, работают с сосудом или без него в зависимости от того, что более неблагоприятно.

3.1.9.102. Яйцеварки и пароварки работают со своими сосудами, наполненными максимальным количеством воды, установленным инструкциями.

3.1.9.103. Подогреватели детского питания работают с бутылочкой из термостойкого стекла круглой или шестигранной формы, имеющей массу от 190 до 200г и вместимость приблизительно 225 мл, за исключением случаев, при которых указана конкретная бутылочка. В этом случае используют соответствующую бутылочку. Бутылочку наполняют водой приблизительно до своего номинального объема или 200 мл, в зависимости от того, что меньше, и устанавливают в подогреватель детского питания. Подогреватель заполняют водой до уровня, указанного в инструкциях, или при отсутствии инструкции до максимального уровня.

3.1.9.104. Подогреватели питания для скота работают с закрытой крышкой, сосуд заполняют водой наполовину его номинального объема.

3.1.9.105. Приборы варки под давлением работают в соответствии с инструкциями, но с сосудом, заполненным водой на глубину 25мм.

3.101. номинальный объем (rated capacity): Объем, установленный для прибора изготовителем.

3.102. номинальное давление варки (rated cooking pressure): Давление, установленное для прибора изготовителем.

3.103. экспресс-кофеварка (espresso coffee-maker): Кофеварка, в которой вода нагревается и прокачивается через размолотый кофе давлением пара или с помощью насоса.

Примечание - Экспресс-кофеварка может иметь выход для подачи пара или горячей воды.

3.104. подогреватель детского питания (feeding-bottle heater): Прибор для подогревания готового детского питания в бутылочках детского питания до определенной температуры, в котором нагрев передается через воду.

3.105. регулятор давления (pressure regulator): Управляющее устройство, которое поддерживает давление на определенном уровне в течение нормальной эксплуатации.

3.106. устройство сброса давления (pressure-relief device): Управляющее устройство, которое ограничивает давление в условиях ненормальной работы.

3.107. чайник без шнура питания (cordless kettle): Чайник со встроенным нагревательным элементом, который подключен к питанию только тогда, когда установлен на его штатную подставку.

3.108. пароварка (steam cooker): Прибор, в котором продукты нагревают паром, производимым при атмосферном давлении.

4. Общие требования

Этот раздел Части 1 применяют.

5. Общие условия испытаний

Этот раздел Части 1 применяют, за исключением следующего.

5.2. Дополнение

Примечание 101 - Если должно быть проведено испытание по 15.101, то требуются три дополнительных образца.

5.3. Дополнение

Испытание по 19.101 проводят после всех других испытаний.

6. Классификация

Этот раздел Части 1 применяют, за исключением следующего.

6.2. Дополнение

Баки для кипячения белья и подогреватели питания для скота должны иметь степень защиты не менее IPX3 по ГОСТ 14254.

7. Маркировка и инструкции

Этот раздел Части 1 применяют, за исключением следующего.

7.1. Дополнение

Приборы, предназначенные для частичного погружения в воду для чистки, должны иметь маркировку максимального уровня погружения и предупреждение следующего содержания:

«Не погружать выше этого уровня».

Чайники должны иметь маркировку уровня или другое средство, указывающее на заполнение до номинального объема, за исключением случая, при котором они не могут быть заполнены сверх их номинального объема. Эта маркировка должна быть видна, когда чайник находится в заполненном состоянии. Если маркировка уровня плохо различима, то снаружи чайника следует поместить маркировку, которая должна быть видимой, когда чайник находится в положении для нормальной эксплуатации.

Если закрытое положение крышки прибора варки под давлением не очевидно, то оно должно быть маркировано на приборе.

Подставка чайника без шнура питания должна иметь маркировку:

- наименования, торговой марки или товарного знака изготовителя или ответственного поставщика;

- модели или обозначения типа.

7.12. Дополнение

В инструкциях для приборов со встроенным приборным вводом, предназначенных для частичного или полного погружения в воду для чистки, следует указывать, что соединитель должен быть удален перед чисткой прибора и приборный ввод должен быть высушен перед тем, как прибор используют снова.

В инструкциях для приборов, предназначенных для использования с соединителем, имеющим терморегулятор, следует указывать, что должен быть использован только соответствующий соединитель.

Если конструкция чайников не предотвращает опасность выброса кипящей воды, то в инструкциях должно быть указано, что если чайник перелит, кипящая вода может выплеснуться.

Инструкции для чайников, заполняемых через отверстие в крышке, должны содержать следующее предупреждение:

«ВНИМАНИЕ: Располагать крышку так, чтобы пар был направлен от ручки».

Примечание 101. - Предупреждение не требуется, если крышка может быть закрыта только так, что пар направляется от ручки.

«ВНИМАНИЕ: Не удалять крышку, пока вода кипит».

Инструкции для чайников без шнура питания должны устанавливать, что чайник может быть использован только со штатной подставкой.

Если чайник и подставка для чайника без шнура питания могут быть подняты вместе за ручку чайника, то в инструкции должно быть указано следующее:

«ПРЕДУПРЕЖДЕНИЕ: Убедитесь, что чайник отключен перед снятием его с подставки».

В инструкциях для подогревателей детского питания должно быть установлено следующее:

- пищу не следует нагревать слишком долго;

- способ проверки правильной температуры пищи.

В инструкциях для приборов, которые обычно чистят после использования и которые не предназначены для погружения в воду для чистки, указывают, что прибор нельзя погружать в воду.

Примечание 102. - Эти требования обычно применяют к кофеваркам, кастрюлям, подогревателям молока, приборам варки под давлением, пароваркам, приборам медленной варки и приборам для приготовления йогуртов.

В инструкциях для приборов варки под давлением должно быть указано, что каналы в регуляторе давления, предназначенные для выхода пара, следует проверять регулярно, чтобы убедиться, что они не заблокированы, а также способ безопасного открывания сосуда и предупреждение, что сосуд следует открывать только после достаточного снижения давления.

Инструкции для яйцеварок, снабженных устройством прокалывания, должны содержать следующее:

«ПРЕДУПРЕЖДЕНИЕ: Опасайтесь травм от прокалывателя яиц».

Для экспресс - кофеварок, имеющих сосуд, в котором поддерживается повышенное давление, наполняемый пользователем, инструкции должны содержать информацию для дополнительной заправки сосуда водой и следующее предупреждение:

«ВНИМАНИЕ: Отверстие для заполнения не должно быть открыто во время использования прибора».

8. Защита от доступа к токоведущим частям

Этот раздел Части 1 применяют, за исключением следующего.

8.1.2 Дополнение

Примечание 101 - Контактные устройства в подставках чайников без шнура питания не рассматривают как приборные розетки.

9. Пуск электромеханических приборов

Этот раздел Части 1 не применяют.

10. Потребляемая мощность и ток

Этот раздел Части 1 применяют.

11. Нагрев

Этот раздел Части 1 применяют, за исключением следующего.

11.2. Дополнение

Переносные приборы испытывают вдали от стен испытательного угла.

11.4. Дополнение

Если предел превышения температуры превышен в приборах, содержащих двигатели, трансформаторы или электронные цепи, и если потребляемая мощность ниже номинальной потребляемой мощности, то испытание повторяют с прибором, питаемым 1,06 номинального напряжения.

11.6. Дополнение

Комбинированные приборы работают как нагревательные приборы.

11.7. Замена

Продолжительность работы приборов установлена в 11.7.101-11.7.105.

11.7.101. Для чайников со встроенным термоограничителем, термоограничитель устанавливают так, чтобы он возвращался через 1 мин после его срабатывания либо, но насколько возможно быстрее, позже. Испытание прекращают после того, как термоограничитель срабатывает второй раз.

Для чайников с терморегулятором испытание прекращают через 15 мин после того, как вода нагреется до 95 ºС.

Для других чайников испытание прекращают через 5 мин после того, как вода нагреется до 95 ºС.

11.7.102. Для кастрюль, яйцеварок, подогревателей детского питания, клееварок, подогревателей питания для скота, подогревателей молока, стерилизаторов, баков для кипячения белья и других приборов, в которых вода кипит иначе чем в чайниках, испытание прекращают:

- для приборов без термоуправляющего устройства - через 15 мин после того, как вода в сосуде нагреется до 95 ºС или достигнет максимальной температуры, которой она может достичь, если это меньше;

- для переносных приборов с термоуправляющим устройством - через 15 мин после того, как управляющее устройство сработает первый раз;

- для закрепляемых приборов с термоуправляющим устройством - через 30 мин после того, как управляющее устройство сработает первый раз;

- через 1 мин после того, как прозвучит непрерывный или прерывистый акустический сигнал, имеющий интервал звучания менее 5 с;

- когда будет достигнуто установившееся состояние - для яйцеварок, имеющих приспособление для поддержания яиц теплыми, и приборов, имеющих нагревательную поверхность, предназначенную поддерживать жидкость теплой.

11.7.103. Приборы медленной варки, пароварки и приборы для приготовления йогурта работают до достижения установившегося состояния. Приборы медленной варки предварительно нагревают в сухом состоянии, если это предусмотрено инструкцией.

11.7.104. Экспресс - кофеварки работают в соответствии с инструкциями, кофейный фильтр наполняют максимальным количеством кофе указанного типа. После периода варки делают паузу продолжительностью 1 мин или паузу, указанную в инструкциях, если она длиннее. Резервуар для воды заполняют заново во время паузы.

Для экспресс - кофеварок, имеющих выход для подачи пара или горячей воды, период варки непосредственно сопровождается периодом, в течение которого пар или воду подают в течение интервала времени, установленного в инструкциях.

Примечание - Пар подают в сосуд с холодной водой.

Экспресс - кофеварки работают до достижения установившегося состояния.

Другие кофеварки работают в течение времени, необходимого для приготовления максимального количества кофе, установленного в инструкциях. Затем сосуд заполняют заново насколько возможно быстро, и кофеварка работает снова.

Эту процедуру повторяют до достижения установившегося состояния.

11.7.105. Приборы варки под давлением работают в течение 15 мин после достижения максимального варочного давления.

11.8. Дополнение

Если приборный соединитель встроен в терморегулятор, то предел превышения температуры для штифтов приборного ввода не принимают во внимание.

Предел превышения температуры двигателей, трансформаторов и компонентов электронных цепей, включая части, непосредственно влияющие на них, может быть увеличен, если прибор работает при 1,5 номинальной потребляемой мощности.

12. Свободен

13. Ток утечки и электрическая прочность при рабочей температуре

Этот раздел Части 1 применяют.

14. Динамические перегрузки по напряжению

Этот раздел Части 1 применяют.

15. Влагостойкость

Этот раздел Части 1 применяют, за исключением следующего.

15.2. Дополнение

Испытание проводят только с установленным приборным соединителем. В случае сомнений испытание на перелив проводят на приборе, отклоненном от нормального положения при пользовании на угол, не превышающий 5º.

Чайники, которые могут быть наполнены через носик, испытывают, кроме того, на наклонной плоскости под углом 20º к горизонтали носиком вверх. Чайник наполняют водой, содержащей приблизительно 1 % NaCl (соляной раствор), до максимального уровня, если его индикация видна в положении заполнения; если не видна - пока вода не польется из чайника. Дополнительное количество воды, равное 15% номинального объема чайника, добавляют как можно быстрее.

Для чайников без шнура питания испытание чайников на горизонтальной плоскости проводят на подставке чайника или без нее. Дополнительное испытание для чайников, которые могут быть наполнены через носик, проводят только с чайниками без шнура питания без подставки, затем чайник устанавливают на его подставку для проведения испытания на электрическую прочность по 16.3.

Затем чайники наполняют водой до номинального объема. Их устанавливают на плоскости, расположенной под углом 20° к горизонтали с носиком, обращенным к скату наклонной плоскости. Вода не должна вытекать из чайника.

Изменение

Для паровых стерилизаторов заменить предпоследний абзац Части 1 следующим.

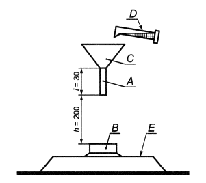
Паровые стерилизаторы располагают на горизонтальной поверхности и 30 мл воды, содержащей приблизительно 1 % NaCI, выливают на верхний край в наиболее неблагоприятном месте. Раствор выливают равномерно через трубку, имеющую внутренний диаметр 8 мм в течение 2 с, нижний конец трубки расположен на 200 мм выше прибора.

Примечание 101. - Схематическое изображение испытательного устройства приведено на рисунке 101.

А - трубка воронки длиной l = 30 мм внутренним диаметром 8мм; B - прибор для испытания; С - воронка; D - сосуд с 30 мл соляного раствора; E - горизонтальная поверхность; h - высота расположения нижнего конца трубки воронки относительно прибора

Рисунок 101 - Схематическое изображение испытания на пролив

15.101. Приборы, предназначенные для частичного или полного погружения в воду для чистки, должны иметь достаточную защиту от воздействия погружения.

Соответствие требованию проверяют следующими испытаниями, которые проводят на трех дополнительных образцах.

Приборы работают в условиях нормальной работы при 1,15 номинальной потребляемой мощности до первого срабатывания терморегулятора. Приборы без терморегулятора работают до достижения установившегося состояния. Приборы отключают от питания, любой приборный соединитель удаляют. Затем их полностью погружают в воду, содержащую щриблизительно 1 % NaCI, температурой от 10 ºC до 25 ˚С. Если приборы маркированы уровнем максимального погружения, то их погружают на 50мм ниже этого уровня.

Через 1 ч приборы удаляют из соляного раствора, высушивают и подвергают испытанию на токи утечки по 16.2.

Примечание - Следует обратить внимание на обеспечение удаления всей влаги с изоляции вокруг штырей приборной вилки.

Это испытание проводят более четырех раз, после чего приборы должны выдержать испытание на электрическую прочность по 16.3, напряжение устанавливают по ГОСТ P 52161.1 (таблица 4).

Прибор, имеющий наибольший ток утечки после пяти погружений, демонтируют, осмотр должен показать, что на изоляции нет следов жидкости, которые могут привести к уменьшению значений воздушных зазоров и путей утечки относительно указанных в разделе 29.

Оставшиеся два прибора работают в условиях нормальной работы при 1,15 номинальной потребляемой мощности в течение 240 ч. После этого приборы отсоединяют от питания и снова погружают на 1 ч. Затем их высушивают и подвергают испытанию на электрическую прочность по 16.3, напряжение устанавливают по ГОСТ P 52161.1 (таблица 4).

Осмотр должен показать, что на изоляции нет следов жидкости, которые могут привести к уменьшению значений воздушных зазоров и путей утечки относительно указанных в разделе 29.

15.102. Соединительные устройства подставок чайников без шнура питания не должны подвергаться воздействию воды.

Соответствие требованию проверяют следующим испытанием.

Подставку устанавливают на горизонтальную поверхность и 30 мл воды, содержащей приблизительно 1 % NaCI, выливают на соединительное устройство. Раствор выливают равномерно через трубку, имеющую внутренний диаметр 8 мм в течение 2 с, нижний конец трубки расположен на 200 мм выше соединительного устройства.

Примечание - Схематическое изображение испытательного устройства приведено на рисунке 101.

Затем подставку подвергают испытанию на электрическую прочность по 16.3, испытательное напряжение для усиленной изоляции составляет 2500 В.

16. Ток утечки и электрическая прочность

Этот раздел Части 1 применяют.

17. Защита от перегрузки трансформаторов и соединенных с ними цепей

Этот раздел Части 1 применяют.

18. Износостойкость

Этот раздел Части 1 не применяют.

19. Ненормальная работа

Этот раздел Части 1 применяют, за исключением следующего.

19.1. Дополнение

Чайники не подвергают испытанию по 19.2.

Чайники также подвергают испытанию по 19.101, кроме приборов, содержащих термовыключатель без самовозврата, который не может быть возвращен в исходное положение пользователем для того, чтобы проверить соответствие требованию 19.4.

Чайники, для которых соответствие 19.101 определяют при работе термовыключателя с самовозвратом, также испытывают по 19.102.

19.2. Дополнение

Приборы располагают как можно ближе к стенкам испытательного угла. Приборы испытывают пустыми, с закрытыми или открытыми крышками в зависимости от того, что более неблагоприятно.

19.3. Дополнение

Чайники работают пустыми при 1,15 номинальной потребляемой мощности.

Испытывают также чайник, заполненный достаточным количеством воды, накрывающей нагревательный элемент, или на глубину 10 мм, если нагревательный элемент не находится внутри чайника, крышка открыта или закрыта в зависимости от того, что более неблагоприятно.

19.4. Дополнение

Регуляторы давления приборов варки под давлением блокируют вместе с каждым защитным устройством поочередно.

19.7. Дополнение

Экспресс - кофеварки, содержащие насос, работают с периодом 5 мин.

19.13. Дополнение

Во время испытания по 19.4 устройство сброса давления приборов варки под давлением должны работать до достижения давления 350 кПа.

19.101. Чайники располагают на фанерной доске толщиной приблизительно 20мм. Термовыключатель, который работает в течение испытания по 19.4, блокируют и чайник работает пустым при 0,85 или 1,15 номинальной потребляемой мощности в зависимости от того, что более неблагоприятно.

Во время испытания пламя должно оставаться внутри корпуса чайника и опорная поверхность не должна воспламеняться.

После испытания токоведущие части не должны быть доступны.

Примечания

1. Если чайник содержит более одного термовыключателя, которые могут работать во время испытания по 19.4, то их замыкают накоротко поочередно.

2. Пункт 19.13 не применяют.

19.102. Чайники, содержащие два термовыключателя с самовозвратом, работают с одним замкнутым накоротко термовыключателем с самовозвратом. Чайник работает пустым при 0,85 или 1,15 номинальной потребляемой мощности в зависимости от того, что более неблагоприятно.

Через 2 с после срабатывания другого термовыключателя чайник наполняют водой температурой (15 ± 5) ºС. Через 1 мин чайник освобождают от воды. Испытание проводят 100 раз.

Примечание - Пункт 19.13 применяют.

19.103. Для приборов со съемными сосудами для жидкости автоматическое перемещение жидкости из одного сосуда в другой не должно приводить к поражению электрическим током, если они неправильно установлены.

Соответствие требованию проверяют на приборе с неправильно установленным принимающим сосудом или без него. Водообменную трубку располагают неправильно, если это более неблагоприятно. Прибор работает, как указано в разделе 11, но только один цикл.

Затем прибор должен выдержать испытание на электрическую прочность по 16.3, и осмотр должен показать, что на изоляции нет следов воды, которые могут привести к уменьшению значений воздушных зазоров и путей утечки, указанных в разделе 29.

20. Устойчивость и механические опасности

Этот раздел Части 1 применяют.

21. Механическая прочность

Этот раздел Части 1 применяют, за исключением следующего.

21.1. Дополнение

Примечание 101. - Раскалыванием стеклянных частей пренебрегают, если соответствие 8.1 и 15.101 не нарушается.

22. Конструкция

Этот раздел Части 1 применяют, за исключением следующего.

22.6. Дополнение

Дренажные отверстия должны быть диаметром не менее 5 мм или площадью 20 мм2 при ширине не менее 3 мм.

Соответствие требованию, кроме того, проверяют измерением.

22.7. Дополнение

Экспресс - кофеварки наполняют водой до их номинального объема, и они работают при номинальной потребляемой мощности с блокированным кофейным фильтром и любым закрытым клапаном для подачи пара. Измеряют максимально достигнутое давление. Затем прибор подвергают воздействию такого удвоенного давления в течение 5 мин.

Примечания

101. Повышенное давление может быть получено от внешнего источника, кроме того, необходимо следить за тем, чтобы экспресс-кофеварка имела нормальную температуру варки.

102. Если клапан устройства подачи пара связан с выключателем подачи пара, то эта связь не должна нарушаться при измерении максимального давления.

103. Соответствующие меры должны быть приняты для предупреждения опасности взрыва.

Прибор не должен разрушаться, не должно быть утечки, кроме как через устройство сброса давления, и прибор должен быть пригоден для дальнейшего использования.

Управляющие устройства, которые ограничивают давление, блокируют и прибор включают снова, как установлено для определения максимального давления.

Прибор не должен взрываться или выбрасывать опасную струю пара. Если преднамеренно ослабленная часть разрушается, то испытание повторяют на втором приборе, которое должно быть завершено тем же способом.

Все регуляторы давления и устройства сброса давления приборов варки под давлением блокируют, крышку закрывают. Давление постепенно гидравлически повышают до шестикратного номинального давления варки. При этом сосуд не должен разрушиться.

22.101. Чайники должны быть сконструированы так, чтобы крышка не выпадала во время слива воды.

Соответствие требованию проверяют следующим испытанием.

Чайник наполняют до номинального объема и крышку закрывают в соответствии с инструкциями. Чайник работает при номинальном напряжении до закипания воды. Приблизительно 90 % воды сливают из чайника нормальным путем. Крышка не должна выпадать, и вода должна поступать только через носик.

22.102. Чайники должны быть сконструированы так, чтобы не было неожиданного выброса пара или горячей воды, которые могут создать опасность для пользователя при нормальной эксплуатации.

Примечание - Определение термина «нормальная эксплуатация» взято из инструкций, касающихся положения крышки прибора и рук пользователя на ручке прибора.

Соответствие требованию проверяют осмотром в течение испытания по разделу 11.

22.103. Приборные соединители чайников без шнура питания должны быть сконструированы так, чтобы выдерживать напряжения, возникающие при нормальной эксплуатации.

Соответствие требованию проверяют следующим испытанием.

Два токоведущих штыря чайника соединяют вместе, внешняя резистивная нагрузка подключает их последовательно к источнику питания. Внешняя нагрузка такова, что ток составляет 1,1 номинального тока.

Чайник устанавливают на подставку и снимают 10000 раз частотой приблизительно 10 раз в минуту. Испытание продолжают, снимая чайник следующие 10000 раз без протекания тока.

После испытания чайник должен быть пригоден для дальнейшего использования, при этом соответствие требованиям 8.1, 16.3, 27.5 и разделу 29 не должно быть ухудшено.

Испытание проводят без протекания тока, если соединительные контакты не могут включать или разрывать нагрузку.

22.104. Переносные приборы для кипячения воды номинальным объемом более 3л, которые подвергают опрокидыванию, должны быть сконструированы так, чтобы скорость вытекания была ограничена.

Соответствие требованию проверяют следующим испытанием, при этом приборы, содержащие приборный ввод, оснащают комплектом шнуров.

Прибор наполняют водой до номинального объема, и крышку закрывают в соответствии с инструкциями. Прибор устанавливают на горизонтальную плоскость в любом положении для нормальной эксплуатации, но ориентируют так, чтобы результат испытания был наиболее неблагоприятным.

Плоскость медленно наклоняют на угол 25º. Если прибор переворачивается, то его оставляют в этом положении на 10 с и затем возвращают в нормальное положение. Количество оставшейся воды измеряют. Скорость вытекания воды D, л/мин, рассчитывают по формуле

где С1 - номинальный объем, л;

С2 - оставшееся количество воды, л;

t - время вытекания, измеренное от момента переворачивания прибора, с. Скорость вытекания не должна превышать 16 л/мин.

Примечание - Для предотвращения скольжения прибора могут быть использованы специальные средства.

22.105. Закрепляемые приборы для кипячения воды должны быть сконструированы так, чтобы сосуд всегда был открыт в атмосферу через отверстие диаметром не менее 5 мм или площадью 20 мм2 при ширине не менее 3 мм. Отверстие располагают так, чтобы перекрывание его было маловероятно при нормальной эксплуатации.

Если прибор снабжен средствами для отвода пара или перелива воды, отводное отверстие должно находится на основании прибора и отводить пар вертикально вниз.

Соответствие требованию проверяют осмотром и измерением.

22.106. Экспресс - кофеварки должны быть сконструированы так, чтобы было невозможно удалить фильтр кофе простым движением, если имеется опасное давление в сосуде.

Примечание - Это требование считают выполненным, если фильтр кофе может быть удален только после того, как он повернут на угол не менее 30°.

Соответствие требованию проверяют осмотром и испытанием вручную.

22.107. Приборы варки под давлением должны иметь встроенное термочувствительное или чувствительное к давлению устройство сброса давления без самовозврата.

Соответствие требованию проверяют осмотром.

22.108. Приборы варки под давлением должны быть сконструированы так, чтобы было невозможно удалить крышку, если в сосуде избыточное давление. Они должны иметь встроенные средства снижения давления в сосуде до такого уровня, при котором крышку можно удалить без риска.

Соответствие требованию проверяют следующим испытанием.

Прибор варки под давлением работает, как указано в разделе 11, до первого срабатывания регулятора давления.

Прибор варки под давлением затем отключают от источника питания и дают возможность давлению снизиться до 4 кПа. Силу 100 Н прикладывают в наиболее неблагоприятной точке, в которой крышка или ее ручка может быть зажата. При этом удалить крышку не представляется возможным.

Затем внутреннее давление постепенно снижают, поддерживая силу 100 Н. Не должно быть опасного смещения крышки, когда ее отсоединяют.

Это испытание не проводят на приборах варки под давлением, в которых крышка крепится винтовым зажимом или другим устройством, обеспечивающим контролируемое автоматическое снижение давления, прежде чем крышка может быть удалена.

22.109. Подогреватели детского питания должны издавать видимый или звуковой сигнал, показывающий, что период нагрева закончен.

Соответствие требованию проверяют осмотром в течение испытания по разделу 11.

22.110. Экспресс - кофеварки, содержащие сосуд, в котором поддерживается повышенное давление, наполняемый пользователем, должны быть сконструированы так, чтобы не было пролива воды, а также неожиданного выброса пара или горячей воды, который может подвергнуть пользователя опасности при использовании прибора в соответствии с инструкциями.

Если снимают заливочную крышку сосуда, в котором поддерживается повышенное давление, прежде чем крышку удаляют полностью, то давление должно быть снижено под контролем для того, чтобы избежать выброса пара или горячей воды, которые могут создать опасность для пользователя.

Соответствие требованию проверяют осмотром в течение испытания по разделу 11 и удалением верхней крышки в конце испытания.

23. Внутренняя проводка

Этот раздел Части 1 применяют.

24. Комплектующие изделия

Этот раздел Части 1 применяют, за исключением следующего.

24.1.3. Дополнение

Выключатели, встроенные в экспресс - кофеварки и предназначенные для включения начала варки или парообразования, испытывают на 10000 циклов срабатывания.

24.1.4. Дополнение

Термовыключатель с самовозвратом, требующийся для соответствия испытанию по 19.101, испытывают на 3000 циклов срабатывания.

24.1.5. Дополнение

Приборные соединители, содержащие терморегуляторы, термовыключатели или плавкие предохранители в соединителях, соответствуют ГОСТ P 51325.1. за исключением следующего:

- заземляющий контакт соединителя может быть доступным при условии, что исключена вероятность соприкасания во время подключения или отключения соединителя;

- температуру, требуемую для испытаний в соответствии с ГОСТ P 51325.1 (раздел 18) следует измерять на штырьках приборного ввода в течение испытания на нагрев по разделу 11 настоящего стандарта;

- испытание на коммутационную способность в соответствии с ГОСТ P 51325.1 (раздел 19) проводят, используя приборный ввод;

- превышение температуры токопроводящих частей в соответствии с ГОСТ P 51325.1 (раздел 21) не определяют.

Примечание 101. - Термоуправляющие устройства не допускаются в соединениях, подчиняющихся стандартным листам по ГОСТ P 51325.1.

24.4. Дополнение

Примечание 101. - Настоящее требование не применяют к соединителям между чайником и подставкой для чайников без шнура питания.

24.101. Устройства, встроенные в приборы, кроме чайников, обеспечивающие соответствие требованиям 19.4, должны быть без самовозврата. Однако термовыключатели с самовозвратом допускаются в закрепляемых баках для кипячения воды, если они выдержали 10000 циклов срабатывания.

Соответствие требованию проверяют осмотром и при испытаниях по 19.4.

25. Подсоединение к источнику питания и внешние гибкие шнуры

Этот раздел Части 1 применяют, за исключением следующего.

25.1. Дополнение

Приборы со встроенным приборным вводом, которые не подчиняются стандартным листам по ГОСТ P 51325.1. должны быть снабжены комплектом шнуров.

25.5. Дополнение

Крепление шнура типа Z допускается для яйцеварок, подогревателей детского питания, паровых стерилизаторов, приборов для приготовления йогурта и подставок чайников без шнура питания.

25.7. Дополнение

Шнур питания для подогревателей питания для скота должен быть в полихлоропреновой оболочке.

25.8. Дополнение

Переносные приборы с номинальным током до 10A могут быть снабжены шнуром питания номинальным поперечным сечением 0,75 мм2 при длине шнура менее 2 м.

25.101. Шнуры питания для чайников должны быть не более 75 см, если они не имеют витой шнур.

Соответствие требованию проверяют измерением.

Если чайник без шнура питания имеет приспособление для хранения шнура, то длину шнура измеряют после укладки в устройство насколько возможно.

Примечание - Длину шнура измеряют между вилкой и точкой, где шнур или защитное приспособление шнура входит в прибор.

26. Зажимы для внешних проводов

Этот раздел Части 1 применяют.

27. Заземление

Этот раздел Части 1 применяют.

28. Винты и соединения

Этот раздел Части 1 применяют.

29. Воздушные зазоры, пути утечки и непрерывная изоляция

Этот раздел Части 1 применяют, за исключением следующего.

29.2. Дополнение

Окружающая микросреда имеет степень загрязнения 3, если изоляция не ограждена или не расположена так, чтобы было маловероятным загрязнение ее в течение нормальной эксплуатации прибора.

30. Теплостойкость и огнестойкость

Этот раздел Части 1 применяют, за исключением следующего.

30.1. Дополнение

Для кофеварок, яйцеварок, чайников и пароварок превышения температуры, полученные при испытаниях по 19.4, 19.5 и 19.101, не принимают во внимание.

30.2. Дополнение

Для дистилляторов воды и приборов, предназначенных для поддержания определенной температуры жидкости или пищи, применяют требования 30.2.3. Для других приборов - требование 30.2.2.

31. Стойкость к коррозии

Этот раздел Части 1 применяют.

32. Радиация, токсичность и подобные опасности

Этот раздел Части 1 применяют.

Приложения Части 1 применяют, за исключением следующего.

Приложение C
(обязательное)
Испытание двигателей на старение

Изменение

Значение р в таблице С.1 должно быть равно 2000 ч.

Приложение 2
(справочное)
Сведения о соответствии ссылочных международных стандартов национальным стандартам Российской Федерации, использованным в настоящем стандарте в качестве нормативных ссылок

Таблица 2.1

Обозначение ссылочного межгосударственного стандарта или национального стандарта Российской Федерации

Обозначение и наименование ссылочного международного стандарта и условное обозначение степени его соответствия ссылочному межгосударственному или национальному стандарту

ГОСТ P 51325.1-99 (МЭК 60884-1-94)

МЭК 60320-1:1994 «Приборные соединители электрические бытового и аналогичного общего назначения. Часть 1. Общие требования» (MOD)

ГОСТ P 52161.1-2004 (МЭК 60335-1:2001)

МЭК 60335-1:2001 «Бытовые и аналогичные электрические приборы. Безопасность. Часть 1. Общие требования» (MOD)

ГОСТ P 52161.2.13-2005 (МЭК 60335-2-13:2002)

МЭК 60335-2-13:2002 «Бытовые и аналогичные электрические приборы. Безопасность. Часть 2-13. Частные требования для фритюрниц, сковород и аналогичных приборов» (MOD)

ГОСТ P МЭК 60335-2-21-99

МЭК 60335-2-21:1997 «Бытовые и аналогичные электрические приборы. Безопасность. Часть 2. Частные требования для аккумуляционных водонагревателей» (MOD)

ГОСТ P МЭК 60335-2-35-2000

МЭК 60335-2-35:1997 «Бытовые и аналогичные электрические приборы. Безопасность. Часть 2. Частные требования для проточных водонагревателей» (MOD)

ГОСТ P МЭК 60335-2-54-2000

МЭК 60335-2-54:1995 «Бытовые и аналогичные электрические приборы. Безопасность. Часть 2. Частные требования для приборов для очистки поверхностей с использованием жидкостей и пара» (MOD)

ГОСТ P МЭК 335-2-74-95

МЭК 60335-2-74:1994 «Бытовые и аналогичные электрические приборы. Безопасность. Часть 2. Частные требования для портативных погружных нагревателей» (MOD)

ГОСТ P МЭК 60335-2-98-2000

МЭК 60335-2-98:1997 «Бытовые и аналогичные электрические приборы. Безопасность. Часть 2. Частные требования для увлажнителей воздуха» (MOD)

ГОСТ 14254-96 (МЭК 529-89)

МЭК 60529:1989 «Степени защиты, обеспечиваемые оболочками (Код IP)» (NEQ)

ГОСТ 30324.0-95 (МЭК 601-1-88)/

ГОСТ P 50267.0-92 (МЭК 601-1-88)

МЭК 601-1:1988 «Медицинское технологическое оборудование» (MOD)

Примечание - В настоящей таблице использованы следующие условные обозначения степени соответствия стандартов:

- MOD - модифицированные стандарты;

- NEQ - неэквивалентные стандарты.

 

Ключевые слова: безопасность, приборы для нагревания жидкостей, методы испытаний

 




Яндекс цитирования



   Copyright © 2007-2026,  www.tehlit.ru.

[ ѓосты, стандарты, нормативы, инструкции, правила, строительные нормы ]