//
ТехЛит.ру
- крупнейшая бесплатная электронная интернет библиотека для "технически умных" людей.
WWW.TEHLIT.RU - ТЕХНИЧЕСКАЯ ЛИТЕРАТУРА

:: Алготрейдинг::


АЛГОТРЕЙДИНГ
шаг за шагом
с нуля по урокам!

Торговые роботы на PYTHON, BackTrader,
Pandas, Pine Script для TradingView. Связка с брокерами, телеграм и легкими приложениями.


Правительство Москвы

Комитет по архитектуре и градостроительству
г. Москвы

МЕТОДИЧЕСКИЕ РЕКОМЕНДАЦИИ
ПО ЭКОНОМИЧЕСКОМУ ОБОСНОВАНИЮ ПРИМЕНЕНИЯ КОНСТРУКТИВНЫХ ЭЛЕМЕНТОВ И ТЕХНОЛОГИЙ, ОБЕСПЕЧИВАЮЩИХ ПОВЫШЕНИЕ ЭФФЕКТИВНОСТИ ИНВЕСТИЦИЙ ЗА СЧЕТ СНИЖЕНИЯ ЭКСПЛУАТАЦИОННЫХ ЗАТРАТ, ПОВЫШЕНИЯ ДОЛГОВЕЧНОСТИ ЗДАНИЙ И СООРУЖЕНИЙ. СОКРАЩЕНИЯ ПРОДОЛЖИТЕЛЬНОСТИ СТРОИТЕЛЬСТВА И ДРУГИХ ЭФФЕКТИВНЫХ РЕШЕНИЙ ПРИ ПОВЫШЕНИИ ЕДИНОВРЕМЕННЫХ ЗАТРАТ ПРИ ПРОЕКТИРОВАНИИ И СТРОИТЕЛЬСТВЕ И ОДНОВРЕМЕННОМ РОСТЕ СМЕТНОЙ СТОИМОСТИ

МРР-3.2.23-97

Экономическая эффективность проектных решений

1998

содержание

ВВЕДЕНИЕ. 1

РАЗДЕЛ 1  Состав элементов экономического обоснования. 4

1.1. Конструктивные элементы инженерно-технических систем. Технология изготовления и производства строительно-монтажных работ. 4

1.2. Эксплуатационные затраты, методы расчета. 12

1.3. Долговечность зданий, сооружений и конструктивных элементов и оценка влияния долговечности на эксплуатационные затраты. 17

1.4. Продолжительность строительства и оценка влияния сокращения продолжительности на эффективность капитальных затрат. 23

РАЗДЕЛ 2 Методы расчета затрат. 27

2.1. Затраты на производство, транспортировку и монтаж конструктивных элементов. 27

2.2. Оценка технологических процессов по возведению зданий и сооружений и затрат на организацию (модернизацию) производства. 34

РАЗДЕЛ 3 Методы расчета затрат на НТПх) 41

3.1. Новые эффективные решения как основа научно-технического прогресса и расчет повышения единовременных затрат при проектировании, производстве и строительстве на основе оценки HТП. 41

3.2. Расчет эффективности инвестиций при внедрении элементов НТП.. 45

3.3. Система комплексной оценки технико-экономического уровня проектных решений. 49

РАЗДЕЛ 4 Методические рекомендации по экономическому обоснованию принимаемых решений. 54

4.1. Порядок учета затрат. 54

4.2. Объекты-аналоги и методика экономического обоснования. 56

4.3. Бизнес-планы, как инструмент предпроектной оценки принимаемых решений. 59

4.4. Система укрупненных показателей. 69

РАЗДЕЛ 5. ПРИЛОЖЕНИЯ 1-9. 71

Приложение 1. 71

Приложение 2. 74

Приложение 3. 76

Приложение 4. 76

Приложение 5. 79

Приложение 6. 83

Приложение 7. 85

Приложение 8. 88

Приложение 9. 91

ЛИТЕРАТУРА.. 97

ПРАВИТЕЛЬСТВО МОСКВЫ

Комитет по архитектуре и градостроительству г. Москвы

УТВЕРЖДАЮ

Первый заместитель премьера

Правительства Москвы

В. И. Ресин

МЕТОДИЧЕСКИЕ РЕКОМЕНДАЦИИ

ПО ЭКОНОМИЧЕСКОМУ ОБОСНОВАНИЮ ПРИМЕНЕНИЯ КОНСТРУКТИВНЫХ ЭЛЕМЕНТОВ И ТЕХНОЛОГИЙ, ОБЕСПЕЧИВАЮЩИХ ПОВЫШЕНИЕ ЭФФЕКТИВНОСТИ ИНВЕСТИЦИЙ ЗА СЧЕТ СНИЖЕНИЯ ЭКСПЛУАТАЦИОННЫХ ЗАТРАТ, ПОВЫШЕНИЯ ДОЛГОВЕЧНОСТИ ЗДАНИЙ И СООРУЖЕНИЙ. СОКРАЩЕНИЯ ПРОДОЛЖИТЕЛЬНОСТИ СТРОИТЕЛЬСТВА И ДРУГИХ ЭФФЕКТИВНЫХ РЕШЕНИЙ ПРИ ПОВЫШЕНИИ ЕДИНОВРЕМЕННЫХ ЗАТРАТ ПРИ ПРОЕКТИРОВАНИИ И СТРОИТЕЛЬСТВЕ И ОДНОВРЕМЕННОМ РОСТЕ СМЕТНОЙ СТОИМОСТИ

Экономическая эффективность проектных решений

Начальник управления

развития Генплана

Топельсон Я. В.

Заместитель председателя

Москомархитектуры

Ю.В. Гольдфайн

Москва, 1997

ПРЕДИСЛОВИЕ

1. Разработаны на основании постановления Правительства Москвы от 31.12.96 № 1036 п. 9.2. коллективом в составе: к.т.н., с.н.с. Максименко В. А.; к.т.н., с.н.с. Дузинкевича М. С., с.н.с. Якубовича Г. Н., с.н.с. Айрапетян Е. А., инж. Гриневского А. А., инж. Смирновой Э. А. (МНИИТЭП); инж. Минаева Ю. В. (Москомархитектура), инж. Досаева М. И. (АО Главмосстрой), к.э.н., с.н.с. Коротковой Г. П. (Институт общественных зданий Госстроя РФ).

2. Внесены: Москомархитектурой.

3. Согласованы: Управлением развития Генплана г. Москвы.

4. Утверждены: Первым заместителем Премьера Правительства Москвы Ресиным В.И.

ВВЕДЕНИЕ

Методические рекомендации по экономическому обоснованию применения конструктивных элементов и технологий, обеспечивающих повышение эффективности инвестиций за счет снижения эксплуатационных затрат, повышения долговечности зданий и сооружений, сокращения продолжительности строительства и других эффективных решений при повышении единовременных затрат при проектировании и строительстве и одновременном росте сметной стоимости (далее «Рекомендации») предназначены для отбора наиболее эффективных проектных решений на стадии разработки технических заданий, проектных предложений и ТЭО отдельных объектов строительства и реконструкции, а также конструктивных и инженерных систем на основе комплексной оценки факторов, влияющих на рентабельность инвестиций.

Рекомендации ориентированы на обоснование применения конструктивного, технологического решения, проектного предложения с учетом современных экономических условий проектирования, строительства и эксплуатации жилых и наиболее массовых типов общественных зданий, направленное на повышение эффективности инвестиционного процесса.

Рекомендации разработаны на основе: «Инструкции о порядке разработки, согласования, утверждения и составе проектной документации на строительство предприятий, зданий и сооружений» СНиП 11-01-95; «Рекомендаций по составлению бизнес-планов для территорий, сдельных объектов, комплексов нового строительства и реконструкции» МРР-4.2.03-94; «Методических рекомендаций по и их отбору для финансирования», утвержденных Госстроем России, Минэкономики России, Минфином России (№ 7-12/47 от 31.03.94 г.); «Методических рекомендаций о порядке проведения конкурса на централизованные инвестиционные ресурсы для реализации коммерческих и некоммерческих проектов (с макетом бизнес-плана)».

Рекомендации предназначены для использования префектурами, проектными организациями, научно-исследовательскими институтами, строительными фирмами, органами экспертизы, учебными заведениями и другими органами и структурами, занимающимися проблемами инвестиционной деятельности, проектирования, строительства и эксплуатации объектов жилищно-гражданского строительства. Рекомендации применимы для банков и заказчиков, осуществляющих инвестирование строительных программ.

В содержание Рекомендаций не входит рассмотрение градостроительных аспектов (оценка территорий), демографические вопросы (состав семей, стоимость заселения и др.), социальные вопросы (социальная обеспеченность), экологические проблемы, проблемы инфраструктуры, оказывающие дополнительное влияние на эффективность капитальных вложений. Указанные вопросы и размеры инвестиций по данным проблемам могут учитываться на основе рекомендаций по составлению бизнес-планов для территорий, отдельных объектов, комплексов нового строительства и реконструкции (МРР-4.2.03-94).

Рекомендации ориентированы в основном на расчеты по объектам городского заказа и действуют на территории г. Москвы. Действие рекомендаций на территорию ЛПЗП не распространяется.

В аспекте различных направлений инвестиционной деятельности существенная доля принадлежит вложениям, обеспечивающим помимо чисто экономического и коммерческого результата и, так называемый, социальный результат.

К настоящему времени наработан ряд методических инструментов, позволяющих производить обоснование принятия решений, сопоставление проектных вариантов, их оценку на базе способа, дающего возможность количественной и стоимостной оценки достигаемых результатов и их дальнейшее соизмерение с дополнительными осуществленными инвестициями.

К числу таких методик относятся методики по определению затрат и результатов в учреждениях просвещения, жилищно-коммунального хозяйства, бытового обслуживания, торговли и общественного питания, учреждений досуга и спорта, пассажирского транспорта, здравоохранения, культуры, науки, охрану окружающей среды, в экологические мероприятия и т.п.

В расчетах затрат в этих методиках учитываются в стоимостной форме единовременные и текущие затраты, непосредственно требуемые для осуществления данного мероприятия, а в необходимых случаях - также сопряженные затраты.

К числу социальных результатов, достигаемых на основе расширения материальной базы объектов, относятся:

- улучшение условий труда и жизни;

- увеличение продолжительности жизни;

- снижение заболеваемости;

- рост образовательного и культурного уровня;

- увеличение свободного времени населения.

К числу социально-экономических результатов по производству материальных благ и услуг относятся:

- увеличение жилой площади;

- повышение качества бытового обслуживания;

- увеличение сети предприятий общественного обслуживания;

- улучшение работы пассажирского транспорта и связи.

Количественно результаты вложений инвестиций могут быть выражены:

- в натуральных измерителях, определяющих количественную характеристику (единица площади, количество обслуживающего персонала);

- в показателях охвата тем или иным мероприятием, видом досуга (площадь жилья, число мест, число коек);

- в относительных единицах - баллах, дающих количественную характеристику несоизмеримых качественных свойств и черт;

- в стоимостной форме (годовой объем реализации услуг, величина дополнительной прибыли).

Наряду с социальными результатами возможно достижение и экономических результатов - непосредственных и сопутствующих:

непосредственные:

- прибыль от реализации услуг на объектах, функционирующих на основе хозяйственного расчета;

- увеличение годового объема реализации услуг или продукции;

сопутствующие:

- увеличение объема производства за счет укрепления здоровья и гармоничного физического и духовного развития;

- повышение производительности труда и рост производства за счет улучшения жилищных условий;

- повышение технического уровня производства за счет роста образовательного уровня кадров;

- рост производительности труда за счет снижения «транспортной усталости» в результате повышения удобств и скоростей на пассажирском городском транспорте;

- сокращение затрат населения на обслуживание в учреждениях торговли и культурно-бытовом секторе.

При осуществлении природоохранных мероприятий достигаются результаты, характеризующиеся:

- предотвращением потерь на территориях, где проявлялись негативные последствия нарушения природной среды (города, агломерации, промышленные узлы и т.д.);

- экономией от сокращения дополнительных затрат из государственного бюджета;

- эффектом от предотвращения потерь на производстве в связи с болезнью трудящихся из-за неблагоприятной экологии;

- эффектом от сокращения суммы выплаты населению из фонда социального страхования за период временной нетрудоспособности по причинам, вызванным загрязнением окружающей среды;

- эффектом от сокращения затрат в здравоохранении на лечение трудящихся от болезней, вызванных загрязнением среды и т.д.

При проведении конкретных расчетов, основанных на учете и оценке социальных результатов инвестиций в жилищно-гражданское строительство, подробнее необходимо обращаться к соответствующим методикам.

РАЗДЕЛ 1

Состав элементов экономического обоснования

1.1. Конструктивные элементы инженерно-технических систем.

Технология изготовления и производства строительно-монтажных работ

1.1.1. Крупнопанельные системы с узким шагом несущих стен.

Крупнопанельные системы с узким шагом несущих стен включают следующие конструктивные элементы: несущие (и ненесущие) панели внутренних стен, панели перекрытий и фундаменты, являющиеся элементами несущей системы, панели наружных ограждений, которые могут быть элементами несущей системы или входить в состав несущих конструктивных элементов, и ненесущие элементы системы, в число которых входят изделия для лестниц, тюбинги лифтов, перегородки, изделия для внутреннего обустройства и инженерного оборудования зданий и др.

Крупнопанельные системы с узким шагом, позволяющие создавать здания с мелкоячеистой внутренней структурой, предопределяют области использования систем: жилищное строительство, здания гостиничного типа, административные здания без зальных помещений, общежития, некоторые типы бытовых и других корпусов.

Для производства железобетонных и керамзитобетонных крупноразмерных изделий крупнопанельных систем применяют в различных модификациях следующие методы: стендовый, агрегатно-поточный, кассетный, конвейерно-кассетный, конвейерный и вибропрокатный.

Для производства панелей внутренних стен и перекрытий наибольшее распространение получил кассетный и вибропрокатный способ, для панелей наружных стен - конвейерный и вибропрокатный, а для отдельных деталей - стендовый.

Разновидностью кассетно-конвейерных технологий является кассетно-шаговая, метод подвижных щитов и челночно-кассетно-конвейерная.

Агрегатно-поточный метод нашел широкое применение для производства панелей наружных ограждений.

Предприятия крупнопанельного домостроения, как правило, имеют несколько различных технологических процессов по изготовлению железобетонных изделий, включая их отделку и комплектацию, а также ряд вспомогательных служб.

Для монтажа системы конструкций применяют три основных метода: свободный, с применением обычных геодезических инструментов и приспособлений, пространственной самофиксации, с применением кондукторных приспособлений. В состав работ по монтажу надземной части здания входят: монтаж сборных элементов несущей системы и ненесущих элементов, устройство стыков сборных элементов, монтаж ограждений балконов, лоджий и лестниц, монтаж конструкций для инженерного оборудования здания.

Монтаж надземной части здания осуществляют башенными кранами грузоподъемностью, соответствующей максимальной массе монтируемых сборных элементов.

Свободный монтаж предполагает отсутствие специальных приспособлений для обеспечения точности установки изделий в проектное положение.

Монтаж методом пространственной самофиксации представляет собой форму принудительного монтажа панелей стен (наружных и внутренних), при которой их взаимное соединение с необходимой точностью обеспечивается с помощью закладных деталей, устанавливаемых в изделие в процессе его формования. При отклонении во взаиморасположении изделий выше нормируемого конструктивная система не может быть собрана.

Монтаж с помощью кондукторных приспособлений обеспечивает «принудительный» монтаж сборных железобетонных конструкций с помощью пространственных кондукторов, устанавливаемых на монтажном горизонте в пределах секции и соединяемых фиксирующими тягами.

Монтаж панелей надземной части, как правило, ведут непосредственно с транспортных средств (панелевозов). Складирование изделий на строительной площадке производят в исключительных случаях в специальных стеллажах.

Панели перекрытий размером на комнату перевозят в панелевозах в вертикальном положении. Для подачи на монтаж панели с помощью гидрокантователя переводят в воздухе в горизонтальное положение. Иногда применяют специальные кантователи, устанавливаемые на стройплощадке.

1.1.2. Продольно-стеновые системы.

Продольно-стеновые системы отличаются обязательным участием панелей наружных ограждений в работе здания на вертикальные (и горизонтальные) нагрузки, т.е. включение ограждающих конструкций в несущую систему здания. В связи с тем, что в структуре жилых зданий поперечный шаг стен меньше продольного, в продольно-стеновых системах настилы перекрытий имеют большие пролеты, чем в поперечно-стеновых.

Продольно-стеновые системы в отличие от поперечно-стеновых обладают большей свободой в формировании внутренней среды, возможностью трансформации планировочной структуры. Однако они снижают этажность здания в связи с относительно небольшой несущей способностью ограждающих конструкций, а также ограничивают возможности формообразования, так как для аналогичных объемных решений требуют большей номенклатуры индустриальных изделий, чем при поперечно-стеновых системах. В остальном (изготовление, монтаж, конструктивные элементы и др.) система практически мало отличается от поперечно-стеновой.

1.1.3. Крупнопанельные системы с широким шагом несущих стен первоначально нашли применение в жилищном строительстве. Однако широкого развития в отечественной строительной практике не получили. Следует отметить, что этим системам для строительства жилья уделяется большое внимание за рубежом из-за возможности внутренней перепланировки в связи с изменяющимися требованиями к структуре жилища, а также использования гибкой технологии производства фасадных элементов, определяющих эстетические качества застройки.

В настоящее время крупнопанельные системы с широким шагом несущих стен в основном ориентированы на объекты культурно-бытового назначения.

Конструктивная система зданий в зависимости от их функционального назначения принимается с продольными, поперечными или продольно-поперечными панелями несущих стен. В решении конструктивных элементов и узлов их соединения предусматривают возможность использования в одном здании панельных и каркасных конструкций. Система предусмотрена для строительства школ, детских дошкольных учреждений, профтехучилищ, поликлиник, больничных корпусов и других объектов.

Конструктивные элементы системы подразделяют на две основные группы: элементы, не зависящие от различных объемно-планировочных структур, в которых они используются, и элементы, ориентированные на определенные типы или группы объектов, а также элементы, определяющие индивидуальные эстетические качества объектов строительства. К изделиям первой группы относятся несущие конструкции остова здания, его техническое оборудование, эксплуатационные устройства. Ко второй группе относятся схематизированные комплекты изделий, формирующие облик зданий. В номенклатуру конструктивных элементов системы входят изделия для наружных и внутренних стен, подземной части здания, для индустриальных кровель, инженерного обеспечения зданий (санитарно-технические кабины, вентиляционные блоки, короба и т.п.), а также изделия для внешнего благоустройства территории.

Изготовление конструкций, методы их монтажа, принципы формирования несущей системы близки к рассмотренным в п. 1.1.1. Однако для крестообразных (в поперечном сечении) панелей внутренних стен, обладающих большой несущей способностью и рядом других особенностей, требуется специальная технология производства, отличающаяся от процесса производства крупных панелей для системы с узким шагом несущих стен.

1.1.4. Каркасно-панельные системы.

Связевый каркас.

Каркасно-панельные системы предполагают одновременное использование каркасных (колонн и ригелей) и панельных (плит и настилов перекрытий, панелей наружных ограждений и крупноразмерных элементов диафрагм жесткости) конструкций.

Каркасной конструктивной системой называется несущая система, в которой ее вертикальными элементами являются колонны, а также связи, диафрагмы и ядра жесткости.

По способу обеспечения пространственной жесткости каркасные системы подразделяют на рамные, рамно-связевые и связевые, по схеме расположения рам каркаса - на системы с пространственными и плоскими (продольными или поперечными) рамами.

Каркасно-панельные системы применяют для всех видов гражданских и производственных зданий, например, учебных, административных, лечебных, торговых, жилых, предприятий общественного питания и обслуживания населения, производственных зданий и т.д.

В состав каркасно-панельной системы со связевым каркасом входят следующие конструктивные элементы: колонны, ригели, плиты перекрытий, плиты покрытий и плиты-распорки, диафрагмы жесткости, подколенники, фундаменты, являющиеся элементами несущей системы, и наружные ограждения, лестницы, изделия для вертикального транспорта (стены или тюбинги шахт лифтов), изделия для инженерного оборудования зданий, элементы внутреннего обустройства (например, перегородки), не являющиеся элементами несущей системы.

Производство конструктивных элементов осуществляется по трем основным технологиям: агрегатно-поточный, конвейерный и стендовой.

Монтаж конструкций осуществляется стреловыми колесными и гусеничными кранами для малоэтажного строительства и башенными катучими или «привязными» кранами.

Наибольшее развитие в каркасно-панельном строительстве получил метод монтажа на основе кондукторных приспособлений. Вместе с тем отдельные конструктивные элементы монтируются в условиях, близких к пространственной самофиксации.

Технико-экономические показатели каркасно-панельных систем со связевым каркасом характеризуются среднестатистическими данными, приведенными в табл. 1.

По сравнению с неиндустриальными конструктивными схемами (стальные, монолитные каркасы, кирпичные здания), а также по сравнению с крупноблочными и панельно-блочными системами связевой каркас значительно менее трудоемок (построечная и суммарная трудоемкость) и имеет лучшие показатели по расходу основных строительных материалов, стоимости и срокам возведения.

Таблица 1.

Технико-экономические показатели монтажа сборных железобетонных конструкций (на 1м2 общей площади)

Показатели

Одиночные кондукторы

Групповые кондукторы

Наружные панели - ленточные навесные

Наружное ограждение - глухая стена

Себестоимость, руб.

46

37

56

62

Трудоемкость, чел.-дн. человеко-дней

4,1

3,2

4,3

5,0

Удельные капиталовложения (без учета стоимости монтажа крана) руб. цены 1984 г.

44

41

17

20

Расход электроэнергии кВт-ч

212

168

49

49

Технико-экономические показатели связевого каркаса для зданий высотой 20...30 этажей (на 1 м3 объема здания)

Расход бетона, м………………………………………………………

0,065

Расход стали, кг………………………………………………………

25

Трудовые затраты на монтаж каркаса и перекрытий, чел-дн.

0,16

Продолжительность возведения каркаса здания (на 100 м2), дн.…

Затраты на устройство каркаса и перекрытий, руб.:

(цены 1984 года)

2,3

на стройке…………………………………………………………….

0,54

на заводе………………………………………………………………

0,34

Рамно-связевой каркас с преднапряжением

По сравнению со связевым каркасом при одинаковой планировочной структуре и идентичности несущей системы предварительно напряженный каркас обеспечивает снижение расхода стали на 25 % и бетона на 33 % за счет применения ребристых перекрытий, работающих в двух направлениях по неразрезной схеме, исключения стальных закладных деталей колонн и вертикальных диафрагм жесткости в соединениях между ними и перекрытиями, отсутствия железобетонных полок панелей, диафрагм и ригелей, использования эффективного армирования сборно-монолитных скрытых ригелей. Трудоемкость возведения здания несколько выше каркасно-панельных, однако суммарные трудозатраты не возрастают.

Технико-экономические показатели предварительно напряженного каркаса по расходу основных строительных материалов в сопоставлении с аналогичным связевым каркасом приведены в табл. 2.

Табл. 2.

Сопоставительные технико-экономические показатели связевого и преднапряженного каркасов

 

Расход материалов на 1000 м2 общей площади

Элементы и виды

Бетон, м3

Сталь, кг

работ

связевой

преднапряженный

связевой

преднапряженный

Колонны

21

21

7

4

Вертикальные диафрагмы

45

37

7

3

Ригели и перекрытия

175

105

13

9

Замоноличивание и стыкование конструкций

21

17

1

5

Итого:

262

180

28

21

1.1.5. Безригельный каркас.

Безригельные каркасы или каркасы с безбалочными перекрытиями представляют собой конструктивные системы, включающие вертикальные несущие конструкции в виде колонн и безбалочные перекрытия. Наличие в системе конструкций безбалочных перекрытий, вызываемое, как правило, технологическими требованиями, приводит к ряду существенных различий, как в конструктивной схеме, так и в решении конструктивных элементов системы.

Безбалочные конструктивные системы включают колонны, капители, плиты перекрытий (пролетные и надколенные) и другие конструктивные элементы, необходимые для зданий и сооружений. Частными случаями в разрезке перекрытий на конструктивные элементы могут быть решения, в которых капитель не выделяется в самостоятельный конструктивный элемент, а является частью элемента перекрытия, что, в частности, встречается в диагональной разрезке перекрытия (на конструктивные элементы), а также в разрезке, близкой к ригельной схеме (с широкими ригелями, включающими в себя полукапители, объединяемые при монтаже).

Каркасы с безбалочными перекрытиями, как правило, представляют собой рамные схемы, хотя и встречаются связевые и рамно-связевые схемы, включающие диафрагмы жесткости или связи одного или двух направлений.

Ограждающие конструкции в индустриальном варианте выполняют из сборных керамзитобетонных, железобетонных (трехслойных) или легко металлических конструкций. Распространенным вариантом являются кирпичные стены.

Безригельный каркас применяют в ряде гражданских зданий, и в частности в таких, где предъявляются требования к безригельности перекрытий, а также в зданиях малой этажности со значительными нагрузками на перекрытия. Безригельные системы используют при строительстве гаражей, книгохранилищ, складских помещений, предприятий торговли и общественного питания, а в последнее время и в жилищном строительстве (система КУБ).

Способы изготовления конструктивных элементов и методы монтажа аналогичны представленным в п. 1.1.4.

Технико-экономические показатели по расходу основных строительных материалов на среднюю секцию длиной в осях 6 м при ширине 30 м на все железобетонные элементы 2-го сверху этажа высотой 4,8м под нормативные временные длительные нагрузки 5, 10, 15, 26, 25 и 30 кН/м2 приведены в табл. 3.

Таблица 3.

Расход материалов на железобетонные элементы на 1 м2 площади перекрытия 2-го сверху этажа

Количество пролетов

Бетон, см/м2

Сталь (натуральная), кг, при временных нормативных длительных нагрузках, кПа

сборный

монолитный

всего

50

100

150

200

250

300

5

22

(23)

1,9

(1,8)

24

(25)

24

24

27

28

35

37

ПРИМЕЧАНИЕ: показатели в скобках даны для нагрузок 250 и 300 кПа.

1.1.6. Объемно-блочные системы.

Под объемно-блочными системами понимают несущие системы из объемных блоков размером на комнату и более.

Объемно-блочные системы используются в основном для строительства жилых домов.

Конструктивными элементами системы являются объемные блоки. Объемные блоки по типологическим признакам делятся на блоки жилых комнат, санитарно-кухонные, смешанные, представляющие собой промежуточный тип блока (могут содержать в своем составе кухню или жилую комнату, санитарный узел и часть коридора); блок лестницы; вспомогательные, например, блоки шахт лифтов, коммуникаций; блоки лоджий и т.д.

Объемные блоки изготовляют по стендовой и прокатной технологии. Сборку блоков осуществляют с помощью кондукторов. Технология сборки незначительно отличается от монтажа панелей на строительной площадке. Она включает крановые операции, работы по временному креплению панелей струбцинами или другими фиксирующими устройствами, подгонку и рихтовку панелей, сварку закладных деталей и их антикоррозионную защиту и заделку.

Для изготовления монолитных объемных блоков используют кассетную технологию, в том числе в сочетании с вакуумированием бетона и метод подъема щитов.

Для транспортировки объемных блоков используют тягачи со специальными прицепами или полуприцепами, обеспечивающими исключение динамических воздействий на блок и, кроме того, обладающие высокой маневренностью.

Основным средством монтажа объемно-блочных зданий являются стреловые краны на пневматическом и гусеничном ходу - для малоэтажных зданий и башенные краны на рельсовом ходу - для многоэтажных зданий. Монтаж блоков осуществляется с помощью специальных приспособлений, способ захвата которыми может быть беспетлевым или петлевым.

Кроме несущих объемных блоков широкое распространение получили блоки не несущей системы, такие, как объемные санитарно-технические кабины, объемные блоки лифтовых шахт, машинных отделений лифтов, вентиляционных камер и др., не входящие в объемно-блочную систему.

Специфика объемно-блочного домостроения, при котором максимальная степень заводской готовности элементов достигается перенесением в заводские условия подавляющей части монтажных и отделочных работ, резко влияет на структуру приведенных затрат, в которых возрастает значение производственных переделов, связанных с комплектацией и отделкой. Приведенные затраты в принятой методике технико-экономической оценки объемно-блочного домостроения складываются из капитальных вложений в заводское производство, стоимости сырья и материалов, энергетических затрат на технологические цели, заработной платы основных производственных рабочих и др. (в т.ч. стоимость эксплуатации машин и механизмов).

В условиях освоения производственных мощностей, повышенной нормы накладных расходов и плановых накоплений сметная стоимость зданий из объемных блоков несколько выше, чем крупнопанельных.

Однако, как показывает анализ нормативной себестоимости выполнения строительно-монтажных работ при возведении зданий из крупных панелей и объемных блоков несмотря на повышенные издержки при производстве объемно-блочных зданий, себестоимость их возведения несколько ниже, чем крупнопанельных, что связано с более высокой степенью заводской готовности, снижением сроков строительства, сокращением общей и особенно построечной трудоемкости (табл. 4 и 5).

Табл. 4.

Структура себестоимости строительно-монтажных работ при возведении полносборных 5-этажных зданий

(%)

Виды работ и затрат

Здания

из крупных панелей

из объемных блоков

Общестроительные работы, выполняемые непосредственно на стройплощадке

100/31

28/8,2

Монтаж инженерного оборудования на стройплощадке

100//5,1

46/2,4

Затраты на производство и доставку строительных конструкций

100/48,2

160,4/79,1

Накладные и лимитированные расходы

100//15,7

64,5/10,3

ИТОГО:

100/100

97,9/100

ПРИМЕЧАНИЕ. Перед чертой - данные в % к затратам на возведение крупнопанельных зданий, принятых за 100 %, после черты - структура затрат в % к итогу.

Табл. 5.

Основные технико-экономические показатели объемно-блочного строительства для 9-этажных жилых домов

Показатели

Объемно-блочное строительство

Крупнопанельное строительство

Удельные капиталовложения в организацию заводского производства, руб. в год/м2 общей площади (в ценах 1984 г.)

70...80

65...70

Затраты труда, чел. ч/м2 общей площади:

 

 

на заводе

14,2...15,4

9,0...9,4

на стройплощадке

8...10,6

11,8

Расход стали, кг/м2 общей площади

30...50

25

Расход бетона м3 общей площади

0,47...0,61

0,7

Расход цемента, кг/м2 общей площади

190...200

240

Сметная стоимость строительства, руб./м2 общей площади (цены 1984 г.)

100...200

100

1.1.7. Легкометаллические системы.

Легкометаллическими конструктивными системами называют такие, в которых несущие элементы выполнены из металлоконструкций (иногда в сочетании с железобетонными), а ограждающие - из трехслойных металлических панелей с эффективными утеплителями. В общем виде, несущая система не имеет существенных различий от стальных каркасов, применяемых в малоэтажном гражданском или промышленном строительстве. Принципиальное различие легкометаллических конструкций от стальных каркасов заключается в форме организации промышленного производства, ориентированного на выпуск массовой типизированной продукции для различного назначения, что превращает легкометаллические конструкции в индустриальную систему конструкций.

Полный комплект конструкций предусматривает наличие следующих ее видов:

несущие конструкции, например, перекрестно-стержневые пространственные покрытия (структуры), колонны, гофрированные профили, ограждающие конструкции (трехслойные стеновые и кровельные панели, стальные унифицированные ворота, витражи, деревоалюминиевые оконные блоки), конструкции интерьера (гипсовые перегородки с металлическим каркасом, подвесные металлические потолки, унифицированные дверные блоки, стальные лестницы, площадки технологического оборудования и ограждения к ним), комплектующие изделия (специальные стальные винты, самосверлящие и самопрокалывающие, фасонные элементы для навесных трехслойных панелей стен).

Легкометаллические конструкции применяют для строительства одно- и двухэтажных предприятий торговли (универмаги, универсамы, рынки), общественного питания, объектов транспорта (аэровокзалы), выставочных залов, гаражей, производственных предприятий (склады, овощехранилища), предприятий обслуживания населения (базы автосервиса) и др.

Унифицированное решение для всех систем имеют ограждающие конструкции. К унифицированным несущим конструкциям могут быть отнесены несущие конструкции в виде стержневых структур.

Структуры - пространственные системы, получили свое название вследствие их регулярного строения.

Регулярность конструктивных деталей и узлов структур явилась основой для их стандартизации, удовлетворения требований производства, приспособленного для выпуска индивидуальной и разнообразной номенклатуры конструкций.

Для изготовления трехслойных панелей с заливочными пенопластами используют непрерывные технологические линии, линии стендового типа, конвейерного типа с принудительным ритмом, агрегатно-поточные.

Непрерывная линия работает по принципу непрерывно передвигающейся формы, которая образуется двумя расположенными одна над другой непрерывными лентами, определяющими толщину панели, и боковыми прижимными непрерывными лентами, определяющими ширину панели.

Основными агрегатами стендовых линий являются многоярусные прессы, заливочная машина, кромкогибочная машина, установка для нанесения и сушки клея, подъемный стол для сборки и подачи панелей на следующий агрегат, передвижные загрузочные многоярусные этажерки, разгрузочные этажерки и подъемный стол для принятия панелей из разгрузочной этажерки.

Монтаж конструктивных элементов ведется стреловыми колесными или гусеничными кранами.

Монтаж панелей и крепление их к каркасу производят одиночными панелями или предварительно укрупненными блоками. При этом в качестве элементов, соединяющих панели в блок, могут использоваться ригели фахверка.

1.1.8. Блочные системы.

Блочные системы предполагают использование блоков, панелей и настилов (перекрытий) в одной конструктивной системе. При этом, блоки выполняют роль вертикальных несущих конструкций (внутренние несущие конструкции стен и наружные ограждающие конструкции), панели - вертикальных несущих и ненесущих (ограждающих) конструкций, а элементами перекрытий являются настилы (размером, как правило, меньше чем на комнату).

В блочные системы могут не входить панели и в этом случае система конструкций превращается в «чисто» блочную. Блочные системы, содержащие крупные панели, иногда называют панельно-блочными.

Блочные системы используют для строительства жилых домов и некоторых типов общественных зданий, как, например, школ, детских дошкольных учреждений, объектов обслуживания населения, административных зданий, в которых по функциональным требованиям максимальный пролет между несущими вертикальными конструкциями не должен превышать 7,2 м.

Изготовление и монтаж конструкций аналогичен представленным в п.п. 1.1.1., 1.1.2., 1.1.3 и 1.1.4.

1.1.9. Монолитные железобетонные конструкции.

В последнее время все более широкое применение в жилищно-гражданском строительстве находит монолитный железобетон. Здания из монолитного железобетона могут иметь различные конструктивные схемы, например каркасную, каркасно-панельную, панельную с узким или преимущественно широким шагом несущих стен.

В зависимости от конструктивной схемы здания содержат определенный конструктивной схемой набор конструктивных элементов.

В отличие от индустриальных систем, монолитные конструкции выполняются на месте с возможностью частичного использования сборного железобетона, например для лестниц и внешних ограждающих конструкций.

Характерной особенностью монолитных зданий является способ их возведения, требующий использования опалубки различного типа (щитовая, тоннельная, скользящая и др.).

Доставка бетона на строительство, как правило, осуществляется бетоновозами-миксерами, подача бетонной смеси на место укладки производится с помощью катучих или «привязных» башенных кранов специальными бадьями или бетононасосами.

Часто монолитное домостроение сочетается с кирпичными конструкциями для устройства внешних и внутренних ограждений.

1.1.10. Перспективные системы.

К перспективным системам относятся оболочково-ствольные, предназначенные для односекционных высоких зданий. В зарубежной практике такие здания возводятся, как правило, с внутренним железобетонным ядром и наружным, выполняемым в металле. Перекрытия конструируются комбинированными и включают стальную балочную клетку с уложенным по ней профилированным настилом, замоноличенным слоем бетона. Встречаются оболочково-ствольные системы полностью из железобетона. При этом решении внешнее и внутреннее ядра возводятся в монолитном железобетоне в скользящей опалубке, а плиты перекрытия возводятся методом подъема (бетонирование плит осуществляется на уровне земли).

Другой перспективной системой является каркасно-ствольная образуемая монолитным ядром жесткости и каркасом, которая может рассматриваться как вариант связевого каркаса с монолитным ядром жесткости. Ядро жесткости выполняется в скользящей опалубке, каркас может быть ригельным или безригельным сборным железобетонным либо монолитным. При этом возможно предварительное напряжение перекрытия.

Определенное развитие получают и крупнопанельные системы с монолитными ядрами жесткости. Отличительной особенностью этих систем является восприятие всех горизонтальных и всех или части вертикальных нагрузок монолитными ядрами жесткости. В случае передачи всех вертикальных нагрузок на ядра жесткости сборные панели несущих внутренних стен, расположенные в двух направлениях на каждом этаже, консольно прикрепляются к стенам ствола одной вертикальной гранью по всей высоте. Сборные плиты перекрытия опираются на панели внутренних стен нижнего этажа. Указанные схемы позволяют возводить здания с выявленными консольными этажами.

Новым техническим решением являются предварительно напряженные в построечных условиях крупнопанельные здания, здания со скрытым каркасом, совмещающие черты каркасно-панельных и крупнопанельных зданий и др.

В последние годы у нас в стране начала развиваться инженерно-техническая система, основанная на большепролетных покрытиях в виде сборных железобетонных оболочек и складок из унифицированных элементов для зданий общественного и производственного назначения пролетами от 18 до 200 м. Оболочки характеризуются различной геометрической формой, позволяющей получить разнообразные архитектурные решения здания.

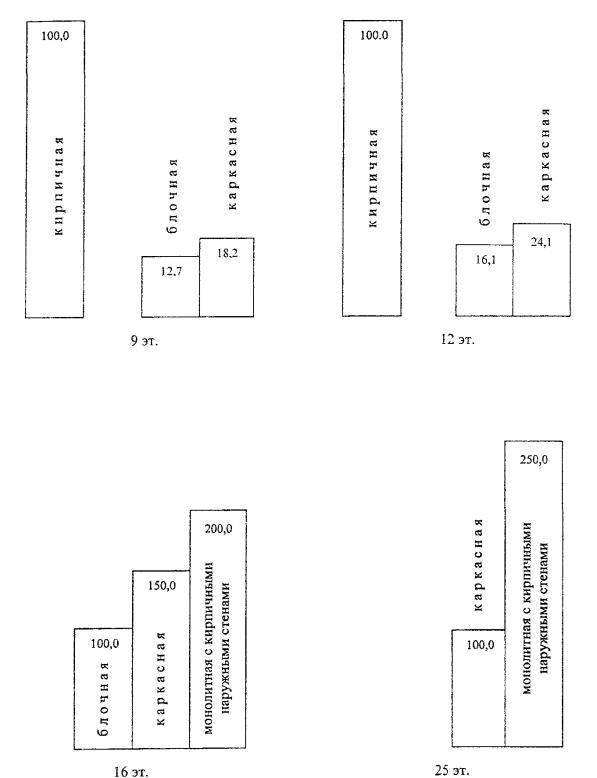
Сопоставление технико-экономических показателей проектов жилых и общественных зданий конструктивных различных систем проводилось на базе конкретной типовой и повторно применяемой проектной документации, разработанной МНИИТЭПом для строительства в г. Москве периода 70-90 годов.

Установленные тенденции и зависимости изменения удельных показателей материалоемкости и стоимости позволяют делать предварительные расчеты на уровне экспресс оценки и предпроектных стадий, а также позволяют достаточно быстро установить просчеты и ошибки в проектах на этапе экспертизы.

Конкретные абсолютные показатели удельных значений стоимости и материалоемкости по жилым и общественным зданиям приведены в Приложениях 6 и 7.

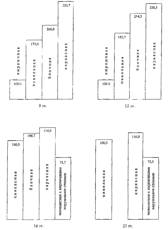
1.1.11. Изменение технико-экономических показателей по жилым домам различной этажности: 9 - 12 - 16 - 25 этажей показано на рис. 1-4 Приложения 1.

Сравнение проводилось отдельно по следующим конструктивным системам: кирпичная, панельная, блочная, каркасная, монолитная с кирпичными наружными стенами. В рамках каждой системы этажность в 9 этажей принималась за 100 % и по отношению к ней рассматривалось изменение показателей стоимости и материалоемкости в расчете на один квадратный метр общей площади.

По всем рассматриваемым вариантам сопоставления отмечается тенденция относительного роста удельных показателей при увеличении этажности здания.

1.1.12. Этажность здания является одним из основных факторов, влияющих на экономичность показателей строительства и эксплуатации жилых домов.

Так, при повышении этажности происходит усложнение архитектурно-планировочной структуры здания: включение лифта в планировочное решение вызывает увеличение площади лестнично-лифтового узла и появление внеквартирных коридоров.

Повышение этажности влечет за собой усложнение конструктивного решения в связи с необходимостью усиления вертикальных несущих конструкций нижних этажей, фундаментов и т.д., в результате чего происходит увеличение стоимости несущих конструкций и инженерного оборудования.

1.1.13. По характеру воздействия на изменение показателей стоимости и материалоемкости при повышении этажности основные виды работ и конструктивных элементов можно разделить на следующие группы:

- удельная стоимость которых увеличивается неравномерно с повышением этажности - лифты, мусоропроводы, несущие стены, лестничные клетки и т.п.,

- удельная стоимость которых с повышением этажности уменьшается - нулевой цикл, крыша, кровля;

- удельная стоимость которых (при соблюдении условий сопоставимости по планировочному решению квартир) остается примерно постоянной междуэтажные перекрытия, санитарно-техническое оборудование, окна, двери и т.д.

1.1.14. Сопоставление технико-экономических показателей 5, 9, 12, 16 и 25 этажных жилых домов показало, что в сопоставимых условиях рост стоимости одного квадратного метра увеличивается за счет разных факторов при сравнении различных категорий этажности.

Так, удорожание стоимости строительства при повышении этажности с 5 до 9 этажей происходит за счет:

- увеличения вертикальных и ветровых нагрузок на несущие конструкции, что требует увеличения толщины ограждающих конструкций по теплотехническим и звукоизоляционным параметрам и увеличения расхода материалов в связи с этим;

- изменения конструкции заполнения оконных проемов для повышения теплотехнических качеств здания;

- необходимости устройства лифтов и мусоропроводов;

- усиления ограждений лоджий и балконов;

- усложнения внутренних санитарно-технических устройств (установки повышения напора воды, дополнительных противопожарных устройств);

- устройства молниезащиты и др.

1.1.15. Повышение этажности вызывает действие факторов, обусловленных усложнением технологии и организации строительства:

- удорожание вертикального транспорта при строительстве и необходимость использования специализированного строительного оборудования;

- снижение производительности труда при монтаже в связи с труднодоступностью рабочих мест,

- усложнение организации строительства;

- увеличение количества субподрядных организаций.

1.1.16. Рост стоимости наружных стен в 9 этажных панельных домах связан с усилением конструкций - утолщение стен, повышение марок бетона и увеличение расхода арматуры, увеличением удельных объемов стен, в связи с расширением внеквартирных коммуникаций и лоджий.

1.1.17. Увеличение этажности домов до 16 влечет за собой: устройство двух лифтов, усложнения санитарно-технического оборудования, изоляции лестничных клеток от задымления, усиление несущих конструкций. В 16-ти этажных каркасно-панельных зданиях значительно возрастает трудоемкость на строительной площадке, что обусловлено большим количеством сборных элементов каркаса, увеличением числа стыков и швов, а также объемами отделочных работ.

1.1.18. Необходимо отметить, что с повышением этажности жилых домов разрабатываются качественно новые категории зданий, характеризуемые более высокой капитальностью, пожарной безопасностью и степенью комфорта. Каждая категория таких домов имеет определенную этажность: 6-9 эт., 10-14 эт., 16-22 эт., 25 этажей. При этом в пределах каждой категории наиболее экономичными являются решения с наибольшей этажностью, т.к. в пределах одной категории стоимость лифтов и мусоропроводов растет незначительно, а распределяется на большую площадь и, следовательно, их удельное влияние уменьшается.

Отсюда этажности в 9, 14, 22 этажей для массового применения оказываются предпочтительнее.

1.1.19. На рис. 5-8 Приложения 2 представлено изменение стоимости строительно-монтажных работ и расхода основных строительных материалов в расчете на 1 м общей площади при сравнении различных конструктивных систем в пределах одной этажности.

1.1.20. Анализ изменения стоимостных показателей в зависимости от ориентации жилого дома показал предпочтительность меридиональной ориентации по сравнению с широтной (см. рис. 9 Приложения 3), однако практическое внедрение жилых домов меридиональной ориентации в массовое строительство существенно регламентируется градостроительными проблемами.

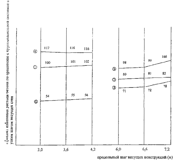
1.1.21. Влияние применения различных конструктивных схем на показатели стоимости, расхода бетона, цемента, стали, кирпича и показатели трудозатрат рассмотрено на примере сопоставления различных конструктивных систем и схем по отношению к крупнопанельной системе с шагами поперечных несущих конструкций 3,0 и 3,6 м (см. рис. 12-16 Приложения 4).

При сопоставлении принимались во внимание: крупнопанельная система с узким шагом 3,0 и 3,6 м - аналог; крупнопанельная система с широким шагом несущих стен - 6,0; 6,6 и 7,2 м; каркасно-панельная система с широким шагом; монолитные системы с узким шагом и кирпичные с узким шагом.

На основании результатов сопоставления можно отметить, что, в основном, увеличение шага несущих стен в рамках одной конструктивной системы обеспечивает снижение расхода бетона и цемента, требует некоторого увеличения расхода стали; ниже по трудозатратам и стоимости.

Каркасно-панельная система с широким шагом несущих стен обеспечивает по сравнению с аналогом снижение расхода бетона и цемента, требует значительного увеличения расхода стали и трудозатрат и в меньшей степени увеличения стоимости.

Монолитная конструктивная система с узким шагом по расходу бетона, цемента и трудозатрат превышает аналог, по расходу стали несколько ниже.

1.1.22. Анализ изменения расхода проката черных металлов в натуральной массе и расхода цемента, приведенного к марке М-400 в расчете на один квадратный метр общей площади, в зависимости от конструктивного решения массовых типов общественных зданий (см. рис. 10 и 11 Приложения 5) рассмотрено на примере следующих конструктивных систем: наружные стены из кирпича, каркасно-панельная, крупнопанельная и крупноблочная. В качестве уровня сравнения принято решение с наружными кирпичными стенами. Анализ показал, что по расходу проката черных металлов в натуральной массе наименее экономичной является каркасно-панельная система, а по расходу цемента, приведенного к марке М-400, максимальное значение по сравнению с кирпичным вариантом выявлено:

- по детским дошкольным учреждениям - в конструктивной крупноблочной системе;

- по средним общеобразовательным школам и другим типам общественных зданий - в крупнопанельном варианте.

1.2. Эксплуатационные затраты, методы расчета.

1.2.1. Эксплуатационные расходы по содержанию жилых и общественных зданий включают в себя совокупность материальных, энергетических и трудовых затрат на проведение соответствующих работ и мероприятий по содержанию в технически исправном состоянии элементов и отдельных конструкций здания и обеспечению внутри здания необходимого уровня комфорта и климата, выраженную в стоимостной форме.

1.2.2. Полные эксплуатационные расходы можно разделить на следующие основные группы:

- затраты на восстановление и ремонт зданий;

- затраты на эксплуатацию систем инженерного оборудования;

- затраты на содержание зданий и территорий;

- административно-управленческие затраты;

- прочие условно-постоянные расходы.

1.2.3. Затраты на восстановление и ремонт зданий включают в себя:

- амортизационные отчисления на реновацию (восстановление) здания;

- амортизационные отчисления на капитальный ремонт здания;

- затраты на текущий ремонт здания.

1.2.4. В затраты на эксплуатацию систем инженерного оборудования входят расходы на:

- отопление;

- водоснабжение и канализацию;

- вентиляцию и кондиционирование воздуха:

- электроосвещение;

- эксплуатацию лифтов;

- мусоропроводы;

- систему противопожарной защиты и дымоудаление.

1.2.5. Затраты на содержание зданий и территорий включают в себя расходы на:

- санитарно-гигиенические работы (уборка полов, протирка стен, мытье окон, очистка кровли от снега);

- придомовые территории;

- внешние инженерные сети,

- вывоз мусора.

1.2.6. Административно-управленческие затраты включают в себя заработную плату административно-управленческого персонала учреждения или жилищно-эксплуатационных организаций, обязательные платежи и отчисления (кроме амортизационных) и другие управленческие расходы.

1.2.7. Прочие расходы (условно-постоянные) по учреждению представляют собой затраты, необходимые для нормальной его работы, не зависящие от проектного решения (в том числе НДС).

К их числу относятся стоимость питания в детских дошкольных учреждениях, износ спецодежды, малоценных предметов, посуды, столовых приборов, (НДС) и т.п.

1.2.8. Удельный вес отдельных статей эксплуатационных затрат для разных типов и видов гражданских и жилых зданий различен.

Так, по жилым домам структура эксплуатационных затрат приведена в следующей таблице:

№№ п/п

Статьи затрат

Удельный вес статьи в общей сумме эксплуатационных затрат (%)

1.

Затраты на восстановление и ремонт зданий:

23-31

- амортизационные отчисления на реновацию

6-8

- затраты на текущий ремонт

4-6

2.

Затраты на эксплуатацию систем инженерного оборудования:

 

- отопление

12-15

- водоснабжение и канализация

11-14

- электроосвещение

-

- эксплуатация лифтов

5-26

- мусоропроводы

1-2

3.

Затраты на содержание зданий и территорий:

 

- санитарно-гигиенические работы

2-3

- придомовые территории

2-4

- внешние инженерные сети

15-18

4.

Административно-управленческие расходы

2-3

1.2.9. Показатели эксплуатационных затрат измеряются в рублях в год в расчете на единицу вместимости, удельную единицу площади или строительного объема, а также на соответствующие расчетные единицы измерения конструктивных элементов зданий.

1.2.10. Определение эксплуатационных расходов может быть произведено на основе: - данных проекта-аналога; - базовых удельных показателей стоимости эксплуатации с применением соответствующих коэффициентов инфляции (БУПэ), или по отдельным видам как произведение сметной стоимости элементов на норматив соответствующих отчислений, которые, в свою очередь, определяются исходя из долговечности строительных конструкций и материалов капитальности здания и из типа и сроков службы конструктивных элементов и инженерного оборудования.

1.2.11. В соответствии с «Положением о проведении планово-предупредительного ремонта жилых и общественных зданий» по степени капитальности и долговечности жилые здания подразделяются на шесть групп с нормативными усредненными сроками службы от 15 до 150 лет, общественные здания - на девять групп с усредненными нормативными сроками службы от 10 до 175 лет, в соответствии с этим установлена периодичность ремонтов жилых и общественных зданий:

Периодичность ремонтов жилых зданий в годах

Виды ремонта

Группа зданий по капитальности

I

II

III

IV

V

VI

Текущий профилактический

3

3

3

3

2

2

Капитальный выборочный

6

6

6

6

6

5

Капитальный комплексный

30

30

24

18

-

-

Периодичность ремонтов общественных зданий в годах

Виды ремонта

Группа зданий по капитальности

I

II

III

IV

V

VI

VII

VIII

IX

Текущий профилактический

3

3

3

3

3

3

t

2

0

Капитальный выборочный

6

6

6

6

6

6

6

5

5

Капитальный комплексный

30

30

30

30

24

18

 

-

-

1.2.12. Величина показателей на восстановление (реновацию), обусловленного полным возмещением износа конструктивных элементов и систем инженерного оборудования, определяется умножением сметной стоимости элементов на норматив отчислений. Нормативы отчислений для конструкций и конструктивных элементов определяются исходя из их долговечности, а для инженерного оборудования - в зависимости от его типа.

Сроки службы конструктивных элементов и элементов инженерного оборудования приведены в таблице 1 Приложения 9, а оборудования и элементов санитарно-технических систем (отопление и вентиляция) в таблице 2 Приложения 9.

Нормативы отчислений на реновацию строительных конструкций в зависимости от их долговечности приведены в табл. 3 и 4 Приложения 9. Так, для зданий I-III групп капитальности со сроком службы 100-150 лет норматив ежегодных отчислений составляет - 0,67 % от сметной стоимости конструкций.

Нормативы амортизационных отчислений на восстановление и капитальный ремонт по внутренним санитарно-техническим системам приведены в таблице 5 Приложения 9 и составляют по системам центрального отопления 5-7 %, по санитарно-техническим системам - 4,4-11,0 %, по системам кондиционирования воздуха 4,9-12,5 % от сметной стоимости.

1.2.13. Размер ежегодных отчислений, на проведение капитального ремонта жилых и общественных зданий, необходимый для замены и восстановления отдельных частей или целых конструкций и оборудования в связи с их физическим износом и разрушением, а также для устранения последствий морального износа конструкций, определяется умножением единичной сметной стоимости конструкций на норматив затрат на капитальный ремонт (см. табл. 4, 5, 6 Приложения 9), в пределах от 4,3 до 0,19 в зависимости от срока службы от 10 до 150 лет.

1.2.14. Затраты на текущий ремонт жилых и общественных зданий, представляющий комплекс работ по предупреждению преждевременного износа конструкций, отделки и инженерного оборудования, включает в себя заработную плату рабочих (с начислениями), стоимость эксплуатации машин и механизмов и стоимость материалов и энергоресурсов.

Расходы на текущий ремонт определяются произведением единичной стоимости конструктивных элементов и нормативов затрат на текущий ремонт табл. 8, 9, 10, 11 Приложения 9. Для жилых зданий I-III групп капитальности норма отчислений составляет 0,75-1,0 % от восстановительной стоимости*. Для общественных зданий 1-Ш групп капитальности норматив отчислений колеблется в пределах 1,1-1,3 %.

____________

* стоимость, определяемая по действующим в момент переоценки основных фондов ставкам, ценам, тарифам.

1.2.15. Затраты на содержание систем инженерного оборудования включают в себя:

- отопление;

- электроосвещение;

- водоснабжение и канализация;

- вентиляция и кондиционирование;

- лифты;

- мусоропроводы;

- система противопожарной защиты и дымоудаления.

1.2.16. Расходы на отопление рассчитываются исходя из показателей годового расхода тепла, стоимости удельных единиц тепла, удельных теплопотерь здания, продолжительности отопительного периода, с учетом площади ограждающих конструкций и их тепловых характеристик.

1.2.17. Расход тепла определяется в соответствии с МГСН 2.01-94 «Энергосбережение в зданиях». Нормативы по теплозащите и тепловодоэлектроснабжению, а также с учетом требований СНиП по отоплению, вентиляции и кондиционированию воздуха и главы СНиП по строительной теплотехнике.

Кроме того, при оценке планировочных и конструктивных решений жилых домов по параметру расхода тепла, рекомендуется пользоваться «Рекомендациями по определению тепловой эффективности жилых зданий в зависимости от объемно-планировочных решений (ЦНИИЭП жилища).

1.2.18. Расход тепловой энергии на отопление зданий определяется по формуле

где:                                                 (1.1)

 - трансмиссионные теплопотери (МДж)

                                   (1.2)

* - теплопотери на нагревание инфильтрующегося воздуха, МДж

где:                                            (1.3)

 - теплопотери на нагревание вентилируемого воздуха при механическом побуждении, МДж

                                                    (1.4)

 - бытовые и технологические теплопоступления, МДж для жилых зданий, определяется по формуле

                                                                   (1.5)

 - теплопоступления через окна от солнечной радиации в отопительный период, МДж;

- коэффициент, зависящий от способа регулирования системы отопления:

Коэффициент, зависящий от способа регулирования системы отопления

№п.п

Система отопления и способ регулирования

h1

1.

Электроотопление

0,85

2.

Водяное отопление с термостатическим регулированием температуры радиаторов

0,8

3.

Водяное отопление с системой пофасадного регулирования

0,6

4.

Водяное отопление с системой регулирования по температуре наружного воздуха

0,4

5.

Водяное отопление без регулирования

0,2

h - коэффициент полезного действия систем отопления, при отсутствии проектных данных, принимается равным 0,65;

b - коэффициент, учитывающий добавочные теплопотери, определяемые по приложению 8 СНиП 2.04.05-91;

tint - расчетная температура внутреннего воздуха, ° С;

tht, Zht - средняя температура, 6° и продолжительность, сут. отопительного периода;

 - приведенный коэффициент теплопередачи здания ВТ/(м2×°С);

* - площадь поверхности всех наружных ограждающих конструкций, м2;

С - удельная теплоемкость воздуха, равная 1006 Дж/(кг×°С);

r - плотность наружного воздуха, кг/м3; температура воздуха °С;

Gm - приведенная воздухопроницаемость здания, кг/(м2×ч);

hv - средняя кратность воздухообмена здания за отопительный период 1/ч;

nv - отапливаемый объем здания, м3;

*- площадь жилых комнат и кухонь;

I - величина бытовых тепловыделений на 1 м2 площади пола отапливаемых помещений Вт/м2.

1.2.19. Величина затрат на вентиляцию (кондиционирование) определяется суммированием расходов на подогрев (охлаждение) наружного воздуха и на силовую электроэнергию, потребляемую кондиционерами и вентиляционными установками.

Размер затрат зависит от продолжительности работы установок, режима эксплуатации здания и определяется исходя из тех же показателей, что используются и при расчете затрат на отопление.

Сумма затрат на силовую электроэнергию определяется на основе данных о мощности эксплуатируемых электродвигателей и режима работы учреждения.

1.2.20. Стоимость электроосвещения зависит от режима работы уч-ния, мощности осветительных установок, степени одновременности их включения и стоимости расчетной единицы потребляемой энергии и определяется с учетом действующих тарифов стоимости единицы электроэнергии и удельного норматива ее расхода на 1 м2 общей площади.

1.2.21. Затраты по эксплуатации систем водоснабжения и канализации состоят из:

- затрат на горячее водоснабжение,

- затрат на повышение напора воды.

Затраты на горячее водоснабжение определяются с учетом нормативов потребления воды, разницы начальной и конечной температуры воды, тарифов на горячую воду.

Затраты на обеспечение должного уровня напора воды складываются из стоимости электроэнергии, потребляемой повысительными насосами, с учетом числа их работы в сутки, стоимости амортизационных отчислений на восстановление и ремонт системы и затрат на ее текущий ремонт.

1.2.22. Расходы - по эксплуатации лифтов складываются из заработной платы персонала обслуживания, стоимости электроэнергии, технического надзора и ремонта и зависят:

- для жилых зданий;

- от этажности, количества площади в этаже, секции, количества установленных в секции лифтов;

- для общественных зданий;

- от проектного числа установленных лифтов, численности обслуживающего персонала, действующих нормативов на ремонт лифтов, числа ремонтов в годовом цикле эксплуатации лифта.

1.2.23. Затраты по эксплуатации мусоропроводов в жилых домах состоят из заработной платы обслуживающего персонала, расходов на текущий ремонт системы и зависят от расположения сборной камеры (в цокольной части дома на уровне двора, в подвале, в подвале с затесненными проходами) и среднего размера квартир.

в себя з/п персонала по обслуживанию и ремонту и амортизационные отчисления подсистем, зависят от числа квартир на этаже, этажности здания, вместимости общественного здания.

1.2.25. Затраты на содержание зданий и территорий включают в себя расходы на поддержание заданного уровня санитарно-гигиенических и эксплуатационно-технических требований по:

- местам общего пользования в здании;

- придомовым территориям;

- внешним инженерным сетям;

- вывозу мусора;

- санитарно-гигиеническим работам в общественных зданиях:

- уборка полов;

- протирка стен;

- мытье окон;

- очистка кровли от снега.

Группа затрат на санитарно-гигиенические работы определяется исходя из удельных показателей стоимости работ и площадей уборки.

Затраты на содержание придомовых территорий состоят из заработной платы персонала по уборке, стоимости уборочных машин и механизмов, материалов, топлива и наружного освещения, амортизации инструмента и определяются исходя из этажности здания, площади зеленых насаждений и асфальтированных участков, норм обслуживания на одного работника.

Расходы на содержание инженерных сетей состоят из амортизационных отчислений и стоимости текущего ремонта коллекторов и сетей (в среднем составляют 7 % от их сметной стоимости).

1.2.26. Ежегодно на содержание жилого фонда и зданий общественного назначения расходуются значительные средства, эти расходы продолжаются в течении всего срока службы зданий - в итоге в несколько раз превышают единовременные затраты на их возведение. Отсюда очевидна важность учета показателей эксплуатационных затрат при оценке проектных решений, чтобы в результате избежать убытков в стремлении к снижению стоимостных показателей за счет ухудшения эксплуатационных параметров зданий.

1.2.27. Стоимость эксплуатации зависит от воздействия многих факторов, среди которых:

- величина города;

- климатические условия;

- плотность и характер застройки;

- качество строительства;

- техническая оснащенность жилищных организаций;

- наличие нежилых помещений, сдаваемых в аренду, но самое значительное воздействие, оказываемое на размер эксплуатационных затрат, принадлежит типу здания, его планировочному и конструктивному решению.

1.2.28 Очевидна зависимость затрат на отопление от варианта конструктивного решения и решения наружных стен. То же можно сказать о величинах затрат на капитальный ремонт: так за счет ремонта стыков в крупнопанельных зданиях эти затраты выше, чем в кирпичных зданиях.

В этой связи статьи эксплуатационных затрат по признаку зависимости от проектного решения можно разделить на статьи прямо зависящие от него и связанные с ним косвенно.

К первой группе относятся расходы по реновации, капитальному и текущему ремонту, коммунальным расходам (отопление, содержание и эксплуатация лифтов, мусоропроводов и др.); ко второй группе - административно-управленческие расходы, расходы на содержание обслуживающего персонала, обязательные платежи и отчисления.

Для оценки проектных решений затраты первой группы НИИЭС предложено разделить на эксплуатационно-конструктивные и эксплуатационно-функциональные. К эксплуатационно-конструктивным отнесены расходы на текущий и капитальный ремонты, реновационные отчисления, т.е. затраты, обеспечивающие нормальное функционирование конструкций.

К эксплуатационно-функциональным расходам отнесены затраты на отопление, вентиляцию, кондиционирование, холодное и горячее водоснабжение, электроснабжение, канализацию, содержание лифтов и мусоропроводов - т.е. затраты, обеспечивающие нормальное функционирование жилого дома и его блок секций в соответствии с его назначением.

1.2.29. В процессе эксплуатации здания к моменту окончательной потери домом своей первоначальной стоимости реновационные отчисления создают базу для возмещения его восстановительной стоимости, с учетом морального износа и ценовых изменений.

В силу различного конструктивного решения отдельных элементов здания, их разных функций они снашиваются неравномерно, что вызывает необходимость частичного возмещения их износа посредством капитального ремонта. Двоякий характер возмещения основных фондов предопределяет разделение этих средств на две части - реновационные отчисления и средства на капитальный ремонт.

При оценке конструктивных элементов с разным сроком службы, а также зданий с различной степенью капитальности важно учитывать трансформирование первоначальной стоимости в восстановительную, а отсюда и изменение размеров годовых отчислений на восстановление.

1.2.30. На размер затрат по капитальному ремонту оказывает воздействие тип смежных конструкций, например, ремонт мягкой кровли в домах с совмещенной крышей и внутренним водостоком стоит меньше, чем при чердачной крыше с деревянными стропилами и с разводкой отопления на чердаке.

Наиболее частыми конструктивными элементами, подвергающимися капитальному ремонту, являются кровля, полы, стыки, столярные изделия, фасады, отделочные работы, сантехническое оборудование.

1.2.31. В связи с тенденцией повышения этажности жилой застройки происходит удорожание эксплуатации здания за счет:

- эксплуатации лифтов;

- возрастания расходов по эксплуатации санитарно-технических устройств.

Так, если в зданиях, не оборудованных лифтами, основная доля эксплуатационных расходов приходится на реновацию и ремонт, а также на затраты на отопление, при этом затраты на содержание мест общего пользования (лестницы) незначительны, то в домах повышенной этажности эксплуатационные расходы значительно возрастают за счет затрат на содержание лифтов.

В состав этих затрат входят:

- заработная плата обслуживающего персонала;

- стоимость технического обслуживания;

- стоимость планово-предупредительного ремонта;

- стоимость электроэнергии.

На величину этих затрат влияют:

- грузоподъемность лифта;

- месторасположение машинного помещения;

- стены шахты;

- система обслуживания;

- число этажей;

- размер площади дома, обслуживаемой одним лифтом.

В этой связи, основной резерв снижения расходов на содержание лифтов в зданиях повышенной этажности - это увеличение нагрузок на лифт путем применения многоквартирных секций.

1.3. Долговечность зданий, сооружений и конструктивных

элементов и оценка влияния долговечности на эксплуатационные затраты.

1.3.1 Жилые и общественные здания в зависимости от долговечности материалов основных конструкций (фундаментов, стен и перекрытий) подразделяются на:

- жилые здания - 6 групп с нормативными усредненными сроками службы от 15 до 150 лет;

- общественные здания - на девять групп с усредненными нормативными сроками службы от 10 до 175 лет.

1.3.2. Сроки службы зданий определяются долговечностью основных несущих конструкций. Конструктивные элементы жилого или общественного здания по признаку долговечности подразделяются на две группы:

- несменяемые элементы, от долговечности которых зависит срок службы всего здания;

- элементы здания, которые полностью или частично заменяются несколько раз во время службы основных несменяемых несущих конструкций здания.

1.3.3. Сроки службы отдельных конструктивных элементов и инженерного оборудования жилых и общественных зданий принимают по усредненным данным о продолжительности их службы до первой полной замены или восстановления.

1.3.4. Сроки службы зданий в целом, отдельных конструктивных элементов, отделки, инженерного оборудования зданий приведены в «Положении о проведении планово-предупредительного ремонта жилых и общественных зданий». М., Стройиздат, 1965 г., с. 5-26 (см. Приложение 9).

1.3.5. Усредненные сроки службы жилых и общественных зданий, их основных конструктивных элементов, отделки зданий и оборудования установлены с учетом выполнения всех видов планово-предупредительного ремонта в строго установленные сроки и в соответствии с перечнем основных работ, относящихся к текущему и капитальному ремонту.

1.3.6. В процессе эксплуатации жилые и общественные здания подвергаются физическому износу, который проявляется в потере конструктивными элементами первоначальных технических и эксплуатационных свойств, что приводит к утрате потребительской стоимости здания.

Степень физического износа зданий является важнейшим фактором, определяющим объем затрат на капитальный ремонт зданий.

Величина физического износа здания определяется по физическому износу отдельных конструктивных элементов, путем определения средневзвешенного процента износа по формуле:

, где:                                                                                     (1.6)

 - физический износ здания (%);

 - износ конструктивного элемента (%);

 - удельный вес стоимости отдельного конструктивного элемента в восстановительной стоимости здания, %.

1.3.7. В целом жилые и общественные здания в зависимости от долговечности основных несущих конструкций группируются по общему сроку службы в годах следующим образом: - жилые здания:

I. Здания каменные, особо капитальные: фундаменты каменные и бетонные, стены каменные (кирпичные. крупноблочные), перекрытия железобетонные - 150 лет;

II. Здания каменные, обыкновенные, фундаменты каменные, стены каменные (кирпичные, крупноблочные и крупнопанельные), перекрытия железобетонные или смешанные - 125 лет;

III. Здания каменные облегченные: фундаменты каменные и бетонные, стены -облегченной кладки из кирпича, шлакоблоков и ракушечника, перекрытия деревянные или железобетонные - 100 лет;

IV. Здания деревянные, рубленые и брусчатые, смешанные; фундаменты ленточные бутовые, стены рубленые, брусчатые и смешанные (кирпичные и деревянные), перекрытия деревянные - 50 лет;

V. Здания сборно-щитовые, каркасные, сырцовые, глинобитные, саманные, фахверковые; фундаменты на деревянных столбах или бутовых столбах, стены каркасные, глинобитные и др., перекрытия деревянные - 30 лет;

VI. Здания каркасно-камышитовые и прочие облегченные - 15 лет.

Общественные здания:

I. Здания каркасные с железобетонным или металлическим каркасом с заполнением каркаса каменным материалом - 175 лет;

II. Здания с каменными стенами из штучных камней или крупноблочные, колонны и столбы железобетонные или кирпичные, перекрытия железобетонные - 150 лет;

III. Здания с каменными стенами из штучных камней или крупноблочные, колонны и столбы железобетонные или кирпичные, перекрытия деревянные - 125 лет;

IV. Здания со стенами облегченной каменной кладки; колонны и столбы железобетонные или кирпичные, перекрытия железобетонные - 100 лет;

V. Здания со стенами облегченной кладки; колонны и столбы кирпичные или деревянные, перекрытия деревянные - 80 лет;

VI. Здания деревянные с бревенчатыми или рублеными брусчатыми стенами - 50 лет.

1.3.8. Конструктивные элементы и инженерное оборудование в жилых и общественных зданиях в зависимости от долговечности характеризуются следующими сроками службы:

- фундаменты - 150-100 лет;

- стены - 150-100 лет;

- перекрытия - 150-70 лет;

- полы - 80-10 лет;

- лестницы - 100 лет;

- крыши:

- несущие элементы-150-100 лет;

- кровля - 80-8 лет;

- перегородки - 150-40 лет;

- двери и окна - 20 лет;

- водопровод и канализация - 30 лет;

- отопление - 30 лет;

- горячее водоснабжение - 10 лет;

- вентиляция - 30 лет;

- электроосвещение - 15 лет;

- электроплиты - 20 лет;

- газооборудование - 20 лет;

- лифты - 20 лет;

- прочее инженерное оборудование - 30 лет.

1.3.9. Внутренняя и наружная отделка и благоустройство участка характеризуется следующей долговечностью:

- внутренняя отделка - 50 лет - 4 года;

- наружная отделка:

- облицовка камнем и плитками - 125 - 75 лет;

- штукатурка - 50 - 15 лет;

- окраска - 5 лет.

1.3.10. В условиях современного спада объемов инвестиций в жилищно-гражданское строительство особую актуальность приобретают вопросы сохранения и обновления существующего жилого фонда и материальной базы общественных зданий, ибо на 80-90 % решение социально-экономических и других проблем в стране связано с эффективной эксплуатацией существующих основных фондов.

В процессе эксплуатации жилых и общественных зданий для обеспечения нормативных сроков службы зданий, их конструктивных элементов и инженерного оборудования, а также для обеспечения нормативных условий эксплуатации производятся периодические ремонты.

1.3.11. В зависимости от долговечности жилых зданий устанавливается различная периодичность капитальных и текущих ремонтов. Так, по группам зданий (см. выше) нормированы следующие виды ремонтов и частота их проведения.

I группа зданий долговечностью 150 лет:

- текущий профилактический ремонт - 1 раз в 3-5 лет;

- текущий непредвиденный ремонт - ежегодно;

- выборочный капитальный ремонт - 1 раз в шесть лет;

- капитальный комплексный ремонт - 1 раз в 30 лет.

II группа зданий долговечностью 125 лет:

- текущий профилактический ремонт - 1 раз в 3-5 лет;

- текущий непредвиденный ремонт - ежегодно;

- выборочный капитальный ремонт - 1 раз в шесть лет;

- комплексный капитальный ремонт -1 раз в 30 лет.

III группа зданий долговечностью 100 лет:

- текущий профилактический ремонт - 1 раз в 3-5 лет;

- текущий непредвиденный ремонт - ежегодно;

- выборочный капитальный ремонт - 1 раз в шесть лет;

- комплексный капитальный ремонт - 1 раз в 24 года.

IV группа зданий долговечностью 50 лет:

- текущий профилактический ремонт - 1 раз в 3-5 лет;

- текущий непредвиденный ремонт - ежегодно;

- выборочный капитальный ремонт - 1 раз в 6 лет;

- комплексный капитальный ремонт - 1 раз в 18 лет.

V группа зданий долговечностью 30 лет:

- текущий профилактический ремонт - 1 раз в 2 года;

- текущий непредвиденный ремонт - ежегодно;

- выборочный капитальный ремонт - 1 раз в 6 лет;

- комплексный капитальный ремонт - не производится.

VI группа зданий долговечностью 15 лет:

- текущий профилактический ремонт - 1 раз в 2 года;

- текущий непредвиденный ремонт - ежегодно;

- выборочный капитальный ремонт - 1 раз в 5 лет;

- комплексный капитальный ремонт - не производится.

1.3.12. Периодичность текущих и капитальных ремонтов по общественным зданиям нормирована следующим образом:

I группа зданий долговечностью 175 лет:

- текущий профилактический ремонт - 1 раз в 3-5 лет;

- текущий непредвиденный ремонт - ежегодно;

- выборочный капитальный ремонт - 1 раз в 6 лет;

- комплексный капитальный ремонт - 1 раз в 30 лет.

II группа зданий долговечностью 150 лет:

- текущий профилактический ремонт - 1 раз в 3-5 лет;

- текущий непредвиденный ремонт - ежегодно;

- выборочный капитальный ремонт - 1 раз в 6 лет;

- комплексный капитальный ремонт - 1 раз в 30 лет.

Ш группа зданий долговечностью 125 лет:

- текущий профилактический ремонт - 1 раз в 3-5 лет;

- текущий непредвиденный ремонт - ежегодно;

- выборочный капитальный ремонт - 1 раз в 6 лет;

- комплексный капитальный ремонт - 1 раз в 30 лет.

IV группа зданий долговечностью 100 лет:

- текущий профилактический ремонт - 1 раз в 3-5 лет;

- текущий непредвиденный ремонт - ежегодно;

- выборочный капитальный ремонт- 1 раз в 6 лет;

- комплексный капитальный ремонт - 1 раз в 30 лет.

V группа зданий долговечностью 80 лет:

- текущий профилактический ремонт - 1 раз в 3-5 лет;

- текущий непредвиденный ремонт - ежегодно;

- выборочный капитальный ремонт - 1 раз в 6 лет;

- комплексный капитальный ремонт - 1 раз в 24 года.

VI группа зданий долговечностью 50 лет:

- текущий профилактический ремонт - 1 раз в 3 года;

- другие виды ремонта не нормируются.

1.3.13. Таким образом, за нормативный срок службы жилых зданий по группам зданий текущий и капитальный ремонт должны быть произведены:

I группа

(150 лет)

- текущий

- 50 раз,

- капитальный

- 5 раз.

 

 

 

II группа

(125 лет)

- текущий

- 41 раз,

- капитальный

- 4 раза.

 

 

 

III группа

(100 лет)

- текущий

- 33 раза,

- капитальный

- 4 раза.

 

 

 

IV группа

(50 лет)

- текущий

- 16 раз

- капитальный

- 3 раза.

 

 

 

V группа

(30 лет)

- текущий

-15 раз.

 

 

 

VI группа

(15 лет)

- текущий

- 7 раз.

1.3.14. По общественным зданиям за период службы должно быть проведено текущих и капитальных ремонтов:

I группа

(175 лет)

- текущий

- 58 раз,

- капитальный

- 6 раз.

 

 

 

II группа

(150 лет)

- текущий

- 50 раз,

- капитальный

- 5 раз.

 

 

 

III группа

(125 лет)

- текущий

- 41 раз,

- капитальный

- 4 раза.

 

 

 

IV группа

(100 лет)

- текущий

- 33 раза,

- капитальный

- 3 раза.

 

 

 

V группа

(80 лет)

- текущий

-26 раз.

- капитальный

- 3 раза.

 

 

 

VI группа

(50 лет)

- текущий

- 16 раз.

1.3.15. За период эксплуатации жилых и общественных зданий должно производиться ежегодное отчисление средств на полное восстановление здания (реновацию), величина которого напрямую зависит от его долговечности, так для здании со сроком службы:

150 лет

- 0,67 %

от сметной стоимости;

125 лет

- 0,8 %

- " -

100 лет

- 1,0 %

- " -

80 лет

- 1,25 %

- " -

50 лет

- 2,0 %

- " -

1.3.16. Размер ежегодных отчислений на капитальный ремонт также определен в зависимости от долговечности зданий и конструктивных элементов (в процентах от сметной стоимости):

150 лет

- 0,19 %

120 лет

- 0,31 %

100 лет

- 0,37 %

80 лет

- 0,45 %

50 лет

- 0,69 %

30 лет

- 1,3 %

16 лет

- 3,0 %

1.3.17. Нормативная величина годовых отчислений на текущий ремонт установлена исходя из требований повышения долговечности зданий и снижения расходов на капитальный ремонт, ибо проведение ремонтных работ по ликвидации отдельных повреждений, возникающих в процессе эксплуатации, предохраняет здание от преждевременного износа.

Нормы расхода на текущий ремонт жилых и общественных зданий установлены дифференцированно в зависимости от капитальности и долговечности зданий:

- жилые здания:

 

 

I группа капитальности

0,75 %

от восстановительной

 стоимости

II группа капитальности

0,85 %

- " -

III группа капитальности

1,0 %

- " -

IV группа капитальности

1,15 %

- " -

V группа капитальности

1,3 %

- " -

VI группа капитальности

1,5 %

- " -

 

 

 

- общественные здания:

 

- " -

I группа капитальности

1,1 %

- " -

II группа капитальности

1,2 %

- " -

III группа капитальности

1,3 %

- " -

IV группа капитальности

1,3 %

- " -

V группа капитальности

1,4 %

- " -

VI группа капитальности

1,5 %

- " -

VII группа капитальности

1,6 %

- " -

VIII группа капитальности

1,8 %

- " -

IX группа капитальности

5 %

- " -

1.3.18. В соответствии с Положением об организации и проведении реконструкции, ремонта и технического обслуживания зданий, объектов коммунального и социально-культурного назначения (ВСН 58-88(р)) минимальная продолжительность эффективной эксплуатации конструктивных элементов зданий рекомендуемая до капитального ремонта составляет (в годах):

 

жилые здания

общественные здания

- фундаменты

40-60

40-60

- стены

40-50

40-50

- перекрытия

60-80

50-65

- полы (керамические и цементные)

30-60

15-30

(паркетные)

30-60

15-30

(из каменных плит) - мраморных

50

25

- гранитных

80

40

- лестницы

40-60

30-40

- крыша и кровля

 

 

- стропила и обрешетка

50-80

50-80

- утепляющие слои

15-40

15-40

- покрытия кровли (сталь и рулонные материалы)

10-15

10-15

(керамическая черепица)

60

60

- внутренние водостоки из труб

10-40

10-40

- перегородки

30-75

25-60

- двери, окна

40-50

30-40

- внутренняя отделка

 

 

- штукатурка, облицовка

30-60

15-30

- окраска

3-8

2-4

- наружная отделка

 

 

- облицовка

30-80

30-80

- штукатурка

20-30

20-30

- окраска

4-8

4-8

- инженерное оборудование:

 

 

- трубопроводы холодной воды

15-30

12-25

- трубопроводы канализации

40-60

30-50

- горячее водоснабжение:

 

 

- трубопроводы

20-30

15-25

- центральное отопление:

 

 

- радиаторы

30-40

25-35

- мусоропроводы:

 

 

- ствол

60

50

- устройства и камера

10-30

8-25

- газооборудование

10-20

7-20

- электрооборудование

10-40

5-40

- наружные инженерные сети:

 

 

- водопроводный ввод

15-40

15-40

- дворовая канализация

30-40

30-40

- теплопровод

20

20

- внешнее благоустройство:

 

 

- асфальтовое покрытие

10

7

- оборудование детских площадок

5

4

1.3.19. Нормативы ежегодных отчислений, на текущий ремонт конструктивных элементов в процентах от сметной стоимости дифференцированы в зависимости от материалов и параметров:

- стены наружные

- 0,1-2,05 %

- стены внутренние

- 0,81-1,02 %

- перегородки

- 1,05-3,35 %

- перекрытия

- 0,35-0,56 %

- крыши

- 1,14-1,16 %

- полы

- 0,1-0,2 %

- кровля

- 0,22-3,1 %

- окна и двери

- 0,15-0,35 %

1.3.20. Таким образом, анализ нормативных показателей показал, что с увеличением долговечности зданий и конструкций уменьшается частота капитальных ремонтов и абсолютная величина отчислений на их проведение, также снижается размер годовых отчислений на реновацию и текущий ремонт, что при прочих равных условиях сокращает размер эксплуатационных затрат на содержание жилых и общественных зданий.

1.4. Продолжительность строительства и оценка влияния

сокращения продолжительности на эффективность капитальных затрат.

1.4.1. Проведение экономических расчетов по критерию «продолжительность строительства» осуществляется в следующих случаях:

- при обосновании применения новых конструктивных элементов или укрупненных конструкций,

- при обосновании применения конструкций повышенной заводской готовности,

- при обосновании внедрения более рациональных методов производства работ и технологических решений,

- при обосновании проектного варианта с меньшим объемом строительно-монтажных работ, обеспечивающим снижение трудоемкости,

- при обосновании принятия решения о предпочтении выбора между стоимостью и продолжительностью строительства,

- при оценке мероприятий по ускорению проектирования,

- при обосновании варианта очередности ввода частей объекта в эксплуатацию.

1.4.2. Инвестиционный процесс состоит из трех основных этапов:

- проектирование,

- строительство,

- освоение мощностей.

Продолжительность строительства составляет главную часть инвестиционного процесса.

Продолжительность строительства - это время, необходимое на производство подготовительных и основных работ до сдачи объектов в эксплуатацию.

Различают нормативную и фактическую продолжительность строительства.

1.4.3. Нормативная продолжительность строительства определяется дифференцированно по типам и видам зданий по нормам продолжительности строительства, в основу разработки которых положены укрупненные сетевые и линейные графики строительства по выбранным объектам-представителям, имеющим типовые и наиболее экономичные проектные решения.

Нормативная продолжительность строительства рассчитывается методом «критического пути», т.е. все расчеты и графики составляются только по работам и объектам, лимитирующим продолжительность строительства объекта, все остальные работы осуществляются параллельными потоками в этих же пределах продолжительности строительства.

1.4.4. Фактическая продолжительность строительства определяется по фактическим срокам начала и окончания строительства. Дата фактического начала строительства оформляется двухсторонним актом заказчика и подрядчика на основе первичной документации бухгалтерского учета строительной организации. Датой ввода объекта в эксплуатацию считается дата подписания акта приемочной комиссией.

1.4.5. Факты, оказывающие непосредственное влияние на продолжительность строительства, можно условно разделить на следующие группы:

- соблюдение норм продолжительности строительства и нормативов задела в части установления сроков строительства и распределения инвестиционных вложений по периодам строительства, сбалансированность объемов инвестиций с мощностями строительно-монтажных организаций и т.д.;

- факты, возникающие на стадии проектирования: мощность и технология производства, состав оборудования, очередность возведения зданий и др.;

- технический уровень строительства: степень сборности зданий и сооружений, автоматизация и механизация строительно-монтажных работ, объемно-планировочные и конструктивные решения зданий и др.;

- организация строительного производства (ликвидация внутрисменных простоев строительных машин и механизмов, повышение сменности, совершенствование оперативного управления строительством, внедрение сетевых графиков и т.п.;

- социально-экономические факторы, создающие направленность оценочных показателей деятельности строительных организаций на достижение конечных результатов - ввода объектов в действие.

В настоящее время на территории Российской Федерации действует СНиП 1.04.03-85 «Нормы продолжительности строительства и задела в строительстве предприятий, зданий и сооружений» (Изменений № 4). М. 1990 г.

Нормы продолжительности строительства объектов охватывают период от даты начала выполнения внутриплощадочных подготовительных работ до даты ввода объекта в эксплуатацию.

Нормы продолжительности строительства объектов предполагают выполнение строительно-монтажных работ основными строительными машинами в две смены, а остальных работ - в среднем в 1,5 смены.

Нормами предусмотрено строительство жилых зданий с техническим подпольем, без встроенных или пристроенных нежилых помещений, выполнение всех работ по благоустройству территории, а также устройство всех видов инженерных сетей от зданий до ближайших колодцев внутриквартальной сети.

Продолжительность строительства здания (Эср), состоящего из участков разной этажности, определяется по строке норм соответствующей конструкции и общей площади квартир всего здания для средней этажности, определяемой по формуле:

, где:                                                                                 (1.7)

Sn - площадь застройки отдельного участка;

d - площадь застройки всего здания:

Э - число этажей отдельного участка;

n - порядковый номер отдельного участка.

Продолжительность строительства подземной и надземной частей зданий установлена при условии работы одного монтажного крана на каждых четырех секциях протяженного здания или на здании, состоящем из четырех или менее секций.

При строительстве жилых зданий с квартирами, оборудуемыми по заказам населения, нормативную продолжительность периода отделки здания допускается увеличивать на 50 %. При этом общая продолжительность увеличивается на соответствующую величину, но не более одного месяца.

Далее приводятся выдержки отдельных норм продолжительности строительства для жилых и общественных зданий:

Наименование

объекта

Характеристика

Нормы продолжительности строительства (мес.)

общая

В том числе

подготовит. период

подземная часть

надземная часть

отделка

1

2

3

4

5

6

7

Жилые здания

Здание пятиэтажное

Общей площадью квартир (м2:)

 

 

 

 

 

 

1500

 

 

 

 

 

 

- крупнопанельное

5

1

1

2

1

 

- крупноблочное

6

1

1

3

1

 

- объемно-блочное

3

1

0,5

1

0,5

 

- монолитное

6

1

1

3

1

 

- кирпичное и из мелких блоков

6,5

1

1

3

1,5

 

2500

 

 

 

 

 

 

- крупнопанельное

5,5

1

1

2,5

1

 

- крупноблочное

6,5

1

1

3,5

1

 

- объемно-блочное

4

1

1

1,5

0,5

 

- монолитное

6,5

1

1

3,5

1

 

- кирпичное и из мелких блоков

1

1

1

3,5

1,5

 

6000

 

 

 

 

 

 

- крупнопанельное

6,5

1

1

3,5

1

 

- крупноблочное

8

1

1

5

1

 

- объемно-блочное

4,5

1

1

2

0,5

 

- монолитное

8

1

1

5

1

 

- кирпичное и из мелких блоков

9

1

1

5,5

1,5

Здание девятиэтажное

Общей площадью квартир (м2)

 

 

 

 

 

 

3000

 

 

 

 

 

 

- крупнопанельное

5

1

1

2

1

 

- крупноблочное

6,5

1

1

3,5

1

 

- каркасно-панельное

7

1

1

4

1

 

- объемно-блочное

4

1

1

1,5

0,5

 

- монолитное

7,5

1

1

4,5

1

 

- кирпичное и из мелких блоков

8

1

1

4,5

1,5

 

12000

 

 

 

 

 

 

- крупнопанельное

8

1

1

4,5

1,5

 

- крупноблочное

10

1

1.5

6

1,5

 

- каркасно-панельное

11

1

1,5

7

1,5

 

- объемно-блочное

5,5

1

1

3

0,5

 

- монолитное

12

1

1

8,5

1,5

 

- кирпичное и из мелкик блоков

12,5

1

1,5

8

2

Здание шестнадцатиэтажное

Общей площадью квартир (м2):

 

 

 

 

 

 

12000

 

 

 

 

 

 

- крупнопанельное

9

1

1,5

5

1,5

 

- каркасно-панельное

10,5

1

1,5

6,5

1,5

 

- объемно-блочное

6,5

1

2

2,5

1

 

- монолитное

14

1

3

7

3

Общественные здания

Детские дошкольные учреждения

На 280-330 мест (12-14 групп)

 

 

 

 

 

 

Объем 15000м3

 

 

 

 

 

 

Здание:

 

 

 

 

 

 

- крупнопанельное

8

1,5

-

-

-

 

- каркасно-панельное

8

1,5

-

-

-

 

- кирпичное

10

1,5

-

-

-

Школы общеобразовательные

На 1266-1688 учащихся на 33-34 класса

 

 

 

 

 

 

Объем здания 40000-50000 м2

 

 

 

 

 

 

Здание:

 

 

 

 

 

 

- крупнопанельное

12

2

 

 

 

 

- каркасно-панельное

12

2

-

-

-

1.4.6. Сокращение сроков строительства объекта обеспечивает следующие виды эффекта:

- эффект в строительном производстве у подрядчика;

- эффект у заказчика в результате ввода в эксплуатацию объекта в более ранние сроки.

1.4.7. Величина эффекта от сокращения сроков строительства у подрядчика определяется величиной снижения себестоимости строительства вследствие экономии накладных расходов.

1.4.8. Расчет этого эффекта можно осуществить по формуле:

, где:                                                                                (1.8)

Н - накладные расходы по смете ( без учета их экономии) (руб.);

Сн - доля условно-постоянных накладных расходов, зависящая от сроков строительства (составляет 0,5-0,6);

Тi, Та - продолжительность строительства по i-тому варианту и по варианту-аналогу (мес., год).

1.4.9. Другим эффектом от сокращения сроков строительства может быть эффект от досрочного высвобождения участвующих в строительстве основных фондов строительных и монтажных организаций.

1.4.10. Расчет такого эффекта может быть осуществлен по формуле:

где:                                                                                                         (1.9)

Е - нормативный коэффициент экономической эффективности в строительстве;

Ксо и Кс - размер и продолжительность участия различных элементов основных фондов в осуществлении проектных вариантов (руб./год)

, где:                                                                                      (1.10)

Ксi - удельный размер инвестиционных вложений в создание i-го элемента основных фондов, приходящихся на смену работы в год;

n - число элементов основных фондов;

Pi - число смен участия i-го элемента основных фондов в работах по осуществлению проектного варианта.

1.4.11. Сокращение сроков строительства сказывается также на оборачиваемости оборотных фондов. Следовательно, при той же годовой программе строительной организации можно наделить ее меньшими оборотными фондами, или при тех же оборотных фондах увеличить ее программы, т.о. ускорение оборачиваемости оборотных средств является важным резервом увеличения доли прибыли, остающейся в распоряжении коллективов строительных организаций (Нормы платы за фонды по группам строительно-монтажных организаций составляют от 2 до 6 % нормируемых оборотных средств).

1.4.12. Величина эффекта у заказчика образуется за счет:

- прибыли при оказании услуг при более раннем сроке начала функционирования объекта (Эр);

- сокращения сроков между инвестированием капитала и началом получения дохода с него (Эинв);

- изменения размера незавершенных инвестиционных вложений (Эн.и.);

- ускорения получения прибыли в платных объектах и объектах, работающих на хозрасчетной основе (Эплат.);

- ускорения оборачиваемости инвестиционных вложений;

- ускорения сроков достижения градостроительных нормативов обеспеченности населения жильем и общественным обслуживанием;

- перенесения части затрат на отдаленное время при строительстве очередями (Эочер.).

1.4.13. Количественное значение эффектов можно определить следующим образом:

, где:                                                                                  (1.11)

Р - планируемая годовая прибыль от эксплуатации объекта;

, где:                                                                    (1.12)

Ка и Кi - средний за срок строительства размер отвлечения инвестиционных вложений по норме и по обосновываемому варианту;

, где:                                                                                  (1.13)

 - годовой прирост прибыли (руб./год);

- срок сокращения продолжительности строительства

, где:                                                                                      (1.14)

Ki - вложения, связанные с i-ой очередностью строительства;

Ti - период отдаления затрат для i-ой очереди строительства.

При этом показатели единовременных затрат (С), текущих расходов (М) и сопряженных вложений (К) приводятся к текущему периоду (Сi, Mi, Ki)

                                                                                            (1.15)

                                                                                        (1.16)

                                                                                          (1.17)

Расчеты показывают, что при сокращении продолжительности строительства с 5 до 4 лет общая стоимость строительства за счет снижения условно-постоянных накладных расходов снижается примерно на 0,5-0,7 %, с 4 до 3 лет на 0,7-0,9 % и с 3 до 2 лет на 1-1,2 %.

РАЗДЕЛ 2

Методы расчета затрат

2.1. Затраты на производство, транспортировку и монтаж конструктивных элементов

2.1.1. Приведенные затраты определяются суммированием показателей сметной стоимости, капитальных вложений (инвестиций), приведенных в сопоставимый вид с помощью нормативного коэффициента эффективности и годовых текущих затрат:

где:                                                                (2.1)

С - стоимость (заводского изготовления, транспортирования, строительно-монтажных работ) (руб. на соответствующую единицу измерения);

К - капитальные вложения в основные и оборотные фонды строительных организаций и сопряженных отраслей производства строительных материалов, полуфабрикатов, конструкций (руб. в год на соответствующий измеритель);

Э - годовые, эксплуатационные расходы (руб. в год на соответствующий измеритель) (см. соответствующий раздел работы);

* - нормативный коэффициент эффективности капитальных вложений.

2.1.2. Стоимость, учитывающая все элементы, связанные с изготовлением, транспортированием конструкций и полуфабрикатов и возведением здания на строительной площадке, определяется по формуле:

, где:                                                                             (2.2)

. - полная заводская стоимость изготовления конструкций (полуфабрикатов);

. - стоимость транспортирования конструкций (полуфабрикатов) на строительную площадку;

* - стоимость монтажа конструкций при возведении зданий.

2.1.3. Показатели капитальных вложений в материально-техническую базу строительства определяются суммой показателей по переделам:

, где:                                                  (2.3)

- капитальные вложения в заводское производство конструкций и полуфабрикатов;

- капитальные вложения в транспортирование на строительную площадку;

- капитальные вложения в основные производственные фонды строительных организаций, обеспечивающих монтаж (возведение) конструкций;

с - капитальные вложения в оборотные фонды строительных организаций.

, где:                                 (2.4)

Т - продолжительность возведения;

- коэффициент нарастания затрат по мере возведения здания (0,5);

365 - число календарных дней в году.

Капитальные вложения в развитие мощностей предприятий строительной индустрии и промышленности строительных материалов определяются как произведение показателей расхода конструкций, полуфабрикатов и материалов, принимаемых по проектным данным на соответствующие показатели удельных величин капитальных вложений, рассчитанных на единицу измерений конструкций и материалов.

2.1.4. Затраты труда на заводское изготовление конструкций (полуфабрикатов), транспортирование конструкций (полуфабрикатов) на строительную площадку, монтаж конструкций в построечных условиях определяются суммированием этих составляющих:

, где:                                                 (2.5)

- затраты труда на изготовление конструкций (полуфабрикатов) в заводских условиях;

- затраты труда на транспортирование конструкций (полуфабрикатов) на строительную площадку;

- затраты труда на монтаж (возведение конструкций в построечных условиях.

2.1.5. Стоимость, капитальные вложения и затраты труда на изготовление конструкций в заводских условиях, их транспортирование и монтаж на строительной площадке могут быть определены на основе частичного использования поэлементных нормативов, приведенных в «Рекомендациях по сравнительной технико-экономической оценке конструкции монолитных, полносборных и кирпичных зданий различной этажности», М.,1983.

2.1.6. Трудозатраты на строительной площадке определяются с помощью сметных нормативов. При рассмотрении новых конструкций, по которым нормативы не разработаны, или если из-за большой степени их усреднения нельзя уловить разницу в затратах труда, возможно применение «Единых норм времени и расценок на строительные, монтажные и ремонтно-строительные работы».

Затраты труда на заводское изготовление изделий и конструкций определяются по данным заводов-изготовителей.

Затраты труда на производство материалов и изделий в заводских условиях в человеко-часах на единицу измерения могут быть приняты в размере:

- глиняный обыкновенный кирпич - 12,5 на 1000 шт.,

- керамический лицевой кирпич - 15,7 на 1000 шт.,

- камни керамические кладочные - 28,7 на 1000 шт.;

- оконные блоки с двойным остеклением - 2,5 на  1 м2 блока;

- внутренние щитовые двери - 1 на 1м2 площади двери;

- балконные двери - 3,1 на 1м2 блока;

- наружные двери - 1,7 на 1 м2 блока.

2.1.7. Величина расхода основных строительных материалов определяется на основании норм расхода материалов, на базе данных каталогов индустриальных изделий, расчетных укрупненных показателей, аналогов проектных спецификаций сборных изделий, а также ведомостей потребностей в материалах, входящих в состав проектной документации.

При расчете величин расхода стали необходимо учитывать расход арматурных каркасов, сеток и закладных деталей для сборных и монолитных конструкций, строительные монолитные конструкции.

Перевод величин расхода стали в натуральном выражении к стали класса А-1 и С 38/23 осуществляется с использованием соответствующих коэффициентов перевода:

Сталь класса:

Коэффициент перевода

к А-I

А-I

-1

А-II

-1,21

А-II упроченная вытяжкой (А-1ПВ)

-1,43

А-III (25 Г2С, 25ГС, 35ГС)

-1,43

А-III (25 Г2С, 25ГС, 35ГС)

-1,43

А-III упроченная вытяжкой (А-ШВ)

-1,72

A-IV (30´Г2С, 20´Г2Т, 65ГС)

-1,95

В-I (проволока низкоуглеродная холоднотянутая, ГОСТ 6727-53х)

-1,39

В-II (проволока высокопрочная гладкая В-П и периодического профиля Во-П,

сталь класса II (пряди), сталь класса К (канаты)

-2,8

Сталь термическая упроченная класса: AT-IV (из стали Ст5)

-1,95

AT-V (из стали 25Г2С и 35ГС)

-2,2

Атк (катанка термически упроченная из стали 65Г или 60С2), AT-VII АТ-VI

-2,4

 

Коэффициент перевода

к стали

С 38/23

Термоупроченная углеродистая сталь (с пределом текучести 30 кг/мм2)

-1,13

Сталь повышенной прочности (низколегированная с пределом текучести 34-40 кг/мм2)

-1,25

Сталь высокопрочная (низколегированная с пределом текучести 45-60 кг/мм2)

-1,55

Балки двутавровые широкополочные

-1,07

Гнутые профили открытые

-1,14

Гнутые профили

-1,69

Показатели материалоемкости по расходу сборных бетонных и железобетонных изделий и монолитного железобетона определяются в плотном теле. Расход цемента - в переводе на цемент марки 400:

Коэффициент перевода расхода цемента различных марок к расходу цемента марки 400

Марка цемента

Коэффициент перевода

Марка цемента

Коэффициент перевода

100

0,7

500

1,1

200

0,8

600

1,2

300

0,9

700

1,3

400

1,0

800

1,4

Показатели расхода лесоматериалов определяются либо в расчете на пиломатериалы, либо в расчете на условный круглый лес с использованием следующих коэффициентов:

Виды изделий

Коэффициенты перевода в пиломатериалы

Оконные блоки

1,3

Дверные блоки

1,25

Погонажные столярные изделия (наличники, плинтусы и т.д.)

1,5

Поручни

5,4

Брусья для полов

1,3

Прочие деревянные изделия (стропилы, прогалы, фермы и т.д.)

1,1

Определение технико-экономических показателей заводского изготовления бетонной смеси и арматурных изделий

Приготовление бетонной смеси

2.1.8. Затраты складываются из:

- затрат на приготовление смеси;

- затрат на доставку к месту формования (в пределах завода);

- затрат на складские операции;

- затрат на подготовку заполнителей (разогрев и сушку в зимнее время);

- затрат на подачу вяжущих и заполнителей к бетоносмесительным установкам;

- цеховые и общезаводские расходы.

2.1.9. Стоимость приготовления бетонной смеси для конструкций определяется произведением величины объема бетона в конструкции (определяется по чертежам в м3), коэффициента потерь бетонной смеси при транспортировке и формовании и удельной себестоимости приготовления 1 м3 бетонной смеси, зависящей от марки бетона и технологии изготовления конструкции (в руб./м3).

Величина коэффициента потерь составляет 1,015 для сборных ж/б конструкций и монолитных, возводимых в переставных опалубках и 1,020 - для монолитных, возводимых в скользящей опалубке.

2.1.10. Полная трудоемкость приготовления бетонной смеси, расходуемой на конструкцию, определяется произведением полной заводской трудоемкости приготовления 1 м3 бетонной смеси, величины бетона в конструкции с учетом коэффициента потерь бетона.

Удельная полная заводская на изготовление 1 м3 бетонной смеси трудоемкость составляет (для условий I территориального района):

- конструкции с ненапрягаемой и предварительно напрягаемой арматурой - 0,45 -0,55 чел./час.

- смеси для ячеистых бетонов, для ячеистых бетонов на цементно-известковом вяжущем, на смешанном цементно-известковом-шлаковом вяжущем (для газошлакобетона, и на известковом вяжущем для газосиликата)- 0,6-0,63 чел./час.

2.1.11. Инвестиционные вложения на приготовление бетонной смеси, необходимой на конструкцию, определяются умножением удельной (на 1 м3 бетонной смеси) величины вложений на объем смеси с учетом коэффициента потерь.

Изготовление арматурных изделий

2.1.12. Затраты на изготовление ненапрягаемой арматуры включают в себя:

- заготовительную цену арматурной стали;

- расходы на доставку со склада в цех;

- расходы на сортировку;

- расходы на правку;

- расходы на резку;

- расходы на гнутье;

- расходы на сварку сеток и каркасов;

- расходы на сборку сеток и каркасов;

- расходы на транспортировку к месту укладки в формы и т.д.;

- цеховые расходы;

- общезаводские расходы.

2.1.13 Затраты на изготовление напрягаемой арматуры состоят из:

- заготовительной цены стали;

- расходов на доставку стали со склада арматуры;

- расходов на сортировку;

- расходов на резку;

- расходов на изготовление анкерных устройств на концах арматурных элементов;

- расходов на натяжение арматуры и т.д.;

- цеховые и общезаводские расходы.

2.1.14. Затраты на изготовление закладных деталей включают:

- заготовительную цену стали;

- расходы на транспортировку со склада в арматурный цех;

- расходы на правку и раскрой;

- расходы на сварку;

- расходы на механическую обработку и т.д.;

- расходы на подачу закладных деталей к месту укладки в формы;

- цеховые и общезаводские расходы.

2.1.15. Стоимость изготовления арматуры каркасов, сеток и закладных деталей, расходуемых на конструкцию, рассчитывается произведением величины расхода арматурной стали (опред. по чертежам) на цену 1 т стали, коэффициент потерь стали при изготовлении и затрат на переработку при изготовлении арматурных каркасов, сеток и закладных деталей.

Коэффициент потерь в зависимости от вида армирования колеблется от 1,02 до 1,09.

2.1.16. Полная заводская трудоемкость изготовления арматурных каркасов, сеток и закладных деталей для конструкций определяется суммой перемножений удельных полных заводских величин трудоемкости изготовления 1 т по видам изделий и расходов стали по видам изделий.

2.1.17. Инвестиции в заводское производство арматурных каркасов, сеток и закладных деталей рассчитываются суммированием произведений удельных инвестиций в заводское производство 1 т арматурных сеток, каркасов и закладных деталей данного вида на соответствующий расход стали.

Заводское изготовление сборных железобетонных конструкций

2.1.18. Порядок расчета затрат на заводское изготовление сборных железобетонных конструкций предполагает следующую последовательность:

- расчет затрат на приготовление бетонной смеси;

- расчет затрат на изготовление арматурных каркасов, сеток, закладных деталей;

- расчет затрат на формование и тепловую обработку сборных железобетонных конструкций.

При этом расчетной единицей является один конструктивный элемент - панель, ригель, колонна.

2.1.19. Затраты на формование и тепловую обработку конструкций включают в себя:

- расходы на установку и смазку форм;

- расходы на укладку в формы арматурных каркасов, сеток и закладных деталей;

- расходы на подачу и укладку в формы бетонной смеси, растворов и т.п.;

- расходы на транспортировку отформованных изделий в камеры термообработки;

- расходы на термообработку;

- расходы на распалубку конструкций;

- расходы на транспортировку на склад;

- расходы цеховые и общезаводские.

2.1.20. При расчете затрат на изготовление многослойных и облицовочных панелей дополнительно учитываются расходы на:

- теплоизоляционные материалы;

- фасадную отделку поверхности наружных стеновых панелей;

- потерю материалов с учетом коэффициента отходов при изготовлении теплоизоляционных пакетов (1,05-1,15).

2.1.21. При установке на заводе в наружные стеновые панели оконных и дверных блоков затраты увеличиваются на:

- расходы на монтаж;

- расходы на герметизацию и отделку блоков;

- расходы на устройство сливов;

- расходы на остекление.

2.1.22. Затраты на формование и тепловую обработку сборных конструкций определяются с учетом объема бетона и затрат на переработку при формовании 1 м конструкции, зависящих от принятой технологии формования и объема бетона.

2.1.23. Полная заводская трудоемкость формования и тепловой обработки конструкции определяется на основе удельной (1 м2 или 1м3) конструкции и площади бетонируемой конструкции, или объема бетона.

2.1.24. Инвестиции в производственные фонды на формование и тепловую обработку сборных железобетонных конструкции рассчитываются как произведение удельной величины вложений на 1 м2 площади конструкции или 1 м3 бетона и площади или объема (зависят от технологии производства и мощности предприятия).

2.1.25. Показатели заводской стоимости, трудоемкости, инвестиций в заводское производство определяются суммой соответствующих затрат по этапам изготовления:

- приготовление бетонной смеси;

- изготовление арматурных каркасов, сеток, закладных деталей;

- формование и тепловую обработку конструкции;

- отделку панелей;

- установку и отделку оконных и дверных блоков.

2.1.26. Показатели полной заводской стоимости дополнительно учитывают внепроизводственные расходы, которые составляют 1,5 % от заводской стоимости.

Перевозка конструкций, бетонной смеси и арматурных изделий автомобильным транспортом

2.1.27. В затраты на перевозку к месту строительства входят:

- расходы на перевозку;

- расходы на разгрузку;

- расходы на тару;

- расходы на реквизит.

2.1.2.8. Стоимость перевозки включает в себя:

- затраты на топливо;

- затраты на шины и эксплуатационные материалы;

- расходы на текущий ремонт, амортизационные отчисления, техническое обслуживание;

- заработную плату водителей;

- затраты на содержание дорог.

2.1.29. Величина стоимости определяется умножением массы перевозимого груза (т/констр.) на удельную стоимость перевозки на данное расстояние.

2.1.30. Трудоемкость перевозки определяется умножением массы перевозимого груза на удельную трудоемкость перевозки на данное расстояние.

2.1.31. Инвестиционные вложения в транспортные средства состоят из:

- затрат на приобретение транспортных средств;

- затрат на строительство гаражей;

- затрат на строительство станций обслуживания;

- затрат на строительство заправочных станций;

- затрат на строительство ремонтных предприятий;

- затрат на строительство дорог и дорожных сооружений;

- затрат на обустройство дорог.

2.1.32. Величина инвестиционных вложений определяется умножением массы перевозимого груза на удельные вложения на перевозку расчетной единицы (1 т) конструкций, бетонной смеси, арматурных изделий.

2.1.33. Затраты на тару и реквизит и разгрузку определяются с учетом массы груза, параметров конструкций и арматурных изделий.

Монтаж железобетонных конструкций

2.1.34. Затраты на монтаж сборных железобетонных конструкций включают в себя:

- затраты по установке конструкций в проектное положение;

- затраты по сварке;

- затраты по замоноличиванию;

- затраты по герметизации и др.;

- повышающие коэффициенты при увеличении высоты возводимого здания.

2.1.35. Стоимость монтажа сборных конструкций включает затраты на:

- приобретение бетонной смеси, растворов, герметика и т.д.;

- эксплуатацию машин и механизмов;

- заработную плату рабочих;

- удорожание на период зимнего периода монтажа;

- накладные расходы на з/п и эксплуатацию машин.

2.1.36. Величина стоимости определяется умножением площади, (объема бетона или единиц монтируемых элементов конструкций) на удельные затраты на монтаж соответствующей единицы монтажа.

2.1.37. Полная трудоемкость монтажа конструкций определяется умножением показателя площади (объема единиц монтажных элементов) на удельные затраты труда на монтаж соответствующих единиц измерения.

Аналогично производится расчет полной заработной платы рабочих, осуществляющих монтаж сборных железобетонных конструкций.

2.1.38. Инвестиционные вложения в производственные фонды строительных организаций, включают в себя:

- затраты в машины и механизмы, используемые при монтаже;

- затраты на производственные предприятия строительных организаций;

- затраты в складское хозяйство;

- затраты в объекты бытового и административного назначения, определяются умножением величины вложений в производственные фонды строительных организаций в расчете на принятую единицу измерения (м2, м3, шт.) на соответствующее количество этих единиц.

Изготовление и монтаж асбестоцементных конструкций наружных стен зданий

2.1.39. Затраты на изготовление асбестоцементных панелей для стен на деревянном каркасе включают работы по:

- изготовлению деревянного каркаса;

- антисептированию каркаса;

- изготовлению теплоизоляционного пакета, петель и комплекта закладных деталей;

- сборке панели;

- укладке теплоизоляционного пакета и слоя пароизоляции;

- окраске фасадных асбестоцементных листов;

- цеховые и общезаводские расходы.

2.1.40. Полная стоимость изготовления асбестоцементных наружных стеновых панелей определяется суммированием цены материалов на изготовление теплоизоляционного пакета, затрат на его изготовление, окраску, затрат на сборку панели, себестоимости изготовления закладных деталей с учетом их массы, площади глухой части панели и объема древесины каркаса панели, с учетом коэффициента внепроизводственных расходов в составе полной стоимости конструкции.

2.1.41. Полная заводская трудоемкость изготовления определяется суммой произведений полной трудоемкости изготовления каркаса на объем древесины каркаса панели данного вида, полной трудоемкости изготовления закладных деталей данного вида на массу закладных деталей комплекта на панель, полной трудоемкости сборки панели на площадь глухой части панели, полной заводской трудоемкости изготовления и укладки теплоизоляционного пакета и окраски фасадного листа на площадь «брутто» панели.

2.1.42. По аналогичной методике определяется технологическая трудоемкость изготовления, полная з/п и инвестиционные вложения.

2.1.43. Затраты на транспортирование и монтаж панелей определяются по методологии, изложенной в пунктах 2.1.27 - 2.1.38.

Удельная энергоемкость изготовления и монтажа конструкций

2.1.44. Круг учитываемых работ при определении энергозатрат включает:

- производство материалов;

- изготовление конструкций;

- транспортировку;

- монтаж конструкций.

2.1.45. Энергозатраты рассчитываются на единицу измерения - 1 м2 изделия, 1 м3 изделия, 1 конструкция, 1 м2 общей площади в кг условного топлива.

2.1.46. Удельная энергоемкость изготовления и возведения конструкций определяется суммой энергозатрат на заводское изготовление, транспортирование до объекта, на возведение с учетом затрат на прогрев монолитных конструкций, сушку и обогрев здания и т.д.

2.1.47.. Энергозатраты на заводское изготовление конструкций определяются суммой удельных энергоемкостей заводского изготовления товарных бетонных и растворных емкостей и арматурных изделий и удельной энергоемкости производства единицы сырья, материала и т.д. данного вида на количество видов этого сырья и полуфабрикатов, расходуемых на изготовление конструкций, товарных бетонов, арматурных изделий с учетом технологических отходов.

2.1.48. Удельная энергоемкость транспортирования определяется исходя из массы перевозимой конструкции, расстояния перевозки, удельной энергоемкости перевозки автомобильным транспортом груза, с учетом коэффициента загрузки.

2.1.49. Удельная энергоемкость монтажа конструкций рассчитывается на основе показателей площади сборных конструкций, объема возводимых монолитных конструкций, объема обогреваемого здания и т.п.

Усредненные удельные показатели расхода условного топлива на производство и транспортирование сырья, материалов, полуфабрикатов и конструкций

Виды затрат

Единицы измерения

Затраты условного топлива на единицу измерения (кг)

1

2

3

Производство

 

 

Портландцемент

 

 

М-400

т

280

М-500

т

290

М-600

т

345

Портлацемент с минеральными добавками

 

 

М-400

т

240

М-500

т

258

М-600

т

335

Шлакопортлацемент

 

 

М-400

т

165

М-500

т

195

Сталь арматурная

т

920

Металлоконструкции строительные

т

1050

Щебень, гравий

м3

30

Песок

м3

25

Известь

т

200

Керамзитовый гравий

м3

110

Кирпич глиняный

тыс. шт. усл. кирп.

260

Камни керамические с пустотностью

 

 

-20 %

тыс. шт. усл. кирп.

230

-40 %

тыс. шт. усл. кирп.

200

Кирпич силикатный

тыс. шт. усл. кирп.

85

Полистирольный пенопласт ПС БС

м3

35

Фенольно-резольный пенопласт

м3

95

Плиты минераловатные на синтетическом связующем

 

 

- полужесткие

м3

71,2

- жесткие

м3

91

Цементный фибролит

м3

42,5

Плиты теплоизоляционные из стеклоштапельного волокна на синтетическом связующем

м3

61,1

Листы гипсокартонные

м2

1,1

Пиломатериалы

м3

85,8

Плитка керамическая фасадная

м2

11,2

Листы асбестоцементные прессованные

м2

1,2

Алюминиевый профиль

т

6120

Пудра алюминиевая

кг

5,5

Производство товарного бетона

м3

8

Производство товарного раствора

м3

7

Производство товарной арматуры

т

8

Сборка асбестоцементных панелей

м2

3,3

Производство сборных ж/б конструкций

 

 

- на предприятиях крупнопанельного домостроения

м3

70

- на универсальных заводах ЖБИ

м3

80

Оконные блоки остекленные

м2

12,5

Пр-во электроэнергии

кВт.ч.

0,33

Производство тепла

Гкал.

174

Транспортирование

 

 

Автоперевозки

т-км

0,144

Ж/д перевозки

т-км

0,009

2.2. Оценка технологических процессов по возведению зданий и сооружений и затрат на организацию (модернизацию) производства.

Возведение монолитных конструкций индустриальными методами

2.2.1. Порядок расчета показателей предполагает рассмотрение следующих методов возведения:

- в скользящей опалубке;

- в объемно- переставной;

- в крупнощитовой опалубке;

- в блочной опалубке.

Скользящая опалубка

2.2.2. Затраты включают в себя расходы по:

- монтажу опалубки;

- армированию конструкций;

- бетонированию конструкций;

- подъему опалубки;

- демонтажу системы опалубки;

- прогреву бетона;

- интенсификации твердения бетона и т.п.

2.2.3. Расходы на монтаж системы скользящей опалубки складываются из следующих работ:

- комплектование и сборка опалубки;

- устройство рабочего пола;

- устройство наружных и внутренних подвесных подмостей;

- монтаж гидродомкратов и гидроразводок;

- устройство сетей пожарного и поливочного водопровода;

- устройство силового и электроосветительного оборудования;

- устройство электроразводок и т.п.

2.2.4. В затраты на подъем скользящей опалубки входят расходы по:

- подъему опалубки домкратами;

- текущему ремонту опалубки;

- текущему ремонту рабочего пола и подмостей;

- замене погнутых домкратных стержней;

- наращиванию стержней в ходе подъема;

- установке оконных и дверных блоков, откосообразователей, заглушек;

- гнутью арматурных выпусков;

- затирке бетонных поверхностей;

- подъему и подаче к рабочим местам домкратных стержней отделочного раствора и др. мат. и т.п.

2.2.5. Затраты на установку арматурных каркасов и сеток учитывают:

- затраты на подноску их от приобъектного склада к транспортным средствам;

- затраты на укладку в пакеты;

- затраты на подъем их краном;

- затраты на разноску к местам установки арматуры;

- затраты на установку арматуры.

2.2.6. При установке теплоизоляционных плит в многослойных панелях в затраты входят:

- поднос их от склада к объекту;

- подъем на рабочий пол;

- установка и закрепление в опалубке.

2.2.7. Учет затрат на бетонирование стен включает в себя:

- работы по подъему бетонной смеси на рабочий пол;

- доставку ее к месту бетонирования;

- укладку смеси в опалубку;

- уплотнение смеси вибраторами.

2.2.8. Затраты на демонтаж скользящей опалубки включают учет работ по:

- разборке системы опалубки;

- разборке гидроподъемной системы;

- спуск систем на нулевую отметку;

- чистке, смазке и т.д.

2.2.9. Стоимость возведения в скользящей опалубке монолитных конструкций (без вычета проемов) определяется суммированием произведений удельных затрат на единицу работы на объем соответствующего вида работ с учетом коэффициента потерь и высоты здания.

2.2.10. Трудоемкость работ по возведению монолитных стен определяется суммированием показателей трудоемкости по монтажу опалубки на 1 пог. м, по подъему 1 пог. м на 1 м высоты, установки арматуры в опалубку, установки теплоизоляционных плит, бетонирования, демонтажа опалубки.

2.2.11. По тем же элементам работ определяется полная заработная плата на возведение 1 м2 стены.

Расчет инвестиций, осуществляется в последовательности аналогичной расчету себестоимости.

Переставная щитовая опалубка для перекрытий зданий, возводимых в скользящей опалубке

2.2.12. В затраты на возведение монолитных перекрытий зданий, возводимых методом скользящей опалубки, входят:

- работы по монтажу и демонтажу переставной щитовой опалубки;

- работы по армированию;

- работы по бетонированию и т.п.

2.2.13. Затраты по монтажу и демонтажу опалубки включают расходы по:

- установке и разборке опалубки;

- транспортировке опалубки на следующий этаж;

- отделке поверхности потолков;

- подъему отделочного раствора на следующую высоту;

- подаче раствора к месту отделки, и т.п.

2.2.14. В затраты на монтаж арматурных каркасов и сеток входят работы по:

- подносу каркасов от склада до вертикального транспорта;

- укладке в пакеты;

- подъему;

- подаче к месту бетонирования;

- укладке и сварке.

2.2.15. Затраты на бетонирование перекрытий состоят из расходов на:

- подъем бетонной смеси краном на проектную высоту;

- подачу смеси к месту бетонирования;

- укладку смеси в перекрытия;

- уплотнение вибраторами.

2.2.16. Стоимость устройства монолитных перекрытий определяется суммированием затрат по элементам работ с учетом потерь материалов и составляющих и высоты.

2.2.17. Трудоемкость работ определяется суммированием величин трудоемкости по элементам работ (монтаж, армирование, бетонирование) с учетом коэффициента учитывающего изменение затрат в зависимости от высоты здания.

2.2.18. Инвестиционные вложения в производственные фонды, рассчитываются в последовательности, аналогичной расчету трудоемкости.

Объемно-переставная опалубка

2.2.19. В работы входят:

- монтаж и демонтаж опалубки;

- армирование и бетонирование.

2.2.20. В сумму затрат на монтаж объемно-переставной опалубки входят расходы по:

- доставке опалубки к месту бетонирования;

- комплектованию и смазке опалубки;

- установке опалубки в рабочее положение;

- сборке элементов опалубки;

- установке инвентарных проемообразователей и т.п.

2.2.21. Затраты на армирование и бетонирование учитываются по аналогичным элементам, что и при использовании скользящей опалубки.

2.2.22. Затраты на демонтаж опалубки учитывают затраты на работы по:

- разборке системы опалубки;

- чистке и смазке.

2.2.23. Стоимость возведения 1 м2 монолитных конструкций, рассчитывается с учетом элементов работ по варианту скользящей опалубки, с учетом коэффициента потерь бетонной смеси при бетонировании и укладке равного 1,015 против 1,02.

2.2.24. Трудоемкость возведения здания в объемно-переставной опалубке определяется суммированием показателей трудоемкости по этапам работ (монтаж, армирование, бетонирование, демонтаж) с учетом изменения затрат в зависимости от высоты здания.

2.2.25. В аналогичной последовательности определяются и показатели полной заработной платы и инвестиций в производственные фонды.

Крупношитовая опалубка

2.2.26. Затраты по возведению здания методом крупнощитовой опалубки включают в себя расходы по:

- монтажу;

- демонтажу;

- армированию;

- бетонированию.

2.2.27. Состав затрат аналогичен объемно-переставной опалубке.

2.2.28. Стоимость, трудоемкость, заработная плата, инвестиции рассчитываются аналогично с расчетом по варианту объемно-переставной опалубки.

Блочная опалубка

2.2.29. В состав затрат на возведение зданий в блочной опалубке входят затраты по:

- монтажу;

- демонтажу;

- армированию;

- бетонированию.

2.2.30. Состав показателей затрат и методика их определения аналогична варианту объемно-переставной опалубки.

Возведение конструкций методом подъема этажей и перекрытий

2.2.31. Затраты по производству работ включают в себя расходы по следующим работам:

- установка в проектное положение колонн первого и последующих ярусов;

- армирование перекрытий;

- бетонирование перекрытий;

- монтаж системы подъемного оборудования;

- подъем пакета перекрытий (этажей) на проектные отметки;

- демонтаж системы подъемного оборудования;

- монтаж сборных этажей конструкций (колонны, конструкции стен и перегородок): сварка, замоноличивание, герметизация и т.п.

2.2.32. Затраты на установку в перекрытиях металлических воротников состоят из затрат на:

- навеску воротников на колонны первого яруса;

- установку их на нижележащее перекрытие;

- приварку к арматуре бетонируемого перекрытия;

- заделку швов и т.п.

2.2.33. Затраты на монтаж и демонтаж бортовой оснастки для бетонирования перекрытий - дополнительно складываются из расходов на:

- работы по подготовке формующей поверхности нижележащей плиты;

- приготовление и нанесение разделительного слоя и другие работы, затраты на которые не зависят от толщины бетонируемых конструкций.

2.2.34. Затраты на укладку арматурных каркасов и сеток учитывают работы по:

- подносу арматурных изделий от приобъектного склада к вертикальному транспорту;

- укладке на перекрытие;

- сварке арматуры и т.д.

2.2.35. Затраты на бетонирование пакета ж/б перекрытий состоят из затрат по:

- подаче бетонной смеси с транспортных средств к месту бетонирования;

- укладке смеси в перекрытие;

- уплотнению смеси вибраторами;

- заглаживанию поверхности и т.п.

2.2.36. Затраты на подъем и установку в проектное положение плит перекрытий или этажей суммируются из затрат на работы по:

- монтажу и демонтажу системы подъемного оборудования;

- наращиванию и демонтажу тяг;

- подъему плит перекрытий;

- закреплению плит на временных и проектных отметках.

2.2.37. Стоимость изготовления пакета перекрытий и его подъема определяется:

количеством перекрытий, площадью перекрытий, удельными затратами на монтаж и демонтаж бортовой оснастки, массой арматурных каркасов и сеток, затратами на их укладку, затратами на 1 т арматурных изделий, числом воротников, удельными затратами на установку одного воротника, массой воротника, затратами на один воротник, объемом бетона на одно перекрытие, удельными затратами на бетонирование перекрытия, затратами на 1 м3 бетонной смеси, затратами на прогрев бетона, числом подъемников, высотой здания, затратами на один подъемник для подъема на 1 м.

2.2.38. Трудоемкость изготовления пакета перекрытий и его подъема при возведении зданий методом подъема этажей и перекрытий определяется с учетом показателей удельной трудоемкости монтажа и демонтажа опалубки, укладки, изготовления, транспортирования, установки воротника, его изготовления и транспортирования, бетонирования перекрытий, изготовления и транспортирования бетонной смеси, подъема перекрытий на 1 м одним подъемником соответственно умноженных на количество и площадь перекрытий, массу арматурных каркасов и сеток, количество воротников их массу, объем бетона на одно перекрытие, число подъемников, с учетом высоты здания и ряда коэффициентов.

2.2..39. Порядок определения трудоемкости изготовления, транспортирования и монтажа сборных железобетонных конструкций, применяемых при возведении зданий методом подъема перекрытии и этажей изложен выше.

2.2.40. Последовательность определения инвестиций в производственные фонды. используемые при изготовлении сборных ж/б конструкций изложена в разделе 2.1.

2.2.41. Метод подъема имеет различные технико-экономические показатели в зависимости от района и условий строительства, а также от функциональных особенностей здания. В результатах сопоставления этого метода с традиционными для условий, при которых на новое строительство требовалось развитие производственной базы, принималась во внимание отдаленность этой базы от участков строительства (разбросанность участков), а также предъявляемые требования к архитектурному разнообразию застройки и др. Результаты сопоставления с учетом приведенных соображений приведены в табл. 2.1 и 2.2.

Таблица 2.1. Сопоставление технико-экономических показателей по расходу основных строительных материалов и трудозатратам для зданий различных систем

Системы

Затраты на 1 м2 приведенной общей площади

железобетона и

бетона, м3

цемента, кг

стали

(приведенной к стали А-1), кг

труда чел. - дней

всего

в том числе на стройплощадке

Возводимые методом подъема перекрытий

67...68

274...277

60...67

2,7...2,9

2,0...2,1

Рамно-каркасное 14-16-этажное

87...89

305...336

84...98

4,2...4,8

2,9...3,3

Каркасно-панельное

95

302

67

4,4

3,0

Крупнопанельное

100

362

61

3,5

1,9

Таблица 2.2. Сопоставление технико-экономических показателей по стоимости строительно-монтажных работ для зданий различных конструктивных систем

Системы

Сметная стоимость общестроительных работ х)

на 1 м2 приведенной общей площади, руб.

на 1 м2 здания, руб.

на одну квартиру, тыс. руб.

на одного расселяемого человека, тыс. руб.

Возводимые методом подъема перекрытий

87...89

19...20

5...6

1,6

Рамно-каркасные 14-16-этажные

102...120

21...27

7...8

2,1

Каркасно-панельные

102

21

6

1,9

Крупнопанельные

101

23

5...6

1,8

х) - в ценах 1984 года.

Отнесение метода подъема этажей к индустриальным в условиях, когда значительная часть несущей системы выполняется в монолитном железобетоне, оправдано индустриальными методами ведения монолитных работ и монтажа.

Таблица 2.3 Технико-экономические показатели метода подъема по отношения к эталонному зданию

Виды затрат

Технико-экономические показатели на 1м2 приведенной общей площади

здания, возводимого методом подъема

эталонных зданий

Сметная стоимость общестроительных работ, руб.

89

101...120

Суммарные годовые удельные капитальные вложения, руб.

78

94...109

В том числе:

 

 

в производство строительных конструкций

15

15...22

в производстве строительных материалов

48

49...65

в производственные фонды строительных организаций

15

6...9

Затраты труда, чел.-дней

3

4...5

В том числе:

 

 

на стройплощадке

2

2...3

на заводе

1

2...2

Расход материалов, кг:

 

 

стали

63

61...98

цемента

275

302-362

Приведенные затраты, руб.:

 

 

без учета эксплуатационных затрат

100

117-133

с учетом эксплуатационных затрат

153

172...195

Экономический эффект, руб.

17...42

-

Примечание: 1. Данные приведены без корректировки на различную этажность сравниваемых зданий.

2. Стоимостные показатели приведены в ценах 1984 г.

Возведение конструкций зданий из кирпича и керамических камней

2.2.42. Показатели затрат на возведение конструкций из кирпича и керамических камней учитывают затраты на:

- изготовление кирпича и ж/б перемычек;

- транспортирование;

- кладку стен;

- оштукатуривание поверхностей;

- зимнее удорожание работ;

- накладные расходы на з/п и эксплуатацию машин и механизмов.

2.2.43. Последовательность проведения расчетов стоимости, полной и технологической трудоемкости, инвестиционных вложений аналогична, изложенной в 2.1.34 - 2.1.37.

Затраты на организацию (модернизацию) производства

2.2.44. Обусловленная современным состоянием экономики переориентация инвестиционной политики на реорганизацию и модернизацию производства строительных материалов и конструкций предусматривает максимальное использование существующих зданий, сооружений, производственных площадей, освоенных территорий, что может в среднем снизить инвестиции на 25-30 %.

2.2.45. При модернизации производства наиболее эффективными являются:

- уплотнение территории застройки;

- более полное и рациональное использование территории;

- высвобождение (по возможности) территорий занятых складскими и вспомогательными объектами, транспортными развязками, линиями электропередач, инженерными коммуникациями и другими подсобными системами;

- наращивание мощностей на существующих площадях;

- увеличение продолжительности эксплуатационного цикла зданий;

- сокращение эксплуатационных затрат на отопление и вентиляцию;

- универсальность и гибкость объемно-планировочных и конструктивных решений, обеспечивающее многоцелевое использование площадей;

- мобильность планировочных решений и инженерных систем зданий, способствующих более полному использованию площадей;

- быстровозводимость и легкость приспособления к изменяющимся производственным условиям;

- применение наиболее долговечных конструктивных элементов, обеспечивающих расчетную продолжительность эффективного функционирования объектов с учетом их дальнейшей модернизации.

2.2.46. Для достижения перечисленных аспектов разработка и проектирование объектов модернизации должны осуществляться на основе следующих принципиальных положений:

- автономная разработка строительной и технологической частей здания с обеспечением в составе строительной части необходимых площадей и объемов с базовыми системами их жизнеобеспечения, а в составе технологической части - размещение производства с решением технологических, экологических, санитарно-технических, энергетических и других задач для оптимального функционирования производства в течении всего срока его эксплуатации;

- проектирование свободных, безопорных, крупнопролетных и крупноразмерных внутрицеховых пространств зальной, зальнопролетной и беспролетной организации с возможностью их многоцелевого и эффективного использования независимо от строительной части здания вариабельных компоновок оборудования;

- проектирование на основе модульной компоновки разновысотных производственных зданий, вариабельной конфигурации и дифференцированными размерами в плане из унифицированных модулей, собираемых и быстромонтируемых конструкций, обеспечивающих гибкое пространственное развитие здания;

- применение комплектно-блочного метода монтажа технологического, санитарно-технического, электротехнического и другого инженерного оборудования, поставляемого на строительную площадку в полной заводской готовности;

- вариантное проектирование предприятий строительной индустрии.

2.2.47. Основными принципами реформирования материально-технической базы строительства должны быть:

- оптимальная конструктивная структура жилищно-гражданского строительства по критерию минимизации затрат живого и овеществленного труда на создание строительной продукции;

- достижение соответствия мощностей и видов строительной продукции рыночным запросам и повой инвестиционной политики;

- обеспечение административной независимости и рыночной ориентации производственной деятельности предприятий, производящих строительные материалы и конструкции и изделия и т.д.

2.2.48. Для обеспечения этих условий необходимо:

- сориентировать реформирование системы капитального строительства в направлении обеспечения экономической привлекательности и престижности инвестиционно-строительной деятельности;

- принципиально направить научно-техническую политику в сфере капитального строительства в сторону приоритетной реализации прошедших проверку отечественных и зарубежных конструкторских и проектных разработок, отвечающих уровню мировых стандартов.

2.2.49. Вследствие резкого подорожания всех видов ресурсов очевидным становится важность:

- использования местного дешевого строительного сырья;

- отходов различных отраслей промышленности;

- сокращения транспортных перевозок за счет приближения производства к местам строительства;

- гибкого изменения номенклатуры и объема строительных материалов под влиянием изменяющегося спроса;

- максимального учета потребительского спроса и финансовых возможностей местных органов и готовности населения вкладывать средства в жилищное строительство на основе широкого внедрения маркетинговых исследований.

2.2.50. Основными показателями затрат по организации или модернизации производства являются рентабельность, окупаемость капиталовложений от производства сборного или монолитного железобетона или кирпича, с учетом реализации «на сторону» этой продукции. Для определения этих показателей необходимо рассчитать себестоимость готовой продукции. Для определения себестоимости готовой продукции составляется калькуляция, состоящая из затрат на переработку и стоимости материалов. Калькуляция себестоимости рассчитывается на годовой объем выпуска продукции.

2.2.51. Затраты на переработку 1 м3 товарного бетона включают в себя стоимость электроэнергии, зарплату производственных рабочих, расходы на содержание м эксплуатацию оборудования, цеховые расходы и отчисления на соцстрах, а затраты на переработку 1 м3 изделий сборного железобетона включают стоимость электроэнергии и пара технологического, зарплату производственных рабочих, расходы на содержание и эксплуатацию оборудования, цеховые и общезаводские расходы, отчисления на соцстрах.

Цеховые расходы состоят из затрат на заработную плату цехового административного персонала и вспомогательных рабочих, отопления, вентиляции и освещения производственных цехов, отчислений на амортизацию зданий и сооружений, текущий ремонт зданий и сооружений, отчислений на соцстрах и охрану труда.

Общезаводские расходы включают в себя затраты на заработную плату общезаводского персонала, отчислений на амортизацию, текущий ремонт зданий и сооружений и отчислений на соцстрах.

Сумма амортизационных отчислений рассчитывается по нормам амортизационных отчислений от стоимости капиталовложений на строительство или модернизацию завода с учетом инженерных сооружений, наружных сетей, благоустройства и лимитированных затрат подрядной организации и заказчика.

Затраты на заработную плату рабочих и служащих, количество ИТР, служащих и МОП принимаются исходя из технологической части проекта согласно штатному расписанию производственных рабочих (явочный состав). Годовой фонд заработной платы определяется исходя из среднесписочной численности и среднегодовой заработной платы одного рабочего.

Должностные оклады ИТР, служащих и МОП принимаются в соответствии с Постановлением Правительства по штатному расписанию.

2.2.52. Стоимость материалов на изготовление 1 м3 товарного бетона принимается по действующим ценам на каждый вид составляющих бетонной смеси (щебень, песок, цемент, вода), а количество определяется на годовой выпуск товарного бетона.

Стоимость материалов на изготовление 1 м3 сборного железобетона определяется также на основании действующих иен по основным материалам, идущих на изготовление сборного железобетонных изделий (бетон, арматурная сталь, пенополистирол, цемент белый, мраморная крошка, эмульсор), причем стоимость бетона на приготовление бетонной смеси, расходуемой на конструкцию Сбк, определяется по формуле:

, где:                                                                               (2.6)

 - объем бетона конструкции, определяемой по проектным данным м3/конструкции;

 - коэффициент, учитывающий потери бетонной смеси при формовании конструкции, равный 1.015 для сборных железобетонных конструкций;

  - цена за единицу в руб./м3.

Стоимость изготовления арматурных каркасов, сеток и закладных деталей Сак, расходуемых на конструкцию, определяется формулой.

, где:                                                                           (2.7)

 - расход на конструкцию арматурной стали и проката класса, диаметра, марки, определяемой по проектным данным, Т/изд.;

 - коэффициент, учитывающий отходы (потери стали при изготовлении арматурных каркасов, сеток и закладных деталей);

i - цена 1 т стали i-го класса, диаметра, марки, руб./т.

2.2.53 Стоимость для других видов производств рассчитывается аналогичным методом с учетом особенностей технологии этих производств.

РАЗДЕЛ 3

Методы расчета затрат на НТПх)

3.1. Новые эффективные решения как основа научно-технического прогресса и расчет повышения единовременных затрат при проектировании, производстве и строительстве на основе оценки HТП.

________________________

х) НТП - научно-технический прогресс.

3.1.1. Главными направлениями научно-технического прогресса в строительстве являются:

- совершенствование проектных решений зданий и сооружений, повышение их экономичности и эксплуатационных качеств;

- повышение сборности строящихся объектов и заводской готовности унифицированных деталей, изделий и конструкций;

- развитие производства и применения новых эффективных строительных материалов и изделий из железобетона, металла, полимеров и т.п., повышение качества применяемых материалов;

- повышение уровня комплексной механизации строительного производства, оснащение строек новыми типами высокопроизводительных машин и эффективных инструментов, сокращение доли ручного труда;

- внедрение передовых методов технологии и организации строительного производства.

3.1.2. Большое значение для научно-технического прогресса имеет типизация строительства, ибо она позволяет использовать стандартные строительные элементы и детали, которые в свою очередь являются предпосылкой для их серийного, массового, и, следовательно, экономичного производства в заводских условиях.

В свою очередь, типизация зависит от унификации планировочных и конструктивных схем зданий и сооружений.

3.1.3. В основе процесса унификации в строительстве лежит модульная система, представляющая собой совокупность правил для координации размеров объемно-планировочных и конструктивных элементов, элементов зданий и сооружений, строительных изделий и оборудования на базе модуля 100 мм, в жилищном строительстве - 300 мм.

Цель применения единой модульной системы - создание основы для типизации и стандартизации строительства.

3.1.4. Влияние научно-технического прогресса объективно воздействует на изменение технологической структуры инвестиций, заключающееся в увеличении доли затрат, формирующих активную часть основных производственных фондов.

Прогресс в области технологических процессов является главным материальным источником повышения эффективности производства.

В современных условиях, когда наряду с формированием новых производств НТП затрагивает уже сформировавшиеся, важное значение приобретает реконструкция и техническое перевооружение действующих.

Реконструкция и модернизация включает замену действующего оборудования и технологических установок новыми, более эффективными, в результате чего увеличивается объем, повышается качество продукции, достигаются более высокие показатели производства.

3.1.5. Научно-технический прогресс предъявляет качественно новые требования, прежде всего к технологической части проекта. Из всех факторов, влияющих на повышение эффективности инвестиций, наиболее значима прогрессивность принятой технологии производства. Наиболее высокую эффективность производства обеспечивает укрупнение единичной мощности оборудования, совершенствование на этой основе технологических процессов производства.

3.1.6. Важным фактором повышения эффективности инвестиций является применение в проектах наиболее прогрессивных объемно-планировочных и конструктивных решений, среди которых:

- разработка индивидуальных проектов жилых домов для повторного применения на основе оптимизации структуры массового жилищного строительства с учетом платежеспособного спроса населения;

- разработка объемно-планировочных решений зданий и сооружений исходя из базового уровня стоимости 1 кв. м общей площади в зависимости от уровня комфорта;

- внедрение в проектирование жилых зданий новых норм инсоляции помещений и обеспечение этим повышения плотности застройки;

- применение новых типов свайных фундаментов (буро-секущие сваи, буро-инъекционные сваи, струйные технологии) при переработке типовых проектов;

- применение экономичных вариантов технических решений фундаментов для малоэтажного строительства - безростверковых, прерывисто-ленточных, сборно-монолитных и т.д.;

- применение в малоэтажном строительстве конструкции наружных стен из эффективных мелкоштучных материалов, заливочного или плитного утеплителя вместо традиционных крупнопанельных стен;

- снижение массы зданий за счет:

- оптимизации толщины внутренних стен в зависимости от нагрузки на стены:

- применение трехслойных наружных стен из эффективных теплоизоляционных материалов конструкций и т.д.;

- внедрения эффективных профилей проката черных и цветных металлов;

- массового использования легких и ячеистых бетонов;

- широкого использования железобетонных конструкций с эффективными сечениями на высокомарочных цементах;

- сокращение протяженности инженерных коммуникаций за счет повышения плотности застройки;

- внедрение конструкций инженерных сооружений из полиэтилена (рабочие камеры колодцев, кольца горловин, труб, телефонной сети, канализации);

- разработка новых гидроизоляционных сооружений (гидролист).

3.1.7. В части совершенствования технологии производства работ к новым эффективным решениям можно отнести:

- внедрение тонкостенных труб из полиэтилена диаметром до 1200 мм для реконструкции подземных сетей канализации методом протяжки внутри ветхих канализационных коллекторов;

- внедрение скорлуп-оболочек для изоляции труб в жилых и общественных зданиях в целях снижения теплопотерь;

- внедрение крупноразмерных агрессивно стойких фильтрующих полимерных оболочек для защиты подвальных помещений зданий;

- внедрение технологии устройства полов из трехслойных паркетных досок типа ПДЗ (ППД);

- внедрение отделки фасадных поверхностей наполненными фактурными составами вместо керамических плиток.

3.1.8. В области совершенствования организации строительства прогрессивными мероприятиями являются:

- осуществление координации ресурсного обеспечения строительства городского заказа;

- организация тендеров между поставщиками материальных ресурсов;

- отказ от посреднических организаций;

- обеспечение своевременной поставки строительных материалов и изделий в зону монтажных работ, исключающее временное складирование и дополнительные перевозки;

- обеспечение оптимальных плеч транспортировки товарного бетона и раствора на строящиеся объекты;

- обеспечение оптимальных плеч перевозок грунта для строительных объектов и т.д.

3.1.9. Однако, переход на новый технологический уровень связан с дополнительными затратами, которые определяются ростом современного оборудования, затратами на НИОКР и т.д.

В этой связи динамика научно-технического прогресса графически выглядит следующим образом:

3.1.10. Расчет повышения единовременных затрат при проектировании производстве и строительстве в условиях НТП характеризуется повышением требований к исходной информации и совершенствованием методов определения технико-экономических показателей.

3.1.11. Основная трудность здесь - в необходимости строгого единообразия расчетов для обеспечения сопоставимости вариантов.

Задача дополнительно осложняется тем, что существующая система нормативов, учета и отчетности не приспособлена для ведения расчетов на основе оценки НТП.

Кроме того, высокая степень трудоемкости расчетов может привести к снижению достоверности показателей.

3.1.12.В этой связи необходимо рассмотреть следующие моменты:

- исходные материалы;

- методы расчета затрат;

- снижение трудоемкости расчетов на основе определения сокращенной номенклатуры видов материалов и машин;

- общая схема определения единовременных затрат и полная формализация расчетов для принципиального сокращения их трудоемкости на основе применения программных средств.

3.1.13. В практике исчисления единовременных затрат сложилось три основных метода их определения:

- на основе проектных данных;

- на основе фактических данных;

- на основе расчетных исходных данных.

3.1.14. Первый метод - определение показателей на основе проектных материалов и утвержденных нормативов, т.е. на проектной основе типовой или привязанной к конкретным условиям строительства.

3.1.15. Второй метод - определение исходных данных на основании отчетности о фактических затратах ресурсов, т.е. на основании фактической отчетности об экспериментальном или массовом строительстве.

3.1.16. Третий метод - определение исходных данных на основании расчетов по специально разработанным методикам, нормативам и экспресс оценкам, как например на основе оценки НТП.

3.1.17. При этом в основу расчетов закладываются наиболее прогрессивные:

1. Проектные материалы, позволяющие определить объемы работ по номенклатуре, принятой в соответствии с номенклатурой ценников.

2. Нормативы единовременных затрат ресурсов:

- сметные цены на производство строительно-монтажных работ;

- прейскуранты оптовых цен на сборные железобетонные конструкции, изделия, а также полуфабрикаты (бетон, раствор, арматуру);

- прейскуранты оптовых цен на прочие местные материалы;

- тарифы на перевозку строительных материалов, изделий и полуфабрикатов, а также грунта;

- нормы затрат труда и заработной платы;

- нормы затрат машино/смен работы строительных машин и оборудования;

- нормы затрат строительных материалов, изделий, полуфабрикатов;

- нормы затрат материалов, входящих в состав сборных железобетонных конструкций и изделий, а также полуфабрикаты (бетон, раствор);

- нормы затрат на монтаж оборудования;

- нормы накладных расходов, удорожание работ в зимнее время и других нелимитированных затрат.

3. Нормативы удельных инвестиций:

- в производство строительных материалов, изделий и полуфабрикатов;

- в производственные фонды, участвующие в строительно-монтажных работах.

3.1.18. Определение затрат ресурсов в общем виде осуществляется умножением единичного размера затрат ресурсов на количество единиц работы.

Размер трудозатрат устанавливается на основе выборки ресурсов по смете наиболее прогрессивного проекта-аналога с умножением на определенный коэффициент, учитывающий НТП.

3.1.19. Полный размер прямых затрат в денежной форме определяется как сумма прямых затрат на производство строительно-монтажных работ, сборные железобетонные изделия (включая арматуру) и полуфабрикаты, а также прочие местные материалы.

Сметная стоимость, включая накладные расходы, зимнее удорожание и другие виды не лимитированных затрат, определяется с помощью соответствующих нормативов, заданных в процентах от суммы прямых затрат и накладных расходов.

3.1.20. Инвестиционные вложения в материально-техническую базу строительства определяются суммой произведений величины затрат ресурсов на соответствующий норматив удельных инвестиций.

3.1.21. На основе НТП прогрессивной признается такая технология, которая отличается от действующей принципом производства или конструкцией средств труда и обеспечивает снижение общих затрат труда на единицу продукции.

С точки зрения общественного интереса целесообразность внедрения НТП определяется по формуле:

; где:                                                                                     (3.1)

- уменьшение новой стоимости, созданной затратами всего живого труда;

* - годовые амортизационные отчисления от стоимости новой технологии.

3.1.22. Если новая технология внедряется взамен старой, то расчет предельной величины затрат по новой технологии должен учесть разность между остаточной стоимостью, заменяемых основных фондов и их ликвидационной стоимостью:

, где:                                                                        (3.2)

Х - искомая предельная величина эффективности инвестиционных вложений;

Н - новая стоимость, создаваемая за год трудом одного работника;

Р - число высвобождаемых работников;

А - амортизационные отчисления;

О - остаточная стоимость заменяемых основных производственных фондов;

Л - ликвидационная стоимость этих основных фондов.

3.1.23. При всей разновидности и разнообразии НТП возможно определение ряда их общих черт:

- они носят мало операционный характер, часто формируются на базе объединения многих операций в одну;

- новые технологические системы малоотходны или безотходны;

- характеризуются сращиванием новой технологии с микроэлектроникой, в результате чего формируется новое качество системы - автоматизированные;

- все большее число принципиально новых технологий базируется на фундаментальных достижениях науки.

3.1.24. Основной фактор, определяющий динамику общественного производства -затраты рабочего времени работниками материальной сферы, вооруженными основными и оборотными производственными фондами.

Количественное выражение зависимости выпуска от затрат рабочей силы и средств производства может быть записана производственной функцией, предложенной Коббом и Дугласом:

, где:                                                                                       (3.3)

Р - продукция;

L - рабочая сила;

К - производственные фонды;

А и а - параметры функции.

Далее это выражение было усовершенствовано и отечественными экономистами: предложено учитывать в виде особых коэффициентов такие факторы, как квалификация работников, технический уровень производства, система управления производством, естественные ресурсы и т.д.

3.1.25. Академик В. Трапезников (Трапезников В. Научно-технический прогресс и эффективность науки. Вопросы экономики, 1973 г., № 2, с. 87) развил теорию зависимости производительности труда от технического прогресса и предложил следующую формулу:

, где:                                                                                        (34)

в - производительность труда;

ф - фондовооруженность труда;

У - уровень знаний (который, по мнению автора формулы, определяет научно-технический прогресс);

а - эластичность изменения производительности труда по его фондовооруженности.

Автор исходит из того, что уровень знаний изменяется пропорционально фондовооруженности, а обосновывает это тем, что иначе снизится фондоотдача.

3.2. Расчет эффективности инвестиций при внедрении элементов НТП

3.2.1. На современном этапе экономического развития в инвестиционной сфере первоочередной задачей становится внедрение в практику Московского строительства прогрессивных и эффективных строительных конструкций и материалов с одновременным освоением новейших технологий, как в строительном производстве так и в промышленном строительстве материалов, обеспечивающих в конечном итоге экономический рост за счет экономии всех вовлекаемых и потребляемых видов ресурсов.

Очевидно, что рассматривая проблему экономического обоснования применяемых новых эффективных строительных материалов и конструкций, прогрессивных технологий, обеспечивающих повышение эффективности инвестиций следует в основном ориентироваться на интенсивные факторы развития.

3.2.2. В рыночных условиях рекомендуется основываться на унификации методов оценки эффективности инвестиций исходя из интенсивного характера экономического развития. При этом в качестве методологии следует ориентироваться на широко применяемую в современной Международной практике систему ЮНИДО ООН, которая содержит унифицированные показатели, критерии и методы оценки эффективности инвестиций.

Существующие до недавнего времени в нашей стране методы оценки экономической эффективности проектных решении в основном были ориентированы на экстенсивный тип развития, что не позволило выявить элементы (факторы), присущие научно-техническому прогрессу (НТП) в современном его понимании.

Такие показатели, как удельные капитальные вложения, приведенные затраты, нормативы общей экономической эффективности капитальных вложений в большей мере соответствуют задачам экстенсивного развития, чем интенсивного.

3.2.3. Для успешного воздействия на повышение эффективности инвестиций необходим переход на новые современные системы измерения, анализа и оценки факторов, определяющих интенсивный характер экономического развития.

В связи с этим представляется актуальным и переход на новые методы оценки технико-экономического уровня в абсолютном и темповом измерении, характеризующих динамику развития строительного комплекса.

В условиях интенсивного развития эффективность проектных решений должна определяться с учетом качества строительной продукции, ее полезного эффекта, экономии всех видов ресурсов, потребляемых в процессе ее изготовления и эксплуатации.

Такова общая тенденция интенсивного экономического роста.

Однако на определенных этапах и в конкретных условиях динамика тех или иных слагаемых эффективности, внедрение крупномасштабных нововведений часто приводит к необходимости применения более дорогостоящих материалов, увеличению трудоемкости и т.д. В этом случае инструментарий ТЭП, традиционный для практической экономики, оказывается малопригодным.

Критерии минимума приведенных затрат, как и другие показатели эффективности, характерные для экстенсивного развития, перестают работать при переходе к интенсивным факторам производства. Иначе, экстенсивное развитие всегда направлено на количественный рост всех видов ресурсов.

3.2.4. Интенсивные факторы роста содействуют переходу преимущественно к интенсивному типу расширенности воспроизводства.

Этому типу развития соответствует фондосберегающая, трудосберегающая и материально сберегающая форма НТП.

Следовательно, внедрение более современных строительных конструкций и их элементов всегда сопряжено с модернизацией, техническим перевооружением, реконструкцией и расширением или новым строительством предприятий стройиндустрии, оснащением их новой технологией с учетом последних достижений науки и техники.

Поэтому технико-экономическое обоснование внедрения прогрессивных и эффективных материалов, конструкций и технологии необходимо рассматривать в следующих аспектах:

1. Освоение новых технологий на предприятиях стройиндустрии с позиции уровня прогрессивности с ограниченным ростом его развития.

2. Оценка экономической, бюджетной и коммерческой эффективности на основе методологии ЮНИДО ООН.

Блок-схема последовательности расчета уровня прогрессивности и обоснования экономической эффективности представлена в разделе 4.

3.2.5. Академиком Трапезниковым В. А. была предложена модель развития научно-технического прогресса, которая позволила выявить зависимость между уровнем технического прогресса и ее составляющими (фондоотдачей и производительностью труда).

Формула технического прогресса по Трапезникову В. А. выглядит следующим образом:

, где:                                                                                          (3.1)

*    - уровень технического прогресса;

 - фондоотдача;

П - производительность труда.

Из формулы НТП следует, что научно-технический прогресс характеризуется изменением уровня технологии.

Функциональная зависимость выражается логистическими кривыми и экспоненциальными кривыми с ограниченным ростом, имитирующими процесс подъема и снижения уровня эффективности технологии.

Каждая конкретная технология, какой бы современной она не была, имеет предел своего развития. Исчерпав свои потенциальные возможности она уже не может обеспечить дальнейшую эффективность. И тогда становится актуальным переход на более современную технологию с более высоким уровнем своего развития и т.д.

3.2.6. В темповом измерении научно-техническое развитие определяется:

или где:                                                     (3.2)

*    - темп прироста научно-технического прогресса;

* - темп прироста производительности труда;

* - темп прироста фондовооруженности;

 - темп прироста фондоотдачи.

                                                                               (3.3)

                                                                             (3.4)

                                                                              (3.5)

Пi+1 - показатель производительности труда нового уровня технологии;

Пi - показатель производительности труда старого уровня технологии;

Фi+1 - показатель фондовооруженности нового уровня технологии;

Фi - показатель фондовооруженности старого уровня технологии.

3.2.7. Отношение  представляет собой не что иное, как ускорение НТП.

По предложению академика Б. А. Трапезникова, отношение темпов прироста технического прогресса к темпам прироста фондовооруженности названо коэффициентом прогрессивности вложений (КПВ):

                                                               (3.6)

Следует отметить, что в соответствии с ГОСТом 22732-77 «Методы оценки уровня качества промышленной продукции», «Методическими указаниями по оценке технического уровня и качества промышленной продукции» РД 50-149-79 и Типовой методикой определения экономической эффективности капитальных вложений (3-е издание) интегральный показатель, оценивающий эффективность примененной техники или технического решения, определяется как отношение результата к затратам. В нашем случае отношение темпов результатов к темпам затрат:

    (3.7)

Коэффициент прогрессивности вложений (КПВ) одновременно учитывает достигнутый в проекте или техническом решении уровень производительности труда, степень использования и качество фондов, прогрессивность применения технологии и повышение качества продукции. С его помощью можно без детального рассмотрения проектно-сметной документации проводить количественную оценку уровней прогрессивности и экономической эффективности проектных решений.

Экономический смысл интегрального показателя КПВ заключается в том, что он показывает соотношение темпов прироста производительности труда Тп и темпов прироста фондовооруженности Тф, которое является основным условием, определяющим поступательное развитие научно-технического прогресса.

Ускоренное развитие научно-технического прогресса требует опережающего темпа прироста производительности труда по сравнению с темпом прироста фондовооруженности, то есть ТП > ТФ. Лишь в этом случае обеспечивается повышение фондоотдачи, а, следовательно, и необходимый темп прироста национального дохода, обеспечивается интенсификация и ускорение научно-технического прогресса, что свидетельствует о высоком качестве проектных решений.

Итак, если ТП = Тф, то КПВ = 1, фондоотдача сохраняется на прежнем уровне.

Если ТП < Тф, то КПВ < 1, фондоотдача снижается, а, следовательно, падает эффективность основных фондов, что свидетельствует о низком качестве заложенных в их основу проектных решений.

Можно утверждать, что КПВ является измерителем уровня научно-технического прогресса, степени использования и качества основных производственных фондов, прогрессивности технологии, примененной в проектах объектов производственного назначения. С помощью КПВ можно определить характер развития производственно-экономической системы (интенсивный или экстенсивный).

Другими словами, КПВ является показателем эталонного типа, отражающим темпы прироста производительности труда и фондовооруженности, как к предшествующему уровню эффективности производства, так и к прогрессивному уровню экономического роста производства

КПВ является также интегральным показателем эффективности, так как по определению отражает отношение суммарного полезного эффекта (рост производительности труда) к суммарным затратам (рост фондовооруженности) и поэтому может быть использован в качестве обобщающего комплексного показателя при оценке технического уровня и качества проектных решений объектов производственного назначения.

В ходе научно-технического прогресса имеют место и постоянно чередуются две стадии развития экономически эволюционная и революционная.

Преобразование технической базы в эволюционной стадии происходит за счет совершенствования средств и предметов труда, рационализации отдельных элементов производственных процессов и улучшения организации труда.

Революционным преобразованиям характерны качественные сдвиги, резкое повышение производительности труда и эффективности производства с переходом к интенсивным факторам воспроизводства.

Реальное развитие производства всегда протекает в условиях одновременного воздействия экстенсивных и интенсивных факторов. С помощью КПВ можно количественно оценить преобладание тех или иных факторов. Следовательно, КПВ является индикатором, определяющим границу между экстенсивными и интенсивными темпами развития экономики (см. рис. 3.1).

Проведенные расчеты показывают, что прогресс в развитии экономики, обеспечиваемый за счет разработки и внедрения прогрессивных проектных и технических решений, наблюдается при значениях КПВ > 1. Назовем эту зону зоной прогресса.

Значения КПВ < 1 в развитии экономики соответствуют регрессивному развитию. Здесь следует выделить две стадии, стадию экстенсивного развития, которой соответствуют значения КПВ в интервале 0 < КПВ < 1, и стадию так называемого глубокого регресса, где КПВ < 0. Такое развитие экономики крайне нежелательно, а, следовательно, проектные решения, имеющие значения КПВ < 1 не могут быть использованы на практике.

Рассмотрим теперь зону прогресса или интенсивного развития, которая, в свою очередь, делится на три стадии: стадию эволюции, стадию интенсивной эволюции и стадию революционного развития.

На основе проведенных исследований с достаточной степенью достоверности в зоне интенсивного развития можно определить границы эволюционной стадии, которой соответствуют значения КПВ в интервале 1 < КПВ < 3.

В настоящее время вследствие недостаточного объема информации не удалось установить верхнюю границу значения КПВ для стадии интенсивной эволюции. Вследствие этого граничные значения указанной стадии условно определяются в пределах 3 < КПВ < пi. Предполагается, что верхнее граничное значение п, будет на уровне отметок 6-7.

Уточненное значение i можно получить экспертным путем в результате обработки значительных массивов информации.

Стадии революционного развития будут соответствовать значения КПВ > ni.

Например, при реконструкции предприятий величина основных производственных фондов меняется незначительно. В знаменателе выражения (3.6) присутствует показатель Тф, при значениях которого в интервале 0 < Тф < 0,2 величина КПВ может неоправданно резко возрасти. При анализе проектов реконструкции и технического перевооружения необходимо определять КПВ, используя показатель фондоотдачи по формуле:

                                                                                                                                                                                  (3.8)

 

Рис. 3.1. Стадии экстенсивного и интенсивного темпов развития экономики

3.2.8. Экономия ресурсов в темповом измерении определяется:

, где:                                                                                        (3.9)

ТМ - темп снижения (завышения) материальных (энергетических) и других видов ресурсов;

MУ- удельный показатель вида ресурса;

Мб - базовый показатель вида ресурса и т.д.

3.2.9. Мировой опыт строительства свидетельствует о том, что затраты в нем имеют тенденцию расти быстрее, чем расходы в других отраслях экономики.

В целом за прошедшие несколько десятилетий произошло увеличение норм площади, улучшение качества строительных элементов, стандартизации и т.д., качество стало выше, но и стоимость возросла.

Однако есть предпосылки полагать, что и без учета улучшения качества рост цен на продукцию строительства будет продолжаться и опережать рост цен в других отраслях.

Причиной тому служат:

- более медленный процесс совершенствования методов производства работ и ее организации;

- постоянное опережение темпов роста потребности в жилье по сравнению с ростом его предложения;

- появление новой функции жилья, помимо удовлетворения потребности в жилье, - способ вложения капитала;

- введение системы налогообложения;

- влияние инфляции, ибо с течением времени стоимость денег падает; в различные периоды в разных странах темпы инфляции меняются, за последнее время инфляция стала процессом, характерным для большинства стран, и стоимость денег падает.

Проявление научно-технического прогресса в области жилищного строительства помимо совершенствования производственной базы, методов возведения и т.п. осуществляется, в основном, в улучшении качества самого жилища, в результате чего, во-первых, из года в год растет стоимость одного квадратного метра общей площади, получаемая как частное от деления капитальных вложений в жилищное строительство на ввод в действие общей площади. Во-вторых, увеличивается средний размер общей площади квартир, что, в свою очередь, свидетельствует о росте потребительской стоимости квартир. В-третьих, применение нового инженерного оборудования и материалов в типовых, в том числе старых, сериях жилых домов, улучшающих комфортность проживания, вызвало увеличение стоимости 1 м жилых домов за период с 1990 года по 1996 год на 20 % в сопоставимых ценах.

Помимо этого, под воздействием новых рыночных условий, в сметную стоимость добавляются ранее вообще не практикуемые затраты, связанные с организацией строительства:

- усиленная охрана объектов строительства;

- услуги управлений архитектурно-строительного надзора;

- страхование;

- строительные риски;

- согласования и т.д.

С развитием рыночных отношений вошло в практику строительство и продажа так называемого коммерческого жилья повышенного комфорта, цена которого позволила Департаменту строительства строить и бесплатное дополнительное муниципальное жилье для очередников, сверх объемов, финансируемых из бюджета города.

Анализ риэлторских предложений на рынок нового элитного жилья с вводом в эксплуатацию в 1995-1998 годах показал, что понятие «элитарного» жилья на сложившемся в Москве рынке включает в себя: жилые дома с квартирами свободной планировки, часто многоуровневые, с наличием в доме мансардного этажа, с «зимним садом» и застекленными верандами на крыше, с площадью квартир от 70,0 до 439 м, с подземными гаражами, с круглосуточной охраной, с офисными помещениями в первых этажах, бассейнами, саунами, высококачественной отделкой, входными бронированными дверями, шумонепроницаемыми окнами, дубовым паркетом, наличием нескольких телефонных номеров в квартире с возможностью их выхода на международную связь, с наличием служб сервиса для жильцов дома и их гостей.

Рыночная стоимость одного квадратного метра в таких домах колеблется от 1,5 до 8,0 тыс. долларов, в зависимости от уровня комфорта, места и стадии строительства (данные по состоянию на начало 1996 года).

Оценочная рыночная стоимость офисов, располагаемых на первых этажах, этих элитных жилых домов-новостроек, как правило, не значительно отличается от стоимости жилья в них (в расчете на 1 м. кв. общей площади), что, с одной стороны, обусловлено спецификой отделки и оснащения инженерными подводками (подвесные потолки, «плавающие» полы, системы компьютерного обеспечения, системы связи, наружного и внутреннего наблюдения, системы охраны и т.д.) и превышением спроса на такие офисные помещения над их предложением на рынке.

3.3. Система комплексной оценки технико-экономического уровня проектных решений

3.3.1. Система комплексной оценки технико-экономического уровня и качества плановых и проектных решений предназначена для измерения уровня и темпа научно-технического прогресса, определения степени интенсификации производства и ускорения экономического развития отрасли, под отрасли, объединения, предприятия (объектов производственного назначения).

Аналогичная система может быть применена и для оценки проектных решений объектов непроизводственного назначения. Для этого необходимо найти показатель, являющийся эквивалентом показателя производительности труда в непроизводственной сфере.

3.3.2. Система представляет собой комплекс методов, позволяющих установить с помощью оценочных показателей соответствие плановых, технических, экономических и других решений, принимаемых при разработке плановой, предпроектной и проектной документации, новейшим достижением науки, техники и передового отечественного и зарубежного опыта и управлять качеством принимаемых проектных решений.

3.3.3. Система предусматривает три обобщающих показателя:

КПВ - коэффициент прогрессивности вложений;

КЭВ - коэффициент эффективности;

КМП - коэффициент материалоемкости продукции, основанных на соизмерении показателей, характеризующих факторы проектируемого производства: темпы производительности труда, фондовооруженность, фондоотдача.

3.3.4. Комплексная оценка осуществляется с помощью интегральных (КПВ, КЭВ, КМП) и единичных показателей.

Единичные показатели отражают отдельные качественные и количественные характеристики плановых и проектных решений. С их помощью производится оценка технико-экономического уровня проектных решений объекта в целом и отдельных его частей. Единичные показатели делятся на две группы: производственные (эксплуатационные) и строительные.

Состав интегральных и единичных показателей для комплексной оценки плановых и проектных решений представлен на схеме.

3.3.5. Показатель - коэффициент эффективности вложений (КЭВ), определяется как отношение показателей рентабельности:

, где:                                                                                           (3.10)

УП и Уа - рентабельность по проекту и по проекту-аналогу соответственно.

Величина КЭВ > 1 указывает на более высокий уровень экономической эффективности проекта по сравнению с аналогом, и наоборот, если КЭВ < 1, то уровень эффективности аналога превышает уровень эффективности проекта.

3.3.6. Коэффициент материалоемкости продукции (КМП) определяется как отношение показателей материалоемкости продукции разрабатываемого проекта и проекта-аналога:

СХЕМА

СОСТАВ ИНТЕГРАЛЬНЫХ И ЕДИНИЧНЫХ ПОКАЗАТЕЛЕЙ ДЛЯ КОМПЛЕКСНОЙ ОЦЕНКИ ПЛАНОВЫХ И ПРОЕКТНЫХ РЕШЕНИЙ

, где:                                                                                      (3.11)

КМП и КМа - показатель материалоемкости продукции проекта и проекта-аналога соответственно.

В свою очередь, показатель материалоемкости продукции рассчитывается как отношение показателя производительности труда к показателю производительности труда, исчисленному по чистой продукции:

                                                                                                  (3.12)

Если КМП > 1, то материалоемкость продукции в новом проектном решении снижена, следовательно, наблюдается положительная тенденция. При КМП < 1 материалоемкость продукции увеличена, что отрицательно характеризует новое проектное решение.

3.3.7. Методика расчета коэффициента прогрессивности вложений (КПВ). Условные обозначения; исходные показатели, единицы измерения:

ТП - годовой объем товарной продукции в оптовых ценах, руб.;

Ч - численность работающих, человек;

ОПФ - стоимость основных производственных фондов, руб.;

ОПФак - стоимость активной части основных производственных фондов, руб.

Расчетные показатели, формулы расчета, единицы измерения:

П - производительность труда одного работающего (выработка);

, руб.;                                                                                              (3.13)

Ф - фондовооруженность на одного работающего,

, руб.;                                                                                           (3.14)

Фак. - фондовооруженность на одного работающего по активной части ОПФ,

, руб.                                                                                     (3.15)

ФО - фондоотдача,

, руб.                                                                                         (3.16)

Производительность труда, фондовооруженность и фондоотдача связаны соотношением:

                                                                        (3.17)

При отсутствии данных по стоимости основных производственных фондов, фондовооруженность можно рассчитать по формуле:

,                                                                                                      (3.18)

так как показатели производительности труда и фондоотдачи, как правило, приводятся в технико-экономическом расчете проекта.

Тфак - темп прироста фондовооруженности по активной части ОПФ.

,                                                            (3.19)

Если КПВ дает оценку в целом уровню проектных решений нового проекта, то КПВак позволяет судить об уровне примененной в проекте технологии.

В случае, если изменение производительности труда произошло за счет оргтехмероприятий или других факторов без изменения или при незначительных изменениях (меньше 10 %) стоимости основных производственных фондов, то КПВ определяется по формуле:

, где:                                                                            (3.20)

.

Критерии оценки уровня прогрессивности проектных решений:

КПВ > 1 - интенсивное развитие, прогресс;

0 < КПВ < 1 - экстенсивное развитие;

КПВ < 0 - глубокий регресс.

Оценка качества по КПВ осуществляется путем отношения значений КПВ на каждый последующей стадии проектирования (KHBi+1) к предыдущей (КПВi).

 > 1 - положительная тенденция;

< 1 - отрицательная тенденция КПВ;

Исходные и расчетные показатели выбираются и рассчитываются для рассматриваемого проекта и либо для проекта, отобранного в качестве аналога, либо для уровня действующего производства, определенного как базовый уровень. Показатели рассматриваемого проекта обозначаются индексом «п», а базовые показатели индексом «а».

Показатели для анализа прогрессивности проектных решений, технико-экономического уровня проекта и т п., формулы расчета в общем виде:

Коэффициент прогрессивности вложений (КПВ) определяется по формуле:

,                                                                                          (3.21)

Коэффициент прогрессивности вложений по активной части ОПФ (КПВак) определяется по формуле:

, где:                                                                               (3.22)

Тп - темп прироста производительности труда

,                                            (3.23)

Кк - коэффициент качества продукции, определяемый по формуле:

, где:                                                                                         (3.24)

п - количество единичных показа гелей качества;

i - номер единичного показателя качества;

Тф - темп прироста фондовооруженности

,                                                                                 (3.25)

3.3.8. Методика расчета коэффициента эффективности вложений (КЭВ).

Экономическая (абсолютная) эффективность капитальных вложений (Э) определяется по одной из двух формул:

 и , где:                                          (3.26)

DНПЧ - годовой прирост объема нормативно-чистой продукции, вызванный капитальными вложениями;

DПр - годовой прирост прибыли, вызванный капитальными вложениями;

KB - капитальные вложения, вызвавшие эти приросты.

Коэффициент эффективности вложений (КЭВ) определяется из соотношения:

, где:                                                           (3.27)

Эп и Эа - экономическая эффективность проекта и аналога соответственно;

КЭВ > 1 - повышение уровня экономической эффективности проекта по сравнению с аналогом;

КЭВ < 1 - снижение уровня экономической эффективности проекта по сравнению с аналогом.

Оценка качества по КЭВ осуществляется путем отношения значений КЭВ на каждой последующей стадии проектирования (КЭВi+1) к предыдущей (КЭВi).

 - тенденция положительная;

 - тенденция отрицательная.

3.3.9. Методика определения коэффициента материалоемкости продукции (КМП). Коэффициент материалоемкости продукции (КМП) определяется по формуле:

, где:                                                                         (3.28)

Тнчп, Тм и Тч - темпы прироста объема нормативно-чистой продукции, материалоемкости, производительности труда по НЧП и численности работающих соответственно,

при этом:

                                                                                  (3.29)

Критерии оценки материалоемкости продукции:

КМП > 1 - материалоемкость снижается,

КМП < 1 - материалоемкость увеличивается.

Оценка качества по КМП осуществляется путем отношения значений КМП на каждой последующей стадии проектирования (КМПi+1) к предыдущей (КМПi).

 - тенденция положительная,

 - тенденция отрицательная.

Отклонение значения интегрального показателя в сторону ухудшения не должно превышать 10 %.

3.3.10. Предлагаемая в данной работе система «работает» в части строительного производства, а не в плане оценки результатов строительства зданий и сооружений.

Учитывая тот факт, что основной задачей жилищно-гражданского строительства в нашей стране является удовлетворение различных социальных потребностей населения и достижение постоянно возрастающих социальных стандартов уровня жизни, эффективность инвестиций в эту сферу деятельности оценивается на базе других методических подходов, при которых наибольшую значимость приобретают качественные параметры, в ходе оценки в дальнейшем измеряемые в количественных характеристиках и переводимых в стоимостное выражение для учета и соизмерения с необходимыми для их достижения затратами.

Рассмотрение таких методик не входит в рамки настоящей работы.

3.3.11. Занимаясь оценкой технико-экономического уровня проектных решений в современных условиях необходимо принимать во внимание состояние еще не сложившихся рыночных отношений, тенденции и процессы в которых довольно часто и резко меняются, ибо именно рыночный спрос и возможные предложения иногда единственные определяют эффективность осуществленных инвестиций, в частности, в жилые дома.

Так, к настоящему времени и на первичном и на вторичном жилищном рынке упал спрос на «экономичные» квартиры с минимумом площади и комфорта, которые еще в недавнем прошлом были достаточно популярны; а дорогие жилые дома, приближающиеся по своему уровню к категории «элитных», при продаже пользуются значительным спросом и обеспечивают скорую отдачу затрат. Таким образом, широко практикуемое до недавнего времени мнение о том, что проекты с более низкими удельными технико-экономическими показателями являются и более предпочтительными, осталось правомочным только в ситуации выбора решения в условиях жестких материальных, денежных и ресурсных ограничений. Поэтому в настоящее время низкие удельные показатели еще не говорят об экономической эффективности проектного решения, и инвестору при выборе проектного варианта необходимо учитывать возможности его быстрой реализации, о которых могут судить риэлтерские фирмы, занимающиеся сбытом жилья и мониторингом этого рынка.

РАЗДЕЛ 4

Методические рекомендации по экономическому обоснованию принимаемых решений

4.1. Порядок учета затрат

4.1.1. Единовременные затраты на возведение зданий и сооружений - это сумма денежных средств, необходимых для его осуществления и определяемая сметными документами на основе проектных данных, являющихся основой для финансирования строительства, расчетов за выполненные строительно-монтажные работы, а также других затрат, предусмотренных сметным расчетом.

На основании сметных документов, в установленном порядке определяется балансовая стоимость вводимых в действие объектов.

4.1.2. Сметная стоимость строительства является основой для определения единовременных затрат, в свою очередь базой для ее определения служат:

- сметные ресурсные нормативы, отпускные цены на оборудование, мебель и инвентарь;

- проектная документация, в составе которой приняты параметры зданий и сооружений, их частей и конструктивных элементов, в том числе чертежи и ведомости объемов работ, оборудования, очередности строительства, принятые организации строительства и пояснительные записки к ним.

4.1.3. Определение стоимости в главах сводного сметного расчета строительства осуществляется с распределением по графам:

- строительные работы;

- монтажные работы;

- затраты на приобретение оборудования, мебели и инвентаря;

- прочие работы;

- общая сметная стоимость.

4.1.4. Определение стоимости строительных работ осуществляется отдельно по конструктивным элементам и видам работ:

- земляные работы;

- фундаменты и стены подвала;

- каркас;

- стены наружные;

- стены внутренние;

- перекрытия и покрытия;

- перегородки;

- лестницы;

- окна;

- двери;

- полы;

- кровля;

- внутренняя отделка;

- наружная отделка;

- разные работы.

4.1.5. Определение затрат по внутренним инженерным сетям осуществляется по разделам:

- санитарно-технические работы;

- электрооборудование и электроосвещение;

- сети связи;

- КИП и автоматика;

- слаботочные устройства.

4.1.6. Расчет затрат на технологическое оборудование ведется по:

- лифтам, эскалаторам;

- технологическому оборудованию;

- мебели и инвентарю.

4.1.7. Определение стоимости строительства объекта в целом осуществляется в форме сводного сметного расчета по следующим главам:

- Глава 1. Подготовка территории строительства.

- Глава 2. Основные объекты строительства.

- Глава 3. Объекты подсобного и обслуживающего назначения.

- Глава 4. Объекты энергетического хозяйства.

- Глава 5. Объекты транспортного хозяйства и связи.

- Глава 6. Наружные сети и сооружения водоснабжения, канализации, теплоснабжения и газоснабжения.

- Глава 7. Благоустройство и озеленение территории.

- Глава 8. Временные здания и сооружения.

- Глава 9. Прочие работы и затраты.

- Глава 10. Содержание дирекции и авторский надзор.

- Глава 11. Подготовка эксплуатационных кадров.

- Глава 12. Проектные и изыскательские работы.

На полную стоимость строительства начисляется налог на добавленную стоимость в размере, действующем на текущий период.

4.1.8. Сметную стоимость строительства рекомендуется приводить в двух уровнях цен:

- в базовом уровне, определяемом на основе действующих сметных норм и цен;

- в текущем уровне, определяемом на основе сложившихся ко времени составления смет.

4.1.9. Определение затрат осуществляется в определенной последовательности с постепенным переходом от мелких к более крупным элементам строительства.

Первичное определение затрат осуществляется по форме локальных смет, которые составляются на отдельные виды работ и затрат по зданиям и сооружениям или по общеплощадочным работам на основе объемов, которые определены в составе рабочей документации (РД) или рабочих чертежей.

Далее данные из локальных смет объединяются на объект в целом по форме объектной сметы.

Окончательная сумма затрат определяется в сводном сметном расчете, который, в свою очередь, осуществляется на основе объектных смет (расчетов) и сметных расчетов на отдельные виды затрат.

4.1.10. Затраты в локальных сметных расчетах определяются исходя из:

- принятых в проектах параметров зданий, сооружений, их частей и конструктивных элементов;

- определяемым по проектным материалам объемов работ, включенных в ведомости строительных и монтажных работ;

- включаемых в заказные спецификации, ведомости и другие проектные материалы номенклатуры и количества оборудования, мебели и инвентаря;

- сметных нормативов и показателей на виды работ, конструктивные элементы, действующие на момент составления расчетов (смет);

- свободных (рыночных) и регулируемых цен и тарифов на продукцию производственно-технического назначения и услуги (в т.ч. на оборудование, мебель и инвентарь).

4.1.11. Затраты (стоимость) в составе локальных сметных расчетов (смет) состоят из прямых затрат, накладных расходов и сметной прибыли (плановых накоплений).

Прямые затраты включают в свой состав оплату труда рабочих, стоимость материалов, изделий, конструкций и эксплуатации строительных машин, затраты на доставку материалов и конструкций.

Начисление накладных расходов и сметной прибыли при составлении локальных сметных расчетов без деления на разделы производится в конце расчета за итогом прямых затрат, а при формировании по разделам - в конце каждого раздела и в целом по сметному расчету.

4.1.12. Объектные сметные расчеты составляются на объекты в целом: данные локальных сметных расчетов суммируются с группировкой по соответствующим графам сметной стоимости – «строительных работ», «монтажных работ», «оборудования, мебели и инвентаря», «прочих затрат». Они составляются в одном уровне цен: в базисном или в текущем,

В объектном сметном расчете построчно и в итоге приводятся показатели единичной стоимости на 1 м3 объема, 1 м2 площади зданий и сооружений, 1 м протяженности сетей и т.д.

Объектные сметные расчеты составляются с использованием укрупненных сметных нормативов, а также стоимостных показателей по объектам-аналогам.

4.1.13. Цены на строительную продукцию в Москве к 1996 году в результате либерализации цен 1992 года возросли более чем в 11 тысяч раз по сравнению с 1990 годом.

В отличие от общероссийской практики в Московском строительном комплексе с самого начала либерализации цен была внедрена система централизованного индексирования цен в строительстве относительно уровня до 1990 года, в результате чего на объектах городского заказа не допускается возрастание цен на строительную продукцию выше уровня, определяемого с помощью индексов цен.

Ежемесячно разрабатываемые индексы цен должны ориентировать подрядчиков приобретать конструкции, изделия и строительные материалы по ценам, не превышающим заложенные в основу расчета индексов цен.

Разрабатываемые под руководством Региональной межведомственной комиссии по ценовой и тарифной политике при правительстве Москвы Сборники коэффициентов пересчета сметной стоимости строительства состоят из трех частей и включают в себя более 1200 показателей по видам работ, осуществляемых в промышленном, жилищно-гражданском строительстве, капитальном ремонте и т.д.

4.1.14. Помимо постоянного пересчета индекса цен в Московском стройкомплексе проводится работа по адаптации сметных норм к текущим условиям строительства и снижению стоимости строительства.

Так, в Москве был отменен ряд повышающих коэффициентов к сметной стоимости строительства, изменен порядок исчисления накладных расходов и сметной прибыли (плановых накоплений) от фонда оплаты труда (взамен традиционного их расчета в зависимости от прямых затрат и себестоимости).

Помимо этого, установлено распределение этих нормативов по видам работ, а не по генподрядчикам, что обеспечило справедливое распределение массы накладных расходов и сметной прибыли между подрядными организациями с учетом трудоемкости работ всех участников строительства.

4.1.15. Одновременно с этим, в целях снижения сметной стоимости в Москве введено в практику проведение открытых торгов на право получения подрядными организациями заказа на строительство, задачей которых является определение оптимальной изначальной цены.

Для этого выпущен ряд нормативных документов, в частности:

- распоряжение премьера правительства Москвы № 62-РП от 23.01.1997 г. «О перечне прочих затрат и работ, учитываемых при составлении сметной документации объектов городского заказа;

- распоряжение премьера правительства Москвы М 751-РП от 17.03.1997 г. «О расчетах за выполненные работы в строительстве по твердым договорным ценам».

Так, установленный порядок формирования твердой договорной цены предполагает ее определение на основе базисной сметной стоимости объекта в ценах 1984 года, которая в дальнейшем пересчитывается в текущий на начало строительства уровень цен посредством коэффициентов пересчета сметной стоимости с добавлением средств на непредвиденные расходы (норма риска).

4.2. Объекты-аналоги и методика экономического обоснования

4.2.1. Одной из основных целей экономического обоснования является доказательство лучших параметров варианта на основе сравнения его с другим, принятым за аналог. Отсюда важным является соблюдение условий их сопоставимости.

4.2.2. Обязательным условием сравниваемости является - единство назначения, условий строительства.

4.2.3. Вторым по значимости является единство норм проектирования, применяемых при разработке вариантов.

4.2.4. Кроме того, должно обеспечить условие сопоставимости показателей:

- по времени осуществления затрат и получения результатов;

- по методологии определения технико-экономических показателей;

- по кругу включаемых затрат;

- по ценам, принятым для расчета;

- по достоверности расчетных показателей;

- по единству методологии проведения технико-экономического сравнения.

4.2.5. Важным условием является требование одинаковой степени готовности вариантов.

4.2.6. Сравниваемые варианты должны иметь одно функциональное назначение, одинаковые объемно-планировочные параметры (число этажей и секций, состав и среднюю площадь помещений, сопоставимые эксплуатационные параметры (теплопроводность, звукоизоляция и т.д.).

4.2.7. Последовательность проведения экономического обоснования предполагает следующие действия:

- выбор аналога для сопоставления, в качестве которого должны быть здания, конструктивные либо технологические решения, заменяемые в строительной практике в связи с их совершенствованием, либо заменой на более экономичные;

- определение и расчет технико-экономических показателей по вариантам сравнения;

- сопоставление критериальных показателей по вариантам с целью выявления степени их соответствия (приближения) к аналогу.

4.2.8. При оценке конструктивных решений необходимо обеспечить идентичность или равнозначность объемно-планировочного решения, уровню отделки и оборудования.

Это достигается методом, предложенным НИИЭС, разработки «эталонной планировки», при которой для сравниваемых конструктивных вариантов обеспечивается равенство по следующим объемно-планировочным параметрам:

- этажность;

- высота этажа;

- ширина и длина корпуса;

- число квартир;

- значения объемно-планировочных коэффициентов;

- величины соотношения площадей глухих участков и площадей оконных и дверных проемов в наружных стенах;

- теплопроводные характеристики ограждающих конструкций и т.п.

При необходимости производятся изменения в решении подземной части здания, в решении крыши и т.д.

Производится уравнивание затрат на отделку, инженерному оборудованию, по окнам, дверям, ограждениям лестничных маршей и лестничных площадок.

В результате такой корректировки все виды затрат не зависящих от специфики конструктивного решения не влияют на соотношение экономической эффективности сопоставляемых конструктивных решений. Далее возможен расчет технико-экономических показателей.

При применении в расчетах метода «на разность», те технико-экономические показатели, которые можно, по вариантам сравнения могут быть приняты равными, в расчеты не включаются.

4.2.9. Далее в три этапа пересчитываются основные технико-экономические показатели:

I - расчет удельных величин приведенных затрат (на основании укрупненных показателей прямых затрат и затрат ресурсов на единицу измерения каждого конструктивного элемента с использованием всех видов затрат, необходимых для того, чтобы представить каждый конструктивный элемент в законченном виде (по обосновываемому варианту);

II - расчет удельных значений конструктивных элементов как отношения объема работ по каждому конструктивному элементу к общей площади здания в «эталонной планировке»;

III - расчет удельных величин (на 1 м2 общей площади) всех видов затрат по каждому конструктивному элемент), через произведение удельной величины затрат по обосновываемому варианту решения на удельное значение конструктивного элемента в «эталонной планировке».

Сумма затрат по конструктивным элементам определяет величину приведенных затрат, затрат лимитируемых ресурсов и сметных прямых затрат на выполнение сравниваемого варианта.

Суммируя прямые сметные затраты с накладными расходами и плановыми накоплениями получают величину всех видов затрат необходимых для проведения экономического сравнения и обоснования.

4.2.10. При экономическом обосновании применения конструктивных элементов и технологий используется метод сравнительной эффективности, при котором производится сопоставление показателей затрат и результатов по вариантам и осуществляется решение следующих задач:

- сравнение двух или нескольких вариантов для выбора наилучшего;

- нахождение из нескольких экономически оптимального варианта при заданных условиях и ограничениях.

4.2.11. В качестве наилучшего варианта принимается вариант, обеспечивающий наивысшую сравнительную экономическую эффективность по критерию минимума приведенных затрат.

Лучший вариант может определяться:

- максимизацией степени достижения цели при заданных затратах;

- минимизацией затрат при предполагаемой степени достижения цели.

Результаты сопоставления крупнопанельных, каркасных, монолитных и кирпичных жилых домов по расходу бетона, стали, цемента, трудозатрат и стоимости приведены в Приложении 1-4.

Как результаты сопоставления, так и методика сравнительного анализа могут быть использованы при решении аналогичных задач.

4.2.12. Всесторонняя оценка вариантов предполагает использование системы технико-экономических показателей. Один из показателей этой системы принимается в качестве решающего (критерия), а остальные выступают в качестве дополнительных и рассматриваются в роли ограничивающих.

4.2.13. Сопоставление вариантов при экономическом обосновании следует производить только с точки зрения отличающих их признаков. Одинаковые для вариантов элементы в рассмотрение не включаются, в этой связи решения в смежных частях проекта, не зависящие от особенностей обосновываемого решения, принимаются одинаковыми по вариантам сравнения.

4.2.14. Важным условием объективности при обосновании является учет фактора времени, который осуществляется путем дисконтирования затрат разных лет к единому моменту времени.

Такое приведение (дисконтирование) разновременных показателей осуществляется с помощью коэффициента приведения (аt):

, где:                                                                                          (4.1)

Е - норматив приведения, равный 0,08;

t - число лет, отделяющих затраты от базисного года.

4.2.15. Оценку конструктивных решений зданий необходимо производить путем сопоставления показателей по проектам, имеющим наиболее близкую объемно-планировочную характеристику, а также, по возможности, одинаковым по вместимости и режиму работы и т.д.

4.2.16. В качестве объектов-аналогов могут использоваться типовые проекты соответствующих зданий и сооружений и проекты для повторного применения как объекты, имеющие относительно высокие показатели. Некоторые данные по этим объектам приведены в Приложениях 7 и 8.

4.2.17. МНИИТЭП в 1993 г. разработана методика сравнительного анализа конструктивно-планировочных систем жилых домов (НИ-4189-05), близкая к методике объектов-аналогов, основой которой является сравнение конструктивно-планировочных ячеек (КПЯ), которых в работе принято три - по типам квартир и одна по варианту планировки.

КПЯ - 36 кв. м - однокомнатная квартира (33, 38 кв. м)

КПЯ - 54 кв. м - двухкомнатная квартира (44, 54 кв. м)

КПЯ - 72 кв. м - трехкомнатная квартира (62, 68 кв. м)

КПЯ - 72 (4-6) кв. м - трехкомнатная квартира, вариант планировки.

Четырехкомнатные квартиры формируются из КПЯ-36 и КПЯ-54, площадью 90 кв. м (74,83 кв. м).

Пяти-комнатные квартиры формируются из КПЯ-36 и КПЯ-72, площадью 108 кв. м (89,96 кв. м).

В скобках показателей КПЯ даны нормируемые МГСН 3.01-96 «Жилые здания» нижние пределы площади малых и больших квартир в жилище I и II категорий (кроме квартир для семей с инвалидами и для престарелых) без учета площадей балконов, лоджий, террас, веранд комнатных кладовых и приквартирных тамбуров. При этом в жилище I категории верхние пределы площадей (одноквартирных домов) не ограничиваются.

Каждая КПЯ состоит из трех элементов: нулевой цикл со свайным основанием и техподпольем; типовой этаж; покрытие, включая теплый чердак и кровлю.

Площади КПЯ для единообразия и упрощения подсчетов приняты в осях. Конструктивные элементы (внутренние и наружные стены, перегородки, перекрытия также располагаются по заданным осям.

В поперечном направлении принято четыре шага: 500 см, 530 см, 540 см и 600 см, являющихся производной от деления площади КПЯ на принятые шаги продольного направления.

Показатели каждого типа КПЯ рассчитывались по рабочей документации жилых домов, строившихся в Москве. В данные сравнительного анализа включались только показатели собственного КПЯ и не включались ЛЛУх), конструкции балконов, лоджий и их ограждений, входов в первые этажи, все виды инженерного оборудования, сантехкабины, полы и все виды отделочных работ.

___________

х) ЛЛУ - Лестнично-лифтовой узел.

Для проведенного сравнительного анализа принят трех секционный, тринадцатиэтажный дом общей площадью 8424 кв. м, содержащий 39КПЯ-36, 7КПЯ-54 и 39КПЯ-72.

РЕЗУЛЬТАТЫ СОПОСТАВЛЕНИЯ

конструктивных схем в процентах по отношению к крупнопанельной с шагами поперечных несущих конструкций 3,0 и 3,6 м

Конструктивные системы

Продольные шаги несущих конструкций в м

Бетон

Цемент

Сталь

Кирпич

Трудозатраты

Стоимость

1

2

3

4

5

6

7

8

Крупнопанельная с узким шагом несущих стен

3,0; 3,6

100

100

100

-

100

100

 

3,6

101

101

105

-

101

105

 

3,0; 4,2

102

102

103

-

103

104

Крупнопанельная с широким шагом несущих стен

6,0

80

87

97

 

77

93

 

6,6

81

87

100

-

78

98

 

7,2

82

88

102

-

80

99

Каркасно-панельные

6,0

71

68

195

-

130

102

 

6,6

72

80

191

-

129

104

 

7,2

78

97

190

-

132

110

Монолитные с узким шагом несущих стен

3,0; 3,6

117

137

95

115

 

258

91

96

 

3,6

116

137

95

117

 

263

92

97

 

3,0; 4,2

116

137

94

116

 

257

92

97

Монолитные с широким шагом несущих стен

6,0

98

115

84

96

 

220

77

81

 

6,6

99

117

90

103

 

224

79

83

 

7,2

106

120

91

103

 

231

82

86

Кирпичные

3,0; 3,6

54

66

46

100

150

115

 

3,6

55

63

47

107

151

120

 

3,0; 4,2

56

69

48

108

154

119

ПРИМЕЧАНИЯ: 1. В знаменателе даны показатели при 50-ти кратной оборачиваемости опалубки.

2. При замене легких межквартирных перегородок в монолитных жилых домах на кирпичные, в результаты сопоставлений должны быть внесены соответствующие изменения.

4.3. Бизнес-планы, как инструмент предпроектной оценки принимаемых решений

4.3.1. В рыночных условиях функционирования строительного комплекса бизнес-план является предпроектной стадией, в рамках которой формулируется концепция проектного решения, обосновывается его необходимость, коммерческая и экономическая целесообразность с учетом конъюнктуры рынка и ресурсных ограничений.

4.3.2. Бизнес-план в этой связи имеет две основные функции:

1 - внутреннюю - предоставить заказчику информацию о программе реализации проектного предложения с оценкой результатов на каждом этапе его реализации;

2 - внешнюю - информировать о проектном предложении возможных инвесторов, муниципальные органы и другие заинтересованные органы.

4.3.3. Бизнес-план включает в себя десять разделов:

1 - резюме;

2 - характеристика объекта (проектного предложения);

3 - прогноз конъюнктуры рынка (оценка рыночных возможностей);

4 - стратегия маркетинга;

5 - организация работ и финансирование строительства;

6 - определение затрат;

7 - определение доходов;

8 - план реализации проекта;

9 - оценка экономической и коммерческой эффективности инвестиций;

10 - страхование коммерческого риска и юридическая защита.

4.3.4. Резюме должно включать в себя следующие сведения:

- особенности и преимущества проектного предложения;

- сроки и условия реализации проектного предложения;

- объем, формы и источники инвестирования (с выделением в структуре затрат (в зависимости от постановки задачи общестроительных расходов по конструктивным элементам и видам работ, строительно-монтажных работ и оборудования);

- потенциальный коммерческий риск и условия его предотвращения.

В резюме приводятся основные показатели экономической и коммерческой эффективности инвестиций.

4.3.5. Характеристика объекта должна включать в себя:

- назначение объекта, его мощность, режим работы, параметры;

- место расположение объекта, площадь участка, особенности градостроительной ситуации;

- объем потребления ресурсов;

- основные объемно-планировочные и конструктивные показатели.

4.3.6. Прогноз конъюнктуры рынка - это оценка рыночной возможности проектного предложения на рынке, т.е. определение его ниши на рынке, его потребителей и их покупательской способности. В данном разделе очень важно определить динамику и спрос на проектное предложение.

При этом необходимо использовать один из трех известных в мировой практике методов изучения рынка:

- функциональный, предполагающий учет и определение всех факторов, влияющих на принятие решения о целесообразности принятия проектного решения;

- динамичный, предполагающий максимальный учет повозрастной мотивации поведения населения и потребностей;

- фундаментальный, основным инструментом которого является изучение причин, приводящих к принятию решения о выборе, неизвестных даже самим потребителям.

Прогноз конкретной экономической ситуации в сфере реализации проектного предложения включает оценку деятельности возможных конкурентов, развития экономических связей между участниками инвестиционного процесса: заказчиками (инвесторами) и подрядчиками, а также внутри групп заказчиков и подрядчиков.

Приводимые в разделе прогнозные данные характеризуют экономические условия реализации проектного предложения и являются базой для разработки стратегии маркетинга.

4.3.7. Стратегия маркетинга предполагает разработку комплекса мер, нацеленных на получение максимального эффекта на всех этапах реализации проектного предложения:

разработка экономической концепции, ценовой политики, концепции финансового плана и организация рекламной компании.

Экономическая концепция содержит:

- цели проекта в бизнесе;

- возможности для бизнеса и стратегию по их реализации;

- намеченные рынки сбыта и их прогнозы;

- конкретные преимущества разрабатываемого проектного предложения;

- прогнозирование финансовых результатов;

- расчет суммы инвестиций.

Стратегия маркетинга включает в себя анализ действующих систем ценообразования и выбор системы соответствующей условиям рынка.

В основу современных систем ценообразования положена концепция договорной цены, базирующейся на учете взаимных интересов заказчиков (инвесторов), подрядчиков (субподрядчиков) и других участников инвестиционного процесса.

Договорные цены следует формировать на основе базовых удельных показателей стоимости строительства (БУПе), разработанных в соответствии с «Рекомендациями по составлению бизнес-планов для территорий, отдельных объектов, комплексов нового строительства и реконструкции» МРР-4.2.03-94 Москва 1995 г.

4.3.8. Целью разработки организационного плана реализации проектного предложения является выявление состава, содержания и последовательности мероприятий на всех этапах его осуществления.

План включает в себя три этапа:

- организация предпроектных работ;

- реализация строительной программы;

- организация коммерческой деятельности построенного объекта.

Организация финансирования строительства предполагает решение вопросов об источниках, размерах, порядке, сроках и условиях обеспечения финансовых потребностей проектного предложения.

4.3.9. Определение затрат на осуществление проектного предложения производится по следующим видам:

- единовременные (сметная стоимость);

- эксплуатационные;

- приведенные.

Для определения единовременных затрат составляется расчетная стоимость строительства по форме сводного сметного расчета стоимости строительства на основе объектных расчетов стоимости отдельных зданий и сооружений и локальных расчетов отдельных видов работ и затрат.

Объектные и локальные расчеты стоимости строительства также составляются на основе БУП и включают в свой состав прямые затраты, накладные расходы, плановые накопления, зимнее удорожание, временные здания и сооружения и непредвиденные затраты.

Расчет стоимости строительства объекта включает в себя:

- подготовительные работы;

- основные объекты строительства;

- наружные инженерные сети;

- благоустройство и озеленение территории;

- затраты на отвод участка;

- управление строительством;

- проектно-изыскательские работы.

Эксплуатационные затраты включают в себя:

- затраты на восстановление и ремонт;

- затраты на эксплуатацию систем инженерного оборудования;

- затраты на содержание зданий и территорий;

- административно-управленческие затраты;

- прочие условно-постоянные расходы.

Итоговым результатом расчета стоимостных показателей является определение величины приведенных затрат, которые представляют собой сумму эксплуатационных и единовременных затрат, приведенных к годовой размерности с помощью нормативного коэффициента эффективности (Ен).

В целях перевода приведенных затрат к базовому периоду (начало строительства) принимается метод дисконтирования, что аналогично показателю чистой текущей стоимости.

4.3.10. Определение доходов и прибыли производится на основе инвестиционно-эксплуатационной модели, на основании которой приводится перечень всего ассортимента услуг, которые будут предлагаться для реализации по новому проекту с одновременным сопоставлением всего того, что имеется на рынке в настоящее время.

При этом, одновременно разрабатывается стратегия в области цен, обосновывается правильность принятой ценовой стратегии.

Доходы, получаемые как выручка от основной деятельности объекта подразделяются на основные и дополнительные, т.е. на доходы от основной деятельности объекта и за счет сопутствующих видов деятельности.

Валовой, дополнительный и совокупный валовой доход рассчитывается в соответствии с МРР-4.2.03-94.

4.3.11. План реализации проектного предложения должен содержать организационный и финансовый план работы объекта, освещающие вопросы структуры управления, потребности в кадрах, размера заработной платы, условия материального обеспечения работы объекта, выбора кредита, сроков финансирования и т.д.

На основании этого составляется калькуляция доходов и расходов деятельности объекта по годам.

финансовые показатели по годам деятельности приводятся к базисному году с учетом дисконтирования и индексов инфляции.

4.3.12. Оценка экономической и коммерческой эффективности инвестиций производится по показателям общей и сравнительной эффективности, срока окупаемости и эффекта от ускорения ввода объектов

Оценка общего абсолютного эффекта и сравнительной эффективности проводится в соответствии с методикой ЮНИДО ООН в два этапа:

- определяются показатели эффективности и приведенных затрат элементарным методом без дисконтирования;

- предшествующий расчет корректируется при помощи интегрального метода с применением дисконтирования.

Абсолютная эффективность определяется как частное от деления общего экономического эффекта на совокупные затраты, или деления чистой продукции на величину зарплаты.

Сравнительная эффективность рассчитывается элементарным и интегральным методами в относительных величинах и темповом измерении.

4.3.13. Анализ эффективности (выгодности) инвестиций проводится с использованием методического подхода, разработанного ЮНИДО ООН.

За нормативный уровень принимается проектное решение, в котором коэффициент эффективности соответствует величине, установленной плановыми органами (для страны, района, города).

Базовый уровень выбирается для изучения и анализа проектных решений или отчетных данных о производственной и финансовой деятельности лучших из действующих отечественных и зарубежных объектов (жилых зданий и комплексов, общественных культурно-бытовых и административных зданий и др.).

4.3.14. Общий абсолютный экономический эффект (Эоб) рекомендуется определять по формуле:

Эоб = ТСч - Ен SJi, где:                                                                                  (4.2)

ТCч - годовая чистая текущая стоимость, рассчитывается по формуле:

ТСч = ПРч + Ам (ПРч - чистая прибыль);

Ен - нормативный коэффициент эффективности;

SJi - полная сумма инвестиций.

Иногда общий экономический эффект является достаточным для оценки выгодности инвестиций.

Абсолютная экономическая эффективность при этом рассчитывается по формуле:

Эобi/ПЗi > Ен, где:                                                                                          (4.3)

ПЗi - приведенные затраты, определяемые по формуле:

ПЗi =Ci + Ен×J

Ci - себестоимость производства после эксплуатации.

Также можно пользоваться формулой:

, где:                                                                             (4.4)

ЗПi - заработная плата i-того года;

M3i - материальные затраты i-того года;

Ji - инвестиция i-того года.

На начальной стадии проектирования (при составлении бизнес-плана) абсолютные показатели эффективности, инвестиций и приведенных затрат определяются элементарным методом (без дисконтирования).

На конечной стадии проектирования расчет проводится путем дисконтирования.

В последнем случае величина показателей эффективности, инвестиций и приведенных затрат определяется их дисконтированием на расчетный период функционирования объекта с приведением к начальному году инвестирования.

Формулы 1 и 2 приобретают вид:

                                   (4.5)

                              (4.6)

                                                                                                 

                                                                                        (4.7)

Расчет по формулам (4.4 - 4.7) рекомендуется производить в табличной форме.

При наличии двух или более проектных решений абсолютный экономический эффект каждого из них определяется по формулам 1-3 (ЭОБ1; ЭОБ2; ЭОБ3 и т.д.) или по формуле 6 (ЭОБS1; ЭОБS2; ЭОБS3 и т.д.).

Окончательно выбирается тот вариант, у которого ЭОБi или ЭОБS больше (Эi max > Эi).

Абсолютный экономический эффект в силу своей природы (прибыль, доход) по существу является критериальньм синтетическим показателем, который показывает реальную экономическую результативность объекта проектирования в период своего функционирования. Именно прибыль указывает на размер вновь созданной стоимости, включая экономию произведенных издержек.

4.3.15. Абсолютный эффект может быть рассчитан путем определения величины чистой продукции (ЧПi) как элементарным так и интегральным методами. Расчет элементарным методом производится по формуле:

, где:                                                                    (4.8)

ЧПi - чистая продукция за i-тый год; ЧПi определяется по формуле:

ЧПi = ЗП + ПР (ЗП - предполагаемая годовая зарплата; ПР - предполагаемая годовая прибыль);

Qi - ожидаемая стоимость годового выпуска;

МЗi - ожидаемая стоимость материальных затрат (без амортизации) в i-том году;

Ji - инвестиции в i-том году.

Если ЧПi (нормального года эксплуатации) оказывается положительной величиной, то абсолютная эффективность находится из условия:

или                                                                                              (4.9)

, где:                                                                                  

DЧПi - прирост чистой продукции;

DЗПi - прирост заработной платы.

Можно также воспользоваться формулой:

                                                                         (4.10)

Расчет элементарным методом рекомендуется производить в табличной форме.

4.3.16. Определение чистой продукции интегральным методом рекомендуется осуществлять на стадии уточнения бизнес-плана.

При применении этого метода учитываются величины произведенных затрат и поступающих доходов за расчетный период строительства и эксплуатации объекта.

Интегральная абсолютная экономическая эффективность в дисконтированном виде должна быть больше нуля, т.е.:

 , где:                                                         (4.11)

ЧПS - ожидаемая дисконтированная чистая продукция;

аi - установленный коэффициент дисконтирования на i-тый год.

Об эффективности инвестиций, предусмотренных проектом, можно говорить тогда, когда существует зависимость ЧПS > ЗПS.

4.3.17. Коэффициент экономической эффективности рассчитывается по формуле:

, или                                                                           (4.12)

DЧПS  : DЗПS (в приростных величинах);

, где:                                                                                   (4.13)

ЧПS  - интегральная (дисконтированная) чистая продукция за расчетный период

ЗПS  - интегральная (дисконтированная) зарплата за расчетный период.

Расчет интегральным методом рекомендуется производить в табличной форме.

Итоговая величина ЧПS определяется по формуле:

                                                  (4.14)

4.3.18. Общую эффективность инвестиций интегральным методом можно определить по формуле:

                                                               (4.15)

Таблица определения дисконтирующего множителя (аi)

Годы

Процентная ставка

 

10

11

12

13

14

15

16

17

18

19

20

21

22

23

24

25

0

1

1

1

1

1

1

1

1

1

1

1

1

1

1

1

1

1

9091

9009

8929

8850

8772

8696

8621

8547

8475

8403

8333

8264

8197

8130

8065

8

2

8264

8116

7972

7831

7695

7561

7432

7305

7182

7062

6944

6830

6719

6610

6504

64

3

7513

7312

7118

6931

6750

6575

6407

6244

6086

5934

5787

5645

5507

5374

5245

512

4

6830

6587

6355

6133

5921

5718

5523

5337

5158

4987

4823

4665

4514

4369

4230

4096

5

6209

5935

5674

5428

5194

4972

4761

4561

4371

4190

4019

3855

3700

3552

3411

3277

6

5645

5346

5066

4803

4556

4323

4104

3898

3704

3521

3349

3186

3033

2888

2751

2621

7

5132

4817

4523

4251

3996

3759

3538

3332

3139

2959

2791

2633

2486

2348

2218

2097

8

4665

4339

4039

3762

3506

3269

3050

2848

2660

2487

2326

2176

2038

1909

1789

1678

9

4241

3909

3606

3329

3075

2843

2630

2434

2255

2090

1938

1799

1670

1552

1443

1342

10

3855

3522

3220

2946

2697

2472

2267

2080

1911

1756

1615

1486

1369

1262

1164

1074

4.3.19. Сравнительная эффективность рассчитывается тогда, когда сопоставляются два и более проектных решения. Она может быть в относительных величинах и в темповом измерении:

В относительных величинах:

Общая экономическая эффективность одного проекта сравнивается с другим или несколькими принятыми за базу. Она рассчитывается по одной из приведенных ниже формул:

Элементарным методом

Интегральным методом

                       (4.16 а)

         (4.16 б)

                        (4.17 a)

        (4.17 б)

                      4(4.18 a)

       (4.18 б)

                     4(4.19 а)

      (4.19 б)

Рекомендуется сравнительную эффективность проектных решений оценивать через рентабельность.

Рентабельность вложенных инвестиций и оборотных средств:

Элементарный метод

Интегральный метод

                 (4.20 а)

             (4.20 б)

Рентабельность номинального собственного капитала:

Элементарный метод

Интегральный метод

                    (4.21 а)

                  (4.21 б)

Рентабельность оборотного капитала:

Элементарный метод

Интегральный метод

                    (4.22 а)

                  (4.22 б)

где:

Ес - коэффициент средней эффективности.

По формуле (4.22) рассчитывается показатель сравнительной эффективности по затратам живого труда:

                                                                     (4.23)

При недостаточности инвестиционного капитала сравнительная эффективность определяется из формулы:

                                                                         (4.24)

Окончательный вариант выбирается исходя из соотношения:

                                                                            (4.25)

В темповом измерении:

Наиболее чувствительным методом оценки сравнительной эффективности проектных решений следует считать сопоставление проектных и базовых показателей в темповом измерении (в приростных величинах):

Элементарным методом

Интегральным методом

                          (4.26 а)

           (4.26 б)

               (4.27 а)

           (4.27 б)

               (4.28 а)

           (4.28 б)

Таким же образом рассчитываются измерения (роста, уменьшения) показателей эффективности (ПР, ТС и др.) и издержек (J, ОБ и др.).

4.3.20. Учет единовременного эффекта от ускорения ввода объектов.

Расчет эффекта от ускорения ввода объекта в эксплуатацию подробно изложен в разделе 1.4.

Оценка коммерческой эффективности проектного предложения заключается в определении следующих критериальных показателей:

- срок окупаемости (Ток);

- чистая текущая стоимость (ЧТС);

- рентабельность инвестиций (РИ);

- внутренняя норма рентабельности (ВНР);

- точка безубыточности (ТБ).

Кроме того, для оценки финансового риска определяются показатели:

- усредненный отчетный уровень доходности (УОУД);

- индекс приведенной стоимости (ИПС);

- средневзвешенная цена капитала (СЦК);

- анализ предельных средних переменных и постоянных издержек.

4.3.21. В соответствии с методологией ЮНИДО ООН для коммерческого анализа эффективности инвестиций и финансовой оценки проекта используются элементарные и интегральные методы (элементарные методы - без учета дисконтирования; интегральные - с учетом дисконтирования).

4.3.22. Срок окупаемости (Ток).

1. При элементарном методе срок окупаемости определяется по графику на основе зависимости

, где:                                                                           (4.29)

SJ - полная сумма инвестиций;

ПР(ч)t + Amt - чистая текущая стоимость в году;

ПР(ч)t - чистая прибыль;

Amt - амортизационные отчисления;

Т - расчетный период (Т = Тстр + Ток);

Тстр - срок строительства;

Ток - срок окупаемости.

Проект приемлем, если срок окупаемости меньше, чем у аналогичных проектов, принятых за базу (или норматив).

Срок окупаемости инвестиций элементарным методом рекомендуется рассчитывать в табличной форме.

SJ - сумма инвестиций;

Пост - остаточная прибыль (за вычетом налогов и кредитов и т.д.);

Н - норматив эффективности;

Ен - нормативный коэффициент эффективности;

ti - расчетный год.

2. При интегральном методе срок окупаемости определяется по формуле:

                                                                                        (4.30)

                                                        (4.31)

, где:        (4.32)

JS - суммарные инвестиции;

ПР - суммарная чистая прибыль (чистая текущая стоимость) в i-том году соответственно;

аi - коэффициент дисконтирования года

, где:                                                                                      (4.33)

Е - коэффициент эффективности.

4.3.23. Оценка коммерческой эффективности проекта через отношение суммы чистой прибыли, дисконтированной на начальный год инвестиций, к дисконтированной сумме инвестиций.

где:                                                                                  (4.34)

JS  - дисконтированные инвестиции.

Минимальная ежегодная прибыль, которая через определенный промежуток времени возместит инвестиции, рассчитывается по формуле:

, где:                                                                     (4.35)

J - начальные инвестиции.

4.3.24. Оценка проектов через определение внутренней нормы рентабельности (ВНР). ВНР представляет собой норму дисконта (Евн), при котором величина приведенных эффектов равна сумме приведенного капиталовложения.

ВНР (Евн) является решением уравнения

                                                                                 (4.36)

ВНР > 0 - проект эффективен;

ВНР < 0 - проект неэффективен.

4.3.25. ЧТС определяется как приведение интегральных результатов над интегральными затратами (с применением дисконтирования)

, где:                                                           (4.37)

Rt - результат;

Зt - затраты;

Т - горизонт времени

, где:                                                                               (4.38)

;                                                                                                  (4.39)

- проект эффективен;

- проект неэффективен.

4.3.26. Расчеты эффективности инвестиций ведутся в соответствии с блок-схемой, представленной ниже.

БЛОК-СХЕМА

расчета прогрессивности и экономической эффективности

4.3.27. Оценка степени экономического риска

Степень экономического риска в условиях неопределенности оценивается при помощи точки безубыточности (ТБ). ТВ позволяет провести финансовый анализ проектов и динамичность основных показателей эффективности (прибыль и рентабельность).

Цель анализа безубыточности - вычислить ТБ. Она представляет собой точку прямой, показывающей рост продукции в системе двух координатных осей, в которой доходы от продажи соответствующего количества продукции равны затратам на ее изготовление (прибыль предприятия равна нулю). ТБ можно выражать также в натуральных единицах, или в виде коэффициента использования производственных мощностей.

Знание ТБ служит хорошим ориентиром в оценке риска инвестиций. Чем выше ТБ, тем больше риск, так как тем больше нужно реализовать продукции для обеспечения рентабельности предприятия.

Анализ безубыточности опирается на ряд предпосылок, из которых исходят при определении объема производства:

- Производственные затраты представляют собой функцию количества изготовленной продукции (услуг) или ее реализации.

- Количества изготовляемой и реализуемой продукции (услуг) равны.

- Функциональным постоянным затратам на производство, одинаковым при всех объемах продукции.

- Переменным затратам, пропорциональным объему продукции.

- Отпускная цена единицы продукции в рассматриваемый период не изменится (полная стоимость реализации является линейной функцией цены единицы реализуемого количества продукции (услуг).

- Анализ должен опираться на данные типичного года эксплуатации.

4.3.28. Перечисленные выше предпосылки не всегда соответствуют действительности. Поэтому результаты анализа безубыточности не каждый раз вполне доверительны, параллельно рекомендуется использовать и другие методы анализа.

При графическом методе определения ТБ исходят из равенства произведенных затрат и поступлений от реализации.

, где:                                                                                              (4.40)

Y - поступление от реализации товара в ТБ;

Р - цена единицы реализуемого товара;

Х - объем продукции (реализация) в точке безубыточности.

Произведенные затраты выражаются формулой:

, где:                                                                                       (4.41)

Y1 - произведенные затраты в ТБ;

V - переменные затраты на единицу продукции (услуг);

f - постоянные затраты на единицу продукции (услуг).

Отсюда следует:

или                                                                                      (4.42)

                                                                                             (4.43)

Из последнего уравнения видно, что ТБ может определяться как отношение постоянных затрат к разности цены единицы продукции и переменных затрат на нее. Через это отношение проще всего найти минимальное количество продукции (услуг), при реализации которого не будет убытка.

Формула (12) показывает, что чем больше постоянные затраты, тем выше ТБ и тем больше требуется реализовать продукции (услуг) для обеспечения рентабельности проекта. Для выражения ТБ в виде коэффициента использования проектных мощностей рекомендуется формула:

где:                                                                                      (4.44)

ТБ - коэффициент использования мощностей, при котором затраты предприятия равны его доходам;

w - полная сумма переменных затрат на продукцию.

Таким образом, в результате анализа безубыточности можно выявить как влияние колебаний цены строительной продукции (и постоянных и переменных затрат) на предельную величину продукции, ниже которой проект будет нерентабельным, так и минимально-допустимый коэффициент использования производственных мощностей.

Применение рассмотренного метода анализа позволяет вычислить ряд ТБ для альтернативных предложений об инвестициях, если имеется возможность выбирать между разными вариантами проектных решений.

Это существенно, если учесть, что большая мощность часто сопровождается увеличением постоянных затрат, а от выбора технологии зависит уровень переменных затрат.

На графике точка безубыточности лежит в месте пересечения прямых, определенных уравнениями:

    (выручка);                                                                                 (4.45)

   (производственные затраты).                                          (4.46)

При анализе динамичности выявляются такие ТБ, в которых достигаются наиболее приемлемые показатели эффективности и прослеживается изменение этих показателей в пределах допустимых величин.

Информационной базой для проведения коммерческого анализа и финансовой оценки является система таблиц, содержащих группу технико-экономических показателей, позволяющих осуществить расчеты по выявлению доходов и расходов с учетом действующей системы налогообложения и формирования чистой прибыли (чистой текущей стоимости).

4.3.29. Усредненный отчетный уровень доходности определяется по формуле:

, где:                                                                                 (4.47)

 - чистый доход на каждый год расчетного периода (в качестве показателей доходности могут применяться ТСч, Прч);

n - количество лет.

4.3.30. Индекс приведенной стоимости определяется по формуле:

                                                                         (4.48)

 - коэффициент дисконтирования

Очевидно, что ИПС < УОД.

4.3.31. Средневзвешенная цена капитала (СЦК) рассчитывается в следующей последовательности:

а) определяется соотношение заемного и собственного капитала .

При решении банком вопроса о кредитовании такое соотношение, как правило составляет 10-15 %;

б) определяется доля собственных средств в совокупности капитала, где эта доля включает компоненты:

- уставной капитал (в том числе, курсовая стоимость акций);

- инвестиции на развитие, расширение инновационных проектов;

- выплаты дивидендов.

При этом основным источником инвестирования, выплаты дивидендов является чистая прибыль (после выплаты налогов);

в) определяется цена заема (ЦЗ) с учетом налогообложения по следующей формуле:

  где:                                                                                        (4.49)

Ч - ставка налога на заемный капитал;

t - налог на прибыль (%);

г) средневзвешенная цена капитала (СЦК) определяется по формуле:

                                                                           (4.50)

4.3.32. Анализ предельных, средних переменных и постоянных издержек.

При дальнейшем углублении исследования взаимозависимости основных параметров, использующихся при расчете точки безубыточности (ТБ), возникает необходимость анализа их средних и предельных величин (имеющих размерность удельных показателей), которые при определенных условиях высвечивают важнейшие закономерности, существующие между ними.

Такими показателями являются: средние переменные издержки (на единицу выпуска); средние постоянные издержки (на единицу выпуска); средние суммарные издержки (на единицу выпуска) и полные предельные издержки (в темповом измерении).

Зависимость между этими показателями выражается следующими формулами:

, где:                                                                                (4.51)

ТС - полные издержки;

TFC - полные постоянные издержки;

TVC - полные переменные издержки.

, где:                                                             (4.52)

МС - предельные издержки;

DТС - изменение полных издержек;

DTVC - изменение полных переменных издержек;

DQ - изменение объема выпуска.

, где:                                                                                    (4.53)

AVC - средние переменные издержки;

Q - объем выпуска.

                                                                                             (4.54)

AFC - средние постоянные издержки.

                                                                                               (4.55)

4.3.33. Оценка коммерческого риска предполагает соблюдение следующих принципиальных условий:

- взаимную увязку объемов и сроков получения и использование финансовых средств с учетом различных сроков окупаемости;

- обеспечение платежеспособности на любой стадии осуществления проекта;

- использование наиболее экономичных способов финансового обеспечения проекта;

- ориентацию на сокращение сроков окупаемости, повышение рентабельности используемых финансовых средств;

- обоснованный расчет точки безубыточности инвестиций.

4.3.34. Методы юридической защиты проекта включают в себя:

- нормативно-правовое обоснование принимаемых решений;

- копии официальных документов, подтверждающих правомерность принимаемых решений;

- обеспечение юридической защиты силами собственной юридической службы или привлеченных специализированных консалтинговых фирм.

4.4. Система укрупненных показателей

Укрупненные показатели стоимости, материалоемкости и трудозатрат по проектам жилых и общественных зданий, разрабатываются на основании проектно-сметной документации, составленной по рабочим чертежам, на стадиях «рабочий проект» и «рабочая документация».

Укрупненные показатели служат для технико-экономической оценки вышеперечисленных проектов, а при их утверждении в головной организации, при составлении сметных расчетов на стадиях ЭП, ТЭО и «проект».

Укрупненные показатели могут разрабатываться как по отдельным конструктивным элементам и видам работ, так и на здание целиком, или его часть, например; подземная часть жилого дома с подвалом или техническим подпольем.

При разработке укрупненных показателей по конструктивным элементам удельный показатель приводится на 1 м2 конструкции, по видам работ - на 1 м2 общей площади (для жилых домов) и на 1 место, 1 м2 полезной площади или 1 м2 площади торгового зала для зданий общественного назначения.

Если укрупненные показатели разрабатываются целиком на здание, то они могут быть рассчитаны с учетом наружных сетей, дорог, благоустройства, затрат подрядной организации и заказчика (лимитированных затрат), но при проведении технико-экономической оценки или составлении сметных расчетов, для сопоставимости расчетов следует пользоваться укрупненными показателями конструктивных элементов здания без общеплощадочных и лимитированных затрат.

Ниже приводится примерный перечень средних величин укрупненных показателей стоимости в процентном отношении по конструктивным элементам и видам работ 9-16 этажных жилых домов с различными конструктивными решениями. (Табл. 4.1).

Таблица 4.1

Наименование

Показатели

конструктивных элементов и

Удельный вес %%

видов работ

крупнопанельные

каркасно-панельные

кирпичные

сборно-монолитные

1

2

3

4

5

I. Подземная часть

 

 

 

 

1. Земляные работы

0,2

0,3

0,4

0,5

2. Фундаменты

2,2

2,0

2,1

6,7

3. Стены

2,8

2,3

2,6

-

4. Перекрытия

1,31

1,3

1,2

1,5

5. Прочие работы

1,2

1,2

1,2

0,9

Итого по подземной части

7,7

7,1

7,5

9,6

II. Надземная часть

 

 

 

 

1. Стены наружные

21,5

16,5

15,9

35,9

2. Стены внутренние

12,1

6,6

8,1

 

3. Каркас

-

19,7

-

-

4. Перегородки

2,3

1,8

5,2

0,8

5. Перекрытия

11,5

10,2

11,0

10,2

6. Лоджии и балконы

2,3

2,1

3,4

2,2

7. Лестницы

1,4

1,1

1,2

1,1

8. Крыша

3,8

2,7

2,9

3,4

9. Окна и балкон, двери

4,6

4,5

5,1

4,9

10. Двери

2,9

2,9

3,9

3,7

11. Полы

4,3

4,9

11,9

5,6

12. Внутрен. отделочные работы

3,3

3,4

4,6

4,9

13. Сантехкабины

7,2

-

-

-

14. Прочие работы

5,6

5,7

7,1

3,9

Итого по надземной части

82,8

82,1

79,4

76,6

Итого по общестроительным работам

90,5

89,2

86,9

86,2

III. Сан. технические работы

4,4

5,3

7,3

7,5

IV. Электромонтажные работы

1,9

2,4

2,8

2,8

V. Лифты

3,2

3,1

3,0

3,5

ВСЕГО:

100,0

100,0

100,0

100,0

Процентное соотношение приведенных показателей может меняться в зависимости от изменения этажности жилых домов, применения новых, нетрадиционных материалов для конструкций и отделочных работ, полного зонирования и увеличения количества сан. узлов, устройства современного сан. технического и инженерного оборудования и др. факторов.

Справочные данные по технико-экономическим показателям жилых домов различных инженерно-технических систем даны в приложениях 1-4.

Указанные данные могут меняться со временем, особенно в рыночных условиях, опережающего прогресса отдельных технологий (например совершенствования технологии монолитного домостроения), изменений стоимости рабочей силы, материалов и др.

Вместе с тем индустриальные методы производства продолжают оставаться превалирующими. В свою очередь индустриальные методы производства большей частью ориентированы на производство элементов инженерно-технических систем.

Внедрение инженерно-технических систем (по отношению к набору несистематизированных индустриальных изделий) по обобщенным данным позволяет снизить заводскую себестоимость продукции за счет увеличения тиражности изделий и стабильности их выпуска Это, в свою очередь, открывает путь для специализации и унификации поточных линий, автоматизации заводского производства, эффективного использования заводского оборудования в течение всего амортизационного срока и соответственно для наиболее полного использования капиталовложений.

Технико-экономические расчеты показывают, что в результате внедрения инженерно-технических систем может быть достигнуто снижение стоимости изделий на 10...15 %, в том числе за счет следующих факторов:

увеличения тиражности и исключения дублирующих комплектов изделий;

стабильности применяемых типов конструкций и деталей;

(Изменения номенклатуры изделий при современных объемах и технологической оснащенности производства, вызывающие переоснастку технологических линий, требуют значительных затрат и непроизводительных расходов, сокращение которых позволяет снизить себестоимость продукции на 3...5 %);

специализации и кооперации производства, повышения степени использования основных фондов, улучшения качества продукции, повышения производительности труда, что позволяет снизить себестоимость продукции на 3...4 %;

совершенствования технологии производства, предопределенного перечисленными выше факторами, что позволяет достичь экономии сырья и материалов за счет выпуска изделий с минимальными допусками по размеру и массе и тем самым снизить общий уровень себестоимости на 3...4 %;

Дополнительный экономический эффект от внедрения индустриальных инженерно-технических систем достигается в результате унификации трудовых процессов и оборудования для сборки зданий, отработанности основных или генеральных решений в объемно-пространственной и архитектурно-функциональной структуре объектов строительства.

Наряду с методами технико-экономической оценки инженерно-технических систем существуют методы оценки частных проектных решений, например отдельных конструктивных элементов. К методу оценки отдельных конструктивных элементов прибегают в том случае, когда варианты элемента относятся только к данной системе конструкций и не оказывают существенного влияния на другие элементы системы или ее параметры. Так, например, возможно сопоставление технико-экономических показателей многопустотных железобетонных, сплошных керамзитобетонных и ребристых настилов перекрытий каркасно-панельных зданий при учете влияния весовых характеристик настилов (керамзитобетонный настил) на степень армирования ригелей системы и изменение высоты изделия, а также наличия ребер (ребристый настил) на изменение высоты этажа или на устройство подшивных потолков и т.д.

Подобное сопоставление не всегда корректно для изделий из различных систем, так как отдельные показатели по видам изделий, свойственных данной системе, могут иметь более низкие технико-экономические показатели, чем функционально аналогичные из других инженерно-технических систем, но обеспечивать повышение этих показателей по другим элементам системы, создавая тем самым ее общий экономический эффект.

Так, например, многопустотные настилы перекрытий имеют худшие показатели по расходу материалов, чем коробчатые или перекрытия типа 2Т; вместе с тем общие технико-экономические показатели каркасно-панельных зданий со связевым каркасом, использующие многопустотные настилы перекрытий, выше, чем специализированных каркасов с коробчатыми перекрытиями типа 2Т.

РАЗДЕЛ 5.
ПРИЛОЖЕНИЯ 1-9

Приложение 1.

Изменение стоимости строительно-монтажных работ, в расчете на один квадратный метр общей площади жилого дома в зависимости от этажности в пределах одной конструктивной системы (в процентах)

Рис. 1

Изменение расхода стали, приведенной к классу А-1 в расчете на один квадратный метр общей площади жилого дома в зависимости от этажности в пределах одной конструктивной системы (в процентах)

Рис. 2

Изменение расхода бетона, в расчете на один квадратный метр общей площади жилого дома в зависимости от этажности в пределах одной конструктивной системы (в процентах)

Рис. 3

Изменение расхода кирпича, в расчете на один квадратный метр общей площади жилого дома в зависимости от этажности в пределах одной конструктивной системы (в процентах)

Рис. 4

Приложение 2.

Изменение стоимости строительно-монтажных работ, в расчете на один квадратный метр общей площади жилого дома в зависимости от конструктивной системы в пределах одной этажности (в процентах)

Рис. 5

Изменение расхода стали, приведенной к классу А-1 в расчете на один квадратный метр общей площади жилого дома в зависимости от конструктивной системы в пределах одной этажности (в процентах)

Рис. 6

Изменение расхода бетона, в расчете на один квадратный метр общей площади жилого дома, в зависимости от конструктивной системы в пределах одной этажности (в процентах)

Рис. 7

Изменение расхода кирпича, в расчете на один квадратный метр общей площади жилого дома, в зависимости от конструктивной системы в пределах одной этажности (в процентах)

Рис. 8

Приложение 3

Влияние ориентации на общую сметную стоимость и стоимость строительно-монтажных работ в расчете на один квадратный метр общей площади (на примере 16-ти этажных жилых домов серии П-68 (рядовых), П-68-01/16-83 (1994) (меридиональная) и П-68-01-16Ю-2/78 (1994) (широтная)

Рис. 9

Приложение 4

Зависимость изменения расхода бетона в процентах по отношению к крупнопанельной системе с шагами поперечных несущих конструкций 3,0 и 3,6 м

1. Крупнопанельная система с узким шагом несущих стен

2. Крупнопанельная система с широким шагом несущих стен

3. Каркасно-панельная система с широким шагом несущих стен

4. Монолитная система с узким шагом несущих стен

5. Монолитная система с широким шагом несущих стен

6. Кирпичная система с узким шагом несущих стен

Рис. 12

Зависимость изменения расхода цемента в процентах по отношению к крупнопанельной системе: шагами поперечных несущих конструкций 3,0 и 3,6 м

1. Крупнопанельная система с узким шагом несущих стен

2. Крупнопанельная система с широким шагом несущих стен

3. Каркасно-панельная система с широким шагом несущих стен

4. Монолитная система с узким шагом несущих стен

5. Монолитная система с широким шагом несущих стен

6. Кирпичная система с узким шагом несущих стен

Рис. 13

Зависимость изменения расхода стали в процентах по отношению к крупнопанельной системе с шагами поперечных несущих конструкций 3,0 и 3,6 м

1. Крупнопанельная система с узким шагом несущих стен

2. Крупнопанельная система с широким шагом несущих стен

3. Каркасно-панельная система с широким шагом несущих стен

4. Монолитная система с узким шагом несущих стен

5. Монолитная система с широким шагом несущих стен

6. Кирпичная система с узким шагом несущих стен

Рис. 14

Зависимость изменения трудозатрат в процентах по отношению к крупнопанельной системе с шагами поперечных несущих конструкций 3,0 и 3,6 м

1. Крупнопанельная система с узким шагом несущих стен

2. Крупнопанельная система с широким шагом несущих стен

3. Каркасно-панельная система с широким шагом несущих стен

4. Монолитная система с узким шагом несущих стен

5. Монолитная система с широким шагом несущих стен

6. Кирпичная система с узким шагом несущих стен

Рис. 15

Зависимость изменения стоимости в процентах по отношению к крупнопанельной системе с шагами поперечных несущих конструкций 3,0 и 3,6 м

1. Крупнопанельная система с узким шагом несущих стен

2. Крупнопанельная система с широким шагом несущих стен

3. Каркасно-панельная система с широким шагом несущих стен

4. Монолитная система с узким шагом несущих стен

5. Монолитная система с широким шагом несущих стен

6. Кирпичная система с узким шагом несущих стен

Рис. 16

Приложение 5

Изменение расхода проката черных металлов в натуральной массе на один квадратный метр общей площади в зависимости от конструктивного решения массовых типов общественных зданий

1. Детские дошкольные учреждения

2. Средние общеобразовательные школы

Рис. 10

3. Учебные блоки для формирования школ

4. Блоки общешкольных помещений для сблокирования школ

- спортивные залы

- столовые

5. Средние профессионально-технические учебные заведения

6. Продовольственные магазины

7. Непродовольственные магазины

8. Предприятия общественного питания

Рис. 10

Изменение расхода цемента, проведенного к марке М-400 в расчете на один квадратный метр общей площади в зависимости от конструктивного решения общественных зданий

1. Детские дошкольные учреждения

2. Средние общеобразовательные школы

3. Учебные блоки для формирования школ

Рис. 11

4. Блоки общешкольные для сблокирования школ

- спортивные залы

- столовые

5. Профессионально-технические училища

6. Продовольственные магазины

7. Непродовольственные магазины

8. Предприятия общественного питания

Приложение 6

УДЕЛЬНЫЕ ТЕХНИКО-ЭКОНОМИЧЕСКИЕ ПОКАЗАТЕЛИ ТИПОВЫХ И ПОВТОРНО-ПРИМЕНЯЕМЫХ ПРОЕКТОВ ЖИЛЫХ ДОМОВ

№ п/п

Наименование объекта по отраслям

Характеристика объекта

Шифр (год издания) проекта

конструктивная схема ориентация

Средняя площадь квартир

Количество квартир

Расчетная стоимость строительства 1 кв. м. общей площади (1984 г.)

Расход тепла на отопление, вентиляцию и горячее водоснабжение в

расчете на 1м2 общей площади - в числителе и на 1 м2 площади без учета летних помещений - в знаменателе (ккал)

Потребная электрическая мощность в расчете на 1 м2 общей площади

- в числителе и 1 м2 площади без учета летних помещений - в знаменателе (кВт)

Расход строительных материалов в расчете на 1 м2 общей площади

без учета летних помещений

общая

общая (руб.)

с.м.р. (руб.)

цемент, приведенный к марке М-400, кг

сталь, приведенная к классу А-1, кг

кирпич, шт.

1

2

3

4

5

б

7

8

9

10

11

12

13

1.

17-этажные жилые блок-секции серии П3, рядовые

ПЗ-1/16(1992) панельная

широтная

63,5

64,9

136

150,9

144,7

113,3

115,7

0,015

0,0155

369,8

52,5

0,59

2.

17-этажные жилые блок-секции серии ПЗ, угловые

113-3/16(1993) панельная

широтная

67,9

64,2

136

143,8

135,9

117,6

120,1

0,020

0,0206

358,3

59,0

0,36

3.

17-этажные жилые блок-секции серии П44, рядовые

П44-117(1992) панельная

широтная

54,71

55,7

68

152,6

145,5

137,9

140,5

0,026

0,0265

297,2

42,7

0,065

4.

14-этажные жилые блок-секции серии П44, рядовые

П44-1/14(1992) панельная

широтная

54,7

56,05

56

144,2

137,1

139,3

142,7

0,027

0,028

343,3

42,9

0,082

5.

10-этажные жилые блок-секции серии П44, рядовые

П-44/10(1991) панельная

широтная

54,7

56,0

40

140,7

134,0

148,5

152,1

0,030

0,031

384,8

42,84

0,11

6.

10, 14, 17-эт. жилые блок-секции серии П44, угловые

П44-4(1992) панельная

широтная

50,3

53,1

58

163,8

156,4

146,4

154,3

0,028

0,029

314,2

52,1

0,11

 

 

П44-4/10(1992) панельная

широтная

49,3

56,3

40

162,2

157,8

151,6

173,26

0,032

0,036

350,5

52,45

0,15

 

 

П44-4/14(1992) панельная

широтная

45,4

56,6

56

164,7

159,6

149,57

186,7

0,027

0,034

304,4

51,24

0,10

 

 

П44-4/17 (1992) панельная

широтная

49,3

56,0

68

164,3

154,4

140,6

160,0

0,026

0,029

300,8

52,69

0,089

7.

12, 14, 16-эт. жилые блок-секции серии Пд-4, рядовые

Пд4-1/12(1996) панельная широтная

54,67

56,9

44

229

220,6

144,1

150,1

0,032

0,033

293,4

38,5

-

 

 

Пд4-1/14(1996) панельная широтная

54,67

56,9

52

216,4

208,3

149,1

155,4

0,029

0,030

293,6

38,3

-

 

 

Пд4-1/16(1996) панельная широтная

54,67

56,9

60

216,27

208,9

145,5

151,6

0,025

0,026

291,3

37,89

-

 

угловые

Пд4-4/12(1996) панельная широтная

73,45

75,58

38,5

213,74

205,8

129,07

132,81

0,025

0,026

395,3

51,37

-

 

 

Пд4-4/14(1996) панельная широтная

73,46

76,08

45,5

200,4

193,5

124,15

128,59

0,023

0,024

342,4

45,92

-

 

 

Пд4-4/16(1996) панельная широтная

73,46

75,58

52,5

208,6

202,3

121,02

124,5

0,022

0,023

330,5

42,96

-

8.

22-этажные жилые дома (КОПЭ)

КТЖС-5/22 панельная широтная

71,84

72,8

86

-

-

85,96

87,12

0,0222

0,0226

348,1

45,67

-

9.

9 и 16-эт. Прямые блок-секции серии ПЗМ

ПЗМ-2-1/9 панельная широтная

64,67

65,75

34

83,33

79,17

145,85

148,28

0,0322

0,0327

392,30

63,96

0,62

 

с жилыми и нежилыми первыми этажами рядовые

ПЗМ-2-1/16 панельная широтная

64,67

65,75

62

74,29

71,47

126,3

128,46

0,0240

0,0244

349,39

57,37

0,34

 

угловые

ПЗМ-4-1/9 панельная широтная

63,69

64,82

68

85,75

81,67

131,40

133,72

0,0252

0,0256

206,9

34,48

0,36

 

 

ПЗМ-4-1/16 панельная широтная

63,69

64,85

124

75,47

72,61

115,41

117,51

0,021

0,022

184,65

30,90

0,198

10.

12-этажные жилые дома серии П-68, рядовые

П-68-01/12-83 (1994) панельно-блочная широтная

35,0

37,64

59

223,3

213,8

196,08

210,69

0,039

0,042

428,1

68,8

5,8

11.

14-этажные жилые дома серии П-68, рядовые

П-68-01/14-83 (1994) панельно-блочная широтная

35,05

37,6

69

220,4

211,6

191,0

205,2

0,039

0,042

419,0

66,56

5,34

 

 

И-14-56 (1994) панельно-блочная широтная ПП

44,91

48,12

56

179,9

171,0

168,12

180,15

0,031

0,033

314,65

297,58

8,16

12.

16-этажные жилые дома серии П-68, рядовые

П-68-01/16-83 (1994) панельно-блочная меридианальная

34,72

37,34

143

179,9

173,7

155,99

167,74

0,030

0,033

357,4

60,86

3,33

 

 

П-68-01/161О-2/78 (1994) панельно-блочная широтная

47,55

50,16

111

176,0

172,23

129,48

136,57

0,024

0,025

350,7

51,0

4,43

13.

12-этажный с двумя дополнительными этажами жилой блок-дом П46-2/128 рядовые

П46-2/128 (1994) панельная широтная

45,36

47,43

166

168,0

166,2

140,01

146,42

0,024

0,025

291,5

44,78

0,90

14.

14-этажные блок-секции серии П46М рядовые

П-46М-1/4 (1996) панельная широтная

57,99

60,77

45,2

626,86

601,38

148,35

155,47

0,027

0,028

265,7

29,11

13

15.

14-этажные жилые блок-секции серии П46М угловые

П46-4/14 (1996) панельная широтная

80,16

83,09

27

714,9

684,19

170,95

177,19

0,026

0,027

331,13

34,09

-

16.

9-этажные жилые блок-секции серии П46 рядовые

П46М-1/9 (1996) панельная широтная

56,58

59,70

29,8

632,86

613,75

158,07

166,80

0,030

0,032

263,05

34,67

-

 

угловые

П46М-4-1/9 (1996) панельная широтная

80,17

83,19

17

728,27

704,23

178,25

184,95

0,032

0,033

362,29

37,89

-

17.

5 и 7 -эт. жилые блок-секции серии П46М рядовые

П46М-1/7 (1996) панельная широтная

62,76

66,29

18

641,9

620,96

169,79

179,33

0,033

0,035

327,49

36,39

-

 

Угловые

П46М-4-1/7 (1996) панельная широтная

80,77

83,74

11

767,47

737,08

201,85

209,28

0,038

0,039

363,76

40,92

-

18

12-эт с двумя доп. эт. с нежилым первым этажом блок-дом серии П55, шумозащищенный рядовой

П55-21/12 (1994) панельная широтная

61,61

64,14

130

184,9

180,47

134,80

140,33

0,011

0,012

298,05

43,89

1,67

 

угловой

П55-23/12 (1994) панельная широтная

66,12

68,68

104

188,28

185,9

129,12

134,12

0,024

0,025

310,87

44,69

1,81

19.

12-этажный с двумя доп. Этажами жилой бпок-дом ПЗО, рядовой

П30/12 панельная широтная

57,08

58,8

138,4

152,5

147,34

142,84

147,24

0,070

0,073

264,99

36,97

0,62

20.

14-этажные жилые блок секции серии П55М шумозащищенные рядовые

П55М-2-14 (1997) панельная широтная

83,87

87,65

52

177,0

172,0

81,80

85,49

0,019

0,020

234,11

34,40

1,47

 

угловые

П55М-4-14 (1997) панельная широтная

100,4

103,38

26

194,5

186,0

146,16

150,46

0,024

0,025

270,9

37,68

2,18

Приложение 7

УДЕЛЬНЫЕ ТЕХНИКО-ЭКОНОМИЧЕСКИЕ ПОКАЗАТЕЛИ ТИПОВЫХ И IIOBТОРНО-ПРИМЕНЯЕМЫХ ПРОЕКТОВ ЗДАНИЙ ОБЩЕСТВЕННОГО НАЗНАЧЕНИЯ

№ п/п

Наименование объектов по отраслям

Характеристика объекта

Общая площадь здания в числителе

Расчетная стоимость строительства в расчете на 1м2 общей площади в ценах 1991 года

Расход тепла на отопление, вентиляцию и горячее

Потребная электрическая мощность в расчете на 1м2

общей площади кВт

Расход строительных материалов (числитель - на единицу вместимости, знаменатель - на 1м2 общей площади)

Шифр (год издания) проекта

Конструктивная схема

Общая площадь на единицу вмесмости в знаменателе

общая (числитель - на ед. вмест. знаменатель - на 1м2 общ. площади (тыс. руб.)

в т. ч. с.м.р. числитель на ед. в мест. знаменатель - на 1 м2 общей площади (тыс. руб.)

водоснабжение в расчете на 1м2 общей площади ккал/час

Цемент, приведенный к марке М-400 кг

сталь, приведенная к классу А-1 кг

кирпич шт.

1

2

3

4

5

6

7

8

9

10

11

1

Детское дошкольное учреждение на 6 групп (140 мест) со встроенным бассейном (прим. до 12.98)

И-1194(1992) панельная широкого шага ПП

1879

13,42

14,76

1,099

12,79

0,953

3800

283,1

0,70

0,052

4824

359,46

1200,5

89,44

6

0,44

2

Детское дошкольное учреждение на 12 групп (280 мест)с плавательным бассейном (прим. до 12.98)

И-1158(1992) панельная широкого шага ПП

2951

10,53

9,99

0,948

8,28

0,786

2507

237,88

0,43

0,041

2471

234,4

485

46,01

-

3

Общеобразовательная школа на 22 класса (660 уч.) для затесненных участков (прим. до 12.98)

И-1577А(1995) панельная широкого шага ПП

7252,5

10,98

12,90

1,174

7,12

0,648

993,3

207,51

0,33

0,030

2328

211,9

587,7

53,48

-

4.

Общеобразовательная трудовая политехническая школа на 33 класса (1266 уч.) (прим. до 12.98)

И-1605А(1995) панельная широкого шага ПП

8800

6,95

7,269

1,04

4,24

0,61

1282,7

184,54

0,285

0,041

1322

190,0

279,0

40,14

7,74

1,11

5.

Плавательный бассейн (ванна 3´7 м) для пристройки к сущ. зд. ДДУ (с пропускной способностью 150 детей за 8 часов)

И-1128А(1990) панельная

ПП

184,3

1,22х)

1,956х)

1,59

1,81х)

1,47

1400х)

1139,4

0,065х)

0,053

566,8х)

461,31

92,13х)

74,98

1,53х)

1,24

х) в расчете на одно посещение (при режиме 150 посещений за 8 часов);

6.

Блок начальных классов на 8 групп (240 уч.) для пристройки к существующим школам

V-82(1991) панельная широкого шага

2417

10,0

5,77

0,573

4,72

0,468

1300

129,08

0,17

0,016

2425,0

240,07

901,25

89,49

2,5

0,248

7.

Блок начальных классов на 8 групп (240 уч.) со столовой на 130 пос. мест для пристройки к существ. школам

V-83 (1990) панельная широкого шага

2457

10,23хх)

6,87хх)

0,653

5,39хх)

0,526

2550хх)

249,08

0,54хх)

0,052

2028,3хх)

198,12

470,4хх)

45,95

20,4хх)

1,99

хх) удельные показатели по школьной вместимости

8.

Блок начальных классов на 12 групп (360 уч.) для пристройки к существующим школам

V-81(1990)

каркасная

1987,5

5,52

3,38

0,612

3,02

0,547

1644

297,8

0,14

0,025

672,2

121,7

380

68,83

25,83

4,67

9.

Столовая на 200 пос. мест для пристройки к существующим школам

V-73(1991)

каркасная

599,8

2,99

2,83

0,945

2,38

0,794

1870

623,5

0,65

0,218

636,5

212,2

176

58,68

85

28,34

10.

Столовая на 200 пос. мест и спортзал для пристройки к существующим школам

V-74(1990) каркасная

1179,2

5,89

4,80

0,815

4,17

0,708

2650

449,45

0,788

0,133

1317

223,3

369,5

62,66

175

29,68

11.

Столовая на 232 пос. места и спортзал для пристройки к существующим школам

И-1132А2(1991) панельная широкого шага

1194,5

5,14

4,43

0,862

3,76

0,731

1780

345,7

0,474

0,092

1342

260,69

312,0

60,61

18,10

3,51

12.

Детские ясли-сад на 6 групп (140 мест) со встроенным бассейном для районов малоэтажной застройки

VI-64 (1992) панельная широкого шага

2190

15,6

16,38

1,047

-

4221

269

0,8

0,05

-

-

-

13.

Общеобразовательная школа на 11 классов для возведения в районах малоэтажной застройки

У-96(1992) панельная широкого шага

5970

-

-

0,879

-

-

-

0,016

-

-

-

14.

Общеобразовательная школа Ш-й ступени (X-XI классам) на 16 классов для массового индустриального строительства в г. Москве (480 уч.)

V-97(1992) панельная широкого шага

7416,6

15,45ххх)

1238

0,801

-

-

0,25

0,016

-

-

-

ххх) при наполняемости классов - 30 учащихся и вместимости школы - 480 учащихся

15.

Универсальное здание дошкольного учреждения на 12 групп (220 мест)

VI-66 (1994) панельная, широкого шага с применением каркаса и монолитного железобетона

4534

20,60

20,67

1,002

-

4090,9

198,5

0,60

0,029

-

-

-

16.

Комплекс «Детский сад-школа» 1 ступени на 700 человек

VI-65 (1994) панельная, широкого шага с применением каркаса и монолитного железобетона

18500

26,42

19,495

0,737

-

4142

156,75

0,56

0,021

-

-

-

17.

Универсальное здание школы на 22 класса (660 уч.) лингвистического профиля

V-98(1995) панельная, широкого шага с применением каркаса и монолитного железобетона

11454,8

17,35

18,06

1,040

-

2136

123,0

0,48

0,028

-

-

-

18.

Универсальное здание школы на 22 класса (660 учащихся) гуманитарного профиля

V-99(1995) панельная, широкого шага с применением каркаса и монолитного железобетона

11358

17,21

17,94

1,042

-

2136

123,0

0,48

0,028

-

-

-

19.

Универсальное здание школы на 22 класса(660 уч.) физикоматематического профиля

V-100(1995) панельная, широкого шага с применением каркаса и монолитного железобетона

11406,8

17,28

22,64

1,31

-

2136

123,0

0,48

0,028

-

-

-

20.

Районная поликлиника на 750 посещений в смену со специализированными отделениями (женс. консультация или травмопункт)

VII-83 (1994) каркасная

12174

16,23

18,05

1,11

13,64

0,84

2146,6

132,24

0,50

0,031

-

-

-

21.

Районная поликлиника на 750 посещений в смену для массового строительства в Москве в условиях плотной застройки на затесненных участках

VII-86(1996) каркасная

10280

13,70

14,78

1,07

11,292

0,823

2148,0

208,94

0,50

0,036

-

-

-

22.

Детская районная поликлиника на 320 посещений в смену для массового строительства в Москве

VII-85(1995) каркасная

11080

34,62

32,83

0,948

28,76

0,830

6906

199,45

1,0

0,028

-

-

-

23.

Архив для хранения рентгенограмм на 500 кг пленки

VII-81(1992) панельная

35,9

-

-

1,55

-

1,38

-

175,0

-

0,083

-

-

-

24.

Архив для хранения рентгенограмм на 1000 кг пленки

VII-81-2 (1993) панельная

57,2

-

-

1,50

-

1,12

-

146,8

-

0,059

-

-

-

25.

Районная поликлиника па 420/180 посещений в смену для взрослого и детского населения в районах малоэтажной застройки

VII-84(1994) каркасная

-

48,9хххх)

114,4хххх)

44,3хххх)

103,5хххх)

9357,1хххх)

21833,3хххх)

1,04хххх)

2,44хххх)

-

-

-

хххх) в числителе - в расчете на 420 посещений (на единицу вместимости); в знаменателе - в расчете на 180 посещений (на единицу вместимости)

26.

Детская стоматологическая поликлиника на 335 посещений в смену для массового строительства в Москве

VII-87(1996) каркасная

5830

17,40

23,66

1,35

19,74

1,13

3970

228,1

0,98

0,056

-

-

-

Предприятия торгово-бытового обслуживания

27.

Пекарня типа «Звездный» с кафетерием

И-1541-1(1995) легкая, металлическая ПП

226,4

-

-

1,30

-

1,27

-

428,4

-

0,27

-

69,78

-

20,1

-

34,8

28.

Пекарня мощностью 2,4 т/12 час, пристроенная к универсаму

14-1482(1994) легкая, металлическая ПП

682,6

-

-

3,01

-

-

-

355,9

-

0,24

-

-

-

29.

Пекарня мощностью 2,4 т/12 час с торговым залом

XIV-2(1991)

легкая, металлическая

579,6

-

-

0,71

-

0,23

-

443,4

-

0,32

-

94,4

-

41,5

-

8,98

30.

Пивной бар с мини-пивоварней

6-93-13872(1993) каркасная ПП

620,0

-

-

3,8

-

1,42

-

512,9

-

0,28

-

-

-

31.

Базовое предприятие для снабжения школьных столовых (на 35-40 школ)

И-1370 (1996) каркасная ПП

4174,5

-

-

0,78

-

0,624

-

356,6

-

0,10

-

205,0

-

67,2

-

-13,43

32.

Торгово-бытовой центр для районов малоэтажной застройки

IX-50(1992)Н каркасная (вариант - панельная, широкого шага)

702

-

-

0,838

-

-

-

0,02

-

-

-

 

- " -

1-2

- " -

616

-

-

0,837

-

 

-

0,027

-

-

-

 

- " -

1-3

- " -

702

-

-

0,795

-

 

-

0,031

-

-

-

 

- " -

1-4

- " -

616

-

-

0,797

-

-

-

0,027

-

-

-

33.

Торгово-бытовой центр для районов малоэтажной застройки

IX-50 (1992)2-5 каркасная (вариант - панельная, широкого шага)

891

-

-

0,717

-

-

-

0,008

-

-

-

 

- " -

2-6

- " -

1019

-

-

0,924

-

-

-

0,005

-

-

-

 

-"-

2-7

- " -

924

-

-

0,932

-

-

-

0,013

-

-

-

34.

Кафе общего типа на 32 места

IX-26-6(1994) легкая, металлическая

198,7

6,2

10,4

1,679

9,6

1,55

10187,5

1640,6

1,409

0,226

580,0

93,4

191,2

30,8

240,6

38,75

35.

Кафе общего типа на 80 мест

IX-26-9(1996) легкая, металлическая

400,4

5,0

7,3

1,474

6,6

1,321

7000,0

1398,6

1,35

0,270

414,2

82,7

134,8

26,94

180,0

35,96

36.

Магазин товаров повседневного спроса (промышленных товаров) торговой площадью 100-120 кв. м

IX-26-7(1994) легкая, металлическая

198,7

1,98х)

3,03

1,52

2,74

1,38

800

402,6

0,1

0,050

168,0

84,5

50,2

25,26

66,0

33,21

х) из расчета 100 м2 торговой площади

37.

Магазин «Продукты» торговой площадью 200 м2

IX-26-10(1994) легкая, металлическая

400,4

2,0

2,63

1,31

2,39

1,19

850

424,5

0,10

0,05

148,0

73,9

52,5

26,22

63,5

31,71

38.

Комбинат бытового обслуживания на 10 рабочих мест

IX-26-8(1994) легкая, металлическая

198,7

19,8

34,3

1,72

29,42

1,48

10200

513,3

2,8

0,14

2080

104,6

564

28,38

697

35,0

39.

Центр досуга фирмы "Здоровье"

IX-26-11(1994) легкая, металлическая

400,4

-

-

1,26

-

1,15

-

399,6

-

0,04

-

89,1

-

23,3

-

39,71

40.

Пекарня типа «Звездный» с магазином и кафетерием

И-1541-2(1995) Легкая, Металлическая ПП

425,25

-

-

1,24

-

1,19

-

409,17

-

0,23

-

67,96

-

23,39

-

30,8

41.

Малый рынок для муниципальных округов на 235 торговых мест

IX-41(1995)

Легкая, Металлическая

1555

0,65

5,39

0,815

4,74

0,716

2,72

411,57

0,34

0,05

326,8

49,38

190,0

28,74

114,0

17,23

42.

Универсальный модуль из ЛМК для использования труда инвалидов

IX-26-5(1994) Легкая, Металлическая I

1014

-

-

0,99

-

0,91

-

284,0

-

0,06

-

145,7

-

28,75

-

28,7

 

- " -

II

- " -

1014

-

-

1,01

-

0,87

-

255,4

-

0,06

-

145,7

-

28,75

-

28,7

 

- " -

III

- " -

1014

-

-

0,97

-

0,91

-

245,5

-

0,03

-

145,7

-

28,75

-

28,7

43.

Отдельно стоящий территориальный центр социального обслуживания пенсионеров на 100 мест

М-ТУ -01/1(1992) Монолитная, Железобетонная

3615,4

36,1

26,21

0,725

-

-

0,7
0,019

-

-

-

44.

Универсальное здание блок - секционного типа для компактного размещения мелких предприятий (бизнес-инкубатор) для экспериментального строительства

XVI-01-(1994)

Каркасная

3253,6

-

-

0,781

-

-

216,3

-

0,029

-

-

-

Административно-хозяйственные учреждения

45.

Отделение милиции

И-1262А(1993) Панельная, Широкого шага ПП

2728

-

-

0,825

-

0,727

-

157,9

-

0,031

-

341,9

-

69,83

-

8,02

46.

Отделение милиции

И-1422(1993) Панельная, Широкого шага ПП

3793

-

-

1,06

-

0,62

-

136,5

-

0,028

-

231,8

-

52,78

-

4,21

47.

Отделение милиции

И-1444(1994) Панельная, Широкого шага ПП х)

3460

-

-

0,913

-

0,707

-

176,3

-

0,03

-

177,2

-

48,67

-

2,03

х) ПП - повторного применения

48.

Хозяйственный блок со встроенным ЦТП

6-9-13872-24(1990) панельная, широкого шага с применением каркаса

3758,4

-

-

0,748

-

0,564

-

48,15

-

0,03

-

97,27

-

18,35

-

13,40

49.

Подстанция скорой медицинской помощи на 20 машино-мест с подземным гаражом по Ярославскому шоссе, вл. 42-44 СВАО

3-96/3165

ж/б каркас, керамзитобетонные панели ПП

3630

181,5

-

-

41350

227,8

11,0

0,06

-

-

-

50.

Районная тепловая станция Пенягино

2-93/2831 металлическая сборная ж/б ПП

13600

-

-

14,8

-

8,9

учтены в балансе как собственные нужды

-

0,37

-

-

-

51.

Узловая автоматическая телефонная станция на 10/20 тыс. №№ в Жулебино

12-90/2478 сборная, ж/б ПП

1110,0

0,055х)

0,070х)

1,27

0,059х)

1,07

40,5х)

729,7

0,020х)

0,36

-

-

-

52.

Узловая автоматическая телефонная станция на 30/40 тыс.№№ в микрорайоне 5 Южного Бутово

12-95/3126 сборная, ж/б ПП

1110,0

0,027хх)

0,062хх)

2,25

0,036хх)

1,30

3,12хх)

112,6

0,012хх)

0,44

-

-

-

_______________________________________________________________

х) из расчета 20 тыс. номеров

хх) из расчета 40 тыс. номеров

Приложение 8

Расчетные единицы измерения и номенклатура технико-экономических показателей для проведения экономического обоснования эффективности инвестиций в жилищно-гражданском строительстве

Расчетные единицы измерения

Здания и сооружения

Жилые дома                                                 - 1 м2 площади квартиры

1 квартира

Массовые типы общественных зданий

- детские дошкольные учреждения            - 1 место

- школы                                                         - 1 ученическое место

- профессионально-технические и

средние специальные учебные                  1 ученическое место

заведения - 1 учащийся

- высшие учебные заведения                      - единица расчетного контингента

- предприятия торговли                              - 1м2 площади торгового зала

- предприятия общественного питания    - 1 место в зале

- предприятия бытового обслуживания    - 1 рабочее место

- больницы                                                   - 1 койка

- поликлиники                                             - 1 посещение в смену

- прачечные и химчистки                           - 100 кг сухого белья в смену

- зрелищные учреждения                            - 1 место в зрительном зале

Конструктивные элементы

- фундаменты                                               - 1 погонный метр периметра в плане

наружных и внутренних стен

- стены подвала                                           - 1 погонный метр периметра в плане

наружных и внутренних стен

- стены наружные и внутренние,

перегородки                                               - 1 м2 поверхности за вычетом проемов

- перекрытия                                                - 1 м2 поверхности

- кровля и покрытия                                    - 1 м2 горизонтальной проекции

- лестничные марши и площадки               - 1 м2 горизонтальной проекции

- окна и двери                                              - 1 м2 площади проема, измеренной по

наружному обводу коробок

Сборные железобетонные каркасные конструкции

При обосновании применения взаимозаменяемых по назначению и области применения:

- одно изделие;

- одна деталь;

- один монтажный узел.

При рассмотрении каркасных конструкций с одинаковой сеткой колонн, но разными пролетами ригелей и пролетами перекрытий:

- 1 м2 общей площади (при рассмотрении конструктивного блока, состоящего из колонн ригелей и плит перекрытий).

Номенклатура технико-экономических показателей

1. Номенклатура технико-экономических показателей, используемых при обосновании применения конструктивных элементов и технологий включает две условные группы:

I. Основные показатели:

- приведенные затраты (заводского производства, транспортирования до строительной площадки, монтажа в построечных условиях);

- стоимость (заводского производства, транспортирования, монтажа); (руб.×м2) (руб.×констр.) (руб./т);

- прямые затраты;

- капитальные вложения (в заводское производство строительных материалов полуфабрикатов и конструкций; в транспортную базу и основные производственные фонды строительных организаций); ;

- капитальные вложения в оборотные фонды строительных организаций (руб.×год/м2);

- текущие расходы по эксплуатации здания .

II. Дополнительные показатели:

- затраты труда (на изготовление строительных материалов конструкции и полуфабрикатов в заводских условиях; на транспортирование на строительную площадку и в построечных условиях);

- потребность в основных строительных материалах:

1. Бетон и железобетон (м3)

- монолитный,

- сборный (тяжелый, легкий, ячеистый);

2. Сталь (в натуральном исчислении и приведенная к классу А 1) (кг) (т.) расход на конструктивный элемент, общий расход на конструкции (в том числе на изготовление сборных изделий)

3. Цемент (в натуральном исчислении и приведенный к марке 400) (кг) (т):

общий расход:

(в том числе на изготовление сборных изделий)

4. Лесоматериалы (в пересчете в условный круглый лес) (м3)

5. Эффективные термоизоляционные материалы м3 (с указанием объемного веса)

6. Кирпич (тыс. шт.)

7. Керамические камни (тыс. шт.)

- Потребность в топливно-энергетических ресурсах

1. Расход тепла (ккал/час.)

2. Потребность в топливе (кг(т) усл. топлива в год)

- Текущие затраты по эксплуатации зданий (зависящие от проектного решения) (руб. в год).

1. Расходы на восстановление и ремонт зданий:

- отчисления на восстановление;

- отчисления на капитальный ремонт;

- расходы на текущий ремонт

2 Затраты на эксплуатацию систем инженерного оборудования:

- отопление;

- водоснабжение;

- эксплуатация лифтов;

- мусоропроводы

3. Затраты на содержание зданий и территорий:

- мест общего пользования;

- придомовых территорий;

- внешних инженерных сетей.

- Показатели технологичности:

1. Масса конструкций и конструктивных элементов кг(т)

2. Число типоразмеров и марок сборных изделий:

- типоразмеров, (шт.);

- марок (шт.)

3. Масса монтажных элементов: кг (т)

- наибольшая;

- средняя

4. Продолжительность строительства (мес./год)

- Объемно-планировочные показатели:

А. Жилые дома

1. Число этажей (эт.)

2. Число секций

3. Состав квартир блок секций

4. Число квартир (кв.)

5. Площадь застройки (м2)

6. Площадь дома (общая) (м2)

7. Площадь дома (жилая) (м2)

8. Длина дома (м)

9. Ширина дома (м)

10. Естественная освещенность

11. Удельные показатели по типовому этажу, отнесенные на общую площадь типового этажа:

- площадь балконов, террас (м2);

- площадь внеквартирных коммуникаций (м2);

- периметр наружных стен (м)

12. Общая площадь квартир, приходящихся на один лестнично-лифтовой узел по типовому этажу (м2)

13. Высота этажа

Б. Общественные здания

1. Этажность (эт.)

2. Вместимость (мощность, пропускная способность)

3. Нормируемая площадь на единицу вместимости (м2)

4. Полезная площадь на единицу вместимости (м2)

5. Общая площадь на единицу вместимости (м2)

6. Строительный объем на единицу вместимости (м3)

7. Отношение нормируемой площади здания к полезной площади (к1)

8. Отношение строительного объема к нормируемой площади здания (к2)

9. Отношение площади наружных ограждающих конструкций к общей площади здания (к3)

- Показатели сметной стоимости строительства

А. Жилые дома

1. Сметная стоимость строительства здания (руб.)

- всего

в т.ч. элементов блокировки

Стоимость 1 м2 площади блок секций

общей (руб.)

Стоимость 1 м2 общей площади квартир в сопоставимых условиях по средней площади квартиры (руб.)

Средняя стоимость квартиры (руб.)

2. Затраты на инженерное оборудование и благоустройство территории на 1 м2 общей площади (руб.)

Б. Общественные здания

1. Общая стоимость строительства здания

- на 1 м2 общей площади (руб.)

- на единицу вместимости (руб.)

в том числе - строительно-монтажных работ

- на 1 м2 общей площади (руб.)

- на единицу вместимости (руб.)

- мебели, оборудования и инвентаря

- на единицу вместимости (руб.)

Приложение 9

Сроки службы конструктивных элементов и инженерного оборудованиях

Нормативные показатели для расчета эксплуатационных расходов по жилым и общественным зданиям

Таблица 1

Характеристика конструктивного элемента и инженерного оборудования

Срок службы в годах

1

2

1.

Фундаменты:

 

 

- бетонные, железобетонные, ленточные и свайные

150

 

- бутовые на сложном растворе или цементном растворе, бутобетоне

150

 

- бутовые на известковом растворе

100

2.

Стены:

 

 

- капитальные, кирпичные при толщине стен в 2,5-3,5 кирпича на сложном или цементном растворе

150

 

- кирпичные с железобетонным или металлическим каркасом

150

 

- крупноблочные толщиной 40 см и более шлакобетонных или керамзитобетонных блоков на цементном растворе

125

 

- кирпичные с толщиной стен в 2,0-2,5 кирпича на известковом растворе

125

 

- крупноблочные из шлакобетонных и керамзитобетонных блоков толщиной 40 см

125

 

- крупноблочные из силикальцитных, кирпичных, легкобетонных и зольно-сланцевых блоков

100

 

- крупнопанельные однослойные из шлакобетона, керамзитобетона

125

 

- многослойные из железобетонных плит и утеплителя, керамзитобетонные, виброкирпичные с утеплителем, кирпичные облегченные при толщине 1,5-2 кирпича

100

3.

Перекрытия железобетонные.

 

 

- монолитные, сборно-монолитные

150

 

- сборные из панелей и настилов толщиной более 10 см

150

 

- толщиной 10 см и менее 10 см и ребристое

70

 

- сборные по ж/б балкам

150

 

- железобетонные или бетонные по металлическим балкам

125

4.

Полы:

 

 

- из метлахской и керамической плитки по бетонному основанию

80

 

- паркетные дубовые

80

 

- то же, буковые

50

 

- дощатые

30

 

- из поливинилхлоридных плиток, линолеума

10

5.

Лестницы:

 

 

- из сборных железобетонных элементов, из каменных, бетонных и железобетонных плит по металлическим и железобетонным косоурам

100

6.

Крыши:

 

 

А. Несущие элементы:

 

 

- из сборных железобетонных настилов

150

 

- из железобетонных стропил и обрешетки

150

 

- железобетонные совмещенные крыши

100

 

Б. кровля из:

 

 

- керамической первосортной черепицы

80

 

- асбестоцементных плит и волнистого асбошифера

30

 

- оцинкованной стали

25

 

- черной листовой стали, окрашенной масляными или синтетическими красками

15

 

- рулонных материалов

8

7.

Перегородки:

 

 

- железобетонные

150

 

- шлакобетонные, бетонные, кирпичные, оштукатуренные

75

 

- гипсовые, гипсоволокнистые, гипсобетонные

60

 

- деревянные оштукатуренные или обитые сухой штукатуркой

40

8.

Двери и окна:

 

 

- дверные и оконные блоки

20

9.

Внутренняя отделка:

 

 

- штукатурка по бетонным и кирпичным стенам

50

 

- штукатурка по деревянным перегородкам

35

 

- масляная окраска

6

 

- оклейка стен обоями

4

10.

Инженерное оборудование:

 

 

- водопровод и канализация

30

 

- отопление

30

 

- горячее водоснабжение

10

 

- вентиляция

30

 

- электроосвещение

15

 

- электроплиты

20

 

- газооборудование

20

 

- лифты

20

11.

Благоустройство придомового участка:

 

 

- благоустройство участка

15

12.

Наружная отделка:

 

 

- облицовка стен естественным камнем

125

 

- облицовка стен керамическими плитками

75

 

- терразитовая штукатурка с мраморной крошкой

50

 

- облицовка ковровой плиткой

35

 

- штукатурка по кирпичу на сложном растворе

30

 

- штукатурка по кирпичу на известковом растворе

20

 

- штукатурка по дереву

15

 

- окраска

5

________

х Методические рекомендации по технико-экономической оценке санитарно-технических систем (отопление и вентиляция) зданий ЦНИИЭП инж. оборуд. М., 85 г.

Срок службы оборудования и элементов санитарно-технических систем (отопление и вентиляция) зданийх

Таблица 2

Наименование

Срок службы в годах

1

2

1.

Вентиляторы

8

2.

Отопительные агрегаты

8

3.

Воздухоохлаждающие агрегаты

7

4.

Водонагреватели

8

5.

Калориферы

8

6.

Отопительные приборы:

 

 

- радиаторы чугунные

40

 

- радиаторы стальные штампованные

15

 

- регистры из стальных труб

30

 

- конвекторы стальные

25

7.

Фильтры (масляные, сетчатые, сухие, рулонные, ячейковые)

6

8.

Оборудование механической и электрической очистки газов (пылевые камеры, циклоны, скрубберы)

6

9.

Клапаны, заслонки

10

10.

Дымососы

6

11.

Насосы

8

12.

Воздуховоды

15

13.

Воздухораспределители

15

14.

Трубопроводы системы отопления:

 

 

- водяного

30

 

- парового

10

___________

х Методические рекомендации по технико-экономической оценке санитарно-технических систем (отопление и вентиляция) зданий ЦНИИЭП инж. оборуд. М., 85 г.

Нормативы на восстановление строительных конструкций зданий в зависимости от долговечности

Таблица 3

Долговечность в Годах

Норматив ежегодных отчислений в % от сметной стоимости конструкции

Долговечность в годах

Норматив ежегодных отчислений в % от сметной стоимости конструкции

Долговечность в годах

Норматив ежегодных отчислений в % от сметной стоимости конструкции

Долговечность в годах

Норматив ежегодных отчислений в % от сметной стоимости конструкции

2

50

26

3,8

50

2

74

1,35

4

25

28

3,6

52

1,9

76

1,3

6

16,7

30

3,3

54

1,8

78

1,28

8

12,5

32

3,1

56

1,79

80

1,25

10

10

34

2,9

58

1,72

85

1,1

12

8.3

36

2,7

60

1,65

90

1,11

14

7,1

38

2,6

62

1,61

95

1,05

16

6,2

40

2,5

64

1,56

100

1,0

18

5,6

42

2,4

66

1,52

125

0,8

20

5

44

2,3

68

1,47

150

0,67

22

4,5

46

2,2

70

1,43

 

 

24

4,2

48

2,1

72

1,4

 

 

Нормативы амортизационных отчислений на полное восстановление (реновацию) и капитальный ремонт в зависимости от конструктивного решения жилых зданий в %

Таблица 4

Жилые здания

Норматив отчислений от восстановительной стоимости

На полное восстановление

На капитальный ремонт

Здания каменные, особо капитальные, стены кирпичные толщиной в 2,5-3,5 кирпича или кирпичные с железобетонными или металлическим каркасами, перекрытия железобетонные или бетонные

0,7

1,0

Здания с кирпичными стенами толщиной в 1,5-2,5 кирпича, перекрытия ж/б, бетонные или деревянные, с крупноблочными стенами

0,8

1,1

Здания со стенами облегченной кладки из кирпича, монолитного и легких шлакоблоков, перекрытия ж/б или бетонные

1,0

1,0

Здания с крупнопанельными стенами, перекрытия ж/б

0,7

1,1

Здания со стенами крупноблочными, или облегченной кладки из кирпича, монолитного шлакобетона, мелких шлакоблоков, перекрытия деревянные

1,0

1,2

Здания со стенами смешанными, деревянными, рублеными или брусчатыми

2,0

1,9

Нормативы амортизационных отчислений на восстановление и капитальный ремонт по внутренним санитарно-техническим системам жилых зданий

Таблица 5

Наименование систем

Норматив отчислений в % от сметной стоимости

Системы центрального отопления:

 

- с чугунными радиаторами и стальными плинтусными конвекторами

7,0

- со стальными конвекторами в кожухе

5,5

- с нагревательными элементами в стенах и перекрытиях (панельные системы)

5,0

- воздушные

6,0

Системы кондиционирования воздуха:

 

- центральные одно и двухканальные

6,0

- с эжекционными доводчиками

4,9

- с вентиляторными кондиционерами и отопительно-охладительными агрегатами

6,6

- с радиационным охлаждением

5,6

- автономные кондиционеры

12,5

Санитарно-технические системы:

 

- холодное водоснабжение

7,1

- горячее водоснабжение

11,0

- канализация

4,4

- внутренние водостоки

5,3

- внутреннее газоснабжение

5,7

- вентиляция с естественным побуждением

5,5

Нормативы ежегодных отчислений на капитальный ремонт конструкции в % от сметной стоимости

Таблица 6

Срок службы

Нормативы

Срок службы

Нормативы

Срок службы

Нормативы

10

4,3

40

1,0

68

0,54

12

4,0

42

0,96

70

0,52

14

3,4

44

0,90

76

0,49

16

3,0

46

0,85

80

0,45

18

2,4

48

0,80

86

0,44

20

1,8

50

0,69

90

0,43

22

1,7

52

0,68

96

0,40

24

1,6

54

0,66

100

0,37

26

1,5

56

0,64

106

0,35

28

1,4

58

0,62

110

0,34

30

1,3

60

0,59

120

0,31

32

1,2

62

0,59

130

0,23

34

1,2

64

0,58

140

0,21

36

1,1

66

0,56

150

0,19

38

1,1

-

-

-

-

Структура стоимости видов работ и конструктивных элементов при капитальном ремонте жилых зданий

Таблица 7

 

Удельный вес стоимости, в % к сметной стоимости капитального ремонта

Виды работ и конструктивные элементы

по общестроительным работам

по общестроительным и специальным работам

по сводной смете

1

2

3

4

Общестроительные работы

 

 

 

Ремонт:

 

 

 

- фундаментов

0,97

0,77

0,71

-стен

10

8,1

7,4

- перекрытий

16,04

12,75

11,65

- крыш

4,7

3,74

3,41

- перегородок

7,33

5,84

5,33

- полов

14,37

11,45

6,65

- проемов

9,07

7,29

6,65

- лестниц

1,4

1,11

1,01

Штукатурные

5,46

4,35

3,97

Малярные

6,39

5,09

4,64

Разные

1,25

1,0

0,91

Разборка конструкций и вывоз строительного мусора

4,3

3,42

3,13

Итого прямые затраты

81,28

64,91

59,25

Накладные расходы, резерв, технадзор, перевозка имущества жильцов

18,72

14,67

13,38

Итого стоимость общестроительных работ

100

79,58

72,63

Специальные работы

 

 

 

Ремонт:

 

 

 

- фасадов

-

4,52

4,13

- центрального отопления

-

5,35

4,79

- сетей водопровода и канализации

-

3,57

3,25

- газопроводов

-

1,63

1,48

- сетей горячего водоснабжения

-

0,44

0,4

- электросетей

-

3,59

3,27

- слаботочных сетей

-

1,31

1,2

- вентиляции

-

0,01

0,01

Итого по зданию

-

100

91,16

Внешнее благоустройство

 

 

 

Ремонт:

 

 

 

- сетей водопровода

-

-

0,29

-газопроводов

-

-

0,62

- сетей канализации

-

-

0,63

- теплосетей

-

-

0,09

- электросетей

-

-

0,13

- слаботочных сетей

-

-

0,16

Разборка зданий

-

-

1,38

Благоустройство, озеленение

-

-

1,89

Проектно-сметные работы

-

-

2,0

Зимнее удорожание

-

-

1,65

Всего по смете

-

-

100

Нормы расхода на текущий ремонт жилых и общественных зданий х)

Таблица 8

Группа зданий по капитальности

Нормы расхода на текущий ремонт, в % от восстановительной стоимости

 

жилые здания

общественные здания

I

0,75

1,1

II

0,85

1,2

III

1,0

1,3

IV

1,15

1,3

V

1,3

1,4

VI

1,5

1,5

VII

-

1,6

VIII

-

1,8

IX

-

5,0

______________________

х) «Положение о проведении планово-предупредительного ремонта жилых и общественных зданий».

Нормативы ежегодных затрат на текущий ремонт конструктивных элементов жилых зданий

Таблица 9

Конструкции и конструктивные элементы

Затраты на текущий ремонт в % от сметной стоимости

1

2

Стены наружные:

 

- панельные однослойные из легких или ячеистых бетонов

0,14

- то же, слоистые из тяжелого бетона с эффективным утеплителем

0,18

- то же, слоистой конструкции из листовых материалов (алюминия, асбестоцемента и т.п.) с высокоэффективным утеплителем

0,1

- то же, облегченной конструкции для малоэтажного строительства

1,48

- то же, деревянные

2,05

- крупноблочные из керамзитобетона, пеносиликата и т.д.

0,19

- мелкоблочные из шлакобетона толщиной 38 см

0,51

- то же, толщиной 51 см

0,38

- кирпичные с оштукатуренным фасадом толщиной 38 см

0,34

- то же, толщиной 51 см

0,25

- то же, толщиной 64 см

0,2

- кирпичные с неоштукатуренным фасадом толщиной 38 см

0,6

- то же, толщиной 51 см

0,45

- то же, толщиной 64 см

0,36

- из естественного камня (известняка, туфа и др.)

0,1

- железобетонные монолитные на основе тяжелых и легких бетонов

0,1

- деревянные из бруса

1,9

Стены внутренние:

 

- деревянные брусчатые

0,81

- то же, щитовые

1,02

Перегородки:

 

- деревянные обшитые сухой штукатуркой

1,05

- то же, для санитарно-технических узлов

3,35

Перекрытия:

 

- деревянные

0,35

- то же, для санитарно-технических узлов

0,56

Крыши чердачные с деревянными стропилами

1,14

Полы из:

 

- досок

0,22

- керамических плиток

0,17

- линолеума

0,1

- плиток на синтетической основе

0,15

Кровельное покрытие из:

 

- рулонных материалов, двухслойное

0,44

- то же, трехслойное

0,32

- оцинкованной стали

0,22

- асбестоцементных плиток и волнистого асбошифера

0,78

- деревянного гонта, драни, стружки

3,1

Окна и двери:

 

- оконные и балконные дверные блоки с одинарным остеклением и одинарными переплетами

0,27

- то же, с двойным остеклением и спаренными переплетами

0,21

- то же, с двойным остеклением и раздельными переплетами

0,15

- то же, с тройным остеклением и раздельно-спаренными переплетами

0,08

- дверные блоки со сплошным заполнением

0,27

- то же, с решетчатым заполнением

0,35

Внутренняя отделка:

 

- штукатурка по каменной и бетонной поверхности стен в жилых помещениях

1,3

- то же, в лестничных клетках и вестибюлях

2

- то же, в санитарно-технических узлах

3,15

- штукатурка по деревянной поверхности стен в жилых помещениях

1,42

- то же, в санитарно-технических узлах

2,27

- штукатурка по каменной и бетонной поверхности потолков в жилых помещениях

0,75

- то же, в лестничных клетках и вестибюлях

1,13

- штукатурка по деревянной поверхности потолков в жилых помещениях

1,0

- то же, в санитарно-технических узлах

1,62

Защитные покрытия проступей и поручней из полимерных материалов

0,31

Показатели годового объема текущего ремонта зданий в процентах от балансовой стоимости зданий непроизводственного назначения

Таблица 10

Характеристика капитальности зданий

Норматив

1. С железобетонным или металлическим каркасом, с заполнением каркаса каменными материалами

2,2

2. С каменными стенами из штучных камней или крупноблочные, колонны и столбы железобетонные или кирпичные, перекрытия железобетонные

2,3

3. То же, перекрытия деревянные

2,5

4. Со стенами облегченной каменной кладки, колонны и столбы кирпичные или железобетонные, перекрытия железобетонные

2,5

5. Со стенами облегченной каменной кладки, колонны и столбы кирпичные или деревянные, перекрытия деревянные

2,6

6. Деревянные с брусчатыми или бревенчатыми рублеными стенами

3,5

7. Деревянные каркасные и щитовые

2,9

Нормативы ежегодных затрат на текущее обслуживание внутренних санитарно-технических систем жилых зданий

Таблица 11

Наименование систем

Затраты в % от сметной стоимости систем

Водяное отопление

5

Холодное водоснабжение и канализация

5

Горячее водоснабжение

4

Водостоки

2

Газоснабжение

2

Вентиляция и воздушное отопление с механическим побуждением

6

ЛИТЕРАТУРА

1. Инструкция о порядке разработки, согласования, утверждения и составе проектной документации на строительство предприятий, зданий и сооружений. Минстрой России, М., 1995 г.

2. Инструкция по определению эксплуатационных затрат при оценке проектных решений жилых и общественных зданий. СН 547-82.М., Стройиздат, 1983 г.

3. Инструкция по технико-экономической оценке типовых и экспериментальных проектов жилых домов и общественных зданий и сооружений. М., Стройиздат., 1983 г.

4. Методические рекомендации по оценке эффективности инвестиционных проектов и отбору для формирования, утвержденные Госстроем России, Минэкономики России, Минфином России (№ 7-12/47 от 31.03.94 г.)

5. Методические рекомендации по сравнительной технико-экономической оценке конструктивных решений жилых зданий. М., НИИЭС, 1985 г.

6. Методические указания по оценке технического уровня и качества промышленной продукции РД-50-149-79. М. 1979 г. Издательство стандартов

7. Московские городские строительные нормы «Энергосбережение в зданиях. Нормативы по теплозащите и тепловодоэлектроснабжению». МГСН, 2.01-94

8. Московские городские строительные нормы «Жилые здания». МГСН 3.01-96

9. Нормы продолжительности строительства и задела в строительстве предприятий, зданий и сооружений. СНиП 1.04.03-85 (Изменение № 4). М., 1990 г.

10. Оценка эффективности научно-технического прогресса методом экспресс-анализа. Высшие экономические курсы, М., 1990 г.

11. Положение об организации и проведения реконструкции, ремонта и технического обслуживания зданий, объектов коммунального и социально-культурного назначения. Нормы проектирования ВСН 58-88(р) Госкомархитектуры. М., 1990 г.

12. Порядок разработки, согласования, утверждения и состав обоснований инвестиций в строительство предприятий, зданий и сооружений. Главпроект, Главэкспертиза СП-11-101-95

13. Рекомендации по сравнительной технико-экономической оценке конструкций монолитных, полносборных и кирпичных зданий различной этажности. М., 1983 г. (ротапринт) ЦНИИЭП жилища.

14. Рекомендации по составлению бизнес-планов для территорий, отдельных объектов, комплексов нового строительства и реконструкции. Экономическая эффективность проектных решений. М., 1995 г.

15. Рекомендации по технико-экономической оценке проектов жилых и общественных зданий и сооружений. М., ЦНИИЭП жилища, 1988 г.

16. Руководство по выбору проектных решений в строительстве. М., 1982 г., Стройиздат

17. Свод правил по определению стоимости строительства в составе предпроектной и проектно-сметной документации. СП 81-01-94. Минстрой России, Москва, 1995 г.




Яндекс цитирования



   Copyright © 2007-2026,  www.tehlit.ru.

[ ѓосты, стандарты, нормативы, инструкции, правила, строительные нормы ]