//
ТехЛит.ру
- крупнейшая бесплатная электронная интернет библиотека для "технически умных" людей.
WWW.TEHLIT.RU - ТЕХНИЧЕСКАЯ ЛИТЕРАТУРА

:: Алготрейдинг::


АЛГОТРЕЙДИНГ
шаг за шагом
с нуля по урокам!

Торговые роботы на PYTHON, BackTrader,
Pandas, Pine Script для TradingView. Связка с брокерами, телеграм и легкими приложениями.


Правительство Москвы

СИСТЕМА НОРМАТИВНЫХ ДОКУМЕНТОВ В СТРОИТЕЛЬСТВЕ

МОСКОВСКИЕ ГОРОДСКИЕ СТРОИТЕЛЬНЫЕ НОРМЫ

ЭНЕРГОСБЕРЕЖЕНИЕ В ЗДАНИЯХ

НОРМАТИВЫ ПО ТЕПЛОЗАЩИТЕ
И ТЕПЛОВОДОЭЛЕКТРОСНАБЖЕНИЮ

МГСН 2.01-99

ТСН 23-304-99 г. Москвы

Москва 1999 г.

ПРАВИТЕЛЬСТВО
МОСКВЫ

МОСКОВСКИЕ ГОРОДСКИЕ СТРОИТЕЛЬНЫЕ НОРМЫ

МГСН 2.01-99

Взамен МГСН 2.01-94 и дополнений к ним №1, №2, №3

 

ЭНЕРГОСБЕРЕЖЕНИЕ В ЗДАНИЯХ

НОРМАТИВЫ ПО ТЕПЛОЗАЩИТЕ
И ТЕПЛОВОДОЭЛЕКТРОСНАБЖЕНИЮ

МГСН 2.01-99

 

Внесены Москомархитектурой

Утверждены
Правительством Москвы постановлением
от 23 февраля 1999 г. № 138

Срок
введения в действие
с 23 февраля 1999 г.

1. РАЗРАБОТАНЫ НИИ Строительной Физики РААСН (Матросов ЮА. - научный руководитель; Бутовский И.Н., Шмаров И.А.); Агентством по энергосбережению (Ливчак В.И.); МНИИТЭП (Прижижецкий С.И.; Грудзинский М.М., Сурков В.И.; Снора B.A. , Кузилин А.В.); Управлением развития Генплана (Дмитриев А.Н.); ОАО «Моспроект» (Чернышев Е.Н.); ВНИИС (Айзенберг Ю.Б., Федюкина Г.В.).

Основная концепция норм разработана авторами с использованием работ докторов техн. наук Ю.А.Табунщикова и В.Н.Богословского и ЦЭНЭФ (Центр по Эффективному Использованию Энергии, Москва) (Башмаков И.А.).

2. ВНЕСЕНЫ Москомархитектурой г. Москвы.

3. ПОДГОТОВЛЕНЫ к утверждению и изданию Управлением перспективного проектирования и нормативов Москомархитектуры (Щипанов Ю.Б. и Ионин В.А.)

4. СОГЛАСОВАНЫ с Управлением топливно-энергетического хозяйства, Управлением жилищно-коммунального хозяйства и благоустройства, Управлением городского заказа, Управлением развития Генплана, Мосгосэкспертизой, МПП "Мосводоканал", УГПС ГУВД г. Москвы, Центром Госсанэпиднадзора в г. Москве.

5. ПРИНЯТЫ И ВВЕДЕНЫ В ДЕЙСТВИЕ постановлением Правительства Москвы от 23 февраля 1999 г. № 138.

 

СОДЕРЖАНИЕ

ПРЕДИСЛОВИЕ

1. ОБЛАСТЬ ПРИМЕНЕНИЯ

2. ЗАКОНОДАТЕЛЬНАЯ ОСНОВА И НОРМАТИВНЫЕ ССЫЛКИ

3. ТЕПЛОЗАЩИТА ЗДАНИЙ

3.1. Общие положения

3.2. Исходные данные для проектирования теплозащиты

3.3. Требования по теплозащите здания в целом - потребительский подход

3.4. Поэлементные требования к теплозащите ограждающих конструкций - предписывающий подход

3.5. Теплоэнергетические параметры

3.6. Процедура работы с разделом 3 при проектировании теплозащиты

3.7. Контроль качества и сертификация

3.8. Состав и содержание раздела проекта "Энергоэффективность"

ПРИЛОЖЕНИЕ 3.1 Основные термины и их определения

ПРИЛОЖЕНИЕ 3.2 Выбор конструктивных, объемно-планировочных и архитектурных решений, обеспечивающих необходимую теплозащиту зданий

4. ТЕПЛОВОДОСНАБЖЕНИЕ ЖИЛЫХ МИКРОРАЙОНОВ И ЗДАНИЙ

4.1. Область применения

4.2. Общие положения по тепловодоснабжению

4.3. Теплоснабжение и отопление зданий

4.4. Водоснабжение

ПРИЛОЖЕНИЕ 4.1 Основные термины и их определения

5. ТЕПЛОТЕХНИЧЕСКИЕ ПОКАЗАТЕЛИ ЭНЕРГОЕМКОСТИ ЗДАНИЯ

5.1. Потребность в тепловой энергии на отопление здания

5.2. Потребность в тепловой энергии на горячее водоснабжение здания

5.3. Общий расход тепловой энергии зданием

ПРИЛОЖЕНИЕ 5.1 Основные термины и их определения

6. ТРЕБОВАНИЯ К ЭНЕРГЕТИЧЕСКОМУ ПАСПОРТУ ПРОЕКТА ЖИЛОГО И ОБЩЕСТВЕННОГО ЗДАНИЯ

6.1. Основные положения

6.2. Общая часть

6.3. Состав энергетического паспорта проекта

6.4. Результаты натурных испытаний и обследований

6.5. Порядок разработки энергетического паспорта проекта хилого здания и общественного здания

6.6. Форма для заполнения энергетического паспорта

6.7. Характеристики наружных ограждающих конструкций

6.8. Вкладыш к энергетическому паспорту проекта здания

7. ЭЛЕКТРОСНАБЖЕНИЕ И ЭЛЕКТРООБОРУДОВАНИЕ ЗДАНИЙ

7.1. Область применения

7.2. Общие требования

7.3. Нормативные требования к электрическим сетям

ПРИЛОЖЕНИЕ 7.1 Основные термины и их определения

8. ИСКУССТВЕННОЕ ОСВЕЩЕНИЕ ЗДАНИЙ

8.1. Область применения

8.2. Требования к энергопотреблению в системах искусственного освещения

ПРИЛОЖЕНИЕ 8.1. Основные термины и их определения

ПРИЛОЖЕНИЕ 8.2. Возможное снижение расхода электроэнергии при замене менее эффективных источников света более эффективными

 

 

ПРЕДИСЛОВИЕ

Московские городские строительные нормы "Энергосбережение в зданиях. Нормативы по теплозащите и тепловодоэлектроснабжению" (МГСН 2.01-99) разработаны с учетом опыта четырехлетнего применения в проектировании и строительстве МГСН 2.01-94 и дополнений к нему № 1, № 2 и № 3 в целях согласования с требованиями СНиП 10-01-94 и СНиП II-3-79* (изд. 1998 г.), а также с положениями закона Российской Федерации "Об энергосбережении".

Нормативный документ состоит из восьми разделов: раздел 1 - "Область применения", раздел 2 - "Законодательная основа и нормативные ссылки", раздел 3 - "Теплозащита зданий", раздел 4 - "Тепловодоснабжение жилых микрорайонов и зданий", раздел 5 - "Теплотехнические показатели энергоемкости здания", раздел 6 - "Требования к энергетическому паспорту проекта жилого и общественного здания", раздел 7 - "Электроснабжение и электрооборудование зданий" и раздел 8 - "Искусственное освещение зданий".

Разработанные нормативы отражают специфику г. Москвы и не противоречат требованиям основных общероссийских нормативных документов СНиП 10-01-94, СНиП II-3-79* (изд. 1998 г.), СНиП 2.04.05-91*, СНиП 2.04.07-86*, СНиП 2.04.01-85*.

Совокупность требований настоящего нормативного документа преследует цель создания зданий с эффективным использованием энергии при обеспечении комфортных условий пребывания в них и позволяет осуществить поэтапное во времени снижение уровня энергопотребления зданий в г. Москве.

В разделе 3 приведены новые требования по теплозащите зданий, обеспечивающие по сравнению с МГСН 2.01-94 дальнейшее снижение энергопотребления во вновь построенных зданиях. Нововведением в соответствии с требованиями СНиП 10-01-94 является потребительский подход, при котором к зданию предъявляются общие требования по энергетической эффективности, исходя из ожидаемого результата энергосбережения. Методы и пути достижения этих требований предоставлены проектировщику.

В разделе 4 приведены требования, обеспечивающие снижение энергопотребления зданий за счет децентрализации систем регулирования тепловодоснабжения, индивидуального регулирования теплоотдачи отопительных приборов, а также применения средств регулирования расхода тепла и воды.

В разделе 5 приведены методы расчета энергоемкости здания. Также приведен метод расчета расхода тепловой энергии на горячее водоснабжение и суммарное потребление тепловой энергии.

В разделе 6 приведены требования к энергетическому паспорту проекта здания и его форме.

В разделе 7 приведены требования, обеспечивающие снижение энергопотребления за счет способов регулирования и современных средств учета электроэнергии.

В разделе 8 приведены нормативные требования к удельному энергопотреблению осветительных установок искусственного освещения, что также является потребительским требованием.

1. ОБЛАСТЬ ПРИМЕНЕНИЯ

1.1. Настоящие нормы разработаны в соответствии с требованиями СНиП 10-01-94 в развитие и дополнение нормативных документов, действующих на территории г. Москвы, и распространяются на проектирование новых и реконструкцию существующих жилых домов и зданий общественного назначения.

1.2. Нормы должны соблюдаться на территории г. Москвы при проектировании новых, реконструируемых, капитально ремонтируемых отапливаемых жилых домов (многоквартирных и одноквартирных) и зданий общественного назначения (дошкольных, общеобразовательных, лечебных учреждений и поликлиник, административных) с нормируемой температурой и относительной влажностью внутреннего воздуха и предназначены для обеспечения эффективного использования энергетических ресурсов и поэтапного повышения уровня тепловой защиты этих зданий, в том числе с учетом возможностей базы строительной индустрии и рационального (эффективного) использования выпускаемой продукции.

1.3. Нормы обязательны для применения юридическими лицами независимо от организационно-правовой формы и формы собственности, принадлежности и государственности, гражданами (физическими лицами), занимающимися индивидуальной трудовой деятельностью или осуществляющими индивидуальное строительство, а также иностранными юридическими и физическими лицами, осуществляющими деятельность в области проектирования и строительства на территории г. Москвы, если иное не предусмотрено федеральным законом.

1.4. Нормы устанавливают обязательные минимальные требования по теплозащите зданий, исходя из требований по снижению их энергопотребления, санитарно-гигиенических требований и требуемых комфортных условий.

При проектировании зданий допускается применять более высокие требования по теплозащите, устанавливаемые конкретным заказчиком и направленные на достижение более высокого энергосберегающего эффекта.

1.5. Нормы не распространяются на мобильные жилые здания. Возможность применения настоящих норм для зданий, имеющих архитектурно - историческое значение, определяется на основании согласования с Управлением государственного контроля охраны использования памятников истории и культуры в г. Москве в каждом конкретном случае.

1.6. Настоящие нормы и их отдельные положения могут быть использованы с обязательной ссылкой на МГСН 2.01-99 при разработке городских нормативных документов по проектированию зданий, не указанных в п. 1.2.

2. ЗАКОНОДАТЕЛЬНАЯ ОСНОВА И НОРМАТИВНЫЕ ССЫЛКИ

2.1. Настоящие нормы разработаны согласно Федерального Закона "Об энергосбережении", где содержится требование введения в нормативные документы показателей их эффективного использования, а также показателей расхода энергии на отопление, вентиляцию, горячее водоснабжение и освещение зданий.

2.2. Правовая основа разработки настоящих норм для г. Москвы как субъекта Российской Федерации предусмотрена разделом 5 СНиП 10-01-94.

2.3. В настоящих нормах использованы следующие документы:

СНиП 10-01-94 "Система нормативных документов в строительстве. Основные положения";

СНиП II-3-79* (изд.1998 г.) "Строительная теплотехника";

СНиП 23-05-95 "Естественное и искусственное освещение";

СНиП 2.01.01-82 "Строительная климатология";

СНиП 2.04.01-85* "Внутренний водопровод и канализация зданий";

СНиП 2.04.05-91 *(изд.1998 г.) "Отопление, вентиляция и кондиционирование";

СНиП 2.04.07-86* "Тепловые сети";

СНиП 2.08.01-89* "Жилые здания";

СНиП 2.08.02-89* "Общественные здания и сооружения";

МГСН 2.01-94 "Энергосбережение в зданиях. Нормативы по теплозащите и тепловодоэлектроснабжению" с дополнениями №1, 2 и 3;

МГСН 2.05-99 "Инсоляция и солнцезащита";

МГСН 2.06-99 "Естественное, искусственное и совмещенное освещение";

МГСН 3.01-96 "Жилые здания";

МГСН 4.06-96 "Общеобразовательные учреждения";

МГСН 4.07-96 "Дошкольные учреждения";

Межгосударственный стандарт. ГОСТ 30494-96 "Здания жилые и общественные. Параметры микроклимата в помещениях";

ГОСТ 21.608-84 "СПДС. Внутреннее электрическое освещение. Рабочие чертежи";

ГОСТ 7025-91 "Кирпич и камни керамические и силикатные. Методы определения водопоглощения, плотности и контроля морозостойкости";

ГОСТ 7076-87 "Материалы и изделия строительные. Методы определения теплопроводности";

ГОСТ 8607-82*Е "Светильники для освещения жилых помещений. Общие технические условия";

ГОСТ 15597-82*Е "Светильники для производственных зданий. Общие технические условия";

ГОСТ 17177-87 ."Материалы и изделия строительные теплоизоляционные. Методы контроля";

ГОСТ 21718-84 "Материалы строительные. Диэлькометрический метод измерения влажности";

ГОСТ 23250-78 "Материалы строительные. Метод определения удельной теплоемкости";

ГОСТ 24816-81 "Материалы строительные. Методы определения сорбционной влажности";

ГОСТ 25380-82 "Здания и сооружения. Метод измерения тепловых потоков, проходящих через ограждающие конструкции";

ГОСТ 25609-83 "Материалы полимерные рулонные и плиточные для полов. Метод определения показателя теплоусвоения";

ГОСТ 25891-83 "Здания и сооружения. Методы определения сопротивления воздухопроницанию ограждающих конструкций";

ГОСТ 25898-83 "Материалы и изделия строительные. Методы определения сопротивления паропроницанию";

ГОСТ 26253-84 "Здания и сооружения. Методы определения теплоустойчивости ограждающих конструкций";

ГОСТ 26254-84 "Здания и сооружения. Методы определения сопротивления теплопередаче ограждающих конструкций";

ГОСТ 26602-85 "Окна. Метод определения сопротивления теплопередаче";

ГОСТ 26629-85 "Здания и сооружения. Метод тепловизионного контроля качества теплоизоляции ограждающих конструкций";

ГОСТ 30256-94 "Материалы и изделия строительные. Метод определения теплопроводности цилиндрическим зондом";

ГОСТ 30290-94 "Материалы и изделия строительные. Метод определения теплопроводности поверхностным преобразователем";

РДС 10-231-93* "Система сертификации ГОСТ Р. Основные положения сертификации в строительстве";

РДС 10-232-94* "Система сертификации ГОСТ Р. Порядок проведения сертификации продукции в строительстве";

ВСН 58-88(р) "Положение об организации и проведении реконструкции, ремонта и технического обследования жилых зданий, объектов коммунального хозяйства и социального-культурного назначения";

ВСН 59-88 "Электрооборудование жилых и общественных зданий";

ПУЭ "Правила устройства электроустановок".

3. ТЕПЛОЗАЩИТА ЗДАНИЙ

3.1. ОБЩИЕ ПОЛОЖЕНИЯ

3.1.1. Настоящие нормы предназначены для обеспечения основного требования - рационального использования энергетических ресурсов путем выбора соответствующего уровня теплозащиты здания с учетом эффективности систем обеспечения микроклимата, рассматривая здание и его отопительно-вентиляционные системы как единое целое.

3.1.2. Выбор теплозащитных свойств здания следует осуществлять по одному из двух альтернативных подходов:

потребительскому, когда теплозащитные свойства определяются по нормативному значению удельного энергопотребления здания в целом или его отдельных замкнутых объемов - блок секций, пристроек и прочего;

• предписывающему, когда нормативные требования предъявляются к отдельным элементам теплозащиты здания.

Выбор подхода разрешается осуществлять заказчиком и проектной организацией.

3.1.3. При выборе потребительского подхода теплозащитные свойства наружных ограждающих конструкций следует определять согласно подразделу 3.3 настоящих норм.

3.1.4. При выборе предписывающего подхода теплозащитные свойства наружных ограждающих конструкций следует определять согласно подразделу 3.4 настоящих норм.

3.1.5. Выбор окончательного- проектного решения при использовании одного из двух подходов, поименованных п. 3.1.2, следует выполнять на основе сравнения вариантов с различными конструктивными и объемно-планировочными решениями по наименьшему значению удельного расхода тепловой энергии системой отопления здания за отопительный период, определяемому согласно подразделу 3.5 настоящих норм.

3.1.6. При разработке проекта здания и его последующей сертификации следует составлять согласно раздела 6 энергетический паспорт, характеризующий уровень теплозащиты и энергетическое качество запроектированного здания и доказывающий соответствие проекта здания данным нормам.

3.2. ИСХОДНЫЕ ДАННЫЕ ДЛЯ ПРОЕКТИРОВАНИЯ ТЕПЛОЗАЩИТЫ

3.2.1. Расчетную температуру наружного воздуха в холодный период года следует принимать равной минус 26 °С согласно СНиП 2.01.01-82 и СНиП 2.04.05-91*.

3.2.2. Параметры внутреннего воздуха помещений следует принимать согласно ГОСТ 30494-96 и МГСН 3.01-96 для соответствующих типов зданий и в соответствии с табл. 3.1.

3.2.3. Градусо-сутки отопительного периода Dd, °С.сут, следует принимать согласно табл. 3.2. Продолжительность отопительного периода zht и среднюю температуру наружного воздуха tht за отопительный период следует принимать согласно СНиП 2.01.01-82 равной соответственно 230 сут и минус 2,7 °С для поликлиник и лечебных учреждений, домов-интернатов для престарелых и инвалидов и дошкольных учреждений; 213 сут. и минус 3,6 °С - в остальных случаях. Среднюю за отопительный период интенсивность суммарной солнечной радиации на горизонтальную и вертикальные поверхности различной ориентации, кВт×ч/м2, следует принимать согласно подраздела 3.5.

3.2.4. При проектировании теплозащиты используются следующие расчетные показатели строительных материалов конструкций (по приложениям СНиП II-3-79* (изд. 1998) для условий эксплуатации Б):

- коэффициент теплопроводности l, Вт/(м.°С),

- коэффициент теплоусвоения (при периоде 24 ч) s, Вт/(м2×°С),

- удельная теплоемкость (в сухом состоянии) cо, кДж/(кг×°С),

- коэффициент паропроницаемости m, мг/(м×ч×Па) или сопротивление паропроницанию Rvr, м2×ч×Па/мг,

- воздухопроницаемость G, кг/(м2×ч) или сопротивление воздухопроницанию Ra, м2×ч. Па/кг или м2×ч/кг (для окон и балконных дверей при Dр = 10 Па),

- коэффициент поглощения солнечной радиации поверхностью ограждения r0,

- коэффициент излучения поверхности e.

Примечание. Расчетные показатели эффективных теплоизоляционных материалов (минераловатных, стекловолокнистых и полимерных), а также материалов, не приведенных в СНиП II-3-79* (изд.1998 г.), следует принимать для условий эксплуатации Б согласно теплотехническим испытаниям (полученных аккредитованными Госстроем России испытательными лабораториями или ГУП «Мосстройсертификация»).

3.2.5. При проектировании пароизоляции ограждающих конструкций отапливаемых зданий за расчетное значение принимается среднее парциальное давление водяного пара наружного воздуха за годовой период и период месяцев с отрицательными среднемесячными температурами.

Таблица 3.1

Температура, относительная влажность и температура точки росы внутреннего воздуха помещений, принимаемые при теплотехнических расчетах ограждающих конструкций

Здания

Температура внутреннего воздуха
tint, °С

Относительная влажность внутреннего воздуха
jint, %

Температура точки росы
td, °С

Жилые, общеобразовательных учреждений

20

55

10,7

Поликлиник и лечебных учреждений, домов-интернатов

21

55

11,6

Дошкольных учреждений

22

55

12,6

Таблица 3.2

Градусо-сутки отопительного периода

Здания

Градусо-сутки

Жилые, общеобразовательных учреждений

5027

Поликлиник и лечебных учреждений, домов-интернатов

5451

Дошкольных учреждений

5681

3.3. ТРЕБОВАНИЯ ПО ТЕПЛОЗАЩИТЕ ЗДАНИЯ В ЦЕЛОМ - ПОТРЕБИТЕЛЬСКИЙ ПОДХОД

3.3.1. Проект здания в соответствии с требованиями СНиП 10-01-94 следует разрабатывать на основе величины удельного расхода тепловой энергии системой отопления проектируемого здания за отопительный период. Процедура работы с этим подразделом приведена в подразделе 3.6.

3.3.2. Расчетный удельный расход тепловой энергии системой отопления здания за отопительный период qhdes, кВт×ч/м2, должен быть меньше или равен требуемому значению qhreq и определяется путем выбора теплозащитных свойств оболочки здания и типа, эффективности и метода регулирования используемых систем отопления и вентиляции по формуле

qhreq ³ qhdes                                                                        (3.1)

где qhreq - требуемый удельный расход тепловой энергии системой отопления здания за отопительный период, кВт×ч/м2, определяемый для различных типов зданий согласно таблице 3.3;

qhdes - расчетный удельный расход тепловой энергии на отопление здания, кВт×ч/м2, определяемый согласно подраздела 3.5;

Таблица 3.3

Требуемый удельный расход тепловой энергии системой отопления здания
qhreq , кВт×ч/м2, за отопительный период

Типы зданий

Этажность зданий:

1-3

4-5

6-9

10 и более

МГСН 2.01-94

МГСН 2.01-99

МГСН 2.01-94

МГСН 2.01-99

МГСН 2.01-94

МГСН 2.01-99

МГСН 2.01-94

МГСН 2.01-99

жилые

200

160

160

130

140

110

115

95

общеобразовательные, лечебные учреждения, поликлиники

205

175

195

165

185

155

 

 

дошкольные учреждения

280

245

-

-

 

-

-

-

Примечание: Величины по данным первого этапа МГСН 2.01-94 приведены для сопоставления

3.3.3. Минимально допустимое сопротивление теплопередаче непрозрачных ограждающих конструкций R0req, м2×°С/Вт, должно быть не менее значений, приведенных в п. 2.1* СНиП II-3-79* (изд. 1998 г.) для I этапа внедрения и градусосуток по та6л. 3.2, и санитарно-гигиенических и комфортных условий, определяемых по формуле:

                                                   (3.2)

где    n - коэффициент, принимаемый согласно табл. 3* СНиП II-3-79* (изд.1998г.);

tint - расчетная температура внутреннего воздуха, °С, принимаемая по табл. 3.1;

text - расчетная температура наружного воздуха в холодный период года, °С, принимаемая согласно 3.2.1;

Dtn - нормативный температурный перепад, °С, принимаемый согласно табл. 2* СНиП II-3-79* (изд. 1998г.) в зависимости от вида здания и ограждающей конструкции;

aint - коэффициент теплообмена внутренней поверхности ограждающей конструкции, Вт/(м2×°С), принимаемый согласно табл. 4 СНиП II-3-79* (изд. 1998г.).

Примечания: При определении минимально допустимого сопротивления теплопередаче внутренних ограждающих конструкций в формуле (3.2) следует принимать n = 1 и вместо text - расчетную температуру воздуха более холодного помещения; для теплых чердаков и подвалов (с разводкой в них трубопроводов систем отопления и горячего водоснабжения) эту температуру следует принимать по расчету теплового баланса (но не менее плюс 2 °С для подвалов при расчетных условиях и не более плюс 14 °С для чердаков и подвалов).

2. Для чердачных и цокольных перекрытий теплых чердаков и подвалов с температурой воздуха в них tcint, большей text но меньшей tint, коэффициент n следует определять по формуле n = (tint - tcint)/(tint - text).

3.3.4. Требуемое сопротивление теплопередаче R0req светопрозрачных конструкций и наружных дверей следует принимать:

- 0,54 м2×°С/Вт для окон, балконных дверей и витражей; 0,81 м2×°С/Вт для глухой части балконных дверей;

- 0,54 м2×°С/Вт для входных дверей в квартиры, расположенные выше первого этажа;

- 1,2 м2×°С/Вт для входных дверей в односемейные здания и квартиры, расположенные на первых этажах многоэтажных зданий, а также ворот.

3.3.5. Приведенное сопротивление теплопередаче ограждающих конструкций R0r должно быть не менее требуемого минимально допустимого сопротивления теплопередаче R0req , определяемого согласно пп. 3.3.3 и 3.3.4.

3.3.6. Температура внутренней поверхности ограждающей конструкции в зоне теплопроводных включений (диафрагм, сквозных швов из раствора, стыков панелей, ребер и гибких связей в многослойных панелях, жестких связей облегченной кладки и др.), в углах и оконных откосах должна быть не ниже температуры точки росы внутреннего воздуха, принимаемой согласно табл. 3.1.

Температура внутренней поверхности вертикального остекления должна быть не ниже плюс 3 °С при расчетных условиях.

3.3.7. Воздухопроницаемость ограждающих конструкций зданий Gmr должна быть не более нормативных значений Gmreq, указанных в табл. 12* СНиП II-3-79* (изд. 1998г.).

3.3.8. Требуемое сопротивление воздухопроницанию ограждающих конструкций Rareq м2×ч×Па/кг, следует определять согласно СНиП II-3-79* (изд. 1998 г.).

3.3.9. Требуемое сопротивление паропроницанию наружных ограждающих конструкций следует определять согласно СНиП II-3-79* (изд. 1998 г.).

3.3.10. Поверхность пола жилых и общественных зданий должна иметь показатель теплоусвоения Yf, Вт/(м2×°С) не более нормативных величин, указанных в СНиП II-3-79* (изд. 1998 г.).

3.3.11. Суммарная площадь окон жилых зданий согласно п. 2.17* СНиП II-3-79* (изд. 1998 г.) должна быть не более 18 % от суммарной площади светопрозрачных и непрозрачных ограждающих конструкций стен, если приведенное сопротивление теплопередаче светопрозрачных конструкций Ror меньше 0,56 м2×°С/Вт. При определении этого соотношения в суммарную площадь непрозрачных конструкций следует включать все продольные и торцевые стены, а также площади непрозрачных частей оконных створок и балконных дверей.

При светопрозрачных ограждениях с R0r не менее 0,56 м2×°С/Вт площадь остекления ограничивается в 25 %. Площадь светопрозрачных конструкций в общественных зданиях следует определять по минимальным требованиям СНиП 23-05-95 и МГСН 2.06-99.

3.4. ПОЭЛЕМЕНТНЫЕ ТРЕБОВАНИЯ К ТЕПЛОЗАЩИТЕ ОГРАЖДАЮЩИХ КОНСТРУКЦИЙ - ПРЕДПИСЫВАЮЩИЙ ПОДХОД

3.4.1. Наружные ограждающие конструкции здания согласно предписывающему подходу должны удовлетворять следующим требованиям по:

- минимально допустимому приведенному сопротивлению теплопередаче в соответствии с п. 3.4.2;

- минимальным допустимым температурам внутренней поверхности в соответствии с п. 3.3.6;

- максимально допустимой воздухопроницаемости отдельных конструкций ограждений в соответствии с п. 3.3.7;

- показателю компактности здания не более величин согласно п. 3.5.1.

Процедура работы с этим подразделом приведена в подразделе 3.6.

3.4.2. Приведенное сопротивление теплопередаче (R0r) для ограждающих конструкций должно быть не менее:

- значений, приведенных в п. 2.1* СНиП II-3-79* (изд.1998 г.) и градусосуток по табл. 3.2 согласно I и II этапам внедрения для ограждающих конструкций (за исключением светопрозрачных) в зависимости от вида здания и помещения; для чердачных и цокольных перекрытий теплых чердаков и подвалов эти значения следует умножать на коэффициент n, определяемый согласно прим.2 к п. 3.3.3.

- произведения 0,02 на разность температур воздуха между помещениями для внутренних ограждений, в случае, если разность температур равна или больше 6 °С;

- значений, приведенных в п. 3.3.4 для светопрозрачных конструкций и входных дверей.

Приведенное сопротивление теплопередаче (R0r) для наружных стен следует рассчитывать для фасада здания без учета заполнений светопроемов: либо для одного промежуточного этажа, либо в целом для здания с проверкой условия п. 3.3.6 на участках в зонах теплопроводных включений.

Примечание. Допускается в конкретных конструктивных решениях наружных стен применение конструкции с приведенным сопротивлением теплопередаче (за исключением светопрозрачных) не более, чем на 5% ниже, указанных в п. 2.1* СНиП II-3-79* (изд.1998 г.), при обязательном увеличении сопротивления теплопередаче наружных горизонтальных ограждений с тем, чтобы приведенный трансмиссионный коэффициент теплопередачи совокупности горизонтальных и вертикальных наружных ограждений Kmtr, определяемый согласно п. 3.5.2, был не ниже значения Kmtr, определяемого согласно требований п. 2.1* СНиП II-3-79* (изд. 1998 г.).

3.4.3. Требуемое сопротивление воздухопроницанию и паропроницанию ограждающих конструкций, а также показатель теплоусвоения пола следует определять соответственно согласно п. 3.3.9. и п. 3.3.10 соответственно.

3.4.4. Площадь светопрозрачных ограждающих конструкций следует определять в соответствии с п. 3.3.11.

3.5. ТЕПЛОЭНЕРГЕТИЧЕСКИЕ ПАРАМЕТРЫ

3.5.1. Показатель компактности здания kedes следует определять по формуле

kedes = Aesum/Vh                                                        (3.3)

где Aesum - общая площадь наружных ограждающих конструкций, включая покрытие (перекрытие) верхнего этажа и цокольное перекрытие, м2;

Vh - отапливаемый объем здания, равный объему, ограниченному внутренними поверхностями наружных ограждений здания, м3.

Расчетный показатель компактности здания kedes для жилых зданий (домов) как правило не должен превышать следующих значений:

- 0,25 дли зданий 16 этажей и выше;

- 0,29 для зданий от 10 до 15 этажей включительно;

- 0,32 для зданий от 6 до 9 этажей включительно;

- 0,36 для 5-этажных зданий;

- 0,43 для 4-этажных зданий;

- 0,54 для 3-этажных зданий;

- 0,61; 0,54; 0,46 для двух-, трех- и четырех-этажных блокированных и секционных домов соответственно;

- 0,9 для двухэтажных и одноэтажных домов с мансардой;

- 1,1 для одноэтажных домов.

3.5.2. Приведенный трансмиссионный коэффициент теплопередачи Кmtr, Вт/(м2×°С), совокупности ограждающих конструкций здания следует определять по приведенным сопротивлениям теплопередаче отдельных ограждающих конструкций R0r и их площадей А по формуле

Кmtr = b(Aw/Rwr+AF/RFr+Aed/Redr+n*Ac/Rcr+n*Af/Rfr)/Aesum                     (3.4)

где b - коэффициент, учитывающий дополнительные теплопотери, связанные с ориентацией ограждений по сторонам горизонта, с ограждениями угловых помещений, с поступлением холодного воздуха через входы в здание: для жилых зданий b = 1,13, для общественных - 1,1;

n - то же, что в формуле (3.2); для полов на грунте n = 0,5; для помещений, с температурой внутреннего воздуха tcint выше температуры наружного воздуха text, но ниже температуры внутреннего воздуха остальных помещений tint , и примыкающих к наружным ограждениям, в том числе теплых чердаков и подвалов, показатель n следует рассчитывать по формуле

n =(tint - tcint)/(tint - text)                                                   (3.5)

где tint, text, - то же, что в формуле (3.2); tcint - температура внутреннего воздуха помещения с температурой ниже tint;

Aw, AF, Aed, Ac, - площади соответственно стен, заполнений светопроемов (окон, фонарей), наружных дверей, витражей и ворот, перекрытий верхнего этажа, цокольных перекрытий, м2;

Rwr , RFr, Redr, Rfr, - приведенные сопротивления теплопередаче соответственно стен, заполнений светопроемов (окон, фонарей), наружных дверей, витражей и ворот, перекрытий верхнего этажа, цокольных перекрытий, м2×°С/Вт;

Aesum - то же, что в формуле (3.3).

3.5.3. Приведенный инфильтрационный (условный) коэффициент теплопередачи здания Kminf, Вт/(м2×°С), совокупности ограждающих конструкций здания следует определять по формуле

Kminf = 0,28 с пa bn Vh raht k / Aesum                                     (3.6)

где с - удельная теплоемкость воздуха, равная 1 кДж/(кг×°С);

пa - средняя кратность воздухообмена здания за отопительный период, 1/ч, принимаемая по нормам проектирования соответствующих зданий; для жилых зданий согласно СНиП 2.04.05-91* произведение пa*bn*Vh принимают равным 3* Ar,, где Ar - площадь жилых помещений, м2;

bn - коэффициент снижения объема воздуха в здании, учитывающих наличие внутренних ограждающих конструкций. При отсутствии данных принимать bn = 0,85;

Vh - то же, что и п. 3.5.1;

raht - плотность воздуха в помещении, кг/м3, равная 1,2;

k - коэффициент учета влияния встречного теплового в конструкциях, равный согласно СНиП 2.04.05-91* (изд. 1998 г.) 0,7 для стыков панелей стен и окон с тройными переплетами, 0,8 - для окон и балконных дверей с раздельными переплетами и 1,0- для одинарных окон, окон и балконных дверей со спаренными переплетами и открытых проемов;

Aesum - то же, что в формуле (3.3).

3.5.4. Общий коэффициент теплопередачи здания Km,-Вт/(м2×°С), определяется по формуле

Km = Kmtr + Kminf                                                       (3.7)

Km - приведенный трансмиссионный коэффициент теплопередачи здания, Вт/(м2×°С), определяемый согласно п. 3.5.2;

Kminf - приведенный инфильтрационный (условный) коэффициент теплопередачи здания, Вт/(м2×°С), определяемый согласно п. 3.5.3;

3.5.5 Общие теплопотери здания за отопительный период через наружные ограждающие конструкции Qhtn, кВт×ч, следует определять по формуле

Qhtn = 0,024 Km Dd Aesum                                               (3.8)

где - Km то же, что в п. 3.5.4;

Dd - градусосутки отопительного периода, принимаемые в зависимости от типа здания по табл. 3.2;

Aesum - то же, что в формуле (3.3).

3.5.6. Потребность в тепловой энергии на отопление здания в течение отопительного периода с учетом полного использования внутренних тепловыделений и теплопоступлений от солнечной радиации Qhy, кВт×ч, следует определять по формуле

Qhy = [Qhty - (Qinty + Qsy) n] bhl                                     (3.9)

где Qhty - общие теплопотери здания через наружные ограждающие конструкции, определяемые согласно п. 3.5.5;

Qinty - бытовые теплопоступления в течение отопительного периода, кВт×ч,

Qinty = 0,024 qint zht Ar                                                        (3.10)

qint - величина бытовых тепловыделений на 1 м2 площади пола жилых помещений, Вт/м2, принимаемая по расчету, но не менее 10 Вт/м2 для жилых и административных зданий;

zht - продолжительность отопительного периода, сут, принимаемая согласно п. 3.2.3;

Ar - отапливаемая площадь здания, м2, равная площади пола всех отапливаемых помещений здания; для жилых зданий - площадь жилых помещений;

Qsy - теплопоступления через окна от солнечной радиации в течение отопительного периода, кВт×ч/год

Qsy = tF kF (AF1 I1 + AF2 I2 + AF3 I3 + AF4 I4) + tscy kscy Ascy Ihor                (3.11)

tF, tscy - коэффициенты, учитывающие затенение светового проема соответственно окон и зенитных фонарей непрозрачными элементами заполнения, принимаемые по табл. 3.4,

kF, kscy - коэффициенты относительного проникания солнечной радиации соответственно для светопропускающих заполнений окон и зенитных фонарей, принимаемые по табл. 3.4,

AF1, AF2, AF3, AF4 - площадь светопроемов фасадов соответственно ориентированных по четырем направлениям, м2,

I1, I2, I3, I4- средняя за отопительный период интенсивность солнечной радиации на вертикальную поверхность светопроемов, соответственно ориентированных по четырем фасадам здания, кВт×ч/м2. Принимается по табл. 3.5 как сумма величин по месяцам за отопительный период;

Ihor - средняя за отопительный период интенсивность солнечной радиации на горизонтальную поверхность, кВт×ч/м2. Принимается по табл. 3.5 как сумма величин по месяцам за отопительный период;

v - коэффициент, учитывающий способность ограждающих конструкций помещений зданий аккумулировать или отдавать тепло,

v = 0,8;

bhl - коэффициент, учитывающий дополнительное теплопотребление системы отопления, связанное с дискретностью номинального теплового потока номенклатурного ряда отопительных приборов, с их дополнительными теплопотерями через зарадиаторные участки ограждений, теплопотерями трубопроводов, проходящих через неотапливаемые помещения: для многосекционных и других протяженных зданий bhl = 1,13, для зданий башенного типа bhl = 1,11;

3.5.7. Расчетный удельный расход тепловой энергии на отопление здания в холодный и переходный периоды года qhdes, кВт×ч/м2 , определяется по формуле:

qhdes = Qhy / Ah                                                    (3.12)

где Qhy - потребность в тепловой энергии на отопление здания за отопительный период, кВт×ч, определяемая согласно п. 3.5.6;

Ah - полезная площадь здания; для жилых зданий - общая площадь квартир.

Таблица 3.4

Значения коэффициентов затенения светового проема tF и tscy относительного проникания солнечной радиации kF и kscy соответственно окон и зенитных фонарей

№№ п.п.

Заполнение светового проема

Коэффициенты tF и tscy; kF и kscy

в деревянных или пластмассовых переплетах

в металлических переплетах

tF и tscy

kF и kscy

tF и tscy

kF и kscy

1

Двуслойное остекление с теплоотражающим покрытием на внутреннем стекле:

 

 

 

 

 

- двухслойные стеклопакеты в одинарных переплетах

0,8

0,57

0,9

0,57

 

- двойное остекление в спаренных переплетах

0,75

0,57

0,85

0,57

 

- двойное остекление в раздельных переплетах

0,65

0,57

0,8

0,57

2

Тройное остекление в раздельно - спаренных переплетах

0,5

0,83

0,7

0,83

3

Двухслойные стеклопакеты и одинарное остекление в раздельных переплетах

0,75

0,83

-

-

Таблица 3.5

Интенсивность суммарной (прямой и рассеянной) солнечной радиации на горизонтальную и вертикальные поверхности при действительных условиях облачности, кВт×ч/м2

Месяц

Гор. нов.

Вертикальные поверхности с ориентацией на

С

СВ/СЗ

B

ЮВ/ЮЗ

Ю

IX

80

-

31

60

90

100

Х

37

-

13

33

66

83

XI

16

-

-

17

43

59

XII

9

-

-

9

25

41

I

16

-

-

15

45

61

II

36

-

-

31

65

87

III

75

-

21

53

89

108

IV

108

18

39

80

98

106

За отопит. период

288

12

71

232

429

551

3.6. ПРОЦЕДУРА РАБОТЫ С РАЗДЕЛОМ 3 ПРИ ПРОЕКТИРОВАНИИ ТЕПЛОЗАЩИТЫ

3.6.1. Проектирование ограждающей оболочки здания на основе требований по теплозащите здания в целом выполняют в нижеприведенной последовательности:

а. Выбирают требуемые климатические параметры согласно подразделу 3.2;

б. Выбирают параметры воздуха внутри здания и условия комфортности согласно подразделу 3.2 и назначению здания;

в. Разрабатывают объемно-планировочное решение и рассчитывают его геометрические размеры;

г. Определяют согласно подразделу 3.3 требуемое значение удельного расхода тепловой энергии системы отопления здания qhreq в зависимости от типа здания и его этажности;

д. Определяют требуемые сопротивления теплопередаче R0req ограждающих конструкций (стен, покрытий (чердачных перекрытий), цокольных перекрытий, окон и фонарей, наружных дверей и ворот) согласно п. 3.3.3 исходя из минимально допустимых требований, и рассчитывают приведенные сопротивления теплопередаче R0r этих ограждающих конструкций, добиваясь выполнения условия R0r³ R0req.

Примечание. Для полносборных крупнопанельных и каркасно-панельных зданий допускается определять требуемое сопротивление теплопередаче наружных стен R0req по минимуму приведенных затрат, но не менее значений, установленных в табл. 1а СНиП II-3-79* (изд. 1998 г.) для первого этапа внедрения.

е. Назначают требуемый воздухообмен согласно СНиП 2.08.01-89*, СНиП 2.08.02-89*, МГСН 3.01-96, МГСН 4.06-96, МГСН 4.07-96;

ж. Проверяют принятые конструктивные решения наружных ограждений на удовлетворение требований прил. 3.2.

з. Рассчитывают согласно подразделов 3.3 и 3.5 удельный расход тепловой энергии системой отопления здания qhdes и сравнивают его с требуемым значением qhreq. Расчет заканчивают в случае, если расчетное значение меньше или равно требуемому;

и. Если расчетное значение qhdes больше требуемого qhreq, то осуществляют перебор вариантов до достижения предыдущего условия. При этом используют следующие возможности:

- изменение объемно-планировочного решения здания (размеров и формы),

- повышение уровня теплозащиты отдельных ограждений здания,

- выбор более эффективных систем отопления и вентиляции, и способов их регулирования,

- комбинирование предыдущих вариантов, используя принцип взаимозаменяемости.

3.6.2. Проектирование теплозащиты здания на основе поэлементных требований выполняют в нижеприведенной последовательности:

а. Начинают проектирование согласно позициям (а - в) п. 3.6.1;

б. Определяют согласно подразделу 3.4 требуемое сопротивление теплопередаче R0req ограждающих конструкций (наружных стен, покрытий (чердачных перекрытий), цокольных перекрытий, окон и фонарей, наружных дверей и ворот);

в. Разрабатывают или выбирают конструктивные решения наружных ограждений; при этом определяют их приведенное сопротивление теплопередаче R0r, добиваясь выполнения условия R0r ³ R0req;

г. Проверяют принятые конструктивные решения наружных ограждений на удовлетворение требований прил. 3.2.

д. Рассчитывают удельное энергопотребление системой отопления здания qhdes согласно подраздела 3.5.

3.6.3. Светопрозрачные ограждающие конструкции следует подбирать по следующей методике:

а. Требуемое сопротивление теплопередаче R0req светопрозрачных конструкций следует устанавливать согласно п. 3.3.6. При этом выбор светопрозрачной конструкции следует осуществлять по значению приведенного сопротивления теплопередаче R0r, полученному в результате сертификационных испытаний (выполненных аккредитованными Госстроем России испытательными лабораториями и включенных в сертификат соответствия изделия, выданный Госстроем России или аккредитованным Госстроем России ГУЛ «Мосстройсертификация»). Если приведенное сопротивление теплопередаче выбранной светопрозрачной конструкции R0r больше или равно R0req, то эта конструкция удовлетворяет требованиям норм.

б. При отсутствии сертифицированных данных допускается использовать при проектировании значения R0r, приведенные в прил. 6* СНиП II-3-79* (изд. 1998 г.). Значения R0r в этом приложении даны для случаев, когда отношение площади остекления к площади заполнения светового проема b равно 0,75. При использовании светопрозрачных конструкций с другими значениями b следует корректировать значение R0r следующим образом: для конструкций с деревянными или пластмассовыми переплетами при каждом увеличении b на величину 0,1 следует уменьшать значение R0r на 5 % и наоборот - при каждом уменьшении b на величину 0,1 следует увеличить значение R0r на 5 %.

в. При проверке требования по обеспечению минимальной температуры на внутренней поверхности светопрозрачных ограждений согласно п. 3.3.6 температуру tint этих ограждений следует определять согласно СНиП II-3-79* (изд. 1998 г.) как для остекления, так и непрозрачных элементов. Если в результате расчета окажется, что tint меньше 3 °С при расчетных условиях, то следует выбрать другое конструктивное решение заполнения светопроема с целью обеспечения этого требования.

г. Требуемое сопротивление воздухопроницанию Rareq , м2×ч/кг, светопрозрачных конструкций следует определяется по формуле

R0req = (1/G") (Dр/Dр0)2/3                                           (3.13)

где G" - нормативная воздухопроницаемость светопрозрачной конструкции, кг/(м2×ч), принимаемая по табл.12* СНиП II-3-79* (изд. 1998 г.) при Dp = 10 Па;

Dp - разность давлений воздуха на наружной и внутренней поверхности светопрозрачной конструкции, Па, определяемая согласно п. 5.2* СНиП II-3-79* (изд. 1998 г.), Dр0 = 10 Па - разность давлений воздуха на наружной и внутренней поверхности светопрозрачной конструкции, при которой определяется воздухопроницаемость сертифицируемого образца.

д. Сопротивление воздухопроницанию выбранного типа светопрозрачной конструкции Ra, м2×ч/кг, определяют по формуле

Ra = (1/Gs) (Dp/Dр0)n                                              (3.14)

где Gs - воздухопроницаемость светопрозрачной конструкции, кг/(м2×ч), при Dp = 10 Па, полученная в результате сертификационных испытаний;

n - показатель режима фильтрации светопрозрачной конструкции, полученный в результате сертификационных испытаний.

е. В случае Ra ³ Rareq выбранная светопрозрачная конструкция удовлетворяет требованиям СНиП II-3-79* (изд. 1998 г.) по сопротивлению воздухопроницанию.

В случае Ra < Rareq необходимо заменить светопрозрачную конструкцию и проводить расчеты по формуле (3.14) до удовлетворения требований СНиП II-3-79* (изд. 1998 г.).

3.6.4. Проверяют принятые конструктивные решения наружных ограждений на удовлетворение требований СНиП II-3-79* (изд. 1998 г.) по теплоустойчивости и паропроницаемости, обеспечивая, при необходимости, конструктивными изменениями выполнение этих требований.

3.6.5. Определяют категорию энергетической эффективности здания в соответствии с подразделом 3.7.

3.7. КОНТРОЛЬ КАЧЕСТВА И СЕРТИФИКАЦИЯ *)

*) - Раздел 3.7 разработан с учетом требований ГОСТ Р 1.0 и распоряжений первого заместителя Премьера Правительства Москвы от 19.06.97 № 636-РЗП, от 22.10.97 № 1100-РЗП и от 21.10.98 № 961-РЗП.

3.7.1. Контроль качества и соответствие теплозащиты зданий и отдельных его элементов настоящим нормам осуществляется путем экспериментального определения основных показателей на основе государственных стандартов на методы испытаний строительных материалов, конструкций и объектов в целом.

3.7.2. Сертификация элементов теплозащиты и всей системы теплозащиты здания в целом осуществляется на основании комплекта организационно-методических документов системы сертификации, утвержденного постановлением Госстандарта России от 17.03.98 № 11, включающего: РДС 10-231-93*; РДС 10-232-94*, а также: СНиП 10-01-94, "Номенклатуру продукции и услуг (работ), подлежащих обязательной сертификации в области строительства с 1 октября 1998 года», утвержденной постановлением Госстроя России от 29.04.98 № 18-43 «Об обязательной сертификации продукции и услуг (работ) в строительстве».

3.7.3. Определение теплофизических показателей (теплопроводности, теплоусвоения, влажности, сорбционных характеристик, паропроницаемости, водопоглощения, морозостойкости) материалов теплозащиты производится в соответствии с требованиями федеральных стандартов: ГОСТ 7076-87, ГОСТ 30256-94, ГОСТ 30290-94, ГОСТ 23250-78, ГОСТ 25609-83, ГОСТ 21718-84, ГОСТ 24816-81, ГОСТ 25898-83, ГОСТ 7025-91, ГОСТ 17177-87.

3.7.4. Определение теплотехнических характеристик (сопротивления теплопередаче и воздухопроницанию, теплоустойчивости, теплотехнической однородности) отдельных конструктивных элементов теплозащиты выполняют в натурных условиях, либо в лабораторных условиях в климатических камерах, а также методами математического моделирования температурных полей на ЭВМ, согласно требований следующих стандартов: ГОСТ 26253-84, ГОСТ 26254-84, ГОСТ 26602-85, ГОСТ 25891-83, ГОСТ 25380-82, ГОСТ 26629-85.

3.7.5. Согласно ГОСТ Р 1.0 и СНиП 10-01-94* сертификации подлежат здания, построенные по проектам повторного применения, индустриально изготавливаемые здания и типовые индустриальные ограждающие конструкции для этих зданий с целью установления их соответствия нормативным требованиям и присвоения зданию категории энергетической эффективности.

3.7.6. Категория энергетической эффективности здания присваивается по данным натурных теплотехнических испытаний после гарантийного периода, установленного ВСН 58-88(р). Присвоение категории уровня эффективности теплозащиты производится по степени снижения/повышения удельного расхода энергии на отопление здания в сравнении со стандартным по данным нормам в соответствии с табл. 3.6.

Таблица 3.6

Категории энергетической эффективности зданий

Категория энергетической эффективности здания

Степень снижения удельного расхода энергии за отопительный период, %

Пониженная

плюс 15 и более

Стандартная

от плюс 14 до минус 14

Повышенная

от минус 15 до 29

Высокая

от минус 30 до 49

Очень высокая

от минус 50 и более

3.8. СОСТАВ И СОДЕРЖАНИЕ РАЗДЕЛА ПРОЕКТА "ЭНЕРГОЭФФЕКТИВНОСТЬ"

3.8.1 Общие положения

3.8.1.1. Проект здания должен содержать раздел "Энергоэффективность". В этом разделе должны быть представлены сводные показатели энергоэффективности проектных решений в соответствующих частях проекта здания. Сводные показатели энергоэффективности должны быть сопоставлены с нормативными показателями. Указанный раздел выполняется на утверждаемых стадиях предпроектной и проектной документации.

3.8.1.2. Разработка раздела "Энергоэффективность" проекта здания осуществляется за счет средств заказчика.

3.8.1.3. При необходимости к разработке раздела "Энергоэффективность" заказчиком и проектировщиком привлекаются соответствующие специалисты и эксперты из других организаций.

3.8.1.4. Мосгосэкспертиза должна осуществлять проверку соответствия данному стандарту предпроектной и проектной документации в составе комплексного заключения.

3.8.2 Содержание раздела "Энергоэффективность"

3.8.2.1. Раздел "Энергоэффективность" должен содержать Энергетический Паспорт здания и информацию о присвоении Категории энергетической эффективности здания в соответствии с подразделом 3.7 настоящих норм.

3.8.2.2. Пояснительная записка раздела должна содержать:

• общую энергетическую характеристику запроектированного здания;

• сведения о проектных решениях, направленных на повышение эффективности использования энергии:

- описание технических решений ограждающих конструкций с расчетом приведенного сопротивления теплопередаче (за исключением светопрозрачных) с приложением протоколов теплотехнических испытаний, подтверждающих принятые расчетные теплофизические показатели строительных материалов, отличающихся от СНиП II-3-79* (изд. 1998 г.), и сертификата соответствия для светопрозрачных конструкций;

- принятые виды пространства под первым и над последним этажами с указанием температур внутреннего воздуха, принятых в расчет, наличие мансардных этажей, используемых для жилья, тамбуров входных дверей и отопления вестибюлей, остекления лоджий;

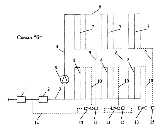
- принятые системы отопления, горячего и холодного водоснабжения, вентиляции и кондиционирования воздуха, сведения о наличии приборов учета и регулирования, обеспечивающих эффективное использование энергии; принципиальную схему подключения систем отопления и горячего водоснабжения к тепловым сетям с нанесением приборов автоматического регулирования подачи и учета тепловой энергии и воды;

- специальные приемы повышения энергоэффективности здания: устройства по пассивному использованию солнечной энергии, системы утилизации тепла вытяжного воздуха, теплоизоляция трубопроводов отопления и горячего водоснабжения, проходящих в холодных подвалах, применение тепловых насосов и прочее;

- принятые системы электро- и газоснабжения с указанием типа бытовых кухонных плит, наличия устройств управления и регулирования освещением, автоматизированных систем учета:

• информацию о выборе и размещении источников энергоснабжения для объекта. В необходимых случаях приводится технико-экономическое обоснование энергоснабжения от автономных источников вместо централизованных;

• сопоставление проектных решений и технико-экономических показателей в части энергопотребления с требованиями данных норм;

заключение.

ПРИЛОЖЕНИЕ 3.1

ОСНОВНЫЕ ТЕРМИНЫ И ИХ ОПРЕДЕЛЕНИЯ

Термин

Обозначение

Характеристика термина

Размерность единицы величины

1

2

3

4

1. Общие положения

1.1. Теплозащита зданий

-

Свойство совокупности ограждающих конструкций, образующих замкнутый объем внутреннего пространства здания, сопротивляться переносу теплоты между помещениями и наружной средой, а также между помещениями с различной температурой воздуха

-

1.2. Тепловой режим здания

-

Совокупность всех факторов и процессов, определяющих тепловой режим помещений здания

-

1.3. Теплопроводность

-

Свойство материала конструкции переносить теплоту под действием разности (градиента) температур на ее поверхностях

-

1.4. Конвективный теплообмен

-

Перенос теплоты с поверхности (на поверхность) ограждающей конструкции омывающим ее воздухом или жидкостью

-

1.5. Лучистый теплообмен

-

Перенос теплоты с поверхности (на поверхность) конструкции за счет электромагнитного излучения

-

1.6. Теплоотдача (тепловосприятие)

-

Перенос теплоты с поверхности конструкции в окружающую среду за счет конвективного и лучистого теплообмена

-

1.7. Теплопередача

-

Перенос теплоты через ограждающую конструкцию от взаимодействующей с ней среды с более высокой температурой к среде с другой стороны конструкции с более низкой температурой

-

1.8. Теплоусвоение поверхности конструкции

-

Свойство поверхности ограждающей конструкции поглощать или отдавать теплоту

-

1.9. Инфильтрация

-

Перемещение воздуха через материал и неплотности ограждающих конструкций вследствие ветрового и гравитационного напоров, формируемых разностью температур и давлений воздуха снаружи и внутри помещений

-

1.10. Тепловой поток

Q

Количество теплоты, проходящее через конструкцию или среду в единицу времени

Вт

1.11. Относительная влажность воздуха

j

Отношение парциального давления водяного пара, содержащегося в воздухе при данной температуре, к давлению насыщенного водяного пара при той же температуре

%

1.12. Теплоемкость

с

Количество теплоты, пере-панное. массе материала при повышении егЬ температуры на один градус Цельсия

кДж/°С

1.13. Удельная теплоемкость

c0

Отношение теплоемкости материала к его массе

кДж/(кг×°С)

1.14. Градусо-сутки

Dd

Показатель, равный произведению разности температуры внутреннего воздуха и средней температуры наружного воздуха за отопительный период на продолжительность отопительного периода

°С×сут

2. Материалы конструкции

2.1. Коэффициент теплопроводности материала

l

Величина, численно равная плотности теплового потока, проходящего в изометрических условиях через слой материала толщиной в 1м при разности температур на его поверхностях один градус Цельсия

Вт/(м×°С)

2.2. Коэффициент теплоусвоерия материала конструкции

sm

Величина, численно равная квадратному корню из произведения круговой частоты колебания температуры, коэффициента теплопроводности и плотности

Вт/(м2×°С)

2.3. Плотность материала

g

Отношение массы материала к его объему

кг/м3

2.4. Плотность сухого материала

g0

Отношение массы сухого материала к занимаемому им объему

кг/м3

2.5. Плотность влажного материала

gw

Отношение массы материала, включая массу влаги в его порах, к занимаемому этим материалом объему

кг/м3

2.6. Относительная массовая влажность. материала

w

Отношение массы влаги к массе материала в сухом состоянии

-

2.7. Сорбционная влажность материала

ws

Равновесная относительная влажность материала в воздушной среде с постоянной относительной влажностью и температурой

-

2.8. Коэффициент поглощения тепла солнечной радиации

b

Отношение теплового потока, поглощенного поверхностью материала, к падающему на нее потоку солнечной радиации

-

2.9. Коэффициент излучения поверхности

e

Отношение величины теплового излучения единицей поверхности конструкции к величине теплового излучения единицей поверхности абсолютно черного тела при одинаковой температуре

-

2.10. Коэффициент паропроницоемости материала

m

Величина, равная плотности стационарного потока водяного пара, проходящего в изотермических условиях через слой материала толщиной в один метр в единицу времени при разности парциального давления в один Паскаль

мг/(м×ч×Па)

3. Ограждающие конструкции здания

3.1. Теплоустойчивость ограждающей конструкции

-

Свойство ограждающей конструкции, определяемое отношением амплитуды колебаний температуры внутренней поверхности и амплитуды теплового потока при гармонических колебаниях

-

3.2. Воздухопроницаемость ограждающей конструкции

-

Свойство ограждающей конструкции пропускать воздух под действием разности давлений на наружной и внутренней поверхностях

-

3.3. Паропроницаемость ограждающей конструкции

-

Свойство материалов ограждающей конструкции пропускать влагу под действием разности парциальных давлений водяного пара на ее наружной и внутренней поверхностях

-

3.4. Коэффициент теплообмена (тепловосприятия или теплоотдачи)

aint

aext

Величина, численно равная тепловому потоку между поверхностью конструкции и окружающей средой, равная поверхностной плотности теплового потока при перепаде температур между поверхностью и окружающей средой в один градус Цельсия соответственно для внутренней и наружной поверхностей

Вт/(м2×°С)

3.5. Сопротивление теплообмену (теплоотдаче или тепловосприятию)

Rint

Rext

Величина, обратная коэффициенту теплообмена

м2×°С/Вт

3.6. Коэффициент теплопередачи ограждающей конструкции (трансмиссионный)

ktr

Величина численно равная поверхностной плотности теплового потока, проходящего через ограждающую конструкцию при разности внутренней и наружной температур воздуха в один градус Цельсия

Вт/(м2×°С)

3.7. Термическое сопротивление слоя ограждающей конструкции

R

Величина, обратная поверхностной плотности теплового потока, проходящего через слой материала ограждающей конструкции при разности температур на его поверхностях в один градус Цельсия

м2×°С/Вт

3.8. Термическое сопротивление ограждающей конструкции

 

Сумма термических сопротивлений всех слоев материалов ограждающей конструкции

м2×°С/Вт

3.9. Сопротивление теплопередаче ограждающей конструкции

R0

Величина обратная коэффициенту теплопередачи ограждающей конструкции

м2×°С/Вт

3.10. Приведенный коэффициент теплопередачи ограждающей конструкции

kr

Средневзвешенный коэффициент теплопередачи теплотехнически неоднородной ограждающей конструкции

Вт/(м2×°С)

3.11 Приведенный трансмиссионный коэффициент теплопередачи здания

Kmtr

Величина, численно равная среднему кондуктивному тепловому потоку, приходящемуся на единицу площади ограждающей оболочки здания при разности внутренней и наружной температур воздуха в один градус Цельсия

Вт/(м2×°С)

3.12. Приведенный (условный) инфильтрационный коэффициент теплопередачи здания

Kminf

Условный коэффициент теплопередачи (воздух-воздух) за счет переноса тепла воздухом, фильтрующимся через оболочку здания

Вт/(м2×°С)

3.13. Приведенное сопротивление теплопередаче ограждающей конструкции

Rr

Величина, обратная приведенному коэффициенту теплопередачи ограждающей конструкции

м2×°С/Вт

3.14. Коэффициент теплоусвоения поверхности конструкции

Y

Отношение амплитуды гармонических колебаний поверхностной плотности теплового потока к амплитуде колебаний температуры этой поверхности

Вт/(м2×°С)

3.15. Воздухопроницаемость ограждающей конструкции

G

Величина, численно равная массовому потоку воздуха через единицу площади поверхности ограждающей конструкции в единицу времени при постоянной разности давлений воздуха на ее поверхностях

кг/(м2×ч)

3.16. Коэффициент воздухопроницаемости ограждающей конструкции

i

Воздухопроницаемость ограждающей конструкции, приходящаяся на один Па разности давлений на ее поверхностях

кг/(м2×ч×Па)

3.17. Сопротивление воздухопроницанию ограждающей конструкции

Ra

Величина, обратная коэффициенту воздухопроницаемости ограждающей конструкции

м2×ч×Па/кг

3.18. Сопротивление паропроницанию ограждающей конструкции

Rvr

Величина, обратная потоку водяного пара, проходящего через единицу площади ограждающей конструкции в изотермических условиях в единицу времени при разности парциальных давлений внутреннего и наружного воздуха в один Паскаль

м2×ч×Па/мг

3.19. Общий коэффициент теплопередачи здания

Кm

Величина, равная сумме приведенного трансмиссионного и приведенного инфильтрационного коэффициентов теплопередачи здания

Вт/(м2×°С)

3.20. Тепловая инерция ограждающей конструкции

D

Величина, численно равная сумме произведений термических сопротивлений отдельных слоев ограждающей конструкции на коэффициенты теплоусвоения материала этих слоев

-

3.21. Коэффициент остекленности фасада здания

b

Отношение площади вертикального остекления к общей площади наружных стен

-

3.22. Коэффициент компактности здания

kedes

Отношение общей площади поверхности наружных ограждающих конструкций здания к заключенному в них отапливаемому объему здания

1/м

4. Показатели эффективности

4.1. Здание с эффективным использованием энергии

 

Здание и оборудование, использующее тепловую энергию для поддержания в здании нормируемых параметров, должны быть спроектированы и возведены таким образом, чтобы было обеспечено заданное энергосбережение, и чтобы здание и названное оборудование использовалось так, чтобы было обеспечено это энергосбережение

 

4.2. Потребность в тепловой энергии на отопление здания в течение отопительного. периода

Qhy

Количество теплоты за отопительный период, необходимое для поддержания в здании нормируемых параметров

кВт×ч

4.3. Расчетный удельный расход тепловой энергии на отопление здания в течение отопительного периода

qhdes

Количество теплоты за отопительный период, необходимое для поддержания в здании нормируемых параметров, отнесенное к единице общей отапливаемой площади здания

кВт×ч/м2

4.4. Требуемый удельный расход тепловой энергии на отопление здания за отопительный период

qhreq

Нормируемое значение удельного расхода тепловой энергии на отопление здания в течение отопительного периода

кВт×ч/м2

ПРИЛОЖЕНИЕ 3.2

Выбор конструктивных, объемно - планировочных и архитектурных решений, обеспечивающих необходимую теплозащиту зданий

1. При проектировании теплозащиты зданий различного назначения следует применять, как правило, типовые конструкции и изделия полной заводской готовности, в том числе конструкции комплектной поставки, со стабильными теплоизоляционными свойствами, достигаемыми применением эффективных теплоизоляционных материалов с минимумом теплопроводных включений и стыковых соединений в сочетании с надежной гидроизоляцией, не допускающей проникновения влаги в жидкой фазе и максимально сокращающей проникновение водяных паров в толщу теплоизоляции.

2. Для наружных ограждений следует предусматривать, как правило, многослойные конструкции. Для обеспечения лучших эксплуатационных характеристик в многослойных конструкциях зданий с теплой стороны следует располагать слои большей теплопроводности и увеличенным сопротивлением паропроницанию.

3. Тепловую изоляцию наружных стен следует стремиться проектировать непрерывной в плоскости фасада здания. Такие элементы ограждений, как внутренние перегородки, колонны, балки, вентиляционные каналы и другие, не должны нарушать сплошности слоя теплоизоляции. Воздуховоды, вентиляционные каналы и трубы, которые частично проходят в толще наружных ограждений, следует заглублять до теплой поверхности теплоизоляции. Следует обеспечить плотное примыкание теплоизоляций к сквозным теплопроводным включениям. При этом приведенное сопротивление теплопередаче конструкции с теплопроводными включениями должно быть не менее требуемых величин.

4. При проектировании трехслойных панелей толщина утеплителя, как правило, должна быть не более 200 мм. В трехслойных бетонных панелях следует предусматривать конструктивные или технологические мероприятия, исключающие попадание раствора в стыки между плитами утеплителя, по периметру окон и самих панелей.

5. При наличии в конструкции теплозащиты теплопроводных включений необходимо учитывать следующее:

- несквозные включения целесообразно располагать ближе к теплой стороне ограждения;

- в сквозных, главным образом, металлических включениях (профилях, стержнях, болтах, оконных рамах) следует предусматривать вставки (разрывы мостиков холода) из материалов с коэффициентом теплопроводности не выше 0,35 Вт/(м2×°С).

6. Коэффициент теплотехнической однородности наружных ограждающих конструкций должен быть не менее нормативных величин, установленных в табл. СНиП II-3-79* (изд. 1998 г.). Значение коэффициента r определяют на основе расчета температурных полей или экспериментально. Если в проектируемой конструкции ограждения достигнуть нормативных величин r не удается, то такую конструкцию следует снять с дальнейшего проектирования.

7. Для повышения уровня теплозащиты наружных ограждений целесообразно введение в их конструкцию замкнутых воздушных прослоек. При проектировании замкнутых воздушных прослоек рекомендуется руководствоваться следующими рекомендациями:

- размер прослойки по высоте не должен быть более высоты этажа и не более 6 м, размер по толщине - не менее 60 мм и не более 100 мм; допускается толщина воздушной прослойки 40 мм в случае обеспечения гладких поверхностей внутри прослойки;

- воздушные прослойки рекомендуется располагать ближе к холодной стороне ограждения.

8. При проектировании стен с вентилируемой воздушной прослойкой (стены с вентилируемым фасадом) следует руководствоваться следующими рекомендациями:

- воздушная прослойка должна быть толщиной не менее 60 и не более 150 мм и ее следует размещать между наружным слоем и теплоизоляцией;

- поверхность теплоизоляции, обращенную в сторону прослойки следует закрывать стеклосеткой с ячейками не более 4´4 мм или стеклотканью;

- наружный слой стены должен иметь вентиляционные отверстия, площадь которых определяется из расчета 7500 мм2 на 20 м2 площади стен, включая площадь окон;

- нижние (верхние) вентиляционные отверстия, как правило, следует совмещать с цоколями (карнизами), причем для нижних отверстий предпочтительно совмещение функций вентиляции и отвода влаги.

9. При проектировании новых и реконструкции существующих зданий, как правило, следует применять теплоизоляцию из эффективных материалов (с коэффициентом теплопроводности не более 0,1 Вт/(м×°С)), размещая ее с наружной стороны ограждающей конструкции. Как правило, не следует применять теплоизоляцию с внутренней стороны.

10. Все притворы окон и балконных дверей должны содержать уплотнительные прокладки (не менее двух) из силиконовых материалов или морозостойкой резины.

Допускается применение двухслойного остекления вместо трехслойного в случаях:

а) применения внутренних стекол с теплоотражающим селективным покрытием, обращенным внутрь межстекольного пространства;

б) для окон и балконных дверей, выходящих внутрь остекленных лоджий.

11. Оконные коробки в деревянных или пластмассовых переплетах независимо от слоев остекления следует размещать в оконном проеме на глубину четверти от плоскости фасада теплотехнически однородной стены или посередине теплоизоляционного слоя в многослойных конструкциях стен. Оконные блоки следует закреплять на более прочном (наружном или внутреннем) слое стены.

12. При проектировании зданий следует предусматривать защиту внутренней и наружной поверхностей стен от воздействия влаги и атмосферных осадков устройством облицовки или штукатурки, окраски водоустойчивыми составами, выбираемыми в зависимости от материала стен и условий эксплуатации.

Ограждающие конструкции, контактирующие с грунтом, следует предохранять от грунтовой влаги путем устройства гидроизоляции согласно п. 1.4 СНиП II-3-79* (изд. 1998 г.).

При устройстве мансардных окон следует предусматривать надежную в эксплуатации гидроизоляцию примыкания кровли к оконному блоку,

13. В целях сокращения расхода теплоты на отопление зданий в холодный и переходный периоды года следует предусматривать:

а) объемно-планировочные решения, обеспечивающие наименьшую площадь наружных конструкций для зданий одинакового объема, размещение более теплых и влажных помещений у внутренних стен здания;

6) блокирование зданий;

в) устройство тамбурных помещений за входными дверями в многоэтажных зданиях;

г) как правило, меридианальную или близкую к ней ориентацию продольного фасада здания;

д) рациональный выбор эффективных теплоизоляционных материалов с предпочтением материалов меньшей теплопроводности;

е) конструктивные решения равноэффективных в теплотехническом отношении ограждающих конструкций, обеспечивающие их высокую теплотехническую однородность (с коэффициентом теплотехнической однородности r равным 0,7 и более);

ж) эксплуатационно надежную герметизацию стыковых соединений и швов наружных ограждающих конструкций и элементов, а также межквартирных ограждающих конструкций.

14. При разработке объемно-планировочных решений следует избегать размещения окон по обеим наружным стенам угловых комнат.

4. ТЕПЛОВОДОСНАБЖЕНИЕ ЖИЛЫХ МИКРОРАЙОНОВ И ЗДАНИЙ

4.1. ОБЛАСТЬ ПРИМЕНЕНИЯ

4.1.1. Настоящие нормы предназначены для обеспечения эффективного использования энергетических ресурсов в системах тепловодоснабжения.

4.1.2. Нормы распространяются на проектирование систем тепловодоснабжения вновь возводимых и реконструируемых жилых микрорайонов и зданий.

4.2 ОБЩИЕ ПОЛОЖЕНИЯ ПО ТЕПЛОВОДОСНАБЖЕНИЮ

4.2.1. Теплоснабжение зданий может осуществляться:

а) системой распределительных трубопроводов, подключаемых непосредственно к городским теплопроводам и сетям водопровода;

б) системой распределительных трубопроводов, подключаемых к центральным тепловым пунктам (ЦТП).

Выбор технического решения осуществляется на основании технико-экономического сопоставления вариантов.

4.2.2. Общественные здания, располагающиеся в микрорайонах, обслуживаемых от ЦТП, с тепловой нагрузкой на вентиляцию, превышающей тепловую нагрузку на отопление (школы, поликлиники, универсамы, кинотеатры, предприятия коммунально-бытового назначения) и отдельные здания, этажность которых существенно отличается от этажности остальных зданий, как правило, подключаются непосредственно к распределительным трубопроводам городских сетей согласно п. 4.2.1"а".

4.2.3. При соответствующем технико-экономическом обосновании здания могут быть обеспечены теплоснабжением от индивидуальных, автономных источников тепла, в том числе и от газовых котельных в крышном исполнении.

4.2.4. При тепловодоснабжении по п. 4.2.1"а" в зданиях предусматривается устройство индивидуальных тепловых пунктов (ИТП). При этом установка повысительных насосов систем водоснабжения осуществляется в соответствии с п. 4.4.6.

При тепловодоснабжении по п. 4.2.1."б" для систем отопления в зданиях предусматривается устройство автоматизированных узлов управления (АУУ) или узлов управления (УУ) в соответствии с требованиями п. 4.3.2 и п. 4.3.3.

4.2.5. В ИТП следует предусматривать установку оборудования, обеспечивающего:

- нагрев и циркуляцию воды, подаваемой в системы отопления, вентиляции и горячего водоснабжения при поддержании необходимого статического давления;

- автоматическое поддержание температуры воды в системах горячего водоснабжения и отопления (на здание в целом или пофасадно) по отопительному графику и ограничение максимального расхода воды из тепловой сети;

- учет суммарных расходов тепла и сетевой воды в системах отопления, вентиляции и горячего водоснабжения и раздельного учета водоразбора в системах холодного и горячего водоснабжения.

4.2.6. В АУУ следует предусматривать оборудование, обеспечивающее:

- насосную циркуляцию воды, подаваемой в систему отопления здания;

- автоматическое смешение подающей и обратной воды для обеспечения требуемой температуры воды (по отопительному графику для здания), подаваемой в системы отопления;

- автоматическое поддержание требуемого перепада давлений в подающем и обратном трубопроводах систем отопления;

- учет расхода тепла в системах отопления.

4.2.7. Прокладки транзитных трубопроводов тепло- и водоснабжения по подвалам или техподпольям зданий допускаются при соответствующем обосновании. При этом не допускается подключение к ним секционных систем отопления и водоснабжения. Вводы трубопроводов тепло- водоснабжения в зданиях следует, как правило, располагать наиболее близко друг от друга (в одном или смежных помещениях - узлах ввода).

При отсутствии ИТП следует устанавливать приборы учета расхода тепла и воды в узлах ввода в здание на каждом подающем трубопроводе систем отопления и вентиляции и учета расхода воды на подающем и циркуляционном трубопроводах системы горячего водоснабжения и на каждом подающем трубопроводе ввода системы холодного водопровода. При наличии АУУ приборы учета тепла на отопление переносятся из узла ввода в АУУ.

4.2.8. В квартирах жилых домов следует предусматривать приборы учета холодной и горячей воды, а при проектировании поквартирных систем отопления и приборы учета расхода тепла на отопление.

В случае, когда конструкция системы отопления не позволяет осуществлять поквартирный учет расхода тепла на отопление, на каждом отопительном приборе допускается установка приборов относительного измерения потребленного тепла испарительного, электронного или другого типа. При этом установка теплосчетчика на систему отопления в целом на здание обязательна.

4.2.9. Системы отопления встроенно-пристроенных помещений общественного назначения, размещаемых в нижних этажах многоэтажных жилых зданий с ИТП, рекомендуется подключать к тепловым сетям отдельно от основной системы отопления.

На самостоятельных системах отопления, вентиляции и водоснабжения следует устанавливать приборы учета расхода тепла и воды.

4.3. ТЕПЛОСНАБЖЕНИЕ И ОТОПЛЕНИЕ ЗДАНИЙ

4.3.1. В системах отопления зданий надлежит предусматривать автоматическое регулирование отопительных приборов путем установки термостатов. Допускается не предусматривать установку термостатов в помещениях лестнично-лифтовых узлов.

4.3.2. Системы отопления зданий подключаются к источникам теплоснабжения через ИТП согласно п. 4.2.1"а" или АУУ согласно п. 4.2.1 "б".

4.3.3. При наличии системы распределительных трубопроводов от ЦТП допускается подключение систем отопления с термостатами через узлы управления (УУ). При этом должно быть обеспечено, чтобы работа термостатов не вызывала отклонений температуры воды, подаваемой в систему отопления, от требуемой по температурному графику, что должно достигаться установкой:

- регулятора перепада давления в УУ для двухтрубных систем отопления, подключаемых к распределительным сетям с расчетной температурой теплоносителя, равной температуре воды в системе отопления;

- элеватора с регулируемым сечением сопла (при наличии в паспорте регулируемого элеватора расходной характеристики, подтверждающей качественное выполнение проточной части) для однотрубных и двухтрубных систем отопления, подключаемых к распределительным сетям с расчетной температурой теплоносителя выше температуры воды в системе отопления.

Во всех случаях должно быть обеспечено поддержание температуры теплоносителя в распределительных сетях от ЦТП строго по температурному графику.

4.3.4. При осуществлении пофасадного регулирования для каждых из пофасадных систем отопления следует предусматривать установку отдельных водонагревателей, насосов или элеваторов с изменяющимся сечением сопла.

4.3.5. В многосекционных жилых зданиях, как правило, следует предусматривать устройство одного или двух ИТП или АУУ на весь дом с подключением к ним всех секционных систем отопления. При пофасадном разделении секционных систем отопления количество ИТП или АУУ следует определять по ориентации отдельных частей здания.

4.3.6. Циркуляционные насосы отопления, осуществляющие одновременно подмешивание воды в АУУ или ИТП (при зависимом присоединении), следует устанавливать, как правило, на обратном или подающем трубопроводах систем отопления, с учетом поддержания необходимого статического давления в системах отопления.

При необходимости снижения статического давления по сравнению с давлением в обратном трубопроводе сетевой воды, клапаны регуляторов температуры воды и перепада давлений устанавливаются на подающем трубопроводе сетевой воды.

Для поддержания статического давления в системе, равного давлению в подающем трубопроводе сетевой воды, клапаны регулятора температуры и перепада давления следует устанавливать на обратном трубопроводе сетевой воды, выполняя одновременно функции регулятора подпора.

4.3.7. В системах отопления с зависимым присоединением при установке насоса смешения на перемычке между подающим и обратным трубопроводами тепловой сети рекомендуется применять электродвигатель насоса с регулируемым приводом для поддержания заданного перепада давления между этими трубопроводами.

4.3.8. В системах водяного отопления общественных зданий с периодическим пребыванием в них людей следует, как правило, предусматривать автоматическое снижение теплоотдачи системы отопления и выключения системы горячего водоснабжения в нерабочие часы, а также в выходные и праздничные дни.

4.3.9. Для аварийного периода, при сокращении источником отпуска тепла, следует предусматривать возможность автоматического прекращения подачи сетевой воды в водонагреватель второй ступени или полное отключение горячего водоснабжения.

4.4 ВОДОСНАБЖЕНИЕ

4.4.1. В системе хозяйственно-питьевого водопровода гидростатический напор на отметке наиболее низко расположенного санитарно-технического прибора не должен превышать 40 м вод. ст., а для зданий проектируемых в сложившейся застройке - 60 м вод.ст.

Гидростатический напор на отметке наиболее низко расположенного пожарного крана в системе раздельного противопожарного водопровода, а также в схемах, где пожарные стояки используются для подачи транзитных хозяйственно-питьевых расходов воды на верхний этаж (схема с верхней разводкой) не должен превышать 90 м. вод.ст. для двух зонных систем в режиме пожаротушения.

4.4.2. Допускается устройство однозонных систем холодного и горячего водопровода в зданиях до 17 этажей при установке в них квартирных регуляторов давления на подводках к водоразборной арматуре.

4.4.3. Здания, проектируемые в районах со сложившейся застройкой, где ранее построенные здания присоединены к однозонным ЦТП, разрешается подсоединять к существующим сетям холодного и горячего водоснабжения при привязке проектов последних зданий, которыми заканчивается застройка района или микрорайона с обязательной установкой квартирных регуляторов давления в проектируемых зданиях.

4.4.4. При капитальном ремонте или реконструкции зданий гидростатические напоры не должны превышать величин указанных в п. 4.4.1.

4.4.5. Здания с устройством спринклерной системы пожаротушения или с раздельным противопожарным водопроводом должны подключаться непосредственно к городским водопроводным сетям.

4.4.6. Допускается располагать подкачивающие насосные установки холодной воды в пристройке к зданию при невозможности размещения их в ЦТП или ИТП.

4.4.7. Проектирование внутриплощадных водопроводных сетей после ЦТП в непроходных каналах не допускается.

4.4.8. При проектировании внутренних систем водопровода следует:

а) исходить из удельного водопотребления в жилых зданиях согласно СНиП 2.04.01-85*.

б) предусматривать:

- установку насосных агрегатов с регулируемым приводом (изменяющим числом оборотов двигателя);

- установку водосберегающей водоразборной и наполнительной арматуры преимущественно с керамическим запорным узлом;

- выполнение комплекса мероприятий по регулированию давления воды в системах водоснабжения жилых и общественных зданий;

- регулирующие емкости для водоснабжения зданий при условии обеспечения контроля качества воды в них эксплуатационными службами и органами санитарно-эпидемиологического надзора.

4.4.9. При проектировании двухзонных систем горячего водоснабжения допускается вместо циркуляционных насосов нижних зон применять гидроструйные насосы - элеваторы.

Принципиальные схемы применения элеваторов приведены на рис. 4.1.

Рис. 4.1. Принципиальная схема двухзонной системы горячего водоснабжения с элеваторным побуждением циркуляции в нижней зоне.

Схемы: "а" - с общим элеватором; "б" - с элеватором в каждой секции.

1, 2 - водонагреватель первой и второй ступени; 3 - подающий трубопровод нижней зоны; 4 - главный стояк верхней зоны; 5 - повысительно-циркуляционный насос верхней зоны; 7, 8 - водоразборные стояки верхней и нижней зон; 9, 10 - циркуляционные стояки верхней и нижней зон; 11, 12 - циркуляционные сборные трубопроводы нижней и верхней зон; 13 - элеватор; 14 - общий циркуляционный трубопровод; 15 - грязевик.

ПРИЛОЖЕНИЕ 4.1

ОСНОВНЫЕ ТЕРМИНЫ И ИХ ОПРЕДЕЛЕНИЯ

Термин

Определение

4.1. Центральный тепловой пункт (ЦТП)

Пункт подключения систем тепловодоснабжения микрорайона (группы зданий) к распределительным сетям городской тепловой сети и водопровода, управления системами отопления, теплоснабжения вентиляционных установок, водоснабжения и учета количества отпущенной тепловой энергии, теплоносителя и воды

4.2. Индивидуальный тепловой пункт (ИТП)

Пункт подключения и управления системами отопления, теплоснабжения вентиляционных установок и водоснабжения отдельного здания к распределительным сетям городской тепловой сети и водопровода, управления этими системами и учета тепловой энергии, теплоносителей и воды

4.3. Автоматизированный узел управления (АУУ)

Узел подключения системы отопления здания к распределительным сетям от ЦТП с автоматическим управлением и насосным подмешиванием

4.4. Узел управления (УУ)

Узел подключения системы отопления здания (блок-секции) к распределительным сетям от ЦТП при непосредственном присоединении или с элеваторным подмешиванием

4.5. Узел ввода в здание

Узел ввода трубопроводов тепловодоснабжения в здание, в котором при отсутствии ИТП устанавливаются отсекающие задвижки и приборы учета тепловой энергии, теплоносителя и воды

4.6. Насосные установки холодной воды

Установки подкачивающих насосов холодного водопровода на одно здание или группу зданий, размещаемые в отдельно стоящем здании или пристройке к зданию, в условиях отсутствия ЦТП или недостаточности площади для их размещения в нем

5. ТЕПЛОТЕХНИЧЕСКИЕ ПОКАЗАТЕЛИ ЭНЕРГОЕМКОСТИ ЗДАНИЯ

5.1. Потребность в тепловой энергии на отопление здания

5.1.1. Расчетную температуру наружного воздуха text при проектировании систем отопления и вентиляции следует принимать согласно п. 3.2.1.

5.1.2. Расчетную температуру внутреннего воздуха tinth при проектировании систем отопления следует принимать по нормам на рассматриваемые здания.

5.1.3. Расчетный часовой расход тепловой энергии на отопление здания Qh, кВт, определяется по формуле

Qh = (Qht + Qinf - Qint)× bhl                                        (5.1)

где Qht - трансмиссионные теплопотери через оболочку здания, определяемые по формуле, кВт;

Qht = Kmtr (tinth - text) Aesum 10-3                                    (5.2)

Kmtr - приведенный трансмиссионный коэффициент теплопередачи здания, определяемый согласно п. 3.5.2, Вт/(м2×°С);

Aesum - общая площадь наружных ограждающих конструкций, включая покрытие (перекрытие) верхнего этажа и цокольное перекрытие, м2;

Qinf - расход теплоты на нагрев инфильтрующегося наружного воздуха, кВт, определяемый согласно СНиП 2.04 05-91*, но не менее величин, определяемых по формуле

Qinf = Kminf (tinth - text) Aesum 10-3                                    (5.3)

Kminf - приведенный инфильтрационный (условный) коэффициент теплопередачи здания, Вт/(м2×°С), определяемый согласно п. 3.5.3;

text - то же, что и в п. 5.1.1;

tinth - то же, что и в п. 5.1.2;

Qint - бытовые теплопоступления, кВт,

Qint = qint Ar 10-3                                                 (5.4)

qint , Ar , bhl - то же, что и п. 3.5.6.

5.1.4. Удельную тепловую характеристику здания qm , Вт/(м2×°С), следует определять по формуле

qm = Qh 103 / (Vh Dt)                                            (5.5)

где Qh - то же, что и в п. 5.1.3;

Vh - отапливаемый объем здания;

Dt - разность расчетных температур внутреннего tinth и наружного text воздуха, м3.

5.1.5. Удельный расчетный расход тепловой энергии на отопление qh, Вт/м2, следует определять по формуле

qh = Qh 103 / Ah                                                (5.6)

где Qh - то же, что и в п. 5.1.3;

Ah -то же, что и в п. 3.5.7.

5.1.6. Количество теплоты, подаваемое в систему отопления здания за отопительный период при центральном качественном регулировании и отсутствии местного или индивидуального авторегулирования (базовое количество теплоты), Qh.basy, определяется по формуле, кВт×ч

Qh.basy = 24 Qh zht (tint - tht) / (tinth - text)                               (5.7)

где zht - продолжительность отопительного периода, сут, и tht средняя температура наружного воздуха за отопительный период, определяемая согласно п. 3.2.3;

text -то же, что и в п. 5.1.1;

tint - то же, что и в п. 3.2.2;

tinth - то же, что и в п. 5.1.2.

5.1.7. Базовая удельная энергоемкость системы отопления здания за отопительный период qh.basy, определяется по формуле, кВт×ч/м2

qh.basy = Qh.basy / Ah                                                     (5.8)

где Qh.basy - то же, что и п. 5.1.6;

Ah - то же, что и п. 3.5.7.

5.2. Потребность в тепловой энергии на горячее водоснабжение здания

5.2.1. Средний за сутки отопительного периода расход горячей воды Vhw, м3/сут, следует определять по формуле

Vhw =g m 10-3                                                        (5.9)

где g - средний за отопительный период расход воды одним пользователем (жителем), л/сут, для жилых зданий: g = 105 л/сут для зданий 12 этажей и ниже, g = 115 л/сут для зданий выше 12 этажей; для остальных зданий - согласно СНиП 2.04.01-85*;

m - число пользователей (жителей), чел.;

5.2.2. Среднечасовой за отопительный период расход тепловой энергии на горячее водоснабжение Qhw, кВт, следует определять согласно СНиП 2.04.01-85*. Допускается определение среднечасового расхода Qhw по формуле

Qhw = [Vhw (55 - tc) (1 + khl) rw cw/ 3,6] /24                            (5.10)

где Vhw, - то же, что и п. 5.2.1;

tc - температура холодной воды, принимаемая равной 5 °С;

khl - коэффициент, учитывающий потери теплоты трубопроводами систем горячего водоснабжения, принимаемый по таблице 5.1;

rw - плотность воды, равная 1 кг/л;

cw - удельная теплоемкость воды, равная 4,2 Дж/(кг×°С)

Таблица 5.1

Значения коэффициента khl, учитывающего потери теплоты трубопроводами систем горячего водоснабжения

Тип системы горячего водоснабжения

Коэффициент khl

при наличии сетей горячего водоснабжения после ЦТП

без тепловых сетей горячего водоснабжения

С изолированными стояками без полотенцесушителей

0,15

0,1

То же, с полотенцесушителями

0,25

0,2

С неизолированными стояками и полотенцесушителями

0,35

0,3

5.2.3. Максимальный часовой расход тепловой энергии на горячее водоснабжение Qhwmax, кВт, следует определять по формуле

Qhwmax = Qhw (khl + kh)/ (1 + khl)                                      (5.11)

где khl - то же, что и п. 5.2.2;

kh - коэффициент часовой неравномерности водопотребления, принимаемый по табл. 5.2.

Таблица 5.2

Коэффициент часовой неравномерности водопотребления

Число жителей m

150

250

350

500

700

Коэффициент часовой неравномерности водопотребления kh

5,15

4,5

4,1

3,75

3,5

Число жителей m

1000

1500

2000

3000

5000

Коэффициент часовой неравномерности водопотребления kh

3,27

3,09

2,97

2,85

2,74

Примечание. Другие потребители приравниваются по своей норме водопотребления к числу жителей

5.2.4. Удельный расчетный расход тепловой энергии на горячее водоснабжение qhw, Вт/м2, следует определять по формуле

qhw = Qhwmax 103 / Ah                                                 (5.12)

где Qhwmax - то же, что и в п. 5.2.3;

Ah - то же, что в п. 3.5.7.

5.2.5. Годовой расход тепловой энергии на горячее водоснабжение с учетом выключения системы на ремонт Qhwy, кВт×ч, следует определять по формуле

Qhwy = [24 Qhw / 1 + khl)] × [344 khl + zht + a (344 - zht) (55 - tcs) / (55 - tc)]        (5.13)

где Qhw, khl, tc - то же, что и в п. 5.2.2;

zht - то же, что и в п. 5.1.6;

a - коэффициент, учитывающий снижение уровня водозабора в жилых зданиях в летний период. Для жилых зданий a = 0,8; для остальных зданий a = 1;

tcs - температура холодной воды в летний период, принимаемая равной 15 °С при водозаборе из открытых источников.

Примечание. Величина, равная 344 - продолжительность пользования централизованным горячим водоснабжением в течение года, сут.

5.2.6. Удельную энергоемкость системы горячего водоснабжения здания qhwy, кВт×ч/м2, следует определять по формуле

qhwy =Qhwy / Ah                                                             (5.14)

где Qhwy - то же, что и п. 5.2.5;

Ah - то же, что и в п. 3.5.7.

5.3. Общий расход тепловой энергии зданием

5.3.1 Общий расчетный расход тепловой энергии Q, кВт, на здание, следует определять по формуле

Q = Qh + Qhw + Qv                                                         (5.15)

где Qh -то же, что и в п. 5.1.3;

Qhw - то же, что и в п. 5.2.2;

Qv - расчетный часовой расход тепловой энергии на принудительную приточную вентиляцию, тепловые завесы и кондиционирование воздуха при температуре наружного воздуха text согласно п. 3.2.1, принимаемый по проектным данным.

5.3.2 Базовое количество теплоты, потребляемое зданием за год, Qy, кВт×ч, следует определять по формуле

Qy = Qh.basy + Qhwy + Qv (u × Dd) / (tinth - text)                                (5.16)

где Qh.basy - то же, что и в п. 5.1.6;

Qhwy - то же, что и в п. 5.2.5;

Qv - то же, что и в п. 5.3.1;

u - число часов работы вентиляционной установки в сутки;

Dd - то же, что и в п. 3.2.3;

text - то же, что и в п. 5.1.1;

tinth - то же, что и в п. 5.1.2.

5.3.3 Удельную тепловую энергоемкость здания qy, кВт×ч/м2, следует определять по формуле

qy = Qy / Ah                                                            (5.17)

где Qy - то же, что и в п. 5.3.2;

Ah - то же, что и в п. 3.5.7.

ПРИЛОЖЕНИЕ 5.1

ОСНОВНЫЕ ТЕРМИНЫ И ИХ ОПРЕДЕЛЕНИЯ

Термин

Обозначение

Характеристика термина

Размерность единицы величины

1

2

3

4

5.1. Энергетический паспорт здания

-

Документ, содержащий геометрические, энергетические и теплотехнические характеристики как существующих зданий, так и проектов зданий и их ограждающих конструкций, и устанавливающий соответствие их требованиям нормативных документов

 

5.2. Расчетный расход тепловой энергии на отопление здания

Qh

Максимальный тепловой поток обеспечиваемый системой отопления

кВт

5.3. Удельная тепловая характеристика здания

qm

Максимальный тепловой поток на отопление здания при разности температур внутренней и наружной среды в один градус Цельсия, отнесенный к 1 куб. м отапливаемого объема здания

Вт/(м3×°С)

5.4. Удельный расчетный расход тепловой энергии на отопление здания

qh

Максимальный тепловой поток на отопление, отнесенный на 1 кв.м общей площади квартир жилого здания или полезной площади общественного здания

Вт/м2

5.5. Базовая удельная энергоемкость системы отопления здания за отопительный период

qh.basy

Количество теплоты, подаваемое в систему отопления здания за отопительный период при центральном качественном регулировании и отсутствии местного или индивидуального авторегулирования, отнесенное на 1 кв.м общей площади квартир жилого здания или полезной площади общественного здания

кВт×ч/м2

5.6. Удельный расход тепловой энергии на отопление здания

qhy

Количество теплоты за отопительный период, необходимое для поддержания в здании нормируемых параметров, отнесенное к 1 кв.м общей площади квартир жилого здания или полезной площади общественного здания

кВт×ч/м2

5.7. Удельная тепловая энергоемкость здания

qy

Количество теплоты, потребляемое зданием за год на отопление, горячее водоснабжение, вентиляцию и - кондиционирование воздуха, отнесенное к 1 кв.м общей площади квартир жилого здания или полезной площади общественного здания

кВт×ч/м2

6. ТРЕБОВАНИЯ К ЭНЕРГЕТИЧЕСКОМУ ПАСПОРТУ ПРОЕКТА ЖИЛОГО [И ОБЩЕСТВЕННОГО] ЗДАНИЯ *)

*) Раздел 6 разработан на основе приложений 1 и 2 к постановлению Правительства г. Москвы от 10.02.98 № 106

6.1. Основные положения

6.1.1. Энергетический паспорт проекта жилого [и общественного] здания разрабатывается в соответствие с Положением о составе и порядке разработки энергетических паспортов проектов жилых зданий, утвержденных постановлением Правительства Москвы от 10.02.98 № 106.

6.1.2. Энергетический паспорт проекта жилого [и общественного] здания является документом, отражающим уровень теплозащиты и эксплуатационной энергоемкости [здания в целом], а также величин энергетических нагрузок [на это] здание.

6.1.3. Термины и обозначения показателей энергетического паспорта приведены в соответствие с международной системой СИ. Термины и обозначения показателей, не предусмотренных в эталоне энергетического паспорта, утвержденного указанным в п. 6.1.1 постановлением, приводятся в квадратных скобках.

6.1.4. Энергетический паспорт не предназначен для расчетов за коммунальные услуги, оказываемые квартиросъемщикам и владельцам квартир [собственникам и владельцам зданий], службами эксплуатации жилищного фонда, Мосэнерго и другими организациями.

6.2. Общая часть

Энергетический паспорт проекта принимается в качестве подосновы при натурных испытаниях теплозащитных качеств наружных ограждающих конструкций и проверке уровня энергоемкости внутренних инженерных систем и здания в целом.

6.3. Состав энергетического паспорта проекта

Энергетический паспорт должен содержать:

6.3.l. Нормативные параметры теплозащиты здания (требуемые сопротивление теплопередаче всех видов наружных ограждающих конструкций; требуемая воздухопроницаемость ограждающих конструкций; удельный расход тепловой энергии системой отопления здания за отопительный период[; показатель компактности здания]).

6.3.2. Расчетные проектные показатели и характеристики:

- объемно-планировочные показатели (строительный объем и площадь всех видов наружных ограждающих конструкций отапливаемой части здания; площадь квартир без летних помещений[, жилая площадь квартир]; высота этажа; отношение площади наружных ограждающих конструкций к площади квартир[, а также к объему здания]; отношение площади окон и балконных дверей к площади стен);

- расчетное количество жителей [в жилых зданиях и расчетное количество людей, исходя из расчетных показателей общественных зданий];

- уровень теплозащиты наружных ограждающих конструкций (приведенное сопротивление теплопередаче всех видов ограждающих конструкций, [приведенный трансмиссионный коэффициент теплопередачи здания,] приведенный [инфильтрационный (условный)] коэффициент теплопередачи здания, [общий коэффициент теплопередачи здания,] сопротивление воздухопроницанию ограждающих конструкций (при разности давлений 10 Па)[, показатель компактности здания] и удельный расход тепловой энергии системой отопления, здания за отопительный период;

- энергетические нагрузки на системы инженерного оборудования здания ([расчетный] максимально-часовой и удельный максимальный часовой расход тепловой энергии на отопление, потребляемые мощности внутренних систем инженерного оборудования); средние суточные расходы природного газа, холодной и горячей воды[, электроэнергии];

- показатели эксплуатационной энергоемкости внутренних инженерных систем здания (годовые и удельные расходы конечных видов энергоносителей) и удельная базовая энергоемкость системы отопления здания [за отопительный период], удельная тепловая характеристика здания;

- удельная [тепловая] эксплуатационная энергоемкость здания (обобщенный показатель годового расхода топливно-энергетических ресурсов в [кВт×ч и] кг у.т. в расчете на 1 м2 площади квартир).

Примечание

По заданию заказчика энергетические паспорта проектов жилых зданий могут разрабатываться в сокращенном объеме, отражающем уровень теплозащиты здания и годового потребления тепловой энергии на отопление (нормативные параметры, площади и уровень теплозащиты наружных ограждающих конструкций, удельный расход тепловой энергии на отопление здания за отопительный период, потребляемая мощность системы отопления, удельный максимально-часовой расход тепловой энергии на отопление, удельная тепловая характеристика здания, годовой и удельный годовой расход тепловой энергии на отопление в холодный и переходный периоды года).

6.3.3. Характеристики наружных ограждающих конструкций (стен, окон и балконных дверей, перекрытий над подвалом, техническим подпольем, над последним жилым этажом) - краткие сведения. Подробные сведения приводятся в общей части раздела "Энергоэффективность".

6.4. [Результаты натурных испытаний и обследований]

Энергетический паспорт существующего здания с конкретным адресом снабжается листом - вкладышем для внесения результатов натурных испытаний теплозащитных качеств наружных ограждающих конструкций и проверки уровня удельной [тепловой] эксплуатационной энергоемкости внутренних инженерных систем и здания в целом, внесения результатов натурных обследований наружных ограждающих конструкций, внутренних инженерных систем и наружных сетей - на предмет выявления соответствия фактических показателей [нормативным и] проектным, а также записи выводов и рекомендаций организаций, проведших натурные испытания и обследования.

6.5. Порядок разработки энергетического паспорта проекта жилого [и общественного] здания

6.5.1. Энергетический паспорт проекта [здания] (нового строительства, реконструкции) разрабатывается в качестве приложения к разделу проекта (ТЭО, рабочего проекта) "Энергоэффективность" на основании заданий заказчиков проектной документации.

К проектам жилых [зданий] массовых серий энергетические паспорта составляются для домов - представителей различной этажности [и конфигурации], составленных из характерных для серий [блок-]секций и компоновочных [объемно-планировочных] элементов, с учетом частоты применения их в застройке.

6.5.2. Для существующих зданий энергетический паспорт разрабатывается в качестве самостоятельного документа по заданиям организаций, осуществляющих эксплуатацию жилищного фонда.

6.5.3. Исходной технической документацией для разработки энергетического паспорта проекта является [исполнительная] документация, разрабатываемая на утверждаемой стадии.

6.5.4. Для существующих зданий, на которые исполнительная документация на строительство не сохранилась, энергетические паспорта составляются на основе материалов МосгорБТИ, необходимых натурных обследований и замеров.

6.5.5. Для жилых зданий со встроенно-пристроенными нежилыми помещениями в нижних этажах энергетические паспорта составляются раздельно по жилой части и нежилым помещениям. [Для жилых зданий со встроенным первым нежилым этажом, не выходящим за проекцию жилой части здания, энергетический паспорт составляется единым.]

6.5.6. Энергетический паспорт оформляется подписями главного инженера (архитектора) комплексного проекта, главных инженеров проекта по разделам инженерного оборудования и др. ответственных исполнителей.

6.5.7. Ответственность за достоверность данных энергетического паспорта проекта [здания] несет проектная организация, разработавшая энергетический паспорт[, или для существующих зданий организация, проводившая испытания].

6.5.8. Стоимость составления раздела проекта "Энергоэффективность", разработки энергетических паспортов и величина стимулирующих надбавок к ценам на проектные работы в зависимости от уровня энергоэффективности объекта устанавливаются Правительством Москвы. До утверждения цен на указанные работы стоимость их определяется на основе калькуляции трудозатрат организаций-исполнителей.

6.5.9. Стоимость разработки энергетических паспортов для зданий, на которые проектная документация на строительство отсутствует, определяется на основе калькуляций трудозатрат в зависимости от необходимого объема технических обследований и замеров.

6.6. Форма для заполнения энергетического паспорта

Параметры

Обозначение

Единица измерения

Величина

1

2

3

4

6.6.1. Нормативные параметры теплозащиты здания

1.1.

Требуемое сопротивление теплопередаче:

R0req

м2×°С/Вт

 

 

- наружных стен

R0,wreq

м2×°С/Вт

 

 

- окон и балконных дверей

R0,Freq

м2×°С/Вт

 

 

- покрытий

R0,creq

м2×°С/Вт

 

 

- чердачных перекрытий с холодным чердаком

R0,rreq

м2×°С/Вт

 

 

- перекрытий над проездами [(под эркерами)]

R0,freq

м2×°С/Вт

 

 

- перекрытий над неотапливаемыми подвалами и подпольями

R0,freq

м2×°С/Вт

 

 

[- входных дверей и ворот]

R0,edreq

м2×°С/Вт

 

1.2.

Требуемый приведенный коэффициент теплопередачи здания [(расчетный)]

Kmreq

Вт/(м2×°С)

 

1.3.

Требуемая воздухопроницаемость ограждающих конструкций:

Gmreq

кг/(м2×ч)

 

 

- наружных стен (в т.ч. стыки)

[Gm,wreq]

кг/(м2×ч)

 

 

- окон и балконных дверей (при разности давлений 10 Па)

[Gm,Freq]

кг/(м2×ч)

 

 

- покрытий и цокольных перекрытий первого этажа

[Gm,creq]

кг/(м2×ч)

 

 

- [входных дверей в квартиры]

[Gm,dreq]

кг/(м2×ч)

 

1.4.

[Требуемый удельный расход тепловой энергии системами отопления здания за отопительный период]

[qhreq]

кВт×ч/м2

 

6.6.2. Расчетные показатели и характеристики здания

1

2

3

4

2 1.

Объемно-планировочные и заселения

 

 

 

2.1.1.

Строительный объем,

(V0)

м3

 

 

в том числе отапливаемой части

Vh

м3

 

2.1.2.

Количества квартир

-

шт

 

2.1.3.

Расчетное количество жителей [в жилых зданиях и расчетное количество людей, исходя из расчетных показателей общественных зданий]

-

чел

 

2.1.4.

[Общая площадь квартир (без летних помещений) и полезная площадь нежилого этажа; для общественных зданий - полезная площадь]

[Ak]

м2

 

2.1.5.

[Площадь жилых помещений; для общественных зданий - расчетная площадь]

[Ar]

м2

 

2.1.6.

[Высота этажа

- от пола до пола

- от пола до потолка]

(h)

м

 

2.1.7.

Общая площадь наружных ограждающих конструкций отапливаемой части здания в том числе:

Aesum

м2

 

 

- стен, включая окна, балконные и входные двери в здание [, витражи]

Aw+F+ed

м2

 

 

- окон и балконных дверей

AF

м2

 

 

- [входных дверей и ворот, витражей]

[Aed]

м2

 

 

- покрытий

Ac

м2

 

 

- чердачных перекрытий

Ac

м2

 

 

- перекрытий над неотапливаемыми подвалами и подпольями

Af

м2

 

 

- проездами и под эркерами

Af

м2

 

 

- полов по грунту

Af

м2

 

2.1.8.

Отношение площади наружных ограждающих конструкций отапливаемой части здания к площади квартир Aesum/Ah

(k)

-

 

2.1.9.

Отношение площади окон и балконных дверей к площади стен, включая окна и балконные двери AF/Aw+F

(p)

-

 

2.1.10.

[Компактность здания Aesum/Vh]

[ke]

 

 

 

 

 

 

 

2.2.

Уровень теплозащиты

 

 

 

2.2.1.

Приведенное сопротивление теплопередаче:

 

 

 

 

- стен

Rwr

м2×°С/Вт

 

 

- окон и балконных дверей

RFr

м2×°С/Вт

 

 

- [наружных дверей и ворот, витражей]

[Redr]

м2×°С/Вт

 

 

- покрытий

Rcr

м2×°С/Вт

 

 

- чердачных перекрытий

Rcr

м2×°С/Вт

 

 

- перекрытий теплых чердаков

Rcr

м2×°С/Вт

 

 

- перекрытий над подвалами и подпольями

Rfr

м2×°С/Вт

 

 

- перекрытий над проездами и под эркерами

Rfr

м2×°С/Вт

 

 

- полов по грунту

Rfr

м2×°С/Вт

 

2.2.2.

Приведенный [трансмиссионный] коэффициент теплопередачи здания

Kmtr

Вт/(м2×°С)

 

2.2.3.

Сопротивление воздухопроницанию наружных ограждающих конструкций:

 

 

 

 

- стен (в т.ч. стыки)

Ra,w

м2×ч/кг

 

 

- окон и балконных дверей

Ra,F

м2×ч/кг

 

 

- перекрытия над техподпольем, подвалом

Ra,f

м2×ч/кг

 

 

- входных дверей в квартиры

Ra,ed

м2×ч/кг

 

 

- стыков элементов стен

Ra,j

м2×ч/кг

 

2.2.4.

Приведенная воздухопроницаемость ограждающих конструкций здания (при разности давлений 10 Па)

Gmr

кг/(м2×ч)

 

2.2.5.

[Приведенный инфильтрационный (условный) коэффициент теплопередачи здания]

[Kminf]

Вт/(м2×°С)

 

2.2.6.

(Общий коэффициент теплопередачи здания]

[Km]

Вт/(м2×°С)

 

 

 

 

 

 

2.3

Энергетические нагрузки здания

 

 

 

2.3.1.

Установленная мощность систем инженерного оборудования:

 

 

 

 

- отопления

([Qh])

кВт

 

 

- горячего водоснабжения

([Qhwmax])

кВт

 

 

[- принудительной вентиляции]

([Qv])

кВт

 

 

[- воздушно тепловые завесы]

[Q]

кВт

 

 

- электроснабжения[, в том числе:]

(Ne)

кВт

 

 

[- на общедомовое освещение]

[Nt]

кВт

 

 

[- в квартирах, в помещениях общественных зданий]

[Na]

кВт

 

 

[- на силовое оборудование]

[Np]

кВт

 

 

[- на отопление и вентиляцию]

[Nh]

кВт

 

 

[- на водоснабжение и канализацию]

[Nw]

кВт

 

 

- других систем (каждой отдельно)

(N)

кВт

 

2.3.2.

Среднечасовой за отопительный период расход тепла на горячее водоснабжение

[Qhw]

кВт

 

2.3.3.

[Средние суточные расходы:]

 

 

 

 

- природного газа

(Vnq)

м3/сут

 

 

[1- холодной воды]

[Vcw]

м3/сут

 

 

[- горячей воды]

[Vhw]

м3/сут

 

 

[- электроэнергии]

[Nav]

кВт×ч

 

2.3.4.

[Удельный максимальный часовой расход тепловой энергии на 1 м2 общей площади квартир:]

 

 

 

 

[- на отопление]

[qh]

Вт/м2

 

 

[- на вентиляцию]

[qv]

Вт/м2

 

2.3.5.

Удельная тепловая характеристика здания

qm

Вт/(мЗ×°С)

 

 

 

 

 

 

2.4.

[Показатели эксплуатационной энергоемкости здания за год]

2.4.1

[Годовые расходы конечных видов энергоносителей на здание:]

 

 

 

 

- [тепловой энергии на отопление за отопительный период]

[Qhy]

МВт×ч

 

 

- [тепловой энергии на горячее водоснабжение]

[Qhwy]

МВт×ч

 

 

- [тепловой энергии на принудительную вентиляцию]

[Qvy]

МВт×ч

 

 

- [тепловой энергии других систем (раздельно)]

[Qy]

МВт×ч

 

 

- [электрической энергии, в том числе:]

[Ey]

МВт×ч

 

 

- [на общедомовое освещение]

[Ely]

МВт×ч

 

 

- [в квартирах, в помещениях общественных зданий]

[Eay]

МВт×ч

 

 

- [на силовое оборудование]

[Epy]

МВт×ч

 

 

- [на отопление и вентиляцию]

[Ehy]

МВт×ч

 

 

- [на водоснабжение и канализацию]

(Ew)

МВт×ч

 

 

- [природного газа]

[Qngy]

тыс.м3

 

2.4.2.

[Годовые удельные базовые расходы конечных видов энергоносителей:]

 

 

 

 

- [тепловой энергии на отопление за отопительный период]

[qh.basy]

кВт×ч/м2

 

 

- [тепловой энергии на горячее водоснабжение]

[qhwy]

кВт×ч/м2

 

 

- [тепловой энергии на принудительную вентиляцию]

[qvy]

кВт×ч/м2

 

 

- [тепловой энергии других систем (раздельно)]

[qy]

кВт×ч/м

 

 

- [электрической энергии]

[qey]

кВт×ч/м2

 

 

- [природного газа]

[qngy]

м32

 

2.4.3

[Удельная эксплуатационная энергоемкость здания]

[qy]

кВт×ч/м2

кг у.т./м2

 

 

 

 

 

 

2.5

[Теплоэнергетические параметры теплозащиты здания]

2.5.1

[Общие теплопотери через оболочку здания за отопительный период)

[Qhty]

кВт×ч

 

2.5.2

[Теплопоступления в здания за отопительный период:]

 

 

 

 

- [удельные бытовые тепловыделения]

[qint]

Вт/м2

 

 

- [бытовые теплопоступления в здание]

[Qinty]

кВт×ч/год

 

 

- [теплопоступления от солнечной радиации:

[Qsy]

кВт×ч/год

 

 

Светопрозрачные конструкции

Площадь A

солнечная радиация I

A × I

кВт×ч

 

Окна на фасадах

м2

ориентация

интенсивность, кВт×ч/м2

 

 

первом

 

С

12

 

 

втором

 

З

232

 

 

третьем

 

Ю

551

 

 

четвертом

 

В

232

 

 

Зенитные фонари]

 

 

288

 

 

 

- [коэффициент, учитывающий затенение окна непрозрачными элементами]

[tF]

-

 

 

- [коэффициент, учитывающий затенение зенитных фонарей - непрозрачными элементами]

[tscy]

-

 

 

- [коэффициент относительного проникания солнечной радиации через окно]

[kF]

-

 

 

- [коэффициент относительного проникания солнечной радиации через зенитные фонари]

[kscy]

-

 

2.5.3.

[Потребность тепловой энергии на отопление здания за отопительный период]

 

 

 

 

- [коэффициент, учитывающий аккумулирующую способность ограждений]

[v]

-

0,8

 

- [коэффициент, учитывающий дополнительное теплопотребление системы отопления]

[bhl]

 

 

 

[Потребность в тепловой энергии на отопление здания за отопительный период)

[Qhy]

кВт×ч

 

 

[Расчетный удельный расход тепловой энергии на отопление здания за отопительный период)

[qhdes]

кВт×ч/м2

 

2.5.4.

[Проверка на соответствие проекта теплозащиты МГСН]

[Нормируемый удельный расход тепловой энергии системой отопления здания]

[qhreq]

кВт×ч/м2

 

 

[Соответствует ли проект теплозащиты требованиям МГСН]

 

 

ДА НЕТ

 

 

 

 

 

2.6.

[Расчетные условия:]

 

 

 

 

[Расчетная температура внутреннего воздуха для расчета теплозащиты]

[tint]

°C

 

 

[Температура внутреннего воздуха для расчета систем отопления и вентиляции]

[thint]

°C

 

 

[Расчетная температура наружного воздуха]

[text]

°C

 

 

[Продолжительность отопительного периода]

[zht]

сут

 

 

[Средняя температура наружного воздуха за отопительный период]

[tht]

°C

 

 

[Градусосутки отопительного периода]

Dd

°С×сут

 

 

 

 

 

 

6.7. Характеристики наружных ограждающих конструкций

(Краткое описание)

 

6.7.1. Стены

_____________________________________________________________________

_____________________________________________________________________

_____________________________________________________________________

___________________________

6.7.2. Окна и балконные двери

_____________________________________________________________________

_____________________________________________________________________

___________________________

6.7.3. Перекрытие над техническим подпольем, подвалом

_____________________________________________________________________

_____________________________________________________________________

_____________________________________________________________________

___________________________

6.7.4. Перекрытие над последним жилым этажом, либо над "теплым" чердаком

_____________________________________________________________________

_____________________________________________________________________

_____________________________________________________________________

___________________________

 

Регистрационный № ________

"______" __________________ 199 г.

___________________________

(подпись)

 

 

 

МП

 

 

 

6.8. Вкладыш к энергетическому паспорту проекта здания

________ Квартирного _________ секционного _______ этажного жилого здания

 

Адрес (строительный)

______________________________________________________________________

_________________________

______________________________________________________________________

______________________________________________________________________

_________________________

Общая часть

______________________________________________________________________

_________________________

 

 

РЕЗУЛЬТАТЫ НАТУРНЫХ ИСПЫТАНИЙ

[существующего здания]

№№ поз. Энергетического паспорта проекта

Наименование показателей и характеристик (раздел 2)

Обозначение

Единица измерения

Количество

По проекту

По результатам натурных испытаний

1

2

3

4

5

6

 

 

 

 

 

 

Выводы и рекомендации

_____________________________________________________________________

_____________________________________________________________________

_________________________

Дата проведения испытаний

________________________________________________

Организация, должность, фамилия И.О. исполнителей

_________________________

_____________________________________________________________________

_________________________

печать (штамп)

 

 

РЕЗУЛЬТАТЫ НАТУРНЫХ ОБСЛЕДОВАНИЙ

[существующего здания]

Разделы проекта и номера чертежей

Наименование наружных ограждающих конструкций, внутренних инженерных систем и наружных сетей

Решения

По проекту

Выявленные в натуре

1

2

3

4

 

 

 

 

Выводы и рекомендации

___________________________________________________________________

___________________________________________________________________

_________________________

 

Дата проведения испытаний

_____________________________________________________________________________

_________________ Организация, должность, фамилия И.О. исполнителей

__________________________

_____________________________________________________________________________

_________________

печать (штамп)

 

 

7. ЭЛЕКТРОСНАБЖЕНИЕ И ЭЛЕКТРООБОРУДОВАНИЕ ЗДАНИЙ

7.1 ОБЛАСТЬ ПРИМЕНЕНИЯ

7.1.1. Настоящие нормы предназначены для проектирования энергосберегающих решений в системах электроснабжения и электрооборудования зданий.

7.1.2. Нормы распространяются на проектирование электроснабжения и электрооборудования новых и реконструируемых жилых домов и зданий общественного назначения (общеобразовательные, дошкольные, лечебные учреждения, поликлиники, административные здания).

7.2. ОБЩИЕ ТРЕБОВАНИЯ

7.2.1. В проектах электрооборудования жилых и общественных зданий следует применять экономичное и энергоэффективное оборудование, соответствующее требованиям государственных стандартов и других нормативных документов. Допускается по согласованию с заказчиком и органами государственного надзора применение в проектах энергоэффективного оборудования, не освоенного серийным производством.

7.2.2. Степень надежности электроснабжения, расчетные электрические нагрузки, схемные и конструктивные решения электрических сетей зданий следует определять и выполнять:

- для жилища I категории в соответствии с заданием на проектирование;

- для жилища II категории в соответствии с ВСН 59-88 и ПУЭ.

7.2.3. По оснащению бытовыми электроприборами жилые здания следует относить к следующим уровням электрификации быта:

I - жилые здания с газовыми плитами

II- жилые здания с электрическими плитами

III - жилые здания с электрическими плитами и электроводонагревателями

IV - жилые здания, полностью электрифицированные (электроплиты, алектроводонагреватели, электроотопление).

7.3. НОРМАТИВНЫЕ ТРЕБОВАНИЯ К ЭЛЕКТРИЧЕСКИМ СЕТЯМ

7.3.1. Освещение общедомовых помещений жилых и общественных зданий должно иметь автоматическое или дистанционное управление, обеспечивающее отключение части светильников в ночное время с таким расчетом, чтобы освещенность в этих помещениях была не ниже норм эвакуационного освещения.

7.3.2. Управление освещением в коридорах и рекреациях школ должно выполняться автоматически с отключением всех или части светильников, в зависимости от величины естественного освещения и периода проведения занятий.

7.3.3. В учебных классах, спортивных и актовых залах школ и детских дошкольных учреждений, а также в рабочих кабинетах поликлиник и других учреждений здравоохранения следует предусматривать либо отключение светильников рядами, параллельными световым проемам, либо плавное или ступенчатое светорегулирование в зависимости от естественного освещения.

7.3.4. В проектах наружного освещения следует предусматривать автоматическое управление на вводно-распределительном устройстве здания в зависимости от уровня естественного освещения.

7.3.5. Для управления рабочим освещением лестниц, лифтовых холлов поэтажных коридоров, вестибюлей, гаражей и других вспомогательных и общедомовых помещений индивидуальных жилищ и жилищ I категории по МГСН 3.01-96, местного управления рабочим освещением проходов и лестничных клеток, предназначенных для обслуживающего персонала в общественных зданиях, следует, как правило, использовать системы автоматического управления освещением, в том числе с датчиками движения. Система автоматического управления в этих случаях должна быть продублирована ручным управлением освещения.

7.3.6. Управление рабочим освещением общедомовых помещений жилищ II категории по МГСН 3.01-96 должно предусматриваться с применением устройств кратковременного включения освещения с выдержкой времени, а также из диспетчерского пункта автоматически или дистанционно.

7.3.7. Для управления рабочим освещением лестничных клеток и поэтажных коридоров зданий, имеющих естественное освещение, должны, как правило, предусматриваться выключатели кратковременного включения освещения

В жилых, домах, имеющих эвакуационное освещение, устройства кратковременного включения рабочего освещения поэтажных коридоров следует устанавливать:

• при длине коридора до 10м одно устройство на этаж в центре коридора;

• при общей длине коридора более 10м в каждом крыле коридора:

- одно устройство при длине крыла коридора до 7 м,

- два и более устройств при длине крыла коридора более 7 м с шагом 5 м.

7.3.8. Для управления рабочим освещением первых этажей, лестниц, вестибюлей, имеющих естественное освещение, подъездов и входов в здание и подобных входов следует применять схемы автоматического управления освещением.

7.3.9. Управление освещением чердака и техподполья здания должно быть доступно только для эксплуатационного персонала.

7.3.10. Управление заградительными огнями должно быть автоматическим и включаться в зависимости от уровня естественной освещенности.

7.3.11. Для квартир и одноквартирных домов (коттеджей) с электроводонагревателем или полностью электрифицированных (III и IV уровень электрификации быта) следует, как правило применять трехфазные вводы.

7.3.12. При трехфазных вводах неравномерность нагрузки при распределении ее по фазам не должна превышать 15 %.

7.3.13. При трехфазных вводах в квартиры и одноквартирные жилые дома (коттеджи) следует, как правило, однофазную нагрузку, состоящую из нескольких нагревательных элементов (конфорки электроплит, нагревательные элементы электроводонагревателей и т.п. ) подключать по трехфазной схеме.

Возможность подключения бытового электроприбора по трехфазной схеме должна быть предусмотрена в конструкции прибора заводом-изготовителем.

7.3.14. Включение разделительных трансформаторов, устанавливаемых в ванных комнатах, должно быть сблокировано с выключателем ванной комнаты.

7.3.15. В многоэтажных жилых домах по согласованию с органами государственного надзора допускается применять встроенные трансформаторные подстанции, при этом должны быть обеспечены мероприятия по пожаробезопасности и защите от шума.

7.3.16. Для жилых домов с электроводонагревателями и электроотоплением (III и IV уровень электрификации быта), как правило, следует применять аккумуляционные электроводонагреватели и аккумуляционные печи для электроотопления с автоматическими устройствами, которые осуществляют включение аккумуляционных приборов в ночное время в часы, определяемые энергосберегающей организацией в зависимости от графика электрических нагрузок.

Управление этими приборами должно быть централизованным и схема электрической сети должна исключать работу аккумуляционных приборов в свободном режиме. Как правило, не следует применять для электроотопления отопительные электроприборы, работающие в свободном автоматическом режиме.

Учет электроэнергии в этих домах должен осуществляться по двум тарифам: дневному и ночному, с установкой на вводах в квартиры и одноквартирные дома (коттеджи) двухтарифных счетчиков электроэнергии.

Отопительные приборы должны иметь такое присоединение к электрической сети, которое исключало бы возможность подключения дополнительных электроприборов.

7.3.17. При соответствующем технико-экономическом обосновании в многоэтажных жилых зданиях допускается применение комбинированной системы отопления, в которой в дополнение к традиционному водяному отоплению в жилых комнатах используются электроотопительные приборы, при этом водяное отопление следует проектировать таким образом, чтобы основная доля теплопотребления жилых помещений (до 70 %) обеспечивалась этим отоплением, а остальная доля теплопотребления обеспечивалась электроотоплением. Следует предусматривать возможность управления этим электроотоплением жильцами. Учет электроэнергии в этом случае должен осуществляться двухтарифными счетчиками.

Электрическая сеть питания отопительных приборов должна быть отделена от остальной электрической сети дома и иметь возможность централизованного управления и отключения (во ВРУ) вне отопительного периода.

7.3.18. Жилые здания следует оснащать автоматизированными системами учета электропотребления (АСУЭ) с целью постоянного контроля, применения дифференцированного по зонам суток тарифа и выявления хищения электроэнергии.

7.3.19. Школы, детсады, поликлиники и другие учреждения здравоохранения рекомендуется включать в АСУЭ.

7.3.20. Счетчики электроэнергии следует устанавливать на всех вводах в общественное здание, а также у каждого абонента, питающегося от ВРУ.

Конструкция счетчиков должна обеспечивать возможность их работы в составе АСУЭ.

7.3.21. В жилых домах счетчики электроэнергии должны устанавливаться на вводе в каждую квартиру (индивидуальный жилой дом), а так же на общедомовую нагрузку в многоквартирных жилых домах.

7.3.22. На вводе в квартиру, индивидуальный жилой дом должен устанавливаться защитный аппарат, обеспечивающий защиту от сверхтоков, с номинальным током расцепителя, соответствующим расчетной нагрузке на вводе и разрешенной мощности на присоединение с учетом селективности и устройство защитного отключения (УЗО). Для этой цели следует, как правило, применять УЗО, имеющее защиту от сверхтоков. В этом случае отдельный защитный аппарат не устанавливается.

7.3.23. Входные двери подъездов жилых домов следует оборудовать электрическими запирающимися устройствами (домофоны, кодовые замки и т. п.).

7.3.24. Схемы управления лифтами в жилых и общественных зданиях должны выполняться в соответствии с правилами устройства безопасной эксплуатации лифтов и с учетом возможности блокировки включения второго лифта после вызова первого.

7.3.25. В зданиях, имеющих устройство автоматического включения резервного питания (АВР), к указанному устройству следует подключать и лифты.

ПРИЛОЖЕНИЕ 7.1

ОСНОВНЫЕ ТЕРМИНЫ И ИХ ОПРЕДЕЛЕНИЕ

Термин

Определение

1

2

7.1. Приемник электрической энергии (электроприемник)

Устройство, в котором происходит преобразование электрической энергии в другой вид энергии для ее использования

7.2. Потребитель электрической энергии

Квартира, жилой дом, общественное здание, в которых приемники электрической энергии присоединены к электрической сети и используют электрическую энергию

7.3. Трансформаторная подстанция (ТП)

Электроустановка, предназначенная для преобразования электрической энергии одного напряжения в энергию другого напряжения с помощью -трансформаторов

7.4. Электроустановка

Совокупность машин, аппаратов, линий и вспомогательного оборудования, предназначенных для производства, преобразования, трансформации, распределения электроэнергии и преобразования ее в другой вид энергии

7.5. Электрическая сеть

Совокупность электроустановок для передачи и распределения электроэнергии

7.6. Электропроводка

Совокупность проводов и кабелей с относящимися к ним креплениями и защитными конструкциями

7.7. Вводно-распределительное устройство (ВРУ)

Совокупность конструкций, аппаратов и приборов, устанавливаемых на вводе в здание (помещение)

7.8. Питающая сеть

Электрическая сеть от ВРУ до распределительных или групповых щитков

7.9. Групповая сеть

Электрическая сеть, питающая силовые электроприемники

7.10. Распределительная сеть

Электрическая сеть, питающая силовые электроприемники

7.11. Электропотребление

Количество электроэнергии, потребляемое электроприемником, потребителем электроэнергии включая потери электроэнергии в электрической сети потребителя электроэнергии

7.12. Уровень электрификации

Насыщенность квартир жилых домов электробытовыми приборами

7.13. Электроотопление

Использование для отопления электронагревательных приборов

7.14. Электроводонагрев

Использование для горячего водоснабжения электронагревателей

8. ИСКУССТВЕННОЕ ОСВЕЩЕНИЕ ЗДАНИЙ

8.1. ОБЛАСТЬ ПРИМЕНЕНИЯ

8.1.1. Нормативные требования настоящего раздела дополняют МГСН 2.06-99 и СНиП 23-05-95 и распространяются на проектирование, экспертизу и контроль за энергопотреблением в системах искусственного освещения помещений вновь строящихся и реконструируемых объектов городского хозяйства, общественных, административных и жилых зданий независимо от форм собственности.

Нормативные требования настоящего раздела не распространяются на проектирование искусственного освещения помещений жилых квартир, культурно-зрелищных учреждений, помещения, к которым предъявляются повышенные архитектурно-художественные требования, наружное архитектурное, витринное и рекламное освещение зданий, а также аварийное, дежурное и охранное освещение.

8.1.2. Нормы устанавливают обязательные требования к максимально допустимой удельной установленной мощности общего искусственного освещения помещений и максимальной нормируемой освещенности.

Примечание. Минимальные нормируемые значения освещенности согласно ВСН 59-88.

8.1.3. В нормах применены термины в соответствии с приложением 8.1.

8.2 .ТРЕБОВАНИЯ К ЭНЕРГОПОТРЕБЕНИЮ В СИСТЕМАХ ИСКУССТВЕННОГО ОСВЕЩЕНИЯ

8.2.1. Для общего искусственного освещения помещений следует использовать, как правило, разрядные источники света, отдавая предпочтение при равной мощности источникам света с наибольшей световой отдачей и сроком службы. При выборе типа и мощности источника света следует также учитывать требования к цветопередаче, и к равномерности распределения освещенности в помещении согласно СНиП 23-05-95. Возможное снижение энергопотребления при замене источников света на более эффективные приведена в приложении 8.1.

Световая отдача источников света для общего искусственного освещения помещений при минимально допустимых индексах цветопередачи не должна быть меньше значений, приведенных в таблице 8.1.

Таблица 8.1

Тип источника света

Световая отдача, лм/Вт, не менее при минимально допустимых индексах цветопередачи Ra

80

60

45

25

Люминесцентные лампы

50

75

-

-

Компактные люминесцентные лампы

70

-

-

-

Металлогалогенные лампы

-

75

-

-

Дуговые ртутные лампы

-

-

50

-

Натриевые лампы высокого давления

-

75

-

85

8.2.2. Удельные установленные мощности общего искусственного освещения не должны превышать максимально допустимых величин, приведенных в табл. 8.2.

8.2.3. Удельная установленная мощность общего искусственного освещения остальных общественных, административных и вспомогательных помещений, а так же помещений объектов городского хозяйства W (Вт/м2) при выполнении норм освещенности, приведенных в МГСН 2.06-97 или в СНиП 23-05-95 не должна превышать значений, определенных по формуле:

W £ W0 (Eн/ 100) (Kз /1,5) (100 / hсв) (80 / hис)                          (8.1)

где W0 - базовое значение удельной мощности по таблице 8.3 приведенные к освещенности 100 лк, коэффициенту запаса 1,5, условному коэффициенту полезного действия светильника 100 % и световой отдаче 80 лм/Вт;

Eн - нормируемая освещенность, лк;

Kз - нормируемый коэффициент запаса;

hсв - коэффициент полезного действия применяемых светильников, %;

hис - световая отдача применяемого источника света, лм/Вт.

Таблица 8.2

Наименование помещения

Максимальная нормируемая освещенность по МГСН 2.06-97, лк

Максимально допустимая удельная установленная мощность, Вт/м2, не более

1

2

3

Здания управления (министерства, ведомства, комитеты управления и т. п.), конструкторских и проектных организаций, научно-исследовательских учреждений, библиотеки

 

 

Кабинеты и рабочие комнаты, офисы, машинописные

400

25

Проектные комнаты и залы, конструкторские и чертежные бюро

500

35

Помещения для ксерокопирования, электрофотографирования и т.п.

400

25

Помещения для работы с дисплеями, видеотерминалами, мониторами

400

25

Читальные залы

400

25

Лаборатории

500

35

Банковские и страховые учреждения

 

 

Операционный зал, кассовый зал

500

35

Общеобразовательные школы и школы-интернаты, профессионально-технические, средние специальные и высшие учебные заведения

 

 

Классные комнаты, аудитории, учебные кабинеты, лаборатории, лаборантские, кабинеты информатики и вычислительной техники

400

25

Детские дошкольные учреждения

 

 

Групповые, игральные, столовые, комнаты для музыкальных и гимнастических занятий

400

25

Предприятия общественного питания

 

 

Обеденные залы столовых, закусочных, буфетов

200

14

Помещения приготовления пищи

400

25

Магазины

 

 

Торговые залы супермаркетов

500

35

Торговые залы магазинов

400

25

Предприятия бытового обслуживания населения

 

 

Парикмахерские

400

25

Ателье пошива и ремонта одежды

750

52

Аптеки

 

 

Залы обслуживания посетителей

200

14

Жилые здания

 

 

Комнаты общежитий

300

20

Поэтажные внеквартирные коридоры, лестницы, вестибюли жилых зданий

20

4

Закрытые стоянки, депо

 

 

Помещения для закрытого хранения подвижного состава на транспортных предприятиях и общественных учреждениях

75

10

Станции технического обслуживания транспорта, транспортные предприятия

 

 

Участки, посты мойки

200

14

Участки диагностирования автомобилей

300

20

Участки технического обслуживания

200

14

Примечание Значения в таблице 8.2 приведены с учетом потребления мощности пускорегулирующих устройств, а так же устройств управления освещением.

Таблица 8.3

Высота помещения, м

Площадь помещения, м

Базовое значение удельной мощности общего освещения, Вт/м2, при освещенности 100 лк, К.П.Д. светильника 100 %, и коэффициенте запаса 1,5

Менее 3

Менее 15

От 15 до 25

От 25 до 50

От 50 до 150

От 150 до 300

Свыше 300

4,9

4,1

3,6

3,0

2,7

2,5

От 3 до 4

От 15 до 20

От 20 до 30

От 30 до 50

Oт 50 до 120

От 120 до 300

Свыше 300

6,0

4,8

3,9

3,5

3,0

2,5

От 4 до 6

От 25 до 35

От 35 до 50

От 50 до 80

От 80 до 150

От 150 до 400

Свыше 400

6,0

4,9

3,8

3,4

2,9

2,4

От 6 до 8

От 50 до 65

От 65 да 90

От 90 до 135

От 135 до 250

От 250 до 500

Свыше 500

6,0

5,0

4,1

3,5

3,1

2,4

8.2.4. Расчетные значения удельной установленной мощности помещений указываются на планах расположения электрического оборудования и прокладки электрических сетей, выполненных в соответствии с ГОСТ 21.608-84.

8.2.5. В установках искусственного освещения следует, как правило, использовать светильники с электронными пускорегулирующими аппаратами (ПРА). При отсутствии светильников с электронными ПРА допускается использование светильников с электромагнитными ПРА.

8.2.6. Коэффициент полезного действия (К.П.Д.) применяемых светильников должен соответствовать ГОСТ 8607-82*Е и ГОСТ 15597-82*Е.

8.2.7. Коэффициент мощности cosj, в осветительных установках с разрядными источниками должны быть не менее 0,92 и обеспечиваться либо за счет индивидуальной либо за счет групповой компенсации.

8.2.8. В проекте должны быть представлены рекомендации по необходимым средствам доступа и обслуживания осветительных установок.

ПРИЛОЖЕНИЕ 8.1
(справочное)

ОСНОВНЫЕ ТЕРМИНЫ И ИХ ОПРЕДЕЛЕНИЯ

Термины

Обозначения

Характеристика термина

Обозначения единицы величины

1

2

3

4

8.1. Аварийное освещение

-

Освещение при аварийном отключении рабочего освещения для продолжения работы (освещение безопасности) или эвакуации людей из помещения (эвакуационное освещение)

-

8.2. Дежурное освещение

-

Освещение в нерабочее время

-

8.3. Естественное освещение

-

Освещение помещений светом неба (прямым или отраженным), проникающим через световые проемы в наружных ограждающих конструкциях

-

8.4. Индекс цветопередачи

Ra

Мера соответствия зрительных восприятий цветного объекта, освещенного исследуемым и стандартным источником света при определенных условиях наблюдения.

-

8.5.Комбинированное искусственное освещение

-

Освещение, при котором к общему освещению добавляется местное

-

8.6. Коэффициент запаса

Kз

Расчетный коэффициент, учитывающий снижение освещенности в процессе эксплуатации вследствие загрязнения и старения, источников света (ламп) и светильников, а также снижение отражающих свойств поверхностей помещений

-

8.7. Общее освещение

-

Освещение, при котором светильники размещаются в верхней зоне помещения равномерно (общее равномерное освещение) или применительно к расположению оборудования (общее локализованное освещение).

-

8.8. Световая отдача

h

Отношение излучаемого светового потока к потребляемой мощности

лм/Вт

8.9. Удельная установленная мощность

W

Общая мощность осветительной установки, предусмотренной для ее питания, отнесенная к освещаемой площади.

Вт/м2

ПРИЛОЖЕНИЕ 8.2
(справочное)

Возможное снижение расхода электроэнергии при замене менее эффективных источников света более эффективными

Заменяемые источники света, тип, тип - мощность, Вт

Экономия электроэнергии, % (усредненные данные)

1

2

ЛЛ типа ЛБ 40-80 на ЛТБЦ 36 или 58

13

ДРЛ 250-1000 на ДРИ 250-1000

32

ДРЛ 250 на ДРИ 125 или 175

12

ДРЛ 80 или 125 на ДРИ 125 или 175

29

ДРЛ 250 или 400 на ЛЛ типа ЛБ 40 или 80

7

ДРЛ 250-1000 на ДНаТ 250 или 400

43

ДРЛ 80 или 125 на ДНаТ 50-100

38

ДРЛ 250 на ДНаТ 100

50

ЛН*) 100-1000 на ДРИ 250-1000

66

ЛН*) 100-500 на ДРИ 125 или 175

54

ЛН*) 100-500 на ЛЛ типа ЛБ 40-80

52

ЛН*) 100-1000 на ДРЛ 250-1000

47

ЛН*) 100-300 на ДРЛ 80 или 125

40

ЛН*) 100-1000 на ДНаТ 250 или 400

70

ЛН*) 100-500 на ДНаТ 50 или 100

62

ЛН**) 100-1000 на ДРИ 250-1000

50

ЛН**) 100-500 на ДРИ 125 или 175

36

ЛН**) 100-500 на ЛЛ типа ЛБ 40-80

40

ЛН**) 100-1000 на ДРЛ 250-1000

23

ЛН**) 100-300 на ДРЛ 80 или 125

5

ЛН**) 100-1000 на ДНаТ 250 или 400

57

ЛН**) 100-500 на ДНаТ 50-100

46

*) в соответствии с требованиями СНиП 23-05-95 нормируемая освещенность снижена на одну ступень по шкале освещенности;

**) в соответствии с требованиями СНиП 23-05-95 нормируемая освещенность снижена на две ступени по шкале освещенности

Примечание. ЛЛ - люминесцентные лампы , ЛН - лампы накаливания, ДРЛ - дуговые ртутные лампы, ДНаТ - натриевые лампы высокого давления.



*) - Раздел 3.7. разработан с учетом требований ГОСТ Р 1.0 и распоряжений первого заместителя Премьера Правительства Москвы от 19.06.97 № 636-РЗП, от 22.10.97 № 1100-РЗП и от 21.10.98 № 961-РЗП.

*) - Раздел 6 разработан на основе приложений 1 и 2 к постановлению Правительства г. Москвы от 10.02.98 № 106




Яндекс цитирования



   Copyright © 2007-2026,  www.tehlit.ru.

[ ѓосты, стандарты, нормативы, инструкции, правила, строительные нормы ]