|
| |
МЕТОДИЧЕСКАЯ ДОКУМЕНТАЦИЯ В СТРОИТЕЛЬСТВЕ
ПОЛЫ ЖИЛЫХ, ОБЩЕСТВЕННЫХ
И ПРОИЗВОДСТВЕННЫХ ЗДАНИЙ
С ПРИМЕНЕНИЕМ МАТЕРИАЛОВ
ФИРМЫ «ХЕНКЕЛЬ БАУТЕХНИК»
Материалы для проектирования
и рабочие чертежи узлов
Москва 2007
РАЗРАБОТАН ОАО
«Центральный научно-исследовательский и проектно-экспериментальный институт
промышленных зданий и сооружений» (канд. техн. наук С.М. Гликин, канд. техн. наук A.П. Чекулаев).
РАССМОТРЕН Органом
по сертификации проектной продукции в строительстве № РОСС RU.0001.11CP48 от 19.12.2005.
ПРИНЯТ И ВВЕДЕН в
действие с 18 января 2007 г. на основании экспертного заключения № 430с/07 от
15.01.2007. Сертификат соответствия ГОСТ Р № РОСС PU. CP48.C 00033.
Настоящий
методический документ выполнен в полном соответствии с действующими
строительными нормами и правилами и регламентирует применение материалов,
разработанных и поставляемых в соответствии с государственными стандартами или
техническими условиями, утвержденными в установленном порядке.
Методический
документ разработан для применения во всех регионах России и не требует
дополнительной проверки и подтверждения пригодности для применения в
строительстве.
|
ВВЕДЕНИЕ
Раздел
I ТЕХНИЧЕСКИЕ ТРЕБОВАНИЯ, ПРЕДЪЯВЛЯЕМЫЕ К ПОЛАМ
Раздел
II ПРОЕКТИРОВАНИЕ И УСТРОЙСТВО ПОЛОВ
Раздел
III КОНСТРУКТИВНЫЕ СХЕМЫ
Полы с
покрытием из паркета по грунту
Тип 1 - Тип
11
Полы с
покрытием из паркета по плите перекрытия
Тип 12 - Тип
28
Полы с
покрытием из массивной доски по грунту
Тип 29 - Тип
36
Полы с
покрытием из массивной доски по плите перекрытия
Тип 37 - Тип
46
Полы с
покрытием из наборного паркета (паркетный ковер) по грунту
Тип 47 - Тип
54
Полы с
покрытием из наборного паркета (паркетный ковер) по плите перекрытия
Тип 55 -Тип
64
Полы с
покрытием из паркетной доски, ламината по грунту
Тип 65 - Тип
74
Полы с
покрытием из паркетной доски, ламината по плите перекрытия
Тип 75 - Тип
90
Полы с
покрытием из линолеума, ковров из синтетических волокон, резиновых плиток по
грунту Тип 91 - Тип
100
Полы с
покрытием из линолеума, ковров из синтетических волокон, резиновых плиток по
плите перекрытия Тип 101 - Тип
116
Полы с
покрытием из антистатического линолеума по грунту
Тип 117 - Тип
120
Полы с
покрытием из антистатического линолеума по плите перекрытия
Тип 121 - Тип
124
Полы с
покрытием из керамической плитки, керамогранитных плит или плит из природного
камня по грунту Тип 125 - Тип
134
Полы с
покрытием из керамической плитки, керамогранитных плит или плит из природного
камня по плите перекрытия
Тип 135 - Тип
147
Полы с
покрытием из керамической кислотостойкой плитки по грунту
Тип 148 - Тип
154
Полы с
покрытием из керамической кислотостойкой плитки по плите перекрытия
Тип 155 - Тип
160
Полы с
полимерцементно-песчаным покрытием по грунту
Тип 161 - Тип
165
Полы с
полимерцементно-песчаным покрытием по плите перекрытия
Тип 166 - Тип
170
Раздел
IV ОСНОВНЫЕ УЗЛЫ
Примыкание к
наружной стене пола с покрытием из паркета (по грунту)
Примыкание к
наружной стене пола с покрытием из линолеума (по грунту)
Примыкание к
внутренней стене пола с покрытием из линолеума поливинилхлоридного (по
грунту)
Примыкание к
внутренней стене пола с покрытием из линолеума натурального (по грунту)
Примыкание к
внутренней стене пола с покрытием из керамической плитки, кислотоупорной
плитки, керамогранитных плит и плит из природного камня (по грунту)
Примыкание к
легкой перегородке пола с покрытием из паркета и линолеума (по грунту)
Примыкание к
деформационному шву здания пола с покрытием из керамической плитки,
кислотоупорной плитки, керамогранитных плит и плит из природного камня (по
грунту)
Примыкание к
деформационному шву здания пола с покрытием из паркета (по грунту)
Примыкание к
деформационному шву стяжки из древесно-стружечных плит пола с покрытием из
линолеума (по грунту)
Примыкание к
легкой перегородке, установленной над деформационным швом стяжки из
древесно-стружечных плит, пола с покрытием из линолеума (по грунту)
Соединение
разнородных покрытий в одной плоскости
Соединение
разнородных покрытий на разном уровне
Примыкание
покрытия пола из линолеума, синтетических плиток или ковров из синтетических
волокон к стене (по плите перекрытия)
Приложение
1 НОРМАТИВНЫЕ ССЫЛКИ
Приложение
2 ОСНОВНЫЕ ТЕРМИНЫ И ОПРЕДЕЛЕНИЯ
Приложение
3 ПРЕДЕЛЬНЫЕ ЗНАЧЕНИЯ ИНТЕНСИВНОСТИ ВОЗДЕЙСТВИЯ
НА ПОЛ
Приложение
4 ОПРЕДЕЛЕНИЕ ПОКАЗАТЕЛЯ ТЕПЛОУСВОЕНИЯ ПОЛА
Приложение
5 РАСЧЕТ ЗВУКОИЗОЛЯЦИИ
Приложение
6 ЗАКЛЮЧЕНИЕ ПО РЕЗУЛЬТАТАМ ИСПЫТАНИЙ
МАТЕРИАЛОВ, ВЫПУСКАЕМЫХ ФИРМОЙ «ХЕНКЕЛЬ БАУТЕХНИК»
|
В работе представлены материалы для проектирования и
устройства полов жилых, общественных и производственных зданий с применением
клеевых композиций и саморазравнивающихся составов фирмы «Хенкель Баутехник»,
выполненные на основе анализа опыта применения их в практике строительства, а
также экспериментальной проверки физико-механических показателей материалов.
Работа
выполнена сектором полов ОАО «ЦНИИПромзданий» по договору М 28.06/06 с ООО
«Хенкель Баутехник».
Раздел
I
1.1. Настоящие технические требования распространяются на правила
проектирования и устройства полов производственных, жилых, общественных,
административных и бытовых зданий.
1.2. Соблюдение изложенных ниже технических требований обеспечивает
эксплуатационную надежность и долговечность конструкций полов.
1.3. При проектировании полов кроме настоящих технических требований,
обязательных к применению, необходимо соблюдать дополнительные требования,
установленные нормами проектирования конкретных зданий и сооружений,
противопожарными и санитарными нормами, а также нормами технологического
проектирования.
1.4. Данные технические требования не распространяются на правила
проектирования съемных полов (фальшполов) и полов, расположенных на
вечномерзлых грунтах.
2.1. Проектирование полов должно осуществляться с учетом эксплуатационных
воздействий на них, специальных требований (безыскровость, антистатичность,
беспыльность, теплоусвоение, звукоизолирующая способность) и климатических
условии места строительства.
2.2. Полы, выполняемые по перекрытиям, при предъявлении к последним
требований по защите от шума, должны обеспечивать нормативные параметры
звукоизоляции перекрытий в соответствии с указаниями СНиП 23-03. Нормативные значения индексов изоляции
воздушного шума ограждающими конструкциями и индексов приведенного уровня
ударного шума под перекрытиями приведены в таблице 1.
Таблица 1
|
Наименование и
расположение ограждающей конструкции
|
Индекс изоляции
воздушного шума Jнв, дБ
|
Индекс
приведенного уровня ударного шума Jну,
дБ
|
Жилые здания
|
|
|
|
1.
Перекрытия между помещениями квартир и отделяющие помещения квартир от холлов
и используемых чердачных помещений:
|
|
|
|
в домах категории А
|
54
|
55
|
|
в домах категории Б
|
52
|
58
|
|
в домах категории В
|
50
|
60
|
|
2.
Перекрытия между помещениями квартир и расположенными под ними магазинами:
|
|
|
|
в домах категории А
|
59
|
55
|
|
в домах категории Б
|
57
|
58
|
|
в домах категории В
|
55
|
60
|
|
3.
Перекрытия между комнатами в квартире в двух уровнях:
|
|
|
|
в домах категории А
|
47
|
63
|
|
в домах категории Б
|
45
|
66
|
|
в домах категории В
|
43
|
68
|
|
4.
Перекрытия между жилыми помещениями общежитий
|
50
|
60
|
|
5.
Перекрытия, отделяющие помещения культурно-бытового обслуживания общежитий
друг от друга и от помещений общего пользования (холлы, вестибюли и пр.)
|
47
|
65
|
Гостиницы
|
|
|
|
6.
Перекрытия между номерами:
|
|
|
|
категории А
|
52
|
57
|
|
категории Б
|
50
|
60
|
|
категории В
|
48
|
62
|
|
7.
Перекрытия, отделяющие номера от помещений общего пользования (вестибюли,
холлы, буфеты):
|
|
|
|
категории А
|
54
|
55
|
|
категории Б
|
52
|
58
|
|
категории В
|
50
|
60
|
|
8.
Перекрытия, отделяющие номера от ресторанов, кафе, столовых, кухонь:
|
|
|
|
категории А
|
62
|
57
|
|
категории Б
|
59
|
60
|
|
категории В
|
57
|
62
|
Административные здания,
офисы
|
|
|
|
9.
Перекрытия между рабочими комнатами, кабинетами, секретариатами и отделяющие
рабочие комнаты, кабинеты, секретариаты от помещений общего пользования
(вестибюли, холлы):
|
|
|
|
категории А
|
52
|
63
|
|
категории Б
|
50
|
66
|
|
10.
Перекрытия, отделяющие рабочие комнаты, кабинеты от рабочих, не защищаемых от
шума помещений (машбюро, телетайпные залы и т.п.):
|
|
|
|
категории А
|
54
|
60
|
|
категории Б
|
52
|
63
|
|
Больницы
и санатории
|
|
|
|
11.
Перекрытия между палатами, кабинетами врачей
|
47
|
60
|
|
12.
Перекрытия между операционными и отделяющие операционные от палат и кабинетов
|
57
|
60
|
|
13.
Перекрытия, отделяющие палаты, кабинеты врачей от помещений общего
пользования (вестибюлей, холлов)
|
52
|
63
|
|
14.
Перекрытия, отделяющие палаты, кабинеты от столовых, кухонь
|
57
|
63
|
|
Школы
и другие учебные заведения
|
|
|
|
15.
Перекрытия между классами, кабинетами, аудиториями и отделяющие эти помещения
от помещений общего пользования (коридоры, вестибюли, холлы)
|
47
|
63
|
|
16.
Перекрытия между музыкальными классами средних учебных заведений
|
57
|
58
|
|
17.
Перекрытия между музыкальными классами высших учебных заведений
|
60
|
53
|
|
Детские
дошкольные учреждения
|
|
|
|
18. Перекрытия между групповыми комнатами,
спальнями
|
47
|
63
|
|
19.
Перекрытия, отделяющие групповые
комнаты, спальни от кухонь
|
51
|
63
|
|
Примечание - Категория А -
высококомфортные условия; категория Б - комфортные условия; категория В -
предельно допустимые условия.
|
2.3.
Полы производственных, жилых, общественных, административных и бытовых зданий с
нормируемым показателем теплоусвоения поверхности пола должны проектироваться с
учетом требований СНиП 23-02.
2.4. Полы в помещениях, где возможно
образование взрывоопасных смесей газов, пыли, жидкостей и других веществ в
концентрациях, при которых искры, образующиеся при ударе предметов о пол или
разрядах статического электричества, могут вызвать взрыв или возгорание, а
также при наличии в помещениях электронного оборудования, для которого искры
могут создать помехи нормальной работе (предприятия с электронной гигиеной),
должны выполняться из необразующих искр при ударах антистатических или
структурно неэлектризуемых материалов.
2.5. В помещениях с нормируемым содержанием
мелкодисперсных аэрозолей в воздухе («чистые» и «особо чистые» помещения)
должны применяться «беспыльные» покрытия полов.
2.6. Требования по беспыльности,
антистатичности и (или) безыскровости устанавливаются Заказчиком на стадии
Технического задания на проектирование с учетом технологического процесса и
требований отраслевых стандартов.
2.7. В помещениях, где полы подвержены
воздействиям кислот, щелочей, масел и других агрессивных жидкостей, они должны
быть химически стойкими и выполняться из материалов, отвечающих требованиям,
предъявляемым СНиП 2.03.11.
2.8. В помещениях со средней и большой
интенсивностью воздействия жидкостей в покрытии пола должны быть предусмотрены
уклоны, равные:
0,5-1
% - при бесшовных покрытиях и покрытиях из плит (кроме бетонных покрытий всех
видов);
1-2 %
- при покрытиях из кирпича и бетонов всех видов.
Уклоны
лотков и каналов в зависимости от применяемых материалов должны приниматься
соответственно не менее указанных.
Направление
уклонов должно обеспечивать отвод сточных вод в лотки, каналы и трапы без
пересечения проездов и проходов.
2.9. Во избежание образования трещин в
бетонном подстилающем слое в полах на грунте их уклон должен создаваться путем
соответствующей планировки грунтового основания.
2.10. Уровень пола в туалетных и ванных
комнатах должен быть на 15-20 мм ниже уровня пола в смежных помещениях либо
помещения должны быть разделены порогом.
2.11. В соответствии со СНиП 21-01 в помещениях класса функциональной
пожарной опасности Ф5 категорий помещений и зданий по взрывопожарной и пожарной
безопасности А, Б и В1, где производятся, применяются или хранятся
легковоспламеняющиеся жидкости, полы должны проектироваться из материалов
группы горючести НГ или Г1.
2.12. Не допускается применение ковровых
покрытий из материалов по воспламеняемости групп В2, В3 и по дымообразующей
способности групп Д2, Д3 в полах зданий классов функциональной пожарной
опасности Ф2, Ф3 и Ф4 по СНиП 21-01.
2.13. В соответствии со СНиП 21-01 в зданиях всех степеней огнестойкости и
классов конструктивной пожарной опасности, кроме зданий V степени огнестойкости
и зданий класса конструктивной пожарной опасности здания С3, на путях эвакуации
не допускается применять материалы с более высокой пожарной опасностью, чем:
Г2,
РП2, Д2, Т2 - в вестибюлях, лестничных клетках и лифтовых холлах;
Г3,
РП2, Д3, Т2 - общих коридорах, холлах, фойе.
2.14. Обогреваемые полы следует предусматривать
на первом этаже в групповых помещениях всех типов детских дошкольных
учреждений, а также в спальных и раздевальных в учреждениях для детей с
нарушением опорно-двигательного аппарата. Средняя температура на поверхности
пола должна поддерживаться в пределах +23 °С.
2.15. Обогреваемые полы являются дополнением к
основному отоплению и служат для создания комфорта.
3.1. Грунт основания под полы должен исключать возможность деформации
конструкции пола вследствие просадки или пучения.
3.2. Не допускается применять в качестве основания под полы торф, чернозем
и другие растительные грунты. Насыпные и естественные грунты с нарушенной
структурой должны быть предварительно уплотнены до степени уплотнения,
соответствующей требованиям СНиП 3.02.01.
3.3. Нескальное грунтовое основание под бетонный подстилающий слой должно
быть предварительно укреплено щебнем или гравием, утопленным на глубину не
менее 40 мм.
4.1. Подстилающий слой должен выполняться из
бетона класса не ниже В22,5.
Если
по расчету напряжение растяжения в подстилающем слое из бетона класса В22,5
получается ниже расчетного, допускается применять бетон класса не ниже В7,5.
4.2. Толщина подстилающего слоя
устанавливается расчетом на прочность от действующих нагрузок и должна быть не
менее 80 мм в жилых и общественных зданиях и не менее 100 мм в производственных
помещениях.
4.3. При использовании бетонного подстилающего слоя в качестве покрытия или
основания под покрытие без выравнивающей стяжки его толщина по сравнению с
расчетной должна быть увеличена на 20-30 мм.
4.4. Отклонение поверхности подстилающего слоя
от горизонтальной плоскости на длине 2 м не должно превышать, мм, для:
|
бетонных под
бетонные покрытия и под выравнивающие стяжки
|
- 10
|
|
бетонных при
укладке оклеечной гидроизоляции
|
- 5
|
|
бетонных под покрытия
из плитки на прослойке на основе синтетических смол и из клеевой композиции
на основе цемента, под покрытия из линолеума, паркета, ламината, рулонных
материалов на основе синтетических волокон
|
- 2
|
4.5. В бетонных подстилающих слоях должны быть
предусмотрены деформационные швы, располагаемые во взаимно перпендикулярных
направлениях с шагом 6-12 м. Глубина шва должна быть не менее 40 мм и не менее 1/3
толщины подстилающего слоя. После завершения процесса усадки швы должны быть
заделаны цементно-песчаным раствором.
В
помещениях, при эксплуатации которых возможны резкие перепады температур
(положительная и отрицательная температуры воздуха), деформационные швы должны
быть расшиты полимерной эластичной композицией.
4.6. Деформационные швы в полах, совпадающие с
деформационными швами здания, должны выполняться на всю толщину бетонного
подстилающего слоя.
4.7. Конструкция железобетонных и деревянных
межэтажных перекрытий должна обеспечивать необходимую жесткость. Вертикальные
прогибы и перемещения от постоянных, длительных и кратковременных нагрузок не
должны превышать 1/150 пролета. Расчетные нагрузки
принимаются в соответствии с рекомендациями СНиП 2.01.07.
5.1. Гидроизоляция от проникновения сточных
вод и других жидкостей должна предусматриваться при средней и большой
интенсивности воздействия:
- воды и нейтральных растворов - в полах на
перекрытии, на просадочных и набухающих грунтах, а также в полах на пучинистых
грунтах основания в неотапливаемых помещениях;
-
органических растворителей, минеральных масел и эмульсий из них - в полах на
перекрытии;
-
кислот, щелочей и их растворов, а также веществ животного происхождения - в
полах на грунте и на перекрытии.
5.2. Гидроизоляция от проникания сточных вод и
других жидкостей должна быть непрерывной в конструкции пола, стенках и днищах
лотков и каналов, над фундаментами под оборудование, а также в местах перехода
пола к этим конструкциям. В местах примыкания пола к стенам, фундаментам под
оборудование, трубопроводам и другим конструкциям, выступающим над полом,
гидроизоляция должна предусматриваться непрерывной на высоту не менее 300 мм от
уровня покрытия пола, а при попадании струи воды на стены - на всю высоту
замачивания.
5.3. При средней и большой интенсивности
воздействия жидкостей на пол, а также под сточными лотками, каналами и трапами
должна применяться оклеечная гидроизоляция.
При
средней и большой интенсивности воздействия на пол минеральных масел, эмульсий
из них или органических растворителей применение оклеечной гидроизоляции из
материалов на основе битума не допускается.
5.4. При средней интенсивности воздействия на
пол сточных вод и других жидкостей оклеечную гидроизоляцию из материалов на
основе битума следует применять в 2 слоя, из полимерных материалов - в 1 слой.
При
большой интенсивности воздействия жидкости на пол, а также под сточными
лотками, каналами, тралами и в радиусе 1 м от них число слоев гидроизоляции из
материалов на основе битума должно быть увеличено на 2 слоя, а из полимерных
материалов - на 1 слой.
5.5. По поверхности оклеечной гидроизоляции из
материалов на основе битума и дегтя перед укладкой по ней покрытий, прослоек
или стяжек, в состав которых входят цемент или жидкое стекло, необходимо
предусматривать нанесение соответственно битумной или дегтевой мастики с
посыпкой песком крупностью 1,5-5 мм.
5.6. Гидроизоляция под бетонным подстилающим
слоем должна быть предусмотрена:
- при
расположении в зоне опасного капиллярного поднятия грунтовых вод низа
подстилающего слоя в помещениях, где отсутствует воздействие на пол сточных вод
средней и большой интенсивности. В этом случае при проектировании гидроизоляции
высота, м, опасного поднятия грунтовых вод от их горизонта должна приниматься
равной для основания из песка: крупного - 0,3; средней крупности и мелкого -
0,5; пылеватого - 1,5; суглинка, пылеватых суглинка и супеси, глины - 2,0;
- при
расположении подстилающего слоя ниже уровня отмостки здания в помещениях, где
отсутствует воздействие на пол сточных вод средней и большой интенсивности;
- при
средней и большой интенсивности воздействия на пол растворов серной, соляной,
азотной, уксусной, фосфорной, хлорноватистой и хромовой кислот.
6.1. Теплоизоляционный слой должен предусматриваться в полах с нормируемым
теплоусвоением, а также в полах на перекрытиях, расположенных над арками,
неотапливаемыми помещениями или подвалами.
6.2. Полы на грунте в помещениях с нормируемой температурой внутреннего
воздуха, расположенные выше отмостки здания или ниже ее не более чем на 0,5 м,
должны быть утеплены в зоне примыкания пола к наружным стенам или стенам,
отделяющим отапливаемые помещения от неотапливаемых, шириной 0,8 м путем
укладки по грунту слоя неорганического влагостойкого утеплителя толщиной,
определяемой из условия обеспечения термического сопротивления этого слоя
утеплителя не менее термического сопротивления наружной стены.
6.3. Требуемая толщина теплоизоляционного слоя должна устанавливаться
расчетом в соответствии с указаниями СНиП 23-02.
6.4. Требуемая толщина звукоизоляционного слоя и прокладок должна
устанавливаться расчетом в соответствии с указаниями СП
23-103.
7. Прослойка
Прочность
на сжатие материала прослойки, МПа (кгс/см2), в зависимости от
интенсивности механических воздействий (приложение 2, таблица 1) должна быть не менее для прослойки из
цементно-песчаного раствора - 15 (150) - при слабой интенсивности и 30 (300) -
при умеренной, значительной и весьма значительной.
Толщина прослойки должна
быть, мм:
|
из клеевой композиции
на основе цемента для приклеивания плитки
|
- 2-3
|
|
из полимерзамазок для
покрытий из штучных материалов
|
- 3-4
|
|
из клеевой композиции
для приклеивания паркета
|
- не более 1,0
|
|
из клеевой композиции
для приклеивания рулонных материалов
|
- не более 0,8
|
8.1. Стяжка должна предусматриваться, когда необходимо:
-
выравнивание поверхности нижележащего слоя;
-
укрытие трубопровода;
-
распределение нагрузок по тепло- и звукоизоляционным слоям;
-
обеспечение нормируемого теплоусвоения полов;
-
создание уклонов на полах по перекрытиям.
8.2. Для выравнивания поверхности нижележащего слоя и укрытия
трубопроводов, а также для создания уклона на перекрытии монолитные стяжки
должны предусматриваться из бетона класса не ниже В12,5 или из
цементно-песчаного раствора с прочностью на сжатие не ниже 15 МПа (150 кгс/см2).
Для
создания уклона на перекрытии - из бетона класса по прочности на сжатие В7,5
или цементно-песчаного раствора с прочностью на сжатие не ниже 10 МПа (100
кгс/см2).
8.3. Наименьшая толщина стяжки, мм, для создания уклона в местах примыкания
к сточным лоткам, каналам и трапам должна быть: при укладке ее по плитам
перекрытия - 20, по тепло- и звукоизолирующему слою - 40. Толщина стяжки для
укрытия трубопроводов должна быть на 15-20 мм больше диаметра трубопроводов.
8.4. Прочность на изгиб стяжек, укладываемых по слою из сжимаемых тепло-
или звукоизоляционных материалов, должна быть не менее 2,5 МПа (25 кгс/см2).
8.5. При сосредоточенных нагрузках на пол более 20 кН (200 кгс) толщина
стяжки по тепло- или звукоизоляционному слою должна устанавливаться расчетом из
условия исключения деформации тепло- и звукоизоляционного слоя.
8.6. В местах сопряжения стяжек, выполненных по звукоизоляционным
прокладкам или засыпкам, с другими конструкциями (стенами, перегородками,
трубопроводами, проходящими через перекрытия, и т.п.) должны быть предусмотрены
зазоры шириной 25-30 мм на всю толщину стяжки, заполняемые звукоизоляционным
материалом.
8.7. Сборные стяжки из гипсоволокнистых, древесно-стружечных листов и
фанеры должны применяться при умеренной и слабой интенсивности механических
воздействий. Не допускается применение данных стяжек в зданиях с мокрым
режимом.
8.8. Отклонение поверхности стяжки от горизонтальной
плоскости на длине 2 м не должно превышать, мм, при покрытиях:
|
из штучных материалов
по прослойке из цементно-песчаного раствора, а также для укладки оклеечной
гидроизоляции
|
- 4
|
|
из штучных материалов
по прослойке на основе синтетических смол и из клеевых композиций на основе
цемента, а также из линолеума, паркета, ламината, рулонных материалов на
основе синтетических волокон
|
- 2
|
8.9. В помещениях, при эксплуатации которых возможны
резкие перепады температур (положительная и отрицательная температуры воздуха),
в стяжке должны быть предусмотрены деформационные швы, которые должны совпадать
с осями колонн, со швами плит перекрытий, деформационными швами в подстилающем
слое. Деформационные швы должны быть расшиты полимерной эластичной композицией.
9.1. Материалы для покрытий полов должны иметь санитарно-эпидемиологическое
заключение, а линолеумы и полимерные покрытия полов, кроме того, согласно
приказу № 320 МЧС РФ - сертификат пожарной безопасности.
9.2. Нормативный
коэффициент теплоусвоения покрытий полов не должен превышать:
- в
жилых зданиях, больничных учреждениях, диспансерах, амбулаториях, поликлиниках,
родильных домах, домах ребенка, домах-интернатах для престарелых и инвалидов,
общеобразовательных и детских школах, детских садах, яслях, детских домах и
детских приемниках-распределителях - 12 Вт/(м2·°С);
- в
общественных зданиях, кроме вышеуказанных, вспомогательных зданиях и помещениях
промышленных предприятий, а также на участках с постоянными рабочими местами в
отапливаемых производственных зданиях, где выполняются легкие физические работы
(категория I), - 14 Вт/(м2·°С);
- в
отапливаемых помещениях производственных зданий, где выполняются физические
работы средней тяжести (категория II), - 17 Вт/(м2·°С).
9.3. Показатель теплоусвоения покрытия пола не нормируется в
производственных помещениях с температурой поверхности пола Выше 23 °С, в
отапливаемых производственных помещениях, где выполняются тяжелые физические
работы (категория III), в производственных зданиях, где на участках пола
постоянных рабочих мест размещены деревянные щиты или теплоизолирующие коврики,
в общественных зданиях, эксплуатация которых не связана с постоянным
пребыванием людей (залы музеев и выставок, фойе театров и кинотеатров и т.п.).
9.4. В помещениях, классифицируемых по классам чистоты, полы должны быть
беспыльными, отвечающими требованиям, предъявляемым классами беспыльности
помещений.
Истираемость
покрытия пола не должна превышать для покрытий полов из линолеума - 50 мкм, 90
мкм и 100 мкм соответственно.
В
помещениях класса беспыльности 100 покрытия полов должны быть антистатическими,
удельное электрическое сопротивление их должно быть в пределах 1·106
- 1·109 Ом. Кромки стыкуемых полотнищ линолеума в помещениях классов
100 и 1000 должны быть сварены.
9.5. Толщина половой доски для покрытия должна быть не менее 29 мм,
паркетных досок - не менее 25 мм.
9.6. Воздушное пространство под покрытием полов из досок, реек и паркетных
досок не должно сообщаться с вентиляционными и дымовыми каналами, а в
помещениях площадью более 25 м2 дополнительно должно разделяться
перегородками из досок на замкнутые отсеки размером (4-5)×(5-6) м.
9.7. Толщина керамических кислотоупорных плит должна составлять: 15-20 мм
при слабой интенсивности, 30-35 мм при умеренной интенсивности и 50 мм при
значительной интенсивности механических нагрузок.
9.8. Толщина полимерцементно-песчаных покрытий должна составлять не менее
20 мм, марка раствора не менее М200 при слабой интенсивности механических
воздействий и не менее 25 мм, марка раствора не менее М300 при умеренной
интенсивности механических воздействий.
9.9. Поверхность покрытия пола должна быть ровной.
Отклонение поверхности пола от горизонтальной плоскости на длине 2 м не должно
превышать, мм, для покрытий:
|
паркетных, из
линолеума, рулонных на основе синтетических волокон
|
- 2
|
|
из плит керамических и
каменных
|
- 4
|
9.10. Отклонение от заданного уклона покрытий - 0,2 %
соответствующего размера помещений, но не более 50 мм.
9.11. Высота уступа между смежными изделиями покрытий из керамических и
каменных плит не должна превышать 1 мм.
9.12. В полах дощатых, паркетных и из линолеума уступы между смежными
изделиями не допускаются.
9.13. Зазоры между паркетными досками - 0,5 мм и между смежными планками
штучного паркета - 0,3 мм.
9.14. Зазоры между смежными кромками полотнищ линолеума и ковров не
допускаются.
9.15. При проверке сцепления покрытий из керамических и каменных плит с
нижележащими элементами пола простукиванием не должно быть изменения характера
звучания.
9.16. Площадь приклейки паркетной планки должна составлять не менее 80 %.
9.17. Поверхность покрытия не должна иметь выбоин, трещин, волн, вздутий,
приподнятых кромок. Цвет покрытия должен соответствовать проектному.
9.18. В помещениях, при эксплуатации которых возможны резкие перепады
температур в покрытиях полов, должны быть предусмотрены деформационные швы,
которые должны совпадать с деформационными швами в стяжке и в подстилающем
слое. Швы должны быть расшиты полимерной эластичной композицией.
Выбор
типа пола следует осуществлять с учетом видов и интенсивности эксплуатационных
воздействий, а также из технико-экономической целесообразности принятого
решения в конкретных условиях строительства, при котором обеспечиваются:
-
эксплуатационная надежность и долговечность пола;
-
экономия строительных материалов;
-
наиболее полное использование физико-механических свойств примененных
материалов;
-
минимум трудозатрат на устройство и эксплуатацию;
-
максимальная механизация процессов устройства;
-
экологическая безопасность;
-
оптимальные гигиенические условия для людей;
-
пожаробезопасность.
При
проектировании и устройстве полов кроме указаний настоящего документа должны
выполняться требования действующих норм проектирования, правил техники
безопасности, по охране труда и противопожарной безопасности.
2.1. При проектировании и устройстве грунтовых
оснований должны соблюдаться технические требования, изложенные в разделе
I.
2.2. При пучинистых грунтах, к которым согласно СНиП 2.02.01 (изд. 1995 г.) относятся
пылевато-глинистые грунты, пески пылеватые и мелкие, а также крупнообломочные
грунты с пылевато-глинистым заполнителем, подверженные в процессе эксплуатации
пола замораживанию, рекомендуется предусматривать одну из следующих мер:
-
устройство по основанию после снятия растительного грунта слоя теплоизоляции из
плитного экструзионного пенополистирола;
-
замену пучинистого грунта на непучинистый.
2.3. Макропористые грунты следует закреплять или заменять на грунт с малой
осадкой.
2.4. Грунты насыпные или с нарушенной структурой рекомендуется очистить от
примесей древесно-строительного мусора и уплотнить.
2.5. При применении для устройства оснований гравийно-песчаных смесей их
рекомендуется укладывать по выровненной поверхности слоями толщиной 100-120 мм
с последующим уплотнением каждого слоя.
2.6. Уплотнение грунта рекомендуется осуществлять механизированным способом
в соответствии с требованиями СНиП 3.02.01. Ручное трамбование грунта допускается
только в местах, недоступных для используемых механизмов, и там, где их
применение может вызывать повреждение примыкающих к зоне уплотнения конструкций
(фундаментов, стен подвалов и др.).
2.7. Грунт основания при уплотнении и планировке должен быть талым.
Уплотнение и планировка талого грунта с примесью мерзлого, а также со снегом и
льдом не допускаются.
2.8. При производстве работ согласно СНиП 3.02.01 необходимо обеспечивать требуемую
степень уплотнения грунта (таблица 2).
Таблица 2
|
Тип грунта
|
Контрольные значения коэффициента уплотнения ксот при нагрузке на поверхности
уплотненного грунта, МПа (кгс/см2), при
|
|
0
|
0,05-0,2(0,5-2)
|
Св. 0,2(2)
|
|
Общая толщина отсыпки, м
|
|
До 2
|
2,01-4
|
4,01-6
|
Св. 6
|
До 2
|
2,01-4
|
4,01-6
|
Св. 6
|
До 2
|
2,01-4
|
4,01-6
|
Св. 6
|
|
Глинистые
|
0,92
|
0,93
|
0,94
|
0,95
|
0,94
|
0,95
|
0,96
|
0,97
|
0,95
|
0,96
|
0,97
|
0,98
|
|
Песчаные
|
0,91
|
0,92
|
0,93
|
0,94
|
0,93
|
0,94
|
0,95
|
0,96
|
0,94
|
0,95
|
0,96
|
0,97
|
|
Примечание - Коэффициентом уплотнения называется
отношение достигнутой плотности сухого грунта к максимальной плотности сухого
грунта, полученной в приборе стандартного уплотнения по ГОСТ
22733.
|
|
|
|
|
|
|
|
|
|
|
|
|
|
|
2.9.
Уклоны полов, устраиваемых на грунте, рекомендуется создавать соответствующей
планировкой основания. Выполнение уклонов полов на грунте за счет утолщения
подстилающего слоя допускается только в небольших помещениях, где это утолщение
не превышает 40 мм.
3.1. При проектировании и устройстве подстилающего слоя должны соблюдаться
технические требования, изложенные в разделе I.
3.2. Подстилающие слои должны выполняться по предварительно выровненному
основанию.
3.3. При нескальных грунтах основания рекомендуется перед укладкой бетона
подстилающего слоя втопить в грунт на глубину 40 мм гравий или щебень
крупностью 40-60 мм с прочностью на сжатие не менее 20 МПа. При необходимости
грунт основания предварительно следует увлажнить до 10-20 %.
3.4. Бетонные основания толщиной до 100 мм рекомендуется армировать одним
слоем металлической сетки из проволоки диаметром 5 мм с ячейками 100×100
или 150×150 мм, толщиной 100-180 мм - двумя слоями металлической сетки, а
при толщине более 180 мм каркас определяется расчетом. Нижний слой
металлической сетки укладывается на прокладки толщиной не менее 20 мм, верхний
- картами 6×6 м, а в особых случаях 3×3 м на опоры, приваренные к
нижнему слою сетки.
3.5. Для армирования бетонных оснований может также использоваться стальная
фибра длиной 50-80 мм и диаметром 0,3-1 мм.
3.6. В бетонных основаниях рекомендуется предусматривать деформационные швы
в продольном и поперечном направлениях с шагом от 3 до 6 м. Швы должны совпадать
с осями колонн, деформационными швами здания, а при двухслойном армировании
сетками - с границами верхнего слоя арматуры. Глубина деформационного шва
должна быть не менее 40 мм и не менее 1/3 толщины
бетонного основания, ширина - 3-5 мм.
3.7. Для предотвращения деформации пола при возможности осадки здания
следует предусмотреть отсечку бетонного основания от колонн и стен через
прокладки из рулонных гидроизоляционных материалов.
3.8. Для бетонных подстилающих слоев рекомендуется использовать составы бетонных
смесей, приведенные в таблице 3.
3.9. В качестве матричного состава для сталефибробетона рекомендуется
использовать мелкозернистый бетон классов В25 и В35 с максимальным размером
крупного заполнителя 20 мм (таблица 4).
3.10. Для приготовления бетона следует использовать портландцемент (ГОСТ 10178) марки не ниже 400.
3.11. Щебень из природного камня, гравий и щебень из гравия (ГОСТ
8267) для классов
бетона В30, В22,5 и В15 должны иметь соответственно прочность 100, 80 и 60 МПа.
3.12.. Песок кварцевый или дробленый (ГОСТ 8736) из природного камня кристаллических
пород (гранита, сиенита, базальта и им подобных) крупно- или среднезернистый,
используемый для бетонных покрытий, должен быть с содержанием глинистых или
илистых частиц не более 3 %.
3.13. В соответствии с требованиями СНиП 3.04.01 бетонные основания полов рекомендуется
изготавливать методом виброобработки и методом вакуумирования.
3.14. Бетонные смеси, в состав которых не введены пластификаторы, для
бетонных оснований, изготавливаемых методом виброобработки, должны иметь осадку
конуса 2-4 см. Подвижность смесей следует увеличивать только введением
пластификаторов марок С-3, СНВ и др. в количестве до 0,8 % массы цемента.
Таблица 3
|
Класс бетона
|
Составляющие, мас.ч.
|
Характеристики щебня
|
|
Вода
|
Портландцемент или глиноземистый цемент марки 400
|
Крупно- или среднезернистый песок
|
Щебень или гравий крупностью до 15 мм
|
% износа
|
Предел прочности при сжатии, МПа
|
|
В22,5
|
0,5
|
1
|
1,4
|
2,4
|
40
|
80
|
|
В30
|
0,4
|
1
|
1
|
1,7
|
45
|
100
|
Таблица 4
|
Класс бетона
|
Составляющие, мас.ч.
|
|
Вода
|
Цемент
|
Песок
|
Щебень
|
Фибра
|
Пластификатор
|
В25
|
0,40
|
1
|
3,5
|
2,5
|
0,10
|
0,08
|
В35
|
0,46
|
1
|
1,7
|
2,8
|
0,16
|
0,05
|
3.15. Работы по укладке бетонных и сталефибробетонных
смесей следует выполнять при температуре воздуха на уровне пола не ниже +5 °С.
Эта температура должна поддерживаться до приобретения бетоном 50 %-ной
проектной прочности. При укладке бетона в зимних условиях при отрицательных
температурах в бетонную смесь следует вводить добавку нитрата натрия, поташа и
т.п.
3.16. Бетонную смесь следует укладывать на основание полосами, ограниченными
маячными рейками (металлопрокат, неизвлекаемые алюминиевые или бетонные
рельс-формы), высотой, соответствующей толщине бетонного основания. При этом
ширина полос выбирается с учетом технических характеристик применяемого
оборудования, расстояния между колоннами в здании, а также планируемым
расположением деформационных швов. Монтажные швы должны совпадать с
деформационными швами.
3.17. Маячные рейки рекомендуется устанавливать параллельно длинной стороне
стены на марки из цементно-песчаного раствора с ориентацией на метку,
вынесенную на стену. При этом первый ряд реек следует размещать на расстоянии
0,5-0,6 м от стены, противоположной входу в помещение, а следующие ряды -
параллельно первому.
3.18. В местах, где пол должен иметь уклон в сторону трапов или каналов,
маячные рейки следует устанавливать с таким расчетом, чтобы верх рейки имел
заданный уклон.
3.19. Непосредственно перед укладкой бетонной смеси нижележащий слой следует
обильно смочить водой, чтобы к моменту укладки он был влажным, но на нем не
было скопления воды.
3.20. Бетонную смесь следует укладывать между маячными рейками полосами
через одну. При этом толщина выровненного бетонного слоя с учетом последующей
его осадки в процессе виброобработки должна приниматься на 3-5 мм выше маячных
реек.
3.21. При толщине бетонного покрытия пола до 100 мм уплотнение бетонной
смеси рекомендуется выполнять виброрейкой, а при толщине свыше 100 мм
рекомендуется до уплотнения виброрейкой предварительно обработать уложенную
бетонную смесь глубинным вибратором. Скорость передвижения виброрейки 0,5 - 1
м/мин, количество проходов 1-2. При применении виброрейки у нижней кромки ее
балок должен образовываться валик (призма волочения) высотой 2-5 см.
3.22. Бетонирование рекомендуется проводить без технологических перерывов. В
противном случае перед возобновлением бетонирования затвердевшая вертикальная
кромка уложенного ранее бетона должна быть очищена от грязи и пыли и промыта
водой. В местах рабочих швов уплотнение и заглаживание бетона следует
производить до тех пор, пока шов не станет незаметным.
3.23. Пропущенные полосы бетонируют после снятия маячных реек, используя
забетонированные полосы в качестве опалубки и направляющих.
3.24. Вакуумирование бетона производится с помощью комплекта оборудования, в
который входят: вакуум-агрегат, отсасывающие маты, виброрейка, заглаживающие
машины, направляющие для виброреек, шланги и соединительные устройства, емкости
для промывки отсасывающих матов.
3.25. При применении метода вакуумирования рекомендуемые бетонные смеси
должны иметь повышенное на 150-200 кг на 1 м3 бетонной смеси
содержание песка по сравнению с составами по таблице
3.
3.26. Бетонные смеси, применяемые при использовании метода вакуумирования,
должны характеризоваться осадкой конуса 8-12 см. Повышенное водоцементное
отношение облегчает укладку и уплотнение и позволяет получить более ровную
поверхность бетонного основания.
3.27. Технологический регламент изготовления покрытий полов методом
вакуумирования предусматривает укладку на виброуплотненную поверхность покрытия
пола матов с вакуум-полостями, присоединение их шлангами к вакуум-насосу и
отсос избыточной воды, за счет чего достигается повышение прочности и
однородности бетона.
3.28. При раскладке отсасывающих матов на свежеуложенную бетонную смесь
необходимо обеспечить перекрывание верхним полотнищем нижнего на 10-15 см с
каждой стороны, при укладке на затвердевший бетон - не менее чем на 20 см.
Раскладывают
отсасывающий мат следующим образом: нижнее фильтровальное полотнище укладывают
непосредственно на бетон (если ведут работы одновременно с двумя и более
нижними полотнищами, то они должны лежать внахлест не менее чем на 3 см), а
верхнее раскатывают начиная от середины. Такой порядок раскатки улучшает
герметизацию и, следовательно, повышает качество работы.
Полотнища
нужно укладывать ровно, без морщин и складок. Верхнее полотнище, кроме того,
после укладки рекомендуется прогладить валиком, щеткой и т.п.
3.29. Вакуумный агрегат на холостом ходу должен создавать разрежение порядка
0,09-0,095 МПа. Нормальным рабочим разрежением вакуум-насоса считается
0,07-0,08 МПа.
Продолжительность вакуумирования увеличивается обратно
пропорционально падению разрежения. При разрежении менее 0,06 МПа
вакуумирование производить не следует. Время вакуумирования рассчитывают исходя
из 1-1,5 мин на 1 см толщины бетонного основания. Об окончании процесса можно
судить по прекращению поступления водовоздушной смеси в трубопровод.
3.30. После окончания процесса вакуумирования необходимо закатать верхнее
полотнище таким образом, чтобы фильтровальное полотнище было открыто на 1-2 см
с двух сторон при включенном вакуум-насосе 10-15 с. Затем верхнее полотнище
полностью сворачивают.
3.31. С целью повышения ровности поверхности бетонных оснований после
уплотнения бетонной смеси и схватывания ее до состояния, когда на поверхности
при хождении остаются легкие следы, следует произвести первичную обработку
покрытия - затирку бетоноотделочными машинами с разравнивающими дисками.
Участки, не поддающиеся заглаживанию машиной, должны быть заглажены вручную.
Вторичную обработку - заглаживание бетоноотделочными машинами с заглаживающими
лопастями при изготовлении бетонных оснований под покрытия производить не
следует.
3.32. При использовании метода вакуумирования первичное заглаживание
бетонной поверхности производят непосредственно после окончания вакуумирования.
3.33. Бетонные подстилающие слои в течение 7-10 дней после укладки должны
находиться под слоем постоянно влажного водоудерживающего материала, затем
осуществляется естественная сушка. Возможно также использование композиций,
наносимых на влажную бетонную поверхность и образующих пленку, с целью предотвращения
преждевременного удаления влаги из бетона. Как правило, в качестве таких
композиций используются однокомпонентные составы на основе акриловых дисперсий.
3.34. Нанесение таких композиций осуществляется валиком сразу же после
выполнения стадии заглаживания, при этом наносится не менее двух слоев состава.
3.35. При необходимости в последующем выполнения по бетонному подстилающему
слою оклеенной гидроизоляции, приклеиваемой битумными составами, выровненную
поверхность бетона сразу после укладки бетонной смеси следует прогрунтовать
раствором битума в летучем растворителе (бензине) при соотношении по массе
1:(2-3). Грунтовку наносят краскопультом после устройства подстилающего слоя,
но не ранее чем через 30 мин, а кистями - через 1 - 2 сут после укладки бетона.
В результате грунтования на поверхности образуется пленка, предохраняющая
бетонный подстилающий слой от быстрого высыхания, что исключает необходимость
укрывать его и поливать водой.
3.36. Устройство деформационных швов рекомендуется выполнять при помощи
нарезчиков швов с алмазным диском на глубину не менее 1/3
толщины бетона через 2 сут твердения. При применении неизвлекаемых рельс-форм
имеющиеся в верхней части рельс-форм пазы используются в качестве
деформационных швов и нарезку швов осуществляют только в поперечном
направлении.
Допускается при устройстве деформационных швов в
бетонном подстилающем слое в местах расположения разрывов перед укладкой бетона
разместить рейки, обмазанные антиадгезионным составом или обернутые рулонным
кровельным материалом, которые удаляют после затвердевания бетонной смеси.
3.37. После достижения бетоном воздушно-сухого состояния (влажность не выше
5 %) следует осуществить заделку деформационных швов. В помещениях с нормальным
режимом эксплуатации швы заделываются полимерцементной ремонтной смесью марки
Ceresit CN 83 (ТУ 5745-007-58239148), а в помещениях, при эксплуатации которых
возможны резкие перепады температур, в образованный паз укладывают эластичный
пенополиэтиленовый шнур и осуществляют его заливку заподлицо отверждаемым
эластичным силиконовым герметиком марки «Silikon universal» (нормативная
документация фирмы-производителя). При выполнении деформационых швов около
колонн и вдоль стен следует удалить прокладки из пенополиэтилена и заполнить
образующийся паз полиуретановой композицией.
3.38. Эксплуатация полов допускается после приобретения бетоном проектной
прочности на сжатие, пешеходное движение по этим полам может быть допущено при
прочности бетона на сжатие не менее 5 МПа.
4.1. При проектировании и устройстве прослойки должны соблюдаться
технические требования, изложенные в разделе I.
4.2. Клеевые прослойки должны обеспечивать надежное
сцепление вышележащих слоев с нижележащими. Адгезия покрытий на отрыв при их
укладке по бетонным, цементно-песчаным или гипсовым основаниям должна
составлять, МПа, не менее:
|
паркетные покрытия
|
- 0,3
|
|
линолеум
|
- 0,3
|
|
керамическая плитка,
керамогранит, плиты природного камня, укладываемые на цементных клеях
|
- 0,5
|
|
керамическая плитка,
керамогранит, плиты природного камня, укладываемые на полимерных клеях
|
- превышать предел
прочности основания при растяжении (отрыв когезионный, по основанию)
|
4.3. Упругие прослойки снижают напряженное состояние в
конструкции пола, в том числе компенсируют напряжения, возникающие в полах с
деревянными элементами при изменении температурно-влажностного режима, и
повышают стойкость полов к ударным воздействиям. Кроме того, упругие прослойки
предотвращают скрип покрытий полов, уложенных по «плавающей» технологии, при
хождении людей.
4.4. В качестве упругой прослойки рекомендуется применять
пенополиэтиленовые и пенополипропиленовые листы, листовой поролон,
гофрированный картон и другие материалы.
5.1. При проектировании и устройстве стяжек должны соблюдаться технические
требования, изложенные в разделе I.
5.2. Для выравнивания поверхности нижележащего слоя и укрытия трубопроводов,
а также для создания уклона на перекрытии монолитные стяжки должны
предусматриваться из бетона класса не ниже В 12,5 или из цементно-песчаного
раствора с прочностью на сжатие не ниже 15 МПа (150 кгс/см2).
5.3. При использовании полимерцементно-песчаных стяжек в качестве покрытий
их толщина должна составлять не менее 20 мм, марка раствора не менее М200 при
слабой интенсивности механических воздействий и не менее 25 мм, марка раствора
не менее М300 при умеренной интенсивности механических воздействий.
5.4. Наименьшая толщина стяжки, мм, для создания уклона в местах примыкания
к сточным лоткам, каналам и трапам должна быть: при укладке ее по плитам
перекрытия - 20, по тепло- и звукоизолирующему слою - 40. Толщина стяжки для
укрытия трубопроводов должна быть на 15-20 мм больше диаметра трубопроводов.
5.5. При укладке выравнивающих стяжек по бетонному основанию с
деформационными швами швы должны быть повторены и в стяжке.
5.6. Толщина стяжки в обогреваемых полах должна быть на 45 мм больше
диаметров нагревательных элементов - электрокабелей и водонагревательных
трубопроводов. Стяжку рекомендуется армировать кладочной сеткой из проволоки
диаметром 2 мм с размером ячейки 50×50 мм, располагая ее под
обогревающими элементами. В стяжках с электрообогревающими элементами
армирующая сетка должна быть присоединена к системе электрозаземления здания.
5.7. В местах сопряжения стяжек с электро- и водонагревательными элементами
и стяжек, укладываемых по теплозвукоизолирующему слою или обогревающему слою из
матов из химических волокон, содержащих электронагревающие кабели, с другими
конструкциями (стенами, перегородками, трубопроводами, проходящими через
перекрытия, и т.п.) должны быть предусмотрены зазоры шириной 25-30 мм на всю
толщину стяжки, заполняемые эластичными прокладками.
5.8. В стяжках с электро- и водонагревательными элементами и стяжках,
укладываемых по обогревающему слою из матов из химических волокон, содержащих
электронагревающие кабели, должны быть предусмотрены температурно-усадочные швы
в продольном и поперечном направлениях с шагом от 3 до 6 м. Швы должны
совпадать с осями колонн, со швами плит перекрытий, деформационными швами
подстилающего слоя. Глубина деформационного шва должна быть не менее 1/2
толщины стяжки.
5.9. Электро- и водонагревательные элементы в стяжках обогреваемых полов
укладываются, как правило, с шагом 150 мм. Шаг следует уточнять при
теплотехнических расчетах.
5.10. Стяжки могут быть предусмотрены в монолитном и сборном вариантах.
5.11. Для устройства монолитных стяжек рекомендуется применять бетонные и
растворные смеси на основе портландцемента с осадкой конуса 2-4 см.
5.12. Для устройства монолитных стяжек рекомендуется применять
цементно-песчаные растворы (таблица 5), бетоны (таблица 6) и поризованные
цементно-песчаные растворы (таблица 7), а также сухие цементно-бетонные,
цементно-песчаные и полимерцементно-песчаные смеси, в частности сухие
полимерцементно-песчаные смеси марок Ceresit CN 178 (ТУ 5745-007-58239148)
(предел прочности при сжатии после 28 сут воздушной выдержки не менее 25 МПа) и
Ceresit CN 83 (ТУ 5745-007-58239148) (предел прочности при сжатии после 28 сут
воздушной выдержки не менее 35 МПа).
Таблица 5
|
Марка раствора
|
Составляющие,
мас.ч.
|
|
Вода
|
Цемент марки 400
|
Песок
|
|
М150
|
0,55
|
1
|
3,0
|
|
М200
|
0,48
|
1
|
2,8
|
|
М300
|
0,40
|
1
|
2,4
|
Таблица 6
|
Класс бетона
|
Состав по массе
при марке цемента не ниже 400
|
|
Вода
|
Цемент
|
Песок
|
Щебень или
гравий
|
|
В12,5
|
0,8
|
1
|
2,8
|
4,4
|
|
В15
|
0,65
|
1
|
2,0
|
3,4
|
|
В22,5
|
0,5
|
1
|
1,4
|
2,4
|
Таблица 7
Составляющие
|
Прочность, МПа
|
|
5,0
|
7,5
|
10,0
|
|
Портландцемент М500
|
420
|
450
|
480
|
|
Песок
|
735
|
900
|
960
|
|
Вода
|
330-350
|
350-380
|
375-400
|
|
Алюминиевая
пудра ПАП-1
|
0,4
|
0,35
|
0,3
|
|
Натрий
сернокислый
|
4
|
3,5
|
3
|
5.13. Для приготовления бетона и цементно-песчаного
раствора следует использовать портландцемент (ГОСТ 10178) марки не ниже 400.
5.14. При необходимости сокращения срока производства работ для
приготовления бетона и цементно-песчаного раствора следует использовать
быстросхватывающееся цементное вяжущее марки Ceresit CN 85 (нормативная
документация фирмы-производителя).
5.15. Для бетонных стяжек следует применять в качестве крупного заполнителя
щебень или гравий фракций 5-15 мм с прочностью на сжатие не менее 20 МПа.
5.16. Песок кварцевый или дробленый (ГОСТ 8736) из природного камня кристаллических
пород (гранита, сиенита, базальта и им подобных) крупно- или среднезернистый,
используемый для бетонных и цементно-песчаных стяжек, должен быть с содержанием
глинистых или илистых частиц не более 3 %.
5.17. Технология изготовления сплошных стяжек из бетона и цементно-песчаного
раствора аналогична применяемой при изготовлении бетонного основания.
5.18. Стяжки из поризованных цементно-песчаных растворов с прочностью на
сжатие 5,0, 7,5 и 10,0 МПа и из легкого бетона, в том числе пенобетона (ГОСТ 25485) класса В10 плотностью 1100-1200 кг/м3,
рекомендуется применять преимущественно под покрытия из рулонных материалов,
штучный паркет и плитку. При этом толщину стяжек следует принимать равной 30-50
мм.
5.19. При устройстве стяжек смесь поризованного раствора следует укладывать
по ровному основанию, в котором просветы при проверке двухметровой рейкой не
должны превышать 5 мм. В противном случае поверхность основания следует
выровнять цементно-песчаным раствором марки не ниже М100.
5.20. Смеси из поризованного раствора и бетона следует укладывать
равномерным слоем толщиной менее проектной на величину вспучивания, которую
определяют опытным путем. При этом контроль толщины рекомендуется при больших
площадях пола осуществлять по предварительно выставленным маякам из раствора
марки М100, а в небольших помещениях - по рискам, нанесенным на стены.
5.21. Во избежание увлажнения и растрескивания стяжек из поризованного
цементно-песчаного раствора и пенобетона места примыкания их к стенам и
перегородкам следует изолировать рулонными гидроизоляционными материалами либо
уложить по периметру помещения вдоль стен пенополиуретановый шнур.
5.22. Перерывы при устройстве стяжек из поризованного раствора и пенобетона
в пределах одного помещения не допускаются. После укладки смеси поверхность
стяжки следует тщательно выровнять до ее интенсивного вспучивания.
5.23. Движение людей по стяжке допускается после достижения прочности не
менее 0,2 МПа.
5.24. В стяжке из поризованного раствора не должно быть усадочных трещин
шириной раскрытия более 0,3 мм. В противном случае их следует расшить и
зашпаклевать цементно-песчаным раствором на поливинилацетатной дисперсии при
соотношении ПВА : вода, равном 1:4.
5.25. Стяжки из пенобетона для получения мелкодисперсной замкнутой
пористости материала рекомендуется выполнять по турбулентно-кавитационной
технологии с использованием специального смесителя, снабженного лопастями
минимального аэродинамического сопротивления.
5.26. Технология изготовления сплошных стяжек из пенобетона аналогична
применяемой при изготовлении бетонного основания.
5.27. Стяжки из саморазравнивающихся полимерцементных композиций
рекомендуется применять при повышенных требованиях по ровности или при
ограничении по толщине или массе выравнивающего слоя. Толщина
саморазравнивающихся стяжек определяется неровностью нижележащего элемента.
5.28 Для саморазравнивающихся стяжек рекомендуется применять сухие смеси
заводского изготовления. Текучесть саморазравнивающихся композиций после
затворения водой должна составлять не менее 200 мм по вискозиметру Суттарда.
5.29. Выбор саморазравнивающейся композиции необходимо осуществлять с учетом
необходимой толщины стяжки и ее прочностных характеристик, при этом следует
учитывать рекомендации, приведенные в таблице 8.
Физико-механические
свойства выравнивающих стяжек приведены в приложении
6.
Таблица 8
Марка саморазравнивающейся композиции
|
Предел прочности
при сжатии после 28 сут воздушной выдержки, МПа, не менее
|
Рекомендуемая
толщина слоя, мм
|
|
Ceresit CN 69 (ТУ 5745-007-58239148)
|
18
|
От 3 до 15
|
|
Ceresit CN 76 (ТУ 5745-007-58239148)
|
40
|
От 4 до 50
|
|
Thomsit DD (ТУ 5745-001-58239148)
|
22
|
От 0,5 до 5
|
|
Thomsit DX (ТУ 5745-001-58239148)
|
30
|
От 0,5 до 10
|
5.30. Устройство саморазравнивающихся стяжек следует
выполнять при температуре воздуха в помещении 15-30 °С.
5.31. Перед нанесением саморазравнивающихся стяжек поверхность бетонных
оснований и плит перекрытий следует очистить от цементного молока, обеспылить,
затирку удалить.
5.32. В целях предотвращения интенсивного отсоса воды из составов
нижерасположенным слоем и обеспечения требуемой адгезии с ним поверхность этого
слоя рекомендуется загрунтовать грунтовками, в частности рекомендуются
водно-дисперсионные грунтовки марок Ceresit CT 17 (ТУ 5745-008-58239148),
Ceresit CN 94 (нормативная документация фирмы-производителя), Thomsit R 766
(нормативная документация фирмы-производителя) и Thomsit R 777 (ТУ
5745-008-58239148). Физико-механические свойства грунтовок приведены в приложении
6.
5.33. Нанесение грунтовочных композиций на очищенную поверхность бетонного
основания осуществляется кистью или валиком. Водно-дисперсионные грунтовки
марок Ceresit CT 17 и Thomsit R 777 поставляются в готовом к применению виде,
Ceresit CN 94 перед нанесением следует разбавить водой в соотношении 1:3, a
Thomsit R 766 - в соотношении 1:1.
5.34. Время высыхания грунтовки при нормальных температурно-влажностных
условиях составляет примерно 6 ч.
5.35. Изготовление саморазравнивающихся стяжек осуществляется, как правило,
в один слой. Для ускорения растекаемости рекомендуется использовать раклю или
широкий зубчатый шпатель. Для удаления пузырьков воздуха и улучшения качества
поверхности выравнивающей стяжки растворную смесь сразу после укладки
рекомендуется прокатать игольчатым валиком.
5.36. Сборные стяжки, применяемые при необходимости сократить сроки
строительно-монтажных работ или желательности отказа от выполнения «мокрых»
процессов, рекомендуется выполнять из гипсоволокнистых листов влагостойких
марки ГВЛВ (ГОСТ Р 51829), из готовых элементов пола, выполненных
из двух гипсоволокнистых листов размером 1500×1500×10 мм, склеенных
между собой в заводских условиях со смещением относительно друг друга на 50 мм
(ТУ 5742-007-03515377). Возможно также изготовление сборных стяжек из листов
водостойкой фанеры (ГОСТ
3916.1, ГОСТ
3916.2) и
древесноволокнистых шпунтованных плит (нормативная документация
фирмы-производителя «Puhos Board OY»).
5.37. Работы по устройству сборных стяжек следует выполнять при температуре
воздуха на уровне пола не ниже +10 °С и относительной влажности воздуха не
более 60 %.
5.38. При отсутствии требований к полам по показателям тепло- и
звукоизоляции сборные стяжки из ГВЛВ и древесно-стружечных плит могут
укладываться непосредственно по подстилающему слою или плите перекрытия. При
необходимости выравнивания поверхности подстилающего слоя или перекрытия по ним
следует предусматривать прослойку толщиной 15- 20 мм из средне- или
крупнозернистого песка в воздушно-сухом состоянии.
5.39. Для устройства слоя звукоизоляции под сборные стяжки рекомендуется
применять пенополистирольные плиты плотностью 17 кг/м3 (ГОСТ
15588) или
керамзитовый песок (ГОСТ
9757).
Необходимая толщина слоя тепло- и звукоизоляции устанавливается для каждого
конкретного случая расчетом по СНиП 23-02 и СП
23-103.
5.40. В случаях возможного увлажнения покрытий снизу следует под тепло- и
звукоизоляционным слоем на выравнивающую стяжку или плиту перекрытия в качестве
пароизоляции уложить полиэтиленовую пленку.
5.41. При укладке стяжки из древесно-стружечных плит по выравнивающему слою
из средне- или крупнозернистого песка пароизоляцию из парафинированной бумаги
или пергамина следует размешать между сборной стяжкой и выравнивающим слоем.
5.42. При укладке стяжки из древесно-стружечных плит по тепло- и
звукоизолирующему слою из пенополистирольных плит с целью предотвращения скрипа
следует размешать между сборной стяжкой и выравнивающим слоем промежуточный
слой из полиэтиленовой пленки или пергамина.
5.43. При выполнении сборных стяжек из древесно-стружечных плит площадью
более 100 м2 необходимо предусматривать в стяжках деформационные
швы, нарезаемые в продольном и поперечном направлениях. Шаг между швами не
более 10 м. При использовании сборных стяжек в помещениях со значительными
перепадами температур и влажности воздуха рекомендуется сократить интервал
между деформационными швами.
5.44. При устройстве сборных стяжек непосредственно по железобетонным
перекрытиям до начала производства работ монтажные отверстия в перекрытиях,
зазоры между плитами, места примыканий перекрытий к стенам, перегородкам,
трубам должны быть тщательно заделаны цементно-песчаным раствором марки не ниже
M100.
5.45. Керамзитовый песок рассыпают слоями с разравниванием рейкой по
выставленным с помощью уровня профилям, начиная от стены, противоположной
входу, и последующим уплотнением, а пенополистирольные плиты устанавливают
насухо с обеспечением надежного примыкания к основанию и плотности стыков между
плитами. Не допускается образование перекрестных швов пенополистирольных плит.
При использовании двух и более слоев совпадение швов по вертикали не
допускается. В связи с этим рекомендуется укладка слоев со смешением плит не
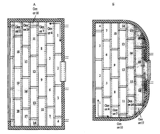
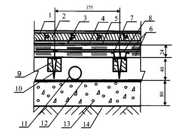
менее чем на 300 мм в поперечном направлении (рисунок 1).

Рисунок 1 - Схема укладки
теплозвукоизолирующих пенополистирольных плит
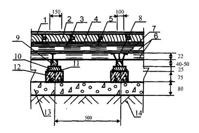
5.46. Рекомендуемые схемы раскладки готовых элементов сборной стяжки из ГВЛВ
в зависимости от материала тепло- и звукоизоляционного слоя приведены на
рисунке 2.

Рисунок 2 - Схема раскладки сборной
стяжки из гипсоволокнистых плит на слой теплозвукоизоляции из керамзитового
песка (А) и пенополистирольных
плит (Б)
5.47. При наличии под сборной стяжкой из ГВЛВ труб и использовании для
изготовления тепло- и звукоизоляционного слоя пенополистирольных плит трубы
следует обернуть минераловатными матами.
5.48. При укладке готовых элементов сборной стяжки из гипсоволокнистых
листов места сопряжения со стеной фальц крайнего элемента стяжки обрезают. Для
обеспечения смещения торцевых стыков между элементами сборной стяжки в смежных
рядах и исключения отходов каждый новый ряд начинают с укладки отрезанной по
месту части последнего элемента предыдущего ряда. При укладке элементов сборной
стяжки по полистирольным плитам не допускается совпадение стыков ее элементов
со стыками пенополистирольных плит. Между сборной стяжкой и стенами следует
предусматривать зазор, равный 10-20 мм, заполняемый звукоизоляционной
прокладкой из мягкой древесно-волокнистой плиты либо кромочной лентой.
5.49. На фальцы уложенных элементов сборной стяжки из гипсоволокнистых листов
сплошным слоем наносят дисперсию ПВА (ТУ 2241-027-00203521) или клеящую мастику
и накрывают последующим элементом. В процессе монтажа скрепление фальцев
производят шурупами длиной не менее 19 мм, располагаемыми с шагом не более 300
мм. Выступающий из стыков клей удаляют шпателем.
5.50. При толщине засыпного тепло- и звукоизоляционного слоя более 100 мм
под стяжку из готовых элементов подкладывают дополнительный слой
крупноформатных гипсоволокнистых листов.
5.51. В смежных помещениях рекомендуется сквозная укладка элементов сборной
стяжки. В противном случае при образовании прямого стыка с обрезанными фальцами
(например, в дверном проеме) под стык подкладывают опору из доски или ДСП
шириной не менее 100 мм. Края элементов стяжки закрепляют на такой подложке
шурупами.
5.52. При устройстве на объекте сборной стяжки из отдельных гипсоволокнистых
листов выполняют:
-
раскрой и заготовку листов по размерам помещений;
-
укладку первого слоя листов с зазором в стыках не более 1 мм;
-
нанесение клея сплошным слоем последовательно под каждый лист второго слоя;
-
укладку листов второго слоя с минимальным зазором и перекрытием;
-
укладку стыков нижнего слоя не менее чем на 250 мм;
-
крепление каждого листа второго слоя 20-ю шурупами.
5.53. Стыки элементов сборной стяжки из ГВЛВ и места установки шурупов при
нанесении по ней покрытий из линолеума, поливинилхлоридных плиток и текстильных
ковров должны быть заделаны шпаклевкой марки Ceresit CT 27 (нормативная
документация фирмы-производителя).
5.54. Кладку сборной стяжки из древесностружечных плит производят в
направлении «на себя» (находясь на выравнивающем слое из песка или уложенных
тепло- и звукоизолирующих матах или плитах) начиная от стены, противоположной
дверному проему, оставляя зазор между стеной и сборной стяжкой не менее 10 мм.
При укладке плит образование перекрестных швов не допускается. Не допускается
совпадение швов плит со швами теплозвукоизолирующих плит.
5.55. Древесно-стружечные плиты склеиваются дисперсией ПВА (ТУ
2241-027-00203521) или мастиками строительными полимерными клеящими латексными
(ГОСТ
30307).
Необходимое для склеивания сжатие обеспечивается путем вбивания клиньев в
зазоры у стен (рисунок 3). После высыхания клея клинья снимаются.

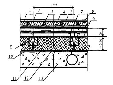
Рисунок 3 - Схема укладки
древесностружечных плит в плавающей сборной стяжке
1 - сборная стяжка из ДСП; 2 -
клеевая прослойка; 3 - пароизоляция;
4 - кварцевый песок; 5 - бетонное основание; 6 - грунт основания; 7 - клинья
5.56. Нарезка
деформационных швов осуществляется после высыхания клея ручной циркулярной
пилой с отрегулированной опорной плитой таким образом, чтобы глубина пропила
соответствовала толщине плиты. Ширина деформационного шва должна составлять
5-10 мм.
5.57. Сборные стяжки из водостойкой фанеры
рекомендуется выполнять непосредственно по ровным или выровненным монолитным
стяжкам, бетонным основаниям и плитам перекрытий при необходимости обеспечения
нормируемого теплоусвоения полов под покрытия пола из безосновного линолеума
или под покрытия, при изготовлении которых используются мелкие гвозди, -
покрытия пола из массивной доски и мозаичный паркет из древесины различных
пород (паркетный ковер).
5.58. Для приклейки листов фанеры рекомендуется
применять клеи для паркета, в частности универсальный клей марки Thomsit P 600
(нормативная документация фирмы-производителя). Листы, кроме того, должны быть
закреплены при помощи дюбелей. Физико-механические свойства клеевой композиции
приведены в приложении
6.
5.59. Весовая влажность бетона междуэтажных
перекрытий перед приклейкой фанеры не должна превышать 4 %, стяжек на основе
цементного, полимерцементного и гипсового вяжущего - не более 5 %.
5.60. При значительных неровностях
подстилающего слоя, а также при необходимости укладки сборной стяжки по тепло-
и звукоизолирующему слою или прохождении под стяжкой труб возможно выполнение
сборной стяжки из фанеры по регулируемым лагам со сквозными резьбовыми
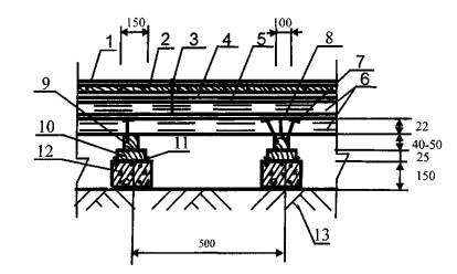
отверстиями (рисунок 4).

Рисунок 4 - Последовательность операций
при установке регулируемых лаг и закреплении к ним сборной стяжки
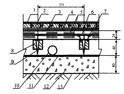
5.61. Деревянные регулируемые лаги (ТУ 5361-001-42950773) имеют размеры
45×45×2000, 45×70×2000 и 45×120×2000 мм и
поставляются в комплекте с дюбелями-стойками для регулирования уровня подъема
лаг и дюбелями-гвоздями для крепления болтов-стоек к перекрытию.
5.62. Перед установкой в отверстия лаг ввинчиваются пластиковые
болты-стойки, на которые опираются лаги (рисунок 4, А).
5.63. Лаги устанавливаются на перекрытии с шагом 375 мм, после чего через
болты-стойки в перекрытии засверливаются отверстия (рисунок 4, Б, В).
5.64. В болт-стойку помещают дюбель-гвоздь, который на неполную глубину
забивают с помощью дробника в отверстие, выполненное в перекрытии (рисунок 4, Г, Д).
5.65. С помощью завинчивающего инструмента регулируют необходимое положение
лаг по уровню (рисунок 4, Е) и
окончательно закрепляют лаги к перекрытию с помощью дюбеля-гвоздя, после чего
выступающие части болтов-стоек срезают с помощью стамески (рисунок 4, Ж).
5.66. На установленные таким образом лаги укладывают сборную стяжку из двух
слоев фанеры толщиной по 12 мм, закрепляя их с шагом 150 мм саморезами. При
этом второй лист фанеры должен перекрывать стыки нижнего слоя (рисунок 4, З).
5.67. Устройство покрытий по сборным стяжкам возможно через сутки после их
изготовления. Монолитные стяжки на основе гидратирующихся вяжущих
(цементно-песчаные и цементно-бетонные) требуют выдержки до достижения
нормативной влажности (чаще всего воздушно-сухого состояния). С учетом
необходимости их увлажнения в первые 7-10 сут после изготовления с целью
предотвращения растрескивания стяжек срок, как правило, составляет 3-4 недели.
По саморазравнивающимся стяжкам марок Thomsit DD (ТУ 5745-001-58239148) и
Thomsit DX укладка напольных покрытий возможна через 24 ч после нанесения
саморазравнивающейся растворной смеси и через 7 сут при применении
саморазравнивающихся стяжек марок Ceresit CN 69 (ТУ 5745-001-58239148) и
Ceresit CN 76 (нормативная документация фирмы-производителя).
6.1. При проектировании и устройстве тепло- и звукоизоляционного слоя должны
соблюдаться технические требования, изложенные в разделе I.
6.2. Тепло- и звукоизоляционный слой следует располагать:
а)
для снижения показателя теплоусвоения пола и (или) повышения звукоизолирующих
характеристик - непосредственно под покрытием пола, применяя для изготовления
листы водостойкой фанеры, древесно-волокнистые плиты плотностью до 250 кг/м3
или рулонные материалы марок: TF 302 Thomsit-Floor (под шпунтованные паркетные
покрытия, а также под покрытия из паркетных досок и ламинат), TF 303 Е
Thomsit-Floor Elast (под натуральный или поливинилхлоридный линолеум,
каучуковые плиты), TF 305 Т Thomsit-Floor Supertex (под текстильные напольные
покрытия), TF 403 Thomsit-Floor Elast Comfort (под поливинилхлоридный линолеум),
TF 404 Thomsit-Floor Тех Comfort (под текстильные напольные покрытия)
(нормативная документация фирмы-производителя);
б)
для теплоизоляции полов на перекрытиях, расположенных над арками,
неотапливаемыми помещениями или подвалами, и (или) повышения звукоизолирующих
характеристик, а также для снижения потерь тепла при обогреве нижележащего
помещения в обогреваемых полах - под стяжкой, применяя минераловатные плиты и
стекловолокнистые плиты на синтетической связке плотностью до 150 кг/м3,
минерал оватные маты плотностью до 150 кг/м3, пенополистирольные
плиты плотностью 25- 50 кг/м3, керамзитовый и кварцевый песок,
древесно-волокнистые плиты плотностью до 250 кг/м3.
6.3. Характеристики выпускаемых фирмой «Хенкель Баутехник» звукопоглощающих
рулонных материалов представлены в таблице 9.
Таблица 9
|
Материал
|
Толщина δ, м
|
Индекс снижения приведенного уровня ударного шума, дБ
|
Коэффициент теплопроводности, Вт/(м·°С)
|
Коэффициент термического сопротивления, м2·°С/Вт
|
Коэффициент теплоусвоения, Вт/(м2·оС)
|
|
TF 302 Thomsit-Floor
|
0,002
|
16
|
0,060
|
0,033
|
1,42
|
|
TF 303 E Thomsit-Floor Elast
|
0,003
|
17
|
0,080
|
0,038
|
1,64
|
|
TF 305 T Thomsit-Floor Supertex
|
0,005
|
19
|
0,080
|
0,063
|
1,64
|
|
TF 403 Thomsit-Floor Elast Comfort
|
0,003
|
25
|
0,050
|
0,060
|
1,30
|
|
TF 404 Thomsit-Floor Tex Comfort
|
0,004
|
27
|
0,074
|
0,052
|
1,58
|
6.4.
Тепло- и звукоизоляционные слои следует выполнять по выровненному основанию.
При этом высушенный кварцевый и керамзитовый песок рассыпают слоями с
последующим разравниванием по рейкам и уплотнением. Плиты и маты укладывают
насухо с обеспечением плотности стыков между ними.
6.5. При укладке плит в несколько слоев не допускается совпадение стыков
плит в соседних рядах.
6.6. Для приклейки звукопоглощающих рулонных материалов следует применять
клеи для паркета - клеи марки Thomsit P 618 (нормативная документация
фирмы-производителя) и марки Thomsit P 625 (нормативная документация
фирмы-производителя). Физико-механические свойства клеевых композиций приведены
в приложении
6.
7. Гидроизоляция
7.1. При проектировании и устройстве гидроизоляции должны соблюдаться
технические требования, изложенные в разделе I.
7.2. Гидроизоляцию от сточных вод и других жидкостей следует
предусматривать по подстилающему слою, перекрытию или стяжке, выполненным по
перекрытию или подстилающему слою. Гидроизоляцию от капиллярного поднятия
грунтовых вод следует выполнять по уплотненному грунту или монолитной стяжке
(таблица 10).
Таблица 10
|
Тип
гидроизоляции
|
Количество слоев
|
Схема
|
Слои пола
|
|
Гидроизоляция
от сточных вод и других жидкостей
|
|
|
1
- покрытие;
2 -
прослойка;
3 - гидроизоляция;
4
- стяжка;
5
- подстилающий слой;
6
- плита перекрытия;
7
- грунтовое основание (уплотненное)
|
|
Оклеечная из битумных
или битумно-полимерных материалов
|
|

|
|
Оклеечная из
эластомерных пленок
|
|

|
|
|
Гидроизоляция
от капиллярного поднятия грунтовых вод
|
|
|
|
|
Наливная из щебня или гравия, пролитого битумом
|
|

|
|
|
Асфальтовая из
асфальтобетона
|
|

|
|
|
Оклеечная из битумных
или битумно-полимерных материалов
|
|

|
|
7.3. Для защиты от проникания сточных вод и нейтральных
жидкостей рекомендуется применять оклеечную гидроизоляцию из битумных или
битумно-полимерных материалов, наклеиваемых на цементно-песчаную стяжку, или
бетонный подстилающий слой, устраиваемый методом подплавления (для наплавляемых
рулонных материалов) или наклейкой на битумно-полимерных мастиках, а также
эластомерные пленки, наклеиваемые на полимерных мастиках. Возможно также
применение гидроизоляционных слоев из цементных гидроизолирующих масс, в
частности гидроизолирующей массы марки Ceresit CR 65 (ТУ 5775-009-58239148) и
Ceresit CR 166 (ТУ 5775-009-58239148).
7.4. Для защиты от воздействия химически агрессивных жидкостей оклеечная
гидроизоляция должна выполняться из рулонных материалов и клеевых мастик,
обладающих химической стойкостью к конкретной агрессивной среде. В качестве
таких материалов рекомендуется применять пластины полиизобутиленовые марки ПСГ
(ТУ 38-105203), наклеиваемые на клее 88-НП (ТУ 38-105540), лакокрасочные
покрытия на основе эпоксидной шпатлевки ЭП-0020 (ГОСТ 28379), армированные стеклотканью, и химически
стойкую эластичную эпоксидную гидроизоляцию марки Ceresit СЕ 49 (нормативная
документацию фирмы-производителя).
7.5. При средней интенсивности воздействия жидкости на пол оклеечную
гидроизоляцию из битумных и битумно-полимерных материалов следует выполнять в 2
слоя, а из эластомерных пленок - в 1 слой.
7.6. При большой интенсивности воздействия жидкости на пол, а также под
сточными лотками, каналами, трапами и в радиусе 1 м от них число слоев
гидроизоляции следует увеличить вдвое.
7.7. При воздействии на пол веществ животного происхождения и других
биологически активных средств оклеечную гидроизоляцию следует выполнять из
рулонных битумных и битумно-полимерных материалов с негниющей основой
(стеклянной, полимерной) или из эластомерных пленок.
7.8. При средней и большой интенсивности воздействия на пол минеральных
масел, эмульсий из них, органических растворителей следует применять
гидроизоляцию из эластомерных пленок.
7.9. При средней и большой интенсивности воздействия на пол растворов
серной, соляной, азотной, уксусной, фосфорной, хлорноватистой и хромовой кислот
кроме гидроизоляции под покрытием пола следует предусматривать наливную или
асфальтовую гидроизоляцию под подстилающим слоем.
7.10. При расположении бетонного подстилающего слоя ниже уровня отмостки
здания в помещениях, где отсутствуют какие-либо воздействия на пол сточных
жидкостей и нет вероятности опасного капиллярного поднятия грунтовых вод,
оклеечную гидроизоляцию и жесткую гидроизоляцию на основе цементных
гидроизолирующих масс рекомендуется применять в случаях:
-
устройства заглубленных стен подвальных помещений, в которых располагается
подсобное оборудование (насосы для подкачки воды, компрессорные и холодильные
установки, системы кондиционирования воздуха и пр.);
-
вероятного во время эксплуатации здания постепенного поднятия общего уровня
грунтовых вод на застраиваемой территории, при заключении в трубы протекающих
по данной территории малых рек и т.п.
7.11. Перед выполнением работ по устройству оклеечной гидроизоляции
раскатанные полотнища рулонных материалов следует выдержать в течение 24 ч при
температуре не ниже +15 °С с целью ликвидации волн и прочих неровностей.
7.12. При устройстве оклеечной гидроизоляции следует обеспечить продольную и
поперечную нахлестку полотнищ не менее 85 мм.
7.13. Поверхность битуминозной гидроизоляции перед устройством по ней
покрытий, прослоек или стяжек, в состав которых входят цемент или жидкое
стекло, следует предварительно покрыть горячей битумной мастикой с втапливанием
в нее сухого крупнозернистого песка.
7.14. Мастику следует наносить слоем толщиной 1-1,5 мм на чистую и сухую
поверхность гидроизоляции. Песок необходимо рассыпать по горячей мастике
равномерным слоем без пропусков и скоплений и прокатать ручным катком. Излишки
песка после остывания мастики следует удалить.
7.15. Жесткую гидроизоляцию на основе цементных гидроизолирующих масс
рекомендуется выполнять по подстилающему слою, бетонному перекрытию или стяжке,
выполненной по перекрытию или подстилающему слою. Поверхность основания должна
быть предварительно очищена от разного рода загрязнений и веществ, снижающих
адгезию гидроизоляционного слоя к основанию (жиров, смазочных масел, битумных
мастик, клея, лакокрасочных покрытий и т.д.). Трещины с раскрытием более 0,5 мм
должны быть расшиты ремонтной массой марки Ceresit CN 83 (ТУ 5745-007-58239148)
или Ceresit CX 5 (нормативная документация фирмы-производителя). Во внутренних
углах сопрягающихся поверхностей необходимо изготовить галтели (скругления)
радиусом не менее 3 см из ремонтной массы марки Ceresit CN 83, монтажного
цемента Ceresit CX 5 или цементно-песчаного раствора. На ребрах внешних углов
сопрягающихся поверхностей необходимо сделать скругления радиусом не менее 3 см
или фаски под углом 45°.
7.16. Затворенная водой цементная гидроизолирующей масса марки Ceresit CR 65
(ТУ 5745-009-58239148) наносится в несколько слоев на защищаемую поверхность
кистью, щеткой или шпателем. Первый слой всегда наносится кистью или щеткой на
влажное, но не мокрое основание. Затем наносится либо еще один слой при помощи
шпателя, либо два слоя при помощи кисти или щетки. При работе с материалом
следует придерживаться правила перекрестного нанесения (т.е. направление
движения инструмента при нанесении каждого последующего слоя должно быть
перпендикулярно движениям при нанесении предыдущего). Каждый последующий слой
наносят на уже затвердевший, но еще не высохший предыдущий.
7.17. Свеженанесенные слои следует в течение 24 ч предохранять от
пересыхания. В случае необходимости поверхность слоя можно сбрызнуть водой или
увлажнить мокрой кистью. Через 3 сут по гидроизоляционному слою можно ходить и
производить дальнейшие работы, а через 7 сут - эксплуатировать.
7.18. При
устройстве химически стойких непроницаемых гидроизоляционных слоев из
полиизобутиленовых пластин марки ПСГ и лакокрасочных слоев из шпатлевки
ЭП-0010, армированных стеклотканью, следует руководствоваться рекомендациями ВСН 214.
7.19. Химически стойкая эластичная эпоксидная гидроизоляция марки Ceresit СЕ
49 (нормативная документация фирмы-производителя) наносится по подстилающему
слою, бетонному перекрытию или стяжке, выполненной по перекрытию или
подстилающему слою. Влажность основания должна составлять не более 4 %.
Поверхность основания должна быть предварительно очищена от разного рода
загрязнений и веществ, снижающих адгезию гидроизоляционного слоя к основанию
(жиров, смазочных масел, битумных мастик, клея, лакокрасочных покрытий и т.д.).
Цементное молоко и выступы необходимо удалить механическим путем, а углубления
и выбоины заполнить ремонтной массой марки Ceresit CN 83 (ТУ 5745-007-58239148)
или Ceresit CX 5 (нормативная документация фирмы-производителя).
7.20. Перед нанесением гидроизоляции марки Ceresit СЕ 49 (нормативная
документация фирмы-изготовителя) основание необходимо обработать специальной
эпоксидной грунтовкой марки Ceresit СЕ 50 (нормативная документация
фирмы-производителя).
7.21. Композиция для изготовления гидроизоляции марки Ceresit СЕ 49
(нормативная документация фирмы-производителя) двухкомпонентная. После
смешивания компаунда и отвердителя в соотношении 1:1 состав наносится на
огрунтованную поверхность при помощи кисти, щетки или валика. Следует нанести
не менее двух слоев толщиной по 1 мм. Второй слой наносят после отверждения
первого (не ранее чем через 16 ч, но не позднее чем через 48 ч). Дальнейшие
работы, в частности укладку плитки, осуществляют в течение 1-3 дней после
нанесения второго слоя.
7.22. Деформационные швы и места сопряжения стена-пол следует дополнительно
герметизировать с использованием уплотнительной ленты марки Ceresit CL 52
(нормативная документация фирмы-производителя). При этом уплотнительная лента
вклеивается в первый слой Ceresit СЕ 49 (нормативная документация
фирмы-производителя) и затем покрывается вторым слоем.
7.23. Для герметизации инженерных вводов следует применять гильзы с
фланцами. Фланцы вклеивают в гидроизоляционный слой, дополнительно укрепляя
места вклейки армирующей сеткой.
7.24. При выполнении наливной битумной гидроизоляции от капиллярного
поднятия грунтовых вод слой щебня рекомендуется пропитывать горячим битумом,
наносимым при помощи автогудронатора слоем толщиной до 6 мм. При необходимости
пропитки в несколько слоев по слою битума следует рассыпать каменную мелочь с
последующим уплотнением ее катком, барабан которого смачивают растворителем, а
затем наносят следующий слой горячего битума, по которому рассыпают каменную
мелочь или песок фракции до 5 мм.
7.25. Асфальтовую гидроизоляцию следует выполнять из горячих мастик и литых асфальтовых
смесей по подготовленному основанию ярусами толщиной 15-25 мм, нанося смесь
равномерным сплошным слоем.
7.26. При выполнении работ по устройству асфальтовой гидроизоляции
необходимо каждый слой разравнивать и уплотнять обогреваемыми катками или
гладилками после остывания предыдущего.
7.27. Для обеспечения требуемого качества гидроизоляции из литого
асфальтобетона сопряжение ярусов и захваток следует выполнять внахлестку
шириной не менее 20 см, а стыки верхних слоев располагать вразбежку со стыками
нижних слоев.
7.28. Асфальтовую гидроизоляцию из холодных мастик следует выполнять по
подготовленному огрунтованному основанию начиная от стен или перегородок,
полосами в 1-2 слоя толщиной 3-5 мм. При этом каждый последующий слой наносят
после отвердения предыдущего, а сопряжение ярусов и захваток в каждом слое
выполняют внахлестку шириной не менее 200 мм.
8.1.1. При проектировании и устройстве покрытий полов должны соблюдаться
технические требования, изложенные в разделе I.
8.1.2. Тип покрытия пола следует принимать в зависимости от функционального
назначения помещения с учетом вида и интенсивности механических, жидкостных и
тепловых воздействий, а также специальных требований.
8.1.3. Полы должны характеризоваться устойчивостью к деформациям под
действием сосредоточенных и распределенных нагрузок - не обладать «зыбкостью»,
в том числе и при движении людей.
8.1.4. Испытания полов на устойчивость к деформациям под действием
сосредоточенных и распределенных нагрузок предусматривают:
а)
для полов с тонкослойным полимерным покрытием (линолеум) просадка полов под
действием сосредоточенной нагрузки в 50 кгс не должна превышать 1 мм. Нагрузка
на покрытие пола передается роликом диаметром 30 мм, шириной 15 мм и действует
в течение 24 ч. При этом в материале покрытия под роликом не должно появляться
трещин или происходить разрушение других элементов пола;
б)
для полов с паркетным покрытием и покрытием из штучных материалов (керамическая
плитка, керамогранит, плиты природного камня) просадка полов под действием
сосредоточенной нагрузки в 200 кгс не должна превышать 1,5 мм. Нагрузка на
покрытие пола передается штампом размером 30×30 мм и действует в течение
2 сут. При этом в материале покрытия под штампом не должно появляться трещин
или происходить разрушение других элементов пола и не должно происходить
выдавливание мастики из швов.
8.1.5. При проведении испытаний штамп или ролик должен устанавливаться в
самом невыгодном месте участка или элемента покрытия, а именно - в углу
помещения и на угол паркетной планки и керамической плитки.
8.1.6. При стыковке разнородных покрытий рекомендуется установка медных,
алюминиевых или стальных защитных элементов, защищающих края этих покрытий от
механических повреждений, от попадания воды в шов и отклеивания. Для паркетных
и плиточных покрытий полов защитные элементы, кроме того, позволяют
компенсировать движение этих покрытий при изменении температуры и влажности.
8.2.1. Покрытия полов из паркета рекомендуется применять в жилых домах, в
общественных и административных зданиях, а также в ряде специальных помещений
общественных зданий, больниц и поликлиник с учетом допустимых эксплуатационных воздействий,
приведенных в таблицах 1, 2, 3 приложения 3.
8.2.2. Покрытия, выполненные из паркета, являются «теплыми» и характеризуются
показателем теплоусвоения при укладке на плотный бетон, равным 12 Вт/(м2·К).
8.2.3. Для покрытий из паркета применяются штучный, наборный и готовый
паркет, а также паркетная и массивная доска.
8.2.4. Штучный и наборный паркет, применяемый в жилых домах и в общественных
и административных зданиях, должен удовлетворять требованиям ГОСТ
862.1. Паркет из
сосны и лиственницы допускается только в помещениях, в которых полы не
подвержены интенсивному износу. Покрытия полов должны выполняться только из
одной породы древесины и одного рисунка; применение паркета различного цвета и
размера допускается только для создания специального рисунка.
8.2.5. Для штучного паркета в обогреваемых полах рекомендуется выбирать такие
породы дерева, как дуб, тик, мербау, не рекомендуются бук, черная вишня,
канадский клен. Ширина плашек должна быть не менее 70 мм.
8.2.6. Рекомендуется применять паркетные планки толщиной не менее 10 мм, при
этом их ширина во избежание возможного поперечного коробления не должна
превышать пяти толщин. Влажность паркета при укладке не должна превышать 10 %.
8.2.7. Готовый паркет - штучный паркет с многослойными (2-3-слойными)
плашками и отшлифованной и покрытой лаком в заводских условиях лицевой поверхностью.
Выпускается по технической документации заводов-изготовителей и характеризуется
пониженным расходом древесины уникальных пород (нижележащие слои
изготавливаются из менее ценных пород) и пониженной склонностью к короблению
при изменении влажности.
8.2.8. Паркетные доски (ГОСТ 862.3) представляют собой клееные реечные
изделия с пазами и гребнями на боковых и торцевых кромках, выполненные из
древесины хвойных пород, березы или осины, с наклеенными на них планками
покрытия квадратной или прямоугольной формы (из тех же пород древесины, что и
штучный паркет) толщиной не менее 4 мм. В основании досок по всей длине
предусмотрены компенсационные продольные пропилы, препятствующие их короблению
при периодических изменениях влажности. Доски подразделяются на два типа: П1
- укладываемые по лагам (толщина 25 мм) и П2 - укладываемые на
сплошное основание (толщина 18 мм).
8.2.9. Массивная доска - крупноформатная доска (длина от 600 до 1800 мм,
ширина от 85 до 180 мм, толщина 20 мм) с пазами и гребнями на боковых и
торцевых кромках из цельной неклееной древесины ценных пород. Выпускается по
технической документации заводов-изизготовителей и применяется в помещениях с
повышенными требованиями по эстетике.
8.2.10. Покрытия из паркета могут быть выполнены непосредственно по бетонному
основанию или железобетонному перекрытию (при ровной поверхности), по
выравнивающей це-ментно-песчаной (в том числе обогреваемой), гипсовой или
легкобетонной или по сборной стяжке из спаренных гипсоволокнистых листов,
древесно-стружечных плит или листов водостойкой фанеры.
8.2.11. Покрытия из готового паркета и из паркетной доски, предъявляющие
повышенные требования к ровности подстилающих слоев, следует выполнять по
стяжкам из саморазравнивающейся смеси марки Thomsit DX (ТУ 5745-001-58239148).
Толщина стяжки от 0,5 до 10 мм.
8.2.12. Весовая влажность бетона междуэтажных перекрытий перед укладкой
паркета не должна превышать 4 %, стяжек на основе цементного, полимерцементного
и гипсового вяжущего - не более 5 %, стяжек из древесностружечных плит - 12 %.
8.2.13. Для улучшения звукоизоляции от ударного и воздушного шума полов,
выполненных по перекрытиям, выполняют одно из следующих мероприятий:
-
укладка покрытий полов по сборным стяжкам из древесно-стружечных плит, листов
фанеры или гипсоволокнистых листов;
-
выполнение под монолитными или сборными стяжками тепло- и звукоизоляционного
слоя из минераловатных плит и стекловолок-нистых плит на синтетической связке
плотностью до 150 кг/м3, минераловатных матов плотностью до 150 кг/м3,
пенополистирольных плит плотностью 25-50 кг/м3, керамзитового или
кварцевого песка;
- выполнение между монолитными или сборными стяжками и
покрытием из паркета промежуточного слоя из рулонного теплозвукоизолирующего
материала марки TF 302 Thomsit-Floor (под шпунтованные паркетные покрытия, а
также под паркетные доски и ламинат, индекс снижения ударного шума 16 дБ).
Материал выпускается по нормативной документации фирмы-производителя.
8.2.14. При укладке паркета на сборные стяжки из гипсоволокнистых плит и на
обогреваемые стяжки для снижения напряжений между паркетом и основанием и
склонности паркета к короблению при изменении влажности воздуха между паркетом
и основанием располагают разделительный эластичный слой, в частности из
рулонного теплозвукоизолирующего материала марки TF 302 Thomsit-Floor
(нормативная документация фирмы-призводителя).
8.2.15. При устройстве покрытия пола из паркетной доски плавающим способом с
целью предотвращения скрипа при ходьбе ее укладывают на амортизирующую
подложку, в качестве которой рекомендуется использовать гофрированный картон
или вспененный полиэтилен, а также пенопласт толщиной 2-3 мм. Для полов с
повышенными требованиями к звукоизоляции в качестве амортизирующей подложки
рекомендуется применять рулонный тепло- и звукоизолирующий материал марки TF
302 Thomsit-Floor (нормативная документация фирмы-призводителя).
8.2.16. При укладке паркета на обогреваемые стяжки в паркетном покрытии пола
должны предусматриваться деформационные швы. Швы устраиваются в продольном и
поперечном направлениях с шагом не более 6 м и должны совпадать с
деформационными швами в обогреваемой стяжке.
8.2.17. Деформационные швы должны также разделять обогреваемые и
необогреваемые полы.
8.2.18. Для заделки деформационных швов следует применять отверждаемый
эластичный силиконовый герметик марки «Silikon universal» (нормативная
документация фирмы-производителя).
8.2.19. Мозаичный паркет из древесины различных пород (паркетный ковер) и массивные
доски укладываются, как правило, по прослойке из фанеры, поскольку технология
изготовления данных покрытий предусматривает крепление плашек и досок не только
клеями, но и гвоздиками (паркетный ковер) или саморезами (массивные доски).
Гвозди следует забивать в пласт паркетных планок наклонно с втапливанием
шляпок. Саморезы устанавливаются также наклонно в основание гребней досок.
8.2.20. Паркетные планки и доски следует приклеивать к основаниям
быстротвердеющими мастиками на водостойких вяжущих, применяемых в холодном
состоянии. В качестве их рекомендуются водно-дисперсионный клей марки Thomsit P
618 (нормативная документация фирмы-производителя), растворный клей марки
Thomsit P 600 (нормативная документация фирмы-производителя) и двухкомпонентный
полиуретановый клей марки Thomsit P 625 (нормативная документация
фирмы-производителя). При выборе клея следует руководствоваться рекомендациями
таблицы 11.
Таблица 11
|
Вид паркетного
покрытия
|
Способ укладки
|
|
Полное приклеивание
|
Плавающим
способом
|
|
Thomsit Р 618
|
Thomsit Р 600
|
Thomsit Р 625
|
Thomsit Р 640
|
|
Паркетные покрытия с необработанной поверхностью
|
|
|
Штучный
шпунтованный паркет
|
Из
стабильных пород (дуба и т.д.)
|
+
|
+*
|
±
|
-
|
|
Из
нестабильных пород (бука, граба, ореха, клена и т.д.)
|
+
|
+*
|
±
|
-
|
|
10-мм
штучный шпунтованный паркет
|
Из
стабильных пород (дуба, тика, мербау и т.д.) ≤ 250×50 мм
|
+
|
+*
|
±
|
-
|
|
Из
нестабильных пород (бука, граба, ореха, клена и т.д.) и стабильных пород >
250×50 мм
|
-
|
+*
|
+
|
-
|
|
Щитовой
и мозаичный паркет
|
+
|
+*
|
+
|
-
|
|
Готовое однослойное паркетное покрытие (шлифованное и покрытое лаком,
маслом или воском)
|
|
Штучный и мозаичный
паркет
|
-
|
-
|
+
|
-
|
|
Массивная доска >
1200 мм
|
-
|
-
|
+
|
+
|
|
Готовое двухслойное паркетное покрытие (шлифованное и покрытое лаком,
маслом или воском)
|
|
Паркетная доска ≤
600 мм (толщина ≤ 10 мм)
|
+
|
+*
|
±
|
-
|
|
Паркетная доска ≤
1200 мм (толщина ≤ 10 мм)
|
-
|
+*
|
+
|
-
|
|
Другие виды двухслойной
паркетной доски
|
-
|
-
|
+
|
-
|
|
Щитовой паркет
|
-
|
+*
|
+
|
±
|
|
Готовое трехслойное паркетное покрытие (шлифованное и покрытое лаком,
маслом или воском)
|
|
Паркетная доска ≤
600 мм (толщина ≤ 13 мм)
|
+
|
+*
|
+
|
+
|
|
Паркетная доска ≤
1200 мм (толщина ≤ 10 мм)
|
-
|
+*
|
+
|
+
|
|
Другие виды двухслойной
паркетной доски
|
-
|
-
|
+
|
+
|
|
Щитовой паркет
|
-
|
+*
|
+
|
+
|
|
* Клей содержит растворитель.
Примечание - «+» - рекомендуется; «±»
- применение допускается; «-» - не рекомендуется
|
8.2.21. При укладке паркетных досок плавающим
способом склеиваются только их стыки водно-дисперсионным прозрачным клеем
Thomsit P 640 (нормативная документация фирмы-производителя), образующим при
высыхании невидимый шов. Физико-механические свойства клеевой композиции
приведены в приложении
6.
8.2.22. Для крепления фанеры и рулонного тепло- и звукоизолирующего материала
марки TF 302 Thomsit-Floor (нормативная документация фирмы-призводителя) к
основанию следует применять клеи для паркета - клеи марок Thomsit P 600
(нормативная документация фирмы-производителя) и Thomsit P 618 (нормативная
документация фирмы-производителя). Листы фанеры, кроме того, должны быть
закреплены при помощи дюбелей. Физико-механические свойства клеевых композиций
приведены в приложении
6.
8.2.23. Работы по наклейке паркета следует выполнять при температуре воздуха в
помещении не ниже 10 °С и его влажности до 60 %. Данный
температурно-влажностный режим следует поддерживать и при эксплуатации
покрытий.
8.2.24. Перед укладкой покрытия бетонное основание следует выровнять, бугорки
на поверхности бетона сошлифовать, западающие неровности, трещины и выбоины
зашпаклевать монтажным цементом марки Ceresit CX 5 (нормативная документация фирмы-производителя),
очистить от разного рода загрязнений и веществ, снижающих адгезию клея к
основанию (мастик, клеев, масел и т.п.). Трещины в нижележащем слое необходимо
расшить, поверхность в трещинах и в выбоинах очистить и обеспылить, а перед
нанесением шпатлевки прогрунтовать грунтовкой марки Ceresit CT 17 (ТУ
5745-008-58239148) или Ceresit CN 94 (нормативная документация
фирмы-производителя). Физико-механические свойства грунтовок приведены в приложении
6. Шпатлевку в местах заделки следует просушить, а поверхность нижележащего
слоя перед укладкой покрытий обеспылить без увлажнения водой.
8.2.25. Бетонные основания рекомендуется обработать водно-дисперсионными
грунтовками марок Ceresit CT 17 (ТУ 5745-008-58239148) или Ceresit CN 94
(нормативная документация фирмы-производителя), или Thomsit R 766 (нормативная
документация фирмы производителя), или Thomsit R 777 (ТУ 5745-008-58239148).
Водно-дисперсионные грунтовки марок Ceresit CT 17 и Thomsit R 777 поставляются
в готовом к применению виде, a Ceresit CN 94 перед нанесением следует разбавить
водой в соотношении 1:3, a Thomsit R 766 - в соотношении 1:1.
8.2.26.
Цементно-песчаные стяжки рекомендуется обработать водно-дисперсионными
грунтовками марки Thomsit R 766 (нормативная документация фирмы-производителя)
или Thomsit R 777 (ТУ 5745-008-58239148), Ceresit CT 17 (ТУ 5745-008-58239148).
Водно-дисперсионные грунтовки перед нанесением следует разбавить водой: Thomsit
R 777 - в соотношении 1:1, a Thomsit R 766 - в соотношении 1:4.
Водно-дисперсионная грунтовка марки Ceresit CT 17 поставляется в готовом к
применению виде. Физико-механические свойства грунтовок приведены в приложении
6.
8.2.27. Сборные стяжки из древесно-стружечных плит, листов фанеры или
гипсоволокнистых листов рекомендуется обработать водно-дисперсионной грунтовкой
марки Thomsit R 766 (нормативная документация фирмы-производителя),
разбавленной водой в соотношении 1:4.
8.2.28. Полимерцементно-песчаные стяжки, выполненные с применением сухих
смесей, выпускаемых фирмой «Хенкель Баутехник», обработки грунтовками не
требуют.
8.2.29. Нанесение грунтовочных композиций на очищенную поверхность
подстилающего слоя осуществляется кистью или валиком. Покрытия можно укладывать
только после полного высыхания грунтовки (через 4-6 ч).
8.2.30. Работы по изготовлению покрытий полов из штучного и готового паркета
рекомендуется начинать с укладки маячных рядов. В помещениях малого размера
маячный ряд следует укладывать у стены, наиболее удаленной от входной двери. В
больших помещениях два стыкуемых маячных ряда следует укладывать в середине и
работы вести в двух направлениях.
8.2.31. Штучный и готовый паркет следует укладывать в соответствии с принятым
рисунком: «в елку» - с фризами по периметру помещения и без них; «квадратом» -
прямым и развернутым диагонально; «прямой» - с расположением планок в одном
направлении и стыковкой торцами и кромками. При этом следует иметь в виду, что
при рисунке «прямой» напряжения, возникающие в древесине планок при
влагосменах, распространяются в одном направлении - поперек планок, что может
снизить эксплуатационную надежность пола.
8.2.32. Укладку паркетных и массивных досок следует начинать в направлении
слева направо пазовой стороной к стене на расстоянии 8-10 мм от стены, наиболее
удаленной от входа. При ширине помещения более 6 м - в направлении ширины
доски, зазор между стеной и доской следует увеличить на 1,5 мм на каждый
дополнительный метр.
8.2.33. Последующие ряды следует укладывать таким образом, чтобы шаг стыков
между торцами досок смежных рядов был не менее 30 см.
8.2.34. Паркетные планки укладывают вплотную к ранее уложенным, втапливают в
клей и плотно соединяют в шпунт с помощью паркетного молотка. Толщина слоя
мастики под паркетом должна быть не более 1 мм, зазоры между смежными планками
- 0,3 мм; компенсационные швы между покрытием и стенами, перекрываемые
плинтусами, должны быть 10-15 мм.
8.2.35. Выступающие кромки паркета следует отциклевать вровень со смежными, а
затем покрытие отшлифовать. Эти работы следует выполнять при наклейке паркета
на водно-дисперсионном клее марки Thomsit P 618 через 3 дня, на растворном клее
марки Thomsit P 600 - через два 2 дня и на двухкомпонентном полиуретановом клее
марки Thomsit P 625 - через 1 день.
8.2.36. Зазоры между паркетным покрытием и стенами (перегородками) должны
перекрываться после циклевки паркета плинтусами или галтелями, которые крепят
гвоздями 30- 40 мм, диаметром 2,5 мм или шурупами длиной 25 мм, диаметром 3 мм
либо только к стене (перегородке), либо только к полу. Поливинилхлоридные
плинтусы приклеивают к стенам и перегородкам растворным клеем марки Thomsit K
172 (нормативная документация фирмы-производителя), характеризующимся
свойствами контактного клея.
8.2.37. Под плинтусы рекомендуется устанавливать упругие прокладки из полос
линолеума на теплоизолирующей подоснове, которые следует закреплять к стене,
если плинтус крепится к полу, или к полу, если плинтус крепится к стене.
8.2.38. Паркетные полы для защиты от изнашивания и загрязнений, а также
выявления естественной фактуры древесины покрывают лаком.
8.2.39. Эксплуатация паркетных покрытий полов после отделки лаком допускается
не ранее чем через 7 сут.
8.3.1. Покрытия полов из линолеума рекомендуется применять в жилых, общественных
и промышленных зданиях, а покрытия полов из ковров на синтетической основе - в
общественных зданиях (гостиницы, торговые залы ресторанов, зрительные залы
зрелищных зданий, библиотеки, административные помещения и т.п.) и в жилых
помещениях с учетом допустимых эксплуатационных воздействий, приведенных в
таблицах 1, 2, 3 приложения 3.
Антистатические покрытия полов из линолеума и ковров на основе синтетических
волокон рекомендуется применять в помещениях, где не допускается скопления
электростатических зарядов на полу, - хирургические, операционные, специальные
лаборатории, машинные залы с электронным оборудованием и в «чистых» и «особо
чистых» помещениях, так как покрытия полов не должны удерживать частички пыли
на поверхности за счет сил электростатики, а также в помещениях с «электронной
гигиеной», в которых располагается электронное оборудование, для которого искры
могут создать помехи нормальной работе.
8.3.2. В жилых зданиях полы рекомендуется выполнять преимущественно из
поливинилхлоридного линолеума на теплоизолирующей подоснове, сваренного в
стационарных условиях в ковры размером на комнату (ГОСТ
27023), а также
поливинилхлоридного линолеума на теплозвукоизолирующей подоснове (ГОСТ
18108) и на
тканой подоснове (ГОСТ
7251). Возможно
также применение резинового линолеума, линолеума поливинилхлоридного многослойного
и однослойного без подосновы и алкидного (натурального), выпускаемых по
технической документации заводов-изготовителей.
8.3.3. Для антистатических покрытий рекомендуется применять антистатический
поливинилхлоридный однослойный линолеум без подосновы и антистатические ковры
на основе синтетических волокон, характеризующиеся удельным поверхностным
электросопротивлением не выше 109 Ом.
8.3.4. Алкидный линолеум, характеризующийся природными антисептическими
свойствами, рекомендуется применять прежде всего в помещениях дошкольных и
школьных учреждений, в больницах, поликлиниках, а также в жилых зданиях.
8.3.5. Для покрытий в обогреваемых полах рекомендуется применять линолеум без
теплоизолирующего подстилающего слоя - поливинилхлоридный однослойный или многослойный
без подосновы или поливинилхлоридный на тканной подоснове.
8.3.6. Покрытия из синтетических плиток являются разновидностью покрытий
полов из линолеума с аналогичной областью применения. Данный вид покрытий
характеризуется как рядом преимуществ по сравнению с покрытием из линолеума (не
требуется выдержка материалов перед укладкой в течение 2 сут и прирезка стыков
полотнищ, возможно устраивать покрытия с неограниченным количеством вариантов
по цвету и рисунку), так и недостатков - большим количеством швов, что приводит
к пониженной водостойкости покрытий и повышенному пылеотделению из швов.
8.3.7. Для покрытий полов применяются поливинилхлоридные и резиновые плиты,
выпускаемые по технической документации заводов-изготовителей, утвержденной в
установленном порядке.
8.3.8. К покрытиям полов на основе химических волокон относится покрытие для
полов рулонное на основе химических волокон (ГОСТ
26149). Возможно
также применение синтетических ковровых материалов на вспененной латексной,
поливинилхлоридной или резиновой подоснове, иглопробивных на тканевой или
войлочной подоснове, ворсово-прошивных (тафтинговых) и др., выпускаемых по
технической документации заводов-изготовителей.
8.3.9. Линолеум в виде сварных ковров (размером на комнату) и синтетические
ковровые материалы должны поставляться в рулонах, намотанных на сердечники
диаметром 100-150 мм. При этом каждый рулон синтетического коврового материала
должен быть упакован в оберточную бумагу, поливинилхлоридную или полиэтиленовую
пленку. Так как алкидный (натуральный) линолеум до укладки нестабилен (течет),
его рулоны хранят только в вертикальном положении.
8.3.10. Для покрытий пола в вестибюлях, лестничных клетках, лифтовых холлах, а
также ступеней лестниц следует применять ковровые покрытия или
поливинилхлоридный линолеум (для облицовки ступеней) и готовые
поливинилхлоридные элементы, характеризующиеся группой горючести не выше Г1
(слабогорючие), группой горючести по распространению пламени по поверхности не
выше РП1 (нераспространяющие), группой горючести по дымообразующей способности
не выше Д1 (с малой дымообразующей способностью) и группой по токсичности
продуктов горения не выше Т1 (малоопасные).
8.3.11. Для покрытий пола в общих коридорах, холлах и фойе следует применять
ковровые покрытия или поливинилхлоридный линолеум, характеризующиеся группой
горючести не выше Г2 (умеренногорючие), группой горючести по распространению
пламени по поверхности не выше РП1 (нераспространяющие), группой горючести по
дымообразующей способности не выше Д2 (с умеренной дымообразующей способностью)
и группой по токсичности продуктов горения не выше Т1 (малоопасные).
8.3.12. Покрытия, выполненные из поливинилхлоридного линолеума на
теплозвукоизолирующей подоснове (ГОСТ
18108) и ковров
на основе химических волокон, являются «теплыми» и характеризуются показателем
теплоусвоения у покрытий из линолеума не более 12 Вт/(м2·К), а у
ковровых покрытий - не более 11,6 Вт/(м2·К). Индекс снижения
ударного шума не менее 18 дБ.
8.3.13. Применение линолеума поливинилхлоридного многослойного и однослойного
без подосновы в помещениях с нормируемыми показателями теплоусвоения возможно
только при укладке его по теплоизолирующей прослойке - древесно-стружечным
плитам, листам фанеры, гипсоволокнистым листам, рулонным тепло- и
звукоизолирующим материалам марок: TF 303 Е Thomsit-Floor Elast, TF 305 Т
Thomsit-Floor Supertex, TF 403 Thomsit-Floor Elast Comfort, TF 404
Thomsit-Floor Tex Comfort или по стяжкам из легкого бетона или поризованного
цементно-песчаного раствора.
8.3.14. Основаниями под полы из линолеума и синтетических ковров могут быть
бетонный подстилающий слой и железобетонное перекрытие, цементно-песчаная (в
том числе обогреваемая), гипсовая или легкобетонная стяжка, а также сборная
стяжка из спаренных гипсоволокнистых листов, древесно-стружечных плит и листов
фанеры.
8.3.15. Для улучшения звукоизоляции от ударного и воздушного шума полов,
выполненных по перекрытиям, выполняют одно из следующих мероприятий:
- укладка покрытий полов по сборным стяжкам из
древесно-стружечных плит, листов фанеры или гипсоволокнистых листов;
-
выполнение под монолитными или сборными стяжками тепло- и звукоизоляционного
слоя из минераловатных плит и стекловолокнистых плит на синтетической связке
плотностью до 150 кг/м3, минераловатных матов плотностью до 150 кг/м3,
пенополистирольных плит плотностью 25-50 кг/м3, керамзитового или
кварцевого песка;
- выполнение между монолитными или сборными стяжками и
покрытием из линолеума или ковров на основе синтетических волокон
промежуточного слоя из рулонных теплозвукоизолирующих материалов марок: TF 303
Е Thomsit-Floor Elast (под натуральный или поливинилхлоридный линолеум,
каучуковые плиты, индекс снижения ударного шума 17 дБ), TF 305 Т Thomsit-Floor
Supertex (под текстильные напольные покрытия, индекс снижения ударного шума 19
дБ), TF 403 Thomsit-Floor Elast Comfort (под поливинилхлоридный линолеум,
индекс снижения ударного шума 25 дБ), TF 404 Thomsit-Floor Тех Comfort (под
текстильные напольные покрытия, индекс снижения ударного шума 27 дБ) (материалы
выпускаются по нормативной документации фирмы-производителя).
8.3.16. В помещениях, где устраиваются полы из линолеума, синтетических плиток
или ковровых покрытий, температура воздуха на уровне пола должна быть не ниже
15 °С, влажность воздуха - не более 60 %. Влажность по массе для бетона панелей
междуэтажных перекрытий должна быть не более 4 %, для стяжек на основе
цементного, полимерцементного и гипсового вяжущего - не более 5 %, для стяжек
из древесно-стружечных плит - не более - 12 %.
8.3.17. Перед укладкой покрытия бетонное основание следует выровнять, бугорки
на поверхности бетона сошлифовать, западающие неровности, трещины и выбоины
зашпатлевать монтажным цементом марки Ceresit CX 5 (нормативная документация
фирмы-производителя), очистить от разного рода загрязнений и веществ, снижающих
адгезию клея к основанию (мастик, клеев, масел и т.п.). Трещины в нижележащем
слое необходимо расшить, поверхность в трещинах и в выбоинах очистить и
обеспылить, а перед нанесением шпатлевки прогрунтовать грунтовкой марок Ceresit
CT 17 (ТУ 5745-008-58239148) или Ceresit CN 94 (нормативная документация
фирмы-производителя). Шпатлевку в местах заделки следует просушить, а
поверхность нижележащего слоя перед укладкой покрытий обеспылить без увлажнения
водой.
8.3.18. При необходимости перед укладкой напольных покрытий основание
выравнивают саморазравнивающимися смесями марок Ceresit CN 69 (ТУ
5745-007-58239148) (толщина стяжки от 3 до 15 мм), Ceresit CN 76 (ТУ
5745-007-58239148) (толщина стяжки от 4 до 50 мм), Thomsit DD (ТУ
5745-001-58239148) (толщина стяжки от 0,5 до 5 мм), Thomsit DX (ТУ
5745-001-58239148) (толщина стяжки от 0,5 до 10 мм). Физико-механические
свойства выравнивающих стяжек приведены в приложении
6.
8.3.19. Деформационные швы в подстилающем слое обогреваемых полов следует
заделать отверждаемым эластичным силиконовым герметиком марки «Silikon
universal» (нормативная документация фирмы-производителя).
8.3.20. Перед укладкой напольных покрытий на обогреваемые стяжки подогрев
должен работать не менее 10 сут. В период нанесения и высыхания клея
температура основания должна поддерживаться на уровне +18 °С.
8.3.21. Рулоны линолеума и синтетических ворсовых ковров следует раскатать для
устранения волнистости не позднее чем за 8 ч до их укладки, выдержать при
температуре воздуха не ниже 15 °С. Деформированные места листов, не прилегающие
к основанию, следует пригрузить.
8.3.22. Перед наклейкой алкидного (натурального) линолеума необходимо произвести
обрезку рулона с двух сторон по 2 см, так как края рулона могут «заплыть» и
отличаться по толщине.
8.3.23. Для приклейки линолеумных полотнищ, синтетических плит и ковров на
основе синтетических волокон рекомендуется применять водостойкие клеи и мастики,
обеспечивающие прочность сцепления на отрыв не менее 0,3 МПа. Выбор клея
осуществляется в зависимости от типа материала покрытия пола (таблица 12).
Таблица 12
|
Марка клея
|
Текстильные покрытия
|
Эластичные покрытия
|
Прочие материалы
|
|
Иглопробивные ковролины
|
Тафтинговые
(иглопрошивные) ковролины
|
Тканые ковролины
|
Сизалевые и кокосовые
покрытия, пропитанные латексом
|
пвх
|
хв
|
Полиолефиновые
|
Линолеум натуральный
|
Каучуковые
|
Плинтусы
|
Звукоизолирующие маты Thomsit TF 303/305
|
|
Пропитанные латексом
|
С текстильной основой
|
С основой из вспененного
латекса
|
С основой из пенополиуретана
|
Гомогенные
|
Гетерогенные с основой
|
Кварц-виниловая плитка
|
С гладкой
изнанкой
|
С рельефной изнанкой
|
|
Из джута или полиэфира
|
Из вспененного ПВХ
|
Рулоны
|
Плитки
|
Плитки
|
|
Водно-дисперсионные
|
|
UK 400
|
+
|
+
|
+
|
+
|
-
|
+
|
-
|
+
|
+
|
+
|
+
|
+
|
-
|
-
|
-
|
-
|
-
|
-
|
+
|
|
K 188Е
|
-
|
-
|
-
|
+
|
+
|
-
|
-
|
+
|
+
|
+
|
+
|
+
|
+
|
-
|
+1
|
±1
|
-
|
-
|
+
|
|
L 240D
|
-
|
-
|
-
|
-
|
-
|
-
|
-
|
-
|
-
|
-
|
-
|
-
|
-
|
+
|
-
|
-
|
-
|
-
|
-
|
|
Растворные
|
|
K 172
|
±
|
±
|
±
|
-
|
±
|
+2
|
+2
|
±
|
±
|
±
|
+2
|
±
|
-
|
+2
|
±
|
+2
|
-
|
+
|
±
|
|
Полиуретановые
|
|
R 710
|
+
|
-
|
+
|
-
|
+
|
-
|
+
|
+
|
+
|
+
|
+
|
+
|
-
|
+
|
+
|
+
|
+
|
-
|
±
|
|
1 При толщине покрытий до 2,5 мм.
2 Клей содержит растворитель.
Примечание - «+» - рекомендуется; «±» - применение допускается;
«-» - не рекомендуется.
|
8.3.24. Перед устройством покрытия из
синтетических плиток следует произвести разбивку осей. При этом, если помещения
соединены между собой, разбивочные оси рекомендуется прокладывать во всех
помещениях через середины проемов смежных помещений. В других помещениях
разбивочные оси прокладывают через их центр.
8.3.25. Перед наклейкой плиток следует выполнить пробную раскладку плиток
насухо. Если целое число плиток не укладывается точно по длине и ширине
помещения, разбивочные оси смещаются таким образом, чтобы плитки можно было бы
подрезать только у одной или двух взаимно перпендикулярных стен.
8.3.26. Линолеум, синтетические плитки и синтетические ворсовые ковры должны
быть приклеены к нижележащему слою по всей площади. Толщина слоя клеевой
прослойки должна быть не более 0,8 мм.
8.3.27. Нанесение клея зубчатым шпателем осуществляется, как правило,
непосредственно на очищенное, обеспыленное и прогрунтованное основание. При
укладке покрытий с пористой или рельефной обратной поверхностью, а также
каучуковых и линолеумных плиток клей наносится как на основание, так и на
обратную (склеиваемую) сторону покрытия.
8.3.28. Бетонные основания рекомендуется обработать водно-дисперсионными
грунтовками марок Ceresit CT 17 (ТУ 5745-008-58239148), Ceresit CN 94
(нормативная документация фирмы-производителя), Thomsit R 766 (нормативная
документация фирмы-производителя) или Thomsit R 777 (ТУ 5745-008-58239148).
Водно-дисперсионные грунтовки марок Ceresit CT 17 и Thomsit R 777 поставляются
в готовом к применению виде, Ceresit CN 94 перед нанесением следует разбавить
водой в соотношении 1:3, a Thomsit R 766 - в соотношении 1:1.
8.3.29. Цементно-песчаные стяжки рекомендуется обработать водно-дисперсионными
грунтовками марок Thomsit R 766 (нормативная документация фирмы-производителя),
Thomsit R 777 (ТУ 5745-008-58239148) или Ceresit CT 17 (ТУ 5745-008-58239148).
Водно-дисперсионные грунтовки перед нанесением следует разбавить водой: Thomsit
R 777 - в соотношении 1:1, Thomsit R 766 - в соотношении 1:4, Ceresit CT 17
поставляется в готовом для применения виде.
8.3.30. Сборные стяжки из древесно-стружечных плит, листов фанеры или
гипсоволокнистых листов рекомендуется обработать водно-дисперсионной грунтовкой
марки Thomsit R 766 (нормативная документация фирмы-производителя),
разбавленной водой в соотношении 1:4.
8.3.31. Полимерцементно-песчаные стяжки, выполненные с применением сухих
смесей, выпускаемых фирмой «Хенкель Баутехник», обработки грунтовками не
требуют.
8.3.32. Нанесение грунтовочных композиций на очищенную поверхность
подстилающего слоя осуществляется кистью или валиком. Покрытия можно укладывать
только после полного высыхания грунтовки (через 4-6 ч).
8.3.33. На двухкомпонентный полиуретановый клей марки Thomsit R 710
(нормативная документация фирмы-производителя) линолеум, синтетические плитки и
ковровые покрытия следует укладывать сразу после его нанесения на основание.
Водно-дисперсионные и растворные клеи следует подсушить для улетучивания
избытка растворителя: водно-дисперсионный клей Thomsit UK 400 (ТУ
2216-012-04831040) -5-15 мин, водно-дисперсионный клей Thomsit L 240 D (ТУ
2216-012-04831040) - 5 мин, водно-дисперсионный клей Thomsit К 188 Е
(нормативная документация фирмы производителя) - 30-60 мин и растворный клей
Thomsit K 172 (нормативная документация фирмы-производителя) - 10-20 мин.
8.3.34. При приклейке рулона линолеума с рисунком на лицевой стороне нельзя
смещать его относительно смежного. Если ворс синтетических ковров наклонен под
углом к подоснове, то угол наклона ворса всех полотнищ должен быть в одном
направлении. Рекомендуется покрытия укладывать так, чтобы наклон ворса был от
окна в сторону двери, что облегчает уборку помещения.
8.3.35. Линолеум укладывается на приклеиваемую поверхность свободно, не
допуская его деформаций, особенно в швах. При укладке необходимо избегать
попадания воздуха под покрытие. Зазор между линолеумом и стеной должен
составлять 4-5 мм и перекрываться плинтусом. Покрытие плотно прижимается к
поверхности и притирается с помощью специального инструмента или пробковой
доски. После этого следует убедиться в том, что под покрытием не осталось
пузырей воздуха.
8.3.36. При устройстве покрытий из линолеума, сваренного в ковры, и из
синтетических ковров их предварительно отгибают на половину длины и на
освободившуюся площадь основания наносят клей, выдерживают для улетучивания избытка
растворителя (п. 8.3.33), после чего раскатывают ковер по клеевому слою,
прижимая его к основанию с помощью катка или гладилки с целью удаления воздуха.
Аналогичную операцию проводят со второй половиной ковра.
8.3.37. Текстильное покрытие укладывается на приклеиваемую поверхность
свободно, не допуская его деформаций, особенно в швах. Зазор ковра со стеной
должен составлять 4-5 мм и перекрываться плинтусом. Покрытие плотно прижимают к
поверхности и притирают с помощью специального инструмента. После этого следует
убедиться в равномерности приклеивания покрытия. При необходимости края
покрытия через 10-20 мин после укладки можно повторно прижать или прикатать к
основанию тяжелым валиком.
8.3.38. Технология изготовления антистатических покрытий из антистатического
поливинилхлоридного однослойного линолеума без подосновы и из антистатических
ковров на основе синтетических волокон включает создание электропроводного слоя
путем нанесения валиком на всю поверхность основания пола электропроводной
грунтовки марки Thomsit R 762 (нормативная документация фирмы-производителя),
приклейку электропроводным клеем медной ленты длиной не менее 1 м на каждые 30
м2 площади помещения, подключаемой к системе заземления здания, и
приклейку антистатического линолеума на электропроводном водно-дисперсионном
клее марки Thomsit К 112 (нормативная документация фирмы-производителя), а
антистатических ковровых покрытий - на электропроводном водно-дисперсионном
клее марки Thomsit T 412 (нормативная документация фирмы-производителя).
8.3.39. В помещениях с влажными условиями эксплуатации для предотвращения
проникания влаги в подоснову линолеума и основание через швы стыкуемых
полотнищ, а также в «чистых» и «особо чистых» помещениях для предотвращения
выделения частиц пыли из швов последние рекомендуется сваривать.
8.3.40. Линолеумы, имеющие в своем составе термопластическую
поливинилхлоридную смолу, сваривают горячим воздухом. Для этого рекомендуется
применять сварочный фен марки «Триак PID».
8.3.41. После приклейки стыков линолеума устанавливают плинтусы. Деревянные
плинтусы (ГОСТ
8242) прибивают к
предварительно установленным в стенах пробкам гвоздями длиной 30-40 мм или
крепят шурупами длиной 25 мм. Плинтусы устанавливают так, чтобы они только
касались покрытия пола и не были к нему прижаты. Поливинилхлоридные плинтусы
приклеивают к стенам и перегородкам полимерными клеями, в качестве которых
рекомендуется применять растворный клей Thomsit K 172 (нормативная документация
фирмы-производителя), характеризующийся свойствами контактного клея.
8.3.42. В «чистых» и «особо чистых» помещениях с целью снижения количества зон
скопления пыли рекомендует выполнять плинтусы из линолеума. Технологическая
схема изготовления плинтуса предусматривает приклейку линолеума к основанию
пола с нахлестом полотнищ на стены на высоту 200 мм (зону сгиба на 90° следует
нагреть феном) и приклейку к стенам и перегородкам растворным клеем марки Thomsit
K 172 (нормативная документация фирмы-производителя).
8.3.43. При изготовлении плинтуса из алкидного (натурального) линолеума,
учитывая повышенную хрупкость материала, радиус его перегиба должен быть не
менее 50 мм; в угол под линолеум необходимо укладывать вкладыш соответствующего
профиля.
8.3.44. Покрытия полов из линолеума, синтетических плиток и синтетических
ковров принимают в эксплуатацию не ранее чем через трое суток после наклейки.
8.4.1. Полы из керамических плиток рекомендуется
применять в помещениях с систематическим или периодическим увлажнением пола с
учетом допустимых эксплуатационных воздействий, приведенных в таблицах 1, 2, 3 приложения 3.
8.4.2. Покрытия полов плитами из природного
камня (гранита, лабрадорита, мрамора и др.) и керамогранита рекомендуется
применять для устройства полов в общественных, в том числе уникальных зданиях,
где к ним предъявляются повышенные требования по эстетике, гигиене и
истираемости, с учетом допустимых эксплуатационных воздействий, приведенных в
таблицах 1, 2, 3 приложения 3.
8.4.3. Для изготовления покрытий полов
рекомендуется применять керамические плитки, соответствующие требованиям ГОСТ
6787. Допускается
применять также плитки, не соответствующие требованиям ГОСТ
6787 (в
частности, толщина менее 11 мм), но выпускаемые по техническим условиям
заводов-изготовителей, согласованным с организациями, входящими в число ведущих
Министерства промышленности и энергетики Российской Федерации (Федеральное
агентство по строительству и жилищно-коммунальному хозяйству) или имеющими
сертификат соответствия.
8.4.4. Плиты из природного камня и керамогранита
должны соответствовать требованиям ГОСТ
9480, кроме того,
плиты из керамогранита должны соответствовать требованиям технической
документации заводов-изготовителей, утвержденной в установленном порядке или
подтверждающей применение их в строительстве, - сертификату соответствия.
8.4.5. Покрытия из керамических плиток, плит
природного камня и керамогранита могут быть выполнены по бетонному
подстилающему слою, железобетонным перекрытиям или цементно-песчаным или
саморазравнивающимся стяжкам с пределом прочности на сжатие последних не менее
15 МПа. Покрытия из керамических плиток, кроме того, могут быть выполнены по
сборным стяжкам из спаренных гипсоволокнистых листов.
8.4.6. При средней и большой интенсивности
воздействия жидкости на пол конструктивная схема пола должна предусматривать
наличие слоя гидроизоляции. Гидроизоляционный слой может располагаться как под
выравнивающей стяжкой, так и непосредственно под покрытием. Типы подслоя и
рекомендации по его нанесению приведены в главе 7.
8.4.7. Покрытия из керамических плиток, плит из
природного камня и керамогранита относятся к «холодному» типу полов. В
помещениях с нормируемыми показателями теплоусвоения покрытие полов
рекомендуется выполнять по электро- или водонагреваемым стяжкам.
8.4.8. В покрытиях из керамических плиток, плит
из природного камня и керамогранита, выполняемых по электро- или водонагреваемым
стяжкам, должны быть предусмотрены деформационные швы. Швы устраиваются в
продольном и поперечном направлениях с шагом не более 6 м и должны совпадать с
деформационными швами в обогреваемой стяжке.
8.4.9. Керамические плитки, плиты из природного камня и керамогранита следует
укладывать по прослойке из плиточных клеев на основе полимерцементных вяжущих:
|
Ceresit CM 9 - (ТУ 5745-008- 58239148)
|
- облицовки полов из керамической плитки
(глазурованной, терракота и т.п.) размером до 30×30 см на недеформирующихся
минеральных основаниях в отапливаемых помещениях.
|
|
Ceresit CM 11 - (ТУ 5745-008- 58239148)
|
- облицовки полов из керамической плитки или
плитки из натурального и искусственного камня с водопоглощением не менее 1 %
и размером до 30×30 см на недеформирующихся минеральных основаниях в
отапливаемых и неотапливаемых помещениях, а также из керамогранита в
отапливаемых помещениях на необогреваемых полах. При дополнительном введении
эластификатора Ceresit CC 83 могут применяться для плиток с
водопоглощением менее 1 % и для укладки по деформирующимся основаниям
(гипсоволокнистые плиты, обогреваемые стяжки).
|
|
Ceresit CM 14 - (ТУ 5745-008- 58239148)
|
- облицовки полов из керамической плитки или
плитки из натурального и искусственного камня (кроме плиток из мрамора) с
водопоглощением не менее 1 % и размером до 30×30 см на
недеформирующихся минеральных основаниях в отапливаемых и неотапливаемых
помещениях. Характеризуются ускоренным отверждением и могут применяться при
пониженных температурах (но не ниже +5 °С). При дополнительном введении
эластификатора Ceresit CC 83 могут применяться для плиток с
водопоглощением менее 1 % и для укладки по деформирующимся основаниям
(гипсоволокнистые плиты, обогреваемые стяжки).
|
|
Ceresit CM 15 - (ТУ 5745-008- 58239148)
|
- облицовки полов из мраморных плит и
просвечивающей плитки из других пород натурального камня на недеформирующихся
минеральных основаниях в отапливаемых и неотапливаемых помещениях.
Характеризуются ускоренным отверждением. При дополнительном введении
эластификатора Ceresit CC 83 могут применяться для укладки по
деформирующимся основаниям (гипсоволокнистые плиты, обогреваемые стяжки).
|
|
Ceresit CM 115 - (нормативная документация
фирмы-производителя)
|
- облицовки полов из мраморных плит и
просвечивающей плитки из других пород натурального камня на недеформирующихся
минеральных основаниях в отапливаемых и неотапливаемых помещениях. При
дополнительном введении эластификатора Ceresit CC 83 могут применяться для укладки по деформирующимся основаниям
(гипсоволокнистые плиты, обогреваемые стяжки).
|
|
Ceresit CM 17 - (ТУ 5745-008- 58239148)
|
- облицовки полов из плитки любых видов:
керамической, каменной, керамогранитной, стеклянной и т.п. на сложных и
деформирующихся основаниях – гипсоволокнистых плитах, обогреваемых стяжках,
на террасах, балконах.
|
|
Ceresit CM 117- (ТУ 5745-008- 58239148)
|
- облицовки полов из плитки любых видов:
керамической, каменной, керамогранитной, стеклянной и т.п. на
недеформирующихся минеральных основаниях в отапливаемых и неотапливаемых
помещениях. При дополнительном введении эластификатора Ceresit CC 83 могут применяться для укладки по
деформирующимся основаниям (гипсоволокнистые плиты, обогреваемые стяжки).
|
|
Ceresit CM 19 - (нормативная документация фирмы-производителя)
|
- облицовки полов из крупноформатных плит из
природного и искусственного камня, керамики, керамогранита на
недеформирующихся и деформирующихся минеральных основаниях в отапливаемых и
неотапливаемых помещениях.
|
Физико-механические
свойства плиточных клеев приведены в приложении
6.
8.4.10. При укладке впитывающих керамических плиток, а также толстослойных
плит из природного камня (толщина более 20 мм) допускается применение
цементно-песчаного раствора (таблица 13), содержащего в качестве модифицирующей
добавки пластифицированную поливинилацетатную дисперсию (ГОСТ
18992) или латекс
СКС-65ГП марки «Б» (ТУ 38-103111) в количестве 10-15 % массы цемента в
пересчете на сухое вещество полимера.
Таблица 13
|
Марка раствора
|
Вода
|
Цемент марки 400
|
Песок
|
|
М150
|
0,55
|
1
|
3,0
|
|
М200
|
0,48
|
1
|
2,8
|
|
М300
|
0,40
|
1
|
2,4
|
8.4.11. В целях снижения усадочных деформаций
для прослойки рекомендуется применять жесткие цементно-песчаные смеси с осадкой
конуса 2-3 см. При этом керамические плитки следует втапливать в раствор
прослойки с помощью вибрации. В противном случае следует использовать раствор с
осадкой конуса 5-6 см.
8.4.12. При применении плит из керамогранита для антикоррозионных облицовочных
покрытий (в частности, покрытий полов на пивзаводах) наклейку необходимо
выполнять полимерными мастиками (как правило, на основе полиуретановых или эпоксидных
смол), химически стойкими к воздействующим средам, в частности может быть
рекомендован эпоксидный высокоэластичный клей для кислотоупорной плитки марки
Ceresit CU 22 (нормативная документация фирмы-производителя).
8.4.13. Толщина полимерцементных прослоек должна составлять 2-3 мм.
8.4.14. Толщина прослоек из цементно-песчаного раствора должна составлять
10-15 мм.
8.4.15. Толщина полимерных прослоек должна составлять 3-4 мм.
8.4.16. Толщина шва должна быть не более 6 мм. При укладке покрытия из керамических
плиток, плит природного камня и керамогранита по обогреваемым стяжкам толщина
шва должна быть не менее 3 мм для мелко- и среднеразмерных штучных материалов и
не менее 5 мм для крупноразмерных.
8.4.17. Покрытия из керамических плиток рекомендуется выполнять при
использовании полимерцементных клеев и цементно-песчаного раствора при
температуре воздуха не ниже +5 °С, при использовании полимерных клеев - не ниже
+10 °С.
8.4.18. Перед устройством покрытий плиты следует предварительно разложить
насухо для подбора. Цвет и рисунок покрытия пола устанавливаются проектом.
8.4.19. Плиты следует укладывать по маякам, размещаемым через 2 м.
8.4.20. До устройства прослойки из цементно-песчаного раствора устанавливают и
закрепляют первый ряд маячных реек из деревянных брусков или металлических
прокатных изделий высотой, соответствующей требуемой толщине прослойки (10-15
мм).
8.4.21. Первый ряд маячных реек следует размещать у стены, противоположной
входу в помещение, или в центре помещения с таким расчетом, чтобы после укладки
всех плиток и удаления маячной рейки в образовавшийся промежуток укладывалось
целое число плиток. Последующие ряды маячных реек устанавливают параллельно
первому на расстоянии, равном ширине укладываемого ряда плиток.
8.4.22. Толщина прослойки из полимерцементных тонкослойных клеев или
полимерных клеев регулируется размером зубцов шпателя, применяемого при
нанесении данной композиции.
8.4.23. Для повышения начальной прочности сцепления цементно-песчаного
раствора прослойки с плиткой ее перед укладкой следует замачивать в воде. При
этом плитки, укладываемые на жесткий цементно-песчаный раствор, рекомендуется
замачивать путем полного погружения в воду или водный раствор
поверхностно-активных веществ (ПАВ) на 15- 20 мин. В качестве водных растворов
ПАВ применяют 1 %-ный раствор хлористого кальция или 0,5 %-ный раствор
хлористого алюминия.
8.4.24. При укладке плиток на раствор с осадкой конуса 5-6 см их достаточно
перед укладкой окунуть в воду или водный раствор ПАВ.
8.4.25. При укладке керамических плиток на полимерцементных или полимерных
клеях предварительное увлажнение плиток не требуется.
8.4.26. Перед укладкой плиточной облицовки поверхность основания должна быть
очищена от различного рода загрязнений и веществ, снижающих адгезию клея к
основанию, - жиров, смазочных масел, битумных мастик и т.п. При необходимости
перед укладкой плиточных покрытий основание выравнивают саморазравнивающимися
смесями марок Ceresit CN 69 (ТУ 5745-007-58239148) (толщина стяжки от 3 до 15
мм), Ceresit CN 76 (ТУ 5745-007-58239148) (толщина стяжки от 4 до 50 мм),
Thomsit DD (ТУ 5745-001-58239148) (толщина стяжки от 0,5 до 5 мм), Thomsit DX
(ТУ 5745-001-58239148) (толщина стяжки от 0,5 до 10 мм). Физико-механические
свойства выравнивающих стяжек приведены в приложении
6.
8.4.27. Приклейку плитки осуществляют, как правило, без дополнительной
обработки очищенной поверхности основания. Сильно впитывающие сухие основания
нужно увлажнить или обработать грунтовкой марки Ceresit CT 17 (ТУ
5745-008-58239148) или марки Ceresit CN 94 (нормативная документация
фирмы-производителя), разбавленной водой в соотношении 1:3, с последующим
высушиванием в течение 4-6 ч. Физико-механические свойства грунтовок приведены
в приложении
6. При укладке штучных материалов на цементно-песчаном растворе возможно
применение для грунтовки пластифицированной поливинилацетатной дисперсии,
разбавленной водой в соотношении 1:2-3.
8.4.28. В больших помещениях плиты рекомендуется укладывать от центра
помещения в четырех или двух направлениях от разбивочных осей по маячным
шнурам, проходящим через центральные оси помещения. В остальных случаях укладку
плит следует выполнять от стены, противоположной входным дверям, а маячный шнур
натягивать вдоль стены.
8.4.29. Плиты укладываются сразу после разравнивания раствора или клея по
шнуру в направлении «на себя» с образованием швов, которые затем заполняют
окрашенными полимерцементными затирочными композициями марок Ceresit СЕ 33
Super (ТУ 5745-008-58239148), Ceresit СЕ 35 Super (ТУ 5745-008-58239148),
Ceresit СЕ 42 (ТУ 5745-008-58239148) и Ceresit СЕ 43 (ТУ 5745-007-58239148) или
цементно-песчаным раствором состава 1:1. Физико-механические свойства
затирочных композиций приведены в приложении
6. В проектное положение плиты устанавливают, осаживая их трамбовкой или
молотком через деревянную прокладку, которая должна захватывать не менее двух
плит.
8.4.30. Расшивку швов следует выполнять после укладки керамических плиток или
плит из природного камня или керамогранита на клее марки Ceresit CM 14 через 3
ч, Ceresit CM 15 через 4 ч, марки Ceresit CM 19 через 6 ч, марок Ceresit CM 115
и Ceresit CM 17 через 12 ч, Ceresit СМ 11 и Ceresit CM 117 через 24 ч и марки
Ceresit CM 9 через 48 ч. Если для крепления плитки использовался
цементно-песчаный раствор, заполнение межплиточных швов можно производить не
ранее чем через 7 сут после укладки плитки.
8.4.31. При укладке штучных материалов на полимерных клеях для расшивки швов
следует применять полимерную химически стойкую расшивку марки Ceresit СЕ 48
(нормативная документация фирмы-производителя).
8.4.32. Цементно-песчаный раствор прослойки должен твердеть во влажных
условиях, для чего покрытие пола следует засыпать слоем мокрых опилок или
накрыть полиэтиленовой пленкой на 7-10 сут. Поливать покрытие без укрытия его
опилками, матами или мешковиной не допускается, так как вода стекает и
скапливается в пониженных местах, что в дальнейшем приводит к отслоению покрытия
от прослойки.
8.4.33. Смачивание покрытий полов при укладке керамических плиток, плит из
природного камня и керамогранита на полимерцементных или полимерных клеевых
композициях не требуется.
8.4.34. Эксплуатацию покрытий полов из керамических плиток, плит из природного
камня и керамогранита, уложенных на цементно-песчаном растворе, следует
осуществлять после набора материалом прослойки марочной прочности и достижения
воздушно-сухого состояния - как правило, после выдержки в течение 3-4 недель.
При укладке штучных материалов на полимерцементных плиточных клеях выдержка до
эксплуатации должна составлять 3-5 сут, а при применении полимерных клеев - не
менее 7 сут.
8.5. Покрытия из плит каменного литья, кислотоупорных плиток и кирпича
8.5.1. Покрытия из плит каменного литья, кислотоупорных плиток и кирпича
рекомендуется применять в производственных помещениях или отдельных их зонах
при воздействии на полы воды, кислот, щелочей и их растворов с учетом
эксплуатационных воздействий, приведенных в таблицах 1, 2, 3 приложения 3.
При этом покрытие из кислотоупорного кирпича, уложенного на ребро,
рекомендуется использовать только в зонах интенсивного движения автомобилей и
автокар.
8.5.2. Покрытия из плит каменного литья, кислотоупорных плиток и кирпича
могут быть выполнены по бетонному подстилающему слою, железобетонным
перекрытиям или цементно-песчаным стяжкам с пределом прочности на сжатие
последних не менее 15 МПа.
8.5.3. Плиты из каменного литья должны соответствовать требованиям ТУ
21-РСФСР-682, керамические кислотоупорные и термокислотоупорные плитки - ГОСТ
961,
кислотоупорный кирпич - ГОСТ 474.
8.5.4. Плитки и кирпич следует укладывать по прослойке из химически стойкой
мастики, в качестве которой рекомендуется применять эпоксидный высокоэластичный
клей для кислотоупорной плитки марки Ceresit CU 22 (нормативная документация
фирмы-производителя), а для затирки швов - эпоксидную затирку для плитки марки
Ceresit СЕ 48 (нормативная документация фирмы-производителя).
Физико-механические свойства эпоксидного клея и эпоксидной затирки приведены в приложении
6. Химическая стойкость полимерных материалов представлена в таблице 14.
Таблица 14
Химическая
стойкость эпоксидного клея для плитки марки Ceresit CU 22 и эпоксидной затирки для плитки марки Ceresit СЕ 48
Название
|
Стойкость
|
|
Ацетон
|
-
|
|
Этиловый спирт, 100
%-ный
|
-
|
|
Этиловый спирт, 10
%-ный раствор
|
О
|
|
Сульфат аммония, насыщенный
раствор
|
+
|
|
Аммиак, 25 %-ный
раствор
|
+
|
|
Аммиак, 10 %-ный
раствор
|
+
|
|
Хлорид аммония, 10
%-ный раствор
|
+
|
|
Нитрат аммония, 50
%-ный раствор
|
+
|
|
Фосфат аммония,
насыщенный раствор
|
+
|
|
Фосфат аммония,
насыщенный раствор
|
+
|
|
Сульфат аммония, 20
%-ный раствор
|
+
|
|
Кислота из аккумулятора
|
О
|
|
Бензин
|
О
|
|
Пиво
|
+
|
|
Борная кислота
|
+
|
|
Тормозная жидкость
|
+
|
|
Бутиловый спирт
|
+
|
|
Хлорид кальция,
насыщенный раствор
|
+
|
|
Сульфат кальция,
насыщенный раствор
|
+
|
|
Кока-кола
|
+
|
|
Дизельное топливо
|
+
|
|
Хлорид железа,
насыщенный раствор
|
+
|
|
Сульфат железа,
насыщенный раствор
|
+
|
|
Ледяная уксусная
кислота
|
-
|
|
Нефть
|
+
|
|
Уксусная кислота, 10
%-ный раствор
|
+
|
|
Фосфорная кислота, 10
%-ный раствор
|
О
|
|
Азотная кислота, 10
%-ный раствор
|
О
|
|
Азотная кислота, 5
%-ный раствор
|
О
|
|
Соляная кислота, 20
%-ный раствор
|
О
|
|
Соляная кислота, 5
%-ный раствор
|
О
|
|
Бассейновая вода
|
+
|
|
Вода
|
+
|
|
Винная кислота, 25
%-ный раствор
|
+
|
|
Глицерин
|
+
|
|
Гликоль
|
+
|
|
Мазут
|
+
|
|
Гидроокись калия, 50
%-ный раствор
|
+
|
|
Гидроокись калия, 10
%-ный раствор
|
+
|
|
Карбонат калия,
насыщенный раствор
|
+
|
|
Нитрат калия,
насыщенный раствор
|
+
|
|
Сульфат калия,
насыщенный раствор
|
+
|
|
Известковое молоко,
насыщенный раствор
|
+
|
|
Керосин
|
+
|
|
Хлористый натрий,
насыщенный раствор
|
+
|
|
Сульфат меля,
насыщенный раствор
|
+
|
|
Хлорид магния,
насыщенный раствор
|
+
|
|
Сульфат магния, насыщенный
раствор
|
+
|
|
Морская вода
|
+
|
|
Молочная кислота, 3
%-ный раствор
|
О
|
|
Минеральное масло
|
+
|
|
Бисульфат натрия,
насыщенный раствор
|
+
|
|
Гидроокись натрия, 20
%-ный раствор
|
+
|
|
Гидроокись натрия, 50
%-ный раствор
|
+
|
|
Фосфат натрия,
насыщенный раствор
|
+
|
|
Сульфат натрия,
насыщенный раствор
|
+
|
|
Нитрорастворитель
|
-
|
|
Карбонат натрия, 50
%-ный раствор
|
+
|
|
Щавелевая кислота,
насыщенный раствор
|
+
|
|
Серная кислота, 35
%-ный раствор
|
О
|
|
Серная кислота, 5 %-ный
раствор
|
+
|
|
Пищевое масло
|
+
|
|
Шпиндельное масло
|
+
|
|
Уайт-спирит
|
+
|
|
Толуол
|
О
|
|
Ксилол
|
-
|
|
Лимонная кислота, 30 %
|
+
|
|
Примечание - «+» - стоек; «О» -
ограниченно стоек; «-» - нестоек.
|
8.5.5. Устройство покрытия пола рекомендуется выполнять по
непроницаемому подслою, который одновременно служит и гидроизоляцией. Типы
подслоя и рекомендации по нанесению приведены в главе 7.
8.5.6. При «малой» интенсивности воздействия жидкостей возможна укладка
плиток и кирпича (облицовки) по прослойке из цементно-песчаного раствора или
полимерцементных клеев, приведенных в главе
8.5, с расшивкой швов химически стойкими полимерзамазками. Облицовка может
осуществляться непосредственно по подстилающему слою (без непроницаемого
подслоя).
8.5.7. Устройство покрытий пола рекомендуется выполнять при температуре
воздуха не ниже +10 °С.
8.5.8. Каналы, лотки и приямки, предназначенные для сбора и канализации
агрессивных жидкостей, облицовываются до нанесения покрытия пола. Облицовку
этих конструкций следует начинать с днища с последующим устройством по ней
покрытия пола.
8.5.9. Устройство покрытия пола следует начинать от стен к проходам и дверям.
Укладку плит и кирпича производят рядами, параллельными стенам. В больших
помещениях плиты и кирпич укладываются полосами (участками) шириной не более 10
м. Кирпич укладывают по шнуру с соблюдением перевязки швов на 1/3
- 1/2 кирпича. В проходах его укладывают в «елку». При
наличии большого числа фундаментов под оборудование, которые параллельны между
собой, но не параллельны стенам, - рядами, параллельными этим фундаментам.
8.5.10. При укладке плит и кирпича полосу разравниваемой полимерзамазки
следует иметь длиной не менее 1 м и шире укладываемого ряда плиток или кирпича
на 40-50 мм. Швы между плитками и кирпичами заполняют выдавливанием материала
прослойки при их укладке. Ширина швов не должна превышать при кирпиче 5 мм, а
при плитках - 3 мм.
8.5.11. Швы заполняются мастиками, наносимыми при помощи шприцов или вручную
вдавливанием из полиэтиленовых мешков со срезанным углом. Глубина заполнения
швов при их разделке должна быть не менее: 20 мм - для кирпича и плитки
толщиной более 50 мм; 15 мм - для плитки толщиной 20-30 мм. Укладка в
пустошовку плиток толщиной менее 20 мм не допускается.
8.5.12. В местах примыкания пола к стенам и колоннам устраивают плинтус,
высота которого должна быть не менее 300 мм, для чего используют штучные
изделия (плитку или кирпич) и химически стойкие замазки или растворы,
применяемые для покрытия пола.
8.5.13. До начала эксплуатации покрытия из плит каменного литья,
кислотоупорных плиток и кирпича должны быть выдержаны в течение 20 сут в сухих
условиях при температуре воздуха не ниже +15 °С.
Раздел
III

|
Поз.
|
Наименование
|
Расход
|
Примечание
|
|
1
|
Лаковое покрытие
|
|
Конструкции
лаковых покрытий, расход материалов и технология нанесения в соответствии с
инструкцией фирмы производителя
|
|
2
|
Паркет штучный
|
1,02 м2/м2
|
|
|
3
|
Водно-дисперсионный
клей Thomsit
Р 618
|
1000-1400 г/м2
|
Применяется
для шпунтованного паркета из любых пород дерева, нешпунтованного паркета из
стабильных пород дерева и нешпунтованного паркета из любых пород дерева при
формате планок, не превышающем 250×50 мм. Экологически безопасен.
Наносится зубчатым шпателем
|
|
|
Растворный клей Thomsit P 600
|
1200-1600 г/м2
|
Применяется
для шпунтованного и нешпунтованного паркета из любых пород дерева. Содержит
растворитель. Наносится зубчатым шпателем
|
|
|
Полиуретановый
двухкомпонентный клей Thomsit P 625
|
1000-1400 г/м2
|
Применяется
для шпунтованного и нешпунтованного паркета из любых пород дерева.
Экологически безопасен. Наносится зубчатым шпателем
|
|
4
|
Водно-дисперсионная
грунтовка Thomsit R
777
|
300 г/м2
|
Наносится
кистью или валиком на очищенную поверхность бетонного основания
|
|
|
Водно-дисперсионная
грунтовка Thomsit R
766
|
150 г/м2
|
Наносится
кистью или валиком на очищенную поверхность бетонного основания. Разбавляется
водой в соотношении 1:1.
|
|
5
|
Бетонное основание из
бетона класса В22,5
|
0,10 м3/м2
|
|
|
6
|
Грунт основания
|
|
|

|
Поз.
|
Наименование
|
Расход
|
Примечание
|
|
1
|
Лаковое покрытие
|
|
Конструкции
лаковых покрытий, расход материалов и технология нанесения в соответствии с
инструкцией фирмы производителя
|
|
2
|
Паркет штучный
|
1,02 м2/м2
|
|
|
3
|
Водно-дисперсионный
клей Thomsit
Р 618
|
1000-1400 г/м2
|
Применяется
для шпунтованного паркета из любых пород дерева, нешпунтованного паркета из
стабильных пород дерева и нешпунтованного паркета из любых пород дерева при
формате планок, не превышающем 250×50 мм. Экологически безопасен.
Наносится зубчатым шпателем
|
|
|
Растворный клей Thomsit P 600
|
1200-1600 г/м2
|
Применяется
для шпунтованного и нешпунтованного паркета из любых пород дерева. Содержит
растворитель. Наносится зубчатым шпателем
|
|
|
Полиуретановый
двухкомпонентный клей Thomsit P 625
|
1000-1400 г/м2
|
Применяется
для шпунтованного и нешпунтованного паркета из любых пород дерева.
Экологически безопасен. Наносится зубчатым шпателем
|
|
4
|
Водно-дисперсионная
грунтовка Thomsit R
777
|
300 г/м2
|
Наносится
кистью или валиком на очищенную поверхность бетонного основания
|
|
Водно-дисперсионная
грунтовка Thomsit R
766
|
150 г/м2
|
Наносится
кистью или валиком на очищенную поверхность бетонного основания. Разбавляется
водой в соотношении 1:1.
|
|
5
|
Бетонное основание из
бетона класса В22,5
|
0,10 м3/м2
|
|
|
6
|
Наливная гидроизоляция
- щебень или гравий, пропитанные битумом
|
Щебень или гравий -0,04-0,05 м3/м2, битум - по
факту
|
|
|
7
|
Грунт основания
|
|
|
Полы с покрытием из паркета по грунту
Тип 2

|
Поз.
|
Наименование
|
Расход
|
Примечание
|
|
1
|
Лаковое покрытие
|
|
Конструкции
лаковых покрытий, расход материалов и технология нанесения в соответствии с
инструкцией фирмы производителя
|
|
2
|
Паркет штучный
|
1,02 м2/м2
|
|
|
3
|
Водно-дисперсионный
клей Thomsit
Р 618
|
1000-1400 г/м2
|
Применяется
для шпунтованного паркета из любых пород дерева, нешпунтованного паркета из
стабильных пород дерева и нешпунтованного паркета из любых пород дерева при
формате планок, не превышающем 250×50 мм. Экологически безопасен.
Наносится зубчатым шпателем
|
|
Растворный клей Thomsit P 600
|
1200-1600 г/м2
|
Применяется
для шпунтованного и нешпунтованного паркета из любых пород дерева. Содержит
растворитель. Наносится зубчатым шпателем
|
|
Полиуретановый
двухкомпонентный клей Thomsit P 625
|
1000-1400 г/м2
|
Применяется
для шпунтованного и нешпунтованного паркета из любых пород дерева.
Экологически безопасен. Наносится зубчатым шпателем
|
|
4
|
Водно-дисперсионная
грунтовка Thomsit R
777
|
300 г/м2
|
Наносится
кистью или валиком на очищенную поверхность бетонного основания
|
|
Водно-дисперсионная
грунтовка Thomsit R
766
|
150 г/м2
|
Наносится
кистью или валиком на очищенную поверхность бетонного основания. Разбавляется
водой в соотношении 1:1.
|
|
5
|
Бетонное основание из
бетона класса В22,5
|
0,10 м3/м2
|
|
|
6
|
Рулонная гидроизоляция
|
1,02 м2/м2
|
|
|
Обмазочная
гидроизоляция на основе жесткой гидроизолирующей массы Ceresit CR 65
|
3-5 кг/м2
|
|
7
|
Стяжка из
цементно-песчаного раствора марки M 150
|
0,05 м3/м2
|
|
|
6
|
Грунт основания
|
|
|
Полы
с покрытием из паркета по грунту
Тип 3

|
Поз.
|
Наименование
|
Расход
|
Примечание
|
|
1
|
Лаковое
покрытие
|
|
Конструкции лаковых покрытий, расход материалов и
технология нанесения в соответствии с инструкцией фирмы производителя
|
|
2
|
Паркет
штучный
|
1,02 м2/м2
|
|
|
3
|
Водно-дисперсионный
клей Thomsit P 618
|
1000-1400 г/м2
|
Применяется для шпунтованного паркета из любых
пород дерева, нешпунтованного паркета из стабильных пород дерева и
нешпунтованного паркета из любых пород дерева при формате планок, не
превышающем 250×50 мм. Экологически безопасен. Наносится зубчатым
шпателем
|
|
Растворный
клей Thomsit
Р 600
|
1200-1600 г/м2
|
Применяется для шпунтованного и нешпунтованного
паркета из любых пород дерева. Содержит растворитель. Наносится зубчатым
шпателем
|
|
Полиуретановый
двухкомпонентный клей Thomsit P
625
|
1000-1400 г/м2
|
Применяется для шпунтованного и нешпунтованного
паркета из любых пород дерева. Экологически безопасен. Наносится зубчатым
шпателем
|
|
4
|
Водно-дисперсионная
грунтовка Thomsit R 777
|
300 г/м2 бетонная стяжка 100 г/м2
цементно-песчаная стяжка
|
Наносится кистью или валиком на очищенную
поверхность бетонной или цементно-песчаной стяжки. При нанесении на цементно-песчаную
стяжку разбавляется водой в соотношении 1:1
|
|
Водно-дисперсионная
грунтовка Thomsit R 766
|
150 г/м2 бетонная стяжка 40 г/м2
цементно-песчаная стяжка
|
Наносится кистью или валиком на очищенную
поверхность бетонной или цементно-песчаной стяжки. При нанесении на бетонную
стяжку разбавляется водой в соотношении 1:1, на цементно-песчаную стяжку - в
соотношении 1:4
|
|
5
|
Полимерцементная
саморазравнивающаяся стяжка марки Thomsit DX
|
1,5 кг/м2
|
Наносится шпателем слоем толщиной от 0,5 до 10 мм.
Расход - на 1 мм слоя. Предел прочности при сжатии после 28 суток выдержки не
менее 30 МПа
|
|
Полимерцементная
саморазравнивающаяся стяжка марки Ceresit CN 76
|
2,0 кг/м2
|
Наносится шпателем слоем толщиной от 4 до 50 мм.
Расход - на 1 мм слоя. Предел прочности при сжатии после 28 суток выдержки не
менее 40 МПа
|
|
Полимерцементная
стяжка марки Ceresit CN 83
|
2,0 кг/м2
|
Наносится шпателем слоем толщиной от 5 до 35 мм.
Расход - на 1 мм слоя. Ускоренный набор прочностных характеристик. Предел
прочности при сжатии после 1 суток выдержки не менее 13 МПа, после 28 суток
выдержки - не менее 35 МПа
|
|
Полимерцементная
стяжка марки Ceresit CN 178
|
2,0 кг/м2
|
Наносится шпателем слоем толщиной от 5 до 80 мм.
Расход - на 1 мм слоя. Предел прочности при сжатии после 28 суток выдержки не
менее 25 МПа
|
|
Стяжка
из цементно-песчаного раствора марки M150
|
0,02 м3/м2
|
|
|
Стяжка
из бетона класса В 12,5
|
0,02 м3/м2
|
|
|
6
|
Водно-дисперсионная
грунтовка Ceresit CT 17
|
0,1-0,2 г/м2
|
Наносится кистью или валиком на очищенную
поверхность бетонного основания
|
|
Водно-дисперсионная
грунтовка Ceresit CN 94
|
40 г/м2
|
Наносится кистью или валиком на очищенную
поверхность бетонного основания. Разбавляется водой в соотношении 1:3
|
|
Водно-дисперсионная
грунтовка Thomsit R 777
|
300 г/м2
|
Наносится кистью или валиком на очищенную
поверхность бетонного основания
|
|
Водно-дисперсионная
грунтовка Thomsit R 766
|
150 г/м2
|
Наносится кистью или валиком на очищенную
поверхность бетонного основания. Разбавляется водой в соотношении 1:1
|
|
07
|
Бетонное
основание из бетона класса В22,5
|
0,08 м3/м2
|
|
|
8
|
Грунт
основания
|
|
|
Полы с покрытием из паркета по грунту
Тип 4

|
Поз.
|
Наименование
|
Расход
|
Примечание
|
|
1
|
Лаковое
покрытие
|
|
Конструкции лаковых покрытий, расход материалов и
технология нанесения в соответствии с инструкцией фирмы производителя
|
|
2
|
Паркет
штучный
|
1,02 м2/м2
|
|
|
3
|
Водно-дисперсионный
клей Thomsit P 618
|
1000-1400 г/м2
|
Применяется для шпунтованного паркета из любых
пород дерева, нешпунтованного паркета из стабильных пород дерева и
нешпунтованного паркета из любых пород дерева при формате планок, не
превышающем 250×50 мм. Экологически безопасен. Наносится зубчатым
шпателем
|
|
Растворный
клей Thomsit P 600
|
1200-1600 г/м2
|
Применяется для шпунтованного и нешпунтованного
паркета из любых пород дерева. Содержит растворитель. Наносится зубчатым
шпателем
|
|
Полиуретановый
двухкомпонентный клей Thomsit P 625
|
1000-1400 г/м2
|
Применяется для шпунтованного и нешпунтованного
паркета из любых пород дерева. Экологически безопасен. Наносится зубчатым
шпателем
|
|
4
|
Водно-дисперсионная
грунтовка Thomsit R 777
|
300 г/м2 бетонная стяжка 100 г/м2
цементно-песчаная стяжка
|
Наносится кистью или валиком на очищенную
поверхность бетонной или цементно-песчаной стяжки. При нанесении на
цементно-песчаную стяжку разбавляется водой в соотношении 1:1
|
|
Водно-дисперсионная
грунтовка Thomsit R 766
|
150 г/м2 бетонная стяжка 40 г/м2
цементно-песчаная стяжка
|
Наносится кистью или валиком на очищенную
поверхность бетонной или цементно-песчаной стяжки. При нанесении на бетонную
стяжку разбавляется водой в соотношении 1:1, на цементно-песчаную стяжку - в
соотношении 1:4
|
|
5
|
Стяжка
из цементно-песчаного раствора марки М150
|
|
Расход материала определяется толщиной стяжки,
которая должна превышать на 15-20 мм диаметр трубы
|
|
Стяжка
из бетона класса В12,5
|
|
Расход материала определяется толщиной стяжки,
которая должна превышать на 15-20 мм диаметр трубы
|
|
Полимерцементная
стяжка марки Ceresit CN 178
|
|
Расход материала определяется толщиной стяжки,
которая должна превышать на 15-20 мм диаметр трубы
|
|
Полимерцементная
стяжка марки Ceresit CN 83
|
|
Расход материала определяется толщиной стяжки,
которая должна превышать на 15-20 мм диаметр трубы, но не должна превышать 35
мм
|
|
6
|
Труба
|
|
|
|
7
|
Водно-дисперсионная
грунтовка Ceresit CT 17
|
0,1-0,2 л/м2
|
Наносятся кистью или валиком на очищенную
поверхность бетонного основания
|
|
Водно-дисперсионная
грунтовка Ceresit CN 94
|
40 г/м2
|
Наносятся кистью или валиком на очищенную
поверхность бетонного основания. Разбавляется водой в соотношении 1:3
|
|
Водно-дисперсионная
грунтовка Thomsit R 777
|
300 г/м2
|
Наносятся кистью или валиком на очищенную
поверхность бетонного основания
|
|
Водно-дисперсионная
грунтовка Thomsit R 766
|
150 г/м2
|
Наносятся кистью или валиком на очищенную
поверхность бетонного основания. Разбавляется водой в соотношении 1:1
|
|
8
|
Бетонное
основание из бетона класса В22,5
|
0,08 м3/м2
|
|
|
9
|
Грунт
основания
|
|
|
Полы с покрытием из паркета по грунту
Тип 5

|
Поз.
|
Наименование
|
Расход
|
Примечание
|
|
1
|
Лаковое покрытие
|
|
Конструкции
лаковых покрытий, расход материалов и технология нанесения в соответствии с
инструкцией фирмы производителя
|
|
2
|
Паркет штучный
шпунтованный
|
1,02 м2/м2
|
|
|
3
|
Водно-дисперсионный
клей Thomsit
Р 618
|
1000-1200 г/м2 На один слой
|
Применяется
для паркета из любых пород дерева. Экологически безопасен. Наносится зубчатым
шпателем
|
|
Растворный клей Thomsit P 600
|
1200-1600 г/м2 На один слой
|
Применяется
для паркета из любых пород дерева. Содержит растворитель. Наносится зубчатым
шпателем
|
|
Полиуретановый
двухкомпонентный клей Thomsit P 625
|
1000-1200 г/м2 На один слой
|
Применяется
для паркета из любых пород дерева. Экологически безопасен. Наносится зубчатым
шпателем
|
|
4
|
Упругая прослойка
|
1,02 м2/м2
|
|
|
5
|
Водно-дисперсионная
грунтовка Thomsit R
766
|
40 г/м2
|
Наносится
кистью или валиком на очищенную поверхность стяжки. Разбавляется водой в
соотношении 1:4
|
|
6
|
Крупноформатный гипсоволокнистый
лист
|
1,02 м2/м2
|
|
|
7
|
Водно-дисперсионный
клей
|
1000-1200 г/м 40-50 г/п.м
|
|
|
8
|
Сборная стяжка из
готовых элементов из гипсоволокнистых листов
|
1,02 м2/м2
|
|
|
9
|
Кварцевый песок
|
По факту
|
Расход
- минимально необходимый для выравнивания поверхности нижележащего слоя
|
|
10
|
Пароизоляция -
полиэтиленовая пленка
|
1,15 м2/м2
|
|
|
11
|
Бетонное основание из
бетона класса В22,5
|
0,08 м3/м2
|
|
|
12
|
Грунт основания
|
|
|
Полы с покрытием из паркета по грунту
Тип 6

|
Поз.
|
Наименование
|
Расход
|
Примечание
|
|
1
|
Лаковое
покрытие
|
|
Конструкции лаковых покрытий, расход материалов и
технология нанесения в соответствии с инструкцией фирмы производителя
|
|
2
|
Паркет
штучный шпунтованный
|
1,02 м2/м2
|
|
|
3
|
Водно-дисперсионный
клей Thomsit P 618
|
1000-1200 г/м2 На один слой
|
Применяется для паркета из любых пород дерева.
Экологически безопасен. Наносится зубчатым шпателем
|
|
Растворный
клей Thomsit P 600
|
1200-1600 г/м2 На один слой
|
Применяется для паркета из любых пород дерева.
Содержит растворитель. Наносится зубчатым шпателем
|
|
Полиуретановый
двухкомпонентный клей Thomsit P
625
|
1000-1200 г/м2 На один слой
|
Применяется для паркета из любых пород дерева.
Экологически безопасен. Наносится зубчатым шпателем
|
|
4
|
Упругая
прослойка
|
1,02 м2/м2
|
|
|
5
|
Водно-дисперсионная
грунтовка Thomsit R 766
|
150 г/м2
|
Наносится кистью или валиком на очищенную
поверхность стяжки. Разбавляется водой в соотношении 1:4
|
|
6
|
Крупноформатный
гипсоволокнистый лист
|
1,02 м2/м2
|
|
|
7
|
Водно-дисперсионный
клей
|
1000-1200 г/м2 40-50 г/п.м
|
|
|
8
|
Сборная
стяжка из готовых элементов из гипсоволокнистых листов
|
1,02 м2/м2
|
|
|
9
|
Кварцевый
песок
|
По факту
|
Расход - минимально необходимый для выравнивания
поверхности нижележащего слоя
|
|
10
|
Труба
|
|
|
|
11
|
Обкладка
трубы пористо-волокнистыми матами
|
По факту
|
|
|
12
|
Защитный
металлический кожух
|
|
|
|
13
|
Дюбель
разжимной
|
|
|
|
14
|
Пароизоляция
- полиэтиленовая пленка
|
1,15 м2/м2
|
|
|
15
|
Бетонное
основание из бетона класса В22,5
|
0,08 м3/м2
|
|
|
16
|
Грунт
основания
|
|
|
Полы
с покрытием из паркета по грунту
Тип 7

|
Поз.
|
Наименование
|
Расход
|
Примечание
|
|
1
|
Лаковое
покрытие
|
|
Конструкции лаковых покрытий, расход материалов и
технология нанесения в соответствии с инструкцией фирмы производителя
|
|
2
|
Паркет
штучный
|
1,02 м2/м2
|
|
|
3
|
Водно-дисперсионный
клей Thomsit P 618
|
1000-1400 г/м2
|
Применяется для шпунтованного паркета из любых
пород дерева, нешпунтованного паркета из стабильных пород дерева и
нешпунтованного паркета из любых пород дерева при формате планок, не
превышающем 250×50 мм. Экологически безопасен. Наносится зубчатым
шпателем
|
|
Растворный
клей Thomsit P 600
|
1200-1600 г/м2
|
Применяется для шпунтованного и нешпунтованного
паркета из любых пород дерева. Содержит растворитель. Наносится зубчатым
шпателем
|
|
Полиуретановый
двухкомпонентный клей Thomsit P
625
|
1000-1400 /м2
|
Применяется для шпунтованного и нешпунтованного
паркета из любых пород дерева. Экологически безопасен. Наносится зубчатым
шпателем
|
|
4
|
Водно-дисперсионная
грунтовка Thomsit R 766
|
40 г/м2
|
Наносится кистью или валиком на очищенную
поверхность стяжки. Разбавляется водой в соотношении 1:4
|
|
5
|
Сборная
стяжка из ДСП
|
1,02 м2/м2
|
|
|
6
|
Растворный
клей Thomsit P 600
|
40-50 г/п.м
|
|
|
7
|
Пароизоляция-пергамин
|
1,15 м2/м2
|
|
|
8
|
Кварцевый
песок
|
По факту
|
Расход - минимально необходимый для выравнивания
поверхности нижележащего слоя
|
|
9
|
Бетонное
основание из бетона класса В22,5
|
0,08 м3/м2
|
|
|
10
|
Грунт
основания
|
|
|
Полы с покрытием из паркета по грунту
Тип 8

|
Поз.
|
Наименование
|
Расход
|
Примечание
|
|
1
|
Лаковое
покрытие
|
|
Конструкции лаковых покрытий, расход материалов и
технология нанесения в соответствии с инструкцией фирмы производителя
|
|
2
|
Паркет
штучный
|
1,02 м2/м2
|
|
|
3
|
Водно-дисперсионный
клей Thomsit P 618
|
1000-1400 г/м2
|
Применяется для шпунтованного паркета из любых
пород дерева, нешпунтованного паркета из стабильных пород дерева и
нешпунтованного паркета из любых пород дерева при формате планок, не
превышающем 250×50 мм. Экологически безопасен. Наносится зубчатым
шпателем
|
|
|
Растворный
клей Thomsit P 600
|
1200-1600 г/м2
|
Применяется для шпунтованного и нешпунтованного
паркета из любых пород дерева. Содержит растворитель. Наносится зубчатым
шпателем
|
|
|
Полиуретановый
двухкомпонентный клей Thomsit P
625
|
1000-1400 г/м2
|
Применяется для шпунтованного и нешпунтованного
паркета из любых пород дерева. Экологически безопасен. Наносится зубчатым
шпателем
|
|
4
|
Водно-дисперсионная
грунтовка Thomsit R 766
|
40 г/м2
|
Наносится валиком на очищенную поверхность сборной
стяжки. Разбавляется водой в соотношении 1:4
|
|
5
|
Сборная
стяжка из фанеры
|
2,04 м2/м2
|
|
|
6
|
Растворный
клей Thomsit P 600
|
1200-1600 г/м2
|
Содержит растворитель. Наносятся зубчатым шпателем
|
|
7
|
Закрепление
саморезами
|
|
Шаг между саморезами 300 мм, по кромке листов - 150
мм
|
|
8
|
Лага
регулируемая
|
Согласно инструкции
|
Монтаж лаг осуществляется в соответствии с
инструкцией фирмы-производителя
|
|
9
|
Болт-стойка
|
Согласно инструкции
|
Установка болт-стоек осуществляется в соответствии
с инструкцией фирмы-производителя
|
|
10
|
Труба
|
|
|
|
11
|
Пароизоляция-полиэтиленовая
пленка
|
1,15 м2/м2
|
|
|
12
|
Бетонное
основание из бетона класса В22,5
|
0,08 м3/м2
|
|
|
13
|
Грунт
основания
|
|
|
Полы
с покрытием из паркета по грунту
Тип 9

|
Поз.
|
Наименование
|
Расход
|
Примечание
|
|
1
|
Лаковое
покрытие
|
|
Конструкции лаковых покрытий, расход материалов и
технология нанесения в соответствии с инструкцией фирмы производителя
|
|
2
|
Паркет
штучный
|
1,02 м2/м2
|
|
|
3
|
Водно-дисперсионный
клей Thomsit P 618
|
1000-1400 г/м2
|
Применяется для шпунтованного паркета из любых пород
дерева, нешпунтованного паркета из стабильных пород дерева и нешпунтованного
паркета из любых пород дерева при формате планок, не превышающем 250×50
мм. Экологически безопасен. Наносится зубчатым шпателем
|
|
Растворный
клей Thomsit P 600
|
1200-1600 г/м2
|
Применяется для шпунтованного и нешпунтованного
паркета из любых пород дерева. Содержит растворитель. Наносится зубчатым
шпателем
|
|
Полиуретановый
двухкомпонентный клей Thomsit P
625
|
1000-1400 г/м2
|
Применяется для шпунтованного и нешпунтованного
паркета из любых пород дерева. Экологически безопасен. Наносится зубчатым
шпателем
|
|
4
|
Водно-дисперсионная
грунтовка Thomsit R 766
|
40 г/м2
|
Наносится валиком на очищенную поверхность сборной
стяжки. Разбавляется водой в соотношении 1:4
|
|
5
|
Сборная
стяжка из фанеры
|
2,04 м2/м2
|
|
|
6
|
Растворный
клей Thomsit P 600
|
1200-1600 г/м2
|
Содержит растворитель. Наносятся зубчатым шпателем
|
|
7
|
Закрепление
саморезами
|
|
Шаг между саморезами 300 мм, по кромке листов - 150
мм
|
|
8
|
Лага
обыкновенная
|
0,004-0,005 м3/п.м.
|
|
|
9
|
Деревянная
прокладка
|
0,0006 м3/столбик
|
|
|
10
|
Рулонная
гидроизоляция
|
0,05 м2/столбик
|
|
|
11
|
Кирпичный
или бетонный столбик
|
0,0017 м3/столбик
|
|
|
12
|
Бетонное
основание из бетона класса В22,5
|
0,08 м3/м2
|
|
|
13
|
Грунт
основания
|
|
|
Полы с покрытием из паркета по грунту
Тип 10

|
Поз.
|
Наименование
|
Расход
|
Примечание
|
|
1
|
Лаковое
покрытие
|
|
Конструкции лаковых покрытий, расход материалов и
технология нанесения в соответствии с инструкцией фирмы производителя
|
|
2
|
Паркет
штучный
|
1,02 м2/м2
|
|
|
3
|
Водно-дисперсионный
клей Thomsit P 618
|
1000-1400 г/м2
|
Применяется для шпунтованного паркета из любых
пород дерева, нешпунтованного паркета из стабильных пород дерева и
нешпунтованного паркета из любых пород дерева при формате планок, не
превышающем 250×50 мм. Экологически безопасен. Наносится зубчатым шпателем
|
|
Растворный
клей Thomsit P 600
|
1200-1600 г/м2
|
Применяется для шпунтованного и нешпунтованного
паркета из любых пород дерева. Содержит растворитель. Наносится зубчатым
шпателем
|
|
Полиуретановый
двухкомпонентный клей Thomsit P
625
|
1000-1400 г/м2
|
Применяется для шпунтованного и нешпунтованного
паркета из любых пород дерева. Экологически безопасен. Наносится зубчатым
шпателем
|
|
4
|
Водно-дисперсионная
грунтовка Thomsit R 766
|
40 г/м2
|
Наносится валиком на очищенную поверхность сборной
стяжки. Разбавляется водой в соотношении 1:4
|
|
5
|
Сборная
стяжка из фанеры
|
2,04 м2/м2
|
|
|
6
|
Растворный
клей Thomsit P 600
|
1200-1600 /м2
|
Содержит растворитель. Наносятся зубчатым шпателем
|
|
7
|
Закрепление
саморезами
|
|
Шаг между саморезами 300 мм, по кромке листов - 150
мм
|
|
8
|
Лага
обыкновенная
|
0,004-0,005 м3/п.м
|
|
|
9
|
Деревянная
прокладка
|
0,0006 м3/столбик
|
|
|
10
|
Рулонная
гидроизоляция
|
0,05 м2/столбик
|
|
|
И
|
Кирпичный
или бетонный столбик
|
0,0034 м3/столбик
|
|
|
12
|
Грунт
основания
|
|
|
Полы с покрытием из паркета по грунту

|
Поз.
|
Наименование
|
Расход
|
Примечание
|
|
1
|
Лаковое покрытие
|
|
Конструкции
лаковых покрытий, расход материалов и технология нанесения в соответствии с
инструкцией фирмы производителя
|
|
2
|
Паркет штучный
|
1,02 м2/м2
|
|
|
3
|
Водно-дисперсионный
клей Thomsit
Р 618
|
1000-1400 г/м2
|
Применяется
для шпунтованного паркета из любых пород дерева, нешпунтованного паркета из
стабильных пород дерева и нешпунтованного паркета из любых пород дерева при
формате планок, не превышающем 250×50 мм. Экологически безопасен.
Наносится зубчатым шпателем
|
|
Растворный клей Thomsit P 600
|
1200-1600 г/м2
|
Применяется
для шпунтованного и нешпунтованного паркета из любых пород дерева. Содержит
растворитель. Наносится зубчатым шпателем
|
|
Полиуретановый
двухкомпонентный клей Thomsit P 625
|
1000-1400 г/м2
|
Применяется
для шпунтованного и нешпунтованного паркета из любых пород дерева.
Экологически безопасен. Наносится зубчатым шпателем
|
|
4
|
Водно-дисперсионная
грунтовка Thomsit R
777
|
300 г/м2
|
Наносится
кистью или валиком на очищенную поверхность бетонного основания
|
|
Водно-дисперсионная грунтовка
Thomsit R
766
|
150 г/м2
|
Наносится
кистью или валиком на очищенную поверхность бетонного основания. Разбавляется
водой в соотношении 1:1.
|
|
5
|
Сплошная или
многопустотная плита перекрытия с ровной поверхностью
|
|
|

|
Поз.
|
Наименование
|
Расход
|
Примечание
|
|
1
|
Лаковое
покрытие
|
|
Конструкции лаковых покрытий, расход материалов и
технология нанесения в соответствии с инструкцией фирмы производителя
|
|
2
|
Паркет
штучный
|
1,02 м2/м2
|
|
|
3
|
Водно-дисперсионный
клей Thomsit P 618
|
1000-1400 г/м2
|
Применяется для шпунтованного паркета из любых
пород дерева, нешпунтованного паркета из стабильных пород дерева и
нешпунтованного паркета из любых пород дерева при формате планок, не
превышающем 250×50 мм. Экологически безопасен. Наносится зубчатым
шпателем
|
|
Растворный
клей Thomsit
Р 600
|
1200-1600 г/м2
|
Применяется для шпунтованного и нешпунтованного
паркета из любых пород дерева. Содержит растворитель. Наносится зубчатым
шпателем
|
|
Полиуретановый
двухкомпонентный клей Thomsit P
625
|
1000-1400 г/м2
|
Применяется для шпунтованного и нешпунтованного
паркета из любых пород дерева. Экологически безопасен. Наносится зубчатым
шпателем
|
|
4
|
Водно-дисперсионная
грунтовка Thomsit R 777
|
300 г/м2 бетонная стяжка 100 г/м2
цементно-песчаная стяжка
|
Наносится кистью или валиком на очищенную
поверхность бетонной или цементно-песчаной стяжки. При нанесении на
цементно-песчаную стяжку разбавляется водой в соотношении 1:1
|
|
Водно-дисперсионная
грунтовка Thomsit R 766
|
150 г/м2 бетонная стяжка 40 г/м2
цементно-песчаная стяжка
|
Наносится кистью или валиком на очищенную
поверхность бетонной или цементно-песчаной стяжки. При нанесении на бетонную
стяжку разбавляется водой в соотношении 1:1, на цементно-песчаную стяжку - в
соотношении 1:4
|
|
5
|
Полимерцементная
саморазравнивающаяся стяжка марки Thomsit DX
|
1,5 кг/м2
|
Наносится шпателем слоем толщиной от 0,5 до 10 мм.
Расход - на 1 мм слоя. Предел прочности при сжатии после 28 суток выдержки не
менее 30 МПа
|
|
Полимерцементная
саморазравнивающаяся стяжка марки Ceresit CN 76
|
2,0 кг/м2
|
Наносится шпателем слоем толщиной от 4 до 50 мм.
Расход - на 1 мм слоя. Предел прочности при сжатии после 28 суток выдержки не
менее 40 МПа
|
|
Полимерцементная
стяжка марки Ceresit CN 83
|
2,0 кг/м2
|
Наносится шпателем слоем толщиной от 5 до 35 мм.
Расход - на 1 мм слоя. Ускоренный набор прочностных характеристик. Предел
прочности при сжатии после 1 суток выдержки не менее 13 МПа, после 28 суток
выдержки - не менее 35 МПа
|
|
Полимерцементная
стяжка марки Ceresit CN 178
|
2,0 кг/м2
|
Наносится шпателем слоем толщиной от 5 до 80 мм.
Расход - на 1 мм слоя. Предел прочности при сжатии после 28 суток выдержки не
менее 25 МПа
|
|
Стяжка
из цементно-песчаного раствора марки M150
|
0,02 м3/м2
|
|
|
Стяжка
из бетона класса В12,5
|
0,02 м3/м2
|
|
|
6
|
Водно-дисперсионная
грунтовка Ceresit CT 17
|
0,1-0,2 г/м2
|
Наносятся кистью или валиком на очищенную
поверхность бетонного основания
|
|
Водно-дисперсионная
грунтовка Ceresit CN 94
|
40 г/м2
|
Наносятся кистью или валиком на очищенную
поверхность бетонного основания. Разбавляется водой в соотношении 1:3
|
|
Водно-дисперсионная
грунтовка Thomsit R 777
|
300 г/м2
|
Наносятся кистью или валиком на очищенную
поверхность бетонного основания
|
|
Водно-дисперсионная
грунтовка Thomsit R 766
|
150 г/м2
|
Наносятся кистью или валиком на очищенную
поверхность бетонного основания. Разбавляется водой в соотношении 1:1
|
|
7
|
Сплошная
или многопустотная плита перекрытия с неровной поверхностью
|
|
|
Полы с покрытием из паркета по плите перекрытия
Тип 13

|
Поз.
|
Наименование
|
Расход
|
Примечание
|
|
1
|
Лаковое
покрытие
|
|
Конструкции лаковых покрытий, расход материалов и
технология нанесения в соответствии с инструкцией фирмы производителя
|
|
2
|
Паркет
штучный
|
1,02 м2/м2
|
|
|
3
|
Водно-дисперсионный
клей Thomsit P 618
|
1000-1400 г/м2
|
Применяется для шпунтованного паркета из любых
пород дерева, нешпунтованного паркета из стабильных пород дерева и
нешпунтованного паркета из любых пород дерева при формате планок, не
превышающем 250×50 мм. Экологически безопасен. Наносится зубчатым
шпателем
|
|
Растворный
клей Thomsit
Р 600
|
1200-1600 г/м2
|
Применяется для шпунтованного и нешпунтованного
паркета из любых пород дерева. Содержит растворитель. Наносится зубчатым
шпателем
|
|
Полиуретановый
двухкомпонентный клей Thomsit P
625
|
1000-1400 г/м2
|
Применяется для шпунтованного и нешпунтованного
паркета из любых пород дерева. Экологически безопасен. Наносится зубчатым
шпателем
|
|
4
|
Водно-дисперсионная
грунтовка Thomsit R 777
|
300 г/м2 бетонная стяжка 100 г/м2
цементно-песчаная стяжка
|
Наносится кистью или валиком на очищенную
поверхность бетонной или цементно-песчаной стяжки. При нанесении на
цементно-песчаную стяжку разбавляется водой в соотношении 1:1
|
|
Водно-дисперсионная
грунтовка Thomsit R 766
|
150 г/м2 бетонная стяжка 40 г/м2
цементно-песчаная стяжка
|
Наносится кистью или валиком на очищенную
поверхность бетонной или цементно-песчаной стяжки. При нанесении на бетонную
стяжку разбавляется водой в соотношении 1:1, на цементно-песчаную стяжку - в
соотношении 1:4
|
|
5
|
Стяжка
из цементно-песчаного раствора марки M150
|
|
Расход материала определяется толщиной стяжки,
которая должна превышать на 15-20 мм диаметр трубы
|
|
Стяжка
из бетона класса В12,5
|
|
Расход материала определяется толщиной стяжки,
которая должна превышать на 15-20 мм диаметр трубы
|
|
Полимерцементная
стяжка марки Ceresit CN 178
|
|
Расход материала определяется толщиной стяжки,
которая должна превышать на 15-20 мм диаметр трубы
|
|
Полимерцементная
стяжка марки Ceresit CN 83
|
|
Расход материала определяется толщиной стяжки,
которая должна превышать на 15-20 мм диаметр трубы, но не должна превышать 35
мм
|
|
6
|
Труба
|
|
|
|
7
|
Водно-дисперсионная
грунтовка Ceresit CT 17
|
0,1-0,2 г/м2
|
Наносятся кистью или валиком на очищенную
поверхность бетонного основания
|
|
Водно-дисперсионная
грунтовка Ceresit CN 94
|
40 г/м2
|
Наносятся кистью или валиком на очищенную
поверхность бетонного основания. Разбавляется водой в соотношении 1:3
|
|
Водно-дисперсионная
грунтовка Thomsit R 777
|
300 г/м2
|
Наносятся кистью или валиком на очищенную
поверхность бетонного основания
|
|
Водно-дисперсионная
грунтовка Thomsit R 766
|
150 г/м2
|
Наносятся кистью или валиком на очищенную
поверхность бетонного основания. Разбавляется водой в соотношении 1:1
|
|
8
|
Сплошная
или многопустотная плита перекрытия
|
|
|
Полы с покрытием из паркета по плите перекрытия
Тип 14

|
Поз.
|
Наименование
|
Расход
|
Примечание
|
|
1
|
Лаковое
покрытие
|
|
Конструкции лаковых покрытий, расход материалов и
технология нанесения в соответствии с инструкцией фирмы производителя
|
|
2
|
Паркет
штучный
|
1,02 м2/м2
|
|
|
3
|
Водно-дисперсионный
клей Thomsit P 618
|
1000-1400 г/м2
|
Применяется для шпунтованного паркета из любых
пород дерева, нешпунтованного паркета из стабильных пород дерева и
нешпунтованного паркета из любых пород дерева при формате планок, не
превышающем 250×50 мм. Экологически безопасен. Наносится зубчатым
шпателем
|
|
Растворный
клей Thomsit P 600
|
1200-1600 г/м2
|
Применяется для шпунтованного и нешпунтованного
паркета из любых пород дерева. Содержит растворитель. Наносится зубчатым
шпателем
|
|
Полиуретановый
двухкомпонентный клей Thomsit P
625
|
1000-1400 г/м2
|
Применяется для шпунтованного и нешпунтованного
паркета из любых пород дерева. Экологически безопасен. Наносится зубчатым
шпателем
|
|
4
|
Водно-дисперсионная
грунтовка Thomsit R 777
|
300 г/м2 бетонная стяжка 100 г/м2
цементно-песчаная стяжка
|
Наносится кистью или валиком на очищенную
поверхность бетонной или цементно-песчаной стяжки. При нанесении на
цементно-песчаную стяжку разбавляется водой в соотношении 1:1
|
|
Водно-дисперсионная
грунтовка Thomsit R 766
|
150 г/м2 бетонная стяжка 40 г/м2
цементно-песчаная стяжка
|
Наносится кистью или валиком на очищенную
поверхность бетонной или цементно-песчаной стяжки. При нанесении на бетонную
стяжку разбавляется водой в соотношении 1:1, на цементно-песчаную стяжку - в
соотношении 1:4
|
|
5
|
Стяжка
из цементно-песчаного раствора марки M150
|
0,04 м3/м2
|
|
|
Стяжка
из бетона класса В12,5
|
0,04 м3/м2
|
|
|
Полимерцементная
стяжка марки Ceresit CN 178
|
0,04 м3/м2
|
|
|
6
|
Полиэтиленовая
пленка
|
1,15 м2/м2
|
|
|
7
|
Тепло-
и звукоизоляция из кварцевого или керамзитового песка
|
|
Толщина слоя и расход материалов назначаются в
соответствии с расчетами по параметрам тепло- и звукоизоляции
|
|
8
|
Сплошная
или многопустотная плита перекрытия
|
|
|
Полы с покрытием из паркета по плите перекрытия
Тип 15

|
Поз.
|
Наименование
|
Расход
|
Примечание
|
|
1
|
Лаковое
покрытие
|
|
Конструкции лаковых покрытий, расход материалов и
технология нанесения в соответствии с инструкцией фирмы производителя
|
|
2
|
Паркет
штучный
|
1,02 м2/м2
|
|
|
3
|
Водно-дисперсионный
клей Thomsit P 618
|
1000-1400 г/м2
|
Применяется для шпунтованного паркета из любых
пород дерева, нешпунтованного паркета из стабильных пород дерева и
нешпунтованного паркета из любых пород дерева при формате планок, не
превышающем 250×50 мм. Экологически безопасен. Наносится зубчатым
шпателем
|
|
Растворный
клей Thomsit P 600
|
1200-1600 г/м2
|
Применяется для шпунтованного и нешпунтованного
паркета из любых пород дерева. Содержит растворитель. Наносится зубчатым
шпателем
|
|
Полиуретановый
двухкомпонентный клей Thomsit P
625
|
1000-1400 г/м2
|
Применяется для шпунтованного и нешпунтованного
паркета из любых пород дерева. Экологически безопасен. Наносится зубчатым
шпателем
|
|
4
|
Водно-дисперсионная
грунтовка Thomsit R 777
|
300 г/м2 бетонная стяжка 100 г/м2
цементно-песчаная стяжка
|
Наносится кистью или валиком на очищенную
поверхность бетонной или цементно-песчаной стяжки. При нанесении на
цементно-песчаную стяжку разбавляется водой в соотношении 1:1
|
|
Водно-дисперсионная
грунтовка Thomsit R 766
|
150 г/м2 бетонная стяжка 40 г/м2
цементно-песчаная стяжка
|
Наносится кистью или валиком на очищенную
поверхность бетонной или цементно-песчаной стяжки. При нанесении на бетонную
стяжку разбавляется водой в соотношении 1:1, на цементно-песчаную стяжку - в
соотношении 1:4
|
|
5
|
Стяжка
из цементно-песчаного раствора марки M150
|
0,04 м3/м2
|
|
|
Стяжка
из бетона класса В12,5
|
0,04 м3/м2
|
|
|
Полимерцементная
стяжка марки Ceresit CN 178
|
0,04 м3/м2
|
|
|
6
|
Полиэтиленовая
пленка
|
1,15 м2/м2
|
|
|
7
|
Тепло-
и звукоизоляция из плит или матов
|
|
Толщина слоя и расход материалов назначаются в
соответствии с расчетами по параметрам тепло- и звукоизоляции
|
|
8
|
Сплошная
или многопустотная плита перекрытия
|
|
|
Полы с покрытием из паркета по плите перекрытия
Тип 16

|
Поз.
|
Наименование
|
Расход
|
Примечание
|
|
1
|
Лаковое
покрытие
|
|
Конструкции лаковых покрытий, расход материалов и
технология нанесения в соответствии с инструкцией фирмы производителя
|
|
2
|
Паркет
штучный
|
1,02 м2/м2
|
|
|
3
|
Водно-дисперсионный
клей Thomsit P 618
|
1000-1400 г/м2 на один слой
|
Применяется для шпунтованного паркета из любых
пород дерева, нешпунтованного паркета из стабильных пород дерева и
нешпунтованного паркета из любых пород дерева при формате планок, не
превышающем 250×50 мм. Экологически безопасен. Наносится зубчатым
шпателем
|
|
Растворный
клей Thomsit
Р 600
|
1200-1600 г/м2 на один слой
|
Применяется для шпунтованного и нешпунтованного
паркета из любых пород дерева. Содержит растворитель. Наносится зубчатым
шпателем
|
|
Полиуретановый
двухкомпонентный клей Thomsit P
625
|
1000-1400 г/м2 на один слой
|
Применяется для шпунтованного и нешпунтованного
паркета из любых пород дерева. Экологически безопасен. Наносится зубчатым
шпателем
|
|
4
|
Водно-дисперсионная
грунтовка Thomsit R 777
|
300 г/м2 бетонная стяжка 100 г/м2
цементно-песчаная стяжка
|
Наносится кистью или валиком на очищенную
поверхность бетонной или цементно-песчаной стяжки. При нанесении на
цементно-песчаную стяжку разбавляется водой в соотношении 1:1
|
|
Водно-дисперсионная
грунтовка Thomsit R 766
|
150 г/м2 бетонная стяжка 40 г/м2
цементно-песчаная стяжка
|
Наносится кистью или валиком на очищенную
поверхность бетонной или цементно-песчаной стяжки. При нанесении на бетонную
стяжку разбавляется водой в соотношении 1:1, на цементно-песчаную стяжку - в
соотношении 1:4
|
|
5
|
Упругая
тепло- и звукоизолирующая прослойка
|
|
Выбор толщины прослойки (количество слоев рулонного
материала) осуществляется с учетом теплофизических расчетов по параметрам
теплоусвоения и звукоизоляции
|
|
6
|
Полимерцементная
саморазравнивающаяся стяжка марки Ceresit CN 69
|
1,8 кг/м2
|
Наносится шпателем слоем толщиной от 3 до 15 мм.
Расход - на 1 мм слоя. Предел прочности при сжатии после 28 суток выдержки не
менее 18 МПа
|
|
Полимерцементная
саморазравнивающаяся стяжка марки Thomsit DD
|
1,5кг/м2
|
Наносится шпателем слоем толщиной от 0,5 до 5 мм.
Расход - на 1 мм слоя. Предел прочности при сжатии после 28 суток выдержки не
менее 22 МПа
|
|
Полимерцементная
саморазравнивающаяся стяжка марки Thomsit DX
|
1,5 кг/м2
|
Наносится шпателем слоем толщиной от 0,5 до 10 мм.
Расход - на 1 мм слоя. Предел прочности при сжатии после 28 суток выдержки не
менее 30 МПа
|
|
Полимерцементная
стяжка марки Ceresit CN 83
|
2,0 кг/м2
|
Наносится шпателем слоем толщиной от 5 до 35 мм.
Расход - на 1 мм слоя. Ускоренный набор прочностных характеристик. Предел
прочности при сжатии после 1 суток выдержки не менее 13 МПа, после 28 суток
выдержки - не менее 35 МПа
|
|
Полимерцементная
стяжка марки Ceresit CN 178
|
2,0 кг/м2
|
Наносится шпателем слоем толщиной от 5 до 80 мм.
Расход - на 1 мм слоя. Предел прочности при сжатии после 28 суток выдержки не
менее 25 МПа
|
|
Стяжка
из цементно-песчаного раствора марки M150
|
0,02 м3/м2
|
|
|
Стяжка
из бетона класса В12,5
|
0,02 м3/м2
|
|
|
7
|
Водно-дисперсионная
грунтовка Ceresit CT 17
|
0,1-0,2 л/м2
|
Наносятся кистью или валиком на очищенную
поверхность бетонного основания
|
|
Водно-дисперсионная
грунтовка Ceresit CN 94
|
40 л/м2
|
Наносятся кистью или валиком на очищенную
поверхность бетонного основания. Разбавляется водой в соотношении 1:3
|
|
Водно-дисперсионная
грунтовка Thomsit R 777
|
300 г/м2 ,
|
Наносятся кистью или валиком на очищенную
поверхность бетонного основания
|
|
Водно-дисперсионная
грунтовка Thomsit R 766
|
150 г/м2
|
Наносятся кистью или валиком на очищенную
поверхность бетонного основания. Разбавляется водой в соотношении 1:1
|
|
8
|
Сплошная
или многопустотная плита перекрытия с неровной поверхностью
|
|
|
Полы с
покрытием из паркета по плите перекрытия
Тип 17

|
Поз.
|
Наименование
|
Расход
|
Примечание
|
|
1
|
Лаковое
покрытие
|
|
Конструкции лаковых покрытий, расход материалов и
технология нанесения в соответствии с инструкцией фирмы производителя
|
|
2
|
Паркет
штучный шпунтованный
|
1,02 м2/м2
|
|
|
3
|
Водно-дисперсионный
клей Thomsit P 618
|
1000-1200 г/м2 на один слой
|
Применяется для паркета из любых пород дерева.
Экологически безопасен. Наносится зубчатым шпателем
|
|
Растворный
клей Thomsit P 600
|
1200-1600 г/м2 на один слой
|
Применяется для паркета из любых пород дерева.
Содержит растворитель. Наносится зубчатым шпателем
|
|
Полиуретановый
двухкомпонентный клей Thomsit P
625
|
1000-1200 г/м2 на один слой
|
Применяется для паркета из любых пород дерева.
Экологически безопасен. Наносится зубчатым шпателем
|
|
4
|
Упругая
прослойка
|
1,02 м2/м2
|
|
|
5
|
Водно-дисперсионная
грунтовка Thomsit R 766
|
40 гр/м2
|
Наносится кистью или валиком на очищенную
поверхность стяжки. Разбавляется водой в соотношении 1:4
|
|
6
|
Крупноформатный
гипсоволокнистый лист
|
1,02 м2/м2
|
|
|
7
|
Водно-дисперсионный
клей
|
1000-1200 г/м2 40-50 г/п.м.
|
|
|
8
|
Сборная
стяжка из готовых элементов из гип-соволокнистых листов
|
1,02 м2/м2
|
|
|
9
|
Кварцевый
песок
|
По факту
|
Расход - минимально необходимый для выравнивания
поверхности нижележащего слоя
|
|
10
|
Пароизоляция
- полиэтиленовая пленка
|
1,15 м2/м2
|
|
|
11
|
Сплошная
или многопустотная плита перекрытия
|
|
|
Полы с покрытием из паркета по плите перекрытия
Тип 18

|
Поз.
|
Наименование
|
Расход
|
Примечание
|
|
1
|
Лаковое
покрытие
|
|
Конструкции лаковых покрытий, расход материалов и
технология нанесения в соответствии с инструкцией фирмы производителя
|
|
2
|
Паркет
штучный шпунтованный
|
1,02 м2/м2
|
|
|
3
|
Водно-дисперсионный
клей Thomsit P 618
|
1000-1200 г/м2 на один слой
|
Применяется для паркета из любых пород дерева.
Экологически безопасен. Наносится зубчатым шпателем
|
|
Растворный
клей Thomsit P 600
|
1200-1600 г/м2 на один слой
|
Применяется для паркета из любых пород дерева.
Содержит растворитель. Наносится зубчатым шпателем
|
|
Полиуретановый
двухкомпонентный клей Thomsit P
625
|
1000-1200 г/м2 на один слой
|
Применяется для паркета из любых пород дерева.
Экологически безопасен. Наносится зубчатым шпателем
|
|
4
|
Упругая
прослойка
|
1,02 м2/м2
|
|
|
5
|
Водно-дисперсионная
грунтовка Thomsit R 766
|
40 г/м2
|
Наносится кистью или валиком на очищенную
поверхность стяжки. Разбавляется водой в соотношении 1:4
|
|
6
|
Крупноформатный
гипсоволокнистый лист
|
1,02 м2/м2
|
|
|
7
|
Водно-дисперсионный
клей
|
1000-1200 г/м2 40-50 г/п.м
|
|
|
8
|
Сборная
стяжка из готовых элементов из гипсоволокнистых листов
|
1,02 м2/м2
|
|
|
9
|
Тепло-
и звукоизоляция из кварцевого или керамзитового песка
|
|
Толщина слоя и расход материалов назначаются в
соответствии с расчетами по параметрам тепло- и звукоизоляции
|
|
10
|
Пароизоляция
- полиэтиленовая пленка
|
1,15 м2/м2
|
|
|
11
|
Сплошная
или многопустотная плита перекрытия
|
|
|
Полы с покрытием из паркета по плите перекрытия
Тип 19

|
Поз.
|
Наименование
|
Расход
|
Примечание
|
|
1
|
Лаковое
покрытие
|
|
Конструкции лаковых покрытий, расход материалов и
технология нанесения в соответствии с инструкцией фирмы производителя
|
|
2
|
Паркет
штучный шпунтованный
|
1,02 м2/м2
|
|
|
3
|
Водно-дисперсионный
клей Thomsit P 618
|
1000-1200 г/м2 на один слой
|
Применяется для паркета из любых пород дерева.
Экологически безопасен. Наносится зубчатым шпателем
|
|
Растворный
клей Thomsit P 600
|
1200-1600 г/м2 на один слой
|
Применяется для паркета из любых пород дерева.
Содержит растворитель. Наносится зубчатым шпателем
|
|
Полиуретановый
двухкомпонентный клей Thomsit P
625
|
1000-1200 г/м2 на один слой
|
Применяется для паркета из любых пород дерева.
Экологически безопасен. Наносится зубчатым шпателем
|
|
4
|
Упругая
прослойка
|
1,02 м2/м2
|
|
|
5
|
Водно-дисперсионная
грунтовка Thomsit R 766
|
40 г/м2
|
Наносится кистью или валиком на очищенную
поверхность стяжки. Разбавляется водой в соотношении 1:4
|
|
6
|
Крупноформатный
гипсоволокнистый лист
|
1,02 м2/м2
|
|
|
7
|
Водно-дисперсионный
клей
|
1000-1200 г/м2 40-50 г/п.м
|
|
|
8
|
Сборная
стяжка из готовых элементов из гипсоволокнистых листов
|
1,02 м2/м2
|
|
|
9
|
Тепло-
и звукоизоляция из плит или матов
|
|
Толщина слоя и расход материалов назначаются в
соответствии с расчетами по параметрам тепло- и звукоизоляции
|
|
10
|
Пароизоляция
- полиэтиленовая пленка
|
1,15 м2/м2
|
|
|
11
|
Сплошная
или многопустотная плита перекрытия
|
|
|
Полы с покрытием из паркета по плите перекрытия
Тип 20

|
Поз.
|
Наименование
|
Расход
|
Примечание
|
|
1
|
Лаковое
покрытие
|
|
Конструкции лаковых покрытий, расход материалов и
технология нанесения в соответствии с инструкцией фирмы производителя
|
|
2
|
Паркет
штучный шпунтованный
|
1,02 м2/м2
|
|
|
3
|
Водно-дисперсионный
клей Thomsit P 618
|
1000-1200 г/м2 на один слой
|
Применяется для паркета из любых пород дерева.
Экологически безопасен. Наносится зубчатым шпателем
|
|
Растворный
клей Thomsit P 600
|
1200-1600 г/м2 на один слой
|
Применяется для паркета из любых пород дерева.
Содержит растворитель. Наносится зубчатым шпателем
|
|
Полиуретановый
двухкомпонентный клей Thomsit P
625
|
1000-1200 г/м2 на один слой
|
Применяется для паркета из любых пород дерева.
Экологически безопасен. Наносится зубчатым шпателем
|
|
4
|
Упругая
прослойка
|
1,02 м2/м2
|
|
|
5
|
Водно-дисперсионная
грунтовка Thomsit R 766
|
40 г/м2
|
Наносится кистью или валиком на очищенную
поверхность стяжки. Разбавляется водой в соотношении 1:4
|
|
6
|
Крупноформатный
гипсоволокнистый лист
|
1,02 м2/м2
|
|
|
7
|
Водно-дисперсионный
клей
|
1000-1200 г/м2 40-50 г/п.м
|
|
|
8
|
Сборная
стяжка из готовых элементов из гипсоволокнистых листов
|
1,02 м2/м2
|
|
|
9
|
Тепло-
и звукоизоляция из кварцевого или керамзитового песка
|
По расчету
|
Толщина слоя и расход материалов назначаются в
соответствии с расчетами по параметрам тепло- и звукоизоляции, но не менее
высоты короба Н+15
|
|
10
|
Труба
|
|
|
|
11
|
Обкладка
трубы пористо-волокнистыми матами
|
По факту
|
|
|
12
|
Защитный
металлический кожух
|
|
|
|
13
|
Дюбель
разжимной
|
|
|
|
14
|
Пароизоляция
- полиэтиленовая пленка
|
1,15 м2/м2
|
|
|
15
|
Сплошная
или многопустотная плита перекрытия с неровной поверхностью
|
|
|
Полы с покрытием из паркета по плите перекрытия
Тип 21

|
Поз.
|
Наименование
|
Расход
|
Примечание
|
|
1
|
Лаковое
покрытие
|
|
Конструкции лаковых покрытий, расход материалов и
технология нанесения в соответствии с инструкцией фирмы производителя
|
|
2
|
Паркет
штучный шпунтованный
|
1,02 м2/м2
|
|
|
3
|
Водно-дисперсионный
клей Thomsit P 618
|
1000-1200 г/м2 на один слой
|
Применяется для паркета из любых пород дерева.
Экологически безопасен. Наносится зубчатым шпателем
|
|
Растворный
клей Thomsit P 600
|
1200-1600 г/м2 на один слой
|
Применяется для паркета из любых пород дерева.
Содержит растворитель. Наносится зубчатым шпателем
|
|
Полиуретановый
двухкомпонентный клей Thomsit P
625
|
1000-1200 г/м2 на один слой
|
Применяется для паркета из любых пород дерева.
Экологически безопасен. Наносится зубчатым шпателем
|
|
4
|
Упругая
прослойка
|
1,02 м2/м2
|
|
|
5
|
Водно-дисперсионная
грунтовка Thomsit R 766
|
40 г/м2
|
Наносится кистью или валиком на очищенную
поверхность стяжки. Разбавляется водой в соотношении 1:4
|
|
6
|
Крупноформатный
гипсоволокнистый лист
|
1,02 м2/м2
|
|
|
7
|
Водно-дисперсионный
клей
|
1000-1200 г/м 40-50 г/п.м
|
|
|
8
|
Сборная
стяжка из готовых элементов из гипсоволокнистых листов
|
1,02 м2/м2
|
|
|
9
|
Тепло-
и звукоизоляция из плит или матов
|
По расчету
|
Толщина слоя и расход материалов назначаются в
соответствии с расчетами по параметрам тепло- и звукоизоляции, но не менее
высоты короба Н + 15
|
|
10
|
Труба
|
|
|
|
11
|
Обкладка
трубы пористо-волокнистыми матами
|
По факту
|
|
|
12
|
Защитный
металлический кожух
|
|
|
|
13
|
Дюбель
разжимной
|
|
|
|
14
|
Пароизоляция
- полиэтиленовая пленка
|
1,15 м2/м2
|
|
|
15
|
Сплошная
или многопустотная плита перекрытия с неровной поверхностью
|
|
|
Полы с покрытием из паркета по плите перекрытия
Тип 22

|
Поз.
|
Наименование
|
Расход
|
Примечание
|
|
1
|
Лаковое покрытие
|
|
Конструкции
лаковых покрытий, расход материалов и технология нанесения в соответствии с
инструкцией фирмы производителя
|
|
2
|
Паркет штучный
|
1,02 м2/м2
|
|
|
3
|
Водно-дисперсионный
клей Thomsit
Р 618
|
1000-1400 г/м2
|
Применяется
для шпунтованного паркета из любых пород дерева, нешпунтованного паркета из
стабильных пород дерева и нешпунтованного паркета из любых пород дерева при
формате планок, не превышающем 250×50 мм. Экологически безопасен.
Наносится зубчатым шпателем
|
|
Растворный клей Thomsit P 600
|
1200-1600 г/м2
|
Применяется
для шпунтованного и нешпунтованного паркета из любых пород дерева. Содержит
растворитель. Наносится зубчатым шпателем слоем
|
|
Полиуретановый
двухкомпонентный клей Thomsit P 625
|
1000-1400 г/м2
|
Применяется
для шпунтованного и нешпунтованного паркета из любых пород дерева.
Экологически безопасен. Наносится зубчатым шпателем
|
|
4
|
Водно-дисперсионная
грунтовка Thomsit R
766
|
40 г/м2
|
Наносится
кистью или валиком на очищенную поверхность стяжки. Разбавляется водой в
соотношении 1:4
|
|
5
|
Сборная стяжка из ДСП
|
1,02 м2/м2
|
|
|
6
|
Растворный клей Thomsit P 600
|
40-50 г/п.м
|
|
|
7
|
Пароизоляция - пергамин
|
1,15 м2/м2
|
|
|
8
|
Кварцевый песок
|
По факту
|
Расход
- минимально необходимый для выравнивания поверхности нижележащего слоя
|
|
9
|
Сплошная или
многопустотная плита перекрытия с неровной поверхностью
|
|
|
Полы
с покрытием из паркета по плите перекрытия
Тип 23

|
Поз.
|
Наименование
|
Расход
|
Примечание
|
|
1
|
Лаковое покрытие
|
|
Конструкции
лаковых покрытий, расход материалов и технология нанесения в соответствии с
инструкцией фирмы производителя
|
|
2
|
Паркет штучный
|
1,02 м2/м2
|
|
|
3
|
Водно-дисперсионный
клей Thomsit
Р 618
|
1000-1400 г/м2
|
Применяется
для шпунтованного паркета из любых пород дерева, нешпунтованного паркета из
стабильных пород дерева и нешпунтованного паркета из любых пород дерева при
формате планок, не превышающем 250×50 мм. Экологически безопасен.
Наносится зубчатым шпателем
|
|
Растворный клей Thomsit P 600
|
1200-1600 г/м2
|
Применяется
для шпунтованного и нешпунтованного паркета из любых пород дерева. Содержит
растворитель. Наносится зубчатым шпателем слоем
|
|
Полиуретановый
двухкомпонентный клей Thomsit P 625
|
1000-1400 г/м2
|
Применяется
для шпунтованного и нешпунтованного паркета из любых пород дерева.
Экологически безопасен. Наносится зубчатым шпателем
|
|
4
|
Водно-дисперсионная
грунтовка Thomsit R
766
|
40 г/м2
|
Наносится
кистью или валиком на очищенную поверхность стяжки. Разбавляется водой в
соотношении 1:4
|
|
5
|
Сборная стяжка из ДСП
|
1,02 м2/м2
|
|
|
6
|
Растворный клей Thomsit P 600
|
40-50 г/п.м
|
|
|
7
|
Пароизоляция - пергамин
|
1,15 м2/м2
|
|
|
8
|
Тепло- и звукоизоляция
из плит или матов
|
|
Толщина
слоя и расход материалов назначаются в соответствии с расчетами по параметрам
тепло- и звукоизоляции
|
|
9
|
Выравнивающая шпаклевка
|
По факту
|
|
|
10
|
Сплошное или
многопустотное междуэтажное железобетонное перекрытие с неровной поверхностью
|
|
|
Полы с покрытием из паркета по плите перекрытия
Тип 24

|
Поз.
|
Наименование
|
Расход
|
Примечание
|
|
1
|
Лаковое покрытие
|
|
Конструкции
лаковых покрытий, расход материалов и технология нанесения в соответствии с
инструкцией фирмы производителя
|
|
2
|
Паркет штучный
|
1,02 м2/м2
|
|
|
3
|
Водно-дисперсионный
клей Thomsit
Р 618
|
1000-1400 г/м2
|
Применяется
для шпунтованного паркета из любых пород дерева, нешпунтованного паркета из
стабильных пород дерева и нешпунтованного паркета из любых пород дерева при
формате планок, не превышающем 250×50 мм. Экологически безопасен.
Наносится зубчатым шпателем
|
|
Растворный клей Thomsit P 600
|
1200-1600 г/м2
|
Применяется
для шпунтованного и нешпунтованного паркета из любых пород дерева. Содержит
растворитель. Наносится зубчатым шпателем
|
|
Полиуретановый двухкомпонентный
клей Thomsit P
625
|
1000-1400 г/м2
|
Применяется
для шпунтованного и нешпунтованного паркета из любых пород дерева.
Экологически безопасен. Наносится зубчатым шпателем
|
|
4
|
Водно-дисперсионная
грунтовка Thomsit R
766
|
40 г/м2
|
Наносится
валиком на очищенную поверхность сборной стяжки. Разбавляется водой в
соотношении 1:4
|
|
5
|
Сборная стяжка из
фанеры
|
2,04 м2/м2
|
|
|
6
|
Растворный клей Thomsit P 600
|
1200-1600 г/м2
|
|
|
7
|
Закрепление саморезами
|
|
Шаг
между саморезами 300 мм, по кромке листов - 150 мм
|
|
8
|
Лага регулируемая
|
Согласно инструкции
|
Монтаж
лаг осуществляется в соответствии с инструкцией фирмы-производителя
|
|
9
|
Болт-стойка
|
Согласно инструкции
|
Установка
болт-стоек осуществляется в соответствии с инструкцией фирмы-производителя
|
|
10
|
Труба
|
|
|
|
11
|
Пароизоляция -
полиэтиленовая пленка
|
1,15 м2/м2
|
|
|
12
|
Сплошное или
многопустотное междуэтажное железобетонное перекрытие
|
|
|
Полы с покрытием из паркета по плите перекрытия
Тип 25

|
Поз.
|
Наименование
|
Расход
|
Примечание
|
|
1
|
Лаковое покрытие
|
|
Конструкции
лаковых покрытий, расход материалов и технология нанесения в соответствии с
инструкцией фирмы производителя
|
|
2
|
Паркет штучный
|
1,02 м2/м2
|
|
|
3
|
Водно-дисперсионный
клей Thomsit
Р 618
|
1000-1400 г/м2
|
Применяется
для шпунтованного паркета из любых пород дерева, нешпунтованного паркета из
стабильных пород дерева и нешпунтованного паркета из любых пород дерева при
формате планок, не превышающем 250×50 мм. Экологически безопасен.
Наносится зубчатым шпателем
|
|
Растворный клей Thomsit P 600
|
1200-1600 г/м2
|
Применяется
для шпунтованного и нешпунтованного паркета из любых пород дерева. Содержит
растворитель. Наносится зубчатым шпателем слоем
|
|
Полиуретановый
двухкомпонентный клей Thomsit P 625
|
1000-1400 г/м2
|
Применяется
для шпунтованного и нешпунтованного паркета из любых пород дерева. Экологически
безопасен. Наносится зубчатым шпателем
|
|
4
|
Водно-дисперсионная
грунтовка Thomsit R
766
|
40 г/м2
|
Наносится
валиком на очищенную поверхность сборной стяжки. Разбавляется водой в
соотношении 1:4
|
|
5
|
Сборная стяжка из
фанеры
|
2,04 м2/м2
|
|
|
6
|
Растворный клей Thomsit P 600
|
1200-1600 г/м2
|
Содержит
растворитель. Наносится зубчатым шпателем
|
|
7
|
Закрепление саморезами
|
|
Шаг
между саморезами 300 мм, по кромке листов - 150 мм
|
|
8
|
Лага регулируемая
|
Согласно инструкции
|
Монтаж
лаг осуществляется в соответствии с инструкцией фирмы-производителя
|
|
9
|
Болт-стойка
|
Согласно инструкции
|
Установка
болт-стоек осуществляется в соответствии с инструкцией фирмы-производителя
|
|
10
|
Тепло- и звукоизоляция
из плит или матов
|
|
Толщина
слоя и расход материалов назначаются в соответствии с рассчетами по
параметрам тепло- и звукоизоляции
|
|
11
|
Пароизоляция -
полиэтиленовая пленка
|
1,15 м2/м2
|
|
|
12
|
Сплошное или
многопустотное междуэтажное железобетонное перекрытие
|
|
|
Полы с покрытием из паркета по плите перекрытия
Тип 26

|
Поз.
|
Наименование
|
Расход
|
Примечание
|
|
1
|
Лаковое покрытие
|
|
Конструкции
лаковых покрытий, расход материалов и технология нанесения в соответствии с
инструкцией фирмы производителя
|
|
2
|
Паркет штучный
|
1,02 м2/м2
|
|
|
3
|
Водно-дисперсионный
клей Thomsit
Р 618
|
1000-1400 г/м2
|
Применяется
для шпунтованного паркета из любых пород дерева, нешпунтованного паркета из
стабильных пород дерева и нешпунтованного паркета из любых пород дерева при
формате планок, не превышающем 250×50 мм. Экологически безопасен.
Наносится зубчатым шпателем
|
|
Растворный клей Thomsit P 600
|
1200-1600 г/м2
|
Применяется
для шпунтованного и нешпунтованного паркета из любых пород дерева. Содержит
растворитель. Наносится зубчатым шпателем
|
|
Полиуретановый
двухкомпонентный клей Thomsit P 625
|
1000-1400 г/м2
|
Применяется
для шпунтованного и нешпунтованного паркета из любых пород дерева.
Экологически безопасен. Наносится зубчатым шпателем
|
|
4
|
Водно-дисперсионная
грунтовка Thomsit R
766
|
40 г/м2
|
Наносится
валиком на очищенную поверхность сборной стяжки. Разбавляется водой в
соотношении 1:4
|
|
5
|
Сборная стяжка из
фанеры
|
2,04 м2/м2
|
|
|
6
|
Растворный клей Thomsit P 600
|
1200-1600 г/м2
|
Содержит
растворитель. Наносится зубчатым шпателем
|
|
7
|
Закрепление саморезами
|
|
Шаг
между саморезами 300 мм, по кромке листов - 150 мм
|
|
8
|
Лага обыкновенная
|
0,004-0,005 м2/п.м
|
Шаг
между лагами 300 мм в помещениях административных зданий, 600 мм - в жилых
помещениях
|
|
9
|
Кварцевый песок
|
По факту
|
Расход
- минимально необходимый для выравнивания поверхности нижележащего слоя
|
|
10
|
Сплошное или
многопустотное междуэтажное железобетонное перекрытие с неровной поверхностью
|
|
|
Полы с покрытием из паркета по плите перекрытия
Тип 27

|
Поз.
|
Наименование
|
Расход
|
Примечание
|
|
1
|
Лаковое покрытие
|
|
Конструкции
лаковых покрытий, расход материалов и технология нанесения в соответствии с
инструкцией фирмы производителя
|
|
2
|
Паркет штучный
|
1,02 м2/м2
|
|
|
3
|
Водно-дисперсионный
клей Thomsil
Р 618
|
1000-1400 г/м2
|
Применяется
для шпунтованного паркета из любых пород дерева, нешпунтованного паркета из
стабильных пород дерева и нешпунтованного паркета из любых пород дерева при
формате планок, не превышающем 250×50 мм. Экологически безопасен.
Наносится зубчатым шпателем
|
|
Растворный клей Thomsit P 600
|
1200-1600 г/м2
|
Применяется
для шпунтованного и нешпунтованного паркета из любых пород дерева. Содержит
растворитель. Наносится зубчатым шпателем
|
|
Полиуретановый
двухкомпонентный клей Thomsit P 625
|
1000-1400 г/м2
|
Применяется
для шпунтованного и нешпунтованного паркета из любых пород дерева.
Экологически безопасен. Наносится зубчатым шпателем
|
|
4
|
Водно-дисперсионная
грунтовка Thomsit R
766
|
40 г/м2
|
Наносится
валиком на очищенную поверхность сборной стяжки. Разбавляется водой в
соотношении 1:4
|
|
5
|
Сборная стяжка из
фанеры
|
2,04 м2/м2
|
|
|
6
|
Растворный клей Thomsit P 600
|
1200-1600 г/м2
|
Содержит
растворитель. Наносится зубчатым шпателем
|
|
7
|
Закрепление саморезами
|
|
Шаг
между саморезами 300 мм, по кромке листов - 150 мм
|
|
8
|
Лага обыкновенная
|
0,004-0,005 м3/п.м
|
Шаг
между лагами 300 мм в помещениях административных зданий, 600 мм - в жилых
помещениях
|
|
9
|
Звукоизолирующая
прокладка
|
0,15 м2/п.м
|
Материал
и толщина звукоизолирующей прокладки назначаются в соответствии с расчетами
по параметрам звукоизоляции
|
|
10
|
Кварцевый песок
|
По факту
|
Расход
- минимально необходимый для выравнивания поверхности нижележащего слоя
|
|
11
|
Сплошное или
многопустотное междуэтажное железобетонное перекрытие с неровной поверхностью
|
|
|
Полы с покрытием из паркета по плите перекрытия

|
Поз
|
Наименование
|
Расход
|
Примечание
|
|
1
|
Лаковое
покрытие
|
|
Конструкции
лаковых покрытий, расход материалов и технология нанесения в соответствии с
инструкцией фирмы производителя
|
|
2
|
Массивная
доска
|
1,02 м2/м2
|
|
|
3
|
Саморез
|
|
|
|
4
|
Полиуретановый
двухкомпонентный клей Thomsit P
625
|
1000-1400 г/м2 на один слой
|
Не
содержит органический растворитель. Наносится зубчатым шпателем
|
|
5
|
Водно-дисперсионная
грунтовка Thomsit R 766
|
40 г/м2
|
Наносится
валиком на очищенную поверхность сборной стяжки. Разбавляется водой в
соотношении 1:4
|
|
6
|
Сборная
стяжка из фанеры
|
2,04 м2/м2
|
|
|
7
|
Закрепление
шурупами или дюбелями
|
|
Шаг
между шурупами или д/белями 300 мм, по кромке листа - 150 мм
|
|
8
|
Растворный
клей Thomsit
Р 600
|
1200-1600 г/м2
|
Содержит
растворитель. Наносится зубчатым шпателем
|
|
9
|
Водно-дисперсионная
грунтовка Thomsit R 777
|
300 г/м2 бетонная стяжка 100 г/м2
цементно-песчаная стяжка
|
Наносится
кистью или валиком на очищенную поверхность бетонной или цементно-песчаной
стяжки. При нанесении на цементно-песчаную стяжку разбавляется водой в
соотношении 1:1
|
|
Водно-дисперсионная
грунтовка Thomsit R 766
|
150 г/м2 бетонная стяжка 40 г/м2
цементно-песчаная стяжка
|
Наносится
кистью или валиком на очищенную поверхность бетонной или цементно-песчаной
стяжки. При нанесении на бетонную стяжку разбавляется водой в соотношении
1:1, на цементно-песчаную стяжку - в соотношении 1:4
|
|
10
|
Полимерцементная
саморазравнивающаяся стяжка марки Ceresit CN 69
|
1,8 кг/м2
|
Наносится
шпателем слоем толщиной от 3 до 15 мм. Расход - на 1 мм слоя. Предел
прочности при сжатии после 28 суток выдержки не менее 18 МПа
|
|
Полимерцементная
саморазравнивающаяся стяжка марки Thomsit DD
|
1,5 кг/м2
|
Наносится
шпателем слоем толщиной от 0,5 до 5 мм. Расход - на 1 мм слоя. Предел
прочности при сжатии после 28 суток выдержки не менее 22 МПа
|
|
Полимерцементная
саморазравнивающаяся стяжка марки Thomsit DX
|
1,5 кг/м2
|
Наносится
шпателем слоем толщиной от 0,5 до 10 мм. Расход - на 1 мм слоя. Предел
прочности при сжатии после 28 суток выдержки не менее 30 МПа
|
|
Полимерцементная
стяжка марки Ceresit CN 178
|
2,0 кг/м2
|
Наносится
шпателем слоем толщиной от 5 до 80 мм. Расход - на 1 мм слоя. Предел
прочности при сжатии после 28 суток выдержки не менее 25 МПа
|
|
Стяжка
из цементно-песчаного раствора марки M1S0
|
0,02 м3/м2
|
|
|
Стяжка
из бетона класса В12,5
|
0,02 м3/м2
|
|
|
11
|
Водно-дисперсионная
грунтовка Ceresit CT 17
|
0,1-0,2 л/м2
|
Наносится
кистью или валиком на очищенную поверхность бетонного основания
|
|
Водно-дисперсионная
грунтовка Ceresit CN 94
|
40 г/м2
|
Наносится
кистью или валиком на очищенную поверхность бетонного основания. Разбавляется
водой в соотношении 1:3
|
|
Водно-дисперсионная
грунтовка Thomsit R 777
|
300 г/м2
|
Наносятся
кистью или валиком на очищенную поверхность бетонного основания
|
|
Водно-дисперсионная
грунтовка Thomsit R 766
|
150 г/м2
|
Наносится
кистью или валиком на очищенную поверхность бетонного основания. Разбавляется
водой в соотношении 1:1
|
|
12
|
Бетонное
основание из бетона класса В22,5
|
0,08 м3/м2
|
|
|
13
|
Грунт
основания
|
|
|

|
Поз
|
Наименование
|
Расход
|
Примечание
|
|
1
|
Лаковое
покрытие
|
|
Конструкции лаковых покрытий, расход материалов и
технология нанесения в соответствии с инструкцией фирмы производителя
|
|
2
|
Массивная
доска
|
1,02 м2/м2
|
|
|
3
|
Саморез
|
|
|
|
4
|
Полиуретановый
двухкомпонентный клей Thomsit P
625
|
1000-1400 г/м2 на один слой
|
Не содержит органический растворитель. Наносится
зубчатым шпателем
|
|
5
|
Водно-дисперсионная
грунтовка Thomsit R 766
|
40 г/м2
|
Наносится валиком на очищенную поверхность сборной
стяжки. Разбавляется водой в соотношении 1:4
|
|
6
|
Сборная
стяжка из фанеры
|
2,04 м2/м2
|
|
|
7
|
Закрепление
шурупами или дюбелями
|
|
Шаг между шурупами или дюбелями 300 мм, по кромке
листа - 150 мм
|
|
8
|
Растворный
клей Thomsit
Р 600
|
1200-1600 г/м2
|
Содержит растворитель. Наносится зубчатым шпателем
|
|
9
|
Водно-дисперсионная
грунтовка Thomsit R 777
|
300 г/м2 бетонная стяжка 100 г/м2
цементно-песчаная стяжка
|
Наносится кистью или валиком на очищенную
поверхность бетонной или цементно-песчаной стяжки. При нанесении на
цементно-песчаную стяжку разбавляется водой в соотношении 1:1
|
|
Водно-дисперсионная
грунтовка Thomsit R 766
|
150 г/м2 бетонная стяжка 40 г/м2
цементно-песчаная стяжка
|
Наносится кистью или валиком на очищенную
поверхность бетонной или цементно-песчаной стяжки. При нанесении на бетонную
стяжку разбавляется водой в соотношении 1:1, на цементно-песчаную стяжку - в
соотношении 1:4
|
|
10
|
Полимерцементная
саморазравнивающаяся стяжка марки Ceresit CN 69
|
1,8 кг/м2
|
Наносится шпателем слоем толщиной от 3 до 15 мм.
Расход - на 1 мм слоя. Предел прочности при сжатии после 28 суток выдержки не
менее 18 МПа
|
|
Полимерцементная
саморазравнивающаяся стяжка марки Thomsit DD
|
1,5кг/м2
|
Наносится шпателем слоем толщиной от 0,5 до 5 мм.
Расход - на 1 мм слоя. Предел прочности при сжатии после 28 суток выдержки не
менее 22 МПа
|
|
Полимерцементная
саморазравнивающаяся стяжка марки Thomsit DX
|
1,5 кг/м2
|
Наносится шпателем слоем толщиной от 0,5 до 10 мм.
Расход - на 1 мм слоя. Предел прочности при сжатии после 28 суток выдержки не
менее 30 МПа
|
|
Полимерцементная
стяжка марки Ceresit CN 178
|
2,0 кг/м2
|
Наносится шпателем слоем толщиной от 5 до 80 мм.
Расход - на 1 мм слоя. Предел прочности при сжатии после 28 суток выдержки не
менее 25 МПа
|
|
Стяжка
из цементно-песча-ного раствора марки М150
|
0,02 м7м2
|
|
|
Стяжка
из бетона класса В12,5
|
0,02 м3/м2
|
|
|
11
|
Водно-дисперсионная
грунтовка Ceresit CT 17
|
0,1-0,2 л/м2
|
Наносится кистью или валиком на очищенную
поверхность бетонного основания
|
|
Водно-дисперсионная
грунтовка Ceresit CN 94
|
40 г/м2
|
Наносится кистью или валиком на очищенную
поверхность бетонного основания. Разбавляется водой в соотношении 1:3
|
|
Водно-дисперсионная
грунтовка Thomsit R 777
|
300 г/м2
|
Наносится кистью или валиком на очищенную
поверхность бетонного основания
|
|
|
Водно-дисперсионная
грунтовка Thomsit R 766
|
150 г/м2
|
Наносится кистью или валиком на очищенную
поверхность бетонного основания. Разбавляется водой в соотношении 1:1
|
|
12
|
Бетонное
основание из бетона класса В22,5
|
0,08 м3/м2
|
|
|
13
|
Наливная
гидроизоляция - щебень или гравий, пропитанные битумом
|
Щебень или гравий - 0,04- 0,05 м3/м2,
битум - по факту
|
|
|
14
|
Грунт
основания
|
|
|
Полы с покрытием из массивной доски по грунту
Тип 30

|
Поз.
|
Наименование
|
Расход
|
Примечание
|
|
1
|
Лаковое
покрытие
|
|
Конструкции лаковых покрытий, расход материалов и
технология нанесения в соответствии с инструкцией фирмы производителя
|
|
2
|
Массивная
доска
|
1,02 м2/м2
|
|
|
3
|
Саморез
|
|
|
|
4
|
Полиуретановый
двухкомпонентный клей Thomsit P
625
|
1000-1400 г/м2 на один слой
|
Не содержит органический растворитель. Наносятся
зубчатым шпателем
|
|
5
|
Водно-дисперсионная
грунтовка Thomsit R 766
|
40 г/м2
|
Наносится валиком на очищенную поверхность сборной
стяжки. Разбавляется водой в соотношении 1:4
|
|
6
|
Сборная
стяжка из фанеры
|
2,04 м2/м2
|
|
|
7
|
Закрепление
шурупами или дюбелями
|
|
Шаг между шурупами или дюбелями 300 мм, по кромке
листа - 150 мм
|
|
8
|
Растворный
клей Thomsit
Р 600
|
1200-1600 г/м2
|
Содержит растворитель. Наносятся зубчатым шпателем
|
|
9
|
Водно-дисперсионная
грунтовка Thomsit R 777
|
300 г/м2 бетонная стяжка 100 г/м2
цементно-песчаная стяжка
|
Наносится кистью или валиком на очищенную
поверхность бетонной или цементно-песчаной стяжки. При нанесении на
цементно-песчаную стяжку разбавляется водой в соотношении 1:1
|
|
|
Водно-дисперсионная
грунтовка Thomsit R 766
|
150 г/м2 бетонная стяжка 40 г/м2
цементно-песчаная стяжка
|
Наносится кистью или валиком на очищенную
поверхность бетонной или цементно-песчаной стяжки. При нанесении на бетонную
стяжку разбавляется водой в соотношении 1:1, на цементно-песчаную стяжку - в
соотношении 1:4
|
|
10
|
Полимерцементная
саморазравнивающаяся стяжка марки Ceresit CN 69
|
1,8 кг/м2
|
Наносится шпателем слоем толщиной от 3 до 15 мм.
Расход - на 1 мм слоя. Предел прочности при сжатии после 28 суток выдержки не
менее 18 МПа
|
|
|
Полимерцементная
саморазравнивающаяся стяжка марки Thomsit DD
|
1,5 кг/м2
|
Наносится шпателем слоем толщиной от 0,5 до 5 мм.
Расход - на 1 мм слоя. Предел прочности при сжатии после 28 суток выдержки не
менее 22 МПа
|
|
|
Полимерцементная
саморазравнивающаяся стяжка марки Thomsit DX
|
1,5 кг/м2
|
Наносится шпателем слоем толщиной от 0,5 до 10 мм.
Расход - на 1 мм слоя. Предел прочности при сжатии после 28 суток выдержки не
менее 30 МПа
|
|
|
Полимерцементная
стяжка марки Ceresit CN 178
|
2,0 кг/м2
|
Наносится шпателем слоем толщиной от 5 до 80 мм. Расход
- на 1 мм слоя. Предел прочности при сжатии после 28 суток выдержки не менее
25 МПа
|
|
|
Стяжка
из цементно-песчаного раствора марки М150
|
0,02 м3/м2
|
|
|
|
Стяжка
из бетона класса В12,5
|
0,02 м3/м2
|
|
|
11
|
Водно-дисперсионная
грунтовка Ceresit CT 17
|
0,1-0,2 л/м2
|
Наносится кистью или валиком на очищенную
поверхность бетонного основания
|
|
|
Водно-дисперсионная
грунтовка Ceresit CN 94
|
40 г/м2
|
Наносится кистью или валиком на очищенную
поверхность бетонного основания. Разбавляется водой в соотношении 1:3
|
|
|
Водно-дисперсионная
грунтовка Thomsit R 777
|
300 г/м2
|
Наносится кистью или валиком на очищенную
поверхность бетонного основания
|
|
|
Водно-дисперсионная
грунтовка Thomsit R 766
|
150 г/м2
|
Наносится кистью или валиком на очищенную
поверхность бетонного основания. Разбавляется водой в соотношении 1:1
|
|
12
|
Бетонное
основание из бетона класса В22,5
|
0,08 м3/м2
|
|
|
13
|
Рулонная
гидроизоляция
|
1,02 м2/м2
|
|
|
|
Обмазочная
гидроизоляция на основе жесткой гидроизолирующей массы Ceresit CR 65
|
3-5 кг/м2
|
|
|
14
|
Стяжка
из цементно-песчаного раствора М150
|
0,05 м3/м2
|
|
|
15
|
Грунт
основания
|
|
|
Полы с покрытием из массивной доски по грунту
Тип 31

|
Поз.
|
Наименование
|
Расход
|
Примечание
|
|
1
|
Лаковое
покрытие
|
|
Конструкции лаковых покрытий, расход материалов и
технология нанесения в соответствии с инструкцией фирмы производителя
|
|
2
|
Массивная
доска
|
1,02 м2/м2
|
|
|
3
|
Саморез
|
|
|
|
4
|
Полиуретановый
двухкомпонентный клей Thomsit P
625
|
1000-1400 г/м2 на один слой
|
Не содержит органический растворитель. Наносятся
зубчатым шпателем
|
|
5
|
Водно-дисперсионная
грунтовка Thomsit R 766
|
40 г/м2
|
Наносится кистью или валиком на очищенную
поверхность сборной стяжки. Разбавляется водой в соотношении 1:4
|
|
6
|
Сборная
стяжка из фанеры
|
2,04 м2/м2
|
|
|
7
|
Закрепление
шурупами или дюбелями
|
|
Шаг между шурупами или дюбелями 300 мм, по кромке
листа - 150 мм
|
|
8
|
Растворный
клей Thomsit P 600
|
1200-1600 г/м2
|
Содержит растворитель. Наносится зубчатым шпателем
|
|
9
|
Водно-дисперсионная
грунтовка Thomsit R 777
|
300 г/м2 бетонная стяжка 100 г/м2
цементно-песчаная стяжка
|
Наносится кистью или валиком на очищенную поверхность
бетонной или цементно-песчаной стяжки. При нанесении на цементно-песчаную
стяжку разбавляется водой в соотношении 1:1
|
|
Водно-дисперсионная
грунтовка Thomsit R 766
|
150 г/м2 бетонная стяжка 40 г/м2
цементно-песчаная стяжка
|
Наносится кистью или валиком на очищенную
поверхность бетонной или цементно-песчаной стяжки. При нанесении на бетонную
стяжку разбавляется водой в соотношении 1:1, на цементно-песчаную стяжку - в
соотношении 1:4
|
|
10
|
Стяжка
из цементно-песчаного раствора марки М150
|
|
Расход материала определяется толщиной стяжки,
которая должна превышать на 15-20 мм диаметр трубы
|
|
Стяжка
из бетона класса В12,5
|
|
Расход материала определяется толщиной стяжки,
которая должна превышать на 15-20 мм диаметр трубы
|
|
Полимерцементная
стяжка марки Ceresit CN 178
|
|
Расход материала определяется толщиной стяжки,
которая должна превышать на 15-20 мм диаметр трубы
|
|
Полимерцементная
стяжка марки Cеrеsit CN 83
|
|
Расход материала определяется толщиной стяжки,
которая должна превышать на 15-20 мм диаметр трубы, но не должна превышать 35
мм
|
|
11
|
Труба
|
|
|
|
12
|
Водно-дисперсионная
грунтовка Ceresit CT 17
|
0,1-0,2 л/м2
|
Наносится кистью или валиком на очищенную
поверхность бетонного основания
|
|
Водно-дисперсионная
грунтовка Ceresit CN 94
|
40 г/м2
|
Наносится кистью или валиком на очищенную
поверхность бетонного основания. Разбавляется водой в соотношении 1:3
|
|
Водно-дисперсионная
грунтовка Thomsit R 777
|
300 г/м2
|
Наносится кистью или валиком на очищенную
поверхность бетонного основания
|
|
Водно-дисперсионная
грунтовка Thomsit R 766
|
150 г/м2
|
Наносится кистью или валиком на очищенную
поверхность бетонного основания. Разбавляется водой в соотношении 1:1
|
|
13
|
Бетонное
основание из бетона класса В22,5
|
0,08 м3/м2
|
|
|
14
|
Грунт
основания
|
|
|
Полы с покрытием из массивной доски по грунту
Тип 32

|
Поз.
|
Наименование
|
Расход
|
Примечание
|
|
1
|
Лаковое покрытие
|
|
Конструкции
лаковых покрытий, расход материалов и технология нанесения в соответствии с
инструкцией фирмы производителя
|
|
2
|
Массивная доска
|
1,02 м2/м2
|
|
|
3
|
Саморез
|
|
|
|
4
|
Полиуретановый
двухкомпонентный клей Thomsit P 625
|
1000-1400 г/м2
|
Не
содержит органический растворитель. Наносится зубчатым шпателем
|
|
5
|
Водно-дисперсионная
грунтовка Thomsit R
766
|
40 г/м2
|
Наносится
валиком на очищенную поверхность сборной стяжки. Разбавляется водой в
соотношении 1:4
|
|
6
|
Сборная стяжка из ДСП
|
1,02 м2/м2
|
|
|
7
|
Растворный клей Thomsit P 600
|
40-50 г/п.м
|
|
|
8
|
Пароизоляция - пергамин
|
1,15 м2/м2
|
|
|
9
|
Кварцевый песок
|
По факту
|
Расход
- минимально необходимый для выравнивания поверхности нижележащего слоя
|
|
10
|
Бетонное основание из
бетона класса В22,5
|
0,08 м3/м2
|
|
|
11
|
Грунт основания
|
|
|
Полы с покрытием из массивной доски по грунту
Тип 33

|
Поз.
|
Наименование
|
Расход
|
Примечание
|
|
1
|
Лаковое покрытие
|
|
Конструкции
лаковых покрытий, расход материалов и технология нанесения в соответствии с
инструкцией фирмы производителя
|
|
2
|
Массивная доска
|
1,02 м2/м2
|
|
|
3
|
Саморез
|
|
|
|
4
|
Полиуретановый
двухкомпонентный клей Thomsit P 625
|
1000-1400 г/м2
|
Не
содержит органический растворитель. Наносится зубчатым шпателем
|
|
5
|
Водно-дисперсионная
грунтовка Thomsit R
766
|
40 г/м2
|
Наносится
валиком на очищенную поверхность сборной стяжки. Разбавляется водой в
соотношении 1:4
|
|
6
|
Сборная стяжка из
фанеры
|
2,04 м2/м2
|
|
|
7
|
Закрепление шурупами
или дюбелями
|
|
Шаг
между шурупами или дюбелями 300 мм, по кромке листа - 150 мм
|
|
8
|
Растворный клей Thomsit P 600
|
1200-1600 г/м2
|
Содержит
растворитель. Наносится зубчатым шпателем
|
|
9
|
Лага регулируемая
|
Согласно инструкции
|
Монтаж
лаг осуществляется в соответствии с инструкцией фирмы-производителя
|
|
10
|
Болт-стойка
|
Согласно инструкции
|
Установка
болт-стоек осуществляется в соответствии с инструкцией фирмы-производителя
|
|
11
|
Труба
|
|
|
|
12
|
Пароизоляция -
полиэтиленовая пленка
|
1,15 м2/м2
|
|
|
13
|
Бетонное основание из
бетона класса В22,5
|
0,08 м3/м2
|
|
|
14
|
Грунт основания
|
|
|
Полы с покрытием из массивной доски по грунту
Тип 34

|
Поз.
|
Наименование
|
Расход
|
Примечание
|
|
1
|
Лаковое покрытие
|
|
Конструкции
лаковых покрытий, расход материалов и технология нанесения в соответствии с
инструкцией фирмы производителя
|
|
2
|
Массивная доска
|
1,02 м2/м2
|
|
|
3
|
Саморез
|
|
|
|
4
|
Полиуретановый двухкомпонентный
клей Thomsit P
625
|
1000-1400 г/м2
|
Не
содержит органический растворитель. Наносится зубчатым шпателем
|
|
5
|
Водно-дисперсионная
грунтовка Thomsit R
766
|
40 г/м2
|
Наносится
валиком на очищенную поверхность сборной стяжки. Разбавляется водой в
соотношении 1:4
|
|
6
|
Сборная стяжка из
фанеры
|
2,04 м2/м2
|
|
|
7
|
Закрепление шурупами
или дюбелями
|
|
Шаг
между шурупами или дюбелями 300 мм, по кромке листа - 150 мм
|
|
8
|
Растворный клей Thomsit P 600
|
1200-1600 г/м2
|
Содержит
растворитель. Наносится зубчатым шпателем
|
|
9
|
Лага обыкновенная
|
0,004-0,005 м3/п.м
|
|
|
10
|
Деревянная прокладка
|
0,0006 м3/столбик
|
|
|
11
|
Рулонная гидроизоляция
|
0,05 м2/столбик
|
|
|
12
|
Кирпичный или бетонный
столбик
|
0,0017 м3/столбик
|
|
|
13
|
Бетонное основание из
бетона класса В22,5
|
0,08 м3/м2
|
|
|
14
|
Грунт основания
|
|
|
Полы с покрытием из массивной доски по грунту
Тип 35

|
Поз.
|
Наименование
|
Расход
|
Примечание
|
|
1
|
Лаковое покрытие
|
|
Конструкции
лаковых покрытий, расход материалов и технологи нанесения в соответствии с
инструкцией фирмы производителя
|
|
2
|
Массивная доска
|
1,02 м2/м2
|
|
|
3
|
Саморез
|
|
|
|
4
|
Полиуретановый
двухкомпонентный клей Thomsit P 625
|
1000-1400 г/м2
|
Не
содержит органический растворитель. Наносится зубчатым шпа телем
|
|
5
|
Водно-дисперсионная
грунтовка Thomsit R
766
|
40 г/м2
|
Наносится
валиком на очищенную поверхность сборной стяжка Разбавляется водой в
соотношении 1:4
|
|
6
|
Сборная стяжка из
фанеры
|
2,04 м2/м2
|
|
|
7
|
Закрепление шурупами
или дюбелями
|
|
Шаг
между шурупами или дюбелями 300 мм, по кромке листа -150 мм
|
|
8
|
Растворный клей Thomsit P 600
|
1200-1600 г/м2
|
Содержит
растворитель. Наносится зубчатым шпателем
|
|
9
|
Лага обыкновенная
|
0,004-0,005 м3/п.м
|
|
|
10
|
Деревянная прокладка
|
0,0006 м3/столбик
|
|
|
11
|
Рулонная гидроизоляция
|
0,05 м2/столбик
|
|
|
12
|
Кирпичный или бетонный
столбик
|
0,0034 м3/столбик
|
|
|
13
|
Грунт основания
|
|
|
Полы с покрытием из массивной доски по грунту

|
Поз.
|
Наименование
|
Расход
|
Примечание
|
|
1
|
Лаковое
покрытие
|
|
Конструкции лаковых покрытий, расход материалов и
технология нанесения в соответствии с инструкцией фирмы производителя
|
|
2
|
Массивная
доска
|
1,02 м2/м2
|
|
|
3
|
Саморез
|
|
|
|
4
|
Полиуретановый
двухкомпонентный клей Thomsit P
625
|
1000-1400 г/м2 на один слой
|
Не содержит органический растворитель. Наносятся
зубчатым шпателем
|
|
5
|
Водно-дисперсионная
грунтовка Thomsit R 766
|
40 г/м2
|
Наносится валиком на очищенную поверхность сборной
стяжки. Разбавляется водой в соотношении 1:4
|
|
6
|
Сборная
стяжка из фанеры
|
2,04 м2/м2
|
|
|
7
|
Закрепление
шурупами или дюбелями
|
|
Шаг между шурупами или дюбелями 300 мм, по кромке
листа - 150 мм
|
|
8
|
Растворный
клей Thomsit
Р 600
|
1200-1600 г/м2
|
Содержит растворитель. Наносится зубчатым шпателем
|
|
9
|
Водно-дисперсионная
грунтовка Thomsit R 777
|
300 г/м2 бетонная стяжка 100 г/м2
цементно-песчаная сгяжка
|
Наносится кистью или валиком на очищенную
поверхность бетонной или цементно-песчаной стяжки. При нанесении на цементно-песчаную
стяжку разбавляется водой в соотношении 1:1
|
|
Водно-дисперсионная
грунтовка Thomsit R 766
|
150 г/м2 бетонная стяжка 40 г/м2
цементно-песчаная стяжка
|
Наносится кистью или валиком на очищенную
поверхность бетонной или цементно-песчаной стяжки. При нанесении на бетонную
стяжку разбавляется водой в соотношении 1:1, на цементно-песчаную стяжку - в
соотношении 1:4
|
|
10
|
Полимерцементная
саморазравнивающаяся стяжка марки Ceresit CN 69
|
1,8 кг/м2
|
Наносится шпателем слоем толщиной от 3 до 15 мм.
Расход - на 1 мм слоя. Предел прочности при сжатии после 28 суток выдержки не
менее 18 МПа
|
|
Полимерцементная
саморазравнивающаяся стяжка марки Thomsit DD
|
1,5 кг/м2
|
Наносится шпателем слоем толщиной от 0,5 до 5 мм.
Расход - на 1 мм слоя. Предел прочности при сжатии после 28 суток выдержки не
менее 22 МПа
|
|
Полимерцементная
саморазравнивающаяся стяжка марки Thomsit DX
|
1,5 кг/м2
|
Наносится шпателем слоем толщиной от 0,5 до 10 мм.
Расход - на 1 мм слоя. Предел прочности при сжатии после 28 суток выдержки не
менее 30 МПа
|
|
Полимерцементная
стяжка марки Ceresit CN 178
|
2,0 кг/м2
|
Наносится шпателем слоем толщиной от 5 до 80 мм.
Расход - на 1 мм слоя. Предел прочности при сжатии после 28 суток выдержки не
менее 25 МПа
|
|
Сгяжка
из цементно-песчаного раствора марки M150
|
0,02 м3/м2
|
|
|
Стяжка
из бетона класса В12,5
|
0,02 м3/м2
|
|
|
11
|
Водно-дисперснойпая
грунтовка Ceresit CT 17
|
0,1-0,2 л/м2
|
Наносятся кистью или валиком на очищенную
поверхность бетонного основания
|
|
Водно-дисперсионная
грунтовка Ceresit CN 94
|
40 г/м2
|
Наносятся кистью или валиком на очищенную
поверхность бетонного основания. Разбавляется водой в соотношении 1:3
|
|
Водно-дисперсионная
грунтовка Thomsit R 777
|
300 г/м2
|
Наносятся кистью или валиком на очищенную
поверхность бетонного основания
|
|
Водно-дисперсионная
грунтовка Thomsit R 766
|
150 г/м2
|
Наносятся кистью или валиком на очищенную
поверхность бетонного основания. Разбавляется водой в соотношении 1:1
|
|
12
|
Сплошное
или многопустотное междуэтажное железобетонное перекрытие
|
|
|

|
Поз.
|
Наименование
|
Расход
|
Примечание
|
|
1
|
Лаковое
покрытие
|
|
Конструкции лаковых покрытий, расход материалов и
технология нанесения в соответствии с инструкцией фирмы производителя
|
|
2
|
Массивная
доска
|
1,02 м2/м2
|
|
|
3
|
Саморез
|
|
|
|
4
|
Полиуретановый
двухкомпонентный клей Thomsit P
625
|
1000-1400 г/м2 на один слой
|
Не содержит органический растворитель. Наносится
зубчатым шпателем
|
|
5
|
Водно-дисперсионная
грунтовка Thomsit R 766
|
40 г/м2
|
Наносится кистью или валиком на очищенную
поверхность сборной стяжки. Разбавляется водой в соотношении 1:4
|
|
6
|
Сборная
стяжка из фанеры
|
2,04 м2/м2
|
|
|
7
|
Закрепление
шурупами или дюбелями
|
|
Шаг между шурупами или дюбелями 300 мм, по кромке
листа - 150 мм
|
|
8
|
Растворный
клей Thomsit
Р 600
|
1200-1600 г/м2
|
Содержит растворитель. Наносятся зубчатым шпателем
|
|
9
|
Водно-дисперсионная
грунтовка Thomsit R 777
|
300 г/м2 бетонная стяжка 100 г/м2
цементно-песчаная стяжка
|
Наносится кистью или валиком на очищенную
поверхность бетонной или цементно-песчаной стяжки. При нанесении на
цементно-песчаную стяжку разбавляется водой в соотношении 1:1
|
|
Водно-дисперсионная
грунтовка Thomsit R 766
|
150 г/м2 бетонная стяжка 40 г/м2
цементно-песчаная стяжка
|
Наносится кистью или валиком на очищенную
поверхность бетонной или цементно-песчаной стяжки При нанесении на бетонную
стяжку разбавляется водой в соотношении 1:1, на цементно-песчаную стяжку - в
соотношении 1:4
|
|
10
|
Стяжка
из цементно-песчаного раствора марки M150
|
|
Расход материала определяется толщиной стяжки,
которая должна превышать на 15-20 мм диаметр трубы
|
|
Стяжка
из бетона класса В12,5
|
|
Расход материала определяется толщиной стяжки,
которая должна превышать на 15-20 мм диаметр трубы
|
|
Полимерцементная
стяжка марки Cercsit CN 178
|
|
Расход материала определяется толщиной стяжки,
которая должна превышать на 15-20 мм диаметр трубы
|
|
Полимерцементная
стяжка марки Ceresit CN 83
|
|
Расход материала определяется толщиной стяжки,
которая должна превышать на 15-20 мм диаметр трубы, но не должна превышать 35
мм
|
|
11
|
Труба
|
|
|
|
12
|
Водно-дисперсионная
грунтовка Ceresit CT 17
|
0,1-0,2 л/м2
|
Наносятся кистью или валиком на очищенную
поверхность бетонного основания
|
|
Водно-дисперсионная
грунтовка Ceresit CN 94
|
40 г/м2
|
Наносятся кистью или валиком на очищенную
поверхность бетонного основания. Разбавляется водой в соотношении 1:3
|
|
Водно-дисперсионная
грунтовка Thomsit R 777
|
300 г/м2
|
Наносятся кистью или валиком на очищенную
поверхность бетонного основания
|
|
Водно-дисперсионная
грунтовка Thomsit R 766
|
150 г/м2
|
Наносятся кистью или валиком на очищенную
поверхность бетонного основания. Разбавляется водой в соотношении 1:1
|
|
13
|
Сплошное
или многопустотное междуэтажное железобетонное перекрытие
|
|
|
Полы с покрытием из массивной доски по плите
перекрытия
Тип 38

|
Поз
|
Наименование
|
Расход
|
Примечание
|
|
1
|
Лаковое
покрытие
|
|
Конструкции лаковых покрытий, расход материалов и
технология нанесения в соответствии с инструкцией фирмы производителя
|
|
2
|
Массивная
доска
|
1,02 м2/м2
|
|
|
3
|
Саморез
|
|
|
|
4
|
Полиуретановый
двухкомпонентный клей Thomsit P
625
|
1000-1400 г/м2 на oдин слой
|
Не содержит органический растворитель. Наносятся
зубчатым шпателем
|
|
5
|
Водно-дисперсионная
грунтовка Thomsit R 766
|
40 г/м2
|
Наносится кистью или валиком на очищенную
поверхность сборной стяжки. Разбавляется водой в соотношении 1:4
|
|
6
|
Сборная
стяжка из фанеры
|
2,04 м2/м2
|
|
|
7
|
Закрепление
шурупами или дюбелями
|
|
Шаг между шурупами или дюбелями 300 мм, по кромке
листа - 150 мм
|
|
8
|
Растворный
клей Thomsit P 600
|
1200-1600 г/м2
|
Содержит растворитель. Наносится зубчатым шпателем
|
|
9
|
Водно-дисперсионная
грунтовка Thomsit R 777
|
300 г/м2 бетонная стяжка 100 г/м2
цементно-песчаная стяжка
|
Наносится кистью или валиком на очищенную
поверхность бетонной или цементно-песчаной стяжки. При нанесении на
цементно-песчаную стяжку разбавляется водой в соотношении 1:1
|
|
|
Водно-дисперсионная
грунтовка Thomsit R 766
|
150 г/м2 бетонная стяжка 40 г/м2
цементно-песчаная стяжка
|
Наносится кистью или валиком на очищенную
поверхность бетонной или цементно-песчаной стяжки. При нанесении на бетонную
стяжку разбавляется водой в соотношении 1:1, на цементно-песчаную стяжку - в
соотношении 1:4
|
|
10
|
Стяжка
из цементно-песчаного раствора марки М150
|
0,04 м3/м2
|
|
|
|
Стяжка
из бетона класса В12,5
|
0,04 м3/м2
|
|
|
|
Полимерцементная
стяжка марки Ceresit CN 178
|
0,04 м3/м2
|
|
|
11
|
Полиэтиленовая
пленка
|
1,15 м3/м2
|
|
|
12
|
Тепло-
и звукоизоляция из кварцевого или керамзитового песка
|
|
Толщина слоя и расход материалов назначаются в
соответствии с расчетами по параметрам тепло- и звукоизоляции
|
|
13
|
Сплошная
или многопустотная плита перекрытия
|
|
|
Полы с покрытием из массивной доски по плите
перекрытия
Тип 39

|
Поз.
|
Наименование
|
Расход
|
Примечание
|
|
1
|
Лаковое
покрытие
|
|
Конструкции лаковых покрытий, расход материалов и
технология нанесения в соответствии с инструкцией фирмы производителя
|
|
2
|
Массивная
доска
|
1,02 м2/м2
|
|
|
3
|
Саморез
|
|
|
|
4
|
Полиуретановый
двухкомпонентный клей Thomsit P
625
|
1000-1400 г/м2 на один слой
|
Не содержит органический растворитель. Наносятся
зубчатым шпателем
|
|
5
|
Водно-дисперсионная
грунтовка Thomsit R 766
|
40 г/м2
|
Наносится кистью или валиком на очищенную
поверхность сборной стяжки. Разбавляется водой в соотношении 1:4
|
|
6
|
Сборная
стяжка из фанеры
|
2,04 м2/м2
|
|
|
7
|
Закрепление
шурупами или дюбелями
|
|
Шаг между шурупами или дюбелями 300 мм, по кромке
листа - 150 мм
|
|
8
|
Растворный
клей Thomsit P 600
|
1200-1600 г/м2
|
Содержит растворитель. Наносится зубчатым шпателем
|
|
9
|
Водно-дисперсионная
грунтовка Thomsit R 777
|
300 г/м2 бетонная стяжка 100 г/м2
цементно-песчаная стяжка
|
Наносится кистью или валиком на очищенную
поверхность бетонной или цементно-песчаной стяжки. При нанесении на
цементно-песчаную стяжку разбавляется водой в соотношении 1:1
|
|
Водно-дисперсионная
грунтовка Thomsit R 766
|
150 г/м2 бетонная стяжка 40 г/м2
цементно-песчаная стяжка
|
Наносится кистью или валиком на очищенную
поверхность бетонной или цементно-песчаной стяжки. При нанесении на бетонную
стяжку разбавляется водой в соотношении 1:1, на цементно-песчаную стяжку - в
соотношении 1:4
|
|
10
|
Стяжка
из цементно-песчаного раствора марки M150
|
0,04 м3/м2
|
|
|
Стяжка
из бетона класса В12,5
|
0,04 м3/м2
|
|
|
Полимерцементная
стяжка марки Ceresit CN 178
|
0,04 м3/м2
|
|
|
11
|
Полиэтиленовая
пленка
|
1,15 м3/м2
|
|
|
12
|
Тепло-
и звукоизоляция из плит или матов
|
|
Толщина слоя и расход материалов назначаются в
соответствии с расчетами по параметрам тепло- и звукоизоляции
|
|
13
|
Сплошная
или многопустотная плита перекрытия
|
|
|
Полы с покрытием из массивной доски по плите
перекрытия
Тип 40

|
Поз.
|
Наименование
|
Расход
|
Примечание
|
|
1
|
Лаковое покрытие
|
|
Конструкции
лаковых покрытий, расход материалов и технология нанесения в соответствии с
инструкцией фирмы производителя
|
|
2
|
Массивная доска
|
1,02 м2/м2
|
|
|
3
|
Саморез
|
|
|
|
4
|
Полиуретановый
двухкомпонентный клей Thomsit P 625
|
1000-1400 г/м2
|
Не
содержит органический растворитель. Наносится зубчатым шпателем
|
|
5
|
Водно-дисперсионная
грунтовка Thomsit R
766
|
40 г/м2
|
Наносится
валиком на очищенную поверхность сборной стяжки. Разбавляется водой в
соотношении 1:4
|
|
6
|
Сборная стяжка из ДСП
|
1,02 м2/м2
|
|
|
7
|
Растворный клей Thomsit P 600
|
40-50 г/п.м
|
|
|
8
|
Пароизоляция - пергамин
|
1,15 м2/м2
|
|
|
9
|
Кварцевый песок
|
По факту
|
Расход
- минимально необходимый для выравнивания поверхности нижележащего слоя
|
|
10
|
Сплошное или
многопустотное междуэтажное железобетонное перекрытие
|
|
|
Полы с покрытием из массивной доски по плите
перекрытия
Тип 41

|
Поз.
|
Наименование
|
Расход
|
Примечание
|
|
1
|
Лаковое покрытие
|
|
Конструкции
лаковых покрытий, расход материалов и технология нанесения в соответствии с
инструкцией фирмы производителя
|
|
2
|
Массивная доска
|
1,02 м2/м2
|
|
|
3
|
Саморез
|
|
|
|
4
|
Полиуретановый
двухкомпонентный клей Thomsit P 625
|
1000-1400 г/м2
|
Не
содержит органический растворитель. Наносится зубчатым шпателем
|
|
5
|
Водно-дисперсионная
грунтовка Thomsit R
766
|
40 г/м2
|
Наносится
валиком на очищенную поверхность сборной стяжки. Разбавляется водой в
соотношении 1:4
|
|
6
|
Сборная стяжка из ДСП
|
1,02 м2/м2
|
|
|
7
|
Растворный клей Thomsit P 600
|
40-50 г/п.м
|
|
|
8
|
Пароизоляция - пергамин
|
1,15 м2/м2
|
|
|
9
|
Тепло- и звукоизоляция
из плит или матов
|
|
Толщина
слоя и расход материалов назначаются в соответствии с расчетами по параметрам
тепло- и звукоизоляции
|
|
10
|
Выравнивающая шпаклевка
|
По факту
|
|
|
11
|
Сплошное или
многопустотное междуэтажное железобетонное перекрытие с неровной поверхностью
|
|
|
Полы с покрытием из массивной доски по плите
перекрытия
Тип 42

|
Поз
|
Наименование
|
Расход
|
Примечание
|
|
1
|
Лаковое покрытие
|
|
Конструкции
лаковых покрытий, расход материалов и технология нанесения в соответствии с
инструкцией фирмы производителя
|
|
2
|
Массивная доска
|
1,02 м2/м2
|
|
|
3
|
Саморез
|
|
|
|
4
|
Полиуретановый
двухкомпонентный клей Thomsit P 625
|
1000-1400 г/м2
|
Не
содержит органический растворитель. Наносится зубчатым шпателем
|
|
5
|
Водно-дисперсионная
грунтовка Thomsit R
766
|
40 г/м2
|
Наносится
валиком на очищенную поверхность сборной стяжки. Разбавляется водой в
соотношении 1:4
|
|
6
|
Сборная стяжка из
фанеры
|
2,04 м2/м2
|
|
|
7
|
Закрепление шурупами
или дюбелями
|
|
Шаг
между шурупами или дюбелями 300 мм, по кромке листа - 150 мм
|
|
8
|
Растворный клей Thomsit P 600
|
1200-1600 г/м2
|
Содержит
растворитель. Наносится зубчатым шпателем
|
|
9
|
Лага регулируемая
|
Согласно инструкции
|
Монтаж
лаг осуществляется в соответствии с инструкцией фирмы-производителя
|
|
10
|
Болт-стойка
|
Согласно инструкции
|
Установка
болт-стоек осуществляется в соответствии с инструкцией фирмы-производителя
|
|
11
|
Труба
|
|
|
|
12
|
Пароизоляция -
полиэтиленовая пленка
|
1,15 м2/м2
|
|
|
13
|
Сплошное или
многопустотное междуэтажное железобетонное перекрытие
|
|
|
Полы с покрытием из массивной доски по плите
перекрытия
Тип 43

|
Поз
|
Наименование
|
Расход
|
Примечание
|
|
1
|
Лаковое покрытие
|
|
Конструкции
лаковых покрытий, расход материалов и технология нанесения в соответствии с
инструкцией фирмы производителя
|
|
2
|
Массивная доска
|
1,02 м2/м2
|
|
|
3
|
Саморез
|
|
|
|
4
|
Полиуретановый
двухкомпонентный клей Thomsit P 625
|
1000-1400 г/м2
|
Не
содержит органический растворитель. Наносится зубчатым шпателем
|
|
5
|
Водно-дисперсионная
грунтовка Thomsit R
766
|
40 г/м2
|
Наносится
валиком на очищенную поверхность сборной стяжки. Разбавляется водой в
соотношении 1:4
|
|
6
|
Сборная стяжка из
фанеры
|
2,04 м2/м2
|
|
|
7
|
Закрепление шурупами
или дюбелями
|
|
Шаг
между шурупами или дюбелями 300 мм, по кромке листа - 150 мм
|
|
8
|
Растворный клей Thomsit P 600
|
1200-1600 г/м2
|
Содержит
растворитель. Наносится зубчатым шпателем
|
|
9
|
Лага регулируемая
|
Согласно инструкции
|
Монтаж
лаг осуществляется в соответствии с инструкцией фирмы-производителя
|
|
10
|
Болт-стойка
|
Согласно инструкции
|
Установка
болт-стоек осуществляется в соответствии с инструкцией фирмы-производителя
|
|
11
|
Тепло- и звукоизоляция
из плит или матов
|
|
Толщина
слоя и расход материалов назначаются в соответствии с расчетами по параметрам
тепло- и звукоизоляции
|
|
12
|
Пароизоляция -
полиэтиленовая пленка
|
1,15 м2/м2
|
|
|
13
|
Сплошное или
многопустотное междуэтажное железобетонное перекрытие
|
|
|
Полы с покрытием из массивной доски по плите
перекрытия
Тип 44

|
Поз.
|
Наименование
|
Расход
|
Примечание
|
|
1
|
Лаковое покрытие
|
|
Конструкции
лаковых покрытий, расход материалов и технология нанесения в соответствии с
инструкцией фирмы производителя
|
|
2
|
Массивная доска
|
1,02 м2/м2
|
|
|
3
|
Саморез
|
|
|
|
4
|
Полиуретановый
двухкомпонентный клей Thomsit P 625
|
1000-1400 г/м2
|
Не
содержит органический растворитель. Наносится зубчатым шпателем
|
|
5
|
Водно-дисперсионная
грунтовка Thomsit R
766
|
40 г/м2
|
Наносится
валиком на очищенную поверхность сборной стяжки. Разбавляется водой в
соотношении 1:4
|
|
6
|
Сборная стяжка из
фанеры
|
2,04 м2/м2
|
|
|
7
|
Закрепление шурупами
или дюбелями
|
|
Шаг
между шурупами или дюбелями 300 мм, по кромке листа - 150 мм
|
|
8
|
Растворный клей Thomsit P 600
|
1200-1600 г/м2
|
Содержит
растворитель. Наносится зубчатым шпателем
|
|
9
|
Лага обыкновенная
|
0,004-0,005 м3/п.м
|
|
|
10
|
Кварцевый песок
|
По факту
|
Расход
- минимально необходимый для выравнивания поверхности нижележащего слоя
|
|
11
|
Сплошное или
многопустотное междуэтажное железобетонное перекрытие с неровной поверхностью
|
|
|
Полы с покрытием из массивной доски по плите
перекрытия
Тип 45

|
Поз
|
Наименование
|
Расход
|
Примечание
|
|
1
|
Лаковое покрытие
|
|
Конструкции
лаковых покрытий, расход материалов и технология нанесения в соответствии с
инструкцией фирмы производителя
|
|
2
|
Массивная доска
|
1,02 м2/м2
|
|
|
3
|
Саморез
|
|
|
|
4
|
Полиуретановый
двухкомпонентны й клей Thomsit P 625
|
1000-1400 г/м2
|
Не
содержит органический растворитель. Наносится зубчатым шпателем
|
|
5
|
Водно-дисперсионная
грунтовка Thomsit R
766
|
40 г/м2
|
Наносится
валиком на очищенную поверхность сборной стяжки. Разбавляется водой в
соотношении 1:4
|
|
6
|
Сборная стяжка из
фанеры
|
2,04 м2/м2
|
|
|
7
|
Закрепление шурупами
или дюбелями
|
|
Шаг
между шурупами или дюбелями 300 мм, по кромке листа - 150 мм
|
|
8
|
Растворный клей Thomsit P 600
|
1200-1600 г/м2
|
Содержит
растворитель. Наносится зубчатым шпателем
|
|
9
|
Лага обыкновенная
|
0,004-0,005 м3/п.м.
|
|
|
10
|
Звукоизолирующая
прокладка
|
0,15 м2/п.м
|
Материал
и толщина звукоизолирующей прокладки назначаются в соответствии с расчетами
по параметрам звукоизоляции
|
|
11
|
Кварцевый песок
|
По факту
|
Расход
- минимально необходимый для выравнивания поверхности нижележащего слоя
|
|
12
|
Сплошное или
многопустотное междуэтажное железобетонное перекрытие с неровной поверхностью
|
|
|
Полы с покрытием из массивной доски по плите
перекрытия

|
Поз
|
Наименование
|
Расход
|
Примечание
|
|
1
|
Лаковое
покрытие
|
|
Конструкции лаковых покрытий, расход материалов и
технология нанесения в соответствии с инструкцией фирмы производителя
|
|
2
|
Наборный
паркет из различных пород дерева (паркетный ковер)
|
1,02
м2/м2
|
|
|
3
|
Мелкий
гвоздь
|
|
|
|
4
|
Водно-дисперсионный
клей Thomsit P 618
|
1000-1400
г/м2 на один слой
|
Применяется для мозаичного паркета из любых пород
дерева. Не содержит органический растворитель. Наносится зубчатым шпателем
|
|
Растворный
клей Thomsit
Р 600
|
1200-1600
г/м2 на один слой
|
Применяется для паркета из любых пород дерева.
Содержит растворитель. Наносится зубчатым шпателем
|
|
Полиуретановый
двухкомпонентный клей Thomsit P
625
|
1000-1400
г/м2 на один слой
|
Применяется для паркета из любых пород дерева. Не
содержит органический растворитель. Наносится зубчатым шпателем слоем
толщиной не более 1 мм
|
|
5
|
Водно-дисперсионная
грунтовка Thomsit R 766
|
40
г/м2
|
Наносится валиком на очищенную поверхность сборной
стяжки. Разбавляется водой в соотношении 1:4
|
|
6
|
Сборная
стяжка из фанеры
|
2,04
м2/м2
|
|
|
7
|
Закрепление
шурупами или дюбелями
|
|
Шаг между шурупами или дюбелями 300 мм, по кромке
листа - 150 мм
|
|
8
|
Растворный
клей Thomsit
Р 600
|
1200-1600
г/м2
|
Содержит растворитель. Наносится зубчатым шпателем
|
|
9
|
Водно-дисперсионная
грунтовка Thomsit R 777
|
300
г/м2 бетонная стяжка 100 г/м2 цементно-песчаная стяжка
|
Наносится кистью или валиком на очищенную
поверхность бетонной или цементно-песчаной стяжки. При нанесении на
цементно-песчаную стяжку разбавляется водой в соотношении 1:1
|
|
Водно-дисперсионная
грунтовка Thomsit R 766
|
150г/м2
бетонная стяжка 40 г/м2 цементно-песчаная стяжка
|
Наносится кистью или валиком на очищенную
поверхность бетонной или цементно-песчаной стяжки. При нанесении на бетонную
стяжку разбавляется водой в соотношении 1:1, на цементно-песчаную стяжку - в
соотношении 1:4
|
|
10
|
Полимерцементная
саморазравнивающаяся стяжка марки Ceresit CN 69
|
1,8
кг/м2
|
Наносится шпателем слоем толщиной от 3 до 15 мм.
Расход - на 1 мм слоя. Предел прочности при сжатии после 28 суток выдержки не
менее 18 МПа
|
|
Полимерцементная
саморазравнивающаяся стяжка марки Thomsit DD
|
1,5
кг/м2
|
Наносится шпателем слоем толщиной от 0,5 до 5 мм.
Расход - на 1 мм слоя. Предел прочности при сжатии после 28 суток выдержки не
менее 22 МПа
|
|
Полимерцементная
саморазравнивающаяся стяжка марки Thomsit DX
|
1,5
кг/м2
|
Наносится шпателем слоем толщиной от 0,5 до 10 мм.
Расход - на 1 мм слоя. Предел прочности при сжатии после 28 суток выдержки не
менее 30 МПа
|
|
Полимерцементная
стяжка марки Ceresit CN 178
|
2,0
кг/м2
|
Наносится шпателем слоем толщиной от 5 до 80 мм.
Расход - на 1 мм слоя. Предел прочности при сжатии после 28 суток выдержки не
менее 25 МПа
|
|
Стяжка
из цементно-песчаного раствора марки М150
|
0,02
м3/м2
|
|
|
Стяжка
из бетона класса В12,5
|
0,02
м3/м2
|
|
|
11
|
Водно-дисперсионная
грунтовка Ceresit CT 17
|
0,1-0,2
л/м2
|
Наносится кистью или валиком на очищенную
поверхность бетонного основания
|
|
Водно-дисперсионная
грунтовка Ceresit CN 94
|
40
г/м2
|
Наносится кистью или валиком на очищенную поверхность
бетонного основания. Разбавляется водой в соотношении 1:3
|
|
Водно-дисперсионная
грунтовка Thomsit R 777
|
300
г/м2
|
Наносится кистью или валиком на очищенную
поверхность бетонного основания
|
|
Водно-дисперсионная
грунтовка Thomsit R 766
|
150
г/м2
|
Наносится кистью или валиком на очищенную
поверхность бетонного основания. Разбавляется водой в соотношении 1:1
|
|
12
|
Бетонное
основание из бетона класса В22,5
|
0,08
м3/м2
|
|
|
13
|
Грунт
основания
|
|
|

|
Поз
|
Наименование
|
Расход
|
Примечание
|
|
1
|
Лаковое
покрытие
|
|
Конструкции лаковых покрытий, расход материалов и
технология нанесения в соответствии с инструкцией фирмы производителя
|
|
2
|
Наборный
паркет из различных пород дерева (паркетный ковер)
|
1,02 м2/м2
|
|
|
3
|
Мелкий
гвоздь
|
|
|
|
4
|
Водно-дисперсионный
клей Thomsit P 618
|
1000-1400 г/м2 на один слой
|
Применяется для мозаичною паркета из любых пород
дерева. Не содержит органический растворитель. Наносится зубчатым шпателем
|
|
Растворный
клей Thomsil
Р 600
|
1200-1600 г/м2 на один слой
|
Применяется для паркета из любых пород дерева.
Содержит растворитель. Наносится зубчатым шпателем
|
|
Полиуретановый
двухкомпонентный клей Thomsit P
625
|
1000-1400 г/м2 на один слой
|
Применяется для паркета из любых пород дерева. Не
содержит органический растворитель. Наносится зубчатым шпателем слоем
толщиной не более 1 мм
|
|
5
|
Водно-дисперсионная
грунтовка Thornsit R 766
|
40 г/м2
|
Наносится валиком на очищенную поверхность сборной
стяжки. Разбавляется водой в соотношении 1:4
|
|
6
|
Сборная
стяжка из фанеры
|
2,04 м2/м2
|
|
|
7
|
Закрепление
шурупами или дюбелями
|
|
Шаг между шурупами или дюбелями 300 мм, по кромке
листа - 150 мм
|
|
8
|
Растворный
клей Thomsil
Р 600
|
1200-1600 г/м2
|
Содержит растворитель. Наносится зубчатым шпателем
|
|
9
|
Водно-дисперсионная
грунтовка Thomsit R 777
|
300 г/м2 бетонная стяжка 100 г/м2
цементно-песчаная стяжка
|
Наносится кистью или валиком на очищенную
поверхность бетонной или цементно-песчаной стяжки. При нанесении на
цементно-песчаную стяжку разбавляется водой в соотношении 1:1
|
|
Водно-дисперсионная
грунтовка Thomsit R 766
|
150 г/м2 бетонная стяжка 40 г/м2
цементно-песчаная стяжка
|
Наносится кистью или валиком на очищенную
поверхность бетонной или цементно-песчаной стяжки. При нанесении на бетонную
стяжку разбавляется водой в соотношении 1:1, на цементно-песчаную стяжку - в
соотношении 1:4
|
|
10
|
Полимерцементная
саморазравнивающаяся стяжка марки Ceresit CN 69
|
1,8 кг/м2
|
Наносится шпателем слоем толщиной от 3 до 15 мм.
Расход - на 1 мм слоя. Предел прочности при сжатии после 28 суток выдержки не
менее 18 МПа
|
|
Полимерцементная
саморазравнивающаяся стяжка марки Thomsit DD
|
1,5 кг/м2
|
Наносится шпателем слоем толщиной от 0,5 до 5 мм.
Расход - на 1 мм слоя. Предел прочности при сжатии после 28 суток выдержки не
менее 22 МПа
|
|
Полимерцементная
саморазравнивающаяся стяжка марки Thomsit DX
|
1,5 кг/м2
|
Наносится шпателем слоем толщиной от 0,5 до 10 мм.
Расход - на 1 мм слоя. Предел прочности при сжатии после 28 суток выдержки не
менее 30 МПа
|
|
Полимерцементная
стяжка марки Ceresit CN 178
|
2,0 кг/м2
|
Наносится шпателем слоем толщиной от 5 до 80 мм.
Расход - на 1 мм слоя. Предел прочности при сжатии после 28 суток выдержки не
менее 25 МПа
|
|
Стяжка
из цементно-песчаного раствора марки М150
|
0,02 м3/м2
|
|
|
Стяжка
из бетона класса В12,5
|
0,02 м3/м2
|
|
|
11
|
Водно-дисперсионная
грунтовка Ceresit CT 17
|
0,1-0,2 л/м2
|
Наносится кистью или валиком на очищенную
поверхность бетонного основания
|
|
Водно-дисперсионная
грунтовка Ceresit CN 94
|
40 г/м2
|
Наносится кистью или валиком на очищенную
поверхность бетонного основания. Разбавляется водой в соотношении 1:3
|
|
Водно-дисперсионная
грунтовка Thomsit R 777
|
300 г/м2
|
Наносится кистью или валиком на очищенную
поверхность бетонного основания
|
|
Водно-дисперсионная
грунтовка Thomsit R 766
|
150 г/м2
|
Наносится кистью или валиком на очищенную поверхность
бетонного основания. Разбавляется водой в соотношении 1:1
|
|
12
|
Бетонное
основание из бетона класса В22,5
|
0,08 м3/м2
|
|
|
13
|
Наливная
гидроизоляция - щебень или гравий, пропитанные битумом
|
Щебень или гравий - 0,04-0,05 м3/м2,
битум - по факту
|
|
|
14
|
Грунт
основания
|
|
|
Полы с покрытием из наборного паркета (паркетный
ковер) по грунту
Тип 48

|
Поз
|
Наименование
|
Расход
|
Примечание
|
|
1
|
Лаковое
покрытие
|
|
Конструкции лаковых покрытий, расход материалов и
технология нанесения в соответствии с инструкцией фирмы производителя
|
|
2
|
Наборный
паркет из различных пород дерева (паркетный ковер)
|
1,02 м2/м2
|
|
|
3
|
Мелкий
гвоздь
|
|
|
|
4
|
Водно-дисперсионный
клей Thomsit P 618
|
1000-1400 г/м2 на один слой
|
Применяется для мозаичного паркета из любых пород
дерева. Не содержит органический растворитель. Наносится зубчатым шпателем
|
|
Растворный
клей Thomsit
Р 600
|
1200-1600 г/м2 на один слой
|
Применяется для паркета из любых пород дерева.
Содержит растворитель. Наносится зубчатым шпателем
|
|
Полиуретановый
двухкомпонентный клей Thomsit P
625
|
1000--1400 г/м2 на один слой
|
Применяется для паркета из любых пород дерена. Не
содержит органический растворитель. Наносится зубчатым шпателем слоем
толщиной не более 1 мм
|
|
5
|
Водно-дисперсионная
грунтовка Thomsit R 766
|
40 г/м2
|
Наносится валиком на очищенную поверхность сборной
стяжки. Разбавляется водой в соотношении 1:4
|
|
6
|
Сборная
стяжка из фанеры
|
2,04 м2/м2
|
|
|
7
|
Закрепление
шурупами или дюбелями
|
|
Шаг между шурупами или дюбелями 300 мм, по кромке
листа - 150 мм
|
|
8
|
Растворный
клей Thomsit
Р 600
|
1200-1600 г/м2
|
Содержит растворитель. Наносится зубчатым шпателем
|
|
9
|
Водно-дисперсионная
грунтовка Thomsit R 777
|
300 г/м2 бетонная стяжка 100 г/м2
цементно-песчаная стяжка
|
Наносится кистью или валиком на очищенную
поверхность бетонной или цементно-песчаной стяжки. При нанесении на
цементно-песчаную стяжку разбавляется водой в соотношении 1:1
|
|
Водно-дисперсионная
грунтовка Thomsit R 766
|
150 г/м2 бетонная стяжка 40 г/м2
цементно-песчаная стяжка
|
Наносится кистью или валиком на очищенную
поверхность бетонной или цементно-песчаной стяжки. При нанесении на бетонную
стяжку разбавляется водой в соотношении 1:1, на цементно-песчаную стяжку - в
соотношении 1:4
|
|
10
|
Полимерцементная
саморазравнивающаяся стяжка марки Cеresit CN 69
|
1,8 кг/м2
|
Наносится шпателем слоем толщиной от 3 до 15 мм.
Расход - на 1 мм слоя. Предел прочности при сжатии после 28 суток выдержки не
менее 18 МПа
|
|
Полимерцементная
саморазравнивающаяся стяжка марки Thomsit DD
|
1,5кг/м2
|
Наносится шпателем слоем толщиной от 0,5 до 5 мм.
Расход - на 1 мм слоя. Предел прочности при сжатии после 28 суток выдержки не
менее 22 МПа
|
|
Полимерцементная
саморазравнивающаяся стяжка марки Thomsit DX
|
1,5 кг/м2
|
Наносится шпателем слоем толщиной от 0,5 до 10 мм.
Расход - на 1 мм слоя. Предел прочности при сжатии после 28 суток выдержки не
менее 30 МПа
|
|
Полимерцементная
стяжка марки Ceresit CN 178
|
2,0 кг/м2
|
Наносится шпателем слоем толщиной от 5 до 80 мм.
Расход - на 1 мм слоя. Предел прочности при сжатии после 28 суток выдержки не
менее 25 МПа
|
|
Стяжка
из цементно-песчаного раствора марки М150
|
0,02 м3/м2
|
|
|
Стяжка
из бетона класса В12,5
|
0,02 м3/м2
|
|
|
11
|
Водно-дисперсионная
грунтовка Ceresit CT 17
|
0,1-0,2 л/м2
|
Наносится кистью или валиком на очищенную
поверхность бетонного основания
|
|
Водно-дисперсионная
грунтовка Ceresit CN 94
|
40 г/м2
|
Наносится кистью или валиком на очищенную
поверхность бетонного основания. Разбавляется водой в соотношении 1:3
|
|
Водно-дисперсионная
грунтовка Thomsit R 777
|
300 г/м2
|
Наносится кистью или валиком на очищенную
поверхность бетонного основания
|
|
Водно-дисперсионная
грунтовка Thomsit R 766
|
150 г/м2
|
Наносится кистью или валиком на очищенную
поверхность бетонного основания. Разбавляется водой в соотношении 1:1
|
|
12
|
Бетонное
основание из бетона класса В22,5
|
0,08 м3/м2
|
|
|
13
|
Рулонная
гидроизоляция
|
1,02 м2/м2
|
|
|
Обмазочная
гидроизоляция на основе жесткой гидроизолирующей массы Ceresit CR 65
|
3-5 кг/м2
|
|
|
14
|
Стяжка
из цементно-песчаного раствора M150
|
0,05 м3/м2
|
|
|
15
|
Грунт
основания
|
|
|
Полы с покрытием из наборного паркета (паркетный
ковер) по грунту
Тип 49

|
Поз
|
Наименование
|
Расход
|
Примечание
|
|
1
|
Лаковое
покрытие
|
|
Конструкции лаковых покрытий, расход материалов и
технология нанесения в соответствии с инструкцией фирмы производителя
|
|
2
|
Наборный
паркет из различных пород дерева (паркетный ковер)
|
1,02 м2/м2
|
|
|
3
|
Мелкий
гвоздь
|
|
|
|
4
|
Водно-дисперсионный
клей Thomsit P 618
|
1000-1400 г/м2 на один слой
|
Применяется для мозаичного паркета из любых пород
дерева. Не содержит органический растворитель. Наносится зубчатым шпателем
|
|
Растворный
клей Thomsit
Р 600
|
1200-1600 г/м2 на один слой
|
Применяется для паркета из любых пород дерева.
Содержит растворитель. Наносится зубчатым шпателем
|
|
Полиуретановый
двухкомпонентный клей Thomsit P
625
|
1000-1400 г/м2 на один слой
|
Применяется для паркета из любых пород дерева. Не
содержит органический растворитель Наносится зубчатым шпателем слоем толщиной
не более 1 мм
|
|
5
|
Водно-дисперсионная
грунтовка Thomsit R 766
|
40 г/м2
|
Наносится кистью или валиком на очищенную
поверхность сборной стяжки. Разбавляется водой в соотношении 1:4
|
|
6
|
Сборная
стяжка из фанеры
|
2,04 м2/м2
|
|
|
7
|
Закрепление
шурупами или дюбелями
|
|
Шаг между шурупами или дюбелями 300 мм, по кромке
листа - 150 мм
|
|
8
|
Растворный
клей Thomsit
Р 600
|
1200-1600 г/м2
|
Содержит растворитель. Наносится зубчатым шпателем
|
|
9
|
Водно-дисперсионная
грунтовка Thomsit R 777
|
300 г/м2 бетонная стяжка 100 г/м2
цементно-песчаная стяжка
|
Наносится кистью или валиком на очищенную
поверхность бетонной или цементно-песчаной стяжки. При нанесении на
цементно-песчаную стяжку разбавляется водой в соотношении 1:1
|
|
Водно-дисперсионная
грунтовка Thomsit R 766
|
150 г/м2 бетонная стяжка 40 г/м2
цементно-песчаная стяжка
|
Наносится кистью или валиком на очищенную
поверхность бетонной или цементно-песчаной стяжки. При нанесении на бетонную
стяжку разбавляется водой в соотношении 1:1, на цементно-песчаную стяжку - в
соотношении 1:4
|
|
10
|
Стяжка
из цементно-песчаного раствора марки М150
|
|
Расход материала определяется толщиной стяжки,
которая должна превышать на 15-20 мм диаметр трубы
|
|
Стяжка
из бетона класса В12,5
|
|
Расход материала определяется толщиной стяжки,
которая должна превышать на 15-20 мм диаметр трубы
|
|
Полимерцементная
стяжка марки Ceresit CN 178
|
|
Расход материала определяется толщиной стяжки,
которая должна превышать на 15-20 мм диаметр трубы
|
|
Полимерцементная
стяжка марки Ceresit CN 83
|
|
Расход материала определяется толщиной стяжки,
которая должна превышать на 15-20 мм диаметр трубы, но не должна превышать 35
мм
|
|
11
|
Труба
|
|
|
|
12
|
Водно-дисперсионная
грунтовка Ceresit CT 17
|
0,1-0,2 л/м2
|
Наносится кистью или валиком на очищенную
поверхность бетонного основания
|
|
|
Водно-дисперсионная
грунтовка Ceresit CN 94
|
40 г/м2
|
Наносится кистью или валиком на очищенную
поверхность бетонного основания. Разбавляется водой в соотношении 1:3
|
|
|
Водно-дисперсионная
грунтовка Thomsit R 777
|
300 г/м2
|
Наносится кистью или валиком на очищенную
поверхность бетонного основания
|
|
|
Водно-дисперсионная
грунтовка Thomsit R 766
|
150 г/м2
|
Наносится кистью или валиком на очищенную
поверхность бетонного основания. Разбавляется водой в соотношении 1:1
|
|
13
|
Бетонное
основание из бетона класса В22,5
|
0,08 м3/м2
|
|
|
14
|
Грунт
основания
|
|
|
Полы с покрытием из наборного паркета (паркетный
ковер) по грунту
Тип 50

|
Поз.
|
Наименование
|
Расход
|
Примечание
|
|
1
|
Лаковое покрытие
|
|
Конструкции
лаковых покрытий, расход материалов и технология нанесения в соответствии с
инструкцией фирмы производителя
|
|
2
|
Наборный паркет из
различных пород дерева (паркетный ковер)
|
1,02 м2/м2
|
|
|
3
|
Мелкий гвоздь
|
|
|
|
4
|
Водно-дисперсионный
клей Thomsit R618
|
1000-1400 г/м2
|
Применяется
для мозаичного паркета из любых пород дерева. Не содержит органический
растворитель. Наносятся зубчатым шпателем
|
|
Растворный клей Thomsit P 600
|
1200-1600 г/м2
|
Применяется
для паркета из любых пород дерева. Содержит растворитель. Наносится зубчатым
шпателем
|
|
Полиуретановый
двухкомпонентный клей Thomsit P 625
|
1000-1400 г/м2
|
Применяется
для паркета из любых пород дерева. Не содержит органический растворитель.
Наносится зубчатым шпателем слоем толщиной не более 1 мм
|
|
5
|
Водно-дисперсионная
грунтовка Thomsit R
766
|
40 г/м2
|
Наносится
валиком на очищенную поверхность сборной стяжки. Разбавляется водой в
соотношении 1:4
|
|
6
|
Сборная стяжка из ДСП
|
1,02 м2/м2
|
|
|
7
|
Растворный клей Thomsit P 600
|
40-50 г/п.м
|
|
|
8
|
Пароизоляция - пергамин
|
1,15 м2/м2
|
|
|
9
|
Кварцевый песок
|
По факту
|
Расход
- минимально необходимый для выравнивания поверхности нижележащего слоя
|
|
10
|
Бетонное основание из
бетона класса В22,5
|
0,08 м3/м2
|
|
|
11
|
Грунт основания
|
|
|
Полы
с покрытием из наборного паркета (паркетный ковер) по грунту
Тип 51

|
Поз
|
Наименование
|
Расход
|
Примечание
|
|
1
|
Лаковое покрытие
|
|
Конструкции
лаковых покрытий, расход материалов и технология нанесения в соответствии с
инструкцией фирмы производителя
|
|
2
|
Наборный паркет из
различных пород дерева (паркетный ковер)
|
1,02 м2/м2
|
|
|
3
|
Мелкий гвоздь
|
|
|
|
4
|
Водно-дисперсионный
клей Thomsit R618
|
1000-1400 г/м2
|
Применяется
для мозаичного паркета из любых пород дерева. Не содержит органический
растворитель. Наносятся зубчатым шпателем
|
|
Растворный клей Thomsit P 600
|
1200-1600 г/м2
|
Применяется
для паркета из любых пород дерева. Содержит растворитель. Наносится зубчатым
шпателем
|
|
Полиуретановый
двухкомпонентный клей Thomsit P 625
|
1000-1400 г/м2
|
Применяется
для паркета из любых пород дерева. Не содержит органический растворитель.
Наносится зубчатым шпателем слоем толщиной не более 1 мм
|
|
5
|
Водно-дисперсионная
грунтовка Thomsit R
766
|
40 г/м2
|
Наносится
валиком на очищенную поверхность сборной стяжки. Разбавляется водой в
соотношении 1:4
|
|
6
|
Сборная стяжка из
фанеры
|
2,04 м2/м2
|
Шаг
между шурупами или дюбелями 300 мм, по кромке листа - 150 мм
|
|
7
|
Закрепление шурупами
или дюбелями
|
|
Содержит
растворитель. Наносятся зубчатым шпателем
|
|
8
|
Растворный клей Thomsit P 600
|
1200-1600 г/м2
|
Монтаж
лаг осуществляется в соответствии с инструкцией фирмы-производителя
|
|
9
|
Лага регулируемая
|
Согласно инструкции
|
Установка
болт-стоек осуществляется в соответствии с инструкцией фирмы-производителя
|
|
10
|
Болт-стойка
|
Согласно инструкции
|
|
|
11
|
Труба
|
|
|
|
12
|
Пароизоляция -
полиэтиленовая пленка
|
1,15 м2/м2
|
|
|
13
|
Бетонное основание из
бетона класса В22,5
|
0,08 м3/м2
|
|
|
14
|
Грунт основания
|
|
|
Полы с покрытием из наборного паркета (паркетный
ковер) по грунту
Тип 52

|
Поз.
|
Наименование
|
Расход
|
Примечание
|
|
1
|
Лаковое покрытие
|
|
Конструкции
лаковых покрытий, расход материалов и технология нанесения в соответствии с
инструкцией фирмы производителя
|
|
2
|
Наборный паркет из различных
пород дерева (паркетный ковер)
|
1,02 м2/м2
|
|
|
3
|
Мелкий гвоздь
|
|
|
|
4
|
Водно-дисперсионный
клей Thomsit R618
|
1000-1400 г/м2
|
Применяется
для мозаичного паркета из любых пород дерева. Не содержит органический
растворитель. Наносится зубчатым шпателем
|
|
Растворный клей Thomsit P 600
|
1200-1600 г/м2
|
Применяется
для паркета из любых пород дерева. Содержит растворитель. Наносится зубчатым
шпателем
|
|
Полиуретановый
двухкомпонентный клей Thomsit P 625
|
1000-1400 г/м2
|
Применяется
для паркета из любых пород дерева. Не содержит органический растворитель.
Наносится зубчатым шпателем слоем толщиной не более 1 мм
|
|
5
|
Водно-дисперсионная
грунтовка Thomsit R
766
|
40 г/м2
|
Наносится
валиком на очищенную поверхность сборной стяжки. Разбавляется водой в
соотношении 1:4
|
|
6
|
Сборная стяжка из
фанеры
|
2,04 м2/м2
|
|
|
7
|
Закрепление шурупами
или дюбелями
|
|
Шаг
между шурупами или дюбелями 300 мм, по кромке листа - 150 мм
|
|
8
|
Растворный клей Thomsit P 600
|
1200-1600 г/м2
|
Содержит
растворитель. Наносится зубчатым шпателем
|
|
9
|
Лага обыкновенная
|
0,004-0,005 м3/п.м
|
|
|
10
|
Деревянная прокладка
|
0,0006 м3/столбик
|
|
|
11
|
Рулонная гидроизоляция
|
0,05 м2/столбик
|
|
|
12
|
Кирпичный или бетонный
столбик
|
0,0017 м3/столбик
|
|
|
13
|
Бетонное основание из
бетона класса В22,5
|
0,08 м3/м2
|
|
|
14
|
Грунт основания
|
|
|
Полы с покрытием из наборного паркета (паркетный
ковер) по грунту
Тип 53

|
Поз.
|
Наименование
|
Расход
|
Примечание
|
|
1
|
Лаковое покрытие
|
|
Конструкции
лаковых покрытий, расход материалов и технология нанесения в соответствии с
инструкцией фирмы производителя
|
|
2
|
Наборный паркет из различных
пород дерева (паркетный ковер)
|
1,02 м2/м2
|
|
|
3
|
Мелкий гвоздь
|
|
|
|
4
|
Водно-дисперсионный
клей Thomsit R618
|
1000-1400 г/м2
|
Применяется
для мозаичного паркета из любых пород дерева. Не содержит органический
растворитель. Наносится зубчатым шпателем
|
|
Растворный клей Thomsit P 600
|
1200-1600 г/м2
|
Применяется
для паркета из любых пород дерева. Содержит растворитель. Наносится зубчатым
шпателем
|
|
Полиуретановый
двухкомпонентный клей Thomsit P 625
|
1000-1400 г/м2
|
Применяется
для паркета из любых пород дерева. Не содержит органический растворитель.
Наносится зубчатым шпателем слоем толщиной не более 1 мм
|
|
5
|
Водно-дисперсионная
грунтовка Thomsit R
766
|
40 г/м2
|
Наносится
валиком на очищенную поверхность сборной стяжки. Разбавляется водой в
соотношении 1:4
|
|
6
|
Сборная стяжка из
фанеры
|
2,04 м2/м2
|
|
|
7
|
Закрепление шурупами
или дюбелями
|
|
Шаг
между шурупами или дюбелями 300 мм, по кромке листа - 150 мм
|
|
8
|
Растворный клей Thomsit P 600
|
1200-1600 г/м2
|
Содержит
растворитель. Наносится зубчатым шпателем
|
|
9
|
Лага обыкновенная
|
0,004-0,005 м3/п.м
|
|
|
10
|
Деревянная прокладка
|
0,0006 м3/столбик
|
|
|
11
|
Рулонная гидроизоляция
|
0,05 м2/столбик
|
|
|
12
|
Кирпичный или бетонный
столбик
|
0,0034 м3/столбик
|
|
|
13
|
Грунт основания
|
0,08 м3/м2
|
|

|
Поз.
|
Наименование
|
Расход
|
Примечание
|
|
I
|
Лаковое
покрытие
|
|
Конструкции лаковых покрытий, расход материалов и
технология нанесения в соответствии с инструкцией фирмы производителя
|
|
2
|
Наборный
паркет из различных пород дерева (паркетный ковер)
|
1,02 м2/м2
|
|
|
3
|
Мелкий
гвоздь
|
|
|
|
4
|
Водно-дисперсионный
клей Thomsit P 618
|
1000-1400 г/м2 на один слой
|
Применяется для мозаичного паркета из любых пород
дерева. Не содержит органический растворитель. Наносится зубчатым шпателем
|
|
Растворный
клей Thomsit
Р 600
|
1200-1600 г/м2 на один слой
|
Применяется для паркета из любых пород дерева.
Содержит растворитель. Наносится зубчатым шпателем
|
|
Полиуретановый
двухкомпонентный клей Thomsit P
625
|
1000-1400 г/м2 на один слой
|
Применяется для паркета из любых пород дерева. Не содержит
органический растворитель. Наносится зубчатым шпателем слоем толщиной не
более 1 мм
|
|
5
|
Водно-дисперсионная
Грунтовка Thomsit R 766
|
40 г/м2
|
Наносится валиком на очищенную поверхность сборной
стяжки. Разбаатяется водой в соотношении 1:4
|
|
6
|
Сборная
стяжка из фанеры
|
2,04 м2/м2
|
|
|
7
|
Закрепление
шурупами или дюбелями
|
|
Шаг между шурупами или дюбелями 300 мм, по кромке
листа - 150 мм
|
|
8
|
Растворный
клей Thomsit
Р 600
|
1200-1600 г/м2
|
Содержит растворитель Наносится зубчатым шпателем
|
|
9
|
Водно-дисперсионная
грунтовка Thomsit R 777
|
300 г/м2 бетонная стяжка 100 г/м2
цементно-песчаная стяжка
|
Наносится кистью или валиком на очищенную
поверхность бетонной или цементно-песчаной стяжки. При нанесении на
цементно-песчаную стяжку разбавляется водой в соотношении 1:1
|
|
Водно-дисперсионная
грунтовка Thomsit R 766
|
150 г/м2 бетонная стяжка 40 г/м2
цементно-песчаная стяжка
|
Наносится кистью или валиком на очищенную
поверхность бетонной или цементно-песчаной стяжки. При нанесении на бетонную
стяжку разбавляется водой в соотношении 1:1, на цементно-песчаную стяжку - в
соотношении 1:4
|
|
10
|
Полимерцементная
саморазравниваюшаяся стяжка марки Ceresit CN 69
|
1,8 кг/м2
|
Наносится шпателем слоем толщиной от 3 до 15 мм.
Расход - на 1 мм слоя. Предел прочности при сжатии после 28 суток выдержки не
менее 18 МПа
|
|
Полимерцементная
саморазравнивающаяся стяжка марки Thomsit DD
|
1,5 кг/м2
|
Наносится шпателем слоем толщиной от 0,5 до 5 мм.
Расход - на 1 мм слоя. Предел прочности при сжатии после 28 суток выдержки не
менее 22 МПа
|
|
Полимерцементная
саморазравниваюшаяся стяжка марки Thomsit DX
|
1,5 кг/м2
|
Наносится шпателем слоем толщиной от 0,5 до 10 мм.
Расход - на 1 мм сдоя. Предел прочности при сжатии после 28 суток выдержки не
менее 30 МПа
|
|
Полимерцементная
стяжка марки Ceresit CN 178
|
2,0 кг/м2
|
Наносится шпателем слоем толщиной от 5 до 80 мм.
Расход - на 1 мм слоя. Предел прочности при сжатии после 28 суток выдержки не
менее 25 МПа
|
|
Стяжка
из цементно-песчаного раствора марки M150
|
0,02 м3/м2
|
|
|
Стяжка
из бетона класса В12,5
|
0,02 м3/м2
|
|
|
11
|
Водно-дисперсионная
грунтовка Ceresit CT 17
|
0,1-0,2 л/м2
|
Наносится кистью или валиком на очищенную
поверхность бетонного основания
|
|
Водно-дисперсионная
грунтовка Ceresit CN 94
|
40 г/м2
|
Наносится кистью или валиком на очищенную
поверхность бетонного основания. Разбавляется водой в соотношении 1:3
|
|
Водно-дисперсионная
грунтовка Thomsit R 777
|
300 г/м2
|
Наносится кистью или валиком на очищенную
поверхность бетонного основания
|
|
Водно-дисперсионная
грунтовка Thomsit R 766
|
150 г/м2
|
Наносится кистью или валиком на очищенную поверхность
бетонного основания. Разбавляется водой в соотношении 1:1
|
|
12
|
Сплошное
или многопустотное междуэтажное железобетонное перекрытие
|
|
|

|
Поз
|
Наименование
|
Расход
|
Примечание
|
|
1
|
Лаковое
покрытие
|
|
Конструкции лаковых покрытий, расход материалов и
технология нанесения в соответствии с инструкцией фирмы производителя
|
|
2
|
Наборный
паркет из различных пород дерева (паркетный ковер)
|
1,02 м2/м'2
|
|
|
3
|
Мелкий
гвоздь
|
|
|
|
4
|
Водно-дисперсионный
клей Thomsit P 618
|
1000-1400 г/м2 на один слой
|
Применяется для мозаичного паркета из любых пород
дерева. Не содержит органический растворитель. Наносится зубчатым шпателем
|
|
Растворный
клей Thomsit
Р 600
|
1200-1600 г/м2 на один слой
|
Применяется для паркета из любых пород дерева.
Содержит растворитель. Наносится зубчатым шпателем
|
|
Полиуретановый
двухкомпонентный клей Thomsit P
625
|
1000-1400 г/м2 па один слой
|
Применяется для паркета из любых пород дерева. Не
содержит органический растворитель. Наносится зубчатым шпателем слоем
толщиной не более 1 мм
|
|
5
|
Водно-дисперсионная
грунтовка Thomsit R 766
|
40 г/м2
|
Наносится кистью или валиком на очищенную
поверхность сборной стяжки. Разбавляется водой в соотношении 1:4
|
|
6
|
Сборная
стяжка из фанеры
|
2,04 м2/м2
|
|
|
7
|
Закрепление
шурупами или дюбелями
|
|
Шаг между шурупами или дюбелями 300 мм, по кромке
листа - 150 мм
|
|
8
|
Растворный
клей Thomsit
Р 600
|
1200-1600 г/м2
|
Содержит растворитель. Наносится зубчатым шпателем
|
|
9
|
Водно-дисперсионная
грунтовка Thomsit R 777
|
300 г/м2 бетонная стяжка 100 г/м2
цементно-песчаная стяжка
|
Наносится кистью или валиком на очищенную
поверхность бетонной или цементно-песчаной стяжки. При нанесении на
цементно-песчаную стяжку разбавляется водой в соотношении 1:1
|
|
Водно-дисперсионная
грунтовка Thomsit R 766
|
150 г/м2 бетонная стяжка 40 г/м2
цементно-песчаная стяжка
|
Наносится кистью или валиком на очищенную
поверхность бетонной или цементно-песчаной стяжки. При нанесении на бетонную
стяжку разбавляется водой в соотношении 1:1, на цементно-песчаную стяжку - в
соотношении 1:4
|
|
10
|
Стяжка
из цементно-песчаного раствора марки М150
|
|
Расход материала определяется толщиной стяжки,
которая должна превышать на 15-20 мм диаметр трубы
|
|
Стяжка
из бетона класса В12,5
|
|
Расход материала определяется толщиной стяжки,
которая должна превышать на 15-20 мм диаметр трубы
|
|
Полимерцементная
стяжка марки Ceresit CN 178
|
|
Расход материала определяется толщиной стяжки,
которая должна превышать на 15-20 мм диаметр трубы
|
|
Полимерцементная
стяжка марки Ceresit CN 83
|
|
Расход материала определяется толщиной стяжки,
которая должна превышать на 15-20 мм диаметр трубы, но не должна превышать 35
мм
|
|
11
|
Труба
|
|
|
|
12
|
Водно-дисперсионная
грунтовка Ceresit CT 17
|
0,1-0,2 л/м2
|
Наносится кистью или валиком па очищенную
поверхность бетонного основания
|
|
Водно-дисперсионная
грунтовка Ceresit CN 94
|
40 г/м2
|
Наносится кистью или валиком на очищенную
поверхность бетонного основания. Разбавляется водой в соотношении 1:3
|
|
Водно-дисперсионная
грунтовка Thomsit R 777
|
300 г/м2
|
Наносится кистью или валиком на очищенную
поверхность бетонного основания
|
|
Водно-дисперсионная
грунтовка Thomsit R 766
|
150 г/м2
|
Наносится кистью или валиком на очищенную
поверхность бетонного основания. Разбавляется водой в соотношении 1:1
|
|
12
|
Сплошное
или многопустотное междуэтажное железобетонное перекрытие
|
|
|
Полы с покрытием из наборного паркета (паркетный
ковер) по плите перекрытия
Тип 56

|
Поз
|
Наименование
|
Расход
|
Примечание
|
|
1
|
Лаковое
покрытие
|
|
Конструкции лаковых покрытий, расход материалов и
технология нанесения в соответствии с инструкцией фирмы производителя
|
|
2
|
Наборный
паркет из различных пород дерева (паркетный ковер)
|
1,02 м2/м2
|
|
|
3
|
Мелкий
гвоздь
|
|
|
|
4
|
Водно-дисперсионный
клей Thomsit P 618
|
1000-1400 г/м2 на один слой
|
Применяется для мозаичного паркета из любых пород
дерева. Не содержит органический растворитель. Наносится зубчатым шпателем
|
|
Растворный
клей Thomsit P 600
|
1200-1600 г/м2 на один слой
|
Применяется для паркета из любых пород дерева.
Содержит растворитель. Наносится зубчатым шпателем
|
|
Полиуретановый
двухкомпонентный клей Thomsit P
625
|
1000-1400 г/м2 на один слой
|
Применяется для паркета из любых пород дерева. Не
содержит органический растворитель. Наносится зубчатым шпателем слоем
толщиной не более 1 мм
|
|
5
|
Водно-дисперсионная
грунтовка Thomsit R 766
|
40 г/м2
|
Наносится кистью или валиком на очищенную
поверхность сборной стяжки. Разбавляется водой в соотношении 1:4
|
|
6
|
Сборная
стяжка из фанеры
|
2,04 м2/м2
|
|
|
7
|
Закрепление
шурупами или дюбелями
|
|
Шаг между шурупами или дюбелями 300 мм, по кромке
листа - 150 мм
|
|
8
|
Растворный
клей Thomsit P 600
|
1200-1600 г/м2
|
Содержит растворитель. Наносится зубчатым шпателем
|
|
9
|
Водно-дисперсионная
грунтовка Thomsit R 777
|
300 г/м2 бетонная стяжка 100 г/м2
цементно-песчаная стяжка
|
Наносится кистью или валиком на очищенную
поверхность бетонной или цементно-песчаной стяжки. При нанесении на
цементно-песчаную стяжку разбавляется водой в соотношении 1:1
|
|
Водно-дисперсионная
грунтовка Thomsit R 766
|
150 г/м2 бетонная стяжка 40 г/м2
цементно-песчаная стяжка
|
Наносится кистью или валиком на очищенную
поверхность бетонной или цементно-песчаной стяжки. При нанесении на бетонную
стяжку разбавляется водой в соотношении 1:1, па цементно-песчаную стяжку - в
соотношении 1:4
|
|
10
|
Стяжка
из цементно-песчаного раствора марки M150
|
0,04 м3/м2
|
|
|
|
Стяжка
из бетона класса В12,5
|
0,04 м3/м2
|
|
|
|
Полимерцементная
стяжка марки Ceresit CN 178
|
0,04 м3/м2
|
|
|
11
|
Полиэтиленовая
пленка
|
1,15 м3/м2
|
|
|
12
|
Тепло-
и звукоизоляция из кварцевого или керамзитового песка
|
|
Толщина слоя и расход материалов назначаются в
соответствии с расчетами по параметрам тепло- и звукоизоляции
|
|
13
|
Сплошная
или многопустотная плита перекрытия
|
|
|
Полы с покрытием из наборного паркета (паркетный
ковер) по плите перекрытия
Тип 57

|
Поз.
|
Наименование
|
Расход
|
Примечание
|
|
1
|
Лаковое
покрытие
|
|
Конструкции лаковых покрытий, расход материалов и
технология нанесения в соответствии с инструкцией фирмы производителя
|
|
2
|
Наборный
паркет из различных пород дерева (паркетный ковер)
|
1,02 м2/м2
|
|
|
3
|
Мелкий
гвоздь
|
|
|
|
4
|
Водно-дисперсионный
клей Thomsit P 618
|
1000-1400 г/м2 на один слой
|
Применяется для мозаичного паркета из любых пород
дерева. Не содержит органический растворитель. Наносится зубчатым шпателем
|
|
Растворный
клей Thomsit P 600
|
1200-1600 г/м2 на один слой
|
Применяется для паркета из любых пород дерева.
Содержит растворитель. Наносится зубчатым шпателем
|
|
Полиуретановый
двухкомпонентный клей Thomsit P
625
|
1000-1400 г/м2 на один слой
|
Применяется для паркета из любых пород дерева. Не
содержит органический растворитель. Наносится зубчатым шпателем слоем
толщиной не более 1 мм
|
|
5
|
Водно-дисперсионная
грунтовка Thomsit R 766
|
40 г/м2
|
Наносится кистью или валиком на очищенную
поверхность сборной стяжки. Разбавляется водой в соотношении 1:4
|
|
6
|
Сборная
стяжка из фанеры
|
2,04 м2/м2
|
|
|
7
|
Закрепление
шурупами или дюбелями
|
|
Шаг между шурупами или дюбелями 300 мм, по кромке
листа - 150 мм
|
|
8
|
Растворный
клей Thomsit P 600
|
1200-1600 г/м2
|
Содержит растворитель. Наносится зубчатым шпателем
|
|
9
|
Водно-дисперсионная
грунтовка Thomsit R 777
|
300 г/м2 бетонная стяжка 100 г/м2
цементно-песчаная стяжка
|
Наносится кистью или валиком на очищенную
поверхность бетонной или цементно-песчаной стяжки. При нанесении на
цементно-песчаную стяжку разбавляется водой в соотношении 1:1
|
|
|
Водно-дисперсионная
грунтовка Thomsit R 766
|
150 г/м2 бетонная стяжка 40 г/м2
цементно-песчаная стяжка
|
Наносится кистью или валиком на очищенную
поверхность бетонной или цементно-песчаной стяжки. При нанесении на бетонную
стяжку разбавляется водой в соотношении 1:1, на цементно-песчаную стяжку - в
соотношении 1:4
|
|
10
|
Стяжка
из цементно-песчаного раствора марки М150
|
0,04 м3/м2
|
|
|
|
Стяжка
из бетона класса В12,5
|
0,04 м3/м2
|
|
|
|
Полимерцементная
стяжка марки Ceresit CN 178
|
0,04 м3/м2
|
|
|
11
|
Полиэтиленовая
пленка
|
1,15 м3/м2
|
|
|
12
|
Тепло-
и звукоизоляция из плит или матов
|
|
Толщина слоя и расход материалов назначаются в
соответствии с расчетами по параметрам тепло- и звукоизоляции
|
|
13
|
Сплошная
или многопустотная плита перекрытия
|
|
|
Полы с покрытием из наборного паркета (паркетный
ковер) по плите перекрытия
Тип 58

|
Поз.
|
Наименование
|
Расход
|
Примечание
|
|
1
|
Лаковое покрытие
|
|
Конструкции
лаковых покрытий, расход материалов и технология нанесения в соответствии с
инструкцией фирмы производителя
|
|
2
|
Наборный паркет из
различных пород дерева (паркетный
ковер)
|
1,02 м2/м2
|
|
|
3
|
Мелкий гвоздь
|
|
|
|
4
|
Водно-дисперсионный клей
Thomsit
Р 618
|
1000-1400 г/м2
|
Применяется
для мозаичного паркета из любых пород дерева. Не содержит органический
растворитель. Наносится зубчатым шпателем
|
|
Растворный клей Thomsit P 600
|
1200-1600 г/м2
|
Применяется
для паркета из любых пород дерева. Содержит растворитель. Наносится зубчатым
шпателем
|
|
Полиуретановый
двухкомпонентный клей Thomsit P 625
|
1000-1400 г/м2
|
Применяется
для паркета из любых пород дерева. Не содержит органический растворитель.
Наносится зубчатым шпателем слоем толщиной не более 1 мм
|
|
5
|
Водно-дисперсионная
грунтовка Thomsit R
766
|
40 г/м2
|
Наносится
валиком на очищенную поверхность сборной стяжки. Разбавляется водой в
соотношении 1:4
|
|
6
|
Сборная стяжка из ДСП
|
1,02 м2/м2
|
|
|
7 8
|
Растворный клей Thomsit P 600
|
40-50 г/п.м
|
|
|
Пароизоляция - пергамин
|
1,15 м2/м2
|
|
|
9
|
Кварцевый песок
|
По факту
|
Расход
- минимально необходимый для выравнивания поверхности нижележащего слоя
|
|
10
|
Сплошное или
многопустотное междуэтажное железобетонное перекрытие
|
|
|
Полы с покрытием из наборного паркета (паркетный ковер)
по плите перекрытия
Тип 59

|
Поз
|
Наименование
|
Расход
|
Примечание
|
|
1
|
Лаковое покрытие
|
|
Конструкции
лаковых покрытий, расход материалов и технология нанесения в соответствии с
инструкцией фирмы производителя
|
|
2
|
Наборный паркет из
различных пород дерева (паркетный ковер)
|
1,02 м2/м2
|
|
|
3
|
Мелкий гвоздь
|
|
|
|
4
|
Водно-дисперсионный
клей Thomsit
Р 618
|
1000-1400 г/м2
|
Применяется
для мозаичного паркета из любых пород дерева. Не содержит органический
растворитель. Наносится зубчатым шпателем
|
|
Растворный клей Thomsit P 600
|
1200-1600 г/м2
|
Применяется
для паркета из любых пород дерева. Содержит растворитель. Наносится зубчатым
шпателем
|
|
Полиуретановый
двухкомпонентный клей Thomsit P 625
|
1000-1400 г/м2
|
Применяется
для паркета из любых пород дерева. Не содержит органический растворитель.
Наносится зубчатым шпателем слоем толщиной не более 1 мм
|
|
5
|
Водно-дисперсионная
грунтовка Thomsit R
766
|
40 г/м2
|
Наносится
валиком на очищенную поверхность сборной стяжки. Разбавляется водой в
соотношении 1:4
|
|
6
|
Сборная стяжка из ДСП
|
1,02 м2/м2
|
|
|
7
|
Растворный клей Thomsit P 600
|
40-50 г/п.м
|
|
|
8
|
Пароизоляция - пергамин
|
1,15 м2/м2
|
|
|
9
|
Тепло- и звукоизоляция
из плит или матов
|
|
Толщина
слоя и расход материалов назначаются в соответствии с расчетами по параметрам
тепло- и звукоизоляции
|
|
10
|
Сплошное или
многопустотное междуэтажное железобетонное перекрытие
|
|
|
Полы с покрытием из наборного паркета (паркетный
ковер) по плите перекрытия
Тип 60

|
Поз
|
Наименование
|
Расход
|
Примечание
|
|
1
|
Лаковое
покрытие
|
|
Конструкции лаковых покрытий, расход материалов и
технология нанесения в соответствии с инструкцией фирмы производителя
|
|
2
|
Наборный
паркет из различных пород дерева (паркетный ковер)
|
1,02 м2/м2
|
|
|
3
|
Мелкий
гвоздь
|
|
|
|
4
|
Водно-дисперсионный
клей Thomsit P 618
|
1000-1400 г/м2
|
Применяется для мозаичного паркета из любых пород
дерева. Не содержит органический растворитель. Наносится зубчатым шпателем
|
|
Растворный
клей Thomsit P 600
|
1200-1600 г/м2
|
Применяется для паркета из любых пород дерева.
Содержит растворитель. Наносится зубчатым шпателем
|
|
Полиуретановый
двухкомпонентный клей Thomsit P
625
|
1000-1400 г/м2
|
Применяется для паркета из любых пород дерева. Не
содержит органический растворитель. Наносится зубчатым шпателем слоем
толщиной не более 1 мм
|
|
5
|
Водно-дисперсионная
грунтовка Thomsit R 766
|
40 г/м2
|
Наносится валиком на очищенную поверхность сборной
стяжки. Разбавляется водой в соотношении 1:4
|
|
6
|
Сборная
стяжка из фанеры
|
2,04 м2/м2
|
|
|
7
|
Закрепление
шурупами или дюбелями
|
|
Шаг между шурупами или дюбелями 300 мм, по кромке
листа - 150 мм
|
|
8
|
Растворный
клей Thomsit P 600
|
1200-1600 г/м2
|
Содержит растворитель. Наносится зубчатым шпателем
|
|
9
|
Лага
регулируемая
|
Согласно инструкции
|
Монтаж лаг осуществляется в соответствии с
инструкцией фирмы-производителя
|
|
10
|
Болт-стойка
|
Согласно инструкции
|
Установка болт-стоек осуществляется в соответствии
с инструкцией фирмы-производителя
|
|
11
|
Труба
|
|
|
|
12
|
Пароизоляция
- полиэтиленовая пленка
|
1,15 м2/м2
|
|
|
13
|
Сплошное
или многопустотное междуэтажное железобетонное перекрытие
|
|
|
Полы с покрытием из наборного паркета (паркетный
ковер) по плите перекрытия
Тип 61

|
Поз
|
Наименование
|
Расход
|
Примечание
|
|
1
|
Лаковое покрытие
|
|
Конструкции
лаковых покрытий, расход материалов и технология нанесения в соответствии с
инструкцией фирмы производителя
|
|
2
|
Наборный паркет из
различных пород дерева (паркетный ковер)
|
1,02 м2/м2
|
|
|
3
|
Мелкий гвоздь
|
|
|
|
4
|
Водно-дисперсионный
клей Thomsit P
618
|
1000-1400 г/м2
|
Применяется
для мозаичного паркета из любых пород дерева. Не содержит органический
растворитель. Наносится зубчатым шпателем
|
|
Растворный клей Thomsit P 600
|
1200-1600 г/м2
|
Применяется
для паркета из любых пород дерева. Содержит растворитель. Наносится зубчатым
шпателем
|
|
Полиуретановый
двухкомпонентный клей Thomsit P 625
|
1000-1400 г/м2
|
Применяется
для паркета из любых пород дерева. Не содержит органический растворитель. Наносится
зубчатым шпателем слоем толщиной не более 1 мм
|
|
5
|
Водно-дисперсионная
грунтовка Thomsit R
766
|
40 г/м2
|
Наносится
валиком на очищенную поверхность сборной стяжки. Разбавляется водой в
соотношении 1:4
|
|
6
|
Сборная стяжка из
фанеры
|
2,04 м2/м2
|
|
|
7
|
Закрепление шурупами
или дюбелями
|
|
Шаг
между шурупами или дюбелями 300 мм, по кромке листа - 150 мм
|
|
8
|
Растворный клей Thomsit P 600
|
1200-1600 г/м2
|
Содержит
растворитель. Наносится зубчатым шпателем
|
|
9
|
Лага регулируемая
|
Согласно инструкции
|
Монтаж
лаг осуществляется в соответствии с инструкцией фирмы-производителя
|
|
10
|
Болт-стойка
|
Согласно инструкции
|
Установка
болт-стоек осуществляется в соответствии с инструкцией фирмы-производителя
|
|
11
|
Тепло- и звукоизоляция
из плит или матов
|
|
Толщина
слоя и расход материалов назначаются в соответствии с рас-счетами по
параметрам тепло- и звукоизоляции
|
|
12
|
Пароизоляция -
полиэтиленовая пленка
|
1,15 м2/м2
|
|
|
13
|
Сплошное или
многопустотное междуэтажное железобетонное перекрытие
|
|
|
Полы с покрытием из наборного паркета (паркетный
ковер) по плите перекрытия
Тип 62

|
Поз
|
Наименование
|
Расход
|
Примечание
|
|
1
|
Лаковое
покрытие
|
|
Конструкции лаковых покрытий, расход материалов и
технология нанесения в соответствии с инструкцией фирмы производителя
|
|
2
|
Наборный
паркет из различных пород дерева (паркетный ковер)
|
1,02 м2/м2
|
|
|
3
|
Мелкий
гвоздь
|
|
|
|
4
|
Водно-дисперсионный
клей Thomsit P 618
|
1000-1400 г/м2
|
Применяется для мозаичного паркета из любых пород
дерева. Не содержит органический растворитель. Наносится зубчатым шпателем
|
|
|
Растворный
клей Thomsit P 600
|
1200-1600 г/м2
|
Применяется для паркета из любых пород дерева.
Содержит растворитель. Наносится зубчатым шпателем
|
|
|
Полиуретановый
двухкомпонентный клей Thomsit P
625
|
1000-1400 г/м2
|
Применяется для паркета из любых пород дерева. Не
содержит органический растворитель. Наносится зубчатым шпателем слоем
толщиной не более 1 мм
|
|
5
|
Водно-дисперсионная
грунтовка Thomsit R 766
|
40 г/м2
|
Наносится валиком на очищенную поверхность сборной
стяжки. Разбавляется водой в соотношении 1:4
|
|
6
|
Сборная
стяжка из фанеры
|
2,04 м2/м2
|
|
|
7
|
Закрепление
шурупами или дюбелями
|
|
Шаг между шурупами или дюбелями 300 мм, по кромке
листа - 150 мм
|
|
8
|
Растворный
клей Thomsit P 600
|
1200-1600 г/м2
|
Содержит растворитель. Наносится зубчатым шпателем
|
|
9
|
Лага
обыкновенная
|
0,004-0,005 м3/п.м
|
|
|
10
|
Кварцевый
песок
|
По факту
|
Расход - минимально необходимый для выравнивания
поверхности нижележащего слоя
|
|
11
|
Сплошное
или многопустотное междуэтажное железобетонное перекрытие с неровной
поверхностью
|
|
|
Полы с покрытием из наборного паркета (паркетный
ковер) по плите перекрытия
Тип 63

|
Поз
|
Наименование
|
Расход
|
Примечание
|
|
1
|
Лаковое
покрытие
|
|
Конструкции лаковых покрытий, расход материалов и
технология нанесения в соответствии с инструкцией фирмы производителя
|
|
2
|
Наборный
паркет из различных пород дерева (паркетный ковер)
|
1,02 м2/м2
|
|
|
3
|
Мелкий
гвоздь
|
|
|
|
4
|
Водно-дисперсионный
клей Thomsit P 618
|
1000-1400 г/м2
|
Применяется для мозаичного паркета из любых пород
дерева. Не содержит органический растворитель. Наносится зубчатым шпателем
|
|
Растворный
клей Thomsit P 600
|
1200-1600 г/м2
|
Применяется для паркета из любых пород дерева.
Содержит растворитель. Наносится зубчатым шпателем
|
|
Полиуретановый
двухкомпонентный клей Thomsit P
625
|
1000-1400 г/м2
|
Применяется для паркета из любых пород дерева. Не
содержит органический растворитель. Наносится зубчатым шпателем слоем
толщиной не более 1 мм
|
|
5
|
Водно-дисперсионная
грунтовка Thomsit R 766
|
40 г/м2
|
Наносится валиком на очищенную поверхность сборной
стяжки. Разбавляется водой в соотношении 1:4
|
|
6
|
Сборная
стяжка из фанеры
|
2,04 м2/м2
|
|
|
7
|
Закрепление
шурупами или дюбелями
|
|
Шаг между шурупами или дюбелями 300 мм, по кромке
листа - 150 мм
|
|
8
|
Растворный
клей Thomsit P 600
|
1200-1600 г/м2
|
Содержит растворитель. Наносится зубчатым шпателем
|
|
9
|
Лага
обыкновенная
|
0,004-0,005 м3/п.м.
|
|
|
10
|
Звукоизолирующая
прокладка
|
0,15 м2/п.м
|
Материал и толщина звукоизолирующей прокладки
назначаются в соответствии с расчетами по параметрам звукоизоляции
|
|
11
|
Кварцевый
песок
|
По факту
|
Расход - минимально необходимый для выравнивания
поверхности нижележащего слоя
|
|
12
|
Сплошное
или многопустотное междуэтажное железобетонное перекрытие с неровной
поверхностью
|
|
|
Полы с покрытием из наборного паркета (паркетный
ковер) по плите перекрытия

|
Поз.
|
Наименование
|
Расход
|
Примечание
|
|
1
|
Паркетные
доски, ламинат
|
1,02 м2/м2
|
|
|
2
|
Водно-дисперсионный
клей Thomsit P 640
|
25 г/п.м.
|
|
|
3
|
Стандартная
пенополиэтиленовая подложка
|
1 м2/м2
|
|
|
4
|
Полимерцементная
саморазравнивающаяся стяжка марки Ceresit CN69
|
1,8 кг/м2
|
Наносится шпателем слоем толщиной от 3 до 15 мм.
Расход - на 1 мм слоя. Предел прочности при сжатии после 28 суток выдержки не
менее 18 МПа
|
|
Полимерцементная
саморазравнивающаяся стяжка марки Thomsit DD
|
1,5 кг/м2
|
Наносится шпателем слоем толщиной от 0,5 до 5 мм.
Расход - на 1 мм слоя. Предел прочности при сжатии после 28 суток выдержки не
менее 22 МПа
|
|
Полимерцементная
саморазравнивающаяся стяжка марки Thomsit DX
|
1,5 кг/м2
|
Наносится шпателем слоем толщиной от 0,5 до 10 мм.
Расход - на 1 мм слоя. Предел прочности при сжатии после 28 суток выдержки не
менее 30 МПа
|
|
Полимерцементная
стяжка марки Ceresit CN 178
|
2,0 кг/м2
|
Наносится шпателем слоем толщиной от 5 до 80 мм.
Расход - на 1 мм слоя. Предел прочности при сжатии после 28 суток выдержки не
менее 25 МПа
|
|
Стяжка
из цементно-песчаного раствора марки М150
|
0,02 м3/м2
|
|
|
Стяжка
из бетона класса В12,5
|
0,02 м3/м2
|
|
|
5
|
Водно-дисперсионная
грунтовка Ceresit CT 17
|
0,1-0,2 л/м2
|
Наносится кистью или валиком на очищенную
поверхность бетонного основания
|
|
Водно-дисперсионная
грунтовка Ceresit CN 94
|
40 г/м2
|
Наносится кистью или валиком на очищенную
поверхность бетонного основания. Разбавляется водой в соотношении 1:3
|
|
Водно-дисперсионная
грунтовка Thomsit R 777
|
300 г/м2
|
Наносится кистью или валиком на очищенную
поверхность бетонного основания
|
|
Водно-дисперсионная
грунтовка Thomsit R 766
|
150 г/м2
|
Наносится кистью или валиком на очищенную
поверхность бетонного основания. Разбавляется водой в соотношении 1:1
|
|
6
|
Бетонное
основание из бетона класса В22,5
|
0,08 м3/м2
|
|
|
7
|
Грунт
основания
|
|
|

|
Поз.
|
Наименование
|
Расход
|
Примечание
|
|
1
|
Паркетные
доски, ламинат
|
1,02 м2/м2
|
|
|
2
|
Водно-дисперсионный
клей Thomsit P 640
|
25 г/п.м.
|
|
|
3
|
Стандартная
пенополиэтиленовая подложка
|
1 м2/м2
|
|
|
4
|
Полимерцементная
саморазравнивающаяся стяжка марки Ceresit CN69
|
1,8 кг/м2
|
Наносится шпателем слоем толщиной от 3 до 15 мм.
Расход - на 1 мм слоя. Предел прочности при сжатии после 28 суток выдержки не
менее 18 МПа
|
|
Полимерцементная
саморазравнивающаяся стяжка марки Thomsit DD
|
1,5 кг/м2
|
Наносится шпателем слоем толщиной от 0,5 до 5 мм.
Расход - на 1 мм слоя. Предел прочности при сжатии после 28 суток выдержки не
менее 22 МПа
|
|
Полимерцементная
саморазравнивающаяся стяжка марки Thomsit DX
|
1,5 кг/м2
|
Наносится шпателем слоем толщиной от 0,5 до 10 мм.
Расход - на 1 мм слоя. Предел прочности при сжатии после 28 суток выдержки не
менее 30 МПа
|
|
Полимерцементная
стяжка марки Ceresit CN178
|
2,0 кг/м2
|
Наносится шпателем слоем толщиной от 5 до 80 мм.
Расход - на 1 мм слоя. Предел прочности при сжатии после 28 суток выдержки не
менее 25 МПа
|
|
Стяжка
из цементно-песчаного раствора марки MI50
|
0,02 м3/м2
|
|
|
Стяжка
из бетона класса В12,5
|
0,02 м3/м2
|
|
|
5
|
Водно-дисперсионная
грунтовка Ceresit CT 17
|
0,1-0,2 л/м2
|
Наносится кистью или валиком на очищенную
поверхность бетонного основания
|
|
Водно-дисперсионная
грунтовка Ceresit CN 94
|
40 г/м2
|
Наносится кистью или валиком на очищенную
поверхность бетонного основания. Разбавляется водой в соотношении 1:3
|
|
Водно-дисперсионная
грунтовка Thomsit R 777
|
300 г/м2
|
Наносится кистью или валиком на очищенную поверхность
бетонного основания
|
|
Водно-дисперсионная
грунтовка Thomsit R 766
|
150 г/м2
|
Наносится кистью или валиком на очищенную
поверхность бетонного основания. Разбавляется водой в соотношении 1:1
|
|
6
|
Бетонное
основание из бетона класса В22,5
|
0,08 м3/м2
|
|
|
7
|
Наливная
гидроизоляция - щебень или гравий, пропитанные битумом
|
Щебень или гравий - 0,04-0,05 м3/м2,
битум - но факту
|
|
|
8
|
Грунт
основания
|
|
|
Полы с покрытием из паркетной доски, ламината по
грунту
Тип 66

|
Поз
|
Наименование
|
Расход
|
Примечание
|
|
1
|
Паркетные
доски, ламинат
|
1,02 м2/м2
|
|
|
2
|
Водно-дисперсионный
клей Thomsit P 640
|
25 г/п.м.
|
|
|
3
|
Стандартная
пенополиэтиленовая подложка
|
1 м2/м2
|
|
|
4
|
Полимерцементная
саморазравнивающаяся стяжка марки Ceresit CN 69
|
1,8 кг/м2
|
Наносится шпателем слоем толщиной от 3 до 15 мм.
Расход - на 1 мм слоя. Предел прочности при сжатии после 28 суток выдержки не
менее 18 МПа
|
|
Полимерцементная
саморазравнивающаяся стяжка марки Thomsit DD
|
1,5 кг/м2
|
Наносится шпателем слоем толщиной от 0,5 до 5 мм.
Расход - на 1 мм слоя. Предел прочности при сжатии после 28 суток выдержки не
менее 22 МПа
|
|
Полимерцементная
саморазравнивающаяся стяжка марки Thomsit DX
|
1,5кг/м2
|
Наносится шпателем слоем толщиной от 0,5 до 10 мм.
Расход - на 1 мм слоя. Предел прочности при сжатии после 28 суток выдержки не
менее 30 МПа
|
|
Полимерцементная
стяжка марки Ceresit CN 178
|
2,0 кг/м2
|
Наносится шпателем слоем толщиной от 5 до 80 мм.
Расход - на 1 мм слоя. Предел прочности при сжатии после 28 суток выдержки не
менее 25 МПа
|
|
Стяжка
из цементно-песчаного раствора марки М150
|
0,02 м3/м2
|
|
|
Стяжка
из бетона класса В 12,5
|
0,02 м3/м2
|
|
|
5
|
Водно-дисперсионная
грунтовка Ceresit CT 17
|
0,1-0,2 л/м2
|
Наносится кистью или валиком на очищенную
поверхность бетонного основания
|
|
Водно-дисперсионная
грунтовка Ceresit CN 94
|
40 г/м2
|
Наносится кистью или валиком на очищенную
поверхность бетонного основания. Разбавляется водой в соотношении 1:3
|
|
Водно-дисперсионная
грунтовка Thomsit R 777
|
300 г/м2
|
Наносится кистью или валиком на очищенную
поверхность бетонного основания
|
|
Водно-дисперсионная
грунтовка Thomsit R 766
|
150 г/м2
|
Наносится кистью или валиком на очищенную
поверхность бетонного основания. Разбавляется водой в соотношении 1:1
|
|
6
|
Бетонное
основание из бетона класса В22,5
|
0,08 м3/м2
|
|
|
7
|
Рулонная
гидроизоляция
|
1,02 м2/м2
|
|
|
Обмазочная
гидроизоляция на основе жесткой гидроизолирующей массы Ceresit CR 65
|
3-5 кг/м2
|
|
8
|
Стяжка
из цементно-песчаного раствора М150
|
0,05 м3/м2
|
|
|
9
|
Грунт
основания
|
|
|
Полы с покрытием из паркетной доски, ламината по
грунту
Тип 67

|
Поз
|
Наименование
|
Расход
|
Примечание
|
|
1
|
Паркетные
доски, ламинат
|
1,02 м2/м2
|
|
|
2
|
Водно-дисперсионный
клей Thomsit P 640
|
25 г/п.м
|
|
|
3
|
Стандартная
пенополиэтиленовая подложка
|
1 м2/м2
|
|
|
4
|
Стяжка
из цементно-песчаного раствора марки M150
|
|
Расход материала определяется толщиной стяжки,
которая должна превышать на 15-20 мм диаметр трубы
|
|
|
Стяжка
из бетона класса В 12,5
|
|
Расход материала определяется толщиной стяжки,
которая должна превышать на 15-20 мм диаметр трубы
|
|
Полимерцементная
стяжка марки Ceresit CN 178
|
|
Расход материала определяется толщиной стяжки,
которая должна превышать на 15-20 мм диаметр трубы
|
|
Полимерцементная
стяжка марки Ceresit CN 83
|
|
Расход материала определяется толщиной стяжки,
которая должна превышать на 15-20 мм диаметр трубы, но не должна превышать 35
мм
|
|
5
|
Труба
|
|
|
|
6
|
Водно-дисперсионная
грунтовка Ceresit CT 17
|
0,1-0,2 л/м2
|
Наносится кистью или валиком на очищенную
поверхность бетонного основания
|
|
Водно-дисперсионная
грунтовка Ceresit CN 94
|
40 г/м2
|
Наносится кистью или валиком на очищенную
поверхность бетонного основания. Разбавляется водой в соотношении 1:3
|
|
Водно-дисперсионная
грунтовка Thomsit R 777
|
300 г/м2
|
Наносится кистью или валиком на очищенную
поверхность бетонного основания
|
|
Водно-дисперсионная
грунтовка Thomsit R 766
|
150 г/м2
|
Наносится кистью или валиком на очищенную
поверхность бетонного основания. Разбавляется водой в соотношении 1:1
|
|
7
|
Бетонное
основание из бетона класса В22,5
|
0,08 м3/м2
|
|
|
8
|
Грунт
основания
|
|
|
Полы с покрытием из паркетной доски, ламината по
грунту
Тип 68

|
Поз.
|
Наименование
|
Расход
|
Примечание
|
|
1
|
Паркетные доски,
ламинат
|
1,02 м2/м2
|
|
|
2
|
Водно-дисперсионный
клей Thomsit
Р 640
|
25 г/п.м
|
|
|
3
|
Стандартная
пенополиэтиленовая подложка
|
1 м2/м2
|
|
|
4
|
Сборная стяжка из
готовых элементов из гипсоволокнистых листов
|
1,02 м2/м2
|
|
|
5
|
Водно-дисперсионный
клей
|
40-50 г/п.м
|
|
|
6
|
Кварцевый песок
|
По факту
|
Расход
- минимально необходимый для выравнивания поверхности нижележащего слоя
|
|
7
|
Пароизоляция -
полиэтиленовая пленка
|
1,15 м2/м2
|
|
|
8
|
Бетонное основание из
бетона класса В22,5
|
0,08 м3/м2
|
|
|
9
|
Грунт основания
|
|
|
Полы с покрытием из паркетной доски, ламината по
грунту
Тип 69

|
Поз.
|
Наименование
|
Расход
|
Примечание
|
|
1
|
Паркетные доски,
ламинат
|
1,02 м2/м2
|
|
|
2
|
Водно-дисперсионный
клей Thomsit
Р 640
|
25 г/п.м
|
|
|
3
|
Стандартная
пенополиэтиленовая подложка
|
1 м2/м2
|
|
|
4
|
Сборная стяжка из готовых
элементов из гипсоволокнистых листов
|
1,02 м2/м2
|
|
|
5
|
Водно-дисперсионный
клей
|
40-50 г/п.м
|
|
|
6
|
Кварцевый песок
|
По расчету
|
Толщина
слоя засыпки должна превышать на 15-20 мм высоту кожуха
|
|
7
|
Труба
|
|
|
|
8
|
Обкладка трубы
пористо-волокнистыми матами
|
По факту
|
|
|
9
|
Защитный металлический
кожух
|
|
|
|
10
|
Дюбель разжимной
|
|
|
|
11
|
Пароизоляция -
полиэтиленовая пленка
|
1,15 м2/м2
|
|
|
12
|
Бетонное основание из
бетона класса В22,5
|
0,08 м3/м2
|
|
|
13
|
Грунт основания
|
|
|
Полы с покрытием из паркетной доски, ламината по
грунту
Тип 70

|
Поз.
|
Наименование
|
Расход
|
Примечание
|
|
1
|
Паркетные доски,
ламинат
|
1,02 м2/м2
|
|
|
2
|
Водно-дисперсионный
клей Thomsit
Р 640
|
25 г/п.м
|
|
|
3
|
Стандартная
пенополиэтиленовая подложка
|
1 м2/м2
|
|
|
4
|
Сборная стяжка из ДСП
|
1,02 м2/м2
|
|
|
5
|
Растворный клей Thomsit P 600
|
40-50 г/п.м
|
|
|
6
|
Пароизоляция - пергамин
|
1,15 м2/м2
|
|
|
7
|
Кварцевый песок
|
По факту
|
Расход
- минимально необходимый для выравнивания поверхности нижележащего слоя
|
|
8
|
Бетонное основание из
бетона класса В22,5
|
0,08 м3/м2
|
|
|
9
|
Грунт основания
|
|
|
Полы с покрытием из паркетной доски, ламината по
грунту
Тип 71

|
Поз.
|
Наименование
|
Расход
|
Примечание
|
|
1
|
Паркетные доски,
ламинат
|
1,02 м2/м2
|
|
|
2
|
Водно-дисперсионный
клей Thomsit
Р 640
|
25 г/п.м
|
|
|
3
|
Стандартная
пенополиэтиленовая подложка
|
1 м2/м2
|
|
|
4
|
Сборная стяжка из
фанеры
|
2,04 м2/м2
|
|
|
5
|
Растворный клей Thomsit P 600
|
1200-1600 г/м2
|
Содержит
растворитель. Наносится зубчатым шпателем
|
|
6
|
Закрепление саморезами
|
|
Шаг
между саморезами 300 мм, по кромке листов - 150 мм
|
|
7
|
Лага регулируемая
|
Согласно инструкции
|
Монтаж
лаг осуществляется в соответствии с инструкцией фирмы-производителя
|
|
8
|
Болт-стойка
|
Согласно инструкции
|
Установка
болт-стоек осуществляется в соответствии с инструкцией фирмы-производителя
|
|
9
|
Труба
|
|
|
|
10
|
Пароизоляция -
полиэтиленовая пленка
|
1,15 м2/м2
|
|
|
11
|
Бетонное основание из
бетона класса В22,5
|
0,08 м3/м2
|
|
|
12
|
Грунт основания
|
|
|
Полы с покрытием из паркетной доски, ламината по
грунту
Тип 72

|
Поз
|
Наименование
|
Расход
|
Примечание
|
|
1
|
Паркетные доски,
ламинат
|
1,02 м2/м2
|
|
|
2
|
Водно-дисперсионный
клей Thomsit
Р 640
|
25 г/п.м
|
|
|
3
|
Стандартная
пенополиэтиленовая подложка
|
1 м2/м2
|
|
|
4
|
Сборная стяжка из
фанеры
|
2,04 м2/м2
|
|
|
5
|
Растворный клей Thomsit P 600
|
1200-1600 г/м2
|
Содержит
растворитель. Наносится зубчатым шпателем
|
|
6
|
Закрепление саморезами
|
|
Шаг
между саморезами 300 мм, по кромке листов - 150 мм
|
|
7
|
Лага обыкновенная
|
0,004-0,005 м3/п.м
|
|
|
8
|
Деревянная прокладка
|
0,0006 м3/столбик
|
|
|
9
|
Рулонная гидроизоляция
|
0,05 м2/столбик
|
|
|
10
|
Кирпичный или бетонный
столбик
|
0,0017 м3/столбик
|
|
|
11
|
Бетонное основание из
бетона класса В22,5
|
0,08 м3/м2
|
|
|
12
|
Грунт основания
|
|
|
Полы с покрытием из паркетной доски, ламината по
грунту
Тип 73

|
Поз.
|
Наименование
|
Расход
|
Примечание
|
|
1
|
Паркетные доски,
ламинат
|
1,02 м2/м2
|
|
|
2
|
Водно-дисперсионный
клей Thomsit
Р 640
|
25 г/п.м
|
|
|
3
|
Стандартная
пенополиэтиленовая подложка
|
1 м2/м2
|
|
|
4
|
Сборная стяжка из
фанеры
|
2,04 м2/м2
|
|
|
5
|
Растворный клей Thomsit P 600
|
1200-1600 г/м2
|
Содержит
растворитель. Наносится зубчатым шпателем
|
|
6
|
Закрепление саморезами
|
|
Шаг
между саморезами 300 мм, по кромке листов - 150 мм
|
|
7
|
Лага обыкновенная
|
0,004-0,005 м3/п.м
|
|
|
8
|
Деревянная прокладка
|
0,0006 м3/столбик
|
|
|
9
|
Рулонная гидроизоляция
|
0,05 м2/столбик
|
|
|
10
|
Кирпичный или бетонный
столбик
|
0,0034 м3/столбик
|
|
|
11
|
Грунт основания
|
|
|
Полы с покрытием из паркетной доски, ламината по
грунту

|
Поз.
|
Наименование
|
Расход
|
Примечание
|
|
1
|
Паркетные
доски, ламинат
|
1,02 м2/м2
|
|
|
2
|
Водно-дисперсионный
клей Thomsit P 640
|
25 г/п.м
|
|
|
3
|
Стандартная
пенополиэтиленовая подложка
|
1 м2/м2
|
|
|
4
|
Полимерцементная
саморазравнивающаяся стяжка марки Cеrеsit CN 69
|
1,8 кг/м2
|
Наносится шпателем слоем толщиной от 3 до 15 мм.
Расход - на 1 мм слоя. Предел прочности при сжатии после 28 суток выдержки не
менее 18 МПа
|
|
Полимерцементная
саморазравнивающаяся стяжка марки Thomsit DD
|
1,5 кг/м2
|
Наносится шпателем слоем толщиной от 0,5 до 5 мм.
Расход - на 1 мм слоя. Предел прочности при сжатии после 28 суток выдержки не
менее 22 МПа
|
|
Полимерцементная
саморазравнивающаяся стяжка марки Thomsit DX
|
1,5 кг/м2
|
Наносится шпателем слоем толщиной от 0,5 до 10 мм.
Расход - на 1 мм слоя. Предел прочности при сжатии после 28 суток выдержки не
менее 30 МПа
|
|
Полимерцементная
стяжка марки Ceresit CN 178
|
2,0 кг/м2
|
Наносится шпателем слоем толщиной от 5 до 80 мм.
Расход - на 1 мм слоя. Предел прочности при сжатии после 28 суток выдержки не
менее 25 МПа
|
|
Стяжка
из цементно-песчаного раствора марки M150
|
0,02 м3/м2
|
|
|
Стяжка
из бетона класса В 12,5
|
0,02 м3/м2
|
|
|
5
|
Водно-дисперсионная
грунтовка Ceresit CT 17
|
0,1-0,2 л/м2
|
Наносится кистью или валиком на очищенную
поверхность бетонного основания
|
|
Водно-дисперсионная
грунтовка Ceresit CN 94
|
40 г/м2
|
Наносится кистью или валиком на очищенную
поверхность бетонного основания. Разбавляется водой в соотношении 1:3
|
|
Водно-дисперсионная
грунтовка Thomsit R 777
|
300 г/м2
|
Наносится кистью или валиком на очищенную
поверхность бетонного основания
|
|
Водно-дисперсионная
грунтовка Thomsit R 766
|
150 г/м2
|
Наносится кистью или валиком на очищенную
поверхность бетонного основания. Разбавляется водой в соотношении 1:1
|
|
6
|
Сплошная
или многопустотная плита перекрытия
|
|
|

|
Поз.
|
Наименование
|
Расход
|
Примечание
|
|
1
|
Паркетные
доски, ламинат
|
1,02 м2/м2
|
|
|
2
|
Водно-дисперсионный
клей Thomsit P 640
|
25 г/п.м
|
|
|
3
|
Стандартная
пенополиэтиленовая подложка
|
1 м2/м2
|
|
|
4
|
Стяжка
из цементно-песчаного раствора марки M150
|
|
Расход материала определяется толщиной стяжки,
которая должна превышать на 15-20 мм диаметр трубы
|
|
Стяжка
из бетона класса В 12,5
|
|
Расход материала определяется толщиной стяжки,
которая должна превышать на 15-20 мм диаметр трубы
|
|
Полимерцементная
стяжка марки Ceresit CN 178
|
|
Расход материала определяется толщиной стяжки,
которая должна превышать на 15-20 мм диаметр трубы
|
|
Полимерцементная
стяжка марки Ceresit CN 83
|
|
Расход материала определяется толщиной стяжки,
которая должна превышать на 15-20 мм диаметр трубы, но не должна превышать 35
мм
|
|
5
|
Труба
|
|
|
|
6
|
Водно-дисперсионная
грунтовка Ceresit CT 17
|
0,1-0,2 л/м2
|
Наносится кистью или валиком на очищенную
поверхность бетонного основания
|
|
Водно-дисперсионная
грунтовка Ceresit CN 94
|
40 г/м2
|
Наносится кистью или валиком на очищенную
поверхность бетонного основания. Разбавляется водой в соотношении 1:3
|
|
Водно-дисперсионная
грунтовка Thomsit R 777
|
300 г/м2
|
Наносится кистью или валиком на очищенную
поверхность бетонного основания
|
|
Водно-дисперсионная
грунтовка Thomsit R 766
|
150 г/м2
|
Наносится кистью или валиком на очищенную
поверхность бетонного основания. Разбавляется водой в соотношении 1:1
|
|
7
|
Сплошная
или многопустотная плита перекрытия
|
|
|
Полы с покрытием из паркетной доски, ламината по плите
перекрытия
Тип 76

|
Поз.
|
Наименование
|
Расход
|
Примечание
|
|
1
|
Паркетные доски,
ламинат
|
1,02 м2/м2
|
|
|
2
|
Водно-дисперсионный
клей Thomsit
Р 640
|
25 г/п.м
|
|
|
3
|
Стандартная
пенополиэтиленовая подложка
|
1 м2/м2
|
|
|
4
|
Стяжка из
цементно-песчаного раствора марки M150
|
0,04 м3/м2
|
|
|
Стяжка из бетона класса
В 12,5
|
0,04 м3/м2
|
|
|
Полимерцементная стяжка
марки Ceresit CN
178
|
0,04 м3/м2
|
|
|
5
|
Полиэтиленовая пленка
|
1,15 м2/м2
|
|
|
6
|
Тепло- и звукоизоляция
из кварцевого или керамзитового песка
|
|
Толщина
слоя и расход материалов назначаются в соответствии с расчетами по параметрам
тепло- и звукоизоляции
|
|
7
|
Сплошная или
многопустотная плита перекрытия
|
|
|
Полы с покрытием из паркетной доски, ламината по плите
перекрытия
Тип 77

|
Поз.
|
Наименование
|
Расход
|
Примечание
|
|
1
|
Паркетные доски,
ламинат
|
1,02 м2/м2
|
|
|
2
|
Водно-дисперсионный
клей Thomsit P
640
|
25 г/п.м
|
|
|
3
|
Стандартная
пенополиэтиленовая подложка
|
1 м2/м2
|
|
|
4
|
Стяжка из
цементно-песчаного раствора марки M150
|
0,04 м3/м2
|
|
|
Стяжка из бетона класса
В 12,5
|
0,04 м3/м2
|
|
|
Полимерцементная стяжка
марки Ceresit CN
178
|
0,04 м3/м2
|
|
|
5
|
Полиэтиленовая пленка
|
1,15 м2/м2
|
|
|
6
|
Тепло- и звукоизоляция
из плит или матов
|
|
Толщина
слоя и расход материалов назначаются в соответствии с расчетами по параметрам
тепло- и звукоизоляции
|
|
7
|
Сплошная или
многопустотная плита перекрытия
|
|
|
Полы с покрытием из паркетной доски, ламината по плите
перекрытия
Тип 78

|
Поз
|
Наименование
|
Расход
|
Примечание
|
|
1
|
Паркетные
доски, ламинат
|
1,02 м2/м2
|
|
|
2
|
Водно-дисперсионный
клей Thomsit
Р640
|
25 г/п.м
|
|
|
3
|
Стандартная
пенополиэтиленовая подложка
|
|
Выбор толщины прослойки (количество слоев рулонного
материала) осуществляется с учетом теплофизических расчетов по параметрам
теплоусвоения и звукоизоляции
|
|
4
|
Полимерцементная
саморазравнивающаяся стяжка марки Ceresit CN69
|
1,8 кг/м2
|
Наносится шпателем слоем толщиной от 3 до 15 мм.
Расход - на 1 мм слоя. Предел прочности при сжатии после 28 суток выдержки не
менее 18 МПа
|
|
Полимерцементная
саморазравнивающаяся стяжка марки Thomsit DD
|
1,5 кг/м2
|
Наносится шпателем слоем толщиной от 0,5 до 5 мм.
Расход - на 1 мм слоя. Предел прочности при сжатии после 28 суток выдержки не
менее 22 МПа
|
|
Полимерцементная
саморазравнивающаяся стяжка марки Thomsit DX
|
1,5 кг/м2
|
Наносится шпателем слоем толщиной от 0,5 до 10 мм.
Расход - на 1 мм слоя. Предел прочности при сжатии после 28 суток выдержки не
менее 30 МПа
|
|
Полимерцементная
стяжка марки Ceresit CN 178
|
2,0 кг/м2
|
Наносится шпателем слоем толщиной от 5 до 80 мм.
Расход - на 1 мм слоя. Предел прочности при сжатии после 28 суток выдержки не
менее 25 МПа
|
|
Стяжка
из цементно-песчаного раствора марки M150
|
0,02 м3/м2
|
|
|
Стяжка
из бетона класса В12,5
|
0,02 м3/м2
|
|
|
5
|
Водно-дисперсионная
грунтовка Ceresit CT 17
|
0,1-0,2 л/м2
|
Наносится кистью или валиком на очищенную
поверхность бетонного основания
|
|
Водно-дисперсионная
грунтовка Ceresit CN 94
|
40 г/м2
|
Наносится кистью или валиком на очищенную
поверхность бетонного основания. Разбавляется водой в соотношении 1:3
|
|
Водно-дисперсионная
грунтовка Thomsit R 777
|
300 г/м2
|
Наносится кистью или валиком на очищенную
поверхность бетонного основания
|
|
Водно-дисперсионная
грунтовка Thomsit R 766
|
150 г/м2
|
Наносится кистью или валиком на очищенную
поверхность бетонного основания. Разбавляется водой в соотношении 1:1
|
|
6
|
Сплошная
или многопустотная плита перекрытия
|
|
|
Полы с покрытием из паркетной доски, ламината по плите
перекрытия
Тип 79

|
Поз
|
Наименование
|
Расход
|
Примечание
|
|
1
|
Паркетные доски,
ламинат
|
1,02 м2/м2
|
|
|
2
|
Водно-дисперсионный
клей Thomsit
Р 640
|
25 г/п.м
|
|
|
3
|
Стандартная
пенополиэтиленовая подложка
|
1 м2/м2
|
|
|
4
|
Сборная стяжка из
готовых элементов из гипсоволокнистых листов
|
1,02 м2/м2
|
|
|
5
|
Водно-дисперсионный
клей
|
40-50 г/п.м
|
|
|
6
|
Кварцевый песок
|
По факту
|
|
|
7
|
Пароизоляция -
полиэтиленовая пленка
|
1,15 м2/м2
|
Расход
- минимально необходимый для выравнивания поверхности нижележащего слоя
|
|
8
|
Сплошная или
многопустотная плита перекрытия
|
|
|
Полы с покрытием из паркетной доски, ламината по плите
перекрытия
Тип 80

|
Поз.
|
Наименование
|
Расход
|
Примечание
|
|
1
|
Паркетные доски,
ламинат
|
1,02 м2/м2
|
|
|
2
|
Водно-дисперсионный
клей Thomsit
Р 640
|
25 г/п.м
|
|
|
3
|
Стандартная
пенополиэтиленовая подложка
|
1 м2/м2
|
|
|
4
|
Сборная стяжка из
готовых элементов из гипсоволокнистых листов
|
1,02 м2/м2
|
|
|
5
|
Водно-дисперсионный
клей
|
40-50 г/п.м
|
|
|
6
|
Тепло-и звукоизоляция
из кварцевого или керамзитового песка
|
|
Толщина
слоя и расход материалов назначаются в соответствии с расчетами по параметрам
тепло- и звукоизоляции
|
|
7
|
Пароизоляция -
полиэтиленовая пленка
|
1,15 м2/м2
|
Расход
- минимально необходимый для выравнивания поверхности нижележащего слоя
|
|
8
|
Сплошная или
многопустотная плита перекрытия
|
|
|
Полы с покрытием из паркетной доски, ламината по плите
перекрытия
Тип 81

|
Поз.
|
Наименование
|
Расход
|
Примечание
|
|
1
|
Паркетные доски,
ламинат
|
1,02 м2/м2
|
|
|
2
|
Водно-дисперсионный
клей Thomsit
Р 640
|
25 г/п.м
|
|
|
3
|
Стандартная
пенополиэтиленовая подложка
|
1 м2/м2
|
|
|
4
|
Сборная стяжка из
готовых элементов из гипсоволокнистых листов
|
1,02 м2/м2
|
|
|
5
|
Водно-дисперсионный
клей
|
40-50 г/п.м
|
|
|
6
|
Тепло- и звукоизоляция
из плит или матов
|
|
Толщина
слоя и расход материалов назначаются в соответствии с расчетами по параметрам
тепло- и звукоизоляции
|
|
7
|
Пароизоляция -
полиэтиленовая пленка
|
1,15 м2/м2
|
Расход
- минимально необходимый для выравнивания поверхности нижележащего слоя
|
|
8
|
Сплошная или
многопустотная плита перекрытия
|
|
|
Полы с покрытием из паркетной доски, ламината по плите
перекрытия
Тип 82

|
Поз
|
Наименование
|
Расход
|
Примечание
|
|
1
|
Паркетные доски,
ламинат
|
1,02 м2/м2
|
|
|
2
|
Водно-дисперсионный
клей Thomsit
Р 640
|
25 г/п.м
|
|
|
3
|
Стандартная
пенополиэтиленовая подложка
|
1 м2/м2
|
|
|
4
|
Сборная стяжка из
готовых элементов из гипсоволокнистых листов
|
1,02 м2/м2
|
|
|
5
|
Водно-дисперсионный
клей
|
40-50 г/п.м
|
|
|
6
|
Тепло- и
звукоизолирующая засыпка из кварцевого или керамзитового песка
|
По расчету
|
Толщина
слоя и расход материалов назначаются в соответствии с расчетами по параметрам
тепло- и звукоизоляции, но не менее высоты кожуха Н + 15
|
|
7
|
Труба
|
|
|
|
8
|
Обкладка трубы
пористо-волокнистыми матами
|
По факту
|
|
|
9
|
Защитный металлический
кожух
|
|
|
|
10
|
Дюбель разжимной
|
|
|
|
11
|
Пароизоляция -
полиэтиленовая пленка
|
1,15 м2/м2
|
|
|
12
|
Сплошная или
многопустотная плита перекрытия
|
|
|
Полы с покрытием из паркетной доски, ламината по плите
перекрытия
Тип 83

|
Поз.
|
Наименование
|
Расход
|
Примечание
|
|
1
|
Паркетные доски,
ламинат
|
1,02 м2/м2
|
|
|
2
|
Водно-дисперсионный
клей Thomsit
Р 640
|
25 г/п.м
|
|
|
3
|
Стандартная
пенополиэтиленовая подложка
|
1 м2/м2
|
|
|
4
|
Сборная стяжка из
готовых элементов из гипсоволокнистых листов
|
1,02 м2/м2
|
|
|
5
|
Водно-дисперсионный
клей
|
40-50 г/п.м
|
|
|
6
|
Тепло- и звукоизоляция
из плит или матов
|
По расчету
|
Толщина
слоя и расход материалов назначаются в соответствии с расчетами по параметрам
тепло- и звукоизоляции, но не менее высоты кожуха Н + 15
|
|
7
|
Труба
|
|
|
|
8
|
Обкладка трубы
пористо-волокнистыми матами
|
По факту
|
|
|
9
|
Защитный металлический
кожух
|
|
|
|
10
|
Дюбель разжимной
|
|
|
|
11
|
Пароизоляция -
полиэтиленовая пленка
|
1,15 м2/м2
|
|
|
12
|
Сплошная или
многопустотная плита перекрытия
|
|
|
Полы с покрытием из паркетной доски, ламината по плите
перекрытия
Тип 84

|
Поз.
|
Наименование
|
Расход
|
Примечание
|
|
1
|
Паркетные доски,
ламинат
|
1,02 м2/м2
|
|
|
2
|
Водно-дисперсионный
клей Thomsit
Р 640
|
25 г/п.м
|
|
|
3
|
Стандартная
пенополиэтиленовая подложка
|
1 м2/м2
|
|
|
4
|
Сборная стяжка из ДСП
|
1,02 м2/м2
|
|
|
5
|
Растворный клей Thomsit P 600
|
40-50 г/п.м
|
|
|
6
|
Пароизоляция - пергамин
|
1,15 м2/м2
|
|
|
7
|
Кварцевый или
керамзитовый песок
|
По факту
|
Расход
- минимально необходимый для выравнивания поверхности нижележащего слоя
|
|
8
|
Сплошная или
многопустотная плита перекрытия
|
|
|
Полы с покрытием из паркетной доски,
ламината по плите перекрытия
Тип 85

|
Поз.
|
Наименование
|
Расход
|
Примечание
|
|
1
|
Паркетные доски,
ламинат
|
1,02 м2/м2
|
|
|
2
|
Водно-дисперсионный
клей Thomsit
Р 640
|
25 г/п.м
|
|
|
3
|
Стандартная
пенополиэтиленовая подложка
|
1 м2/м2
|
|
|
4
|
Сборная стяжка из ДСП
|
1,02 м2/м2
|
|
|
5
|
Растворный клей Thomsit P 600
|
40-50 г/п.м
|
|
|
6
|
Полиэтиленовая пленка
|
1,15 м2/м2
|
Применяется
при использовании для создания теплозвукоизоляционного слоя полистирольных
плит для предотвращения скрипа
|
|
7
|
Тепло- и звукоизоляция
из плит или матов
|
|
Толщина
слоя и расход материалов назначаются в соответствии с расчетами по параметрам
тепло- и звукоизоляции
|
|
8
|
Выравнивающая шпаклевка
|
По факту
|
|
|
9
|
Сплошная или
многопустотная междуэтажное железобетонное перекрытие с неровной поверхностью
|
|
|
Полы с покрытием из паркетной доски, ламината по плите
перекрытия
Тип 86

|
Поз.
|
Наименование
|
Расход
|
Примечание
|
|
1
|
Паркетные доски,
ламинат
|
1,02 м2/м2
|
|
|
2
|
Водно-дисперсионный
клей Thomsit
Р 640
|
25 г/п.м
|
|
|
3
|
Стандартная
пенополиэтиленовая подложка
|
1 м2/м2
|
|
|
4
|
Сборная стяжка из
фанеры
|
2,04 м2/м2
|
|
|
5
|
Закрепление шурупами
или дюбелями
|
|
Шаг
между шурупами или дюбелями 300 мм, по кромке листа - 150 мм
|
|
6
|
Растворный клей Thomsit P 600
|
1200-1600 г/м2
|
Содержит
растворитель. Наносится зубчатым шпателем
|
|
7
|
Лага регулируемая
|
Согласно инструкции
|
Монтаж
лаг осуществляется в соответствии с инструкцией фирмы-производителя
|
|
8
|
Болт-стойка
|
Согласно инструкции
|
Установка
болт-стоек осуществляется в соответствии с инструкцией фирмы-производителя
|
|
9
|
Труба
|
|
|
|
10
|
Пароизоляция -
полиэтиленовая пленка
|
1,15 м2/м2
|
|
|
11
|
Сплошное или
многопустотное междуэтажное железобетонное перекрытие
|
|
|
Полы с покрытием из паркетной доски, ламината по плите
перекрытия
Тип 87

|
Поз
|
Наименование
|
Расход
|
Примечание
|
|
1
|
Паркетные доски,
ламинат
|
1,02 м2/м2
|
|
|
2
|
Водно-дисперсионный
клей Thomsit
Р 640
|
25 г/п.м
|
|
|
3
|
Стандартная
пенополиэтиленовая подложка
|
1 м2/м2
|
|
|
4
|
Сборная стяжка из
фанеры
|
2,04 м2/м2
|
|
|
5
|
Закрепление шурупами
или дюбелями
|
|
Шаг
между шурупами или дюбелями 300 мм, по кромке листа - 150 мм
|
|
6
|
Растворный клей Thomsit P 600
|
1200-1600 г/м2
|
Содержит
растворитель. Наносится зубчатым шпателем
|
|
7
|
Лага регулируемая
|
Согласно инструкции
|
Монтаж
лаг осуществляется в соответствии с инструкцией фирмы-производителя
|
|
8
|
Болт-стойка
|
Согласно инструкции
|
Установка
болт-стоек осуществляется в соответствии с инструкцией фирмы-производителя
|
|
9
|
Тепло- и звукоизоляция
из плит или матов
|
|
Толщина
слоя и расход материалов назначаются в соответствии с расчетами по параметрам
тепло- и звукоизоляции
|
|
10
|
Пароизоляция -
полиэтиленовая пленка
|
1,15 м2/м2
|
|
|
11
|
Сплошное или
многопустотное междуэтажное железобетонное перекрытие
|
|
|
Полы с покрытием из паркетной доски, ламината по плите
перекрытия
Тип 88

|
Поз.
|
Наименование
|
Расход
|
Примечание
|
|
1
|
Паркетные доски,
ламинат
|
1,02 м2/м2
|
|
|
2
|
Водно-дисперсионный
клей Thomsit
Р 640
|
25 г/п.м
|
|
|
3
|
Стандартная
пенополиэтиленовая подложка
|
1 м2/м2
|
|
|
4
|
Сборная стяжка из
фанеры
|
2,04 м2/м2
|
|
|
5
|
Закрепление шурупами
или дюбелями
|
|
Шаг
между шурупами или дюбелями 300 мм, по кромке листа - 150 мм
|
|
6
|
Растворный клей Thomsit P 600
|
1200-1600 т/и2
|
Содержит
растворитель. Наносится зубчатым шпателем
|
|
7
|
Лага обыкновенная
|
0,004-0,005 м3/п.м
|
|
|
8
|
Кварцевый песок
|
По факту
|
Расход
- минимально необходимый для выравнивания поверхности нижележащего слоя
|
|
9
|
Сплошное или
многопустотное междуэтажное железобетонное перекрытие с неровной поверхностью
|
|
|
Полы с покрытием из паркетной доски, ламината по плите
перекрытия
Тип 89

|
Поз.
|
Наименование
|
Расход
|
Примечание
|
|
1
|
Паркетные доски,
ламинат
|
1,02 м2/м2
|
|
|
2
|
Водно-дисперсионный
клей Thomsit
Р 640
|
25 г/п.м
|
|
|
3
|
Стандартная
пенополиэтиленовая подложка
|
1 м2/м2
|
|
|
4
|
Сборная стяжка из
фанеры
|
2,04 м2/м2
|
|
|
5
|
Закрепление шурупами
или дюбелями
|
|
Шаг
между шурупами или дюбелями 300 мм, по кромке листа - 150 мм
|
|
6
|
Растворный клей Thomsit P 600
|
1200-1600 г/м2
|
Содержит
растворитель. Наносится зубчатым шпателем
|
|
7
|
Лага обыкновенная
|
0,004-0,005 м3/п.м
|
|
|
8
|
Звукоизолирующая
прокладка
|
0,15 м2/п.м
|
Материал
и толщина звукоизолирующей прокладки назначаются в соответствии с расчетами
по параметрам звукоизоляции
|
|
9
|
Кварцевый песок
|
По факту
|
Расход
- минимально необходимый для выравнивания поверхности нижележащего слоя
|
|
10
|
Сплошное или
многопустотное междуэтажное железобетонное перекрытие с неровной поверхностью
|
|
|
Полы с покрытием из паркетной доски, ламината по плите
перекрытия

|
Поз
|
Наименование
|
Расход
|
Примечание
|
|
1
|
Линолеум
поливинилхлоридный и алкидный, плитки или ковры из синтетических волокон,
резиновые плитки
|
1,02 м2/м2
|
|
|
2
|
Водно-дисперсионный
клей Thomsit UK 400
|
350-550 г/м2
|
Применяется для гетерогенных и гомогенных ПВХ
покрытий в рулонах и плитках и всех видов текстильных покрытий (кроме
модульной ковровой плитки, покрытий с полиуретановой основой и покрытий из
натурального волокна). Не содержит органические растворители. Наносится
зубчатым шпателем
|
|
Водно-дисперсионный
клей Thomsit
K 188Е
|
150-300 г/м2
|
Применяется для гетерогенных и гомогенных ПВХ
покрытий в рулонах и плитках, текстильных покрытий с полимерной основой,
каучуковых покрытий толщиной до 2,5 мм. Не содержит органические
растворители. Наносится зубчатым шпателем
|
|
Растворный
клей Thomsit
K 172
|
250-350 г/м2
|
Применяется для гетерогенных и гомогенных ПВХ
покрытий в рулонах и плитках, всех видов текстильных покрытий (кроме
модульной ковровой плитки и покрытий с основой из вспененного латекса),
натурального линолеума, каучуковых покрытий с гладкой изнанкой. Содержит
органические растворители. Наносится зубчатым шпателем
|
|
|
Полиуретановый
двухкомпонентный клей Thomsit R
710
|
300-1200 г/м2
|
Применяется для каучуковых и поливинилхлоридных
плиток. Не содержит органические растворители. Наносится зубчатым шпателем
|
|
Водно-дисперсионный
клей Thomsit L 240D
|
450 г/м'
|
Применяется для покрытий из натурального
(алкидного) линолеума. Не содержит растворитель. Наносится зубчатым шпателем
|
|
3
|
Водно-дисперсионная
грунтовка Thomsit R 777
|
300 г/м2 бетонная стяжка 100 г/м2
цементно-песчаная стяжка
|
Наносится кистью или валиком на очищенную
поверхность бетонной или цементно-песчаной стяжки. При нанесении на
цементно-песчаную стяжку разбавляется водой в соотношении 1:1
|
|
Водно-дисперсионная
грунтовка Thomsit R 766
|
150 г/м2 бетонная стяжка 40 г/м2
цементно-песчаная стяжка
|
Наносится кистью или валиком на очищенную
поверхность бетонной или цементно-песчаной стяжки. При нанесении на бетонную
стяжку разбавляется водой в соотношении 1:1, на цементно-песчаную стяжку - в
соотношении 1:4
|
|
4
|
Полимерцементная
саморазравнивающаяся стяжка марки Ceresit CN 69
|
1,8 кг/м2
|
Наносится шпателем слоем толщиной от 3 до 15 мм.
Расход - на 1 мм слоя. Предел прочности при сжатии после 28 суток выдержки не
менее 18 МПа
|
|
Полимерцементная
саморазравнивающаяся стяжка марки Ceresit CN 76
|
2,0 кг/м2
|
Наносится шпателем слоем толщиной от 4 до 50 мм.
Расход - на 1 мм слоя. Предел прочности при сжатии после 28 суток выдержки не
менее 40 МПа
|
|
Полимерцементная
саморазравнивающаяся стяжка марки Thomsit DD
|
1,5 кг/м2
|
Наносится шпателем слоем толщиной от 0,5 до 5 мм.
Расход - на 1 мм слоя. Предел прочности при сжатии после 28 суток выдержки не
менее 22 МПа
|
|
Полимерцементная
саморазравнивающаяся стяжка марки Thomsit DX
|
1,5 кг/м2
|
Наносится шпателем слоем толщиной от 0,5 до 10 мм.
Расход - на 1 мм слоя. Предел прочности при сжатии после 28 суток выдержки не
менее 30 МПа
|
|
Полимерцементная
стяжка марки Ceresit CN 178
|
2,0 кг/м2
|
Наносится шпателем слоем толщиной от 5 до 80 мм.
Расход - на 1 мм слоя. Предел прочности при сжатии после 28 суток выдержки не
менее 25 МПа
|
|
Стяжка
из цементно-песчаного раствора марки М150
|
0,02 м'/м2
|
|
|
Стяжка
из бетона класса В12,5
|
0,02 м3/м2
|
|
|
5
|
Водно-дисперсионная
грунтовка Ceresit CT 17
|
0,1-0,2 л/м2
|
Наносится кистью или валиком на очищенную
поверхность бетонного основания
|
|
Водно-дисперсионная
грунтовка Ceresit CN 94
|
40 г/м2
|
Наносится кистью или валиком на очищенную
поверхность бетонного основания. Разбавляется водой в соотношении 1:3
|
|
Водно-дисперсионная
грунтовка Thomsit R 777
|
300 г/м2
|
Наносится кистью или валиком на очищенную
поверхность бетонного основания
|
|
Водно-дисперсионная
грунтовка Thomsit R 766
|
150 г/м2
|
Наносится кистью или валиком на очищенную
поверхность бетонного основания. Разбавляется водой в соотношении 1:1
|
|
6
|
Бетонное
основание из бетона класса В22,5
|
0,08 м3/м2
|
|
|
7
|
Грунт
основания
|
|
|

|
Поз.
|
Наименование
|
Расход
|
Примечание
|
|
1
|
Линолеум
поливинилхлоридный и алкидный, плитки или ковры из синтетических волокон,
резиновые плитки
|
1,02 м2/м2
|
|
|
2
|
Водно-дисперсионный
клей Thomsit UK 400
|
350-550 г/м2
|
Применяется для гетерогенных и гомогенных ПВХ
покрытий в рулонах и плитках и всех видов текстильных покрытий (кроме
модульной ковровой плитки, покрытий с полиуретановой основой и покрытий из
натурального волокна). Не содержит органические растворители. Наносится зубчатым
шпателем
|
|
Водно-дисперсионный
клей Thomsit
K 188Е
|
150-300 г/м2
|
Применяется для гетерогенных и гомогенных ПВХ
покрытий в рулонах и плитках, текстильных покрытий с полимерной основой,
каучуковых покрытий толщиной до 2,5 мм. Не содержит органические растворители.
Наносится зубчатым шпателем
|
|
Растворный
клей Thomsit
K 172
|
250-350 г/м2
|
Применяется для гетерогенных и гомогенных ПВХ
покрытий в рулонах и плитках, всех видов текстильных покрытий (кроме
модульной ковровой плитки и покрытий с основой из вспененного латекса),
натурального линолеума, каучуковых покрытий с гладкой изнанкой. Содержит
органические растворители. Наносится зубчатым шпателем
|
|
|
Полиуретановый
двухкомпонентный клей Thomsit R
710
|
300-1200 г/м2
|
Применяется для каучуковых и поливинилхлоридных
плиток. Не содержит органические растворители. Наносится зубчатым шпателем
|
|
Водно-дисперсионный
клей Thomsit L 240D
|
450 г/м2
|
Применяется для покрытий из натурального
(алкидного) линолеума. Не содержит растворитель. Наносится зубчатым шпателем
|
|
3
|
Водно-дисперсионная
грунтовка Thomsit R 777
|
300 г/м2 бетонная стяжка 100 г/м2
цементно-песчаная стяжка
|
Наносится кистью или валиком на очищенную
поверхность бетонной или цементно-песчаной стяжки. При нанесении на
цементно-песчаную стяжку разбавляется водой в соотношении 1:1
|
|
Водно-дисперсионная
грунтовка Thomsit R 766
|
150 г/м2 бетонная стяжка 40 г/м2
цементно-песчаная стяжка
|
Наносится кистью или валиком на очищенную
поверхность бетонной или цементно-песчаной стяжки. При нанесении на бетонную
стяжку разбавляется водой в соотношении 1:1, на цементно-песчаную стяжку - в
соотношении 1:4
|
|
4
|
Полимерцементная
саморазравнивающаяся стяжка марки Ceresit CN 69
|
1,8 кг/м2
|
Наносится шпателем слоем толщиной от 3 до 15 мм.
Расход - на 1 мм слоя. Предел прочности при сжатии после 28 суток выдержки не
менее 18 МПа
|
|
Полимерцементная
саморазравнивающаяся стяжка марки Ceresit CN 76
|
2,0 кг/м2
|
Наносится шпателем слоем толщиной от 4 до 50 мм.
Расход - на 1 мм слоя. Предел прочности при сжатии после 28 суток выдержки не
менее 40 МПа
|
|
Полимерцементная
саморазравнивающаяся стяжка марки Thomsit DD
|
1,5 кг/м2
|
Наносится шпателем слоем толщиной от 0,5 до 5 мм.
Расход - на 1 мм слоя. Предел прочности при сжатии после 28 суток выдержки не
менее 22 МПа
|
|
Полимерцементная
саморазравнивающаяся стяжка марки Thomsit DX
|
1,5 кг/м2
|
Наносится шпателем слоем толщиной от 0,5 до 10 мм.
Расход - на 1 мм слоя. Предел прочности при сжатии после 28 суток выдержки не
менее 30 МПа
|
|
Полимерцементная
стяжка марки Ceresit CN 178
|
2,0 кг/м2
|
Наносится шпателем слоем толщиной от 5 до 80 мм.
Расход - на 1 мм слоя. Предел прочности при сжатии после 28 суток выдержки не
менее 25 МПа
|
|
Стяжка
из цементно-песчаного раствора марки M150
|
0,02 м3/м2
|
|
|
Стяжка
из бетона класса В12,5
|
0,02 м3/м2
|
|
|
5
|
Водно-дисперсионная
грунтовка Ceresit CT 17
|
0,1-0,2 л/м2
|
Наносится кистью или валиком на очищенную
поверхность бетонного основания
|
|
Водно-дисперсионная
грунтовка Ceresit CN 94
|
40 г/м2
|
Наносится кистью или валиком на очищенную
поверхность бетонного основания. Разбавляется водой в соотношении 1:3
|
|
Водно-дисперсионная
грунтовка Thomsit R 777
|
300 г/м2
|
Наносится кистью или валиком на очищенную
поверхность бетонного основания
|
|
Водно-дисперсионная
грунтовка Thomsit R 766
|
150 г/м2
|
Наносится кистью или валиком на очищенную
поверхность бетонного основания. Разбавляется водой в соотношении 1:1
|
|
6
|
Бетонное
основание из бетона класса В22,5
|
0,08 м3/м2
|
|
|
7
|
Наливная
гидроизоляция - щебень или гравий, пропитанный битумом
|
Щебень или гравий - 0,04-0,05 м/м, битум -
по факту
|
|
|
8
|
Грунт
основания
|
|
|
Полы с покрытием из линолеума, ковров из синтетических
волокон, резиновых плиток по грунту
Тип 92

|
Поз
|
Наименование
|
Расход
|
Примечание
|
|
1
|
Линолеум
поливинилхлоридный и алкидный, плитки или ковры из синтетических волокон,
резиновые плитки
|
1,02 м2/м2
|
|
|
2
|
Водно-дисперсионный
клей Thomsit UK 400
|
350-550 г/м2
|
Применяется для гетерогенных и гомогенных ПВХ
покрытий в рулонах и плитках и всех видов текстильных покрытий (кроме
модульной ковровой плитки, покрытий с полиуретановой основой и покрытий из
натурального волокна). Не содержит органические растворители. Наносится
зубчатым шпателем
|
|
Водно-дисперсионный
клей Thomsit
K 188Е
|
150-300 г/м2
|
Применяется для гетерогенных и гомогенных ПВХ
покрытий в рулонах и плитках, текстильных покрытий с полимерной основой,
каучуковых покрытий толщиной до 2,5 мм. Не содержит органические
растворители. Наносится зубчатым шпателем
|
|
Растворный
клей Thomsit
K 172
|
250-350 г/м2
|
Применяется для гетерогенных и гомогенных ПВХ
покрытий в рулонах и плитках, всех видов текстильных покрытий (кроме модульной
ковровой плитки и покрытий с основой из вспененного латекса), натурального
линолеума, каучуковых покрытий с гладкой изнанкой. Содержит органические
растворители. Наносится зубчатым шпателем
|
|
|
Полиуретановый
двухкомпонентный клей Thomsit R
710
|
300-1200 г/м2
|
Применяется для каучуковых и поливинилхлоридных
плиток. Не содержит органические растворители. Наносится зубчатым шпателем
|
|
Водно-дисперсионный
клей Thomsit L 240D
|
450 г/м2
|
Применяется для покрытий из натурального
(алкидного) линолеума. Не содержит растворитель. Наносится зубчатым шпателем
|
|
3
|
Водно-дисперсионная
грунтовка Thomsit R 777
|
300 г/м2 бетонная стяжка 100 г/м2
цементно-песчаная стяжка
|
Наносится кистью или валиком на очищенную
поверхность бетонной или цементно-песчаной стяжки. При нанесении на
цементно-песчаную стяжку разбавляется водой в соотношении 1:1
|
|
Водно-дисперсионная
грунтовка Thomsit R 766
|
150 г/м2 бетонная стяжка 40 г/м2
цементно-песчаная стяжка
|
Наносится кистью или валиком на очищенную
поверхность бетонной или цементно-песчаной стяжки. При нанесении на бетонную
стяжку разбавляется водой в соотношении 1:1, на цементно-песчаную стяжку - в
соотношении 1:4
|
|
4
|
Полимерцементная
саморазравнивающаяся стяжка марки Ceresit CN 69
|
1,8 кг/м2
|
Наносится шпателем слоем толщиной от 3 до 15 мм.
Расход - на 1 мм слоя. Предел прочности при сжатии после 28 суток выдержки не
менее 18 МПа
|
|
Полимерцементная
саморазравнивающаяся стяжка марки Ceresit CN 76
|
2,0 кг/м2
|
Наносится шпателем слоем толщиной от 4 до 50 мм.
Расход - на 1 мм слоя. Предел прочности при сжатии после 28 суток выдержки не
менее 40 МПа
|
|
Полимерцементная
саморазравнивающаяся стяжка марки Thomsit DD
|
1,5 кг/м2
|
Наносится шпателем слоем толщиной от 0,5 до 5 мм.
Расход - на 1 мм слоя. Предел прочности при сжатии после 28 суток выдержки не
менее 22 МПа
|
|
Полимерцементная
саморазравнивающаяся стяжка марки Thomsit DX
|
1,5 кг/м2
|
Наносится шпателем слоем толщиной от 0,5 до 10 мм.
Расход - на 1 мм слоя. Предел прочности при сжатии после 28 суток выдержки не
менее 30 МПа
|
|
Полимерцементная
стяжка марки Ceresit CN 178
|
2,0 кг/м2
|
Наносится шпателем слоем толщиной от 5 до 80 мм.
Расход - на 1 мм слоя. Предел прочности при сжатии после 28 суток выдержки не
менее 25 МПа
|
|
Стяжка
из цементно-песчаного раствора марки М150
|
0,02 м'/м2
|
|
|
Стяжка
из бетона класса В12,5
|
0,02 м3/м2
|
|
|
5
|
Водно-дисперсионная
грунтовка Ceresit CT 17
|
0,1-0,2 л/м2
|
Наносится кистью или валиком на очищенную
поверхность бетонного основания
|
|
Водно-дисперсионная
грунтовка Ceresit CN 94
|
40 г/м2
|
Наносится кистью или валиком на очищенную
поверхность бетонного основания. Разбавляется водой в соотношении 1:3
|
|
Водно-дисперсионная
грунтовка Thomsit R 777
|
300 г/м2
|
Наносится кистью или валиком на очищенную
поверхность бетонного основания
|
|
Водно-дисперсионная
грунтовка Thomsit R 766
|
150 г/м2
|
Наносится кистью или валиком на очищенную
поверхность бетонного основания. Разбавляется водой в соотношении 1:1
|
|
6
|
Бетонное
основание из бетона класса В22,5
|
0,08 м3/м2
|
|
|
7
|
Рулонная
гидроизоляция
|
1,02 м2/м2
|
|
|
Обмазочная
гидроизоляция на основе жесткой гидроизолирующей массы Ceresit CR 65
|
3-5 кг/м2
|
|
8
|
Стяжка
из цементно-песчаного раствора M150
|
0,05 м3/м2
|
|
|
9
|
Грунт
основания
|
|
|
Полы с покрытием из линолеума, ковров из синтетических
волокон, резиновых плиток по грунту
Тип 93

|
Поз.
|
Наименование
|
Расход
|
Примечание
|
|
1
|
Линолеум
поливинилхлоридный и алкидный, плитки или ковры из синтетических волокон,
резиновые плитки
|
1,02 м2/м2
|
|
|
2
|
Водно-дисперсионный
клей Thomsit UK 400
|
350-550 г/м2
|
Применяется для гетерогенных и гомогенных ПВХ
покрытий в рулонах и плитках и всех видов текстильных покрытий (кроме
модульной ковровой плитки, покрытий с полиуретановой основой и покрытий из
натурального волокна). Не содержит органические растворители. Наносится
зубчатым шпателем
|
|
Водно-дисперсионный
клей Thomsit
К 188E
|
150-300 г/м2
|
Применяется для гетерогенных и гомогенных ПВХ
покрытий в рулонах и плитках, текстильных покрытий с полимерной основой,
каучуковых покрытий толщиной до 2,5 мм. Не содержит органические
растворители. Наносится зубчатым шпателем
|
|
Растворный
клей Thomsit
K 172
|
250-350 г/м2
|
Применяется для гетерогенных и гомогенных ПВХ
покрытий в рулонах и плитках, всех видов текстильных покрытий (кроме
модульной ковровой плитки и покрытий с основой из вспененного латекса),
натурального линолеума, каучуковых покрытий с гладкой изнанкой. Содержит
органические растворители. Наносится зубчатым шпателем
|
|
Полиуретановый
двухкомпонентный клей Thomsit R
710
|
300-1200 г/м2
|
Применяется для каучуковых и поливинилхлоридных
плиток. Не содержит органические растворители. Наносится зубчатым шпателем
|
|
Водно-дисперсионный
клей Thomsit L 240D
|
450 г/м2
|
Применяется для покрытий из натурального
(алкидного) линолеума. Не содержит растворитель. Наносится зубчатым шпателем
|
|
3
|
Водно-дисперсионная
грунтовка Thomsit R 777
|
300 г/м2 бетонная стяжка 100 г/м2
цементно-песчаная стяжка
|
Наносится кистью или валиком на очищенную
поверхность бетонной или цементно-песчаной стяжки. При нанесении на
цементно-песчаную стяжку разбавляется водой в соотношении 1:1
|
|
Водно-дисперсионная
грунтовка Thomsit R 766
|
150 г/м2 бетонная стяжка 40 г/м2
цементно-песчаная стяжка
|
Наносится кистью или валиком на очищенную
поверхность бетонной или цементно-песчаной стяжки. При нанесении на бетонную
стяжку разбавляется водой в соотношении 1:1, на цементно-песчаную стяжку - в
соотношении 1:4
|
|
4
|
Стяжка
из цементно-песчаного раствора марки М150
|
|
Расход материала определяется толщиной стяжки,
которая должна превышать на 15-20 мм диаметр трубы
|
|
Стяжка
из бетона класса В12,5
|
|
Расход материала определяется толщиной стяжки,
которая должна превышать на 15-20 мм диаметр трубы
|
|
Полимерцементная
стяжка марки Ceresit CN 178
|
|
Расход материала определяется толщиной стяжки,
которая должна превышать на 15-20 мм диаметр трубы
|
|
Полимерцементная
стяжка марки Ceresit CN 83
|
|
Расход материала определяется толщиной стяжки, которая
должна превышать на 15-20 мм диаметр трубы, но не должна превышать 35 мм
|
|
5
|
Труба
|
|
|
|
6
|
Водно-дисперсионная
грунтовка Ceresit CT 17
|
0,1-0,2 л/м2
|
Наносится кистью или валиком на очищенную
поверхность бетонного основания
|
|
Водно-дисперсионная
грунтовка Ceresit CN 94
|
40 г/м2
|
Наносится кистью или валиком на очищенную
поверхность бетонного основания. Разбавляется водой в соотношении 1:3
|
|
Водно-дисперсионная
грунтовка Thomsit R 777
|
300 г/м2
|
Наносится кистью или валиком на очищенную
поверхность бетонного основания
|
|
Водно-дисперсионная
грунтовка Thomsit R 766
|
150 г/м2
|
Наносится кистью или валиком на очищенную
поверхность бетонного основания. Разбавляется водой в соотношении 1:1
|
|
7
|
Бетонное
основание из бетона класса В22,5
|
0,08 м3/м2
|
|
|
8
|
Грунт
основания
|
|
|
Полы с покрытием из линолеума, ковров из синтетических
волокон, резиновых плиток по грунту
Тип 94

|
Поз.
|
Наименование
|
Расход
|
Примечание
|
|
1
|
Линолеум
поливинилхлоридный и алкидный, плитки или ковры из синтетических волокон,
резиновые плитки
|
1,02 м2/м2
|
|
|
2
|
Водно-дисперсионный
клей Thomsit UK 400
|
350-550 г/м2
|
Применяется для гетерогенных и гомогенных ПВХ
покрытий в рулонах и плитках и всех видов текстильных покрытий (кроме
модульной ковровой плитки, покрытий с полиуретановой основой и покрытий из
натурального волокна). Не содержит органические растворители. Наносится
зубчатым шпателем
|
|
Водно-дисперсионный
клей Thomsit
K 188Е
|
150-300 г/м2
|
Применяется для гетерогенных и гомогенных ПВХ
покрытий в рулонах и плитках, текстильных покрытий с полимерной основой,
каучуковых покрытий толщиной до 2,5 мм. Не содержит органические
растворители. Наносится зубчатым шпателем
|
|
Растворный
клей Thomsit
K 172
|
250-350 г/м2
|
Применяется для гетерогенных и гомогенных ПВХ
покрытий в рулонах и плитках, всех видов текстильных покрытий (кроме
модульной ковровой плитки и покрытий с основой из вспененного латекса),
натурального линолеума, каучуковых покрытий с гладкой изнанкой. Содержит
органические растворители. Наносится зубчатым шпателем
|
|
Полиуретановый
двухкомпонентный клей Thomsit R
710
|
300-1200 г/м2
|
Применяется для каучуковых и поливинилхлоридных
плиток. Не содержит органические растворители. Наносится зубчатым шпателем
|
|
Водно-дисперсионный
клей Thomsit L 240D
|
450 г/м2
|
Применяется для покрытий из натурального
(алкидного) линолеума. Не содержит растворитель. Наносится зубчатым шпателем
|
|
3
|
Водно-дисперсионная
грунтовка Thomsit R 766
|
40 г/м2
|
Наносится кистью или валиком на очищенную
поверхность стяжки. Разбавляется водой в соотношении 1:4
|
|
4
|
Сборная
стяжка из готовых элементов из гипсоволокнистых листов
|
1,02 м2/м2
|
|
|
5
|
Водно-дисперсионный
клей
|
40-50 г/п.м
|
|
|
6
|
Кварцевый
песок
|
По факту
|
Расход - минимально необходимый для выравнивания
поверхности нижележащего слоя
|
|
7
|
Пароизоляция
- полиэтиленовая пленка
|
1,15 м2/м2
|
|
|
8
|
Бетонное
основание из бетона класса В22,5
|
0,08 м3/м2
|
|
|
9
|
Грунт
основания
|
|
|
Полы с покрытием из линолеума, ковров из синтетических
волокон, резиновых плиток по грунту
Тип 95

|
Поз.
|
Наименование
|
Расход
|
Примечание
|
|
1
|
Линолеум
поливинилхлоридный и алкидный, плитки или ковры из синтетических волокон,
резиновые плитки
|
1,02 м2/м2
|
|
|
2
|
Водно-дисперсионный
клей Thomsit UK 400
|
350-550 г/м2
|
Применяется для гетерогенных и гомогенных ПВХ
покрытий в рулонах и плитках и всех видов текстильных покрытий (кроме
модульной ковровой плитки, покрытий с полиуретановой основой и покрытий из
натурального волокна). Не содержит органические растворители. Наносится
зубчатым шпателем
|
|
Водно-дисперсионный
клей Thomsit
K 188Е
|
150-300 г/м2
|
Применяется для гетерогенных и гомогенных ПВХ
покрытий в рулонах и плитках, текстильных покрытий с полимерной основой,
каучуковых покрытий толщиной до 2,5 мм. Не содержит органические
растворители. Наносится зубчатым шпателем
|
|
Растворный
клей Thomsit
K 172
|
250-350 г/м2
|
Применяется для гетерогенных и гомогенных ПВХ
покрытий в рулонах и плитках, всех видов текстильных покрытий (кроме
модульной ковровой плитки и покрытий с основой из вспененного латекса),
натурального линолеума, каучуковых покрытий с гладкой изнанкой. Содержит
органические растворители. Наносится зубчатым шпателем
|
|
Полиуретановый
двухкомпонентный клей Thomsit R
710
|
300-1200 г/м2
|
Применяется для каучуковых и поливинилхлоридных
плиток. Не содержит органические растворители. Наносится зубчатым шпателем
|
|
Водно-дисперсионный
клей Thomsit L 240D
|
450 г/м2
|
Применяется для покрытий из натурального
(алкидного) линолеума. Не содержит растворитель. Наносится зубчатым шпателем
|
|
3
|
Водно-дисперсионная
грунтовка Thomsit R 766
|
40 г/м2
|
Наносится кистью или валиком на очищенную
поверхность стяжки. Разбавляется водой в соотношении 1:4
|
|
4
|
Сборная
стяжка из готовых элементов из гипсоволокнистых листов
|
1,02 м2/м2
|
|
|
5
|
Водно-дисперсионный
клей
|
40-50 г/п.м
|
|
|
6
|
Кварцевый
песок
|
По расчету
|
Толщина слоя засыпки должна превышать на 15-20 мм
высоту кожуха
|
|
7
|
Труба
|
|
|
|
8
|
Обкладка
трубы пористо-волокнистыми матами
|
По факту
|
|
|
9
|
Защитный
металлический кожух
|
|
|
|
10
|
Дюбель
разжимной
|
|
|
|
11
|
Пароизоляция
- полиэтиленовая пленка
|
1,15 м2/м2
|
|
|
12
|
Бетонное
основание из бетона класса В22,5
|
0,08 м3/м2
|
|
|
13
|
Грунт
основания
|
|
|
Полы с покрытием из линолеума, ковров из синтетических
волокон, резиновых плиток по грунту
Тип 96

|
Поз.
|
Наименование
|
Расход
|
Примечание
|
|
1
|
Линолеум
поливинилхлоридный и алкидный, плитки или ковры из синтетических волокон,
резиновые плитки
|
1,02 м2/м2
|
|
|
2
|
Водно-дисперсионный
клей Thomsit UK 400
|
350-550 г/м2
|
Применяется для гетерогенных и гомогенных ПВХ
покрытий в рулонах и плитках и всех видов текстильных покрытий (кроме
модульной ковровой плитки, покрытий с полиуретановой основой и покрытий из
натурального волокна). Не содержит органические растворители. Наносится
зубчатым шпателем
|
|
Водно-дисперсионный
клей Thomsit
K 188Е
|
150-300 г/м2
|
Применяется для гетерогенных и гомогенных ПВХ
покрытий в рулонах и плитках, текстильных покрытий с полимерной основой,
каучуковых покрытий толщиной до 2,5 мм. Не содержит органические
растворители. Наносится зубчатым шпателем
|
|
Растворный
клей Thomsit
K 172
|
250-350 г/м2
|
Применяется для гетерогенных и гомогенных ПВХ
покрытий в рулонах и плитках, всех видов текстильных покрытий (кроме
модульной ковровой плитки и покрытий с основой из вспененного латекса),
натурального линолеума, каучуковых покрытий с гладкой изнанкой. Содержит
органические растворители. Наносится зубчатым шпателем
|
|
Полиуретановый
двухкомпонентный клей Thomsit R
710
|
300-1200 г/м2
|
Применяется для каучуковых и поливинилхлоридных
плиток. Не содержит органические растворители. Наносится зубчатым шпателем
|
|
Водно-дисперсионный
клей Thomsit L 240D
|
450 г/м2
|
Применяется для покрытий из натурального
(алкидного) линолеума. Не содержит растворитель. Наносится зубчатым шпателем
|
|
3
|
Водно-дисперсионная
грунтовка Thomsit R 766
|
40 г/м2
|
Наносится кистью или валиком на очищенную
поверхность стяжки. Разбавляется водой в соотношении 1:4
|
|
4
|
Сборная
стяжка из ДСП
|
1,02 м2/м2
|
|
|
5
|
Растворный
клей Thomsit P 600
|
40-50 г/п.м
|
|
|
6
|
Пароизоляция
- пергамин
|
1,15 м2/м2
|
|
|
7
|
Кварцевый
песок
|
По факту
|
Расход - минимально необходимый для выравнивания
поверхности нижележащего слоя
|
|
8
|
Бетонное
основание из бетона класса В22,5
|
0,08 м3/м2
|
|
|
9
|
Грунт
основания
|
|
|
Полы с покрытием из линолеума, ковров из синтетических
волокон, резиновых плиток по грунту
Тип 97

|
Поз.
|
Наименование
|
Расход
|
Примечание
|
|
1
|
Линолеум
поливинилхлоридный и алкидный, плитки или ковры из синтетических волокон,
резиновые плитки
|
1,02 м2/м2
|
|
|
2
|
Водно-дисперсионный
клей Thomsit UK 400
|
350-550 г/м2
|
Применяется для гетерогенных и гомогенных ПВХ
покрытий в рулонах и плитках и всех видов текстильных покрытий (кроме
модульной ковровой плитки, покрытий с полиуретановой основой и покрытий из
натурального волокна). Не содержит органические растворители. Наносится
зубчатым шпателем
|
|
Водно-дисперсионный
клей Thomsit
K 188Е
|
150-300 г/м2
|
Применяется для гетерогенных и гомогенных ПВХ
покрытий в рулонах и плитках, текстильных покрытий с полимерной основой,
каучуковых покрытий толщиной до 2,5 мм. Не содержит органические
растворители. Наносится зубчатым шпателем
|
|
Растворный
клей Thomsit
K 172
|
250-350 г/м2
|
Применяется для гетерогенных и гомогенных ПВХ
покрытий в рулонах и плитках, всех видов текстильных покрытий (кроме
модульной ковровой плитки и покрытий с основой из вспененного латекса),
натурального линолеума, каучуковых покрытий с гладкой изнанкой. Содержит
органические растворители. Наносится зубчатым шпателем
|
|
Полиуретановый
двухкомпонентный клей Thomsit R
710
|
300-1200 г/м2
|
Применяется для каучуковых и поливинилхлоридных
плиток. Не содержит органические растворители. Наносится зубчатым шпателем
|
|
Водно-дисперсионный
клей Thomsit L 240D
|
450 г/м2
|
Применяется для покрытий из натурального
(алкидного) линолеума. Не содержит растворитель. Наносится зубчатым шпателем
|
|
3
|
Водно-дисперсионная
грунтовка Thomsit R 766
|
40 г/м2
|
Наносится валиком на очищенную поверхность сборной
стяжки. Разбавляется водой в соотношении 1:4
|
|
4
|
Сборная
стяжка из фанеры
|
2,04 м2/м2
|
|
|
5
|
Растворный
клей Thomsit P 600
|
1200-1600 г/м2
|
Содержит растворитель. Наносится зубчатым шпателем
|
|
6
|
Закрепление
саморезами
|
|
Шаг между саморезами 300 мм, по кромке листов - 150
мм
|
|
7
|
Лага
регулируемая
|
Согласно инструкции
|
Монтаж лаг осуществляется в соответствии с
инструкцией фирмы-производителя
|
|
8
|
Болт-стойка
|
Согласно инструкции
|
Установка болт-стоек осуществляется в соответствии
с инструкцией фирмы-производителя
|
|
9
|
Труба
|
|
|
|
10
|
Пароизоляция
- полиэтиленовая пленка
|
1,15 м2/м2
|
|
|
11
|
Бетонное
основание из бетона класса В22,5
|
0,08 м3/м2
|
|
|
12
|
Грунт
основания
|
|
|
Полы с покрытием из линолеума, ковров из синтетических
волокон, резиновых плиток по грунту
Тип 98

|
Поз.
|
Наименование
|
Расход
|
Примечание
|
|
1
|
Линолеум
поливинилхлоридный и алкидный, плитки или ковры из синтетических волокон,
резиновые плитки
|
1,02 м2/м2
|
|
|
2
|
Водно-дисперсионный
клей Thomsit UK 400
|
350-550 г/м2
|
Применяется для гетерогенных и гомогенных ПВХ
покрытий в рулонах и плитках и всех видов текстильных покрытий (кроме
модульной ковровой плитки, покрытий с полиуретановой основой и покрытий из
натурального волокна). Не содержит органические растворители. Наносится
зубчатым шпателем
|
|
Водно-дисперсионный
клей Thomsit
K 188Е
|
150-300 г/м2
|
Применяется для гетерогенных и гомогенных ПВХ
покрытий в рулонах и плитках, текстильных покрытий с полимерной основой,
каучуковых покрытий толщиной до 2,5 мм. Не содержит органические
растворители. Наносится зубчатым шпателем
|
|
Растворный
клей Thomsit
K 172
|
250-350 г/м2
|
Применяется для гетерогенных и гомогенных ПВХ
покрытий в рулонах и плитках, всех видов текстильных покрытий (кроме
модульной ковровой плитки и покрытий с основой из вспененного латекса),
натурального линолеума, каучуковых покрытий с гладкой изнанкой. Содержит
органические растворители. Наносится зубчатым шпателем
|
|
Полиуретановый
двухкомпонентный клей Thomsit R
710
|
300-1200 г/м2
|
Применяется для каучуковых и поливинилхлоридных
плиток. Не содержит органические растворители. Наносится зубчатым шпателем
|
|
Водно-дисперсионный
клей Thomsit L 240D
|
450 г/м2
|
Применяется для покрытий из натурального
(алкидного) линолеума. Не содержит растворитель. Наносится зубчатым шпателем
|
|
3
|
Водно-дисперсионная
грунтовка Thomsit R 766
|
40 г/м2
|
Наносится валиком на очищенную поверхность сборной
стяжки. Разбавляется водой в соотношении 1:4
|
|
4
|
Сборная
стяжка из фанеры
|
2,04 м2/м2
|
|
|
5
|
Растворный
клей Thomsit P 600
|
1200-1600 г/м2
|
Содержит растворитель. Наносится зубчатым шпателем
|
|
6
|
Закрепление
саморезами
|
|
Шаг между саморезами 300 мм, по кромке листов - 150
мм
|
|
7
|
Лага
обыкновенная
|
0,004-0,005 м3/п.м
|
|
|
8
|
Деревянная
прокладка
|
0,0006 м3/столбик
|
|
|
9
|
Рулонная
гидроизоляция
|
0,05 м2/столбик
|
|
|
10
|
Кирпичный
или бетонный столбик
|
0,0017 м3/столбик
|
|
|
11
|
Бетонное
основание из бетона класса В22,5
|
0,08 м3/м2
|
|
|
12
|
Грунт
основания
|
|
|
Полы с покрытием из линолеума, ковров из синтетических
волокон, резиновых плиток по грунту
Тип 99

|
Поз
|
Наименование
|
Расход
|
Примечание
|
|
1
|
Линолеум
поливинилхлоридный и алкидный, плитки или ковры из синтетических волокон,
резиновые плитки
|
1,02 м2/м2
|
|
|
2
|
Водно-дисперсионный
клей Thomsit UK 400
|
350-550 г/м2
|
Применяется для гетерогенных и гомогенных ПВХ
покрытий в рулонах и плитках и всех видов текстильных покрытий (кроме
модульной ковровой плитки, покрытий с полиуретановой основой и покрытий из
натурального волокна). Не содержит органические растворители. Наносится
зубчатым шпателем
|
|
Водно-дисперсионный
клей Thomsit
K 188Е
|
150-300 г/м2
|
Применяется для гетерогенных и гомогенных ПВХ
покрытий в рулонах и плитках текстильных покрытий с полимерной основой,
каучуковых покрытий толщиной до 2,5 мм. Не содержит органические
растворители. Наносится зубчатым шпателем
|
|
Растворный
клей Thomsit
K 172
|
250-350 г/м2
|
Применяется для гетерогенных и гомогенных ПВХ
покрытий в рулонах и плитках, всех видов текстильных покрытий (кроме
модульной ковровой плитки и покрытий с основой из вспененного латекса),
натурального линолеума, каучуковых покрытий с гладкой изнанкой. Содержит
органические растворители. Наносится зубчатым шпателем
|
|
Полиуретановый
двухкомпонентный клей Thomsit R
710
|
300-1200 г/м2
|
Применяется для каучуковых и поливинилхлоридных
плиток. Не содержит органические растворители. Наносится зубчатым шпателем
|
|
Водно-дисперсионный
клей Thomsit L 240D
|
450 г/м2
|
Применяется для покрытий из натурального
(алкидного) линолеума. Не содержит растворитель. Наносится зубчатым шпателем
|
|
3
|
Водно-дисперсионная
грунтовка Thomsit R 766
|
40 г/м2
|
Наносится валиком на очищенную поверхность сборной
стяжки. Разбавляется водой в соотношении 1:4
|
|
4
|
Сборная
стяжка из фанеры
|
2,04 м2/м2
|
|
|
5
|
Растворный
клей Thomsit P 600
|
1200-1600 г/м2
|
Содержит растворитель. Наносится зубчатым шпателем
|
|
6
|
Закрепление
саморезами
|
|
Шаг между саморезами 300 мм, по кромке листов - 150
мм
|
|
7
|
Лага
обыкновенная
|
0,004-0,005 м3/п.м
|
|
|
8
|
Деревянная
прокладка
|
0,0006 м3/столбик
|
|
|
9
|
Рулонная
гидроизоляция
|
0,05 м2/столбик
|
|
|
10
|
Кирпичный
или бетонный столбик
|
0,0034 м3/столбик
|
|
|
11
|
Грунт
основания
|
|
|
Полы с покрытием из линолеума, ковров из синтетических
волокон, резиновых плиток по грунту

|
Поз.
|
Наименование
|
Расход
|
Примечание
|
|
1
|
Линолеум
поливинилхлоридный и алкидный, плитки или ковры из синтетических волокон,
резиновые плитки
|
1,02 м2/м2
|
|
|
2
|
Водно-дисперсионный
клей Thomsit UK 400
|
350-550 г/м2
|
Применяется для гетерогенных и гомогенных ПВХ
покрытий в рулонах и плитках и всех видов текстильных покрытий (кроме
модульной ковровой плитки, покрытий с полиуретановой основой и покрытий из
натурального волокна). Не содержит органические растворители. Наносится
зубчатым шпателем
|
|
Водно-дисперсионный
клей Thomsit
K 188Е
|
150-300 г/м2
|
Применяется для гетерогенных и гомогенных ПВХ
покрытий в рулонах и плитках, текстильных покрытий с полимерной основой,
каучуковых покрытий толщиной до 2,5 мм. Не содержит органические
растворители. Наносится зубчатым шпателем
|
|
Растворный
клей Thomsit
K 172
|
250-350 г/м2
|
Применяется для гетерогенных и гомогенных ПВХ
покрытий в рулонах и плитках, всех видов текстильных покрытий (кроме
модульной ковровой плитки и покрытий с основой из вспененного латекса),
натурального линолеума, каучуковых покрытий с гладкой изнанкой. Содержит
органические растворители. Наносится зубчатым шпателем
|
|
|
Полиуретановый
двухкомпонентный клей Thomsit R
710
|
300-1200 г/м2
|
Применяется для каучуковых и поливинилхлоридных
плиток. Не содержит органические растворители. Наносится зубчатым шпателем
|
|
Водно-дисперсионный
клей Thomsit L 240D
|
450 г/м2
|
Применяется для покрытий из натурального
(алкидного) линолеума. Не содержит растворитель. Наносится зубчатым шпателем
|
|
3
|
Водно-дисперсионная
грунтовка Thomsit R 777
|
300 г/м2 бетонная стяжка 100 г/м2
цементно-песчаная стяжка
|
Наносится кистью или валиком на очищенную
поверхность бетонной или цементно-песчаной стяжки. При нанесении на
цементно-песчаную стяжку разбавляется водой в соотношении 1:1
|
|
Водно-дисперсионная
грунтовка Thomsit R 766
|
150 г/м2 бетонная стяжка 40 г/м2
цементно-песчаная стяжка
|
Наносится кистью или валиком на очищенную поверхность
бетонной или цементно-песчаной стяжки. При нанесении на бетонную стяжку
разбавляется водой в соотношении 1:1, на цементно-песчаную стяжку - в
соотношении 1:4
|
|
4
|
Полимерцементная
саморазравнивающаяся стяжка марки Ceresit CN 69
|
1,8 кг/м2
|
Наносится шпателем слоем толщиной от 3 до 15 мм.
Расход - на 1 мм слоя. Предел прочности при сжатии после 28 суток выдержки не
менее 18 МПа
|
|
Полимерцементная
саморазравнивающаяся стяжка марки Ceresit CN 76
|
2,0 кг/м2
|
Наносится шпателем слоем толщиной от 4 до 50 мм.
Расход - на 1 мм слоя. Предел прочности при сжатии после 28 суток выдержки не
менее 40 МПа
|
|
Полимерцементная
саморазравнивающаяся стяжка марки Thomsit DD
|
1,5 кг/м2
|
Наносится шпателем слоем толщиной от 0,5 до 5 мм.
Расход - на 1 мм слоя. Предел прочности при сжатии после 28 суток выдержки не
менее 22 МПа
|
|
Полимерцементная
саморазравнивающаяся стяжка марки Thomsit DX
|
1,5 кг/м2
|
Наносится шпателем слоем толщиной от 0,5 до 10 мм.
Расход - на 1 мм слоя. Предел прочности при сжатии после 28 суток выдержки не
менее 30 МПа
|
|
Полимерцементная
стяжка марки Ceresit CN 178
|
2,0 кг/м2
|
Наносится шпателем слоем толщиной от 5 до 80 мм.
Расход - на 1 мм слоя. Предел прочности при сжатии после 28 суток выдержки не
менее 25 МПа
|
|
Стяжка
из цементно-песчаного раствора марки M150
|
0,02 м3/м2
|
|
|
Стяжка
из бетона класса В12,5
|
0,02 м3/м2
|
|
|
5
|
Водно-дисперсионная
грунтовка Ceresit CT 17
|
0,1-0,2 л/м2
|
Наносится кистью или валиком на очищенную
поверхность бетонного основания
|
|
Водно-дисперсионная
грунтовка Ceresit CN 94
|
40 г/м2
|
Наносится кистью или валиком на очищенную
поверхность бетонного основания. Разбавляется водой в соотношении 1:3
|
|
Водно-дисперсионная
грунтовка Thomsit R 777
|
300 г/м2
|
Наносится кистью или валиком на очищенную
поверхность бетонного основания
|
|
Водно-дисперсионная
грунтовка Thomsit R 766
|
150 г/м2
|
Наносится кистью или валиком на очищенную
поверхность бетонного основания. Разбавляется водой в соотношении 1:1
|
|
6
|
Сплошная
или многопустотная плита перекрытия
|
|
|

|
Поз.
|
Наименование
|
Расход
|
Примечание
|
|
1
|
Линолеум
поливинилхлоридный и алкидный, плитки или ковры из синтетических волокон,
резиновые плитки
|
1,02 м2/м2
|
|
|
2
|
Водно-дисперсионный
клей Thomsit UK 400
|
350-550 г/м2
|
Применяется для гетерогенных и гомогенных ПВХ
покрытий в рулонах и плитках и всех видов текстильных покрытий (кроме
модульной ковровой плитки, покрытий с полиуретановой основой и покрытий из
натурального волокна). Не содержит органические растворители. Наносится
зубчатым шпателем
|
|
Водно-дисперсионный
клей Thomsit
K 188Е
|
150-300 г/м2
|
Применяется для гетерогенных и гомогенных ПВХ
покрытий в рулонах и плитках, текстильных покрытий с полимерной основой,
каучуковых покрытий толщиной до 2,5 мм. Не содержит органические
растворители. Наносится зубчатым шпателем
|
|
Растворный
клей Thomsit
K 172
|
250-350 г/м2
|
Применяется для гетерогенных и гомогенных ПВХ
покрытий в рулонах и плитках, всех видов текстильных покрытий (кроме
модульной ковровой плитки и покрытий с основой из вспененного латекса),
натурального линолеума, каучуковых покрытий с гладкой изнанкой. Содержит
органические растворители. Наносится зубчатым шпателем
|
|
|
Полиуретановый
двухкомпонентный клей Thomsit R
710
|
300-1200 г/м2
|
Применяется для каучуковых и поливинилхлоридных
плиток. Не содержит органические растворители. Наносится зубчатым шпателем
|
|
Водно-дисперсионный
клей Thomsit L 240D
|
450 г/м2
|
Применяется для покрытий из натурального
(алкидного) линолеума. Не содержит растворитель. Наносится зубчатым шпателем
|
|
3
|
Водно-дисперсионная
грунтовка Thomsit R 777
|
300 г/м2 бетонная стяжка 100 г/м2
цементно-песчаная стяжка
|
Наносится кистью или валиком на очищенную
поверхность бетонной или цементно-песчаной стяжки. При нанесении на
цементно-песчаную стяжку разбавляется водой в соотношении 1:1
|
|
Водно-дисперсионная
грунтовка Thomsit R 766
|
150 г/м2 бетонная стяжка 40 г/м2
цементно-песчаная стяжка
|
Наносится кистью или валиком на очищенную
поверхность бетонной или цементно-песчаной стяжки. При нанесении на бетонную
стяжку разбавляется водой в соотношении 1:1, на цементно-песчаную стяжку - в
соотношении 1:4
|
|
4
|
Стяжка
из цементно-песчаного раствора марки М150
|
|
Расход материала определяется толщиной стяжки,
которая должна превышать на 15-20 мм диаметр трубы
|
|
Стяжка
из бетона класса В12,5
|
|
Расход материала определяется толщиной стяжки,
которая должна превышать на 15-20 мм диаметр трубы
|
|
Полимерцементная
стяжка марки Ceresit CN 178
|
|
Расход материала определяется толщиной стяжки,
которая должна превышать на 15-20 мм диаметр трубы
|
|
Полимерцементная
стяжка марки Ceresit CN 83
|
|
Расход материала определяется толщиной стяжки,
которая должна превышать на 15-20 мм диаметр трубы, но не должна превышать 35
мм
|
|
5
|
Труба
|
|
|
|
6
|
Водно-дисперсионная
грунтовка Ceresit CT 17
|
0,1-0,2 л/м2
|
Наносится кистью или валиком на очищенную
поверхность бетонного основания
|
|
Водно-дисперсионная
грунтовка Ceresit CN 94
|
40 г/м2
|
Наносится кистью или валиком на очищенную
поверхность бетонного основания. Разбавляется водой в соотношении 1:3
|
|
Водно-дисперсионная
грунтовка Thomsit R 777
|
300 г/м2
|
Наносится кистью или валиком на очищенную
поверхность бетонного основания
|
|
Водно-дисперсионная
грунтовка Thomsit R 766
|
150 г/м2
|
Наносится кистью или валиком на очищенную
поверхность бетонного основания. Разбавляется водой в соотношении 1:1
|
|
7
|
Сплошная
или многопустотная плита перекрытия
|
|
|
Полы с покрытием из линолеума, ковров из синтетических
волокон, резиновых плиток по плите перекрытия
Тип 102

|
Поз.
|
Наименование
|
Расход
|
Примечание
|
|
1
|
Линолеум
поливинилхлоридный и алкидный, плитки или ковры из синтетических волокон,
резиновые плитки
|
1,02 м2/м2
|
|
|
2
|
Водно-дисперсионный
клей Thomsit UK 400
|
350-550 г/м2
|
Применяется для гетерогенных и гомогенных ПВХ
покрытий в рулонах и плитках и всех видов текстильных покрытий (кроме
модульной ковровой плитки, покрытий с полиуретановой основой и покрытий из
натурального волокна). Не содержит органические растворители. Наносится
зубчатым шпателем
|
|
Водно-дисперсионный
клей Thomsit
K 188Е
|
150-300 г/м2
|
Применяется для гетерогенных и гомогенных ПВХ
покрытий в рулонах и плитках, текстильных покрытий с полимерной основой,
каучуковых покрытий толщиной до 2,5 мм. Не содержит органические
растворители. Наносится зубчатым шпателем
|
|
Растворный
клей Thomsit
K 172
|
250-350 г/м2
|
Применяется для гетерогенных и гомогенных ПВХ
покрытий в рулонах и плитках, всех видов текстильных покрытий (кроме
модульной ковровой плитки и покрытий с основой из вспененного латекса),
натурального линолеума, каучуковых покрытий с гладкой изнанкой. Содержит
органические растворители. Наносится зубчатым шпателем
|
|
Полиуретановый
двухкомпонентный клей Thomsit R
710
|
300-1200 г/м2
|
Применяется для каучуковых и поливинилхлоридных
плиток. Не содержит органические растворители. Наносится зубчатым шпателем
|
|
Водно-дисперсионный
клей Thomsit L 240D
|
450 г/м2
|
Применяется для покрытий из натурального
(алкидного) линолеума. Не содержит растворитель. Наносится зубчатым шпателем
|
|
3
|
Водно-дисперсионная
грунтовка Thomsit R 777
|
300 г/м2 бетонная стяжка 100 г/м2
цементно-песчаная стяжка
|
Наносится кистью или валиком на очищенную
поверхность бетонной или цементно-песчаной стяжки. При нанесении на
цементно-песчаную стяжку разбавляется водой в соотношении 1:1
|
|
Водно-дисперсионная
грунтовка Thomsit R 766
|
150 г/м2 бетонная стяжка 40 г/м2
цементно-песчаная стяжка
|
Наносится кистью или валиком на очищенную
поверхность бетонной или цементно-песчаной стяжки. При нанесении на бетонную
стяжку разбавляется водой в соотношении 1:1, на цементно-песчаную стяжку - в
соотношении 1:4
|
|
4
|
Стяжка
из цементно-песчаного раствора марки М150
|
0,04 м3/м2
|
|
|
Стяжка
из бетона класса В12,5
|
0,04 м3/м2
|
|
|
Полимерцементная
стяжка марки Ceresit CN 178
|
0,04 м3/м2
|
|
|
5
|
Полиэтиленовая
пленка
|
1,15 м2/м2
|
|
|
6
|
Тепло-
и звукоизоляция из кварцевого или керамзитового песка
|
|
Толщина слоя и расход материалов назначаются в
соответствии с расчетами по параметрам тепло- и звукоизоляции
|
|
7
|
Сплошная
или многопустотная плита перекрытия
|
|
|
Полы с покрытием из линолеума, ковров из синтетических
волокон, резиновых плиток по плите перекрытия
Тип 103

|
Поз.
|
Наименование
|
Расход
|
Примечание
|
|
1
|
Линолеум
поливинилхлоридный и алкидный, плитки или ковры из синтетических волокон,
резиновые плитки
|
1,02 м2/м2
|
|
|
2
|
Водно-дисперсионный
клей Thomsit UK 400
|
350-550 г/м2
|
Применяется для гетерогенных и гомогенных ПВХ
покрытий в рулонах и плитках и всех видов текстильных покрытий (кроме
модульной ковровой плитки, покрытий с полиуретановой основой и покрытий из
натурального волокна). Не содержит органические растворители. Наносится
зубчатым шпателем
|
|
Водно-дисперсионный
клей Thomsit
K 188Е
|
150-300 г/м2
|
Применяется для гетерогенных и гомогенных ПВХ
покрытий в рулонах и плитках текстильных покрытий с полимерной основой,
каучуковых покрытий толщиной до 2,5 мм. Не содержит органические
растворители. Наносится зубчатым шпателем
|
|
Растворный
клей Thomsit
K 172
|
250-350 г/м2
|
Применяется для гетерогенных и гомогенных ПВХ
покрытий в рулонах и плитках, всех видов текстильных покрытий (кроме
модульной ковровой плитки и покрытий с основой из вспененного латекса),
натурального линолеума, каучуковых покрытий с гладкой изнанкой. Содержит
органические растворители. Наносится зубчатым шпателем
|
|
Полиуретановый
двухкомпонентный клей Thomsit R
710
|
300-1200 г/м2
|
Применяется для каучуковых и поливинилхлоридных
плиток. Не содержит органические растворители. Наносится зубчатым шпателем
|
|
Водно-дисперсионный
клей Thomsit L 240D
|
450 г/м2
|
Применяется для покрытий из натурального
(алкидного) линолеума. Не содержит растворитель. Наносится зубчатым шпателем
|
|
3
|
Водно-дисперсионная
грунтовка Thomsit R 777
|
300 г/м2 бетонная стяжка 100 г/м2
цементно-песчаная стяжка
|
Наносится кистью или валиком на очищенную
поверхность бетонной или цементно-песчаной стяжки. При нанесении на
цементно-песчаную стяжку разбавляется водой в соотношении 1:1
|
|
Водно-дисперсионная
грунтовка Thomsit R 766
|
150 г/м2 бетонная стяжка 40 г/м2
цементно-песчаная стяжка
|
Наносится кистью или валиком на очищенную
поверхность бетонной или цементно-песчаной стяжки. При нанесении на бетонную
стяжку разбавляется водой в соотношении 1:1, на цементно-песчаную стяжку - в
соотношении 1:4
|
|
4
|
Стяжка
из цементно-песчаного раствора марки М150
|
0,04 м3/м2
|
|
|
Стяжка
из бетона класса В12,5
|
0,04 м3/м2
|
|
|
Полимерцементная
стяжка марки Ceresit CN 178
|
0,04 м3/м2
|
|
|
5
|
Полиэтиленовая
пленка
|
1,15 м2/м2
|
|
|
6
|
Тепло-
и звукоизоляция из плит или матов
|
|
Толщина слоя и расход материалов назначаются в
соответствии с расчетами по параметрам тепло- и звукоизоляции
|
|
7
|
Сплошная
или многопустотная плита перекрытия
|
|
|
Полы с покрытием из линолеума, ковров из синтетических
волокон, резиновых плиток по плите перекрытия
Тип 104

|
Поз.
|
Наименование
|
Расход
|
Примечание
|
|
1
|
Линолеум
поливинилхлоридный и алкидный, плитки или ковры из синтетических волокон,
резиновые плитки
|
1,02 м2/м2
|
|
|
2
|
Водно-дисперсионный
клей Thomsit UK 400
|
350-550 г/м2 на один слой
|
Применяется для гетерогенных и гомогенных ПВХ
покрытий в рулонах и плитках и всех видов текстильных покрытий (кроме
модульной ковровой плитки, покрытий с полиуретановой основой и покрытий из
натурального волокна). Не содержит органические растворители. Наносится
зубчатым шпателем
|
|
Водно-дисперсионный
клей Thomsit
K 188Е
|
150-300 г/м2 на один слой
|
Применяется для гетерогенных и гомогенных ПВХ
покрытий в рулонах и плитках, текстильных покрытий с полимерной основой,
каучуковых покрытий толщиной до 2,5 мм. Не содержит органические
растворители. Наносится зубчатым шпателем
|
|
Растворный
клей Thomsit
K 172
|
250-350 г/м2 на один слой
|
Применяется для гетерогенных и гомогенных ПВХ
покрытий в рулонах и плитках, всех видов текстильных покрытий (кроме
модульной ковровой плитки и покрытий с основой из вспененного латекса),
натурального линолеума, каучуковых покрытий с гладкой изнанкой. Содержит
органические растворители. Наносится зубчатым шпателем
|
|
Полиуретановый
двухкомпонентный клей Thomsit R710
|
300-1200 г/м2 на один слой
|
Применяется для каучуковых и поливинилхлоридных
плиток. Не содержит органические растворители. Наносится зубчатым шпателем
|
|
Водно-дисперсионный
клей Thomsit L 240D
|
450 г/м2 на один слой
|
Применяется для покрытий из натурального
(алкидного) линолеума. Не содержит растворитель. Наносится зубчатым шпаталем
|
|
3
|
Упругая
прослойка марки TF
303 Е Thomsit-Floor Eiast
|
1 м2/м2
|
Звуко-теплоизолирующая прокладка под эластичные
напольные покрытия
|
Выбор марки прослойки осуществляется с учетом
теплофизических расчетов по параметрам теплоусвоения и звукоизоляции
|
|
Упругая
прослойка марки TF
403 Thomsit-Floor Elast Comfort
|
1 м2/м2
|
Звуко-тешюизолирующая прокладка под эластичные напольные покрытия
|
|
Упругая
прослойка марки TF
305 Т Thomsit-Floor Supertex
|
1 м2/м2
|
Звуко-теплоизолирующая прокладка под текстильные напольные покрытия
|
|
Упругая
прослойка марки TF
404 Thomsit-Floor Тех Comfort
|
1 м2/м2
|
Звуко-теплоизолирующая прокладка под текстильные напольные покрытия
|
|
4
|
Водно-дисперсионная
грунтовка Thomsit R 777
|
300 г/м2 бетонная стяжка 100 г/м2
цементно-песчаная стяжка
|
Наносится кистью или валиком на очищенную
поверхность бетонной или цементно-песчаной стяжки. При нанесении на
цементно-песчаную стяжку разбавляется водой в соотношении 1:1
|
|
Водно-дисперсионная
грунтовка Thomsit R 766
|
150 г/м2 бетонная стяжка 40 г/м2
цементно-песчаная стяжка
|
Наносится кистью или валиком на очищенную
поверхность бетонной или цементно-песчаной стяжки. При нанесении на бетонную
стяжку разбавляется водой в соотношении 1:1, на цементно-песчаную стяжку - в
соотношении 1:4
|
|
5
|
Полимерцементная
саморазравнивающаяся стяжка марки Ceresit CN 69
|
1,8 кг/м2
|
Наносится шпателем слоем толщиной от 3 до 15 мм.
Расход - на 1 мм слоя. Предел прочности при сжатии после 28 суток выдержки не
менее 18 МПа
|
|
Полимерцементная
саморазравнивающаяся стяжка марки Thomsit DD
|
1,5кг/м2
|
Наносится шпателем слоем толщиной от 0,5 до 5 мм.
Расход - на 1 мм слоя. Предел прочности при сжатии после 28 суток выдержки не
менее 22 МПа
|
|
Полимерцементная
саморазравнивающаяся стяжка марки Thomsit DX
|
1,5 кг/м2
|
Наносится шпателем слоем толщиной от 0,5 до 10 мм.
Расход - на 1 мм слоя. Предел прочности при сжатии после 28 суток выдержки не
менее 30 МПа
|
|
Полимерцементная
стяжка марки Ceresit CN 178
|
2,0 кг/м2
|
Наносится шпателем слоем толщиной от 5 до 80 мм.
Расход - на 1 мм слоя. Предел прочности при сжатии после 28 суток выдержки не
менее 25 МПа
|
|
Стяжка
из цементно-песча-ного раствора марки М150
|
0,02 м3/м2
|
|
|
Стяжка
из бетона класса В12,5
|
0,02 м3/м2
|
|
|
6
|
Водно-дисперсионная
грунтовка Ceresit CT 17
|
0,1-0,2 л/м2
|
Наносится кистью или валиком на очищенную
поверхность бетонного основания
|
|
Водно-дисперсионная
грунтовка Ceresit CN 94
|
40 г/м2
|
Наносится кистью или валиком на очищенную
поверхность бетонного основания. Разбавляется водой в соотношении 1:3
|
|
Водно-дисперсионная
грунтовка Thomsit R 777
|
300 г/м2
|
Наносится кистью или валиком на очищенную
поверхность бетонного основания
|
|
Водно-дисперсионная
грунтовка Thomsit R 766
|
150 г/м2
|
Наносится кистью или валиком на очищенную
поверхность бетонного основания. Разбавляется водой в соотношении 1:1
|
|
7
|
Сплошная
или многопустотная плита перекрытия
|
|
|
Полы с покрытием из линолеума, ковров из синтетических
волокон, резиновых плиток по плите перекрытия
Тип 105

|
Поз.
|
Наименование
|
Расход
|
Примечание
|
|
1
|
Линолеум
поливинилхлоридный и алкидный, плитки или ковры из синтетических волокон,
резиновые плитки
|
1,02 м2/м2
|
|
|
2
|
Водно-дисперсионный
клей Thomsit UK 400
|
350-550 г/м2
|
Применяется для гетерогенных и гомогенных ПВХ
покрытий в рулонах и плитках и всех видов текстильных покрытий (кроме
модульной ковровой плитки, покрытий с полиуретановой основой и покрытий из
натурального волокна). Не содержит органические растворители. Наносится
зубчатым шпателем
|
|
Водно-дисперсионный
клей Thomsit
K 188Е
|
150-300 г/м2
|
Применяется для гетерогенных и гомогенных ПВХ покрытий
в рулонах и плитках, текстильных покрытий с полимерной основой, каучуковых
покрытий толщиной до 2,5 мм. Не содержит органические растворители. Наносится
зубчатым шпателем
|
|
Растворный
клей Thomsit
K 172
|
250-350 г/м2
|
Применяется для гетерогенных и гомогенных ПВХ
покрытий в рулонах и плитках, всех видов текстильных покрытий (кроме
модульной ковровой плитки и покрытий с основой из вспененного латекса),
натурального линолеума, каучуковых покрытий с гладкой изнанкой. Содержит
органические растворители. Наносится зубчатым шпателем
|
|
Полиуретановый
двухкомпонентный клей Thomsit R
710
|
300-1200 г/м2
|
Применяется для каучуковых и поливинилхлоридных
плиток. Не содержит органические растворители. Наносится зубчатым шпателем
|
|
Водно-дисперсионный
клей Thomsit L 240D
|
450 г/м2
|
Применяется для покрытий из натурального
(алкидного) линолеума. Не содержит растворитель. Наносится зубчатым шпателем
|
|
3
|
Водно-дисперсионная
грунтовка Thomsit R 766
|
40 г/м2
|
Наносится кистью или валиком на очищенную
поверхность стяжки. Разбавляется водой в соотношении 1:4
|
|
4
|
Сборная
стяжка из готовых элементов из гипсоволокнистых листов
|
1,02 м2/м2
|
|
|
5
|
Водно-дисперсионный
клей
|
40-50 г/п.м
|
|
|
6
|
Кварцевый
песок
|
По факту
|
Расход - минимально необходимый для выравнивания
поверхности нижележащего слоя
|
|
7
|
Пароизоляция
- полиэтиленовая пленка
|
1,15 м2/м2
|
|
|
8
|
Сплошная
или многопустотная плита перекрытия
|
|
|
Полы с покрытием из линолеума, ковров из синтетических
волокон, резиновых плиток по плите перекрытия
Тип 106

|
Поз.
|
Наименование
|
Расход
|
Примечание
|
|
1
|
Линолеум
поливинилхлоридный и алкидный, плитки или ковры из синтетических волокон,
резиновые плитки
|
1,02 м2/м2
|
|
|
2
|
Водно-дисперсионный
клей Thomsit UK 400
|
350-550 г/м2
|
Применяется для гетерогенных и гомогенных ПВХ
покрытий в рулонах и плитках и всех видов текстильных покрытий (кроме
модульной ковровой плитки, покрытий с полиуретановой основой и покрытий из
натурального волокна). Не содержит органические растворители. Наносится
зубчатым шпателем
|
|
Водно-дисперсионный
клей Thomsit
K 188Е
|
150-300 г/м2
|
Применяется для гетерогенных и гомогенных ПВХ
покрытий в рулонах и плитках, текстильных покрытий с полимерной основой,
каучуковых покрытий толщиной до 2,5 мм. Не содержит органические
растворители. Наносится зубчатым шпателем
|
|
Растворный
клей Thomsit
K 172
|
250-350 г/м2
|
Применяется для гетерогенных и гомогенных ПВХ
покрытий в рулонах и плитках, всех видов текстильных покрытий (кроме
модульной ковровой плитки и покрытий с основой из вспененного латекса),
натурального линолеума, каучуковых покрытий с гладкой изнанкой. Содержит
органические растворители. Наносится зубчатым шпателем
|
|
Полиуретановый
двухкомпонентный клей Thomsit R
710
|
300-1200 г/м2
|
Применяется для каучуковых и поливинилхлоридных
плиток. Не содержит органические растворители. Наносится зубчатым шпателем
|
|
Водно-дисперсионный
клей Thomsit L 240D
|
450 г/м2
|
Применяется для покрытий из натурального
(алкидного) линолеума. Не содержит растворитель. Наносится зубчатым шпателем
|
|
3
|
Водно-дисперсионная
грунтовка Thomsit R 766
|
40 г/м2
|
Наносится кистью или валиком на очищенную
поверхность стяжки. Разбавляется водой в соотношении 1:4
|
|
4
|
Сборная
стяжка из готовых элементов из гипсоволокнистых листов
|
1,02 м2/м2
|
|
|
5
|
Водно-дисперсионный
клей
|
40-50 г/п.м
|
|
|
6
|
Тепло-
и звукоизоляция из кварцевого или керамзитового песка
|
|
Толщина слоя и расход материалов назначаются в
соответствии с расчетами по параметрам тепло- и звукоизоляции
|
|
7
|
Пароизоляция
- полиэтиленовая пленка
|
1,15 м2/м2
|
|
|
8
|
Сплошная
или многопустотная плита перекрытия
|
|
|
Полы с покрытием из линолеума, ковров из синтетических
волокон, резиновых плиток по плите перекрытия
Тип 107

|
Поз.
|
Наименование
|
Расход
|
Примечание
|
|
1
|
Линолеум
поливинилхлоридный и алкидный, плитки или ковры из синтетических волокон,
резиновые плитки
|
1,02м2/м2
|
|
|
2
|
Водно-дисперсионный
клей Thomsit UK 400
|
350-550 г/м2
|
Применяется для гетерогенных и гомогенных ПВХ
покрытий в рулонах и плитках и всех видов текстильных покрытий (кроме
модульной ковровой плитки, покрытий с полиуретановой основой и покрытий из
натурального волокна). Не содержит органические растворители. Наносится
зубчатым шпателем
|
|
Водно-дисперсионный
клей Thomsit
K 188Е
|
150-300 г/м2
|
Применяется для гетерогенных и гомогенных ПВХ
покрытий в рулонах и плитках, текстильных покрытий с полимерной основой,
каучуковых покрытий толщиной до 2,5 мм. Не содержит органические
растворители. Наносится зубчатым шпателем
|
|
Растворный
клей Thomsit
K 172
|
250-350 г/м2
|
Применяется для гетерогенных и гомогенных ПВХ
покрытий в рулонах и плитках, всех видов текстильных покрытий (кроме
модульной ковровой плитки и покрытий с основой из вспененного латекса),
натурального линолеума, каучуковых покрытий с гладкой изнанкой. Содержит
органические растворители. Наносится зубчатым шпателем
|
|
Полиуретановый
двухкомпонентный клей Thomsit R
710
|
300-1200 г/м2
|
Применяется для каучуковых и поливинилхлоридных
плиток. Не содержит органические растворители. Наносится зубчатым шпателем
|
|
Водно-дисперсионный
клей Thomsit L 240D
|
450 г/м2
|
Применяется для покрытий из натурального
(алкидного) линолеума. Не содержит растворитель. Наносится зубчатым шпателем
|
|
3
|
Водно-дисперсионная
грунтовка Thomsit R 766
|
40 г/м2
|
Наносится кистью или валиком на очищенную
поверхность стяжки. Разбавляется водой в соотношении 1:4
|
|
4
|
Сборная
стяжка из готовых элементов из гипсоволокнистых листов
|
1,02 м2/м2
|
|
|
5
|
Водно-дисперсионный
клей
|
40-50 г/п.м
|
|
|
6
|
Тепло-
и звукоизоляция из плит или матов
|
|
Толщина слоя и расход материалов назначаются в
соответствии с расчетами по параметрам тепло- и звукоизоляции
|
|
7
|
Пароизоляция
- полиэтиленовая пленка
|
1,15 м2/м2
|
|
|
8
|
Сплошная
или многопустотная плита перекрытия
|
|
|
Полы с покрытием из линолеума, ковров из синтетических
волокон, резиновых плиток по плите перекрытия
Тип 108

|
Поз.
|
Наименование
|
Расход
|
Примечание
|
|
1
|
Линолеум
поливинилхлоридный и алкидный, плитки или ковры из синтетических волокон, резиновые
плитки
|
1,02 м2/м2
|
|
|
2
|
Водно-дисперсионный
клей Thomsit UK 400
|
350-550 г/м2
|
Применяется для гетерогенных и гомогенных ПВХ
покрытий в рулонах и плитках и всех видов текстильных покрытий (кроме
модульной ковровой плитки, покрытий с полиуретановой основой и покрытий из
натурального волокна). Не содержит органические растворители. Наносится
зубчатым шпателем
|
|
Водно-дисперсионный
клей Thomsit
K 188Е
|
150-300 г/м2
|
Применяется для гетерогенных и гомогенных ПВХ
покрытий в рулонах и плитках, текстильных покрытий с полимерной основой,
каучуковых покрытий толщиной до 2,5 мм. Не содержит органические
растворители. Наносится зубчатым шпателем
|
|
Растворный
клей Thomsit
K 172
|
250-350 г/м2
|
Применяется для гетерогенных и гомогенных ПВХ
покрытий в рулонах и плитках, всех видов текстильных покрытий (кроме
модульной ковровой плитки и покрытий с основой из вспененного латекса),
натурального линолеума, каучуковых покрытий с гладкой изнанкой. Содержит
органические растворители. Наносится зубчатым шпателем
|
|
Полиуретановый
двухкомпонентный клей Thomsit R
710
|
300-1200 г/м2
|
Применяется для каучуковых и поливинилхлоридных
плиток. Не содержит органические растворители. Наносится зубчатым шпателем
|
|
Водно-дисперсионный
клей Thomsit L 240D
|
450 г/м2
|
Применяется для покрытий из натурального
(алкидного) линолеума. Не содержит растворитель. Наносится зубчатым шпателем
|
|
3
|
Водно-дисперсионная
грунтовка Thomsit R 766
|
40 г/м2
|
Наносится кистью или валиком на очищенную
поверхность стяжки. Разбавляется водой в соотношении 1:4
|
|
4
|
Сборная
стяжка из готовых элементов из гипсоволокнистых листов
|
1,02 м2/м2
|
|
|
5
|
Водно-дисперсионный
клей
|
40-50 г/п.м
|
|
|
6
|
Тепло-звукоизолирующая
засыпка из кварцевого или керамзитового песка
|
По расчету
|
Толщина слоя и расход материалов назначаются в
соответствии с расчетами по параметрам тепло- и звукоизоляции, но не менее
высоты кожуха Н + 15
|
|
7
|
Труба
|
|
|
|
8
|
Обкладка
трубы пористо-волокнистыми матами
|
По факту
|
|
|
9
|
Защитный
металлический кожух
|
|
|
|
10
|
Дюбель
разжимной
|
|
|
|
11
|
Пароизоляция
- полиэтиленовая пленка
|
1,15 м2/м2
|
|
|
12
|
Сплошная
или многопустотная плита перекрытия
|
|
|
Полы с покрытием из линолеума, ковров из синтетических
волокон, резиновых плиток по плите перекрытия
Тип 109

|
Поз.
|
Наименование
|
Расход
|
Примечание
|
|
1
|
Линолеум
поливинилхлоридный и алкидный, плитки или ковры из синтетических волокон,
резиновые плитки
|
1,02 м2/м2
|
|
|
2
|
Водно-дисперсионный
клей Thomsit UK 400
|
350-550 г/м2
|
Применяется для гетерогенных и гомогенных ПВХ
покрытий в рулонах и плитках и всех видов текстильных покрытий (кроме
модульной ковровой плитки, покрытий с полиуретановой основой и покрытий из
натурального волокна). Не содержит органические растворители. Наносится
зубчатым шпателем
|
|
Водно-дисперсионный
клей Thomsit
K 188Е
|
150-300 г/м2
|
Применяется для гетерогенных и гомогенных ПВХ
покрытий в рулонах и плитках, текстильных покрытий с полимерной основой,
каучуковых покрытий толщиной до 2,5 мм. Не содержит органические
растворители. Наносится зубчатым шпателем
|
|
Растворный
клей Thomsit
K 172
|
250-350 г/м2
|
Применяется для гетерогенных и гомогенных ПВХ
покрытий в рулонах и плитках, всех видов текстильных покрытий (кроме
модульной ковровой плитки и покрытий с основой из вспененного латекса),
натурального линолеума, каучуковых покрытий с гладкой изнанкой. Содержит
органические растворители. Наносится зубчатым шпателем
|
|
Полиуретановый
двухкомпонентный клей Thomsit R
710
|
300-1200 г/м2
|
Применяется для каучуковых и поливинилхлоридных
плиток. Не содержит органические растворители. Наносится зубчатым шпателем
|
|
Водно-дисперсионный
клей Thomsit L 240D
|
450 г/м2
|
Применяется для покрытий из натурального
(алкидного) линолеума. Не содержит растворитель. Наносится зубчатым шпателем
|
|
3
|
Водно-дисперсионная
грунтовка Thomsit R 766
|
40 г/м2
|
Наносится кистью или валиком на очищенную
поверхность стяжки. Разбавляется водой в соотношении 1:4
|
|
4
|
Сборная
стяжка из готовых элементов из гипсоволокнистых листов
|
1,02 м2/м2
|
|
|
5
|
Водно-дисперсионный
клей
|
40-50 г/п.м
|
|
|
6
|
Тепло-звукоизолирующая
засыпка из кварцевого или керамзитового песка
|
По расчету
|
Толщина слоя и расход материалов назначаются в соответствии
с расчетами по параметрам тепло- и звукоизоляции, но не менее высоты кожуха Н
+ 15
|
|
7
|
Труба
|
|
|
|
8
|
Обкладка
трубы пористо-волокнистыми матами
|
По факту
|
|
|
9
|
Защитный
металлический кожух
|
|
|
|
10
|
Дюбель
разжимной
|
|
|
|
11
|
Пароизоляция
- полиэтиленовая пленка
|
1,15 м2/м2
|
|
|
12
|
Сплошная
или многопустотная плита перекрытия
|
|
|
Полы с покрытием из линолеума, ковров из синтетических
волокон, резиновых плиток по плите перекрытия
Тип 110

|
Поз.
|
Наименование
|
Расход
|
Примечание
|
|
1
|
Линолеум
поливинилхлоридный и алкидный, плитки или ковры из синтетических волокон,
резиновые плитки
|
1,02 м2/м2
|
|
|
2
|
Водно-дисперсионный
клей Thomsit UK 400
|
350-550 г/м2
|
Применяется для гетерогенных и гомогенных ПВХ
покрытий в рулонах и плитках и всех видов текстильных покрытий (кроме
модульной ковровой плитки, покрытий с полиуретановой основой и покрытий из
натурального волокна). Не содержит органические растворители. Наносится
зубчатым шпателем
|
|
Водно-дисперсионный
клей Thomsit
K 188Е
|
150-300 г/м2
|
Применяется для гетерогенных и гомогенных ПВХ покрытий
в рулонах и плитках, текстильных покрытий с полимерной основой, каучуковых
покрытий толщиной до 2,5 мм. Не содержит органические растворители. Наносится
зубчатым шпателем
|
|
Растворный
клей Thomsit
K 172
|
250-350 г/м2
|
Применяется для гетерогенных и гомогенных ПВХ
покрытий в рулонах и плитках, всех видов текстильных покрытий (кроме
модульной ковровой плитки и покрытий с основой из вспененного латекса),
натурального линолеума, каучуковых покрытий с гладкой изнанкой. Содержит
органические растворители. Наносится зубчатым шпателем
|
|
Полиуретановый
двухкомпонентный клей Thomsit R710
|
300-1200 г/м2
|
Применяется для каучуковых и поливинилхлоридных
плиток. Не содержит органические растворители. Наносится зубчатым шпателем
|
|
Водно-дисперсионный
клей Thomsit L 240D
|
450 г/м2
|
Применяется для покрытий из натурального
(алкидного) линолеума. Не содержит растворитель. Наносится зубчатым шпателем
|
|
3
|
Водно-дисперсионная
грунтовка Thomsit R 766
|
40 г/м2
|
Наносится кистью или валиком на очищенную
поверхность стяжки. Разбавляется водой в соотношении 1:4
|
|
4
|
Сборная
стяжка из ДСП
|
1,02 м2/м2
|
|
|
5
|
Растворный
клей Thomsit P 600
|
40-50 г/п.м
|
|
|
6
|
Пароизоляция
- пергамин
|
1,15 м2/м2
|
|
|
7
|
Кварцевый
песок
|
По факту
|
Расход - минимально необходимый для выравнивания
поверхности нижележащего слоя
|
|
8
|
Сплошное
или многопустотное междуэтажное железобетонное перекрытие
|
|
|
Полы с покрытием из линолеума, ковров из синтетических
волокон, резиновых плиток по плите перекрытия
Тип 111

|
Поз.
|
Наименование
|
Расход
|
Примечание
|
|
1
|
Линолеум
поливинилхлоридный и алкидный, плитки или ковры из синтетических волокон,
резиновые плитки
|
1,02 м2/м2
|
|
|
2
|
Водно-дисперсионный
клей Thomsit UK 400
|
350-550 г/м2
|
Применяется для гетерогенных и гомогенных ПВХ
покрытий в рулонах и плитках и всех видов текстильных покрытий (кроме модульной
ковровой плитки, покрытий с полиуретановой основой и покрытий из натурального
волокна). Не содержит органические растворители. Наносится зубчатым шпателем
|
|
Водно-дисперсионный
клей Thomsit
K 188Е
|
150-300 г/м2
|
Применяется для гетерогенных и гомогенных ПВХ
покрытий в рулонах и плитках, текстильных покрытий с полимерной основой,
каучуковых покрытий толщиной до 2,5 мм. Не содержит органические
растворители. Наносится зубчатым шпателем
|
|
Растворный
клей Thomsit
K 172
|
250-350 г/м2
|
Применяется для гетерогенных и гомогенных ПВХ
покрытий в рулонах и плитках, всех видов текстильных покрытий (кроме
модульной ковровой плитки и покрытий с основой из вспененного латекса),
натурального линолеума, каучуковых покрытий с гладкой изнанкой. Содержит
органические растворители. Наносится зубчатым шпателем
|
|
Полиуретановый
двухкомпонентный клей Thomsit R
710
|
300-1200 г/м2
|
Применяется для каучуковых и поливинилхлоридных
плиток. Не содержит органические растворители. Наносится зубчатым шпателем
|
|
Водно-дисперсионный
клей Thomsit L 240D
|
450 г/м2
|
Применяется для покрытий из натурального
(алкидного) линолеума. Не содержит растворитель. Наносится зубчатым шпателем
|
|
3
|
Водно-дисперсионная
грунтовка Thomsit R 766
|
40 г/м2
|
Наносится кистью или валиком на очищенную
поверхность стяжки. Разбавляется водой в соотношении 1:4
|
|
4
|
Сборная
стяжка из ДСП
|
1,02 м2/м2
|
|
|
5
|
Растворный
клей Thomsit P 600
|
40-50 г/п.м
|
|
|
6
|
Полиэтиленовая
пленка
|
1,15 м2/м2
|
|
|
7
|
Тепло-звукоизоляция
из плит или матов
|
|
Толщина слоя и расход материалов назначаются в
соответствии с расчетами по параметрам тепло- и звукоизоляции
|
|
8
|
Бетонное
основание из бетона класса В22,5
|
0,08 м3/м2
|
|
|
9
|
Грунт
основания
|
|
|
Полы с покрытием из линолеума, ковров из синтетических
волокон, резиновых плиток по плите перекрытия
Тип 112

|
Поз
|
Наименование
|
Расход
|
Примечание
|
|
1
|
Линолеум
поливинилхлоридный и алкидный, плитки или ковры из синтетических волокон,
резиновые плитки
|
1,02 м2/м2
|
|
|
2
|
Водно-дисперсионный
клей Thornsit UK 400
|
350-550 г/м2
|
Применяется для гетерогенных и гомогенных ПВХ
покрытий в рулонах и плитках и всех видов текстильных покрытий (кроме
модульной ковровой плитки, покрытий с полиуретановой основой и покрытий из
натурального волокна). Не содержит органические растворители. Наносится
зубчатым шпателем
|
|
Водно-дисперсионный
клей Thomsit
K 188Е
|
150-300 г/м2
|
Применяется для гетерогенных и гомогенных ПВХ
покрытий в рулонах и плитках, текстильных покрытий с полимерной основой,
каучуковых покрытий толщиной до 2,5 мм. Не содержит органические
растворители. Наносится зубчатым шпателем
|
|
Растворный
клей Thomsit
K 172
|
250-350 г/м2
|
Применяется для гетерогенных и гомогенных ПВХ
покрытий в рулонах и плитках, всех видов текстильных покрытий (кроме
модульной ковровой плитки и покрытий с основой из вспененного латекса),
натурального линолеума, каучуковых покрытий с гладкой изнанкой. Содержит
органические растворители. Наносится зубчатым шпателем
|
|
Полиуретановый
двухкомпонентный клей Thomsit R
710
|
300-1200 г/м2
|
Применяется для каучуковых и поливинилхлоридных
плиток. Не содержит органические растворители. Наносится зубчатым шпателем
|
|
Водно-дисперсионный
клей Thomsit L 240D
|
450 г/м2
|
Применяется для покрытий из натурального
(алкидного) линолеума. Не содержит растворитель. Наносится зубчатым шпателем
|
|
3
|
Водно-дисперсионная
грунтовка Thomsit R 766
|
40 г/м2
|
Наносится валиком на очищенную поверхность сборной
стяжки. Разбавляется водой в соотношении 1:4
|
|
4
|
Сборная
стяжка из фанеры
|
2,04 м2/м2
|
|
|
5
|
Растворный
клей Thomsit P 600
|
1200-1600 г/м2
|
Содержит растворитель. Наносится зубчатым шпателем
|
|
6
|
Закрепление
саморезами
|
|
Шаг между саморезами 300 мм, по кромке листов - 150
мм
|
|
7
|
Лага
регулируемая
|
Согласно инструкции
|
Монтаж лаг осуществляется в соответствии с
инструкцией фирмы-производителя
|
|
8
|
Болт-стойка
|
Согласно инструкции
|
Установка болт-стоек осуществляется в соответствии
с инструкцией фирмы-производителя
|
|
9
|
Труба
|
|
|
|
10
|
Пароизоляция
- полиэтиленовая пленка
|
1,15 м2/м2
|
|
|
11
|
Сплошное
или многопустотное междуэтажное железобетонное перекрытие
|
|
|
Полы с покрытием из линолеума, ковров из синтетических
волокон, резиновых плиток по плите перекрытия
Тип 113

|
Поз.
|
Наименование
|
Расход
|
Примечание
|
|
1
|
Линолеум
поливинилхлоридный и алкидный, плитки или ковры из синтетических волокон,
резиновые плитки
|
1,02 м2/м2
|
|
|
2
|
Водно-дисперсионный
клей Thomsit UK 400
|
350-550 г/м2
|
Применяется для гетерогенных и гомогенных ПВХ
покрытий в рулонах и плитках и всех видов текстильных покрытий (кроме
модульной ковровой плитки, покрытий с полиуретановой основой и покрытий из
натурального волокна). Не содержит органические растворители. Наносится
зубчатым шпателем
|
|
Водно-дисперсионный
клей Thomsit
K 188Е
|
150-300 г/м2
|
Применяется для гетерогенных и гомогенных ПВХ
покрытий в рулонах и плитках, текстильных покрытий с полимерной основой,
каучуковых покрытий толщиной до 2,5 мм. Не содержит органические
растворители. Наносится зубчатым шпателем
|
|
Растворный
клей Thomsit
K 172
|
250-350 г/м2
|
Применяется для гетерогенных и гомогенных ПВХ
покрытий в рулонах и плитках, всех видов текстильных покрытий (кроме
модульной ковровой плитки и покрытий с основой из вспененного латекса),
натурального линолеума, каучуковых покрытий с гладкой изнанкой. Содержит
органические растворители. Наносится зубчатым шпателем
|
|
Полиуретановый
двухкомпонентный клей Thomsit R
710
|
300-1200 г/м2
|
Применяется для каучуковых и поливинилхлоридных
плиток. Не содержит органические растворители. Наносится зубчатым шпателем
|
|
Водно-дисперсионный
клей Thomsit L 240D
|
450 г/м2
|
Применяется для покрытий из натурального
(алкидного) линолеума. Не содержит растворитель. Наносится зубчатым шпателем
|
|
3
|
Водно-дисперсионная
грунтовка Thomsit R 766
|
40 г/м2
|
Наносится валиком на очищенную поверхность сборной
стяжки. Разбавляется водой в соотношении 1:4
|
|
4
|
Сборная
стяжка из фанеры
|
2,04 м2/м2
|
|
|
5
|
Растворный
клей Thomsit P 600
|
1200-1600 г/м2
|
Содержит растворитель. Наносится зубчатым шпателем
|
|
6
|
Закрепление
саморезами
|
|
Шаг между саморезами 300 мм, по кромке листов - 150
мм
|
|
7
|
Лага
регулируемая
|
Согласно инструкции
|
Монтаж лаг осуществляется в соответствии с
инструкцией фирмы-производителя
|
|
8
|
Болт-стойка
|
Согласно инструкции
|
Установка болт-стоек осуществляется в соответствии
с инструкцией фирмы-производителя
|
|
9
|
Тепло-звукоизоляция
из плит или матов
|
|
Толщина слоя и расход материалов назначаются в
соответствии с расчетами по параметрам тепло- и звукоизоляции
|
|
10
|
Пароизоляция
- полиэтиленовая пленка
|
1,15 м2/м2
|
|
|
11
|
Сплошное
или многопустотное междуэтажное железобетонное перекрытие
|
|
|
Полы с покрытием из линолеума, ковров из синтетических
волокон, резиновых плиток по плите перекрытия
Тип 114

|
Поз.
|
Наименование
|
Расход
|
Примечание
|
|
1
|
Линолеум
поливинилхлоридный и алкидный, плитки или ковры из синтетических волокон,
резиновые плитки
|
1,02 м2/м2
|
|
|
2
|
Водно-дисперсионный
клей Thomsit UK 400
|
350-550 г/м2
|
Применяется для гетерогенных и гомогенных ПВХ
покрытий в рулонах и плитках и всех видов текстильных покрытий (кроме
модульной ковровой плитки, покрытий с полиуретановой основой и покрытий из
натурального волокна). Не содержит органические растворители. Наносится
зубчатым шпателем
|
|
Водно-дисперсионный
клей Thomsit
K 188Е
|
150-300 г/м2
|
Применяется для гетерогенных и гомогенных ПВХ
покрытий в рулонах и плитках, текстильных покрытий с полимерной основой,
каучуковых покрытий толщиной до 2,5 мм. Не содержит органические
растворители. Наносится зубчатым шпателем
|
|
Растворный
клей Thomsit
K 172
|
250-350 г/м2
|
Применяется для гетерогенных и гомогенных ПВХ
покрытий в рулонах и плитках, всех видов текстильных покрытий (кроме
модульной ковровой плитки и покрытий с основой из вспененного латекса),
натурального линолеума, каучуковых покрытий с гладкой изнанкой. Содержит органические
растворители. Наносится зубчатым шпателем
|
|
Полиуретановый
двухкомпонентный клей Thomsit R
710
|
300-1200 г/м2
|
Применяется для каучуковых и поливинилхлоридных
плиток. Не содержит органические растворители. Наносится зубчатым шпателем
|
|
Водно-дисперсионный
клей Thomsit L 240D
|
450 г/м2
|
Применяется для покрытий из натурального
(алкидного) линолеума. Не содержит растворитель. Наносится зубчатым шпателем
|
|
3
|
Водно-дисперсионная
грунтовка Thomsit R 766
|
40 г/м2
|
Наносится валиком на очищенную поверхность сборной
стяжки. Разбавляется водой в соотношении 1:4
|
|
4
|
Сборная
стяжка из фанеры
|
2,04 м2/м2
|
|
|
5
|
Растворный
клей Thomsit P 600
|
1200-1600 г/м2
|
Содержит растворитель. Наносится зубчатым шпателем
|
|
6
|
Закрепление
саморезами
|
|
Шаг между саморезами 300 мм, по кромке листов - 150
мм
|
|
7
|
Лага
обыкновенная
|
0,004-0,005 м3/п.м
|
Шаг между лагами 300 мм в помещениях
административных зданий, 600 мм - в жилых помещениях
|
|
8
|
Кварцевый
песок
|
По факту
|
Расход - минимально необходимый для выравнивания
поверхности нижележащего слоя
|
|
9
|
Сплошное
или многопустотное междуэтажное железобетонное перекрытие с неровной
поверхностью
|
|
|
Полы с покрытием из линолеума, ковров из синтетических
волокон, резиновых плиток по плите перекрытия
Тип 115

|
Поз.
|
Наименование
|
Расход
|
Примечание
|
|
1
|
Линолеум
поливинилхлоридный и алкидный, плитки или ковры из синтетических волокон,
резиновые плитки
|
1,02 м2/м2
|
|
|
2
|
Водно-дисперсионный
клей Thomsit UK 400
|
350-550 г/м2
|
Применяется для гетерогенных и гомогенных ПВХ
покрытий в рулонах и плитках и всех видов текстильных покрытий (кроме
модульной ковровой плитки, покрытий с полиуретановой основой и покрытий из
натурального волокна). Не содержит органические растворители. Наносится
зубчатым шпателем
|
|
Водно-дисперсионный
клей Thomsit
K 188Е
|
150-300 г/м2
|
Применяется для гетерогенных и гомогенных ПВХ
покрытий в рулонах и плитках, текстильных покрытий с полимерной основой,
каучуковых покрытий толщиной до 2,5 мм. Не содержит органические
растворители. Наносится зубчатым шпателем
|
|
Растворный
клей Thomsit
K 172
|
250-350 г/м2
|
Применяется для гетерогенных и гомогенных ПВХ
покрытий в рулонах и плитках, всех видов текстильных покрытий (кроме
модульной ковровой плитки и покрытий с основой из вспененного латекса),
натурального линолеума, каучуковых покрытий с гладкой изнанкой. Содержит
органические растворители. Наносится зубчатым шпателем
|
|
Полиуретановый
двухкомпонентный клей Thomsit R
710
|
300-1200 г/м2
|
Применяется для каучуковых и поливинилхлоридных
плиток. Не содержит органические растворители. Наносится зубчатым шпателем
|
|
Водно-дисперсионный
клей Thomsit L 240D
|
450 г/м2
|
Применяется для покрытий из натурального
(алкидного) линолеума. Не содержит растворитель. Наносится зубчатым шпателем
|
|
3
|
Водно-дисперсионная
грунтовка Thomsit R 766
|
40 г/м2
|
Наносится валиком на очищенную поверхность сборной
стяжки. Разбавляется водой в соотношении 1:4
|
|
4
|
Сборная
стяжка из фанеры
|
2,04 м2/м2
|
|
|
5
|
Растворный
клей Thomsit P 600
|
1200-1600 г/м2
|
Содержит растворитель. Наносится зубчатым шпателем
|
|
6
|
Закрепление
саморезами
|
|
Шаг между саморезами 300 мм, по кромке листов - 150
мм
|
|
7
|
Лага
обыкновенная
|
0,004-0,005 м3/п.м
|
Шаг между лагами 300 мм в помещениях
административных зданий, 600 мм - в жилых помещениях
|
|
8
|
Звукоизолирующая
прокладка
|
0,15м2/п.м
|
Материал и толщина звукоизолирующей прокладки
назначаются в соответствии с расчетами по параметрам звукоизоляции
|
|
9
|
Кварцевый
песок
|
По факту
|
Расход - минимально необходимый для выравнивания
поверхности нижележащего слоя
|
|
10
|
Сплошное
или многопустотное междуэтажное железобетонное перекрытие с неровной
поверхностью
|
|
|
Полы с покрытием из линолеума, ковров из синтетических
волокон, резиновых плиток но плите перекрытия

|
Поз.
|
Наименование
|
Расход
|
Примечание
|
|
1
|
Линолеум
поливинилхлоридный антистатический, резиновые антистатические покрытия,
антистатические текстильные покрытия
|
1,02 м2/м2
|
|
|
2
|
Токопроводящий
водно-дисперсионный клей Thomsit К 112
|
300-350 г/м2
|
Применяется для антистатических ПВХ покрытий в
рулонах и плитках, каучуковых покрытий в рулонах
|
|
Токопроводящая
водно-дисперсионный клей Thomsit T
412
|
380-450 г/м2
|
Применяется для антистатических текстильных
покрытий
|
|
3
|
Токопроводящий
водно-дисперсионная грунтовка Thomsit R 762
|
100-150 г/м2
|
Наносится поролоновым валиком на очищенную
поверхность стяжки
|
|
4
|
Медная
или углеграфитовая лента
|
По факту
|
Создается электроотводящий контур, наклеивая ленту
по периметру помещения, а также вдоль и поперек помещения с шагом не более 3
м. Электроотводящий контур должен быть присоединен к системе заземления
здания
|
|
5
|
Полимерцементная
саморазравнивающаяся стяжка марки Ceresit CN 69
|
1,8 кг/м2
|
Наносится шпателем слоем толщиной от 3 до 15 мм.
Расход - на 1 мм слоя. Предел прочности при сжатии после 28 суток выдержки не
менее 18 МПа
|
|
Полимерцементная
саморазравнивающаяся стяжка марки Ceresit CN 76
|
2,0 кг/м2
|
Наносится шпателем слоем толщиной от 4 до 50 мм.
Расход - на 1 мм слоя. Предел прочности при сжатии после 28 суток выдержки не
менее 40 МПа
|
|
Полимерцементная
саморазравнивающаяся стяжка марки Thomsit DD
|
1,5 кг/м2
|
Наносится шпателем слоем толщиной от 0,5 до 5 мм.
Расход - на 1 мм слоя. Предел прочности при сжатии после 28 суток выдержки не
менее 22 МПа
|
|
Полимерцементная
саморазравнивающаяся стяжка марки Thomsit DX
|
1,5 кг/м2
|
Наносится шпателем слоем толщиной от 0,5 до 10 мм.
Расход - на 1 мм слоя. Предел прочности при сжатии после 28 суток выдержки не
менее 30 МПа
|
|
Полимерцементная
стяжка марки Ceresit CN 178
|
2,0 кг/м2
|
Наносится шпателем слоем толщиной от 5 до 80 мм.
Расход - на 1 мм слоя. Предел прочности при сжатии после 28 суток выдержки не
менее 25 МПа
|
|
Стяжка
из цементно-песчаного раствора марки М150
|
0,02 м3/м2
|
|
|
Стяжка
из бетона класса В12,5
|
0,02 м3/м2
|
|
|
6
|
Водно-дисперсионная
грунтовка Ceresit CT 17
|
0,1-0,2 л/м2
|
Наносится кистью или валиком на очищенную
поверхность бетонного основания
|
|
Водно-дисперсионная
грунтовка Ceresit CN 94
|
20-120 г/м2
|
Наносится кистью или валиком на очищенную
поверхность бетонного основания. Разбавляется водой в соотношении 1:3
|
|
Водно-дисперсионная
грунтовка Thomsit R 777
|
300 г/м2
|
Наносится кистью или валиком на очищенную
поверхность бетонного основания
|
|
Водно-дисперсионная
грунтовка Thomsit R 766
|
150 г/м2
|
Наносится кистью или валиком на очищенную
поверхность бетонного основания. Разбавляется водой в соотношении 1:1
|
|
7
|
Бетонное
основание из бетона класса В22,5
|
0,08 м3/м2
|
|
|
8
|
Грунт
основания
|
|
|

|
Поз.
|
Наименование
|
Расход
|
Примечание
|
|
1
|
Линолеум
поливинилхлоридный антистатический, резиновые антистатические покрытия,
антистатические текстильные покрытия
|
1,02 м2/м2
|
|
|
2
|
Токопроводящий
водно-дисперсионный клей Thomsit К 112
|
300-350 г/м2
|
Применяется для антистатических ПВХ покрытий в
рулонах и плитках, каучуковых покрытий в рулонах
|
|
Токопроводящий
водно-дисперсионный клей Thomsit T
412
|
380-450 г/м2
|
Применяется для антистатических текстильных
покрытий
|
|
3
|
Токопроводящий
водно-дисперсионная грунтовка Thomsit R 762
|
100-150 г/м2
|
Наносится поролоновым валиком на очищенную
поверхность стяжки
|
|
4
|
Медная
или углеграфитовая лента
|
По факту
|
Создается электроотводящий контур, наклеивая ленту
по периметру помещения, а также вдоль и поперек помещения с шагом не более 3
м. Электроотводящий контур должен быть присоединен к системе заземления
здания
|
|
5
|
Полимерцементная
саморазравнивающаяся стяжка марки Ceresit CN 69
|
1,8 кг/м2
|
Наносится шпателем слоем толщиной от 3 до 15 мм. Расход
- на 1 мм слоя. Предел прочности при сжатии после 28 суток выдержки Fie менее 18 МПа
|
|
Полимерцементная
саморазравнивающаяся стяжка марки Ceresit CN 76
|
2,0 кг/м2
|
Наносится шпателем слоем толщиной от 4 до 50 мм.
Расход - на 1 мм слоя. Предел прочности при сжатии после 28 суток выдержки не
менее 40 МПа
|
|
Полимерцементная
саморазравнивающаяся стяжка марки Thomsit DD
|
1,5 кг/м2
|
Наносится шпателем слоем толщиной от 0,5 до 5 мм.
Расход - на 1 мм слоя. Предел прочности при сжатии после 28 суток выдержки не
менее 22 МПа
|
|
Полимерцементная
саморазравнивающаяся стяжка марки Thomsit DX
|
1,5 кг/м2
|
Наносится шпателем слоем толщиной от 0,5 до 10 мм.
Расход - на 1 мм слоя. Предел прочности при сжатии после 28 суток выдержки не
менее 30 МПа
|
|
Полимерцементная
стяжка марки Ceresit CN 178
|
2,0 кг/м2
|
Наносится шпателем слоем толщиной от 5 до 80 мм.
Расход - на 1 мм слоя. Предел прочности при сжатии после 28 суток выдержки не
менее 25 МПа
|
|
Стяжка
из цементно-песчаного раствора марки М150
|
0,02 м3/м2
|
|
|
Стяжка
из бетона класса В12,5
|
0,02 м3/м2
|
|
|
6
|
Водно-дисперсионная
грунтовка Ceresit CT 17
|
0,1-0,2 л/м2
|
Наносится кистью или валиком на очищенную
поверхность бетонного основания
|
|
Водно-дисперсионная
грунтовка Ceresit CN 94
|
20-120 г/м2
|
Наносится кистью или валиком на очищенную поверхность
бетонного основания. Разбавляется водой в соотношении 1:3
|
|
Водно-дисперсионная
грунтовка Thomsit R 777
|
300 г/м2
|
Наносится кистью или валиком на очищенную
поверхность бетонного основания
|
|
Водно-дисперсионная
грунтовка Thomsit R 766
|
150 г/м2
|
Наносится кистью или валиком на очищенную
поверхность бетонного основания. Разбавляется водой в соотношении 1:1
|
|
7
|
Бетонное
основание из бетона класса В22,5
|
0,08 м3/м2
|
|
|
8
|
Наливная
гидроизоляция - щебень или гравий, пропитанные битумом
|
Щебень или гравий - 0,04-0,05 м/м, битум -
по факту
|
|
|
9
|
Грунт
основания
|
|
|
Полы с покрытием из антистатического линолеума по
грунту
Тип 118

|
Поз.
|
Наименование
|
Расход
|
Примечание
|
|
1
|
Линолеум
поливинилхлоридный антистатический, резиновые антистатические покрытия,
антистатические текстильные покрытия
|
1,02 м2/м2
|
|
|
2
|
Токопроводящий
водно-дисперсионный клей Thomsit К 112
|
300-350 г/м2
|
Применяется для антистатических ПВХ покрытий в
рулонах и плитках, каучуковых покрытий в рулонах
|
|
Токопроводящий
водно-дисперсионный клей Thomsit T
412
|
380-450 г/м2
|
Применяется для антистатических текстильных
покрытий
|
|
3
|
Токопроводящая
водно-дисперсионная грунтовка Thomsit R 762
|
100-150 г/м2
|
Наносится поролоновым валиком на очищенную
поверхность стяжки
|
|
4
|
Медная
или углеграфитовая лента
|
По факту
|
Создается электроотводящий контур, наклеивая ленту
по периметру помещения, а также вдоль и поперек помещения с шагом не более 3
м. Электроотводящий контур должен быть присоединен к системе заземления
здания
|
|
5
|
Полимерцементная
саморазравнивающаяся стяжка марки Ceresit CN 69
|
1,8 кг/м2
|
Наносится шпателем слоем толщиной от 3 до 15 мм.
Расход - на 1 мм слоя. Предел прочности при сжатии после 28 суток выдержки не
менее 18 МПа
|
|
Полимерцементная
саморазравнивающаяся стяжка марки Ceresit CN 76
|
2,0 кг/м2
|
Наносится шпателем слоем толщиной от 4 до 50 мм.
Расход - на 1 мм слоя. Предел прочности при сжатии после 28 суток выдержки не
менее 40 МПа
|
|
Полимерцементная
саморазравнивающаяся стяжка марки Thomsit DD
|
1,5 кг/м2
|
Наносится шпателем слоем толщиной от 0,5 до 5 мм.
Расход - на 1 мм слоя. Предел прочности при сжатии после 28 суток выдержки не
менее 22 МПа
|
|
Полимерцементная
саморазравнивающаяся стяжка марки Thomsit DX
|
1,5 кг/м2
|
Наносится шпателем слоем толщиной от 0,5 до 10 мм.
Расход - на 1 мм слоя. Предел прочности при сжатии после 28 суток выдержки не
менее 30 МПа
|
|
Полимерцементная
стяжка марки Ceresit CN 178
|
2,0 кг/м2
|
Наносится шпателем слоем толщиной от 5 до 80 мм.
Расход - на 1 мм слоя. Предел прочности при сжатии после 28 суток выдержки не
менее 25 МПа
|
|
Стяжка
из цементно-песчаного раствора марки М150
|
0,02 м3/м2
|
|
|
Стяжка
из бетона класса В12,5
|
0,02 м3/м2
|
|
|
6
|
Водно-дисперсионная
грунтовка Ceresit CT 17
|
0,1-0,2 л/м2
|
Наносится кистью или валиком на очищенную
поверхность бетонного основания
|
|
Водно-дисперсионная
грунтовка Ceresit CN 94
|
20-120 г/м2
|
Наносится кистью или валиком на очищенную
поверхность бетонного основания. Разбавляется водой в соотношении 1:3
|
|
Водно-дисперсионная
грунтовка Thomsit R 777
|
300 г/м2
|
Наносится кистью или валиком на очищенную
поверхность бетонного основания
|
|
Водно-дисперсионная
грунтовка Thomsit R 766
|
150 г/м2
|
Наносится кистью или валиком на очищенную
поверхность бетонного основания. Разбавляется водой в соотношении 1:1
|
|
7
|
Бетонное
основание из бетона класса В22,5
|
0,08 м3/м2
|
|
|
8
|
Рулонная
гидроизоляция
|
1,02 м2/м2
|
|
|
Обмазочная
гидроизоляция на основе эластичной гидроизолирующей массы Ceresit CR 66
|
3-5 кг/м2
|
|
|
9
|
Стяжка
из цементно-песчаного раствора марки М150
|
0,05 м3/м2
|
|
|
10
|
Грунт
основания
|
|
|
Полы с покрытием из антистатического линолеума по
грунту
Тип 119

|
Поз.
|
Наименование
|
Расход
|
Примечание
|
|
1
|
Линолеум
поливинилхлоридный антистатический, резиновые антистатические покрытия,
антистатические текстильные покрытия
|
1,02 м2/м2
|
|
|
2
|
Токопроводящий
водно-дисперсионный клей Thomsit К 112
|
300-350 г/м2
|
Применяется для антистатических ПВХ покрытий в
рулонах и плитках, каучуковых покрытий в рулонах
|
|
Токопроводящий
водно-дисперсионный клей Thomsit T
412
|
380-450 г/м2
|
Применяется для антистатических текстильных
покрытий
|
|
3
|
Токопроводящая
водно-дисперсионная грунтовка Thomsit R 762
|
100-150 г/м2
|
Наносится поролоновым валиком на очищенную
поверхность стяжки
|
|
4
|
Медная
или углеграфитовая лента
|
По факту
|
Создается электроотводящий контур, наклеивая ленту
по периметру помещения, а также вдоль и поперек помещения с шагом не более 3
м. Электроотводящий контур должен быть присоединен к системе заземления
здания
|
|
5
|
Стяжка
из цементно-песчаного раствора марки М150
|
|
Расход материала определяется толщиной стяжки,
которая должна превышать на 15-20 мм диаметр трубы
|
|
Стяжка
из бетона класса В12,5
|
|
Расход материала определяется толщиной стяжки,
которая должна превышать на 15-20 мм диаметр трубы
|
|
Полимерцементная
стяжка марки Ceresit CN 178
|
|
Расход материала определяется толщиной стяжки,
которая должна превышать на 15-20 мм диаметр трубы
|
|
Полимерцементная
стяжка марки Ceresit CN 83
|
|
Расход материала определяется толщиной стяжки,
которая должна превышать на 15-20 мм диаметр трубы, но не должна превышать 35
мм
|
|
6
|
Труба
|
|
|
|
7
|
Водно-дисперсионная
грунтовка Ceresit CT 17
|
0,1-0,2 л/м2
|
Наносится кистью или валиком на очищенную
поверхность бетонного основания
|
|
Водно-дисперсионная
грунтовка Ceresit CN 94
|
40 г/м2
|
Наносится кистью или валиком на очищенную
поверхность бетонного основания. Разбавляется водой в соотношении 1:3
|
|
Водно-дисперсионная
грунтовка Thomsit R 777
|
300 г/м2
|
Наносится кистью или валиком на очищенную
поверхность бетонного основания
|
|
Водно-дисперсионная
грунтовка Thomsit R 766
|
150 г/м2
|
Наносится кистью или валиком на очищенную
поверхность бетонного основания. Разбавляется водой в соотношении 1:1
|
|
8
|
Бетонное
основание из бетона класса В22,5
|
0,08 м3/м2
|
|
|
9
|
Грунт
основания
|
|
|
Полы с покрытием из антистатического линолеума по
грунту

|
Поз.
|
Наименование
|
Расход
|
Примечание
|
|
1
|
Линолеум
поливинилхлоридный антистатический, резиновые антистатические покрытия,
антистатические текстильные покрытия
|
1,02 м2/м2
|
|
|
2
|
Токопроводящий
водно-дисперсионный клей Thomsit К 112
|
300-350 г/м2
|
Применяется для антистатических ПВХ покрытий в
рулонах и плитках, каучуковых покрытий в рулонах
|
|
Токопроводящий
водно-дисперсионный клей Thomsit T
412
|
380-450 г/м2
|
Применяется для антистатических текстильных
покрытий
|
|
3
|
Токопроводящий
водно-дисперсионная грунтовка Thomsit R 762
|
100-150 г/м2
|
Наносится поролоновым валиком на очищенную
поверхность стяжки
|
|
4
|
Медная
или углеграфитовая лента
|
По факту
|
Создается электроотводящий контур, наклеивая ленту
по периметру помещения, а также вдоль и поперек помещения с шагом не более 3
м. Электроотводящий контур должен быть присоединен к системе заземления
здания
|
|
5
|
Полимерцементная
саморазравнивающаяся стяжка марки Ceresit CN 69
|
1,8 кг/м2
|
Наносится шпателем слоем толщиной от 3 до 15 мм.
Расход - на 1 мм слоя. Предел прочности при сжатии после 28 суток выдержки не
менее 18 МПа
|
|
Полимерцементная
саморазравнивающаяся стяжка марки Ceresit CN 76
|
2,0 кг/м2
|
Наносится шпателем слоем толщиной от 4 до 50 мм.
Расход -- на 1 мм слоя. Предел прочности при сжатии после 28 суток выдержки
не менее 40 МПа
|
|
Полимерцементная
саморазравнивающаяся стяжка марки Thomsit DD
|
1,5 кг/м2
|
Наносится шпателем слоем толщиной от 0,5 до 5 мм.
Расход - на 1 мм слоя. Предел прочности при сжатии после 28 суток выдержки не
менее 22 МПа
|
|
Полимерцементная
саморазравнивающаяся стяжка марки Thomsit DX
|
1,5 кг/м2
|
Наносится шпателем слоем толщиной от 0,5 до 10 мм.
Расход - на 1 мм слоя. Предел прочности при сжатии после 28 суток выдержки не
менее 30 МПа
|
|
Полимерцементная
стяжка марки Ceresit CN 178
|
2,0 кг/м2
|
Наносится шпателем слоем толщиной от 5 до 80 мм.
Расход - на 1 мм слоя. Предел прочности при сжатии после 28 суток выдержки не
менее 25 МПа
|
|
Стяжка
из цементно-песчаного раствора марки М150
|
0,02 м3/м2
|
|
|
Стяжка
из бетона класса В12,5
|
0,02 м3/м2
|
|
|
6
|
Водно-дисперсионная
грунтовка Ceresit CT 17
|
0,1-0,2 л/м2
|
Наносится кистью или валиком на очищенную
поверхность бетонного основания
|
|
Водно-дисперсионная
грунтовка Ceresit CN 94
|
20-120 г/м2
|
Наносится кистью или валиком на очищенную
поверхность бетонного основания. Разбавляется водой в соотношении 1:3
|
|
Водно-дисперсионная
грунтовка Thomsit R 777
|
300 г/м2
|
Наносится кистью или валиком на очищенную
поверхность бетонного основания
|
|
Водно-дисперсионная
грунтовка Thomsit R 766
|
150 г/м2
|
Наносится кистью или валиком на очищенную
поверхность бетонного основания. Разбавляется водой в соотношении 1:1
|
|
7
|
Сплошная
или многопустотная плита перекрытия
|
|
|

|
Поз.
|
Наименование
|
Расход
|
Примечание
|
|
1
|
Линолеум
поливинилхлоридный антистатический, резиновые антистатические покрытия,
антистатические текстильные покрытия
|
1,02 м2/м2
|
|
|
2
|
Токопроводящий
водно-дисперсионный клей Thomsit К 112
|
300-350 г/м2
|
Применяется для антистатических ПВХ покрытий в
рулонах и плитках, каучуковых покрытий в рулонах
|
|
Токопроводящий
водно-дисперсионный клей Thomsit T412
|
380-450 г/м2
|
Применяется для антистатических текстильных
покрытий
|
|
3
|
Токопроводящая
водно-дисперсионная грунтовка Thomsit R 762
|
100-150 г/м2
|
Наносится поролоновым валиком на очищенную
поверхность стяжки
|
|
4
|
Медная
или углеграфитовая лента
|
По факту
|
Создается электроотводящий контур, наклеивая ленту
по периметру помещения, а также вдоль и поперек помещения с шагом не более 3
м. Электроотводящий контур должен быть присоединен к системе заземления
здания
|
|
5
|
Стяжка
из цементно-песчаного раствора марки LM150
|
|
Расход материала определяется толщиной стяжки,
которая должна превышать на 15-20 мм диаметр трубы
|
|
Стяжка
из бетона класса В12,5
|
|
Расход материала определяется толщиной стяжки,
которая должна превышать на 15-20 мм диаметр трубы
|
|
Полимерцементная
стяжка марки Ceresit CN 178
|
|
Расход материала определяется толщиной стяжки,
которая должна превышать на 15-20 мм диаметр трубы
|
|
Полимерцементная
стяжка марки Ceresit CN 83
|
|
Расход материала определяется толщиной стяжки,
которая должна превышать на 15-20 мм диаметр трубы, но не должна превышать 35
мм
|
|
6
|
Труба
|
|
|
|
7
|
Водно-дисперсионная
грунтовка Ceresit CT 17
|
0,1-0,2 л/м2
|
Наносится кистью или валиком на очищенную
поверхность бетонного основания
|
|
Водно-дисперсионная
грунтовка Ceresit CN 94
|
40 г/м2
|
Наносится кистью или валиком на очищенную
поверхность бетонного основания. Разбавляется водой в соотношении 1:3
|
|
Водно-дисперсионная
грунтовка Thomsit R 777
|
300 г/м2
|
Наносится кистью или валиком на очищенную
поверхность бетонного основания
|
|
Водно-дисперсионная
грунтовка Thomsit R 766
|
150 г/м2
|
Наносится кистью или валиком на очищенную
поверхность бетонного основания Разбавляется водой в соотношении 1:1
|
|
8
|
Сплошная
или многопустотная плита перекрытия
|
|
|
Полы с покрытием из антистатического линолеума по
плите перекрытия
Тип 122

|
Поз.
|
Наименование
|
Расход
|
Примечание
|
|
1
|
Линолеум
поливинилхлоридный антистатический, резиновые антистатические покрытия,
антистатические текстильные покрытия
|
1,02 м2/м2
|
|
|
2
|
Токопроводящий
водно-дисперсионный клей ThomsitK 112
|
300-350 г/м2
|
Применяется для антистатических ПВХ покрытий в
рулонах и плитках, каучуковых покрытий в рулонах
|
|
Токопроводящий
водно-дисперсионный клей Thomsit T
412
|
380-450 г/м2
|
Применяется для антистатических текстильных
покрытий
|
|
3
|
Токопроводящая
водно-дисперсионная грунтовка Thomsit R 762
|
100-150 г/м2
|
Наносится поролоновым валиком на очищенную
поверхность стяжки
|
|
4
|
Медная
или углеграфитовая лента
|
По факту
|
Создается электроотводящий контур, наклеивая ленту
по периметру помещения, а также вдоль и поперек помещения с шагом не более 3
м. Электроотводящий контур должен быть присоединен к системе заземления
здания
|
|
5
|
Стяжка
из цементно-песчаного раствора марки Ml 50
|
0,04 м3/м2
|
|
|
Стяжка
из бетона класса В 12,5
|
0,04 м3/м2
|
|
|
Полимерцементная
стяжка марки Ceresit CN178
|
0,04 м3/м2
|
|
|
6
|
Полиэтиленовая
пленка
|
1,15 м2/м2
|
|
|
7
|
Тепло-
и звукоизолирующая засыпка из кварцевого или керамзитового песка
|
|
Толщина слоя и расход материалов назначаются в
соответствии с расчетами по параметрам тепло- и звукоизоляции
|
|
8
|
Сплошная
или многопустотная плита перекрытия
|
|
|
Полы с покрытием из антистатического линолеума по
плите перекрытия
Тип 123

|
Поз.
|
Наименование
|
Расход
|
Примечание
|
|
1
|
Линолеум
поливинилхлоридный антистатический, резиновые антистатические покрытия,
антистатические текстильные покрытия
|
1,02 м2/м2
|
|
|
2
|
Токопроводящий
водно-дисперсионный клей Thomsit K
112
|
300-350 г/м2
|
Применяется для антистатических ПВХ покрытий в
рулонах и плитках, каучуковых покрытий в рулонах
|
|
Токопроводящий
водно-дисперсионный клей Thomsit T
412
|
380-450 г/м2
|
Применяется для антистатических текстильных
покрытий
|
|
3
|
Токопроводящая
водно-дисперсионная грунтовка Thomsit R 762
|
100-150 г/м2
|
Наносится поролоновым валиком на очищенную
поверхность стяжки
|
|
4
|
Медная
или углеграфитовая лента
|
По факту
|
Создается электроотводящий контур, наклеивая ленту
по периметру помещения, а также вдоль и поперек помещения с шагом не более 3
м. Электроотводящий контур должен быть присоединен к системе заземления
здания
|
|
5
|
Стяжка
из цементно-песчаного раствора марки М150
|
0,04 м3/м2
|
|
|
Стяжка
из бетона класса В12,5
|
0,04 м3/м2
|
|
|
Полимерцементная
стяжка марки Ceresit CN 178
|
0,04 м3/м2
|
|
|
6
|
Полиэтиленовая
пленка
|
1,15 м2/м2
|
|
|
7
|
Тепло-
и звукоизоляция из плит или матов
|
|
Толщина слоя и расход материалов назначаются в
соответствии с расчетами по параметрам тепло- и звукоизоляции
|
|
8
|
Сплошная
или многопустотная плита перекрытия
|
|
|
Полы с покрытием из антистатического линолеума по
плите перекрытия

|
Поз.
|
Наименование
|
Расход
|
Примечание
|
|
1
|
Керамические
плитки, керамогранитные плиты и плиты из природного камня
|
|
|
|
2
|
Затирка Ceresit СЕ 33 Super
|
0,4-0,7 кг/м2
|
Применяется для затирки узких швов в покрытиях из
керамических, стеклянных и каменных плиток, 25 цветов
|
|
Затирка Ceresit СЕ 35 Super
|
0,4-1,2 кг/м2
|
Применяется для затирки широких швов в покрытиях из
керамических, стеклянных и каменных плиток, 5 цветов
|
|
Затирка Ceresit СЕ 42
|
0,2-0,6 кг/м2
|
Применяется для затирки швов в покрытиях из
мраморных плиток, 4 цвета
|
|
Затирка Ceresit СЕ 43
|
0,6-1,2 кг/м2
|
Применяется для затирки швов в покрытиях из
керамических, стеклянных и каменных плиток, 11 цветов. Повышенная эластичность
и водоотталкивающие свойства
|
|
3
|
Клей Ceresit
CM 9
|
2,0-4,2 кг/м2
|
Применяется для изготовления покрытий полов из
керамической плитки в отапливаемых помещениях
|
|
Клей Ceresit
CM 11
|
1,7-4,2 кг/м2
|
Применяется для изготовления покрытий полов из
керамической плитки и плиток из натурального и искусственного камня с
водопоглощением не менее 1 % и размером до 30×30 см в отапливаемых и не
отапливаемых помещениях, а также на открытых балконах, террасах и т.д. При
введении в клей эластификатора Ceresit СС 83 может применяться для укладки
керамогранитных плит
|
|
Клей Ceresit
CM 14
|
2,4-4,2 кг/м2
|
Применяется для изготовления покрытий полов из
керамической плитки и плиток из натурального и искусственного камня с
водопоглощением не менее 1 % и размером до 30×30 см в отапливаемых и не
отапливаемых помещениях, а также на открытых балконах, террасах и т.д. При
введении в клей эластификатора Ceresit СС 83 может применяться для укладки
керамогранитных плит. Ускоренный набор прочностных характеристик
|
|
Клей Ceresit
CM 115
|
2,5-4,4 кг/м2
|
Применяется для изготовления покрытий полов из
мраморных плит в отапливаемых и не отапливаемых помещениях, а также на
открытых балконах, террасах и т.д.
|
|
Клей Ceresit
CM 15
|
2,5-4,4 кг/м2
|
Применяется для изготовления покрытий полов из
мраморных плит в отапливаемых и не отапливаемых помещениях, а также на
открытых балконах, террасах и т.д. Ускоренный набор прочностных характеристик
|
|
Клей Ceresit
CM 19
|
2,4-6,0 кг/м2
|
Применяется для изготовления покрытий полов из
крупноформатных плит из природного и искусственного камня, керамики и
керамогранита в отапливаемых и неотапливаемых помещениях, а также на открытых
балконах, террасах и т.д.
|
|
Клей Ceresit
CM 117
|
1,8-4,7 кг/м2
|
Применяется для изготовления покрытий полов из
любых видов плит в отапливаемых и не отапливаемых помещениях, а также на
открытых балконах, террасах и т.д.
|
|
Клей Ceresit
CM 17
|
1,5-3,2 кг/м2
|
Применяется для изготовления покрытий полов из
любых видов плит в отапливаемых и не отапливаемых помещениях, а также на
открытых балконах, террасах и т.д. Повышенная эластичность
|
|
4
|
Водно-дисперсионная
грунтовка Ceresit CT 17
|
0,1-0,2 кг/м2
|
Наносится кистью или валиком на очищенную
поверхность бетонного основания
|
|
Водно-дисперсионная
грунтовка Ceresit CN 94
|
40 г/м2
|
Наносится кистью или валиком на очищенную
поверхность бетонного основания. Разбавляется водой в соотношении 1:3
|
|
5
|
Бетонное
основание из бетона класса В22,5
|
0,10 м3/м2 или 0,12 м3/м2
|
|
|
6
|
Грунт
основания
|
|
|

|
Поз
|
Наименование
|
Расход
|
Примечание
|
|
1
|
Керамические
плитки, керамогранитные плиты и плиты из природного камня
|
|
|
|
2
|
Затирка Ceresit СЕ 33 Super
|
0,4-0,7 кг/м2
|
Применяется для затирки узких швов в покрытиях из
керамических, стеклянных и каменных плиток, 25 цветов
|
|
Затирка Ceresit СЕ 35 Super
|
0,4-1,2 кг/м2
|
Применяется для затирки широких швов в покрытиях из
керамических, стеклянных и каменных плиток, 5 цветов
|
|
Затирка Ceresit СЕ 42
|
0,2-0,6 кг/м2
|
Применяется для затирки швов в покрытиях из
мраморных плиток, 4 цвета
|
|
Затирка Ceresit СЕ 43
|
0,6-1,2 кг/м2
|
Применяется для затирки швов в покрытиях из
керамических, стеклянных и каменных плиток, 11 цветов. Повышенная
эластичность и водоотталкивающие свойства
|
|
3
|
Клей Ceresit
CM 9
|
2,0-4,2 кг/м2
|
Применяется для изготовления покрытий полов из
керамической плитки в отапливаемых помещениях
|
|
Клей Ceresit
CM 11
|
1,7-4,2 кг/м2
|
Применяется для изготовления покрытий полов из
керамической плитки и плиток из натурального и искусственного камня с
водопоглощением не менее 1 % и размером до 30×30 см в отапливаемых и не
отапливаемых помещениях, а также на открытых балконах, террасах и т.д. При
введении в клей эластификатора Ceresit СС 83 может применяться для укладки
керамогранитных плит
|
|
Клей Ceresit
CM 14
|
2,4-4,2 кг/м2
|
Применяется для изготовления покрытий полов из
керамической плитки и плиток из натурального и искусственного камня с
водопоглощением не менее 1 % и размером до 30×30 см в отапливаемых и не
отапливаемых помещениях, а также на открытых балконах, террасах и т.д. При
введении в клей эластификатора Ceresit СС 83 может применяться для укладки
керамогранитных плит. Ускоренный набор прочностных характеристик
|
|
Клей Ceresit
CM 115
|
2,5-4,4 кг/м2
|
Применяется для изготовления покрытий полов из
мраморных плит в отапливаемых и не отапливаемых помещениях, а также на
открытых балконах, террасах и т.д.
|
|
Клей Ceresit
CM 15
|
2,5-4,4 кг/м2
|
Применяется для изготовления покрытий полов из
мраморных плит в отапливаемых и не отапливаемых помещениях, а также на
открытых балконах, террасах и т.д. Ускоренный набор прочностных характеристик
|
|
Клей Ceresit
CM 19
|
2,4-6,0 кг/м2
|
Применяется для изготовления покрытий полов из
крупноформатных плит из природного и искусственного камня, керамики и
керамогранита в отапливаемых и неотапливаемых помещениях, а также на открытых
балконах, террасах и т.д.
|
|
Клей Ceresit
CM 117
|
1,8-4,7 кг/м2
|
Применяется для изготовления покрытий полов из
любых видов плит в отапливаемых и не отапливаемых помещениях, а также на
открытых балконах, террасах и т.д.
|
|
Клей Ceresit
CM 17
|
1,5-3,2 кг/м2
|
Применяется для изготовления покрытий полов из
любых видов плит в отапливаемых и не отапливаемых помещениях, а также на
открытых балконах, террасах и т.д. Повышенная эластичность
|
|
4
|
Водно-дисперсионная
грунтовка Ceresit CT 17
|
0,1-0,2 кг/м2
|
Наносится кистью или валиком на очищенную
поверхность бетонного основания
|
|
Водно-дисперсионная
грунтовка Ceresit CN 94
|
40 г/м2
|
Наносится кистью или валиком на очищенную
поверхность бетонного основания. Разбавляется водой в соотношении 1:3
|
|
5
|
Бетонное
основание из бетона класса В22,5
|
0,10 м3/м2 или 0,12 м3/м2
|
|
|
6
|
Наливная
гидроизоляция - щебень или гравий, пропитанные битумом
|
Щебень или гравий - 0,04-0,05 м3/м2,
битум - по факту
|
|
|
7
|
Грунт
основания
|
|
|
Полы с покрытием из керамической плитки,
керамогранитных плит или плит из природного камня по грунту
Тип 126

|
Поз
|
Наименование
|
Расход
|
Примечание
|
|
1
|
Керамические
плитки, керамогранитные плиты и плиты из природного камня
|
|
|
|
2
|
Затирка Ceresit СЕ 33 Super
|
0,4-0,7 кг/м2
|
Применяется для затирки узких швов в покрытиях из
керамических, стеклянных и каменных плиток, 25 цветов
|
|
Затирка Ceresit СЕ 35 Super
|
0,4-1,2 кг/м2
|
Применяется для затирки широких швов в покрытиях из
керамических, стеклянных и каменных плиток, 5 цветов
|
|
Затирка Ceresit СЕ 42
|
0,2-0,6 кг/м2
|
Применяется для затирки швов в покрытиях из
мраморных плиток, 4 цвета
|
|
Затирка Ceresit СЕ 43
|
0,6-1,2 кг/м2
|
Применяется для затирки швов в покрытиях из
керамических, стеклянных и каменных плиток, 11 цветов. Повышенная
эластичность и водоотталкивающие свойства
|
|
3
|
Клей Ceresit
CM 9
|
2,0-4,2 кг/м2
|
Применяется для изготовления покрытий полов из
керамической плитки в отапливаемых помещениях
|
|
Клей
Ceresit CM И
|
1,7-4,2 кг/м2
|
Применяется для изготовления покрытий полов из
керамической плитки и плиток из натурального и искусственного камня с
водопоглощением не менее 1 % и размером до 30×30 см в отапливаемых и не
отапливаемых помещениях, а также на открытых балконах, террасах и т.д. При
введении в клей эластификатора Ceresit СС 83 может применяться для укладки
керамогранитных плит
|
|
Клей Ceresit
CM 14
|
2,4-4,2 кг/м2
|
Применяется для изготовления покрытий полов из
керамической плитки и плиток из натурального и искусственного камня с
водопоглощением не менее 1 % и размером до 30×30 см в отапливаемых и не
отапливаемых помещениях, а также на открытых балконах, террасах и т.д. При
введении в клей эластификатора Ceresit СС 83 может применяться для укладки
керамогранитных плит. Ускоренный набор прочностных характеристик
|
|
Клей Ceresit
CM 115
|
2,5-4,4 кг/м2
|
Применяется для изготовления покрытий полов из
мраморных плит в отапливаемых и не отапливаемых помещениях, а также на
открытых балконах, террасах и т.д.
|
|
Клей Ceresit
CM 15
|
2,5-4,4 кг/м2
|
Применяется для изготовления покрытий полов из
мраморных плит в отапливаемых и не отапливаемых помещениях, а также на
открытых балконах, террасах и т.д. Ускоренный набор прочностных характеристик
|
|
Клей Ceresit
CM 19
|
2,4-6,0 кг/м2
|
Применяется для изготовления покрытий полов из
крупноформатных плит из природного и искусственного камня, керамики и
керамогранита в отапливаемых и неотапливаемых помещениях, а также на открытых
балконах, террасах и т.д.
|
|
Клей Ceresit
CM 117
|
1,8-4,7 кг/м2
|
Применяется для изготовления покрытий полов из
любых видов плит в отапливаемых и не отапливаемых помещениях, а также на
открытых балконах, террасах и т.д.
|
|
Клей Ceresit
CM 17
|
1,5-3,2 кг/м2
|
Применяется для изготовления покрытий полов из
любых видов плит в отапливаемых и не отапливаемых помещениях, а также на
открытых балконах, террасах и т.д. Повышенная эластичность
|
|
4
|
Водно-дисперсионная
грунтовка Ceresit CT 17
|
0,1-0,2 кг/м2
|
Наносится кистью или валиком на очищенную
поверхность бетонного основания
|
|
Водно-дисперсионная
грунтовка Ceresit CN 94
|
40г/м2
|
Наносится кистью или валиком на очищенную
поверхность бетонного основания. Разбавляется водой в соотношении 1:3
|
|
5
|
Бетонное
основание из бетона класса В22,5
|
0,10 м3/м2 или 0,12 м3/м2
|
|
|
6
|
Рулонная
гидроизоляция
|
1,02 м2/м2
|
|
|
Обмазочная
гидроизоляция на основе жесткой гидроизолирующей массы Ceresit CR 65
|
3-5 кг/м2
|
|
|
7
|
Стяжка
из цементно-песчаного раствора марки М150
|
0,05 м3/м2
|
|
|
8
|
Грунт
основания
|
|
|
Полы с покрытием из керамической плитки,
керамогранитных плит или плит из природного камня по грунту
Тип 127

|
Поз.
|
Наименование
|
Расход
|
Примечание
|
|
1
|
Керамические
плитки, керамогранитные плиты и плиты из природного камня
|
|
|
|
2
|
Затирка Ceresit СЕ 33 Super
|
0,4-0,7 кг/м2
|
Применяется
для затирки узких швов в покрытиях из керамических, стеклянных и каменных
плиток, 25 цветов
|
|
Затирка Ceresit СЕ 35 Super
|
0,4-1,2 кг/м2
|
Применяется
для затирки широких швов в покрытиях из керамических, стеклянных и каменных
плиток, 5 цветов
|
|
Затирка Ceresit СЕ 42
|
0,2-0,6 кг/м2
|
Применяется
для затирки швов в покрытиях из мраморных плиток, 4 цвета
|
|
Затирка Ceresit СЕ 43
|
0,6-1,2 кг/м2
|
Применяется
для затирки швов в покрытиях из керамических, стеклянных и каменных плиток,
11 цветов. Повышенная эластичность и водоотталкивающие свойства
|
|
3
|
Клей Ceresit
CM 9
|
2,0-4,2 кг/м2
|
Применяется
для изготовления покрытий полов из керамической плитки в отапливаемых помещениях
|
|
Клей Ceresit
CM 11
|
1,7-4,2 кг/м2
|
Применяется
для изготовления покрытий полов из керамической плитки и плиток из
натурального и искусственного камня с водопоглощением не менее 1 % и размером
до 30×30 см в отапливаемых и не отапливаемых помещениях, а также на
открытых балконах, террасах и т.д. При введении в клей эластификатора Ceresit СС 83 может применяться для укладки
керамогранитных плит
|
|
Клей Ceresit
CM 14
|
2,4-4,2 кг/м2
|
Применяется
для изготовления покрытий полов из керамической плитки и плиток из
натурального и искусственного камня с водопоглощением не менее 1 % и размером
до 30×30 см в отапливаемых и не отапливаемых помещениях, а также на
открытых балконах, террасах и т.д. При введении в клей эластификатора Ceresit СС 83 может применяться для укладки
керамогранитных плит. Ускоренный набор прочностных характеристик
|
|
Клей Ceresit
CM 115
|
2,5-4,4 кг/м2
|
Применяется
для изготовления покрытий полов из мраморных плит в отапливаемых и не
отапливаемых помещениях, а также на открытых балконах, террасах и т.д.
|
|
Клей Ceresit
CM 15
|
2,5-4,4 кг/м2
|
Применяется
для изготовления покрытий полов из мраморных плит в отапливаемых и не
отапливаемых помещениях, а также на открытых балконах, террасах и т.д.
Ускоренный набор прочностных характеристик
|
|
Клей Ceresit
CM 19
|
2,4-6,0 кг/м2
|
Применяется
для изготовления покрытий полов из крупноформатных плит из природного и
искусственного камня, керамики и керамогранита в отапливаемых и
неотапливаемых помещениях, а также на открытых балконах, террасах и т.д.
|
|
Клей Ceresit
CM 117
|
1,8-4,7 кг/м2
|
Применяется
для изготовления покрытий полов из любых видов плит в отапливаемых и не
отапливаемых помещениях, а также на открытых балконах, террасах и т.д.
|
|
Клей Ceresit
CM 17
|
1,5-3,2 кг/м2
|
Применяется
для изготовления покрытий полов из любых видов плит в отапливаемых и не
отапливаемых помещениях, а также на открытых балконах, террасах и т.д.
Повышенная эластичность
|
|
4
|
Обмазочная
гидроизоляция на основе жесткой гидроизолирующей массы Ceresit CR 65
|
3-5 кг/м2
|
Наносится
кистью или шпателем на очищенную поверхность бетонного основания за два-три
прохода
|
|
5
|
Бетонное
основание из бетона класса В22,5
|
0,10 м3/м2 или 0,12 м3/м2
|
|
|
6
|
Грунт
основания
|
|
|
Полы с покрытием из керамической плитки,
керамогранитных плит или плит из природного камня по грунту
Тип 128

|
Поз
|
Наименование
|
Расход
|
Примечание
|
|
1
|
Керамические
плитки, керамогранитные плиты и плиты из природного камня
|
|
|
|
2
|
Затирка Ceresit СЕ 33 Super
|
0,4-0,7 кг/м2
|
Применяется для затирки узких швов в покрытиях из
керамических, стеклянных и каменных плиток, 25 цветов
|
|
Затирка Ceresit СЕ 35 Super
|
0,4-1,2 кг/м2
|
Применяется для затирки широких швов в покрытиях из
керамических, стеклянных и каменных плиток, 5 цветов
|
|
Затирка Ceresit СЕ 42
|
0,2-0,6 кг/м2
|
Применяется для затирки швов в покрытиях из
мраморных плиток, 4 цвета
|
|
Затирка Ceresit СЕ 43
|
0,6-1,2 кг/м2
|
Применяется для затирки швов в покрытиях из
керамических, стеклянных и каменных плиток, 11 цветов. Повышенная
эластичность и водоотталкивающие свойства
|
|
3
|
Клей Ceresit
CM 9
|
2,0-4,2 кг/м2
|
Применяется для изготовления покрытий полов из
керамической плитки в отапливаемых помещениях
|
|
Клей Ceresit
CM 11
|
1,7-4,2 кг/м2
|
Применяется для изготовления покрытий полов из
керамической плитки и плиток из натурального и искусственного камня с
водопоглощением не менее 1 % и размером до 30×30 см в отапливаемых и не
отапливаемых помещениях, а также на открытых балконах, террасах и т.д. При
введении в клей эластификатора Ceresit CC 83 может применяться для укладки
керамогранитных плит
|
|
Клей Ceresit
CM 14
|
2,4-4,2 кг/м2
|
Применяется для изготовления покрытий полов из
керамической плитки и плиток из натурального и искусственного камня с
водопоглощением не менее 1 % и
размером до 30×30 см в отапливаемых и не отапливаемых помещениях, а
также на открытых балконах, террасах и т.д. При введении в клей
эластификатора Ceresit CC 83 может применяться
для укладки керамогранитных плит. Ускоренный набор прочностных характеристик
|
|
Клей Ceresit
CM 115
|
2,5-4,4 кг/м2
|
Применяется для изготовления покрытий полов из
мраморных плит в отапливаемых и не отапливаемых помещениях, а также на
открытых балконах, террасах и т.д.
|
|
Клей Ceresit
CM 15
|
2,5-4,4 кг/м2
|
Применяется для изготовления покрытий полов из
мраморных плит в отапливаемых и не отапливаемых помещениях, а также на
открытых балконах, террасах и т.д. Ускоренный набор прочностных характеристик
|
|
Клей Ceresit
CM 19
|
2,4-6,0 кг/м2
|
Применяется для изготовления покрытий полов из
крупноформатных плит из природного и искусственного камня, керамики и
керамогранита в отапливаемых и неотапливаемых помещениях, а также на открытых
балконах, террасах и т.д.
|
|
Клей Ceresit
CM 117
|
1,8-4,7 кг/м2
|
Применяется для изготовления покрытий полов из
любых видов плит в отапливаемых и не отапливаемых помещениях, а также на
открытых балконах, террасах и т.д.
|
|
Клей Ceresit
CM 17
|
1,5-3,2 кг/м2
|
Применяется для изготовления покрытий полов из
любых видов плит в отапливаемых и не отапливаемых помещениях, а также на
открытых балконах, террасах и т.д. Повышенная эластичность
|
|
4
|
Водно-дисперсионная
грунтовка Ceresit CT 17
|
0,1-0,2 кг/м2
|
Наносится кистью или валиком на очищенную
поверхность бетонной стяжки
|
|
Водно-дисперсионная
грунтовка Ceresit CN 94
|
40 г/м2
|
Наносится кистью или валиком на очищенную
поверхность бетонной стяжки. Разбавляется водой в соотношении 1:3
|
|
5
|
Полимерцементная
саморазравнивающаяся стяжка марки Ceresit CN 69
|
1,8 кг/м2
|
Наносится шпателем слоем толщиной от 3 до 15 мм.
Расход - на 1 мм слоя. Предел прочности при сжатии после 28 суток выдержки не
менее 18 МПа
|
|
Полимерцементная
саморазравнивающаяся стяжка марки Ceresit CN 76
|
2,0 кг/м2
|
Наносится шпателем слоем толщиной от 4 до 50 мм.
Расход - на 1 мм слоя. Предел прочности при сжатии после 28 суток выдержки не
менее 40 МПа
|
|
Полимерцементная
стяжка марки Ceresit CN 83
|
2,0 кг/м2
|
Наносится шпателем слоем толщиной от 5 до 35 мм.
Расход - на 1 мм слоя. Ускоренный набор прочностных характеристик. Предел
прочности при сжатии после 1 суток выдержки не менее 13 МПа, после 28 суток
выдержки - не менее 35 МПа
|
|
Полимерцементная
стяжка марки Ceresit CN 178
|
2,0 кг/м2
|
Наносится шпателем слоем толщиной от 5 до 80 мм.
Расход - на 1 мм слоя. Предел прочности при сжатии после 28 суток выдержки не
менее 25 МПа
|
|
Стяжка
из цементно-песчаного раствора марки M150
|
0,02 м3/м2
|
|
|
Стяжка
из бетона класса В12,5
|
0,02 м3/м2
|
|
|
6
|
Водно-дисперсионная
грунтовка Cersit CT 17
|
0,1-0,2 кг/м2
|
Наносится кистью или валиком на очищенную
поверхность бетонного основания
|
|
Водно-дисперсионная
грунтовка Cersit CN 94
|
40 г/м2
|
Наносится кистью или валиком на очищенную
поверхность бетонного основания. Разбавляется водой в соотношении 1:3
|
|
7
|
Бетонное
основание из бетона класса В22,5
|
0,8 м3/м2 или 0,10 м3/м2
|
|
|
8
|
Грунт
основания
|
|
|
Полы с покрытием из керамической плитки,
керамогранитных плит или плит из природного камня по грунту
Тип 129

|
Поз
|
Наименование
|
Расход
|
Примечание
|
|
1
|
Керамические
плитки, керамогранитные плиты и плиты из природного камня
|
|
|
|
2
|
Затирка Ceresit СЕ 33 Super
|
0,4-0,7 кг/м2
|
Применяется для затирки узких швов в покрытиях из
керамических, стеклянных и каменных плиток, 25 цветов
|
|
Затирка Ceresit СЕ 35 Super
|
0,2-1,2 кг/м2
|
Применяется для затирки широких швов в покрытиях из
керамических, стеклянных и каменных плиток, 5 цветов
|
|
Затирка Ceresit СЕ 42
|
0,4-0,6 кг/м2
|
Применяется для затирки швов в покрытиях из
мраморных плиток, 4 цвета
|
|
Затирка Ceresit СЕ 43
|
0,6-1,2 кг/м2
|
Применяется для затирки швов в покрытиях из
керамических, стеклянных и каменных плиток, 11 цветов. Повышенная
эластичность и водоотталкивающие свойства
|
|
3
|
Клей Ceresit
CM 9
|
2,0-4.2 кг/м2
|
Применяется для изготовления покрытий полов из
керамической плитки в отапливаемых помещениях
|
|
Клей Ceresit
CM 11
|
1,7-4,2 кг/м2
|
Применяется для изготовления покрытий полов из
керамической плитки и плиток из натурального и искусственного камня с
водопоглощением не менее 1 % и размером до 30×30 см в отапливаемых и не
отапливаемых помещениях, а также на открытых балконах, террасах и т.д. При
введении в клей эластификатора Ceresit CC 83 может применяться для укладки
керамогранитных плит
|
|
Клей Ceresit
CM 14
|
2,4-4,2 кг/м2
|
Применяется для изготовления покрытий полов из
керамической плитки и плиток из натурального и искусственного камня с
водопоглощением не менее 1 % и размером до 30×30 см в отапливаемых и не
отапливаемых помещениях, а также на открытых балконах, террасах и т.д. При
введении в клей эластификатора Ceresit CC 83 может применяться для укладки
керамогранитных плит. Ускоренный набор прочностных характеристик
|
|
Клей Ceresit
CM 115
|
2,5-4,4 кг/м2
|
Применяется для изготовления покрытий полов из
мраморных плит в отапливаемых и не отапливаемых помещениях, а также на
открытых балконах, террасах и т.д.
|
|
Клей Ceresit
CM 15
|
2,5-4,4 кг/м2
|
Применяется для изготовления покрытий полов из
мраморных плит в отапливаемых и не отапливаемых помещениях, а также на
открытых балконах, террасах и т.д. Ускоренный набор прочностных характеристик
|
|
Клей Ceresit
CM 19
|
2,4-6,0 кг/м2
|
Применяется для изготовления покрытий полов из
крупноформатных плит из природного и искусственного камня, керамики и
керамогранита в отапливаемых и неотапливаемых помещениях, а также на открытых
балконах, террасах и т.д.
|
|
Клей Ceresit
CM 117
|
1,8-4,7 кг/м2
|
Применяется для изготовления покрытий полов из
любых видов плит в отапливаемых и не отапливаемых помещениях, а также на
открытых балконах, террасах и т.д.
|
|
Клей Ceresit
CM 17
|
1,5-3,2 кг/м2
|
Применяется для изготовления покрытий полов из
любых видов плит в отапливаемых и не отапливаемых помещениях, а также на
открытых балконах, террасах и т.д. Повышенная эластичность
|
|
4
|
Водно-дисперсионная
грунтовка Ceresit CT 17
|
0,1-0,2 кг/м2
|
Наносится кистью или валиком на очищенную
поверхность бетонной или цементно-песчаной стяжки
|
|
Водно-дисперсионная
грунтовка Ceresit CN 94
|
40-50 г/м2
|
Наносится кистью или валиком на очищенную
поверхность бетонной или цементно-песчаной стяжки. Разбавляется водой в
соотношении 1:3
|
|
5
|
Стяжка
из цементно-песчаного раствора марки M150
|
|
Расход материала определяется толщиной стяжки,
которая должна превышать на 15- 20 мм диаметр трубы
|
|
Стяжка
из бетона класса В12,5
|
|
Расход материала определяется толщиной стяжки,
которая должна превышать на 15- 20 мм диаметр трубы
|
|
Полимерцементная
стяжка марки Ceresit CN 178
|
|
Расход материала определяется толщиной стяжки,
которая должна превышать на 15- 20 мм диаметр трубы
|
|
Полимерцементная
стяжка марки Ceresit CN 83
|
|
Расход материала определяется толщиной стяжки,
которая должна превышать на 15- 20 мм диаметр трубы, но не должна превышать
35 мм
|
|
6
|
Труба
|
|
|
|
7
|
Водно-дисперсионная
грунтовка Ceresit CT 17
|
0,1-0,2 кг/м2
|
Наносится кистью или валиком на очищенную
поверхность бетонного основания
|
|
Водно-дисперсионная
грунтовка Ceresit CN 94
|
40 г/м2
|
Наносится кистью или валиком на очищенную
поверхность бетонного основания. Разбавляется водой в соотношении 1:3
|
|
8
|
Бетонное
основание из бетона класса В22,5
|
0,8 м3/м2 или 0,10 м3/м2
|
|
|
9
|
Грунт
основания
|
|
|
Полы с покрытием из керамической плитки,
керамогранитных плит или плит из природного камня по грунту
Тип 130

|
Поз
|
Наименование
|
Расход
|
Примечание
|
|
1
|
Керамические
плитки, керамогранитные плиты и плиты из природного камня
|
|
|
|
2
|
Затирка Ceresit СЕ 33 Super
|
0,4-0,7 кг/м2
|
Применяется для затирки узких швов в покрытиях из
керамических, стеклянных и каменных плиток, 25 цветов
|
|
Затирка Ceresit СЕ 35 Super
|
0,2-1,2 кг/м2
|
Применяется для затирки широких швов в покрытиях из
керамических, стеклянных и каменных плиток, 5 цветов
|
|
Затирка Ceresit СЕ 42
|
0,4-0,6 кг/м2
|
Применяется для затирки швов в покрытиях из
мраморных плиток, 4 цвета
|
|
Затирка Ceresit СЕ 43
|
0,6-1,2 кг/м2
|
Применяется для затирки швов в покрытиях из
керамических, стеклянных и каменных плиток, 11 цветов. Повышенная
эластичность и водоотталкивающие свойства
|
|
3
|
Клей Ceresit
CM 9
|
2,0-4,4 кг/м2
|
Применяется для изготовления покрытий полов из
керамической плитки в отапливаемых помещениях
|
|
Клей Ceresit
CM 11
|
1,7-4,4 кг/м2
|
Применяется для изготовления покрытий полов из
керамической плитки и плиток из натурального и искусственного камня с
водопоглощением не менее 1 % и
размером до 30×30 см в отапливаемых и не отапливаемых помещениях, а
также на открытых балконах, террасах и т.д. При введении в клей
эластификатора Ceresit CC 83 может применяться
для укладки керамогранитных плит
|
|
Клей Ceresit
CM 14
|
2,4-4,4 кг/м2
|
Применяется для изготовления покрытий полов из
керамической плитки и плиток из натурального и искусственного камня с
водопоглощением не менее 1 % и размером до 30×30 см в отапливаемых и не
отапливаемых помещениях, а также на открытых балконах, террасах и т.д. При
введении в клей эластификатора Ceresit CC 83 может применяться для укладки
керамогранитных плит. Ускоренный набор прочностных характеристик
|
|
Клей Ceresit
CM 115
|
2,5-4,4 кг/м2
|
Применяется для изготовления покрытий полов из
мраморных плит в отапливаемых и не отапливаемых помещениях, а также на
открытых балконах, террасах и т.д
|
|
Клей Ceresit
CM 15
|
2,5-4,4 кг/м2
|
Применяется для изготовления покрытий полов из
мраморных плит в отапливаемых и не отапливаемых помещениях, а также на
открытых балконах, террасах и т.д. Ускоренный набор прочностных характеристик
|
|
Клей Ceresit
CM 19
|
2,4-6,0 кг/м2
|
Применяется для изготовления покрытий полов из
крупноформатных плит из природного и искусственного камня, керамики и
керамогранита в отапливаемых и неотапливаемых помещениях, а также на открытых
балконах, террасах и т.д.
|
|
Клей Ceresit
CM 117
|
1,8-4,7 кг/м2
|
Применяется для изготовления покрытий полов из
любых видов плит в отапливаемых и не отапливаемых помещениях, а также на
открытых балконах, террасах и т.д.
|
|
Клей Ceresit
CM 17
|
1,5-3,2 кг/м2
|
Применяется для изготовления покрытий полов из
любых видов плит в отапливаемых и не отапливаемых помещениях, а также на
открытых балконах, террасах и т.д. Повышенная эластичность
|
|
4
|
Водно-дисперсионная
грунтовка Ceresit CT 17
|
0,1-0,2 кг/м2
|
Наносится кистью или валиком на очищенную
поверхность бетонной или цементно-песчаной стяжки
|
|
Водно-дисперсионная
грунтовка Ceresit CN 94
|
40-50 г/м2
|
Наносится кистью или валиком на очищенную
поверхность бетонной или цементно-песчаной стяжки. Разбавляется водой в
соотношении 1:3
|
|
5
|
Полимерцементная
саморазравнивающаяся стяжка марки Ceresit CN 76 (с песком)
|
2,0 кг/м2
|
Наносится шпателем. Расход - на 1 мм слоя. Предел
прочности при сжатии после 28 суток выдержки не менее 40 МПа
|
|
Полимерцементная
стяжка марки Ceresit CN 83
|
2,0 кг/м2
|
Наносится шпателем. Расход - на 1 мм слоя.
Ускоренный набор прочностных характеристик. Предел прочности при сжатии после
1 суток выдержки не менее 13 МПа, после 28 суток выдержки - не менее 35 МПа
|
|
Полимерцементная
стяжка марки Ceresit CN 178
|
2,0 кг/м2
|
Наносится шпателем. Расход - на 1 мм слоя. Предел
прочности при сжатии после 28 суток выдержки не менее 25 МПа
|
|
Стяжка
из цементно-песчаного раствора марки M150
|
0,02 м3/м2
|
|
|
Стяжка
из бетона класса В12,5
|
0,02 м3/м2
|
|
|
6
|
Рулонная
гидроизоляция
|
1,02 м2/м2
|
|
|
Обмазочная
гидроизоляция на основе жесткой гидроизолирующей массы Ceresit CR 65
|
3-5 кг/м2
|
|
|
Обмазочная
гидроизоляция на основе эластичной гидроизолирующей массы Ceresit CR 166
|
3-5 кг/м2
|
|
|
7
|
Бетонное
основание из бетона класса В22,5
|
0,8 м3/м2 или 0,10 м3/м2
|
|
|
8
|
Грунт
основания
|
|
|
Полы с покрытием из керамической плитки,
керамогранитных плит или плит из природного камня по грунту
Тип 131

|
Поз.
|
Наименование
|
Расход
|
Примечание
|
|
1
|
Керамические
плитки, керамогранитные плиты и плиты из природного камня
|
|
|
|
2
|
Затирка
Ceresit СЕ 35 Super + эластификатор Ceresit CC 83
|
0,4-1,2 кг/м2
|
Применяется для затирки широких швов в покрытиях из
керамических, стеклянных и каменных плиток, 5 цветов
|
|
Затирка Ceresit СЕ 43
|
0,6-1,2 кг/м2
|
Применяется для затирки швов в покрытиях из
керамических, стеклянных и каменных плиток, 11 цветов. Повышенная
эластичность и водоотталкивающие свойства
|
|
3
|
Клей
Ceresit CM 11 + эластификатор Ceresit СС 83
|
1,7-4,2 кг/м2
|
Применяется для изготовления покрытий полов из
керамической плитки и плиток из натурального и искусственного камня с
водопоглощением не менее 1 % и размером до 30×30 см
|
|
Клей
Ceresit CM 14 + эластификатор Ceresit СС 83
|
2,4-4,2 кг/м2
|
Применяется для изготовления покрытий полов из
керамической плитки и плиток из натурального и искусственного камня с
водопоглощением не менее 1 % и размером до 30×30 см. Ускоренный набор
прочностных характеристик
|
|
Клей
Ceresit СМ 115 -Н
эластификатор Ceresit
СС 83
|
2,5-4,4 кг/м2
|
Применяется для изготовления покрытий полов из
мраморных плит
|
|
Клей
Ceresit СМ 15 +
эластификатор Ceresit
СС 83
|
2,5-4,4 кг/м2
|
Применяется для изготовления покрытий полов из
мраморных плит. Ускоренный набор прочностных характеристик
|
|
Клей Ceresit
CM 19
|
2,6-6,0 кг/м2
|
Применяется для изготовления покрытий полов из
крупноформатных плит из природного и искусственного камня, керамики и
керамогранита
|
|
Клей
Ceresit CM 117 + эластификатор Ceresit СС 83
|
1,8-4,7 кг/м2
|
Применяется для изготовления покрытий полов из
любых видов плит
|
|
Клей Ceresit
CM 17
|
1,5-3,2 кг/м2
|
Применяется для изготовления покрытий полов из
любых видов плит
|
|
4
|
Водно-дисперсионная
грунтовка Ceresit CT 17
|
0,1-0,2 кг/м2
|
Наносится кистью или валиком на очищенную
поверхность бетонной стяжки
|
|
Водно-дисперсионная
грунтовка Ceresit CN 94
|
50 г/м2
|
Наносится кистью или валиком на очищенную
поверхность бетонной стяжки. Разбавляется водой в соотношении 1:3
|
|
5
|
Сборная
стяжка из готовых элементов из гипсоволокнистых листов
|
1,02 м2/м2
|
|
|
6
|
Водно-дисперсионный
клей
|
40-50 г/п.м
|
|
|
7
|
Кварцевый
песок
|
По факту
|
Расход - минимально необходимый для выравнивания
поверхности нижележащего слоя
|
|
8
|
Пароизоляция
- полиэтиленовая пленка
|
1,15 м2/м2
|
|
|
9
|
Бетонное
основание из бетона класса В22,5
|
0,08 м3/м2
|
|
|
10
|
Грунт
основания
|
|
|
Полы с покрытием из керамической плитки,
керамогранитных плит или плит из природного камня по грунту
Тип 132

|
Поз.
|
Наименование
|
Расход
|
Примечание
|
|
1
|
Керамические
плитки, керамогранитные плиты и плиты из природного камня
|
|
|
|
2
|
Затирка
Ceresit СЕ 35 Super + эластификатор Ceresit CC 83
|
0,4-1,2 кг/м2
|
Применяется для затирки широких швов в покрытиях из
керамических, стеклянных и каменных плиток, 5 цветов
|
|
Затирка Ceresit СЕ 43
|
0,6-1,2 кг/м2
|
Применяется для затирки швов в покрытиях из керамических,
стеклянных и каменных плиток, 11 цветов. Повышенная эластичность и
водоотталкивающие свойства
|
|
3
|
Клей
Ceresit CM 11 + эластификатор Ceresit CC 83
|
1,7-4,2 кг/м2
|
Применяется для изготовления покрытий полов из
керамической плитки и плиток из натурального и искусственного камня с
водопоглощением не менее 1 % и размером до 30×30 см
|
|
Клей
Ceresit CM 14 + эластификатор Ceresit CC 83
|
2,4-4,2 кг/м2
|
Применяется для изготовления покрытий полов из
керамической плитки и плиток из натурального и искусственного камня с
водопоглощением не менее 1 % и размером до 30×30 см. Ускоренный набор
прочностных характеристик
|
|
Клей
Ceresit CM 115 + эластификатор Ceresit CC 83
|
2,5-4,4 кг/м2
|
Применяется для изготовления покрытий полов из
мраморных плит
|
|
Клей
Ceresit CM 15 + эластификатор Ceresit CC 83
|
2,5-4,4 кг/м2
|
Применяется для изготовления покрытий полов из
мраморных плит. Ускоренный набор прочностных характеристик
|
|
Клей Ceresit
CM 19
|
2,6-6,0 кг/м2
|
Применяется для изготовления покрытий полов из
крупноформатных плит из природного и искусственного камня, керамики и
керамогранита
|
|
Клей
Ceresit CM 117 + эластификатор Ceresit CC 83
|
1,8-4,7 кг/м2
|
Применяется для изготовления покрытий полов из
любых видов плит
|
|
Клей Ceresit
CM 17
|
1,5-3,2 кг/м2
|
Применяется для изготовления покрытий полов из
любых видов плит
|
|
4
|
Водно-дисперсионная
грунтовка Ceresit CT 17
|
0,1-0,2 кг/м2
|
Наносится кистью или валиком на очищенную
поверхность бетонной стяжки
|
|
Водно-дисперсионная
грунтовка Ceresit CN 94
|
50 г/м2
|
Наносится кистью или валиком на очищенную
поверхность бетонной стяжки. Разбавляется водой в соотношении 1:3
|
|
5
|
Сборная
стяжка из готовых элементов из гипсоволокнистых листов
|
1,02 м2/м2
|
|
|
6
|
Водно-дисперсионный
клей
|
40-50 г/п.м
|
|
|
7
|
Кварцевый
песок
|
По расчету
|
Толщина слоя засыпки должна превышать на 15-20 мм
высоту защитного кожуха
|
|
8
|
Труба
|
|
|
|
9
|
Обкладка
трубы пористо-волокнистыми матами
|
По факту
|
|
|
10
|
Защитный
металлический кожух
|
|
|
|
11
|
Дюбель
разжимной
|
|
|
|
12
|
Пароизоляция
- полиэтиленовая пленка
|
1,15 м2/м2
|
|
|
13
|
Бетонное
основание из бетона класса В22,5
|
0,08 м3/м2
|
|
|
14
|
Грунт
основания
|
|
|
Полы с покрытием из керамической плитки,
керамогранитных плит или плит из природного камня по грунту
Тип 133

|
Поз.
|
Наименование
|
Расход
|
Примечание
|
|
1
|
Керамические
плитки, керамогранитные плиты и плиты из природного камня
|
|
|
|
2
|
Затирка
Ceresit СЕ 35 Super + эластификатор Ceresit CC 83
|
0,4-1,2 кг/м2
|
Применяется для затирки широких швов в покрытиях из
керамических, стеклянных и каменных плиток, 5 цветов
|
|
Затирка Ceresit СЕ 43
|
0,6-1,2 кг/м2
|
Применяется для затирки швов в покрытиях из
керамических, стеклянных и каменных плиток, 11 цветов. Повышенная
эластичность и водоотталкивающие свойства
|
|
3
|
Клей
Ceresit CM 11 + эластификатор Ceresit CC 83
|
1,7-4,2 кг/м2
|
Применяется для изготовления покрытий полов из
керамической плитки и плиток из натурального и искусственного камня с
водопоглощением не менее 1 % и размером до 30×30 см
|
|
Клей
Ceresit СМ 14 +
эластификатор Ceresit CC 83
|
2,4-4,2 кг/м2
|
Применяется для изготовления покрытий полов из
керамической плитки и плиток из натурального и искусственного камня с
водопоглощением не менее 1 % и размером до 30×30 см. Ускоренный набор
прочностных характеристик
|
|
Клей
Ceresit CM 115 + эластификатор Ceresit CC 83
|
2,5-4,4 кг/м2
|
Применяется для изготовления покрытий полов из
мраморных плит
|
|
Клей
Ceresit CM 15 + эластификатор Ceresit CC 83
|
2,5-4,4 кг/м2
|
Применяется для изготовления покрытий полов из
мраморных плит. Ускоренный набор прочностных характеристик
|
|
Клей Ceresit
CM 19
|
2,6-6,0 кг/м2
|
Применяется для изготовления покрытий полов из
крупноформатных плит из природного и искусственного камня, керамики и
керамогранита
|
|
Клей
Ceresit CM 117 + эластификагор Ceresit CC 83
|
1,8-4,7 кг/м2
|
Применяется для изготовления покрытий полов из
любых видов плит
|
|
Клей Ceresit
CM 17
|
1,5-3,2 кг/м2
|
Применяется для изготовления покрытий полов из
любых видов плит
|
|
4
|
Водно-дисперсионная
грунтовка Ceresit CT 17
|
0,1-0,2 кг/м2
|
Наносится кистью или валиком на очищенную
поверхность бетонной стяжки
|
|
Водно-дисперсионная
грунтовка Ceresit CN 94
|
40-50 г/м2
|
Наносится кистью или валиком на очищенную
поверхность бетонной стяжки. Разбавляется водой в соотношении 1:3
|
|
5
|
Деформационный
шов, расшитый герметикой
|
По факту
|
Швы нарезаются в продольном и поперечном
направлении с шагом не более 6 м. Глубина деформационного шва - не менее 2/3 толщины
стяжки. Расшивка швов герметиком осуществляется после достижения стяжкой
воздушно-сухого состояния
|
|
6
|
Стяжка
из цементно-песчаного раствора на основе полимерцемента марки Ceresit CN 85 и сухого кварцевого песка в соотношении
1:4-5, армированная металлической сеткой с ячейками 50×50×2
|
3,7 кг/м2
|
Расход - на 1 мм слоя
При
использовании для обогрева электронагревательных элементов армирующая сетка
должна быть присоединена к системе заземления здания
|
|
Стяжка
из выравнивающей смеси марки Seresit CN
178, армированная металлической сеткой с ячейками 50×50×2
|
2,0 кг/м2
|
Расход - на 1 мм слоя
При
использовании для обогрева электронагревательных элементов армирующая сетка
должна быть присоединена к системе заземления здания
|
|
7
|
Электрокабель
или трубы
|
|
Шаг между нагревательными элементами
устанавливается при теплотехническом расчете, исходя из достижения на
поверхности покрытия температуры +23 °С
|
|
8
|
Тепло-
и звукоизоляция из плит или матов
|
|
Толщина слоя и расход материалов назначаются в
соответствии с расчетами по параметрам тепло- и звукоизоляции
|
|
9
|
Рулонная
гидроизоляция
|
1,02 м2/м2
|
|
|
10
|
Бетонное
основание из бетона класса В22,5
|
0,08 м3/м2
|
|
|
11
|
Грунт
основания
|
|
|
Полы с покрытием из керамической плитки,
керамогранитных плит или плит из природного камня по грунту

|
Поз.
|
Наименование
|
Расход
|
Примечание
|
|
1
|
Керамические
плитки, керамогранитные плиты и плиты из природного камня
|
|
|
|
2
|
Затирка Ceresit СЕ 33 Super
|
0,4-0,7 кг/м2
|
Применяется для затирки узких швов в покрытиях из
керамических, стеклянных и каменных плиток, 25 цветов
|
|
Затирка Ceresit СЕ 35 Super
|
0,4-1,2 кг/м2
|
Применяется для затирки широких швов в покрытиях из
керамических, стеклянных и каменных плиток, 5 цветов
|
|
Затирка Ceresit СЕ 42
|
0,2-0,6 кг/м2
|
Применяется для затирки швов в покрытиях из
мраморных плиток, 4 цвета
|
|
Затирка Ceresit СЕ 43
|
0,6-1,2 кг/м2
|
Применяется для затирки швов в покрытиях из
керамических, стеклянных и каменных плиток, 11 цветов. Повышенная
эластичность и водоотталкивающие свойства
|
|
3
|
Клей Ceresit
CM 9
|
2,0-4,2 кг/м2
|
Применяется для изготовления покрытий полов из
керамической плитки в отапливаемых помещениях
|
|
Клей Ceresit
CM 11
|
1,7-4,2 кг/м2
|
Применяется для изготовления покрытий полов из
керамической плитки и плиток из натурального и искусственного камня с
водопоглошеиием не менее 1 % и
размером до 30×30 см в отапливаемых и не отапливаемых помещениях, а
также на открытых балконах, террасах и т.д. При введении в клей
эластификатора Ceresit
СС 83 может применяться для укладки керамогранитных плит
|
|
Клей Ceresit
CM 14
|
2,4-4,2 кг/м2
|
Применяется для изготовления покрытий полов из
керамической плитки и плиток из натурального и искусственного камня с
водопоглощением не менее 1 % и размером до 30×30 см в отапливаемых и не
отапливаемых помещениях, а также на открытых балконах, террасах и т.д. При
введении в клей эластификатора Ceresit СС 83 может применяться для укладки
керамогранитных плит. Ускоренный набор прочностных характеристик
|
|
Клей Ceresit
CM 115
|
2,5-4,4 кг/м2
|
Применяется для изготовления покрытий полов из
мраморных плит в отапливаемых и не отапливаемых помещениях, а также на
открытых балконах, террасах и т.д.
|
|
Клей Ceresit
CM 15
|
2,5-4,4 кг/м2
|
Применяется для изготовления покрытий полов из
мраморных плит в отапливаемых и не отапливаемых помещениях, а также на
открытых балконах, террасах и т.д. Ускоренный набор прочностных характеристик
|
|
Клей Ceresit
CM 19
|
2,4-6,0 кг/м2
|
Применяется для изготовления покрытий полов из
крупноформатных плит из природного и искусственного камня, керамики и
керамогранита в отапливаемых и неотапливаемых помещениях, а также на открытых
балконах, террасах и т.д.
|
|
Клей Ceresit
CM 117
|
1,8-4,7 кг/м2
|
Применяется для изготовления покрытий полов из
любых видов плит в отапливаемых и не отапливаемых помещениях, а также на
открытых балконах, террасах и т.д.
|
|
Клей Ceresit
CM 17
|
1,5-3,2 кг/м2
|
Применяется для изготовления покрытий полов из
любых видов плит в отапливаемых и не отапливаемых помещениях, а также на
открытых балконах, террасах и т.д. Повышенная эластичность
|
|
4
|
Водно-дисперсионная
грунтовка Ceresit CT 17
|
0,1-0,2 кг/м2
|
Наносится кистью или валиком на очищенную
поверхность бетонного основания
|
|
Водно-дисперсионная
грунтовка Ceresit CN 94
|
40 г/м2
|
Наносится кистью или валиком на очищенную
поверхность бетонного основания. Разбавляется водой в соотношении 1:3
|
|
5
|
Сплошная
или многопустотная плита перекрытия с ровной поверхностью
|
|
|

|
Поз.
|
Наименование
|
Расход
|
Примечание
|
|
1
|
Керамические
плитки, керамогранитные плиты и плиты из природного камня
|
|
|
|
2
|
Затирка Ceresit СЕ 33 Super
|
0,4-0,7 кг/м2
|
Применяется для затирки узких швов в покрытиях из
керамических, стеклянных и каменных плиток, 25 цветов
|
|
Затирка Ceresit СЕ 35 Super
|
0,4-1,2 кг/м2
|
Применяется для затирки широких швов в покрытиях из
керамических, стеклянных и каменных плиток, 5 цветов
|
|
Затирка Ceresit СЕ 42
|
0,2-0,6 кг/м2
|
Применяется для затирки швов в покрытиях из
мраморных плиток, 4 цвета
|
|
Затирка Ceresit СЕ 43
|
0,6-1,2 кг/м2
|
Применяется для затирки швов в покрытиях из
керамических, стеклянных и каменных плиток, 11 цветов. Повышенная
эластичность и водоотталкивающие свойства
|
|
3
|
Клей Ceresit
CM 9
|
2,0-4,2 кг/м2
|
Применяется для изготовления покрытий полов из
керамической плитки в отапливаемых помещениях
|
|
Клей Ceresit
CM 11
|
1,7-4,2 кг/м2
|
Применяется для изготовления покрытий полов из
керамической плитки и плиток из натурального и искусственного камня с
водопоглощением не менее 1 % и размером до 30×30 см в отапливаемых и не
отапливаемых помещениях, а также на открытых балконах, террасах и т.д. При
введении в клей эластификатора Ceresit СС 83 может применяться для укладки
керамогранитных плит
|
|
Клей Ceresit
CM 14
|
2,4-4,2 кг/м2
|
Применяется для изготовления покрытий полов из
керамической плитки и плиток из натурального и искусственного камня с
водопоглощением не менее 1 % и размером до 30×30 см в отапливаемых и не
отапливаемых помещениях, а также на открытых балконах, террасах и т.д. При
введении в клей эластификатора Ceresit СС 83 может применяться для укладки керамогранитных
плит. Ускоренный набор прочностных характеристик
|
|
Клей Ceresit
CM 115
|
2,5-4,4 кг/м2
|
Применяется для изготовления покрытий полов из
мраморных плит в отапливаемых и неотапливаемых помещениях, а также на
открытых балконах, террасах и т.д.
|
|
Клей Ceresit
CM 15
|
2,5-4,4 кг/м2
|
Применяется для изготовления покрытий полов из
мраморных плит в отапливаемых и не отапливаемых помещениях, а также на
открытых балконах, террасах и т.д. Ускоренный набор прочностных характеристик
|
|
Клей Ceresit
CM 19
|
2,4-6,0 кг/м2
|
Применяется для изготовления покрытий полов из
крупноформатных плит из природного и искусственного камня, керамики и
керамогранита в отапливаемых и неотапливаемых помещениях, а также на открытых
балконах, террасах и т.д.
|
|
Клей Ceresit
CM 117
|
1,8-4,7 кг/м2
|
Применяется для изготовления покрытий полов из
любых видов плит в отапливаемых и не отапливаемых помещениях, а также на
открытых балконах, террасах и т.д.
|
|
Клей Ceresit
CM 17
|
1,5-3,2 кг/м2
|
Применяется для изготовления покрытий полов из
любых видов плит в отапливаемых и не отапливаемых помещениях, а также на
открытых балконах, террасах и т.д. Повышенная эластичность
|
|
4
|
Обмазочная
гидроизоляция на основе жесткой гидроизолирующей массы Cerrsit CR 65
|
3-5 кг/м2
|
Наносится кистью или шпателем на очищенную поверхность
бетонного основания за два-три прохода
|
|
5
|
Сплошная
или многопустотная плита перекрытия с ровной поверхностью
|
|
|
Полы с покрытием из керамической плитки,
керамогранитных плит или плит из природного камня по плите перекрытия
Тип 136

|
Поз
|
Наименование
|
Расход
|
Примечание
|
|
1
|
Керамические
плитки, керамогранитные плиты и плиты из природного камня
|
|
|
|
2
|
Затирка Ceresit СЕ 33 Super
|
0,4-0.7 кг/м2
|
Применяется для затирки узких швов в покрытиях из
керамических, стеклянных и каменных плиток, 25 цветов
|
|
Затирка Ceresit
СЕ 35 Super
|
0,4-1,2 кг/м2
|
Применяется для затирки широких швов в покрытиях из
керамических, стеклянных и каменных плиток, 5 цветов
|
|
Затирка Ceresit СЕ 42
|
0,2-0,6 кг/м2
|
Применяется для затирки швов в покрытиях из
мраморных плиток, 4 цвета
|
|
Затирка Ceresit СЕ 43
|
0,6-1,2 кг/м2
|
Применяется для затирки швов в покрытиях из
керамических, стеклянных и каменных плиток, 11 цветов. Повышенная
эластичность и водоотталкивающие свойства
|
|
3
|
Клей Ceresit
CM 9
|
2,0-4,2 кг/м2
|
Применяется для изготовления покрытий полов из
керамической плитки в отапливаемых помещениях
|
|
Клей Ceresit
CM 11
|
1,7-4,2 кг/м2
|
Применяется для изготовления покрытий полов из
керамической плитки и плиток из натурального и искусственного камня с
водопоглощением не менее 1 % и размером до 30×30 см в отапливаемых и не
отапливаемых помещениях, а также на открытых балконах, террасах и т.д. При
введении в клей эластификатора Ceresit CC 83 может применяться для укладки
керамогранитных плит
|
|
Клей Ceresit
CM 14
|
2,4-4,2 кг/м2
|
Применяется для изготовления покрытий полов из
керамической плитки и плиток из натурального и искусственного камня с
водопоглощением не менее 1 % и
размером до 30×30 см в отапливаемых и не отапливаемых помещениях, а
также на открытых балконах, террасах и т.д. При введении в клей эластификатора
Ceresit CC 83 может применяться для укладки
керамогранитных плит. Ускоренный набор прочностных характеристик
|
|
Клей Ceresit
CM 115
|
2,5-4,4 кг/м2
|
Применяется для изготовления покрытий полов из
мраморных плит в отапливаемых и не. отапливаемых помещениях, а также на
открытых балконах, террасах и т.д.
|
|
Клей Ceresit
CM 15
|
2,5-4,4 кг/м2
|
Применяется для изготовления покрытий полов из
мраморных плит в отапливаемых и не отапливаемых помещениях, а также на
открытых балконах, террасах и т.д. Ускоренный набор прочностных характеристик
|
|
Клей Ceresit
CM 19
|
2,4-6,0 кг/м2
|
Применяется для изготовления покрытий полов из
крупноформатных плит из природного и искусственного камня, керамики и
керамогранита в отапливаемых и неотапливаемых помещениях, а также на открытых
балконах, террасах и т.д.
|
|
Клей Ceresit
CM 117
|
1,8-4,7 кг/м2
|
Применяется для изготовления покрытий полов из
любых видов плит в отапливаемых и не отапливаемых помещениях, а также на
открытых балконах, террасах и т.д.
|
|
Клей Ceresit
CM 17
|
1,5-3,2 кг/м2
|
Применяется для изготовления покрытий полов из
любых видов плит в отапливаемых и не отапливаемых помещениях, а также на
открытых балконах, террасах и т.д. Повышенная эластичность
|
|
4
|
Водно-дисперсионная
грунтовка Ceresit CT 17
|
0,1-0,2 кг/м2
|
Наносится кистью или валиком на очищенную
поверхность бетонной стяжки
|
|
Водно-дисперсионная
грунтовка Ceresit CN 94
|
50 гр/м2
|
Наносится кистью или валиком на очищенную
поверхность бетонной стяжки. Разбавляется водой в соотношении 1:3
|
|
5
|
Полимерцементная
саморазравнивающаяся стяжка марки Ceresit CN 69
|
1,8 кг/м2
|
Наносится шпателем слоем толщиной от 3 до 15 мм.
Расход - на 1 мм слоя. Предел прочности при сжатии после 28 суток выдержки не
менее 18 МПа
|
|
Полимерцементная
саморазравнивающаяся стяжка марки Ceresit CN 76
|
2,0 кг/м2
|
Наносится шпателем слоем толщиной от 4 до 50 мм.
Расход - на 1 мм слоя. Предел прочности при сжатии после 28 суток выдержки не
менее 40 МПа
|
|
Полимерцементная
стяжка марки Ceresit CN 83
|
2,0 кг/м2
|
Наносится шпателем слоем толщиной от 5 до 35 мм.
Расход - на 1 мм слоя. Ускоренный набор прочностных характеристик. Предел
прочности при сжатии после I
суток выдержки не менее 13 МПа, после 28 суток выдержки - не менее 35 МПа
|
|
Полимерцементная
стяжка марки Ceresit CN 178
|
2,0 кг/м2
|
Наносится шпателем слоем толщиной от 5 до 80 мм.
Расход - на 1 мм слоя. Предел прочности при сжатии после 28 суток выдержки не
менее 25 МПа
|
|
Стяжка
из цементно-песчаного раствора марки M150
|
0,02 м3/м2
|
|
|
Стяжка
из бетона класса В12,5
|
0,02 м3/м2
|
|
|
6
|
Водно-дисперсионная
грунтовка Cersit CT 17
|
0,1-0,2 кг/м2
|
Наносится кистью или валиком на очищенную
поверхность бетонного основания
|
|
Водно-дисперсионная
грунтовка Cersit CN 94
|
40 г/м2
|
Наносится кистью или валиком на очищенную
поверхность бетонного основания. Разбавляется водой в соотношении 1:3
|
|
7
|
Сплошная
или многопустотная плита перекрытия с неровной поверхностью
|
|
|
Полы с покрытием из керамической плитки, керамогранитных плит или плит из
природного камня по плите перекрытия
Тип 137

|
Поз.
|
Наименование
|
Расход
|
Примечание
|
|
1
|
Керамические
плитки, керамогранитные плиты и плиты из природного камня
|
|
|
|
2
|
Затирка Ceresit СЕ 33 Super
|
0,4-0,7 кг/м2
|
Применяется для затирки узких швов в покрытиях из
керамических, стеклянных и каменных плиток, 25 цветов
|
|
Затирка Ceresit СЕ 35 Super
|
0,4-1,2 кг/м2
|
Применяется для затирки широких швов в покрытиях из
керамических, стеклянных и каменных плиток, 5 цветов
|
|
Затирка Ceresit СЕ 42
|
0,2-0,6 кг/м2
|
Применяется для затирки швов в покрытиях из
мраморных плиток, 4 цвета
|
|
Затирка Ceresit СЕ 43
|
0,6-1,2 кг/м2
|
Применяется для затирки швов в покрытиях из
керамических, стеклянных и каменных плиток, 11 цветов. Повышенная
эластичность и водоотталкивающие свойства
|
|
3
|
Клей Ceresit
CM 9
|
2,0-4,2 кг/м2
|
Применяется для изготовления покрытий полов из
керамической плитки в отапливаемых помещениях
|
|
Клей Ceresit
CM 11
|
1,7-4,2 кг/м2
|
Применяется для изготовления покрытий полов из
керамической плитки и плиток из натурального и искусственного камня с
водопоглощением не менее 1 % и
размером до 30×30 см в отапливаемых и не отапливаемых помещениях, а
также на открытых балконах, террасах и т.д. При введении в клей
эластификатора Ceresit CC 83 может применяться
для укладки керамогранитных плит
|
|
Клей Ceresit
CM 14
|
2,4-4,2 кг/м2
|
Применяется для изготовления покрытий полов из
керамической плитки и плиток из натурального и искусственного камня с
водопоглощением не менее 1 % и размером до 30×30 см в отапливаемых и не
отапливаемых помещениях, а также на открытых балконах, террасах и т.д. При
введении в клей эластификатора Ceresit CC 83 может применяться для укладки
керамогранитных плит. Ускоренный набор прочностных характеристик
|
|
Клей Ceresit
CM 115
|
2,5-4,4 кг/м2
|
Применяется для изготовления покрытий полов из
мраморных плит в отапливаемых и не отапливаемых помещениях, а также на
открытых балконах, террасах и т.д.
|
|
Клей Ceresit
CM 15
|
2,5-4,4 кг/м2
|
Применяется для изготовления покрытий полов из
мраморных плит в отапливаемых и не отапливаемых помещениях, а также на
открытых балконах, террасах и т.д. Ускоренный набор прочностных характеристик
|
|
Клей Ceresit
CM 19
|
2,4-6,0 кг/м2
|
Применяется для изготовления покрытий полов из
крупноформатных плит из природного и искусственного камня, керамики и
керамогранита в отапливаемых и неотапливаемых помещениях, а также на открытых
балконах, террасах и т.д.
|
|
Клей Ceresit
CM 117
|
1,8-4,7 кг/м2
|
Применяется для изготовления покрытий полов из
любых видов плит в отапливаемых и не отапливаемых помещениях, а также на
открытых балконах, террасах и т.д.
|
|
Клей Ceresit
CM 17
|
1,5-3,2 кг/м2
|
Применяется для изготовления покрытий полов из любых
видов плит в отапливаемых и не отапливаемых помещениях, а также на открытых
балконах, террасах и т.д. Повышенная эластичность
|
|
4
|
Водно-дисперсионная
грунтовка Ceresit CT 17
|
0,1-0,2 кг/м2
|
Наносится кистью или валиком на очищенную
поверхность бетонной или цементно-песчаной стяжки
|
|
Водно-дисперсионная
грунтовка Ceresit CN 94
|
40-50 г/м2
|
Наносится кистью или валиком на очищенную
поверхность бетонной или цементно-песчаной стяжки. Разбавляется водой в
соотношении 1:3
|
|
5
|
Стяжка
из цементно-песчаного раствора марки M150
|
|
Расход материала определяется толщиной стяжки,
которая должна превышать на 15- 20 мм диаметр трубы
|
|
Стяжка
из бетона класса В12,5
|
|
Расход материала определяется толщиной стяжки,
которая должна превышать на 15- 20 мм диаметр трубы
|
|
Полимерцементная
стяжка марки Ceresit CN 178
|
|
Расход материала определяется толщиной стяжки,
которая должна превышать на 15- 20 мм диаметр трубы
|
|
Полимерцементная
стяжка марки Ceresit CN 83
|
|
Расход материала определяется толщиной стяжки,
которая должна превышать на 15- 20 мм диаметр трубы, но не должна превышать
35 мм
|
|
6
|
Труба
|
|
|
|
7
|
Водно-дисперсионная
грунтовка Ceresit CT 17
|
0,1-0,2 кг/м2
|
Наносится кистью или валиком на очищенную
поверхность бетонного основания
|
|
Водно-дисперсионная
грунтовка Ceresit CN 94
|
40 г/м2
|
Наносится кистью или валиком на очищенную
поверхность бетонного основания. Разбавляется водой в соотношении 1:3
|
|
8
|
Сплошная
или многопустотная плита перекрытия
|
|
|
Полы с покрытием из керамической плитки,
керамогранитных плит или плит из природного камня по плите перекрытия
Тип 138

|
Поз
|
Наименование
|
Расход
|
Примечание
|
|
1
|
Керамические
плитки, керамогранитные плиты и плиты из природного камня
|
|
|
|
2
|
Затирка Ceresit СЕ 33 Super
|
0,4-0,7 кг/м2
|
Применяется для затирки узких швов в покрытиях из
керамических, стеклянных и каменных плиток, 25 цветов
|
|
Затирка Ceresit СЕ 35 Super
|
0,4-1,2 кг/м2
|
Применяется для затирки широких швов в покрытиях из
керамических, стеклянных и каменных плиток, 5 цветов
|
|
Затирка Ceresit СЕ 42
|
0,2-0,6 кг/м2
|
Применяется для затирки швов в покрытиях из
мраморных плиток, 4 цвета
|
|
Затирка Ceresit СЕ 43
|
0,6-1,2 кг/м2
|
Применяется для затирки швов в покрытиях из
керамических, стеклянных и каменных плиток, 11 цветов. Повышенная
эластичность и водоотталкивающие свойства
|
|
3
|
Клей Ceresit
CM 9
|
2,0-4,2 кг/м2
|
Применяется для изготовления покрытий полов из
керамической плитки в отапливаемых помещениях
|
|
Клей Ceresit
CM 11
|
1,7-4,2 кг/м2
|
Применяется для изготовления покрытий полов из
керамической плитки и плиток из натурального и искусственного камня с
водопоглощением не менее 1 % и размером до 30×30 см в отапливаемых и не
отапливаемых помещениях, а также на открытых балконах, террасах и т.д. При
введении в клей эластификатора Ceresit CC 83 может применяться для укладки
керамогранитных плит
|
|
Клей Ceresit
CM 14
|
2,4-4,2 кг/м2
|
Применяется для изготовления покрытий полов из
керамической плитки и плиток из натурального и искусственного камня с
водопоглощением не менее 1 % и размером до 30×30 см в отапливаемых и не
отапливаемых помещениях, а также на открытых балконах, террасах и т.д. При
введении в клей эластификатора Ceresit CC 83 может применяться для укладки
керамогранитных плит. Ускоренный набор прочностных характеристик
|
|
Клей Ceresit
CM 115
|
2,5-4,4 кг/м2
|
Применяется для изготовления покрытий полов из
мраморных плит в отапливаемых и не отапливаемых помещениях, а также на
открытых балконах, террасах и т.д.
|
|
Клей Ceresit
CM 15
|
2,5-4,4 кг/м2
|
Применяется для изготовления покрытий полов из
мраморных плит в отапливаемых и не отапливаемых помещениях, а также на
открытых балконах, террасах и т.д. Ускоренный набор прочностных характеристик
|
|
Клей Ceresit
CM 19
|
2,4-6,0 кг/м2
|
Применяется для изготовления покрытий полов из
крупноформатных плит из природного и искусственного камня, керамики и
керамогранита в отапливаемых и неотапливаемых помещениях, а также на открытых
балконах, террасах и т.д.
|
|
Клей Ceresit
CM 117
|
1,8-4,7 кг/м2
|
Применяется для изготовления покрытий полов из
любых видов плит в отапливаемых и не отапливаемых помещениях, а также на
открытых балконах, террасах и т.д.
|
|
Клей Ceresit
CM 17
|
1,5-3,2 кг/м2
|
Применяется для изготовления покрытий полов из
любых видов плит в отапливаемых и не отапливаемых помещениях, а также на
открытых балконах, террасах и т.д. Повышенная эластичность
|
|
4
|
Водно-дисперсионная
грунтовка Ceresit CT 17
|
0,1-0,2 кг/м2
|
Наносится кистью или валиком на очищенную
поверхность бетонной или цементно-песчаной стяжки
|
|
Водно-дисперсионная
грунтовка Ceresit CN 94
|
40-50 г/м2
|
Наносится кистью или валиком на очищенную
поверхность бетонной или цементно-песчаной стяжки. Разбавляется водой в
соотношении 1:3
|
|
5
|
Полимерцементная
саморазравнивающаяся стяжка марки Ceresit CN 76 + песок
|
2,0 кг/м2
|
Наносится шпателем. Расход - на 1 мм слоя. Предел
прочности при сжатии после 28 суток выдержки не менее 40 МПа
|
|
Полимерцементная
стяжка марки Ceresit CN 83
|
2,0 кг/м2
|
Наносится шпателем. Расход - на 1 мм слоя.
Ускоренный набор прочностных характеристик. Предел прочности при сжатии после
1 суток выдержки не менее 13 МПа, после 28 суток выдержки - не менее 35 МПа
|
|
Полимерцементная
стяжка марки Ceresit CN 178
|
2,0 кг/м2
|
Наносится шпателем. Расход - на 1 мм слоя. Предел
прочности при сжатии после 28 суток выдержки не менее 25 МПа
|
|
Стяжка
из цементно-песчаного раствора марки M150
|
0,02 м3/м2
|
|
|
Стяжка
из бетона класса В12,5
|
0,02 м3/м2
|
|
|
6
|
Рулонная
гидроизоляция
|
1,02 м2/м2
|
|
|
Обмазочная
гидроизоляция на основе жесткой гидроизолирующей массы Ceresit CR 65
|
3-5 кг/м2
|
|
|
Обмазочная
гидроизоляция на основе эластичной гидроизолирующей массы Ceresit CR 166
|
3-5 кг/м2
|
|
|
7
|
Сплошная
или многопустотная плита перекрытия с ровной поверхностью
|
|
|
Полы с покрытием из керамической плитки,
керамогранитных плит или плит из природного камня по плите перекрытия
Тип 139

|
Поз.
|
Наименование
|
Расход
|
Примечание
|
|
1
|
Керамические
плитки, керамогранитные плиты и плиты из природного камня
|
|
|
|
2
|
Затирка Ceresit СЕ 33 Super
|
0,4-0,7 кх/м2
|
Применяется для затирки узких швов в покрытиях из
керамических, стеклянных и каменных плиток, 25 цветов
|
|
Затирка Ceresit СЕ 35 Super
|
0,4-1,2 кг/м2
|
Применяется для затирки широких швов в покрытиях из
керамических, стеклянных и каменных плиток, 5 цветов
|
|
Затирка Ceresit СЕ 42
|
0,2-0,6 кг/м2
|
Применяется для затирки швов в покрытиях из
мраморных плиток, 4 цвета
|
|
Затирка Ceresit СЕ 43
|
0,6-1,2 кг/м2
|
Применяется для затирки швов в покрытиях из керамических,
стеклянных и каменных плиток, 11 цветов. Повышенная эластичность и
водоотталкивающие свойства
|
|
3
|
Клей Ceresit
CM 9
|
2,0-4,2 кг/м2
|
Применяется для изготовления покрытий полов из
керамической плитки в отапливаемых помещениях
|
|
Клей Ceresit
CM 11
|
1,7-4,2 кг/м2
|
Применяется для изготовления покрытий полов из
керамической плитки и плиток из натурального и искусственного камня с
водопоглощением не менее 1 % и размером до 30×30 см в отапливаемых и не
отапливаемых помещениях, а также на открытых балконах, террасах и т.д. При
введении в клей эластификатора Ceresit CC 83 может применяться для укладки
керамогранитных плит
|
|
Клей Ceresit
CM 14
|
2,4-4,2 кг/м2
|
Применяется для изготовления покрытий полов из
керамической плитки и плиток из натурального и искусственного камня с
водопоглощением не менее 1 % и размером до 30×30 см в отапливаемых и не
отапливаемых помещениях, а также на открытых балконах, террасах и т.д. При
введении в клей эластификатора Ceresit CC 83 может применяться для укладки
керамогранитных плит. Ускоренный набор прочностных характеристик
|
|
Клей Ceresit
CM 115
|
2,5-4,4 кг/м2
|
Применяется для изготовления покрытий полов из
мраморных плит в отапливаемых и не отапливаемых помещениях, а также на
открытых балконах, террасах и т.д.
|
|
Клей Ceresit
CM 15
|
2,5-4,4 кг/м2
|
Применяется для изготовления покрытий полов из
мраморных плит в отапливаемых и не отапливаемых помещениях, а также на
открытых балконах, террасах и т.д. Ускоренный набор прочностных характеристик
|
|
Клей Ceresit
CM 19
|
2,4-6,0 кг/м2
|
Применяется для изготовления покрытий полов из
крупноформатных плит из природного и искусственного камня, керамики и
керамогранита в отапливаемых и неотапливаемых помещениях, а также на открытых
балконах, террасах и т.д.
|
|
Клей Ceresit
CM 117
|
1,8-4,7 кг/м2
|
Применяется для изготовления покрытий полов из
любых видов плит в отапливаемых и не отапливаемых помещениях, а также на
открытых балконах, террасах и т.д.
|
|
Клей Ceresit
CM 17
|
1,5-3,2 кг/м2
|
Применяется для изготовления покрытий полов из
любых видов плит в отапливаемых и не отапливаемых помещениях, а также на
открытых балконах, террасах и т.д. Повышенная эластичность
|
|
4
|
Водно-дисперсионная
грунтовка Ceresit CT 17
|
0,1-0,2 кг/м2
|
Наносится кистью или валиком на очищенную
поверхность бетонной или цементно-песчаной стяжки
|
|
Водно-дисперсионная
грунтовка Ceresit CN 94
|
40-50 г/м2
|
Наносится кистью или валиком на очищенную
поверхность бетонной или цементно-песчаной стяжки. Разбавляется водой в
соотношении 1:3
|
|
5 6
|
Стяжка
из цементно-песчаного раствора марки M150
|
0,04 м3/м2
|
|
|
Стяжка
из бетона класса В12,5
|
0,04 м3/м2
|
|
|
Полимерцементная
стяжка марки Ceresit CN 178
|
0,04 м3/м2
|
|
|
Полиэтиленовая
пленка
|
0,15 м2/м2
|
|
|
7
|
Тепло-
и звукоизоляция из кварцевого или керамзитового песка
|
|
Толщина слоя и расход материалов назначаются в
соответствии с расчетами по параметрам тепло- и звукоизоляции
|
|
8
|
Сплошная
или многопустотная плита перекрытия
|
|
|
Полы с покрытием из керамической плитки,
керамогранитных плит или плит из природного камня по плите перекрытия
Тип 140

|
Поз.
|
Наименование
|
Расход
|
Примечание
|
|
1
|
Керамические
плитки, керамогранитные плиты и плиты из природного камня
|
|
|
|
2
|
Затирка Ceresit СЕ 33 Super
|
0,4-0,7 кг/м2
|
Применяется для затирки узких швов в покрытиях из
керамических, стеклянных и каменных плиток, 25 цветов
|
|
Затирка Ceresit СЕ 35 Super
|
0,4-1,2 кг/м2
|
Применяется для затирки широких швов в покрытиях из
керамических, стеклянных и каменных плиток, 5 цветов
|
|
Затирка Ceresit СЕ 42
|
0,2-0,6 кг/м2
|
Применяется для затирки швов в покрытиях из
мраморных плиток, 4 цвета
|
|
Затирка Ceresit СЕ 43
|
0,6-1,2 кг/м2
|
Применяется для затирки швов в покрытиях из
керамических, стеклянных и каменных плиток, 11 цветов. Повышенная
эластичность и водоотталкивающие свойства
|
|
3
|
Клей Ceresit
CM 9
|
2,0-4,2 кг/м2
|
Применяется для изготовления покрытий полов из
керамической плитки в отапливаемых помещениях
|
|
Клей Ceresit
CM 11
|
1,7-4,2 кг/м2
|
Применяется для изготовления покрытий полов из
керамической плитки и плиток из натурального и искусственного камня с
водопоглощением не менее 1 % и размером до 30×30 см в отапливаемых и не
отапливаемых помещениях, а также на открытых балконах, террасах и т.д. При
введении в клей эластификатора Ceresit CC 83 может применяться для укладки
керамогранитных плит
|
|
Клей Ceresit
CM 14
|
2,4-4,2 кг/м2
|
Применяется для изготовления покрытий полов из
керамической плитки и плиток из натурального и искусственного камня с
водопоглощением не менее 1 % и размером до 30×30 см в отапливаемых и не
отапливаемых помещениях, а также на открытых балконах, террасах и т.д. При
введении в клей эластификатора Ceresit CC 83 может применяться для укладки
керамогранитных плит. Ускоренный набор прочностных характеристик
|
|
Клей Ceresit
CM 115
|
2,5-4,4 кг/м2
|
Применяется для изготовления покрытий полов из
мраморных плит в отапливаемых и не отапливаемых помещениях, а также на открытых
балконах, террасах и т.д.
|
|
Клей Ceresit
CM 15
|
2,5-4,4 кг/м2
|
Применяется для изготовления покрытий полов из
мраморных плит в отапливаемых и не отапливаемых помещениях, а также на
открытых балконах, террасах и т.д. Ускоренный набор прочностных характеристик
|
|
Клей Ceresit
CM 19
|
2,4-6,0 кг/м2
|
Применяется для изготовления покрытий полов из
крупноформатных плит из природного и искусственного камня, керамики и
керамогранита в отапливаемых и неотапливаемых помещениях, а также на открытых
балконах, террасах и т.д.
|
|
Клей Ceresit
CM 117
|
1,8-4,7 кг/м2
|
Применяется для изготовления покрытий полов из
любых видов плит в отапливаемых и не отапливаемых помещениях, а также на
открытых балконах, террасах и т.д.
|
|
Клей Ceresit
CM 17
|
1,5-3,2 кг/м2
|
Применяется для изготовления покрытий полов из
любых видов плит в отапливаемых и не отапливаемых помещениях, а также на
открытых балконах, террасах и т.д. Повышенная эластичность
|
|
4
|
Водно-дисперсионная
грунтовка Ceresit CT 17
|
0,1-0,2 кг/м2
|
Наносится кистью или валиком на очищенную
поверхность бетонной или цементно-песчаной стяжки
|
|
Водно-дисперсионная
грунтовка Ceresit CN 94
|
40-50 г/м2
|
Наносится кистью или валиком на очищенную
поверхность бетонной или цементно-песчаной стяжки. Разбавляется водой в
соотношении 1:3
|
|
5
|
Стяжка
из цементно-песчаного раствора марки M150
|
0,04 м3/м2
|
|
|
Стяжка
из бетона класса В12,5
|
0,04 м3/м2
|
|
|
Полимерцементная
стяжка марки Ceresit CN 178
|
0,04 м3/м2
|
|
|
6
|
Полиэтиленовая
пленка
|
1,15 м2/м2
|
|
|
7
|
Тепло-
и звукоизоляция из плит или матов
|
|
Толщина слоя и расход материалов назначаются в
соответствии с расчетами по параметрам тепло- и звукоизоляции
|
|
8
|
Сплошная
или многопустотная плита перекрытия
|
|
|
Полы с покрытием из керамической плитки,
керамогранитных плит или плит из природного камня по плите перекрытия
Тип 141

|
Поз.
|
Наименование
|
Расход
|
Примечание
|
|
1
|
Керамические
плитки, керамогранитные плиты и плиты из природного камня
|
|
|
|
2
|
Затирка
Ceresit СЕ 35 Super + эластификатор Ceresit CC 83
|
0,4-1,2 кг/м2
|
Применяется для затирки широких швов в покрытиях из
керамических, стеклянных и каменных плиток, 5 цветов
|
|
Затирка Ceresit СЕ 43
|
0,6-1,2 кг/м2
|
Применяется для затирки швов в покрытиях из
керамических, стеклянных и каменных плиток, 11 цветов. Повышенная
эластичность и водоотталкивающие свойства
|
|
3
|
Клей
Ceresit СМ 11 + эластификатор
Ceresit СС 83
|
1,7-4,2 кг/м2
|
Применяется для изготовления покрытий полов из
керамической плитки и плиток из натурального и искусственного камня с
водопоглощением не менее 1 % и размером до 30×30 см
|
|
Клей
Ceresit CM 14 + эластификатор Ceresit СС 83
|
2,4-4,2 кг/м2
|
Применяется для изготовления покрытий полов из
керамической плитки и плиток из натурального и искусственного камня с
водопоглощением не менее 1 % и размером до 30×30 см. Ускоренный набор
прочностных характеристик
|
|
Клей
Ceresit CM 115 + эластификатор Ceresit СС 83
|
2,5-4,4 кг/м2
|
Применяется для изготовления покрытий полов из
мраморных плит
|
|
Клей
Ceresit CM 15 + эластификатор Ceresit СС 83
|
2,5-4,4 кг/м2
|
Применяется для изготовления покрытий полов из
мраморных плит. Ускоренный набор прочностных характеристик
|
|
Клей Ceresit
CM 19
|
2,6-6,0 кг/м2
|
Применяется для изготовления покрытий полов из
крупноформатных плит из природного и искусственного камня, керамики и
керамогранита
|
|
Клей
Ceresit CM 117 + эластификатор Ceresit СС 83
|
1,8-4,7 кг/м2
|
Применяется для изготовления покрытий полов из
любых видов плит
|
|
Клей Ceresit
CM 17
|
1,5-3,2 кг/м2
|
Применяется для изготовления покрытий полов из
любых видов плит
|
|
4
|
Водно-дисперсионная
грунтовка Ceresit CT 17
|
0,1-0,2 кг/м2
|
Наносится кистью или валиком на очищенную
поверхность сборной стяжки
|
|
Водно-дисперсионная
грунтовка Ceresit CN 94
|
50 г/м2
|
Наносится кистью или валиком на очищенную
поверхность сборной стяжки. Разбавляется водой в соотношении 1:3
|
|
5
|
Сборная
стяжка из готовых элементов из гипсоволокнистых листов
|
1,02 м2/м2
|
|
|
6
|
Водно-дисперсионный
клей
|
40-50 г/п.м
|
|
|
7
|
Кварцевый
песок
|
По факту
|
Расход - минимально необходимый для выравнивания
поверхности нижележащего слоя
|
|
8
|
Пароизоляция
- полиэтиленовая пленка
|
1,15 м2/м2
|
|
|
9
|
Сплошная
или многопустотная плита перекрытия с неровной поверхностью
|
|
|
Полы с покрытием из керамической плитки,
керамогранитных плит или плит из природного камня по плите перекрытия
Тип 142

|
Поз.
|
Наименование
|
Расход
|
Примечание
|
|
1
|
Керамические
плитки, керамогранитные плиты и плиты из природного камня
|
|
|
|
2
|
Затирка
Ceresit СЕ 35 Super + эластификатор Ceresit CC 83
|
0,4-1,2 кг/м2
|
Применяется для затирки широких швов в покрытиях из
керамических, стеклянных и каменных плиток, 5 цветов
|
|
Затирка Ceresit СЕ 43
|
0,6-1,2 кг/м2
|
Применяется для затирки швов в покрытиях из
керамических, стеклянных и каменных плиток, 11 цветов. Повышенная
эластичность и водоотталкивающие свойства
|
|
3
|
Клей
Ceresit CM 11 + эластификатор Ceresit СС 83
|
1,7-4,2 кг/м2
|
Применяется для изготовления покрытий полов из
керамической плитки и плиток из натурального и искусственного камня с
водопоглошением не менее 1 % и размером до 30×30 см
|
|
Клей
Ceresit CM 14 + эластификатор Ceresit СС 83
|
2,4-4,2 кг/м2
|
Применяется для изготовления покрытий полов из
керамической плитки и плиток из натурального и искусственного камня с
водопоглошением не менее 1 % и
размером до 30×30 см. Ускоренный набор прочностных характеристик
|
|
Клей
Ceresit CM 115 + эластификатор Ceresit СС 83
|
2,5-4,4 кг/м2
|
Применяется для изготовления покрытий полов из
мраморных плит
|
|
Клей
Ceresit СМ 15 +
эластификатор Ceresit
СС 83
|
2,5-4,4 кг/м2
|
Применяется для изготовления покрытий полов из
мраморных плит. Ускоренный набор прочностных характеристик
|
|
Клей Ceresit
CM 19
|
2,6-6,0 кг/м2
|
Применяется для изготовления покрытий полов из
крупноформатных плит из природного и искусственного камня, керамики и
керамогранита
|
|
Клей
Ceresit CM 117 + эластификатор Ceresit СС 83
|
1,8-4,7 кг/м2
|
Применяется для изготовления покрытий полов из
любых видов плит
|
|
Клей Ceresit
CM 17
|
1,5-3,2 кг/м2
|
Применяется для изготовления покрытий полов из
любых видов плит
|
|
4
|
Водно-дисперсионная
грунтовка Ceresit CT 17
|
0,1-0,2 кг/м2
|
Наносится кистью или валиком на очищенную
поверхность сборной стяжки
|
|
Водно-дисперсионная
грунтовка Ceresit CN 94
|
50 г/м2
|
Наносится кистью или валиком на очищенную
поверхность сборной стяжки. Разбавляется водой в соотношении 1:3
|
|
5
|
Сборная
стяжка из готовых элементов из гипсоволокнистых листов
|
1,02 м2/м2
|
|
|
6
|
Водно-дисперсионный
клей
|
40-50 г/п.м
|
|
|
7
|
Тепло-
и звукоизоляция из кварцевого или керамзитового песка
|
|
Толщина слоя и расход материалов назначаются в
соответствии с расчетами по параметрам тепло- и звукоизоляции
|
|
8
|
Пароизоляция
- полиэтиленовая пленка
|
1,15 м2/м2
|
|
|
9
|
Сплошная
или многопустотная плита перекрытия с неровной поверхностью
|
|
|
Полы с покрытием из керамической плитки,
керамогранитных плит или плит из природного камня по плите перекрытия
Тип 143

|
Поз.
|
Наименование
|
Расход
|
Примечание
|
|
1
|
Керамические
плитки, керамогранитные плиты и плиты из природного камня
|
|
|
|
2
|
Затирка
Ceresit СЕ 35 Super + эластификатор Ceresit CC 83
|
0,4-1,2 кг/м2
|
Применяется для затирки широких швов в покрытиях из
керамических, стеклянных и каменных плиток, 5 цветов
|
|
Затирка Ceresit СЕ 43
|
0,6-1,2 кг/м2
|
Применяется для затирки швов в покрытиях из
керамических, стеклянных и каменных плиток, 11 цветов. Повышенная
эластичность и водоотталкивающие свойства
|
|
3
|
Клей
Ceresit СМ 11 +
эластификатор Ceresit
СС 83
|
1,7-4,2 кг/м2
|
Применяется для изготовления покрытий полов из
керамической плитки и плиток из натурального и искусственного камня с
водопоглощением не менее 1 % и размером до 30×30 см
|
|
Клей
Ceresit CM 14 + эластификатор Ceresit СС 83
|
2,4-4,2 кг/м2
|
Применяется для изготовления покрытий полов из
керамической плитки и плиток из натурального и искусственного камня с
водопоглощением не менее 1 % и размером до 30×30 см. Ускоренный набор
прочностных характеристик
|
|
Клей
Ceresit CM 115 + эластификатор Ceresit СС 83
|
2,5-4,4 кг/м2
|
Применяется для изготовления покрытий полов из
мраморных плит
|
|
Клей
Ceresit CM 15 + эластификатор Ceresit СС 83
|
2,5-4,4 кг/м2
|
Применяется для изготовления покрытий полов из
мраморных плит. Ускоренный набор прочностных характеристик
|
|
Клей Ceresit
CM 19
|
2,6-6,0 кг/м2
|
Применяется для изготовления покрытий полов из
крупноформатных плит из природного и искусственного камня, керамики и
керамогранита
|
|
Клей
Ceresit CM 117 + эластификатор Ceresit СС 83
|
1,8-4,7 кг/м2
|
Применяется для изготовления покрытий полов из
любых видов плит
|
|
Клей Ceresit
CM 17
|
1,5-3,2 кг/м2
|
Применяется для изготовления покрытий полов из любых
видов плит
|
|
4
|
Водно-дисперсионная
грунтовка Ceresit CT 17
|
0,1-0,2 кг/м2
|
Наносится кистью или валиком на очищенную
поверхность сборной стяжки
|
|
Водно-дисперсионная
грунтовка Ceresit CN 94
|
50 г/м2
|
Наносится кистью или валиком на очищенную
поверхность сборной стяжки. Разбавляется водой в соотношении 1:3
|
|
5
|
Сборная
стяжка из готовых элементов из гипсоволокнистых листов
|
1,02 м2/м2
|
|
|
6
|
Водно-дисперсионный
клей
|
40-50 г/п.м
|
|
|
7
|
Тепло-
и звукоизоляция из плит или матов
|
|
Толщина слоя и расход материалов назначаются в
соответствии с расчетами по параметрам тепло- и звукоизоляции
|
|
8
|
Пароизоляция
- полиэтиленовая пленка
|
1,15 м2/м2
|
|
|
9
|
Сплошная
или многопустотная плита перекрытия с неровной поверхностью
|
|
|
Полы с покрытием из керамической плитки,
керамогранитных плит или плит из природного камня по плите перекрытия
Тип 144

|
Поз.
|
Наименование
|
Расход
|
Примечание
|
|
1
|
Керамические
плитки, керамогранитные плиты и плиты из природного камня
|
|
|
|
2
|
Затирка
Ceresit СЕ 35 Super + эластификатор Ceresit CC 83
|
0,4-1,2 кг/м2
|
Применяется для затирки широких швов в покрытиях из
керамических, стеклянных и каменных плиток, 5 цветов
|
|
Затирка Ceresit СЕ 43
|
0,6-1,2 кг/м2
|
Применяется для затирки швов в покрытиях из
керамических, стеклянных и каменных плиток, 11 цветов. Повышенная
эластичность и водоотталкивающие свойства
|
|
3
|
Клей
Ceresit CM 11 + эластификатор Ceresit CC 83
|
1,7-4,2 кг/м2
|
Применяется для изготовления покрытий полов из
керамической плитки и плиток из натурального и искусственного камня с
водопоглощением не менее 1 % и размером до 30×30 см
|
|
Клей
Ceresit CM 14 + эластификатор Ceresit CC 83
|
2,4-4,2 кг/м2
|
Применяется для изготовления покрытий полов из
керамической плитки и плиток из натурального и искусственного камня с
водопоглощением не менее 1 % и размером до 30×30 см. Ускоренный набор
прочностных характеристик
|
|
Клей
Ceresit CM 115 + эластификатор Ceresit CC 83
|
2,5-4,4 кг/м2
|
Применяется для изготовления покрытий полов из
мраморных плит
|
|
Клей
Ceresit CM 15 + эластификатор Ceresit CC 83
|
2,5-4,4 кг/м2
|
Применяется для изготовления покрытий полов из
мраморных плит. Ускоренный набор прочностных характеристик
|
|
Клей Ceresit
CM 19
|
2,6-6,0 кг/м2
|
Применяется для изготовления покрытий полов из
крупноформатных плит из природного и искусственного камня, керамики и
керамогранита
|
|
Клей
Ceresit CM 117 + эластификатор Ceresit CC 83
|
1,8-4,7 кг/м2
|
Применяется для изготовления покрытий полов из
любых видов плит
|
|
Клей Ceresit
CM 17
|
1,5-3,2 кг/м2
|
Применяется для изготовления покрытий полов из
любых видов плит
|
|
4
|
Водно-дисперсионная
грунтовка Ceresit CT 17
|
0,1-0,2 кг/м2
|
Наносится кистью или валиком на очищенную
поверхность сборной стяжки
|
|
Водно-дисперсионная
грунтовка Ceresit CN 94
|
50 г/м2
|
Наносится кистью или валиком на очищенную
поверхность сборной стяжки. Разбавляется водой в соотношении 1:3
|
|
5
|
Сборная
стяжка из готовых элементов из гипсоволокнистых листов
|
1,02 м2/м2
|
|
|
6
|
Водно-дисперсионный
клей
|
40-50 г/п.м
|
|
|
7
|
Тепло-
и звукоизолирующая засыпка из кварцевого или керамзитового песка
|
По расчету
|
Толщина слоя и расход материалов назначаются в
соответствии с расчетами по параметрам тепло- и звукоизоляции, но не менее
высоты короба Н + 15
|
|
8
|
Труба
|
По факту
|
|
|
9
|
Обкладка
трубы пористо-волокнистыми матами
|
|
|
|
10
|
Защитный
металлический кожух
|
|
|
|
11
|
Дюбель
разжимной
|
1,15 м2/м2
|
|
|
12
|
Пароизоляция
- полиэтиленовая пленка
|
|
|
|
13
|
Сплошная
или многопустотная плита перекрытия
|
|
|
Полы с покрытием из керамической плитки,
керамогранитных плит или плит из природного камня по плите перекрытия
Тип 145

|
Поз.
|
Наименование
|
Расход
|
Примечание
|
|
1
|
Керамические
плитки, керамогранитные плиты и плиты из природного камня
|
|
|
|
2
|
Затирка
Ceresit СЕ 35 Super + эластификатор Ceresit CC 83
|
0,4-1,2 кг/м2
|
Применяется для затирки широких швов в покрытиях из
керамических, стеклянных и каменных плиток, 5 цветов
|
|
Затирка Ceresit СЕ 43
|
0,6-1,2 кг/м2
|
Применяется для затирки швов в покрытиях из
керамических, стеклянных и каменных плиток, 11 цветов. Повышенная
эластичность и водоотталкивающие свойства
|
|
3
|
Клей
Ceresit CM 11 + эластификатор Ceresit CC 83
|
1,7-4,2 кг/м2
|
Применяется для изготовления покрытий полов из
керамической плитки и плиток из натурального и искусственного камня с
водопоглощением не менее 1 % и размером до 30×30 см
|
|
Клей
Ceresit CM 14 + эластификатор Ceresit CC 83
|
2,4-4,2 кг/м2
|
Применяется для изготовления покрытий полов из
керамической плитки и плиток из натурального и искусственного камня с
водопоглощением не менее 1 % и размером до 30×30 см. Ускоренный набор
прочностных характеристик
|
|
Клей
Ceresit CM 115 + эластификатор Ceresit CC 83
|
2,5-4,4 кг/м2
|
Применяется для изготовления покрытий полов из
мраморных плит
|
|
Клей
Ceresit CM 15 + эластификатор Ceresit CC 83
|
2,5-4,4 кг/м2
|
Применяется для изготовления покрытий полов из
мраморных плит. Ускоренный набор прочностных характеристик
|
|
Клей Ceresit
CM 19
|
2,6-6,0 кг/м2
|
Применяется для изготовления покрытий полов из
крупноформатных плит из природного и искусственного камня, керамики и
керамогранита
|
|
Клей
Ceresit CM 117 + эластификатор Ceresit CC 83
|
1,8-4,7 кг/м2
|
Применяется для изготовления покрытий полов из
любых видов плит
|
|
Клей Ceresit
CM 17
|
1,5-3,2 кг/м2
|
Применяется для изготовления покрытий полов из
любых видов плит
|
|
4
|
Водно-дисперсионная
грунтовка Ceresit CT 17
|
0,1-0,2 кг/м2
|
Наносится кистью или валиком на очищенную
поверхность сборной стяжки
|
|
Водно-дисперсионная
грунтовка Ceresit CN 94
|
50 г/м2
|
Наносится кистью или валиком на очищенную
поверхность сборной стяжки. Разбавляется водой в соотношении 1:3
|
|
5
|
Сборная
стяжка из готовых элементов из гипсоволокнистых листов
|
1,02 м2/м2
|
|
|
6
|
Водно-дисперсионный
клей
|
40-50 г/п.м
|
|
|
7
|
Тепло-
и звукоизоляция из плит или матов
|
По расчету
|
Толщина слоя и расход материалов назначаются в
соответствии с расчетами по параметрам тепло- и звукоизоляции, но не менее
высоты короба Н + 15
|
|
8
|
Труба
|
|
|
|
9
|
Обкладка
трубы пористо-волокнистыми матами
|
По факту
|
|
|
10
|
Защитный
металлический кожух
|
|
|
|
11
|
Дюбель
разжимной
|
|
|
|
12
|
Пароизоляция
- полиэтиленовая пленка
|
1,15 м2/м2
|
|
|
13
|
Сплошная
или многопустотная плита перекрытия
|
|
|
Полы с покрытием из керамической плитки,
керамогранитных плит или плит из природного камня по плите перекрытия
Тип 146

|
Поз
|
Наименование
|
Расход
|
Примечание
|
|
1
|
Керамические
плитки, керамогранитные плиты и плиты из природного камня
|
|
|
|
2
|
Затирка
Ceresit СЕ 35 Super + эластификатор Ceresit CC 83
|
0,4-1,2 кг/м2
|
Применяется для затирки широких швов в покрытиях из
керамических, стеклянных и каменных плиток, 5 цветов
|
|
Затирка Ceresit СЕ 43
|
0,6-1,2 кг/м2
|
Применяется для затирки швов в покрытиях из
керамических, стеклянных и каменных плиток, 11 цветов. Повышенная
эластичность и водоотталкивающие свойства
|
|
3
|
Клей
Ceresit CM 11 + эластификатор Ceresit CC 83
|
1,7-4,2 кг/м2
|
Применяется для изготовления покрытий полов из
керамической плитки и плиток из натурального и искусственного камня с
водопоглощением не менее 1 % и
размером до 30×30 см
|
|
Клей
Ceresit CM 14 + эластификатор Ceresit CC 83
|
2,4-4,2 кг/м2
|
Применяется для изготовления покрытий полов из
керамической плитки и плиток из натурального и искусственного камня с
водопоглощением не менее 1 % и размером до 30×30 см. Ускоренный набор
прочностных характеристик
|
|
Клей
Ceresit CM 115 + эластификатор Ceresit CC 83
|
2,5-4,4 кг/м2
|
Применяется для изготовления покрытий полов из
мраморных плит
|
|
Клей
Ceresit CM 15 + эластификатор Ceresit CC 83
|
2,5-4,4 кг/м2
|
Применяется для изготовления покрытий полов из
мраморных плит. Ускоренный набор прочностных характеристик
|
|
Клей Ceresit
CM 19
|
2,6-6,0 кг/м2
|
Применяется для изготовления покрытий полов из
крупноформатных плит из природного и искусственного камня, керамики и
керамогранита
|
|
Клей
Ceresit CM 117 + эластификатор Ceresit CC 83
|
1,8-4,7 кг/м2
|
Применяется для изготовления покрытий полов из
любых видов плит
|
|
Клей Ceresit
CM 17
|
1,5-3,2 кг/м2
|
Применяется для изготовления покрытий полов из
любых видов плит
|
|
4
|
Водно-дисперсионная
грунтовка Ceresit CT 17
|
0,1-0,2 кг/м2
|
Наносится кистью или валиком на очищенную
поверхность стяжки
|
|
Водно-дисперсионная
грунтовка Ceresit CN 94
|
40-50 г/м2
|
Наносится кистью или валиком на очищенную
поверхность стяжки. Разбавляется водой в соотношении 1:3
|
|
5
|
Деформационный
шов, расшитый герметиком
|
По факту
|
Швы нарезаются в продольном и поперечном
направлении с шагом не более 6 м. Глубина деформационного шва - не менее 2/3
толщины стяжки. Расшивка швов герметиком осуществляется после достижения
стяжкой воздушно-сухого состояния
|
|
6
|
Стяжка
из цементно-песчаного раствора на основе полимерцемента марки Ceresit CN 85 и сухого кварцевого песка в соотношении
1:4-5, армированная металлической сеткой с ячейками 50×50×2
|
3,7 кг/м2
|
Расход - на 1 мм слоя
При
использовании для обогрева электронагревательных элементов армирующая сетка
должна быть присоединена к системе заземления здания
|
|
Стяжка
из выравнивающей смеси марки Seresit CN
178, армированная металлической сеткой с ячейками 50×50×2
|
2,0 кг/м2
|
Расход - на 1 мм слоя
При
использовании для обогрева электронагревательных элементов армирующая сетка
должна быть присоединена к системе заземления здания
|
|
7
|
Электрокабель
или трубы
|
|
Шаг между нагревательными элементами
устанавливается при теплотехническом расчете, исходя из достижения на
поверхности покрытия температуры +23° С
|
|
8
|
Тепло-
и звукоизоляция из плит или матов
|
|
Толщина слоя и расход материалов назначаются в
соответствии с расчетами по параметрам тепло- и звукоизоляции
|
|
9
|
Рулонная
гидроизоляция
|
1,02 м2/м2
|
|
|
10
|
Сплошная
или многопустотная плита перекрытия
|
|
|
Полы с покрытием из керамической плитки,
керамогранитных плит или плит из природного камня по плите перекрытия

|
Поз.
|
Наименование
|
Расход
|
Примечание
|
|
1
|
Керамические
кислотостойкие плитки
|
|
|
|
2
|
Затирка Ceresit СЕ 48
|
0,8-1,9 кг/м2
|
Применяется
для заполнения швов в покрытиях из керамической кислотостойкой плитки
|
|
3
|
Клей Ceresit CU 22
|
1,9-3,4 кг/м2
|
Применяется
для изготовления покрытий полов из керамической плитки в отапливаемых и не
отапливаемых помещениях, а также на открытых площадках
|
|
4
|
Клей Ceresit CU 22 + 15 % песка
|
По факту
|
Расшивка
трещин и шпаклевка выбоин в бетонном основании
|
|
5
|
Бетонное основание из
бетона класса В22,5
|
0,12 м3/м2
|
|
|
6
|
Грунт основания
|
|
|

|
Поз.
|
Наименование
|
Расход
|
Примечание
|
|
1
|
Керамические кислотостойкие
плитки
|
|
|
|
2
|
Затирка Ceresit СЕ 48
|
0,8-1,9 кг/м2
|
Применяется
для заполнения швов в покрытиях из керамической кислотостойкой плитки
|
|
3
|
Клей Ceresit CU 22
|
1,9-3,4 кг/м2
|
Применяется
для изготовления покрытий полов из керамической плитки в отапливаемых и не
отапливаемых помещениях, а также на открытых площадках
|
|
4
|
Клей Ceresit CU 22 + 15 % песка
|
По факту
|
Расшивка
трещин и шпаклевка выбоин в бетонном основании
|
|
5
|
Бетонное основание из
бетона класса В22,5
|
0,12 м3/м2
|
|
|
6
|
Наливная гидроизоляция
- щебень или гравий, пропитанные битумом
|
Щебень или гравий - 0,04 - 0,05 м3/м2, битум -
по факту
|
|
|
7
|
Грунт основания
|
|
|
Полы с покрытием из керамической кислотостойкой плитки
по грунту
Тип 149

|
Поз.
|
Наименование
|
Расход
|
Примечание
|
|
1
|
Керамические
кислотостойкие плитки
|
|
|
|
2
|
Затирка Ceresit СЕ 48
|
0,8-1,9 кг/м2
|
Применяется
для заполнения швов в покрытиях из керамической кислотостойкой плитки
|
|
3
|
Клей Ceresit CU 22
|
1,9-3,4 кг/м2
|
Применяется
для изготовления покрытий полов из керамической плитки в отапливаемых и не
отапливаемых помещениях, а также на открытых площадках
|
|
4
|
Клей Ceresit CU 22 + 15 % песка
|
По факту
|
Расшивка
трещин и шпаклевка выбоин в бетонном основании
|
|
5
|
Бетонное основание из
бетона класса В22,5
|
0,12 м3/м2
|
|
|
6
|
Рулонная гидроизоляция
|
1,02 м2/м2
|
|
|
Обмазочная
гидроизоляция на основе жесткой гидроизолирующей массы Ceresit CR 65
|
3-5 кг/м2
|
|
|
7
|
Стяжка из
цементно-песчаного раствора марки M150
|
0,05 м3/м2
|
|
|
8
|
Грунт основания
|
|
|
Полы с покрытием из керамической кислотостойкой плитки
по грунту
Тип 150

|
Поз.
|
Наименование
|
Расход
|
Примечание
|
|
1
|
Керамические
кислотостойкие плитки
|
|
|
|
2
|
Затирка Ceresit СЕ 48
|
0,8-1,9 кг/м2
|
Применяется
для заполнения швов в покрытиях из керамической кислотостойкой плитки
|
|
3
|
Клей Ceresit CU 22
|
1,9-3,4 кг/м2
|
Применяется
для изготовления покрытий полов из керамической плитки в отапливаемых и не
отапливаемых помещениях, а также на открытых площадках
|
|
4
|
Стяжка из
цементно-песчаного раствора марки M150
|
0,02 м3/м2
|
|
|
Стяжка из бетона класса
В12,5
|
0,02 м3/м2
|
|
|
Полимерцементная стяжка
марки Ceresit CN
178
|
2,0 кг/м2
|
Расход
- на 1 мм слоя. Предел прочности при сжатии после 28 суток выдержки не менее
25 МПа
|
|
Полимерцементная стяжка
марки Ceresit CN
83
|
2,0 кг/м2
|
Расход
- на 1 мм слоя. Ускоренный набор прочностных характеристик. Предел прочности
при сжатии после 1 суток выдержки не менее 13 МПа, после 28 суток выдержки не
менее 35 МПа
|
|
Полимерцементная
саморазравнивающаяся стяжка марки Ceresit CN 76 + песок
|
2,0 кг/м2
|
Расход
- на 1 мм слоя. Предел прочности при сжатии после 28 суток выдержки не менее
40 МПа
|
|
5
|
Водно-дисперсионная
грунтовка Ceresit
СТ 17
|
0,1-0,2 кг/м2
|
Наносится
кистью или валиком на очищенную поверхность бетонного основания
|
|
Водно-дисперсионная
грунтовка Ceresit
СТ 94
|
40 г/м2
|
Наносится
кистью или валиком на очищенную поверхность бетонного основания. Разбавляется
водой в соотношении 1:3
|
|
6
|
Бетонное основание из
бетона класса В22,5
|
0,10 м3/м2
|
|
|
7
|
Грунт основания
|
|
|
Полы с покрытием из керамической кислотостойкой плитки
по грунту
Тип 151

|
Поз.
|
Наименование
|
Расход
|
Примечание
|
|
1
|
Керамические кислотостойкие
плитки
|
|
|
|
2
|
Затирка Ceresit СЕ 48
|
0,9-1,9 кг/м2
|
Применяется
для заполнения швов в покрытиях из керамической кислотостойкой плитки
|
|
3
|
Клей Ceresit CU 22
|
1,9-3,4 кг/м2
|
Применяется
для изготовления покрытий полов из керамической плитки в отапливаемых и не
отапливаемых помещениях, а также на открытых площадках
|
|
4
|
Эластичная эпоксидная
гидроизоляция Ceresit
СЕ 49
|
1,3 кг/м2
|
Наносится
щеткой, кистью или валиком не менее двух слоев. Толщина каждого слоя не менее
1 мм. Расход - на 1 мм
|
|
5
|
Эпоксидная грунтовка Ceresit СЕ 50
|
0,2-0,3 кг/м2
|
Наносится
кистью или валиком на очищенную поверхность выравнивающей стяжки
|
|
6
|
Стяжка из
цементно-песчаного раствора марки M150
|
0,02 м3/м2
|
|
|
Стяжка из бетона класса
В12,5
|
0,02 м3/м2
|
|
|
Полимерцементная стяжка
марки Ceresit CN
178
|
2,0 кг/м2
|
Расход
- на 1 мм слоя. Предел прочности при сжатии после 28 суток выдержки не менее
25 МПа
|
|
Полимерцементная стяжка
марки Ceresit CN83
|
2,0 кг/м2
|
Расход
- на 1 мм слоя. Ускоренный набор прочностных характеристик. Предел прочности
при сжатии после 1 суток выдержки не менее 13 МПа, после 28 суток выдержки не
менее 35 МПа
|
|
Полимерцементная
саморазравнивающаяся стяжка марки Ceresit CN 76 + песок
|
2,0 кг/м2
|
Расход
- на 1 мм слоя. Предел прочности при сжатии после 28 суток выдержки не менее
40 МПа
|
|
7
|
Водно-дисперсионная
грунтовка Ceresit
СТ 17
|
0,1-0,2 кг/м2
|
Наносится
кистью или валиком на очищенную поверхность бетонного основания
|
|
|
Водно-дисперсионная
грунтовка Ceresit
СТ 94
|
40 г/м2
|
Наносится
кистью или валиком на очищенную поверхность бетонного основания. Разбавляется
водой в соотношении 1:3
|
|
8
|
Бетонное основание из
бетона класса В22,5
|
0,10 м3/м2
|
|
|
9
|
Грунт основания
|
|
|
Полы с покрытием из керамической кислотостойкой плитки
по грунту
Тип 152

|
Поз
|
Наименование
|
Расход
|
Примечание
|
|
1
|
Керамические кислотостойкие
плитки
|
|
|
|
2
|
Затирка Ceresit СЕ 48
|
0,8-1,9 кг/м2
|
Применяется
для заполнения швов в покрытиях из керамической кислотостойкой плитки
|
|
3
|
Клей Ceresit CU 22
|
1,9-3,4 кг/м2
|
Применяется
для изготовления покрытий полов из керамической плитки в отапливаемых и не
отапливаемых помещениях, а также на открытых площадках
|
|
4
|
Эластичная эпоксидная
гидроизоляция Ceresit
СЕ 49
|
1,3 кг/м2
|
Наносится
щеткой, кистью или валиком не менее двух слоев. Толщина каждого слоя не менее
1 мм. Расход - на 1 мм
|
|
5
|
Эпоксидная грунтовка Ceresit СЕ 50
|
0,2-0,3 кг/м2
|
Наносится
кистью или валиком на очищенную поверхность выравнивающей стяжки
|
|
6
|
Стяжка из
цементно-песчаного раствора марки M150
|
0,02 м3/м2
|
|
|
Стяжка из бетона класса
В 12,5
|
0,02 м3/м2
|
|
|
Полимерцементная стяжка
марки Ceresit CN
178
|
2,0 кг/м2
|
Расход
- на 1 мм слоя. Предел прочности при сжатии после 28 суток выдержки не менее
25 МПа
|
|
Полимерцементная стяжка
марки Ceresit CN
83
|
2,0 кг/м2
|
Расход
- на 1 мм слоя. Ускоренный набор прочностных характеристик. Предел прочности
при сжатии после 1 суток выдержки не менее 13 МПа, после 28 суток выдержки не
менее 35 МПа
|
|
Полимерцементная
саморазравнивающаяся стяжка марки Ceresit CN 76 + песок
|
2,0 кг/м2
|
Расход
- на 1 мм слоя. Предел прочности при сжатии после 28 суток выдержки не менее
40 МПа
|
|
7
|
Водно-дисперсионная
грунтовка Ceresit
СТ 17
|
0,1-0,2 кг/м2
|
Наносится
кистью или валиком на очищенную поверхность бетонного основания
|
|
|
Водно-дисперсионная
грунтовка Ceresit
СТ 94
|
40 г/м2
|
Наносится
кистью или валиком на очищенную поверхность бетонного основания. Разбавляется
водой в соотношении 1:3
|
|
8
|
Бетонное основание из
бетона класса В22,5
|
0,10 м3/м2
|
|
|
9
|
Наливная гидроизоляция
- щебень или гравий, пропитанные битумом
|
Щебень или гравий - 0,04 - 0,05 м3/м2,
битум - по факту
|
|
|
10
|
Грунт основания
|
|
|
Полы с покрытием из керамической кислотостойкой плитки
по грунту
Тип 153

|
Поз.
|
Наименование
|
Расход
|
Примечание
|
|
1
|
Керамические
кислотостойкие плитки
|
|
|
|
2
|
Затирка Ceresit СЕ 48
|
0,8-1,9 кг/м2
|
Применяется
для заполнения швов в покрытиях из керамической кислотостойкой плитки
|
|
3
|
Клей Ceresit CU 22
|
1,9-3,4 кг/м2
|
Применяется
для изготовления покрытий полов из керамической плитки в отапливаемых и не
отапливаемых помещениях, а также на открытых площадках
|
|
4
|
Стяжка из
цементно-песчаного раствора марки M150
|
|
Расход
материала определяется толщиной стяжки, которая должна превышать на 15-20 мм
диаметр трубы
|
|
Стяжка из бетона класса
В 12,5
|
|
Расход
материала определяется толщиной стяжки, которая должна превышать на 15-20 мм
диаметр трубы
|
|
Полимерцементная стяжка
марки Ceresit CN
178
|
|
Расход
материала определяется толщиной стяжки, которая должна превышать на 15-20 мм
диаметр трубы
|
|
Полимерцементная стяжка
марки Ceresit CN
83
|
|
Расход
материала определяется толщиной стяжки, которая должна превышать на 15-20 мм
диаметр трубы, но не должна превышать 35 мм
|
|
5
|
Труба
|
|
|
|
6
|
Водно-дисперсионная
грунтовка Ceresit
СТ 17
|
0,1-0,2 кг/м2
|
Наносится
кистью или валиком на очищенную поверхность бетонного основания
|
|
Водно-дисперсионная
грунтовка Ceresit
СТ 94
|
40 г/м2
|
Наносится
кистью или валиком на очищенную поверхность бетонного основания. Разбавляется
водой в соотношении 1:3
|
|
7
|
Бетонное основание из
бетона класса В22,5
|
0,10 м3/м2
|
|
|
8
|
Грунт основания
|
|
|
Полы с покрытием из керамической кислотостойкой плитки
по грунту

|
Поз.
|
Наименование
|
Расход
|
Примечание
|
|
1
|
Керамические
кислотостойкие плитки
|
|
|
|
2
|
Затирка Ceresit СЕ 48
|
0,8-1,9 кг/м2
|
Применяется
для заполнения швов в покрытиях из керамической кислотостойкой плитки
|
|
3
|
Клей Ceresit CU 22
|
1,9-3,4 кг/м2
|
Применяется
для изготовления покрытий полов из керамической плитки в отапливаемых и не
отапливаемых помещениях, а также на открытых площадках
|
|
4
|
Клей Ceresit CU 22 + 15 % песка
|
По факту
|
Расшивка
трещин и шпаклевка выбоин в бетонном основании
|
|
5
|
Сплошная или
многопустотная плита перекрытия с ровной поверхностью
|
|
|

|
Поз.
|
Наименование
|
Расход
|
Примечание
|
|
1
|
Керамические
кислотостойкие плитки
|
|
|
|
2
|
Затирка Ceresit СЕ 48
|
0,8-1,9 кг/м2
|
Применяется
для заполнения швов в покрытиях из керамической кислотостойкой плитки
|
|
3
|
Клей Ceresit CU 22
|
1,9-3,4 кг/м2
|
Применяется
для изготовления покрытий полов из керамической плитки в отапливаемых и не
отапливаемых помещениях, а также на открытых площадках
|
|
4
|
Стяжка из
цементно-песчаного раствора марки M150
|
0,02 м3/м2
|
|
|
Стяжка из бетона класса
В 12,5
|
0,02 м3/м2
|
|
|
Полимерцементная стяжка
марки Ceresit CN
178
|
2,0 кг/м2
|
Расход
- на 1 мм слоя. Предел прочности при сжатии после 28 суток выдержки не менее
25 МПа
|
|
Полимерцементная стяжка
марки Ceresit CN
83
|
2,0 кг/м2
|
Расход
- на 1 мм слоя. Ускоренный набор прочностных характеристик. Предел прочности
при сжатии после 1 суток выдержки не менее 13 МПа, после 28 суток выдержки не
менее 35 МПа
|
|
Полимерцементная
саморазравнивающаяся стяжка марки Ceresit CN 76 + песок
|
2,0 кг/м2
|
Расход
- на 1 мм слоя. Предел прочности при сжатии после 28 суток выдержки не менее
40 МПа
|
|
5
|
Водно-дисперсионная
грунтовка Ceresit
СТ 17
|
0,1-0,2 кг/м2
|
Наносится
кистью или валиком на очищенную поверхность бетонного основания
|
|
Водно-дисперсионная
грунтовка Ceresit
СТ 94
|
40 г/м2
|
Наносится
кистью или валиком на очищенную поверхность бетонного основания. Разбавляется
водой в соотношении 1:3
|
|
6
|
Сплошная или
многопустотная плита перекрытия с неровной поверхностью
|
|
|
Полы с покрытием из керамической кислотостойкой плитки
по плите перекрытия
Тип 156

|
Поз.
|
Наименование
|
Расход
|
Примечание
|
|
1
|
Керамические
кислотостойкие плитки
|
|
|
|
2
|
Затирка Ceresit СЕ 48
|
0,8-1,9 кг/м2
|
Применяется
для заполнения швов в покрытиях из керамической кислотостойкой плитки
|
|
3
|
Клей Ceresit CU 22
|
1,9-3,4 кг/м2
|
Применяется
для изготовления покрытий полов из керамической плитки в отапливаемых и не
отапливаемых помещениях, а также на открытых площадках
|
|
4
|
Эластичная эпоксидная
гидроизоляция Ceresit
СЕ 49
|
1,3 кг/м2
|
Наносится
щеткой, кистью или валиком не менее двух слоев. Толщина каждого слоя не менее
1 мм. Расход - на 1 мм
|
|
5
|
Эпоксидная грунтовка Ceresit СЕ 50
|
0,2-0,3 кг/м2
|
Наносится
кистью или валиком на очищенную поверхность выравнивающей стяжки
|
|
6
|
Стяжка из цементно-песчаного
раствора марки M150
|
0,02 м3/м2
|
|
|
Стяжка из бетона класса
В12,5
|
0,02 м3/м2
|
|
|
Полимерцементная стяжка
марки Ceresit CN
178
|
2,0 кг/м2
|
Расход
- на 1 мм слоя. Предел прочности при сжатии после 28 суток выдержки не менее
25 МПа
|
|
Полимерцементная стяжка
марки Ceresit CN
83
|
2,0 кг/м2
|
Расход
- на 1 мм слоя. Ускоренный набор прочностных характеристик. Предел прочности
при сжатии после 1 суток выдержки не менее 13 МПа, после 28 суток выдержки не
менее 35 МПа
|
|
Полимерцементная
саморазравнивающаяся стяжка марки Ceresit CN 76 + песок
|
2,0 кг/м2
|
Расход
- на 1 мм слоя. Предел прочности при сжатии после 28 суток выдержки не менее
40 МПа
|
|
7
|
Водно-дисперсионная
грунтовка Ceresit
СТ 17
|
0,1-0,2 кг/м2
|
Наносится
кистью или валиком на очищенную поверхность бетонного основания
|
|
|
Водно-дисперсионная
грунтовка Ceresit
СТ 94
|
40 г/м2
|
Наносится
кистью или валиком на очищенную поверхность бетонного основания. Разбавляется
водой в соотношении 1:3
|
|
8
|
Сплошная или
многопустотная плита перекрытия с неровной поверхностью
|
|
|
Полы с покрытием из керамической кислотостойкой плитки
по плите перекрытия
Тип 157

|
Поз.
|
Наименование
|
Расход
|
Примечание
|
|
1
|
Керамические
кислотостойкие плитки
|
|
|
|
2
|
Затирка Ceresit СЕ 48
|
0,8-1,9 кг/м2
|
Применяется
для заполнения швов в покрытиях из керамической кислотостойкой плитки
|
|
3
|
Клей Ceresit CU 22
|
1,9-3,4 кг/м2
|
Применяется
для изготовления покрытий полов из керамической плитки в отапливаемых и не
отапливаемых помещениях, а также на открытых площадках
|
|
4
|
Стяжка из
цементно-песчаного раствора марки M150
|
|
Расход
материала определяется толщиной стяжки, которая должна превышать на 15-20 мм
диаметр трубы
|
|
Стяжка из бетона класса
В 12,5
|
|
Расход
материала определяется толщиной стяжки, которая должна превышать на 15-20 мм
диаметр трубы
|
|
Полимерцементная стяжка
марки Ceresit CN
178
|
|
Расход
материала определяется толщиной стяжки, которая должна превышать на 15-20 мм
диаметр трубы
|
|
Полимерцементная стяжка
марки Ceresit CN
83
|
|
Расход
материала определяется толщиной стяжки, которая должна превышать на 15-20 мм
диаметр трубы, но не должна превышать 35 мм
|
|
5
|
Труба
|
|
|
|
6
|
Водно-дисперсионная
грунтовка Ceresit
СТ 17
|
0,1-0,2 кг/м2
|
Наносится
кистью или валиком на очищенную поверхность бетонного основания
|
|
Водно-дисперсионная
грунтовка Ceresit
СТ 94
|
40 г/м2
|
Наносится
кистью или валиком на очищенную поверхность бетонного основания. Разбавляется
водой в соотношении 1:3
|
|
7
|
Сплошная или
многопустотная плита перекрытия с неровной поверхностью
|
|
|
Полы
с покрытием из керамической кислотостойкой плитки по плите перекрытия
Тип 158

|
Поз.
|
Наименование
|
Расход
|
Примечание
|
|
1
|
Керамические
кислотостойкие плитки
|
|
|
|
2
|
Затирка Ceresit СЕ 48
|
0,8-1,9 кг/м2
|
Применяется
для заполнения швов в покрытиях из керамической кислотостойкой плитки
|
|
3
|
Клей Ceresit CU 22
|
1,9-3,4 кг/м2
|
Применяется
для изготовления покрытий полов из керамической плитки в отапливаемых и не
отапливаемых помещениях, а также на открытых площадках
|
|
4 5
|
Стяжка из
цементно-песчаного раствора марки M150
|
0,04 м3/м2
|
|
|
Стяжка из бетона класса
В12,5
|
0,04 м3/м2
|
|
|
Полимерцементная стяжка
марки Ceresit CN
178
|
0,04 м3/м2
|
|
|
Полиэтиленовая пленка
|
1,15 м2/м2
|
|
|
6
|
Тепло- и звукоизоляция
из кварцевого или керамзитового песка
|
|
Толщина
слоя и расход материалов назначаются в соответствии с расчетами по параметрам
тепло- и звукоизоляции
|
|
7
|
Сплошная или многопустотная
плита перекрытия
|
|
|
Полы с покрытием из керамической кислотостойкой плитки
по плите перекрытия
Тип 159

|
Поз.
|
Наименование
|
Расход
|
Примечание
|
|
1
|
Керамические
кислотостойкие плитки
|
|
|
|
2
|
Затирка Ceresit СЕ 48
|
0,8-1,9 кг/м2
|
Применяется
для заполнения швов в покрытиях из керамической кислотостойкой плитки
|
|
3
|
Клей Ceresit CU 22
|
1,9-3,4 кг/м2
|
Применяется
для изготовления покрытий полов из керамической плитки в отапливаемых и не
отапливаемых помещениях, а также на открытых площадках
|
|
4
|
Стяжка из цементно-песчаного
раствора марки M150
|
0,04 м3/м2
|
|
|
Стяжка из бетона класса
В12,5
|
0,04 м3/м2
|
|
|
Полимерцементная стяжка
марки Ceresit CN
178
|
0,04 м3/м2
|
|
|
5
|
Полиэтиленовая пленка
|
1,15 м2/м2
|
|
|
6
|
Тепло- и звукоизоляция
из плит или матов
|
|
Толщина
слоя и расход материалов назначаются в соответствии с расчетами по параметрам
тепло- и звукоизоляции
|
|
7
|
Сплошная или
многопустотная плита перекрытия
|
|
|
Полы с покрытием из керамической кислотостойкой плитки
по плите перекрытия

|
Поз.
|
Наименование
|
Расход
|
Примечание
|
|
1
|
Полимерцементно-песчаное
покрытие марки Ceresit CN
83
|
2,0 кг/м2
|
Наносится
слоем толщиной не менее 20 мм при слабой интенсивности механических
воздействий и не менее 30 мм при умеренной интенсивности механических
воздействий. Расход - на 1 мм слоя. Ускоренный набор прочностных
характеристик. Предел прочности при сжатии после 1 суток выдержки не менее 13
МПа, после 28 суток выдержки - не менее 35 МПа
|
|
Полимерцементно-песчаное
покрытие марки Ceresit CN
178
|
2,0 кг/м2
|
Наносится
слоем толщиной не менее 20 мм. Применяется при слабой интенсивности
механических нагрузок. Расход - на 1 мм слоя. Предел прочности при сжатии
после 28 суток выдержки не менее 25 МПа
|
|
2
|
Водно-дисперсионная
грунтовка Ceresit
СТ 17
|
0,1-0,2 кг/м2
|
Наносится
кистью или валиком на очищенную поверхность бетонного основания
|
|
Водно-дисперсионная
грунтовка Ceresit CN
94
|
40 г/м2
|
Наносится
кистью или валиком на очищенную поверхность бетонного основания. Разбавляется
водой в соотношении 1:3
|
|
3
|
Бетонное основание из
бетона класса В22,5
|
0,10 м3/м2
|
|
|
4
|
Грунт основания
|
|
|

|
Поз.
|
Наименование
|
Расход
|
Примечание
|
|
1
|
Полимерцементно-песчаное
покрытие марки Ceresit CN
83
|
2,0 кг/м2
|
Наносится
слоем толщиной не менее 20 мм при слабой интенсивности механических воздействий
и не менее 30 мм при умеренной интенсивности механических воздействий. Расход
- на 1 мм слоя. Ускоренный набор прочностных характеристик. Предел прочности
при сжатии после 1 суток выдержки не менее 13 МПа, после 28 суток выдержки -
не менее 35 МПа
|
|
|
Полимерцементно-песчаное
покрытие марки Ceresit CN
178
|
2,0 кг/м2
|
Наносится
слоем толщиной не менее 20 мм. Применяется при слабой интенсивности
механических нагрузок. Расход - на 1 мм слоя. Предел прочности при сжатии
после 28 суток выдержки не менее 25 МПа
|
|
2
|
Водно-дисперсионная
грунтовка Ceresit
СТ 17
|
0,1-0,2 кг/м2
|
Наносится
кистью или валиком на очищенную поверхность бетонного основания
|
|
Водно-дисперсионная
грунтовка Ceresit CN
94
|
40 г/м2
|
Наносится
кистью или валиком на очищенную поверхность бетонного основания. Разбавляется
водой в соотношении 1:3
|
|
3
|
Бетонное основание из
бетона класса В22,5
|
0,10 м3/м2
|
|
|
4
|
Наливная гидроизоляция
- щебень или гравий, пропитанные битумом
|
Щебень или гравий - 0,04 - 0,05 м3/м2, битум -
по факту
|
|
|
5
|
Грунт основания
|
|
|
Полы с полимерцементно-песчаным покрытием по грунту
Тип 162

|
Поз.
|
Наименование
|
Расход
|
Примечание
|
|
1
|
Полимерцементно-песчаное
покрытие марки Ceresit CN
83
|
2,0 кг/м2
|
Наносится
слоем толщиной не менее 20 мм при слабой интенсивности механических
воздействий и не менее 30 мм при умеренной интенсивности механических
воздействий. Расход - на 1 мм слоя. Ускоренный набор прочностных
характеристик. Предел прочности при сжатии после 1 суток выдержки не менее 13
МПа, после 28 суток выдержки - не менее 35 МПа
|
|
|
Полимерцементно-песчаное
покрытие марки Ceresit CN
178
|
2,0 кг/м2
|
Наносится
слоем толщиной не менее 20 мм. Применяется при слабой интенсивности
механических нагрузок. Расход - на 1 мм слоя. Предел прочности при сжатии
после 28 суток выдержки не менее 25 МПа
|
|
2
|
Водно-дисперсионная
грунтовка Ceresit
СТ 17
|
0,1-0,2 кг/м2
|
Наносится
кистью или валиком на очищенную поверхность бетонного основания
|
|
Водно-дисперсионная
грунтовка Ceresit CN
94
|
40 т/и2
|
Наносится
кистью или валиком на очищенную поверхность бетонного основания. Разбавляется
водой в соотношении 1:3
|
|
3
|
Бетонное основание из
бетона класса В22,5
|
0,10 м3/м2
|
|
|
4
|
Рулонная гидроизоляция
|
1,02 м2/м2
|
|
|
Обмазочная
гидроизоляция на основе жесткой гидроизоляцией массы Ceresit CR 65
|
3-5 кг/м2
|
|
5
|
Стяжка из
цементно-песчаного раствора марки M150
|
0,05 м3/м2
|
|
|
6
|
Грунт основания
|
|
|
Полы с полимерцементно-песчаным покрытием по грунту
Тип 163

|
Поз.
|
Наименование
|
Расход
|
Примечание
|
|
1
|
Полимерцементно-песчаное
покрытие марки Ceresit CN
83
|
2,0 кг/м2
|
Наносится
слоем толщиной не менее 20 мм при слабой интенсивности механических
воздействий и не менее 30 мм при умеренной интенсивности механических
воздействий. Расход - на 1 мм слоя. Ускоренный набор прочностных
характеристик. Предел прочности при сжатии после 1 суток выдержки не менее 13
МПа, после 28 суток выдержки - не менее 35 МПа
|
|
|
Полимерцементно-песчаное
покрытие марки Ceresit CN
178
|
2,0 кг/м2
|
Наносится
слоем толщиной не менее 20 мм. Применяется при слабой интенсивности
механических нагрузок. Расход - на 1 мм слоя. Предел прочности при сжатии
после 28 суток выдержки не менее 25 МПа
|
|
2
|
Рулонная гидроизоляция
|
1,02 м2/м2
|
|
|
Обмазочная
гидроизоляция на основе жесткой гидроизоляцией массы Ceresit CR 65
|
3-5 кг/м2
|
|
|
Обмазочная
гидроизоляция на основе эластичной гидроизолирующей массы Ceresit CR 166
|
3-5 кг/м2
|
|
|
3
|
Бетонное основание из
бетона класса В22,5
|
0,10 м3/м2
|
|
|
4
|
Грунт основания
|
|
|
Полы с полимерцементно-песчаным покрытием по грунту
Тип 164

|
Поз.
|
Наименование
|
Расход
|
Примечание
|
|
1
|
Полимерцементно-песчаное
покрытие марки Ceresit CN
83
|
|
Расход
материала определяется толщиной стяжки, которая должна превышать на 15-20 мм
диаметр трубы, но не должна превышать 35 мм
|
|
Полимерцементно-песчаное
покрытие марки Ceresit CN
178
|
|
Расход
материала определяется толщиной стяжки, которая должна превышать на 15-20 мм
диаметр трубы
|
|
2
|
Труба
|
|
|
|
3
|
Водно-дисперсионная
грунтовка Ceresit
СТ 17
|
0,1-0,2 кг/м2
|
Наносится
кистью или валиком на очищенную поверхность бетонного основания
|
|
Водно-дисперсионная
грунтовка Ceresit CN
94
|
40 г/м2
|
Наносится
кистью или валиком на очищенную поверхность бетонного основания. Разбавляется
водой в соотношении 1:3
|
|
4
|
Бетонное основание из
бетона класса В22,5
|
0,10 м3/м2
|
|
|
5
|
Грунт основания
|
|
|
Полы с полимерцементно-песчаным покрытием по грунту

|
Поз.
|
Наименование
|
Расход
|
Примечание
|
|
1
|
Полимерцементно-песчаное
покрытие марки Ceresit CN
83
|
2,0 кг/м2
|
Наносится
слоем толщиной не менее 20 мм при слабой интенсивности механических
воздействий и не менее 30 мм при умеренной интенсивности механических
воздействий. Расход - на 1 мм слоя. Ускоренный набор прочностных
характеристик. Предел прочности при сжатии после 1 суток выдержки не менее 13
МПа, после 28 суток выдержки - не менее 35 МПа
|
|
Полимерцементно-песчаное
покрытие марки Ceresit CN
178
|
2,0 кг/м2
|
Наносится
слоем толщиной не менее 20 мм. Применяется при слабой интенсивности
механических нагрузок. Расход - на 1 мм слоя. Предел прочности при сжатии
после 28 суток выдержки не менее 25 МПа
|
|
2
|
Водно-дисперсионная
грунтовка Ceresit
СТ 17
|
0,1-0,2 кг/м2
|
Наносится
кистью или валиком на очищенную поверхность бетонного основания
|
|
Водно-дисперсионная
грунтовка Ceresit CN
94
|
40 г/м2
|
Наносится
кистью или валиком на очищенную поверхность бетонного основания. Разбавляется
водой в соотношении 1:3
|
|
3
|
Сплошная или
многопустотная плита перекрытия с неровной поверхностью
|
|
|

|
Поз.
|
Наименование
|
Расход
|
Примечание
|
|
1
|
Полимерцементно-песчаное
покрытие марки Ceresit CN
83
|
2,0 кг/м2
|
Наносится
слоем толщиной не менее 20 мм при слабой интенсивности механических
воздействий и не менее 30 мм при умеренной интенсивности механических
воздействий. Расход - на 1 мм слоя. Ускоренный набор прочностных
характеристик. Предел прочности при сжатии после 1 суток выдержки не менее 13
МПа, после 28 суток выдержки - не менее 35 МПа
|
|
|
Полимерцементно-песчаное
покрытие марки Ceresit CN
178
|
2,0 кг/м2
|
Наносится
слоем толщиной не менее 20 мм. Применяется при слабой интенсивности
механических нагрузок. Расход - на 1 мм слоя. Предел прочности при сжатии
после 28 суток выдержки не менее 25 МПа
|
|
2
|
Рулонная гидроизоляция
|
1,02 м2/м2
|
|
|
Обмазочная
гидроизоляция на основе жесткой гидроизолирующей массы Ceresit CR 65
|
3-5 кг/м2
|
|
|
Обмазочная
гидроизоляция на основе эластичной гидроизолирующей массы Ceresit CR 166
|
3-5 кг/м2
|
|
|
3
|
Сплошная или
многопустотная плита перекрытия с ровной поверхностью
|
|
|
Полы с полимерцементно-песчаным покрытием по плите
перекрытия
Тип 167

|
Поз.
|
Наименование
|
Расход
|
Примечание
|
|
1
|
Полимерцементно-песчаное
покрытие марки Ceresit CN
83
|
|
Расход
материала определяется толщиной стяжки, которая должна превышать на 15-20 мм
диаметр трубы, но не должна превышать 35 мм
|
|
Полимерцементно-песчаное
покрытие марки Ceresit CN
178
|
|
Расход
материала определяется толщиной стяжки, которая должна превышать на 15-20 мм
диаметр трубы
|
|
2
|
Труба
|
|
|
|
3
|
Водно-дисперсионная
грунтовка Ceresit
СТ 17
|
0,1-0,2 кг/м2
|
Наносится
кистью или валиком на очищенную поверхность бетонного основания
|
|
Водно-дисперсионная
грунтовка Ceresit CN
94
|
40 г/м2
|
Наносится
кистью или валиком на очищенную поверхность бетонного основания. Разбавляется
водой в соотношении 1:3
|
|
4
|
Сплошная или
многопустотная плита перекрытия
|
|
|
Полы с полимерцементно-песчаным покрытием по плите
перекрытия
Тип 168

|
Поз.
|
Наименование
|
Расход
|
Примечание
|
|
1
|
Полимерцементно-песчаное
покрытие марки Ceresit CN
178
|
2,0 кг/м2
|
Расход
- на 1 мм слоя. Предел прочности при сжатии после 28 суток выдержки не менее
25 МПа
|
|
2
|
Полиэтиленовая пленка
|
1,15 м2/м2
|
|
|
3
|
Тепло-и звукоизоляция
из кварцевого или керамзитового песка
|
|
Толщина
слоя и расход материалов назначаются в соответствии с расчетами по параметрам
тепло- и звукоизоляции
|
|
4
|
Сплошная или
многопустотная плита перекрытия
|
|
|
Полы с полимерцементно-песчаным покрытием по плите
перекрытия
Тип 169

|
Поз.
|
Наименование
|
Расход
|
Примечание
|
|
1
|
Полимерцементно-песчаное
покрытие марки Ceresit CN
178
|
2,0 кг/м2
|
Расход
- на 1 мм слоя. Предел прочности при сжатии после 28 суток выдержки не менее
25 МПа
|
|
2
|
Полиэтиленовая пленка
|
1,15 м2/м2
|
|
|
3
|
Тепло- и звукоизоляция
из плит или матов
|
|
Толщина
слоя и расход материалов назначаются в соответствии с расчетами по параметрам
тепло- и звукоизоляции
|
|
4
|
Сплошная или
многопустотная плита перекрытия
|
|
|
Полы с полимерцементно-песчаным покрытием по плите
перекрытия

|
Поз.
|
Наименование
|
Расход
|
Примечание
|
|
1
|
Лаковое покрытие
|
|
Конструкции
лаковых покрытий, расход материалов и технология нанесения в соответствии с
инструкцией фирмы производителя
|
|
2
|
Паркет штучный
|
|
|
|
3
|
Клеевая прослойка
|
1,02 м2/м2
|
Выбор
клеев следует осуществлять с учетом рекомендаций раздела «Конструктивные схемы»
|
|
4
|
Грунтовка
|
|
Выбор
грунтовок следует осуществлять с учетом рекомендаций раздела «Конструктивные
схемы»
|
|
5
|
Выравнивающая стяжка
|
|
Выбор
стяжек следует осуществлять с учетом рекомендаций раздела «Конструктивные
схемы»
|
|
6
|
Грунтовка
|
|
Выбор
грунтовок следует осуществлять с учетом рекомендаций раздела «Конструктивные
схемы»
|
|
7
|
Бетонное основание из
бетона класса В22,5
|
0,08 м3/м2
|
|
|
8
|
Прокладка из
гидроизоляционного рулонного материала
|
1,02 м2/м2
|
|
|
9
|
Теплоизоляция из
керамзита
|
По расчету
|
Толщина
слоя и расход материалов назначаются в соответствии с расчетами по параметру
теплоизоляции
|
|
10
|
Грунт основания
|
|
|
|
11
|
Деревянный плинтус
|
|
|
|
12
|
Гвоздь
|
|
|
|
13
|
Пробка
|
|
|
|
14
|
Стена
|
|
|

|
Поз.
|
Наименование
|
Расход
|
Примечание
|
|
1
|
Лаковое покрытие
|
|
Конструкции
лаковых покрытий, расход материалов и технология нанесения в соответствии с
инструкцией фирмы производителя
|
|
2
|
Паркет штучный
|
|
|
|
3
|
Клеевая прослойка
|
1,02 м2/м2
|
Выбор
клеев следует осуществлять с учетом рекомендаций раздела «Конструктивные схемы»
|
|
4
|
Грунтовка
|
|
Выбор
грунтовок следует осуществлять с учетом рекомендаций раздела «Конструктивные
схемы»
|
|
5
|
Сборная стяжка из
древесно-стружечных плит
|
1,02 м2/м2
|
|
|
6
|
Водно-дисперсионный
клей
|
40-50 г/п.м
|
|
|
7
|
Пароизоляция - пергамин
|
1,15 м2/м2
|
|
|
8
|
Кварцевый песок
|
По факту
|
|
|
9
|
Бетонное основание из
бетона класса В22,5
|
0,08 м3/м2
|
Расход
- минимально необходимый для выравнивания поверхности нижележащего слоя
|
|
10
|
Прокладка из
гидроизоляционного рулонного материала
|
1,02 м2/м2
|
|
|
11
|
Теплоизоляция из
керамзита
|
По расчету
|
Толщина
слоя и расход материалов назначаются в соответствии с расчетами по параметру
теплоизоляции
|
|
12
|
Грунт основания
|
|
|
|
13
|
Деревянный плинтус
|
|
|
|
14
|
Саморез или шуруп
|
|
|
|
15
|
Стена
|
|
|

|
Поз.
|
Наименование
|
Расход
|
Примечание
|
|
1
|
Лаковое покрытие
|
|
Конструкции
лаковых покрытий, расход материалов и технология нанесения в соответствии с
инструкцией фирмы производителя
|
|
2
|
Паркет штучный
|
1,02 м2/м2
|
|
|
3
|
Клеевая прослойка
|
|
Выбор
клеев следует осуществлять с учетом рекомендаций раздела «Конструктивные схемы»
|
|
4
|
Грунтовка
|
|
Выбор
грунтовок следует осуществлять с учетом рекомендаций раздела «Конструктивные
схемы»
|
|
5
|
Сборная стяжка из
фанеры
|
2,04 м2/м2
|
|
|
6
|
Растворный клей Thomsit P 600
|
1200-1600 г/м2
|
|
|
7
|
Закрепление саморезами
|
|
Шаг
между саморезами 300 мм, по кромке листов - 150 мм
|
|
8
|
Лага регулируемая
|
Согласно инструкции
|
Монтаж
лаг осуществляется в соответствии с инструкцией фирмы-производителя
|
|
9
|
Болт-стойка
|
Согласно инструкции
|
Установка
болт-стоек осуществляется в соответствии с инструкцией фирмы-производителя
|
|
10
|
Пароизоляция -
полиэтиленовая пленка
|
1,15 м2/м2
|
|
|
11
|
Бетонное основание из
бетона класса В22,5
|
0,08 м3/м2
|
|
|
12
|
Прокладка из
гидроизоляционного рулонного материала
|
1,02 м2/м2
|
|
|
13
|
Теплоизоляция из
керамзита
|
По расчету
|
Толщина
слоя и расход материалов назначаются в соответствии с расчетами по параметру
теплоизоляции
|
|
14
|
Грунт основания
|
|
|
|
15
|
Полимерный плинтус
|
|
|
|
16
|
Растворный клей Thomsit K 172
|
|
|
|
17
|
Стена
|
|
|

|
Поз.
|
Наименование
|
Расход
|
Примечание
|
|
1
|
Линолеум
поливинилхлоридный и алкидный, плитки или ковры из синтетических волокон,
резиновые плитки
|
1,02 м2/м2
|
|
|
2
|
Клеевая прослойка
|
|
Выбор
клеев следует осуществлять с учетом рекомендаций раздела «Конструктивные схемы»
|
|
3
|
Грунтовка
|
|
Выбор
грунтовок следует осуществлять с учетом рекомендаций раздела «Конструктивные
схемы»
|
|
4
|
Сборная стяжка из
готовых элементов из гипсоволокнистых листов
|
1,02 м2/м2
|
|
|
5
|
Водно-дисперсионный
клей
|
40-50 г/п.м
|
|
|
6
|
Кварцевый песок
|
По факту
|
Расход
- минимально необходимый для выравнивания поверхности нижележащего слоя
|
|
7
|
Кромочная лента
|
|
|
|
8
|
Пароизоляция -
полиэтиленовая пленка
|
1,15 м2/м2
|
|
|
9
|
Бетонное основание из
бетона класса В22,5
|
0,08 м3/м2
|
|
|
10
|
Прокладка из
гидроизоляционного рулонного материала
|
1,02 м2/м2
|
|
|
11
|
Теплоизоляция из
керамзита
|
По расчету
|
Толщина
слоя и расход материалов назначаются в соответствии с расчетами по параметру
теплоизоляции
|
|
12
|
Грунт основания
|
|
|
|
13
|
Полимерный плинтус
|
|
|
|
14
|
Растворный клей Thomsit K 172
|
|
|
|
15
|
Стена
|
|
|

|
Поз.
|
Наименование
|
Расход
|
Примечание
|
|
1
|
Линолеум
поливинилхлоридный
|
1,02 м2/м2
|
|
|
2
|
Клеевая прослойка
|
|
Выбор
клеев следует осуществлять с учетом рекомендаций раздела «Конструктивные схемы»
|
|
3
|
Грунтовка
|
|
Выбор
грунтовок следует осуществлять с учетом рекомендаций раздела «Конструктивные
схемы»
|
|
4
|
Растворный клей Thomsit K 172
|
|
|
|
5
|
Выравнивающая стяжка
|
|
Выбор
стяжек следует осуществлять с учетом рекомендаций раздела «Конструктивные
схемы»
|
|
6
|
Грунтовка
|
|
Выбор
грунтовок следует осуществлять с учетом рекомендаций раздела «Конструктивные
схемы»
|
|
7
|
Бетонное основание из
бетона класса В22,5
|
0,08 м3/м2
|
|
|
8
|
Прокладка из
гидроизоляционного рулонного материала
|
1,02 м2/м2
|
|
|
9
|
Грунт основания
|
|
|
|
10
|
Стена
|
|
|

|
Поз.
|
Наименование
|
Расход
|
Примечание
|
|
1
|
Линолеум натуральный
|
1,02 м2/м2
|
|
|
2
|
Клеевая прослойка
|
|
Выбор
клеев следует осуществлять с учетом рекомендаций раздела «Конструктивные схемы»
|
|
3
|
Грунтовка
|
|
Выбор
грунтовок следует осуществлять с учетом рекомендаций раздела «Конструктивные
схемы»
|
|
4
|
Вкладыш кривизны
|
|
|
|
5
|
Выравнивающая стяжка
|
|
Выбор
стяжек следует осуществлять с учетом рекомендаций раздела «Конструктивные
схемы»
|
|
6
|
Грунтовка
|
|
Выбор
грунтовок следует осуществлять с учетом рекомендаций раздела «Конструктивные
схемы»
|
|
7
|
Бетонное основание из
бетона класса В22,5
|
0,08 м3/м2
|
|
|
8
|
Прокладка из
гидроизоляционного рулонного материала
|
1,02 м2/м2
|
|
|
9
|
Грунт основания
|
|
|
|
10
|
Стена
|
|
|

|
Поз.
|
Наименование
|
Расход
|
Примечание
|
|
1
|
Линолеум натуральный
|
1,02 м2/м2
|
|
|
2
|
Клеевая прослойка
|
|
Выбор
затирок следует осуществлять с учетом рекомендаций раздела «Конструктивные схемы»
|
|
3
|
Грунтовка
|
|
Выбор
клеев следует осуществлять с учетом рекомендаций раздела «Конструктивные
схемы»
|
|
4
|
Вкладыш кривизны
|
|
Выбор
грунтовок следует осуществлять с учетом рекомендаций раздела «Конструктивные
схемы»
|
|
5
|
Выравнивающая стяжка
|
|
Выбор
стяжек следует осуществлять с учетом рекомендаций раздела «Конструктивные
схемы»
|
|
6
|
Грунтовка
|
|
Выбор
грунтовок следует осуществлять с учетом рекомендаций раздела «Конструктивные
схемы»
|
|
7
|
Бетонное основание из
бетона класса В22,5
|
0,08 м3/м2 или 0,10 м3/м2
|
|
|
8
|
Прокладка из
гидроизоляционного рулонного материала
|
1,02 м2/м2
|
|
|
9
|
Грунт основания
|
|
|
|
10
|
Разделка затирочной
композицией
|
|
|
|
11
|
Стена
|
|
|

|
Поз.
|
Наименование
|
Расход
|
Примечание
|
|
1
|
Керамические плитки,
кислотоупорная плитка, керамогранитные плиты и плиты из природного камня
|
1,02 м2/м2
|
|
|
2
|
Затирка
|
|
Выбор
затирок следует осуществлять с учетом рекомендаций раздела «Конструктивные схемы»
|
|
3
|
Клеевая прослойка
|
|
Выбор
клеев следует осуществлять с учетом рекомендаций раздела «Конструктивные
схемы»
|
|
4
|
Эластичная эпоксидная
гидроизоляция Ceresit
СЕ 49
|
1,3 г/м2
|
Применяется
под покрытия полов из керамической кислотоупорной плитки. Наносится щеткой,
кистью или валиком не менее двух слоев. Толщина каждого слоя не менее 1 мм.
Расход - на 1 мм
|
|
|
Обмазочная
гидроизоляция на основе эластичной гидроизолирующей массы Ceresit CR 166
|
3-5 кг/м2
|
Применяется
под покрытия полов из керамической плитки, керамогранитных плит и плит из
природного камня. Наносится кистью или шпателем на очищенную поверхность
бетонного основания за два-три прохода
|
|
5
|
Эпоксидная грунтовка Ceresit СЕ 50
|
0,2-0,3 кг/м2
|
Наносится
кистью или валиком под эластичной эпоксидной гидроизоляцией Ceresit СЕ 49 на очищенную
поверхность выравнивающей стяжки
|
|
6
|
Уплотнительная лента Ceresit CL 52
|
|
Вклеивается
в первый слой гидроизоляционного материала и перекрывается вторым слоем
|
|
7
|
Выравнивающая стяжка
|
|
Выбор
стяжек следует осуществлять с учетом рекомендаций раздела «Конструктивные
схемы»
|
|
8
|
Грунтовка
|
|
Выбор
грунтовок следует осуществлять с учетом рекомендаций раздела «Конструктивные
схемы»
|
|
9
|
Бетонное основание из
бетона класса В22,5
|
0,08 или 0,10 м3/м2
|
|
|
10
|
Прокладка из
гидроизоляционного рулонного материала
|
1,02 м2/м2
|
|
|
11
|
Грунт основания
|
|
|
|
12
|
Разделка затирочной
композицией
|
|
|
|
13
|
Стена
|
|
|

|
Поз.
|
Наименование
|
Расход
|
Примечание
|
|
1
|
Линолеум
|
1,02 м2/м2
|
|
|
2
|
Паркет штучный
|
1,02 м2/м2
|
|
|
3
|
Клеевая прослойка
|
|
Выбор
клеев следует осуществлять с учетом рекомендаций раздела «Конструктивные схемы»
|
|
4
|
Грунтовка
|
|
Выбор
грунтовок следует осуществлять с учетом рекомендаций раздела «Конструктивные
схемы»
|
|
5
|
Бетонное основание из
бетона класса В22,5
|
0,08 м3/м2
|
|
|
6
|
Грунт основания
|
|
|
|
7
|
Полимерный плинтус
|
|
|
|
8
|
Растворный клей Thomsit K 172
|
|
|
|
9
|
Перегородка
|
|
|
|
10
|
Уплотняющая лента
|
|
|
|
11
|
Разжимной дюбель
|
|
|

|
Поз.
|
Наименование
|
Расход
|
Примечание
|
|
1
|
Керамические плитки,
кислотоупорная плитка, керамогранитные плиты и плиты из природного камня
|
1,02 м2/м2
|
|
|
2
|
Затирка
|
|
Выбор
затирок следует осуществлять с учетом рекомендаций раздела «Конструктивные схемы»
|
|
3
|
Клеевая прослойка
|
|
Выбор
клеев следует осуществлять с учетом рекомендаций раздела «Конструктивные
схемы»
|
|
4
|
Грунтовка
|
|
Выбор
грунтовок следует осуществлять с учетом рекомендаций раздела «Конструктивные
схемы»
|
|
5
|
Герметик «Silikon universal»
|
|
|
|
6
|
Заполнение
деформационного шва за-бутовочным шнуром из пенополиэтилена (типа Вилотерм)
или пористой резины
|
|
|
|
7
|
Бетонное основание из
бетона класса В22,5
|
0,08 или 0,10 м3/м2
|
|
|
8
|
Грунт основания
|
|
|

|
Поз.
|
Наименование
|
Расход
|
Примечание
|
|
1
|
Керамические плитки,
кислотоупорная плитка, керамогранитные плиты и плиты из природного камня
|
1,02 м2/м2
|
|
|
2
|
Затирка
|
|
Выбор
затирок следует осуществлять с учетом рекомендаций раздела «Конструктивные схемы»
|
|
3
|
Клеевая прослойка
|
|
Выбор
клеев следует осуществлять с учетом рекомендаций раздела «Конструктивные
схемы»
|
|
4
|
Эластичная эпоксидная
гидроизоляция Ceresit
СЕ 49
|
1,3 кг/м2
|
Применяется
под покрытия полов из керамической кислотоупорной плитки. Наносится щеткой,
кистью или валиком не менее двух слоев. Толщина каждого слоя не менее 1 мм.
Расход - на 1 мм
|
|
Обмазочная
гидроизоляция на основе эластичной гидроизолирующей массы Ceresit CR 166
|
3-5 кг/м2
|
Применяется
под покрытия полов из керамической плитки, керамогранитных плит и плит из
природного камня. Наносится кистью или шпателем на очищенную поверхность
бетонного основания за два-три прохода
|
|
5
|
Эпоксидная грунтовка Ceresit СЕ 50
|
0,2-0,3 кг/м2
|
Наносится
кистью или валиком под эластичной эпоксидной гидроизоляцией Ceresit СЕ 49 на очищенную
поверхность выравнивающей стяжки
|
|
6
|
Уплотнительная лента Ceresit CL 52
|
|
Вклеивается
в первый слой гидроизоляционного материала и перекрывается вторым слоем
|
|
7
|
Герметик «Silikon universal»
|
|
|
|
8
|
Заполнение
деформационного шва забутовочным шнуром из пенополиэтилена (типа Вилотерм)
или пористой резины
|
|
|
|
9
|
Бетонное основание из
бетона класса В22,5
|
0,08 или 0,10 м3/м2
|
|
|
10
|
Грунт основания
|
|
|

|
Поз.
|
Наименование
|
Расход
|
Примечание
|
|
1
|
Лаковое покрытие
|
|
Конструкции
лаковых покрытий, расход материалов и технология нанесения в соответствии с
инструкцией фирмы производителя
|
|
2
|
Паркет штучный
|
1,02 м2/м2
|
|
|
3
|
Клеевая прослойка
|
|
Выбор
клеев следует осуществлять с учетом рекомендаций раздела «Конструктивные схемы»
|
|
4
|
Грунтовка
|
|
Выбор
грунтовок следует осуществлять с учетом рекомендаций раздела «Конструктивные
схемы»
|
|
5
|
Сборная стяжка из
древесно-стружечных плит
|
1,02 м2/м2
|
|
|
6
|
Водно-дисперсионный
клей
|
40-50 г/п.м
|
|
|
7
|
Пароизоляция - пергамин
|
1,15 м2/м2
|
|
|
8
|
Кварцевый песок
|
По факту
|
Расход
- минимально необходимый для выравнивания поверхности нижележащего слоя
|
|
9
|
Защитный элемент фирм Folotec и Schluter system
|
|
|
|
10
|
Бетонное основание из
бетона класса В22,5
|
0,08 м3/м2
|
|
|
11
|
Заполнение
деформационного шва забутовочным шнуром из пенополиэтилена (типа Вилотерм)
или пористой резины
|
|
|
|
12
|
Грунт основания
|
|
|

|
Поз.
|
Наименование
|
Расход
|
Примечание
|
|
1
|
Линолеум
|
1,02 м2/м2
|
|
|
2
|
Клеевая прослойка
|
|
Выбор
клеев следует осуществлять с учетом рекомендаций раздела «Конструктивные схемы»
|
|
3
|
Грунтовка
|
|
Выбор
грунтовок следует осуществлять с учетом рекомендаций раздела «Конструктивные
схемы»
|
|
4
|
Сборная стяжка из
древесно-стружечных плит
|
1,02 м2/м2
|
|
|
5
|
Водно-дисперсионный
клей
|
40-50 г/п.м
|
|
|
6
|
Пароизоляция - пергамин
|
1,15 м2/м2
|
|
|
7
|
Кварцевый песок
|
По факту
|
Расход
- минимально необходимый для выравнивания поверхности нижележащего слоя
|
|
8
|
Герметик «Silikon universal»
|
|
Шаг
между швами не более 10 м
|
|
9
|
Бетонное основание из
бетона класса В22,5
|
0,08 м3/м2
|
|
|
10
|
Грунт основания
|
|
|

|
Поз.
|
Наименование
|
Расход
|
Примечание
|
|
1
|
Линолеум
|
1,02 м2/м2
|
|
|
2
|
Клеевая прослойка
|
|
Выбор
клеев следует осуществлять с учетом рекомендаций раздела «Конструктивные схемы»
|
|
3
|
Грунтовка
|
|
Выбор
грунтовок следует осуществлять с учетом рекомендаций раздела «Конструктивные
схемы»
|
|
4
|
Сборная стяжка из
древесно-стружечных плит
|
1,02 м2/м2
|
|
|
5
|
Водно-дисперсионный
клей
|
40-50 г/п.м
|
|
|
6
|
Пароизоляция - пергамин
|
1,15 м2/м2
|
|
|
7
|
Кварцевый песок
|
По факту
|
Расход
- минимально необходимый для выравнивания поверхности нижележащего слоя
|
|
8
|
Защитный элемент фирм
Garpet-Assessory-Thims
|
|
Шаг
между швами не более 10 м
|
|
9
|
Бетонное основание из
бетона класса В22,5
|
0,08 м3/м2
|
|
|
10
|
Грунт основания
|
|
|

|
Поз.
|
Наименование
|
Расход
|
Примечание
|
|
1
|
Линолеум
|
1,02 м2/м2
|
|
|
2
|
Клеевая прослойка
|
|
Выбор
клеев следует осуществлять с учетом рекомендаций раздела «Конструктивные схемы»
|
|
3
|
Грунтовка
|
|
Выбор
грунтовок следует осуществлять с учетом рекомендаций раздела «Конструктивные
схемы»
|
|
4
|
Сборная стяжка из древесно-стружечных
плит
|
1,02 м2/м2
|
|
|
5
|
Водно-дисперсионный
клей
|
40-50 г/п.м
|
|
|
6
|
Пароизоляция - пергамин
|
1,15 м2/м2
|
|
|
7
|
Кварцевый песок
|
По факту
|
Расход
- минимально необходимый для выравнивания поверхности нижележащего слоя
|
|
8
|
Бетонное основание из
бетона класса В22,5
|
0,08 м3/м2
|
|
|
9
|
Грунт основания
|
|
|
|
10
|
Полимерный плинтус
|
|
|
|
11
|
Растворный клей Thomsit K 172
|
|
|
|
12
|
Перегородка
|
|
|
|
13
|
Металлическая пластина
|
|
|
|
14
|
Шуруп
|
|
Крепление
перегородки к стяжке осуществляется только с одной стороны от шва
|

|
Поз.
|
Наименование
|
Расход
|
Примечание
|
|
1
|
Лаковое покрытие
|
|
Конструкции
лаковых покрытий, расход материалов и технология нанесения в соответствии с
инструкцией фирмы производителя
|
|
2
|
Паркет штучный
|
1,02 м2/м2
|
|
|
3
|
Массивная доска с
нанесенным в заводских условиях лаковым покрытием
|
1,02 м2/м2
|
|
|
4
|
Клеевая прослойка
|
|
Выбор
клеев следует осуществлять с учетом рекомендаций раздела «Конструктивные схемы»
|
|
5
|
Грунтовка
|
|
Выбор
грунтовок следует осуществлять с учетом рекомендаций раздела «Конструктивные
схемы»
|
|
6
|
Защитный элемент фирм
Garpet-Assessory-Trims
|
|
|
|
7
|
Бетонное основание из
бетона класса В22,5
|
0,08 м3/м2
|
|
|
8
|
Грунт основания
|
|
|

|
Поз.
|
Наименование
|
Расход
|
Примечание
|
|
1
|
Лаковое покрытие
|
|
Конструкции
лаковых покрытий, расход материалов и технология нанесения в соответствии с
инструкцией фирмы производителя
|
|
2
|
Паркет штучный
|
1,02 м2/м2
|
|
|
3
|
Линолеум
|
1,02 м2/м2
|
|
|
4
|
Клеевая прослойка
|
|
Выбор
клеев следует осуществлять с учетом рекомендаций раздела «Конструктивные схемы»
|
|
5
|
Грунтовка
|
|
Выбор
грунтовок следует осуществлять с учетом рекомендаций раздела «Конструктивные
схемы»
|
|
6
|
Сборная стяжка из
древесно-стружечных плит
|
1,02 м2/м2
|
|
|
7
|
Защитный элемент фирмы Schluter-System
|
|
|
|
8
|
Водно-дисперсионный
клей
|
40-50 г/п.м
|
|
|
9
|
Пароизоляция - пергамин
|
1,15 м2/м2
|
|
|
10
|
Кварцевый песок
|
По факту
|
Расход
- минимально необходимый для выравнивания поверхности нижележащего слоя
|
|
11
|
Бетонное основание из
бетона класса В22,5
|
0,08 м3/м2
|
|
|
12
|
Грунт основания
|
|
|

|
Поз.
|
Наименование
|
Расход
|
Примечание
|
|
1
|
Линолеум
|
1,02 м2/м2
|
|
|
2
|
Клеевая прослойка
|
|
Выбор
клеев следует осуществлять с учетом рекомендаций раздела «Конструктивные схемы»
|
|
3
|
Грунтовка
|
|
Выбор
грунтовок следует осуществлять с учетом рекомендаций раздела «Конструктивные
схемы»
|
|
4
|
Стяжка
|
0,04 м3/м2
|
Выбор
стяжек следует осуществлять с учетом рекомендаций раздела «Конструктивные
схемы»
|
|
5
|
Звукоизолирующая
прокладка
|
|
|
|
6
|
Полиэтиленовая пленка
|
1,15 м2/м2
|
|
|
7
|
Теплозвукоизоляция из
кварцевого или керамзитового песка
|
По расчету
|
Толщина
слоя и расход материала назначаются в соответствии с расчетами по параметрам
тепло- и звукоизоляции
|
|
8
|
Плита перекрытия
|
|
|
|
9
|
Деревянный плинтус
|
|
|
|
10
|
Гвоздь
|
|
|
|
11
|
Пробка
|
|
|
|
12
|
Стена
|
|
|

|
Поз.
|
Наименование
|
Расход
|
Примечание
|
|
1
|
Линолеум
|
1,02 м2/м2
|
|
|
2
|
Клеевая прослойка
|
|
Выбор
клеев следует осуществлять с учетом рекомендаций раздела «Конструктивные схемы»
|
|
3
|
Грунтовка
|
|
Выбор
грунтовок следует осуществлять с учетом рекомендаций раздела «Конструктивные
схемы»
|
|
4
|
Стяжка
|
0,04 м3/м2
|
Выбор
стяжек следует осуществлять с учетом рекомендаций раздела «Конструктивные
схемы»
|
|
5
|
Звукоизолирующая
прокладка
|
|
|
|
6
|
Полиэтиленовая пленка
|
1,15 м2/м2
|
|
|
7
|
Тепло- и звукоизоляция
из плит или матов
|
По расчету
|
Толщина
слоя и расход материала назначаются в соответствии с расчетами по параметрам
тепло- и звукоизоляции
|
|
8
|
Плита перекрытия
|
|
|
|
9
|
Полимерный плинтус
|
|
|
|
10
|
Растворный клей Thomsit K 172
|
|
|
|
11
|
Стена
|
|
|
В настоящем методическом документе использованы
ссылки на следующие документы:
СНиП
2.01.07-85* «Нагрузки и воздействия» (с изм. № 2)
СНиП 2.02.01-83* «Основания зданий и
сооружений»
СНиП 2.03.11-85 «Защита
строительных конструкций от коррозии»
СНиП 2.03.13-88
«Полы»
СНиП 3.02.01-87
«Земляные сооружения, основания и фундаменты»
СНиП 3.04.01-87 «Изоляционные и
отделочные покрытия»
СНиП 21-01-97* «Пожарная
безопасность зданий и сооружений»
СНиП
23-02-2003 «Тепловая защита здания»
СНиП
23-03-2003 «Защита от шума»
СНиП 31-01-2003 «Здания жилые
многоквартирные»
СНиП 31-05-2003
«Общественные здания административного назначения»
ГОСТ 474-90 «Кирпич
кислотоупорный. Технические условия»
ГОСТ 862.1-85
«Изделия паркетные. Паркет штучный. Технические условия»
ГОСТ 862.3-86
«Изделия паркетные. Доски паркетные. Технические условия»
ГОСТ
961-89 «Плитки кислотоупорные и термокислотоупорные керамические.
Технические условия»
ГОСТ 4598-86 «Плиты
древесно-волокнистые. Технические условия»
ГОСТ 5802-86 «Растворы
строительные. Методы испытаний»
ГОСТ
6433.2-71 «Материалы электроизоляционные твердые. Методы определения
электрического сопротивления при постоянном напряжении»
ГОСТ 6787-2001
«Плитки керамические для полов. Технические условия»
ГОСТ
7251-77 «Линолеум поливинилхлоридный на тканой и нетканой подоснове.
Технические условия»
ГОСТ
8242-88 «Детали профильные из древесины древесных материалов для строительства.
Технические условия»
ГОСТ
8267-93 «Щебень и гравий из плотных горных пород для строительных работ.
Технические условия»
ГОСТ 8736-93
«Песок для строительных работ. Технические условия»
ГОСТ
9480-89 «Плиты облицовочные пиленые из природного камня. Технические
условия»
ГОСТ
9757-90 «Гравий, щебень и песок искусственные пористые. Технические
условия»
ГОСТ 10178-85
«Портландцемент и шлакопортландцемент. Технические условия»
ГОСТ 13087-81 «Бетоны.
Метод определения истираемости»
ГОСТ 15588-86 «Плиты
пеностирольные. Технические условия»
ГОСТ
18108-80 «Линолеум поливинилхлоридный на теплозвукоизолирующей подоснове.
Технические условия»
ГОСТ
18992-80* «Дисперсия поливинилацетатная гомополимерная грубодисперсная.
Технические условия»
ГОСТ
22733-2002 «Грунты. Метод лабораторного определения максимальной плотности»
ГОСТ 23789-79 «Вяжущие гипсовые.
Методы испытаний»
ГОСТ 24064-80
«Мастики клеящие каучуковые. Технические условия»
ГОСТ 25485-89 «Бетоны
ячеистые. Технические условия»
ГОСТ
26149-84 «Покрытие для полов рулонное на основе химических волокон.
Технические условия»
ГОСТ
27023-86 «Ковры сварные из поливинилхлоридного линолеума на теплозвукоизолирующей
подоснове. Технические условия»
ГОСТ 28379-89
«Шпатлевки ЭП-0020. Технические условия»
ГОСТ
28574-90 «Защита от коррозии в строительстве. Конструкции бетонные и
железобетонные. Методы испытаний адгезии защитных покрытий»
ГОСТ
30307-95 «Мастики строительные полимерные клеящие латексные. Технические
условия»
ГОСТ
3916.1-96* «Фанера общего назначения, с наружными слоями из шпона
лиственных пород. Технические условия»
ГОСТ
3916.2-96* «Фанера общего назначения с наружными слоями из шпона хвойных
пород. Технические условия»
ГОСТ Р 51829-2007
«Листы гипсоволокнистые. Технические условия»
ОСТ 1114.3308-87
Стандарт СЭВ 3783-82
ТУ 5361-001-42950773-99 Лаги регулируемые
строительные
ТУ 5745-001-58239148-2004 Строительные растворы
ремонтные и выравнивающие торговой марки Thomsit
ТУ 5745-007-58239148-03 Строительные растворы
штукатурные и выравнивающие торговой марки Ceresit
ТУ 5745-008-58239148-03 Клей для крепления
отделочных материалов, шпаклевочные и грунтовочные составы торговой марки Ceresit
ТУ 5775-009-58239148-03 Составы строительные для
устройства гидроизоляции торговой марки Ceresit
Полы. Технические требования и правила проектирования,
устройства, приемки, эксплуатации и ремонта / ОАО «ЦНИИпромзданий». - М., 2004
НПБ
105-03 «Определение категорий помещений, зданий и наружных установок по
взрывопожарной и пожарной опасности»
ТСН
23-315-2000 «Допустимые уровни шума, вибрации и требования к звукоизоляции
в жилых и общественных зданиях»
СП
23-103-2003 «Проектирование звукоизоляции ограждающих конструкций жилых и общественных
зданий»
СП 23-101-2004
«Проектирование тепловой защиты зданий»
ВСН 214-82 «Сборник
инструкций по защите от коррозии»
Приказ № 320 МЧС России от 8
июля 2002 г. «Об утверждении перечня продукции, подлежащей обязательной
сертификации в области пожарной безопасности»
ОСНОВНЫЕ
ТЕРМИНЫ И ОПРЕДЕЛЕНИЯ
Покрытие - верхний слой пола, непосредственно подвергающийся
эксплуатационным воздействиям.
Прослойка - промежуточный слой пола, связывающий покрытие с
нижележащим слоем пола или служащий для покрытия упругой постелью.
Гидроизоляционный слой - слой, препятствующий прониканию через пол сточных
вод и других жидкостей, а также прониканию в пол грунтовых вод.
Стяжка (основание под покрытие) - слой пола, служащий для выравнивания
поверхности нижележащего слоя пола или перекрытия, придания покрытию пола
заданного уклона, укрытия различных трубопроводов, распределения нагрузок по
нежестким нижележащим слоям пола на перекрытии.
Подстилающий слой - слой пола, распределяющий нагрузки на грунт.
Теплоизоляционный слой - элемент пола, уменьшающий общую теплопроводность
пола.
Звукоизоляционный слой - элемент пола, повышающий звукоизолирующую
способность пола.
Грунтовое основание - слой грунта, по которому устраиваются подстилающий
слой или опоры под лаги.
Деформационный шов - разрыв в подстилающем слое, стяжке или покрытии,
обеспечивающий относительное смещение их разрозненных участков.
Пароизоляционный слой - элемент пола, расположенный под слоем
теплозвукоизоляции или стяжкой, препятствующий прониканию в них водяных паров
из нижерасположенного помещения через перекрытие.
Экологичность пола - свойство всех элементов конструкции пола не выделять
при эксплуатации вредных веществ и соответствовать стандартам экологии.
Малая - незначительное
воздействие жидкости на пол, при котором поверхность покрытия пола сухая или
слегка влажная; покрытие пола жидкостями не пропитывается.
Средняя - периодическое увлажнение пола, при котором
поверхность покрытия пола влажная или мокрая; покрытие пола пропитывается
жидкостями.
Большая - постоянное или часто повторяющееся воздействие
жидкостей на покрытие пола.
Интенсивность механических воздействий на пол - весьма значительная, значительная,
умеренная, слабая (таблица 1).
Таблица 1
Механические воздействия
|
Интенсивность
механических воздействий
|
|
Весьма
значительная
|
Значительная
|
Умеренная
|
Слабая
|
|
Движение пешеходов на 1
м ширины прохода, число людей в 1 сут
|
-
|
-
|
500 и более
|
Менее 500
|
|
Движение транспорта на
гусеничном ходу на одну полосу движения, ед/сут
|
10 и более
|
Менее 10
|
-
|
-
|
|
Движение транспорта на
резиновом ходу на одну полосу движения, ед/сут
|
Более 200
|
100-200
|
Менее 100
|
Движение ручных тележек
|
|
Движение тележек на
металлических шинах, перекатывание круглых металлических предметов на одну
полосу движения, ед/сут
|
Более 50
|
30-50
|
Менее 30
|
-
|
|
Удары при падении с
высоты 1 м твердых предметов массой, кг, не более
|
20
|
10
|
5
|
2
|
|
Волочение твердых
предметов с острыми углами и ребрами
|
Соответствует
|
Соответствует
|
-
|
-
|
|
Работа острым
инструментом на полу (лопатами и др.)
|
»
|
»
|
-
|
-
|
Теплоусвоение
пола - свойство поверхности покрытия пола в большей или меньшей степени
воспринимать тепло при периодических колебаниях теплового потока или
температуры воздуха.
Безыскровость пола - отсутствие
искрообразования на покрытии пола при ударах или волочении по нему
металлических или каменных предметов, а также при разрядах статического электричества.
Антистатичность пола - отсутствие
скопления на покрытии пола статического электричества.
Беспыльность пола - полное
отсутствие отделения продуктов износа покрытия пола, образующихся при
изнашивающих воздействиях от движения пешеходов и транспорта.
Звукоизолирующая способность пола - ослабление
шума при его проникновении через пол на перекрытии.
Приложение 3
Таблица 1
|
№ п.п.
|
Покрытие
|
Предельные значения интенсивности воздействия на пол
|
|
Интенсивность движения, ед/сут, на 1 полосу движения
|
Волочение твердых предметов с острыми углами и ребрами, работа на полу
с лопатами, ломами и т.п. острым инструментом
|
Масса предметов, кг, падающих с высоты 1 м
|
Удельное давление от сосредоточенных нагрузок, Н/см2 (кгс/см2)
|
Нагревание пола до температуры, °С
|
|
Пешеходов и тележек на резиновых шинах
|
Тележек на металлических шинах и перекатывания круглых металлических
предметов (бочек и т.п.)
|
Транспортных средств на резиновом ходу
|
Транспортных средств на гусеничном ходу
|
|
Более 500
|
Менее 500
|
Коэф. С1
|
Более 50
|
30-50
|
Менее 30
|
Более 200
|
100-200
|
Менее 100
|
Более 10
|
Менее 10
|
|
1
|
Полимерцементно-песчаное
покрытие марки Ceresit CN
178 толщиной 20 мм
|
Допускается
|
-
|
Не допускается
|
Не допускается
|
Не допускается
|
Не допускается
|
2
|
500(50)
|
100
|
|
2
|
Плиты природного камня
изверженных пород (гранита и т.д.) толщиной более 20 мм по прослойке из
цементно-песчаного раствора
|
»
|
60
|
Не допускается
|
Допускается
|
Допускается
|
»
|
Допускается
|
10
|
500(50)
|
100
|
|
3
|
Плиты из керамогранита:
толщиной до 9 мм
|
Не допускается
|
Допускается
|
-
|
Не допускается
|
Не допускается
|
Не допускается
|
-
|
500(50)
|
100
|
|
толщиной более 9 мм
|
Допускается
|
-
|
То же
|
То же
|
То же
|
2
|
500(50)
|
100
|
|
4
|
Керамические плитки
толщиной 10-13 мм
|
»
|
-
|
»
|
»
|
»
|
»
|
2
|
200(20)
|
100
|
|
5
|
Керамические
кислотоупорные плитки толщиной, мм:
|
|
|
|
|
|
|
|
|
|
|
|
15-20
|
Допускается
|
-
|
Не допускается
|
Не допускается
|
Не допускается
|
Не допускается
|
3
|
200(20)
|
100
|
|
|
30-35
|
Допускается
|
60
|
Не допускается
|
Допускается
|
Не допускается
|
Допускается
|
»
|
»
|
5
|
200(20)
|
100
|
|
|
50
|
»
|
60
|
»
|
»
|
»
|
»
|
Не допускается
|
Допускается
|
Допускается
|
7
|
300(30)
|
100
|
|
6
|
Кислотоупорный
кирпич плашмя
|
»
|
60
|
»
|
»
|
Допускается
|
»
|
»
|
»
|
10
|
300(30)
|
100
|
|
7
|
Кислотоупорный
кирпич на ребро
|
»
|
60
|
»
|
»
|
»
|
»
|
»
|
»
|
10
|
300(30)
|
100
|
|
8
|
Штучный
и наборный паркет
|
»
|
-
|
Не допускается
|
Не допускается
|
Не допускается
|
Не допускается
|
Не допускается
|
200 кг в точку
|
50
|
|
9
|
Паркетные
доски
|
»
|
-
|
То же
|
То же
|
То же
|
То же
|
То же
|
200 кг в точку
|
50
|
|
10
|
Линолеум
(в том числе антистатический)
|
Не допускается
|
Допускается
|
-
|
»
|
»
|
»
|
»
|
»
|
500(50)
|
50
|
|
11
|
Плитки
поливинил-хлоридные толщиной до 4 мм
|
Не допускается
|
Допускается
|
-
|
»
|
»
|
»
|
»
|
»
|
500(50)
|
50
|
|
12
|
Плитки
резиновые толщиной, мм:
|
|
|
|
|
|
|
|
|
|
|
|
|
до
4
|
Не допускается
|
Допускается
|
-
|
»
|
»
|
»
|
»
|
5
|
500(50)
|
50
|
|
|
от
4 до 10
|
Допускается
|
60
|
Не допускается
|
Допускается
|
Не допускается
|
Допускается
|
Не допускается
|
Не допускается
|
7
|
500(50)
|
50
|
|
|
св.
10
|
»
|
60
|
То же
|
»
|
То же
|
»
|
То же
|
То же
|
10
|
500(50)
|
50
|
|
13
|
Рулонное
на основе синтетических волокон
|
Не допускается
|
Допускается
|
-
|
Не допускается
|
Не допускается
|
»
|
»
|
Не допускается
|
100(10)
|
50
|
|
14
|
Ламинат
|
То же
|
»
|
-
|
То же
|
То же
|
»
|
»
|
То же
|
100(10)
|
50
|
|
1 Коэффициент С давления
на пол металлических шин и круглых предметов определяют по формуле 
где Р -
наибольшее давление колеса или обода на пол, кгс;
D -
диаметр колеса или обода, м;
b - ширина шины колеса или обода, см.
|
|
|
|
|
|
|
|
|
|
|
|
|
|
|
|
|
|
|
|
Таблица 2
|
№ п.п.
|
Покрытие
|
Предельные значения интенсивности воздействия на пол
|
|
Воды и растворов
нейтральной реакции
|
Минеральных
масел и эмульсий из них
|
Органических растворителей
|
Веществ животного
происхождения
|
Растворов кислот
|
Растворов щелочей
|
|
Сырой нефти и
нефтепродуктов (мазут, дизельное топливо, керосин, бензин)
|
Неароматических
углеводородов
|
Кетонов
|
Фтористоводородной,
кремнефтористоводородной и т.д.
|
Окисляющих (азотная,
хлорноватистая и др.)
|
Неокисляющих
неорганических (серная, соляная и др.)
|
Органических
|
Концентрация, %
|
Интенсивность
|
|
Концентрация, %
|
Интенсивность
|
Концентрация, %
|
Интенсивность
|
Концентрация, %
|
Интенсивность
|
Концентрация, %
|
Интенсивность
|
|
1
|
Полимерцементно-песчаное
покрытие марки Ceresit CN 178 толщиной 20 мм
|
Большая
|
Большая
|
Средняя
|
Большая
|
Средняя
|
Большая
|
Не
допускается
|
8
|
Средняя
|
|
2
|
Плиты
природного камня изверженных пород (гранита и т.д.) по прослойке из
цементно-песчаного раствора
|
»
|
»
|
»
|
»
|
»
|
»
|
То же
|
8
|
»
|
|
3
|
Плиты
из керамогранита
|
В зависимости от типа прослойки и материала расшивки швов
|
|
4
|
Керамические плитки
|
|
5
|
Керамические кислотоупорные
плитки
|
|
6
|
Кислотоупорный кирпич
плашмя
|
|
7
|
То же, на ребро
|
|
8
|
Штучный
и наборный паркет
|
Не допускается
|
|
9
|
Паркетные доски
|
|
10
|
Линолеум (в том числе
антистатический)
|
|
11
|
Плитки
поливинилхлоридные
|
|
12
|
Плиты
резиновые
|
Большая
|
Малая
|
Малая
|
Средняя
|
Средняя
|
Большая
|
Не допускается
|
20
|
Средняя
|
8
|
Средняя
|
|
13
|
Рулонное
на основе химических волокон
|
Не допускается
|
|
14
|
Ламинат
|
|
|
|
|
|
|
|
|
|
|
|
|
|
|
|
|
|
|
Таблица 3
|
№ п.п.
|
Покрытие
|
|
|
Беспыльность (пылеотделение)
|
Электропроводность в сухом состоянии2
|
Способность накапливать на поверхности заряды статического
электричества в сухом состоянии
|
Безыскро-вость
при ударных воздействиях
|
Легкость очистки от производственных загрязнений
|
|
Соответствие количественным показателям по классам беспыльности
помещений с ОСТ 11 14.3308 и стандартом СЭВ 3783
|
По
визуальной оценке
|
пылевидных
|
жидкостных
|
|
Кл. 1000
|
Кл. 10 000
|
Кл.
100 000
|
|
1
|
Полимерцементно-песча-ное
покрытие марки Ceresit CN
178 толщиной 20 мм
|
Не соответствует
|
Малое
|
Условно
электропроводное1
|
Не накапливает
|
Искрящее
|
Среднеочищаемое
|
Среднеочищаемое
|
|
2
|
Плиты природного камня
изверженных пород (гранита и т.д.) по прослойке из цементно-песчаного
раствора
|
То же
|
»
|
Электропроводное
|
То же
|
»
|
Легкоочищаемое
|
»
|
|
3
|
Плиты из керамогранита
|
»
|
Беспыльное
|
Условно
электропроводное1
|
»
|
»
|
»
|
Легкоочищаемое
|
|
4
|
Керамические плитки
|
»
|
Малое
|
То же
|
»
|
»
|
»
|
Среднеочищаемое
|
|
5
|
Керамические
кислотоупорные плитки
|
»
|
»
|
»
|
»
|
»
|
»
|
»
|
|
6
|
Кислотоупорный кирпич
плашмя
|
»
|
»
|
»
|
»
|
»
|
»
|
»
|
|
7
|
Кислотоупорный кирпич
на ребро
|
»
|
»
|
»
|
»
|
»
|
»
|
»
|
|
8
|
Штучный и наборный
паркет
|
»
|
»
|
Неэлектропроводное
|
»
|
Безыскровое
|
»
|
»
|
|
9
|
Паркетные доски
|
»
|
»
|
»
|
»
|
»
|
»
|
»
|
|
10
|
Линолеум
|
Несоответствует
|
Соответствует
|
Беспыльное
|
»
|
Накапливает
|
»
|
»
|
Легкоочищаемое
|
|
11
|
Линолеум
антистатический
|
|
Беспыльное
|
Неэлектропроводное, антистатическое
|
Не накапливает
|
Безыскровое
|
Легкоочищаемое
|
Легкоочищаемое
|
|
12
|
Плитки
поливинилхлоридные
|
Не
соответствует
|
Соответствует
|
»
|
Неэлектропроводное
|
Накапливает
|
»
|
»
|
»
|
|
13
|
Плиты
резиновые
|
Не соответствует
|
Малое
|
Неэлектропроводное, антистатическое
|
Не накапливает
|
»
|
Среднеочищаемое
|
Среднеочищаемое
|
|
14
|
Рулонное
на основе химических волокон
|
То же
|
Среднее
|
Неэлектропроводное
|
Накапливает
|
»
|
»
|
Трудноочищаемое
|
|
15
|
Ламинат
|
Не соответствует
|
Соответствует
|
Беспыльное
|
»
|
»
|
»
|
Легкоочищаемое
|
»
|
|
1 Приобретает способность проводить
электрический ток при увлажнении.
2 Электропроводное - удельное поверхностное
электросопротивление менее 104 Ом, условно электропроводное - 106-104
Ом, антистатическое - 106-109 Ом, неэлектропроводное -
более 109 Ом.
|
В соответствии с СП 23-101 показатель
теплоусвоения поверхности пола Yп, Вт/(м2·°С),
определяют в следующей последовательности:
- если покрытие пола имеет тепловую инерцию D1
= RlSl ≥ 0,5,
то показатель теплоусвоения поверхности пола вычисляют по формуле
Yп = 2S1,
где S1 - расчетный коэффициент
теплоусвоения материала 1-го слоя, Вт/(м2·°С);
R1 - термическое
сопротивление 1-го слоя, м2·°С/Вт, определяемое по формуле
R1 = δ1λ1,
где δ1 - толщина
первого слоя, м;
λ1 -
теплопроводность материала первого слоя, Вт/(м·°С);
- если первые n слоев конструкции пола (n > 1) имеют суммарную
тепловую инерцию D1 + D2 +...+Dn ≥ 0,5, но тепловая
инерция (n + 1)-го слоев D1 + D2+...+Dn+l
≥ 0,5, то показатель теплоусвоения поверхности пола Yп определяется
последовательно расчетом показателей теплоусвоения поверхностей слоев
конструкции, начиная с n-го до 1-го.
Для n-го слоя по формуле

Для i-го слоя (i = n - 1; n - 2;…; 1) по формуле

Показатель теплоусвоения поверхности пола
принимается равным показателю теплоусвоения поверхности 1-го слоя Y1.
Ri, Rn - термические сопротивления,
м2·°С/Вт, i-го и n-го слоев конструкции пола,
определяемые по формуле
R = δ/λ,
где δ - толщина слоя;
λ - коэффициент
теплопроводности материала слоя, принимаемый по СНиП 23-02 или по ГОСТ или ТУ на
используемые материалы;
Si, Sn, Sn+l - расчетные коэффициенты
теплоусвоения материалов отдельных слоев, принимаемые по СНиП 23-02, при этом для зданий жилых,
больничных учреждений (больниц, клиник, стационаров и госпиталей), диспансеров,
амбулаторно-поликлинических учреждений, родильных домов, домов ребенка,
домов-интернатов для престарелых и инвалидов, общеобразовательных детских школ,
детских садов, яслей, яслей-садов (комбинатов), детских домов и детских
приемников-распределителей, общеобразовательных зданий, вспомогательных зданий
и помещений промышленных предприятий, участков с постоянными рабочими местами в
отапливаемых помещениях производственных зданий, в которых выполняются легкие
физические работы, - во всех случаях при условии эксплуатации А или по
нормативной документации на используемые материалы.
Пример. Пол жилого
дома с покрытием из поливинилхлоридного линолеума на теплозвукоизолирующей
подоснове, наклеенного полимерным клеем на железобетонную плиту перекрытия.
|
Номер слоя
|
Материал
|
Толщина слоя δ, м
|
Плотность материала в сухом состоянии γ0, кг/м3
|
Коэффициенты при условии эксплуатации А
|
Термическое сопротивление R, м2·°С/Вт
|
|
Теплопроводности λ, Вт/(м·°С)
|
Теплоусвоения
S, Вт/(м2·°С)
|
|
1
|
Лицевой
слой линолеума
|
0,0015
|
1600
|
0,33
|
7,52
|
0,0045
|
|
2
|
Подоснова
|
0,002
|
150
|
0,047
|
0,92
|
0,043
|
|
3
|
Полимерный
клей
|
0,001
|
1000
|
0,18
|
4,56
|
0,0056
|
|
4
|
Плита
перекрытия
|
0,14
|
2400
|
1,74
|
16,77
|
0,08
|
1. Тепловая инерция слоев:
D1 = R1S1 = 0,0045·7,52 = 0,034
D2 = R2S2 = 0,043·0,92 = 0,040
D3 = R3S3 = 0,0056·4,56 = 0,026
D4 = R4S4 = 0,08·16,77 = 1,34.
2. Так как D1 + D2 + D3
= 0,034 + 0,040 + 0,026 = 0,10 < 0,5, но D1
+ D2 + D3 + D4 = 0,034 + 0,040+ 0,026 + 1,34 = 1,44 > 0,5,
то показатель теплоусвоения поверхности пола определяем последовательно с
учетом четырех слоев пола начиная с третьего:



3. Так как Yп = 13,2 Вт/(м2·°С)
> Yнп = 12 Вт/(м2·°С)
(см. требования раздела I), пол не
удовлетворяет требованиям теплоусвоения. В связи с чем вносим изменения в
конструкцию пола. Предусматриваем по плите перекрытия сборную стяжку из
древесно-стружечных плит толщиной 22 мм.
|
Номер слоя
|
Материал
|
Толщина слоя δ, м
|
Плотность материала в сухом состоянии γ0, кг/м3
|
Коэффициенты при условии эксплуатации А
|
Термическое сопротивление R, м2·°С/Вт
|
|
Теплопроводности λ, Вт/(м·°С)
|
Теплоусвоения
S,
Вт/(м2·°С)
|
|
1
|
Лицевой
слой линолеума
|
0,0015
|
1600
|
0,33
|
7,52
|
0,0045
|
|
2
|
Подоснова
|
0,002
|
150
|
0,047
|
0,92
|
0,043
|
|
3
|
Полимерный
клей
|
0,001
|
1000
|
0,18
|
4,56
|
0,0056
|
|
4
|
Сборная
стяжка из древесно-стружечных плит
|
0,022
|
750
|
0,14
|
6,37
|
0,157
|
|
5
|
Плита
перекрытия
|
0,14
|
2400
|
1,74
|
16,77
|
0,08
|
4. Тепловая инерция слоев:
D1 = R1S1 = 0,0045·7,52 = 0,034
D2 = R2S2 = 0,043·0,92 = 0,040
D3 = R3S3 = 0,0056·4,56 = 0,026
D4 = R4S4 = 0,157·6,37 = 1,00
D5 = R5S5 = 0,08·16,77 = 1,34.
5. Так как D1 + D2 + D3
= 0,034 + 0,040 + 0,026 = 0,10 < 0,5, но D1
+ D2 + D3 + D4 = 0,034 + 0,040+ 0,026 + 1,00 = 1,10 > 0,5,
то показатель теплоусвоения поверхности пола определяем последовательно с
учетом четырех слоев пола начиная с третьего:



6. Так как Yп = 9,63 Вт/(м2·°С)
< Yнп = 12 Вт/(м2·°С),
пол удовлетворяет требованиям теплоусвоения.
В соответствии с рекомендациями СП
23-103 расчет звукоизоляции перекрытий с конструкцией пола от воздушного и
ударного шума рекомендуется выполнять в следующей последовательности.
1. Вычисляем
индекс изоляции воздушного шума перекрытий по формулам: для железобетонных и
бетонных беспустотных плит:
Jво = 23 1g т
- 8 дБ при т ≥ 200 кг/м2,
Jво = 13 1g тэ
+ 15 дБ при т ≤ 200
кг/м2;
для
бетонных плит с круглыми пустотами:
Jво = 23 1g т + 13,3 1g h/hпр
- 8 дБ,
где т -
поверхностная плотность перекрытия, кг/м2 (для ребристых плит без
учета ребер);
h - толщина
плиты;
hпр - приведенная толщина плиты
(за вычетом пустот).
Расчеты дают достоверные результаты при отношении
толщины плиты перекрытия к средней толщине примыкающей к ней стены в пределах
0,5 < h/hст <
1,5. При других отношениях толщин необходимо учитывать изменение звукоизоляции
ΔJ за счет увеличения или уменьшения косвенной передачи
звука через примыкающие конструкции.
Для крупнопанельных зданий, в которых ограждающие
конструкции выполнены из бетона, железобетона, бетона на легких заполнителях,
поправка А/ имеет следующие значения:
при 0,3 < h/hст
< 0,5 ΔJ = + 1дБ;
при 1,5 < h/hст
< 2 ΔJ = - 1 дБ;
при 2 < < h/hст
< 3 ΔJ = - 2 дБ.
В каркасно-панельных зданиях, где элементы каркаса
(колонны и ригели) выполняют роль виброзадерживающих масс в стыках панелей,
вводится дополнительно поправка к результатам расчета ΔJ = +2 дБ
2. Вычисляем частоту резонанса
по формуле

где Ед
- динамический модуль упругости материала звукоизоляционного слоя, принимаемый
по таблице 1;
m1 - поверхностная плотность
плиты перекрытия, кг/м2;
m2 - поверхностная плотность
конструкции пола выше звукоизоляционного слоя (без звукоизоляционного слоя),
кг/м2;
h3 - толщина
звукоизоляционного слоя в обжатом состоянии, м, определяемая по формуле
h3 = h0 (1 - εд),
h0 - толщина
звукоизоляционного слоя в необжатом состоянии, м;
εд - относительное сжатие материала
звукоизоляционного слоя под нагрузкой, принимаемое по таблице 1.
Таблица
1
|
Материал
|
Поверхностная
плотность, кг/м2
|
Динамический
модуль упругости Ед, Па, и относительное сжатие материала звукоизоляционного
слоя при нагрузке на звукоизоляционный слой, Па
|
|
2000
|
5000
|
10000
|
|
Ед
|
εд
|
Ед
|
εд
|
Ед
|
εд
|
|
Плиты минераловатные на
синтетическом связующем:
|
|
|
|
|
|
|
|
|
полужесткие
|
70-90
|
3,6·105
|
0,5
|
4,5·105
|
0,55
|
5,6·105
|
0,7
|
|
95-100
|
4·105
|
0,5
|
5·105
|
0,55
|
6·105
|
0,65
|
|
жесткие
|
110-125
|
4,5·105
|
0,5
|
5,5·105
|
0,5
|
7·105
|
0,6
|
|
|
130-150
|
5·105
|
0,4
|
6·105
|
0,45
|
8·105
|
0,55
|
|
Маты
минераловатные прошивные по ТУ 21-24-51
|
75-125
|
4·105
|
0,65
|
5·105
|
0,7
|
-
|
-
|
|
126-175
|
5·105
|
0,5
|
6,5·105
|
0,55
|
-
|
-
|
|
Пенополиэтиленовый
материал «Вилатерм»
|
|
2,7·105
|
0,03
|
3,6·105
|
0,15
|
4,2·105
|
0,25
|
|
Плиты
древесно-волокнистые мягкие по ГОСТ 4598
|
250
|
10·105
|
0,1
|
11·105
|
0,1
|
12·105
|
0,15
|
|
Шлак
крупностью до 15 мм
|
500-800
|
80·105
|
0,08
|
90·105
|
0,09
|
-
|
-
|
|
Песок
прокаленный
|
1300-1500
|
120·105
|
0,03
|
130·105
|
0,04
|
-
|
-
|
|
Примечание - Для нагрузок на звукоизоляционный слой,
не указанных в настоящей таблице, следует величины Ед и εд принимать по линейной интерполяции в
зависимости от фактической нагрузки.
|
3. По таблице 2 с
учетом Jво и fрп находим величину индекса
изоляции перекрытия с конструкцией пола, которая должна быть больше
нормируемого значения Jнв, принятого по таблице 1 раздела I.
4. Если Jв < Jнв, изменяем
конструкцию перекрытия или увеличиваем толщину звукоизоляционного слоя и повторяем расчет.
Таблица 2
|
Конструкция пола
|
fрп, Гц
|
Индекс изоляции воздушного шума перекрытием Jв, дБ, при индексе изоляции воздушного шума
Плитой перекрытия Jво, дБ
|
|
|
|
43
|
46
|
49
|
52
|
55
|
|
|
Деревянные полы по лагам, уложенным на
звукоизоляционный слой в виде ленточных прокладок с динамическим модулем
упругости 5·105 - 12·105 Па, при расстоянии между полом
и плитой перекрытия 60-70 мм
|
160
|
53
|
54
|
55
|
56
|
57
|
|
|
200
|
50
|
52
|
53
|
54
|
56
|
|
|
250
|
49
|
51
|
52
|
53
|
55
|
|
|
320
|
48
|
49
|
51
|
53
|
55
|
|
|
400
|
47
|
48
|
50
|
52
|
55
|
|
|
500
|
46
|
48
|
50
|
52
|
55
|
|
|
Покрытие пола на монолитной стяжке или сборных
плитах с поверхностной плотностью 60-120 кг/м2 по
звукоизоляционному слою с динамическим модулем упругости 3·105 -
10·105 Па, толщиной 20-25 мм в обжатом состоянии1
|
100
|
52
|
53
|
54
|
55
|
56
|
|
|
125
|
51
|
52
|
53
|
54
|
55
|
|
|
160
|
50
|
51
|
53
|
54
|
55
|
|
|
200
|
47
|
49
|
51
|
53
|
55
|
|
|
То же, по звукоизоляционному слою из песка или
шлака с динамическим модулем упругости 8·106 - 13·106
кгс/м2, толщиной 50-60 мм2
|
200
|
52
|
53
|
54
|
55
|
56
|
|
|
250
|
50
|
52
|
53
|
54
|
55
|
|
|
320
|
49
|
51
|
52
|
54
|
55
|
|
|
400
|
48
|
50
|
51
|
53
|
55
|
|
|
500
|
47
|
49
|
51
|
53
|
55
|
|
|
1 При увеличении толщины прокладки до 40 мм в
обжатом состоянии следует к величине Jв прибавлять 1 дБ.
2 При увеличении толщины засыпки до 90 мм
следует к величине Jв прибавлять 1 дБ.
|
|
5.
Индекс изоляции воздушного шума Jв междуэтажным перекрытием без звукоизоляционного слоя с полом из
рулонных материалов следует определять в соответствии с п. 1
данного приложения, принимая при этом величину т
равной поверхностной плотности плиты перекрытий (без рулонного покрытия).
Если в качестве покрытия пола принят
поливинилхлоридный линолеум на волокнистой теплозвукоизоляционной подоснове (ГОСТ
18108), то рассчитанную величину индекса изоляции воздушного шума
междуэтажным перекрытием следует уменьшить на 1 дБ.
1. Вычисляем частоту
колебаний пола, расположенного на звукоизоляционном слое:

где Ед,
h3 и m2 - то же, что и при воздушном
шуме.
2. По значениям f0 и индекса
приведенного уровня ударного шума плиты перекрытия Jy0, принимаемого
по таблице 3, находим по таблице 4 значение приведенного уровня ударного шума
под перекрытием Jу при наличии
теплозвукоизоляционного слоя под покрытием пола.
Таблица 3
|
Поверхностная плотность плиты перекрытия, кг/м2
|
Значение Jy0, дБ
|
|
150
|
86
|
|
200
|
84
|
|
250
|
82
|
|
300
|
80
|
|
350
|
78
|
|
450
|
76
|
Таблица 4
|
Конструкция пола
|
fрп, Гц
|
Индекс приведенного уровня ударного шума изоляции под перекрытием Jy, дБ , при индексе изоляции воздушного шума плитой перекрытия Jу0, дБ
|
|
86
|
84
|
82
|
80
|
78
|
76
|
|
Деревянные полы по лагам, уложенным на
звукоизоляционный слой в виде ленточных прокладок с динамическим модулем
упругости 5·105 - 12·105 Па, при расстоянии между полом
и плитой перекрытия 60-70 мм
|
160
|
59
|
58
|
56
|
55
|
55
|
54
|
|
200
|
61
|
60
|
58
|
57
|
55
|
54
|
|
250
|
62
|
61
|
59
|
58
|
56
|
55
|
|
315
|
64
|
62
|
60
|
59
|
57
|
56
|
|
Покрытие пола на монолитной стяжке или сборных
плитах с поверхностной плотностью 60 кг/м2 по звукоизоляционному
слою с динамическим модулем упругости 3·105 - 10·105 Па
|
60
|
61
|
58
|
56
|
54
|
51
|
49
|
|
80
|
62
|
59
|
57
|
56
|
53
|
52
|
|
100
|
63
|
60
|
58
|
57
|
56
|
55
|
|
125
|
66
|
63
|
61
|
59
|
58
|
57
|
|
160
|
68
|
65
|
63
|
61
|
60
|
58
|
|
200
|
70
|
68
|
66
|
66
|
62
|
60
|
|
То же, по звукоизоляционному слою из песка или
шлака с динамическим модулем упругости 8·106 - 13·106
кгс/м2
|
160
|
62
|
60
|
58
|
57
|
55
|
54
|
|
200
|
65
|
63
|
61
|
59
|
58
|
57
|
|
250
|
67
|
65
|
63
|
61
|
60
|
59
|
|
315
|
71
|
69
|
67
|
66
|
64
|
63
|
|
Покрытие пола на монолитной стяжке или сборных
плитах с поверхностной плотностью 120 кг/м2 по звукоизоляционному
слою с динамическим модулем упругости 3·105 - 10·105 Па
|
60
|
59
|
56
|
54
|
52
|
50
|
48
|
|
80
|
61
|
58
|
56
|
54
|
52
|
50
|
|
100
|
63
|
60
|
58
|
57
|
55
|
53
|
|
125
|
65
|
62
|
60
|
58
|
56
|
54
|
|
160
|
67
|
64
|
62
|
60
|
58
|
56
|
|
200
|
68
|
65
|
64
|
62
|
60
|
58
|
|
То же, по звукоизоляционному слою из песка или шлака
с динамическим модулем упругости 8·106 - 13·106 кгс/м2
|
160
|
61
|
58
|
56
|
55
|
53
|
52
|
|
200
|
63
|
60
|
68
|
57
|
55
|
54
|
|
250
|
65
|
63
|
61
|
59
|
58
|
57
|
|
315
|
69
|
67
|
65
|
64
|
62
|
61
|
|
Примечание - При поверхностной плотности стяжки
(сборных плит) между 60 кг/м2 и 120 кг/м2 индексы
определяют по интерполяции, округляя до целого числа дБ.
|
3. Индекс приведенного
уровня ударного шума Jy под
перекрытием без звукоизоляционного слоя с покрытием пола из рулонных материалов
следует определять по формуле
Jy = Jу0 - ΔJу
где Jу0
- индекс приведенного уровня ударного шума для плиты перекрытия, дБ, принимаемый
по таблице 3;
ΔJу - индекс
снижения приведенного уровня ударного шума, дБ, принимаемый в соответствии с
паспортными данными для рулонного материала.
4. Для обеспечения требуемой
звукоизоляции необходимо соблюдать условие
Jy < Jну.
Пример 1. Определить
индекс изоляции воздушного шума междуэтажным перекрытием. Перекрытие состоит из
железобетонной плиты толщиной 14 см, звукоизоляционного слоя из минерало-ватной
плиты плотностью 100 кг/м3, толщиной 3,0 см, стяжки из
цементно-песчаного раствора плотностью 2000 кг/м3, толщиной 2,5 см и
линолеума плотностью 1100 кг/м3, толщиной 0,3 см. Полезная нагрузка
2000 Па.
1. Поверхностная плотность
элементов перекрытия
т1 = 2400·0,14 =
336 кг/м2;
т2 = 1100·0,003 +
2000·0,025 = 3,3 + 50 = 53,3 кг/м2.
2. Находим величину Jво для несущей
плиты перекрытия
Jво = 23 lg тэ - 8 дБ = 23 lg 336 - 8 дБ = 58 - 8 = 50 дБ.
3. Находим по таблице 1
Ед = 4·105
Па и εд = 0,5.
4. Вычисляем
h3 = h0 (1 - εд) =
0,03 (1 - 0,5) = 0,015 м.
5. Определяем частоту
резонанса конструкции

6. По таблице 2 находим Jв = 53 дБ (по
интерполяции).
7. Так как Jв = 53 дБ > Jнв = 52 дБ (таблица
2), данная конструкция перекрытия с покрытием пола из линолеума удовлетворяет
нормативным требованиям для квартир категории Б (комфортабельные условия).
Пример 2. Определить
индекс приведенного уровня ударного шума под железобетонным перекрытием жилого
дома. Перекрытие состоит из железобетонной плиты γ = 2500 кг/м3
толщиной 16 см, сборной стяжки из ДСП γ = 750 кг/м3 толщиной
2,2 см, линолеума на теплозвукоизолирующей подоснове толщиной 0,36 см.
1. Поверхностная плотность
элементов перекрытия
т1 = 2500·0,16 +
750·0,022 = 400 + 16,5 = 416,5 кг/м2.
2. Индекс приведенного уровня
ударного шума
Jy = Jу0 - ΔJу
где Jу0
- индекс приведенного уровня ударного шума для плиты перекрытия, дБ,
принимаемый по таблице 3. По таблице 3 при т1
= 416,5 кг/м2 находим Jу0
= 76 дБ;
Jу - величина,
дБ, принимаемая по нормативной документации на используемое покрытие пола.
В соответствии с ГОСТ
18108 ΔJу у линолеума на
теплозвукоизолирующей подоснове не менее 18 дБ.
Jy = Jу0 - ΔJу = 76 - 18 = 58
дБ.
3. Так как Jу = 58 дБ < Jнy = 60 дБ (таблица 2), данная
конструкция пола удовлетворяет нормативным требованиям для квартир категории В
(предельно допустимые условия).
Приложение 6
Специалистами сектора полов испытательной
лаборатории ОАО «ЦНИИпромзданий» (аттестат аккредитации № РОСС PU.0001.21СЛ13 от 07.02.2006 г.) в сентябре -
октябре 2006 г. были проведены испытания материалов, выпускаемых фирмой
«Хенкель Баутехник». Были исследованы: полимерцементная саморазравнивающаяся
стяжка марки Thomsit DX, полимерцементная саморазравнивающаяся стяжка марки
Ceresit CN 178, водно-дисперсионные грунтовки марок Ceresit СТ 17, Thomsit R
766 и Thomsit R 777, растворный клей для паркета марки Thomsit P 600,
водно-дисперсионный клей для паркета марки Thomsit P 618, двухкомпонентный
полиуретановый клей для паркета марки Thomsit P 625, однокомпонентный
полиуретановый клей для ламината и паркетной доски марки Thomsit P 640,
растворный клей для поливинилхлоридных, каучуковых и других покрытий марки
Thomsit K 172, двухкомпонентный полиуретановый клей для каучуковых и
поливинилхлоридных плиток марки Thomsit R 710, водно-дисперсионный клей для
натурального линолеума марки Thomsit L 240 D, водно-дисперсионный
токопроводящий клей марки Thomsit К 112 и водно-дисперсионная токопроводящая
грунтовка марки Thomsit R 762 для антистатических поливинилхлоридных покрытий,
цементные плиточные клеи марок Ceresit CM 14, Ceresit CM 15 и Ceresit CM 115,
полимерцементные затирочные композиции марок Ceresit СЕ 35 Super, Ceresit СЕ 42
и Ceresit СЕ 43, химически стойкий эпоксидный клей марки Ceresit CU 22 и
эпоксидная грунтовка марки Ceresit СЕ 50.
В процессе исследований были
выполнены:
сравнительные испытания сухих смесей для
изготовления выравнивающих стяжек и рекомендованной для данной цели СНиП 2.03.13 цементно-песчаной смеси марки М150 по
следующим параметрам: подвижность и растекаемость растворных смесей, прочность
растворов на сжатие и прочность сцепления с бетонной плитой в 28-суточном
возрасте. Учитывая, что полимерцементная саморазравнивающаяся стяжка марки
Ceresit CN 178 может быть использована и в качестве покрытия пола, для данной
композиции были проведены также испытания на истираемость. Испытания
проводились в соответствии с требованиями ГОСТ 5802, ГОСТ 23789, ГОСТ
28574 и ГОСТ
13087;
в соответствии с
требованиями ГОСТ 24064
испытания прочности соединения (клеящей способности) между паркетом и
различными типами основания при применении для приклеивания клеев для паркета,
выпускаемых фирмой «Хенкель Баутехник»;
сравнительные испытания прочности торцевого шва
между ламинатными досками при склеивании водно-дисперсионным клеем марки
Thomsit P 640 и использовании замкового соединения. Испытания проводились в
соответствии с требованиями ГОСТ 5802;
в
соответствии с требованиями ГОСТ 24064
испытания прочности соединения (клеящей способности) между поливинилхлоридным
или натуральным линолеумом и различными типами основания при применении для
приклеивания клеев для линолеумов, выпускаемых фирмой «Хенкель Баутехник»;
в
соответствии с требованиями ГОСТ
6433.2 и ГОСТ 24064
испытания удельного поверхностного электросопротивления антистатического
поливинилхлоридного линолеума (как свободнолежащего, так и приклеенного
токопроводящим клеем марки Thomsit К 112 к бетонной плитке, огрунтованной
грунтовкой марки Thomsit R 762) и прочности клеевого соединения;
в
соответствии с требованиями ГОСТ 5802 и ГОСТ
28574 сравнительные испытания полимерцементных затирок и рекомендуемого
технической литературой для затирки швов в облицовках из керамических плиток
цементно-песчаного раствора с соотношением цемент: песок, равным 1:1, по
следующим параметрам: подвижность растворов, прочность затирок на сжатие и
прочность их сцепления с клеевыми композициями;
в
соответствии с требованиями ГОСТ
28574 испытания прочности сцепления кислотоупорной керамической плитки,
приклеенной химически стойким эпоксидным клеем марки Ceresit CU 22 к бетонным
основаниям, огрунтованным эпоксидной грунтовкой марки Ceresit СЕ 50.
Результаты испытаний представлены в таблицах 1-8.
Таблица 1
Физико-механические свойства
полимерцементно-песчаных стяжек и цементно-песчаной стяжки
|
Параметр
|
Ед. изм.
|
Величина параметра
|
|
Полимерцементно-песчаные стяжки
|
Цементно-песчаная стяжка М150
|
|
Thomsit DX
|
Ceresit CN 178
|
|
Количество
воды для завторения сухих растворных смесей
|
л/кг
|
0,26
|
0,14
|
0,14
|
|
Подвижность
|
см
|
Более 15
|
Более 15
|
7,2
|
|
Марка
по подвижности
|
|
Пк4
|
Пк4
|
Пк2
|
|
Растекаемость
|
мм
|
223
|
208
|
Не растекается
|
|
Прочность
на сжатие в 28-суточном возрасте
|
МПа
|
30,8
|
26,2
|
16,6
|
|
Прочность
сцепления в 28-суточном возрасте:
|
МПа
|
|
|
|
|
с
бетонной плитой из бетона класса В22,5
|
1,11
|
1,03
|
0,38
|
|
|
с
бетонной плитой из бетона класса В22,5, огрунтованной грунтовкой марки Ceresit CT 17
|
1,35
|
1,26
|
0,46
|
|
|
с
бетонной плитой из бетона класса В22,5, огрунтованной грунтовкой марки Thomsit R 777
|
1,35
|
1,19
|
0,43
|
|
|
с
бетонной плитой из бетона класса В22,5, огрунтованной грунтовкой марки Thomsit R 766
|
1,34
|
1,22
|
0,43
|
|
|
Истираемость
|
гр/см2
|
-
|
0,43
|
0,79
|
Таблица 2
Прочность соединения между
основанием и паркетом (клеящая способность)
|
Марка клея
|
Величина прочности соединения паркета с основаниями, МПа, через 72 ч
после склеивания
|
|
Бетон класса В22,5
|
Бетон класса В22,5, огрунтованный грунтовкой марки Thomsit R 777
|
Бетон класса В22,5, огрунтованный грунтовкой марки Thomsit R 766
|
Стяжка марки Thomsit DX
|
Стяжка марки Ceresit CN
178
|
Древесно-стружечная плита
|
Древесно-стружечная плита, огрунтованная грунтовкой марки Thomsit R 766
|
Фанера
|
Фанера, огрунтованная грунтовкой марки Thomsit R 766
|
|
Thomsit P 600
|
0,951
|
1.231
|
1,361
|
1,071
|
0,791
|
0,792
|
0,802
|
1,271
|
1,391
|
|
Thomsit P 618
|
0,821
|
0,961
|
1,041
|
0.871
|
0,711
|
0,802
|
0,802
|
1Д81
|
1,281
|
|
Thomsit P 625
|
1,141
|
1,481
|
1,631
|
1,221
|
0,981
|
0,802
|
0,812
|
1,391
|
1,543
|
|
1 - Разрыв адгезионный (клей - основание).
2 - Разрыв когезионный (по
древесно-волокнистой плите).
3 - Разрыв смешанный (частично по адгезионному слою клей - основание,
частично по фанере).
|
Таблица 3
|
Прочность торцевого шва при соединении при помощи замка, Н/см
|
Прочность торцевого шва, склеенного водно-дисперсионным клеем марки Thomsit P 640, Н/см
|
|
71,98
|
137,24
|
Таблица 4
Прочность соединения между
основанием и линолеумом (клеящая способность)
|
Тип основания
|
Величина прочности соединения линолеума с основаниями, МПа, через 72 ч
после склеивания
|
|
Поливинилхлоридный линолеум
|
Натуральный линолеум
|
|
Марка клея
|
|
Thomsit K 172
|
Thomsit R 710
|
Thomsit L 240 D
|
|
Бетон
класса В22,5
|
0,351
|
0,961
|
0,484
|
|
Бетон
класса В22,5, огрунтованный грунтовкой марки Thomsit R 777
|
0,371
|
0,971
|
0,474
|
|
Бетон
класса В22,5, огрунтованный грунтовкой марки Thomsit R 766
|
0,361
|
0,951
|
0,464
|
|
Стяжка
марки Thomsit DX
|
0,351
|
0,961
|
0,494
|
|
Стяжка
марки Ceresit CN 178
|
0,351
|
0,961
|
0,504
|
|
Бетон
класса В22,5
|
0,351
|
0,961
|
0,484
|
|
Гипсоволокнистый
лист
|
0,371
|
0,392
|
0,412
|
|
Гипсоволокнистый
лист, огрунтованный грунтовкой марки Thomsit R 766
|
0,361
|
0,402
|
0,402
|
|
Древесно-стружечная
плита
|
0,351
|
0,783
|
0,464
|
|
Древесно-стружечная
плита, огрунтованная грунтовкой марки Thomsit R 766
|
0,341
|
0,803
|
0,454
|
|
Фанера
|
0,351
|
0,991
|
0,494
|
|
Фанера,
огрунтованная грунтовкой марки Thomsit R 766
|
0,351
|
0,971
|
0,464
|
|
1 Разрыв адгезионный (клей - линолеум).
2 Разрыв когезионный (по гипсоволокнистому листу).
3 Разрыв когезионный (по древесно-волокнистой плите).
4 Разрыв когезионный (по клею).
|
Таблица 5
Параметр
|
Ед. изм.
|
Величина параметра
|
|
Удельное поверхностное электросопротивление
антистатического поливинилхлоридного линолеума
|
Ом
|
4,1·109
|
|
Удельное поверхностное электросопротивление
антистатического поливинилхлоридного линолеума приклеенного
|
Ом
|
1,8·108
|
|
Прочность соединения между основанием и
антистатическим поливинилхлоридным линолеумом, приклеенным токопроводящим
клеем марки Thomsit К 112 к бетонной
плитке, огрунтованной грунтовкой марки Thomsit R 762
|
МПа
|
0,321
|
|
1 Разрыв адгезионный (клей - линолеум).
|
Таблица 6
Физико-механические свойства
цементных плиточных клеев и цементно-песчаных стяжек
|
Параметр
|
Ел. изм.
|
Величина параметра
|
|
Цементные плиточные клеи
|
Цементно-песчаные растворы
|
|
Ceresit СМ 14
|
Ceresit СМ 15
|
Ceresit СМ 115
|
М150
|
М300
|
|
Количество воды для затворения сухих растворных
смесей
|
л/кг
|
0,28
|
0,28
|
0,30
|
0,14
|
0,29
|
|
Подвижность
|
см
|
8,5
|
8,5
|
7,0
|
7,2
|
6,8
|
|
Марка по подвижности
|
|
Пк2
|
Пк2
|
Пк2
|
Пк2
|
Пк2
|
|
Прочность на сжатие в 28-суточном возрасте
|
МПа
|
32,2
|
17,8
|
15,6
|
16,6
|
30,3
|
|
Прочность сцепления в 28-суточном возрасте керамической
плитки:
|
МПа
|
|
|
|
|
|
|
с бетонной плитой из бетона класса В22,5
|
|
1,281
|
1,151
|
0,981
|
0,171
|
0,251
|
|
с бетонной плитой из бетона класса В22,5,
огрунтованной грунтовкой марки Thomsit R 766
|
|
1,281
|
1,181
|
0,961
|
0,181
|
0,231
|
|
со стяжкой марки Thomsit DX
|
|
1,281
|
1,171
|
0,971
|
0,171
|
0,271
|
|
со стяжкой марки Ceresit CN 178
|
|
1,281
|
1,151
|
0,991
|
0,201
|
0,271
|
|
с гипсоволокнистым листом
|
|
0,392
|
0,402
|
0,422
|
0,171
|
0,261
|
|
с гипсоволокнистым листом, огрунтован-ным
грунтовкой марки Thomsit R
766
|
|
0,412
|
0,402
|
0,412
|
0,181
|
0,251
|
|
1 Разрыв
адгезионный (клей - плитка).
2 Разрыв когезионный (по гипсоволокнистому листу).
|
Таблица 7
Физико-механические свойства
полимерцементных затирок, цементных плиточных клеев и цементно-песчаного
раствора
Параметр
|
Ед. изм.
|
Величина параметра
|
|
Полимерцементных затирок
|
Цементно-песчаный раствор с соотношением цемент: песок, равным 1:1
|
|
Ceresit СЕ 35
|
Ceresit СЕ 42
|
Ceresit СЕ 43
|
|
Количество
воды для затворения сухих растворных смесей
|
л/кг
|
0,22
|
0,26
|
0,28
|
0,28
|
|
Подвижность
|
см
|
10,4
|
9,4
|
10,1
|
9,9
|
|
Марка
по подвижности
|
|
Пк3
|
Пк3
|
Пк3
|
Пк3
|
|
Прочность
на сжатие в 28-суточном возрасте
|
МПа
|
22,6
|
18,5
|
16,2
|
18,8
|
|
Прочность
сцепления в 28-суточном возрасте затирок:
|
МПа
|
|
|
|
|
|
со стяжкой марки Thomsit DX
|
|
0,921
|
0,831
|
0,821
|
0,701
|
|
со стяжкой марки Ceresit CN 178
|
|
0,961
|
0,841
|
0,861
|
0,721
|
|
1 Разрыв адгезионный (затирка-стяжка).
|
Таблица 8
Прочность сцепления кислотоупорной керамической плитки,
приклеенной химически стойким эпоксидным клеем марки Ceresit CU 22, с бетонным основанием,
огрунтованным эпоксидной грунтовкой марки Ceresit СЕ 48
|
Параметр
|
Ед. изм.
|
Величина параметра
|
|
Прочность сцепления
|
МПа
|
3,211
|
|
1 Разрыв когезионный (по бетону).
|
Анализ
результатов испытаний позволяет сделать следующие заключения.
1. Прочность на сжатие в 28-суточном возрасте у
полимерцементно-песчаных стяжек, выпускаемых фирмой «Хенкель Баутехник», значительно
(от 1,75 до 2 раз) выше, чем у рекомендованной СНиП
2.03.13 для изготовления выравнивающих стяжек цементно-песчаной смеси марки
М150. Обращает на себя также внимание, что затворенные водой
полимерцементно-песчаные смеси не только характеризуются повышенной
подвижностью по сравнению с цементно-песчаной смесью, но и (в отличие от
последней) обладают свойством растекаться. Данное обстоятельство, учитывая
также повышенную механическую прочность и повышенную величину сцепления с
бетонным основанием, позволяет рекомендовать данные материалы для изготовления
тонкослойных стяжек. По параметру истираемости саморазравнивающаяся стяжка
марки Ceresit CN 178 соответствует материалам, относимым СНиП 2.03.13 к группе «малопылящие».
2. Предел прочности клеевого
соединения паркета с нижележащими слоями на равномерный отрыв при использовании
клеев, выпускаемых фирмой «Хенкель Баутехник», значительно превосходит
требования, предъявляемые к данным клеям ГОСТ 24064 и ГОСТ
30307. Согласно данным нормативных документов прочность соединения между
бетонным основанием и паркетом (клеящая способность) через 72 ч после
приклеивания должна составлять не менее 0,3 МПа. У исследованных клеев (даже
при приклеивании паркета на неогрунтованный бетон) величина данного параметра в
2,7 - 3,8 раза выше.
3. Учитывая отсутствие
нормативных требований к прочности торцевого шва между ламинатными досками,
были проведены сравнительные испытания клеевого шва, выполненного с применением
водно-дисперсионнного клея, для ламината и паркетной доски марки Thomsit P 640
и замкового соединения. Проведенные испытания показали, что клеевое соединение
характеризуется практически в два раза (в 1,91 раза) большей прочностью по
сравнению с замковым соединением.
4. Предел прочности клеевого
соединения поливинилхлоридного и натурального линолеума с нижележащими слоями
на равномерный отрыв при использовании клеев марок Thomsit K 172 и Thomsit L
240 D соответствует, а при клее марки Thomsit R 710 и значительно превосходит
(в 3,2 раза) требования, предъявляемые к данным клеям ГОСТ 24064 и ГОСТ
30307. Согласно данным нормативных документов прочность соединения между
бетонным основанием и линолеумом (клеящая способность) через 72 ч после
приклеивания должна составлять не менее 0,3 МПа.
5. Предел прочности соединения
между основанием и антистатическим поливинилхлоридным линолеумом, приклеенным
токопроводящим клеем марки Thomsit К 112 к бетонной плитке, огрунтованной
грунтовкой марки Thomsit R 762 (клеящая способность), соответствует
требованиям, предъявляемым к водно-дисперсионным клеям (ГОСТ
30307), - более 0,3 МПа. Исследования по установлению электрических
характеристик показали, что при приклеивании антистатического линолеума
токопроводящим клеем марки Thomsit К 112 к бетонной плитке, огрунтованной грунтовкой
марки Thomsit R 762, наблюдается снижение удельного поверхностного
электросопротивления более чем на порядок (в 22,3 раза). Полученная величина
поверхностного электросопротивления покрытия пола находится в пределах,
рекомендуемых ОАО «ЦНИИпромзданий» для антистатических покрытий, - от 1·106
до 1·109 Ом (см. руководство «Полы. Технические
требования и правила проектирования, устройства, приемки, эксплуатации и
ремонта». - М., 2004). Полученные результаты испытаний позволяют сделать
вывод о возможности применения исследованных клея и грунтовки для изготовления
антистатических покрытий пола.
6. По пределу прочности на
сжатие цементные клеи для плитки марок Ceresit CM 15 и Ceresit CM 115
соответствуют цементно-песчаному раствору марки М150, а клей Ceresit СМ 14 -
цементно-песчаному раствору марки М300. Однако учитывая, что даже наименее
прочный цементный клей марки Ceresit CM 115 обеспечивает сцепление с
керамической плиткой практически в 4 раза большее, чем при использовании
цементно-песчаного раствора марки М300, можно сделать заключение о возможности
применения исследованных клеев при значительной интенсивности механических
воздействий.
7. Сравнительные испытания
полимерцементных затирок и рекомендуемого технической литературой для затирки
швов в облицовках из керамических плиток цементно-песчаного раствора с
соотношением цемент: песок, равным 1:1, показали, что полимерцементные затирки
соответствуют по показателям прочности на сжатие цементно-песчаному раствору с
соотношением цемент: песок, равным 1:1, но характеризуются более высокими
показателями сцепления с клеевыми композициями.
8. Характер отрыва
керамической кислотоупорной плитки, приклеенной химически стойким эпоксидным
клеем марки Ceresit CU 22 к бетонному основанию, огрунтованному эпоксидной грунтовкой
марки Ceresit СЕ 48, соответствует характеру отрыва штучных материалов,
применяемых в антикоррозионных облицовках из штучных материалов на
полимерзамазках, при этом величина сцепления должна превышать предел прочности
бетонного основания при растяжении (см. Справочник строителя. Защита
строительных конструкций и технологического оборудования от коррозии. - М.,
1981).
| |
|